Craftsman 113226880 User Manual 10 TABLE SAW Manuals And Guides L0901280
CRAFTSMAN Saw Table Manual L0901280 CRAFTSMAN Saw Table Owner's Manual, CRAFTSMAN Saw Table installation guides
User Manual: Craftsman 113226880 113226880 CRAFTSMAN 10 TABLE SAW - Manuals and Guides View the owners manual for your CRAFTSMAN 10 TABLE SAW #113226880. Home:Tool Parts:Craftsman Parts:Craftsman 10 TABLE SAW Manual
Open the PDF directly: View PDF
.
Page Count: 60

fSave This lVlanuai
For Future Reference
Model No.
113,226880
1!3.298090
Saw With Legs And
Two Table Extensions
LLI
Serial
Number
Model and serial numbers
may be found at the rear of
the base.
You should record both model
and serial number in a safe
place for future use.
JJ
YOUR
SAFETY
%_,=,
l
/
/
!
Model 113.226880
Model 113,298090
. . 6/CRRFTSMRN
10 INCH
DIRECT DRIVE
TABLE SAW
•assembly
=operating
-repair parts
READ ALL
INSTRUCTIONS
CAREFULLY
.J _.
Sears, Roebuck and Co., Hoffman Estates, iL. 60179 U.S.A.
Part No, SP 5509 Printed in U.S.A.

will repair it, free of charge. This warranty appUesonly while this product is in the United States.
If this table saw is used for commercial or rental purposes, this warranty wig apply for ninety days /
from the date of purchase. |
This warranty gives you specific legal rights, and you may also have other rights which vary from J
state to state.
Sears, Roebuck and Co., D817 WA, Hoffman Estates, IL. 60179
SAFETY INSTRUCT|ONS FOR TABLE SAW
Safety is a combination of common sense, staying alert 4.GROUND THE SAW- This saw has an approved 3-
and knowing how your table saw works. Read this man- conductor cord and a 3-prong grounding type plug.
ual to understand this saw. The plug fits grounding type outlets designed for 120
volt 15 amp circuits.The green conductor in the cord is
BEFORE USING THE SAW the NEVER connect the green wire to a live terminal.
5.To avoid injury form electrical shock, make sure your
fingers do not touch the plug's metal prongs when
plugging in or unpluggingthe saw.
6.To avoid back injury, get help or use recommended
casters when you need to move the saw. Always get
help if you need to lift the saw. Hold the saw close to
your body. Bend your knees so you can lift with your
legs, not your back.
7. NEVER STAND ON TOOL. Serious injury could occur
if the tool tips or you accidentally hit the cutting toolj
Do not store anything above or near the tool wher4
anyone might stand on the tool to reach them.
BEFORE EACH USE:
1. inspect your saw
A.To avoid injury from accidental starting, unplug the
saw, turn the switch off and remove the switch key
1. AVOID DANGEROUS EQUIPMENT. Use the saw in a before raising or removing the Guard, changing the
dry place protected from rain. Keep work area well cuttingtoo, changingthe setupor adjustinganything.
WARNING: To avoid mistakes that could cause_
serious, permanent injury, do not plug the saw in I
until the following steps have been satisfactorily
completed.
1. Assembly and Alignment. (See pages 12-31 )
2.Learn the use and function of the ON-OFF Switch,
Guard, Spreader, Anti-Kickback devise, Miter Gauge,
Fence, Table Insert and Blade Elevation and Bevel
Controls. (See pages 32-34)
3. Review and understanding of all safety instructions
and operating procedures in this manual.
4. Review of the maintenance methods for this saw. (See
page 46)
Read the DANGER label found on the front of the saw,
as shown below.
WHEN INSTALLING OR MOVING THE SAW
lighted.
2.To avoid injury from unexpected saw movement:
A.Put the saw on a firm level surface where there is
plenty of room for handling and properly supporting
the workpiece.
B.Support the saw so that the table is level and the
saw does not rock.
C.Bolt the saw to the floor it it tends to slip, walk or
slide during nomnaluse.
D.When using table extensions over 24 inches wide
on any side of the saw, bolt the saw to the floor or
B. Check for alignment of moving parts, binding of
moving parts, breakage of parts, saw stability, and
any other conditions that may affect the way the saw
works. If any part is missing, bent or broken in any
way, or any electrical part does not work properly,
turn the saw off and unplug the saw.
C.Reptace damaged, missing or failed parts before
using the saw again.
D.Use the Sawblade Guard, Spreader and Anti-Kick-
back Pawls for any thru-sawing (whenever the blade
comes through the top of the workpiece). Make sure
the Pawls work properly. Make sure the Spreader is
prop up the outer end of the extension from the floor in line with sawblade.
to keepthe saw from tipping. E.REMOVE ADJUSTING KEYS AND WRENCHES.
3. Put the saw where neither Operator nor bystanders Form habit of checking for and removing keys and
must stand in line with the saw blade, adjusting wrenches from tool before turning it on.
I _DANGER
1Read manual before using saw. 4.Keep bade guard down and in 7.When tipping, use push stick when 9.When ripping, use push blodk and 10.'Turn power off and wait for blade |
|2,Wear safety goggles that meat place for through cuts. fence is set 2 inches or more from auxiliary fence when fence is set to stop before adjusting or !
| ANSI Z87.1 standerds. 5,Do not do freshand cuts. blade, between l/2 and 2 inches from servicing, /
3.Do not reach around or over saw 6,Kesp hands out of path of saw 8.Kncw how to reduce the risk of blade. Do not make rip cuts
blades, blade, kickback, See instrustions for ripping, narrower than 1/2 inch.
2

F.To avoidinjuryfromjams,slipsorthrownpieces
(kickbackandthrowback):
1. USEONLY"RECOMMENDEDACCESSO-
RIES"(Seepage47). Followtheinstructions
thatcomewiththeaccessories.Usingother
accessoriesmaybedangerous.
2. Choosetherightbladeorcuttingaccessoryfor
thematerialandthetypeofcuttingyouplanto
do.
3. Neverusegrindingwheels, abrasive cut-off
wheels, friction wheels (metal slitting blades)
wire wheels or buffing wheels. They can fly
apart explosively.
4. Choose and inspect your cutting tool carefully.
a. To avoid cutting tool failure and thrown shrap-
nel (broken pieces of blade), use only 10" or
smaller blades or other cutting tools marked
for speeds of 3450 rpm or higher.
b. Always use unbroken, balanced blades de-
signed to fit this saw's 5/8 inch arbor.
c. When thru-sawing (making cuts where the
blade comes through the workpiece top),
always use a 10 inch diameter blade. This
keeps the spreader in closest to the blade.
d. Do not over tighten arbor nut. Use arbor
wrenches to "snug" it securely.
e. Use only sharp blades with properly setteeth.
Consult a professional blade sharpenerwhen
in doubt.
f. Keep blades clean of gum and resin.
5. Adjust table inserts flush with the table top.
NEVER use the saw without the proper insert.
6. Make sure all clamps and locks are tight and no
parts have any excessive play.
2. Keep work area clean
A. Cluttered areas and benches invite accidents.
Floor must not be slippery from wax or sawdust.
B. To avoid burns or other fire damage, never use the
saw near flammable liquids, vapors or gases.
3. Plan your work -plan ahead to protect your eyes,
hands, face, ears.
WARNING: To avoid injury, don't do layout,
assembly, or setup work on the table while the
blade is spinning. It could cut or throw any-
thing hitting the blade.
A. USE THE RIGHT TOOL - Don't force tool or
attachment to do a job it was not designed for.
B. Dress for safety:
1. Do not wear loose clothing, gloves, neckties or
jewelry (rings, wristwatches). They can get
caught and draw you into moving parts.
2. Wear non-slip footwear.
3. Tie back long hair.
.
5.
.
Roll long sleeves above the elbow.
Noise levels vary widely. To avoid possible
hearing damage, wear ear plugs or muffs when
using saw for long periods of time.
Any power saw can throw foreign objects into
the eyes. This can cause permanent eye dam-
age. Wear safety goggles (not glasses) that
comply with ANSI Z87.1 (shown on package).
Everyday eyeglasses have only impact resis-
tant lenses. They are not safety glasses. Safety
goggles are available at Sears retail catalog
stores. Glasses or goggles not in compliance
with ANSI Z87.1 could seriously hurt you when
they break.
WEAR YOUR
7. For dusty operations, wear a dust mask along
with the safety goggles.
C. Inspect your workpiece. Make sure there are no
nails or foreign objects in the part of the workpiece
to be cut.
D. Plan your cut to avoid KICKBACKS and THROW-
BACKS -when a part or all of the workpiece binds
on the blade and is thrown violently back toward
the front of the saw.
.Never cut FREEHAND: Always use either a
Rip Fence, Miter Gauge or fixture to position
and guidethe work, so itwon't twist, bind onthe
blade and kickback.
2. Make sure there's no debris between the work-
piece and its supports.
3. When cutting irregularlyshaped workpieces,
plan your work so it will not slip and pinch the
blade:
a. A piece of molding, for example, must lieflat
or be held by a fixture or jig that will not let it
twist, rock or slip while being cut. Use jigs or
fixtures where needed to prevent workpiece
shifting.
b. Use a different, better suited type of tool for
work that can't be made stable.
4. Use extra caution with large, very small or
awkward workpieces:
a. Use extra supports (tables, saw horses,
blocks, etc.) for anyworkpieces large enough
to tip when not held down to the table top.
NEVER use another person as asubstitute
for atable extension, or as additional support
for a workpiece that is longer or wider than
the basic saw table, or to help feed, support
or pullthe workpiece.

safety instructions for table saw
b. Never confine the piece being cut off, that is,
the pieceNOT against the fence, mitergauge
or fixture. Never hold it, clamp it. touch it, or
use length stops against it. it must be free to
move. Ifconfined, itcouldgetwedged against
the blade and cause a kickback or throw-
back.
c. Never cut more than one workpiece at a time.
d. Never turn your table saw"ON" before clear°
ing everything except the workpiece and
related support devices off the table.
4. Plan the way you wil! push the workplece throug h
ANEVER pull the workpiece through. Start and
finish the cut from the front of the tabb saw.
B. NEVER put your fingers or hands in the path of
the sawblade or other cuthng tool.
C. NEVER reach inback of the cutting toolwith either
hand to hold down or support the workpiece,
remove wood scraps, or for any other reason.
D Avoid hand positions where a sudden slip could
cause fingers or hand to move into a sawblade or
other oJtting tool,
E. DON'T OVERREACH. Always keep good footing
and balance.
F. Push the workpiece against the rotation of the
blade, NEVER feed material into the cutting tool
from the rear of the saw.
G Always push the workpiece all the way past the
sawblade.
H. As much as possible, keep your face and body to
one side of the sawblade, out of linewith a possible
kickback or throwback.
I NEVER turn the saw"ON"before clearingthetabte
of al! tools wood scraps, etc., except the work-
piece and related feed or support devices for the
cut planned.
J, AVOID ACCIDENTAL STARTING - Make sure
switch is "OFF" before plugging saw in.
WHENEVER SAW BLADE iS SPINNING
WARNING: Don't let familiarity (gained from fre-
quent use of your table saw) cause a careless
mistake. Always remember that a careless frac-
tion of asecond is enough to cause asevere
injury.
1. Before actually cutting with the saw, watch it while it
runs for a short while. If it makes an unfamiliar noise
or vibrates a lot, stop immediately. Turn the saw off,
Unplug the saw. Do not restart until finding and fixing
the problem.
2. Make sure the top of the arbor or cutting tool turns
toward the front of the saw.
3. Set the cutting tool as low as possible for the cut
you're planning.
4. KEEP CHILDREN AWAY. All visitors should be kept
asafe distance fromwork. Make sure bystanders are
clear of the saw and workpiece.
5, Let the blade reach full speed before cutting.
6. DON'T FORCE TOOL. It will do the job better and
safer at its designed rate. Feedthe workpiece intothe
blade only fast enough to let it cut without bogging
down orbinding.
7. Before freeing any jammed materiah
A. Turn switch "OFF".
B. Unplug the saw.
C. Wait for all moving parts to stop.
D. Check blade, Spreader and Fence for proper align-
ment before starting, again.
8. To avoid throwback of cut off p_eces:
A Use the Guard assembly.
B. To remove loose pieces beneath or trapped inside
the guard:
1. Turn saw "OFF".
2. Remove switch key
3. Wait for blade to stop before lifting the Guard.
ADDITIONAL _NSTRUCTIONS FOR
RiP TYPE CUTS
1. NEVER use the Miter Gauge when ripping.
2 Use a Push Stick whenever the fence is 2 or more
inches from the blade. When thru-sawing, use an
Auxiliary Fence and Push Block whenever the Fence
must bebelween 1/2 and 2 inchesof the blade. Never
thru-saw rip cuts narrower than t/2 inch (See
'_ASIC SAW OPERATION -USING THE RIP FENCE"
section.)
3. Never rip anything shorter than 10" long.
4. When using a Push Stick or Push Btock, the traiting
end ot the board must be square. A Push Stick or
Block against an uneven end coutd stip off or push the
work away from the Fence.
5, A FEATHERBOARD can help guide the workpiece.
(See "BASIC SAW OPERATION - USING THE RIP
FENCE.") Always use Featherboards for any non
thru rip type cuts.
24 _i
S/16" APART
BEFORE STARTING
1. To avoid kickbacks and slips into the blade, make
sure the Rip Fence is parallel to the sawblade.
4

2_ Before thru-sawing, check the AntioKickback Pawls.
(See "BASIC SAW OPERATION - USING THE RIP
FENCE.") The Pawls must stop a kickback once it
has started Replace or stlarpen Anti-Kickback Pawls
when points become duti.
3. Plastic and composition (like hardboard) materials
may be cut on your saw However, since these are
usually quite hard and slippery, the Anti-Kickback
Pawls may not stop a kickback. Therefore, be espe-
cially careful in your set-up and cutting procedures
WHILE CUTTING
1. To avoid kickbacks and slips into the blade, always
push forward on the section of the workpiece between
the saw blade and the Rip Fence. Never push forward
on the piece being cut off.
ADDITIONAL INSTRUCTOONS FOR
CROSS CUT TYPE CUTS
BEFORE STARTING
1. NEVER use the Rip Fence when crosscutting.
2. An auxiliary wood facing attached [o the Miter Gauge
can help prevent workpiece twisting and throwbacks
Attach it to the holes provided. Make the facing iong
enough and big enough to support your work. Make
sure, however, it witl not interfere with the Sawbfade
Guard..
3. Use jigs or fixtures to help hold any piece too sina!! to
extend across the full length of the Miter Gauge face
during the cut. This lets you properly hold the Miter
Gauge and workpiece and helps keep your hands
away from the blade. (See page 32,)
WHILE CUTTING
1. To avoid blade contact, always hold the Miter Gauge
as shown in "BASIC SAW OPERATIONS - USING
THE MITER GAUGE,"
BEFORE LEAVING THE SAW
1_ Turn the saw off.
2. Wait for blade to stop spinning.
3. Make workshop child-proof. Lockthe shop Discon-
nect master switches. Remove the yetlow Switch
Key. Store it away from children and others not
qualified to use the too!.
4 Unplug the saw
glossary of terms for woodworking
Anti-Kickback Pawls (AKP)
Device which, when properly maintained, is designed to
stop the workpiece from being kicked back at the opera-
tor during ripping operation.
Arbor
The shaft on which a cutting tool is mounted,
Crosscut
Acuttingor shaping operation made across the width of
the workpiece.
Dado
A non through cut which produces a square sided notch
or trough in the workpiece.
Featherboard
Adevice which can help guide workpieces during rip
type operation.
Freehand
Performing acut without using aFence, Miter Gauge,
fixture, hold down or other proper device to keep the
workpiece from twisting during the cut.
Gum
Asticky, sap based residue from wood products.
Heel
Misalignment of the blade.
Kerr
The amount of material removed by the blade in a
through cut or the slotproduced by the blade in a non
through or partialcut.
Kickback
An uncontrolled grabbing and throwing of the workpiece
back toward the front of the saw.
Leading End
The end of the workpiece which, during a rip type
operation, is pushed into the cutting tool first.
Molding
A non throughcut which produces a special shape in the
workpiece used for joining or decoration.
Push Stick
A device used to feed the workpiece through the saw
during narrow ripping type operations and helps keep
the operator's hands well away trom the blade.
Push Block
A device used for ripping type operations too narrow to
allow use of a Push Stick.
Rabbet
Anotch in the edge of a workpiece.
Resin
Asticky, sap base substance that has hardened.
Ripping
A cutting operation along the length of the workpiece.
Revolutions Per Minute (RPM)
The number of turns completed by a spinning object in
one minute.

glossary of terms for woodworking
Sawblade Path
The area of the workpiece ortable topdirectly inline with
the part of the workpiece which will be, or has been, cut
by the blade.
Set
The distance that the tip ofthe sawblade tooth is bent (or
set) outward from the face of the blade.
Throw-Back
Throwing of pieces in a manner similarto akickback.
Thru-Sawing
Any cutting operation where the blade extends com-
pletely though the thickness of the workpiece.
Trailing End
The workpiece end last cut by the blade in a ripping
operation.
Workplece
The item on which the cutting operation is being done.
The surfaces of aworkpiece are commonly referred to
as faces, ends, and edges.
i
motor specifications and electrical requirements
3oPRONG PLUG
\GROUNDING PRONG
PROPERLY GROUNDED
3-PRONG OUTLET
MOTOR SPECiFICATiONS
The motor used inthissaw is arelay start,non-reversible
type, with the following specifications:
Voltage ............................................................... 120
Amperes ........................................................... 11.5
Hertz .................................................................... 60
Phase ................................................... Single
RPM ................................................................. 3450
Rotation (viewed from
sawblade end) ......................... Counterclockwise
CAUTION: The staring relay in this switch hous-
Ing is a gravity sensitive type. To avoid damaging
your motor, never turn power on unless the saw
is upright in sawing position,
MOTOR SAFETY PROTECTION
1. Frequent opening of fuses or circuit breakers may
result if motor is overloaded, or if the motor circuit is
fusedwith a fuse other than those recommended. Do
notuse a fuse of greater capacity without consulting
the power company.
2. Although the motor is designed for operation on the
voltage and frequency specified on motor nameplate,
minimal loads will be handled safely at voltages 10%
aboveor below the nameplate voltage. Heavy loads,
however, require that voltage at motor terminals be
not less than the voltage specified on nameplate.
3- Most motor troubles may be traced to loose or incor-
rect connections, overloading, reduced input voltage
(which results when small size wires are used inthe
supply circuit)orwhen the supply circuit is extremely
long. Always check connection, load and supply
circuitwhen the motor fails to perform satisfactorily.
Check wire sizes and lengths with table atend of this
section.
CONNECTING TO POWER SOURCE
OUTLET
This saw must be grounded while in use to protect the
operator from electrical shock.
/t0)
¢-
Your saw iswired for 120 volts and ithas a plugthat looks
likethe one shown.
Plug power cord into a 110-120V properly grounded
type outlet protected by a 15 amp. time delay or Circuit-
Saver fuse or circuit breaker.
WARNING: Damaged power cords can cause
shock or fires, if the power cord is worn, cut, or
damaged in any way, have it replaced immedi-
ately.
WARNING: Electric shock can kill. Not all outlets
are properly grounded. If you are not sure that
your outlet is properly grounded, have it checked
by a qualified electrician.
WARNING: To avoid electrical shock, do not J
permit fingers to touch the tenninals of the plug, I
when InstalIlng or removing the plug to or from
the outlet.
WARNING: Failure to properly ground this power
tool can cause electrocution or serious shock,
particularly when used in damp locations, or near
metal plumbing, if shocked, your reaction could
cause your hands to hit the cutting tooL
This saw is equipped with a 3-conductor cord and
groundingtype plugwhich been approved by Underwrit-
ers' Laboratories. The ground conductor has a green
jacket and is attached to the tool housing at one end and
to the ground prong in the attachment plug at the other
end.
This plug requires a mating 3-conductor grounding type
outlet as shown.

j WARNING: Avoid electric shock, if the outlet you
are planning to use for this saw is of the two prong
type, DO NOT REMOVE OR ALTER THE GROUND-
ING PRONG IN ANY MANNER. Use an adapter, as
shown, and always connect the grounding iug to a
known ground.
It is recommended that you have a qualified electrician
replace the TWO prong outlet with aproperly grounded
THREE prong outlet.
Grounding Lug
/_==_MakeSureThisis
3-Pron- _ _ I_11 Connected to a
P,o ' ",o,,.,'
_--I -'=====_Receptacle
Adapter
WARNING: To help avoid electric shock, the green
grounding lug extending from the adapter must be
connected to a permanent ground such as to a
properly grounded outlet box. Not all outlet boxes
are properly grounded, if you are not sure the out-
let box is properly grounded, have it checked by a
qualified electrician.
NOTE: The adapter illustrated is for use only if you
already have a properly grounded 2-prong receptacle.
NOTE: make sure the proper extension cord is used and
is in good condition.
The use of any extension cord will cause some loss of
power. To keep this to a minimum and to prevent over-
heating and motor burn-out, use the table below to deter-
mine the minimum wire size (A.W.G.) extension cord.
Use only 3 wire extension cords which have 3-prong
grounding type plugs and 3-pole receptacles which
accept the tool plug.
Extension Cord Wire Size
Length A.W.G.
0 - 25 Ft. 16
26 -5O Ft. 14
An adapter, as shown, is available for connecting plugs to
2-prong receptacles. The green grounding lug extending
from the adapter must be connected to a permanent
ground such as to a properly grounded outlet box. The
temporary adapter should be used only until a properly
grounded outlet can be installed by a qualified electrician.
......... I'll I'1
contents
Warranty .................................................................................. 2
Safety Instructions for Table Saw ............................................ 2
Additional Instructionsfor Rip Type Cuts ............................ 4
Additional Instructions for Cross Cut Type Cuts ................. 5
"Glossary .................................................................................. 5
Motor Specifications and Electrical
Requirements .................................................................. 6
Motor Specifications ........................................................... 6
Motor Safety Protection ...................................................... 6
Connecting to Power Source Outlet .................................... 6
General Information ................................................................ 8
Model Description ............................................................... 8
Unpacking and Checking Contents ......................................... 8
Tools Needed ...................................................................... 8
List of Loose Parts (Model 113.226880) ............................. 9
List of Loose Parts (Model 113.298090) ........................... 10
Assembly ............................................................................... 12
Assembly of Steel Leg Set ................................................ 12
Mounting Saw to Leg Set (Model 113.226880) ................ 12
Installing Bevel Pointer and Handwheels ......................... 13
Checking and Adjusting Table insert ............................... 14
Heeling Adjustment or Parallelism of Sawblade
to Miter Gauge Groove ................................................. 14
Blade Tilt, or Squareness of Blade to Table ............. 15
Blade Elevations ...................................................... 17
Tilt and Elevation Mechanism .................................. 18
Attaching and Assembly Table Extensions
(Model 113.226880) ....................................................... 18
Installing Rip Fence Guide Bars and Switch Box
(Model 113.2268801 ....................................................... 19
Attaching and Assembling Table Extensions
('Model 113.298090} ....................................................... 22
Installing Rip Fence Guide Bars and Switch Box
ii
Installing Blade Guard ............................................. 29
Adjusting Miter Gauge ............................................. 31
Getting to Know Your Saw ........................................... 32
On-Off Switch .......................................................... 32
Elevation Handwheel ............................................... 33
Tilt Handwheel ......................................................... 33
Rip Fence ................................................................ 33
Miter Gauge ............................................................. 33
Blade Guard ............................................................ 33
Table Insert .............................................................. 33
Removing and Installing Sawblade ......................... 34
Exact-I-Cut .............................................................. 34
Basic Saw Operation ................................................... 35
Work Helpers ........................................................... 35
Safety Instructions for Basic Saw Operation ........... 36
Using the Miter Gauge ............................................ 38
Crosscutting .......................................................... 38
Repetitive Cutting .................................................. 39
Miter Cutting .......................................................... 39
Bevel Cutting ......................................................... 40
Compound Miter Cutting ....................................... 40
Using the Rip Fence ................................................ 40
Ripping .................................................................. 41
Using Featherboards For Thru Sawing
Resawing .............................................................. 43
Using Featherboards for Non Thru-Sawing .......... 44
Rabbeting .............................................................. 44
Ploughing and Molding ......................................... 45
Cutting Panels ....................................................... 45
Dadoing ................................................................ 45
Molding Cutting ..................................................... 45
Motor ........................................................................... 46
Lubricating and Maintenance .................................. 46
(Model 113.298090)...................................................... 23
Mounting Saw to Leg Set (Model 113.298090) ....... 25
Aligning Table Extensions (Model 113.298090) ....... 25
Mounting Saw to Workbench ................................... 26
Self-Aligning Spring Adjustment .............................. 27
Rip Fence Alignment Adjustment ............................ 28
Adjusting Rip Scale Indicator ................................... 28
Maintenance ................................................................ 46
Lubrication ................................................................... 47
Recommended Accessories ........................................ 47
Troubleshooting ........................................................... 48
General .................................................................... 48
Motor ....................................................................... 49
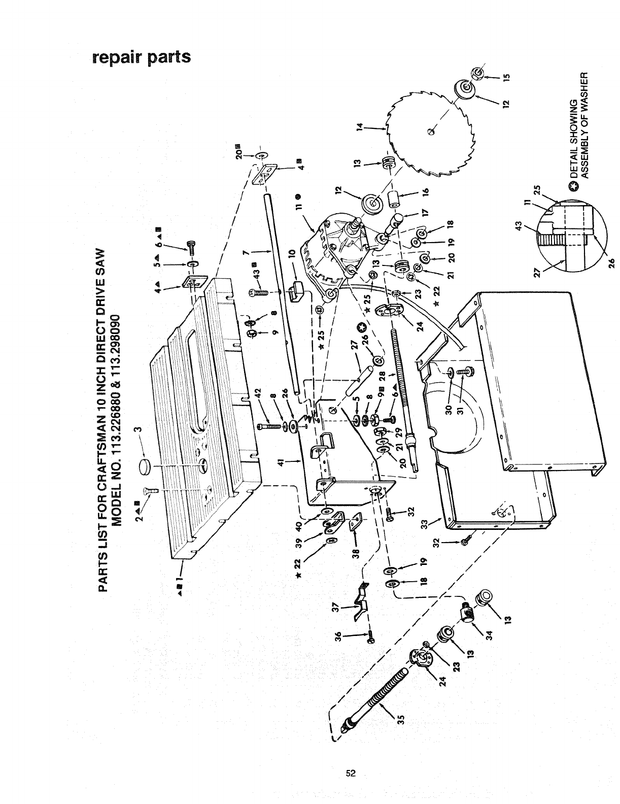
Repair Parts ................................................................ 50
7

general information
BOTH MODELS
1. This manual is for the following Models, 113.226880
or 113.298090.
All sections are labeled with the correct model num-
ber. Follow ONLY instructionsthat are meant foryour
model saw.
2. If you are missing any part(s) while putting your saw
together, do not continue assembly. Contact your
Sears Service Center or Retail Store and get the
missing part(s) before continuing assembly or trying
to use the saw.
Complete parts lists are located at the end of this
manual. Use these liststo identify the part number of
any missing part.
3. Sometimes small parts get lost in packaging materi-
als. Do not throw away any packaging until your saw
is put together. If you are missing a part, check the
packaging before contacting Sears.
MODEL DESCRIPTUON
Model 113. 226880:10-inch direct drive table saw with
a 20 x20 inch CAST IRON table and two 10 x20-inch
CAST IRON extensions.
Model 113. 298090: 10-inch direct drive table saw with
a20 x27-inch die cast ALUMINUM table and two 10 x
27-inch STAMPED STEEL extensions,
unpacking and checking contents
TOOLS NEEDED
Pliers
Combination Square
MediumScrewdriver
SmallScrewdriver
#2 Phillips Screwdriver
_Wrench, Hex "L" 3/16
"K_ Wrench, Hex'L" 1/8
Wrenches
3/8 in. 7/16 in.
1/2 in. 9/16 in.
COMBINATION SQUARE MUST BE TRUE.
DRAW LIGHT LINE ON
BOARD ALONG THIS EDGE. '3",
i•
I
L_
STRAIGHT EDGE OF BOARD
3/4" THICK. THIS EDGE MUST
BE PERFECTLY STRAIGHT,
I
SHOULD BE NO GAP OR OVERLAP
HERE WHEN SQUARE IS FLIPPED
OVER IN DOTTED POSITION.
Model 113.226880 or 113.298090 is shipped complete
in one carton and includes two table extensions, steel
legs and motor.
Separate all parts from packing materials and check
each one with the illustration and the list of Loose Parts
to make certain all items are accounted for, before
discarding any packing material.
WARNING: If any parts are missing, do not at-
tempt to assemble the table saw, plug in the
power cord or turn the switch on until the missing
parts are obtained and are installed correctly.
Remove the protective oil that is applied to the table top
and edges of the table. Use any ordinary household type
grease and spot remover.
WARNING: To avoid fire or health hazard, never I
use gasoline, naptha or similar highly volatile I
solvents.
Apply a coat of automobile wax to the table.
Wipe all parts thoroughly with a clean, dry cloth.
WARNING: For your own safety, never connect
plug to power source outlet until all assembly
steps are complete, and you have read and under-
stand the safety and operation instructions.
8

MODEL 113.226880
I.IST OF LOOSE PARTS
em Part Name Qty.
AMiter Gauge ................................................... 1
B Rip Fence ....................................................... 1
C Blade Guard and Spreader ............................ 1
ERip Fence Guide Bar, Rear ............................ 1
F Leg ................................................................. 4
GTable Extension ............................................. 2
HSide Stiffener .................................................. 2
J End Stiffener .................................................. 2
KRip Fence Guide Bar with Rip Scale (Front) .. 1
Bag of Loose Parts......................................... !
Containing the following:
MLeveling Foot .............................................. 4
N Hex Jam Nut, 3/8-16 ................................... 8
O Hex Nut, 1/4-20 ......................................... 24
P Truss Hd. Screw, 1/4-20 x 1/2 .................. 24
Q Lockwasher, #10 External ......................... 24
Bag of Loose Parts ......................................... 1
Containing the following:
P Truss Hd. Screw, 1/4-20 x 5/8 .................... 2
Q Lockwasher, #10 External ........................... 2
U Spreader Support ........................................ 1
V Switch Key .................................................. 1
W Pan Hd. Screw, 10-32 x 5/8 ........................ 2
Q Lockwasher, 1/4 In. External ....................... 2
X Soc. Set Screw, 1/4-20 x 7/8 ...................... 2
Y Wing Nut, 1/4-20 ......................................... 2
Z Square Nut, 1/4-20 ...................................... 2
Bag of Loose Parts ......................................... 1
Containing the following:
N Jam Nut, 5/16-18 ........................................ 6
Q Lockwasher, 5/16 External .......................... 6
S Spreader Clamp .......................................... 1
T Spreader Bracket ........................................ 1
AA Hex Screw, 5/16-18 x 1............................... 6
BB Washer, 21/64 x 5/8 x 1/16 ......................... 6
Bag of Loose Parts ......................................... 1
Containing the following:
D Handwheel .................................................. 2
R Bracket ........................................................ 2
DD Wrench ........................................................ 2
EE Bevel Pointer ............................................... 1
FF Wire Tie ....................................................... 1
Bag of Loose Parts ......................................... 1
Containing the following:
N Hex Jam Nut, 5/816-18 ............................... 6
O
Q
AA
AA
BB
BB
CC
2
Hex Nut, 1/4-20 ...........................................
Lockwasher, 5/16 External .......................... 8
Hex Hd. Screw, 5/16-18 x 1 ........................ 5
Hex Hd. Screw, 5/16-18 x 1-1/2 .................. 3
Washer, 17/64 x 9/16 x3/64 ....................... 4
Washer, 21/64 x 5/8 x 1/16 ......................... 8
Fence Guide Bar Spacer ............................ 3
D
F
1
o
o
_SB
.,<
_-,-- DD
0
Q
Q
W
AA
AA
BB
Bag of Loose Parts ......................................... 1
Containing the following:
Hex Jam Nut. 5/16-18 ................................. 6
Lockwasher, 1/4 External ............................ 2
Lockwasher, 5/16 Extemat .......................... 8
Pan Head Screw, 8-32 x 3/8 Type "T". ........ 1
Hex Hal. Screw, 5/16-18 x 3/4 ...................... 2
Hex Hd. Screw, 5/16-18 x 1-1/4 ................... 4
Washer, 11/32 x 11/16 x 1/!6 ...................... 8
9

unpacking and checking contents
MODEL 113.298090
LIST OF LOOSE PARTS
item Part Name Qty.
A Miter Gauge ..................................................... 1
B Rip Fence ........................................................ 1
C Blade Guard and Spreader ............................. 1
E Rip Fence Guide Bar, Rear ............................. 1
F Rip Fence Guide Bar with Rip Scale (Front) ... 1
H Leg .................................................................. 4
J Side Stiffener ................................................... 2
K End Stiffener .................................................... 2
L Table Extension ............................................... 2
Bag of Loose Parts .......................................... 1
Containing the following:
D Handwheel ................................................ 2
G Wrench ..................................................... 2
B
L
lO

Bag of Loose Parts ............................................ 1
Containing the following:
N Spreader Support ............................................ 1
O Spreader Clamp .............................................. 1
P Spreader Bracket ............................................ 1
Bag of Loose Parts ............................................ 1
Containing the following:
Q Switch Key ...................................................... 1
U Soc. Hd. Setscrew 1/4-20x7/8 ......................... 2
T Square Nut, 1/4-20 .......................... 2
X Lockwasher, #10 External Type ...................... 2
X Lockwasher, 1/4 External Type ....................... 2
Y Wing Nut, 1/4-20 ............................................. 2
AA Pan Hd. Screw, 10-32x5/8 .............................. 2
BB Truss Head Screw, 1/4-20x5/8 ........................ 2
Bag of Loose Parts ............................................ 1
Containing the following:
R Flat Washer 17/64x9/16x3!64 ......................... 4
R Flat Washer 21/64x5/8x1/16 ........................... 4
V Guide Bar Spacer ............................................ 3
W Hex Nut, 1/4-20 ............................................... 2
W Hex Jam Nut, 5/16-18 ................................... 10
X Lockwasher, 1/4 in. External Type .................. 2
X Lockwasher, 5/16 in. External Type .............. 10
Z Hex Hd. Screw, 5/16-18xl .............................. 3
Z Hex Hd. Screw, 5/16-18x1-1/2 ........................ 3
Z Hex Hd. Screw, 5/16-18x1-1/4 ........................ 4
Bag of Loose Parts ............................................ 1
Containing the following:
W Hex Nut, 1/4-20 ............................................. 24
W Hex Jam Nut, 3/8-16 ....................................... 8
X Lockwasher, 1/4 Extemal Type .................... 24
BB Truss Head Screw, 1/4-20xl/2 ..................... 24
CC Leveling Foot .................................................. 4
Bag of Loose Parts ............................................ 2
Containing the following:
R Flat Washer 17/64x3/4x1/16 ........................... 4
R Flat Washer 11/32xl 1/16xl/16 ....................... 8
R Flat Washer 21/64x5/8x1/16 ........................... 8
W Hex Nut, 1/4-20 ............................................. 16
W Hex Jam Nut, 5/16-18 ..................................... 8
X Lockwasher, 1/4 Extemal Type .................... 16
X Lockwasher, 5/16 External Type .................... 8
ZHex Head Screw, 5/16-18x1-1/4 ..................... 8
BB Truss Head Screw, 1/4-20xl ........................ 16
Bag of Loose Parts ............................................ 1
Containing the following:
DD Comer Stiffener Bracket ................................. 4
EE Comer Support Bracket .................................. 4
Bag of Loose Parts ............................................ 1
Containing the following:
W Hex Jam Nut, 5/16-18 ....... :............................. 2
X Lockwasher, External 5/16 ............................. 4
ZHex Hd. Screw. 5/16-18x3/4 ........................... 2
AA Pan Cross Screw, Ty "-F', 8-32x3/8 ................ 1
FF Tie Wire .......................................................... 1
GG Bracket ............................................................ 2
HH Bevel Pointer .................................................. 1
DD
EE
11

assembly
BOTH MODELS
ASSEMBLY OF STEEL LEG SET
Assembly is best done in the location where the saw will
be used.
1. From among the loose parts, find the following hard-
ware:
4Leveling Feet
*8 Hex Nuts, 3/8-16
*24 Truss Head Screws, 1/4-20 x 1/2
*24 Hex Nuts, 1/4-20
*24 1/4 Externa| Lockwashers LEVELING FOOT
items marked with an asterisk (*) are shown actual size.
R_v
3/8-16 HEY,NUT
@
114-20 HEX NUT
114-20X1/2 IN.
TRUSS HEAD SCREW
1/4 IN. EXTERNAL
LOCKWASHER
2. Insert three truss head screws through the three
holes near the top of one Leg. Place the Side Stiffener
upto the Leg, as shown, sothat the three screws line
upwiththe holes inthe SideStiffeners marked with an
"X" inthe illustration.
3. Place a Iockwasher and hex nut on each screw and
finger tighten the hex nut.
4. Following the same procedure as above, continue to
fasten together the remaining Legs and Stiffeners as
illustrated.
5. Install one 3/8-16 hex nut on each of the Leveling
Feet.
6. Insert a Leveling Foot throughthe hole inthe bottom
of each Leg so the Leveling Foot pad rests on the
floor.
7. Install another 3/8-16 hex nut on each ofthe Leveling
Feet.
8. Set leg set upright on floor and securely tighten all
nuts.
9. After complete assembly, you may level the saw by
moving the lower nut up or down along the threaded
stud of each Leveling Foot. The upper nut is used to
lock the Leveling Foot into positionwhen the saw is
level.
END
STIFFENER
, , IL i
MODEL 113.226880 ONLY
MOUNTING YOUR SAW TO THE LEG SET
(Model 113.298090 will be mounted later)
1. From among the loose parts, find the following hard-
ware.
*4 Hex Head Screws, 5/16-18 x 1-1/4
*4 Hex Nuts, 5/16-18
*4 Lockwashers, 5/16 In. External
*8 Fiat Washers, 11/32 x 11/16 x 1/16
Items marked with an asterisk (*) are shown actual size.
3/8 IN. HEX NUTS
LEVELING FOOT
5116-18 x 1-1/4
HEX HEAD SCREW
5/16 IN. EXTERNAL
LOCKWASHER
5/16-18 HEX NUT
11132 IN. I.D.
FLAT WASHER
12

2. Placethesawontopofthelegsetsothatthebaseof
thesawlinesupapproximatelyevenwiththeoutlineof
thetopofthelegset.
3. Frombeneaththesawyouwillbeabteto locateand
lineupthe fourmountingholesof the sawbasewith
the propermountingholesof the saw basewiththe
propermountingholesintheleg set assembly.
4. Place one flat washer onto each of the four hex head
screws and insert them into each of the mounting
holes. Be sure the screws go through the saw base
holes and the leg set mounting holes.
5. Install a flat washer, Iockwasher, and a hex nut on
each of the four screws and tighten securely.
6. Level the saw to your requirements by adjusting the
leveling feet. Lock leveling feet into position.
7. Securely tighten all leg set screws and nuts.
SAW BASE [
HEX HEAD SCREW ""_._|
FLAT WAS HER --""_c_ 1
END
LOCKWAS"E"17 L
BOTH MODELS
INSTALLING BEVEL POINTER
AND HANDWHEELS
1. From among the loose parts, find the following hard-
ware:
1 Bevel Pointer
* 1 Screw, 8-32 x 3/8
2Handwheels
2 Screw, Phillips 10-32 x 5/8
*2 Lockwasher, External 3/16
Items marked with an asterisk (*) are shown actual size.
BEVEL POINTER
HANDWHEEL
8-32 x 3/8 SCREW
10-32 x 5/8
PHILLIPS SCREW ©
3/16 IN.
LO CKWASHER
2. Fasten bevel pointer to cradle assembly with 8-32 x
3/8 screw, as shown. Adjustment of the pointer may
be necessary later.
3. Push handwheels onto shafts, as shown, and fasten
each with a 10-32 x 5/8 phillips screw and Iockwasher.
LOCKWiSHE i ER
TILT HANDWHEEL ELEVATION HANDWHEEL
!3

assembly
CHECKING AND ADJUSTING
THE TABLE INSERT
The table inset must be llushwith the surface of the saw
table to keep the workpiece from hanging up or binding
with the sawblade as the workpiece is cut by the saw-
blade.
1. Lower sawblade beneath the table insert and checkto
be surethe screw fastening the insert in Place is snug.
2. Use a straight edge to check near each of the eight
leveling tab positionsto determine if the insert is flush
with the surface of the saw table at all eight leveling
tab positions.
3. If insert is not flush with table surface, loosen inser_
fastening screw and pull insert forward to lift from saw
table.
4. Bend with pliers or tap with a hammer, as required,
to make the insert flush with the table top.
r
HEELING ADJUSTMENT OR
PARALLELISM OF THE SAWBLAOE TO
THE MITER GAUGE GROOVE
While cutting, the material must move in a straight line
PARALLELto the SAWBLADE, therefore, both the Miter
Gauge GROOVE and the RIP FENCE must be PARAL-
LEL to the SAWBLADE.
WARNING: if the sawblade is NOT parallel with
the Miter Gauge Groove, it is said to have "HEEL'.
This condition can cause the workpiece to bind or
move away from the Rip Fence at the end of arip
cut, possibly causing akickback.
IWARNING: To avoid injury from accide ntai stall,
make sure switch is "OFF" and plug is not con-
nected to power source outlet.
1. Raise blade to highest elevation.
2. Lift Blade Guard, if already installed, to highest posi-
tion.
3. Mark an "X" on one of the teeth of the sawbiade which
is naturally bent to the left.
4. Place the head of acombination square in the left
Miter Gauge Groove and adjust the ruler blade of the
square so that the end of the blade just touches the
14
side of the tooth you marked on the sawblade. Re-
member to keep the head of the square flush against
the Miter Gauge Groove.
5. Rotate the sawblade so that the "X" on the tooth is
now visible at the rear of the saw.
6. Move the combination square to the rear of the saw
and the end of the square blade should just touch the
marked tooth the same as it did at the front of the
sawblade.

.
.
If sawblade is not parallel with the Miter Gauge
Groove, you must adjust the position of the saw-
blade. Use a 3/16 in. hex "L" wrench to loosen the
four adjustment locking screws about 1/2 turn.
Loosen two pan head screws on the rear skirt of the
table about 1/2 turn.
9_ The mechanism under the table can now be moved
sideways from above by covering the sawblade with
a piece of cardboard and shifting the blade to the
right or left as required.
10. After shifting the sawblade mechanism slightly, re-
check the position of the marked tooth of the saw-
blade at both front and rear.
11. The tooth marked on the sawblade should be paral-
lel to the Miter Gauge Groove after adjustment is
made.
12. Tighten all screws carefully so as not to move
sawblade out of alignment.
13. Re-check parallelism of marked sawblade tooth to
the Miter Gauge Groove. Repeat the steps for
heeling adjustment if necessary.
3/16 IN.
HEX "L"
WRENCH
°°\
113.226880 SHOWN
113.298090 IS SIMILAR
BLADE TILT, OR SQUARENESS OF
BLADE TO TABLE
When the Bevel Pointer is pointing directly to the "0"
mark on the Bevel Scale, the sawblade should make a
SQUARE cut 90°to the table.
90 ° Position
To check for SQUAR ENESS:
I WARNING: To avoid injury from accidental start, I
turn switch "OFF" and remove plug from power
source outlet before adjusting bevel stop.
1. Raise blade all the way UP, raise Blade Guard.
2. TILT blade a few degrees to the LEFT. Now, tiltblade
back to the RIGHT as far as it will go.
3. Place the square against blade. Make sure square is
not touching the TIP of one of the saw TEETH.
15

assembly
4. If blade is SQUARE to table; check pointer.
A. IfPointer DOES NOTpoint to"0" markon the Bevel
Scale, bend pointer to read "0".
5. If blade is NOT SQUARE to table, the 900 Limit Stop
must be adjusted.
]CAUTION: Cover blade with p,ece of card- i
board to protect your hand.
A. Usinga small size screwdriver, reach underneath
saw and loosen BOTH setscrews in 90° Stop
Collar.
NOTE: If you can't reach the setscrews turn the
Tilt Handwheel slightly.
B. Rotate the Stop Collar moving it away from pivot
nut.
C. Tilt blade RIGHT or LEFT, checking with your
square until blade is square to table.
D. Rotate Stop Collar toward Pivot Nut until it
TOUCH ES the Pivot Nut. Tighten the setscrews.
E. Check Pointer, if it DOES NOT point to the "0"
mark onthe bevel scale, bend Pointer to read "0".
POINTER
ADJUSTING SCREW
r
o/Q
_/CP_FTgN_N
"O" POSITION\ _F_ /k.,
s il _.l'I/l"111'*_J_',lll'_llI"_\
,o 2# 2s 30 3_ 40 _
10"
Direct Drive .......... _ HP
G[ _..NGER I
............-F
BLADE COVERED
WITH P!ECE OF
CARDBOARD
/
1
/
/
\,h
SETSCREWS (2)
PIVOT NUT
90° STOP COLLAR
6. Tilt blade to LEFT as far as itwill go. It will stop when
the Pivot Nut is against the 45°Stop Collar.
7. Place an ACCURATE square against blade. Make
sure square is nottouching the TIP of one of the saw
teeth.
16

8. If blade is NOT 45 °to table, the 45 ° Stop Collar must
be adjusted.
A. Remove Elevation HandwheeL
B. Using a small size screwdriver, reach thru curved
slot in front trim panel and loosen BOTH setscrews
in 45° Stop Collar.
NOTE: If you can't reach the setscrews, turn the Tilt
Handwheel slightly.
C. Rotate the Stop Collar moving it IN or OUT and tilt
blade RIGHT or LEFT, checking with your square,
until blade is 45°to table.
D. Tighten the setscrews.
NOTE: If you can't reach the setscrews, turn Tilt
Handwheel slightly.
E. Install Elevation Handwheel.
45 °
STOP COLLAR
TILT SCREW
BACK OF SAW
BLADE ELEVATION
Whenthe Elevation Handwheel isturned CLOCKWISE,
until it stops, the blade must not be more than 2-5/8
inches above the table. If the blade extends more than
2-5/8 inches, the motor could interfere with the under-
side of the table causing misalignment.
With the blade extending 2-5/8 inches above the table,
the Stop Collar and Spacer must be against the Eleva-
tion Screw Pivot Nut. Ifthe blade extends more than 2-
5/8 inches, loosen two screws in Stop Collar, and
readjust it.
;TOP
_LLAR
ELEVATION SCREW
/
;PACER
/
/
ELEVATION SCREW
PIVOT NUT
TILT SCREW TILT SCREW
PIVOT NUT
17

assembly
TiLT AND ELEVATION MECHANISM
The Handwheels should turnfreely withoutbinding. The
turningaction can be adjusted bytightening or loosening
the screws in the Bearing Retainer. Both Handwheels
must be removed to reach the adjusting screws.
NOTE: When adjusting the screws on the Tilt Bearing
Retainer, hold the nut inside using a 3/8 inch wrench.
The screws for the Elevation Bearing Retainer can be
reached with a small screwdriver through the curved slot
on the front of the saw.
TILT
HANDWi_EEL
ADJUST THESE
TWO SCREWS
_ELEVATaON
ADJUST THESE
TWO SCREWS
MODEL 113.226880 ONLY
ATTACHING AND ASSEMBLING
TABLE EXTENSIONS
1. From among the loose parts, find the following hard-
ware: (Quantity indicated is for 2 extensions.)
*8 Hex Hal. Screw 5/16-18 x 1
*8 Flat Washer, 21/64 x 5/8 x 1/16
*8 Lockwasher, External 5/16
*8 Hex Jam Nut, 5/16-18
2 Brackets
Items rnarkedwith an asterisk (*) are shown actual size.
5/16-18 x 1
HEX HD. SCREW
11/32 IN. I.D.
FLAT WASH ER
5/16 IN. EXTERNAL 5tl 6 IN.
LOCKWASHER HEX NUT BRACKET
2. Insert three (3) 5/16-18 x 1 inch long screws through
holes in table.
3. Position Extension against table so screws extend
though holes in Extension.
4. Install flat washer, Iockwashers, and nuts on the
screws. HAND TIGHTEN ONLY.
5. Installother extension in the same way on other side
of table. \
LOCKWASHER
FLATWASHER
18

6. Line up front and top surface of the Extension with
the front and top of the table at the spots marked
"X" in the drawing. Use a combination square to
line up these edges. Tighten bolts and nuts
securely.
7. Put one of the brackets against the right edge of
the right extension so the bracket is lined up with
the FIRST hole near the front of the extension.
Insert a 1 inch long screw through a fiat washer,
through top hole in the bracket, and through the
FIRST hole in the extension. Install a Iockwasher
and nut on the screw. Hand tighten the nut
8. Put one of the brackets against the right rear edge
of the right extension so the bracket is lined up with
the SIXTH hole at the rear of the extension (see
illustration).
9. Insert one of the 1 inch long screws through a flat
washer, through the bracket, and through the
SIXTH hole into the extension. Install a Iockwasher
and nut on the screw. Hand tighten the nut.
CHECK WITH SQUARE
AT 2 PLACES
MARKED WITH "X"
REAR OF
_-_ "--._-_ _ _ 7%.ih WASHER
EXTENS!ON_-_ "_/__HEX NUT "'1- _'_'.N _ _ "_.
/,OOKWAS.E".gX#? D
BRACKET /5/16_18 x 1 IN.
EXTERNAL
LOCKWASHER HEX HEAD
SC REW
5/16-18 x1 IN.
MODEL 113.226880 ONLY
INSTALLING RIP FENCE GUIDE BARS
AND SWITCH BOX
1From among the loose parts, find the following hard-
ware:
*3 Hex Head Screws, 5/16-18 x 1-1/2
*3 Hex Head Screws, 5/16-18 x 1
*2 Hex Head Screws, 5/16-18 x 3/4
* 10 Lockwashers, 5/16 External
*6 Hex Jam Nuts, 5/16-18
"8 Flat Washers, 21/64x 5/8 x 1/16
*3 Spacers, 3/4 diameter x 1/2 long
Items marked with an asterisk (*) are shown actual size.
5/16-18 x 3/4
HEX HD. SCREW
G
5/16 IN. EXTERNAL
LOCKWASHERS 5/16 IN.
HEX JAM NUT
5/16-18 x 1-1/2 IN. HEX HD. SCREW 5/16-18 x 1 IN.
HEX HD. SCREW
--!-
21/64 IN. WASHER
1/2 IN. SPACER
19

assembly
2_ insed a 5/16-18 x 1-I/2 inch long hex head screw,
external !ockwasher and fiat washer through the
SECOND slot _nthe front fence bar
3. Piace t/2 inch _ong Spacer over screw threads and
thread hex head screw into first hole Onthe right side
o_the cast iron table skirt until finger tigh_ Guide Bar
should be in a vertical position.
/
/
4 Mount Switch to Guide Bar with (2.) two 5/16-18 x
314 hex head screws, Iockwashers, and nuts. Se-
curely tighten both bolts.
5_ Insert 1-1/2 inch long screw tl_rough external
tockwasher, flat washer and through the first slot in
the Guide Bar. Place 1/2 inch long Spacer over
screw threads. Swing Guide 8at to horizontal
position and thread the hex head screw into the
hole of the table skirt Finger tighten.
6. Insert 1-!/2 inch long screw through flat washer and
the FOURTH slot in the Guide Bar. Place 1/2 inch
long spacer over screw threads, Insert screw into
slot in bracket and attach a lockwasher and nut.
Finger tighten.
FLAT
1-1i2" HEX
HD. SCREW
LOCKWASHER
5/164 8 X 3/4"
flEX HD. !
/
SPACER
LOCKWASHER /
1-1i2" HEX
HD. SCREW
LO4b"_WASHER
HUT
l
BRACKET
SPACER
FLAT
WASHER
2O

7, _nsert one inch _ongscrew and flat washer in F_RST
8_
9.
THIRD and EIGHTH sbt of the rear Guide Bar and
attach lo table and mounting bracket using
_ockwashers and hex nuts as illustrated_ Hand
tighten at this time,
1_' HE;< HD.
SCREW
FLAT WASHER
LOCKWASHER _"_ _
",, 9'
REAR NUT ............. ;_
GUiD E BAR
==========================================================_:_:`_;_`._::::_::_t:_`_L_Z_-`_`_-....
L_z_ i SLOT
/_ I 3RD' SLOT
8TH SLOT
tFOR MOUNTING
TO BRACKET) t
Slide the Front Guide Bar as far as it wilt go to the right
and the Rear Guide Bar as far as i1will go to the lefL
Position Rip Fence at left end of Front Guide Bar,
holding up the rear end while engaging front end with
Front Guide Bar. Lower fence onto tab!e_
NOTE: It may be necessary to loosen Fence Knob
to allow Fence to be installed on Rear Guide Bar.
\\\
Front Guide Bar upwards until fence is ap*
10. Move
proximately 1/32 inch above tabae. Tighten screw at
left end of Bar.
NOTE: Fotd a piece of newspaper making 8 thick-
nesses and place between Rip Fence and table to
act as a spacer. This will tloid the Fence off of tl_e
table approximately 1/32 inch.
Adjust Rear Guide Bar so that the Fence is approxi-
mately 1/32 inch above table, Tighten screw at end
of Bar.
11. Move fence to right edge of table. Make sure it is
approximately 1/32 inch above table at front and rear
and tighten four remaining screws.
8 THICKNESSES
OF PAPER
8THICKNESSES
OF PAPER
\

assembly
MODEL 113.298090 ONLY
ATTACHING AND ASSEMBLING
TABLE EXTENSIONS HEX HD. SCREW
1. From among the loose parts, find the following hard- 5/16-18 X 1-1/4
ware: (Quantity indicated is for 2extensions.)
*8 Hex Hd. Screws, 5/16-18 x 1-1/4
*8 Flat Washers, 21/64 x 5/8 x 1/16
*8 Lockwashers, External 5/16
*8 Hex Jam Nut. 5/16-18
"16 Truss Head Screws, 1/4-20 x 1
"16 Hex Nut, 1/4-20
"16 Lockwashers, External 1/4
*4 Flat Washers, 17/64 x 3/4 x 1/16
4 Corner Support Brackets
4 Corner Stiffener Brackets
2 Brackets
HEX NUT
5/16-18
FLAT WASHER
17/64 IN. I.D.
Items marked with an asterisk (*) are shown actual size.
FLAT WAS H ER
21/64 IN. I.D.
TRUSS HD. SCREW HEX NUT
1/4-20 X 1 IN. 1/4-20
CORNER CORNER
STIFFENER SUPPORT
BRACKET BRACKET
EXTERNAL
LOCKWASHER
5/16 IN.
EXTERNAL
LOCKWASHER
1/4 IN.
BRACKET
2. Position saw upside down on floor.
NOTE: To protect the finished surfaces of the saw
and extensions, lay a piece of heavy paper or card-
board on the floor.
3 Install Corner Support Brackets, Corner Stiffener
Brackets, 1/4-20 x 1 inch truss head screws, 17/64
inch flat washers, 1/4 inch external lockwashers, and
1/4-20 hex nuts as shown. Hand tighten only.
CORNER
STIFFENER 17164 DIA.
BRACKET FLAT WASHER
1/4-20 tJ_J_
_-H=.nRT _..-_"_._}"_,,_'-_ _.1/4 IN. EXTERNAL
BR'A'CKi_Tf '\\\ __LOCKWASHER
TRUSSHEAO \ \_ __.]._
SCREW ,-_-_ _ _
THIS EDGE TOWARD TABLE
4. Insert four (4) 5116-18 x 1-1/4 inch hex head screws
into holes on inside edge of one extension.
5. Install 11/32 i.D. flat washer, 5/16externam Iockwasher,
and 5/16-18 hex nut on the end of each screw. Just
start nut on end of screw.
6. Slide the extension with hardware into four slots in
side of table. LINE UP FRONT EDGE OF EXTEN-
SION WITH FRONT EDGE OF TABLE and tighten all
screws and nuts.
7. Repeat for other extension.
LOCKWASHER
WASHER
5/16-18 X 1-1/4 SCREW
22

8. Inserta1/4-20x I trussheadscrewthroughbottom
holeinthe bracket, and through the FIRST hole in
the right hand extension. Install aiockwasher and
nut on the screw. Hand tighten the nut.
9. Insert a 1/4-20 x I truss head screw through bottom
hole in the other bracket and the FOURTH hole of
the extension. Install a Iockwasher and nut on the
screw. Hand tighten the nut.
10. insert the 1/4-20 x 1 truss head screws through the
FIRST and FOURTH holes in the left extension
without brackets. Install a Iockwasher and nut on
each screw and hand tighten.
MODEL 113,298090
INSTALLING RIP FENCE GUIDE BARS
AND SWITCH BOX
1. From among the loose parts, find the following hard-
ware:
*3 Hex Head Screws, 5/16-18 x 1-1/2
*3 Hex Head Screws, 5/16-18 x 1
*2 Hex Head Screws, 5/16-18 x 3/4
*8 Hex Jam Nuts, 5/16-18
*4 Fiat Washers, 21/64 x 5/8 x 1/16
*3 Spacers, 3/4 dia. x 1/2 long
"10 Lockwashers, 5/16 External
Items marked with an asterisk (*) are shown actual size.
5/16-18 x 3/4
HEX HD. SCREW
G
5/16 IN. EXTERNAL 5/16 iN.
LOCKWASHERS HEXJAM NUT
5/16-18 X 1-1/2 IN. HEX HD. SCREW 5/16-18 x 1 IN.
HEX HD. SCREW
21/64 IN. WASHER
1/2 IN. SPACER
REAR GUIDE BAR
2. Position guide bars on floor and install hardware as _ /
shown. Just start the nuts on the end of the screws, I \,_ EXT.LOCKWASHER
8TH SLOT 5/16 IN REX HEAD SCREW
DO NOT screw nuts on all the way. (FORMOUNTING-"__,-\ I "-
TO BRACKET) `='''''-_ _ IFLAT WASHER 1 IN. LONG
SWITCtH ASSEM.__%'_t 3RD SLOT /
MOUNTING-H-OLES _ __- [ _ 1ST SLOT
(FOR MOUNTING _ _6 _-_._ ..,<.._(_.)'_J_ _ 5116 IN.
TO BRACKET) _..__.._ FLAT WASHER/
2N D SLOT _"_'__ S P A C E R _ _.,_J"
,xH R CK ER
1ST SLOT ]
FRONT GUIDE BAR
23

assembly
3. Mount Switch to Guide Bar with two 5/16-18 x 3/4 hex
head screws, Iockwashers, and nuts. Securely tighten
both nuts.
5/16-18 HEX NUTS
_/" "l j
EXTERNAL LOCKWASHERS
_"\_ EXTERNAL LOCKWASHERS
5/16-18 X 3/4 HEX HD. SCREWS
4. Place Front Guide Bar against saw table and drop it
in place engaging the screws in the slots. Make sure
the spacers are between the rail and the table.
5. End of Front Guide Bar must be 7-5/16 in. from side
of saw table. This is important so that Rip Fence
Indicator can be aligned.
6. With the blade of your combination square set to 1/4
inch, gauge and adjust guide rail so the edge of the
rail is 1/4 inch ABOVE the edge of the table. Securely
tighten nuts.
7. Install 5/16-18 x 1-1/2 hex head screw through the
FOURTH slot in Front Guide Bar (that lines up with
bracket), through the 1/2 inch spacer and the Bracket.
Install a 5/16 in. external iockwasher and 5/16-18 hex
jam nut.
5/16-18 x1.1/2
HEX HD.
/ 1
/
7-5/16 IN,
8. Remove the three screws from rear of right table
extension.
9. Attach the Rear Guide Bar ina similar manner to the
Front Guide Bar. Make sure that the end of the bar
is 1! inches from the side of the saw table.
10. Reinstallthree truss head screws, Iockwashers and
istight.hexnuts removed in step 8. Check that all hardware _-_'<_)_l__\_ J
11. insert 5/16-18 x 1 hex head screw through the
EIGHTH slot and bracket. Install 5/16 external . SCRE
iockwasherand5116 hex jam nut. Tighten securely. HEX HD. TRUSS HD.
SCREWS SCREWS
24

MODEL 113.2980g0 ONLY
MOUNTING YOUR SAW TO THE LEG SET
1. From among the loose parts, find the following hard-
ware.
*4 Hex Head Screws, 5/16-18 x1-t/4
*4 Hex Nuts, 5/16-18
*4 Lockwashers, 5/16 In. External
*8 Fiat Washers, !1/32x 11/16x 1/16
items marked with an asterisk (*) are shown actual size.
5/16-18 x 1-1/4
HEX HEAD SCREW
G
5/16 iN. EXTERNAL
LOCKWASHER
5/16-18 HEX NUT
11/32 IN. i.D.
FLAT WASHER
2. Place the saw on top of the Leg Set so that the base
of the saw lines up approximately even with the
outline of the top of the Leg Set.
3. From beneath the saw you wiU be able to locate and
line up the four mounting holes of the saw base wffh
the proper mounting holes in the Leg Set assembly.
4. Place one flat washer onto each of the four hex head
screws and insert them into each of the mounting
holes. Be sure the screws go through the saw base
holes and the Leg set mounting holes.
5. Install a fiat washer, Iockwasher, and a hex nut on
each of the four screws and tighten securely.
6. Level the saw to your requirements by adjusting the
Leveling Feet. Lock Leveling Feet into position.
7. Securely tighten all Leg Set screws and nuts.
SAW BASE !
FLAT WASHER
}|
LOCKWASHER/[-["_ //
HEXNUT""'/_'-'r-a'J H
MODEL 113.298090 ONLY
ALIGNING TABLE EXTENSIONS
1. "Tap" extensions upwards or downwards, using a
block of wood and a hammer until they are even with
the top of the saw table. Be sure end of extensions are
even with front edge of saw.
NOTE: If necessary slightly loosen the screws and
nuts that connect the extensions to the table.
3. Tighten screws.
BLOCK OF _OOD
\
25
I
t
t
f

assemb|y
4. Lay a straight piece of wood or a framing square on
table to act as a straightedge. If outer edge of
extension is higher of lower than the table surface:
A. Slightly loosen nuts holding bracket to extension
using 7/16 in. wrench.
B. Move end of extension up ordown until outer edge
is even with table surface. Check with Guide Bar.
Tighten nuts.
C. Re-check INNER edge of extension to make sure
it has not moved. Readjust, if necessary.
BOTH MODELS
1. From among loose parts, find:
1 Wire Tie
2. Snap wire tie into 1/4 inch hole in right side of
cabinet. Route motor cord from inside cabinet
through the wire tie. Secure cord in wire tie. Keep
any extra cord on outside of cabinet. Do not push
extra cord inside cabinet.
EXTENSION REMOVED FOR
PICTURE CLARITY
VWIRE TiE
BOTH MODELS
MOUNTING YOUR SAW TO A
WORKBENCH
1/2
To mount the saw on workbench, make sure that there
isan o_ning inthe topof the bench the same size as the
opening inthe bottom of the saw so that the sawdust can
drop through. Recommended working height is33 to 37
inches form the top of the saw table to the floor.
NOTE: All dimensions in inches.
4 HOLES
7/16 DIA.
FRONT OF SAW
26

BOTH MODELS
The Fence should slide easily a!ong the Guide Bars and
always remain in alignment (parallel to sawbiade and
Miter Gauge Grooves).
The alignment is maintained by a spring underneath the
Fence which bears against the Front Guide Bar.
To move the Fence, loosen the Lock Handle and grasp
the Fence with one hand at the front.
For very close adjustments, grasp the Guide Bar with
both hands and move the Fence with your thumbs.
-b
BOTH MODELS
SELF-ALIGNING SPRING ADJUSTMENT
Place Fence on saw but DO NOT LOCK IT.
Move the REAR END of the Fence slightly to the right of
left. When you release it,the Fence should "spring" back
to its original position.
If it does not, the spring pressure must be INCREASED.

assemb|y
Loosen the screws.
2. Move spring slightly towara front ot Fence. Tighten
screws,
# the Fence does not slide easily a_ong _he Bars the
press_re of the spring can be REDUCED
1Loosen tr_escrews
2. Move spring sJight_ytoward rear of Fence Tig,q_en
SCreWS.
/
/
SLIDE SPRING TO
ADJUST PRESSURE
RiP FENCE ALBGNMENT ADJUSTMENT
WARNING: A misaltglned Rip Fence can cause
kickbacks and jams. To avoid injury, !ol!ow these
instructions until the fence is prepedy aligned.
The Rip Fence must be PARALLEL withthe sawbtade
and Miter Gauge Grooves. Move Fence untiJ it is a_on_
s_deot Groove, DO NOT LOCK iT I! should be paralle_
to Groove. _fi_ is not:
1 Loosen the Hex },-leadscrews,
2 Hold Fence head tightly against Bar, Move end ot
Fence so that =tis parallel with Groove,
3, Alternately tighten the screws
4 Re-check alignment.
5. Repeat steps, as needed
ADJUSTING RiP SCALE iNDiCATOR
1, Turn Elevation Handwheei clockwise untit blade is up
as high as it will go.
BMPORTANT: BLADE musl be SQUARE 190'_)to
[ABLE, in order to ALIGN Rip Fence,
2, Using a rule, position Fence on right side of sawblade
2 inches from the side of the teeth, tighten Lock
Handle.
3, Loosen screw holding the Indicator, adjust so that it
points to "2" on the Rip Scale, tighten screw.
NOTE: It you cannot adjust indicator so that it points
to "2." loosen the screws holding the Front Guide Bar
and move the Guide Bar.
HEX SCREWS
FENCE HEAD
\\
\
LOCK HANDLE
28

BOTH MODELS
INSTALBNG BLADE GUARD
!. From among the loose parts,, Iind the fo_owing hard _
ware:
"2 Truss Head Screws+ I/4.-20 x 5/8
*2 Socket Head Setscrew, I/4-+20 x 7/8
*4 Flat Washer, 17/64 × 9/16 x 3/64
'2 Hex Nuts+ 1/4-20
*4 Lockwashers+ 1/4 E×temal
*2 Wing Nuts, 1/4-20
*2 Square Nuts, t/4o20
1 Spreader Support
1 Spreader Bracket
1 Spreader C_amp
Items markedwith an asterisk (") are shown actuat size,
/
5 -j?
1/4+20 x 7/8 ,__u
SOCKET HD, ., ,
1/4.20 × 5/8 SETSCREW 1/4 iN. EXTERNA..
TRUSS HD SuRb:W LO_KWAStTER
t/420 HEX NUT t/4-20
SQUARE NUT 1/4 20 WING NUT
SPREADER SUPPORT
SPREADER BRACKET
SPREADER C.AMP
17/64 !.D WASHER
2. Make sure blade is all the way up and square with
table.
3. Position Spreader Support on Rod until it is even with
the end of the Rod
WITH TABLE
\
4, Assemble the 7/8 inch _ong setscrews, nuts
lockwashers and washers to the Spreader Support
Bracket and slip the nuts into the s_otinthe Spreader
Support.
5. Finger tighten only the hex nuts.
NOTE: Be sure to put the socket head setscrew through
the slot shaped holes in the Spreader Bracket (see
illustration). This al!ows the Guard and Spreader to be
fined up with the blade. Be sure the socket end of the
setscrew is at the hex nut end of the assembly.
29

assembly
6 Lay a piece of flat straight wood and a square on saw
lable and rotate the Spreader Suppod untitthe Bracket
is align_ with square.
7_Make sure end of Support, Bracket and Rod are even.
Using a 1!8 inch hex "L" wrench, tighten the setscrews
only, Check that the Spreader Support cannot be
rotated on the Spreader Rod.
TIGHTEN
SETSCREW ONLY
!NDS OF SUPPORT
AND BRACKET TO
BE EVEN WiTH
END OF ROD
!1
IMPORTANT: To work properly, the spreader must
always be parallel to the sawblade and adjusted so the
cut workpiece will pass on either side of the Spreader
without binding or skewing to the side
NOTE: The Spreader is thinner than the width of the
KERF by approximately six thicknesses of paper.
SPACE EQUAL TO APPROX.
3 THICKNESSES OF PAPER KERF WOOD
[ l"....... _'?---- ...............tBLADE'_
I /I............."_.................' ........................?
s?E,DE.i, 1
ISPACE EQUAL TO APPROX,
•3 THICKNESSES OF PAPER
! LOOKING DOWN ON SAW
8. Make two folds in a small piece (6 x 6 in.) of ordinary
newspaper making three thicknesses. The tolded
paper will be used as a "spacing gauge".
I
!
3O

9. Raise b!ade to maximum height and r%ke sure b_ade
is square to the saw tabb
I O. hstatl the Spreader C!a_x© using 1/4..£0 x 5/8 truss
head screws, bckwashers, and wing nuts. P_ace
Spreader between Spreader Clamp and Bracket.
Move Spreader forward _,_ntil atl th_ee are in line,
T_ghten Wing screws,
1!. Lift up boh Anti-Kickback Paw_s. i%e_t setscrew
wrench or a pencil into r.,otches to ho_d the Paw_s out
of the way.
12. Lay a piece of straight fiat wood against the saw..
b_ade Insert lo[ded paper between Sp,_eader and
strip of wood.
13. MAKE SURE TH E HE X NUTS UNDERNEATH ARE
LOOSE!
14_ Hold the Spreader t_ghtly against the wood and
make sure the wood is against the saw blade.
Tighten the hex nuts,
This wiII atign the Spreader in the middle of the cut
(KERR) £_ade by sawbIade.
NOTE: To remove the Guard for non-through cuts,
loosen the Wing Nuts a_3d slide the Guard back and
upward off the Spreader Bracket. DO NOT DISTURB
THE SET-raNG OF THE SPREADER BRACKET.
When replacing the Guard, siide the Spreader down and
forward between the Spreader Clamp and Spreader
Bracket unfit it rests as shown. Make sure Wing Nuts are
tightened securely, this ietsyou remove and replace the
Guard without disturbir_ the Spreader alignment.
f
BOTH MODELS
ADJUSTING MITER GAUGE
MITER GAUGE
NOTE: Thegraduations are manulacturedto veryctose
toIerances which provide suitabte accuracy for average
woodworking. In some cases where extreme accuracy
is required, make a trial cut ana then re-check it with an
accurate square or protractor, tf necessary, the Miter
Gauge head can then be swiveled slightly to compen-
sate and then tocked.
The HEAD should be SQUARE (90°] with the barwhen
the pointer points to "0".
To check for squareness, place an accurate square on
the Miter Gauge. If the head is NOT SQUARE with the
bar:
1. Loosen the Lock Knob.
2. Position the head square with the bar. Tighten the
Lock Knob.
3. Loosen the screw and adjust the pointer, so it points
to zero.
The swiveling movement of the head can be adjusted by
t_ghtening or loosening the set screw bcated inside of
the head using a 1/8 in. hex "L" wrench.
31

getting to know your saw
BOTH MODELS 6BLADE GUARD
MITER GAUGE
LOCK KNOB 8SAW BLA
5 MITER GAUGE MITER
HEAD
SPREADER
ANTIKICKBACK
PAWLS
TABLE INSERT
4
FENCE
3
9 EXACT-I-CUT
TILT HANDWHEE|
HOLES FOR
ATTACHING
FACING
2ELEVATION HANDWHEEL
/
/
FENCE
LOCK KNOB
1
ON-OFF SWITCH
ON-OFF SWITCH
CAUTION: Before turning switch "ON", make i
sure the blade guard is correctly installed and
operating properly.
The On,Off Switch has a locking feature. THIS
FEATURE IS INTENDED TO PREVENT UN-
AUTHORIZED AND POSSIBLE HAZARDOUS USE
BY CHILDREN AND OTHERS.
A. Insert key into switch.
B_To turn saw ON, stand to either side of the blade,
never in line with it, insert finger under switch lever
and pull END of lever out.
After turning switch ON, always allow the blade to
come up to full speed before cutting.
Do not cycle the Motor Switch onand off rapidly, as
this may cause the sawblade to loosen, in the
eventthis should ever occur, allowthe sawblade to
come to a complete stop and re-tighten the arbor
nut r_rmatly, not excessively. Never leave the saw
while the power is "ON".
C. To turn saw OFF, PUSH leverin. Never leavethe
saw until the cutting tool has come to a complete
stop.
D. To dockswitch in OFF position, hold switch INwith
one hand, REMOVE key with other hand.
32
C
@
KEY
(YELLOW PLASTIC)
© © ____
_.----__
I'
k,,,

2
3
4
WARNING: For your own safety, lower blade
or other cL4t}ng tool be!ow table surfacer (H
btade is tilted_ return il to vertical 90% posi-
tion}., Always fork the switch "OFF". When
saw is not m use, _emove key and keep it in a
safe place_ Also_ #,, the event of a power
t
/ faiture (a:t of Vour lilhls go out} turn swttch
off, lock it by _emoving the key, This wit
t prevent the saw from starling up again when
!..t2e. ............................................................
ELEVATION HANDWHEEt .... elevates or
lowers the b!ade, tum c_ockwise to elevate,
coun_,erclockwise to k._wer.
T_LT HANDWHEEL..._i_ts the blade for beve!
cutting. Turn c_ockwise to ti_t toward ieft, cocmte_.
c_ockwise to flit toward ri_._:}ht.
Wher_ the blade is thted to the kt}FT as far as il wi_i
go. it shouid be a_ 45" ,_ome tab@ and the bevel
indic££o_ should poir_t to 45"'.
NOTE: There are LIMIT STOPS inside the saw
wI_ ci_ prevent the Made from tilting beyond 45 '_to the
LE,_T ar_d90" to _he RIGHT. ( See "ADJUSTMENTS
AND ALiGNMBNTS" 5ecfioa 'BLADE TIL[, OR
',SQUAR!:.Nif::SS OF BI..AD{:: TO TABLE').
R!P FE}{CE ... is locked ,'.,_p}ace by tightening
the Lock Knob. To move the Fe;_ce, loosen the
Knob and grasp the Fence wi{h one hand at the
front.
} _oies a_e provided in _he Rip Fence {o,_ attaching a
wood facing when using the Dado Head, or Molding
Head.
Select a piece of smooth straight wood approxi-.
mate!y 3/4 inch thick, at least as long as the Rip
Fence, and at least 7-1/2 inches wide {high) to
permit clamping of Featherboards.
Attach it to the Fence with three Round Head #10
Wood Screws 2 inches _oP,g. To remove the facing,
loosen the screws, s!ide _he facing forward and putt
the screws through the round he;ca.
WOOD FACING
"_% / ///
ROUND HEAD /
t0 WOOD SCREWS
MODEL 113.298090
!f you are making arip type cut in material thinner
than 31!6 inch while _heFence is positioned overthe
depressed area of Table Extension, the facing shoutd
be attached to the Fence so that the bottom edge
33
touches the top surface of th.e Eixtensios n this
case, the facing mus_ be shorter titan the Fence.
This wi_ prevent thin mater;al from sliding under the
Rip Fence
5 MITER GAUGE , . . head is !ocked in
t:×)sitior_ tot crosscutting or mitering by t_ghte r_ing the
Lock K_,::,b ALWAYS LOCK _T SECURELY WHEN
tN USE.
Slots are provided in tI_e Miter Gauge for at£aching
an Auxi!iary Facir_g to make it easier to Odt iong
pieces. Be _x.'.,sitive Faci_.g does net irs_edere wth
the proper operation of the Sawb!ade Gua:d.
Setect a suitab!e piece of snK)oti_ straigh_ wood dri_I
two ho_es through it and attach it wi!h screws.
NOTE: When bevel crosscutting, attach Facing so
that it extends to the right of the Miter Gauge and use
the Miter Gauge in the groove to the right of She
b_ade.
...................LOCK KNOB
,, _- AUXILLARY FACING
_,5=:_SLOT ......
6
7
BLADEGUARD.., must a_waysbe in p!ace and
working properly for all thmosawm9 cuts. Tha_ is, ati
cuts whereby the blade cuts oompiete_y through the
workpiece.
q-o rein/dyethe Guard for speciaI operations, loosen
the Wing Nuts and slide the Guard back and upward
off the Spreader Bracket. DO NOT DISTURB THE
SETTING OF THE SPREADER BRACKET.
Wher_ replacing the Guard, slide the Spreader down
and forward between the Spreader C_amp and
S_reaaer Bracket until the bottom and rear edges oi
al{ three are even Make sure both Wing Nuts are
hand t_ghtened securely.
TABLE INSERT. __is removabie 1orremewng
or installing b_ades or other cumng Ioo_s
WARNING: To avoid injury due to accldentaI,
start, turn switch "OFF" and remove plug }
from power source outlet before removing I
InserL ]
A Lower the blade below the table su_ace
B. Raise Blade Guard.
C. Loosen screw.
D, Lift insert from front end, and pull toward tront of
saw.
NEVER OPERATE THE SAW W_THOUT THE
PROPER INSERT IN PLACE. Use the saw blade
insert when using asaw blade. Use the combination
DadoiMolding insert when using a Dado or Mol@ng
head.

basic saw operations
8 REMOVING AND iNSTALLiNG
SAWBLADE
WARNING: TO avoid injury due to accidental
start, push switch "OFF" and remove plug
from power source outlet before removing or
installing sawblade.
A. Remove Insert.
B. Place open end Arbor Wrench on flat surfaces of
saw arbor and closed end Arbor Wrench on nut.
Position wrenches as shown, holding your hands
weft above blade.
/
C. With Arbor Wrench against table, PULL wrench
on arbor nut forward to LOOSEN nut.
D. To TIGHTEN nut, hold Arbor Wrench against rear
of table, push arbor nut wrench toward rear.
\ \ PULL TO LOOSEN /I _ " _/
/
!/.¢>.d..............
/>.?.
CLOSED END
ARBOR NUT WRENCH
NOTE: When installing the blade, make sure the
teeth are pointing toward the front of the saw and
that the blade and collars are clean, and free from
any burrs.
HEX NUT
I
34
9
The HOLLOW side of the collar must be against the
blade.
E. To replace insert. Place insed into opening in
table and push toward rear of saw to engage
Spring Clip and until key slot in insert will drop
over screw. Tighten screw.
Do not tighten screw to the point where it will
deflect the insert.
EXACT-n-CUT
The "yellow" Plastic Disc imbedded in the table in
front of the sawblade, is provided for marking the
location of the "sawcut" on the workpiece.
A. Check Disc. If it is above table surface, place a
piece of hardwood on top of it and tap it down.
B. With blade 90° (square to table) cut off a piece of
wood,
C. Puff Miter Gauge back until wood is over Disc.
Using very sharp pencil, mark a line on Disc.
D. W_th Miter Gauge in right hand groove, follow
same procedure and mark another _ineon Disc.
E. These lines indicate the "path" of the cut (kerf)
made by the sawblade.
F. When cutting the workpiece, line up mark on
workpiece with line on Disc.
Use the Hold-Down Clamp (optional accessory) on
the Miter Gauge for greater accuracy.
SHOWN WITH HOLD-DOWN CLAMP
(OPTIONAL ACCESSORY)
\
........ _;jv
BLADE GUARD SHOWN IN "PHANTOM"
FOR PICTURE CLARITY

BOTH MODELS
WORK HELPERS
Before cutting any wood on your saw, study aH of the
"Basic Saw Operations/
Notice tt_at in order to make some of the cuts, it is
necessary to use certain devices, '_Vork Helpers", tike
the Push Stick, the Push Btock and the Auxiliary Fence/
Work Support, which you can make Yourself.
After you have made afew practice Cuts, make up these
"helpers" before starting any projects. Make the "Push
Stick" first.
PUSH STICK AND PUSH BLOCK
Make the Push Stick using a piece of 1 x 2.
15
SLIGHTLY LESS THAN
THICKNESS OF WORKPIECE
UP TO 3/8"
45 ° NOTCH
NOTE: All dimensions in inches
PUSH STICK
Make the Push Block using a piece of 3/8 in. and 3/4 in.
plywood.
The small piece of wood 3/8 x 3/8 x 2-1/2 inches should
be GLUED to the plywood. DO NOT USE NAILS. This
is to prevent dulling the sawbtade in the event you
mistakenly cut into the Push Block.
Position the handle in the center of the plywood and
fasten together with glue and wood screw.
THESE EDGES MUST
BE PARALLEL
/\
/_4-3/4-_
\
3/4 PLYWOOD
AUX_L|ARY FENCE!WORK SUPPORT
Make one using a piece of 3/8 inch and 3/4 inch plywood
Fasten together with glue and wood screws.
NOTE: Since the Push Block is used with the Auxiliar
Fence, the 4-3/4 inches dimensions must be held iden
tical on both the pieces.
3/4 PLYWOOD
27
THiS FACE AND THiS 30
EDGE MUST BE
pARALLEL
3/8 PLYWOOD
NOTE: All dimension In inches
MODEL 113.298060
AUXILIARY FENCE/WORK SUPPORT
3/4 PLYWOOD
2O
THIS FACE AND THIS
EDGE MUST BE
PARALLEL
3/8 PLYWOOD _
NOTE: All dimension in Inches_ 5"1/
MODEL 113.226880
AUXIUARY FENCE/WORK SUPPORT
318
NOTE: All dimensions in inches
PUSH BLOCK
I
3/8 PLYWOOD
35

safety instructions for basic
BOTH MODELS
BEFORE EACH USE:
1. Inspect yoursaw
ATo avoid injury from accidental starting,unplugthe
saw. turn the switch off andremove the Switch Key
before raising or removing the Guard, changing
the cutting tool, changing the setup or adjusting
anything_
B Check for a_ignment of moving parts, binding of
moving parts, breakage of parts, saw stability,and
any other conditions that may affect the way the
saw works, if any part is missing, bent, or broken
m any way, or any electrical part does not work
properly, turn the saw off and unplug the saw.
C Replace damaged, missing, or failed parts before
using the saw again.
D. Use the Sawbiade Guard, Spreader, and Anti-
Kickback Pawls forany thru-sawing(wheneverthe
blade comes through the top of the workpiece).
Make sure the Pawlswork properly. Make sure the
Spreader is in line with the sawblade.
E REMOVE ADJUSTING KEYS AN D WRENCHES.
Form habit of checkingfor and removing keys and
adjusting wrenches from tool before turning it on.
F To avoid injury from jams, slips or thrown pieces
(kickback and throwback):
1. USEONLY RECOMMENDED ACCESSORIES
(See page 47). Follow the instructions that
come withthe accessories. Usingother acces-
sories may be dangerous.
2 Choose the right blade or cuttingaccessory for
the material and the type of cuttingyou plan to
do
3. Never use grinding wheels, abrasive cut-off
wheels, friction wheels (metal slitting blades)
wire wheels or buffing wheels. They can fty
apart explosively.
4. Choo se and inspect your cutting tool carefully.
a To avoid cutting tool failure and thrown shrap-
nel (broken pieces of blade), use only 10" or
smaller blades or other cutting tools marked
for speeds of 3450 rpm or higher,
b. Always use unbroken, balanced blades de-
signed to fit this saw's 5/8 inch arbor.
c_ When thru_sawing (making cuts where the
blade comes through the workpiece top),
always use a 10 inch diameter blade. This
keeps the Spreader in closest to the blade.
d. Do not over tighten arbor nut. Use arbor
wrenches to "snug" it securely.
e. Use only sharp blades with property set teeth.
Consult a I_rofessional blade sharpenerwhen
in doubt.
f. Keep blades clean of gum and resin,
5. Adjust table inserts flush with the table top.
NEVER use the saw without the proper insert.
6 Make sure all clamps and locks are tight and no
parts have any excessive play.
saw eperations
2. Keep work area clean
A. CSuttered areas and benches invite accidents.
Floor must not be slippery from wax or sawdust.
B. To avoid burns or other fire damage, never use the
saw near flammable liquids, vapors or gases
3. Plan your work - plan ahead to protect your eyes,
hands, face, ears.
WARNING: To avoid injury, don't do layout,
assernbny, or setup work on the table while
the blade is spinning, it could cut or throw
anything hitting the blade.
A. USE THE RIGHT TOOL - Don't force tool or
attachment to do ajob it was not designed for.
B. Dress for safety:
1. Do not wear loose clothing, gloves, neckties or
jewelry (rings, wristwatches). They can get
caught and draw you into moving parts.
2. Wear non-slip footwear.
3. Tie back long hair.
4. Roll longsleeves above the elbow.
5. Noise levels vary widely. To avoid possible
hearing damage, wear ear plugs or muffs when
using saw for long periods of time.
6. Any power saw can throw foreign objects into
the eyes. This can cause permanent eye dam-
age. Wear safety goggles (not glasses) that
comply with ANSI Z87.1 (shown on package).
Everyday eyeglasses have only impact resis-
tant lenses. They are not safety glasses. Safety
goggles are available at Sears retail catalog
stores. Glasses or goggles not in compliance
with ANSI Z87.1 could seriously hurt you when
they break.
WEAR YOUR
36
7. For dusty operations, wear a dust mask along
with the safety goggles.
C. Inspect your workpiece. Make sure there are no
nails or foreignobjects inthe part of the workpiece
to be cut.
D. Plan your cut to avoid KICKBACKS and THROW.
BACKS -when a part or all of the workpiece binds
on the blade and is thrown violently back toward
the front of the saw.
1. Inspect yourworkpiece. Make sure there are no
nails or foreign objects in the part of the work-
piece to be cut.
2. Never cut FREEHAND: Always use either a
Rip Fence, Miter Gauge or fixture to position
and guide the work, so it won't twist, bind on the
blade and kickback.

3. Make sure there's no debris between the work-
piece and its supports.
4. When cutting Irregu_arty shaped workpieces,
p_anyour work so it will not slip and pinch the
Made:
a_A piece of molding, for exampte, must lie fiat
or be held by a fixture or jig that will not ie_:it
twist, rock or slip while being cut. Use jigs or
fixtures where needed to prevent wo_kpiece
shifting.
b. Use a different, better suited type of too_for
work that can't be made stable.
5. Use extra caution with large, very srna_ or
awkward workpieces:
a_ Use extra supports (tables, saw horses,
blocks, etc.) forany workpieces {arge enough
to tip when not he_d down to the table top.
NEVER use another person as a substitute
for a TaMe Extension, or as additional sup-
port for a workpiece that is longer or wider
than the basic saw tame, or to help feed,
support, or pull the workpiece.
b. Never confine the piece being cut off. That is,
the piece NOT against the Fence, Miter Gauge
or fixture. Never hold it, clamp it, toucil it, or
use length stops against it. it must be free to
move. if confined, it could get wedged against
the blade and cause a kickback or throw-
back.
c. Never cut more than one workpiece at atime.
d. NEVER turn the saw "ON" before cleadng
the table or all tools, wood scraps, etc.,
except the workpiece and related feed or
support devices for the cut planned.
4. Plan the way you will push the workpJece through
A NEVER pulJ the workpiece through. Start and
finish the cut from the front of the table saw.
B. NEVER put your fingers or hands in the path of
the sawblade or other cutting too!.
C. NEVER reach in back of the cutting tool with either
hand to hold-down or support tile workpiece, re-
move wood scraps, or for any other reason.
D.Avoid awkward operations and hand positions
where a sudden slip could cause tinge rs or hand to
move into a sawblade o r other cutting tool.
E. DON'T OVERREACH. Always keep good footing
and balance.
F. Push the workpiece against the rotation of the
blade. NEVER feed material into the cutting tool
from the rear of the saw.
G.Always push the workpiece all the way past the
sawblade.
H. As much as possible, keep your face and body to
one side of the sawblade, out of line with apossible
kickback or throwback.
I. NEVER turn the saw"ON" before clearing the tabl
of all tools, wood scraps, etc., except the wor_
piece and related feed or support devices for th
cut planned.
J. AVOID ACCIDENTAL STARTING - Make sur
switch is "OFF" before plugging saw in.
WHENEVER SAW BLADE IS SPiNNiNG
WARNING: DoWt let familiarity (gained from fre-
quent use of your table saw) cause a careless
mistake. ABways remember that a careless frac-
t_on of asecond is enough to cause asevere
_njury.
1. Before actuaJly cutting with the saw, watch it while
runs for a short while. If it makes an unfamiliar nois
or vibrates a _ot,stop immediately. Turn the saw ot
Unplug the saw. Do not restart until finding and fixir
the problem.
2. Make sure the top of the arbor or cutting too_ turf
toward the front of the saw.
3. Set the cutting tooJ as low as possible for the c_
you're planning.
4. KEEP CHILDREN AWAY. All visitors should be kel
a safe distance from work. Make sure bystanders a_
clear of the saw and workpiece.
5o Let the blade reach full speed before cutting.
6. DON'T FORCE TOOL. it will do the job better ar
safer at itsdesigned rate. Feed the workpiece into t_
blade only fast enough to let it cut without boggir
down or binding.
7. Before freeing any jammed material:
A. Turn switch "OFF".
B. Unplug the saw.
C. Wait for all moving parts to stop.
D. Check blade, Spreader and Fence for proper alig
ment before starting, again.
8. To avoid throwback of cut off pieces;
A. Use the Guard Assembly.
B. To remove loose pieces beneath or trapped insk
the Guard:
!. Turn saw "OFF".
2. Remove Switch Key.
3. Wait for blade to stop before lifting the Guan
BEFORE LEAVING TIlE SAW
1. Turn the saw off.
2. Wait for blade to stop spinning.
3. Make workshop child-proof. Lock the shop. Disco
nect master switches. Remove the yelbw Swit4
Key. Store it away from children and others
qualified to use the tool.
4. Unplug the saw.
37

basic saw operation -using the miter gauge
The MITER GAUGE IS USED when CROSSCUTTING,
MITER CUTTING, BEVEL CUTTING, COMPOUN D MI-
TER CUTTING, DADOING and when RABBETING
AND MOLDING across the end of a narrow workpiece.
WARNING: For your own safety, always observe I
the following safety precautions in addition to the Jsafety instructions on pages 2, 3, 4, 5, 36, & 37.
ADDiTiONAL SAFETY INSTRUCTIONS FOR
CROSS CUT TYPE CUTS.
Before starting:
1. Never use the Rip Fence when crosscutting.
2. An auxiliary wood facing attached to the Miter Gauge
can help prevent workpiece twisting and throwbacks.
Attach it to the holes provided. Make the facing long
enough and big enough to support your work. Make
sure, however, it will not interfere with the sawblade
guard.
3. Use jigs or fixtures to help hold any piece too small to
extend across the full length of the Miter Gauge face
during the cut. This lets you properly hold the Miter
Gauge and workpiece and helps keep your hands
away from the blade.
While cutting:
1. To avoid blade contact, always hold the Miter Gauge
as shown in this section.
CROSSCUTTING
Crosscut is known as a cutting or shaping operation
made across the width of aworkpiece.
The graduations on the Miter Gauge provide accuracy
for average woodworking. In some cases where ex-
treme accuracy is required, when making angle cuts, for
example, make atrial cut and then re-check it with an
accurate square, or protractor.
If necessary, the Miter Gauge head can be swiveled
slightly to compensate for any inaccuracy.
NOTE: The space between the MiterGauge Bar andthe
groove inthe table is held to a minimumduring manufac-
turing.
WORKPI ECE
1
I [ itI l
TABLE
For maximum accuracy when using the Miter Gauge,
always "favor" one side of the groove in the table. In
other words, don't move the Miter Gauge from side to
side while cutting, but keep one side of the bar riding
against one side of the groove.
NOTE: Glue a piece of sandpapertothe face ofthe Miter
Gauge head. This will help prevent the workpiece from
"creeping" while it is being cut.
The Hold-Down Clamp (optional accessory) should be
used on the Miter Gauge for greater accuracy.
The Miter Gauge may be used in either of the grooves in
the table. Make sure it is locked.
When using the Miter Gauge inthe LEFT hand groove,
hold the workpiece firmly against the Miter Gauge head
with your left hand, and grip the lock handle with your
right.
WARNING: To avoid blade contact or kickback,
hold Miter Gauge properly.
When cutting long workpieces, invert Auxiliary Fence/
Work Support and positionit on top of the Guide Bars to
support the workpiece as near to the end as possible. If AUXILIARYFENCE/
thisdoes notadequately support the workpiece, you can ...........
make a simple support by clamping apiece of plywood
to a sawhorse. See illustration above.
When usingthe RIGHT hand groove, hold the workpiece
with your right hand and the Lock Handle with your left
hand.
Use the Hold-Down Clamp (optional accessory) on the
Miter Gauge for greater accuracy.
38

REPET_TIVE CUTTING
REPETITIVE cuTrtNG is known as cutting a quantity of
pieces the same length without having to mark each
piece.
1. Use the Stop Rods (optior_al accessory) on{y for
cutting duplicate pieces 6 inches tong and _onger.
2. When making repetitive cuts from a _ongworkpiece,
make sure it is adequately supported.
Use the Hold-Down Clamp (optional accessory) on
the Miter Gauge for greater accuracy.
LEFT HAND
REMOVED FOR
AUXILIARY FENCE/
-- WORK SUPPORT
3. NEVER USE THE RIP FENCE AS A LENGTH STOP
BECAUSE THE CUT-OFF PIECE COULD BIND
BETWEEN THE FENCE AND "["HE BLADE CAUS-
ING A KICKBACK.
4. When making repetitive cuts shorter than 6 inches,
clamp a block of wood 2 inches tong to the table to act
as a length stop. Do not clamp directly to the bottom
edge of the table because the "swivel" of the clamp
will not grip properly. Place a small block of wood
between the bottom edge of the table and the "C"
clamp.
CAUTION: Avoid kickback from twisting the
workpiece. When clamping the block, make
sure that the end ot the b_ock is wel_ _nfront of
the sawblade. Be sure it is clamped securely.
5. Slide the workpiece along the Miter Gauge until gt
touches the block, hold it securely. Use Hold-Down
Clamp _optional accessory} for greater accuracy.
6. Make the cut, pull the workpiece back. turn saw off,
wait for blade to stop and remove cut off piece before
continuing.
MITER CUTTING
MITER CUTTING is known as cutting wood at an angle
other than 90°with the edge of the wood. Follow the
same procedure as you would for crosscutting.
Adjust the Miter Gauge to the desired angle, and lock it.
The Miter Gauge may be used in either of the grooves in
the table.
When using the Miter Gauge in the LEFT hand groove,
hold the workpiece firmly against the Miter Gauge head
with your left hand, and grip the Lock Knob with your
_h_n using the RIGHT hand groove, hold the workpiece
with your right hand and the Knob with your left hand.
Use the Hold-Down Clamp (optional accessory) on the
Miter Gauge for greater accuracy.
TABLE
TOP V_EW
39

basic saw operations
BEVEL C ROSSCUTTING
BEVEL CROSSCUTTING is the same as crosscutting
except that the wood is also cut at an angle, 0ther than
90owith the flat side of the wood.
Lower blade to about 2 inches above the table top
before tilting blade. Failure to do this may result in
damage to your saw.
Adjust the blade to the desired angle.
Use the Miter Gauge in the groove to the RIGHT of the
blade. It cannot be used in the groove to the LEFT
because the Blade Guard will intedere. Hold the work-
piece withyour right hand and the Lock Handle withyour
left hand.
Use the Auxiliary Fence/Work Support for additional
support of the workpiece.
Lay it across the Guide Bars to support the workpiece as
near to the end as possible.
Use the Hold-Down Clamp (optional accessory) on the
Miter Gauge for greater accuracy.
\\
\\
W0R K.,°f ECE
TA6LE
COMPOUND MITER CUTTING
COMPOUND MITER CUTTING is a combination of
miter cutting and bevel crosscutting. The cut is made at
an angle other than 90°to both the edge and the flat side
of the wood.
using the rip fence
RIPPING, BEVEL RIPPING, PLOUGHING. MOLDING,
RESAWlNG AND RABBETING are performed usingthe
RIP FENCE together with the AUXILIARY FENCE/
WORK SUPPORT, PUSH STICK OR PUSH BLOCK.
IARNING: For your own safety, always observe I
the following safety precautions in addition to the
safety instructions on pages 2, 3, 4, 5, 36, & 37.
ADDITIONAL SAFETY INSTRUCTIONS
1. NEVER use the Miter Gauge when ripping.
2. Use a Push Stick whenever the fence is 2 or more
inches from the blade. When thru-sawing, use an
auxiliary fence and push block whe never the fence
must be between 1/2 and 2 inches of theblade. Never
thru-saw rip cuts less than 1/2 inch wide.
3. When using aPush Stick or Push Block, the trailing
end of the board must be square. APush Stick or
Block against an uneven end could slip off or push the
work away from the fence.
4. Never rip anything shorter than 10" long.
5. A FEATHERBOARD can help guide the workpiece.
Adjust the Miter Gauge and the blade to the desired
angle. Make sure Miter Gauge is locked.
;_---- --- 24'
KERFS ABOUT Ii
5 q6" APART
Before starting:
1. To avoid kickbacks and slips into the blade, make
sure the Rip Fence is parallel to the sawblade.
2. Check the Anti-Kickback Pawls. (See BASIC SAW
OPERATION- USING THE RIP FENCE.) The Pawls
must stop a kickback once it has started. Replace or
sharpen Anti-Kickback Pawls when points become
dull.
3. Plastic and composition (like hardboard) materials
may be cut on your saw. However, since these are
usually quite hard and slippery, the Anti-Kickback
Pawls may not stop a kickback. Therefore, be espe-
cially careful in your set-up and cutting procedures,
While cutting:
1. To avoid kickbacks and slips into the blade, always
push forward onthe section of the workpiece between
the sawblade and the Rip Fence. Never push forward
on the piece being cut off.
40

RIPPING
Ripping is known as acutting operation aIong the tengt H
of the workpiece.
Position the Fence to the desired WIDTH OF RIP and
lock in place.
Belore starting to rip, be sure:
1. Rip Fence is paraflel to sawblade.
2. Spreader is properly a_igned with sawblade.
3. Anti-Kickback Pawls are functior_mg properly.
When ripping LONG BOARDS or LARGE PANELS,
always use a work support.
A simple one can be made by clamping a piece of
plywood to a sawhorse,
WORKPIECE
TABLE ]_T
ALWAYS SUPPORT LON
OR WiDE WORKP|ECE_
Keep your hands out of the blade path_
WARNING: To avoid kickback, use LEFT hand 1
ONLY to guide the workpiece. Do not FEED tl_e
workpiece with your left hand.
Stop your left thumb at the front edge of the table. Finish
the cut with the appropriate pusher.
Feed the workpiece by pushing forward only on the part
of the workpiece that will pass between the btade and I he
fence.
/
Once the trailing end is on the table:
When "WIDTH OF RIP" is 2 inches or wider, use the
Push Stick to finish pushing the work all the way past the
blade.
41

basic saw operations
When WIDTH OF RIP is 1/2 inch to 2inches, the Push
Stick CANNOT be used because the Guard will inter-
fere. USE the Auxiliary Fence/Work Support and Push
Block.
Attach Auxiliary Fence/Work Support to Rip Fence with
two "C" clamps.
Feed the workpiece by hand along the Auxiliary Fence
until the end is approximately 1 inch past the front edge
of the table. Continue to feed using the Push Block.
Hold the workpiece in position and install the Push Block
by sliding it on top of the Auxiliary Fence/Work Support
(this may raise Guard).
WARNING: To avoid injury from blade contact, I
never thru-saw cuts narrower than 1/2 inch wide. '1
Narrow strips thicker than the Auxiliary Fence/Work
Support may enter the Guard and strike the Baffle.
CAREFULLY raise Guard only enough to clear the
workpiece. Use Push Block to complete cut.
BAFFLE
42

USING FEATHERBOARDS FOR THRU
SAWmNG
Featherboards are NOT employed for thru-sawing op-
erations when using the Miter Gauge.
Featherboards are used to keep the work in contact with
the Fence and table as shown, and to help stop kick-
backs.
Add 7-1/2 inch Mgh flat facing board tothe Fence, the full
length of the Fence.
Mount Featherboards to Fence and table as shown, so
that leading edges of Featherboards wil! support work-
piece.
WARNING: Make sure the Featherboard against
the edge presses only on the uncut position (in
front of the blade). Btmight othenNise pinch the
blade i the kerr and cause a kickback.
Before starting the operation (switch "OFF" and cutter
below tabte surface):
1. install Featherboards so they exert pressure on the
workpiece; be positive they are secure, and
2. Make sure by trial that the Featherboards will stop a
kickback if one should occur.
RESAWaNG
RESAWING is athru-sawing cut made by ripping a piece
of wood through its thickness Do not attempt to resaw
BOWED or WARPED material.
NOTE: To RESAW a piece of wood wider than 3-3/8
inches, it will be necessary to remove the blade guard
and usethe Auxiliary Fence/Work Support. (See"WORK
HELPERS").
Clamp it to the table so that the workpiece will SLIDE
EASILY but not TILT or MOVE SIDEWAYS without
BINDING between the two Fences.
Do not clamp directly to the bottom edge ot the table
because the "swivel" of the clamp will not grip properly.
Place a small block of wood between the bottom edge of
the table and the "C" clamp.
WARNING: For your own safety
1. DO not "Back up" (reverse feeding) while
resawing becausethis could cause a kickback,
2. Make first pass to a depth slightly more than
43
WARNING: Install Blade Guard immediately upon
completion of the resawing operation.

basic saw operations
USING FEATHERBOARDS FOR NON-
THRU SAWING
Featherboards are NOT employed during non thru-
sawing operations when using the Miter Gauge.
USE FEATHERBOARDS FOR ALL OTHER NON THRU-
SAWING OPERATIONS (when Sawblade Guard must
be removed). Featherboards are used to keep the work
in contact withthe Fence and table as shown, and to stop
kickbacks.
Add 7-1/2 inch high flat facing board to the Fence, the full
length of the Fence.
Mount Featherboards to Fence and table as shown, so
that leading edges of Featherboards will support work-
piece until cut is complete, and the workpiece has been
pushed completely past the cutter (sawblade, Dado
Head, Molding Head, etc.) with a Push Stick, as in
ripping.
Before starting the operation (switch "OFF" and cutter
below table surface):
1. Install Featherboards so they exert pressure on the
workpiece; be positive they are secure, and
2. Make sure by trial that the Featherboards will stop a
kickback if one should occur.
IWARNING: For your own safety, replace the
Sawblade Guard as soon as the non thru-sawing
operation is complete.
"C" CLAMPS
:EATHERBOARD
CLAMPS
FEATHERBOARD
WORK SUPPORT
BLADE PATH
t/
BLADE PATH
RABBETING
RABBETING is known as cutting out a section of the
corner of a piece of material, across an end or along an
edge.
To make a RABBET requires cuts which do not go all the
way through the material. Therefore, the Blade Guard
must be removed.
RABBET.
FIRST CUT I
I SECOND CUTfJ
J
1. Remove Blade Guard.
2. For rabbeting along an edge (long way of work-
piece) as shown, add facing to Rip Fence approxi-
mately as high as the workpiece is wide. Adjust Rip
Fe nce and blade to required dimensions; then make
first cut with board flat on table as any rip (type) cut;
make second cut with workpiece on edge. Follow all
precautions, safety instructions, and operational in-
structions asfor ripping,or riptype operations, includ-
ing Featherboards and Push Stick, etc.
3. For rabbeting across an end, for workpiece 10-1/2
inches and narrower, make the rabbet cut with the
board flat on the table. Using the Miter Gauge fitted
with a Facing, follow the same procedures and in-
structions for cross cutting making successive cuts
across the width of the workpiece to obtain the de-
sired width of cut. DO NOT use the Rip Fence for
rabbeting across the end.
RABBETING ALONG
THE EDGE
RABBETING
ACROSS THE END
WARNING: For your own safety, install blade
guard immediately upon completion of rabbeting
operation.
Some rabbet cuts can also be made in one pass of the
workpiece over the cutter using the Dado Head or
Molding Head.
44

PLOUGHMNG AND MOLDING
PLOUGHING is grooving with the grain the longway o_
the workpiece, using the Fence. USE proper ho_d-
downs and feed devices.
PLOUGHING
CUTTING PANELS
When cutting panels (whenever fence is positioned
outside of table surface), ALWAYS use the Auxiliary
Fence/Work Support.
1. Unlock Fence and raise rear end.
2. Position Auxiliary FenceNVork Support as shown and
attach it with two "C" clamps.
MOLDING is shaping the workpiece with the grain the
_ongway of 1he wo.rkpieca, using the Fence. Use pro, per
hold--downs and _eed devices.
MOLDING
DADOnNG
Instructions for operating the Dado Head are contained
in booklet furnished with the Dado Head.
The arbor on the saw, is only long enough so that the
widest cut that can be made is 13/16 inch wide.
It is not necessary to install the outside loose collar
before screwing on the arbor nut. Make sure the arbor
nut is tight.
ALWAYS USE DADO INSERT LISTED UNDER "REC-
OMMENDED ACCESSORIES."
When using the Dado Head it will be necessary to
remove the Blade Guard and Spreader. USE CAU-
TION. USE MITER GAUGE, FENCE, FEATHER-
BOARDS AND PUSH STICKS AS REQUIRED.
WARNING: For your own safety, always replace I
I the blade, Guard and Spreader when you are I
I finished Dadoing. ___J
MOLDING CUTTING
\
©
® ®
JJ
LOOSE COLLAR ------..__/_'
ARBORNUT Jr 7r""_,
i NI!"sAwA"°
il IRE' OVE SAWBLADE AND
_L.._.._NSTALL DADO HEAD
BACK OF SAW
Instructions for operating the Molding Head are con-
tained in a booklet furnished with the Molding Head.
Always use Molding Insert listed under "RECOM-
MENDED ACCESSORIES".
When using the Molding Head, it will be necessarY to
remove the Blade Guard and Spreader. USE CAU-
TION. USE MITER GAUGE, FENCE, FEA-FHEF
BOARDS AND PUSH STICKS, ETC. AS REQUIREr:
WARNING: For your own safety, always rep.lace
the blade, Guard and Spreader when you are
finished Molding.
45

motor
LUBRiCATiON AND MAINTENANCE
1. The beadrK:js,in both end shields of the motor, have
been lubricated at the factory with correct lubricant.
No other part of the motor requires lubrication.
2. if disassembly of the motor is necessary, itshould be
returned to your nearest Sears retail or main-order
store in order to prevent voiding the guarantee.
NOTE: The speed of this motor cannot be regulated
or changed.
3. Every effort should be made to prevent foreign mate-
riat trom entering the rr_tor. When operated under
conditions likely to permit accumulations of dust, dirt,
or waste within the motor, a visual inspection should
be made at frequent intervals. Accumulations of dry
dust can usually be blown out successfully.
NOTE: Motors used on wood-working tools are
particularly susceptible to the accumulation of saw-
dust and wood chips and should be blown out or
"vacuumed" frequently to prevent interference with
normal motor ventilation.
maintenance
WARNING: To avoid injury from accidental start,
turn switch "OFF" and remove plug from power
source outlet before maintaining or lubricating
your saw.
Do not allow sawdust to accumulate inside the saw.
Frequently blow out any dust that may accumulate
inside the saw cabinet and the motor.
Frequently clean your cuttingtools with Craftsman Gum
and Pitch Remover.
Acoat of automobile-type wax applied to the table will
help to keep the surface clean and allow workpieces to
slide more freely.
It the power cord is worn or cut, or damaged in any way,
have it replaced immediately.
Make sure the teeth of the Anti-Kickback Pawls are
always sharp. To sharpen:
1. Remove Blade Guard.
2. Rotate Pawl toward rear of Spreader so that teeth are
above top of Spreader.
3. Hold Spreader with left hand and place Pawl over
corner of workbench.
4. Using asmall round file (smooth cut) sharpen the
teeth.
46

lubrication
i'he saw motor b_._v',qgs __avebee>, packed at the facto_y
with [_ope, _ i_b!ica_sl u:,d >:)qu_'e no add}tioi_a! t_Jbrica _
t]ou_ The follow _!]par_s shotAd be oi!ed occasioe, a!iy with
SAE no, 20 oi __o 30 e_;g _e ot
1 Yi!t screw threads a>.d pivot nut(First clean witt_ Crafts-
man Gum ,__r-_dPitch Remover.)
2. F}Aevation scr,_}w threads and pivot r;ut_ (First c;e_r_ w,_th
Crsflsmar_ Gum and Pitct_ Remover)
3, Cradle bearing points.
4. Bearing points in Guard Assembly, Miler Gauge {;cmd
Rip Fe_ce.
STOP COLLAR
ELEVATION SCREW
PWOT NUT
VATION SCREW
/
STOP COLLAR
®
TiLT SCREW
PIVOT NUT
sears recommends the following accessories
ITEM CAT. NO.
Caster Sets ..................................... 9-22222 or 9-22221
"7 In Molding Head Set ............................... See Catalog
*7 In. Molding head ..................................... See Catalog
Moiding.iDado Insert for 7 In, Dia. Molding
or Dado Head ....................................................... 9-29933
Work Light ............................................... See Catalog
Sawdust Cotection System ............................... 9-29962
7 _n. Dia Adjustable Dado Head ................. See Catafog
* Smaler diameter Molding Heads cannot be used
because they do to provide adequate depth of cut,
ITEM CAT, NO.
See Cata_op
7in. Dia, Dado Head ...................
Sanding Whee_ ....................................... See CataIo_
Miter Gauge Stop Rods ................................... 9-29924
Miter Gauge HoEd-Down Clamp ......................... 9-29928
Taper Jig .................................................... See CataJo.q.
Universal Jig ............................................... See Catalog
"Power 3ooi Know How Handbook" ............ 9-291 t7
The above recommended accessories are curren_ and
were available at the time this manuat was printed
47

troubleshooting
tWARNING: For your own safety, turn switch "OFF" and always remove pnug I
from power source outlet before trouble shooting. I
TROUBLE SHOOTING -
TROUBLE
Excessive vibration. 1.
Cannot make square 1.
cut when crosscutting.
Cut binds, burns or .1.
stalls motor when
ripping.
Cut not true at 90°or
45° positions.
Tilt and elevating
handwheel turn hard.
GENERAL
PROBABLE CAUSE
Blade out of balance.
Miter gauge not adjusted
properly.
Dull blade or improper
tooth set.
2. Blade is Heeling.
3. Warped board.
4. Rip fence not parallel to
blade.
5. Spreader out of alignment.
1. Stop screw not properly
adjusted.
1. Sawdust on threads of tilt
screw or elevating screw.
2. Bearing retainers too
ltight.
.
1.
1.
2.
3.
4.
5.
1.
1.
2.
REMEDY
Discard Blade and use a different blade.
See "Adjustments" section "Miter Gauge."
Sharpen or replace blade.
See "Adjustments" section, "Heeling Adjustment .."
Make sure concave or hollow side is facing
"down," feed slowly.
See "Assembly" section, "Aligning Rip Fence."
See "Assembly" section, "Installing Blade Guard."
See "Adjustments" section, "Blade Tilt, or
Squareness of Blade to Table."
See "Maintenance" and "Lubrication" section.
See "Maintenance" section, "Tilt and Elevation
Mechanism"
TROUBLESHOOTING -MOTOR
NOTE: Motors used on wood working tools are particularly susceptible to the
accumulation of sawdust and wood chips and should be blownout or 'Vacuumed"
frequently to prevent interference with normal motor ventilation.
TROUBLE
Excessive noise.
rMotor fails to develop
lull power. NOTE:
Low Voltage:
(Power output of
motor decreases
rapidly with decrease
in voltage at motor
terminals. For example,
a reduction of 10% in
voltage causes a
reduction of 19% in
maximum power
output of which the
motor is capable, and
a reduction of 20% in
voltage causes a
reduction of 36% in
maximum power
output.)
PROBABLE CAUSE
1. Motor
1. Circuit overloaded with
lights, appliances and other
motors.
2. Undersize wires or circuit
too long.
3. General overloading of
ix)we r company facilities.
(in some sections of the
country, demand for elec-
trical power may exceed
the capacity of existing
f generating and distribution
systems.)
REMEDY
1. Have motor checked by qualified service techni-
cian. Repair service is available at your nearest
Sears store.
1. Do not use other appliances or motors on same
circuit when using the saw.
2. Increase wire sizes, or reduce length of wiring.
See "Motor Specifications and Electrical Require
meres" section.
3, Request a voltage check from the power company.
.incorrect fuses or circuit
breakers in power line.
4. Install correct fuses or circuit breakers.
48

TROUBLESHOOTING - MOTOR (CONT'D)
I oto_ stads .....
OI° fauna tO come up
to tuI_ speed
TROUBLE PROBABLE CAUSE
Motor overheats,
Relay will not operate.
Motor stalls
(resulting in blown
fuses or tripped
circuit breakers,
Frequent opening of
fuses or circuit
breakers.
t. Low voltage will not
trip relay.
2. Windings burned out
or open.
3, Starting re!ay not
operating,
I_ Motor overloaded
2_ Improper cooting, (Air
circulation restricted
through motor due to
sawdust0 accumulating
inside of saw.)
1_ Burned contacts (due to
extended hold4n periods
caused by _ow line voltage,
etc.)
2, Saw not in upright position.
3. Loose or broken connectors
1. Started relay not operating
2. Voltage too low to permit
motor to reach operating
speed.
3 Fuses or circuit breakers
do not have sufficient
capacity,
!. Motor overloaded
2. Fuses or circuit breakers
do not have sufficient
capacity,
3, Relay not operating
(motor does not reach
speed.)
REMEDY
1 Request voltage check from the power company.
2 Have motor repaired or replaced.
3. Have relay replaced
1.
2.
Feed work s_ower into btade,
Ctean out sawdust to provide norma_ aft circulation
through motor, See "Maintenance '° and
"L.ubricalion _'section.
1, Have relay replaced and request a vo!_age check
from the power company.
2, P!ace saw in upright position.
3. Have wiring checked and repaired
1_Have relay replaced
2, Request voltage check from the power company,
3. lnstalt proper size fuses or circuit breakers
1. Feed work slower into blade,
2. Install proper size fuses or circuit breakers,
3. Have relay replaced.
49

repair parts
03
LU
>,
n
n-
E_
LUeO
m_
OCO
_-'GO
f,O
Zo4
"o
Iz:Z
(3,..I
I--
03
m
..I
I/]
I.-
IT"
11,
//
\
\\
II)
I.l.
0
/
50

(/)
W
{X:
{3
_., o
o8
w_
O
z_
€=) m
zN
N_
<o
_z
O
!-
O.
E
Z
.QI-
z-(at)
I.I-
EQ.
Z _
Ill
6
m
.£
Im
O
Z
!
i
I
€
.£
,m
o
m
O
Z
Q.
m w
vz
x
c_. _
if)
--_v E
E_0_ E=
<-5-o (am _,
rf3 _j 03 _ £r 8 tj)
+ •
x _) x
oJ >< o
o,_ _ _ _ _
o.__- _ _ s
-, LL.d _
oo _ ,_ _
-oo_=0__o
o
_o
coo i_ _i..0 LO r_
0 0 0
o._
m _o _o _ _o o9 ooo0,_ °_ m
Oo
oo
-d
E
Z=
51

repair parts
<_
U_
ILl
:>
g:
Q
l'-c_
Ij_co
a:: o'*
a_
.r=T-
_0
Z_
c>oo
v,=co
03_-
i.. _--
<_
rr"
n-
03
.J
rr"
<€
rt
CN
I
!1
,4
I
I
il/
iI
I
I
52

w
_a
,zTa
E
w c4
-- -" 0 ..J
:I: 0 ' I"
Z_ Z TM
_" kU
if)
_ N
m
('d
I
6
....... OJ
£B ×
=_oSg
.......................... r! .....................................................................................................................................................................................................................................................................
ca h
C'd '_'
X X
z:z:_
,gD_ . -
4m4m
0
6
Z
_'_ 0
_-×x
oo_ _5 ,_=: * ,.. _,.: ,:< S_.== ._
== oo -,_ _ ,_
mm_: o0cc _ z m:_ o,o mz m
_m_ . . • +_
L
p-.
Od _
_0 _
0_ _
z; ; 6
mm _m_ o
I
]
E.£
<,:_ ¢,
0 0
O
N :v :V
£Z.,
@
E
@
I
m _
N
= ¢''N
N _e_
N N_
• +
8o
C) 0
_j C'j
"a:_ ¢}
o7
C
o_
.__2
@
£
g
@
;>
©
53

repair parts
PARTS LiST FOR CRAFTSMAN 10 UNCH TABLE SAW
MODEL NO. 113.226880 & 113.298090
45
15
\
7
8
/
13
7
FIGURE 3 -GUARD ASSEMBLY
KEY
NO.
PART 1
NO.
1 62415
2 62516
3 62650
4 STD541425
5 62517
6 STD512515
7 62522
8" 62810
9 62410
10 62519
11 i62520
12 62974
13 STD551025
14 60208
15 STD581025
DESCRIPTION
Guard, Saw
Pin
Bumper, Snap In
* Nut, Lock 1/4-20
Link, Guard
* Screw, Pan Hd., 1/4-20 x 1-1/2
Spacer, Link
Blade, Spreader
Pin, 1/4 x 1-3/64
Spring, Pawl
Spacer, Pawl
Pawl
* Washer, 17164 x 1/2 x 1/32
Nut, Push
Ring, Retaining 1/4
*Standard Hardware lem - May be purchased locally
If this part is removed, discard and replace with a new
push nut.
54

PARTS LiST FOR CRAFTSMAN 10 tNCH TABLE SAW
MODEL NO. 113.226880 &113.298090
I0 11
2
I
4 5 6
fl4
t &--16
13_R
FIGURE 4 -FENCE ASSEMBLY
KEY
NO.
1
2
3
4
5
6
7
8
9
10
11
12
13
14
15
16
17
PART
NO.
62693
62692
STD551031
62775
9404336
62941
423567
62526
62582
STD600805
62528
62529
62531
62530
62944
508112
ST D551210
STD611005 !
62532
DESCRiPTiON
Plug, Button
Knob (Includes Key No. 1)
* Washer, 21/64 x 1/2 x 1/32
Indicator, Fence
* Screw, Pan Hd. Type "T" 4-40 x 1/4
Head, Fence (Includes Key No. 4)
Screw, Sems 3/8-16 x t/2
A Channel, Fence
[] Channel, Fence
*Screw, Pan Hd. Type 'q-" 8-32 x 1/2
Spring, Fence Lock
Lock, Rear Fence
Roller, Rear Fence
A Rod, Fence Lock
[] Rod, Fence Lock
Spring, Head Alignment (Includes Key No. 17)
* Lockwasher, External No. 10
* Screw, Type "A", Hex Hd. No. 10 x 1/2
Pad, Alignment
*Standard Hardware Item - May be purchased locally.
A Model 113.228880
[] Model 113.298090
55

repair parts
PARTS LIST FOR CRAFTSMAN 10 INCH TABLE SAW
MODEL NO. 113.226880
REAR GUIDE BAR (REF)
5\
FRONT GUIDE BAR (REF)
FIGURE 5- TABLE EXTENSIONS
KEY PART
NO. NO.
i 817745
2 STD541231
3STD551231
4 STD523110
5 STD551031
6 818308
7 62539
8 STD523115
L
DESCRIPTION
Extension, Table 10 x 20
* Nut, Hex 5/16-18
*Lockwasher, External 5/16
*Screw, Hex Head 5/16-18 x 1
*Washer, 11/32 x 11/16x 1/16
Bracket
Spacer, Fence Guide Bar
* Screw, Hex Hd. 5/16-18 x 1-1/2
*Standard Hardware Item - May be purchased locally
56

PARTS LmSTFOR CRAFTSMAN 10 iNCH TABLE SAW
MODEL NO. 113.298090
15
FRONT GUIDE BAR (REF)
/
REAR GUIDE BAR (REF)
/, o /\ ,, ,
/<../ \ll
%
11
12
4
FIGURE 6- TABLE EXTENSIONS
KEY
NO.
1
2
3
4
5
6
7
8
9
10
11
12
13
14
15
PART
NO.
9-29957 1"
60323
818308
STD551231 '*
STD541031 *
STD551225 *
STD541025 *
62590
62539
STD551031 *
STD523115 *
62549
62550
STD523112 *
STD551025 *
STD523110 *
DESCRIPTION
Extension Assembly, Complete
Screw, Serrated Truss Hd., 1/4-20 x1
Bracket
Lockwasher, External 5/16
Nut, Hex 5/16-18
Lockwasher, External 1/4
Nut, Hex 1/4-20
Extension, 10 x27
Spacer, Fence Guide Bar
Washer, 21/64 x11/16 x1/16
Screw, Hex Hd. 5/16-18 x 1-1/2
Bracket, Corner Support No.2
Bracket, Corner Stiffener
Screw, Hex Hd. 5/16-18 x 1-1/4
Washer, 17/64 x3/4 x 1/16
Screw, Hex Hd. 5/16-18 x 1
* Standard Hardware Item - May be purchased locally
1Stock Item- May be secured through the Hardware Department
of most Sears Retail Stores.
57

rl
epalr parts
PARTS LiST FOR CRAFTSMAN 10 INCH TABLE SAW
MODEL NO. 113.226880 & 113.298090
45
6 5 4 2 1
FIGURE 7 - LEG SET
KEY
NO.
1
2
3
PART
NO.
60314
819441
62554
4LSTD551225
5 STD541025
6 62553
7STD541237
8 803835-1
' DESCRIPTION
Screw, Serrated Truss Hd. 1/4-20 x 1/2
Leg
Stiffener, Side
* Lockwasher, Ext. 114
*Nut, Hex 1/4-20
Stiffener, End
*Nut, Hex 3/8-16
Foot, Leveling, 3/8
!
*Standard Hardware Item - May be purchased locally.
58

PARTS LRST FOR CRAFTSMAN 10 iNCH TABLE SAW
MODEL NO. 113o226880 & 113.298090
/
\11 9 10
FIGURE 8 - MITER GAUGE ASSEMBLY
KEY
NO.
1
2
3
4
5
6
7
8
9
[lO
11
12
L
PART
NO.
9-29929 +
62693
62692
STD551031 *
37893
STD510803 *
STD551208 *
62042
62252
62225
STD541231 *
62383
DESCRIPTION
Gauge Assembly, Miter
Plug, Button
Knob (Includes Key No. 1)
Washer, Plain, 21/64 x 1 x 1/16
Gauge, Miter
Screw Pan Hd. 8-32 x 5/16
Lockwasher, External No. 8
indicator
Rod Assembly, Miter Gauge,
(includes Key No. 9,10,11 )
Stud, Clamp
Nut, Hex. Jam, 5/16-18
Stud, Pivot
60288 "Screw, Locking Set, 1/4-20 x 3/8
* Standard Hardware Item - May be purchased locally.
+ Stock Item - May be secured through the Hardware
Department of most Sears Retail Stores.
5g

Model No.
113.226880
113.298090
Saw with Legs and Two
Table Extensions
The Model Number Of Your
Table Saw Is Found At The Rear
Of The Base.
When requesting service or
ordering parts, always provide
the following information:
o Product Type
•Model Number
°Part Number
°Part Description
10 iNCH DIRECT DRIVE
TABLE SAW
For the repair or replacement parts you need
Call 7 am - 7 pro, 7 days a week
t-800-366-PART
(1-800-366-7278)
For in-homemajor brand repair service
Call 24 hours a day, 7days a week
1-800-4=RI=PAIR
(1-800-473-7247)
Forthe location of a
Sears RepairService Center in your area
Call 24 hoursaday,7 days a week
t-800-488-1222 llIilI II
BiiliB Ill
Forinformation on purchasinga Sears
Maintenance Agreementor to inquire
about an existing Agreement
Call 9 am - 5 pro, Monday-Saturday
1-800-827 -6655
SEARS
America's Repair Speciafists
.... J_ J
Sears, Roebuck and Co., Hoffman Estates, IL. 60179 U.S.A.
Part No. SP5509 Form No. SP5509-8 Printed in U.S.A 7/96