Craftsman 152221040 User Manual TABLE SAW Manuals And Guides L0607447
CRAFTSMAN Saw Table Manual L0607447 CRAFTSMAN Saw Table Owner's Manual, CRAFTSMAN Saw Table installation guides
User Manual: Craftsman 152221040 152221040 CRAFTSMAN TABLE SAW - Manuals and Guides View the owners manual for your CRAFTSMAN TABLE SAW #152221040. Home:Tool Parts:Craftsman Parts:Craftsman TABLE SAW Manual
Open the PDF directly: View PDF
.
Page Count: 84

Owner's Manual
CRRFr MRH
1.5 Horsepower (continuous duty)
2 Horsepower (maximum developed)
3450 R.P.M. (no load R.P.M.)
10-in. LE SAW
Model No.
152.221040
CAUTION:
FOR YOUR OWN SAFETY; Read
and follow all of the Safety and
Operating Instructions before
Operating this Table Saw.
Customer Helpline
1-800-897-7709
Please have your Model No.
and Serial No. available.
Sears, Roebuck and Co., Hoffman Estates, IL 60179 U.S.A.
Part No. OR91550
Revision: D EspaRolpg. 45

SECTION PAGE
Warranty .......................................................................................................................................................................... 2
Product Specifications .................................................................................................................................................. 2
Glossary of Terms .......................................................................................................................................................... 3
Safety instructions ......................................................................................................................................................... 4
Guidelines for Extension Cords ................................................................................................................................... 5
Grounding instructions ................................................................................................................................................. 6
Specific Safety instructions for Table Saw .................................................................................................................. 7
Accessories and Attachments ...................................................................................................................................... 9
Carton Contents ........................................................................................................................................................... 11
Know Your Table Saw .................................................................................................................................................. 14
Assembly instructions ................................................................................................................................................. 15
Operations and Adjustments ...................................................................................................................................... 23
Maintenance .................................................................................................................................................................. 37
Troubleshooting Guide ................................................................................................................................................ 38
Part List ......................................................................................................................................................................... 39
Espanol ......................................................................................................................................................................... 45
Service information ...................................................................................................................................................... 84
FULL ONE YEAR WARRANTY
If this product fails due to a defect in material or workmanship within one year from the date of purchase, return it
to the nearest Sears Service Center for repair, free of charge.
If this product is used for commercial or rental purposes, this warrant y applies only for 90 days from date of purchase.
This warranty gives you specific legal dghts, and you may also have other dghts, which vary, from state to state.
Sears, Roebuck and Co., Dept 817 WA, Hoffman Estates, IL 60179
Motor type Induction
Continuous duty HP 1.5
Maximum developed HP 2
Amps 15/7.5
Volts 120/240
Hertz 60
RPM 3450 R.P.M. (no load R.P.M.)
Blade tilt Left tilt
Blade drive Poly-V Belt
Blade diameter 10-in.
Blade arbor 5/8-in.
Number of teeth 40
Blade speed 3450 R.P.M.
Fence type Front locking, Extruded
aluminum Fence and Rails
Max depth-of-cut at 90-degree 3-3/8-in.
Max depth-of-cut at 45-degree 2-1/4-in.
Max rip to the right of the blade 25-in.
Max rip to the left of the blade 12-in.
Table in front of blade at max
depth-of-cut
Max dado width
Max. dado blade diameter
Left and right table wing
Weight of table saw
12-1/2-in.
13/16-in.
8-in.
8-in, Stamped Steel
350 Ibs.
To avoid electrical shock to yourself and damage to the
Table Saw, use proper circuit protection. Do not expose to
rain, or use in a damp environment.
The Table Saw is factory wired for 120V, 60 Hz, operation.
Connect to a 120V, 15 amp branch circuit and use a 15
amp time delay fuse or circuit breaker. The electrical circuit
cannot have any wire size less than #14. To avoid shock
or fire, replace power cord immediately if it is damaged in
any way.

Anti-KickbackFingers- Asafetydeviceattachedtothe
bladeguardandsplitterassemblydesignedtostopa
workpiecefrombeingthrownbackduringacuttingopera-
tion.
Arbor- Theshaftonwhichthebladeoraccessorycut-
ting-toolismounted.
BevelCut- Theoperationofmakinganycutwiththe
bladesetonadegreeotherthan90degrees.
CompoundCut- Theoperationofmakingbotha bevel
anda mitercutatonetime.
Crosscut- Theoperationofmakingacutacrossthe
grainorwidthofaworkpiece.
Dado- Anon-throughcutthatproducesasquarenotch.
A dadoistypicallyfrom1/8-in.to 13/16-in.wide.Adado
requiresaspecialsetofblades,notincludedwiththis
tablesaw.
Kerf- Thematerialremovedbythebladeinthework-
pieceduringanycuttingoperation.
Kickback- Whentheworkpieceisthrownbacktowards
theoperatorduringa cuttingoperationwhentheworkpiece
initiallycontactsthebladeorif theworkpiecepinchesthe
blade.Kickbackisdangerousandcanresultinserious
injury.
MiterCut- Theoperationofmakingacutusingthemiter
gaugeatanyangleotherthanzerodegrees.
PushStick- Anaccessorydevicethatcanbemadeor
purchasedtohelppushtheworkpiecethroughtheblade.
Apushstickisusedtokeeptheoperator'shandsaway
fromthebladewhenrippinganarrowworkpiece.
Rabbet- Asquarenotchintheedgeoftheworkpiece.
Resaw- Theoperationofmakingacuttoreducethe
thicknessoftheworkpiece.
Featherboard- Anaccessorydevicethatcanbemadeor
purchasedtohelpguideorholddownaworkpieceduring
cuttingoperations.
Freehand- Averydangerousoperationofmakingacut
withoutusingthefenceormitergaugeinacuttingopera-
tion.FreehandcutsmustneverbeperformedonaTable
Saw.
Gum,Pitchor Resin- Asticky,sapbasedresiduethat
comesfromwoodproducts.
Heel- Themisalignmentofthebladetothemiterslots;
whenthebladeisnotparalleltothemiterslots.
RipCut- Theoperationof makingacutwiththegrainof
theworkpiece.
SawBladePath- Theareathatisdirectlyinlinewiththe
blade,includingareaover,under,behindandinfrontofit.
Setof theSawBlade- Thedistancethatthetipsofthe
sawbladeareangledoutwardsfromthethicknessofthe
blade.Thesetofthesawbladeteethallowsfortheblade
bodytopasssafelythroughallcuts.
Table/WorkArea- Thetotalsurfaceofthetopofthetable
sawonwhichtheworkpiecerestswhileset-uporcutting
operationsarebeingperformed.

GENERAL SAFETY INSTRUCTIONS
Operating a Table Saw can be dangerous if safety and
common sense are ignored. The operator must be
familiar with the operation of the tool. Read this manual
to understand this Table Saw. DO NOT operate this
Table Saw if you do not fully understand the limitations
of this tool. DO NOT modify this Table Saw in any way.
REMEMBER: Your personal safety is your
responsibility.
9. ALWAYS WEAR EYE PROTECTION. Any power
tool can throw debris into the eyes during opera-
tions, which could cause severe and permanent
eye damage. Everyday eyeglasses are NOT safety
glasses. ALWAYS wear Safety Goggles (that
comply with ANSi standard Z87.t) when operating
power tools. Safety Goggles are available at Sears
Retail Stores. Hearing equipment should comply
with ANSi S3.t 9 Standards.
BEFORE USING THE TABLE SAW
To avoid serious injury and damage to the tool, read
and follow all of the Safety and Operating Instructions
before operating the Table Saw.
1. READ the entire Owner's Manual. LEARN how to
use the tool for its intended applications.
2. GROUND ALL TOOLS. If the tool is supplied with
a 3-prong plug, it must be plugged into a 3-contact
electrical receptacle. The 3rd prong is used to
ground the tool and provide protection against
accidental electric shock. DO NOT remove the 3rd
prong. See Grounding Instructions.
3. AVOID A DANGEROUS WORKING ENVIRON=
MENT. DO NOT Use electrical tools in a damp
environment or expose them to rain.
4. DO NOT use electrical tools in the presence of
flammable liquids or gasses.
5. ALWAYS keep the work area clean, well lit, and
organized. DO NOT work in an environment with
floor surfaces that are slippery from debris, grease,
and wax.
6. KEEP ViSiTORS AND CHILDREN AWAY from the
table saw. DO NOT permit people to be in the
immediate work area, especially when the electrical
tool is operating.
7. DO NOT FORCE THE TOOL to perform an opera-
tion for which it was not designed. It will do a safer
and higher quality job by only performing operations
for which the tool was intended.
8. WEAR PROPER CLOTHING. DO NOT wear loose
clothing, gloves, neckties, or jewelry. These items
can get caught in the machine during operations
and pull the operator into the moving parts. Users
must wear a protective cover on their hair, if the
hair is long, to prevent it from contacting any mov-
ing parts.
10.
11.
12.
13.
14.
15.
16.
17.
18.
19.
ALWAYS UNPLUG THE TOOL FROM THE ELEC=
TRICAL RECEPTACLE when making adjustments,
changing parts or performing any maintenance.
KEEP PROTECTIVE GUARDS iN PLACE AND iN
WORKING ORDER.
AVOID ACCIDENTAL STARTING. Make sure that
the power switch is in the "OFF" position before plug-
ging in the power cord to the electrical receptacle.
REMOVE ALL MAINTENANCE TOOLS from the
immediate area prior to turning the tool "ON".
USE ONLY RECOMMENDED ACCESSORIES.
Use of incorrect or improper accessories could
cause serious injury to the operator and cause
damage to the tool. If in doubt, check the instruction
manual that comes with that particular accessory.
NEVER LEAVE ARUNNING TOOL UNATTENDED.
Turn the power switch to the "OFF" position. DO
NOT leave the tool until it has come to a complete
stop.
DO NOT STAND ON A TOOL. Serious injury could
result if the tool tips over or you accidentally contact
the tool.
DO NOT store anything above or near the tool
where anyone might try to stand on the tool to
reach it.
MAiNTAiN YOUR BALANCE. DO NOT extend
yourself over the tool. Wear oil resistant rubber-
soled shoes. Keep floor clear of debris, grease,
and wax.
MAiNTAiN TOOLS WITH CARE. Always keep tools
clean and in good working order. Keep all blades
and tool bits sharp.

20.EACHAND EVERY TIME, CHECK FOR DAM=
AGED PARTS PRIOR TO USING THE TOOL.
Carefully check all guards to see that they operate
properly, are not damaged, and perform their
intended functions. Check for alignment, binding or
breaking of moving parts. A guard or other part that
is damaged should be immediately repaired or
replaced.
21. CHILDPROOF THE WORKSHOP AREA by remov-
ing switch keys, unplugging tools from the electrical
receptacles, and using padlocks.
22. DO NOT OPERATE TOOL iF UNDER THE
iNFLUENCE OF DRUGS OR ALCOHOL.
23. SECURE ALL WORK. When it is possible, use
clamps or jigs to secure the workpiece. This is safer
than attempting to hold the workpiece with your
hands.
24. STAY ALERT, WATCH WHAT YOU ARE DOING,
AND USE COMMON SENSE WHEN OPERATING
A POWER TOOL. DO NOT USE A TOOL WHILE
TIRED OR UNDER THE iNFLUENCE OF DRUGS,
ALCOHOL, OR MEDICATION. A moment of
inattention while operating power tools may result
in serious personal injury.
25. Use of this tool can generate and disburse dust or
other airborne particles, including wood dust,
crystalline silica dust and asbestos dust. Direct
particles away from face and body. Always operate
tool in well ventilated area and provide for proper
dust removal. Use dust collection system wherever
possible. Exposure to the dust may cause serious
and permanent respiratory or other injury, including
silicosis (a serious lung disease), cancer, and
death. Avoid breathing the dust, and avoid pro-
longed contact with dust. Allowing dust to get
into your mouth or eyes, or lay on your skin may
promote absorption of harmful material. Always use
properly fitting NIOSH/OSHA approved respiratory
protection appropriate for the dust exposure, and
wash exposed areas with soap and water.
26. USE A PROPER EXTENSION CORD iN GOOD
CONDiTiON. When using an extension cord, be
sure to use one heavy enough to carry the current
your product will draw. Please see "MiNiMUM
RECOMMENDED GAUGE FOR EXTENSION
CORDS (AWG)" table for correct sizing of an
extension cord. If in doubt, use the next heavier
gauge.
GUIDELINES FOR
EXTENSION CORDS
The smaller the gauge-number, the larger diameter of
the extension cord. If in doubt of the proper size of an
extension cord, use a shorter and thicker cord. An
undersized cord will cause a drop in line voltage result-
ing in a loss of power and overheating. USE ONLY A
3-WIRE EXTENSION CORD THAT HAS A 3-PRONG
GROUNDING PLUG AND A 3-POLE RECEPTACLE
THAT ACCEPTS THE TOOL'S PLUG.
If you are using an extension cord outdoors, be sure it
is marked with the suffix "W-A" ("W" in Canada) to indi-
cate that it is acceptable for outdoor use.
Be sure your extension cord is properly sized, and in
good electrical condition. Always replace a damaged
extension cord or have it repaired by a qualified person
before using it.
Protect your extension cords from sharp objects, exces-
sive heat, and damp or wet areas.
120 VOLT OPERATION ONLY
25' LONG 50' LONG 100' LONG
0 to 6 Amps
6 to 10 Amps
10 to 12 Amps
12 to 15 Amps
18 AWG
18 AWG
16 AWG
14 AWG
16 AWG
16 AWG
16 AWG
12 AWG
16 AWG
14 AWG
14 AWG
Not
recommended
240 VOLT OPERATION ONLY
0 to 6 Amps
6 to 10 Amps
10 to 12 Amps
12 to 15 Amps
25' LONG
18 AWG
18 AWG
16 AWG
14 AWG
50' LONG
18 AWG
18 AWG
16 AWG
12 WG
100' LONG
16 AWG
14 AWG
14 AWG
Not
recommended
27. DiRECTiON OF FEED. Feed work into a blade or
cutter against the direction of rotation of the blade
or cutter only.

THIS TOOL MUST BE GROUNDED WHILE IN USE
TO PROTECT THE OPERATOR FROM ELECTRIC
SHOCK.
IN THE EVENT OF AMALFUNCTION OR BREAK-
DOWN, grounding provides the path of least resistance
for electric current and reduces the risk of electric
shock. This tool is equipped with an electric cord that
has an equipment-grounding conductor and a ground-
ing plug. The plug MUST be plugged into a matching
electrical receptacle that is properly installed and
grounded in accordance with ALL local codes and
ordinances.
DO NOT MODIFY THE PLUG PROVIDED. If it will not
fit the electrical receptacle, have the proper electrical
receptacle installed by a qualified electrician.
IMPROPER ELECTRICAL CONNECTION of the equip-
ment-grounding conductor can result in risk of electric
shock. The conductor with the green insulation (with
or without yellow stripes) is the equipment-grounding
conductor. DO NOT connect the equipment-grounding
conductor to a live terminal if repair or replacement of
the electric cord or plug is necessary.
CHECK with a qualified electrician or service personnel
if you do not completely understand the grounding
instructions, or if you are not sure the tool is properly
grounded.
The motor supplied with your Table Saw is a dual voltage
120/240 volts, 60 hertz alternating current, single phase
motor. It is shipped wired for 120 volts application. Never
connect the green or ground wire to a live terminal.
USE ONLY A 3=WIRE EXTENSION CORD THAT HAS
A 3=PRONG GROUNDING PLUG AND A 3-POLE
RECEPTACLE THAT ACCEPTS THE TOOL'S PLUG.
REPLACE ADAMAGED OR WORN CORD IMMEDI=
ATELY.
FOR GROUNDED, CORD=CONNECTED MACHINES
iNTENDED FOR USE ON ASUPPLY CiRCUiT HAVING
ANOMINAL RATING LESS THAN 150 VOLTS.
This tool is intended for use on a circuit that has an
electrical receptacle as shown in FIGURE "IA'.
FIGURE "IA" shows a 3-wire electrical plug and elec-
trical receptacle that has a grounding conductor. If a
properly grounded electrical receptacle is not available,
an adapter as shown in FIGURE "IB" can be used to
temporarily connect this plug to a 2-contact ungrounded
receptacle. The adapter has a rigid lug extending from it
that MUST be connected to a permanent earth ground,
such as a properly grounded receptacle box. THIS
ADAPTER IS PROHiBiTED iN CANADA.
CAUTION: In all cases, make certain the electrical
receptacle in question is properly grounded. If you are
not sure have a certified electrician check the electrical
receptacle.
The motor supplied with your Table Saw is a dual volt-
age, 120/240 volt, single phase motor. If it is desired
to operate your table saw at 240 volts, it is necessary to
reconnect the motor leads in the motor junction box by
following the wiring diagram on the junction box cover.
MAKE CERTAIN the motor is disconnected from power
source before reconnecting motor leads.
Fig. 1A
120 VOLT
grounding conductor
3-wire electrical cord
electrical
receptacle
Fig. 1B
120 VOLT
grounding conductor
3-wire electrical cord
grounding
adapter lug
2-prong
electrical
receptacle

It is also necessary to replace the 120 volt plug, sup-
plied with the motor, with a UL/CSA Listed plug suitable
for 240 volts and rated current of the saw. Contact a
local qualified electrician for proper procedures to install
the plug. The table saw must comply with all local and
national electrical codes after the 240 volt plug is
installed.
The table saw with a 240 volt plug should only be con-
nected to an outlet having the same configuration as
the plug shown in Figure "1C". No adapter is available
or should be used with the 240 volt plug.
MAKE CERTAIN that masks or respirators are
MSHA/NIOSH approved.
The operation of any Table Saw can result in debris
being thrown into your eyes, which can result in severe
eye damage. ALWAYS wear Safety Goggles (that com-
ply with ANSi standard Z87.1) when operating the Table
Saw. Safety Goggles are available at Sears Retail
Stores. Keep your thumbs and fingers away from the
blade while it is spinning.
Fig. 1C
current
240 VOLT carrying
prongs
grounding blade is
longest of the 3 blades
grounded outlet box
©
e
©
MAKE CERTAIN the receptacle in question is properly
grounded. If you are not sure have a qualified electri-
cian check the receptacle.
This Table Saw is for indoor use only. Do not expose to
rain or use in damp locations.
SPECIFIC SAFETY INSTRUCTIONS
FOR TABLE SAWS
CALIFORNIA PROPOSITION 65
SOME DUST CREATED BY POWER SANDING,
SAWING, GRINDING, DRILLING AND OTHER CON=
STRUCTION ACTiViTiES contains chemicals known to
cause cancer, birth defects or other reproductive harm.
Some examples of these chemicals are:
• lead from lead-based paints,
• crystalline silica from bricks and cement and other
masonry products, and
• arsenic and chromium from chemically-treated lumber.
Your risk from these exposures varies, depending on
how often you do this type of work. To reduce your
exposure to these chemicals: work in a well ventilated
area, and work with approved safety equipment, such
as those dust masks that are specially designed to filter
out microscopic particles.
Basic precautions should always be followed when
using your Table Saw. To reduce the risk of injury,
electrical shock or fire, comply with the safety rules
listed below:
1. READ and understand the instruction manual
before operating the Table Saw.
2. DO NOT OPERATE THiS MACHINE until it is assem-
bled and installed according to the instructions.
3. OBTAIN ADVICE FROM YOUR SUPERVISOR,
instructor, or another qualified person if you are not
familiar with the operation of this machine.
4. DO NOT leave the Table Saw plugged into the elec-
trical outlet. Unplug Table Saw from the outlet when
not in use and before servicing, changing blades
and cleaning.
5. ALWAYS turn the power switch "OFF" before
unplugging the Table Saw.
6. TO REDUCE THE RISK OF ELECTRICAL
SHOCK, do not use outdoors. Do not expose to
rain. Store indoors.
7. FOLLOW all electrical and safety codes, including
the National Electric Code (NEC) and the
Occupational Safety and Health Regulations
(OSHA). All electrical connections and wiring should
be made by qualified personnel only.
8. DO NOT handle the plug or Table Saw with wet hands.
9. USE only as described in this manual. USE acces-
sories only recommended by Sears.
10. DO NOT pull the Table Saw by the power cord.
NEVER allow the power cord to come in contact
with sharp edges, hot surfaces, oil or grease.
11. DO NOT unplug the Table Saw by pulling on the
power cord. ALWAYS grasp the plug, not the cord.
12. REPLACE a damaged cord immediately. DO NOT
use a damaged cord or plug. If the Table Saw is not
operating properly, or has been damaged, left out-
doors or has been in contact with water, return it to
a Sears Service Center.
13. DO NOT use the Table Saw as a toy. DO NOT use
near or around children.

14.TheTableSawisdesignedforhomeuseorlight 27.NEVERperformlayout,assemblyorset-upworkon
commercialdutyONLY. thetable/workareawhenthemachineis running.
15.CONNECTTableSawtoa properlygroundedoutlet
only.Seegroundinginstructions.
16.ALWAYSUSEtheguardswheneverpossible.
Checktoseethattheyareinplace,securedand
workingcorrectly.
17.AVOIDKICKBACKby:
• Keepingbladesharpandfreeof rustandpitch.
• Keepingripfenceparallelto sawblade.
• Usingsawbladeguardandsplitterassemblyfor
everypossibleoperation,includingallthrough-
sawing.
• Pushingtheworkpiecepastthesawbladepriorto
release.
• Neverripaworkpiecethatis twistedorwarped,
ordoesnothavea straightedgetoguidealong
thefence.
• Usingfeatherboardswhenthebladeguardand
splitterassemblycannotbeused.
Neversawinga largeworkpiecethatcannotbe
controlled.
Neverusingthefenceasaguidewhencross-
cutting.
• Neversawingaworkpiecewithlooseknotsor
otherflaws.
18.REMOVEcut-offpiecesanddebrisfromthetable
beforestartingthesaw.Thevibrationofthesaw
maycausethemto moveintothesawbladeandbe
thrownout. Aftercutting,turnthesawoff. When
thebladehascometoa completestop,unplugthe
sawandremovealldebris.
19.NEVERSTARTthesawwiththeworkpieceagainst
theblade.
20.NEVERperform"free-hand"operations.Useeither
thefenceor mitergaugeto positionandguidethe
workpiece.Holdtheworkpiecefirmlyagainstthe
mitergaugeorfence.
21.USEa pushstick(s)for rippinga narrowworkpiece.
22.AVOID AWKWARD OPERATIONS AND HAND
POSITIONS where a sudden slip could cause a
hand to move into the blade.
23. KEEP arms, hands and fingers away from the blade.
24. NEVER have any part of your body in line with the
path of the saw blade.
25. NEVER reach around or over the blade.
26. NEVER attempt to free a stalled blade without first
turning the machine "OFF" and unplugging it from
the power source.
28.
29.
30.
31.
32.
33.
34.
NEVER reset the thermal-overload button before
you have turned the table saw "OFF".
PROPERLY SUPPORT long or wide workpiece.
TURN THE SAW "OFF" and unplug from power
source. Clean off the table/work area before leav-
ing the saw. LOCK the START/STOP switch with
padlock provided to prevent unauthorized use.
ALWAYS position auxiliary fence at least 2-inches
in front of saw blade when using auxiliary fence as
a stop when cross cutting.
The right extension wing MUST BE completely
assembled and motor cover closed and fastened
before table saw is to be connected to the power
source.
ADDiTiONAL iNFORMATiON regarding the safe
and proper operation of this product is available
from the National Safety Council, 1121 Spring Lake
Drive, Itasca, IL 60143-3201 in the Accident
Prevention Manual for Industrial Operation and also
in the Safety Data Sheets provided by the NSC.
Please also refer to the American National
Standards Institute ANSi 01.1 Safety Requirements
for Woodworking Machinery and the U.S.
Department of Labor OSHA 1910.213 Regulations.
SAVE THESE iNSTRUCTiONS. Refer to them
frequently and use them to instruct other users.
Information regarding the safe and proper operation of
this tool is available from the following sources:
Power Tool Institute
1300 Summer Avenue
Cleveland, OH 44115-2851
www.powertoolinstitute.org
National Safety Council
1121 Spring Lake Drive
Itasca, IL 60143-3201
American National Standards Institute
25 West 43rd Street
4th floor
New York, NY 10036
www.ansi.org
ANSi 01.1 Safety Requirements for Woodworking
Machines, and the U.S. Department of Labor regulations
www.osha.gov

AVAILABLE ACCESSORIES
Visit your Sears Hardware Department or see the Sears
Power and Hand Tool Catalog for the following acces-
sories.
ITEM STOCK NUMBER
* Auxiliary Fence, Rip fence 29878
* Miter Gauge Extension & Stop 29879
* Stock Clamp, Miter Gauge 29880
* Dust Chute with Dust Port 22102
* Micro-Adjustment Assembly 29881
* Table Insert - Standard 29882
* Table Insert - Dado 29885
* Table Insert - Molding Cutterhead 29887
* Saw Blade - Leitz; 10-in. x 40 tooth 29888
variable pitch blade
* Fence Guide System 32371
Sears may recommend other accessories not listed in
this manual.
See your nearest Sears Hardware Department or Sears
Power and Hand Tool Catalog for other accessories.
Do not use any accessory unless you have completely
read the Owner's Manual for that accessory.
Use only accessories recommended for this table saw.
Using other accessories may cause serious injury and
cause damage to the table saw.
Fig. 2A
CONSTRUCTING AFEATHERBOARD
24"
' 5" _1
Figure 2A illustrates dimensions for making a typical
featherboard. The material, which the featherboard is
constructed of, should be straight piece of wood that is
free of knots and cracks. Featherboards are used to
keep the work in contact with the fence and table and
help prevent kickbacks. Clamp the featherboard to the
fence and table so that the leading edge of the feather-
board will support the workpiece until the cut is com-
pleted.
Fig. 2B
Use featherboards for all non-through cutting opera-
tions where the guard and splitter assembly must be
removed. Always replace the guard and splitter
assembly when the non-through cutting operations
are finished. See figure 2B.

CONSTRUCTING A PUSHSTICK
When ripping work less than 4 inches wide, a pushstick should be used to complete the feed and could easily be
made from scrap material by following the pattern shown in figure 2C.
Fig. 2C
The Pushstick should be made of 3/4 or 1/2 inch wood or a thickness less than the width of the
workpiece to be cut.
Figure 2C should be copied and scaled so the grids are 1/2 inch square. This copy can be used
to make your pushstick.
10

UNPACKING AND CHECKING CONTENTS Fig. 3-1
The table saw is a heavy machine, two people are
required to unpack and lift the table saw.
This table saw w[[[ require some amount of assembly.
This table saw and fence is shipped in one carton. This
carton also contains a box of saw parts.
1. Remove parts from all of the cartons and lay them
on a clean work surface.
2. Two or more people are required to lift the table
saw off of the shipping pallet.
3. Remove any protective materials and coatings from
all of the parts and the table saw. The protective
coatings can be removed by spraying WD-40 on
them and wiping it off with a soft cloth. This may
need redone several times before all of the protec-
tive coatings are removed completely.
CAUTION: DO NOT use acetone, gasoline or lacquer thin-
ner to remove any protective coatings on your table saw.
4. After cleaning, apply a good quality paste wax to
any unpainted surfaces. Make sure to buff out the
wax before assembly.
5. Compare the items to figures below; verify that all
items are accounted for before discarding the ship-
ping box. If there are any missing parts, call
Customer Helpline 1-800-897-7709.
12
The right extension wing must be completely assem-
bled and motor cover closed and fastened before table
saw is to be connected to the power source.
If any parts are missing, do not attempt to plug in the
power cord and turn "ON" the table saw. The table saw
can only be turned "ON" after all the parts have been
obtained and installed correctly.
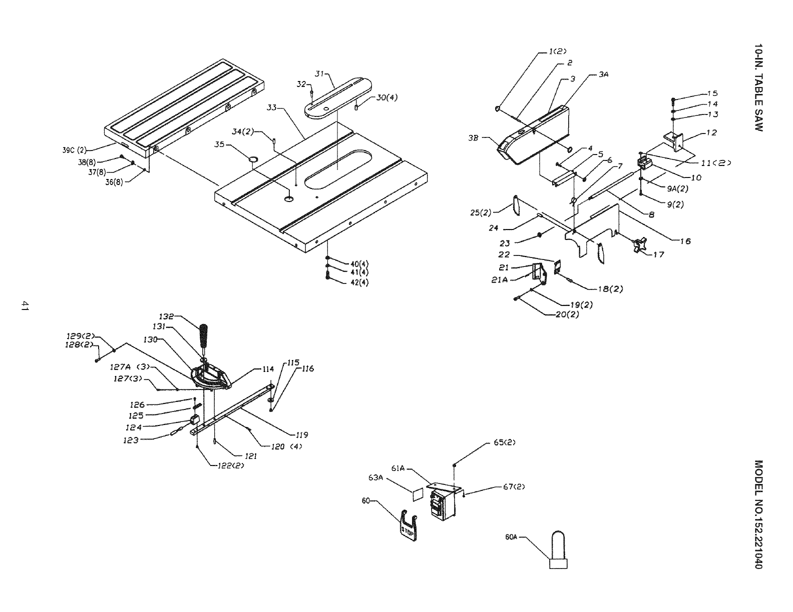
TABLE SAW
1. Table saw assembly
2. Extension wing, stamped steel (2)
3. Handwheel (2)
4. Handwheel lock knob (2)
5. Splitter mounting rod
6. Splitter bracket assembly
7. Wrench hook
8. Fence hook (2)
9. Poly-V belt
10. Blade guard and splitter assembly
11. Leg assembly (2)
12. Tie bar (2)
13. Switch
14. Saw blade (not shown)
10
11
/
7\5
\\\\\\\\\\\\\\\\\

Fig. 3=2 20 21 22 23
28
24
FENCE
20. Rip fence assembly
21. Fence front rail, right
22. Fence front rail, left
23. Fence rear rail, right
24. Fence rear rail, left
25. Fence rear rail connector
26. Front rail end cap, right
27. Front rail end cap, left
28. Fence front rail alignment bar (2)
Fig. 3=3
4O
MITER GAUGE
40. Miter gauge
12

Hardwarepacksarenotidentifiedorlabeled.Seehardwarediagramto helpinfindingthecorrectpart.Seefigure3-4.
Fig. 3=4
© @El
HEX HEAD SCREW _Sx|.a5 x a5ete_ HEX NUT _8xl.a5
@ @8
HEX HEAD SCREW MSxl.a5 × 30rtt,, HEX NUT 5116"-18
@ ® u
EARRIA6E HEAD SCREW 5/|6-|8 X5/8"
SOuARE HEAD SCREW _BxL25 X 35_ @ I
®
HEX SOCKET
®
HEX SOCKET
@
HEAD CAP SCREW MBx|.25 x 25_
©
HEAD CAP SCREW NSx|,25 x 35_e_
HEX HEAD SCREW M6 x 12Be_
ROUND HEAD SELF-TAP SCREW _F4 x B_
FLAT WASHER _8
©l
FLAIr WASHER 5/|6"
LOCK WASHER N8
ROUND HEAD SELF-TAP SCREW _ × |6_e_ LOCK WASHER 9/|6"
Hardware Pack for Extension Wings (#0R92013)
includes:
Flat Washer M8 (8)
Lock Washer M8 (8)
Hex Head Screw M8xl.25 x 30mm (8)
Hardware Pack for Rear Rail (#0R92016)
includes:
Flat Washer M8 (8)
Lock Washer (6)
Button Head Cap Screw M8x1.25 x 25mm (4)
Button Head Cap Screw M8x1.25 x 35mm (2)
Hex Nut M8 (2)
Hardware Pack for Front Rail (#0R92017)
includes:
Flat Washer M8 (4)
Lock Washer M8 (4)
Square Head Screw M8x1.25 x 35mm (4)
Hex Nut M8 (4)
Hardware Pack for Cabinet Legs (#0R92020)
includes:
Flat Washer M8 (16)
Flat Washer 5/16" (8)
Lock Washer M8 (8)
Lock Washer 5/16" (8)
Hex Head Screw M8x1.25 x 25mm (8)
Carriage Head Screw 5/16-18 x 5/8" (8)
Hex Nut M8 (8)
Hex Nut 5/16" (8)
Hardware for ON/OFF Switch:
(Hardware finish is Black Oxide)
Hex Head Screw M6 x 12mm (2)
Square Nut M6 (2)
Miscellaneous Hardware:
Sheet Metal Screw M4 x 8mm (6)
Sheet Metal Screw M4 x 16mm (4)
13

2 4 5 6 7 8
10 11
23
22
21
20
16
17
18
19
15
12
13
1. Splitter assembly
2. Blade guard
3. Anti-kickback fingers
4. Blade
5. Align-a-cut insert
6. Rear fence hold down
7. Table surface
8. Rip fence
9. Rear rail
10. lO-in, stamped steel wing
11. Front rail with scale
12. Rip fence lock handle
13. Motor cover
14. Bevel scale
15. Blade height handwheel
16. Handwheel lock knob
17. 3/4 Cabinet
18. Cabinet leg
19. Rubber foot
20. Fence hook
21. On/Off switch
22. Bevel handwheel
23. Bevel handwheel lock knob
24. Miter gauge
25. Miter gauge groove
14

TOOLS REQUIRED
The following tools are needed for assembly and align-
ment. Note: Two blade wrenches and five hex wrenches
are provided with your table saw. The remaining tools
are typical shop tools and are not included with your
table saw.
18mm wrench
13mm wrench
10mm wrench
8mm wrench
3/16-in. hex wrench
#2 Phillips screwdriver
• The table saw is a heavy machine; two people are
required for certain assembly operations.
• DO NOT assemble the table saw until you are sure
the tool is unplugged.
• DO NOT assemble the table saw until you are sure
the power switch is in the "OFF" position.
• For your own safety, DO NOT connect the machine to
the power source until the machine is completely
assembled and you read and understand the entire
Owner's Manual.
CABINET LEG ASSEMBLY
MAKE CERTAIN the table saw is disconnected from
the power source.
1. Turn the table saw upside down onto its cast iron
table. CAUTION: The table saw is heavy; two peo-
ple are required for this operation. Be sure to lay
cardboard on the floor to protect the table surface.
Figure 44
2. Attach leg assemblies (A) to the front (B) and rear
(C) of the table saw cabinet by placing (D) eight
M8 x 25mm hex head screws and eight M8 flat
washers down through the mounting holes in the
leg assembly and cabinet (E). Place an M8 flat
washer, M8 lock washer and M8 hex nut onto each
of the eight screws attaching leg assembly to cabi-
net. Do not completely tighten hardware at this
time. See figure 4-1.
3. Attach two tie bars (F) inside and between front and
rear legs already attached to the cabinet with (G)
eight 5/16-18 x 5/8" carriage head screws, 5/16" flat
washers, 5/16" lock washers and 5/16-18 hex nuts
and securely tighten all hardware. See figure 4-1.
POLY=V BELT ASSEMBLY
MAKE CERTAIN the table saw is disconnected from
the power source.
Figure 5=1
/
A
o " ll
F
C
1.
2.
3.
4.
Make sure all packaging material has been
removed from inside the cabinet.
Open the motor cover and place the motor Poly-V
belt (A) over the blade pulley (B). See figure 5-1.
Carefully lift the motor (C) and place the belt under
the motor pulley (not shown). Make sure all the v-
notches in the belt are mated with the v-notches of
the blade and motor pulley. See figure 5-1.
Carefully let the motor down and close motor cover.
15

EXTENSION WiNG ASSEMBLY HANDWHEEL ASSEMBLY
MAKE CERTAIN the table saw is disconnected from
the power source.
The right extension wing must be completely assem-
bled and motor cover closed and fastened before table
saw is to be connected to the power source.
Figure 64 A
o_
2,
CAUTION: The extension wings are heavy; two
people are required to assemble both extension
wings to the table saw.
Assemble one of the extension wings (A) to the left
side of the table saw. Align the four holes (B) in the
extension wing with the four holes in the left side of
the saw table. Use four M8 x 30mm hex head
screws, M8 lock washers and M8 flat washers.
Do not completely tighten hardware at this time.
See figure 6-1.
Figure 6=2
MAKE CERTAIN the table saw is disconnected from
the power source.
Figure 7=1
C
B
1, Place one of the handwheels (A) onto the bevel
shaft (B) located on the side of the cabinet. Align
the groove (C) in the back of the handwheel with
the pin (D). See figure 7-1.
Figure 7=2
3. Lay a straight edge (C) across the saw table (D)
and extension wing (E). Make sure that the front
face of the extension wing (F) is flat to the front
face of the saw table (G). Adjust the extension
wing so that its top surface is exactly flat to the saw
table and securely tighten hardware. See figure 6-2.
4. Repeat steps 2 and 3 above to assemble the other
extension wing to the right side of the table saw.
2,
3,
16
Thread the locking knob (E) onto the threaded end
of the shaft (F). See figure 7-2.
Repeat the steps above to assemble the remaining
handwheel and locking knob onto the blade raise/
lower shaft located on the front of the cabinet.

WRENCH AND FENCE HOOK ASSEMBLY Figure 9=2
MAKE CERTAIN the table saw is disconnected from
the power source.
Figure 84
A
i
1. Assemble both of the fence hooks (A) to the left
side of the cabinet (B) using four M4 x 8mm sheet
metal screws, not shown. See figure 8-1.
2. Assemble the wrench hook (C) above the fence
hooks using two M4 x 8mm sheet metal screws, not
shown. See figure 8-1.
BLADE GUARD AND SPLITTER ASSEMBLY
3. Place the splitter bracket assembly (C) onto the
mounting splitter rod. See figure 9-2 and 9-3.
Figure 9=3
H
G
MAKE CERTAIN the table saw is disconnected from
the power source.
1. Loosen table insert retainer bolt and remove table
insert.
Figure 94
B
2. Place the threaded end of the mounting splitter rod
(A) through the hole (B) in the rear of the cabinet.
Place a M12 hex nut (not shown) onto the threaded
end of the mounting splitter rod inside of the cabi-
net and tighten securely. See figure 9-1 and 9-2.
Note: Place an 18mm wrench on 12mm hex nut and a
13mm wrench on flats of the splitter rod and tighten.
4,
5,
17
E
Place the front attachment point (D) of the blade
guard and splitter assembly (H) down into the tool-
less front attachment point (E) and the rear attach-
ment slot (F) onto the threads of the splitter bracket
knob (G); securely tighten splitter bracket knob.
Note: The splitter bracket assembly will need to be
positioned to fit the blade guard and splitter assem-
bly on the mounting splitter rod. See figure 9-3.
Remove the hex nut (K) and outer flange (J) from the
blade arbor (I). Note: The arbor has a right hand
thread; to loosen the hex nut, turn it counterclock-
wise. See figure 9-4.

Figure 9=4 Figure 9=6
MZ
u\
\\ \
K
6. Place 10" saw blade (Z) onto blade arbor (I); make
sure the teeth of the blade are pointing down in the
front of the table saw. Place the outer flange (J)
and hex nut (K) onto the blade arbor and snug hex
nut by hand. Place the open-end blade wrench (L)
on the flats of the inner blade flange (not shown)
and the box-end blade wrench (M) onto the hex nut
and securely tighten. Note: The blade arbor has a
right hand thread; to tighten the hex nut turn it
clockwise. See figure 9-4.
Figure 9=5
O
8.
9.
10.
Lay a straight edge (R) against the left side of the
saw blade (S). Align the splitter (T) so that it is in a
straight line with the blade and tighten the one hex
socket head screw (U) on top of the splitter bracket
assembly. See figure 9-6.
Replace table insert and tighten table insert retain-
ing bolt removed in step 1.
If there is any problem with the front splitter attach-
ment bracket being out-of-square to the saw table
or blade alignment, see "AMGNING SPLITTER
BRACKET" in the Operations and Adjustments
section of this manual.
RiP FENCE ASSEMBLY
Q
\
\\\\\
\\\\
7. Place a square (N) onto the saw table and against
the splitter assembly (0) behind the kickback
fingers (P). Make adjustments to the splitter
bracket assembly (Q) so that the splitter is square
to the saw table. Once square, tighten the two hex
socket head screws on the bottom of the splitter
bracket assembly. See figure 9-5.
MAKE CERTAIN the table saw is disconnected from
the power source.
Figure 10=1
CA
B
C
E
A
"D
18

1. Figure 10=3
2.
3.
4.
Alignment bars (B) have set screws (A) already
installed. Make sure set screws are flush with face
of alignment bar. See figure 10-1.
Place both fence front rails (C) on the saw table
upside down. Make certain that the right fence rail
is on the right-hand side and the left front rail is on
the left-hand side. Check that both scales on the
front rails have the 1-inch marking closest to each
other. See figure 10-1.
Insert both alignment bars halfway into the back (D)
and bottom (E) square nut grooves in the right front
rail and slightly snug set screws to hold alignment
bar into the front rail. See figure 10-1.
Slide the left front rail onto alignment bars and
against other half of front rail. Make sure both sec-
tions of the front rails are flat and straight to each
other. Slightly snug set screws in both alignment
bars. Recheck that the front rail is flat and straight,
then securely tighten all set screws.
Figure 10=2
F
/0
G
G
5. Slide the heads of four M8 x 35mm square head
screws (F), two from each end of the front rail into
the front rail. Note: The front rail is still positioned
upside down on the saw table. Position the screws
so that they will align with the two holes in the front
of the saw table and one hole (G) in each extension
wings. See figure 10-2.
6. Place front rail against front of saw table with the
four screws going through the four holes in the saw
table and extension wings. Place an one M8 flat
washer, M8 lock washer and M8 hex nut onto each
of the four screws on the back side of the saw table
and extension wings. Do not completely tighten the
four hex nuts at this point.
H
7. Raise saw blade (H) and place a straight edge (I)
against right side of saw blade extending out over
front of saw table. Align the edge of the right front
rail (J) with right side of saw blade using the
straight edge. See figure 10-3.
Figure 10=4
8. Using a combination square (K), make sure the
front rail (L) is level across the saw table and exten-
sion wings, and then securely tighten the four hex
nuts. See figure 10-4.
19

Figure 10=5
s M
Figure 10=7
AB
AC \
W
V
9, Assemble the left side rear rail (M) to the left rear
side of the table saw (N). Attach rear rail (M) to
table (N) with two M8 x 25mm hex button head
screws, M8 flat washers, and M8 Iockwashers (O).
Attach rear rail to extension wing with one M8
x 35mm hex button head screw, M8 flat washer,
M8 Iockwasher, and M8 hex nut (P). Make sure
that the rear rail is below the bottom of the miter
gauge slots (R) in the saw table. See figure 10-5
and 10-6.
10. Slide rear rail connector (S) into the left rear rail
already assembled. See figure 10-5.
Figure 10=6
RT
11. Slide the right side rear rail (T) onto rear rail con-
nector. Assemble the right rear rail with two M8 x
25mm hex button head screws to the saw table
and one M8 x 35mm hex button head screw, M8
flat washer, M8 lock washer and M8 hex nut to the
extension wing. See figure 10-6.
12. Using a combination square, make sure the rear rail
is level to the saw table and extension wings and
below the bottom of the miter gauge slots, then
securely tighten all hardware.
13. Assemble the two cursors (U) to the rip fence
assembly (V) using four M5 x 16mm pan head
screws and M5 lock washers (W). See figure 10-7.
14. Lift up on the rip fence handle (X) and place the
fence down onto the saw table with the fence body
into front rail. With the rip fence lock handle up,
you can slide the fence back and forth across the
saw table. Pushing the rip fence lock handle down,
this will lock the fence from moving. See figure 10-7.
15. Align left fence side (AB) at a distance from the
right side (AC) of the right miter gauge groove and
lock the fence. See figure 10-7.
16. Use a measuring tape to measure the distance
from the saw blade right side to the left fence side.
17. Assemble the cursor (U) to the right side of fence
cross arm with two M5 x 16mm pan head screws
and M5 Iockwashers (W). Do not completely tighten
screws. See figure 10-7.
18. Align cursor with the scale (Z) so that the thin black
line (Y) is on the same number as the distance
measured in step 16. Tighten the cursor screws.
19. Remove fence from table and reposition it on left
side of saw blade. Align right fence side at a dis-
tance from the left side of left miter gauge groove
and lock the fence.
20. Use a measuring tape to measure the distance
from the saw blade left side to the right fence side.
21. Assemble the second cursor to left side of fence
cross arm with two M5 x 16mm pan head screws
and M5 Iockwashers. Do not completely tighten
screws.
22. Align cursor with the scale so that the thin black line
is on the same number as the distance measured in
step 20. Tighten the cursor screws.
20

Figure 10=8 3. Slide the M6 square nuts and switch assembly (E)
into the left end of the front rail (F). See figure 11-1.
4. Position the switch assembly to desired location
and tighten hardware. CAUTION: Keep switch out
of saw blade path. Most common switch location is
to the left side of the saw blade.
AA Figure 11=2
23. Note: The rip fence comes with a rear hold down
(AA) built into the end of the fence, to keep the rear
of the fence from lifting while using a feather board.
Engage the rear hold down by simply flipping down
on the hold-down arm so that it is under the rear
rail, as shown. See figure 10-8.
24. Check and make sure the rip fence is square to the
saw table and is parallel to the miter groove. If any
adjustments are needed see "FENCE ADJUST-
MENTS" in the Operation and Adjustments section
in this manual.
ON/OFF SWITCH AND
END CAP ASSEMBLY
5. Place the left front rail end cap (A) into the end
of the front rail (B). Attach end cap to rail with
two M4 x 16mm sheet metal screws (C).
See figure 11-2.
6. Repeat step above to attach right side front rail
end cap.
MAKE CERTAIN the table saw is disconnected from
the power source.
Figure 11=1
C
A
E
J
1. Place two M6 x 12mm hex head screws (A) up
through the two holes (B) in the switch support (C).
See figure 11-1.
2. Thread two M6 square nuts (D) onto M6 x 12mm hex
head screws about three turns. See figure 11-1.
CONNECTING SWITCH CORD
TO MOTOR CORD
MAKE CERTAIN the table saw is disconnected from
the power source.
Figure 12=1
1. Place the switch cord (A) through hole (B) in front
of cabinet. See figure 12-1.
21

2. Open motor cover, plug switch cord (C) into motor BOLTING TABLE SAW TO THE FLOOR
cord (D). See figure 12-2.
Fig. 12-2 MAKE CERTAIN the table saw is disconnected from
the power source.
If you wish, the table saw can be permanently mounted
to the floor. To attach to the floor, see instructions
below.
Fig. 12A-1
B
3.
4.
Pull slack in switch cord into the cabinet.
Make a loop (E) from the slack of the switch cord
and place it behind cord retaining bar (F).
See figure 12-2.
B
A
1.
2.
3.
4.
5.
Remove the four rubber footpads (A) from the table
saw legs (B). See Figure 12A-1.
Position the table saw where you want it perma-
nently mounted.
Mark the floor through the holes in the bottom of
legs.
Move the table saw out of the way and drill pilot
holes at the four locations marked.
Attach the table saw to the floor using appropriate
hardware (not included).
22

CAUTION
• A separate electrical circuit should be used for your
table saw. The table saw comes pre-wired for 120-volt
use. The circuit should not be less than #14 AWG wire
and should be protected with a 15-amp time lag fuse.
• Have a qualified electrician repair or replace damaged
or worn cord immediately.
• Before connecting the motor to the power line, make
certain the switch is in the "OFF" position and be sure
that the electric current is of the same characteristics
as the motor nameplate. All line connections should
make good contact.
• Running on low voltage or long extension cords will
damage the motor.
• DO NOT expose the table saw to rain or operate the
in damp locations.
• MAKE SURE all parts have been assembled correct-
ly and are in working order.
• KEEP table surface clear of tools and debris before
starting table saw.
2. To turn the table saw on, press the green "ON"
button (A) in one-half inch. Note: There is a safety
feature on the switch to insure that the switch must
be completely pressed before the saw will START.
See figure 13-1.
3. To turn the table saw off, press the large red "OFF"
paddle (B) or lift the paddle and press directly on
the red "OFF" button. See figure 13-1.
LOCKING ON/OFF SWITCH
1. When the table saw is not in use, the "ON" button
should be locked so that it cannot be started.
2. Using the padlock included with your table saw, lift
the red "OFF23" paddle and place the padlock
through the holes (C) in the side of the "ON" button
and then lock the padlock. Make sure keys have
been removed from padlock and placed where no
children can get them. See figure 13-1.
3. To use the table saw, unlock and remove the pad-
lock from the "ON" button.
THERMAL=OVERLOAD PROTECTION
STARTING AND STOPPING THE SAW
Figure 13=1
C
A
1. The ON/OFF switch is located under the front rail
on the table saw.
• Turn the power switch "OFF" and unplug the power
cord from its power source prior to doing or perform-
ing any maintenance.
• Make certain that the OFF button has been
depressed before pushing the thermal overload
reset button.
The motor supplied with your table saw has a resettable
thermal-overload relay (D), see figure 13-1. If the motor
shuts off during an operation (cutting a workpiece too
fast or using a dull blade, using the saw beyond its
capacity, or low voltage) press the OFF button and let
the motor cool three to five minutes. Push the reset
thermal-overload button on the side of the ON/OFF
switch assembly. Make certain that the saw blade and
work area has been cleared of debris before restarting
saw. The motor can now be turned on again.
23

RAiSiNG AND LOWERING THE BLADE
Figure 14=1
The blade height adjustment handwheel and handwheel
lock knob are located on the front of the cabinet above
the blade bevel scale. To raise the saw blade, loosen
the handwheel lock knob (A) (counter-clockwise) and
turn the handwheel (B) clockwise. When the saw blade
is at its desired height, tighten the handwheel lock knob
(clockwise) until it is securely tightened. See figure 14-1.
To lower the saw blade, loosen the handwheel lock knob
(counter-clockwise) and turn the handwheel counter-
clockwise. When the saw blade is at its desired height,
tighten the handwheel lock knob (clockwise) until it is
securely tightened.
TILTING THE BLADE
The blade bevel handwheel and handwheel lock knob
is located on the left side of the cabinet. To increase
the saw blade-bevel, loosen the handwheel lock knob
(A) (counter-clockwise) and turn the handwheel (B)
clockwise. When the saw blade is at its desired
degree, tighten the handwheel lock knob (clockwise)
until it is securely tightened. See figure 14-1
To return the saw blade bevel to zero degrees, loosen
the handwheel lock knob (counter-clockwise) and turn
the handwheel counter-clockwise. When the saw blade
is back to zero degrees it will come into contact with the
adjustable positive stop which will cause the blade to
stop. Tighten the handwheel lock knob (clockwise) until
it is securely tightened.
To tilt the blade bevel to 45-degrees, loosen the hand-
wheel lock knob (counter-clockwise) and turn the hand-
wheel clockwise. When the saw blade is at 45-degrees
it will come into contact with the adjustable positive stop
which will cause the blade to stop, tighten the hand-
wheel lock knob (clockwise) until it is securely tightened.
ADJUSTING BLADE BEVEL
POSITIVE STOPS
Figure 15=1
1. To adjust blade 90-degree blade bevel positive
stop, raise the saw blade (A) to its highest position.
See figure 15-1.
2. Using a combination square (B) check that the
blade is 90-degrees to the saw table (zero degrees
on bevel scale). See figure 15-1.
3. If the blade will not tilt to 90-degree, turn (counter-
clockwise) the set screw (C) in the left hand side of
the saw table until the blade can be positioned to
90-degrees. Tighten bevel handwheel lock knob,
located on the left side of the cabinet. This will keep
the blade from further tilting and check that the set
screw is contacting positive stop. See figure 15-1.
4. If the blade has been tilted to 90-degrees, tighten
bevel handwheel lock knob, located on the left side
of the cabinet. This will keep the blade from further
tilting. Turn the set screw clockwise until it comes
in contact with the positive stop.
Figure 15=2
24

5. Toadjustblade45-degreebladebevelpositive
stop,raisethesawbladeto itshighestposition.
6. Usinga combinationsquare(D)checkthatthe
bladeis 45-degreesto thesawtable(45-degrees
onbevelscale).Seefigure15-2.
7. Ifthebladewillnottiltto 45-degrees,turn(counter-
clockwise)thesetscrew(E)intherighthandside
ofthesawtableuntilthebladecanbepositionedto
45-degrees.Tightenbevelhandwheellockknob,
locatedontheleftsideofthecabinet.Thiswillkeep
thebladefromfurthertiltingandcheckthattheset
screwiscontactingpositivestop. Seefigure15-2.
8. Ifthebladehasbeentiltedto45-degrees,tighten
bevelhandwheellockknob,locatedontheleftside
ofthecabinet.Thiswillkeepthebladefromfurther
tilting.Turnthesetscrewclockwiseuntilit comes
incontactwiththepositivestop.
BEVEL ARROW ADJUSTMENT
1. Make certain that the blade is at 90-degrees to
the table surface with a combination square. See
figure 16-1.
Figure 16=1
2. Check that the bevel arrow (A) is pointing to the
zero degree mark on the bevel scale (B) located on
the front of the cabinet. See figure 16-1.
3. To adjust arrow, loosen the Philips head screw (C)
and reposition the bevel arrow and tighten screw.
See figure 16-1.
BLADE HEEL ALIGNMENT
CHECKING BLADE ALIGNMENT
Blade heel is the misalignment of the blade to the miter
slots. This means when the blade is not parallel to the
miter slots it is heeling. The blade is set parallel at the
factory and should not need any adjustments. You can
check this by using a dial indicator (not included) or a
combination square (not included). It is recommended
to check the alignment before initial operation as
follows:
MAKE CERTAIN the table saw is disconnected from
the power source.
Fig. 16A-1
/
A
1,
2.
3,
4,
5.
Raise the saw blade to its highest point.
Place a combination square (A) on the saw table
with one edge (B) of the square against the left
miter slot (C). See Figure 16A-1.
Adjust the square so the rule (D) just touches the
saw blade about 1 inch in from the outer diameter.
Make sure the rule is not touching any of the car-
bide tips of the saw blade.
Lock the rule in this position.
This dimension should be around 5-1/2 inch, plus or
minus 3/32 of an inch.
25

Fig. 16A-2 Fig. 16B=1
6,
7,
8,
Rotate the saw blade back so that you take the
measurement from the same spot on the saw
blade. See Figure 16A-2.
Take a reading at the rear of the blade (E) with the
combination square. If there is a difference of more
than four pieces of standard printer paper between
the rule and the blade then adjustment will have to
be made.
If an adjustment is necessary see "ADJUSTING
BLADE ALIGNMENT".
\
A
A
1, To align the blade parallel to the miter slot, first
loosen two hex head screws (A) under the left side
of the table saw. This is the same side as the bevel
handwheel (B). See figure 16B-1.
Fig. 16B=2
C
ADJUSTING BLADE ALIGNMENT
Blade alignment is factory set and should not need
adjustment. All saw blades have some runout.
Therefore, readjusting the blade alignment should only
be attempted if it becomes necessary (see checking
blade alignment).
MAKE CERTAIN the table saw is disconnected from
the power source.
2,
3,
4,
5.
6.
Open motor cover located on the right side of the
table saw. Loosen two hex head screws (C) locat-
ed directly above the opening. See Figure 16B-2.
The saw table is now loose and can be reposi-
tioned until the blade is parallel to the miter slot.
Repeat steps in "CHECKING BLADE ALIGNMENT".
When blade is parallel to miter slot tighten all four
hex head screws.
Recheck blade alignment.
Tilt the blade to 45 degrees, and rotate the saw
blade by hand. Make sure the blade does not
contact the table insert.
26

RiP FENCE OPERATIONS
AND ADJUSTMENTS
ADJUSTING FENCE SLIDE
MAKE CERTAIN the table saw is disconnected from
the power source.
The rip fence can be used on either side of the saw
blade. The most common location is on the right hand
side. This fence is a front locking fence, meaning it
only clamps on the front rail. The fence slides across
the front and rear rails.
Figure 17=1
cBGDF
H
H
MAKE CERTAIN the table saw is disconnected from
the power source.
To make sure your fence slides smoothly there are
several items to check.
Fig. 17=2
BA
B
A
1, Make sure that the nylon set screws (A) and nylon
glide pads (B) are in place and are not damaged,
gouged or have sharp edges. See figure 17-2.
Note: Some models do not have the Micro-
Adjustment Assembly as shown in figure 17-2.
2,
To move the rip fence, lift up on the fence handle
(A) and slide the fence back and forth across the
saw table. Note: The fence handle is spring loaded
and will stay in the up position until press down on.
See figure17-1.
To lock the fence from sliding side to side, push
down on the fence handle.
Fig. 17=3
D
C
2. Make sure that both the front and rear rails (C) are
parallel to the saw table (D). Use a combination
square (E) to check parallel. See figure 17-3.
27

Fig. 17=4
GF
\
Fig. 17=6
Clean and wax
3. Make sure there is a consistent gap between the
bottom of the fence (F) and the saw table (G).
This gap should be same as the thickness of a
dime, around 0.050". To adjust the gap at the front
of the fence turn nylon set screws (H) evenly.
See figure 17-4.
To adjust the gap at the rear of the fence, loosen two
screws (I). The screws are located inside of the fence
end cap (J). The fence hold down (K) will have to be
rotated down to access the two screws. Reposition the
fence end cap to set the gap and tighten the two
screws. See figure 17-5.
Fig. 17=5
K
MAKE CERTAIN you read and follow all directions and
warnings on the cleaner.
4. Clean the front and rear rail with rubbing alcohol or
automotive brake cleaner. Make sure not to get
cleaner on any painted surfaces. After cleaning,
wax the entire front and rear rail. For models that
have the Micro-Adjustment assembly, do not wax
the area of the front rail where the rubber wheel
from the micro-adjust contacts.
ADJUSTING RIP SCALE
1.
2.
3.
4.
5.
6.
7.
To adjust the right scale, align left fence side (B) at
a distance from the right side (C) of the right miter
gauge groove and lock the fence. See figure 17-1.
Use a measuring tape to measure the distance
from the saw blade right side to the left fence side.
Loosen two screws attaching the cursor (E) to the
right side of fence cross arm. See figure 17-1.
Align cursor with the scale (F) so that the thin black
line (D) is on the same number as the distance
measured in step 4. Tighten the cursor screws.
To adjust the left scale, remove fence from table
and reposition it on left side of saw blade. Align
right fence side at a distance from the left side of
left miter gauge groove and lock the fence.
Use a measuring tape to measure the distance
from the saw blade left side to the right fence side.
Loosen two screws attaching the cursor to the left
side of fence cross arm.
8. Align cursor with the scale so that the thin black line
is on the same number as the distance measured in
step 6. Tighten the cursor screws.
28

Theripfencemustbeproperlyalignedto themiter
gaugegrooveinordertoprevent"kickback"when
ripping.
Figure 17=7
K
ADJUSTING RiP FENCE PARALLEL:
1. To adjust the rip fence parallel to the miter gauge
groove, position the rip fence (B) along the right
side (C) of the right hand miter gauge groove and
lock the fence. The rip fence should be parallel to
the miter gauge groove. If an adjustment is neces-
sary, proceed to the next step. See figure 17-1.
2. Lift the fence handle and slightly loosen hex head
screw (G). Lightly tap on the rear of the fence until
the rip fence is parallel to the miter gauge groove.
Lock the fence and retighten hex head screws.
Unlock the fence and move it side to side. Lock and
recheck it for parallel. See figure17-1.
ADJUSTING RiP FENCE SQUARE:
To adjust the rip fence square to the table surface,
lock the fence in place and place a square on the
saw table and against the side of the rip fence. If
the rip fence is out-of-square, proceed to the next
step.
2. Unlock the rip fence handle and adjust one or both
set screws (H) to make the rip fence square to the
saw table. Lock the rip fence handle and recheck.
CAUTION: Keep about lmm gap between saw table
and bottom of fence. Ten sheets of printer paper are
about lmm. See figure 17-1.
ADJUSTING CLAMPING PRESSURE:
2,
After the rip fence is parallel to the miter gauge
groove, check to see if there is adequate clamping
force to hold the rip fence in place. If you can lift
the rip fence up off the front rail while it is locked, it
needs adjusted.
To adjust the clamping pressure of the rip fence,
slightly loosen two hex socket head screws under-
neath fence body d). To increase clamping pres-
sure turn set screw (J) clockwise; to decrease
clamping pressure turn set screw counter-clockwise
and tighten both hex socket head screw. Note:
Only make small adjustments to set screw (J) and
recheck. See figure 17-1.
29
REAR HOLD DOWN:
To minimize the amount the rear of the fence (K) comes
off the saw table, simply flip down the rear hold down
(L) so that it is under the rear rail. This limits the
amount that the rear of the fence will lift.
TABLE INSERT ADJUSTMENT
MAKE CERTAIN the table saw is disconnected from
the power source.
Figure 18=1
C
1,
2,
The table insert (A) must always be level with the
saw table (B). To adjust the table insert, loosen
and remove table insert retaining bolt (C). See fig-
ure 18-1.
Place a straight edge across the front and rear of
the table insert. Check that the insert is perfectly
level with the saw table.
3. To level the table insert, turn the one or more
adjusting set screws (D) as needed and recheck.
See figure 18-1.
4. Once the insert is level, secure the insert with the
retaining bolt removed in step 1.
5. The table insert is equipped with a finger hole (E)
for easy removal. See figure 18-1.

CHANGING MOTOR VOLTAGE CHANGING THE SAW BLADE
• MAKE CERTAIN the table saw is disconnected from
the power source.
• Have a certified electrician make all electrical connec-
tions. All local and state codes must be maintained.
The motor supplied with the table saw is a dual voltage
120/240-volt, single phase motor. The motor is wired
from the factory for 120-volt operation. To change to
240-volt operation for your table saw, proceed with the
following instructions. It is also necessary to replace
the 120 volt plug, supplied with the table saw, with a
UL/CSA Listed plug (not included) suitable for 240 volts
and the rated current of the motor. The table saw with
a 240 volt plug should only be connected to an outlet
having the same configuration as the plug. No adapter
is available or should be used with the 240 volt plug.
• Turn the power switch "OFF" and unplug the power
cord from its power source.
• USE ONLY lO-in, diameter blades with 5/8-in. arbor
holes, rated at or higher than 3800 R.P.M.
Figure 20=1
Figure 19=1
B
C
A
1. Make sure switch is "OFF" and disconnect power
cord from power source.
2. Open motor cover and verify on the motor tag (A)
that motor is dual voltage. See figure 19-1.
3. If motor tag states that it is dual voltage remove junc-
tion box cover (B) on motor (C). See figure 19-1.
4. Using wiring diagram on inside of junction box
cover, reconnect motor leads for 240-volt operation.
5. Replace junction box cover and close motor cover.
6. Replace 120 volt plug with a UL/CSA Listed 240
volt plug rated for current of the motor.
7. The ON/OFF switch is 4-pole and does not need
modified.
1.
2.
3.
4.
5.
6.
Remove blade guard and splitter.
Remove the table insert retaining bolt and remove
the table insert.
Unlock the raise/lower handwheel lock and raise
saw blade to maximum height.
Two wrenches are supplied with the table saw.
Place one open-end wrench (A) on the flat of the
saw arbor to keep it from turning. Place the closed-
end wrench (B) on the arbor nut (C). Turn the arbor
nut wrench toward the front of saw to loosen it.
Remove arbor nut, blade flange (D) and saw blade
(E). See figure 20-1.
Assemble the new saw blade, make certain the
teeth point down at the front of the saw table and
assemble the blade flange and arbor nut. Using
both blade wrenches as previously mentioned,
tighten arbor nut in the opposite direction from
which it was loosened.
Replace table insert and tighten the table insert
retaining bolt.
7. Replace blade guard and splitter.
30

ALiGNiNG SPLITTER BRACKET Fig. 20A-2
MAKE CERTAIN the table saw is disconnected from
the power source.
Fig. 20A=1
A
B
To adjust front splitter bracket (A), loosen the two
hex socket head cap screws (B). See Fig 20A-1
\
2,
3,
4,
5,
Place a straight edge(C) along the left side of blade
(D) and adjust the front splitter bracket to align the
splitter (E) with the blade. See figure 20A-2.
Retighten the two hex socket head cap screws after
the splitter has been aligned.
If necessary, adjust the rear splitter bracket (F)
make certain that entire splitter is in line with the
saw blade. See figure 20A-2.
Recheck to make certain the splitter is still square
to the saw table. If adjustments are necessary, see
BLADE GUARD AND SPMTTER ASSEMBLY.
31

MITER GAUGE OPERATION
AND ADJUSTMENT
MAKE CERTAIN the table saw is disconnected from
the power source.
Figure 21=1
B _ 3o_ A
..............................;-12-221 22 3
C
7. Push in plunger and make adjustments to stop
screw (G) so that it touches the plunger and tighten
lock nut. See figure 22-2.
8. Recheck the positive stop angel to the saw blade.
insert the guide bar into the miter gauge groove
and slide the miter gauge up to the saw blade.
9. To check, place a square against the saw blade
and miter gauge body. If any more adjustments are
need repeat steps above.
10. To set both 45-degree positive stops, repeat steps
above.
CROSSCUTTING
Crosscutting requires the use of the miter gauge (A) to
position and guide the workpiece (B). See figure 23-1.
1. The miter gauge has adjustable positive stops at 0-
degree and plus or minus 45-degrees or it can be
manually set at any angle between plus or minus
60-degrees.
2. To rotate miter gauge body (A), loosen knob (B)
and pull out plunger (C) and rotate miter gauge
body to desired angle and tighten knob. See figure
21-1.
3. To rotate to the next positive stop pull plunger out,
rotate miter gauge body then push plunger back in
and continue rotating miter gauge body until it stops
against next positive stop.
4. To adjust 0-degree positive stops, loosen knob, pull
out on plunger and turn miter gauge over.
Figure 22=2 G
D
5,
6.
Loosen the lock nut (D) 3 or 4 turns. See figure 22-2.
Place a square against the guide bar (E) and front
of the miter gauge body (F). Square the miter
gauge body to the guide bar and tighten knob. See
figure 22-2.
The use of non-Craftsman attachments and acces-
sories may result in risk of injury or damage to the
table saw.
Figure 23=1
D A
TO CROSSCUT:
1. Place the workpiece against the miter gauge and
advance both the miter gauge and workpiece
toward the saw blade (C). See figure 23
Note: The miter gauge may be used in either one of
the miter gauge grooves. When bevel cutting (blade
tilted), use the right hand miter gauge groove so that the
blade tilts away from the miter gauge and your hands.
2. Start the cut slowly and hold the workpiece firmly
against the miter gauge and the table.
To avoid serious injury, NEVER hang onto or touch the
part of the workpiece that is going to be cut off (D).
3. Continue cutting until the workpiece is cut in two.
4. Slide the miter gauge and workpiece back to the
starting point.
32

Note:Beforeslidingtheworkpieceback,givethework-
piecea littlesidewaysshifttomoveit slightlyawayfrom
thesawblade.
NEVERpickupanyshortcutoffscrappiecesfromthe
tablewhilethesawis running. Wait until the saw blade
has come to a complete stop.
Figure 23=2
AUXILIARY FENCE
For added safety and convenience, the miter gauge can
be fitted with an auxiliary fence (E) if not already sup-
plied with one. If the auxiliary fence is not provided with
your saw, one can be purchased as an accessory or
one can be made from a dimensional piece of hard-
wood. This auxiliary fence can be fastened to the front
of the miter gauge by using two screws (not included)
through the slots (not shown) in the miter gauge body.
See figure 23.2.
Figure 23=3
F
CAUTION
When using the block as a cut-off gauge, it is very
important that the rear end of the block be positioned
so the workpiece is clear of the block before it enters
the blade. See figure 23-3.
Never use the fence as a cut-off gauge when crosscutting.
When cross-cutting a number of pieces to the same
length, a block of wood can be clamped to the fence
and used as a cut-off gauge as shown. It is important
that this block of wood always be positioned in front of
the saw blade as shown. Once the cut-off length is
determined, secure the fence and use the miter gauge
to feed the work into the blade. This block of wood
allows the cut-off piece to move freely along the table
surface without binding between the fence and the saw
table, thereby lessening the possibility of kickback and
injury to the operator. See figure 23-3.
Note: This block allows the cut-off scrap piece to move
freely along the table surface without binding between
the fence and the blade, thereby lessening the possibil-
ity of kickback and injury to the operator.
2. Once the cut-off length is determined, lock the
fence and slide the workpiece across the table
surface until it contacts the block. Use the miter
gauge (K) to feed the workpiece into the blade.
To avoid kickback when using the block (F) as a cut-off
gauge, it is very important that the rear end of the block
(G) be positioned so the workpiece (H) is clear of the
block before it enters the blade (I). Never use the fence
(J) as a cut-off gauge when crosscutting. See figure 23-3.
HK
CUT-OFF GAUGE
1. When cross-cutting a number of pieces to the same
length, clamp a block (F) of wood to the fence (J) to
use as a cut-off gauge. It is important that this block
of wood always be positioned in front of the saw
blade. See figure 23-3.
33

RIPPING
o NEVER stand in the line of the saw blade path when
ripping.
• ALWAYS keep hands and fingers away from the saw
blade.
Figure 24=1
CAUTION
When ripping a workpiece longer than three feet, it is
recommended that the workpiece be supported at the
rear of the table saw to keep it from falling. A roller
stand can be purchased to support long workpieces to
the rear of a table saw.
CAUTION
If the workpiece is to be cut less than 4-inches wide, a
push stick (E) or guide should always be used to keep
your hands away from the saw blade. See figure 24-2.
Figure 24=2
A
C D
Ripping is the operation of making a cut with the grain
of the workpiece; the rip fence (A) is used to position
and guide the workpiece. Since the workpiece is
pushed along the fence, it must have a straight edge
and make solid contact with the saw table. The blade
guard (B) and splitter assembly (C) must be used. The
splitter has anti-kickback fingers (D) to prevent the
workpiece from kicking back, and the splitter assembly
to prevent the wood kerf from closing and binding on
the blade. See figure 24-1.
1. With the workpiece clear of the saw blade, start the
motor.
2. Place the workpiece on the saw table with the
straight edge against the fence.
3. Advance the workpiece slowly, holding it down and
against the fence, then into the saw blade.
Note: The workpiece can be fed through the saw blade
with one or two hands depending on the size.
4. Affter the workpiece is beyond the saw blade and
anti-kickback fingers, you can remove your hand
from the workpiece. When this is done, the work-
piece will either stay on the table, tilt up slightly and
be caught by the rear end of the guard, or slide off
the table to the floor. Alternately, the feed can con-
tinue to the end of the table, after which the work-
piece is lifted and brought back along the outside
edge of the fence.
5. The cut-off part of the workpiece remains on the
table and is not touched until the saw blade has
come to a complete stop.
34
An accessory Craftsman Fence Guide can be purchased
to assist when making narrow cuts. See "ACCESSOR-
IES AND ATTACHMENTS" section in this manual.
DADO BLADE SET
The blade guard and splitter assembly cannot be used
when dadoing or molding and must be swung to the
rear of the saw. Blade guard must be reassembled
when finished dadoing or molding.
Figure 25=1
A

Dadoingiscuttinga non-throughcutthatproducesa
squarenotchintotheworkpiece.Mostdadobladesets
(notincluded)aremadeupoftwooutsidedadoblades
(A)andfourorfiveinsidechippers(B).Shims(E)can
beplacedbetweenbladesandchipperstoslightlyvary
thewidthofa dado.Nomorethantwoshimsshouldbe
placedtogetherbetweenonesetof bladesorchippers.
Shimscanbemadeof heavypaper,brassormetal.
Variouscombinationsofthedadobladesandchippers
areusedto cutgroovesfrom1/8"to 13/16"forusein
shelving,makingjoints,tenons,grooving,etc.See
figures25-1,25-2,and25-3.
Whenthedadobladeis 13/16-inchwide,theoutside
arborflange(F)cannotbeused.Onlythearbornut(G)
shouldbeused;tightenthearbornutagainstthedado
bladebody.Donotlosetheoutsidearborflange,forit
willbeneededwhenreattachinga bladetothesaw
arbor.Also,anaccessorydadobladetableinsert(H)
(notincluded)mustbeusedinplaceofthestandard
tableinsert.Seefigure25-4.
Figure 25=4
Figure 25=2
C
Dado blades and chippers have a set to their teeth. The
teeth of the dado blades and chippers must be
arranged so that the set of each tooth overlaps the next
tooth. The set of the dado blade (C) and chipper (D)
overlap as shown in Figure 26-3. A shim (E) can be
used as needed to control the exact width of a dado.
See figures 25-2 and 25-3.
Figure 25=3
H o
(NOT INCLUDED)
The blade guard and splitter assembly cannot be used
when dadoing and must be swung to the rear of the
saw.
Figure 25=5
\ \
jD
\
Figure 25-5, shows a typical dado operation using the
miter gauge.
• Never use the dado head in a bevel position.
• Always install blade guard and splitter assembly after
dado operation is completed.
35

MOLDING HEAD CUTTER
Molding is cutting a shape on the edge or face of the
workpiece. Cutting moldings with a molding cutterhead
(not included) on the circular saw is a fast, safe and
clean operation. The many different knife shapes avail-
able make it possible for the operator to produce almost
any kind of molding, such as various styles of corner
moulds, picture frames, table edges, etc.
Figure 26=1
C
The molding head consists of a cutterhead (A) in which
you can mount various shapes of steel knives (B).
Each of the three knives in a set is fitted into a groove
in the cutterhead and securely clamped with a screw.
The knife grooves (C) should be kept free of sawdust,
which would prevent the cutter from seating properly.
See figure 26-1.
• The blade guard and splitter assembly cannot be
used when dadoing or molding and must be swung to
the rear of the saw. Blade guard must be reassem-
bled when finished.
Figure 26=2
Figure 26-2 shows the molding cutterhead is assembled
to the saw arbor as shown.
If the outside arbor flange (D) cannot be used with the
molding cutterhead, tighten the arbor nut (E) against
the cutterhead body. Do not lose the outside arbor
flange, for it will be needed when reattaching a blade to
the saw arbor. Also, an accessory molding cutterhead
table insert (F) (not included) must be used in place of
the standard table insert. See figure 26-2.
Figure 26=3
G
H
It is necessary when using the molding cutterhead to
add a wood facing (G) to the face of the rip fence (H).
The wood facing is attached to the fence with fasteners.
A 3/4-inch facing is suitable for most work although an
occasional job may require 1-inch facing. See figure
26-3.
Position the wood facing over the cutterhead with the
cutterhead below the surface of the table. Turn the saw
on and raise the cutterhead slowly. The cutterhead will
cut its own groove in the wood facing.
• Never use molding cutterhead in a bevel position.
• Never run the workpiece between the fence and the
molding cutterhead as irregular shaped wood will
cause kickback.
CAUTION
• When molding end grain, the miter gauge must be
used. The feed should be slowed up at the end of
the cut to prevent splintering
In all cuts, pay attention to the grain, making the cuts
in the same direction as the grain whenever possible.
NOTINCLUDED
36

BACKLASH ADJUSTMENTS FOR
BLADE RAISING/LOWERING AND
BLADE TILTING ASSEMBLIES
If any play is detected in the blade raising/lowering or
blade tilting assemblies, the following adjustments
should be made.
mar or rust, so it is important to conduct routine mainte-
nance to keep your table saw looking new. Cleaning
and waxing the cast iron surfaces on a regular mainte-
nance schedule is recommended as follows:
To clean and maintain the unpainted cast iron surfaces:
• Apply a heavy coat of WD-40 onto the unpainted cast
iron surface.
Turn the power switch "OFF" and unplug the power
cord from its power source when making adjustments.
NOTE: In the illustration below, the table saw has been
turned upside down and the blade removed for clarity.
Figure 27=1
Use a fine steel wool pad to buff the unpainted cast
iron. Make sure to buff in a "front to rear" direction
only. A side-to-side buffing motion will show in the
finely ground cast iron as a flaw, defect or scratches.
• Reapply WD-40 and buff the unpainted cast iron sur-
faces until the stains or rust is removed. Make sure
you use the same front-to-rear buffing direction to
avoid scratching or marring the cast iron surface.
• After all stains and/or rust have been removed, clean
all eil and dirt from the table saw using a soft cloth or
rag.
Lastly, you need to apply a good automotive paste
wax to all unpainted cast iron surfaces. This will help
to protect the saw from rusting from further contact
with moisture or oily hands.
1,
2,
A
To adjust the blade raising/lowering assembly,
loosen lock-nut (A) and turn the eccentric sleeve
(B) until all play is removed in the assembly, then
tighten lock-nut. See figure 27-1
To adjust the blade tilting assembly, loosen lock-nut
(C) and turn the eccentric (D) until all play is
removed in the assembly, then tighten the lock-nut.
See figure 27-1.
PROTECTING CAST IRON TABLE
FROM RUST
LUBRICATION
The table saw has sealed lubricated bearings in the
motor housing that do not require any additional lubrica-
tion from the operator.
CLEANING
With the table saw unplugged, blow off motor with low-
pressure air to remove dust or dirt. Air pressure above
50 P. S. I. should not be used as high-pressured air
may damage insulation. The operator should always
wear eye protection when using compressed air.
Do not allow chips and dust to accumulate under table
saw. Keep area clean and in safe order.
CAUTION: DO NOT USE FLAMMABLE MATERIALS
to clean table saw.
MAKE CERTAIN to turn the power "OFF" and unplug
the power cord from its power source.
The environment and frequency of human contact can
have a very detrimental impact on unpainted cast iron
surfaces. Moisture, humidity and oils (from human
hands!) can cause the unpainted cast iron surfaces to
Only trained personnel should perform repairs to the
table saw. Contact your nearest Sears Service Center
for authorized service. Unauthorized repairs or replace-
ment with non-factory parts could cause serious injury
to the operator and damage to the table saw.
37

TOPREVENTINJURYTOYOURSELF or damage to the table saw, turn the power switch to the "OFF" position and
unplug the power cord from the electrical receptacle before making any adjustments.
PROBLEM
Motor does not
start:
Motor stalls,
thermal-overload
trips or circuit
breakers open
frequently:
Motor starts
slowly or fails to
come to full speed:
Motor running too
hot:
Handwheels are hard
to turn:
Miter gauge does not
move smoothly:
Workpiece binds,
burns or stalls motor
when ripping:
Saw blade does not
cut true at 90 or 45
degrees:
Rip fence does not
move smoothly:
Saw vibrates
excessively:
LIKELY CAUSE(S) SOLUTION
1, 1,
Switch not pressed in far enough or switch
in the "OFF" position.
2. Defective switch.
3. Defective capacitor.
4. Low line voltage.
5. Defective motor.
1. Circuit overload.
2. Low line voltage.
3. Motor overload.
4. Incorrect fuses on circuit breakers.
5. Short circuit in motor; loose connections or
worn insulation on lead wires.
1. Low line voltage.
2. Defective motor windings.
3. Defective capacitor.
1. Restricted air circulation due to dust
accumulation.
2. Motor overload.
1.
2.
Handwheel Lock Knob has not been loosened.
Dust accumulation on tilting or beveling gears.
inside of cabinet.
1. Miter gauge groove and miter gauge bar are
dirty.
2. Set-screws in miter gauge bar are out of
adjustment.
1. Blade is dull.
2. Board is warped or twisted.
3. Rip fence is not parallel to blade.
1. Blade is dull.
2. Indicator arrow is not properly adjusted.
3. Positive stops are not set properly.
1. Rip fence is not mounted properly.
2. Rails are dirty or sticky.
1. Blade is warped.
2. Drive belt is damaged.
3. Work surface is uneven.
4. Saw is not mounted securely.
Depress switch in 1/2 inch or make sure switch is in the
"ON" position.
2. Have switch replaced.
3. Have capacitor replaced.
4. Correct low line voltage condition. If saw is plugged into an
extension cord, plug saw directly into wall outlet.
5. Have motor replaced.
NOTE: 3 and 4 must be done by a qualified service
technician.
1. Reduce circuit load (turn off other appliances)
2. Correct low line voltage condition. Check line voltage with a
multi-meter. If saw is plugged into an extension cord,
unplug saw from extension cord and plug saw directly to
wall outlet.
3. Reduce load on motor, slow down feed rate of workpiece
being pushed into blade.
4. Have correct fuses on circuit breakers installed by a quali-
fied electrician.
5. Inspect terminals in motor for damaged insulation and
shorted wires and have them replaced. Check all power
lead connections.
1. Correct low line voltage condition. Check line voltage with a
multi-meter. If saw is plugged into an extension cord,
unplug saw from extension cord and plug saw directly to
wall outlet.
2. Have motor replaced.
3. Have capacitor replaced
1. Clean dust and restore normal air circulation around motor.
2. Reduce load on motor.
1. Loosen Handwheel Lock Knob.
2. Clean off tilt and bevel gear assemblies.
1. Clean miter gauge groove and bar.
2. Adjust set-screws in miter gauge bar.
1. Sharpen or replace blade.
2. Replace board.
3. See "Fence Alignment" in Operation and Adjustment
Section.
1. Sharpen or replace blade.
2. Adjust bevel indicator arrow.
3. Adjust 90 and 45-degree positive stops.
1. See "Fence Alignment" in Operation and Adjustment Section.
2. Clean and apply paste wax to rails.
1. Replace blade.
2. Replace drive belt.
3. Reposition saw on a flat surface. Adjust leveling feet, if
supplied with saw.
4. Tighten all hardware.
38

10-iN.TABLESAW MODEL NO.152.221040
When servicing, use only CRAFTSMAN replacement parts. Use of any other parts may create a HAZARD or cause
product damage.
Any attempt to repair or replace electrical parts on this table saw may create a HAZARD unless a qualified service
technician does repairs. Repair service is available at your nearest Sears Service Center.
Always order by PART NUMBER, not by key number.
*AVAILABLE AT MOST RETAIL STORES
Key No. PART No. Description Qty. Key No. PART No. Description
N/A OR91550 1
N/A OR91710
N/A
N/A OR91711
N/A
1 OR91785
2 OR91781
3 OR91027
3A OR91574
3B OR91575
4 OR91782
5 OR91008
6 OR91834
7 OR91745
8 OR91031
9 OR91812
9A STD852006
10 OR91011
11 OR91051
12 OR91012
13 OR91820
14 STD852006
15 OR91758
16 OR91015
17 OR91048
18 OR91760
19 OR91820
20 OR91758
21 OR91010
21A OR91791
22 OR91013
23 OR91753
24 OR91795
25 OR91009
30 OR91789
31 OR91014
32 OR91052
33 OR91815
34 OR91821
35 OR91021
36 STD851008
37 STD852008
38 STD835030
39C OR91092
40 OR91817
41 STD852008
42 STD835025
60 OR91040
60A 0R90375
61A OR91712
63A OR91579
65 OR91822
67 STD833012
114 OR91076
115 OR91077
116 OR91074
119 OR91079
120 OR91763
OWNER'S MANUAL - #22104 10" Table Saw
BLADE GUARD ASSEMBLY, (NOT SHOWN)
CONSISTS OF REF #: 1,2, 3, 3a, 3b 4, 5, 6, 7, 16, 24 & 25
SPLITTER BRACKET ASSEMBLY, (NOT SHOWN)
CONSISTS OF REF #: 9, 9a, 10, 11, 12, 13,14, 15 & 17
PUSH NUT (CHROME)
PIN
"SEE THRU" BLADE GUARD
WARNING LABEL
WARNING LABEL PICTORAL
PIN
GUARD BRACKET
PUSH NUT (BLACK)
GUARD SPRING
SPLITTER MOUNTING ROD
HEX SOCKET HEAD SCREW M6 x 22ram
LOCK WASHER M6
SPLITTER REAR MOUNT LOWER
SPLITTER MOUNT SQUARE NUT
SPLITTER REAR MOUNT UPPER
SPECIAL FLAT WASHER (ID:6.4mm, OD:18mm; T:1.6mm
LOCK WASHER M6
HEX SOCKET HEAD SCREW M6 x 16ram
SPLITTER
SPLITTER KNOB
HEX SOCKET HEAD SCREW M6 x 6ram
SPECIAL FLAT WASHER (ID:6.4mm, OD:18mm; T:1.6ram
HEX SOCKET HEAD SCREW M6 x 16ram
SPLITTER FRONT MOUNT
SPRING PIN 3ram x 10ram
SPLITTER SPRING CLIP
SPECIAL HEX NUT M12
SPRING PIN 4ram x 22ram
ANTI - KICKBACK FINGER
SET SCREW 1/4-28 x 3/8", NYLOCK
TABLE INSERT - STANDARD
TABLE INSERT RETAINING BOLT
TABLE
HEX SOCKET SET SCREW M8 x 20ram
ALIGN-A-CUT INSERT
FLAT WASHER M8
LOCK WASHER M8
HEX HEAD SCREW M8x1.25 x 30ram
EXTENSION WING 10" STAMPED STEEL
SPECIAL FLAT WASHER
LOCK WASHER M8
HEX HEAD SCREW M8x1.25 x 25ram
SWITCH PADDLE
PADLOCK AND KEY
SWITCH ASSEMBLY
SWITCH RESET LABEL
SQUARE NUT M6 (11mm Square)
HEX HEAD SCREW M6 x 12ram
MITER GAGE BODY
SPECIAL WASHER, ]-SLOT
SPECIAL SCREW
GUIDE BAR
HEX SOCKET SET SCREW M4 x 16ram
121 OR91783 PIN 1/4" x 3/4"
122 OR91774 PAN HEAD SCREW M4 x 10ram
123 OR91080 PLUNGER
124 OR91081 PLUNGER BLOCK
125 OR91082 CURSOR
126 OR91775 PAN HEAD SCREW M4 x 16ram
127 OR91776 PAN HEAD SCREW M4 x 20ram
127A STD840407 HEX NUT M4
128 OR91756 HEX SOCKET HEAD SCREW M5 x 20ram
129 STD851005 FLAT WASHER M5
130 OR91673 MITER SCALE
131 OR91084 SPECIAL WASHER, MITER HANDLE
132 OR91085 MITER GAUGE KNOB
200 OR91767 JAM NUT 5/8-18-LH
201 OR91020 ARBOR PULLEY
202 OR91824 KEY 5mm x 5mm x 15mm
203 OR91734 BEARING CLOSURE NUT
203A OR91732 ARBOR SPACER
204 OR91733 BALL BEARING <6203 LLB>
205 OR91004 ELEVATING BRACKET
206 OR91024 ARBOR SLEEVE
207 OR91801 WAVE WASHER <BWW 6203>
208 OR91733 BALL BEARING <6203 LLB>
209 OR91022 ARBOR SHAFT
210A OR91720 10" BLADE, 40 TOOTH, A.T.B., 5/8" BORE
211 OR91026 BLADE FLANGE
212 OR91050 BLADE HEX NUT-RH
213 STD836045 HEX HEAD SCREW M10x1.5 x 45mm
214 STD851010 FLAT WASHER M1O
215 OR91003 REAR BRACKET
216 STD851010 FLAT WASHER M1O
217 STD852010 LOCK WASHER M10
218 STD841015 HEX NUT M10xl.5
220 OR91721 BELT (28" 6Rib Jsection PoIyV)
221 OR90263 HEX SOCKET SET SCREW M6 x 12mm
222 OR91023 MOTOR PULLEY
223 OR91770 KEY 5mm x 5mm x 36ram
224B OR91722 MOTOR ASSEMBLY 1.5 HP
224C OR91723 START CAPACITOR
224D OR91724 RUN CAPACITOR
225B OR91576 MOTOR SPEC PLATE 1.5 HP
225C OR91576 MOTOR WIRING DIAGRAM LABEL
226 STD835030 HEX HEAD SCREW MSx1.25 x 30ram
226A STD851008 FLAT WASHER M8
227 STD861008 FLAT WASHER M8
228 OR91001 MOTOR BRACKET
229 STD852008 LOCK WASHER M8
230 STD840812 HEX NUT M8x1.25
231 OR91825 SPRING PIN 8mm x 35mm
232 OR91771 LOCK NUT 1/2-13UNC
233 OR91784 PLATE WASHER
234 OR91802 WAVE WASHER
235 OR91064 MOTOR MOUNT STUD
236 OR91056 MOTOR SPRING
237 OR91057 STUD
240 OR91790 SHAFT
241 OR91757 HEX SOCKET HEAD SCREW M5 x 20mm, NYLOK
39
Qty.
1
2
1
1
1
1
3
3
2
2
1
1
1
1
1
1
1
1
1
1
1
1
1
1
1
1
1
2
2
1
2
2
2
1
1
1
1
1
1
1
1
1
4
4
4
1
4
4
1
3
1
1
1
1
1
1
2

1O-IN. TABLE SAW MODEL NO.152.221040
Key No. PART No.
243 OR91116
244 OR91793
245 STD541231
248 OR91803
249 OR91800
251 OR91028
252 OR91029
253 OR91019
254 OR90059
255 OR91826
N/A OR91804
256 OR91045
256A OR91041
256B OR91038
256C OR91044
258 OR91046
261 OR91117
261A OR91793
262 OR91738
263 OR91006
264 STD851010
265 STD836045
266 OR91018
266A OR91740
268B OR91137
266C OR91762
267 OR91816
268 STD840508
268A OR91827
269 OR91017
270 OR91786
271 OR91045
271A OR91041
271B OR91038
271C OR91044
273 OR91046
274 OR91768
275 STD851010
276 STD852010
277 STD841015
280 OR91726
281 OR91727
282 OR90289
283 OR90290
284 OR90291
285 OR91728
286 OR91729
287 OR91808
290 OR91814
291 OR91787
N/A OR91714
404 OR91828
405 OR91168
405A OR91570
406 OR91169
408A OR91764
408B OR91828
407 OR91199
408 OR91197
409 OR91198
410 OR91162
411 OR91761
411A OR90311
412 OR91778
413 OR90462
414 OR91182
415 OR91195
416A OR91806
416B STD840812
Description
ELEVATING SHAFT ASSEMBLY
SPRING PIN 3ram x 20ram
JAM NUT 5/8-18
TRUNNION ASSEMBLY
WAVE WASHER
RAISE/LOWER SLEEVE
RAISE/LOWER SPACER
POINTER
FLAT WASHER M6
CHEESE HEAD SCREW M6 x 16mm
HANDWHEEL ASSEMBLY, (NOT SHOWN)
CONSISTS OF: 256,256A, 256B & 256C
HANDWHEEL
ELEVATING KNOB ASSEMBLY
KNOB BOLT
KNOB END CAP
HANDWHEEL LOCK KNOB
TILT SHAFT ASSEMBLY
SPRING PIN 3ram x 20ram
ECCENTRIC
FRONT BRACKET
FLAT WASHER M10
HEX HEAD SCREW M10x1.5 x 45ram
TILT COLLAR
FIBER WASHER 3/8"
COLLAR
HEX SOCKET SET SCREW 1/4-20 X 1/4"
HEX SOCKET SET SCREW M6 x 8ram
HEX NUT M6
SPECIAL FLAT WASHER (ID:5.3, OD:18, T:3)
TILT BRACKET
ROUND HEAD SCREW M5 x 25ram
HANDWHEEL
TILTING KNOB ASSY
KNOB BOLT
KNOB END CAP
HANDWHEEL LOCK KNOB
,JAM NUT 9/16-18
FLAT WASHER M10
LOCK WASHER M10
HEX NUT M10xl.6
BOX END WRENCH
OPEN END WRENCH
2.Smm ALLEN WRENCH
3ram ALLEN WRENCH
4ram ALLEN WRENCH
5ram ALLEN WRENCH
6ram ALLEN WRENCH
1/8" ALLEN WRENCH
CABLE CLAMP
ROUND HEAD TAP SCREW 1/4-20 x 3/8"
FENCE ASSEMBLY (NOT SHOWN) CONSISTS OF:
404, 405,406, 406A, 407,408, 409,410, 411,412,413,414,
422,426,427, 428,430, 431,432,433, 434,435, 436,437,
438, 439,439A, 439B, 440,446, 447,448,449 & 450
PAN HEAD SELF TAP SCREW M4 x 16ram
FENCE TOP
CRAFTSMAN LABEL, VERTICLE
FENCE END CAP
HEX SOCKET SET SCREW M5 x 10ram
PAN HEAD SELF TAP SCREW M4 x 16ram
FENCE HOLD DOWN
PIVOT PIN
PIVOT BUSHING
FENCE EXTRUSION
HEX SOCKET HEAD SCREW M8x1.25 x 25ram
FLAT WASHER M8
PAN HEAD SCREW M5 x 16mm
FLAT WASHER M6
CURSOR
REAR RAIL CONNECTOR
HEX BUTTON HEAD CAP SCREW M8 x 1.25 x 25mm
HEX NUT M8xl.26
Qty.
N/A
N/A
Key No.
416C
416D
416E
416F
416G
416H
417
418
419
419A
419B
419C
419D
420A
422
426
427
428
430
431
432
433
434
435
436
437
438
439
439A
439B
440
441
442
443
443A
444
445
446
447
448
449
450
501
501A
501B
501C
501D
502
502A
502B
503
504
504A
505
506
527
528
529
529A
530
531
534
535
536
539
540
541
542
543
544
545
PART No.
STD852008
STD851008
OR91164
OR91809
STD852008
STD851008
OR91828
OR91194
OR91705
OR91813
STD840812
STD852008
STD851008
OR91569
OR91764
OR91196
OR91736
OR91191
OR91812
STD852006
OR91830
OR91739
OR91189
OR91188
STD852006
OR91755
OR91731
OR91183
OR91571
OR91572
OR91730
OR91192
OR91139
OR91707
OR91567
OR91138
OR90239
OR91748
OR91831
STD851006
OR91136
STD840610
OR91200
OR91561
OR91565
OR91560
OR91566
OR91103
STD840508
STD851005
OR91787
OR91123
OR91564
OR91777
OR91058
OR91134
OR91135
OR91832
OR91832
OR91177
OR91174
STD840812
STD852008
STD851008
OR91179
OR91181
STD551031
STD551131
STD541031
STD835025
STD851008
Description
LOCK WASHER M8
FLAT WASHER M8
REAR RAIL
HEX BUTTON HEAD CAP SCREW M8 x 1.26 x 35ram
LOCK WASHER M8
FLAT WASHER M8
PAN HEAD SELF TAP SCREW M4 x 16ram
END CAP, RIGHT HAND
FRONT RAIL WITH SCALE, RIGHT HAND (26") ASSEMBLY
SQUARE HEAD SCREW M8 x 35ram
HEX NUT M8xl.28
LOCK WASHER M8
FLAT WASHER M8
SCALE, RIGHT HAND - 25-inch
HEX SOCKET SET SCREW M6 x 10ram
HANDLE PIVOT SHAFT
CLAMP CAM
FENCE KNOB ASSEMBLY
HEX SOCKET HEAD SCREW M6 x 22mm
LOCK WASHER M6
SPECIAL FLAT WASHER (ID:6.4, OD:186, T:1.6)
E-RING #8
BRACKET
TENSION CLIP
LOCK WASHER M6
HEX SOCKET BUTTON HEAD SCREW M6 x 12mm
SPECIAL SCREW M8 x 20mm
HEAD CASTING
DEBRIS WARNING LABEL
LIFTING WARNING LABEL
SPECIAL PLASTIC SET SCREW M8 x 16ram
END CAP, LEFT HAND
REAR RAIL (SHORT)
FRONT RAIL WITH SCALE, LEFT HAND (12"/ASSEMBLY
SCALE, LEFT HAND - 12-inch
ALIGNMENT BAR
HEX SOCKET SET SCREW M6 X 6ram
HEX HEAD SCREW M6 X 22mm
INTERNAL TOOTH LOCK WASHER M6
FLAT WASHER M6
GLIDE PAD
HEX NUT M6
CABINET ASSY WELDMENT
SPEC TAG
BEVEL SCALE
NAMEPLATE
BLADE ELEVATION AND TILT LABEL
HINGE ASSEMBLY
HEX NUT M6
FLAT WASHER M6
ROUND HEAD TAP SCREW 1/4-20 x 3/8"
MOTOR COVER
WARNING LABEL
PAN HEAD SCREW M5 X 15ram
LATCH BLACK SWELL ASSEMBLY
WRENCH HOOK
FENCE HOOK
SHEET METAL SCREWS M4 x 8mm
TRIANGLE TAP SCREW M4 x 8ram
LEG ASSEMBLY WELDMENT
RUBBER FOOT PAD
HEX NUT M8xl.25
LOCK WASHER M8
FLAT WASHER M8
TIE BAR
CARRIAGE HEAD SCREW 5/16-18 x 5/8"
FLAT WASHER 5/16"
LOCK WASHER 5/16"
HEX NUT 5/16"-18
HEX HEAD SCREW M8xl.26 x 26mm
FLAT WASHER M8
Qty.
2
4
1
2
4
4
4
1
1
4
4
4
4
1
1
1
1
1
2
2
2
2
1
1
1
1
2
1
1
1
2
1
1
1
1
2
8
2
2
2
2
2
4
4
3
1
1
4
2
1
2
6
2
2
4
8
8
8
2
8
8
8
8
8
8
40

39c(2).--.fj_
3a(81@
37(8)-/
38(8)J
25(2, *(2)
?
Z
_D
p.
m
223
122(2)
65(2>
7(2)
0
ill
F-
Z
.o
o
4_
o

?
Z
W
r"
m
bO
282
_83
_84
285
a_6
0
m
r-
z
P
o
o

441
443A
439B
485A
410
4£0A
487
409(2)
(4)
(4)
(4)
418
o
Z
W
m
60
0
I"TI
Z
P
I,O
o
o

%

anuai dei Proprietario
CRRFr MRH
1.5 caballos de fuerza (servicio continuo)
2 caballos de fuerza (ma×imo desarrollado)
3450 R.P.M. (R.P.M. sin carga)
No. de Modelo
152.221040
de 1 puig.
!
PRECAUCION:
PARA SU SEGURIDAD PERSONAL;
Lea y obedezca todas las Instrucciones
de Seguridad y Funcionamiento antes
de accionar esta Sierra de Mesa.
L[nea de Ayuda al Cliente
1-800-897-7709
Sirvase tenet listo su No. de
Modelo y No. de Serie.
Sears, Roebuck and Co., Hoffman Estates, IL 60179 U.S.A.
No. de Pieza OR91550
Revisado: REV. D 45

SECCl0N PAGINA
Garantfa ............................................................................................................................................................................................. 46
Especificaciones del producte ........................................................................................................................................................ 46
Glesario de t_rminos ........................................................................................................................................................................ 47
Instrucciones de seguridad ............................................................................................................................................................. 48
Directrices para las e×tensiones el_ctricas ................................................................................................................................... 49
Instrucciones de conexi6n a tierra ................................................................................................................................................ 50
Instrucciones especfficas de seguridad para las sierras de mesa ............................................................................................. 51
Accesorios y aditamentos ............................................................................................................................................................... 53
Contenido de la caja ......................................................................................................................................................................... 55
Conozca su sierra de mesa ............................................................................................................................................................. 58
Instrucciones de montaje ................................................................................................................................................................. 59
Operaciones y ajustes ...................................................................................................................................................................... 67
Mantenimiento ................................................................................................................................................................................... 81
Guia de Iocalizaci6n de averias ...................................................................................................................................................... 82
Infermaci6n de servicio .................................................................................................................................................................... 84
GARANT[A COMPLETA DE UN ANO
Si este producto Ilegara a fallar debido a defectos materiales o de elaboraci6n dentro de un aRo desde la fecha de compra,
devuelvalo a su Centro de Servicio Sears mas cercano para repararlo sin costo alguno.
Si se hace uso de este producto para fines comerciales o de alquiler, esta garantia se aplica s61o por espacio de 90 d[as desde
la fecha de compra.
Esta garantia le concede derechos legales especfficos, y tambien podr_ tener otros derechos que variaran de un estado a otro.
Sears Roebuck and Co., Dept 817 WA, Hoffman Estates, IL 60179
Tipo de motor Inducci6n
HP de servicio continuo 1.5
HP mb,ximo desarrollado 2
Amperios 15/7.5
Voltios 120/240
Hertz 60
RPM 3450 R.RM. (R.P.M. sin carga)
Inclinaci6n de la hoja Inclinaci6n izquierda
Marcha de la hoja Correa Poly-V
Diametro de la hoja 10 pulg.
Eje de la hoja 5/8 pulg.
Numero de dientes 40
Velocidad de la hoja 3450 R.RM.
Tipo de guia Guia y rieles de enclavamiento
frontal de aluminio extruido
Profundidad maximae
de corte a 90 grados
Profundidad maxima
de corte a 45 grados
Corte a Io largo maximo
a la derecha de la hoja
Corte a Io largo maximo
a la izquierda de la hoja
3-3/8 pulg.
2-1/4 pulg.
25 pulg.
12 pulg.
Mesa frente a la hoja a
la profundidad maxima
de corte
Ancho maximo de la
fresa rotativa de ranurar
Diametro maximo de la
hoja de fresa rotativa
Ala de mesa
zquierda y derecha
Peso de la sierra de mesa
12-1/2 pulg.
13/16 pulg.
8 pulg.
8 pulg., hacero estampado
350 Ibs.
Haga uso de la protecci6n de circuitos correcta para evitar los
choques electricos a sf mismo y el daRo a la Sierra de Mesa.
No la exponga a la Iluvia ni haga uso de ella en entornos
humedos.
La Sierra de Mesa viene cableada de fabrica para el fun-
cionamiento a 120 V, 60 Hz. Conectar a un circuito ramal de
120 V, 15 amperios y utilice un fusible o disyuntor de circuitos
de retardaci6n de tiempo de 15 amperios. El circuito electrico
no podr& tener un tama5o de cable menor al #14. Para evitar
choques o incendios, reponga el cord6n de energia inmedia-
tamente siesta da5ado en cualquier manera.
46

Alefriz - Muesca cuadrada en el borde del material.
Contragolpe - Cuando el material es arrojado hacia el
operario durante una operaci6n de corte en el momento que
el material hace contacto inicial con la hoja, o si el material
hace constricci6n sobre la hoja. Los contragolpes son pelf
grosos y pueden resultar en heridas graves.
Corte a Io largo - La operaci6n de hacer un corte a Io largo
del grano del material.
Corte compuesto - La operaci6n de hacer cortes tanto de
biselado come de ingletes a la misma vez.
Fresa rotativa de ranurar - Corte no directo que produce
una muesca cuadrada. Una fresa rotativa tiene, tfpicamente,
un ancho de 1/8 a 13/16 pulg. Una fresa rotativa requiere un
conjunte especial de hojas que no estan incluidas con esta
sierra de mesa.
Goma, alquitr_in oresina - Residuo pegajoso y basado en
la savia producido por los productos de madera.
Gradaci6n de la hoja de la sierra - La distancia en que las
puntas de la hoja de la sierra estan anguladas hacia afuera
desde el grosor de la hoja. La gradaci6n de los dientes de la
hoja de la sierra permite que el cuerpo de la hoja atraviese
todos los cortes con seguridad.
Corte de biselado - La operaci6n de realizar cualquier corte
con el conjunto de hojas en cualquier grade que no sea
90 grados.
Corte de ingletes - La operaci6n de hacer un corte
utilizando la escuadra de ingletes a cualquier angulo que
no sea de cero grades.
Corte repetido - La operaci6n de realizar un corte para
reducir el grosor del material.
Corte transversal - La operaci6n de realizar un corte a Io
ancho del grano o el ancho del material.
Ladeo - El mal alineamiento de la hoja con las ranuras de
ingletes, o cuando la hoja no esta paralela con las ranuras de
ingletes.
Mano libre - Una operaci6n muy peligrosa para efectuar un
corte sin hacer uso de la gufa de corte ni la escuadra de
ingletes durante una operaci6n de corte. Los cortes a mano
libre jam_s deben realizarse con una Sierra de Mesa.
Mesa /zona de trabajo - La superficie total de la parte
superior de la sierra de mesa sobre la que descansa el
material mientras que se realizan operaciones de montaje o
de certe.
Dedos anti-contragolpe - Dispositivo de seguridad
conectado al protector de hoja y al ensamblado del hendidor
dise5ado para evitar la expulsi6n de un material durante las
operaciones de corte.
Eje - El eje sobre el cual esta montada la hoja o la herra-
mienta cortante de accesorio.
Refrentado - Dispositivo accesorio que puede hacerse o
comprarse para ayudar a la gufa o sujetar un material durante
las operaciones de corte.
Trayecto de la hoja de la sierra - La zona que est_ directa-
mente en Ifnea con la hoja, incluyendo la zona per encima,
por debajo y per delante de la misma.
Entalladura - La pieza removida del material per la hoja
durante cualquier operaci6n de corte.
Vara de empuje - Dispositivo accesorio que puede hacerse o
comprarse para ayudar a empujar el material a traves de la
hoja. Se hace use de una vara de empuje para evitar que las
manos del operario entren en contacto con la hoja durante el
corte a Io largo de materiales angostos.
47

INSTRUCCIONES GENERALES DE
SEGURIDAD
El funcionamiento de una Sierra de Mesa puede resultar
peligroso si se hace caso omiso de la seguridad y del sentido
com0n. El operario debe estar familiarizado con el fun-
cionamiento de la herramienta. Lea este manual para enten-
der su Sierra de Mesa. NO OPERE esta Sierra de Mesa si no
entiende plenamente las limitaciones de dicha herramienta.
NO haga modificaciones de ning0n tipo a esta Sierra de
Mesa. RECUERDE: Usted es responsable de su propia
seguridad.
9. UTILICE PROTECCION OCULAR SIEMPRE. Cualquier
herramienta mecanica puede arrojar escombros hacia los
ojos durante el funcionamiento, pudiendo esto resultar en
heridas oculares graves y permanentes. Los anteojos de
uso cotidiano NO son gafas de seguridad. Utilice Gafas
de Protecci6n SIEMPRE (que cumplan con la normativa
Z87.1 de ANSI) durante la operaci6n de herramientas
mec&nicas. Las Gafas de Protecci6n est&n disponibles
en las tiendas Sears de ventas al detal. El equipo auditi-
vo debe cumplir con la Normativa $3.19 de ANSI.
ANTES DE UTILIZAR LA SIERRA DE MESA
Para evitar las heridas graves y el dare a la herramienta, lea
y obedezca todas las instrucciones de Seguridad y Operaci6n
antes de operar la Sierra de Mesa.
1. LEA a conciencia el Manual del Propietario. APRENDA
a c6mo hacer use de esta herramienta para sus
aplicaciones diseRadas.
2. CONECTE TODAS LAS HERRAMIENTAS A TIERRA.
Si la herramienta se suministra con un enchufe de 3
machos, se le debe enchufar a un tomacorrientes que
disponga de 3 contactos electricos. El tercer macho se
utiliza para conectar la herramienta a tierra y ofrecer
protecci6n contra los cheques electricos accidentales.
NO quite el tercer macho. Vea las Instrucciones de
Conexi6n a Tierra.
3. EVITE UN ENTORNO LABORAL PELIGROSO. NO
utilice las herramientas eleetricas en un entorno h0medo,
ni tampoco las exponga a Iluvia.
4. NO utilice herramientas electricas si hay gases o Ifquidos
inflamables presentes.
5. MANTENGA SIEMPRE su zona de trabajo limpia, bien
alumbrada y organizada. NO TRABAJE en un entorno
con superficies de piso resbalosas a consecuencia de los
escombros, la grasa y la cera.
6. MANTENGA ALEJADOS A LOS NINOS Y VISITANTES.
NO permita que haya personas en la zona inmediata de
trabajo, particularmente cuando la herramienta electrica
se encuentre en funcionamiento.
7. NO DEBE FORZAR LA HERRAMIENTA a realizar
operaciones para las que no fue diseRada. Realizar& una
labor m&s segura y de mejor calidad si se le utiliza para
realizar operaciones para las que fue diseRada.
8. UTILICE VESTIMENTA APROPIADA. NO vista ropa
holgada, guantes, corbatas ni artfculos de joyerfa. Estos
artfculos pueden quedar atrapados en la maquina
durante las operaciones y tirar del operario, atrayendolo
haeia las piezas en movimiento. El usuario debe Ilevar
una cubierta protectora sobre el cabello, si tiene
cabellera larga, para impedir el contacto con cualquier
pieza en movimiento.
10.
11.
12.
13.
14.
15.
16.
17.
18.
19.
SIEMPRE DESENCHUFE LA HERRAMIENTA DEL
TOMACORRIENTES cuando vaya a realizar ajustes,
cambiar piezas o realizar cualquier clase de manteni-
miento.
MANTENGA LOS ESCUDOS DE PROTECCION EN SU
SlTIO Y EN BUEN ESTADO DE FUNCIONAMIENTO.
EVITE EL ARRANQUE ACCIDENTAL. Asegurese de
que el interrupter de potencia se encuentre en la posici6n
de "APAGADO" antes de enchufar el cord6n de potencia
en el tomacorrientes.
QUITE TODAS LAS HERRAMIENTAS DE MANTENI-
MIENTO de la zona inmediata antes de encender la
herramienta.
SOLO UTILICE ACCESORIOS RECOMENDADOS. El
use de accesorios incorrectos o poco apropiados puede
ocasionar heridas graves al operario y ocasionar dare a
la herramienta. Si tiene dudas, consulte el manual de
instrucciones que se adjunta con el accesorio especffico.
JAMAS DEJE UNA HERRAMIENTA EN FUNCIONA-
MIENTO SIN ATENDER. Conmute el interruptor de
energfa a la posici6n de apagado. NO abandone la
herramienta hasta que esta se haya detenido per
complete.
NO SE PARE SOBRE LA HERRAMIENTA. Pueden pro-
ducirse heridas graves si la herramienta se vuelca o si
usted hace contacto con la herramienta accidentalmente.
NO ALMACENE nada por encima ni cerca de la maquina
en donde alguien pueda intentar pararse en la herra-
mienta para alcanzarlo.
MANTENGA SU EQUILIBRIO. NO se extienda sobre la
herramienta. Haga use de zapatos con suela de caucho
resistente al aceite. Mantenga el piso libre de escombros,
grasa o cera.
MANTENGA SUS HERRAMIENTAS CUIDADOSA-
MENTE. Mantenga sus herramientas limpias yen buen
estado. Mantenga afiladas todas las hojas y brocas.
48

20. REVISE SI HAY PIEZAS DA_IADAS ANTES DE CADA
USO DE LA HERRAMIENTA. Revise todos los protec-
tores cuidadosamente para comprobar que funcionan
correctamente y que no estan dahados, y que realizan
sus funciones diseRadas correctamente. Revise el
alineamiento, la fijaci6n o la ruptura de las piezas en
movimiento. Cualquier protector u otra piezas que se
encuentre daRada debe repararse o reemplazarse
inmediatamente.
21. HAGA SU TALLER A PRUEBA DE NIl_lOS quitando las
Ilaves del interrupter, desenchufando las herramientas de
los tomacorrientes y haciendo uso de candados.
22. NO OPERE LA HERRAMIENTA BAJO LA INFLUENClA
DE LAS DROGAS O DEL ALCOHOL.
23. AFIANCE TODO EL MATERIAL. Siempre que resulte
posible, utilice abrazaderas o plantillas para asegurar el
material. Esto ofrece mayor seguridad que intentar
sujetar el material con sus propias manes.
24. MANTI_NGASE ALERTA, ESTI_ CONSClENTE DE LO
QUE HACE,Y UTILICE SENTIDO COMON CUANDO
VAYA A OPERAR UNA HERRAMIENTA MEC,_,NICA.
NO UTILICE LA HERRAMIENTA SI ESTA CANSADO O
BAJO LA INFLUENClA DE DROGAS, ALCOHOL O
MEDICAMENTOS. Un momento de descuido durante el
uso de herramientas electricas puede resultar en
lesiones personales graves.
25. El use de esta herramienta puede generar y dispersar
polvo u otras partfculas aereas, incluyendo polvo de
madera, polvo de silice cristalino y polvo de asbesto.
Dirija las part[culas en la direcci6n opuesta a la cara y el
cuerpo. Opere la herramienta siempre en un lugar con
buena ventilaci6n y proporcione la eliminaci6n correcta
de polvo. Utilice un sistema de recolecci6n de polvo
siempre que sea posible. La exposici6n al polvo puede
ocasionar dare respiratorio grave y permanente u otros
dares, incluyendo silicosis (una enfermedad pulmonar
grave), cancer y la muerte. Evite respirar el polvo y evite
el contacto prolongado con el polvo. El permitir la entrada
del polvo en su boca u ojos, o dejar que permanezca
sobre su piel, podra promover la absorci6n de materiales
daRinos. Utilice siempre la protecci6n respiratoria NIOSH
/OSHA que sea apropiada para la exposici6n al polvo y
lave las zonas afectadas con jab6n y agua.
26. UTILICE UNA EXTENSION ELI_CTRICA CORRECTA Y
EN BUEN ESTADO. Cuando vaya a hacer uso de una
extensi6n electrica, aseg0rese de utilizar una que sea Io
suficientemente fuerte come para transportar la corriente
a ser utilizada per su herramienta. Tenga la bondad de
referirse a la tabla "CALIBRE MJNIMO RECOMENBADO
PARA LAS EXTENSIONES ELI_CTRICAS (AWG)" para
el dimensionamiento correcto de la extensi6n electrica.
Si tiene dudas, utilice la siguiente extensi6n de mayor
calibre.
27. DIRECCION DE LA ALIMENTACION. Alimente el
material hacia la hoja o cortadora s61o contra el sentido
de la rotaci6n de la hoja o cortadora.
DIRECTRICES PARA
LAS EXTENSIONES ELleCTRICAS
Mientras menor sea el n0mero de calibre, mayor sera el
diametro de la extensi6n electrica. Si tiene dudas sobre las
dimensiones correctas de una extensi6n electrica, utilice un
cord6n mas corto y mas grueso. Una extensi6n de dimen-
siones insuficientes producira una caida en el voltaje de linea,
resultando en una perdida de potencia y el sobrecalenta-
miento. SOLO UTIMCE UNA EXTENSION ELC:CTRIOA DE 3
HILOS QUE DISPONGA DE UN ENCHUFE DE CONEXION
A TIERRA DE 3MACHOS,Y UN RECEPTACULO DE 3
POLOS QUE ACEPTE EL ENCHUFE DE LA M,_,QUINA.
Siesta haciendo use de una extensi6n electrica a la intern-
perle, este seguro de que la extensi6n se encuentre marcada
con "W-A" ("W" en el CanadA), Io que indica que su use a la
intemperie es aceptable.
Aseg0rese de que las dimensiones de su extensi6n electrica
sean las correctas y que se encuentre en buen estado
electrico. Repare siempre una extensi6n electrica daRada,
o procure que una persona experta la repare antes del use.
Proteja sus extensiones electricas contra los objetos filosos,
el calor en exceso y de los lugares mojados o h0medos.
FUNCIONAMIENTO A 120 VOLTIOS SOLAMENTE
0 a 6 Amperios
6 a 10 Amperios
10 a 12 Amperios
12 a 15 Amperios
25 PiES DE
LARGO
18AWG
18AWG
16AWG
14 AWG
50 PIES DE
LARGO
16AWG
16 AWG
16AWG
12 AWG
100 PIES DE
LARGO
16AWG
14 AWG
14 AWG
No se
recomienda
FUNCIONAMIENTO A 240 VOLTIOS SOLAMENTE
0 a 6 Amperios
6 a 10 Amperios
10 a 12 Amperios
12 a 15 Amperios
25 PIES DE
LARGO
18AWG
18AWG
16AWG
14 AWG
50 PIES DE
LARGO
18AWG
18 AWG
16 AWG
12 AWG
100 PIES DE
LARGO
16 AWG
14 AWG
14 AWG
No se
recomienda
49

ESTA HERRAMIENTA DEBE ESTAR CONECTADA A
TIERRA DURANTE EL USO PARA PROTEGER AL
OPERARIO CONTRA LOS CHOQUES ELECTRICOS.
EN EL CASO DE UN MALFUNCIONAIVllENTO OAVERiA, la
conexi6n a tierra ofrece el trecho de menor resistencia para la
corriente electrica y reduce el riesgo de los choques electri-
cos. Esta herramienta viene equipada con un cord6n electrico
que dispone de un conductor de conexi6n a tierra para el
equipo asf como un enchufe de conexi6n a tierra. El enchufe
DEBE estar enchufado a un tomacorrientes coincidente que
haya sido correctamente instalado y conectado a tierra de
acuerdo con TODOS los c6digos y ordenanzas municipales.
NO MODIFIQUE EL ENCHUFE SUMINISTRADO. Haga que
un electricista calificado instale el tomacorrientes apropiado si
el enchufe no cabe en el tomacorrientes.
LA CONEXION ELI_CTRICA INCORRECTA del conductor de
conexi6n a tierra para el equipo puede resultar en el riesgo
de choques electricos. El conductor con el aislamiento verde
(con o sin rayas amarillas) es el conductor de conexi6n a
tierra para el equipo. NO conecte el conductor de conexi6n a
tierra para el equipo a una terminaci6n viva si resulta nece-
sario reparar o reemplazar el cord6n electrico o el enchufe.
CONSULTE con un electricista calificado o personal de
servicio si no entiende las instrucciones de conexi6n a tierra
completamente, o si no esta seguro que la herramienta esta
debidamente conectada a tierra.
El motor suministrado con su Sierra de Mesa es un motor
monofasico de corriente alterna y voltaje doble de 120/240
voltios, 60 hertzios. Se envfa cableado para las aplicaciones
a 120 voltios. Jamas conecte el alambre verde (de tierra) a un
terminal vivo.
SOLO UTILICE UNA EXTENSION ELC:CTRICA DE 3 HILOS
QUE DISPONGA DE UN ENCHUFE DE CONEXION A
TIERRA DE 3 IVlACHOS,Y UN RECEPTACULO DE 3
POLOS QUE ACEPTE EL ENCHUFE DE LA MAQUINA.
REPONGA CUALQUIER CORDON DAI_IADO O GASTADO
INMEDIATAMENTE.
PARA LAS MAQUINAS CONECTADAS ATIERRA YCON
CORDON DISEI_IADAS PARA EL USO EN UN CIRCUITO
DE SUMINISTRO CON UNA POTENCIA DE RFtGIMEN
MENOR A LOS 150 VOLTIOS.
Esta herramienta esta diseRada para el uso en un circuito
que disponga de un tomacorrientes como el que se ilustra en
la FIGURA "IA". La FIGURA "IA" muestra un enchufe elec-
trico de 3 hilos y un tomacorrientes electrico con conductor de
conexi6n a tierra. Si no se encuentra disponible un toma-
corrientes debidamente conectado a tierra, se puede hacer
uso de un adaptador, segun Io ilustrado en la FIGURA "IB",
para conectar dicho enchufe provisionalmente al toma-
corrientes de 2 contactos que no est& conectado a tierra. El
adaptador cuenta con una orejeta rfgida que DEBE ser
conectada a una conexi6n a tierra permanente, tal como Io es
una caja de tomacorrientes debidamente conectada a tierra.
SE PROHiBE EL USO DE ESTE ADAPTADOR EN EL
CANADb,.
PRECAUCION: En todos los casos, aseg0rese de que el
tomacorrientes en cuesti6n este debidamente conectado a
tierra. Si no esta seguro, haga que un electricista certificado
revise el tomacorrientes.
El motor suministrado con su Sierra de Mesa es un motor
monofb.sico de voltaje doble, 120/240 voltios. Si desea operar
su sierra de mesa a 240 voltios, sera necesario reconectar
los avances del motor dentro de la caja de empalmes del
motor, siguiendo el diagrama de cableado que aparece en la
cubierta de la caja de empalmes.
ASEGORESE de que el motor este desconectado de la
fuente de energfa antes de reconectar los avances del motor.
Fig. 1A
120 VOLTIOS
conductor de conexi6n
a tierra
cord6n el_ctrico
de tres hilos
tomacorrientes
para tres
machos
Fig. 1B
120 VOLTIOS orejeta del adaptador
de conexi6n a tierra
conductor de conexi6n
a tierra (_
cord6n el_ctrico
de tres hilos
tomacorrientes para
dos machos
50

Tambien serA necesario reemplazar el enchufe de 120 voltios
suministrado con el motor per un enchufe clasificado per
UL/CSA come apropiado para los 240 voltios y la corriente
clasificada de la sierra. Comunfquese con un electricista local
competente acerca de los procedimientos correctos para
instalar el enchufe. La sierra de mesa debe cumplir con todos
los c6digos electricos en el ambito local y nacional tras la
instalaci6n del enchufe de 240 voltios.
La sierra de mesa con el enchufe de 240 voltios s61o debe
conectarse a un tomacorrientes que disponga de la misma
configuraci6n que el enchufe ilustrado en la Figura "1C". No
hay adaptadores disponibles para el enchufe de 240 voltios ni
tampoco debe usarse ninguno.
ASEGURESE de que las mascaras o respiradores tienen
aprobaci6n MSHA /NIOSH.
El funcionamiento de cualquier sierra de mesa puede tener
come consecuencia la expulsi6n de escombros hacia sus
ojos, Io que puede resultar en heridas oculares graves.
UTILICE SIEMPRE Gafas de Protecci6n (que cumplan con la
normativa Z87.1 de ANSI) cuando vaya a hacer use de la
sierra de mesa. Las Gafas de Seguridad estan disponibles en
las tiendas Sears de ventas al detal. Mantenga los pulgares y
los dedos alejados de la hoja mientras que esta se encuentre
girando.
Fig. 1C tomacorrientes
conectado a tierra
240 VOLTIOS machos
portadores
de corriente
el macho de conexidn a
tierra es el mdtslargo de
los 3 machos
©
e
©
ASEGURESE de que el tomacorrientes en cuesti6n este
debidamente conectado a tierra. Si no esta seguro, haga que
un electricista competente revise el tomacorrientes.
La Sierra de Mesa es para el use en interiores exclusiva-
mente. No la exponga a la Iluvia, ni haga use de ella en
lugares ht_medos.
INSTRUCCIONES DE SEGURIDAD
ESPECiFICAS PARA LAS SIERRAS
DE MESA
REGLAMENTO "PROPOSITION 65"
DE CALIFORNIA
EL POLVO GENERADO MEDIANTE LIJADO MEC_,NICO,
ASERRADO, RECTIFICACION, PERFORACION Y OTRAS
ACTIVIDADES DE CONSTRUCCJON contiene productos
qufmicos conocidos come fuentes de cancer, defectos de
nacimiento u otros dares reproductivos. AIgunos ejemplos
de estos qufmicos incluyen los siguientes:
• plomo proveniente de pinturas con base de plomo,
o silice cristalino de ladrillos y cemento y otros productos de
mamposterfa, y
• arsenico y creme de las maderas tratadas con qufmicos.
Su riesgo proveniente de dichas exposiciones podrA variar
segtin que tan a menudo realice dicha clase de trabajo. Para
reducir su exposici6n a estos qufmicos: trabaje en un sitio
que goce de buena ventilaci6n y trabaje con equipo de
seguridad aprobado, tal come las caretas de polvo diseSadas
especialmente para filtrar las partfculas microsc6picas.
Debe observar siempre las precauciones basicas cuando
utiliza su Sierra de Mesa. Para reducir el riesgo de lesiona-
miento, cheque electrico o incendio, cumple con las reglas de
seguridad que siguen:
1,
2.
LEA y entienda el manual de instrucciones antes de
poner la sierra de mesa en funcionamiento.
NO OPERE ESTA MAQUINA hasta que se encuentre
ensamblada e instalada conforme a las instrucciones.
3. ASESORESE CON SU SUPERVISOR, instructor u otra
persona experta si no esta familiarizado con el use de
esta maquina
4, NO PERMITA que la sierra de mesa permanezca enchu-
fada al tomacorrientes. La sierra de mesa debe desen-
chufarse del tomacorrientes cuando no se encuentre en
use y antes de rendir servicie, cambiar hojas y limpiar.
5. COLOQUE el interrupter de energfa en "APAGADO"
antes de desenchufar la sierra de mesa.
6. PARA REDUCIR EL RIESGO DE CHEQUES ELleCTRI-
COS, no utilice la sierra a la intemperie. No la exponga a
la Iluvia. Almacenela puertas adentro.
7, OBEDEZCA todos los c6digos electricos y de seguridad,
incluyendo el C6digo Electrico Nacional (NEC) y las
Normas de Salud y Seguridad en el Trabajo (OSHA).
Todas la conexiones y cableado electrico deben ser
realizadas s61o per personal competente.
8,
9.
10.
NO manipule el enchufe ni la sierra de mesa con las
manes mojadas.
UTILICELA s61o come se describe en este manual.
Utilice accesorios recomendaos per Sears solamente.
JAMAS tire de la Sierra de Mesa per su cord6n de
energ[a. NUNCA permite que el cord6n de energia entre
en contacto con bordes filosos, superficies calientes,
aceite o grasa.
11. NO desenchufe la sierra de mesa tirando del cord6n de
energfa. AGARRE siempre el enchufe y no el cord6n.
12. REPONGA un cord6n daflado inmediatamente. NO
utilice un cord6n o enchufe que esten da5ados. Si la
sierra de mesa funciona debidamente, o si ha side
da5ada, dejada a la intemperie o si ha entrado en contac-
to con el agua, devuelvala a un Centre de Servicio Sears.
13. NO utilice la sierra de mesa come juguete. NO LA
UTIMCE si hay niBos presentes.
51

14. La Sierra de Mesa esta diseRada para el use dom4stico
o el use comercial ligero SOLAMENTE.
15. CONECTE la sierra de mesa a un tomacorrientes
debidamente conectado a tierra. Vea las instrucciones de
conexi6n a tierra.
16. UTILICE SlEMPRE los protectores cuando resulte
posible hacerlo. Revise que esten en su sitio, afianzades
y funcionando correctamente.
17. EVITE LOS CONTRAGOLPES haciendo Io siguiente:
•Manteniendo la hoja afilada y libre de oxidaci6n y
alquitr_n.
•Manteniendo la gufa de corte a Io largo paralela con la
heja de la sierra.
•Usande el protector de la hoja de la sierra y el ensam-
blade del hendidor para todas las eperaciones posibles,
incluyendo el aserrado directo.
•Empujando el material mas all& de la hoja de la sierra
antes de soltarlo.
•No cortando a Io largo jam&s ningun material que este
torcido o alabeado, o que no disponga de un borde
recto para guiarlo a Io largo de la gufa de corte.
•Usando tablas de refrentado cuando no pueda utilizarse
el protector de hoja y el ensamblado del hendidor.
•No aserrande jamb.s una pieza de material grande que
no pueda controlarse.
•No usando jamas la guia durante el corte transversal.
•No aserrando jamAs un material con nudos sueltos u
otras imperfecciones.
18. RETIRE las piezas troceadas y los escombros de la
mesa antes de arrancar la sierra. La vibraci6n de la
sierra puede hacer que se muevan hacia la hoja de la
sierra, expulsandolas. Despues de realizar el corte,
apague la sierra. Cuando la hoja se haya detenido por
completo, desenchufe la sierra y retire los escombros.
19. JAMAS ARRANQUE la sierra con el material contra la
hoja.
20. JAMAS realice operaciones "a mane libre". Haga use de
la gufa de corte o de la gufa de ingletes para orientar y
guiar el material. Sujete el material firmemente contra la
escuadra de ingletes o la gufa de corte.
21. UTILICE una varilla o varillas de empuje para cortar
materiales angostos a Io largo.
22. EVITE OPERACIONES Y POSICIONES MANUALES
TORPES en las que un deslizamiento repentino puede
hacer que su mano haga contacto con la hoja de la
sierra.
23. MANTENGA brazos, manes y dedos alejados de la hoja.
24. JAMAS ponga ninguna parte de su cuerpo en Ifnea con
el trayecto de la hoja de la sierra.
25. JAM_,S intente alcanzar alrededor ni por encima de la
hoja.
26. JAMAS intente liberar una hoja atascada sin primero
apagar y desenchufar la hoja de la fuente de energfa.
27.
28.
29.
30.
31.
32.
33.
34.
JAMAS realice labores de trazado, ensamblado o men-
taje sobre la mesa /zona de trabaje cuande la maquina
se encuentre en funcionamiento.
JAMAS reestablezca el bot6n de sobrecarga termica sin
haber apagado antes la sierra de mesa.
APOYE los materiales largos o anchos correctamente.
APAGUE LA SIERRA y desenchL]fela de la fuente de
energfa. Limpie la mesa /zona de trabajo antes de
abandonar la sierra. BLOQUEE el interruptor de
ARRANQUE /PARADA (START/STOP) con el candado
suministrado para impedir el uso desauterizado.
POSICIONE SlEMPRE la gufa auxiliar per Io menos 2
pulgadas en frente de la hoja de la sierra cuando vaya a
usar la gufa auxiliar come tope de parada durante el
corte transversal.
El ala de extensi6n derecha DEBE ESTAR plenamente
ensamblado y la cubierta del motor debe estar cerrada y
afianzada antes de que se conecte la sierra de mesa a la
fuente de energfa.
INFORMACION ADIClONAL sobre el funcionamiento
seguro y correcto de este producto est& disponible de
parte del National Safety Council, 1121 Spring Lake
Drive, Itasca, IL 60143-3201 en el Manual de Prevenci6n
de Accidentes para Operaciones Industriales asf como
en las Hojas de Dates de Seguridad suministradas por
el NSC. Tenga la bondad de referirse tambien a los
Requisitos de Seguridad para la Maquinaria de
Ebanisterfa ANSI 01.1 de la American National Standards
Institute y el Reglamento OSHA 1910.213 del U.S.
Department of Labor.
GUARDE ESTAS INSTRUCCIONES. Refierase a elias
con frecuencia y utilfcelas para instruir a los demos.
Las fuentes que aparecen a continuaci6n tienen informaci6n
disponible acerca de la venta y funcionamiento correcto de
esta herramienta:
Power Tool Institute
1300 Summer Avenue
Cleveland, OH 44115-2851
www. powertoolinstitute.org
National Safety Council
1121 Spring Lake Drive
Itasca, IL 60143-3201
American National Standards Institute
25 West 43rd Street
4th floor
New York, NY 10036
www.ansi.org
ANSI 01.1 Safety Requirements for Woodworking
Machines (Requisites de Seguridad para la Maquinaria de
Ebanisterfa ANSI 01.1) y los reglamentos del U.S.
Department of Labor
www.osha.gov
52

ACCESORIOS DiSPONiBLES
Visite su Departamento de Ferreteffa de Sears o consulte el
Catalogo de Herramientas Electricas y de Mano de Sears
para los siguientes accesorios:
ARTJCULO
* Guia Auxiliar,
Gufa de Corte a Io Largo
* Extensi6n y Tope de Parada
de la Escuadra de Ingletes
* Abrazadera de Material,
Escuadra de Ingletes 29880
* Conducto de Polvo con Puerto de Polvo 22102
* Ensamblado de Micro-Ajuste 29881
* Inserci6n de Mesa - Estandar 29882
* Inserci6n de Mesa - Fresa Rotativa 29885
* Inserci6n de Mesa -
Cabezal de Corte para Moldura 29887
* Hoja de Sierra - Leitz; Hoja de
Paso Variable, 10 pulg. x 40 dientes 29888
* Sistema de Gufas 32371
NOMERO DE EXiSTENCiA
29878
29879
Sears podrarecomendarotros accesorios nolistados en este
manual.
Consulte su Departamento de Ferreteffa de Sears mas cer-
cano o el Catalogo de Herramientas Electricas y de Mano de
Sears para otros accesorios.
No utilice ning0n accesorio a menos que haya lefdo cabal-
mente el Manual del Propietario para dicho accesorio.
$61o utilice accesorios recomendados para esta Sierra de
Mesa. El uso de otros accesorios puede ocasionar lesiones
graves y producir daffo a la Sierra de Mesa.
Fig. 2A
CONSTRUYENDO UNA TABLA DE B[SELADO
La entalladura debe guardar una
distancia aproximada de 1/4 de pulg.
24" I
14 s -[
La Figura 2A ilustra las dimensiones para hacer una tabla de
biselado tfpica. El material del cual esta hecho la tabla de
biselado debe ser una pieza de madera recta que este libre
de nudos y grietas. Las tablas de biselado se utilizan para
mantener el trabajo en contacto con la gufa y la mesa para
impedir los contragolpes. Afiance la tabia de biselado a la
gufa y la mesa de manera que el borde delantero de la tabla
de biselado apoye el material hasta que se haya realizado el
corte.
Utilice tablas de biselado para todas las operaciones de corte
que no sean de paso y en las que debe retirarse el protector
y el ensamblado del hendidor. Reponga siempre el protector y
el ensambiado del hendidor una vez completadas las opera-
ciones de corte que no sean de paso. Ver figura 2B.
Fig. 2B
53

CONSTRUYENDO UNA VARA DE EMPUJE
Durante el corte a Io largo de materiales con menos de 4 pulgadas de ancho, se debe hacer uso de una vara de empuje para com-
pletar la alimentaci6n. Puede construirse f_cilmente utilizando material descartado y siguiendo el patr6n ilustrado en la Figura 2C
Fig. 2C
La vara de empuje debe estar hecha con madera de 3/4 6 1/2 pulgada o con un grosor inferior
al ancho del material a cortarse.
La figura 2C debe copiarse y hacerse a escala, de tal manera que las rejillas sean de 1/2
pulgada cuadrada. Esta copia puede emplearse en la construcci6n de su vara de empuje.
54

DESEMPACANDO Y Fig. 3-1
REVISANDO EL CONTENIDO
La sierra de mesa es una maquina pesada. Se requieren dos
personas para desempaquetarla y levantar la sierra de mesa.
Esta sierra de mesa requerira cierta cantidad de ensamblado.
Esta sierra de mesa y su gufa se envfan en una sola caja.
Esta caja tambien incluye una caja de piezas para la sierra.
1. Remueva las piezas de todas las cajas y col6quelas
sobre una superficie de trabajo limpia.
2. Se requieren dos o mas personas para levantar la sierra
de mesa de la paleta de embarque.
3. Remueva cualquier material y revestimiento protectivo de
todas las piezas y de la sierra de mesa. El revestimiento
de las piezas puede quitarse con rociar WD-40 sobre
elias y limpiandolas con un patio suave. Podra ser nece-
sario repetir este proceso varias veces antes de poder
quitar todo el revestimiento protectivo.
PRECAUCION: NO utilice acetona, gasolina ni diluyente de
laca para quitar ningun revestimiento protectivo de su sierra
de mesa.
4. Tras la limpieza, aplique una cera en pasta de buena
calidad sobre cualquier superficie sin pintar. Asegt]rese
de pulir la cera antes del montaje.
5. Compare los artfculos con las figuras que aparecen
abajo. Verifique que todos los artfculos esten presentes
antes de desechar la caja de envfo. Si faltan piezas,
Ilame a la Lfnea de Ayuda al Cliente al 1-800-897-7709.
\
\
\\
12
El ala de extensi6n derecha debe estar plenamente ensam-
blado y la cubierta del motor debe estar cerrada y afianzada
antes de que se conecte la sierra de mesa a la fuente de
energfa.
Si Ilegara a faltar cualquier pieza, no intente enchufar el
cord6n de potencia y encender la sierra de mesa. La sierra
de mesa s61o podra encenderse despues de que se hayan
obtenido todas las piezas y estas hayan sido instaladas
correctamente.
SIERRA DE MESA
1. Ensamblado de sierra de mesa
2. Ala de extensi6n, hierro estampado (2)
3. Volante de mane (2)
4. Perilla de cierre del volante de mane (2)
5. Vara de montaje del hendidor
6. Ensamblado del soporte del hendidor
7. Gancho para Ilaves
8. Gancho de la gufa (2)
9. Correa Poly-V
10. Ensamblado del protector de hojas y
del hendidor
11. Ensamblado de patas (2)
12. Tirante de tracci6n (2)
13. Interruptor
14. Hoja de la sierra (no ilustrada) 9
10
11
\\\\\\\
5
\\\\
4
\\\\\\\\\\\\\\\
55

Fig. 3=2 20 21 22 23
28
24
GUiA
20. Ensamblado de la gufa de corte a 1o largo
21. Riel delantero de la gufa, derecho
22. Riel delantero de la gufa, izquierdo
23. Riel trasero de la gufa, derecho
24. Riel trasero de la gufa, izquierdo
25. Conector al riel posterior de la gufa
26. Tapa de extremo del riel delantero, derecho
27. Tapa de extremo del riel delantero, izquierdo
28. Barra de alineaci6n del riel delantero de la gu/a (2)
Fig. 3=3
40
ESCUADRA DE INGLETES
40. Escuadra de ingletes
56

Los estuches de ferreteria no est_n identificados ni etiquetados. Consulte el diagrama de ferreteria para ayudar a Iocalizar la pieza
correcta. Ver figura 3-4.
Fig. 3=4
TORNILLODECABEZAHEXM8x 1.25x 25mm
©
TORNILLODE CABEZAHE× M8x 1.25 x 30 mm
PERNO DE CARROCERiA5/16-18 x 5/8 pulg.
TORNILLODE CABEZACUADRADAM8x 1.25 x 35 mm
©
TORNILLODE CABEZAHUECAHE× M8x 1.25 x 25 mm
TORNILLODE CABEZAHUECAHE× M8x 1.25 x 35 mm
TORNILLODE CABEZAHE× M6x 12 mm
TORNILLOAUTOROSCADORDECABEZAREDONDA
M4x8 mm
TORNILLOAUTOROSCADORDECABEZAREDONDA
M4x16 mm
©B
TUERCAHEXM8x 1.25
©B
TUERCAHEX5/16pulg.-18
TUERCACUADRADAM6
©l
ARANDELAPLANAM8
©B
ARANDELAPLANA5/16pulg.
ARANDELADECIERREM8
ARANDELADECIERRE5/16pulg.
Estuehe de Ferreteria para Alas de Extensi6n
(OR92013) Incluye:
Arandela Plana M8 (8)
Arandela de Cierre M8 (8)
Tornillo de Cabeza Hexagonal M8 x 1.25 x 30 mm (8)
Estuche de Ferreteria para Riel Posterior (OR92016)
Incluye:
Arandela Plana M8 (8)
Arandela de Cierre (6)
Tornillo de Cabeza de Bot6n M8 x 1.25 x 25 mm (4)
Tornillo de Cabeza de Bot6n M8 x 1.25 x 35 mm (2)
Tuerca Hexagonal M8 (2)
Eetuche de Ferreteria para Riel Delantero (OR92017)
Incluye:
Arandela Plana M8 (4)
Arandela de Cierre M8 (4)
Tornillo de Cabeza Cuadrada M8 x 1.25 x 35 mm (4)
Tuerca Hex M8 (4)
Estuche de Ferreteria para Patas de Gabinete
(OR92020) Incluye:
Arandela Plana M8 (16)
Arandela Plana 5/16 pulg. (8)
Arandela de Cierre M8 (8)
Arandela de Cierre 5/16 pulg. (8)
Tomillo de Cabeza Hexagonal M8 x 1.25 x 25 mm (8)
Pemo de Carroceria 5/16-18 x 5/8 pulg. (8)
Tuerca Hexagonal M8 (8)
Tuerca Hexagonal 5/16 pulg. (8)
Ferreteria para Interruptor ON/OFF (encendido
apagado) (Ferreteria aeabado en Oxido Negro):
Tomillo de Cabeza Hexagonal M6 x 12 mm (2)
Tuerca Cuadrada M6 (2)
Ferreteria Varia:
Tornillo de Chapa Met&lica M4 x 8 mm (6)
Tornillo de Chapa Metalica M4 x 16 mm (4)
57

24 25 3_.
2 4 5 6 7 8
10 11
23
22
21
2O
16
17
18
19
15
12
13
1. Ensamblado del hendidor
2. Protector de hoja
3. Dedos anticontragolpe
4. Hoja
5. Pieza de inserci6n para alinear cortes
6. Reten de la gufa trasera
7. Superficie de la mesa
8. Gufa de corte a Io largo
9. Riel trasero
10. Ala de acero estampado de 10 pulg.
11. Riel delantero con escala
12. Agarradera de cierre de la gufa de corte a Io largo
13. Cubierta del motor
14. Escala de biselado
15. Volante de mano de elevaci6n de hoja
16. Perilla de cierre del volante de mano
17. Gabinete de 3/4
18. Pata del gabinete
19. Pie de caucho
20. Gancho de la gufa
21. Interruptor de arranque /parada
22. Volante de mano de biselado
23. Perilla de cierre del volante de mano de biselado
24. Escuadra de ingletes
25. Ranura de la escuadra de ingletes
58

HERRAMIENTAS REQUERIDAS
Se requieren las siguientes herramientas para el montaje y el
alineamiento. Aviso: Se suministran dos Ilaves de hoja y cinco
Ilaves hexagonales con su sierra de mesa. Las herramientas
restantes son herramientas tfpicas de taller y no se incluyen
con su sierra de mesa.
Llave de 18 mm Llave de 8 mm
Llave de 13 mm Llave hexagonal de 3/16 pulg.
Llave de 10 mm Destornillador Phillips #2
3,
arandela de cierre M8 y tuerca hexagonal M8 sobre cada
uno de los ocho tornillos que conectan el ensamblado de
patas al gabinete. No apriete la ferreteria del todo en
este memento. Ver la figura 4-1.
Conecte dos tirantes de tracci6n (F) por dentro y entre
las patas delanteras y traseras ya conectadas al gabinete
con (G) echo pernos de carrocerfa 5/16-18 x 5/8 pulg.,
arandelas planas de 5/16 pulg., arandelas de cierre de
5/16 pulg. y tuercas hexagonales 5/16-18 y afiance toda
la ferreteria de manera segura. Ver la figura 4-1.
•La sierra de mesa es una maquina pesada. Podran
requerirse dos personas para ciertas operaciones de
montaje.
•NO monte la sierra de mesa hasta que este seguro que
la herramienta este desenchufada.
•NO monte la sierra de mesa hasta que este seguro que
el interrupter de energfa est_ en la posici6n de "apagado"
(OFF).
•Para su seguridad personal, NO conecte la maquina a la
fuente de energia hasta que la m_quina se encuentre
completamente montada y haya lefdo y entendido este
Manual del Operario cabalmente.
MONTAJE DE LAS PATAS DEL GABINETE
ASEGURESE de que la sierra de mesa este desconectada
de la fuente de energfa.
Coloque la mesa boca abajo para que descanse sobre la
mesa de hierro fundido. PRECAUClON: La sierra de
mesa es pesada; se requieren dos personas para esta
operaci6n. Este seguro de colocar cart6n sobre el suelo
para proteger la superficie de la mesa.
2, Conecte los ensamblados de pata (A) al frente (B) y
parte posterior (C) del gabinete de la sierra de mesa
colocando (D) echo tornillos de cabeza hexagonal M8 x
25 mm y echo arandelas planas M8 hacia abajo a traves
de los agujeros de montaje en el ensamblado de patas y
el gabinete (E). Coloque una arandela plana M8,
MONTAJE DE LA CORREA POLY=V
ASEGURESE de que la sierra de mesa este desconectada
de la fuente de energfa.
Figura 5=1
/
A
Figura 44
A
o " li
g
G E
1,
2.
3.
4.
Aseg0rese de que todo el material de embalaje haya sido
removido del interior del gabinete.
Abra la cubierta del motor y coloque la correa Poly-V (A)
del motor sobre la polea de la hoja (B). Ver la figura 5.1
Levante el motor (C) cuidadosamente y coloque la correa
debajo de la polea del motor (no ilustrada). Aseg0rese de
que las muescas en "V" en la correa coincidan con las
muescas en "V" de la polea de la hoja y el motor. Ver
figura 5-1.
Baje el motor cuidadosamente y cierre la cubierta del
motor.
59

MONTAJE DE LAS ALAS DE EXTENSION MONTAJE DEL VOLANTE DE MANO
ASEGORESE de que la sierra de mesa este desconectada
de la fuente de energfa.
El ala de extensi6n derecho debe estar plenamente ensam-
blado y la cubierta del motor debe estar cerrada y afianzada
antes de que se conecte la sierra de mesa a la fuente de
energfa.
Figura 64 A
ASEGURESE de que la sierra de mesa este desconectada
de la fuente de energia.
Figura 7-1
J
o
B
2,
PRECAUC[ON: Las alas de extensi6n son pesadas. Se
requieren dos personas para ensamblar ambas alas de
extensi6n a la sierra de mesa.
Monte una de las alas de extensi6n (A) al lado izquierdo
de la sierra de mesa. Los cuatro agujeros (B) en el ala
de extensi6n deben ser alineados con los cuatro agu-
jeros en el lade izquierdo de la sierra de mesa. Utilice
cuatro tornillos de cabeza hexagonal M8 x 30 mm, aran-
delas de cierre M8 y arandelas planas M8. No apriete el
herramental completamente en este momento. Ver la
figura 6- 1.
Figura 6-2
B
1, Coloque uno de los volantes de mano (A) sobre el eje de
biselado (B) Iocalizado en el lade del gabinete. La ranura
(C) en el dorso del volante debe alinearse con el pasador
(D). Ver la figura 7-1.
Figura 7-2
E
\
3. Coloque una regla (C) a Io ancho de la mesa de la sierra
(D) y el ala de extensi6n (E). Asegurese de que la cara
frontal del ala de extensi6n (F) este plana con el frente
de la mesa de la sierra (G). Ajuste el ala de extensi6n de
tal manera que se encuentre perfectamente plana con la
mesa de la sierra. Apriete la ferreteffa de manera segura.
Ver la figura 6-2.
4. Repita los pasos 2 y 3 arriba para montar la otra exten-
si6n al lade derecho de la sierra.
60
2. Enrosque la perilla de cierre (E) sobre el extremo roscado
del eje (F). Ver la figura 7-2.
3. Repita los pasos anteriores para montar el volante
restante y la perilla de cierre sobre el eje de elevaci6n y
bajada de la hoja, Iocalizado al frente del gabinete.

MONTAJE DE LA LLAVE Y GANCHO DE GU[A Figura 9=2 c
ASEGORESE de que la sierra de mesa este desconectada
de la fuente de energfa.
Figura 84
I' i
f
f
1. Monte ambes ganchos de gufa (A) al lado izquierdo del
gabinete (B) usando cuatro tornillos roscadores de
cabeza troncoc6nica M4 x 8 mm, no ilustrados. Ver la
figura 8-1.
2. Monte el gancho de Ilave (C) sobre los ganchos de gufa
usando dos tornillos roscadores de cabeza troncoc6nica
M4 x 8 mm, no ilustrados. Ver la figura 8-1.
MONTAJE DEL PROTECTOR DE
HOJAS YHENDIDOR
ASEGORESE de que la sierra de mesa este desconectada
de la fuente de energfa.
1. Afioje el perno de reten de la pieza de inserci6n de mesa
y quite la pieza de inserci6n de mesa.
Figura 94
B
- I3 .... O ....
2. Coloque el extremo roscado de la vara de montaje del
hendidor (A) a traves del agujero (B) en la parte posterior
del gabinete. Coloque una tuerca hexagonal M12 (no
ilustrada) sobre el extremo roscado de la vara de mon-
taje del hendidor dentro del gabinete y afiancelo de
manera segura. Ver las figuras 9-1 y 9-2.
Aviso: Coloque una Ilave de 18 mm sobre la parte hexagonal
y una Ilave de 13 mm sobre las partes planas de la vara del
hendidor y aprietelas.
3. Coloque el ensamblado del soporte del hendidor (C)
sobre la vara de montaje el hendidor. Ver las figuras 9-2
y 9-3.
Figura 9=3
H
E
G
4,
5,
Coloque el punte de conexi6n delantero (D) del protector
de heja y del ensamblado del hendidor (H) sobre el punto
de conexi6n delantero que carece de herramientas (E).
Coloque la ranura de conexi6n trasera (F) sobre las
roscas de la perilla del soporte del hendidor (G). Afiance
la perilla del soporte del hendidor de manera segura.
Aviso: Sera necesario pesicionar el ensamblado del
soporte del hendidor de manera que se ajuste al protec-
tor de hoja y al ensamblado del hendidor por encima de
la vara de montaje del hendidor. Ver la figura 9-3.
Quite la tuerca hexagonal (K) y la pestaRa exterior (J)
del arbol de la hoja (I). Aviso: El arbol est& roscade a la
derecha; para afiojar la tuerca hexagonal, gffela en
sentido antihorario. Ver la figura 9-4.
61

Figura 9-4 Figura 9-6
Z
T
u\
K
6, Coloque la hoja de sierra de 10 pulg. (Z) sobre el eje de
la hoja (I); asegurese de que los dientes de la hoja apun-
ten hacia abajo al frente de la mesa de la sierra. Coloque
la pestaRa exterior (J) y la tuerca hexagonal (K) sobre el
eje de la hoja y apriete la tuerca hexagonal manual-
mente. Coloque la Ilave de boca de la hoja (L) sobre las
partes planas de la pestaRa interior de la hoja (no ilustra-
da) y la Ilave de extreme de caja (M) de la hoja sobre la
tuerca hexagonal, apretandolas seguramente. Aviso: El
eje de la hoja tiene un roscado derecho; para afianzar la
tuerca hexagonal, gfrela en sentido horario. Ver la figura
9-4.
Figura 9-5
0
Q
\\\\
\\\\\
7, Coloque una escuadra (N) sobre la mesa de la sierra y
contra el ensamblado del hendidor (O) detras de los
dedos anticontragolpe (P). Realice ajustes al ensamblado
del soporte del hendidor (Q) de tal manera que el hendi-
dor quede cuadrado con la mesa de la sierra. Una vez
cuadrado, afiance los dos tornillos de cabeza hueca
hexagonal per debajo del ensamblado de soporte del
hendidor. Ver la figura 9-5.
\\\\\\
8,
9,
10.
Coloque una regla (R) contra el lade izquierdo de la hoja
de la sierra (S), alineando el hendidor (T) de tal manera
que quede en Ifnea recta con la hoja, y apretando el
unico tornillo de cabeza hueca hexagonal (U) en la parte
superior del ensamblado de soporte del hendidor. Ver la
figura 9-6.
Monte la pieza de inserci6n de la mesa y apriete el perno
de ret_n de la pieza que fue quitada en el paso 1.
Si existe cualquier problema con la falta de cuadrado
del soporte de conexi6n del hendidor delantero y la
mesa de la sierra o el alineamiento de la hoja, consulte
"ALINEAMIENTO DEL SOPORTE DEL HENDIDOR" en
la secci6n de Operaciones y Ajustes de este manual.
MONTAJE DE LA GU[A DE CORTE
A LO LARGO
ASEGURESE de que la sierra de mesa este desconectada
de la fuente de energfa.
Figura 10-1
CB
C
A
E
62

1. Figura 10=3
2,
3,
4,
Las barras de alineamiento (B) cuentan con tornillos de
fijaci6n (A) ya instalados. AsegL]rese de que los tornillos
de fijaci6n esten parejos con la cara de la barra de
alineamiento. Ver la figura 10-1.
Coloque ambos rieles delanteros de la guia (C) boca
abajo sobre la sierra de mesa. Aseg0rese de que el riel
derecho de la gufa este en el lade derecho y que el riel
delantero izquierdo este en el lade izquierdo. Revise que
ambas escalas en los rieles delanteros tengan la marca
de 1 pulgada cerca de la otra. Ver la figura 10-1.
Inserte ambas barras de alineaci6n a mitad de camino
dentro de las ranuras trasera (D) e inferior (E) para tuer-
cas cuadradas en el riel delantero derecho. Apriete los
tornillos de fijaci6n ligeramente para sostener la barra de
alineaci6n en el riel delantero. Ver la figura 10-1.
Deslice el riel delantero izquierdo sobre las barras de
alineaci6n y contra la otra mitad del riel derecho.
AsegLirese de que ambas secciones de los rieles
delanteros esten planas y rectas entre sf. Apriete los
tornillos de fijaci6n ligeramente en ambas barras de
alineaci6n. Vuelva a revisar que el riel delantero se
encuentre plane y recto, y luego afiance todos los
tornillos de fijaci6n de manera segura.
Figura 10=2
F
/0
G
G
5,
6,
Deslice las cabezas de los cuatro tornillos de cabeza
hexagonal M8 x 35 mm (F), dos de cada extreme del riel
delantero, al interior del riel delantero. Aviso: El riel
delantero aLin sigue posicionado boca abajo sobre la
sierra de mesa. Posicione los tornillos de manera que
puedan alinearse con los dos agujeros en la parte
delantera de la sierra de mesa y con un agujero en cada
ala de extensi6n (G). Ver la figura 10-2.
Coloque el riel delantero contra el frente de la sierra de
mesa con los cuatro tornillos atravesando los cuatro
agujeros en la mesa de la sierra y las alas de extensi6n.
Coloque una arandela plana M8, arandela de cierre M8
y tuerca hexagonal M8 sobre cada uno de los cuatro
tornillos en la parte trasera de la mesa de la sierra y las
alas de extensi6n. No apriete las cuatro tuercas hexago-
hales del todo en este memento.
7, Eleve la hoja de la sierra (H) y coloque una regla (I) con-
tra el lade derecho de la hoja de la sierra, extendiendose
m&s all& del frente de la mesa de la sierra. El borde del
riel delantero derecho (J) debe estar alineado con el lade
derecho de la hoja de la sierra, segt]n la regla. Ver la
figura 10-3.
Figura 10=4
8, Usando una escuadra de combinaciones (K), asegurese
de que el riel delantero (L) este nivelado sobre la sierra
de mesa y las alas de extensi6n. Luego, apriete las
cuatro tuercas hexagonales de manera segura. Ver la
figura 10-4.
63

Figura 10=5
sM
Figura 10=7
AC
\
AB
YU
W
V
9, Monte el riel trasero del lado izquierdo (M) al lado
izquierdo trasero de la sierra de mesa (N). Conecte el riel
trasero (M) a la mesa (N) con dos tornillos de cabeza
bot6n hexagonal M8 x 25 mm, arandelas de cierre M8 y
arandelas planas M8 (O). Conecte el riel trasero al ala de
extensi6n con un tornillo de cabeza bot6n hexagonal M8
x 35 mm, arandela plana M8, arandela de cierre M8 y
tuerca hexagonal M8 (P). Aseg0rese de que el riel
trasero se encuentre por debajo del fondo de las ranuras
(R) de la escuadra de ingletes. Ver las figuras 10-5 y
10-6.
10. Deslice el conector del riel trasero (S) dentro del riel
trasero izquierdo, ya ensamblado. Ver la figura 10-5.
Figura 10=6
TR
11. Deslice el riel trasero del lado derecho (T) sobre el
conector del riel trasero. Monte el riel trasero derecho a
la mesa de la sierra con dos tornillos de cabeza bot6n
hexagonal M8 x 25 mm y al ala de extensi6n con un
tornillo de cabeza bot6n hexagonal M8 x 35 mm, aran-
dela plana M8, arandela de cierre M8 y tuerca hexagonal
M8. Ver la figura 10-6.
12. Utilizando una escuadra de combinaciones, aseg0rese
de que el riel trasero este nivelado con la mesa de la
sierra, y que las alas de extensi6n esten por debajo del
fondo de las ranuras de la escuadra de ingletes. Apriete
toda la ferreterfa de manera segura posteriormente.
13.
14.
15.
16.
17.
18.
19.
20.
21.
22.
64
Monte los dos cursores (U) al ensamblado de la gufa de
corte a Io largo (V) utilizando cuatro tornillos de cabeza
troncoc6nica M5 x 16 mm y arandelas de cierre M5 (W).
Ver la figura 10-7.
Levante la agarradera de la gufa de corte a Io largo (X) y
coloque la gufa sobre la mesa de la sierra con el cuerpo
de la gufa en el riel delantero. Con la agarradera de
cierre de la gufa de corte a Io largo en posici6n elevada,
podra deslizar la gu/a de un lado a otro a traves de la
mesa de la sierra. El empujar la agarradera de cierre de
la gu[a de corte a Io largo hacia abajo enclavara la gu/a e
impedira su movimiento. Ver la figura 10-7.
Alinee el lado izquierdo de la gufa (AB) a cierta distancia
del lado derecho (AC) de la ranura de la escuadra de
ingletes derecha y enclave la gufa. Ver la figura 10-7.
Utilice una cinta de medir para medir la distancia desde
el lado derecho de la hoja de la sierra hasta el lado
izquierdo de la gu/a.
Monte el cursor (U) al lado derecho de la cruceta de la
gufa con dos tornillos de cabeza troncoc6nica M5 x 16
mm y arandelas de cierre M5 (W). No apriete los tornillos
del todo. Ver la figura 10-7.
Alinee el cursor con la escala (Z) para que la raya negra
delgada (Y) se encuentre en el mismo n0mero que la
distancia medida en el paso 16. Apriete los tornillos del
cursor.
Remueva la gufa de la mesa y reposici6nela en el lado
izquierdo de la hoja de la sierra. Alinee el lado derecho
de la gufa a cierta distancia del lado izquierdo de la ranu-
ra de la escuadra de ingletes izquierda y enclave la guia.
Utilice una cinta de medir para medir la distancia entre el
lado izquierdo de la hoja de la sierra hasta el lado dere-
cho de la gufa.
Monte el segundo cursor al lado izquierdo de la cruceta
de la gufa con dos tornillos de cabeza troncoc6nica M5 x
16 mm y arandelas de cierre M6. No apriete los tornillos
del todo.
Alinee el cursor con la escala de manera que la raya
negra delgada se encuentre en el mismo n0mero que la
distancia medida en el paso 20. Apriete los tornillos del
cursor.

Figura 10=8
AA
3. Deslice las tuercas cuadradas M6 y el ensamblado del
interruptor (E) dentro del extremo izquierdo del riel
delantero (F). Ver la figura 11-1.
4, Posicione el ensamblado del interruptor en el lugar
deseado y apriete la ferreteffa. PRECAUCl6N: Aleje el
interruptor del trayecto de la hoja de la sierra. El lugar
mas comun para el interruptor es a la izquierda de la
hoja de la sierra.
Figura 11=2
23. Aviso: La gufa de corte a Io largo viene con un reten
trasero (AA) integrado al extremo de la gufa para evitar
que la parte trasera de la gufa se eleve mientras que se
hace uso de una tabla de refrentado. Para engranar la
sujeci6n trasera, sencillamente baje el brazo de sujeci6n
de manera que quede por debajo del riel trasero, seg0n
Io ilustrado aquL Ver la figura 10-8.
24. Revise y aseg0rese de que la gufa de corte a Io largo
este cuadrada con la mesa de la sierra y paralela con la
ranura de ingletes. Si resulta necesario efectuar cualquier
ajuste, consulte la secci6n "AJUSTES DE LA GUIA" en la
secci6n de Operaci6n y Ajustes de este manual.
INTERRUPTOR DE ENCENDIDO/APAGADO Y ENSAM-
BLADO DEL TAPON DE EXTREMOS
ASEGORESE de que la sierra de mesa este desconectada
de la fuente de energfa.
Figura 11=1
C
5,
6,
Coloque el tap6n de extremo del riel delantero izquierdo
(A) dentro del extremo del riel delantero (B). Conecte el
tap6n de extremo al riel con dos tornillos de chapa
metMica M4 x 16 mm (C). Ver la figura 11-2.
Repita el paso anterior para conectar el tap6n de
extremo del riel delantero derecho.
CONECTANDO EL CORDON DEL
INTERRUPTOR AL CORDON DEL MOTOR
ASEGURESE de que la sierra de mesa este desconectada
de la fuente de energfa.
Figura 12=1
2,
E
Coloque dos tornillos de cabeza hexagonal M6 x 12 mm
(A) hacia arriba a traves de los dos agujeros (B) en el
soporte del interruptor (C). Ver la figura 11-1.
Enrosque dos tuercas cuadradas M6 (D) sobre los
tornillos de cabeza hexagonal M6 x 12 mm unas tres
vueltas. Ver la figura 11-1.
1,
65
15
Pase el cord6n del interruptor (A) a traves del agujero (B)
al frente del gabinete. Ver la figura 12-1.

2. Abralacubiertadelmotor,enchufeelcord6ndelinterrup- EMPERNANDO LA SIERRA
tor (C) al cord6n del motor (D). Ver la figura 12-2. DE MESA AL PISO
Figura 12-2
i ii !
1
i
t
ASEGORESE de que la sierra de mesa este desconectada
de la fuente de energia.
Si Io desea, la sierra de mesa puede montarse al piso de
forma permanente. Para conectarla al piso, consulte las
siguientes instrucciones:
Figura 12A-1
B
3,
4.
Retire la holgura en el cord6n interruptor hacia el interior
del gabinete.
Haga un lazo (E) desde la holgura del cord6n interruptor
y col6quelo detrAs de la barra de reten del cord6n (F).
Ver figura 12-2.
AB
A
1. Retire las cuatro almohadillas de goma (A) de las patas
de la sierra de mesa (B). Ver figura 12A-1.
2. Posicione la sierra de mesa en d6nde desea montarla
permanentemente.
3. Marque el piso a traves de los agujeros en el rondo de
las patas.
4. Mueva la sierra de mesa a un lado y perfore agujeros
piloto en las cuatro Iocalizaciones indicadas.
5. Conecte la sierra de mesa al piso utilizando la ferreterfa
apropiada (no se incluye).
66

PRECAUClON 2.
Debe hacerse use de un circuito electrico individual para
su sierra de mesa. La sierra de mesa viene cableada de
antemano para el funcionamiento a 120 voltios. El
circuito no debe tener un calibre de alambre menor que
#14 AWG y debe estar protegido con un fusible de
retardaci6n de tiempo de 15 amperios.
o Haga que un electricista competente repare o reponga el
cord6n daRado o gastado inmediatamente.
Para encender la sierra de mesa, oprima el botdn verde
de "ENCENDIDO" (A) hacia adentro una media pulgada.
Aviso: Existe un dispositivo de seguridad en el interrupter
para garantizar que el interruptor debe ser presionado
completamente antes de que la sierra ARRANQUE. Ver
la figura 13-1.
3, Para apagar la sierra de mesa, presione la paleta roja
grande de "APAGADO" ("OFF") (B) o levante la paleta y
presione el bot6n rojo de "APAGADO" (OFF) directa-
mente. Ver la figura 13-1.
Antes de conectar el motor a la I[nea de potencia,
asegurese de que el interrupter este en la posicidn de
apagado ("OFF") y asegurese de que la corriente
electrica tenga las mismas caracter[sticas que la placa
de notaciones del motor. Todas las conexiones de I[nea
deben hacer buen contacto.
El funcionamiento a bajo voltaje o con extensiones elec-
tricas largas daRar_ el motor.
NO exponga la sierra de mesa a la Iluvia, ni haga uso de
ella en lugares ht]medos.
ASEGURESE de que todas las piezas hayan side
correctamente montadas y que esten en buen estado de
funcionamiento.
MANTENGA la superficie de la mesa libre de herramien-
tas y escombros antes de arrancar la sierra de mesa.
ARRANCANDO Y DETENIENDO LASIERRA
ENCLAVANDO EL INTERRUPTOR DE
ENCENDIDO/APAGADO
1 Cuando la sierra de mesa no se encuentre en uso, el
bot6n de "ENCENDIDO" debe estar enclavado para que
no pueda activarse.
2, Usando el candado que se incluye con su sierra de
mesa, levante la paleta roja de "APAGADO" y coloque el
candado a traves de los agujeros (C) en el lade del bot6n
de "ENCENDIDO" y luego cierre el candado. Asegtirese
de que las Ilaves del candado hayan side quitadas y
colocadas en d6nde no pueda alcanzarlas ningt_n niflo.
Ver la figura 13-1.
3. Para hacer uso de la sierra de mesa, abra el candado y
ret[relo del bot6n de "ENCENDIDO".
PROTECCK)N CONTRA SOBRECARGAS
TERMICAS
Figura 13=1
C
A
Coloque el interrupter de energ[a en la posici6n de
"APAGADO" y desenchufe el cord6n de energia de la
fuente de energ[a antes de efectuar o realizar cualquier
mantenimiento.
oAsegurese de que el bot6n de "APAGADO" haya side
presionado antes de oprimir el bot6n de restablecimiento
de sobrecarga t@mica.
El motor suministrado con su sierra de mesa tiene un rele
restaurable de sobrecargas termicas (D). Ver la figura 13-1.
Si el motor se apaga durante una operaci6n (cortando un
material con rapidez excesiva o usando una hoja roma,
usando la sierra m&s alia de su capacidad o a bajo voltaje),
presione el bot6n de APAGADO y permita que el motor se
enfr[a de tres a cinco minutes. Empuje el bot6n de sobre-
cargas termicas al costado del ensamblado del interrupter de
ENCENDIDO/APAGADO. AsegLirese de que la hoja de la
sierra y la zona de trabajo hayan side despejadas de escom-
bros antes de reactivar la sierra. El motor ya puede encen-
derse de nuevo.
1. El interrupter de ENCENDIDO/APAGADO (ON/OFF) est&
Iocalizado per debajo del riel delantero de la sierra de
mesa.
67

ELEVANDO YBAJANDO LA HOJA
Figura 14=1
A
El volante de mane de ajuste de altura de la hoja y la perilla
de cierre del volante de mano estan situados al frente del
gabinete, por encima de la escuadra de biselado de la hoja.
Para elevar la hoja de la sierra, afloje la perilla de cierre del
volante de mane (A) (en sentido antihorario) y gire el volante
de mane (B) en sentido horario. Cuando la hoja de la sierra
se encuentre a la altura deseada, apriete la perilla de cierre
del volante de mane (en sentido horario) hasta que este
afianzada seguramente. Ver la figura 14-1.
Para bajar la hoja de la sierra, afloje la perilla de cierre del
volante de mane (en sentido antihorario) y gire el volante de
mane en sentido antihorario. Cuando la hoja de la sierra se
encuentre a la altura deseada, apriete la perilla de cierre del
volante de mane (en sentido horario) hasta que este
afianzada seguramente.
INCLINANDO LA HOJA
El volante de mano de biselado de la hoja y la perilla de
cierre del volante de mane estb,n situados en el lade izquierdo
del gabinete. Para aumentar el biselado de la hoja de la
sierra, afloje la perilla de cierre del volante de mano (A) (en
sentido antihorario) y gire el volante de mane (B) en sentido
horario. Cuando la hoja de la sierra se encuentre en su grade
deseado, apriete la perilla de cierre del volante de mano (en
sentido horario) hasta que este afianzada seguramente. Ver
la figura 14-1.
Para devolver el biselado de la hoja de la sierra a cero
grades, afloje la perilla del volante de mano (en sentido
antihorario) y gire el volante de mane en sentido antihorario.
Cuando la hoja de la sierra este a cero grados de nuevo,
entrara en contacto con el tope positivo ajustable, haciendo
que la hoja se detenga. Apriete la perilla de cierre del volante
de mane (en sentido horario) hasta que este afianzada
seguramente.
Para inclinar el biselado de la hoja a 45 grados, afloje la
perilla de cierre del volante de mane (en sentido antihorario) y
gire el volante de mano en sentido horario. Cuando la hoja de
la sierra este a 45 grades, hara contacto con el tope positivo
ajustable, haciendo que la hoja se detenga. Apriete la perilla
de cierre del volante de mane (en sentido horario) hasta que
este afianzada seguramente.
AJUSTANDO LOS TOPES POSITIVOS DE
BISELADO DE LA HOJA
Figura 15=1
1 Para ajustar la hoja a un tope positive de biselado de
hoja de 90 grades, eleve la hoja de la sierra (A) a su
posici6n m&s alta. Ver la figura 15-1.
2 Usando una escuadra de combinaciones (B), revise que
la hoja se encuentre a 90 grades de la mesa de la sierra
(cero grados en la escala de biselado). Ver la figura 15-1.
3, Si la hoja no se inclina a 90 grados, gire el tornillo de
fijaci6n (C) (en sentido antihorario) al lado izquierdo de la
mesa de la sierra hasta que la hoja pueda posicionarse a
los 90 grades. Apriete la perilla de cierre del volante de
mano de biselado, Iocalizado en el lado izquierdo del
gabinete. Esto impedira la inclinaci6n adicional de la hoja
y verificar_ que el tornillo de fijaci6n este en contacto con
el tope positivo. Ver la figura 15-1.
4, Una vez que la hoja haya sido inclinada a 90 grados,
apriete la perilla de cierre del volante de mano de bisela-
do, Iocalizado en el lade izquierdo del gabinete. Esto
impedir& la inclinaci6n adicional de la hoja. Gire el tornillo
de fijaci6n en sentido horario hasta que entre en contacto
con el tope positivo.
Figura 15=2
68

5,
6,
7,
8,
Para ajustar la hoja a un tope positivo de biselado de
hoja de 45 grados, eleve la hoja de la sierra a su
posici6n mas alta.
Usando una escuadra de combinaciones (D), revise que
la hoja este a 45 grados de la mesa de la sierra (45
grados en la escala de biselado). Ver la figura 15-2.
Si la hoja no se inclina a 45 grados, gire el tornillo de
fijaci6n (E) (en sentido antihorario) Iocalizado en el lado
derecho de la mesa de la sierra hasta que la hoja pueda
posicionarse a 45 grados. Apriete la perilla de cierre del
volante de mano de biselado, Iocalizada en el lado
izquierdo del gabinete. Esto impedira la inclinaci6n adi-
cional de la hoja y verificar_ que el tornillo de fijaci6n
este en contacto con el tope positivo. Ver la figura 15-2.
Una vez que la hoja haya sido inclinada a 45 grados,
apriete la perilla de cierre del volante de mano de bise-
lado Iocalizada en el lado izquierdo del gabinete. Esto
impedira la inclinaci6n adicional de la hoja. Gire el tornillo
de fijaci6n en sentido horario hasta que entre en contacto
con el tope positivo.
AJUSTE DE LA FLECHA DE BiSELADO
1. Asegurese de que la hoja este a 90 grados de la super-
ficie de la mesa usando una escuadra de combinaciones.
Ver la figura 16-1.
Figura 16=1
C
ALINEAIVllENTO DE LA INCLINACI()N
DE LA HOJA
REVISANDO EL ALINEAMIENTO
DE LA HOJA
La inclinaci6n de la hoja es el alineamiento incorrecto de la
hoja con las ranuras de ingletes. Esto significa que cuando la
hoja no se encuentra paralela alas ranuras de ingletes, se
est& inclinando. La hoja esta fijada paralelamente en la
fb.brica y no debe requerir ningun ajuste adicional. Puede
revisar esto mediante el uso de un indicador de cuadrante (no
incluido) o una escuadra de combinaciones (no incluida). Se
recomienda revisar el alineamiento antes del funcionamiento
inicial en la siguiente manera:
ASEGURESE de que la sierra de mesa este desconectada
de la fuente de energfa.
Fig. 16 A=I
A
2,
3,
Asegurese de que la flecha de biselado (A) indique la
marca de cero grados en la escala de biselado (B) colo-
cada en la parte frontal del gabinete. Ver la figura 16-1.
Para ajustar la flecha, afloje el tornillo de cabeza Phillips
(C), reposicionar la flecha de biselado y apriete el tornillo
de nuevo. Ver la figura 16-1.
1,
2.
3,
4,
5.
Eleve la hoja de la sierra a su punto m&s alto.
Coloque una escuadra de combinaciones (A) sobre la
mesa de la sierra con uno de los bordes (B) de la
escuadra contra la ranura de ingletes izquierda (C). Ver
figura 16 A-1.
Ajuste la escuadra de manera que la regla (D) s61o toque
la hoja de la sierra aproximadamente 1 pulgada del
dib,metro externo. AsegL]rese de que la regla no toque
ninguno de los puntos de carburo de la hoja de la sierra.
Sujete la regla en esta posici6n.
Esta dimensi6n debe ser alrededor de 5-1/2 pulgadas,
mas o menos 3/32 de pulgada.
69

Fig. 16A=2 Fig. 16B=1
\
6,
7,
8,
Gire la hoja de la sierra hacia atras para que pueda
tomar las medidas desde el mismo punto en la hoja de la
sierra. Ver la figura 16A-2.
Tome una lectura en la parte posterior de la hoja (E) con
la escuadra de combinaciones. Si hay una diferencia de
mas de cuatro tiras de papel estandar de impresora entre
la regla y la hoja, se tendra que realizar un ajuste.
Si resulta necesario realizar el ajuste, consulte
"AJUSTANDO EL ALINEAMIENTO DE LA HOJA".
B
A
1, Para alinear el paralelo de la hoja con la ranura de
ingletes, afloje primero las dos tuercas de cabeza hexa-
gonal (A) debajo del lado izquierdo de la sierra de mesa.
Este es en el mismo lade que el volante de biselado (B).
Ver figura 16B-1.
Fig. 16B=2
C
AJUSTANDO EL ALINEAMIENTO
DE LA HOJA
El alineamiento de la hoja esta fijado de fabrica y no debe
requerir ajuste. Todas las hojas de sierra tienen cierta
cantidad de desviaci6n. Por consiguiente, el reajuste del
alineamiento de la hoja s61o debe realizarse si resulta nece-
sario (ver Revisando el Alineamiento de la Hoja).
ASEGORESE de que la sierra de mesa este desconectada
de la fuente de energfa.
2,
3,
4,
5.
6.
Abra la cubierta del motor Iocalizada sobre el lade
derecho de la sierra de mesa. Afloje los dos tornillos de
cabeza hexagonal ( C ) Iocalizados directamente sobre la
abertura. Ver Figura 16B-2.
La sierra de mesa se encuentra aflojada ahora y podr_
reposicionarse hasta que la hoja quede paralela con la
ranura de ingletes. Repita los pasos en "REVISANDO EL
ALINEAMIENTO DE LA HOJA".
Cuando la hoja este paralela a la ranura de ingletes,
apriete los cuatro tornillos de cabeza hexagonal.
Vuelva a revisar el alineamiento de la hoja.
Incline la hoja a 45 grados y gire la hoja de la sierra
manualmente. Asegurese de que la hoja no haga
contacto con la pieza de inserci6n de mesa.
70

OPERACIONES Y AJUSTES DE LA GUiA
DE CORTE A LO LARGO
AJUSTANDO EL DESLIZAIVllENTO
DE LA GUIA
ASEGORESE de que la sierra de mesa este desconectada
de la fuente de potencia.
La gufa de corte a Io largo puede ser utilizada a cada lado de
la hoja de la sierra. La ubicaci6n m&s comun es en el lado
derecho. Esta gufa es una gufa de enclavamiento frontal, Io
que significa que s61o podrb, enclavarse en el riel delantero.
La gu/a se desliza a Io largo de los rieles delantero y trasero.
Fig. 17-1
CBG D F
H
H
2,
Para mover la gu/a de corte a Io largo, levante la
agarradera de la gufa (A) y deslice la gufa de un lado
a otro a traves de la mesa de la sierra. Aviso: La agarra-
dera de la sierra est_ cargada de resorte y permanecera
en la posici6n elevada hasta que se haga presi6n sobre
ella para bajarla. Ver la figura 17-1.
Para enclavar la guia y evitar su deslizamiento de un
lado a otro, presione la agarradera de la gufa hacia
abajo.
ASEGURESE de que la sierra de mesa este desconectada
de la fuente de energfa.
Debe consultar varios artfculos para asegurarse de que su
gu/a se deslice de manera uniforme:
Fig. 17=2
BA
B
A
1, Asegt]rese de que los tornillos de fijaci6n de nylon (A) y
las almohadillas de deslizamiento de nylon (B) esten en
sus sitios y que no esten da5adas, ranuradas o con
bordes filosos. Ver figura 17-2. Aviso: Algunos modelos
no cuentan con el Ensamblado de Micro-Ajuste ilustrado
en la figura 17-2.
Fig. 17=3
D
C
2, Asegurese de que ambos rieles delantero y trasero (C)
esten paralelos a la mesa de la sierra (D). Utilice una
escuadra de combinaciones (E) para revisar el paralelo.
Ver figura 17-3.
71

Figura 17-4
G F
Fig. 17-6
Limpiar y encerar
3, Asegurese de que exista un espacio libre consistente
entre el fondo de la gu[a (F) y la mesa de la sierra (G).
Este espacio debe ser igua[ al grosor de una moneda de
diez centavos, aproximadamente 0.050 pulgadas. Para
ajustar el espacio libre al frente de la gu[a, gire los
tornillos de fijaci6n de nylon (H) de manera uniforme.
Ver figura 17-4.
Para ajustar el espacio libre en la parte posterior de la gufa,
afloje dos tornillos (I). Los tornillos est_n Iocalizados dentro
de la tapa del extreme de gufa (J). El reten de la gufa (K)
tendra que girarse hacia abajo para Iograr el acceso a los dos
tornillos. Vuelva a posicionar la tapa de[ extreme de la gufa
para establecer el espacio libre y apriete los dos tornillos. Ver
figura 17-5.
Fig. 17-5
ASEGURESE de leer y obedecer todas las direcciones y
advertencias en el limpiador.
4, Limpie los rieles delantero y posterior con alcohol de
frotar o limpiador de frenos automotores. Evite derramar
el limpiador sobre las superficies pintadas. Tras la
limpieza, encere los rieles delantero y trasero completa-
mente. Para los modelos que dispongan del ensamblado
de Micro-Ajuste, no encere la zona del riel delantero en
donde la rueda de goma del Micro-Ajuste hace contacto.
AJUSTANDO LA ESCALA
DE CORTE A LO LARGO
1, Para ajustar la escala derecha, alinee el lado izquierdo
de la gufa (B) a cierta distancia del lade derecho (C) de
la ranura de la escuadra de ingletes derecha y enclave la
gufa. Ver la figura 17-1.
2. Utilice una cinta de medir para medir la distancia desde
el lade derecho de la hoja de la sierra hasta el lade
izquierdo de la gufa.
3. Afloje los dos tornillos que conectan el cursor (E) al lado
derecho de la cruceta de la gufa. Ver la figura 17-1.
4, Alinee el cursor con la escala (F) de tal manera que la
raya negra delgada (D) se encuentre en el mismo
n0mero que la distancia medida en el paso 4. Apriete los
tornillos del cursor.
5, Para ajustar la escala izquierda, remueva la gufa de la
mesa y reposici6nela en el lado izquierdo de la hoja de la
sierra. Alinee el lado derecho de la gufa a cierta distancia
del lade izquierdo de la ranura de la escuadra de ingletes
izquierda y enclave la gufa.
6. Utilice una cinta de medir para medir la distancia desde
el lade izquierdo de la hoja de la sierra hasta el lado
derecho de la gufa.
7. Afloje los dos tornillos que conectan el cursor al lado
izquierdo de la cruceta de la guia.
8, Alinee el cursor con la escala de tal manera que la raya
negra delgada se encuentre en el mismo numero que la
distancia medida en el paso 6. Apriete los tornillos del
cursor.
72

La gufa de corte a Io largo debe estar debidamente alineada
con la ranura de la escuadra de ingletes para impedir los
"contragolpes" durante las operaciones de corte a Io largo.
AJUSTANDO LA GUiA DE CORTE ALO LARGO
PARALELAMENTE:
Para ajustar la gufa de corte a Io largo en paralelo con la
ranura de la escuadra de ingletes, posicione la gufa de
corte a Io largo (B) a Io largo del lade derecho (C) de la
ranura de la escuadra de ingletes derecha y enclave la
gufa. La gufa de corte a Io largo debe estar paralela a la
ranura de la escuadra de ingletes. Si resulta necesario
hacer un ajuste, prosiga al siguiente paso. Ver la figura
17-1.
2, Levante la agarradera de la gufa y afloje ligeramente los
tornillos de cabeza hexagonal (G). Golpee levemente la
parte posterior de la guia hasta que la gufa de corte a Io
largo se encuentre paralela con la ranura de la escuadra
de ingletes. Enclave la gufa y vuelva a apretar los
tornillos de cabeza hexagonal. Desenclave la gufa y
muevala de un lado a otro. Encl_vela y revfsela de nuevo
para asegurar que est4 paralela. Ver la figura 17-1.
AJUSTANDO EL ENCUADRADO DE LA GUiA DE
CORTE ALO LARGO:
1. Para ajustar el encuadrado de la gufa de corte a Io largo
con la superficie de la mesa, enclave la gufa en su sitio y
coloque una escuadra sobre la mesa de la sierra y contra
el lade de la gufa de corte a Io largo. Si la guia de corte a
Io largo esta mal dispuesto, prosiga al siguiente paso.
2. Desenclave la agarradera de la gufa de corte a Io largo y
ajuste uno o ambos tornillos de fijaci6n (H) para cuadrar
la gufa de corte a Io largo con la mesa de la sierra.
Enclave la agarradera de la guia y vuelva a revisar.
PRECAUOION: Mantenga un espacio libre de aproximada-
mente 1 mm entre la mesa de la sierra y el fondo de la gufa.
Diez hojas de papel de impresora son aproximadamente 1
mm. Ver la figura 17-1.
AJUSTANDO LA PRESION DE SUJECION:
2,
Una vez que la gufa de corte a Io largo se encuentre
paralela con la ranura de la escuadra de ingletes, revise
si existe una fuerza de sujeci6n adecuada para sostener
la gufa de corte a Io largo en su sitio. Si puede levantar
la gufa de corte a Io largo del riel delantero mientras que
se encuentra enclavada, significa que requiere ajuste.
Para ajustar la presi6n de sujeci6n de la gufa de corte a
Io largo, afloje ligeramente los dos tornillos de cabeza
hueca hexagonal debajo del cuerpo de la gufa (I). Para
aumentar la presi6n de sujeci6n, gire el tornillo de
fijaci6n (J) en sentido horario; para reducir la presi6n de
sujeci6n, gire el tornillo de fijaci6n en sentido antihorario
y apriete ambos tornillos de cabeza hueca hexagonal.
Aviso: $61o realice ajustes pequefios al tornillo de fijaci6n
(J) y revise de nuevo. Ver la figura 17-1.
RETC:N TRASERO:
Para reducir al mfnimo la cantidad en que la gufa (K) se
separa de la mesa de la sierra, sencillamente vire el reten
posterior (L) hacia debajo de manera que quede debajo del
riel posterior. Esto limita la cantidad en que podr& elevarse la
parte posterior de la gufa.
73
Figura 17=7
K
AJUSTE DE LA PIEZA DE INSERCION
DE MESA
ASEGURESE de que la sierra de mesa este desconectada
de la fuente de potencia.
Figura 18=1
C
1,
2,
3,
4,
5,
La pieza de inserci6n de mesa (A) debe estar nivelada
siempre con la mesa de la sierra (B). Para ajustar la
pieza de inserci6n de la mesa, afloje y remueva el perno
de reten de la pieza de inserci6n de mesa (C). Ver la
figura 18-1.
Coloque una regla sobre el frente y la parte trasera de la
pieza de inserci6n de mesa. Revise que la pieza de
inserci6n este perfectamente nivelada con la mesa de la
sierra.
Para nivelar la pieza de inserci6n de la mesa, gire el
tornillo o los tornillos de ajuste de fijaci6n (D) segun Io
necesario y vuelva a revisar. Ver la figura 18-1.
Una vez que la pieza de inserci6n de mesa este
nivelada, afiance la pieza con el 3erno de reten que fue
removido en el paso 1.
La pieza de inserci6n de mesa vlene equipada con un
agujero de dedo (E) para la remoci6n facil. Ver la figura
18-1.

CAMBIANDO EL VOLTAJE DEL MOTOR CAMBIANDO LA HOJA DE LA SIERRA
ASEGURESE de que la sierra de mesa este des-
conectada de la fuente de potencia antes de trabajar
con el motor.
Haga que un electricista competente realice todas las
conexiones electricas. Deben acatarse todos los c6digos
locales y estatales.
El motor suministrado con la sierra de mesa es un motor
monofasico de doble voltaje, 120/240-voltios. El motor viene
cableado de fabrica para el funcionamiento a 120 voltios.
Para cambiar su sierra de mesa al funcionamiento a 240
voltios, prosiga con las siguientes instrucciones. Tambien
resulta necesario reemplazar el enchufe de 120 voltios
suministrado con la sierra de mesa por un enchufe de 120
voltios clasificado per UL /CSA (no incluido) y apropiado para
los 240 voltios y la corriente clasificada de la sierra. La sierra
de mesa con el enchufe de 240 voltios s61o debe conectarse
a un tomacorrientes que disponga de la misma configuraci6n
que el enchufe. No hay adaptadores disponibles para el
enchufe de 240 voltios ni tampoco debe usarse ninguno.
Figura 19=1
A
C
B
1. Asegurese de que el interrupter este "APAGADO" y
desconecte el cord6n de energia de la fuente de energ[a.
2. Abra la cubierta del motor y verifique en la etiqueta del
motor (A) que el motor es de doble voltaje. Ver la figura
19-1.
3. Si la etiqueta del motor declara que es de doble voltaje,
quite la cubierta de la caja de empalmes (B) del motor
(C). Ver la figura 19-1.
4. Usando el diagrama de cableado en el interior de la
cubierta de la caja de empalmes, reconecte los avances
del motor para el funcionamiento a 240 voltios.
5,
6.
7.
Reponga la cubierta de la caja de empalmes y cierre la
cubierta del motor.
Reponga el enchufe de 120 voltios por uno de 240
voltios clasificado por UL/CSA para la corriente del motor.
El interruptor de ENCENDIDO /APAGADO es de 4 polos
y no necesita ser modificado.
• Conmute el interrupter de energia a APAGADO y des-
enchufe el cord6n de potencia de su fuente de potencia
mientras que efectL]a el recambio de la hoja de la sierra.
o SOLO UTlUCE hojas con diametro de 10 pulg. y con
agujeros de eje de 5/8 pulg., tasados a 3800 RPM o mas
alto.
Figura 20=1
/
C
1,
2.
3.
4.
5,
6,
7.
Remueva el protector de hoja y el hendidor.
Remueva el perno de reten de la pieza de inserci6n de
mesa y remueva la pieza de inserci6n de mesa.
Desenclave el cierre del volante de mano de elevaci6n /
bajado y eleve la hoja de la sierra a su altura m&xima.
Se suministran dos Ilaves con la sierra de mesa. Coloque
una Ilave de boca (A) sobre la parte plana del eje de la
sierra para evitar que gire. Coloque la Ilave de extreme
cerrado (B) sobre la tuerca del eje (C). Gire la Ilave de la
tuerca del eje hacia el frente de la sierra para aflojarla.
Remueva la tuerca del eje, la pesta_a de la hoja (D) y la
hoja de la sierra (E). Ver la figura 20-1.
Monte la nueva hoja de la sierra. Asegtirese de que los
dientes apunten hacia abajo al frente de la mesa de la
sierra y monte la pesta5a de la hoja y la tuerca del eje.
Usando ambas Ilaves de hoja en la manera antes men-
cionada, apriete la tuerca del eje en la direcci6n contraria
a la que fue aflojada.
Reponga la pieza de inserci6n de mesa y apriete el
perno de reten de la pieza de inserci6n de mesa.
Reponga el protector de hoja y el hendidor.
74

ALINEANDO EL SOPORTE DEL HENDIDOR Fig. 20 A=2
ASEGORESE de que la sierra de mesa este desconectada
de la fuente de energfa.
Fig. 20=A=1
A
B
1. Para ajustar el soporte del hendidor delantero (A), afloje
los dos tornillos de cabeza hexagonal (B). Ver Fig 20A-1
\
2,
3,
4.
5,
Coloque una regla (C) a Io largo del lado izquierdo de la
hoja (D) y ajuste el soporte el hendidor delantero para
alinear el hendidor (E) a la hoja. Ver figura 20A-2.
Vuelva a apretar los dos tornillos de cabeza hueca
hexagonal despues de haber alineado el hendidor.
Si resulta necesario, ajuste el soporte del hendidor poste-
rior (F) asegurandose que el hendidor completo este en
Ifnea con la hoja de la sierra. Ver figura 20A-2.
Vuelva a revisar para asegurarse de que el hendidor siga
atin cuadrado con la mesa de la sierra. Si se requiere
efectuar algt_n ajuste, consulte PROTECTOR DE HOJA Y
ENSAMBLADO DEL HENDIDOR.
75

OPERACI6N YAJUSTE DE LA ESCUADRA
DE INGLETES
ASEGURESE de que la sierra de mesa este desconectada
de la fuente de energfa cuando vaya a realizar ajustes.
Figura 21=1
A
C ........................ ..............
7. Empuje el embolo hacia adentro y haga ajustes al tornillo
de parada (G) de manera que toque el embolo, apretan-
do la tuerca de cierre despues. Ver la figura 22-2.
8, Vuelva a revisar el angulo del tope positive con la hoja de
la sierra. Inserte la barra de gufa dentro de la ranura de
la escuadra de ingletes y deslice la escuadra de ingletes
hasta la hoja de la sierra.
9. Para revisar, coloque una escuadra contra la hoja de la
sierra y el cuerpo de la escuadra de ingletes. Si se
requieren ajustes adicionales, repita los pasos anteriores.
10. Para fijar ambos topes positivos de 45 grados, repita los
pasos anteriores.
CORTE TRANSVERSAL
El corte transversal exige el uso de la escuadra de ingletes
(A) para posicionar y guiar el material (B). Ver la figura 23-1.
La escuadra de ingletes dispone de topes positivos
ajustables a 0 grados y positivo/negativo 45 grados, o
puede ser establecido manualmente a cualquier angulo
entre positivo/negativo 60 grados.
2, Para girar el cuerpo de la escuadra de ingletes (A), afloje
la perilla (B) y extraiga el embolo (C). Gire el cuerpo de
la escuadra de ingletes al angulo deseado y apriete la
perilla. Ver la figura 21-1.
3, Para girar al siguiente tope positive, extraiga el embolo,
gire el cuerpo de la escuadra de ingletes, luego vuelva a
empujar el embolo hacia adentro y siga girando el cuerpo
de la escuadra de ingletes hasta que se detenga en el
siguiente tope positivo.
4. Para ajustar los topes positives a 0 grades, afloje la
perilla, extraiga el embolo y dele vuelta a la escuadra de
ingletes.
Figura 22=2
G
D
El use de aditamentos y accesorios que no sean de Crafts-
man podra resultar en el riesgo de lesiones al usuario o da5o
a la sierra de mesa.
Figura 23=1
D A
PARA EL CORTE TRANSVERSAL:
1. Coloque el material contra la escuadra de ingletes y
avance tanto la escuadra de ingletes come el material
hacia la hoja de la sierra (C). Ver figura 23-1.
Aviso: La escuadra de ingletes podra utilizarse en cualquiera
de las ranuras de escuadra de ingletes. Durante el corte de
biselado (con la hoja inclinada) haga uso de la ranura
derecha de la escuadra de ingletes para que la hoja se incline
en el sentido opuesto a la escuadra de ingletes y de sus
manos.
2. Inicie el corte con lentitud y sujete el material con firmeza
contra la escuadra de ingletes y la mesa.
5,
6.
Afloje la tuerca de cierre (D) 3 64 vueltas. Ver la figura
22-2.
Coloque una escuadra contra la barra de gufa (E) y el
frente del cuerpo de la escuadra de ingletes. Cuadre el
cuerpo de la escuadra de ingletes con la barra de gufa y
apriete la perilla. Ver la figura 22-2.
Para evitar heridas graves, no se agarre ni toque JAM,_S la
parte del material que va a cortarse (D).
3. Siga cortando hasta que el material haya side cortado a
la mitad.
4. Deslice la escuadra de ingletes y el material hacia el
punto de comienzo otra vez.
76

Aviso: Antes de deslizar el material nuevamente, mueva el
material hacia el lado un poco para alejarlo ligeramente de la
hoja de la sierra.
JAM_,S recoja ning0n trozo de material descartado de la
mesa mientras que la sierra este funcionando. Espere hasta
que la hoja de la sierra se haya detenido por complete.
Figura 23=2
GUfA AUXILIAR
Para mayor seguridad y conveniencia, la escuadra de
ingletes puede equiparse con una gufa auxiliar (E) si no es
que viene equipada con una. Si la guia auxiliar no ha sido
suministrada con su sierra, es posible comprar una como
accesorio o puede hacerse una a partir de un pedazo dimen-
sional de madera dura. Esta gufa auxiliar puede afianzarse al
frente de la escuadra de ingletes usando dos tornillos (no
incluidos) a traves de las ranuras (no ilustradas) en el cuerpo
de la escuadra de ingletes. Ver figura 23-2.
Figura 23-3
F
PRECAUCION
Cuando vaya a hacer use del bloque como calibre de corte,
es muy importante que la parte trasera del bloque este posi-
cionado de tal manara que el material quede libre del bloque
antes de entrar en la hoja. Ver la figura 23-3.
Jam_s utilice la gu/a come calibre de corte durante el corte
transversal.
Durante el corte transversal de un cierto n0mero de piezas a
la misma Iongitud, se podra abrazar un bloque de madera a
la gufa para funcionar come calibre de corte en la forma
ilustrada. Es importante que este bloque de madera siempre
se encuentre posicionado al frente de la hoja de la sierra,
seg0n Io ilustrado. Una vez que se haya determinado la
extensi6n de corte, afiance la gufa y utilice la escuadra de
ingletes para alimentar el material a la hoja. Este bloque de
madera permite que la pieza troceada se mueva con libertad
a Io largo de la superficie de la mesa sin que se produzca
ning0n agarrotamiento entre la gufa y la mesa de la sierra,
reduciendo asf la posibilidad del contragolpe y lesiones al
usuario. Ver la figura 23-3.
Aviso: Este bloque permite que el pedazo de material descar-
tado de troceado se mueva libremente a Io largo de la super-
ficie de la mesa sin atascarse entre la gufa y la hoja,
reduciendo asf la posibilidad del contragolpe y las heridas al
usuario.
2, Una vez que la extensi6n de troceado haya sido determi-
nada, enclave la gufa y deslice el material a Io largo de la
superficie de la mesa hasta que haga contacto con el
bloque. Utilice la escuadra de ingletes (K) para alimentar
el material hacia la hoja.
Para evitar los contragolpes durante el uso del bloque (F)
como calibre de troceado, es muy importante que el extremo
trasero del bloque (G) sea posicionado de tal manera que el
material (H) este despejado del bloque antes de que ingrese
en la hoja (I). Jamas utilice le gufa (J) como calibre de
troceado durante el corte transversal. Vea la figura 23-3.
G. H K
J
CALIBRE DE TROCEADO
Cuando vaya a realizar el corte transversal de un n0mero
de piezas a la misma extensi6n, afiance un bloque de
madera (F) a la gufa (J) para utilizarlo come calibre de
troceado. Es importante que dicho bloque de madera
siempre sea posicionado al frente de la hoja de la sierra.
Ver la figura 23-3.
77

CORTE A LO LARGO
, JAM_,S se pare en la Ifnea del trayecto de la hoja de la
sierra durante el corte a Io largo.
o SlEMPRE mantenga las manos y los dedos alejados de
la hoja de la sierra.
Figura 24=1
PRECAUClON
Cuando vaya a cortar a Io largo cualquier material mas largo
que tres pies, se recomienda que el material sea apoyado
detrb,s de la sierra de mesa para evitar que caiga. Puede
comprarse un estante de rodillos para apoyar los materiales
largos detras de una sierra de mesa.
PRECAUClON
Si el material a cortarse tiene menos de 4 pulg. de ancho,
debe hacerse uso siempre de una varilla de empuje (E) o
gufa para mantener sus manos alejadas de la hoja de la
sierra. Ver figura 24-2.
Figure 24=2
A
C
El corte a Io largo es la operaci6n de realizar un corte en
direcci6n del grano del material. La gufa de corte a Io largo
(A) se utiliza para posicionar y guiar el material. Pueste que el
material se empuja a Io largo de la gufa, debe disponer de un
borde recto y hacer contacto con la mesa de la sierra. El pro-
tector de hoja (B) y el ensamblado del hendidor (C) deben ser
utilizados. El hendidor cuenta con dedos anticontragolpe (D)
para impedir que el material haga contragolpe, y el ensambla-
do del hendidor para impedir que la entalladura de la madera
se cierre y atasque la hoja. Ver la figura 24-1.
1. Con el material libre de la hoja de la sierra, arranque el
motor.
2. Coloque el material sobre la mesa de la sierra con el
borde recto contra la gufa.
3. Avance el material lentamente, sujetandolo hacia abajo y
contra la gufa, y luego hacia la hoja de la sierra.
Aviso: El material puede alimentarse a traves de la hoja de la
sierra con una o dos manos, seg0n el tamaRo.
4, Despues de que el material se encuentre mas alia de la
hoja de la sierra y de los dedos anticontragolpe, podr_
retirar su mano del material. Cuando haya hecho esto, el
material o permanecera en la mesa, o se inclinar_ ligera-
mente para quedar atrapada por el extremo trasero de la
gufa, o se deslizara de la mesa hacia el suelo. Alter-
nativamente, la alimentaci6n podra proseguir hasta el
final de la mesa, despues de Io cual el material podr_
levantarse y traerse nuevamente a Io largo del borde
externo de la gufa.
5. La parte troceada del material permanece sobre la mesa
y no se toca hasta que la hoja de la sierra se haya
detenido por completo.
Puede comprarse una Gufa Craftsman de accesorio come
ayuda cuando vaya a efectuar cortes angostos. Vea la
secci6n "ACCESORIOS Y ADITAMENTOS" en este manual.
CONJUNTO DE FRESAS ROTATWAS
DE RANURAR
El protector de hoja y el ensamblado del hendidor no pueden
utilizarse durante el fresado o moldurado y debe bascularse
hacia la parte trasera de la sierra. El protector de hojas debe
reensamblarse una vez que haya completado el fresado o
moldurado.
Figura 25=1
B
A
78

El fresado es un corte que no es pasante o directo y que
produce una muesca cuadrada en el material. La mayor[a de
los conjuntos de fresas rotativas (no incluidas) estan confor-
madas por dos fresas rotativas exteriores (A) y cuatro o cinco
astilladoras interiores (B). Pueden colocarse calzos (E) entre
las fresas y astilladores para variar el ancho de un corte de
fresa ligeramente. No deben colocarse mas de dos calzos
juntos entre un conjunto de fresas o astilladoras. Los calzos
pueden estar hechos de papel pesado, bronce o metal. Las
distintas combinaciones de fresas y astilladoras se utilizan
para el ranurado de 1/8 pulg. a 13/16 pulg. en la construcci6n
de anaqueles, la formaci6n de juntas, espigado, ranurado,
etc. Ver las figuras 25-1,25-2 y 25-3.
Figura 25=2
C
Cuando el ancho de la fresa rotativa es de 13/16 pulg., no
puede hacerse uso de la pestaRa exterior del eje (F). S61o
debe usarse la tuerca del eje (G). Apriete la tuerca del eje
contra el cuerpo de la fresa rotativa. No pierda la pestaha
exterior del eje, ya que sera necesaria durante la reconexi6n
de la hoja al eje de la sierra. Ademas debe hacerse uso de
una pieza de inserci6n de mesa para la fresa rotativa (H) (no
incluida) en vez de la pieza de inserci6n de mesa estandar.
Ver figura 25-4.
Figura 25=4
H
(NO INCLUIDA)
Los dientes de las fresas rotativas y las astilladoras tienen
gradaci6n. Los dientes de las fresas rotativas y las astillado-
ras deben estar dispuestas de tal forma que la gradaci6n de
cada diente este solapada con la del pr6ximo diente. Las
gradaciones de la fresa rotativa (C) y la astilladora (D) se
solapan como se ilustra en la Figura 26-3. Puede utilizarse un
calzo (E) segt]n sea necesario para controlar el ancho exacto
de una fresa rotativa. Ver las figuras 25-2 y 25-3.
Figura 25=3
El protector de hoja y el ensamblado del hendidor no pueden
ser usados durante el fresado y deben bascularse hacia la
parte trasera de la sierra.
Figura 25=5
.--D
J
La Figura 25-5 muestra una operaci6n tfpica de fresado
haciendo uso de la escuadra de ingletes.
o
o
Jamas utilice el cabezal de fresa rotativa en la posici6n
de biselado.
Siempre instale el protector de hojas y el ensamblado del
hendidor despues de haber completado la operaci6n de
fresado.
79

FRESA DE MOLDURAR
El moldurado es el cortar una figura en el borde o la cara del
material. El corte de moldurados con una fresa de moldurar
(no incluida) en la sierra circular representa una operaci6n
rapida, segura y limpia. Las distintas formas de cuchillas
disponibles permiten que el operario produzca casi cualquier
clase de moldurado, tales como distintos tipos de moldurados
de esquinas, marcos para cuadros, bordes de mesa, etc.
Figura 26-1
La Figura 26-2 muestra el cabezal de moldurado montado al
eje de la sierra.
Si la pestaRa exterior del eje (D) no puede utilizarse con el
cabezal de moldurado, apriete la tuerca del eje (E) contra el
cuerpo del cabezal. No pierda la pestaRa exterior del eje, ya
que serb, necesaria durante la reconexi6n de la hoja al eje de
la sierra. Ademas debe hacerse uso de una pieza de inser-
ci6n de mesa para el moldurado (F) (no incluida) en vez de la
pieza de inserci6n de mesa estandar. Ver la figura 26-2.
Figura 26-3 G
C,
El cabezal de moldurar consiste de un cabezal de corte (A)
en el que puede montar distintos tipos de cuchillas de acero
(B). Cada una de las tres cuchillas en un conjunto esta fijada
a una ranura en el cabezal de corte y esta afianzada segura-
mente con un tornillo. Las ranuras de las cuchillas (C) deben
conservarse libres de aserrfn, Io que impedirfa que la fresa
tuviese el asiento correcto. Ver la figura 26-1.
El protector de hoja y el ensamblado del hendidor no pueden
utilizarse durante el fresado o el moldurado y deben bascu-
larse hacia la parte trasera de la sierra. El protector de hoja
debe reensamblarse cuando haya terminado.
Figura 26-2
D
©
©
Durante el uso del cabezal de moldurado, resulta necesario
aRadir un refrentado de madera (G) a la cara de la gufa de
corte a Io largo (H). El refrentado se conecta a la gufa
mediante el uso de afianzadores. Un refrentado de fl pulg.
es adecuado para la mayorfa de los trabajos, aunque ciertos
trabajos ocasionalmente podran exigir un refrentado de
1 pulg. Ver la figura 26-3.
Posicione el refrentado de madera sobre el cabezal de corte
con el cabezal de corte por debajo de la superficie de la
mesa. Encienda la sierra y eleve el cabezal de corte lenta-
mente. El cabezal de corte cortara su propia ranura en el
refrentado de madera.
o
o
Jamas utilice el cabezal de moldurado en la posici6n de
biselado.
Jamas pase el material entre la gufa y el cabezal de
moldurado, ya que la madera de configuraci6n irregular
producira que la contragolpes.
PRECAUCION
•Durante el moldurado a contrahilo debe hacerse uso de
la escuadra de ingletes. La velocidad de alimentaci6n
debe reducirse al final del corte para impedir el astillado.
•En todos los cortes, preste atenci6n al grano, haciendo
los cortes en la misma direcci6n que el grano siempre
que sea cortes en posible.
80

AJUSTES DE REPERCUSiON PARA LOS
ENSAMBLADOS DE ELEVACI(_N/BAJADO
DE LA HOJA E INCLINACI(_N DE LA HOJA
Se deben realizar los siguientes ajustes si se detecta
cualquier holgura en los ensamblados de elevaci6n/bajado o
inclinaci6n de la hoja.
como nueva. La ]impieza y el encerado de las superficies de
hierro moldeado, siguiendo un programa de mantenimiento
regular, se recomiendan come sigue:
Para limpiar y mantener las superficies de hierro sin pintar:
• Aplique una capa gruesa de WD-40 sobre la superficie
de hierro moldeado sin pintar.
Coloque el interruptor de energfa en "APAGADO" y desen-
chufe el cord6n de energfa de su fuente de energfa cuando
vaya a realizar ajustes.
Utilice una almohadilla de lana de acero fina para pulir el
hierro moldeado sin pintar. Aseg0rese de pulir en sentido
"del frente a parte posterior" solamente. El pulido de lado
a lado aparecera en el hierro finamente moldeado como
una lacra, defecto o ralladura.
AVISO: En la siguiente ilustraci6n, la sierra de mesa ha sido
colocada boca abajo y se ha quitado la hoja de la sierra para
mayor claridad.
Figura 27=1
Vuelva a aplicar WD-40 para pulir la superficie de hierro
moldeado sin pintar hasta que haya quitado las manchas
o la oxidaci6n. Asegurese de usar el mismo movimiento
de frotaci6n del frente a parte posterior para evitar rayar
o daRar la superficie de hierro moldeado.
Despues de haber quitado todas las manchas y/o
oxidaci6n, limpie todo el aceite y suciedad de la sierra
de mesa, utilizando para ello un paRo o trapo suave.
Finalmente, necesita aplicar una cera automotriz en
pasta de buena calidad a todas las superficies de hierro
moldeado sin pintar. Esto le ayudar_ a proteger la sierra
contra la oxidaci6n come resultado del contacto adicional
con la humedad o las manos aceitosas.
A
2,
Para ajustar el ensamblado de elevaci6n/bajado de la
hoja, afloje la tuerca de cierre (A) y gire el casquillo
excentrico (B) hasta haber quitado toda la holgura del
ensamblado. Luego apriete la tuerca de cierre de nuevo.
Ver la figura 27-1.
Para ajustar el ensamblado de inclinaci6n de la hoja,
apriete la tuerca de cierre (C) y gire la excentrica (D)
hasta haber quitado toda la holgura del ensamblado.
Luego apriete la tuerca de cierre de nuevo. Ver la figura
27-1.
PROTEGIENDO LA MESA DE HIERRO
MOLDEADO CONTRA LA OXIDACI(DN
ASEGURESE de haber apagado la energfa ("OFF") y desen-
chufe el cord6n de potencia de su fuente de energfa.
El medio ambiente y la frecuencia del contacto humano
pueden tenet un efecto sumamente nocivo sobre las super-
ficies de hierro moldeado sin pintar. El vaho, la humedad y los
aceites (provenientes de la mano humana) pueden hacer que
las superficies de hierro moldeado sin pintar se daRen o se
oxiden, asi que resulta importante Ilevar a cabo manteni-
miento rutinario para que su sierra de mesa se conserve
LUBRICACKDN
La sierra de mesa tiene cojinetes lubricados sellados en la
carcasa del motor que no requieren lubricaci6n adicional por
parte del operario.
LIMPIEZA
Con la sierra de mesa desenchufada, sople aire a baja pre-
si6n sobre el motor para quitar el polvo o la suciedad. No
debe hacerse uso de una presi6n de aire en exceso de 50
RS.I., ya que el aire de alta presion puede da_ar el aisla-
miento.EI operario debe utilizar protecci6n ocular siempre
cuando vaya a utilizar aire comprimido.
No permita que se acumulen astillas y polvo debajo de la
sierra de mesa. Mantenga la zona limpia yen buen estado.
PRECAUCI6N: NO UTILICE MATERIALES INFLAMABLES
para limpiar la sierra de mesa.
S61o personal competente debe realizar reparaciones a la
sierra de mesa. Comunfquese con su Centro de Servicio
Sears mas cercano para obtener servicio autorizado. Las
reparaciones desautorizadas o el reemplazo con piezas que
no sean de fabrica podrfan ocasionar lesiones graves al
operario y da5o a la sierra de mesa.
81

Para evitar herirse a si mismo o daRar la sierra de mesa, conmute el interrupter de energfa a "APAGADO" y desenchufe el cord6n
de potencia del tomacorrientes antes de realizar cualquier ajuste.
PROBLEMA SOLUCION
Motor no arranca:
Motor se atasca, se
dispara la sobrecarga
t6rrnica o se abren los
disyuntores de circuito
con frecuencia:
Motor arranca lenta-
mente ono aJcanza
plena velocidad:
Motor marcha caliente:
Resulta difi'cil girar los
volantes de mano:
Escuadra de ingletes
no se mueve de manera
uniforme:
Material se atasca, se
quema o detiene el
motor durante el corte a
Io largo:
La hoja de la sierra no
corta correctamente a
90 o 45 grados:
CAUSAS POSIBLES
1. Interruptor no fue oprimido a suficiente profundidad 1.
o interruptor en posicion de apagado.
2. Interruptor defectuoso. 2.
3. Capacitador defectuoso. 3.
4. Bajo voltaje de line& 4.
5. Motor defectuoso.
3.
4.
5.
2.
3.
1.
2.
1.
2.
1.
2.
1.
2.
3.
1.
2.
3.
1. Bajo voltaje de line&
Presione el interruptor fi pulg. hacia adentro o asegurese de que el
interruptor este en la posici6n de "encendidd'.
Haga reernplazar el interruptor.
Haga reernplazar el capacitador.
Corrija la condici6n de bajo voltaje de h'nea. Si la sierra esta
enchufada a una extensi6n, enchufe la sierra directarnente al torn
corrientes.
Haga reernplazar el motor.
AVlSO: El 3 y 4 deben ser realizados por un tecnico de servicio
cornpetente.
Reduzca la carga del circuito (apague otros enseres).
Corrija la condici6n de bajo voltaje de line& Revise el voltaje de
linea con un medidor multiple. Si la sierra esta enchufada a una
extensi6n, enchufe la sierra directamente al tomacorrientes.
Reduzca la carga del motor, reduzca la tasa de alirnentaci6n del
material empujado hacia la hoja,
Haga que un electricista cornpetente instale los fusibles
correctos en los disyuntores de circuito.
Inspeccione las terrninaciones en el motor por si hay aislarniento
daSado y/o cables cortocircuitados y rep6ngalos. Revise todas
las conexiones de avances de fuerza,
Corrija la condici6n de bajo voltaje de line& Revise el voltaje de
linea con un rnedidor multiple. Si la sierra esta enchufada a una
extensi6n, enchufe la sierra directamente al tomacorrientes.
Haga reernplazar el motor.
Haga reernplazar el capacitador.
Sobrecarga del circuito. 1.
Bajo voltaje de linea. 2.
Sobrecarga del motor. 3.
Fusibles incorrectos en los disyuntores de circuito. 4.
Cortocircuito del motor; conexiones sueltas o 5.
aislarniento gastado en los avances.
1.
Bobinados defectuosos del motor. 2.
Capacitador defectuoso. 3.
Circulaci6n de aire restringida debido a la acurnulaci6n 1.
de polvo.
Sobrecarga del motor. 2.
La Perilla de Cierre del Volante de Mano no ha sido 1.
aflojada.
Acurnulaci6n de polvo sobre los engranajes de 2.
inclinaci6n o biselado dentro del gabinete.
Suciedad en la ranura de la escuadra de ingletes y 1.
en la barra de la escuadra de ingletes.
Tornillos de fijacion en la barra de la escuadra de 2.
ingletes estan desajustados.
Hoja rorna. 1.
Tabla alabeada o torcida, 2.
Gul'a de corte a Io largo no esta paralela a la hoja de 3.
la sierra.
Hoja rorna. 1.
Ajuste incorrecto de la flecha indicadora, 2.
Fijaci6n incorrecta de los topes positivos. 3.
Montaje incorrecto de la guia de corte a Io largo. 1.
Rieles sucios o pegajosos. 2.
1.
2.
3.
4.
Lirnpie el polvo y restaure la circulaci6n normal de aire
alrededor del motor.
Reduzca la carga del motor.
Afloje la Perilla de Cierre del Volante de Mano.
Limpie los ensamblados de engranaje de inclinaci6n o biselado.
Limpie la ranura y la barra de la escuadra de ingletes.
Ajuste los tornillos de fijaci6n en la barra de la escuadra de ingletes.
Afile o reponga la hqa,
Reponga la tabla.
Ver "Alinearniento de Gul'a" en Operaci6n y Ajustes.
Afile o reponga la hoja,
Ajuste la flecha indicadora de biselado.
Ajuste los topes positivos de 90 y 45 grados.
La guu'a de corte aIo 1. Ver "Alinearniento de Guia" en Operaciones y Ajustes.
largo no se rnueve de 2. Lirnpie y aplique cera en pasta a los rieles.
manera uniforme:
Vibraei6n excesiva de la
sierra: 1. Hoja alabeada,
2. Correa de marcha da5ada,
3. Superficie de trabajo desigual.
4. La sierra no esta rnontada de manera segura.
Reponga la hoja,
Reponga la correa de rnarcha.
Reposicione la sierra en una superficie plana. Ajuste los pies
niveladores, si fueron surninistrados con la sierra.
Apriete toda la ferreteria
82

83

Your Home
For repair - in your home -of all major brand appliances,
......................................lawn and garden equipment, or heating and cooling systems, ....................
no matter who made it, no matter who sold it!
For the replacement parts, accessories and
owner's manuals that you need to do-it-yourself.
For Sears professional installation of home appliances
and items like garage door openers and water heaters.
1-800-4-MY-HOIVlE ® Anytime, day or night
(1-800-469-4663) (U.S.A. and Canada)
www.sears.com www.sears.ca
0 ur Home
Forrepairofcarry-inproductslikevacuums,lawnequipment,
and electronics, call or go on-line for the location of the nearest
SearsParts8,RepairCenter.
1-800-488-1222 Anytime, day or night (U.S.A. only)
www.sears.com
iiiiiiiiiiiiiiiiiiiii
TO purchase a protection agreement (U.S.A.)
or maintenance agreement (Canada)on a product serviced by Sears:
1-800-827-6655 (U.S.A.) 1-800-361-6665 (Canada)
Au Canada pour service en frangais:
Para pedir servicio de reparacion a
.....................domicilio, y para ordenar piezas: 1-800-LE-FOYER Mc
(1-800-533-6937)
1-888-SU-HOGAR sM www.sears.ca
© Sears, Roebuck and Co.
@ Registered Trademark /TMTrademark /sMService Mark of Sears, Roebuck and Co.
® Marca Registrada /TMMarca de F_brica /sMMarca de Servicio de Sears, Roebuck and Co.
MC Marque de commerce /MDMarque d_pos_e de Sears, Roebuck and Co. @ Sears, Roebuck and Co.