Craftsman 517798580 User Manual WEEDWACKER Manuals And Guides L0710656
CRAFTSMAN Line Trimmers/Weedwackers, Gas Manual L0710656 CRAFTSMAN Line Trimmers/Weedwackers, Gas Owner's Manual, CRAFTSMAN Line Trimmers/Weedwackers, Gas installation guides
User Manual: Craftsman 517798580 517798580 CRAFTSMAN WEEDWACKER - Manuals and Guides View the owners manual for your CRAFTSMAN WEEDWACKER #517798580. Home:Lawn & Garden Parts:Craftsman Parts:517798580 Craftsman Grass trimmer (weed wacker) Manual
Open the PDF directly: View PDF .
Page Count: 32

SW S Operator's Manual
®
25cc 2-cycle Engine
17" Swath Gasoline
WEEDWACKER ®
Model No.
517.798580
Consumer Helpline
Telephone Numbers
located on Page 32.
Caution;
Read and Follow all Safety
Rules and Instructions Before
Operating This Equipment.
Sears, Roebuck and Co., Hoffman Estates, IL 60179 U.S.A.
2/28/96 P/N 19816 Rev. 0

Tableof Contents .................................2
Safety Rules & Symbol Definition ....2,3
Warranty ..............................................3
Index ....................................................4
Assembly .............................................5
Operation..........................................6-8
Maintenance...................................9-10
Service& Adjustments.......................10
Storage ..............................................10
Troubleshooting............................11-12
Parts..............................................14-19
Spanish.........................................20-3t
SYMBOL DEFINITION:
A
@
O
Indicates Warning,
Danger, and Caution
Read all Safety, Operating
and Maintenance
Instructions.
Wear eye and hearing
protection when operating
this equipment.
Keep all bystanders at
least 50 feet (15m)
away.
of Ricochet
Danger
Q o not install any type of
blade on this unit
OPERATION
• Do not allow children or untrained
individuals to use this unit.
•Use this trimmer for cutting weeds and
grass only. Do not use for any other
purpose.
•Never start or run the engine inside a
closed area; breathing exhaust fumes
can kill.
° Clear the work area before each use.
Remove all objects such as rocks,
broken glass, nails, wire, or string
which can be thrown or become
entangled in the stringhead.
° Product users on United States
forest service land, and In some
states, must comply with fire
prevention regulations.
This product is equipped with a
spark arrestor; however, other user
requirements may apply. Check with
your Federal, State, or local authori-
ties.
°Follow these instructions to reduce
the risk of injury:
°Wear full eye and hearing protec-
tion while operating this trimmer.
°Wear heavy long pants, shoes, and
gloves.
. Keep all bystanders, children, and
pets at least 50 feet (15m) away.
,Do not wear loose clothing, or
jewelry.
° Secure long hair so it is above the
shoulder.
° Do not operate this trimmer when
you are tired, ill, or under the
influence of alcohol, drugs, or
medication.
° Do not operate in poor lighting.
° Keep firm footing and balance. Do
not overreach.
° Keep all parts of your body away
from the stringhead and hot sur-
faces. Keep stringhead below waist
level.
•Always stop engine and remove
spark plug wire before making any
adjustments or repairs except
carburetor adjustments.
MAINTENANCE
o Use only Manufacturer's replacement
parts. Failure to do so may cause poor
performance and possible injury, and
may void your warranty.
• Inspect unit before each use for loose
fasteners, fuel leaks, etc. Replace
damaged pads. Replace stringhead if
cracked, chipped, or damaged in any
way. Be sure the stringhead is
properly installed and securely
fastened. Failure to do so can cause
serious injury.
2

• Make sure all deflectors and handles
are properly and securely attached.
° Use only monofilament string in the
cutting head. Do not use any other
cutting attachment.
• The stringhead will spin during
carburetor adjustments. Wear
protective equipment and observe all
safety instructions.
•Before storing, allow the engine to
cool.
• Empty the fuel tank and restrain the
trimmer from moving before transport-
ing in a vehicle.
REFUELING (DO NOT SMOKE!)
• Mix and store fuel in a container
approved for gasoline.
° Mix fuel outdoors where there are no
sparks or flames.
• Select bare ground, stop engine and
allow to cool before refueling.
• Loosen fuel cap slowly to release
pressure and to keep fuel from
escaping around the cap.
_, Wipe spilled fuel from the unit, Move
10 feet (3m) away from refueling site
before starting engine.
WARNING
The engine exhaust from this
product contains chemicals
known to the State of California
to cause cancer, birth defects
or other reproductive harm.
CALIFORNIA PROPOSITION 65
FULL ONE-YEAR WARRANTY ON CRAFTSMAN ® WEEDWACKER ®
LINE TRIMMER
For one (1) year from date of purchase, when this Craftsman Gas Powered
WeedwackeP Line Trimmer is maintained, lubricated, and tuned up according to
the operating and maintenance instructions in the Operator's Manual, Sears will
repair, free of charge, any defect in materials or workmanship.
This warranty excludes nylon line, spark plug, spool retainer, and air filter, which
are expendable parts and become worn during normal use.
If this WeedwackeP Line Trimmer is used for commercial purposes, this warranty
applies for only 90 days from date of purchase. If this WeedwackeP Line
Trimmer is used for rental purposes, this warranty applies for only 30 days from
the date of purchase. This warranty applies only while this product is in use in the
United States.
WARRANTY SERVICE AVAILABLE BY RETURNING THE WEEDWACKER ®
TO THE NEAREST SEARS SERVICE CENTER IN THE UNITED STATES.
This warranty gives you specific legal rights, and you may also have other rights
which vary from state to state.
Sears, Roebuck and Co., 1:)/817 WA, Hoffman Estates, IL 60179

A
Adjustments:
Carburetor ................................. 11,12
Air Filter:
Cleaning ......................................... 10
B
Before Starting Engine ........................ 7
C
Carton contents ................................... 5
Controls:
Choke Lever ..................................... 8
Primer Bulb ...................................... 8
Throttle Trigger ................................. 8
Stop Button ...................................... 8
Customer Responsibilities:
Air Filter .......................................... 10
Carburetor Adjustment .............. 11,12
Fuel Cap Filter ................................ 10
Spark Plug ...................................... 10
Stringhead ..................................... 8,9
E
Engine:
Before Starting Engine ..................... 7
Fuel .................................................. 7
Starting and Stopping ...................... 8
Storage ........................................... 10
F
Filter, Air ............................................. 10
Filter, Fuel Cap .................................. 10
Fuel ...................................................... 7
G
Grass Deflector .................................... 5
H
Handle .................................................. 5
I
Index .................................................... 4
M
Maintenance Schedule ........................ 8
O
Oil:
Type ..... See Fuel .............................. 7
Operation:
Before Starting Engine ..................... 7
Starting ............................................. 8
Stopping ........................................... 8
P
Product Specifications ......................... 4
R
Repair Parts .................................. 14-19
S
Safety Rules ..................................... 2,3
Spark Plug ......................................... 10
Starting ................................................. 8
Stopping ............................................... 8
Storage .............................................. 10
Stringhead:
Advance ........................................ 8,9
Installation ..................................... 8,9
Symbol Definitions ............................... 2
T
Table of Contents ................................. 2
Troubleshooting ............................ 11,12
W
Warranly .............................................. 3
MODEL
NUMBER 517.798580
SERIAL
NUMBER
DATE OF
PURCHASE
The model and serial numbers will be
found on a decal attached to the back
side of the crankcase cover.
You should record both serial number
=and date of purchase and keep in a
safe place for future reference.
PRODUCT SPECI FICATIO N S
Weight 9.5 Ibs.
Displacement 25cc
Fuel Capacity 23 oz.
Gasoline/Oil Mix
Spark Plug Champion
(Gap .025") DJ7Y
4

CARTON CONTENTS
Parts Bag contents not shown full size Parts packed loose in carton
_: ........ _ Hex Heal0, Screw
1/4-20 X Qty 1
Flat Washer - Plain
1/4" Qty 1 Grass Deflector
(_) Lock Washer _'/ _
1/4" Qty 1
,-../_-_ Wing Nut Extra Spool Bottle of Oil
"_-_-._-_ Washer Face w/line
1/4- 20 Qty 1
TOOLS REQUIRED FOR
ASSEMBLY
No special tools required for assembly.
For California units only
Muffler Guard
Hex Nut -
Centerlock
10 -24 Qty 2
Hex Head Screw
10-24 x 1/2" Qty 2
ASSEMBLY
GRASS DEFLECTOR
Remove wing nut (A), lock washer (B),
flat washer (C), and bolt (D) from the
parts bag. Place grass deflector (E)
over shaft and bracket (F). install bolt
(D), flat washer (C), lock washer (B),
and wing nut (A). Tighten securely.
f
A
HANDLE
Loosen wing nut (G) on handte (H).
Rotate handJe to top side of shaft and
move it to a comfortable position. Tighten
securely.
H

KNOW YOUR STRING TRIMMER
READ THIS OWNER'S MANUALAND SAFETY RULES BEFORE OPERATING
YOUR TRIMMER. Compare the illustrations with your Trimmer to familiarize yourself
with the location of various controls and adjustments. Save this manual for future
reference.
4
3
2
5
6
7
11
10
1. Throttle trigger
2. Fuel cap
3. Muffler
4, Air filter
5. Choke
6. Engine housing
7. Grip
8, Front handle
9. Drive shaft housing
10 Stringhead
11, Deflector

BEFORE STARTING ENGINE
FUELING
This engine is certified to operate on
unleaded gasoline intended for
automotive use.
This is a 2-cycle engine product and
requires pre-mixing gasoline and 2-
cycle oil. For normal homeowner use,
we recommend mixing fuel in a 1 or 2
gallon container approved for gasoline.
Use Craftsman®2=cycle engine oll No.
36549. Mix at the ratio of 40:1 (3.2 oz.
of oil to 1 gal. of gasoline).
Oil formulated for 50:1 should be mixed at
a 40:1 ratio.
Oil formulated at 100:1,24:1, 16:1 or non
2-cycle oil should not be used. They can
cause smoking, oily residues, spark plug
fouling, combustion chamber deposits,
hard starting, etc.; and may void your
warranty.
Do not use automotive oil or 2-cycle
outboard oil.
1. Loosen fuel cap slowly. Rest the cap
on a clean surface.
2. Carefully pour fuel into the tank. Avoid
spillage.
3. Immediately replace fuel cap and
hand tighten. Wipe up any fuel
spillage.
4. It is normal for smoke to be emitted
from a new engine after first use.
NOTE: Always shut off engine before
fueling. Never add fuel to a machine
with a running or hot engine. Move at
least 10 feet (3m) from refueling site
before starting engine. DO NOT
SMOKE!
_, WARNING
Experience indicates that atcohol blended
fuels (called gasohol or using ethanol or
methanol) can attract moisture which
leads to separation and formation of acids
during storage. Acidic gas can damage
the fuel system of an engine while in
storage. To avoid engine problems, the
fuel system should be emptied before
storage for 30 days or longer. Start the
engine and let it run until the fuel lines
and carburetor are empty. Use fresh fuel
next season. See Storage instructions for
additional information. Never use engine
or carburetor cleaner products in the fuel
tank or permanent damage may occur.
IMPORTANT
ALWAYS OPERATE TRIMMER AT FULL
THROTTLE. PROLONGED PART
THROTTLE CUTTING WILL RESULT IN
OIL DRIPPING FROM THE MUFFLER.
Cut tall grass from the top down. This
will prevent grass from wrapping
around the drive shaft housing and
stringhead that may cause damage
from overheating. If grass becomes
wrapped around the stringhead, STOP
THE ENGINE, disconnect the spark
plug wire, and remove the grass.
String advance is controlled by tapping
stringhead on grass while running engine
at full throttle.
NOTE:
This trimmer is equipped with a cut-
off blade on the grass deflector. For
best cutting, advance string until it is
trimmed to length by the cut-off blade.
Advance string whenever you hear the
engine running faster than normal.
This will maintain best performance
and keep string long enough to
advance properly,
If the string is worn too short you may
not be able to advance the string by
tapping, If so, STOP THE ENGINE, and
manually advance per instructions on
page 9, item 7.
Keep the trimmer tilted toward the area
being cut. See illustration for best cutting
area (A). Do not cut in dangerous
cutting area (B).
Use the tip of string to do the cutting -
do not force stringhead into uncut grass.
Wire and picket fences cause extra string
wear, even breakage. Stone and brick
walls, curbs, and wood may wear string
rapidly. Walk around trees and shrubs.
Tree bark can easily be damaged by the
string.
B
A
7

STARTING AND STOPPING
TO START
1. Lay Trimmer on a flat, bare surface.
2. Push primer bulb (A) 8 to 10 times.
3. Move choke lever to "choke" position
(B).
4. Squeeze trigger to full throttle position.
5. Pull starter rope until engine tries to
run. (No more than 6 pulls.)
6, Move choke lever to "1/2 choke"
position (C).
7. Squeeze trigger to full throttle position
and pull starter until engine runs.
8, Run engine 30 to 45 seconds at full
throttle on half choke position to warm
up, Then move choke lever to "run"
position (D).
TO STOP:
Push and hold red STOP button (E) until
engine stops.
A
D
C
E
B
MAINTENANCE
SCHEDULE
Air Filter
Spark Arrestor Screen
Spark Plug
Stringhead Retainer
EVERY 5HOURS
CLEAN
v'
EVERY25 HOURS OR YEARLY
REPLACE
is'
v'
v'
v'
MAINTENANCE AND
ADJUSTMENT
You can often make adjustments and
repairs described here. For other
repairs, have the trimmer serviced by
an authorized servicing dealer.
Use only .080" (2.0ram) diameter
monofilament string.
SPOOL REPLACEMENT (New
prewound spool)
1. Stop engine. Hold stringhead and
unscrew spool retainer (A). Turn
counterclockwise, (see Fig. 1).
2. Remove empty spool from stringhead.
3. To install new spool, make sure that
the two strings are captured in the stots
(C) opposite each other on the new
spool. Extend end of string approxi-
mately 6 inches (15cm) beyond the
slots (see Fig. 2),

4. Thread the strings into the eyelets (D)
in the stringhead (E). Carefully push
the spool into the stringhead (gently
pull the strings to the outside if
necessary). When the spool is in the
stringhead, grasp the strings and putt
sharply to release them from the slots
in the spool. (See Fig. 2).
5. Push down and turn the spool counter-
clockwise until it no longer turns. Hold
spool down and rotate clockwise a
small amount. Release the spool. The
spool should be locked down in the
stringhead. If not, hold down and
rotate until locked.
6. Make sure stringhead and spool
retainer are installed on drive shaft (F)
by turning the retainer clockwise to tighten.
7. Pull the strings again to rotate the spool
into cutting position. Push the spool
retainer down while pulling on string(s) to
manually advance string and to check for
proper assembly of the stringhead.
STRING REPLACEMENT
1. Stop engine. Hold stringhead and
unscrew spool retainer. Turn counter-
clockwise.
2. Remove spool from stringhead (Note:
Keep spring (B) attached to spool)
(Fig. 2). Remove any old string
remaining on spool
3. Insert one 11 foot long string into
anchor hole (G) in spool as shown
(see Fig. 3). Wind string #1, in upper
space counterclockwise as shown by
the arrows on the flange (H) (see Fig.
4) and place string end in slot (I) on
upper spool flange (see Fig. 4). Extend
string 6 inches (15cm) beyond slot.
After winding, there should be at least
1/4" (6ram) between the wound string
and the outside edge of the spool. DO
NOT OVERFILL.
4. Repeat step 3 with #2 string and again,
DO NOT OVERFILL.
5. Follow Spool Replacement instructions
in steps 4 through 7.
A "--t"
Fig. 1#
2
G
\
#
1
Fig. 3
B
\
F
Fig. 2
C
E
Fig. 4

FUEL CAP FILTER
WARNING
A leaking fuel cap is a fire hazard and
must be replaced immediately.
The fuel cap contains a non-serviceable
filter and a check valve. A clogged fuel
filter'will cause poor engine performance.
If performance improves when the fuel
cap is loosened, check valve may be
faulty or filter clogged. Replace fuel cap
if required.
SPARK PLUG
This engine uses a Champion DJ-7Y
with .025" (0,63mm) electrode gap.
an exact replacement and replace
annually.
Use
AIR FILTER
For proper performance and long life,
keep air filter clean. '
1. Remove the air filter cover (A) by
gently pulling on the cover while
carefully prying up on the latches with
a screwdriver (see illustration).
2. Remove the filter (B), clean it in warm
soapy water. Rinse and let 'dry
completely. For best performance,
replace annually.
3. Install filter, align tabs, push in, and
make sure that the latches are locked
in place.
A B
Carburetors are factory set and should
not require adjusting. However, refer to
the Trouble Shooting Section of this
manual if problems occur with accelera-
tion or starting.
ENGINE STORAGE
If grass deflector shows wear, it should
be replaced.
It _s important to prevent gum deposits
from forming in essential fuel system
parts such as the carburetor, fuel filter,
fuel hose or tank during storage. Also,
experience indicates that alcohol
blended fuels (called gasohol or using
ethanol or methanol) can attract moisture
which leads to separation and formation
of acids during storage. Acidic gas can
damage the fuel system of an engine
while in storage.
To avoid engine problems, the fuel
system should be emptied before
storage of 30 days or longer. Follow
these instructions:
To remove gasoline, run the engine
until the tank is empty and the engine
stops.
10
If you do not want to remove gasoline,
a fuel stabilizer (such as Sears
Craftsman fuel stabilizer No. 33500)
may be added to any gasoline left in
the tank to minimize gum deposits and
acids. If the lank is almost empty, mix
stabilizer with fresh gasoline/oil
mixture in a separate container and
add some to the tank.
Always follow instructions on
stabilizer container. Run engine at
least 10 minutes after stabilizer is
added to allow mixture to reach
carburetor. Store trimmer in a safe
place. See warning above.

Problem
Engine will not
start:
Cause
1. No spark.
2. No fuel.
3. Flooded engine.
Correction
,
.
4. Muffler exhaust tube
plugged.
5. Starter rope pulls
harder now than when
new.
Engine starts but
wild not accelerate:
Engine starts but
will only run at high
speed at half
choke:
Carburetor requires
adjustment.
Carburetor requires
adjustment.
.
Check spark. Remove spark plug.
Reattach the spark plug cap and
lay spark plug on metal cylinder.
Pull the starter rope and watch for
spark at spark plug tip, If there is
no spark, repeat test with a new
spark plug.
Push primer bulb until bulb is full
of fuel. If bulb does not fill,
primary fuel delivery system is
blocked. Contact a Sears Service
Center. If primer bulb fills, engine
may be flooded (see next item).
Remove spark plug, turn trimmer
so spark plug hole is aimed at the
ground. Move choke lever to
"RUN" and pull starter cord 10 to
15 times. This will clear excess
fuel from engine. Clean and
reinstall spark plug. Pull starter
three times with choke lever at
"RUN". If engine does not start,
move choke lever to "CHOKE"
and repeat normal starting
procedure. If engine still fails to
start, repeat procedure with a
new spark plug.
4. Clean tube with a small screw-
driver or wire. Note: Some insects
may build nests in muffler tube
while trimmer is being stored,
5. Contact a Sears Service Center.
Turn "L" needle (A) counterclock-
wise 1/16 turn.
Turn "H" needle (B) counterclock-
wise 1/16 turn.
11

Problem
Engine does not
reach full speed
and emits exces-
sive smoke:
Engine starts, runs,
and accelerates but
will not idle:
String will not
advance:
4.
5.
Grass wraps 1.
around drive shaft
housing and 2.
stringhead:
Cause Correction
Spool retainer hard
to turn:
Oil drips from
muffler:
1. Check oil fuel
mixture.
2. Air filter dirty.
,4
3. Carburetor requires
adjustmenL
Carburetor requires
adjustment.
1. String welded to
itself.
2, Not enough string
on spool.
3. String worn too
short.
String tangled on
spool.
Engine speed too
slow.
Cutting tail grass at
ground level.
Operating trimmer
at pad throttle.
Screw threads dirty or
damaged.
1. Operating trimmer
at part throttle
2. Check oil/fuel
mixture.
3. Air filter dirty.
4. Carburetor requires
adjustment.
1. Use fresh fuel and the correct 2-
cycle oil mix.
2. Clean per instructions in
Maintenance Section.
3. Turn "H" (B) needle clockwise
1/16 turn.
Turn idle speed screw (C) c!ockwise to
increase idle speed,
1. Lubricate with silicone spray.
2. Install more string (see String
Replacement),
3. Pull strings while alternately
pressing down on and releasing
spool retainer.
4. Remove string from spool and
rewind (see String Replacement).
5. Advance string at full throttle.
1. Cut tall grass from the top down.
2. Operate trimmer at ful! throttle.
Clean threads and lubricate with
grease- if no improvement, replace
spool retainer,
1. Operate trimmer at full throttle.
2. Use fresh fuel and the correct 2-
cycle oil mix.
3. Clean per instructions in
Maintenance Section
4. Turn "H" (B) needle clockwise
1/16 turn.
A
C
B
12

Notes
13

011 12 9
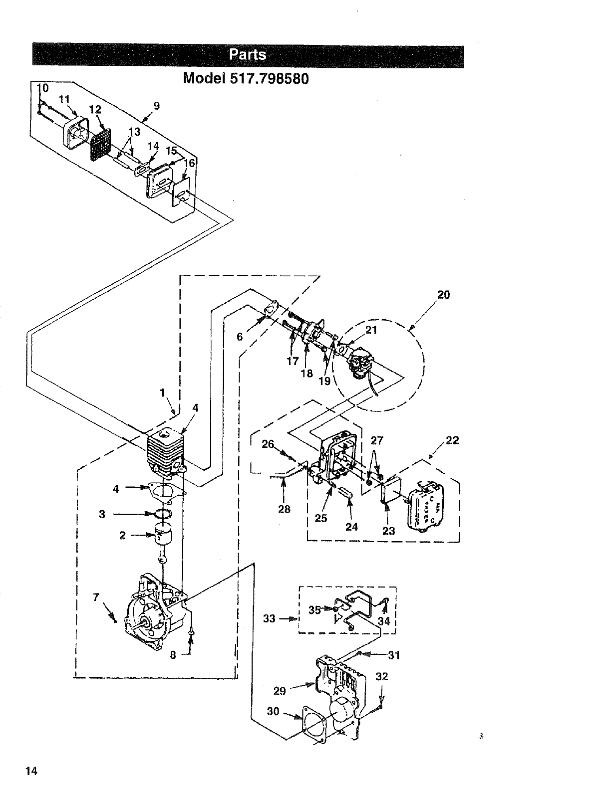
Model517.798580
4
3
1
/
"-7
/
/
/17 18 1
/"
28
I
I
I 25
I
\
24
2O
/
\
J
/
/
J
\
14

Model 517.798580
No,
1
2
3
4
5
6
7
8
9
10
11
12
13
14
15
16
17
18
19
20
21
22
23
24
25
26
27
28
29
3O
31
32
33
34
35
Part No.
®A-04742
m
• A-03599
__ 03179
_'A-04740-B
04388-B
00775-A
69250
82569-1
'_A-07314
96935
-A-04723-A
04388-B
00775-A
69250
82569-1
"°-A-04837
88060
A-04786
04790
04785
98783
04710
98786-C
04474
98768
82549-1
"_'A-04445-A
-- 98766-A
OA-04707
D-98760-B
98769
95020
_82513
81208
A-07238
A-00858
98767-A
82541
82538
[-_A-00254
|88049
L_ 81208
Description
REPOWER SHORT BLOCK
REPLACEMENT PARTS FOR
REPOWER SHORT BLOCK ONLY
PISTON & ROD
RING-Piston
CYLINDER KIT
GASKET-Cylinder
GASKET-Heat Dam
KEY-Woodruff
SCREW-Thread Forming (10-24 X 3/4"
25CC PISTON & ROD
RING-Piston
25CC CYLINDER KIT
GASKET-Cylinder
GASKET-Heat Dam
KEY-Woodruff
SCREW-Thread Forming (10-24 X 3/4")
MUFFLER KIT
SCREW-Sems He× (10-24 X 2 1/2")
COVER-Muffler
SCREEN-Spark (Also included with #4)
SPACER-Muffler (Also included with #4
PLATE -Reinforcing
BODY-Muffler (Also included with #4)
GASKET-Muffler (Also included with #4
SCREW-Machine (10-24 X 2 1/4")
HEAT DAM
SCREW-Taptite (10-24 X 1")
CARBURETOR KIT
GASKET-Carburetor
AIR FILTER KIT
FILTER-AIR
BUTTON-Switch
SPRING-Compression
SCREW-Plastite (#6)
NUT-Hex (10-24)
LEAD-Electrical
CRANKCASE COVER
GASKET-Crankcase Cover
SCREW-Plastite (#10 X 1/2")
SCREW-Taptite (10-24 X 1/2")
WIRE GUARD KIT
SCREW-Hex Sems (10-24 X 1/2")
NUT (10-24)
Qt 1
1
1
2
1
1
1
1
3
I
1
1
1
1
1
3
1
2
1
1
2
1
1
1
2
1
2
1
1
1
1
1
1
1
2
1
1
1
2
4
1
2
2
15

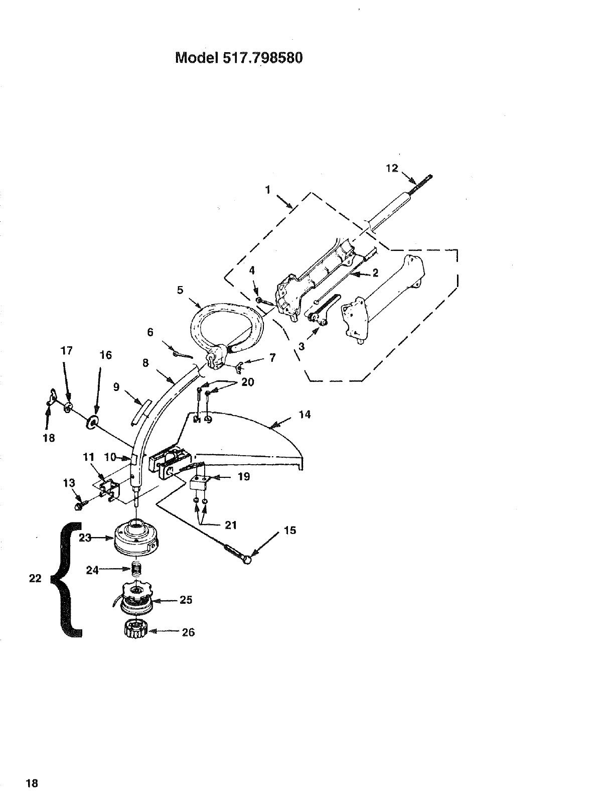
Model517.798580
I28 I
29
31
.2
3
4
16
14
15 16
18
17

Model 517.798580
No.
1
2
3
4
5
6
7
8
9
10
11
12
13
14
15
16
17
18
19
20
21
22
23
24
25
26
27
28
29
3O
31
Part No. Description
A-04158
95479-A
98795-A
"%A-08209
82541
98791
98770-A
97899-02
A-98773-A
02264
82455
98802-A
82268
97574
82538
A-98919-A
02851
"-;A-04447
49422
01439-32
94772-32
98268
A-00982-B
98792
• A-04446
94711-CS
-33055
82540
96169-S
A-07238
SHORT BLOCK (Ref. Pg. 19, Item 1)
ROTOR w/Starter Pawls
WASHER, Flat
CONN ECTOR-Drive
COMPLETE STARTER ASSEMBLY
SCREW-Plastite (#10-1/2")
BRACKET-Retaining
PULLEY-Starter
ROPE-Starter (42")
SPRING & CONTAINER
GRIP-Starter
SCREW-Pan Hd. (#10 X 3/8")
CLAMP
SCREW-Hex Sems (10-24 X 3/8")
NUT-Square
SCREW-Taptite (10-24 X 3/4")
LEAD-Ground
TERMINAL-Male
FUEL TANK
FILTER-Fuel
TUBING-Rubber (8")
TUBING-Rubber (8")
CLAMP-Wire
FUEL CAP
BUMPER=Rubber
IGNITION KIT
MODULE-Ignition
TERMINAL & COVER
SCREW-TapIite (8-32 X 1")
SPARK PLUG
LEAD-Electrical
1
1
1
1
1
2
2
1
1
1
1
1
1
1
1
4
1
1
1
1
1
1
1
1
3
1
1
1
2
1
1
17

Model 517,798580
18
5
17 16
l°
6
8
11
X
13
12
/
\
4
=..--- 7
20
-!
I
/
14
19
/
/
/
t
22 Ii
[]
i
21 15
18

Model 517.798580
No.
1
2
3
4
5
6
7
8
9
10
11
12
13
14
15
16
17
18
19
20
21
22
23
24
25
26
Part No. Description
"_-A-00101-A
A-03006
98772-A
82368
"i"A.07136
80295
93992
T A-04459
04458
04679
98853-A
98816
88077
TA-04704
80295
84006
83009
93992
•A-03832
82531
= 81261
rDA-03001-A
|A-98231-A
| 06713
| DA-98912-E

Motor 25cc - 2-Tiempos
17" Andana Gasolina
WEEDWACKER ®
Model No.
517.798580
Vease pagina 32 para los nQmeros de
telefono directos para el escritorio de
ayuda inmediata.
Precauci6n:
Lea y siga todas las normas e
instrucciones de seguridad antes de
operar este equipo
Contenida .......................................... 20
Nomas de Seguridad & Definiciones de
los simbolos .................................. 20-21
Garantia ............................................. 21
Indice ................................................. 22
Armado .............................................. 23
Operacion ..................................... 24-26
Mantenimiento .............................. 26-28
Mantenimiento y ajustes .................... 28
Almacenamiento ................................ 28
Resolucion de problemas ............. 29-30
Despiece de partes ....................... 14-19
EspaSol ......................................... 20-31
DEFINIClONES DE LOS SIMBOLOS:
A
@
@
lndica Advertencia, Peiigro y
Precauci6n.
Lea todas las instrucciones
de Seguridad,
Funcionamiento y
Mantenimiento.
P6ngase protecciones en los
ojos y oidos para operar este
equipo,
@
Mant_ngase a una distancia
minima de 50 pies (15 m) de
todas las personas que se
encuentren a su alrededor.
Peligro de rebote.
No instale ningQn tipo de
cuchilla en esta unidad.
FUNCIONAMIENTO
•No permita ni_os o personas sin
entrenamiento usar este aparato.
" Utilice esta cortadora _nicamente para
cortar hierbas y c_sped. No la utilice para
ningQn otro fin.
" No ponga nunca en marcha el motor o Io
deje funcionar dentro de un area cerrada.
La inhalaci6n de los gases de escape
puede ser mortal.
2O
Limpie el #,tea donde va a trabajar antes de
ulilizar la cortadora. Retire los objetos tales
como piedras, cristales rotos, clavos, cables
o cuerdas que puedan desprenderse de la
cuerda de la cortadora o enrollarse en la
misma.
Usuarios en las areas de servicios
forestales del govierno en los Estados
Unidos, y en algunos estados en general,
estan obligados a durnplir con las
regulaclones de prevencion de fuegos
forestales. Este producto esta equipado
con aprensor de chispa, sin embargo,
otros requisitos pueden ser requeridos
de1 usuarlo. Antes de usar este equipo
verifique con las autoridades estatates,
locales y federales en su area.
Siga las siguientes instrucciones con el
fin de reducir el rlesgo de daSos fisicos:
Pbngase protecclones completas para
los ojos y oidos mientras este
trabajando con esta cortadora,
a P6ngase pantalones largos, zapatos y
guantes gruesos.
*Mantengase alejado a una distancia
minima de 50 pies (15m), de todas las
personas, niSos y animales dom6sticos
que se encuentren a su afrededor.
o No se ponga ni ropa que le quede
holgada ni joyas.
e Rec6jase el pelo de manera que no le
caiga por debajo de los hombros.
o No trabaje con Jacortadora cuando se
encuentre cansado, enfermo, o bajo la
influencia del alcohol, drogas o
medicamentos.
® No opere la cortadora con iluminaci6n
insuficiente.
® Mantenga los pies fijados firmemente en
el suelo y el equilibrio adecuado. No
fuerce su postura.
o Mantenga todas las partes de su cuerpo
fuera del alcance de la cabeza de la
cuerda y de superficies calientes.
Mantenga la cabeza de la cuerda pot
debajo del nivel de la cintura.

mPare e| motor y el retire el cable de la
bujia antes de efectuar ajustes o
reparaciones, excepto en el caso de
ajustes en el carburador.
MANTENIMIENTO
= Use solamente piezas de repuesto
originales del fabricante det prcducto.
Ignorar esta recomendacl6n puede afectar
negafivamente el funcionamiento,
posiblemente cause daSos fisicos, y puede
invatidar su garantia.
• Inspeccione la unidad anles de ulilizarla y
compruebe si hay fijadores sueltos, fugas
de gasolina, etc. Cambie las piezas que
esten daSadas. Reemplace la cabeza de
la cuerda en caso de que tenga fisuras,
hendiduras, o cualquier otto tipo de daSo.
Asegurese de que la cabeza de la cuerda
est6 inslalada correctamente y apretada
firmemenle, Ignorar este punto puede
causer da5os fisicos importantes.
_' Aseg_rese de que todos los deflectores y
empuSaduras est6n filados de forma
adecuada y segura.
Utilice cuerda monofitamento en la cabeza
de code. No utilice ningSn otro tipo de
accesorio de corte.
=La cabeza de la cuerda girar& cuando se
efect_en ajustes en el carburador,
P6ngase el equipo de protecci6n
adecuado y siga todas las instrucciones de
seguridad.
Q Deje que el motor se enffie antes de
almacenar la unidad.
_, Vacie el dep6sito de gasoline y evite que
la cortadora se mueva antes de
transportarla en un vehiculo.
LLENADO DE COMBUSTIBLE (iNO
FUMAR!)
=Mezcle el combustible y p6ngalo en un
recipiente homologado para ser utilizado
con gasolina.
" Mezcte el combustible ala intemperie,
donde no haya chispas o llamas.
• Busque un terreno vaclo, pare el motor y
deje que se enfrie mientras procede al
Ilenado de combustible.
Afloje lentamente el tap6n de la gasoline
para dejar salir la presidn y evitar la salida
de combustible alrededor det tapdn.
o Limpie el combustible que se haya
derramado en la unidad. Antes de poner
en marcha el motor, ap_rtese 10 pies (3m)
del lugar donde haya Itenado el dep6s_to.
ADVERTENCIA
En el Estado de Calllornla se ha determinado
que los gases de escape del motor de este
producto contienen substancias qulmicas
que producen e_ncer, defectos de nacimiento
y otros efectos nocivos relacionados con la
reproduccl6n.
PROPUESTA 65 DE CALIFORNIA
GARANTIA COMPLETA POR DOS AltOS PARA LA CORTADORA DE
HIERBAS A GASOLINA CRAFTSMAN WEEDWACKER ®
Pot un afio desde la fecha de compra cuando esta unidad a gasolina Craftsman
Weedwacker e es mantenida, lubricada y puesta a punto de acuerto con las instrucciones de
operaci6n y mantenimiento en el manual del operario, Sears reparar& fibre de cosIo
cualquier defecto de material o de mano de obra.
Esta garantia excluye la cuerda de nylon, bujla, retenedor de carrete y fillro de aire, las
cuales son partes descartables que se desgastan durante el uso normal,
Si este Weedwacker e se usa para tines comerciales, esta garantia se aplica durante 90 dias
solamente a partir de la fecha de compra, Si este Weedwacker ¢ se usa para fines de
alquiler, esta garantia se aplica durante 30 dias solamente a partir de la fecha de compra.
Esta garantia se aplica solo mientras este producto se use en los Estados Unidos.
EL SERVlClQ DE GARANTIA ESTA DISPQNIBLE DEVOLVlENDO EL WEEDWACKER®AL
CENTRQ Q DEPARTMENTO DE SERVlCIO DE SEARS MAS CERCANO EN LOS
ESTADOS UNIDQS.
Esta garantia le otorga derechos legates especificos y usted puede lambi_n tener otros
derechos que varian de Estado a Estado.
Sears, Roebuck and Co. Dept. D817 WA, Hoffman Estates, IL 60179.
21

A
Aceite:
Tipo....V6ase Combustible ............. 25
Ajustes i
Carburador ................................ 29,30
Almacenamiento ................................ 28
Antes de arrancar el motor ................ 25
Arranque ............................................ 26
B
Bujia ................................................... 28
C
Cabeza de cuerda::
por adelantado ........................... 26,27
Instalaci6n ................................. 26,27
Contenido .......................................... 20
Contenido de la caja .......................... 23
Controles:
Bot6n de parada ............................. 26
El bulbo cebador ............................ 26
Gatil!o del acelerador ..................... 26
Palanca del regulador .................... 26
D
Definiciones de los simbolos ............. 20
Deflector para la hierba ..................... 23
E
EmpuSadura ...................................... 23
Especificaciones ................................ 22
F
Filtro de aire:
Limpieza ......................................... 28
Filtro de aire ....................................... 28
Filtro, Tapa del tanque de
combustible .................................... 28
G
Garantia ............................................. 21
I
Indice ................................................. 22
M
Mezclade combustible ....................... 25
Motor:
Antes de arrancar el motor ............ 25
Almacenamiento ............................ 28
Arranque/Parada ............................ 26
Mezclade combustible ................... 25
N
Normas de seguridad ................... 20,21
O
Operaci6n:
Antes de arrancar et motor ............ 25
Arranque ......................................... 26
Parada ............................................ 26
P
Parada ............................................... 26
Programa de mantenimiento .............. 26
R
Reparacion, repuestos ................. 14-19
Resolucion de probtemas ............. 29,30
Responsabitidades del cliente:
Ajuste del carburador ................ 29,30
Bujia ............................................... 28
Cabeza de cuerda ..................... 26,27
Filtro de aire ................................... 28
Tapa del tanque de combustible .... 28
NUMERO DE
MODELO: 517.798580
NUMERO DE
SERIE
FECHA DE
COMPRA
Los numeros del modelo y de la serie
se encuentran en el rotulo adherido a la
parte trasera del carter.
Debe registrar el numero de serie y la
fecha de cornpra y fuardarlos en un lugar
seguro para referencias futuras.
ESPECIFICACIONES DEL
PRODUCTO
Peso
Cilindrada
Capacidad de
Combustible
Buj[a
(Separaci6n .025")
9.5 Ibs. (4.3kg)
25c0
652g
Mezcla de
gasolina/aceite
Champion
DJ7Y
22

CONTENIDO DE LA CAJA
La ilustracibn no muestra las
dimensiones reales del contenido de
la Bolsa de Piezas.
Tornillo con cabeza
hexagonal
1/4-20 X 20" Qty 1
Arandela plana
1/4" Qly 1
Arandela de fijaci6n
1/4" Qty 1
_/'f'_i,-"_,\ =_.._u_._.j/-_. _) Tuerca con orejetas -
Cara de arandela
HERRAMIENTAS NECESARIAS
PARA EL ENSAMBLAJE
No se necesitan herramientas especiales para
el ensamblaje
ENSAMBLAJE
DEFLECTOR PARA LA HIERBA
Retire la tuerca con orejetas (A), ta arandela
de seguridad (B), la arandela plana (C), y el
perno (D) que viene en la bolsa de piezas.
Coloque el deflector (E) sobre el eje y el
soporte (F). Instale el perno (D), la arandela
plana (C), la arandela de seguridad (B) y la
tuerca Con oreietas (A), Aprietela firmemente.
B
Las piezas vienen sueltas en la caja
Deflector para la hlerba
Carrete adieional
con cuerda
Botella de aceite
Solamente para unidades vendidos
en California
Protector
silenciador
Tuerca hexagonal
10 -24 Qty 2
Tornillo con cabeza
hexagonal
10-24 x 1/2" Qty 2
EMPUt_ADURA
Afloje la tu_rca con orejetas (G) que hay en la
empuhadura (H). Haga girar la empu_adura
hasta la parte superior del eje y mu_vata hasta
alcanzar una postura c6moda. Apriete
firmemente.
H
23

CONOZCA SU CORTADORA PARA SETOS
LEA EL MANUAL PARA EL OPERADOR Y LA6 NORMAS DE SEGURIDAD ANTES
DE OPERAR LA CORTADORA PARA MALEZAS. Compare las ilustraciones con el
producto a fin de familiarizarse con la ubicaci6n de los diversos controles y ajustes.
Conserve este manual para referencias futuras.
4
8
11
10
1. Gatillo del acelerador
2, Tapa del tanque de combustible
3. SUenciador
4. Filtro de aire
5. Palanca del difusor
6, Armazbn del motor
7. Mango
8. Empafiadura
9. Armazbn del eje del motor
10 Cabeza de cuerda
11. Deflector para la hierba
24

ANTES DE ARRANCAR EL
MOTOR
COMBUSTIBLE
Este motor esta homologado para
funclonar con gasoline sin plomo para
vehiculos.
Este producto cuenta con un motor de 2
tiempos y requtere que se mezcle
prevlamente la gasollna con un aceite para
motor de 2 tiempos. Para utilizaci6n normal,
le recomendamos que efect_1e la mezcla en
un recipiente de 1 62 galones homologado
para gasoline.
Utilice aceite para motor de 2tiempos
CRAFTSMAN. Prepare la mezcla en una
proporcion de 40 partes de gasofina por 1
parte de aceile (3,2 oz. de aceite pot cada
galon de gasolina). El aceite formulado para
mezclas de 50:1 se debe mezclar en una
proporci6n de 40:1.
No se deben utilizer aCeites formulados para
mezclas de 100:1, 24:1, 16:1 6aquellos
aceites que no seen pare molores de 2
tiempos. Estos pueden generar la emisi6n de
humo, residuos aceitosos, el
malfuncionamiento de la bujia,dep6sitos en la
camara de combusti6n, un arranque
dificultoso, dafios al motor, etc.
No utilice acelte para automoviles o para
motores fueraborda de 2 tiempos.
1. Afloje lentamente el tap6n de la gasolina.
Deje el tap6n en una superficie limpia.
2. Vierta cuidadosamente la gasoline en el
dep6sito. Evite el derramamiento.
3. Vuetva a poner inmediatamente el tap6n en su
sitio y apd_telo con la mano. Si tuese
necesario, limpie la gaso_ina derramada.
4. Es normal que salga humo de un motor nuevo
despu_s de ser utilizaclo por prirnera vez.
NOTA: Apague siempre el motor antes
de depositar et combustible. No afiada
nunca gasolina a una mAquina con el
motor en marcha o mientras el motor est_
caliente. Antes de poner en marcha el
motor, ap__rtese 10 pies (3m) del lugar
donde haya efecluado e! tlenado del
clep6sito, iNO FUMAR!
,_ ADVERTENCIA
La experiencia indica que los combustibles
mezclados con alcohol (denominados
alconaftas o que utilizan etanol o metanol)
pueden atraer humedad, la que produce la
separaci6n y formaci6n de acidos durante el
almacenamiento. El gas acidogeno puede
dafiar el sistema de combustible de un motor
mientras este se encuentra almacenado. A fin
de evitar problemas con el motor, se deberA
racier el sistema de combustible antes del
almacenamiento durante 30 dies o m,_s.
Arranque el motor y d_jelo enfuncionamiento
hasta que el carburador y las tineas del
combustible est6n vac'_s.
Utilice combustible lresco la pr6xima
temporada. Si desea obtener informaci6n
adicional, consulte las instrucciones
indicadas en la secci6n Almacenamiento.
Nunca utilice un producto de limpieza para el
carburador o motor en el tanque de combus-
tible, de lo contrario se pueden producir
dafios permanentes.
IMPORTANTE
SlEMPRE QUE TRABAJE CON LA
CORTADORA MANTISNGALA A PLENA
POTENCIA. EL CORTE PROLONGADO
CON EL REGULADOR A MEDIA POTENCIA
PUEDE HACER QUE GOTEE ACEITE DEL
TUBO DE ESCAPE.Corte el c_sped alto de
arriba a abajo. Asi evitarA que el cdsped
se enrolle en el armaz6n del eje impulsor y
en la cabeza de la cuerda, Io cual puede
ocasioner dahos por sobrecalentamiento.
En caso de que el c6sped Ilegue a
envolver la cabeza de cuerda, PARE EL
MOTOR, desconecte el cable de la bujia y
quite el cdsped.
AVANCE DE LA CUERDA
El avance de la cuerda se controla dAndole
golpecitos a la cabeza de la cuerda contra el
cAsped mientras el motor est& funcionando a
plena potencia.
NOTA:
Esta cortadora est_ equipada con una
cuchllla en el deflector de cdsped. Para
obtener el mejor corte posible, haga que
avance la cuerda hasta que quede cortado
a la medida pot la cuchilla. Haga avanzar
la cuerda cuando oiga que el motor
adqulere una velocidad superior a la
normal. Esto ayudarA a Iograr un buen
funclonamiento y a mantener la Iongitud
adecuada para la cuerda para que _sta
avarice correctamente.
Si la cuerda se ha quedado muy corta
como consecuencia del uso, tel vez usted
no Iogre que avance ddndole golpecitos. En
este caso, PARE EL MOTOR, y haga que
avarice manualmente segdn las tnstrucciones
indicadas en la p_gina 27, punto 7.
Mantenga la cortadora inclinada hacia el &tea
que est_ siendo cortada. Vea la ilustraci6n en
la que se indica la mejor Area para el corte
(A). No corte en zireas que pudieran
resultar peligrosas (B) (pdgina 26).
Para cortar, use el extremo de la cuerda -
no fuerce la cabeza de la cuerda dentro del
Area que no est_ cortada. Los cables y Pas
cercas pueden ocasionar un deterioro de la
cuerda superior al normal, incluso romperla.
Las paredes de piedra y ladrilfo, los bordillos y
la madera pueden hacer que la cuerda se
desgaste r_pidamente.
25

Esquive los _irboles y arbustos. La cuerda
puede daSar facilmente la corteza de los
arboles, las molduras de madera, el exterior
de las casas v los postes de las cercas,
o
\
8, Deje que el motor funcione durante 30 6 45
segundos en la posici6n de plena potencia,
Mueva la palanca del difusor hasta la
posici6n de "run" (en marcha) (F).
PARA PARAR: Presione el bot6n rojo de
STOP (G), manteni_ndolo presionado hasta
que el motor se pare.
C
A
PUESTA EN MARCHA Y
PARADA
PONER EN MARCHA:
1. Ponga la corladora sobre una superficie
plana donde no haya elementos peligrosos.
2. Presione el bulbo cebador (C) 8 a 10 veces.
3. Mueva la palanca del difusor a la posici6n
media del difusor "choke" (D).
4, Apriete el accelerador hasta la posici6n de
plena potencia.
5. Tire del arrancador hasta que el motor
intente ponerse en marcha, (No m&s de 6
veces),
6. Mueva la palanca del difusor hasta la
posici6n media del difusor "1/2 choke" (E).
7. Presione el accelerador hasta la posici6n de
plena potencia y tire det arrancador hasta
que el motor se ponga en marcha,
E
D
G
ii
HORARIO DIE CADA 5 HORAS CADA 25 HORAS OUNA VEZ AL
MANTIENIMIENTO LIMPIAR AI_O REEMPLAZAR
v'
Filtro de Aire
Para chispas
Bujia
Retenedor de carrete
v'
v'
v'
v'
MANTENIMIENTO Y AJUSTE
En algunas ocasiones, usted mismo podra
efectuar los ajustes y reparaciones
indicados en este manual. En otros casos,
habra de Ilevar |a cortadora a un
distribuidor autorizado para que efect_e
las operaciones de servlclo necesarias.
Utilice _nicamente cuerdas monofilamento
con un di_metro de ,080" (2.0mm).
REEMPLAZO DEL CARRETE
(Carrete nuevo enrollado en
fabrica)
1. Pare el motor. Sostenga la cabeza de
cuerda y desatornille el reten del carrete
(A). H_.galo girar en el sentido eontrario al
de las agujas del reloj (consulte Fig. 1).
2. Retire el carrete vacio de la cabeza de la
cuerda.
26

3. A la hora de instalar el earrete nuevo,
aseg_rese de que las dos cuerdas hayan
quedado enganchadas en las dos ranuras
(C) sim_tricas m&s pequeSas del nuevo
carrete, Haga que 6 pulgadas (15cm) de la
cuerda sobresalgan de las ranuras
(consulte Fig. 2).
4. Pase los extremos de las cuerdas a traves
de las aberturas (D) de la cabeza de la
cuerda (tire ligeramente de las cuerdas
hacia fuera, si fuese necesario) (E). Una
vez que el carrete est_ en la cabeza de la
cuerda, agarre las cuerdas y tire con fuerza
para sacarlas de las ranuras existentes en
el carrete (consulle Fig. 2).
5. Apriete el carrete hacia abajo y h&gato girar
en el sentldo contrario al de las agujas
del reloj hasta que deje de dar vueltas.
Siga apretando el carrele hacia abajo y
girelo un poco en el sentido de las agujas
del reloj. El carrete deberia quedar fiiado
en ta cabeza de la cuerda.
6. Asegfirese de que ia cabeza de la cuerda y
el ret6n del carrete hayan quedado
instalados en el eje de transmisi6n (F).
Para ello, habrA de girar el reten en el
sentido de las agujas del reloj con el fin de
apretarlo.
7. Vuelva a tirar de las cuerdas, haciendo girar
e! carrete hasta que se encuentre en la
posicibn de corte. Empuje el ret6n del
carrete mientras tira de ta(s) cuerda(s) para
que esta(s) avance(n) manualmenle y
compruebe que se haya montado
correctamente la cabeza de la cuerda.
A
Fig. 1
RECAMBIO DE LA CUERDA
1, Pare el motor. Sostenga la cabeza de la
cuerda y desatornille el ret_n del carrete.
H&galo girar en el sentido contrario al de
las agujas del reloJ (Consutte Fig. 1,
p&gina 27).
2. Extraiga el carrete de la cabeza de la
cuerdas (Nora: manteng a el resorte (B)
unida al carrete). Extraiga la cuerda vleja
que quede en el carrete.(Consulte Fig.3,
p&gina 27)
3. Introduzca una Iongitud de 1I pies de
cuerda pot el orificio de anciaje (G)
existente en el carrete, tal y como se indica
en el gr,_fico (consulte Fig. 3). Enrotle la
cuerda #1 en el espacio superior en e!
sentido contrario al de las agujas del reloj,
tal y como Io indican las flechas existentes
en la pestaSa (H) (consulte Fig. 4) y pase el
extremo de la cuerda por la aberlura (I) que
se encuentra en la pestaSa superior del
carrete (consulte Fig, 4]. Pase la cuerda a
traves de la aberturas unas 6 pulgadas
(15cm). Una vez que haya terminado de
enrollarla, deber_ haber una separaci6n de,
como minimo, 1/4" (6ram) entre la cuerda
enrollada y el borde exterior del carrete. NO
LLENE EL CARRETE EXCESIVAMENTE.
4. Repita el paso 3 con la cuerda #2 y
recuerde que NO DEBE LLENAR EL
CARRETE EXCESIVAMENTE.
5. Siga las instrucciones indicadas en el
capitulo Reemplazo del Carrete, pasos 4 a 7.
N A
\
#
2#
1
BFig. 3
Fig. 2
C
E
D
Fig. 4

FILTRO DEL TAPON DE
GASOLINA
ADVERTENCIA
Un tapon con fugas representa un riesgo
de incendio y debe ser reernplazado
inmediatamente,
El tapon de ta gasolina contiene un fiJtro que
no puede ser reparado y una v_lvula de
verificaci6n. El bloqueo del liltro para la
gasoline puede perjudicar el funcionamiento
dot motor. En caso de que el rendimiento del
motor mejore cuando se afloja e_tap6n de la
gasoline, sere. necesario comprobar que la
valvula funcione correctamente o que el filtro
no se encuentre bloqueado. Si fuese
necesario, reemplace el tap6n de la gasolina.
BUJIA
Este motor utiliza una bujia Champion DJ-7Y
con un intervalo de .025" (0,63ram) entre los
electrodos. Reempl&celo una vez al aSo con
una pieza de id_ntica.
FILTRO DEL AIRE
Mantenga el filtro del aire limpio para
asegurar un rendimiento adecuado y
obtener una mayor duracibn.
1. Retire la tapa del liltro de aire (A) tiranclo
suavemente de la tapa, al mismo tiempo
que levanta cuidadosamente los enganches
con un des_ornillador (consulte el gralico).
2. Saque el fittro (B), Iimpielo con' agua
caliente yjab6n. Enju_.guelo y dejelo secar
completamente. Para obtener el mayor
rendimiento posibte se recomienda
reemplazar el filtro una vez al a5o.
3. Instale el filtro, alinee los indicadores,
empuje hacia dentro y asegQrese de que
los enganches queden cerrados en la
posici6n correcta.
AB
Los carburadores se configuran en la fabrica y
no deben requerir ajustes. Sin embargo,
consulte en este manual la Seccion sobre
Identilicaci6n de Averias en el caso de que
existan problemas at acelerar o al arrancar.
Si el desviador de hierba se desgasta, se
deberdt reemplazar.
ALMACENAMIENTO DEL MOTOR
Es importante evitar la formaci6n de dep6sitos de
goma en loscomponentes esendates del sistema
tales como el carburador, el filtro de combustible,
la manguera o el tanque de combustible mientras
la unidad se encuentra en almacenamiento.
Ademas, la experiencia indica que los
combustibles mezclados con alcohol
(denominados gasohof o aquellos que contienen
etanol o metanol) pueden retener humedad, Io
cual hace que se separen y formen _cidos durante
el periodo de almacenamiento. Los gases
acidicos pueden daBar el sistema de combustible
det motor durante el periedo de atmacenamiento.
Pare evitar probfemas relacionados con la
gasolina y antes del almacenar la unidad por
periodos de 30 dias o m_s se debe vaciar el
sistema de combustible. Observe estas
instrucciones:
® Para vaciar el tanque de gaselina, deje el
motor funcionando hasta que el tanque se
vacie completamente y se pare el motor.
Si no desea vaciar el tanque, se puede
agregar un estabilizador de combustible (tel
como el estabilizador Sears Craftsman No.
33500) a cualquier cantldad de gasolina que
haya quedado en el tanque, con el fin de
reducir a un minimo los dep6sitos de
sustancias gomosas y _,cidos. Si el tanque
se encuentra casi vacio, mezele el
estabilizador con gasolina adquirida
recientemente, o con mezcla de gasolina y
aceite, en un recipiente aparte; aRada ta
mezcta al tanque,
Siga siernpre las Instrucciones que se
encuentran en el recipiente de estabilizador.
Deje que el motor funcione por unos 10
minutos despues de anadir el establlizador,
para que la mezcla pueda Ilegar al
earburador. Almacene la cortadora de
malezas en un local seguro. Lea las medldas
de precaucibn que figuran rn&s arriba.

PROBLEMA
Elmotor no se pone
en marcha:
El motor se pone en
maroha pero no
acelera:
El motor se pone en
marcha pero s61o
funciona a plena
velocidad cuando
est& en la posiciSn
media del difusor:
CAUSA
1. No da chispa,
2. No hay combustible.
3. Motor ahogado.
4. Conducto del tube de
escape taponado.
5. Cueslamas tirar del
cable del arrancador, en
comparacion a cuando
estaba nuevo.
Es necesario ajustar el
carburador.
Es necesario ajustar el
carburador.
SOLUCION
1. Compruebe si da chispa. Quite la
buj'_a. Vuelva a conectar el cable de
la bujia y vuelva a ponerla en el
cilindro de metal. Tire del cable del
arrancador y observe si se producen
chispas en el extreme de la bujia. En
case de que no d_ chispas, vuelva a
repetir el proceso utilizando una bujia
nueva.
2. Presione la ampolla del cebador
hasta que la ampolla est@ Ilena de
gasolina. Si la ampolla no se llena,
esto quiere decir que el sistema de
suministro de combustible se
encuentra bloqueado, Consulte con
un Centre de Servicio Sears. En case
de que la ampolla se Ilene, es posible
que el motor esl@ ahogado (consulte
el siguiente n_mero).
3. Quite la bujia, d@le la vuelta a la
cortadora de manera que el orificio
para la bujia apunte hacia al sueto.
Ponga la palanca del difusor en la
posici6n de run (en marcha) y tire del
cable del arrancador de 10 a 15
veces. Eslo sacar& el exceso de
gasolina del motor. Limpie la bujia y
vuelva a instalarla. Tire del
arrancador tres veces la palanca del
difusor en la posici6n de run (en
marcha). Si el motor no se pone en
marcha, mueva la palanca del difusor
ala posici6n de choke (difusi6n) y
repita el proceso normal de puesta en
marcha. En case de que el motor
siga sin ponerse en marcha, repita el
proceso con una bujia nueva.
4. Limpie el conducto con un
destornillador oun cable peque_o.
Nota: Algunos insectos pueden
construir sus nidos en el conducto
del tube de escape mientras la
cortadora se encuentra almacenada.
5. Consulle con un Centre de Servicio
Sears.
Gire la aguja ,,L- (A) en el sentido
contrario at de lae agujas del reloj,
entre 1/16 de vuelta
Gire la aguja ,,H,, (B) en el sentido
contrario al de las agujas del reloj,
entre 1/16 de vuelta.
29

PROBLEMA
El motor no Ilega a
funcionar a plena
velocidad y emite
demasiado humo:
El motor se pone en
marcha, funciona y
acelera, pero no
funciona con una
marcha minima:
La cuerda no avanza:
La hierba se enrolla
alrededor del
armaz6n del eje
impulsor y de la
cabeza de la cuerda:
Resulta dificil hacer
girar el ret_n del
carrete:
CAUSA
1. Compruebe la mezcla
del aceite de la gasolina.
2. El filtro del aire esta
sucio.
El tubo de escape
gotea aceite:
3. Es necesario ajustar el
carburador.
,,, ,,
Es necesario ajustar el
carburador.
1. Lacuerdasehaadherido
a si misma.
2. No haysuficientecuerda
en el carrete.
3. Lacuerda se haquedado
demasiado corta pot el
USO,
4. Lacuerdaestaenrededa
en el carrete.
5. La velocidad det motor
es demasiado lenta.
1. Corte de la hierba alia
al nivel del suelo.
2. La cortadora no esta
funcionando a plena
potencia,
Las roscas de los tornillos
estan sucias o daSadas.
1. La cortadora no esta
funcionando a plena
potendia.
2. Compruebe la mezcla
del aceite y gasolina.
3. El filtro det aire esta
sucio.
4. Es necesario ajustar el
carburador,
SOLUClON
1. Use gasolina no utilizada
previamente y la mezcla correcta de
aceite de 2 tiempos.
2. Ltmpielo sigulendo las instrucciones
indicadas en la secci6n de
mantenimienlo.
3. Gire la aguja ,,H,, en el sentido de las
aguja$ det reloj, entre 1/1.6 de vuelta.
Gire el tornillo (C) para el ralenti en el
sentido de las agujas del reloj.
1. Lubrique la cuerda (aplique spray de
siLicona).
2. Instale m_s cuerda (consulte la
secci6n ,,Reemplazo de ia cuerda,,),
3. Tire de las cuerdas mientras
presiona hacia abajo permitiendo
que salga el ret_n del carrete.
4. Saque la cuerda del carrete y
vu61vala a enrollar (consulte la
secci6n "Reemplazo de la Cuerda").
5. Haga avanzar la cuerda a plena
potencia.
i. Corte la hierba alta de arriba a abajo.
2. Ponga ta cortadora a plena potencia.
•Limpie las roscas y engr,'-Sselas- si no
mejora, reemplace el ret_n del carrete.
Haga funcionar la cortadora a ptena
potencia.
2. Use gasotina que no haya sido
utilizada previamente con la mezcla
correcta de aceite de 2 tiempos.
3. Limpielo siguiendo las instrucciones
indicadas en la secciSn de
Mantenimiento.
4. Gire la aguja ,H,, en el sentldo de
las agujas dal reloj, entre 1/16 de
vuelta.
30


For the repair or replacement parts you
need delivered directly to your home
Call 7 am - 7 pm, 7 days a week
1-800.-366..PART
(1-800-366-7278)
Para ordenar piezas con entrega a
domicilio- 1=800-659-7084
For in-house major brand repair service
Call 24 hours a day, 7 days a week
1-800=4-.REPAIR
(1-800-473-7247)
Para pedir servicio de reparacibn
a domicilio - 1-800-676-5811
For the location of a Sears Parts
and Repair Center in your area
Call 24 hours a day, 7 days a week
1=800-488.-1222
For information on purchasing a
Sears Maintenance Agreement or to
inquire about an existing Agreement
Call 9 am - 5 pro, Monday - Saturday
1-800-827-6655
When requesting service or ordering
parts, always provide the following
information:
.Product Type - Part Number
. Model Number * Part Description America's Repair Specialists