Craftsman 536292521 User Manual CULTIVATOR Manuals And Guides L0103152
CRAFTSMAN Cultivator Manual L0103152 CRAFTSMAN Cultivator Owner's Manual, CRAFTSMAN Cultivator installation guides
User Manual: Craftsman 536292521 536292521 CRAFTSMAN CULTIVATOR - Manuals and Guides View the owners manual for your CRAFTSMAN CULTIVATOR #536292521. Home:Farm Equipment Parts:Craftsman Parts:Craftsman CULTIVATOR Manual
Open the PDF directly: View PDF
.
Page Count: 31

49.2cc 2-cycle
2.0HP 10 Inch Tines
CULTIVATOR
MODEL NO.
536.292521
Caution:
Read and follow all Safety Rules
and Operating Instructions before
first use of this product.
SEARS, ROEBUCK AND CO., Hoffman Estates, IL 60179 U.S.A.
F-001300M

TABLE OF CONTENTS
WARRANTY STATEMENT .....
SAFETY RULES ..............
INTERNATIONAL SYMBOLS,,.
ASSEMBLY ..................
OPERATION .................
MAINTENANCE ..............
2 SERVICE AND ADJUSTMENT .. 16
3 TROUBLE SHOOTING CHART., 19
5 REPAIR PARTS ............... 20
ENGINE REPAIR PARTS ....... 25
6SPANISH (ESPAI_IOL) .......... 31
8 PARTS ORDERING/SERVICE ..
13 BACK COVER
WARRANTY STATEMENT
LIMITED ONE-YEAR WARRANTY ON CRAFTSMAN CULTIVATOR
For one year from the date of purchase, when this Craftsman Cultivator is maintained, lubri-
cated, and tuned up according to the operating and maintenance instructions in the owner's
manual, Sears will repair, free of charge, any defect in material or workmanship.
This warranty excludes tiRe(s), spark plug, and air cteaner which are expendable parts and
become worn during normal use.
If this Craftsman Cultivator is used for commercial or rental purposes, this warranty applies
for onIy 90 days from the date of purchase.
WARRANTY SERVICE IS AVAILABLE BY RETURNING THE CRAFTSMAN CULTIVA-
TOR TO THE NEAREST SEARS SERVICE CENTER/DEPARTMENT IN THE UNITED
STATES. THIS WARRANTY APPLIES ONLY WHILE THIS PRODUCT IS IN USE IN THE
UNITED STATES.
This warranty gives you specific legal rights, and you may also have other rights which may
vary from state to state.
Sears, Roebuck and Co., D817WA, Hoftman Estates. IL 60179
IMPORTANT: This unit is equipped with an internal combustion engine and must not be
used on or near any unimproved forest-covered, brush-covered or grass-covered land
unless the engine's exhaust system is equipped with aspark attester meeting
applicable local or state laws (if any). If aspark attester is used, it must be maintained in
effective working order by the operator.
In the State of California the above is required by iaw (Section 4442 of the California
Public Resources Code). Other states may have similar laws. Federal laws apply on fed-
eral lands. See a Sears Authorized Service Center for a spark arrester for the muffler.
F=001300M 2

IMPORTANT
Safe Operation Practices for Cultivator
WARNING: Look for this symbol to point out important safety precautions.It means'. "Attention! Become Alert. Your Safety |s Involved.
_IL ARNING: To prevent acciden-
tal starting when setting-up,
transporting, adjusting or mak-
ing repairs, always disconnect spark
plug wire and put wire where it cannot
contact the spark plug.
IMPORTANT: Safety standards require opera-
tor presence contro% to minimize the risk of in-
jury. Your cultivator is equipped with such
controls. Do not attempt to defeat the function
of the operator presence control under any cir-
cumstances.
Before Use
• Read the owner's manual carefully. Be
thoroughly familiar with the controls and
the proper use of the cultivator. Know how
to stop the cultivator and disengage the
controls quickly.
• Do not operate the cultivator without wear-
ing adequate outer garments. Wear foot-
wear that wiil improve footing on slippery
surfaces.
• Keep the area of operation dear of al per-
sons, particulady small children and pets.
• Thoroughly inspect the area where the cul-
tivator is to be used and remove all foreign
objects.
• Never store fuel or cultivator with fuel in the
tank inside a building where fumes may
reach an open flame.
Operating Safety
• Never allow children or young teenagers to
operate the cultivator. Keep them away
while it is operating. Never allow adults to
operate the cultivator without proper in-
struction.
• Do not operate this machine if you are tak-
ing drugs or other medication which can
cause drowsiness or affect your abi{ity to
operate this machine.
• Do not use this machine if you ate mentally
or physically unable to operate this ma-
chine safely.
• Always wear safety glasses or eye shields
during operation or while performing an
adjustment or repair to protect your eyes
from foreign objects that may be thrown
from the cultivator.
• Do not put hands or feet near or under ro-
tating parts.
• Exercise extreme caution when operating
on or crossing gravel drives, walks, or
roads. Stay alert for hidden hazards or
traffic.
•Esercise caution to avoid slipping or falling.
Fuel Safety
• Handle fuel with care; it is highly flam-
mable.
• Use an approved container.
• Check fuel supply before each use, allow-
ing space for expansion as the heat of the
engine and/or sun can cause rue} to ex-
pand.
•Fill fuel tank outdoors with extreme care.
Never fill fuel tank indoors. Replace fuel
tank cap securely and wipe up spilled fuel.
• Never remove the fuel tank cap or add fuel
to a running or hot engine.
F_O01300M
• Never operate the cultivator without proper
guards, plates, or other safety protective
devices in place.
• Never operate the cultivator at high trans-
port speeds on slippery surfaces. Look be-
hind and use care when backing.
• Never allow bystanders near the cultivator.
• Keep children and pets away while
operating.
• Never operate the cultivator without good
visibility or Iight.
• Do not run the engine indoors. The ex-
haust fumes are dangerous, containing
CARBON MONOXIDE, an ODORLESS
and DEADLY GAS.

IMPORTANT
• Take all possible precautions when leaving and keep the wire away from the plug to
the cultivator unattended. Stop the engine, prevent accidental starting. Thoroughly in-
, Do not overload the cultivator capacity by spect the cultivator for any damage, and
repair the damage before restarting and
attempting to till too deep at too fast a rate. operating it.
Safe Storage
• Always refer to the owner's manual instruc-
tions for important details if the cultivator is
to be stored for an extended period.
• Never store the cultivator with fuel in the
fuel tank inside a building where ignition
sources are present such as water and
space heaters, clothes dryers, and the like.
Allow the engine to cool before storing in
any enclosure.
• Keep the cultivator in safe working condi-
tion. Check all fasteners at frequent inter-
vals for proper tightness.
If cultivator should start to vibrate abnor-
mally, stop engine and check immediately
for the cause. Vibration is generally a warn-
ing of trouble.
Stop the engine whenever you leave the
operating position. Also, disconnect the
spark plug wire before unclogging the tines
and when making any repairs, adjust-
ments, or inspections.
When cleaning, repairing, or inspecting,
shut offthe engine and make certain all
moving parts have stopped.
Repair /Adjustments Safety
• After striking a foreign object, stop the en-
gine. Remove the wire from the spark plug,
Never attempt to make any adjustments
while the engine is running except when
specifically recommended by the manufac-
turer
F=001300M 4

IMPORTANT
INTERNATIONAL SYMBOLS
IMPORTANT: Many of the following symbols are located on your unit or on literature sup-
plied with the product. Before you operate the unit, learn and understand the purpose for
each symbol.
Control And Operating Symbols
Slow Fast Fuel Oil
Choke OFF A
Half Choke
Full Choke
Safety Warning Symbols
WARNING WARNING
Thrown Objects. Rotating Parts. Stop Engine. WARNING
Keep Bystanders Away. Disconnect Spark Wire Before
Making Adjustments.
IMPORTANT WARNING STOP
Read Owner's Manual Wear Eye Protection
Before Operating
This Machine.
F-OO1300M 5

ASSEMBLY
ASSEMBLY
PARTS PACKED SEPARATELY
IN CARTON
1- Owner's Manual (not shown)
1- 5.2 oz. 2-cycle Oil f - 5.2 oz. 2-cycle Oil
WARNING: Always wear safety
glasses or eye shields while as-
sembling the cultivator.
Figure 1 shows the cultivator completely as-
sembled.
References to the right or left side of the cul-
tivator are from the viewpoint of the opera-
tot's position behind the unit.
HOW TO REMOVE THE
CULTIVATOR FROM THE CARTON
1. Removethe bottleof oil from the carton.
2. Removethe packing material positioned
aroundthe unit.
3. Lift the cultivator out of the carton and
place on a hard level surface. Figure 1
HOW TO RAISE THE HANDLE
1. Loosen the knobs (see Figure 2). Tilt
the cultivator forward and rotate the up-
per handle to the upright position. Make
sure the throttle cable is not caught be-
tween the handles.
2. Tighten the knobs.
NOTE: To tighten the knobs, hold the
curved carriage bolt head against the out-
side of the lower handle as you tighten
the knobs.
Handle
Knobs
Figure 2
F=001300M 6

ASSEMBLY
_." CHECKLIST
For the best performance and satisfaction
from this quality product, please review the
following checklist before you operate the
cultivator:
v" All assembly instructions have been
completed.
v" Check carton. Make sure no loose
parts remain in the carton.
v" All fasteners have been properly tight-
ened.
As you learn how to use the cultivator', pay
extra attention to the following important
items:
v'_" Fuel tank is filled with a fresh, clean,
fuel mixture.
v'_" Become familiar and understand the
function of all controls. Before you
start the engine, operate all controls.
F=001300M 7

OPERATION
KNOW YOUR CULTIVATOR
READ THE OWNER'S MANUAL AND ALL SAFETY RULES BEFORE YOU OPERATE the
cultivator. To familiarize yourself with the Iocation of the controls, compare the illustrations with
our cultivator'. Save this manual for future reference.
ON /OFF
Switch
Recoil Starter Handle
/
Throttle Control
Lever
Upper Handle
Lower Handle
Choke Control
Assembly_
Fuel Cap
Tine Shield
Tines
Figure 3
Throttle Control i Controls the engine
speed and the tine rotation. The cultivator is
equipped with a centrifugal clutch that en-
gages the tine drive system when the engine
speed is increased.
Choke Control Lever -Use to assist
when starting a cold engine.
Recoil Starter Handle -The engine is
equipped with an easy pull recoil starter.
Depth Stake - Mount with the wheels up
to adjust the depth of cut. Also use to help
control the direction and speed of the cultiva-
tor.
ON /OFF Switch - The ON position al-
lows the engine to start. The OFF position
stops the engine and keeps the engine from
starting.
Transport Wheels iMount with the
wheels down when transporting the cultiva-
tor.
EYE PROTECTION
Always wear safety glasses. If you wear eye
glasses, put a Wide Vision Safety Mask over
your eye glasses.
F-001300M
WARNING: Debris thrown from
the cultivator can result in for-
eign objects being thrown into
the eyes, which can cause severe eye
damage. Always wear safety glasses or
eye shields when operating the cultiva-
tor.

OPERATION
HOW TO USE THE CULTIVATOR
How To Stop The Cultivator
1. Release the throttle control to stop the
tines.
2. Move the ON/OFF switch, on the engine,
to the OFF position.
How To Set The Depth
Use the depth stake to control the tilling
depth and the forward speed. Set the depth
stake to the desired tilling position as fol-
lows:
1. Remove the hairpin and the clevis pin
from the depth stake (see Figure 4).
2. Adjust the depth stake upward to dig
shallower or downward to dig deeper.
3. Reinstall the clevis pin and hairpin.
Depth Stake
Clevis Pin
Depth Stake
Bracket
Figure 4
How To Operate The Cultivator
1. Start the engine.
2. Tilt the unit back on the depth stake until
the tines are offthe ground. Squeeze the
throttle control all the way up against the
hand grip. The engine is governor con-
trolled and must be run at full throttle
while tilling.
3. Hold the handle firmly and slowly tilt the
unit forward to begin the tilling action.
4. As the tines begin to make contact with
the ground, hold back on the handles so
that the tines will dig into the soiI and not
ride forward over the ground.
5. Avoid tilling soil that is too dry as it will
pulverize and produce a dust that will not
hold water'. Also, tilling soil that is too wet
will be hard on the machine and produce
unsatisfactory clods.
6. Lowering the depth stake will slow the
cultivator and make it till deeper'. Raising
the depth stake will allow it to move fast-
er and till more shallow. See "How To
Set The Depth".
_ARNING: Keep away from the
rotating tines. Rotating tines
can cause injury.
F-001300M 9

OPERATION
BEFORE STARTING THE ENGINE
How To Prepare The Engine
AWARNING: Always use asafety
fuel container. Do not smoke
_when adding the fuel mixture to
the engine. When inside an enclosure,
do not fill the fuel tank. Before you add
the fuel mixture, stop the engine. Let the
engine cool for several minutes.
How To Mix The Fuel Mixture
The two cycle engine, used on this cultivator,
requires a mixture of gasoline and oil for lu-
brication of the bearings and other moving
parts. The correct fuel mixture ratio is 24:1
(5.2 oz. oil per one gallon of gas - see the
Fuel Mixture Chart). Gasoline and oil must
be pre-mixed in a clean gasoline container.
Always use fresh, clean, unleaded gasoline.
Mix gasoline and oil as follows:
1. Pour one (1) U.S. quart of fresh, clean,
unleaded automotive gasoline into a one
gallon size gasoline container.
2. Add 5.3 ounces of clean, high quality,
two-cycle oil to the gasoline container.
3.
4.
5.
IMPORTANT: Do not use outboard mo-
tor oil or multi-viscosity oils,such as
10W-30 or 10W-40.
install the fuel cap onto the gasoline con-
tainer. Vigorously shake the gasoline
container to mix the oil with the gasoline.
Add an additional three (3) U.S. quarts of
gasoline to the gallon container. Again
shake the gasoline container.
This completes the gasoline mixing pro-
cedure. The gasoline can now be added
to the fuel tank.
FUEL MIXTURE CHART (mixture 24:1)
U.S. Sl. (Metric
GAS OIL GAS OIL
1 Gal. 5.2 oz. 4Liters .167 L
2 Gal. 11 oz. 8 Liters .333 L
5 Gal. 27 oz. 20 Liters .833 L
Do not fill the fuel tank with gasoline that does not have oil mixed in it. Shake the
gasoline container before each filling of the fuel tank.
Ol, /
Add moregas
(5.2 ozI Shake Can (3 U.S. Quarts)
+ +
1U.S. Gallon container '_
F-001300M 10

OPERATION
HOW TO START THE ENGINE
Before you start the engine, make sure that
you have read and understand all the in-
structions on the preceding pages.
1. Fill the fuel tank to 1/2 inch below the
bottom of the fill neck. Reinstall the fuel
tank cap securely. AIways use fresh fuel.
Never use fuel that could be stale from
iong periods of storage.
2. Move the on-off switch to the ON posi-
tion (see Figure 5).
3. Move the choke controI to the FULL
CHOKE position (ali the way down).
NOTE: Do not choke a hot or warm
engine.
4. Tilt the cultivator back on the depth stake
or transport wheels to raise the tines off
the ground.
5. Hold the upper handle firmly to stabiiize
the cultivator.
6. Hold the starter handle and pull slowly
until you feel engine drag. Slowly return
the starter handle to the original position.
7. Pull the starter handle with rapid, full arm
strokes until the engine starts.
8. When the engine starts, move the choke
Iever to the HALF CHOKE position.
When the engine runs smoothly, move
the choke lever to the NO CHOKE posi-
tion.
g.
NOTE: If the tines do not stop when
the throttle control is released, adjust
the carburetor idle speed. See "How
To Adjust The Carburetor" in the Ser-
vice And Adjustments.
To stop the engine, release the throttle
control and move the on-off switch to
the OFF position.
10. If the engine becomes flooded remove
and dry the spark plug. See "Spark Plug
Maintenance" in the Maintenance sec-
tion of this manual. Then, pull the starter
rope with the choke lever in the NO
CHOKE position.
WARNING: The muffler and sur-
rounding areas become hot af-
ter running the engine. Avoid
these areas.
ON /OFF
Switch
Recoil Starter Handle
F-001300M
Air Cleaner
11
Figure 5

OPERATION
CULTIVATING TIPS
Tilling is digging in, turning over and
breaking up packed soil before planting.
Loose unpacked soil helps root growth.
Best tilling depth is 4 to 6 inches. A tiller
wiII also clear the soil of unwanted vege-
tation. The decomposition of this vegeta-
tion matter enriches the soil. Depending
on the climate (rainfall and wind), it may
be advisable to tilI the soil at the end of
the growing season to further condition
the soil.
Avoid tilling soil that is too dry as it will
pulverize and produce a dust that will not
hold water. Also, tilling soil that is too wet
will be hard on the machine and produce
unsatisfactory clods.
If the cultivator stops forward motion and
tries to dig deeper than necessary, move
the handles from side to side to start for-
ward motion.
Cultivating is loosening or digging
around growing plants which allows the
plants to flourish.
When using the cultivator to remove
weeds, it is best to cultivate no deeper
than 1-1/2 inches. Cultivating deeper will
only pull to the surface ungerminated
weed seeds. Raising the depth stake wilI
allow it to move faster and till more shal-
low.
Better growth will be obtained if an area
is tilled properly and used soon after till-
ing to preserve the moisture content.
When cultivating around piants or close
areas, you may want to remove the out-
side tines. See "Tine Replacement" in
the Service/Adjustments section.
The depth stake (on the back of the culti-
vato o serves a dual purpose. It helps
regulate the depth of the cut and also
acts as a brake to help the operator con-
trol the speed of the cultivator.
Lowering the depth stake will slow the
cultivator and make it till deeper'. Raising
the depth stake will allow it to move fast-
er and till more shallow.
WARNING: Read the Owner's
manual. Know location and
functions of all controls. Keep
all safety devices and shields in place.
Never allow children or uninstructed
adults to operate cultivator. Shut off en-
gine before unclogging tines or making
repairs. Keep bystanders away from ma-
chine. Keep away from rotating parts
and tines. They can cause injury.
F-OO1300M 12

MAINTENANCE
CUSTOMER RESPONSIBILITIES
SERVICE RECORDS After
Fill in dates as you Before First Every Every Before
complete regular Each 2 25 75 Before Each SERVICE
service. Use Hours Hours Hours Storage Season DATES
Tighten AI] Screws and I I I I I I
Nuts N/ N/ ....
Lubricate Tine Shaft
Check Spark Plug
I I i i
Clean and Oil Air Cleaner ' '
Filter • N _] • •
Clean Cylinder Exhaust
Ports
Drain Fuel " " " " " _/ " "
PRODUCT SPECIFICATIONS
Model No.: 536.292521
Date Of Purchase:
Horse Power: 2
Displacement: 3.0 cu. in.
(49.2 cc.)
Gasoline Capacity: 20 oz.
Fuel/Oil Mix Ratio: 24:1 Oil To Gas
(5.3 oz. oil to 1 gal. gas
(use unleaded regular)
Spark Plug: Champion
RCJ-6Y
Spark Plug Gap: 0.035 inch
Idle RPM: 1700-3000
GENERAL RECOMMENDATIONS
The warranty on this cultivator does not cov-
er items that have been subjected to opera-
tor abuse or negligence. To receive full value
from the warranty, the operator must main-
tain the cultivator as instructed in this
manual.
Some adjustments must be made periodical-
ly to properly maintain your cultivator.
All adjustments in the Service and Adjust-
ments section of this manual must be
checked at least once each season.
F-OO1300M 13

MAINTENANCE
LUBRICATION
Every 25 hours and/or at the beginning of
each season, make sure the gear box is
filled with lubricant (see Figure 6). Tubes of
gear lubricant are available from most auto-
motive supply stores. Use portable tool
grease such as Lubriplate 630AA (Product
No. 06787, 1-3/4 oz. tube) or Lubdplate
GR-132 (Product No. 15892, 10 oz. tube).
After cleaning and before storage, apply oil
to the tine shaft (see Figure 6).
if it is damaged (see the Repair Parts
section in this manual).
6. Clean and lubricate the tine shaft with a
few drops of oil.
7. Reinstall the left side tines.
8. Remove the right side tines. Check the
felt washer for damage. Clean and oil
the tine shaft. Reinstall the right side
tines.
_1_ ARNING: Allow the transmis-
sion to cool before filling with
grease.
1. Remove both left side tines. See "How
To Replace The Tines" in the Service
and Adjustments section.
2. Remove the air vent screw (see
Figure 6).
3. Mount a grease gun onto the grease fit-
ting. Fill the transmission until the
grease begins to come out of the air vent
screw hole.
4. Reinstall the air vent screw.
5. Check the condition of the felt washer
-%
Air Vent Screw
Grease Fitting Figure 6
(see Figure 6). Replace the felt washer
HOW TO CLEAN THE TINES
Always remove dirt and debris from the culti-
vator after each use. Remove any string,
wire or vegetation that may become lodged
in the mechanism and stop the tines from
rotating.
f. Release the throttle control and move
the on-off switch to the OFF position.
Disconnect the spark plug wire from the
spark plug.
2. While wearing gloves, remove the hair-
pins and clevis pins that secure the tine
assemblies to the shaft (see Figure 7).
Remove the tines from the shaft.
3. Remove any lodged debris from the
shaft and tines. Clean and lubricate the
tine shaft with a few drops of oil.
4. Reassemble the tines on the shaft and
secure with a clevis pin and hairpin.
F_001300M
5. Connect the spark plug wire to the spark
plug.
Hair Pins
14
Tines Figure 7

SPARK PLUG
Check the spark plug every 25 hours. Re-
place the spark plug if the electrodes are
pitted or burned or if the porcelain is
cracked.
MAINTENANCE
3. Before installing the spark plug, coat
the threads lightly with oil for easy re-
moval. Tighten the spark ptug to a torque
of 15 foot-pounds.
1. Make sure the spark plug is clean.
Clean the spark plug by carefully scrap-
ing the electrodes (do not sand blast or
use a wire brush).
2. Check the spark plug gap with a feeler
gauge. See "Product Specifications" for
the correct spark plug gap and replace-
ment spark plug.
Feeler Gauge
0.035"
Spark Plug
Figure 8
HOW TO CLEAN THE AIR FILTER
The engine uses a foam air filter that can be
cleaned and reused. Clean and oil the air
filter every 25 hours. Clean more often in
dusty conditions. Remove and clean the air
filter as follows:
CAUTION: Never run the engine without
the air filter installed. An air filter clogged
with dust can result in loss of engine
power and can cause excessive wear or
damage to the engine. If the air filter is
clogged, clean or replace immediately.
1. Disconnect the spark plug wire from the
spark plug.
2. Remove the screws from the air filter
cover (see Figure 9). Remove the air
filter cover and the air filter.
3. Wipe the cover and the inside of the air
filter housing with a clean cloth.
4. Clean the air filter in a solution of water
and household detergent. Rinse tho-
roughtly in clean water.
5. Wrap the air filter in a dry clean cloth.
Squeeze out (do not twist) all solution
until dry.
6.
7.
8.
9.
Cover the outside of the air filter with
oil. Use the same type of oil as used to
make the fuel mixture. Lightly squeeze
the air filter to distribute and remove
any excess oil.
Put the clean air filter into the air filter
housing.
Install the air filter cover and secure
with the screws as shown.
Connect the spark plug wire to the spark
plug.
Filter Housing
Air Fiiter
Screw
Figure 9
CYLINDER EXHAUST PORTS
Clean the cylinder exhaust ports after every
75 hours of operation. For this procedure, we
recommend that you take your unit to a
Sears Service Center.
F-001300M 15

SERVICE AND ADJUSTMENT
HOW TO REMOVE AND INSTALL THE TINES
References to the right or left side of the cul-
tivator are from the viewpoint of the opera-
tor's position behind the unit.
All four tines are different and cannot be in-
terchanged. The tines must be correctly
installed or the cultivator will not function
propedy.
To till around plants or in small areas, the
outside tines can be removed to reduce the
tilIing width to approximately 7 inches.
WARNING: The tines are self
sharpening and will become
quite sharp from use. Handle
carefully.
The tines will all wear evenly. If the tines are
being replaced because of wear, we recom-
mend that all four tines be replaced at the
same time. To replace the tines, do the fol-
lowing:
Tine Removal
1. Put the on-off switch in the OFF posi-
tion.
2. Disconnect the spark plug wire from the
spark plug.
3. While wearing gloves, remove the hair-
pins and clevis pins that secure the tine
assemblies to the shaft (see Figure 10).
Remove the tines from one side of the
unit.
Tine Installation
1. Clean and lubricate the tine shaft with a
few drops of oil.
2. Place the inside tine on the tine shaft
and reinstall the clevis pin and hairpin.
3. When the tines are properly installed, the
Ietter R will be visible on the outside of
the right tine (see Figure 11). The letter
L will be visible on the outside of the left
tine.
Oil Drain Plug
,4 _- "_mP'-,_,-
r_ Figure 11
4.
5.
Mount the outside tine on the tine shaft
and fasten with the clevis pin and hair-
pin (see Figure 10).
The cutting tips on the outside tines all
bend in toward the inside tine. When as-
sembled correctly, the letter R on the
right side, or L on the left side, will be
visible from the outside of the unit.
6. Repeat the above steps on the opposite
side of the unit.
NOTE: Make sure the tines are installed
on the correct side of the unit.
Hair Pins Tines Figure 10
F-001300M 16

SERVICE AND ADJUSTMENT
HOW TO ADJUST THE CARBURETOR
A dirty air cleaner will cause the engine to
run improperly or to smoke excessively. Be-
fore adjusting the carburetor, make sure the
air cleaner is dean. Never make unneces-
sary adjustments to the carburetor'. The car-
buretor was set at the factory to operate
efficiently under most applications. However,
if adjustments are required, we recommend
you contact your nearest Sears Service Cen-
ter. If you feel that you are competent to
make carburetor adjustment proceed as foI-
lows.
_lb WARNING: Use extreme care
when making adjustments that
require the engine to be run-
ning. Keep hands, feet, hair and loose
clothing away from all moving parts.
1. Turn the mixture adjustment screw
clockwise to until closed (see Figure 12).
IMPORTANT: To prevent damage to
the carburetor or to the adjusting
screw, tighten the adjustment screws
with your fingers.
2. Turn the mixture adjustment screw
counterclockwise one turn.
3. Start the engine and let it warm up for
approximately 3 to 5 minutes. Do not ad-
just the carburetor when the engine is
cold.
4. If the engine runs erratically or stops af-
ter the choke lever is moved to the
CHOKE OFF position, then open the
mixture adjustment screw an addition-
al 1/8 turn counterclockwise.
5. With the engine running, release the
throttle control (idle position) to make the
mixture adjustments.
6. Slowly turn the mixture adjustment
screw clockwise until the engine begins
to run erratically. Note this position.
7. Then, slowly turn the mixture adjustment
screw countercIockwise until the engine
again begins to run erraticaliy. Note this
position.
8.
9.
Turn the mixture adjusting screw clock-
wise until it is halfway between the first
_osition and the second position.
Check the engine idle speed. Start the
engine and release the throttle control. If
the tines do not turn with the throttle con-
troI is released, the idle speed is correct.
If the tines turn with the throttle control is
released, adjust the engine idle speed as
follows.
10.
11.
12.
Have someone tilt the cultivator back on
its depth stake so that the tines are off
the ground.
Start the engine.
With the throttle in the released (idle
position), turn the idle speed adjust-
ment screw counterclockwise until the
tines stop rotating.
_lb WARNING: The engine gover-
nor is set at the factory. Do not
change the governor setting.
Over speeding the engine above the fac-
tory setting can be dangerous. If you
think the engine governor needs an ad-
justment, contact your nearest Sears
Service Center.
Mixture
Idle Speed Adjustment Screw
Adjustment Screw
Engine Shown With Air Filter Removed
Figure 12
F-001300M 17

SERVICE AND ADJUSTMENT
STORAGE
_lb ARNING: Never store the cul-
tivator indoors with fuel in the
fuel tank. Never store in an en-
closed, poorly ventilated area where
fumes could reach an open flame, a
spark or a pilot light as on a furnace, wa-
ter heater or clothes dryer.
_lb ARNING: Do not remove gas-
oline while inside a building,
near a fire, or while you smoke.
Gasoline fumes can cause an explosion
or a fire.
Cover the cultivator with a suitable pro-
tective cover that does not retain mois-
ture. Do not use plastic.
IMPORTANT: Never cover the cultivator
while the engine and exhaust areas are
still warm.
NOTE: A yearly checkup or tune-up by a
Sears Service Center is a good way to
make sure that your cultivator will pro-
vide maximum performance for the next
season.
When the cultivator is put in storage for thirty
days or more, follow the steps below to
make sure the cultivator is in good condition
the following season.
Cultivator
Completely dean the cultivator.
Remove the tines. Clean and apply oil to
the tine shafts. Mount the tines onto the
tine shafts. See "How To Remove And
Install The Tines" in the Service And Ad-
justments section.
Loosen the knobs that secure the upper
handle to the lower handle. Carefully fold
the upper handle. Make sure the throttle
cable is not bent. Tighten the knobs.
The cross piece of the upper handle (be-
tween the lower handles) can now be
used as a carry handle. To store the cul-
tivator up off the floor and out of the way,
the cross piece can also be hooked over
a wall hook.
Put the cultivator in a building that has
good ventilation.
Engine
IMPORTANT: It is important to prevent
gum deposits from forming in fuel system
parts such as the carburetor, fuel filter,
fuel hose, and tank during storage. Also,
using alcohol-blended fuels (called gaso-
hol, ethanol or methanol) can attract
moisture which leads to separation and
formation of acids during storage. Acidic
gas can damage the fuel system of an en-
gine while in storage.
To prevent engine damage when the cultiva-
tor is in storage for 30 days or more, follow
the steps below:
Let the engine run until it is out of gaso-
line.
Slowly pull the starter handle until you
feel resistance due to compression in
the cylinder, then stop.
Slowly release the starter rope. This
position will close both the intake and the
exhaust ports and help prevent corrosion
of the piston and cylinder.
F-OO1300M 18

TROUBLE SHOOTING CHART
TROUBLE
Engine difficult to start
or
Engine runs erratically
or
Engine will not run at full
speed
Engine speed does not
increase properly
Engine smokes
excessively
Tines continue to rotate
when throttle control is
released
Tines will not turn
CAUSE
Stale fuel mixture
Too much oil in fuel mixture
Dirt in fuel tank or out of fuel
Carburetor out of adjustment
Fouled spark plug
Dirty air filter
Debris interfering with throttle
linkage
Plugged air filter
Too much oil in fuel mixture
Carburetor out of adjustment
Debris lodged in tine
Unit does not till properly Incorrect tine instalIation
CORRECTION
Drain fuel tank. FilI with fi'esh
fuel mixture.
Check fuel mixture chart and
mix fresh fuel.
Clean fuel tank.
See Carburetor Adjustment
section.
Clean and set spark plug
gap.
Clean and oil air filter.
Clean dirt and debris of top
of carburetor.
Clean and oil air filter.
Check fuel mix chart and mix
fresh fuel.
Adjust carburetor idle speed.
See "How To Adjust The
Carburetor" in the
Maintenance section.
Remove debris. See "How
To Clean The Tines" in the
Maintenance section.
Check the tines for proper
installation. See "How To
Remove And Install The
Tines" in the Service And
Adjustments section.
F=001300M 19

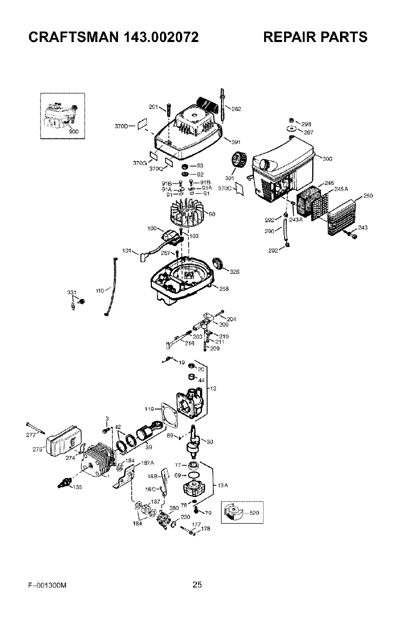
CRAFTSMAN 536.292521 REPAIR PARTS
10
323392C
KEY
NO. DESCRIPTION PARTNO.
10 Engine 143.002072 2.0HP
11 Flat washer 56694
12 Rotor 335350
13 Washer 120380
KEY
NO. DESCRIPTION PARTNO.
14 Screw 180042
17 Cable, Throttle 319306
-- Instruction Manual F-OO1300M
F=OO1300M 20

CRAFTSMAN 536.292521 REPAIR PARTS
310
300
318848C
KEY
NO. DESCRIPTION
300 Transmission
310 Bracket, Depth Rod
311 Screw, 1/4-20xl.25
312 Nut, 1/4-20
PARTNO.
740061
340550
180024
782585
F-OO1300M 21

CRAFTSMAN 536.292521 REPAIR PARTS
496
496
482
4814_
318849c
KEY
NO. DESCRIPTION PART NO.
480 Shield, Tine 309073-848
481 Screw, 1/4-20x5.00 273869
482 Flat washer 120392
483 Nut, 1/4-20 46931
490 Washer, Felt 56158
491 Tine Assy. Inner LH 56157-853
492 Tine Assy. Outer LH 56155_53
KEY
NO. DESCRIPTION PARTNO.
493 Tine Assy. Inner RH 56156_53
494 Tine Assy. Outer RH 56154-853
495 Clevis Pin 56123
496 Hair Pin 56180
-- Decal, Caution 320711
-- Decal, Tine Shield 712457
F=001300M 22

CRAFTSMAN 536.292521 REPAIR PARTS
662
663
661
66O
J
KEY
NO. DESCRIPTION
650 Wheel Support Assy.
660 Clevis Pin
661 Hair Pin
662 Tire & Rim
663 Push On Nut
PARTNO.
330799-853
333635
56180
339277
73664
318852G
F=OO1300M 23

CRAFTSMAN 536.292521 REPAIR PARTS
947
930
[5
944
F=001300M
941
934
KEY
NO. DESCRIPTION PARTNO.
930 Upper Handle 56237-853
932 Lower Handle LH 339398-853
934 Lower Handle RH 339399-853
941 Bolt 5/16-18xl .63 56199
942 Formed Washer 783000
943 Flat washer 120393
944 T Knob 57171
945 Nut, 5116-18 120376
946 Hand Grip 56778
947 Screw, 10-16xl.50 426635
948 Cable Tie 712267
-- Decal, Caution (Starting) 305828
24
932
319375C

CRAFTSMAN 143.002072 REPAIR PARTS
331
101\
110 f
_210
7250
243
184 177
_/178
F-OO1300M 25

CRAFTSMAN 143.002072
KEY PART KEY
NO. NO, DESCRIPTION NO.
0 RPM High 5000 to 5400 93
0 RPM Low 1700 to 3000 100
1 250303 Cylinder(Incl. 119, 184,
187 & 187A) 101
3 650888 Screw, T-30 103
110
119
135
13 270288A Crankcase Ass'y.
(incl. 20, 44 & 69)
13A 270298 Crankcase Cover
16B 490324 Air Vane
16C 650986 Screw, T-8, 3-48 x 7/32"
19 570716 Governor Spring
20 510328 Oil Seal
30 290664 Crankshaft
39 310285A Piston & Rod Assy.
(Incl. 42)
42 310275 Ring Set
44 530163 Cartridge Bearing
69 510348 "Q" Ring
77 530110 Ball Bearing
78 510319 Oil Seal
79 650844 Screw, 1/4_20 x 3/4"
89 611054 Flywheel Key
90 611180 Flywheel
91 590691 Pawl Spring
91A 590692 Starter Pawl
91B 650985 Screw, 12-24 x 11/64"
92 650848 Belleville Washer
177
178
184
187
REPAIR PARTS
PART
NO. DESCRIPTION
650849 Flywheel Nut
611056 Solid State Ignition
(Incl. 101)
610118 Spark Plug Cover
651007 Screw, T-15
611135 Ground Wire
510349 Cylinder Head Gasket
611049 Resistor Spark Plug
(RCJ8Y)
650858 Carburetor Mounting Stud
650580 Lock Nut, 10-24
510327B Carburetor Gasket
570648A Spacer
187A 570698A Air Baffle (incl. 184 & 187)
200 570700 Speed Control Body
203 570701 Compression Spring
204 651042 Screw, T-15, 8-32 x 1"
209 651042 Screw, T-15, 8-32 x 1"
210 27793 Conduit Clip
211 651047 Screw, T-15
216 570712 R.RM. Adjusting Lever
230 570649A "Q" Ring
243 650955 Screw, 10=32 x 29/32"
243A 650964 Thread Insert
245 450252 Air Filter (Poly)
245A 450255 Air Filter (Flocked)
F-001300M 26

CRAFTSMAN 143.002072
250 450253 Air Cleaner Cover
257 650867 Screw, 10-24 x 1/2"
258 350435 Blower Housing Base
261 650850 Screw, 8-32 x 1-9/16"
262 650939 Stud
274 510347 Exhaust Gasket
275 390322 Muffler (incl. 274 & 277)
277 650938 Screw, 1/4-20 x 2.409"
290 410246A Fuel Line
292 410253 Fuel Line Clamp
297 27261 Washer
298 650954 Lock Nut, 8-32
300 410277A FuelTank (Incl. 290, 292,
298, 301 & 3700)
REPAIR PARTS
301 410280 Fuei Cap
326 570659 Blower Housing Plug
331 610650B Toggle Switch
370C 550239 Choke Decal
370D 35977 Caution Decal
370G 550228 Instruction Decai
370Q 550247 Emissions Decal
380 640231 Carburetor (Incl. 184)
391 590690 Recoil Starter Ass'y.
520 0 Clutch (Supplied by OEM)
900 0 Replacement Engine
710580, order from
71-999
900 0 Replacement S/B
710542B, order from
71-999
F-OO1300M 27

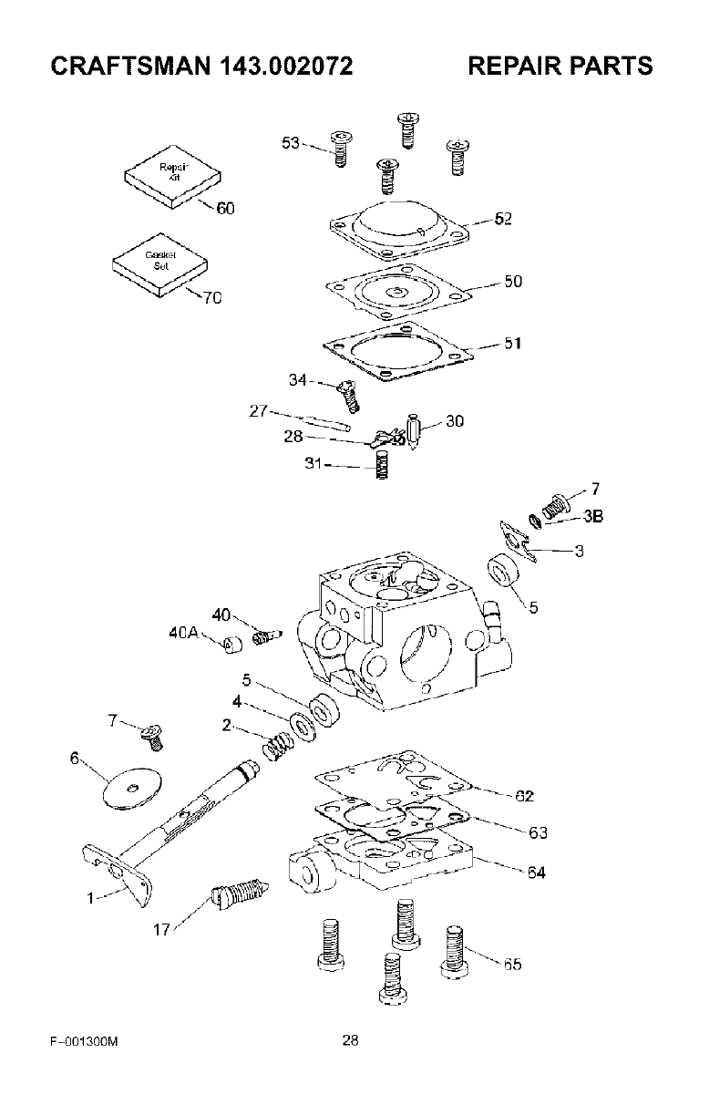
CRAFTSMAN 143.002072 REPAIR PARTS
60 _-'_. 152
iS0
F-OO1300M 28

CRAFTSMAN 143.002072 REPAIR PARTS
KEY
NO.
o
1
2
3
3B
4
5
6
7
17
27
28
30
31
34
4O
40A
50
51
52
53
60
62
63
64
65
70
PART
NO. DESCRIPTION
640231 Carburetor" (Incl. 184 of Engine Parts List)
640232 Throttle Shaft & Lever Ass'y.
640233 Throttle Return Spring
640234 Dust Seal Retainer
640236 Spacer
640237 Dust Seal Washer
640238 Dust Seal
640239 Throttle Shutter
640235 Screw, Throttle Shutter & Dust Seal Retainer
640240 Idle Speed Screw
640241 Hinge Pin
640242 Metering Lever
640243 Inlet Needle
640244 Metering Lever Spring
640245 Screw, Metering Lever Pin
640246 High Speed Jet
640247 High Speed Jet Sealer Cap
640248 Diaphragm (Included in Gasket Set)
640249 Cover Gasket (Included in Gasket Set)
640250 Cover
640251 Cover Screw
640256 Repair kit (Incl. Items Marked PK in Notes)
Incl. (I) each of part #'s 640242, 640243,
640257
640252 Pump Diaphragm (Incl. in Gasket Set)
640253 Pump Gasket (Included in Gasket Set)
640255 Pump Cover
640254 Pump Cover Screw
640257 Gasket Set Incl. (1) each of part #'s 640248,
640249, 640252, 640253
F-OO1300M 29

CRAFTSMAN 143.002072 REPAIR PARTS
12
13
F-001300M
KEY
NO.
0
1
3
4
5
6
8
9
12
13
PART
NO.
590690
650987
650985
650147
590691
590692
590693
590562
590639
590452
DESCRIPTION
Rewind Starter & Housing Ass'y.
Retainer Screw, 10-24 x 1-3/8"
Pawl Screw, 12-24 x 11/64"
Washer
Pawl Spring
Pawl
Pulley
Rewind Spring
Starter Rope (#4 rope, 71" long)
Starter Handle
30

For the repair or replacement parts you
need delivered directly to your home
Call 7am-7pm, 7days a week
1-800-366-PART
(1-800-366-7278)
Para ordenar piezas con entrega
a domicilio - 1-800-659-7084
For in-house major brand repair service
Call 24 hours a day, 7days a week
1-800-4-REPAIR
(1-800-473-7247)
Para pedir servicio de reparacibn a
domicilio- 1-800-676-5811
For the location of a Sears Parts and
Repair Center in your area
Call 24 hours a day, 7days a week
1-800-488-1222 gggggg
For information on purchasing a Sears
Maintenance agreement or to inquire
about an existing Agreement
Call 9am-5pm, Monday-Saturday
1-800-827-6655
When requesting service or ordering
parts, always provide the following infor-
mation:
• Product Type •Part Number
•Model Number •Part Description
America'sRepairSpecialists Printed in U.S.A.