Craftsman 536772340 User Manual EDGER Manuals And Guides L0203189
CRAFTSMAN Edger Manual L0203189 CRAFTSMAN Edger Owner's Manual, CRAFTSMAN Edger installation guides
User Manual: Craftsman 536772340 536772340 CRAFTSMAN EDGER - Manuals and Guides View the owners manual for your CRAFTSMAN EDGER #536772340. Home:Lawn & Garden Parts:Craftsman Parts:Craftsman EDGER Manual
Open the PDF directly: View PDF
.
Page Count: 64

Operator's Manual
Edger
4 Horsepower
9 Inch Blade
Model 536.772340
CAUTION: Before using
this product, read this
manual and follow all of its
Safety Rules and
Operating Instructions.
- CRRFTSMRN °
Manual del usario
Orilladora
4 caballos de fuerza (hp)
de 9 pulgada I&mina
Modelo 536.772340
PRECAUCI6N: Antes de usar este
producto, lea este manual y siga
todas las reglas de seguridad e
instrucciones de operaci6n.
Sears, Roebuck and Co., Hoffman Estates, IL 60179 U.S.A.
F-021102L www.sears.com/craftsman

TABLE OF CONTENTS
WARRANTY STATEMENT
SAFETY RULES
INTERNATIONAL SYMBOLS
ASSEMBLY
OPERATION
MAINTENANCE
2
3
5
6
10
16
SERVICE AND ADJUSTMENT 19
TROUBLE SHOOTING CHART 22
EDGER REPAIR PARTS 26
ENGINE REPAIR PARTS 34
SPANISH (ESPAI_IOL) 40
PARTS AND SERVICE BACK COVER
WARRANTY STATEMENT
LIMITED TWO-YEAR WARRANTY ON CRAFTSMAN EDGER
For two years from the date of purchase, when this Craftsman Edger is maintained, lubri-
cated, and tuned up according to the operating and maintenance instructionsin the owner's
manual, Sears will repair, free of charge, any defect in material or workmanship.
If this Craftsman Edger is used for commercial or rental purposes, this warranty applies for
only 90 days from the date of purchase.
This warranty does not cover the following:
• Expendable items which become worn during normal use, such as spark plugs, etc.
• Repairs necessary because of operator abuse or negligence, including bent crank shafts
and the failure to maintain the equipment according to the instructions contained in the
owner's manual.
WARRANTY SERVICE IS AVAILABLE BY RETURNING THE CRAFTSMAN EDGER TO
THE NEAREST SEARS SERVICE CENTER/DEPARTMENT IN THE UNITED STATES.
THIS WARRANTY APPLIES ONLY WHILE THIS PRODUCT IS IN USE IN THE UNITED
STATES.
This warranty gives you specific legal rights, and you may also have other rights which vary
from state to state.
Sears, Roebuck and Co., D817WA, Hoffman Estates, IL 60179
Engine Exhaust, some of its constituents, and certain vehicle
components contain or emit chemicals known to the State of
California to cause cancer and birth defects or other repro-
ductive harm.
Battery posts, terminals and related accessories contain
lead and lead compounds, chemicals known to the State of
California to cause cancer and birth defects or other repro-
ductive harm. WASH HANDS AFTER HANDLING.
F-021102L 2

SAFETY RULES
Safe Operation Practices for Edger.
WARNING: Look for this symbol to point out important safety precautions.
It means: "Attention! Become Alert! Your Safety Is Involved."
_ARNING: To prevent acciden-
tal starting when setting-up,
transporting, adjusting or mak-
ing repairs, always disconnect spark
plug wire and put wire where it cannot
contact the spark plug.
Before Use
•Read the owner's manual carefully. Be
thoroughly familiar with the controls and
the proper use of the Edger. Know how to
stop the Edger and disengage the controls
quickly.
• Do not operate the Edger without wearing
adequate outer garments. Wear footwear
that will improve footing on slippery sur-
faces.
• Keep the area of operation clear of all per-
sons, particularly small children and pets.
• Thoroughly inspect the area where the
Edger is to be used and remove all foreign
objects.
Fuel Safety
• Handle fuel with care; it is highly flam-
mable.
• Use an approved container.
• Check fuel supply before each use, allow-
ing space for expansion as the heat of the
engine and/or sun can cause fuel to ex-
pand.
• Fill fuel tank outdoors with extreme care.
Never fill fuel tank indoors. Replace fuel
tank cap securely and wipe up spilled fuel.
• Never remove the fuel tank cap or add fuel
to a running or hot engine.
• Never store fuel or Edger with fuel in the
tank inside a building where fumes may
reach an open flame.
F-021102L
Operating Safety
Never allow children or young teenagers to
operate the Edger. Keep them away while
it is operating. Never allow adults to oper-
ate the Edger without proper instruction.
Do not operate this machine if you are tak-
ing drugs or other medication which can
cause drowsiness or affect your ability to
operate this machine.
• Do not use this machine if you are mentally
or physically unable to operate this ma-
chine safely.
Always wear safety glasses or eye shields
during operation or while performing an
adjustment or repair to protect your eyes
from foreign objects that may be thrown
from the Edger.
• Do not put hands or feet near or under ro-
tating parts.
Exercise extreme caution when operating
on or crossing gravel drives, walks, or
roads. Stay alert for hidden hazards or
traffic.
Exercise caution to avoid slipping or falling.
Never operate the Edger without proper
guards, plates, or other safety protective
devices in place.
Never operate the Edger at high transport
speeds on slippery surfaces. Look behind
and use care when backing.
Never allow bystanders near the Edger.
Keep children and pets away while
operating.
Never operate the Edger without good visi-
bility or light.
Do not run the engine indoors. The ex-
haust fumes are dangerous, containing
CARBON MONOXIDE, an ODORLESS
and DEADLY GAS.
Take all possible precautions when leaving
the Edger unattended. Stop the engine.
Do not overload the Edger capacity by at-
tempting to till too deep at too fast a rate.

Safe Storage
• Always refer to the owner's manual instruc-
tions for important details if the Edger is to
be stored for an extended period.
SAFETY RULES
spect the Edger for any damage, and re-
pair the damage before restarting and
operating it.
• Never store the Edger with fuel in the fuel
tank inside a building where ignition
sources are present such as water and
space heaters, clothes dryers, and the like.
Allow the engine to cool before storing in
any enclosure.
• Keep the Edger in safe working condition.
Check all fasteners at frequent intervals for
proper tightness.
Repair /Adjustments Safety
If Edger should start to vibrate abnormally,
stop engine and check immediately for the
cause. Vibration is generally a warning of
trouble.
Stop the engine whenever you leave the
operating position. Also, disconnect the
spark plug wire before unclogging the
blade and when making any repairs, ad-
justments, or inspections.
When cleaning, repairing, or inspecting,
shut off the engine and make certain all
moving parts have stopped.
• After striking a foreign object, stop the en-
gine. Remove the wire from the spark plug,
and keep the wire away from the plug to
prevent accidental starting. Thoroughly in-
Never attempt to make any adjustments
while the engine is running except when
specifically recommended by the manufac-
turer.
F-021102L 4

SAFETY RULES
INTERNATIONAL SYMBOLS
IMPORTANT: Many of the following symbols are located on your unit or on literature sup-
plied with the product. Before you operate the unit, learn and understand the purpose for
each symbol.
ControlAnd Operating Symbols
Slow Fast Fuel Oil
Primer Button
Safety Warning Symbols
WARNING
Thrown Objects.
Keep Bystanders Away.
WARNING
Rotating Parts. Stop Engine.
Disconnect Spark Wire Before
Making Adjustments.
WARNING
IMPORTANT
Read Owner's Manual
Before Operating
This Machine.
WARNING
Wear Eye Protection STOP
F-O21102L 5

ASSEMBLY ASSEMBLY
Parts Packed Separately In Carton
1 - Owner's Manual (not shown)
1 - Container Of Oil
1 - Hair Pin 1 - Container of Oil
1 - Hair Pin
WARNING: Always wear safety
glasses or eye shields while as,
sembling the Edger.
Figure 1 shows the Edger completely as-
sembled.
References to the right or left side of the
Edger are from the viewpoint of the opera-
tor's position behind the unit.
REMOVE THE EDGER
FROM THE CARTON
1. Remove the bottle of oil and parts bag
from the carton.
2. Cut down all four corners of the carton.
3. Remove the packing material positioned
around the unit.
4. Roll the Edger out of the carton and
place on a hard level surface.
Figure 1
F-021102L 6

ASSEMBLY
HOW TO RAISE THE HANDLE
1. Loosen the knobs and raise the upper
handle to the upright position. See
Figure 2. Allow the control rod to swing
freely.
2. Tighten the knobs. Make sure the
knobs are to the outside of the handles
as shown in Figure 2.
3. Insert the end of the control rod from
left to right through the hole in the quill
support arm. Attach with hair pin found
in parts bag. See Figure 3.
4. When the clutch lever is in NEUTRAL
position, the quill support arm must be
close to the screw as shown in Figure 4.
Control Rod
Upper
Handle
Figure 2
Quill
Support Arm
Figure 4
_, Control
Hair Pin _J Rod
fv
Quill
t_upport Arm
Figure 3
F-021102L 7

ASSEMBLY
HOW TO PREPARE THE ENGINE
Fill With Oil
This Edger was shipped with a container of
SAE30 motor oil. Add this oil to the engine
before operating. To fill the crankcase, re-
move the oil fill cap/dipstick and add the
SAE30 motor oil. DO NOT OVERFILL.
NOTE: The engine may contain a small
amount of oil. When adding oil, frequently
insert the oil fill cap/dipstick and check
the amount of oil in the engine. DO NOT
OVERFILl.
Oil Recommendations
Only use high quality detergent oil rated with
API service classification SG. Select the oil's
SAE viscosity grade according to your ex-
pected operating temperature. Although mul-
ti-viscosity oils (5W30, 10W30, etc.) improve
starting in cold weather, these multi-viscosity
oils will result in increased oil consumption
when used above 40 degrees. Check the
engine oil level more frequently to avoid pos-
sible engine damage from running the en-
gine low on oil.
32 °
Colder I _Warmer "_
5W30 SAE30
How To Add The Engine Oil
1. Put the Edger on a level surface.
2. Remove the oil fill cap (Figure 5).
3. Slowly fill the engine crankcase. DO NOT
OVERFILL.
How To Fill With Gasoline
Make sure that the gasoline container is
clean and free from dust or other foreign ma-
terial. Never use gasoline that could be stale
from long periods of storage.
1. Remove the fuel cap.
2. Fill the fuel tank with clean, fresh, un-
leaded grade automotive gasoline.
,_ WARNING: Always use a safety
fuel container. Do not smoke
when adding the fuel mixture to
the engine. When inside an enclosure,
do not fill the fuel tank. Before you add
the fuel mixture, stop the engine. Let the
engine cool for several minutes.
NOTE: ENGINES WHICH ARE CERTIFIED
TO COMPLY WITH CALIFORNIA AND US
EPA EMISSION REGULATIONS FOR
ULGE ENGINES, are certified to operate
on regular unleaded gasoline. Include the
following emission control system(s):
EM, TWC (if so equipped). Include any
user adjustable features - therefore no
other adjustments are needed.
Fuel Cap
Oil Fill Cap
_igure 5
F-021102L 8

ASSEMBLY
_- CHECKLIST
For the best performance and satisfaction
from this quality product, please review the
following checklist before you operate the
Edger:
_' All assembly instructions have been
completed.
_' Check carton. Make sure no loose
parts remain in the carton.
_' All fasteners have been properly tight-
ened.
As you learn how to use the Edger, pay extra
attention to the following important items:
_'_' Engine oil is at proper level.
_'_' Fuel tank is filled with a fresh, clean,
regular Unleaded gasoline.
_'_' Become familiar and understand the
function of all controls. Before your
start the engine, operate all controls.
IMPORTANT: This unit is equipped with an internal combustion engine and must not be
used on or near any unimproved forest-covered, brush-covered or grass-covered land
unless the engine's exhaust system is equipped with a spark arrester meeting
applicable local or state laws (if any). If a spark arrester is used, it must be maintained in
effective working order by the operator.
In the State of California the above is required by law (Section 4442 of the California
Public Resources Code). Other states may have similar laws. Federal laws apply on fed-
eral lands. A spark arrester/muffler is available through your nearest Sears Service Cen-
ter (see the REPAIR PARTS section in this manual).
NOTE: Actual sustained horsepower will likely be lower due to operating limitations and en-
vironmental factors.
F-021102L 9

OPERATION
KNOW YOUR EDGER
READ THE OWNER'S MANUAL AND ALL SAFETY RULES BEFORE YOU OPERATE the
Edger. To familiarize yourself with the location of the controls, compare the illustrations with
your Edger. Save this manual for future reference.
Clutch Lever
Control Rod
ENGINE
I_ Throttle
_I_ Choke
Starter
Handle
Blade Guard VIEW OF BLADE AREA
Adjustable Rear Wheel
Adjustable Front Wheel Blade
Index Lever
Figure 6
Throttle Control (if equipped) - Con-
trols the engine speed.
Clutch Lever- Use to start and stop the
blade and control the depth of cut.
Adjustable Rear Wheel -Right rear
wheel is adjustable to level the Edger when
edging along a curb (curb-hopping).
Adjustable Front Wheel -Front wheel
is adjustable from side-to-side for balance.
The front wheel can also be adjusted down
for curb-hopping.
Recoil Starter Handle - The engine is
equipped with an easy pull recoil starter.
Blade Guard - Use to prevent stones or
other material from being thrown at the oper-
ator.
Index Lever- Permits adjustment from
the edging (vertical) position to the trimming
(horizontal) position. To change position, pull
the index lever and rotate the quill assembly
to the desired angle or position.
EYE PROTECTION
Always wear safety glasses. If you wear eye
glasses, put a Wide Vision Safety Mask over
your eye glasses.
F-021102L 10
,_ WARNING: Debris thrown from
the Edger can result in foreign
objects being thrown into the
eyes, which can cause severe eye dam-
age. Always wear safety glasses or eye
shields when operating the Edger.

OPERATION
HOW TO STOP THE EDGER
Move the clutch lever back to the DIS-
ENGAGED position. Then, move the
throttle control to SLOW, then to STOP
(if equipped) See Figure 7.
_WARNING: Never leave the
EDGER unattended while the
engine is running. Always dis-
engage the cutting blade and stop the
engine.
HOW TO USE
THE THROTTLE CONTROL
1. During normal use, run the engine at full
speed.
2. Move the throttle control up to increase
engine speed, or down to decrease en-
gine speed (see Figure 8).
Clutch Lever
Figure 7
IThrottle
ltl.o.o.o N i1 1
Figure 8
HOW TO USE
THE CLUTCH LEVER
1. Start the engine.
2. To engage the cutting blade, move the
clutch lever forward (see Figure 9).
3. Select the edging depth you need. There
are five selections down to approximate-
ly 2-3/4 inches deep.
NOTE: For deep edging, first cut at shallow
depths. Then, cut at greater depths until
the desired depth is obtained.
Clutch Lever
Figure 9
F-021102L 11

OPERATION
HOW TO USE THE INDEX LEVER
1. Stop the engine and disconnect the
spark plug wire from the spark plug.
2. Loosen the front wheel knob shown in
Figure 10. Slide the front wheel all the
way to the right side.
3. Securely tighten the front wheel knob.
4.
NOTE: To prevent the blade from hit-
ting the wheel while trimming, make
sure the front wheel is set in the ex-
treme right position.
Disengage the index lever (see
Figure 11). Move the index lever to the
notch marked 90 ° .
5. Reconnect the spark plug wire to the
spark plug.
Front Wheel
Knob
Front Wheel
Figure 10
6. Start the engine.
7. Move the clutch lever to the desired trim-
ming height.
_WARNING: While the engine is
running, never leave the Edger.
Before you adjust the wheels or
change the blade position, always dis-
engage the cutting blade and stop the
engine.
/
Index Lever Figure 11
F-021102L 12

OPERATION
HOW TO USE THE CURB-HOPPING FEATURE
Because the front wheel and the right rear
wheel are adjustable, the Edger can be used
on uneven surfaces, such as the curb shown
in Figure 12. Set the wheel positions as fol-
lows.
1. Stop the engine.
2. Disconnect the spark plug wire from the
spark plug.
3. Loosen the front wheel knob.
4. Slide the front wheel to the best posi-
tion to clear the curb and balance the
unit.
wheel until the front wheel is level with
the left rear wheel and the unit is setting
on the curb as shown in Figure 12.
7. Loosen the rear wheel knob.
8. Lower the right rear wheel until the
Edger is level and the left rear wheel is
on the curb.
9. Securely tighten the rear wheel knob.
10. Connect the spark plug wire to the spark
plug.
5. Securely tighten the front wheel knob.
6. Use the curb height adjust lever to
lower the front wheel. Lower the front
_ARNING: Keep away from the
rotating blade. The blade can
cause injury.
Support Rod
Rear Wheel Knob_
Blade Guard
Front
Wheel Knob
Front Wheel
Figure 12
F-021102L 13

OPERATION
HOW TO STOP THE ENGINE
1. To stop the engine, move the clutch lever
all the way back to the DISENGAGED
position.
2. Then, move the throttle control lever to
the STOP position (Figure 13).
9. Quickly pull the recoil starter handle. DO
NOT allow the starter rope to snap back.
Let the starter rope slowly rewind. If en-
gine fails to start after three pulls, push
primer button two times and again pull
the recoil starter handle.
HOW TO START THE ENGINE
IMPORTANT: Before you start the engine,
operate the controls several times. Make
sure all controls move freely.
1. Check the oil.
2. Fill the fuel tank with regular unleaded
gasoline. Make sure the gasoline is
clean. Leaded gasoline will increase de-
posits and shorten the life of the valves.
NOTE: Do not use gasohol or methanol. Do
not use premium unleaded gasoline.
,_ WARNING: Always use a safety
gasoline container. Do not
smoke when adding gasoline to
the fuel tank. When inside an enclosure,
do not add gasoline. Before you add
gasoline, stop the engine and let the en-
gine cool for several minutes.
3. Make sure the spark plug wire is con-
nected to the spark plug.
4. Pull the clutch lever all the way back to
raise and disengage the blade.
5. Move the throttle control lever (if
equipped) to the FAST position
(Figure 13).
6. Move the choke control lever to the
CHOKE position (Figure 13).
7. To start engine, hold the recoil starter
handle firmly with your right hand.
8. Hold the edger handle firmly with your left
hand.
Choke
Figure 13
10.When the engine starts, move the throttle
control lever up (FAST position) to in-
crease speed or down to decrease
speed. During normal use keep the
throttle in the FAST position.
11. If the engine does not start in 5 or 6 tries,
See the "Problem and Repair" Instruc-
tions.
NOTE: The cutting blade speed is con-
trolled by the engine speed. To reduce the
cutting blade speed, push down on the
throttle control lever. To increase the cut-
ting blade speed, pull up on the throttle
control lever.
,_ WARNING: Never run the engine
indoors or in a poorly ventilated
area. Engine exhaust contains
carbon monoxide, an odorless and
deadly gas. Keep hands, feet, hair and
loose clothing away from any moving
parts. Avoid the muffler and surround-
ing areas. Temperatures can exceed 150
degrees.
F-021102L 14

OPERATION
EDGING TIPS
•Edging is best performed when conditions
are dry. If the soil is to wet, dirt becomes
packed around the blade causing prema-
ture belt wear and decreased perfor-
mance.
• If dirt does become packed around the
blade, stop the engine and remove the
wire from the spark plug. Remove the
packed dirt and debris from the blade.
• For deep edging, first cut at shallow
depths. Then, cut at greater depths until
the desired depth is obtained.
• For uniform edging, make sure the blade
guide rides on the surface.
• Edging can be customized by varying the
number of passes and by the distance the
blade is from the surface.
WARNING: Read the Owner's
manual. Know location and
functions of all controls. Keep
all safety devices and shields in place.
Never allow children or uninstructed
adults to operate Edger. Shut off engine
before unclogging blade or making re-
pairs. Keep bystanders away from ma-
chine. Keep away from the blade all ro-
tating parts, which cause injury.
F-021102L 15

MAINTENANCE
CUSTOMER RESPONSIBILITIES
SERVICE
RECORDS
Fillindatesasyou Before Every Every Before
completeregular Each 10 25 Each
service, use Often Hours Hours Season
Before SERVICE
Storage DATES
Lubricate Wheel
Axles v'
Change Engine Oil v' v'
Check Spark Plug
Tighten All Fasteners
Lubricate Quill Rod/
tube
v'
v' v' v'
PRODUCT SPECIFICATIONS
Model No.: 536.772340
Date Of Purchase:
Horse Power: 4
Displacement: 9.02 cu. in.
(148 cc.)
Oil Capacity: 21 oz. SAE-30W
Spark Plug Gap: 0.030 inch
GENERAL RECOMMENDATIONS
The warranty on this Edger does not cover
items that have been subjected to operator
abuse or negligence. To receive full value
from the warranty, the operator must main-
tain the Edger as instructed in this manual.
Some adjustments must be made periodical-
ly to properly maintain your Edger.
All adjustments in the Service and Adjust-
ments section of this manual must be
checked at least once each season.
F-021102L 16

LUBRICATION
After each 25 hours, apply a small amount of
engine oil to all moving parts, particularly the
wheels.
How To Change The Engine Oil
Change the oil in the engine crankcase after
each 25 hours of use.
NOTE: The oil will drain more freely when
the engine is warm.
1. Disconnect the spark plug wire from the
spark plug.
2. Remove the oil drain plug. Drain the oil
into a flat pan.
3. After draining all the oil, install and tight-
en the oil drain plug.
MAINTENANCE
4. Remove the oil fill cap (see Figure 14).
Fill the engine crankcase. Pour slowly.
Do not overfill. See "Product Specifica-
tions" for amount and type of oil. Install
the oil fill cap.
5. Connect the spark plug wire to the spark
plug.
Oil Fill Cap
Oil Drain
Plug Figure 14
HOWTO CHANGETHEAIR FILTER
Service the air filter once a year; more often
in dusty or dirty conditions. All engines have
an air cleaner cartridge. In addition, some
engines have a pre-cleaner.
1. Disconnect the spark plug wire from the
spark plug.
2. Loosen the screws and remove the
cover (see Figure 15).
3. Remove pre-cleaner (if equipped) and
cartridge carefully to prevent debris
from entering carburetor.
4. To clean pre-cleaner (if equipped), sep-
arate it from cartridge and wash in liquid
detergent and water. Air dry thoroughly.
Do not oil. Re-install dry pre-cleaner on
clean cartridge.
CAUTION: Do not use pressurized air
or solvents to clean cartridge. Pres-
surized air can damage cartridge; sol-
vents will dissolve cartridge.
5. Re-install clean (or new) air cleaner as-
sembly in base.
6. Replace cover and tighten screws.
7. Connect the spark plug wire to the spark
plug.
F-021102L
CAUTION: Never run the engine without
the air filter. A defective air filter will
cause a loss of engine power. If dirt or
dust enters the engine through the carbu-
retor, the result will be excessive wear or
damage to the engine. Replace a dam-
aged or clogged air cleaner immediately.
Screw
Cover
Pre-cleaner
Cartridge
17
Figure 15

MAINTENANCE
SPARK PLUG
Check the spark plug every 25 hours. Re- moval. Tighten the spark plug to a torque
place the spark plug if the electrodes are of 15 foot-pounds.
pitted, burned, or if the porcelain is cracked.
Make sure the spark plug is clean.
Clean the spark plug by carefully scrap-
ing the electrodes (do not sand blast or
use a wire brush).
2. Check the spark plug gap with a feeler
gauge.
Before installing the spark plug, coat
the threads lightly with oil for easy re-
Feeler Gauge
0.030"
Spark Plug
Figure 16
CARBURETOR ADJUSTMENT
Never make unnecessary adjustments to the
carburetor. The carburetor was set at the
factory to operate efficiently under most ap-
plications. However, if adjustments are re-
quired, we recommend you contact your
nearest Sears Service Center.
WARNING: The engine gover-
nor is set at the factory. Do not
change the governor setting.
Over speeding the engine above the fac-
tory setting can be dangerous. If you
think the engine governor needs an ad-
justment, contact your nearest Sears
Service Center.
F-021102L 18

SERVICE AND ADJUSTMENT
HOW TO REMOVE THE BELT
The belt made of a special compound. If the 4. Loosen, do not remove, the screw that
belt becomes worn or breaks, replace the holds the belt guide. Then, move the
belt with an original equipment belt. belt guide away from the belt.
2.
Disconnect the spark plug wire from the
spark plug.
Pull the clutch lever back to release the
tension from the belt.
Remove the two screws and spacers
from the top of the engine pulley cover.
Remove the engine pulley cover (see
Figure 17).
5.
6.
Remove the two screws from the belt
guard (see Figure 18).
Remove the old belt from the engine
and quill assembly pulleys. Replace with
an original equipment belt.
7. To install a new belt, reverse the above
steps.
Screws
Screw
Engine
Figure 17
Belt Guard
_ Screw Figure 18
F-021102L 19

SERVICE AND ADJUSTMENT
HOW TO REPLACE THE BLADE
The blade is subject to wear and damage,
such as nicks and dents. This will not gener-
ally affect its function.
The blade is designed to not require sharp-
ening. Do not attempt to sharpen the blade.
The blade is also reversible. If nicks or
dents are excessive, remove the blade and
turn it around. This will provide a fresh cut-
ting edge. Replace the blade if both sides
are worn or damaged.
1. Disconnect the spark plug wire from the
spark plug.
2. Remove the blade Iocknut that holds
the blade to the drive shaft.
WARNING: To remove or tigh-
ten the blade Iocknut, always
use the method shown in
Figure 19. Always position the holding
wrench on the nut behind the blade.
WARNING: Do not sharpen the
blade. Sharpening can damage
the blade and cause it to break,
which can cause injury to yourself or to
others.
3. Remove the blade.
4. Install a new blade and blade Iocknut.
Tighten the blade Iocknut to a torque of
40-45 foot pounds.
To replace the blade, follow the steps below.
5. Connect the spark plug wire to the spark
plug.
Turn Wrench
To Tighten Locknut
/
Hold Nut,
Do Not Turn
Blade Locknut
Figure 19
F-021102L 20

SERVICE AND ADJUSTMENT
STORAGE
WARNING: Never store the
Edger indoors with fuel in the
fuel tank. Never store in an en-
closed, poorly ventilated area where
fumes could reach an open flame, a
spark or a pilot light as on a furnace, wa-
ter heater or clothes dryer.
WARNING: Do not remove gas.
oline while inside a building,
near a fire, or while you smoke.
Gasoline fumes can cause an explosion
or a fire.
When the Edger is put in storage for thirty
days or more, follow the steps below to
make sure the Edger is in good condition the
following season.
Edger
•Completely clean the Edger.
• Check the Edger for worn or damaged
parts. Tighten all loose hardware.
• Apply a small amount of engine oil to all
moving parts, particularly the wheels.
• Put the Edger in a building that has good
ventilation.
• Cover the Edger with a suitable protec-
tive cover that does not retain moisture.
Do not use plastic.
IMPORTANT: Never cover the Edger while
the engine and exhaust areas are still
warm.
NOTE: A yearly checkup or tune-up by a
Sears Service Center is a good way to
make sure that your Edger will provide
maximum performance for the next sea-
son.
Engine
IMPORTANT: It is important to prevent
gum deposits from forming in fuel system
parts such as the carburetor, fuel filter,
fuel hose, and tank during storage. Also,
using alcohol-blended fuels (called gaso-
hol, ethanol or methanol) can attract
moisture which leads to separation and
formation of acids during storage. Acidic
gas can damage the fuel system of an en-
gine while in storage.
To prevent engine damage when the Edger
is in storage for 30 days or more, follow the
steps below:
• Let the engine run until it is out of gaso-
line.
If you do not want to remove the gaso-
line, add a fuel stabilizer to any gasoline
left in the fuel tank. A fuel stabilizer will
minimize gum deposits and acids. If the
fuel tank is almost empty, mix the fuel
stabilizer with fresh gasoline in a sepa-
rate container and add the mixture to the
fuel tank. Always follow the instructions
on the stabilizer container. Start the en-
gine. Let the engine run for 10 minutes
to allow the mixture to reach the carbu-
retor.
• Change the engine oil. See "How To
Change The Engine Oil" in the Mainte-
nance section.
Lubricate the piston/cylinder area. This
can be done by first removing the spark
plug and squirting a small amount of
clean engine oil into the spark plug hole.
Then, cover the spark plug hole with a
rag to absorb oil spray. Next, rotate the
engine by pulling the starter two or three
times. Finally, install the spark plug and
attach the spark plug wire.
Store the Edger in the operating position
with the wheels down. If the Edger is
stored in any other position, oil from the
crankcase will enter the cylinder and
cause a service problem.
F-021102L 21

TROUBLE SHOOTING CHART
TROUBLE CAUSE
Engine difficult to start Stale fuel
or
Engine runs erratically
or
Engine will not run at full
speed
Clogged fuel filter
Dirt in fuel tank or out of fuel
Carburetor out of adjustment
Fouled spark plug
Dirty air filter
Engine smokes Plugged air filter
excessively
Cutting blade will not
rotate
Blade will not cut properly
Excessive vibration
Debris interfering with blade
Loose blade
Defective V-belt
Defective quill bearings
Damage or worn blade
Loose parts
CORRECTION
Drain fuel tank. Fill with fresh
fuel.
Replace fuel filter
Clean fuel tank.
Take unit to a Sears Service
Center.
Clean and set spark plug
gap.
Replace air filter.
Replace air filter.
Clean debris from blade.
Tighten blade nut.
Replace V-belt.
Replace the quill assembly.
Reverse the blade or replace
the blade.
Stop engine immediately.
Tighten all fasteners. If
vibration continues, take the
unit to a Sears Service
Center.
F-021102L 22

SEARS, ROEBUCK AND CO.
Federal and California Emission Control Systems Limited Warranty
Small Off-Road Engines
CALIFORNIA & US EPA EMISSION
CONTROL WARRANTY STATEMENT
The U. S. Environmental Protection Agency
("EPA"), the California Air Resources Board
("CARB") and Sears, Roebuck and Co. are
pleased to explain the Federal and California
Emission Control Systems Warranty on your
new small off-road engine. In California, new
1995 and later small off-road engines must be
designed, built and equipped to meet the
State's stringent anti-smog standards. In oth-
er states, new 1997 and later model year en-
gines must be designed, built and equipped, at
the time of sale, to meet the U.S. EPA regula-
tions for small non-road engines. Sears, Roe-
buck and Co. will warrant the emission control
system on your small off-road engine for the
periods of time listed below, provided there
has been no abuse, neglect, unapproved mod-
ification, or improper maintenance of your
small off-road engine.
Your emission control system may include
parts such as the carburetor, ignition system
and exhaust system. Also included may be the
compression release system and other emis-
sion-related assemblies.
Where a warrantable condition exists, Sears,
Roebuck and Co. will repair your small off-
road engine at no cost to you for diagnosis,
parts and labor.
MANUFACTURER'S EMISSION
CONTROL SYSTEM WARRANTY
COVERAGE
Emission control systems on 1995 and later
model year California small off-road engines
are warranted for two years as hereinafter
noted. In other states, 1997 and later model
year engines are also warranted for two years.
If, during such warranty period, any emission-
related part on your engine is defective in ma-
terials or workmanship, the part will be
repaired or replaced by Sears, Roebuck and
Co.
OWNER'S WARRANTY
RESPONSIBILITIES
As the small off-road engine owner, you are
responsible for the performance of the re-
F-021102L
quired maintenance listed in your Owner's
Manual, but Sears, Roebuck and Co. will not
deny warranty solely due to the lack of receipts
or for your failure to provide written evidence
of the performance of all scheduled mainte-
nance.
As the small off-road engine owner, you
should, however, be aware that Sears, Roe-
buck and Co. may deny you warranty cover-
age if your small off-road engine or a part
thereof has failed due to abuse, neglect, im-
proper maintenance or unapproved modifica-
tions.
You are responsible for presenting your small
off-road engine to a Sears, Roebuck and Co.
Authorized Service Outlet as soon as a prob-
lem exists. The warranty repairs should be
completed in a reasonable amount of time, not
to exceed 30 days.
Warranty service can be arranged by contact-
ing either a Sears, Roebuck and Co. Autho-
rized Service Outlet, or by contacting Sears,
Roebuck and Co. at 1-800-473-7247.
23
IMPORTANT NOTE
Esta This warranty statement explains your
rights and obligations under the Emission
Control System Warranty ("ECS Warranty")
which is provided to you by Sears, Roebuck
and Co. pursuant to California law. See also
the Sears, Roebuck and Co. Limited Warran-
ties for Sears, Roebuck and Co. which is en-
closed therewith on a separate sheet and also
is provided to you by Sears, Roebuck and Co.
The ECS Warranty applies only to the emis-
sion control system of your new engine. To the
extent that there is any conflict in terms be-
tween the ECS Warranty and the Sears, Roe-
buck and Co. Warranty, the ECS Warranty
shall apply except in any circumstances in
which the Sears, Roebuck and Co. Warranty
may provide a longer warranty period. Both the
ECS Warranty and the Sears, Roebuck and
Co. Warranty describe important rights and
obligations with respect to your new engine.
Warranty service can only be performed by a
Sears, Roebuck and Co. Authorized Service
Outlet. At the time of requesting warranty ser-
vice, evidence must be presented of the date
of sale to the original purchaser. The purchas-

ershallpayanychargesformakingservice
callsand/orfortransportingtheproductsto
andfromtheplacewheretheinspectionand/
orwarrantyworkisperformed.Thepurchaser
shallberesponsibleforanydamageorlossin-
curredinconnectionwiththetransportationof
anyengineoranypart(s)thereofsubmittedfor
inspectionand/orwarrantywork.
Ifyouhaveanyquestionsregardingyourwar-
rantyrightsandresponsibilities,youshould
contactSears,Roebuckand Co. at
1-800-473-7247.
EMISSION CONTROL SYSTEM
WARRANTY
Emission Control System Warranty ("ECS
Warranty") for 1995 and later model year Cali-
fornia small off-road engines (for other states,
1997 and later model year engines):
A. APPLICABILITY: This warranty shall apply
to 1995 and later model year California small
off-road engines (for other states, 1997 and
later model year engines). The ECS Warranty
Period shall begin on the date the new engine
or equipment is delivered to its original, end-
use purchaser, and shall continue for 24 con-
secutive months thereafter.
B, GENERAL EMISSIONS WARRANTY
COVERAGE: Sears, Roebuck and Co. war-
rants to the original, end-use purchaser of the
new engine or equipment and to each subse-
quent purchaser that each of its small off-road
engines is:
1. Designed, built and equipped so as to con-
form with all applicable regulations adopted by
the Air Resources Board pursuant to its au-
thority in Chapters 1 and 2, Part 5, Division 26
of the Health and Safety Code, and
2. Free from defects in materials and work-
manship which, at any time during the ECS
Warranty Period, will cause a warranted emis-
sions-related part to fail to be identical in all
material respects to the part as described in
the engine manufacturer's application for certi-
fication.
C. The ECS Warranty only pertains to emis-
sions-related parts on your engine, as follows:
1. Any warranted, emissions-related parts
which are not scheduled for replacement as
required maintenance in the Owner's Manual
shall be warranted for the ECS Warranty Peri-
od. If any such part fails during the ECS War-
ranty Period, it shall be repaired or replaced by
F-021102L 24
Sears, Roebuck and Co. according to Subsec-
tion 4 below. Any such part repaired or re-
placed under the ECS Warranty shall be
warranted for any remainder of the ECS War-
ranty Period.
2. Any warranted, emissions-related part
which is scheduled only for regular inspection
as specified in the Owner's Manual shall be
warranted for the ECS Warranty Period. A
statement in such written instructions to the ef-
fect of "repair or replace as necessary", shall
not reduce the ECS Warranty Period. Any
such part repaired or replaced under the ECS
Warranty shall be warranted for the remainder
of the ECS Warranty Period.
3. Any warranted, emissions-related part
which is scheduled for replacement as re-
quired maintenance in the Owner's Manual,
shall be warranted for the period of time prior
to the first scheduled replacement point for
that part. If the part fails prior to the first sched-
uled replacement, the part shall be repaired or
replaced by Sears, Roebuck and Co. accord-
ing to Subsection 4 below. Any such emis-
sions-related part repaired or replaced under
the ECS Warranty, shall be warranted for the
remainder of the ECS Warranty Period prior to
the first scheduled replacement point for such
emissions-related part.
4. Repair or replacement of any warranted,
emissions-related part under this ECS War-
ranty shall be performed at no charge to the
owner at a Sears, Roebuck and Co. Autho-
rized Service Outlet.
5. The owner shall not be charged for diagnos-
tic labor which leads to the determination that
a part covered by the ECS Warranty is in fact
defective, provided that such diagnostic work
is performed at a Sears, Roebuck and Co. Au-
thorized Service Outlet.
6. Sears, Roebuck and Co. shall be liable for
damages to other original engine components
or approved modifications proximately caused
by a failure under warranty of an emission-re-
lated part covered by the ECS Warranty.
7. Throughout the ECS Warranty Period,
Sears, Roebuck and Co. shall maintain a sup-
ply of warranted emission-related parts suffi-
cient to meet the expected demand for such
emission-related parts.
8. Any Sears, Roebuck and Co. authorized
and approved emission-related replacement
part may be used in the performance of any
ECS Warranty maintenance or repair and will
be provided without charge to the owner. Such

useshallnotreduceSears,RoebuckandCo,
ECSWarrantyobligations.
9.Unapprovedadd-onormodifiedpartsmay
notbeusedtomodifyorrepairaSears,Roe-
buckandCo.engine.SuchusevoidsthisECS
Warrantyandshallbesufficientgroundsfor
disallowinganECSWarrantyclaim.Sears,
RoebuckandCo.shallnotbeliablehereunder
forfailuresofanywarrantedpartsofaSears,
RoebuckandCo.enginecausedbytheuseof
suchanunapprovedadd-onormodifiedpart.
EMISSION-RELATED PARTS
INCLUDE THE FOLLOWING:
1. Carburetor Assembly and its Internal Com-
ponents
a) Fuel filter
b) Carburetor gaskets
c) Intake pipe
2. Air Cleaner Assembly
a) Air filter element
3. Ignition System, including:
a) Spark plug
b) Ignition module
c) Flywheel assembly
4. Catalytic Muffler (if so equipped)
a) Muffler gasket (if so equipped)
b) Exhaust manifold (if so equipped)
5. Crankcase Breather Assembly and its
Components
a) Breather connection tube
10/22199 EPNCARB
Sears, Roebuck and Co., Hoffman Estates, IL 61)179 U.S.A.
F-021102L 25

CRAFTSMAN 536.772340
45
4O
REPAIR PARTS
43
44 41
21 20 22
, 32
8O
81
12 323095 F
KEY
NO. PARTNO.
10
12 47792
20 1701004
21 2001022
22 120580
29 32668
30 578733
31 45602
32 51600
F-O21102L
DESCRIPTION
4 HP95212-0138-E1
(SeeEnginepages)
Screw,3/8-16xl .00
Pulley
Key,Square
Screw,Set
V-Belt, 4L
Screw5/16-24xl .00
Flatwasher
Guide, Belt
26
KEY
NO, PARTNO, DESCRIPTION
40 331281-201 Cover,EnginePulley
41 181624 Screw,5/16-24x3.00
42 315095 Spacer,Sleeve
43 173030 Screw,5/16-24x3.75
44 308237 Spacer
45 315095 Spacer,Sleeve
80 323534-201 Assembly,Frame
81 308154-201 Strap
-- F-021102L InstructionManual

CRAFTSMAN 536.772340 REPAIR PARTS
163
151
150
157_
156
160 164
158
159
154
155
331765 E
KEY
NO. PARTNO. DESCRIPTION
150 339299-201 FrontWheelArm
151 740132 FrontCurbHopper
152 338614 Pushnut,Washer
153 325892 PlasticWasher
154 331421 Spacer,HeightAdjust
155 332002 Pin,Spring
156 331419 Lever,HeightAdjust
F-O21102L
KEY
NO. PARTNO. DESCRIPTION
157 20252 Knob,Rectangle
158 22265 Flatwasher
159 45905 Nut
160 51333 Screw,5/16-18x.63
161 331394-201 Plate,HeightAdjust
163 339388 Knob,Molded
164 1498 Nut,5116-18
27

CRAFTSMAN 536.772340
170
171
181
i 171
186
REPAIR PARTS
184
182
183
323179 F
KEY KEY
NO, PARTNO, DESCRIPTION NO, PARTNO,
170 6842 Bracket,CurbHopMnt 182 45222
171 180077 Screw,5/16-18x.75 183 120393
172 1498 Nut,5/16-18 184 71294
180 126380 Bolt,5/16-18x2.00 186 310896
181 8082 Clevis
DESCRIPTION
Spacer,Sleeve
Flatwasher
Knob,Wing5/16-18
Rod,WheelSupport
F-O21102L 28

CRAFTSMAN 536.772340 REPAIR PARTS
301
325
323
330
329
331
302
300 311
305 323129 E
KEY
NO. PARTNO. DESCRIPTION
300 120396 Flatwasher
301 338656-201 QuillSupport
302 308254 Bolt,3/8-16
303 710083 Flatwasher
305 1499 Nut,3/8-16
310 308243 RubberDeflector
311 710271 Screw,10-16xl.50
320 51603 Spring
KEY
NO. PARTNO.
321 338070
322 308466
323 308155
325 1498
329 22265
330 740296
331 46023
DESCRIPTION
QuillAssembly
Lever,Index
Spring,Torsion
Nut,5/16-18
Flatwasher
Blade,Edger
Nut, 112-20
F-O21102L 29

CRAFTSMAN 536.772340 REPAIR PARTS
751 "_
425
754
722
343718 A
KEY
NO. PARTNO.
424 315288
425 71294
DESCRIPTION
Bolt,5/16-18xl.75
Knob,Wing5/16-18
720 740127-853 LowerHandle
721 1498 Nut,5/16-18
F-O21102L
KEY
NO. PARTNO. DESCRIPTION
722 51333 Screw,5/16-18x.63
750 580292-853 ControlRod
751 36368 HairPin
754 36368 HairPin
30

CRAFTSMAN 536.772340
731
750 739
735
72
KEY
NO. PARTNO. DESCRIPTION
725 1701016 UpperHandle
731 310052-853 SelectorPlate
732 180024 Screw,1/4-20xl.25
735 782585 Nut, 1/4-20
737 310050-853 DepthAdjustHandle
738 180081 Screw,5/16-18xl.25
F-O21102L 31
REPAIR PARTS
737
743
732
738
323136 F
739 25644 Spring,Compression
740 1498 Nut, 5/16-18
741 56924 Grip,Hand
743 310053 Stud
745 1499 Nut, 3/8-16
750 315995 Grip,FoamTubing
745
KEY
NO. PARTNO. DESCRIPTION

CRAFTSMAN 536.772340 REPAIR PARTS
108
105
106
117
118
116
110
113
109
KEY
NO. PARTNO. DESCRIPTION
103 1499 Nut,3/8-16
105 310715 Spacer,Sleeve
106 310716 Bolt,HHSH3/8
108 336545 Tire&Rim
109 180113 Screw,5/16-18x3.00
110 120393 Flatwasher
114
KEY
NO. PARTNO.
111 15x88
113 51887
114 336546
116 336545
117 17X91
118 30x20
111
343720B
DESCRIPTION
Nut,5/16-18
Spacer,Sleeve
Tire& Rim
Tire&Rim
Flatwasher
CotterPin
F-O21102L 32

CRAFTSMAN 536.772340 REPAIR PARTS
2
1
KEY
NO. PARTNO. DESCRIPTION
1331076-201 Blade,Guard
2 2x53 Bolt,Carriage
4 15x88 Nut,5/16-18
5 326748-201 Guide, BeltFront
KEY
NO. PARTNO.
6710264
8 53405-201
9710271
332247 E
DESCRIPTION
Screw,1/4-20x.50
Cover,QuillPulley
Screw,10-16x.50
KEY
NO. PARTNO.
48x1177
333874
69711
DECALS
KEY
DESCRIPTION NO. PARTNO.
Decal,Angle Indicator -- 312548
Decal,Danger Rotating
Blade -- 48x1176
Decal,Danger -- 48x1178
Information
DESCRIPTION
Decal,Quadrant
Selector
Decal,Engine4.0 HP
Decal,CraftsmanLogo
F-O21102L 33

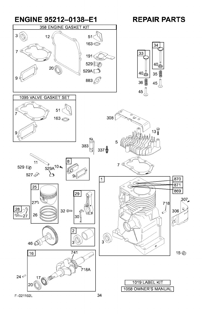
ENGINE 95212-0138-E1
358 ENGINE GASKET KIT
3 12 51
163_
7
529A _
1095 VALVE GASKET SET
REPAIR PARTS
45_
529 _ 529A10 _
527_
46
51
163
32
308'
24
_o7.
306 _
I 1019 LABEL KIT I
[ 1058 OWNER'S MANUAL I
F-021102L 34

ENGINE 95212-0138-E1 REPAIR PARTS
KEY PART KEY PART
NO. NO. DESCRIPTION NO. NO. DESCRIPTION
1494549 Cylinder Assembly 298908 Pin-Piston
2 399269 Kit-BushingtSeal (.005" Oversize)
(Magneto Side) 29 294367 Rod-Connecting
3_299819 Seal-Oil (Standard)Note
(Magneto Side) 296079 Rod-Connecting
5 690386 Head--Cylinder (,020" Undersize)
7_692288 Gasket-Cylinder Head 30 691719 Dipper-Connecting Rod
8 495774 Breather Assembly 32 691664 Screw
9_27549 Gasket-Breather (Connecting Rod)
10 691666 Screw 33 296676 Valve-Exhaust
(Breather Assembly) 34 296677 Valve-Intake
11 231550 Tube-Breather 35 690520 Spring-Valve
12 _692218 Gasket-Crankcase (Intake)
(.015" Thick, Standard) 36 690520 Spring-Valve
Note ---- (Exhaust)
_270895 Gasket
(,005" Thick) 40 692194 Retainer-Valve
_270896 Gasket 45 691762 Tappet-Valve
(,009" Thick) 46 691998 Camshaft
13 691640 Screw 51 _o_273113 Gasket-intake
(Cylinder Head) 163 _271935 Gasket-Air Cleaner
15 691682 Plug-Oil Drain 191 e_692241 Gasket-Fuel Tank
16 497232 Crankshaft 306 690461 Shield-Cylinder
17 690824 Bearing-Ball 307 691660 Screw
20 692020 Seal-Oil (Cylinder Shield)
(PTO Side) 308 690462 Cover-Cylinder Head
24 222698 Key-Flywheel 337 802592 Plug-Spark
25 498668 Piston Assembly 358 497605 Gasket Set-Engine
(Standard) 383 89838 Wrench-Sparkplug
Note _ 527 691741 Clamp-Tube
498669 Piston Assembly 529 _692189 Grommet
(.010" Oversize) 529A _692187 Grommet
498670 Piston Assembly 718 690959 Pin-Locating
(.020" Oversize) 718A 499047 Pin-Locating
498671 Piston Assembly (Timing Gear)
(,030" Oversize) 741 691805 Gear-Timing
26 498680 Ring Set 869 691701 Seat-Valve
(Standard) (Intake)
Note --- 870 691702 Seat-Valve
498681 Ring Set (Exhaust)
(,010" Oversize) 871 262001 Bushing-Valve Guide
498682 Ring Set (Exhaust)
(.020" Oversize) _ Note
498683 Ring Set 231348 Bushing-Valve
(.030" Oversize) Guide
27 691588 Lock-Piston Pin (Exhaust)
28 298909 Pin-Piston 1019 491069 Kit-Label
(Standard) 1058 274778 Owner's Manual
Note --- 1095 692638 Gasket Set-Valve
F-021102L 35

ENGINE 95212-0138-E1
2(
523
REPAIR PARTS
22_ 147
842 _ 441
525
287 _
524 _C)
190
190A
365 _
957
191 121 CARBURETOR OVERHAUL KIT
51
191 __._
163_2_ 394_
718B %. 97_\
435 _ 689 _ 51 )_"_
r2_J,_ _, 130 _ 95 _
394 ,_4_._ 987A@_
392 "_ j_._
393 _-_6_$7 __"_'27%r_r-L"m A
141 _ 110A
F-O21102L 36

ENGINE 95212-0138-E1
KEY PART
NO. NO. DESCRIPTION
12 _692218 Gasket-Crankcase
(.015" Thick, Standard)
Note
_270895 Gasket
(.005" Thick)
_270896 Gasket
(.009" Thick)
18 497506 Cover-Crankcase
20 692020 Seal-Oil
(PTO Side)
21 281658 Cap-Oil Fill
22 691128 Screw
(Crankcase Cover)
51 _e_273113 Gasket-Intake
90 499492 Carburetor
95 691437 Screw
(Throttle Valve)
97 692018 Shaft-Throttle
110 690401 Washer
(Choke Shaft)
110A 691869 Washer
(Choke Shaft)
121 495606 Kit-Carburetor
127 691718 Plug-Welch
127A 691742 Plug-Welch
130 691743 Valve-Throttle
141 497230 Kit-Choke Shaft
147 691250 Jet-Pilot
(Standard)Note
499502 Jet-Pilot
(High Altitude)
163 _271935 Gasket-Air Cleaner
180 495370 Tank-Fuel
REPAIR PARTS
KEY PART
NO. NO. DESCRIPTION
190 692200 Screw
(Fuel Tank)
190A 691687 Screw
(Fuel Tank)
191 e_692241 Gasket-Fuel Tank
287 691693 Screw
(Dipstick Tube)
365 690953 Screw
(Carburetor)
392 691823 Spring-Pump Diaphragm
393 691213 Screen-Carburetor
394 e272538 Diaphragm-Carburetor
432 690766 Cap-Spring
434 691713 Cover-Diaphragm
435 691619 Screw
(Diaphragm Cover)
441 690484 Bracket-Oil Fill
523 495264 Dipstick
524 691870 SeaI-O Ring
(Dipstick Tube)
525 694426 Tube-Dipstick
612 297219 Tube-Pick Up
689 691783 Spring-Friction
692 690572 Spring-Detent
718B 690296 Pin-Locating
842 691876 SeaI-O Ring
(Dipstick Tube)
847 690848 DipsticldTube Assembly
957 494559 Cap-Fuel Tank
987 692279 Seal-Throttle Shaft
987A 270167 Seal-Throttle Shaft
1149 691624 Screw
(Throttle Shaft)
F-021102L 37

ENGINE 95212-0138-E1 REPAIR PARTS
334
356 _ 188
621 ,_
216_
831
780 _:_
201
304 ,%
305
17_
445
1036 EMISSION LABEL
883'
823
592_
65_
332
459_
1210
597
F-O21102L 38

ENGINE 95212-0138-E1
KEY PART KEY
NO. NO. DESCRIPTION NO.
23 496893 Flywheel 455
37 690463 Guard-Flywheel 456
55 692144 Housing-Rewind 459
Starter 469
58 692259 Rope-Starter 536
(Cut to Required 592
Length)
60 691915 Grip-Starter Rope 597
65 690837 Screw
(Rewind Starter) 608
73 694018 Screen-Rotating 620
78 690364 Screw 621
(Flywheel Guard) 676
161 691990 Base-Air Cleaner 677
163 _271935 Gasket-Air Cleaner
188 692200 Screw 689
(Control Bracket) 780
200 498770 Blade-Governor 823
201 691305 Link-Air Vane
209 690563 Spring-Governor 831
211 691289 Spring-Governed Idle
216 692904 Link-Choke 851
298 691720 Locknut-Muffter/Elbow 864
300 493288 Muffler 883
304 693004 Housing-Blower 968
305 692198 Screw 971
(Blower Housing)
332 690662 Nut
(Flywheel) 1036
333 496914 Armature-Magneto 1210
334 691061 Screw
(Magneto Armature)
356 692390 Wire-Stop 1211
363 19069 Puller-Flywheel
425 694515 Screw
(Air Cleaner Cover)
445 491588 Fitter-Air Cleaner
Cartridge
REPAIR PARTS
PART
NO. DESCRIPTION
691236 Cup-Flywheel
692299 Plate-Pawl Friction
281505 Pawl-Rachet
694420 Ring-Rotating Trim
494279 Cleaner-Air
690800 Nut
(Rewind Starter)
691696 Screw
(Pawl Friction Plate)
499706 Starter-Rewind
692686 Panel-Speed Control
692310 Switch-Stop
393760 Deflector-Muffler
690661 Screw
(Muffler Deflector)
691855 Spring-Friction
691211 Anchor-Spring
692336 Screw
(Muffler Adapter)
691099 Screw
(Spring Anchor)
493880 Terminal-Spark Plug
690776 Adapter-Muffler
_691314 Gasket-Exhaust
692321 Cover-Air Cleaner
690370 Screw
(Air Cleaner Base to
Carburetor)
696764 Label-Emission
499901 Pulley/Spring
Assembly
(Pulley)
499901 Pulley/Spring
Assembly
(Pulley)
F-O21102L 39

CONTENIDO
GARANTIA 40
SiMBOLOS INTERNACIONALES 43
MONTAJE 44
OPERACION 48
MANTENIMIENTO 54
SERVIClO Y AJUSTES 57
TABLADELOCALIZACIONDEAVERIAS 60
PIEZAS DE REPUESTO 26
PIEZAS DE REPUESTO (MOTOR) 34
PEDIDOS /SERVICIO
CONTRACUBIERTA
GARANTiA
GARANTIA LIMITADA DE DOS AI_IOS PARA LA ORILLADORA CRAFTSMAN
Esta orilladora Craftsman est_ garantizada por dos aSos a partir de la fecha de compra, siem-
prey cuando, se le haya dado mantenimiento, lubricaci6n y afinado de acuerdo con las ins-
trucciones de operaci6n y mantenimiento que aparecen en el manual del usuado, Craftsman
reparar& sin costo alguno, cualquier defecto en el material yio mano de obra de la unidad.
Siesta orilladora Craftsman se utiliza para prop6sitos comerciales o de arrendamiento, la ga-
rantia ser_ v_lida por s61o 90 dias a partir de la fecha de compra.
Esta garantia no cubre Io siguiente:
• Piezas reemplazables que se desgasten durante el uso normal, por ejemplo: bujias, etc.
• Reparaciones necesarias debido al abuso o negligencia por parte del operador de la uni-
dad, incluyendo cig0eSales torcidos, y por no mantener la unidad de acuerdo con las ins-
trucciones que aparecen en el manual del usuario.
EN LOS ESTADOS UNIDOS, EL SERVIClO BAJO GARANT|A PAPA LA ORILLADOPA
CRAFTSMAN ESTA DISPONIBLE EN EL CENTRO 1DEPARTAMENTO DE SERVICIO DE
SEARS MAS CERCANO, ESTA GAPANT|A ES VALIDA SOLAMENTE SI EL PRODUCTO
SE USA EN LOS ESTADOS UNIDOS.
Esta garantia le brinda derechos legales especificos, adem_s, usted puede tener otros dere-
chos legales que varian seg_n el estado donde resida.
Sears, Roebuck and Co., D817WA, Hoffman Estates, IL 60179
Las emisiones generadas por el motor, algunos de sus compuestos
y ciertos componentes del vehiculo contienen o emiten vapores
quimicos reconocidos en el Estado de California como carcinbge-
nos, y pueden causar malformaciones congdnitas y otros proble-
mas reproductivos.
Los bornes, conectores y accesorios relacionados con la bateria
contienen plomo y compuestos del plomo. Estos quimicos est&n
reconocidos por el Estado de California como carcinbgenos, rela-
cionados adem&s con malformaciones congdnitas y otros proble-
mas reproductivos. DEBE LAVARSE BIEN LAS MANOS DESPUI_S
DE TOCARLOS.
F-021102L 40

NORMAS DE SEGURIDAD
Pr_cticas de seguridad para la operacibn de la orilladora.
ADVERTENCIA: Busque este sfmbolo que le indicarb puntos importantes
de precaucibn para su seguridad. Este simbolo quiere decir: <'iAtencibn!
iEstd alerta! Su seguridad estd en peligro".
_DVERTENCIA: Para prevenir
el arranque accidental de la mb-
quina durante el montaje, trans-
porte, ajuste o reparacibn, desconecte
siempre el cable de la bujia y colbquelo
alejado de _sta.
Pasos preliminares
• Lea detenidamente el Manual del usuario.
Debe familiarizarse completamente con los
controles y el uso correcto de la orilladora.
Aprenda c6mo apagar, detener y desen-
ganchar los controles de la orilladora, en
caso de que tenga que hacerlo r_pidamen-
te.
• Siempre que use la orilladora deber_ ves-
tirse con ropa apropiada y usar zapatos
que le protejan y le den buena tracci6n.
• Mantenga el _rea de operaci6n despejada
de personas, especialmente de niSos pe-
queSos y mascotas.
• Examine el _rea en donde va a ser usada
la orilladora y desp6jela de cualquier objeto
que pudiera ser lanzado por la m_quina.
Combustible
• Tenga mucho cuidado al manejar gasolina
y otros combustibles, estos son sumamen-
te inflamables.
• Use _nicamente recipientes aprobados.
° Revise el nivel de combustible cada vez
que use la orilladora. Aseg_rese de dejar
suficiente espacio, ya que el calor del mo-
tor ylo del sol puede causar la expansi6n
del combustible.
• Debe reabastecer o Ilenar el tanque de
combustible en un _rea abierta y con mu-
cho cuidado. Nunca Ilene el tanque en un
espacio cerrado. Fije bien la tapa del tan-
que de combustible y limpie cualquier de-
rrame.
• Nunca quite la tapa del tanque de combus-
tible ni aSada combustible al tanque cuan-
do el motor est6 caliente o en marcha.
F-021102L 41
Nunca guarde la orilladora Ilena de com-
bustible ni el recipiente de combustible en
un recinto donde haya alguna llama ex-
puesta.
Operacibn
Nunca permita que niSos o adolescentes
manejen la orilladora. Mant6ngalos fuera
del _rea de recorte. Nunca permita que
usen la unidad los adultos no familiariza-
dos con las instrucciones de operaci6n.
• No opere la orilladora si est_ tomando al-
g_n f_rmaco u otra medicina que le provo-
que somnolencia o que afecte su habiUdad
de operar esta unidad con seguridad.
• No use la orilladora si no est_ fisica o men-
talmente capacitado para hacerlo de ma-
hera segura.
• Siempre use galas de seguridad o caretas
protectoras al operar, ajustar o reparar la
orilladora, esto proteger_ sus ojos de obje-
tos que pudieran ser lanzados por la uni-
dad.
o
o
o
o
o
o
o
No ponga las manos o los pies cerca o de-
bajo de piezas giratorias.
Preste mucha atenci6n cuando maneje la
orilladora cerca de la calle, o cuando cruce
por calzadas, calles o caminos de grava.
Est6 alerta tanto al tr_fico como a proble-
mas potenciales o imprevistos.
Tenga cuidado para evitar caidas o resba-
Iones.
Nunca opere la orilladora sin colocar en su
lugar los respectivos resguardos u otros
aditamentos diseSados para su protecci6n
y seguridad.
Nunca opere la orilladora a alta velocidad
en superficies resbalosas. Siempre que
retroceda mire hacia atr_s y h_galo con
cuidado.
Nunca permita que haya personas cerca
de la orilladora.
Mantenga alejados a niSos y mascotas du-
rante la operaci6n de la m_quina.
Siempre opere el equipo a la luz del dia o
con buena iluminaci6n artificial.

NORMAS DE SEGURIDAD
• Nunca ponga en marcha un motor dentro
de un recinto o de un _rea cerrada. Los
vapores del escape son peligrosos, ya que
contienen MON6XlDO DE CARBONO,
UN GAS INODORO Y MORTAL.
• Tome todas las precauciones necesarias
cuando deje la orilladora desatendida.
Apague el motor.
• No sobrecargue la capacidad de su orilla-
dora al tratar de rebordear a una profundi-
dad o a una velocidad excesiva.
laridad todos los sujetadores para mante-
nerlos debidamente apretados.
Reparacibn /Ajustes
Si golpea un objeto extrafio con la unidad,
apague el motor. Desconecte el cable de la
bujia y mant6ngalo alejado de _sta para
evitar un arranque accidental del motor.
Inspeccione la orilladora para ver si _sta
sufri6 alg_n dafio. Si est_ averiada, deber_
repararla antes de hacerla funcionar nue-
vamente.
Almacenamiento
• Cuando la orilladora va a ser almacenada
por un periodo largo de tiempo, consulte
las instrucciones del manual del usuario
para obtener detalles importantes al res-
pecto.
• Nunca almacene la orilladora con combus-
tible en el tanque, dentro de un recinto
donde pudieran haber fuentes de igniciOn
tales como calentadores de agua, estufas
secadoras de ropa y otras fuentes pareci-
das. Permita que el motor se enfrie antes
de guardar la unidad en un recinto cerrado.
• Mantenga la orilladora en condiciones de
funcionamiento seguras. Revise con regu-
Si la orilladora comienza a vibrar excesiva
o anormalmente, apague el motor. Revise
la unidad de inmediato para determinar la
causa. Generalmente la vibraciOn suele
indicar que existe alguna averia.
Apague el motor siempre que tenga que
dejar el equipo. Desconecte el cable de la
bujia antes de destapar la cuchilla y antes
de realizar cualquier reparaciOn, ajuste o
inspecciOn a la unidad.
Antes de limpiar, reparar o inspeccionar la
unidad, apague el motor y aseg_rese de
que todas las partes en movimiento se ha-
yan detenido.
Nunca haga ajustes o reparaciones mien-
tras el motor est6 en marcha, a menos que
el fabricante Io indique especificamente.
F-021102L 42

NORMAS DE SEGURIDAD
SJMBOLOS INTERNACIONALES
IMPORTANTE: La mayoria de los simbolos siguientes se encuentran en la unidad o en la
informacibn que viene con el producto. Antes de usar la unidad, familiaricese con el signifi-
cado de cada uno de los simbolos.
Simbolos de control y funcionamiento
Marcha lenta Marcha r&pida Combustible Aceite
Botbn cebador
Simbolos de advertencia de seguridad
ADVERTENCIA
Lanza objetos. Mante-
nerse ale,iado de
transeuntes.
IMPORTANTE
Lea el Manual del
usuario antes de
operar esta unidad.
ADVERTENCIA
Piezas giratorias. Apagar el
motor y desconectar el cable
de la bujia antes de hacer
cualquier ajuste a la unidad.
ADVERTENCIA
Usar proteccibn para
losojos
ADVERTENCIA
PARAR
F-O21102L 43

MONTAJE ENSAMBLAJE
Contenido de la boisa de parties
1 - Manual del usuario (no aparece en ta
figura)
1 - Botella de aceite
1 - Horquilla 1 - Horquilla
1 - Botella de aceite
,_ ADVERTENCIA: Siempre use
gafas Ianteojos de seguridad
cuando estd ensamblando la
orilladora,
La Figura 20 muestra la orilladora completa-
mente ensamblada.
Cuando se indica el lade izquierdo o dere-
cho de la orilladora en este manual, siempre
se hace desde el punto de vista del operador
en su posici6n detr_s de la unidad.
INSTRUCCIONES PAPA SACAR
LA ORILLADORA DE SU CAJA
1. Saque la botella de aceite y la bolsa de
piezaslpartes de la caja.
2. Corte hacia abajo las cuatro esquinas de
la caja.
3. Retire el material de empaque colocado
alrededor de la unidad.
4. Levante la orilladora de la caja y col&
quela sobre una superficie plana y esta-
ble.
Figura 20
F-O21102L 44

ENSAMBLAJE
C6MO LEVANTAR EL MANGO
1. Afloje las perillas y levante el mango
superior a la posici6n vertical. Ver la
Figura 21. Deje que la vara de control
cuelgue libremente.
2. Apriete las perillas. Asegt_re que las
perillas queden por el lado de afuera de
los mangos, como se muestra en la
Figura 21.
3. Inserte el extremo de la vara de control
4.
de izquierda a derecha a trav_s del agu-
jero en en brazo hueco de soporte. Su-
jete con la horquilla que viene en la
bolsa de partes. Ver la Figura 22.
Cuando la palanca del embrague est6
en la posici6n NEUTRO, el brazo hueco
de soporte debe quedar junto al tornillo
como se muestra en la Figura 23.
Vara de
control
Mango
superior
Figura 21
Brazo hueco
de so
Figura 23
Horquilla
Vara de
control
Brazo hueco
de soporte
F-021102L
Figura 22
45

ENSAMBLAJE
PREPARACI6N DEL MOTOR 1. Coloque la orilladora sobre una superficie
plana
Cbmo Ilenar el c&rter de aceite 2. Saque la varilla indicadora (Figura 24).
3. Llene lentamente el c_rter del motor. NO
LO LLENE DEMASIADO.
Esta orilladora fue enviada con una botella
de aceite de motor SAE30. Coloque este
aceite en el motor antes de hacer funcionar
la unidad. Para Ilenar el c_rter de aceite, qui-
te la tapa Ivarilla indicadora de aceite y aSa-
da el aceite de motor SAE30. NO LO
LLENE DEMASIADO.
NOTA: Es posible que el motor ya tenga
un poco de aceite, Durante el proceso de
Ilenado del aceite, compruebe frecuente-
mente el nivel usando la varilla indicado-
ra, NO LO LLENE DEMASIADO.
Recomendaciones para el aceite
Use s61o aceite detergente de alta calidad
con una clasificaci6n de servicio API de SG.
La selecci6n del grado de viscosidad SAE
del aceite se hace segt_n la temperatura an-
ticipada de funcionamiento. Aunque los acei-
tes multiviscosidad (5W30, 10W30, etc.)
mejoran el arranque en temperaturas bajas,
su uso en temperaturas por encima de los
40°F (0°C) aumenta el consumo de aceite.
Compruebe el nivel de aceite con mayor fie-
cuencia para evitar un posible daSo al motor
por operar la unidad con poco aceite.
Cbmo Ilenar el tanque de combustible
Asegt_rese de que el recipiente de gasolina
est_ limpio y sin residuos o contaminantes.
Nunca use gasolina vieja que haya sido al-
macenada por periodos de tiempo prolonga-
dos.
1. Quite la tapa del tanque de combustible.
2. Llene el tanque de combustible con ga-
solina de autom6vil limpia, nueva y sin
plomo.
_DVERTENCIA: Use siempre un
recipiente de seguridad para el
combustible, No fume cuando
estd reabasteciendo el motor. No rea-
bastezca dentro de un local cerrado.
Apague el motor antes de ahadir com-
bustible, Deje enfriar el motor por varios
minutos.
NOTA: LOS MOTORES QUE HAN SIDO
CERTIFICADOS PARA CUMPLIR CON
LOS REGLAMENTOS DE EMISIONES DE
LA EPA (EE,UU,) Y DEL ESTADO DE CA-
0°C (32°F) LIFORNIA PARA MOTORES ULGE, pue-
M_s frio M_s caliente den usar gasolina regular sin plomo.
_. _> Estos reglamentos incluyen los siguien-
4_ __ tes sistemas de control de emisiones:
" " EM, TWC (catalizador de triple accibn, si
5W30 SAE30 est_ instalado). Tambi_n incluye cual-
quier accesorio ajustable por el usuario -
Cbmo Ilenar el c&rter del motor con por Io tanto, no es necesario ning_n otro
aceit._e .... ajuste_
[ _ Tapa de
ombustible
/ _4_-I_ Tapalvarilla __
/- " indic adora de /_ \ _ ' ",,_//
aceite N!VELDE ",o" Figura 24
ACEITE
F-021102L 46

ENSAMBLAJE
_" LISTA DE COMPROBACION
Para obtener un rendimiento 6ptimo y la ma-
yor satisfacci6n de este producto de alta ca-
lidad, favor de revisar la siguiente lista de
comprobaci6n antes de hacer funcionar su
orilladora:
_" Verifique que se han completado to-
das las instrucciones de montaje.
_' Revise la caja de envio para asegurar
que no quede en _sta ninguna pieza
o parte.
_' Aseg_rese de que todos los sujetado-
res (pernos, tornillos, etc.) est6n bien
apretados.
A medida que vaya aprendiendo sobre el
uso de la orilladora, preste especial atenci6n
a los siguientes puntos importantes:
_'_' El nivel de aceite del motor es el co-
rrecto.
_'_' El tanque de combustible ha sido Ile-
nado con gasolina regular limpia, nue-
va y sin plomo.
_'_' FamUiaricese y entienda la funci6n de
todos los controles. Antes de hacer
arrancar el motor, verifique el funcio-
namiento de todos los controles.
IMPORTANTE: Esta unidad estd equipada con un motor de combustibn interna y no
debe ser usada en o cerca de ning_n terreno basto de cubierta forestal, de maleza o de
hierba a menos que el sistema de escape del motor estd equipado con un parachispas
que cumpla con las leyes locales o estatales aplicables (si existen), Si se usa el
parachispas, el operador debe mantenerlo en buenas condiciones.
Lo indicado anteriormente es requerido pot ley (Section 4442 of the California Public
Resources Code) en el estado de California. Otros estados pueden tener leyes simila-
res, Las leyes Federales aplican a los terrenos federales, Para conseguir un parachis-
paslsilenciador vaya a su Centro de Servicio Sears mds cercano (consulte la seccibn de
PIEZAS DE REPUESTO en este manual).
NOTA: Es probable que el valor actual constante para los caballos de fuerza sea menor
debido a limitaciones de funcionamiento y a factores ambientales.
F-021102L 47

OPERACION
CONOZCA SU ORILLADORA
ANTES DE HACER FUNCIONAR LA ORILLADORA, LEA EL MANUAL DEL USUARIO Y TO-
DA LA INFORMACION SOBRE SEGURIDAD. Para famUiarizarse con la ubicaci6n de los con-
troles, compare las siguientes ilustraciones con su orilladora. Guarde eete manual para
refereneias futuras.
Palanca de
embrague
Vara de
J control
MOTOR
IControl del acelerador
Control del estrangulador
Manija de
manual
Cubierta protectora
de la cuchilla
iiiii_i_ii
VISTA DE LA CUCHILLA
Rueda trasera ajustable
Rueda delantera ajustable
Cuchilla
Palanca de
reglaje
Figura 25
Control del acelerador (si estb equi-
pado) - Controla la velocidad del motor.
Palanca de embrague - Se usa para
hacer arrancar y parar la cuchilla y tambi_n,
para controlar la profundidad de coke.
Rueda trasera ajustable - La rueda
trasera derecha se puede ajustar para nive-
lar la orilladora cuando se usa para recortar
a Io largo de los bordillos.
Rueda delantera ajustable - La rueda
delantera se ajusta de un lado a otro para
equilibrar la unidad. Tambi6n puede ajustar-
se hacia abajo para los bordillos.
Manija de arranque manual - El motor
esta equipado con una manija de arranque
manual de f_cil uso.
Cubierta protectora de la cuchilla -
Protege al usuario contra objetos (piedras,
etc.) que pueden ser lanzados por la unidad.
Palanca de reglaje - Permite ajustar la
unidad de la posici6n de orilladora (vertical)
a la posici6n de recortadora (horizontal). Pa-
ra cambiar la posici6n, jale la palanca y gire
el brazo hueco de apoyo al _ngulo o posi-
ci6n deseada.
PROTECCI6N PARA LOS OJOS
Use siempre galas o anteojos de seguridad.
Si ya usa anteojos, p6ngase una careta pro-
tectora encima de estos.
F-021102L 48
ADVERTENCIA: Puede que la
orilladora lance objetos hacia
los ojos, Io cual puede resultar
en lesiones graves. Use siempre galas
de seguridad o caretas protectoras du-
rante la operacibn de la orilladora.

OPERACION
C6MO DETENER LA
ORILLADORA
Mueva la palanca de embrague hacia
atr_s hasta la posici6n DESENGAN-
CHADA. Luego, mueva el control del
acelerador a la posici6n de IDLE o
SLOW, si es posible. Ver la Figura 26.
_DVERTENCIA: Nunca deje la
ORILLADORA desatendida
mientras el motor estd en mar-
cha. Siempre desenganche la cuchilla y
pare el motor.
C6MO USAR EL CONTROL
DEL ACELERADOR
1. Durante periodos de uso normal, opere
el motor a toda velocidad.
2. Mueva el control del acelerador hacia
arriba para incrementar la velocidad del
motor, o hacia abajo para aminorarla
(ver la Figura 27).
Palanca de
embrague
Figura 26
I Control del acelerador
trangulador
Figura 27
COMO USAR LA PALANCA DEL EMBRAGUE
1. Arranque el motor.
2. Para enganchar la cuchilla, mueva la
palanca del embrague hacia adelante
(ver la Figura 28).
3. Seleccione la profundidad de corte que
desea. Puede seleccionar entre cinco
opciones, la m_s baja siendo de aproxi-
madamente 7 cm (2-3/4 pulgadas) de
profundidad.
NOTE: Para un bordeado m_s profundo,
haga el primer corte a poca profundidad,
Luego haga cortes m_s profundos basra
Iograr la profundidad deseada,
Palanca de
embrague
Figura 28
F-021102L 49

OPERACION
COMO USAR LA PALANCA DE REGLAJE
1, Apague el motor y desconecte el cable
de la bujia,
2, Afloje la perilla de la rueda delantera
que se muestra en la Figura 29, Deslice
completamente la rueda delantera ha-
cia el lado derecho,
3,
4,
Apriete bien la perilla de la rueda de-
lantera.
NOTA: Para evitar que la cuchilla de
la orilladora golpee contra la rueda
mientras recorta, aseg_rese de que la
rueda delantera est_ ubicada en el ex-
tremo derecho.
Desenganche la palanca de reglaje
(ver la Figura 30), Mueva la palanca de
reglaje hasta la ranura marcada 90 ° ,
5. Reconecte el cable de la bujia.
6. Arranque el motor,
7, Mueva la palanca de embrague hasta
Iograr la altura de recorte deseada,
_DVERTENCIA: Nunca deje la
orilladora desatendida con el
motor en marcha, Siempre des-
enganche la cuchilla de recorte y apa-
gue el motor antes de ajustar las ruedas
o cambiar la posicibn de la cuchilla de
recorte,
i
Perilla de la
rueda delantera
Rueda
delantera
Figura 29
Palanca de reglaje Figura 30
F-021102L 50

OPERACION
C6MO USAR LA FUNCIONALIDAD DE ABORDILLADO
Dado que se pueden ajustar la rueda delan-
tera y la rueda trasera derecha, la orilladora
puede usarse en superficies desniveladas,
tales como el bordillo mostrado en la
Figura 31. Para ajustar la posici6n de las
ruedas, siga los pasos a continuaci6n:
1. Apague el motor.
2. Desconecte el cable de la bujia.
3. Afloje la perilla de la rueda delantera.
4. Deslice la rueda delantera para que pa-
se sin rozar el bordillo y equilibrar la uni-
dad.
5. Apriete bien la perilla de la rueda de-
lantera.
6. Use la palanca de ajuste de altura del
bordillo para bajar la rueda delantera.
7.
Baje la rueda delantera hasta que _sta
se encuentre al mismo nivel que la rue-
da trasera izquierda y la orilladora quede
situada en el bordillo como se muestra
en la Figura 31.
Afloje la perilla de la rueda trasera.
8. Baje la rueda trasera derecha hasta
que la orilladora se encuentre nivelada y
la rueda trasera izquierda quede sobre
el bordillo,
9. Apriete bien la perilla de la rueda trase-
l'a,
10. Conecte el cable de la bujia.
_DVERTENCIA: Mantdngase
alejado de la cuchilla giratoria
para evitar posibles lesiones.
Eje de soporte
Perilla de la
rueda trasera
Perilla de
la rueda
delantera
CubieAa protectora
de la cuchilla
.....Rueda delantera
Rueda trasera
derecha
Figura 31
F-021102L 51

OPERACION
COMO PARAR EL MOTOR
1. Para apagar el motor, suelte la palanca de
parada del motor.
2. Si el motor continea encendido, mueva la
palanca de control del acelerador hacia
la posici6n de PARADA (STOP).
C6MO ARRANCAR EL MOTOR
ADVERTENCIA: Cuando el mo-
tor estd en marcha, la cuchilla
girando. Para prevenir
lesiones, mantenga las manos y los
pies alejados de la cuchilla.
IMPORTANTE: Antes de arrancar el motor,
Ileve la orilladora al drea donde la usar&
Examine los controles varias veces. Ase-
g_rese de que estos se mueven libremen-
te,
1.
2.
Revise el nivel del aceite.
Llene el tanque de combustible con gaso-
lina regular sin plomo. La gasolina debe
ser limpia. El uso de gasolina con plomo
aumentar_ la acumulaci6n de dep6sitos y
reducir_ la vida _til de las v_lvulas.
NOTA: No use gasohol ni metanol. Tampo-
co use gasolina s_per sin plomo.
_DVERTENCIA: Use siempre un
recipiente de seguridad para el
icombustible, No fume cuando
estd reabasteciendo el tanque de com-
bustible, No reabastezca dentro de un
local cerrado, Apague el motor antes de
Ilenar el tanque de combustible y deje
enfriar el motor por varios minutos.
3. Asegt_rese de que el cable de la bujia est_
conectado a _sta.
4. Jale la palanca de parada del motor com-
pletamente hacia atr_s hasta la posici6n
ENGANCHADO. Sujete la palanca de pa-
rada del motor contra el mango.
5. Ponga la palanca de control del acelera-
dot (si est_ equipado) en la posici6n de
marcha r_pida (FAST) (Figura 32).
6. Mueva el control del estrangulador ha-
cia la posici6n CHOKE (Figura 32).
7. Para arrancar el motor, agarre firmemente
la manija de arranque manual con su ma-
no derecha.
8. Sujete firmemente el mango de la orillado-
ra con su mano izquierda.
9. Jale r_pidamente la manija de arranque
manual. EVITE que la cuerda de arranque
se enrolle de un golpe. Haga que la cuer-
da se enrolle lentamente. Si el motor no
arranca despu6s de tres intentos, oprima
el bot6n cebador dos veces y jale nueva-
mente la manija de arranque manual.
Control de
acelerador
de acelerador
Control del estrangulador
Figura 32
10.AI arrancar el motor, mueva la palanca de
control del acelerador a la posici6n de
marcha r_pida (FAST). Mantenga esta
posici6n durante el uso normal de la uni-
dad.
11. Si el motor no arranca despu_s de 5 6 6
intentos, consulte las instrucciones de la
"Tabla de Iocalizaci6n de averias".
NOTA: La velocidad del motor controla la
velocidad de la cuchilla giratoria, Para re-
ducir la velocidad de la cuchilla giratoria,
reduzca la velocidad del motor. Para au-
mentar la velocidad de la cuchilla giratoria,
aumente la velocidad del motor.
_ADVERTENCIA: Nunca arran-
que el motor en un local cerra-
do o sin ventilacibn. El motor
genera emisiones de monbxido de car-
bono, un gas inodoro y potencialmente
fatal. Mantenga las manos, los pies, el
cabello y la ropa holgada alejados de
las piezas en movimiento. Evite el con-
tacto con el silenciador y los compo-
nentes que Io rodean, la temperatura de
dstos puede exceder los 66°C (150°F).
F-021102L 52

OPERACION
RECOMENDACIONES PARA EL
USO DE SU ORILLADORA
• La orilladora trabaja mejor cuando el tiem-
po est_ seco. Si la tierra est_ muy moja-
da, el barro se pega y acumula alrededor
de la cuchilla haciendo que _sta se des-
gaste prematuramente y que la unidad no
funcione como debe.
• Si se pega el barro a la cuchilla, apague el
motor y desconecte el cable de la bujia.
Quite el barro y basura pegados a la cu-
chilla.
• Para un bordeado m_s profundo, corte
primero a poca profundidad. Luego, haga
cortes m_s profundos hasta Iograr la pro-
fundidad deseada.
• Para obtener un borde parejo, asegt_rese
de que la guia de la cuchilla se deslice
sobre la superficie del suelo.
• El bordeado puede modificarse variando
el nt_mero de pasadas y tambi6n por la
distancia en que se encuentre la cuchilla
en relaci6n a la superficie.
ADVERTENCIA: Lea el Manual
del usuario, Familiarfcese con
la ubicacibn y la funcibn de
todos los controles, Mantenga todos los
dispositivos de seguridad y protectores
en su lugar. Nunca permita que usen la
unidad los nihos o adultos no familiari-
zados con la orilladora, Apague el mo-
tor antes de limpiar la cuchilla o de ha-
cer reparaciones a la unidad. Mantenga
a los espectadores o transe_ntes a una
buena distancia de la mdquina, Manten-
ga alejadas de la cuchilla todas las par-
tes giratorias que puedan causar lesio-
nes.
F-O21102L 53

MANTENIMIENTO
RESPONSABILIDADES DEL USUARIO
REGISTRODESERVICIO
Anotelasfechasa medi-
da quecompletecada
servicio,
FECHAS
DE
SERVICl0
Lubricar la varilla/tubo hue-
CO
ESPEClFICACIONES DEL
PRODUCTO
Modelo No.: 536.772340
Fecha de compra:
Caballos de fuerza: 4
Desplazamiento: 9.02 pulg. cu.
(148 cc.)
Capacidad de aceite: 21 onzas SAE-30W
Entrehierro: 0,030 pulgada
RECOMENDACIONES
GENERALES
La garantia de esta Orilladora no cubre pie-
zas que hayan sido sometidas a abuso o
negligencia por parte del usuario. Para obte-
her el valor total de la garantia, el usuario
debe mantener la orilladora de acuerdo alas
instrucciones de este manual.
Para mantener su orilladora en buen estado,
es necesario hacerle algunos ajustes peri6-
dicamente.
Todos los ajustes que aparecen en la sec-
ci6n de Servicio y Ajustes de este manual
deben ser revisados por Io menos una vez
en cada estaci6n.
F-021102L 54

LUBRICACI6N
Despu6s de cada 25 horas de uso, aplique
unas gotas de aceite de motor a todas las
piezas movibles, especialmente a las rue-
das.
Cbmo cambiar el aceite de motor
Gamble el aceite en el c_rter del motor des-
pu6s de cada 25 horas de uso.
NOTA: El aceite se vacia con mayor facili-
dad cuando el motor est_ caliente.
1. Desconecte el cable de la bujia.
2. Quite el tapbn de drenaje de aceite.
Vacie el aceite dentro de un recipiente
piano.
3. Una vez drenado el aceite, instale y
apriete el tapbn de drenaje de aceite.
MANTENIMIENTO
4. Quite la tapa del aceite (ver la
Figura 33). Llene lentamente el c_rter de
motor. No Io Ilene demasiado. Consulte
las "Especificaciones del producto" para
obtener informaci6n sobre la cantidad y
grado de aceite. Ponga nuevamente la
tapa del aceite.
5. Conecte el cable de la bujia.
Tapa del aceite
naje de aceite
Figura 33
C()M0 CAMBIARELFILTR0 DEAIRE
Bajo condiciones de uso normales, reempla-
ce el filtro de aire una vez al aSo, pero con
mayor frecuencia en condiciones polvorien-
tas o sucias. Cambie el filtro de aire, si est_
equipado, yio el cartucho si est_ muy sucio o
daSado.
1. Desconecte el cable de la bujia.
2. Afloje los tornillos o remueva la tapa.
(Ver la Figura 34.)
3. Remueva el pre-filtro, si est_ equipado,
y el cartucho cuidadosamente para pre-
venir que caigan desechos dentro del
carburador.
4. Para darle servicio al pre-filtro, I_velo
en detergente liquido y agua. Esc_rralo
hasta secarlo en un trapo limpio. Satt_re-
Io en aceite para motor. Esc_rralo con
un trapo absorbente para remover TO-
DO EL EXCESO de aceite.
PRECAUCION: Para darle servicio al car-
tucho, limpielo golpedndolo ligeramente
sobre una superficie plana. No use sol-
ventes a base de petrbleo, tal como, kero-
sene, el cual ocasionard que se deteriore
el cartucho. No use aire presurizado, ya
que este puede dahar el cartucho. No
aceite el cartucho.
5. Reinstale el cartucho y el pre-filtro, si es-
t_ equipado.
6. Coloque la tapa y apriete los tornillos o
la perilla firmemente.
7. Conecte el cable de la bujia.
F-021102L
PRECAUCI6N: Nunca opere la unidad sin
un filtro de aire. Un filtro dahado reducird
el rendimiento del motor. Si entra polvo u
otto contaminante en el motor a travds
del carburador, el motor se desgastard
excesivamente o se dahar& Debe reem-
plazar inmediatamente el filtro de aire si
dste se encuentra dahado u obstruido.
TI nill°
pa
Pre-filtro
CaAucho
Figura 34
55

MANTENIMIENTO
BUJ|A
Revise la bujia cada 25 horas de operaci6n
de la unidad. Debe reemplazar la bujia si los
electrodos se encuentran dafiados o quema-
dos, o si la porcelana est_ fisurada.
Aseg_rese de que la bujia est_ limpia.
Si no Io est,, raspe cuidadosamente los
electrodos (no use chorros de arena ni
cepillos de alambre).
2. Revise el entrehierro de la bujia usando
una I&mina calibradora.
3. Antes de instalar la bujia, aplique una
capa ligera de aceite a la parte roscada
para facilitar su remoci6n. Apriete la bu-
jia hasta Iograr un par de torsi6n de 15
libras-pie.
L_mina calibradora
0,030 pulg.
Bujia
Figura 35
AJUSTE DEL CARBURADOR
Nunca haga ajustes innecesarios al carbura-
dor. El carburador ha sido calibrado en la
f_brica para funcionar de manera 6ptima en
la mayoria de las condiciones de uso. No
obstante, si es necesario ajustarlo, se reco-
mienda comunicarse con el Centro de servi-
cio de Sears m_s cercano a usted.
ADVERTENCIA: El regulador dc
velocidad del motor ha sido ca-
librado en la fdbrica, No haga
ajustes al regulador de velocidad, Hacer
funcionar el motor a una velocidad exce-
siva puede ser peligroso. Si piensa que
el regulador de velocidad del motor re-
quiere un ajuste, comuniquese con el
Centro de servicio de Sears mds cercanc
a usted.
F-021102L 56

SERVICIO Y AJUSTES
C6MO DESMONTAR LA CORREA
La correa est_ hecha de un material espe- 4. Afloje, pero no quite, el tornillo que su-
cial. Si la correa se desgasta o se rompe, jeta la guia de la correa. Separe la
reempl_cela con un repuesto original, guia de la correa de la correa.
1.
2.
3.
Desconecte el cable de la bujia.
Jale la palanca de embrague hacia atr_s
para soltar la tensi6n de la correa.
Quite los dos tornillos y los separado-
res de la parte superior de la cubierta
de la polea motriz. Retire la cubierta
de la polea motriz (ver la Figura 36).
5.
6.
7.
Quite los dos tornillos de la cubierta
protectora de la correa (ver la
Figura 37).
Quite la correa vieja de las poleas mo-
triz y del conjunto del brazo hueco,
Reempl_cela con un repuesto original.
Para instalar la correa nueva, siga los
pasos anteriores en orden inverso.
Separador
TorniNos Figura 36
Cubierta protectora
de la correa
Figura 37
F-021102L 57

SERVICIO Y AJUSTES
C6MO REEMPLAZAR LA CUCHILLA
La cuchilla est_ sujeta a desgaste y da_os,
tales como hendeduras y abolladuras. Gene-
ralmente _stas no afectan el funcionamiento
de la unidad.
La cuchilla est_ diseSada de manera que no
necesite ser afilada. No intente afilarla. Ade-
m_s, la cuchilla es reversible. Si _sta tiene
muchas hendeduras o abolladuras, saque la
cuchilla e invi_rtala (dela vuelta). De esta
manera tendr_ un buen filo para cortar.
Reemplace la cuchilla si ambos lados est_n
gastados o daSados.
ADVERTENCIA: No afile la
cuchilla, El afilado puede da-
hat la cuchilla y hacer que _s-
ta se rompa, Io cual puede causar lesio-
nes a usted u otras personas.
1. Desconecte el cable de la bujia.
2, Retire la contratuerca de cuchilla que
sujeta la cuchilla al eje motor.
ADVERTENCIA: Para sacar o
apretar la contratuerca de la
cuchilla, use siempre el re@to-
do ilustrado en la Figura 38. Coloque
siempre una Ilave de boca para sujetar
el perno ubicado detr&s de la cuchilla,
3. Retire la cuchilla.
4. Instale una cuchilla y una contratuerca
nueva. Apriete la contratuerca a un par
de torsi6n de 40 a 45 libras-pie.
Para reemplazar la cuchilla, sigas los pasos
a continuaci6n. 5. Conecte el cable de la bujia.
Gire la Ilave para apretar la contratuerca
i:ii:iiiiii ii:i!!!!iiiiiiiii
Inmovilice la tuerca, no la gire
Contratuerca
de la cuchilla
Figura 38
F-021102L 58

SERVICIO Y
ALMACENAMIENTO
ADVERTENCIA: Nunca guarde
la orilladora con combustible
en el tanque en un recinto ce-
rrado. Nunca la guarde en un &tea cerra-
da y con poca ventilacibn, donde los va-
pores del combustible pudieran alcanzar
una llama expuesta, chispas o el piloto
en un sistema de calefaccibn, calentador
de agua o secadora de ropa.
ADVERTENCIA: No saque la
gasolina del tanque mientras
se encuentra dentro de un re-
cinto cerrado, cerca de un incendio o
una llama expuesta, o mientras est_ fu-
mando. Los vapores de la gasolina pue-
den causar una explosibn o un incendio.
Cuando es necesario almacenar la orilladora
por treinta dias o m_s, siga los pasos indica-
dos a continuaci6n para asegurar que la ori-
Iladora est6 en buenas condiciones de uso
para la siguiente estaci6n.
Orilladora
• Limpie bien la orilladora.
• Revise la orilladora por si tuviera partes
o piezas gastadas o daSadas. Apriete
todas las partes que est6n sueltas.
• Coloque una pequeSa cantidad de acei-
te de motor a todas las partes movibles,
especialmente alas ruedas.
• Guarde la orilladora en un recinto que
tenga buena ventilaci6n.
• Cubra la orilladora con una cubierta
apropiada que no retenga humedad. No
use pl_stico.
IMPORTANTE: Nunca cubra la orilladora
mientras el motor y las _reas de escape
est_n todavia calientes.
NOTA: Una revisibn o un afinamiento
anual hecho en un Centro de servicio de
Sears es una buena manera de asegurar
que su orilladora le brindar& un bptimo
rendimiento en la prbxima estacibn
Motor
IMPORTANTE: Es importante evitar que
se formen residuos de resina en los com-
F-021102L 59
AJUSTES
ponentes del sistema de combustible, ta-
les como el carburador, filtro del
combustible, linea del combustible y tan-
que, durante el almacenamiento de la uni-
dad. Adem_s, el uso de combustibles
mezclados con alcohol (llamados gaso-
hol, etanol o metanol) puede atraer hume-
dad Io cual Ileva a la separacibn del
combustible y a la formacibn de _cidos
durante el almacenamiento de la unidad.
Los gases _cidos pueden dahar el siste-
ma de combustible de un motor mientras
la unidad est_ guardada,
Para prevenir el daSo al motor cuando la ori-
Iladora est_ guardada por 30 dias o m_s,
siga los pasos siguientes:
• Deje el motor andando hasta que se le
termine la gasolina.
• Si usted no desea sacar la gasolina del
tanque, aSada a _sta un estabilizador de
combustible a la gasolina que queda en
el tanque. El estabilizador de combusti-
ble minimizar_ los dep6sitos de resina y
los _cidos. Si el tanque de combustible
est_ casi vacio, mezcle el estabiUzador
con gasolina fresca en otro recipiente y
aSada la mezcla al tanque de combusti-
ble. Siga siempre las instrucciones que
aparecen en el envase del estabilizador.
Arranque el motor. Deje que el motor co-
rra por 10 minutos para permitir que la
mezcla alcance el carburador.
• Cambie el aceite del motor. Consulte
"C6mo cambiar el aceite del motor" en la
secci6n de Mantenimiento.
• Lubrique el _rea del pist6niciUndro. Esto
se puede hacer quitando primero la bujia
y colocando una pequeSa cantidad de
aceite de motor limpio en el orificio de la
bujia. Luego, cubra el orificio de la bujia
con un paso para absorber el aceite ro-
ciado. A continuaci6n, haga girar el mo-
tor jalando la manila de arranque manual
dos o tres veces. Por _ltimo, instale la
bujia y conecte el cable de la misma.
• Almacene la orilladora en la posici6n de
operaci6n con las ruedas sobre el suelo.
Si almacena la orilladora en cualquier
otra posici6n, el aceite del c_rter del mo-
tor entrar_ en el ciUndro Io cual causaria
un problema de servicio.

TABLA DE LOCALIZACION DE AVERIAS
PROBLEMA
El motor no arranca o
arranca con dificultad
El motor marcha de forma
irregular
El motor no cone a toda
marcha
El motor genera humo
excesivo
La cuchilla no gira
La cuchilla no corta de la
manera correcta
Vibracibn excesiva
CAUSA
Combustible viejo
Filtro de combustible
obstruido
Suciedad en el tanque de
combustible o falta de
combustible
Carburador desajustado
Bujia sucia
Filtro de aire sucio
Filtro de aire obstruido
SOLUCI6N
Vacie el tanque de
combustible. LI6nelo con
combustible fresco.
Reemplace el filtro de
combustible.
Limpie el tanque de
combustible.
Lleve la unidad a un Centro
de servicio de Sears.
Limpie y calibre el
entrehierro de la bujia.
Reemplace el filtro de aire.
Reemplace el filtro de aire.
Barro alrededor de la cuchilla Limpie el barro de la cuchilla.
Cuchilla suelta Apriete la tuerca de la
cuchilla.
Correa en "V" daSada
Cojinetes daSados en el
conjunto de brazo hueco
Cuchilla daSada o gastada
Piezas /partes sueltas
Reemplace la correa en "V".
Reemplace el conjunto de
brazo hueco,
Invierta o reemplace la
cuchilla.
Apague el motor
inmediatamente. Apriete
todos los sujetadores. Si la
vibraci6n persiste, Ileve la
unidad a un Centro de
servicio de Sears.
El motor no se apaga al Mango suelto Apriete las perillas del
soltar la palanca de parada mango,
del motor
F-021102L 60

SEARS, ROEBUCK AND CO.
Garantia limitada de cumplimiento con el Sistema Federal
de control de emisiones y con el sistema de control de
emisiones del Estado de California
Motores pequefios no aptos para carretera (off-road)
CONTROL DE EMISIONES DE
CALIFORNIA Y DE LA AGENCIA DE
PROTECCION AMBIENTAL (EPA) DE
E.U.A. - DECLARACI_)N DE LA
GARANT|A
La Agencia de Protecci6n Ambiental de los
Estados Unidos (en Io sucesivo "EPA"), el
Consejo de California para los Recursos del
Aire (en Io sucesivo "CARB") y Sears, Roe-
buck and Co. tienen el placer de explicar Io que
es la Garantia Federal y de California para Sis-
temas de Control de Emisiones de su nuevo
motor pequefio para vehiculos off-road. En
California, los motores pequefios para vehicu-
los off-road de modelo 1995 y modelos de
afios posteriores deben ser diseSados, cons-
truidos y equipados para cumplir con las es-
trictas normas anti contaminaci6n del Estado.
En otros estados, los motores modelo 1997 y
modelos de aSos posteriores deben estar di-
seSados, construidos y equipados, al momen-
to de su venta, para que cumplan con las
disposiciones de la EPA acerca de motores
pequefios para vehiculos off-road. Sears,
Roebuck and Co. garantizar_ el sistema para
el control de emisiones de su motor pequeSo
para vehiculos off-road por los periodos de
tiempo que se mencionan m_s adelante, con
tal que su motor pequeSo para vehiculos off-
road no haya sufrido algt_n abuso, negligen-
cia, modificaci6n no aprobada o
mantenimiento indebido.
Es probable que su sistema para el control de
emisiones incluya partes como el carburador,
el sistema de encendido y el sistema de esca-
pe. Tambi_n es posible que se incluya el siste-
ma de descompresi6n y otros ensamblajes
relacionados con emisiones.
Cuando surja una condici6n protegida por la
garantia, Sears, Roebuck and Co. reparar_ su
motor pequeSo para vehiculos off-road sin
costo alguno para usted por concepto de diag-
n6stico, partes y mano de obra.
SISTEMA PARA EL CONTROL DE
EMISIONES DEL FABRICANTE -
COBERTURA DE LA GARANT|A
Los sistemas para el control de emisiones mo-
delo 1995 y modelos de aSos posteriores de
motores pequeSos para vehiculos off-road en
California est_n garantizados por dos afios, tal
y como se menciona en la presente garantia.
En otros estados, los motores modelo 1997 y
modelos de afios posteriores tambi6n est_n
garantizados por dos afios. En caso de que,
durante dicho periodo de la garantia, cualquier
parte de su motor relacionada con emisiones
est6 defectuosa en sus materiales o hechura,
Sears, Roebuck and Co. reparar_ o cambiar_
dicha parte.
RESPONSABILIDADES DEL
PROPIETARIO DE LA GARANT|A
Como propietario del motor pequeSo para ve-
hiculos off-road usted es responsable de que
se Ileve a cabo el mantenimiento requerido
que se menciona en el Manual del Propietario,
pero Sears, Roebuck and Co. no negar_ la ga-
rantia _nicamente debido a la falta de un reci-
boo a que usted no proporcione una prueba
escrita de que se ha Ilevado a cabo el manteni-
miento programado.
No obstante, usted, como propietario del mo-
tor pequeSo para vehiculos off-road, deber_
estar consciente de que Sears, Roebuck and
Co. le puede negar la cobertura de la garantia
si su motor o alguna parte del mismo ha fallado
debido a un abuso, negligencia, mantenimien-
to inadecuado o modificaciones no aproba-
das.
Usted es responsable de presentar su motor
pequefio para vehiculos off-road en el Taller
Autorizado de Servicio de Sears, Roebuck
and Co. en cuanto surja el problema. Las repa-
raciones bajo la garantia deben Ilevarse a ca-
bo dentro de un periodo de tiempo razonable
que no exceda de 30 dias.
Se puede programar el servicio de garantia
Ilamando al Taller Autorizado de Servicio de
F-021102L 61

Sears, Roebuck and Co. o a Sears, Roebuck
and Co. al 1-800-473-7247 (llamada gratuita
en E.U.A.).
NOTA IMPORTANTE
Esta declaraci6n de la garantia explica los de-
rechos y las obligaciones que usted tiene de
conformidad con la Garantia del Sistema para
el Control de Emisiones (en Io sucesivo la "Ga-
rantia SCE"), la cual Sears, Roebuck and Co.
le proporciona de conformidad con las leyes
de California. V_ase tambi6n las Garantias Li-
mitadas de Sears, Roebuck and Co. que se
adjuntan a la Garantia SCE en una hoja por
separado y que tambi6n le proporciona Sears,
Roebuck and Co. La Garantia SCE _nicamen-
te se aplica en el sistema para el control de
emisiones de su motor nuevo. Hasta el punto
en donde no haya ningt_n conflicto en t6rminos
entre la Garantia SCE y la Garantia de Sears,
Roebuck and Co., la Garantia SCE aplicar_
para cualquier circunstancia a excepci6n de
aqu611aen que la Garantia de Sears, Roebuck
and Co. pueda proporcionar un periodo de ga-
rantia m_s largo. La Garantia SCE y la Garan-
tia de Sears, Roebuck and Co. describen
importantes derechos y obligaciones que us-
ted tiene con respecto a su motor nuevo.
$61o se puede Ilevar a cabo el servicio de ga-
rantia en un Taller Autorizado de Servicio de
Sears, Roebuck and Co. AI momento de solici-
tar un servicio de garantia, se debe presentar
una prueba de la fecha de compra por parte
del comprador original. El comprador pagar_
cualquier cargo por concepto de Ilamadas de
servicio yio transportaci6n de productos des-
de y para el lugar en donde se Ileve a cabo el
trabajo de inspecci6n yio garantia. El compra-
dor ser_ responsable de cualquier daSo o p6r-
dida en el que se incurra con relaci6n a la
transportaci6n de cualquier motor o cualquier
parte del mismo que se presente para inspec-
ci6n yio trabajo de garantia.
Si tiene alguna pregunta con relaci6n a sus de-
rechos y responsabiUdades, deber_ Ilamar a
Sears, Roebuck and Co. al 1-800-473-7247.
GARANT|A DEL SISTEMA PARA EL
CONTROL DE EMISIONES
Garantia del Sistema para el Control de Emi-
siones ("Garantia SCE") de motores peque-
5os para vehiculos off-road modelo 1995 y
modelos de aSos posteriores en California
(para otros estados, motores modelo 1997 y
aRos posteriores):
F-021102L 62
A. CAMPO DE APLICACI6N: Esta garantia
deber_ aplicarse a los motores pequeSos para
vehiculos off-road modelo 1995 y modelos de
aSos posteriores en California (para otros es-
tados, motores modelo 1997 y modelos de
aSos posteriores). El Periodo de la Garantia
SCE iniciar_ en la fecha de entrega del nuevo
motor o equipo al comprador original y conti-
nuar_ durante los siguientes 24 meses conse-
cutivos.
B, COBERTURA GENERAL DE LA GA-
RANT|A DEL SISTEMA PARA EL CON-
TROL DE EMISIONES: Sears, Roebuck and
Co. garantiza al comprador original del nuevo
motor oequipo y a cada comprador subse-
cuente que su motor pequeSo para vehiculos
off-road est.:
1. DiseSado, construido y equipado para que
cumpla con todas las disposiciones aplicables
adoptadas por el Consejo para los Recursos
del Aire de conformidad con su autoridad es-
pecificada en los Capitulos 1 y 2, Parte 5, Divi-
si6n 26 del C6digo de Salud y Seguridad, y
2. Libre de defectos en sus materiales y mano
de obra, los cuales, en cualquier momento du-
rante el Periodo de la Garantia SCE, cause la
falla de una parte relacionada con emisiones
y que est_ bajo la garantfa en cuanto a que no
sea id_ntica en sus materiales a la parte des-
crita en la solicitud de motor del fabricante pa-
ra su certificaci6n.
C. La Garantia SCE s61o ataSe alas partes de
su motor relacionadas con emisiones de la si-
guiente manera:
1. Cualquier parte relacionada con emisiones
que no se especifique como de cambio, tal y
como se requiere en el mantenimiento especi-
ficado en el Manual del Propietario, deber_ ga-
rantizarse por el Periodo de la Garantia SCE.
Si dicha parte falla durante el Periodo de la Ga-
rantfa SCE, Sears, Roebuck and Co. la repa-
rar_ o cambiar_ de acuerdo con la Subsecci6n
4 que se menciona m_s adelante. Cualquier
parte reparada o cambiada de conformidad
con la Garantia SCE deber_ estar garantizada
por el resto del Periodo de la misma.
2. Cualquier parte garantizada y relacionada
con emisiones que est6 especificada s61o pa-
ra inspecciones regulares conforme al Manual
del Propietario deber_ estar garantizada por el
Periodo de la Garantia SCE. Una declaraci6n
en dichas instrucciones por escrito a efecto de
"reparar o cambiar tal y como sea necesario"
no reducir_ el Periodo de la Garantia SCE. Di-
cha parte reparada o cambiada conforme a la

GarantiaSCEdeber_garantizarseporelresto
delPeriododelamisma.
3.Cualquierparlegarantizadayrelacionada
conemisionesqueseespecifiqueparacam-
bio,deconformidadconelManualdelPropie-
tario,deber_garantizarseporelperiodode
tiempoprevioalprimerpuntodecambiode
esaparle.Silaparlefallaantesdelprimer
cambioprogramado,Sears,RoebuckandCo.
reparar_ocambiar_esaparledeacuerdocon
laSubsecci6n4quesemencionam_sadelan-
te.Cualquierparlerelacionadaconemisiones
queserepareocambiedeconformidadconla
GarantiaSCEdeber_estargarantizadaporel
restodelPeriododelamismaprevioalprimer
puntodecambioprogramadodeesaparlere-
lacionadaconemisiones.
4.Lareparaci6noelcambiodecualquierparte
garantizaday relacionadaconemisionesde
conformidadconestaGarantiaSCEsedebe-
r_Ilevaracabo,sincargoalgunoparaelpro-
pietario,enunTallerAutorizadodeServiciode
Sears,RoebuckandCo.
5.Nosecargar_alpropietarioelcostoportra-
bajodediagn6stico,elcualIlevaaladetermi-
naci6ndequeunaparleprotegidaporla
GarantiaSCEsiest_defectuosa,provistoque
dichotrabajodediagn6sticoseIleveacaboen
unTallerAutorizadodeServiciodeSears,
RoebuckandCo.
6.Sears,RoebuckandCo.ser_responsable
dedaSosaotroscomponentesoriginalesdel
motoromodificacionesaprobadasqueproba-
blementeseancausadosporunafallacom-
prendidaen la garantiade unaparle
relacionadaconemisionescubiertaporlaGa-
rantiaSCE.
7.DuranteelPeriododelaGarantiaSCE,
Sears,RoebuckandCo.deber_conservarun
suministrodepartesgarantizadasyrelaciona-
dasconemisionesqueseasuficientepara
cumplirlademandaesperadadeesaspartes
relacionadasconemisiones.
8.SepuedeutiUzarcualquierparlederepues-
torelacionadaconemisionesautorizaday
aprobadaporSears,RoebuckandCo.para
utilizarseeneldesempeSodecualquierman-
tenimientoocambiodelaGarantiaSCE,la
cualseproporcionar_sincargoalgunoparael
propietario.Dichousonoreducir_lasobliga-
clonesdeSears,RoebuckandCo.conforme
alaGarantiaSCE.
9.Laspartesqueseagreguenomodifiquen
sinaprobaci6nnosepodr_nutilizarparamo-
dificarorepararunmotordeSears,Roebuck
andCo.DichousoanulaestaGarantiaSCEy
conformar_lasbasessuficientespararecha-
zarlademandadeunaGarantiaSCE.Sears,
RoebuckandCo.noser_responsable,con-
formeaestagarantia,porlasfallasdecual-
quierparlegarantizadadeunmotordeSears,
RoebuckandCo.causadasporelusodedi-
chaparleagregadaomodificadasinaproba-
ci6n.
LAS PARTES RELACIONADAS CON
EMISIONES INCLUYEN A LAS
SIGUlENTES:
1. Ensamblaje del carburador y sus compo-
nentes internos
a) Filtro de combustible
b) Empaques (juntas) del carburador
c) Tubo de entrada
2. Ensamblaje del depurador de aire
a) Elemento del filtro de aire
3. Sistema de encendido, que incluye:
a) Bujia de encendido
b) M6dulo de encendido
c) Ensamblaje del volante
4. Silenciador catalitico (si est_ equipado)
a) Empaque del silenciador (si est_ equipado)
b) Colector de escape (si est_ equipado)
5. Ensamblaje del respiradero del c_rter del ci-
g0eSal y sus componentes
a) Tubo de conexi6n del respiradero
10/22199 EPNCARB
Sears, Roebuck and Co., Hoffman Estates, IL 61)179 U.S.A.
F-021102L 63

For repair of major brand appliances in your own home,..
no matter who made it, no matter who sold it}
(1-800-469-4663)
www_sears,com
To bring in products such as vacuums,
lawn equipment:and e!ect_onics for repairi call for
the location of your nearest Sears Parts & Repair Center,
1-800-488-1222 _y_im_, ,igh_
www, sears.com
For the replacement pa_s, accessories and owner s manuals
that you need to do-it-yourself, call Sears Pa_sDirectS_!
1-800-366-PART 6a.m.-pm CST,
(1-800_366_7278) 7 days aweek
www.sears.com!partsdirect
To purchase or inquire about a Sears Service Agreement:
Para pedir sepaicio de reparaciSn a domicilJo,
y pare erdenar piezas con entrega a domicilio:
1_-SU-H OGAR s_
_t-888:-784-6427)
,_ R_istered Tra_mark .Tidemark _f Sea_ R_ebu_ a_a O_
@ Sears, RSeb_c_ a:nd c#, _'_ Marca R_ _t_da _ _r_ M_rca d_ FAbrica _. £ea_s_ R_e#Li_k _r_d CO,