Craftsman 536886440 User Manual 5HP SNOW THROWER Manuals And Guides L0010540
CRAFTSMAN Snowthrower, Gas Manual L0010540 CRAFTSMAN Snowthrower, Gas Owner's Manual, CRAFTSMAN Snowthrower, Gas installation guides
53688644 015de305-9c20-4ac7-9cd0-f9826f7c9dd3 Craftsman Snow Blower 536.88644 User Guide |
User Manual: Craftsman 536886440 536886440 CRAFTSMAN CRAFTSMAN 5HP SNOW THROWER - Manuals and Guides View the owners manual for your CRAFTSMAN CRAFTSMAN 5HP SNOW THROWER #536886440. Home:Lawn & Garden Parts:Craftsman Parts:Craftsman CRAFTSMAN 5HP SNOW THROWER Manual
Open the PDF directly: View PDF
.
Page Count: 54

ICRRFTSMRN®I
5 Horsepower
24 Inch Dual Stage
120V. Electric Start
SNOW THROWER
MODEL NO.
536.886440
Caution:
Read and follow all Safety Rules
and Operating Instructions before
first use of this product.
SEARS, ROEBUCK AND CO., Hoffman Estates, IL 60179 U.S.A.
F-001087J

WARRANTY STATEMENT ......
SAFETY RULES ...............
INTERNATIONAL SYMBOLS ....
ASSEMBLY ...................
OPERATION ..................
MAINTENANCE ...............
SERVICE AND ADJUSTMENT ..
2 STORAGE .................... 28
2 TROUBLE SHOOTING CHART .. 29
4 REPAIR PARTS ............... 30
6 ENGINE REPAIR PARTS ....... 46
11 SPANISH (ESPANOL) .......... 55
17 PARTS ORDERING/SERVICE.,
20 BACK COVER
LIMITED "13NO--YEAR WARRANTY ON CRAFTSMAN SNOW THROWER
For two years from the date of purchase, when this Craftsman Snow thrower is maintained,
lubricated, and tuned up according to the operating and maintenance instructions in the
owner's manual, Craftsman will repair, free of charge, any defect in material or workman-
ship.
If this Craftsman Snow thrower is used for commercial or rental purposes, this warranty ap-
plies for only 90 days from the date of purchase.
This warranty does not cover the following:
•Items which become worn during normal use, such as spark plugs, drive belts and shear
pil_s.
•Repair necessary because of operator abuse or negligence, including bent crankshafts
and the failure to maintain the equipment according to the instructions contained in the
owner's manual.
WARRANTY SERVICE IS AVAILABLE BY RETURNING THE CRAFTSMAN SNOW
THROWERTO THE NEAREST CRAFTSMAN SERVICE CENTER/DEPARTMENT IN
THE UNITED STATES. THIS WARRANTY APPLIES ONLY WHILE THIS PRODUCT IS
IN USE IN THE UNITED STATES.
This warranty gives you specific legal rights, and you may also have other rights which may
vary from state to state.
Sears, Roebuck and Co., D817WA, Hoffman Estates. IL 60179
LOOK FOR THIS SYMBOL TO POINT OUT IMPORTANT SAFETY PRECAUTIONS.
IT MEANS-- ATrENTION!!! BECOME ALERT!!! YOUR SAFETY IS INVOLVED.
Engine Exhaust, some of its constituents, and
certain vehicle components contain or emit
chemicals known to the State of California to
cause cancer and birth defects or other repro-
ductive harm.
Battery posts, terminals and related accessories
contain lead and lead compounds, chemicals
known to the State of California to cause cancer
and birth defects or other reproductive harm.
WASH HANDS AFTER HANDLING.
,_ WARNING: Always discon-
nect the spark plug wire
and place it where it cannot
make contact with spark plug to
prevent accidental starting during:
Preparation, Maintenance, or Stor-
age of your snow thrower.
IMPORTANT: Safety standards re-
quire operator presence controls to
minimize the risk of injury. Your snow
thrower is equipped with such controls.
Do not attempt to defeat the function of
the operator presence control under any
circumstances.
F-001087J 2

TRAINING
1. Read the operating and service instruction
manual carefully. Be thoroughly familiar
with the controls and the proper use of the
equipment. Know how to stop the unit and
disengage the controls quickly.
2. Never allow children to operate the equip-
ment. Never allow adults to operate the
equipment without proper instruction.
3. Keep the area of operation clear of all per-
sons, particularly small children and pets.
4. Exercise caution to avoid slipping or falling
especially when operating in reverse.
PREPARATION
1. Thoroughly inspect the area where the
equipment is to be used and remove all
doormats, sleds, boards, wires, and other
foreign objects.
2. Disengage all clutches before starting the
engine (motor).
3. Do not operate the equipment without
weadng adequate winter outer garments.
Wear foetwear that will improve footing on
slippery surfaces.
4. Handle fuel with care; it is highly flam-
mable.
a. Use an approved fuel container.
b. Never remove fuel tank cap or add fuel
to a running engine (motor) or hot en-
gine (motor).
c. Fill fuel tank outdoors with extreme
care. Never fill fuel tank indoors.
.
6.
7.
.
d.
e.
Replace fuel cap securely and wipe up
spilled fuel.
Never store fuel or snow thrower with
fuel in the tank inside of a building
where fumes may reach an open flame
or spark.
Check fuel supply before each use, al-
lowing space for expansion as the heat
of the engine (motor) and/or sun can
cause fuel to expand.
For all units with electric starting motors
use electric starting extension cords certi-
fied CSAiUL. Use only with a receptacle
that has been installed in accordance with
local inspection authodties.
Adjust the snow thrower height to clear
gravel or crushed rook surface.
Never attempt to make any adjustments
while the engine (motor) is running (except
when specifically recommended by manu-
facturer).
Let engine (motor) and snow thrower ad-
just to outdoor temperatures before starting
to clear snow.
F-O01087J
,Always wear safety glasses or eye shields
during operation or while performing an ad-
justment or repair to protect eyes from
foreign objects that may be thrown from the
snow thrower.
OPERATION
1. Do notoperate this machine if you are tak-
ing drugs or other medication which can
cause drowsiness or affect your ability to
operate this machine.
2. Do not use this machine if you are mentally
or physically unable to operate this ma-
chine safely.
3. Do not put hands or feet near or under ro-
tating pads. Keep clear of the discharge
opening at all times.
4. Exercise extreme caution when operating
on or crossing gravel drives, walks or
roads. Stay alert for hidden hazards or
traffic.
5. After striking a foreign object, stop the en-
gine (motor), remove the wire from the
spark plug, thoroughly inspect snow
thrower for any damage, and repair the
damage before restarting and operating
the snow thrower.
6. If the unit should start to vibrate abnormal-
ly, stop the engine (motor) and check im-
mediately for the cause. Vibration is
generally a warning of trouble.
7. Stop the engine (motor) whenever you
leave the operating position, before un-
clogging the auger/impeller housing or dis-
charge chute and when making any
repairs, adjustments, or inspections.
8. When cleaning, repairing, or inspecting,
make certain the auger/impeller and all
moving parts have stopped and all controls
are disengaged. Disconnect the spark plug
wire and keep the wire away from the spark
plug to prevent accidental starting.
9. Take all possible precautions when leaving
the snow thrower unattended. Disengage
the auger/ impeller, stop engine (motor),
and remove key.
10. Do not run the engine (motor) indoors, ex-
cept when starting the engine (motor) and
for transporting the snow thrower in or out
of the building. Open the outside doors; ex-
haust fumes are dangerous (containing
CARBON MONOXIDE, an ODORLESS
and DEADLY GAS).
11. Do not clear snow across the face of
slopes. Exercise extreme caution when
changing direction on slopes. Do not at-
tempt to clear steep slopes.
12. Never operate the snow thrower without
proper guards, plates or other safety pro-
tective devices in place.
3

13.
14.
15.
16.
17.
Neveroperate the snow thrower near en-
closures, automobiles, window wells,
drop--offs, and the like without proper ad-
justment of the snow discharge angle.
Keep children and pets away.
Do not overload the machine capacity by
attempting to clear snow at too fast a rate.
Never operate the machine at high trans-
port speeds on slippery surfaces. Look be-
hind and use care when backing up.
Never direct discharge at bystanders or
allow anyone in front of the unit.
Disengage power to the collectodimpeller
when snow thrower is transported or not in
use.
18. Use only attachments and accessories ap-
proved by the manufacturer of the snow
thrower (such as tire chains, electdc start
kits, ect.).
19. Never operate the snow thrower without
good visibility or light. Always be sure of
your footing and keep a firm hold on the
handles. Walk;never run.
20.
21.
Do not over-reach. Keep proper footing
and balance at all times.
Do not attempt to use snow thrower on a
roof.
MAINTENANCE AND STORAGE
1. Check shear bolts and other bolts at fre-
quent intervals for proper tightness to be
sure the equipment is in safe working
condition.
2. Never store the snow thrower with fuel in
the tank inside a building where ignition
sources are present such as hot water and
space heaters, clothes dryers, and the like.
Allow the engine (motor) to cool before
storing in any enclosure.
3. Always refer to operator's guide instruc-
tions for important details if the snow
thrower is to be stored for an extended
period.
4. Maintain or replace safety and instruction
labels, as necessary.
5. Run the snow thrower a few minutes after
throwing snow to prevent freeze-up of the
auger/impeller.
_WARNING: This snow thrower is
for use on sidewalks, driveways
and other ground level surfaces.
Caution should be exercised while using on
steep sloping surfaces. DO NOT USE
SNOW THROWER ON SURFACES ABOVE
GROUND LEVEL such as roofs of resi-
dences, garages, porches or other such
structures or buildings.
IMPORTANT: Many of the following symbols are located on your unit or on literature sup-
plied with the product. Before you operate the unit, learn and understand the purpose for
each symbol.
Control And Operating Symbols
Slow Fast Electric Start Engine Start Engine Run
I H N
Engine Off Engine Stop On Choke Off Choke On Neutral
Throttle Primer Button Ignition Key ®Q
Ignition Off Ignition On
F-001087J 4

Drive Clutch Forward Reverse Auger Clutch Auger Collector Engage
Push To Engage Fuel
Electric Starter Oil Fuel Oil Mixture
Discharge DOWN Discharge UP Discharge LEFT Discharge RIGHT
Weight Transfer Weight Transfer Transmission
Lift Handle To Depress Pedal
Engage To Disengage
SafetyWarningSymbols
A
DANGER
Thrown Objects.
Keep Bystanders Away.
IMPORTANT
Read Owner's Manual
Before Operating
This Machine.
DANGER
Thrown Objects.
Keep Bystanders Away.
DANGER
Avoid Injury From
Rotating Auger. Keep
Hands, Feet And
Clothing Away.
Ignition Key
Insert To Run,
Pull Out To Stop.
A
WARNING
DANGER
Stop The Engine
Before Unclogging
Discharge Chute!
WARNING
Hot Surface STOP
F-OO1087J 5

Contents of Parts Bag (actual size)
1 - Owner's Manual (not shown)
1 - Packet of Fuel Stabilizer (not shown)
1 - Warranty Card (not shown)
2 - Parts bags (not shown)
*Non-Assembly Parts, found in toolbox located on belt cover
1- Screw, 5/16--18 x2in
1-Split Lockwasher
1- Nut, 5/16-18
1-Flatwasher
11/321n.
3- 5/16-18 Carriage Bolts 3- 11/32
Flatwashers 3- 5/1 6-18
Nylon Hex Nuts
F-OOlO87J
"2- Shear Pins
6
1 - Shift Lever Knob
(not actual size)
1 - 1/4-20
Hex Jam Nut
_1-Sta_e._ (not actuarlCord)

Parts packed separately in carton (not shown full size)
2- Ignition Keys
(Attached to engine in plastic bag)
1-Snow Chute Assembly
IIIIIII I I •
_ARNING: Always wearsatety glasses or eye shields
while assembling snow
thrower.
TOOLS REQUIRED FOR
ASSEMBLY
1- Knife to cut carton
1 - 1/2 inch wrenches
(or adjustable wrenches)
1 - 9/16 inch wrenches
(or adjustable wrenches)
1 - 3/4 inch wrenches
(or adjustable wrenches)
1 - Pliers (to spread cotter pin)
1 - Screwdriver
1 - Measuring tape or ruler
Figure 1 shows the snow thrower in the
shipping position.
Figure 2 shows the snow thrower com-
pletely assembled.
References to the right or left hand side
of the snow thrower are from the view-
point of the operator's position behind
the unit.
Auger Drive Lever Traction
Drive Lever
Shifter
Lever
Clutch Cable
Crank Assembly
Chute
Deflector
F-001087J
Figure 1
7
Height
Adjust
Skid Figure 2
TO REMOVE SNOW THROWER
FROM CARTON
1. Locate all parts packed separately
and remove from the carton.
NOTE: Place fuel stabilizer in a safe
place until needed for storage.

2. Removeand discardthe packing
materialfrom aroundthe snow
thrower.
3. Cut down all four corners of the car-
ton and lay the panelsflat.
4. Roll snow thrower off the carton by
pulling on the lower handle. CAU-
TION: DO NOTback over cables.
.
6.
Remove the packing material from
handle assembly.
Cut ties securing the clutch control
cables to the lower handle and lay
cable back away from the motor
frame.
TO ASSEMBLE THE HANDLE AND
CRANK ASSEMBLY
1. Cut tie holding shift rod to lower
har_dle and move shifter to the first
forward gear.
2. Loosen, but do not remove, the
screws, flatwashers, Iockwashers,
and hex nuts in the upper holes of
the lower handle. See Figure 3.
Right Hand Side
Of Upper Handle_
5/16" Hex
5/16" Split
Lockwasher
Loosen,
but do not
remove
11/32"
Flatwasher
5/16"
Screw
Figure 3
NOTE: Make sure the cables are not
caught between the upper and lower
handle.
3. Raise the upper handle into operat-
ing position. Upper handle should
be to the outside of the lower han-
dle.
F--001087J
NOTE: If the cables have become dis-
connected form the clutch levers, rein-
stall the cables as shown in Figure 4.
NOTE: Position cable through slots on
shifter plate.
Clutch Lever
"Z" Fitting
Control
Cable _,,
Figure 4
4. Install hardware supplied in the
parts bag (screw, flatwasher, lock-
washer, and hex nut) into bottom
hole on right hand side of handles.
DO NOT tighten until all bolts are in
place.
5. Locate crank assembly removed
earlier and remove the nylon lock-
nut and flatwasher from the eye
bolt assembly. See Figure 5.
Left Hand Side Of,
Upper Handle
8
Eye Bolt
.
Crank f
\3/8" Nylon
y Locknut
3/8"
Flatwasher
3/8" Flatwasher
Figure 5
Reinstall flatwasher and adaptor.
Install eye bolt through lower hole
on the left hand side of the handle.

7. Install the 3/8" flatwasher and the
3/8" nylon Iocknut loosely on the
eye bolt.
.Carefully remove cotter pin, clevis
pin and universal joint pin from
yoke end of crank rod assembly.
See Figure 6.
g. Place universal joint into end of
worm gear lining up large holes. In-
sert universal joint pin (ensure
opening in pin is in line with
small openings in universal
joint).
10. Place yoke end of crank rod
around universal joint, lining up
openings. Insert clevis pin through
assembly and secure with cotter
pin. Spread ends of cotter pin to
lock in place.
11. Tighten nut on eye bolt. Make sure
eye bolt is properly aligned and the
crank can freely rotate.
12. Tighten all handle bolts.
Cotter Pin
Clevis Pin
Crank Rod
Asse_y
Universal
Joint Pin
Figure 6
TO INSTALL SHIFTER KNOB
1. Thread the 1/2-13 hex jam nut
found in parts bag onto the threaded
end of the shifter lever. See
Figure 7.
2. Thread the shifter lever knob onto
the threaded end of the shifter le-
ver until it is snug against the hex
jam nut and the lip is pointed away
from the engine. Tighten the hex
jam nut against the bottom of the
shifter lever knob to lock in posi-
tion.
Knob
Traction Drive
Spring (Long)
Auger Drive
Spring (Short)
\
Figure 8
Hex Jam
Speed
Lever
Figure 7
NOTE: If the cables have become dis-
connected, reinstall springs as shown in
Figure 8.
F-001087J 9

SNOW CHUTE ASSEMBLY
1. Turn crank assembly counterclock-
wise until it stop.
2. Position snow chute on inside of
snow chute flange and align the
three holes in the snow chute with
holes on snow chute flange. (See
Figure 9)
3. Place three 5/16-18 carriage bolts
from inside of chute as shown in
Figure 9. (hardware is found in
parts bag).
4. Place three 5/16-18 flatwashers
and three 5/16-18 nuts on outside
of flange.
5. Tighten all four carriage bolts se-
curely.
NOTE: DO NOT overtighten carriage
bolts.
6. Turn crank assembly clockwise and
make sure all carriage bolts are
tight.
Snow Chute
\
Flatwasher _3J_
Nut
Figure 9
HOW TO SET THE SKID HEIGHT
Your snow thrower is equipped with
height adjust skids on the outside of the
auger housing. To adjust the skid
height for different conditions, see To
Adjust Skid Height paragraph in the
Service And Adjustment section.
_" CHECKLIST
Before you operate your new snow
thrower, to ensure that you receive the
best performance and satisfaction from
this quality product, please review the
following checklist:
P" All assembly instructions have been
completed.
P" The discharge chute rotates freely.
v" No remaining loose parts in carton.
While learning how to use your snow
thrower, pay extra attention to the fol-
lowing important items:
Engine oil is at proper level.
_' Make sure gas tank is filled properly
with clean, fresh, unleaded gasoline.
_" Become familiar with all controls-
their location and function. Operate
controls before starting engine.
F--001087J 10

KNOW YOUR SNOW THROWER
READ THIS OWNER'S MANUAL AND SAFETY RULES BEFORE OPERATING
YOUR SNOW THROWER. Compare the illustrations with your SNOW THROWER
to familiarize yourself with the location of various controls and adjustments. Save
this manual for future reference.
Auger__
Electric Drive Lever
Start (right hand)
Button
Primer
nition Bu Switch
Box
-- Traction Drive Lever
(left hand)
, Remote
Chute Control
Lever
Assembly
Deflector
Discharge
Chute
Choke
Control Recoil Height
Throttle Starter Adjust
Control Handle Skid Figure 10
Auger Drive Lever -Starts and stops
the auger and impeller (snow gathering
and throwing)
Traction Drive Lever - Propels the
snow thrower forward and in reverse.
Speed Shifter Lever - Selects the
speed of the snow thrower (6 speeds for-
ward and 2 speeds reverse).
Crank Assembly - Changes the direction
ofsnowthrowingthroughthe dischargechute.
Chute Deflector - Changes the distance
the snow is thrown.
Discharge Chute -Changes the height
and direction the snow is thrown.
Height Adjust Skid - Adjusts the ground
clearance of the auger housing.
Ignition Key - Must be inserted to start
the engine.
Recoil Starter Handle - Starts the en-
gine manually.
F--001087J 11
Choke Control - Used to start a cold
engine.
Primer Button - Injects fuel directly into
the carburetor manifoldfor fast starts in
cold weather.
Remote Chute Control Lever - Push
forward to discharge snow high and far.
Pull remote lever back to discharge snow
down.
Throttle Control - Controls the engine
speed.
Electric Start Button - (if so equipped)
Used to start the engine usingthe 120 V elec-
tric starter.
Shear Pin -Shear pins are designed to
break (to protect the machine) if an ob-
iect becomes lodged in the aguer hous-
ing.
Toolbox --spare shear pins and spacers
are located in toolbox.

The operation of any snow thrower can
result in foreign objects being thrown
into the eyes, which can result in se-
vere eye damage. Always wear safety
glasses or eye shields while operating
the snow thrower.
We recommend standard safety
glasses or a wide vision safety mask for
over your glasses.
_ ARNING: Read Owner's
Manual before operating
machine. Never direct dis-
charge toward bystanders stop the
engine before unclogging discharge
chute or auger housing and before
leaving the machine.
TO STOP YOUR
SNOW THROWER
.
.
3.
To stop throwing snow, release the
aug_r drive lever. See Figure 10.
To stop the wheels, release the
traction drive lever.
To stop the engine, push the
throttle control lever to off and pull
out the ignition key.
TO CONTROL SNOW DISCHARGE
1. Turn the chute control rod to set the
direction of the snow throwing.
2. Loosen the wing knob on the chute
deflector and move the deflector to
set the distance. Move the deflector
(Up) for more distance, (Down) for
less distance. Then tighten the
wing knob (See Figure 11).
the speed you desire by moving the
speed shifter lever left into the ap-
propriate notches on the shift lever
plate:
Speeds 1,2 - Wet, Heavy
Speed 3 - Light
Speed 4 - Very Light
Speed 5,6 - Transport only
2. Engage the traction drive lever (left
hand). As the snow thrower starts
to move, maintain a firm hold on the
handles, and guide the snow throw-
er along the clearing path. Do not
attempt to push the snow thrower.
3. To move the snow thrower back-
ward, move the speed shifter lever
right into first or second reverse and
engage the traction drive lever (left
hand).
IMPORTANT: Do not move the speed
shifter lever while the traction lever
is down.
TO THROW SNOW
1. Push down the auger driver lever
(right hand).
2. Release to stop throwing snow.
TO USE WHEEL LOCKOUT PIN
.The left hand wheel is secured to
the axle with aklick pin. This unit
was shipped with this klick pin in the
locked position (through wheel
hole). See Figure 12.
Klick Pin
Figure 11
HOW TO MOVE FORWARD AND
BACKWARD
1. To shift, release the traction drive
lever (left hand) and move the
speed shifter lever to the speed you
desire. Ground speed is deter-
mined by snow conditions. Select
F-O01087J
Locked
Position
12
2-Wheel Drive Figure 12
.For ease of maneuverability in light
snow conditions, disconnect the
klick pin from the wheel locked
position and push into the single
wheel drive position (unlocked axle
hole only). See Figure 13.

Klick Pin
Unlocked
Position
Single Wheel Drive Figure 13
NOTE: Make sure that the klick pin is
in the single wheel drive position of the
axle only and not through the locked
position.
BEFORE STARTING THE ENGINE
.Before you service or start the en-
gine, familiarize yourself with the
snow thrower. Be sure you under-
stand the function and location of all
control_.
2. Check the tension of clutch cable
before starting the engine. See To
Adjust The Control Cable para-
graph in the Service & Adjust-
ments section of this manual.
.
4.
Be sure that all fasteners are tight.
Make sure the height adjust skids
are properly adjusted. See To Ad-
just Skid Height paragraph in the
Service & Adjustments section of
this manual.
5. Check tire pressure (14-17
pounds). Do not exceed maximum
amount of pressure.
CHECK THE OIL:
NOTE: The engine was shipped from
the factory filled with oil. Check the lev-
el of the oil. Add oil as needed.
1. Make sure the unit is level.
NOTE: Do not check the level of the
oil while the engine runs.
2. Remove the oil fill cap/dipstick.
Check the oil.
3. If necessary, add oil until the oil
reaches the FULL mark on the oil fill
cap/dipstick (see Figure 14). Do not
add too much oil.
F-001087J
/Dipstick
,, i _. NOTE: Oil level
must be between
full and Add mark
Figure 14
4. Tighten the fill cap/dipstick securely
each time you check the oil level.
NOTE: For extreme cold operating
conditions of 0°F and below, use a par-
tial synthetic 0W30 motor oil for easier
starting.
NOTE: S.A.E. 5W30 motor oil may be
used to make starting easier in areas
where temperature is consistently 20°F.
or lower.
FILL GAS:
NOTICE: ENGINES WHICH ARE
CERTIFIED TO COMPLY WITH CAL-
IFORNIA AND US EPA EMISSION
REGULATIONS FOR ULGE ENGINES:
Are certified to operate on regular un-
leaded gasoline. Include the following
emission control system(s): EM, TWC
(if so equipped). Include any user ad-
justable features-therefore no other ad-
justments are needed.
_ARNING: Experiences in-
dicates that alcohol blended
fuels (called gasohol or
those using ethanol or methanol)
can attract moisture which leads to
separation and formation of acids
during storage, Acidic gas can dam-
age the fuel system of an engine
while in storage.
NOTE: To avoid engine problems, the
fuel system must be emptied before
storage for 30 days or longer. Start the
engine and let it run until the fuel lines
and carburetor are empty. Use the car-
buretor bowl drain to empty residual
gasoline from the float chamber. Use
fresh fuel next season. See the Stor-
age section in this manual for additional
information.
13

Never use engine or carburetorcleaner
products in the fuel tank or permanent
damage may occur.
1. Fill the fuel tank only with a fresh,
clean, unleaded regular, unleaded
premium, or reformulated automo-
tive gasoline. DO NOT use leaded
gasoline. Make sure that the con-
tainer you pour the gasoline from is
clean and free from rust or other for-
eign particles. Never use gasoline
that may be stale from long periods
of storage in the container.
,_ WARNING: Gasoline is flam-
mable. Always use caution
when handling or storing
gasoline.
Do not fill fuel tank while snow
thrower is running, when it is hot, or
when snow thrower is in an en-
closed area.
Keep away from open flame or an
electrical spark and do not smoke
while filling the fuel tank.
Never fill the tank completely. Fill
the tank to within 1/4"-1/2" from the
top to provide space for expansion
of fuel.
Always fill fuel tank outdoors and
use a funnel or spout to prevent
spilling.
Make sure to wipe up any spilled
fuel before stating the engine.
Store gasoline in a clean, approved
container and keep the cap in place
on the container.
TO STOP ENGINE
To stop engine, move the throttle con-
trol lever to "STOP" position and re-
move key. Keep the key in a safe
place. The engine will not start without
the key.
TO START ENGINE
(electric starter, if equipped)
Be sure that the engine has sufficient
oil. The snow thrower engine is
equipped with a 120 volt A.C. electric
starter and recoil starter. Before start-
F-001087J 14
ing the engine, be certain that you have
read the following information,
,_ WARNING: The starter is
equipped with a three-wire
power cord and plug and is
designed to operate on 120 volt AC
household current.It must be proper-
ly grounded at all times to avoid the
possibility of electrical shock which
may be injurious to operator. Follow
all instructions carefully as set forth
in the "To Start Engine" section. De-
termine that your house wiring is a
three-wire grounded system. Ask a
licensed electrician if you are not
sure. If your house wire system is
not a three-wire system, do not use
this electric starter under any condi-
tions. If your system is grounded
and a three-hole receptacle is not
available at the point your starter will
normally be used, one should be
installed by a licensed electrician.
when connecting 120 volt AC "Power
Cord", always connect the cord to
the Switch Box" on the engine first,
then plug the other end into the
three-hole grounded receptacle.
When disconnecting "Power cord",
always unplug the end in the three-
hole grounded receptacle first.
COLD START
1. Be sure auger drive and traction
drive levers are in the disengaged
(RELEASED) position.
2. Move throttle control to"FAST' posi-
tion.
3. Remove the keys form the plastic
bag. Insert one key into ignition
slot. Make sure it snaps into place.
Do not turn key. Keep the second
key in a safe place.
4. Rotate choke knob clockwise to the
choke ON position.
5. Connect the power cord to the
switch box on the engine.
6. Plug other end of power cord into a
three-hole, grounded 120 VOLT, AC
receptacle. (See WARNING in this
section).

.Push the primer button while cov-
ering the vent hole as follows: Re-
move finger from primer button
between primes.
Do not prime if temperature above
50 ° F (10° C).
Push two time if temperature is 50 °
F (10 ° C) to 15°F (-10 ° C).
Push four times if temperature is
below 15°F (-10 ° C).
8. Push down on the starter button
until the engine starts. Do not crank
for more than 10 seconds at a time.
This electric starter is thermally pro-
tected. If overheated it will stop au-
tomatically and can be restarted
only when it has cooled to a safe
temperature (a wait of about 5 to 10
minutes is required).
9. When t_e engine starts, release the
starter button and move choke le-
ver to "1/2 choke" position. When
engine runs smoothly, move choke
lever to "No Choke" Position.
10. Disconnect power cord from recep-
tacle, first, and then from switch
box.
NOTE: Allow the engine to warm up for
several minutes before blowing snow in
temperatures below 0°K
11. Run engine at full throttle "FAST'
when throwing snow.
WARM START
If restarting a warm engine after a short
shutdown, leave choke at "OFF" and do
not push the primer button. If the en-
gine fails to start, follow the Cold Start
instructions.
TO START ENGINE
(recoil starter)
Be sure that the engine has sufficient
oil. The snow thrower engine is
equipped with a recoil starter. Before
starting the engine, be certain that you
have read the following information.
F--001087J
COLD START
,
*
3.
Be sure auger drive and traction
drive levers are in the disengaged
(RELEASED) position.
Move throttle control to"FAST' posi-
tion.
Remove the keys form the plastic
bag. Insert one key into ignition
slot. Make sure it snaps into place.
Do not turn key. Keep the second
key in a safe place.
4. Rotate choke knob clockwise to the
choke ON position.
5. Push the primer button while cov-
ering the vent hole as follows: Re-
move finger from primer button
between primes.
Do not prime if temperature above
50 ° F (10 ° C).
Push two time if temperature is 50 °
F (10 ° C) to 15°F (-10 ° C).
Push four times if temperature is
below 15° F (-10 ° C).
6. Pull the starter handle rapidly. Do
not allow the handle to snap back,
but allow it to rewind slowly while
keeping a firm hold on the starter
handle.
,As the engine warms up, move
choke lever to "1/2 choke" position.
When engine runs smoothly, move
choke lever to "No Choke" Posi-
tion.
NOTE: Allow the engine to warm up for
several minutes before blowing snow in
temperatures below 0°F.
8. Run engine at full throttle "FAST'
when throwing snow.
WARM START
If restarting a warm engine after a short
shutdown, leave choke at "OFF" and do
not push the primer button. If the en-
gine fails to start, follow the Cold Start
instructions.
FROZEN STARTER
If the starter is frozen and will not turn
engine:
1. Pull as much rope out of the starter
as possible.
15

2. Release the starter handle and let it
snap back against the starter.
if the engine still fails to start, repeat the
two previous steps until the engine
starts. Then continue with the direc-
tions for cold start.
To help prevent possible freeze-up of
recoil starter and engine controls, pro-
ceed as follows after each snow remov-
al job.
1. With the engine running, pull the
starter rope hard with a continuous
full arm stroke three or four times.
Pulling of starter rope will produce a
loud clattering sound. This is not
harmful to the engine or starter.
2. With the engine not running, wipe all
snow and moisture from the carbu-
retor cover in area of control levers.
Also move throttle control, choke
conftol, and starter handle several
times.
AARNING: Never run en-
gine indoors or in enclosed,
poorly ventilated areas. En-
gine exhaust contains CARBON
MONOXIDE, AN ODORLESS AND
DEADLY GAS. Keep hands, feet,
hair and loose clothing away from
any moving parts on engine and
snow thrower.
The temperature of muffler and
nearby areas may exceed 150°R
Avoid these areas.
DO NOT allow children or young
teenagers to operate or be near
snow thrower while it is operating.
AARNING: Do not attempt
to remove any item that may
become lodged in auger
without taking the following precau-
tions:
• Release auger drive lever.
•Move throttle lever to stop posi-
tion.
•Remove (do not turn) ignition
key.
Disconnect spark plug wire.
Do not place your hands in the
auger or discharge chute. Use a
pry bar.
SNOW THROWING TIPS
1. For maximum snow thrower efficien-
cy in removing snow, adjust ground
speed, NEVER the throttle. Go
slower in deep, freezing or wet
snow. If the wheels slips, reduce
forward speed. The engine is de-
signed to deliver maximum perfor-
mance at full throttle and should be
run at this power setting at all times.
2. Most efficient snow throwing is ac-
complished when the snow is re-
moved immediately after if falls.
3. For complete snow removal, slightly
overlap each path previously taken.
4. The snow should be discharged
down wind whenever possible.
5. For normal usage, set the skids so
that the scraper bar is 1/8" above
the skids. For extremely hard-
packed snow surfaces, adjust the
skids upward so that the scraper
bar touches the ground.
6. On gravel or crushed rock surfaces,
set the skids at 1-1/4" below the
scraper bar. See To Adjust Skid
Height paragraph in the Service &
Adjustments section of this manu-
al. Rocks and gravel must not be
picked up and thrown by the ma-
chine.
7. After the snow throwing job has
been completed, allow the engine to
idle for a few minutes, which will
melt snow and accumulated ice off
the engine.
8. Clean the snow thrower thoroughly
after each use.
9. Remove ice and snow accumulation
and all debris from the entire snow
thrower, and flush with water (if pos-
sible) to remove all salt or other
chemicals. Wipe snow thrower dry.
F-001087J 16

CUSTOMER RESPONSIBILITIES
SERVICERECORDS
Fillin dates asyou Before
completeregular Each
service, Use
Check Engine Oil Level _J
Change Engine Oil
Often
Every Every Every
510 25 Each Before SERVICE
Hours Hours Hours Season Storage DATES
"nghten All Screws and _/ _j
Nuts
Check Spark Plug
Lubricate All Pivot
Points
I Lubricate Disc Drive
Plate Zerk
(See Maintenance)
Check Fuel t
Drain Fuel
Check Cable
Adjustment
(See Cable Adjustment)
Adjust Drive Belt
.j
GENERAL RECOMMENDATIONS
The warranty on this snow thrower
does not cover items that have been
subjected to operator abuse or negli-
gence. To receive full value from the
warranty, the operator must maintain
the snow thrower as instructed in this
manual.
Some adjustments will need to be
made periodically to properly maintain
your snow thrower.
All adjustments in the Service and Ad-
justments section of this manual
should be checked at least once each
season.
AFTER EACH USE
•Check for any loose or damaged
parts.
• _ghten any loose fasteners,
•Check and maintain the auger.
•Check controls to make sure they
are functioning properly.
F-001087J
• If any parts are worn or damaged,
replace immediately.
LUBRICATION CHART
Lubricate
Disc Drive
Plate Zerk
With a Hi
Temp EP.
Moly \
Grease.
17
Figure 15

PRODUCT SPECIFICATIONS
HORSEPOWER 11.0 HP
DISPLACEMENT 21.82 cu. in.
GASOLINE 4 quarts
CAPACITY (unleaded)
OIL CAPACITY 5W30
(20 oz capacity)
SPARK PLUG: Champion RJ19LM
(Gap .030 in.) or
equivalent
VALVE CLEARANCE: Intake: .010 In.
Exhaust: .010 in.
SNOW THROWER
AS REQUIRED
The following adjustment should be
preformed more than once each sea-
son.
1. Auger drive belt should be adjusted
after the first 2 to 4 hours of use,
again about mid-season and twice
each season thereafter (See to Ad-
just Belts paragraph in the Ser-
vice and Adjustment section).
LUBRICATION-EVERY 25 HOURS
Lubricate Disc Drive Plate every
twenty-five (25) hours and at the end of
the season and/or before storage.
To Lubricate
1. Position speed selector lever in first
gear.
2. Stand the snow thrower up on the
auger housing end.
3. Remove the bottom panel.
4. Turn disc drive plate clockwise by
hand until grease zerk is cleady
visible at front center, See
Figure 16.
5. Place a coin or (a shim of equal
thickness) between the rubber fric-
tion wheel and disc drive plate to
F-001087J
prevent rubber friction wheel con-
tacting the drive disc plate.
6. To grease zerk, use a hand grease
gun, lubricate with a Hi Temp EP
Moly grease. Fill zerk only until
grease becomes visible below bear-
ing assembly located under grease
zerk. DO NOT over fill.
CAUTION: DO NOT allow grease to
come in contract with the disc drive
plate or friction wheel or damage will
result.
IMPORTANT: Remove coin and en-
sure that a gap exists between friction
wheel and disc drive plate.
NOTE: Clean all excess grease found
on friction disc hub.
Sprockets Hex Shaft and Sprockets
(Require No
Lubrication
Friction
Disc
Drive
Plate
\
18
Friction Bearing
E_Wheel Assembly Point at which
Coin or Shim grease should
be visible
Gap Between
Friction Wheel
and Disc Drive
Plate
Grease Zerk Figure 16
LUBRICATION-NOT REQUIRED
1. Hex Shaft and Sprockets- Hex
shaft and sprockets require no lu-
brication. All bearings and bushings
are lifetime lubricated and require
no maintenance. See Figure 16.
NOTE: Any greasing or oiling of the
above components can cause contami-
nation of the friction wheel. If the disc

drive plate or friction wheel come in
contact with grease or oil, damage to
the friction wheel will result.
Shouldgrease or oil comein contact
withthe disc drive plate or friction
wheel, be sure to clean the plate and
wheel thoroughly.
NOTE: For storage, the hex shaft and
sprocketsshould be wiped with 5W30
motor oil to prevent rusting.
2. Auger Gear Box - The auger gear
boxis lubricated at the factory and
should not requireadditionallubrica-
tion. If for some reasonthe lubri-
cant should leak out, have auger
gear case checked by a competent
repairman.
ENGINE
LUBRICATION
Check the crankcase oil level before
starting the engine and after each five
(5) hours of continuous use. See
Figure 17. Add S.A.E. 5W30 motor oil
as needed. "13ghten fill cap/dipstick se-
curely each time you check the oil lev-
el.
Oil Fill Cap/Dipstick
Figure 17
Change the oil every twenty-five (25)
hours or at least once a year if the
snow thrower is not used for twenty-
five (25) hours.
TO CHANGE ENGINE OIL
1. Position the snow thrower so that
the oil drain plug is at the lowest
point on the engine.
2. Remove the oil drain plug and the
oil fill cap/dipstick. Drain the oil
into a suitable container.
NOTE: The oil will drain more freely
when the engine is warm.
3. After draining all the oil, reinstall the
oil drain plug securely.
4. Fill the engine crankcase with
S.A.E. 5W30 motor oil, pouring
slowly. DO NOT OVERFILL.
SPARK PLUG
Check the spark plug every twenty-
five (25) hours. Replace the spark plug
if the electrodes are pitted or burned or
if the porcelain is cracked.
1. Make sure the spark plug is clean.
Clean the spark plug by carefully
scraping the electrodes (do not
sand blast or use a wire brush).
2. Check the spark plug gap with a
feeler gauge and reset gap to 0,30"
if necessary. See Figure 18.
3. Before installing the spark plug,
coat the threads lightly with oil for
easy removal. Tighten the spark
plug to a torque of 15 foot-pounds.
Feeler Gauge
0.030"
Spark Plug
Figure 18
F-001087J 19

_lb ARNING: Always discon-
nect the spark plug wire and
place it where it cannot
make contact with spark plug to pre-
vent accidental starting when mak-
ing any adjustments or repairs.
TO ADJUST SKID HEIGHT
This snow thrower is equipped with two
height adjustment skids, located on
the outside of the auger housing. See
Figure 19.
These skids elevate the front of the
snow thrower.
Mountinq Nuts
Auger Housing Height Adjust Skid
Figure 19
For normal hard surfaces, such as a
paved driveway or walk, adjust the
skids as follows.
1. Position the snow thrower on a level
surface.
2. Make sure both tires are equally in-
flated. Proper tire pressure is 14 to
17 PSI. See side of tire for maxi-
mum inflation. Do not exceed side-
wall maximum pressure on tire.
3. Place the extra shear bolts supplied
(found in parts bag) under each
end of the scraper bar next to the
adjustable skids.
4. Loosen the mounting nuts that hold
the adjustable skids. To bring the
front of the snow thrower down,
raise the adjustable skids. Tighten
the mounting nuts. See Figure 19.
NOTE: For rocky or uneven surfaces,
raise the front of the snow thrower by
moving the skids down.
,_ WARNING: Be certain to
maintain proper ground
clearance for your particular
area to be cleared. Objects such as
gravel, rocks or other debris, if
struck by the impeller, may be
thrown with sufficient force to cause
personal injury, property damage or
damage to the snow thrower.
TO ADJUST SCRAPER BAR
After considerable use, the metal scrap-
er bar will have a definite wear pattern.
The scraper bar in conjunction with the
skids should always be adjusted to al-
low 1/8" between the scraper bar and
the sidewalk or area to be cleaned.
1. Position the snow thrower on a level
surface.
.Make sure both tires are equally in-
flated. Proper tire pressure is 14 to
17 PSI. See side of tire for maxi-
mum inflation. Do not exceed side-
wall maximum pressure on tire.
3. Loosen the carriage bolts and nuts
securing the scraper bar to the au-
ger housing.
4. Adjust the scraper bar to the proper
position.
5. Tighten the carriage bolts and nuts,
making sure that the scraper bar is
parallel with the working surface.
.For extended operation, the scraper
bar may be reversed. If the scraper
bar must be replaced due to wear,
remove the carriage bolts and nuts
and install a new scraper bar.
F-001087J 20

HOW TO CHECK AND ADJUST
THE CABLES
The cables are adjusted at the factory
and no adjustment should be neces-
sary. If the cables have become
stretched or are sagging adjustment will
be necessary.
To check for correct adjustment,discon-
nect the Z-fitting at the drive lever,
move the drive lever to the full forward
position, just contacting the plastic
bumper. The control cables are cor-
rectly adjusted when the center of the
"Z" fitting is between the center and
top of the hole in the drive lever and
there in no droop in the cable. See
Figure 20.
Drive Lever
Figure 20
.
2.
3.
.
Remove gas from gas tank. Stand
snow thrower on end.
Disconnect the "Z" fitting from
drive lever.
Pull spring cover up to expose
spring. Push the cable through the
spring to expose the threaded por-
tion of the cable. See Figure 21.
Hold the square end of the
threaded portion with pliers and ad-
just the Iocknut in or out until the
excess slack is removed.
Spring,
Square End
Locknut
==_ Figure 21
5. Pull the cable back through the
spring and connect the cable. Do
the same for the other drive lever
cable, if needed.
NOTE: Whenever the traction drive or
auger belts are adjusted or replaced,
the cables will need to be adjusted.
TO ADJUST BELTS
Belts stretch during normal use. If you
need to adjust the belts due to wear or
stretch, proceed as follows:
How To Adjust The Auger Drive Belt
if your snow thrower will not discharge
snow, check the control cable adjust-
ment. If it is correct, then check the
condition of the auger drive belt. It may
be loose or damaged. If it is damaged,
replace it, See To Replace Belts para-
graph in this section. If the auger drive
belt is loose, adjust as follows:
1. Disconnect the spark plug wire.
2. Remove the belt cover. See
Figure 22.
Belt Cover
Flatwasher
Self Tapping Screw Figure 22
F-001087J 21

Traction Drive Belt Auger Drive
Belt
Guide
Drive
Idler Pulley Pulley
Loosen
this nut
Figure 23
3. Loosen the nut on the idler pulley
and move the pulley toward the belt
about 1/8". See Figure 23.
4. Tighten the nut.
5. Press the auger drive lever. Check
the _ension on the belt (opposite au-
ger idler pulley). The belt should
deflect about 1/2" with moderate
pressure (See Figure 24).
_. _k"-_"-D rive
"__o Pulley
0
Auger idler _ " ;_- t ;.:
". 1/2 Inch
Pulley a " _ •
Engaged ._.__D;_; flectlon
Figure 24
NOTE: If the adjustment is not correct,
repeat the adjustment.
6. Replace the belt cover.
7. Check the clutch control cable ad-
justment.
8. Reconnect the spark plug wire.
Traction Drive Belt
The traction drive belt has constant
spring pressure and does not require
adjustment. Replace the traction drive
belt if it is slipping. See To Replace
Belts paragraph in this section.
F-001087J
TO REPLACE BELTS
The drive belts on this snow thrower
are of special construction and should
be replaced with original equipment
belts available from your nearest
Craftsman Store. A distributor's list is
supplied in the parts manual.
You will need the assistance of a sec-
ond person while replacing the belts.
How To Remove The Auger Drive Belt
If the auger drive belt is damaged, the
snow thrower will not discharge snow.
Replace the damaged belt as follows.
1. Remove the gas from the gas tank.
Stand the snow thrower up on the
front end of the auger housing.
,_ WARNING: Drain the gasoline
outdoors, away from fire or
flame.
2. Disconnect the spark plug wire.
3. Remove the screw from the belt
cover. Remove the belt cover. See
Figure 22.
4. Remove the bolts on each side of
the motor mount frame. See
Figure 25.
5. Loosen the bolts on each side of
the motor mount frame. The au-
ger housing and the motor mount
frame will separate, hinged by the
bolts.
Mount ...._-K_
Frame __"
Remove top
bolt (each L
side)/ %
Loosen bottom
(Each Side)
Bottom
Panel
1_/' Auger
Housing
Figure 25
6. Loosen the belt guide. Pull the belt
guide away from the auger drive
pulley. See Figure 23.
7. Loosen the nut on the idler pulley.
Pull the idler pulley away from the
auger drive belt.
22

.Remove the old auger drive belt.
Replace the auger drive belt with
an original factory replacement belt
available from an authorized service
center.
9. Install the new auger drive belt
onto the auger drive pulley and
onto the drive pulley.
10. Adjust the auger drive belt. See
"How To Adjust The Auger Drive
Belt" in the Service And Adjustment
section.
11. Adjust the belt guide. See "How To
Adjust The Belt Guide" in the Ser-
vice And Adjustment section.
12. Install the bolts on each side of the
motor mount frame. See
Figure 25.
13. Tighter_the bolts on each side of
the motor mount frame.
14. Install the belt cover. Tighten the
screw. See Figure 22.
15. Check the adjustment of the cables.
See "How To Check And Adjust The
Cables" in the Service And Adjust-
ment section.
16. Connect the spark plug wire.
How To Remove the Traction Drive
Belt
If the snow thrower will not move for-
ward, check the traction drive belt for
wear or damage. If the traction drive
belt is worn or damaged, replace the
belt as follows.
1. Remove the gas from the gas tank.
Stand the snow thrower up on the
front end of the auger housing.
,_ WARNING: Drain the gasoline
outdoors, away from fire or
flame.
2, Disconnect the spark plug wire.
3. Remove the auger drive belt. See
"How To Remove The Auger Drive
Belt" in the Maintenance section.
F-001087J
4. Pull the traction drive idler pulley
away from the traction drive belt.
See Figure 26.
Traction Drive Belt
Auger Drive
Belt
Traction Belt Guide
Drive Pulley
Traction
Drive
Idler
Pulley
Auger
Drive
Pulley
Auger
Idler
Pulley
23
.
Engine Pulley Figure 26
Remove the old traction drive belt
from the traction drive pulley and
from the en ine pulley. Replace the
traction drive belt with an original
factory replacement belt available
from an authorized service center.
.
.
.
g.
Install the new traction drive belt
onto the traction drive pulley and
onto the engine pulley.
Make sure the traction drive idler
pulley is properly aligned with the
traction drive belt.
Install and adjust the auger drive
belt. See "How To Remove The Au-
ger Drive Belt" in the Service And
Adjustment section.
Adjust the belt guide. See "How To
Adjust The Belt Guide" in the Ser-
vice And Adjustment section.
10. Install the bolts on each side of the
motor mount frame. See Figure 25.
11. 13ghten the bolts on each side of the
motor mount frame.
12. Install the belt cover. Tighten screw.
See Figure 22.
13. Check the adjustment of the cables.
See "How To Check And Adjust The
Cables" in the Service And Adjust-
ment section.
14. Connect the spark plug wire.

HOW TO ADJUST THE BELT GUIDE
1. Disconnect spark plug wire,
2. Remove the screw. Remove the
belt cover. See Figure 22.
3. Engage the auger drive lever.
4. Measure the distance between the
belt guide and auger drive belt.
The correct distance is 1/8 inch
(3.175 mm). See Figure 27.
_ Belt Guide
Figure 27
.If an adjustment is necessary, loos-
en the mounting bolt for the belt
guide. Move the belt guide to the
correct position. Tighten the
mounting bolt for the belt guide.
6. Install the belt cover. Tighten the
screw. See Figure 22.
7. Connect the spark plug wire.
HOW TO ADJUST OR REPLACE
THE FRICTION WHEEL
How To Check The Friction Wheel
If the snow thrower will not move for-
ward, check the traction drive belt, the
traction drive cable or the friction wheel.
If the friction wheel is worn or damaged,
it must be replaced. See "How To Re-
place the Friction Wheel" in this section.
If the friction wheel is not worn or dam-
aged, check as follows.
1. Remove the gas from the gas tank.
Stand the snow thrower up on the
front end of the auger housing.
F-001087J
A
2.
3.
4.
5.
WARNING: Drain the gasoline
outdoors, away from fire or
flame.
Disconnect the spark plug wire.
Remove the bolts on each side of
the bottom panel. See Figure 28.
Loosen the bolts on each side of
the bottom panel.
Remove the bottom panel.
Remove Top Bolt
(each side)
Mount ....----_
Frame I_ _ Auger
Loosen bottom o
(Each Side) Figure 28
6. Position the shift speed lever in
the first forward gear.
7. Note the position of the friction
wheel on the disc,drive plate (See
Figure 29). In the correct position,
the right outer side of the disc drive
plate must be three inches
(7.62cm.) from the center of the
friction wheel. If the friction wheel
is not in the correct position, adjust
as follows.
Friction
Wheel
Drive
Plate
\
Figure 29
How To Adjust The Friction Wheel
1, Loosen the bolts on the speed
control rod to optain the correct
24

position for the friction wheel. See Friction Wh
Figure 30.
II
Loosen Bolts
Lev(
Figure 30
2. Install the bottom panel. See
Figure 28.
3. Tighten the bolts on each side of
the bottom panel.
4. Install the bolts on each side of the
bottom panel.
How To Replace The Friction Wheel
If the friction wheel is worn or damaged,
the snow thrower will not move forward.
The friction wheel must be replaced as
follows.
1. Remove the gas from the gas tank.
Stand the snow thrower up on the
front end of the auger housing.
_IL ARNING: Drain the gasoline
outdoors, away from fire or
flame.
2. Disconnect the spark plug wire.
3. Remove the top bolts on each side
of the bottom panel. See
Figure 28.
4. Loosen the bottom bolts on each
side of the bottom panel.
5. Remove the bottom panel.
6. Remove the three fasteners that
hold the friction wheel to the hub.
See Figure 31.
F-001087J 25
Hub
Bolt
Hex Nut
Shaft
Figure 31
7. Remove the four bolts that hold the
bearing plates on each side of the
hex shaft. See Figure 32.
NOTE: Take special note of the
position of the washers and retain-
ing ring on the hex shaft and the
sprocket assembly.
Friction Wheel Hex Shaft
Bearing _g
Plate Plate
Figure 32
8. Remove the bearing plate from the
right side. Do not remove the hex
shaft. Leave the hex shaft in posi-
tion. Carefully raise hex shaft just
enough to allow the friction wheel
to be removed.
9. Remove the friction wheel from the
hub. Slip the friction wheel toward
the right off the hex shaft. See
Figure 31.
10. Assemble the new friction wheel
onto hub with the fasteners re-
moved earlier.
11. Install the bearing plate onto the
right side. Make sure the hex shaft
is engaged with both bearing
plates and that the washers and re-
taining ring are installed in the origi-
nal position. See Figure 32.

12. Fastenthe bearing plates using
the four bolts removed earlier.
13. Make sure the hex shaft turns free-
ly.
14. Check the adjustment of the friction
wheel. See "How To Adjust The
Friction Wheel" in this section.
15. Make sure the friction wheel and the
disc drive plate are free from grease
or oi!.
16. Install the bottom panel. See
Figure 28.
17. Tighten the bottom bolts on each
side of the bottom panel.
18. Install the top bolts on each side of
the bottom panel.
19. Correct the spark plug wire.
HOW TO REPLACE THE AUGER
SHEAR BOLT
The augers are secured to the auger shaft
with special shear bolts. These shear bolts
are designed to break and protect the ma-
chine if an object becomes lodged in the au-
ger housing. Do not use a harder bolt as the
protection provided by the shear bolt will be
lost.
_ARNING: For safety and to
protect the machine, use only
original equipment shear bolts.
To replace a broken shear bolt, proceed
as follows. Extra shear bolts were pro-
vided in the assembly parts bag.
1. Move the throttle control to the stop
position. Disengage all controls.
2. Disconnect the spark plug wire.
Make sure all moving parts have
stopped.
,Align the hole in the auger with the
hole in the auger shaft, install the
new shear pin and spacer. See
Figure 33.
4. Connect the spark plug wire.
F-001087J
_ar Pin
_-" P! spalcer
_F igure 33
TO ADJUST THE CARBURETOR
If you think your carburetor needs ad-
justing, see your nearest Craftsman
Store. Engine performance should not
be affected at altitudes up to 7,000 feet.
For operation at higher elevations, con-
tact your nearest Craftsman Store.
IMPORTANT: Never tamper with the
engine governor, which is factory set for
proper engine speed. Over-speeding
the engine above the factory high
speed setting can be dangerous. If you
think the engine-governed high speed
needs adjusting, contact your nearest
Craftsman Store, which has the proper
equipment and experience to make any
necessary adjustments.
26
TO ADJUST OR REPLACE THE
SPARK PLUG
NOTE: This spark ignition system
meets all requirements of the Canadian
Interference-Causing Equipment Regu-
lations.
NOTE: This engine complies with all
current Australian and New Zealand
limitations regarding electromagnetic
interference.
If you have difficulty starting the snow
thrower, adjust or replace the spark
plug. Replace the spark plug is the
electrodes are pitted or bumed or if the
porcelain is cracked. Follow the instruc-
tions below.
To adjust:
1. Clean spark plug by carefully
scraping the electrodes (Do not
sand blast or use a wire brush).

2. Be sure spark plug is clean and
free of foreign material. Check elec-
trodes gap with a wire feeler gauge
and reset gap to 0.030" if neces-
sary. See Figure 34.
To Replace:
1. If you need a new spark plug, use
only the proper replacement spark
plug.
2. Set the gap to 0.030 inches.
.Before installing the spark plug,
lightly coat the spark plug threads
with oil or grease to insure easy re-
moval.
.
5.
Firmly tighten the spark plug in the
engine.
If a torque wrench is available,
torque the plug to 18 to 23 foot
pounds.
Feeler Gauge
0.030"
Spark Plug
Figure 34
F-001087J 27

_ARNING: Never store your
snow thrower indoors or in
an enclosed, poorly venti-
lated area. If gasoline remains in the
tank, fumes may reach an open
flame, spark or pilot light from a fur-
nace, water heater, clothes dryer,
cigarette, etc.
NOTE: To prevent engine damage (if
snow thrower is not used for more than
30 days) follow the steps below.
SNOW THROWER
1. Thoroughly clean the snow thrower.
2. Lubricate all lubrication points. See
the Maintenance section.
,Be sure that all nuts, bolts and
screws are securely fastened. In-
spect all visible moving parts for
damage, breakage and wear. Re-
place if necessary.
4. Touch up all rusted or chipped paint
surfaces; sand lightly before paint-
ing.
.Cover the bare metal parts of the
blower housing auger and the im-
peller with rust preventative, such
as a spray lubricant.
NOTE: A yearly checkup or tune-up by
a Sears service center is a good way of
ensuring that your snow thrower will
provide maximum performance for the
next season.
ENGINE
_ARNING: Drain the gaso-
line outdoors, away from
fire or flame.
Gasoline must be removed or treated to
prevent gum deposits from forming in
the fuel tank, filter, hose, and carburetor
during storage. Also, during storage al-
cohol blended gasoline that uses etha-
nol or methanol (sometimes called
gasohol) attracts water. It acts on the
gasoline to form acids which damage
the engine.
F-001087J
.
.
.
.
5.
To remove gasoline, run the engine
until the fuel tank is empty and the
engine stops.
If you do not remove the gasoline,
use fuel stabilizer supplied with unit
or purchase Craftsman Fuel Stabi-
lizer No. 3550. Add fuel stabilizer to
any gasoline left in the tank to mini-
mize gum deposits and acids. If the
fuel tank is almost empty, mix stabi-
lizer with fresh gasoline in a sepa-
rate container and add some to the
fuel tank.
Always follow the instruction on the
stabilizer container. After the stabi-
lizer is added to the fuel tank, run
the engine at least ten minutes to
allow the mixture to reach the car-
buretor.
Change the engine oil.
Lubricate the piston/cylinder area.
First, remove the spark plug and
squirt a few drops of clean engine
oil into the spark plug hole. Next,
cover the spark plug hole with a rag
to absorb oil spray. Then, pull two or
three times on the recoil starter rope
to rotate the engine. Finally, install
the spark plug and attach the spark
plug wire.
28
OTHER
1. If possible, store your snow thrower
indoors and cover it to give protec-
tion from dust and dirt.
2. If the machine must be stored out-
doors, block up the snow thrower to
be sure the entire machine is off the
ground.
3. Cover the snow thrower with a suit-
able protective cover that does not
retain moisture. Do not use plastic.
IMPORTANT: Never cover snow
thrower while engine and exhaust areas
are still warm.

TROUBLE CORRECTION
Difficult starting Replace spark plug.
CAUSE
Defective spark plug.
Water or dirt in fuel system. Use carburetor bowl drain to
flush and refill with fresh fuel.
Engine runs erratic Blocked fuel line, empty gas Clean fuel line; check fuel
tank, or stale gasoline supply; add fresh gasoline
Engine stalls Unit running on CHOKE. Set choke lever to RUN
)osition.
Engine runs erratic; Water or dirt in fuel system. Use carburetor bowl drain to
Loss of power flush and refill with fresh fuel.
Excessive vibration Loose parts: damaged
impeller
Unit fails to propel itself
Stop engine immediately and
disconnect spark plug wire.
Tighten all bolts and make all
necessary repairs. If
vibration continues, have the
unit serviced by a Craftsman
service repairman.
Drive belt loose or damaged. Replace drive belt.
Incorrect adjustment of Adjust traction drive cable.
traction drive cable
Worn or damaged friction Replace friction wheel.
wheel.
Auger drive belt loose or
damaged.
Unit fails to discharge
snow Adjust auger drive belt;
replace if damaged.
Auger control cable not Adjust auger control cable.
adjusted correctly.
Shear bolt broken Replace shear bolt
Discharge chute clogged. Stop engine immediately and
disconnect spark plug wire.
Clean discharge chute and
inside of auger housing.
Foreign object lodged in Stop engine immediately and
auger disconnect spark plug wire.
Remove object from auger.
F-001087J 29

CRAFTSMAN 24" 5HP SNOW THROWER 536.886440
FRAME ASSEMBLY
ENGINE MOUNTS TO FRONT HOLES
ON THE FRAME
12-
13 14
45
53 59
60
Key No.
10
12
13
41
42
43
44
45
53
54
57
58
59
60
63
67
68
69
Description
Model 143.015005
SCREW, 5/16-18
WASHER, SPTLK .31X.58X.08
GUIDE, ROD BELT
PLASTIC WASHER
WASHER, SPTLK .31X.58X.08
SCREW, 5/16-24X 1.00
SPACER
PULLEY, HALF
WASHER, FLAT .752X.91X.02
BELT, V 3L 33.13LG
FLATWASH ER .765X1.12X.06
SPACER, SLEEVE
PULLEY, ENGINE
BELT, V 4L35.6 LG
WASHER, FLAT .375Xl .25X. 104
WASHER,HVSPTLK .381D
SCREW, 3/8-24Xl .00
OWNER'S MANUAL
326928
Part No.
ENGINE
710024
71060
3949
6711
71060
910828
762291
579854
579861
579932
712120
586251
586253
581264
50677
71063
71015
F-001087J
69
F-001087J 30

CRAFTSMAN 24" 5HP SNOW THROWER 536.886440
ELECTRIC START ASSEMBLY
319051
Key No.
6
7
8
9
Description
MOTOR, STARTER
SCREW
SCREW
CORD, STARTER
Part No.
330783
762226
6217
6219
F-O01087J 31

CRAFTSMAN 24" 5HP SNOW THROWER 536.886440
FRAME ASSEMBLY
108
111
109
I
91 90
88
11
88 91 111
Key No.
80
88
90
91
103
105
106
108
109
110
111
140
141
145
146
148
149
160
161
162
163
199
F-001087J
-140
148
Description
FRAME ASSY
SCREW, 5/16--18X .50
COVER, BOTTOM
SCREW, 1/4-20X .63
IDLER ASSEMBLY
PIN, HAIR .38DIAX1.64LG
PIN, KLIK 3/16" DIA
ASSY., SPRING ATTACH
BEARING, FL.
BOLT, 3/8-16Xl .25 CARR.
WASHER, FLAT
LEVER, IDLER ARM TRACTION
BOLT, .625X.135 HHSH 5/16-18
IDLER SPRING TRACTION DRIVE
SCREW, 3/8-16Xl .25
PULLEY, IDLER
NUT, 3/8-16
COVER, BELT
SCREW, 1/4-20X .63
WASHER, FLAT
LID, BELT COVER
SPRING, IDLER AUGER DRIVE
32
Pa_ No.
761702-833
780055
583031-853
310169
762295
711682
761761
761766
53703
585781
711617
761701
329989
53704
761760
50793
590
760478
310169
71067
760539
760988
344688

CRAFTSMAN 24" 5HP SNOW THROWER 536.886440
GEAR CASE ASSEMBLY
-341 3O5
3O6
327
303 310
32O
3O4
312
311
Key No. Description
300 CASE, GEAR, RH
301 CASE, GEAR, LH
303 SCREW,1/4-20X.75
304 NUT, I/4-20
305 NUT, 1/4-20 HEXKEPS
306 SCREW, 3/8-16X.50
310 SEAL, OIL
311 BEARING, FL
312 WASHER, FLAT
313 SHAFT, AUGER OUTPUT
314 GASKET, GEAR BOX
315 WORM GEAR
316 KEY, WOODRUFF #61
320 BRNG, FL
321 SHAFT, AUGER INPUT
322 COLLAR, THRUST
323 PIN, SPRING
324 WASHER, FLAT
325 BRNG, ROLL
326 BRNG, FL
327 SEAL, OIL
340 IMPELLER
341 PIN, SPRING
-- 10oz TUBE LUBRIPLATE
F-001087J 33
Part No.
10577
10576
710025
302635
303008
9344
9566
50304
48275
340286
51279
51405
431787
50221
583125
580295
454565
48275
50684
50304
9566
760194-853
454565
333431
313996

CRAFTSMAN 24" 5HP SNOW THROWER 536.886440
DRIVE COMPONENTS
192 190
191\
\
217 221
215
196 193
223
222 °°
191
195
\
256
277
223
271
243
222
-- 225
226
249 250
255 224 229
246
240
276
278
235
230
244
245
275
270
313995 REV P
F-001087J 34

CRAFTSMAN 24" 5HP SNOW THROWER 536.886440
DRIVE COMPONENTS
Key No.
190
191
192
193
195
196
198
210
211
215
216
217
221
222
223
224
225
226
227
228
229
230
231
235
240
243
244
245
246
247
249
250
255
256
27O
271
275
278
277
278
m
F-001087J
Description Part No.
LEVER, ASSY TRACTION CLUTCH 761820
BEARING, FLANGE 53703
RING, RET E 20864
SPRING, RETURN 53818
LEVER, SPRING 579937
SCREW, 1/4-20X .63 11871
NUT, 1/4-20 REGHEXCTRLK 73826
DISC, ASSY 583163-853
ZERK, GREASE 583206
SHAFT, HEX TRACTION 583155
BEARING, TRUNION 85501
FLATWASHER, .53 X1.00X.063 71074
RING, RETEX 73811
FLATWASHER, .680X1.12X.060 580969
BEARING, BALL 43846
KEY, SQUARE 71371
PULLEY, V3L 6.50X .56 580961
WASHER, WAVE 580965
FLATWASHER, .281X1.00X.063 712123
WASHER, SPLIT .26X.50X.06 71059
SCREW, 1/4-20X .75 H HC 1x176
BEARING & RETAINER 334163
SCREW, 5/16-18X .50 780055
WAS HE R,. 502X .75X.0605 579858
HEX, ASSY#40-8T W/PBRG 579897
RING, RETEX 783002
FLATWASHER, .53 X1.00X.063 71074
BEARING, TRUNION 337029
WHEEL, ASSY FRICTION 53830
SCREW, 1/4-20X .63 11871
NUT, 1/4.20 HEXKEPS 303008
WASHER,.502X .75X.0605 579858
BEARING & RETAINER 334163
SCREW, 5/1 6-18X .50 780055
BEARING & RETAINER 334163
SCREW, 5/1 6-18X .50 780055
JACK, ASSY#41-36/8T 761691
BEARING & RETAINER 334163
SCREW 780055
CHAIN ROLLER 579867
LINK, CHAIN MASTER 760504
35

CRAFTSMAN 24" 5HP SNOW THROWER 536.886440
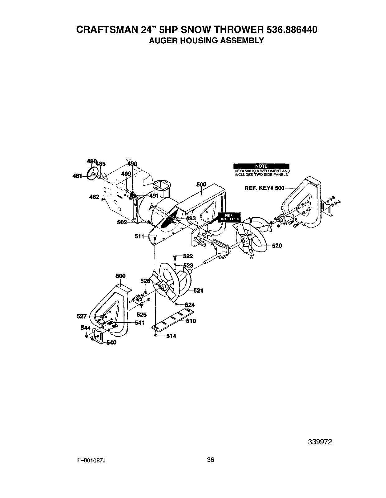
AUGER HOUSING ASSEMBLY
5OO
KEY# 500 IS A WELDMENT AND
iNCLUDES TWO SIDE PANELS
REF,
5OO
339972
F-OO1087J 36

CRAFTSMAN 24" 5HP SNOW THROWER 536.886440
AUGER HOUSING ASSEMBLY
Key No.
48O
481
482
485
490
491
493
499
50O
"502
510
511
514
520
521
522
523
524
525
526
527
540
541
544
Description
PULLEY, 4L 6.12X .67
SCREW, 5/16-18X.63
KEY, SQUARE
SPACER, SLEEVE .676Xl .00X.53
RETAINER, BALL BRNG
BEARING, BALL
SCREW, 5/1 6-18X .75
NUT, 5/16-18 HEXWDFLLK
HOUSING, ASSY
FASTENER, RATCHET
BLADE, SCRAPER 22"
BOLT, 1/4-20X.75
NUT, 1/4-20
AUGER, ASSY, LH
AUGER, ASSY, RH
SCREW, 1/4-20Xl.75
SPACER, SLEEVE
NUT, 1/4-20 REGHEXCTRLK
BEARING,FLANGE
NUT, 5/16-18
SCREW, 5/16-18X .75
SKID, HEIGHT ADJUST
BOLT, 5/16-18 X .75
NUT, 5/16-18 REGHEX
Part No.
762146
577400
71371
334514
582960
43846
313676
710026
761743--848
309235
581397-853
340714
780285
340518-853
340523-853
3943
9517
711862
9357
301380-853
340720
710026
*When ordering replacement parts, order Shear Pin part number 760875.
F-001087J 37

CRAFTSMAN 24" 5HP SNOW THROWER 536.886440
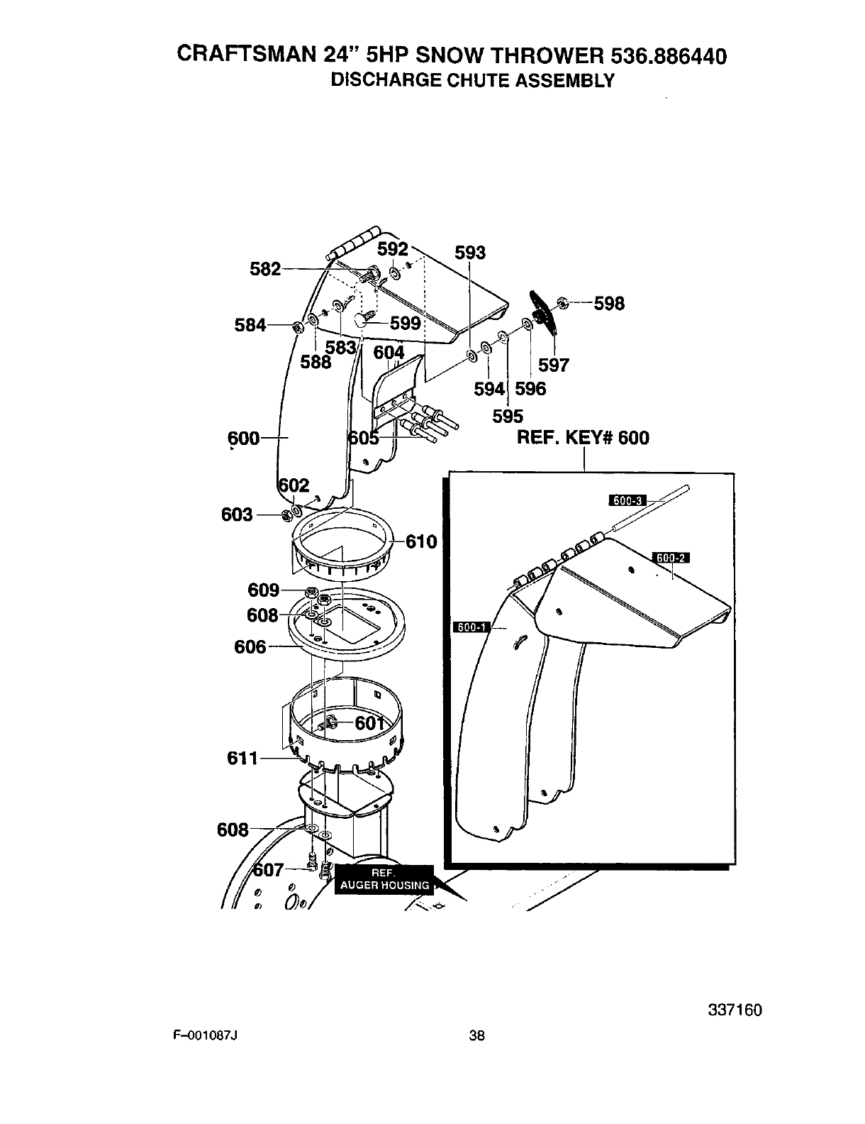
DISCHARGE CHUTE ASSEMBLY
593
600 m
597
594 596
595
REF. KEY# 600
608-
337160
F-OO1087J 38

CRAFTSMAN 24" 5HP SNOW THROWER 536.886440
DISCHARGE CHUTE ASSEMBLY
Key No. Description Part No.
582 BOLT, 5/16-18 X.75 340720
583 WASHER, PLASTIC 12021
584 NUT, 5/16-18 71038
588 WASHER, PLASTIC 6711
592 WASHER, PLASTIC 12021
593 WASHER, PLASTIC 6711
594 FLATWASHER .349X.69X.066 71071
595 WASHER, SPLITLOCK 71060
596 FLATWASHER .349X.69X.066 71071
597 KNOB, T 2/BLADE W/NUT 57171
598 NUT, 5/16-18 REGHEX 71037
599 CARR. BOLT, 5/16-18X1.00 3316
600 CHUTE 760990-853
600-1 CHUTE, LOWER 760989
600-2 CHUTE, UPPER 11780
600-3 HINGE 305216
601 BOLT, 5/16-18 X1.00 586280
602 WASHER, FLAT .349 X.69 X.066 71071
603 NUT, 5/16-18 HEXNYL 71038
604 FLAP, CHUTE 760268
605 POP, RIVET 760987
606 CHUTE COLLAR 585214-853
607 SCREW, 1/4-20X.75 302628
608 WASHER, FLAT .281X.63X.065 71067
609 NUT, 1/4-20 HEX NYLOCK 780029
610 RETAINER, RING INNER 337227
611 RETAINER, RING OUTER 585193
F-001087J 39

CRAFTSMAN 24" 5HP SNOW THROWER 536.886440
HANDLE ASSEMBLY
720
;733
731
734
728
725 724
725 755-
753-
I
339622
F-OO1087J 40

CRAFTSMAN 24" 5HP SNOW THROWER 536.886440
HANDLE ASSEMBLY
Key No.
720
724
725
726
727
728
73O
731
733
734
739
740
741
743
744
745
746
750
751
752
753
754
755
756
757
F--O01087J
Description Part No.
HANDLE, UPPER 9552-853
SCR EW, 5/16-18X2.75 11234
WASHER, FLAT .349X.69X.066 71071
WASHER, SPTLK .31X.58X.08 71060
NUT, 5/16-18 REGHEX 71037
STOP, RED PLASTIC 11261
SET OF CLUTCH HANDLE LH & RH 334195
SET OF CLUTCH HANDLE LH & RH 334195
PIN, CLUTCH HANDLE 4140
NUT, PUSH ON CAP 3535
BUMPER, RECTANGLE 4049
CABLE, CLUTCH 28.44L 1579
CABLE, AUGER CLUTCH 761590
TENSION SPRING 579869
SPRING, AUGER CLUTCH 1673
NUT, 1/4-20 780029
BOOT, CLUTCH SPRING 308146
HANDLE, LOWER 339541-853
SCREW, 5/1 6-18 X1.0O 313053
WASHER, SPTLK 71060
NUT, 5/16-18 REGHEX 71037
PUSHNUT, 5/16 BOLT RETAINER 309436
BRKT, GEAR SELECTOR 337407-853
SCREW, 5/1 6-18X2.00 6751
SCREW, .25X.75X.51 300303
41

CRAFTSMAN 24" 5HP SNOW THROWER 536.886440
WHEEL ASSEMBLY
678
673
673
671
655
650
678
Key No.
650
652
653
654
655
656
671
673
675
676
677
678
679
F-001087J
Description
SHAFT, AXLE
SPRKT & HUB
SCREW, 1/4-20X2.25
NUT, 1/4-20 HEX NYLOCK
BRNG, FL
CHAIN, ROLLER
LINK, CHAIN MASTER
FLA'I'WASH ER .765X1.12X.06
BUSHING, WHEEL
TIRE & RIM
SCREW, 1/4-20X1.75 HH
NUT, 1/4-20 HEX NYLOCK
RING, RE-I-
PIN, KLIK .25 X 1.38 DIA
42
Part No.
580883
583012
73839
780029
581730
579867
760504
712120
585591
318504
577015
780029
239
73842
318542

CRAFTSMAN 24" 5HP SNOW THROWER 536.886440
SHIFT YOKE ASSEMBLY
790--
791 801
792
8 812
Key No. Description Part No.
790 ROD, SHIFT 581631-853
791 SCREW, 1/4-20X.75 302628
792 NUT, 1/4-20 REGHEXCTRLK 73826
795 NUT, 1/2-13 HEXJAM 318486
796 KNOB, SHIFT 304438
800 LEVER, SPRING SHIFT 760564
801 SCREW, 1/4-20X.75 302628
802 NUT, 1/4--20 REGHEXCTRLK 73826
811 BEARING, FLANGED 579944
812 ROD, ASSY. YOKE 581795
813 NUT, 3/8-16 HEXCTRLK 71111
F-O01087J 43
319053

CRAFTSMAN 24" 5HP SNOW THROWER 536.886440
CHUTE CONTROL ROD ASSEMBLY
856
_855
854
855
850
860
862
867
866
863
P
t
863 1
864 873 _
874
Key No. Description Part No.
850 CRANK, ASSY CHUTE 585426
854 HANDLE, CHUTE CRANK 307399
855 FLATWASHER .39X.70X.05 309312
856 E RING 578159
860 EYE BOLT 3/8-16X6.00 581618
861 GROMMET, EYE BOLT 148
862 BOOT 308145
863 NUT, 3/8-16 HEXJAM 71045
864 FLATWASHER .406X.81X.066 71072
865 ADAPTER, BOOT TO HANDLE 309344
866 FLATWASH ER .406X.81X.066 71072
867 NUT, 3/8-16 HEXNYL 71046
870 BRACKET, WORM MTG 585195
871 WORM, GEAR CHUTE ROTATION 585196
872 BLOCK, UNIVERSAL PIVOT 578063
873 CLEVIS PIN 578309
874 PIN, UNIVERSAL JOINT 578060
875 COFFER PIN 579493
F-001087J 44
334215

CRAFTSMAN 24" 5HP SNOW THROWER 536.886440
DECALS
VIEW FROM
HOUSING REAR
-830
828
I []
VIEW FROM AUGER
FRAME REAR
Key No.
821 MODEL
823 DECAL
824 DECAL
827 DECAL
828 DECAL
829 DECAL
830 DECAL
831 DECAL
833 DECAL
F-001087J
Description
PLATE
DANGER CHUTE HAND
DANGER & FOOT
5/24 CRAFTSMAN
DANGER STRIPE
DRIVE CLUTCH (SYMBOL)
AUGER CLUTCH (SYMBOL)
GEAR SELECTOR
TOOLBOX INFO
45
Part No.
761916
761776
48X250
761079
3902
3903
340047
760983
344409

CRAFTSMAN 4-CYCLE ENGINE MODEL NUMBER 143.015005
277
370D.
329'
I
"135
'" _342A
.-101
I
396
262
287 390 370K
F-001087J 46

CRAFTSMAN 4-CYCLE ENGINE MODEL NUMBER 143.015005
KEY
NO.
PART
NO.
o
o
36469A
2 26727
40
5 30969
14 28277
15 31334
16 31510
17 31335
18 651018
19 31426
20 32600
25 36552
25A 35883
26 650802
26A 650926
30 37245
40 36073
40 36074
40 36075
41 36070
41 36071
41 36072
42 36076
42 36077
42 36078
43 20381
45 32875A
46 32610A
48 27241
F-O01087J
KEY PART
DESCRIPTION NO. NO.
RPM High 3550 to 3850 49 32654
RPM Low 1850 to 2150 50 33158
Cylinder 60 29745
(Incl. 2, 20, 72 & 125) 64 30063
Dowel Pin 64A 8345
Oil Drain Extension 65 650128
(Purchase Local) 69 27677A
Extension Cap 70 34674C
Washer
Governor Rod 75 27897
Governor Lever 80 30574A
Governor Lever Clamp 81 30590A
Screw 82 30591
Throttle Spring
Oil Seal 83 30588A
Blower Housing Baffle 86 650488
(Incl. 262) 89 610961
Baffle Extension 90 611199
Screw, 1/4--20 x 5/8" 92 650815
Screw, 8-32 x 21/64" 93 650816
Crankshaft 100 34443B
Piston, Pin & Ring Set 101 610118
(Std.) 102 651024
Piston, Pin & Ring Set
(.010" OS) 103 651007
Piston, Pin & Ring Set 110 35182
(.020" OS) 110A 36874
Piston & Pin Ass'y. (Std.) 119 36443
(Incl. 43) 120 36441
Piston & Pin Ass'y.
(.010" OS) (Incl. 43) 125 36471
Piston &Pin Ass'y.
(.020" OS) (Incl. 43) 125 36472
Ring Set (Std.) 126 32644A
Ring Set (.010" OS)
Ring Set (.020" OS) 127 650691
Piston Pin Retaining Ring 130 6021A
Connecting Rod Ass'y. 130A 650694A
(Incl. 46 & 49) 130B 650818
Connecting Rod Bolt 135 35395
Valve Lifter
47
DESCRIPTION
Oil Dipper
Camshaft (BCR)
Blower Housing Extension
Screw
Washer
Screw, 10-24 x 1/2"
Cylinder Cover Gasket
Cylinder Cover
(Incl. 75 thru 83)
Oil Seal
Governor Shaft
Washer
Governor Gear Ass'y.
(IncL 81)
Governor Spool
Screw, 1/4--20 x 1-1/4"
Flywheel Key
Flywheel (W/Ring Gear)
Belleville Washer
Flywheel Nut
Solid State Ignition
Spark Plug Cover
Solid State Mounting Stud
Screw
Ground Wire
Ground Wire
Cylinder Head Gasket
Cylinder Head (Incl. 131 )
Exhaust Valve (Std.)
(Incl. 151)
Exhaust Valve (1/32" OS)
(IncI, 151)
Intake Valve (Std.)
(Incl. 151)
Washer
Screw, 5/16-18 x 1-1/2"
Screw, 5/16-18 x 2"
Screw, 5/16-18 x 1-1/2"
Spark Plug (RJ19LM)

CRAFTSMAN 4-CYCLE ENGINE MODEL NUMBER 143.015005
150 31672 Valve Spring 300 35584 Fuel Tank
151 31673 Valve Spring Cap (Incl. 292 & 301)
169 27234A Valve Cover Gasket 301 35355 Fuel Cap
170 27666 Breather Body 305 35554 Oil Fill Tube
171 31410 Breather Element 307 35499 "O" Ring
172 34146 Valve Cover 308 35539 Fill Tube Clip
173 35350 Breather Tube 310 35556 Dipstick
174 650783 Screw, 10-24 x 3/4" 313 34080 Spacer
178 29752 Nut & Lock Washer 328 35062 Ignition Key
181 650870 Screw, 1/4-28 x 1-11/16" 329 610973 Terminal
335 35072 Carburetor Cover
182 6201 Screw, 1/4-28 x 7/8"
183 34583A Choke Bracket 338 650257 Screw, 8-32 x 5/16"
184 26756 Gasket 340 36247 Fuel Tank Bracket
185 33691 Intake Pipe 342 30063 Screw, Torx T-30
186 32698 Governor Link 342A 650675 Washer
200 36677 Control Bracket 345 33344 Heat Baffle
(Incl. 203 thru 209A) 350 570682A Primer Ass'y.
203 31342 Compression Spring 351 32180C Primer Line
204 651029 Screw, Torx T-10 355 590574 Starter Handle
206 610973 Terminal 364 33333 Carburetor Cover Bracket
209 650139 Screw, 8-32 x 3/4" 365 650735 Screw, 10-24 x 3/8"
209A 30322 Lock Nut, 8-32 370A 36261 Lubrication Decal
215 35440 Control Knob 370C 36501 Primer Decal
219 34582 Choke Rod 370D 35282 Caution Decal
220 35438 Choke Knob 370K 36695 Starter Decal
222 28820 Screw, 10-32 x1/2" 370R 35878 Warning Decal
223 650664 Screw, 1/4-20 x 1-19/32" 380 640084A Carburetor (incl. 184)
224 33673A Intake Pipe Gasket 390 590742 Rewind Starter
260 35656A Blower Housing 396 33290E
282 650737 Screw, 1/4-20 x 1/2"
267 34212 Hold Down Bracket 400 36444
268 30200 Screw, 10-24 x 9/16"
274 33670A Exhaust Gasket
275 35771A Muffler (Incl. 274)
277 650327 Screw, 1/4-20 x 2-27/64"
285 36467A Starter Cup 900 0
287 650926 Screw, 8-32 x 21/64" 900 0
290 30705 Fuel Line
292 26460 Fuel Line Clamp
Electric Starter Motor
(110 Volt) (Optional)
Gasket Set (Incl. Items
Marked PK in Notes)
Incl. part #'s 26756 (1),
27234A (2), 27272A (1),
27677A (1), 29673 (1),
36443 (1), 33670A (1),
33673A (1)
Replacement Engine
NONE
Replacement S/B
754273B, order from
71-999
298 650665 Screw, 1/4-15 x 3/4"
F-001087J 48

CRAFTSMAN 4-CYCLE ENGINE MODEL NUMBER 143.015005
_14
13
11
lill Ill -7
F-001087J
KEY
NO.
O
3
6
7
8
11
12
13
14
PART
NO.
590742
590740
590616
590617
590645A
590647
590535
590574
590760
DESCRIPTION
Rewind Starter
Retainer
Starter Dog
Dog Spring
Pulley & Rewind Spring Ass'y
Starter Housing Ass'y
Starter Rope (Length 98" x 9/64" dia.)
Mitten Grip Handle (Not included w/starter)
Spring Clip
49

CRAFTSMAN 4-CYCLE ENGINE MODEL NUMBER 143.015005
25
13 15
\IOA
5A
F--OO1087J 50

CRAFTSMAN 4-CYCLE ENGINE MODEL NUMBER 143.015005
KEY PART
NO. NO.
033290E
2 31749
3 33522
4 33769
5A 37332
6 35461
7 35450
8 35912
9 0
10A 35452A
13 590500
14 33441
15 35453
16 35454
19 35911
24 35462
25 35456
26 650819
26 651032
29 32450B
30 650759
DESCRIPTION
Electric Starter (110 Volt)
Retainer Ring
Spring Retainer
Anti-drift Spring
Nut & Gear (Incl. 2)
Drive End Cap Ass'y. (Incl. 7)
"O" Ring
Armature
Housing Ass'y. (Must Purchase Complete Motor)
Brush & Spring Card Ass'y.
Thrust Washer
Ground Screw
Commutator End Cap Ass'y. (Incl. 7)
Switch Box Ass'y.
Thrust Washer
Case Bolt
Grounding Screw
Screw, 6-32 x 2-1/2"
Screw, 12-16 x 5/8"
Extension Cord (10' 6")
Screw, Torx T-30, 1/4-20 x 23/32"
F-OOfO87J 51

CRAFTSMAN 4-CYCLE ENGINE MODEL NUMBER 143.015005
16
I
I3o
25
F-OO1087J 52

CRAFTSMAN 4-CYCLE ENGINE MODEL NUMBER 143.015005
KEY PART
NO. NO.
o 640084A
1 631615
2 631767
6 640070
7 650506
10 632108
14 631890
15 630735
16 631807
17 651025
18 630766
20 640027
20A 640053
25 631951
27 631024
28 632019
29 631028
30 631021
31 631022
32 27136A
33 27554
36 632745
37 632547
40 640183
44 27110A
47 630748
48 631027
60 632760
DESCRIPTION
Carburetor (Incl. 184 of Engine Parts List)
Throttle Shaft & Lever Assembly
Throttle Return Spring
Throttle Shutter
Shutter Screw
Choke Shaft & Lever Assembly
Choke Shutter
Choke Positioning Spring
Fuel Fitting
Throttle Crack Screw/Idle Speed Screw
Tension Spring
Idle Restrictor Screw
Idle Restrictor Screw Cap
Float Bowl Ass'y (Incl. 32 & 33)
F_oat Shaft
Float
Float Bowl "0" Ring
Inlet Needle, Seat & Clip (Incl. 31)
Spring Clip
Bowl Drain Assembly
Drain Plunger Gasket
Main Nozzle Tube
"0" Ring, Main Nozzle Tube
High Speed Bowl Nut
Bowl Nut Washer
Welch Plug, Idle Mixture Well
Welch Plug, Atmospheric Vent
Repair kit (Incl. Items Marked PK in Notes)
F-OOlO87J 53

For the repair or replacement parts you
need delivered directly to your home
Call 7am-7pm, 7days a week
1-800-366-PART
(1-800--366-7278)
Para ordenar piezas con entrega
a domicilio - 1-800-659-7084
For in-house major brand repair service
Call 24 hours a day, 7days a week
1-800-4-REPAIR
(1-800-473-7247)
Para pedir servicio de reparaci6n a
domicilio- 1-800-676-5811
For the location of a Sears Parts and
Repair Center in your area
Call 24 hours a day, 7days a week
1--800-488-1222
IDHHHH
H||i|
For information on purchasing a Sears
Maintenance agreement or to inquire
about an existing Agreement
Call 9am-5pm, Monday-Saturday
1-800-827-6655
When requesting service or ordering
parts, always provide the following infor-
mation:
• Product Type • Part Number
•Model Number •Part Description
,SE,4 S
America'sRepairSpecialists PrintedinU.S.A.