Craftsman 536886450 User Manual SNOW BLOWER Manuals And Guides L0109118
CRAFTSMAN Snowthrower, Gas Manual L0109118 CRAFTSMAN Snowthrower, Gas Owner's Manual, CRAFTSMAN Snowthrower, Gas installation guides
User Manual: Craftsman 536886450 536886450 CRAFTSMAN SNOW BLOWER - Manuals and Guides View the owners manual for your CRAFTSMAN SNOW BLOWER #536886450. Home:Lawn & Garden Parts:Craftsman Parts:Craftsman SNOW BLOWER Manual
Open the PDF directly: View PDF
.
Page Count: 76

SWARS
owner's
manual
Model
C950-52005-0
5-H.P. 22 inch
CAUTION:
You must read and
understand this owner's
manual before operating
unit.
Serial No.
DUAL STAG
SNOW BLOWER
F-001145J SEARS CANADA INC., TORONTO, ONTARIO M5B 2B8 PrintedinU.S.A.

RULES FOR SAFE OPERATION
IMPORTANT
,_ WARNING: Always disconnect the spark plug wire and place it where it cannot make contact with
spark plug to prevent accidental starting during: Preparation, Maintenance, or Storage of your 4L
snow blower.
SAFE OPERATION PRACTICES FOR WALK-BEHIND SNOW BLOWER
DO NOT OPERATE THIS EQUIPMENT BEFORE READING THIS MANUAL
Engine Exhaust, some of its constituents, and
certain vehicle components contain or emit
chemicals known to the State of California to
cause cancer and birth defects or other repro-
ductive harm.
Battery posts, terminals and related accesso-
ries contain lead and lead compounds, chemi-
cals known to the State of California to cause
cancer and birth defects or other reproductive
harm. WASH HANDS AFTER HANDLING.
TRAINING
1. Read the operating and service instructionmanual care-
fully. Be thoroughly familiar with the controls and the
proper use of the equipment. Know how to stop the unit
and disengage the controls quickly.
2. Never allow children to operate the equipment. Never al-
low adults to operate the equipment without proper in-
struction.
3. Keep the area of operation clear of all persons, particu-
larly small children and pets.
4. Exercise caution to avoid slipping or falling especially
when operating in reverse.
PREPARATION
1. Thoroughly inspect the area where the equipment is to
be used and remove ait doormats, sleds, boards, wires,
and other foreign objects.
2. Disengage all clutches before starting the engine.
3. Do not operate the equipment without wearing adequate
winter outer garments. Wear footwear that will improve
footing on slippery surfaces.
4. Handle fuel with care; it is highly flammable.
(a) Use an approved fuel container.
(b) Never add fuel to a running engine or hot engine.
F-001145J
(c) Fill fuel tank outdoors with extreme care. Never fill
fuel tank indoors.
(d) Replace gasoline cap securely and wipe up spilled
fuel.
5. For all units with electric starting motors use electric
starting extension cords certified CSA/UL. Use only with
a receptacle that has been installed in accordance with
local inspection authorities.
6. Adjust the auger housing height to clear gravel or
crushed rock surface.
7. Under no circumstances should any adjustments be
made while the engine is running (except when specifi-
cally recommended by manufacturer).
8. Let engine and machine adjust to outdoor temperatures
before starting to clear snow.
9. Always wear safety glasses or eye shields during opera-
tion or while performing an adjustment or repair to protect
eyes from foreign objects that may be thrown from the
machine.
OPERATION
1. Do not put hands or feet near or under rotating parts.
Keep clear of the discharge opening at all times.
2. Exercise extreme caution when operating on or crossing
gravel drives, walks or roads. Stay alert for hidden haz-
ards or traffic.
3. Never discharge snow onto public roads or near moving
traffic.
4. After striking a foreign object, stop the engine, remove
the wire from the spark plug, thoroughly inspect snow
blower for any damage, and repair the damage before re-
starting and operating the snow blower.
5. If the unit should start to vibrate abnormally, stop the en-
gine and check immediately for the cause. Vibration is
generally a warning of trouble.
6. Stop the engine and remove spark plug wire whenever
you leave the operating position, before unclogging the
augedlmpeller housing or discharge chute and when
making any repairs, adjustments, or inspections.
7. When cleaning, repairing, or inspecting, make certain
the auger/Impeller and all moving parts have stopped
and all controls are disengaged. Disconnect the spark
plug wire and keep the wire away from the spark plug to
prevent accidental starting.

RULES FOR SAFE OPERATION
8. Take all possible precautions when leaving the snow
blower unattended. Disengage the auger/impeller, shift
to neutral, stop engine, and remove key.
9. Do not run the engine indoors, except when starting the
engine and for transporting the snow blower in or out of
the building. Ensure the outside doors are open; exhaust
fumes are dangerous.
10. Do not clear snow across the face of slopes. Exercise ex-
treme caution when changing direction on slopes. Do not
attempt to clear steep slopes.
11. Never operate the snow blower without proper guards,
plates or other safety protective devices in place.
12. Never operate the snow blower near enclosures, auto-
mobiles, window wells, drop-offs, and the like without
proper adjustment of the snow discharge angle. Keep
children and pets away.
13. Do not overload the machine capacity by attempting to
clear snow at too fast a rate.
14. Never operate the machine at high transport speeds on
slippery surfaces. Look behind and use care when back-
ing up.
15. Never direct discharge at bystanders or allow anyone in
front of the unit.
16. Disengage power to the collector/impeller when snow
blower is transported or not in use.
17. Use only attachments and accessories approved by the
manufacturer of the snow blower (such as wheel
weights, counterweights, cabs, and the like).
18. Never operate the snow blower without good visibility or
light. Always be sure of your footing and keep a firm hold
on the handles.
MAINTENANCE AND STORAGE
1. Check shear bolts and other bolts at frequent intervals for
proper tightness to be sure the equipment is insafe work-
ing condition.
2. Never store the machine with fuel in the tank inside a
building where ignition sources are present such as hot
water and space heaters, clothes dryers, and the like. Al-
low the engine to cool before storing in any enclosure.
3. Always refer to operator's guide instructions for impor-
tant details if the snow blower is to be stored for an ex-
tended period.
4. Maintain or replace safety and instruction labels, as nec-
essary.
5. Run the machine 2 minutes with auger clutch lever en-
gaged after blowing snow to prevent freeze-up of the au-
ger/impeller.
WARNING: Do not
use hands to un-
clog discharge _%
chute.
•Stop engine/motor before removing debris.
•Do not walk in front of running machine.
•Do not discharge at bystanders.
•Keep people and pets a safe distance from the
machine.
•Before leaving machine, shut off engine/motor
and remove key.
19. Do not over-reach. Keep proper footing and balance at
all times.
20. Do not attempt to use snow blower on a roof.
WARNING: Avoid
injury from rotating
auger- keep hands,
feet, and clothing
away.
F-001145J 3

OWNER'S INFORMATION
DATE PURCHASED:
MODEL NO:
SERIAL NO:
STORE WHERE PURCHASED:
ADDRESS:
CITY: PROVINCE:
TELEPHONE :
_Record this information about your unit so that you will
be able to provide it in case of loss or theft.
MAINTENANCE AGREEMENT
The Craftsman Warranty, plus a Maintenance
Agreement, provide maximum value for Sears
products. Contact your nearest Sears store for de-
tails.
Horse Power 5 HP
Gasoline Capacity 2 quarts (2 litre)
Oil Capacity (5W30) 21 oz. (630 ml)
Spark Plug: (Gap .030 in.) Champion RJ19LM
Tire Pressure 24 PSI (1,687 kg/cm 2)
See side of the tire for maximum inflation. Do not exceed the
maximum pressure on the tire wail.
CUSTOMER RESPONSIBILITIES
Read and observe the safety rules.
Follow a regular schedule in maintaining, caring for and
using your snow blower.
Follow the instructions under "Customer Responsibilities"
and "Storage" sections of this owner's manual.
WHEELED SNOW BLOWER
LIMITED TWO (2) YEAR WARRANTY ON CRAFTSMAN SNOW BLOWER
For two (2) years from date of purchase, Sears Canada Inc. will repair or replace free of charge, at Sears option, parts
which are defective as a result of material or workmanship.
COMMERCIAL OR RENTAL USE:
Warranty on snow blower will be 90 days from date of purchase if used for commercial or rental purposes.
THIS WARRANTY DOES NOT COVER:
1. Pre-detivery set-up.
2. Expendable items which become worn during normal use, such as belts, spark plugs, filter, shear pins as well as dam-
ages to the engine resulting from operating the snow blower with insufficient oil.
3. Tire replacement or repair caused by punctures from outside objects, such as nails, thorns, stumps or glass.
4. In home service.
Warranty service is available by returning the Craftsman snow blower to the nearest Sears Service Centre/Department
in Canada. This warranty applies only while this product is in use in Canada.
This warranty is in addition to any statutory warranty and does NOT exclude or limit legal rights you may have but shall
run concurrently with applicable provincial legislation. Furthermore, some provinces do not allow limitations on how Ion
an implied warranty wilt last so the above limitations may not apply to you.
SEARS CANADA INC., TORONTO, ONTARIO MhB 2B8
F-001145J 4

TABLE OF CONTENTS
RULES FOR SAFE OPERATION .................... 2
OWNER'S INFORMATION .......................... 4
ASSEMBLY ....................................... 6
TOOLS REQUIRED FOR ASSEMBLY .............. 6
CONTENTS OF SHIPPING CARTON .............. 6
PARTS BAGS CONTENTS: ....................... 6
UNPACKING .................................... 7
UPPER HANDLE AND CRANK ASSEMBLY ......... 8
CONNECT CONTROL CABLE SPRINGS ........... 8
SPEED SELECT LEVER ......................... 8
SHIFTER LEVER KNOB ASSEMBLY ............... 9
OPERATION ..................................... 10
ENGINE AND SNOW BLOWER OPERATING
CONTROLS ................................. 10
SNOW BLOWER OPERATION ................... 11
WHEEL LOCK OUT PIN ......................... 12
BEFORE STARTING ENGINE .................... 13
CHECK THE OIL ............................... 13
FILL GAS ...................................... 13
BEFORE STOPPING THE ENGINE ............... 13
TO START ENGINE ............................. 13
OPERATING TIPS .............................. 15
SERVICE RECOMMENDATIONS ................. 16
CUSTOMER RESPONSIBILITIES .................. 17
SNOW BLOWER ............................... 17
AS REQUIRED ................................. 17
LUBRICATION AT STORAGE .................... 17
LUBRICATION - EVERY 25 HOURS .............. 18
ENGINE ....................................... 19
ADJUSTMENT/REPAIR ........................... 20
AUGER HOUSING HEIGHT ADJUSTMENT ....... 20
TO ADJUST SCRAPER BAR ..................... 20
TO ADJUST SKID HEIGHT ...................... 20
BELT ADJUSTMENT ............................ 21
TRACTION DRIVE BELT ........................ 21
AUGER DRIVE BELT ........................... 21
BELT REPLACEMENT .......................... 21
AUGER DRIVE BELT ........................... 21
TRACTION DRIVE BELT ........................ 21
BELT GUIDE ADJUSTMENT ..................... 22
CABLE ADJUSTMENT .......................... 22
FRICTION WHEEL ADJUSTMENT ............... 23
FRICTION WHEEL REPLACEMENT .............. 24
AUGER SHEAR BOLT REPLACEMENT ........... 25
STORAGE ....................................... 26
TROUBLE SHOOTING CHART ..................... 27
REPAIR PARTS .................................. 28
PARTS ORDERING SERVICE ...................... 46
ORDER REPAIR PARTS ........................... 47
F-001145J 5

ASSEMBLY
TOOLS REQUIRED FOR ASSEMBLY
1-Knife
2 1/2" wrenches (or adjustable wrenches)
2-9/16" wrenches (or adjustable wrenches)
2-3/4" wrenches (or adjustable wrenches)
1- Pair pliers or screw driver (to spread cotter pin)
CONTENTS OF SHIPPING CARTON
1- Snow Blower
1- Bottle of Fuel Stabilizer
1- Crank Assembly
1- Parts Bag
HOW TO MEASURE SCREW SIZE
LENGTH
DIAMETER
WARNING: Always wear safety glasses or eye
shields while assembling snow blower.
PARTS BAGS CONTENTS:
1- 5/16-18 X 2.00 Bolt 1- 5/16-18
Lockwasher 1- 5/16-18 1- 5/16-18
Washer, Flat Nut
1- Shifter Knob 1- 1/2-13 Hex Jam Nut
*2-1/4-20 x 1.75 ©/q E©
* 2-Spacer *2-1/4-20
Hex nut
*Non Assembly parts are found in toolbox located on top of belt cover.
F-001145J 6

ASSEMBLY
Figure 1 shows the snow blower in the shipping position.
Figure 2 shows the snow blower completely assembled.
Reference to right and left hand side of the snow blower is
from the operator's position at the handle.
UNPACKING
!l
Figure 1
1. Locate and remove the fuel stabilizer and the parts bag.
NOTE: Place fuel stabilizer in a safe place until
needed for storage.
2. Cut all four corners of the carton from top to bottom and
lay the panels flat.
3. Locate all parts packed separately and remove from car-
ton.
4. Remove and discard the packing material from around
the snow blower.
5. For shipping purposes, the height adjust skids are at-
tached to the pallet. Remove the screw that secures
each height adjust skid to the pallet.
6. Roll the snow blower off the carton by pulling on the lower
handle.
CAUTION: DO NOT back over cables.
7. Remove the packing material from the handle assembly.
8. Cut ties securing the clutch control cables to the lower
handle.
NOTE: If the cables have become disconnected from the
clutch levers, reinstall the cables as shown in Figure 3.
Scow
Auger Drive
Auger
Drive
Cable
Clutch Lever
Traction
Cable
Crank
Assembly
Snow Chute
Denector
Height Adjust
Skid 7 Figure 2
Traction Drive Lever
Figure 3
F-001145J 7

ASSEMBLY
UPPER HANDLE AND CRANK ASSEMBLY 5.
1. Loosen, but do not remove the screws, flatwashers, lock-
washers and hex nuts in the upper holes of the lower han-
dle.
2. Raise upper handle into operating position. Upper han-
dle should be to the outside of the lower handle.
.
4.
NOTE: Make sure the cables are not caught between
the upper and lower handle.
Install hardware supplied in the parts bag (bolt, flatwash-
er, lockwasher, and hex nut) into right lower hole of upper
handle (See Figure 5). Do not tighten until all bolts are in
place.
Install hardware supplied in the parts bag (bolt, flatwash-
er, Iockwasher and hex nut) into right lower hole of upper
handle (See Figure 4). Do not tighten until all bolts are in
place.
Locate crank assembly removed from carton earlier and
remove the 3/8" nylon Iocknut and flatwasher from the
eye bolt assembly.
6. Install the eye bolt through the lower hole on the left hand
side of the handle. (See Figure 4).
7. Install the eye bolt through the lower hole on the left hand
side of the handle. (See Figure 5).
8. Install the 3/8" flatwasher and the 3/8" nylon Iocknut.
9. Carefully remove cotter pin, clevis pin, and universal joint
pin from yoke end of crank rod assembly. (Figure 6)
10. Place universal joint into end of worm gear lining up large
holes. Insert the universal joint pin. Make sure the open-
ing in pin is in line with small openings in universal joint.
Eye Bolt
_, 5/16-18x2"
11/32 "Flat_asher
Flatwasher
Figure 4
11. Place yoke end of crank rod around universal joint lining
up openings. Insert clevis pin through assembly and se-
cure with cotter pin. Spread ends of cotter pin to lock in
place.
12. Tighten nut on eye bolt, keeping eye in line with the rod
while tightening the inside securely.
13. Tighten all handle bolts.
NOTE: Make sure crank does not touch carburetor
cover.
Crank
Eye Bolt
_ 3/8" Nylon
t//Locknut
""_o 5/16-18x2"
Bolt
5/16-18" 1 tt
Lockwasher ':El 1_
11/32 "Flatwasher
Flatwasher Figure 5
Cotter Pin
I///_ Clevis Pin
Universal Joint
Crank Rod
Assembly
Drilled Pin
Figure 6
CONNECT CONTROL CABLE SPRINGS
1. If control cable springs have become unattached from
motor mount frame, reconnect cables as shown in
Figure 7.
2. For cable adjustments, see "Cable Adjustment" in the
ADJUSTMENT/REPAIR section.
F-001145J
HOW TO SET
THE LENGTH OF THE CABLES
The cables were adjusted at the factory and no adjustments
should be necessary. However, after the handles are put in
the operating position, the cables can be too tight or too
loose. If an adjustment is necessary, see "How To Check And
Adjust The Cables" in the Service And Adjustment section.

ASSEMBLY
Figure 7
SHIFTER LEVER KNOB ASSEMBLY
1. Thread the hex nut found in the parts bag onto shifter le-
ver. (See Figure 8)
2. Thread the shifter lever knob onto the threaded end of
the shifter lever until it is snug against the hex nut and the
lip is pointed away from the engine.
3. Tighten hex nut against the bottom of the shifter lever
knob.
\\\\\\
Hex Nut
f
Shifter Lever
Figure 8
INOTE: This snow blower was shipped WITH OIL in the engine. See "Before Starting Engine" in-
structions in the Operation section of this manual before starting engine.
F-OO1145J 9

OPERATION
Get to know your snow blower and its controls. Be sure you (or any other operator) have read and understood the Operation
Precautions listed on page 2 of this manual.
Primer Button
Carburetor
Oil Fill Cap/Dipstick
Traction Drive
Auger Drive Clutch Lever
Clutch Lever _
_ Tracti°_leDrive
Cable _' A,°sre%y
Speed
Lever
Starter Handle
Choke \
Ignition Key
Throttle Control
Lever
Toolbox Snow Chute
Deflector Auger Housing
Height
Adjust Skid
Figure 9
ENGINE AND SNOW BLOWER OPERATING CONTROLS
The engine operating controls and their functions are as
follows:
Throttle Control Lever - This snow blower is equipped with
an engine mounted throttle control lever used to start a cold
engine.
Choke Lever- Set choke lever to ON CHOKE position to
start a cold engine.
Prime Button- Used to inject fuel directly into carburetor
manifold to insure fast starts in cool weather.
Ignition Key- Must be inserted into ignition key slot to start
engine. Pull out to stop. Do not turn ignition key.
Starter Handle- Starts the engine manually.
NOTE: Do not move speed select lever while Traction
Drive Clutch is engaged. This may result in severe
damage to drive system.
Auger Drive Clutch Lever- Used to engage and disengage
the auger and impeller. To engage push down, to disengage
release.
Traction Drive Clutch Lever- Used to propel snow blower
forward or reverse. Push down to engage, release to
disengage.
Snow Chute Deflector- Changes the direction the snow is
blown.
Crank- Used to change direction of the snow discharge.
Turn handle clockwise to turn chute to right. Turn handle
counter clockwise to turn chute to left.
The snow blower operating controls and their functions
are as follows:
Speed Select Lever- Allows the operator to use one of six
(6) forward and two (2) reverse speeds. To shift, move speed
select lever to desired position.
F-001145J 10
Height Adjust Skid- Used to adjust ground clearance of
auger housing (see To Adjust Skid Height in the
Adjustment/Repair section of this manual).
Toolbox - Spare shear pins and spacers are located in
toolbox.

OPERATION
The operation of any snow blower can result in foreign objects being thrown into the eyes,which can
result in severe eye damage. Always wear safety glasses or eye shields before beginning snow blower
Operation. We recommend standard safety glasses or Wide Vision Safety Mask for over spectacles.
SNOW BLOWER OPERATION
The most effective use of the snow blower will be established
by experience, taking into consideration the terrain, wind
conditions and building location which will determine the
direction of the discharge chute.
NOTE: Do not blow snow towards a building as hidden
objects could be blown with sufficient force to cause
damage.
1. Start the engine as described in section "To Start Engine"
(see Figure 12).
2. Adjust snow chute deflector. Loosen wing nut on the side
of the snow chute and raise chute deflector for more dis-
tance. Tighten wing nut. (see Figure 11).
3. Using crank, position the discharge chute to discharge
snow with the wind.
,_ WARNING: Read Owner's Manual before oper-
ating machine. This machine can be dangerous
if used carelessly.
Never operate the snow blower without all guards, cov-
ers, and shields in place.
Never direct discharge towards windows or allow by-
standers near machine while engine is running.
Stop the engine whenever leaving the operating posi-
tion.
Disconnect spark plug before unclogging the impeller
housing or the discharge chute and before making re-
pairs or adjustments.
When leaving the machine, remove the ignition key.
To reduce the risk of fire, keep the machine clean and
free from spilled gas, oil and debris.
4. Select proper speed for snow conditions as outlined be-
low and set speed select lever to desired position.
NOTE: Always release traction drive clutch lever
before moving speed select lever,
Ground speed is determined by snow conditions. Select
the speed you desire by moving the speed selector into
the appropriate colored area on the control panel.
Red Wet, Heavy, Slushy, Extra Deep
Amber Moderate
White Very Light
Green Transport Only
NOTE: When clearing wet, heavy snow, it is
recommended that the ground speed of the unit be
reduced, maintain full throttle and do not attempt to
clear the full width of the unit.
For additional operating instructions see "Operating
Tips" in this section of the manual.
5. Engage auger drive clutch lever (right hand-Figure 12).
IMPORTANT: Be sure front of unit is clear of
bystanders or obstacles before operating.
6. Engage traction drive clutch lever (left hand-Figura 12).
As the snow blower starts to move, maintain afirm hold
on the handles and guide the snow blower along the cut-
ting path. Do net attempt to push the snow blower.
ENGINE WILL NOT
START UNLESS
IGNITION KEY IS
INSERTED INTO
IGNITION SLOT IN
CARBURETOR COVER.
DO NOT TURN
IGNITION KEY.
Figure 10
Tee Knobs
Figure 11
F-001145J 11

OPERATION
Traction Drive Auger Drive
Clutch Lever Clutch Lever
Dise ng aged/___,_,--_--._,_ Disengaged
Engaged _ _/ Engaged
Figure 12
7. To stop forward motion, release traction drive clutch lever
(left hand - Figure 12).
8. To stop auger, release auger drive clutch lever (right
hand - Figure 12).
9. To move the snow blower backwards, move speed select
lever into first or second reverse and engage traction
drive clutch lever (left hand). To stop, release traction
drive clutch lever.
,_ WARNING: Never run engine indoors or in an
enclosed, poor ventilated area. Engine exhaust
contains CARBON MONOXIDE, an OR-
DERLESS and DEADLY GAS.
Keep hands, feet, hair and loose clothing away from
any moving parts on engine and snow blower.
Temperature of muffler and nearby areas can exceed
150 °F (66 °C). Avoid these areas.
DO NOT allow children or young teenagers to operate
or be near snow blower while it is operating.
WHEEL LOCK OUT PIN
1. The left hand wheel is secured to the axle with a klick pin.
This unit was shipped with this ktick pin in the locked posi-
tion. (Figure 13).
2. For ease of maneuverability when lighter conditions pre-
vail, remove klick pin from wheel locked position and in-
sert into single wheel drive (unlocked) position
(Figure 14). Make sure that the klick pin is in the single
wheel drive position of the axle only and not through the
locked position.
NOTE: Check tire pressure (24 pounds). See side of tire
for maximum inflation. Do not exceed listed maximum
pressure.
,_ WARNING: Do not attempt to remove any item
that may become lodged in auger without tak-
ing the following precautions:
•Release auger and drive clutch levers.
•Move throttle lever to STOP position.
•Remove the ignition key.
•Disconnect the spark plug wire.
•Do not put your hands in the auger or
discharge chute. Use a pry bar.
Decal (Optional)
Locked
Position
Figure 13
Decal (Optional)
Single Wheel
Drive Position
(Unlocked)
Figure 14
F-001145J 12

OPERATION
BEFORE STARTING ENGINE
Check the oil
NOTE: The engine was shipped from the factory filled
with oil. Check the level of the oil. Add oil as needed.
1. Make sure the unit is level.
2. Remove the oil fitl cap/dipstick. Check the oil.
NOTE: Do not check the level of the oil while the
engine runs.
3. If necessary, add oil until the oil reaches the FULL mark
on the oil fill/cap dipstick (see Figure 15). Do not add too
much oil.
NOTE: For extreme cold operating conditions of O°F
(-18 ° C) and below, use asynthetic OW3O motor oil for
easier starting.
NOTE: S.A.E. 5W30 motor oil may be used to make
starting easier in areas where the temperature is 20 °F.
(-7 ° C) to O°F (-18 ° C).
NOTE: SEE CHART FOR OIL RECOMMENDATION
TEMPERATURE TYPE OF OIL
20 °F. to 0°F
(-7 ° C) to (-18 ° C) S.A.E. 5W30
O°F
(-18 °C) and below synthetic OW3O
SAE VISCOSITY GRADES
=l[I}vAv_tll
°F 20 0 20 32 40
I I I I I
• • I
°C -30 -20 -1_) 0 10
,_ WARNING: Gasoline is flammable. Always use
caution when handling or storing gasoline. Do
not add gasoline to the fuel tank while snow
blower is running, hot, or when snow blower is in an en-
closed area. Keep away from open flame, electrical
sparks and DO NOT SMOKE while filling the fuel tank.
Never fill the fuel tank completely; but fill the fuel tank
to within 1/4-1/2 inch (6.5-12.5 mm) from the top to pro-
vide space for the expansion of the fuel. Always fill fuel
tank outdoors and use a funnel or spout to prevent spil-
ling. Make sure to wipe up any spilled fuel before start-
ing the engine.
Store gasoline in a clean, approved container, and keep
the cap in place on the container. Keep gasoline in a
cool well ventilated place; never in the house. Never
buy more than a 30 day supply of gasoline to assure
volatility. Gasoline Is intended to be used as a fuel for
internal combustion engines; therefore, do not use
gasoline for any other purpose. Since many children
like the smell of gasoline, keep it out of their reach be-
cause the fumes are dangerous to inhale, as well as be-
ing explosive.
Oil Fill
%
Figure 15
FILL GAS
1. Fill the fuel tank with a fresh, clean, unleaded regular, un-
leaded premium, or reformulated automotive gasoline
only. DO NOT use leaded gasoline.
NOTE: Winter grade gasoline has higher volatility to
improve starting. Be certain container is clean and
free from rust or other foreign particles. Never use
gasoline that may be stale from long periods of
storage in the container.
CAUTION: DO NOT use gasoline containing any
amount of alcohol as it can cause serious damage to
the engine or significantly reduce the performance.
2. Check to make sure that spark plug is tightened securely
into engine and spark plug wire is attached to spark plug.
If torque wrench is available, torque plug to 18-23 ft_bs.
F-001145J 13
BEFORE STOPPING THE ENGINE
Run the engine for afew minutes to help dry off any moisture
on the engine.
To help avoid possible freeze-up of the starter, proceed as
follows:
Recoil Starter
With the engine running, pull the starter rope with a rapid
continuous full arm stroke three or four times.
NOTE: The normal sound made by pulling the starter
rope will not harm the engine or the starter.
TO START ENGINE
Be sure that engine has sufficient oil.
The snow blower engine is equipped with a recoil starter.

OPERATION
Primer Button
Carburetor
Cover
Cap/Dipstick
Starter Handle
Ignition
Key Throttle Control Lever Figure 16
COLD ENGINE START (RECOIL STARTER)
(SEE FIGURE 16)
(Engine has not been run recently.)
1. Be sure auger drive clutch lever and traction drive clutch
lever are in the disengaged (RELEASED) position.
2. IN TEMPERATURES ABOVE 0°F (-18°C)
Move throttle control to'FAST" position.
IN TEMPERATURES BELOW 0°F (-18°C)
Move throttle control to "1/2 THROTTLE" position. Be-
fore engaging auger drive clutch lever allow engine to
idle for five minutes to allow engine oil to warm. Failure
to allow engine oil to warm can cause damage to engine.
3. Insert key into ignition slot. Make sure it snaps into place
(Figure 16). Do not turn key.
4. Rotate choke knob to the on position.
5. Push the primer button as follows:
Above 50° F (10 ° C), DO NOT PRIME.
From 50° F (10° C) to 15°F (-10 ° C), PUSH TWO TIMES.
Below 15° F (-10 ° C), PUSH FOUR TIMES.
NOTE: Cover the vent hole when as you push the
primer. Remove your finger from the primer vent
hole between pushes.
6. Pull starter handle (Figure 16) rapidly, and allow to re-
wind slowly while maintaining firm grip on handle.
7. As engine warms up move choke lever to "1/2 choke"
position. When engine does not run smoothly, move
choke lever to the off position.
NOTE: Allow the engine to warm up for several
minutes before blowing snow in temperatures below
0°F (-18 ° C).
8. Run engine at or near top speed.
9. To stop engine, move throttle control lever to stop posi-
tion. Remove key. Do not turn key.
WARM ENGINE START (RECOIL STARTER)
(Engine still warm from recent running.)
1. Be sure auger drive clutch lever and traction drive clutch
lever are in the disengaged (RELEASED) position.
2.
.
4.
5.
6.
7.
.
9.
IN TEMPERATURES ABOVE 0°F (-18°C)
Move throttle control to"FAST" position.
IN TEMPERATURES BELOW 0°F (-18°C)
Move throttle control to "1/2 THROTTLE" position. Allow
engine to idle at "1/2 Throttle" for five minutes to allow en-
gine oil to warm before engaging auger drive clutch lever.
Failure to allow engine oil to warm can cause damage to
engine.
Insert key into ignition slot. Make sure it snaps into place
(Figure 16). Do not turn key.
CHOKE KNOB must be in the off position. Do not use
primer button.
Pull starter handle (Figure 16) rapidly, and allow to re-
wind slowly while maintaining firm grip on handle.
If engine fails to start after a reasonable number of start-
ing attempts, rotate choke knob to the on position and re-
peat instruction number 5.
As engine warms up, move the choke lever to the "1/2
choke" position. When engine does not run smoothly,
move choke lever to the off position.
NOTE: Allow the engine to warm up for several
minutes before blowing snow in temperatures below
0°F (-18 ° C).
Run engine at or near top speed.
To stop engine, move throttle control lever to stop posi-
tion. Remove ignition key. Do not turn the ignition key.
To help prevent possible freeze-up of recoil starter and
engine controls, proceed as follows after each snow removal
job.
1. With engine running,pull starter rope hard with a continu-
ous full arm stroke three or four times. Pulling of starter
rope wilt produce a loud clattering sound. This is not
harmful to the engine or starter.
2. With engine not running, wipe all snow and moisture from
carburetor cover in area of control levers. Also move
control levers backward and forward several times.
IMPORTANT: After each use of the snow blower, stop the
engine, remove the ignition key, remove all accumulated
snow from the snow blower and wipe clean. Store the
snow blower in a protected area.
NOTE: Never cover snow blower while engine and
exhaust area are still warm.
F-001145J 14

OPERATION
OPERATING TIPS 7.
1. For optimum snow blower efficiency, adjust ground
speed, not the throttle. REMEMBER - if the wheels slip,
forward speed will be reduced. The engine is designed
to deliver optimum performance at full throttle and must
be run at this power setting at all times.
2. Most efficient snowblowing is accomplished when snow
is removed immediately after it falls.
3. For complete snow removal, slightly overlap each swath
previously taken.
4. Snow should be discharged downwind whenever pos-
sible.
5. For normal usage, set the skids one-eighth inch (3 mm)
below the scraper bar. For extremely hard-packed snow
surfaces, the skids may be adjusted upward to insure
cleaning efficiency.
6. On gravel or crushed rock surfaces, the skids should be
set at 1-1/4 inch (32 mm) below the scraper bar (see To
Adjust Skid Height, in the Adjustment/Repair section in
this manual). Rocks and gravel must not be picked up
and thrown by the machine.
.
g.
10.
After the snowblowing job has been completed, allow the
engine to idle for a few minutes, to melt snow and ice ac-
cumulated on the engine.
Remove ice and snow accumulation from the entire s-
now blower to prevent obstructions and possible dam-
age when snow blower is subsequently operated.
Before starting snow blower, always inspect augers and
impeller for ice accumulation and/or debris, which could
result in snow blower damage.
Check oil level before every start, fill to "SAFE" indication
prior to operating snow blower.
To help avoid possible freeze-up of starter, proceed as
follows:
Recoil Starter:
With engine running, pull starter rope with a rapid continuous
full arm stroke three (3) or four (4) times.
NOTE: The unusual sound made by pulling starter rope
will not harm the engine or the starter.
F-001145J 15

SERVICE RECOMMENDATIONS
SERVICE RECOMMENDATIONS
FIRST BEFORE EVERY EVERY EVERY BEGINNING
2 EACH 5 10 25 EACH BEFORE
PROCEDURE HOUR USE OFTEN HOURS HOURS HOURS SEASON STORAGE
S Tightenall screws and nuts _ _ _/
N
OCheck Traction Clutch
WCable Adjustment _ _/
B(See Cable Adjustment)
L
Check Auger clutch Cable
O Adjustment q_/
W (See Cable Adjustment)
E
RLubricate Chains and _/ _/
Hex Shaft
E
NOit, Check 4_/ _/
G
I
NOit, Change q_/ _/
E
The warranty on this snow blower does not cover items that
have been subjected to operator abuse or negligence. To re-
ceive full value from the warranty, operator must maintain
snow blower as instructed in this manual. The following Ser-
vice Recommendations is supplied to assist operator to
propedy maintain snow blower. This is a check list only. Ad-
justment referred to will be found in Adjustments/Repairs
section of this manual.
AFTER EACH USE
1. Check for any loose or damaged parts.
2. Tighten any loose fasteners.
3. Check and maintain the auger.
4. After each use, remove all snow and slush off the snow
blower to prevent freezing of auger or controls.
5. Check controls to make sure they are functioning proper-
ly.
6. If any parts are worn or damaged, replace immediately.
F-001145J 16

CUSTOMER RESPONSIBILITIES
Some adjustments will need to be made periodically to
properly maintain your snow blower.
All adjustments in ADJUSTMENTS/REPAIRS section of this
manual should be checked at least once each season.
SNOW BLOWER
Auger and Traction Drive Belts should be adjusted after the
first 2 to 4 hours of use, again about mid-season and twice
each season thereafter (See To Adjust Belts paragraph in the
Adjustment/Repair section).
AS REQUIRED
Auger Gear Box
The auger gear box is lubricated at the factory and should not
require additional lubrication.
If for some reason the lubricant should leak out, or if the auger
gear box has been serviced, add Lubriplate GR132 Grease
or equivalent. Maximum 3-1/4 ounces, (92 grams) should be
used.
Remove filler plug (Figure 17), once a year. If grease is
visible, do not add. If grease is not visible, use a piece of fine
wire, like a dipstick to check if there is grease in the gear box.
Mobilux EP1 and Shell Aldania EP1 are suitable equivalents.
Filler
Plug
Figure 17
LUBRICATION AT STORAGE
Bearings and bushings
All bearings and bushings are lifetime lubricated and require
no maintenance.
Hex shaft and chains
For storage hex shaft should be wiped with a cloth lightly
moistened with motor oil to prevent rusting (see Figure 19).
For storage chains should be lubricated with a chain type
lube. (see Figure 19).
NOTE: Any greasing or oiling of the above mentioned
components can cause contamination of the rubber
friction wheel. If the disc drive plate or friction wheel
come in contact with grease or oil damage to rubber
friction wheel will result.
Should grease or oil come in contact with the disc drive plate
or friction wheel be sure to clean plate and wheel thoroughly
with a alcohol base solvent.
F-001145J 17

CUSTOMER RESPONSIBILITIES
LUBRICATION - EVERY 25 HOURS
Disc Drive Plate
Lubricate Disc Drive Plate every twenty-five (25) hours and
at the end of the season and/or before storage.
To Lubricate:
1. Position speed selector lever in first (1) forward gear.
2. Stand the snow blower up on the auger housing end.
NOTE: When the crank case if filled with oil, do not
leave the snow blower standing up on the the auger
housing for an extended period of time.
3. Remove the bottom panel.
4. Turn disc drive plate clockwise by hand until grease zerk
is clearly visible at front center (see Figure 18).
5. Place a coin or (a shim of equal thickness) between the
rubber friction wheel and disc drive plate to prevent rub-
ber friction wheel contacting the drive disc (see
Figure 18).
6. To grease zerk, use a hand grease gun, lubricate with a
Hi Temp EP Moly grease. See inset of Figure 18. DO
NOT over fill or allow grease to come in contact with the
disc drive plate or friction wheel or damage will result. Fill
zerk only until grease becomes visible below bearing as-
sembly located under grease zerk.
7. Remove coin used in step 5. Make sure that a gap exists
between the friction wheel and the disc drive plate.
NOTE: Clean all excess grease or oil found on the
friction disc hub.
CAUTION: Do not allow grease or oil to contact the
rubber friction wheel or the disc drive plate.
Plate
Friction
Wheel
i! e BearingPointat
Assembly which
'should be
visible
Shim placed in gap
Between Friction
Wheel and Disc Drive
Plate
Grease Zerk Figure 18
Hexshaft- wipe with 5W30 motor oil before
storage and at the beginning of each season
Chains-Lubricate chains
with a chain type iube be-
fore storage and at the
beginning of each sea-
son.
WARNING: If the disc ddve
plate or friction wheel
come in contact with
grease or oil damage to
rubber friction wheel will
result.
If grease or eil come in con-
tact with the disc drive plate
or friction wheel, make sure
to clean the plate and wheel
thoroughly with a alcohol
base solvent,
Use a HI Temp EP Moly
grease to lubricate
grease zerk on disc drive
plate every 25 hours.
Figure 19
F-001145J 18

CUSTOMER RESPONSIBILITIES
ENGINE
Check Crankcase Oil Level before starting engine and after
each 5 hours of continuous use (see Figure 20). Add proper
motor oil as required.
NOTE: Overfilling the engine can affect performance.
Tighten the oil fill cap securely to prevent leakage.
Change Oil every 25 hours of operation or at least once a
year, even if the snow blower is not used for twenty-five
hours. Use a clean, high quality detergent oil. Fill the crank
case to FULL line on dipstick (see Figure 20). Be sure original
container is marked: A.P.I. service "SF" or higher. Do not use
SAE 10W40 oil (as it may not provide proper lubrication). See
Chart for oil recommendations.
To Drain Oil - Position snow blower so that the oil drain plug
is lowest point on engine. Remove oil drain plug and oil fill cap
and drain oil into a suitable container (Figure 21).
NOTE: Oil will drain more freely when warm.
Replace oil drain plug and tighten securely. Refill crank case
with proper motor oil or as indicated in the preceding
paragraphs of this section.
SAE VISCOSITY GRADES
=lB}VAv_tll
°F 20 0 20 32 40
I I • I I I
•• I
°C -30 -20 -10 0 10
NOTE: Oil level
must be between
full and add mark.
OIl Drain Plug =--4_
Figure 20
Figure 21
F-001145J 19

ADJUSTMENT/REPAIR
,_ WARNING: Always turn unit off, remove igni-
tion key and disconnect the spark plug wire be-
fore making any repairs or adjustments.
AUGER HOUSING HEIGHT ADJUSTMENT
TO ADJUST SCRAPER BAR
After considerable use, the metal scraper bar will have a
definite wear pattern. The scraper bar in conjunction with the
skids should always be adjusted to allow one-eighth of an
inch (3 mm) between the scraper bar and the sidewalk or
area to be cleaned.
To adjust the scraper bar, proceed as follows:
1. Position the snow blower on a level surface.
2. Loosen the carriage bolts and nuts securing the scraper
bar to the auger housing.
3. Adjust the scraper bar to the proper position. Tighten the
carriage bolts and nuts, insuring that the scraper bar is
parallel with the working surface.
4. For extended operation, the scraper bar may be re-
versed. If the scraper bar must be replaced because of
wear, remove the carriage bolts and nuts and install a
new scraper bar.
TO ADJUST SKID HEIGHT
This snow blower is equipped with two height adjust skids,
secured to the outside of the auger housing. These elevate
the front of the snow blower.
When removing snow from a hard surface area such as a
paved driveway or walk, adjust the skids up to bring the front
of the snow blower down.
When removing snow from rock or uneven construction,
raise the front of the snow blower by moving the skids down.
This will help to prevent rocks and other debris from being
picked up and thrown by the augers.
To adjust skids, proceed as follows:
1. Place a block (equal to height from ground desired) un-
der scraper bar near but not under skid.
2. Loosen skid mounting nuts (Figure 22) and push the skid
down until it touches the ground. Retighten mounting
nuts.
3. Set skid on other side at same height.
NOTE: Make sure that snow blower is set at same height
on both sides.
,_ WARNING: Be certain to maintain proper
ground clearance for your particular area to be
cleared. Objects such as gravel, rocks or other
debris, if struck by the impeller, may be thrown with
sufficient force to cause personal injury, property dam-
age or damage to the snow blower.
Height Adjust Skid
Skid Mounting Nuts
Figure 22
F-001145J 20

ADJUSTMENT/REPAIR
BELT ADJUSTMENT
Traction Drive Belt
Traction drive belt has constant spring pressure and does not
require adjustment.
Replace the belt if it is slipping (See Belt Replacement in this
section of the manual).
Auger Drive Belt
If your snow blower will not discharge snow, check the control
cable adjustment. If it is correct, then check the condition of
the auger drive belt. If it is damaged or loose, replace it (see
Belt Replacement in this section of the manual).
BELT REPLACEMENT
How To Remove The Auger Drive Belt (see Figure 23)
1. Disconnect spark plug wire.
2. Remove belt cover.
3. Loosen belt guide and pull away from auger drive
pulley (see Figure 23).
4. Loosen the nut on the auger idler pulley. Pull the auger
idler pulley away from the auger drive belt.
5. Remove belt from auger drive pulley.
6. Remove belt from impeller pulley.
7. Position new belt onto impeller pulley.
8. Position new belt onto auger drive pulley.
9. Adjust belt guides. (See "Belt Guide Adjustment").
10. Reinstall belt cover.
11. Reconnect spark plug wire.
How To Remove The Traction Drive Belt (see Figure 23)
Traction drive belt has constant spring pressure and does not
require adjustment. If the snow thrower wilt not move forward,
check the traction drive belt for wear or damage, if the traction
drive belt is worn or damaged, replace the belt as follows.
1. Disconnect spark plug wire.
2. Remove the auger drive belt. See "How To Remove The
Auger Drive Belt".
3. Pull traction drive belt idler pulley away from traction
drive belt.
4. Remove traction drive belt.
5. Position new traction drive belt onto traction pulley.
6. Pull idler pulley away from belt, allowing belt to be posi-
tioned onto auger pulley.
7. Release idler pulley. Ensure idler pulley is properly en-
gaged with belt.
8. Reinstall auger drive belt.
9. install and adjust the auger drive belt. See "How To Re-
move The Auger Drive Belt".
10. Adjust belt guide (see "Belt Guide Adjustment").
11. Reinstall bett cover.
12. Check the adjustment of the cables. See "How To Check
And Adjust The Cables" in the Maintenance section.
13. Reconnect the spark plug wire.
Traction Drive Belt
Traction
Idler
Pull_
J
Auger
idler
Pulley
Figure 23
F-001145J 21

ADJUSTMENT/REPAIR
BELT GUIDE ADJUSTMENT
1. Remove spark plug wire.
2. Have someone engage auger drive.
3. Measure the distance between the belt guide and belt.
The distance should be 1/8 inch (3.175 mm) for guide.
See Figure 24.
4. If adjustment is necessary, loosen belt guide mounting
bolt. Move belt guide to the correct position. Tighten
mounting bolt.
5. Reinstall belt cover.
6. Reconnect spark plug wire.
l -'_( .,r" 1/SInch (3 175
-" j_ Belt Guide
tO
Auger idler .__ t....,,._ ' .mm)
Pulley Engaged L__
Figure 24
CABLE ADJUSTMENT - TRACTION DRIVE
AND AUGER DRIVE
The cables are adjusted at the factory and no adjustment
should be necessary, if the cables have become stretched
or are sagging adjustment will be necessary.
Whenever belts are adjusted or replaced, the cables will
need to be adjusted.
To check for correct adjustment, unhook "Z" fitting at
clutch lever (see Figure 25).
1. Move clutch lever to the full forward position (just con-
tacting plastic bumper). Holding cable tight, note posi-
tion of fitting to hole in clutch lever.
2. The center of the "Z" fitting should be between the centre
and top of the hole in the clutch lever.
If Adjustment is Necessary (see Figure 26)
"Z" Fitting Control lever
must be in full
forward position
(just contacting
plastic bumper)
when checking
cable length.
Plastic
Bumper
Figure 25
,_ WARNING: Drain the gasoline outdoors, awayfrom fire or flame.
1. Remove gas from gas tank.
2. Stand blower on end.
3. Push cable through spring to expose the threaded por-
tion of the cable.
4. Hold square end of threaded portion with pliers and ad-
just Iocknut in or out until correct adjustment is reached.
Pull cable back through spring and connect cable.
F-001145J 22
Squa_
Cable
Spdng
Locknut
Figure 26

ADJUSTMENT/REPAIR
FRICTION WHEEL ADJUSTMENT
1. Remove bottom panels (Figure 27).
2. Position gear select lever in 1st forward gear.
3. Note position of friction wheel on disc drive plate. Proper
position from the right outer side of disc drive plate to the
centre of friction wheel must be 3" (76 mm) (see
Figure 28).
If adjustment is required, proceed as follows:
4. Loosen bolts in speed selector lever. (Figure 29).
5. Move friction wheel to proper position as indicated in step
3.
Remove Bolts
Loosen BoIt_ _
6. Replace bolts in speed selector lever.
7. Reinstall bottom panels.
Figure 27
Disc Ddve Plate
Figure 28
//
Speed _elector
Loosen Bolts
Figure 29
F-001145J 23

ADJUSTMENT/REPAIR
FRICTION WHEEL REPLACEMENT
1. Remove gas from gas tank.
2. Disconnect spark plug wire.
3. Stand blower up on auger housing end. Remove bottom
panel.
4. Remove bracket from speed control lever (see
Figure 29).
5. Remove fasteners securing friction wheel to hub, and set
fasteners aside (see Figure 30).
6. Remove four bolts securing bearing plates (both sides).
Bearing
Plate Bolts
Bearing
• Plate Bolts
Friction Wheel
Figure 30
7. Remove right side bearing plate. Leave hex shaft in origi-
nal position.
8. Remove friction wheel from hub. Slip friction wheel off
hex shaft towards right side.
9. Position new friction wheel onto hub (see Figure 31).
Install bearing plates to original position. Ensure hex
shaft is engaged with both bearing plates.
10. Secure bearing plates using bolts removed earlier.
11. Secure friction wheel to hub using fasteners removed
earlier. Ensure hex shaft turns freely.
12. Replace bracket to speed control lever.
13. Should friction wheel require adjustment see "Friction
Wheel Adjustment".
NOTE: Make sure friction wheel and friction disc are
free from grease or oil.
Hub
Friction Wheel
Hex Sha_
Nut
Bolt
Figure 31
14. Reinstall bottom panel.
F-OO1145J 24

ADJUSTMENT/REPAIR
AUGER SHEAR BOLT REPLACEMENT
The augers are secured to the auger shaft with special bolts
that are designed to break if an object becomes lodged in the
auger housing. Use of a harder bolt will reduce the protection
provided by the shear bolt. To replace a broken shear bolt,
proceed as follows:
,_ WARNING: To insure safety and performance
levels, only original replacement shear bolts
should be used.
1. Move throttle to STOP, disengage all controls, discon-
nect the spark plug lead wire, and insure all moving parts
have stopped.
2. Align the hole in the auger with the hole in the auger shaft.
Install new shear bolt, spacer and locknut provided. (See
Figure 32)
NOTE: The spacer fits into the larger hole in the auger
tube.
SPARK PLUG ADJUSTMENT (SEE FIGURE 33)
NOTICE: This spark ignition system meets all
requirements of the Canadian Interference-Causing
Equipment Regulations.
1. Clean spark plug and reset gap periodically.
6. Before installing spark plug, coat threads lightly with
graphite grease to insure easy removal.
7. Tighten plug firmly into engine. If torque wrench is avail-
able, torque plug to 18-23 ft-lbs.
Shear Pin ,_
Spacer
Locknut
Figure 32
2. Clean area around spark plug base before removal, to
prevent dirt from entering engine.
3. Replace spark plug if electrodes are pitted or burned or
if porcelain is cracked.
4. Clean spark plug by carefully scraping electrodes (do not
sandblast or use wire brush).
5. Be sure spark plug is clean and free of foreign material.
Check electrodes gap with a wire feeler gauge and reset
gap to 0.030" (0.76 mm) if necessary. If a new spark plug
is needed, refer to Engine Repair Parts section of this
manual for proper replacement spark plug.
.030" (0.76 mm) Gap
Figure 33
F-001145J 25

STORAGE
OFF SEASON STORAGE
_lb WARNING: Never store engine with fuel in tank 3.
indoors or in enclosed, poorly ventilated enclo-
sures, where fuel fumes may reach an open
flame, spark or pilot light as on a furnace, water heater,
clothes dryer, etc.
Handle gasoline carefully. It is highly flammable and
careless use could result In serious fire damage to your
person and/or property. 4.
Drain fuel into approved containers outdoors, away 5.
from open flame.
Lubricating the piston/cylinder area. This can be done by
first removing the spark plug and squirting clean engine
oil into the spark plug hole. Then cover the spark plug
hole with a rag to absorb oil spray. Next, rotate the engine
by pulling the starter two or three times. Finally, reinstall
spark plug and attach spark plug wire.
Thoroughly clean the snow blower.
Lubricate all lubrication points (see Lubrication, see Cus-
tomer Responsibilities).
If the snow blower is to be stored for thirty (30) days or more
at the end of the snow season, the following steps are
recommended to prepare your snow blower for storage.
NOTE: Gasoline must be removed or treated to prevent
gum deposits from forming in the tank, filter, hose, and
carburetor during storage.
6.
7.
8.
Insure that all nuts, bolts, and screws are securely fas-
tened. Inspect all visible moving parts for damage,
breakage, and wear. Replace if necessary.
Touch up all rusted or chipped paint surfaces; sand lightly
before painting.
Cover the bare metal parts of the blower housing auger,
and the impeller with rust preventative.
1. To remove gasoline, run engine until tank is empty and 9.
engine stops. Then drain remaining gasoline from carbu-
retor by pressing upward on bowl drain located on the 10.
bottom of carburetor (see Figure 34).
if possible, store your snow blower indoors and cover it
to give protection from dust and dirt.
if the machine must be stored outdoors, block up the
snow blower and insure the entire machine is off the
ground. Cover the snow blower with a heavy tarpaulin.
,_ WARNING: Drain gasoline outdoors, away fromfire or flame.
If you do not want to remove gasoline use the fuel stabilizer
supplied with unit. Add fuel stabilizer to any gasoline left in the
tank to minimize gum deposits and acids, if the tank is almost
empty, mix stabilizer with fresh gasoline in a separate
container and add some to the tank. ALWAYS FOLLOW
INSTRUCTIONS ON STABILIZER CONTAINER. THEN
RUN ENGINE AT LEAST 10 MINUTES AFTER STABILIZER
IS ADDED TO ALLOW MIXTURE TO REACH
CARBURETOR. STORE SNOW BLOWER iN SAFE
PLACE.
2. You can help keep your engine in good operating condi-
tion by changing oil before storage.
Bowl Drain
Figure 34
F-001145J 26

TROUBLE SHOOTING CHART
PROBLEM LOOK FOR REMEDY
Difficult starting Defective spark plug. Replace defective spark plug.
Engine runs erratically Blocked fuel line. Clean fuel line.
Empty gas tank. Check fuel supply,
Stale gasoline. Add fresh gasoline.
Water or dirt in fuel system. Remove carburetor bowl to drain fuel tank. Refill
with fresh fuel. CAUTION: Do not remove
carburetor bowl when the engine is hot.
Engine stalls Unit running on CHOKE. Set choke lever to RUN position.
Loss of power Gas cap vent hole is plugged. Remove ice and snow from cap. Be sure vent
hole is clear.
Excessive vibration Loose parts or damaged impeller. Stop engine immediately and remove spark plug
wire. Tighten all bolts and make all necessary
repairs. If vibration continues, have the unit
serviced by a competent repairman.
Unit fails to propel Drive belt loose or damaged. Replace drive belt. Refer to Drive Belt
itself Replacement in Adjustments/Repairs section of
this manual.
Incorrect adjustment of traction drive Adjust traction drive cable. Refer to Cable
cable. Adjustment in Adjustments/Repairs section of
this manual.
Worn or damaged friction disc. Replace friction disc. Refer to Friction Wheel
Replacement in Adjustments/Repairs section of
this manual.
Unit fails to discharge Auger drive belt loose or damaged. Replace or adjust auger drive belt. Refer to Drive
snow Belt Replacement and Drive Belt Adjustment in
Adjustments/Repairs section of this manual.
Auger control cable not adjusted Adjust auger control cable. Refer to Cable
correctly. Adjustment in Adjustments/Repairs section of
this manual.
Broken shear bolt. Replace shear bolt. Refer to Auger Shear Bolt
Replacement in Adjustments/Repairs section of
this manual.
Discharge chute clogged. Stop engine immediately and disconnect spark
plug wire. Refer to the first Warning in Snow
blower Operation in Operation section of this
manual. Clean discharge chute and inside of
auger housing.
Foreign object lodged in auger. Stop engine immediately and disconnect spark
plug wire. Refer to the third Warning in Snow
blower Operation in Operation section of this
manual. Remove object from auger.
Identifying Your Snow blower
Your new Snow blower has two (2) identifying numbers: (1) unit model number: (2) unit serial number. The two preceding
numbers are required to insure that the proper replacement parts are obtained when required. If you have any questions
concerning parts, service, or technical data, contact your nearest Sears Service Department.
For complete warranty information refer to the warranty in the Owner's Information section of this manual.
F-001145J 27

CRAFTSMAN22" SNOW BLOWER C950-52005-0
CRAFTSMAN22" CHASSE-NEIGE C950-52005-0 REPAIRPARTS
PIECESDE RECHANGE
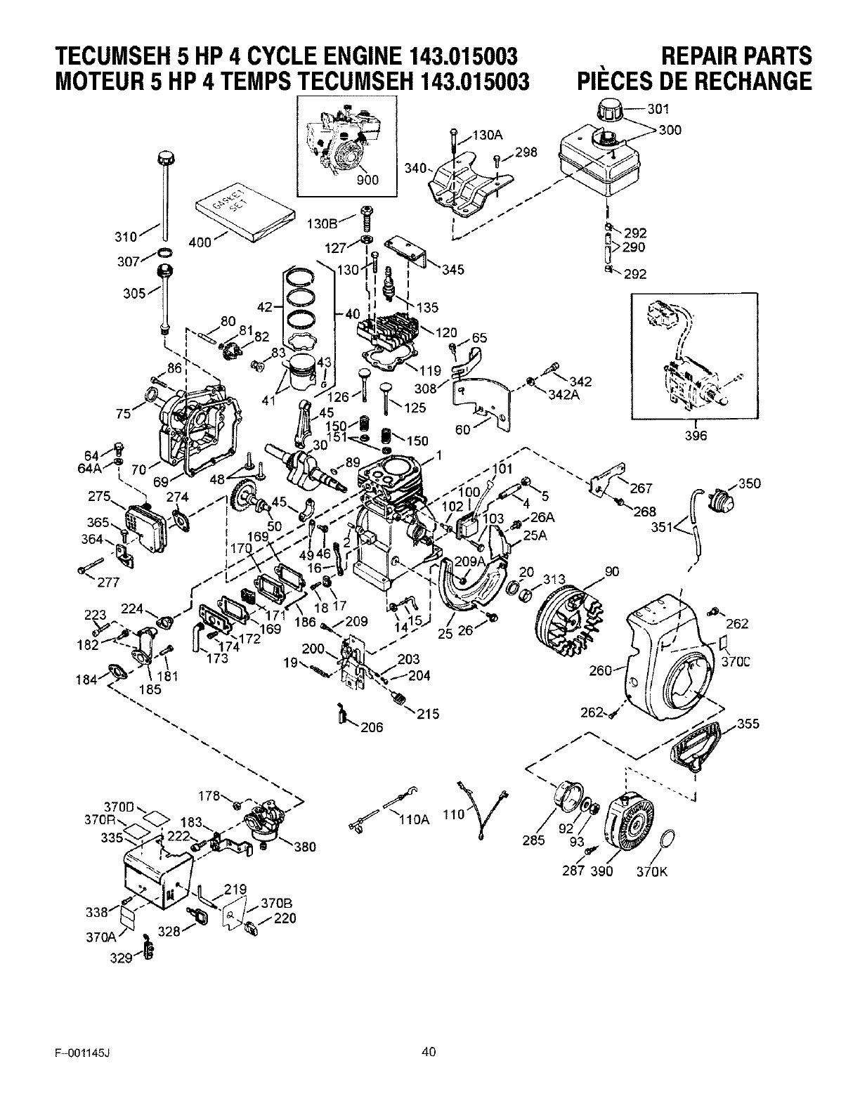
ENGINE/MOTEUR
ENGINE MOUNTS TO FRONT HOLES
ON THE FRAME
12
/
45
53
44
54 59
60
60
69
F-001145J
Key No.
NOsurie
schema
10
12
13
41
42
43
44
45
53
54
57
58
59
60
63
67
68
69
Description
5HP (See Engine Manual)
SCREW, 5/16-18
WASHER, SPTLK .31X.58X.08
GUIDE, ROD BELT
PLASTIC WASHER
WASHER, SPTLK .31X.58X.08
SCREW, 5/16-24X 1.00
SPACER
PULLEY, HALF
WASHER, FLAT .752X.91X.02
BELT, V 3L 33.13LG
FLATWASHER .765X1.12X.06
SPACER, SLEEVE
PULLEY, ENGINE
BELT, V 4L35.6 LG
WASHER, FLAT .375Xl .25X.104
WASHER,HVSPTLK .381D
SCREW, 3/8-24X1.00
OWNER'S MANUAL
Description
MOTEUR 5HP
VIS, 5/16-18
RONDELLE-FREIN
GUIDE DE COURROIE, DROITE
RONDELLE, PLASTIQUE
RONDELLE-FREIN
VIS, 5/16-24X 1,00
ENTRETOISE
POULIE
RONDELLE PLATE ,752X,91X,02
COURROIE, V 3L
RONDELLE PLATE ,765X1,12X,06
ENTRETOISE
POULIE, MOTEUR V4L
COURROIE, V 4L
RONDELLE PLATE ,375X1,25X,104
RONDELLE-FREIN
VIS, 3/8-24X1,00
MANUEL D'UTILISATION
28
Part No.
N° de piece
ENGINE
710024
71060
3949
6711
71060
910828
762291
579854
579861
579932
712120
586251
586253
581264
50677
71063
71015
F_001145J
326928

CRAFTSMAN22" SNOW BLOWER C950-52005-0
CRAFTSMAN22" CHASSE-NEIGE C950-52005-0 REPAIRPARTS
PII=CESDERECHANGE
FRAMECOMPONENTSIBATI
108
16
111
109
80
91 /
9O
88
09
88 91 1ii
110
F-001145J
Key No.
NOsurie
schema
80
88
90
91
103
105
108
108
109
116
111
140
141
145
146
148
149
160
161
162
163
145
Description
FRAME ASSY
SCREW, 5/16-18X .50
COVER, BOTTOM
SCREW, 1/4-20X .63
IDLER ASSEMBLY
PIN, HAIR .38DIAXl.64LG
PIN, KLIK 3/16" DIA
ASSY., SPRING ATTACH
BEARING, FL
BOLT, 3/8-16Xl 25 CARR.
WASHER, FLAT
LEVER, IDLER ARM TRACTION
BOLT, .625X.135 HHSH 5/16-18
IDLER SPRING TRACTION DRIVE
SCREW, 3/8-16Xl.25
PULLEY, IDLER
NUT, 3/8-16
COVER, BELT
SCREW, 1/4-20X .63
WASHER, FLAT
LID, BELT COVER
Part No.
Description N° de piece
BATI DE MONTAGE 761702-848
VlS, 5/16-18X,50 PO. 780056
PANNEAU INFERIEUR 583031-863
VlS, 1/4-20X,63 PO 310169
MONTAGE, POULIE DE TENSION 762296
GOUPILLE, FENDUE 711682
GOUPILLE A ANNEAU 761761
MONTAGE, RESSQRT ATTACHEMENT 761766
PALIER 53703
VIS 3/8-16Xl,25 PO. 585781
RONDELLE PLATE 711617
LEVlER DE POULIE DE TENSION 761701
BOULON, ,625X,135 5/16-18 329989
RESSQRT DE POULIE DE TENSION 53704
VlS, 3/8-16Xl,25 PO 761760
POULIE DE TENSION 50793
ECROU 3/8-16 590
COUVERCLE DE COURROIE 760478
VlS, 1/4-20X,63 310169
RONDELLE PLATE, ,281X,63X,065 71067
COUVERCLE DE COURROIE 760539
29
344688

CRAFTSMAN22" SNOWBLOWERC950-52005-0 REPAIRPARTS
CRAFTSMAN22" CHASSE-NEIGEC950-52005-0 PII=CESDE RECHANGE
DRIVECOMPONENTS/B.&,TIDE MONTAGEDU MOTEUR
192 190 191
\\\ _@ 198
191
\\ 195
211
196 193
217
216
221
215
222
223 256
277
223
247
235
/230
246
249
244
245
271
240
243
f250
\\\\
270
222 j
226
275
255
/
278
225
224 229
276
313995 REV P
F-OO1145J 30

CRAFTSMAN22" SNOWBLOWER0950-52005-0 REPAIRPARTS
CRAFTSMAN22" CHASSE-NEIGEC950-52005-0 PII=CESDE RECHANGE
DRIVECOMPONENTS/B.&,TIDE MONTAGEDU MOTEUR
Key No.
NOsurle
schema Description
190 LEVER, ASSY TRACTION CLUTCH
191 BEARING, FLANGE
192 RING, RET E
193 SPRING, RETURN
195 LEVER, SPRING
196 SCREW, 1/4-20X .63
198 NUT, 1/4-20 REGHEXCTRLK
210 DISC, ASSY
211 ZERK, GREASE
215 SHAFT, HEX TRACTION
216 BEARING, TRUNION
217 FLATWASHER, .53 X1.00X.063
221 RING, RETEX
222 FLATWASHER, .680Xl .12X.060
223 BEARING, BALL
224 KEY, SQUARE
225 PULLEY, V3L 6.50X .56
226 WASHER
227 FLATWASHER, .281X1.O0X.063
228 WASHER, SPLIT .26X.50X.06
229 BOLT
230 BEARING & RETAINER
231 SCREW, 5/16-18X .50
235 WASHER,.502X .75X.0605
240 HEX, ASSY#40-8T W/PBRG
243 RING, RETEX
244 FLATWASHER, .53 X1.00X.063
245 BEARING, TRUNION
246 WHEEL, ASSY FRICTION
247 SCREW, 1/4-20X .63
249 NUT, 1/4-20 HEXKEPS
250 WASHER,.502X .75X.0605
255 BEARING & RETAINER
256 SCREW, 5/16-18X .50
270 BEARING & RETAINER
271 SCREW, 5/16-18X .50
275 JACK, ASSY#41-36/8T
276 BEARING & RETAINER
277 SCREW
278 CHAIN ROLLER
-- LINK, CHAIN MASTER
F-001145J
Part No.
Description N ° de piece
LEVIER, COMMANDE DE EMBRAYAGE 761820
PALIER 53703
CIRCLIP 20864
RESSORT DE RAPPEL D'EMBRAYAGE 53818
LEVIER DE RESSORT DE COMMANDE DES ROUES 579937
VIS, 1/4-20X,63 PO. 11871
ECROU, 1/4-20 73826
DISQUE DE COMMANDE DES ROUES 583163-853
GRAISSEUR 583206
ARBRE HEXAGONAL DE COMMANDE DES ROUES 583155
PALIER DE TOURILLON 85501
RONDELLE PLATE ,53X1,00X,063 71074
CIRCLIP 73811
RONDELLE PLATE ,680X1,12X,060 580969
ROULEMENT A BILLE 43846
CLAVETTE 71371
POULIE, V3L 6,50X,56 580961
RONDELLE 580965
RONDELLE PLATE ,281Xl ,00X.063 712123
RONDELLE FENDUE 71059
BOULON lX176
PALIER & CIRCLIP 334163
VIS, 5/16-18X,50 PO. 780055
RONDELLE ,502X,75X,0605 579858
HEXAGONAL MONTAGE #40-8T 579897
CIRCLIP 783002
RONDELLE PLATE ,53X1,00X,063 71074
PALIER DE TOURILLON 337029
PLATEAU DE FRICTION ROUE 53830
VIS, 1/4-20X,63 11871
ECROU, 1/4-20 303008
RONDELLE, ,502X,75X,0605 579858
PALIER & CIRCLIP 334163
VIS, 5/16-18X,50 780055
PALIER & CIRCLIP 334163
VIS, 5/16-18X,50 PO. 780055
HEXAGONAL MONTAGE #41-36T/8T 761691
PALIER & CIRCLIP 334163
VIS, 5/16-18X,50 780055
CHA|NE, CYLINDRIQUE #42X40P 579867
ENTREPRENEUR DE CHA[NON 760504
31

CRAFTSMAN22" SNOW BLOWER C950-52005-0
CRAFTSMAN22" CHASSE-NEIGE C950-52005-0 REPAIRPARTS
PII=CESDERECHANGE
GEAR CASEIBOiTER
-341
327
305
306
3O3
Key No.
NOsurle
schema
300
301
303
304
305
308
318
311
312
313
314
315
316
320
321
322
323
324
325
328
327
340
341
Description
CASE, GEAR, RH
CASE, GEAR, LH
SCREW,1/4-20X.75
NUT,I/4-20
NUT, 1/4-20 HEXKEPS
SCREW, 3/8-16X.50
SEAL, OIL
BEARING, FL
WASHER, FLAT
SHAFT, AUGER OUTPUT
GASKET, GEAR BOX
WORM GEAR
KEY, WOODRUFF #61
BRNG, FL
SHAFT, AUGER INPUT
COLLAR, THRUST
PIN, SPRING
WASHER, FLAT
BRNG, ROLL
BRNG, FL
SEAL, OIL
IMPELLER
PIN, SPRING
10oz TUBE LUBRIPLATE
312
3il
320
Description
BO|TER COTE DROIT
BO|TER COTE GAUCHE
VIS, 1/4-20X,75 PO.
ECROU, 1/4-20
ECROU, 1/4-20
VIS, 3/8-16X,50
JOINT ,_ LEVRE
PALIER
RONDELLE PLATE
ARBRE DE VIS SANS FIN
JOINT PLAT
PIGNON
CLAVETTE DEMI-LUNE NO. 61
PALIER
ARBRE DE VIS SANS FIN
PALIER DE BUTEE
GOUPILLE, RESSORT
RONDELLE, PLATE
PALIER
PALIER
JOINT/_, LEVRE
ARBRE DE LA TURBINE
GOUPILLE RESSORT
10oz LUBRIPLATE
310
304
Part No.
N° de piece
10577
10576
710025
302635
303008
9344
9566
50304
48275
340284
51279
51405
431787
50221
583125
580295
454565
48275
50684
50304
9566
760194-853
454565
333431
313996
*(NOT ILLUSTRATED) * (NON ILLUSTRE)
F-001145J 32

CRAFTSMAN22" SNOW BLOWER C950-52005-0
CRAFTSMAN22" CHASSE-NEIGE C950-52005-0 REPAIRPARTS
PIECESDE RECHANGE
AUGERHOUSINGIVIS SANSFIN
500 REF, KEY#
544
Key No.
NOsurie
schema
480
481
482
485
490
491
493
499
500
502
510
511
514
520
521
522
523
524
525
526
527
540
541
544
500
_514
Description
PULLEY, 4L 6.12X .67
SCREW, 5/16-18X.63
KEY, SQUARE
SPACER, SLEEVE .676X1.00X.53
RETAINER, BALL BRNG
BEARING, BALL
SCREW, 5/16-16X #5
NUT, 5/16-18 HEXWDFLLK
HOUSING, ASSY
FASTENER, RATCHET
BLADE, SCRAPER 22"
BOLT, 1/4-20X.75
NUT, 1/4-20
AUGER, ASS'(, LH
AUGER, ASS'(, RH
SCREW, 1/4-20X1.75
SPACER, SLEEVE
NUT, 1/4-20 REGHEXCTRLK
BEARING,FLANGE
NUT, 5/16-18
SCREW, 5/16-16X #5
SKID, HEIGHT ADJUST
BOLT, 5/16-18 X .75
NUT, 5/16-16 REGHEX
Description
POULIE, 4L 6,22X ,67
VIS, 5/16-18X,63
CLAVETTE
ENTRETOISE ,676X1,00X,53
CIRCLIP, ROULEMENT A BILLE
ROULEMENT A BILLE
VIS, 5/16-18X,75
ECROU, 5/16-18
BO|TER DE VIS SANS FIN
ATTACCHES
BORD D'ATTAQUE 22 PO.
BOULON, 1/4-20X,75
ECROU, 1/4-20
VIS SANS FIN, CC)TE GAUCHE
VIS SANS FIN, COTE DROITE
VIS, 1/4-20X1,75 PO.
ENTRETOISE
ECROU, 1/4-20
PALIER
ECROU 5/16-18
VIS, 5/16-18X,75
PATIN
BOULON, 5/16-16 X ,75 PO
ECROU 5/16-18
Part No.
N° de piece
762146
577400
71371
334514
582960
43846
313676
710026
761742-848
309235
581395-853
340714
780285
340526-853
340525-853
9524
3943
73826
9517
711862
9357
301380-853
340720
710026
339972
F-001145J 33

CRAFTSMAN22" SNOWBLOWER0950-52005-0 REPAIRPARTS
CRAFTSMAN22" CHASSE-NEIGEC950-52005-0 PII=CESDE RECHANGE
DISCHARGECHUTE/DEFLECTEURDE GOULOTTE
581
58O
i
597
°-600
334214
F-001145J
Key No.
NOsur]e
schema
880
881
882
883
884
896
897
898
899
600
601
602
603
606
607
608
609
Description
CHUTE, UPPER
WIRE, HINGE
SCREW, 5/16-18 X.75
WASHER, FLAT .349X.69X.066
NUT, 5/16-18 REGHEXCTRLK
WASHER, FLAT .349X.69X.066
KNOB, T 3.00
NUT, 5/16-18 REGHEX
BOLT, 5/16-18X1.25 CARR.
CHUTE, LOWER W/REMOTE
BOLT, 5/16-18 X1.00
WASHER, FLAT .349 X.69 X.066
NUT, 5/16-18 HEXNYL
CHUTE COLLAR
SCREW, 1/4-20 X .75
WASHER, FLAT .281X.63X.065
NUT, 1/4-20 HEX NYLOCK
Part No.
Description N° de piece
DEFLECTEUR DE GOULOTTE, SUPERIEURE 325847
TIGE D'ARTICULATION 308931
VIS, 5/16-18X,75 PO. 578088
RONDELLE PLATE ,344X,69X,066 71071
ECROU 5/16-18 71391
RONDELLE PLATE ,344X,69X,066 71071
MANETTE, T 57171
ECROU, 5/16-18 71037
BOULON, 5/16-18X1,25 PO. 302843
DEFLECTEUR DE GOULOTTE, INFERIEURE 334234
BOULON, 5/16-18X1,00 PO. 586280
RONDELLE PLATE ,349X,69X,066 71071
ECROU, 5/16-18 71038
COLLIER DE COURONNE 585214-853
VIS, 1/4-20X,75 PO. 302628
RQNDELLE PLATE, ,281X,63X,065 71067
CQNTRE-ECROU 1/4-20 780029
34

CRAFTSMAN22" SNOW BLOWER C950-52005-0
CRAFTSMAN22" CHASSE-NEIGE C950-52005-0 REPAIRPARTS
PIECESDE RECHANGE
WHEELSIROUE
678
F-001145J
\\\\\\
671
673
677
Key No.
NOsurle
schema Description
650 SHAFT, AXLE
652 SPRKT & HUB
653 SCREW, 1/4-20X2.25
654 NUT, 1/4-20 HEX NYLOCK
655 BRNG, FL
656 CHAIN, ROLLER
-- LINK, CHAIN MASTER
671 FLATWASHER
673 BUSHING, WHEEL
675 TIRE & RIM, RIGHT
676 SCREW, 1/4-20X1.75
677 NUT, 1/4-20 HEX NYLOCK
678 RING, RET
679 PIN, KLIK
680 TIRE & RIM, LEFT
671
655
650
678
656
Description
D'ARBRE, ROUE
ROUE DENTEE MONTAGE
VIS, 1/4-20X2.25 PO.
ECROU, 1/4-20
PALIER
CHA[NE, CYLINDRIQUE
ENTREPRENEUR DE CHA|NON
RONDELLE PLATE, .765X1.12X.08
PALIER
ROUE MONTAGE, DROIT
VIS, 1/4-20X1,50 PO.
ECROU, 1/4-20
RONDELLE DE RETENUE
GOUPILLE ,g ANNEAU
ROUE MONTAGE, GAUCHE
35
Part No.
N° de piece
580883
583012
73839
780029
581730
579867
760504
712120
585591
1501026
577015
780029
239
73842
1501025
SD1020

CRAFTSMAN22" SNOW BLOWER C950-52005-0
CRAFTSMAN22" CHASSE-NEIGE C950-52005-0 REPAIRPARTS
PIECESDERECHANGE
HANDLE !POIGNI_E
720
_733
731
734
725
728
725 755
74
F-OO1145J 36
339622

CRAFTSMAN22" SNOW BLOWER C950-52005-0
CRAFTSMAN22" CHASSE-NEIGE C950-52005-0 REPAIRPARTS
PIECESDERECHANGE
HANDLE !POIGNI_E
Key No.
N° surle
schema
720
724
725
726
727
728
739
731
733
734
739
749
741
743
744
745
746
750
751
752
753
754
755
756
757
Description
HANDLE, UPPER
SCREW, 5/16-18X2.75
WASHER, FLAT .349X.69X.066
WASHER, SPTLK .31X.58X.08
NUT, 5/16-18 REGHEX
STOP, RED PLASTIC
SET OF CLUTCH HANDLE RH & LH
SET OF CLUTCH HANDLE RH & LH
PIN, CLUTCH HANDLE
NUT, PUSH ON CAP
BUMPER, RECTANGLE
CABLE, CLUTCH 28.44L
CABLE, AUGER CLUTCH
TENSION SPRING
SPRING, AUGER CLUTCH
NUT, 1/4-20
BOOT, CLUTCH SPRING
HANDLE, LOWER
SCREW, 5/16-18 X1.00
WASHER, SPTLK
NUT, 5/16-18 REGHEX
PUSHNUT, 5/16 BOLT RETAINER
BRKT, GEAR SELECTOR
SCREW, 5/16-18X2.00
SCREW, .25X.75X.51
Part No.
Description N ° de piece
PARTIE SUPERIEURE DU GUIDON 9552-853
VIS, 5/16-18X2,75 PO. 11234
RONDELLE PLATE ,349X,69X,066 71071
RONDELLE FREIN ,31X,58X,08 71060
ECROU, 5/16-18 71037
BUTEE EN PLASTIQUE 11261
POIGNEE D'EMBRAYAGE, COTE DROIT ET GAUCHE 334195
POIGNEE D'EMBRAYAGE, COTE DROIT ET GAUCHE 334195
AXE DE PIVOT 4140
ECROU, BORGNE 3535
BUTEE 4049
CABLE D'EMBRAYAGE 1579
CABLE VIS SANS FIN D'EMBRAYAGE 761590
RESSORT 579869
RESSORT D'EMBRAYAGE DE LA VIS SANS FIN 1673
ECROU, 1/4-20 780029
RESSORT D'EMBRAYAGE DE LA VIS SANS FIN 308146
PARTIE, INFERIEURE DU GUIDON 339541-853
VIS, 5/1 6-18X1,00 313053
RONDELLE FREIN 71060
ECROU, 5/16-18 71037
ECROU RAPIDE, 5/16 BOULON CIRCLIP 309436
SUPPORT, GRILLE DE VITESSES 337407-853
VIS, 5/16-18X2,00 PO. 6751
VIS, ,25X,75X,51 300303
F-001145J 37

CRAFTSMAN22" SNOW BLOWER C950-52005-0
CRAFTSMAN22" CHASSE-NEIGE C950-52005-0 REPAIRPARTS
PII=CESDE RECHANGE
SHIFTYOKE IDE COMMANDEYOKE MONTAGE
_796
795
791 801
792
802
F-001145J
Key No.
NOsur]e
schema
798
791
792
795
798
608
601
602
811
612
613
Description
ROD, SHIFT
SCREW, 1/4-20X,75
NUT, 1/4-20 REGHEXCTRLK
NUT, 1/2-13 HEXJAM
KNOB, SHIFT
LEVER, SPRING SHIFT
SCREW, 1/4-20X,75
NUT, 1/4-20 REGHEXCTRLK
BEARING, FLANGED
ROD, ASSY. YOKE
NUT, 3/8-16 HEXCTRLK
319053
Part No.
Description N° de piece
TIGE DE COMMANDE DE VITESSE 581631-853
VIS, 1/4-20X,75 PO. 302628
CONTRE-ECROU, 1/4-20 73826
ECROU, 1/2-13 318486
POMMEAU 304438
LEVER, RESSORT DE COMMANDE 760564
VlS, 1/4-20X,75 PO. 302628
CONTRE-ECRQU, 1/4-26 73826
PALIER 579944
TIGE, 581795
CONTRE-ECRQU 3/8-16 71111
38

CRAFTSMAN22" SNOW BLOWER C950-52005-0
CRAFTSMAN22" CHASSE-NEIGE C950-52005-0
856
855
\
REPAIRPARTS
PIECESDE RECHANGE
CHUTE ROD /GOULOTTE TIGE
854
855
85O
863
862
867 863
864
872
866
874
Key No.
N° sur le
schema
850
854
855
856
860
861
862
863
864
865
866
867
870
871
872
873
874
875
F-OO1145J
Description
CRANK, ASSY CHUTE
HANDLE, CHUTE CRANK
FLATWASHER .39X.TOX.05
E RING
EYE BOLT 3/8-16X6.00
GROMMET, EYE BOLT
BOOT
NUT, 3/8-16 HEXJAM
FLATWASHER .406X.81X.066
ADAPTER, BOOT TO HANDLE
FLATWASHER .406X.81X.066
NUT, 3/8-16 HEXNYL
BRACKET, WORM MTG
WORM, GEAR CHUTE ROTATION
BLOCK, UNIVERSAL PIVOT
CLEVIS PIN
PIN, UNIVERSAL JOINT
COTTER PIN
Part No.
Description N ° de piece
POIGN#E DE MANIVELLE MONTAGE 585426
POIGNt_E DE MANIVELLE 307399
RONDELLE PLATE, ,39X,7OX,05 309312
CIRCLIP 578159
BOULON _, OIL 3/8-16X6,00 PO. 581618
PASSE-TUBE 148
BOUTIE 308145
ECROU, 3/8-16 71045
RONDELLE PLATE ,406X,81X,066 71072
ADAPTATEUR 309344
RONDELLE PLATE ,406X,81X,066 71072
ECROU INDESSERRABLE 1/4-20 71046
SUPPORT DE VIS SANS FIN DE GOULOTTE 585195
VIS SANS FIN 585196
FOURCHETTE DE JOINT UNIVERSEL 578063
AXE DE MONTAGE 578309
AXE DE JOINT UNIVERSEL 578060
GOUPILLE FENDUE 579493
39
334215

TECUMSEH5 HP4 CYCLEENGINE143.015003
MOTEUR5 HP4 TEMPSTECUMSEH143.015003 REPAIRPARTS
PIECESDE RECHANGE
400
900
130B/
I
135
I
396
25A
223 224_
90 /
262
262-4" />
-_. ./._.,.355
287 390 370K
F-OO1145J 40

TECUMSEH5 HP4 CYCLEENGINE143.015003
MOTEUR5 HP4 TEMPSTECUMSEH143.015003 REPAIRPARTS
PII=CESDE RECHANGE
Key No.
NOsurie
schema Description
RPM High 3550 to 3850
RPM Low 1850-2150
1 Cylinder Ass'y (Incl. 2, 20,72 & 125)
2 Dowel Pin
4 Oil Drain Extension
5 Extension Cap
14 Washer
15 Governor Rod
16 Governor Lever
17 Governor Lever Clamp
18 Screw, Torx T-15,8-32 x 19/64"
19 Extention Spdng
20 Oil Seal
25 Blower Housing Baffle (Inc. 262)
25A Baffle Extention
26 Screw, 1/4-20 x 5/8"
26A Screw, 8-32 x 21/64"
30 Crankshaft
40 Piston, Pin & Ring Set (Std.)
40 Piston, Pin & Ring Set (.010" OS)
40 Piston, Pin & Ring Set (.020" OS
41 Piston, Pin Ass'y. (Std.) (Incl. 43)
41 Piston, Pin Ass'y. (.010" OS) (Incl. 43)
41 Piston, Pin Ass'y. (.020" OS) (Incl. 43)
42 Ring Set (Std.)
42 Ring Set £010" OS)
42 Ring Set £020" OS)
43 Piston Pin Retaining Ring
45 Connecting Rod Assty (Incl. 46&49)
46 Connecting Rod Bolt
48 Valve Lifter
49 Oil Dipper
50 Camshaft (BCR)
60 Blower Housing Extension
64 Screw, Torx T-30, 1/4-20 x 1/2"
64A Washer
65 Screw, 10-24x 1/2"
69 Cylinder Cover Gasket
70 Cylinder Cover (IncL 75 -83)
75 Oil Seal
80 Governor Shaft
81 Washer
82 Governor Gear Ass'y
83 Governor Spool
Description
R_gime maximal: 3550 a 3850 tr/min
R6gime de ralenti: 1750-2050 tdmin
Cylindre (comprend ref. 2, 20 et 72)
Cheville
Rallonge d'oriflce de vidaoge
Bouchon
Rondelle
Elge du r_gulateur
Levier du r_gulateur
Bride du levier du r_gulateur
Vis,Torx T-15, 8-32 x 19/64 po
Ressort
Joint a levre
D6flecteur du boitier de souffiante (comprend 262)
D6flecteur de boitier de soufaante
Vis, 1/4-20 x 5/8 po
Vis, 8-32 x 21/64 po
Vi lebrequ in
Piston, axe et segments (standard)
Piston, axe et segments (cote + 0,010)
Piston, axe et segments (cote + 0,020))
Piston, axe et segments (standard) (comprend ref. 43)
Piston, axe et segments (cote + 0,010) (comprend ref. 43)
Piston, axe et segments (cote + 0,020) (comprend ref. 43)
Segments (standard)
Segments (cote + 0,010)
Segments (cote + 0,020)
Circlip d'axe de piston
Bielle (comprend ref. 46&49)
Vis de bielle
Poussoir de soupape
D6flecteur d'huile
Arbre a cames
Rehausse de boitier de soufaante
Vis, Torx T-30, 1/4-20 x 1/2po
Rondelle
Vis, 1 0-24 x 1/2 po
Joint du couvercle de cylindre
Couvercle de cylindre (comprend ref. 75 - 83)
Joint a levre
Axe du r_gulateur
Rondelle
Couronne
Bobine du r6gulateur
Part No.
N° de piece
36469A
26727
0
30969
28277
31334
31510
31335
651018
31426
32600
36552
35883
650802
650926
37245
36073
36074
36075
36070
36071
36072
36076
36077
36078
20381
32875A
32610A
27241
32654
33158
29745
30063
8345
650128
"27677A
34674C
27897
30574A
30590A
30591
30588A
F-001145J 41

TECUMSEH5 HP4 CYCLEENGINE143.015003
MOTEUR5 HP4 TEMPSTECUMSEH143.015003
86 Screw, 1/4-20 x 1-3/16"
89 Flywheel Key
90 Flywheel (W/Ring Gear)
92 Washer
93 Flywheel Nut
100 Solid State Ignition
101 Spark Plug Cover
102 Solid State MounSng Stud
103 Screw, Torx T-15, 10-24 x 15/16"
110 Ground Wire
110A Ground Wire
119 Cylinder Head Gasket
120 Cylinder Head
125 Exhaust Valve (Std.) (IncL 151 )
125 Exhaust Valve ( 1/32" OS) (Incl. 151)
126 Intake Valve (Std.) (IncL 151 )
126 Intake Valve ( 1/32" OS) (IncL 151)
127 Washer
130 Screw, 5/16-18 x 1-1/2"
130A Screw, 5/16-18 x 2"
130B Screw, 5/16-18 x 1-1/2"
135 Resistor Spark Plug (RJ1 9LM)
150 Valve Spring
151 Valve Spring Keeper
169 Valve Cover Gasket
170 Breather Body
171 Breather Element
172 Valve Cover
173 Breather Tube
174 Screw, 10-24 x 3/4"
178 Nut & Lock Washer, 1/4-28
181 Screw, 1/4-28 x 1-11/16"
182 Screw, 1/4-28 x 7/8"
183 Choke Bracket
184 Carburetor To Intake Pipe Gasket
185 Intake Pipe
186 Governor Link
200 Control Bracket (Incl. 19, 203, 204 & 206)
203 Compression Spring
204 Screw, Torx T-10 5-40 x 7/16"
206 Terminal
209 Screw, 8-32 x 3/4"
209A Lock Nut, 8-32
215 Control Knob
219 Choke Rod
220 Choke Knob
REPAIRPARTS
PII=CESDE RECHANGE
Vis, 1 /4-20 x 1 -3/1 6 po 650488
Clavette du volant 610961
Volant (avec couronne) 611199
Rondelle 650815
Ecrou du volant 650816
Module d'allumage 34443B
Capuchon de bougie 610118
Goujon du module d'allumage 651024
Vis, T-15 Torx, 10-24 x 15/16 po 651007
Fil de masse 35182
Fil de masse 36874
Joint de culasse 36443
Culasse 36441
Soupape d'echappement (standard) (comprend ref. 151 ) 36471
Soupape d'echappement (cote + 1/32 po) (comprend ref. 151) 36472
Soupape d'admission (standard) (comprend ref. 151 ) 32644A
Soupape d'admission (cote + 1/32 po) (comprend ref. 151 ) 32645A
Rondelle 650691
Vis, 5/16-18 x 1-1/2 po 6021A
Vis, 5/1 6-18 x 2po 650694A
Vis, 5/16-18 x 1-1/2 po 650818
Bougie 35395
Ressort de soupape 31672
Clavette de ressort de soupape 31673
Joint de cache-culbuteurs "27234A
Reniflard 27666
Filtre du reniflard 31410
Couvercle du reniflard 34146
Tube du reniflard 35350
Vis, 10-24 x 3/4 po 650783
Ecrou et rondelle-frein, 1/4-28 29752
Vis, 1/4-28x 1-11/16po 650870
Vis, 1/4-28 x 7/8 po 6201
Bride de volet de depart 34583A
Joint du carburateur *26756
Collecteur d'admission 33691
Tige du r_gulateur 32698
Support de commande (comprend ref. 19, 203,204 et 206) 36677
Ressort 31342
Vis, 5-40 x 7/16 po 651029
Bome 610973
Vis, 10-32 x 3/4 po 650139
Ecrou-frein 8-32 30322
Bouton de manette d' acc616 rati on 35440
Tige du volet de d6part 34582
Manette du volet de d_part 35438
F-001145J 42

TECUMSEH5 HP4 CYCLEENGINE143.015003
MOTEUR5 HP4 TEMPSTECUMSEH143.015003
222 Screw, 10-32 x 1/2"
223 Screw, Torx T-30, 5/16-18 x 1-1/8"
224 Intake Pipe Gasket
260 Blower Housing
262 Screw, 1/4-20 x 1/2"
267 Hold Down Bracket
268 Screw, 10-24 x 9/16"
274 Exhaust Gasket
275 Muffler
277 Screw, 1/4-20 x2-27/64"
285 Starter Cup
287 Screw, 8-32 x 21/64"
290 Fuel Line
292 Fuel Line Clamp
298 Screw, 1/4-15 x 3/4"
300 Fuel Tank (Incl. 292 & 301)
301 Fuel Cap
305 Oil Fill Tube
307 "O" Ring
306 Fill Tube Clip
310 Dipstick
313 Spacer
328 Ignition Key
329 Terminal
335 Carburetor Cover
338 Screw, 8-32 x 5/16"
340 Fuel Tank Bracket
342 Screw, Torx T-301/4-20 x 1/2"
342A Washer
345 Heat Baffle
350 Primer Ass'y
351 Primer Line
355 Starter Handle
364 Carburetor Cover Bracket
365 Screw, 8-32 x 27/64"
370A Lubrication Decal
370C Primer Decal
370D Caution Decal
370B Choke Decal
370K Starter Decal
370R Warning Decal
380 Carburetor (Incl. 184)
390 Rewind Starter
396 Electric Starter Motor (Optional)
400 Gasket Set (Incl. items marked *) Incl. part #'s
26756, 27234A, 27272A, 27677A, 29673,
36443, 33670A, 33673A
REPAIRPARTS
PII=CESDE RECHANGE
Vis, 1 0-32 x 1/2 pc 28820
Vis,TorxT-30,5/16-18xl -1/8pc 650664
Joint de collecteur d'admission "33673A
Bottler de soufflante 35656A
Vis, 1/4-26 x1/2 pc 650737
Support 34212
Vis, 5/16-18 x 3/16pc 36206
Joint 33676A
Silencieux 35771A
Vis, 1/4-20 x2-27/64po 650327
Moyeu du d_marreur 36467A
Vis, 8-32 x 21/64 650926
Tuyau d'essence 30705
Collier 26460
Vis, I/4-15 x 3/4 pc 650665
R_servoir d'essence (comprend ref,292 et 301) 35584
Bouchon du r6servoir 35355
Tube de remplissage d'huile 35554
Joint torique 35499
Bride du tube de remplissage 35539
Jauge d'huile 35556
Entretoise 34080
CI6 de contact 35062
Bome 610973
Couvercle du carburateur 35072
Vis,6-32 x 5/16 pc 650257
Support du r6servoir 36247
Vis,Torx-T-301/4-20 x 1/2 pc 30063
Rondelle 650675
D6flector 33344
Amorceur 570682A
Tuyau de I'amorceur 32180C
Poign_e du d6marreur 590574
Support du couvercle du carburateur 33333
Vis,6-32 x 27/64 pc 650735
Autocollant (graissage) 36261
Autocollant de I'amorceur 36501
Autocollant d'avertissement 36534
Autocollant Volet de d6part 35282
Autocollant de d_marreur 36695
Autocollant d'avertissement 37119
Carburateur (comprend ref.184) 640084A
D6marreur a corde 590742
D6marreur 61ectrique (option) 33290E
N6cessaire de joints (comprend r6f_rences identifiees *) Corn- 36444
prend r6f 26756, 27234A, 27272A, 27677A, 29673, 36443,
33670A, 33673A
F-001145J 43

TECUMSEH5 HP4 CYCLEENGINE143.015003
MOTEUR5 HP4 TEMPSTECUMSEH143.015003 REPAIRPARTS
PII=CESDE RECHANGE
I
31_ 30
Key No.
NO sur ie
schema Description
Carburetor (IncL184 of Engine Parts List)
1 Throttle Shaft & Lever Assembly
2 Throttle Return Spring
6 Throttle Shutter
7 Shutter Screw
10 Choke Shaft & Lever Assembly
14 Choke Shutter
15 Choke Positioning Spring
16 Fuel Fitting
17 Throttle Crack Screw/Idle Speed Screw
18 Tension Spring
20 Idle Mixture Screw
2OA Idler Restrictor Screw Cap
25 Float Bowl Ass'y. (Incl. 32 & 33)
27 Float Shaft
28 Float
29 Float Bowl "O" Ring
30 Inlet Needle, Seat & Clip (IncL 31)
31 Spring Clip
32 Bowl Drain Assembly
33 Drain Plunger Gasket
36 Main Nozzle Tube
37 "0" Ring, Main Nozzle Tube
40 High Speed Bowl Nut
44 Bowl Nut Washer
47 Welch Plug, Idle Mixture Well
48 Welch Plug, Atmospheric Vent
F-001145J
@"-37
40_
Part No.
Description N ° de piece
Carburateur (comprend ref. 184 de la liste de pieces du moteur) 640084A
Axe et levier du papillon 631615
Ressort de rappel du papillon 631767
Cache du papillon 640070
Vis de cache 650506
Axe et levier du volet de d_part 632108
Cache du volet de d6part 631890
Ressort de but6e du volet de d_part 630735
Raccord 631807
Vis de ralenti 651025
Ressort 630766
Vis de richesse 640018
Capachon, Vis de richesse 640027
Joint torique cuve (comprend ref. 32 et 33) 631951
Axe du %tteur 631024
FIotteur 632019
Joint torique 631028
Pointeau, si_ge et arr6t (comprend ref. 31) 631021
Epingle 631022
Vis de vidange de cuve 27136A
Joint 27554
Tube 632745
Joint torique 632547
Ecrou 640183
Rondelle d'6crou de cuve 27110A
Pastille d'obturation 630748
Pastille d'obturation 631027
44

TECUMSEH5 HP4 CYCLEENGINE143.015003
MOTEUR5 HP4 TEMPSTECUMSEH143.015003 REPAIRPARTS
PII=CESDE RECHANGE
_14
\
12
13
/
/
tl
--8
Key No.
NOsur ie
schema
o
3
6
7
8
11
12
13
14
Description
Rewind Starter
Retainer
Starter Dog
Dog Spring
Pulley & Rewind Spring Ass'y.
Starter Housing Ass'y.
Starter Rope (Length 98" x 9/64" dia.)
Mitten Grip Handle (Not included with starter)
Spring Clip
181 i_! -7
Description
D6marreur a corde
Fixation
Doigt de d6marreur
Ressort de doigt
Potpie et ressort de rappel
Bo;tier du d6marreur
Corde de d_marreur (Iongeur 98 po, diametre 9/64 po)
Poign_e (non livr6e avec le d_marreur)
Epingle
Part No.
N° de piece
590742
590740
590616
590617
590645A
590647
590535
590574
590760
F-001145J 45

SWARS
owner's
manual
Model
C950-52005-0
5-H.P. 22 inch
DUAL STAGE
SNOW BLOWER
[RAFTSMAN
SERVICE
is at
YOUR
SERVICE
Serial No.
Model and Serial Number may be
found on the number plate on the
rear of the Snow blower.
You should record both Model and
Serial Number and keep in a safe
place for future reference.
HOW TO ORDER REPAIR PARTS
Each SNOW BLOWER has its own MODEL NUMBER Each
ENGINE has its own MODEL NUMBER.
The MODEL NUMBER for the ENGINE will be found on the
BLOWER HOUSING.
Always mention the MODEL NUMBERS when requesting service
or Repair Parts for your SNOW BLOWER.
All parts list herein may be ordered through SEARS CANADA INC.
RETAIL OR CATALOG STORES AND SERVICE CENTERS. If
the parts you need are not stocked locally, your order will be elec-
tronically transmitted to a SEARS Parts Distribution Center for ex-
pedited handling.
When ordering parts by mail, selling prices will be furnished on re-
quest or parts will be shipped at prevailing prices and you will be
billed accordingly.
WHEN ORDERING REPAIR PARTS, ALWAYS GIVE THE
FOLLOWING INFORMATION:
1. PART NUMBER
2. PART DESCRIPTION
3. MODEL NUMBER
4. NAME OF THE ITEM-SNOW BLOWER
5. ENGINE MODEL NUMBER
Your Sears Merchandise takes on added value when you discover
that Sears has Service Units throughout the Country Each is
staffed by Sears-Trained, Professional technicians using Sears
approved methods.
ENGINE MODEL DECAL
BLOWER MODEL DECAL
SEARS CANADA INC., TORONTO, ONTARIO M5B 2B8 Printed in U.S.A,
F-001145J 46

Dear Customer,
In manufacturing this product, many steps have been taken to provide you with the highest quality. Unfortunately, errors or
omissions occasionally occur. In the event that you find a missing or defective part, please contact your nearest Sears store.
SERVICE AND REPAIR PARTS
CALL 1-800-665-4455 *
Keep this number handy should your required a service call or need to order
repair parts. If ordering parts make sure you have the name, make and
model no. of the merchandise and the name and number of the part you
wish to order.
*If calling locally, please use one of the following numbers:
Regina - 566-5124
Toronto - 744-4900
Kitchener- 894-7590
Montreal- 333-5740
Halifax - 454-2444
Ottawa - 738-4440
Vancouver - 420-8211
If you have any suggestions that would help us to improve our assembly/operation instructions, or this product, please write
them down and mail to:
Sears Canada Inc.
222 Jarvis Street
Toronto, Ontario
M5B 2B8
Attention Buyer Dept. 671
NAME:
ADDRESS:
POSTAL CODE:
Model No.
PHONE #
F-001145J 47

SWARS
Manuel
d'utilisation
ModUle
C950-52005-0
5-H.P.
22 pouces
Attention:
Lire et bien comprendre
ce manuel avant d'utiliser
le chasse-neige.
Num_ro de s_rie
SWA/RS
CRAFTSMAN
CHASSE-NEIG
ADEUX PHASES
F-001145J SEARS INC., TORONTO, ONTARIO M5B 2B8 ]mprim6auxEtats-Unis

CONSEILS DE SECURITE
,_ ATTENTION: Toujours d_brancher le fil de la bougie et le placer bI'dcart pour _viter tout risque de _lJ_
mise en marche accidentelle pendant la prdparation, I'entretien et le remisage du chasse-neige.
CONSEILS DE SECURITE POUR CHASSE-NEIGE AMAIN
LIRE CE MANUEL AVANT D'UTILISER CET EQUIPEMENT
Les gaz d'_chappement du moteur, certains
_l_ments de leur composition, ainsi que
certains organes du v_hicule contiennent ou
_mettent des substances chimiques qui, selon
I'Etat de Californie, peuvent causer le cancer,
des malformations bla naissance, ou
repr_sentent un danger pour la reproduction.
Les bornes et p61es de batterie et autres
accessoires de ce type contiennent du plomb
et des compos_s de p.lomb, substances
chimiques qui, selon I'Etat de Californie,
peuvent causer le cancer, des malformations
la naissance, ou repr_sentent un danger pour
la reproduction.
FORMATION
1. Lire attentivement le Manuel d'instructions et d'utilisa-
tion. Apprendre a bien connaTtre les commandes pour
utiiiser convenablement le chasse-neige. Apprendre
arr_ter la machine et d6brayer rapidement les comman-
des.
2. Ne jamais laisser d'enfants utiliser le chasse-neige. Ne
jamais laisser d'adultes utitiser l'6quipement sans en
connaTtre le maniement.
3. €:loigner toutes les personnes de l'aire de travail, particu-
lierement les jeunes enfants et les animaux domesti-
ques.
4. Faire attention a ne pas glisser ou tomber, particuliere-
merit en marche arriere.
PRF:PARATION
1. Inspecter soigneusement la zone oe le chasse-neige
doit _tre utilis6 et enlever tousles paillassons, trafneaux,
planches, ills metalliques et autres corps 6trangers.
2. Debrayer tous les embrayages et passer au point mort
avant de mettre le moteur en marche.
3. Ne pas utiiiser le chasse-neige a moins de porter des v_-
tements chauds pour t'hiver. Porter des chaussures qui
aident a conserver un bon 6quiiibre sur les surfaces glis-
santes.
4. Manier l'essence avec soin; elle est tres inflammable.
(a) Utiliser un recipient approuve pour I'essence.
(b) Ne jamais ajouter d'essence a un moteur en marche
ou chaud.
(c) Remplir le reservoir de carburant a l'exterieur en fai-
sant tres attention. Ne jamais remplir le r6servoir a
l'int6rieur d'un local.
(d) Replacer soigneusement le bouchon du reservoir et
essuyer tout carburant renvers6.
5. Utitiser des raltonges et des prises de courant recom-
mandees par le fabdcant pour tousles chasse-neige
6quip6s de demarreurs etectriques.
6. R_gler la hauteur du bottler du chasse-neige pour denei-
ger des surfaces recouvertes de gravier.
7. Ne jamais effectuer de reglages lorsque le moteur tourne
(sauf pour les regiages recommand6s par le fabdcant).
8. Laisser le moteur et le chasse-neige s'adapter aux tem-
peratures exterieures avant de commencer a deblayer la
neige.
9. Toujours porter des lunettes de s_curit_ lors de l'utilisa-
tion ou Iors de tout reglage ou r_paration pour prot_ger
les yeux d'objets pouvant _tre projetes par le chasse-
neige.
UTILISATION
1. Ne pas placer les mains ou les pieds en dessous des pie-
ces mobiles. Se tenir a I'ecart de la goulotte d'_jection.
2. Faire extr_mement attention Iors de travail sur ou Iors de
la traversee de routes rev_tues de gravier, de trottoir ou
de chaussee. Faire attention aux dangers caches ou a la
circulation.
3. Ne jamais ejecter la neige sur la vole pubiique ou vers la
circulation.
4. Arr_ter te moteur imm_diatement apres avoir heurte un
corps etranger. Debrancher le fit de la bougie, et inspec-
ter soigneusement le chasse-neige pour toute trace de
deg_ts. Effectuer les reparations necessaires avant de
remettre I'appareil en marche.
5. Si le chasse-neige commence a vibrer anormalement,
arr_ter le moteur et rechercher immediatement la cause.
Les vibrations sont des signes de mauvais fonctionne-
ment.
6. Arr_ter le moteur chaque fois que le chasse-neige est
laisse sans surveillance, avant de degager les aubes de
la turbine ou la goulotte d'_jection et Iors de reparations,
reglages ou inspections.
7. Lors du nettoyage, de reparation, ou d'inspection, s'as-
surer que les aubes de la turbine et toutes les pieces mo-
biles sont arr_t_es. D_brancher le fll de la bougie et tenir
le til a I'_cart de la bougie pour eviter toute mise en mar-
che accidentelle.
F-001145J

CONSEILS DE SECURITE
8. Prendre toutes les precautions necessaires Iorsque le
chasse-neige est laisse sans surveillance. Debrayer la
vis sans fin et la turbine, passer au point mort, arr_ter le
moteur et retirer la ct6.
9. Ne pas faire toumer le moteur a I'interieur d'un local, sauf
Iors de la mise en marche du moteur ou pour sortir ou
rentrer le chasse-neige. Ouvrir les portes, les gaz
d'6chappement sent mortets.
10. Ne pas tenter de d6neiger en travers de terrains en pen-
te. Faire extr6mement attention lors de changement de
direction sur des pentes. Ne pas tenter de deneiger des
pentes abruptes.
11. Ne jamais utiliser le chasse-neige sans les protecteurs,
plaques ou autres dispositifs de securite.
12. Ne jamais utiliser le chasse-neige pres de vitrines, d'au-
tomobiles, de rebords de fen6tre, de surplombs, avant
d'avoir r6g16 convenablement I'angle de la goulotte
d'ejection. Garder les enfants et les animaux domesti-
ques a 1'6cart.
13. Ne pas surcharger l'appareit en tentant de deneiger a un
regime trop rapide.
14. Ne jamais utiliser le chasse-neige a des vitesses ete-
vees sur des surfaces glissantes. Faire tres attention lors
de l'utilisation en marche arriere.
ENTRETIEN ET REMISAGE
1. Verifier le serrage des boulons de cisaillement et autres
boulons, a intervaltes r6guliers, pour s'assurer que
l'equipement est en ben etat de marche.
2. Ne jamais remiser le chasse-neige contenant de I'es-
sence dans le reservoir darts un b_timent oQit existe des
sources de flammes ou d'_tincetles comme chauffe-
eau, radiateur, sechoir a v_tements et autres. Laisser re-
froidir le moteur avant de le remiser.
3. Toujours se reporter aux instructions du manuel si le
chasse-neige doit _tre remis6 pendant une Iongue p_-
riode.
4. Conserver les etiquettes d'instructions et de securit6 en
bon 6tat et les remplacer au besoin.
5. Laisser ie chasse-neige en marche pendant quetques
minutes apres le d6neigement pour 6viter a la turbine de
geter.
15. Ne jamais diriger la goulotte d'6jection vers des passants
et ne permettre a personne de se tenir en avant de l'ap-
pareit.
16. Debrayer ia vis sans tin Iorsque le chasse-neige est
transport6 ou n'est pas utilis_6.
17. N'utiliser que les accessoires approuv6s par le fabricant
pour ie chasse-neige (comme masses d'alourdisse-
ment, contrepoids, cabine et autres).
18. Ne jamais utiliser le chasse-neige Iorsque I'eclairage est
insuffisant ou qu'il fait noir. Toujours conserver une bon-
ne prise, un bon maintien sur le guidon et marcher, ne ja-
mais courir.
19. Ne jamais se pencher. Conserver un bon 6quilibre.
20. Ne jamais utiiiser le chasse-neige sur un toit.
DANGER: Ne pas
approcher les mains,
les pieds ni les v_te-
ments de la vis sans
fin pour dviter tout
risque de blessures.
DANGER: ne pas
d_barrasser la
goulotte d'_jection
la main.
•Arr6ter le moteur et la turbine avant d'dlimi-
ner les ddbris.
•Ne pas marcher devant la machine au tra-
vail.
•Ne pas projeter la neige vers d'autres per-
sonnes.
• F:loigner les personnes et les animaux do-
mestiques de la machine au travail.
•Avant de laisser la machine sans surveUlan-
ce, arr6ter le moteur et reti-
rer la cld de contact.
F-001145J

AVIS AU CLIENT
DATE D'AC HAT:
N° DE MODELE:
N° DE SERIE:
ADRESSE DU MAGASIN D'ACHAT:
VILLE: PROVINCE:
TELC:PHONE :
_loter les renseignements ci-dessous pour I'identification
de la machine en cas de perte ou de vol.
CONTRAT D'ENTRETIEN
La Garantie Craftsman, plus un contrat d'entretien
sont la meitleure protection des produits Sears. Consul-
ter le magasin Sears le plus proche pour tous les de-
tails.
Puissance 5 HP
Contenance du reservoir
d'essence 2 quarts (2 litre)
Contenance du carter d'hui- 21 oz (630 ml)
le (5W30)
Bougie:
(ecartement 0,030 po.) Champion RJ19LM
Pression de gonflage des 24 PSI (1,687 kg/cm 2)
pneus
Verifier la pression de gonflage des pneus. La pres-
sion degonflage maximale est indiquee sur le flanc du
pneu. ne pas exceder la pression de gonflage indiquee.
RESPONSABILITES DU CLIENT
Lire et observer les regles de s_curite.
Respecter le calendrier d'entretien regulier.
Suivre les instructions donnees au chapitre "Respon-
sabilit_s du client" et "Remisage" de ce Manuel.
CHASSE-NEIGE AROUES
GARANTIE LIMITEE DE 2 ANS POUR LE CHASSE-NEIGE CRAFTSMAN
Pour une periode de deux (2) ans, suivant la date d'achat, Sears Canada ]nc. reparera ou remplacera, se-
Ion son choix, gratuitement, toute piece reconnue comme comportant un defaut de matiere premiere ou de fabrication.
UTILISATION A DES FINS COMMERCIALES OU DE LOCATION
Lorsque le chasse-neige est utilise _ des fins commerciales ou de location, ]a periode de garan-
tie est de 90 jours apres la date d'achat.
EXCLUSIONS ALA GARANTIE
1. Montage avant la livraison.
2. Les pieces soumises _ I'usure durant le fonctionnement normal, comme les courroies, bougies, filtre, axes de cisaille-
ment, ainsi que les deg_ts provoques au moteur par I'utilisation du chasse-neige avec de I'huile en quanti-
t6 insuffisante.
3. Le remplacement ou la reparation de pneus endommages par des corps 6trangers comme des clous, des 6pi-
nes, des souches d'arbre ou du verre.
4. Reparation _ domicile.
Si cet 6quipement requiert une intervention au titre de la garantie, ]e renvoyer au centre de service Sears cana-
dien ]e plus proche. Cette garantie n'est en vigueur que Iorsque le chasse-neige est utilis6 au Canada.
Cette garantie s'ajoute _ toute garantie ]egale et n'exclut ni limite les droits 16gaux de I'acheteur, mais est complemental-
re aux lois provinciales en vigueur. De plus, parce que certaines provinces ne permettent pas de limite de duree des ga-
ranties implicites, les limites stipulees ci-dessus peuvent ne pas s'appliquer _ I'acheteur.
SEARS CANADA INC., TORONTO, ONTARIO M5B 2B8
F-001145J

TABLES DES MATII RES
CONSEILS DE SECURITE .......................... 2
AVIS AU CLIENT .................................. 4
MONTAGE ........................................ 6
OUTILS REQUIS POUR LE MONTAGE ............ 6
CARTON D'EXPEDITION ......................... 6
SAC DE PIECES CONTENANT ................... 6
DEBALLAGE .................................... 7
MONTAGE DE LA GOULOTTE .................... 8
MONTAGE DE LA POIGNEE SUPERIEURE ET
DE LA MANIVELLE ............................ 9
BRANCHEMENT DES CABLES DE COMMANDE ... 9
ENSEMBLE POMMEAU DU SELECTEUR ......... 10
UTILISATION ..................................... 10
COMMANDES DU MOTEUR ET DU
CHASSE-NEIGE ............................. 10
UTILISATION DU CHASSE-NEIGE ............... 11
GOUPILLE DE BLOCAGE DE ROUE ............. 12
AVANT LA MISE EN MARCHE DU MOTEUR ....... 13
VERIFICATION DE L'HUILE ...................... 13
REMPLIR D'ESSENCE .......................... 13
AVANT L'ARRt_T ............................... 13
MISE EN MARCHE DU MOTEUR ................ 13
CONSEILS D'UTILISATION ...................... 15
CALENDRIER D'ENTRETIEN .................... 16
RESPONSABILIT¢:S DE CLIENT ................... 17
CHASSE-NEIGE ............................... 17
COMME REQUIS ............................... 17
LUBRIFICATION AVANT REMISAGE ............. 17
LUBRIFICATION -TOUTES LES 25 HEURES ..... 18
MOTEUR ...................................... 19
REG LAG ES/RC:PARATION S ....................... 20
RI_GLAGE DE LA HAUTEUR DU BO/TIER DE
LA VIS SANS FIN ............................ 20
RI_GLAGE DU BORD D'ATTAQUE ................ 20
RI_GLAGE DES PATINS ......................... 20
RC:GLAGES DES COURROIES .................. 21
COURROIE DE COMMANDE DES ROUES ........ 21
COURROIE DE LA VIS SANS FIN ................ 21
REMPLACEMENT DES COURROIES ............. 21
COURROIE DE LA VIS SANS FIN ............... 21
COURROIE DE COMMANDE DES ROUES ........ 21
RI_GLAGE DES GUIDE DE COURROIE .......... 22
RI_GLAGE DES CABLES DE COMMANDE DES
ROUES ET DE LA VIS SANS FIN .............. 22
RI_GLAGE DU DISQUE DE FRICTION ............ 23
REMPLACEMENT DU DISQUE DE FRICTION ..... 24
REMISAGE ...................................... 26
TABLEAU DE DIAGNOSTIC ....................... 27
PIF:CES DE RECHANGE
(DANS LA PARTIE ANGLAISE DU MANUEL) ........ 28
COMMENT OBTENIR DES PIECES DE RECHANGE .28
ENTRETIEN ET PIECES DE RECHANGE ........... 29
F-001145J

MONTAGE
OUTILS REQUIS POUR LE MONTAGE
1 - couteau
2 - ct6s 1/2 po (ou cl6s a molette)
2 -ct6s 9/16 po (ou ct6s a molette)
2 - ct6s 3/4 po (ou cl6s a molette)
1 - paire de pinces ou 1 tournevis (pour ecarter les goupil-
les fendues)
CARTON D'EXPEDITION
1 - chasse-neige
1 - Bouteille de stabitisateur
1- Ensemble de d6versoir
1 - Sac de pi_ces d6tacb6es
COMMENT MESURER LES VIS
Longueur
Diametre AVERTISSEMENT: Toujours porter des lunettes de
s6curite ou une visi_re Iors du montage du chas-
se-neige.
SAC DE PIECES CONTENANT
1- 5/16-18 X 2.00 Vis 1- 5/16-18
Rondetle, Frein 1- 5/16-18
Rondetle, Plate
F©
1- 5/16-18
_:crous
1- Pommeau 1- 1/2-13 €:crou Hexagonal
*2-1/4-20 x 1.75 *2-Entretoise
E©
*2-1/4-20
€:crou
*Les pieces ne servant pas au montage se trouvent dans la boTte a outits situ6e sur le carter de courroie.
F-001145J

MONTAGE
La Figure 1itlustre le chasse-neige en position d'expedition.
La Figure 2 itlustre le chasse-neige completement mont&
Les r6ferences aux cStes droit et gauche s'entendent pour un
observateur se tenant au guidon du chasse-neige et faisant
face vers ravant.
DEBALLAGE
1. Reperer et retirer le stabilisateur d'essence et le sac des
pieces d6tachees.
,4
Figure 1
REMARQUE: Garder le stabilisateur en lieu s0r
quand il n'est pas utilis&
2. Couper le carton aux quatre coins de haut en bas et met-
tre les cSt6s a plat.
3. Reperer toutes les pieces qui ont 6t6 embaltees separ6-
merit et les retirer de leur carton.
4. Retirer et jeter l'embaltage qui se trouve autour du chas-
se-neige.
5. Pour faciiiter le transport, les patins de r6glage de la
hauteur sont fixes sur la palette. Retirer les vis atta-
chant chacun des patins de r_glage de la hauteur a la
palette.
6. Faire router le chasse-neige hors du carton en tirant sur
le guidon inf6rieur.
Levier d'em-
brayage _ la
vis sans fin
J4
C_ble d'em-
brayage de la
vis sans fin
Vis
Patin de r6glag_,,/
de hauteur
_ Levier d'embrayage
des roues
Cable d'embrayage
Figure 2
ATTENTION: NE PAS rouler sur les ills.
7. Retirer remballage de rensemble guidon.
8. Couper les brides qui maintienent les c_bles de com-
mande d'embrayage du guidon inf6rieur.
REMARQUE: Si les c&bles ont _td d_branchds des
leviers d'embrayage, reposer les c&bles comme illustrd
en Figure 3.
F-001145J
Levier d'embrayage
des roues
Figure 3

MONTAGE
5.
MONTAGE DE LA POIGNEE
SUPERIEURE ET DE LA MANIVELLE
1. Desserrer tes vis, les rondetles plates, les rondelles de
blocage et les ecrous hexagonaux des orifices du haut 6.
de la poignee inf6rieure, sans les refirer.
2. Soulever la poignee sup_rieure et la mettre en position 7.
de fonctionnement. La poignee sup6rieure devrait _tre
I'ext6rieur de la poignee inf6rieure.
REMARQUE: S'assurer que les c&bles ne se 8.
prennent pas entre la poignde infdrieure et la
poignde superieure. 9.
3. Installer les pieces foumies darts le sac (vis,rondelle pla-
te, rondelle de blocage, ecrou hexagonal) dans I'orifice
droitdu bas de la poignee sup6rieure (voir Figure 4). Ne
visser qu'une fois que tousles boulons sont en place. 10.
4. Installer les pieces foumies darts le sac (vis,rondelle pla-
te, rondelle de blocage, ecrou hexagonal) dans I'orifice
droitdu bas de la poignee sup6rieure (voir Figure 5). Ne
visser qu'une fois que tousles boulons sent en place.
Pi6ce de _
raccord
Jlaniveli6"t) I/-_:_FIII
Boulon _
c_illet
Ecrou de
3/8" en
nylon
- Boulon
5/16-16 x 2"
Rondelle de "_ _ll #
blocage i[ /
5/76-18" X"_ /[[31
Ecrou ,_ It
5/16-18'
Rondelle _late 11132"
Rondelle plate
Figure 4
Manivelle
Ecrou de
3/8" en
nylon
Boulon
ceillet Rondelle plate
(
._. Boulon
5/16-16 x 2"
Eorou
\
Rondelle plate 11/32"
Figure 5
11.
12.
13.
Rep6rer rensemble manivelle sorti de son embaltage et
retirer I'ecrou de blocage 3/8" en nylon ainsi que la ron-
detle plate de rensemble de boulon a ceillet.
Faire passer le boulon a oeitlet a travers I'orifice inferieur
de la poignee gauche. (Voir Figure 4).
Faire passer le boulon a oeitlet a travers I'orifice inferieur
de la poignee gauche. (Voir Figure 5).
Installer la rondelle plate 3/8" et 1'6crou de blocage 3/8"
en nylon.
Retirer avec pr6caution la goupille fendue, raxe de mon-
tage, et le joint universel de la fourche de la manivelle
(Figure 6).
Placer le joint universel darts la fourche de la vis sans fin
en alignant les gros orifices. Introduire le joint universel
(s'assurer que I'orifice de la goupitle est aligne avec les
pefits orifices du joint universel).
Placer la chape de la fourche de la manivetle autour des
orifices des joints universels de la fourche de la vis sans
fin. Introduire raxe de montage et fixer le tout avec ta
goupitle fendue. €:carter les pattes de la goupilte pour te-
nir le joint en place.
Serrer 1'6crou sur le boulon a ceillet, en alignant l'oeiltet
avec la tige puis bien visser a I'int6rieur.
Visser tous les boulons de la poignee.
REMARQUE: S'assurer que la manivelle ne touche par le
couvercle du carburateur.
!1 "
Goupille fendue
IiJ yj_ Axe de montag e
Joint universel
Tige de la
manivelle
Goupille for6e
Figure 6
BRANCHEMENTDESCABLESDE COMMANDE
1. Si les cables de commande se sent detaches du cadre
du moteur, rebrancher les c_bles comme indique en
Figure 7.
2. Reglage 6 ventuel, voir "R6glage Des C_bles de Com-
mande des Roues" darts la section consacr6e a la RE-
GLAGES/REPARATIONS.
F-001145J

MONTAGE
RI=GLAGEDE LA LONGUEURDESCABLES
Les c_btes ont et6 ajust6s en usine et aucun regiage ne de-
wait 6tre necessaire. Cependant, Iors de la mise des poi-
gnees en position de fonctionnement, les c_bles peuvent
6tre trop tendus ou trop t&ches. Dans le cas oQ un r6glage
s'avere n6cessaire, consulter la rubdque "V6rification et re-
glage des c_bies" dans la section Maintenance et r6glage.
Figure 7
ENSEMBLE POMMEAU DU SELECTEUR
(FIGURE 8)
1. Visser I'ecrou hexagonal, qui se trouve darts ie sac des
pieces d6tach6es, au s_lecteur. (voir Figure 8).
2. Visser le pommeau du selecteur sur le bas du filet du s6-
lecteur jusqu'a ce qu'il soit bien contre l'ecrou hexagonal.
Veilter ace que la languette ne pointe pas vers le moteur.
3. Serrer I'ecrou hexagonal contre le bas du pommeau du
s_lecteur.
\
t \
\\\
S61ecteur
t_
%€:crou hexagonal
f
Figure 8
IREMARQUE :Ce chasse-neige a _t_ exp_di_ AVEC huile. Avant tout, consulter les instructions
"Avant de d_marrer le moteur dans la section Fonctionnement de ce manuel.
F-OO1145J

UTILISATION
Apprendre a connaftre le chasse-neige et ses commandes. Ure et bien comprendre les conseiis de securit6 donnes en page 2.
Amorceur
Levier d'embrayage
Levier d'embrayage a la des roues
vissansfin _ X_X
Bouchon de C_ble C_ble
remplissage d'embrayage de d'embrayage
la vis sans des roues
Couvercle du
carburateur
Levier de
vitesse
Manivelle
Volet de \
d6part
Cl_ de
contact Manette
d'acc61eration
Poign6e du
d_marreur a corde D6flecteur de
la goulotte Boitier de la
vis sans fin
Patin de
r6glage de
Figure 9
COMMANDES DU MOTEUR ET DU CHASSE-NEIGE
Les commandes du moteur et leurs fonctions sont
expliqudes ci-dessous.
Manette d'accdldration - La manette d'acc616ration qui
contr61ele regime du moteur est montee sur le moteur.
Levier du volet de ddpart - Placer le levier du volet de
depart a la position "ON" pour la mise en marche du moteur
froid.
Amorceur - Ce bouton sert a injecter de ressence
directement darts le coilecteur du carburateur pour faciliter la
mise en marche par temps froid.
CI_ de contact- Elle dolt 6tre ins6r6e dans la fente prevue
cet effet afin de d6marrer le moteur. Retirer la cle pour
arr6ter le moteur. Ne pas tourner cette ct&
Poign_e du d6marreur- Ce chasse-neige est 6quipe d'un
d6marreur a corde.
Les commandes du chasse-neige et leurs fonctions
sont expliqudes ci-dessous.
Levier de vitesse - Ce levier permet de choisir I'une des six
(6) vitesses avant et des deux (2) vitesses arri6re. II suffitde
placer le levier dans la position voulue.
REMARQUE: Ne pas manoeuvrer ce levier Iorsque les
roues sont embraydes car le mdcanisme d'embrayage
serait sdrieusement endommag&
F-001145J
Levier d'embrayage de la vis sans fin - Ce levier sert
embrayer eta d6brayer la vis sans fin et la turbine. Pousser
le levier pour embrayer et le ret_cher pour d6brayer.
Levier d'embrayage des roues - Ce levier sert a embrayer
eta debrayer la marche avant ou la marche arri_re. Pousser
le levier pour embrayer et le ret_cher pour d6brayer.
D_flecteur de la goulotte - II change le sens d'ejection de
la neige
Levier de commande du ddflecteur &distance - Pousser
le levier de commande a distance vers ravant pour ejecter la
neige en hauteur eta une grande distance. Tirer sur le levier
de commande a distance pour ejecter la neige vers le bas.
Manivelle - La manivelle sert a orienter la gouiotte. Tourner
la manivelle dans le sens des aiguilles d'une montre pour
toumer la goulotte vers la droite ou darts le sens inverse pour
la tourner vers la gauche.
Patins - Les patins permettent de modifier la garde au sol du
boTtier de la vis sans fin (voir "R6glages de patins" dans la
partie Reglages/R6paration de ce manuel).
Boite _outils - Vous y trouverez des goupilles de
cisaitlement et des entretoises.

UTILISATION
_L'utilisation d'un chasse-neige peut provoquer la pdn_tration de corps dtrangers dans les yeux et entrai-
ner des blessurss. Toujours porter des lunettes de sdcurit_ ou une visiere pour travailler avec le chasse-
neige. Des lunettes de sdcurit_ et des visi_rss sont en vente dans les magasins de vente au d_tail.
UTILISATION DU CHASSE-NEIGE
L'utitisation la plus efficace du chasse-neige sera
d6termin6e par l'exp6rience, en tenant compte de la nature
du terrain, du vent et de la position des b_timents, en
particulier pour determiner la direction d'6jection de la neige.
REMARQUE: Ne pas projeter la neige vers un b_timent
car des corps dtrangers pourraient 6tre pris par la vis
sans fin et djectds violemment.
1. Mettre le moteur en marche comme indiqu6 au paragra-
phe "Mise en marche du moteur".
2. Regler le d6flecteur de la goulotte. Desserrer I'_crou
oreilies situe sur le c5t6 de la goulotte et relever de
d60flecteur pour augmenter la distance d'ejection ou
I'abaisser pour diminuer la distance d'ejection. Serrer
1'6crou a oreilles (voir Figure 11).
3. Orienter la goulotte a I'aide de la manivelle pour projeter
la neige darts le sens du vent.
4. Choisir la vitesse appropriee en fonction des conditions
de travail comme indiqu6 ci-dessous et regler le levier
de vitesse a la position voulue.
REMARQUE: Toujours rel&cher la poignde
d'embrayage des roues avant de manoeuvrer le
levier de vitesse.
La vitesse de d6placement est d6terminee par les
conditions de la neige. Choisir la vitesse en d6pia£ant le
levier de vitesse dans la partie color6e du panneau
comme indiqu6 ci-dessous.
Rouge
Orange
Blanc
Vert
Neige humide, lourde et tres profonde
Neige moyenne
Neige tres 16g6re
Position de transport seulement
REMARQUE: Lors de d_neigement de neige Iourde
et humide, il est conseill_ de r_duire la vitesse de
d_placement, de maintenir le moteur bplein rdgime
et de ne pas d_gager la neige surtoute la largeur de
la machine.
Pour tous renseignements suppl6mentaires se reporter
la section "Conseits d'utilisation" de ce manuel.
5. Embrayer la vis sans fin a I'aide de la poignee d'em-
brayage (droite-Figure 12).
IMPORTANT: S'assurer que personne ni aucun
obstacle ne soit devant la machine avant d'embrayer
la vis sans fin (Figure 12).
6. Embrayer la commande des roues avec la poign6e gau-
che (Figure 12). Lorsque le chasse-neige commence
se deplacer, bien maintenir les poignees sur le guidon et
guider le chasse-neige darts la direction voutue. Ne pas
pousser le chasse-neige.
F-001145J
,_ AVERTISSEMENT: Lire le manuel avant d'utili-
ser le chasse-neige. Cette machine peut _tre
dangereuse si ells est mal utilisde.
Ne jamais utiliser le chasse-neige sans les protecteurs
et les couvercles en place.
Ne jamais projeter la neige vers des fen_tres et ne lais-
ser personne se tenir &proximit_ de la machine en mar-
che.
Arr_ter le moteur avant de laisser la machine sans sur-
veillance.
Ddbrancher le fU de la bougie avant de d_barrasser la
neige de la goulotte ou de la vis sans fin et avant de pro-
cdder &toute intervention de rdglage ou d'entrstien.
Retirer la cl_ de contact avant de quitter la machine.
Retirer la cld de contact avant de s'_loigner de la ma-
chine.
Pour rdduire les risques d'incendie _liminer I'essencs
renversde, I'huile ou les ddbris de la machine.
LEOTEUREPEUTPASl__1
DF:MARRERSANS LA CL#
DE CONTACT DANS LA
FENTE DU COUVERCLE DU
CARBURATEUR. NE PAS
TOURNER CETTE CLE. Figure10
g:crou a oreilies
Figure 11
Poign6e d'embrayage
Position des roues
bray e
Position
embray_e
Poign6e d'embrayage
de la vis sans fin Position
\ _ d6bray_e
_/ Position
embray6e
Figure 12

UTILISATION
7. Pour arr6ter le d_placement de la machine, rel_cher la
poignee de l'embrayage des roues (poignee gauche -
Figure 12).
8. Pour arr_ter la vis sans fin, ret_cher la poignee d'em-
brayage de la vis sans fin (poignee droite - Figure 12).
9. Pour faire reculer le chasse-neige, placer le levier de vi-
tesse en premi6re ou deuxi6me vitesse de marche arri_-
re et embrayer les roues (poign_e gauche). Pour arr6ter
le chasse-neige, ret_cher la poignee d'embrayage.
,_ AVERTISSEMENT: Ne jamais faire fonctionnerle moteur _ I'intdrieur d'un local ou darts un en-
droit mal ventil& Les fumdes d'dchappement
contiennent de I'OXYDE DE CARBONE qui est un gaz
INODORE et MORTEL.
Ne pas approcher les pieds, les mains les cheveux ou
des v_tements I&ches des pi_ces mobiles du moteur et
du chasse-neige.
Le silencieux et les pi_ces avoisinantes peuvent attein-
dre une temperature de 150°F (66°C) Ne pas les tou-
cher.
NE PAS permettre _des enfants d'utiliser le chasse-
neige ou de se tenir _proximit_ Iorsqu'il est en marche.
(Autocollant en option)
Position de blo-
cage
Figure 13
GOUPILLE DE BLOCAGE DE ROUE
1. La roue gauche est fixee a l'essieu par une goupitle a an-
neau. Ce chasse-neige a et6 exp6di6 avec la goupille en
position de blocage (Figure 13).
2. Pour augmenter la maniabitit6 dans de la neige legere,
retirer la goupille de sa position de blocage et l'engager
dans le trou pour une roue motrice (Figure 14). S'assurer
que la goupitle est dans la position correspondant a une
seute roue motrice et non pas en position de blocage.
REMARQUE: Pression de gonflage des pnues (24
pounds). La pression d_gonflage maximale est indiqu_e
sur le flanc du pneu. ne pas exc_der la pression de
gonflage indiqu_e.
_lb AVERTISSEMENT: Ne pas retirer d'objets coin-
cds dans la vis sans fin sans prendre les pre-
cautions suivante:
•Ddbrayer la vis sans fin et les roues avec les poi-
gndes du guidon.
•Ramener la manette d'acc_l_ration bla position
d'ARR#T (STOP).
•Retirer la cld de contact.
•Ddbrancher le fil de la bougie.
•Ne pas engager les mains dans la vis sans fin ou la
goulotte. Utiliser un morceau de bois ou de fer.
(Autocollant en option)
anneau
Position pour
une roue motri-
ce
Figure 14
F-001145J

UTILISATION
AVANT LA MISE EN MARCHE DU MOTEUR
V_rification de I'huile
REMARQUE : le moteur a quitt_ I'usine rempli d'huile.
Vdrifler le niveau d'huile. En ajouter autant que
ndcessaire. Suivre les instructions du fabricant de ce
moteur au sujet de I'utilisation de I'essence et de I'huUe.
1. Veitler ace que la chasse-neige soit a niveau.
REMARQUE : Ne pas inspecter le niveau d'huile
Iorsque la chasse-neige est en marche.
2. Retirer le bouchon de vidange et verser rhuiie jusqu. V6ri-
tier l'huile.
3. Si n6cessaire, ajouter le bouchon de vidange et verser
I'huile jusqu'a atteindre la marque FULL (plein) sur la jau-
ge (Figure 15). Veiller a ne pas d6passer la marque indi-
quee.
REMARQUE: Pour des temperatures de O°F (-18 °C) et
au dessous de 0°F, utUiser une huile de synth_se partielle
0W3O pour faciliter le ddmarrage.
REMARQUE: L'huUe S.A.E. 5W30 conviendra pour des
temperatures au dessous de 20 °F (-7 °C) to O°F (-18 °C).
REMARQUE: POUR L'HUILE PRC:CONISEE, VOIR LE
TABLEAU.
TEMPERATURE TYPE d'HUILE
0°F Huile de moteur de
(-18 °C) et en dessous synth_se 0 W30
Entre 20 °F (-7 °C) 5W30 S.A.E.
etO °F(-18 °C)
NIVEAUX DE VISCOSITE SAE
°F 20 0 20 32 40
I I • I | I
• • |
°C -30 -20 -10 0 10
REMPLIR D'ESSENCE
1. Remplir le reservoir d'essence avec de I'essence ordinai-
re propre, de l'essence sans plomb ou de l'essence nou-
velte formule. NE PAS utitiserde I'essence de plomb.
REMARQUE: L'essence d'hiver est plus volatile et
facilite la mise en marche. S'assurer que le bidon
d'essence est propre et ne contient aucune particule
de rouUle ni corps _trangers. Ne jamais utiliser
d'essence qui a _td stockde pendant trop Iongtemps.
,_ AVERTISSEMENT: NE PAS utiliser d'essence
contenant de I'alcool car le moteur risquerait
d'6tre sdrieusement endommagd ou son ren-
dement serait consid_rablement rdduit.
F-001145J
2. S'assurer que la bougie est fermement serr6e dans le mo-
teur et que le fil est branche sur la bougie. Serrer la bougie
au couple de 18 a 23 pi-lb.
_lb VERTISSEMENT: L'essence est inflammable
et exige des precautions particulieres. Ne pas
remplir le reservoir du chasse-neige pendant
que le moteur est en marche ou est encore chaud ou
Iorsque la machine est dans un local fermi. Ne pas ap-
procher de flamme d'dtincelles dlectriques et NE PAS
FUMER pendant le remplissage du r_servoir. Ne jamais
remplir le r_servoir compl_tement et laisser environ 1/4
1/2 po au sommet du reservoir pour la dilatation de
I'essence. Toujours remplir le reservoir _I'ext_rieur
d'un local et utiliser un entonnoir approprid. Essuyer
I'essence renversde avant de remettre le moteur en
marche.
Garder I'essence dans un r_cipient homologud et pro-
pre et maintenir le bouchon du r_cipient fermi. Garder
I'essence dans un local frais et bien a_rd jamais &I'int_-
rieur d'une maison. Ne pas stocker de quantit_ d'es-
sence supdrieure aux besoins de 30 jours pour en
maintenir la volatilitd appropride. L'essence est desti-
nde _ _tre utilisde comme carburant pour les moteurs
combustion interne, par consdquent ne jamais utili-
ser d'essence dans un autre but. Comme certains en-
fants aiment I'odeur de I'essence garder les rdcipients
d'essence hors de leur pottle car les dmanations sont
dangereuses &respirer et explosives.
Bouchon de remplissage
d'huile et jauge
SAUF
Figure 15
AVANT L'ARRI_T
Faire tourner le moteur pendant quelques minutes pour
s_cher toute humidit_ pr_sente.
Pour eviter le biocage potentiel du demarreur, proc6der
comme suit :
Lanceur brappel automatique :
Lorsque le moteur tourne, tirer trois ou quatre fois,
rapidement et de maniere continue, sur la corde de
d_marrage.
REMARQUE: le son inhabituel _mis en tirant sur la corde
de d_marrage ne nuira pas au moteur ou au d_marreur.
MISE EN MARCHE DU MOTEUR
S'assurer que le moteur contient une quantit_ d'huiie
suffisante.

UTILISATION
Le moteur du chasse-neige est 6quip_ d'un demarreur
corde.
MISE EN MARCHE DU MOTEUR FROID
(DF:MARREUR .&.CORDE)
(VOIR FIGURE 16)
(Moteur reste a I'arr_t pendant un certain temps)
1. S'assurer que la commande de la vis sans fin et la com-
mande des roues sont d6brayees et que les leviers res-
pectifs sont RELACH¢:S sur le guidon.
Bouchon de remplissage d'huile et jauge
Amorceur
Couvercle du
carburateur
Poign_e du d6mar-
reur a corde
CI6 de
contact Manette d'acc_16ration Figure 16
2. POUR DES TEMPC:RATURES AU DESSUS DE-18°C
(0°F)
Placer la commande des gaz en position "FAST".
POUR DES TEMPC:RATURES AU DESSOUS DE -18°C
(0°F)
Placer la commande des gaz en position "1/2 ACCC:-
LC:R.". Avant d'engager la manette d'embrayage d'en-
traTnement des lames, laisser le moteur chauffer pendant
cinq minutes, en gardant runite immobile. Sinon, le mo-
teur pourrait _tre endommag&
3. Engager ta cl6 de contact darts sa fente. S'assurer qu'elle
est bien enclench& Ne pas toumer ia cl&
4. Toumer le bouton du volet de depart a la position allum&
Ne pes appeyer sur I'amorceur.
REMARQUE: Ne pas enclencher le volet de d_part si
le moteur est chaud (Voir "Mise en marche du moteur
chaud").
5. Appuyer deux fois sur ramorceur.
Ne pas utitiser ramorceur si la temperature est au des-
sus de 50° F.
Amorcer deux fois si la temperature est entre 50° F et
15°R
Amorcer quatre fois si la temperature est au dessous de
15° R
REMARQUE: Couvrir les trous d'adration Iorsque ron
appuie sur le bouton d'amor(;age. Retirer le doigt des
trous d'adration entre chaque pression.
6.
7.
.
9.
Tirer rapidement sur la manette de demarrage
(Figure 16), et la laisser se rembobiner lentement tout en
la maintenant fermement.
Pendant le r6chauffement du moteur, tourner lentement
le bouton du volet de depart vers la position 1/2 allum&
Si le moteur a des rates, fermer le volet de depart a mi-
course jusqu'a ce que le moteur tourne normalement. Le
placer ensuite a la position eteimt.
REMARQUE: Laisser le moteur chauffer pendant
quelques minutes avant de souffler la neige Iorsque
lee temperatures sont au dessous de e°F (-18 ° C).
Faire fonctionner le moteur a son regime maximum ou
presque.
Pour arr6ter le moteur, ramener ta manette d'acc616ration
la position d'arr6t. Retirer la ct& Ne pas tourner la cl&
MISE EN MARCHE DU MOTEUR CHAUD
(DF:MARREUR .&.CORDE)
(Moteur encore chaud d'une reconte utitisation)
1. S'assurer que la commande de la vis sans tin et la com-
mande des roues sont d6bray6es et que les leviers res-
pectifs sont REL,&CHES sur le guidon.
2. POUR DES TEMPC:RATURES AU DESSUS DE -18°C
(O°F)
Placer la commande des gaz en position "FAST".
POUR DES TEMPC:RATURES AU DESSOUS DE -18°C
(O°F)
Placer la commande des gaz en position "112ACCC:L#R".
Avant d'engager la manette d'embrayage d'entraTnement
des lames, laisser le moteur chauffer pendant cinq min-
utes, en gardant l'unite immobile. Sinon, le moteur pour-
rait 6tre endommag&
3. Engager la d6 de contact dans sa fente. S'assurer qu'elle
est bien enclench& Ne pas tourner la cl&
4. Toumer le bouton du volet de depart a la position eteimt.
Ne pas appuyer sur ramorceur.
5. Tirer rapidement sur la manette de demarrage
(Figure 16), et la laisser se rembobiner lentement tout en
la maintenant fermement.
6. Si le moteur ne demarre pas apres piusieurs tentatives,
toumer le bouton du volet de depart sur la position allume
et rep6ter les op6rations du paragraphe.
7. Lorsque le moteur demarre, tourner graduellement le
bouton du volet de depart jusqu'a la position eteimt.
REMARQUE: Laisser le moteur chauffer pendant
quelques minutes avant d'_vacuer la neige Iorsque
les temperatures sont au dessous de O°F (-18 C).
8. Faire tourner le moteur a son regime maximum ou pres-
que.
9. Pour arr6ter le moteur, ramener ta manette d'acc616ration
la position d'arr6t. Retirer la ct& Ne pas tourner la cl&
Pour eviter le gel possible du demarreur a corde ou des
commandes du moteur, proceder comme suit apres chaque
utiiisation du chasse-neige.
F-001145J

UTILISATION
5.1. Avec le moteur en marche, tirer fortement sur la corde du
demarreur d'un mouvement continu trois ou quatre fois.
Cette manoeuvre produira un bruit fort qui n'indique aucu-
ne anomalie ni deg_t au moteur ou au demarreur.
2. Avec te moteur a l'arr6t, essuyer toute la neige et rhumidi-
t6 du levier de couvercle du carburateur a proximite du le-
vier de commande. Manoeuvrer egalement les leviers sur
toute leur course plusieurs fois.
IMPORTANT: Apr_s chaque utilisation du chasse-neige,
arr_ter le moteur, retirer la cl_ de contact, dliminer les
accumulations de neige et essuyer la machine. Ranger le
chasse-neige dans un endroit protdgd.
REMARQUE: Ne jamais couvrir le chasse-neige Iorsque
le moteur et le systeme d'_chappement sont encore
chauds.
CONSEILS D'UTILISATION
1. Pour obtenir le meitleur rendement du chasse-neige r6-
gler la vitesse de d_placement, sans toucher au regime
du moteur. NE PAS OUBLIER que si les roues patinent,
la vitesse d'avancement doit 6tre reduite. Le moteur est
pr6vu pour fonctionner au mieux a plein regime et doit
toujours 6tre maintenu au r6gime maximum.
2. Les meitleurs r6sultats s'obtiennent Iorsque le travail
s'effectue imm6diatement apres une chute de neige.
3. Faire 16g6rement chevaucher les diff6rents passages du
chasse-neige.
4. Souffler le neige darts le sens du vent darts toute la me-
sure du possible.
6.
7.
.
g.
10.
Normalement, r6gler les patins a 1/8 pouce (3mm) sous
le bord d'attaque. Dans de la neige tres dure et tass6e,
les patins peuvent 6tre r6gl6s vers le haut pour mieux
nettoyer les surfaces enneigees.
Sur des surfaces de gravier, les patins doivent 6tre re-
gl6s a 1-1/4 pouce (32mm) sus le bord d'attaque (Voir
"Reglage des patins"). De cette fa;on, le gravier ne sera
pas pris par la vis sans fin ni souffl6 par la machine.
,_ la fin du travail, laisser le moteur toumer au ralenti pen-
dant quelques minutes pour faire fondre la neige et la
glace accumulee sur le moteur.
€:liminer la glace et la neige de la machine pour eviter les
obstructions et les d6g_ts possibles lors de I'utitisation
suivante.
Avant de mettre le chasse-neige en marche, toujours
v6rifier que les vis sans fin et la turbine ne sent pas obs-
tru6es par des accumulations de glace et/ou de debris
qui pourraient provoquer des d6g_ts au chasse-neige.
Verifier le niveau d'huile avant chaque mise en marche.
Remplir d'huile jusqu'au rep_re identifie "SAFE" avant
d'utitiser le chasse-neige.
Preceder comme suit pour eviter le givrage du demarreur.
Ddmarreur &corde:
Le moteur 6tant en marche, tirer a fond sur la corde du
d6marreur d'un mouvement rapide trois ou quatre fois.
REMARQUE: Le bruit inhabituel que cette operation pro-
voque n'entra'_ne aucun inconvenient pour le moteur ou
le d_marreur.
F-001145J

CALENDRIER D'ENTRETIEN
CALENDRIER D'ENTRETIEN
APRES AVANT
LES,2PRE- CHAQUE TOUTES TOUTES TOUTES AUDI_BUT
MIERES UTILISA- FREQUEM- LES5 LES10 LES25 DECHAQUE AVANTLE
PROCF:DURE HEURES TiON MENT HEURES HEURES HEURES SAISON REMISAGE
Serrage de tousle 6crous et
C vis
H
AV6rification du c_ble d'em-
brayage des roues (voir _
S "R6glage des c_bles")
S
EV6rification du c_ble d'em-
Nbrayage de la vis sans fin _
E(voir "R6glage des c_bles")
I
GLubrifier les chafnes et _ _/
EI'arbre hexagonal
MV6rification du
O niveau d'huile du moteur _ _/
T
E
UVidange de I'huile du mo- _/
teur
R
La garantie de ce chasse-neige ne couvre pas les pieces qui
ont 6t6 soumises a des abus ou qui ont 6t6 neglig6es. Pour
b6n6ficier de la garantie, l'utilisateur doit entretenir son chas- 1.
se-neige selon les directives de ce manuel. Le Calendrier
d'entretien suivant est destine a aider I'utitisateur a entrete-
nir le chasse-neige convenablement. II ne s'agit que d'un ta- 2.
bleau. Les r6glages dont il est question sont expliques au 3.
chapitre "Reglages/R6parations" de ce manuel. 4.
APRES CHAQUE UTILISATION
.
6.
Verifier que les pi6ces ne soient pas I_ches ou endom-
magees.
Resserrer les attaches si necessaire.
Verifier et maintenir en place la vis sans fin.
Apr6s chaque utitisation, retirer toute la neige, m6me
fondue, du chasse-neige afin d'emp6cher le gel de la vis
sans fin ou des commandes.
Verifier les commandes afin de s'assurer qu'etles fonc-
tionnent correctement.
Toute pi6ce endommagee ou I_che doit 6tre remplacee
immediatement.
F-001145J

RESPONSABILIT#S DE CLIENT
Certains reglages sont necessaires p_riodiquement pour
maintenir le chasse-neige en bon etat.
Tous les r6glages indiques au chapitre
Rg:GLAGES/RC:PARATIONS de ce manuel doivent _tre
effectues au moins une fois par saison.
CHASSE-NEIGE
Les reglages suivants doivent _tre effectues plus d'une fois
par saison.
Courroies de la vis sans fin et des roues - V6rifier la
tension des courroies apr_s les 2a4premieres heures
d'utilisation eta la mi-saison par la suite. V6rifier ensuite
deux lois par saison. (Voir le paragraphe "Reglages des
courroies" dans la section Reglages/R6parations)
COMME REQUIS
Boitier de renvoi de la vis sans fin
Le boitier de renvoi de la vis est graisse en usine et n'exige
aucun graissage supplementaire.
Si, pour une raison quelconque, ta graisse a fui ou si le boitier
de renvoi a et6 r_par_, ajouter de la graisse Lubriplate
GR132 ou une graisse equivalente. La contenance
maximale est de 3-1/4 oz (92 g).
Bouchon de
remplissage Figure 17
Deposer le bouchon de rempiissage (Figure 17) une fois par
an. Si la graisse est visible, ne pas en ajouter. Si la graisse
n'est pas visible, faire pen6trer un morceau de fil de fer dans
le bo'itier pour determiner s'il contient de la graisse. Les
graisses Mobilux EP1 et Shell Aldania EP1 sont des graisses
appropriees.
LUBRIFICATION AVANT REMISAGE
Roulements et Bagues
Tousles roulements et les bagues sont graisses a vie et
n'exigent aucun entretien.
Arbres hexagonaux et chaines
Pour le remisage, I'arbre hexagonal doit _tre enduit d'huite
moteur pour prevenir la rouille. (Voir Figure 19).
Avant le remisage, les chaTnesdevraient #tre lubrifiees avec
de la graisse prevue a cet effet. (Voir Figure 19).
REMARQUE: Tout graissage ou huUage des pieces
mentionndes ci-dessus peut provoquer la ddt_rioration
du disque en caoutchouc. Si ce disque ou le plateau de
commande entre en contact avec de la graisse ou de
I'huUe, le caoutchouc sera endommagd.
Si le disque ou plateau de commande entre en contact avec
de la graisse ou de I'huile, bien laver le disque ou le plateau
avec un produit sovant a base d'alcool.
F-001145J

RESPONSABILITES DE CLIENT
LUBRIFICATION - TOUTES LES 25 HEURES
Plateau de commande du disque
Le lubrifier toutes les vingt-cinq (25) heures, a la fin de la
saison, et/ou avant de la ranger.
Pour lubrifier:
1. Engager la premiere vitesse du selecteur de vitesse.
2. Placer le chasse-neige sur l'extremit6 du bo'_tierde la vis
sans fin.
REMARQUE: Iorsque le bloc-cylindre est rempli
d'huile, ne pas laisser le chasse-neige debout
appuy_ sur le carter de la fraise pendant une duree
prolong_e.
3. Deposer le panneau de dessous.
4. Faire tourner a la main le plateau de commande du dis-
que de dessous darts le sens des aiguilles d'une montre
jusqu'a ce que le graisseur soit bien visible au centre
(Voir Figure 18).
5. Pour eviter que le disque de friction de caoutchouc entre
en contact avec le plateau de commande du disque, pla-
cer une piece de monnaie (ou une cale d'epaisseur ega-
le) entre le disque de friction de caoutchouc et le plateau
de commande du disque.
6. Pour le graissage, utiliser un pistolet a graisse et de la
graisse a haute temperature EP Moiy. Voir tes details en
Figure 18. NE PAS verser de quantit_ excessive d'huite
et EVITER que de la graisse entre en contact avec le pla-
teau de commande ou le disque car ceia endommagerait
le caoutchouc. Remplir le graisseur jusqu'a ce que la
graisse apparaisse sous le support situe sous le grais-
seur.
7. Retirer la piece de monnaie utiiisee a retape 5. S'assurer
qu'il existe un ecart entre le disque de friction de caout-
chouc et le plateau de commande du disque.
REMARQUE: Nettoyer I'exc_s de graisse sur le disque
de friction.
REMARQUE: Eviter que de la graisse entre en contact
avec le disque en caoutchouc et le plateau du disque de
commande.
Disque de caoutchouc
Plateau de
commande
du disque
Disque en
caou_houc
Pla_au de
commande
du disque Cale plac_e entrele
_'_--_-_...l_ disque etle plateau de
commande du disque
Graisseur
Support Endroit OQ
I'on devrait
voir la
,aae
Figure 18
Arbre hexagonal - _ nettoyer avec de I'huile 5W30
avant remisage et au d6but de chaque saison
Chafnes-Lubrifler les
chafnes avec de la
graisse pr6vue a cet effet
avaat remisage et au d6-
but de chaque saison.
AVERTISSEMENT: Si le
disque ou le plateau de
commande entre en
contact avec de la graisse
ou de I'huile, le caout-
chouc serait endommag&
Si le disque ou le plateau de
commaade entre en contact
avec de la graiaae ou de
I'huile, veiller ace que le dis-
que ou le plateau aoit bien
nettoye avec un solvaat
base d'alcool.
Utiliser un pistolet &
graisse et de la graisse
haute temperature EP
Moly pour lubnfier le
graisseur du disque
routes les 25 heures.
Figure 19
F-001145J

RESPONSABILITES DE CLIENT
MOTEUR
V_rifier le niveau d'huile du carter: (Figure 20) avant de
mettre le moteur en marche et ensuite toutes les 5 heures
d'utilisation. Completer le niveau avec de I'huile moteur au
besoin. Resserrer fermement le bouchon de remplissage et
la jauge apres la v6rification du niveau.
REMARQUE: Une quantit_ d'huUe excessive psut
affecter le fonctionnement du moteur. Resserrer
fermement le bouchon de remplissage d'huUe pour
6viter les fuites.
Vidange d'huile -Vidanger I'huile apres les deux premieres
heures d'utilisation et toutes les vingt-cinq heures par la suite
ou au moins une fois par an m_me si le chasse-neige
n'accumule pas vingt-cinq heures d'utilisation par saison.
Utiliser une huile detergente de bonne qualite et propre.
Remplir le carter jusqu'au rep6re de la jauge identifi_ "FULL"
(0,77 L pour les moteurs 10 HP et 0,83 L pour les 12 HP) (voir
Figure 20). L'huile doit correspondre aux designations "SF"
ou degre API sup6rieur de I'API. Ne pas utitiser d'huile SAE
10W40 (cette huile n'effectue pas un bon graissage).
Par temperatures inferieures a 0°C ou 32°F utitiser de I'huile
SAE5W30. (L'huite SAE10W peut 6galement 6tre utilisee).
Par temp6ratures inferieures a -18°C ou 0°F, de I'huite
SAEOW30.
Vidange de I'huile - Placer le chasse-neige de sorte que le
bouchon de vidange d'huile soit au point le plus bas du
moteur. D6poser le bouchon de vidange et le bouchon de
remplissage et vidanger I'huite dans un r6cipient appropri6
(Figure 21).
REMARQUE: L'huile se vidange mieux Iorsqu'elle est
chaude.
Remonter le bouchon de vidange et le serrer fermement.
Remplir le carter avec de l'huile moteur, ou comme indiqu6
au paragraphe prec6dent de ce chapitre.
NIVEAUX DE VISCOSITI_ SAE
)lviT_II]
°F 20 0 20 32 40
I ! I | !
• • |
°C -30 -20 -1_) 0 10
iSAUF
REMARQUE: le niveau
d'huile dolt se situer entre
les reputes FULL et ADD. Figure 20
Bouchon de
vidange Figure 21
F-001145J

REGLAGES/REPARATIONS
,_ ADVERTISSEMENT: Toujours ddbrancher le fil
de la bougie et I'dcarter de la bougie avant de
proc_der _toute rdparation ou btout rdglage.
RF:GLAGE DE LA HAUTEUR DU BO|TIER DE
LA VIS SANS FIN
RF:GLAGE DU BORD D'ATTAQUE
Apres une longue utilisation, le bord d'attaque rnetaltique
s'usera. Le bord d'attaque et les patins doivent toujours _tre
r6gt6s pour placer le bord d'attaque a 1/8 po (3 mm)
au-dessus de la surface a d6neiger.
Proc6der eomme suit pour regler le bord d'attaque.
1. Arr6ter le chasse-neige sur une surface horizontale.
2. Desserrer les boulons et les 6crous qui fixent le bord d'at-
taque au bottler de la vis sans fin.
3. R_gler le bord d'attaque a la position appropriee. Res-
serrer les boulons et les ecrous en s'assurant que le bord
d'attaque est parallele a la surface du sol.
4. Pour en prolonger l'utilisation, le bord d'attaque peut 6tre
retourne. Si le bord d'attaque doit _tre remplac6 a la suite
d'une usure excessive, d6poser les boulons et les
ecrous et monter un bord d'attaque neuf.
RF:GLAGE DES PATINS
Ce chasse-neige est 6quip6 de deux patins situ6s de chaque
cSte du boTtier de la vis sans fin. Ces patins permettent de
regler la hauteur du boTtier.
Lorsque le travail s'effectue sur une surface dure comme une
allee pavee par exemple, r6gler les patins vers le haut pour
descendre le bottler de la vis sans fin plus pres du sol.
Lorsque le travail s'effectue sur des all6es en gravier ou de
construction irr6guliere, retever t'avant du chasse-neige en
descendant les patins. Cette position emp6chera la vis sans
fin de prendre du gravier ou d'autres d6bris et de les projeter
avec la neige.
Pour rdgler les patins procdder comme suit.
1. Placer une cale (de hauteur egale a la hauteur de travail
souhait6e) sous le bord d'attaque, a c8t6 de chaque pa-
tin.
2. Desserrer les ecrous du patin (Figure 22) et descendre
le patin jusqu'a ce qu'il touche le sol. Resserrer les
6crous.
3. Regler le patin de I'autre c6t6 a la m6me hauteur.
REMARQUE: S'assurer que le chasse-neige est regld
la m6me hauteur des deux cSt_s.
,_ ADVERTISSEMENT: Toujours maintenir une
garde au sol appropride en fonction de la surfa-
ce de travail. Des objets comme du gravier, des
pierres et d'autres ddbris peuvent _tre pris par la turbi-
ne et projet_s avec une force suffisante pour provo-
quer des blessures ou des d_g_ts.
Patin de r6glage
Ecrou des patins
Figure 22
F-001145J

REGLAGES/REPARATIONS
RF:GLAGES DES COURROIES
Courroie de commande des roues
La courroie de commande des roues est soumise a la
pression constante d'un ressort et n'exige aucun r6glage.
Remplacer la courroie si etle patine (voir la section
"Remplacement des courroies" darts ce manuel).
Courroie de la vis sans fin
Si votre chasse-neige n'ejecte pas la neige, verifier le
reglage du c_ble de commande. Ensuite, verifier I'etat de la
courroie d'entrafnement des lames. Si celle-ci est
endommag_e ou I_che, la remplacer (voir la section
"Remplacement de courroie" darts ce manuel).
REMPLACEMENT DES COURROIES
Ddmonte de la courroie de la vis sans fin
1. Debrancher le fil de la bougie.
2. Deposer le couvercle de la courroie.
3. Desserrer les guides de courroie et les 6carter de la
poulie de tension (voir Figure 23).
4. Desserrer le boulon de la poulie libre. Separer la pou-
lie libre de la courroie d'entrainement de la fraise.
5. Desserrer la courroie de la poulie de tension.
6. Retirer la courroie de la poulie de la turbine.
7. Installer la nouvelle courroie sur la poulie de la turbine.
8. Installer la nouvelle courroie sur la poulie de tension.
9. Regler les guides de courroie (voir la section "Reglage
des guides de courroies").
10. Reposer le couvercle de courroie.
11. Rebrancher le fil de la bougie.
Courroie de commande des roues (voir Figure 23)
La courroie de commande des roues est soumise a la
pression constante d'un ressort et n'exige aucun r6glage.
Si le chasse-neige n'avance pas, v6rifier ta courroie
d'entra'_nement des roue pour d6tecter tout dommage ou
toute usure. Si celle-ci est endommag6e ou us_e, la
remplacer comme suit.
1. Debrancher le fil de la bougie.
2. Retirer la courroie d'entraTnement de la fraise. Voir "De-
montage de la courroie d'entraTnement de la fraise" darts
la section Entretien.
3. Degager la poutie de tension de la courroie de comman-
de des roues.
4. Retirer la courroie de commande des roues.
.
6.
7.
8.
9.
Installer une nouveite courroie de commande des roues
sur la poulie de commande des roues.
D6gager la poulie de tension de la courroie de comman-
de des roues, de maniere a pouvoir installer la courroie
sur la poulie de tension.
Rel_cher la poulie de tension et s'assurer que cetle-ci
est bien en contact avec la courroie.
Reposer la courroie de commande de la vis sans fin.
Monter et regler la courroie d'entrainement de la frai-
se. Voir "Demontage de la courroie d'entrafnement de la
fraise" darts la section Entretien.
10. Regler les guides de courroie (voir la section "Reglages
des guides de courroies").
11. Reposer le couvercle de courroie.
12. Verifier le reglage des c_bles. Voir "V6dfication du regla-
ge des c_bles" darts la section Entretien.
13. Rebrancher le fit de la bougie.
Courroie de
commande
des roues
Courroie de [avis sans fin
Poulie de
tension de la
roues
tension de la
vis sans fin
courroie
Poulie de
la turbine
Figure 23
F-001145J

REGLAGES/REPARATIONS
RF:GLAGE DES GUIDE DE COURROIE
(VOIR FIGURE 24)
1. Debrancher le fil de la bougie.
2. Demander a quelqu'un d'embrayer la vis sans fin avec la
poignee du guidon.
3. Mesurer la distance entre les guide de courroie et la
courroie. Cette distance doit 6tre de 1/8 po (3.175 mm)
pour le guide du c6t6 gauche et de 1/4 po (6 mm) pour
le guide de c8t6 droit.
4. Si un reglage est necessaire, desserrer les boulon de
montage des guide et placer les guide a la position vou-
lue. Resserrer ensuite les boulon.
-" Guide de courroie
de la courroie de
vis sans fin
Figure 24
5. Remonter le carter de courroie.
6. Rebrancher le fil de la bougie.
RF:GLAGE DES CABLES DE COMMANDE DES
ROUES ET DE LA VIS SANS FIN
Les c_bies doivent _tre r6gl6s chaque fois que les courroies
sont r6gl6es ou remplac6es.
Pour v_rifier le reglage d_tacher le crochet en "Z" du
levier d'embrayage (volt Figure 25):
1. Pousser le levier d'embrayage completement vers
I'avant (au contact de la but6e en plastique).
2. Le centre du crochet doit 6tre entre le centre et le sommet
du trou du levier d'embrayage.
R6glage au besoin (voir Figure 26)
1. Vidangerl'essence du r6servoir.
2. Mettre le chasse-neige debout sur le boitier de la vis
sans fin.
3. Pousser le c_ble darts le ressort pour exposer la partie
filetee du c_ble.
4. Tenir l'extremit6 carr6e de la partie fitet6e avec des pin-
ces et tourner r6crou dans un sens ou dans rautre pour
obtenir le reglage appropri6. Tirer le c_bie dans le ressort
et remonter le c_bie.
Crochet en "Z"
Le levier de
commande doit
6tre compl_te-
ment vers I'a-
vant (au contact
de la but6e en
Iorl_
gueur du c§ble
Butte en
plastique
Extr6mit6
carrie _
Ressort de
commande
Ecrou
Figure 25
Figure 26
F-001145J

REGLAGES/REPARATIONS
REGLAGE DU DISQUE DE FRICTION
1. Deposer les panneaux de dessous (Figure 27).
2. Placer le levier de vitesse en premiere.
3. Noter la position du disque sur le plateau. La position ap-
propri_e a partir du cSte ext6rieur droit du plateau au
centre du disque dolt _tre de 3 pouces (76 mm)
(Figure 28).
Si un reglage est ndcessaire, proc_der comme suit:
4. Devisser les boulons du levier du s_lecteur de vitesse.
(Figure 29).
Desserrer __'_
bou[ons
Figure 27
5. Placer le disque de friction correctement comme indique
dans I'etape 3.
6. Remettre les boulons du levier du s61ecteur de vitesse en
place.
7. Reconnect les panneaux de dessous (Figure 27).
ifriction
Plateau
<3" >
(76rnm)
"_, Figure 28
Levier du s61ec- //
r_===_ teur de vitesse [_=t=====_
Figure 29
F-001145J

REGLAGES/REPARATIONS
REMPLACEMENT DU DISQUE DE FRICTION
1. Vidangerl'essence du r6servoir.
2. Debrancher le fil de la bougie.
14. Dans le cas oQle disque de friction devrait _tre r6g16,voir
"Reglage du disque de friction".
REMARQUE: V_rifier qu'il n'y a pas de graisse ou
d'huUe sur le disque de friction et le plateau.
3. Mettre le chasse-neige debout sur le bottler de la vis
sans tin. Deposer le panneau inferieur.
4. D6poser le support du levier de commande de vitesse
(voir Figure 29).
5. Deposer les fixations du disque de friction sur le moyeu
et les mettre de c6te (voir Figure 30).
6. Deposer les quatre boulons qui tixent les plaques de rou-
lement (des deux c6t6s).
7. D6poser la plaque de roulement droite. Laisser I'arbre
hexagonal en place.
8. Deposer le disque de friction du moyeu en le faisant glis-
ser sur l'arbre hexagonal vers la droite.
15. Remonter le panneau inf6rieur.
Plaque de
roulement
Plaque de
• roulement
Disque de
friction
% Figure 30
Disque de friction
9. Monter le disque de friction neuf sur le moyeu (voir
Figure 31). Reposer les plaques de roulement en s'assu-
rant que rarbre hexagonal y est bien engag&
10. Fixer les plaques de roulement a I'aide des boulons d6-
pos6s Iors du demontage.
11. Fixer le disque de friction sur le moyeu a I'aide des fixa-
tions d6pos6es lors du demontage en s'assurant que
I'arbre hexagonal tourne librement.
12. Reposer la rotule sur le levier de commande de vitesse.
13. Reconnect tige de commande de vitesse sur tige de vi-
tesse.
......i
/7 ¸
Arbre hexagonal Ecrou
Boulon
Figure 31
F-001145J

REGLAGES/REPARATIONS
6.
REMPLACEMENT DES BOULONS DE
CISAILLEMENT DE LA VIS SANS FIN
La vis sans fin est fix_e a I'arbre par des boulons sp6ciaux qui
sont pr6vus pour casser si un objet se coince dans le bottler
de la vis sans fin. L'utilisation d'un boulon plus dur
supprimera la protection du boulon de cisaillement. Pour
remplacer un boulon de cisaillement cass6, proceder comme
suit.
,_ ADVERTISSEMENT: Pour garantir la sdcuritd et
le fonctionnement approprid de la machine,
seuls des boulons de cisaUlement de rechange
d'origine doivent _tre utilisds.
1. Placer la manette d'acc_16ration a la position d'arr6t, d_-
brayer toutes les commandes, d6brancher le fil de la
bougie et s'assurer que toutes les pieces sont arr6tees.
2. Graisser les graisseurs de l'arbre de la vis sans fin (voir
"Points de graissage" darts la section Entretien de ce ma-
nuel).
3. Centrer le trou de la vis sans fin avec celui de son arbre.
Monter ta goupitle de cisaillement, rentretoise, et I'ecrou
de blocage. (Voir Figure 32).
REMARQUE: L'entretoise entre dans le plus grand
orifice de la barre de soutien de I'arbre de la vis sans fin.
RF:GLAGE DE LA BOUGIE (VOIR FIGURE 33)
REMARQUE: Ce systeme d'allumage _bougie est
conforme &toutes les exigences des rdglementations du
Canada en mati_re de materiel brouilleur.
REMARQUE: Ce moteur est conforme &toutes les
restrictions actuelles de I'Australie et de la
Nouvelle-Zdlande en mati_re de brouillage
_lectromagndtique.
1. Nettoyer la bougie et regler recartement des electrodes
p6riodiquement.
2. Nettoyer tout autour de la bougie avant de la deposer,
pour emp6cher la p_n6tration de corps etrangers dans
le moteur.
3. Remplacer la bougie si les electrodes sont piqu6es ou
br016es ou si la porcelaine est f616e.
4. Nettoyer la bougie en grattant les 61ectrodes avec pr6-
caution (he pas utiliser de sableuse ni de brosse metalli-
que).
6.
7.
S'assurer que la bougie est propre et ne comporte aucun
corps etranger. V6rifier l'ecartement des electrodes avec
une jauge a filet regler cet 6cartement a 0,030 po (0,76
mm) au besoin. Si une bougie neuve doit 6tre mont6e, se
reporter au chapitre "Pieces de rechange du moteur", qui
indique la bougie appropriee.
Avant de monter la bougie, enduire 16gerement le fiteta-
ge d'une graisse a base de graphite pour faciliter la depo-
se ultedeure.
Serrer la bougie fermement darts le moteur au couple de
18 a 23 pi-livre.
Boulon de ,_
cisaillement
Entretoise
}_crou d
blocage
Figure 32
Ecartement de
0,030 po (0,76 mm)
Figure 33
F-001145J

REMISAGE
REMISAGE HORS SAISON 2.
,_ ADVERTISSEMENT: Ne jamais remiser la ma-chine avec de I'essence dans le rdservoir ou
dans un endroit mal ventild o0 les dmanations
d'essence peuvent atteindre une flamme, une dtincelle
ou la veUleuse d'un appareil m_nager comme un chauf-
fe-eau, une sdcheuse ou une chaudi_re.
Faire preuve de prudence avec I'essence qui est tr_s
inflammable et peut provoquer des risques d'incendie
ou de d_g_ts.
Vidanger I'essence dans un r_cipient appropri_, &I'ex-
tdrieur, loin de toute source de flammes ou d'_tincelles.
Si le chasse-neige dolt 6tre remise pendant trente (30) jours
ou plus a la fin de la saison, les op6rations suivantes sent
recommandees.
REMARQUE: L'essence dolt 6tre retirde du r_servoir ou
traitde pour dviter la formation de gomme dans le
rdservoir, le filtre, le flexible d'alimentation et le
carburateur.
1. Pour vidanger i'essence, faire toumer le moteur jusqu'a
ce qu'il tombe en panne s6che. Vidanger l'essence resi-
duetle du carburateur en appuyant sur le bouton de vi-
dange situe a la base du carburateur (voir Figure 34).
,_ ADVERTISSEMENT: Vidanger I'essence _I'ex-
t_rieur, & I'_cart de flammes ou d'dtincelles.
.
4.
.
6.
7.
8.
g.
Pour lubrifier le cylindre et le piston, deposer la bougie et
verser de I'huite moteur propre dans le trou de la bougie.
Couvrir ensuite le trou de la bougie a I'aide d'un chiffon
pour absorber la puiv6risation d'huile et entraTner le mo-
teur avec le demarreur deux ou trois fois. Reposer ensui-
te la bougie et rebrancher le fil de la bougie.
Nettoyer completement le chasse-neige.
Graisser tous les points de graissage (voir Graissage,
voir "Responsabilites du client").
S'assurer que tousles ecrous, boulons et vis sont ferme-
ment serr6s. V6rifier toutes les pi6ces mobiles pour de-
celer les indices de degats et d'usure. Remplacer les
pieces au besoin.
Faire les retouches de peinture sur les surfaces rouitl6es
ou 6caillees. Poncer 16gerement au papier de verre
avant la peinture.
Couvrir les pieces de metal du boTtier de la vis sans fin
et de la turbine d'un produit antirouille.
Si possible, ranger le chasse-neige a I'interieur d'un lo-
cal et le couvrir d'une b_che pour le proteger de la pous-
siere.
Si la machine doit etre remisee a I'exterieur, la monter sur
des cales pour qu'etle ne repose pas au sol. Couvdr en-
suite le chasse-neige a l'aide d'une b_che 6paisse.
La vidange et le remplacement de l'huile du moteur
permettra de le garder en bon etat pendant le remisage.
,&d6faut de vidanger l'essence, un stabilisateur d'essence,
dont un petit r6cipient est livr6 dans le sac de pi6ces, peut
6tre ajoute au reservoir pour reduire la formation de gomme
et d'acide. SI le reservoir est d6ja vide, m61anger ie
stabilisateur d'essence avec de l'essence propre dans un
r6cipient separe et verser une petite quantite du melange
dans le r_servoir. TOUJOURS RESPECTER LES
DIRECTIVES QUI FiGURENT SUR LE BIDON DE
STABiLISATEUR. FAiRE ENSUiTE TOURNER LE
MOTEUR PENDANT AU MOINS 10 MINUTES POUR
PERMETTRE AU MC:LANGE D'ATTEiNDRE LE
CARBURATEUR. RANGER ENSUITE LE CHASSE-NEiGE
DANS UN ENDROIT SOR.
Carburateur
Bouton de vidange
Figure 34
F-001145J

TABLEAU DE DIAGNOSTIC
PROBLF:ME CAUSE REMF:DE
Mise en marche difficile Bougie d6fectueuse. Remplacer la bougie d6fectueuse.
Fonctionnement Canalisation d'essence obstru6e. Nettoyer la canalisation d'essence.
irr6gulier du moteur
R6servoir d'essence vide, Nettoyer la canalisation d'essence, v6rifier le niveau du
r6servoir.
Essence trop vieille. Utiliser de I'essence frai'che.
Pr6sence d'eau ou d'impuret6s dans le circuit D6poser la cuve du carburateur pour vidanger le
d'alimentation, r6servoir. Remplir avec de I'essence frafche.
ATTENTION: Ne pas d6poser la cuve du
carburateur lersque le moteur est chaud.
Calage du meteur VOLET DE De:PART ferm6. Ouvrir le volet de d6part.
Perte de puissance €:vent du bouchon du r6servoir d'essence €:liminer la glace et la neige du bouchon du r6servoir.
obstru6. S'assurer que le trou d'6vent est propre.
Vibrations excessives Pieces desserr6es ou turbine endommag6e. Arr6ter imm6diatement le moteur et d6brancher la
bougie; resserrer tousles boulons et faire les
r6parations qui s'imposent. Si les vibrations persistent,
faire v6rifier la machine par un technicien comp6tent.
Pas de propulsion Courroie d6fectueuse ou endommag6e. Remplacer la courroie. Se reporter au paragraphe
"Remplacement des ceurroies" du chapitre
R6glages/R6parations de ce manuel.
Mauvais r6glage du cable de commande des R6gler le cable de commande de roues. Se reporter
roues, la rubrique "R6glage du cable" du chapitre
R6glages/R6parations de ce manuel.
Disque de friction us6 ou endommag6. Remplacer le disque de friction. Se reporter _ la
rubrique "Remplacement du disque de friction" du
chapitre R6glages/R6parations de ce manuel.
Pas d'6jection de la neige Courroie de vis sans fin d6tendue ou R6gler la ceurroie de la vis sans fin ou; la remplacer si
endommag6e, elle est endommag6e. Se reporter _ la rubrique
"Remplacement des courroies d'entrai'nement" et
"R6glage des courroies d'entrai'nement" du chapitre
R6glages/R6parations de ce manuel.
Cable de vis sans fin mal r6gl6. R6gler le cable de la vis sans fin. Se reporter _ la
rubrique "R6glage du cable" du chapitre
R6glages/R6parations de ce manuel.
Boulon de cisaillement cass6 Remplacer le boulon de cisaillement. Se reporter _ la
rubrique "Remplacement du boulon de cisaillement" du
chapitre R6glages/R6parations de ce manuel.
Goulotte d'6jection obstru6e. Arr6ter le meteur imm6diatement et d6brancher le fil de
la bougie. Se reporter _ la premiere rubrique "Danger"
du chapitre Utilisation de ce manuel. Nettoyer la
goulotte d'6jection et I'int6rieur du boitier de la vis sans
fin.
Corps 6trangers dans la vis sans fin. Arr6ter imm6diatement le moteur et d6brancher le fil de
la bougie. Se reporter _ la troisieme rubrique Danger
du chapitre Utilisation du chasse-neige de ce manuel.
Retirer les corps etrangers de la vis sans fin.
Identification du chasse-neige
Ce chasse-neige comporte deux (2) num6ros d'identification: (1) le numero de modele et (2) le num6ro de serie. Ces deux num6ros sent
n6cessaires pour obtenir les pieces de rechange en cas de besoin. Pour toutes questions au sujet des pieces de rechange, des services
de r6paration ou des donnees techniques, cemmuniquer avec le centre de service Sears le plus proche.
Pour tousles details de la garantie, se reporter _ la page intitul6e Avis au Client de ce manuel.
F-001145J

SEARS
Manuel
d'utilisation
ModUle
C950-52005-0
5-H.P.
22 pouces
Chasse-Neige
Deux Phases
CRRFTSMRN
le Service
est
VOTRE
SERVICE
N ° de s_rie
Vous trouverez le numero du mo-
dule et le num6ro de serie sur la
plaque d'identification a l'arriere
du boTter du chasse-neige.
Enregistrez les num_ros de mode-
le et de s6rie et conservez les
pour pouvoir vous y reporter.
COMMENT OBTENIR DES PI#CES DE RECHANGE
Chaque chasse-neige a son propre NUMC:RO DE MODC:LE. Chaque
moteur a son propre NUMERO DE MODC:LE.
Le NUMC:RO DE MOD_:LE du MOTEUR figure sur le boitier du
VENTILATEUR.
Lorsque vous desirez obtenir des services d'entretien et des pi6ces de
rechange, mentionnez toujours ces numeros.
Toutes les pieces 6num6r6es ici peuvent 6tre obtenues des CENTRES
DE SERVICE, CATALOGUES ET MAGASINS SEARS CANADA INC.
Si les pieces que vous desirez ne sont pas en stock, votre commande
sera transmise 61ectroniquement a un centre de distribution de pi6ces
SEARS et traitee immediatement.
Lorsque vous commandez des pieces de rechange par courrier, les
prix de vente seront fournis sur demande, ou les pieces seront
exp_di6es au prix en cours et vous serez factur6 en consequence.
LORSQUE VOUS COMMANDEZ DES PIC:CES DE RECHANGE,
FOURNISSEZ TOUJOURS LES INFORMATIONS SUIVANTES:
1. NUMC:RO DE PIC:CE
2. DESCRIPTION DE LA PI_:CE
3. NUMC:RO DU MODC:LE
4. NOM DE LA MACHINE-CHASSE-NEIGE
5. NUMC:RO DE MODt_LE DU MOTEUR
Vos produits Sears prennent une valeur supplementaire grace aux
centres de service Sears dans tout le pays. Chaque centre emploie des
techniciens qualifies utitisant les methodes Sears approuvees.
Autocollant du module
de chasse-neige
Autoconant du module de moteur
SEARS CANADA INC., TORONTO, ONTARIO M5B 2B8 ]mprim6 aux Etats-Unis
F-001145J

Monsieur, Madame, Mademoiselle,
Lors de la fabrication de cet article, aucun effort n'a 6te epargn6 pour vous offrir une marchandise de toute premiere qualit&
Malheureusement, des erreurs ou des omissions sont quelquefois commises. Si vous remarquez qu'une piece est manquante
ou defectueuse, veuiltez contacter votre magasin Sears le plus proche.
ENTRETIEN ET PIECES DE
RECHANGE
COMPOSEZ LE 1-800-665-4455 *
Conservez ce numero a porte de la main au cas ou vous auriez besoin d'une
visite d'entretien ou de pi_ces de rechange. Lorsque vous commandez des
pi6ces de rechange, indiquez le nom, la marque et le no de modele du produit
ainsi que le nomet le numero de la piece que vous d6sirez commander.
* si vous appelez un centre d'entretien local, composez un des num6ros suivants:
Regina - 566-5124
Toronto - 744-4900
Kitchener - 894-7590
Montr6al- 333-5740
Halifax - 454-2444
Ottawa - 738-4440
Vancouver- 420-8211
Si vous avez des suggestions nous permettant d'am61iorer nos instructions relatives au montage et/ou a I'utilisation du produit,
ou le produit lui-m6me, veuiltez remplir le formulaire ci-dessous et I'envoyer a:
Sears Canada Inc.
222 rue Jarvis
Toronto, Ontario
M5B 2B8
,&rattention de: Service clientele 671 N° de modele:_
NOM:.
ADRESSE:
CODE POSTAL: Tg:LC:PHONE #
F-001145J