Craftsman 944601881 User Manual TRACTOR Manuals And Guides 1103676L
User Manual: Craftsman 944601881 944601881 CRAFTSMAN TRACTOR - Manuals and Guides View the owners manual for your CRAFTSMAN TRACTOR #944601881. Home:Lawn & Garden Parts:Craftsman Parts:Craftsman TRACTOR Manual
Open the PDF directly: View PDF
.
Page Count: 52

SEARS
OWNER'S
MANUAL
MODEL NO.
944.601881
Caution:
Read and follow
all Safety Rules
and Instructions
Before Operating
This Equipment
CRAFTSMAN°
20.0 HP
ELECTRIC START
42" MOWER
AUTOMATIC
LAWN TRACTOR
• Assembly
•Operation
•Customer Responsibilities
•Service and Adjustments
•Repair Parts
Sears Canada, Inc., Toronto, Ontario M5B 2B8

SAFETY RULES
Safe Operation Practices for Ride-On Mowers
IMPORTANT: THIS CUTTING MACHINE IS CAPABLE OF AMPUTATING HANDS AND FEET AND THROWING OBJECTS.
FAILURE TO OBSERVE THE FOLLOWING SAFETY INSTRUCTIONS COULD RESULT IN SERIOUS INJURY OR DEATH.
I. GENERALOPERATION
• Read, understand, and follow all instructions in the
manual and on the machine before starting.
• Only allow responsible adults, who are familiar with the
instructions, to operate the machine.
• Clear the area of objects such as rocks, toys, wire, etc.,
which could be picked up and thrown by the blade.
• Be surethe area is clearof other people before mowing.
Stop machine if anyone enters the area.
• Never carry passengers.
• Do not mow in reverse unless absolutely necessary.
Always look down and behind before and while backing.
• Be aware of the mower discharge direction and do not
point it at anyone. Do not operate the mower without
either the entire grass catcher or the guard in place.
• Slow down before turning.
• Never leave a running machine unattended. Alwaysturn
off blades, set parking brake, stop engine, and remove
keys before dismounting.
• Turn off blades when not mowing.
• Stop engine before removing grass catcher or unclog-
ging chute.
• Mow only in daylight or good artificial light.
• Do not operate the machine while under the influence of
alcohol or drugs.
• Watch for traffic when operating near or crossing road-
ways.
• Use extra care when loading or unloading the machine
into a trailer or truck.
• Data indicates that operators, age 60 years and above,
are involved in a large percentage of riding mower-
related injuries. These operators should evaluate their
ability to operate the riding mower safely enough to
protect themselves and others from serious injury.
• Keep machine free of grass, leaves or other debris build-
up which can touch hot exhaust /engine parts and burn.
Do not allowthe mower deckto plow leaves orother debris
which can cause build-up to occur. Clean any oil or fuel
spillage before operating or storing the machine. Allow
machine to cool before storage.
I1. SLOPE OPERATION
Slopes are a major factor related to loss-of-control and tipover
accidents, which can result in severe injury or death. All slopes
requireextracaution. Ifyou cannot back upthe slope or if you feel
uneasy on it, do not mow it.
DO:
• Mow up and down slopes, not across.
• Remove obstacles such as rocks, tree limbs, etc.
• Watch for holes, ruts, or bumps. Uneven terrain could
overturn the machine. Tall grass can hide obstacles,
• Use slow speed. Choose a low gear so that you will not
have to stop or shift while on the slope.
• Follow the manufacturer's recommendations for wheel
weights or counterweights to improve stability.
• Use extra care with grass catchers or other attach-
ments. These can change the stability of the machine.
• Keep all movement on the slopes slow and gradual Do not
make sudden changes in speed or direction.
• Avoid starting or stopping on a slope. If tires lose traction,
disengage the blades and proceed slowly straight down the
slope. 2
DO NOT:
•Do not turn on slopes unless necessary, and then, turn
slowly and gradually downhill, if possible.
•Do not mow near drop-offs, ditches, or embankments.
The mower could suddenly turn over if a wheel is over the
edge of a cliff or ditch, or if an edge caves in.
•Do notmow on wet grass. Reduced traction could cause
sliding.
•Do not try to stabilize the machine by putting your foot
on the ground.
•Do not use grass catcher on steep slopes.
II1.CHILDREN
Tragic accidents can occur if the operator is not alert to the
presence of children. Children are often attracted to the
machine and the mowing activity. Never assume that
children will remain where you last saw them.
• Keep children out of the mowing area and under the
watchful care of another responsible adult.
• Be alert and turn machine off if children enter the area.
• Before and when backing, look behind and down for
small children.
• Nevercarrychildren. They may fall off and be seriously
injured or interfere with safe machine operation.
• Never allow children to operate the machine.
• Use extra care when approaching blind corners, shrubs,
trees, or other objects that may obscure vision.
IV. SERVICE
• Use extra care in handling gasoline and other fuels.
They are flammable and vapors are explosive.
Use only an approved container.
Never remove gas cap or add fuel with the engine
running. AIIowenginetocool before refueling. Do not
smoke.
Never refuel the machine indoors.
Never storet he machine or fuel container inside where
there is an open flame, such as a water heater.
• Never run a machine inside a closed area.
• Keep nuts and bolts, especially blade attachment bolts,
tight and keep equipment in good condition.
• Never tamper with safety devices. Check their proper
operation regularly.
• Keep machine free of grass, leaves, or other debris
build-up. Clean oil orfuel spillage. Allow machine to cool
before storing.
• Stop and inspect the equipment if you strike an object.
Repair, if necessary, before restarting.
• Never make adjustments or repairs with the engine
running.
• Grass catcher components are subject to wear, dam-
age, and deterioration, which could expose moving parts
or allow objects to be thrown. Frequently check compo-
nents and replace with manufacturer's recommended
parts, when necessary.
• Mower blades are sharp and can cut. Wrapthe blade(s)
or wear gloves, and use extra caution when servicing
them.
• Check brake operation frequently. Adjust and service
as required.

SAFETY RULES
Safe Operation Practices for Ride-On Mowers &
• Be sure the area is clear of other people before mowing. Stop
machine if anyone enters the area.
• Never carry passengers or children even with the blades off.
• Do not mow in reverse unless absolutely necessary. Always
look down and behind before and while backing.
• Never carry children. They may fall off and be seriously
injured or interfere with safe machine operation.
• Keep children out ofthe mowing area and under the watchful
care of another responsible adult.
• Be alert and turn machine off if children enter the area.
• Before and when backing, look behind and down for small
children.
• Mow up and down slopes (15 ° Max), not across.
• Remove obstacles such as rocks, tree limbs, etc.
• Watch for holes, ruts, or bumps. Uneven terrain could over-
turn the machine. Tall grass can hide obstacles.
• Use slow speed. Choose a low gear so that you will not have
to stop or shift while on the slope.
• Avoid starting or stopping on a slope. If tires lose traction,
disengage the blades and proceed slowly straight down the
slope.
• If machine stops while going uphill, disengage blades, shift
into reverse and back down slowly.
• Do not turn on slopes unless necessary, and then, turn slowly
and gradually downhill, if possible.
Look for this symbol to point out important
safety precautions. It means CAUTION!!!
BECOME ALERT!!! YOUR SAFETY IS IN-
VOLVED.
I_CAUTION: Do not coast down a hill in
neutral, you may lose control of the trac-
tor.
CAUTION: Tow onlythe attachments that
are recommended by and comply with
specifications of the manufacturer of your
tractor. Use common sense when towing.
Operate only at the lowest possible speed
when on a slope. Too heavyof a load, while
on a slope, is dangerous. Tires can lose
traction with the ground and cause you to
lose control of your tractor.
CAUTION: In order to prevent accidental
starting when setting up, transporting, ad-
justing or making repairs, always discon-
nect spark plu g wire and place wire where
it cannot contact spark plug.
TABLE OF CONTENTS
SAFETY RULES ........................................................ 2-3
PRODUCT SPECIFICATIONS ....................................... 4
WARRANTY .................................................................. 4
CUSTOMER RESPONSIBILITIES ...................... 4, 15-18
ASSEMBLY ................................................................ 6-8
OPERATION ............................................................. 9-14
MAINTENANCE SCHEDULE ....................................... 15
SERVICE AND ADJUSTMENTS ............................. 19.23
STORAGE ................................................................... 24
TROUBLESHOOTING ............................................. 25-26
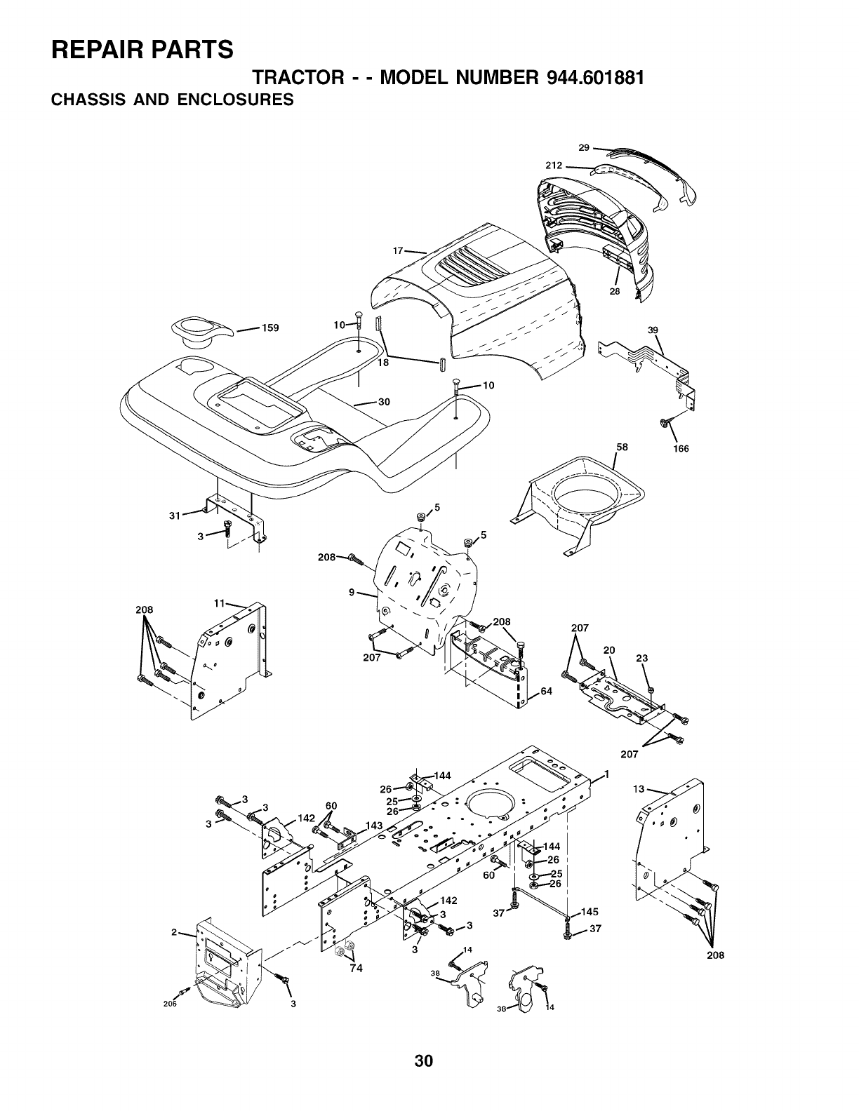
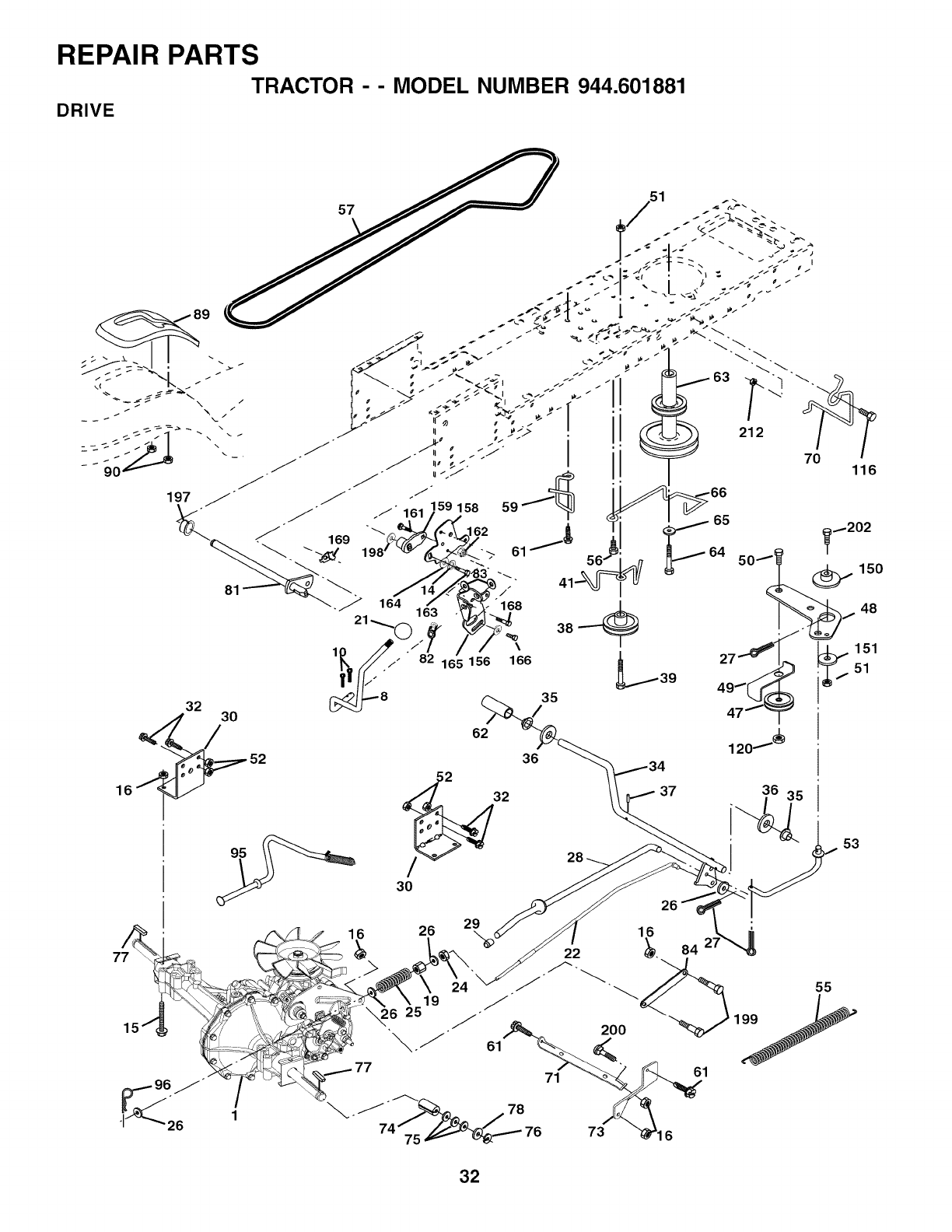
REPAIR PARTS - TRACTOR .................................. 28-45
REPAIR PARTS - ENGINE ...................................... 46-50
PARTS ORDERING/SERVICE ................. BACK COVER
3

PRODUCT SPECIFICATIONS
GASOLINE CAPACITY 3.5 GALLONS
AND TYPE: UNLEADED REGULAR
OILTYPE (API-SF-SJ): SAE 30 (above 32°F)
SAE 5W-30 (below 32°F)
SYNTHETIC (below 0°F)
Your tractor was shipped from the factory with non-synthetic SAE
10W-30 motor oil.
OIL CAPACITY: 4 PINTS
SPARK PLUG: CHAMPION RC12YC
(GAP: .040")
GROUND SPEED (MPH): FORWARD: 5.5
REVERSE: 2.4
TIRE PRESSURE: FRONT: 14 PSI
REAR: 10 PSI
CHARGING SYSTEM: 3 AMPS BATTERY
5 AMPS HEADLIGHTS
BATTERY: AMP/HR: 30
MIN. CCA: 240
CASESlZE: U1R
BLADE BOLT TORQUE: 27-35 FT. LBS.
MAINTENANCE AGREEMENT
A Maintenance Agreement is available on this product.
Contact your nearest Sears store for details.
CUSTOMER RESPONSIBILITIES
•Read and observe the safety rules.
• Followa regular schedule in maintaining, caring for and
using your tractor.
• Followthe instructions under"Customer Responsibili-
ties" and "Storage" sections of this owner's manual.
WARNING: This tractor is equipped with an internal
combustion engine and should not be used on or near any
unimproved fo rest -cove red, brush-cove red orgrass-cov-
ered land unless the engine's exhaust system is equipped
with a spark arrester meeting applicable local or state laws
(if any). If a spark arrester is used, it should be maintained
in effective working order by the operator.
A spark arrester for the muffler is available through your
nearest Authorized Service Centre/Department (See RE-
PAIR PARTS section of this manual).
CONGRATULATIONS on your purchase of a new tractor. It has been designed, engineered and manufactured to give you
the best possible dependability and performance.
Should you experience any problem you cannot easily remedy, please contact your nearest authorized service centre/
department. We have competent, well-trained technicians and the proper tools to service or repair this tractor.
Please read and retain this manual. The instructions will enable you to assemble and maintain your tractor properly. Always
observe the "SAFETY RULES".
WARRANTY
LIMITED TWO (2) YEAR WARRANTY ON CRAFTSMAN TRACTOR (RIDING EQUIPMENT)
For two (2) years from date of purchase Sears Canada, Inc. will repair or replace at Sears option free of charge parts which
are defective as a result of material or workmanship.
FULL ONE (1) YEAR WARRANTY ON BATTERY
For one (1) year from date of purchase, if any battery included with this riding equipment proves defective in material or
workmanship and our testing determines the battery will not hold a charge, Sears will replace the battery at no charge.
COMMERCIAL OR RENTAL USE
Warranty on Riding Equipment used for commercial or rental purposes is limited to ninety (90) days.
This Warranty does NOT cover:
1. Pre-delivery set-up.
2. Tire replacement or repair caused by punctures from outside objects (such as nails, thorns, stumps, or glass).
3. Expendable items which become worn during normal use, such as blades, spark plug, air cleaners and belts.
4. Repairs necessary because of operator abuse or negligence, including damaged jackshaft or mandrel and the
failure to operate and maintain the equipment according to the instructions contained in the Owner's Manual.
5. In Home service.
Warranty service is available by returning the Craftsman Riding Equipment to the nearest Sears Service Centre/Department in
Canada. This warranty applies only while this product is in use in Canada.
This warranty is in addition to any statutory warranty and does not exclude or limit legal rights you may have but shall run
concurrently with applicable provincial legislation. Furthermore, some provinces do NOT allow limitation on how long an
implied warranty will last so the above limitations may not apply to you.
SEARS CANADA, INC., TORONTO, ONTARIO M5B 2B8
4

UNASSEMBLED PARTS
(1) Large Flat
Washer
Boot
Steering Wheel
Steering
Wheel
, , Adapter
I I
U
©
Steering
Extension
Shaft Steering
Wheel
Insert
(1) Lockwasher 3/8 @
(1) Locknut
5/16-18
(1) Hex Bolt
3/8-16 x 1
(1) Hex Bolt
5/16-18 x 1-1/4
(2) Hex Bolts
Keys
Seat
(1) Washer @
17/32 x 1-3/16 x 12 Gauge
(1) Knob
Battery
1/4-20 x 3/4 (2) Keps Nuts 1/4-20
Slope Sheet
(2) Keys
(1) Oil Drain Tube
5

ASSEMBLY
Your new tractor has been assembled at the factory with exception of those parts left unassembled for shipping purposes. To
ensure safe and proper operation of your tractor all parts and hardware you assemble must be tightened securely. Use the
correct tools as necessary to insure proper tightness.
TOOLS REQUIRED FOR ASSEMBLY
A socket wrench set will make assembly easier. Standard
wrench sizes are listed.
(1) 9/16" wrench Pliers
(2) 7/16" wrenches Tire pressure gauge
(2) 1/2" wrenches Utility knife
When right or left hand is mentioned inthis manual, it means
when you are in the operating position (seated behind the
steering wheel).
TO REMOVE TRACTOR FROM CARTON
UNPACK CARTON
• Remove all accessible loose parts and parts cartons
from carton.
• Cut, from top to bottom, along lines on all four corners
of carton, and lay panels flat.
• Check for any additional loose parts or cartons and
remove.
BEFORE REMOVING TRACTOR FROM
SKID
ATTACH STEERING WHEEL (See Fig. 1)
ASSEMBLE EXTENSION SHAFT AND BOOT
• Slide extension shaft onto lower steering shaft. Align
mounting holes in extension and lower shafts and install
5/16 hex bolt and Iocknut. Tighten securely.
IMPORTANT: TIGHTEN BOLT AND NUT SECURELY TO
18-22 FT. LBS TORQUE.
• Place tabs of steering boot over tab slots in dash and
push down to secure.
INSTALL STEERING WHEEL
• Position front wheels of the tractor so they are pointing
straight forward.
• Remove steering wheel adapter from steering wheel and
slide adapter onto steering shaft extension.
• Position steering wheel so cross bars are horizontal (left
to right) and slide inside boot and onto adapter.
• Assemble large flat washer, 3/8 lock washer, 3/8 hex
bolt and tighten securely.
• Snap steering wheel insert into center of steering wheel.
• Remove protective materials from tractor hood and grill.
IMPORTANT: CHECK FOR AND REMOVE ANY STAPLES
IN SKID THAT MAY PUNCTURE TIRES WHERE TRACTOR
IS TO ROLL OFF SKID.
/--_. __INSERT
<.__ 318 HEX BOLT
_ _--3/8LOCKWASHER
STEERING
BOOT
ADAPTER EXTENSION SHAFT
5/16 HEX BOLT
5/16 LOCKNUT
FIG. 1
I
I
I
/
I
SLOTS
HOW TO SET UP YOUR TRACTOR
CONNECT BATTERY (See Fig. 2)
CAUTION: Do not short battery termi-
i_ nals by allowing a wrench or any other
object to contact both terminals at the
same time. Before connecting battery,
remove metal bracelets, wristwatch
bands, rings, etc.
Positive terminal must be connected
first to prevent sparking from accidental
grounding.
6

ASSEMBLY
•Lift hood to raised position.
• Open terminal access doors, remove terminal protec-
tive caps and discard.
• If this battery is put into service after month and year
indicated on label (label located between terminals)
charge battery for minimum of one hour at 6-10 amps.
• First connect RED battery cable to positive (+) battery
terminal with hex bolt and keps nut as shown. Tighten
securely.
• Connect BLACK grounding cableto negative (-) battery
terminal with remaining hex bolt and keps nut. Tighten
securely.
Close terminal access doors.
Use terminal access doors for:
• Inspection for secure
hardware).
• Inspection for corrosion.
• Testing battery.
• Jumping (if required).
• Periodiccharging.
connections (to tighten
DISCARD
TERMINAL
PROTECTIVE KEPS
CAPS _,_ .
,/ - i
TERMINAL
ACCESS
DOOR '.
HEX BOLT
POSITIVE
(RED)CABLE
NEGATIVE
(BLACK)CABLE
FIG. 2
INSTALL SEAT (See Fig. 3)
Adjust seat before tightening adjustment knob.
• Remove adjustment knob and flat washer securing seat
to cardboard packing and set aside for assembly of seat
to tractor.
• Pivot seat upward and remove from the cardboard
packing. Remove the cardboard packing and discard.
• Place seat on seat pan so head of shoulder bolt is
positioned over large slotted hole in pan.
• Push down on seat to engage shoulder bolt in slot and
pull seat towards rear of tractor.
• Pivot seat and pan forward and assemble adjustment
knob and flat washer loosely. Do not tighten.
• Lower seat into operating position and sit on seat.
• Slide seat until a comfortable position is reached which
allows you to press clutch/brake pedal all the way down.
• Get off seat without moving its adjusted position.
• Raise seat and tighten adjustment knob securely.
SEAT
SEAT PAN
FLAT WASHER
SHOULDER
BOLT
7
ADJUSTMENT
KNOB
FIG. 3
NOTE: You may now roll or drive your tractor off the skid.
Follow the appropriate instruction below to remove the
tractor from the skid.
TO ROLLTRACTOR OFF SKID (See Operation
section, page 10, for location and function of
controls)
• Press lift lever plunger and raise attachment lift lever to
its highest position.
• Release parking brake by depressing clutch/brake pedal.
• Place freewheel control in freewheeling position to
disengage transmission (See "TO TRANSPORT" inthe
Operation section of this manual).
Roll tractor forward off skid.
Remove banding holding deflector shield up against
tractor.
TO DRIVE TRACTOR OFF SKID (See Opera-
tion section, page 10, for location and func-
tion of controls)
_WARNING: Before starting, read, understand and follow
all instructions in the Operation section of this manual. Be
sure tractor is in a well-ventilated area. Be sure the area in
front of tractor is clear of other people and objects.
• Be sure all the above assembly steps have been
completed.
• Check engine oil level and fill fuel tank with gasoline.
• Place freewheel control in "transmission engaged" po-
sition.
• Sit on seat in operating position, depress clutch/brake
pedal and set the parking brake.
• Place motion control lever in neutral (N) position.
• Press lift lever plunger and raise attachment lift lever to
its highest position.
• Start the engine. After engine has started, movethrottle
control to idle position.
• Release parking brake.
• Slowly move the motion control lever forward and slowly
drive tractor off skid.
• Apply brake to stop tractor, set parking brake and place
motion control lever in neutral position.
• Turn ignition key to "OFF" position.
Continue with the instructions that follow.

ASSEMBLY
INSTALL MULCHER PLATE
(Ifpreviously removed) (See Fig.4)
• Raise and hold deflector shield in upright position.
• Place front of mulcher plate over front of mower deck
opening and slide into place, as shown.
• Hook front latch into hole on front of mower deck.
• Hook rear latch into hole on back of mower deck.
CAUTION: Do not remove deflector
shield from mower. Raise and hold shield
when attaching mulcher plate and allow
it to rest on plate while in operation.
DEFLECTOR MULCHER
SHIELD PLATE
LATCH
HOOKS
FIG. 4
TO CONVERT TO BAGGING OR
DISCHARGING
Simply remove mulcher plate and store in a safe place. Your
mower is now ready for discharging or installation of optional
grass catcher accessory.
NOTE: It is not necessary to change blades. The mulcher
blades are designed for discharging and bagging also.
CHECK TIRE PRESSURE
The tires on your tractor were overinflated at the factory for
shipping purposes. Correct tire pressure is important for
best cutting performance.
• Reduce tire pressure to PSI shown in "PRODUCT
SPECIFICATIONS" section of this manual.
CHECK DECK LEVELNESS
For best cutting results, mower housing should be properly
leveled. See"TO LEVEL MOWER HOUSING" inthe Service
and Adjustments section of this manual.
CHECK FOR PROPER POSITION OF ALL
BELTS
See the figures that are shown for replacing motion and
mower blade drive belts in the Service and Adjustments
section of this manual. Verify that the belts are routed
correctly.
CHECK BRAKE SYSTEM
After you learn howto operate your tractor, checkto seethat
the brake is properly adjusted. See "TO ADJUST BRAKE"
in the Service and Adjustments section of this manual.
,/CHECKL IS T
BEFORE YOU OPERA TEAND ENJOY YOUR NEW TRAC-
TOR, WE WISH TO ASSURE THAT YOU RECEIVE THE
BES TPERFORMANCE AND SA TISFA CTION FROM THIS
QUALITY PRODUCT.
PLEASE REVIEW THE FOLLOWING CHECKLIST:
,/ All assembly instructions have been completed.
,/ No remaining loose parts in carton.
,/ Battery is properly prepared and charged. (Minimum 1
hour at 6 amps).
,/ Seat is adjusted comfortably and tightened securely.
,/ All tires are properly inflated. (For shipping purposes,
the tires were overinflated at the factory).
,/ Be sure mower deck is properly leveled side-to-side/
front-to-rear for best cutting results. (Tires must be
properly inflated for leveling).
,/ Check mower and drive belts. Be sure they are routed
properly around pulleys and inside all belt keepers.
,/ Check wiring. See that all connections are still secure
and wires are properly clamped.
,/ Before driving tractor, be sure freewheel control is in
drive position.
WHILE LEARNING HOW TO USE YOUR TRACTOR, PAY
EXTRA A TTENTION TO THE FOLLOWING IMPORTANT
ITEMS:
,/ Engine oil is at proper level.
,/ Fuel tank is filled with fresh, clean, regular unleaded
gasoline.
,/ Become familiar with all controls - their location and
function. Operate them before you start the engine.
,/ Be sure brake system is in safe operating condition.
,/ Itis importantto purgethetransmission beforeoperating
your tractor for the first time. Follow proper starting and
transmission purging instructions (See "TO START
ENGINE"and"PURGE TRANSMISSION" inthe Opera-
tion section of this manual).
8

OPERATION
These symbols may appear on your tractor or in literature supplied with the product. Learn and understand their meaning.
BATTERY CAUTION OR REVERSE FORWARD FAST SLOW
WARNING
ENGINE ON ENGINE OFF OIL PRESSURE LIGHTS ON OVER TEMP _"
LIGHT !
i
FUEL CHOKE MOWER HEIGHT PARKING BRAKE UNLOCKED MOWER LIFT
LOCKED
N H
ATTACHMENT REVERSE NEUTRAL HIGH LOW
CLUTCH ENGAGED
IGNITION
ATTACHMENT
CLUTCH DISENGAGED
PARKING BRAKE
KEEP AREA CLEAR SLOPE HAZARDS
(SEE SAFETY RULES SECTION)
DANGER, KEEP HANDS AND FEET AWAY FREE WHEEL
(Automatic Models only)
9

OPERATION
KNOW YOUR TRACTOR
READ THIS OWNER'S MANUAL AND SAFETY RULES BEFORE OPERATING YOUR TRACTOR
Compare the illustrations with your tractor to familiarize yourself with the locations of various controls and adjustments. Save
this manual for future reference.
ATTACHMENT
CLUTCH LEVER IGNITION LIGHT
SWITCH SWITCH
POSITION
AMMETER
CHOKE
CONTROL
THROTTLE
CLUTCH/ _:
BRAKE
PEDAL
-..-.-:--::-'.
i....
SPEED
3MPH
y2 MPH
1MPH
LIFT LEVER
PLUNGER
ATTACHMENT
LIFT LEVER
oMOWER DECK
HEIGHT
ADJUSTMENT
POSITIONS
PARKING
BRAKE
MOTION
CONTROL
LEVER
FIG. 5
Our tractors conform to the safety standards of the American National Standards Institute.
ATTACHMENT CLUTCH LEVER: Used to engage the
mower blades, orother attachments mounted toyour tractor.
LIGHT SWITCH: Turns the headlights on and off.
THROTTLE CONTROL: Used to control engine speed.
CHOKE CONTROL: Used when starting a cold engine.
CLUTCH/BRAKE PEDAL: Used for declutching and brak-
ing the tractor and starting the engine.
PARKING BRAKE: Locks clutch/brake pedal intothe brake
position.
FREEWHEEL CONTROL: Disengages transmission for
pushing or slowly towing the tractor with the engine off.
AMMETER: Indicates charging (+) or discharging (-) of
battery.
MOTION CONTROL LEVER: Selects the speed and
direction of tractor.
ATTACHMENT LIFT LEVER: Used to raise, lower, and
adjust the mower deck or other attachments mounted to your
tractor.
LIFT LEVER PLUNGER: Used to release attachment lift
lever when changing its position.
IGNITION SWITCH: Used for starting and stopping the
engine.
10

OPERATION
The operation of anytractor can result in foreign objects thrown into the eyes, which can
result in severe eye damage. Always wear safety glasses or eye shields while operating
your tractor or performing any adjustments or repairs. We recommend a wide vision
safety mask over spectacles or standard safety glasses.
HOW TO USE YOUR TRACTOR
TO SET PARKING BRAKE (See Fig. 6)
Your tractor is equipped with an operator presence sensing
switch. When engine is running, any attempt by the operator
to leave the seat without first setting the parking brake will
shut off the engine.
• Depress clutch/brake pedal into full "BRAKE" position
and hold.
• Place parking brake lever in "ENGAGED" position and
release pressure from clutch/brake pedal. Pedalshould
remain in "BRAKE" position. Make sure parking brake
will hold tractor secure.
CHOKE
CONTROL
ATTACHMENT CLUTCH
LEVER"ENGAGED"
POSITION
IGNITION
KEY
THROTTLE
CONTROL
"BRAKE"
POSITION
\
_IOTION
CONTROL
LEVER
CLUTCH/BRAKE PEDAL
"DRIVE" POSITION
PARKING BRAKE
"DISENGAGED" POSITION
FIG. 6
STOPPING (See Fig. 6)
MOWER BLADES -
• To stop mower blades,move attachment clutch lever to
"DIS ENGAGED" position.
GROUND DRIVE-
• To stop ground drive, depress clutch/brake pedal into
full "BRAKE" position.
• Move motion control lever to neutral (N) position.
IMPORTANT: THE MOTION CONTROL LEVER DOES
NOT RETURN TO NEUTRAL (N) POSITION WHEN THE
CLUTCH/BRAKE PEDAL IS DEPRESSED.
ENGINE -
• Move throttle control to slow position.
NOTE: Failure to move throttle control to slow position and
allowing engine to idle before stopping may cause engine to
"backfire".
• Turn ignition key to "OFF" position and remove key.
Always remove key when leaving tractor to prevent
unauthorized use.
• Never use choke to stop engine.
IMPORTANT: LEAVING THE IGNITION SWITCH IN ANY
POSITION OTHER THAN "OFF" WILL CAUSE THE
BATTERY TO BE DISCHARGED, (DEAD).
NOTE: Undercertain conditions when tractor isstanding idle
with the engine running, hot engine exhaust gases may
cause "browning" of grass. To eliminate this possibility,
always stop engine when stopping tractor on grass areas.
CAUTION: Always stop tractor com-
pletely, as described above, before leav-
ing the operator's position; to empty
grasscatcher, etc.
TO USE THROTTLE CONTROL (See Fig. 6)
Always operate engine at full throttle.
• Operating engine at less than full throttle reduces the
battery charging rate.
• Full throttle offers the best bagging and mower perfor-
mance.
11
TO USE CHOKE CONTROL (See Fig. 6)
Use choke control whenever you are starting a cold engine.
Do not use to start a warm engine.
• To engage choke control, pull knob out. Slowly push
knob in to disengage.
TO MOVE FORWARD AND BACKWARD (See
Fig. 6)
The direction and speed of movement is controlled by the
motion control lever.
• Start tractor with motion control lever in neutral (N)
position.
• Release parking brake and clutch/brake pedal.
• Slowly move motion control lever to desired position.
TO ADJUST MOWER CUTTING HEIGHT
(See Fig. 6)
The position of the attachment lift lever determines the
cutting height.
• Grasp lift lever.
• Press plunger with thumb and move lever to desired
position.
The cutting height range is approximately 1-1/2 to 4". The
heights are measured from the ground to the blade tip with
the engine not running. These heights are approximate and
may vary depending upon soil conditions, height of grass
and types of grass being mowed.
• The average lawn should be cut to approximately 2-1/2
inches during the cool season and to over 3 inches
during hot months. For healthier and better looking
lawns, mow often and after moderate growth.
• For best cutting performance, grass over 6 inches in
height should be mowed twice. Make the first cut
relatively high; the second to desired height.

OPERATION
TO ADJUST GAUGE WHEELS (See Fig. 7)
Gauge wheels are properly adjusted when they are slightly
off the ground when mower is at the desired cutting height in
operating position. Gauge wheels then keep the deck in
proper position to help prevent scalping in most terrain
conditions.
NOTE:Adjust gauge wheels with tractor on a flat level
surface.
• Adjust mower to desired cutting height (See "TO AD-
JUST MOWER CUTTING HEIGHT" in the Operation
section of this manual).
• With mower in desired height of cut position, gauge
wheels should be assembled so they are slightly off the
ground. Install gauge wheel in appropriate hole with
shoulder bolt, 3/8 washer, and 3/8-16 Iockn ut and tighten
securely.
• Repeat for opposite side installing gauge wheel in same
adjustment hole.
GAUGE
MOUNTING
BRACKET
3/8-16 LOCKNUT
3/8 WASHER SHOULDER
GAUGE _BOLT
FIG. 7
TO OPERATE MOWER (See Fig. 8)
Your tractor is equipped with an operator presence sensing
switch. Any attempt by the operator to leave the seat with
the engine running and the attachment clutch engaged will
shut off the engine.
• Select desired height of cut.
• Start mower blades by engaging attachment clutch
control.
• TO STOP MOWER BLADES - disengage attachment
clutch control.
CAUTION: Do not operate the mower
without either the entire grass catcher,
on mowers so equipped, orthe deflector
shield in place.
"ENGAGED" POSITION
ATTACHMENT
LIFT LEVER
HIGH POSITION
//'
,",_ LOW
// POSITION
,, DEFLECTOR
SHIELD
CLUTCH LEVER
"DISENGAGED"
POSITION
TO OPERATE ON HILLS
i_ CAUTION: Donotdriveupordownhills
with slopes greater than 15° and do not
drive across any slope.
• Choose the slowest speed before starting up or down
hills.
• Avoid stopping or changing speed on hills.
• If slowing is necessary, move throttle control lever to
slower position.
• If stopping is absolutely necessary, push clutch/brake
pedal quickly to brake position and engage parking
brake.
• Move motion control lever to neutral (N) position.
IMPORTANT: THE MOTION CONTROL LEVER DOES
NOT RETURN TO NEUTRAL (N) POSITION WHEN THE
CLUTCH/BRAKE PEDAL IS DEPRESSED.
• To restart movement, slowly release parking brake and
clutch/brake pedal.
• Slowly move motion control lever to slowest setting.
• Make all turns slowly.
TO TRANSPORT (See Figs. 5 and 9)
When pushing or towing your tractor, be sure to disengage
transmission by placing freewheel control in freewheeling
position. Freewheel control is located atthe reardrawbar of
tractor.
• Raise attachment lift to highest position with attach-
ment lift control.
• Pull freewheel control out and down into the slot and
release so it is held in the disengaged position.
• Do not push or tow tractor at more than two (2) MPH.
• To reengagetransmission, reverse above procedure.
NOTE: To protect hood from damage when transporting
your tractor on a truck or atrailer, be sure hood is closed and
secured to tractor. Use an appropriate means of tying hood
to tractor (rope, cord, etc.).
FIG. 9
TOWING CARTS AND OTHER ATTACHMENTS
Tow only the attachments that are recommended by and
comply with specifications of the manufacturer of your
tractor. Use common sense when towing. Too heavy of a
load, while on a slope, is dangerous. Tires can lose traction
with the ground and cause you to lose control of your tractor.
FIG. 8 12

OPERATION
BEFORE STARTING THE ENGINE
CHECK ENGINE OIL LEVEL
• The engine in your tractor has been shipped, from the
factory, already filled with summer weight oil.
• Check engine oil with tractor on level ground.
• Remove oil fill cap/dipstick and wipe clean, reinsert the
dipstick and screw cap tight, wait for a few seconds,
remove and read oil level. If necessary, add oil until
"FULL" mark on dipstick is reached. Do not overfill.
• For cold weather operation you should change oil for
easier starting (See "OIL VISCOSITY CHART" in the
Customer Responsibilities section of this manual).
• To change engine oil, seethe Customer Responsibilities
section in this manual.
ADD GASOLINE
• Fill fuel tank. Use fresh, clean, regular unleaded
gasoline with a minimum of 87 octane. (Use of leaded
gasoline will increase carbon and lead oxide deposits
and reduce valve life). Do not mix oil with gasoline.
Purchase fuel in quantities that can be used within 30
days to assure fuel freshness.
IMPORTANT: WHEN OPERATING IN TEMPERATURES
BELOW 32°F(0°C), USE FRESH, CLEAN WINTER GRADE
GASOLINE TO HELP INSURE GOOD COLD WEATHER
STARTING.
WARNING: Experience indicatesthat alcohol blended fuels
(called gasohol or using ethanol or methanol) can attract
moisture which leads to separation and formation of acids
during storage. Acidic gas can damage the fuel system of
an engine while in storage. To avoid engine problems, the
fuel system should be emptied before storage of 30 days or
longer. Drain the gas tank, start the engine and let it run until
the fuel lines and carburetor are empty. Use fresh fuel next
season. See Storage Instructionsforadditional information.
Never use engine or carburetor cleaner products in the fuel
tank or permanent damage may occur.
CAUTION: Fill to bottom of gas tank
filler neck. Do not overfill. Wipe off any
spilled oil or fuel. Do not store, spill or
use gasoline near an open flame.
TO START ENGINE (See Fig. 5)
When starting the engine for the first time or if the engine has
run out of fuel, it will take extra cranking time to move fuel
from the tank to the engine.
• Be sure freewheel control is inthe transmission engaged
position.
• Sit on seat in operating position, depress clutch/brake
pedal and set parking brake.
• Place motion control lever in neutral (N) position.
• Move attachment clutch to "DISENGAGED" position.
• Move throttle control to fast position
• Pull choke control out for a cold engine start attempt. For
a warm engine start attempt the choke control may not
be needed.
NOTE: Before starting, read the warm and cold starting
procedures below.
13
• Insert key into ignition and turn key clockwise to
"START" position and release key as soon as engine
starts. Do not run starter continuously for more than
fifteen seconds per minute. If the engine does not start
after several attempts, push choke control in, wait a few
minutes and try again. If engine still does not start, pull
the choke control out and retry.
WARM WEATHER STARTING (50° F and above)
• When engine starts, slowly push choke control in until
the engine begins to run smoothly. If the engine starts
to run roughly, pull the choke control out slightly for a few
seconds and then continue to push the control in slowly.
• The attachments and ground drive can now be used. If
the engine does not accept the load, restart the engine
and allow it to warm up for one minute using the choke
as described above.
COLD WEATHER STARTING (50° F and below)
• When engine starts, slowly push choke control in until
the engine begins to run smoothly. Continue to push the
choke control in small steps allowing the engine to
accept small changes inspeed and load, until the choke
control is fully in. If the engine starts to run roughly, pull
the choke control out slightly for a few seconds and then
continue to push the control in slowly. This may require
an engine warm-up period from several seconds to
several minutes, depending on the temperature.
AUTOMATIC TRANSMISSION WARM UP
• Before drivingthe unit incold weather, thetransmission
should be warmed up as follows:
• Be sure the tractor is on level ground.
• Place the motion control lever in neutral. Release
the parking brake and let the clutch/brake
slowly return to operating position.
• Allowone minute fortransmission to warm up. This
can be done during the engine warm up period.
• The attachments can be used during the engine warm-
up period after the transmission has been warmed up
and may require the choke control be pulled out slightly.
NOTE: If at a high altitude (above 3000 feet) or in cold
temperatures (below 32 F) the carburetor fuel mixture may
need to be adjusted for best engine performance. See "TO
ADJUST CARBURETOR" in the Service and Adjustments
section of this manual.
PURGE TRANSMISSION
CAUTION: Never engage or disengage
freewheel lever while the engine is run-
ning.
To ensure proper operation and performance, it is recom-
mended that the transmission be purged before operating
tractor for the first time. This procedure will remove any
trapped air inside the transmission which may have devel-
oped during shipping of your tractor.
IMPORTANT: SHOULD YOUR TRANSMISSION REQUIRE
REMOVAL FOR SERVICE OR REPLACEMENT, IT
SHOULD BE PURGED AFTER REINSTALLATION BEFORE
OPERATING THE TRACTOR.
• Place tractor safely on level surface with engine off and
parking brake set.
• Disengage transmission by placing freewheel control in
freewheeling position (See "TO TRANSPORT" in this
section of manual).

OPERATION
• Sitting in the tractor seat, start engine. After the engine
is running, move throttle control to slow position. With
motion control lever in neutral (N) position, slowly
disengage clutch/brake pedal.
• Move motion control lever to full forward position and
hold for five (5) seconds. Move lever to full reverse
position and hold for five (5) seconds. Repeat this
procedure three (3) times.
NOTE: During this procedure there will be no movement of
drive wheels. The air is being removed from hydraulic drive
system.
• Move motion control lever to neutral (N) position. Shut-
off engine and set parking brake.
• Engage transmission by placing freewheel control in
driving position (See "TO TRANSPORT" in this section
of manual).
• Sitting in the tractor seat, start engine. After the engine
is running, move throttle control to half (1/2) speed. With
motion control lever in neutral (N) position, slowly
disengage clutch/brake pedal.
• Slowly move motion control lever forward, after the
tractor moves approximately five (5) feet, slowly move
motion control lever to reverse position. After the tractor
moves approximately five (5) feet return the motion
control lever to the neutral (N) position. Repeat this
procedure with the motion control lever three (3) times.
• Your tractor is now purged and now ready for normal
operation.
MOWING TIPS
• Mower should be properly leveled for best mowing
performance. See "TO LEVEL MOWER HOUSING" in
the Service and Adjustments section of this manual.
• The left hand side of mower should be used for trimming.
• Drive so that clippings are discharged onto the area that
has been cut. Have the cut area to the right of the
machine. This will result in a more even distribution of
clippings and more uniform cutting.
• When mowing large areas, start byturning tothe right so
that clippings will discharge away from shrubs, fences,
driveways, etc. After one or two rounds, mow in the
opposite direction making left hand turns until finished
(See Fig. 10).
• If grass is extremely tall, it should be mowed twice to
reduce load and possible fire hazard from dried clip-
pings. Make first cut relatively high; the second to the
desired height.
• Do not mow grass when it is wet. Wet grass will plug
mowerand leave undesirableclumps. AIIowgrasstodry
before mowing.
• Always operate engine at full throttle when mowing
to assure better mowing performance and proper dis-
charge of material. Regulate ground speed by selecting
a low enough gear to give the mower cutting perfor-
mance as well as the quality of cut desired.
• When operating attachments, select a ground speed
that will suit theterrain and give best performance of the
attachment being used.
f
(jJ
FIG. 10
MULCHING MOWING TIPS
IMPORTANT: FOR BEST PERFORMANCE, KEEP MOWER
HOUSING FREE OF BUILT-UP GRASS AND TRASH.
CLEAN AFTER EACH USE.
• The special mulching blade will recut the grass clippings
many times and reduce them in size so that as they fall
onto the lawn they will disperse into the grass and not be
noticed. Also, the mulched grass will biodegrade
quickly to provide nutrients for the lawn. Always mulch
with your highest engine (blade) speed as this will
provide the best recutting action of the blades.
• Avoid cutting your lawn when it is wet. Wet grass tends
to form clumps and interferes with the mulching action.
The best time to mow your lawn is the early afternoon.
At this time the grass has dried and the newly cut area
will not be exposed to the direct sun.
• For best results, adjust the mower cutting height sothat
the mower cuts off only the top one-third of the grass
blades (See Fig. 11). For extremely heavy mulching,
reduce your width of cut on each pass and mow slowly.
• Certain types of grass and grass conditions may require
that an area be mulched a second time to completely
hide the clippings. When doing a second cut, mow
across or perpendicular to the first cut path.
• Change your cutting pattern from week to week. Mow
north to south one week then change to east to west the
next week. This will help prevent matting and graining
of the lawn.
MAX 1/3
FIG. 11
14

CUSTOMER RESPONSIBILITIES
MAINTENANCE SCHEDULE _____°_ "_
F,LL,NDATES
S OOCO 'ETE
Check Brake Operation if if
Check Tire Pressure t_ I_
Check Operator Presence and
TInterlock Systems !_
R Check for Loose Fasteners I_ !_7 I_
ASharpen/Replace Mower Blades Ill4
C Lubrication Chart _ I_
0Check Battery Level t_6
RClean Battery and Terminals ti_ I_
Check Transaxle Cooling
Adjust Blade Belt(s) Tension Ill5
Adjust Motion Drive Belt(s) Tension 1_5
Check Engine Oil Level _ If
Change Engine Oil _1,23
E Clean Air Filter tI_'2
NClean Air Screen 1_2
GInspect Muffler/Spark Arrester !_
Replace Oil Filter (If equipped) _1,2
EClean Engine Cooling Fins _1_ 2
Replace Spark Plug _ 1_
Replace Air Filter Paper Cartridge _lf 2
Replace Fuel Filter I_
5 - If equipped with adjustable system.
6-Not required if equipped with maintenance-free battery.
7 - Tighten front axle pivot bolt to 35 ft.-Ibs, maximum.
Do not overtighten.
1 - Change more often when operating under a heavy load or in high ambient temperatures.
2 - Service more often when operating in dirty or dusty conditions.
3 - If equipped with oil filter, change oil every 50 hours.
4 - Replace blades more often when mowing in sandy soil.
GENERAL RECOMMENDATIONS
The warranty on this tractor does not cover items that have
been subjected to operator abuse or negligence. To receive
full value from the warranty, operator must maintain tractor
as instructed in this manual.
Some adjustments will need to be made periodically to
properly maintain your tractor.
All adjustments in the Service and Adjustments section of
this manual should be checked at least once each season.
• Once a year you should replace the spark plug, clean or
replace air filter, and check blades and belts for wear. A
new spark plug and clean air filter assure proper air-fuel
mixture and help your engine run better and last longer.
BEFORE EACH USE
• Check engine oil level.
• Checkbrake operation.
• Check tire pressure.
• Check operator presence and
interlock systems for proper operation.
• Check for loose fasteners.
LUBRICATION CHART
(1)SPINDLE
ZERK ::;r-'_ ZERK
0)FRONT "0)FRONT WHEEL
BEARING ZERK _BEARING ZERK
15
0)GENERAL PURPOSE GREASE
@)REFER TO CUSTOMER RESPONSIBILITIES "ENGINE"
SECTION
IMPORTANT: DO NOT OIL OR GREASE THE PIVOT POINTS
WHICH HAVE SPECIAL NYLON BEARINGS. VISCOUS LUBRI-
CANTS WILL ATTRACT DUST AND DIRT THAT WILL SHORTEN
THE LIFE OF THE SELF-LUBRICATING BEARINGS. IF YOU
FEEL THEY MUST BE LUBRICATED, USE ONLY A DRY, POW-
DERED GRAPHITE TYPE LUBRICANT SPARINGLY.

CUSTOMER RESPONSIBILITIES
TRACTOR
Always observe safety rules when performing any mainte-
nance.
BRAKE OPERATION
Iftractor requires more than six (6) feet stopping distance at
high speed in highest gear, then brake must be adjusted.
(See "TO ADJUST BRAKE" in the Service and Adjustments
section of this manual).
TIRES
• Maintain proper air pressure in alltires (See"PRODUCT
SPECIFICATIONS" section of this manual).
• Keep tires free of gasoline, oil, or insect control chemi-
cals which can harm rubber.
• Avoid stumps, stones, deep ruts, sharp objects and
other hazards that may cause tire damage.
NOTE: To seal tire punctures and prevent flat tires due to
slow leaks, tire sealant may be purchased from your local
parts dealer. Tire sealant also prevents tire dry rot and
corrosion.
OPERATOR PRESENCE SYSTEM
Be sure operator presence and interlock systems are work-
ing properly. Ifyour tractor does not function as described,
repair the problem immediately.
• The engine should not start unless the clutch/brake
pedal is fully depressed and attachement clutch control
is in the disengaged position.
• Whenthe engine is running, anyattempt bytheoperator
to leave the seat without first setting the parking brake
should shut off the engine.
• When the engine is running and the attachment clutch is
engaged, any attempt by the operator to leave the seat
should shut off the engine.
• The attachment clutch should never operate unless the
operator is in the seat.
BLADE CARE
For best results mower blades must be kept sharp. Replace
bent or damaged blades.
BLADE REMOVAL (See Fig. 12)
•Raise mower to highest position to allow access to
blades.
• Remove hex bolt, lock washer and flat washer securing
blade.
• Install new or resharpened blade with trailing edge up
towards deck as shown.
IMPORTANT: TO ENSURE PROPER ASSEMBLY, CENTER
HOLE IN BLADE MUST ALIGN WITH STAR ON MANDREL
ASSEMBLY.
• Reassemble hex bolt, lock washer and flat washer in
exact order as shown.
• Tighten bolt securely (27-35 Ft. Lbs. torque).
IMPORTANT: BLADE BOLT IS GRADE 8 HEATTREATED.
TRAILING
EDGE UP
BLADE
CENTER
HOLE
LOCK WASHER STAR MANDREL
ASSEMBLY
FLAT WASHER
HEX BOLT (GRADE 8)*
*A GRADE 8 HEAT TREATED BOLT CAN BE
IDENTIFIED BY SIX LINES ON THE BOLT HEAD.
FIG. 12
TO SHARPEN BLADE (See Fig. 13)
NOTE: We do not recommend sharpening blade- but ifyou
do, be sure the blade is balanced.
Care should be taken to keep the blade balanced. An
unbalanced blade will cause excessive vibration and even-
tual damage to mower and engine.
• The blade can be sharpened with a file or on a grinding
wheel. Do not attempt to sharpen while on the mower.
• To check blade balance, you will need a 5/8" diameter
steel bolt, pin, or a cone balancer. (When using a cone
balancer, follow the instructions supplied with balancer).
NOTE: Do not use a nail for balancing blade. The lobes of
the center hole may appear to be centered, but are not.
• Slide blade on to an unthreaded portion of the steel bolt
or pin and hold the bolt or pin parallel with the ground. If
blade is balanced, it should remain in a horizontal
position. If either end of the blade moves downward,
sharpen the heavy end until the blade is balanced.
CENTER HOLE
518" BOLT BLADE
OR
16
FIG. 13
BATTERY
Your tractor has a battery charging system which is suffi-
cient for normal use. However, periodic charging of the
battery with an automotive charger will extend its life.
• Keep battery and terminals clean.
• Keep battery bolts tight.
• Keep small vent holes open.
• Recharge at 6-10 amperes for 1 hour.
NOTE: The original equipment battery on your tractor is
maintenance free. Do not attempt to open or remove caps or
covers. Adding or checking level of electrolyte is not
necessary.

CUSTOMER RESPONSIBILITIES
TO CLEAN BATTERY AND TERMINALS
Corrosion and dirt on the battery and terminals can cause the
battery to "leak" power.
• Removeterminal guard.
• Disconnect BLACK batterycablefirst then RED battery
cable and remove battery from tractor.
• Rinse the battery with plain water and dry.
• Clean terminals and battery cable ends with wire brush
until bright.
• Coat terminals with grease or petroleum jelly.
• Reinstall battery (See "CONNECT BATTERY" in the
Assembly section of this manual).
V-BELTS
Check V-belts for deterioration and wear after 100 hours of
operation and replace if necessary. The belts are not
adjustable. Replace belts if they begin to slip from wear.
TRANSAXLE COOLING
The transmission fan and cooling fins should be kept clean
to assure proper cooling.
Do not attempt to clean fan or transmission while engine is
running or whilethe transmission is hot. To prevent possible
damage to seals, do not use high pressure water or steam
to clean transaxle.
• Inspect cooling fan to be sure fan blades are intact and
clean.
• Inspect cooling fins for dirt, grass clippings and other
materials. To prevent damage to seals, do not use
compressed air or high pressure sprayer to clean cooling
fins.
TRANSAXLE PUMP FLUID
The transaxle was sealed at the factory and fluid mainte-
nance is not required for the life of thetransaxle. Should the
transaxle ever leak or require servicing, contact your nearest
authorized service center/department.
ENGINE
LUBRICATION
Only use high quality detergent oil rated with API service
classification SF-SJ. Select the oil's SAE viscosity grade
according to your expected operating temperature. When
operating in temperatures below 0° F (-18° C) synthetic oil
must be used.
SAE VISCOSITY GRADES
Ill
F-20 0 20 32 40 60 80 100
i , i i
c-3'0 -_0 -1'0 0 1_ 2'0 3'0 _;0
STARTING TEMPERATURE RANGE ANTICIPATED BEFORE NEXT OIL CHANGE
FIG. 14
* CAUTION: Air cooled engines run hotter than automotive
engines. The use of non-synthetic multi-viscosity oils (5W30,
10W30 etc.) intemperatures above 40° F (4 ° C) will result in
higher than normal oil consumption. When using a multi-
viscosity oil, check oil level more frequently.
** CAUTION: SAE 30 oil, if used below 40° F (4° C), will result
in hard starting and possible engine bore damage due to
inadequate lubrication.
O NOTE: Synthetic oil meeting ILSAC GF-2, API
certification mark and API service symbol (shown
at left) with "SJ/CF ENERGY CONSERVING" or
Q higher, is an acceptable oil at all temperatures.
Use of synthetic oil does not alter required oil
change intervals.
Change the oil after every 50 hours of operation or at least
once a year if the tractor is not used for 50 hours in one year.
Checkthe crankcase oil level before starting the engine and
after each eight (8) hours of operation. Tighten oil fill cap/
dipstick securely each time you check the oil level.
TO CHANGE ENGINE OIL (See Figs. 14 and 15)
Determine temperature range expected before oil change.
All oil must meet API service classification SF-SJ.
• Be sure tractor is on level surface.
• Oil will drain more freely when warm.
• Catch oil in a suitable container.
• Remove oil fill cap/dipstick. Be careful not to allow dirt
to enter the engine when changing oil.
• Removeyellowcap from bottom fitting of drain valve and
install the drain tube onto the fitting.
OIL DRAIN VALVE
CLOSED
AND
POSITION
CAP
TUBE
17
FIG. 15
• Unlockdrain valve by pushing inward and turning coun-
terclockwise.
• To open, pull out on the drain valve.
• After oil has drained completely, close and Iockthe drain
valve by pushing inward and turning clockwise until the
pin is in the locked position as shown.
• Remove the drain tube and replace the cap onto to the
bottom fitting of the drain valve.
• Refill engine with oil through oil fill dipstick tube. Pour
slowly. Do not overfill. For approximate capacity see
"PRODUCT SPECIFICATIONS" section of this manual.
• Use gauge on oil fill cap/dipstick for checking level. Be
sure dipstick cap is tightened securely for accurate
reading. Keep oil at "FULL" line on dipstick.

CUSTOMER RESPONSIBILITIES
CLEAN AIR SCREEN
Air screen must be kept free of dirt and chaff to prevent
engine damage from overheating. Clean with a wire brush or
compressed airto remove dirt and stubborn dried gum fibers.
CLEAN AIR INTAKE/COOLING AREAS
To insure proper cooling, make sure the grass screen,
cooling fins, and other external surfaces of the engine are
kept clean at all times.
Every 1O0 hours of operation (more often under extremely
dusty, dirty conditions), remove the blower housing and
other cooling shrouds. Clean the cooling fins and external
surfaces as necessary. Make sure the cooling shrouds are
reinstalled.
NOTE: Operating the engine with a blocked grass screen,
dirty or plugged cooling fins, and/or cooling shrouds removed
will cause engine damage due to overheating.
AIR FILTER (See Fig. 16)
Your engine will not run properly using adirtyair filter. Clean
the foam pre-cleaner after every 25 hours of operation or
every season. Service paper cartridge every 1O0hours of
operation or every season, whichever occurs first.
Service air cleaner more often under dusty conditions.
• Remove knobs and cover.
TO SERVICE PRE-CLEANER
• Wash it in liquid detergent and water.
• Squeeze it dry in a clean cloth.
• Saturate it in engine oil. Wrap it in clean, absorbent cloth
and squeeze to remove excess oil.
• If very dirty or damaged, replace pre-cleaner.
TO SERVICE CARTRIDGE
• Clean cartridge by tapping gently on flat surface. Ifvery
dirty or damaged, replace cartridge.
• Reinstall precleaner cartridge, cover and secure with
knobs.
KNOBS
COVER CARTRIDGE
FOAM
PRE-CLEANER
IMPORTANT: PETROLEUM SOLVENTS, SUCH AS
KEROSENE, ARE NOT TO BE USED TO CLEAN THE
CARTRIDGE. THEY MAY CAUSE DETERIORATION OF
THE CARTRIDGE. DO NOT OIL CARTRIDGE. DO NOT
USE PRESSURIZED AIR TO CLEAN OR DRY CARTRIDGE.
MUFFLER
Inspect and replace corroded muffler and spark attester (if
equipped) as it could create a fire hazard and/or damage.
SPARK PLUGS
Replace spark plugs at the beginning of each mowing
season or after every 100 hours of operation, whichever
occurs first. Spark plug type and gap setting are shown in
"PRODUCT SPECIFICATIONS" section of this manual.
ENGINE OIL FILTER
Replace the engine oil filter every season or every other oil
change ifthetractor is used more than 1O0hours inoneyear.
IN-LINE FUEL FILTER (See Fig. 17)
The fuel filter should be replaced once each season. Iffuel
filter becomes clogged, obstructing fuel flow to carburetor,
replacement is required.
• With engine cool, remove filter and plug fuel line sec-
tions.
• Place new fuel filter in position in fuel line with arrow
pointing towards carburetor.
• Be sure there are no fuel line leaks and clamps are
properly positioned.
Immediately wipe up any spilled gasoline.
CLAMP
FUE_ CLAMP
FILTER
FIG. 17
CLEANING
• Clean engine, battery, seat, finish, etc. of all foreign
matter.
• Keep finished surfaces and wheels free of all gasoline,
oil, etc.
• Protect painted surfaces with automotive type wax.
We do not recommend using a garden hose to clean your
tractor unless the electrical system, muffler, air filter and
carburetor are covered to keep water out. Water in engine
can result in a shortened engine life.
FIG. 16
18

SERVICE AND ADJUSTMENTS
CAUTION: BEFORE PERFORMING ANY SERVICE OR ADJUSTMENTS:
Depress clutch/brake pedal fully and set parking brake.
Place motion control lever in neutral (N) position.
• Place attachment clutch in "DISENGAGED" position.
•Turn ignition key "OFF" and remove key.
•Make sure the blades and all moving parts have completely stopped.
•Disconnect spark plug wire from spark plug and place wire where it cannot come in contact
with plug.
TRACTOR
TO REMOVE MOWER (See Fig. 18)
Mower will be easier to remove from the right side of tractor.
• Place attachment clutch in "DISENGAGED" position.
• Move attachment lift lever forward to lower mower to its
lowest position.
• Roll belt off engine pulley.
• Remove small retainer spring, and lift clutch spring off
pulley bolt.
• Remove large retainer spring, slide collar off and push
housing guide out of bracket.
• Disconnect anti-swaybar from chassis bracket by re-
moving retainer spring.
• Disconnect suspension arms from rear deck brackets
by removing retainer springs.
• Disconnect front links from deck by removing retainer
springs.
• Raise lift lever to raise suspension arms. Slide mower
out from under tractor.
IMPORTANT: IF AN ATTACHMENT OTHER THAN THE
MOWER DECK IS TO BE MOUNTED ON THE TRACTOR,
REMOVE THE FRONT LINKS AND HOOK THE CLUTCH
SPRING INTO SQUARE HOLE IN FRAME.
SMALL RETAINER
TO INSTALL MOWER (See Fig. 18)
•Raise attachment liftlever to its highest position.
• Slide mower under tractor with deflector shield to right
side of tractor.
• Lower lift lever to its lowest position.
• Install mower in reverse order of removal instructions.
TO LEVEL MOWER HOUSING
Adjust the mower while tractor is parked on level ground or
driveway. Make suretiresare properly inflated (See "PROD-
UCT SPECIFICATIONS" section of this manual). Iftiresare
over or underinflated, you will not properly adjust your
mower.
"SQUARE HOLE
SUSPENSION ARMS PULLEY
CLUTCH SPRING
FRONT LINK
RETAINER SPRING
ANTI-SWAY
RETAINER SPRINGS
(BOTH SIDES)
HOUSING GUIDE LARGE RETAINER
SPRING
BRACKET
Fig. 18
19

SERVICE AND ADJUSTMENTS
SIDE-TO-SIDE ADJUSTMENT (See Figs. 19 and 20)
• Raise mower to its highest position.
• At the midpoint of both sides of mower, measure height
from bottom edge of mower to ground. Distance "A" on
both sides of mower should be the same or within 1/4"
of each other.
• If adjustment is necessary, make adjustment on one
side of mower only.
• To raise one side of mower, tighten lift link adjustment
nut on that side.
• To lower one side of mower, loosen lift link adjustment
nut on that side.
NOTE: Three full turns of adjustment nut will change mower
height about 1/8".
• Recheck measurements after adjusting.
BOTTOM EDGE BOTTOM EDGEI
OFMOWER [- q OFMOWERI
TO GROUN_ ( (/_ _I IT_'GROUND I
FIG. 19
SUSPENSION ARM
LIFT LINK ADJUSTMENT
FIG. 2O
FRONT-TO-BACK ADJUSTMENT (See Figs. 21 and 22)
IMPORTANT: DECK MUST BE LEVEL SIDE-TO-SIDE. IF
THE FOLLOWING FRONT-TO-BACK ADJUSTMENT IS
NECESSARY, BE SURE TO ADJUST BOTH FRONT LINKS
EQUALLY SO MOWER WILL STAY LEVEL SIDE-TO-
SIDE.
To obtain the best cutting results, the mower housing should
be adjusted so that the front is approximately 1/8" to 1/2"
lower than the rear when the mower is in its highest position.
Check adjustment on right side of tractor. Measure distance
"D" directly in front and behind the mandrel at bottom edge
of mower housing as shown.
• Before making any necessary adjustments, check that
both front links are equal in length.
• If links are not equal in length, adjust one link to same
length as other link.
• To lower front of mower loosen nut "E" on both front links
an equal number of turns.
• When distance"D" is 1/8" to 1/2" lower at front than rear,
tighten nuts "F" against trunnion on both front links.
• To raise front of mower, loosen nut "F" from trunnion on
both front links. Tighten nut "E" on both front links an
equal number of turns.
• When distance"D" is 1/8" to 1/2" lower at front than rear,
tighten nut "F" against trunnion on both front links.
• Recheck side-to-side adjustment.
__.ANDREL
FIG. 21
BOTH FRONT LINKS MUST BE EQUAL IN LENGTH
NUT
TRUNNION
NUT "E"
FRONT LINKS
FIG. 22
TO REPLACE MOWER BLADE DRIVE BELT
(See Fig. 23)
The mower blade drive belt may be replaced without tools.
Park the tractor on level surface. Engage parking brake.
BELT REMOVAL -
• Remove mower from tractor (See "TO REMOVE
MOWER" in this section of this manual).
• Work belt off both mandrel pulleys and idler pulleys.
• Pull belt away from mower.
BELT INSTALLATION -
• Install new belt in reverse order of removal.
• Make sure belt is in all pulley grooves and inside all belt
guides.
• Install mower in reverse order of removal instructions.
IDLER
PULLEYS
MANDREL
PULLEYS
20 FIG. 23

SERVICE AND ADJUSTMENTS
TO ADJUST BRAKE (See Fig. 24)
Your tractor is equipped with an adjustable brake system
which is mounted on the side of the transaxle.
Iftractor requires more than six (6) feet stopping distance at
high speed in highest gear on a level dry concrete or paved
surface, then brake must be adjusted.
• Depress clutch/brake pedal and engage parking brake.
• Measure distance between brake operating arm and nut
"A" on brake rod.
• Ifdistance is other than 1-9/16", loosen jam nut and turn
nut "A" until distance becomes 1-9/16". Retighten jam
nut against nut "A".
• Road test tractor for proper stopping distance as stated
above. Readjust if necessary. If stopping distance is
still greater than six (6) feet in highest gear, further
maintenance is necessary. Contact your nearest au-
thorized service center/department.
WITH PARKING BRAKE "ENGAGED"
NUT
JAM NUT
ARM
DO NOT TOUCH THIS NUT. IF FURTHER BRAKE ADJUST-
MENT IS NECESSARY CONTACT YOUR NEAREST
AUTHORIZED SERVICE CENTER/DEPARTMENT
FIG. 24
TO REPLACE MOTION DRIVE BELT
(See Fig. 25)
Parkthe tractor on level surface. Engage parking brake. For
assistance, there is a belt installation guide decal on bottom
side of left footrest.
• Remove mower (See "TO REMOVE MOWER" in this
section of this manual.)
• Remove belt from stationary idler and clutching idler.
• Pull belt slack toward rear of tractor. Carefully remove
belt upwards from transmission input pulley and over
cooling fan blades.
• Pull belt toward front of tractor and remove downward
from around engine pulley.
• Install new belt by reversing above procedure.
ENGINE_ II
PULLEY
CLUTCHING--,-,_L, I
IDLER _I _
S2d2'O NARY
TRANSMISSIO_" _ _,_
FIG. 25
TRANSAXLE MOTION CONTROL LEVER
NEUTRAL ADJUSTMENT(See Fig. 26)
The motion control lever has been preset at the factory and
adjustment should not be necessary.
• Loosen adjustment bolt in front of the right rear wheel,
and lightly tighten.
• Start engine and move motion control lever until tractor
does not move forward or backward.
• Hold motion control lever in that position and turn engine
off.
• While holding motion control lever in place, loosen the
adjustment bolt.
• Move motion control lever to the neutral (N) (lock gate)
position.
• Tighten adjustment bolt securely.
NOTE: Ifadditional clearance is needed to get to adjustment
bolt, move mower deck height to the lowest position.
After above adjustment is made, if the tractor still creeps
forward or backward while motion control lever is in neutral
position, follow these steps:
• Loosen the adjustment bolt.
• Move the motion control lever 1/4 to 1/2 inch in the
direction it is trying to creep.
• Tighten adjustment bolt securely.
• Start engine and test.
• If tractor still creeps, repeat above steps until satisfied.
MOTION CONTROL NEUTRAL
LEVER GATE
21
\
FIG. 26
ADJUSTMENT
BOLT

SERVICE AND ADJUSTMENTS
TRANSMISSION REMOVAL/REPLACEMENT
Should your transmission require removal for service or
replacement, it should be purged after reinstallation and
before operating the tractor. See "PURGE TRANSMIS-
SION" in the Operation section of this manual.
TO ADJUST STEERING WHEEL ALIGNMENT
If steering wheel crossbars are not horizontal (left to right)
when wheels are positioned straight forward, remove steer-
ing wheel and reassemble per instructions inthe Assembly
section of this manual.
FRONT WHEEL TOE-IN/CAMBER
The front wheel toe-in and camber are not adjustable on you r
tractor. Ifdamage has occurred to affect the front wheel toe-
in or camber, contact your nearest authorized service
center/department.
TO REMOVE WHEEL FOR REPAIRS
(See Fig. 27)
• Block up axle securely.
• Remove axle cover, retaining ring and washersto allow
wheel removal (rear wheel contains a square key- Do not
lose).
• Repair tire and reassemble.
• On rear wheels only: align grooves in rear wheel hub and
axle. Insert square key.
• Replace washers and snap retaining ring securely inaxle
groove.
• Replace axle cover.
NOTE: To seal tire punctures and prevent flat tires due to
slow leaks, tire sealant may be purchased from your local
parts dealer. Tire sealant also prevents tire dry rot and
corrosion.
WASHERS
RETAINING
AXLE COVER
I
SQUARE KEY (REAR
WHEELONLY)
FIG. 27
TO START ENGINE WITH A WEAK BATTERY
(See Fig. 28)
CAUTION: Lead-acid batteries generate
_) explosive gases. Keep sparks, flame
and smoking materials away from bat-
teries. Always wear eye protection when
around batteries.
If your battery is too weak to start the engine, it should be
recharged. If "jumper cables" are used for emergency
starting, follow this procedure:
IMPORTANT: YOUR TRACTOR IS EQUIPPED WITH A 12
VOLT NEGATIVE GROUNDED SYSTEM. THE OTHER
VEHICLE MUST ALSO BE A 12 VOLT NEGATIVE
GROUNDED SYSTEM. DO NOT USE YOUR TRACTOR
BATTERY TO START OTHER VEHICLES.
TO ATTACH JUMPER CABLES -
• Connect each end ofthe RED cabletothe POSITIVE (+)
terminal of each battery, taking care not to short against
chassis.
Connect one end of the BLACK cable to the NEGATIVE
(-) terminal of fully charged battery.
Connect the other end of the BLACK cable to good
CHASSIS GROUND, away from fuel tank and battery.
TO REMOVE CABLES, REVERSE ORDER -
BLACK cable first from chassis and then from the fully
charged battery.
RED cable last from both batteries.
"POSITIVE" .......11 GATIVE" (-)
L,H, PANEL_ _ /
//
FIG. 28
TO REPLACE HEADLIGHT BULB
•Raise hood.
•Pull bulb holder out ofthe hole inthe backsideofthe grill.
• Replace bulb in holder and push bulb holder securely
back into the hole in the backside of the grill.
• Close hood.
INTERLOCKS AND RELAYS
Loose or damaged wiring may cause your tractor to run
poorly, stop running, or prevent it from starting.
• Checkwiring. See electrical wiring diagram inthe Repair
Parts section.
TO REPLACE FUSE
Replace with20 amp automotive-type plug-in fuse. The fuse
holder is located behind the dash.
22

SERVICE AND ADJUSTMENTS
TO REMOVE HOOD AND GRILL ASSEMBLY
(See Fig. 29)
• Raise hood.
• Unsnap headlight wire connector.
• Stand infront of tractor. G rasp hood at sides, tilt toward
engine and lift off of tractor.
• To replace, reverse above procedure.
HOOD
\\
HEADLIGHT
WIRE
CONNECTOR
FIG. 29
ENGINE
Maintenance, repair, or replacement of the emission control
devices and systems, which are being done at the custom-
ers expense, may be performed by any non-road engine
repair establishment or individual. Warranty repairs must be
performed by an authorized engine manufacturer's service
outlet.
TO ADJUST THROTTLE CONTROL CABLE
(See Fig. 30)
The throttle control has been preset at the factory and
adjustment should not be necessary. Check adjustment as
described below before loosening cable. If adjustment is
necessary, proceed as follows:
• With engine not running, move throttle control lever to
fast position.
• Check that swivel is against stop. If it is not, loosen
cable clamp screw and pull cable back until swivel is
against stop. Tighten cable clamp screw securely.
TO ADJUST CHOKE CONTROL (See Fig. 31)
The choke control has been preset at the factory and
adjustment should not be necessary. Check adjustment as
described below before loosening cable. If adjustment is
necessary, proceed as follows:
• With engine not running, move choke control (located on
dash panel) to full choke position.
• Loosen knob and remove cover assembly from air
cleaner.
• Choke should be closed. If it is not, loosen casing clamp
screw and move choke cable until choke is completely
closed. Tighten casing clamp screw securely.
• Replace air cleaner cover assembly and tighten knob.
TO ADJUST CARBURETOR
Your carburetor is not adjustable. If your engine does not
operate properly dueto suspected carburetor problems, take
your tractor to an authorized service center for repair and/or
adjustment.
High speed stop is factory adjusted. Do not adjust - damage
may result.
IMPORTANT: NEVER TAMPER WITH THE ENGINE
GOVERNOR, WHICH IS FACTORY SET FOR PROPER
ENGINE SPEED. OVERSPEEDING THE ENGINE ABOVE
THE FACTORY HIGH SPEED SETTING CAN BE
DANGEROUS. IFYOU THINKTHE ENGINE-GOVERNED
HIGH SPEED NEEDS ADJUSTING, CONTACT YOUR
NEAREST AUTHORIZED SERVICE CENTER/
DEPARTMENT, WHICH HAS PROPER EQUIPMENT AND
EXPERIENCE TO MAKE ANY NECESSARY
ADJUSTMENTS.
STOP
SWIVEL CLAMP
SCREW
FIG. 30
I
CLA
FIG. 31
23

STORAGE
Immediately prepare your tractor for storage atthe end of the
season or if the tractor will not be used for 30 days or more.
CAUTION: Never store the tractor with
gasoline in the tank inside a building
where fumes may reach an open flame
or spark. Allow the engine to cool
before storing in any enclosure.
TRACTOR
Remove mowerfrom tractor forwinter storage. When mower
is to be stored for a period of time, clean it thoroughly,
remove all dirt, grease, leaves, etc. Store in a clean, dry
area.
•Clean entire tractor (See"CLEANING" in the Customer
Responsibilities section of this manual).
• Inspect and replace belts, if necessary (See belt re-
placement instructions inthe Service and Adjustments
section of this manual).
• Lubricate as shown in the Customer Responsibilities
section of this manual.
• Be sure that all nuts, bolts and screws are securely
fastened. Inspect moving parts for damage, breakage
and wear. Replace if necessary.
• Touch up all rusted or chipped paint surfaces; sand
lightly before painting.
BATTERY
• Fully charge the battery for storage.
• After a period of time in storage, battery may require
recharging.
• To help prevent corrosion and power leakage during long
periods of storage, battery cables should be discon-
nected and battery cleaned thoroughly (see "TO CLEAN
BATTERY AND TERMINALS" inthe Customer Respon-
sibilities section of this manual).
• After cleaning, leave cables disconnected and place
cables where they cannot come in contact with battery
terminals.
• If battery is removed from tractor for storage, do not
store battery directly on concrete or damp surfaces.
ENGINE
FUEL SYSTEM
IMPORTANT: IT IS IMPORTANT TO PREVENT GUM
DEPOSITS FROM FORMING IN ESSENTIAL FUEL SYSTEM
PARTS SUCH AS CARBURETOR, FUEL FILTER, FUEL
HOSE, OR TANK DURING STORAGE. ALSO,
EXPERIENCE INDICATES THAT ALCOHOL BLENDED
FUELS (CALLED GASOHOL OR USING ETHANOL OR
METHANOL) CAN ATTRACT MOISTURE WHICH LEADS
TO SEPARATION AND FORMATION OF ACIDS DURING
STORAGE. ACIDIC GAS CAN DAMAGE THE FUEL
SYSTEM OF AN ENGINE WHILE IN STORAGE.
• Drain the fuel tank.
• Start the engine and let it run until the fuel lines and
carburetor are empty.
• Never use engine or carburetor cleaner products inthe
fuel tank or permanent damage may occur.
• Use fresh fuel next season.
NOTE: Fuel stabilizer is an acceptable alternative in
minimizing the formation of fuel gum deposits during stor-
age. Add stabilizer to gasoline in fuel tank or storage
container. Always follow the mix ratio found on stabilizer
container. Run engine at least 10 minutes after adding
stabilizer to allow the stabilizer to reach the carburetor. Do
not drain the gas tank and carburetor if using fuel stabilizer.
ENGINE OIL
Drain oil (with engine warm) and replace with clean engine oil.
(See "ENGINE" inthe Customer Responsibilities section of
this manual).
CYLINDER(S)
•Remove spark plug(s).
•Pour one ounce of oil through spark plug hole(s) into
cylinder(s).
•Turn ignition keyto "START" position for a few seconds
to distribute oil.
• Replace with new spark plug(s).
OTHER
• Do not store gasoline from one season to another.
• Replace your gasoline can if your can starts to rust.
Rust and/or dirt in your gasoline will cause problems.
• Ifpossible, storeyour tractor indoors and cover it to give
protection from dust and dirt.
• Cover your tractor with a suitable protective cover that
does not retain moisture. Do not use plastic. Plastic
cannot breathe which allows condensation to form and
will cause your tractor to rust.
IMPORTANT: NEVERCOVERTRACTORWHILEENGINE
AND EXHAUST AREAS ARE STILL WARM.
24

TROUBLESHOOTING POINTS
PROBLEM
Will not start
Hard to start
Engine will not turn over
Engine clicks but will not
start
Loss of power
Excessive vibration
CAUSE
1. Out of fuel.
2. Engine not "CHOKED" properly.
3. Engine flooded.
4. Bad spark plug.
5. Dirty air filter.
6. Dirty fuel filter.
7. Water in fuel.
8. Loose or damaged wiring.
9. Carburetor out of adjustment.
10. Engine valves out of adjustment.
1. Dirty air filter.
2. Bad spark plug.
3. Weak or dead battery.
4. Dirty fuel filter.
5. Stale or dirty fuel.
6. Loose or damaged wiring.
7. Carburetor out of adjustment.
8. Engine valves out of adjustment.
1. Brake pedal not depressed.
2. Attachment clutch is engaged.
3. Weak or dead battery.
4. Blown fuse.
5. Corroded battery terminals.
6. Loose or damaged wiring.
7. Faulty ignition switch.
8. Faulty solenoid or starter.
9. Faulty operator presence switch(es).
CORRECTION
1. Fill fuel tank.
2. See "TO START ENGINE" in Operation section.
3. Wait several minutes before attempting to start.
4. Replace spark plug.
5. Clean/replace air filter.
6. Replace fuel filter.
7. Drain fuel tank and carburetor, refill tank with fresh
gasoline and replace fuel filter.
8. Check all wiring.
9. See "To Adjust Carbureto¢' in Service Adjustments
section.
10. Contact an authorized service center/department.
1. Clean/replace air filter.
2. Replace spark plug.
3. Recharge or replace battery.
4. Replace fuel filter.
5. Drain fuel tank and refill with fresh gasoline.
6. Check all wiring.
7. See "To Adjust Carbureto¢' in Service Adjustments
section.
8. Contact an authorized service center/department.
1. Depress brake pedal.
2. Disengage attachment clutch.
3. Recharge or replace battery.
4. Replace fuse.
5. Clean battery terminals.
6. Check all wiring.
7. Check/replace ignition switch.
8. Check/replace solenoid or starter.
9. Contact an authorized service center/department.
1. Weak or dead battery.
2. Corroded battery terminals.
3. Loose or damaged wiring.
4. Faulty solenoid or starter.
1. Cutting too much grass/too fast.
2. Throttle in "CHOKE" position.
3.
1. Recharge or replace battery.
2. Clean battery terminals.
3. Check all wiring.
4. Check/replace solenoid or starter.
Build-up of grass, leaves and trash under mower.
1. Set in "Higher Cut" position/reduce speed.
2. Adjust throttle control.
3. Clean underside of mower housing.
4. Dirty air filter.
5. Lowoil level/dirty oil.
6. Faulty spark plug.
7. Dirty fuel filter.
8. Stale or dirty fuel.
9. Water in fuel.
10. Spark plug wire loose.
11. Dirty engine air screen/fins.
12. Dirty/clogged muffler.
13. Loose or damaged wiring.
14. Carburetor out of adjustment.
15. Engine valves out of adjustment.
1. Worn, bent or loose blade.
2. Bent blade mandrel.
3. Loose/damaged part(s).
4. Clean/replace air filter.
5. Check oil level/change oil.
6. Clean and regap or change spark plug.
7. Replace fuel filter.
8. Drain fuel tank and refill with fresh gasoline.
9. Drain fuel tank and carburetor, refill tank with fresh
gasoline and replace fuel filter.
10. Connect and tighten spark plug wire.
11. Clean engine air screen/fins.
12. Clean/replace muffler.
13. Check all wiring.
14. See "To Adjust Carbureto¢' in Service Adjustments
section.
15. Contact an authorized service center/department.
1. Replace blade. Tighten blade bolt.
2. Replace blade mandrel.
3. Tighten loose part(s). Replace damaged parts.
25

TROUBLESHOOTING POINTS
PROBLEM
Engine continues to run
when operator leaves
seat with attachment
clutch engaged
Poor cut - uneven
Mower blades will not
rotate
Poor grass discharge
Headlight(s) not working
(if so equipped)
Battery will not charge
Loss of drive
Engine "backfires"
when turning engine
"OFF"
CAUSE
1. Faulty operator-safety presence control system.
1. Worn, bent or loose blade.
2. Mower deck not level.
3. Buildup of grass, leaves, and trash under mower.
4. Bent blade mandrel.
5. Clogged mower deck vent holes from buildup of
grass, leaves, and trash around mandrels.
1. Obstruction in clutch mechanism.
2. Worn/damaged mower drive belt.
CORRECTION
1. Check wiring, switches and connections. If not
corrected, contact an authorized service center/
department.
1. Replace blade. Tighten blade bolt.
2. Level mower deck.
3. Clean underside of mower housing.
4. Replace blade mandrel.
5. Clean around mandrels to open vent holes.
1. Remove obstruction.
2. Replace mower drive belt.
3. Frozen idler pulley.
4. Frozen blade mandrel.
1. Engine speed too slow.
2. Travel speed too fast.
3. Wet grass.
4. Mower deck not level.
5. Low/uneven tire air pressure.
6. Worn, bent or loose blade.
3. Replace idler pulley.
4. Replace blade mandrel.
1. Place throttle control in "FAST" position.
2. Shift to slower speed.
3. Allow grass to dry before mowing.
4. Level mower deck.
5. Check tires for proper air pressure.
6. Replace/sharpen blade. Tighten blade bolt.
7. Buildup of grass, leaves and trash under mower.
8. Mower drive belt worn.
9. Blades improperly installed.
10. Improper blades used.
11. Clogged mower deck vent holes from buildup of
grass, leaves, and trash around mandrels.
1. Switch is "OFF".
2. Bulb(s) or lamp(s) burned out.
3. Faulty light switch.
4. Loose or damaged wiring.
5. Blown fuse.
1. Bad battery cell(s).
2. Poor cable connections.
3. Faulty regulator (if so equipped).
4. Faulty alternator.
1. Freewheel control in "disengaged" position.
2. Motion drive belt worn, damaged, or broken.
3. Air trapped in transmission during shipment
or servicing.
1, Engine throttle control not set at "SLOW"
position for 30 seconds before stopping engine.
7. Clean underside of mower housing.
8. Replace mower drive belt.
9. Reinstall blades sharp edge down.
10. Replace with blades listed in this manual.
11. Clean around mandrels to open vent holes.
1. Turn switch "ON".
2. Replace bulb(s) or lamp(s).
3. Check/replace light switch.
4. Check wiring and connections.
5. Replace fuse.
1. Replace battery.
2. Check!clean all connections.
3. Replace regulator.
4. Replace alternator.
1. Place freewheel control in "engaged" position.
2. Replace motion drive belt.
3. Purge transmission.
1. Move throttle control to "SLOW" position and allow
to idle for 30 seconds before stopping engine.
26

SCHEMATIC
TRACTOR - - MODEL NUMBER 944.601881
"111
REDOII1 BLACK
BATTERY
RED ',, RED €
FUSE ;_;_ ', STARTE_ R
- - - _ .... _J_, iBLACK•
' / ' _ill w •
WHITE IiO ,, OI I J/
_ _ ! _L__II SOLENOID
SEAT SWITCH
IGNITION _ .... ,.... / (NOT OCCUPIED)
WHITE I I .......... I
SW,TO j
| I I JZ .... LL
]BLACK 1 _ _ 1 BLACK l_-__-Jl BLACK•
( ......... I /
]BLACK _IMENT CLU_ - -_,_1-,...._,..,,..- -
__Of _ r BLACK (CLUTCH OFF) iI C_N_EI_cU+'&_
! (OPTIONAL) W SPARK •
]BLACK _ IGNITION I _ PLUG i•
]I..... -FOIEC L._ '_MI_ _" _ GAP
I _ ..... (2 PLUGS ON
iBLUE I /_\ LINE i TWIN CYL. ENGINES) •
I _ I •
I I
I _ I CHARGING SYSTEM OUTPUT 28 VOLTS AC MIN. @ 3600 RPM
_ I, _ I _ iI I 3 AMP DO @ 3600 RPM (CHARGING SYSTEM DISCONNECTED)
I __IIL _ I_,L _¢//..........
'] FUEL SHU-T-O-FF SOL-END D RED _ _ _ _ A •
'] (IF SO EQUIPPED) I _ I_ _ II __
J LIGHTING SYSTEM OUTPUT nlnn# I' ALTERNATOR L I
ORANGE 5 AMP AC @ 3600 RPM _ _1_ I ............. I '.
__
-- ,4VOLTSADMIN_ _L,GHTSG_F_
AMMETER
(OPTIONAL)
REO
NOTE
YOUR TRACTOR IS
EQUIPPED WITH A SPECIAL
ALTERNATOR SYSTEM.
THE LIGHTS ARE NOT
CONNECTED TO THE
BATTERY, BUT HAVE THEIR
OWN ELECTRICAL SOURCE.
BECAUSE OF THIS, THE
BRIGHTNESS OF THE LIGHTS
WILL CHANGE WITH ENGINE
SPEED. AT IDLE THE LIGHTS
WILL DIM. AS THE ENGINE IS
SPEEDED UP, THE LIGHTS
WILL BECOME THEIR BRIGHTEST.
BROWN
HEADLIGHTS
i
w
NON-REMOVABLE
CONNECTIONS
77
IGNITION SWITCH
POSITION CIRCUIT "MAKE"
OFF M+G+A1 NONE
RUN/LIGHT B+A1 A2+L
RUN B+A1 NONE
START 3 + S + A1 NONE
O
REMOVABLE
CONNECTIONS
WIRING INSULATED CLIPS
NOTE: IF WIRING INSULATED CLIPS WERE REMOVED FOR
SERVICING OF UNIT, THEY SHOULD BE REPLACED TO
PROPERLY SECURE YOUR WIRING.
I
27

REPAIR PARTS
ELECTRICAL
TRACTOR - - MODEL NUMBER 944.601881
41
22
/\
/
J
J
26 40
tf
t/
--I_ I
I/I
I/I
I/I
l/ I
1/ I
I
\
33 _ _'_
27
(-
I
/
"25
/
/
/
/
/
/
t
I
I
\
\
\
29
28
\
\
\
\\
\
16
I
I
.... 16'
I
..... ,_._- - -_
\
\
\\ /\\
x
/
/
/
J
I
I
i
I/
-. j
\
\
\
\
\
\
\
/
/
/
/
/
/
/
/
/
/
\/

REPAIR PARTS
ELECTRICAL
TRACTOR - - MODEL NUMBER 944.601881
KEY PART
NO. NO. DESCRIPTION
1 163465
2 74760412
8 7603J
10 145211
11 150109
12 145769
16 153664
21 175688
22 4152J
24 4799J
25 146148
26 175158
27 73510400
28 145491
29 121305X
30 175566
33 140403
40 170217
41 71110408
42 131563
43 175141
45 121433X
52 141940
55 17490508
NOTE:
Battery 12 Volt 28 Amp
Bolt Hex Hd 1/4-20unc X 3/4
Tray Battery
Bolt Btr Frt 1/4-20 x 7.5 Zinc
Holddown Battery Mount
Nut Push Nylon 1/4" Battery Frt
Switch Interlock Push-In
Harness Asm Light W/4152J
Bulb Light #1156
Cable Battery 6 Ga 11"red
Cable Battery 6 Ga w/16 ire,red
Fuse
Nut Keps Hex 1/4-20 Unc
Cable Ground 6 Ga 21" black
Switch Plunger Nc Gray
Switch Ign 3
Key Ign
Harness Ign
Bolt BIk Fin Hex 1/4-20unc X 1/2
CoverTerminal Red
Solenoid
Ammeter
Protection Wire Loop (Hourmeter)
Screw Thdrol 5/16-18 x 1/2
All component dimensions give in U.S. inches
1 inch = 25.4 mm.
29

REPAIR PARTS
TRACTOR - - MODEL NUMBER 944.601881
CHASSIS AND ENCLOSURES
_-....-- 159 10"'_
28
39
58 166
208
31
207
2O7
207
60
60
2O
74
14
3_ 38_14
208
30

REPAIR PARTS
TRACTOR - - MODEL NUMBER 944.601881
CHASSIS AND ENCLOSURES
KEY PART
NO. NO. DESCRIPTION
1 174619
2 176554
3 17060612
5 155272
9 168337X011
10 STD533710
11 155927
13 172107X010
14 17490608
17 174330X558
18 126938X
20 156437
23 124028X
25 19131312
26 STD541437
28 174331X558
29 174332X559
30 164919X558
31 139976
37 17490508
38 175710
39 174714
58 174930
60 STD533707
64 154798
74 STD541437
142 165867
143 154966
144 154207
145 156524
159 155123X428
166 164863
206 170165
207 17670508
208 17670608
212 175143
- - 5479J
NOTE:
Chassis Stl Stamping
Drawbar, Stretch
Screw 3/8-16x3/4
Bumper Hood/Dash
Dash P/L
Bolt Carriage 3/8-16 x 1
Panel Dash Lh
Panel Dash Rh
Screw Thdrol 3/8-16 x 1/2
Hood
Bumper Hood
Plate Mtg. Battery Fuel Tank
Bushing
Washer 13/32 X 13/16 X 12 Ga
Nut Lock Hex W/Ins 3/8-16 Unc
Grille/Lens Asm
Lens
Fender Footrest STLT Pnt
Bracket Support Fender
Screw Thdrol 5/16-18 X1/2
Bracket Asm. Pivot Mower Rear
Bracket Pivot Laser LT
Air Duct P/L
Bolt Rdhd Sqnk 3/8-16unc x 3/4
Dash Lower STLT
Nut Crownlock3/8-16 Unc
Plate Reinforcement STLT
Bracket Swaybar Chassis
Bracket Pnt Footrest STLT
Rod Pivot Chassis/Hood
Cupholder
Screw HWHD Hi-Lo #13-16 x 3/4
Bolt Shoulder 5/16-18 TT
Screw Thdrol 5/16-18 x 1/2
Screw Thdrol 3/8-16 x 1/2
Insert Lens Reflective
Plug Button
All component dimensions given in U.S. inches
1 inch = 25.4 mm
31

| q_JIv •
62
32 30 36 36 5 /
37
32 /53
77
/
3O
1_, 84
2O0
61
÷73

REPAIR PARTS
TRACTOR - - MODEL NUMBER 944.601881
DRIVE
KEY PART KEY PART
NO. NO. DESCRIPTION NO. NO. DESCRIPTION
1 Transaxle (See Breakdown) 65 STD551143
Hydro Gear Model 314-0510 66 154778
8 165866 Rod Shift 70 134683
10 STD561210 Pin Cotter 1/8x 1 CAD 71 169183
14 10040400 Washer Lock Hvy. Helical 73 169182
15 74490544 Bolt, Hex FLGHD 5/16-18 Gr. 5 74 137057
16 STD541431 Nut Lock Hex W/Ins 5/16-18 Unc P 75 121749X
19 STD541437 Nut Lock HexW/Wsh 3/8-16 Unc 76 STD581075
21 130564 nob, Deluxe 1/2-13 77 123583X
22 169498 Rod, Brake Hydro 78 121748X
24 STD541273 Nut 81 165596
25 106888X Spring, Brake Rod 82 165711
26 STD551037 Washer 83 19171216
27 STD561210 Pin Cotter 1/8x 3/4 CAD. 84 169594
28 175765 Rod, Parking Brake 89 164890X428
29 71673 Cap, Parking Brake 90 124346X
30 169592 Bracket, Transaxle 95 170201
32 STD523107 Bolt Hex Hd 5/16-18 Unc x 3/4 96 STD624003
34 175578 Shaft, Foot Pedal Nibbed 116 72140608
35 120183X Bearing, Nylon 120 73900600
36 STD551062 Washer 151 19133210
37 STD571810 Pin, Roll 150 175456
38 165936 Pulley, Idler, Flat Composite 156 166002
39 74760648 Bolt Fin Hex 3/8-16unc x 3 158 165589
40 175461 Spacer, Split 159 165494
41 175556 Keeper, Belt Retainer 161 72140406
42 19131312 Washer 13/32 x 13/16 x 12 Gauge 162 73680400
47 127783 Pulley, Idler, V-Groove 163 74780416
48 154407 Bellcrank Clutch Grnd Drv STL 164 19091010
49 123205X Retainer, Belt 165 165623
50 STD523715 Bolt 166 166880
51 STD541437 NutCrownlock 3/8-16UNC 168 165492
52 STD541431 Nut Crownlock 5/16-18 UNC 169 165580
53 105710X Link, Clutch 197 169613
55 105709X Spring, Return, Clutch 198 169593
56 17060616 Screw 3/8-16 x 1.0 199 169612
57 140294 V-Belt, Ground Drive 200 72140508
59 169691 Keeper, Center Span 202 72110614
61 17060612 Screw 3/8-16 x 3/4 212 145212
62 8883R Cover, Pedal
63 175410 Pulley, Engine
64 71170764 Bolt, Hex
Washer
Keeper Belt Engine
Keeper Belt Engine
Strap Torque Lh Hydro
Strap Torque Rh Hydro
Spacer, Split
Washer 25/32 x 1-1/4 x 16 Gauge
E-Ring
Key, Square
Washer 25/32 x 1-5/8 x 16 Gauge
Shaft Asm. Cross
Spring Torsion
Washer 17/32 x 3/4 x 16 Ga.
Link, Transaxle
Console, Shift
Nut Self Thd Wsh-Hd 1/4 Zinc
Control Asm Bypass Hydro
Retainer Spring 1" Zinc/Cad
Bolt Rdhd Sq. Neck 3/8-16 x 1
Nut Lock Fig 3/8-16 UNC
Washer 13/32 x 2 x 10 Ga.
Spacer Retainer
Washer Srrted 5/16 ID x 1 x .125
Bracket Shift Mount
Hub Tapered Flange Shift LT
Bolt Rdhd Sqnk 1/4-20 x 3/4 Gr. 5
Nut Crownlock 1/4-20 Unc
Bolt Hex Fin 1/4-20 Unc x 1 Gr. 5
Washer 5/8 x .281 x 10 Ga.
Bracket Pivot Lever
Screw 5/16-18 x 5/8
Bolt Shoulder 5/16-18 x .561
Plate Fastening LT
Nyliner Snap-In 5/8" ID
Washer Nyl 7/8" ID x .105"
Bolt Shoulder 5/16-18 Unc
Bolt Rdhd Sqnk5/16-18 Uncx 1
Bolt Cart Sh 3/8-16 x 1-3/4 Gr. 5
Nut Hex Flange Lock
NOTE: All component dimensions given in U.S. inches
1 inch = 25.4 mm
33

REPAIR PARTS
STEERING ASSEMBLY
TRACTOR - - MODEL NUMBER 944.601881
_-_" 63
ii li _ \_ \1_-'-'--'--_ I
i i ........... !i
_41
r'-'-----_. 42
J
91
43
29
68
65
\
68
13
32
67 67
67
\
15
4O
28
38
43
_\43
/
I
\
6
8
34

REPAIR PARTS
STEERING ASSEMBLY
TRACTOR - - MODEL NUMBER 944.601881
KEY PART
NO. NO. DESCRIPTION
1 139768
2 154427
3 169840
4 169839
5 6266H
6 121748X
7 19272016
8 12000029
9 3366R
10 175121
11 STD551137
13 136518
15 145212
17 177876
26 126847X
28 19131416
29 17060612
30 STD561210
32 130465
36 155099
37 152927
38 139769
39 19133812
40 STD541537
41 100711L
42 145054X428
43 121749X
44 153720
46 121232X
47 6855M
51 STD541431
54 STD523112
63 STD523710
65 160367
67 72140618
68 169827
71 175146
82 169835
85 133835
88 175118
91 175553
Wheel Steering
Axle Asm STMP Dropped STL
Spindle Asm LH
Spindle Asm RH
Bearing Race Thrust Harden
Washer 25/32 X 1-5/8 X 16 Ga
Washer 27/32 X 1-1/4 X 16 Ga
Ring Klip#t5304-75
Bearing Col Strg BIk
Link Drag Extended Stamp
Washer Lock Hvy Hlcl Spr 3/8
Bearing Axle STLT/GT
Nut Hex Flange Lock
Shaft Asm Strg
Bushing Link Drag BIk LR
Washer 13/32 X 7/8 X 16 Ga
Screw Thdrol 3/8-16x3/4
Pin Cotter 1/8 X 3/4 Cad
Rod Tie Wire Form 19 75 Mech
Bushing Strg
Screw
Insert Cap Strg Wh Au
Washer 13/32 X 2-3/8 X 12 Ga
Lock nut
Adaptor Wheel Strg
Boot Steering Shaft
Washer 25/32 X 1 1/4 X 16 Ga
Extension Steering Shaft LR/LT
Cap Spindle Fr Top BIk
Fitting Gtease
Nut Lock Hex w/Ins 5/16-18
Bolt Fin Hex 5/16-18 Uncx 1-1/4
Bolt Fin Hex 3/8-16unc x 1 Gr. 5
Spacer Axle
Bolt Rdhd Sq 3/8-16 Unc x 2-1/4
Axle, Brace
Steering Asm
Bracket Susp. Chassis Front
Fastener Christmas Tree
Shoulder Bolt 7/16-20
Clip Steering
NOTE: All component dimensions given in U.S. inches
1 inch = 25.4 mm
35

REPAIR PARTS
SEAT ASSEMBLY
TRACTOR - - MODEL NUMBER 944.601881
KEY
NO.
1
2
3
4
5
6
7
8
9
10
11
12
.5
6
"21
i
/
PART
NO.
140123
140551
71110616
19131610
145006
STD541437
124181X
17000616
19131614
174894
166369
121246X
KEY PART
DESCRIPTION NO. NO. DESCRIPTION
Seat
Bracket Pivot Seat 8 720
Bolt Fin Hex 3/8-16unc X 1
Washer 13/32 X 1 X 10 Ga
Clip Push-In
Nut Hex w/Ins. 3/8-16 Unc
Spring Seat Cprsn 2 250 BIk Zi
Screw 3/8-16 X 1-1/2
Washer 13/32 X 1 X 14 Ga.
Pan Seat
Knob Seaat 1/2-13 Unc BIk
Bracket Mounting Switch
13 121248X
14 72050412
15 134300
16 121250X
17 123976X
21 171852
22 STD541431
24 19171912
25 127018X
Bushing Snap BIk Nyl 50 Id
Bolt Rdhd Sqnk 1/4-20xl -1/2
Spacer Split 28x 96 Yel Zinc
Spring Cprsn 1 27 BIk Pnt
Nut Lock 1/4 Lge Fig Gr 5 Zinc
Bolt Shoulder 5/16-18 Unc
Nut Hex Lock W/Ins 5/16-18
Washer 17/32 X 1-3/16 X 12 Ga.
Bolt Shoulder 5/16-18 X 62
NOTE: All component dimensions given in U.S. inches
1 inch = 25.4 mm
36

REPAIR PARTS
DECALS
7
14
TRACTOR - - MODEL NUMBER 944.601881
15 3 11 11 4
8
2
20
16
10
13
KEY PART
NO. NO.
1 157032
2 138047
3 177278
4 177279
6 165407
7 177284
8 170563
9 163204
10 157140
11 177253
12
DESCRIPTION
Decal Fend STLT Oper
Decal Battery Diehard Sears
Decal Hood RH
Decal Hood LH
Decal HP Engine
Decal Dash Pnl B&S
Decal Warning Mult-Language
Decal Craftsman
Decal Fender Danger Eng/Fr
Decal Hood Side Panel
KEY PART
NO. NO.
12 172331
13 169210
14 160396
15 172268
16 146046
20 149517
- - 165800X428
- - 165799X428
- - 138311
- - 178199
- - 178200
DESCRIPTION
Decal Deck
Decal By Pass
Decal V-Belt Schematic
Decal Replacement Parts
Decal V-Belt Drive Sch
Decal Bat Dan/Psn
Pad Footrest LH STLT
Pad Footrest RH STLT
Decal Handle Lft Height Adjust
Manual Owner's (English)
Manual Owner's (French)
WHEELS & TIRES
2 _ 5,8
4,10
11
37
KEY PART
NO. NO. DESCRIPTION
1 59192
2 65139
3 106222X
4 59904
5 106732X427
6 278H
7 9040H
8 106108X427
9 122082X
10 7152J
11 104757X428
- - 144334
Cap Valve Tire
Stem Valve
Tire F Ts 15 X 6 0 - 6 Service
Tube Front (Service Item Only)
Rim Asm 6"front Service
Fitting Grease (Front Wheel Only)
Bearing Flange (Front Wheel Only)
Rim Asm 8"rear Service
Tire R Ts 20xl 0-8 C Service
Tube Rear (Service Item Only)
Cap Axle BIk 1 50 X 1 00
Sealant, Tire ( 10 oz. Tube)
NOTE: All component dimensions given in U.S. inches
1 inch = 25.4 mm

REPAIR PARTS
TRACTOR - - MODEL NUMBER 944.601881
ENGINE
#
_"'-2s
31
14
38
I
I
32 _1
?
39
23
29
\
OPTIONAL EQUIPMENT
Spark Arrester
17
10
38

REPAIR PARTS
TRACTOR - - MODEL NUMBER 944.601881
ENGINE
KEY PART
NO. NO. DESCRIPTION
1
2
3
170546
17720410
4 149723
5 159955
6 160589
8 171877
10 162797
13 165391
14 148456
16 STD551237
17 17490624
23 169837
25 145996
26 73920600
29 137180
31 157103
32 161696
33 123487X
34 106082X
37 8543R
38 148315
39 109227X
45 17000612
62 10040500
72 71070512
81 73510400
NOTE:
Control Throt Paddle
Screw Hex Thd Cut 1/4-20x5/8 T
Engine (See Breakdown)
B&S Model 407777-0119-E3
Muffler Exhaust
Exhaust Asm. Left
Exhaust Asm. Right
Bolt 5/16-18unc x 3/4
Heat Shield Lt
Gasket Muffler
Tube Drain Oil Easy
Washer Lock Ext Tooth 3/8
Screw Thdrol 3/8-16xl -1/2 Tytt
Shield BRN/DBR Guard
Control Choke
Nut Keps 3/8-24 UNF
Arrestor Spark
Tank Fuel 3.5 STL W/O Sensor
Cap Fuel Gauge
Clamp Hose BIk
Strip Foam
Line Fuel
Plug Drain Oil Easy
Pad Spacer
Screw Hex Wsh Thdrol 3/8-16 x 3/4
Washer Lock Hvy HLCI Spr 5/16
Screw Hex Hd Cap 5/16-18 x 3/4
Nut Keps Hex 1/4-20 Unc
All component dimensions given in U.S. inches
1 inch = 25.4 mm
39

REPAIR PARTS
MOWER DECK
TRACTOR - - MODEL NUMBER 944.601881
151
=
_116
119
56
157
153 154
34
\
67
156
155
I
I
I50
46
1061_ 102 103 105
105_//_/ /_;
104_/ _÷_
101/_ 104 106
102 /
113 111 1!
149
19f21
\2
16
40
21
\,\
28
29
12
22
23
17
/116
24
25
26
27

REPAIR PARTS
MOWER DECK
TRACTOR - - MODEL NUMBER 944.601881
KEY PART
NO. NO.
1 165892
2 STD533107
3 138017
4 165460
5 STD624008
6 130832
8 850857
9 STD551137
10 140296
11 134149
138498
139775
138971
13 137645
14 128774
15 110485X
16 174493
18 72140505
19 132827
20 159770
21 STD541431
22 134753
23 131267
24 105304X
25 123713X
26 110452X
27 130968X428
28 19111016
29 131491
30 157722
31 129963
32 153535
33 137266
34 STD533717
36 131494
37 STD551037
40 STD541437
44 140088
45 STD624003
46 137729
48 133944
49 174284
50 131340
DESCRIPTION
Mower Deck Assembly, 42"
Bolt
Bracket Assembly,Sway Bar,
Front
Bracket Sway Bar 38/42" Deck
RetainerSpring
Arm, Suspension, Rear
Bolt, Hex 3/8-24 x 1.25 Gr. 8
Washer, Lock
Washer, Hardened
Blade, Mulching 42" Std
(Originallyequipped with)
Blade Mower 42" Hi-Lift Std (For
better bagging, especially in wet
conditions)
Blade Mulching 42" Premium (For
betterwearwhen mulching)
Blade Mower 42" Hi-Lift Premium
(For better wear when bagging in
heavy or wet conditions)
Shaft Assembly, Mandrel,
Vented
Housing, Mandrel, Vented
Bearing, Ball, Mandrel
Stripper, Vented Mower Deck
Bolt, Carriage 5/16-18 x 5/8
Bolt, Shoulder
Baffle, Vortex
Nut Crownlock 5/16-18 UNC
Stiffener Bracket
Bracket, Deflector
Cap, Sleeve
Spring, Torsion, Deflector
Nut, Push
Shield, Deflector
Washer 11/32 x 5/8 x 16 Ga.
Rod, Hinge
ScrewThdrol Washer Head
Washer, Spacer
Pulley, Mandrel
Nut, Toplock, Flanged
Bolt
Pulley, Idler, Flat
Washer 13/32 x 13/16 x 16 Gauge
Nut Crownlock 3/8-16 UNC
Guard, Mandrel, L.H.
Retainer
Screw, Thd. Roll 1/4-20 x 5/8
Washer, Hardened
Roller Assembly, Cam Follower
Bolt, Shoulder #10-24 Grade 5
KEY PART
NO. NO. DESCRIPTION
51 STD541410
52 139888
53 131845
54 133943
55 155046
56 165723
59 141043
67 149846
68 144959
92 STD541437
101 136420
102 71081010
103 19061216
104 STD551110
105 160793
106 2029J
111 155197
112 155198
113 17060514
114 STD541431
115 72110504
116 4898H
117 165746
118 73930600
119 STD551037
121 143723
129 19131312
130 STD523710
131 STD533710
142 165890
143 157109
144 158634
145 165888
146 171977
147 131335
148 169022
149 165898
150 19091216
151 169670
152 169676
153 169674
154 169675
155 169671
156 169672
157 169669
158 17720410
159 72140614
- - 130794
NOTE:
169583
Locknut
Bolt, Shoulder 5/16-18 UNC
Arm Assembly, Pad, Brake
Washer, Hardened
Arm, Idler
Spacer, Retainer
Guard, TUV Idler
Knob Custom Oval
V-Belt
Nut
Mulcher Cover
Screw
Washer #10
Washer, Lock
Latch Assembly, Bagger
Nut, Weld
Bracket, Gauge, Wheel L.H.
Bracket, Gauge, Wheel R.H.
Screw 5/16-18 x 3/4
Nut, Hex, Keps 5/16-18 UNC
Bolt, Carriage 5/16 UNC x 1/2
Bolt, Shoulder
Wheel, Gauge
Nut, Centerlock 3/8-16
Washer 3/8 x 7/8 x 14 Gauge
Bracket
Washer 13/32 x 13/16 x 12 Ga.
Bolt, Fin Hex 3/8-16 UNCx 1 Gr. 5
Bolt, Rdhd Sqnk 3/8-16UNC x 1
Arm Spring Brake Mower
Bracket Arm Idler 42"
Keeper Belt 42" Clutch Cable
Pulley Idler Flat
Bolt Carriage Idler
Spring Extension
Spring Return Idler
Retainer Spring Yellow Zinc
Washer 9/32 x 3/4 x 16 Ga.
Bracket Clutch
Cable Clutch 42 In
Washer Flat 3/8" Type B
Spring Retainer
Spring Retention Lever
Spacer
Rod Clutch
Screw Hex Thd Cut 1/4-20 x 5/8
Bolt Rdhd Sqn 3/8-16 Uncx 1-3/4
Mandrel Assembly (Includes Key
Numbers 8-10, 13-15, 31 and 33)
Replacement Mower, Complete
All component dimensions given in U.S. inches
1 inch = 25.4 mm
41

REPAIR PARTS
TRACTOR - - MODEL NUMBER 944.601881
MOWER LIFT
5
11
19
13
46
13
/
/3
/
2
6
4
13 ,20 z _'
32
32
19
718 20
1
15
42

REPAIR PARTS
TRACTOR - - MODEL NUMBER 944.601881
MOWER LIFT
KEY PART
NO. NO. DESCRIPTION
1 159460
2 159471
3 105767X
4 STD581062
5 19211621
6 120183X
7 125631X
8 122365X
11 139865
12 139866
13 STD624008
15 173288
16 73350800
17 130171
18 73800800
19 139868
20 163552
31 169865
32 73540600
NOTE:
Wire Asm Inner W/Plunge5r
Shaft Asm Lift
Pin Groove
E Ring #5133-62
Washer 29/32 x 1-1/4 x 21 Ga.
Bearing Nylon BIk .629 ID
Grip Handle Fluted
Button, Plunger
Link Lift Lh Fixed Length
Link Lift Rh Fixed Length
Retainer Spring
Link Front
Nut Jam Hex 1/2-13 Unc
Trunnion BIk Zinc
Nut Lock w/Wsh 1/2-13 Unc
Arm Suspension Rear
Spring Retainer
Bearing Pvt. Lift
Nut Lock 3/8-24
All component dimensions given in U.S. inches
1 inch = 25.4 mm
43

REPAIR PARTS
TRACTOR - - MODEL NUMBER 944.601881
HYDRO GEAR TRANSAXLE - MODEL NUMBER 314-0510
LO
LO
o,J
cO
O,lj"
cO .._.
co
cO
Oq
IO
LO
LO
O0
O')
O_ 0
cO
OJ
O3
cO
44

REPAIR PARTS
TRACTOR - - MODEL NUMBER 944.601881
HYDRO GEAR TRANSAXLE - MODEL NUMBER 314-0510
KEY PART KEY PART
NO. NO. DESCRIPTION NO. NO. DESCRIPTION
1 170351
2 170352
3 170353
4 170354
5 169898
6 170355
7 170356
8 170357
9 170358
10 170359
11 170360
12 169870
13 170361
14 169869
16 170362
17 170363
18 170364
19 150771
23 170365
24 170366
27 170367
28 170368
29 170369
30 170370
31 170371
32 170389
33 142991
34 170390
35 170391
36 170392
37 150792
38 150793
39 150809
40 170393
41 170394
42 170395
43 170396
44 150797
45 170397
46 170398
47 170399
48 170400
49 170401
50 170402
51 170403
52 170404
53 170405
54 170406
55 142977
56 142978
57 150798
58 170407
Main Housing, Assembly 59
Side Housing, Assembly 60
Center Section, Assembly 61
Swashplate, Trunion Machined 62
Block - Assembly 63
Sealant 10.50z
Hex Flange Screw 1/4-20 X 1.25 64 142892
Stud, 5/16-24 Hex Double End 65 170411
Shaft, Input 66 170412
Ring - Retaining 67 170413
Spacer 68 170414
Ring - Retaining 69 170415
Seal, Lip .67 X 1.58 X .276 70 170416
Ball Brg 17mm Id X 40mm Od X 71 170417
12mm 72 170418
Hex Flange Head Screw 5/16- 73 142884
24X0.75 74 170419
Lip Seal 18 X 32 X 7 75 170420
Arm, Control
Bearing, 30x52x13 Thrust 76 170421
Check Plug Assembly, Washer 77 170422
Shaft, Motor 78 142969
Gear- Pinion, 13t 79 142980
10t/48t Gear 80 150778
Gear, lOt Jackshaft
60t Bull Gear 81 170423
Sleeve Bearing .75 X 1.575 X .625 82 170424
SleeveBearing(Outboard)
.75xl .750x.625 83 161168
Washer, 3/4 Id X 1-1/20d X .13 Thk 84 170425
Lip Seal Axle Seal 85 170426
Shaft, Axle .75 X 11.39 (Key, R.H.) 87 142917
Shaft, Axle .75 X 16.99 (Key, L.H.) 88 170429
MiterGear(Splined) 90 170430
Miter Gear 15t (0.5 Id) 93 170431
Shaft 107 170432
Ring, Spiral Retaining 108 170433
Pin, Jackshaft
Magnet, Ring 109 170434
Spring, Bypass 111 170435
Hydro Mtg Screw 3/8-24 X 2.5 Long 113 170437
Filter 116 170438
Base, Filter 119 170439
Actuator, Bypass 120 170440
Rod, Bypass Actuator 121 170441
Arm, Bypass 122 170442
Retaining Ring .250 External 123 170443
Seal, Lip .741 X .250 X .250 Tc 124 170444
Flat Washer, 5/8 Id X 1.00d X .05
T hk 125 170445
Retaining Ring 126 170446
Bearing, Center Block 127 170447
Spring - Helical Compression 128 173165
Washer 900 166768
20w-50 Oil
Brake Yoke
170408
142883
142882
142887
170410
Rotor, Brake
Brake Puck
Puck Plate
Brake Actuating Pin
Hfhcs 1/4-20x2 W/
Patch,SpecialFlange
Bolt, 1/4-20 X 1 W/Patch
Spacer
Spring, Brake Arm Bias
Sq. Hd. Bolt 5/16-24-Ribbed
Arm, Brake
Slotted Hex Nut 5/16-24
Cotter Pin 3/32 X 3/4
Compression Spring Brake Anti-Drag
Washer, Ht .5 I.D. X 10.D. X .032
Flat - Washer 11/32 I.D. X 7/80.D
Oil Seal .625 X 1.0 X .25
Check Plug Assembly, .027,
Washer
Stud, 5/16-24 Friction Pack
Puck, .330 X 1.50 X .0975
Spring, Helical Comp
Spacer
Hex Lock Nut 5/16-24Unjf(Nylon
Insert)
Wedge, Friction Pack
Clip, Washer .316xl .50x. 1046
(Plated)
Pin, Standard Headless
Fitting, 5/16 Sae 5/32 Tube
Hose, Expansion Tank
Cap - Poppet Valve
Bolt, Self Tapping 10-32 X 1/2
Puck, Inner Wedge
Spring Clip - Housing Thrust
Deflector
Washer, Motor Shaft
.71idx1.15odx.O30thk
Plug, Sae #6
O-Ring .07 X .301 I.D.
Bracket, Support Expansion Tank
Silicon Sponge
Fan, 7 In.
Pulley
Hex Lock Nut 1/2-20 (Nylon Insert)
Washer, Belleville
Belt Keeper
Center Section- Filter-Bypass
Assembly
Filter Assembly
Fan - Pulley Service Assembly
Seal- O-Ring Kit
Kit, Expansion Tank
Transaxle Complete
NOTE: All component dimensions given in U.S. inches
1 inch = 25.4 mm
45

REPAIR PARTS
TRACTOR - - MODEL NUMBER 944.601881
BRIGGS & STRATTON ENGINE - MODEL NUMBER 407777, TYPE NUMBER 0119-E3
213 _,_
216
929 _11
lO
265 ii;
267 g
818 °G/_
*REQUIRES SPECIALTOOLS 265 _
TO INSTALL. SEE REPAIR 267
INSTRUCTION MANUAL.
525 ii
287_®
1081 _
447A
1019 LABEL KIT I
24_
I®1
220 \
865A
447A
750
=_o _S 258
41
12
1017 51
1027
I 1058 OWNER'S MANUAL I
IlO36EM,SS,ONSLABELI
968J 467
445
967
304
163
_447
50
54 _654 _
53!
1033 VALVE OVERHAUL KIT
163 !_L _
1022
46

REPAIR PARTS
TRACTOR - - MODEL NUMBER 944.601881
BRIGGS & STRATTON ENGINE - MODEL NUMBER 407777, TYPE NUMBER 0119-E3
D
@,
35 _,,
36
1022
1029 _
798
883
51
1023 I 1022 _
38_;_
-6Ol 1.!__ 1
• 121 CARBURETOR KIT
117
51
51A _o\.-Jo\-J o,
_9 1125
137 _s- D
'\_ jj
1421 1128 _"i-
150 o:
m
276 C_) 104 .........
1123 _s>
1124 %_ 105 633 _:_'_987 ,_"
6i6
552 _o_
552A 6
742 _)
404 _>
552A
691 _
•977 CARBURETOR GASKET SET
40 @'_
51
1022
211 _
914_
lO2_
1100_1
798 _
1023A I
1022
-k REQUIRES SPECIAL TOOLS
212 iTO INSTALL. SEE REPAIR
INSTRUCTION MANUAL.
1,11_31I
lO8(t_t I
_-_- ,- _
_' 633 I
/o--'_i\i +/
51A _,_\-Jo\-Jd
51
1125 _1421 I_ I
881_'_0 _ 11_8_Sl
.] i]'. I_ I 15011
993 \._fk.) I_t I_'
I, 13L_J 130 95,1
"_r_ I 987 _-)0 1
105+ r1_3 _- _ I
lO4 _I
!
I
I
L_!
1123 <>
160 _
117
137
1127 _
276 ©
47

REPAIR PARTS
TRACTOR - - MODEL NUMBER 944.601881
BRIGGS & STRATTON ENGINE - MODEL NUMBER 407777, TYPE NUMBER 0119-E3
74I_
1005
332
75
934 _ 1119
1006 405
363
358 GASKET SET
20@
51A
3©
9_
691 O
943 Q
177 ©
1081 _Z_
1_3k :::_j
276
868
883
lOi
334_
311 _462
797 7_ 579
801 _
697
48

REPAIR PARTS
TRACTOR - - MODEL NUMBER 944.601881
BRIGGS & STRATTON ENGINE - MODEL NUMBER 407777, TYPE NUMBER 0119-E3
KEY PART KEY PART
NO. NO. DESCRIPTION NO. NO. DESCRIPTION
1 690231 Cylinder Assembly 135 499803 Fuel Transfer Tube
2 499585 Bushing-Cylinder 137 690994 :I:Q Gasket-Float Bowl
3 690926 • Seal-Oil 141 499807 Choke Shaft Kit
4 690069 Sump-Engine 142 499808 Q Nozzle-Carburetor
5 499587 Head-Cylinder No. 1 146 94388 Key-Timing
5A 499595 Head-Cylinder No. 2 150 281767 :I:Q Gasket-Nozzle
7 690962 +, Gasket-Cylinder Head 160 690996 Retainer-Solenoid
8 499601 Breather Assembly 163 691001 +, Gasket-Air Cleaner
9 690937 • Gasket-Breather 177 691031 • O-Ring Seal (Dipstick)
10 690960 Screw (Breather Assy.) 187 691050 Line-Fuel (Cut to Required Length)
11 690942 Tube-Breather 187A 691049 Line-Fuel
12 690945 • Gasket-Crankcase 188 690960 Screw (Control Bracket)
13 690360 Screw (Cylinder Head) 192 690083 Adjuster-Rocker Arm
15 690946 Plug-Oil Drain 209 690018 Spring-Governor
16 691046 Crankshaft 211 690019 Spring-Governed Idle
20 690947 • Seal-Oil (PTO Side) 212 691020 Link-Throttle
23 691054 Flywheel 213 691021 Bracket-Choke Control
24 690974 Key-Flywheel 216 691022 Link-Choke
25 499588 Piston Assembly (Std.) 219 394348 Gear-Governor
499589 Piston Assembly (.010 "O.S.) 220 690412 Washer (Governor Lever)
499590 Piston Assembly (.020" O.S.) 222 691023 Bracket-Control
499591 Piston Assembly (.030" O.S.) 227 691048 Control Lever-Governor
26 499604 Ring Set-Piston (Std.) 231 690718 Screw (Choke Valve)
499605 Ring Set-Piston (.010 "O.S.) 240 691035 Filter-Fuel
499606 Ring Set-Piston (.020 "O.S.) 252 690956 Element-Breather
499607 Ring Set-Piston (.030 "O.S.) 256 690957 Retainer-Element
27 690975 Lock-Piston Pin 258 690308 Screw (Engine Sump)
28 499582 Pin-Piston 265 691024 Clamp-Casing
29 499583 Rod-Connecting 267 95348 Screw (Casing Clamp)
32 690976 Screw (Connecting Rod) 276 690997 Q+, Sealing Washer
33 499596 Valve-Exhaust 278 690097 Washer (Gov. Control Lever)
34 499597 Valve-Intake 287 690960 Screw (Dipstick Tube)
35 690963 Spring-Valve (Intake) 304 691004 Housing-Blower
36 690963 Spring-Valve (Exhaust) 305 691005 Screw (Blower Housing)
40 690964 Retainer-Valve 309 691262 Motor-Starter
42 499586 Keeper-Valve 310 691263 Bolt-Starter Motor
45 690977 Valve Tappet 311 691264 Brush Set
46 690978 Cam Shaft 332 690059 Nut (Flywheel)
48 692714 Short Block 333 691060 Armature-Magneto
50 690948 Manifold-Intake 334 691061 Screw (Armature)
51 690949 +Q° Gasket-Intake 337 691043 Spark Plug
51A 690950 :I:Q° Gasket-Intake 358 499889 Gasket Set
53 690951 Stud (Carburetor) 363 691062 Flywheel Puller
54 690953 Screw (Intake Manifold) 383 690966 Wrench-Spark Plug
73 691055 Screen-Rotating 385 690960 Screw (Fuel Pump)
74 691057 Screw (Rotating Screen) 387 691034 Pump-Fuel
75 691056 Washer (Flywheel) 404 690442 Washer (Governor Crank)
89 690238 Plug-Oil
95 690718 Screw (Throttle Valve) RPM Settings: Low Speed: 1900-2100
98 499802 Idle Speed Kit High Speed: 3000-3200
104 690984 Q Pin-Float Hinge
105 690985 Q Valve-Float Needle • Included in Gasket Set, Ref. No. 358
108 690986 Valve-Choke Q Included in Gasket Set, Ref. No. 121
117 690232 Q Jet-Main (Standard) :1: Included in Gasket Set, Ref. No. 977
690989 Jet-Main High Altitude) + Included in Gasket Set, Ref. No. 1033
121 499811 Carburetor Overhaul Kit
122 690952 Spacer-Carburetor NOTE: All component dimensions given in U.S. inches
125 499804 Carburetor 1 inch = 25.4 mm
130 690993 Valve-Throttle
131 499805 Throttle Shaft Kit
133 499806 Float-Carburetor
49

REPAIR PARTS
TRACTOR - - MODEL NUMBER 944.601881
BRIGGS & STRATTON ENGINE - MODEL NUMBER 407777, TYPE NUMBER 0119-E3
KEY PART KEY PART
NO. NO. DESCRIPTION NO. NO. DESCRIPTION
405 690960
445 691007
447 691003
447A 690960
462 691261
474 691063
505 691029
510 497606
513 692024
523 691036
525 691037
544
552 690552
552A 690553
562 690311
573 691009
579 691029
601 691038
615 690317
616 691045
628 690960
633 690998
635 691210
654 690958
668 691215
691 690657
697 690372
703 690010
718 690959
726 499612
741 690980
742 690328
750 691033
783 693058
788 691039
789 694209
797 693167
798 690967
801 691283
802 691286
803
847 499602
851 691234
855 691011
865 691012
865A 691014
865B 691015
868 690968
871 690969
877 399916
878 691237
881 690999
SQ
4-e
Screw (Back Plate)
Filter-Air Cleaner Cartridge
Screw (Air Guide Cover
Screw (Air Guide Cover
Knob-Air Cleaner
Alternator
Nut (Gov. Control Lever)
Drive-Starter
Clutch-Drive
Dipstick
Dipstick Tube
Armature-Starter (Service with 691262
Starter Motor)
Bushing-Governor Crank
Bushing-Governor Crank
Bolt (Gov. Control Lever)
Plate-Back
Nut (Starter Cable)
Clamp-Hose
Retainer-Governor Shaft
Crank-Governor
Screw (Fuel Pump Bracket)
Seal-Choke Shaft
Boot-Spark Plug
Nut (Carburetor)
Spacer
Governor Shaft Seal
Screw (Drive Cap)
Clip
Pin-Locator
Gear-Ring
Gear-Timing
E-Ring Retainer
Screw (Oil Pump Cover)
Gear-Pinion
Fuel Pump Bracket
Harness-Wiring
Screw (Brush Retainer)
Screw (Rocker Arm)
Cap-Drive
Cap-End
Housing-Starter (Service with 691262
Starter Motor)
Dipstick/Tube Assembly
Terminal-Cable
Adapter-Air
Cover-Air Guide
Cover-Air Guide
Cover-Air Guide
Seal-Valve
Bushing-Guide
Alternator Connector/Wire
Harness-Alternator
Plate-Cover
883 690970 +• Gasket-Exhaust
914 690960 Screw (Rocker Cover)
918 691040 Hose-Vacuum
929 691003 Screw (Choke Control Bracket)
934 691058 Screw (Fan Retainer)
943 690589 • O-Ring Seal (Oil Pump Cover)
947 499809 Solenoid-Fuel
965 499613 Oil Pump Cover
967 691016 Filte r-Pre-Cleaner
968 499788 Cover-Air Cleaner
975 499810 Bowl-Float
977 499812 Gasket Set-Carburetor
987 691000 :I:Q Seal-Throttle Shaft
993 690234 :I:Q Gasket-Plate
1005 691243 Fan-Flywheel
1006 691247 Retainer-Fan
1013 690954 Nipple-Oil Filter
1017 690770 Oil Pump Screen
1019 690103 Label Kit
1022 690971 +• Gasket-Rocker Cover
1023 499599 Cover-Rocker (Cyl. No. 1)
1023A 499600 Cover-Rocker (Cyl. No. 2)
1024 499054 Pump-Oil
1026 690981 Rod-Push (Steel)
1026A 690982 Rod-Push (Aluminum)
1027 690041 Filter-Oil
1029 690972 Rocker Arm
1033 499890 Valve Overhaul Kit
1035 691042 Shaft-Pump
1036 499783 Emissions Label
1051 691265 Ring-Retaining
1058 273694 Owner's Manual
1081 691032 • O-Ring Seal (Dipstick Tube)
1090 691293 Retainer-Brush
1100 690973 Rocker Arm Pivot
1119 93621 Screw (Alternator)
1123 690987 :I:Q O-Ring Seal (Solenoid Retainer)
1124 690988 :I:Q O-Ring Seal-Fuel Transfer Tube
1125 690990 Q Screw (Cover Plate)
1126 690991 Screw (Fuel Transfer Tube
1127 690992 Screw (Float Bowl)
1128 690990 O Screw (Carburetor Nozzle)
407777-0027-E1 Replacement Engine
RPM Settings: Low Speed: 1900-2100
High Speed: 3000-3200
Q
4-
Included in Gasket Set, Ref. No. 358
Included in Gasket Set, Ref. No. 121
Included in Gasket Set, Ref. No. 977
Included in Gasket Set, Ref. No. 1033
NOTE: All component dimensions given in
U.S.inches 1 inch = 25.4 mm
50

SUGGESTED GUIDE FOR SIGHTING SLOPES FOR SAFE OPERATION
O1
=.L
ONLY RIDE UP AND DOWN HILL,
NOT ACROSS HILL
SIGHT AND HOLD THIS LEVEL WITH
SKY LINE OR TREE.
/
15 MAX.
Operate your Tractor up and down the face of slopes (not
greater than 15 ), never across the face. Make turns gradu-
ally to prevent tipping or loss of control. Exercise extreme
caution when changing direction on slopes.

Just Call:
1-800-4-MY-HOME ®
(1-800-469-4663)
24 hours a day, 7 days a week
For the repair of major brand appliances in your own home...
no matter who made it, no matter who sold it!
For your nearest Sears Parts and Service location,
to bring in products like vacuums, lawn equipment and electronics.
For Sears Parts & Service, to order the replacement parts,
accessories and owner's manuals that you need to do-it-yourself.
www.sears.ca
To purchase or inquire about a Sears Maintenance Agreement, call:
1-800-361-6665
9 a.m. - 8 p.m. EST, Mon.- Fri.,4 p.m. Sat.
Pour service en fran?ais:
1-800-LE-FOYER Mc
(1-800-533-6937)
www.sears.ca
8EARS
HomeGentral®
(_)/TMTrademarks of Sears, Roebuck and Co. used under license by Sears Canada
MC/MDMarque de commerce /depos6e de Sears, Roebuck and Co. utilisee en vertu d'une licence de Sears Canada © Sears
178199 Rev. 2 6.26.01 JH/RD/JH PRINTED IN U.S.A.