Craftsman 10 Portable Table Saw Owners Manual 41503_JT2504RC_English_010614_Rev 1
2015-03-28
: Craftsman Craftsman-10-Portable-Table-Saw-Owners-Manual-661861 craftsman-10-portable-table-saw-owners-manual-661861 craftsman pdf
Open the PDF directly: View PDF
.
Page Count: 56

1 1
Operator’s Manual
10 IN. PORTABLE TABLE SAW
Model No. 137.415030
CAUTION:
Before using this Table Saw,
read this manual and follow
all its Safety Rules and
Operating Instructions
● Safety Instructions
● Assembly
● Operation
● Maintenance
● Parts List
Customer Help Line
For Technical Support
1-800-843-1682
Sears Parts &
Repair Center
1-888-331-4569
Sears Brands Management Corporation Hoffman Estates, IL 60179 USA
See the full line of Craftsman® products at craftsman.com
Click on the Craftsman Club® link and join today!
Part No. 137415030001 Printed in China

2
3
2 3
2014/01
TABLE OF CONTENTS
SECTION PAGE
Warranty ................................................................................................................ 2
Product Specifications ........................................................................................... 3
Symbols.................................................................................................................. 4
Power Tool Safety .................................................................................................. 5
Table Saw Safety ................................................................................................... 8
Electrical Requirements and Safety ....................................................................... 12
Accessories and Attachments ................................................................................ 14
Tools Needed for Assembly ................................................................................... 14
Carton Contents .................................................................................................... 15
Know Your Table Saw ............................................................................................ 17
Glossary of Terms .................................................................................................. 18
Assembly ............................................................................................................... 20
Adjustments ........................................................................................................... 29
Operation ............................................................................................................... 35
Maintenance .......................................................................................................... 45
Troubleshooting Guide .......................................................................................... 48
Parts List ................................................................................................................ 51
Repair Protection Agreement ................................................................................. 56
WARRANTY
CRAFTSMAN ONE YEAR LIMITED WARRANTY
FOR ONE YEAR from the date of purchase, this product is warranted against defects in
material or workmanship. With proof of purchase, a defective product will receive free repair
or replacement at option of seller. For warranty coverage details or to obtain free repair or
replacement, visit the web page: www.craftsman.com/warranty
This warranty does not cover the blade, which is an expendable part that can wear out from
normal use within the warranty period. This ONE YEAR warranty is void if this product is
ever used while providing commercial services or if rented to another person. For 90 DAY
commercial and rental use terms, see the Craftsman warranty web page. This warranty gives
you specific legal rights, and you may also have other rights which vary from state to state.
Sears Brands Management Corporation, Hoffman Estates, IL 60179
CALIFORNIA PROPOSITION 65
Some dust created by power sanding, sawing, grinding, drilling and other construction
activities contains chemicals known to the state of California to cause cancer, birth defects
or other reproductive harm. Some examples of these chemicals are:
● Lead from lead-based paints,
● Crystalline silica from bricks, cement and other masonry products, and
● Arsenic and chromium from chemically treated lumber.
Your risk from these exposures varies, depending on how often you do this type of work.
To reduce your exposure to these chemicals: work in a well ventilated area, and work
with approved safety equipment, such as those dust masks that are specially designed to
filter out microscopic particles. Avoid prolonged contact with dust from power sanding,
sawing, grinding, drilling, and other construction activities. Wear protective clothing and
wash exposed areas with soap and water. Allowing dust to get into your mouth, eyes, or
lay on the skin may promote absorption of harmful chemicals.
WARNING
!

2 3
2
3
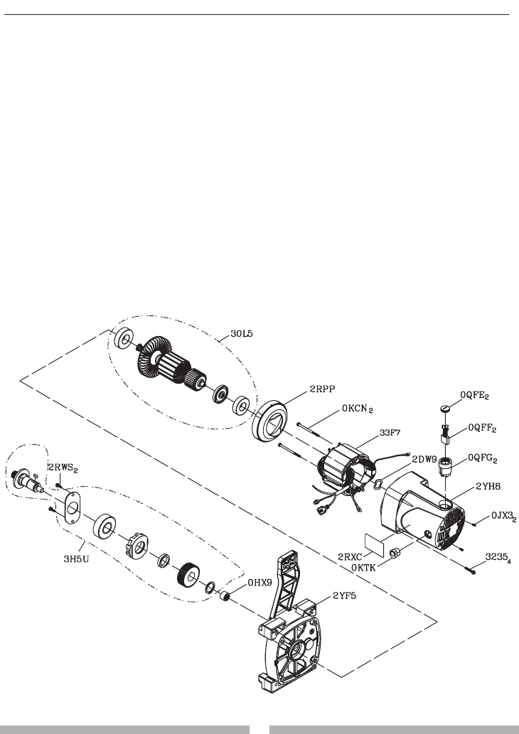
MOTOR
Type.............................................................................. Universal
Amperes....................................................................... 15 Amp
Voltage......................................................................... 120 V AC
Hz................................................................................. 60 Hz
RPM (no load) ............................................................. 5000 RPM (No load)
Overload Protection..................................................... Yes
BLADE SIZE
Diameter...................................................................... 10 in.
Arbor Size.................................................................... 5/8 in.
SAW
Rip Fence...................................................................... Yes
Miter Gauge.................................................................. Yes
Rip Capacity ................................................................ 8-1/2 in. Left
24 in. Right
Maximum Cut Depth @ 90º ......................................... 3 in.
Maximum Cut Depth @ 45º ......................................... 2-1/2 in.
Maximum Diameter Dado ............................................ 6 in. (Stackable only)
Maximum Dado Cut Width ........................................... 1/2 in.
WARNING
!
To avoid electrical hazards, fire hazards or damage to the tool, use proper
circuit protection. This tool is wired at the factory for 110-120 Volt operation.
It must be connected to a 110-120 Volt / 15 Ampere time delay fuse or circuit
breaker. To avoid shock or fire, replace power cord immediately if it is worn,
cut or damaged in any way. Before using your tool, it is critical that you read
and understand these safety rules. Failure to follow these rules could result
in serious injury to you or damage to the tool.
PRODUCT SPECIFICATIONS

4
5
4 5
WARNING ICONS
Your power tool and its Operator’s Manual may contain “WARNING ICONS”
(a picture symbol intended to alert you to, and/or instruct you how to avoid,
a potentially hazardous condition). Understanding and heeding these
symbols will help you operate your tool better and safer. Shown below are
some of the symbols you may see.
DANGER
!
WARNING
!
CAUTION
!
CAUTION
DANGER: indicates an imminently hazardous situation
which, if not avoided, will result in death or serious injury.
WARNING: indicates a potentially hazardous situation
which, if not avoided, could result in death or serious injury.
CAUTION: indicates a potentially hazardous situation
which, if not avoided, may result in minor or moderate injury.
CAUTION: used without the safety alert symbol indicates
a potentially hazardous situation which, if not avoided, may
result in property damage.
SYMBOLS
SAFETY ALERT: Precautions that involve your safety.
PROHIBITION
WEAR EYE PROTECTION: Always wear safety goggles or safety
glasses with side shields.
READ AND UNDERSTAND INSTRUCTION MANUAL: To reduce
the risk of injury, user and all bystanders must read and understand
instruction manual before using this product.
SUPPORT AND CLAMP WORK
KEEP HANDS AWAY FROM BLADE: Failure to keep your hands
away from the blade will result in serious personal injury.
WEAR RESPIRATORY AND HEARING PROTECTION: Always wear
respiratory and hearing protection.

4 5
4
5
POWER TOOL SAFETY
GENERAL SAFETY INSTRUCTIONS
BEFORE USING THIS POWER TOOL
Safety is a combination of common
sense, staying alert and knowing how
to use your power tool.
● To avoid mistakes that could
cause serious injury, do not plug
the tool in until you have read
and understood the following.
● Read all instructions before
operating product. Failure to
follow all instructions listed
below may result in electric
shock, fire and/or serious injury.
1. READ and become familiar
with the entire Operator’s
Manual. LEARN the tool’s
application, limitations and possible
hazards.
2. KEEP GUARDS IN PLACE and in
working order.
3. REMOVE ADJUSTING KEYS
AND WRENCHES. Form the habit
of checking to see that keys and
adjusting wrenches are removed
from the tool before turning ON.
4. KEEP WORK AREA CLEAN.
Cluttered areas and benches
invite accidents.
5. DO NOT USE IN DANGEROUS
ENVIRONMENTS. Do not use
power tools in damp locations, or
expose them to rain or snow. Keep
work area well lit.
6. KEEP CHILDREN AWAY. All
visitors and bystanders should be
kept a safe distance from work area.
7.
MAKE WORKSHOP CHILD PROOF
with padlocks, master switches or by
removing starter keys.
8. DO NOT FORCE THE TOOL. It will
do the job better and safer at the
rate for which it was designed.
9. USE THE RIGHT TOOL. Do not
force the tool or an attachment to do
a job for which it was not designed.
10. USE PROPER EXTENSION
CORDS. Make sure your extension
cord is in good condition. When
using an extension cord, be sure to
use the one heavy enough to carry
the current that the product will
draw. An undersized cord will result
in a drop in line voltage and in loss
of power which will cause the tool
overheat. The table on page 13
shows the proper wire gauge size
usage to each extension cord length
and ampere rating. If in doubt, use
the next heavier gauge. The smaller
the gauge number, the heavier
the cord.
WARNING
!

6
7
6 7
11. WEAR PROPER APPAREL. Do
not wear loose clothing, gloves,
neckties, rings, bracelets or other
jewelry which may get caught in
moving parts. Nonslip footwear is
recommended. Wear protective hair
covering to contain long hair.
12. ALWAYS WEAR EYE
PROTECTION. Any power
tool can throw foreign
objects into the eyes and could
cause permanent eye damage.
ALWAYS wear Safety Goggles (not
glasses) that comply with ANSI
Safety standard Z87.1. Everyday
eyeglasses have only impact–
resistant lenses. They ARE NOT
safety glasses. Safety Goggles are
available at Sears.
NOTE: Glasses
or goggles not in compliance with
ANSI Z87.1 could seriously injure
you when they break.
13. WEAR A FACE MASK
OR DUST MASK. Sawing
operation produces dust.
1 4 . SECURE WORK. Use
clamps or a vice to hold work
when practical. It is safer
than using your hand and
it frees both hands to operate
the tool.
15. DISCONNECT TOOLS FROM
POWER SOURCE before servicing,
and when changing accessories
such as blades, bits and cutters.
16. REDUCE THE RISK OF
UNINTENTIONAL STARTING.
Make sure switch is in the OFF
position before plugging the tool in.
17. USE RECOMMENDED
ACCESSORIES. Consult
this Operator’s Manual for
recommended accessories.
The use of improper accessories
may cause risk of injury to yourself
or others.
18. NEVER STAND ON THE TOOL.
Serious injury could occur if the
tool is tipped or if the cutting tool is
unintentionally contacted.
19. CHECK FOR DAMAGED PARTS.
Before further use of the tool, a
guard or other part that is damaged
should be carefully checked to
determine that it will operate
properly and perform its intended
function – check for alignment of
moving parts, binding of moving
parts, breakage of parts, mounting
and any other conditions that may
affect its operation. A guard or other
part that is damaged should be
properly repaired or replaced.
20. NEVER LEAVE THE TOOL
RUNNING UNATTENDED. TURN
THE POWER “OFF”. Do not walk
away from a running tool until the
blade comes to a complete stop
and the tool is unplugged from the
power source.

6 7
6
7
21. DO NOT OVERREACH. Keep
proper footing and balance at all
times. NEVER reach across the
path of the cutting blade while tool is
in operation.
22. MAINTAIN TOOLS WITH CARE.
Keep tools sharp and clean for best
and safest performance. Follow
instructions for lubricating and
changing accessories.
23. DO NOT use power tool in presence
of flammable liquids or gases.
24. DO NOT operate the tool if you are
under the influence of any drugs,
alcohol or medication that could
affect your ability to use the tool
properly.
25. Dust generated
from certain
materials can be hazardous to your
health. Always operate saw in well-
ventilated area and provide for
proper dust removal.
26. People with
electronic
devices, such as pacemakers,
should consult their physician(s)
before using this product. Operation
of electrical equipment in close
proximity to a heart pacemaker
could cause interference or failure
of the pacemaker.
27. WEAR HEARING
PROTECTION to reduce the
risk of induced hearing loss.
DANGER
!
WARNING
!

8
9
8 9
TABLE SAW SAFETY
1. ALWAYS USE SAW BLADE
GUARD, riving knife and anti-
kickback pawls assembly for every
through–sawing operation. Through
–sawing operations are those in
which the blade cuts completely
through the workpiece when ripping
or crosscutting. Always be sure
blade guard is tightened securely.
2. ALWAYS HOLD WORKPIECE
FIRMLY against the miter gauge or
rip fence.
3. ALWAYS USE a push stick or push
block, especially when ripping
narrow stock. Refer to ripping
instructions in this Operator’s Manual
where the push stick is covered in
detail. A pattern for making your own
push stick is included on page 50.
4. NEVER PERFORM ANY
OPERATION FREEHAND, which
means can using hands to support
the workpiece, but always use either
the fence OR the miter gauge to
position and guide the workpiece.
FREEHAND CUTTING IS THE
MAJOR CAUSE OF KICKBACK AND
FINGER/HAND AMPUTATIONS.
NEVER USE THE MITER GAUGE
AND FENCE SIMULTANEOUSLY.
5. NEVER STAND or have any part of
your body in line with the path of the
saw blade. Keep your hands out of
the saw blade path.
6. NEVER REACH behind or over the
cutting tool for any reason.
7. REMOVE the rip fence when
crosscutting.
8. DO NOT USE a molding head with
this saw.
9. DIRECTION OF FEED. Feed work
into a blade against the direction of
rotation of the blade.
10.NEVER use the rip fence as a
cut-off gauge when crosscutting.
11.NEVER ATTEMPT TO FREE A
STALLED SAW BLADE without
first turning the saw OFF. Turn
power switch OFF immediately to
prevent motor damage.
12.PROVIDE ADEQUATE SUPPORT
to the rear and the sides of the saw
table for long or wide workpieces.
13.AVOID KICKBACKS (work thrown
back towards you) by keeping the
blade sharp, the rip fence parallel
to the saw blade and by keeping
the riving knife, anti-kickback pawls
assembly and guards in place,
aligned and functioning. Do not
release work before passing it
completely beyond the saw blade.
Do not rip work that is twisted,
warped or does not have a straight
edge to guide it along the fence.
Do not attempt to reverse out of a
cut with the blade running.
WARNING
!

8 9
8
9
14.AVOID AWKWARD OPERATIONS
and hand positions where a sudden
slip could cause your hand to move
into the saw blade.
15.NEVER USE SOLVENTS to
clean plastic parts. Solvents could
possibly dissolve or otherwise
damage the material. Only a soft
damp cloth should be used to clean
plastic parts.
16.MOUNT your table saw on a
bench or stand before performing
any cutting operations. Refer to
ASSEMBLY on page 20. Secure
tool properly to prevent unexpected
movement.
17.
Never cut metals or masonry
products with this tool. This table
saw is designed for use on wood
and wood-like products only.
18.ALWAYS USE IN A WELL-
VENTILATED AREA. Remove
sawdust frequently. Clean out
sawdust from the interior of the saw
to prevent a potential fire hazard.
Attach a vacuum to the dust port for
additional sawdust removal.
19.NEVER LEAVE THE SAW
RUNNING UNATTENDED. Do not
leave the saw until the blade comes
to a complete stop.
20.For proper operation follow the
instructions in this Instruction
Manual entitled ASSEMBLY AND
ADJUSTMENTS (Page 20). Failure
to provide sawdust fall-through and
removal hole will allow sawdust
to build up in the motor area
resulting in a fire hazard and
potential motor damage.
21.USE ONLY saw blades
recommended with the warning that
the riving knife shall not be thicker
than the width of the groove cut by
the saw blade and not thinner than
the body of the saw blade.
22.USE PUSH-STICK OR PUSH
BLOCK to feed the workpiece past
the saw blade. The push-stick or
push block should always be stored
with the machine when not in use.
WARNING
!

10
11
10 11
SAW BLADE GUARD ASSEMBLY,
ANTI-KICKBACK ASSEMBLY AND
RIVING KNIFE
Your table saw is equipped with a
blade guard assembly, anti-kickback
assembly and riving knife that covers
the blade and reduces the possibility
of accidental blade contact. The riving
knife is a flat plate that fits into the cut
made by the saw blade and effectively
fights kickback by lessening the
tendency of the blade to bind in the cut.
The blade guard assembly and anti-
kickback assembly can only be used
when making through cuts that sever
the wood. When making rabbets and
other cuts that make non through cuts,
the blade guard assembly and anti-
kickback assembly must be removed
and riving knife lowered to the
non through cut position marked on the
riving knife. Two anti-kickback pawls are
located on the sides of the riving knife
that allow the wood to pass through the
blade in the cutting direction but reduce
the possibility of the material being
thrown backwards toward the operator.
Use all components of the guarding
system (blade guard assembly, riving
knife and anti-kickback assembly) for
every operation for which they can
be used including all through cutting.
If you elect not to use any of these
components for a particular application
exercise additional caution regarding
control of the workpiece, the use of
push sticks, the position of your hands
relative to the blade, the use of safety
glasses, the means to avoid kickback
and all other warnings contained in this
manual and on the saw itself. Replace
the guarding systems as soon as you
return to thru-cutting operations. Keep
the guard assembly in working order.
KICKBACKS
KICKBACKS: Kickbacks can cause
serious injury. A kickback occurs when
a part of the workpiece binds between
the saw blade and the rip fence, or
other fixed object, and rises from the
table and is thrown toward the operator.
Kickbacks can be avoided by attention
to the following conditions.
How to Avoid Kickbacks and Protect
Yourself from Possible Injury:
a. Be certain that the rip fence is
parallel to the saw blade.
b. Do not rip by applying the feed force
to the section of the workpiece that
will become the cut-off (free) piece.
Feed force when ripping should
always be applied between the saw
blade and the fence; use a push
stick for narrow work, 6 in. (152
mm) wide or less.
c. Keep saw blade guard assembly,
riving knife and anti-kickback
assembly in place and operating
properly. If anti-kickback assembly
is not operational, return your unit
to the nearest authorized service
center for repair. The riving knife
must be in alignment with the saw
blade and the anti-kickback pawls
assembly must stop a kickback
TABLE SAW SAFETY

10 11
10
11
once it has started. Check their
action before ripping by pushing
the wood under the anti-kickback
assembly. The teeth must prevent
the wood from being pulled toward
the front of the saw.
d. Plastic and composite (like
hardboard) materials may be cut on
your saw. However, since these are
usually quite hard and slippery, the
anti-kickback pawls may not stop a
kickback. Therefore, be especially
attentive to following proper set up
and cutting procedures for ripping.
e. Use saw blade guard assembly,
anti-kickback pawls assembly and
riving knife for every operation for
which it can be used, including all
through-sawing.
f. Push the workpiece past the saw
blade prior to release.
g. Never rip a workpiece that is
twisted or warped, or does not
have a straight edge to guide along
the fence.
h. Never saw a large workpiece that
cannot be controlled.
i. Never use the fence as a guide or
length stop when crosscutting.
j. Never saw a workpiece with loose
knots, flaws, nails or other foreign
objects.
k. Never rip a workpiece shorter than
10 in. (254 mm).
l. NEVER use a dull blade – replace
or have resharpened.
m. NEVER use a rip fence and miter
gauge together.
n. Keep hands out of saw blade.

12
13
12 13
ELECTRICAL REQUIREMENTS AND SAFETY
POWER SUPPLY AND MOTOR
SPECIFICATIONS
To avoid electrical hazards, fire
hazards, or damage to the tool, use
proper circuit protection. Use a
seperate electrical circuit for your
tool. Your table saw is wired at the
factory for 120 V operation. Connect
to a 120 V, 15 Amp circuit and use
a 15 Amp time delay fuse or circuit
breaker. To avoid shock or fire,
if power cord is worn, cut, or
damaged in any way, have it
replaced immediately.
GROUNDING INSTRUCTIONS
This tool must be grounded while
in use to protect the operator from
electrical shock.
IN THE EVENT OF A MALFUNCTION
OR BREAKDOWN, grounding provides
a path of least resistance for electric
currents and reduces the risk of electric
shock. This tool is equipped with an
electrical cord that has an equipment
grounding conductor and a grounding
plug. The plug must be plugged into
a matching receptacle that is properly
installed and grounded in accordance
with all local codes and ordinances.
DO NOT MODIFY THE PLUG
PROVIDED. If it will not fit the
receptacle, have the proper receptacle
installed by a qualified electrician.
IMPROPER CONNECTION of the
equipment grounding conductor can
result in risk of electric shock. The
conductor with the green insulation
(with or without yellow stripes) is the
equipment grounding conductor. If
repair or replacement of the electrical
cord or plug is necessary, do not
connect the equipment grounding
conductor to a live terminal.
CHECK with a qualified electrician or
service person if you do not completely
understand the grounding instructions,
or if you are not certain the tool is
properly grounded.
USE only 3-wire extension cords
that have three-pronged grounding
plugs with three-pole receptacles
that accept the tool’s plug. Repair
or replace damaged or worn cords
immediately.
Use a separate electrical circuit for
your tool. This circuit must not be less
than # 14 wire and should be protected
with a 15 Amp time delay fuse. Before
connecting the motor to the power
line, make sure the switch is in the
off position and the electric current is
rated the same as the current stamped
on the motor nameplate. Running at a
lower voltage will damage the motor.
USE THE PROPER EXTENSION
CORD. Make sure your extension cord
is in good condition. Use an extension
cord heavy enough to carry the current
your product will draw. draw. An
undersized cord will cause a drop in
line voltage resulting in loss of power,
WARNING
!
WARNING
!

12 13
12
13
The adapter (Fig. 2) has a grounding
lug extending from it that MUST be
connected to a permanent earth
ground, such as a properly grounded
receptacle box.
In all cases, make certain the
receptacle is properly grounded. If
you are not sure, have a qualified
electrician check the receptacle.
overheating and burning out of the
motor. The table below shows the
correct size to use depending on cord
length and nameplate ampere rating. If
in doubt, use the next heavier gauge.
The smaller the gauge number, the
heavier the cord.
GUIDELINES FOR EXTENSION
CORDS
Make sure your extension cord is
properly wired and in good condition.
Always replace a damaged extension
cord or have it repaired by a qualified
technician before using it. Protect your
extension cords from sharp objects,
excessive heat and damp or wet areas.
This tool is for indoor use only. Do
not expose to rain or use in damp
locations.
This tool is intended for use on a
circuit that has a receptacle like the
one illustrated in Fig. 1. Fig. 1 shows
a three-pronged electrical plug and
receptacle that has a grounding
conductor. If a properly grounded
receptacle is not available, an adapter
(Fig. 2) can be used to temporarily
connect this plug to a two-contact
grounded receptacle.
MINIMUM GAUGE FOR EXTENSION CORDS (AWG)
(When usng 120 volts only)
Ampere Rating Total length of Cord
More Than Not More Than
25ft. 50ft. 100ft. 150 ft.
(
7.62 15.24 30.48 45.72 m
)
AWG- American Wire Gauge
0 6 18 16 16 14
6 10 18 16 14 12
10 12 16 16 14 12
12 16 14 12
Not Recommended
WARNING
!
CAUTION
!
Three-Pronged Plug
Grounding Prong
Properly Grounded
Three-Pronged Receptacle
Fig. 1
Fig. 2
Grounding Lug
Make sure this
is connected
to a known
ground.
Two-Pronged
Receptacle
Adapter

14
15
14 15
ACCESSORIES AND
ATTACHMENTS
RECOMMENDED ACCESSORIES
Visit your Sears Hardware
Department or see the
Craftsman Power and Hand Tools
Catalog to purchase recommended
accessories for this power tool.
308K DADO INSERT PLATE
To avoid the risk of personal injury:
● Do not use adjustable (wobble)
type dadoes or carbide tipped
dado blades.
● Only use stackable dadoes.
● Maximum dado width is 1/2 in.
● Do not use a dado with a diameter
larger than 6 in.
● Do not use molding head set with
this saw.
● Do not modify this power
tool or use accessories not
recommended by Sears.
WARNING
!
WARNING
!
TOOLS NEEDED FOR
ASSEMBLY
NOT SUPPLIED
Flat bladed
screwdriver
Adjustable wrench
and/or 5 mm, 8 mm,
10 mm, 13 mm, and
17 mm wrench
Phillips screwdriver
Combination square
Straight edge
SUPPLIED
Box-end
wrench
Open-end
wrench
4 mm hex
wrench

14 15
14
15
If any part is missing or damaged,
do not attempt to assemble the
table saw, plug in the power
cord, or turn the switch ON until
the missing or damaged part is
obtained and is installed correctly.
Call 1-800-843-1682 for missing or
damaged parts.
Separate all parts from packing
materials. Check each part with the
illustration on the next page and the
“Table of Loose Parts” to make certain
all items are accounted for, before
discarding any packing material.
NOTE: To make assembly easier, keep
contents of box together.
TABLE OF LOOSE PARTS
TABLE SAW
ITEM DESCRIPTION QUANTITY
A Table saw assembly 1
B Blade guard assembly 1
C Anti-kickback pawls assembly 1
D Riving knife assembly hardware bag 1
E Rip fence 1
F Miter gauge 1
G Blade wrenches 2
H 4 mm hex wrench 1
I Push stick 1
J Rear outfeed support 1
K Rear outfeed support tubes 2
L Rear outfeed support hardware bag 1
M Blade 1
N Handwheel handle 1
O Power cord storage 1
P Table saw mounting hardware bag 4 each
STAND
Q Leg handle hardware bag 1
R Wheel hardware assembly 1
S Stand assembly 1
WARNING
!
CARTON CONTENTS

16
17
16 17
UNPACKING YOUR TABLE SAW
ABCD
E F G H I
J K L M
N O P Q
S
R

16 17
16
17
KNOW YOUR TABLE SAW
Blade
Table insert
Anti-kickback pawls
assembly
Riving knife
Rear outfeed
support
Dust port
Blade guard
Rip fence
Extension table
locking lever
Blade elevation/
tilting handwheel
Overload reset switch
Miter gauge storage
Wheel
Push stick storage
ON/OFF switch
with safety key
Miter gauge
Stand handle
Leveling foot
Right extension table
Stand lock lever
Power cord
storage
Stand
Locking hook
Leg clamp

18
19
18 19
GLOSSARY OF TERMS
ANTI-KICKBACK PAWLS ASSEMBLY
– Prevents the workpiece from being
kicked upward or back toward the front
of the table saw by the spinning blade.
ARBOR – The shaft on which the blade
or dado is mounted.
BEVEL CUT – An angle cut made
through the face of the workpiece.
BLADE BEVEL SCALE – Measures
the angle the blade is tilted when set
for a bevel cut.
BLADE ELEVATION/TILTING
HANDWHEEL – Raises and lowers
the blade or tilts the blade to angle
between 0º and 45º for bevel cuts.
BLADE GUARD – Clear plastic cover
that positions itself over the blade while
cutting.
COMPOUND CUT – A simultaneous
bevel and miter cut.
CROSSCUT – A cut made across the
width of the workpiece.
DADO – Special cutting blades that are
used to cut grooves in a workpiece.
FEATHERBOARD – When ripping
a workpiece on your table saw, this
keeps it firmly and safely against the
rip fence. It also helps prevent chatter,
gouging, and dangerous kickback.
FREEHAND – Performing a cut without
using a rip fence, miter gauge, hold
down or other proper device to prevent
the workpiece from twisting during the
cutting operation.
GUM – A sticky sap from wood
products.
HEEL – Misalignment of the blade.
JAMB NUT – Nut used to lock another
nut in place on a threaded rod or bolt.
KERF – The amount of material
removed by the blade cut.
KICKBACK – Occurs when the saw
blade binds in the cut and violently
thrusts the workpiece back toward
the operator.
MITER CUT – An angle cut made
across the width of the workpiece.
MITER GAUGE – A guide used for
crosscutting operations that slides
in the table top channels (grooves)
located on either side of the blade.
It helps make accurate straight or
angle crosscuts.
NON-THROUGH SAWING – Refers
to any cut that does not completely cut
through the workpiece.

18 19
18
19
SAW BLADE PATH – The area of the
workpiece or table top directly in line
with the travel of the blade or the part
of the workpiece that will be cut.
SET – The distance between two saw
blade tips, bent outward in opposite
directions to each other. The further
apart the tips are, the greater the set.
TABLE INSERT – Insert that is
removed from the table to install /
remove blades. When dado cutting, a
dado insert plate must be used.
THROUGH SAWING – Making a cut
completely through the length or width
of a workpiece.
WORKPIECE – Material to be cut.
NOTE: Blade guard assembly is
removed for purposes of illustration only.
OVERLOAD RESET SWITCH –
Protects the motor if it overloads during
operation, provides a way to restart the
saw.
PUSH STICK – Used to push
workpieces when performing ripping
operations.
PUSH BLOCK – Used for ripping
operation when the workpiece is too
narrow to use a push stick. Always use
a push block for rip widths less than 2 in.
(50.8 mm).
RESAWING – Flipping material to
make a cut the saw is not capable of
making in one pass.
Do not resaw material with this saw.
REVOLUTIONS PER MINUTE (RPM)
– The number of turns completed by a
spinning object in one minute.
RIP FENCE – A guide used for rip
cutting which allows the workpiece to
cut straight.
RIPPING – Cutting with the grain of
the wood or along the length of the
workpiece.
RIVING KNIFE – A metal piece of the
guard assembly located behind and
in-line with the blade. Slightly thinner
than the saw blade, it helps keep the
kerf open and prevents kickback.
WARNING
!
Leading edge
Kerf
Surface
Saw blade path
Trailing
edge
Workpiece
Direction of
workpiece

20
21
20 21
ASSEMBLY
For your safety, never connect plug
to power source receptacle until all
assembly and adjustment steps are
complete, and you have read and
understood the safety instructions.
ASSEMBLING THE ROLLER
WHEELS AND HANDLES TO STAND
(FIG. A, B, C)
1. Remove the bolts (2), washers (3)
and nuts (4) from the stand tube.
Insert one leg handle (1) into one
left stand tube and align the holes
on the handle and tube. Use two
bolts (2), two washers (3) and two
nuts (4) to secure the leg handle.
(Fig. A)
2. Tighten with a phillips screwdriver
and 10 mm wrench.
3. Repeat steps 1 - 2 for assembling
the other leg handle.
4. Attach one wheel (5) to the outer
side of one right stand leg using the
hex bolt (6), the sleeve (7), two flat
washers (8) and the nut (9). (Fig. B)
NOTE: Verify that the side of the
wheel that has the concavities (10)
is facing toward the stand as shown
in Fig. B.
5. Tighten using two 17 mm wrenches
for the nut and bolt.
NOTE: Do not overtighten. Doing so
will not allow the wheels to turn.
6. Repeat the steps 4 - 5 for
assembling the other wheel.
WARNING
!
SETTING UP THE STAND (FIG. C, D)
1. Lift the stand to its upright position.
2. Raise leg set (1) all the way up.
Then, lower the stand until leg set (1)
rests on floor.
3. Release the locking hook (2) from
the stop screw (3).
4. Step on the bottom right stand
bar (4) for leverage, grasp right
side of stand frame (7) with both
hands and pull stand up to the
highest position.
NOTE: You should hear a "click"
sound when the stand locks
in place.
1
2
3
4
Fig. A
Fig. B
67
5
889
10

20 21
20
21
NOTE: Do not overtighten the four
bolts as this may cause damage to
the base of the saw.
4. Place the stand on a level surface
and adjust the leveling foot (6)
located on the left front stand leg.
Adjust until all legs are contacting
the floor and are at a similar angle
to the floor.
NOTE: Before using the saw, verify
that the table saw is securely locked
in position.
FOLDING THE STAND FOR
TRANSPORT OR STORAGE
(FIG. C, D, F)
1. Lift slightly the right side of table
saw (8 - Fig. F), raise the cover
plate (6) on the right side of stand,
pull the stand lock lever (5) to the
right as the release direction, and
then move the saw slowly close to
the wheel. (Fig. D)
2. Rotate the hook (2) to the stop
screw (3) to secure the legs of the
stand in position. (Fig. C)
3. Rest the right side of the saw onto
the floor.
4. Fold the leg set (1) close to the
base until the leg clamp (9) holds
the right side leg. (Fig. C)
5. Check to be sure the stand lock
lever (5) is in the slot of the cover
plate (6). (Fig. D)
ASSEMBLING TABLE SAW TO
STAND (FIG. E)
1. Lift the saw body (1) and place
on the stand (2), aligning the four
mounting holds (3) on the saw base
with the four threaded mounting
holes on the top plate of stand.
2. Attach the table saw to the stand
with four hex head bolts (4) and
washers (5).
3. Tighten all mounting bolts with a
13 mm wrench.
Fig. C
Fig. D
Fig. E
5
6
stand lock lever
release direction
1
23
4
9
7
1
23
4
5
6

22
23
22 23
Push stick (Fig. I)
A storage holder for the push stick (1)
is located on the left side of the
saw housing.
1. Store the push stick (1) by hanging
it on the holders (2) through the
holes (3) of the push stick (1).
Installing the power cord storage
clamps (Fig. J)
1. Attach the power cord storage
clamp (1) into the hole set on the
rear side of the table saw base with
screw (2) and nut (3).
NOTE: The nut is placed inside
the base.
2. Repeat for the other clamp, to be
located on the bottom right on
saw base.
5. Fold the stand slowly downward as
shown in Fig. F.
6. Move the saw to the desired
location for operation or store the
saw in a dry environment by using
the left side stand handles (10).
STORAGE
Rip fence and miter gauge (Fig. G)
Storage for the rip fence (1) and miter
gauge (2) are located on the left side of
the saw housing.
Extra saw blade and blade wrenches
(Fig. H)
1. Loosen and remove the knob (1) on
the right side of the saw housing.
2. Place blade wrenches (2), extra
blades (not included) onto the arbor.
Fig. F
8
Folding
Transporting
10
Fig. G
1
2
Fig. H
1
2
Fig. I
1
2
3

22 23
22
23
Power cord (Fig. J-1)
Wrap the power cord (1) as shown. Do
not wrap the power cord around the
dust port (2).
INSTALLING THE HANDWHEEL
HANDLE (FIG. K)
NOTE: UP-DOWN is printed on this
handwheel.
1. Thread the handwheel handle (1)
into the handwheel hole (2), and
then tighten.
INSTALLING THE REAR OUTFEED
SUPPORT (FIG. L, M)
1. Insert the two rear outfeed support
tubes (2) into the rear outfeed
support (1). (Fig. L)
NOTE: They must be inserted into
the back of the extension with the
dimple end so that the bar will hold
the extension in place.
2. Snap two black plastic stops (3)
over the two rear outfeed support
tubes (2). Make sure the locating
pin in the black plastic stops fits into
the matching hole in the support
tube. This will “lock” the tube into
the support. (Fig. L)
NOTE: The plastic stops (3) must
be installed underneath the rear
outfeed support tubes (2).
3. Insert the rear outfeed support
tubes (2) into the two holes in the
rear of the saw table, and into the
support tube brackets under the
table. Position the rear outfeed
support so that the instruction labels
are facing up. (Fig. M)
4. Tighten one rear outfeed support
stop screw (4) on the end of the
left rear outfeed support tubes (2).
Verify that the screw is fully inserted
into the corresponding hole in the
support tube. (Fig. M)
Fig. L
dimple end
1
2
3
1
2
Fig. J-1
Fig. K
Fig. J
1
3
2
1
2

24
25
24 25
INSTALLING THE BLADE (FIG. N, O, P)
To avoid injury from an accidental
start, make sure the switch is in the
OFF position and the plug is not
connected to the power source outlet.
NOTE: The saw blade is packed in the
blade storage located on the right side
of base.
1. Remove the table insert (1) by
inserting your finger into the
opening (2) and pulling up.
Raise the blade to the maximum
height position by turning the
blade elevation/tilting handwheel
clockwise. (Fig. N)
Fig. M
2
4
2
WARNING
!
Fig. N
1
2
2. Remove the arbor nut (3) and outer
blade flange (4). (Fig. O)
3. Place the blade (7) onto the arbor (5)
with the blade teeth pointing forward
to the front of the saw. (Fig. P)
NOTE: Leave the plastic strip
around the saw blade at this time.
Remove before using the saw for
the first time.
4. Make sure the blade fits flush
against the inner flange (6). (Fig. O)
5. Clean the outer blade flange (4)
and install it onto the arbor (5) and
against the blade (7). (Fig. P)
6. Thread the arbor nut (3) onto the
arbor, making sure the flat side of
the nut is against the blade, then
hand-tighten.
7. To tighten the arbor nut (3), place
the open-end wrench (8) on the flats
of the saw arbor to keep the arbor
from turning. (Fig. P)
8. Place the box-end wrench (9) on
the arbor nut (3) and turn clockwise
(to the rear of the saw table). (Fig. P)
9. Lower the blade to its lowest
position and place table insert (1)
into position. (Fig. N)
543
6
Fig. O

24 25
24
25
To avoid possible injury and damage
to the workpiece, be sure to INSTALL
THE BLADE WITH THE TEETH
POINTING TOWARD THE FRONT OF
TABLE in the direction of the rotation
arrow on the blade guard.
REMOVING THE BLADE (FIG. N, P)
To avoid injury from an accidental
start, make sure the switch is in the
OFF position and the plug is not
connected to the power source outlet.
1. Remove the table insert (1) by
inserting your finger into the
opening (2) and pulling up.
Raise the blade to the maximum
height position by turning the
blade elevation/tilting handwheel
clockwise. (Fig. N)
2. To loosen the arbor nut (3), place
the open-end wrench (8) on the flats
of the saw arbor to keep the arbor
from turning. (Fig. P)
3. Place the box-end wrench (9)
on the arbor nut (3) and turn
counterclockwise. (Fig. P)
4. Remove the arbor nut (3), outer
blade flange (4) and blade (7).
Clean but do not remove the inner
blade flange before reassembling
the blade. (Fig. P)
INSTALLING THE RIVING KNIFE
(FIG. P, Q, R)
● To avoid injury from an accidental
start, make sure the switch is in
the OFF position and the plug
is disconnected from the power
source outlet.
● Never operate this saw without
the riving knife in the correct
position.
1. Remove the table insert.
2. Raise the blade to the maximum
height position by turning the blade
elevation/tilting handwheel (1)
clockwise. (Fig. P)
3. Loosen the blade lock knob (2).
Turn and move the handwheel (1)
to 45° on the bevel scale.
4. Tighten the blade lock knob (2).
WARNING
!
WARNING
!
Fig. P
12
Fig. P
3
5
9
87
4
WARNING
!

26
27
26 27
5. Place the riving knife (3) on the
mounting bracket (4) located behind
the saw blade. The two pins (5) on
the bracket should fit into the slot on
the riving knife. (Fig. Q)
6. Make sure the riving knife (3) is in
its highest position.
7. Insert the set plate (6), making sure
the two outer holes fit into the two
pins on the mounting bracket.
8. Insert the washer (7) into the lock
lever (8) and insert into the middle
hole of the set plate (6) and tighten.
9. Loosen the blade lock knob (2) and
return the blade to 0° and lock.
10. Place the table insert back into
position.
● To avoid the lock lever interfering
with the table insert, after tighten
the riving knife, position the lock
lever pointing downward before
using saw. Failure to maintain a
level insert can result in serious
injury to the operator.
● The lever can be pulled out to
allow it to be turned to a new
position downward. (Fig. R)
BLADE GUARD AND ANTI-KICKBACK
PAWLS ASSEMBLY (FIG. S, T, U, V)
To avoid injury from an accidental start,
make sure the switch is in the OFF
position and the plug is disconnected
from the power source outlet.
● When installing the blade guard,
cover the blade teeth with a piece of
folded cardboard to protect yourself
from possible injury.
● Never operate this machine without
the blade guard in place for all
through sawing operations.
Installing the blade guard and anti-
kickback pawls assembly
(Fig. S, T, U, V)
1. Make sure the blade is elevated to
its maximum height and the bevel is
set at 0°. Make sure the blade lock
knob is tight.
2.
Raise the riving knife (1) to its highest
position (through cut position). Take
the anti-kickback pawls assembly
and lift up the locking lever (2)
located on top. (Fig. S)
WARNING
!
Fig. Q
Fig. R
cavity side face
to lock lever
3
4
5
67
8
3
6
8
WARNING
!

26 27
26
27
7. Make sure that the assembly is
locked in place both in front and
back. (Fig. V)
To reduce the risk of serious injury,
use saw blade guard and riving knife
for every operation for which it can
be used including all through sawing.
3. Place the front of assembly into
slot (3) and push down, making
sure the assembly is engaged in
the slots. Push down on the locking
lever (2) to lock. (Fig. S, T)
NOTE: Make sure the anti-kickback
pawls assembly is locked in position
before operating saw.
4. Take the blade guard (4) and press
down on the red spring button (5)
located on the top of assembly.
(Fig. U)
5. Position blade guard over the riving
knife (1) and align the slot (6) to the
riving knife (1) as shown in Fig. U.
6. Lower the guard assembly (4) onto
riving knife (1). Release the red
spring button (5) so that two
latches (7) engage into two locking
hooks (8) completely. (Fig. U, V)
Fig. S
Fig. T
Loosen
1
2
3
2
Tighten
WARNING
!
Fig. V
5
Fig. U
1
8
455
6
7
Press down

28
29
28 29
Removing the blade guard and anti-
kickback pawls assembly (Fig. S, V)
To avoid injury from an accidental
start, make sure the switch is in
the OFF position and the plug is
disconnected from the power
source outlet.
1. Raise the blade to the maximum
height position by turning the
blade elevation/tilting handwheel
clockwise.
2. Loosen the blade bevel lock knob
and turn the handwheel to 90° on the
bevel scale.
3. Tighten the blade bevel lock knob.
4. Remove the anti-kickback pawls
assembly by lifting the anti-kickback
pawls lever (2). (Fig. S)
5. Remove the blade guard assembly
by pressing down the red spring
button (5) and lifting up the
assembly. (Fig. V)
AVOIDING KICKBACKS (FIG. W)
To avoid kickback (having the work
thrown violently back toward you), keep
the blade sharp, keep the rip fence
parallel to the saw blade and keep
the riving knife, blade guard and anti-
kickback pawls in place, aligned and
functioning. Do not release the work
before passing it completely beyond
the saw blade. Do not rip work that
is twisted, warped or does not have
a straight edge to guide it along the
fence. Do not attempt to back out of a
cut with the blade running.
WARNING
!
Improper riving knife alignment can
cause “kickback” and serious injury.
INSTALLING THE RIP FENCE (FIG. X)
1. Lift upward on the rip fence handle (1)
so that the holding clamp (2) is fully
extended.
2. Place the rip fence on the saw table
and engage the holding clamp (2)
to the table rear rail. Lower the front
end onto the front rail (3).
3. Push down the rip fence handle (1)
to lock.
Never use a rip fence and miter
gauge together.
WARNING
!
Anti-kickback Pawls
Fig. W
Fig. X
2
1
3
WARNING
!

28 29
28
29
ADJUSTMENT
RIP FENCE ADJUSTMENT (FIG. Y)
1. The fence (1) can be repositioned
by lifting up the handle (2) and
sliding the fence to the desired
location. Pushing down the handle
locks the fence in position.
2. Position the fence (1) on the right
side of the table, and along one
edge of the miter gauge grooves.
3. Lock the fence handle (2). The
fence should be parallel with the
miter gauge groove.
4. If adjustment is needed to make the
fence parallel to the groove, do the
following:
● Loosen the two screws (3) and
lift up on the handle (2).
● Hold the fence bracket (4) firmly
against the front of the saw
table. Move the rip fence until
it is parallel with the miter
gauge groove.
● Tighten both screws and push
the handle to lock.
5. If fence is loose when the handle is
in the locked (downward) position,
do the following:
● Lift the handle (2) upward
and turn the adjusting nut (5)
clockwise using a 10 mm wrench
until the rear clamp is snug. Do
not turn the adjusting nut more
than 1/4 turn at a time.
● Over-tightening the adjusting nut
will cause the fence to come out
of alignment.
Failure to properly align the fence
can cause “kickback” and serious
injury could occur.
RIP FENCE INDICATOR ADJUSTMENT
(FIG. Z)
1. The rip fence indicator (1) points
to the measurement scale (2). The
scale shows the distance from the
side of the fence to nearest side of
the blade.
2. Measure the actual distance with a
rule. If there is a difference between
the measurement and the indicator,
adjust the indicator (1).
3. Loosen the screw (3) and slide the
indicator to the correct measurement
on the scale (2). Tighten the screw
and remeasure with the rule.
Fig. Y
1
2
3
4
5
WARNING
!

30
31
30 31
ADJUSTING MITER GAUGE (FIG. AA)
1. Loosen the lock handle (1) to allow
the miter body (2) to rotate freely.
Position the miter body (2) at 90°
so the positive detent secures its
position. Tighten the lock handle to
hold the miter body in position.
2. If the pointer (3) requires
adjustment, loosen the screw (4)
with a screwdriver. Adjust the
pointer to 90° on the scale, then
firmly tighten the adjustment screw.
3. To change angles on the miter
gauge, loosen the lock handle (1)
and rotate the miter body (2) to
the desired angle as indicated by
the scale. Secure in position by
tightening the lock handle (1).
Fig. Z
3
Fig. AA
1
2
34
ADJUSTING THE TABLE INSERT
(FIG. BB)
To avoid serious injury, the table
insert (1) must be level with the table.
If the table insert is not flush with the
table, adjust the two bolts (2) with a
4 mm hex wrench until it is parallel with
the table.
NOTE: To raise the insert, turn the hex
screws counterclockwise, to lower the
insert, turn the hex screws clockwise.
Do not remove the insert, adjustments
need to be made with the insert in
place to get the proper level.
ADJUSTING THE 90° AND 45°
POSTIVE STOPS
(FIG. CC, DD)
Your saw has positive stops that will
quickly position the saw blade at 90°
and 45° to the table. Make adjustments
only if necessary.
90° Stop
1 Disconnect the saw from the power
source.
2. Raise the blade to the maximum
elevation.
WARNING
!
Fig. BB
1
1
2
2
1

30 31
30
31
3. Loosen the blade lock knob and
move the blade to the maximum
vertical position and tighten the
blade lock knob.
4. Place a combination square on the
table and against the blade (1) to
determine if the blade is 90° to the
table. (Fig. CC)
5. If the blade is not 90° to the table,
loosen or tighten (depending on
whether you are increasing or
decreasing the degrees) the hex
bolt (3) with a 5 mm hex wrench
until you achieve 90°. (Fig. DD)
6. Loosen the blade lock knob and
reset the blade at the maximum
vertical position, then tighten the
blade lock knob.
7. Check again to see if the blade is
90° to the table. If not, repeat step 5.
8. Lastly, check the bevel angle scale.
If the pointer does not read 90°,
loosen the screw holding the
pointer and move the pointer so it
is accurate at 0° and retighten the
pointer screw.
Fig. CC
90°
12
45°
45° Stop
1. Disconnect the saw from the power
source.
2. Raise the blade to the maximum
elevation.
3. Loosen the blade lock knob and
move the blade to the maximum
bevel position and tighten the blade
lock knob.
4. Place a combination square on the
table and against the blade (2) to
determine if the blade is 45° to the
table. (Fig. CC)
5. If the blade is not 45° to the table,
loosen or tighten (depending on
whether you are increasing or
decreasing the degrees) the hex
bolt (4) with a 5 mm hex wrench until
you achieve 45°. (Fig. DD)
6. Loosen the blade lock knob and
reset the blade at the maximum
bevel position (45°), then tighten the
blade lock knob.
7. Check again to see if the blade is
45° to the table. If not, repeat step 5.
Fig. DD
34

32
33
32 33
BLADE TILT POINTER (FIG. EE)
1. When the blade is positioned at 90°,
adjust the blade tilt pointer (1) to
read 0° on the scale.
2. Loosen the holding screw (2),
position the pointer over 0° and
tighten the screw.
NOTE: Make a trial cut on scrap
wood before making critical cuts.
Measure for exactness.
BLADE PARALLEL TO THE MITER
GAUGE GROOVE (FIG. FF)
This adjustment was made at the
factory, but it must be rechecked
and adjusted if necessary.
To prevent personal injury:
● Always disconnect plug from the
power source when making any
adjustments.
● Inaccurate adjustment can result
in kickback and serious personal
injury. This adjustment must be
correct or accurate cuts cannot
be made.
Fig. EE
1
2
WARNING
!
WARNING
!
1. Remove the safety switch key and
unplug the saw.
2. Remove the blade guard for this
procedure but reinstall and realign
after adjustment.
3. Raise the blade to the highest
position and set at the 0° angle
(90° straight up).
4.
Select and mark, with a felt tip
marker, a blade tooth having a
“right set” and rotate the blade so the
marked tooth is 1/2 in. above
the table.
5. Place the combination square
base (1) into the right side miter
gauge groove (2).
6. Adjust the rule so it touches the front
marked tooth and lock ruler so it holds
its position in the square assembly.
7. Rotate the blade bringing the
marked tooth to the rear and about
1/2 in. above the blade.
8. Carefully slide the combination
square to the rear until the ruler
touches the marked tooth.
9. If the ruler touches the marked tooth
at the front and rear position, no
adjustment is needed at this time.
If not or the base of the rule is no
longer parallel with the edge of the
miter gauge groove, see adjustment
procedure described in next section.
Fig. FF
2
1

32 33
32
33
ADDITIONAL BLADE ADJUSTMENTS
(FIG. GG)
NOTE: The adjusting mechanism is
located above the the blade elevation/
tilting handwheel under the table top.
If the front and rear measurements are
not the same:
If the blade is partial to right side:
1. Turn the left adjustment screw (1)
counterclockwise and adjust the
right side adjustment screw (2)
clockwise.
2. Remeasure, as described in steps 4
to 9 in the prior section.
3. When alignment is achieved, turn
the left adjustment screw (1) until it
touches the pivot rod (3).
If the blade is partial to left side:
1. Turn the right adjustment screw (2)
counterclockwise and adjust the
left side adjustment screw (1)
clockwise.
2. Remeasure, as described in steps 4
to 9 in the prior section.
3. When alignment is achieved, turn
the right adjustment screw (2) until
it touches the pivot rod (3).
Fig. GG
12
3
ALIGNING THE RIVING KNIFE
(FIG. HH)
● To avoid injury from an accidental
start, make sure the switch is in
the OFF position and the plug
is disconnected from the power
source outlet.
● Never operate this tool without
the riving knife in the correct
position.
● Never operate this tool without
the blade guard in place for all
through sawing operations.
● This adjustment was made at the
factory, but it should be rechecked
and adjusted if necessary.
1. Remove the table insert and raise
the blade to the maximum height
by turning the blade elevation/tilting
handwheel clockwise.
2. Remove the blade guard and anti-
kickback pawls assembly.
3. Loosen the blade lock knob. Turn
and move the blade elevation/tilting
handwheel to 0° on the bevel
scale, and then tighten the blade
lock knob.
4. To see if the blade (1) and riving
knife (2) are correctly aligned, lay
a combination square (3) along the
side of the blade and against the
riving knife (making sure the square
is between the teeth of the blade).
5. Tilt the blade to the 45° position and
check the alignment again.
6. If the blade and riving knife are not
correctly aligned:
WARNING
!

34
35
34 35
● The tip of the riving knife shall not
be lower than 0.04 in. ~ 0.2 in.
from the tooth peak.
● The riving knife is thinner than the
width of the kerf by approximately
1/64 in. on each side.
● The blade body must be thinner
than the thickness of the riving knife
but the blade kerf must be thicker
than the riving knife.
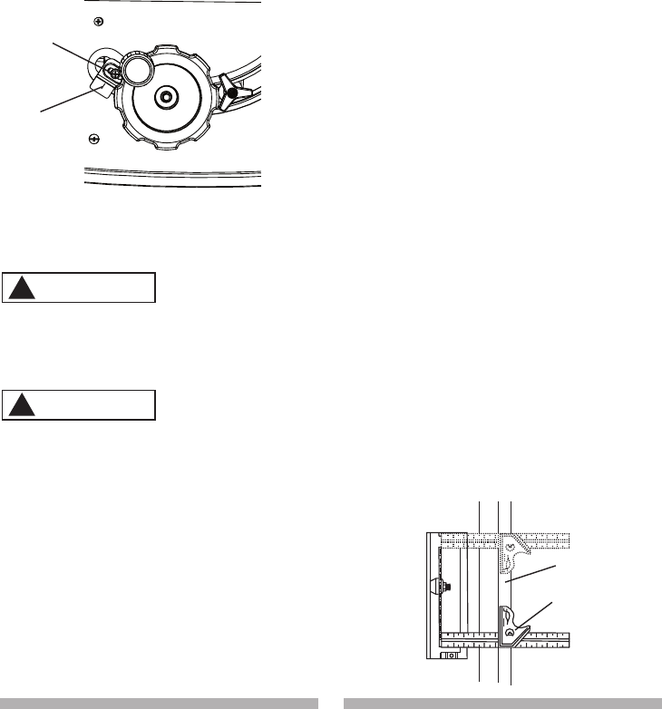
ADJUSTING CAM LOCKING LEVER
(FIG. II)
If the extension table moves when
it is open and locked, then the cam
locking lever (1) may be loose and need
adjustment. To adjust the locking lever
tension, turn the nut (2) with an 8 mm
wrench until it is tightened, but do not
over tighten.
Under Table View
Fig. II 1
2
a. Remove the lock lever (4),
washer (5), set plate (6) and
riving knife (2) from the mounting
bracket (7).
b. Insert the washer (8) between
the riving knife and bracket (7).
c. Replace the riving knife (2), set
plate (6), washer (5) and lock
lever (4). Then, retighten the
lock lever (4)
7. Check the riving knife and blade
alignment again at both 0° and 45°.
8. Add or remove the washers until the
alignment is correct.
9. Replace the table insert, blade guard
and anti-kickback pawls assembly.
NOTE:
● This table saw is provided with a
10 in. diameter blade with a body
thickness of 0.07 in. thick with a kerf
of 0.10 in. The riving knife is 0.09 in.
thick. The blade diameter and the
blade body and kerf dimensions
must be properly matched with the
riving knife thickness.
● The maximum radial distance
between the riving knife and the
toothed rim of the saw blade is
0.12 in ~ 0.31 in.
Fig. HH
1
2
3
4
5
6
7
82

34 35
34
35
OPERATION
BASIC SAW OPERATIONS
RAISING THE BLADE (FIG. JJ)
To raise or lower the blade, turn the
blade elevation/tilting handwheel (1) to
the desired blade height.
TILTING THE BLADE (FIG. JJ)
Loosen the blade lock knob (2), move
the handwheel (1) to the desired angle,
then tighten the blade lock knob (2).
ON/OFF SWITCH (FIG. KK)
The ON/OFF switch has a safety switch
key (1). With the key removed from the
switch, unauthorized and hazardous
use by children and others is minimized.
1. To turn the saw ON, insert the
safety switch key (1) into the slot
in the switch (2). Move the switch
upward to the ON position.
2. To turn the saw OFF, press the
switch downward.
3. To lock the switch in the OFF
position, grasp the yellow part of the
safety switch key (1), and pull it out.
4. With the safety switch key removed,
the switch will not operate.
5. If the safety switch key is removed
while the saw is running, it can be
turned OFF but cannot be restarted
without inserting the safety switch
key (1).
ALWAYS lock the switch “OFF”
when the saw is not in use. Remove
the safety switch key and keep it in
a safe place. In the event of a power
failure, blown fuse, or tripped circuit
breaker, turn the switch “OFF”
and remove the safety switch key,
preventing an accidental startup
when power comes on.
OVERLOAD PROTECTION (FIG. KK)
This saw has an overload reset
button (3) that resets the motor after
it shuts off due to overloading or low
voltage. If the motor stops during
operation, turn the ON/OFF switch
to the OFF position. Wait about five
minutes for the motor to cool, then
push the reset button (3) and turn the
switch to the ON position.
To avoid injury, the ON/OFF switch
should be in the OFF position and
the plug removed from the power
source while the cool down takes
place, to prevent accidental starting
when the reset button is pushed.
Overheating may be caused by
misaligned parts or a dull blade or
Fig. JJ
12
Fig. KK
1
2
3
WARNING
!
WARNING
!

36
37
36 37
undersized extensing cord. Inspect
your saw for proper setup before
using it again.
USING THE DUST PORT (FIG. LL)
To prevent fire hazard, clean and
remove sawdust from under the
saw frequently.
To prevent sawdust buildup inside the
saw housing, attach a vacuum hose (1)
(hose is not included) to the dust port (2)
at the rear of the table saw. DO NOT
operate the saw with the hose in place
unless the vacuum is turned on.
USING THE TABLE EXTENSION
(FIG. MM)
1. Release the extension cam locking
levers (1) in the front and rear table
positions.
2. Slide the table extension (2) out
until the correct measurement is
displayed on the tube scale (3). The
user sights the scale off the edge of
the table.
3. Tighten all extension cam locking
levers (1).
WARNING
!
Fig. LL
1
2
CUTTING OPERATIONS
There are two basic types of cuts:
ripping and crosscutting. Ripping is
cutting along the length and the grain of
the workpiece. Crosscutting is cutting
either across the width or across the
grain of the workpiece. (It is not safe to
rip or crosscut by freehand). Ripping
requires the use of the rip fence, and
crosscutting requires the miter gauge.
NEVER USE A RIP FENCE AND
MITER GAUGE TOGETHER.
Before using the saw each time,
check the following:
1. The blade is tightened to
the arbor.
2. The blade lock knob is tightened.
3. If ripping, make sure the fence is
locked into position and is parallel
to the miter gauge groove.
4. The blade guard is in place and
working properly.
5. Safety glasses are worn.
Failure to adhere to these common
safety rules, and those printed in
the front of this manual, can greatly
increase the likelihood of injury.
2
1
13
WARNING
!
Fig. MM

36 37
36
37
RIPPING (FIG. NN, OO)
To prevent serious injury:
● Never use a miter gauge when
ripping.
● Never use more than one rip
fence during a single cut.
● Do not allow familiarity or
frequent use of your table saw
to cause careless mistakes.
Remember that even a careless
fraction of a second is enough to
cause a severe injury.
● Keep both hands away from the
blade and clear from the path of
the blade.
● The workpiece must have a
straight edge against the fence
and must not be warped, twisted,
or bowed when ripping.
1. Remove the miter gauge and store
it in the “storage” compartment in
the base of the saw.
2. Secure the rip fence to the table.
3. Raise the blade so it is about 1/8 in.
higher than the top of the workpiece.
4. Place the workpiece flat on the table
and against the fence. Keep the
workpiece away from the blade.
5. Turn the saw ON and wait for the
blade to come to full speed.
6. Slowly feed the workpiece into the
blade by pushing forward only on
the workpiece section (1) that will
pass between the blade and the
fence. (Fig. NN)
7. Keep your thumbs off the table top.
When both of your thumbs touch
the front edge of the table (2), finish
the cut with a push stick (3).
WARNING
!
To make an additional push stick, use
the pattern on page 50. (Fig. OO)
AVOID KICKBACK by pushing
forward on the section of the
workpiece that passes between the
blade and the fence. Never perform
any freehand operations.
When width or rip is narrower than
2 in., the push stick cannot be used
because the blade guard will interfere.
Use the auxiliary fence (5) and push
block (6) as shown in Fig. OO.
8. Continue pushing the workpiece (4)
with the push stick (3) or push
block (6 - Fig. OO) until it passes
through the blade guard and clears
the rear of the table. (Fig. NN)
WARNING
!
Fig. NN
213
4
Fig. OO
4
7
6
5
WARNING
!

38
39
38 39
9. Never pull the piece back when the
blade is turning. Turn the switch Off.
When the blade completely stops,
you can then remove the workpiece.
Never attempt to pull the workpiece
backwards during a cutting operation.
This will cause kickback and serious
injury to the user can occur. When
the blade completely stops, raise the
anti-kickback pawls assembly (7) on
each side of the riving knife and slide
the workpiece out. (Fig. OO)
BEVEL RIPPING
This cut is the same as ripping except
the blade bevel angle is set to an angle
other than 0°.
RIPPING SMALL PIECES
To avoid injury from blade contact,
never make cuts narrower than
3/4 in. wide.
1. It is unsafe to rip small pieces.
Instead, rip a larger piece to obtain
the size of the desired piece.
2. When a small width is to be ripped,
and your hand cannot be safely
put between the blade and the rip
fence, use push stick or push block
to pass the workpiece completely
through and past the blade.
HELPFUL DEVICES
In order to make some cuts, it is
necessary to use devices like a push
block, featherboard or auxiliary fence,
which you can make yourself. Here are
some templates for your reference.
WARNING
!
FEATHERBOARD (FIG. PP, QQ)
A featherboard is a device used to
help control the workpiece by guiding
it securely against the table or fence.
Featherboards are especially useful
when ripping small workpieces and for
completing non-through cuts.
The end is angled with a number of
short kerfs to give a friction hold on the
workpiece and locked in place on the
table with C-clamps. Test that it can
resist kickback.
Place the featherboard against the
uncut portion of the workpiece to
avoid kickback that could cause
serious personal injury.
MAKE A FEATHERBOARD (FIG. PP)
Select a solid piece of lumber
approximately 3/4 in. thick, 4 in. wide
and 18 in. long. To make a featherboard,
cut one end of the lumber at 60 degrees,
then cut 8 in. long slots 1/4 in. apart on
the angled end as shown in Fig. PP.
WARNING
!
4 in.
1/8 in.
3/4 in.
2.3 in.
8 in.
18 in.
60o
Fig. PP

38 39
38
39
USE A FEATHERBOARD (FIG. QQ)
1. Lower the saw blade (1).
2. Position the rip fence (2) to the
desired position and lock the
rip fence.
3. Place the workpiece (3) against the
fence and over the saw blade area.
4. Adjust the featherboard (4) to resist
the workpiece forward of the blade.
5. Attached the C-clamps (5) to secure
the featherboard to the edge of
the table.
AUXILIARY FENCE (FIG. RR)
Making the base:
● Start with a piece of 3/8 in. plywood
at least 5-1/2 in. wide or wider and
21 in. long or longer.
● Cut the piece to shape and size
as shown.
Making the side:
● Start with a piece of 3/4 in.
hardwood at least 1-3/4 in. wide or
wider and 21 in. long or longer.
● Cut the piece to shape and size
as shown.
Putting it together:
● Fasten the pieces together with glue
and woodscrews.
1
2
3
4
5
Fig. QQ
Make sure the screw heads do
not stick out from the bottom of
the base; they must be flush or
recessed. The bottom must be flat
and smooth enough to rest on the
saw table without rocking.
PUSH BLOCK
Use for ripping operation when the
workpiece is too narrow to use a push
stick. Always use a push block for rip
widths less than 2 inches.
MAKE A PUSH BLOCK (FIG. SS)
Making the base:
● Start with 3/8 in. plywood at least
5-1/2 in. wide or wider and 12 in.
long or longer.
● Cut the piece to shape and size
as shown.
Making the handle:
● Start with 3/4 in. hardwood at least
5 in. wide or wider and 7 in. long or
longer.
● Cut the piece to shape and size
as shown.
WARNING
!
Fig. RR
21 in.
5-1/2 in.
3/8 in.
1-3/4 in.
The edge must be
parallel with the face
3/8 in. thick plywood base
3/4 in. hardwood
3/8 in. plywood

40
41
40 41
Making the bracket:
● Start with 3/8 in. wood at least
3/8 in. wide or wider and 2-1/2 in.
long or longer.
● Cut the piece to shape and size
as shown.
Putting it together:
● Fasten the base and handle
together with glue and woodscrews.
Make sure the screw heads do not
stick out from the bottom of the base,
they must be flush or recessed.
● Fasten the base and bracket
together with glue.
To avoid injury, do not use the screws
to fasten the base and bracket.
CROSSCUTTING (FIG. TT)
To prevent serious injury:
● Do not allow familiarity or
frequent use of your table saw
to cause careless mistakes.
Remember that even a careless
fraction of a second is enough to
cause a severe injury.
WARNING
!
WARNING
!
12 in.
2-1/2 in.
5-1/2 in.
3/8 in.
3/8 in.
2-1/2 in.
3
/
8
in
.
5 in.
in
.
1
3/8 in. thick plywood base
2
Fig. SS
● Keep both hands away from the
blade and the path of the blade.
● Never attempt to pull the
workpiece backwards during a
cutting operation. This will cause
kickback and serious injury to
the user can occur.
1. Remove the rip fence and place
the miter gauge in the miter gauge
groove on the table.
2. Adjust the blade height so that it
is 1/8 in. higher than the top of
the workpiece.
3. Hold the workpiece firmly against
the miter gauge with the blade path
in line with the desired cut location.
Move the workpiece to a 1 in.
distance from the blade.
4. Start the saw and wait for the
blade to come up to full speed.
Never stand directly in line of the
saw blade path, always stand to
the side of the blade that you are
cutting on.
5. Keep the workpiece (1) against the
face of the miter gauge (2) and flat
against the table. Then slowly push
the workpiece through the blade.
6. Do not try to pull the workpiece
back with the blade turning. Turn
the switch OFF, and carefully slide
the workpiece out when the blade
has completely stopped.
Always position the larger surface
of the workpiece on the table
when crosscutting and/or bevel
crosscutting to avoid instability.
WARNING
!
WARNING
!

40 41
40
41
USING THE WOOD FACING ON THE
MITER GAUGE (FIG. UU)
Slots are provided in the miter gauge
for attaching an auxiliary facing (1)
to make it easier to cut very long or
short pieces. Select a suitable piece of
smooth wood, drill two holes through
it and attach it to the miter gauge with
screws. Make sure the facing does not
interfere with the proper operation of
the saw blade guard. When cutting long
workpieces, you can make a simple
outfeed support by clamping a piece of
plywood to a sawhorse.
BEVEL CROSSCUTTING (FIG. VV)
0°~45° BLADE BEVEL & 90° MITER
ANGLE
This cutting operation is the same as
crosscutting except the blade is at a
bevel angle other than 0°.
Fig. TT
1
2
Fig. UU
1
Always work to the right side of the
blade during this type of cut. The
miter gauge must be in the right
side groove because the bevel
angle may cause the blade guard to
interfere with the cut if used on the
left side groove.
1.
Lower the blade to the down position.
2. Adjust the blade (1) to the desired
angle, and tighten the blade lock
knob.
3. Tighten the miter gauge lock
handle (2) at 90°.
4. Hold workpiece (3) firmly against the
face of the miter gauge throughout
the cutting operation.
COMPOUND MITER CROSSCUTTING
(FIG. WW)
0°~45° BLADE BEVEL & 0°~45°
MITER ANGLE
This sawing operation combines a
miter angle with a bevel angle.
Always work to the right side of the
blade during this type of cut. The
miter gauge must be in the right side
WARNING
!
Fig. VV
1
23
WARNING
!

42
43
42 43
groove because the bevel angle
may cause the blade guard to
interfere with the cut if used on the
left side groove.
1. Set the miter gauge (1) to the
desired angle.
2. Place the miter gauge in the right
side groove of the table.
3. Set the blade (2) bevel to the
desired bevel angle.
4. Hold workpiece (3) firmly against the
face of the miter gauge throughout
the cutting operation.
MITERING (FIG. XX)
0°~45° MITER ANGLE
This sawing operation is the same as
crosscutting except the miter gauge is
locked at an angle other than 90°.
1. Set the blade (1) to 0° bevel angle.
2. Set the miter gauge (2) at the
desired miter angle and lock in
position by tightening the miter
gauge lock handle.
3. Hold the workpiece (3) firmly
against the face of the miter gauge
throughout the cutting operation.
Fig. WW
1
2
3
USING THE WOOD FACING ON THE
RIP FENCE (FIG. YY)
When performing some special cutting
operations, you can add a wood facing
to either side of the rip fence (1).
1. Use a smooth straight 3/4 in. thick
wood board (2) that is as long as
the rip fence.
2. Attach the wood facing to the
fence with wood screws (3) (not
included) through the holes in the
fence. A wood fence should be used
when ripping material such as thin
paneling to prevent the material
from catching between the bottom
of the fence and the table.
Fig. XX
1
2
3
Fig. YY
3
1
2

42 43
42
43
NON-THROUGH CUT (FIG. ZZ)
A non-through cut is used to cut
grooves and rabbets in the workpiece
without exposed the blade.
● Only this type cut is made
without installing the blade guard
assembly and anti-kickback
pawls assembly.
● To avoid injury from an accidental
start, make sure the switch is in
the OFF position and the plug
is disconnected from the power
source outlet.
● To avoid the risk of personal
injury. Always use push block,
auxiliary fence and featherboard
when making non-through cut.
1. Before starting the table saw, lower
the blade and riving knife assembly
to the down position.
2. Remove the blade guard assembly
and anti-kickback pawls assembly
for non-through cut.
3. Use the featherboard (1) with
C-clamps (3) to fasten the
workpiece securely.
4. Mount the auxiliary fence (4) with
C-clamps.
5. Use the push block (2) to move the
workpiece.
NOTE: Mount the featherboard to
table as shown, so the leading edges
of featherboard will help workpiece
complete cutting.
WARNING
!
DADO CUTS (FIG. aa, bb)
● Only Stackable dado blades can
be used on this saw.
● DO NOT use Adjustable or
Wobble type dadoes.
● The maximum dado cut width is
1/2 in.
● The maximum dado blade
diameter is 6 in.
NOTE: An dado insert plate (part
number 308K not included) is required
for this procedure.
1. Remove the table insert, saw blade,
anti-kickback pawls assembly,
blade guard assembly and riving
knife assembly for dado cuts ONLY.
Reinstall and realign blade guard
for all through-sawing operations.
Install a dado not exceeding 6 in. in
diameter and 1/2 in. in width.
Fig. ZZ
Non-through Cut
3 1
2
4
WARNING
!

44
45
44 45
2. Install the dado table insert making
sure that the rear of the insert is
flush with the table. If the dado
insert is not flush with the table,
adjust the two bolts on the insert
with a 4 mm hex wrench until it is
parallel with the table.
3. Instruction for operating the dado
is packed with the separately
purchased dado set (not included
with unit).
4. The arbor (1) on this saw restricts
the maximum width of the cut to
1/2 in.
5. It is not necessary to install the
outside flange (2) before threading
on the arbor nut (3) for the
maximum 1/2 in. dado cuts. Make
sure that the arbor nut (3) is tight,
and that at least one thread of the
arbor sticks out past the nut.
6. Use only the correct number of
round outside blades and inside
chippers as shown in the dado set’s
instruction manual. Blade or
chippers must not exceed 1/2 in.
total in width.
7. Check the saw to ensure that the
dado will not strike the housing,
insert, or motor when in operation.
Fig. aa
2
1
3
For your own safety, always replace
the blade, blade guard assembly,
anti-kickback pawls assembly, riving
knife assembly and table insert when
you finish the dado operation.
WARNING
!
Fig. bb
Dado cut

44 45
44
45
MAINTENANCE
MAINTAINING YOUR TABLE SAW
GENERAL MAINTENANCE
For your own safety, turn the switch
OFF and remove the switch key.
Remove the plug from the power
source outlet before maintaining or
lubricating your saw.
1. Clean out all sawdust that has
accumulated inside the saw cabinet
and the motor.
2. Polish the saw table with an
automotive wax to keep it clean
and to make it easier to slide the
workpiece.
3. Clean cutting blades with pitch and
gum remover.
4. A worn, cut, or damaged power cord
should be replaced immediately.
All electrical or mechanical repairs
should be attempted only by a
trained repair technician. Contact
customer service for assistance. Use
only identical replacement parts. Any
other parts may create a hazard.
5. Use liquid dishwashing detergent
and water to clean all plastic parts.
NOTE: Certain cleaning chemicals
can damage plastic parts.
6. Avoid use of cleaning chemicals or
solvents, ammonia and household
detergents containing ammonia.
WARNING
!
WARNING
!
BLADE RAISING AND TILTING
MECHANISM (FIG. cc, dd)
After every five hours of operation,
the blade raising mechanism and
tilting mechanism should be checked
for looseness, binding, or any other
abnormalities.
1. With the saw disconnected from the
power source, turn the saw upside
down and pull up and push down on
the motor unit.
2. Observe any movement of the
motor mounting mechanism.
3. Loosen or tighten the four hex
screws (1) by hex wrench for smooth
operation. Adjust only 1/8 turn at a
time. (Fig. cc)
NOTE: Do not adjust the screw
more than 1/2 turn in total as this
may damage the mechanism.
4. Place a small amount of dry
lubricant on the bevel gear (2). The
worm gear (3) must be kept clean
and free of sawdust, gum, pitch,
and other contaminants for smooth
operations. (Fig. dd)
Fig. cc
1
1
1

46
47
46 47
NOTE: If excessive looseness
is observed in any part of the
blade raising mechanism or tilting
mechanism, take the complete unit to a
Service Center.
LUBRICATION
All motor bearings are permanently
lubricated at the factory and require no
additional lubrication. On all mechanical
parts of your table saw where a pivot
or threaded rod are present, lubricate
using graphite or silicone. These dry
lubricants will not hold sawdust as
would oil or grease.
REPLACING THE CARBON
BRUSHES (FIG. ee, ff)
Always disconnect the plug from
the power source before inspecting
the brushes.
Fig. dd
23
WARNING
!
The carbon brushes included with the
unit will last approximately 50 hours
of running time, or 10,000 ON/OFF
cycles. Replace both carbon brushes
when either has less than 1/4 in. length
of carbon remaining, or if the spring or
wire is damaged or burned.
1.
Remove the blade guard, blade,
rip fence, miter gauge and stand
assembly from the table saw.
2. Lower the blade height to its
minimum setting. This will make the
brush locations easier to access.
3.
Place cardboard or an old blanket
on the floor to protect the saw table
surface.
4.
Place the saw upside down on the
protective material.
5.
Tilt the blade elevation/tilting
handwheel (1) to the 45° position.
(Fig. ee)
6.
Remove the black plastic cap (2)
from the side of the motor (3).
Fig. ee
3
2
1

46 47
46
47
7.
Carefully remove the spring-loaded
cap, and then pull out the brush (4)
and replace. (Fig. ff)
8.
Repeat step 6 and 7 for the other
side of motor.
9.
Place the new brush into the
opening of motor, making sure the
ears on the metal end of the
assembly go in the same hole the
carbon part fits into. Do not
overtighten the plastic cap.
10. Carefully set the saw in a upright
position on a clean level surface.
11. Replace the blade guard, blade,
rip fence, miter gauge and stand
assembly to the table saw.
NOTE: To reinstall the same brushes,
first make sure the brushes go back in
the same sides they came out.
This will avoid a break-in period that
reduces motor performance and
increases wear.
Fig. ff
4
3
2

48
49
48 49
To avoid injury from accidental starting, always turn switch OFF and unplug
the tool before moving, replacing the blade or making adjustments.
WARNING
!
TROUBLESHOOTING GUIDE
PROBLEM POSSIBLE CAUSES CORRECTIVE ACTION
Saw will not
start.
1. Saw is not plugged in.
2. Fuse blown or circuit breaker
tripped.
3. Cord is damaged.
4. Debris in on/off switch
1. Plug in saw.
2. Replace fuse or reset circuit
breaker.
3. Replace power cord.
4. Remove switch from saw
and separate in half. Clean
any debris accumulated
within.
Does not make
accurate 45°
and 90° rip cuts.
1. Positive stop not adjusted
correctly.
2. Tilt angle pointer not set
accurately.
1. Check blade with square
and adjust positive stop.
2. Check blade with square
and adjust to zero.
Material pinched
blade when
ripping.
1. Rip fence not aligned with
blade.
2. Warped wood, edge against
fence is not straight.
1. Check and adjust rip fence.
2. Select another piece of
wood.
Material binds
on riving knife.
1. Riving knife not aligned
correctly with blade.
1. Check and align riving knife
with blade.
Saw makes
unsatisfactory
cuts.
1. Dull blade.
2. Blade mounted backwards.
3. Gum or pitch on blade.
4. Incorrect blade for work being
done.
5. Gum or pitch on blade
causing erratic feed.
1. Replace blade.
2. Turn the blade around.
3. Remove blade and clean
with turpentine and coarse
steel wool.
4. Change the blade.
5. Clean table with turpentine
and steel wool.

48 49
48
49
PROBLEM POSSIBLE CAUSES CORRECTIVE ACTION
Material kicked
back from blade.
1. Rip fence out of adjustment.
2. Riving knife not aligned with
blade.
3. Feeding stock without rip
fence.
4. Riving knife not in place.
5. Dull blade.
6. The operator letting go of
material before it is past saw
blade.
7. Miter angle lock knob is not
tight.
1. Align rip fence with miter
gauge slot.
2. Align riving knife with blade.
3. Install and use rip fence.
4. Install and use riving knife.
(with guard)
5. Replace blade.
6. Push material all the way
past saw blade before
releasing work.
7. Tighten knob.
Blade does
not raise or tilt
freely.
1. Sawdust and dirt in elevation/
tilting mechanisms.
1. Brush or blow out loose dust
and dirt.
Blade does
not come up to
speed. Reset
trips too easily.
1. Extension cord too light or
too long.
2. Low house voltage.
1. Replace with adequate size
cord.
2. Contact your electric
company.
Machine
vibrates
excessively.
1. Saw not mounted securely to
workbench.
2. Bench on uneven floor.
3. Damaged saw blade.
1. Tighten all mounting
hardware.
2. Reposition on flat level
surface.
3. Replace blade.
Does not make
accurate 45° and
90° crosscuts.
1. Miter gauge out of
adjustment.
1. Adjust miter gauge.
To avoid injury from accidental starting, always turn switch OFF and unplug
the tool before moving, replacing the blade or making adjustments.
WARNING
!

50
51
50 51
PUSH STICK CONSTRUCTION
● Use good quality plywood or solid wood
● Use 1/2 in. or 3/4 in. material
● Push stick MUST be thinner than the width of
material being cut
Drill Hole
For Hanging
Cut Here To
Push 3/4 in. Wood
Notch To
Prevent Hand
From Slipping
Cut Here To
Push 1/2 in. Wood
90°
20° - 30°
15-3/4 in. (400 mm)

50 51
50
51
I.D. Description Size Q'ty I.D. Description Size Q'ty
08VH CORD CLAMP 6# 10KA4 CR. RE. PAN HD. TAPPING SCREW M4*16-16 2
0901 BUSH 10KBQ CR. RE. PAN HD. TAPPING SCREW M5*16-10 1
0B2B NEEDLE POINTER 10KC8 CR. RE. TRUSS HD. TAPPING SCREW M4*16-16 3
0B9P CLAMP 10KCA CR. RE. TRUSS HD. TAPPING SCREW M5*12-12 2
0BA4 SPACER 10KDG CR. RE. PAN HD. SCREW M5*0.8-6 2
0BA9 SPACER 10KDR CR. RE. PAN HD. SCREW M5*0.8-10 1
0BAB SHIM 10KDW CR. RE. PAN HD. SCREW M6*1.0-20 2
0BAC SET NUT 10KF7 CR. RE. PAN HD. SCREW M4*0.7-12 2
0BAE ARBOR COLLAR 10KJ0 CAP HD. SQ. NECK BOLT M6*1.0-16 1
0J3P HEX. WRENCH 4 MM 10KJN CAP HD. SQ. NECK BOLT M6*1.0-35 1
0J52 FLAT WASHER φ16*25-1.2 10KMR HEX. NUT M5*0.8 T=4 2
0J58 FLAT WASHER φ5*14-1 60KMS HEX. NUT M6*1.0 T=5 3
0J6K FLAT WASHER φ6*30-4 10KMT HEX. NUT M8*1.25 T=5 2
0J6T FLAT WASHER 3/16*3/4-1/16 40KQW LOCK NUT M5*0.8 T=5 4
0J72 FLAT WASHER 1/4*5/8-1/16 10KQX NUT M6*1.0 T=6 1
0J74 FLAT WASHER 1/4*5/8-3/32 10KQY LOCK NUT M8*1.25 T=8 1
0J76 FLAT WASHER 1/4*3/4-1/16 10KRQ SERRATED TOOTHED HEX. FLANGE NUT M6*1.0 T=6 1
0J78 FLAT WASHER 1/4*1/2-3/32 10KSM STRAIN RELIEF 1
0J7E FLAT WASHER
5/16*11/16-1/16
10KTK STRAIN RELIEF 2
0JAE EXTERNAL TOOTH LOCK WASHER φ4 20KUW TERMINAL 1
0JAF EXTERNAL TOOTH LOCK WASHER φ5 10KWU LEAD WIRE ASS’Y 1
0JB2 WAVE WASHER WW-12 10LWC ROCKER SWITCH 1
0JD1 SPRING PIN 10WPL SWITCH KEY 1
0JPB HEX. HD. BOLT M5*0.8-20 210K5 HEX. SOC. HD. CAP BOLT M5*0.8-8 3
0JPJ HEX. HD. BOLT M6*1.0-40 110LF HEX. NUT M6*1.0 T=4 2
0JVY HEX. SOC. HD. CAP BOLT M6*1.0-16 1212M LEAD WIRE ASS’Y 1
0JZY HEX. SOC. TRUSS HD. SCREW M6*1.0-12 125AP HEX. SOC. HD. CAP BOLT M6*1.0-25 1
0K0X HEX. HD. SCREW AND WASHER M6*1.0-16 125B1 CR. RE. TRUSS HD. SCREW M5*0.8-25 4
0K3H CR. RE. PAN HD. SCREW & WASHER M6*1.0-12 2262S POWER CORD CLAMP 2
0K74 CR. RE. TRUSS HD. SCREW M6*1.0-8 2275R LOCATION SEAT 6# 1
0K8C
CR. RE.COUNT HD. TAPPING SCREW
M4*18-10 427JR HEX. SOC. SET SCREW M5*0.8-6 4
0K9U HEX. HD. TAPPING SCREW M5*16-25 42A48 HEX. HD. SCREW AND WASHER M5*0.8-16 7
10 IN. PORTABLE TABLE SAW MODEL NO. 137.415030
When servicing use only CRAFTSMAN replacement parts. Use of any other
parts many create a HAZARD or cause product damage. Any attempt to
repair or replace electrical parts on this Table Saw may create a HAZARD
unless repair is done by a qualified service technician. Repair service is
available at your nearest Sears Service Center.
PARTS LIST FOR TABLE SAW (A)
WARNING
!
PARTS LIST

52
53
52 53
I.D. Description Size Q'ty I.D. Description Size Q'ty
2BNW SEAT 232V4 SWITCH BOX ASS'Y 1
2BNX SHAFT 134VT LOCK KNOB KR# 1
2E3K CR. RE. ROUND WASHER HD. SCREW M5*0.8-10 23E7G DUST COLLECTOR 6# 1
2ESS LOCKING ROD 13EWU HANDLE KR#+6# 1
2HT1 CR. RE. TRUSS HD. TAPPING SCREW M5*12-8 23EWW EXTENSION WING (RIGHT) CQ# 1
2JHQ SLIDING BASE ASS'Y 23EWY TABLE CQ# 1
2RVJ CLAMPER BRACKET 13EWZ UPPER TUBE 1
2RVM GEAR 13EX0 REAR OUTFEED SUPPORT TUBE 2
2RVP SET PLATE 13EX1 HANDLE 6# 1
2RVR GUIDE CLAMP 43EX5 BODY 1
2RVW RETAINING CLIP 13EX8 WHEEL 6# 1
2RW3 RETAINING CLIP 13EX9 BODY SHELL KQ# 1
2RW6 SET PLATE 6# 13EXA RIVING KNIFE 1
2SE0 ANCHOR PLATE 13EXB REAR OUTFEED SUPPORT 1
2SJU SPACER 13F49 CIRCUIT BREAKER SWITCH 1
2T6E CLAMP ASS'Y 13FAS RIP FENCE ASS'Y 1
2TD0 COLLAR 13FAT ANTII-KICKBACK PAWLS ASS'Y 1
2TDD WORM 13H1M HANDLE BAR ASS’Y 1
2TDL FLAT WASHER 13H2X KNOB KR# 1
2TLZ POINTER BRACKET 13H2Z PUSH STICK KR# 1
2VZ1 RUBBER INSERT 43H3V LOCKING HANDLE ASS’Y 1
2WEF LOCATION SEAT 23G21 CLAMP HANDLE ASS'Y KR#+6# 1
2X1T PUSH IN PIN 23G2Q TILTING SCALE 1
2X6V BOX-END WRENCH 13G2W WARNING LABEL 1
2X74 OPEN-END WRENCH 13G2X WARNING LABEL 1
2YF8 BACK UPPER TUBE (RIGHT) 13G3X WARNING LABEL 1
2YGQ RETAINING CLIP 23GSM OPERATOR'S MANUAL 1
2YGT ANGLE ROD 13GVK BLADE 1
2YJ0 SPACER 13GWU LABEL 1
2YV2 HEIGHT REGULATING BOLT ASS'Y 13GWW SCALE 1
302W FLAT WASHER φ6*21-3 13GWX SCALE 1
3081 CR. RE. PAN HD PLAIN WASHER
TAPPING SCREW
M5*0.8-12 43GWY SCALE 1
3GX0 TRADEMARK LABEL 1
308C POWER CABLE 13GY5 TABLE INSERT ASS'Y 1
308E POWER CABLE ASS'Y 13GZC STICKER 1
308G NEEDLE POINTER 13H5T MOTOR ASS'Y 1
309H WASHER 13H67 BLADE GUARD ASS’Y 1
30C2 HEX. HD. TAPPING SCREW M5*16-16 10 3H69 SUPPORT 1
30JU WARNING LABEL 23H6A MITER GAUGE ASS'Y 1
30NM SPECIAL BOLT 2*308K DADO INSERT PLATE (not included)
10 IN. PORTABLE TABLE SAW MODEL NO. 137.415030
PARTS LIST FOR TABLE SAW (B)

52 53
52
53
10 IN. PORTABLE TABLE SAW MODEL NO. 137.415030
SCHEMATIC
*308K
n
n in
3GSM
3GY5
3GZC

54
55
54 55
10 IN. PORTABLE TABLE SAW MODEL NO. 137.415030
PARTS LIST FOR MOTOR
I.D. Description Size Q’ty
0HX9 NEEDLE BEARING 1
0JX3 HEX. SOC. SET SCREW M5*0.8-8 2
0KCN CR. RE. PAN HEAD TAPPING & WASHER SCREW M5*12-50 2
0KTK STRAIN RELIEF 1
0QFE BRUSH COVER 2
0QFF CARBON BRUSH ASS’Y 2
0QFG BRUSH HOLDER ASS’Y 2
2DW9 WAVE WASHER 1
2RPP FLOW GUIDE 1
2RWS CR. RE. COUNTER-SUN HEAD SCREW M5*0.8-10 2
2RXC LABEL 1
2YF5 BRACKET 1
2YH8 MOTOR COVER 6# 1
30L5 ARMATURE ASS’Y 1
3235 CR. RE. PAN HD. SCREW & WASHER M5*0.8-55 4
33F7 FIELD ASS’Y 1
3H5U CUTTER SHAFT ASS’Y 1

54 55
54
55
I.D. Description Size Q'ty I.D. Description Size Q'ty
0J4R FLAT WASHER φ10*20-3 430B1 WARNING LABEL 1
0J5G FLAT WASHER φ8*18-1.5 430XP FLAT WASHER φ6*13-1 4
0JPS HEX. HD. BOLT M8*1.25-45 430Z0 NUT CHUCK M6*1.0 T=6 4
0JUL HEX. SOC. HD. CAP BOLT M6*1.0-20 234XF PLATE 1
0JVB HEX. SOC. HD. CAP BOLT M5*0.8-16 3372V END-CAP 6# 1
0K7F CR. RE. ROUND WASHER HD. SCREW M5*0.8-8 837T2 CR. RE. TRUSS HD. SCREW M6*1.0-40 4
0KDK CR. RE. PAN HD. SCREW M5*0.8-16 13F3J SUPPORT 6# 1
0KQW LOCK NUT M5*0.8 T=5 43F3L CONNECTOR TUBE 6# 2
0KQX NUT M6*1.0 T=6 23F3M ROD 1
0KQY LOCK NUT M8*1.25 T=8 63F3N SLEEVE 2
157B HEX. SOC. HD. CAP BOLT M5*0.8-45 13F3S BOTTOM BRACKET ASS'Y 6# 1
270N NUT CHUCK M10*1.5 T=8 23F3T CASTER 6# 2
270P HEX. SOC. TRUSS HD. SCREW M8*1.25-60 13F3W BOTTOM BRACKET 6# 1
2888 CAP HD. SQ. NECK BOLT M8*1.25-50 53F3X HANDLE 6# 2
2FU9 COLLAR 6# 23F3Y PLUNGER HOUSING 6# 1
2HDS WING NUT M8*1.25-2B 13F3Z COLLAR 1
2JQD LEVELING PAD 6# 13F63 GRIP 2
2JQM HEX. HD. BOLT M10*1.5-90 23G1V HANDLE KR# 1
2LAL BUSH 43G32 WARNING LABEL 1
2T9J CR. RE. PAN HD. TAPPING SCREW M3.5*20-8 23GTW
CR. RE. TRUSS HD. ROUND NECK SCREW
M6*1.0-10 1
2WV3 ANCHOR PLATE 13GWV CAUTION LABEL 1
2WVF COMPRESSION SPRING 23GWZ SCALE 1
2X6Q END CAP 6# 13H4G HINGA KR# 1
2Y7K ANCHOR PLATE 1
10 IN. PORTABLE TABLE SAW MODEL NO. 137.415030
PARTS LIST FOR STAND

56 56
Congratulations on making a smart purchase.
Your new Craftsman® product
is designed and manufactured for years of dependable operation. But like all
products, it may require repair from time to time. That’s when having a Repair
Protection Agreement can save you money and aggravation.
Here’s what the Repair Protection Agreement* includes:
Expert service by our 10,000 professional repair specialists
Unlimited service and no charge for parts and labor on all covered
repairs
Product replacement up to $1500 if your covered product can’t be fixed
Discount of 25% from regular price of service and related installed
parts not covered by the agreement; also, 25% off regular price of
preventive maintenance check
Fast help by phone – we call it Rapid Resolution – phone support from a
Sears representative. Think of us as a “talking owner’s manual.”
Once you purchase the Repair Protection Agreement, a simple phone call is all
that it takes for you to schedule service. You can call anytime day or night, or
schedule a service appointment online.
The Repair Protection Agreement is a risk-free purchase. If you cancel for any
reason during the product warranty period, we will provide a full refund. Or, a
prorated refund anytime after the product warranty period expires. Purchase
your Repair Protection Agreement today!
Some limitations and exclusions apply. For prices and additional
information in the U.S.A. call 1-800-827-6655.
*Coverage in Canada varies on some items. For full details call Sears
Canada at 1-800-361-6665.
Sears Installation Service
For Sears professional installation of home appliances, garage door openers,
water heaters, and other major home items, in the U.S.A. or Canada call
1-800-4-MY-HOME®.
REPAIR PROTECTION AGREEMENTS