Craftsman 315 21449 Users Manual
315214490 315214490 CRAFTSMAN 9 in. SINGLE SPEED BAND SAW - Manuals and Guides 98100165 View the owners manual for your CRAFTSMAN 9 in. SINGLE SPEED BAND SAW #315214490. Home:Tool Parts:Craftsman Parts:Craftsman 9 in. SINGLE SPEED BAND SAW Manual
CRAFTSMAN Saw Band Manual 98100165 CRAFTSMAN Saw Band Owner's Manual, CRAFTSMAN Saw Band installation guides
31521449 dc7652a8-1711-48d5-a238-9cb725532b46 Craftsman Saw 315.21449 User Guide |
2015-01-05
: Craftsman Craftsman-315-21449-Users-Manual-161101 craftsman-315-21449-users-manual-161101 craftsman pdf
Open the PDF directly: View PDF
.
Page Count: 32

Owner's Manual
II:RRFTSMRNI
9 in. single speed
BAND SAW
Model No.
315.214490
Save this manual for
future reference.
CAUTION: Read and
follow all Safety Rules and
Operating Instructions before
first use of this product.
Sears, Roebuck and Co., Hoffrnan Estates, IL 60179 USA NRTL
972000-488
4-98

•Table of Contents ............................... :........................................................................................................... 2
•Warranty and Intreduction..;':.'::_;:.';_.:............................................................................................................ 2
•Rules For Safe Operatiod .. :L;_;,:....;: ................................................................................................. _...... 3-5
•Electrical ......... ., ...:.L:.:._],..._.:._;I._...].:........... [............ ;................................................................................... 6
•Glossary and Produ_Sloecifications ...[......................................................................................................... 7
•Unpacking, Loose PartsListian¢l'Toois Needed ........................................................................................... 8
•Labels ............................................................ '............................................................................................ 9-10
•Features ....................................................................................................................................................... 11
•Assembly ................................................................................................................................................. 12-13
•Adjustments ............................................................................................................................................. 13-17
•Basic Operation ....................................................................................................................................... 18-19
•Maintenance ............................................................................................................................................ 20-21
•Troubleshooting ............................................................................................................................................ 22
•Exploded View and Repair Parts List...................................................................................................... 24-31
•Parts Ordedng /Service ............................................................................................................................... 32
,FULL ONE YEAR WARRANTY ON CRAFTSMAN BAND SAW
If thisI'RII FTSMAN" Band Saw fails due to a defect in material or workmanship within one year from the date of
purchase, Sears will repair it, free of charge.
Contact a Sears Service Center for repair.
If this product is used for commercial or rental purposes, this warranty applies only for 90 days from the date of
purchase.
This warranty gives you specific legal rights, and you may also have other rights which vary from state to state.
Sears, Roebuck and Co., Dept. 817WA, Hoffman Estates, IL 60179
Your saw has many features for making cutting
operations more pleasant and enjoyable. Safety,
performance and dependability have been given top
priodty in the design of this saw making it easy to
maintain and operate.
_CAUTION: Carefully read through this entire
owner's manual before using your new saw. Pay
close attention to the Rules For Safe Operation,
and all Safety Alert Symbols including Danger,
Warning and Caution. If you use your saw
properly and only for what it is intended, you will
enjoy years of safe, reliable service.
_, Look for this symbol to point out important safety precautions. It means attention!!!
Your safety is involved.
,_ WARNING:
The operation of any power tool can result in foreign objects being thrown into your eyes,
which can result in severe eye damage. Before beginning power tool operation, always wear
safety goggles or safety glasses with side shields and a full face shield when needed. We
recommend Wide Vision Safety Mask for use over eyeglasses or standard safety glasses
with side shields, available at Sears Retail Stores.
2

The purpose of safety symbols is to attract your attention to possible dangers. The safety symbols, and
the explanations with them, deserve your careful attention and understanding. The safety warnings do
not by themselves eliminate any danger. The Instructions or warnings they give are not substitutes for
proper accident prevention measures.
SYMBOL
&MEANING
SAFETY ALERT SYMBOL:
Indicatesdanger,wamingor caution. May beused inconjunctionwithothersymbolsorpicto-
graphs.
ADANGER: Failure to obey a safety waming will result in serious injury to yourself or to others.
Always follow the safety precautions to reduce the riskof fire, electric shock and personal injury.
&WARNING: Failure to obey a safety waming can result in serious injuryto yourself or to others.
Always follow the safety precautions to reduce the riskof fire, electdc shock and personal injury,
&CAUTION: Failure to obey a safety waming may result in property damage or personal injury to
yourself or to others. Always follow the safety precautions to reduce the riskof fire, electric shock
and personal injury,
Note: Advises you of information or instructionsvital to the operation or maintenance of the equipment.
IMPORTANT
Servicing requires extreme care and knowledge of the system and should be performed only by a qualified
service technician. For service we suggest you return the tool to your nearest Sears store for repair. Always use
original factory replacement parts when servicing.
_k WARNING: Do not attempt to operate this tool •
until you have read thoroughly and understand
completely all instructions, safety rules, etc.
contained in this manual. Failure to comply can
result in accidents involving firs, electdc shock, •
or serious personal injury. Save owner's manual
and review frequently for continuing safe
operation, and instructing others who may use
this tool.
READ ALL INSTRUCTIONS
KNOW YOUR POWER TOOL. Read the owner's
manual carefully. Learn the saw's applications
and limitations as well as the specific potential
hazards related to this tool.
•GUARD AGAINST ELECTRICAL SHOCK BY
PREVENTING BODY CONTACT WITH
GROUNDED SURFACES. For example; pipes,
radiators, ranges; refrigerator enclosures.
•KEEP GUARDS IN PLACE and in good working
order.
REMOVE ADJUSTING KEYS AND
WRENCHES. Get in the habit of checking to see
that hex keys and adjusting wrenches are
removed from tool before turning it on.
KEEP THE WORK AREA CLEAN. Cluttered
work areas and work benches invite accidents.
DO NOT leave tools or pieces of wood on the
saw while it is in operation.
DO NOT USE IN DANGEROUS ENVIRON-
MENT. Do not use power tools near gasoline or
other flammable liquids, in damp or wet loca-
tions, or expose them to rain. Keep the work
area well lit.
•KEEP CHILDREN AND VISITORS AWAY. All
visitors should wear safety glasses and be kept a
safe distance from work area. Do not let visitors
contact tool or extension cord while operating.
•MAKE WORKSHOP CHILD-PROOF with
padlocks and master switches or by removing
starter keys.
• DO NOT FORCE THE TOOL. It will do the job
better and safer at the rate for which it was
designed.
•USE THE RIGHT TOOL. Do not force the tool or
attachment to do a job it was not designed for.
Don't use it for a purpose not intended.
•USE THE PROPER EXTENSION CORD. Make
sure your extension cord is in good condition.
H
3

RULES FOR, SAFE OPERATION (Continued) .
M
When us(rig an extension cord, be sure to use
one heavy enough to carry the current your
product will draw. An undersized cord will cause
a drop in line voltage resulting in loss of power
and overheating. A wire gage size (A.W.G.) of at
least 18 is recommended for an extension cord
25 feet or less in length. If in doubt, use the next
heavier gage. The smaller the gage number, the
heavier the cord.
INSPECT EXTENSION CORDS PERIODI-
CALLY and replace if damaged.
DRESS PROPERLY. Do not wear loose clothing,
gloves, neckties, rings, bracelets, or other
jewelry. They can get caught and draw you into
moving parts. Rubber gloves and nonslipfoot-
wear are recommended. Also wear protective
hair covering to contain long hair.
ALWAYS WEAR SAFETY GLASSES WITH
SIDE SHIELDS. Everyday eyeglasses have only
impact-resistant lenses; they are NOT safety
glasses.
PROTECT YOUR LUNGS. Wear a face or dust
mask if the cutting operation is dusty.
PROTECT YOUR HEARING. Wear hearing
protection during extended periods of operation.
SECURE WORK. Use clamps or a vise to hold
work when practical. It's safer than using your
hand and it frees both hands to operate tool.
binding of moving pans, breakage of pans, saw
stability, mounting and any other conditions that
may affect its operation. A guardor other part
that is damaged must be properly repaired or
replaced by a qualified service technician at a
Sears store to avoid risk of personal injury.
DIRECTION OF FEED. Feed work into a blade
or cutter against the direction of rotation of the
blade or cutter only.
•NEVER LEAVE TOOL RUNNING UNAT-
TENDED. TURN THE POWER OFF. Do not
leave tool until it comes to a complete stop.
•USE ONLY CORRECT BLADES. Use the right
blade size, style and cutting speed for the
material and the type of cut. Blade teeth should
point down toward the table.
KEEP BLADES CLEAN, SHARP AND WITH
SUFFICIENT SET. Sharp blades minimize
stalling and kickback.
DO NOT REMOVE THE SAW'S BLADE
GUARDS. Never operate the saw with any guard
or cover removed. Make sure all guards are
operating properly before each use.
KEEP HANDS AWAY FROM CUTTING AREA.
Do not hand hold pieces so small that your
fingers go under the blade guard. Do not reach
underneath work or in blade cutting path with
your hands and fingers for any reason.
DO NOT OVERREACH. t_eep proper footing and
balance at all times. A WARNING: Blade coasts after turn off.
• AINTAIN TOOLS WITH CARE. Keep tools
sharp and clean for better and safer perfor-
mance. Follow instructions for lubricating and
changing accessories.
DISCONNECT ALL TOOLS. When not in use,
before servicing, or when changing attachments,
blades, bits, cutters, etc., all tools should be
disconnected from power supply.
AVOID ACCIDENTAL STARTING. Be sure
switch is off when plugging in.
USE RECO••ENDED ACCESSORIES. The
use of improper accessories may cause risk of
injury. •
NEVER STAND ON TOOL. Serious injury could
occur if the tool is tipped or if the blade is unin-
tentionally contacted.
CHECK DAMAGED PARTS. Before further use •
of the tool, a guard or other part that is damaged
should be carefully checked to determine that it
will operate properly and perform its intended
function. Check for alignment of moving parts,
DO NOT ABUSE CORD. Never yank cord to
disconnect it from receptacle. Keep cord from
heat, oil, and sharp edges.
INSPECT TOOL CORDS PERIODICALLY and if
damaged, have repaired by a qualified service
technician at a Sears store. Stay constantly
aware of cord location and keep it well away
from the moving blade.
DO NOT USE TOOL IF SWITCH DOES NOT
TURN IT ON AND OFF. Have defective switches
replaced by aqualified service technician at a
Sears store.
KEEP TOOL DRY, CLEAN, AND FREE FROM
OIL AND GREASE. Always use a clean cloth-
when cleaning. Never use brake fluids, gasoline,
petroleum-based products, or any solvents to
clean tool.
ALWAYS SUPPORT LARGE WORK PIECES
while cutting. To minimize risk of blade pinching
and kickback, always support large workpieces.
Saw may slip, walk or slide while cutting large or
heavy boards.
4

RULES FOR SAFE OPERATION (Continued)
m
BEFORE MAKING A CUT, BE SURE ALL
ADJUSTMENTS ARE SECURE.
BEFORE CHANGING THE SETUP, REMOVING
COVERS, GUARDS, OR BLADE; UNPLUG
THE SAW AND REMOVE THE SWITCH KEY.
DO NOT FEED THE MATERIAL TOO QUICKLY.
Do not force the workpiece against the blade;
mREPLACEMENT PARTS. All repairs, whether
electrical or mechanical, should be made by a
qualified service technician at a Sears store.
WARNING: When servicing, use only identical
Craftsman replacement parts. Use of any other
parts may create a hazard or cause product
damage.
NEVER cut more than one piece at atime. DO
NOT STACK more than one workpiece on the
saw table at a time.
AVOID CUTTING NAILS. Inspect for and
remove all.nails from lumber before cutting.
NEVER TOUCH BLADE or other moving pads
during use.
NEVER START A TOOL WHEN THE BLADE IS
IN CONTACT WITH THE WORKPIECE.
ALLOW THE MOTOR TO COME UP TO FULL
SPEED before starting acut.
,NEVER USE IN AN EXPLOSIVE ATMO-
SPHERE. Normal sparking of the motor could
ignite fumes.
mDO NOT OPERATE THIS TOOL WHILE UN-
DER THE INFLUENCE OF DRUGS, ALCOHOL,
OR ANY MEDICATION.
M
FIRMLY CLAMP OR BOLT your band saw to a
firm, level workbench or table. The most comfort-
able saw table height is 36 inches or at approxi-
mately hip height. •
AVOID AWKWARD OPERATIONS AND HAND
POSITIONS where a sudden slip could cause
your hand to move into the blade. ALWAYS
make sure you have good balance. •
STAY ALERT AND EXERCISE CONTROL.
Watch what you are doing and use common
sense. Do not operate tool when you are Ured.
Do not rush.
MAKE SURE THE WORK AREA HAS AMPLE
LIGHTING to see the work and that no obstruc-
tions will interfere with safe operation BEFORE
performing any work using your saw.
ALWAYS TURN OFF SAW before disconnecting
it, to avoid accidental starting when reconnecting
to power supply. NEVER leave the band saw
unattended while connected to a power source.
SAVE THESE INSTRUCTIONS. Refer to them
frequently and use to instruct other users. If you
loan someone this tool, loan them these instruc-
tions also.
SAVE THESE INSTRUCTIONS
5

EXTENSION CORDS
Use only 3-wire extension cords that have 3-prong
grounding plugs and 3-pole receptacles that accept
the tool's plug. When using a power tool at aconsider-
able distance from the power source, use an exten-
sion cord heavy enough to carry the current that the
tool will draw. An undersized extension cord will
cause a drop in line voltage, resulting in a loss of
power and causing the motor to overheat. Use the
chart provided below to determine the minimum wire
size required in an extension cord. Only round jack-
eted cords listed by Underwriter's Laboratories (UL)
should be used.
Length of Extension Cord Wire Size (A.W.G.)
Up to 25 feet 18
26-100 feet 16
When working with the tool outdoors, use an exten-
sion cord that is designed for outside use. This is
indicated by the letters WA on the cord's jacket.
Before using an extension cord, inspect it for loose or
exposed wires and cut or worn insulation.
_i, CAUTION: Keep the cord away from the cutting
area and position the cord so that it will not be
caught on lumber, tools, or other objects during
cutting operations.
ELECTRICAL CONNECTION
Your Sears Craftsman Band Saw is powered by a
precision built electric motor. It should be connected
to a power supply that is 120 volts, 60 Hz, AC only
(normal household current). Do not operate this tool
on direct current (DC). A substantial voltage drop will
cause a loss of power and the motor will overheat. If
the saw does not operate when plugged into an outlet,
double check the power supply.
GROUNDING INSTRUCTIONS
In the event of a malfunction or breakdown, grounding
provides a path of least resistance for electdc current
to reduce the risk of electric shock. This tool is
equipped with an electric cord having an equipment-
grounding conductor and a grounding plug. The plug
must be plugged into a matching outlet that is properly
installed and grounded in accordance with all local
cedes and ordinances.
Do not modify the plug provided. If it will not fit the
outlet, have the proper outlet installed by a qualified
electrician. Improper connection of the equipment-
grounding conductor can result in a dsk of electdc
shock. The conductor with insulation having an outer
surface that is green with or without yellow stripes is
the equipment-grounding conductor. If repair or
replacement of the electric cord or plug is necessary,
do not connect the equipment-grcunding conductor to
alive terminal.
Check with a qualified electrician or service personnel
if the grounding instructions are not completely
understood, or if in doubt as to whether the tool is
properly grounded.
Repair or replace a damaged or worn cord immedi-
ately.
This tool is intended for use on a cimuit that has an
outlet like the one shown in Figure 1. It also has a
grounding pin like the one shown.
@
GROUNDING
PIN COVEROFGROUNDED
OUTLETBOX
Fig. 1
6

BevelCut
Acuttingoperationmadewithanangledtable.
Crosscut
A cutting operation made across the grain or the width
of the workpiece.
Compound Cut
A compound cut is a cut made using a miter angle
and a bevel angle at the same time.
FPM
"Feet per minute. Used in reference to surface speed
of blade.
Freehand (for band saw)
Performing a cut without the workpiece propedy
supported on the table.
Gum
A sticky, sap based residue from wood products.
Kerf
The matedal removed by the blade in a through cut or
the slot produced by the blade in a nonthrough or
partial cut.
Leading End
The end of the workpiece pushed into the cutting tool
first.
Miter Cut
Acutting operation made with the edge of the
workpiece at any angle to the blade other than 90
degrees.
Push Stick
A device used to feed the workpiece through the saw
blade during narrow cutting operations. It helps keep
the operator's hands well away from the blade.
Resaw
A cuffing operation to reduce the thickness of the
workpiece to make thinner pieces.
Resin
A sticky, sap base substance.
Ripping
A cutting operation along the length of the workpiece.
Saw Blade Path
The area directly in line -- over, under, behind, or in
front of the blade. As it applies to the workpiece, that
area which will be, or has been, cut by the blade.
Sat
Thedistance that the tip of the saw b ada tooth s bent
(or sat) outward from the face of the blade.
Throw-Back
Throwing of a workpiece in a manner similar to a
kickback. Usually associated with a cause other than
the kerf closing, such as a workpiece being dropped
into the blade, or being carelessly placed in contact
with the blade.
Through Sawing
Any cutting operation where the blade extends
completely through the workpiece.
Workpiece
The item on which the cutting operation is being done.
The surfaces of aworkpiece are commonly referred to
as faces, ends, and edges.
Worktable
The surface on which the workpiece rests while
performing a cutting operation.
Blade Width 1/8 in. to 3/8 in.
Blade Length 59-1/4 in.
Capacities:
Frame to Blade 9 in.
Under guide 3-1/2 in.
Table Size 11-1/2 in. x 11-1/2 in.
Table Tilt
Input
No Load Speed
Overall Dimensions
Net Weight
0" - 45"
120 V, 2.5 amp 60 Hz, AC only
3000 FPM
19-1/2 in. x 12-1/2 in. x28 in.
30 Ibs.
7

,_ WARNING: To prevent accidental starting that
could cause possible serious personal injury,
assemble all parts to your saw before connecting
it to power supply. Saw should never be
connected to power supply when you are
assembling parts, making adjustments, installing
or removing blades, or when not in use.
•Carefully remove all parts from the carton and
place the saw on a level work surface. Separate
and check against the listof loose parts.
_WARNING: If any parts are missing, do not
operate this tool until the missing parts are
replaced. Failure to do so could result in possible
serious personal injury.
•Do not discard the packing materials untilyou
have carefully inspectedthe saw, identified all
parts, and satisfactorily Operated your new saw.
Note: If any parts are damaged or missing, do not
attempt to plug in the power cord and turn the switch
on until the damaged or miss(ng parts are obtained
and are installed correctly.
Check all loose parts from the box with the list below. For your convienence when identifying parts, items A-I
below have been drawn actual size. Assemble according to the instructions on the following pages.
A. Flat Head Screw (1/4-20 x 7/8 in.) ..................... 3
B. Hex Nut (1/4-20) ................................................. 3
C. Switch Key .......................................................... 1
D. Truss Head Screw (1/4-20 x 5/8 in.) .................. 1
E. Wing Nut (1/4-20) ............................................... 1
F. Screw (M5 x 8) ................................................... 1
G. Scale Indicator.................................................... 1
H. Throat Plate ........................................................ 1
I, Hex Key (1/8in.) ................................................. 1
J. Saw Table (not shown) ...................................... t
K. Owner's Manual (not shown) ............................ t
on0
L
Fig. 2
The following tools (not included) are needed for
assembly and alignment:
_• #2 Phillips Screwddver
•Adjustable Wrench
•Small Combination Square
#2 PHILLIPSSCREWDRIVER
SMALL
COMBINATION
SQUARE Fig. 3
8

A. B.
A WARNING/ADVERTENCIA
Blade
591/4in.
Blade
Thickness TPI
.018in, 15
.012in. 4
.012in. 6
,014in. 4
Application
Forfinescrollcuts
inthinwoodmathdalsand
plasticsUpto 1/2"thick.
59 114in. ForextrafaststralgMcutting,
Bestfor cuttingthickwoods,
591/4 in. Forsb'algMandcurved
59 1/4in. Heavydutycuts
inallwood
3/4"to
3 1/2"
C=
Fig. 4
9

The following labels are on the band saw with locations indicated.
&WARNING ;IA
• For your safety, read owner's manual before making adjustment_
•Failure to remove switch key and unplug your saw could result In
acaldental starting causing possible sedous personal Injury.
• Para su eagurldad, lea el manual del usuado
antes de hacar aJustos.
El
9 inch Band Saw
3000FPM120VOLTS60HzACONLY
WARNING: USEIOEk'rlCALREPI.ACEaEm'PAR'rs. (_ i
MODEL 315,214490 SER,NO.
MADE _1TAIWAN i I
SEARS, ROEBUCK AND CO, _Jmo_'mot.
Customer Help Line 1-800-932-3188
FI GI
Fig.
lO

KNOWYOURBANDSAW
Beforeattemptingto use,familiarizeyourselfwithall
operating features and safety requirements of your
Sears Craftsman band saw.
BLADE
The saw comeswithastandard1/4 in. bladeinstalled.
BLADE GUIDES
Blade guides support the blade and keep it from
twisting dudng operation. An adjustment is necessary
when blades are changed or replaced.
BLADE GUIDE KNOB AND LOCK LEVER
The blade guide assembly should just clear the
workpiece while cutting. Use the blade guide knob
and lock lever to adjust the blade guide assembly to
keep the blade from twisting or breaking. Always lock
the upper blade guide assembly in place before
turning on the band saw.
TABLE LOCK KNOB
Loosening table lock knob allows table to be tilted at
different angles. Tightening knob locks table in place.
ANGLE ADJUSTMENT KNOB
Once the table lock knob has been loosened, use the
angle adjustment knob to tilt or change the angle of
the table. Always tighten the table lock knob before
turning on the saw.
SCALE
The scale shows the angle or degree the table is tilted
for bevel cutting.
BACK VIEW OF BAND SAW
QUICKRELEASE
TENSION ADJUSTMENT KNOB
The tension adjustment knob controls the amount of
blade tension when changing blades and when
making adjustments for vadous sawing applications.
TRACKING ADJUSTMENT SCREW
Tracking adjustment screw adjusts to keep the blade
running in the center of the wheels. It is a set screw
located in the center of the frame on the back of your
band saw. m
BAND SAW TABLE
Your band saw has an 11-I12 in. square, aluminum l
saw table with a rack and pinion tilt control for maxi-
mum accuracy. It has a red snap inthroat plate, and a
miter slot for use with an optional miter gage.
SAWDUST EXHAUST PORT
A standard 2-1/4 in. dust exhaust port has been
provided to make dustless cutting possible.The pickup
adapter end of a vacuum hose fits inside the dust
exhaust port with a wedge fit type connection.
COVER TABS
Easy open cover tabs allow the front cover to be
opened for making adjustments.
HEX KEY HOLDER
A hex key holder inside the front cover keeps hex key
conveniently located for blade guide and blade
tracking adjustments.
SWITCH
Your band saw has an easy access power switch. To
lock the switch in the OFF position, remove the yellow
switch key from the switch. Place the key in alocation
that is inaccessible to children and others not qualified
to use the tool.
ADJUSTMENT
KNOB FRONTCOVER
LOCK LEVER_
BLADEGUIDE
KNOB
ADJUSTMENT
SCREW
COVERTAB
BLADEGUIDE
ASSEMBLY
THROAT
PLATE'
SAWBLADE BLADEGUIDE
ASSEMBLY
TABLELOCK
DATAPLATE
SWITCHKEY
EXHAUST
PORT
11
BANDSAW
TABLE
Fig. 6

INSTALLING SCALE INDICATOR
See Figure 7.
• Attach the scale indicator to the saw frame below
the scale using the screw (M5 x 8) supplied.
ANGLEADJUSTMENTKNOB
ANGLEBRACKET
TABLELOCKKNOB
SCALE
SCALEINDICATOR
Fig. 7
INSTALLING THE TABLE
See Figure 8.
•Slide the table onto the angle bracket from the
back of the saw to front, with the blade traveling
through the slot in the table.
TRUSSHEAD
SCREW
FLATHEAD
SCREW(S)
_NGLE
BRACKET
e
HEX NUT(S)
Fig. 8
Align the three holes on the table with the three
holes in the angle bracket. Fasten the table to
the angle bracket using the three flat head
screws and three hex nuts.
• Assemble the truss head screw and wing nut to
the edge of the table at the end of the slot. Snap
the throat plate in place on the table.
Note: The wing nut goes below the table.
MOUNTING BAND SAW TO
WORKBENCH
See Figure 9.
If the band saw is to be used in a permanent applica-
tion, we recommend that you secure it in a permanent
location such as a workbench. When mounting the
saw to a workbench, holes should be ddlled through
the supporting surface of the workbench using the
dimensions illustrated in figure 9.
•Each leg should be bolted securely using 5/16 in.
diameter machine screws, lock washers, and
5/16 in. hex nuts (not included). Screw length
should be 1-3/4 in. plus the thickness of the
workbench top.
•Locate and mark the holes where band saw is to
be mounted.
• Drill (4) 3/8 in. diameter holes through work-
bench.
•Place band saw on workbench aligning holes in
the frame with holes drilled in the workbench.
•Insert all four 5/16 in. screws and tighten se-
curely with lock washers and hex nuts.
Note: All bolts should be inserted from the top. Install
the lock washers and hex nuts from the underside of
the bench.
Supporting surface where band saw is mounted
should be examined carefully after mounting to insure
that no movement during use can result, If any tipping
or walking is noted, secure workbench or supporting
surface before beginning cutting operations.
3-13/32in.
I
318 in. I
5-15/16in. hole I
/, 12 in.
3-I 3/32in.
3-I/32in.
_L
3-13/32In, Fig. 9
12

CLAMPING BAND SAW TO WORKBENCH
See Figure 10.
If the band saw is to be used in aportable application,
we recommend that you fasten it permanently to a
mounting board that can easily be clamped to a
workbench or other supporting surface. The mounting
board should be of sufficient size to avoid tipping of
saw while in use. Any good grade plywood or chip-
board with a 3/4 in. thickness is recommended.
Mount saw to board using holes in frame as a
template for hole pattern or the diagram in
Figure 9. Locate and mark the holes where band
saw is to be mounted.
•Follow last three steps in previous section called
Mounting Band Saw to Workbench.
If lag bolts are used, make sure they are long enough
to go through holes in the saw and material the saw is
being mounted to. If machine bolts are being used,
make sure bolts are long enough to go through holes
in the saw frame, material being mounted to, lock
washers, and hex nuts.
Note: It may be necessary to countersink hex nuts
and washers on bottom side of mounting board.
MOUNTING
BOARD "
C-CLAMP(S) WORKBENCH Fig. 10
ADJUSTING BLADE GUIDE ASSEMBLY
See Figures 11 and 12.
The blade guide assembly should always be set about •
1/8 in. above the top surface of the workpiece being
cut to keep the blade from twisting or breaking. Adjust •
from the back of the band saw.
• Push the lock lever that secures the blade guide
assembly counterclockwise or to the left 1/4 turn
to unlock the blade guide assembly.
• Rotate the blade guide knob to position the blade
guide assembly to the desired position. Use a
scrap piece of the same wood you are about to
LOCKLEVER
(UNLOCKEDPOSITION) BLADEGUIDEKNOB
cut as a guide to set the height of the blade
guide assembly.
Lock position in place by returning the lock lever
to its upward position.
Always lock the blade guide assembly in place
before turning on the band saw.
LOCKLEVER
BLADEGUIDEKNOB
POSITION)
BLADEI
k
I
WORKPIECE
®
Fig. 11
13
Fig. 12

INSTALLING AND ADJUSTING THE
BLADE
See Figures 13 and 14.
AWARNING: To prevent accidental starting that
could cause possible serious personal injury,
turn off the saw, remove the switch key, and
unplug the saw before installing or removing
blade.
•From the back of the saw, push the lock lever
counterclockwise or to the left 1/4 turn to unlock
the blade guide assembly. Use the blade guide
knob to position the blade guide assembly about
half way between the table and the frame.
Return the lock lever to its upright locked posi-
tion. See Figures 11 and 12.
•Open the front cover of the saw by pushing both
the upper and lower cover tabs. See Figure 6.
•Loosen and remove the wing nut and truss head
screw from the table. See Figure 13.
BLADEGUARD/
TRUSSHEAD
SCREW
BANDSAW
WINGNUT Fig. 13
•Turn the quick release knob to the left to release
blade tension. Turn the tension adjusting knob to
the left to lower the upper _'heal. See page 15.
•Carefully remove the old blade. The spring on
the upper wheel allows it to be pulled down
slightly to remove the saw blade from the wheel.
•Slide the new blade into the slot of the table with
the teeth of the blade toward the front of the saw
and facing down toward the table.
Note: The blade may need to be tumed inside out if
the teeth are pointing in the wrong direction. Hold the
blade with both hands and rotate it inward.
Place the blade through the lower blade guides
located under the table and around the lower
wheel. Pull down on the upper wheel slightly to
place the saw blade on the wheel. Slowly turn
the upper wheel to the right or clockwise by hand
to center the blade on the rubber tires.
•Adjust the blade tension and check or adjust the
blade tracking. See pages 15 and 16.
•Adjust both upper and lower blade guides and
thrust bearings. See pages 16 and 17.
•Replace the truss head screw and wing nut.
Tighten securely.
• Close the cover of the band saw.
TENSIONADJUSTINGKNOB
FRONTCOVER
,OPEN
UPPER
;AWBLADE
BLADEGUIDE
_i, WARNING: Always wear safety goggles or
safety glasses with side shields to protect your
eyes while uncoiling band saw blades. Failure to
heed this warning could result in a serious eye
injury.
Wearing gloves, carefully uncoil the blade at
arms length. If the new blade was oiled to
prevent rusting, it may need to be wiped to keep
the oil from your workplace. Carefully wipe in the
same direction the teeth are pointing so the rag
does not catch on the teeth of the saw blade.
GUIDES
LOWER
WHEEL
Fig. 14
14

ADJUSTING BLADE TENSION
See Figures 15, 16, and 17.
•Turn off saw, remove switch key and unplug
saw.
_1, WARNING: Failure to remove switch key and
unplug your saw could result in accidental
starting causing possible serious personal injury.
The tension adjusting knob is on the top of the
saw, Rotate the quick release knob (outer, larger
knOb) 114tum to the left or counterclockwise to
release blade tension. See Figure 15.
QUICKRELEASEKNOB
TO RELEASE
Fig. 15
•Turn the tension adjusting knob (upper, smaller
knob) to the right or clockwise to increase
tension or raise the upper wheel. Turn it to the
left or counterclockwise to decrease tension on
blade or to lower upper wheel. See Figure 16.
Note: Adjustments of the blade tension can be made
at anytime. The quick release knob can be either
released or engaged while making adjustments with
the tension adjusting knob.
• Rotate the quick release knob to the right or
clockwise 1/4 turn to engage tension before
using the band saw. See Figure 17.
• To check the tension, raise the blade guide
assembly all the way up exposing the blade.
• Pushing the blade to the side with moderate
force, the blade should deflect approximately
1/8 in.
TENSIONADJUSTINGKNOB
TO INCREASE
TENSION TO DECREASE
TENSION
Fig. 16
QUICKRELEASEKNOB
TO ENGAGE
Fig/17
Another method of checking the tension has to do
with the sound the blade makes when plucked like a
guitar string.
Pluck the back straight edge on the coasting side
opposite the blade guides while turning the
tension knob. Sound should be a musical note.
Sound becomes less flat as tension increases.
Sound decreases with too much tension.
Using either method to check tension requires knowing
your band saw and can be developed with practice.
•Never tension the blade so tight as to completely
compress the spring. When completely com-
pressed, the spdng can no longer act as ashock
absorber.
Note: Be careful not to over tension the blade. Too
much tension may cause the blade to break. Too little
tension may cause the blade to slip on the wheels.
TRACKING THE BLADE
See Figure 18.
Note: Blade tension must be properly adjusted before
tracking the blade.
•Open the front cover of the saw. Slowly turn the
upper wheel to the dght or clockwise by hand
and watch the blade on the upper tire. If the
blade moves away from the center of the tire, the
tracking must be adjusted.
TO ADJUST:
•Remove 118in. hex key located in the holder
inside the front cover.
•Insert the 1/8 in. hex key into the tracking adjust-
ment screw located on the back of the saw
behind the upper wheel.
If the blade moved toward the front of the saw "
turn the adjustment screw in (to the rightor
clockwise) while turning the wheel by hand, until
the blade moves back and rides in the center of
the tire.
If the blade moved away from the front of the
saw, tum the adjustment screw out (to the left or
counterclockwise) while turning the wheel by
hand, untilthe blade moves forward and ddes in
the center of the tire.
15

Check the position of the blade on the lower tire.
The blade should be completely on the tire. If
not, adjust the tracking until the blade is on both
tires.
•Rotate the upper wheel by hand in a clockwise
direction for a few more turns. Make sure the
blade stays in the same location on the tires.
Readjust if necessary, until blade is tracking
properly.
Note: The 1/8 in. blade may not track propedy in the
center of the wheel. It may be better to track this
blade on the back half of the upper wheel.
•Replace hex key in holder located inside of the
front cover. Close front cover.
•Rotate angle adjustment knob to tilt the table up
or down to align table 90" to blade (0" position).
Tighten the table lock knob.
•Using the 118in. hex key, adjust the zero stop
set screw until the set screw just touches the
frame.
Check squareness of table to blade. Make
readjustments if necessary.
Loosen screw on scale indicator and align red
mark to zero on scale. See Figure 7, page 12.
Tighten all screws securely.
BLADEGUIDE
KNOB
BLADEON
TURN
HEXKEY
TO LEFT
(1/8in.)
TURN
HEXKEY
TO RIGHT Fig. 18
ALIGNING THE TABLE SQUARE TO THE
BLADE
See Figure 19.
_1_ WARNING: To prevent accidental starting that
could cause possible serious personal injury,
turn off the saw, remove the switch key, and
unplug the saw before making adjustments.
m:- - From the back of the saw, push the lock lever
counterclockwise or to the left 1/4 turn to unlock
the blade guide assembly. See Figure 11, page
13.
•Rotate the blade guide knob to move the blade
guide assembly all the way up. Return lock lever
to the upward position to lock assembly in place.
•Loosen table lock knob. See Figure 7, page 12.
Place a small combination square on table
beside blade.
ZEROSTOP
SETSCREW
BLADEGUIDE
ASSEMBLY
SMALL
SQUARE
Fig. 19
ADJUSTING THRUST BEARINGS, BLADE
GUIDE SUPPORT, AND BLADE GUIDES
See Figures 20, 21_ and22.
The upper and lower blade guides and tl_rustbearings
support the band saw blade during cutting operations.
The adjustment of the guides and bearings should be
checked whenever a different blade is installed.
WARNING: To prevent accidental starting that
could cause possible serious personal injury,
turn off the saw, remove the switch key, and
unplug the saw before making adjustments.
To Adjust Thrust •earings
•Adjust the thrust bearings first. Using the 1/8 in.
hex key, loosen the thrust bearing screw.
Note: The thrust b_aring screw is the upper cap
screw located on the right side of the blade guide
assembly. It is the lower cap screw on the right side of
the frame below the table for the lower bearing.
16

BLADE
BLADEGUARDREMOVED
FORCLARIRCATIONONLY
BLADEGUIDE
• THRUSTBEARING
SCREW
BLADEGUIDE
SUPPORTSCREW
BLADEGUIDESCREWS
BLADE GUIDEASSEMBLY
Fig. 20
•Move the thrust bearing to within 1/64 in. of the
blade. Tighten the thrust bearing screw securely.
Repeat this procedure on the lower thrust
bearing, located below the table.
Note: The thrust bearing is to support the back edge
of the blade while cutting. The blade should not
contact the bearings when you stop cutting. It is
important that both thrust bearings be adjusted
equally.
TO Adjust Blade Guide Support
• Next, adjust the position of the blade guide
support. Loosen the bottom screw on the right
side of the blade assembly using the hex key.
• Slide the blade guide support on the shaft until
the front edge of the blade guides are about 1/64
in. behind the gullet of the blade, Tighten the
screw securely. Repeat this procedure for the
lower blade guide support.
Note: The lower blade guide support screw is the top
screw located on the right of the saw frame under the
table. See Figure 21.
_,i_ WARNING: Never operate saw without blade
guard secured !n place. To do so could result in
possible serious personal injury.
SCREW
BLADEGUIDE
SCREWS rHRUBTBEARING
LOWERBLADEGUIDE Fig. 21
To Adjust Blade Guides
The blade guides help keep the blade from twisting
and binding. Letting the blade teeth hit the blade
guides while using the band saw will ruin the blade.
The set of teeth and the sharpened edge of teeth will
be damaged by hitting the blade guides, Proper
adjustment of the upper and lower blade guides will
prevent this from happening.
•Loosen the two blade guide screws that lock the
upper blade guides. Press the two guides evenly
near the sides of the blade leaving about 0.004
in. from the blade. (0.004 is the thickness of a
dollar bill.) Do not pinch the blade. Make sure
one guide is not further away from the blade than
the other. Release the guides and tighten both
screws securely.
• Repeat this procedure on the lower blade guides
located under the table. See Figure 21.
BLADEGUARDREMOVED
FORCLARIRCATIONONLY
,THRUST
BEARING
BEARINGSCREW
BLADEGUIDE 3UIDE
SCREW SCREW
BLADEGUIDES Fig. 22
17

BASIC OPERATION OF THE BAND SAW
A band saw is basically a "curve cutting" machine. It
can also be used for straight-line cutting operations
such as cross cutting, ripping, mitering, beveling,
compound cutting, and resawing. It is not capable of
making inside or non through cuts.
This band saw is designed to cut wood and wood
composition products only.
For general type scroll cutting, follow the pattem lines
by pushing and tuming the workpiece at the same
time. Do not try to tum the workpiece while engaged
in the blade without pushing it; the workpieca could
bind or twist the blade. A curved radius cut is best
performed by following the pattern line with the blade
while turning the workpiece. The blade should cut in
the middle of the pattam line since wood cutting band
saw blades are thin.
_i, WARNING: To avoid blade contact, adjust the
blade guide assembly to just clear the workpiece.
Failureto do socouldresultinseriouspersonal
injury.
MUse both hands while feeding the work into the
blade. Hold the workpiece firmly against the
table. Use gentle pressure. Do not force the
work, but allow the blade to cut.
The smallest diameter circle that can be cut out
is determined by the width of the blade. A 1/4 in.
wide blade will cut a minimum diameter of
approximately 1-1/2 in. A 1/8 in. wide blade will
cut a minimum diameter of approximately 1/2 in.
Relief cuts are made when an intricate curve (too
small a radius for the blade) is to be cut. Arelief cut is
made by cutting through the scrap section of work-
piece to curve in pattern line, then carefully backing
blade out. Several relief cuts should be made for
intricate curves, then follow pattern line as sections
are cut off of curve =relieving" blade pressure.
•Avoid injury from unexpected saw move-
ment:
•Put the saw on a firm level surface with plenty of
room for handling and properly supporting the
workpiece.
%Make sure table is level and saw does not rock.
•Bolt the saw tothe support surface to prevent
slipping, walking or eliding during operations like
cutting long, heavy boards.
Turn saw off, remove switch key, and unplug
cord before moving the saw.
Avoid injury from jams, slips or thrown
pieces:
•Choose right size and style blade for material
and the type of cut you plan to do.
•USE ONLY RECOMMENDED ACCESSORIES,
The use of improper accessories may cause risk
of injury to persons.
•Make sure the blade teeth point downward,
toward the table.
•Make sure blade guides and thrust bearings are
properly adjusted.
•Make sure blade tension is properly adjusted.
•Make sure table lock knob is tight and no parts
have excessive play.
•Always adjust the blade guide assembly to just
clear the workpiece to avoid accidental blade
contact, minimize blade breakage and provide
maximum blade support.
Use extra caution with large, very small or
awkward workpleces:
Use extra supports (tables, saw horses, blocks,
etc.)
Never use a person as asubstitute for a table
extension, or as additional support for a work-
piece that is longer or wider than the basic saw
table, or to help feed, support or pull the work-
piece.
When cutting irregularly shaped workpieces, plan
YoUr work so it wil! not pinch the blade. For
example, a piece of molding must lay flat on the
table. Workpieces must not twist, rock, or slip
while being cut.
Properly support round material such as dowel
rods, or tubing. They have a tendency to roll
during a cut, causing the blade to "bite." To
avoid this, always use a "V" block or clamp
workpiece to a miter gage.
Cut only one workpiece at atime.
Clear everything except the workpiece and
related support devices off the table before
turning the saw on.
18

A
Plan the way you will hold the workplece
from start to finish:
Do not hand hold pieces so small that your
fingers will go under the blade guard. Keep your
hands away from the blade.
Avoid awkward operations and hand positions
where a sudden slip could cause serious injury
from contact with the blade. Never place hands
in path of blade.
WARNING: Do not allow familiarity with your
saw make you careless. Remember that a
careless fraction of a second is sufficient to inflict
severe injury.
•When saw Is running:
• Before starting your cut, watch the saw while it
runs. If you experience excessive vibration or
unusual noise, stop immediately. Tum the saw
off, and remove switch key. Unplug the saw. Do
not restart until locating and correcting problem.
•Before freeing any jammed materlah
•Turn switch OFF.
• Wait for all moving parts to stop.
•Remove switch key.
•Unplug the saw.
When backing up the workplece, the blade
may bind In the kerf (cut), This is usually
caused by sawdust clogging up the kerf or
because the blade comes out of the guides. If
this happens:
• Turn switch OFF.
•Wait for all moving parts to stop.
•Remove switch key.
• Unplug the saw.
•Open band saw cover.
•Wedge the kerf open with a flat blade screw-
driver or wooden wedge.
• Turn the upper wheel by hand while backing up
the workpiece.
Before removing loose pieces from the table,
turn saw off and walt for all moving parts to
stop.
Before leaving the saw:
Wait for all moving parts to stop.
Remove the switch key. Store it away from
children and others not qualified to use the tool.
•Unplug the saw.
•Make workshop child-proof. Lock the shop.
19

_1, WARNING: When servicing, use only identical
Craftsman r(_placement parts. Use of any other
part may create a hazard or cause product
damage.
GENERAL MAINTENANCE
Avoid using solvents when cleaning plastic parts.
Most plastics are susceptible to damage from various
types of commercial solvents and may be damaged
by their use. Use clean cloths to remove dirt, carbon
dust, etc.
_L WARNING: Do not at any time let brake fluids,
gasoline, petroleum-based products, penetrating
oils, etc. come in contact with plastic parts. They
contain chemicals that can damage, weaken or
destroy plastic.
•Keep your band saw clean.
•Remove sawdust from the inside frequently.
•Do not allow pitch to accumulate on the table,
blade guides, or thrust bearings. Clean them with
gum and pitch remover.
• Apply a thin coat of automobile type wax to the
table top so the wood slides easily while cutting.
Also apply wax to the inside surfaces of the
angle bracket.
A WARNING: To prevent accidental starting that
could cause possible serious personal injury,
turn off the saw, remove the switch key, and
unplug the saw before working on the band saw.
TIRES
To properly and safely maintain the wheel tires, the
blade should be removed from the band saw. The
tires should be kept clean. When the tires become
worn they should be replaced.
• Pitch and sawdust that accumulates on the tires
should be removed with a fine wire brush or a
piece of wood. Do not use a sharp knife or any
kind of solvent.
• Remove the blade guard, the saw blade, and the
worn tires. Stretch the new tires around each
wheel.
BLADE GUIDES
See Figure 22, on page 17.
•The blade guides may become rounded and
worn during use. Remove the blade guides and
file or grind flat.
• Replace the guides when filing or grinding has
worn down guides and they can no longer be
properly secured in place.
MOTOR/ELECTRICAL
• Frequently vacuum or blow out any sawdust from
the motor.
&WARNING: If the power cord is worn, cut, or
damaged in any way, have it replaced immedi-
ately by a qualified service technician at a Sears
store. Failure to do so could result in serious
personal injury.
WARNING: To avoid fire or electrocution,
nreassemble electric parts with only identical
Craftsman replacement parts. Reassemble
exactly as originally assembled.
BRUSHES
See Figures 23 and 24.
A WARNING: To prevent accidental starting that
could cause possible serious personal injury,
turn off the saw, remove the switch key, and
unplug the saw before working on the band saw.
There are two brushes located inside the saw's cover,
one next to each wheel. They help protect the tires
and wheels by brushing off saw dust. As the brushes
become worn, they will need to be adjusted or re-
placed.
•Loosen the screw to slide the rorush and holder
toward the wheel. The brush should just touch
the wheel.
SCREW BRUSH LOWERWHEEL
Fig. 23
20

lCarefully pull the brush straight off of the brush
holder to replace the brush. Push the new brush
on the holder until you hear it snap in place.
•Remove the screw to replace both brush and
holder.
BRUSHHOLDER BRUSH
•Place new drive belt on the pulley. As you return
pulley to pulley shaft, place drive belt over motor
pulley. Position the pulley on the raised portion of
the pulley shaft.
•Return the wheel to the pulley shaft. For correct
orientation of wheel, notice that the screw holes
on the wheel ere all in recessed areas. These
must align with the screw holes on the pulley.
•Replace the screws and tighten to secure wheel.
Put the shim (washer) and retaining ring back on
the pulley shaft.
Replace the saw blade. Check thrust bearings
and blade guides.
LOWERWHEEL PULLEYSHAFT
RETAININGRING
Fig. 24
DRIVE BELT
See Figure 25.
_1 WARNING: To prevent accidental starting that
could cause possible serious personal injury,
turn off the saw, remove the switch key, and
unplug the saw before working on the band saw.
Due to wear or breakage, the drive belt may need to
be replaced. The drive belt is located behind the lower
wheel of the band saw.
• Remove the saw blade and set it aside. See
section on Installing and Adjusting Saw Blade.
•Using retaining ring pliers, remove the retaining
ring from the lower wheel.
•Remove the shim (washer).
•Remove the 3 screws in the wheel and slide the
wheel off of the pulley shaft.
I1._ Remove the pulley and worn drive belt.
SCREW(S)
SHIM
(WASHER)
MOTORPULLEYDRIVEBELT PULLEY
Fig. 25
LUBRICATION
All of the bearings in this tool are lubricated with a
sufficient amount of high grade lubricant for the life of
the unit under normal operating conditions. Therefore,
no further lubrication is required.
21

,_1= WARNING: For your own safety, turn switch Off, remove switch key and unplug the saw from power supply
before adjusting or aligning your band saw.
PROBLEM CAUSE SOLUTION
Motor will not run. 1. Problem with On-Off switch or 1.
power cord.
2. Motor Defective. 2.
Have worn parts replaced
before using Band Saw again.
Do not attempt any repair.
Have repaired by a qualified
service technician st a Sears
store.
Blade does not run in the approxi-
mate center of the upper wheel.
1. Not tracking properly. 1. Adjust tracking, See Adjust-
ments section Tracking the
Blade.
Band Saw slows down when
cutting.
1. Cutting too small a radius.
2. Dull blade.
.Stop feeding, and back up the
material slightly, untilthe band
saw speeds up.
2. Replace blade.
Blades breaking. 1, Too much tension.
2. Kink in blade caused by cutting
too small a radius or turning the
material too fast when cutting.
3. Thrust bearings scarred or not
rotating.
1.
2.
Adjust tension. See Adjust-
ments section Adjusting Blade
Tension.
Use correct cutting technique.
See section Basic Operation
of the Band Saw.
3. Replace the thrust bearings.
Saw is noisy when running. 1. Too much blade tension.
2. Blade guides and backup
bearings are in contact with the
blade.
1,
2.
Adjust blade tension. See
Adjustments section Adjusting
Blade Tension.
Adjust upper and lower blade
guides and bearings. See
Adjustments section Adjusting
Thrust Bearings, Blade Guide
Support, and Blade Guides.
Blade will not cut straight. 1. Blade guides and bearings not
properly adjusted.
2. Worn or defective blade.
1. Adjust upper and lower blade
guides and bearings. See
Adjustments section Adjusting
Thrust Bearings, Blade Guide
Support, and Blade Guides.
2. Replace blade.
Blade guides will not stay in
position.
1. Blade guide screws have
loosened.
1. Tighten blade guide screws
securely.
22

23

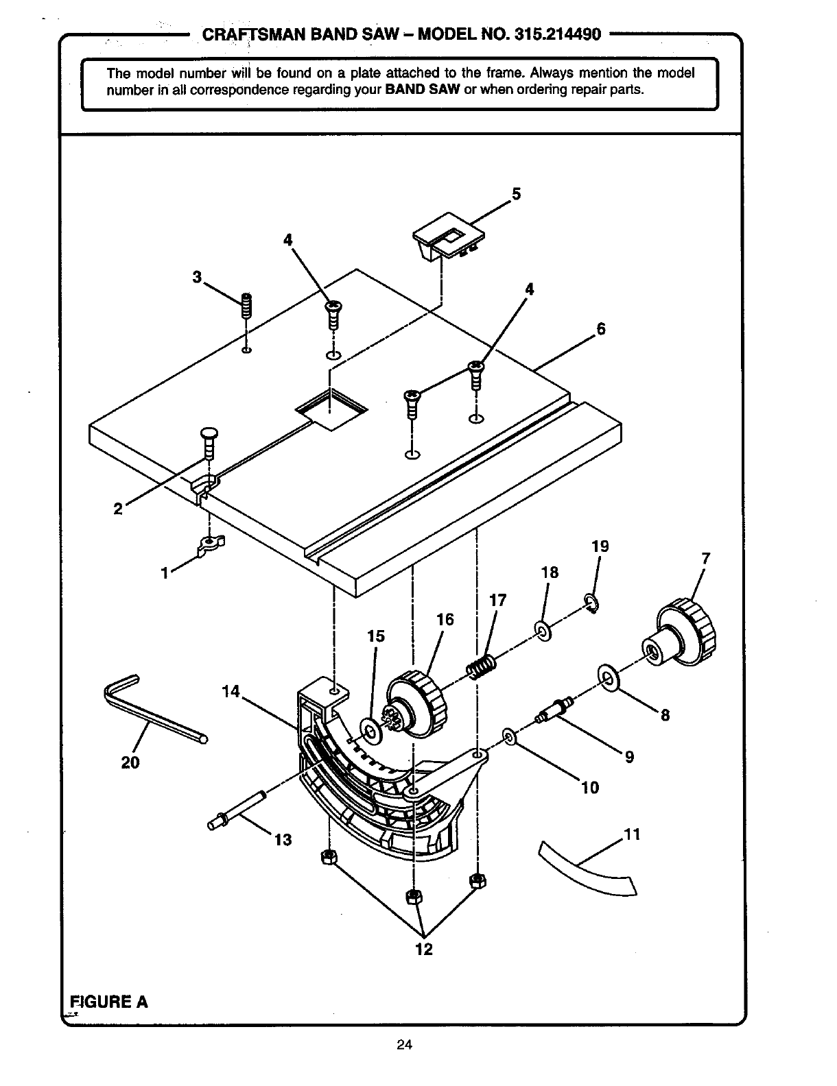
ICRAFTSMAN BAND SAW - MODEL NO. 315.214490
The model number will be found on a plate attached to the frame. Always mention the model |
number in all correspondence regarding your BAND SAW or when ordering repair parts. J
45
i 4
I
$
$
2
1
20
14
13
19
18
17
9
10
7
12
FIGURE A
24

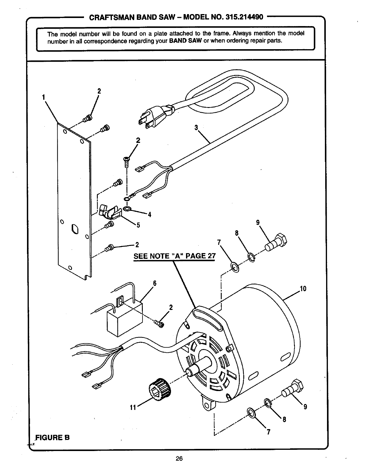
ICRAFTSMAN BAND SAW - MODEL NO. 315.214490
The model number will be found on a plate attached to the frame. Always mention the model
number in all correspondence regarding your BAND SAW or when ordering repair parts,
SEE BACK PAGE FOR PARTS ORDERING INSTRUCTIONS
PARTS LIST FOR FIGURE A
Key Part
No. Number Description Quan.
1STD541610
2 977095-001
3 977079-001
4977085-001
5 977027-001
6 977028-001
7977030-001
8 977092-001
9 977031-001
10 977093-001
11 977086-001
12 STD541025
13 977033-001
14 977032-001
15 977105-001
16 977029-001
17 977065-001
18 977087-001
19 977088-001
20 820193-005
** Wing Nut (1/4-20) ................................................................. 1
* Screw (1/4-20 x 3/4 in. Truss Hd.) ....................................... 1
* Screw (1/4-20 x 5/8 in. Socket Hd.) ..................................... 1
Screw (1/4-20 x 7/8 in. Flat Hd.) .......................................... 3
Throat Plate ......................................................................... 1
Table ..................................................................................... 1
Table Lock Knob .................................................................. 1
Washer ................................................................................. 1
Spindle ................................................................................. 1
Washer (Shim) ..................................................................... 1
Scale .................................................................................... 1
** Hex Nut (1/4-20) .................................................................. 3
Angle Adjustment Shaft ....................................................... 1
Angle Bracket ....................................................................... 1
Washer (Shim) ..................................................................... 1
Angle Adjustment Knob ....................................................... 1
Spring ................................................................................... 1
Washer (M6) ........................................................................ 1
Retaining Ring ..................................................................... 1
* Hex Key 1/8 in. (Item No. 9-28135) ..................................... 1
I
* Standard Hardware Item - May Be Purchased Locally
** Available From Division 98 - Source 980.00
25

[CRAFTSMAN BAND SAW - MODEL NO. 315.214490
The model number will be found on a plate attached to the frame. Always mention the model
number in all correspondence regarding your BAND SAW or when ordering repair parts. I
2
I
2
7
SEE NOTE"A"PAGE27
9
FIGURE B
26

CRAFTSMAN BAND SAW - MODEL NO. 315.214490
IThe model numberwill be found on a plate attachedto the frame. Always mentionthe model
numberinall correspondenceregardingyourBAND SAW or when orderingrepairparts. J
i,
Key Part
No. Number
1 977084-001
2 977083-001
3 977056-001
4 STD551208
5 977082-001
6 977056-001
7 STD51008
8 STD52008
9 STD835020
10 977367-001
11 977045-001
PARTS LIST FOR FIGURE B
Description Quan.
Cover Plate ............................................................................. 1
* Screw (M4 x 8 Pan Hd.) .......................................................... 7
Cord ........................................................................................ 2
** Washer (M4) ................................................................ :.......... 1
Cord Clamp ............................................................................. 1
Conden,sor............................................................................... 1
** Washer (M8) ........................................................................... 2
** Spring Washer (M8) ................................................................ 2
** Hex Bolt (MS x 1.25 x 20) ....................................................... 2
Motor ....................................................................................... 1
Motor Pulley ............................................................................ 3
NOTE: "A" - The assembly shown represents an Important part of the Electrical System. To avoid the
possibility of alteration or damage to the System, service should be performed by your
nearest Sears Repair Center. Contact your nearest Sears Retail Store for Service Center
information.
J_
* Standard Hardware Item -- May Be Purchased Locally
** Available From Division 98 - Source 980.00
27

o
o
28

ii!iiiiiiiiiiiiiiiiiiliiiiiiii
-r : : : : : : : : : : : : : : : : : .£._
: x _ : _ : : : : : : : : : :_oc_
: :-r-_. : : : : : : : • : : : : : _ : : _- d_
• . _ " . .... . A ........ ° •
._oe_ = _ _ _ TOO _ : : _ : i _ .:0 _ :" _ C _ ®0
_" _ u)_x_u_ •_ _- • C_ _CO_"--X: _-x _D :_ ¢D_ e : : x_ _D _ "_
0tO ,_-- LO 0,.Z ,_ _ _ _ _ . t_,^ _ _ _D " ,-"0"0 "0 -•_"0 _-7_ >_
__ _-_ ._. D _ _ . 0 __
88OoOoOOOOOOo oo ooooooooooooooo. o
..... 99 ooo 99ooooooooooooooo
__E ooooooo2ooooo o rrprppoooooooo_m_
"z__t,:.r,-.t-._._ t--r--t,-t,-_t,.r,.r,-_-.r-r,-r-._t,.t.._ot..
vZ _ _ _ _ _ _ o_ _ _ _ _ _ _ _0 c_ o _- _ _,_ m _ _ _0 m o_- _ _0,_ u_
0
_. : : : : : : : : : : : : : : :A : :
,c : : : _::::_ _ :_:
: : : : : :_. : : : : : : :T :
: : : : : : • : -r :::::::m: : :
: : : : : : : : : : : = -_
:::_ _ _ !_ ! ! = ! ! m _ _ _ _ ! ! _ :
_ _ _ _ : : :x: : : : : • ::: : :: :
" . ..... A ..... '
:_= ! : : : _:aO : : ::N'_ :_ _ _= _-_ : : :
• • •-- •.c_t_ c: : 0 -_ _ _ C_ .... u_ _-- _ .
_"_E _ "_ :e m_ ! ! _0 _ _ !__mu_-- _ "_ ! _ _- :
oz_ : :E _,m m_ :® m_ _ _n-_ m _ ®= _ ® m_ i i !_--'_,- _
•.- ,___ _:.=_._o o_.- o _"E ® ®_ ..... _ : " m ® - o_, -=
0 0 _ _0__ _ 0_ _ _ _._ _ _ ___ c_ c_ o c_ o_ _.> ._ _ _ o_o_ _
SSSSS_SSSSSooSSSSSoo_SS_ooS_SSS _°o_
°°°°°°°°°°°°°°°°°°°°_°_i°°°°°°°°©', , , _,. _.,, _
_o_o_oo_Sg _88o o
o
1/)
IZ
o
°i3
29

n-
o
30

0
5
o
I
cn
i
• 81
iii iiiiiii iii
...... *°,. ....... •
I
• .... ,,...**.. ....
.... .... ,. ..... *,,
..... * . . . ° * . . .....
..................ii
iiii!iiiiiiiiiiiii
•**...•*...,.o* . ..
........ . **.......
........ ..,.,.*..,
........ .*,.,,*.,.
II (0 ::::::-i- : :::: : : :
i
"0 9_ i : : u. :
_ '_ .m '_ _ _ -._ _ _ .-° E _ _ ._ _ __,._ _
_ • o_ m m I- m nq _ m m 0 ..a m _o _ .a 0
000_ i.
_oo_ ooo_o -_,
________'____
81

Forthe repairor replacementpartsyouneed
delivereddirectlytoyourhome
Call7 am - 7 pm, 7 daysaweek
1-800-366-PART
(1-800-366-7278)
Forrepairservice
Call24 hoursa day,7 daysa week
1-800-4-REPAIR
(1-800-473-7247)
For the location of a
SearsPartsandRepairCenterinyourarea
Call24 hoursa day,7 daysa week
1-800-488-1222 mmmmmm
mmmmmm
The modelnumberofthistool will befoundon a serial plate
attachedtothe motorhousing.Whenrequestingserviceor
orderingparts,alwaysprovidethefollowinginformation:
• ProductName
9 in.
BandSaw
•Model Number
315.214490
•PartName •PartNumber
SEARS
America's Repair Specialists