Craftsman 917 255581 Owners Manual ManualsLib Makes It Easy To Find Manuals Online!
2014-12-12
: Craftsman Craftsman-917-255581-Owners-Manual-119535 craftsman-917-255581-owners-manual-119535 craftsman pdf
Open the PDF directly: View PDF
.
Page Count: 52

S_EA/ S
OWNER'S
MANUAL
MODEL NO.
917.255581
Caution:
Read and follow
all Safety Rules
and Instructions
Before Operating
This Equipment
CRI:IFTZMIIN+
12.5 HP I/C
ELECTRIC START
3 in One Convertible
42" MOWER DECK
6 SPEED TRANSAXLE
LAWN TRACTOR
• Assembly
,Operation
• Customer Responsibilities
° Service and Adjustment
° Repair Parts
_vertible
!r
Sears, Roebuck and Co., Chicago, IL 60684 U.S.A.

SAFETY RULES
Safe Operation Practices for Ride-On Mowers
IMPORTANT: THIS CU-I-NNG MACHINE IS CAPABLE OFAMPUTATING HANDS AND FEETAND THROWING OBJECTS.
FAILUR ETO OBSERVE THE FOLLOWING SAFETY INSTRUCTIONS COULD RESULT IN SERIOUS INJU RY OR DEATH.
1. GENERAL OPERATION
-Read, understand, and follow all instructions in the manual
and on the machine before starting.
Only allow responsible adults, who are familiar with the
instructions, to operate the machine.
+ Clear the area of objects such as rocks, toys, wire, etc.,
which could be picked up and thrown by the blade.
,, Be sure the area is clear of other people before mowing. Stop
machine if anyone enters the area.
• Never carry passengers.
• Do not mow in reverse unless absolutely necessary. Always
look down and behind before and while backing.
= Be aware of the mower discharge direction and do not point
it at anyone. Do not operate the mower without either the
entire grass catcher or the guard in place.
= Slow clown before turning.
,, Never leave a running machine unattended. Always turn off
blades, set parking brake, stop engine, and remove keys
before dismounting.
,, Turn off blades when not mowing.
+ Stop engine before removing grass catcher or unclogging
chute.
= Mow only in daylight or good artificial light.
• Do not operate the machine while under the influence of
alcohol or drugs.
+ Watch for traffic when operating near or crossing roadways.
•Use extra care when loading or unloading the machine into
a trailer or truck.
II. SLOPE OPERATION
Slopes are a major factor related to loss-of-control and
tipover accidents, which can result in severe injury or death.
All slopes require extra caution. If you cannot back up the
slope or if you feel uneasy on it, do not mow it.
DO:
• Mow up and down slopes, not across.
,, Remove obstacles such as rocks, tree limbs, etc.
• Watch for holes, ruts, or bumps. Uneven terrain could
overturn the machine. Tall grass can hide obstacles.
+ U'se slow speed. Choose alow gear sothat you will not have
to stop or shift while on the slope.
,, Follow the manufacturer's recommendations for wheel
weights or counterweights to improve stability.
+ Use extra care with grass catchers or other attachments.
These can change the stability of the machine.
+ Keep all movement on the slopes slow and gradual Do not
make sudden changes in speed or direction.
• Avoid starting or stopping on a slope, if tires lose traction,
disengage the blades and proceed slowly straight down the
slope.
DO NOT:
•Donotturnonslopesunlessnecessary, andthen turn slowly
and gradua y downh i, if poss bte.
•Do not mow near drop-offs, ditches, or embankments. The
mower could suddeniy turn over if a wheel is over the edge
of a cliff or ditch, or if an edge caves in.
+Do not mow on wet grass. Reduced traction could cause
sliding.
+Donottrytostabilizethemachinebyputtingyourfootonthe
ground.
•Do not use grass catcher on steep slopes.
I11. CHILDREN
Tragic accidents can occur if the operator is not alert to the
presence of children. Children are often attracted to the
machine and the mowing activity. Never assume that
children will remain where you last saw them.
• Keep children out of the mowing area and under the watchful
care el another responsible adult.
• Be alert and turn machine off if children enter the area.
• Before and when backing, look behind and down for small
children.
= Never carry children. They may fall off and be seriously
injured or interfere with sale machine operation.
• Never allow children to operate the machine.
• Use extra care when approaching blind corners, shrubs,
trees, or other objects that may obscure vision.
IV. SERVICE
Use extra care in handling gasoline and other fuels. They are
flammable and vapors are explosive.
Use only an approved container.
Never remove gas cap or add fuel with the engine
running. Allow engine to cool before refueling. Do not
smoke.
Never refuel the machine indoors.
Never store the machine or fuel container inside where
there is an open flame, such as a water heater;
• Never run a machine inside a closed area.
• Keep nuts and bolts, especially blade attachment bolts, tight
and keep equipment in good condition.
• Never tamper with safety devices. Check their proper
operation regularly.
• Keep machine free of grass, leaves, or other debris build-up.
Clean oil or fuel spillage. Allow machine to cool before
storing.
• Stop and inspect the equipment if you strike an object.
Repair, if necessary, before restarting.
• Never make adjustments or repairs with the engine running.
• Grass catcher components are sub ect to wear, damage, and
deterioration, which could expose moving parts or a ow
ob ects to be thrown. Frequently check components and
rep ace w th manufacturer s recommended parts, when nec+
essary.
• Mower blades are sharp and can cut. Wrap the blade(s) or
wear gloves, and use extra caution when servicing them.
• Check brake operation frequently. Adjust and service as
required.
&I
Look for this symbol to point out impor- I
tant safety precautions. It means CAU- I
"I'ION!!! BECOME ALERT!!! YOUR |
SAFETY IS INVOLVED. i
!
CAUTION: Always disconnect spark plu g
wire and place wire where it cannot con-
tact spark plug in order to prevent acci-
dentalstarting when setting up, trans-
porting, adjusting or making repairs.
2

CONGRATULATIONS on your purchase of a Sears
Tractor. It has been designed, engineered and manu-
factured to give you the best possible dependability and
performance.
Should you experience any problem you cannot easily
remedy please contact your nearest Sears Service
Center/Department. We have competent, well-trained
technicians and the proper tools to service or repair this
unit.
Please read and retain this manual. The instructions will
enable you to assemble and maintain your unit properly.
Always observe the SAFETY RULES.
MODEL
NUMBER 917.255581
SERIAL
NUMBER
DATE OF PU RCHAS E
THE MODELAND SERIAL NUMBERS WILL BE FOUND
ON A PLATE UNDER THE SEAT.
YOU SHOULD RECORD BOTH SERIAL NUMBERAND
DATE OF PURCHASE AND KEEP IN A SAFE PLACE
FOR FUTURE REFERENCE.
MAINTENANCE AGREEMENT
A Sears Maintenance Agreement is available onthis prod-
uct. Contact your nearest Sears store for details.
CUSTOMER RESPONSIBILITIES
• Read and observe the safety rules.
PRODUCT SPECIFICATIONS
HORSEPOWER: 12.5
GASOLINE CAPACITY: 5 QUARTS
UNLEADED REGULAR
OIL (3.0 PINTS): SAE 30 (Above 32°F)
SAE 5W-30 (Below 32°F)
SPARK PLUG (GAP.030 IN.): CHAMPION RJ-19LM
STD361458
VALVE CLEARANCE: INTAKE .005 - .007 IN.
EXHAUST .009 -.011 IN.
GROUND SPEED: FORWARD
1st 1.10 MPH
2nd 1.40 MPH
3rd 2.00 MPH
4th 3.00 MPH
5th 4.20 MPH
6th 5.0O MPH
REVERSE: 1.50 MPH
TIRE PRESSURE: FRONT: 14 PSI
REAR: 10 PSI
CHARGING SYSTEM: 3 AMPS BATTERY
5 AMPS HEADLIGHTS
BLADE BOLT TORQUE: 30-35 FT. LBS.
• Follow a regular schedule in maintaining, caring for and
using your unit.
• Follow the instructions under "Customer Responsibili-
ties" and "Storage" sections of this owner's manual.
WARNING: This unit is equipped with an internal combus-
tion engine and should not be used on or near any unim-
proved forest-covered r brush-covered or grass-covered
land unless the engine s exhaust system is equipped with
a spark arrester meeting appligable local or state laws {if
a_ny). If a spark arrester Is used, it should be maintained m
effective working order by the operator.
In the state of California the above is required by law
(_Section 4442 of the California Public Resources Code).
Other states may have similar laws. Federal laws apply on
federal lands. A spark arrester for the muffler is available
through your nearest Sears Authorized Service Center
(See REPAIR PARTS section of this manual).
®
LIMITED TWO YEAR WARRANTY ON ELECTRIC START RIDING EQUIPMENT
For two (2) years from the date of purchase, if this ridingequipment is maintained, Lubricatedand tuned up according to the
instructions in the owner's manual, Sears will repair or replace, free of charge, any parts found to be defective in material or
workmanship.
This Warranty does not cover:
•Expendable items which become worn during normal use, such as blades, spark plugs, air cleaners and belts.
•Tire replacement or repaircaused by puncturesfrom outside objects,such as nails,thorns, stumps, or glass.
Repairs necessary because of operator abuse, negligence,improper storage or accident or the failure to maintainthe
equipment according to the instructions contained Jnthe owner's manual.
• Riding equipment used for commercial or rental purposes.
LIMITED 90 DAY WARRANTY ON BATTERY
For 90 daysfrom date of purchase, if any battery included with this riding equipmentproves defective inmaterial or workmanship
and our _estingdeter:r0inesthe battery will not hold a charge, Sears will replacethe battery at no charge....
WARRANTY SERVICE IS AVAILABLE BY RETURNING THE RIDING EQUIPMENT TO THE NEAREST SEARS SERVICE
CENTER/DEPARTMENT INTHE UNITED STATES.
This Warranty gives you specific legal rights, and you may also have other rights which may vary from state to state.
SEARS, ROEBUCK AND CO., D/731CR-W, SEARS TOWER, CHICAGO, ILLINOIS 60684
3

TABLE OF CONTENTS
SAFETY RULES ............................................................ 2
PRODUCT SPECIFICATIONS ....................................... 3
CUSTOMER RESPONSIBILITIES ..................... 3, 15-18
WARRANTY ................................................................... 3
TABLE OF CONTENTS ................................................. 4
INDEX ............................................................................. 4
TRACTOR ACCESSORIES ........................................... 5
ASSEMBLY .............................................................. 7-10
OPERATION ........................................................... 11-14
MAINTENANCE SCHEDULE ...................................... 15
SERVICE AND ADJUSTMENTS ............................ 19-24
STORAGE .................................................................... 25
TROUBLESHOOTING ............................................ 26-27
REPAIR PARTS -TRACTOR ................................. 30-45
REPAIR PARTS - ENGINE ..................................... 46-50
PARTS ORDERING/SERVICE ................... BACK PAGE
INDEX
A
Accessories ............................................ 5
Adjustments:
Brake ........................................... 21
Carb ureto r ........................... ........ 24
Mower
Front-To-Back ........................ 20
Side-To-Side .......................... 20
Throttle Control Cable ................. 24
Air Filter, Engine ................................. 18
Air Screen, Engine .............................. 18
Assembly ......................................... 7-10
B
Battery:
Charging ........................................ 8
Cleaning ...................................... 17
Installation ..................................... 9
Levels ....................................... 8,17
Preparation .................................... 8
Starting with Weak Battery .......... 22
Storage ........................................ 25
Terminals .................................... 17
Belt:
Motion Drive
RemoVaVReplacement ........... 21
Mower Blade Drive
RemovaVReplacement ........... 21
Blade:
Sharpening .................................. 16
Replacement ............................... 16
Brake Adjustment ............................... 21
C
Carburetor Adjustment ....................... 24
Controls, Tractor ................................. 11
Customer Responsibilities ............. 15-18
Engine:
Air Filter ................................... 18
Air Filter Foam Pre-C]eaner .... 18
Air Screen, Engine .................. 18
Battery ...................................... 17
Cooling Fins, Engine ............... 18
Engine Oit ................................ 17
Fuel Filter ................................ 18
Spark Plugs ............................. 18
E
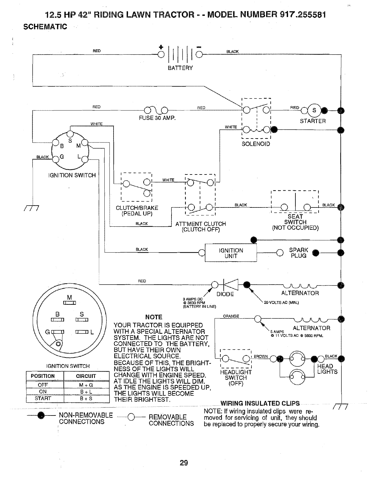
Electrical: Operation ....................................... 11-14
Interlocks and Relays .................. 23 Operating Mower ...:............................ 13
Schematic ................................... 29 Options:
Wiring Diagram ............................ 30 Accessories .;................................. 5
Engine: Spark Arrester .......................... 3,40
Air Filter ....................................... 18 P
Air Filter Foam Pre-Cleaner ........ 18 Parking Brake ................................ 11-12
A r Screen ................................... 18 Parts Bag .............................................. 6
Cooling Fins, Engine ................... 18 Parts, Replacement/Repair ........... 30-45
Oil Change .................................. 17 Product Specifications ........................... 3
Oil Level ................................. 13,17 R
Oil Type ....................................... 17
Preparation .................................. 13 Repair Parts .................................. 30-45
Repair Parts ........................... 46-50 S
Starting ........................................ 14 Safety Rules .......................................... 2
Storage ........................................ 25 Seat ...................................................... 8
F Service and Adjustments ............... 19-24
Filter: Carburetor ........................... ;....... 24
Air Filter ....................................... 18 Fuse ............................................ 23
Air Filter Foam Pre-Cleaner ........ 18 Hood Removal/Installation., ........ 23
Fuel ............................................. 18 Motion Drive Belt
Fuel: Remova!/Replacement ........... 21
Type ............................................ 13 Mower Blade Drive Belt
Storage ........................................ 25 Removal/Replacement ........... 21
Fuse .................................................... 23 Mower Adjustment
HFront- to-Back ......................... 20
Hood RemovaVInstallation .................. 23 Side-to-Side ............................ 20
L Mower Removal .......................... 19
Leveling Mower Deck ......................... 20 Tire Care ............................. 8,16,22
Lubrication: Slope Guide Sheet ............................. 51
Chart ........................................... 15 Spark Plugs ........................................ 18
M Specifications ....................................... 3
Maintenance Schedule ....................... 15 Starting the Engine ........................ 13-14
Mower: Steering Wheel ....... ......................... 7,22
Adjustment, Front-to-Back ........... 20 Stopping the Tractor ........................... 12
Adjustment, Side-to-Side ............ 20 Storage ............................................... 25
Blade Sharpening ........................ 16 T
Blade Replacement ..................... 16 "l'hrottle Control Cable
Cutting Height .............................. 12 Adjustment .................................. 24
Tnstallation................................... 19 Tires............................................,....8,16,22
Operation .................................... 13 Trouble Shooting Chart .................. 26-27
Removal ...................................... 19
Tractor: Mowing Tips ....................................... 14 Transaxle:
...................... Muffler ================================================18 Repair Parts ......................... ,.,..44-45
Blade ....................................... 16
Lubrication Chart ..................... 15
Maintenance Schedule ............ 15
Tire Care ......................... 8,16,22
Cutting Height, Mower ........................ 12
Spark Arrester .......................... 3,40
Mulcher Plate ............................... 10
O
Oil:
Cold Weather Conditions ....... 13,17
Engine ......................................... 17
Storage ........................................ 25
4
W
Warranty ............................................... 3
Wiring Diagram ................................... 30
Wiring Schematic ................................ 29

ACCESSORIES AND ATTACHMENTS
These accessories and attachments were available when the tractor was purchased. They are also available at most Sears retail outlets,
catalog and service centers. Most Sears stores can order these items for you when you provide the model number of your tractor.
ENGINE
SPARK PLUG MUFFLER AIR RLTER GAS CAN ENGINE OIL STABILIZER
MAINTENANCE
BLADES BELTS
PERFORMANCE
Sears offers awide variety of attachments that fit your tractor. Many of these are listedbelow with brief explanations of howthey can help
you. This list was current at the time of publication; however, it may change in future years - more attachments may be added, changes
may be made in these attachments, or some may no longer be available or fit your model. Contact your nearest Sears store for the
accessories and attachments that are available for your tractor.
Most of these attachments do not require additional hitches or conversion kits (these that do are indicated) and are designed for easy
attaching and detaching.
PERMANEX BAGGER lets you collect grass clippings and
leaves for a healthier, nearer looking lawn. Two Permane×
containers hold 30-gallon plastic bags.
LAWN SWEEPERS let you collect grass clippings and leaves.
LAWN VAGS for powerful collection of heavy grass clippings and
leaves. Wand attachment to pick up debris in hard-to-reach
places.
CARTS make hauling easy. Variety of sizes available.
ROLLER for smoother lawn surface. 36-inch wide, 18-inch
diameter water-tight drum holds up to 390 Ibs. of weight. Rounded
edges prevent harm to tuff. Adjustable scraper automatically
cleans drum.
SPREADER/SEEDERS make seeding, fertilizing, and weed
killing easy. Broadcast spreaders are also useful for granular
de-icers and sand.
CORING AERATOR takes small plugs out of soil to al!ow mois-
ture and nutrients to reach grass roots. 36-inch swath. 24
hardened steel coring tips. 150 lb. capacity weight tray.
AERATOR promotes deep root growth for a healthy lawn. Ta-
pered 2.5-inch steel spikes mounted on 10-inch diameter discs
puncture holes in soil at close intervals to let moisture soak in.
Steel weight tray for increased penetration.
MULCH RAKE/DETHATCHER loosens soil and flips thatch and
matted leaves to lawn surface for easy pickup. Twenty spring tine
teeth. Usefultopreparebareareasforseeding. Availableforfront
or rear mounting.
SPRAYERS use 12wolt DC electric motor that connects to the
tractor battery or other 12-volt source. Includes booms for
automatic spraying when put{ing, and hand held wand for spot
spraying. Wand has adjustable spray pattern. For applying
herbicides, insecticides, fungicides, and liquid fertilizers.
SNOW BLADE for snow removal only. 14-inch high, 42-inch
wide blade clears 38-inch path when angled left or right. Raises,
lowers with side lever. Adjustable skids; replaceable, reversible
scraper bar. (Use with tire chains, wheel weights, or rear drawbar
weight.)
SNOWTHROWER has40-inch swatl_. Drum-typeauger handles
powdery and wet/heavy snow. Mounts easily with simple pin
arrangement. Discharge chute adjusts from tractor seat. 6-inch
diameter spout discharges snow 10 to 50 feet. Lift controlled at
tractor seat. (Use with chains, wheel weights, or rear drawbar
weight.)
TIRE CHAINS are heavy duty; closely sp_ced extra-large cross
links give smooth ride, outstanding traction.
WHEEL WEIGHTS for rear wheels provide needed traction for
snow removal or dozing heavy materials. In pairs. (30 Ibs. each.)
TRACTOR CAB has heavy duty vinyl fabric over tubular steel
frame, ABS plastic top; clear plastic windshield offers 360 degree
visibility. Hinged metal doors with catch. Keeps operator warm
and dry. Remove vinyl and windshields for use as sun protector
in summer: (Catalog only.)
Optional accessories for tractor cab: tinted/tempered solid
safety glass windshield with hand operated wiper; 12-volt amber
caution light for mounting on cab top. (Catalog only.)
TRACTOR COVER protects tractor from weather. Made of
Evolution 3fabric (water-repellent, extremely breathable, light
weight, soft, non-abrasive, pliable in all temperatures, durable,
stainfteadpuncture resistant, will not shrink or stretch.) (Catalog
only.)
TILLER has 5 hp engine and 36-inch swath to prepare seed beds,
cultivate, and compost garden residue. Tiller has its own built-in
lift and depth control system and does NOT require a sleeve hitch.
Fits any lawn, yard, or garden tractor. Simply hook up to the
tractor drawbar and go!
5

CONTENTS OF HARDWARE PACK
Parts Bag contents shown full size
(2) Sheet
Metal
Screws
#10-16 x 1/2
(1) Locknut 3/8-24
(1) 2-3/8" Diameter Washer
IF- "
(1) Shoulder Bolt 5/16-18 (1) Hex Bolt 1/2-13 x 1
(1) Lock Washer 1/2
(1) Washer 17/32 x 1-3/16x 12 Gauge
(2) Lock Washers #10
(2) Weld Nuts #10
(2) Screws #10 x 5/8
(2) Washers 3/16 x 3/4 x 16 Gauge
(2) Hex Bolts !/4-20 x 3/4 _-
......... _ ........ (2)Hex_._NutS1/4-20
(2) Washers 9/32 x 5/8 x 16 Gauge
(2) Lock Washers 1/4
Parts packed separately in carton
Steering
Wheel
Owner's Manual
Seat
O
Battery acid
Mulcher 'l
Plate
IBattery
I'
!
!
!
I
I
I
!
I
Steering
Boot
Parts Bag
m
Parts bag contents not shown full size
, Wheel
Steering Wheel Insert
Adapter
Steering (2) Latch Hook
Bushing Assemblys (2) Keys
-//
i

ASSEMBLY
Your new tractor has been assembled at the factory with exception of those parts left unassembled for shipping purposes.
To ensure safe and proper operation of your tractor all parts and hardware you assemble must be tightened securely. Use
the correct tools as necessary to insure their proper tightness,
TOOLS REQUIRED FOR ASSEMBLY
A socket wrench set will make assembly easier, Standard
wrench sizes are listed.
(1) 5/16" wrench
(2) 7/16" wrenches
(1) 1/2" wrench
(1) 9/16" wrench
(1) 3/4" wrench
Tire pressure gauge
Phillips Screwdriver
Utility knife
When right and left hand is mentioned in this manual, it
means when you are in the operating position (seated
behind the steering wheel).
TO REMOVE UNIT FROM CARTON
UNPACK CARTON
Remove all accessible loose parts and parts cartons
from carton (See page 6).
Cut along dotted lines on carton, from top to bottom, all
four corners of carton and lay panels flat.
. Check for any additional loose parts or cartons and
remove.
BEFORE ROLLING UNIT OFF SKID
ATTACH STEERING WHEEL (See Fig. 1)
•Slide the steering bushing over the steering shaft.
• Raise steering shaft forward until screw holes in dash
line up with steering bushing, Install two (2) sheet
metal screws and tighten securely.
• Position steering boot over steering shaft.
• Align tabs of steering boot over slots and hole in dash
and push down to secure.
• Slide steering wheel adapter onto upper steering shaft.
Position front wheels of the tractor so they are pointing
straight forward.
Position steering wheel so cross bars are horizontal
(left to right) and slide onto adapter.
• Assemble large flat washer and 3/8-24 hex Iocknut and
tighten securely.
• Snap insert into center of steering wheel.
Remove protective plastic from tractor hood and grill,
IMPORTANT: CHECK FOR AND REMOVE ANY
STAPLES iN SKID THAT MAY PUNCTURETIRES WHERE
UNIT IS TO ROLL OFF SKID,
(See Fig. 8)..............
• Raise attachment lift lever to its highest position.
• Release parking brake by depressing clutch/brake
pedal.
.Place gearshift lever in "NEUTRAL" position.
.Roll unit backwards off skid.
Remove banding holding discharge guard up against
tractor.
STEERING
_HAFT
_._ INSERT
....._ 3/8-24 HEX LOCKNUT
_2-3/8 DIA. WASHER
STEERING WHEEL
Sw g;dNG
ADAPTER
STEERING @STEERING SCREW
" TAB
HOLE
FIG. 1

ASSEMBLY
HOW TO SET UP YOUR TRACTOR
PREPARE BATTERY (See Fig. 2)
CAUTION: Wear eye and face shield.
Wash hands or clothing immediately if
accidentally incontactwith battery acid.
Do not smoke. Fumes from charged
battery acid are explosive.
Read the instructions included with the
battery vent caps. Always wear gloves,
clothing and goggles to protect your
hands, skin and eyes.
Your unit has a battery charging system which is sufficient
for normal use. However, periodic charging of the battery
with an automotive charger will extend its life.
® See instructions packed with vent caps in parts bag.
,= Fill battery with acid. Fill each cell until it reaches the
bottom of the vent wells. Do not overfill.
• Allow battery to stand and settle for at least thirty
minutes. After standing, check the level of acid. If
below the vent wells, add more acid until the correct
level is reached.
While battery is standing (after adding acid) and later, while
battery is being charged, continue with assembly of unit.
IMPORTANT: TO MAXIMIZE THE LiFE OF YOUR
BATTERY, IT IS NECESSARY THAT THE BATTERY BE
CHARGED BEFORE USE. FAILURE TO CHARGE
BATTERY CAN RESULT IN A SHORTENED BATTERY
LIFE.
o Charge battery at a rate of 6 amperes for 1 hour. Use
a 12volt battery charger. Observe all safety precautions
required for battery charging.
o Check the acid level after the battery is charged. If the
acid has fallen below the correct level, add distilled or
iron free water.
• Install the vent caps to cover the vent wells. Wash the
top of the battery with water to remove any acid, then
wipe dry.
• Check battery case for leakage to make sure that no
damage has occurred in handling.
• Dispose of excess battery acid. Neutralize acid for
disposal by adding it to four inches of water in a five
gallon plastic container. Stir with a wooden or plastic
paddle while adding baking soda until the addition of
more soda causes no more foaming.
Follow instructions on how to install battery.
CUT AWAY VIEW
INSTALL SEAT (See Fig. 3)
Adjust seat before tightening adjustment bolt.
• Remove cardboard packing on seat pan.
• Place seat on pan and assemble shoulder bolt.
,Assemble adjustment bolt, Iockwasherandflatwasher
loosely. Do not tighten.
°Tighten shoulder bolt securely.
• Lower seat into operating position and sit on seat.
• Slide seat until a comfortable position is reached which
allows you to press clutch!brake pedal all the way down
(See Fig. 8).
° Get off seat without moving its adjusted position.
• Raise seat and tighten adjustment bolt securely.
SEAT
SEAT PAN
SHOULDER
BOLT
FLATWASHER
ADJUSTMENT LOCK WASHER
BOLT
FIG. 3
CHECK TIRE PRESSURE
The tires on your unit were overinflated at the factory for
shipping purposes. Correct tire pressure is important for
best cutting performance.
Reduce tirepressure to PSI shown in "PRODUCT
SPECIFICATIONS" on page 3 of this manual.
CHECK DECK LEVELNESS
For best cutting,results, mower housing should be properly
leveled. See TO LEVEL MOWER HOUSING" in the
Service and Adjustments section of this manual.
CHECK FOR PROPER POSITION OF ALL
BELTS
See the figures that are shown for replacing motion and
mower b ad_ drve belts n the Serv ce andAdjustments
VENTWELL ..... section of this manual. Verify that the belts are routed
correctly.
BATTERY
CELL ACID
LEVEL
CHECK BRAKE SYSTEM
After you learn how to operate your tractor, check to see
that the brake is properly adjusted. See "TO ADJUST
BRAKE" in the Service and Adjustments section of this
manual.
FIG. 2 8

ASSEMBLY
INSTALL BATTERY (See Figs. 4& 5)
CAUTION: Do not short battery termF
rials. Before installing battery, remove
metal bracelets, wristwatch bands,
rings, etc.
Positive terminal must be connected
first to prevent sparking from acciden-
tal grounding.
Lift seat to raised position.
• Open battery box door.
• Lower battery into battery box with battery terminals
toward front of unit.
Be sure battery drain tube is attached to battery box.
First connect RED battery cable to positive (+) battery
terminal with hex bolt, flat washer, lock washer and hex
nut as shown. Tighten securely.
. Connect BLACK grounding cable to negative (-) bat-
tery terminal with remaining hex bolt, flat washer, lock
washer and hex nut. Tighten securely.
•Close battery box door.
Open battery box door for:
Inspection for secure connections (to tighten hard-
ware).
Inspection for corrosion.
• Testing battery.
•Jumping (if required).
•Periodic charging.
BATTERY
BOX DOO_
VENT CAPS
FIG. 5
BATTERY
BOX DOOR
POSITIVE NEGATIVE
(RED) CABLE (BLACK) CABLE
POSITIVE (+) TERMINAL NEGATIVE (-) TERMINAL
FiG. 4
HF_X
BOLT
9

ASSEMBLY
INSTALL MULCHER PLATE
(See Figs. 6 & 7)
Install two latch hooks, to mulcher plate using screw,
...... 4_a..s_er, lock washer, and weld nut as shown.
NOTE: Pre-assemble weld nut to latch hook by insert-
ing weld nut from the top with hook pointing down.
Tighten hardware securely.
• Raise and hold deflector shield in upright position.
, Place front of mulcher plate over front of mower deck
opening and slide into place, as shown.
•Hook front latch into hole on front of mower deck.
, Hook rear latch into hole on back of mower deck.
CAUTION: Do not remove diseharg_
from mower. Raise and hold when
guard I
attaching mulcher plate and allow it to J
rest on plate while in operation. J
WELD NUT /
FROM THE TOP _/F
WELD LOCK
NUT WASHERsCREW\"
\\\ HOOK POINTS
DOWN
LATCH
HOOK
WASHER
MULCHER
PLATE
LOCK /
WASHER \
WELD
', WASHER NUT
_""_SCREW
HOOK
FIG. 6
TO CONVERT TO BAGGING OR DISCHARGING
Simply remove mulcher plate and store in a safe place.
Your mower is now ready for discharging or installation of
optional grass catcher accessory.
,/CHECKLIST
BEFORE YOU OPERATE AND ENJOY YOUR NEW
TRACTOR, WE WISH TO ASSURE THAT YOU RECEIVE
THE BEST PERFORMANCE AND SA TISFACTION FROM
THIS QUALITY PRODUCT.
PLEASE REVIEW THE FOLLOWING CHECKLIST:
,/ All assembly instructions have been completed.
,/ No remaining loose parts in carton.
,/ Battery is properly prepared and charged. IMinimum
1 hour at 6 amps).
,," Seat is adjusted comfortably and tightened securely.
¢' Al! tires are properly inflated. (For shipping purposes,
the tires were overinflated at the factory).
,,/ Be sure mower deck is properly leveled side-to-side/
front-to-rear for best cutting results. 0-ires must be
properly inflated for leveling).
¢' Check mower and drive belts. Be sure they are routed
properly around pulleys and inside all belt keepers.
¢" Check wiring. See that all connections are still secure
and wires are properly clamped.
WHILE LEARNING HOWTO USE YOUR TRACTOR, PAY
EXTRA A TTENTION TO THE FOLLOWING IMPORTANT
ITEMS:
¢' Engine oil is at proper level.
¢' Fuel tank is filled with fresh, clean, regular unleaded
gasoline.
,/ Become familiar with all controls - their location and
function. Operate them before you start the engine.
v" Be sure brake system is in safe operating condition.
DEFLECTOR
SHIELD
f
FIG. 7
LATCH
HOOKS
10

0
KNOW YOUR TRACTOR
READ THIS OWNER'S MANUAL AND SAFETY RULES BEFORE OPERATING YOUR TRACTOR
Comparethe illustrationswith your tractor to familiarize yourself withthe locations ofvarious controls and adjustments. Save
this manual for future reference.
UFTLEVER
ATTACHMENT PLUNGER
CLUTCH LEVER
LIGHT SWITCH
ATTACHMENT
LIFr LEVER
CONTROL
CLUTCH/BRAKE [ ]
PEDAL
MOWER DECK
HEIGHT ADJUSTMENT
POSfflONS
GEARSHIFT
LEVER
IGNITION
SWITCH
FIG. 8
Sears tractors conform to the safety standards of the American National Standards Institute.
ATTACHMENT CLUTCH LEVER: Used to engage the
mower blades, or other attachments mounted to your
tractor.
LIGHT SWITCH: Turns the headlights on and off.
THROTTLE!CHOKE CONTROL: Used for starting and
controlling engine speed.
CLUTCH!BRAKE PEDAL: Used for declutching and
braking the tractor and starting the engine.
PARKING BRAKE: Locks clutch/brake pedal into the
brake position.
GEARSHIFT LEVER: Selects the speed and direction of
tractor.
ATTACHMENT LIFT LEVER: Used to raise, lower, and
adjust the mower deck or other attachments mounted to
your tractor.
LIFT LEVER PLUNGER: Used to release attachment lift
lever when changing its position.
IGNITION SWITCH: Used for starting and stopping the
engine.
11

OPERATION
The operation of any tractor can result in foreign objects thrown into the eyes, which can
result in severe eye damage. Always wear safety glasses or eye shields while operating
your tractor or performing any adjustments or repairs. We recommend wide vision safety
mask for over the spectacles or standard safety glasses, available at Sears Retail or
Catalog stores.
HOW TO USE YOUR TRACTOR
TO SET PARKING BRAKE (See Fig. 9)
• Depress clutch!brake pedal into full "BRAKE" position
and hold.
Place parking brake lever in "ENGAGED" position and
release pressure from clutch/brake pedal. Pedal should
remain in "BRAKE" position. Make sure parking brake
will hold vehicle secure.
NOTE: Under certain conditions when unit is standing idle
with the engine running, hot engine exhaust gases may
cause "browning" of grass. To eliminate this possibility,
always stop engine when stopping unit on grass areas.
CAUTION: Always stop unit completely,
as described above, before leaving the
operator's position; to empty grass
catcher, etc.
ATTACHMENT
CLUTCH LEVER
"ENGAGED"
POSITION
THROTTLF.J
CHOKE
CONTROL.
LEVER
"DISENGAGED' •
POSITION
PARKING
BRAKE
"ENGAGED'
POSITION
IGNITION
KEY
GEARSHIFT
LEVER
"BRAKE"
POSITION
CLUTCH/BRAKE PARKING BRAKE
PEDAL "DRIVE = POSITION "DISENGAGED" POSITION
FIG. 9
STOPPING (See Fig. 9)
MOWER BLADES -
Move attachment clutch lever to "DISENGAGED" po-
sition.
GROUND DRIVE -
Depress clutch/brake pedal into full "BRAKE" position.
Move gearshift lever to "NEUTRAL" position.
ENGINE -
TO USE THROTTLE CONTROL (See Fig. 9)
Always operate engine at full throttle.
•Operating engine at less than full throttle reduces the
battery charging rate.
• Full throttle offers the best bagging and mower per-
formance.
TO MOVE FORWARD AND BACKWARD (See
Fig. 9)
The direction and speed of movement is controlled by the
gearshift lever.
• Start tractor with clutch!brake pedal depressed and
gearshift lever in "NEUTRAL" position.
Move gearshift lever to desired position.
• Slowly release clutch/brake pedal to start movement.
iMPORTANT: BRING TRACTOR TO A COMPLETE STOP
BEFORE SHIFTING OR CHANGING GEARS. FAILURE
TO DO SO WILL SHORTEN I'HE USEFUL LIFE OF YOUR
TRANSAXLE.
TO ADJUST MOWER CUTTING HEIGHT (See
Fig, 8)
The position of the attachment lift lever determines the
cutting height.
• Grasp lift lever.
Press plunger with thumb and move lever to desired
position.
Thecutting height rangeis approximately 1-1/2to 4". The
heights are measured from the ground to the blade tip with
the engine not running. These heights are approximate
and may vary depending upon soil conditions, height of
grass and tyDes of grass being mowed.
, .. Move throttle control to "SLOW" position. ...... The average lawn should be cut approximately 2-1/2 ......
NOTE: Failure to move throttle control to "SLOW" position
and allowing engine to idle before stopping may cause
engine to "backfire".
Turn ignition key to "OFF" position and remove key.
Always remove key when leaving vehicle to prevent
unauthorized use.
; Never use choke to stop engine.
inches during the cool season and over 3 inches during
hot months. For healthier and better looking lawns,
mow often and after moderate growth.
For best cutting performance, grass over 6 inches in
height should be mowed twice. Make the first cut
relatively high; the second to desired height.
12

OPERATION
TO OPERATE MOWER (See Fig. 10)
Your unit is equipped with an operator presence sensing
switch. Any attempt by the operator to leave the seat with
the engine running and the attachment clutch engaged will
shut off the engine.
+ Select desired height of cut.
- Engage mower by slowly moving attachment clutch
lever to "ENGAGED" position.
+ TO STOP MOWER - Move attachment clutch lever to
"DISENGAGED" position.
• To restart movement, slowly release parking brake and
clutch/brake pedal.
• Make all tums slowly.
TO TRANSPORT
• Raise attachment lift control to highest position.
+When pushing or towing your unit, be sure gearshift
lever is in "NEUTRAL" position.
,Do not push or tow unit at more than five (5) MPH.
CAUTION: Do not operate the mower
without either the entire grass catcher,
on mowers so equipped, mulcher plate,
or the discharge guard in place.
ATrACHMENTCLUTCHLEVER
"DISENGAGED"POSITION"ENGAGED"
POSITION
A'I3"ACHMENT
LIFT LEVER
HIGH POSITION
LOW
POSITION
FIG. 10
TO OPERATE ON HILLS
CAUTION: Do not drive up or down
hills with slopes greater than 15° and
do not drive across any slope.
BEFORE STARTING THE ENGINE
CHECK ENGINE OIL LEVEL (See Fig. 16)
• The engine in your unit has been shipped, from the
factory, already filled with summer weight oil.
•Check engine oil with unit on level ground.
+ Remove oi! fill dipstick and wipe clean, replace and
screw cap tight, wait for a few seconds, remove and
read oil level. If necessary, add oil until "FULL" mark
on dipstick is reached. Do not overfill.
• For cold weather operation you should change oil for
easier starting (see "OIL VISCOSITY CHART" in the
Customer Responsibilities section of this manual).
•To change engine oil, see the Customer Responsibili-
ties sectMonin this manual.
ADD GASOLINE
+Fill fuel tank. Use fresh, clean, regular unleaded
gasoline. (Use of leaded gasolinewill increase carbon
and lead oxide deposits and reduce valve life).
IMPORTANT: WHEN OPERATING IN TEMPERATURES
BELOW 32° F(0°C), USE FRESH, CLEAN WINTER GRADE
GASOLINE TO HELP INSURE GOOD COLD WEATHER
STARTING.
WARNING: Experience indicates that alcohol blended
fuels (called gasohol or using ethanol or methanol) can
attract moisture which leads to separation and formation of
acids during storage. Acidic gas can damage the fuel
system of an engine while in storage. To avoid engine
problems, the fuel system should be emptied before stor-
age of 30 days or longer. Drain the gas tank, start the
engine and let it run until the fuel lines and carburetor are
empty_ Use fresh fuel next season. See Storage Instruc-
tions for additional information. Never use engine or
carburetor cleaner products in the fuel tank or permanent
damage may occur.
CAUTION: Fill to bottom of gas tank
•Choose the slowest speed before starting up or down filler neck. Do not overfill. Wipe off any
hills_ spilled oil or fuel. Do not store, spill or
+ Avoid stopping or changing speed on hills, use gasoline near an open flame.
, If slowing is necessary, move throttle control lever to .....................
slower position.
° if stopping is absolutely necessary, push clutch/brake
pedal quickly to brake position and engage parking
brake.
• Move gearshift lever to 1st gear and be sure you have
allowed room for tractor to roll slightly as you restart
movement.
!3 ¸

OPERATION
TO START ENGINE (See Fig. 9)
When starting engine for the first time or if engine has
run out of fuel, it will take extra cranking time to move
fuel from the tank to the engine.
• Depress the clutch/brake pedal and set the parking
brake.
- Place gearshift lever in "NEUTRAL" position:
• Move attachment clutch to "DISENGAGED" position.
- Move throttle control lever to "CHOKE" position for
cold engine start. For warm engine start, move
throttle control to "FAST" position.
• Tum ignition key clockwise to "START" position and
release key as soon as engine starts. Do not run
starter continuously for more than fifteen seconds
per minute. If engine does not start after several
attempts, move throttle control to "FAST" position,
wait a few minutes and try again.
-When engine starts, move throttle control to desired
position.
• Allow engine to warm up for a few minutes before
engaging drive or attachment clutch.
NOTE: If at a high altitude (above 3000 feet) or in cold
temperatures (below 32°F), the carburetor fuel mixture
may need to be adjusted for best engine performance.
See "TO ADJUST CARBURETOR" in the Service and
Adjustments section of this manual.
MOWING TIPS
Tire chains cannot be used when the mower ho(Js-
ing is attached to unit.
Mower should be properly leveled for best mowing
performance. See "TO LEVEL MOWER HOUSING"
m the Service and Adjustments section of this
manual.
• The left hand side of mower should be used for trim-
ming.
- Drive so that clippings are discharged onto the area
that has been cut. Have the cut area to the right of
the machine. This will result in a more even distri-
bution of clippings and more uniform cutting.
•When mowing large areas, start by turning to the
right so that clippings will discharge away from
shrubs, fences, driveways, etc. After one or two
rounds, mow in the opposite direction making left
hand turns until finished(See Fig. 11).
• If grass is extremely tall, it should be mowed twice
to reduce load and possible fire hazard from dried
clippings. Make first cut relatively high; the second
to the desired height.
Do not mow grass when it is wet. Wet grass will
plug mower and leave undesirable clumps. Allow
grass to dry before mowing.
Always operate engine at full throttle when mowing
to assure better mowing performance and proper
discharge of material. Regulate ground speed by
selecting a low enough gear to give the mower
cutting performance as well as the quality of cut
desired.
When operating attachments, select a ground speed
that will suit the terrain and give best performance of
the attachment being used.
MULCHING MOWING TIPS
IMPORTANT: FOR BEST PERFORMANCE, KEEP
MOWER HOUSING FREE OF BUILT-UP GRASS AND
TRASH. CLEAN AFTER EACH USE.
The special mulching blade will recut the grass clip-
pings many times and reduce them in size so that as
they fall onto the lawn they will disperse into the grass
and not be noticed. Also, the mulched grass will
biodegrade quickly to provide nutrients for the lawn.
Always mulch with your highest engine (blade) speed
as this will provide the best recurring action of the
blades.
Avoid Cutting your lawn when it is wet. Wet grass
tends to form clumps and interferes with the mulching
action. The best time to mow your lawn is the early
afternoon. At this time the grass has dried and the
newly cut area will not be exposed to the direct sun.
-For best results, adjust the mower cutting height so
that the mower cuts off only the top one-third of the
grass blades (See Fig. 12). For extremely heavy
mulching, reduce your width of cut and mow slowly.
MAX 1/3-
FIG. 12
• Certain types of grass and grass conditions may ....
....require that an-a.rea be muich_ a second time- to
completely hide the clippings. When doing a second
cut, mow across or perpendicular to the first cut path.
• Change you r cutting pattern from week to week: Mow
north to south one week then change to east to west
the next week, This will help prevent matting and
graining of the lawn.
FIG. 11 14

m
CUSTOMER RESPONSIBILITIES
, ,, ,
CheckBrake Operation V_If
Check Tire Pressure V_ if
TCheck for LooseFasteners v'
Sharpen/Replace Mower Blades _##'4
LubricationChart !_ #_ t/
TCheck Battery Level/Recharge if
0 Clean Batteryand Terminals I V_Vs
F:_ Check Transmission Cooling
Adjust Blade Belt(s) Tension _/'s
Adjust Motion Drive Belt(s) Tension _##s
Check Engine Oil Level _## if
Change EngineOil _ t_t_,3
Clean Air Filter t_#'_
E
NClean Air Screen _2 __
GInspect Muffler/Spark Arrestor
IReplace Oil Filter (If equipped) V_,2
rN Clean EngineCooling Fins _'2
Replace Spark Plug if
ReplaceAir FilterPaper Cartridge _2
Replace Fuel Filier _I
1 - Change more often when operating under aheavy load or In high ambient temperatures. 3 _ If equipped with oil filter, change otl every 50 hours.
2- Service more often when operating In dirty or dusty Conditions. 4- Replace blades more often when mowing in sandy soil.
5 - If equipped with adjustable system,
GENERAL RECOMMENDATIONS LUBRICATION CHART
The warranty on this tractor does not cover items that have
been subjected to operator abuse or neg[igence. To
receive full varue from the warranty, operator must maintain
tractor as instructed in this manual.
Some adjustments will need tO be made periodically to
properly maintain your tractor.
All adjustments in the Service and Adjustments section of
this manual should be checked at least once each season.
• Once a year you should replace the spark plug, clean
or replace air filter, and check blades and belts for
wear. A new spark plug and clean air filter assure
proper air-fuel mixture and help your engine run better
and last longer.
(_ - FRONT WH EEL (_)
BEARING ZERK BEARING ZERK
(_ ATTACHM EN'
CLUTCH
PIVOT(S)
BEFORE EACH USE
•Check engine oil level.
• Check brake operation ....
• Check tire pressure.
• Check for loose fasteners.
PIVOTS
15
(_) SAE 30 OR lOW30 MOTOR OiL API - SG
(_)GENERAL PURPOSE GREASE
(_REFER TO CUSTOMER RESPONSIBILITIES "ENGINE" SECTION
IMPORTANT: DO NOT OILER GREASE THE PIVOT POINTS
WHICH HAVE SPECIAL NYLON BEARINGS, VISCOUS LUBRI-
CANTS WILL ATTRACT DUST AND DIRTTHAT WILL SHORTEN
THE LIFE OF THE SELF-LUBRICATING BEARINGS. IF YOU
FEEL THEY MUST BE LUBRICATED, USE ONLY A DRY, POW-
DERED GRAPHITE TYPE LUBRICANT SPARINGLY.

CUSTOMER RESPONSIBILITIES
TRACTOR
Always observe safety rules when performing any mainte-
nance.
BRAKE OPERATION
If unit requires more than six (6) feet stopping distance at
high speed in highest gear, than brake must be adjusted.
(See "TO ADJUST BRAKE" in Service and Adjustments
section of this manual).
TIRES
•Maintain proper air pressure in all tires (See "PROD-
UCT SPECIFICATIONS" on page 3 of this manual).
•Keep tires free of gasoline, oil, or insectcontrol chemi-
cals which can harm rubber.
• Avoid stumps, stones, deep ruts, sharp objects and
other hazards that may cause tire damage.
BLADE CARE
For best results mower blades must be kept sharp. The
blades can be sharpened with a file or on a grindingwheel.
We suggest they be sharpened or replaced after every 25
hours of mowing. Check blades more often if mowing in
sandy conditions.
•Do not attempt to sharpen blades while they are onthe
mower.
Replace bent or damaged blades.
BLADE REMOVAL (See Fig. 13)
-Raise mower to highest position to allow access to
blades.
•Remove hex bolt, Iockwasherand flat washer securing
blade.
oInstall new or resharpened blade with trailing edge up
towards deck as shown.
• Reassemble hex bolt, lock washer and flat washer in
exact order as shown.
Tighten bolt securely (30-35 R. Lbs. torque).
IMPORTANT: BLADE BOLT IS GRADE 8 HEATTREATED.
F'ATWASHER
O,T O.ADEo "
*A GRADE 8 HEAT TREATED BOLT CAN BE
IDENTIFIED BY SIX LINES ON THE BOLT HEAD.
FIG. 13
TO SHARPEN BLADE (See Fig. 14)
Care should be taken to keep the blade balanced. An
unbalanced blade will cause excessive vibration and even-
tual damage to mower and engine.
."['hebladecan be sharpened with a file oron a grinding
wheel. Do notattempt to sharpen while onthe mower.
• To check blade barance, you will need a 5/8'_diameter
steel bolt, pin, or a cone balancer. (When usinga cone
balancer, follow the instructions supplied with bal-
ancer).
• Slide blade on to an unthreaded portion of the steel bolt
or pin and hold the bolt or pin parallel with the ground.
If blade is balanced, it should remain in a horizontal
position. If either end of the blade moves downward,
sharpen the heavy end until the blade is balanced.
NOTE: Do not use a nail for balancing blade. The lobes of
the center hole may appear to be centered, but are not.
CENTER HOLE
5/8"BOLT ..BLADE
ORPIN /
/
........................ FIG. 14
16

CUSTOMER RESPONSIBILITIES
BATI'ERY (See Fig. 15)
Your unit has a battery charging system which is sufficient
for normal use. However, pedodic charging of the battery
with an automotive charger will extend it's life.
,Acid solution level in each battery cell should be even
with bottoms of vent wells. Add only distilled or iron free
water if necessary. Do not overfill.
CUT AWAY VIEW /VENT CAP
I _ VENT
L------J I-----.J , , I" WELL
ELL,O,O
LEVEL
FIG. 15
-Keep battery and terminals clean.
• Keep battery bolts tight.
•Keep vent caps tight and small vent holes in caps open.
• Recharge at 6 amperes for ! hour.
TO CLEAN BATTERY AND TERMINALS -
Corrosion and dirt on the battery and terminals can cause
the battery to "leak" power.
• Remove terminal guard.
•Disconnect BLACK battery cable first then RED bat-
tery cable and remove battery from tractor.
• Wash battery with solution of four tablespoons of
baking soda to one gallon of water. Be careful not to get
the soda solution into the cells.
• Rinse the battery with plain water and dry.
Clean terminals and battery cable ends with wire brush
until bright:
•Coat terminals with grease or petroleum jel[y.
• Reinstali battery (See "INSTALL BATTERY" in the
Assembly section of this manual).
V-BELTS
Check V-belts for deterioration and wear after 1O0 hours
and replace if necessary. The belts are not adjustable.
Replace belts if they begin to slip from wear.
TRANSAXLE COOLING
Keep transaxle free from build-up of dirt and chaff which
can restrict cooling.
ENGINE
LUBRICATION
Only use high quality detergent oil rated with API service
classification SG. Select the oil s SAE viscosity grade
according to your expected operating temperature.
RECOMMENDED SAE VISCOSITY GRADES
oF .20° 0o 32o60o 80° 100_
°C -29° -18 ° 0° 16° 27_ 38°
NOTE: Although multi-viscosity oils (5W30, 10W30 etc.)
improve starting in cold weather, these multi-viscosity oils
will result in increased oil consumption when used above
32°F. Check your engine oil level more frequently to avoid
possible engine damage from running low on oil.
Change the oil after the first two hours of operation and
every 25 hours thereafter or at least once a year if the
tractor is not used for 25 hours in one year.
Check the crankcase oil level before starting the engine
and after each eight (8) hours of continuous use. Tighten
oil fill cap/dipstick securely each time you check the oil
level.
TO CHANGE ENGINE OIL (See Fig. 16)
•Be sure vehicle is on level surface.
•Oil will drain more freely when warm.
• Catch oil in a suitable container.
Remove oil fill dipstick. Be careful not to allow dirt to
enter the engine when changing oil.
•Remove drain plug.
After oil has drained completely, replace oil drain plug
and tighten securely.
Refill engine with oil through oil fill dipstick tube. Pour
slowly. Do not overfill. For approximate capacity see
Product Specifications on page 3 of this manual.
• Use gauge on oil fill dipstick for checking level. Besure
dipstick cap is tightened securely for accurate reading.
Keep oil at "FULL" line on dipstick.
OIL FILL
CAP/DiPSTICK
OILDRAIN
PLUG
RG. 16
17

CUSTOMER RESPONSIBILITIES
AIR FILTER FOAM PRE-CLEANER (See Fig.
17)
Your engine will not run properly and may be damaged by
using a dirty air filter. Cleanthe foam pre-cleaner element
after every 25 hours of operation, more often if used in very
dusty, dirty conditions.
, Remove knob and cover.
• Remove cartridge nut and replace cartridge.
• Reassemble and tighten securely.
NOTE: Do not attempt to clean or oil the paper cartridge.
Replace paper cartridge once a year or after every 100
hours of operation, more often if used in very dusty, dirty
conditions.
• Wash foam pre-cleaner in liquid detergent and water.
• Wrap foam pre-cleaner in cloth and squeeze dry.
• Lightly coat foam pre-cleaner with clean engine oil.
Squeeze in towel to remove excess oi!. Do not satu-
rate.
• Install foam pre-cleaner over paper cartridge.
• Reassemble cover and secure with knobs.
COVER
KNOB
FIG. 17
AIR SCREEN (See Fig. 18)
The engine air screen must be kept free of dirt and chaff to
prevent engine damage from overheating. Clean with a
wire brush or compressed air to remove dirt and stubborn
dried gum fibers.
STARTER
HOUSING
OIL FILL LK
DIPSTICK PLUG
ENGINE COOLING RNS
FIG. 18
MUFFLER
_nspect and replace corroded muffler and spark arrester (if
equipped) as it could create a fire hazard and/or damage.
SPARK PLUGS
Replace spark plugs at the beginning of each mowing
season or after every 100 hours of use, whichever comes
first. Spark plug type and gap setting is shown in "PROD-
UCT SPECIFICATIONS" on page 3 of this manual.
IN-LINE FUEL FILTER (See Fig. 19)
Fuelfilter should be replaced once each season. Iffuel filter
becomes clogged, obstructing fuel flow to carburetor, re-
placement is required.
•With engine cool, remove filter and plug fuel line
sections.
,Place new fuel filter in position in fuel line.
•Be sure there are no fuel line leaks and clamps are
properly positioned.
Immediately wipe up any spilled gasoline.
FUEL
FILTER
ENGINE COOLING FINS (See Fig. 18)
Remove any dust, dirt or o11from engine cooling fins to
prevent engine damage from overheating.
•Remove oil fill dipstick and cover opening to prevent
entry of dirt.
FIG. 19
CLEANING
IMPORTANT: FOR BEST PERFORMANCE, KEEP
MOWER HOUSING FREE OF BUILD-UP, GRASS AND
TRASH. CLEAN UNDERSIDE OF MOWER HOUSING
AFTER EACH USE.
off engine: ......................
• Remove the screws securing the starter housing and
lift housing off engine.
• Use compressed air or stiff bristle brush to thoroughly
clean engine cooling fins.
• To reassemble, reverse above procedure.
Remove screws from blower housing arid !ift hous ng ". C!esn engine, battery, seat, finish, etc. of all foreign
matter.
• Keep finished surfaces and wheels free of ait gasoline,
oil, etc,
=Protect painted surfaces with automotive type wax.
We do not recommend using a garden hose to clean your
unit unless the electrical system, muffler, air filter and
carburetor are covered to keep water out. Water inengine
18 can result in a shortened engine life.

SERVICE AND ADJUSTMENTS
CAUTION: BEFORE PERFORMING ANY SERVICE OR ADJUSTMENTS:
iDepress clutch/brake pedal fully and set parking brake.
®
Place gearshift lever in "NEUTRAL" position.
Place attachment clutch in "DISENGAGED" position.
Turn ignition key "OFF" and remove key.
Make sure the blades and all moving parts have completely stopped.
Discon nect spark plug wire from spark plug and place wire where it cannot come in contact with
plug.
TRACTOR
TO REMOVE MOWER (See Fig. 20)
Mower will be easier to remove from the right side of unit.
• Place attachment clutch in "DISENGAGED" position.
• Move attachment lift lever forwardto lower mower to its
lowest position.
• Roll belt off engine pulley.
• Disconnect clutch rod from clutch lever by removing
retainer spring.
• Disconnect suspension arms from rear deck brackets
by removing retainer springs.
• Disconnect front links from deck by removing retainer
springs.
• Raise lift lever to raise suspension arms. Slide mower
out from under tractor.
IMPORTANT: IF AN ATTACHMENT OTHER THAN THE
MOWER IS TO BE MOUNTED TO THE TRACTOR, BOTH
SUSPENSION ARMS MUST BE REMOVED FROM
TRACTOR.
TO INSTALL MOWER (See Fig. 20)
• Raise attachment lift lever to its highest position.
•Slide mower under tractor withdischarge guardto right
side of tractor.
•Lower lift lever to its lowest position.
•Install mower in reverse order of removal instructions.
NO'rE: The mower clutch rod has a trunnionthat has been
preset, at the factory, for optimum mower performance. DO
NOTMOVETHETRUNNIONONTHECLUTCH ROD. Iffor
any reason the trunnion has been moved on the clutch rod,
it must be reset to correct position (parallel with clutch rod)
and measure 10-11/32" (Check dimension on edge of flat
work surface as shown).
Be sure to tighten trunnion nut securely against trunnion
after making any adjustments.
SEE NOTE ABOVE
W/i, I
CLUTCH
ROD
CORRECT TRUNNION
POSI_IIOfl
CLUTCH LEVER
RETAINER
SPRING
SUSPENSION
ARMS
RETAINER
SPRINGS
(bothsid_)
FIG. 20
19

SERVICE AND ADJUSTMENTS
TO LEVEL MOWER HOUSING
Adjust the mower while tractor is parked on level ground or
driveway. Make sure tires are properly inflated (See
"PRODUCT SPECIFICATIONS" on page 3). If tires are
over or under inflated, you will not properly adiust your
mower.
You will need two (2) standard 2 x 4 short pieces of wood
to make the following adjustment. Simi!ar blocks measur-
ing 1-1/2" thick may also be used.
SIDE-TO-SIDE ADJUSTMENT (See Figs.21 and 22) -
• Raise mower with attachment lift control to allow two
(2) 1-1/2" thick blocks to be placed under rear edge of
mower directly behind mandrels.
•Lower mower deck to its lowest height of cut position
(See 'q-O ADJUST MOWER CUTTING HEIGHT" in
Operation section of this manual).
oOn both sides of tractor, loosen, but do not remove, the
fasteners securing the adjustable pivot brackets to
frame. Both brackets must be loose enough to move
freely.
• Pull down firmly on suspension arm to remove any
slack in pivot bracket and hold while tightening rear
fastener first to secure. Tighten remaining fastener.
• Repeat procedure on other side of tractor.
• Raise mower with attachment lift control and remove
blocks from under mower.
PLACE TWO (2) 1-1/2" THICK BLOCKS UNDER REAR EDGE OF
DECK (Use wood 2 × 4's or equiv.)
MOWER MUST BE IN LOWEST HEIGHT OF CUT POSITION
FIG. 21
ADJUSTABLE PIVOT
BRACKET
SUSPENSION ARM
FASTENERS
PULL DOWN AND
TIGHTEN REAR
FASTENER FIRST
FRONT-TO-BACK ADJUSTMENT (See Figs. 23 and 24) -
IMPORTANT: DECK MUST BE LEVEL SIDE-TO-SIDE. IF
THE FOLLOWENG FRONT-TO-BACK ADJUSTMENT IS
NECESSARY, BESURE TO ADJUST BOTH FRONT LINKS
EQUALLY SO MOWER WILL STAY LEVEL SIDE-TO-
SIDE.
To obtain the best cutting results, the mower housing
should be ad usted so that the front is approximately 1/4" to
3/4" lower than the rear when the mower s n its highest
position.
Check adjustment on right side of tractor. Measure dis-
tance "D" directly infront and behind the mandrel at bottom
edge of mower housing as shown.
• Before making any necessary adjustments, check that
both front links are equal in length. Both links should
be approximately 10-3/8".
• If links are not equal in length, adjust one link to same
length as other link.
• To lower front of mower loosen nut "E" on both front
links an equal number of turns.
• When distance "D" is 1/4" to 3/4" lower at front than
rear, tighten nuts "F" against trunnion on both front
links.
To raise front of mower, loosen nut"F" from trunnion on
both front links. Tighten nut "E" on both front links an
equal number of turns.
When distance "D" is 1/4" to 3/4" lower at front than
rear, tighten nut "F" against trunnion on both front links.
Recheck side-to-side adjustment.
_x _%_ \ Io oo, MANDREL
\\ t" oo:>:
FIG. 23
BOTH FRONT LINKS MUST BE EQUAL IN LENGTH
:i:...........
'E"
NUT"F
FRONT LINKS TRUNNION
FIG. 24
FIG. 22 20

HH''r_I 'll"" '"H _ Ul m
SERVICE AND ADJUSTMENTS
TO REPLACE MOWER BLADE DRIVE BELT
(See Fig. 25)
The mower blade drive belt may be replaced without
tools. Park the tractor on level surface. Engage parking
brake. For assistance, there is a belt installation guide
decal on the mower housing.
BELT REMOVAL -
• Place attachment clutch in "DISENGAGED" position.
• Move attachment lift lever forward to lower mower to
its lowest position.
• Roll belt off engine pulley.
• Work belt off both mandrel pulleys and idler pulleys.
• Pull belt away from mower.
BELT INSTALLATION -
• Install new belt in reverse order of removal.
• Make sure belt is in all pulley grooves and inside all
belt guides.
WITH PARKING BRAKE "ENGAGED"
N_T "A"
NUT
'_ PERATING
ARM
FIG. 26
MANDREL IDLER
PULLEY PULLEYS
ENGINE PULLEY
MANDREL
PULLEY
FIG. 25
TO ADJUST BRAKE (See Fig. 26)
Your unit is equipped with an adjustable brake system
which is mounted on the right side of the transaxle.
If unit requires more than six (6) feet stopping distance at
high speed in highest gear, then brake must be adjusted.
•Depress clutch/brake pedal and engage parking brake.
• Measure distance between brake operating arm and
nut "A" on brake rod.
• If distance is other than 1-1/2", disengage parking
brake, loosen jam nut and turn nut "A" until distance
becomes 1-1/2". Retighten jam nut against nut-"A"_
• Engage parking brake and recheck distance.
• Road test unit for proper stopping distance as stated
above. Readjust if necessary. If stopping distance is
still greater than six (6) feet in highest gear, further
maintenance is necessary. Contact your nearest au-
thorized service center.
TO REPLACE MOTION DRIVE BELT (See
Fig. 27)
Park the tractor on level area. Engage parking brake.
For assistance, there is a belt installation guide decal on
bottom side of left footrest.
•Remove mower (See "TO REMOVE MOWER" inthis
section of this manual).
• Remove belt from stationary idler and clutching idler.
•Remove belt from engine pulley.
,, Roll belt over top of transaxle pulley.
•Install new belt by reversing above procedure.
IMPORTANT: REPLACE ONLY WITH BELT LISTED
IN THIS MANUAL.
FRAME
TRANSAXLE
PULLEY
CLUTCHIN(
STATIONARY
IDLER ENGINE
PULLEY
FIG. 27
21

SERVICE AND ADJUSTMENTS
TO ADJUST STEERING WHEEL ALIGNMENT
If steering wheel crossbars are not horizontal (left to right)
when wheels are positioned st raight forward, removesteer-
ing wheel and reassemble per instructions in the Assembly
section of this manual.
FRONT WHEEL TOE'IN/CAMBER
The front wheel toe-in and camber are not adjustable on
your tractor. If damage has occurred to affect the front
wheel toe-in or camber, contact your nearest authorized
service center.
TO REMOVE WHEEL FOR REPAIRS (See
Fig. 28)
*Block up axle securely.
, Remove axle cover, retaining ring and washers to allow
wheel removal (rear wheel contains a square key - Do
not lose).
o Repair tire and reassemble.
* On rear wheels only: align grooves in rear wheel hub
and axle. Insert squarekey.
- Replace washers and snap retaining ring securely in
axle groove:
= Replace axle cover.
WASHERS
RETAINING
RING
Q
AXLECOVER
I
_. SQUAREKEY
(REAR WHEEL ONLY)
FIG. 28
TO START ENGINE WITH A WEAK BATTERY
(See Fig, 29)
CAUTION: Lead-acid batteries gener-
ate explosive gases. Keep sparks, flame
and smoking materials away from bat-
teries. Always wear eye protection
when around batteries.
If your battery is too weak to start the engine, it should be
recharged. If "jumper cables" are used for emergency
starting, follow this procedure:
IMPORTANT: YOUR UNIT IS EQUIPPED WiTH A 12
VOLT NEGATIVE GROUNDED SYSTEM. THE OTHER
VEHICLE MUST ALSO BE A 12 VOLT NEGATIVE
GROUNDED SYSTEM. DO NOT USE YOUR TRACTOR
BATTERY TO START OTHER VEHICLES.
TO ATTACH JUMPER CABLES -
• Connect each end of the RED cable to the POSITIVE
(+) terminal of each battery, taking care not to short
against chassis.
• Connect one end of the BLACK cable to the NEGA-
TIVE (-) terminal of fully charged battery.
• Connect the other end of the BLACK cable to a good
CHASSIS G ROUND, away from fuel tank and battery.
TO REMOVE CABLES, REVERSE ORDER -
• BLACK cable first from chassis and fully charged
battery.
• RED cable last from both batteries.
POSITIVE TERMINAL
................ .................... POSITIVE TERMINAL "
NEGATIVE TERMINAL
CABLES
CHARGED
BA'FrERY
!
NEGATIVE TERMINAL
FIG. 29
22

Fir
SERVICE AND ADJUSTMENTS
TO REPLACE FUSE (See Fig. 30)
Replace with 30 amp automotive-type plug-in fuse. The
fuse holder is located in the engine compartment, directly
in front of the dash.
FUSE
HOLDER
FIG. 30
TO REPLACE HEADLIGHT BULB
•Raise hood.
• Pull bulb holder out of the hole in the backside of the
grill.
• Replace bulb in holder and push bulb holder securely
back into the hole in the backside of the grill.
•Close hood.
INTERLOCKS AND RELAYS
Loose or damaged wiring may cause your tractor to run
poorly, stop running or prevent it from starting.
°Check wiring. See electrical wiring diagram in Repair
Parts section of this manual.
TO REMOVE HOOD AND GRILL (See Fig. 31)
i _ CAUTION: Muffler is hot. Be careful !
when removing retainer spdngs from
hood pivot brackets.
°Raise hood.
• Unsnap headlight wire connector.
• Remove retainer springs from hood pivot brackets.
° Stand in front of tractor. Grasp hood at sides, tilt
forward and lift off of tractor.
•To reinstall, slide hood pivot brackets into slots in
frame. Replace retainer springs.
o Reconnect headlight wire connector and close hood.
HOOD
HEADLIGHT
WIRE
CONNECTOR
REMOVE
RETAINER
SPRINGS
FIG. 31
23

SERVICE AND ADJUSTMENTS
ENGINE
TO ADJUST THRO'I-rLE CONTROL CABLE
(See Fig. 32)
The throttle control has been preset at the factory and
adjustment should not be necessary. Checkadjustment as
described below before loosening cable. If adjustment is
necessary, proceed as follows:
,, With engine not running, move throttle control lever
from "SLOW" to "CHOKE" posit_on. Slowly move lever
from "CHOKE" to "FAST" position.
,, Checkthat holes "A" in governorcontro! leverand hole
in governor plate line-up. If holes "A" are not aligned,
Ioosenclamp screw and movethrottle cable until holes
are aligned. Tighten clamp screw securely.
GOVERNOR
CONTROLLEVER GOVERNOR
CONTROLPLATE
HOLES"A" CLAMP
SCREW THROTTLE
CABLE
FINAL SE-I-rING -
" Start engine and allow to warm for five minutes. Make
final adjustments with engine running and shift/motion
control lever in "NEUTRAL" position.
,, Move throttle control lever to "SLOW" position. With
finger, rotate and hold throttle lever against idle speed
screw. Turn idle speed screw to attain 1750 RPM.
• While still holding throttle lever against idle speed
screw, turn idle rnixture valve in (clockwise) until en-
gine beginsto die and then turn out (cou nterclockwise)
until engine runs rough. Turn valve to a point midway
between those two positions. Release throttle lever.
ACCELERATION TEST -
• Move throttle control lever from "SLOW" to "FAST"
position. If engine hesitates or dies, turn idle mixture
valveout (counterclockwise) 1/8turn. Repeattest and
continue to adjust, if necessary, until engine acceler-
ates smoothly.
High speed stop is factory adjusted. Do not adjust -
damage may result.
IMPORTANT: NEVER TAMPER WITH THE ENGINE
GOVERNOR, WHICH IS FACTORY SET FOR PROPER
ENGINE SPEED. OVERSPEEDINGTHE ENGINE ABOVE
THE FACTORY HIGH SPEED SETTING CAN BE
DANGEROUS. IF YOU THINK THE ENGINE-GOVERNED
HIGH SPEED NEEDS ADJUSTING, CONTACT YOUR
NEAREST AUTHORIZED SERVICE CENTER, WHICH HAS
PROPER EQUIPMENT AND EXPERTENCE TO MAKE ANY
NECESSARY ADJ USTM ENTS.
FIG. 32
TO ADJUST CARBURETOR (See Fig. 33)
The carburetor has been preset at the factory and adjust-
ment should not be necessary. However, minor adjust-
ment may be required to compensate for differences infuel,
temperature, altitude or load. If the carburetor does need
adjustment, proceed as follows:
In general, turning idle mixture valve in (clockwise) de-
creases the supply of fuel to the engine giving a leaner fueV
air mixture. Turning the idle mixture valve out (counter-
clockwise) increases the supply of fuel to the engine giving
aricher fuel/air mixture.
IMPORTANT: DAMAGE TO THE NEEDLE VALVE AND
THE SEAT IN CARBURETOR MAY RESULT IF SCREW IS
TURNED IN TOO TIGHT.
PRELIMINARY SETTING -
THROTTLE IDLE SPEED
LEVER SCREW
J
J
- Air cleaner assembly must be assembled to the carbu-
retor when making carburetor adjustments ........... IDLEMIXTURE .....
" Be sure the throttle control cable is adjusted properly VALVE
(see above). FIG. 33
- With engine off turn idle mixture valve in (clockwise)
closing it finger tight and then turn out (counterclock-
wise ) 1 full turn.
24

STORAGE
Immediately prepare your tractor for storage at the end of
the season or ifthe unit will not be used for 30 days or more.
__fore sCAU'FION: Never store the tractor with
gasoline in the tank inside abuilding
where fumes may reach an open flame
or spark. Allow the engine to cool
toring in any enclosure.
TRACTOR
Remove mower from tractor for winter storage. When
mower is to be stored for aperiod of time, clean it thor-
oughly, remove all dirt, grease, leaves, etc. Store in a
clean, dry area.
Clean entire tractor (See"CLEANING" inthe Customer
Responsibilities section of this manual).
oInspect and replace belts, if necessary (See belt re-
place ment instructionsinthe Service and Adjustments
section of this manual).
Lubricate as shown in the Customer Responsibilities
section of this manual.
Be sure that all nuts, bolts and screws are securely
fastened. Inspect moving partsfordamage, breakage
and wear. Replace if necessary.
• Touch up all rusted or chipped paint surfaces; sand
lightly before painting.
BA'n'ERY
•Fully charge the battery for storage.
=After aperiod of time in storage, battery may require
recharging.
To help prevent corrosion and power leakage during
long periods of storage, battery cables should be
disconnected and batterycleaned thoroughly (see"TO
CLEAN BATTERY AND TERMINALS" in the Cus-
tomer Responsibilities section of this manual).
.After cleaning, leave cables disconnected and place
cables where they cannot come in contact with battery
terminals.
• Be sure battery drain tube is securely attached.
ENGINE
FUEL SYSTEM
IMPORTANT: IT IS IMPORTANT TO PREVENT GUM
DEPOSITS FROM FORMING IN ESSENTIAL FUEL
SYSTEM PARTS SUCH AS CARBURETOR, FUEL FILTER,
FUEL HOSE, OR TANK DURING STORAGE. ALSO;
EXPERIENCE INDICATES THAT ALCOHOL BLENDED
FUELS (CALLED GASOHOL OR USING ETHANOL OR
METHANOL) CAN ATTRACT MOISTURE WHICH LEADS
TO SEPARATION AND FORMATION OF ACIDS DLIRING
STORAGE. ACIDIC GAS CAN DAMAGE THE FUEL
SYSTEM OF AN ENGINE WHILE IN STORAGE.
-Drain the fuel tank.
, Start the engine and let it run until the fuel lines and
carburetor are empty.
•Never use engine or carburetor cleaner products in the
fuel tank or permanent damage may occur.
•Use fresh fuel next season.
NOTE: Fuel stabilizer is an acceptable alternative 'in
minimizing the formation of fuel gum deposits during stor-
age. Add stabilizer to gasoline in fuel tank or storage
container. Always follow the mix ratio found on stabilizer
container. Run engine at least 10 minutes after adding
stabilizer to allow the stabilizer to reach the carburetor. Do
not drain the gas tank and carburetor if using fuel stabilizer.
ENGINE OIL
Drain oil (withengine warm)and replace with clean engine
oil. (See "ENGINE" in the Customer Responsibilities
section of this manual).
CYLINDERS
• Remove spark plug(s).
•Pour one ounce of oil through spark plug hole(s) into
cylinder(s).
• Turn ignitionkey to"START" position for a few seconds
to distribute oil.
• Replace with new spark plug(s).
OTHER
Do not store gasoline from one season to another.
• Replace your gasoline can if your can starts to rust.
Rust and/or dirt in your gasoline will cause problems.
• If possible, store your unit indoors and cover it to give
protection from dust and dirt.
° Cover your unit with a suitable protective cover that
does not retain moisture. Do not use plastic. Plastic
cannot breathe which allows condensation to form and
will cause your unit to rust.
IMPORTANT: NEVER COVER TRACTOR WHILE ENGINE
AND EXHAUST AREAS ARE STILL WARM.
25

PROBLEM
Will not start
Hard to start
Engine will not turn over
Engine clicks but will not
start
Loss of power
Excessive vibration
TROUBLESHOOTING
CAUSE CORRECTION
1. Out of fuel.
2. Engine not "CHOKED" properly.
3. Engine flooded.
4. Bad spark plug.
5. Dirty air filter.
6. Dirty fuel filter.
7. Water in fuel.
8. Loose or damaged widng.
9. Carburetor out of adjustment.
10. Engine valves out ef adjustment.
NTS
1. Dirtyairtiiter.
2. Bad spark plug.
3. Weakordead battery.
4. Dirty fuel filter.
5. Stale or dirty fuel.
6. Loose er damaged wiring.
7. Carburetor out of adjustment.
8. Engine valves out of adjustment.
1. Clutch/brake pedal not depressed.
2. Attachment clutch is engaged.
3. Weak or dead battery.
4. Blown fuse.
5. Corroded battery terminals.
6. Loose or damaged wiring.
7. Faulty ignition switch.
8. Faulty solenoid or starter.
9. Faulty operator presence switch(ee).
1. Fill fuel tank.
2. See "TO START ENGINE" in Operation section.
3. Wait several minutes before attempting to start.
4. Replace spark plug.
5. Clean/replace air filter.
6. Replace fuel filter.
7. Drain fuel tank and carburetor, refill tank with fresh
gasoline and replace fuel filter.
8. Check all wiring.
9. Contact an authorized serVice facility.
10. Contact an authorized serVice facility.
ii
1. Clean/replace air filter.
2. Replace spark plug.
3. Recharge or replace battery.
4. Replace fuel filter.
5. Drain fue! tank and refill with fresh gasoline.
6. Check all wiring.
7. Contact an authorized serVice facility.
8. Contact an authorized serVice facility.
1. Weakordead battery.
2. Corroded battery terminals.
3. Loose or damaged wiring.
4. Faulty solenoid or starter.
1. Depress clutch/brake pedal.
2. Disengage attachment clutch.
3. Recharge or replace battery.
4. Replace fuse.
5. Clean battery terminals.
6. Check all wiring.
7. Check]replace ignition switch.
8. Check]replace solenoid orstarter.
9,
1. Recharge or replace battery.
2. Clean battery terminals.
3. Check all wiring.
4. Check]replace solenoid or starter.
Contact an authorized service facility.
1. Cutting too much grass/too fast.
2. Throttle in "CHOKE" position.
3. Build-up of grass, leaves and trash under mower.
1. Set in "Higher Cut" position/reduce speed.
2. Adjust throttle control:
3. Clean underside of mower housing.
4. Dirty air filter,
5. Low oil leve!/dirty oil.
6. Faulty spark plug.
7. Dirty fuel filter.
8. Stale or dirty fuel.
9. Water in fuel
10. Spark plug wire loose.
11. Dirty engine air screen/tins.
12. Dirty/clogged muffler.
13. Loose or damaged wiring.
14. Carburetor out of adjustment.
15. Engine valves out of adjustment.
!. Worn, bent or loose blade.
2. Bent blade mandrel.
3: Loose/dam age d part(_',
4. Clean/replace air filter.
5. Check oil level/change oil.
6. Clean and regap or change spark plug.
7. Replace fuel filter.
8. Drain fuel tankand refill with fresh gasoline.
9. Drain fuel tank and carburetor, mfifi tank with fresh
gasoline and replace fuel filter.
10. Connect and tighten spark plug wire.
tl. Clean engine air screen/fins.
12. Cleanlreplace muffler.
13. Checkall wiring.
14. Contact an authorized service facility.
15. Contact an authorized service facility.
1. Replace blade. Tighten blade bolt.
2t Rep!aceblade mandre. ....
3. Tighten loose part(s). Replace damaged parts.
26

. TROUBLESHOOTING POINTS
=,_ lr ==,_ n= w
PROBLEM
Engine continues torun
when operstorleavesseat
with at_chment_utch
engaged
Poor cut -uneven
Mower blades will not
rotate
Poor grass discharge
Headlight(s) not working
(if so equipped)
!
Battery will not charge
Engine "backfires"
when turning engine
"OFF"
CAUSE
1. Faulty operator-safety presence control system.
1. Worn, bent or loess blade.
2. Mower deck not level.
3. Buildup of grass, leaves, and trash under mower.
4. Bent blade mandrel.
5. Clogged mower deck vent holes from buildup of
grass, leaves, and trash around mandrels.
m
CORRECTION
1. Check widng, switches and connections. If not
corrected, contact an authorized service facility.
1. Replace blade. Tighten blade holt.
2. Level mowerdeck.
3. Clean underside of mower housing.
4. Replace blade mandrel.
5. Clean around mandrels to open vent boles.
1. Obstruction in clutch mechanism.
2. Wom/damaged mower drive belt.
3. Frozen idler pulley.
4. Frozen blade mandrel.
1. Engine speed too stow.
2. Travel speed too fast.
3. Wet grass.
4. Mower deck not level.
5. Low/uneven tire air pressure.
6. Worn, bent or loose blade.
1. Remove obstnJction.
2. Replace mower dr_ve belt.
3. Replace idler pulley.
4. Replace blade mandrel.
1. Place throttle cor_trol in "FAST" position.
2. Shift to slower speed.
3. A]Iow grass to dry before mowing.
4. Level mower deck.
5. Checktires for proper air pressure.
6. Reptacelsharpen blade. 3qghten blade bolt.
7. Buildup of grass, leaves and trash under mower.
8. Mower drive belt worn.
9. Blades improperly installed.
10. Improper blades used.
11. Clogged mower deck vent holes from buildup el
grass, leaves, and trash around mandrels.
1. Switch is "0 FF".
2. Bulb(e) burned out.
3. Faulty light switch.
4. Loose or damaged wiring.
5. Blown fuse.
1. Bad battery celi(s).
2. Poor cable connections.
3. Faulty regulator (if so equipped).
4. Faulty alternator.
Engine throttle control not set at "SLOW"
position for 30 seconds before stopping engine.
7. Clean underside of mower housing.
8. Replace mower drive belt.
9. Reinstall blades sharp edge down.
10. Replace with blades listed in this manual.
lt. Clean around mandrels to open vent holes.
1. Turn switch "ON".
2. Replace bulb(s).
3. Checldreplace light switch.
4. Check wiring and connections.
5. Replace fuse.
1. Replace battery.
2. CheokJc_ean all connections.
3. Replace regulator.
4. Replace alternator.
Move throttle control to 'SLOW' position and allow
to idle for 30 seconds before stopping engine.
27

• j,,
SERVICE NOTES
28

12.5 HP 42" RIDING LAWN TRACTOR ==MODEL NUMBER 917.255581
SCHEMATIC
_7
BLACK
÷Ill--
RED ollio
BATTERY
RED
WHITE
IGNITION SWITCH
FUSE 30 AMP.
| .....
II
RED !
I
I=I
I _ I
SOLENOID
BLACK
I I - 1
l 7-
L) I I II
I j III
If-., I .,-_. I
CLUTCH/BRAKE I
(PEDALUP) I(CLUTCH OFF)
BLACK
BLACK
(_ IGNITIONUNIT
STARTER
I I
II
I I BLACK
t_ I
SEAT
SWITCH
(NOT OCCUPIED)
SPARK
PLUG
RED
3AMPS DO
@ 3600 RPM
(BATTERY IN LINE)
ALTERNATOR
" 20 VOLTS AC (MIN.)
iGNITION SWITCH
POS|TION CIRCUIT
OFF M + G
ON B+L
START B + S
NOTE
YOUR TRACTOR IS EQUIPPED
WITH A SPECIAL ALTERNATOR
SYSTEM. THE LIGHTS ARE NOT
CONNECTED TO THE BA-I-FERY,
BUT HAVE THEIR OWN
ELECTRICAL SOURCE.
BECAUSE OF THIS, THE BRIGHT-
NESS OF THE LIGHTS WILL
CHANGE WITH ENGINE SPEED.
AT IDLE THE LIGHTS WILL DIM.
AS THE ENGINE IS SPEEDED UP,
THE LIGHTS WILL BECOME
THEIR BRIGHTEST.
ORA.GE CL
"_" 5AMPS ALTERNATOR
@ 11 VOLTS AC @ SSGORPM.
L
IF
b
D
P
WIRING INSULATED CLIPS
............ _ ........................... ,"-/"7
NOTE: If wiring ;nsulated clips were re-
NON-REMOVABLE _4_-- REMOVABLE moved for servicing of unit, they should
CONNECTIONS CONNECTIONS be replaced to properly secure your wiring.
29

REPAIR PARTS
12.5 HP 42" RIDING LAWN TRACTOR -- MODEL NUMBER 917.255581
ELECTRICAL
A B
12 13
C D EF32 33
0 35 37 \
t
L
28 II
II
I I
/II
Ill
It I
I\
I
3O

REPAIR PARTS
12.5 HP 42" RIDING LAWN TRACTOR ° - MODEL NUMBER 917.255581
ELECTRICAL
KEY PART KEY PART
NO. NO. DESCRIPTION NO, NO. DESCRIPTION
1121265X
2 STD365402
3124211X
4 132653
54207J
6 132202
7 4799J
8 129965
9 109596X
10 109081X
11 STD551125
12 73350400
13 74780408
14 STD551225
15 STD541425
16 131563
17 109553X
18 STD601005
19 !04445X
20 STD601005
Battery 12 Volt 25 Amp 21 121305X
Starter Swtc 22 121264X
Nut ignition 23 74760412
Harness Ign B&s Fender HI 24 STD551025
Cable Ground 6ga 12 black 25 STD551125
Cable Battery 6 Ga 43"red 26 STD541025
Cable Battery 6ga 11"red 27 109310X
Case Battery Hng Mech W/lid 2B 108824X
Clamp Hose Olive 29 109238X
Solenoid 30 123620X
Lockwasher 31 110712X
Nut Jam Hex 1/4-20 Unc 32 127441X
Bolt Fin Hex 1/4-20uncx1/2 Gr5 33 7662J
Washer 34 108236X
Nut 35 STD601005
Cover Termina! Red 36 130890
Switch Intlk Clutch Red 4 Term 37 STD601005
Screw
Switch lntlk Clutch Red 2 Term
Screw
Switch Plunger Nc Gray
Caps Battery 20/25/30 Amp
Bolt Hex Hd 1/4-20unc X 3/4
Washer
Washer
Nut
Key Ign Molded Craftsman
Fuse 30 Amp Auto Green
Tube Plastic 12"
Cover Sw Key BIk 1 25 Text Sit
Switch Light BIk BIk Red
Harness ,_JocketLight
Bulb Light #1141
Bracket Switch Clutch
Screw
Bracket Switch interlock
Screw
NOTE: All component dimensions given in U.S. inches
1 inch = 25.4 mm
31

REPAIR PARTS
12.5 HP 42" RIDING LAWN TRACTOR = - MODEL NUMBER 917,255581
CHASSIS AND ENCLOSURES
ABD E F GI K L
9
10
J
!
E
o_; ,! o 6
8
31
3O
21_ 18
22 "
21 11
29
17 37
33
28
13
G
32

REPAIR PARTS
12.5 HP 42" RIDING LAWN TRACTOR - - MODEL NUMBER 917.255581
CHASSIS AND ENCLOSURES
KEY PART KEY PART
NO. NO. DESCRIPTION NO, NO, DESCRIPTION
1 135034 Chassis Weldment 22 124479X
2130805 Drawbar 11 Ga 46 5"wheel Base 23 4921H
3 17490612 Screw Thdrol 3/8-16x3/4 Ty-tt 24 STD523707
6 126595X010 Saddle Silkscreened 25 19131312
7 17490608 Screw Thdrol 3/8-16xl/2 Ty-tt 26 STD541437
8 126471X Clip insulated 406 Mtg Hole 27 17490808
9 126604X010 Dash Silkscreened Sears Eng 28 126741X
10 5479J Plug Button BIk 359 Dia 29 124029X
11 135464 Panel Pnt Dash Lh 30 126599X459
12 121794X Cover Access Black Square 31 109873X
13 124031X012 Panel Slkscr Dash Rh Weldment 32 17490612
14 17490608 Screw Thdrol 3/8-18xl/2 Ty-tt 33 105465X459
15 74180512 Screw Mach Trhd 5/16-18uncx3/4 34 105464X459
16 STD541431 Nut 35 STD533707
17 131445X459 Hood Asm Pnt Weld Dover Slpe 36 STD541437
18 126938X Bumper Hood 37 105466X
19 STD512505 Screw 38 134775
20 STD551125 Washer 39 134774
21 122933X Rivet Ratchet Nylon
Washer Nylon BIk 28x 75x 19
Retainer Spring
Bolt
Washer 13/32 X 13/16 X 12 Ga
Nut
Screw Thdrol 3/8-16xl/2 Ty-tt
Grille Black
Lens Headlight Bar Clear
Fender Pnt
Bracket Pnt Fender
Screw Thdrol 3/8-16x3/4 Ty-tt
Footrest Pnt Lh
Footrest Pnt Rh (dover Gray)
Bolt
Nut
Pad Footrest Rbr Sq Craftsman
Bracket, Assembly, Pivot R.H.
Bracket, Assembly, Pivot L.H.
NOTE: All component dimensions given in U.S. inches
1 inch = 25.4 mm
33

REPAIR PARTS
12.5 HP 42" RIDING LAWN TRACTOR - - MODEL NUMBER 917.255581
DRIVE
89
77
23
37
22
27
36
45
___ _--. A B C D E F G HI J
.......... :. _;, i._*',_"._ _ 9_ _ s_
34

REPAIR PARTS
12.5 HP 42" RIDING LAWN TRACTOR '- MODEL NUMBER 917,255581
DRIVE
KEY PART ;, KEY PART
NO. NO. DESCRIPTION NO. NO. DESCRIPTION
1 120898X Transaxle 6 sp. Dana 4360-7 50 STD523715
2 110422X Spring Extension Brake 51 STD541437
3 123666X Pulley Transaxle 18"tires 52 STD551037
4 12000028 Ring Retainer # 5100-62 53 105710X
5 121520X Strap Torque Rh Pnt BIk 54 STD561210
6 17490512 Screw Thdrol 5/16-18 X 3/4 Tyt 55 105709X
8 127270 Lever Shift Weld Pnt 56 STD561210
10 76020416 Pin Cotter 57 130801
11 105701X Washer Shift Plate 58 127274X
12 19151216 Washer 15/32x3/4x16Ga. 59 104777X
13 71040412 Bolt Fin Hex 1/4-28unfx3/4 Gr8 60 19131312
14 STD551125 Washer 61 17490612
17 121250X Strap Pnt Torque Lh 62 8883R
18 S'i'D523707 Bolt 63 134825
19 STD541437 Nut 64 71170764
20 17490512 Screw Thdrol 3/8-16x3/4 Ty-tt 65 STD551143
21 106933X Knob Rd 1/2-13 Plstc Thds BIk 68 129921
22 130804 Rod, Brake 67 STD523710
23 STD541437 Locknut 68 19131312
24 STD541237 Nut 69 STD541437
25 106888X Spring Rod Brake 2 00 Zinc 70 134683
26 STD551037 Washer 71 STD523710
27 STD581210 Pin 72 19132012
28 128904 Rod Brake Parking Lt 73 STD541437
29 124236X Cap Parking Brake Red 74 109502X
30 130807 Bracket Mtg Transaxle 75 121749X
31 127275X Keeper Belt Lh Lt 14 Ga 76 STD581075
32 STD523107 Bolt 77 123583X
33 STD541431 Nut 78 121748X
34 122424X Shaft Asm Pedal Foot 1 930 80 131488
35 120183X Bearing Nylon BIk 629 Id 81 136932
36 STD551062 Washer 82 123782X
37 STD571810 Roll Pin 83 19171216
38 123674X Pulley Idler Flat 84 132182
39 STD523727 Bolt 85 73530400
40 4470J Spacer Split 395 X 59 Bzp 86 71208
41 109070X Keeper Belt Retainer 87 1'9212016
42 19131312 Washer 13/32 X 13/16 X 12 Ga 88 12000008
43 STD541437 Nut 89 131636
44 105706X Bearing, Nylon 90 t24346X
45 110812X Washer Hardened 91 STD523707
46 12000039 Ring Klip #t5304-50 100 17490612
47 127783 Pulley Idler V Groove Ptastic
48 123789X Bellcrank Asm
49 123205X Retainer Belt Style Spring
Bolt
Nut
Washer
Link Clutch 766
Pin
Spring Return Clutch 6 75
Fill
V-bett Ground Drive 95 25
Keeper Belt Rh Lt PntJzinc 16g
Retainer Belt Chassis Lh Zinc
Washer 13/32 X 13/16 X 12 Ga
Screw Thdrol 3/8-16x3/4 Ty-tt
Cover Pedal BIk Round
Pulley Engine
Bolt Fin Hex 7/1 6-20 x 4 Gr.5
Washer
Keeper Belt Engine Lh Lt
Bolt
Washer 13/32 X 13/16 X 12 Ga
Nut
Guide Belt Dr Mower Rh
Bolt
Washer 13/32 X 1-1/4 X 12 Ga
Nut
Spacer Split 80 X 94
Washer 25/32 X 1 1/4 X 16 Ga
E Ring
Key Square 2 0 X 1845/1865
Washer 25/32 X 1 5/8 X 16ga
Arm, Shift
Shaft Asm., Cross Stretch
Spring Torsion
Washer 17/32 x 3/4 x 16 Ga.
Rod Tie Shft. Adj. Ball
Nut, Nylock
Bushing Pivot
Washer
Ring, E
Console Shift 6sp W/ign Lt
Nut Self-thd Wsh-hd 1/4 Zinc
Bolt
Screw Thdrol 3/8 - 16 x 3/4
NOTE: All component dimensions given in U.S. inches
1 inch = 25.4 mm
35

/
3_

REPAIR PARTS
12.5 HP 42" RIDING LAWN TRACTOR - -MODEL NUMBER 917.255581
STEERING ASSEMBLY
KEY PART KEY PART
NO. NO. DESCRIPTION NO. NO. DESCRIPTION
1 133741
2 131450
3 135227
4 135228
5 6266H
6 121748X
7 19272016
8 12000029
9 3366R
10 130468
11 STD551137
12 73610600
13 110438X
14 74011056
15 73601000
16 !32624
17 132614
18 57079
19 124035X
20 126684X
21 S'1"D551125
22 71070410
23 127501
Wheel Steering 24 109816X
Axle Asm Front 25 124036X
Spindle Asm Lh 26 12000029
Spindle Asm Rh 27 124034X
Bearing Race Thrust Harden 28 6266H
Washer 25/32 X 1 5/8 X 16ga 29 17490612
Washer 27/32 X 1 1/4 X 16 Ga 30 STD551137
Ring Klip #t5304-75 31 73610600
Bearing Col Strg BIk 32 130465
Link DragSol Ball Jt 20 064 33 120754X
Lockwasher 34 19131416
Nut Fin Hex 3/8-24 Unf 35 STD561210
Spacer Bearing Axle Front 36 132196
Bolt Hex 5/8-11 Unc X 3-1/2 37 STD811005
Nut Hex Jam Lk W/wh 5/8-11 Unc 38 133742
Pin Axle 5/8 X1 55/1 54Lg 39 19133808
Shaft Asm Strg 5/8 X 15 19 Lt 40 STD541537
Washer Thrust 515x 750x 033 41 104820X
-Support Shaft 42 124417X
Washer Shim 1/4 X 5/8 X 062 43 121749X
Washer 44 121748X
Screw Hex Socket 1/4-20 X 5/8 45 12000029
Shaft Asm Pittman 46 121232X
Nyliner Snap In
Bracket Steering
Ring Klip #t5304-75
Gear Sector
BearingRace Thrust Harden
ScrewThdrol 3/8-16x3/4 Ty-tt
Lockwasher
Nut Fin Hex 3/8-24 Unf
Rod Tie Wire Form 19 75 Mech
Bushing Rod Tie BIk Lt
Washer 13/32 X 7/6 X 16ga
Pin
Bushing Strg 5/8 Id Dash
Screw
Insert Cap Strg Wh Au Gen BIk
Washer 13/32 X 2-3/8 X 8 Ga
Gripco NUt
Adaptor Wheel Strg 640/635id
Boot Shaft Steering
Washer 25/32 X 1 1/4 X 16 Ga
Washer 25/32 X 1 5/8 X 16ga
Ring Klip #t530_-_75
Cap Spindle Fr Top BIk
NOTE: A(I component dimensions given in U.S. inches
1 inch = 25.4 mm
/
37

REPAIR PARTS
12.5 HP 42" RIDING LAWN TRACTOR - - MODEL NUMBER 917.255581
SEAT ASSEMBLY
11
10
12
15 16
15
13
t. ...
"- Sa, .,,>/. I -.,
x f
/,!
{ =
A B C D E
_19 @6 _I'T
%
KEY PART KEY PART
NO, NO. DESCRIPTION NO. NO. DESCRIPTION
9
10
11
12
13
14
1127438X Seat V-450 BIIdred Craftsman 15 134300 Spacer Split 2B X 88 Zinc
2 126656X Bracket Pnt Pivot Seat (blk) 16 i21250X Spring Cprsn 1 27 BIk Pnt
3 STD523707 Bolt 17 123976X Nut Lock 1/4 Lge Fig Gr 5 Zinc
4 19131210 Washer13/32 X 3/4 X10 Ga 18 STD511005 Screw
5 2751R Clip Line Fuel 13/32 Mtg Hole 19 73951000 Nut Keps #10-32 Unf
6 STD541437 Nut 20 4171R Clip insulated 11/32 Mtg Hole
7124181X Spring Seat Cprsn 2 250 BIk Zi 21 105529X Bolt Shoulder 5/16-18 Unc Blkz
8 17490616- ScrewTIidroi 318-16 X i ryLtt ......... 22 STD541431 Nut
19131614 Washer 13/32 X 1 X 14 Ga 23 74780814 Bolt Fin Hex 1/2-13 X 7/8 Gr 5
131451
121251X
121246X
121248X
72050411
Pan Pnt Seat (blk)
Strip Foam Gray Or Black
Bracket Pnt Mounting Switch
Bushing Snap Blk Nyl 50 Id
Bolt Rdhd Sht Nk 1/4-20xl-3/8
24 19171912 Washer 17/32 X 1-3/16 X 12 Ga
25 127018X Bolt Shoulder 5/16-18 X 62
26 STD551150 Lockwasher
NOTE: All component dimensions given in U.S. inches
1 inch = 25.4 mm
38

REPAIR PARTS
12.5 HP 42" RIDING LAWN TRACTOR - - MODEL NUMBER 917.255581
DECALS
9 13 18 6 3 7 19 5 7 4 10
11 15 8
2
14
12 16 13
KEY PART KEY PART
NO. NO. DESCRIPTION NO. NO.
1 108456X Decal Instruction Operat Eng 12 109199X
2 127908 Decal Eng 12 5hp Ic Gold Craft 13 131473
3 128381 Decal Hood Rh Craftsman Lt4000 14 130981
4 128382 Decal Hood Lh Craftsman Lt4000 15 121343X
5132874 Decal Grille Lt4000 Craft Usa 16 3713J
6 133644 Decal Maint Cust Sears Domesti 17 133179
7 136332 Decal Panel Side I/c Gold Wht 18 132268
8 133178 Decal Mower 3 In One Conv 19 131265
9 128314 Decal Fender Craftsman White -- 135828
10 133796 Decal Caution English
11 4900J Decal Clutch/brake English
WHEELS & TIRES
i,g
11
DESCRIPTION
Decal V-belt Dr Sch Tractor E
Decal Chassis 6sp 42"
Decal V-belt Schematic 42"eng
Decal Danger English
Decal Rota Blades English
Decal Mower Qc System
Decal Insr Wh Strg Crafts Usa
Decal, Lightbox Grill
Manual Owners
NOTE: All component dimensions given in U.S. inches
1 inch = 25.4 mm
KEY PART
NO. NO. DESCRIPTION
1 59192 Cap Valve Tire
2 65139 Stem Valve
3 106222X Tire F Ts 15 X 6 0 - 6 Service
4 59904 Tube Front (Service Item Only)
5 106732X311 Rim Asm 6"front White Service
6 278H Fitting Grease (Front Whee! Only)
7 9040H .... Bearing Flange (Front Wheel Only)
8 106108X311 Rim Asm 8"rear White Service
9 106268X Tire R Ts 18x9 5-8 C Service
10 7152J Tube Rear (Service Item Only)
11 104757X Cap Axle BIk 1 50 X 1 00
NOTE: All component dimensions given in U.S. inches
1 inch = 25.4 mm
39

REPAIR PARTS
12.5 HP 42" RIDING LAWN TRACTOR -- MODEL NUMBER
ENGINE
917.255581
1
3O
36 F 32
37
29
/
OPTION AL EQU IPM ENT
Spark Arrester
B C D F_. F G H
2 9 6 17 35 24
@1o 20
19
21 18
4O

REPAIR PARTS
12.5 HP 42" RIDING LAWN TRACTOR .. - MODEL NUMBER 917.255581
ENGINE
KEY PART KEY PART
NO. NO. DESCRIPTION NO. NO. DESCRIPTION
! 132759 Control Throt Rh BIk Pd115 10 21 STD551025
217720410 Screw Hex Thd Cut 1/4-20x5/8 T 22 123650X
3 131953 Engine B&s 12 5 Icq Dual 1 Vt 23 128953X
4 125610X Muffler Exhaust B&s Lt Dom 24 STD601005
5101326L Deflector Muffler # 222573 25 124027X
6 17030808 Screw Spiderloc Hexhd#Sxl/2 Ab 26 17030808
7 STD551025 Washer 27 105037X
8 STD551125 Washer 29 121851X
9 STD522510 Bolt 30 127057X
10 STD541031 Nut 31 109202X
11 STD551131 Lockwasher 32 123549X
12 71070510 Screw Hexhd Cap 5/16-18x5/8 33 123487X
13 125593X Gasket 1 313 Id Tin Plated 34 124028X
14 13280324 Nipple Pipe 3/8 Npt X 3" 35 17490412
15 13200300 Elbow Std 90 Degree3/8-18 Npt 36 19091416
16 STD551237 Washer 37 101335K
17 17490620 • ScrewThdrol 3/8-16x1-1/4 Tytt 38 - - -
18 105736X Shield Pnt Heat
19 105839X Receptacle _/4 Turn Dacrotized
20 105838X Retainer 1/4 Turn 365odx 222id
Washer
Stud 1/4 Turn (replaces 105751
Shield Pnt Heat Browning Grass
Screw
Shield Pnt Heat Hood U
Screw Spiderloc Hexhd#Sxl/2 Ab
Strip Foam 16
Arrestor Spark
Pinch Weld Hood Black 2 00
Tank Fuel 1 25 Fr
Cap Asm Fuel W/sym Vented
Clamp Hose BIk
Bushing Snap Nyl BIk Fuel Line
Screw Hexwsh Thdrol 1/4-20x3/4
Washer 9/32 X 7/8 X 16ga
Line Fuel 9 50"
Plug Oil Drain (Order From Engine
Manufacturer)
NOTE: All component dimensions given in U.S, inches
1 inch = 25.4 mm
4i

REPAIR PARTS
12.5 HP 42" RIDING LAWN TRACTOR -- MODEL NUMBER 9!7.255581
42" MOWER DECK 83
45
13
19
__4 18
17 \"
I
82
12
85
87 90 89
8
9
42

REPAIR PARTS
12.5 HP 42" RIDING LAWN TRACTOR - - MODEL NUMBER 917.255581
42" MOWER DECK
KEY PART
KEY PART
NO. NO. DESCRIPTION NO, NO. DESCRIPTION
1
2
3
4
5
130970
130969
110485X
128774
133172
6 129895
7134149
8 129962
9 STD551137
10 850857
11 128961
12 130968
13 131491
14 131267
15 110452X
16 123713X
17 19111016 '
18 105304X
19 S'1"D541431
20 STD533106
21 STD624008
22 127218
23 73350800
24 130171
25 73800800
26 135388
27 135563
28 130832
29 134619
33 133844
34 78158
35 129963
36 129861
37 73050900
38 STD533717
39 133943
40 131494
41 122052X
42 19131612
43 133502
44 133503
45 S'i-D541437
46 72110618
47 133835
48
Housing Asm Mower 42" 49
V-belt Mower 42" 92 40 50
Bearing Ball Mandrel 51
Housing Mandrel Vented (machd) 52
Shaft Asm Mandrel 53
_nc_udes Key #6) 54
earing Ball #6204 (mandrel) 55
Blade 42"mower Mulching 56
Washer Hard Blade Mower Vented 57
Lockwasher 58
Bolt 3/8-24xl 25 Gr8 Patched 59
Stripper Mower Vented 60
Shield Deflector 42' Black 61
Rod Hinge 42"6 75 Wig 62
Bracket Deflector Mower 42" 63
Nut Push Phos & Oil 64
Spring Torsion Deflector 2 52 65
Washer 11/32 x 5/8x 16 Ga 66
Cap Sleeve 80x 112 BIk Mower 67
Nut 68
Bolt 69
Ret Spring 70
Link Front 71
Nut Jam Hex 1/2-13 Uric 72
Trunnion BIk Zinc 73
Nylon Washer Ins Nut 1/2-t3 Unc 74
Link Lift Rh 75
Pin Spring Sltd 5/16 x 750 76
Arm Suspension Rear 77
Link Lift Lh 78
Arm Asm Idler 42" 79
Bolt 5/16-18 x 1 25 T/t 80
Washer Spacer Mower Vented 81
Pulley Mandrel 42" 82
Nut 9!16top Lock Flng Oil Dip 83
Bolt 84
Washer Hardened 85
Pulley idler Flat 86
aaCerRetainer Pm Mower 87
sher 13/32 x I x 12 Ga 88
Spacer Arm Idler Upper Hdn 42" 89
Stiffener Arm Idler Upper 42" 90
Nut
Bolt Rdhd Sqnk 3/8-16 x 2-1/4
Fastner Christmas Tree
131340
133940
STD541410
1O5529X
131845
133944
131335
133551
STD560907
133504
134238
133550
STD541237
1332O5
STD624003
17720410
127498
13! 870
127847
128903
12000029
121748X
127845
106932X
133573
128759
STD581062
19211416
122507X
1O5767X
120183X
122514X
122512X
122364X
122365X
125631 X
134753
134079
71161010
10071000
1906! 216
2029J
130758
133171
130794
Bolt Shldr 10-24 Zinc Gr 5 4-"_
Roller Asm Cam Follower 42"dec
Nut
Bolt Shoulder 5/1 6-18 Unc Blkz
Arm Asm Brake Pad
Washer Hardened Smaller
Spring Extension
Rod Pivot W/nibs
Cotter Pin
Rod Clutch Secondary W/nibs
Guard Mandrel Lh 42"
Rod Clutch Primary W/nibs
Nut
Trunnion Adj 3/8-16 Unc x 1 30
Retainer
Screw Hex Thd Cut 1/4-20x5/8 T
Bushing_ 747 Od x 794 Lg Brass
Spring Return
Arm Clutch Secondary
Bolt Shoulder 3/8-16 Unc 1 44
Ring Klip #t5304-75
Washer 25/32 x 1 5/8 X 16ga
Keeper Spring 4 000
Knob Rd 3/8-16 Plstc Thds BIk
Arm Asm Clutch Primary
Spring Clutch Mower 2 750 Zinc
E Ring
Washer 21/32 x 7/8 x 16ga
Shaft Asm Pnt Lft W/wo/inf Hgt
Pin Groove 1 500 Zinc
Bearing Nylon BIk 629 ld
Rod Asm Lever 9 219 Bend Stake
Spring Cprsn 3 750 Oiled
Plunger Lever Lift
Button Plunger Red
Grip Handle Fluted BIk
Bracket Stiffener
Cover 42" mulcher
Screw
Washer Lock #10
Washer #10
Nut Weld
Latch Assembly
Deck Assembly Complete
Mandrel Asm (Includes Key #'s 5-
8,10-12 39 And 41)
NOTE: All component dimensions given in U.S. inches
1 inch = 25.4 mm
43

REPAIR PARTS
12.5 HP 42" RIDING LAWN TRACTOR ° - MODEL NUMBER 917.255581
FOOTF_JDANA "rRANSAXLE =MODEL NUMBER 4360=7
20 21
26
27
37
3O
36
54
31
32
33
19
41
35 19
44
45
55 46
56 47
57
59
56 55
48
49
_17
50 51 19
58 60
59
44

REPAIR PARTS
12.5 HP 42" RIDING LAWN TRACTOR - - MODEL NUMBER 917.255581
FOOTE/DANA TRANSAXLE - MODEL NUMBER4360-7
KEY PART KEY PART
NO. NO. DESCRIPTION NO. NO. DESCRIPTION
120458X
2274J
3 68003
4 105904X
5 105905X
6 120460X
7 120461X
8 120462X
120463X
120464X
120465X
120466X
83818
120467X
9 2286J
10 22.67J
11 3413J
2233J
2232J
2231J
2230J
2229J
2228J
2227J
2226J
105906X
12 6725J
13 120415X
14 2257J
15 110077X
16 110076X
17 105909X
18, 105910X
19 105911X
20 108976X
21 105913X
22 120468X
23 2242J
24 120469X
25 2244J
26 105916X
27 120470X
28 110070X
29 108977X
3O 109254X
31 120405X
32 108980X
33 120406X
34 10B455X
35 105925X
36 2232J
.... 37 108978X ....
38 110079X
39 12047iX
40 120472X
Housin& Upper
Screw,Tapping, Large
1/4-20 x.734
Ball, Detent
Spring, Detent
Screw, Set
Shifter Assembly
O-Ring
* Washer, Plain .505 x .942 x .006
* Washer, Plain .505 x .942 x .010
* Washer, Plain .505 x .942 x .015
* Washer Plain .505 x .942 x .020
* Washer Plain .505 x .942 x .026
* Washer Plain .505 x .942 x .030
* Washer Plain .505 x .942 x .040
Ring, Retaining
Ring, Retaining
* Washer. Plain .632 x 1.00 x .010
* Washer Plain .632 x 1.00 x .020
* Washer Plain .632 x 1.00 x .026
* Washer Plain .632 x 1.00 x .031
* Washer Plain .632 x 1.00 x .036
* Washer Plain .632 x 1.00 x .041
* Washer Plain .632 x 1.00 x .046
* Washer Plain .632 x 1.00 x .050
*Washer Plain .632 x 1.00 x.060
* Washer, Plain .632 x 1.00 x .082
O-Ring
Washer, Plain .632 x 1.38 x .046
Key, Woodruff #9
Assembly, Kit, Input Shaft
Pinion, Bevel, 14 Teeth
Ring, Retaining
Chain, 24 Pitches
Bearing, Flange
Gear, Spur, 14 Teeth
Collar, Clutch
Key, Clutch
Key, Woodruff
Shaft, [ntermediate
Key, Woodruff #61
Ring, Retaining
Sprocket, 18 Teeth
Spacer
Gear, Spur, 37 Teeth
Gear, Spur, 35 Teeth
Gear, Spur, 30 Teeth
Gear, Spur, 25 Teeth
Gear, Spur, 22 Teeth
Gear, Spur, 19 Teeth
Washer, Plain .640 x 1.37 x .061
Washer, Plain .632 x 1.00 x .026
Spacer .630 ×t .00 x-.169
Assembly, Gear, Combination of
12 Teeth and 35 Teeth
Shaft, Idler
Spacer .635 x,875 x .755
41 105928X
42 110084X
43 108983X
105930X
105931X
105932X
3417J
106097X
2264J
106098X
2265J
106586X
106587X
106588X
2263J
44 120473X
45 105933X
46 106151X
47 120407X
48 106589X
49 120408)(
50 105937X
51 2226J
52 2272J
53 2263J
54 1204747,
55 110081X
56 105941X
57 110071X
58 120952X
59 110082X
60 120475X
61 120476X
62 120961X
63 7294J
64 108989X
65 120953X
66 120954)(
67 120955X
68 108992X
69 108996X
70 120956X
71 73810500
72 106596X
73 120993X
74 120951X
75 120416X
Sprocket, 9 Teeth
Gear, Bevel, 42 Teeth
*Washer, Plain .758 x 1.12 x .010
*Washer Plain .758 x 1.12 x .015
* Washer Plain .758 x 1.12 x.020
* Washer Plain .758 x 1.12 x .025
* Washer Plain .758 x 1.25 x .020
* Washer Plain .758 x 1.25 x .025
* Washer Plain .758 x 1.25 x .031
* Washer Plain .758 x 1.25 x .035
* Washer Plain .758 x 1.25 x .040
* Washer Plain .758 x 1.25 x .045
* Washer Plain .758 x 1.25 x .050
* Washer Plain .758 x1.25 x .055
* Washer Plain .758 x 1.25 x .062
Shaft, Drive
Gear, Spur, 12 Teeth
Gear, Spur, 15 Teeth
Gear, Spur, 20 Teeth
Gear, Spur, 25 Teeth
Gear, Spur, 28 Teeth
Gear, Spur, 31 Teeth
Washer, Plain .632 x 1.00 x .060
Seal, Felt
Washer, Plain .758 x 1.25 x .062
Axle, Left Hand
Gear, Miter, 15 Teeth
Ring, Retaining
Gear, Spur, 32 Teeth
Shaft, Cross
Gear, Miter, 15 Teeth
Axle, Right Hand
Housing, Lower
Puck, Friction
Disc, Brake
Spacer
Jaw, Brake
Pin, Dowel
Screw, Tapping, Large
5/16-18 x 2.25
Lever, Actuating
Washer, Plain .321 x 1.00 x .055
Bracket, Anti-Rotation
Locknut 5/16-24
Screw, Tapping, Large
5/16-18 x 1.44
Washer, Plain .343 x .81 x.059
Puck, Friction
Grease
*'k
Use In Various Combinations To Maintain Proper
Clearances ......
Order Key Number 15
NOTE: All component dimensions given in U.S. inches
1 inch = 25.4 mm
_45

REPAIR PARTS
12.5 HP 42" RIDING LAWN TRACTOR -- MODEL NUMBER 917.255581
BRIGGS & STRATTON ENGINE ° MODEL NUMBER 286707, TYPE NUMBER 0437-01
307
837
14
1021 1020
*SPECIAL TOOLS REQUIRED TO INSTALL.
46
757
219
1358 GASKETSET
_) 6S7
663
_15 64
_2
J p5_5
524

REPAIR PARTS
12.5 HP 42" RIDING LAWN TRACTOR -- MODEL NUMBER 917.255581
BRIGGS & STRATTON ENGINE - MODEL NUMBER 286707, TYPE NUMBER 0437-01
965 53
52. i
164
I21 CARBURE'f'OR OVERHAUL KIT
131
130
141
,_ 618
105
125
535 1711
224 445
Y
47

REPAIR PARTS:
12.5 HP 42" RIDING LAWN TRACTOR-- MODEL NUMBER 917.255581
BRIGGS & STRATrON ENGINE - MODEL NUMBER 286707, TYPE NUMBER 0437-01
3Q9 _1o Housing Length '-_
803
80t
NOTE:
To Identify Brlggs and Stretton manufactured
starter motors, measure the housing length.
KEY NUMBER 309 310 31t 510 544 801 802 803
Motor and Thru Bolt Brush Drive Armature Drive End Cap End Cap Assy. Housing
Drive Assy. Assembly Assembly Assembly Assembly Assembly Commutator Assembly
395538 490421** 390837 394856 395537* 398159
MANUFACTURER
Briggs & Housing
Stratton Length
12V 3-21/32 =494325 94003
*Includes Brush Set
**includes #398003 Clutch Assembly
#280104 Gear
#490467 Retainer and Pin
#94288 Roll Pin
(Key Number 513)
(Key Number 783)
(Key Number 876)
(Key Number 896)
4B2 /27
48

REPAIR PARTS
12.5 HP 42" RIDING LAWN TRACTOR -=MODEL NUMBER 917.255581
BRIGGS & STRA'I-I'ON ENGINE oMODEL NUMBER 286707, TYPE NUMBER 0437-01
KEY PART KEY PART
NO, NO. DESCRIPTION NO. NO. DESCRIPTION
1 490450
2 261623
3 391086
5 494240
7 271866
8 391406
9 27803
10 94621
11 280100
12 271916
271997
271996
13 94622
14 93415
15 94239
16 49O466
94196
18 494238
20 291675
22 94624
23 492326
24 222698
25 394661
394662
394663
394664
26 391780
392331
391781
391782
391783
27 260924
28 299691
391286
29 490348
490469
31
32
33
34
35
36
37,
40
41
42
45
46
51
52
53
75
222299
92909
262246
262247
65906
26828
223752
221596
292260
93630
262248
212897
281170
270872
94637
224O61
Cylinder Assembly 78 93805
Bearing, Cylinder (Requires Special 95 94098
Tools For Installation) 98 494382
* Seal, Oil 104 231789
Head, Cylinder 105 231790
* Gasket, Cylinder Head 106 281169
Breather Assembly 108 224540
Gasket, Valve Cover 118 494383
Screw, Sems 121 494384
Tube, Breather
* Gasket, Crankcase Cover 1/64" 123 94616
* Gasket, Crankcase Cover .005" 125 494392
* Gasket, Crankcase Cover .009"
Screw, Cylinder Head 3" 130 224539
Screw, Cylinder Head 3/4" 131 494379
Plug, Oil Drain 133 494381
Crankshaft 137 281165
Key,'lqming Gear 138 281164
Base, Engine 141 494380
* Seal, Oil 142 231793
Screw, Sems, Base Mounting 494499
Flywheel and Ring Gear Assembly,
Magneto
Key, Rywheel 147 231794
Piston Assembly, Standard 164 213811
Piston Assembly .010" Oversize 171 281051
Piston Assembly .020" Oversize 187 393815
Piston Assembly .030" Oversize 188 93535
Ring Set, Piston, Standard 201 262767
Ring Set, Piston, Chrome, Standard 209 260871
Ring Set, Piston .010" Oversize 216 262766
Ring Set, Piston .020" Oversize 219 490815
Ring Set, Piston .030" Oversize
Lock, Piston Pin 222 494887
Pin Assembly, Piston, Standard
Pin Assembly, Piston .005" Over 224 94513
Rod Assembly, Connecting 225 231058
Rod Assembly, Connecting 227 493935
.020" Undersize Crankpin Bore 230 222450
Lock, Connecting Rod Screw 232 262785
Screw, Connecting Rod 240 394358
Valve, Exhaust 265 221535
Valve, Intake 284 94419
Spring, Intake Valve 284A 94326
Spring, Exhaust Valve 304 224504
Guard, Flywheel 305 94619
Retainer, Intake Valve
Rotocoil, Exhaust Valve 306 224545
Retainer, Exhaust Valve Rotocoil 307 94623
Tappet-Valve 308 491490
Gear, Cam
Screw, Sems
** Screw, Throttle
Screw, Idle Speed
** Pin, Float Hinge
** Valve Assembly, Inlet Needle
Inlet Valve Seat
Valve, Choke
** Valve, Needle
Carburetor Overhaul Kit (Includes
Items marked ** and ***)
Screw, Elbow Mounting
Carburetor Assembly
(Choke-A-Matic)
Valve, Throttle
Shaft and Lever, Throttle
Float, Carburetor
*** Gasket, Float Bowl
*** Washer, Float Bowl Screw
** Shaft and Lever, Choke
** Nozzle/Jet, Carburetor
High Altitude Kit:
231796 Pilot Jet, High Altitude
281164 Seal, Bowl Screw
** Pilot, Jet
Carburetor, Elbow
Nut, Air Cleaner Mounting
Line, Fuel, 11 (Cut To Suit)
Screw, Sems 3/4"
Link, Governor
Spring, Governor
Link, Choke
Oil Slinger, Governor Gear and
Bracket Assembly
Plate, Governor Control
_Choke-A-Matic)
crew, Sem, Air Cleaner
Crank, Governor, 1/4" Diameter
Lever Assembly, Governor
Washer, Governor Crank, 1/4" I.D.
Spring, Governor Link
Filter, Fuel
Clamp, Casing
Screw, Clamp Mounting
Screw, Air Cleaner
Housing, Blower, Red
Screw, Sems, Blower Housing
Mounting
Shield, Cylinder
Screw, Sems, Cylinder Shield Mtg.
Cover, Cylinder Head
*** Gasket, Carburetor * Included in Gasket Set (494241)
(Carburetor to Etbow) ** Included in Carburetor Overhaul Kit (494384)
* Gasket, Carburetor Ihcluded iii b0th Carburetor OVerhaUl Kit (494384)
(Elbow to Cylinder) and Carburetor Gasket Set (494386)
Stud, Carburetor Mounting
Washer, Spring NOTE; All component dimensions given in U.S. inches
1 inch = 25.4 mm
49

REPAIR PARTS
12.5 HP 42" RIDING LAWN TRACTOR' -MODEL NUMBER 917o255581
BRIGGS & STRA'I-I'ON ENGINE -MODEL NUMBER 286707, TYPE NUMBER 0437=01
KEY PART KEY PART
NO. NO. DESCRIPTION NO. NO; DESCRIPTION
309 ---
332 92284
333 492341
334 93381
337 802592
346 93705
356 494328
358 494241
363 19203
383 89838
422 223721
423 93984
445 493909
455 222561
467 493903
468 222562
474 393474
482 93621
523 490327
524 68838
525 280741
535 272403
537 281106
552 231597
562 92613
592 231082
601 93053
611 494451
614 93306
615 93307
618 262803
634 281168
634A 491323
634B 281167
635 66538
646 224486
657 93496
Motor, Starting, 12 Volt (see chart 663 94620
on illustrated pages for replacement 668 280848
parts for Starting Motors) 726 392134
Nut, Hex
Armature, Magneto 727 490324
Screw, Seres, Armature Mounting
Plug, Spark, (1-7/8" or 47 mm) 728 93535
(Resistor Type) 729 281159
Screw, Hex Head 741 262135
Wire, Ground 757 212359
Gasket Set (Includes all items 758 399891
marked *) 759 298909
Puller, Flywheel 761 93875
Wrench, Spark PILIg 837 231109
Clamp, Oil FillerTube 842 270920
Screw, Sems 847 490474
Cartridge, Air Cleaner 851 221798
Cup, Screen Mounting "'869--261463
Knob, Air Cleaner 870 210940
Screen, Flush Rotating 871 261961
Stator, Alternator, Dual Circuit 872 281104
Screw, Seres 875 494237
Cap and Dipstick, Oil Filler 877 393456
Seal, Filler Tube
Tube, Oil Filler 955 94642
Element, Air Cleaner 965 94108
* O-Ring, Air Cleaner 975 494378
Bushing, Governor Crank, 1/4" I.D. 977 494386
Bolt, Governor Lever
Nut, Hex #10-24 987 281166
Clamp, Fue! Pipe 1005 280687
Fuel Inlet Tube 1006 223726
Cotter, Hair Pin 1020 262243
Retainer, E-Ring 1021 94160
Spring, Choke Return
** Seal, Choke Shaft
*Seal, Governor
Washer, Throttle Shaft
Elbow, Spark Plug
Brace, Air Cleaner
Screw, Sems
Screw, Hex Head
Spacer
Gear, Ring (includes Mounting
Pads)
Cover, Starter (Includes Mounting
Screws)
Screw, Seres
Clip, Lead Wire
Gear, Timing
Link, Counterweight
Counterweight Assembly
Pin, Counterweight
Screw, Counterweight
Spacer, Muffler Mounting
Seal, Oil Filler Cap
Fill Group, Oil
Terminal, Ignition Cable
Seat, Intake Valve, Standard
Seat, Exhaust Valve, Standard
Guide, Exhaust Valve
Cover, Air Cleaner
Body, Air Cleaner
Diode and Connector Assembly,
Dual Circuit
** Screw, Fuel Bowl
Locknut, Air Cleaner Mounting
Bowl Assembly, Carburetor
Carburetor Gasket Kit (Includes
items marked ***)
** Seal, Throttle Shaft
Fan, Flywheel
Retainer, Fan
Eccentric
Pin, Eccentric
* Included in Gasket Set (494241),
** Included in Carburetor Overhaul Kit (494384)
*** Included in both Carburetor Overhaul Kit (494384)
and Carburetor Gasket Set (494386)
NOTE: All component dimensions given in U.S. inches
1 inch = 25.4 mm
50

i
SUGGESTED GUIDE FOR SIGHTING SLOPES FOR SAFE OPERATION
I""
SIGHTING
IIDE
ONLY RiDE UPAND DOWN HILL,
NOT ACROSS HILL
SIGHT AND HOLD THIS LEVEL WITH
SKY LINE OR TREE.
15 ° MAX.
I_ Operate your Tractor up and down the face of slopes (not I
Ii_ greater than 15°.), never across the face. Make turns gradu- I
aiJy to prevent t=pping or !oss of control, Exercise extreme J
!!] caut=on when changing direction on slopes. J

OWNER'S
MANUAL
MODEL NO.
917.255581
HOW TO ORDER
REPAIR PARTS
[RgFTSMRN
12.5 HP I/C
ELECTRIC START
3 in One Convertible
42" MOWER DECK
6 SPEED TRANSAXLE
LAWN TRACTOR
Each tractor has its own model number. Each engine has its own model
number.
The modet number for your tractor will be found on the model plate
located under the seat.
The model number for your engine will be found on the blower housing.
All parts listed herein may be ordered from any Sears, Roebuck and Co.
Service Centers and most Retail Stores.
WHEN ORDERING REPAIR PARTS; ALWAYS GIVE THE FOLLOW-
ING INFORMATION:
• PRODUCT- LAWN TRACT'OR
•MODEL NUMBER- 917.255581
°ENGINE MODEL NUMBER- 286707, TYPE NUMBER 0437-01
•PART NUMBER
" PART DESCRIPTION
Your Sears merchandise has added value when you consider Sears has
service units nationwide staffed with Sears trained technicians.,, profes-
sional technicians specifically trained to insure that we meet our pledge
to you, we service what we sell.
Sears, Roebuck and Co., Chicago, IL 60684 U.S.A.
n
135828 Rev. 3 06.09,92 PRINTED INU,S.A.