Craftsman C950 52943 0 Users Manual
2015-01-05
: Craftsman Craftsman-C950-52943-0-Users-Manual-161136 craftsman-c950-52943-0-users-manual-161136 craftsman pdf
Open the PDF directly: View PDF
.
Page Count: 112 [warning: Documents this large are best viewed by clicking the View PDF Link!]

Owner's
Manual
IVlodel
C950-52943-0
13.5 T.P. 27 inch
CAUTION:
You must read and
understand this owner's
manual before operating
unit.
Serial No.
SAL STAGE
OW TROW
Sears Canada inc., Toronto, Ontario M5B 2C3
Visit our Craftsman website: www.sears.ca/craftsman
1738165
RevisionA
Rev.Date07/2009

Thankyou for purchasingthis quality-built Craftsman snow thrower. We're pleasedthat you've placedyour confidence inthe Craftsman
brand. When operated and maintained according to the instructionsinthis manual,your Craftsman product will provide many years of
dependableservice.
This manual contains safety information to makeyou aware of the hazardsand risks associatedwith snow throwers and how to avoid
them. This snow thrower is designed and intendedonly for snow throwing and is not intendedfor any other purpose, it is important that
you readand understandthese instructions throroughiy before attempting to start or operatethis equipment. This snow thrower
requires final assembly before use. Referto the Assembly section for instructions on final assembly procedures. Follow the instruc-
tions completely. Save these instructionsfor future reference.
Snow Thrower:
Model Number
Revision
Serial Number
Engine:
Model Number
Revision
Serial Number
Date Purchased:
Store Where Purchased:
City:
Province:
Telephone:
NOTICE:Record this informationabout your snowthrowerso that youwiii be able to provideit in case of lossor theft.

TABLEOFCONTENTS
OPERATORSAFETY.................................................................................... 4
ASSEMBLY.............................................................................................. 10
TOOLSREQUIREDFORASSEMBLY..........................................................................................................10
CONTENTSOFSHiPPiNGCARTON..........................................................................................................10
PARTSBAGCONTENTS............................................................................................................................10
UNPACKING..............................................................................................................................................11
UPPERHANDLEANDCRANKASSEMBLY................................................................................................12
CHECKTHECABLES................................................................................................................................12
SETTHELENGTHOFTHECABLES..........................................................................................................12
SPEEDSELECTLEVERASSEMBLY..........................................................................................................13
SNOWCHUTEASSEMBLY........................................................................................................................14
HEADLIGHTASSEMBLY...........................................................................................................................14
FEATURESANDCONTROLS.......................................................................... 15
OPERATION............................................................................................. 17
BEFOREOPERATINGSNOWTHROWER................................................................................. 17
OPERATETHESNOWTHROWER..............................................................................................................17
STOPTHESNOWTHROWER....................................................................................................................18
TRACTIONLOCKPINS.............................................................................................................................18
CHECKTHEOIL(BEFORESTARTINGENGINE)........................................................................................18
FILLTHEFUELTANK................................................................................................................................19
STARTTHEENGINE..................................................................................................................................19
STOPTHEENGINE....................................................................................................................................20
CLEARA CLOGGEDDISCHARGECHUTE.................................................................................................21
OPERATINGTIPS......................................................................................................................................21
MAINTENANCE......................................................................................... 22
SERVICERECOMMENDATIONS...............................................................................................................22
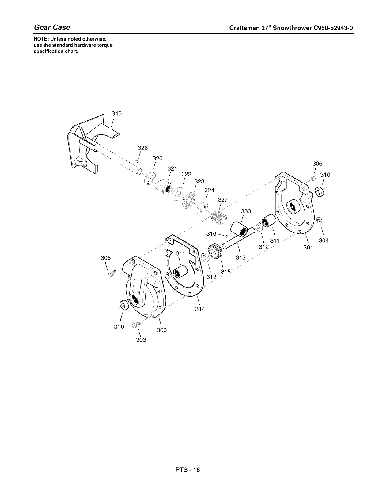
LUBRICATEAUGERGEARBOX.................................................................................................................23
LUBRICATEAUGERSHAFTFITTINGS......................................................................................................23
LUBRICATECHUTEROTATIONGEAR.......................................................................................................23
ENGINEMAINTENANCE...........................................................................................................................24
CHANGETHESPARKPLUG......................................................................................................................25
ADJUSTSKIDHEIGHT..............................................................................................................................26
BELTADJUSTMENT..................................................................................................................................27
BELTGUIDEADJUSTMENT......................................................................................................................28
CHECKANDADJUSTTHECABLES..........................................................................................................28
AUGERSHEARPINREPLACEMENT.........................................................................................................30
CHECKTHETIRES.................................................................................................................. 30
STORAGE................................................................................................ 31
OFFSEASONSTORAGE............................................................................................................................31
LUBRICATEHEXSHAFTANDCHAINS.....................................................................................................31
REMOVEFROMSTORAGE........................................................................................................................31
TROUBLESHOOTING................................................................................... 32
WARRANTIES........................................................................................... 34
SPECIFICATIONS....................................................................................... 37

OPERATORSAFETY
DAHGER- Amputation Hazard
The dischargechutecontainsarotating
impeller to throwsnow. Never clear or unclog
the dischargechutewith your hands.Fingers
can quickly becomecaughtand traumatic
amputation or severe lacerationwill result.
Alwaysuseaclean-outtool to dear or unclog
the dischargechute.
DANGER
•Hand contactwith the rotating impeller inside the discharge
chuteis the most commoncause of injury associated with
snowthrowers.
• Thissnowthroweris capable of amputating handsand feet,
and throwingobjects. Read and observeall the safety
instructionsin this manual. Failure to do so will result in
deathor serious injury.
SafetyAlert Symboland SignalWords
A
The safety alert symbol _ and signal word (DANGER,
WARNING,CAUTION,or NOTICE)is used to indicate the likeli-
hood and potential severity of personal injuryand/or damage to
the product. In addition, a hazardsymbol may be used to
represent the type of hazard.
_ ANGERindicates a hazard which, if not avoided,will
result in death or serious injury.
,_lll WARNINGindicates a hazardwhich, if not avoided, could
result in death or serious injury.
_ AUTIONindicates a hazardwhich, if not avoided,could
result in minor or moderate injury.
NOTICEindicates a situation that couldresult in damage
to the product.
WARNING
U.S.A. Models:Certain componentsinthis productand its
related accessories containchemicalsknown to the state of
of California to causecancer,birth defects, or other repro-
ductive harm. Wash hands after handling.
Certification: This equipmentmeets the requirementsof ANSI
B71.3-2005 for snowthrowers.
Hazard Symbols and Meanings
t_
f _ %1[,,.,._i
Safety Alert -identifies safety informationabout
hazardsthat can result in personal injury.
Operator's Manual- Read and understand before
performingany activity or running snowthrower.
Rotating Impeller
_ Rotating Auger
_(_ Never Reach into
L) Rotating Parts
•Keepa Safe
Distance from
Snowthrower
_ Rotating Gears
/_-_ Thrown Objects
Fire Explosion
Shock ToxicFumes
HotSurface Recommended
Ear Protection for
ExtendedUse
Shut off engine and remove sparkplug connector
beforeperformingmaintenance or repairwork.
WARNING
U.S.A. Models: The engine exhaust from this productcon-
rains chemicalsknown to the State of California to cause
cancer, birthdefects, or other reproductiveharm.
WARNING
U.S.A. Models: Batteryposts,terminals, and related acces-
sories containlead and lead components- chemicalsknown
to the State of California to causecancerand reproductive
harm. Wash hands after handling.

OPERATORSAFETY
Control Symbols on Equipment
._ Fuel
On Off
J+J Choke 0ff
NI °"°"°°°
Stop
Slow
R1--
Forward
Neutral
Reverse
ElectricStart -
Engage(Down) &
Disengage (Up)
Engine- Run
w
O
Fast
TractionControl -
Engage(Down)
AugerClutch
[_ ischargeChute
(Left and Right)
='_'-m
-dr
Engine -Stop
Auger Control -
Engage(Down)
¢_ Chute Deflector
(Up and Down)
Heated HandGrips
(High and Low)
Easy-TurnTM TractionControl TM
Free-HandControl
Readthe Manual
[
DANGER
Read,understand,andfollowalltheinstructionsonthe
snowthrowerandintheoperator'smanualbeforeoperating
thisunit.
Failuretoobservethesafetyinstructionsinthismanualwill
resultindeathorseriousinjury.
,, Bethoroughlyfamiliarwith thecontrolsandtheproperuseofthesnow
thrower.
,, Makesureyouareproperlytrainedbeforeoperatingthesnowthrower.
,, Knowhowto stoptheunit anddisengagethecontrolsquickly.
,, Neverallowanyoneto operatethesnowthrowerwithoutproperinstruction.
,, Alwaysfollow theinstructionsin theoperator'smanual,if thesnowthrower
will bestoredfor anextendedperiod.
,, Maintainor replacesafetyandinstructionlabelsasnecessary.
,, Neverattemptto makemajorrepairson thesnowthrowerunlessyou have
beenproperlytrained.Improperservicingof thesnowthrowercan result
in hazardousoperation,equipmentdamage,andvoidingof theproduct
warranty.
Discharge Chute
DANGER
Dischargechutecontainsrotatingimpellerto throwsnow.
Neverclearorunclogthedischargechutewithyourhands.
Fingerscanquicklybecomecaughtintheimpeller.Always
useaclean-outtool.
Failureto observethesesafetyinstructionswill resultin
traumaticamputationorseverelaceration.
TOSAFELYCLEARACLOGGEDDISCHARGECHUTE
,_ DANGER:Handcontactwiththerotatingimpellerinsidethedischarge
chuteis themostcommoncauseof injuryassociatedwithsnow
throwers.Neveruseyourhandstocleanoutthedischargechute.
FOLLOWTHESEIHSTRUCTIOHS:
1 ShutOFFtheengine
2 Wait10secondstobesuretheimpellerbladeshavestoppedrotating
3.Alwaysuseaclean-outtool,notyourhands.
NOTE:Not all controlsymbols shownon this pagewill appear
on your snowthrower.See FEATURESANDCONTROLSsection
for the applicable symbols.

OPERATORSAFETY
Operationand EquipmentSafety
GDANGER
Thissnowthroweris only assafeas theoperator.If it is
misused,or notproperlymaintained,it canbedangerous.
i Rememberyouareresponsiblefor yoursafetyandthatof
thosearoundyou.
*Keeptheareaof operationclearof all persons,particularlysmallchildren
andpets.
. Thoroughlyinspecttheareawherethesnowthrowerwill beusedand remove
all doormats,sleds,boards,wires,andotherforeignobjects.
. Do notoperatethesnowthrowerwithoutwearingadequatewinterclothing.
. Wearfootwearthatwill improvefootingon slipperysurfaces.
. Usecautionto avoid slippingorfalling especiallywhenoperatingthe
snowthrowerin reverse.
*, Neveroperatethesnowthrowerwithoutgoodvisibility orlight.Alwaysbe
sureof yourfooting,andkeepafirm hold onthehandles.
. Do notclearsnowacrossthefaceof slopes.Useextremecautionwhen
changingdirectiononslopes.Donotattemptto clearsteepslopes.
. Do notoverloadthemachinecapacitybyattemptingto clearsnowtoo
quickly.
. Neveroperatethesnowthrowerat hightransportspeedsonslippery
surfaces.Lookbehindthesnowthrowerandusecarewhenoperatingin
reverse.
*Do notusethesnowthroweronsurfacesabovegroundlevelsuchas roofsof
residences,garages,porches,or othersuchstructuresor buildings.
. Operatorsshouldevaluatetheirabilityto operatethesnowthrowersafely
enoughto protectthemselvesandothersfrom injury.
. Thesnowthroweris intendedto removesnowonly.Do not usethesnow
throwerforanyotherpurpose.
. Do notcarrypassengers.
*, Afterstrikinga foreignobject,shutOFFtheengine,disconnectthecordon
electricmotors,thoroughlyinspectthesnowthrowerforanydamage,and
repairthedamagebeforerestartingandoperatingthesnowthrower.
*, If thesnowthrowervibratesabnormally,shutOFFtheengine.Vibrationis
generallyawarningof trouble.Seeanauthorizeddealerif necessaryfor
repairs.
. Formodelsequippedwithelectricstartingmotors,disconnectthepower
cordaftertheenginestarts.
FuelHandling
DANGER
Fuelanditsvaporsareextremelyflammableandexplosive,
Alwayshandlefuel withextremecare.
Failureto observethesesafetyinstructionscancausea fire
Ior explosionwhichwill resultin severeburnsor death.
WHENADDINGFUEL
*Turnoff engineandletcool at least2 minutesbeforeremovingthefuel
capandaddingfuel.
o Fill fueltankoutdoorsor ina wellventilatedarea.
o Donotoverfillthefuel tank.Toallowfor the expansionof gasoline,do notfill
abovethe bottomof thefuel tankneck.
o Keepfuel awayfromsparks,openflames,pilot lights,heat,andother
ignitionsources.
o Checkfuel lines,cap,andfittingsfrequentlyfor cracksor leaks.Replaceif
necessary.
o Useanapprovedfuelcontainer.
o If fuelspills, wait until it evaporatesbeforestartingengine.
WHENSTARTINGENGINE
*, Ensurethatsparkplug, muffler,fuelcap,andair cleaner(if equipped)are in
placeandsecured.
. Donotcranktheenginewiththesparkplug removed.
. If fuel is spilled,do notattemptto starttheengine,butmovethesnow
throwerawayfrom theareaof thespill, andavoidcreatinganysourceof
ignition,until thefuelvaporshavedissipated.
*, Donotover-primetheengine.Followtheenginestartinginstructionsin this
manual.
. If theenginefloods,setchoke(if equipped)to OPEN/RUNposition,move
throttle(if equipped)to FASTpositionandcrankuntil enginestarts.
WHENOPERATINGEQUIPMENT
*Donottip thesnowthrowerat ananglewhichcausesthefuelto spill.
. Donotchokethecarburetorto stoptheengine.
. Neverruntheenginewiththeaircleanerassembly(if equipped)or theair
filter (if equipped)removed.
WHENCHANGINGOIL
*If youdraintheoilfrom thetopoil fill tube,thefueltankmustbeemptyor
fuelcanleakoutandresultin afire orexplosion.
IWHENTRANSPORTINGEQUIPMENT
*TransportwithfueltankEMPTY,orwithfuelshut-offvalveOFE
WHENSTORINGGASOLINEOREQUIPMENTWITHFUELIN TANK
*, Storeawayfromfurnaces,stoves,waterheaters,or otherappliancesthathave
pilot light or otherignitionsourcebecausetheycan ignitefuel vapors.

OPERATORSAFETY
Moving Parts
DANGER
Keephands,feet,andclothingawayfromrotatingparts.
Rotatingpartscancontactorentanglehands,feet,hair,
clothing,oraccessories.
Failuretoobservethesesafetyinstructionswill resultin
traumaticamputationorseverelaceration.
*Whenevercleaning,repairing,or inspectingthesnowthrower,makesurethe
engineis OFF,sparkplugwireisdisconnected,andallmovingpartshave
stopped.
. Donotputhandsorfeetnearor underrotatingparts.Keepclearof the
dischargeopeningat alltimes.
. Neveroperatethesnowthrowerwithoutproperguards,andothersafety
devicesin placeandworking.
. Neverleavethesnowthrowerunattendedwhileengineis running.Always
disengagetheaugerandtractioncontrols,stopengine,andremovekeys.
. Keepall looseclothingawayfrom thefrontof thesnowthrowerandauger.
Scarves,mittens,danglingdrawstrings,looseclothes,andpantscanquickly
becomecaughtin therotatingdeviceandamputationwill occur.Tieup
longhairandremovejewelry.
. Runthemachineafewminutesafterdischargingsnowto preventfreeze-up
of thecollector/impeller.
. Disengagepowerto the collector/impellerwhensnowthroweris transported
or notin use.
Thrown Objects
DANGER
Objectscanbepickedupbyaugerandthrownfromchute.
Neverdischargesnowtowardbystandersorallowanyonein
frontofthesnowthrower.Failureto observethesesafety
instructionswillresultindeathorseriousinjury.
*Alwayswearsafetyglassesor eyeshieldswhileduringoperation,andwhile
performinganadjustmentor repair.
,, Alwaysbeawareof thedirectionthe snowis beingthrown.Nearby
pedestrians,pets,or propertymaybeharmedby objectsbeingthrown.
,, Beawareof yourenvironmentwhileoperatingthesnowthrower.Running
overitemssuchas,gravel,doormats,newspapers,toys,androckshidden
undersnow,canall bethrownfromthechuteor jamintheauger.
,, Useextremecautionwhenoperatingon or crossinggraveldrives,walks,or
roads.
,, Adjustthecollectorhousingheightto cleargravelorcrushedrocksurface.
,, Neveroperatethesnowthrowernearglassenclosures,automobiles,window
wells,drop-otis,andthe likewithoutproperadjustmentof the discharge
chuteangle.
,, Familiarizeyourselfwiththeareain whichyouplanto operatethesnow
thrower.Markoffboundariesof walkwaysanddriveways.
Children
DANGER
Tragicaccidentscanoccurif theoperatoris notalertto the
presenceofchildren,Childrenareoftenattractedtotheunit
andtheoperatingactivity.Neverassumethatchildrenwill
remainwhereyoulastsawthem.
o Keepchildrenout of theareaduringoperation.Childrenareoftenattractedto
theequipment.Bemindfulof all personspresent.
,, Bealertandturnunit off if childrenenterthearea.
,, Neverallowchildrento operatetheunit.
,, Useextracarewhenapproachingblindcorners,shrubs,trees,or other
objectsthatmayobscurevision.Childrenmaybepresent.
Engine Safety
DANGER
__ _ Safeoperationof thesnowthrowerrequiresthe propercare
I and maintenanceof theengine.Failureto observethesafetyinstructionsin this manualwill result in death or serious
injury.
,, Disengageallclutchesandshift into neutralbeforestartingtheengine.
,, Lettheengineadjustto outdoortemperaturesbeforestartingto clearsnow.
,, Usea groundedthree-wireplug-infor all snowthrowersequippedwith
electricdrivemotorsor electricstartingmotors.
DANGER
Enginesgiveoffcarbonmonoxide,an odorless,colorless,
poisongas.
Breathingcarbonmonoxidecancausenausea,fainting,
or death.
o Startandrun engineoutdoors.
o Donotruntheenginein anenclosedarea,evenif doorsorwindowsare
open.

OPERATORSAFETY
Engine Safety (Continued)
WARNING
jStartingenginecreatessparking.
i,
jSparkingcanignitenearbyflammablegases.
Explosionandfire couldresult.
*Ifthereisnaturalor LPgasleakagein area,donotstartengine.
*Donotusepressurizedstartingfluids becausevaporsareflammable.
,_I_IISIIII_$11,, Runningthe engineproducesheat.Engineparts,especially
"="='===_ i muffler,becomeextremelyhot,
Failureto observethesesafetyinstructionscould result in
i severethermalburnsoncontact.
*Nevertoucha hotengineormuffler.Allow muffler,enginecylinder,andfins
to coolbeforetouching.
*Removedebrisfrommufflerareaandcylinderarea.
*Installandmaintaininworkingorderasparkarresterbeforeusingequipment
onforest-covered,grass-covered,orbrush-coveredunimprovedland.
*U.S.A.Models:It is a violationof CaliforniaPublicResourceCode
Section4442to useor operatetheengineonor nearanyforest-covered,
brush-covered,or grass-coveredlandunlesstheexhaustsystemis equipped
with asparkarrestermeetinganyapplicablelocalor statelaws.Otherstates
orfederalareasmayhavesimilarlaws.
Maintenanceand Storage
WARNING
Thissnowthrowermustbeproperlymaintainedto ensuresafe
operationand performance.Failure to observethe safety
instructionsin this manualcould resultin deathor serious
injury.
o Whenperformingany maintenanceor repairsonthesnowthrower,shutOFF
theengine,disconnectsparkplugwire,andkeepthewire awayfrom the
plugto preventsomeonefrom accidentlystartingtheengine.
*Checkshearboltsandotherhardwareatfrequentintervalsfor proper
tightnessto besurethesnowthroweris in safeworkingcondition.
*Keepnutsandboltstight andkeepsnowthrowerin goodcondition.
*Nevertamperwith safetydevices.Checktheir properoperationregularlyand
makenecessaryrepairsif theyarenotfunctioningproperly.
*Componentsaresubjectto wear,damage,anddeterioration.Frequently
checkcomponentsandreplacewith recommendedparts,whennecessary.
*Checkcontroloperationfrequently.Adjustandserviceas required.
*Useonly factoryauthorizedreplacementpartswhenmakingrepairs.
*Alwayscomplywithfactoryspecificationsonall settingsandadjustments.
*Onlyauthorizedservicelocationsshouldbeutilizedfor majorserviceand
repairrequirements.
*Useonly attachmentsandaccessoriesapprovedby thefactory(suchas
wheelweights,counterweights,or cabs).
*Neverattemptto makeanyadjustmentswhiletheengineis running(except
whenspecificallyrecommendedbythefactory).
,, Donotallowgreaseor oilto contacttherubberfrictionwheelor thedisc
driveplate.If thediscdriveplateorfrictionwheelcomein contactwith
greaseoroil, damageto therubberfrictionwheelwill result.

OPERATORSAFETY
Lookfor this symbol to indicateimportantsafety
precautions.This symbolindicates:"Attention! Become
Alert! Your Safety is At Risk."
Before operatingyour snow thrower, readthe safetydecals
as shown on yoursnowthrower. The cautionsand warnings
are for yoursafety. To avoid a personalinjuryor damageto
yoursnow thrower, understandand fo ow al the safety decals.
Part No. 1737872 I
I
Shift Decal
_ ARNING:Ifanysafetydecalsbecomewornor damagedand J
cannotberead,orderreplacementdecalsfromyourlocaldealer. I
Part He. 1737868
AugerControlDecal \
Part He. 1737870
TractionControlDecal
EngineDecals
Part Ho. 278297
,.-._. _..::....
FAUlLYXXXXX.XXXXXX XXXXXX
Amputation hazard
Contactwith moving parts inside
chute will Causeserious injury,
=Shut off engine before unclogging
dischargechute.
. Use clean-out tool, not hands!
Risque d,amputation
de la goulotte provoqueradegraveshlessures.
ArrOterle mote,r avantded_gager la go,lotto
d'_jection.
=UtiliserI'outil ded_gagement,pas los mains!
Part Ho. 1737865
ChuteDanger Decal
Part Ho. 277953
ProductID Humber&
Serial Humber Decal
(Rearof Motor Box) Amputation Hazard
- Contact with a_er will
cause seri{}us injury.
•_eep hands, leet and
_lothing away.
•Keep hys_aneers away.
Thrown Objects
Hazard
=Heverdirectffischarge
_h_tetowardspers_ns
_rproperly.
Readlhe_perator's
man_ailor_perating and
_at_lyiflstroct_ns.
Shutoff engine aed
remove key before
pertorming maintenance
or rep_irwork.
Risque d'amputation
°To_tco_lactavecla
tafl_re provoqeera de
graveshlessures.
•Tenir vos pieds, vos mai_s
et vgtemenls _ _is_ance.
° Ten[_ les spect_teurs
dislance.
;_ Oangerobjetsp_ojet_s
_i .He i_rnals dlri_erla
chute en dire_tio_ des
pe_sonnes ou biefl_
"_ matdtiels.
Lireiles¢o_si_esde
s_,_ril_ et d'_tilisation duns
le manuel _rutiJi_tio0.
_-_ _,_ Arrgter le moteur eI
retirerla cld avant
d'elfect_tt_ol_Iretien
outo_tet_p_ration. ,,,_
Part Ho. 1737866
AugerDanger Decal
Safety Decals Figure I

ASSEMBLY
TOOLSREQUIREDFORASSEMBLY
1- Knife
2- 1/2"wrenches(oradjustablewrenches)
2- 9/16"wrenches(oradjustablewrenches)
2- 3/4"wrenches(oradjustablewrenches)
1- 3/8"wrenches(oradjustablewrenches)
1- Pairpliersorscrewdriver
HOW TO MEASURE SCREW SIZE
LENGTH
DIAMETER
CONTENTSOF SHiPPiNGCARTON
1- SnowThrower
1- Containerof FuelStabilizer(Locatedin PartsBag)
1- SnowChuteAssembly
1- CrankAssembly
1- PartsBag
WARNING:Alwayswear safety glasses or eye shields
whiJe assembling snow thrower. I
PARTSBAGCONTENTS
* 2=1/4=20 x 1.75
1 = Shifter Knob
(not actual size)
* 2=Spacer * 2=1/4=20
Hex nut
*2 =Wrenches
*NonAssemblypartsandpowercordcanbefoundinthe PartsBagshipped
withthesnowthrower.Thepartscanbestoredinthetool boxlocatedontop
of thebeltcover.
10

ASSEMBLY
NOTE:Referenceto rightandlefthandsideof thesnowthroweris fromthe
operator'spositionatthe handle.
UNPACKING
1. Usingknife,cutalongthedottedlinesaroundthetop andbottomof
carton.Thenremovecartonmaterialasshownin Figure2.
2. Removeshearpinsandcotterpinsfrompartsbagandplacein shear
boltstoragebox.
3. Locateandremovethepartsbag.
NOTE:Setthefuelstabilizerasideuntiladdinggasolineto thefuel
tank.Werecommendthatfuelstabilizerbeaddedto thefueleachtime
thetankis filled.
4. Rollthesnowthroweroffthecartonby pullingonthelowerhandle.
CAUTION:DONOTbackovercables.
5. Removethepackingmaterialfromthehandleassembly.
6. Cuttiessecuringtheclutchcontrolcablesto the lowerhandle.
NOTE:Ifthecableshavebecomedisconnectedfromtheclutchlevers,
reinstallthecablesasshowninFigure3.
Unpackingthe Snowthrower Figure 2
Clutch Control Cables Figure3
11

ASSEMBLY
UPPERHANDLEANDCRANKASSEMBLY
1. Loosen,butdonot removethescrews,flatwashers,Iockwashers,and
hexnutsin theupperholesof thelowerhandle(seeFigure4).
2. Removethefastenersandthecrankassemblyeyeboltfromthelower
holesofthe lowerhandle.
3. Raiseupperhandleintooperatingposition.Upperhandleshouldbeto
theoutsideof thelowerhandle.
NOTE:Makesurethecablesarenotcaughtbetweentheupperand
lowerhandle.
4. Installthefastenersandthecrankassemblyeyeboltthatwereremoved
instep2. DONOTtightenuntil allfastenersarein place.
5. Attachthecrankrod(A, Figure5)to theuniversaljointassembly(B)
withthehairpin(C).
6. Tightennutoneyebolt.Makesureeyebolt is properlyalignedandthe
crankcanfreelyrotate(seeFigure4).
7. Tightenall handlebolts.
NOTE:Makesurecrankdoesnottouchcarburetorcover.
Adaptor Boot _olt
!
Eye Bolt Flatwasher
Flatwasher
Upper HandleAssembly Figure4
CrankAssembly Figure5
CHECK THE CABLES
1. Ifcontrolcableshavebecomeunattachedfrommotormountframe,re-
connectcablesasshownin Figure6.
2. Forcableadjustments,see"CheckandAdjusttheCables"inthe
MAINTENANCEsection.
SET THE LENGTH OF THE CABLES
Thetractiondriveandaugerdrivecables(AandB, Figure6) wereadjusted
atthefactoryandnoadjustmentsshouldbenecessary.However,afterthe
handlesareput intheoperatingposition,thecablescanbetootightortoo
loose,if anadjustmentis necessary,see"CheckandAdjusttheCables"in
theMAINTENANCEsection.
Checkthe Cables
12
Figure6

ASSEMBLY
SPEED SELECT LEVER ASSEMBLY
1. Cutplastictie(A,Figure7) securingspeedselectleverassembly(B)
to theshifterbracket(C).
2. RemoveIocknut(A, Figure8),washer(B),spring(C),andbolt (D).
NOTE:Viewis fromright sideof unit standingin operator'sposition.
3. Positionspeedselectorleverassemblyas shownin Figure9.
4. Reinstallbolt(D,Figure8), spring(C),washer(B)andIocknut(A).
5. TightenIocknutuntil1/8 to 3/16 inchof theboltthreadsprotrudepast
the Iocknut.
6. Threadthe3/8-16" hexjamnut(E)ontothelever(F) untilthenut
reachestheendof thethread.
7. Threadthe plasticknob(G)asfaras possibleandensurethattheknob
pointsforward.
8. Tightenthe3/8-16"hexjamnutagainsttheknobsecurely.
9. Moveshifterthroughall speedsto ensurepropertensionofthespring.
Ifshifterleversticksin anyof thenotches,loosenIocknut1/2 turnata
timeuntilshifterlevermovesmorefreely.
Shifter Handle
1/8to3/8inchof
expostedthread
Figure 8
Control Panel
Shifter Bracket
Shift Lever and Bracket Figure7 Control Paneland Shifter Bracket Figure 9
13

ASSEMBLY
SNOW CHUTEASSEMBLY
NOTE:Thechuteringassembly(A,Figure10)comesinstalledontheunit
fromthefactory.
1. Turncrankassembly(Figure4) untilthearrowonouterring(B, Figure
10)of chuteringassemblypointsforward.
NOTE:Makesuretheslot inthechuteringalignswiththearrowonthe
outerring.
2. Installchutedeflector(C) usingfourscrews(D)andnuts(E)in holes
asshown.Thechutedeflectormustpointforwardfor properinstalla-
tion.
3. Tightenscrewssnuglybutbecarefulnotto over-tighten.
Snow ChuteAssembly Figure 18
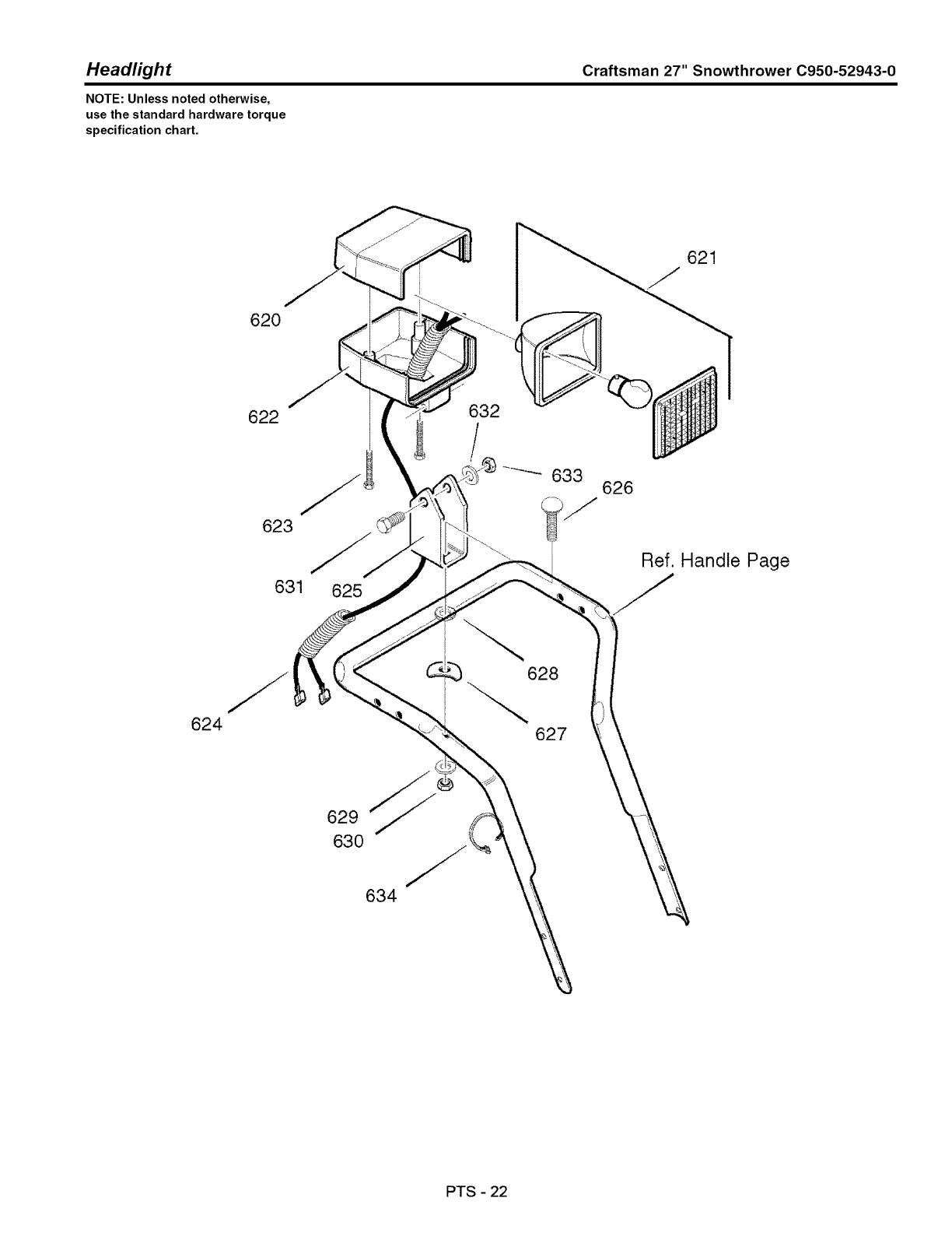
HEADLIGHT ASSEMBLY
Theheadlightismountedontherightsideofthe upperhandle,itisin-
stalledupside-downfor shippingpurposes,
1. Removethe nut(A,Figure11)andIockwasher(B)fromthecarriage
bolt(C).
2. Turntheheadlight(D)to thetop sideof theupperhandle(E).Ensure
externaltoothIockwasher(F)andsaddlewasher(G)arein placeas
shownin Figure11.
3. InstallthenutandIockwasherto securetheheadlightto thehandle.
Theheadlightshouldpointtowardthesnowclearingpath.
HeadlightAssembly Figure 11
14

FEATURESANDCONTROLS
®
a_
,_-,llllt
o___
-tS-
®1 _-- I;__-->- R1
i
®
I©
®
®Y \
"iJ
Snow Thrower Controls figure 12
SNOWTHROWERANDENGINECONTROLS
SNOWTHROWERCONTROLS
A. SpeedSelect Lever- Allowstheoperatorto useoneof six(6)
forwardandtwo(2)reversespeeds(seeFigure12).Toshift,move
speedselectleverto desiredposition.
NOTICE:Do notmove speed select lever while Traction
Drive Clutch is engaged. This may result in severe damage
to drive system.
B. AugerDrive Clutch Lever-- Usedto engageanddisengagethe
augerandimpeller.Toengagepushdown,to disengagerelease.
C. Traction Drive Clutch Lever-- Usedto propelsnowthrowerfor-
wardor reverse.Pushdownto engage,releaseto disengage.
D. Chute Rotation Crank-- Usedto changedirectionof thesnow
discharge.Turnhandleclockwiseto turnchuteto right.Turnhandle
counterclockwiseto turn chuteto left.
E. ChuteDeflectorWing Nut -- Usedto controltheangleof the
chutedeflector(upor down).
f. Clean-Out Tool-- Usedto removesnowanddebrisfromthedis-
chargechuteandtheaugerhousing.
G. SkidShoe-- Usedto adjustgroundclearanceofaugerhousing.
H. Headlight-- Usedto operatethesnowthrowerin poorlighting
conditions.
I. Toolbox-- Spareshearpins,shearboltwrenchesandspacersare
locatedin toolbox.
15

FEATURESANDCONTROLS
®I÷1I×l /®
®
®
®
EngineControls
ENGINECONTROLS
A. Choke Control Knob-- Usedto startacold engine(seeFigure
13).
B. Electric Start Button-- Usedtostarttheengineusingtheelectric
starter.
C. Primer Button -- Usedto injectfueldirectlyintothecarburetor
manifoldto ensurefaststartsin coolweather.
D. Safety Key-- Mustbeinsertedto startengine.Pullout to stop.Do
notturn safetykey.
Figure 13
E. Starter Cord Handle -- Usedto starttheenginemanually.
Fo ON/OFFSwitch -- Usedto startandstoptheengine.
G. Fuel Tankand Cap-- Fill thefueltankto approximately1-1/2 in.
(38mm)belowthetopof theneckto allowfor fuelexpansion.
H. 0il Fill Cap (Extended Dipstick)
16

OPERATION
BEFOREOPERATING SNOW THROWER
Checkthefasteners.Makesureall fastenersare tight.
ReadthisOPERATOR'SMANUALand OPERATORSAFETYbefore
operatingyoursnowthrower. Comparethe illustrationswithyour
SNOWTHROWERtofamiliarize yourselfwiththe locationofvar-
iouscontrolsandadjustments. Savethismanual for future refer-
once.
NOTE: This snow thrower was shipped WiTH OiL in the
engine. See "Before Starting Engine" instructions in the
OPERATIONsection of this manual before startingengine.
WARNING:The operation of any snow throwercan result in foreign objects beingthrowninto the eyes, which can result in
severe eye damage. Alwayswear safety glasses or eye shields beforebeginningsnowthroweroperation. We recommend
standard safety glasses or Wide Vision Safety Mask over spectacles.
OPERATETHESNOWTHROWER
Themosteffectiveuseof thesnowthrowerwill beestablishedbyexperi-
ence,takinginto considerationtheterrain,windconditions,andbuilding
locationwhichwill determinethedirectionof thedischargechute.
NOTICE:Do not throwsnowtoward abuildingas hiddenobjects
couldbe thrownwith sufficient force to causedamage.
1. Starttheengine.See"ToStartEngine"inthis section.
2. Rotatethecrank(A, Figure12)to setthedirection(leftor right)of the
dischargechute.
3. Adjustthesnowchutedeflector.Loosenthewingnut (A,Figure14)on
thesideof thesnowchuteandraisethechutedeflectorfor more
distance,or lowerit for lessdistance.Thentightenthewing nut.
Adjust ChuteDeflector Figure 14
5. Engagetheaugerdriveclutchlever(A,Figure15).
DOWN EngagePosition
UP DisengagePosition
6. Engagethetractiondriveclutchlever(B).Asthesnowthrowerstarts
to move,maintainafirm holdonthehandlesandguidethesnow
throweralongthecuttingpath.Donotattemptto pushthesnow
thrower.
7. Tostopforwardmotion,releasethetractiondriveclutchlever(B).
,)',
",,j
CiL2
\\ //
Control Levers Figure15
8. Tostoptheauger,releasetheaugerdriveclutchlever(A).
9. Tomovethesnowthrowerbackwards,movethespeedselectlever(A,Fig-
ure12)intofirstorsecondreverse(R1orR2),andengagethetractiondrive
clutchlever(B,Figure15).
_ AUTION:Before operating, make sure the area in front
of the snow throweris clear of bystandersor obstacles.
NOTE:Always releasethe tractioncontrol lever beforemoving
the speed select lever.
4. Usethespeedselectlever(A, Figure12)to selecttheforwarddrive
speed.Setthespeedselectleverto oneof thefollowingpositionsas
determinedby snowconditions:
1-2 Wet,Heavy,Slushy,ExtraDeep
3 Moderate
4-5 VeryLight
6 Transport
NOTE:When clearing wet, heavy,snow, it is recommended that
the ground speedof the unit be reduced, maintain full throttle,
and do notattempt to clear the full width of the unit.
_ WARNING:Never run engine indoorsor in an enclosed,
poorventilated area. Engineexhaust containsCARBON
MONOXIDE,an ODORLESSand DEADLYGAS.
,, Keephands,feet, hair, and loose clothingaway from
any movingparts on engine and snowthrower.
,, Temperatureof muffler and nearby areas can exceed
150°F (66°C). Avoid these areas.
,, DONOTallow childrenor youngteenagers to operate or
be near snowthrowerwhile it is operating.
17

OPERATION
,_ WARNING:Read Operator's Manual before operating
machine. This machine can be dangerousif used
carelessly.
,, Never operatethe snowthrower without all guards,covers,
shields in place.
,, Never direct dischargetowards windows or allow
bystandersnear machine while engine is running.
,, Stop the engine whenever leaving the operating
position.
,, Disconnectspark plug beforeuncloggingthe impeller
housingor the dischargechute and before making
repairs or adjustments.
,, Whenleavingthe machine, removethe safety key. To
reducethe riskof fire, keep the machine cleanand free
from spilled gas, oil, anddebris.
STOPTHESNOWTHROWER
1. Releasethetractiondriveclutchlever(B,Figure15).
2. PushtheON/OFFswitch(A,Figure22)totheOFFpositionandpulloutthe
safetykey(B).
TRACTIONLOCKPiNS
Therighttractionwheelcanbecompletelyreleasedusingthe lockingpin
(A,Figure16).Thisallowstheunit to beeasilymovedwiththeengineoff.
Traction Lock Pins Figure 16
CHECKTHE OiL (BEFORESTARTING ENGINE)
NOTE:The engine was shippedfrom the factory filled with oil.
Check the level of the oil. Add oil as needed.
1. Makesuretheunit is level.Useahighqualitydetergentoil classified
"ForServiceSF,SH,SJ, SL,or higher".
2. Removetheoilfill cap/dipstick(A,Figure17)andwipewithacleancloth.
3. Insertthe oilfill cap/dipstickandturnclockwiseto tighten.
4. Removetheoilfillcap/dipstickandchecktheoil.
NOTE:Do notcheckthe level of the oil while the engineruns.
5. If necessary,addoil until theoil reachestheFULLmarkontheoil fill
cap/dipstick.Donotaddtoo muchoil.
6. Tightentheoilfillcap/dipsticksecurelyeachtimeyouchecktheoil
level.
NOTE:For extreme cold operating conditionsof O°F(-18°C) and
below, use asynthetic5W30 motor oil for easierstarting.
NOTE:S.A.E. 5W30 motoroil may be used to makestarting
easier in areas where the temperature is 20°F (-7°C) to O°F
(-18°C). Synthetic 5W30 is acceptable for all temperatures.
DO NOTmix oil with gasoline. See Chartfor oil recommenda-
tions.
oF
50 _
32
14
-4
-22
°C
0_._ _''__" _'_40
' '_"...............30
_ €
Below40°F(4°C)the useofSAE30will resultin hardstarting.
** Above80°F (27°C)the useof 10W-30maycauseincreasedoil consumption=Check
oil levelmorefrequently.
FULL
Checkingthe Oil Figure 17
18

OPERATION
FiLL THE FUEL TANK
Thisengineis certifiedto operateongasoline.ExhaustEmissionControl
System:EM(EngineModifications).
Fillthefueltankwithfresh,clean,unleadedregular,unleadedpremium,orre-
formulatedautomotivegasolinewitha minimumof 85octanealongwitha
fuelstabilizer(followinstructionsonfuelstabilizerpackage).DONOTuse
leadedgasoline.Werecommendthatfuelstabilizerbeaddedto thefuel
eachtimethatgasolineis addedtothefueltank.
NOTE:Winter grade gasoline has higher volatility to improve
starting. Be certain containeris clean and free from rustor
other foreign particles. Never use gasoline that may be stale
from longperiodsof storagein the container.
,_b CAUTION:DO NOTuse gasoline containingany
amount of alcohol as it cancauseserious damageto
the engineor significantly reducethe performance.
_ ARNING:Gasolineis flammable. Always use caution
whenhandlingor storinggasoline. Turnengineoff and
let enginecoolat least two minutes beforeremovingthe gas
cap. Donot add gasoline tothe fueltankwhile snowthrower
is running,hot, or when snow throweris inan enclosed area.
Keep awayfromopen flame, electricalsparksandDONOT
SMOKEwhilefilling the fuel tank. Neverfiil the fuel tank
completely;butfill thefuel tankto within1-1/2 inches(3.8
ram) fromthetopto providespaceforthe expansionof the
fuel. Alwaysfill fueltankoutdoors and usea funnel or spout
to preventspilling. Makesure to wipe up any spilled fuel
before starting the engine.
Store gasoline inaclean, approvedcontainer,and keep the
cap in placeon the container.Keepgasoline in acoolwell
ventilatedplace;neverin the house.Never buy more thana
30 day supply of gasoline to assurevolatility.Gasolineis
intendedto be usedas a fuelfor internalcombustionengines;
therefore,do notuse gasoline for any other purpose. Since
many childrenlikethe smell of gasoline, keep it out of their
reachbecausethe fumesare dangerousto inhale, as well as
beingexplosive.
START THE ENGINE
BesurethatengineoilisatFULLmarkontheoilfill cap/dipstick.Thesnow
throwerengineisequippedwithanA.C.electricstarterandrecoilstarter.Before
startingtheengine,becertainthatyouhavereadthefollowinginformation.
Ifenginefloods,setthechoketotheOPEN/RUNpositionandcrankuntiltheen-
ginestarts.
Start the engine as follows:
1. Checktheoillevel.Seethe"Check/AddOil"sectionintheENGINE
MANUAL.
2. Makesureequipmentdrivecontrolsaredisengaged.
3. PushtheON/OFFswitch(A,Figure18)totheONposition.
,_ WARNING:Theelectric starteris equippedwith a
three-wirepowercordand plugdesignedto operateonAC
householdcurrent.Thepowercordmust beproperly
groundedat all times toavoid thepossibilityof electric
shockwhichcancauseinjuryto theoperator.Followall
instructionscarefullyas setforth:
Makesureyourhousehasathree-wiregroundedsystem.
Ifyouarenotsure,aska licensedelectrician.If yourhousedoes
nothavea three-wire groundedsystem,donotusethis electric
starterunderanycondition.
Ifyourhousehas athree-wiregroundedsystembut a three-hole
receptacleis notavailabletoconnectthe electricstarter,havea
three-holereceptacleinstalledbya licensedelectrician.
,_h WARNING:Toconnectpower cord, always connectthe
power cordfirst to the switch box located on the
engine and then plugthe other end into athree-hole
grounded receptacle.
WARNING:Todisconnectthe power cord, always
unplug the end connectedto the three-hole grounded
receptacle first.
StartingEngine Figure18
4. Insertthesafetykey(A, Figure19)into thesafetykeyslotandpush
fullyin to theRUNposition.
5. Turnthechokeknob(B)fully clockwiseif engineis cold.
NOTE:Do not use the choketo start a warm engine.
6. Pushtheprimerbutton(C)twotimes.
NOTE:Donot usethe primerto start a warm engine.
NOTE:Ensurethat electric extension cordis removedfromthe
power receptacle.
19

OPERATION
9. Electric Start: Depressthestarterpushbutton(A,Figure21).Afteryou
starttheengine,firstdisconnecttheextensioncordfromthewallreceptacle
andthenfromthepowercordreceptacle(B).
InsertingSafetyKey Figure 19
7. Rewind Start: Firmlyholdthestartercordhandle(A,Figure20).Pull
thestartercordhandleslowlyuntilresistanceisfelt,thenpullrapidly.
,_ WARNING:Rapid retraction of the startercord (kickback)
will pull your hand and arm toward the engine faster
thanyou can let go. Brokenbones, fractures, bruises,
or sprains couldresult. When startingengine, pull the
starter cordslowly until resistanceis felt and then pull
rapidlyto avoid kickback.
NOTE:if the enginedoes notstart after three attempts, see the
Engine Manual Troubleshootingsection.
8. Electric Start: Firstconnecttheextensioncordtothepowercord
receptacleandthenintoawallreceptacle.Ifadditionalextensioncordis
required,makesureit is three-wire.
4_ WARNING:if the extension cord is damaged, it must
be replaced bythe manufacturer(or its service agent)
or asimilarly qualified personto avoid a hazard.
StartingwithCordHandle Figure 20
StartingwithElectricStart Figure21
IMPORTANT:Toextend the life of the starter, use short
startingcycles(five secondsmaximum). Wait one minute
betweenstartingcycles.
NOTE:if the engine does notstart after three attempts, see the
Engine Manual Troubleshootingsection.
STOP THE ENGINE
Beforestoppingtheenginefor afewminutesto helpdry offanymoisture
on theengine.
NOTE:Donot losethe safety key. Keepthe safety key in a safe
place. Theenginewill notstart withoutthe safety/ignitionkey.
,_ WARNING:Gasolineand vaporsare extremely
flammable and explosive. Fire or explosion can
cause severe burns or death. DO NOTchokethe
carburetorto stopthe engine.
1. PushtheON/OFFswitch(A,Figure22)totheOFFposition.
2. Removethesafetykey(B).Keepthesafetykeyoutof the reachof
children.
StoppingEngine Figure 22
20

OPERATION
CLEARA CLOGGEDDISCHARGECHUTE
,_ WARNING:Handcontactwith the rotating impeller
insidethe dischargechuteis the most common cause of
injury associated with snow throwers. Never clear or
unclog dischargechutewith your hands, or while engine
is running.Fingers can quickly becomecaughtand
traumatic amputation or severe lacerationcan result.
o SHUTOFFTHEENGINE!
,, Wait10secondsto besurethatthe impellerbladeshavestopped
rotating.
,' Alwaysuseaclean-outtool,notyourhands.
Aclean-outtool(A,Figure23)isattachedto eitherthehandleorthetopofthe
augerhousing.Usetheclean-outtooltoremovesnowfromtheaugerhousing.
//' /
'i
\\'\
OPERATINGTIPS
1. Mostefficientsnowthrowingis accomplishedwhensnowis removed
immediatelyafterit falls.
2. Forcompletesnowremoval,slightlyoverlapeachswathpreviouslytaken.
3. Snowshouldbedischargeddownwindwheneverpossible.
4. Fornormalusage,setthe skids1/8 inch(3 mm)belowthe scraper
bar.Forextremelyhard-packedsnowsurfaces,the skidsmaybead-
justedupwardto ensurecleaningefficiency.
5. Ongravelorcrushedrocksurfaces,theskidsshouldbesetat 1-1/4
inch(32mm)belowthescraperbar(see"AdjustSkidHeight"inthe
MAINTENANCEsectionof this manual).Rocksandgravelmustnot
bepickedupandthrownbythemachine.
6. Afterthesnowthrowingjobhasbeencompleted,allowtheengineto
idlefor afewminutes,to meltsnowandiceaccumulatedonthe
engine.
7. Cleanthesnowthrowerthoroughlyaftereachuse.
8. Removeiceandsnowaccumulationandall debrisfromtheentire
snowthrower,andflushwithwater(if possible)toremoveall saltor
otherchemicals.Wipesnowthrowerdry.
9. Beforestartingsnowthrower,alwaysinspectaugersandimpellerfor
iceaccumulationand/ordebris,whichcouldresultin snowthrower
damage.
10. Checkoil levelbeforeeverystart.Makesurethe oil is attheFULL
markontheoil fill cap/dipstick.
Clean-OutTool Figure23
21

MAINTENANCE
SERVICERECOMMENDATIONS
FIRST BEFORE AFTER EVERY EVERY EVERY BEGINNING BEFORE
PROCEDURE 5 EACH EACH 5 10 25 EACH STORAGE
HOURS USE USE HOURS HOURS HOURS SEASON
Checkto MakeSure
AugerBladeStopsWithin
5 SecondsAfterRight v"
SAFETY ControlLeveris Released
LubricateControlLevers ,/ ,/ ,/
andLinkages
CheckSnowthrowerfor
LooseHardware v" ,,,"
LubricateHexShaftand
Chains v" v"
LubricateAugerShaft
Fittings v" v"
SNOWTHROWER LubricateChuteRotation
GearandDeflector v"
Mechanism
RemoveAll Snowand
SlushoffSnowthrowerto
PreventFreezingof Auger
or Controls
v"
CheckTirePressure ,/
L_______ i i ,,,,, i
Oil,Check ,/ v" ,/ v"
Oil,Change ,/ v"
ENGINE CheckandReplace
SparkPlug v" v"
NOTE:The warrantyon this snowthrower does not coveritems
that have beensubjectedto operator abuse or negligence.To
receivefull value from the warranty, operator mustmaintain
snowthroweras instructedin this manual.
TheaboveService Recommendations aresuppliedto assisttheopera-
tor to properlymaintainthesnowthrower.
ACAUTION:Do notallow grease or oil to contactthe
rubberfriction wheel or the disc drive plate, if the
disc drive plate or friction wheel come in contactwith
grease or oil, damage to rubberfriction wheel will
result.
NOTICE:if grease or oil comesinto contactwith the disc drive
plate or friction wheel, makesureto clean plate and wheel
thoroughlywith an alcohol base solvent.
22

MAINTENANCE
LUBRICATEAUGERGEARBOX
Theaugergearboxis lubricatedatthefactoryandshouldnotrequire
additionallubrication.If for somereasonthelubricantshouldleakout,
or if theaugergearboxhasbeenserviced,addLubriplateGR132Greaseor
equivalent.Maximum3-1/4 ounces,(92grams)shouldbeused.
Removefiller plug(A,Figure24),onceayear.Ifgreaseis visible,donot
add.Ifgreaseis notvisible,usea pieceoffinewire,likeadipstickto check
if thereis greaseinthegearbox.MobiluxEP1andShellAIvaniaEP1are
suitableequivalents.
LUBRICATECHUTEROTATIONGEAR
Lubricatethechuterotationgear(A,Figure25)andshaft (B)withautomo-
tivetypeoileverytwenty-five(25)operatinghours.
ChuteRotationGear Figure 25
LubricatingAugerGearBox Figure 24
LUBRICATEAUGERSHAFTFITTINGS
1. Usingahandgreasegun, lubricatetheaugershaftfittings(B,Figure
24)everyten (10)operatinghours.Eachtimea shearpinis replaced,
theaugershaft(C) MUSTbegreased.(See"AugerShearPinReplace-
ment"section.)
2. Forstorageorwhenreplacingshearpins,removeshearpinsand
lubricateaugershaftfittings(B).Rotateaugersseveraltimesonthe
shaftandreinstalltheshearpins.
23

MAINTENANCE
ENGINEMAINTENANCE
Check Crankcase Oil Level - Beforestartingengineandaftereach8
hoursof continuoususe.Addtherecommendedmotoroil asrequired.
NOTE:Over filling the engine can affect performance.Tighten
the oil fill cap securely to prevent leakage.
Change Oil - Every50 hoursof operationor atleastonceayear,evenif
thesnowthroweris not usedfor fiftyhours.Usea clean,highquality
detergentoil. Fill thecrankcaseto FULLlineondipstick(A, Figure26). Be
sureoriginalcontaineris marked:A.P.I.service"SF"orhigher.Do notuse
SAEIOW40oil (asit maynotprovideproperlubrication).See Chart for
oil recommendations.
Drain Oil - Positionsnowthrowersothattheoil drainplug(A, Figure
27)is lowestpointonengine.Whentheengineis warm,removeoil drain
plugandoil fill capanddrainoil intoasuitablecontainer.
Replaceoil drainplugandtightensecurely.Refillcrankcasewiththe rec-
ommendedmotoroil.
Full
CheckCrankcaseOil Level Figure 26
oF
10486_
.
68 o
32
z,i
Below40°F(4°C)theuseofSAE30willresultinhardstarting.
** Above80°F(27°C)theuseof10W-30maycauseincreasedoilconsumption.Check
oillevelmorefrequently.
°C
40
30
20
10
0
o10
-20
-30
OilDrainPlug Figure 27
24

CHANGETHESPARKPLUG
Remove the SnowHood
1. Removethechokecontrolknob(A,Figure28).
2. Removethesafetykey(B).
3. Removethemountingscrews(A, Figure29).
4. Slowlyremovethesnowhood(B)Makesurethattheprimerbutton
hose(C)andtheignitionwire(D)arenotdisconnected.
5. Thesparkplug(E)cannowbeaccessed.
6. Toinstallthe snowhood,first makesurethatthe primerbuttonhose
andtheignitionwireareconnected.
7. Mountthesnowhoodto theengineandsecurewiththemounting
screws.
8. Connectthechokecontrolknob(A,Figure30)withthechokeshaft
onthecarburetor(B).Makesurethechokecontrolknobis properly
installed.Ifthechokecontrolknobis notinstalledcorrectly,thechoke
will notoperate.
9. Installthesafetykey(C).
i
SnowThrowerEngine Figure 28
RemovingtheSnowHood
ConnectingChokeControlKnob
MAINTENANCE
Figure 29
Figure 30
25

MAINTENANCE
CheckandReplaceSpark Plug
Checkthesparkplugeverytwenty-five(25)hours.Replacethesparkplug
(Figure31)if theelectrodesarepittedorburnedorif theporcelainis
cracked.
1. Removesnowhood(see"RemovetheSnowHood"section).
2. Cleansparkplugandresetgapperiodically.
3. Cleanareaaroundsparkplugbasebeforeremoval,to preventdirt
fromenteringengine.
4. Replacesparkplugif electrodesarepittedor burnedor if porcelainis
cracked.
5. Cleansparkplugby carefullyscrapingelectrodes(donotsandblast
orusewirebrush).
6. Besuresparkplugis cleanandfreeof foreignmaterial.Checkelec-
trodesgapwithawirefeelergaugeandresetgapto 0.030"(0.76ram)
if necessary.
7. Beforeinstallingsparkplug,coatthreadslightlywithgraphitegrease
to insureeasyremoval.
8. Tightenplugfirmlyinto engine.Iftorquewrenchis available,tighten
plugto 18-23ft-lbs (24.4-31.2Nm).
\
ReplacingSparkPlug Figure 31
_ ARNING:Always turn unit off, remove ignitionkey,
and disconnectthe sparkplugwire before making any
repairs or adjustments.
ADJUSTSKiD HEIGHT
Thissnowthroweris equippedwithtwoheightadjustskids,securedto the
outsideoftheaugerhousing.Theseelevatethefrontofthesnowthrower.
Whenremovingsnowfromahardsurfaceareasuchasa paveddriveway
orwalk,adjusttheskidsupto bringthefrontofthesnowthrowerdown.
Whenremovingsnowfromrockor unevenconstruction,raisethefrontof
thesnowthrowerbymovingtheskidsdown.Thiswill helpto prevent
rocksandotherdebrisfrombeingpickedupandthrownbytheaugers.
To adjustskids, proceedas follows:
1. Placeablock(equalto heightfromgrounddesired)underscraperbar
nearbutnotunderskid.
2. Loosenskidmountingnuts(A, Figure32)andpushtheskid down
(B)until it touchestheground.Retightenmountingnuts.
3. Setskidonothersideatsameheight.
NOTE:Make surethat snowthroweris set at same heighton
both sides.
WARNING:Be certain to maintainproper ground
clearance for your particulararea to be cleared.
Objects suchas gravel, rocks, or other debris, if struck
by the impeller, may be thrownwith sufficientforce to
cause personalinjury, propertydamage, or damageto
the snowthrower.
AdjustingSkidHeight Figure 32
26

MAINTENANCE
BELTADJUSTMENT
TractionDriveBelt
Thetractiondrivebelthasconstantspringpressureanddoesnotrequire
anadjustment.Ifthetractiondrivebelt is slipping,replacethebelt.Seeau-
thorizeddealer.
Auger Drive Belt
Ifyoursnowthrowerwill notdischargesnow,checkthecontrolcableadjust-
ment.Ifit iscorrect,thenchecktheconditionoftheaugerdrivebelt.Ifit is
damagedor loose,replaceit (seeauthorizeddealer).
AugerDriveBeltAdjustment:
1. Disconnectsparkplugwire.
2. Removescrew(A,Figure33)frombeltcover(B).Removebeltcover.
3. Loosennutonidlerdrivepulley(A,Figure34)andmoveidlerdrive
pulleytowardsbeltabout1/8inch(3 mm).
WARNING: Donot over-tighten, as this may lift the
lever and causethe auger drive to be engagedwithout
depressingthe auger control.
4. Tightennut.
5. Withtheaidof anassistant,engagetheaugerdriveclutch.Checkten-
sionon beltwhichis oppositeidlerpulley(B,Figure34).Beltshould
deflectabout1/2 inch(12.5mm)withmoderatepressure.Youmay
haveto moveidlerpulleymorethanonceto obtainthecorrectten-
sion.
6. Reinstallbeltcover(B, Figure33).Tightenscrew(A).
7. Attachthesparkplugwire.
NOTE:Wheneverbeltsareadjustedor replaced,thecableswill needto be
adjusted(see"CheckandAdjusttheCables"section).
CheckAugerDriveBelt:
1. Releasetheaugercontrollever.Theaugermuststopwithin5 sec-
onds.
2. Ifaugerdoesnotoperateproperly,stopengineandrepeat"Auger
DriveBeltAdjustment."
AdjustingAugerDriveBelt
CheckTensiononAugerDriveBelt
Figure33
Figure34
27

MAINTENANCE
BELT GUIDE ADJUSTMENT
1. Removesparkplugwire.
2. Havesomeoneengagetheaugerdrive.Thiswill engageaugeridler
pulley(A, Figure35).
3. Measurethedistancebetweenthe beltguide(B)andbelt(C).The
distanceshouldbeabout1/8inch(3 ram).
4. Ifadjustmentis necessary,loosenbeltguidemountingbolt.Move
beltguideto thecorrectposition.Tightenmountingbolt.
5. Installbeltcover.
6. Connectsparkplugwire.
®
AdjustingBeltDrive Figure35
CHECKANDADJUSTTHECABLES
Thecablesareadjustedatthefactoryandnoadjustmentshouldbe
necessary.Ifthecableshavebecomestretchedoraresaggingadjustment
will benecessary.
Wheneverbeltsareadjustedor replaced,thecableswill needto bead-
justed.
Tocheckfor correctadjustment,unhook"Z" fitting (A,Figure36)atclutch
lever(B).
1. Moveclutchlever(B)to thefull forwardposition(justcontacting
plasticbumper).Holdingcabletight, notepositionof fittingto holein
clutchlever.
2. Thecenterof the"Z"fitting (A)shouldbebetweenthecenterandtop
of theholein theclutchlever(B). ©
Auger Drive Cable
[,_ ARNING: Drain the gasoline outdoors, away from fire
or flame.
1. Removethegasfromthegastank.Standthesnowthrowerupon the
frontendof theaugerhousing.
2. Pushcable(A,Figure37)throughspring(B)to exposethethreaded
portionof thecable.
3. Holdsquareendofthreadedportionwith pliersandadjustIocknut
(C) inor outuntil correctadjustmentis reached.
4. Pullcablebackthroughspringandconnectcable.
i
ChecktheCables Figure36
AdjustingAugerDriveCable Figure37
28

MAINTENANCE
TractionDriveCable
1. Removethegasfromthegastank.Standthesnowthrowerupon the
frontendof theaugerhousing.
_ARNING:Drainthe gasoline outdoors, away from fire
or flame.
2. Loosenthebolts(A,Figure38)on eachsideof thebottompanel(B).
3. Removethebottompanel.
4. Disconnectthe"Z"fittingfromthedrivelever(seeFigure36).
5. Slidethecableboot(A, Figure39)offthecableadjustmentbracket
(B) I
6. Pushthebottomofthetractiondrivecable(C)throughthecable
adjustmentbracketuntilthe "Z"hook(D)canberemoved.
7. Removethe"Z"hookfromthecableadjustmentbracket.Movethe"Z"
hookdownto thenextadjustmenthole.
8. Pullthetractiondrivecableupthroughthecableadjustmentbracket.
91Putthecablebootoverthecableadjustmentbracket.
10. Installthethe"Z"hookto thetractiondrivelever(seeFigure36)1
11. Tochecktheadjustment,depressthedriveleverandcheckthelength
of thedrivespring(A,Figure40). Incorrectadjustment,thelength
of thedrivespringis aminimum3 inches(76mm)anda maximum
3-3/8 inches185mm).
12. Installthebottompanel(B,Figure38)1
13. Tightenthebolts(A)oneachsideof thebottompanel.
TractionDriveCable
)|1111|!_
Figure 39
CheckAdjustmentofTractionDriveCable Figure 40
AdjustingTractionDriveCable Figure 38
29

MAINTENANCE
AUGERSHEARPiN REPLACEMENT
Theaugersaresecuredtotheaugershaftwithspecialshearpinsthatare
designedto breakif anobjectbecomeslodgedin theaugerhousing.Use
of a hardergradeshearpinwill reducetheprotectionprovidedbythe
shearpin.
,_ WARNING:Do not go nearthe dischargechuteor auger
whenthe engine is running.Do notrun the engine if
any coveror guard is removed.
Undermostcircumstances,if theaugerstrikesanobjectwhichcould
causedamageto theunit,theshearpinwill break.Thisprotectsthegear
boxandotherpartsfromdamage.
Theshearpins(A, Figure41)arelocatedontheaugershaft.Replacea
brokenshearpinasfollows.
1. Tapoutthebrokenshearpinwitha pinpunch.
2. Installa newshearpinandcotterpin.Bendtheendsofthecotterpin
down.
iMPORTANT:Do not replaceshearpins with anything other
thanthe correctgrade replacementshearpin. Useof bolts,
screws,or harder grade shearpins can result in equipment
damage.
ReplacingBrokenShearPin Figure 41
CHECKTHETIRES
Checktires for damage.Checkthe air pressurein the tires with an
accurategauge(seeFigure42).
,_ CAUTION:Avoid Injury! Explosiveseparation of tire
and rim parts is possible when they are serviced
incorrectly.
,, Do notattempt to mounta tire without the proper
equipment and experience to perform the job.
,, Do notinflate the tires above the recommended pressure.
,, Do notweld or heat a wheel and tire assembly. Heat can
causean increasein air pressureresulting in an
explosion. Welding can structurally weaken or deformthe
wheel.
,, Do not stand in front or over the tire assembly when
inflating. Useappropriate tool that allows you to standto
one side.
NOTICE:Check side of tire for maximum tire pressure. DO
NOTexceed maximum.
CheckingTire Air Pressure Figure 42
30

OFFSEASONSTORAGE
WARNING:Never storethe engine, withfuel in the tank,
indoorsor in apoorventilated enclosurewherefuel
fumes could reachan open flame, sparkor pilot light
as on afurnace,water heater, clothes dryer, etc.
Handle gasoline carefully, it is highlyflammable and
carelessuse could result in seriousfire damage to your
personand/or property.
Drain fuel into approvedcontainers outdoors, away from
open flame.
If thesnowthrowerwill bestoredforthirty (30)daysor moreatthe endof
thesnowseason,thefollowingstepsarerecommendedto prepareyour
snowthrowerfor storage.
NOTE:Gasoline must be removedor treated to prevent gum
depositsfrom forming inthe tank, filter, hose, and carburetor
duringstorage.
1. Removegasoline,by runningengineuntil tankis emptyandengine
stops.Ifyoudonotwantto removethegasoline,addfuelstabilizer
to anygasolineleftin thetankto minimizegumdepositsandacids.
Ifthetankis almostempty,mixstabilizerwithfreshgasolinein a
separatecontainerandaddsomeofthemixtureto thetank.ALWAYS
FOLLOWINSTRUCTIONSONSTABILIZERCONTAINER.THENRUN
ENGINEATLEAST10MINUTESAFTERSTABILIZERISADDEDTO
ALLOWMIXTURETOREACHCARBURETOR.STORESNOW
THROWERINSAFEPLACE.
2. Youcanhelpkeepyourengine(4-cyclesonly)in goodoperating
conditionby changingoil beforestorage.
3. Lubricatethe piston/cylinderarea.Thiscanbedonebyfirst removing
thesparkplugandsquirtingcleanengineoil intothe sparkplughole.
Thencoverthesparkplugholewitharagto absorboil spray.Next,
rotatetheengineby pullingthestartertwoorthreetimes.Finally,
reinstallsparkplugandattachsparkplugwire.
4. Thoroughlycleanthe snowthrower.
5. Lubricateall lubricationpoints(see"Lubrication"topicsinthe
MAINTENANCEsection).
6. Makesureall nuts,bolts,andscrewsaresecurelyfastened.Inspect
allvisiblemovingpartsfor damage,breakage,andwear.Replaceif
necessary.
7. Touchupall rustedorchippedpaintsurfaces;sandlightlybefore
painting.
8. Coverthebaremetalpartsof thesnowthrowerhousingauger,and
theimpellerwithrustpreventative.
9. If possible,storeyoursnowthrowerindoorsandcoverit to give
protectionfromdustanddirt.
10. Onmodelswithfolding handles,loosentheknobsthatsecurethe
upperhandle.Rotatetheupperhandleback.
11. Ifthemachinemustbestoredoutdoors,blockupthesnowthrower
andensuretheentiremachineis offtheground.Coverthesnow
throwerwithaheavytarpaulin.
STORAGE
LUBRICATEHE×SHAFTAND CHAINS
CAUTION:Do notallow grease or oil to contactthe rub-
ber friction wheel or the discdrive plate, if the disc
drive plate or frictionwheel come in contactwith
grease or oil damageto rubberfriction wheel will re-
suit.
NOTICE:if grease or oil comesinto contactwith the discdrive
plate or frictionwheel, makesureto clean plate and wheel
thoroughlywith an alcohol base solvent.
1. Positionspeedselectlever(A,Figure12)infirst forwardgear.
2. Drainfuelto anapprovedcontainer.
3. Standthesnowthrowerupontheaugerhousingend.
NOTE:When the crankcaseis filled with oil, do not leave
the snowthrowerstandingup on the auger housingfor an
extended periodof time.
4. Removethebottompanel.
5. Lubricatethechains(A, Figure43)witha chaintypelubricant.
6. Wipethehexshaft(B)andsprockets(C)with5W30motoroil, before
storageandatthebeginningof eachseason.
7. Installthebottompanel.
LubricateHexShaftandChains Figure43
REMOVEFROMSTORAGE
1. Puttheupperhandleintheoperatingposition,tightentheknobsthat
securetheupperhandle.
2. Fill thefueltankwithafreshfuel.
3. Checkthesparkplug.Makesurethegapis correct.Ifthesparkplug
is wornordamaged,replacebeforeusing.
4. Makesureall fastenersaretight.
5. Makesureall guards,shields,andcoversarein place.
6. Makesureall adjustmentsarecorrect.
31

TROUBLESHOOT/NG
PROBLEM LOOKFOR REMEDY
Free-HandTM controlisACTIVE. Releasebothaugercontrolandtraction/Free-HandTM controlleversto stopauger.
Augerdoes notstopwithin Augerdrivebeltout of Adjustaugerbelt.
j5 secondsafter right adjustment.
controllever is released. Augerbeltguideoutof Adjustaugerbeltguide.
adjustment.
Discharge chuteor Electricalfailure. Seeauthorizeddealer.
deflectordoes notwork
(electric).
Dischargechuteor Dischargechuteor deflectorout Adjustand/orlubricatecontrollinkage.
ideflectordoes notwork ofadjustmentor needs
i(remote-manual). lubrication.
Drive fails to move Tractioncontrolout of Readjustdrive,orselectspeedleversettingonespeedfaster.
snowthrowerat slow adjustment.
speeds.
Keyis off. Pushkeyinto theONposition.
Failureto primea coldengine. Pressprimerbuttontwiceandrestart.
Fuelshut-offvalveis in CLOSEDTurnvalveto OPENposition.
position.
Outof fuel. Fill fueltank.
Enginefalls to start. ChokeOFF- coldengine. TurnchokeON,setthrottleto FAST.
Engineflooded. Turnchoketo OFF;try starting.
Nospark. Checkgap.Gapsparkplug,cleanelectrode,or replaceplugas necessary.
Waterin fuel,oroldfuel. Draintank.(Disposeof fuel atanauthorizedhazardouswastefacility.)Fillwith
freshfuel.
Cordnot pluggedin or Plugin cordor replacedefectivecord.
malfunctions(ElectricStart
models).
Enginestarts hard or runs Fuelmixturetoo rich. Movechoketo OFFposition.
poorly. Sparkplugfaulty,fouled,or Cleanandgapsparkplug,or replace.
gappedimproperly.
Fuelcapventis blocked. Clearvent.
Excessive vibration. Loosepartsordamaged Stopengineimmediately.Tightenall hardware.Ifvibrationcontinues,havethe unit
impeller/auger, servicedby anauthorizeddealer.
Snowthrower does not Tractioncontrolout of Adjusttractioncontrollinkage.
stopwhen tractioncontrol adjustment.
lever is released.
Tirepressurenotequal. Checktire pressure.
Snowthrower veers to Onewheelis setinfree- Makesurethelefttractionlockpinis in theINNERholes(to engagethetraction
oneside. wheelingmode.(Tractionlock drive).
pinis in theOUTERhole.)
32

TROLIBLESHOOT/NG
PROBLEM LOOKFOR REMEDY
Scraper bar doesnot clean Skidshoesimproperlyadjusted. Raiseor lowerskidshoes.
hard surface.
Drivebelt looseor damaged. Replacedrivebelt.Seeauthorizeddealer.
Unit fails to propel itself. Incorrectadjustmentof traction Adjusttractioncontrolcable.Referto "CheckandAdjusttheCables"in the
drivecable. MAINTENANCEsectionof this manual.
Wornordamagedfrictiondisc. Replacefrictiondisc.Seeauthorizeddealer.
Augerdrivebelt looseor Replaceoradjustaugerdrivebelt.Referto "BeltAdjustment"in the
damaged. MAINTENANCEsectionof this manual,or seeauthorizeddealer.
Unit fails to discharge Augercontrolcablenotadjusted Adjustaugercontrolcable.Referto "CheckandAdjusttheCables"in the
snow. correctly. MAINTENANCEsectionof this manual.
Brokenshearpin. Replaceshearpin.Referto "AugerShearPinReplacement"inthe MAINTENANCE
sectionof thismanual.
Dischargechuteclogged. Stopengineimmediately.Alwaysusetheclean-outtoolto cleara clogged
dischargechute,notyour hands.Cleandischargechuteandinsideof auger
housing.Referto WARNINGSin OPERATORSAFETYsection.
Foreignobjectlodgedinauger. Stopengineimmediately.Alwaysusetheclean-outtoolto cleara cloggedchute,
notyourhands.Removeobjectfromauger.Referto WARNINGSin OPERATOR
SAFETYsection.
33

WARRANT/ES
Craftsman Limited Warranty
General: Craftsman products are warranted to be free from defects in materials or workmanship for a specific time period
as set-out below (the "Warranty Period"). Warranties extend to the original purchaser of a Craftsman product only. Pur-
chases made through an online auction or through any website other than www.sears.ca are excluded. The relevant War-
ranty Period commences on the original date of purchase. Within this period, Sears Canada, Inc. will, at its sole option,
repair or replace any products or components which fail in normal use. Such repairs or replacement will be made at no
charge to the customer for parts or labor, provided that the customer shall be responsible for any transportation cost.
Exclusions: This warranty does not cover failures due to normal wear, abuse, misuse, neglect (including but not limited to
the use of stale fuel, dirt, abrasives, moisture, rust, corrosion, or any adverse reaction due to improper storage or use
habits), improper maintenance or failure to follow maintenance guidelines and/or instructions, failure to operate the prod-
uct in accordance with the owner's manual or any additional instructions or information provided at the time of purchase or
in subsequent communications with the original purchaser, accident or unauthorized alterations or repairs made or at-
tempted by others. Also excluded from warranty coverage - except as provided below - are the following: maintenance,
adjustments, components subject to wear including but not limited to: cosmetic components, belts, blades, blade adapters,
bulbs, tires, filters, guide bars, lubricants, seats, grips, recoil assemblies, saw chains and bars, trimmer lines and spools,
spark plugs, starter topers and tines, and discoloration resulting from ultraviolet light. Any product missing the model
and/or serial number identification label will be disqualified from coverage under this warranty.
Repairs: Repairs have a 90 day warranty. If the defective product is still within the Warranty Period, then the new warranty
is 90 days from the date of repair or to the end of the original Warranty Period, whichever period is longer.
Disclaimers: THE WARRANTIES AND REMEDIES CONTAINED HEREIN ARE EXCLUSIVE AND IN LIEU OF ALL
OTHER WARRANTIES, WHETHER ORAL OR WRITTEN (OTHER THAN AS STATED HEREIN), AND WHETHER EX-
PRESS, IMPLIED OR STATUTORY, INCLUDING BUT NOT LIMITED TO ANY. THIS WARRANTY GIVES YOU SPECIFIC
LEGAL RIGHTS, WHICH MAY VARY FROM PROVINCE TO PROVINCE.
IN NO EVENT SHALL SEARS BE LIABLE FOR ANY INCIDENTAL, SPECIAL, INDIRECT OR CONSEQUENTIAL DAM-
AGES, WHETHER RESULTING FROM THE USE, MISUSE OR INABILITY TO USE THE PRODUCT OR FROM DE-
FECTS IN THE PRODUCT. THE EXCLUSIONS IN THIS PARAGRAPH SHALL NOT APPLY IN JURISDICATIONS
WHERE APPLICABLE LAW DOES NOT ALLOW FOR THE EXCLUSION OF INCIDENTAL OR CONSEQUENTIAL DAM-
AGES. IN SUCH JURISDICTIONS, THIS PARAGRAPH SHALL NOT APPLY, BUTTHE REMAINING PROVISIONS OF
THIS DOCUMENT SHALL REMAIN VALID.
Sears retains the exclusive right to repair or replace the product or offer a full refund of the purchase price at its sole dis-
cretion. SUCH REMEDY SHALL BE YOUR SOLE AND EXCLUSIVE REMEDY FOR ANY BREACH OF WARRANTY.
Customer Responsibilities: In additional to complying with all suggested maintenance guidelines and instructions, cus-
tomers' obligations shall include but shall not be limited to: operating the product in accordance with the owner's manual or
any additional instructions or information provided at the time of purchase or in subsequent communications to the pur-
chaser from time to time, exhibit reasonable care in the use, operation, maintenance, general upkeep and storage of the
product. Failure to comply with these requirements will void any applicable warranty.
List of Applicable Warranty Periods: The following list contains the applicable Warranty Period for your Craftsman prod-
uct and is based on a combination of the type of product or component and the intended and actual use of the product or
component:
1. 90 days: Craftsman products intended for use or actually used for commercial, institutional, professional or income-
producing purposes.
,2years: Craftsman riding lawn mowers, yard and garden tractors, walk behind mowers, tillers, brush cutters, snow
blowers, handheld blowers, backpack blowers, hedge trimmers and electrical products for noncommercial, nonprofes-
sional, non-institutional, or non-income-producing use, except for those components which are part of engine systems
manufactured by third party engine manufacturers for which the purchase has received an separate warranty with
product information supplied at the time of purchase.
34

WARRANT/ES
3. 1 year: Craftsman power cutters, stump grinders, pole pruners, gas chain saws, electric chain saws, trimmer attach-
ments, baggers and pole saws for noncommercial, nonprofessional, non-institutional, or non-income-producing use.
4. 90 days: All defective batteries, which will be replaced during this g0-day Warranty Period.
,60 days: Additional Warranty Period of 60 days will apply to adjustments and worn products or components BUT
DOES NOT INCLUDE WEAR OR ADJUSTMENTS for products used for commercial, institutional, professional or in-
come-producing purposes. Wear items include but are not limited to: belts, blades, tires, spark plugs, air filters,
chains, shear bolts, skid plates, scraper bars, drift cutters, ropes, tines, collection bags and pulleys.
As the Warranty Period runs from the date of purchase and NOT from the date that a product is delivered, opened, as-
sembled or first used, please ensure during this time period that your product or component has been assembled and
tested for correction operation regardless of when you intend to actually use it. Claims made after the Warranty Period
has expired will not be honored.
Proof of Purchase/Documentation: Warranty coverage is conditioned upon the original purchaser furnishing Sears
Canada or its authorized third party service provider if applicable, with the original sales receipt or other adequate written
proof of the original purchase date and identification of the product. In the event that the original purchaser is unable to
provide a company of the original sales receipt, Sears Canada Inc. reserves the right to determine in its sole discretion
what other written proof of the original purchase date and identification of the product is acceptable.
Revision: 03/13/2009
Maintenance Agreement
The Craftsman Warranty plus a Maintenance Agreement, provide maximum value for Sears products. Contact your near-
est Sears store for details.
35

The California Air Resources Board, U.S. EPA, and Briggs & Stratton (B&S) are pleased
to explain the emissions control system warranty on your Model Year 2008 and later
engine/equipment. In California, new small off-road engines must be designed, built, and
equipped to meet the State's stringent anti-smog standards. B&S must warrant the
emissions control system on your engine/equipment for the periods of time listed below
provided there has been no abuse, neglect, or improper maintenance of your small
off-road engine.
Your emissions control system may include parts such as the carburetor or fuel injection
system, fuel tank, ignition system, and catalytic converter. Also included may be hoses,
belts, connectors, sensors, and other emissions-related assemblies.
Where a warrantable condition exists, B&S will repair your engine/equipment at no cost
to you including diagnosis, parts, and labor.
Manufacturer's Warranty Coverage:
Small off-road engines are warranted for two years. If any emissions-related part on your
engine/equipment is defective, the part will be repaired or replaced by B&S.
Owner's Warranty Responsibilities:
As the small engine/equipment owner, you are responsible for the performance of
the required maintenance listed in your owner's manual. B&S recommends that you
retain all receipts covering maintenance on your engine/equipment, but B&S cannot
deny warranty solely for the lack of receipts or your failure to ensure the performance
of all scheduled maintenance.
As the engine/equipment owner, you should however be aware that B&S may deny
you warranty coverage if your engine/equipment or a part has failed due to abuse,
neglect, improper maintenance, or unapproved modifications.
You are responsible for presenting your engine/equipment to a B&S distribution
center, servicing dealer, or other equivalent entity, as applicable, as soon as a
problem exists. The warranty repairs should be completed in a reasonable amount of
time, not to exceed 30 days. If you have any questions regarding your warranty
rights and responsibilities, you should contact B&S at (414) 259-5262.
The following are specific provisions relative to your Emissions Control Warranty Coverage. It is in addition to the B&S engine warranty for non-regulated engines found in the
Operator's Manual.
1. Warranted Emissions Parts
Coverage under this warranty extends only to the parts listed below (the emissions
control systems parts) to the extent these parts were present on the engine
purchased.
a. Fuel Metering System
Cold start enrichment system (soft choke)
Carburetor and internal parts
Fuel pump
Fuel line, fuel line fittings, clamps
Fuel tank, cap and tether
Carbon canister
b. Air Induction System
Air cleaner
Intake manifold
Purge and vent line
c. Ignition System
Spark plug(s)
Magneto ignition system
d. Catalyst System
Catalytic converter
Exhaust manifold
Air injection system or pulse valve
e. Miscellaneous Items Used in Above Systems
Vacuum, temperature, position, time sensitive valves and switches
Connectors and assemblies
2. Length of Coverage
For a period of two years from date of original purchase, B&S warrants to the original
purchaser and each subsequent purchaser that the engine is designed, built, and
equipped so as to conform with all applicable regulations adopted by the Air
Resources Board; that it is free from defects in material and workmanship that could
cause the failure of a warranted part; and that it is identical in all material respects to
the engine described in the manufacturer's application for certification. The warranty
period begins on the date the engine is originally purchased.
4,
The warranty on emissions-related parts is as follows:
Any warranted part that is not scheduled for replacement as required
maintenance in the owner's manual supplied, is warranted for the warranty
period stated above. If any such part fails during the period of warranty
coverage, the part will be repaired or replaced by B&S at no charge to the
owner. Any such part repaired or replaced under the warranty will be warranted
for the remaining warranty period.
Any warranted part that is scheduled only for regular inspection in the owner's
manual supplied, is warranted for the warranty period stated above. Any such
part repaired or replaced under warranty will be warranted for the remaining
warranty period.
Any warranted part that is scheduled for replacement as required maintenance
in the owner's manual supplied, is warranted for the period of time prior to the
first scheduled replacement point for that part. If the part fails prior to the first
scheduled replacement, the part will be repaired or replaced by B&S at no
charge to the owner. Any such part repaired or replaced under warranty will be
warranted for the remainder of the period prior to the first scheduled
replacement point for the part.
Add on or modified parts that are not exempted by the Air Resources Board
may not be used. The use of any non exempted add on or modified parts by the
owner will be grounds for disallowing a warranty claim. The manufacturer will
not be liable to warrant failures of warranted parts caused by the use of a non
exempted add on or modified part.
Consequential Coverage
Coverage shall extend to the failure of any engine components caused by the
failure of any warranted emissions parts.
Claims and Coverage Exclusions
Warranty claims shall be filed according to the provisions of the B&S engine
warranty policy. Warranty coverage does not apply to failures of emissions parts
that are not original equipment B&S parts or to parts that fail due to abuse, neglect,
or improper maintenance as set forth in the B&S engine warranty policy. B&S is not
liable for warranty coverage of failures of emissions parts caused by the use of
add-on or modified parts.
Engines that are certified to meet the California Air Resources Board (CARB) Emissions
Standard must display information regarding the Emissions Durability Period and the Air
Index. Briggs & Stratton makes this information available to the consumer on our
emissions labels. The engine emissions label will indicate certification information.
The Emissions Durability Period describes the number of hours of actual running time
for which the engine is certified to be emissions compliant, assuming proper
maintenance in accordance with the Operating & Maintenance Instructions. The
following categories are used:
Moderate:
Engine is certified to be emissions compliant for 125 hours of actual engine running time.
intermediate:
Engine is certified to be emissions compliant for 250 hours of actual engine running time.
Extended:
Engine is certified to be emissions compliant for 500 hours of actual engine running time.
For example, a typical walk-behind lawn mower is used 20 to 25 hours per year.
Therefore, the Ernissione Durabimity Period of an engine with an intermediate rating
would equate to 10 to 12 years.
Briggs & Stratton engines are certified to meet the United States Environmental
Protection Agency (USEPA) Phase 2 emissions standards. For Phase 2 certified
engines, the Emissions Compliance Period referred to on the Emissions Compliance
label indicates the number of operating hours for which the engine has been shown to
meet Federal emissions requirements.
For engines less than 225 cc displacement.
Category C = 125 hours, Category B = 250 hours, Category A = 500 hours
For engines of 225 cc or more displacement.
Category C = 250 hours, Category B = 500 hours, Category A = 1000 hours
36

SPECIFICAT/ONS
ENGINE:
Brand
IVlodelSeries
GrossTorque*
Type
Displacement
Starting System
Alternator
SparkPlug Gap
Spark Ping
LongLife PlatinumSpark Ping
Oil Capacity
HydraulicFluid
Fuel TankVolume
ignition System
Briggs & Stratton
Snow Series
13.50 T.P.@3060 rpm
4-Cycle - OHV
18.6 cu in. (305 cc)
110V Electric, Recoil
60W AC
0.030 in. (0,76 ram)
481055
5066
28 oz (0,83 liters)
Mineral 5W30
3.0 qts (2,8 liters)
This spark ignition system complies with Canadianstandard ICES-002.
AUGER/IMPELLER:
Clearing Width
Intake Height
Auger/ImpellerDiameter
Number of Impeller 8lades
27 in. (68,6 cm)
21 in. (53,3 cm)
12 in. (30,5 cm)
3
CHUTE:
Chute Deflector
Chute Rotation
Manual
Left SideCrank- 190° (3.5 Turn)
DRIVESYSTEM:
Drive Type
DriveSpeeds
Tire Size
Tire Inflation
Friction Disc - Traction Lock Pin
6 ForwardSpeeds,2 Reverse
16 x 4.8 in. (41 x 12,2 cm)
14 psi (0,96 bar)
EnginePowerRating Information
*The gross power rating for individual gas engine models is labeledin accordancewith SAE(Society of Automotive Engineers) code
J1940 (Small Engine Power & Torque Rating Procedure),and rating performance has beenobtained and corrected in accordancewith
SAEJ1995 (Revision 2002-05). Torquevalues are derived at 3060 RPM; horsepower valuesare derived at 3600 RPM. Actual gross en-
gine power will be lower and is affected by, among other things, ambient operating conditions and engine-to-engine variability. Given
both the wide array of products on which engines areplaced and the variety of environmental issues applicableto operating the equip-
ment, the gas enginewill not develop the rated gross powerwhen used in a given piece of power equipment (actual"on-site" or net
power). This difference is due to avariety of factors including, but not limited to, accessories (air cleaner,exhaust,charging, cooling, car-
buretor, fuel pump, etc.), application limitations, ambient operating conditions (temperature, humidity, altitude), and engine-to-engine
variability. Dueto manufacturing and capacity limitations, Briggs & Stratton maysubstitute an engine of higher rated power for this
Series engine.
37

38

RepairParts
PTS - 1

Engine & Frame Craftsman 27" Snowthrower C950-52943-O
NOTE: Unless noted otherwise,
use the standard hardware torque
specification chart.
21
/
/
22
20 \
/25
I24
40
23 31
36
29
\
16
44
37
\13
SeeTraction
DriveGroup
/
PTS -2

Engine & Frame
REF NO PART NO. QTY.
1 20M1140141E1 1
2 6219MA 1
5 002X97MA 4
6 028X76MA 4
7 1960686SM 4
8 1501109MA 1
9 1922755SM 2
10 1916965SM 1
11 1960428SM 1
12 1733324SM 1
13 585416MA 1
14 1733014SM 1
15 1917356SM 1
16 1921515SM 1
17 1501112YZMA 1
18 1501065MA 1
19 53704MA 1
20 1502120MA 1
21 1960251SM 1
22 585781MA 1
23 1501628YZMA 1
24 1501200MA 1
25 1960027SM 1
26 1733451SM 1
27 711682MA 1
28 1736381YP 1
29 1740906ASM 1
30 1927429SM 4
31 165X159MA 1
32 1740571 BNYP 1
33 1733583BNYP 1
34 1924856SM 4
35 1664847SM 6
36 1741069MA 1
37 695757 1
38 696683 1
39 26X306MA 2
40 7023590SM 1
41 794696 1
44 760539MA 1
45 761187MA 1
Craftsman 27" Snowthrower C950-52943-0
DESCRIPTION
ENGINE
CORD, STARTER
BOLT, Carriage, 5/16-18 x 1-1/2
NUT, Speed, 1/4
NUT-HEX FLANGE.312-18 ESNA
PULLEY, Engine
WASHER, Fiat, 3/8
WASHER, Locking, 3/8
CAPSCREW, Hex-Head, 3/8-24 x 1-1/4
V-BELT, Drive, 3L
V-Belt, Auger, 4L
GUIDE, Belt
WASHER, Locking, 5/16
BOLT, Hex-Head, 5/16-24 x 3/4
ASSEMBLY, Idler Bracket
BUSHING, Idler Bracket
SPRING, Extension
IDLER, Plastic, Bail Bearing
NUT, Hex-Jam, 3/8-16
BOLT, Carriage, 3/8-16 x 1-1/4
IDLER, Auger Assembly
SPACER, Auger Idler
WASHER, Fiat, 1/2
ASSEMBLY, Spring Attachment
PIN, Hair
PIN, Clevis
PANEL, Bottom
SCREW, 1/4-20 x 5/8
SPRING, Extension
FRAME, Steerable
ENGINE MOUNT
SCREW, 3/8-18 x 1/2
SCREW, 3/8-18 x 3/4
COVER, Belt Includes Ref. 44
CAP, Pipe
PIPE, Oil Drain
SCREW, Hex-Washer, 1/4 x 3/4, Self-Tapping
PIN, Cotter, 1/4, Self-Locking
KEY, Ignition
LID, Toolbox Included with Ref. 36
PAD, Foam
Footnotes
PTS - 3

Traction Drive Craftsman 27" Snowthrower C950-52943-0
NOTE: Unless noted otherwise,
use the standard hardware torque
specification chart.
29
i10 4
10 18 /
2
8 24
27-40 ft.-Ibs, oi
34-54 Nm
1
11
/6
PTS -4

Traction Drive
REF NO PART NO. QTY.
1 579851MA 1
2 334163MA 4
4 1924856SM 8
5 579868MA 1
6 11X30MA 5
7 1502105YZMA 1
8 1736469YP 3
9 1501090MA 1
10 1960027SM 7
11 1501092YZMA 1
12 1501563MA 1
13 01X193MA 1
16 1501089MA 1
17 1501114MA 2
18 1501100MA 1
19 337029MA 1
20 1501435MA 1
21 1921959SM 3
22 1928372SM 3
23 1733326SM 1
24 15X114MA 1
25 1501057YZMA 1
26 1501158MA 1
27 1501115MA 1
28 1501110YZMA 1
29 579944MA 1
30 1920397SM 2
31 1922837SM 1
32 579860MA 1
33 1501059YZMA 1
34 1501122MA 1
Craftsman 27" Snowthrower C950-52943-0
DESCRIPTION
CHAIN, Roller
RETAINER & BUSHING ASSEMBLY
SCREW, Hex Washer Head Taptite, 5/16-18 x 1/2
CHAIN, Roller
RETAINER, Ring 7/16
SPRING LINK ASSEMBLY
SPRING, Extension
SPROCKET, Set
WASHER, 1/2
AXLE, Swing Plate
AXLE, Bushing
BOLT, Hex 1/4-20 x 1-3/4 G8
SPROCKET, Axle
BEARING, Axle D-Hole
HEX SHAFT & SPROCKET ASSEMBLY
HUB, Friction Wheel & Bearing
WHEEL, Friction
CAPSCREW, Hex Head 1/4-20 x 5/8 G5
NUT, Hex KEPS 1/4-20
RING, Retaining Extension
NUT, 3/8-24 Flange Lock
PLATE, Swinging
SPACER, Friction Pulley
FRICTION PULLEY ASSEMBLY
SPEED SELECT ASSEMBLY
BEARING, Flange
NUT, Hex Lock ESNA Light 1/4-20
CAPSCREW, Hex Head, 1/4-20 x 1-1/2 G5
SPOOL CABLE, Auger Control
BRACKET, Cable Spool
CABLE, Front Drive Lower AtI
Footnotes
PTS -5

Auger Housing Craftsman 27" Snowthrower C950-52943-0
NOTE: Unless noted otherwise,
use the standard hardware torque
specification chart.
/
484 /
480 485
491
482
499
490 527
522
523
J
500
493
522
J
523 \
Ref. Gear Case Assy
\
524
\
525
52O
527
\
525' 524
\
544
\
540
541
514
510
PTS -6

Auger Housing Craftsman 27" Snowthrower C950-52943-0
REF NO PART NO.
480 583146MA
482 2001022MA
484 15X112MA
485 1501158MA
490 582957YZMA
491 1705897SM
493 001X45MA
499 710026MA
500 1737905BNYP
510 1740949AYP
511 7090799SM
514 710026MA
515 760040MA
520 1738044AYP
521 1738043AYP
522 9524MA
523 3943MA
524 73826MA
525 53757MA
527 25X021 MA
540 1737986AYP
541 340720MA
544 710026 MA
550 1736094YP
551 1736620YP
552 1960569SM
553 15X146MA
-- 1501216MA
-- 680230ZMA
QTY.
1
1
3
1
1
1
3
3
1
1
5
5
2
1
1
2
2
2
2
4
2
2
4
1
2
2
2
1
1
DESCRIPTION
PULLEY, 4L 8.40 OD.
KEY, SQUARE 3/16 X 3/4
NUT, .50-20 HEXWDFLLK
SPACER, FRICTION PULLEY
RETAINER, BALL BEARING
BEARING, BALL
BOLT, HEX 5/16-18 X .62
NUT, 5/16-18 HEXWDFLLK
HOUSING, ASSEMBLY
BLADE, SCRAPER
BOLT, 1/4-18 X .75
NUT, 5/16- 18
PLUG, PANEL
AUGER, ASSEMBLY, LH
AUGER, ASSEMBLY, RH
SCREW, 1/4-20 X 1.75
SPACER, SLEEVE
NUT, 1/4-20
BEARING, FLANGE
SCREW, 5/16-18 x 0.75
SKID, HEIGHT ADJUST
BOLT, 5/16-18 X .75
NUT, 5/16- 18
BRUSH, CLEANOUT
CLAMP, SPRING
SCREW
NUT
KIT, SHEAR BOLT
WRENCH
Footnotes
PTS -7

Discharge Chute Craftsman 27" Snowthrower C950-52943-0
NOTE: Unless noted otherwise,
use the standard hardware torque
specification chart.
581
\599
614
\,
580
592
614
606
602
Ref. Auger Housing Page
PTS -8

Discharge Chute
REF NO PART NO. QTY.
580 1736380HYP 1
581 305216MA 1
592 2860210SM 1
597 1501260MA 1
599 002X97MA 1
601 2X100MA 4
602 71071MA 4
603 71038MA 4
606 1501932YZMA 1
607 02X101 MA 4
609 15X145MA 4
610 1741917YP 1
611 1501282MA 1
613 7091530SM 4
614 5025391SM 4
Craftsman 27" Snowthrower C950-52943-0
DESCRIPTION
CHUTE ASSEMBLY
PIN
WASHER, PLASTIC
KNOB, T 3.00
BOLT, Carriage, 5/16-18 x 1-1/2
CARRIAGE BOLT, 5/16-18 x 1.00
WASHER
NUT, Hex, NyIock, 5/16-18
CHUTE COLLAR
BOLT, CARRIAGE 1/4-20 X 0.75
NUT, 1/4-20 HEX NYLOCK
RETAINER RING INNER
RETAINER RING OUTER
BOLT, Carriage, Hex Flange Head, 1/4-20 x 3/4
NUT, Hex, NyIock Flange, 1/4-20
Footnotes
PTS - 9

Handle Assembly Craftsman 27" Snowthrower C950-52943-0
NOTE: Unless noted otherwise,
use the standard hardware torque
specification chart.
739
\
738
720
\
766
735
739
\
738
740
723
724 _'x
728
/
730
/
731
721 722
Ref. Engine Page
765
/
751
/
_) 751 743
f
/
759
745
763
/
762
PTS -10

Handle Assembly
REF NO PART NO. QTY.
720 1741120AYP 1
721 7288MA 1
722 71072MA 2
723 71062MA 2
724 71044MA 2
728 7289MA 2
730 71007MA 1
731 71072MA 1
732 71062MA 1
733 71044MA 1
735 5146E701MA 1
736 5142 E701 MA 1
737 760074MA 2
738 3535MA 2
739 4049MA 2
740 1502113MA 1
741 761872MA 1
743 313441 MA 1
744 1673MA 1
745 15X145MA 1
750 1740580AYP 1
751 25X021 MA 4
759 579860MA 1
760 1501059YZMA 1
762 1501122MA 1
763 001798MA 2
765 308146MA 1
766 333928MA 2
DESCRIPTION
HANDLE, UPPER
SCREW, 3/8- 16 X 3
WASHER, FLAT
WASHER
NUT, 3/8- 16
STOP, PLASTIC
SCREW, 3/8- 16 X 2
WASHER, FLAT
WASHER
NUT, 3/8- 16
HANDLE, RIGHT
HANDLE, LEFT
PIN, PIVOT CLUTCH
NUT, PUSH ON CAP
BUMPER, RECTANGLE
CABLE, DRIVE
CABLE, AUGER CLUTCH
BRACKET, CABLE ADJUSTER
SPRING, AUGER CLUTCH
NUT, 1/4- 20
HANDLE, LOWER
SCREW, TAP 5/16-18 X .75
SPOOL-CABLE, AUGRT CLUTCH
BRACKET, CABLE SPOOL YZ
CABLE, LOWER DRIVE 12"
BOLT, HEX 1/4-20 X 1.5
BOOT, CLUTCH SPRING
GRIP
Craftsman 27" Snowthrower C950-52943-0
Footnotes
PTS -11

Chute Rod Craftsman 27" Snowthrower C950-52943-0
NOTE: Unless noted otherwise,
use the standard hardware torque
specification chart.
Ref. Handle Assy
/
865
867
860 \_
863 \ _
\
864
862
\
861
/870
Ref. Auger Housing Assy
868
\, ,% 852=6 869
852-7__._ _._
/
852-3
PTS -12

Chute Rod
REF NO PART NO.
852-1 1501533YZMA
852-2 164X37MA
852-3 1501067MA
852-4 017X48MA
852-5 579493MA
852-6 1740591AYP
852-7 1501293MA
852-8 1501075YZMA
852-9 711682MA
852-10 578060MA
852-11 578309MA
852-13 578063MA
854 307399MA
855 309312MA
856 73664MA
860 1501456MA
861 148MA
862 1501457MA
863 71045MA
864 71072MA
865 309344MA
867 71046MA
868 02X101 MA
869 15X145MA
870 1501074YZMA
QTY.
1
1
1
1
1
1
1
1
1
1
1
1
1
1
1
1
1
1
1
1
1
1
1
1
1
DESCRIPTION
ASSEMBLY, YOKE & ROD
SPRING
GEAR, CHUTE ROTATION 9T
WASHER
PIN, COTTER
BRACKET, CHUTE GEAR
PIN, HAIR
ASSEMBLY, YOKE ADAPTER YZ
PIN, HAIR
PIN, UNIVERSAL JOINT
PIN, CLEVIS
HOUSING, UNIVERSAL
KNOB, SLEEVE
FLATWAS H ER
NUT, PUSH ON 3/8"
EYE BOLT 3/8-16 X 6.00
GROMMET, EYE BOLT
BOOT, EYE BOLT
NUT, 3/8- 16 HEXJAM
FLATWASHER .406 X .81 X .066
ADAPTER, BOOT
NUT, 3/8- 16 HEXNYL
BOLT, CARRIAGE 1/4-20 X 1.00
NUT, 1/4-20
CRANK, ASSEMBLY CHUTE
Craftsman 27" Snowthrower C950-52943-0
Footnotes
PTS -13

Control Panel Craftsman 27" Snowthrower C950-52943-0
NOTE: Unless noted otherwise,
use the standard hardware torque
specification chart.
766
735
779
761
765
771
760
763
764
77O
Ref. Handle Page
®
763
764 7!j
773
781
782
774
Ref. Handle Page
808
811 _
784
8O9
810
812
813
PTS -14

Control Panel
REF NO PART NO. QTY.
735 71045MA 1
760 1741119AYP 1
761 1931323SM 2
763 71059MA 4
764 71034MA 4
765 1741123BNYP 1
766 3809MA 2
770 1741118AYP 1
771 302900MA 1
772 50786MA 1
773 71071MA 1
774 71038MA 1
779 304437MA 1
781 71071MA 1
782 71081 MA 1
784 1502019MA 1
805 71042MA 1
806 6352MA 1
808 50782MA 1
809 71060 MA 1
810 71042MA 1
811 579944MA 1
812 1501110YZMA 1
813 11X30MA 1
814 579858MA 1
Craftsman 27" Snowthrower C950-52943-0
DESCRIPTION
NUT, 3/8-16 HEXJAM
BRACKET, SHIFT CONTROL
CARRIAGE BOLT, 1/4-20 x 2.00
WASHER, SPLIT
NUT, 1/4-20 HEX
CONTROL PANEL
CARRIAGE BOLT, 1/4-20 X .63
SHIFT LEVER ASSEMBLY
SCREW, 5/16-18 X 1.75
SPRING
FLATWAS H ER
NUT, 5/16-18 NYLON HEX
GRIP
WASHER, FLAT .349 X .69 X .066
PIN, COTTER
ROD, SPEED CONTROL
NUT, 5/16-24
ADAPTER, SPEED ROD ASSEMBLY
BALL JOINT, STEEL-YZ
WASHER
NUT, 5/16-24
FLANGED BEARING
ROD ASSEMBLY, YOKE PANEL
RING, RETAINER
WASHER
Footnotes
PTS -15

Decals Craftsman 27" Snowthrower C950-52943-0
NOTE: Unless noted otherwise,
use the standard hardware torque
specification chart.
830 829
832
t\
835
828
823
825
PTS -16

Decals
REF NO
823
824
825
829
830
831
832
835
PART NO.
1737865YP
1737866YP
1741432MA
1737870YP
1737869YP
1737872YP
48X5565MA
QTY.
1
1
1
1
1
1
1
1
DESCRIPTION
DECAL
DECAL
DECAL
DECAL
DECAL
DECAL
DECAL
DECAL
DANGER CHUTE HAND
DANGER FOOT
CRAFTSMAN 1350/27
DRIVE CLUTCH
AUGER CLUTCH
GEAR SELECTOR
CRAFTSMAN
ID PLATE
Craftsman 27" Snowthrower C950-52943-0
Footnotes
PTS -17

Gear Case Craftsman 27" Snowthrower C950-52943-0
NOTE: Unless noted otherwise,
use the standard hardware torque
specification chart.
340
305
326
/320
/321
322
/323
/324
316
301
306
/310
/
\
304
/
310
303
300
314
PTS -18

Gear Case Craftsman 27" Snowthrower C950-52943-0
REF NO
3OO
301
303
304
305
306
310
311
312
313
314
315
316
32O
321
322
323
324
326
327
330
340
PART NO.
896MA
895MA
910828MA
71100MA
330434MA
53749MA
780151MA
53743MA
53748MA
760529MA
897MA
53730MA
73905MA
53737MA
583126MA
48275MA
50684MA
48275MA
50795MA
53732MA
53731MA
1740584AYP
333431 MA
QTY.
1
1
7
8
1
1
2
1
2
1
1
1
1
1
1
1
1
1
1
1
1
1
1
DESCRIPTION
CASE, GEAR, RH
CASE, GEAR, LH
SCREW, 5/16-24 x 1.00
NUT, 5/16-24
SCREW, 5/16-24 X 1.50
PLUG, PIPE 0.25-18
SEAL, OIL
BEARING, SLEEVE
WASHER, FLAT
SHAFT, AUGER OUTPUT
GASKET, GEAR BOX
WORM GEAR
KEY, WOODRUFF #91
RING, QUAD 0.924 ID
BEARING, FLANGE
WASHER, FLAT
BEARING, ROLLER
WASHER, FLAT
KEY
WORM
BEARING, SLEEVE
IMPELLER
10oz TUBE LUBRIPLATE
Footnotes
PTS -19

Wheels Craftsman 27" Snowthrower C950-52943-0
NOTE: Unless noted otherwise,
use the standard hardware torque
specification chart.
679
675
678
671
/
65O
655
Ref. Drive Page
652
655 671
/
673
680
676
/
677
PTS -20

Wheels
REF NO
650
652
653
654
655
671
673
675
676
677
678
679
680
PART NO.
1501563MA
1501089MA
01X193MA
15X145MA
1501114MA
712120MA
1501138MA
1736778YP
577015MA
15X145MA
1657528SM
73842MA
1736779YP
QTY.
1
1
1
1
2
2
1
1
1
1
1
1
1
DESCRIPTION
SHAFT, AXLE
SPRKT &HUB
SCREW, 1/4-20 X1.75
NUT, 1/4- 20 HEX NYLOCK
BEARING, AXLE
WASHER, Fiat .765 x 1.12 x .06 YZ
BUSHING, WHEEL
TIRE & RIM, RIGHT
SCREW, 1/4-20 X 1.75 HH
NUT, 1/4- 20 HEX NYLOCK
RING, RETAINER
PIN, KLIK .25 X 1.38 DIA
TIRE & RIM, LEFT
Craftsman 27" Snowthrower C950-52943-0
Footnotes
PTS -21

Headlight Craftsman 27" Snowthrower C950-52943-0
NOTE: Unless noted otherwise,
use the standard hardware torque
specification chart.
620
621
624
622
623
631 625
628
1
1
627
626
Ref. Handle Page
/
629
630
634
PTS -22

Headlight Craftsman 27" Snowthrower C950-52943-0
REF NO PART NO. QTY.
620 583490MA 1
621 762343MA 1
622 1501514MA 1
623 307781MA 2
624 1738347YP 1
625 4029YZMA 1
626 002X88MA 1
627 580527MA 1
628 71061MA 1
629 71060MA 1
630 15X144MA 1
631 235MA 1
632 71060MA 1
633 15X144MA 1
634 032618MA 1
DESCRIPTION
HOUSING, HEADLIGHT UPPER
HEADLIGHT ASSEMBLY *
HOUSING, HEADLIGHT LOWER
SCREW, #8 X 1.75
WIRING HARNESS, HALOGEN
BRACKET, HEADLIGHT
BOLT, CARRIAGE - 5/16-18 X 2.00
WASHER, SADDLE
WASHER, EXLK .32 X .60 X .040
WASHER, SPTLK .31 X .58 X .08
NUT, 5/16-18 REGHEX
SCREW, 5/16-18 X 2.00
WASHER, SPTLK
NUT, 5/16- 18 REGHEX
TIE, CABLE
Footnotes
Note* Forreptacement bulb, use Standard GE or Phillips #894.
PTS - 23

I 48SHORTBLOCKI I 1058OPE_TO_'SMANUAL
20Ml14-0141 -El
1329REP'AOEMENTENG,_] I 1330R_PA,_MANUALI
306
307 _ "f- _s//
529
718A
eP
Assemblies include all parts shown in frames.
Cylinder Assembly
Engine: Briggs & Stratton Model 20M114-0141-E1
Refi No. Part No. Qty.
1 794849 1
2 698340 1
3 391086s
15 691686
45 690977
46 795697
48 794910
219 693578
220 691724
306 697240
307 794822
529 791822
Description
1
1
1
1
1
1
1
1
Cylinder Assembly
Kit-Bushing/Seal
(Magneto Side)
Seal-Oil
(Magneto Side)
Plug-Oil Drain
Tappet-Valve
Camshaft
Short Block
Gear-Governor
Washer
(Governor Gear)
Shield-Cylinder
Screw
(Cylinder Shield)
Grommet
(Cylinder)
ReL No.
552
Part No. Qty. Description
694674
718 690959
718A 695178
725 696756 1
742 692564 1
746 694679 1
998 792928 1
1058 277104 1
1329 20P4140015E1 1
1330 276781 1
1351 794847 1
1427 695757
Bushing-
Governor Crank
Pin-Locating
(Cylinder)
Pin-Locating
(Cylinder Head)
Shield-Heat
Retainer-E Ring
Gear-Idler
Pipe-Oil
Operator's Manual
Replacement Engine
Repair Manual
Stud
(Cylinder Shield)
Cap-Pipe
Valve Gasket Set-Reference 1095
Engine Gasket Set-Reference 358
MSC000099
Carburetor Overhaul Kit-Reference 121
24 06/19/2009

20Ml14-0141 -El
_ 177
287
524
741
24 <_
22
Assemblies include all parts shown in frames.
Crankcase Cover, Crankshaft & Piston/Ring Assemblies
Engine: Briggs & Stratton Model 20M114-0141-E1
Ref No Part No Qty Description
12 694953
16 794720
18 791965
19 698340
20 391086s
21 281658s
22 794825
24 222698s
25 792117
792144
26 793561
792073
1
1
1
1
1
1
1
1
1
1
1
Gasket-Crankcase
Crankshaft
Cover-Crankcase
Kit-Bushing/Seal
(PTO Side)
Seal-Oil
(PTO Side)
Cap-Oil Fill
Screw
(Crankcase
Cover/Sump)
Key-Flywheel
Piston Assembly
(Standard)
Piston Assemblu
(020 Oversize)
Ring Set
(Standard)
Ring Set
(020 Oversize)
Ref No Part No Qty Description
27 690975
28 696581
29 694691
30 694692
32 690976
146 690979
177 795015
287 699629
523 790477
524 691876
525 792041
741 691288
847 795087
1
1
1
1
1
1
1
1
1
1
1
Lock-Piston Pin
Pin-Piston
Rod-Connecting
Dipper-
Connecting Rod
Screw
(Connecting Rod)
Key-Timing
SeaI-O Ring
(Dipstick)
Screw
(Dipstick Tube)
Dipstick
Seal-Dipstick Tube
Tube-Dipstick
Gear-Timing
Dipstick/Tube
Assembly
Valve Gasket Set-Reference 1095
Engine Gasket Set-Reference 358
MSC000099
Carburetor Overhaul Kit-Reference 121
25 06/19/2009

20Ml14-0141 -El
51A
......................................................................................................................35
51A
1171
914 ,_
635
1026 _- _::::::::::S:: -.......
45 (> _ <:::..........
\) Assemblies include all parts shown in frames.
337
Cylinder Head Assembly
Engine: Briggs & Stratton Model 20M114-0141-E1
Ref. No. Part No. Qty.
5 794871 1
7 694872 1
13 794829
33 499596
34 795199
35 694865
36 694865
40 690964
42 499586
45 690977
51 694874
51A 694875
122 796315
192 690083
Description
1
1
1
1
1
1
1
1
1
1
1
Head-Cylinder
Gasket-
Cylinder Head
Screw
(Cylinder Head)
Valve-Exhaust
Valve-Intake
Spring-Valve
Spring-Valve
Retainer-Valve
Keeper-Valve
Tappet-Valve
Gasket-Intake
Gasket-Intake
Spacer-Carburetor
Adjuster-Rocker Arm
Ref. No. Part No. Qty.
337 691043 1
635 691909 1
798 697890 1
868 794086
883 695398
914 794827
1022 690971
1023 698042
1026 695177
1029 690972
1100 791959
1171 794828
1
1
1
1
1
1
1
1
Description
Plug-Spark
Boot-Spark Plug
Screw
(Rocker Arm)
Seal-Valve
Gasket-Exhaust
Screw
(Rocker Cover)
Gasket-
Rocker Cover
Cover-Rocker
Rod-Push
Arm-Rocker
Pivot-Rocker Arm
Stud
(Rocker Cover)
Valve Gasket Set-Reference 1095
Engine Gasket Set-Reference 358
MSC000099
Carburetor Overhaul Kit-Reference 121
26 06/19/2009

51A
51
528 /
20Ml14-0141 -El
472
1°9i
130 \
95 _
117 _57 105
O8
127 O
....................................
1127
187
601 ,_
957A
............................ 957
122
51
51A
190 _,:_
Assemblies include all parts shown in frames.
Carburetor and Fuel Supply Assemblies
Engine: Briggs & Stratton Model 20M114-O141-E1
Ref. No. Part No. Qty.
51 694874 1
51A 694875 1
95 690718 1
97 696387
98 695408
104 694918
105 696136
108 696736
109 793520
117 796080
118 796128
122 796315
125 796122
127 690727
130 696139
133 694914
135 698780
1
1
1
1
1
1
1
1
1
1
1
1
1
Description
Gasket-Intake
Gasket-Intake
Screw
(Throttle Valve)
Shaft-Throttle
Kit-Idle Speed
Pin-Float Hinge
Valve-Float Needle
Valve-Choke
Shaft-Choke
Jet-Main
(Standard)
Jet-Main
(High Altitude)
Spacer-Carburetor
Carburetor
Plug-Welch
Valve-Throttle
Float-Carbuertor
Tube-Fuel Transfer
Ref. No. Part No. Qty.
137 698781 1
187 791879 1
190 699220 1
472 791948 1
528 793006 1
601 791850
633 690998
957 795027
957A 792647
972 694260
975 698783
1127 695407
Description
1
1
1
1
1
1
1
Gasket-Float Bowl
Line-Fuel
(Formed)
Screw
(Fuel Tank)
Knob-Choke Shaft
Hose-Primer
(Cut to
Required Length)
Clamp-Hose
(Green)
Seal-
Choke/Throttle Shaft
(Throttle Shaft)
Cap-Fuel Tank
Cap-Fuel Tank
(Fresh Start)
Tank-Fuel
Bowl-Float
Screw
(Float Bowl)
Valve Gasket Set-Reference 1095
Engine Gasket Set-Reference 358
MSC000099
Carburetor Overhaul Kit-Reference 121
27 06/19/2009

20Ml14-0141 -El
i
i
\\
564
604A F_
i
604 r-..................................................
300
613A_ 883A
751
883
621
188 _ 485
1230
Assemblies include all parts shown in frames.
Muffler and Controls Assembly
Engine: Briggs & Stratton Model 20M114-0141-E1
Ref. No. Part No. Qty.
188 699479 1
190 699220
222 794800
300 794948
410 695382
485 695755
504 695383
564 699854
604 790473
604A 696758
613 794846
613A 794844
621 692310
1
1
1
1
1
1
1
1
Description
Screw
(Control Bracket)
Screw
(Fuel Tank)
Bracket-Control
Muffler
Link-Control
Knob-Control
Washer Set-Friction
(Control Bracket)
Screw
(Control Cover)
Cover-Control
Cover-Control
Screw
(Muffler)
(M6)
Screw
(Muffler)
(M8 Torx)
Switch -Stop
Ref. No. Part No. Qty. Description
632 695917 1 Spring/Link-
Mechanical Governor
668A 694257 1 Spacer
(Control Bracket)
751 794839 1 Washer
(Stop Wire)
773 694258 1 Retainer
(Control Bracket)
832 797095 1 Guard-Muffler
836 699234 1 Screw
(Muffler Guard)
883 695398 1 Gasket-Exhaust
883A 794818 1 Gasket-Exhaust
1138 694255 1 Nut
(Control Bracket)
1230 699847 1 Stud
(Control Bracket)
Valve Gasket Set-Reference 1095
Engine Gasket Set-Reference 358
MSC000099
Carburetor Overhaul Kit-Reference 121
2.8 06/19/2009

20Ml14-0141 -El
562
278 @
505
404 \,,_j
614 (_;_'
Assemblies include all parts shown in frames.
Governor Spring and Governor Lever Assembly
Engine: Briggs & Stratton Model 20M114-0141-E1
Ref. No. Part No. Qty. Description
209 694867 1 Spring-Governor
(Red)
211 695307 1 Spring-
Governed Idle
227 694864 1 Lever-
Governor Control
278 792008 1 Washer
(Governor
Control Lever)
404 795759 1 Washer
(Governor Crank)
Ref. No. Part No. Qty.
505 691251 1
562 793216
614 691620
616 795758
Description
1
1
Nut
(Governor
Control Lever)
Bolt
(Governor
Control Lever)
Pin-Cotter
(Governor Crank)
Crank-Governor
Valve Gasket Set-Reference 1095
Engine Gasket Set-Reference 358
MSC000099
Carburetor Overhaul Kit-Reference 121
29 06/19/2009

20Ml14-0141 -El
37
78
326 _
%
1392
326 _
6_
Assemblies include all parts shown tn frames.
Blower Housing and Rewind Starter Assemblies
Engine: Briggs & Stratton Model 20M114-0141-E1
Ref. No. Part No. Qty.
37 699047 1
55 696710 1
58 693389
65 699851
65A 690837
78 695724
281 697268
304 795699
305 699480
306 697240
326 690837
456 692299
458 699334
459 281505s
592 690800
Description
1
1
1
1
1
1
1
1
1
1
1
Guard-Flywheel
Housing-
Rewind Starter
Rope-Starter
Screw
(Rewind Starter)
Screw
(Rewind Starter)
Screw
(Flywheel Guard)
Panel-Control
Housing-Blower
Screw
(Blower Housing)
Shield-Cylinder
Screw
(Rewind Guard)
Plate-Pawl Friction
Kit-Handle/Rope
PawI-Ratchet
Nut
(Rewind Starter)
Ref. No.
597
608
663
689
930
1036
Part No. Qty. Description
691696
699335
699854
691855
696709
1210 498144
1211 498144
1392 690800
1
1
1
1
1
Screw
(Pawl Friction Plate)
Starter-Rewind
Screw
(Control Panel)
Spring-Friction
Guard-Rewind
Label-Emissions
(Available from a
Briggs & Stratton
Authorized Dealer)
Pulley/Spring
Assembly
(Pulley)
Spring/Pulley
Assemby
(Spring)
Nut
(Rewind Guard)
Gasket Set-Reference 1095
Engine Gasket Set-Reference 358
MSC000099
Carburetor Overhaul Kit-Reference 121
30 06/19/2009

20Ml14-0141 -El
23
\
/
%
1070
1005 '_ _ i
%
1070
x
455
332
Assemblies include all parts shown in frames.
Flywheel Assembly
Engine: Briggs & Stratton Model 20M114-0141-E1
Ref. No. Part No. Qty. Description
23 794812 1 Flywheel
332 794824 1 Nut
(Flywheel)
455 795011 1 Cup-Flywheel
Ref. No. Part No. Qty. Description
1005 794815 1 Fan-Flywheel
1070 794821 1 Screw
(Flywheel Fan)
Valve Gasket Set-Reference 1095
Engine Gasket Set-Reference 358
MSC000099
Carburetor Overhaul Kit-Reference 121
31 06/19/2009

20Ml14-0141 -El
474
1009 735
727_ .....
851
851A(_
Assemblies include all parts shown in frames.
Starter Motor and Ignition Assemblies
Engine: Briggs & Stratton Model 20M114-0141-E1
Ref. No. Part No. Qty. Description
309 795909 1 Motor-Starter
333 492341 1 Armature-Magneto
334 699477 1 Screw
356 793206 1 Wire-Stop
474 797090 1 Alternator
578 792576 1 Wire Assembly
727 697465 1 Cover-Starter Drive
732 699200 1 Screw
(Starter Drive Cover)
Ref. No. Part No. Qty. Description
735 795901
851 692424
851A 493880s
1009 795012
1119 699772
1
1
1
1
Cord-Starter
Terminal-Spark Plug
Terminal-Spark Plug
Screw
(Starter Motor)
Screw
(Alternator)
Valve Gasket Set-Reference 1095
Engine Gasket Set-Reference 358
MSC000099
Carburetor Overhaul Kit-Reference 121
32 04/19/2009

20Ml14-0141 -El
1196_
976
1288 '_
1318_i
11 163
610
668_4
731
1230_
1251
1252 1251A
\
1352_
Assemblies include all parts shown in frames.
Snow Hood Assemblies
Engine: Briggs & Stratton Model 20M114-0141-E1
Ref. No. Part No. Qty.
11 696750 1
53 795017 1
163 692277
528 793006
610 794541
668 794539
731 794540
731A 793621
892 791944
976 793382
990 794696
1196 696692
1
1
1
1
1
1
1
1
1
1
Description
Tube-Breather
Stud
(Carburetor)
Gasket-Air Cleaner
Hose-Primer
(Cut to
Required Length)
Arrester-lntake
Spacer
(Snow Hood)
Hood-Snow
Hood-Snow
Switch-Key
Primer-Carburetor
Key Set
Screw
(Snow Hood)
Ref. No. Part No. Qty. Description
1230 699847 1 Stud
(Control Bracket)
1251 696762 1 Shield-Snow
1251A 790471 1 Shield-Snow
1252 699480 1 Screw
(Snow Shield)
1288 794838 1 Nut
(Snow Hood)
1318 698111 1 Nut
(Snow Hood)
1352 795016 1 Nut
(Spark Plug Shield)
Valve Gasket Set-Reference 1095
Engine Gasket Set-Reference 358
MSC000099
Carburetor Overhaul Kit-Reference 121
33 06/19/2009

20Ml14-0141 -El
358 ENGINE GASKET SET
20
51
1022
163
1095 VALVE GASKET SET
868 ¢-_
1
883
Assemblies include all parts shown in frames.
Engine Gasket and Valve Gasket Set Assemblies
Engine: Briggs & Stratton Model 20M114-O141-E1
Ref. No. Part No. Qty. Description
3 391086s 1 Seal-Oil
(Magnetor Side)
7 694872 1 Gasket-
Cylinder Head
12 694953 1 Gasket-Crankcase
20 391086s 1 Seal-Oil
(PTO Side)
51 694874 1 Gasket-Intake
51A 694875 1 Gasket-Intake
163 692277 1 Gasket-Air Cleaner
Ref. No. Part No. Qty. Description
358 795201 1 Gasket Set-Engine
868 794086 1 Seal-Valve
883 695398 1 Gasket-Exhaust
883A 794818 1 Gasket-Exhaust
1022 690971 1 Gasket-
Rocker Cover
1095 795200 1 Gasket Set-Valve
Valve Gasket Set-Reference 1095
Engine Gasket Set-Reference 358
MSC000099
Carburetor Overhaul Kit-Reference 121
34 06/19/2009

20Ml14-0141 -El
121 CARBURETOR OVERHAUL KIT
127 _/
51A
i
163
105 633 __:_J
Assemblies include all parts shown in frames.
Carburetor Overhaul Kit Assembly
Engine: Briggs & Stratton Model 20M114-0141-E1
Ref. No. Part No. Qty. Description
51 694874 1 Gasket-Intake
51A 694875 1 Gasket-Intake
98 695408 1 Kit-Idle Speed
104 694918 1 Pin-Float Hinge
105 696136 1 Valve-Float Needle
121 796137 1 Kit-
Carburetor Overhaul
Ref. No. Part No. Qty. Description
127 690727 1 Plug-Welch
137 698781 1 Gasket-Float Bowl
163 692277 1 Gasket-Air Cleaner
633 690998 1 Seal-
Choke/Throttle Shaft
(Throttle Shaft)
Valve Gasket Set-Reference 1095
Engine Gasket Set-Reference 358
MSC000099
Carburetor Overhaul Kit-Reference 121
35 06/19/2009

Hardwareidentification& TorqueSpecifications
Common Hardware Types
Hex Head Capscrew
Carriage Bolt
[(((((((((((((((((((O
Washer
Lockwasher
OHex Nut
Standard Hardware Sizing
When a washer or nut is identified as 1/2", this is the
Nominal size, meaning the inside diameter is 1/2 inch; if a
second number is present it represent the threads per inch
When bolt or capscrew is identified as 1/2 - 16 x 2", this
means the Nominal size, or body diameter is 1/2 inch; the
second number represents the threads per inch (16 in this
example, and the final number is the body length of the
bolt or screw (in this example 2 inches long).
The guides and ruler furnished below are designed to
help you select the appropriate hardware and tools.
m_
m_
m_
m_
m_
m_
m_.o
m_
m4_.
Nut, 1/2"
Inside
Diameter
Screw, 1/2 x 2_;- I
I
Diameter( B°dyL | /
_ength _
__@
Torque Specification Chart
FOR STANDARD MACHINE HARDWARE (Tolerance + 20%)
_raarddeware G 0 Q
SAEGrade2 SAEGrade5 SAEGrade8
Size Of in/Ibs
Hardware ft/I bs ft/I bs Nm.
8-32
8-36
10-24
10-32
1/4-20
1/4-28
5/16-18
5/16-24
3/8-16
3/8-24
7/16-14
7/16-20
1/2-13
1/2-20
9/16-12
9/16-18
5/8-11
5/8-18
3/4-10
3/4-16
7/8-9
7/8-14
1-8
1-12
19
20
27
31
66
76
11
12
20
23
30
35
50
55
65
75
90
100
160
180
140
155
220
240
in/Ibs
Nm. ft/Ibs Nm.
2.1 30 3.4
2.3 31 3.5
3.1 43 4.9
3.5 49 5.5
7.6 8 10.9
8.6 10 13.6
15.0 17 23.1
16.3 19 25.8
27.2 30 40.8
31.3 35 47.6
40.8 50 68.0
47.6 55 74.8
68.0 75 102.0
74.8 90 122.4
88.4 110 149.6
102.0 120 163.2
122.4 150 204.0
136 180 244.8
217.6 260 353.6
244.8 300 408.0
190.4 400 544.0
210.8 440 598.4
299.2 580 788.8
326.4 640 870.4
41 4.6
43 4.9
60 6.8
68 7.7
12 16.3
14 19.0
25 34.0
27 34.0
45 61.2
50 68.0
70 95.2
80 108.8
118 149.6
128 163.2
158 204.0
178 231.2
228 299.2
248 326.4
386 525.0
428 571.2
688 816.0
668 897.6
968 1,244.0
1,088 1,360.0
NOTES
1. These torque values are to be used for all hardware
excluding: Iocknuts, self-tapping screws, thread forming
screws, sheet metal screws and socket head setscrews.
2. Recommended seating torque values for Iocknuts:
a. for prevailing torque Iocknuts - use 65% of grade 5
torques.
b. for flange whizlock nuts and screws - use 135% of
grade 5 torques.
3. Unless otherwise noted on assembly drawings, all torque
values must meet this specification.
Wrench &Fastener Size Guide
1/4" Bolt or Nut
Wrench--7/16"
5/16" Bolt or Nut
Wrench--I/2"
3/8" Bolt or Nut
Wrench--9/16"
7/16" Bolt or Nut
Wrench (Bolt)--5/8"
Wrench (Nut)--11/16"
1/2" Bolt or Nut
Wrench--3/4"
PTS - 36

Manuel
d'uti;fisation
IVlod_le
C950-52943-0
13.5 T.P.
27 pouces
Attention"
Lire et bien comprendre
ce manuel avant d'utiliser
le chasse-neige.
Num_ro de serie
MAN
CHASS
AX- IGE
PHAS S
!
Sears Canada inc., Toronto, Ontario M5B 2C3
Visit our Craftsman website: www.sears.caJcraftsman
Manueln° 1738165
R6v.A
07/2009

Mercid'avoirachet6cettesouffleuse_neigeCraftsman.Noussommesheureuxquevousayezplac6votreconfiancedanslamarque
Craftsman.SivousutiHsezetentretenezceproduitCraftsmanconform6mentauxinstructionsdumanuel,vous_ourrezI'utiHserpendant
denombreusesann6es.
Cemanuelcontientdesinformationsrelatives9.las6curit6afinquevousconnaissiezlesdangersetrisquesqu=sontli6sauxsouffleuses
J.neigeetlafa?ondeles6viter.Cettesouffleuse_neigeestcon?ueetestdestin6uniquementpour61iminerlaneigeetnepeut_tre
utiHs6epouraucuneautreraison.IIestimportantquevousHsiezetcompreniezcesinstructionsenprofondeuravantdetenterde
d6marreroud'utiliser1'6quipement.Unassemblage de finition est necessaireavant d'utiliser la souffleuse _ neige. Veuillezvous
reporter 9.la rubrique Assemblageafin d'obtenir ies directives pour I'assemblagede finition. Veuillez suivreattentivement les directives.
Sauvegardez cosinstructionspourvotrer6f_rence.
Souffleuse _ neige:
Num6ro de modele
R6vision
Num6ro de s6rie
JVJo|eur:
Num6ro de modele
R6vision
Num6ro de s6rie
Dale d'achal:
Adressedu magasin d'achal:
Ville:
Province:
T_l_phone:
REMARQUE:Noter los renseignementsci--dessouspourI'identification de la machineen casde perle ou de vol.

TABLEDESMAT/ERES
SI_CURITI_DE L'OPI_RATEUR......................................................................... 4
ASSEMBLAGE........................................................................................... 10
OUTILLAGEREQUISPOURL'ASSEMBLAGE.............................................................................................10
CONTENUDEL'EMBALLAGE....................................................................................................................10
SACDEPIECESCONTENANT..................................................................................................................10
DBALLAGE..............................................................................................................................................11
MONTAGEDELAPOIGNEESUPERIEUREETDELAMANIVELLE............................................................12
VERIFICATIONDESCABLES.....................................................................................................................12
REGLAGEDALALONGUEURDESCABLES.............................................................................................12
MONTAGEDELASELECTEURDEVlTESSE.............................................................................................13
MONTAGEDELAGOULOTTE...................................................................................................................14
MONTAGEDUPHARE...............................................................................................................................14
FONCTIONSETCOIVllViANDES........................................................................ 15
UTILISATION............................................................................................ 17
AVANTD'UTILISATIONSOUFFLEUSE_,NEIGE.........................................................................................17
UTILISATIONDELASOUFFLEUSEANEIGE.............................................................................................17
ARRETERLASOUFFLEUSEANEIGE........................................................................................................18
TRACTIONGOUPILLEDESORETE...........................................................................................................18
CONTROLERLENIVEAUD'HUILE(AVANTDEDEMARRERLEMOTEUR)................................................18
REMPLIRLERESERVOIRD'ESSENCE......................................................................................................19
DEMARRERLEMOTEUR..........................................................................................................................19
ARRETERLEMOTEUR..............................................................................................................................20
DEGAGERUNEGOULOTTED'EJECTIONOBSTRUEE...............................................................................21
CONSEILSD'UTILISATION........................................................................................................................21
ENTRETIEN.............................................................................................. 22
CONSEILSD'ENTRETIEN..........................................................................................................................22
GRAISSAGEDELABO'[TED'ENGRENAGEDEVlSSANSFIN...................................................................23
GRAISSAGEDEL'ARBREDEVlSSANSFIN..............................................................................................23
LUBRIFIERLEPIGNONDEROTATIONDEGOULOTTE..............................................................................23
ENTRETIENDUMOTEUR..........................................................................................................................24
CHANGERLABOUGIED'ALLUMAGE.......................................................................................................25
REGLAGELAHAUTEURDESPATINS.......................................................................................................26
AJUSTEMENTDESCOURROIES...............................................................................................................27
AJUSTEMENTDUGUIDEDECOURROIE..................................................................................................28
CONTROLEETREGLAGEDESC,_BLES....................................................................................................28
CHANGERLESGOUPILLESDECISAILLEMENTDEVlSSANSFIN..........................................................30
CONTROLERLESPNEUS.........................................................................................................................30
REIVIISAGE.............................................................................................. 31
REMISAGEHORSSAISON........................................................................................................................31
LUBRIFIERL'ARBREHEXAGONALETCHA/NES.......................................................................................31
SORTIRLASOUFFLEUSE_,NEIGEDUREMISAGE..................................................................................31
DI_PANNAGE............................................................................................ 32
GARANTIES............................................................................................. 34
CARACTI_RISTIQUESTECHNIQUES.................................................................. 37

SECUR/TEBE L'OPERATEUR
,_ DAHGER- Risque d'amputatien
Le conduitd'6jection contJentun irnpuiseur
rotatif pour_jecter la neige. Ne d_bouchezou
ne d_gagezjarnaisle conduitd'_jection avec
vos mains. Les doigts peuventfacilernent _tre
pris pi_ge et une amputation tranrnatique ou
dilac_ration grave en r_suitera. Utilisez
toujours nnoutil de nettoyagepourd6boucher
ou d6gager Jeconduitd'6jection.
DANGER
,, Le contactdes mainsavec I'irnpuiseurrotatif dans le
conduitd'6jectionest Jacausela pluscommunedes
biessuresassoci_s avec des souffieuses_neige.
,, Cette souffleuse _ neige pentarnputer Jesmains et les
plods, en plus des objets. Lisezet observez routes
instructionsde s_curit_ dans ce manuel. A d6faut de le faire
r6suitera _ la mortou biessuregrave.
Symboled'alerte de s_curit6 et rootsde signal
A
Le symbole d'alerte de s_curit6 _ et mot de signalisation
(DANGER,AVERTiSSEMENT,ATTENTIONou AVIS) sont utilis_s
pour indiquer la probabilit6 ou le potentiel de la gravit6 de
blessure corporelle et/ou dommage au produit. En plus, un
symbole de danger peut _tre utilis_ pour representer un type de
danger.
,_ DANGERindique un danger qui, si non _vit6, r6sultera
la mortou blessuregrave.
,_k AVERTISSEMENTindique un danger qui, si non _vit6,
pent r6suiter _ ia mort ou biessuregrave.
,_ ATTENTIONindiqueun danger qui, si non _vit6, peut
r6sulter _ nne blessurernineure.
AViS indique une situation qui poutr6suJter en dornrnage
auprodnit
Renseignementset symbolesde danger
m
Alerte de s_curit_ - Identifie I'inforrnationde
s_curit_ des dangers qni peuventr6sulter en
blessurecorporelle.
IVlanueld'utilisation - Lisezet cornprenez avant
route activit_ concernantI'ntilisation de la
souffleuse _ neige.
Irnpuiseurrotatif
@De prudence,
soyez hersde la
pottle de la
souffleuse _ neige
Tari_re rotative
N'essayez pas de
tendre le bras pour
prendrelos pi_ces
rotatives
_F ngrenages
rotatifs
/_-_ 0biers projet6s
Fen Explosion
Choc Vapeurstoxiqnes
Surface chaude
Protection des
oreilles est
recomrnand_e
pourIongue dnr_e
d'ntilisation
Arr_tez le rnoteuret enlevez le connecteur de la
bougie d'allurnage avant de faire dn travail
d"entretien ou de r_paration.
AVERTISSEMENT
IVlod_lesdes IL-U. : Certains cornposantset de sos
accessoires li_s dans ce prodnitcontients des produits
chirniquesconnus solon I'l_tat de Californie de causerle
cancer,des anomalies cong_nitalesou autre effet nuisible
la reproduction. Laver les mains apr_s la manipulation.
Certification "Cot _quipernent est conforrne aux exigences de
la norrneANSi B71.3-2005 relative aux souffleuses _ neige.
AVERTISSEMENT
IVlod_iesdes I_.-U. : L'_chappernentdu rnoteurde cotappareil
contientdes produitschirniquesconnusscion I'[_tatde la
Californie de causerle cancer, des anomalies cong_nitales
ou autre offer nuisible_la reproduction.
AVERTISSEMENT
iVlod_lesdes IL-U. :Les bornesde batterie, los extr_rnit_s
sorties, eties accessoires li_s contientsdu plornbet des
cornposantsde piornb-produitschirniquesconnusde causer
le canceret des anomalies cong_nitaiesscion i'l_tatde
Californie. Laver les mains apr_s la manipulation.

SECUR/TEBE L'OPERATELIR
Symbolesde commandesur Yequipement
l+!
i×i
Huile
Carburant
Marche/Arr_t
Voletde d6part
ferrn_
Voletde d6part
ouvert
Arr_t
uu
R1--
Marche avant
Neutre
Recuie
D_rnarrage
61ectrique -
Ernbrayer(vers le
bas) et d_brayer
(vers le haut)
Lent Moteur =en rnarche
D
Vite
Cornrnande de
traction-
Ernbrayer
(vers le bas)
Tari_re
d'embrayage
Conduit
d'6jection
(gauche et droit)
J--
=_"m
o_
-dr
IVloteur- arr_t
Cornmande de
tari_re - Ernbrayer
(vers le has)
D_fiecteurde conduit
(haut et has)
Poign6es chauff_es
(haut et has)
Easy-TurnTM Commandedetraction TM
Free-Hand Commande
Lecturedu manuel
DANGER
Lisez,comprenez,etsuiveztousleeinstructionsurla
souffleuse_ neigeet le manueld'utilisationavantde faire
fonctionnereetappareil.
Lafaillite d'observerlesinstructionsdesdcuritddansce
manuelrdsultera_ lamortoublessuregrave.
. Soyezcompletementfamilieraveclescommandeset I'usagenormaldela
souffleusea neige.
. Assurez-vousquevous _tesbienentra_n_avantdefairefonctionnerla
souffleusea neige.
*Sachezcommentarr_terI'appareilet @clencherlescommandesrapidement.
. Nelaissezjamaisuneautrepersonnefairefonctionnerlasouffeuse_ neige
sanssurveillance.
. Suiveztoujoursles instructionsdansle manueld'utilisation,si lasouffleuse
neigeseraentrepos_epourunep6riodeprolong@.
,, Veuillezmaintenirouremplacerles6tiquettesdes_curit_etd'instructionssi
n_cessaire.
*N'essayezjamaisdefairedesr@arationsmajeuressur lasouffleusea neige
moinsquevous_tesbieninstruit.L'entretienina@quatdelasouffleuse
neigepeutr_sultera un fonctionnementdangeureux,dommage
1'6quipementet I'invalidationdela garantieduproduit.
Conduitd'6jecteur
DANGER
Leconduitd'djectioncontientunimpulseurrotatifpour
djecterla neige.Ned@ouchezou neddgagezjamaisle
conduitd'djectionavecvosmains.Lesdoigtspeuvent
facilement@e prisesdansrimpulseur.Utiliseztoujoursun
outil de nettoyage.
Lafaillited'observerces instructionsdesdcuritdrdsultera
uneamputationtraumatiqueou dilacdratongrave.
POURDEGAGERENTOUTESr:CURITEL'[:JECTEURBLOQUr:
AANGER' Lecontactdes mainsavecrimpulseurrotatifdansleconduit
d'djectionestlacausela pluscommunedesblessuresassocidsavec
dessouffleuses_ neige.N'utilisezjamaisvos mainspournettoyerle
conduitd'djection.
SUIVEZCESINSTRUCTIONS:
1. Arretezle moteur.
2. Attendre10secondespours'assurerqueleslamesdelaturbinesesont
arr_t@sde tourner.
3. Utiliseztoujoursun outil denettoyage,nonvosmains.
REMARQUE:Pas tous les syrnboles de cornrnandernontr_s
surcette pageappara'itra sur votresouffleuse_neige.
Veuillez voir la section des CARACTERISTIQUESET
COMMANDESpourles symbolesappiicables.

SECURITEDEL'OPERATEUR
S6curit6de 1'6quipementet de son fonctionnement
DANGER
ettesoufiJeu neigeest een&nt ei;op rateu; oui
s curit .Simalut,is eoumalentretenue,ceci tre
-dangereux.Souvenez-vousquevous_tesresponsablepour
votres6curit6et deceuxpr6sdevous.
*Gardezhorsdeporteedu fonctionnementtoutespersonnes,enparticulierles
petitsenfantet lesanimauxdomestiques.
,, InspectezcompletementI'endroitoula souffleusea neigeserautilis@et
enleveztoustapisd'accueils,les luges,lesplanchesa neige,lescordons
d'alimentationetautrescorpsetrangers.
,, Nefaitespasfonctionnerlasouffleusea neigesansporterdesvetementsde
neigeconvenables.
,, Leportdechaussuresamelioreralastabilitesur dessurfacesglissantes.
,, SoyezattentifpoureviterdeglisseroudetomberparticulierementIorsdu
fonctionnementdelasouffleusea neigeenmarchearriere.
,, Nefaitespasfonctionnerlasouffleusea neigesansunebonnevisibiliteou
lumiere.Toujoursgarderun bonequilibreet tenirfermementlespoignees.
,, Ne@blayezpasla neigede lasurfacedespentes.SoyeztresprudentIorsdu
changementde directionsur lespentes.Nepastenterde@blayerdespentes
raides.
,, Nesurchargezpasla capacitedela machineenessayantde@blayerla neige
tropvite.
,, Nefaitespasfonctionnerlasouffleusea neigea unehautevitessede
tansportsur dessurfacesglissantes.Regardezderrierelasouffleuse_ neige
etsoyezprudentIorsdu fonctionnementen marchearriere.
,, N'utilisezpaslasouffleusea neigesur dessurfacesaudessusdu solcomme
lestoits desresidences,lesgarages,lesverandasou toutesautresstructures
ouedifices.
o Lesoperateursdoivent@aluerleurabilitedefairefonctionnerlasouffleuse
neigeentoutesecuritesuffisammentpourprotegereux-m_meset lesautres
deblessures.
o Lasouffleusea neigeestconcuepourenleverla neigeseulement.N'utilisez
pasla souffleuse_ neigepourtouteautreraison.
o Netransportezpasdespassagers.
o Apr_savoirfrappeun corpsetranger,fermezle moteuraARRttT,@connectez
lecordondesmoteurselectriques,inspectezcompletementlasouffleuse
neigepouraucundommage,et r@arezledommageavantderecommencer
et defairefonctinnerlasouffleusea neige.
o Si lasouffleusea neigesecoussed'unemaniereanormale,fermezlemoteur
ARRttT.Toutevibrationestg@eralementunavertissementde probleme.
Veuillezvoir unconcessionnaireag@pourdereparationnecessaire.
o Pourdesmodelesmunisavecdesmoteursde @marrageelectrique,
@branchezlecordond'alimentationapr_sla miseenmarchedumoteur.
Manutention de carburant
DANGER
Lecarburantetsesvapeurssontextremementflammableset
explosifs.Veuillezbienprendresoinavecpr_autiondu
carburant,
Ad6fautd'observercesinstructionsdes6curit6peutcauser
unfeuouexplosionquir6sultera&desbreluresgravesoula
mort.
LOBSDEL'ADDITJONDUCABBUBANT
,' Arr_tezlemoteuret laissezrefroidirpourau moins2 minutesavantd'enlever
lebouchondereservoirpourajouterlecarburant.
,, Remplissezlereservoirdecarburantdehorsou dansunendroitbienventile.
,, Neremplissezpastrop le reservoirdecarburant.PourpermettreI'expansion
deI'essence,neremplissezpasau-dessusle basducou dureservoirde
carburant.
,, Gardezlecarburantloin desetincelles,desflammesnues,deslampes
temoins,dechaleuret d'autressourcesd'allumage.
,, Verifiezsouventleslignesdecarburant,lebouchonet lesaccessoirespour
fissureset fuites.Remplacezsi necessaire.
,, Utilisezun reservoirdecarburantapprouve.
,, Sile carburantrenverse,attendezjusqu'_ce qu'ilsoit vaporiseavantde
mettreenmarchele moteur.
_JSE ENMABCHEDUMOTEUB
,' Assurez-vousquela bougied'allumage,lesilencieux,le bouchonde
carburantet filtre a air (si equippe)sonten placeet bienfixes.
,, Lorsquela bougied'allumageestenlevee,nemettezpasen marchele
moteur.
,, Sile carburantest renverse,n'essayezpasde mettreen marchelemoteur
mais,@m@agezlasouffleusea neigeloin de lasectiondedegatet@itezde
toutesourced'ignitionjusqu'_cequelesvapeursdecarburants'@apore.
,, N'amorcezpastrop le moteur.Suivezlesinstructionsdansce manuelpour
mettrele moteuren marche.
,, Sile moteurest noye,veuillezr@lerlevoletde depart(si equippe)a la
positionOUVERT/MARCHE,@m@agerI'ac@lateur(si equippe)a laposition
VlTEet mettreen marchelemoteur.
LOBSDU FO_CT_O_NE_E_TD'EQUIPE_ENT
,' N'inclinezpaslasouffleusea neige_ unanglequi causelecarburantde
renverser.
,, N'etouffezpas lecarburateurpourarr_terlemoteur.
,, SiI'assemblaged'@urateur(si equippe)oule filtre_air estenleve,nefaites
pasfonctionnerlemoteur.
LOBSDU CHA_GE_ENTD'HUILE
,, SivousecoulezI'huiledudessusdutubed'huilederemplissage,lereservoir
decarburantdolt etrevideoule carburantpeuts'ecouleret peutresulteren
feuouexplosion.
LOBSDELATBA_SPOBTATIO_D'EQUIPE_E_T
,, TransportezIorsquele reservoirestVIDE,ouIorsquelasoupaped'arretest
FERMEE.
LOBSDEL'ENTBEPOSAOED'ESSE_CEOUD'g:QWPEMEHTAVECLE
CABBUBA_TDA_SLEB[:SEBVOIB
,' Entreposezloin desfournaises,despo_les,deschauffe-eauxouautres
appareilsqui ontuneflammed'allumageou autresourced'allumagequi peut
allumerlesvapeursdecarburant.

SECUR/TEBE L'OPERATELIR
Pi_ces amovibles
DANGER
Gardezlesmains,tespie@et lesv_tementsJoindespi_ces
rotatives.Lespi_cesrotativespeuventcontacterou
enchev_trertesmains,lespieds,lescheveux,lesv_tements
ouaccessoires.
A d6fautd'observercesinstructionsdes6curit_r6sultera
uneamputationtraumatiqueou dilaceratongrave.
o Lorsdunettoyage,delar@arationoude I'inspectionde lasouffleuseaneige,
assurez-vousquelemoteuresta lapositionARRItT,quelabougied'alhmageest
d6branch@et quetoutespi@esamoviblessontarretees.
,, Neplacezpaslesmainsoules piedspresousouslespi@esamovibles.Soyez
loindeI'ouverturedelaconduiteentouttemps.
,, Nefaitespasfonctionnerlasouffleusea neigesansde protectionapprouves
et autresdispositifsde s@uriteen placeIorsdufonctionnement.
,, Nelaissezjamaisvotresouffleusea neigesanssurveillanceIorsquele
moteurest en marche.Toujoursdebrayerlescommandesdeta@reet de
traction,arreterlemoteuret retirerlescles.
,, Assurez-vousquevosv_tementslachesnesontpasa laport@dudevantde
lasouffleusea neigeet de lata@re.Lesfoulards,lesmitaines,lescordons
pendantes,lesv_tementslacheset pantalonspeuventrapidement_treprises
dansledispositifrotatifetuneamputationenresultera.Attachezlescheveux
longset enlevezlesbijoux.
,, Faitesmarcherla machinepourquelquesminutesapresle d@hargementde
la neigepouremp_cherI'engelducollecteur/impulseur.
,, Debrayezla puissanceaucollecteur/impulseurIorsquelasouffleusea neige
est transport@ou n'estpasutilis@.
0bjets projet6s
DANGER
Lesobjetspeuvent_treramassesparlatari_reetprojetesdu
conduit.Nedechargezpaslaneigeverslesspectateursou
permettrequelqu'undevantlasouffleuse_neige.Adefaut
d'observercesinstructionsdes6curitedanscemanuel
resultera_lamortoublessuregrave.
o Porteztoujoursdes lunettesdes@uriteouun ecranprotecteurpendantle
fonctionnementet Iorsd'un ajustementou reparation.
,, Soyezattentifdela directiond'ou laneigeesteject@.Lespietonstouspres,
lesanimauxdomestiquesoules proprietespeuventetreendommagespar la
projectiondesobjets.
,, Soyezattentifdevotreenvironnementpendantlefonctionnementdela
souffleuse_ neige.Sivous passerpardessusdesitemescommele gravier,
lestapisd'accueil,lesjournals,lesjouetset lespierrescach@ssousla
neige,touspeuventetreprojetesdu conduitou bloquesdanslatar@re.
,, SoyeztresprudentIorsdufonctionnementsuroutraversantlesvoles
d'ac@s,lestrottoirsoules routesdegravel.
,, Ajustezla hauteurdu bottlerdecollectionpourdegagerle graveloutoutes
autresma%resrocheuses.
,, Nefaitespasfonctionnerlasouffleusea neigepresdesenclosenvitre,des
voitures,despuitsdefenStreet desdescentessans lepropreajustementde
I'angledu conduitd'ejection.
,, Familiarisez-vousavecI'endroitd'ou vousplanifiezdefairefonctionnerla
souffleuse_ neige.Marquezlesbornesdesvolesd'acceset destrottoirs.
Enfants
DANGER
Lesaccidentstragiquespeuventarriv&ssi l'operateurn'est
pasattentif&lapresencedesenfants.Lesenfantssont
souventattir_ parlamachineetlesoufflagedeneige.Ne
jamaissupposerquelesenfantsresterontl&oQilsontete
vuspourladerni_,relois.
o Gardezlesenfantshorsdeporteependantlefonctionnement.Lesenfants
sontsouventattiresa I'@uipement.Soyezattentifdespersonnespresentes.
,, Soyezalerteet fermezI'appareilsiil y a desenfantstoutpres.
,, NelaissezjamaislesenfantfairefonctionnerI'appareil.
,, Prenezbiensoin Iorsquevousapprochezdescoinssansvisibilites,les
arbustes,lesarbresoules autresobjetsqui vouscachentlavue.Lesenfants
peuventOtrepresents.
S6curit6de moteur
DANGER
Lefonctionnementsansdangerdela souffleuse_ neige
demandeun soin et entretienvigilant,A defautd'observer
lesinstructionsdesecuritedansce manuelresultera_ la
mortou blessuregrave.
o Debrayeztouslesvoletsdedepartet changezdevitesseauneutreavantde
fairefonctionnerle moteur.
,, Laissezlemoteurs'ajustera latemperatureexterieureavantdecommencer
dedeblayerla neige.
,, Utilisezunefichetrifilairemisa laterrepourtoutessouffleusesa neigemuni
d'unmoteurd'entrainementelectriqueou d'unmoteurdedemarrage
electrique.
DANGER
Lesmoteursdegagesdumonoxydedecarbone,ungaz
toxiquesansodeuretsanscouleur.
Lefar derespirerlemonoxydedecarbonepeutcauserdes
naus_s,desevanouissementsoulamort.
o Veuillezfairefonctionnerlemoteurdehors.
,, Nefaitespasfonctionnerle moteurdansunendroitenferme,memesi les
portesoules fen@essontouvertes.

SECUR/TEBE L'OPERATEUR
S6curit6dumoteur suivre)
AVERTISSEMENT
Lamiseenmarchedumoteurcr66eunegerbed'6tincelles,
L'6tincellepeutmettrelefeuaugazinflammabletoutpr_s.
Explosionetfeupeuenr6sulter.
*Si il y a unefuitede p6troleliqudi_ PLdansI'endroitou vousetes,n'essayez
pasdefairefonctionnerlemoteur.
,, N'utilisezpasdesfhides sous pressionacausequelesvapeurssont
inflammables.
,_hlllll!f_f!l,,
AVERTISSEMENT
Lamiseenmarchedumoteurproduitdelachaleur.Les
pi_cesdumoteur,enparticulierlesilencieux,deviennent
extr_,mementchaud.
Ad6fautd'observercesinstructionsdes6curit6peutr6sulter
_idesbr01uresthermiquesgravesaucontact.
*Netouchezjamaisunmoteurou unsilencieuxchaud.Laissezlesilencieux,
lecylindrede moteuret lesailettesrefroidiravantde toucher.
,, Enleveztousd6brisdela sectiondusilencieuxet de lasectionducylindre.
,, Veuillezinstalleret entretenirenbon6tatlepare-6tincellesavantd'utiliser
1'6quipementsur uneterrebrutedecouverturedeforet,degazonoude
brousse.
,, Mod_.les(:.-U.: C'estuneviolationducodesection4442 delaressource
publicdela Californied'utiliserou defairefonctionnerun moteursuroupres
d'uneterrebrutedecouverturedeforetdegazonoudebroussea moinsque
lesystemed'6chappementestmunid'un pare-6tincellesqui conformea la Ioi
localeoude I'l_tat.D'autresprovincesouzonesf6d6ralespeuventavoirdes
loissimilaires.
Efltretienet entreposage
AVERTISSEMENT
Cettesouffleuse_ineigedolte"trepropremententretenuepour
assurerunfonctionnementet uneperformanceentoute
s6curit6./!,d6fautd'observerlesinstructionsdes6curit6dans
ce manuelpeutr6sulter_ila mortouunebleesuregrave.
,, LorsdeI'entretienou dela r6parationde lasouffleusea neige,arr_tezle
moteur,d6connectezlefil debougieet gardezlefil loin de la priseafin
d'empScherquelqu'undemettreenmarchele moteuraccidentellement.
,, V6rifiezlesboulonsd'obturateuretautrequincailleriesa phsieurs reprises
pourscellageafinquela souffleuse_ neigefonctionnedansdesconditions
s0r.
,, Gardezles6crouset lesboulonsserr6set gardezlasouffleuse_ neigeen
bon6tat.
,, Netouchezpaslesdispositifsdes6curit6.V6rifierr6gulierementleurbon
fonctionnementet r6parerle cas6ch6ant.
,, Lescomposantssontsujetsa s'user,s'endommagereta se d6t6riorer.
V6rifiezfr6quemmentlescomposantset remplacezlespiecesrecommand6s
aubesoin.
*V6rifiezlacommandede fonctionnementfr6quemment.Ajusteret r6parerle
cas6ch6ant.
,, Utilisezseulementdespiecesderemplacementapprouv6esIorsquevous
faitesdesr6parations.
,, Conformeztoujoursaveclessp6cificationsdufabricantsurtouslesr6glages
et ajustements.
,, Seulementlesconcessionnairesag66sdeservicedoiventetreemploy6spour
desservicesmajeureset desr6parationsn6cessaires.
,, Utilisezseulementdesaccessoiresapprouv6sparlefabricant(tellesqueles
massespourroueset lesmassesd'6quilibrage).
,, N'essayezjamaisdefairedesajustementspendantquele moteuresten
marche(aI'exceptionde la recommendationsp6cifiquedufabricant).
,, Nelaissezjamaisla graisseou I'huiledecontacterla rouede frictionen
caoutchoucoule disqued'entrainement.Si ledisqued'entrainementou la
rouedefrictionviennentencontactaveclagraisseou I'huile,un dommage
la rouede frictionencaoutchoucr6sultera.

SECUR/TEDEL'UT/L/SATEUR
,_k Ce symboJesignaledes consignesde s_curit_
irnportantes.II signifie" g<Attention!Prenezgarde !
Votres_curit_est menac_e, g,
Avantd'utiliserlasouffleuse_ neige,fireles6tiquettesdes6curitdap-
pos6essurlasouffleuse_neige.Losavertissementset misesengarde
visent_ prot_gerrutiiisateur.Pour6carterlesrisquesdeblessure
corporelleoudedommagedelasouffleuse_neige,comprendreet
respectertoutesiesdtiquettesdesdcurit6.
B6f. 1737872 I
_=tiquetteVitesses
,& AVERTISSEIVlENT: Si desdtiquettesdes_curit_sontusdes
ou endommag_eset nesontpluslisibies,commanderder
etiquettesderechangeaupr_sduconcessionnairelocal.
R_f. 1737889
Etiquette de la
commandode
tari_re \
R6f. 1737870
Etiquette de la com-
mandode traction
Etiquettes du moteur
R_f. 278297
_A_I_YXXXXX.×XXXXXXXXXXX
Amputation hazard
Contactwith moving paris inside
chute wiil cause serious injury.
=Shut off engine before unclogging
dischargechute.
* Else clean-out tool not hands]
Risque d'amputation
Toutcontactavec desg_bcesenrnouvement_I'intgrieur
de la go,lotto provoquerade gravesbJess_res.
d'djection.
Utiliserroutg dedbgagement,pus les mains!
Hum_rod'identification
du produitet _tiquette
du num_rode s_rie
(Arri_re du carter du
moteur)
Amputation Hazard
°contact with ae_er will
_ause serious in{ury.
o]_eeg hands, _eet a_d
clolhiflg away.
=](eep _yst_n_rs away.
Thrown Objects
Hazard
=NeverdirecZ_ischarge
chutetowardspersons
orprope_y.
Oeadthe_perator's
mae_al {o_egeratieg and
sa_eiy in_tructi_es.
Shut off engine a_g
re_ove key before
Risque d'amputation
° Tout contzci avec la
t_ri_re provo_uera de
graves hlessures.
Tenir vos pie_s, vos mai_s
et vSleme_ts _ dis4a_e.
oTenir Je_spec_leurs b
dislance.
Dangerohjetsprojetbs
• He iamais diri_er _a
_hete en direction des
pe_onnes oubiens
mai_fiels.
Arr_ter Je moteur ei
reOre_ la cie _vani
performingmaintenance _d'effedeertout_ntretien
or_p_irworb, outou_e_bp_ra0on.,_,_,_
m __
B_f. 1737888
AugerEtiquette
Dangervis sans fin
Etiquettesde s_curit_ Figure I

ASSEMBLAGE
OUTILLAGE REQUIS POUR L'ASSEIVIBLAGE
1- Couteau
2 - Clesde1/2 pouce(oudes amolette)
2 - Clesde9/16pouce(ouclesa molette)
2 - Clesde3/4 pouce(ouclesamolette)
1- Clede3/8 pouce(ouol5a molette)
1- Pinceoutournevis
COMMENT MESURER LES VJS
Longueur
Diametre
CONTENUDE L'EIVIBALLAGE
1- Souffleuseaneige
1- Recipientdestabilisateurdecarburant(danslesacdepieces)
1- Goulotted'ejection
1- Manivelle
1- Sacdepieces
,_ AVERTISSEMENT"Toujoursporterdes lunettes de
securit_ ou autre protectionoculaire pourassembler la
souffleuse _ neige.
SAC DE PI[::CESCONTENANT
* 2-1/4-20 x 1.75 Vis
1 - Pommeau
*2-Entretoise
D©
* 2-1/4-20
Ecrou
*2 - CI6s
*Lespiecesquinesontpasdemontageet lecordond'alimentationsetrouvent
danslesac_pieceslivr6aveclasouffieuse_neige.Lespiecespeuvent8tre
gard6sdanslabo_e_outilsquisetrouveaudessusducouvre-courroie_
10

ASSEMBLAGE
REMARQUE: Lec8t6droitougauchede lasouffleuse_neigeestindiqu6
parrapport_ iapositionderutiiisateurtenantiapoign6e.
DEBALLAGE
1. A I'aided'uncouteau,coupezensuivantlespointill6sautourduhautet
dufondducarton.PuisretirezlecartonselonI'illustrationFigure2.
2. Rep6rezet retirezlesacdepiecesd6tach6es.
3. Retirezlesgoupillesdecisaillement,les boulonset lesentretoisesdu
sacdepiecesd6tach6eset rangez-lesdanslaboTtedestockagedes
boulonsdecisaillement.
REMARQUE: Mettezdec8t6lestabilisateurdecarburantenattendant
d'ajouterdeI'essencedansier6servoir.Nousrecommandonsquele
stabiiisateurdecarburantsoitajout6aucarburant_chaquefoisquele
r6servoirestrempli.
4. D6gagezlasouffleusea neigedu cartonenlatirantparlapoign6ein-
f6rieurepourlafairefouler.
ATTENTION: NEPASrecuiersur lesc_bies.
5. Retirezlemat6rield'emballagedeI'assemblagedepoign6e.
6. Coupezlesattachesretenantlesc_blesdecommanded'embrayage
lapoign6einf6rieure.
REMARQUE: Si lesc_iblessesontd6branch6sdesleviers
d'embrayage,remontezlesc_blescommeillustr6Figure3.
Souffleuse 9 neigedans sa position d'exp6dition Figure 2
Cgblesde commande d'embrayage Figure3
11

ASSEMBLAGE
MONTAGEDELAPOIGNEE
SUPERIEUREET DELAIViANIVELLE
1. Desserrerlesvis, lesrondellesplates,lesrondellesdeblocageet les
ecroushexagonauxdesorificesduhautdelapoigneeinferieure,sans
lesretirer(voir Figure4).
2. Retirertouteslesfixationsetleboulonaoeilletdelamanivelledes
trousinferieursdela poigneeinf6rieure.
3. Souleverlapoigneesuperieureetlamettreenpositiondefonction-
nement.Lapoigneesuperieuredevrait@rea I'exterieurdela poignee
inf6rieure.
REMARQUE:S'assurerqueiesc_blesnese prennentpasentreia
poigndeinferieureet lapoigneesuperieure.
4. Remonterlesfixationset leboulonaoeilletdela manivelledemontes
I'@ape2. Nevisserqu'unefoisrouteslesfixationsenplace.
5. Attacherlatigedela manivelle(A,Figure5) aI'ensembledujoint uni-
versel(B)aveclagoupilleenepingleacheveux(C).
6. SetterI'ecrousur leboulona oeillet.S'assurerqueleboulona oeillet
estcorrectementaligneet quelamanivellepeuttournerlibrement(volt
Figure4).
7. Vissertousles boulonsdela poignee.
REMARQUE:S'assurerquela manivellenetoucheparlecouverciedu
carburateur.
Manivelle
Rondelle
plate
de
Ecrou de
//biocage
Be@on
& oeillet Pi&,cede Rondelle plate
raccord
Boul
Montagede la poigneesuperieure
Ron late
Figure 4
Montagede la manivelle Figure5
VERIFICATION DES CABLES
1. Siles@blesdecommandesontdetachesducadredumoteur,lesrat-
tachercommeindiqueFigure6.
2. Pourtout@@ageeve@u@,voir "Verificationet@@agedes@bles"
danslasectionENTRETIEN.
RI_.GLAGEDE LA LONGUEUR DES CABLES
Les@blesd'entratnementdetractionet d'entratnementdelatariere(AetB,
Figure6) ontete@gleenusineet aucun@@agededevrait@renecessaire.
Cependant,lotsdelamisedespoigneesenpositiondefonctionnement,
les@blespeuvent@retroptendusoutrop I_ches.DanslecasoOun
@@ages'averenecessaire,consulterlarubrique"Verificationet @@age
des@bles"danslasectionENTRETIEN.
V_rifier les cgbles
12
FigureB

ASSEMBLAGE
MONTAGEDELASI_LECTEURDEVITESSE
1. CouperI'attacheenplastique(A, Figure7)maintenantleselecteurde
vitesse(B)ausupportduselecteur(C).
2. %poserI'ecroudeblocage(A, Figure8), larondelle(B), leressort(C)
etleboulon(D).
3. PlacerleselecteurdevitessecommeillustreenFigure9.
REMARQUE:VuedeI'int6rieurderuniteIorsquerutilisateurestenposition
pourfairefonctionnerlechasse-neige
4. Reposerleboulon(D,Figure8), leressort(C),larondelle(B)et
I'ecroudeblocage(A).
5. SerrerI'ecroudeblocagejusqu'aceque1/8a3/16 poduboulonde-
passedeI'ecroudeblocage.
6. Visserlecontre-ecrouhexagonal3/8-16(E)posur lelevier(F)jusqu'a
cequeI'ecrouatteintlafin dufiletage.
7. Visserlepommeauenplastique(G)lepluspossibleet s'assurerquele
pommeauestdirigeversI'avant.
8. SerrerfermementI'ecroude3/8-16pocontrelepommeau.
9. Deplacerleselecteuratouteslesvitessespours'assurerdelabonne
tensionduressort.Si les61ecteursecoincedanslesencoches,
desserrerI'ecroudeblocagede1/2 tourjusqu'acequeleselecteurse
deplacepluslibrement.
1/8a 3/16pode
filetsexposes
Poign_edu s_lecteur devitesses Figure8
Selecteur
Support du
s_lecteur
Tableaude commande et support du s_lecteur
devitesses Figure9
Levier de changement de vitesse et support Figure 7
13

ASSEMBLAGE
MONTAGE DE LA GOULOTTE
REMARQUE: L'ensemblede ranneaudelachute(A)estinstall6sur
I'appareN_ I'usine(Figure10).
1. Tournerla manivelle(Figure4)jusqu'acequela%chedelabagueex-
t6rieure(B,Figure10)deI'anneaudelachutepointeversravant.
REMARQUE:S'assurerqueiafentedansI'anneaudelachutesoitalign6e
aveciafiechesur i'anneauext6rieur,commeiNustr6.
2. Monterled6flecteurdelachute(C)enpassantlesvis(D) etles6crous
(E)danslestrouscommeillustr6.L'installationestadequateIorsquele
d6flecteurdechutepointeversI'avant.
3. Setterlesvis fermement,enfaisantattentionanepastrop lessetter.
Montagede la goulotte Figure18
MONTAGE DU PHARE
Lephareestmonteduc0tedroit delapartiesup6rieureduguidon.II est
poseaI'enverspourlesbesoinsdeI'exp6dition.
1. Retirer1'6crou(A,Figure11)et larondelledeblocage(B)du boulon
t@eronde(C).
2. Releverlephare(D)a lapartiesup6rieureduguidon(E).S'assurer
quelarondelle(F) 6ventailet la rondelle(G)cintr6esontbienplac6es
commeillustr6enFigure11.
3. Poser1'6crouet larondelledeblocagepourfixerlephareauguidon.
Lepharedoit@redirig6versI'avantdu chasse-neige.
Montagedu phare Figure11
14

FONCTION$ETCOMMA/l/DES
®
n_
"-__-Iillil
JJ ,1_
-tS-
®1 -_-- [__--> R1I
®
©
®
Commandesde la soufleuse a neige figure 12
C01VlIVlANDESDELASOUFFLEUSEA NEIGE
A. Levier duselecteur de vitesse-- Permetdechoisirunrapport
devitesseparmilessix(6)enmarcheavantetdeux(2)enmarchea-
rriere(voir Figure12).Pourchangerdevitesse,amenerlelevierdu
selecteurdevitessejusqu'alapositionsouhaitee.
B°
C°
FIEMAFIQUE: Ne pas deplacerle levier de vitesse alors que
I'embraya!le de traction est en!la!le. Ceci peut!lravement
endornrna!lerle syst_',med'entrainement.
Levier d'embraya!lede vis sansfin -- Sertaengageret
debrayerlavissansfin et laturbine.Serrerverslebaspourengager,
relQcherpourdebrayer.
Levier d'ernbraya!lede traction -- Sertafaireavancerla
souffleusea neigeenmarcheavantouarriere.Serrerverslebaspour
engager,relQcherpourdebrayer.
D. Manivelle de rotationde !loulolle -- Sertafairepivoterla
goulotted'ejectionverslagaucheouversladroite.
E. I._crou_ oreilles de cornrnandede dellecteur-- Sert
contrOlerI'angledudeflecteurdegoulotte(verslehautoulebas).
f. Ontil de nettoya!le-- Sertaenleverlaneigeet lesdebrisdela
goulotted'ejectionetdu carterde latariere.
G. Plaque d'usure -- Utiliserpourajusterlegardeausol duboTtier
detariere.
H. Phares-- Utiliserpourfairefonctionnerlasouffleusea neigedans
desconditionsdepauvrevisibilit6.
I. Bo'fle _!oulils -- Vousy trouverezdesgoupilles,boulonde
cisaillementetdecisaillementetdesentretoises.
15

FONCTION$ETCOMMANDES
®I÷1I'-,I
®
®
Commandesde moteur Figure 13
COlVlIVlANDESDU IVlOTEUR
A. Boutonde cornrnandeduvolet de depart -- Utiliserpourfaire
fonctionnerlemoteur(voirFigure13).
B. Beuten de dernarrageeleclrique -- Utiliserpourlamiseenmarche
dumoteurenutilisantledemarreurelectrique.
C. Beuten d'amerceur-- UtiliserpourinjecterI'essencedansle
manifoldducarburateurpourassurerundepartrapidedansdes
temperaturesfroides.
D. Ole de securite -- Doitetreinserepourfairefonctionnerlemoteur.
Retirezpourarreter.Netournezpaslacledesecurite.
E. Cordon de dernarreur-- Utiliserpourmettreenmarchele moteur
manuellement.
F°
G.
H°
Interrupteur MARCHE/ARR[:T-- Utiliserpourmettreenmarcheet
arreterlemoteur.
Reservoirde carburantet bouchon-- Remplissezlereservoir
peupres38 mm(1-1/2 po)dessouslehautducoupourpermettre
I'expansionducarburant.
Bouchond'huilede rernpiissage(jauge d'huiie aliong_)
16

UTILISATION
AVANT D'UTILiSATiON SOUFFLEUSE A NEiGE
Contrgler ia visserie.V_rifierquerouteia visserieestbien
serr_e.
Lirele MANUELD'iNSTRUCTIONSet iesS[_CURIT[_DE
L'OPERATEURavantd'utiiiser ia SOUFFLEUSE,_NEiGE.Comparer
iesillustrationsavecia sonffieuse_ neigepoursefamiiiariser
avecrempiacementdesescommandesetr_giages.Conserverce
manuelpourrouteconsultationuit6rieure.
REMARQUE: Cette sonffiense _ neigeest iivr_eAVECDEL'HUiLE
dans ie motenr. Voir les instructions_,Avantde d_marrer le
moteur ,, duns ia sectionUTILISATIONde ce manuel avantde
d_marrer ie moteur.
AVERTISSEMENT:L'utilisationderoute souffleuse_neigepoutprovoqueria projectiond'objets dunslosyeuxet causerde gravesI_sions
ocuiaires.Toujoursporterdesiunettesdes_curit_ouautreprotectionocuiaireavantd'utiliser ia souffieuse_neige.Nousconseillonsie
portde iunettesdes_curit_standardoud'un masquede s_curit_WideVisionpar-dessusdes iunettescorrectrices.
UTILISATIONDELASOUFFLEUSEA NEiGE REMARQUE:Lorsdn ddneigementde neigeionrdeet hnmide,il
L'utilisationlaplusefficaceduchasse-neigeserad@ermin6eparI'exp6rience,
entenantcomptedelanatureduterrain,duventetdelapositiondesb_ti-
ments,enparticulierpourd@erminerladirectiond'@ectiondelaneige.
REIVlARQUE:Nepasprojeterla neigeversun b_timentcar des
corps6trangersponrraient _tre pris par ia vissansfin et _ject_s
violemment.
1. D6marrerlemoteur.Voir_D6marrerlemoteur,, dartscettesection.
2. Tournerlamanivelle(A,Figure12)pour@glerI'orientation(degauche
droite)delagoulotted'@ection.
3. R6glerleddlecteurdelagoulotte.DesserrerI%rou(A,Figure14)
oreillessitu6surlec0t6delagoulotteetreleverdeddlecteurpour
augmenterladistanced'@ectionouI'abaisserpourdiminuerladistance
d'@ection.SerrerI%rou_oreilles.
estconseill_de r_dnire ia vitessede d_placement, de maintenir
ie motenr_ pleinr_gime et de ne pusd_gageria neigesnr route
ia iargenrde ia machine.
5. Embrayerlavissansfin _I'aidedelapoign6ed'embrayage(A,Figure
15),
VERSLEBAS- positionernbray6e
VERSLEHAUT- positionddbray6e
6. Embrayerlacommandodesrouesaveclapoign6egauche(B).Lorsquele
chasse-neigecommence_sed6placer,bienmaintenirlospoign6essurle
guidonetguiderlechasse-neigedansladirectionvoulue.Nepas
pousserlechasse-neige.
7. Pourar@terled6placementdelamachine,rel_cherlapoign6ede
I'embrayagedesroues(B).
V6rifiezled6flecteurdelachute Figure14
,_ REiVlARQUE:Ne pus projeteria neigevers un b_timent car
des corps_trangers pourraient_tre pris par ia vis sansfin
et _ject_s violemment.
NOTE: Always release the traction control lever before moving the
speed select lever.
4. Lavitesse(A, Figure12) ded6placementest d@ermin6epar lescondi-
tions dela neige.Ohoisir lavitesseend6pla_antle levierdevitessedans
la partiecolo@edu panneaucommeindiqu6ci-dessous.
1-2 Neigehumide,Iourdeet t@sprofonde
3 Neigemoyenne
4-5 Neiget@s16g_re
6 Position detransportseulement
Leviersde commande Figure15
.
9.
Pourar@terlavissansfin,rel_cherlapoign_ed'embrayagedelavissans
fin(A).
Pourfairereculerlasouffleuse_ neige,placerleleviers@ecteurdevitesse
(A,Figure12)danslapremiereousecondeposition(R1ouR2)de
marcheartisteetengagerlelevierdecommandodetraction(B,Figure
15).
_e jamais taire tourner le moteur a I'_
ieur ou duns des endroits clos et mai ventil_s. Les gaz
d'_chappement du moteur contiennentdu IViONO×YDEDE
CARBONE,un GAZ INODOREet IVIORTEL.
*Garderies mains, los pieds, los cheveuxet los v_tements
ampies _i'_cart des pi_ces en mouvement du moteur et de ia
souffieuse_neige.
,, La temperature du silencieux et de sonvoisinagepout
d_passer 66 °C (150 °F). Evitercos zones,
,, NEPASiaisser d'enfants ni de jeunes adolescentsutiiiser ni
s'approcher de ia souffieuse_neige durant ia marche.
17

UTILISATION
,_L AVERTISSEIVlENT: Lifele manueld'instructionavantd'utiliser
la machine.Uneutilisation imprudentede cettemachinepout
s'av_rerdangereuse.
*Nejamaisutiiiser la souffleuse_neigesanstoussoscapers,
grilleset autresprotectionsen place.
*NejamaisdirigerI'_jectionversdesfen_tresni iaisserdes
personness'approcherde la machinealorsquele moteurest
en marche.
* Toujoursarr_ter ie moteuravantde quitteria positionde
conduite.
* D_hrancherla hougieavantded_houcherie carterdevissans
finouia goulotted'_jectionet avantd'effectuerdesr_giagesou
r_parations.
* Avantdequitterla machine,enleveria cl_decontact.Pour
r_duirele risquedefeu,garderia machinepropreet exempte
d'_clahoussuresd'essence,d'huileet autresd_hris.
TRACTION GOUPILLE DE SURET! f:
Ledroit detractiondesrouespeut_trecompletementlib6reenutilisantla
goupille de s_ret_ (A, Figure16).Celapermeta I'unit_deled_placer
facilementaveclemoteurcoupe.
ARRETER LA SOUFFLEUSE A NEIGE
1. Rel_cherlelevierdecommandedetraction(B,Figure%.
2. PlacerlecommutateurdeON/OFF(A,Figure22)enpositionOFF(Arret)et
sortirlacl6des6curit6(B). Traction goupille desOret6 Figure16
CONTROLERLENIVEAUD'NUILE
(AVANTDEDi_IVlARRERLEIVlOTEUR)
REiVlARQUF:Le rnoteurest iivr_ d'usine rernpiid'huile.
ContrSler le niveaud'huiie. Completer le niveaulecas
6chaunt.
1. S'assurerquelamachineestdeniveau.Utiliserunehullodetergente
dehautequaliteclassee<<ServiceSF,SH,SJ, SLouplus _.
2. Ouvrirlebouchon-jauged'huile(A,Figure17)etI'essuyeravecunchiffon
propre
3. Remettrelebouchon-jauged'huileenplaceettournerdanslesensdes
aiguillesd'unemontrepourserrer.
4. Ouvrirlebouchon-jauged'huileetverifierleniveaud'huile.
REIVlARQUE: Ne pusv_rifier le niveaud'huile durantla rnarche
du rnoteur.
5. Lecasecheant,ajouterdeI'huilejusqu'aurepereFULL(Plein)sur le
bouchon-jauged'huile.Nepasajoutertropd'huile.
6. Bienserrerlebouchon-jauged'huileapreschaquecontrOledu niveau
d'huile.
REIVlARQUE: Par tr_s grand froid, au dessousde -18 °C (0 °F),
utiiiser unehuiie rnoteur5W30 synth_tiquepourfaciiiter le
d6marrage.
REMARQUE: L'huiiernoteurS.A.E. 5W30 peut_tre utilis6e
pour faciliter le d_rnarragepar des temperatures de =7_=18°C
(20 _ 0 °F). L'huile synth_tique5W30 est utilisable _ toutes
temperatures.NE PASrn_iangerI'huile avec I'essence.Voir los
hullos recornrnand6es dunsie tableau ci-contre.
oF
104
86
68
50
32
14
-4 .......
°22
*i
°C
Sous4 °C (40 °F) I'utilisationdeSAE30 r6sultera_ unedifficult6demiseen marche.
** Au-dessus27 °C (80°F) I'utilisationde10W-30peutcauseruneaugmentationde
consomptiond'huile.V_rifiezleniveaud'huile plusfr_quemment.
ContrOlerle niveau d'huile Figure 17
18

UT/L/SAT/ON
REIVlPLIRLE Ri_SERVOIRD'ESSENCE
Cemoteurestcertifiepourfonctionnera I'essence.SystemedecontrOle
desemissionsd'echappement: EM(modificationsmoteur).
Remplirlereservoird'essenceavecdeI'essenceautomobileordinaireousuper
sansplomboureformulee,fratcheet propre,d'indiced'octaneminimumde
85,enajoutantunstabilisateurdecarburant(suivrelos instructionssur
I'emballagedustabilisateurdecarburant).NEPASutiliserd'essenceau
plomb.II estconseilled'ajouterdustabilisateurdecarburanta I'essence
chaquefoisqueI'onajoutedeI'essenceaureservoir.
REMARQUE: L'essencede qualite hivernale est plus volatile
pour ameJiorer le (lemarrage. Verifier que le hi(ion est propre
et exempt (le routesalete et autres mati_res etrang_res. Ne
jamais utiliser (l'essence susceptible(l'_tre eventee suite_ une
conservationproiongeeclansle hi(ion.
,_ ATTENTION• HE PASutiiiser une essencecontenantune
queJconquequantite (l'alcool car cola presentedes
risques de (lommages graves(lu moteur ou de baisse
(le performances notable.
AVERTISSEIVlENT"L'essenceest inflammable, Toujours
fake preuve (le precautionpourmanipuler ou entreposer
ressence. Couperle moteuret le laisserrefroi(lir pen(lantau
racine (leux minutesavant (l'ouvrir le bouchon(lu reservoir. He
pusverser(l'essence(fansle reservoir alors que la souffleuse
neiqeest en marche, chau(leou placeeclansun en(lroit ferme.
Rester_ I'ecart de flammes hUeSou (l'eUnceiieseiectriques et
HEPASFUIVlER(lurant le rempJissage(lu r_servoir. He jamais
compJ_tementremplirle r6servoir (l'essence ; le rempiir
jusqu'_3,8 mm (1-1/2 pouces)(lu hautpourpermettrela
(liiatation (le ressence. Toujoursfake le piein(l'essence
rexterieur et utiiiser un entonnoir ou un bec verseurpoureviter
los (iChor(fomentsacci(lenteis. VeilJer_ essuyerroute
eclaboussure(l'essenceavant (le (lemarrer le moteur.
Conserverressence (fansun recipienthomoioguepropreet
gar(lerle bouchonen placesurle recipient. Gar(lerressence
clansunen(lroit fraiset bienventiie, jamaisclansla maison.
Pourgarantirsavoiatilite,ne jamaisacheterplusde 30 jours
(le reserve(l'essence. L'essenceest (lestinee _ servirde
carburantpourmoteur _ explosion ; parconsequent,ne pus
rutiiiser _ (l'autresfins. Beaucoup(l'enfants aiment I'o(leur (le
ressence, c'estpourquoieJJe(loit 0tre 0ar(leehorsde leur
porte,car elle (legage(leevaleurs(langereusesen cas
(l'inhalation, mais egalementexplosives.
DEIVlARRERLEiVIOTEUR
Verifierqueleniveaud'huilemoteurestsur lerepereFULLdubouchon-
jauged'huile.Lemoteurdelasouffleuseaneigeestequiped'undemarreur
electriqueacourantsecteuretd'unlanceuraenrouleur.Avantdedemarrer
lemoteur,veillerabienlirelosinformationsci-dessous.
Si lemoteurestnoye,placerlestarterenpositionOPEN/RUNet lancerle
moteurjusqu'acequ'ildemarre.
Demarrer le moteur (le la mani_re suivante :
1. ContrOlerleniveaud'huile.Voirlasection<<ContrOler/completerle
niveaud'huile_ dansleMANUELDUMOTEUR.
2. S'assurerqueloscommandosd'entratnementdelamachinesont
debrayees.
3. PlacerlecommutateurdeON/OFF(A, Figure18)enpositionON.
_k AVERTISSEIVlENT"Le (lemarreur eJectrique est
equipe (l'un cordon(l'alimentation _ trois file et
fiche compatibleavec le courantsecteur(lomestique.
Le cot(ion(l'aiimentation (loit 0tre en permanence
correctementrelic _ la torte pourecarter le risque(le
(lecharge eiectrique pourI'utilisateur. Suivre los
instructionssuivantesavec attention :
Verifier que le circuiteJectrique de la maison est (le
type _trois fils avec torte. Encas de (loute,consulterun
electricien agree. Si la maison ne comportepusde circuit
electrique _ trois fiis avec torte, ne pusutiiiser le (lemarreur
eiectrique. Si la maison comporteun circuitelectrique
trois file avec terre mais qu'aucune prise n'est (lisponibie
pourbrancher le (lemarreur eiectrique, fake installer une
prise avec torte par un eiectricien agree.
_,_ AVERTISSEiVlENT: Pourbrancher le cot(ion(l'aiimentation,]
toujoursraccor(ler(l'abor(lle cot(ionau bo'itier (le J
commutateursurle moteur, puisbrancher I'autre boutsur J
une prise (le courantavec torte. J
_'_ AVERTISSEiVlENT' Pour (lebrancher le cot(ion
(l'alimentation, toujours(lebrancher (l'abor(l le cote
branche sur la prise (le courantavec torte.
D6marrerlemoteur Figure 18
4. Insererlacledesecurite(A,Figure19)danslecontactdumoteuret
renfoncercompletementjusqu'enpositiondeMARCHE.
5. Tournerleboutondestarter(B)completementdanslesonsdes
aiguillesd'unemontresi lemoteurestfroid.
REIVlARQUE:Ne pusutiliser le starterpourfake (lemarrer un
moteur chau(l.
6. Appuyerdeuxfoissur leboutond'amorcage(C).
REIVIARQUE: Ne pus utiliser le bouton (l'amor(;age pourfake
(lemarrer un moteur chau(l.
REMARQUE:Veiiier _ceque la rallonge eiectrique est retire (lu
pouvoirrecipient.
19

UT/USAT/ON
9. Demarrage electrique :Appuyersurle bouton-poussoirde
demarrage(A,Figure21). Unefois quelemoteura demarre,
debrancherd'abordlecordondelaprisemuraleetpuisdelaprise
pourcordond'alimentation(B).
Insererlacle desecurite Figure19
7. Demarrage par lanceur : Tenirfermementlapoigneeducordonde
lanceur(A, Figure20). Tirer lecordondu lanceurlentementjusqu'a
sentiruneresistance,puistirer rapidement.
,_.AVERTISSEMENT : Unretraitrapidedu cordonde lanceur
(effet de rebond)peuttirer la mainou le bras versle moteur
avantd'avoir purel_cher le cordonet provoquerdes
fractures,contusionsou entorses. Pourd_marrer le moteur,
tirer le cordondu lanceurlentement jusqu'_sentirune
r_sistancepuistirer rapidementpour_viter le rebond.
REMARQUE: Si le moteur ne d_marre pasau boutde trois
essais, voir la sectionD6pannagedu manuelde moteur.
8. Demurrage electrique : Brancherlecordonderallonged'abord
sur la prisepourcordond'alimentationpuis sur uneprisemurale.
Si unerallongesupplementaireestnecessaire,verifierqu'elleestde
typeatrois fils.
AVERTiSSEIVlENT: Si le cordonest endommag_, ii dolt
_tre remplac_ par le lubricant(ou sonrepr_sentant de
serviceapr_s-vente) ou par une personnequalifi_e afin
d'6carter tout danger.
Poigneeducordondelanceur
Demarrageelectrique
Figure 20
Figure 21
iMPORTANT: Pourprolongerla dur_e de vie du d6marreur,
utiiiser des cyclesde d_marrage courts(cinqsecondes
maximum). Attendre une minute entreles cyclesde
demurrage.
REIVlARQUE: Si le moteur ne d_marre pus au bout de trois
essais, voir la sectionD_pannage du manuel de moteur.
ARRETER LE MOTEUR
Fairetournerlemoteurpendantquelquesminutespourfaireevaporertoute
humiditepresentesurlemoteur.
REMARQUE: Ne pusperdre la cJ_de contact/s_curit_.
Conserver la cl_ de contact/s_curit_duns un endroit sDr. Le
moteur ne d6marre pussansla cl_ de contact/s_curit_.
,_.AVERTISSEIVlENT : L'essenceet ses vapeurssont
extr_mement inflammableset explosives. Le feu ou
I'explosion peuventprovoquerdes br01uresgraves
ou ia mort. HE PASutiliser le starter pourarr_ter le
moteur.
1. PlacerlecommutateurdeON/OFF(A,Figure22)enpositionde0%
2. Retirerlacledesecurite(B).Conserverlacledesecuritehorsdeporteedes
enfants.
D'arreterlemoteur Figure22
20

Di_GAGERUNE GOULOTTED'i_JECTIONOBSTRUi_E
AVERTISSEMENT: Le contactdes mainsavec la turbine
en rotation_I'int_rieurde la gouiotte d'_jection est la
causela pluscourantede blessure associ_e aux
souffleuses _ neige. Jamais claire ou de d_sengorger
la goulotte d'_jectio avec vos mains, ou Iorsque le
moteur est en marche. Losdoigts peuventdevenir
rapidement captureset I'amputationtraumatiqueou
des lac_r-ationsgraves peuventen r_suiter.
,, ARRETERLEMOTEUR!
,, Attendre10secondesjusqu'_rarrgtcompletdeslamesdelaturbine. 5.
= Toujoursutiliserunoutil denettoyage,paslesmains.
Uneoutii de nettoyageestattachesoitauguidon,soitsurledessusdu
carterdevissansfin(A,Figure23).UtiliserI'outil de nettoyagepour
eliminerlaneigeducarterdevissansfin. 6.
UT/L/SAT/ON
\\\\\\\\\\\\\\
Outildenettoyage Figure23
CONSEILSD'UTILISATION
1. Ledeneigementseferadefacond'autantplusefficacequelaneigeest
deblayeeimmediatementapresetretombee.
2. Pourenleverroutelaneige,chevaucherlegerementchaquebande
precedemmentdegagee.
3. Autantquepossible,projeterlaneigedanslesensduvent.
4. Enmoded'utilisationnormal,reglerlespatinsa 3mm (1/8 pouce)
sousleniveaudebarrederaclage.Surlessurfacesdeneigetres
compactee,lespatinspeuventetreremontespourassurerun
deblaiementefficace.
Surlessurfacesdegravieroudepierresconcassees,reglerlespatins
32mm(1-1/4 pouces)sousleniveaudelabarrederaclage(volt
_ Reglerla hauteurdespatins_ danslasectionENTRETIENdece
manuel).Lespierreset le graviernedoiventpasetreramasseeset
ejecteesparlamachine.
Unefois I'operationdedeneigementterminee,laisserlemoteur
tournerauralentipendantquelquesminutespourfairefondrelaneige
etlaglaceaccumuleessur lemoteur.
7. Nettoyerlasouffleuseaneigeavecsoinapreschaqueutilisation.
8. Nettoyerlesdepotsdeneigeettousles debrisdeI'ensembledela
souffleusea neigepuislarincera I'eau(si possible)poureliminer
tout leseletautressubstanceschimiques.Essuyerlasouffleuse
neige.
9. Avantdedemarrerla souffleuseaneige,toujoursverifierI'absence
danslavissansfin et laturbinedeglaceoudedebrissusceptibles
d'endommagerlamachine.
10.Verifierlen'iveaud'huileavantchaquedemarrage.S'assurerquele
niveaud'huileestsur lerepereFULLdubouchon-jauged'huile.
21

ENTRETIEN
SF:CURITE
SOUFFLEUSE
A NEIGE
MOTEUR
PROCEDURE
VerifiezqueI'ailettedela
tarierearr_,tedans5
secondesapresquele
levierdroitdecommande
estrel_che
Lubrifiezlosleviersde
commandoettringleries
Verifiezlasouffleuse
neigepourquincaillerie
libre
LubrifiezI'arbrehexet les
chatnes
Lubrifiezlosaccessoires
deI'arbredelatariere
LubrifiezI'engrenagedu
conduitderotationet le
mecanismdu ddlecteur
Enleveztoutlaneigeet
neigefondantedela
souffleusea neigepour
empecherlatariereet les
commandesdegeler
Verificationdela
pressiondespneus
Huile,verification
Huile,changement
Verifiezet remplacezla
bougied'allumage
RECOIVlMANDATIONSDESERVICE
PREMIER
5HEURES
AVANT APRES CHAQUECHAQUE CHAQUE
CHAQUECHAQUE 5 10 25
USAGE USAGE HEURES HEURES HEURES
V"
V" V"
,/
,/
V"
,/
,/ ,/
V"
V"
V"
COMMENCEMENT
DECHAQUE
SAISON
¢
¢
¢
,/
,/
¢,
AVANT
L'ENREPOSAGE
V"
,/
REMARQUE: La garantie surcette souffleuse _ neige ne couvre
pas les it_mes sujets _ un abusou ndgligencepar I'op_rateur.
Pour recevoirla valouren entier de la garantie, I'op_rateur dolt
maintenir la souffieuse _ neige solon los instructionsdans ce
manuel.
LosRecommendationsde serviceci-dessussontpouraider
I'operateura bienentretenirlasouffleuseaneige.
,& ATTENTION"Ne laissez jamais la graisse ou I'huile de
contacter la rouede friction en caoutchoucou le disque
d'entrainement. Sile disque d'entra'inement ou la roue
de friction viennenten contactavec la graisse ou
I'huile, un dommage _ la roue de friction en
caoutchoucr_sultera.
AVIS : Si la graisse ou I'huile vient au contact avec le disque
d'entra'inement ou la roue de friction, assurez-vous de nettoyer
le disque et la roue compl_tement avec un solvant_base
d'alcool.
22

ENTRET/EN
GRAISSAGEDE LABO'iTED'ENGRENAGEDEVIS
SANSFiN
Labotted'engrenagedevis sansfin estgraisseed'usineetnenecessite
normalementaucungraissagesupplementaire.Si, pourunequelconque
raison,lagraisses'estvideoousuiteaunereparationdelabotte
d'engrenage,ajouterdelagraisseLubriplateGR132ouequivalent.Utiliser
unmaximum92grammes(3-1/4 onces).
Ouvrirlebouchondegraissage(A, Figure24) unefois paran.Si lagraisse
estvisible,nerienajouter.Si lagraissen'estpasvisible,utiliserun
morceaudefil deforenguisedejaugepourverifiers'il yen adanslabotte
d'engrenage.LosgraissesMobiluxEP1et ShellAIvaniaEP1sontdes
equivalentsacceptables.
LUBRIFIERLEPIGNONDEROTATIONDEGOULOTTE
Lubrifierlepignonde rotation degouiotte (A,Figure25)etarbreavec(B)
unehuiledetypeautomobiletouteslosvingt-cinq(25)heuresd'exploitation.
Pignonderotationdegoulotte Figure 25
Graissagedelabotted'engrenagedevis sansfin Figure24
GRAISSAGEDE L'ARBREDEVIS SANSFiN
1. Utiliserunepompeagraissemanuellesurlosgraisseurszerkde
I'arbredevis sansfin (B, Figure24)touteslosdix (10)heures
d'exploitation.Chaquefoisqu'unegoupilledecisaillementest
remplacee,lavissansfin (C)dolt IMPERATIVEMENTetregraissee.
(Voir<<Changerlosgoupillesdecisaillementdevissansfin >>dans
cettesection.)
2. Pourleremisageou Iorsduremplacementdegoupillesde
cisaillement,deposerlosgoupilleset lubrifierlosgraisseurszerkde
I'arbredevis sansfin (B)Fairetournerlavis sansfin plusieursfois
sursonarbreet remettrelosgoupillesdecisaillementenplace.
23

ENTRET/EN
ENTRETiENDUiVIOTEUR
ContrSlerle niveaud'huile rnoteuravantdedemarrerlemoteuret
toutesles8 heuresd'utilisationcontinue.AjouterdeI'huilemoteur
preconiseelecasecheant.
REIVlARQUE: Unexc_',sd'huiie pentperturberle fonctionnernent
du rnoteur.Bien serrer le bouchon d'huiie pour6viter les fuites.
Changer i'huiie toutesles50 heuresd'exploitationou,auminimum,une
foisparan,memesi lasouffleuseaneigen'apaseteutiliseependant
cinquanteheures.Utiliserunehuiledetergentedehautequalitepropre.
Remplirlecarterd'huilejusqu'aurepereFULL(Plein)delajauge(A,
Figure26).VerifierqueI'huileaunindiceA.RI.<<SF_ou superieur.Ne
pasutiliserd'huileSAE10W40(carlalubrificationpeutetreinsuffisante).
Voir les huilesrecornrnand6es dans le tableau ci-contre.
Vidangeri'huiie - Placerlasouffleuseaneigedetellefaconquele
bouchondevidanged'huilesoitaupointleplusbas.Lorsquelemoteur
estchaud,deposerlebouchondevidangeet lebouchonderemplissageet
vidangerI'huiledansunrecipientadapte(A,Figure27).
Remettrelebouchondevidangeenplaceetbienserrer.Remplirlecarter
Contr61erle niveaud'huile moteur Figure26
d'huileavecI'huilemoteurpreconisee.
OF °C
104 "__ __:.........................................._ 40
68 ........ 0 20
Bouchondevidanged'huile 27
Sous4 °C (40 °F) I'utilisationdeSAE30 r_sultera_ unedifficult6de miseenmarche.
** Au-dessus27 °C (80 °F) I'utilisationde 10W-30peutcauseruneaugmentationde
consomptiond'huile.V_rifiezleniveaud'huile plusfr_quemment.
24

CHANGERLABOUGIED'ALLUIVlAGE
D6poserle capot_neige
1. %poser leboutondecommandedestarter(A,Figure28).
2. Retirerlacle desecurite(B).
3. Deposerlesvisdefixation(A,Figure29)
4. Enleverlentementlecapota neige(B).Verifierqueletuyaudubouton
d'amoLcage(C)et lecabled'allumage(D) nesontpasdebranches.
5. Labougie(E)estapresentaccessible.
6. Avantdeposerlecapota neige,verifierd'abordqueletuyaudu
boutond'amoLcageet lecabled'allumagesontbranches.
7. Poserlecapota neigesur lemoteuret I'attacheraveclesvis de
fixation.
8. Raccorderleboutondecommandedestarter(A,Figure30)a I'arbre
destartersur lecarburateur(B).Verifierqueleboutondecommande
destarterestcorrectementremonte.Si leboutondecommandede
startern'estpasposecorrectement,lestarternefonctionnerapas.
9. Remettreenplacelacledesecurite(C).
Retirezlecapotdesouffleusea neige
ENTRETIEN
Figure 29
Moteurdesouffleusea neige Figure 28 Raccorderleboutondecommandedestarter Figure30
25

ENTRETIEN
R_gler ou changerla bougie
ContrOlerla bougie touteslesvingt-cinq(25)heuresdemarche.Changer
la bouge(Figure31)si leselectrodessentpiqueesou brOleesousi la
porcelaineestfissuree.
1. %poser lecapeta neige(Voirlasection"DEPOSERLECAPOTA
NEIGE).
2. NettoyerlabougieetreglerI'ecartementaintervallesreguliers.
3. Nettoyerlasurfacequientourela basedelabougieavantdela
deposerafind'eviterdefairetomberdelasaletedanslemoteur.
4. Changerlabougiesi leselectrodessentpiqueesoubrOleesousi la
porcelaineestfissuree.
5. Gratteravecprecautionleselectrodesdelabougie(nepasnettoyer
parsablageni avecunebrossemetallique).
6. S'assurerquelabougieestpropreetexemptedetoutematiere
etrangere.VerifierI'ecartementdeselectrodesavecunejauge
d'epaisseuretle reglersur 0,76mm(0,030pouce)lecasecheant.Si
unebougieneuve,estrequise,voir labougiederechangecorrecte
danslasectionPIECESDERECHANGEdecemanuel.
7. Avantderemonterlabougie,enduirelegerementlefiletaged'une
graissegraphiteepourassurerunedeposefacile.
8. Serrerfermementlabougiesurlemoteur.Lecasecheant,utiliserune
cledynamometriquepourserrera uncouplede24,4a 31,2Nm
(18a23ft-lbs).
\
Changerlabougie Figure 31
,_ AVERTISSEIVlEHT' Toujourseteindre la machine,sortir
la cie de contactet debrancherle c_ble de la bouge
avant route operation d'entretienou de r_paration.
RL_GLERLAHAUTEURDESPATINS
Lasouffleusea neigeestequipeededeuxpatinsdereglagedehauteur
fixessur I'exterieurducarterdevissansfin. IIs serventareleverI'avantde
lasouffleusea neige.
Pourdeneigerunesurfaceduretellequ'unealiceouunevoiedegarage
goudronnee,reglerlespatinsdemaniereaabaisserI'avantdelasouffleuse
neige.
Pourdeneigerunsol pierreuxouinegal,abaisserlespatinsdemaniere
releverI'avantdelasouffleusea neige.Cecipermetd'eviterquedespierres
etautresdebrissoientramassesetejectesparlavissansfin.
Les patins sereglent de la mani_re suivante :
1. Placerunecale(d'epaisseuregaleala hauteurausol souhaitee)sous
la barrederaclagepres,maispasendessous,dupatin.
2. Desserrerlesecrousdefixationdu patin(A, Figure32) et pousserle
patin(B)verslebasjusqu'acequ'iltouchelesol.Resserrerlesecrous
defixation.
3. ReglerlepatindeI'autrecotea lamemehauteur.
REIVlARQUE: V_rifier que la souffleuse_ neige est r6gl_e sur la
m_me hauteur des deuxc0t_s.
,& AVERTISSEIVlEHT: Veilier _ce que la hauteur au sot
soit toujours adapt_e _ la surface_d_neiger.Des
objets tels que du gravier, des pierres ou autres
d_bris, s'ils sent heurt_s par la turbine, peuvent _tre
projet_s avec suffisammentde force pour causerdes
blessures corporelles,des d_g_tsmateriels ou des
dommagesde la souffleuse_ neige.
Reglerlahauteurdespatins Figure32
26

ENTRET/EN
AJUSTEIVlENTDESCOURROIES
Courroie d'entrainementde traction
Lacourroied'entratnementdetractionsubitunepressionderessort
constanteetnenecessiteaucunajustement.Si lacourroied'entratnement
detractionpatine,changerlacourroie.Consulterledistributeur
homologue.
Courroie d'entrainementde vissansfin
Silasouffleuseaneigen'ejectepasdeneige,verifierlereglageducgblede
commande.Sicelui-ciestcorrect,verifieralorsI'etatdelacourroie
d'entratnementdevissansfin.Sielleestendommageeoudetendue,lachanger
(consulterledistributeurhomologue).
Reglagedelacourroied'entratnementdetariere:
1. Debrancherlefil debougie.
2. %poserlavis(A,Figure33)duprotege-courroie(B).%poserle
protege-courroie.
3. DesserrerI'ecrousur lepoulied'embrayagedevissansfin (A,Figure
34)etdeplacerlepoulied'embrayagedevissansfin verslacourroie
de3 mm(1/8 pouce)environ.
,_ AVERTISSEMENT"Ne pas trop serrer car ceJapeut
reJeverle levier et forcer I'engagement de
I'entraTnement de vis sans fin alors que la commande
de vis sansfin n'estpas actionnee.
4. Serrerrecrou.
5. AvecI'aided'unassistant,engagerrembrayagedevis sansfin (B,
Figure34).Verifierlatensionsur lacourroie(ducoteopposeaugalet
tendeur).Lacourroiedoitflechird'environ12,5mm(1/2 pouce)sous
unepressionmoderee.II peutetrenecessairededeplacerlegalet
tendeurplusieursfois avantd'obtenirlatensioncorrecte.
6. Remontezlecouvre-courroie(B, Figure33).Resserrezlavis (A).
7. Attachezlecgbledebougied'allumage.
REMARQUE:_,chaquelois quelescourroiessontregleesouremplac6es,
lescablesdoiventetreregles(voirlasection,, Verifiezetajustezles
c_ibles,,).
Verifiezlacourroied'entratnementdetariere:
1. Rel_chezlelevierdecommandedetariere.Latarieredolt s'arrgter
dansles5secondes.
2. Si latarierenefonctionnepascorrectement,arretezlemoteuret
recommencezle <<Reglagedecourroied'entratnementdetariere>>.
(b
Courroiedevissansfin Figure 33
Obtenirlatensioncorrecte Figure 34
27

ENTRET/EN
AJUSTEIVlENTDU GUIDEDECOURROIE
1. Debrancherlefil debougie.
2. Faireengagerlacommandedevis sansfin paruneautrepersonne.
Celaengagerlagalettendeurdevissansfin (A,Figure35).
3. Mesurerladistanceentreleguidedecourroie(B)et lacourroie(C).
Ladistancedoltetrecomprisentre3 mm(1/8 pouce).
4. Si unajustementestnecessaire,desserrerleboulondefixationdu
guidedecourroie.Placerleguidedecourroiedanslapositionqui
convient.Serrerleboulondefixation.
5. Poserleprotege-courroie.
6. Rebrancherlefil debougie.
®
Reglageguidedecourroie Figure35
VERIFICATIONET REGLAGEDESCABLES
Lescgblessontreglesenusine.IIestnormalementinutiledemodifierleur
reglage,saufencasd'etirementoudejeutropimportant.
IIfaudraaussieffectuerlereglagedescgbleschaquefoisquelescourroies
sontajusteesouremplacees.
Pourvdrifierlerdglage,detacherlecrocheten"Z"(A,Figure36)du levier
d'embrayage(B):
1. Pousserlelevierd'embrayage(B)completementversI'avant(aucon-
tactdela buteeenplastique).
2. Lecentreducrochet(A)dolt etreentrelecentreet lesommetdutrou
du levierd'embrayage(B).
R6glage du ¢_ble de commande des lames
,_ ATTENTION!Vidanger ie r_servoir de carburant
I'ext_rieur et _ I'_cart de routefiamme.
1. Vidangerlereservoird'essence.Basculerlechasse-neigeversravant
enlelaissantreposersur lafaceavantducarterdeslames.
2. Pousserlecgble(A,Figure37)dansleressort(B)pourexposerla
partiefileteeducgble.
3. TenirI'extremitecarreedelapartiefileteeavecdespincesettourner
I'ecrou(C) dansunsensoudansI'autrepourobtenirlereglageap-
proprie.
4. Tirerlecgbledansleressortet remonterlecgble.
©
Verifierlesc_bles Figure 36
Reglageduc_bled'entraTnementdevissansfin Figure37
28

ENTRET/EN
Reglagedu c_ble decorflrnandede la traction
1. Viderlereservoird'essence.Basculerlasouffleusea neigesur ravant
ducarterdevissansfin.
_k AVERTISSEiVlENT"Vidanger J'esseflce_J'ext_rieur,
r_cart de feu ou de fJarnrnes.
2. Desserrerlesboulons(A, Figure38)dechaquecotedu panneau
inferieur(B).
3. Deposerlepanneauinferieur.
4. Retirerlecrocheten"Z"dulevierdecommande(voir Figure36).
5. Degagerlagainedecgble(A,Figure39)delaferruredereglagede
cgble(B).
6. Enfoncerlebasdu cgbledecommandedetraction(C)danslaferrure
dereglagedecgblejusqu'apouvoirdegagerlecrocheten<<Z _ (D).
7. Sortirlecrocheten<<Z _delaferruredereglagedecgble.Placerle
crocheten<<Z _ dansletrou dereglagesuivant.
8. TirerlecgbledecommandedetractionversI'arrieredelaferrurede
reglagedecgble.
9. Remettrelagainedecgblesur laferruredereglagedecgble.
10. Remonterlecrocheten"Z" surlelevierdecommande(voir
Figure36).
11. Pourverifierle reglage,serrerlelevierdecommandeetobserverla
Iongueurdu ressortdecommande(A,Figure40).Lorsquelereglage
estcorrect,laIongueurdu ressortestde76mm(3 pouces)minimum
85 mm(3-3/8pouces)maximum.
12. Poserlepanneauinferieur(B, Figure38).
13. Serrerlesboulons(A)dechaquecotedupanneauinferieur.
®
Cgbledecommandedetraction
Pourverifierle reglage
Figure39
P
n
Figure40
Reglageducgbledecommandedetraction Figure 38
29

ENTRET/EN
CHANGERLESGOUPILLESDE CISAILLEIVlENT
DEVIS SANSFiN
Lavissansfin estrenduesolidairedeI'arbredevissansfin aumoyende
goupillesdecisaillementcon%essp6cialementpourrompreencasde
blocaged'unobjetsdanlecarterdevis sansfin. L'utilisationd'unegoupille
decisaillementdeplusgrandeduretereduitlaprotectionofferteparla
goupille.Unegoupilledecisaillementcasseesechangedela maniere
suivante:
,_ AVERTISSEMENT: Ns pas s'approchsrde la goulotts
d'ejectionni de la vis sans fin Iorsqus Is motsur sst en J
marche. He pas fairs fonctionner Is moteur s'il manqusJ
un qusiconqus capotou autrs protection.
Dansla majoritedescas,Iorsquelavissansfin heurteunobjet
susceptibled'endommagerlamachine,lagoupilledecisaillementse
casse.Ceciprotegelabotted'engrenageset lesautrespiecesdela
machine.
Lesgoupillesdecisaillement(A, Figure41)sontplaceessur I'arbredevis
sansfin. Changerunegoupilledecisaillementcasseedela maniere
suivante.
1. Extrairelagoupilledecisaillementcasseeavecunchasse-goupille.
2. Poserunegoupilledecisaillementneuveetunegoupillefendue.
Rabattrelesextremitesdelagoupillefendue.
iMPORTANT: Ns pas rsmplacsrIss goupiiies ds cisaillement
parquoique cssoitd'autrs quedes goupiliss de cisailisment
de rechangede durstecorrects. L'emploide boulons,de vie
ou de goupilles de cisaillsmentde plusgrands durste psut
causerdes dommages ds ia machine.
Changerlesgoupillesdecisaillementdevissansfin Figure41
CONTRgLER LES PNEUS
Verifiezlespneuspourlesdommages.Verifiezlapressiond'airdunsles
pneusavecunmanometreprecis(voirFigure42).
,41 ATTENTION:i':'vitsries blessurss! La separation des
sxplosifs st de pneusst de jantss partiessst possible
quand ils sontmai dssssrvis.
*He tsntezpusde monist unpneusansun equipsment
adequatst I'sxperiencs necsssairss poursffsctusr is travail.
.Ns pas gonfler iss pneos-dsssusde ia prsssion
rscommandee.
*Ns pas souder ou _ ia chaisurst one roue pnsumatique.
La chaieurpeut causeruns augmentationde la prsssion
atmospheriqus resultanten one explosion. Soudags
structursliementpsuvsntaffaiblir ou deformsr la rous.
*He pas sn avant ou surIs pflsu Iorsqu'ungonfler. Utiiissz
unapproprisr outil vouspermsttrsun stand_cote.
V_rifier la pression d'air des pneus Figure42
REMARQUE: Verifier la pressionde gonfiage maximale sot
Is flanc du pneu. NEPASdepasser Is maximum.
30

REIVUSAGEHORSSAISON
AVERTiSSEIVlENT"Ne jamais remiser ie moteur, avec
de I'essence darts ie rGservoir, _ I'int_rieur ou darts un
espace clos real ventil_ oiJ les vapeursd'essence sent
susceptiblesd'atteindre ,he fiamme hue, une _tiuceile
ou ,he veilleuse telle que sur,he chaudi_re, ,n
chauffe=ea,, ,n s_che=linge,etc.
lVlanipulerI'essenceavec precaution.Elle est tr_s
inflammable et une imprudencepeut provoquer des
dommages corporelsou materiels gravespar le feu.
Vidanger I'essencedartsdes r_cipientsadapt_s,
I'ext_rieur, _ r_cart de route fiamme hue.
Si lasouffleusea neigedoitetreremiseependanttrente(30)joursouplus
lafin delasaisondesneiges,il estconseilled'effectuercequisuit pour
preparerlasouffleusea neigepourleremisage.
REIViARQUE: L'essencedolt _tre vidang_eou trait_e pour
emp_cher la formation de d_pOtsgommeux duns le r_servoir,
ie filtre, ie tuyauet le carburateurdurant rentreposage.
1. PoureliminerI'essence,laissertournerlemoteurjusqu'acequele
reservoirsoitvideetle moteurs'arrete.PourgarderdeI'essencedans
le reservoir,ajouterdustabilisateurdecarburantaI'essencerestante
afindeminimiserlesdepGtsgommeuxet lesacides.Sile reservoir
estpresquevide,mGlangerdustabilisateuravecdeI'essencefratche
dunsunrecipientsepareputsenverserdanslereservoir.TOUJOURS
SUIVRELESINSTRUCTIONSFIGURANTSURL'EMBALLAGEDU
STABILISATEUR.APRESAVOIRAJOUTELESTABILISATEUR,FAIRE
TOURNERLEMOTEURPENDANTAUMOINS10MINUTESPOUR
PERMETTREAU MELANGED'ATTEINDRELECARBURATEUR.
REMISERLASOUFFLEUSEA NEIGEDANSUNENDROITSOR.
2. LefairdechangerI'huileavantleremise(moteur4temps
uniquement)contribueamaintenirlemoteurenbonetatdemarche.
3. Lubrificationdelazonepiston/cylindre.Enleverd'abordlabougieet
aspergerdeI'huilemoteurprochedansletroudelabougie.Couvrir
ensuiteletrou debougieavecunchiffonpourabsorberI'huile
pulverisee.Faireensuitetournerlemoteurentirantsur lelanceur
deuxoutroisreprises.Enfin,remonterlabougieetrebrancherlefil
delabougie.
4. Nettoyerlasouffleusea neigeavecsoin.
5. Lubrifiertouslespointsdegraissage(volt lessujets_ Lubrification_
danslasectionENTRETIEN).
6. Verifierquetouslesecrous,boulonsetvissontcorrectementserres.
EffectueruncontrOlervisueldeI'etatet dudegred'usurederoutesles
piecesmobilesvisibles.Leschangerlecasecheant.
7. Retoucherrouteslessurfacespeintesrouilleesouecaillees; poncer
legerementavantdepeindre.
8. Couvrirrouteslespartiesmetalliquesnuesdu carterdevis sansfin et
delaturbinedelasouffleuseaneiged'unproduitantirouille.
9. Si possible,remiserlasouffleusea neigeaI'interieuret lacouvrir
pourlaprotegercontrelapoussiereet lasalete.
10. Surlesmodelesaguidonpliant,desserrerlesboutonsdefixationde
la pattiesuperieureduguidon.Replierlehautduguidon.
11. Si lasouffleusea neigedoltetreentreposeea I'exterieur,laposersur
descalesens'assurantqueI'ensembledela machineestau-dessus
dusol.Couvrirlasouffleusea neiged'uneb_cheepaisse.
REMISAGE
LUBRIFIER L'ARBREHEXAGONALET CHA'iNES
_ ATTENTION"Ne pus iaisser de graisse ou d'huile venir
au contactde la roue de friction en caoutchoucou du
disque d'entra'inement. Tout contactdu disque
d'entra'inement ou de la roue de friction avec de ia
graisse ou de i'huile pout endommager ia roue de
friction en caoutchouc.
REIVlARQUE:Encas de contact du disque d'entra'inement ou de
ia roue de friction avec de ia graisse ou de i'huile, nettoyer le
disque et la roue avec soin avec un solvant_based'alcool.
1. Placerlelevierselecteurdevitesse(A, Figure12)enpremierevitesse
demarcheavant.
2. Viderlecarburantdansunconteneurapprouve.
3. Basculerlasouffleusea neigesur I'avantducarterdevis sansfin.
REIVlARQUE: Lorsqueie moteur est rempii d'huile, ne pus
laisser la souffieuse _ neige bascui_esur i'avant du carter de
vis sansfin pendantdes duties prolong_es.
4. %poser lepanneauinferieur.
5. Lubrifierleschatnes(A, Figure43)vecunlubrifiantpourchatne.
6. EssuyerI'arbrehexagonal(B)et lespignons(C) avecdeI'huilemoteur
5W30.
7. Remettrelepanneauinferieurenplace.
Lubrifierarbrehexagonaletchatnes Figure 43
SORTIR LA SOUFFLEUSEA NEiGE DU REiViISAGE
Pourremettrelasouffleusea neigeenserviceapresleremisage,effectuer
cequisuit.
1. Remettrelehautduguidonenpositiond'utilisationetsetterles
boutonsdefixation.
2. Remplirlereservoird'essencefratche.
3. ContrGlerlabougie.VerifierqueI'ecartementestcorrect.Si labougie
estuseeouendommagee,lachangeravantutilisation.
4. Verifierqueroutelavisserieestbiensettee.
5. Verifierquetouslescapots,grillesetautresprotectionssonten
place.
6. Verifierquetousles reglagessontcorrects.
31

DEPANNAGE
PROBLi:ME CHERCHEZPOUR SOLUTION
Free-HandTM commandeest Rel_cheza lafois lesleviersdecommandedelatariereet delatraction/Free-
La tari_re n'arr_tepus ACTIVE. HandTM pourarreterlatariere.
duns 5 secendes apr_s que Dereglagedelacourroie Ajustezla courroiedelatariere.
le levier droit de d'entratnementdelatariere.
icommandeest rel_chd. Dereglageduguidedecourroie Ajustezle guidedecourroiedela tariere.
delatariere.
Le conduit d'_jection ou Panneelectrique. Veuillezvoir unconcessionnaireagree.
i dCfiecteur ne fonctionne
pus(_lectrique).
Le conduitd'_jeclion ou Leconduitd'ejectionou Ajustezet/oulubrifiezlatringleriedecommande.
dCfiecteur ne fonctionne ddlecteurestderegleoua
pus(manuel}. besoindelubrification.
L'entra'inement cesse de Lacommandedetractionest ReajustezI'entratnement,oudeplacezlelevierdereglagedevitessea unevitesse
d_placer la souffleuse_ dereglee, plusvite.
neige _unevitesse iente.
Cleestferme. Poussezlacle a lapositionMARCHE.
Lapanned'amorcerlemoteur Appuyersur leboutond'amorceuradeuxrepriseset redemarrer.
froid.
Lasoupaped'arretducarburant Tournezlasoupapea la positionOUVERT.
esta lapositionFERME.
Sansdecarburant. Remplirlereservoirdecarburant.
StarterenpositionARRET- Reglezlevoletdedeparta MARCHEet I'accelerateuraVITE.
moteurfroid.
Le moteur ne d_marre pus. Moteurnoye. Eteindrelestarter; essayerdedemarrer.
Pasd'etincelles. VerifierI'ecartement.VerifiezI'entreferdu bougied'allumage,nettoyezI'electrode,
ouremplacezlabougiesi necessaire.
Presenced'eaudansle Videzle reservoir.(Vidangezlecarburanta uneinstallationautoriseedegestionde
carburantou carburantancien, dechetsdangereux.)Rempliravecducarburantfrais.
Lecordonelectriquen'estpas Brancherlecordonelectriqueou leremplacers'il estddectueux.
brancheou mauvais
fonctionnement(modeles
demarrageelectrique).
Melangetrop fiche. Deplacezlevoletdedeparta la positionARRET.
Moteur dCmarre Bougied'allumageddectueuse, Nettoyezet corrigezI'entreferdubougie,ou remplacez.
encrassee,ou I'entreferest
i difficilement ou ne incorrect.
fonctionne pusbien. L'eventdu bouchondecarburant NettoyezI'event.
estbloque.
Piecesdetacheesou Arretezlemoteurimmediatement.Setterroutelaboulonnerie.Si lavibration
Vibrationsexcessives, turbine/tariereendommagee, continue,ayezI'appareilrepareparun concessionnaireagree.
La souffleuse _ neige Lacommandedetractionest Ajustezlatringleriedelacommandedetraction.
n'arr_tepus quand le levier dereglee.
de la commandede
itraction esl rel_chd.
32

DEPANNAGE
PROBLF:IVlE CNERCNEZPOUR SOLUTION
Lapressiondu pneun'estpas Verifierla pressiondespneus.
ta souffleuse_ egale.
neige vire d'un c0t6. Uneroueestenmodede Assurez-vousquelagoupilled'arretdelatractiongaucheestdansletrou
roulageenrouelibre.(Les INT%IEURE(pourembrayerI'entratnementdetraction).
goupillesd'arretdelatraction
sontdansletrou EXTERIEUR.)
La barre de raclage ne Lesplaquesd'usuresontmal Levezouabaissezlesplaquesd'usure.
netteie pas la surface(lure. ajustees.
Lacourroied'entratnementest Changerlacourroie.Veuillezvoir unconcessionnaireagree.
I_cheouendommagee.
Ajustementincorrectede Ajustezle c_bled'entratnementdetraction.%ferez-vousa <<ContrOletreglagedes
Unite ne se propulsepas. rentratnmentducSblede cSbles_danslasectiond'ENTRETIENdanscemanuel.
traction.
Ledisquedefrictionestuseou Remplacezledisquedefriction.Veuillezvoir unconcessionnaireagree.
endommage.
Lacourroied'entratnementde la Remplacezouajustezlacourroied'entratnementdelatariere.%ferez-vous
tariereestI_cheou <<Reglagedecourroie_ danslasectiond'ENTRETIENdanscemanuelouveuillez
endommagee, voir un concessionnaireagree.
LecSbledecommandedela Ajustezle cSbledecommandedelatariere.%ferez-vousa<<ContrOlet reglage
tarieren'estpasbienajuste, descSbles_ danslasectiond'ENTRETIENdansce manuel.
Goupilledecisaillementbrisee. Remplacezlagoupilledecisaillement%ferez-vousa<<Remplacementdela
goupilledecisaillementdelatariere_ danslasectiond'ENTRETIENdansce
Unit6 n'_jecte pas de manuel.
neige. Ejecteurobstrue. Arretezle moteurimmediatement.Utiliseztoujoursunoutil denettoyagepour
degagerleconduitd'ejection,nonvosmains.Nettoyezleconduitd'ejectionet
dedansle boTtierdelatariere.%ferez-vousauxAVERTISSEMENTdanslasection
S%URITEDEL'OP%ATEUR.
Corpsetrangerprisdansla Arretezle moteurimmediatement.Utiliseztoujoursunoutil denettoyagepour
tariere, degagerleconduit,nonvosmains.EnlevezI'objetdelatariere.Rderez-vousaux
AVERTISSEMENTdanslasectionS%URITEDEL'OPERATEUR.
33

GARANT/ES
Garantie limit e de Craftsman
G_n_ralit_s : Les produits Craftsman sont garantis contre tout defaut de mat@iaux ou de fabrication pendant une p@iode
de temps precise, telle qu'etablie ci-dessous (la ,, p@iode de garantie >_).En outre, cette garantie est offerte uniquement
& I'acheteur initial du produit Craftsman. Les achats effectues par I'entremise d'un encan en ligne ou sur tout site Web
autre que www.sears.ca sont exclus. La p@iode de garantie debute & la date de I'achat initial. Au cours de cette p@iode,
Sears Canada, Inc. s'engage, & sa seule discretion, & reparer ou & remplacer tout produit ou composant de produit de-
fectueux dans des conditions d'utilisation normale. La reparation ou le remplacement sera effectue pour le client sans
frais de pieces ni de main-d'oeuvre, & condition que le client prenne & sa charge les frais de transport.
Exclusions: La presente garantie ne couvre pas les defectuosites dues & I'usure normale, I'utilisation inappropriee ou
abusive, la negligence (y compris, mais sans s'y restreindre, I'utilisation d'essence eventee, la poussiere, les abrasifs,
I'humidite, la rouille, la corrosion ou tout autre effet indesirable, imputable & un entreposage ou & des habitudes
d'utilisation inappropries), un mauvais entretien, le non-respect des consignes ou directives d'entretien, I'utilisation de
I'appareil contrairement aux instructions fournies dans le manuel d'entretien ou aux consignes ou informations donnees &
I'acheteur initial, au moment de I'achat ou au cours de communications subsequentes avec lui, un accident ou encore une
modification ou des reparations non autorisees, effectuees ou tentees par d'autres. Sont egalement exclus de la couver-
ture de la garantie - sauf indication fournie ci-dessous - les elements suivants : travaux d'entretien, reglages, composants
sujets & I'usure, y compris mais sans s'y restreindre :les composants esthetiques, courroies, lames, adaptateurs de lame,
ampoules, pneus, filtres, barres de guidage, lubrifiants, sieges, poignees, Iogements de cordon de demarrage, cha_nes et
barres de scie, bobines et ills de tondeuse & fouet, bougies, cordes de demarrage et dents, ainsi que les decolorations
resultant de I'exposition aux rayons ultraviolets. Tout produit ne portant pas son etiquette d'identification avec son num@o
de modele ou de s@ie sera exclu de la protection offerte par la presente garantie.
R_parations :Les reparations sont garanties pendant une p@iode de 90 jours. Si le produit defectueux est toujours cou-
vert par la garantie, la nouvelle garantie est de 90 jours & compter de la date de la reparation ou jusqu'& la fin de la peri-
ode de garantie initiale, selon la plus Iongue des deux echeances.
Restrictions : LES GARANTIES ET RECOURS DEFINIS DANS LES PRESENTES SONT EXCLUSIFS ET REMPLA-
CENT TOUTE AUTRE GARANTIE, QU'ELLE SOIT VERBALE OU ECRITE (AUTRE QUE CELLES CNONCI_ES DANS
LES PRESENTES) OU QU'ELLE SOIT EXPRESSE, IMPLICITE OU PREVUE PAR LA LOI, SANS SE RESTREINDRE b,
AUCUNE. LA PRESENTE GARANTIE VOUS CONFERE DES DROITS JURIDIQUES PRECIS, POUVANT DIFFERER
D'UNE PROVINCE b, I'AUTRE.
SEARS NE POURRA EN AUCUN CAS ETRE TENUE RESPONSABLE DE TOUT DOMMAGE ACCESSOIRE, SPECIAL,
INDIRECT OU CONSECUTIF, QUI RESULTERAIT DE I'UTILISATION, DU MESUSAGE OU DE I'INCAPACITE
D'UTILISER LE PRODUIT OU QUI DECOULERAIT DE DEFECTUOSITES DU PRODUIT. LES EXCLUSIONS DU
PRESENT PARAGRAPHE NE S'APPLIQUENT PAS DANS LES TERRITOIRES O0 LA LOI NE PERMET PAS
I'EXCLUSlON DES DOMMAGES ACCESSOIRES OU CONSE_CUTIFS. DANS CES TERRITOIRES, LE PRESENT
PARAGRAPHE SERA SANS EFFET, MAIS LES AUTRES DISPOSITIONS DU PRESENT DOCUMENT DEMEURERONT
VALIDES.
Sears conserve le droit exclusif de r@arer ou de remplacer le produit ou encore d'offrir un remboursement complet de
son prix d'achat, & sa seule discretion. CE RECOURS SERA LE SEUL ET UNIQUE RECOURS DONT VOUS DIS-
POSEREZ EN CAS D'INEXECUTION QUELLE QU'ELLE SOIT DE LA GARANTIE.
Responsabilit_s du client :En plus d'observer toutes les consignes et directives d'entretien, le client doit s'acquitter,
entre autres, des obligations suivantes : utiliser le produit conformement aux consignes de la notice d'entretien et aux di-
rectives ou informations additionnelles fournies & I'acheteur au moment de I'achat ou & I'occasion de communications
subsequentes; faire preuve d'un soin raisonnable pour I'utilisation, le fonctionnement, I'entretien general, le maintien en
bon etat et I'entreposage du produit. Le manquement & ces obligations entra_nera une annulation de la garantie applica-
ble.
34

GARAtVT/ES
Liste des p_riodes de garantie applicables :La liste ci-dessous indique la p@iode de garantie applicable aux divers
produits Craftsman qu'elle couvre; la p@iode accordee tient compte du type de produit ou de composants et du type
d'utilisation prevue ou effective de I'appareil ou du composant :
1. 90 jours- Produits Craftsman devant _tre ou etant effectivement utilises & des fins commerciales, institutionnelles,
professionnelles ou lucratives.
,2 arts - Les produits de marque Craftsman suivants : tondeuses & conducteur porte, tracteurs de jardin, tondeuses &
contr61e arriere, motobSches, debroussailleurs, souffleuses & neige, souffleuses portatives, souffleuses dorsales,
taille-bordures et produits electriques & usage non commercial, non professionnel, non institutionnel ou non lucratif,
sauf les composants faisant partie de systemes de moteur fabriques par des tiers pour lesquels I'acheteur a regu une
garantie separee ainsi que des renseignements sur le produit, au moment de I'achat.
3. 1 an - Produits de marque Craftsman suivants : couteaux electriques, broyeuses de souches, ebranchoirs, scies
cha;ne A essence, scies a cha;ne electriques, accessoires de taille-bordures, sacs et scies A long manche utilisees
des fins non commerciales, non professionnelles, non institutionnelles et non lucratives.
4. 90 louts - Toutes les batteries defectueuses, qui seront remplacees pendant une p@iode de garantie de 90 jours.
,60 louts - Une p@iode de garantie additionnelle de 60 jours s'appliq.uera pour le reglage ou I'usure de produits ou de
composants MAIS CETTE GARANTIE EXCLUT EUSURE ET LE REGLAGE de produits utilises a des fins commer-
ciales, institutionnelles, professionnelles ou lucratives. Les articles sujets _ I'usure englobent, sans s'y restreindre :
les courroies, lames, pneus, bougies, filtres a air, chatnes, boulons de cisaillement, plaques de protection, barres de
raclage, coupe-congeres, cordons, dents, sacs collecteurs et poulies.
Etant donne que la p@iode de garantie debute a la date d'achat et NON a la date a laquelle le produit est livre,
I'emballage ouvert et I'appareil assemble ou utilise la premiere fois, assurez-vous que votre produit ou composant est as-
semble et misa I'essai pour en v@ifier le bon fonctionnement, quel que soit le moment o5 vous prevoyez commencer
I'utiliser reellement. Les reclamations presentees apres I'expiration de la garantie ne seront pas acceptees.
Preuve d'achat et documents :La protection de la garantie est conditionnelle & la presentation par I'acheteur initial, &
Sears Canada ou & son fournisseur de service autorise s'il y a lieu, de la facture ou de toute autre preuve d'achat appro-
priee indiquant la date de I'achat et designant le produit. Dans le cas o5 I'acheteur initial serait dans I'impossibilite de
fournir une copie de sa facture, Sears Canada Inc. se reserve le droit d'etablir, & sa seule discretion, quelle autre preuve
ecrite de la date d'achat initial et de la designation du produit est acceptable.
Rev. 03/13/2009
Contrat d'entretien
La Garantie Craftsman, plus un contrat d'entretien sont la meilleure protection des produits Sears. Consulter
le magasin Sears le plus proche pour tous les details.
35

Le California Air Resources Board (CARB), I'U.S. EPA et Briggs & Stratton (B&S) ont le
plaisir de vous expliquer la garantie du systeme de contr61e des _missions pour votre
moteur/_quipement fabrique depuis 2008. En Californie, les petits moteurs neufs &
usage non routier doivent _tre con£;us, fabriques et _quip6s pour repondre aux normes
severes anti-effet de serre de I'Etat. B&S dolt garantir le syst_me de contr61e des
emissions de votre moteur/_quipement pendant les durees indiquees ci-apres, en
supposant que le moteur neuf _. usage non routier n'ait pas fait I'objet d'abus, de
n_gligence ou d'un mauvais entretien.
Le systeme de contr61e des emissions peut comprendre des pieces comme le
carburateur ou le syst_me d'injection de carburant, le r_servoir de carburant, le syst_me
d'allumage et le convertisseur catalytique. Des durites, des courroies, des connecteurs,
des capteurs et d'autres assemblages impliqu_s dans les _missions peuvent aussi en
faire partie.
Si la condition de garantie est remplie, B&S r_parera gratuitement votre
moteur/_quipement y compris le diagnostic, les pi_ces et la main-d'ceuvre.
Couverture de la garantie du fabricant:
Les petits meteurs & usage non reutier sont garantis pendant une p@iede de deux (2)
ans. Si une piece li_e aux _missions de votre moteur/_quipement est defectueuse, B&S
la r6parera eu la remplacera.
Responsabilit_s du propri_taire au titre de la garantie:
En tant que proprietaire d'un moteur/_quipement, vous _tes responsable de
I'entretien obligatoire mentionn_ dans le manuel d'utilisation. B&S recommande de
conserver toutes les factures de maintenance de votre moteur moteur/equipement
mais B&S ne peut renier la garantie uniquement _. cause de I'absence de factures ou
parce que tous les entretiens n'ont pas ete effectues en temps pr_vu.
En tant que proprietaire d'un moteur/equipement, vous devez n_anmoins savoir que
B&S peut refuser d'appliquer la garantie si la d_fectuosit6 de votre
moteur/equipement ou d'une partie de celui-ci est due & un abus, une negligence,
un entretien non correct ou des modifications non approuv_es.
Vous avez la responsabilit_ de confier votre moteur/_quipement _. un centre de
distribution, un R_parateur Agree ou toute entite equivalente de B&S, selon la
solution applicable, d_s que le probleme apparaft. Les reparations effectu_es sous
garantie doivent r_tre en un temps raisonnable qui ne dolt pas exc_der trente (30)
jours. Si vous avez des questions concernant vos droits et vos responsabilit_s au
titre de la garantie, contactez B&S au (414) 259-5262.
Suivent les dispositions particulieres de la couverture de la garantie du syst_me de contr61e des _missions. Elles viennent en complement de la garantie des moteurs B&S pour les
moteurs non r6glement_s qui se trouve dans le manuel d'utilisation.
1. Pi_ces relatives au contr61e des _missions garanties
La couverture au titre de cette garantie ne s'etend qu'aux pi_ces enum@ees
ci-dessous (celles du syst_me de contr61e des _missions) dans la mesure oQ ces
pi_ces etaient presentes dans le moteur au moment de I'achat.
a. Systeme de dosage du carburant
Systeme d'enrichissement pour d_marrages _. froid (starter)
Carburateur et pi_ces internes
Pompe _.carburant
Durit et raccords de carburant, colliers
Reservoir de carburant, bouchon et c&ble d'attache
Reservoir & charbon active
b. Systeme d'admission d'air
Filtre _. air
Collecteur d'admission
Conduite de vidange et de mise _. I'air
c. Systeme d'allumage
Bougie(s)
Systeme d'allumage par volant magnetique
d. Systeme catalytique
Convertisseur catalytique
Collecteur d'echappement
Systeme d'injection d'air ou soupape d'impulsion
e. Pieces diverses utilis_es dans les systemes ci-dessus
Soupapes et contacteurs de depression, de temperature, de position et de
dur_e
Raccords et assemblages
2. Duree de la couverture
Pendant une p@iode de deux (2) ans & compter de la date de rachat initial, B&S
garantit _. I'acheteur initial et & chaque acheteur suivant que le moteur est con£_u,
fabrique et _quip_ de maniere _._tre en conformite avec toutes les reglementations
applicables adoptees par I'Air Resources Board, qu'il est exempt de tout defaut de
matiere ou de construction susceptible d'entra;ner la defaillance d'une piece garantie
et qu'il est mat@iellement identique en tous points au moteur decrit dans la demande
de certification du fabricant. La periode de garantie d_marre & la date de I'achat
initial du moteur.
La garantie sur les pieces li_es aux _missions est comme suit:
Toute piece garantie dent le remplacement n'est pas prevu dans le cadre de la
maintenance obligatoire indiqu_e dans le manuel d'utilisation fourni est garantie
pendant la periode susmentionnee. Si cette piece se r_velait _tre d_fectueuse
au cours de la periode de garantie, elle serait reparee ou remplacee par B&S
sans aucun frais pour le proprietaire. La piece ainsi r_par_e ou remplac_e sera
garantie pour la periode restante.
Toute piece garantie dent seule une inspection r_guli@e est pr_vue dans le
manuel d'utilisation fourni est garantie pendant la p@iode susmentionn_e. La
piece r_par_e ou remplacee dans le cadre de la garantie sera garantie pour la
p@iode restante.
Toute piece garantie dent le remplacement est prevu dans le cadre de la
maintenance obligatoire indiqu_e dans le manuel d'utilisation fourni est garantie
pendant la periode pr_c_dant le premier remplacement pr_vu de cette piece. Si
cette piece se r_v_lait _tre defectueuse avant le premier remplacement pr_vu,
elle serait r_par_e ou remplac_e par B&S sans aucun frais pour le propri_taire.
La piece ainsi r_paree ou remplac_e sera garantie pour la periode restante
precedant le premier remplacement pr_vu de ladite piece.
Les pieces ajoutees ou modifiees qui ne sont pas exemptees par I'Air
Resources Board ne peuvent @re utilisees. L'utilisation par le proprietaire de
pieces ajoutees ou modifiees non exempt_es sera un motif de rejet de toute
reclamation. Le fabricant ne peut en aucun cas 8tre tenu de garantir les
d_faillances de pi_ces garanties dues _. rutilisation de pieces non exempt_es
ajout_es ou modifi_es.
Couverture des consequences
La pr_sente couverture s'_tend & la d_faillance de tout composant du moteur due &
la defaillance d'une piece liee aux emissions garantie.
R_clamations et exclusions de garantie
Les r_clamations sous garantie seront pr_sentees selon les dispositions de la
police de garantie des moteurs de B&S. La garantie ne couvre pas les defaillances
de pieces liees aux emissions qui ne sont pas des pi_ces B&S d'origine ou les
defaillances de pi_ces qui ont fait I'objet d'abus, de n_gligence ou d'un mauvais
entretien ainsi qu'indique dans la police de garantie des moteurs de B&S. B&S n'est
pas tenu de couvrir la garantie des defaillances des pieces liees aux emissions
dues 9. I'utilisation de pieces rajoutees ou modifiees.
Les moteurs qui sont certifies conformes & la norme d'_missions du California Air
Resources Board (CARB) doivent afficher I'infermatien cencernant la periede de
durabilit_ des _missions et I'indice d'air. Cette information est indiquee sur les _tiquettes
appos_es sur les moteurs par Briggs & Stratton. L'etiquette du moteur indique les
informations de certification.
La p@iode de durabilit_ dee _mieeions indique le nombre d'heures d'utilisation
normale pour lequel le moteur est certifi_ conforme aux normes d'emissions sous
r_serve d'un entretien approprie tel qu'indiqu_ dans le manuel d'utilisation et d'entretien.
Les categories suivantes sont utilisees:
Modern:
le moteur est certifie conforme pour 125heures d'utilisation normale.
Interm_diaire:
le moteur est certifie conforme pour 250heures d'utilisation normale.
I_tendu:
le meteur est certifie conferme pour 500heures d'utilisation nermale. Par exemple, une
tendeuse _.conducteur marchant classique est utilisee 20 & 25heures par an. Par
consequent, la p_riode de durabilit_ des _missione d'un moteur de cat_gorie
interm_diaire _quivaudrait _. une douzaine d'ann_es.
Les moteurs Briggs & Stratton sont certifies conformes aux normes environnementales
d'emissions de la United States Environmental Protection Agency (U.S. EPA) Phase 2.
Pour les moteurs certifies Phase 2, la periode de conformite d'_missions mentionnee sur
les etiquettes indique le nombre d'heures d'utilisation pour lequel le moteur est en
conformite avec les normes fed@ales.
Pour les moteurs de cylindr_e inf@ieure _. 225cm3.
Categorie C = 125heures, categorie B = 250heures et cat_gorie A = 500heures.
Pour les moteurs de plus de 225cm3.
Categorie C = 250heures, categorie B = 500heures et cat_gorie A = 1000heures.
36

CARACT -R/ST/QUESTECHNIQUES
iViOTEUR:
Marque
S_ries dumodule
Couple de serrage brut*
Type
Cylindric
D_marrage dusyst_me
Alternateur
I':'cartementdes _lectrodes
8ougie _ r6sistance
Bougieen platineIongue dur6e
Capacit_ d'huile
Liquidehydraulique
Volumedu r6servoir de carburant
Dispositif d'allumage
Briggs & Stratton
S@ieneige
13,50 T.R @3060 rpm
4-Cycle - 0HV
305 cc (15,26 po3)
Lanceur electrique 110V
60W CA
0,76 mm (0,030 in.)
491055
5066
0,83 litre (28 oz)
Mineral 5W30
2,8 litres (3,0 qts)
Cedispositif d'allumage par etincelleest conforme 9 la norme canadienneICEA-002.
TARIERE/TURBINE•
Largeurde 06gagement
Hauteurd'entr_e
Diam_tre de la tari_re/turbine
Hombre de lames de tari_re
68,6 cm (27 po)
53,3 cm (21 po)
30,5 cm (12 po)
3
GOULOTTE:
D_flecteur de goulotte
Rotationde la goulotte
SYSTEMED'ENTRAJNElViENT•
Typed'entraTnement
Vitessesd'entra'inement
Dimensionsdes pneus
Gonfiagedes phons
Manuel
Manivelle _ gauche 190° (tour 3,5)
Disque de friction -Goupillede verrouillage detraction
6 vitesses marcheavant, 2 vitesses marche arri@e
41 x 12,2 cm (16 x 4,8)
0,96 bar (14 psi)
Inforrnations concernantla puissanceth_oriquedu moteur
*La puissance brute pour chaque Mo@le de moteur _ essenceest indiqu@ conformement au code 31940 (procedure de calcul de ia
puissance et du couple des petits moteurs) de la SAE(Society of Automotive Engineers) et les performances theoriques ont ete obtenues
et corrig@s selon SAEJ1995 (revision 2002-05). Les valeurs de couple sont calcul@ssur la base de 3060 tr/min et celles de puissance
sur la basede 3600 tr/min. La puissance brute reelledu moteur peut etre plus faible notamment _ causedes conditions de fonction-
nement et des variations d'un moteur 9 I'autre. Compte tenu de la grandevariete de machines sur lesquellesnos moteurs sont utilises et
du nombre de problemes environnementauxapplicablesau fonctionnement des equipements, il se peut que le moteur _ essencene
d@eloppe passa puissancetheorique unefois qu'il est monte dans une machine particuli@e(puissance netteou reelle <<sur site >>).
Cette difference s'explique par un grand nombre de facteurs, tels que les suivants (liste non limitative) : accessoires (filtre _ air, echappe-
ment, admission, refroidissement, carburateur, pompe 9 essence,etc.), limites d'utilisation, conditions ambiantes d'utilisation (tempera-
ture, humidite, altitude) et variations d'un moteur _ I'autre. Pourdes raisons de fabrication et de capacite limit@s, Briggs & Stratton est
susceptible de remplacer ce Mo@le par un moteur plus puissant.
37

Your Home
For expert troubleshooting and home solutions advice:
manage home
www.managemyhome.com
For repair - in your home - of all major brand appliances,
lawn and garden equipment, or heating and cooling systems,
no matter who made it, no matter who sold it!
For the replacement parts, accessories and
owner's manuals that you need to do-it-yourself.
For Sears professional installation of home appliances
and items like garage door openers and water heaters.
1-800-4-MY-HOME ®(1-800-469-4663)
Call anytime, day or night (U.S.A. and Canada)
www.sears.corn www.sears.ca
Our Home
For repair of carry-in items like vacuums, lawn equipment,
and electronics, call anytime for the location of your nearest
Sears Parts & Repair Service Center
1-800-488-1222 (U.S.A.) 1-800-469-4663 (Canada)
www.sears.com www.sears.ca
To purchase a protection agreement on a product serviced by Sears:
1-800-827-6655 (U.S.A.) 1-800-361-6665 (Canada)
Para pedir servicio de reparaci6n Au Canada pour service en fran_ais:
a domicilio, y para ordenar piezas: 1-800-LE-FOYER Mc
1-888-S U-H OGAR ® (1-800-533-6937)
(1-888-784-6427)
® Registered Trademark /TMTrademark /SMService Mark of Sears Brands, LLC
SM
® Marca Registrada /TM Marca de F&brica /Marca de Servicio de Sears Brands, LLC
MD
MCMarque de commerce /Marque d6pos6e de Sears Brands, LLC © Sears Brands, LLC