Data Critical AVTS1010 AVTS1010 User Manual Service
Data Critical Corporation AVTS1010 Service
Contents
- 1. User Guide
- 2. Service Manual
- 3. Revised Service Manual
Service Manual
EXHIBIT T – Service Manual
FCC ID# NMEAVTS1010

AlarmView™ Service and Installation Manual
Page 1
DATA CRITICAL CORP.
AlarmView™
Service and Installation Manual

AlarmView™ Service and Installation Manual
Page 2
Precautionary Information
Caution
Instructions - For continued safe use of this equipment, it is
necessary that the listed instructions be followed. However,
instructions listed in this manual in no way supersede
established medical procedures concerning patient care.
Intended Use - The system is intended to monitor various
patient-monitoring devices for alarm conditions, and responds by
transmitting message data that includes text information from the
patient.
Confirmation - When the system sends out a page, there is NO
confirmation back that the intended pager has successfully
received the page.
Maintenance - Failure on the part of the hospital or institution to
maintain the equipment as outlined in this manual may cause
pre-mature equipment failure.
Installation - The AlarmView System has been installed by
qualified technicians. Modification of this installation may cause
undue equipment failure.
Electromagnetic Interference - The AlarmView System may
cause electromagnetic interference with devices operated in
close proximity to the transmitter (refer to Appendix C).
System Components - Do not spill liquids on any of the
AlarmView™ System components.

AlarmView™ Service and Installation Manual
Page 3
Warnings
Patient Monitoring - The most reliable method of patient
monitoring combines close personal surveillance with correct
operation of monitoring equipment. Patient alarm conditions and
notifications are primary functions of the patient monitoring
system. It is imperative that the caregiver and/or monitoring floor
technicians monitor patient alarm conditions. The AlarmView
System is not intended for use as the primary source for the
patient alarm notification.
Accidental Spills - In the event fluids are accidentally spilled in
the equipment, take the equipment out of service and check for
damage. Check operation after drying 24 hours later.
Antenna Placement - The transmitter unit with a transmitter
antenna may interfere with computer equipment with electronic
switchboards located close to the antenna. If the transmitter unit
must be located close to these types of equipment, a remote
antenna should be used.
Change of Performance - If the system fails to page users
reliably, contact the hospital staff responsible for electromagnetic
environment and Data Critical Corp. immediately. (Data Critical
Corp. 24 hour support at 1-877-322-7828)
Electrical Shock - To reduce the risk of electrical shock, DO
NOT remove cover (or back). Refer servicing to qualified
personnel.
Environment - Data Critical Corporation does not assume
responsibility for damage to the equipment caused by improperly
vented cabinets, improper or faulty power, or insufficient wall
strength to support equipment mounted on such walls.
Explosion Hazard - Do not use this equipment in the presence
of flammable anesthetics, skin cleaning agents, and
disinfectants. Great care must be exercised when the device is
used in an oxygen-enriched atmosphere. The atmosphere is
considered to be oxygen enriched when the room air contains
more than 25% of oxygen or nitrous oxide.
!

AlarmView™ Service and Installation Manual
Page 4
Home Use - AlarmView™ System is not intended for home use.
Power - Convenience outlets and all others that may be used for
the patient must be on the hospital emergency circuit so that
they are energized at all times.
Site Surveys - Each institution is responsible for surveying
existing equipment and ensuring no conflict exists when
considering the introduction of additional radiating devices.
Transmission Bands - Each institution is responsible for
maintaining continued surveillance of transmission bands being
used in the facility to prevent co-occupation of bands and cross-
band interference.
Service and Technical
Support
Direct all inquires to:
Data Critical Corporation
19820 North Creek Parkway
Suite 100
Bothell, WA 98011
For technical advice or information concerning any equipment in
your AlarmView™ System, contact Technical Support. Call, toll
free at 1-877-DCC-STAT (1-877-322-7828).
Copyright © 1998-1999 Data Critical Corp. All Rights Reserved.

AlarmView™ Service and Installation Manual
Page 5
Conventions of this Manual
Two items that may help you as you work through the AlarmView
User’s Guide are the special notes and cautions that appear
throughout this text. Individual icons identify these notes and
cautions, and they alert you to special information.
The Caution icon alerts you to possible problems that
you may encounter as you work through the
AlarmView™ System programs. The possibility of
losing data, for example, is information that could be
mentioned in a caution.
NOTE
The Note icon alerts you to tips or hints that may make
it easier for you to work within AlarmView System
programs. These might include data entry tips,
additional information about a window or field, or
recommended procedures.
NOTE: Due to continuing product innovation, specifications in
this manual are subject to change without notice.
Trademarks:
Nellcor Puritan Bennett™ are registered trademarks of Nellcor
Puritan Bennett, Inc.
Windows™ CE is a registered trademark of Microsoft
Corporation.
AlarmView™ System is registered trademark of Data Critical
Corporation.

AlarmView™ Service and Installation Manual
Page 6
Purpose
The technical publications staff of Data Critical Corporation.
prepared this service manual for the AlarmView system. This
manual is geared for qualified service representatives and
technical personnel involved in maintaining and repairing the
AlarmView system.
This manual is geared toward trained biomedical engineers.
Users are expected to have a strong background in electronics,
including a strong background in analog circuitry, digital circuitry,
and microprocessor and microcontroller architecture.
Safety Information
Manufacturer’s Responsibility
Data Critical Corp. is responsible for the effects on safety,
reliability, and performance only if:
v assembly operations, extensions, readjustments,
modifications, or repairs are carried out by persons
authorized by Data Critical Corp.
v the electrical installation of the relevant room complies with
the requirements of the appropriate regulations; and
v the AlarmView paging system is used in accordance with the
instructions for use.

AlarmView™ Service and Installation Manual
Page 7
Service Information
Service Requirements
Follow the service requirements listed below.
v Refer equipment servicing to Data Critical Corporation
authorized service personnel only.
v Any unauthorized attempt to repair equipment under
warranty voids that warranty.
v It is the user’s responsibility to report the need for service to
Data Critical Corporation or to one of their authorized
agents.
v Failure on the part of the responsible individual, hospital, or
institution using this equipment to implement a satisfactory
maintenance schedule may cause undue equipment failure
and possible health hazards.
v Regular maintenance, irrespective of usage, is essential to
ensure that the equipment is always functional when
required.
Notice
Copyright © 1999 Data Critical Corporation. All Rights
Reserved.
Draft manual version.

AlarmView™ Service and Installation Manual
Page 8
Introduction
AlarmView System Product
Description
The AlarmView System is a secondary alarm notification system
that transmits alarm data from Primary Patient Monitoring
Equipment (PME) to pagers that are worn by caregivers.
• The AlarmView Pager - The AlarmView Pager is an off the
shelf pager that is worn by caregivers responsible for
individual patient care.
• The AlarmView Programmer - The AlarmView Programmer
is an off the shelf Personal Digital Assistant (PDA) with
Windows CE operating system and equipped with
AlarmView programming software. The PDA needs to have
an infrared (IR) port to communicate with the transmitter.
• The AlarmView Transmitter - The AlarmView Transmitter is
connected to the Patient Monitoring Equipment (PME) (i.e.,
Nellcor Puritan Bennett Pulse Oximeter) with an AlarmView
cable that is connected to the PME’s serial port.

AlarmView™ Service and Installation Manual
Page 9
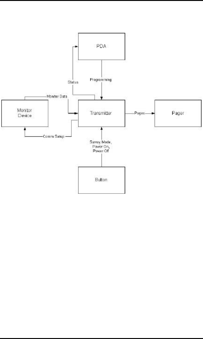
AlarmView System Diagram

AlarmView™ Service and Installation Manual
Page 10
AlarmView System
Components
AlarmView Transmitter
The AlarmView transmitter is a device which interfaces to the
PME and relays patient alarm information to clinician-worn
receivers. The data relayed from the monitoring system includes
patient bed number, alarm type, and parameter values (heart
rate and SPO2 values).
<Insert AlarmView Transmitter Installation Diagram>
AlarmView Programmer
The AlarmView programmer is a palmtop computer running the
Windows CE operating system (PDA). The PDA comes
preloaded with proprietary software used to configure the
AlarmView system.
<Insert AlarmView PDA Installation Diagram>
AlarmView Pager
The AlarmView pager is an off-the-shelf clinician-worn pager
device intended for use in a hospital/facility environment. The
pager is an additional means of annunciating patient alarm
information, such as patient bed number, alarm type, and heart
rate and SPO2 data.
<Insert AlarmView Pager Installation Diagram>

AlarmView™ Service and Installation Manual
Page 11
Monitoring Device Types
The AlarmView software is currently configured to be compatible
with the following devices:
Nellcor Puritan Bennett Pulse Oximeter N-290
Nellcor Puritan Bennett Pulse Oximeter N-295
Nellcor Puritan Bennett Pulse Oximeter N-3000
Controls, Indicators, and
Symbols
< >
Installation
Unpacking and Inspection
Be sure to carefully unpack all components carefully. If any
boxes appear damaged in any way, contact the carrier. Visually
inspect all components for obvious physical damage. If there are
any cracks, dents, or any indication of mechanical damage,
contact Data Critical Corporation before attempting to use any of
the equipment.

AlarmView™ Service and Installation Manual
Page 12
List of Components
Please check that all of the following components are present:
AlarmView Transmitter
7” Antenna
Power Cable for Transmitter
Battery for Transmitter
AlarmView Programmer
Programmer Charging Cradle
Programmer Batteries
AlarmView Pager
Pager Batteries
Serial Cable for Connection from AlarmView Transmitter to PME
Setup
Attach the antenna to the AlarmView transmitter.
Power the AlarmView transmitter.
Attach the monitor to the AlarmView transmitter.
Be sure the monitor is not running on battery.
General Warnings
Make sure that the antenna is attached to the transmitter before
attempting to send any pages. Failure to do so may cause
internal damage to the transmitter.
Be sure that the monitor has power, and is not running on
battery. A monitor on battery power does not communicate via
it’s serial port, and the transmitter will be unable to establish
communications with the monitor.
Connecting AlarmView
The AlarmView transmitter must be physically connected to the
PME via the serial cable in order for communications to exist.
Performance Verification
Performance verification is discussed below in the Quick Start
section.

AlarmView™ Service and Installation Manual
Page 13
Range Verification and Measurement
Range verification is discussed in detail in the Quick Start
section below.
Basic Setup
The AlarmView system come from the factory with certain preset
defaults. Some of these values may be modified by the user.
Factory Default Settings
AlarmView Pager
Notification Mode: Audible
Cap Code: 0000009
Frequency: 464.500 MHz
Display: 4 line
AlarmView Transmitter
Bed Number: NewBed
Cap Code 0000009
Alarm Severity Send All Alarms
Reminder Interval 30 seconds
Reminder Duration Continuously
Survey Page Interval 15 seconds
Survey Page Duration 100 pages
Paging Frequency 464.500 MHz
Paging Baud Rate 1200 bps
AlarmView Programmer
Audible Tone On

AlarmView™ Service and Installation Manual
Page 14
Adjustable Settings
Some settings can be changed by the user. All settings that can
be changed in the transmitter are described in detail below in the
Quick Start section. To make changes to the other equipment,
see the manufacturer’s documentation.
AlarmView Pager
Notification Mode: Audible
Cap Code: 0000009
Frequency: 464.500 MHz
Display: 4 line
AlarmView Transmitter
Bed Number: NewBed
Cap Code 0000009
Alarm Severity Send All Alarms
Reminder Interval 30 seconds
AlarmView Programmer
Audible Tone On
Troubleshooting
Error Messages
If possible, the transmitter will send error messages to pages
when errors occur.
The most likely message will be a low battery message:
Low Tx Battery
Tx Shut Down

AlarmView™ Service and Installation Manual
Page 15
Another possible error message pages would be a loss of
communications with the PME:
Comm Fail
Retrying Comms
If, after an hour, communications is not established, a shut down
message will be sent
Comm Fail
Tx Shut Down
The AlarmView Programmer will also post error messages
encountered during communications with the transmitter.
If, during a communication attempt, the IR port could not be
accessed, the AlarmView Programmer will post the following
message in an error dialog box.
UNABLE TO ACCESS PORT
PROBABLY IN USE
If the IR port could be accessed, but communications could not
be established between the PDA and the transmitter, the
AlarmView Programmer will post the following message in an
advisory dialog box.
Please by sure the IR port
is pointed directly at the
transmitter, at a distance
less than 18in (60cm),
and try again.
The following status message will also be displayed on the top
middle of the Programmer screen.
Failed To Connect

AlarmView™ Service and Installation Manual
Page 16
If no bed number was selected before the “Program” button was
tapped, the AlarmView Programmer will post the following
message in an advisory dialog box.
You must select or get a
bed number.
If no cap code was selected before the “Program” button was
tapped, the AlarmView Programmer will post the following
message in an advisory dialog box.
You must select or get one
or more pagers.
If the Programmer could not program the transmitter, the
AlarmView Programmer will post the following status message
on the top middle of the Programmer screen.
Programming Failed

AlarmView™ Service and Installation Manual
Page 17
Suggested Corrective Actions
Error Corrective Action
Low Transmitter Battery Plug in the transmitter to wall
power to recharge the battery.
Communication Failure Ensure that the transmitter is
connected via the serial cable to
the PME. Ensure that the PME is
plugged in.
Unable to access port Reboot the Programmer.
IR port not pointed at transmitter/
Failed To Connect Point the IR port on the
programmer at the IR port on the
transmitter at a distance less than
18in (60cm).
Must select a bed number Select a bed number
Must select a cap code Select a cap code
Programming Failed Try to program again
EMI Interference
It is a known fact that electronic devices that emit radio
frequencies may interfere with the operation of other electronic
devices. This has become a significant concern in the health
care community because of the proliferation of intentional
electronic radiators such as cellular phones, paging systems,
walkie-talkies, and wireless network LANs. The critical care
areas such as intensive care, operating rooms, and emergency
care are of special concern and incidents have been observed
with apnea monitors, wheel chairs, and ventilators.
The FDA and organizations such as AAMI, IEEE, and IEC have
started to address this complicated issue through their respective
working groups. The ANSI C63.6 working group made up of
industry and the FDA released a technical information report
(TIR). This TIR provides a means to evaluate critical care
medical devices for electromagnetic interference problems by
the clinical and biomedical staff using an ad hoc test method.

AlarmView™ Service and Installation Manual
Page 18
The report provides background information and basic EMI
fundamentals. A possible outline for management of potential
EMI sources and education of the hospital staff is as follows:
Encourage biomedical engineers to learn how to assess the EMI
environment of their hospital and take actions on:
• managing (increasing) distance between sources of EMI and
susceptible devices
• managing use of frequencies close to AlarmView™ System
frequencies
• managing (removing) devices that are highly susceptible to
EMI
• lower power from internal EMI sources under hospital control
(paging systems)
• labeling devices susceptible to EMI
• educating staff (nurses and doctors) to be aware of, and to
recognize, potential EMI related problems
• conducting technical remedial action to eliminate EMI, such
as shielding
• sharing relevant EMI/EMC information with others, especially
in evaluation of new equipment purchases which may have
emissions
• identifying critical areas where life-support devices are in use
and restricting the use of personal communicators (cellular
phones) in those critical care areas
Purchase critical care devices that comply with IEC 601-1-2
EMC standards:
• the required level of EMI immunity is 3 volts per meter
• the interference level that a medical device can radiate
(emit) is 0.0014 volts per meter

AlarmView™ Service and Installation Manual
Page 19
The AlarmView™ System has a transmit power level of up to 1
watt peak at a pre selected RF frequency between 450 MHz to
466 MHz
Protection Distance Estimate
Peak Power of
Transmitter Immunity of Medical Device
1 V/meter 2 V/meter 3 V/meter
1 watt x ft x ft x ft
1 watt x m x m x m
Obtaining Technical Support
Direct all inquires to:
Data Critical Corporation
19820 North Creek Parkway
Suite 100
Bothell, WA 98011
For technical advice or information concerning any equipment in
your AlarmView™ System, contact Technical Support. Call, toll
free at 1-877-DCC-STAT (1-877-322-7828).
Copyright © 1998-1999 Data Critical Corp. All Rights Reserved.

AlarmView™ Service and Installation Manual
Page 20
Maintenance
Service
The AlarmView™ Pager
<Insert photo and or screen shot here>
Changing the battery
The AlarmView™ Pager requires one AAA alkaline battery.
• Use only 1.5 Volt AAA alkaline battery.
• Observe proper polarity when installing battery.
• Do not dispose of battery in fire.
• Do not attempt to recharge alkaline batteries.
• Remove battery from pager if the pager will not be
used for 2 days or more.
To change the battery:
With the back of the pager facing you, carefully remove the
battery cover. Remove the old battery and throw it away. Put a
new battery in the slot Be sure that the “+” on the battery
matches up with the “+” on the pager. Put the battery cover back
on the pager. Turn the pager on to make sure the battery works.
Power
Certain pagers will chirp or display a message to tell you that the
battery will need to be replaced.
Screen
The pager screen should be protected to keep from being
scratched and broken. If the screen should become cracked or
moisture appears inside, the pager should be replaced.

AlarmView™ Service and Installation Manual
Page 21
Pager Maintenance
• Visual Inspection
Be sure to inspect the AlarmView™ Pager unit frequently.
Check the case for cracks or other damage.
• Cleaning Procedures
To avoid damage to the device surfaces, do not use the following
cleaning agents:
organic solvents,
acetone solution,
alcohol-based cleaning agents,
Betadine solution,
a wax containing cleaning substance, or
abrasive cleaning agents.
Recommended cleaning supplies:
sodium hypochlorite bleach, (diluted), or
mild soap and water
lint-free cloth
dust remover (compressed air)
To clean the exterior:
Dampen a lint-free cloth with one of the recommended cleaning
solutions. Wring excess moisture from the cloth. Wipe the
device exterior. Dry the surfaces with a lint free cloth. Clean the
display screen with lens tissue.
Do not drip any liquid into open vents, plugs, or
connectors. Cleaning agents must be diluted before
use.
The pager’s display screen is more sensitive to rough handling,
scratches and breakage than the other outside surfaces of the
device. Be careful, especially when cleaning the screen surface
and replacing the battery.

AlarmView™ Service and Installation Manual
Page 22
The AlarmView™ Programmer
<Insert photo and or screen shot here>
Changing the battery
The AlarmView™ Programmer requires two AAA alkaline
battery, and one CR2016 battery.
• Observe proper polarity when installing battery.
• Do not dispose of battery in fire.
• Do not attempt to recharge alkaline batteries.
• Remove battery from PDA if the PDA will not be
used for 2 days or more.
To change the battery:
With the back of the PDA facing you, carefully remove the
battery cover. Remove the old batteries and throw them away.
Put new batteries in the slot. Be sure that the “+” on the battery
matches up with the “+” on the PDA. Put the battery cover back
on the PDA. Turn the PDA on to make sure the battery works.
Power
There will be a dialog box notification to tell you that the battery
will need to be replaced.
Screen
The pager screen should be protected to keep from being
scratched and broken. If the screen should become cracked or
moisture appears inside, the PDA should be replaced.

AlarmView™ Service and Installation Manual
Page 23
PDA Maintenance
• Visual Inspection
Be sure to inspect the AlarmView™ PDA unit frequently.
Check the case for cracks or other damage.
• Cleaning Procedures
To avoid damage to the device surfaces, do not use the following
cleaning agents:
organic solvents,
acetone solution,
alcohol-based cleaning agents,
Betadine solution,
a wax containing cleaning substance, or
abrasive cleaning agents.
To clean the exterior:
Dampen a lint-free cloth with one of the recommended cleaning
solutions. Wring excess moisture from the cloth. Wipe the
device exterior. Dry the surfaces with a lint free cloth. Clean the
display screen with lens tissue.
Do not drip any liquid into open vents, plugs, or
connectors. Cleaning agents must be diluted before
use.
The PDA’s display screen is more sensitive to rough handling,
scratches and breakage than the other outside surfaces of the
device. Be careful, especially when cleaning the screen surface
and replacing the batteries.

AlarmView™ Service and Installation Manual
Page 24
Overview
AlarmView Transmitter
v The transmitter operates at one of several frequencies.
The frequency of the transmitter must match the frequency of the
pagers installed on the system. The transmitter has a range of
approximately 300 feet. This range is site-specific and
influenced by factors such as antenna placement and building
construction.
AlarmView Pager
The AlarmView pagers are small, battery-operated pagers that
can be worn on a belt.

AlarmView™ Service and Installation Manual
Page 25
Installing the Equipment
Pre-Installation Requirements
Power Requirements
One properly grounded duplex wall receptacle should be
provided for each system. Additional receptacles may be
required to accommodate peripheral equipment connected to the
system. The wall receptacle must be installed in an approved
junction box. Use only 3-prong, polarized, medical-grade wall
receptacles to accept the 3-prong, polarized, medical-grade plug
on the computer equipment.
!
Warnings
The AlarmView transmitter and all peripheral equipment
must be adequately grounded, or a shock hazard may exist.
Observe the following grounding recommendations:
v All wall receptacles and all exposed metal parts (beds,
radiators, water pipes, etc.) in any patient area should be
electrically connected together by sharing a common
grounding point. This common ground point should be
connected to the nearest equipotential ground through a
bonded grounding system, or with a 10 AWG stranded
copper grounding cable.
v The equipotential ground point should be as close to earth
ground potential as possible. If a bonded grounding system
is not available, the ground pin of each wall receptacle must
be individually connected to a central grounding point. Do
not jumper from ground pin to ground pin of the receptacles.

AlarmView™ Service and Installation Manual
Page 26
v The grounding system must not carry current, such as
grounded neutral, since the current flow produces potential
differences along the ground path. These potential
differences are a shock hazard source for equipment users
and patients.
v Do not use conduit as a ground conductor. Plastic (PVC)
piping or fittings used in the conduit runs can break the
electrical connection to ground, resulting in potential shock
hazards.
v The electrical grounding system should be connected on an
earth ground. If this is not possible, then a good ground
reference such as a metal water pipe or an electrically-
conductive building component should be used. It is more
important that all grounded objects in the patient area are at
the same ground potential, rather than at earth ground
potential.
Equipment Installation
Installation of the AlarmView system consists of the following
steps.
!
Warnings
SHOCK HAZARD – A shock hazard may exist if external
devices are connected other than as described in this
manual, or as directed by the manufacturer.
Cautions
External equipment must be connected to the system only
by qualified biomedical engineering personnel. Only
external devices specifically designed to be connected to
the AlarmView system, approved by Data Critical for use
with the AlarmView system, should be connected, as
specified in this manual or as otherwise specified by the
manufacturer. All external cabling used with the
AlarmView system must be routed so as not to interfere
with access or operation of the system. All cabling must be
installed to protect against accidental disconnection of the
cables.

AlarmView™ Service and Installation Manual
Page 27
v Power for all peripheral equipment is installed, tested, and
ready for use. This includes testing for proper grounding of
the power source.
v All equipment, including all peripheral devices, must be
unpacked and ready for installation. All required cables
must be identified and prepared for installation.
v Install the transmitter at the desired location.
v Connect the transmitter to the power source.
v Connect the antenna to the transmitter.
Do not turn on the unit or
attempt to transmit patient data
unless the antennas are
attached; if you do not attach
the antenna, you may damage
the radio module.

AlarmView™ Service and Installation Manual
Page 28
AlarmView Quick Start
Configuring the System
The PDA is used to change or view the current setup (i.e. the
bed number and the pager cap codes) of the transmitter. To
program the transmitter, the transmitter must be trying to
establish communications with the patient monitoring equipment
(the LED is ORANGE), or have established communications with
the patient monitoring equipment (the LED is GREEN).

AlarmView™ Service and Installation Manual
Page 29
The Editor Program
Turn the PDA “ON”. The first screen of the PDA will appear and
will resemble the screen below.
Select the Windows Start menu button.
From the Windows Start menu, select the “AV System Manager”
program.

AlarmView™ Service and Installation Manual
Page 30
The AlarmView System Manager main screen will appear as
shown below.

AlarmView™ Service and Installation Manual
Page 31
Tap the About button for information about the System Manager
software.
Tap the OK Button to return from this dialog box.

AlarmView™ Service and Installation Manual
Page 32
Now tap the Editor Button on the Main Screen. The following
warning will appear.
Pressing the “No Button” will return the user to the AlarmView
System Manager main screen. Pressing the “Yes Button” will
launch the “AlarmView Editor” program. This is the program
used to setup which bed number and cap codes are present in
the system. It can be reconfigured when pagers are sent back to
the factory, or new pagers are obtained.

AlarmView™ Service and Installation Manual
Page 33
To configure the bed numbers available in the system, tap the
Bed Numbers 1 - 24 tab or the Bed Numbers 24 – 48 tab. The
first tab lists the first 24 bed numbers available to the system.
The second tab lists the last 24 bed numbers available to the
system. It is not necessary to fill in all 48 slots.
Below is the Bed Numbers 1 – 24 screen.

AlarmView™ Service and Installation Manual
Page 34
Below is the Bed Numbers 24 – 48 screen. Note that the “active”
tab is displayed in all caps.

AlarmView™ Service and Installation Manual
Page 35
Bed Numbers can be added and deleted from this list. Click on a
bed number to edit. Using the stylus, tap the backspace key on
the keyboard to delete the bed number to be edited (or highlight
the entire bed number as shown below), and using the numbers
and letters on the key board, type in the new bed number. Tap
the “Save” button on completion, or the “Exit” button to exit the
Editor Program.

AlarmView™ Service and Installation Manual
Page 36
If the keyboard is not visible, tap the keyboard icon to display the
keyboard. If an additional bed number is desired, a bed number
can be added to any blank space on page one or two of the bed
number listing. Simply tap the cursor in the blank space and
begin typing the new bed number.
To edit the pager numbers, tap the “Pagers” tab on the upper
right of the screen. The “AlarmView Editor” Screen Pagers page
will appear.

AlarmView™ Service and Installation Manual
Page 37
Pager Cap Codes can be added and deleted from this list. Click
on a cap code number to edit. Using the stylus, tap the
backspace key on the keyboard to delete the cap code number
to be edited (or highlight the entire cap code number), and using
the numbers and letters on the key board, type in the new cap
code number. Tap the “Save” button on completion, or the “Exit”
button to exit the Editor Program.
If the keyboard is not visible, tap the keyboard icon to display the
keyboard. If an additional bed number is desired, a bed number
can be added to any blank space on page one or two of the bed
number listing. Simply tap the cursor in the blank space and
begin typing the new bed number.
Note that the global cap code value can not be changed by the
user.
To restore values to the state they were in before editing began,
tap the Restore Button on any of the pages before pressing the
Save Button. Once the Save Button has been pressed,
however, the original values are not restored.

AlarmView™ Service and Installation Manual
Page 38
When the “Editor Program” is exited, the Main Screen is again
displayed.

AlarmView™ Service and Installation Manual
Page 39
The Configuration Program
If the main PDA screen is displayed, tap Windows Start menu
button.
From the Windows Start menu, select the “AV System Manager
program.

AlarmView™ Service and Installation Manual
Page 40
The AlarmView System Manager main screen will appear as
shown below.

AlarmView™ Service and Installation Manual
Page 41
To launch the Configuration Program, tap the Programming
button. The “Configuration Program” Main Screen will appear.
This program is used to change the transmitter’s setup of bed
numbers, cap codes, alarm severity, and reminder page interval.
It also displays information that can not be modified by the user.
This information includes: monitor identifier (N3000, N295,
N290), transmitter number, hardware version, software version,
protocol version, authorize identification, paging frequency, and
paging baud rate. This program can be used at shift change, or
whenever there is a need to change/view the current transmitter
configuration.

AlarmView™ Service and Installation Manual
Page 42
To obtain the current configuration programmed into the
transmitter, tap the “Download Configuration Button”. When this
button is tapped, the PDA attempts to establish communications
with the transmitter. If the IR port could not be accessed, the
following dialog box will be displayed.
Tap the OK button to close this dialog box and return to the
Configuration Program main screen.
If the IR port could be accessed, but communications could not
be established between the PDA and the transmitter, the
following error dialog box will be displayed:

AlarmView™ Service and Installation Manual
Page 43
When “OK” is tapped on this dialog box, the Configuration
Program main screen will be displayed with a status message
informing the user of a “Failed to Connect” status.

AlarmView™ Service and Installation Manual
Page 44
At this point, simply point the PDA at the transmitter, and tap the
“Download Configuration Button” again. While the transmitter is
being queried, the Configuration Program main screen will be
displayed with a status message informing the user of a “Loading
Data” status. The PDA will be in this state for less than 2
seconds.

AlarmView™ Service and Installation Manual
Page 45
When the transmitter has been successfully queried, the
Configuration program main screen will be displayed with a
status message informing the user of a “Transmitter Data
Loaded” status.

AlarmView™ Service and Installation Manual
Page 46
At this point, if the displayed data is correct, no changes need be
made, and the user is done. Exit the Configuration Program by
tapping the “X” in the upper right corner of the screen.
If the data needs to be changed, the Patient Bed Number can be
selected by tapping on the bed number drop down list, and
highlighting the desired bed number.
A maximum of two pagers can be selected by clicking the radio
button next to the desired pager number.
To change/view alarm severity selection or reminder page
intervals, tap the Advanced Setup Button on the upper left of the
screen. If no data has been previously downloaded, the PDA will
attempt to establish communications with the transmitter. When
the data is downloaded, the following screen will appear.

AlarmView™ Service and Installation Manual
Page 47
Alarm Severity selections:
Send All Alarms indicates that all alarms will be sent to the
pagers regardless of the severity of the alarms.
Only Critical Alarms indicates that only critical (high priority and
medium priority) alarms will be sent to the pagers.
Reminder interval indicates the time interval at which reminders
will be sent after the original alarm has not been silenced.
Tap the OK button when all changes have been made.
To view transmitter data that can not be modified by the user, tap
the Current Configuration Button on the upper left of the screen.
If no data has been previously downloaded, the PDA will attempt
to establish communications with the transmitter. When the data
is downloaded, the following screen will appear.
Tap the “Program Transmitter” button to program the transmitter
with the newly selected values.

AlarmView™ Service and Installation Manual
Page 48
If no bed number was selected before the “Program” button was
tapped, the following error dialog box will appear.
If no cap code was selected before the “Program” button was
tapped, the following error dialog box will appear.
Exit both of the above dialog boxes by tapping the OK Button.
After the above error conditions are rectified, tap the “Program
Transmitter” button again. When this button is tapped, the PDA
attempts to establish communications with the transmitter.

AlarmView™ Service and Installation Manual
Page 49
If the IR port could not be accessed, the following dialog box will
be displayed.
Tap the OK button to close this dialog box and return to the
Configuration Program main screen.
If the IR port could be accessed, but communications could not
be established between the PDA and the transmitter, the
following error dialog box will be displayed:

AlarmView™ Service and Installation Manual
Page 50
When “OK” is tapped on this dialog box, the Configuration
Program main screen will be displayed with a status message
informing the user of a “Failed to Connect” status.

AlarmView™ Service and Installation Manual
Page 51
At this point, simply point the PDA at the transmitter, and tap the
“Program Transmitter Button” again. While the transmitter is
being queried, the Configuration Program main screen will be
displayed with a status message informing the user of a
“Programming” status. The PDA will be in this state for less than
2 seconds.

AlarmView™ Service and Installation Manual
Page 52
When the transmitter is successfully programmed, the
Configuration Program main screen will be displayed with a
status message informing the user of a “Programming
Successful” status.

AlarmView™ Service and Installation Manual
Page 53
A “Programming Successful” page will also be sent to the newly
selected pagers, displaying the newly selected bed number.
<Insert photo and or screen shot here>
Exit the “Configuration” program by tapping the “X” in the upper
right corner of the screen.
When the Configuration Program has been exited, the System
Manager Program main screen will be displayed as shown:
Exit this program by tapping the Exit Button in the upper left of
the screen.

AlarmView™ Service and Installation Manual
Page 54
Survey Pages
The Survey Mode is a mode in which frequent periodic pages
are sent from the transmitter to the assigned pager(s). This
mode can be used to determine areas of coverage for the
system. To begin the Survey Mode, turn on the transmitter, as
described above. The transmitter should not be attached to any
patient monitoring equipment as this point. The LED on the front
of the transmitter will be ORANGE to indicate that the transmitter
is attempting to establish communications with the patient
monitoring equipment. Press the button on the top of the
transmitter, and hold the button down for approximately 5
seconds. A numbered “Survey Page” will be sent. Every 15
seconds, another “Survey Page” will be sent. This will continue
until one hundred pages have been sent. To stop the survey
mode before one hundred pages have been sent, press the
button on the top of the transmitter, and hold the button down for
approximately 5 seconds.
Pages sent during the Survey Mode will have a line of data,
which will indicate that the Survey Mode is in process.
Pages sent during the Survey Mode will contain the following
data:
Bed Number
Transmission Number (in sequence)
<Insert photo>

AlarmView™ Service and Installation Manual
Page 55
Communicating With
Patient Monitoring
Equipment
Turn on the transmitter, as described above. Attach the serial
cable to the RJ-45 port. Attach the other end of the cable to the
patient monitoring equipment. The transmitter will automatically
detect the monitor (assuming it is an N-3000, N-295, or N-290).
Once communications have been established with the patient
monitoring equipment, a page will be sent to the pager indicating
this, and the LED will turn GREEN.
The communications established page will have the following
data:
Bed: xxxxx
Comms OK
<Insert photo and or screen shot here>
From that point, all alarms at the patient monitoring equipment
will be sent to the pager(s), as assigned by the PDA (as
described above).

AlarmView™ Service and Installation Manual
Page 56
Test Pages
Test pages can be used to verify proper communications with
the patient monitor. Turn on the transmitter, as described above,
and establish communications with the patient monitoring
equipment (the LED will be GREEN). Once communications is
established, press the button on the transmitter (but, do not hold
it down). A “Test Page” will be sent indicating the current patient
data (SPO2, and Pulse Rate). Note that alarms take precedence
over Test Pages, and will be sent first.
Test Page
Bed: xxxxx
PR: xxx
SPO2: xxx
<Insert photo and or screen shot here>
POST
TBD

AlarmView™ Service and Installation Manual
Page 57
Glossary
BNC Connector: A type of connector used with coaxial
cables. The basic BNC connector is a male
type mounted at each end of a cable. This
connector has a center pin connected to the
center cable conductor and a metal tube
connected to the outer cable shield. A
rotating ring outside the tube locks the cable
to any female connector. This is the type of
connector that the antenna uses to connect
to the transmitter.
IR Port: Infrared port. An IR Port is used by the
PDA to “talk” to the transmitter.
PDA: Personal Digital Assistant (Palm Pilot,
Cassiopeia, etc.)
POCSAG: Post Office Code Standardization Advisory
Group
RF
Transmissions: Radio Frequency transmissions
RJ-45 Connector: Short for Registered Jack-45, an eight-wire
connector commonly used to connect
computers. Looks similar to the connectors
used for connecting telephone equipment,
but they are somewhat wider.
UHF Band: Ultra High Frequency Bandwidth
Windows CE: The operating system of the PDA