Diebold 41020285 RFID device oper at 13.56 MHz, read/trans data User Manual Operation Guide
Diebold Inc RFID device oper at 13.56 MHz, read/trans data Users Manual Operation Guide
Diebold >
Contents
- 1. Users Manual Installation Guide
- 2. Users Manual Operation Guide
Users Manual Operation Guide
PRELIMINARY - DRAFT COPY
Mon Jun 01 08:53:30 2009
Electronic Vault Attendant (EVA) Elite
Hardware Installation Guide
TP-821320-001A PD 6520
PRELIMINARY - DRAFT COPY
Mon Jun 01 08:53:30 2009

PRELIMINARY - DRAFT COPY
Mon Jun 01 08:53:30 2009
Electronic Vault Attendant (EVA) Elite
Hardware Installation Guide
June 2009
TP-821320-001A PD 6520

PRELIMINARY - DRAFT COPY
Mon Jun 01 08:53:30 2009
Document History
Document Number Date Remarks
TP-821320-001A 6/2009 Original edition
Copyright protection is claimed for each revision listed in the document history, as of the date indicated.
Any trademarks, service marks, product names or company names not owned by Diebold, Incorporated or its
subsidiaries (collectively "Diebold") that appear in this document are used for informational purposes only and
Diebold claims no rights thereto, nor does such use indicate any affiliation with or any endorsement of Diebold or
Diebold products by the owners thereof.
This document contains proprietary information. If the document pages state the information is confidential
(or words of similar import), then this document is intended solely for the use of the copyright owner's
employees or other personnel expressly authorized in writing by the copyright owner. Other uses of this
information without the express written consent of the copyright owner are prohibited. This document should
be treated as confidential material for security reasons. Any unauthorized disclosure or use of confidential
material may violate Section 1832 of Title 18 of the United States Code as well as other laws, and may be
punishable by fine and imprisonment.
The information contained in this document is subject to change without notice. When using the document for system
implementation, please call your authorized sales or service representative for any applicable changes.
This document and the information contained herein are provided AS IS AND WITHOUT WARRANTY. In
no event shall the copyright owner or its suppliers be liable for any special, indirect, or consequential damages
of any nature resulting from the use of information in this manual.
No part of this document may be reproduced, stored in a retrieval system, or transmitted, in any form or by any
means: electronic, mechanical, photocopying, recording, or otherwise, without prior written permission from the
copyright owner.
Your use of this document and/or any of the information contained herein constitutes your agreement to all of the
terms stated on this page.
Diebold continually strives to improve its products. If you would like to comment on the accuracy, clarity,
organization or value of this document, please contact us at documentationservices@diebold.com or address
correspondence to:
Diebold, Incorporated
Att: Documentation Services 9-B-16
5995 Mayfair Road
North Canton, OH 44720
ii Copyright ©Diebold, Incorporated (6/2009) - All Rights Reserved
TP-821320-001A

PRELIMINARY - DRAFT COPY
Mon Jun 01 08:53:30 2009
Contents
Section1 GeneralDescriptionandIntroduction ............................... 1-1
1.1 DocumentScope ........................................ 1-1
1.2 Description ........................................... 1-1
1.3 InstallationToolsandEquipment ................................ 1-1
1.4 SDLockCompatibility ..................................... 1-2
1.5 SystemComponents ...................................... 1-2
Section2 Installation ............................................. 2-1
2.1 SitePreparation ......................................... 2-1
2.2 PreparingtheSafeDeposit(SD)LocksandDoors ....................... 2-1
2.2.1 CleantheExteriorSurfaceofSDSections....................... 2-2
2.2.2 Enable(unlock)theGuardNose(lock) ........................ 2-2
2.3 InstallingtheLockCoverAssembliestotheSDBoxDoors .................. 2-3
2.3.1 Pre-installationChecklistforLockCoverAssembly ................. 2-3
2.3.2 InstalltheBasePlate(MountingBracketBases) ................... 2-5
2.3.3 InstallTagCoversandLockCoverHousings ..................... 2-10
2.3.4 InstallSDBoxNumberLabelsOntotheUpperLockCoverHousing ........ 2-13
2.4 InterconnectionProceduresandComponentHookup ..................... 2-13
2.4.1 TouchScreenWorkstation(41-021181-000A) ..................... 2-16
2.4.2 Docking Station Access and Connection Detail .................... 2-18
2.4.3 UPS(option) ...................................... 2-21
2.5 Installing the Daygate Access Control Components ...................... 2-22
2.5.1 DaygateDoorStrikeKit(19-042286-000A)...................... 2-23
2.5.2 DoorClosure(Hinge)Kit(19-048488-000A) ..................... 2-25
2.5.3 DaygateLocksetEgressKit(19-046487-000A) .................... 2-27
2.5.4 EgressButtonKit(19-042292-000A) ......................... 2-28
2.5.5 TrafficLightOption(19-049328-000A) ........................ 2-31
2.5.6 HandRecognitionReader(19-055310-000A) ..................... 2-32
2.5.6.1 HandRecognitionReaderWiringDetails ................. 2-33
2.5.6.2 HandRecognitionReaderEarthGroundandShielding .......... 2-36
2.5.6.3 EarthGroundConnectionDetails ..................... 2-36
2.5.6.4 HandRecognitionReaderBatteryBackupOption ............. 2-37
2.5.6.5 Setting Communication Method DIP Switch (older generation readers) . 2-37
2.5.7 SignatureCapturePad(option) ............................ 2-38
2.6 EVAKiosk(41-021255-000A) ................................. 2-38
Section3 ReadingRFIDTags ........................................ 3-1
3.1 Description ........................................... 3-1
3.2 ReadingRFIDTagsforInstallation ............................... 3-2
3.3 DownloadingDataFromHandheldComputer ......................... 3-5
Section4 PartsListing ............................................ 4-1
AppendixADiagramsforAddingConvertersBetweenHandReaderandTouchScreenWorkstation .... A-1
AppendixBReleasingaClosedLockCoverAssembly ............................ B-1
iii
Copyright ©Diebold, Incorporated (6/2009) - All Rights Reserved
TP-821320-001A

PRELIMINARY - DRAFT COPY
Mon Jun 01 08:53:30 2009
Figures
Figure1-1 SystemComponents ....................................... 1-4
Figure2-1 SDSection,OverheadView ................................... 2-1
Figure2-2 PreparationDetails,SDBoxDoor ................................ 2-3
Figure2-3 LockCoverAssemblyParts ................................... 2-3
Figure2-4 BasePlate(MountingBracketBase) .............................. 2-8
Figure2-5 InstallingtheBasePlate ..................................... 2-8
Figure2-6 UsingaDoorTemplate ..................................... 2-9
Figure2-7 ApplyPressuretoMountingBracketBase ........................... 2-10
Figure2-8 UsingaLaserLevel ....................................... 2-10
Figure2-9 MountingtheLockCoverAssembly .............................. 2-11
Figure2-10 MountingtheTagCover ..................................... 2-12
Figure2-11 LockCoverAssembliesinClosedPosition ........................... 2-12
Figure2-12 InstallingNumberLabels .................................... 2-13
Figure2-13 SystemInterconnectionDiagram ................................ 2-14
Figure2-14 TouchScreenWorkstation,SideView .............................. 2-16
Figure2-15 TouchScreenWorkstationConnectionDiagram ........................ 2-17
Figure2-16 InstallingtheCompactFlashCard ................................ 2-18
Figure2-17 DockingStation,Base(bottomview) .............................. 2-19
Figure2-18 SDDockCCA .......................................... 2-19
Figure2-19 RearofUPS ........................................... 2-22
Figure 2-20 Daygate Access Control Components .............................. 2-23
Figure2-21 DaygateDoorStrikeKitInstallation .............................. 2-24
Figure2-22 DaygateDoorStrikeKitWiringDiagram ............................ 2-25
Figure2-23 DoorClosureKitInstallationGuidelines ............................ 2-26
Figure2-24 DaygateLocksetEgressKitWireRoutingDetail(GlassDaygate) ............... 2-27
Figure2-25 DaygateLockEgressKitWiringDiagram ........................... 2-28
Figure2-26 EgressButtonKit(19-042292-000A) .............................. 2-29
Figure2-27 VaultInteriorwithEgressButtonKit(bardaygate) ....................... 2-30
Figure2-28 EgressButtonKitWiringDiagram ............................... 2-30
Figure 2-29 Faceplate for TrafficLight .................................... 2-31
Figure 2-30 Lamp Removal for TrafficLight ................................. 2-32
Figure2-31 HandRecognitionReaderWallMountingDetail ........................ 2-32
Figure2-32 HandRecognitionReaderDimensionDetail .......................... 2-33
Figure2-33 HandRecognitionReaderWiringDetails ............................ 2-35
Figure2-34 HandRecognitionReaderEarthGroundConnection(mandatory) ............... 2-36
Figure2-35 EVAKiosk ............................................ 2-39
Figure3-1 TypicalHandheldComputer(RFIDtagreader) ......................... 3-1
Figure3-2 ReadingtheRFIDTag ...................................... 3-5
Figure4-1 SDLockCoverKitIllustratedParts ............................... 4-3
Figure4-2 DockAssemblyIllustratedParts ................................. 4-3
Figure4-3 KeyAssembly .......................................... 4-3
Figure4-4 InstallationTemplates ...................................... 4-4
Figure4-5 USBAdapter/Extender ..................................... 4-4
Figure4-6 4-portUSBHub ......................................... 4-4
Figure A-1 Connections Required When Distance Between Hand Reader and Touch Screen Workstation
Exceeds 50 Feet ......................................... A-1
FigureA-2 InterfaceConverterWiringDiagram .............................. A-2
FigureB-1 ReleasingaClosedLockCoverAssembly ........................... B-1
iv Copyright ©Diebold, Incorporated (6/2009) - All Rights Reserved
TP-821320-001A

PRELIMINARY - DRAFT COPY
Mon Jun 01 08:53:30 2009
Tables
Table2-1 Pre-installationChecklistforLockCoverAssembly ...................... 2-4
Table2-2 AddedProceduresforPeripheralDevices ............................ 2-15
Table2-3 SDDockCCAInterconnectionDetail .............................. 2-19
Table4-1 PartsListing .......................................... 4-2
v
Copyright ©Diebold, Incorporated (6/2009) - All Rights Reserved
TP-821320-001A

PRELIMINARY - DRAFT COPY
Mon Jun 01 08:53:30 2009
PREFACE TO FCC NOTICE
Diebold requires each of its products to undergo complete testing before shipment. Each product must pass stringent
requirements of quality control. In addition, much effort and consideration has been devoted to assure the utmost
in reliable equipment operation.
FCC NOTICE
This device complies with part 15 of the FCC Rules. Operation is subject to the following two conditions: (1) This
device may not cause harmful interference, and (2) this device must accept any interference received, including
interference that may cause undesired operation.
CAUTION
Changes or modifications of this product not expressly approved by Diebold could void the
user's authority to operate the equipment.
vi Copyright ©Diebold, Incorporated (6/2009) - All Rights Reserved
TP-821320-001A

PRELIMINARY - DRAFT COPY
Mon Jun 01 08:53:30 2009
Section 1
General Description and Introduction
1.1 Document Scope
This document provides installation and setup guidelines for the following
components of the Electronic Vault Attendant (EVA) Elite system:
• Mounting lock cover assemblies to SD doors
• Interconnection cabling and setup for the touch screen workstation, dock
assembly, and peripheral components
Refer to the EVA and EVA Elite Electronic Vault Attendant Setup and
Administration Guide (TP-821366-001B) for details relating to software
installation, setup, and administration.
1.2 Description
The EVA Elite system may be configured to provide institution customers with
the following functions:
• Register and access to a secure vault area without assistance.
• Access control to safe deposit boxes.
• Unassisted access to safe deposit boxes for which the customer has a key.
1.3 Installation Tools and Equipment
Have the following tools on site for installation of the EVA Elite system:
• Standard hand tools
• Level (36-inch minimum)
Special Tools
The following special tools are required to complete the installation:
• simple green® concentrated cleaner degreaser/deodorizer
• Hand held computer (RFID reader)
• Installation template kit (41-021051-000A)
• Laser level
• Isopropyl alcohol
• Tin snips, heavy-duty, straight cut
• Plumb bob and string line
• Carpenter's square
1-1
Copyright ©Diebold, Incorporated (6/2009) - All Rights Reserved
TP-821320-001A
PRELIMINARY - DRAFT COPY
Mon Jun 01 08:53:30 2009
The installation template kit (41-021051-000A) contains the following door
templates that may be used to locate the base plate onto a Diebold SD box door:
• Five-inch door template (41-021048-000A)
• Seven-inch door template (41-021048-000B)
• 10-inch door template (41-021048-000C)
If this is a retrofit install (SD sections are already installed and operational),
confirm that a sufficient quantity of guard keys are on hand. One guard key is
required for each SD box door that will be retrofitted with a new lock cover
assembly.
Reference Documentation
Refer to the following manuals for additional information:
•EVA and EVA Elite Electronic Vault Attendant Setup and Administration
Guide (TP-821366-001B)
•Safe Deposit (SD) Sections Parts List Manual (AA-000126-000B)
•LM Series SD Box Installation Manual (AA-000208-0000)
•223-Series Daygate Installation Guide (TP-821074-001B)
Additional information about products, support, and replacement items is
available on Diebold's Web site at http://www.diebold.com/.
1.4 SD Lock Compatibility
Not all models of SD locks are compatible with the EVA Elite system. For
example, a single-nose lock, where the guard key functions as a prep key, cannot
be adapted for the EVA Elite system. Additionally, the configuration and size of
certain SD locks or SD doors may not allow for the installation of the lock cover
assembly. Prior to installing the EVA Elite system, always confirm that the SD
sections currently installed are adaptable for installation of the system.
1.5 System Components
Standard components (Figure 1-1) of the EVA Elite system are as follows:
• Touch screen workstation
• Docking assembly
• Key assembly
• Lock cover assembly
Touch Screen Workstation (41-021181-000A)
The touch screen workstation functions as the user interface, the host controller
for peripheral devices, and the administration control point for the system
application. Generally, peripheral devices are connected to the touch screen
workstation via USB 2.0 cable.
1-2 Copyright ©Diebold, Incorporated (6/2009) - All Rights Reserved
TP-821320-001A
PRELIMINARY - DRAFT COPY
Mon Jun 01 08:53:30 2009
Docking Assembly (41-020278-000A)
The docking assembly stores up to three key assemblies. The docking assembly
communicates with the touch screen workstation to control distribution of the
key assemblies. The docking assembly also serves as the charging station for
the key assemblies.
Key Assembly (41-020285-000A)
Up to three key assemblies (keys) are stored in the docking assembly until
retrieved by a user. Each key is an RFID (radio-frequency identification) device,
that when activated, contains the data requiredtoopenadesignatedlockcover
assembly.
Lock Cover Assembly (41-020895-000A)
One lock cover assembly is attached to each SD box door. The lock cover
assembly is opened via an activated key to provide access to a specificSD
customer keylock nose.
1-3
Copyright ©Diebold, Incorporated (6/2009) - All Rights Reserved
TP-821320-001A

PRELIMINARY - DRAFT COPY
Mon Jun 01 08:53:30 2009
View A Touch Screen Workstation
View B Docking Assembly, Key Assembly, Lock Cover Assembly
Figure 1-1 System Components
1-4 Copyright ©Diebold, Incorporated (6/2009) - All Rights Reserved
TP-821320-001A

PRELIMINARY - DRAFT COPY
Mon Jun 01 08:53:30 2009
Section 2
Installation
2.1 Site Preparation
Prior to installation of the lock cover assemblies, verify that the increased door
width resulting from installation of the lock cover will not inhibit door swing
and prevent removal of the interior bond boxes. SD sections must be located to
allow the adjacent door assemblies to swing freely to the full-open position.
SeeFigure2-1.
Figure 2-1 SD Section, Overhead View
2.2 Preparing the Safe Deposit (SD) Locks and Doors
Prior to installing the components of the EVA Elite system, you must perform the
procedures in this section to prepare the existing SD sections for the installation
of the lock cover assembly.
2-1
Copyright ©Diebold, Incorporated (6/2009) - All Rights Reserved
TP-821320-001A

PRELIMINARY - DRAFT COPY
Mon Jun 01 08:53:30 2009
2.2.1 Clean the Exterior Surface of SD Sections
CAUTION
The information provided in this section describes the
only approved method for cleaning SD exteriors prior to
installing the lock cover assemblies. Use of other cleaning
methods or solutions may impair the reliability of the
adhesive that is used to secure the lock cover to the SD
box door.
1. Wipe the exterior, finished surface of the SD sections with a
clean rag saturated with simple green® Concentrated Cleaner
Degreaser/Deodorizer. Do not dilute with water.
2. With a clean, dry rag wipe the surface of the SD sections until dry.
3. Wipe the exterior, finished surface of the SD sections with a clean rag
saturated with isopropyl alcohol (minimum 70% by volume). Do not
dilute the isopropyl alcohol with water.
4. Use a clean, dry rag to wipe the surface of the SD sections until dry.
2.2.2 Enable (unlock) the Guard Nose (lock)
If the SD sections to be modified are equipped with double-nose locks, the guard
nose (Figure 2-2) of each lock must be enabled.
The following procedure is one method that may be used to enable the guard nose.
1. Insert the guard key into the nose farthest from the bolt side of the SD
lock. Turn the guard key to the right (clockwise) to a full stop.
2. Snap off the bow of the guard key so that the blade of the key remains
lodged in the keyway of the lock (the section of guard key that remains in
the lock should be flush with the nose). This procedure keeps the guard
nose in the unlocked position.
2-2 Copyright ©Diebold, Incorporated (6/2009) - All Rights Reserved
TP-821320-001A

PRELIMINARY - DRAFT COPY
Mon Jun 01 08:53:30 2009
Figure 2-2 Preparation Details, SD Box Door
2.3 Installing the Lock Cover Assemblies to the SD Box Doors
If this is a new installation, the SD box number plates may be installed after this
procedure. Each lock cover assembly is composed of the following pieces that
are assembled and applied to the SD door on site (Figure 2-3):
• Base plate assembly, with 6-32 machine screw
• Tag cover
• Lock cover assembly
Figure 2-3 Lock Cover Assembly Parts
2.3.1 Pre-installation Checklist for Lock Cover Assembly
Refer to Table 2-1 before you begin installation of the base plates, tag covers,
and lock cover housings.
2-3
Copyright ©Diebold, Incorporated (6/2009) - All Rights Reserved
TP-821320-001A

PRELIMINARY - DRAFT COPY
Mon Jun 01 08:53:30 2009
Table 2-1 Pre-installation Checklist for Lock Cover Assembly
Pre-installation Checks
Confirm that the Site Survey has been completed. You should not continue with
the installation until it is confirmed that the Site Survey has been completed.
Confirm that adjacent SD sections are positioned to allow door swing to the
full-open position after the lock cover assemblies are installed. See Figure 2-1.
Confirm that no base plates are bent or bowed to prevent full contact with
the surface of the SD door. Proper bonding strength is dependent of full
adhesive-to-surface contact.
Confirm that the SD number frames are removed from SD doors that are less
than 3 inches in height.
Confirm that all SD door surfaces are dry and free of condensed moisture, oil,
and grease.
Verify that the base plate assemblies are at room temperature. To assure proper
bonding, the temperature of the base plate assembly must be at a minimum of
72° F (minimum).
Confirm that the SD locks currently installed are compatible for conversion
to the lock cover assemblies.
Confirm that all lock cover assemblies are in the OPEN position prior to
installation onto the base plate. The upper housing door must not be snapped to
the closed position until after the lock cover assembly is screwed to the base
plate as the final step in the installation of the lock cover assembly.
Confirm that the installation template kit (41-021051-000) is on hand if you
are installing lock cover assemblies onto Diebold 5-inch, 7-inch, and 10-inch
SD doors. If you are installing lock cover assemblies onto non-Diebold doors,
you must have a laser level or plumb-bob on hand to ensure you maintain a
clean, level installation.
If the SD doors to be modified are equipped with double-nose locks, confirm
that each guard lock has been permanently disabled to the unlocked position.
See Section 2.2.2.
Confirm that a handheld RFID tag reader is on hand.
2-4 Copyright ©Diebold, Incorporated (6/2009) - All Rights Reserved
TP-821320-001A
PRELIMINARY - DRAFT COPY
Mon Jun 01 08:53:30 2009
2.3.2 Install the Base Plate (Mounting Bracket Bases)
NOTE
Diebold recommends that you install ALL base plates before
you proceed with installation of the tag covers and lock
housings. This provides time for the adhesive to cure and
improve the bonding strength of the base plate to the SD door.
NOTE
To accommodate installation of the base plate, the number
frame must be removed on SD box doors that are less than
three inches high.
1. Verify that all procedures in Section 2.2 are complete.
2. Confirm the following before you begin installing lock cover assemblies:
• Ensure all surfaces are dry and free of condensed moisture.
• Verify the temperature range at the installation site is within the
adequate range as defined by the following guidelines:
- Best: 70°F to 100°F (21°C to 38C°)
- Adequate: 50°F to 60°F (10°C to 15C°)
- Not recommended: below 50°F (10°C)
• Once the base plate is attached to the SD door, the adhesive tape on
the base plate will achieve about 50% of ultimate bonding strength
after 20 minutes. Total bonding strength is achieved after 72 hours.
3. Install the first base plate to an SD box door. Diebold recommends that
you install the first base plate on an SD box door that can easily be used
as a plumb reference point for aligning all the remaining base plates that
are to be installed. Observe the following guidelines and precautions
as you install the initial base plate:
2-5
Copyright ©Diebold, Incorporated (6/2009) - All Rights Reserved
TP-821320-001A

PRELIMINARY - DRAFT COPY
Mon Jun 01 08:53:30 2009
CAUTION
If access to the lock nose or guard key stub is
required after a lock cover assembly has been
installed, youmustremovetheadhesivetapethat
secures the lock nose. The guard key stub can be
grasped by tweezers, pliers, or another suitable
tool and the guard lock can be placed in a locked
position. The guard key stub may then be removed
if desired. To reinstall a new lock cover assembly,
you must reinstall the guard key stub and secure the
lock nose with an adhesive tape.
• On a double-nose lock, the guard nose will be concealed by the
double-sided tape.
• The hinge-side edge of each base plate is aligned flush along the
opening edge of the SD door. See Figure 2-5. Confirm the base plate
does not inhibit opening or closing the SD door.
• The left-most opening at the bottom of the base is centered over the
customer nose of the SD lock.
•Confirm that the bubble edge of the mounting bracket base does not
make contact with the number frame on the SD box door. A small
gap between the bracket base and number frame is required to allow
for installation of the lock cover assembly.
• Door templates may be used to locate the base plate onto SD box
doors that are 5", 7", or 10" high. Door templates are not available
for 2" and 3" high SD box doors.
CAUTION
The adhesive used on the double-sided tape to
affixthelockcoverassemblytotheSDdooris
designed for one-time installation. Once the lock
cover assembly is affixed to the door, it cannot be
moved or removed without great difficulty. Test fit
each lock cover assembly with the tape attached.
Attempting to remove a lock cover assembly that
has been affixed to the door may cause damage
to the assembly and may result in an undesirable
finished appearance.
a. Remove the protective peel-away sheet attached to the two pieces of
double-sided tape located on the rear of the bracket mounting base.
2-6 Copyright ©Diebold, Incorporated (6/2009) - All Rights Reserved
TP-821320-001A

PRELIMINARY - DRAFT COPY
Mon Jun 01 08:53:30 2009
See Figure 2-4. Prior to attachment to the SD door, visually confirm
that the tape has maintained its adhesive quality.
b. Observe the following guidelines as you affix the base plate to the
SD box door:
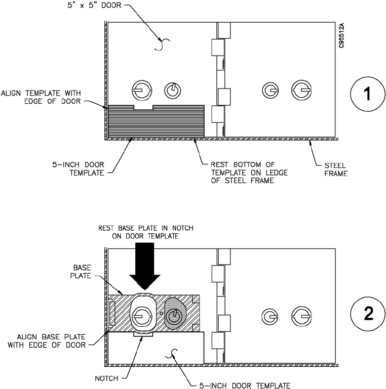
• If a door template is used to locate the base plate (5", 7", and 10"
high doors only), rest the bottom of the template on the steel frame
as you align the hinge side of the base plate so that it is flush along
the opening edge of the SD box door. See Figure 2-6.
CAUTION
Confirm that the base plate is properly
aligned and positioned on the SD box door.
If not positioned properly, remove the base
plate immediately before you apply pressure
to permanently affix the base plate to the
door. DO NOT reuse the base plate.
• With the base plate properly aligned and affixed to the door, apply
a minimum of 15 psi to the base for approximately 5 seconds.
To ensure proper bonding, apply pressure at the points noted in
Figure 2-7.
•Confirm that the tape on the rear of the base is securely affixed to
the guard nose. This will ensure that the guard nose remains in the
unlocked position and does not rotate over time. See Figure 2-5.
NOTE
If, at a later date, the customer desires to change
an SD door to operate using the guard nose
and guard key, the tape that conceals the guard
nose is readily removable to allow removal of
the key stub.
4. Using the top or bottom edge of the base plate installed in the previous
step as a plumb point, use a laser line level (Figure 2-8) to project a
laser "chalk line" along the remaining doors of a section. Observe the
following guidelines as you install the remaining base plates:
• The top of each base plate in the SD section (modular group of safe
deposit boxes of uniform size) should be parallel side-to-side.
• The vertical edges of each base plate in the SD section should be
vertically plumb.
5. Verify that all base plates are installed and securely attached to the SD box
doors. Confirm that the base plates do not inhibit the SD door operation.
2-7
Copyright ©Diebold, Incorporated (6/2009) - All Rights Reserved
TP-821320-001A

PRELIMINARY - DRAFT COPY
Mon Jun 01 08:53:30 2009
Figure 2-4 Base Plate (Mounting Bracket Base)
Figure 2-5 Installing the Base Plate
2-8 Copyright ©Diebold, Incorporated (6/2009) - All Rights Reserved
TP-821320-001A

PRELIMINARY - DRAFT COPY
Mon Jun 01 08:53:30 2009
NOTE
Templates have been designed for use with Diebold 5-inch, 7-inch, and 10-inch SD doors. If you are installing
base plates onto SD doors not manufactured by Diebold, you should use a plumb-bob or laser level to ensure
proper alignment.
Figure 2-6 Using a Door Template
2-9
Copyright ©Diebold, Incorporated (6/2009) - All Rights Reserved
TP-821320-001A

PRELIMINARY - DRAFT COPY
Mon Jun 01 08:53:30 2009
Figure 2-7 Apply Pressure to Mounting Bracket Base
Figure 2-8 Using a Laser Level
2.3.3 Install Tag Covers and Lock Cover Housings
NOTE
Diebold recommends that you install ALL base plates before
you proceed with installation of the tag covers and lock
housings. This provides time for the adhesive to cure and
improve bonding strength of the base plate to the SD door.
Perform the following procedures after the base plate assemblies are properly
affixedtotheSDboxdoors.
2-10 Copyright ©Diebold, Incorporated (6/2009) - All Rights Reserved
TP-821320-001A

PRELIMINARY - DRAFT COPY
Mon Jun 01 08:53:30 2009
CAUTION
The lock cover assembly is shippedintheopenposition.
The upper housing door must not be snapped to the closed
position until after the lock cover assembly is screwed to
thebaseplateasthefinal step in the installation of the lock
cover assembly.
1. Slide each open lock cover housing into the knurled lip on the base plates
installed in Section 2.3.2. See Figure 2-9. Do not snap the upper housing
door to the closed position at this time. If you inadvertently snap the
upper housing door closed, see Appendix B for the procedure to reopen
the latch door.
NOTE
Due to the small surface area of the 2 x 5-inch size SD
door, inaccurate readings may occur if you attempt to
use the handheld computer to read RFID tags after all
the lock cover assemblies are affixed to the doors.
If you are installing lock cover assemblies onto
2 x 5-inch SD doors, you must read the RFID tags
before the tag covers are installed on the base plates.
See Section 3.
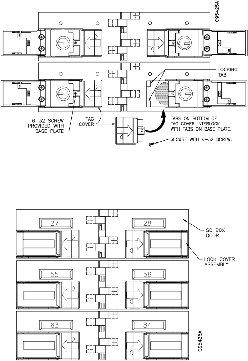
2. Slide tag covers onto the base plates and into the opening of the lock
cover assembly. The tabs on the bottom of each tag cover are interlocked
with tabs on the base plates. See Figure 2-10.
3. Use the 6-32 machine screw provided with the base plate to secure each
lock cover housing and tag cover to the base plates.
4. With all lock cover assemblies secured using the 6-32 machine screws,
snap the upper housing of each lock cover assembly to the closed position
(Figure 2-11).
Figure 2-9 Mounting the Lock Cover Assembly
2-11
Copyright ©Diebold, Incorporated (6/2009) - All Rights Reserved
TP-821320-001A

PRELIMINARY - DRAFT COPY
Mon Jun 01 08:53:30 2009
NOTE
To access the guard lock after the lock cover housing is secured to the base plate, remove the 6-32 machine
screw. The tape covering the lock nose may be removed.
Figure 2-10 Mounting the Tag Cover
Figure 2-11 Lock Cover Assemblies in Closed Position
2-12 Copyright ©Diebold, Incorporated (6/2009) - All Rights Reserved
TP-821320-001A

PRELIMINARY - DRAFT COPY
Mon Jun 01 08:53:30 2009
2.3.4 Install SD Box Number Labels Onto the Upper Lock Cover Housing
The required quantity of adhesive number labels are shipped with each order.
Each roll of labels is numbered in lots of 250 (for example, 1 through 250, 251
through 500). Perform the following procedure after all lock cover assemblies are
mounted to the SD box doors. This procedure is to be performed even in retrofit
situations where the existing number frame is still attached to the SD box door.
1. Clean the exterior surface of each lock cover assembly with a 50:50
mixture of isopropyl alcohol and water.
2. Install one number label onto the recess surface area of each lock cover
assembly. See Figure 2-12.
Figure 2-12 Installing Number Labels
2.4 Interconnection Procedures and Component Hookup
NOTE
The lock cover assembly described in Section 2.2 and
Section 2.3 may be installed on SD boxes not located in a vault
as these lock cover assemblies are not particularly adapted for
SD boxes invaults.
Refer to Figure 2-13 for an illustration showing an interconnection diagram
with the mandatory and optional components of the EVA Elite system. Refer
to Table 2-2 for a description of specific procedures that may be required as a
result of available hardware options
NOTE
Diebold recommends that you begin charging the key
assemblies as soon as the docking station setup is complete.
This will ensure that the key assemblies are fully charged when
the system is turned over to the customer.
The docking assembly and optional signature capture device are generally
installed in an area convenient to the touch screen workstation.
If the system configuration requires that a card reader be installed at the hand
recognition reader, refer to Section 2.5.6 for wiring details.
2-13
Copyright ©Diebold, Incorporated (6/2009) - All Rights Reserved
TP-821320-001A

PRELIMINARY - DRAFT COPY
Mon Jun 01 08:53:30 2009
Figure 2-13 System Interconnection Diagram (sheet 1 of 2)
2-14 Copyright ©Diebold, Incorporated (6/2009) - All Rights Reserved
TP-821320-001A

PRELIMINARY - DRAFT COPY
Mon Jun 01 08:53:30 2009
Notes:
1. If USB cable length is greater than 15 ft. (5 M), use appropriate procedures to prevent signal
and voltage loss. A 150 ft. long USB extender cable (49-226161-000A) is available.
2. The number of USB devices is limited. Confirm and verify component requirements prior
to starting the installation.
3. Use cable 29-016865-000A (14 ft.) or 29-016865-000B (100 ft.). Remove RJ-45 plug for
connection to a 3-pin, RS232, Molex connector on hand recognition reader. Observe defined
pin-outs. See Figure 2-33 for detail.
4. Depending on the number of USB devices, a self-powered, 4-port, USB hub (49-226162-000A)
may be required.
5. If a UPS is installed, the touch screen workstation power supply is plugged into the UPS.
6. Battery backup (19-041825-000A) is available for the hand reader power supply.
7. The UPS requires USB connectivity rather than a serial connection.
Diebold recommends that the USB cable from the UPS be connected directly to a USB port on
the touch screen workstation (not to a USB hub). If the UPS is plugged into the USB hub, the
power adapter for the USB hub must be plugged into the UPS to ensure an orderly shutdown of
the system. The power adapter is not provided with the USB hub.
Figure 2-13 System Interconnection Diagram (sheet 2 of 2)
Table 2-2 Added Procedures for Peripheral Devices
IF HARDWARE OPTION IS AS FOLLOWS... THE FOLLOWING PROCEDURE IS REQUIRED...
Release of daygate locking mechanism Lock egress kit (19-042292-000A)
Video recording at a camera DVR trigger inputs use Belden 9154 cable for interconnection
between DVR trigger inputs and SD dock CCA.
Trafficsign
al device Faceplate for trafficlightismodified for EVA. Local purchase of
electrical box and faceplate required. See Section 2.5.5.
Signature capture device If device is further than 15 feet from the touch screen
workstation, USB cable extender is required. USB connections
at touch screen workstation are limited. USB hub may be
required. See Table 4-1 for part number information.
HandKey II biometric hand reader If distance between touch screen workstation and hand
reader is greater than 14 feet, use RJ-45 patch
cable (29-016865-000B). Maximum cable length is
50 feet. Cut and dress patch cable as required.
As an option, a field-installed kit (19-041825-000A) is available
to provide and control battery backup for the hand reader.
Daygate control interface module If USB cable length is greater than 15 feet, use appropriate
procedures to prevent signal loss. To extend distance up to 150
feet, the USB extension adapter (49-226161-000A) is available.
Entry to the vault without customer interaction
with the EVA touch screen workstation
If distance between touch screen workstation and hand reader is
greater than 14 feet, use RJ-45 patch cable (29-016865-000B).
Maximum cable length is 50 feet. Cut and dress patch cable
as required.
2-15
Copyright ©Diebold, Incorporated (6/2009) - All Rights Reserved
TP-821320-001A

PRELIMINARY - DRAFT COPY
Mon Jun 01 08:53:30 2009
2.4.1 Touch Screen Workstation (41-021181-000A)
The touch screen workstation, equipped with a 15-inch LCD diagonal display
and magnetic stripe card reader, is generally installed on a welcoming pedestal
located near the daygate. The cables for peripheral devices and power are
attached to connectors located beneath a slide-out drawer located at the bottom of
the monitor. See Figure 2-14.
See Figure 2-15 for an illustration showing a touch screen workstation connection
diagram.
Figure 2-14 Touch Screen Workstation, Side View
2-16 Copyright ©Diebold, Incorporated (6/2009) - All Rights Reserved
TP-821320-001A

PRELIMINARY - DRAFT COPY
Mon Jun 01 08:53:30 2009
NOTES
1. A self-powered USB 4-port hub may be added if additional USB ports
are required.
2. If the RS232-to-RS485 converter is required, it MUST be connected to
COM 2. In this instance, the UPS must be connected to a USB port. If
no RS232-to-RS485 converter is required, this serial connection (COM 2)
maybeusedbytheUPS.
Figure 2-15 Touch Screen Workstation Connection Diagram
Install the Compact Flash Drive
An 8 megabyte Compact Flash card (used to back up the EVA database), is
generally installed at the factory. If this did not occur, you will be required to
install the compact flash card to enable the system to execute scheduled backups
of the system database.
1. Locate the compact flash card that shipped with the system.
2. Turn off power to the touch screen workstation and disconnect the power
supply.
3. Carefully place the touch screen workstation facedown on a soft,
flat surface. Unsnap and remove the rear, plastic, cover insert. See
Figure 2-16.
4. Remove two screws that secure the CF door flap and remove the flap.
5. Insert and press the CF card into the slotted metal guide rails. When
inserted correctly, the black eject button will click.
6. Close the flap and replace the two screws that secure the flap in place.
7. Reinstall the rear, plastic cover.
2-17
Copyright ©Diebold, Incorporated (6/2009) - All Rights Reserved
TP-821320-001A

PRELIMINARY - DRAFT COPY
Mon Jun 01 08:53:30 2009
Figure 2-16 Installing the Compact Flash Card
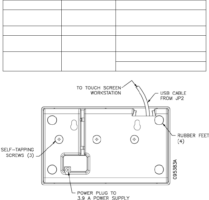
2.4.2 Docking Station Access and Connection Detail
CAUTION
To prevent electro-static discharge (ESD) damage, wear
a properly grounded anti-static wrist strap whenever
handling CCAs.
NOTE
Diebold recommends that you begin charging the key
assemblies as soon as the docking station setup is complete.
This will ensure that the key assemblies are fully charged when
the system is turned over to the customer.
To complete interconnection between the touch screen workstation and optional
parts for daygate access, you must remove the base of the docking station
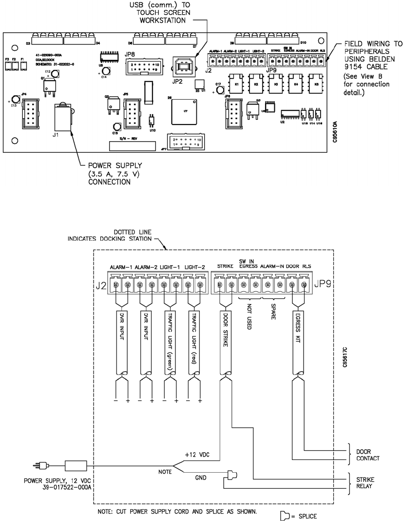
to access interior components on the SD dock CCA. To access the SD dock
CCA (41-020090-000A), remove three pan head self-tapping screws from the
base. See Figure 2-17. See Figure 2-18 for an illustration showing component
locations on the CCA.
Refer Table 2-3 to for interconnection details.
2-18 Copyright ©Diebold, Incorporated (6/2009) - All Rights Reserved
TP-821320-001A

PRELIMINARY - DRAFT COPY
Mon Jun 01 08:53:30 2009
Table 2-3 SD Dock CCA Interconnection Detail
SD Dock CCA Cable Type Connection Point
J1 Power supply
(39-017565-000A)
110 VAC, 15 A, power outlet
JP2 USB 2.0 Touch screen workstation
JP9 (STRIKE) Belden 9154 Daygate door strike kit
(19-042286-000A)
Lockset egress kit (19-046487-000A)JP9 (DOOR RLS) Belden 9154
Egress button kit (19-042292-000A)
Figure 2-17 Docking Station, Base (bottom view)
2-19
Copyright ©Diebold, Incorporated (6/2009) - All Rights Reserved
TP-821320-001A

PRELIMINARY - DRAFT COPY
Mon Jun 01 08:53:30 2009
View A Component View
NOTE
Use Belden 9154 (20 AWG, 2-conductor, shielded-pair) cable, or equivalent, for wiring connections.
View B Interconnection Detail
Figure 2-18 SD Dock CCA
2-20 Copyright ©Diebold, Incorporated (6/2009) - All Rights Reserved
TP-821320-001A
PRELIMINARY - DRAFT COPY
Mon Jun 01 08:53:30 2009
2.4.3 UPS (option)
The uninterruptible power supply or UPS (39-017425-000A) prevents data
corruption by performing an orderly shutdown of the EVA application and
Windows® XP operating system in the event of a power outage.
The installer is required to make the following connections (Figure 2-19):
• Perform the following connection as required. Note that newer-generation
devices may only provide for the USB connectivity.
- If no RS232-to-RS485 data converter is required, install a serial cable
connection between the UPS and COM 2 of the touch screen workstation.
The serial cable is provided.
- If an RS232-to-RS485 data converter is required, the installer must set up
the UPS for USB connectivity. In this instance, COM 2 on the touch screen
workstation is reserved for the serial connection to the data converter.
• Power connection to a standard, dedicated 110 VAC outlet. The power cord
is provided.
• The power supply from the touch screen workstation is plugged into a
battery backup outlet at the rear of the UPS.
The installer may be required to perform software installation and configuration
procedures using the EVA touch screen workstation. These procedures are
provided in the EVA and EVA Elite Electronic Vault Attendant Setup and
Administration Guide (TP-821366-001B).
2-21
Copyright ©Diebold, Incorporated (6/2009) - All Rights Reserved
TP-821320-001A

PRELIMINARY - DRAFT COPY
Mon Jun 01 08:53:30 2009
NOTES
1. UPS shown is for demonstration. The UPS at your installation may be
different.
2. Diebold recommends that the USB cable from the UPS be connected
directly to a USB port on the touch screen workstation (not to a USB
hub). If the UPS is plugged into the USB hub, the power adapter for the
USB hub must be plugged into the UPS to ensure an orderly shutdown
of the system. The power adapter is an option that must be purchased
separately.
Figure 2-19 Rear of UPS
2.5 Installing the Daygate Access Control Components
If the EVA Elite system is equipped with the ability to manage access to the vault
area, you may be required to install the site dependent items at the vault entrance.
The following is a partial list of items that may be required (Figure 2-20):
•Dayg
ate door strike kit (19-042286-000A). The automated latch kit will
replace the manual latch currently installed on the daygate.
• Door closure kit (19-046488-000A)
•Hand
recognition reader
• Access control swipe card reader
2-22 Copyright ©Diebold, Incorporated (6/2009) - All Rights Reserved
TP-821320-001A

PRELIMINARY - DRAFT COPY
Mon Jun 01 08:53:30 2009
NOTE
Keyboard and mouse secured out of sight for use by institution personnel.
Figure 2-20 Daygate Access Control Components
2.5.1 Daygate Door Strike Kit (19-042286-000A)
The automated door strike kit replaces the manual latch currently installed on
the daygate.
Installation instructions are supplied separately with the daygate door strike kit.
Refer to Figure 2-21 for an illustration showing the steps required to install the
latch components. Refer to Figure 2-22 for an illustration showing the wiring
requirements for the kit.
2-23
Copyright ©Diebold, Incorporated (6/2009) - All Rights Reserved
TP-821320-001A

PRELIMINARY - DRAFT COPY
Mon Jun 01 08:53:30 2009
Figure 2-21 Daygate Door Strike Kit Installation
2-24 Copyright ©Diebold, Incorporated (6/2009) - All Rights Reserved
TP-821320-001A

PRELIMINARY - DRAFT COPY
Mon Jun 01 08:53:30 2009
NOTE
Cut supply power cord and splice as required.
Figure 2-22 Daygate Door Strike Kit Wiring Diagram
2.5.2 Door Closure (Hinge) Kit (19-048488-000A)
This kit includes a pneumatic closure, sliding rail, and an adjustable arm that will
close daygates that are up to 10 inches below the vault door fascia. Installation
instructions are supplied separately with the door closure kit. See Figure 2-23 for
general installation guidelines for daygate installation.
2-25
Copyright ©Diebold, Incorporated (6/2009) - All Rights Reserved
TP-821320-001A

PRELIMINARY - DRAFT COPY
Mon Jun 01 08:53:30 2009
Figure 2-23 Door Closure Kit Installation Guidelines
2-26 Copyright ©Diebold, Incorporated (6/2009) - All Rights Reserved
TP-821320-001A

PRELIMINARY - DRAFT COPY
Mon Jun 01 08:53:30 2009
2.5.3 Daygate Lockset Egress Kit (19-046487-000A)
This request to exit (REX) kit or the egress button kit (19-042292-000A,
Section 2.5.4) must be installed if the system will use the One At A Time Access
option. This kit replaces the standard daygate lockset with a modified version
that incorporates an internal microswitch. This lockset has a rigid (keyed)
entrance side and a free wheeling exit side that activates the microswitch when
the customer exits the vault. The normally open contacts of the microswitch are
used to notify the system that the vault is empty.
An 18-inch length of flex conduit is provided to secure the wiring from the
lockset as it is routed from the hinge side of the daygate to the vault door's
vestibule cladding (Figure 2-24). See Figure 2-25 for suggested wiring diagram
details for the daygate lock egress kit.
This kit can only be used on daygates equipped with tempered glass (bar-style
daygates use the egress button kit). Instructions and templates for installing the
lockset are provided with the lock egress kit.
Figure 2-24 Daygate Lockset Egress Kit Wire Routing Detail (Glass Daygate)
2-27
Copyright ©Diebold, Incorporated (6/2009) - All Rights Reserved
TP-821320-001A

PRELIMINARY - DRAFT COPY
Mon Jun 01 08:53:30 2009
Figure 2-25 Daygate Lock Egress Kit Wiring Diagram
2.5.4 Egress Button Kit (19-042292-000A)
This request to exit (REX) kit or the daygate lock egress kit (19-046487-000A)
must be installed if the system will use the One At A Time Access option. This
kit is comprised of an illuminated PUSH TO EXIT momentary release button
(Figure 2-26) and a standard (NEMA) electrical box. Installation instructions are
provided with the kit. The required 24-volt power supply (39-017593-000A) is
shipped separately as part of each sales order.
This kit must be installed when the vault entrance is equipped with a bar-type
daygate. The egress button must be mounted at the interior of the vault at a
location beyond the reach of someone standing at the exterior of the vault
(Figure 2-27).
When the button is pressed, the lock is released and the display screen at the
touch screen workstation will NOT display a "vault in use" message. In this
application, the green PUSH TO EXIT lamp is on constant. The red LED is not
operational. See Figure 2-28 for an EVA hookup diagram.
2-28 Copyright ©Diebold, Incorporated (6/2009) - All Rights Reserved
TP-821320-001A

PRELIMINARY - DRAFT COPY
Mon Jun 01 08:53:30 2009
View A Front View
View B Rear View
Figure 2-26 Egress Button Kit (19-042292-000A)
2-29
Copyright ©Diebold, Incorporated (6/2009) - All Rights Reserved
TP-821320-001A

PRELIMINARY - DRAFT COPY
Mon Jun 01 08:53:30 2009
Figure 2-27 Vault Interior with Egress Button Kit (bar daygate)
Figure 2-28 Egress Button Kit Wiring Diagram
2-30 Copyright ©Diebold, Incorporated (6/2009) - All Rights Reserved
TP-821320-001A

PRELIMINARY - DRAFT COPY
Mon Jun 01 08:53:30 2009
2.5.5 Traffic Light Option (19-049328-000A)
Atraffic light may be installed on the exterior wall next to the daygate. The
institution uses the EVA software to configure the operation of the trafficlight.
Components of the traffic light must be modified for use with EVA. The following
components must be purchased locally prior to installation of the traffic light:
• Standard, metal, single-gang electrical box
• Blank faceplate for single-gang electrical box
Retrofit Procedure
1. Per installation requirements, locate and install the electrical box.
2. Refer to Figure 2-29 and fabricate two mounting holes into the blank
faceplate.
3. Refer to Figure 2-30 and remove the two lamps from the existing
faceplate provided with the traffic light. Dispose of the existing faceplate.
4. Install the traffic light lamps onto the new, modified faceplate. Mount the
modified faceplate to the electrical box.
5. Refer to Figure 2-13 and Figure 2-18, View B for wiring connection
detail to the SD dock CCA.
Figure 2-29 Faceplate for TrafficLight
2-31
Copyright ©Diebold, Incorporated (6/2009) - All Rights Reserved
TP-821320-001A

PRELIMINARY - DRAFT COPY
Mon Jun 01 08:53:30 2009
Figure 2-30 Lamp Removal for TrafficLight
2.5.6 Hand Recognition Reader (19-055310-000A)
If the biometric hand recognition reader (HandKey® II) is not mounted to the
optional kiosk, it may be mounted on an interior wall at a location near the
daygate. See Figure 2-31 for mounting details. Consider the open swing radius
when the hand reader is unlatched from the wall mount. See Figure 2-32 for
dimensions.
Figure 2-31 Hand Recognition Reader Wall Mounting Detail
2-32 Copyright ©Diebold, Incorporated (6/2009) - All Rights Reserved
TP-821320-001A

PRELIMINARY - DRAFT COPY
Mon Jun 01 08:53:30 2009
NOTE
Dimension is minimum clearance required for key access or service entry.
Figure 2-32 Hand Recognition Reader Dimension Detail
2.5.6.1 Hand Recognition Reader Wiring Details
Wiring details for the hand recognition reader are dependent on the generation
of the CCA installed within the reader. Terminal and pin numbers are
different for different generation CCAs. Any required configuration and set up
procedures are provided in the EVA and EVA Elite Electronic Vault Attendant
Setup and Administration Guide (TP-821366-001B). A 12VDC power supply
(19-041824-000A) is provided. The hand reader power supply may also be
equipped with a battery backup device (19-041825-000A).
The hand recognition reader communicates with the touch screen workstation
via an RS-232 cable connection. SeeFigure 2-33 for wiring details. Cable runs
longer than 50 feet may require a cable connection using RS-485 (EIA-485)
hookup and wiring rather than the standard RS-232 connection. SeeAppendix A.
Connecting Ethernet Cable to Hand Recognition Reader CCA (50
ft. or less)
Use cable 29-016865-000A (14 ft.) or 29-016865-000B (100 ft.) to make the
wiring connection between the hand recognition CCA and the COM1 port of the
touch screen workstation. Alternate wiring configurations are required for cable
runs longer than 50 feet. SeeAppendix A.
1. At the touch screen workstation, plug the RJ-45 connector from the
Ethernet cable into the COM1 port. See Figure 2-15.
2-33
Copyright ©Diebold, Incorporated (6/2009) - All Rights Reserved
TP-821320-001A

PRELIMINARY - DRAFT COPY
Mon Jun 01 08:53:30 2009
NOTE
Depending on the generation of CCA installed in the
reader, removal of the RJ-45 connector may not be
required.
2. If required, use the appropriate tool to remove the RJ-45 connector from
the opposite end of the Ethernet cable.
3. Strip off approximately 1-inch of cable sheath.
4. Untwist the wired pairs.
5. At the hand recognition reader, terminate the cabling at the 3-pin, RS-232,
Molex connector (J4) on the main CCA of the hand recognition reader.
Cut the unused wire leads and use electrical tape to dress the unused wire
leads.RefertoFigure2-33forawiringdiagram.
Old-style HandKey II. Older model hand recognition readers may have an
RS-232 modular connector at J4. In this instance, the connection details will not
be as shown in Figure 2-33. Cut and dress the patch cable using the pin-outs
diagramed in the following table.
Old-style HandKey II
(RS-232) Touch Screen Workstation
(Comm 1)
44
55
62
2-34 Copyright ©Diebold, Incorporated (6/2009) - All Rights Reserved
TP-821320-001A

PRELIMINARY - DRAFT COPY
Mon Jun 01 08:53:30 2009
NOTE
Newer generation of the CCA shown. Connections to older generation CCAs will differ. Always use terminal 10
for the earth ground connection.
Figure 2-33 Hand Recognition Reader Wiring Details
2-35
Copyright ©Diebold, Incorporated (6/2009) - All Rights Reserved
TP-821320-001A

PRELIMINARY - DRAFT COPY
Mon Jun 01 08:53:30 2009
2.5.6.2 Hand Recognition Reader Earth Ground and Shielding
CAUTION
Do not connect the hand recognition reader's power supply
to a switched duplex outlet. The reader must have a
constant source of power for proper operation.
The hand recognition reader MUST be grounded with a solid, reliable earth
ground connection. This connection establishes a common ground return point
used to protect internal semiconductor devices from electrostatic discharge
(ESD) and from external signal line transients. Diebold recommends that
the earth ground source be identified by a qualified electrician familiar with
electrical codes as well as wiring and grounding techniques. If the sending and
receiving stations do not agree on the ground reference for the signal voltages,
communication errors may result. Additionally, damage may result if the
voltages are abnormally different.
2.5.6.3 Earth Ground Connection Details
Use ground terminal 10 on the unit's CCA to make the earth ground connection.
Do NOT use terminal 2 to establish the earth ground connection; terminal 2 is
not directly connected to ground. See Figure 2-34.
Earth ground the unit when there is a good earth ground source near each unit
and when there are very long cable runs between units. Carry an earth ground to
each unit when there are no earth grounds convenient to the unit and the unit’s
power supply is floating.
Figure 2-34 Hand Recognition Reader EarthGroundConnection(mandatory)
2-36 Copyright ©Diebold, Incorporated (6/2009) - All Rights Reserved
TP-821320-001A
PRELIMINARY - DRAFT COPY
Mon Jun 01 08:53:30 2009
Earth Ground
One method of establishing a ground reference is to connect each unit’s main
board ground to earth ground. Earth ground is found on the third pin on standard
AC line sockets (round one in the middle). If the building wiring is functioning
correctly, this should be a low-impedance path to a true ground.
2.5.6.4 Hand Recognition Reader Battery Backup Option
As an option, a field-installed kit (19-041825-000A) is available to provide and
control battery backup for the hand recognition reader.
Operation
The switch to battery power is automatic and occurs when the input voltage falls
to about 10.5 volts. When input power is restored, the unit switches off of battery
operation and the battery charger is re-enabled to recharge the battery. Generally,
a fully-charged battery will provide approximately two hours of operation.
Components and Installation
In addition to installation instructions, the following items ship with the battery
backup kit and are installed internally on the hand recognition reader:
• Power fail PCB. Using standoffs and nuts provided, P8 of this PCB is
plugged into J8 on the underside of the main PCB.
• 2-pin, plastic jumper. This jumper is installed on J7 of the main PCB.
• 12-volt, sealed lead acid battery. The battery is mounted internally into the
chassis provided. The battery plug is connected to J4 on the main PCB.
Refer to the instructions that ship with the kit for complete installation
procedures, warnings, and guidelines.
2.5.6.5 Setting Communication Method DIP Switch (older generation readers)
Older-generation hand recognition readers are equipped with a 5-position DIP
switch (S1). As default, position 3 of this DIP switch is set to the OFF position
for RS-232 communication. If the hand reader is using RS-485 cabling for
connection to the touch screen workstation, you must reset position 3 of this
DIP switch to the ON position. Generally, all other switch positions will be
set to the OFF position.
Newer-generation hand recognition readers are not equipped with a DIP switch.
2-37
Copyright ©Diebold, Incorporated (6/2009) - All Rights Reserved
TP-821320-001A
PRELIMINARY - DRAFT COPY
Mon Jun 01 08:53:30 2009
2.5.7 Signature Capture Pad (option)
As an option, a signature capture device may be installed on the countertop in
the area near the touch screen workstation. This device interfaces with the touch
screen workstation via USB 2.0 cable (provided). This device is not connected to
an AC power source. Two styles of signature capture pads are available:
• Signaturepad,1x5(economy):49-224003-000A
• Signature pad, 1 x 5, LCD: 49-224004-000A
2.6 EVA Kiosk (41-021255-000A)
The optional EVA kiosk (Figure 2-35) is installed at a location near the vault
entrance. The EVA kiosk is pedestal desk designed to support input devices (for
example, touch screen workstation and hand geometry reader) that will be used
by the institution's customers. The EVA kiosk is equipped with a locked drawer
to secure the keyboard and mouse. The unit is also equipped with a removable
panel to provide access to cables and electrical outlets.
2-38 Copyright ©Diebold, Incorporated (6/2009) - All Rights Reserved
TP-821320-001A

PRELIMINARY - DRAFT COPY
Mon Jun 01 08:53:30 2009
NOTE
Newer units may vary by size and in appearance.
Figure 2-35 EVA Kiosk
2-39
Copyright ©Diebold, Incorporated (6/2009) - All Rights Reserved
TP-821320-001A
PRELIMINARY - DRAFT COPY
Mon Jun 01 08:53:30 2009
2-40 Copyright ©Diebold, Incorporated (6/2009) - All Rights Reserved
TP-821320-001A

PRELIMINARY - DRAFT COPY
Mon Jun 01 08:53:30 2009
Section 3
Reading RFID Tags
3.1 Description
Each tag cover is equipped with an unique RFID (radio-frequency identification)
tag. Each unique tag must be read by a handheld computer (Figure 3-1). The data
captured by the handheld computer must then be transferred to the institution's
computer where the data is stored.
NOTE
Due to the small surface area of the 2 x 5-inch size SD door,
inaccurate readings may occur if you attempt to use the
handheld computer to read RFID tags after all the lock cover
assemblies are affixed to the doors.
If you are installing lock coverassembliesonto2x5-inchSD
doors, you must read the RFID tags before the tag covers are
installed on the base plates.
Figure 3-1 Typical Handheld Computer (RFID tag reader)
3-1
Copyright ©Diebold, Incorporated (6/2009) - All Rights Reserved
TP-821320-001A

PRELIMINARY - DRAFT COPY
Mon Jun 01 08:53:30 2009
3.2 Reading RFID Tags for Installation
NOTE
The tag reader software must be installed on the handheld
computer before you can perform the procedures in this section.
Refer to Installing EVA Tag Software Onto the Handheld
Computer (BU-IB1666-000A) for information required to
install the tag reader software.
1. Using the stylus provided, tap the touchscreen on the handheld computer
to open the Windows Mobile 6 Start Menu.
2. With the Windows Mobile 6 Start Menu displayed, select SD Install.
The following screen is displayed.
3. With the EVA Elite Installation Tool screen displayed, use the stylus to
select EVA Elite SD Box Registration. The following screen is displayed.
G652002_2
3-2 Copyright ©Diebold, Incorporated (6/2009) - All Rights Reserved
TP-821320-001A

PRELIMINARY - DRAFT COPY
Mon Jun 01 08:53:30 2009
4. With the TagSYS Launcher screen displayed, use the stylus to highlight
ISO 15693. With ISO 15693 selected, tap the Launch button. The
following screen is displayed.
5. With the EVA Elite SD Box Registration screen displayed, verify that the
following Down Link options are active:
•2sub
•Slow
6. With the EVA Elite SD Box Registration screen displayed, perform the
following steps:
• From the Select Box Size drop-down list, click on the applicable
SD box size.
• Use the keypad on the handheld computer to enter the Branch ID
in the Enter Branch ID window.
7. With the EVA Elite SD Box Registration screen displayed, use the stylus
to tap the Set button. Verify that the following message is displayed:
Set Configuration OK.
8. With the EVA Elite SD Box Registration screen displayed, use the stylus
to tap the Read Tags tab at the top of the display. The following screen
is displayed.
3-3
Copyright ©Diebold, Incorporated (6/2009) - All Rights Reserved
TP-821320-001A

PRELIMINARY - DRAFT COPY
Mon Jun 01 08:53:30 2009
9. With the ReadTagsscreen displayed, use the numeric keypad on the
handheld computer to enter the first SD box number to be registered.
As the numeric keys are pressed, the key numbers are displayed in the
SD Box # field.
To auto-increment the SD box numbers, select the Auto Num option.
10. Position the RFID scanner window of the handheld computer near the tag
cover of thefirst SD box to be registered. Hold the handheld computer so
that the top end of the handheld computer is in contact with tag cover (at
a 90-degree angle). See Figure 3-2.
11. With the handheld computer in contact with the tag cover, use the stylus
to tap the Read Tag button located near the center of the display screen.
To indicate that the RFID tag has been read successfully, the message
box at the bottom of the screen will display the box number (the box
count will increment by one) and the RFID data (for example Box
#100XXXXXXXX...).
12. Proceed to the next SD box to be read. If the Auto Num option was not
selected in Step 9, use the numeric keypad on the handheld computer to
enter the next SD box number to be registered. As the numeric keys are
pressed, the key numbers are displayed in the SD Box # field.
13. Position the handheld computer near the tag cover of the SD box to
be registered. Hold the handheld computer so that the top end of the
handheld computer is in contact with tag cover at a 90-degree angle.
14. Repeat Step 12 and Step 13 for each SD box to be registered. Verify that
each SD box number is correctly displayed after read.
15. After all SD boxes are registered, use the stylus to tap the Done button
located on the touch screen of the handheld computer. A message is
displayed to indicate the number of boxes registered.
16. Click ontheOk button twice to exit the application.
3-4 Copyright ©Diebold, Incorporated (6/2009) - All Rights Reserved
TP-821320-001A

PRELIMINARY - DRAFT COPY
Mon Jun 01 08:53:30 2009
NOTE
If you are installing lock cover assemblies onto 2 x 5-inch SD doors, you must read the RFID tags before the tag
covers are installed onto the base plates.
Figure 3-2 Reading the RFID Tag
3.3 Downloading Data From Handheld Computer
CAUTION
Before you complete the procedures in this section, it is
essential that you verify that ALL RFID tags have been
read and are loaded onto the handheld computer. Tags that
are not read and loaded onto the handheld computer will
cause a sequence error when the data is uploaded. Such
an error may cause the system to deny access to certain
SD box users.
Perform the following procedure to transfer SD box data from the handheld
computer to a laptop PC. A USB-connected, external CD drive is required to
complete the procedure.
1. Confirm that Microsoft® ActiveSync is loaded onto the laptop. If this
utility is not installed, you must download this utility from the Microsoft
Web site.
2. Locate the USB cable provided with the handheld computer. Connect this
USB cable to the handheld computer and to the laptop computer.
3-5
Copyright ©Diebold, Incorporated (6/2009) - All Rights Reserved
TP-821320-001A
PRELIMINARY - DRAFT COPY
Mon Jun 01 08:53:30 2009
3. Using the ActiveSync utility, download the *.csv file from the handheld
computer to the laptop. The *.csv file contains the SD box data that
will eventually be loaded into the EVA database on the touch screen
workstation.
4. Using your laptop PC, copy the SDBoxData.txt file to a CD.
5. Refer to EVA and EVA Elite Electronic Vault Attendant Setup and
Administration Guide (TP-821366-001B) for procedures required to
transfer the *.csv file to the EVA touch screen workstation.
3-6 Copyright ©Diebold, Incorporated (6/2009) - All Rights Reserved
TP-821320-001A

PRELIMINARY - DRAFT COPY
Mon Jun 01 08:53:30 2009
Table4-1 PartsListing
Figure/Item Description Part Number Qty.
Figure 4-1 SD lock cover kit 41-021050-000A 1
1 Lock cover assembly 41-020895-000A 1
2Base plate, w/mounting screw 41-020897-000A 1
3 Tag cover 41-020896-000A 1
Figure 4-2
1 Dock assembly 41-020278-000A 1
2 Power supply, swtchr., 9.0V, 3.9 A, desktop 49-223783-000A 1
not shown Cable, logic, USB, A-B, 78-3/4" 49-211496-000B 1
Figure 4-3 Key Assembly 41-020285-000A 1
Figure 3-1 EVA handheld computer[1] 41-021685-000A 1
Figure 4-4 Kit, installation template[2] 41-021051-000A 1
1 Template, 5-inch door 41-021048-000A 1
2 Template, 7-inch door 41-021048-000B 1
3 Template, 10-inch door 41-021048-000C 1
not shown SD number labels, adhesive, roll of 250 (1 through 250) 11-034642-000A 1
not shown SD number labels, adhesive, roll of 250 (251 through 500) 11-034642-000B 1
not shown SD number labels, adhesive, roll of 250 (501 through 750) 11-034642-000C 1
not shown SD number labels, adhesive, roll of 250 (751 through 1000) 11-034642-000D 1
Figure 2-14 Touch screen workstation 41-021181-000A 1
Figure 2-19 Uninterruptible power supply 39-017425-000A 1
Figure 2-21 Door strike kit[3] 19-042286-000A 1
Figure 2-23 Door closure kit 19-048488-000A 1
Figure 2-25 Daygate lockset egress kit 19-046487-000A 1
Figure 2-26 Egress button kit 19-042292-000A 1
Figure 2-31 Hand recognition reader 19-055310-000A 1
not shown Power supply, hand recognition reader[4] 19-041824-000A 1
not shown Battery backup, hand recognition reader 19-041825-000A 1
Figure 2-30 Traffic light 19-049328-000A 1
not shown Signature pad, 1 x 5, economy 49-224003-000A 1
not shown Signature pad, 1 x 5, LCD 49-224004-000A 1
Figure 2-35 Kiosk 41-021255-000A 1
Figure 4-5 USB cable extender/adapter[5] 49-226161-000A --
Figure 4-6 USB hub, 4-port, self-powered, 2.0[6] 49-226162-000A --
[1] Part number for EVA scanner kit which is part of the tool loaner program. Part number includes the Psion Teklogix
Workabout Pro G2 handheld computer and an installation CD containing the EVA handheld software (tag reader).
[2] Templates have been designed for use with Diebold 5-inch, 7-inch, and 10-inch SD doors. If you are installing base
plates onto SD doors not manufactured by Diebold, use a plumb-bob or laser level to ensure proper alignment.
[3] Includes door strike w/prep faceplate, latch bolt, mounting box, and hardware.
[4] Housed locally within the Handkey reader. Charging power provided by the wall outlet power supply.
[5] Extends distance of USB device from a USB-enabled computer up to 150 ft.
[6] Powered by USB 2.0 upstream connection to USB port of touch screen workstation (3 ft. cable provided).
Optional 5V, 2A power adapter must be purchased separately.
4-2 Copyright ©Diebold, Incorporated (6/2009) - All Rights Reserved
TP-821320-001A

PRELIMINARY - DRAFT COPY
Mon Jun 01 08:53:30 2009
Figure 4-1 SD Lock Cover Kit Illustrated Parts
Figure 4-2 Dock Assembly Illustrated Parts
Figure 4-3 Key Assembly
4-3
Copyright ©Diebold, Incorporated (6/2009) - All Rights Reserved
TP-821320-001A

PRELIMINARY - DRAFT COPY
Mon Jun 01 08:53:30 2009
Figure 4-4 Installation Templates
Figure 4-5 USB Adapter/Extender
Figure 4-6 4-port USB Hub
4-4 Copyright ©Diebold, Incorporated (6/2009) - All Rights Reserved
TP-821320-001A

PRELIMINARY - DRAFT COPY
Mon Jun 01 08:53:30 2009
Appendix A
Diagrams for Adding Converters Between Hand Reader and Touch
Screen Workstation
Additional connection procedures are required when the distance between the
hand recognition reader and the touch screen workstation exceeds 50 feet. Refer
to the figures that follow:
• Figure A-1: Connections Required When Distance Between Hand Reader
and Touch Screen Workstation Exceeds 50 Feet
• Figure A-2: Interface Converter Wiring Diagram
Figure A-1 Connections Required When Distance Between Hand Reader and Touch Screen Workstation Exceeds
50 Feet
A-1
Copyright ©Diebold, Incorporated (6/2009) - All Rights Reserved
TP-821320-001A

PRELIMINARY - DRAFT COPY
Mon Jun 01 08:53:30 2009
NOTE
Two converters are required when distance between hand reader and touch screen workstation exceeds 50 feet.
Figure A-2 Interface Converter Wiring Diagram
A-2 Copyright ©Diebold, Incorporated (6/2009) - All Rights Reserved
TP-821320-001A

PRELIMINARY - DRAFT COPY
Mon Jun 01 08:53:30 2009
Appendix B
Releasing a Closed Lock Cover Assembly
The lock cover assembly is shipped in the open position. The upper housing door
must not be snapped to the closed position until after the lock cover assembly
is screwed to the base plate as the final step in the installation of the lock cover
assembly. If you inadvertently snap the upper housing door closed you will not
be able attach the tag cover or the entire assembly to the base plate. Refer to the
procedureinthissectiontoreopenthelatchdoor.
1. Locate the slider brackets and the latch on the bottom of the lock cover
assembly. See Figure B-1.
2. Use the blade of a small flatblade screwdriver to push the knob on the
latch to the extreme left.
3. While using the screwdriver to secure the latch, press down on one of the
slider brackets and move the slider bracket to the retracted position.
4. With the slider bracket in the retracted position, the upper housing is
released from the hinge base.
Figure B-1 Releasing a Closed Lock Cover Assembly
B-1
Copyright ©Diebold, Incorporated (6/2009) - All Rights Reserved
TP-821320-001A
