Digital Security Controls 17LE4010 LTE Cellular Alarm Communicator User Manual LE910 V2 Hardware User Guide
Digital Security Controls Ltd. LTE Cellular Alarm Communicator LE910 V2 Hardware User Guide
Contents
- 1. RI7LE910NAV2 User Manual
- 2. Installation Manual
RI7LE910NAV2 User Manual

1VV0301200 Rev.2 - Preliminary 2015-08-04
LE910 V2 HARDWARE USER
GUIDE

LE910 V2 HARDWARE USER GUIDE 1VV0301200 Rev.2 Preliminary • 2015-08-04 2 of 81
Reproduction forbidden without Telit Communications PLC written authorization – All Rights Reserved
APPLICABILITY TABLE
PRODUCTS
LE910-NA V2
LE910-SV V2
LE910-EU V2
LE910-AU V2
LE910-JN V2
LE910-JK V2

LE910 V2 HARDWARE USER GUIDE 1VV0301200 Rev.2 Preliminary • 2015-08-04 3 of 81
Reproduction forbidden without Telit Communications PLC written authorization – All Rights Reserved
SPECIFICATIONS SUBJECT TO
CHANGE WITHOUT NOTICE
LEGAL NOTICE
These Specifications are general guidelines pertaining to product selection and application and may not be
appropriate for your particular project. Telit (which hereinafter shall include, its agents, licensors and affiliated
companies) makes no representation as to the particular products identified in this document and makes no
endorsement of any product. Telit disclaims any warranties, expressed or implied, relating to these specifications,
including without limitation, warranties or merchantability, fitness for a particular purpose or satisfactory quality.
Without limitation, Telit reserves the right to make changes to any products described herein and to remove any
product, without notice.
It is possible that this document may contain references to, or information about Telit products, services and
programs, that are not available in your region. Such references or information must not be construed to mean that
Telit intends to make available such products, services and programs in your area.
USE AND INTELLECTUAL PROPERTY RIGHTS
These Specifications (and the products and services contained herein) are proprietary to Telit and its licensors and
constitute the intellectual property of Telit (and its licensors). All title and intellectual property rights in and to the
Specifications (and the products and services contained herein) is owned exclusively by Telit and its licensors.
Other than as expressly set forth herein, no license or other rights in or to the Specifications and intellectual property
rights related thereto are granted to you. Nothing in these Specifications shall, or shall be deemed to, convey
license or any other right under Telit’s patents, copyright, mask work or other intellectual property rights or the rights
of others.
You may not, without the express written permission of Telit: (i) copy, reproduce, create derivative works of, reverse
engineer, disassemble, decompile, distribute, merge or modify in any manner these Specifications or the products
and components described herein; (ii) separate any component part of the products described herein, or separately
use any component part thereof on any equipment, machinery, hardware or system; (iii) remove or destroy any
proprietary marking or legends placed upon or contained within the products or their components or these
Specifications; (iv) develop methods to enable unauthorized parties to use the products or their components; and
(v) attempt to reconstruct or discover any source code, underlying ideas, algorithms, file formats or programming
or interoperability interfaces of the products or their components by any means whatsoever. No part of these
Specifications or any products or components described herein may be reproduced, transmitted, transcribed, stored
in a retrieval system, or translated into any language or computer language, in any form or by any means, without
the prior express written permission of Telit.
HIGH RISK MATERIALS
Components, units, or third-party products contained or used with the products described herein are NOT fault-
tolerant and are NOT designed, manufactured, or intended for use as on-line control equipment in the following
hazardous environments requiring fail-safe controls: the operation of Nuclear Facilities, Aircraft Navigation or

LE910 V2 HARDWARE USER GUIDE 1VV0301200 Rev.2 Preliminary • 2015-08-04 4 of 81
Reproduction forbidden without Telit Communications PLC written authorization – All Rights Reserved
Aircraft Communication Systems, Air Traffic Control, Life Support, or Weapons Systems (“High Risk Activities").
Telit, its licensors and its supplier(s) specifically disclaim any expressed or implied warranty of fitness for such High
Risk Activities.
TRADEMARKS
You may not and may not allow others to use Telit or its third party licensors’ trademarks. To the extent that any
portion of the products, components and any accompanying documents contain proprietary and confidential notices
or legends, you will not remove such notices or legends.
Copyright © Telit Communications PLC.

LE910 V2 HARDWARE USER GUIDE 1VV0301200 Rev.2 Preliminary • 2015-08-04 5 of 81
Reproduction forbidden without Telit Communications PLC written authorization – All Rights Reserved
CONTENTS
1 Introduction 8
1.1 Scope 8
1.2 Audience 8
1.3 Contact Information, Support 8
1.4 List of acronyms 9
1.5 Text Conventions 11
1.6 Related Documents 11
2 Overview 12
3 Pins Allocation 13
3.1 Pin-out 13
3.2 LGA Pads Layout 20
4 Power Supply 21
4.1 Power Supply Requirements 21
4.2 Power Consumption 22
4.3 General Design Rules 23
4.3.1 Electrical Design Guidelines 23
4.3.1.1 +5V Source Power Supply Design Guidelines 23
4.3.1.3 Battery Source Power Supply Design Guidelines 25
4.3.1.4 Thermal Design Guidelines 26
4.3.1.5 Power Supply PCB layout Guidelines 27
4.4 RTC Bypass out 29
4.5 VAUX Power Output 29
5 Digital Section 30
5.1 Logic Levels 30
5.2 Power on 31
5.3 Power off 36
5.4 Unconditional Shutdown 38
5.5 Communication ports 41
5.5.1 USB 2.0 HS 41
5.5.2 SPI 42
5.5.2.1 SPI Connections 42
5.5.3 Serial Ports 43
5.5.3.1 Modem serial port 1 (USIF0) 43

LE910 V2 HARDWARE USER GUIDE 1VV0301200 Rev.2 Preliminary • 2015-08-04 6 of 81
Reproduction forbidden without Telit Communications PLC written authorization – All Rights Reserved
5.5.3.2 Modem serial port 2 (USIF1) 44
5.5.3.3 RS232 level translation 45
5.6 General Purpose I/O 46
5.6.1 Using a GPIO as INPUT 47
5.6.2 Using a GPIO as OUTPUT 47
5.6.3 Indication of network service availability 47
5.7 External SIM Holder 49
5.8 ADC Converter 49
6 RF Section 50
6.1 Bands Variants 50
6.2 TX Output Power 50
6.3 RX Sensitivity 51
6.4 Antenna Requirements 53
6.4.1 PCB design guidelines 56
6.4.2 PCB Guidelines in case of FCC Certification 57
6.4.2.1 Transmission line design 57
6.4.2.2 Transmission Line Measurements 58
6.4.2.3 Antenna Installation Guidelines 60
7 Audio Section Overview 64
7.1 Electrical Characteristics 64
7.2 Codec examples 64
8 Mechanical Design 65
8.1 Drawing 65
9 Application PCB Design 66
9.1 Footprint 66
9.2 PCB pad design 67
9.3 PCB pad dimensions 67
9.4 Stencil 69
9.5 Solder paste 69
9.6 Solder reflow 69
10 Packaging 71
10.1 Tray 71
10.2 Reel 73
10.2.1 Carrier Tape detail 73
10.2.2 Reel detail 74
10.2.3 Packaging detail 75
10.3 Moisture sensitivity 75

LE910 V2 HARDWARE USER GUIDE 1VV0301200 Rev.2 Preliminary • 2015-08-04 7 of 81
Reproduction forbidden without Telit Communications PLC written authorization – All Rights Reserved
11 Conformity Assessment Issues 76
11.1 FCC/IC Regulatory notices 76
12 Safety Recommendations 79
12.1 READ CAREFULLY 79
13 Document History 80
13.1 Revisions 80

LE910 V2 HARDWARE USER GUIDE 1VV0301200 Rev.2 Preliminary • 2015-08-04 8 of 81
Reproduction forbidden without Telit Communications PLC written authorization – All Rights Reserved
1 INTRODUCTION
1.1 Scope
Scope of this document is to give a description of some hardware solutions useful for developing a product with the
Telit LE910 V2 module.
1.2 Audience
This document is intended for Telit customers, who are integrators, about to implement their applications using our
LE910 V2 modules.
1.3 Contact Information, Support
For general contact, technical support services, technical questions and report documentation errors contact Telit
Technical Support at:
TS-EMEA@telit.com
TS-AMERICAS@telit.com
TS-APAC@telit.com
Alternatively, use:
http://www.telit.com/support
For detailed information about where you can buy the Telit modules or for recommendations on accessories and
components visit:
http://www.telit.com
Our aim is to make this guide as helpful as possible. Keep us informed of your comments and suggestions for
improvements.
Telit appreciates feedback from the users of our information.

LE910 V2 HARDWARE USER GUIDE 1VV0301200 Rev.2 Preliminary • 2015-08-04 9 of 81
Reproduction forbidden without Telit Communications PLC written authorization – All Rights Reserved
1.4 List of acronyms
Acronym
Description
LTE
Long Term Evolution
RF
Radio Frequency
EMC
Electromagnetic Compatibility
FDD
Frequency Division Duplexing
EM
Electromagnetic
EMI
Electromagnetic Interference
PCB
Printed Circuit Board
USB
Universal Serial Bus
HS
High Speed
DTE
Data Terminal Equipment
UMTS
Universal Mobile Telecommunication System
WCDMA
Wideband Code Division Multiple Access
HSDPA
High Speed Downlink Packet Access
HSUPA
High Speed Uplink Packet Access
UART
Universal Asynchronous Receiver Transmitter
HSIC
High Speed Inter Chip
SIM
Subscriber Identification Module
SPI
Serial Peripheral Interface
ADC
Analog – Digital Converter
DAC
Digital – Analog Converter
I/O
Input Output
GPIO
General Purpose Input Output
CMOS
Complementary Metal – Oxide Semiconductor
MOSI
Master Output – Slave Input
MISO
Master Input – Slave Output
CLK
Clock

LE910 V2 HARDWARE USER GUIDE 1VV0301200 Rev.2 Preliminary • 2015-08-04 10 of 81
Reproduction forbidden without Telit Communications PLC written authorization – All Rights Reserved
Acronym
Description
DVI
Digital Voice Interface
MRDY
Master Ready
SRDY
Slave Ready
CS
Chip Select
RTC
Real Time Clock
ESR
Equivalent Series Resistance
VSWR
Voltage Standing Wave Radio
VNA
Vector Network Analyzer

LE910 V2 HARDWARE USER GUIDE 1VV0301200 Rev.2 Preliminary • 2015-08-04 11 of 81
Reproduction forbidden without Telit Communications PLC written authorization – All Rights Reserved
1.5 Text Conventions
Danger – This information MUST be followed or catastrophic equipment failure or bodily
injury may occur.
Caution or Warning – Alerts the user to important points about integrating the module, if
these points are not followed, the module and end user equipment may fail or malfunction.
Tip or Information – Provides advice and suggestions that may be useful when integrating
the module.
All dates are in ISO 8601 format, i.e. YYYY-MM-DD.
1.6 Related Documents
● Telit_xE910_Global_Form_Factor_Application_Note_r13
● Telit_Event_Monitor_Application_Note_r6
● Telit_SIM/USIM_Toolkit_Application_Note_r4
● Telit_Modem_Integration_Design_Guide_r0
● SIM Holder Design Guides, 80000NT10001a

LE910 V2 HARDWARE USER GUIDE 1VV0301200 Rev.2 Preliminary • 2015-08-04 12 of 81
Reproduction forbidden without Telit Communications PLC written authorization – All Rights Reserved
2 OVERVIEW
The aim of this document is the description of some hardware solutions useful for developing a product with the
Telit LE910 V2 module.
In this document all the basic functions of a mobile phone will be taken into account; for each one of them a proper
hardware solution will be suggested and eventually the wrong solutions and common errors to be avoided will be
evidenced. Obviously this document cannot embrace the whole hardware solutions and products that may be
designed. The wrong solutions to be avoided shall be considered as mandatory, while the suggested hardware
configurations shall not be considered mandatory, instead the information given shall be used as a guide and a
starting point for properly developing your product with the Telit LE910 V2 module. For further hardware details that
may not be explained in this document refer to the Telit LE910 V2 Product Description document where all the
hardware information is reported.
NOTE:
(EN) The integration of the LE910 V2 cellular module within user application shall be done
according to the design rules described in this manual.
(IT) L’integrazione del modulo cellulare LE910 V2 all’interno dell’applicazione dell’utente
dovrà rispettare le indicazioni progettuali descritte in questo manuale.
(DE) Die Integration des LE910 V2 Mobilfunk-Moduls in ein Gerät muß gemäß der in
diesem Dokument beschriebenen Kunstruktionsregeln erfolgen.
(SL) Integracija LE910 V2 modula v uporabniški aplikaciji bo morala upoštevati projektna
navodila, opisana v tem priročniku.
(SP) La utilización del modulo LE910 V2 debe ser conforme a los usos para los cuales
ha sido deseñado descritos en este manual del usuario.
(FR) L’intégration du module cellulaire LE910 V2 dans l’application de l’utilisateur sera
faite selon les règles de conception décrites dans ce manuel.
(HE)
The information presented in this document is believed to be accurate and reliable. However, no responsibility is
assumed by Telit Communications S.p.A. for its use, nor any infringement of patents or other rights of third parties
which may result from its use. No license is granted by implication or otherwise under any patent rights of Telit
Communications S.p.A. other than for circuitry embodied in Telit products. This document is subject to change
without notice.
LE910 V2

LE910 V2 HARDWARE USER GUIDE 1VV0301200 Rev.2 Preliminary • 2015-08-04 13 of 81
Reproduction forbidden without Telit Communications PLC written authorization – All Rights Reserved
3 PINS ALLOCATION
3.1 Pin-out
Pin
Signal
I/O
Function
Type
Comment
USB HS 2.0 COMMUNICATION PORT
B15
USB_D+
I/O
USB differential Data (+)
C15
USB_D-
I/O
USB differential Data (-)
A13
VUSB
I
Power sense for the
internal USB transceiver.
Asynchronous Serial Port (USIF0) - Prog. / Data + HW Flow Control
N15
C103/TXD
I
Serial data input from
DTE
CMOS 1.8V
M15
C104/RXD
O
Serial data output to DTE
CMOS 1.8V
M14
C108/DTR
I
Input for (DTR) from DTE
CMOS 1.8V
L14
C105/RTS
I
Input for Request to send
signal (RTS) from DTE
CMOS 1.8V
P15
C106/CTS
O
Output for Clear to Send
signal (CTS) to DTE
CMOS 1.8V
N14
C109/DCD
O
Output for (DCD) to DTE
CMOS 1.8V
P14
C107/DSR
O
Output for (DSR) to DTE
CMOS 1.8V
R14
C125/RING
O
Output for Ring (RI) to
DTE
CMOS 1.8V
Asynchronous Auxiliary Serial Port (USIF1)
D15
TX_AUX
O
Auxiliary UART (TX Data
to DTE)
CMOS 1.8V
E15
RX_AUX
I
Auxiliary UART (RX Data
from DTE)
CMOS 1.8V
SIM card interface
A6
SIMCLK
O
External SIM signal –
Clock
1.8 / 3V
A7
SIMRST
O
External SIM signal –
Reset
1.8 / 3V

LE910 V2 HARDWARE USER GUIDE 1VV0301200 Rev.2 Preliminary • 2015-08-04 14 of 81
Reproduction forbidden without Telit Communications PLC written authorization – All Rights Reserved
A5
SIMIO
I/O
External SIM signal –
Data I/O
1.8 / 3V
A4
SIMIN
I
External SIM signal –
Presence (active low)
CMOS 1.8
Internal pullup
47K
A3
SIMVCC
-
External SIM signal –
Power supply for the SIM
1.8 / 3V
Digital Voice Interface (DVI)
B9
DVI_WA0
I/O
Digital Audio Interface
(WA0)
1.8V
B6
DVI_RX
I
Digital Audio Interface
(RX)
1.8V
B7
DVI_TX
I/O
Digital Audio Interface
(TX)
1.8V
B8
DVI_CLK
I/O
Digital Audio Interface
(CLK)
1.8V
SPI
D15
SPI_MOSI
I
SPI MOSI
CMOS 1.8V
E15
SPI_MISO
O
SPI_MISO
CMOS 1.8V
F15
SPI_CLK
I
SPI Clock
CMOS 1.8V
H15
SPI_MRDY
I
SPI_MRDY
CMOS 1.8V
J15
SPI_SRDY
O
SPI_SRDY
CMOS 1.8V
DIGITAL IO
C8
GPIO_01
I/O
GPIO_01 /STAT LED
CMOS 1.8V
STAT LED is
alternate function
C9
GPIO_02
I/O
GPIO_02
CMOS 1.8V
C10
GPIO_03
I/O
GPIO_03
CMOS 1.8V
C11
GPIO_04
I/O
GPIO_04
CMOS 1.8V
B14
GPIO_05
I/O
GPIO_05
CMOS 1.8V
C12
GPIO_06
I/O
GPIO_06
CMOS 1.8V
C13
GPIO_07
I/O
GPIO_07
CMOS 1.8V
K15
GPIO_08
I/O
GPIO_08
CMOS 1.8V
L15
GPIO_09
I/O
GPIO_09
CMOS 1.8V
G15
GPIO_10
I/O
GPIO_10
CMOS 1.8V
ADC

LE910 V2 HARDWARE USER GUIDE 1VV0301200 Rev.2 Preliminary • 2015-08-04 15 of 81
Reproduction forbidden without Telit Communications PLC written authorization – All Rights Reserved
B1
ADC_IN1
AI
Analog / Digital converter
input
A/D
Accepted values 0
to 1.2V DC
RF SECTION
K1
ANTENNA
I/O
GSM/EDGE/UMTS
Antenna
(50 ohm)
RF
F1
ANT_DIV
I
Antenna Diversity Input
(50 ohm)
RF
Miscellaneous Functions
R13
HW_SHUTDOWN*
I
HW Unconditional
Shutdown
1.8V
Active low
R12
ON_OFF*
I
Input command for power
ON
1.8V
Active low
C14
VRTC
I
VRTC Backup capacitor
Power
backup for the
embedded RTC
supply (1.8V)
R11
VAUX/PWRMON
O
Supply Output for
external accessories /
Power ON Monitor
1.8V
Power Supply
M1
VBATT
-
Main power supply
(Baseband)
Power
M2
VBATT
-
Main power supply
(Baseband)
Power
N1
VBATT_PA
-
Main power supply
(Radio PA)
Power
N2
VBATT_PA
-
Main power supply
(Radio PA)
Power
P1
VBATT_PA
-
Main power supply
(Radio PA)
Power
P2
VBATT_PA
-
Main power supply
(Radio PA)
Power
E1
GND
-
Ground
Power
G1
GND
-
Ground
Power
H1
GND
-
Ground
Power
J1
GND
-
Ground
Power
L1
GND
-
Ground
Power
A2
GND
-
Ground
Power
E2
GND
-
Ground
Power

LE910 V2 HARDWARE USER GUIDE 1VV0301200 Rev.2 Preliminary • 2015-08-04 16 of 81
Reproduction forbidden without Telit Communications PLC written authorization – All Rights Reserved
F2
GND
-
Ground
Power
G2
GND
-
Ground
Power
H2
GND
-
Ground
Power
J2
GND
-
Ground
Power
K2
GND
-
Ground
Power
L2
GND
-
Ground
Power
R2
GND
-
Ground
Power
M3
GND
-
Ground
Power
N3
GND
-
Ground
Power
P3
GND
-
Ground
Power
R3
GND
-
Ground
Power
D4
GND
-
Ground
Power
M4
GND
-
Ground
Power
N4
GND
-
Ground
Power
P4
GND
-
Ground
Power
R4
GND
-
Ground
Power
N5
GND
-
Ground
Power
P5
GND
-
Ground
Power
R5
GND
-
Ground
Power
N6
GND
-
Ground
Power
P6
GND
-
Ground
Power
R6
GND
-
Ground
Power
P8
GND
-
Ground
Power
R8
GND
-
Ground
Power
P9
GND
-
Ground
Power
P10
GND
-
Ground
Power
R10
GND
-
Ground
Power
M12
GND
-
Ground
Power
B13
GND
-
Ground
Power
P13
GND
-
Ground
Power

LE910 V2 HARDWARE USER GUIDE 1VV0301200 Rev.2 Preliminary • 2015-08-04 17 of 81
Reproduction forbidden without Telit Communications PLC written authorization – All Rights Reserved
E14
GND
-
Ground
Power
RESERVED
C1
RESERVED
-
RESERVED
D1
RESERVED
-
RESERVED
B2
RESERVED
-
RESERVED
C2
RESERVED
-
RESERVED
D2
RESERVED
-
RESERVED
B3
RESERVED
-
RESERVED
C3
RESERVED
-
RESERVED
D3
RESERVED
-
RESERVED
E3
RESERVED
-
RESERVED
F3
RESERVED
-
RESERVED
G3
RESERVED
-
RESERVED
H3
RESERVED
-
RESERVED
J3
RESERVED
-
RESERVED
K3
RESERVED
-
RESERVED
L3
RESERVED
-
RESERVED
B4
RESERVED
-
RESERVED
C4
RESERVED
-
RESERVED
B5
RESERVED
-
RESERVED
C5
RESERVED
-
RESERVED
C6
RESERVED
-
RESERVED
C7
RESERVED
-
RESERVED
N7
RESERVED
-
RESERVED
P7
RESERVED
-
RESERVED
N8
RESERVED
-
RESERVED
N9
RESERVED
-
RESERVED
A10
RESERVED
-
RESERVED
N10
RESERVED
-
RESERVED
N11
RESERVED
-
RESERVED

LE910 V2 HARDWARE USER GUIDE 1VV0301200 Rev.2 Preliminary • 2015-08-04 18 of 81
Reproduction forbidden without Telit Communications PLC written authorization – All Rights Reserved
P11
RESERVED
-
RESERVED
B12
RESERVED
-
RESERVED
D12
RESERVED
-
RESERVED
N12
RESERVED
-
RESERVED
P12
RESERVED
-
RESERVED
F14
RESERVED
-
RESERVED
G14
RESERVED
-
RESERVED
H14
RESERVED
-
RESERVED
J14
RESERVED
-
RESERVED
K14
RESERVED
-
RESERVED
N13
RESERVED
-
RESERVED
L13
RESERVED
-
RESERVED
J13
RESERVED
-
RESERVED
M13
RESERVED
-
RESERVED
K13
RESERVED
-
RESERVED
H13
RESERVED
-
RESERVED
G13
RESERVED
-
RESERVED
F13
RESERVED
-
RESERVED
B11
RESERVED
-
RESERVED
B10
RESERVED
-
RESERVED
A9
RESERVED
-
RESERVED
A8
RESERVED
-
RESERVED
E13
RESERVED
-
RESERVED
D13
RESERVED
-
RESERVED
D14
RESERVED
-
RESERVED
A14
RESERVED
-
RESERVED
A12
RESERVED
-
RESERVED
A11
RESERVED
-
RESERVED
H15
RESERVED
-
RESERVED
F15
RESERVED
-
RESERVED

LE910 V2 HARDWARE USER GUIDE 1VV0301200 Rev.2 Preliminary • 2015-08-04 19 of 81
Reproduction forbidden without Telit Communications PLC written authorization – All Rights Reserved
WARNING:
Reserved pins must not be connected.
K15
RESERVED
-
RESERVED
J15
RESERVED
-
RESERVED

LE910 V2 HARDWARE USER GUIDE 1VV0301200 Rev.2 Preliminary • 2015-08-04 20 of 81
Reproduction forbidden without Telit Communications PLC written authorization – All Rights Reserved
3.2 LGA Pads Layout
TOP VIEW
A
B
C
D
E
F
G
H
J
K
L
M
N
P
R
1
ADC_IN1
RES
RES
GND
ANT_DIV
GND
GND
GND
ANT
GND
VBATT
VBATT_
PA
VBATT_
PA
2
GND
RES
RES
RES
GND
GND
GND
GND
GND
GND
GND
VBATT
VBATT_
PA
VBATT_
PA
GND
3
SIMVC
C
RES
RES
RES
RES
RES
RES
RES
RES
RES
RES
GND
GND
GND
GND
4
SIMIN
RES
RES
GND
GND
GND
GND
GND
5
SIMIO
RES
RES
GND
GND
GND
6
SIMCLK
DVI_RX
RES
GND
GND
GND
7
SIMRS
T
DVI_TX
RES
RES
RES
RES
8
RES
DVI_CLK
GPIO_01
RES
GND
GND
9
RES
DVI_WA
0
GPIO_02
RES
GND
RES
10
RES
RES
GPIO_03
RES
GND
GND
11
RES
RES
GPIO_04
RES
RES
VAUX/P
WRMON
12
RES
RES
GPIO_06
RES
GND
RES
RES
ON_OFF
*
13
VUSB
GND
GPIO_07
RES
RES
RES
RES
RES
RES
RES
RES
RES
RES
GND
HW_SH
UTDOW
N*
14
RES
GPIO_05
VRTC
RES
GND
RES
RES
RES
RES
RES
C105/RT
S
C108/DT
R
C109/DC
D
C107/DS
R
C125/RI
NG
15
USB_D+
USB_D-
TX AUX
RX AUX
SPI_CLK
GPIO_10
SPI_MR
DY
SPI_SR
DY
GPIO_08
GPIO_09
C104/RX
D
C103/TX
D
C106/CT
S

LE910 V2 HARDWARE USER GUIDE 1VV0301200 Rev.2 Preliminary • 2015-08-04 21 of 81
Reproduction forbidden without Telit Communications PLC written authorization – All Rights Reserved
4 POWER SUPPLY
The power supply circuitry and board layout are a very important part in the full product design and they strongly
reflect on the product overall performances, hence read carefully the requirements and the guidelines that will follow
for a proper design.
4.1 Power Supply Requirements
The external power supply must be connected to VBATT & VBATT_PA signals and must fulfil the following
requirements:
Power Supply
Value
Nominal Supply Voltage
3.8V
Normal Operating Voltage Range
3.40 V÷ 4.20 V
Extended Operating Voltage Range
3.10 V÷ 4.50 V
NOTE:
The Operating Voltage Range MUST never be exceeded; care must be taken when
designing the application’s power supply section to avoid having an excessive voltage
drop. If the voltage drop is exceeding the limits it could cause a Power Off of the module.
The Power supply must be higher than 3.10 V to power on the module.
Overshoot voltage (regarding MAX Extended Operating Voltage) and drop in voltage
(regarding MIN Extended Operating Voltage) MUST never be exceeded;
The “Extended Operating Voltage Range” can be used only with completely assumption
and application of the HW User guide suggestions.

LE910 V2 HARDWARE USER GUIDE 1VV0301200 Rev.2 Preliminary • 2015-08-04 22 of 81
Reproduction forbidden without Telit Communications PLC written authorization – All Rights Reserved
4.2 Power Consumption
The reported values in the following table has to be considered preliminary:
Mode
Average (mA)
Mode Description
Switched Off
94uA
Module supplied but switched off
AT+CFUN=5
1.3mA
(WCDMA)
EGPRS mode
550mA
Typical (max UL throughput, class 33, 3.80V
supply)
HSUPA mode
550mA
Typical (max UL throughput, 3.80V supply)
LTE mode
550mA
Typical (max UL throughput, 3.80V supply)
NOTE:
The electrical design for the Power supply should be made ensuring it will be
capable of a peak current output of at least:
0.8 A for WCDMA and LTE mode (3.80V supply).
2A for GSM mode (3.80V supply).

LE910 V2 HARDWARE USER GUIDE 1VV0301200 Rev.2 Preliminary • 2015-08-04 23 of 81
Reproduction forbidden without Telit Communications PLC written authorization – All Rights Reserved
4.3 General Design Rules
The principal guidelines for the Power Supply Design embrace three different design steps:
the electrical design
the thermal design
the PCB layout.
4.3.1 Electrical Design Guidelines
The electrical design of the power supply depends strongly from the power source where this power is drained. We
will distinguish them into three categories:
+5V input (typically PC internal regulator output)
+12V input (typically automotive)
Battery
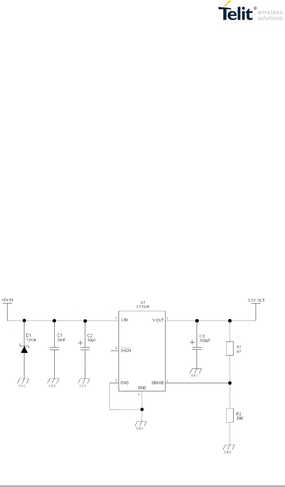
4.3.1.1 +5V Source Power Supply Design Guidelines
The desired output for the power supply is 3.8V, hence there's not a big difference between the input
source and the desired output and a linear regulator can be used. A switching power supply will not be
suited because of the low drop out requirements.
When using a linear regulator, a proper heat sink shall be provided in order to dissipate the power
generated.
A Bypass low ESR capacitor of adequate capacity must be provided in order to cut the current absorption
peaks close to the Module, a 100μF capacitor is usually suited.
Make sure the low ESR capacitor on the power supply output rated at least 10V.
An example of linear regulator with 5V input is:

LE910 V2 HARDWARE USER GUIDE 1VV0301200 Rev.2 Preliminary • 2015-08-04 24 of 81
Reproduction forbidden without Telit Communications PLC written authorization – All Rights Reserved
4.3.1.2 + 12V input Source Power Supply Design Guidelines
The desired output for the power supply is 3.8V, hence due to the big difference between the input source
and the desired output, a linear regulator is not suited and shall not be used. A switching power supply will
be preferable because of its better efficiency.
When using a switching regulator, a 500kHz or more switching frequency regulator is preferable because
of its smaller inductor size and its faster transient response. This allows the regulator to respond quickly
to the current peaks absorption.
In any case the frequency and Switching design selection is related to the application to be developed due
to the fact the switching frequency could also generate EMC interferences.
For car PB battery the input voltage can rise up to 15,8V and this should be kept in mind when choosing
components: all components in the power supply must withstand this voltage.
A Bypass low ESR capacitor of adequate capacity must be provided in order to cut the current absorption
peaks, a 100μF capacitor is usually suited.
Make sure the low ESR capacitor on the power supply output is rated at least 10V.
For Car applications a spike protection diode should be inserted close to the power input, in order to clean
the supply from spikes.
An example of switching regulator with 12V input is in the below schematic:

LE910 V2 HARDWARE USER GUIDE 1VV0301200 Rev.2 Preliminary • 2015-08-04 25 of 81
Reproduction forbidden without Telit Communications PLC written authorization – All Rights Reserved
4.3.1.3 Battery Source Power Supply Design Guidelines
The desired nominal output for the power supply is 3.8V and the maximum voltage allowed is 4.2V, hence a single
3.7V Li-Ion cell battery type is suited for supplying the power to the Telit LE910 V2 module.
A Bypass low ESR capacitor of adequate capacity must be provided in order to cut the current absorption
peaks, a 100μF tantalum capacitor is usually suited.
Make sure the low ESR capacitor (usually a tantalum one) is rated at least 10V.
A protection diode should be inserted close to the power input, in order to save the LE910 V2 from power
polarity inversion. Otherwise the battery connector should be done in a way to avoid polarity inversions
when connecting the battery.
The battery must be rated to supply peaks of current up to 0.8 A for LTE and WCDMA mode and 2A for
GSM mode.
NOTE:
DON'T USE any Ni-Cd, Ni-MH, and Pb battery types directly connected with LE910 V2.
Their use can lead to overvoltage on the LE910 V2 and damage it. USE ONLY Li-Ion
battery types.

LE910 V2 HARDWARE USER GUIDE 1VV0301200 Rev.2 Preliminary • 2015-08-04 26 of 81
Reproduction forbidden without Telit Communications PLC written authorization – All Rights Reserved
4.3.1.4 Thermal Design Guidelines
Worst case as reference values for thermal design of LE910 V2 are:
Average current consumption: 800 mA
Supply voltage: 3.80V
NOTE:
Make PCB design in order to have the best connection of GND pads to large surfaces.
NOTE:
The LE910 V2 includes a function to prevent overheating.

LE910 V2 HARDWARE USER GUIDE 1VV0301200 Rev.2 Preliminary • 2015-08-04 27 of 81
Reproduction forbidden without Telit Communications PLC written authorization – All Rights Reserved
4.3.1.5 Power Supply PCB layout Guidelines
As seen on the electrical design guidelines the power supply shall have a low ESR capacitor on the output to cut
the current peaks on the input to protect the supply from spikes The placement of this component is crucial for the
correct working of the circuitry. A misplaced component can be useless or can even decrease the power supply
performances.
The Bypass low ESR capacitor must be placed close to the Telit LE910 V2 power input pads or in the case
the power supply is a switching type it can be placed close to the inductor to cut the ripple provided the
PCB trace from the capacitor to the LE910 V2 is wide enough to ensure a dropless connection even during
an 0.8 A current peak.
The protection diode must be placed close to the input connector where the power source is drained.
The PCB traces from the input connector to the power regulator IC must be wide enough to ensure no
voltage drops occur when an 2 A current peak is absorbed (worst case of GSM mode).
The PCB traces to the LE910 V2 and the Bypass capacitor must be wide enough to ensure no significant
voltage drops occur. This is for the same reason as previous point. Try to keep this trace as short as
possible.
To reduce the EMI due to switching, it is important to keep very small the mesh involved; thus the input
capacitor, the output diode (if not embodied in the IC) and the regulator have to form a very small loop.This
is done in order to reduce the radiated field (noise) at the switching frequency (100-500 kHz usually).
A dedicated ground for the Switching regulator separated by the common ground plane is suggested.
The placement of the power supply on the board should be done in such a way to guarantee that the high
current return paths in the ground plane are not overlapped to any noise sensitive circuitry as the
microphone amplifier/buffer or earphone amplifier.
The power supply input cables should be kept separate from noise sensitive lines such as
microphone/earphone cables.
The insertion of EMI filter on VBATT pins is suggested in those designs where antenna is placed close to
battery or supply lines. A ferrite bead like Murata BLM18EG101TN1 or Taiyo Yuden P/N
FBMH1608HM101 can be used for this purpose.

LE910 V2 HARDWARE USER GUIDE 1VV0301200 Rev.2 Preliminary • 2015-08-04 28 of 81
Reproduction forbidden without Telit Communications PLC written authorization – All Rights Reserved
The below figure shows the recommended circuit:

LE910 V2 HARDWARE USER GUIDE 1VV0301200 Rev.2 Preliminary • 2015-08-04 29 of 81
Reproduction forbidden without Telit Communications PLC written authorization – All Rights Reserved
4.4 RTC Bypass out
The VRTC pin brings out the Real Time Clock supply, which is separate from the rest of the digital part, allowing
having only RTC going on when all the other parts of the device are off.
To this power output a backup capacitor can be added in order to increase the RTC autonomy during power off of
the battery. NO Devices must be powered from this pin.
In order to keep the RTC active when VBATT is not supplied it is possible to back up the RTC section connecting
a backup circuit to the related VRTC signal (pad C14 on module’s Pinout).
For additional details on the Backup solutions please refer to the related application note (xE910 RTC Backup
Application Note)
4.5 VAUX Power Output
A regulated power supply output is provided in order to supply small devices from the module. The signal is present
on Pad R11 and it is in common with the PWRMON (module powered ON indication) function.
This output is always active when the module is powered ON.
The operating range characteristics of the supply are:
Item
Min
Typical
Max
Output voltage
1.78V
1.80V
1.82V
Output current
-
-
60mA
Output bypass capacitor
(inside the module)
1uF

LE910 V2 HARDWARE USER GUIDE 1VV0301200 Rev.2 Preliminary • 2015-08-04 30 of 81
Reproduction forbidden without Telit Communications PLC written authorization – All Rights Reserved
5 DIGITAL SECTION
5.1 Logic Levels
ABSOLUTE MAXIMUM RATINGS – NOT FUNCTIONAL:
OPERATING RANGE - INTERFACE LEVELS (1.8V CMOS):
Parameter
Min
Max
Input high level
1.5V
1.9V
Input low level
0V
0.35V
Output high level
1.6V
1.9V
Output low level
0V
0.2V
OPERATING RANGE - INTERFACE LEVELS (1.2V CMOS):
Parameter
Min
Max
Input high level
0.9V
1.3V
Input low level
0V
0.3V
Output high level
1V
1.3V
Output low level
0V
0.1V
CURRENT CHARACTERISTICS:
Parameter
AVG
Output Current
1mA
Input Current
1uA
Parameter
Min
Max
Input level on any digital pin (CMOS 1.8) with respect to ground
-0.3V
2.1V
Input level on any digital pin (CMOS 1.2) with respect to ground
-0.3V
1.4V

LE910 V2 HARDWARE USER GUIDE 1VV0301200 Rev.2 Preliminary • 2015-08-04 31 of 81
Reproduction forbidden without Telit Communications PLC written authorization – All Rights Reserved
5.2 Power on
To turn on the LE910 V2 the pad ON_OFF* must be tied low for at least 5 seconds and then released.
The maximum current that can be drained from the ON_OFF* pad is 0,1 mA.
A simple circuit to do it is:
NOTE:
Don't use any pull up resistor on the ON_OFF* line, it is internally pulled up. Using pull
up resistor may bring to latch up problems on the LE910 V2 power regulator and improper
power on/off of the module. The line ON_OFF* must be connected only in open collector
or open drain configuration.
In this document all the lines that are inverted, hence have active low signals are labelled
with a name that ends with”#",”*” or with a bar over the name.
To check if the device has powered on, the hardware line PWRMON should be monitored.
It is mandatory to avoid sending data to the serial ports during the first 200ms of the
module start-up.

LE910 V2 HARDWARE USER GUIDE 1VV0301200 Rev.2 Preliminary • 2015-08-04 32 of 81
Reproduction forbidden without Telit Communications PLC written authorization – All Rights Reserved
A flow chart showing the proper turn on procedure is displayed below:
“Modem ON Proc”
START
VBATT > 3.10V
?
ON_OFF* = LOW
PWRMON=ON
?
Delay = 5 sec
ON_OFF* = HIGH
GO TO
“HW Shutdown
Unconditional”
PWRMON=ON
?
Delay = 1 sec
GO TO
“Start AT Commands””
“Modem ON Proc”
END
N
N
Y
Y
Y
N

LE910 V2 HARDWARE USER GUIDE 1VV0301200 Rev.2 Preliminary • 2015-08-04 33 of 81
Reproduction forbidden without Telit Communications PLC written authorization – All Rights Reserved
A flow chart showing the AT commands managing procedure is displayed below:
NOTE:
In order to avoid a back powering effect it is recommended to avoid having any HIGH
logic level signal applied to the digital pins of the LE910 V2 when the module is powered
off or during an ON/OFF transition.
“Start AT CMD”
START
Delay = 300 msec
Enter AT <CR>
GO TO
“HW Shutdown
Unconditional”
AT answer in
1 sec ?
GO TO
“Modem ON Proc.”
“Start AT CMD”
END
Y
N

LE910 V2 HARDWARE USER GUIDE 1VV0301200 Rev.2 Preliminary • 2015-08-04 34 of 81
Reproduction forbidden without Telit Communications PLC written authorization – All Rights Reserved
For example:
1- Let's assume you need to drive the ON_OFF* pad with a totem pole output of a +3/5 V microcontroller
(uP_OUT1):
2- Let's assume you need to drive the
ON_OFF* pad directly with an ON/OFF button:

LE910 V2 HARDWARE USER GUIDE 1VV0301200 Rev.2 Preliminary • 2015-08-04 35 of 81
Reproduction forbidden without Telit Communications PLC written authorization – All Rights Reserved
WARNING
It is recommended to set the ON_OFF* line LOW to power on the module only
after VBATT is higher than 3.10V.
In case this condition it is not satisfied you could use the HW_SHUTDOWN*
line to recover it and then restart the power on activity using the ON_OFF *
line.
An example of this is described in the following diagram.
Power ON diagram:
After HW_SHUTSDOWN* is released you could again use the ON_OFF* line to power on the module.

LE910 V2 HARDWARE USER GUIDE 1VV0301200 Rev.2 Preliminary • 2015-08-04 36 of 81
Reproduction forbidden without Telit Communications PLC written authorization – All Rights Reserved
5.3 Power off
Turning off of the device can be done in two ways:
• via AT command (see LE910 V2 Software User Guide, AT#SHDN)
• by tying low pin ON_OFF*
Either ways, the device issues a detach request to network informing that the device will not be reachable any more.
To turn OFF the LE910 V2 the pad ON_OFF* must be tied low for at least 3 seconds and then released.
NOTE:
To check if the device has been powered off, the hardware line PWRMON must be
monitored. The device is powered off when PWRMON goes low.
In order to avoid a back powering effect it is recommended to avoid having any HIGH
logic level signal applied to the digital pins of the LE910 V2 when the module is powered
off or during an ON/OFF transition.

LE910 V2 HARDWARE USER GUIDE 1VV0301200 Rev.2 Preliminary • 2015-08-04 37 of 81
Reproduction forbidden without Telit Communications PLC written authorization – All Rights Reserved
The following flow chart shows the proper turn off procedure:
“Modem OFF Proc.”
START
ON_OFF* = LOW
PWRMON=ON?
Delay >= 3 sec
ON_OFF* = HIGH
PWRMON=ON?
GO TO
“HW SHUTDOWN
Unconditional”
“Modem OFF Proc.”
END
N
Y
Y
N
OFF Mode
AT#SHDN
Looping for more
than 15s?
Y
N
Key
AT

LE910 V2 HARDWARE USER GUIDE 1VV0301200 Rev.2 Preliminary • 2015-08-04 38 of 81
Reproduction forbidden without Telit Communications PLC written authorization – All Rights Reserved
5.4 Unconditional Shutdown
HW_SHUTDOWN* is used to unconditionally shutdown the LE910 V2. Whenever this signal is pulled low, the
LE910 V2 is reset. When the device is reset it stops any operation. After the release of the line, the LE910 V2 is
unconditionally shut down, without doing any detach operation from the network where it is registered. This
behaviour is not a proper shut down because any WCDMA device is requested to issue a detach request on turn
off. The HW_SHUTDOWN* is internally controlled on start-up to achieve always a proper power-on reset sequence,
so there's no need to control this pin on start-up.
To unconditionally shutdown the LE910 V2, the pad HW_SHUTDOWN* must be tied low for at least 200
milliseconds and then released.
The signal is internally pulled up so the pin can be left floating if not used.
If used, then it must always be connected with an open collector transistor, to permit to the internal circuitry
the power on reset and under voltage lockout functions.
PIN DESCRIPTION
Signal
Function
I/O
PAD
HW_SHUTDOWN*
Unconditional Shutdown of the Module
I
R13
OPERATING LEVELS
Signal Status
Min
Max
HW_SHUTDOWN* Input high
1.5V
1.9V
HW_SHUTDOWN* Input Low
0V
0.35V
WARNING:
The hardware unconditional Shutdown must not be used during normal operation of the
device since it does not detach the device from the network. It shall be kept as an
emergency exit procedure.

LE910 V2 HARDWARE USER GUIDE 1VV0301200 Rev.2 Preliminary • 2015-08-04 39 of 81
Reproduction forbidden without Telit Communications PLC written authorization – All Rights Reserved
A typical circuit is the following:
For example:
Let us assume you need to drive the HW_SHUTDOWN* pad with a totem pole output of a +3/5 V microcontroller
(uP_OUT2):
NOTE:
In order to avoid a back powering effect it is recommended to avoid having any HIGH
logic level signal applied to the digital pins of the LE910 V2 when the module is powered
off or during an ON/OFF transition.

LE910 V2 HARDWARE USER GUIDE 1VV0301200 Rev.2 Preliminary • 2015-08-04 40 of 81
Reproduction forbidden without Telit Communications PLC written authorization – All Rights Reserved
In the following flow chart is detailed the proper restart procedure:
NOTE:
Do not use any pull up resistor on the HW_SHUTDOWN* line nor any totem pole digital
output. Using pull up resistor may bring to latch up problems on the LE910 V2 power
regulator and improper functioning of the module.
To proper power on again the module please refer to the related paragraph (“Power ON”)
The unconditional hardware shutdown must always be implemented on the boards and
should be used only as an emergency exit procedure.
“HW SHUTDOWN
Unconditional”
START
HW_SHUTDOWN* = LOW
Delay = 200ms
PWRMON = ON
Disconnect
VBATT
Y
N
“HW SHUTDOWN
Unconditional”
END
HW_SHUTDOWN* = HIGH
Delay = 1s

LE910 V2 HARDWARE USER GUIDE 1VV0301200 Rev.2 Preliminary • 2015-08-04 41 of 81
Reproduction forbidden without Telit Communications PLC written authorization – All Rights Reserved
5.5 Communication ports
5.5.1 USB 2.0 HS
The LE910 V2 includes one integrated universal serial bus (USB 2.0 HS) transceiver.
The following table is listing the available signals:
PAD
Signal
I/O
Function
Type
NOTE
B15
USB_D+
I/O
USB differential Data (+)
3.3V
C15
USB_D-
I/O
USB differential Data (-)
3.3V
A13
VUSB
AI
Power sense for the internal USB
transceiver.
5V
Accepted range:
4.4V to 5.25V
The USB_DPLUS and USB_DMINUS signals have a clock rate of 480 MHz.
The signal traces should be routed carefully. Trace lengths, number of vias and capacitive loading should be
minimized. The characteristic impedance value should be as close as possible to 90 Ohms differential.
In case there is a need to add an ESD protection, the suggested connection is the following:
NOTE:
VUSB pin should be disconnected before activating the Power Saving Mode.

LE910 V2 HARDWARE USER GUIDE 1VV0301200 Rev.2 Preliminary • 2015-08-04 42 of 81
Reproduction forbidden without Telit Communications PLC written authorization – All Rights Reserved
5.5.2 SPI
The LE910 V2 Module is provided by one SPI interface. The SPI interface defines two handshake lines for flow
control and mutual wake-up of the modem and the Application Processor: SRDY (slave ready) and MRDY (master
ready). The AP has the master role, that is, it supplies the clock.
The following table is listing the available signals:
PAD
Signal
I/O
Function
Type
NOTE
D15
SPI_MOSI
I
SPI MOSI
CMOS 1.8V
Shared with TX_AUX
E15
SPI_MISO
O
SPI MISO
CMOS 1.8V
Shared with RX_AUX
F15
SPI_CLK
I
SPI Clock
CMOS 1.8V
H15
SPI_MRDY
I
SPI_MRDY
CMOS 1.8V
J15
SPI_SRDY
O
SPI_SRDY
CMOS 1.8V
NOTE:
Due to the shared functions, when the SPI port is used, it is not possible to use the
AUX_UART port.
5.5.2.1 SPI Connections
SPI_MISO
SPI_MOSI
SPI_CLK
SPI_MRDY
SPI_SRDY
E15
D15
F15
H15
J15
LE910 V2
AP

LE910 V2 HARDWARE USER GUIDE 1VV0301200 Rev.2 Preliminary • 2015-08-04 43 of 81
Reproduction forbidden without Telit Communications PLC written authorization – All Rights Reserved
5.5.3 Serial Ports
The LE910 V2 module is provided with by 2 Asynchronous serial ports:
• MODEM SERIAL PORT 1 (Main)
• MODEM SERIAL PORT 2 (Auxiliary)
Several configurations can be designed for the serial port on the OEM hardware, but the most common are:
• RS232 PC com port
• microcontroller UART @ 1.8V (Universal Asynchronous Receive Transmit)
• microcontroller UART @ 5V or other voltages different from 1.8V
Depending from the type of serial port on the OEM hardware a level translator circuit may be needed to make the
system work. On the LE910 V2 the ports are CMOS 1.8.
5.5.3.1 Modem serial port 1 (USIF0)
The serial port 1 on the LE910 V2 is a +1.8V UART with all the 7 RS232 signals. It differs from the PC-RS232 in
the signal polarity (RS232 is reversed) and levels.
The following table is listing the available signals:
RS232
Pin
Signal
Pad
Name
Usage
1
C109/DCD
N14
Data Carrier Detect
Output from the LE910 V2 that indicates
the carrier presence
2
C104/RXD
M15
Transmit line *see Note
Output transmit line of LE910 V2 UART
3
C103/TXD
N15
Receive line *see Note
Input receive of the LE910 V2 UART
4
C108/DTR
M14
Data Terminal Ready
Input to the LE910 V2 that controls the
DTE READY condition
5
GND
M12,
B13,
P13,
E14 …
Ground
Ground
6
C107/DSR
P14
Data Set Ready
Output from the LE910 V2 that indicates
the module is ready
7
C106/CTS
P15
Clear to Send
Output from the LE910 V2 that controls
the Hardware flow control
8
C105/RTS
L14
Request to Send
Input to the LE910 V2 that controls the
Hardware flow control
9
C125/RING
R14
Ring Indicator
Output from the LE910 V2 that indicates
the incoming call condition

LE910 V2 HARDWARE USER GUIDE 1VV0301200 Rev.2 Preliminary • 2015-08-04 44 of 81
Reproduction forbidden without Telit Communications PLC written authorization – All Rights Reserved
NOTE:
According to V.24, some signal names are referred to the application side, therefore on
the LE910 V2 side these signal are on the opposite direction:
TXD on the application side will be connected to the receive line (here named C103/TXD)
RXD on the application side will be connected to the transmit line (here named
C104/RXD)
For a minimum implementation, only the TXD, RXD lines can be connected, the other
lines can be left open provided a software flow control is implemented.
In order to avoid a back powering effect it is recommended to avoid having any HIGH
logic level signal applied to the digital pins of the LE910 V2 when the module is powered
off or during an ON/OFF transition.
5.5.3.2 Modem serial port 2 (USIF1)
The secondary serial port on the LE910 V2 is a CMOS1.8V with only the RX and TX signals.
The signals of the LE910 V2 serial port are:
PAD
Signal
I/O
Function
Type
NOTE
D15
TX_AUX
O
Auxiliary UART (TX Data to
DTE)
CMOS 1.8V
Shared with SPI_MOSI
E15
RX_AUX
I
Auxiliary UART (RX Data
from DTE)
CMOS 1.8V
Shared with SPI_MISO
NOTE:
Due to the shared pins, when the Modem Serial port is used, it is not possible to use the
SPI functions.
In order to avoid a back powering effect it is recommended to avoid having any HIGH
logic level signal applied to the digital pins of the LE910 V2 when the module is powered
off or during an ON/OFF transition.

LE910 V2 HARDWARE USER GUIDE 1VV0301200 Rev.2 Preliminary • 2015-08-04 45 of 81
Reproduction forbidden without Telit Communications PLC written authorization – All Rights Reserved
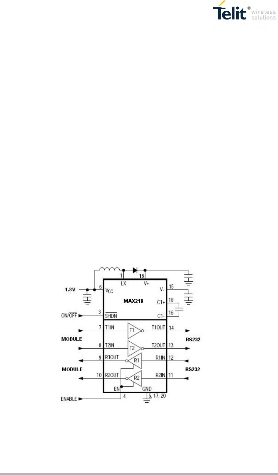
5.5.3.3 RS232 level translation
In order to interface the LE910 V2 with a PC com port or a RS232 (EIA/TIA-232) application a level translator is
required. This level translator must:
• invert the electrical signal in both directions;
• Change the level from 0/1.8V to +15/-15V.
Actually, the RS232 UART 16450, 16550, 16650 & 16750 chipsets accept signals with lower levels on the RS232
side (EIA/TIA-562), allowing a lower voltage-multiplying ratio on the level translator. Note that the negative signal
voltage must be less than 0V and hence some sort of level translation is always required.
The simplest way to translate the levels and invert the signal is by using a single chip level translator. There are a
multitude of them, differing in the number of drivers and receivers and in the levels (be sure to get a true RS232
level translator not a RS485 or other standards).
By convention the driver is the level translator from the 0-1.8V UART to the RS232 level. The receiver is the
translator from the RS232 level to 0-1.8V UART.
In order to translate the whole set of control lines of the UART you will need:
• 5 drivers
• 3 receivers
An example of RS232 level adaptation circuitry could be done using a MAXIM transceiver (MAX218)
In this case the chipset is capable to translate directly from 1.8V to the RS232 levels (Example done on 4 signals
only).
The RS232 serial port lines are usually connected to a DB9 connector with the following layout:

LE910 V2 HARDWARE USER GUIDE 1VV0301200 Rev.2 Preliminary • 2015-08-04 46 of 81
Reproduction forbidden without Telit Communications PLC written authorization – All Rights Reserved
5.6 General Purpose I/O
The LE910 V2 module is provided by a set of Configurable Digital Input / Output pins (CMOS 1.8V). Input pads can
only be read; they report the digital value (high or low) present on the pad at the read time. Output pads can only
be written or queried and set the value of the pad output.
An alternate function pad is internally controlled by the LE910 V2 firmware and acts depending on the function
implemented.
The following table shows the available GPIO on the LE910 V2:
PAD
Signal
I/O
Drive
Strength
Default
State
NOTE
C8
GPIO_01
I/O
1 mA
INPUT
Alternate function STAT LED
C9
GPIO_02
I/O
1 mA
INPUT
C10
GPIO_03
I/O
1 mA
INPUT
C11
GPIO_04
I/O
1 mA
INPUT
B14
GPIO_05
I/O
1 mA
INPUT
C12
GPIO_06
I/O
1 mA
INPUT
C13
GPIO_07
I/O
1 mA
INPUT
K15
GPIO_08
I/O
1 mA
INPUT
L15
GPIO_09
I/O
1 mA
INPUT
G15
GPIO_10
I/O
1 mA
INPUT

LE910 V2 HARDWARE USER GUIDE 1VV0301200 Rev.2 Preliminary • 2015-08-04 47 of 81
Reproduction forbidden without Telit Communications PLC written authorization – All Rights Reserved
5.6.1 Using a GPIO as INPUT
The GPIO pads, when used as inputs, can be connected to a digital output of another device and report its status,
provided this device has interface levels compatible with the 1.8V CMOS levels of the GPIO.
If the digital output of the device to be connected with the GPIO input pad has interface levels different from the
1.8V CMOS, then it can be buffered with an open collector transistor with a 47K pull up to 1.8V supplied by
VAUX/POWERMON R11 pad.
NOTE:
In order to avoid a back powering effect it is recommended to avoid having any HIGH
logic level signal applied to the digital pins of the LE910 V2 when the module is powered
off or during an ON/OFF transition.
5.6.2 Using a GPIO as OUTPUT
The GPIO pads, when used as outputs, can drive 1.8V CMOS digital devices or compatible hardware. When set
as outputs, the pads have a push-pull output and therefore the pull-up resistor may be omitted.
5.6.3 Indication of network service availability
The STAT_LED pin status shows information on the network service availability and Call status.
The function is available as alternate function of GPIO_01 (to be enabled using the AT#GPIO=1,0,2 command).
In the LE910 V2 modules, the STAT_LED needs an external transistor to drive an external LED and its voltage level
is defined accordingly to the table below:.
Device Status
Led Status
Device off
Permanently off
Not Registered
Permanently on
Registered in idle
Blinking 1sec on + 2 sec off
Registered in idle + power saving
It depends on the event that
triggers the wakeup (In sync with
network paging)
Voice Call Active
Permanently on
Dial-Up
Blinking 1 sec on + 2 sec off

LE910 V2 HARDWARE USER GUIDE 1VV0301200 Rev.2 Preliminary • 2015-08-04 48 of 81
Reproduction forbidden without Telit Communications PLC written authorization – All Rights Reserved
The reference schematic for LED indicator. :
R3 must be calculated taking in account VBATT value and LED type.

LE910 V2 HARDWARE USER GUIDE 1VV0301200 Rev.2 Preliminary • 2015-08-04 49 of 81
Reproduction forbidden without Telit Communications PLC written authorization – All Rights Reserved
5.7 External SIM Holder
Please refer to 0 the related User Guide (SIM Holder Design Guides, 80000NT10001a).
5.8 ADC Converter
The LE910 V2 is provided by one AD converter. It is able to read a voltage level in the range of 0÷1.2 volts applied
on the ADC pin input, store and convert it into 10 bit word.
The input line is named as ADC_IN1 and it is available on Pad B1
The following table is showing the ADC characteristics:
Item
Min
Typical
Max
Unit
Input Voltage range
0
-
1.2
Volt
AD conversion
-
-
10
bits
Input Resistance
1
-
-
Mohm
Input Capacitance
-
1
-
pF
The ADC could be controlled using an AT command.
The command is AT#ADC=1,2
The read value is expressed in mV
Refer to SW User Guide or AT Commands Reference Guide for the full description of this function.

LE910 V2 HARDWARE USER GUIDE 1VV0301200 Rev.2 Preliminary • 2015-08-04 50 of 81
Reproduction forbidden without Telit Communications PLC written authorization – All Rights Reserved
6 RF SECTION
6.1 Bands Variants
The following table is listing the supported Bands:
6.2 TX Output Power
Product
4G bands
3G bands
2G bands
LE910-NA V2
FDD B2, B4, B5, B12, B17
B2, B5
-
LE910-SV V2
FDD B2, B4, B13
-
-
LE910-EU V2
FDD B1, B3, B7, B8, B20
B1, B8
900 /1800
LE910-AU V2
FDD B3, B7, B28H/L
-
-
LE910-JN V2
FDD B1, B19, B21
-
-
LE910-JK V2
FDD B1, B11, B26
-
-
Band
Power Class
LTE All Bands
Class 3 (0.2W)
WCDMA All Bands
Class 3 (0.25W)
GSM 900
Class 4 (2W)
DCS 1800
Class 1 (1W)

LE910 V2 HARDWARE USER GUIDE 1VV0301200 Rev.2 Preliminary • 2015-08-04 51 of 81
Reproduction forbidden without Telit Communications PLC written authorization – All Rights Reserved
6.3 RX Sensitivity
LE910-NA V2
Band
Sensitivity
LTE FDD B2
-103.0 dBm
LTE FDD B4
-102.5 dBm
LTE FDD B5
-103.0 dBm
LTE FDD B12/B17
-103.0 dBm
LTE FDD B13
-103.0 dBm
WCDMA FDD B2
-113.0 dBm
WCDMA FDD B5
-113.0 dBm
LE910-SV V2
Band
Sensitivity
LTE FDD B2
-103.0 dBm
LTE FDD B4
-102.5 dBm
LTE FDD B13
-103.0 dBm
LE910-AU V2
Band
Sensitivity
LTE FDD B3
-102.5 dBm
LTE FDD B7
-101.5 dBm
LTE FDD B28
-100.0 dBm

LE910 V2 HARDWARE USER GUIDE 1VV0301200 Rev.2 Preliminary • 2015-08-04 52 of 81
Reproduction forbidden without Telit Communications PLC written authorization – All Rights Reserved
LE910-EU V2
Band
Sensitivity
LTE FDD B1
-103.0 dBm
LTE FDD B3
-101.5 dBm
LTE FDD B7
-101.5 dBm
LTE FDD B8
-102.5 dBm
LTE FDD B20
-101.5 dBm
WCDMA FDD B1
-113.0 dBm
WCDMA FDD B8
-113.0 dBm
GSM 900
-112.5 dBm
GSM 1800
-111.5 dBm
LE910-JN V2
Band
Sensitivity
LTE FDD B1
-103.0 dBm
LTE FDD B19
-103.0 dBm
LTE FDD B21
-103.0 dBm
LE910-JK V2
Band
Sensitivity
LTE FDD B1
-103.0 dBm
LTE FDD B11
-103.0 dBm
LTE FDD B26
-102.5 dBm

LE910 V2 HARDWARE USER GUIDE 1VV0301200 Rev.2 Preliminary • 2015-08-04 53 of 81
Reproduction forbidden without Telit Communications PLC written authorization – All Rights Reserved
6.4 Antenna Requirements
The antenna connection and board layout design are the most important aspect in the full product design as they
strongly affect the product overall performances, hence read carefully and follow the requirements and the
guidelines for a proper design.
The antenna and antenna transmission line on PCB for a Telit LE910 V2 device shall fulfil the following
requirements:
LE910-NA V2
Item
Value
Frequency range
Depending by frequency band(s) provided by the network
operator, the customer shall use the most suitable antenna for
that/those band(s)
Bandwidth
140 MHz in LTE/WCDMA Band 2
445 MHz in LTE Band 4
70 MHz in LTE/WCDMA Band 5
80 MHz in LTE Band 8 / GSM900
47 MHz in LTE Band 12
41 MHz in LTE Band 13
42 MHz in LTE band 17
Impedance
50 ohm
Input power
> 24dBm Average power
VSWR absolute max
≤ 10:1 (limit to avoid permanent damage)
VSWR recommended
≤ 2:1 (limit to fulfill all regulatory requirements)
LE910-AU V2
Item
Value
Frequency range
Depending by frequency band(s) provided by the network
operator, the customer shall use the most suitable antenna for
that/those band(s)
Bandwidth
170 MHz in LTE Band 3
190 MHz in LTE Band 7
100 MHz in LTE Band 28
Impedance
50 ohm
Input power
> 24dBm Average power
VSWR absolute max
≤ 10:1 (limit to avoid permanent damage)
VSWR recommended
≤ 2:1 (limit to fulfill all regulatory requirements)

LE910 V2 HARDWARE USER GUIDE 1VV0301200 Rev.2 Preliminary • 2015-08-04 54 of 81
Reproduction forbidden without Telit Communications PLC written authorization – All Rights Reserved
LE910-EU V2
Item
Value
Frequency range
Depending by frequency band(s) provided by the network
operator, the customer shall use the most suitable antenna for
that/those band(s)
Bandwidth
250 MHz in LTE/WCDMA Band 1
170 MHz in LTE/WCDMA Band 3 / DCS1800
190 MHz in LTE Band 7
80 MHz in LTE/WCDMA Band 8 / GSM900
71 MHz in LTE Band 20
Impedance
50 ohm
Input power
> 24dBm Average power
VSWR absolute max
≤ 10:1 (limit to avoid permanent damage)
VSWR recommended
≤ 2:1 (limit to fulfill all regulatory requirements)
LE910-JN V2
Item
Value
Frequency range
Depending by frequency band(s) provided by the network
operator, the customer shall use the most suitable antenna for
that/those band(s)
Bandwidth
250 MHz in LTE Band 1
60 MHz in LTE Band 19
63 MHz in LTE Band 21
Impedance
50 ohm
Input power
> 24dBm Average power
VSWR absolute max
≤ 10:1 (limit to avoid permanent damage)
VSWR recommended
≤ 2:1 (limit to fulfill all regulatory requirements)

LE910 V2 HARDWARE USER GUIDE 1VV0301200 Rev.2 Preliminary • 2015-08-04 55 of 81
Reproduction forbidden without Telit Communications PLC written authorization – All Rights Reserved
LE910-JK V2
Item
Value
Frequency range
Depending by frequency band(s) provided by the network
operator, the customer shall use the most suitable antenna for
that/those band(s)
Bandwidth
250 MHz in LTE Band 1
68 MHz in LTE Band 11
45 MHz in LTE Band 26
Impedance
50 ohm
Input power
> 24dBm Average power
VSWR absolute max
≤ 10:1 (limit to avoid permanent damage)
VSWR recommended
≤ 2:1 (limit to fulfill all regulatory requirements)

LE910 V2 HARDWARE USER GUIDE 1VV0301200 Rev.2 Preliminary • 2015-08-04 56 of 81
Reproduction forbidden without Telit Communications PLC written authorization – All Rights Reserved
6.4.1 PCB design guidelines
When using the LE910 V2, since there's no antenna connector on the module, the antenna must be connected to
the LE910 V2 antenna pad (K1) by means of a transmission line implemented on the PCB.
This transmission line shall fulfil the following requirements:
The transmission line should be designed according to the following guidelines:
• Make sure that the transmission line’s characteristic impedance is 50ohm ;
• Keep line on the PCB as short as possible, since the antenna line loss shall be less than about 0,3 dB;
• Line geometry should have uniform characteristics, constant cross section, avoid meanders and abrupt
curves;
• Any kind of suitable geometry / structure (Microstrip, Stripline, Coplanar, Grounded Coplanar
Waveguide...) can be used for implementing the printed transmission line afferent the antenna;
• If a Ground plane is required in line geometry, that plane has to be continuous and sufficiently extended,
so the geometry can be as similar as possible to the related canonical model;
• Keep, if possible, at least one layer of the PCB used only for the Ground plane; If possible, use this layer
as reference Ground plane for the transmission line;
• It is wise to surround (on both sides) the PCB transmission line with Ground, avoid having other signal
tracks facing directly the antenna line track.
• Avoid crossing any un-shielded transmission line footprint with other signal tracks on different layers;
• The ground surrounding the antenna line on PCB has to be strictly connected to the main Ground Plane
by means of via holes (once per 2mm at least), placed close to the ground edges facing line track;
• Place EM noisy devices as far as possible from LE910 V2 antenna line;
• Keep the antenna line far away from the LE910 V2 power supply lines;
• If EM noisy devices (such as fast switching ICs, LCD and so on) are present on the PCB hosting the
LE910, take care of the shielding of the antenna line by burying it in an inner layer of PCB and surround it
with Ground planes, or shield it with a metal frame cover.
• If EM noisy devices are not present around the line, the use of geometries like Microstrip or Grounded
Coplanar Waveguide has to be preferred, since they typically ensure less attenuation if compared to a
Stripline having same length;
Item
Value
Characteristic Impedance
50 ohm (+-10%)
Max Attenuation
0,3 dB
Coupling
Coupling with other signals shall be avoided
Ground Plane
Cold End (Ground Plane) of antenna shall be equipotential to
the LE910 V2 ground pins

LE910 V2 HARDWARE USER GUIDE 1VV0301200 Rev.2 Preliminary • 2015-08-04 57 of 81
Reproduction forbidden without Telit Communications PLC written authorization – All Rights Reserved
The following image is showing the suggested layout for the Antenna pad connection:
6.4.2 PCB Guidelines in case of FCC Certification
In the case FCC certification is required for an application using LE910 V2, according to FCC KDB 996369 for
modular approval requirements, the transmission line has to be similar to that implemented on LE910 V2 interface
board and described in the following chapter.
6.4.2.1 Transmission line design
During the design of the LE910 V2 interface board, the placement of components has been chosen properly, in
order to keep the line length as short as possible, thus leading to lowest power losses possible. A Grounded
Coplanar Waveguide (G-CPW) line has been chosen, since this kind of transmission line ensures good impedance
control and can be implemented in an outer PCB layer as needed in this case. A SMA female connector has been
used to feed the line.
The interface board is realized on a FR4, 4-layers PCB. Substrate material is characterized by relative permittivity
εr = 4.6 ± 0.4 @ 1 GHz, TanD= 0.019 ÷ 0.026 @ 1 GHz.
A characteristic impedance of nearly 50 Ω is achieved using trace width = 1.1 mm, clearance from coplanar ground
plane = 0.3 mm each side. The line uses reference ground plane on layer 3, while copper is removed from layer 2
underneath the line. Height of trace above ground plane is 1.335 mm. Calculated characteristic impedance is 51.6
Ω, estimated line loss is less than 0.1 dB. The line geometry is shown below:

LE910 V2 HARDWARE USER GUIDE 1VV0301200 Rev.2 Preliminary • 2015-08-04 58 of 81
Reproduction forbidden without Telit Communications PLC written authorization – All Rights Reserved
6.4.2.2 Transmission Line Measurements
An HP8753E VNA (Full-2-port calibration) has been used in this measurement session.
A calibrated coaxial cable has been soldered at the pad corresponding to RF output; a SMA connector has been
soldered to the board in order to characterize the losses of the transmission line including the connector itself.
During Return Loss / impedance measurements, the transmission line has been terminated to 50 Ω load.
Return Loss plot of line under test is shown below:

LE910 V2 HARDWARE USER GUIDE 1VV0301200 Rev.2 Preliminary • 2015-08-04 59 of 81
Reproduction forbidden without Telit Communications PLC written authorization – All Rights Reserved
Line input impedance (in Smith Chart format, once the line has been terminated to 50 Ω load) is shown in the
following figure:
Insertion Loss of G-CPW line plus SMA connector is shown below:

LE910 V2 HARDWARE USER GUIDE 1VV0301200 Rev.2 Preliminary • 2015-08-04 60 of 81
Reproduction forbidden without Telit Communications PLC written authorization – All Rights Reserved
6.4.2.3 Antenna Installation Guidelines
Install the antenna in a place covered by the LTE signal.
Antenna must not be installed inside metal cases
Antenna shall also be installed according Antenna manufacturer instructions
Antenna integration should optimize the Radiation Efficiency. Efficiency values > 50% are recommended
on all frequency bands
Antenna integration should not dramatically perturb the radiation pattern. It is preferable to get, after
antenna installation, an omnidirectional radiation pattern, at least in one pattern cut
Antenna Gain must not exceed values indicated in regulatory requirements, where applicable, in order to
meet related EIRP limitations. Typical antenna Gain in most M2M applications does not exceed 2dBi
If the device antenna is located farther than 20cm from the human body and there are no co-located
transmitter then the Telit FCC/IC approvals can be re-used by the end product
If the device antenna is located closer than 20cm from the human body or there are co-located transmitter
then the additional FCC/IC testing may be required for the end product (Telit FCC/IC approvals cannot be
reused)

LE910 V2 HARDWARE USER GUIDE 1VV0301200 Rev.2 Preliminary • 2015-08-04 61 of 81
Reproduction forbidden without Telit Communications PLC written authorization – All Rights Reserved
6.5 Antenna Diversity Requirements
This product is including an input for a second Rx antenna to improve radio sensitivity. This function is named
Antenna Diversity. The diversity antenna for a Telit LE910 V2 device shall fulfil the following requirements:
LE910-NA V2
Item
Value
Frequency range
Depending by frequency band(s) provided by the network
operator, the customer shall use the most suitable antenna for
that/those band(s)
Bandwidth
60 MHz in LTE/WCDMA Band 2
45 MHz in LTE Band 4
25 MHz in LTE/WCDMA Band 5
35 MHz in LTE Band 8 / GSM900
15 MHz in LTE Band 12
10 MHz in LTE Band 13
12 MHz in LTE band 17
Impedance
50 ohm
VSWR recommended
≤ 2:1 (limit to obtain max sensitivity)
LE910-AU V2
Item
Value
Frequency range
Depending by frequency band(s) provided by the network
operator, the customer shall use the most suitable antenna for
that/those band(s)
Bandwidth
75 MHz in LTE Band 3
70 MHz in LTE Band 7
45 MHz in LTE Band 28
Impedance
50 ohm
VSWR recommended
≤ 2:1 (limit to obtain the maximum sensitivity)

LE910 V2 HARDWARE USER GUIDE 1VV0301200 Rev.2 Preliminary • 2015-08-04 62 of 81
Reproduction forbidden without Telit Communications PLC written authorization – All Rights Reserved
LE910-EU V2
Item
Value
Frequency range
Depending by frequency band(s) provided by the network
operator, the customer shall use the most suitable antenna for
that/those band(s)
Bandwidth
60 MHz in LTE/WCDMA Band 1
75 MHz in LTE/WCDMA Band 3 / DCS1800
70 MHz in LTE Band 7
35 MHz in LTE/WCDMA Band 8 / GSM900
30 MHz in LTE Band 20
Impedance
50 ohm
VSWR recommended
≤ 2:1 (limit to obtain the maximum sensitivity)
LE910-JN V2
Item
Value
Frequency range
Depending by frequency band(s) provided by the network
operator, the customer shall use the most suitable antenna for
that/those band(s)
Bandwidth
60 MHz in LTE Band 1
15 MHz in LTE Band 19
15 MHz in LTE Band 21
Impedance
50 ohm
VSWR recommended
≤ 2:1 (limit to obtain the maximum sensitivity)
LE910-JK V2
Item
Value
Frequency range
Depending by frequency band(s) provided by the network
operator, the customer shall use the most suitable antenna for
that/those band(s)
Bandwidth
60 MHz in LTE Band 1
20 MHz in LTE Band 11
35 MHz in LTE Band 26
Impedance
50 ohm
VSWR recommended
≤ 2:1 (limit to obtain the maximum sensitivity)

LE910 V2 HARDWARE USER GUIDE 1VV0301200 Rev.2 Preliminary • 2015-08-04 63 of 81
Reproduction forbidden without Telit Communications PLC written authorization – All Rights Reserved
When using the LE910 V2, since there's no antenna connector on the module, the diversity antenna must be
connected to the LE910 V2 Diversity Antenna pad (F1) by means of a transmission line implemented on the PCB.
The second Rx antenna should not be located in the close vicinity of main antenna. In order to improve Diversity
Gain, Isolation and reduce mutual interaction, the two antennas should be located at the maximum reciprocal
distance possible, taking into consideration the available space into the application. For the same reason, the Rx
antenna should also be cross-polarized with respect to the main antenna.
Isolation between main antenna and Rx antenna must be at least 10 dB in all uplink frequency bands.
Envelope Correlation Coefficient (ECC) value should be as close as possible to zero, for best diversity
performance. ECC values below 0.5 on all frequency bands are recommended.

LE910 V2 HARDWARE USER GUIDE 1VV0301200 Rev.2 Preliminary • 2015-08-04 64 of 81
Reproduction forbidden without Telit Communications PLC written authorization – All Rights Reserved
7 AUDIO SECTION
OVERVIEW
The Telit digital audio interface (DVI) of the LE910-V2 Module is based on the I2S serial bus interface standard. The
audio port can be directly connected to end device using digital interface, or via one of the several compliant codecs
(in case an analog audio is needed).
7.1 Electrical Characteristics
The product is providing the DVI on the following pins:
7.2 Codec examples
Please refer to the Digital Audio Application note.
Pin
Signal
I/O
Function
Internal
Pull up
Type
B9
DVI_WA0
I/O
Digital Audio Interface
(Word Alignment /
LRCLK)
CMOS 1.8V
B6
DVI_RX
I
Digital Audio Interface
(RX)
CMOS 1.8V
B7
DVI_TX
O
Digital Audio Interface
(TX)
CMOS 1.8V
B8
DVI_CLK
I/O
Digital Audio Interface
(BCLK)
CMOS 1.8V

LE910 V2 HARDWARE USER GUIDE 1VV0301200 Rev.2 Preliminary • 2015-08-04 65 of 81
Reproduction forbidden without Telit Communications PLC written authorization – All Rights Reserved
8 MECHANICAL DESIGN
8.1 Drawing
Dimensions in mm
PIN B1
Lead Free Alloy:
Surface Finishing Ni/Au for all solder pads

LE910 V2 HARDWARE USER GUIDE 1VV0301200 Rev.2 Preliminary • 2015-08-04 66 of 81
Reproduction forbidden without Telit Communications PLC written authorization – All Rights Reserved
9 APPLICATION PCB
DESIGN
The LE910 V2 modules have been designed in order to be compliant with a standard lead-free SMT process.
9.1 Footprint
TOP VIEW
In order to easily rework the LE910 V2 is suggested to consider on the application a 1.5 mm placement inhibit area
around the module.
It is also suggested, as common rule for an SMT component, to avoid having a mechanical part of the application
in direct contact with the module.
NOTE:
In the customer application, the region under WIRING INHIBIT (see figure above) must
be clear from signal or ground paths.

LE910 V2 HARDWARE USER GUIDE 1VV0301200 Rev.2 Preliminary • 2015-08-04 67 of 81
Reproduction forbidden without Telit Communications PLC written authorization – All Rights Reserved
9.2 PCB pad design
Non solder mask defined (NSMD) type is recommended for the solder pads on the PCB.
9.3 PCB pad dimensions
The recommendation for the PCB pads dimensions are described in the following image (dimensions in mm)
PCB
Copper Pad
Solder Mask
SMD
(Solder Mask Defined)
NSMD
(Non Solder Mask Defined)
Solder resist openings

LE910 V2 HARDWARE USER GUIDE 1VV0301200 Rev.2 Preliminary • 2015-08-04 68 of 81
Reproduction forbidden without Telit Communications PLC written authorization – All Rights Reserved
It is not recommended to place via or micro-via not covered by solder resist in an area
of 0,3 mm around the pads unless it carries the same signal of the pad itself
(see following figure).
Holes in pad are allowed only for blind holes and not for through holes.
Recommendations for PCB pad surfaces:
Finish
Layer Thickness (um)
Properties
Electro-less Ni / Immersion Au
3 –7 / 0.05 – 0.15
good solder ability protection,
high shear force values
The PCB must be able to resist the higher temperatures which are occurring at the lead-free process. This issue
should be discussed with the PCB-supplier. Generally, the wettability of tin-lead solder paste on the described
surface plating is better compared to lead-free solder paste.
It is not necessary to panel the application’s PCB, however in that case it is suggested to use milled contours and
predrilled board breakouts; scoring or v-cut solutions are not recommended.
Inhibit area for micro-via

LE910 V2 HARDWARE USER GUIDE 1VV0301200 Rev.2 Preliminary • 2015-08-04 69 of 81
Reproduction forbidden without Telit Communications PLC written authorization – All Rights Reserved
9.4 Stencil
Stencil’s apertures layout can be the same of the recommended footprint (1:1), we suggest a thickness of stencil
foil ≥ 120 µm.
9.5 Solder paste
Item
Lead Free
Solder Paste
Sn/Ag/Cu
We recommend using only “no clean” solder paste in order to avoid the cleaning of the modules after assembly.
9.6 Solder reflow
Recommended solder reflow profile:

LE910 V2 HARDWARE USER GUIDE 1VV0301200 Rev.2 Preliminary • 2015-08-04 70 of 81
Reproduction forbidden without Telit Communications PLC written authorization – All Rights Reserved
Profile Feature
Pb-Free Assembly
Average ramp-up rate (TL to TP)
3°C/second max
Preheat
– Temperature Min (Tsmin)
– Temperature Max (Tsmax)
– Time (min to max) (ts)
150°C
200°C
60-180 seconds
Tsmax to TL
– Ramp-up Rate
3°C/second max
Time maintained above:
– Temperature (TL)
– Time (tL)
217°C
60-150 seconds
Peak Temperature (Tp)
245 +0/-5°C
Time within 5°C of actual Peak
Temperature (tp)
10-30 seconds
Ramp-down Rate
6°C/second max.
Time 25°C to Peak Temperature
8 minutes max.
NOTE:
All temperatures refer to topside of the package, measured on the package body surface
WARNING:
THE LE910 V2 MODULE WITHSTANDS ONE REFLOW PROCESS ONLY.

LE910 V2 HARDWARE USER GUIDE 1VV0301200 Rev.2 Preliminary • 2015-08-04 71 of 81
Reproduction forbidden without Telit Communications PLC written authorization – All Rights Reserved
10 PACKAGING
10.1 Tray
The LE910 modules are packaged on trays that can be used in SMT processes for pick & place handling.The first
Marketing and Engineering samples of the LE910 V2 series will be shipped with the current packaging of the xE910
modules (on trays of 20 pieces each). Please note that Telit is going to introduce a new packaging for the xE910
family, as per the Product Change Notification PCN-0000-14-0055, therefore the mass production units of LE910
V2 will be shipped according to the following drawings:

LE910 V2 HARDWARE USER GUIDE 1VV0301200 Rev.2 Preliminary • 2015-08-04 72 of 81
Reproduction forbidden without Telit Communications PLC written authorization – All Rights Reserved

LE910 V2 HARDWARE USER GUIDE 1VV0301200 Rev.2 Preliminary • 2015-08-04 73 of 81
Reproduction forbidden without Telit Communications PLC written authorization – All Rights Reserved
10.2 Reel
The LE910 can be packaged on reels of 200 pieces each. See figure for module positioning into the carrier.
10.2.1 Carrier Tape detail

LE910 V2 HARDWARE USER GUIDE 1VV0301200 Rev.2 Preliminary • 2015-08-04 74 of 81
Reproduction forbidden without Telit Communications PLC written authorization – All Rights Reserved
10.2.2 Reel detail

LE910 V2 HARDWARE USER GUIDE 1VV0301200 Rev.2 Preliminary • 2015-08-04 75 of 81
Reproduction forbidden without Telit Communications PLC written authorization – All Rights Reserved
10.2.3 Packaging detail
10.3 Moisture sensitivity
The LE910 V2 is a Moisture Sensitive Device level 3, in according with standard IPC/JEDEC J-STD-020, take care
all the relatives requirements for using this kind of components.
Moreover, the customer has to take care of the following conditions:
a) Calculated shelf life in sealed bag: 12 months at <40°C and <90% relative humidity (RH).
b) Environmental condition during the production: 30°C / 60% RH according to IPC/JEDEC J-STD-033A paragraph
5.
c) The maximum time between the opening of the sealed bag and the reflow process must be 168 hours if condition
b) “IPC/JEDEC J-STD-033A paragraph 5.2” is respected
d) Baking is required if conditions b) or c) are not respected
e) Baking is required if the humidity indicator inside the bag indicates 10% RH
or more

LE910 V2 HARDWARE USER GUIDE 1VV0301200 Rev.2 Preliminary • 2015-08-04 76 of 81
Reproduction forbidden without Telit Communications PLC written authorization – All Rights Reserved
11 CONFORMITY
ASSESSMENT ISSUES
11.1 FCC/IC Regulatory notices
Modification statement
Telit has not approved any changes or modifications to this device by the user. Any changes or modifications could
void the user’s authority to operate the equipment.
Telit n’approuve aucune modification apportée à l’appareil par l’utilisateur, quelle qu’en soit la nature. Tout
changement ou modification peuvent annuler le droit d’utilisation de l’appareil par l’utilisateur.
Interference statement
This device complies with Part 15 of the FCC Rules and Industry Canada licence-exempt RSS standard(s).
Operation is subject to the following two conditions: (1) this device may not cause interference, and (2) this device
must accept any interference, including interference that may cause undesired operation of the device.
Le présent appareil est conforme aux CNR d'Industrie Canada applicables aux appareils radio exempts de licence.
L'exploitation est autorisée aux deux conditions suivantes : (1) l'appareil ne doit pas produire de brouillage, et (2)
l'utilisateur de l'appareil doit accepter tout brouillage radioélectrique subi, même si le brouillage est susceptible d'en
compromettre le fonctionnement.
Cet appareil est conforme aux limites d'exposition aux rayonnements de la IC pour un environnement non contrôlé.
L'antenne doit être installé de façon à garder une distance minimale de 20 centimètres entre la source de
rayonnements et votre corps. Gain de l'antenne doit être ci-dessous:
RF exposure
This equipment complies with FCC and IC radiation exposure limits set forth for an uncontrolled environment. The
antenna should be installed and operated with minimum distance of 20 cm between the radiator and your body.
Antenna gain must be below:
Antenna Gain
Frequency Band
LE910-NA V2
LE910-SV V2
700 MHz
6.63 dBi
6.94 dBi
850 MHz
6.63 dBi
N/A
1700 MHz
6.00 dBi
6.00 dBi
1900 MHz
8.51 dBi
9.01 dBi
This transmitter must not be co-located or operating in conjunction with any other antenna or transmitter.

LE910 V2 HARDWARE USER GUIDE 1VV0301200 Rev.2 Preliminary • 2015-08-04 77 of 81
Reproduction forbidden without Telit Communications PLC written authorization – All Rights Reserved
Cet appareil est conforme aux limites d'exposition aux rayonnements de la IC pour un environnement non contrôlé.
L'antenne doit être installé de façon à garder une distance minimale de 20 centimètres entre la source de
rayonnements et votre corps. Gain de l'antenne doit être ci-dessous:
Gain de l‘antenne
Bande de fréquence
LE910-NA V2
LE910-SV V2
700 MHz
6.63 dBi
6.94 dBi
850 MHz
6.63 dBi
N/A
1700 MHz
6.00 dBi
6.00 dBi
1900 MHz
8.51 dBi
9.01 dBi
L'émetteur ne doit pas être colocalisé ni fonctionner conjointement avec à autre antenne ou autre émetteur.
FCC Class B digital device notice
This equipment has been tested and found to comply with the limits for a Class B digital device, pursuant to part 15
of the FCC Rules. These limits are designed to provide reasonable protection against harmful interference in a
residential installation. This equipment generates, uses and can radiate radio frequency energy and, if not installed
and used in accordance with the instructions, may cause harmful interference to radio communications. However,
there is no guarantee that interference will not occur in a particular installation. If this equipment does cause harmful
interference to radio or television reception, which can be determined by turning the equipment off and on, the user
is encouraged to try to correct the interference by one or more of the following measures:
Reorient or relocate the receiving antenna.
Increase the separation between the equipment and receiver.
Connect the equipment into an outlet on a circuit different from that to which the receiver is connected.
Consult the dealer or an experienced radio/TV technician for help.
Labelling Requirements for the Host device
The host device shall be properly labelled to identify the modules within the host device. The certification label of
the module shall be clearly visible at all times when installed in the host device, otherwise the host device must be
labelled to display the FCC ID and IC of the module, preceded by the words "Contains transmitter module", or the
word "Contains", or similar wording expressing the same meaning, as follows:
LE910-NA V2
Contains FCC ID: RI7LE910NAV2
Contains IC: 5131A-LE910NAV2
LE910-SV V2
Contains FCC ID: RI7LE910SVV2
Contains IC: 5131A-LE910SVV2

LE910 V2 HARDWARE USER GUIDE 1VV0301200 Rev.2 Preliminary • 2015-08-04 78 of 81
Reproduction forbidden without Telit Communications PLC written authorization – All Rights Reserved
L'appareil hôte doit être étiqueté comme il faut pour permettre l'identification des modules qui s'y trouvent.
L'étiquette de certification du module donné doit être posée sur l'appareil hôte à un endroit bien en vue en tout
temps. En l'absence d'étiquette, l'appareil hôte doit porter une étiquette donnant le FCC ID et le IC du module,
précédé des mots « Contient un module d'émission », du mot « Contient » ou d'une formulation similaire exprimant
le même sens, comme suit :
LE910-NA V2
Contains FCC ID: RI7LE910NAV2
Contains IC: 5131A-LE910NAV2
LE910-SV V2
Contains FCC ID: RI7LE910SVV2
Contains IC: 5131A-LE910SVV2
CAN ICES-3 (B) / NMB-3 (B)
This Class B digital apparatus complies with Canadian ICES-003.
Cet appareil numérique de classe B est conforme à la norme canadienne ICES-003.

LE910 V2 HARDWARE USER GUIDE 1VV0301200 Rev.2 Preliminary • 2015-08-04 79 of 81
Reproduction forbidden without Telit Communications PLC written authorization – All Rights Reserved
12 SAFETY
RECOMMENDATIONS
12.1 READ CAREFULLY
Be sure the use of this product is allowed in the country and in the environment required. The use of this product
may be dangerous and has to be avoided in the following areas:
• Where it can interfere with other electronic devices in environments such as hospitals, airports,
aircrafts, etc.
• Where there is risk of explosion such as gasoline stations, oil refineries, etc. It is responsibility of the
user to enforce the country regulation and the specific environment regulation.
Do not disassemble the product; any mark of tampering will compromise the warranty validity. We recommend
following the instructions of the hardware user guides for a correct wiring of the product. The product has to be
supplied with a stabilized voltage source and the wiring has to be conforming to the security and fire prevention
regulations. The product has to be handled with care, avoiding any contact with the pins because electrostatic
discharges may damage the product itself. Same cautions have to be taken for the SIM, checking carefully the
instruction for its use. Do not insert or remove the SIM when the product is in power saving mode.
The system integrator is responsible of the functioning of the final product; therefore, care has to be taken to the
external components of the module, as well as of any project or installation issue, because the risk of disturbing the
GSM network or external devices or having impact on the security. Should there be any doubt, please refer to the
technical documentation and the regulations in force. Every module has to be equipped with a proper antenna with
specific characteristics. The antenna has
to be installed with care in order to avoid any interference with other electronic devices and has to guarantee a
minimum distance from the body (20 cm). In case of this requirement cannot be satisfied, the system integrator has
to assess the final product against the SAR regulation.
The European Community provides some Directives for the electronic equipment introduced on the market. All the
relevant information’s are available on the European Community website:
http://ec.europa.eu/enterprise/sectors/rtte/documents/
The text of the Directive 99/05 regarding telecommunication equipment is available, while the applicable Directives
(Low Voltage and EMC) are available at:
http://ec.europa.eu/enterprise/sectors/electrical/

LE910 V2 HARDWARE USER GUIDE 1VV0301200 Rev.2 Preliminary • 2015-08-04 80 of 81
Reproduction forbidden without Telit Communications PLC written authorization – All Rights Reserved
13 DOCUMENT HISTORY
13.1 Revisions
Revision
Date
Changes
0
2015-01-15
First issue
1
2015-07-01
Updated chapters 3, 4.2, 6
Added RX Sensitivity
2
2015-08-04
Updated chapter 11
