Dimension One Spas Home Hot Tubs Users Manual D1 & @Home Export Planning Guide Install
Home Hot Tubs to the manual 47e3f2d2-d885-4f1d-ba90-7b1dbebdc8fe
2015-02-02
: Dimension-One-Spas Dimension-One-Spas-Home-Hot-Tubs-Users-Manual-425816 dimension-one-spas-home-hot-tubs-users-manual-425816 dimension-one-spas pdf
Open the PDF directly: View PDF
.
Page Count: 36

IV
Table of Contents
PRE-PURCHASE DECISIONS............................................................................................................... 1
BEFORE DELIVERY ........................................................................................................................... 1
Typical Installation Site.........................................................................................................................................................................1
SITE ACCESS...................................................................................................................................... 2
COVER................................................................................................................................................. 2
INSTALLATION ..................................................................................................................................... 3
ELECTRICAL HOOK UP INSTRUCTIONS ................................................................................... 3
Electrical Requirements Chart for D 1 Hot Tubs.........................................................................................................................4
Electrical Requirements Chart for @ Home Hot Tubs...............................................................................................................5
INSTALLATION CHECK LIST ........................................................................................................ 5
ABOUT SMART HEAT (AVAILABLE ONLY ON DIMENSION ONE HOT TUBS)................. 5
MAINTENANCE ..................................................................................................................................... 6
DRAINING YOUR HOT TUB...........................................................................................................6
CLEANING YOUR FILTER............................................................................................................... 6
LIGHT BULB REPLACEMENT......................................................................................................... 6
CARING FOR YOUR HOT TUB COVER........................................................................................ 6
HOT TUB SPECIFICATIONS............................................................................................................... 6
SPECIFICATIONS FOR DIMENSION ONE SPAS ........................................................................ 6
Arena.........................................................................................................................................................................................................7
Aurora II...................................................................................................................................................................................................8
Aurora HP................................................................................................................................................................................................9
Aurora XLT...........................................................................................................................................................................................10
Caliente..................................................................................................................................................................................................11
Caliente HP...........................................................................................................................................................................................12
Californian.............................................................................................................................................................................................13
Chairman...............................................................................................................................................................................................14
Chairman II...........................................................................................................................................................................................15
Diplomat................................................................................................................................................................................................16
Nautilus.................................................................................................................................................................................................17
Triad.......................................................................................................................................................................................................18
Triad II...................................................................................................................................................................................................19
SPECIFICATIONS FOR @HOME HOT TUBS............................................................................. 20
Companion HP....................................................................................................................................................................................20
Cove........................................................................................................................................................................................................21
Cove HP.................................................................................................................................................................................................22
Dream....................................................................................................................................................................................................23
Dream HP.............................................................................................................................................................................................24
Sojourn HP............................................................................................................................................................................................25
WIRING DIAGRAMS............................................................................................................................ 26
DIMENSION ONE SPAS................................................................................................................. 26
@ HOME HOT TUBS ...................................................................................................................... 27
SPA INFORMATION ....................................................................................................................... 29
My Spa..................................................................................................................................................................................................29
Dealer Information:............................................................................................................................................................................29
Dimension One Spas Inc. Information..........................................................................................................................................29
iii
iv

Dimension One Spas and @ Home Hot Tubs
Export Planning Guide and Installation Manual
Pre-Purchase Decisions
Before Delivery
Before attempting to install or use your
hot tub, please read these instructions
thoroughly, and carefully view the
video owner’s manual for your
Dimension One hot tub!
Because your hot tub is
completely self-contained, you
can install it just about
anywhere you wish . . . on a
deck, patio or even indoors.
Just be sure to position it
above ground, in an area with
good drainage and on a level
surface that fully contacts the
bottom of the hot tub.
Typical Installation Site
A concrete slab is best but not
required. You may choose to install it on a
wood deck or bricks. If you choose to install your hot tub on a raised deck or indoors, we suggest you
contact a structural engineer to confirm the surface will hold a hot tub filled with water. Settlement of your
deck or slab may result in damage to the hot tub, which is not covered by warranty. (See specifications in this
booklet.) Wherever you plan to install your hot tub, be sure the surface is flat and solid. Locate your hot tub
so that the equipment is above grade and not subject to flooding. Water should always drain away from the
hot tub. If you are placing your hot tub next to an obstacle, such as a fence or wall, be sure that you place the
hot tub with the topside primary control panel facing forward for easy equipment access. Locate the vents on
the drawing of your particular Dimension One hot tub. This is where cool air will enter and warm air will
escape during hot tub operation. Please ensure that these areas are always free of obstructions. Also, allow
additional space around the hot tub for any accessories you may have purchased - for example an E-Z Lifter®
spa cover lift, steps, or a gazebo. Check with your dealer on these additional space requirements.
Note
In most cities and counties, permits are required for the installation of electrical circuits or
the construction of exterior structures such as decks and gazebos. Some communities have
also adopted residential barrier codes that may require fencing and/or self-closing gates on
the property to prevent unsupervised access to a hot tub by young children.
Note
If you install the spa or hot tub indoors, the surrounding area should be waterproof or
water resistant. Water may be splashed out during normal usage and when entering or
exiting the spa. Dimension One Spas is not responsible for any water damage to any indoor
location for any reason.
Dimension One and @Home hot tubs are equipped with a locking cover that meets or exceeds the “Standard
for Safety Covers,” but is not an adequate safety measure to prevent unsupervised entry. Please check with
your local Building Permit Office that can inform you on any special requirements needed for installation of
your electrical, decking or required barriers. Your local dealer may also provide you with information on local
building and electrical codes.
1

Site Access
Please refer to the drawings on pages 7 - 26 for the specifications and appropriate measurements for your hot
tub model. You will need the measurements of your hot tub in order to determine the clearance needed for
delivery. CAUTION: DUE TO MANUFACTURING TOLERANCES THERE COULD BE SOME MINOR
DIFFERENCES BETWEEN THE ACTUAL MEASUREMENTS OF YOUR SPA AND THE DRAWING BELOW.
IF SITE PLANNING IS CRITICAL TO SUCH TOLERANCES, BE SURE TO MEASURE YOUR ACTUAL SPA.
Your hot tub will probably be delivered on a dolly or cart. The additional distance from the ground to the
dolly or cart must also be included in your measurements for vertical clearance. Also, take into consideration
that if your hot tub must be transported up-hill or taken upstairs, you may need additional clearance or
assistance. Be sure to remove obstacles such as gates, planters, or items attached to the house. The point of
entry must be clear of air conditioning units, heating units, meters, electrical boxes, etc. It is best that your
dealer pre-inspect the installation site and determine the best way to deliver your hot tub. In rare cases, a
crane must be brought in to assist in an installation. Your Dimension One dealer will supervise this for you.
Here is a list of some of the most common installation hazards in planning your route:
! Gates
! Fences
! Eaves
! Gutters
! Air Conditioners
! Heaters
! Hose Bibs
! Bushes
! Overhanging Branches
! Steps
! 90° Turns
Cover
The cover supplied with your hot
tub is constructed of the highest
quality materials and is equipped
with quick-release keyed buckle
locks that meet standards set by
American Standards for Testing
and Measurement (ASTM). When
the hot tub is not in use, it is
recommended that the cover locks
always be utilized to discourage
unsupervised use and to minimize
heat loss. When installing the
cover on your hot tub, be sure it is
facing the correct direction. When
standing in front of the topside
primary control panel, the center
seam or hinge should run
horizontally. You should be able to
lift the handle of the cover and see
the hot tub control panel. Allow 18 inches of extra space on the backside of the hot tub where the optional E-
Z Lifter will rest in its upright, open position.
2

Dimension One Spas and @ Home Hot Tubs
Export Planning Guide and Installation Manual
Installation
Electrical Hook Up Instructions
Warning
Do not turn on electrical power to your hot tub until told to do so later in this manual.
Have a licensed electrician run the required 240-volt power line to the hot tub installation site. The power
inlet connection is located in the pedestal on the left side of the hot tub, approximately 25” from the front.
This connection is designed to mate with a Carlon 1” conduit body Type LB, Access Fitting E986F or any 1”
female PVC conduit fitting. The manufacturer’s label lists the power requirements for your hot tub. We
recommend that only a licensed and bonded electrician do the initial hot tub hook-up.
Note
This unit requires a GFCI (Ground Fault Circuit Interrupter). We have provided
an enclosed instructional flyer for a licensed electrician. A “line of sight” service
disconnect must be located where visible from the hot tub, not less than 5 feet from the
hot tub and not to exceed 50 feet from the hot tub. This requirement may be filled with
the GFCI sub-panel. All supply wire to be rated minimum 90°C.
To hook-up your hot tub, follow these instructions:
1. Remove the screws holding the equipment access panel to the front of the hot tub cabinet and set
the panel aside.
2. Loosen the four screws located on the front of the black equipment control can and remove the
door from the control can to allow access to the four wire connection terminal block.
3. Attach 1” rigid non-metallic conduit to the conduit nipple located in the pedestal base on the side of
the hot tub and run required conductors through the conduit to the equipment can.
4. Connect the four wires to the equipment system terminal block (TB1) as indicated on the wiring
diagram in the back of this manual.
5. Configure jumpers 1 and 2 on the upper right corner of the PC Board to match the circuit size being
used for the hot tub (see Electrical Requirements Chart on the following page for proper wire size).
See the chart below for the correct settings.
3

Electrical Requirements Chart for D 1 Hot Tubs
Model Power Branch Circuit Circuit Protection Wire Gauge
Arena 240V, 30A
240V, 24A 3 wire + ground
3 wire + ground 40A
30A #6 AWG
#8 AWG
Aurora II
240V, 38A
240V, 32A
240V, 24A
3 wire + ground
3 wire + ground
3 wire + ground
50A
40A
30A
#6 AWG
#6 AWG
#8 AWG
Aurora HP 240V, 38A
240V, 30A
240V, 24A
3 wire + ground
3 wire + ground
3 wire + ground
50A
40A
30A
#6 AWG
#6 AWG
#8 AWG
Aurora XLT 240V, 38A
240V, 32A
240V, 24A
3 wire + ground
3 wire + ground
3 wire + ground
50A
40A
30A
#6 AWG
#6 AWG
#8 AWG
Caliente 240V, 40A
240V, 30A 3 wire + ground
3 wire + ground 40A
30A #6 AWG
#8 AWG
Caliente HP 240V, 50A
240V, 40A
240V, 30A
3 wire + ground
3 wire + ground
3 wire + ground
50A
40A
30A
#6 AWG
#6 AWG
#8 AWG
Californian 240V, 38A
240V, 32A
240V, 24A
3 wire + ground
3 wire + ground
3 wire + ground
50A
40A
30A
#6 AWG
#6 AWG
#8 AWG
Chairman 240V, 38A
240V, 32A
240V, 24A
3 wire + ground
3 wire + ground
3 wire + ground
50A
40A
30A
#6 AWG
#6 AWG
#8 AWG
Chairman II 240V, 38A
240V, 32A
240V, 24A
3 wire + ground
3 wire + ground
3 wire + ground
50A
40A
30A
#6 AWG
#6 AWG
#8 AWG
Diplomat 240V, 38A
240V, 32A
240V, 24A
3 wire + ground
3 wire + ground
3 wire + ground
50A
40A
30A
#6 AWG
#6 AWG
#8 AWG
Nautilus 240V, 38A
240V, 32A
240V, 24A
3 wire + ground
3 wire + ground
3 wire + ground
50A
40A
30A
#6 AWG
#6 AWG
#8 AWG
Triad 240V, 30A
240V, 24A 3 wire + ground
3 wire + ground 40A
30A #6 AWG
#8 AWG
Triad II 240V, 30A
240V, 24A 3 wire + ground
3 wire + ground 40A
30A #6 AWG
#8 AWG
4

Dimension One Spas and @ Home Hot Tubs
Export Planning Guide and Installation Manual
Electrical Requirements Chart for @ Home Hot Tubs
Model Power Branch Circuit Circuit Protection Wire Gauge
Companion HP 240V, 24A 3 wire + ground 30A #8 AWG
Cove 240V, 29A
240V, 24A
120V, 12A
3 wire + ground
3 wire + ground
3 wire + ground*
40A
30A
15A
#6 AWG
#8 AWG
#12AWG
Cove HP 240V, 32A
240V, 24A 3 wire + ground
3 wire + ground 40A
30A #6 AWG
#8 AWG
Dream 240V, 24A 3 wire + ground 30A #8 AWG
Dream HP
240V, 32A
240V, 24A 3 wire + ground
3 wire + ground 40A
30A #6 AWG
#8 AWG
Sojourn HP 240V, 32A
240V, 24A 3 wire + ground
3 wire + ground 40A
30A #6 AWG
#8 AWG
*A GFCI protected cord is required (P/N 1560-09)
The power inlet connection is located in the pedestal on the left side of the hot tub, approximately 25" from
the front. The front of the hot tub is the section that includes the topside, primary control panel.
Installation Check List
! Owner’s Manual
! Hot Tub Cover
! Locks on Hot Tub and Cover
! Cabinet Care
! Filter Use, Removal and Cleaning
! GFCI Location
! Electrical Disconnect Location
! How to Fill and Drain Hot tub
! How to Use the Topside Primary
Control
! Instructions for your Ultra Pure
Water Management System,
CrystalZone, or CD
ClearZone Ozone Generators &
Water Management Systems
! Drain Valve and Hose Bib
! Changing Light Lens Cap
! Selector Valve Control
! Adjusting/Interchanging Jets
! Adjusting the NeckFlex Jet Pillow and
Interchangeable Jets
! Water Care Guide
! Automatic Bromine Feeder (Optional)
! The Use of the Optional PureVision
Cartridges
Please check these items before you fill your hot tub with water:
About Smart Heat (Available Only on Dimension One Hot
Tubs)
Smart Heat provides maximum heat recovery using the amperage that you have available. Through
computerized load sharing, the system automatically recognizes the temperature differential and the number
of jet pumps in use, compares it with the available power and adjusts the heater to maximize heater output.
5

Maintenance
Draining Your Hot Tub
Locate the hose bib at the bottom of the hot tub, on the pedestal, to the left of the equipment compartment
on Dimension One hot tubs, and to the right on @Home hot tubs. This is where you can hook-up your hose
for hot tub draining.
Cleaning Your Filter
Your hot tub is equipped with one or two top access filter cartridges. For optimum performance and water
quality, we recommend that you clean the filters every month. Before you fill your hot tub, practice removing
and reinstalling a filter cartridge.
Note
The EZ Lock Filter does not require excessive force to remove or install. “Finger-tip”
pressure is all that is needed.
Light Bulb Replacement
Notice the location of the light. To change the bulb, drain hot tub below the level of the light and unscrew the
light cover using the special tool provided in the owner’s manual packet.
Note
Never try to remove the light housing cover without the special tool.
Caring For Your Hot Tub Cover
The thermal cover for your hot tub is an extremely durable foam insulated product. See the manufacturer’s
literature for proper cleaning instructions. When the hot tub is not in use, it is recommended that the cover
locks always be utilized to discourage unsupervised use and to minimize heat loss.
Hot Tub Specifications
The following section of this manual gives you detailed information on the sizes of both Dimension One and
@Home hot tubs. Dimension One hot tubs are listed first, alphabetically by model, followed by @Home hot
tubs in the same order.
Specifications for Dimension One Spas
These specifications include:
• spa shape,
• dimensions,
• electrical requirements,
• water capacity,
• type and number of Hydrotherapy Jets,
• weight,
• type of Water Management System,
• number and type of pumps,
• type of skirt,
• type and number of controls
6

Dimension One Spas and @ Home Hot Tubs
Export Planning Guide and Installation Manual
Arena
DUE TO MANUFACTURING TOLERANCES THERE COULD BE SOME MINOR
DIFFERENCES BETWEEN THE ACTUAL MEASUREMENTS OF YOUR SPA AND THE
DRAWING BELOW. IF SITE PLANNING IS CRITICAL TO SUCH TOLERANCES, BE
SURE TO MEASURE YOUR ACTUAL SPA.
7

Aurora II
DUE TO MANUFACTURING TOLERANCES THERE COULD BE SOME MINOR
DIFFERENCES BETWEEN THE ACTUAL MEASUREMENTS OF YOUR SPA AND THE
DRAWING BELOW. IF SITE PLANNING IS CRITICAL TO SUCH TOLERANCES, BE
SURE TO MEASURE YOUR ACTUAL SPA.
8

Dimension One Spas and @ Home Hot Tubs
Export Planning Guide and Installation Manual
Aurora HP
DUE TO MANUFACTURING TOLERANCES THERE COULD BE SOME MINOR
DIFFERENCES BETWEEN THE ACTUAL MEASUREMENTS OF YOUR SPA AND THE
DRAWING BELOW. IF SITE PLANNING IS CRITICAL TO SUCH TOLERANCES, BE
SURE TO MEASURE YOUR ACTUAL SPA.
9

Aurora XLT
DUE TO MANUFACTURING TOLERANCES THERE COULD BE SOME MINOR
DIFFERENCES BETWEEN THE ACTUAL MEASUREMENTS OF YOUR SPA AND THE
DRAWING BELOW. IF SITE PLANNING IS CRITICAL TO SUCH TOLERANCES, BE
SURE TO MEASURE YOUR ACTUAL SPA.
10

Dimension One Spas and @ Home Hot Tubs
Export Planning Guide and Installation Manual
Caliente
DUE TO MANUFACTURING TOLERANCES THERE COULD BE SOME MINOR
DIFFERENCES BETWEEN THE ACTUAL MEASUREMENTS OF YOUR SPA AND THE
DRAWING BELOW. IF SITE PLANNING IS CRITICAL TO SUCH TOLERANCES, BE
SURE TO MEASURE YOUR ACTUAL SPA.
11

Caliente HP
DUE TO MANUFACTURING TOLERANCES THERE COULD BE SOME MINOR
DIFFERENCES BETWEEN THE ACTUAL MEASUREMENTS OF YOUR SPA AND THE
DRAWING BELOW. IF SITE PLANNING IS CRITICAL TO SUCH TOLERANCES, BE
SURE TO MEASURE YOUR ACTUAL SPA.
12

Dimension One Spas and @ Home Hot Tubs
Export Planning Guide and Installation Manual
Californian
DUE TO MANUFACTURING TOLERANCES THERE COULD BE SOME MINOR
DIFFERENCES BETWEEN THE ACTUAL MEASUREMENTS OF YOUR SPA AND THE
DRAWING BELOW. IF SITE PLANNING IS CRITICAL TO SUCH TOLERANCES, BE
SURE TO MEASURE YOUR ACTUAL SPA.
13

Chairman
DUE TO MANUFACTURING TOLERANCES THERE COULD BE SOME MINOR
DIFFERENCES BETWEEN THE ACTUAL MEASUREMENTS OF YOUR SPA
AND THE DRAWING BELOW. IF SITE PLANNING IS CRITICAL TO SUCH
TOLERANCES, BE SURE TO MEASURE YOUR ACTUAL SPA.
14

Dimension One Spas and @ Home Hot Tubs
Export Planning Guide and Installation Manual
Chairman II
DUE TO MANUFACTURING TOLERANCES THERE COULD BE SOME MINOR
DIFFERENCES BETWEEN THE ACTUAL MEASUREMENTS OF YOUR SPA AND THE
DRAWING BELOW. IF SITE PLANNING IS CRITICAL TO SUCH TOLERANCES, BE
SURE TO MEASURE YOUR ACTUAL SPA.
15

Diplomat
DUE TO MANUFACTURING TOLERANCES THERE COULD BE SOME MINOR
DIFFERENCES BETWEEN THE ACTUAL MEASUREMENTS OF YOUR SPA AND THE
DRAWING BELOW. IF SITE PLANNING IS CRITICAL TO SUCH TOLERANCES, BE
SURE TO MEASURE YOUR ACTUAL SPA.
16

Dimension One Spas and @ Home Hot Tubs
Export Planning Guide and Installation Manual
Nautilus
DUE TO MANUFACTURING TOLERANCES THERE COULD BE SOME MINOR
DIFFERENCES BETWEEN THE ACTUAL MEASUREMENTS OF YOUR SPA AND THE
DRAWING BELOW. IF SITE PLANNING IS CRITICAL TO SUCH TOLERANCES, BE
SURE TO MEASURE YOUR ACTUAL SPA.
17

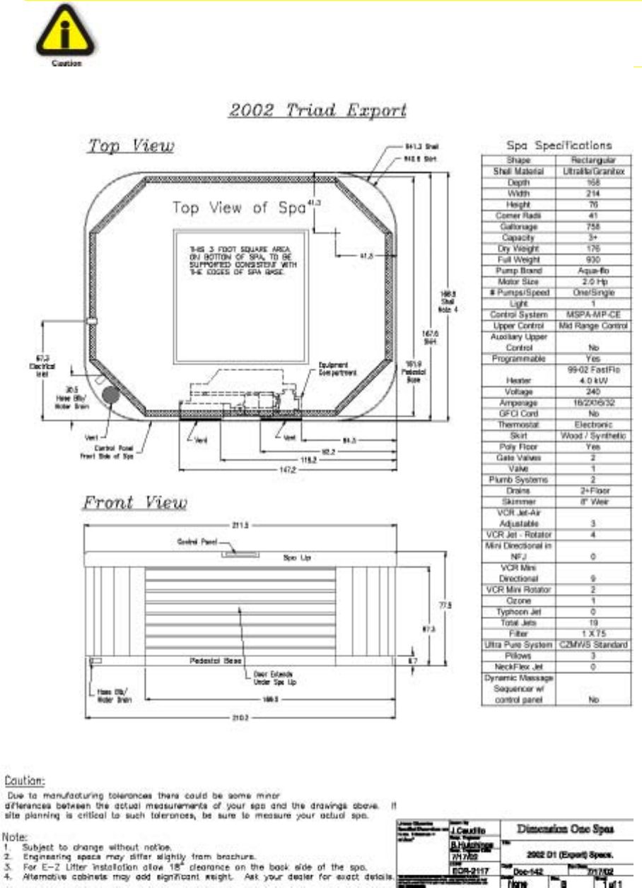
Triad
DUE TO MANUFACTURING TOLERANCES THERE COULD BE SOME MINOR
DIFFERENCES BETWEEN THE ACTUAL MEASUREMENTS OF YOUR SPA AND THE
DRAWING BELOW. IF SITE PLANNING IS CRITICAL TO SUCH TOLERANCES, BE
SURE TO MEASURE YOUR ACTUAL SPA.
18

Dimension One Spas and @ Home Hot Tubs
Export Planning Guide and Installation Manual
Triad II
DUE TO MANUFACTURING TOLERANCES THERE COULD BE SOME MINOR
DIFFERENCES BETWEEN THE ACTUAL MEASUREMENTS OF YOUR SPA AND THE
DRAWING BELOW. IF SITE PLANNING IS CRITICAL TO SUCH TOLERANCES, BE
SURE TO MEASURE YOUR ACTUAL SPA.
19

Specifications for @Home Hot Tubs
Companion HP
DUE TO MANUFACTURING TOLERANCES THERE COULD BE SOME MINOR
DIFFERENCES BETWEEN THE ACTUAL MEASUREMENTS OF YOUR SPA AND THE
DRAWING BELOW. IF SITE PLANNING IS CRITICAL TO SUCH TOLERANCES, BE
SURE TO MEASURE YOUR ACTUAL SPA.
20

Dimension One Spas and @ Home Hot Tubs
Export Planning Guide and Installation Manual
Cove
DUE TO MANUFACTURING TOLERANCES THERE COULD BE SOME MINOR
DIFFERENCES BETWEEN THE ACTUAL MEASUREMENTS OF YOUR SPA AND THE
DRAWING BELOW. IF SITE PLANNING IS CRITICAL TO SUCH TOLERANCES, BE
SURE TO MEASURE YOUR ACTUAL SPA.
21

Cove HP
DUE TO MANUFACTURING TOLERANCES THERE COULD BE SOME MINOR
DIFFERENCES BETWEEN THE ACTUAL MEASUREMENTS OF YOUR SPA AND THE
DRAWING BELOW. IF SITE PLANNING IS CRITICAL TO SUCH TOLERANCES, BE
SURE TO MEASURE YOUR ACTUAL SPA.
22

Dimension One Spas and @ Home Hot Tubs
Export Planning Guide and Installation Manual
Dream
DUE TO MANUFACTURING TOLERANCES THERE COULD BE SOME MINOR
DIFFERENCES BETWEEN THE ACTUAL MEASUREMENTS OF YOUR SPA AND THE
DRAWING BELOW. IF SITE PLANNING IS CRITICAL TO SUCH TOLERANCES, BE
SURE TO MEASURE YOUR ACTUAL SPA.
23

Dream HP
DUE TO MANUFACTURING TOLERANCES THERE COULD BE SOME MINOR
DIFFERENCES BETWEEN THE ACTUAL MEASUREMENTS OF YOUR SPA AND THE
DRAWING BELOW. IF SITE PLANNING IS CRITICAL TO SUCH TOLERANCES, BE
SURE TO MEASURE YOUR ACTUAL SPA.
24

Dimension One Spas and @ Home Hot Tubs
Export Planning Guide and Installation Manual
Sojourn HP
DUE TO MANUFACTURING TOLERANCES THERE COULD BE SOME MINOR
DIFFERENCES BETWEEN THE ACTUAL MEASUREMENTS OF YOUR SPA AND THE
DRAWING BELOW. IF SITE PLANNING IS CRITICAL TO SUCH TOLERANCES, BE
SURE TO MEASURE YOUR ACTUAL SPA.
25

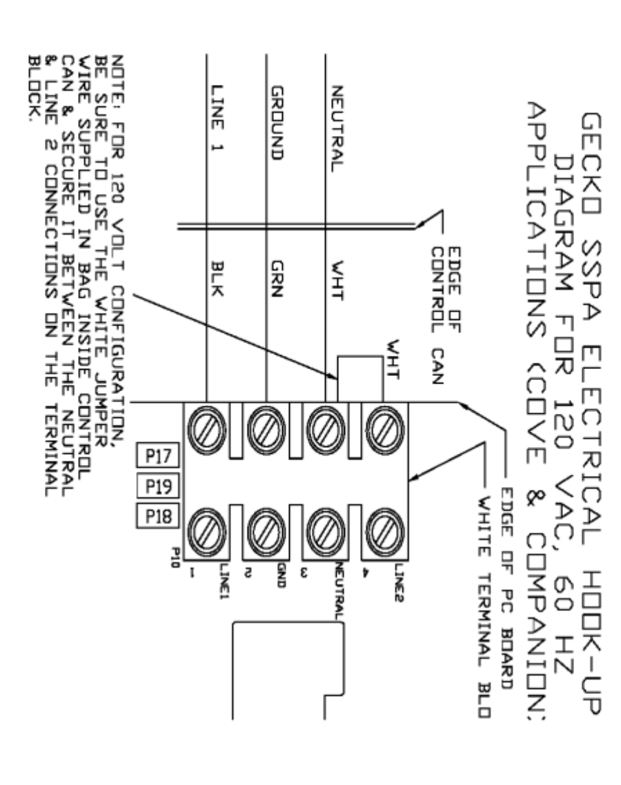
Wiring Diagrams
Dimension One Spas
26

Dimension One Spas and @ Home Hot Tubs
Export Planning Guide and Installation Manual
@ Home Hot Tubs
27

28

Dimension One Spas and @ Home Hot Tubs
Export Planning Guide and Installation Manual
Spa Information
It is very important that you gather the following information on your spa and enter it in the blanks provided
below. The Warranty Card should also be completed at the same time, and submitted to the address
below. This information will be required if you ever want to purchase additional items for your spa, or if
service is ever required. Be sure to consult with your Dealer to ensure the accuracy of this important
information.
My Spa Model Name: Serial Number:
Date Purchased: Date Installed:
Notes:
Dealer Information:
Dimension One Spas Inc. Information
2611 Business Park Drive
Vista, California 92083
800.345.7727
760.727.7727
fax 760.734.4425
www.D1Spas.com
www.AtHomeHotTubs.com
29
30
