IEEE Std 952 1997, Standard Specification Format Guide And Pro Cedure For Single Axis Interferometric Fiber Optic Gyro 1998
User Manual:
Open the PDF directly: View PDF .
Page Count: 83
- Title Page
- Introduction
- Participants
- CONTENTS
- 1. Overview
- 2. References
- Part I—Specification format
- 3. Definitions
- 4. Applicable documents
- 5. Requirements
- 6. Quality assurance provisions
- 7. Preparation for delivery
- 8. Notes
- Part II—Test procedures
- 9. Test procedure overview
- 10. Description
- 11. Test conditions and equipment
- 12. Test procedures
- 12.1 Examination of product—Mechanical
- 12.2 Examination of product—Electrical
- 12.3 Leak test
- 12.4 Input power
- 12.5 Turn-on time
- 12.6 Warm-up time
- 12.7 Polarity
- 12.8 Operating temperature test series
- 12.9 Gyro scale factor test series
- 12.10 Input rate limits
- 12.11 Drift rate test series
- 12.12 1A alignment
- 12.13 Generated fields
- 12.14 Environment test series
- Annex A—Design features of IFOGs
- Annex B—Dynamic and stochastic modeling overview
- Annex C—An overview of the Allan variance method of IFOG noise analysis
- Annex D—Compliance matrix

The Institute of Electrical and Electronics Engineers, Inc.
345 East 47th, New York, NY 10017-2394, USA
Copyright © 1998 by the Institute of Electrical and Electronics Engineers, Inc.
All rights reserved. Published 1998. Printed in the United States of America.
ISBN 1-55937-961-8
No part of this publication may be reproduced in any form, in an electronic retrieval system or otherwise, without the prior
written permission of the publisher.
IEEE Std 952™-1997 (R2008)
IEEE Standard Specification Format
Guide and Test Procedure for Single-
Axis Interferometric Fiber Optic
Gyros
Sponsor
Gyro and Accelerometer Panel
of the
IEEE Aerospace and Electronic Systems Society
Reaffirmed 10 December 2008
Approved 16 September 1997
IEEE-SA Standards Board
Abstract: Specification and test requirements for a single-axis interferometric fiber optic gyro (IFOG)
for use as a sensor in attitude control systems, angular displacement measuring systems, and angular rate
measuring systems are defined. A standard specification format guide for the preparation of a single-axis IFOG
is provided. A compilation of recommended procedures for testing a fiber optic gyro, derived from those pres-
ently used in the industry, is also provided.
Keywords: fiber gyro, fiber optic gyro, gyro, gyroscope, IFOG, inertial instrument, inertial sensor,
interferometric fiber optic gyro, optical gyro, Sagnac effect, Sagnac gyro
Authorized licensed use limited to: SUNY AT STONY BROOK. Downloaded on June 19,2018 at 06:14:21 UTC from IEEE Xplore. Restrictions apply.

IEEE Standards
documents are developed within the IEEE Societies and the Standards Coordinat-
ing Committees of the IEEE Standards Board. Members of the committees serve voluntarily and
without compensation. They are not necessarily members of the Institute. The standards developed
within IEEE represent a consensus of the broad expertise on the subject within the Institute as well
as those activities outside of IEEE that have expressed an interest in participating in the develop-
ment of the standard.
Use of an IEEE Standard is wholly voluntary. The existence of an IEEE Standard does not imply
that there are no other ways to produce, test, measure, purchase, market, or provide other goods and
services related to the scope of the IEEE Standard. Furthermore, the viewpoint expressed at the
time a standard is approved and issued is subject to change brought about through developments in
the state of the art and comments received from users of the standard. Every IEEE Standard is sub-
jected to review at least every Þve years for revision or reafÞrmation. When a document is more
than Þve years old and has not been reafÞrmed, it is reasonable to conclude that its contents,
although still of some value, do not wholly reßect the present state of the art. Users are cautioned to
check to determine that they have the latest edition of any IEEE Standard.
Comments for revision of IEEE Standards are welcome from any interested party, regardless of
membership afÞliation with IEEE. Suggestions for changes in documents should be in the form of a
proposed change of text, together with appropriate supporting comments.
Interpretations: Occasionally questions may arise regarding the meaning of portions of standards as
they relate to speciÞc applications. When the need for interpretations is brought to the attention of
IEEE, the Institute will initiate action to prepare appropriate responses. Since IEEE Standards rep-
resent a consensus of all concerned interests, it is important to ensure that any interpretation has
also received the concurrence of a balance of interests. For this reason, IEEE and the members of its
societies and Standards Coordinating Committees are not able to provide an instant response to
interpretation requests except in those cases where the matter has previously received formal
consideration.
Comments on standards and requests for interpretations should be addressed to:
Secretary, IEEE Standards Board
445 Hoes Lane
P.O. Box 1331
Piscataway, NJ 08855-1331
USA
Authorization to photocopy portions of any individual standard for internal or personal use is
granted by the Institute of Electrical and Electronics Engineers, Inc., provided that the appropriate
fee is paid to Copyright Clearance Center. To arrange for payment of licensing fee, please contact
Copyright Clearance Center, Customer Service, 222 Rosewood Drive, Danvers, MA 01923 USA;
(508) 750-8400. Permission to photocopy portions of any individual standard for educational class-
room use can also be obtained through the Copyright Clearance Center.
Note: Attention is called to the possibility that implementation of this standard may
require use of subject matter covered by patent rights. By publication of this standard,
no position is taken with respect to the existence or validity of any patent rights in
connection therewith. The IEEE shall not be responsible for identifying patents for
which a license may be required by an IEEE standard or for conducting inquiries into
the legal validity or scope of those patents that are brought to its attention.
Authorized licensed use limited to: IEEE Standards Staff. Downloaded on January 27, 2009 at 15:00 from IEEE Xplore. Restrictions apply.
Authorized licensed use limited to: SUNY AT STONY BROOK. Downloaded on June 19,2018 at 06:14:21 UTC from IEEE Xplore. Restrictions apply.
Copyright © 1998 IEEE. All rights reserved.
iii
Introduction
(This introduction is not a part of IEEE Std 952-1997, IEEE Standard SpeciÞcation Format Guide and Test Procedure for
Single-Axis Interferometric Fiber Optic Gyros.)
This standard was prepared by the Gyro and Accelerometer Panel of the IEEE Aerospace and Electronic
Systems Society and consists of two parts.
Part I is a speciÞcation format guide for the preparation of a single-axis interferometric Þber optic gyro
(IFOG) speciÞcation. It provides a common meeting ground of terminology and practice for manufacturers
and users. The user is cautioned not to over specify; only those parameters that are required to guarantee
proper instrument performance in the speciÞc application should be controlled. In general, the speciÞcation
should contain only those requirements that can be veriÞed by test or inspection. Parameters in addition to
those given in this standard are not precluded.
Part II is a compilation of recommended procedures for testing a single-axis IFOG. These procedures,
including test conditions to be considered, are derived from those currently in use. For a speciÞc application,
the test procedure should reßect the requirements of the speciÞcations; therefore, not all tests outlined in this
standard need to be included, nor are additional tests precluded. In some cases, alternative methods for mea-
suring performance characteristics have been included or indicated.
The intent is for the speciÞcation writer to extract the applicable test conditions and equipment requirements
from Clause 11 for inclusion in the appropriate subclauses listed under 6.5. Similarly, it is intended that the
writer extract the applicable test procedures from Clause 12 for inclusion in the appropriate subclauses listed
under 6.6. Part II can also be used as a guide in the preparation of a separate gyro test speciÞcation with
appropriate clause numbering. In general, the intent is for the Part II test procedure to refer to Part I require-
ments for performance, mechanical, electrical, environmental, reliability, and quality assurance. To that end,
a test should not be listed in Part II unless a related requirement exists in Part I.
Blank spaces in the text of this standard permit the speciÞcation writer to insert speciÞc information such as
parameter values and their tolerances, clause numbers, etc. Brackets are to be used to enclose alternative
choices of dimensional units, signs, axes, etc. Boxed statements are included for information only and are
not part of the speciÞcation or test procedures. The terminology used conforms to IEEE Std 100-1996 and
IEEE Std 528-1994. The units used conform to ANSI 268-1992. The abbreviation of units conforms to IEEE
Std 260.1-1993. The graphic symbols used conform to IEEE Std 315-1975.
This standard deÞnes the requirements and test procedures for an IFOG in terms unique to that gyro. The
requirements contained in this standard cover application where the gyro is used as an angular motion sensor
in navigation and control systems.
The term Òinterferometric Þber optic gyroÓ is accepted to include the electronics necessary to operate the
gyro and to condition the output signal.
Annex A lists various gyro design features for which this format is applicable. The table therein is not
intended to make any suggestions regarding the selection of particular design features that might restrict the
free choice of manufacturers.
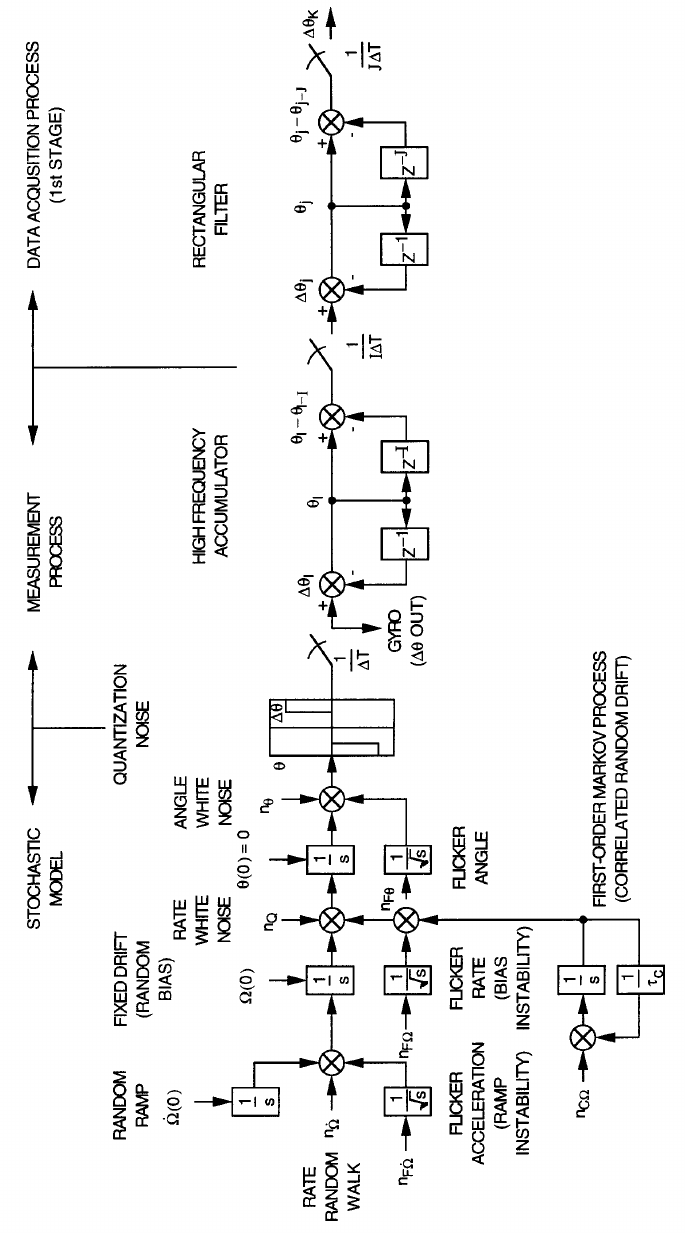
Annex B is an overview of dynamic and stochastic modeling.
Annex C is an overview of noise process variance analysis as a method for determination of the drift rate
coefÞcients and the quantization coefÞcient.
Authorized licensed use limited to: IEEE Standards Staff. Downloaded on January 27, 2009 at 15:00 from IEEE Xplore. Restrictions apply.
Authorized licensed use limited to: SUNY AT STONY BROOK. Downloaded on June 19,2018 at 06:14:21 UTC from IEEE Xplore. Restrictions apply.
iv
Copyright © 1998 IEEE. All rights reserved.
This standard represents a large scale, group effort. More than 116 individuals attended over 40 meetings of
the Gyro and Accelerometer Panel during preparation of this standard. The following persons were on the
Gyro and Accelerometer Panel:
S. Bennett,
Chair
*Former Chair
The following persons were on the balloting committee:
When the IEEE Standards Board approved this standard on 16 September 1997, it had the following
membership:
Donald C. Loughry,
Chair
Richard J. Holleman,
Vice Chair
Andrew G. Salem,
Secretary
*Member Emeritus
Also included are the following nonvoting IEEE Standards Board liaisons:
Satish K. Aggarwal
Alan H. Cookson
Kim Breitfelder
IEEE Standards Project Editor
D. Anderson
M. Ash
C. Barker
J. Beri
S. Bongiovanni
P. Bouniol
J. Brewer
H. Califano
A. Campbell*
J. DÕAngelo
G. Erickson
J. Ficalora
S. Finken
T. Fuhrman
F. Garcia
B. Katz
J. Kieffer
M. Koning
L. Kumar
K. Lantz
T. Lear*
D. Lynch
R. Marquess
H. Morris
G. Morrison*
R. Morrow
G. Murray*
J. Neugroschi
R. Peters*
L. Richardson
G. Shaw
P. Simpson
T. Stanley
C. Swanson
L. Thielman
L. Trozpek
B. Wimber*
B. Youmans
D. Anderson
W. Armstrong
M. Ash
C. Barker
S. Bennett
S. Bongiovanni
P. Bouniol
J. Brewer
H. Califano
A. Campbell
J. DÕAngelo
G. Erickson
S. Finken
T. Fuhrman
K. Homb
B. Katz
J. Kieffer
L. Kumar
J. Mackintosh
E. Mettler
H. Morris
G. Morrison
R. Morrow
G. Neugebauer
P. Palmer
R. Peters
F. Petri
G. Shaw
C. Swanson
M. Tehrani
L. Thielman
C. Trainor
B. Wimber
D. Winkel
B. Youmans
Clyde R. Camp
Stephen L. Diamond
Harold E. Epstein
Donald C. Fleckenstein
Jay Forster*
Thomas F. Garrity
Donald N. Heirman
Jim Isaak
Ben C. Johnson
Lowell Johnson
Robert Kennelly
E. G. ÒAlÓ Kiener
Joseph L. KoepÞnger*
Stephen R. Lambert
Lawrence V. McCall
L. Bruce McClung
Marco W. Migliaro
Louis-Fran•ois Pau
Gerald H. Peterson
John W. Pope
Jose R. Ramos
Ronald H. Reimer
Ingo RŸsch
John S. Ryan
Chee Kiow Tan
Howard L. Wolfman
Authorized licensed use limited to: IEEE Standards Staff. Downloaded on January 27, 2009 at 15:00 from IEEE Xplore. Restrictions apply.
Authorized licensed use limited to: SUNY AT STONY BROOK. Downloaded on June 19,2018 at 06:14:21 UTC from IEEE Xplore. Restrictions apply.
Copyright © 1998 IEEE. All rights reserved.
v
Contents
1. Overview.............................................................................................................................................. 1
1.1 Scope............................................................................................................................................ 1
2. References............................................................................................................................................ 1
Part IÑSpecification format ............................................................................................................................ 2
3. Definitions............................................................................................................................................ 2
4. Applicable documents.......................................................................................................................... 2
4.1 Specifications............................................................................................................................... 2
4.2 Standards...................................................................................................................................... 3
4.3 Drawings...................................................................................................................................... 3
4.4 Bulletins ....................................................................................................................................... 3
4.5 Other publications........................................................................................................................ 3
5. Requirements ....................................................................................................................................... 4
5.1 Description................................................................................................................................... 4
5.2 General requirements ................................................................................................................... 4
5.3 Performance ................................................................................................................................. 4
5.4 Mechanical requirements ............................................................................................................. 8
5.5 Electrical requirements .............................................................................................................. 10
5.6 Environmental requirements...................................................................................................... 12
5.7 Reliability................................................................................................................................... 17
6. Quality assurance provisions ............................................................................................................. 18
6.1 Classification of tests ................................................................................................................. 18
6.2 Acceptance tests......................................................................................................................... 18
6.3 Qualification tests ...................................................................................................................... 19
6.4 Reliability tests........................................................................................................................... 19
6.5 Test conditions and equipment .................................................................................................. 20
6.6 Test methods .............................................................................................................................. 20
7. Preparation for delivery ..................................................................................................................... 23
8. Notes .................................................................................................................................................. 23
8.1 Intended use ............................................................................................................................... 23
8.2 Ordering data ............................................................................................................................. 23
8.3 Model equation .......................................................................................................................... 23
9. Test procedure overview.................................................................................................................... 25
Part IIÑTest procedures ................................................................................................................................ 25
10. Description......................................................................................................................................... 25
Authorized licensed use limited to: IEEE Standards Staff. Downloaded on January 27, 2009 at 15:00 from IEEE Xplore. Restrictions apply.
Authorized licensed use limited to: SUNY AT STONY BROOK. Downloaded on June 19,2018 at 06:14:21 UTC from IEEE Xplore. Restrictions apply.
vi
Copyright © 1998 IEEE. All rights reserved.
11. Test conditions and test equipment.................................................................................................... 25
11.1 Standard test conditions ............................................................................................................. 25
11.2 Standard operating and test equipment ...................................................................................... 27
12. Test procedures .................................................................................................................................. 27
12.1 Examination of productÑMechanical....................................................................................... 27
12.2 Examination of productÑElectrical .......................................................................................... 27
12.3 Leak test..................................................................................................................................... 29
12.4 Input power ................................................................................................................................ 30
12.5 Turn-on time .............................................................................................................................. 30
12.6 Warm-up time ............................................................................................................................ 31
12.7 Polarity....................................................................................................................................... 31
12.8 Operating temperature test series............................................................................................... 32
12.9 Gyro scale factor test series ....................................................................................................... 33
12.10 Input rate limits........................................................................................................................ 35
12.11 Drift rate test series .................................................................................................................. 36
12.12 IA alignment ............................................................................................................................ 39
12.13 Generated fields ....................................................................................................................... 41
12.14 Environment test series ............................................................................................................ 41
Annex A (informative) Design features of IFOGs ........................................................................................ 42
Annex B (informative) Dynamic and stochastic modeling overview............................................................ 43
Annex C (informative) An overview of the Allan variance method of IFOG noise analysis ....................... 62
Annex D (informative) Compliance matrix................................................................................................... 74
Authorized licensed use limited to: IEEE Standards Staff. Downloaded on January 27, 2009 at 15:00 from IEEE Xplore. Restrictions apply.
Authorized licensed use limited to: SUNY AT STONY BROOK. Downloaded on June 19,2018 at 06:14:21 UTC from IEEE Xplore. Restrictions apply.

Copyright © 1998 IEEE. All rights reserved.
1
IEEE Standard SpeciÞcation Format
Guide and Test Procedure for Single-
Axis Interferometric Fiber Optic
Gyros
1. Overview
1.1 Scope
This standard deÞnes requirements for a single-axis interferometric Þber optic gyro (IFOG), including any
necessary electronics, to be used in [an attitude control system, an angular displacement measuring system,
an angular rate measuring system, __________].
2. References
This standard shall be used in conjunction with the following publications. When the following standards are
superseded by an approved revision, the revision shall apply.
ANSI 260.1-1993 American National Standard Letter Symbols for Units of Measurement (SI Units, Cus-
tomary Inch-Pound Units, and Certain Other Units).
1
IEEE/ASTM SI 10-1997, Standard for Use if the International System of Units (SI): The Modern Metric
System.
2
IEEE Std 100-1996, IEEE Standard Dictionary of Electrical and Electronics Terms.
IEEE Std 280-1985 (Reaff 1996) IEEE Standard Letter Symbols for Quantities Used in Electrical Science
and Electrical Engineering (ANSI/DoD).
1
ANSI publications are available from the Sales Department, American National Standards Institute, 11 West 42nd Street, 13th Floor,
New York, NY 10036, USA.
2
IEEE publications are available from the Institute of Electrical and Electronics Engineers, 445 Hoes Lane, P.O. Box 1331, Piscataway,
NJ 08855-1331, USA.
Authorized licensed use limited to: IEEE Standards Staff. Downloaded on January 27, 2009 at 15:00 from IEEE Xplore. Restrictions apply.
Authorized licensed use limited to: SUNY AT STONY BROOK. Downloaded on June 19,2018 at 06:14:21 UTC from IEEE Xplore. Restrictions apply.

IEEE
Std 952-1997 IEEE STANDARD SPECIFICATION FORMAT GUIDE AND TEST PROCEDURE
2
Copyright © 1998 IEEE. All rights reserved.
IEEE Std 315-1975 (Reaff 1993), IEEE Graphic Symbols for Electrical and Electronics Diagrams (ANSI/
DoD).
IEEE Std 315A-1986 (Reaff 1993), IEEE Supplement to Graphic Symbols for Electrical and Electronics
Diagrams (ANSI/DoD).
IEEE Std 528-1994, IEEE Standard for Inertial Sensor Terminology (ANSI).
IEEE Std 812-1984, IEEE Standard DeÞnitions of Terms Relating to Fiber Optics.
3
Part IÑSpeciÞcation format
3. DeÞnitions
Except for the term deÞned below, IEEE Std 100-1996, IEEE Std 528-1994, and the model equation of 8.3
deÞne terminology used in this standard.
3.1 Shupe effect:
A time-variant non-reciprocity due to temperature changes along the length of the Þber.
4. Applicable documents
The following documents form a part of the speciÞcation to the extent speciÞed in this speciÞcation. In the
event of any conßict between the requirements of this speciÞcation and the listed documents, the require-
ments of this speciÞcation shall govern.
4.1 SpeciÞcations
4.1.1 Government
4.1.2 Industry/Technical
4.1.3 Company
3
IEEE Std 812-1984 has been withdrawn; however, copies can be obtained from Global Engineering, 15 Inverness Way East, Engle-
wood, CO 80112-5704, USA, tel. (303) 792-2181.
Give identiÞcation number, title, date of issue, and revision letter of each listed document.
MIL-P116J Methods of Preservation 1 October 1991.
Authorized licensed use limited to: IEEE Standards Staff. Downloaded on January 27, 2009 at 15:00 from IEEE Xplore. Restrictions apply.
Authorized licensed use limited to: SUNY AT STONY BROOK. Downloaded on June 19,2018 at 06:14:21 UTC from IEEE Xplore. Restrictions apply.

IEEE
FOR SINGLE-AXIS INTERFEROMETRIC FIBER OPTIC GYROS Std 952-1997
Copyright © 1998 IEEE. All rights reserved.
3
4.2 Standards
4.2.1 Government
4.2.2 Industry/Technical
4.2.3 Company
4.3 Drawings
4.3.1 Government
4.3.2 Industry/Technical
4.3.3 Company
4.4 Bulletins
4.4.1 Government
4.4.2 Industry/Technical
4.4.3 Company
4.5 Other publications
MIL-STD-105E Sampling Procedure and Tables for Inspection by Attributes 1 February 1995.
MIL-STD-461D Electromagnetic Interference Characteristics, Emission and Susceptibility January 1993
Requirements for the Control of Electromagnetic Interference.
MIL-STD-462D+ Electromagnetic Interference Characteristics, Measurements of 1 April 1995.
MIL-STD-704E Aircraft Electric Power Characteristics January 1991.
MIL-STD-740B Airborne and Structure borne Noise Measurements and Acceptance 1 June 1965 Criteria
of Shipboard Equipment.
MIL-STD-781D Reliability Design QualiÞcation and Production Acceptance Tests: October 1986 Expo-
nential Distribution.
MIL-STD-785B Reliability Program for Systems and Equipment Development and Notice 2 Production
2 August 1988.
MIL-STD-810E Environmental Test Methods and Engineering Guidelines 2 September 1993.
IEEE Std 100-1996, IEEE Standard Dictionary of Electrical and Electronics Terms.
IEEE Std 528-1994, IEEE Standard for Inertial Sensor Terminology.
Other applicable documents should be listed under the appropriate subclause.
Authorized licensed use limited to: IEEE Standards Staff. Downloaded on January 27, 2009 at 15:00 from IEEE Xplore. Restrictions apply.
Authorized licensed use limited to: SUNY AT STONY BROOK. Downloaded on June 19,2018 at 06:14:21 UTC from IEEE Xplore. Restrictions apply.

IEEE
Std 952-1997 IEEE STANDARD SPECIFICATION FORMAT GUIDE AND TEST PROCEDURE
4
Copyright © 1998 IEEE. All rights reserved.
5. Requirements
5.1 Description
The design features of the gyro described in this speciÞcation are an enclosure and mounting means, a
__________ light source, a sensing coil of __________, a photosensitive readout device, and the following
additional optical and electronic components: __________. The gyro is intended for use as an angular [rate,
displacement] sensor.
5.2 General requirements
5.2.1 Precedence
In the event of conßict among the purchase agreement, this speciÞcation, and other documents referred to in
this speciÞcation, the order of precedence shall be as follows:
a) Purchase agreement.
b) This speciÞcation and its applicable drawings (see 5.4.2 and 5.5.1).
c) Other applicable documents (see Clause 4).
5.3 Performance
Performance characteristics shall be as speciÞed in this subclause. The tolerances include a summation of
manufacturing and test errors, and environmental effects. Any exception due to environmental effects shall
be listed in 5.6.3.1.
5.3.1 Input rate limits
5.3.1.1 Maximum
The input rate limits about the gyro input axis (IA) shall be
±
__________ [
°
/s, rad/s].
5.3.1.2 Minimum (dead band)
The gyro dead band shall not exceed __________ [
°
/s, rad/s].
5.3.2 Gyro scale factor,
S
__________ [''/p,
m
rad/p, _____] + __________ %.
To Þll in the blanks, refer to Annex A for examples.
When required by the application, the sensitivity of a gyro characteristic to variations in voltage, fre-
quency, temperature, or other variables should be included in the subclause specifying that characteristic.
The positive and negative input rate limits need not be equal. Multiple rate limits may be speciÞed.
In the angular rate sensing mode, the scale factor is normally speciÞed in (
°
/h)/V, (
°
/h)/Hz. In the angular
displacement sensing mode, the scale factor is normally speciÞed in "/p. Different values and tolerances
may be speciÞed for different input ranges.
The scale factor range includes the manufacturing tolerance. The test procedure will result in a nominal
scale factor that is deÞned in the model equation in 8.3.
Authorized licensed use limited to: IEEE Standards Staff. Downloaded on January 27, 2009 at 15:00 from IEEE Xplore. Restrictions apply.
Authorized licensed use limited to: SUNY AT STONY BROOK. Downloaded on June 19,2018 at 06:14:21 UTC from IEEE Xplore. Restrictions apply.

IEEE
FOR SINGLE-AXIS INTERFEROMETRIC FIBER OPTIC GYROS Std 952-1997
Copyright © 1998 IEEE. All rights reserved.
5
5.3.2.1 Gyro scale factor errors
a) Linearity Error. __________ [ppm, %] of full scale and/or __________ [ppm, %] of output, [maxi-
mum 1
s
, _____].
b) Asymmetry. The difference between the scale factor measured with positive input rates and negative
input rates shall not exceed __________ [ppm, %] of half the sum of the magnitudes of the scale fac-
tor determined for positive and negative inputs.
c) Repeatability. [ppm, %], [maximum spread, 1
s
, _____].
d) Stability. __________ [ppm, %], [maximum spread, 1
s
, _____] for __________ [hours, days,
_____].
5.3.2.2 Gyro scale factor sensitivities
a) Temperature. The change in gyro scale factor resulting from a change in steady-state operating tem-
perature shall not exceed __________ ppm from that measured at __________
°
C over the range
__________
°
C to __________
°
C.
b) Other sensitivities.
5.3.3 Drift rate,
D, E
5.3.3.1 Bias and random,
D
5.3.3.1.1 Bias,
D
F
__________
±
__________
°
/h.
Repeatability. __________
°
/h [maximum spread, 1
s
, _____].
Scale factor linearity error may have a component periodic in rate due to optical feedback to the source.
Repeatability involves changes in scale factor that occur between periods of operation. Thermal cycles
and other environmental exposures, shutdowns, time between runs, remounting, and additional factors
pertinent to the particular application should be speciÞed.
Additional sensitivities may be speciÞed such as those due to variations in supply voltage, rate of temper-
ature change, temperature gradient, orientation, acceleration, vibration, magnetic Þeld, radiation, and
other environments pertinent to the particular application.
Thermal cycles and other environmental exposures, shutdowns, time between runs, remounting, and addi-
tional factors pertinent to the particular application should be speciÞed.
Authorized licensed use limited to: IEEE Standards Staff. Downloaded on January 27, 2009 at 15:00 from IEEE Xplore. Restrictions apply.
Authorized licensed use limited to: SUNY AT STONY BROOK. Downloaded on June 19,2018 at 06:14:21 UTC from IEEE Xplore. Restrictions apply.

IEEE
Std 952-1997 IEEE STANDARD SPECIFICATION FORMAT GUIDE AND TEST PROCEDURE
6
Copyright © 1998 IEEE. All rights reserved.
5.3.3.1.2 Random,
D
R
a) Angle random walk (rate white noise) coefÞcient,
N
. _____
°
/h
1/2
maximum.
b) Bias instability coefÞcient,
B.
_____
°
/h maximum.
c) Rate random walk coefÞcient,
K.
_____(
°
/h)/h
1/2
maximum.
d) Ramp coefÞcient,
R.
_____(
°
/h)/h maximum.
5.3.3.1.3 Measurement noise,
D
Q
Quantization noise coefÞcient,
Q
_____ [",
m
rad] maximum.
5.3.3.2 Environmentally sensitive,
E
5.3.3.2.1 Thermal
a) Temperature. The change in gyro bias resulting from a change in steady-state operating temperature
shall not exceed __________
°
/h from that measure at __________
°
C over the range __________
°
C to __________
°
C.
b) Temperature ramp. The change in gyro bias resulting from a temperature ramp of __________
°
C/
min shall not exceed __________
°
/h.
c) Time-dependent temperature gradient. The maximum change in gyro bias resulting from a change in
temperature ramp of __________
°
C/min shall not exceed __________
°
/h.
5.3.3.2.2 Magnetic
The change in gyro bias resulting from a change in steady-state ßux density shall not exceed _________
°
/h
over the range __________ to __________ [mT, G, _____].
Random drift rate is usually deÞned in terms of the Allan variance components. These components
should be speciÞed. See
D
R
terms under 8.3 and Annex C.
For some applications it may be sufÞcient to deÞne random drift as the standard deviation of the output.
The time interval and integration time should be speciÞed.
Measurement noise is usually deÞned as the Allan variance component
Q
. See 8.3 and Annex C.
The characteristics of the ramp should be representative of the intended application.
The magnitude of the temperature ramp should be representative of the intended application. This is
intended to specify the bias error associated with the Shupe effect, which arises from the time-dependent
temperature gradient with respect to the center of the Þber length. The magnitude of the effect is depen-
dent on gyro design, including coil-winding techniques and thermal packaging, and exhibits differences
depending on the direction of thermal input. The mounting arrangements and method of thermal input
should be speciÞed if required by the installation design.
Gyro axis and characteristics of the Þeld should be deÞned. If exposure to a varying Þeld is required, the
nature of the variation should be described. Demagnetization may be necessary following exposure.
Authorized licensed use limited to: IEEE Standards Staff. Downloaded on January 27, 2009 at 15:00 from IEEE Xplore. Restrictions apply.
Authorized licensed use limited to: SUNY AT STONY BROOK. Downloaded on June 19,2018 at 06:14:21 UTC from IEEE Xplore. Restrictions apply.

IEEE
FOR SINGLE-AXIS INTERFEROMETRIC FIBER OPTIC GYROS Std 952-1997
Copyright © 1998 IEEE. All rights reserved.
7
5.3.3.2.3 Other sensitivities
5.3.4 IA alignment characteristics
5.3.4.1 IA misalignment
__________ [', mrad], maximum with respect to the input reference axis (IRA).
5.3.4.2 IA alignment repeatability
__________ [",
m
rad], [maximum spread, 1
s
, _____].
5.3.4.3 IA alignment sensitivities
5.3.5 Operating temperature
__________
±
__________
°
C.
5.3.6 Warm-up time
__________ [s, _____], maximum.
5.3.7 Turn-on time
The gyro output rate shall be within __________ [
°
/h] of the input rate within __________ [s, _____] after
the application of power.
Additional sensitivities may be speciÞed such as those due to variations in supply voltage, rate of temper-
ature change, orientation, acceleration, vibration, radiation, and other environments pertinent to the par-
ticular application.
The speciÞc direction of IA misalignment may be important in some applications and should be speciÞed
with respect to XRA and YRA gyro case reference axes. Note that these axes are deÞned in 5.4.3.
Thermal cycles and other environmental exposures, shutdowns, time between runs, remounting, and addi-
tional factors pertinent to the particular application should be speciÞed.
IA alignment sensitivities may be speciÞed, such as those due to temperature, thermal gradients, rate of
temperature change, acceleration, vibration, and additional environments pertinent to the particular appli-
cation.
The operating temperature above applies only to temperature-controlled gyros. For gyros intended to
operate without temperature control, see 5.6.4.4.
The limits of gyro performance during that portion of warm-up time following the turn-on time should be
speciÞed for certain applications. These limits could be Þxed bounds or functions of time. More than one
function may be speciÞed for different temperatures at the time of turn-on, or different functions may be
speciÞed for each performance parameter (i.e., scale factor, bias, etc.).
Authorized licensed use limited to: IEEE Standards Staff. Downloaded on January 27, 2009 at 15:00 from IEEE Xplore. Restrictions apply.
Authorized licensed use limited to: SUNY AT STONY BROOK. Downloaded on June 19,2018 at 06:14:21 UTC from IEEE Xplore. Restrictions apply.

IEEE
Std 952-1997 IEEE STANDARD SPECIFICATION FORMAT GUIDE AND TEST PROCEDURE
8
Copyright © 1998 IEEE. All rights reserved.
5.3.8 Polarities
5.3.8.1 Input axis (IA)
The positive IA shall conform to [drawing number __________, Figure __________].
5.3.8.2 Output signals
The output signals representing gyro rotation shall conform to [drawing number __________, Figure
__________].
5.3.9 Reference constants
5.3.9.1 Light source wavelength
__________ [nm, _____].
5.3.9.2 Number of turns
__________.
5.3.9.3 Effective area per turn
__________ [m
2
, _____].
5.3.9.4 Physical pathlength
__________ [m, _____].
5.4 Mechanical requirements
Mechanical characteristics shall be as speciÞed hereinafter.
5.4.1 Exterior surface
5.4.2 Outline and mounting dimensions
Outline and mounting dimensions, and accuracy requirements of mounting surface shall conform to [draw-
ing number _____, Figure _____].
These constants are for reference only. They are not speciÞed independently, because they may vary
within the framework of the speciÞcation, or because they are difÞcult or impossible to measure indepen-
dently in a complete gyro. Nominal values are listed.
Additional requirements controlling surface Þnish, workmanship, processing, etc., may be speciÞed.
Specify center of gravity if required.
Authorized licensed use limited to: IEEE Standards Staff. Downloaded on January 27, 2009 at 15:00 from IEEE Xplore. Restrictions apply.
Authorized licensed use limited to: SUNY AT STONY BROOK. Downloaded on June 19,2018 at 06:14:21 UTC from IEEE Xplore. Restrictions apply.

IEEE
FOR SINGLE-AXIS INTERFEROMETRIC FIBER OPTIC GYROS Std 952-1997
Copyright © 1998 IEEE. All rights reserved.
9
5.4.3 Gyro axes
The X gyro case reference axis (XRA) and Y gyro case reference axis (YRA) are mutually perpendicular
and are located by means of the gyro mounting surface and the reference index on the gyro case [notch, pin,
scribe line, _____]. The IRA, XRA, and YRA are reference axes deÞned with respect to the mounting provi-
sions. These axes are nominally parallel to IA, XA, and YA respectively, and deÞne a right-handed coordi-
nate system. The IRA is perpendicular to the gyro mounting surface and shall conform to [drawing number
__________, Figure __________] (see Figure 1).
5.4.4 Weight
__________ + __________ [g, _____].
5.4.5 Seal
The gyro shall be sealed such that the equivalent helium leak rate is less than __________ [cm
3
/s, _____]
when subjected to a pressure of __________
±
__________ Pa and gyro temperature of __________
±
__________
°C for a minimum of __________ minutes.
Specify those components such as cables, connectors, and electronics that are to be included in the weight.
¯
X
¯
X
¯
Y
¯
Y
XRA
XA
YRAYA
IA
IRA
Figure 1ÑGyro axes and misalignment angles
Authorized licensed use limited to: IEEE Standards Staff. Downloaded on January 27, 2009 at 15:00 from IEEE Xplore. Restrictions apply.
Authorized licensed use limited to: SUNY AT STONY BROOK. Downloaded on June 19,2018 at 06:14:21 UTC from IEEE Xplore. Restrictions apply.

IEEE
Std 952-1997 IEEE STANDARD SPECIFICATION FORMAT GUIDE AND TEST PROCEDURE
10 Copyright © 1998 IEEE. All rights reserved.
5.4.6 IdentiÞcation of product
The gyro shall be identiÞed on the surface and in the manner indicated in drawing number __________.
IdentiÞcation shall include the following:
a) Fiber optic gyro or IFOG
b) SpeciÞcation number
c) Unit serial number
d) Axis identiÞcation marking as shown in [drawing number __________, Figure __________]
e) ManufacturerÕs name or symbol
5.4.7 Acoustic noise
The acoustic noise emissions shall conform to _________.
5.5 Electrical requirements
Electrical characteristics shall be as speciÞed in this subclause.
5.5.1 Schematic
The electrical circuits shall be connected as shown in [drawing number __________, Figure __________].
5.5.2 Impedances
The gyro impedances shall be __________ W.
5.5.3 Input power
The input power shall not exceed __________ W.
The purchase agreement may require additional identiÞcation such as date of manufacture and safety
warnings.
The schematic may include preampliÞers, temperature sensing circuits, heater circuits, trim components,
test points, etc.
Load impedances and impedances of excitation, monitoring, temperature sensing, and test circuits should
be speciÞed.
Requirements such as power factor for each circuit, frequency, voltage, ripple, starting, and operating cur-
rent should be speciÞed. Transient conditions may need to be speciÞed.
Gyros with environmental controls may exhibit substantial changes in input power requirements over the
operation temperature range.
Authorized licensed use limited to: IEEE Standards Staff. Downloaded on January 27, 2009 at 15:00 from IEEE Xplore. Restrictions apply.
Authorized licensed use limited to: SUNY AT STONY BROOK. Downloaded on June 19,2018 at 06:14:21 UTC from IEEE Xplore. Restrictions apply.

IEEE
FOR SINGLE-AXIS INTERFEROMETRIC FIBER OPTIC GYROS Std 952-1997
Copyright © 1998 IEEE. All rights reserved. 11
5.5.4 Test points
5.5.5 Grounding
5.5.6 Output signals
5.5.7 Temperature sensors
The output of the temperature sensor(s) shall be __________ ± __________ [W, V, _____] in the operating
temperature range speciÞed in 5.6.4.4 of this standard. The temperature rise of the sensor due to self-heating
shall not exceed __________ °C at __________ mA. The scale factor of the temperature sensor(s) shall be
[±] __________ ± __________ [V/°C, _____].
5.5.8 Insulation resistance
The insulation resistance between isolated interface circuits and between the case(s) and circuits isolated
from the case(s) shall not be less than __________ MW measured at __________ ±__________ V dc,
applied for __________ ± __________ s.
Test points required for monitoring and testing of the gyro should be speciÞed. These may include excita-
tion voltages, other control signals, or temperature sensor(s). Any special buffering or scaling require-
ments should be speciÞed.
Electrical grounding design requirements (for example, requirements for isolation between input, output
power returns and the grounding requirements for shields, chassis and critical components) should be
speciÞed.
The type and characteristics of output signal(s) required, such as analog voltage or current, parallel or
serial digital, or incremental angle pulses should be speciÞed. For example:
Type: Pulses indicating positive angular increments on one signal line and pulses indicating negative
angular increments on a second line.
Characteristics:
Source impedance
Load impedance
Wave shape (see Figure 2)
Maximum pulse rate
Thermistors, thermocouples, or other temperature sensors may be speciÞed. Temperature sensors may be
built into the gyro for use in characterizing its temperature sensitivity. If sensors are required, specify
quantity, locations, and characteristics. The temperature range over which the scale factor should be spec-
iÞed is given by 5.3.5 for temperature-controlled gyros and 5.6.4.4 for all other gyros.
Different voltages may be speciÞed for different circuits.
Authorized licensed use limited to: IEEE Standards Staff. Downloaded on January 27, 2009 at 15:00 from IEEE Xplore. Restrictions apply.
Authorized licensed use limited to: SUNY AT STONY BROOK. Downloaded on June 19,2018 at 06:14:21 UTC from IEEE Xplore. Restrictions apply.

IEEE
Std 952-1997 IEEE STANDARD SPECIFICATION FORMAT GUIDE AND TEST PROCEDURE
12 Copyright © 1998 IEEE. All rights reserved.
5.5.9 Dielectric strength
The leakage current shall not exceed __________ nA when __________ ± __________ V RMS, at
__________ Hz, are applied between isolated interface circuits, and between the case(s) and circuits isolated
from the case(s) for __________ ± __________ s.
5.5.10 Electromagnetic interference
The electromagnetic emissions and susceptibilities shall conform to __________.
5.5.11 Electromagnetic compatibility
5.6 Environmental requirements
5.6.1 Storage
The gyro shall conform to all requirements of this speciÞcation after exposure to the following environments
or speciÞed combinations thereof, while packaged as speciÞed in Clause 7.
5.6.2 Transport
The gyro shall conform to all requirements of this speciÞcation after exposure to the following environments
or speciÞed combinations thereof, while packaged as speciÞed in Clause 7.
5.6.3 Operation
Different voltages may be speciÞed for different circuits. In some instances, lower voltages may be spec-
iÞed for subsequent tests.
Describe the requirements. In the United States, a common standard is MIL-STD-461.
Describe the requirements. In the United States, a common standard is MIL-STD-461.
This subclause contains environmental requirements only. Test procedures that are to be used, including
required combinations of environments, are covered in 6.6 of this standard.
The procuring organization should list the applicable environments from 5.6.4 of this standard and spec-
ify the limits for each based on the storage conditions expected.
The procuring organization should list the applicable environments from 5.6.4 of this standard and spec-
ify the limits for each based on the transportation conditions expected.
In order to properly specify the environmental requirements for a gyro, three different sets of environ-
ments or environmental limits, or both, as deÞned in 5.6.3.1, 5.6.3.2, and 5.6.3.3 of this standard may
need to be described.
Authorized licensed use limited to: IEEE Standards Staff. Downloaded on January 27, 2009 at 15:00 from IEEE Xplore. Restrictions apply.
Authorized licensed use limited to: SUNY AT STONY BROOK. Downloaded on June 19,2018 at 06:14:21 UTC from IEEE Xplore. Restrictions apply.

IEEE
FOR SINGLE-AXIS INTERFEROMETRIC FIBER OPTIC GYROS Std 952-1997
Copyright © 1998 IEEE. All rights reserved. 13
5.6.3.1 Operating environment
The gyro shall conform to all requirements of this speciÞcation during exposure to the following environ-
ments or speciÞed combinations thereof (except during exposure to __________ where the deviations of this
speciÞcation are given in the following clauses).
Where degraded performance is to be allowed, include the parenthetical phrase in 5.6.3.1 of this standard
and list in the blank space those environments for which degraded performance is allowed. The procuring
organization should list the applicable environments from 5.6.4 of this standard and specify the limits for
each based on the conditions expected when the gyro is in use. For those environments where degraded
performance is allowed, specify the performance deviation in the clause that speciÞes the environment.
VOLTAGE
TIME
Reference Voltage
T
10%
90%
V
1
t1
V2
V
3
V
4
t2
trtf
V
5
10%
90%
UNITS MAXIMUM MINIMUM REMARKS
V1volts _______ _______ Steady-state low voltage
V2volts _______ N/A Overshoot voltage
V3volts N/A _______ Undershoot voltage
V4volts _______ _______ Steady-state high voltage
V5volts _______ N/A Maximum low voltage transient
trseconds _______ _______ Rise time
tfseconds _______ _______ Fall time
t1seconds _______ _______ Turn-on transient time
t2seconds _______ _______ High voltage on time
t1/t2_______ _______ N/A Ratio of turn-on transient to
required on time
T seconds _______ _______ Waveform period
t2/T _______ _______ _______ Duty cycle
Figure 2ÑWave shape requirements for direct coupled pulse-type signals
Authorized licensed use limited to: IEEE Standards Staff. Downloaded on January 27, 2009 at 15:00 from IEEE Xplore. Restrictions apply.
Authorized licensed use limited to: SUNY AT STONY BROOK. Downloaded on June 19,2018 at 06:14:21 UTC from IEEE Xplore. Restrictions apply.

IEEE
Std 952-1997 IEEE STANDARD SPECIFICATION FORMAT GUIDE AND TEST PROCEDURE
14 Copyright © 1998 IEEE. All rights reserved.
5.6.3.2 Survival environment, operating
The gyro shall conform to all requirements of this speciÞcation after the operating gyro has been exposed to
the following environments or speciÞed combinations thereof.
5.6.3.3 Survival environment, nonoperating
The gyro shall conform to all requirements of this speciÞcation after the nonoperating gyro has been
exposed to the following environments or speciÞed combinations thereof.
5.6.4 Environments
Environmental characteristics shall be as speciÞed in this subclause.
5.6.4.1 Vibration
5.6.4.1.1 Linear
Sinusoidal: __________ [cm, inches] DA (double amplitude) __________ to __________ Hz; __________
[m/s2, g] peak, __________ to __________ Hz. Sweep rate: __________ min/octave (continuous). Expo-
sure time: __________ [min, _____] per axis.
5.6.4.1.2 Angular
Sinusoidal: __________ [°/s2, rad/s2] __________ to __________ Hz. Sweep rate shall be __________ min/
octave (continuous). Exposure time: __________ [min, ___] per axis.
5.6.4.2 Mechanical shock
__________ [m/s2, g, _____] peak, __________ wave shape, __________ ms, __________ shock(s) per
axis.
The procuring organization should list the applicable environments from 5.6.4 of this standard and spec-
ify the limits for each based on the conditions expected when the gyro is operating, but not in use.
The procuring organization should list the applicable environments from 5.6.4 of this standard and spec-
ify the limits for each based on the conditions expected when the gyro is not operating. Such conditions
are expected to occur when the gyro is mounted in the system and the system is stored or transported in
severe environments.
This list is intended as an aid to the selection of the applicable environments under 5.6.1, 5.6.2, and 5.6.3
of this standard. 5.6.4 in this form would not be included in a Þnal speciÞcation.
Axes should be deÞned.
When available, supply the speciÞc vibration characteristics including dwell frequencies, frequency spec-
trum, time duration, etc.
If exposure to random vibration is required, power spectral density (PSD), bandwidth, peak acceleration
level, and duration should be speciÞed.
Gyro axes and direction of shock should be deÞned. A Þgure may be included to describe more complex
waveforms. A shock spectrum may be speciÞed.
Authorized licensed use limited to: IEEE Standards Staff. Downloaded on January 27, 2009 at 15:00 from IEEE Xplore. Restrictions apply.
Authorized licensed use limited to: SUNY AT STONY BROOK. Downloaded on June 19,2018 at 06:14:21 UTC from IEEE Xplore. Restrictions apply.

IEEE
FOR SINGLE-AXIS INTERFEROMETRIC FIBER OPTIC GYROS Std 952-1997
Copyright © 1998 IEEE. All rights reserved. 15
5.6.4.3 Acceleration
5.6.4.3.1 Linear acceleration
__________ [m/s2, g], exposure time __________ [min, _____].
5.6.4.3.2 Angular acceleration
__________ [°/s2, rad/s2], exposure time __________ [min, _____].
5.6.4.4 Temperature
__________ °C to __________ °C.
5.6.4.5 Thermal shock
__________ °C to __________ °C within __________ [s, _____].
5.6.4.6 Time-dependent temperature gradient
__________ °C between speciÞed gyro surfaces to __________ °C within __________ [s, _____].
5.6.4.7 Thermal radiation
__________ W/cm2 of radiation of wavelength from __________ to __________ meters; exposure time:
__________ [min, _____].
5.6.4.8 Ambient air pressure
__________ to __________ [Pa, _____].
5.6.4.9 Acoustic noise
__________ dB referenced to 2 × 10Ð5 Pa, __________ to __________ Hz; exposure time: __________ [s,
_____].
Gyro axes and direction of acceleration should be deÞned.
If exposure to cyclic conditions is required, temperature limits for each level, dwell times, and sequence
should be speciÞed. A Þgure may be included to describe more complex proÞles.
If exposure to cyclic conditions is required, pressure limits for each level, dwell times and sequence
should be speciÞed. A Þgure may be included to describe more complex proÞles.
When available, the speciÞc sound pressure versus frequency for the application should be speciÞed.
Sweep rate may be speciÞed as __________ min/octave (continuous), if applying sinusoidal acoustic
noise.
Authorized licensed use limited to: IEEE Standards Staff. Downloaded on January 27, 2009 at 15:00 from IEEE Xplore. Restrictions apply.
Authorized licensed use limited to: SUNY AT STONY BROOK. Downloaded on June 19,2018 at 06:14:21 UTC from IEEE Xplore. Restrictions apply.

IEEE
Std 952-1997 IEEE STANDARD SPECIFICATION FORMAT GUIDE AND TEST PROCEDURE
16 Copyright © 1998 IEEE. All rights reserved.
5.6.4.10 Humidity
__________ % relative humidity for __________ h obtained from steam or distilled water having a pH value
of __________ + __________.
5.6.4.11 Air currents
__________ [m/s, ft/s].
5.6.4.12 Fungus
5.6.4.13 Salt spray
__________ % salt solution; exposure time: __________ [s, _____].
5.6.4.14 Nuclear radiation
__________ [J/kg, rad(Si)] with an exposure of __________ [(J/kg)/s, rad(Si)/s] and/or combinations of
__________ particles at a ßuence of __________ /cm2 with energy greater than __________ MeV.
5.6.4.15 Magnetic Þelds
__________ [mT, G]; exposure time: __________ [s, _____].
5.6.4.16 Electromagnetic Þelds
Electromagnetic Þelds shall conform with __________.
5.6.4.17 Sand and dust
__________ [Kg/m3, _____] at a velocity of __________ + __________ [m/s, _____]; exposure time:
__________ [s, _____].
Gyro axes and direction of air ßow should be deÞned.
Fungi organisms, length of exposure, temperature, and humidity conditions during exposure should be
speciÞed.
Radiation Þeld characteristics and direction with respect to gyro axes should be deÞned. If exposure to
varying Þelds is required, the nature of the variation should be described.
Gyro axes and direction of Þeld should be deÞned. If exposure to varying Þelds is required, the nature of
the variation should be described.
In the United States, a common standard is MIL-STD-461.
Particle size, shape, and chemical composition should be speciÞed.
Authorized licensed use limited to: IEEE Standards Staff. Downloaded on January 27, 2009 at 15:00 from IEEE Xplore. Restrictions apply.
Authorized licensed use limited to: SUNY AT STONY BROOK. Downloaded on June 19,2018 at 06:14:21 UTC from IEEE Xplore. Restrictions apply.

IEEE
FOR SINGLE-AXIS INTERFEROMETRIC FIBER OPTIC GYROS Std 952-1997
Copyright © 1998 IEEE. All rights reserved. 17
5.6.4.18 Solar radiation
__________ + __________ [W/m2, W/ft2] of wavelength __________ to __________ meters; exposure
time: __________ [min, ___].
5.6.4.19 Rain
__________ + __________ [mm/h, _____] consisting of droplets having a minimum diameter of
__________ mm; exposure time: __________ [s, _____].
5.6.4.20 Excitation variation
The variations of excitation voltage and frequency shall conform with __________.
5.6.4.21 Life
5.6.4.21.1 Storage
__________ [years, _____].
5.6.4.21.2 Operating
__________ [h, _____].
5.6.4.21.3 Start cycles
__________ minimum.
5.7 Reliability
5.7.1 Reliability program
The reliability program required shall conform with __________.
5.7.2 Mean time between failure (MTBF)
The MTBF shall be __________ h minimum.
Distribution of power density versus wavelength should be speciÞed.
In the United States, a common standard is MIL-STD-704.
Life may need to be speciÞed under varying environmental conditions.
In the United States, a common standard is MIL-STD-785.
Conditions, methods of analysis, and failure criteria should be speciÞed.
Authorized licensed use limited to: IEEE Standards Staff. Downloaded on January 27, 2009 at 15:00 from IEEE Xplore. Restrictions apply.
Authorized licensed use limited to: SUNY AT STONY BROOK. Downloaded on June 19,2018 at 06:14:21 UTC from IEEE Xplore. Restrictions apply.

IEEE
Std 952-1997 IEEE STANDARD SPECIFICATION FORMAT GUIDE AND TEST PROCEDURE
18 Copyright © 1998 IEEE. All rights reserved.
6. Quality assurance provisions
6.1 ClassiÞcation of tests
Inspection and testing shall be classiÞed as follows:
a) Acceptance tests. Acceptance tests are those tests performed on gyros submitted for acceptance
under contract.
b) QualiÞcation tests. QualiÞcation tests are those tests performed on gyros submitted for qualiÞcation
as a satisfactory product.
c) Reliability tests. Reliability tests are those tests performed to demonstrate the reliability speciÞed in
5.7 of this standard.
6.2 Acceptance tests
6.2.1 Individual tests
Each gyro shall be subjected to the following tests as described in 6.6.
6.2.2 Sampling plans and tests
6.2.2.1 Sampling plans
Gyros selected shall be subject to the tests speciÞed in 6.2.2.2, which are described in 6.6.
The list and sequence of individual tests should be speciÞed by the procuring organization based on indi-
vidual requirements. Those tests that are usually speciÞed are listed below. A burn-in period under speci-
Þed conditions may be required before beginning individual tests.
6.6.1 Examination of product (mechanical)
6.6.2.1 Insulation resistances
6.6.2.2 Impedances
6.6.4 Input power and circuit excitations
6.6.5 Turn-on time
6.6.6 Warm-up time
6.6.7 Polarity
6.6.9.1 Gyro scale factor
6.6.9.2 Gyro scale factor errors
6.6.10 Input rate test series
6.6.11.1 Bias repeatability
6.6.11.1 Bias sensitivities
6.6.11.3 Random drift
6.6.12.1 IA misalignment (nominal)
There are other individual tests that are not generally speciÞed but that may be included under individual
tests based on speciÞc application. In some cases the gyros are subjected to speciÞc environmental tests.
This subclause is intended to designate a sampling plan if required. Sampling plans are up to the discre-
tion of the procuring organization based upon usage, size of contract, individual requirements, etc.
In the United States, selection according to MIL-STD-105 is common.
Authorized licensed use limited to: IEEE Standards Staff. Downloaded on January 27, 2009 at 15:00 from IEEE Xplore. Restrictions apply.
Authorized licensed use limited to: SUNY AT STONY BROOK. Downloaded on June 19,2018 at 06:14:21 UTC from IEEE Xplore. Restrictions apply.

IEEE
FOR SINGLE-AXIS INTERFEROMETRIC FIBER OPTIC GYROS Std 952-1997
Copyright © 1998 IEEE. All rights reserved. 19
6.2.2.2 Sampling tests
6.2.2.3 Rejection and retest
When one item selected from a production run fails to meet the speciÞcation, the procuring organization
shall be immediately notiÞed of the failure, and at the discretion of the procuring organization no items still
on hand or later produced shall be accepted until the extent and cause of failure are determined. After correc-
tions have been made, all necessary tests shall be repeated. For operational and production reasons, individ-
ual tests may be continued pending the investigation of a sampling plan failure.
6.2.2.4 Defects in items already accepted
The investigation of a test failure could indicate that defects may exist in items already accepted. If so, the
manufacturer shall fully advise the procuring organization of defects likely to be found and of methods for
correcting them.
6.3 QualiÞcation tests
6.3.1 QualiÞcation test samples
A sample of __________ gyros manufactured in accordance with the requirements of this clause shall be
subjected to qualiÞcation tests speciÞed in this speciÞcation at an activity designated by the procuring orga-
nization.
If the gyro is later modiÞed in any way, the modiÞed gyro shall be subjected to and pass those qualiÞcation
tests designated by the procuring organization.
The qualiÞcation test samples shall be identiÞed with the manufacturerÕs part number and/or any other infor-
mation required by the procuring organization.
6.3.2 QualiÞcation tests
6.4 Reliability tests
In addition to the individual tests listed in 6.2.1 of this standard, the procuring organization should spec-
ify from 6.6 those tests that should be performed on gyros selected by 6.2.2.1. Sampling plan units may
be used for delivery unless the procuring agency speciÞes life tests or other destructive type tests under
the sampling plan.
Other requirements suitable to an individual contract may be substituted for this subclause.
The procuring organization should specify from 6.6, those tests, or combinations of tests, that should be
performed on gyros submitted for qualiÞcation.
The reliability tests may be performed at the gyro or higher assembly level, or both.
Authorized licensed use limited to: IEEE Standards Staff. Downloaded on January 27, 2009 at 15:00 from IEEE Xplore. Restrictions apply.
Authorized licensed use limited to: SUNY AT STONY BROOK. Downloaded on June 19,2018 at 06:14:21 UTC from IEEE Xplore. Restrictions apply.

IEEE
Std 952-1997 IEEE STANDARD SPECIFICATION FORMAT GUIDE AND TEST PROCEDURE
20 Copyright © 1998 IEEE. All rights reserved.
6.4.1 Burn-in
Each gyro shall be subjected to a__________ h burn-in period under the following conditions.
6.4.2 Demonstration testing
The MTBF requirements of 5.7.2 shall be demonstrated by testing __________ units for a minimum of
__________ h each, for a combined total of __________ h minimum.
6.5 Test conditions and equipment
6.6 Test methods
6.6.1 Examination of product (mechanical)
6.6.2 Examination of product (electrical)
6.6.2.1 Insulation resistances
6.6.2.2 Impedances
6.6.2.3 Dielectric strength
6.6.3 Leak test
6.6.4 Input power
6.6.5 Turn-on time
6.6.6 Warm-up time
6.6.7 Polarity
Environment and operating conditions should be speciÞed. Consideration should be given to not compro-
mising the useful operating life by excessive test time during burn-in.
In the United States, testing in accordance with MIL-STD-781 is common.
Other methods of demonstration testing may be selected. A demonstration test plan should be prepared to
deÞne test conditions, stress levels, failures, types of tests, etc.
The procuring organization should specify from Part II, Clause 11, the nominal test conditions and test
equipment required. The conditions should apply to all tests unless otherwise speciÞed. When a test con-
dition is speciÞed, the complete test condition should be detailed in this speciÞcation. The test equipment
required should also be listed by name and model, part number, or performance requirement.
Instructions for performing speciÞed tests in this clause are detailed in Part II, Clause 12. When a test is
speciÞed, the complete test method should be detailed in this speciÞcation, including requirements to be
met to determine satisfactory performance. A test method should not be listed in 6.6 unless a requirement
exists in Clause 5 of this speciÞcation. The corresponding test methods are shown in Annex D for each
requirement.
Authorized licensed use limited to: IEEE Standards Staff. Downloaded on January 27, 2009 at 15:00 from IEEE Xplore. Restrictions apply.
Authorized licensed use limited to: SUNY AT STONY BROOK. Downloaded on June 19,2018 at 06:14:21 UTC from IEEE Xplore. Restrictions apply.
IEEE
FOR SINGLE-AXIS INTERFEROMETRIC FIBER OPTIC GYROS Std 952-1997
Copyright © 1998 IEEE. All rights reserved. 21
6.6.8 Operating temperature test series
6.6.8.1 Temperature sensor characteristics
6.6.8.2 Operating temperature
6.6.9 Gyro scale factor test series
6.6.9.1 Gyro scale factor
6.6.9.2 Gyro scale factor errors
6.6.9.3 Gyro scale factor sensitivities
6.6.10 Input rate test series
6.6.10.1 Maximum input rate
6.6.10.2 Minimum input rate
6.6.11 Drift rate test series
6.6.11.1 Bias
6.6.11.2 Measurement noise
6.6.11.3 Random drift
6.6.11.3.1 Angle random walk
6.6.11.3.2 Bias instability
6.6.11.3.3 Rate Random walk
6.6.11.3.4 Ramp
6.6.12 IA alignment test series
6.6.12.1 Misalignment (nominal)
6.6.12.2 Alignment repeatability
6.6.12.3 Alignment sensitivities
6.6.13 Generated Þelds
6.6.13.1 Electromagnetic interference
6.6.13.2 Acoustic noise
6.6.14 Environmental test series
6.6.14.1 Temperature
Authorized licensed use limited to: IEEE Standards Staff. Downloaded on January 27, 2009 at 15:00 from IEEE Xplore. Restrictions apply.
Authorized licensed use limited to: SUNY AT STONY BROOK. Downloaded on June 19,2018 at 06:14:21 UTC from IEEE Xplore. Restrictions apply.
IEEE
Std 952-1997 IEEE STANDARD SPECIFICATION FORMAT GUIDE AND TEST PROCEDURE
22 Copyright © 1998 IEEE. All rights reserved.
6.6.14.2 Excitation variation
6.6.14.3 Mechanical shock
6.6.14.4 Thermal shock
6.6.14.5 Vibration
6.6.14.5.1 Linear
6.6.14.5.2 Angular
6.6.14.6 Acceleration
6.6.14.6.1 Linear acceleration
6.6.14.6.2 Angular acceleration
6.6.14.7 Life
6.6.14.7.1 Storage
6.6.14.7.2 Operating
6.6.14.7.3 Start cycles
6.6.14.8 Fungus
6.6.14.9 Humidity
6.6.14.10 Salt spray
6.6.14.11 Acoustic noise
6.6.14.12 Thermal radiation
6.6.14.13 Air currents
6.6.14.14 Nuclear radiation
6.6.14.15 Pressure
6.6.14.16 Magnetic Þelds
6.6.14.17 Electromagnetic Þelds
6.6.14.18 Sand and dust
6.6.14.19 Solar radiation
6.6.14.20 Rain
Authorized licensed use limited to: IEEE Standards Staff. Downloaded on January 27, 2009 at 15:00 from IEEE Xplore. Restrictions apply.
Authorized licensed use limited to: SUNY AT STONY BROOK. Downloaded on June 19,2018 at 06:14:21 UTC from IEEE Xplore. Restrictions apply.

IEEE
FOR SINGLE-AXIS INTERFEROMETRIC FIBER OPTIC GYROS Std 952-1997
Copyright © 1998 IEEE. All rights reserved. 23
6.6.14.21 Other
7. Preparation for delivery
8. Notes
8.1 Intended use
8.2 Ordering data
8.3 Model equation
The model equation for a single-axis ifog expresses the relationship between the input rotation rate and the
gyro output in terms of parameters whose coefÞcients are necessary to specify the performance of the gyro.
where
S0 is nominal scale factor ("/p)
(DN/DT) is output pulse rate (p/s)
SpeciÞc applications may require combined environmental tests, such as:
a) Thermal vacuum (6.6.14.1, 6.6.14.12, and 6.6.14.14)
b) Margin tests (6.6.14.1, 6.6.14.2, and 6.6.14.14)
c) Thermal shock/vacuum (6.6.14.1 and 6.6.14.14)
Detailed procedures should be provided for:
a) Preservation and packaging
b) Packing
c) Marking of shipping containers
A common United States speciÞcation covering preservation and packaging is MIL-P-116.
Description of application if it is considered necessary or helpful.
Procuring documents should specify the following:
a) Title, number, and date of this speciÞcation
b) Level of packaging and packing desired
c) Mode of shipment required
d) Whether sampling plan tests are to be conducted
e) Number of preproduction samples to be submitted for qualiÞcation testing
f) Data package
The use of the coefÞcients deÞned in this subclause to simulate gyro performance is discussed in Annex B.
S0DNDt¤()IED++[]110
6Ð eK
+[]
1Ð
=
Authorized licensed use limited to: IEEE Standards Staff. Downloaded on January 27, 2009 at 15:00 from IEEE Xplore. Restrictions apply.
Authorized licensed use limited to: SUNY AT STONY BROOK. Downloaded on June 19,2018 at 06:14:21 UTC from IEEE Xplore. Restrictions apply.

IEEE
Std 952-1997 IEEE STANDARD SPECIFICATION FORMAT GUIDE AND TEST PROCEDURE
24 Copyright © 1998 IEEE. All rights reserved.
Iis inertial input terms (°/h)
Eis environmentally sensitive terms (°/h)
Dis drift terms (°/h)
eKis scale factor error terms (ppm)
Iis wIRA + wXRAsinQY Ð wYRAsinQX
Eis
Dis DF + DR + DQ
where
DRis DRN + DRB + DRK + DRR
eKis eTDT + f(I)
wIRA, wXRA,
wYRA are components of the inertial input rate resolved into the gyro reference coordinate frame
QXis misalignment of the IA about the XRA
QYis misalignment of the IA about the YRA
DFis bias
DTDTis drift rate attributable to a change in temperature, DT, where DT is the drift rate tempera-
ture sensitivity coefÞcient
eTDTis scale factor error attributable to a change in temperature, DT, where e
T
is the scale factor
temperature sensitivity coefÞcient
is drÞt rate attributable to a temperature ramp, dT/dt, where is the coefÞcient of the tempera-
ture-ramp drift-rate sensitivity
is drift rate attributable to a time-varying temperature-gradient, , where is the
coefÞcient vector of the time-varying temperature-gradient drift-rate sensitivity
f(I) is cale factor errors dependent on input rate
DRN is random drift rate attributable to angle random walk, where N is the coefÞcient
DRB is random drift rate attributable to bias instability, where B is the coefÞcient
DRK is random drift rate attributable to rate random walk, where K is the coefÞcient
DRR is random drift rate attributable to ramp, where R is the coefÞcient
DQis equivalent random drift rate attributable to angle quantization, where Q is the coefÞcient
In the analog rate sensing mode
S0Vis [I + E + D] [1 + 10Ð6 eK]Ð1
S0is nominal scale factor [(°/h)/V]
Vis analog output (volts)
Other sensitivities may be added to the model equation, such as those due to variations in supply voltage,
orientation, acceleration, vibration, and other environments pertinent to the particular application.
DTDTD
T
údT dt¤()DT
ú
Ñ
dTÑ
dt
-----------
·++
DT
údT dt¤() DT
ú
DÑT
ú
dÑT
dt
-----------
×dÑT
dt
----------- DÑT
ú
Authorized licensed use limited to: IEEE Standards Staff. Downloaded on January 27, 2009 at 15:00 from IEEE Xplore. Restrictions apply.
Authorized licensed use limited to: SUNY AT STONY BROOK. Downloaded on June 19,2018 at 06:14:21 UTC from IEEE Xplore. Restrictions apply.

IEEE
FOR SINGLE-AXIS INTERFEROMETRIC FIBER OPTIC GYROS Std 952-1997
Copyright © 1998 IEEE. All rights reserved. 25
Part IIÑTest procedures
9. Test procedure overview
This test procedure describes the test requirements for __________ [model number, part number, change let-
ter (if any), other identiÞcation], gyro speciÞcation number __________, manufactured by __________.
10. Description
The gyro considered in this standard is a single-axis IFOG that senses angular rate utilizing the Sagnac
effect. The gyro output may be either angular rate or angular displacement. The characteristics of the gyro
are expressed by the model equation given in 8.3.
11. Test conditions and test equipment
11.1 Standard test conditions
Unless otherwise stated, the conditions in 11.1.1.1 through 11.1.1.4 apply.
11.1.1 Ambient environment
11.1.1.1 Atmospheric conditions
a) Pressure: __________ + __________ [Pa, in Hg]
b) Ambient temperature: __________ + __________ °C
c) Relative humidity: __________ to __________ %
11.1.1.2 Magnetic Þeld
a) Horizontal component: __________ [mT, G] maximum
b) Vertical component: __________ [mT, G] maximum
11.1.1.3 Radiation
11.1.1.4 Seismic conditions
11.1.1.4.1 Tilt
Stable within __________ [", mrad] with respect to the local vertical.
11.1.1.4.2 Linear vibration
a) Acceleration: __________ g maximum
b) Frequency range: __________ to __________ Hz
The preceding limits apply to each of the three axes of a coordinate system.
List type of radiation and application intensity limits.
Authorized licensed use limited to: IEEE Standards Staff. Downloaded on January 27, 2009 at 15:00 from IEEE Xplore. Restrictions apply.
Authorized licensed use limited to: SUNY AT STONY BROOK. Downloaded on June 19,2018 at 06:14:21 UTC from IEEE Xplore. Restrictions apply.

IEEE
Std 952-1997 IEEE STANDARD SPECIFICATION FORMAT GUIDE AND TEST PROCEDURE
26 Copyright © 1998 IEEE. All rights reserved.
11.1.1.4.3 Angular vibration
a) Oscillations: __________ [°/s2, rad/s2] maximum
b) Frequency range: __________ to __________ Hz
The preceding limits apply to rotation about each of the three axes of a coordinate system.
11.1.2 Installation conditions
11.1.2.1 Thermal conditions
All tests requiring stable temperatures shall be performed with the gyro at thermal equilibrium as evidenced
by __________. The gyro operating temperature shall be __________ ± __________ °C.
11.1.2.2 Mechanical conditions
The gyro shall be mounted in such a way that the alignment of the IRA with respect to the test Þxture is
maintained within __________ [', mrad] under all speciÞed test conditions.
11.1.3 Electrical excitation and load conditions
Excitation and load conditions shall be as speciÞed hereinafter.
11.1.3.1 Input power
11.1.3.2 Output signals
In designing the mounting Þxture, consideration should be given to the installation conditions of the
application. Reference to a speciÞc mounting block thermal and mechanical design, etc., may be neces-
sary if deemed important to meet performance requirements. If temperature control is required, the fol-
lowing should be speciÞed:
a) The unit operating temperature
b) The means of temperature determination
c) The criteria for establishing thermal equilibrium
Where necessary, the test installation should provide means to measure and/or control the temperature
gradients.
The method of determining the temperature should be speciÞed if required.
The gyro may require more than one input voltage. For each circuit, the source impedance, voltage, fre-
quency, ripple, warm-up, and operating current should be speciÞed.
Typical output signals are either analog signals proportional to angular rate or digital signals proportional
to angular displacement. The output load or the type of logic devices and the number of unit loads to be
driven should be speciÞed.
Authorized licensed use limited to: IEEE Standards Staff. Downloaded on January 27, 2009 at 15:00 from IEEE Xplore. Restrictions apply.
Authorized licensed use limited to: SUNY AT STONY BROOK. Downloaded on June 19,2018 at 06:14:21 UTC from IEEE Xplore. Restrictions apply.

IEEE
FOR SINGLE-AXIS INTERFEROMETRIC FIBER OPTIC GYROS Std 952-1997
Copyright © 1998 IEEE. All rights reserved. 27
11.1.3.3 Electrical connections and phasing
Electrical connections and phasing shall be speciÞed on schematic diagram __________.
11.1.4 Turn-on procedure
The sequence of operations required to bring the gyro to operating condition shall be __________.
11.1.5 Turn-off procedure
The sequence of operations required to turn off the gyro shall be __________.
11.2 Standard operating and test equipment
11.2.1 General requirements
11.2.2 Standard operating equipment
11.2.3 Test equipment
12. Test procedures
12.1 Examination of productÑMechanical
The gyro shall be inspected visually and dimensionally for proper identiÞcation, surface Þnish, and for
defects in workmanship to determine that it conforms to the requirements of subclause __________.
12.2 Examination of productÑElectrical
The gyro shall be inspected electrically according to the following subclauses to measure insulation resis-
tances, impedances and dielectric strength.
Grounding, shielding, test points, load requirements, etc., should be speciÞed as needed.
The accuracy and response characteristics of the test equipment should be compatible with the require-
ments of the gyro performance speciÞcation. Provisions should be made for adequate stabilization of the
test equipment. Adequate limitations should be placed on the test equipment to prevent the gyro from
excessive inputs and loads, such as electrical, mechanical, thermal, etc.
Standard operating equipment is the equipment used to provide standard gyro operation and should be
listed here by name, manufacturer, model, part number, or by performance requirements.
Test equipment is the equipment used to provide a stimulus or measurement capability and should be
listed here by name, manufacturer, model, part number, or by performance requirements.
For gyros where preampliÞers or other sensitive devices are included within the gyro case, care should be
taken to avoid the application of voltages that could damage those devices.
Authorized licensed use limited to: IEEE Standards Staff. Downloaded on January 27, 2009 at 15:00 from IEEE Xplore. Restrictions apply.
Authorized licensed use limited to: SUNY AT STONY BROOK. Downloaded on June 19,2018 at 06:14:21 UTC from IEEE Xplore. Restrictions apply.

IEEE
Std 952-1997 IEEE STANDARD SPECIFICATION FORMAT GUIDE AND TEST PROCEDURE
28 Copyright © 1998 IEEE. All rights reserved.
12.2.1 Insulation resistance
12.2.1.1 Purpose of insulation resistance test
The purpose of this test is to measure the insulation resistance between the isolated circuits and between the
gyro case and the circuits isolated from the gyro case.
12.2.1.2 Insulation resistance testÑEquipment
12.2.1.3 Insulation resistance testÑSetup and procedure
Apply __________ ± __________ V dc for a period of __________ ± __________ s between the indicated
circuits and between the circuits and the gyro case. Record the resistance reading.
12.2.1.4 Insulation resistance testÑResults
The results shall conform to the requirements of subclause __________.
12.2.2 Impedance
12.2.2.1 Purpose of impedance test
The purpose of this test is to measure the impedance of the speciÞed gyro circuits.
12.2.2.2 Impedance testÑEquipment
12.2.2.3 Impedance testÑSetup and procedure
The gyro shall be allowed to reach thermal equilibrium at the temperature speciÞed in clause __________ in
order that the Þnal value will not be affected by changing temperature.
Measure all gyro impedances speciÞed in subclause __________. To protect the gyro, the test current
through the circuit shall be as small as practical considering the sensitivity of the measuring instruments.
The test current shall be uninterrupted for __________ ± __________ s.
12.2.2.4 Impedance testÑResults
The impedance measured shall be recorded and shall conform to the requirements of subclause __________.
In addition to the standard operating equipment from 11.2.2, the following test equipment from 11.2.3 is
required for this test and should be listed in this subclause:
a) Megohmmeter
In addition to the standard operating equipment from 11.2.2, the following test equipment from 11.2.3 is
required for this test and should be listed in this subclause:
a) Impedance bridge with frequency generator adjustable to the speciÞed frequency
b) DC resistance bridge or other suitable resistance measuring system
Authorized licensed use limited to: IEEE Standards Staff. Downloaded on January 27, 2009 at 15:00 from IEEE Xplore. Restrictions apply.
Authorized licensed use limited to: SUNY AT STONY BROOK. Downloaded on June 19,2018 at 06:14:21 UTC from IEEE Xplore. Restrictions apply.

IEEE
FOR SINGLE-AXIS INTERFEROMETRIC FIBER OPTIC GYROS Std 952-1997
Copyright © 1998 IEEE. All rights reserved. 29
12.2.3 Dielectric strength
12.2.3.1 Purpose of dielectric strength test
The purpose of this test is to ascertain that a circuit element or component part of the gyro can operate safely
at its rated voltage and withstand momentary overvoltage due to switching, surges, etc., between isolated cir-
cuits and between the gyro case and the circuits isolated from the gyro case.
12.2.3.2 Dielectric strength testÑEquipment
12.2.3.3 Dielectric strength testÑSetup and procedure
Apply __________ ± __________ V RMS at __________ Hz between the insulated portion and the case
ground. The test voltage shall be raised from zero to the speciÞed value as uniformly as possible, at a rate of
approximately 500 V RMS/s. The speciÞed value of the test voltage shall be maintained for a period of
__________ s. The voltage shall then be gradually reduced to avoid surges. During each test, the leakage
current shall be measured.
12.2.3.4 Dielectric strengthÑTest results
The results shall conform to the requirements of subclause __________.
12.3 Leak test
12.3.1 Purpose of leak test
The purpose of this test is to determine if leakage through the gyro case is occurring.
12.3.2 Leak testÑEquipment
12.3.3 Leak testÑSetup and procedure
The gyro shall be cleaned of all dirt and grease and placed in a vacuum enclosure at __________ ±
__________ [Pa, _____] and stabilized at __________ ± __________ °C gyro temperature. External gas
leakage shall then be measured using a helium leak detector.
12.3.4 Leak testÑResults
The measured gas leakage rate shall conform to the requirements of subclause _________.
In addition to the standard operating equipment from 11.2.2, the following test equipment from 11.2.3 is
required for this test and should be listed in this subclause:
a) AC high-voltage source equipped with voltage and current-measuring devices.
In addition to the standard operating equipment from 11.2.2, the following test equipment from 11.2.3 is
required for this test and should be listed in this subclause:
a) Helium leak detector
b) Vacuum enclosure
Authorized licensed use limited to: IEEE Standards Staff. Downloaded on January 27, 2009 at 15:00 from IEEE Xplore. Restrictions apply.
Authorized licensed use limited to: SUNY AT STONY BROOK. Downloaded on June 19,2018 at 06:14:21 UTC from IEEE Xplore. Restrictions apply.

IEEE
Std 952-1997 IEEE STANDARD SPECIFICATION FORMAT GUIDE AND TEST PROCEDURE
30 Copyright © 1998 IEEE. All rights reserved.
12.4 Input power
12.4.1 Purpose of input power test
The purpose of this test is to measure the input power (current) required from each source.
12.4.2 Input power testÑEquipment
12.4.3 Input power testÑSetup and Procedure
Connect the power (current) measuring devices and apply power as speciÞed in subclause __________.
Record the input power (current) from each source.
12.4.4 Input power testÑResults
The results shall conform to the requirements of subclause __________.
12.5 Turn-on time
12.5.1 Purpose of turn-on time test
The purpose of this test is to determine the time interval between the application of power and the presence
of a usable output of the gyro.
12.5.2 Turn-on time testÑEquipment
12.5.3 Turn-on time testÑSetup and procedure
Mount the gyro in the Þxture on the rate table so that the IRA is parallel to the table rotational axis within
__________ [', mrad]. Connect the gyro to the output measuring equipment. Turn the rate table on and set
the rate at __________ [°/s, rad/s]. Apply power to the gyro and record elapsed time and the gyro output.
12.5.4 Turn-on time testÑResults
From the recorded data, determine the time interval from the application of power until the indicated rate
from the gyro is within __________ [°/s, rad/s] of the table rate after correcting for earth rate and bias. This
time shall conform to the requirements of subclause __________.
In addition to the standard operating equipment from 11.2.2, the following test equipment from 11.2.3 is
required for this test and should be listed in this subclause:
a) Power (current) measuring equipment
In addition to the standard operating equipment from 11.2.2, the following test equipment from 11.2.3 is
required for this test and should be listed in this subclause:
a) Rate table with angle or rate output, depending on gyro output data format
b) Gyro output measuring and recording equipment
c) Timing device
Authorized licensed use limited to: IEEE Standards Staff. Downloaded on January 27, 2009 at 15:00 from IEEE Xplore. Restrictions apply.
Authorized licensed use limited to: SUNY AT STONY BROOK. Downloaded on June 19,2018 at 06:14:21 UTC from IEEE Xplore. Restrictions apply.

IEEE
FOR SINGLE-AXIS INTERFEROMETRIC FIBER OPTIC GYROS Std 952-1997
Copyright © 1998 IEEE. All rights reserved. 31
12.6 Warm-up time
12.6.1 Purpose of warm-up time test
The purpose of this test is to determine the time interval required for the gyro to reach speciÞed performance
from the instant it is energized under speciÞed operating conditions.
12.6.2 Warm-up time testÑEquipment
12.6.3 Warm-up time testÑSetup and procedure
Operate the gyro in accordance with the standard test conditions of 11.1, except that the starting conditions
shall be __________ and the starting sequence shall be __________.
Energize the gyro and record the speciÞed performance characteristics as a function of time for __________
[s, _____]
12.6.4 Warm-up time testÑResults
The time for the gyro to meet the speciÞed performance characteristics shall conform to the requirements of
subclause __________.
12.7 Polarity
12.7.1 Purpose of polarity test
The purpose of the polarity test is to determine the gyro output polarity with reference to the axis deÞned in
clause __________ of this speciÞcation.
12.7.2 Polarity testÑEquipment
12.7.3 Polarity testÑSetup and procedure
Mount the gyro on the rate table with the gyro IRA nominally parallel to the table axis. Connect the gyro to
the output measuring equipment. Prepare the gyro for test in accordance with the standard test conditions of
11.1. Accelerate the table to __________ [°/s, rad/s] with the input vector in the same direction as the posi-
tive IRA and record the gyro output polarity. Rotate the table in a similar manner in the opposite direction
and again record the gyro output polarity.
In addition to the standard operating equipment from 11.2.2, the following test equipment from 11.2.3 is
required for this test and should be listed in this subclause:
a) Rate table
b) Gyro output measuring and recording equipment
c) Timing device
In addition to the standard operating equipment from 11.2.2, the following test equipment from 11.2.3 is
required for this test and should be listed in this subclause:
a) Rate table
b) Means of measuring the gyro output
Authorized licensed use limited to: IEEE Standards Staff. Downloaded on January 27, 2009 at 15:00 from IEEE Xplore. Restrictions apply.
Authorized licensed use limited to: SUNY AT STONY BROOK. Downloaded on June 19,2018 at 06:14:21 UTC from IEEE Xplore. Restrictions apply.

IEEE
Std 952-1997 IEEE STANDARD SPECIFICATION FORMAT GUIDE AND TEST PROCEDURE
32 Copyright © 1998 IEEE. All rights reserved.
12.7.4 Polarity test Ñ Results
The results obtained shall conform to the requirements of subclause __________.
12.8 Operating temperature test series
12.8.1 Temperature sensor characteristics
12.8.1.1 Purpose of temperature sensor characteristics test
The purpose of this test is to determine the output of the temperature sensor and its variation with tempera-
ture.
12.8.1.2 Temperature sensor characteristics test Ñ Equipment
12.8.1.3 Temperature sensor characteristics testÑSetup and procedure
Mount the gyro in a temperature-controlled chamber in accordance with the standard test conditions of 11.1.
Stabilize the gyro temperature for __________ [h, ___] at __________ ± __________ °C (operating temper-
ature). Measure and record the temperature sensor output. Repeat these measurements at the following tem-
peratures: __________ and __________ ± __________ °C.
During this test, the power to the sensor shall not exceed __________ W. Record chamber temperature and
sensor output.
12.8.1.4 Temperature sensor characteristics testÑResults
The output of the sensor within the speciÞed temperature range shall conform to the requirements of sub-
clause _______.
From the data recorded in 12.8.1.3, compute the temperature sensor scale factor. The results shall conform to
the requirements of subclause _______.
12.8.2 Operating temperature
This test applies only when the gyro has externally available terminals for temperature sensor readout.
In addition to the standard operating equipment from 11.2.2, the following test equipment from 11.2.3 is
required for this test and should be listed in this subclause:
a) Temperature control chamber
b) Temperature sensor output measuring equipment
For temperature-controlled gyros, one of the temperatures should be above and one below the operating
temperature.
This test applies only to temperature-controlled gyros.
Authorized licensed use limited to: IEEE Standards Staff. Downloaded on January 27, 2009 at 15:00 from IEEE Xplore. Restrictions apply.
Authorized licensed use limited to: SUNY AT STONY BROOK. Downloaded on June 19,2018 at 06:14:21 UTC from IEEE Xplore. Restrictions apply.

IEEE
FOR SINGLE-AXIS INTERFEROMETRIC FIBER OPTIC GYROS Std 952-1997
Copyright © 1998 IEEE. All rights reserved. 33
12.8.2.1 Purpose of operating temperature test
The purpose of this test is to ensure that the gyro operating temperature is within the operating temperature
range as indicated by the temperature sensor output.
12.8.2.2 Operating temperature testÑEquipment
12.8.2.3 Operating temperature testÑSetup and procedure
Operate the gyro in accordance with the standard test conditions of 11.1. The gyro shall be at thermal equi-
librium for __________ [h, ___] before the temperature measurement is made. Measure and record the tem-
perature sensor output.
12.8.2.4 Operating temperature testÑResults
The gyro operating temperature shall be within the operating temperature range speciÞed in subclause
__________.
12.9 Gyro scale factor test series
12.9.1 Purpose of gyro scale factor test series
The purpose of this test series is to measure gyro scale factor, gyro scale factor errors, and gyro scale factor
sensitivities.
12.9.2 Gyro scale factor test seriesÑEquipment
12.9.3 Gyro scale factor test seriesÑSetup and procedure
12.9.3.1 Gyro scale factor and gyro scale factor errors
Align the rate table rotation axis to within __________ [', mrad] of vertical. Mount the gyro in the Þxture on
the table so that the IRA is parallel to the table rotational axis within __________ [', mrad]. Connect the gyro
to the output measuring equipment. Set the instrumentation to record the elapsed time and gyro output. With
the table rotating, operate the gyro in accordance with the standard test conditions of 11.1. The tests shall
be performed and the output data recorded in accordance with the following tabulation.
In addition to the standard operating equipment from 11.2.2, the following test equipment from 11.2.3 is
required for this test and should be listed in this clause:
a) Temperature measuring equipment
b) Temperature chambers (if required)
c) Temperature sensor output measuring equipment
In addition to the standard operating equipment from 11.2.2, the following test equipment from 11.2.3 is
required for this test and should be listed in this subclause:
a) Rate table with angle or rate output, depending on gyro output data format
b) Gyro output measuring and recording equipment
c) Gyro electronics and power supplies
d) Timing device
e) Environmental temperature control equipment
Authorized licensed use limited to: IEEE Standards Staff. Downloaded on January 27, 2009 at 15:00 from IEEE Xplore. Restrictions apply.
Authorized licensed use limited to: SUNY AT STONY BROOK. Downloaded on June 19,2018 at 06:14:21 UTC from IEEE Xplore. Restrictions apply.

IEEE
Std 952-1997 IEEE STANDARD SPECIFICATION FORMAT GUIDE AND TEST PROCEDURE
34 Copyright © 1998 IEEE. All rights reserved.
12.9.3.2 Gyro scale factor sensitivities
12.9.3.2.1 Temperature
Using the environmental temperature control equipment, repeat 12.9.3.1 at temperatures __________ ±
__________°C, after a minimum of __________ [h, _____] dwell at the speciÞed temperatures.
12.9.3.2.2 Other sensitivities
12.9.4 Gyro scale factor test seriesÑResults
12.9.4.1 Gyro scale factor
From the test data taken in 12.9.3.1, compute the nominal gyro scale factor by computing he slope of the
straight line that can be Þtted by the method of least squares to the input-output data, after correction for the
zero table rate. The gyro scale factor shall conform to the requirements of subclause ________.
Nominal input rate Direction:
positive, negative
Total number of
revolutions
Number of
measurements at
each input rate
Output data
ÑÑÑÑÑ
ÑÑÑÑÑ
ÑÑÑÑÑ
¥
¥
¥
¥
¥
¥
¥
¥
¥
¥
¥
¥
¥
¥
¥
ÑÑÑÑÑ
The output is the sum of data outputs for angle output gyros and the average data output for rate output
gyros.
A warm-up test should be performed Þrst. The warm-up test duration should be long enough to determine
the warm-up effects on scale factor. The number of table revolutions per measurement for the warm-up
test is a compromise between a large number of revolutions (so as to reduce noise due to table angle reso-
lution, gyro output quantization and gyro output noise) and a small number of revolutions (to increase
time resolution).
SufÞcient measurements should be speciÞed to provide for determination of the scale factor and scale
factor errors. A zero table-rate measurement at one or more table positions is required to remove the
effects of earthÕs rate and uncompensated drift rate from the scale factor data. In selecting the zero table-
rate test time and the number of table revolutions consideration should be given to the error contributions
of the table angle uncertainty, gyro output quantization, IA misalignment and gyro output noise. For scale
factor measurements at extremely low input rates, a procedure of orienting the gyro to measure various
components of earthÕs rate, instead of table rotation may be necessary.
Measurements need not be taken at all of the rates of 12.9.3.1.
Alternatively, the gyro scale factor can be determined as the value obtained at a speciÞed rate, may be the
mean value over several rates, or an algorithm may be used.
Authorized licensed use limited to: IEEE Standards Staff. Downloaded on January 27, 2009 at 15:00 from IEEE Xplore. Restrictions apply.
Authorized licensed use limited to: SUNY AT STONY BROOK. Downloaded on June 19,2018 at 06:14:21 UTC from IEEE Xplore. Restrictions apply.

IEEE
FOR SINGLE-AXIS INTERFEROMETRIC FIBER OPTIC GYROS Std 952-1997
Copyright © 1998 IEEE. All rights reserved. 35
12.9.4.2 Gyro scale factor errors
12.9.4.2.1 Linearity Error
From the test data taken in 12.9.3.1, compute the deviation of the output data at each input (rate, angle) from
the least squares Þt of the data calculated in 12.9.4.1. The linearity error shall conform to the requirements of
subclause __________.
12.9.4.2.2 Asymmetry
Compute the asymmetry at speciÞed rates as the ratio of the difference in magnitudes of scale factor mea-
sured for positive and negative inputs to one-half the sum of the magnitudes. Asymmetry shall conform to
the requirements of subclause __________.
12.9.4.2.3 Repeatability
Compute changes in the scale factor [ppm, _____], [maximum spread, 1s, _____] that occur between speci-
Þed periods of operation. The results of the gyro scale factor repeatability shall conform to the requirements
of subclause __________.
12.9.4.2.4 Stability
The variation in scale factor obtained from the test series of 12.9.3.1 shall conform to the requirements of
subclause __________.
12.9.4.3 Gyro scale factor sensitivities
12.9.4.3.1 Temperature
From the test data taken in 12.9.3.2.1, compute the temperature sensitivity as the maximum scale factor
change over the speciÞed temperature range, divided by the temperature range. The temperature sensitivity
of the gyro scale factor shall conform to the requirements of subclause __________.
12.9.4.3.2 Other sensitivities
12.10 Input rate limits
12.10.1 Purpose of input rate limits test
The purpose of this test is to measure the input rate limits.
12.10.2 Input rate limits testÑEquipment
Alternate methods include weighting, calculation over a limited range, and computing linearity error after
compensation.
In addition to the standard operating equipment from 11.2.2, the following test equipment from 11.2.3 is
required for this test and should be listed in this subclause:
a) Rate table with angle or rate output, depending on gyro output data format
b) Gyro mounting Þxture
c) Gyro output measuring and recording equipment
d) Timing device
Authorized licensed use limited to: IEEE Standards Staff. Downloaded on January 27, 2009 at 15:00 from IEEE Xplore. Restrictions apply.
Authorized licensed use limited to: SUNY AT STONY BROOK. Downloaded on June 19,2018 at 06:14:21 UTC from IEEE Xplore. Restrictions apply.

IEEE
Std 952-1997 IEEE STANDARD SPECIFICATION FORMAT GUIDE AND TEST PROCEDURE
36 Copyright © 1998 IEEE. All rights reserved.
12.10.3 Input rate limits test Ñ Setup and procedure
Install and operate the gyro in accordance with the procedure of 12.9.3. The data points selected shall
include the input rate limits of subclause ____.
12.10.4 Input rate limits testÑResults
12.10.4.1 Maximum rate limit
From the test data taken in 12.10.3, compute the linearity error of the gyro scale factor with the maximum
input rate of clause _____ included in the set of data, using the same method described in 12.9.4.1 and
12.9.4.2.1. The gyro scale factor linearity error shall conform to the requirements of subclause _____.
12.10.4.2 Minimum rate limit (dead band)
Using the data from 12.10.3, determine the dead band as the input range (near zero) over which the output is
less than 10% of the input. The dead band shall conform to the requirements of subclause _____.
12.11 Drift rate test series
12.11.1 Purpose of drift rate test series
The purpose of this test series is to measure the bias, random drift rate, measurement noise, environmentally
sensitive terms, their repeatabilities, and sensitivities.
12.11.2 Drift rate test seriesÑEquipment
12.11.3 Drift rate test series tÑSetup and procedure
12.11.3.1 Bias, random, and measurement noise
Mount the gyro so that the [IRA, XRA, YRA] is [vertical, horizontal, polar, __________] within
__________ [', mrad]. Connect the gyro to the output measuring equipment and energize the gyro in accor-
dance with the standard test conditions of 11.1. Record the gyro output for a period of __________ [h,
__________] with data accumulated over __________ [s, __________] sample intervals.
When a dead band test is required, perform the test using either rate table or earth rate input, with rate
intervals (near zero rate) of 25% (or less) of the dead band speciÞed in 5.3.1.2.
The data averaging time should be long enough to reduce the gyro noise to less than 25% of the dead
band. Prior to analyzing data, any bias should be removed.
In addition to the standard operating equipment from 11.2.2, the following test equipment from 11.2.3 is
required for this test and should be listed in this subclause:
a) Precision positioning means
b) Gyro output measuring and recording equipment
c) Timing device
d) Environmental temperature control equipment
e) Magnetic Þeld generating equipment
If the gyro output is analog, the test equipment should have provision for digitizing the output.
Authorized licensed use limited to: IEEE Standards Staff. Downloaded on January 27, 2009 at 15:00 from IEEE Xplore. Restrictions apply.
Authorized licensed use limited to: SUNY AT STONY BROOK. Downloaded on June 19,2018 at 06:14:21 UTC from IEEE Xplore. Restrictions apply.

IEEE
FOR SINGLE-AXIS INTERFEROMETRIC FIBER OPTIC GYROS Std 952-1997
Copyright © 1998 IEEE. All rights reserved. 37
12.11.3.2 Repeatability
Repeat the procedure of 12.11.3.1 __________ times.
12.11.3.3 Environmentally sensitive drift
12.11.3.3.1 Temperature
Using the environmental temperature control equipment, stabilize the gyro at __________ ± __________
°C. Perform the procedure of 12.11.3.1. Repeat the procedure at additional temperature(s) of __________ ±
__________ °C.
12.11.3.3.2 Temperature ramp and time-dependent temperature gradient
Mount the gyro in a temperature-controlled chamber in accordance with the standard test conditions of 11.1.
Stabilize the gyro temperature for __________ minutes at __________ ± __________ °C. Measure and
record the gyro output as speciÞed in 12.11.3.1 and the gyro temperature sensor output. Continue these mea-
surements as the environmental chamber is ramped to __________ °C at a rate of __________ °C per
minute.
12.11.3.3.3 Magnetic
Using the magnetic Þeld generating equipment, repeat 12.11.3.1 at steady-state ßux densities of
± __________[mT, G] directed along the IRA. The test shall also be performed with the magnetic Þeld
directed along the __________ [XRA, YRA].
12.11.3.3.4 Other sensitivities
12.11.4 Drift rate test seriesÑResults
The data processing applied to the drift rate test series data from 12.11.3 includes least squares estimation
and Allan variance computation methods for the purpose of determining bias and random drift coefÞcients.
In general, the data record length (test duration) should be sufÞcient to determine performance character-
istics at desired conÞdence levels. The data sample rate should be at least twice the highest frequency of
interest. If preÞltering of the raw data is required to minimize the effect of quantization the test results
will be different than if preÞltering is not used. PSDs are useful to isolate and identify speciÞc frequency
components that may be present in the gyro output. In 12.11.4, the appropriate data reduction procedure
should be used. See Annex C for a discussion of data reduction techniques.
Care should be taken in mounting the gyro so that the effects of the earthÕs rotation rate and the ambient
magnetic Þeld may be taken into account.
The duration of the temperature ramp should be sufÞcient to permit the transient bias change associated
with the Shupe effect to die out. The location of the sensor for the temperature to be measured and the
temperature to be controlled should be speciÞed. The temperature proÞle may also include several peri-
ods of stabilization followed by ramping, with a period of stabilization following the last ramp.
Annex B presents an overview of dynamic modeling methods including the Allan variance method.
Agreement between the supplier and the user concerning the modeling method and the data reduction and
analysis process is recommended.
Authorized licensed use limited to: IEEE Standards Staff. Downloaded on January 27, 2009 at 15:00 from IEEE Xplore. Restrictions apply.
Authorized licensed use limited to: SUNY AT STONY BROOK. Downloaded on June 19,2018 at 06:14:21 UTC from IEEE Xplore. Restrictions apply.

IEEE
Std 952-1997 IEEE STANDARD SPECIFICATION FORMAT GUIDE AND TEST PROCEDURE
38 Copyright © 1998 IEEE. All rights reserved.
12.11.4.1 Bias, random and measurement noise
12.11.4.1.1 Bias, DF
From the test data taken in 12.11.3.1 after warm-up, compute the bias, DF, for each sample interval by divid-
ing the accumulated number of pulses in each sample interval by the corresponding sample time, multiply-
ing by the gyro scale factor and removing the component of earth rate along the IA.
Compute DF by obtaining the average of all the DF data. The results shall conform to the requirements of
subclause __________.
12.11.4.1.2 Random, DR and measurement noise, DQ
From the test data taken in 12.11.3.1 after warm-up compute the random drift coefÞcients R, K, B, N, and Q
by forming the Allan variance estimates
for n = 1, 2, 3, ..., nmax £(M Ð 1)/2 and Þtting the results to the polynomials
in the least squares sense,
where
Wm is gyro rate output calculated in the manner described in 12.11.4.1.1
1/T0is data sample rate
MT0is data record length
The results shall conform to the requirements of subclauses ________ and ________.
12.11.4.2 Repeatability
From the test data in 12.11.3.2, repeat the analysis procedure of 12.11.4.1.1 __________ times to compute
the changes in bias that occur between speciÞed periods of operation. The results of the bias repeatability (°/
h, _____) (maximum spread, 1s, _____) shall conform to the requirements of subclause __________.
Annex C presents a detailed explanation of the random drift coefÞcients and their relationship to the
Allan variance method.
sW
2nT0
() 1
2M2nÐ()
------------------------- Wm2n+2Wmn+
ÐWm
+()
2
m1=
M2nÐ
å
=
sW
2nT0
()
R2n2T0
2
2
------------------K2nT0
3
----------------B22
p
---2() N2
nT0
---------3Q2
n2T0
2
-----------++ln++=
Authorized licensed use limited to: IEEE Standards Staff. Downloaded on January 27, 2009 at 15:00 from IEEE Xplore. Restrictions apply.
Authorized licensed use limited to: SUNY AT STONY BROOK. Downloaded on June 19,2018 at 06:14:21 UTC from IEEE Xplore. Restrictions apply.

IEEE
FOR SINGLE-AXIS INTERFEROMETRIC FIBER OPTIC GYROS Std 952-1997
Copyright © 1998 IEEE. All rights reserved. 39
12.11.4.3 Environmentally sensitive drift
12.11.4.3.1 Temperature
From the test data taken in 12.11.3.3.1 after warm-up, calculate the gyro bias as in 12.11.4.1.1. Compute the
bias temperature sensitivity as the slope of a least squares Þt of bias over the test temperature range. The bias
temperature sensitivity shall conform to the requirements of subclause __________.
12.11.4.3.2 Temperature ramp
From the data taken in 12.11.3.2 after warm-up, calculate the maximum change in gyro bias and divide this
by the temperature ramp rate. The temperature ramp drift rate shall conform to the requirements of subclause
_____.
12.11.4.3.3 Time-dependent temperature gradient
From the test data taken in 12.11.3.3.3 after warm-up, calculate the gyro bias as in 12.11.4.1.1. Compute the
time-dependent temperature gradient drift rate as the maximum bias change. The time-dependent tempera-
ture gradient drift rate shall conform to the requirements of subclause __________.
12.11.4.3.4 Magnetic
From the test data taken in 12.11.3.3.4 compute the magnetic sensitivity as the maximum bias change over
the speciÞed Þeld range. The magnetic sensitivity of the gyro bias shall conform to the requirements of sub-
clause __________ for each axis speciÞed.
12.11.4.3.5 Other sensitivities
12.12 IA alignment
12.12.1 Purpose of IA alignment test
The purpose of this test is to measure the misalignment of the IA to the IRA.
12.12.2 IA alignment testÑEquipment
It is assumed that the data from gyros with a supplied bias thermal model are compensated with that
model prior to the above analysis.
The initial transient bias change associated with the Shupe effect should be excluded from the data analy-
sis.
In addition to the standard operating equipment from 11.2.2, the following test equipment from 11.2.3 is
required for this test and should be listed in this subclause:
a) Rate table with angular readout
b) Gyro output measuring equipment
c) Gyro output recording equipment
d) Right angle test Þxture
Authorized licensed use limited to: IEEE Standards Staff. Downloaded on January 27, 2009 at 15:00 from IEEE Xplore. Restrictions apply.
Authorized licensed use limited to: SUNY AT STONY BROOK. Downloaded on June 19,2018 at 06:14:21 UTC from IEEE Xplore. Restrictions apply.

IEEE
Std 952-1997 IEEE STANDARD SPECIFICATION FORMAT GUIDE AND TEST PROCEDURE
40 Copyright © 1998 IEEE. All rights reserved.
12.12.3 IA alignment testÑSetup and procedure
12.12.3.1 IA alignment
Mount the gyro in the Þxture on the rate table so that the IRA is perpendicular to the rate table rotational axis
within __________ [', mrad]. Operate the gyro in accordance with the standard test conditions of 11.1.
Apply a positive table rate of __________ ± __________ [°/s, rad/s] and record the gyro output over
__________ revolutions. Repeat the test with a negative input rate whose magnitude is within ± __________
[°/s, rad/s] of the positive rate. Rotate the gyro +90° about the IRA and repeat the test for positive and nega-
tive table rates.
12.12.3.2 Repeatability
Repeat the procedure of 12.12.3.1 __________ times for the condition speciÞed in subclause __________.
12.12.4 IA alignment testÑResults
12.12.4.1 Alignment of the IA to the IRA
The misalignment, a, is calculated from the data obtained in 12.12.3.1 using the gyro scale factor obtained
from 12.9.3 as follows:
d1is misalignment in initial gyro orientation in Þxture
d2is misalignment in 90° gyro orientation in Þxture
The misalignment shall conform to the requirements of subclause __________.
12.12.4.2 Repeatability
Repeat the test result calculations of 12.12.4.1 using the data from 12.12.3.2. The misalignment angles shall
agree with those obtained in 12.12.4.1 within the requirements of subclause __________.
If the direction of the IA misalignment is important, the XRA should be aligned parallel to the rate table
rotational axis for the initial mounting position. For the second mounting position the YRA should be
aligned to the table rotational axis.
If it is desirable to eliminate the test Þxture error, rotate the gyro 180° about the IRA with respect to the
Þxture and repeat the test.
When the XRA and YRA are used in performing the procedure of 12.12.3.1, d1 and d2 correspond to ÐQy
and ÐQx respectively in the model equation in 8.3.
d12,
gyro output from
positive rotation
gyro output from
negative rotation
Ð
èø
ç÷
æö
* gyro scale factor
2* table rotation
----------------------------------------------------------------------------------------------------------------------------------------------------=
asin= 1Ð d1
2d2
2
+()
12¤
Authorized licensed use limited to: IEEE Standards Staff. Downloaded on January 27, 2009 at 15:00 from IEEE Xplore. Restrictions apply.
Authorized licensed use limited to: SUNY AT STONY BROOK. Downloaded on June 19,2018 at 06:14:21 UTC from IEEE Xplore. Restrictions apply.

IEEE
FOR SINGLE-AXIS INTERFEROMETRIC FIBER OPTIC GYROS Std 952-1997
Copyright © 1998 IEEE. All rights reserved. 41
12.13 Generated Þelds
12.13.1 Electromagnetic interference
The purpose of these tests is to measure the electromagnetic emissions of the gyro.
12.13.2 Acoustic noise
The purpose of this test is to measure the acoustic noise generated by the gyro.
12.14 Environment test series
These tests are to verify that the gyro performs as speciÞed during or after subjection to environments out-
side of the standard operation conditions, or both, but within the speciÞed environmental limits.
MIL-STD-462 is a reference commonly used in the United States to describe test procedures and equip-
ment required for this test.
These tests should be outlined in the following manner to conform to the format used in the rest of this
standard:
12.13.1.1 Purpose
12.13.1.2 Test equipment
12.13.1.3 Test setup and procedure
12.13.1.4 Test results
MIL-STD-740 is a reference commonly used in the U.S. to describe test procedures and equipment
required for this test.
The test should be outlined in the following manner to conform to the format used in the rest of this stan-
dard:
12.13.2.1 Purpose
12.13.2.2 Test equipment
12.13.2.3 Test setup and procedures
12.13.2.4 Test results
Procedures for most environmental tests are covered by existing industry, government, and military docu-
ments, an example of which is MIL-STD-810. Selection criteria should include the following:
a) Importance of the stability and sensitivity of the parameter in a given environment
b) Practicability of running the test with existing equipment. Testing should be limited to that
required by the application
The tests should be outlined in the following manner to conform to the format used in the rest of this stan-
dard:
1 Name of test
1.1 Purpose
1.2 Test equipment
1.3 Test setup and procedure
1.4 Test results
Authorized licensed use limited to: IEEE Standards Staff. Downloaded on January 27, 2009 at 15:00 from IEEE Xplore. Restrictions apply.
Authorized licensed use limited to: SUNY AT STONY BROOK. Downloaded on June 19,2018 at 06:14:21 UTC from IEEE Xplore. Restrictions apply.

IEEE
Std 952-1997 IEEE STANDARD SPECIFICATION FORMAT GUIDE AND TEST PROCEDURE
42 Copyright © 1998 IEEE. All rights reserved.
Annex A
(informative)
Design features of IFOGs
a) Sensing coil
1) Multi-mode Þber
2) Polarization maintaining Þber
3) Single mode Þber
b) Optical signal processing components
1) Directional coupler
2) Depolarizer
3) Isolator
4) Polarization controller
5) Polarizer
6) Y-junction
7) Mode Þlter
8) Mode scrambler
9) Optical dump
c) Opto-electric interface
1) Sources
ÑLaser diode
ÑLight emitting diode/edge light emitting diode
ÑSuper luminescent diode
ÑPumped rare earth doped Þber
2) Detector
3) Modulator
ÑPhase modulator
ÑPiezo-electric
ÑElectro-optical
ÑFrequency modulator
d) Electronics
1) Signal processing
2) Power conditioning
3) Environmental control
NOTEÑA number of components such as y-junction, polarizers, and electro-optical modulators, can be fabricated as
part of an integrated optic circuit (IOC). The IOC is typically based on a lithium niobate substrate.
Angle or
Rate Outpu
t
Sensing
Coil
Optical Signal
Processing
Components
Source
Detector
Modulator
Electronics
Figure A.1ÑConÞguration of an IFOG
Authorized licensed use limited to: IEEE Standards Staff. Downloaded on January 27, 2009 at 15:00 from IEEE Xplore. Restrictions apply.
Authorized licensed use limited to: SUNY AT STONY BROOK. Downloaded on June 19,2018 at 06:14:21 UTC from IEEE Xplore. Restrictions apply.

IEEE
FOR SINGLE-AXIS INTERFEROMETRIC FIBER OPTIC GYROS Std 952-1997
Copyright © 1998 IEEE. All rights reserved. 43
Annex B4
(informative)
Dynamic and stochastic modeling overview
B.1 Introduction
This annex introduces dynamic and stochastic modeling, as applied to gyro modeling and performance eval-
uation. This is intended to be a tutorial overview [B41].5
The general form of the model consists of the following:
Ñ A mathematical statement of the physical plant equations
Ñ An error model consisting of a perturbation model and environmental sensitivities
Ñ A stochastic model describing random drift behavior
Ñ A measurement model consisting of a linear combination of the output and additive measurement
noise
These are related in a generic form of a gyro model equation, consisting of the response to inertial inputs,
environmental sensitivities, drift rate and scale factor error contributors.
Methods of determining input/output characteristics (dynamic modeling, system identiÞcation) are dis-
cussed. Stochastic modeling via time series analysis is introduced, including frequency domain methods.
Emphasis is placed on application of the Allan variance and PSD. An approach to test and analysis is pre-
sented. Data acquisition, data reduction, processing, and evaluation of results are discussed.
The general non-linear problem was posed by Norbert Wiener during the early 1940s [B2]: given the yet to
be analyzed system, which he deÞned as a black box, identify and characterize the system in terms of bodies
of known structures, or what he called white boxes.
The solution to the linear problem uses various time and frequency domain techniques to Þnd an operational
equivalent of the black box, which may then be constructed by combining certain canonical forms of these
white boxes. Although the model structure may be different from the true structure, the input-output proper-
ties are to be equivalent.
B.1.1 Historical review
The foundation of modeling dates back to approximately 1800, with GaussÕs method of least-squares esti-
mation [B20]. Current methods of determining the steady-state input-output characteristics of a variety of
devices are based on this approach.
By 1905, Albert Einstein and Willard Gibbs had independently conceived methods of statistical physics. By
1910, Fisher applied the use of the probability density function to maximum likelihood estimation [B20]. In
1930, Wiener [B2] made the Þrst signiÞcant use of frequency domain analysis and in 1940 established the
beginnings of modern optimization theory [B20]. During WWII, game theory [B1] and operations research
[B7] were conceived. These involved some of the earliest applications of modern modeling techniques.
During the 1950s stochastic process theory and differential game theory were developing. By 1960, Kalman
conceived a time domain approach to optimal recursive Þlter design [B3], [B11], [B12], [B17], [B20]. By
4This annex is adapted from Annex B in IEEE Std 647-1995, IEEE Standard SpeciÞcation Format Guide and Test Procedure for Single-
Axis Laser Gyros.
5The numbers in brackets preceded by the letter B correspond to those of the bibliography in B.6.
Authorized licensed use limited to: IEEE Standards Staff. Downloaded on January 27, 2009 at 15:00 from IEEE Xplore. Restrictions apply.
Authorized licensed use limited to: SUNY AT STONY BROOK. Downloaded on June 19,2018 at 06:14:21 UTC from IEEE Xplore. Restrictions apply.

IEEE
Std 952-1997 IEEE STANDARD SPECIFICATION FORMAT GUIDE AND TEST PROCEDURE
44 Copyright © 1998 IEEE. All rights reserved.
1963 Signal IdentiÞcation [B20] and frequency domain Time Series Analysis (TSA) [B4], [B5], [B9], [B12],
[B20] methods were developed. In 1965 Tukey and Cooley published their famous paper on the fast Fourier
transform (FFT) [B20]. In 1966 David Allan proposed a simple variance analysis method for the study of
oscillator stability [B8], [B16], [B18], [B21], [B23], [B29], [B30], [B38], [B40]. The method has since been
applied to gyro drift analysis [B24], [B26], [B34], [B35], [B39]. Parameter IdentiÞcation methods were
known by 1968 [B19] and [B20].
During the decade that followed, time domain and frequency domain characterization of sensors gained
importance. By 1970, the Box-Jenkins method of time series analysis was developed [B14], [B20], [B33]
together with System IdentiÞcation and Adaptive Kalman Filter techniques [B20]. During the 1980s non-lin-
ear multiple input, multiple-output stochastic optimal control/estimation gained interest. For the 1990s, arti-
Þcial intelligence and expert systems ideas are Þnding application to modeling.
B.1.2 Unit model
The term unit refers to an operational entity that performs a well deÞned unique function. It can be a sensor,
system, or other device. The unit model may be broken down into several other parts, as illustrated in Figure
B.1. One part, the plant, or physical model, is described by either differential or algebraic equations that
express the physics of its operation. This is the deterministic part of the plant that we are trying to address
with dynamic modeling techniques. The second part, the error model, consists of a perturbational model,
which includes the sensitivity to the variation of parameters in the plant equations, and an environmental
model, which includes the sensitivities to environmental disturbances. The third part is the stochastic model,
which includes the random drift observed under otherwise benign operating conditions. The measurement
model consists of a linear combination of the system states and additive output noise.
The idea is that if the unit under test could be so modeled, optimal use of the model to evaluate or possibly
improve performance at some higher level could be achieved. That is through optimal Þltering, system error
could be reduced to the limit of minimum residual white noise. The model also can be used for performance
prediction and evaluation relative to a speciÞcation [B10], [B11], [B17], [B20].
Stochastic
Model
Plant
(Physical Model)
Perturbation
Model
Environmental
Model
Error Model
Measurement
Model
Figure B.1ÑSystem model
Authorized licensed use limited to: IEEE Standards Staff. Downloaded on January 27, 2009 at 15:00 from IEEE Xplore. Restrictions apply.
Authorized licensed use limited to: SUNY AT STONY BROOK. Downloaded on June 19,2018 at 06:14:21 UTC from IEEE Xplore. Restrictions apply.

IEEE
FOR SINGLE-AXIS INTERFEROMETRIC FIBER OPTIC GYROS Std 952-1997
Copyright © 1998 IEEE. All rights reserved. 45
B.1.3 Gyro model equation
A generic model equation [B13] and [B15] that applies to many types of inertial sensors is shown in Figure
B.2. It consists of inertial (including misalignment), environmental, and random (including quantization)
contributors.
This approach to compartmentalizing gyro model equations is introduced to better organize the various
model components.
B.2 Modeling
Some of the important applications of modeling occur in simulation studies, performance evaluation, and
Kalman Þlter design [B15]. The basic difference between dynamic and stochastic modeling is as follows: in
dynamic modeling, given one or more inputs, (input vector), and one or more outputs (output vector) it is
desired to determine the input/output relationships from both time series. Applications include those where
random noise is summing at the output.
In stochastic modeling, on the other hand, there may be no direct access to an input. A model is hypothesized
which, as though excited by white noise, has the same output characteristics as the unit under test. Such
models are not generally unique, so certain canonical forms are chosen. For example, David Allan of the
National Institute of Standards and Technology (NIST) used a power series for the PSD and the correspond-
ing Variance analysis in the time domain for the analysis of oscillator stability [B8]. This type of variance
analysis is discussed in Annex C. The idea is that one or more white noise sources of strength Ni2 drive the
canonical transfer function(s), resulting in the same statistical and spectral properties as the actual device
(black box model). This is also the objective of the gyro drift analysis.
D
E
I
10
e
-6
k
S
-1
o
ÆN/Æt
½
+
+
+
+
-
is
is nominal scale factor
is output pulse rate
is inertial input terms
is environmentally sensitive terms
is drift terms
is scale factor error terms (ppm)
is equivalent gyro rate output
S0DNDt¤()
IED++[]110
6Ð ek
+()
1Ð
S0
DNDt¤
I
E
D
ek
W
Figure B.2ÑGeneric model equation
Authorized licensed use limited to: IEEE Standards Staff. Downloaded on January 27, 2009 at 15:00 from IEEE Xplore. Restrictions apply.
Authorized licensed use limited to: SUNY AT STONY BROOK. Downloaded on June 19,2018 at 06:14:21 UTC from IEEE Xplore. Restrictions apply.
IEEE
Std 952-1997 IEEE STANDARD SPECIFICATION FORMAT GUIDE AND TEST PROCEDURE
46 Copyright © 1998 IEEE. All rights reserved.
B.2.1 Dynamic modeling
Exclusive of environmental sensitivities, dynamic modeling of an optical gyro involves only scale factor,
bias, and misalignment. This model is determined using regression methods, with the gyro being forced with
deterministic inputs.
Spinning wheel gyroscopes such as the two-degree-of-freedom gyro, or single-degree-of-freedom gyros that
exhibit very high two-degree-of-freedom effects [B14], [B16], are far more interesting subjects for dynamic
modeling. The latter are gyros that have signiÞcant Þnite spring constants on the cross axis, or large angular
momentum relative to the spring constant. There is then a large interaction from the angular momentum on
the response of the gyro. The result is a two-degree-of-freedom model, which is similar to the model equa-
tion for the dynamically tuned gyro. The dynamics have a fourth order characteristic response. The four
eigenvalues are dependent on the angular momentum of the gyro. The resulting frequency-dependent trans-
fer function may be analyzed by methods described below.
Many methods of estimating transfer functions are presented in Sinha and Kuszta [B33]. Of the classical
approaches, for example, the frequency response method is one of the earlier methods used [B9]. Prior to
development of the FFT, the input signal was stepped through discrete frequencies while measuring the rela-
tive amplitude and phase from input to output. With current methods, white noise is inserted at a rate propor-
tional summing point. The open and closed loop transfer functions are computed using digital processing.
This method allows for estimation in the presence of uncorrelated additive noise.
Time response methods are another classical means (using step and impulse response) to estimate the trans-
fer function. One method, called deconvolution [B33], determines the impulse response from the input and
output by using the convolution integral (discrete form) in terms of the sampled data. A matrix equation
describes the output at each point of time as a function of the input. The solution to the equation is the
impulse response of the black box unit under test.
Another approach to using the impulse (or step) response method models the discrete form of the transfer
function (Z-transform) as the ratio of two power series [B33]. Two matrix equations are derived that express
the coefÞcients in terms of the output impulse response. The denominator coefÞcients may be solved in
terms of the impulse response data, and the numerator coefÞcients may be solved in terms of the denomina-
tor coefÞcients and the output data.
Several approaches model the output in terms of a difference equation corresponding to the discrete time
transfer function [B33]. The output is expressed parametrically in terms of its past values (the autoregressive
part) together with present and past values of the input (the moving average part). A matrix equation relates
the parameter vector, which comprises the transfer coefÞcients, to a concatenated set of the input, output
data (expressed in a matrix) and output vector comprising another set of the sequential output data. The
problem has been variously formulated for noisy data using least-squares or maximum likelihood estimation
methods. Recursive forms have been derived for on-line estimation.
Another technique is to introduce a white noise input and analyze the output relative to the input. This time-
domain method is called the correlation method [B9], [B33]. The cross correlation between the input and the
output is computed, from which the impulse response is deduced. This method is limited to stationary time
series from linear time invariant systems. The main problem with this approach is that as the model becomes
more complicated, it becomes more difÞcult to identify the cross correlation function. The contributors are
particularly difÞcult to decompose into constituent parts when they cover a large dynamic range or overlap
in frequency content. If the form of the model is unknown, identiÞcation is a difÞcult job. This is one of the
problems with Box-Jenkins time domain method of time series analysis, and most of the above methods of
dynamic modeling.
Frequency domain approaches (also referred to as spectral decomposition) [B12] are usually a better tool for
model investigation. The Fourier transform of the correlation function is the PSD. Means of calculating the
Authorized licensed use limited to: IEEE Standards Staff. Downloaded on January 27, 2009 at 15:00 from IEEE Xplore. Restrictions apply.
Authorized licensed use limited to: SUNY AT STONY BROOK. Downloaded on June 19,2018 at 06:14:21 UTC from IEEE Xplore. Restrictions apply.
IEEE
FOR SINGLE-AXIS INTERFEROMETRIC FIBER OPTIC GYROS Std 952-1997
Copyright © 1998 IEEE. All rights reserved. 47
PSD from the raw data using the FFT are more commonly used. Real-time processing with ensemble aver-
aging has considerably improved the ability to analyze transfer functions.
With the frequency domain approach, the transfer function may be estimated from the cross-PSD of the out-
put with the input, divided by the PSD of the input [B9]. This gives both the amplitude and phase of the
transfer function.
B.2.2 Stochastic modeling
The idea of applying white noise and constructing the transfer function in this manner is important to sto-
chastic modeling. The reason for that is, if the input is white noise, you can estimate the transfer function of
a linear, minimum phase, time invariant system simply from the power spectrum of the output. Instead of
getting the cross PSD between input and output, the transfer function can be estimated from the power spec-
trum of the output alone. The phase information is uniquely determined from the magnitude response.
Thus, for a linear time-invariant system, by having knowledge of the output only, and assuming white noise
inputs, it is possible to characterize the unknown model. Many of the methods are very similar to some of
the dynamic modeling methods except that the input is unobservable. The frequency domain approach of
using the PSD to estimate transfer functions is straight forward. Even certain pathological cases, such as bias
instability [B8], [B25], [B26], [B34], [B35], which looks like a 1/f process [B32], (ßicker rate noise), and
angle quantization noise (characteristically different from continuous white angle noise) [B6], [B31], [B35]
can be discerned with careful analysis technique.
As in the case of dynamic modeling, several time domain methods have been devised for stochastic model-
ing. The correlation function approach [B5], [B6], [B9], [B33] is the dual of the PSD approach, being related
as Fourier transform pairs. Similar to the corresponding dynamic modeling method, the equivalent impulse
response may be deduced from the autocovariance sequence computed from the output data. One approach
models the covariance function as sums of exponentials and damped sinusoids, using least squares estima-
tion to obtain model parameters. This is analogous to expressing the frequency response function in terms of
partial fraction expansion.
Another correlation method relates the autocovariance sequence to coefÞcients of a difference equation,
expressed as an autoregressive moving average (ARMA) process. This method was expounded by Box and
Jenkins [B14], [B20], [B33]. Correlation methods are very model sensitive and not well suited to dealing
with odd power law processes, higher order processes or wide dynamic range. They work best with a priori
knowledge based on a model of few terms.
Yet another class of time domain methods, several variance techniques have been devised. They are basically
very similar, and primarily differ in that various signal processing, by way of weighting functions, window
functions, etc., are incorporated into the analysis algorithms in order to achieve a particular desired result of
improving the model characterizations. Many of these are discussed in Rutman [B25]. The two simplest are
the Allan variance, and ModiÞed Allan variance [B29], [B40], which, in addition to the PSD, are discussed
in B.3.
The adaptive Kalman Þlter is another means of system identiÞcation [B20]. The noise covariance and
dynamics may be estimated if the form of the model is known. This may be combined with a model adjust-
ment or learning model approach for more ßexibility.
B.2.3 Gyro random drift model
Noise contributors in typical gyro models [B11], [B20], [B24], [B26], [B27], [B34], [B35] include white
angle noise, quantization noise [B6], [B20] white rate noise, correlated (Markov) random drift, bias instabil-
ity (1/f or ßicker rate), rate random walk, ßicker angular acceleration (ramp instability), and random rate
Authorized licensed use limited to: IEEE Standards Staff. Downloaded on January 27, 2009 at 15:00 from IEEE Xplore. Restrictions apply.
Authorized licensed use limited to: SUNY AT STONY BROOK. Downloaded on June 19,2018 at 06:14:21 UTC from IEEE Xplore. Restrictions apply.
IEEE
Std 952-1997 IEEE STANDARD SPECIFICATION FORMAT GUIDE AND TEST PROCEDURE
48 Copyright © 1998 IEEE. All rights reserved.
ramp. Correlated (Markov) drift rate has been recently reported in optical rotation sensors, but is more com-
mon in spinning wheel gyros. White angle noise has also been observed in dithered laser gyros at both the
gyro and system level. Bias instability (ßicker rate) and ramp instability (ßicker angular acceleration, ßicker
acceleration) behave like evolutionary (non-stationary) processes.
Normally, the PSD of a random process is expected to exhibit even order log-log slopes of Ð2, 0, +2 and so
on, indicating even powers of frequency (+2 slope corresponds to +6 dB per octave). However, the 1/f ßicker
process has a Ð1 slope PSD (Ð3 dB per octave). It occurs in certain types of distributed parameter type mod-
els; for example, a hypothetical resistive-capacitance (R-C) transmission line excited with white noise cur-
rent will exhibit a 1/f noise voltage at the input [B32]. Because ßicker noise is not readily expressed in terms
of ordinary state equations, it is sometimes approximated by a Markov model or a multiple stage ARMA
model. Rate random walk is a long term, very low-frequency phenomenon. Even lower in frequency is
ßicker angular acceleration, which can be thought of as instability in the slope of rate ramp, and is equivalent
to the integral of 1/f noise.
Other model contributors include deterministic ramp (different from ßicker angular acceleration), usually
removed together with the bias prior to processing, and periodic signals that ought to be removed through Þl-
tering, better selection of oscillator frequencies, electromagnetic interference (EMI) reduction, etc.
B.3 Preferred means of analysis
Of the less restrictive methods of analysis, the PSD and Allan variance methods have more general applica-
tion to investigation of stochastic models. Thus, they have been adopted as preferred means of analysis in the
inertial systems community.
B.3.1 Power spectral density (PSD)
The PSD is the most commonly used representation of the spectral decomposition of a time series. It is a
powerful tool for analyzing or characterizing data, and stochastic modeling. The PSD, or spectrum analysis,
is also better suited to analyzing periodic or aperiodic signals than other methods.
To summarize the basic relationship for stationary processes, the two-sided PSD, S(w) and covariance, K(t)
are Fourier transform pairs, related by:
Unless speciÞcally stated, the term PSD in Annex B refers to the two-sided PSD. Graphical representations
frequently use the one-sided PSD, whose amplitude is twice the two-sided PSD. See Figure B.6.
It can be shown [B6] that for nonstationary processes, the average covariance K(t) and average power spec-
trum S(w) are related in the same way.
The transfer function form of the stochastic model may be estimated directly from the PSD of the output
data (on the assumption of an equivalent white noise driving function). Similar to curve-Þtting a Bode plot,
the transfer function may be estimated using the pole-zero form, partial fraction expansion, power series,
ARMA model spectral estimation, etc.
Sw() e
¥Ð
¥
òjwtÐKt()td=
Kt() 1
2p
------ ejwtSw()wd
¥Ð
¥
ò
=
Kxy t() xt()yt t+()áñ=
Authorized licensed use limited to: IEEE Standards Staff. Downloaded on January 27, 2009 at 15:00 from IEEE Xplore. Restrictions apply.
Authorized licensed use limited to: SUNY AT STONY BROOK. Downloaded on June 19,2018 at 06:14:21 UTC from IEEE Xplore. Restrictions apply.

IEEE
FOR SINGLE-AXIS INTERFEROMETRIC FIBER OPTIC GYROS Std 952-1997
Copyright © 1998 IEEE. All rights reserved.
49
B.3.1.1 Useful properties
For linear systems, the output PSD is the product of the input PSD and the magnitude squared of the system
transfer function. If state space methods are used, the PSD matrices of the input and output are related to the
system transfer function matrix by:
where
H
*
T
is the complex conjugate transpose of
H
Thus, for the special case of white noise input, the output PSD directly gives the system transfer function.
The Fourier transform representation of the PSD is directly related to the bilateral Laplace transform derived
from the transfer function of the corresponding stochastic model. The corresponding Allan variance of a sto-
chastic process may be uniquely derived from its PSD; however, there is no general inversion formula. The
same is true of the relationship between a process probability density function and its PSD.
The white noise covariances of process and measurement noise pertaining to the (continuous) Kalman Filter
theory are identical to the corresponding two-sided PSDÕs white noise strengths expressed in units squared
per Hertz.
For a process to have Þnite power, its PSD must eventually terminate in a negative slope at high frequencies.
This property must be produced to satisfy the Nyquist sampling criterion for sampled data. This is discussed
further in B.4.2. Likewise, a PSD cannot continue to rise (without limit) toward zero frequency (over a Þnite
time interval). In practice, this is limited by the Þnite length of the time series.
Certain processes, such as periodic, narrow band, or quantization noise are better described by their energy
spectrum or an integrated PSD, since their PSD amplitudes are dependent on the resolution bandwidth, a
function of sampling rate. This property is used to distinguish, for example, quantization noise from white
angle noise. Both have a +2 slope rate PSD, but whereas the amplitude of the white angle noise PSD is inde-
pendent of the sample rate (resolution bandwidth), the amplitude of the quantization noise PSD is directly
proportional (approximately) to the sample period.
The time average PSD of a nonstationary process has the properties of a PSD of a stationary process [B6].
With present real-time PSD analysis, evolutionary spectra can be represented as either two-dimensional or
time varying PSDs. For nonstationary processes, the covariance function is a function of two time variables
(e.g., the age variable and the running time variable). In the frequency domain, a two dimensional PSD is
deÞned as the double Fourier transform of the covariance function and is a function of two frequency vari-
ables.
For reference, the alternate representations are:
and
The two-sided, two dimensional PSD
G
(
w
1
,
w
2
) and the general covariance function
K
(
t
1
,
t
2
) are double
Fourier transform pairs related by:
Syy w() Hjw()Sxx w()H*Tjw()=
Kxy t1t2
,()xt
1
()yt
2
()=
Kxy t1t2
,()xt
1
()yt
2
()áñ=
Authorized licensed use limited to: IEEE Standards Staff. Downloaded on January 27, 2009 at 15:00 from IEEE Xplore. Restrictions apply.
Authorized licensed use limited to: SUNY AT STONY BROOK. Downloaded on June 19,2018 at 06:14:21 UTC from IEEE Xplore. Restrictions apply.

IEEE
Std 952-1997 IEEE STANDARD SPECIFICATION FORMAT GUIDE AND TEST PROCEDURE
50
Copyright © 1998 IEEE. All rights reserved.
For further discussion on non-stationary processes, see Papoulis [B6].
For certain types of spectra, where wide dynamic range is required, such as when periodic content is present,
application of a window function as part of the FFT processing can improve resolution. Windows such as the
Hamming and Von Hann (Hanning) windows reduce the impact of GibbÕs phenomenon resulting from trun-
cation of a time series. Thus, for example, two adjacent spectral peaks of signiÞcantly different amplitudes
may be separated at the expense of somewhat broadening them. These issues are discussed further in B.3.2
and in [B9], [B22], [B25]. PSD properties of the various contributors are given in Figure B.4 and Table B.1.
B.3.2 Allan variance
The two-sided (Þrst difference) Allan variance was developed in the mid 1960s and adopted by the time and
frequency standards community for the characterization of phase and frequency instability of precision
oscillators. Because of the close analogies to inertial sensors, the method has been adapted to random drift
characterization of a variety of devices. Annex C treats this subject in more detail than the discussion below.
The old method of specifying drift in terms of a single RMS number, even when associated with a correla-
tion time, was inadequate for predicting system performance, leading to some very conservative means of
speciÞcation. Later, frequency domain methods proved superior for evaluating performance, but difÞcult for
non-system analysts to understand.
The Allan variance is a reasonable compromise. Simply put, it is a method of representing RMS random
drift error as a function of averaging time. It is simple to compute, much better than having a single RMS
drift number to apply to a system error analysis, relatively simple to interpret and understand. It is not well
suited to rigorous analysis, but a reasonable second step in the modeling process (after the quick look, dis-
cussed in B.4.3). Its most useful application is in the speciÞcation and estimation of random drift coefÞcients
in a previously formulated model equation.
The basic Allan variance relations are summarized as follows:
Then the Allan variance
6
is deÞned by:
and is related to the two-sided PSD,
S
W
(
f
) by:
6
Frequently the term Allan variance is also used to refer to its square root,
s
(
t
).
Gw
1w2
,() Kt
1t2
,()ejw1t1w2t2
Ð()Ðt1
dt
2
d
¥Ð
¥
ò
¥
Ð
¥
ò
=
K
t1t2
,() 1
2p()
2
------------- Gw
1w2
,()e+jw1t1w2t2
Ð()
w1
dw2
d
¥Ð
¥
ò
¥
Ð
¥
ò
=
qt() Wt'()t'd
t
ò
=
Wkt() qtkt+()qtk
()Ð
t
---------------------------------------=
sW
2t() 1
2
---Wk1+ Wk
Ð()
21
2
---Wk1+ Wk
Ð()
2
áñ==
Authorized licensed use limited to: IEEE Standards Staff. Downloaded on January 27, 2009 at 15:00 from IEEE Xplore. Restrictions apply.
Authorized licensed use limited to: SUNY AT STONY BROOK. Downloaded on June 19,2018 at 06:14:21 UTC from IEEE Xplore. Restrictions apply.
IEEE
FOR SINGLE-AXIS INTERFEROMETRIC FIBER OPTIC GYROS Std 952-1997
Copyright © 1998 IEEE. All rights reserved.
51
There is no inversion formula.
One of the most notable deÞciencies of the standard Allan variance is the non-unique characterization of
white angle, ßicker angle, and quantization noise at the high frequency end, and random rate ramp vs. ßicker
angular acceleration at the low-frequency end. These, however, may be sorted out by using the ModiÞed
Allan variance and/or prewhitening methods discussed in B.4.3. Other approaches include applying a preÞl-
ter to the time series (such as a triangular Þlter), or alternatively incorporating it into the Allan variance com-
putation, or applying it as a window. The theory and use of windows is discussed by Hamming [B22]. This
approach is equivalent to some of the other variance methods discussed by Rutman [B25].
If the standard Allan variance is viewed as an application of a variable rectangular window to the time series,
then the ModiÞed Allan variance may be viewed as the application of a variable triangular window to the
time series. Maximum efÞciency is obtained by using an algorithm that uses maximum overlap. Some of
these issues are discussed in Stovall [B39], where a triangular preÞlter with maximum overlap is suggested.
The more obvious advantage of the higher order Þltering is in dealing with these high pass processes (those
with positive PSD slopes) by terminating the Þltered process in a controlled low pass characteristic, insuring
a Þnite variance.
Allan variance properties of the various contributors is given in Table B.1.
sW
2t() 4SWf()
sin
4
p
f
t()
p
f
t()
2
----------------------
fd
0
¥
ò
=
Authorized licensed use limited to: IEEE Standards Staff. Downloaded on January 27, 2009 at 15:00 from IEEE Xplore. Restrictions apply.
Authorized licensed use limited to: SUNY AT STONY BROOK. Downloaded on June 19,2018 at 06:14:21 UTC from IEEE Xplore. Restrictions apply.

IEEE
Std 952-1997 IEEE STANDARD SPECIFICATION FORMAT GUIDE AND TEST PROCEDURE
52
Copyright © 1998 IEEE. All rights reserved.
Table B.1ÑProperties of noise and drift processes
Stochastic model contributor Asymptotic properties
PSD
S
(
f
)
Nomenclature
Equivalent white noise
input Other name
q
W
S
W
(
f
)
Generic This Std
White angle
N
q
2
F
2
Angle measurement
noise 0+2
Angle
quantization Ñ
Q
2
White angle energy
spectrum 0+2
Flicker angle
N
2
F
q
Ñ Pink angle noise Ð1 +1
Angle random
walk, white rate
noise
N
W
2
N
2
Reg angle noise Ð2 0
N
2
Rate
quantization ÑÑ
Discrete white rate
noise or white rate
energy spectral density
Ð2 0 Ñ
Bias instability
N
F
W
2
B
2
Pink rate noise Ð3 Ð1
Markov rate
N
c
W
2
q
2
Correlated drift rate Ð2, Ð4 0, Ð2
Rate
random
walk
K
2
Red rate noise Ð4 Ð2
Ramp instabil-
ity
R
2
Pink angular accelera-
tion noise Ð5 Ð3
Random bias
B
02
Bias or Þxed draft See Note 2 See Note 2
Random ramp
R
02
Rate ramp See Note 2 See Note 2 Ñ
Periodic rate
W
0
Ñ Harmonic Discrete
spectra
Discrete
spectra
NOTES
1ÑMod
s
ÑModiÞed Allan variance
2ÑRemove by regression or by Þltering
2pf()
2f2
4Q2
t
----------sin2pft
2pfN
Fq
2
B2
2pf
---------
qctc
()
2
12pftc
()+2
-------------------------------
NW
ú
2K2
2pf()
2
-----------------
NFW
ú
2
R2
2pf()
3
-----------------
W0() B0
2df()
W
ú0()
1
2
---W0
2dff
0
Ð()
Authorized licensed use limited to: IEEE Standards Staff. Downloaded on January 27, 2009 at 15:00 from IEEE Xplore. Restrictions apply.
Authorized licensed use limited to: SUNY AT STONY BROOK. Downloaded on June 19,2018 at 06:14:21 UTC from IEEE Xplore. Restrictions apply.

IEEE
FOR SINGLE-AXIS INTERFEROMETRIC FIBER OPTIC GYROS Std 952-1997
Copyright © 1998 IEEE. All rights reserved.
53
in frequency and tau domain
Asymptotic properties
Allan variance
s
(
t
)
q
W
Ð1/2 Ð1, (Ð3/2)
See Note 1
0Ð1
0Ð1
+1/2 Ð1/2
+1 0 Ñ
+1 0
+1 1/2, +1/2 +1/2, Ð1/2
+1 1/2 +1/2
+2 +1 Ñ
See Note 2 See Note 2 Ñ
See Note 2 See Note 2
See Note 2 See Note 2
NOTES
1ÑMod
s
ÑModiÞed Allan variance
2ÑRemove by regression or by Þltering
sW
2
t()
3F2
t2
---------- fn
3Q2
t2
----------
NFq
2
2pt2
------------32 2ln pfnt+()2lnÐ[]
N2
t
------
2B22ln
p
------------------
qcTc
()
2
t
------------------ 1Tc
2t
------34e
t
Tc
-----Ð
Ðe
2t
Tc
------Ð
+
èø
ç÷
æö
Ð
K2t
3
---------
R0
2t2
2
-----------
W0
2sin2pf0t
pf0t
----------------------
Authorized licensed use limited to: IEEE Standards Staff. Downloaded on January 27, 2009 at 15:00 from IEEE Xplore. Restrictions apply.
Authorized licensed use limited to: SUNY AT STONY BROOK. Downloaded on June 19,2018 at 06:14:21 UTC from IEEE Xplore. Restrictions apply.

IEEE
Std 952-1997 IEEE STANDARD SPECIFICATION FORMAT GUIDE AND TEST PROCEDURE
54
Copyright © 1998 IEEE. All rights reserved.
B.4 Test, data processing, and analysis considerations
This clause discusses methods of test, data acquisition, and data processing. Several suggestions are made to
improve the efÞciency of these operations and the subsequent analysis.
B.4.1 Approach
General test conditions and equipment are discussed in Clause 11. Test procedures are discussed in 12.11. It
is important to control the inßuence of external environments on the test. External sources of error should be
removed or compensated for in an appropriate pre-Þlter. Differential techniques (such as back-to-back sensor
test) are also effective. Error detection/correction is also an important step of the data acquisition process.
Sample rates, anti-aliasing Þltering, and record lengths are to be chosen with regard to various system con-
siderations [B9]. The longer term effects of random drift on performance with regard to the mission proÞle
should be separated out using signal processing techniques prior to data acquisition, and the higher fre-
quency data should be analyzed separately.
B.4.2 Data acquisition
In terms of economy, efÞciency is achieved by combining data reduction methods into the data acquisition
process [B36] and [B37], thus transforming data into a more usable form. Generally, the sample rate is
selected to be at least twice the sample bandwidth (limited by Þltering to the highest frequency of interest),
however, Papoulis [B6] shows that six samples per bandwidth cycle are required to characterize a signal from
its past values only. The record length should be at least several times the required performance interval, as
dictated by the mission proÞle. Coverage of too large a temporal dynamic range, however, is uneconomical,
impractical, and unnecessary; collecting 0.1 ms data for 1000 h yields a large, unwieldy number of data points.
The recommended approach is to limit the time/frequency domain dynamic range (of record length to sample
period) to about 3 orders of magnitude. This is done by dividing the total range into overlapping intervals of
geometrically increasing lengths. Thus, the high frequency data is acquired for a short period of time. Lower
frequency data is Þltered (integrated) and acquired for a longer period (e.g., 0.1ms data collected for 0.1 s,
0.01 s data for 10 s, 1 s data for 1000 s and 100 s data for 10
5
s). Signal processing is used to remove the
undesired effects outside the bandwidth of interest. It is noted that frequency domain (PSD) analysis is par-
ticularly appropriate to investigating high frequency phenomena as well as long term random drift, whereas
time domain analysis should be conÞned to the low-frequency phenomena where it is often simpler to use.
The appropriate sampling rates/record lengths should be chosen to overlap about one decade of frequency
(time), consideration being given to the particular characterization of the process. Prior characterization of
the process is necessary for proper determination of data acquisition parameters. One approach is to choose
geometric means of the record length and sample period to correspond to the geometric mean of the corre-
sponding frequency or time domain range of the dominant characteristic of interest. For example, if bias
instability (ßicker) is to be observed in the interval 10
4
s to 10
6
s (1.0Ð100 mHz) the geometric mean is 10
5
s
(10 mHz); the corresponding sample period and record length would be and
respectively. However, if the mission proÞle provided for a Þx (or calibration) at 10
5
s a record length of
might be satisfactory, thus requiring only two decades of time (or frequency). Another aspect of
this idea relates to prewhitening, which is usually done as part of a post-processing operation after the data is
usually collected but prior to detailed analysis.
Quantization noise, as discussed in Britting, et al., [B31] and equivalently random binary transmission, as
discussed in Papoulis [B6], can limit the ability to estimate model coefÞcients efÞciently. It can also have a
deleterious effect on short-term performance. Since quantization is often dictated by sensor design consider-
ations, such as laser gyro scale factor, or otherwise constrained to unsatisfactory levels, its effect must be
handled externally by signal processing. This can be done as part of the data acquisition/reduction process,
or in post processing. It usually entails processing through a second or higher order digital Þlter, with calcu-
lations scaled to higher precision.
10310
s
~10610
s
~
10510
s
Authorized licensed use limited to: IEEE Standards Staff. Downloaded on January 27, 2009 at 15:00 from IEEE Xplore. Restrictions apply.
Authorized licensed use limited to: SUNY AT STONY BROOK. Downloaded on June 19,2018 at 06:14:21 UTC from IEEE Xplore. Restrictions apply.

IEEE
FOR SINGLE-AXIS INTERFEROMETRIC FIBER OPTIC GYROS Std 952-1997
Copyright © 1998 IEEE. All rights reserved.
55
B.4.3 Post-Processing
Post-processing of the acquired data includes the quick look data editing, trend removal, digital Þltering of
other deterministic signal (i.e., periodic) and other pre-whitening signal processing.
The quick-look is a cursory visualization of each record of the data in the form of graphical time series. Bad
data is edited out and replaced by interpolated or simulated data. Trends are observed for removal and sepa-
rate analysis by least squares estimation techniques. Possible periodic content is observed for removal by
other Þltering techniques. Such removal is a Þrst step in the prewhitening processing.
Best estimates of the model are achieved when the estimation error (residuals, innovations) is a white noise
process. Some analysis techniques, such as an adaptive Kalman Þlter can be designed to do this. Another
approach requires a priori knowledge of the stochastic model [B36] and [B37].
In this approach, an inverse Þlter is mechanized in the signal processing to pre-whiten the data (example Fig-
ure B.3). This may simply entail applying either an integration operation (as with angle white noise) or a dif-
ferencing operation (as with rate random walk). As a practical matter, additional high frequency poles must
be added to band limit the resulting dynamic range required for subsequent analysis.
SWw() NW
2NW
ú
2
w2
-------+=
Hs()
1
N
öW
-------
1N
öW
ú
s
------- 1
N
öW
-------
+
------------------------- 1
N
öW
N
öW
ú
s
-------+
----------------------==
SRw() HRWjw()SWw()HRW
*Tjw() HRWjw()
2SWw()==
1
N
öW
2N
öW
ú
2
w2
-------+
----------------------NW
2NW
ú
2
w2
-------+=
Stochastic
Model
Prewhitening
Filter
NW
Nú
W
WR
1
s
+
-
1
ö
N
W
ö
N
ú
W
s
Figure B.3ÑExample of prewhitening (simpliÞed)
Authorized licensed use limited to: IEEE Standards Staff. Downloaded on January 27, 2009 at 15:00 from IEEE Xplore. Restrictions apply.
Authorized licensed use limited to: SUNY AT STONY BROOK. Downloaded on June 19,2018 at 06:14:21 UTC from IEEE Xplore. Restrictions apply.

IEEE
Std 952-1997 IEEE STANDARD SPECIFICATION FORMAT GUIDE AND TEST PROCEDURE
56
Copyright © 1998 IEEE. All rights reserved.
B.4.4 Time series analysis considerations
Subsequent to data acquisition and post-processing, the resulting processed data records are prepared for
time series analysis. Whichever method is used, time or frequency domain analysis, there are some sug-
gested guidelines to follow.
Each data record so constructed contains piece-wise information to be extracted and re-assembled in a com-
posite analysis, which will then display the full dynamic range of the desired result. In re-assembling the
computed information in the appropriate chart, it may be necessary to undo some of the previous operation
to put the output data into the proper format and proper units. If, for example, pre-whitening processing was
applied, the corresponding post-darkening operation will be necessary to reconstruct the characteristic signa-
ture of the analyzed data.
Prior to this operation however, the model coefÞcients are Þrst estimated. A Þrst approximation (second
approximation if prewhitening has been performed) can be estimated by sketching in the asymptotes to the
charted data analysis, and computing approximate model coefÞcients. A prewhitening Þlter may be derived
and the error coefÞcients from the residuals may be reestimated. Alternatively, a more rigorous weighted
least squares procedure, which weights by the inverse error covariance, may be used. Error bounds on the
coefÞcient should be computed to establish the goodness-of-Þt.
With the coefÞcients thus determined, and the composite data analysis assembled on the appropriate chart,
the resulting characteristic curve Þt can be superimposed on the charted data, together with the error bounds
to give a detailed representation of the stochastic model characterization. The coefÞcients are also used to
construct a block diagram (Figure B.4) and generate the detailed state equations describing the stochastic
model.
B.4.5 Example
Figures B.5 and B.6 illustrate the piecewise asymptotic representation of the Allan variance and correspond-
ing PSD of a hypothetical gyro with parameters:
angle random walk
bias instability
rate random walk
quantization noise (result of 2"/p gyro scale factor)
B.5 Conclusion
Inertial systems design and performance prediction depends on accurate knowledge of sensor level behavior.
This annex has attempted to provide a brief introduction and roadmap to the study of a very extensive sub-
ject of dynamic and stochastic modeling as it applies to this purpose.
Through better understanding of the modeling process and standardization of test and reporting of data, the
inertial system and gyro designer can more effectively meet their goals.
N0.001°h¤=
B0.001°h¤=
K0.0001°h32¤
¤=
Q0.577'' =
Authorized licensed use limited to: IEEE Standards Staff. Downloaded on January 27, 2009 at 15:00 from IEEE Xplore. Restrictions apply.
Authorized licensed use limited to: SUNY AT STONY BROOK. Downloaded on June 19,2018 at 06:14:21 UTC from IEEE Xplore. Restrictions apply.

IEEE
FOR SINGLE-AXIS INTERFEROMETRIC FIBER OPTIC GYROS Std 952-1997
Copyright © 1998 IEEE. All rights reserved.
57
Figure B.4ÑBlock diagram of stochastic model through data acquisition
Authorized licensed use limited to: IEEE Standards Staff. Downloaded on January 27, 2009 at 15:00 from IEEE Xplore. Restrictions apply.
Authorized licensed use limited to: SUNY AT STONY BROOK. Downloaded on June 19,2018 at 06:14:21 UTC from IEEE Xplore. Restrictions apply.

IEEE
Std 952-1997 IEEE STANDARD SPECIFICATION FORMAT GUIDE AND TEST PROCEDURE
58
Copyright © 1998 IEEE. All rights reserved.
0.0001
0.001
0.01
0.1
0.01 0.1 1 10 100 1000
t (h)
s(t) (¡/h)
Q=0.577"
B=0.001°h
N=0.001
°h
K=0
.0001°h
3/2
Figure B.5ÑPlacewise representation of hypothetical gryo in Allan variance form
0.001
0.01
0.1
1.
0
10.0
0.0000001 0.000001 0.00001 0.0001 0.001 0.01
f (Hz)
GWf
()°
/h
()
2/Hz
[]
2K
2
w
2
2B
2
w
2N 2
2w
2
Q
2
T
Figure B.6ÑPiecewise representation of hypothetical gyro in single-sided PSD form
Authorized licensed use limited to: IEEE Standards Staff. Downloaded on January 27, 2009 at 15:00 from IEEE Xplore. Restrictions apply.
Authorized licensed use limited to: SUNY AT STONY BROOK. Downloaded on June 19,2018 at 06:14:21 UTC from IEEE Xplore. Restrictions apply.
IEEE
FOR SINGLE-AXIS INTERFEROMETRIC FIBER OPTIC GYROS Std 952-1997
Copyright © 1998 IEEE. All rights reserved.
59
B.6 Chronological bibliography
[B1] Von Neuman, J., and Morgenstern, O.,
Theory of Games and Economic Behavior,
New York: John
Wiley and Sons, 1967, Princeton University Press, 1944.
[B2] Wiener, N.,
Cybernetics: or Control and Communication in the Animal and the Machine
. Cambridge,
MA: MIT Press, 1948, Second Edition 1961.
[B3] Kalman, R. E., ÒA New Approach to Linear Filtering and Prediction Problems,Ó ASME Transactions,
vol. 182D, Mar. 1960, pp. 35Ð45.
[B4] Hannan, E. J.,
Time Series Analysis.
Great Britain: Science Paperbacks and Methuen and Co. LTD,
1960, Reprinted 1967.
[B5] Parzen, E.,
Stochastic Processes
. San Francisco, CA: Holden-Day, 1962.
[B6] Papoulis, A.,
Probability, Random Variables and Stochastic Processes
. New York: McGraw-Hill, 1965.
[B7] Machol, R. E.,
Systems Engineering Handbook
. New York: McGraw-Hill, 1965.
[B8] Allan, D. W., ÒStatistics of Atomic Frequency Standards,Ó
Proceedings of the IEEE,
vol. 54, no. 2,
pp. 221Ð230, Feb. 1966.
[B9] Bendat, J. S., and Piersol, A. G.,
Measurement and Analysis of Random Data
. New York: John Wiley
and Sons, 1966.
[B10] Gelb, A., and Sutherland, A. A. Jr., ÒDesign of Strapdown Gyroscopes for a Dynamic Environment,Ó
TASC report TR101-1, 1967.
[B11] Sutherland, A. A., and Gelb, A., ÒApplications of the Kalman Filter to Aided Inertial Systems,Ó NWC-
TP-4652, China Lake, CA, Aug. 1968.
[B12] Van Trees, H. L.,
.Detection, Estimation, and Modulation Theory, Part I
, New York: John Wiley and
Sons, 1968.
[B13] Wrigley, et al.,
Gyroscopic Theory, Design, and Instrumentation
. Cambridge MA: M.I.T. Press, 1969
[B14] Box, G. E. P., and Jenkins, G. M.,
Time Series Analysis: Forecasting and Control.
San Francisco: :
Holden-Day, 1970, Revised 1976.
[B15] Britting, K.,
Inertial Navigation Systems Analysis.
New York: Wiley-Insterscience, 1971.
[B16] Barnes, J. A., et al., ÒCharacterization of Frequency Stability,Ó
IEEE Transactions on Instrumentation
and Measurement,
vol. IM-20, pp. 105Ð120, May 1971.
[B17] Coffman, V. ÒOn-Line Estimation of Parameters Using Experimentally Developed Gyro Models, and
Other Applications,Ó Ph.D. diss., Stanford University, SUDAAR no. 467, Dec. 1973.
[B18] Lesage, P. and Audoin, C., ÒCharacterization of Frequency Stability: Uncertainty due to the Finite
Number of Measurements,Ó
IEEE Transactions on Instrumentation and Measurement,
vol. IM-22, no. 2
pp. 157Ð161, June 1973.
[B19] Brogan W.,
Modern Control Theory
. New York: Quantum Publishers, 1974.
[B20] Gelb, A., TASC Staff, Applied Optimal Estimation, Cambridge MA: M.I.T. Press, 1974.
Authorized licensed use limited to: IEEE Standards Staff. Downloaded on January 27, 2009 at 15:00 from IEEE Xplore. Restrictions apply.
Authorized licensed use limited to: SUNY AT STONY BROOK. Downloaded on June 19,2018 at 06:14:21 UTC from IEEE Xplore. Restrictions apply.
IEEE
Std 952-1997 IEEE STANDARD SPECIFICATION FORMAT GUIDE AND TEST PROCEDURE
60
Copyright © 1998 IEEE. All rights reserved.
[B21] Giacoletto, L. J.,
Electronics DesignersÕ Handbook,
Second Edition. New York: McGraw-Hill, pp.16Ð
20, 1977.
[B22] Hamming, R. W.,
Digital Filters.
Englewood Cliffs, NJ: Prentice Hall, 1977.
[B23] Lindsey, W. C., and Chie, C. M., ÒIdentiÞcation of Power-Law Type Oscillator Phase Noise Spectra
from Measurements,Ó
IEEE Transactions on Instrumentation and Measurement
, vol. IM-27, no. 1, pp. 46Ð
53, Mar. 1978.
[B24] Sargent, D. and Wyman, B.O., ÒLeast Squares and How They Give Us Fits,Ó Second Printing, TRW
Report 32143-61010TU-00, 9 June 1978.
[B25] Rutman, J., ÒCharacterization of Phase and Frequency Instabilities in Precision Frequency Sources:
Fifteen Years of Progress,Ó
Proceedings of the IEEE,
vol. 66, no. 9, Sept. 1978.
[B26] Kochakian, C. R. ÒTime-Domain Uncertainty Charts (Green Charts): A Tool for Validating the Design
of IMU/Instrument Interfaces,Ó
Proceedings of the AIAA Guidance and Control Conference
, Aug. 11Ð13,
1980.
[B27] Sargent, D. and Wyman, B. O., ÒExtraction of Stability Statistic from Integrated Rate Data,Ó
Proceed-
ings of the AIAA Guidance and Control Conference,
Aug. 11Ð13, 1980.
[B28] Cadzon, J. A., ÒHigh Performance Spectral EstimationÑA New ARMA Method,Ó
IEEE Transactions
on Acoustics, Speech, and Signal Processing,
vol. ASSP-28, ,o. 5, pp. 524Ð528, Oct. 1980.
[B29] Allan, D. W., and Barnes, J. A., ÒA ModiÞed ÔAllan VarianceÕ with Increased Oscillator Characteriza-
tion Ability,Ó
Proceedings of the 35th Annual Frequency Control Symposium,
pp. 470Ð475, May 1981.
[B30] Howe, D. A., et al., ÒProperties of Signal Sources and Measurement Methods,Ó
Proceedings of the
35th Annual Frequency Control Symposium,
pp. 441Ð447, May 1981.
[B31] Britting, K., et al., ÒStatistical Description of Quantization ErrorÓ, Northrop, PPD, unpublished paper,
1982.
[B32] Keshner, M. S., Ò1/f Noise,Ó
Proceedings of the IEEE,
vol.70, no. 3, pp. 212Ð218, Mar. 1982.
[B33] Sinha, N. K. and Kuszta, B.,
Modeling and IdentiÞcation of Dynamic Systems,
New York: Van Nos-
trand Reinhold, 1983.
[B34] Tehrani, M. M., ÒRing Laser Gyro Data Analysis with Cluster Sampling Technique,Ó
Proceedings of
SPIE,
vol. 412, 1983.
[B35] King, A. D., ÒCharacterization of Gyro In-Run Drift,Ó
Symposium Gyro Technology 1984,
pp. 10.0Ð
10.56, Oct. 1984.
[B36] Mark, J. and Brown, A., ÒLaser Gyroscope Random Walk Determination Using a Fast Filtering Tech-
nique,Ó
Symposium Gyro Technology 1984,
pp. 9.0Ð9.21, Oct. 1984.
[B37] Vallot, L., et al., ÒShort Acceptance Test Procedures for Ring Laser Gyros,Ó
12th Biennial Guidance
Test Symposium, pp. 1Ð12, 22Ð24, Oct. 1985.
[B38] Walls, F. L., and Allan, D. W., ÒMeasurements of Frequency Stability,Ó Proceedings of IEEE, vol. 74,
no. 1, Jan. 1986.
Authorized licensed use limited to: IEEE Standards Staff. Downloaded on January 27, 2009 at 15:00 from IEEE Xplore. Restrictions apply.
Authorized licensed use limited to: SUNY AT STONY BROOK. Downloaded on June 19,2018 at 06:14:21 UTC from IEEE Xplore. Restrictions apply.
IEEE
FOR SINGLE-AXIS INTERFEROMETRIC FIBER OPTIC GYROS Std 952-1997
Copyright © 1998 IEEE. All rights reserved. 61
[B39] Stovall, S. H., ÒAnalysis of Ring Laser Gyro Noise Measurement Techniques,Ó China Lake CA: NWC
Technical Report, 1987.
[B40] Allan D., et al., ÒStandard Terminology for Fundamental Frequency and Time Metrology,Ó Proposed
IEEE Standard Para-P-1139.
[B41] Erickson, G. W., ÒAn overview of Dynamic and Stochastic Modeling of Gyros,Ó Proceedings of the
1993 National Technical Meeting of the ION, Jan. 1993.
Authorized licensed use limited to: IEEE Standards Staff. Downloaded on January 27, 2009 at 15:00 from IEEE Xplore. Restrictions apply.
Authorized licensed use limited to: SUNY AT STONY BROOK. Downloaded on June 19,2018 at 06:14:21 UTC from IEEE Xplore. Restrictions apply.

IEEE
Std 952-1997 IEEE STANDARD SPECIFICATION FORMAT GUIDE AND TEST PROCEDURE
62 Copyright © 1998 IEEE. All rights reserved.
Annex C7
(informative)
An overview of the Allan variance method of IFOG noise analysis
C.1 Allan variance background
Allan variance is a time domain analysis technique originally developed to study the frequency stability of
oscillators [C1].8 It can be used to determine the character of the underlying random processes that give rise
to the data noise. As such, it helps identify the source of a given noise term in the data. The source may be
inherent in the instrument, but in the absence of a plausible mechanism within the instrument its origin should
be sought in the test set up. The Allan variance adopted in this standard may be used as a stand-alone method
of data analysis or to complement any of the frequency domain analysis techniques. It should be mentioned
that the technique can be applied to the noise study of any instrument. Its value, however, depends upon the
degree of understanding of the physics of the instrument. Following is an overview of the Allan variance and
its adaptation to the noise properties of IFOGs, similar to that described in [C6] for ring laser gyros.
In the Allan variance method of data analysis, the uncertainty in the data is assumed to be generated by noise
sources of speciÞc character. The magnitude of each noise source covariance is then estimated from the data.
The deÞnition of the Allan variance and a discussion of its use in frequency and time metrology is presented
in [C1] and [C7].
In this annex, AllanÕs deÞnition and results are related to Þve basic gyro noise terms and are expressed in a
notation appropriate for gyro data reduction. The Þve basic noise terms are angle random walk, rate random
walk, bias instability, quantization noise, and rate ramp.
Consider N samples of gyro data9 with a sample time of to. Form data clusters of lengths to, 2to, ..., kto
(k<N/2) and obtain averages of the sum of the data points contained in each cluster over the length of that
cluster. The Allan variance is deÞned as a function of cluster time.
To be speciÞc, the Allan variance can be deÞned either in terms of the output rate, W(t), or the output angle
The lower integration limit is not speciÞed as only angle differences are employed in the deÞnitions. Angle
measurements are made at discrete times given by t = kto, k = 1, 2, 3, ..., N. Accordingly, the notation is sim-
pliÞed by writing Qk = Q(kto).
The average rate between times tk and tk + t is given by:
where
t = mto
7This annex is adapted from Annex C in IEEE Std 647-1995, IEEE Standard SpeciÞcation Format Guide and Test Procedure for Single-
Axis Laser Gyros.
8The numbers in brackets preceded by the letter C correspond to those of the bibliography in C.4.
9Sometimes referred to as time series or data streams.
qt() Wt'()t'd
t
ò
=
Wkt() qkm+qk
Ð
t
------------------------=
Authorized licensed use limited to: IEEE Standards Staff. Downloaded on January 27, 2009 at 15:00 from IEEE Xplore. Restrictions apply.
Authorized licensed use limited to: SUNY AT STONY BROOK. Downloaded on June 19,2018 at 06:14:21 UTC from IEEE Xplore. Restrictions apply.

IEEE
FOR SINGLE-AXIS INTERFEROMETRIC FIBER OPTIC GYROS Std 952-1997
Copyright © 1998 IEEE. All rights reserved.
63
The Allan variance
10
is deÞned as:
where
is the ensemble average
The Allan variance is estimated as follows:
The Allan variance obtained by performing the prescribed operations, is related to the PSD of the noise
terms in the original data set. The relationship between Allan variance and the two-sided PSD
11
,
S
W
(
f
) is
given by:
(C.1)
Equation (C.1) is the key result that will be used to calculate the Allan variance from the rate noise PSD. An
interpretation is that the Allan variance is proportional to the total noise power of the gyro rate output when
passed through a Þlter with the transfer function of the form sin
4
(
x
)/(
x
)
2
. This particular transfer function is
the result of the method used to create and operate on the clusters.
It is seen from Equation (C.1) and the above interpretation that the Þlter bandpass depends on
t
. This sug-
gests that different types of random processes can be examined by adjusting the Þlter bandpass, namely by
varying
t
. Thus, the Allan variance provides a means of identifying and quantifying various noise terms that
exist in the data. It is normally plotted as the square root of the Allan variance versus
t
,
[s
(
t
)], on a log-log
plot.
Subclauses C.1.1 through C.1.7 show the application of Equation (C.1) to a number of noise terms that are
either known to exist in the IFOG or otherwise inßuence its data. Detailed derivations are given in [C6]. The
physical origin of each noise source term will be discussed.
10
Frequently the term Allan variance is also used to refer to its square root,
s
(
t
).
11
Unless speciÞcally stated, the term PSD is Annex C refers to the two-sided PSD. Note that
S
W
(
f
)
is the PSD of stationary random
processes. For nonstationary processes, such as ßicker noise, the time average PSD should be used.
s2t() 1
2
---Wkm+Wk
Ð()
2
áñ=
1
2t2
--------qk2m+2qkm+
Ðqk
+()
2
áñ=
áñ
s2t() 1
2t2N2mÐ()
------------------------------- qk2m+2qkm+
Ðqk
+()
2
k1=
N2mÐ
å
=
s2t() 4SWf()
sin4pft()
pft()
2
---------------------- fd
0
¥
ò
=
Authorized licensed use limited to: IEEE Standards Staff. Downloaded on January 27, 2009 at 15:00 from IEEE Xplore. Restrictions apply.
Authorized licensed use limited to: SUNY AT STONY BROOK. Downloaded on June 19,2018 at 06:14:21 UTC from IEEE Xplore. Restrictions apply.

IEEE
Std 952-1997 IEEE STANDARD SPECIFICATION FORMAT GUIDE AND TEST PROCEDURE
64
Copyright © 1998 IEEE. All rights reserved.
C.1.1 Angle random walk
The main source for this error is spontaneous emission of photons. This component of the IFOG angle ran-
dom walk is caused by the spontaneously emitted photons that are always present in the source output. The
angle random walk due to spontaneously emitted photons is called the quantum limit [C4].
Other high frequency noise terms that have correlation time much shorter than the sample time, can also
contribute to the gyro angle random walk. However, most of these sources can be eliminated by design.
These noise terms are all characterized by a white noise spectrum on the gyro rate output.
The associated rate noise PSD is represented by:
(C.2)
where
N
is the angle random walk coefÞcient
12
Substitution of Equation (C.2) in Equation (C.1) and performing the integration yields:
(C.3)
As shown in Figure C.1, Equation (C.3) indicates that a log-log plot of
s(t
) versus
t
has a slope of Ð1/2. Fur-
thermore, the numerical value of
N
can be obtained directly by reading the slope line at
t
= 1.
12
The zero slop portion of the rate PSD in (
°
/h)
2
/Hz represents angle random walk. The relationship between angle random walk coef-
Þcient
N
and the PSD is
SWf() N2
=
N°/h()
1
60
------PSD °
h
---
èø
æö
2
Hz¤=
s2t() N2
t
------=
t
s(t)
0.1N
1N
10N
0.1 1 10 100
Slope = -1/2
Figure C.1Ñs(t) Plot for angle random walk
Authorized licensed use limited to: IEEE Standards Staff. Downloaded on January 27, 2009 at 15:00 from IEEE Xplore. Restrictions apply.
Authorized licensed use limited to: SUNY AT STONY BROOK. Downloaded on June 19,2018 at 06:14:21 UTC from IEEE Xplore. Restrictions apply.

IEEE
FOR SINGLE-AXIS INTERFEROMETRIC FIBER OPTIC GYROS Std 952-1997
Copyright © 1998 IEEE. All rights reserved.
65
C.1.2 Bias instability
The origin of this noise is the electronics, or other components susceptible to random ßickering [C5].
Because of its low-frequency nature it shows up as the bias ßuctuations in the data. The rate PSD associated
with this noise is:
(C.4)
where
B
is the bias instability coefÞcient
f
0
is the cutoff frequency
Substitution of Equation (C.4) in Equation (C.1) and performing the integration yields:
(C.5)
where
x
is
p
f
0
t
Ci
is the cosine-integral function [C2]
Figure C.2 represents a log-log plot of Equation (C.5) that shows that the Allan variance for bias instability
reaches a plateau for
t
much longer than the inverse cut off frequency. Thus, the ßat region of the plot can be
examined to estimate the limit of the bias instability as well as the cutoff frequency of the underlying ßicker
noise.
SWf()
B2
2p
------
èø
æö
1
f
---
f
f
0
£
0 f f 0
>
î
ï
í
ï
ì
=
s2t() 2B2
p
--------- 2sin3x
2x2
------------ x4xxcos+sin()ÐCi 2x()Ci 4x()Ð+ln=
Figure C.2Ñs(t) Plot for bias instability (for f0 = 1)
Authorized licensed use limited to: IEEE Standards Staff. Downloaded on January 27, 2009 at 15:00 from IEEE Xplore. Restrictions apply.
Authorized licensed use limited to: SUNY AT STONY BROOK. Downloaded on June 19,2018 at 06:14:21 UTC from IEEE Xplore. Restrictions apply.

IEEE
Std 952-1997 IEEE STANDARD SPECIFICATION FORMAT GUIDE AND TEST PROCEDURE
66
Copyright © 1998 IEEE. All rights reserved.
C.1.3 Rate random walk
This is a random process of uncertain origin, possibly a limiting case of an exponentially correlated noise
with a very long correlation time, as discussed in Clause 3.
The rate PSD associated with this noise is:
(C.6)
where
K
is the rate random walk coefÞcient
Substitution of Equation (C.6) in Equation (C.1) and performing the integration yields:
(C.7)
This indicates that rate random walk is represented by a slope of +1/2 on a log-log plot of
s(t
) versus
t
, as
shown in Figure C.3. The magnitude of this noise can be read off the slope line at
t
= 3.
C.1.4 Rate ramp
For long, but Þnite time intervals this is more of a deterministic error rather than a random noise. Its presence
in the data may indicate a very slow monotonic change of the IFOG source intensity persisting over a long
period of time. It could also be due to a very small acceleration of the platform in the same direction and per-
sisting over a long period of time. It appears as a genuine input to the IFOG given by:
(C.8)
where
R
is the rate ramp coefÞcient
SWf() K
2p
------
èø
æö
21
f2
-----
=
s2t() K2t
3
---------=
t
s(t)
0.1
K
1K
10K
0.1 1 10 100
3
Slope = +1/2
Figure C.3Ñs(t) Plot for rate random walk
WRt=
Authorized licensed use limited to: IEEE Standards Staff. Downloaded on January 27, 2009 at 15:00 from IEEE Xplore. Restrictions apply.
Authorized licensed use limited to: SUNY AT STONY BROOK. Downloaded on June 19,2018 at 06:14:21 UTC from IEEE Xplore. Restrictions apply.

IEEE
FOR SINGLE-AXIS INTERFEROMETRIC FIBER OPTIC GYROS Std 952-1997
Copyright © 1998 IEEE. All rights reserved.
67
By forming and operating on the clusters of data containing an input given by Equation (C.8), we obtain:
(C.9)
This indicates that the rate ramp noise has a slope of +1 in the log-log plot of
s(t
) versus
t
, as shown in Fig-
ure C.4. The magnitude of rate ramp
R
can be obtained from the slope line at .
The rate PSD associated with this noise is:
(C.10)
The user should be aware that there may be a ßicker acceleration noise with 1/
f
3
PSD that leads to the same
Allan variance
t
dependence. See Annex B for a discussion.
C.1.5 Quantization noise
This noise is strictly due to the digital nature of the IFOG output. The readout electronics registers a count
only when the gyro phase changes by a predetermined amount, e.g., 2
p
/2
n
, where
n
= 0, 1, 2, ...
The angle PSD for such a process, given in [C8] is:
(C.11)
where
Q
is the quantization noise coefÞcient
s2t() R2t2
2
-----------=
t2=
SWf() R2
2pf()
3
----------------=
t
s(t)
0.01R
0.1R
1R
10R
0.01 0.1 1 10
Slope = +1
2
Figure C.4Ñs(t) plot for rate ramp
Sqf()
t0Q2sin2pft0
()
pft0
()
2
--------------------------
èø
ç÷
æö
t
0
» Q 2 f 1
2
t
0
--------
<
î
ï
ï
í
ï
ï
ì
=
Authorized licensed use limited to: IEEE Standards Staff. Downloaded on January 27, 2009 at 15:00 from IEEE Xplore. Restrictions apply.
Authorized licensed use limited to: SUNY AT STONY BROOK. Downloaded on June 19,2018 at 06:14:21 UTC from IEEE Xplore. Restrictions apply.

IEEE
Std 952-1997 IEEE STANDARD SPECIFICATION FORMAT GUIDE AND TEST PROCEDURE
68
Copyright © 1998 IEEE. All rights reserved.
The theoretical limit for
Q
is equal to where
S
is the gyro scale factor, for tests with Þxed and uni-
form sampling times. The rate PSD is related to the angle PSD through the equation:
(C.12)
and is
(C.13)
Substitution of Equation (C.13) in Equation (C.1) and performing the integration yields:
(C.14)
This indicates that the quantization noise is represented by a slope of Ð1 in a log-log plot of
s(t
) versus
t
, as
shown in Figure C.5. The magnitude of this noise can be read off the slope line at .
The user should be aware that there are other noise terms with different spectral characteristics, such as
ßicker angle noise and white angle noise, that lead to the same Allan variance
t
dependence. See Annex B
for a discussion of these noise terms.
S12¤
SW2pf()2pf()
2Sq2pf()=
SWf()
4Q2
t0
----------sin2pft0
()
2pf()
2t0Q2 f
1
2
t
0
--------
<»
î
ï
ï
í
ï
ï
ì
=
s2t() 3Q2
t2
----------=
t3=
t
s(t)
0.01Q
0.1Q
1Q
10Q
100Q
0.1 1 10 1003
Slope = -1
Figure C.5Ñs(t) Plot for quantization noise
Authorized licensed use limited to: IEEE Standards Staff. Downloaded on January 27, 2009 at 15:00 from IEEE Xplore. Restrictions apply.
Authorized licensed use limited to: SUNY AT STONY BROOK. Downloaded on June 19,2018 at 06:14:21 UTC from IEEE Xplore. Restrictions apply.

IEEE
FOR SINGLE-AXIS INTERFEROMETRIC FIBER OPTIC GYROS Std 952-1997
Copyright © 1998 IEEE. All rights reserved.
69
C.1.6 Other noise terms
C.1.6.1 Exponentially correlated (Markov) noise
This noise is characterized by an exponential decaying function with a Þnite correlation time.
The rate PSD for such a process:
(C.15)
where
q
c
is the noise amplitude
T
c
is the correlation time
Substitution of Equation (C.15) in Equation (C.1) and performing the integration yields:
(C.16)
Figure C.6 shows a log-log plot of Equation (C.16). It is instructive to examine various limits of this equa-
tion. For
t
much longer than the correlation time, it is found that:
(C.17)
which is the Allan variance for angle random walk where
N
=
q
c
T
c
is the angle random walk coefÞcient. For
t
much smaller than the correlation time, Equation (C.16) reduces to:
(C.18)
which is the Allan variance for rate random walk.
C.1.6.2 Sinusoidal noise
The PSD of this noise is characterized by one or more distinct frequencies. A low-frequency source could be
the slow motion of the test platform due to periodic environmental changes. A representation of the PSD of
this noise containing a single frequency is given as:
(C.19)
where
W
0
is the amplitude
f
0
is the frequency
d
(
x
) is the Dirac delta function
SWf() qcTc
()
2
12pfT
c
()
2
+
--------------------------------=
s2t() qcTc
()
2
t
------------------1Tc
2t
----- 34e
t
Tc
-----Ð
Ðe
2t
Tc
------Ð
+
èø
ç÷
æö
Ð=
s2t() qcTc
()
2
t
------------------
t
T
c
È
Þ
s2t() qc
2
3
-------t
t
T
c
Ç
Þ
SWf() 1
2
---W0
2dff
0
Ð()dff
0
+()+[]=
Authorized licensed use limited to: IEEE Standards Staff. Downloaded on January 27, 2009 at 15:00 from IEEE Xplore. Restrictions apply.
Authorized licensed use limited to: SUNY AT STONY BROOK. Downloaded on June 19,2018 at 06:14:21 UTC from IEEE Xplore. Restrictions apply.

IEEE
Std 952-1997 IEEE STANDARD SPECIFICATION FORMAT GUIDE AND TEST PROCEDURE
70
Copyright © 1998 IEEE. All rights reserved.
Multiple frequency sinusoidal errors can be similarly represented by a sum of terms such as Equation (C.19)
at their respective frequencies and amplitudes. Substitution of Equation (C.19) in Equation (C.1) and per-
forming the integration yields:
(C.20)
Figure C.7 shows a log-log plot of Equation (C.20). IdentiÞcation and estimation of this noise in IFOG data
requires the observation of several peaks. As is seen however, the amplitudes of consecutive peaks fall off
rapidly and may be masked by higher order peaks of other frequencies making observation difÞcult.
Figure C.6Ñs(t) Plot for correlated noise
s2t() W
0
2sin2pf0t
pf0t
----------------------
èø
ç÷
æö
2
=
s(t)
0.01 0.1 1 10
0.001
0.01
0.1
1½
0
½
0
½
0
½
0
t f
0
Slope = +1
Slope = -1
0.725
½
0
0.371
Figure C.7Ñ
s(t)
Plot for sinusoidal error
Authorized licensed use limited to: IEEE Standards Staff. Downloaded on January 27, 2009 at 15:00 from IEEE Xplore. Restrictions apply.
Authorized licensed use limited to: SUNY AT STONY BROOK. Downloaded on June 19,2018 at 06:14:21 UTC from IEEE Xplore. Restrictions apply.

IEEE
FOR SINGLE-AXIS INTERFEROMETRIC FIBER OPTIC GYROS Std 952-1997
Copyright © 1998 IEEE. All rights reserved.
71
C.1.7 Combined effects of all processes
In general, any number of the random processes discussed above (as well as others) can be present in the
data. Thus, a typical Allan variance plot looks like the one shown in Figure C.8. Experience shows that in
most cases, different noise terms appear in different regions of
t
. This allows easy identiÞcation of various
random processes that exist in the data. If it can be assumed that the existing random processes are all statis-
tically independent then it can be shown that the Allan variance at any given
t
is the sum of Allan variances
due to the individual random processes at the same
t
. In other words,
(C.21)
Thus estimating the amplitude of a given random noise in any region of
t
requires a knowledge of the ampli-
tudes of the other random noises in the same region.
C.2 Estimation accuracy and test design
A Þnite number of clusters can be generated from any Þnite set of data. Allan variance of any noise term is esti-
mated using the total number of clusters of a given length that can be created. Estimation accuracy of the Allan
variance for a given
t
, on the other hand, depends on the number of independent clusters within the data set.
It can be shown that the percentage error,
s
, in estimating
s(t
) when using clusters containing
K
data points
from a data set of
N
points is given by:
(C.22)
Equation (C.22) shows that the estimation errors in the regions of short (long)
t
are small (large) as the num-
ber of independent clusters in these regions is large (small). In fact, this equation can be used to design a test
to observe a particular noise of certain characteristics to within a given accuracy. For example, to verify the
existence of a random process with a characteristic time of 24 h in the data to within an error of 25%. We
Þrst set
s
= 0.25 in Equation (C.22) and obtain:
stot
2t() s
ARW
2t() s
quant
2t() s
BiasInst
2t() ...++ +=
Quant. Noise
Angle
Random
Walk
Correlated
Noise
Sinusoidal
Bias
Instability
Rate Random
Walk
Rate Ramp
+1
+1/2
0
-1/2
Slope = -1
s(t)
t
Figure C.8Ñs(t) Sample plot of Allan variance analysis results
s1
2N
K
----1Ð
èø
æö
--------------------------=
Authorized licensed use limited to: IEEE Standards Staff. Downloaded on January 27, 2009 at 15:00 from IEEE Xplore. Restrictions apply.
Authorized licensed use limited to: SUNY AT STONY BROOK. Downloaded on June 19,2018 at 06:14:21 UTC from IEEE Xplore. Restrictions apply.

IEEE
Std 952-1997 IEEE STANDARD SPECIFICATION FORMAT GUIDE AND TEST PROCEDURE
72
Copyright © 1998 IEEE. All rights reserved.
(C.23)
Since the suspected characteristic time is 24 h, clusters of the same length are created. Thus the total test
length needed for such a test is 24
´
9 = 216 h.
C.3 Tabulation of some variance analyses
A summary comparison of some variance analyses for noise processes is made in Table C.1. This table pre-
sents only a sample of analyses available, and is not meant to be a survey of all analyses. The polynomial
variance terms in the left hand column are identiÞed using gyro terminology. The individual terms relating to
each authorÕs publication are given with the same symbology as contained in that authorÕs publication,
including the deÞnitions of symbols. For ease in recognition of similarities, the coefÞcients of interest are
shown as the Þrst symbol in each polynomial expression. For example, the variance coefÞcient for the rate
random walk term in the third column of Table C.1, is
K
2
.
Table C.1ÑSummary comparison of publishing variance analyses for noise processes
Allan [C1]
(rate domain)
This standard
(rate domain)
Sargent, Wyman [C3]
(angle domain)
Tehrani [C6]
(rate domain)
Terms in
variance
expression
for noise
processes
t
= sampling
time =
m
t
o
where
t
o
= sample
time of original
measurements
1/
T
0
= data
sample rate
n
= 1, 2, 3,...
g
= time interval separating
raw data points
(2
L
+1) = number of data
points combined into an
average data point
t
= time length of data span =
(2
L
+1)
g
n
n
= 1, 2, 3,...
Q
=
qT
c
T
c
= correla-
tion time
T
= cluster
time
v
o
= cutoff
frequency for
1/
v
rate noise
Rate ramp Not addressed
Rate random
walk
for
Bias
instability
Analysis considers only time-
dependent rate terms
for
Angle
random walk
Quantization
noise
Not addressed Not addressed
Kmax
N
9
----=
R2nTo
()
2
2
----------------
R2t4
[] R2T2
[]
h2Ð
2p()
2t
6
-----------------K2nTo
3
---------
K2
2t3
3
-------- 2LL 1+()g
2t
3
----------------------------------Ð+
LL 1+()12 L212 L1++()g
3
15 2L1+()
-----------------------------------------------------------------------
q22T
3
-------
TT
0
£
h1Ð 22ln[] B22
p
---2ln B24
p
---ln2
T1
vo
----È
h1Ð
1
2t
------N21
nTo
--------- s22t4gLL 1+()
2L1+
---------------------------ÐQ22
T
---
Q23
nTo
()
2
----------------
F26
2L1+
----------------
Authorized licensed use limited to: IEEE Standards Staff. Downloaded on January 27, 2009 at 15:00 from IEEE Xplore. Restrictions apply.
Authorized licensed use limited to: SUNY AT STONY BROOK. Downloaded on June 19,2018 at 06:14:21 UTC from IEEE Xplore. Restrictions apply.

IEEE
FOR SINGLE-AXIS INTERFEROMETRIC FIBER OPTIC GYROS Std 952-1997
Copyright © 1998 IEEE. All rights reserved. 73
C.4 Bibliography for Annex C
[C1] Allan, D. W., ÒStatistics of Atomic Frequency Standards,Ó Proceedings of the IEEE, vol. 54, no. 2,
pp. 221-230, Feb 1966.
[C2] Gradshteyn, I. S. and Ryzhik, I. M., Table of Integrals, Series, and Products. Academic Press, 1980.
[C3] Sargent, D., and Wyman, B. O., ÒExtraction of Stability Statistic from Integrated Rate Data,Ó Proceed-
ings of the AIAA Guidance and Control Conference, Aug. 11Ð13, 1980.
[C4] Simpson, J. H., Proc. NAECON, vol. 1, p. 80, 1980.
[C5] Keshner, M. S., Ò1/f Noise,Ó Proceedings of the IEEE, vol. 70, no. 3, pp. 212Ð218, Mar. 1982.
[C6] Tehrani, M. M., ÒRing Laser Gyro Data Analysis with Cluster Sampling Technique,Ó Proceedings of
SPIE, vol. 412, 1983.
[C7] IEEE Std 1139-1988, IEEE Standard DeÞnitions of Physical Quantities for Fundamental Frequency
and Time Metrology.13
[C8] Papoulis, A., Probability, Random Variables, and Stochastic Processes, Third Edition. McGraw-Hill,
Inc., 1991.
13IEEE Std 1139-1988 has been withdrawn; however, copies can be obtained from Global Engineering, 15 Inverness Way East, Engle-
wood, CO 80112-5704, USA, tel. (303) 792-2181.
Authorized licensed use limited to: IEEE Standards Staff. Downloaded on January 27, 2009 at 15:00 from IEEE Xplore. Restrictions apply.
Authorized licensed use limited to: SUNY AT STONY BROOK. Downloaded on June 19,2018 at 06:14:21 UTC from IEEE Xplore. Restrictions apply.

IEEE
Std 952-1997 IEEE STANDARD SPECIFICATION FORMAT GUIDE AND TEST PROCEDURE
74 Copyright © 1998 IEEE. All rights reserved.
Annex D
(informative)
Compliance matrix
Clause 5 # Clause 5 requirement Clause 6 # Clause 6.6 test method
5 Requirements N/T
5.1 Description N/T
5.2 General requirements N/T
5.2.1 Precedence N/T
5.3 Performance N/T
5.3.1 Input Rate limits 6.6.10 Input rate test series
5.3.1.1 Maximum 6.6.10.1 Maximum input rate
5.3.1.2 Minimum (dead band) 6.6.10.2 Minimum input rate
5.3.2 Gyro scale factor, S6.6.9.1 Gyro scale factor
5.3.2.1 Gyro scale factor errors 6.6.9.2 Gyro scale factor errors
5.3.2.2 Gyro scale factor sensitivities 6.6.9.3 Gyro scale factor sensitivities
5.3.3 Drift rate, D, E 6.6.11 Drift rate test series
5.3.3.1 Bias and random, D6.6.11 Drift rate test series
5.3.3.1.1 Bias, DF6.6.11.1 Bias
5.3.3.1.2 Random, DR6.6.11.3 Random drift
5.3.3.1.3 Measurement noise, DQ6.6.11.2 Measurement noise
5.3.3.2 Environmentally sensitive, E6.6.11.1 Bias
5.3.3.2.1 Thermal 6.6.11.1 Bias
5.3.3.2.2 Magnetic 6.6.11.1 Bias
5.3.3.2.3 Other sensitivities 6.6.11.1 Bias
5.3.4 IA alignment characteristics 6.6.12 IA alignment test series
5.3.4.1 IA misalignment 6.6.12.1 Misalignment (nominal)
5.3.4.2 IA alignment repeatability 6.6.12.2 Misalignment repeatability
5.3.4.3 IA alignment sensitivities 6.6.12.3 Alignment sensitivities
Authorized licensed use limited to: IEEE Standards Staff. Downloaded on January 27, 2009 at 15:00 from IEEE Xplore. Restrictions apply.
Authorized licensed use limited to: SUNY AT STONY BROOK. Downloaded on June 19,2018 at 06:14:21 UTC from IEEE Xplore. Restrictions apply.

IEEE
FOR SINGLE-AXIS INTERFEROMETRIC FIBER OPTIC GYROS Std 952-1997
Copyright © 1998 IEEE. All rights reserved. 75
5.3.5 Operating temperature 6.6.8.2 Operating temperature
5.3.6 Warm-up time 6.6.6 Warm-up time
5.3.7 Turn-on time 6.6.5 Turn-on time
5.3.8 Polarities 6.6.7 Polarity
5.3.8.1 IA 6.6.7 Polarity
5.3.8.2 Output signals 6.6.7 Polarity
5.3.9 Reference constants N/T
5.3.9.1 Light source wavelength N/T
5.3.9.2 Number of turns N/T
5.3.9.3 Effective area per turn N/T
5.3.9.4 Physical pathlength N/T
5.4 Mechanical requirements 6.6.1 Examination of product
(mechanical)
5.4.1 Exterior surface 6.6.1 Examination of product
(mechanical)
5.4.2 Outline and mounting dimen-
sions
6.6.1 Examination of product
(mechanical)
5.4.3 Gyro axes 6.6.1 Examination of product
(mechanical)
5.4.4 Weight 6.6.1 Examination of product
(mechanical)
5.4.5 Seal 6.6.3 Leak test
5.4.6 IdentiÞcation of product 6.6.1 Examination of product
(mechanical)
5.4.7 Acoustic noise 6.6.13.2 Acoustic noise
5.5 Electrical requirements 6.6.2 Examination of product
(electrical)
5.5.1 Schematic N/T
5.5.2 Impedances 6.6.2.2 Impedances
5.5.3 Input power 6.6.4 Input power
5.5.4 Test points N/T
5.5.5 Grounding N/T
Clause 5 # Clause 5 requirement Clause 6 # Clause 6.6 test method
Authorized licensed use limited to: IEEE Standards Staff. Downloaded on January 27, 2009 at 15:00 from IEEE Xplore. Restrictions apply.
Authorized licensed use limited to: SUNY AT STONY BROOK. Downloaded on June 19,2018 at 06:14:21 UTC from IEEE Xplore. Restrictions apply.

IEEE
Std 952-1997 IEEE STANDARD SPECIFICATION FORMAT GUIDE AND TEST PROCEDURE
76 Copyright © 1998 IEEE. All rights reserved.
5.5.6 Output signals 6.6.2,
6.6.10
Examination of product (electrical),
Input rate test series
5.5.7 Temperature sensors 6.6.8.1 Temperature sensor characteristics
5.5.8 Insulation resistance 6.6.2.1 Insulation resistance
5.5.9 Dielectric strength 6.6.2.3 Dielectric strength
5.5.10 Electromagnetic interference 6.6.13.1 Electromagnetic interference
5.5.11 Electromagnetic compatibility 6.6.14.17 Electromagnetic Þelds
5.6 Environmental requirements N/T
5.6.1 Storage 6.6.14 Environmental test series
5.6.2 Transport 6.6.14 Environmental test series
5.6.3 Operation 6.6.14 Environmental test series
5.6.3.1 Operating environment 6.6.14 Environmental test series
5.6.3.2 Survival environment, operating 6.6.14 Environmental test series
5.6.3.3 Survival environment, nonoper-
ating
6.6.14 Environmental test series
5.6.4 Environments N/T
5.6.4.1 Vibration 6.6.14.5 Vibration
5.6.4.1.1 Linear 6.6.14.5.1 Linear
5.6.4.1.2 Angular 6.6.14.5.2 Angular
5.6.4.2 Mechanical shock 6.6.14.3 Mechanical shock
5.6.4.3 Acceleration 6.6.14.6 Acceleration
5.6.4.3.1 Linear acceleration 6.6.14.6.1 Linear acceleration
5.6.4.3.2 Angular acceleration 6.6.14.6.2 Angular acceleration
5.6.4.4 Temperature 6.6.14.1 Temperature
5.6.4.5 Thermal shock 6.6.14.4 Thermal shock
5.6.4.6 Time-dependent temperature
gradient
6.6.11.1 Bias
5.6.4.7 Thermal radiation 6.6.14.12 Thermal radiation
5.6.4.8 Ambient air pressure 6.6.14.15 Pressure
5.6.4.9 Acoustic noise 6.6.14.11 Acoustic noise
Clause 5 # Clause 5 requirement Clause 6 # Clause 6.6 test method
Authorized licensed use limited to: IEEE Standards Staff. Downloaded on January 27, 2009 at 15:00 from IEEE Xplore. Restrictions apply.
Authorized licensed use limited to: SUNY AT STONY BROOK. Downloaded on June 19,2018 at 06:14:21 UTC from IEEE Xplore. Restrictions apply.

IEEE
FOR SINGLE-AXIS INTERFEROMETRIC FIBER OPTIC GYROS Std 952-1997
Copyright © 1998 IEEE. All rights reserved. 77
5.6.4.10 Humidity 6.6.14.9 Humidity
5.6.4.11 Air currents 6.6.14.13 Air currents
5.6.4.12 Fungus 6.6.14.8 Fungus
5.6.4.13 Salt spray 6.6.14.10 Salt spray
5.6.4.14 Nuclear radiation 6.6.14.14 Nuclear radiation
5.6.4.15 Magnetic Þelds 6.6.14.16 Magnetic Þelds
5.6.4.16 Electromagnetic Þelds 6.6.14.17 Electromagnetic Þelds
5.6.4.17 Sand and dust 6.6.14.18 Sand and dust
5.6.4.18 Solar radiation 6.6.14.19 Solar radiation
5.6.4.19 Rain 6.6.14.20 Rain
5.6.4.20 Excitation variation 6.6.14.2 Excitation variation
5.6.4.21 Life 6.6.14.7 Life
5.6.4.21.1 Storage 6.6.14.7.1 Storage
5.6.4.21.2 Operating 6.6.14.7.2 Operating
5.6.4.21.3 Start cycles 6.6.14.7.3 Start cycles
5.7 Reliability N/T
5.7.1 Reliability program N/T
5.7.2 Mean time between failure
(MTBF)
6.4.2 Demonstration testing
Clause 5 # Clause 5 requirement Clause 6 # Clause 6.6 test method
Authorized licensed use limited to: IEEE Standards Staff. Downloaded on January 27, 2009 at 15:00 from IEEE Xplore. Restrictions apply.
Authorized licensed use limited to: SUNY AT STONY BROOK. Downloaded on June 19,2018 at 06:14:21 UTC from IEEE Xplore. Restrictions apply.