7800510 BTPV22675E, 22 6.75GT Brute Self Propelled Mower !!
Preview ! BRUTE_7800510 Columbian Lawn Mower Manuals - Lawn Mower Manuals – The Best Lawn Mower Manuals Collection
User Manual: !! Columbian Lawn Mower Manuals - Lawn Mower Manuals – The Best Lawn Mower Manuals Collection
Open the PDF directly: View PDF
.
Page Count: 20

Not for
Reproduction
Parts Manual
7800510 - BTPV22675E
Revision -
Manual Part No. 7103421
Rev. Date: 4/1/2009

Not for
Reproduction
Table Of Content
s
Torque Specification Chart ..................................................................... Inside Back Cover
PRODUCT COMPONENTS PAGES
Handles and Controls .......................................................................................................................................... 4
Engine and Blade Assembly ................................................................................................................................ 6
Transmission & Grass Bag .................................................................................................................................. 8
Decals Group ....................................................................................................................................................... 10
Deck Assembly .................................................................................................................................................... 12
Wiring Schematic ................................................................................................................................................. 14

Not for
Reproduction
Handles and Controls
NOTE: Unless noted otherwise,
use the standard hardware torque
specification chart.
The above parts group applies to the following Mfg. Nos.:
3
2009Copyright © by Briggs and Stratton Corporation
Briggs and Stratton Yard Power Products Group
Milwaukee, WI, USA. All rights reserved
7800510 - BTPV22675E

Not for
Reproduction
PART NO. DESCRIPTIONREF NO QTY.
Handles and Controls
Footnotes
HANDLE, Upper, Flat 1 7078247AYP 1
BAIL, Operator Presence Control 2 7101675AYP 1
ASSY, Control Head, VS, Brute 22” 3 7102962YP 1
GUIDE, Rope (1/4-20 thread) 4 7028488MA 1
NUT,1/4-20 Hex Nyloc 5 7076978SM 1
SCREW, #8-16 Recessed Pan Head (Torxplus) 6 7100225YP 4
PLATE, Control Panel 7 7300130AMA 1
IGNITION KEY (Pair) 8 7011138YP 1
CAP, E-Start <added> 9 7100330YP 1
NUT, 5/8-32, E-Start 10 7100329YP 1
IGNITION SWITCH, E/S (Start/Run) 11 7028765YP 1
CABLE, Bail, 22”, WBM, Brute, E/S Part number is stamped on part. 12 7102961YP 1
KNOB, 5/16-18 Wing Nut 13 071294MA 4
WASHER, 5/16” Internal Tooth Lock 14 7090391SM 4
HANDLE, Lower Murray, MY09” 15 7301013AYP 1
BOLT, 5/16-18 x 2” Curved Head Square Neck 16 7091189YP 2
WIRE TIE,11 Inch Std Blk Nylon 17 7024649YP 3
WIRING HARNESS, RD, 21”/22” WBM 18 7101504YP 1
BOLT, 5/16-18 x 1” Round Head Square Neck 19 7091714YP 2
BOLT, 5/16-18 x 5/8” Round Head Square Neck, GR 5 20 7091077YP 2
NUT, 5/16-18 Hex Large Flange Center Lock 21 7090951SM 2
The above parts group applies to the following Mfg. Nos.:
4
2009Copyright © by Briggs and Stratton Corporation
Briggs and Stratton Yard Power Products Group
Milwaukee, WI, USA. All rights reserved
7800510 - BTPV22675E

Not for
Reproduction
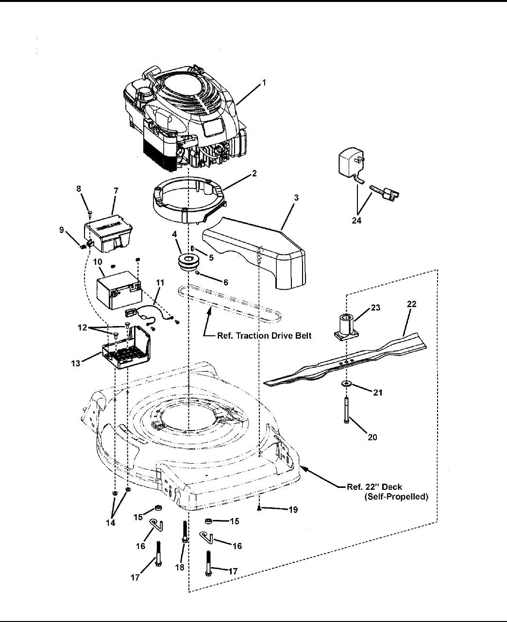
Engine and Blade Assembly
NOTE: Unless noted otherwise,
use the standard hardware torque
specification chart.
The above parts group applies to the following Mfg. Nos.:
5
2009Copyright © by Briggs and Stratton Corporation
Briggs and Stratton Yard Power Products Group
Milwaukee, WI, USA. All rights reserved
7800510 - BTPV22675E

Not for
Reproduction
PART NO. DESCRIPTIONREF NO QTY.
Engine and Blade Assembly
Footnotes
ENGINE, B&S, 675 Series, ES, X, B3 1 126T05-4678-B3 1
ASSY, Engine Spacer (incl. 3 bushings, p/n 7101448) 2 7101449YP 1
COVER, Belt (Plastic) 3 1101596MA 1
PULLEY, Engine 4 7100437YP 1
KEY, #HP-506 Hi-Pro 5 7091214YP 1
SET SCREW, 5/16-18 x 1/2” Hex Recess 6 7092086YP 1
TOP, Battery Box, WBM 7 7102918YP 1
SCREW, #10-24 x 5/8” Hex Washer Face Self-Tap, GR 5 8 7091075SM 1
SPEED NUT, #10-24 Retainer w/Extrusion 9 1960593SM 1
ASSY, Battery w/Harness (incl. items 10 & 11) also includes 2 screws (7043977) and n
u
(7090932)
10 7101320YP 1
BATTERY, Sealed Lead Acid, 12V 10 ----- 1
HARNESS, Battery 11 7015488YP 1
BOLT, 1/4-20 x 5/8” Flat Head Square Neck, GR 5 12 7090803YP 2
BOTTOM, Battery Box, WBM 13 7102917YP 1
NUT, 1/4-20 Hex Flange Lock 14 780285MA 2
SPACER, Belt Guide, 22” VS 15 7101302YP 2
BELT GUIDE, Engine, 22” VS 16 7101024YP 2
SCREW 3/8-16 x 3” Hex Washer Self-Tap 17 7101451YP 2
BOLT, 3/8-16 NS x 2-1/2” Hex Washer Face 18 025X11MA 1
SCREW, 4.8 x 1.59 x 13mm, Round Washer Head Hi-Lo (Torx) 19 7900018YP 1
BOLT, 3/8-24 x 3-1/4” Hex Head GR 8 20 01X144MA 1
WASHER, .38” I.D. x 1.183 O.D. Bellville 21 1101989MA 1
BLADE, 22”, Walk Mower 22 7100851AYP 1
BLADE HUB, 22” Deck 23 7100740YP 1
CHARGER, Battery 24 206838YP 1
NOTE: * Purchase engine parts from engine manufacturer dealer.
The above parts group applies to the following Mfg. Nos.:
6
2009Copyright © by Briggs and Stratton Corporation
Briggs and Stratton Yard Power Products Group
Milwaukee, WI, USA. All rights reserved
7800510 - BTPV22675E

Not for
Reproduction
Transmission & Grass Bag
NOTE: Unless noted otherwise,
use the standard hardware torque
specification chart.
The above parts group applies to the following Mfg. Nos.:
7
2009Copyright © by Briggs and Stratton Corporation
Briggs and Stratton Yard Power Products Group
Milwaukee, WI, USA. All rights reserved
7800510 - BTPV22675E

Not for
Reproduction
PART NO. DESCRIPTIONREF NO QTY.
Transmission & Grass Bag
Footnotes
TRANSMISSION, Rocker, 22” WBM, VS (Ref. Deck Assembly Page, item 35) 1 7100857YP 1
SCREW, 7mm x 1 x .550 AB Point 2 7900032YP 8
BELT, 3L, 31.94” Effective Length (Traction Drive, Pivot Handle) 3 7100913YP 1
BELT GUIDE, Transmission, 22” WBM 4 7101009YP 1
SCREW, Pan Head Cross Recess, Tapping 5 691138 2
BAG FRAME, 22” WBM 6 7101230AYP 1
GRASS BAG, 22” Rear Discharge 7 7102573YP 1
The above parts group applies to the following Mfg. Nos.:
8
2009Copyright © by Briggs and Stratton Corporation
Briggs and Stratton Yard Power Products Group
Milwaukee, WI, USA. All rights reserved
7800510 - BTPV22675E

Not for
Reproduction
Decals Group
NOTE: Unless noted otherwise,
use the standard hardware torque
specification chart.
The above parts group applies to the following Mfg. Nos.:
9
2009Copyright © by Briggs and Stratton Corporation
Briggs and Stratton Yard Power Products Group
Milwaukee, WI, USA. All rights reserved
7800510 - BTPV22675E

Not for
Reproduction
PART NO. DESCRIPTIONREF NO QTY.
Decals Group
Footnotes
DECAL, 22” Deck, Front Wheel Drive, Electric Start 1 7102959YP 1
DECAL, Engine, TP, Brute 675 2 7101911MA 1
DECAL, Control Head 3 7101814MA 1
DECAL, OPC Bail International Symbol 4 7029782MA 1
DECAL, Danger, Cut Finger 5 7013010SM 1
DECAL, Starting Promise 6 277878YP 1
DECAL, Customer Service, Brute 7 7102372YP 1
DECAL, Warning, Rear Discharge Door 8 7101394YP 1
The above parts group applies to the following Mfg. Nos.:
10
2009Copyright © by Briggs and Stratton Corporation
Briggs and Stratton Yard Power Products Group
Milwaukee, WI, USA. All rights reserved
7800510 - BTPV22675E

Not for
Reproduction
Deck Assembly
NOTE: Unless noted otherwise,
use the standard hardware torque
specification chart.
The above parts group applies to the following Mfg. Nos.:
11
2009Copyright © by Briggs and Stratton Corporation
Briggs and Stratton Yard Power Products Group
Milwaukee, WI, USA. All rights reserved
7800510 - BTPV22675E

Not for
Reproduction
PART NO. DESCRIPTIONREF NO QTY.
Deck Assembly
Footnotes
DECK, 22” Walk, 3-N-1, Electric Start 1 7301035ZYP 1
SCREW, 1/4-20 x .550 Pan Head Torx (T-30) 2 7900067YP 3
PUSHNUT, 1/4” 3 7091020YP 4
BRACKET, Chute 4 7300855ZMA 1
PLATE, Mulch 22” RB Scotts 5 7300856ZMA 1
SPRING, Chute (Torsion) 6 166X38MA 1
ROD, Chute Pivot 7 215X19ZMA 1
COVER, Mulch, Plastic, Black 8 1101098MA 1
SIDE CHUTE, Plastic, Black 9 1101097MA 1
GUARD, Rear, 22” Mower Deck 10 7103347YP 1
SCREW, #10-24 x 1/2” Hex Washer Self-Tap (Sems) 11 7091286YP 4
NUT, 3/8-16, Hex Flange Lock GR 5 12 7900053MA 10
ASSY, Height-Of-Cut, Left Rear, 22” S.P. 13 7501055YP 1
ASSY, Height-Of-Cut, Right Rear, 22” S.P. 14 7501056YP 1
ASSY, Height-Of-Cut, Left Front, 22 S.P. 15 7501058YP 1
ASSY, Height-Of-Cut, Right Front, 22 S.P. 16 7501057YP 1
GRIP, Height Latch 17 7100633YP 4
WHEEL, 8” x 2” Idle, w/Db Tread (Brute yellow) 18 7101712MA 2
WHEEL, 8” x 2” Drive, w/Db Tread (Brute yellow) 19 7101710MA 2
WASHER, 1” O.D. x .387 I.D. Flat 20 17X169MA 4
NUT, 3/8-16 Hex Center Lock, GR 5 or B 21 7091585SM 4
HUBCAP, Round, Black 22 7101351MA 4
DRIVE PIN, 22” WBM, Front Wheel Drive 23 7101270YP 2
DOOR, 22” Rear 24 7101243YP 1
ROD, Pivot, Rear Door (1/4” Dia. X 17-1/2”) 25 7101070YP 1
SPRING, Torsion, Rear Door, 22” WBM 26 7101461YP 1
BRACKET, Lower Handle, LH, 22” WBM 27 7300668AYP 1
BRACKET, Lower Handle, RH, 22” WBM 28 7300669AYP 1
BOLT, 5/16-18 x 5/8” Hex Flange Lock 29 7090606SM 2
NUT, 5/16-18 Hex Flange Lock, GR 5 30 7090585MA 2
RING, External Retaining 31 7014341YP 4
GEAR, Pinion, 22” WBM, Front Wheel Drive 32 7101207YP 2
DUST SHIELD, Forward, 22” WBM 33 7101402YP 2
SCREW, 3/8-16 x 3/4” Hex Head Cap, GR 5 34 7090134MA 4
TRANSMISSION, Rocker, 22” WBM, VS 35 7100857YP 1
BAFFLE, Rear, 22” Deck 36 7300854ZMA 1
BAFFLE, Front, 22” WBM 37 7300440ZMA 1
The above parts group applies to the following Mfg. Nos.:
12
2009Copyright © by Briggs and Stratton Corporation
Briggs and Stratton Yard Power Products Group
Milwaukee, WI, USA. All rights reserved
7800510 - BTPV22675E

Not for
Reproduction
Wiring Schematic
NOTE: Unless noted otherwise,
use the standard hardware torque
specification chart.
The above parts group applies to the following Mfg. Nos.:
13
2009Copyright © by Briggs and Stratton Corporation
Briggs and Stratton Yard Power Products Group
Milwaukee, WI, USA. All rights reserved
7800510 - BTPV22675E

Not for
Reproduction
PART NO. DESCRIPTIONREF NO QTY.
Wiring Schematic
Footnotes
WIRING HARNESS, RD, 21”/22” WBM (Ref. Handles and Controls page, item 18) 1 7101504YP 1
The above parts group applies to the following Mfg. Nos.:
14
2009Copyright © by Briggs and Stratton Corporation
Briggs and Stratton Yard Power Products Group
Milwaukee, WI, USA. All rights reserved
7800510 - BTPV22675E
Not for
Reproduction
Not for
Reproduction

Not for
Reproduction
BRITISH COLUMBIA ALBERTA SASKATCHEWAN MANITOBA
ONTARIO QUEBEC
Small Engine Clinic
12/07
HAWAII
INCLUDES TRUST ISLANDS WITH
UNITED STATES ZIPCODES
Magneto Power
Atlantic Power
MWE
Central Power
Preferred Power
SEDCO
Power Source Canada
(800) 733-7388
(800) 456-5692
(800) 683-8484 (800) 331-7164 (905) 829-0006
(800) 444-7774 (800) 346-4260
Not for
Reproduction
Briggs & Stratton Corporation
INTEGRATED DISTRIBUTOR NETWORK
Midwest Engines 700 Enterprise Rd Aurora, IL 60504 www.mwe.net (800) 683-8484
Central Power Systems 3700 Paragon Dr Columbus, OH 43228 www.centralpower.com (800) 444-7774
Atlantic Power 20 Empire Stat Rd Castleton, NY 12033 www.atlanticpowerinc.com (800) 456-5692
Preferred Power Inc 6509-A Northpark Blvd Charlotte, NC 28216 www.centralpower.com (800) 331-7164
Central Power Systems 3700 Paragon Dr Columbus, OH 43228 www.centralpower.com (800) 444-7774
Magneto Power LLC 1000 W. Donges Bay Rd Suite 100 Mequon, WI 53092 www.magnetopower.com (800) 733-7388
Sedco, Inc 225 Henry D. Robinson Blvd Pendergrass, GA 30567 www.sedcoinc.com (800) 346-4260
Power Source Canada, LTD 2815 Bristol Circle, Unit 1 Oakville, ON L6H 6X5 www.powersourcecanada.ca (905) 829-0006

Not for
Reproduction
in/lbs
ft/lbs
3
Torque Specification Chart
FOR STANDARD METRIC MACHINE HARDWARE (Tolerance ± 20%)
Property
Class
Class 8.8 Class 10.9 Class 12.9
Size Of
Hardware Nm. Nm. Nm. Nm.
M3
1.28
2.90
5.75
9.9
16.5
24
48
83
132
200
275
390
530
375
995
1350
1830
2360
3050
13.44 1.80
4.10
8.10
14
23
34
67
117
185
285
390
550
745
960
1400
1900
2580
3310
4290
19.2 22.92
2.15
M4
30.72 43.44 52.56
4.95
M5
60.96
5.97 7.15
16.5
9.7
M6 7.3 10.3 12.1
M7 12.1 16.9 19.9 27
M8 17.7 25 29 40
M10 35 50 59 81
M12 61 86.2 103 140
M14 101 136 162 220
M16 147 210 250 340
M18 202 287 346 470
M20 290 405 486 660
M22 390 559 656 890
M24 497 708 840 1140
M27 733 1032 1239 1680
M30 995 1401 1681 2280
M33 1349 1902 2278 3090
M36 1740 2441
3798
2935 3980
M39 2249 3163
Torque Specification Chart
FOR STANDARD MACHINE HARDWARE (Tolerance ± 20%)
Hardware
Grade
SAE Grade 2 SAE Grade 5 SAE Grade 8
Size Of
in/lbs
ft/lbs
in/lbs
ft/lbs
in/lbs
ft/lbs
in/lbs in/lbs
Hardware ft/lbs Nm. ft/lbs Nm. ft/lbs Nm.
8-32
19
2.1
30
3.4
41
4.6
8-36
20
2.3
31
3.5
43
4.9
10-24
27
3.1
43
4.9
60
6.8
10-32
31
3.5
49
5.5
68
7.7
1/4-20
66
7.6 810.9 12 16.3
1/4-28
76
8.6 10 13.6 14 19.0
5/16-18 11 15.0 17 23.1 25 34.0
5/16-24 12 16.3 19 25.8 29 34.0
3/8-16 20 27.2 30 40.8 45 61.2
3/8-24 23 31.3 35 47.6 50 68.0
7/16-14 30 40.8 50 68.0 70 95.2
7/16-20 35 47.6 55 74.8 80 108.8
1/2-13 50 68.0 75 102.0 110 149.6
1/2-20 55 74.8 90 122.4 120 163.2
9/16-12 65 88.4 110 149.6 150 204.0
9/16-18 75 102.0 120 163.2 170 231.2
5/8-11 90 122.4 150 204.0 220 299.2
5/8-18 100 136 180 244.8 240 326.4
3/4-10 160 217.6 260 353.6 386 525.0
3/4-16 180 244.8 300 408.0 420 571.2
7/8-9 140 190.4 400 544.0 600 816.0
7/8-14 155 210.8 440 598.4 660 897.6
1-8 220 299.2 580 788.8 900 1,244.0
1-12 240 326.4 640 870.4 1,000 1,360.0
Hex Head Capscrew
Hex Nut
Lockwasher
Washer
Carriage Bolt
NOTES
1. These torque values are to be used for all hardware
excluding: locknuts, self-tapping screws, thread forming
screws, sheet metal screws and socket head setscrews.
2. Recommended seating torque values for locknuts:
a. for prevailing torque locknuts - use 65% of grade 5
torques.
b. for flange whizlock nuts and screws - use 135% of
grade 5 torques.
3. Unless otherwise noted on assembly drawings, all torque
values must meet this specification.
Hardware Identification & Torque Specifications
Common Hardware Types
No
Marks
The guides and ruler furnished below are designed to
help you select the appropriate hardware.
8.8 10.9 12.9
Class 5.6
5.6
5150
13.44 1.28
5.88
26.4 2.50
44.64 4.3
5.2
7.1
7.7
10.5
15
21
988
1340
759
1030
590
800
435
590
320
435
217
295
169
230
126
171
89
121
64
88
42
58
26
36
.56
Thread
Diameter (mm)
Screw, 1/2- 16 x 2
Body
Diameter
Diameter
Inside
Diameter (in)
Nut, 1/2-16
0
1/4 3/4
1/2
21
1/4 3/4
1/2 1/4 3/4
1/2 1/4 3/4
1/2
4
90 10070 80
50 60
30 40
01020
Thread
Diameter (mm)
Nut, M8 Screw, M8- 1.25 x 25
Distance between
threads (mm)
Body
Length (in)
Body
Length (mm)
3/8” Bolt or Nut
Wrench—9/16”
5/16” Bolt or Nut
Wrench—1/2”
1/4” Bolt or Nut
Wrench—7/16”
1/2” Bolt or Nut
Wrench—3/4”
7/16” Bolt or Nut
Wrench (Bolt)—5/8”
Wrench (Nut)—11/16”
in/lbs
Threads
per inch
Threads
per inch
Body Length
Body
When a washer or nut is identified as 1/2” (M8), this is
the
Nominal size
, meaning the
inside diameter
is 1/2 inch
(8mm metric thread diameter); if a second number is present
it represents the
threads per inch
(distance between threads).
When bolt or capscrew is identified as 1/2 - 16 x 2” (M8 - 1.25 x 50 ),
this means the
Nominal size
, or body diameter is 1/2 inch (8mm
metric thread diameter), the second number,16, represents the
threads per inch, (1.25 thread diameter).
The final number is the
body length of the bolt or screw, 2 inches (50mm).
Standard Hardware Sizing
M6 Bolt or Nut
Wrench—10mm
M8 Bolt or Nut
Wrench—13mm
M10 Bolt or Nut
Wrench—17mm
M12 Bolt or Nut
Wrench—19mm
M14 Bolt or Nut
Wrench—22 mm
Wrench & Fastener Size Guide

Not for
Reproduction
3515 N. 124 Street / PO Box 702
Wauwatosa, WI 53222 USA
www.brutepower.com
2009
Milwaukee, WI, USA. All rights reserved
Briggs & Stratton Yard Power Products Group
© Copyright by Briggs & Stratton Corporation
IT IS THE POLICY OF BRIGGS & STRATTON CORP. TO IMPROVE ITS PRODUCTS
WHENEVER IT IS POSSIBLE AND PRACTICAL TO DO SO. WE RESERVE THE RIGHT TO
MAKE CHANGES OR ADD IMPROVEMENTS AT ANY TIME WITHOUT INCURRING ANY
OBLIGATION TO MAKE SUCH CHANGES ON PRODUCTS.
BRUTE™ is a trademark of Briggs & Stratton Yard Power Products.
Copyright© 2008 Briggs & Stratton Power Products Group. All rights reserved. No part of this page can be
reproduced or transmitted in any form by any means without the express written permission of Briggs &
Stratton Power Products Group.