612X Series And 633X Operating Detecto 6129 Clinical Scale Manual
User Manual: Detecto-6129-Clinical-Scale-Manual
Open the PDF directly: View PDF
.
Page Count: 16

DIGITAL PHYSICIAN
Waist-High Scale
Model 6127 Series, 6129 Series
and
Eye-Level Scale
Models 6337 and 6339
Operating Instructions
CARDINAL SCALE MFG. CO.
8525-M310-O1 Rev C PO BOX 151 xWEBB CITY, MO 64870 Printed in USA
10/12 PH
(
417
)
673-4631 xFAX
(
417
)
673-5001
www.detectoscale.com
Technical Support: Ph: 866-254-8261 x techsupport@cardet.com
This Document is Hosted by: www.oldwillknottscales.com


DIGITAL PHYSICIAN WAIST-HIGH / EYE-LEVEL SCALE
Thank you for your purchase of our Detecto Digital Physician Waist-High or Detecto Digital
Physician Eye-Level scale. It has been manufactured with quality and reliability at our factory in
Webb City, MO USA. Your scale has been tested before leaving our factory to insure accuracy
and dependability for years to come.
This manual will guide you through assembly, installation, and operation of your scale. Please
read it thoroughly before attempting to use your scale and keep it handy for future reference.
FCC COMPLIANCE STATEMENT
WARNING! This equipment generates uses and can radiate radio frequency and if not installed
and used in accordance with the instruction manual, may cause interference to radio
communications. It has been tested and found to comply with the limits for a Class A computing
device pursuant to Subpart J of Part 15 of FCC rules, which are designed to provide reasonable
protection against such interference when operated in a commercial environment. Operation of
this equipment in a residential area may cause interference in which case the user will be
responsible to take whatever measures necessary to correct the interference.
You may find the booklet "How to Identify and Resolve Radio TV Interference Problems"
prepared by the Federal Communications Commission helpful. It is available from the U.S.
Government Printing Office, Washington, D.C. 20402. Stock No. 001-000-00315-4.
All rights reserved. Reproduction or use, without expressed written permission, of editorial or pictorial content, in any
manner, is prohibited. No patent liability is assumed with respect to the use of the information contained herein. While
every precaution has been taken in the preparation of this manual, the Seller assumes no responsibility for errors or
omissions. Neither is any liability assumed for damages resulting from use of the information contained herein. All
instructions and diagrams have been checked for accuracy and ease of application; however, success and safety in
working with tools depend to a great extent upon the individual accuracy, skill and caution. For this reason the Seller is
not able to guarantee the result of any procedure contained herein. Nor can they assume responsibility for any
damage to property or injury to persons occasioned from the procedures. Persons engaging the procedures do so
entirely at their own risk.
Waist-High Eye-Level
Capacity …...…..…...…… 550 lb x .2 lb
(250 kg x .1 kg), selectable
550 lb x .2 lb
(250 kg x .1 kg), selectable
Platform Size ......…...….. 10 5/8” x 14 1/2”
(270 mm x 368 mm)
10 5/8” x 14 1/2”
(270 mm x 368 mm)
Dimensions ..................... 10 7/8” W x 20 7/8” D x 37 7/8” H
(276 mm x 530 mm x 962 mm)
10 7/8” W x 20 7/8” D x 57 1/2” H
(276 mm x 530 mm x 1461 mm)
Shipping Weight ……...… 34 lb (15.4 kg) 36 lb (16.3 kg)
Scale Height ..…….…..... 37 1/2 ” (953 mm) 57 1/8” (1451 mm)
Height Rod Measures ..... 6129, 6129KG, 6339 - 30” to 78” (76 cm to 200 cm) x inch/cm
6129KGM - 30” to 78” (76 cm to 200 cm) by 1/4”/1mm
Display ….……………….. Six digit, Seven segment, 0.7 inch (17.8 mm) high LCD
Power ....……………….... 6 “AA” size Alkaline, Ni-Cad or NiMH batteries (not included)OR an
optional 100 to 240 VAC 50/60Hz 12 VDC 1A wall plug-in UL/CSA
listed AC power adapter (Cardinal part number 6800-1045).
Keyboard .…………......... Membrane type with 5 keys and 4 directional arrows
PRECAUTIONS
Before using this instrument, read this
manual and pay special attention to all
"WARNING" symbols:
IMPORTANT ELECTRICAL
WARNING
Serial Number_______________________
Date of Purchase ____________________
Purchased Form_____________________
___________________________________
___________________________________
RETAIN THIS INFORMATION FOR FUTURE USE
8525-M310-O1 Rev C x 612X Series and 633X Series 1

UNPACKING INSTRUCTIONS
x Remove scale from carton by lifting up with equal force from column and platform base.
x Check for any damage incurred in shipping. If scale has been damaged, place a claim with the
carrier. Use the original carton and shipping material to return the scale.
x Remove all plastic wrapping, foam fillers and cardboard material from the scale.
x Remove and unpack the power supply and cord, if the scale was ordered with this option.
x Carton contents:
1) Column
2) Indicator
3) Platform base
4) Screws and lock washers
5) Height measuring rod - optional
NOTE! If column bracket is bent,
straighten before assembling.
ASSEMBLY INSTRUCTIONS
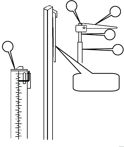
Refer to Figures No. 1, 2, 3, and 4, then follow the instructions for scale assembly.
1. Carefully remove load cell and draft rod assembly from column.
IMPORTANT! Handle load cell assembly with care! Do not drop, bend or twist.
2. Slip column over column bracket on platform base. Screw column to column brackets (two
1/4 truss head screws in front of column and four in the back). See Figure No. 1.
3. Referring to Figure No. 2, remove both #10-32 Truss Head Screws and lock washers
securing the indicator bracket to the column.
4. Lower load cell and draft rod assembly into column. Draft Rod must pass through opening in
column bracket. Referring to Figure No 1, make sure open end of lower draft rod hook is
facing forward toward platform.
5. Next, referring to Figure No. 3, fasten top hook bolt of load cell assembly (C) to column.
Make sure the load cell assembly does not touch the sides of column.
6. Slide grommet away from load cell assembly and slide into slot on column. NOTE! The slot
should be on back (wide side) of column.
7. Pull excess load cell cable in column leaving enough slack in cable so as not to have any
side pull on load cell.
8. Place digital indicator bracket on column and attach with 2 (#10-32) truss head screws and
lock washers removed in step 3. See Figure No. 2.
9. Using a desk or table, lay down scale with column horizontal to floor. Raise draft rod
keeping out of lever's way. Push lever. When lever is in position, hook draft rod around
pivot. See Figure No. 4.
10. Attach indicator to indicator bracket on column, then connect load cell cable to back of
indicator. Refer to the 750 Weight Indicator Owner’s Manual (8555-M483-O1) for additional
information.
11. Scale is now ready for operation.
8525-M310-O1 Rev C x 612X Series and 633X Series
2

ASSEMBLY INSTRUCTIONS, CONT.
Figure No. 3
Figure No. 4
Grommet
Load
Cell
Cable
Raise
Draft
Rod
Push
Lever
Column
Bracket
Opening
#10-32 Truss
Head Screw
Lock
Washer
Draft
Rod
Column
Figure No. 1
C
Indicator
Bracket
Figure No. 2
8525-M310-O1 Rev C x3
612X Series and 633X Series
8525-M310-O1 Rev C x 612X Series and 633X Series
4

OPERATION
DO NOT operate the keypad with pointed objects (pencils, pens, etc).
Damage to keypad resulting from this practice is NOT covered under warranty.
To Weigh
1. Set scale on any hard, level, flat
surface or low-cut carpet.
8525-M310-O1 Rev C x 612X Series and 633X Series 5
to show that
4. scale and read
5. Remove patient from scale.
t on the display, press ZERO
stable, center-of-zero weight condition.
M
ilograms. Note that lb or kg annunciator
ill turn on to show which weighing unit is active.
isplay. The ZERO and lb or kg annunciator will turn on to
read weight display.
5
FEET,
6
INCHES with the 6
_
or
`
until desired height in feet is displayed.
w
170
cm.with the 0 of 170
d.
B until the desired height in centimeters is displayed.
y.
10. Press BMI / ENTER key to return to weighing operation.
750 Keypad
2. Press ON/OFF key to turn on
indicator.
3. Press ZERO key to zero weight
display. The ZERO and lb or kg
annunciator will turn on
scale is ready for use.
Place patient on
weight display.
Zero Weight Display
1. If the indicator is not showing zero
weigh
key.
2. Weight display will return to zero.
ZERO, STABLE
[\
and lb or kg
annunciators will turn on to show a
etric Conversion
Press UNITS key to toggle between pounds and k
w
To Weigh and Calculate BMI
1. Press ON/OFF key to turn on indicator.
2. Press ZERO key to zero weight d
show that scale is ready for use.
3. Place patient on scale and
4. Press BMI / ENTER key.
5. If pounds is the active weighing unit, display will change to show
blinking. (The blinking character is the position to be changed).
a. Press a or b keys until desired height in inches is displayed and then press
key to move the blinking character to FEET.
b. Press a or b keys
c. Proceed to Step 7.
6. If kilograms is the active weighing unit, display will change to sho
blinking. (The blinking character is the position to be changed).
a. Press a or b keys until the desired number is displaye
b. Press
_
or
`
key to move to next character to change.
c. Repeat steps A and
d. Proceed to Step 7.
7. Press BMI / ENTER ke
8. Read BMI on display.
9. Remove patient from scale.

HEIGHT ROD INSTRUCTIONS
Height Rod Hole Location
Please check the Height Rod hole
locations before installing the Height Rod. 2in (51mm)
29 47/64”
(75.5 cm)
9/64”
(3.5mm)
diameter holes,
1” (25.4mm) from
center of column
to center of hole
515/64”
(
13.3 cm
)
xSome models may require holes to
be drilled.
x Please follow the measurements for
drilling holes if necessary.
x After holes have been drilled, please
follow installation instructions.
IMPORTANT!
Measure from bottom of column,
not floor or scale base.
Height Rod Installation
8525-M310-O1 Rev C x 612X Series and 633X Series
6
1. Remove the height rod, height rod
brackets and hardware pack from
the cardboard insert.
2. Attach the height rod brackets to
the height rod using the four
screws, lock washers and nuts
enclosed in the hardware pack.
Tighten all four screws.
Height Rod
Height Rod
Bracket

HEIGHT ROD INSTRUCTIONS, CONT.
3. Place the large end of the slotted
holes in the height rod brackets over
the four hex head screws on the back
of the column.
8525-M310-O1 Rev C x 612X Series and 633X Series 7
4. Pull down to set the screws in the
small end of the slotted hole and
secure the bracket to the column.
5. Use the included wrench to tighten the
hex head screws. Do not over-tighten
the screws.
Height Rod
Bracket
Scale
Column

HEIGHT ROD INSTRUCTIONS, CONT.
Operation
1. Before patient steps onto scale platform,
spoon should be rotated to horizontal position,
and raised well above patient's apparent
height.
D
Height Rod in
“rest” position
C
B
A
E
A = Latch
B = Spoon
C = Inner Height Rod
D = Outer Height Rod
E = Measurement
“Read” Line
2. Patient may now step onto scale platform.
Spoon should be held horizontal and above
patient's head.
3. Carefully lower spoon, keeping it horizontal,
until it rests gently on top of patient's head. If
patient is shorter than 3' 4" (101.5 cm), push
latch to right while simultaneously pushing
down on spoon, until the spoon rests
horizontally on top of patient's head.
4. Read height of patient as follows:
x If back of spoon points to outer height rod,
then it points to correct height.
x If back of spoon points to inner height rod,
then correct height is read at top of outer
height rod (see "Read" arrow on outer
height rod).
5. While holding spoon horizontally, raise spoon above patient's head. Patient may now step off
scale platform. Hold spoon horizontal until patient is clear of height rod.
6. Rotate spoon back to vertical position and adjust height rod back to rest position (i.e. spoon
should be locked in place within inner height rod and inner rod should be at its lowest position).
8525-M310-O1 Rev C x 612X Series and 633X Series
8

ERROR AND STATUS DISPLAYS
Display Meaning
-Err-
General error, invalid keypad entry was attempted.
-OF-
Attempting to display a negative number greater than –9,999 or a
positive number greater than 99,999.
-trL-
Indicates an attempt to zero a weight outside scale zero range.
-UnS-
Motion is present when indicator is attempting to perform one of the
following operations: Power Up Zero or Zero Weight Display.
CALib
Indicates calibration is necessary.
AdErr
ErrAL
ErrAH
Consult your scale service representative.
OCAP
Scale weight exceeds scale capacity.
OFF
Displayed to indicate indicator is turning off.
CARE AND CLEANING OF SCALE
xDO NOT subject the platform to sudden shocks.
xDO NOT submerge indicator in water, pour or spray water directly on indicator.
xDO NOT use abrasive cleaners on this scale.
xDO NOT use acetone or other volatile solvents for cleaning.
xDO clean the scale and indicator using a damp soft cloth and mild detergent.
xDO avoid areas where the scale might be exposed to moisture.
8525-M310-O1 Rev C x 612X Series and 633X Series 9

PARTS IDENTIFICATION
FINAL ASSEMBLY
ITEM QTY PART NUMBER DESCRIPTION
1 1 3P1201X-1 BASE ASSEMBLY
2 1 430XG3R800 COLUMN ASSEMBLY FOR 6127(KG), 6129(KG)
1 0044-C180-1A COLUMN ASSEMBLY FOR 6337, 6339
3 1 709GR1206 LOAD CELL ASSY
4 1 0033-B254-08 DRAFT ROD FOR 6127(KG), 6129(KG)
1 0033-B256-08 DRAFT ROD FOR 6337, 6339
5 1 3P8068 PLATFORM COVER
6 4 63K1038 BASE LEG
7 1 6650-0087 LABEL, MADE IN USA
8 1 0033-B438-0A MOUNTING BRKT
9 1 391RV204 NUT ELASTIC STOP 1/4-20 Z/P
10 1 6021-1454 SCW HEX HEAD 1/4 -20 X 3/4
11 1 6024-0004 WASHER FLAT 1/4
12 1 0033-B104-0A TOP PLATE ASSY.
13 1 593R986 SERIAL TAG
14 2 6024-0049 WASHER LOCK EXT #10
15 6 6024-0047 WASHER LOCK EXT 1/4
16 6 6021-1423 SCW TRUSS HEAD 1/4-20 X 1/2
17 2 6021-1045 SCW HEX HEAD #10-32 X 1/2 Z/P
18 1 750 DIG. WT. INDICATOR
19* 1 0033-D203-0A HEIGHT ROD ASSEMBLY, INCH/CM FOR 6129(KG)
20* 1 0033-D475-0A HEIGHT ROD ASSEMBLY, 1/4”/1mm FOR 6129KGM
21* 1 0033-D063-1A HEIGHT ROD ASSEMBLY, INCH/CM FOR 6339
22* 1 6800-1045 OPTIONAL AC ADAPTER 100-240VAC/12VDC @ 1A
* NOT SHOWN
8525-M310-O1 Rev C x 612X Series and 633X Series
10

PARTS IDENTIFICATION, CONT.
BASE ASSEMBLY
ITEM QTY PART NUMBER DESCRIPTION
1 1 3P2011X PLATFORM WELDMENT
2 4 3P2087 PLATFORM LOAD BEARING
3 1 3P1001X BASE WELDMENT
4 2 3P60 CHECK PLATE
5 2 6021-0985 HEX WASHER HD SCW #10 X 1/2
6 4 63K1038 BASE LEG
7 1 2U58 UNION CENTER HANGER
8 1 3P8003X SHORT LEVER ASSEMBLY
9 4 3P8059 UNION HANGER
10 1 3P122 BUMPER
11 1 3P8002X LONG LEVER ASSEMBLY
15 6 6024-0047 WASHER LOCK EXT 1/4
16 6 6021-1423 SCW TRUSS HEAD 1/4-20 X 1/2
8525-M310-O1 Rev C x 612X Series and 633X Series 11

STATEMENT OF LIMITED WARRANTY
Detecto Scale warrants its equipment to be free from defects in
material and workmanship as follows: Detecto warrants to the original
purchaser only that it will repair or replace any part of equipment which
is defective in material or workmanship for a period of one (1) year
from date of shipment. Detecto shall be the sole judge of what
constitutes a defect.
During the first ninety (90) days Detecto may choose to supply all
necessary replacement parts and service during normal weekday
working hours at no charge to the buyer.
After the first ninety (90) days Detecto will supply parts and service at
the job site provided the owner agrees to pay the Dealer for all travel
time, including mileage and test equipment, as well as any expenses
incurred over the direct labor of the technician at the job site. This
limited warranty honors only labor performed by Detecto authorized
dealers.
This warranty does not apply to peripheral equipment not manufactured
by Detecto; this equipment will be covered by certain manufacturer’s
warranty only.
This warranty does not include replacement of expendable or
consumable parts. This does not apply to any item which has
deteriorated or damaged due to wear, accident, misuse, abuse,
improper line voltage, overloading, theft, lightning, fire, water or acts of
God, or due to extended storage or exposure while in purchaser’s
possession. This warranty does not apply to maintenance service.
Purchased parts will have a ninety (90) day repair or replacement
warranty only.
Detecto may require components be returned to the factory; they must
be properly packed and shipping charges prepaid. A return
authorization number must be obtained for all returns and marked on
the outside of all returned packages. Detecto accepts no responsibility
for loss or damage in transit.
8525-M310-O1 Rev C x 612X Series and 633X Series
12

02/06
Printed in USA
D268-WARRANTY-DET
Ph. (800) 641-2008
E-mail: detecto@cardet.com
203 E. Daugherty
Webb City, MO 64870
STATEMENT OF LIMITED WARRANTY
Conditions Which Void Limited Warranty
This warranty shall not apply to equipment which:
A.) Has been tampered with, defaced, mishandled or have had repairs
and modifications not authorized by Detecto.
B.) Has had serial number altered, defaced, or removed.
C.) Has not been grounded according to Detecto’s recommended
procedure.
Freight Carrier Damage
Claims for equipment damaged in transit must be referred to the freight
carrier in accordance with freight carrier regulations.
This warranty sets forth the extent of our liability for breach of any
warranty or deficiency in connection with the sale or use of the product.
Detecto will not be liable for consequential damages of any nature,
including but not limited to, loss of profit, delays or expenses, whether
based on tort or contract. Detecto reserves the right to incorporate
improvements in material and design without notice and is not obligated
to incorporate improvements in equipment previously manufactured.
The foregoing is in lieu of all other warranties, express or implied
including any warranty that extends beyond the description of the
product including any warranty of merchantability or fitness for a
particular purpose. This warranty covers only those Detecto products
installed in the forty-eight (48) contiguous continental United States.
8525-M310-O1 Rev C x 612X Series and 633X Series 13

8525-M310-O1 Rev C x 612X Series and 633X Series
18525-M310-O1 Rev C x 612X Series and 633X Series
41