Fabral Metal Roofing Panels, Dist. By Best Materials® SC106ALU Roof Fastening Details Postframe
User Manual: SC106ALU
Open the PDF directly: View PDF
.
Page Count: 46

www.fabral.com
Standard Details for Metal
Roong & Siding
Post Frame
and
Residential Structures

Table of Contents
**Due to Product improvements, changes and other factors, Fabral reserves the right to change or delete infor-
mation herein without prior notice or obligation to make changes in products previously purchased.
Installation Instructions 2 - 3
Paint System & Warranties 4
Steel Panel Proles 5 - 6
Aluminum Panel Proles 7
Post Frame Estimating & Roof Types 8
Post Frame Building Details 9
Post FrameFlashings/Trim 10 - 13
Post Frame Trim Details: 13 - 30
Box Gable - 13
Endlap & Rain Carrying Table - 14
Eaves - 15-16
Ridges - 16-18
Gables - 18-19
Flying Gable - 20
Endwall - 21
Sidewall & Valley - 22
Gambrel & Transition - 23
Outside Corner - 24
Inside Corner & Base Guard - 25
Door Jambs & Headers - 26-29
Translucent Panels - 29
Window Details - 30
Residential Building Details 31
Residential Load Tables & Proles 32
Residential Flashings/Trim 33
Residential Trim Details: 34 - 43
Ridges - 34
Eaves - 35
Gable & Endwall - 36
Sidewall & Gambrel - 37
Transition & Pipe Boot - 38
Skylight & Chimney - 39-41
Dormer Details - 42-43
Accessories 44

Building Design and Construction
In order to ensure the anticipated performance and longevity,
protect metal panels from potentially corrosive situations and materials.
When treated lumber will be in direct contact with metal panels or ash-
ings please note the following: Galvanized steel is compatible with the
CCA (Chromated Copper Arsenate) pressure-treated lumber that was
predominantly used before 2004, but not with the older Penta treated
lumber or the new ACQ (Alkaline Copper Quartenary), CA (Copper
Azole), or CBA (Copper Boron Azole). Stainless steel or other special
treated fasteners should be used into these non-compatible pressure
treated lumbers. Aluminum must be separated from contact with all
treated wood since the soluble copper in the preservative is corrosive to
aluminum. Likewise, dissimilar metals also require a protective barrier
between them to prevent galvanic corrosion. Request FABRAL Techni-
cal Bulletins #803, 106, and 107 for more information on treated lumber
and dissimilar metals.
Plastic, builders’ felt, bituminous paint, caulking, or gas-
ket material may be used to separate panels from treated wood
and dissimilar metals. When using aluminum panels in direct contact
with steel, use a separator as described above and fasten with Stain-
less Steel screws.
Fertilizer, lime, acids, feeds, manure, soils, and many other
compounds also cause corrosion in metal panels. Contact between
metal panels and any potentially corrosive materials should be pre-
vented.
Porous insulation materials may absorb and retain moisture,
and should not be used in direct contact with metal panels. Use a vapor
barrier such as polyethylene plastic or 30-lb felt to prevent moisture
from contacting both the insulation and the metal panel.
FABRAL’s translucent panels are intended for siding applica-
tions only. In all situations, foot trafc should be avoided on translucent
panels. Translucent panels used in roong applications will break down
in a short time and cause staining and premature corrosion of the metal
panels below. If used on roofs, apply butyl caulking to separate the
berglass panels from the metal. Translucent panels should be cleaned
and sealed regularly, as recommended by the translucent panel manu-
facturer.
Purlins, Girts and Roof Deck
The substructure to which the metal panels are fastened must
be properly spaced and sufciently thick to provide a roof or wall system
able to meet required design loads.
A 2” nominal lumber thickness provides the maximum pullout
values for both screws and nails when the fasteners penetrate a
minimum of 1” into the wood. Since 1” nominal lumber and solid decking
are thinner, they provide somewhat lower pullout values. When using
purlins, FABRAL recommends a maximum spacing of 24” on-center
(note that 5V requires solid decking). Pullout values decrease if the
fasteners protrude completely through the purlins. Kiln-dried softwood
is recommended for purlins or decking (pine, r, hemlock, and spruce).
Hardwoods are difcult to fasten into without splitting and contain tannic
acids that are corrosive to metal panels. Green (non-kiln-dried) lumber
may warp, twist, and shrink as the wood seasons fully, causing wavi-
ness in the panels as well as loosening and leaking of the fasteners.
Solid decking is highly recommended for all residential ap-
plications. When usingsolid decking or sheathing, always use 30-lb felt
or underlayment and plan on using closer
fastener spacing and larger diameter #14 screws. (Refer to the tables
on page 31).
On re-roong projects where the condition of the old decking
is in question, or where existing shingles will be left in place, new 2x4
purlins should be fastened through the decking and into the rafters. This
will provide a solid framework for attaching the metal panels. For more
detailed information on Re-roong applications, consult FABRAL Tech-
nical Bulletin #721, Re-Roong With Metal. Load tables are available for
all FABRAL panels; contact FABRAL for additional information.
Roong
Panel sidelaps should face away from wind driven rain. To
accomplish this, begin by installing the rst sheet square with the
eave and gable at the down wind end of the roof, farthest away from
the source of prevailing winds.
In applications requiring a panel endlap, please refer to the
detailed instructions in this booklet. For best results, lap panels as
shown and install in the indicated sequence. All endlaps require seal-
ant. When weather-tightness is critical, use sealant tape in all side-
laps.
To provide a drip edge, allow an overhang of 1 to 2 inches at
the eave. At the gable edge, use a gable or sidewall ashing. This will
keep weather out, prevent lifting in high winds, and provide a neat, n-
ished appearance. The trim and roong sheet should be fastened every
12 to 24 inches along the gable edge.
Roof Pitch
The metal roong panels shown in this manual require a mini-
mum slope of 2½” per foot to ensure proper drainage. Refer to the rain-
carrying table in this booklet for the maximum allowable panel length per
slope that will provide adequate drainage. For longer slopes and lower
roof pitches, contact FABRAL for other suitable proles.
Bending and Bowing
Aluminum roong and siding sheets are rollformed from hard-
ened, tempered metal for maximum strength. If a sheet must be bent,
a gentle 90-degree bend is the maximum recommended. Metal should
not be re-bent once it has been formed, nor should it be folded back on
itself. When a metal roong sheet must be installed on a curved roof,
screws should be installed at every overlapping rib at the sheet ends
to resist the natural tendency of the metal to spring back. The standard
fastening pattern is permitted over the rest of the sheet. When installing
the metal panels shown in this booklet over a curved arch, the minimum
radius of the arch is 18’ for aluminum panels and 24’ for steel panels.
Use sealant tape or butyl caulking at all sidelaps and endlaps.
Additional care and fasteners must be provided when securing the top
and bottom purlins on an arched rafter building to prevent the curved
panels from pulling the purlins loose from the rafters. Ring-shank pole
barn nails, heavy wood screws, lag screws, or bolts are often used for
attaching these purlins.
Siding
Siding should be installed using the standard fastening and
overlap patterns to ensure optimum performance. For strong, neat cor-
ners use hemmed corner ashings. Do not run siding sheets all the
way to the ground. Instead, provide a protective base of concrete,
masonry, treated wood, or similar material and terminate the siding
sheets 6” above grade.
Installation Instructions
2

If siding sheets are installed horizontally, use sealant tape or
butyl caulking at the vertical laps to ensure weather-tight joints. Install
panels from the bottom up so that water is directed away from, and not
into, the lap joints.
Fastening
FABRAL can supply either screws or nails for fastening into
dimension lumber, with screws offering better pullout values. Always
use screws with solid sheathing. Screws for use with steel panels are
galvanized and then coated with an organic polymer for optimum cor-
rosion resistance. For best results with aluminum panels, use #300
series stainless steel screws.
The FabrOseal® galvanized ring-shank nail, with its premium
long-life silicone rubber gasket, assures a lasting seal and is the best
nail available for steel panels when screws are not desired.
The correct way to fasten steel panels with nails is to drive
the nail through the top of the rib so the washer is compressed securely
against the metal. Nail placement must be in the ribs for roong ap-
plications to minimize the potential for roof leaks. Over-driving the nail
can split the washer and dimple the metal, causing leaks.
Wood screws with combination metal and neoprene washers
should be installed in the at area of the panel adjacent to the ribs, and
tightened such that the washer is compressed as illustrated above. This
will ensure a lasting, leak-proof seal. Remove any metal lings created
by the drilling action of the screws to avoid rust staining on the panel
surface. Refer to the fastening schedules in this booklet for the correct
fastener locations.
Flashing and Trim
Always begin ashing installation from the bottom and work
up, so that upper ashings are lapped on top of lower ashings. This will
prevent moisture from leaking under the ashings and into the structure.
Endlap ashings a minimum of 6” and seal the lap joints with sealant.
Extend ashings 4-6” beyond the building, cut along the bend lines, ap-
ply sealant, and fold the side aps in and the top aps down to cap off
the ends. Secure with pop-rivets or stitch screws.
Some roof conditions, such as valleys, may require a longer
endlap and/or a larger ashing to properly drain moisture from the roof.
Factors that inuence ashing size, shape, and endlap requirements
include roof pitch, roof geometry, slope length, and climatic factors (such
as heavy snowfall or rainfall).
Whenever possible, begin trim installation at the downwind
end of the roof, farthest away from the source of prevailing winds, to al-
low ashing laps to face away from wind-driven rain. Refer to the details
in this book for the proper location of fasteners and sealants.
The ashings and trims shown in this book are standard parts.
Custom trims are available to meet your specic design needs. If you
need a special trim, please furnish a drawing of the desired shape, in-
cluding dimensions and angles, to your Fabral dealer to obtain pricing
and availability.
Refer to the SMACNA Architectural Sheet Metal Manual
for additional information about detailing and installing
ashings.
Safety
Always work safely when installing metal products and use
extreme caution on the roof at all times. Wear gloves and safety glass-
es to reduce the risk of injury, and use hearing protection when operat-
ing power tools. Always be sure that ladders are safely positioned and
properly secured. Safety harnesses or other special equipment may
be required; be sure to Consult OSHA guidelines for compliance with
all safety requirements.
Do Not walk on panels until all the fasteners are installed.
Metal roong panels are slippery when wet, dusty, frosty, or oily -- Do
Not attempt to walk on a metal roof under these conditions. Wear soft-
soled shoes to improve traction and to minimize damage to the paint
nish. Always be aware of your position on the roof relative to any roof
openings, roof edges, co-workers, and penetrations. Installing metal
panels or ashings on a windy day can be dangerous and should be
avoided if possible.
Cutting Aluminum Panels
To make a cut parallel to the ribs, score the panel deeply with
a sharp utility knife and bend back-and-forth along the score, breaking
the metal off cleanly. For cuts across the ribs, use straight-cut snips,
electric or pneumatic shears, a portable prole shear, or an electric
nibbler. Some installers prefer using a circular saw with a metal cutting
blade (a ne-tooth hardwood blade, or a standard combination blade
reversed in the saw works also). Light oil or soap on the blade will
make cutting easier.
Cutting and Drilling Steel Panels
Steel panels may be cut with metal snips, electric or pneu-
matic shears, a portable prole shear, or an electric nibbler. Some
installers prefer using a circular saw to cut metal panels. Do Not use
self-consuming abrasive blades because of the following: 1. Abrasive
blades burn the paint and galvanizing at the cut edge, leaving edg-
es that are jagged and unsightly and rust more quickly 2. Abrasive
blades produce hot metal lings that embed in the paint and cause rust
marks on the face of the panel 3. All saw cut panels must be turned
face down and cut in a location down-wind and well away from the
building and other panels to avoid embedment of metal lings on other
panels 4. All saw cut panels must be thoroughly wiped to ensure the
removal of all metal lings. If saw cutting cannot be avoided, select a
carbide-tipped blade specially designed for cutting light-gage ferrous
metal panels. These blades are now available at many home centers
and lumber yards. Pre-drilling wall panels gives uniform alignment of
screw rows. Be sure to remove drill lings once panels are installed to
avoid rust marks from the lings.
Building Maintenance
A metal roof should be inspected annually and cleaned as necessary
to maintain its beauty and performance. Any debris or residue, includ-
ing leaves, twigs, and dust should be cleaned off promptly to prevent
moisture entrapment against the metal, which may lead to nish dete-
rioration or premature corrosion. Flashings may need to be re-sealed
periodically in order to maintain optimum weathertightness.
Installation Instructions
Correct Under-Driven Over-Driven
3

Paint System & Warranties
4
Enduracote™ is a paint system that takes performance to the next level. Based on
cutting edge resin technology, this system offers unbeatable durability and superior
long-term performance against the elements.
TOP COA T
PRIMER COA T
PRIMER COA T
SEALER COA T
SEALER COA T
ZINC PRE-TREATMENT
ZINC PRE-TREATMENT
GALVANIZED
GALVANIZED
BACKER COA T
BARE STEEL
Protective Metallic Barrier
Protective Metallic Barrier
Bare Steel
Primer Coat
Sealer Coat
Zinc Pre-Treatment
Backer Coat
Primer Coat
Zinc Pre-Treatment
Sealer Coat
Top Coat
Example of the Grand Rib 3® layer system
The Enduracote™ Warranty
Lifetime lm integrity for walls & roofs•
30-year against fade & chalk •
10-year edge rust against acid rain•
For proles: Grand Rib 3®, Alu-Tuff II, 5V Crimp, ProClad,
StrongClad, Mighti-Rib®
The Enduracote™ PLUS Warranty
Lifetime lm integrity for walls & roofs•
30-year against fade & chalk •
15-year edge rust against acid rain•
25-year non-perforation against acid rain •
for walls; 20-years for roofs
For proles: Grand Rib 3® PLUS, Alu-Tuff, 1 1//2” SSR,
Climaguard™
Polyester Paint Warranty
25-year limited lm integrity•
10-year against fade & chalk•
For proles: MP Panel, Shelterguard®, 5-Rib
Aluminum Product Guarantee
30-year corrosion guarantee•
Aluminum-Zinc Alloy Warranty
20-year limited non-perforation•
For Bare Galvalume® Products
Other Warranties
Please contact your Fabral representative for more information about Fabral warranties and paint systems.
The Energy Star® Program
The Energy Star Program promotes highly reective roof systems that reect
solar energy. These roof systems allow buildings to stay cooler and, in turn,
use less electricity for air conditioning; less electricity means a reduction in
power generation and a reduction of pollutants discharged at power plants.
Fabral has attained Energy Star approval for many of its Enduracote™ sys-
tem colors. Ask for Technical Bulletin #724 titled “Energy Star Approval”, for
program details and a list of approved Enduracote™ colors.
GRANDRIB 3®, ALU-TUFF II, 5V, PRIME RIB, STRONGCLADTM
26 GAGE MIGHTI-RIB & ULTRA-RIB PANELS
LIMITED LIFETIME ENDURACOTETM PAINT WARRANTY
PERFORMANCE GUARANTEE
Fabral, a Euramax Company, Lancaster, PA, hereinafter referred to as "Fabral" or "Seller," guarantees that within the continental United States
normal outdoor atmospheric conditions (which term excludes corrosive or aggressive atmospheres including, but not limited to those contaminated
with chemical fumes or salt spray) will not cause the exterior side paint on the ENDURACOTETM galvanized steel roofing and siding panels sold to
you under this guarantee to:
1. Crack, check, or peel for the lifetime of the building for sidewall panels and roofing panels.
NOTE: A crack is a break in the coating sufficiently deep that the underlying surface is visible. Checking refers to shallow breaks in the coating
which do not expose the underlying surface. Peeling occurs when the coating actually comes off the metal in pieces. Slight crazing or cracking
may occur on roll formed edges or break bends at the time of forming and should be considered as standard and shall not constitute a basis for
complaint under this warranty. However, the film will not lose adhesion to the substrate when cellophane tape applied at the bend is removed.
2. Chalk in excess of a numerical rating of eight (8) for vertical siding panels or a numerical rating of six (6) for roofing and non-vertical siding
panels for a period of thirty (30) years when measured in accordance with the standard procedure specified in ASTM D-4214 (latest).
NOTE: Chalk refers to the formation of loose, removable powder evolved from the coating itself upon breakdown of its resin or binder. The test
merely utilizes dark or light colored felt rubbed against the surface to pick up a measurable amount of the chalk which is then compared to a
standard. On a scale of 10 (best) to 0 (worst), a rating of eight is considered a moderate amount of chalk, while a rating of two would represent
extreme chalk.
3. Fade or change in color in excess of five (5) units of color difference (Hunter ¨E units) for vertical siding panels or in excess of seven (7) units of
color difference (Hunter ¨E units) for roofing and non-vertical siding panels for a period of thirty (30) years when measured in accordance with the
standard procedure specified in ASTM D-2244 (latest) paragraph 4.3, on a washed test area.
NOTE: Most coated surfaces, when exposed to the sun, will fade to some degree over a period of time. Five Hunter ¨E units is a noticeable, but
not usually objectionable, degree of color change. Colors may also darken or change hue rather than fade, particularly on exposure in polluted
environments. The Hunter ¨E units are intended to apply to color change in either direction in comparison with the original or unexposed color. It is
understood that fading or color change may not be in uniform if the surfaces are not equally exposed to the sun and elements.
For purposes of determining whether an exposed coated panel meets the standards set forth in above paragraph, all chalk, dirt and other film
deposits on the area of the panel to be tested for color must be removed by washing prior to evaluation.
To wash test area, use a pad of 28/24 mesh cheesecloth and distilled water with mild soap or detergent cleaner. Wet the cheesecloth thoroughly
with the solution and rub it, using moderate hand pressure, over an area of panel approximately 4" x 4". Care must be taken to avoid any
scratching, burnishing or other physical alteration of the coating surface. After washing as described above, flush off the test area with distilled
water and allow to air dry in a vertical position.
4. Exhibit accumulations of red rust caused by acid rain on non-vertical installations of EnduracoteTM painted panels for a period of ten (10) years
quantities that result in discoloration clearly visible in casual observation, except that this provision shall not apply to any accumulation of red rust
which occurs within one-half inch of any portion of the coated surface which is cut or penetrated at any time after application of the pretreatment and
paint system to the substrate.
TERMS AND CONDITIONS
1. DURATION OF WARRANTY
The paint coating of Fabral roofing and siding panels is guaranteed to perform in the manner described above for the lifetime of the structure for
crack, check, or peel, or 30 years for chalk and fade, or 10 years for red rust, from the date such panels are installed by Buyer, provided installation
occurs within six months from the date of application of coating by Seller's coating facility. In no event shall the guarantee extend beyond 30 years
and 6 months for chalk and fade, or 10 years and 6 months for red rust, from the date of application of coating by Seller's coating facility.
2. CONSTRUCTION CONDITIONS
NO EXPRESS WARRANTY AND NO IMPLIED WARRANTY OF MERCHANTABILITY OR IMPLIED WARRANTY OF FITNESS FOR A
PARTICULAR PURPOSE shall apply:
(a) to roofing having a pitch of less than 2 ½:12 for Grandrib 3®, Alu-Tuff II, or Prime Rib panels, 1:12 for Mighti-Rib or Ultra-Rib panels.
(b) to roofing or siding panels applied without protection over lumber which has been treated with preservatives or fire resistant salts, regardless
whether such treatments are occasioned knowingly or without the knowledge of the buyer, the owner, or any other party.
This exclusion includes, but is not limited to, lumber which has been treated with ACQ (Alkaline Copper Quartenary), CA (Copper Azole), CBA
(Copper Boron Azole), pentachlorophenol, CCA (Chromated Copper Arsenate) salts, creosote, fluor chrome arsenate phenol, or any similar
treatment for fire and rot resistance. Protection of lumber as provided for in this exclusion shall be defined as any barrier which prevents the
transfer of moisture and salts between the treated lumber and Fabral's roofing and siding material including 4 mil polyethylene, York Wrap or
equivalent durable vapor barrier or solid (non-porous) insulation. No other protective barrier shall be acceptable under this provision without the
express written approval of Fabral.
(c) failure to properly insulate the products between any dissimilar metals, contact with the ground, animal wastes, decaying materials or wet
absorptive materials.
(d) abnormally corrosive atmospheric conditions. This exclusion includes, but is not limited to, contamination from external sources such as
manufactured chemicals and salt spray, and internal contamination created by improper ventilation (design or operational defects) or improper
housekeeping, as defined by current Midwest Plan Service publications.
F-104
Example Warranty Form

NAIL PATTERN
ROOFING - INTERMEDIATE SUPPORTS
ROOFING - EAVES, RIDGES, AND ENDLAPS
SIDING - ALL SUPPORTS
MP Panel
9"
37 3/4" FORMED WIDTH
36" COVERAGE
3/4"
Alu-Tuff
9"
37 3/4" FORMED WIDTH
36" COVERAGE
3/4"
Intermediate Roof Purlins and All Siding
SCREW PATTERNS
Eaves and Endlaps - Roof Purlins
Steel Panel Proles
CORRECT SIDELAP
FOR ALU-TUFF,
GRANDRIB 3, AND
MULTI-PURPOSE
STEEL PANELS.
BUTYL SEALANT
LOCATION (OPTIONAL
FIELD APPLIED)
PURLIN BEARING
LEG
Grandrib 3
29 Gauge steel, Plain, and Painted Galvanized
37 3/4" FORMED WIDTH
36" COVERAGE
3/4" 9"
NAIL PATTERNS
All Supports
Fastener Usage: 80 screws per square or 1 pound of nails per square
26" FORMED WIDTH
24" COVERAGE
USE ON SOLID DECKING
11 1/2"
1/2"
5V Crimp
NAIL PATTERN
ROOFING - INTERMEDIATE SUPPORTS
ROOFING - EAVES, RIDGES, AND ENDLAPS
SCREW PATTERN
ROOFING - EAVES, RIDGES, AND ENDLAPS
ROOFING - INTERMEDIATE SUPPORTS
SIDING - ALL SUPPORTS
1 1/4" Corrugated
26" OVERALL
24" COVERAGE
1/4" 1 1/4"
SCREW PATTERN
ROOFING - INTERMEDIATE SUPPORTS
ROOFING - EAVES, RIDGES, AND ENDLAPS
SIDING - ALL SUPPORTS
*Not all proles are available in all areas. Please contact Fabral for availabilty. 5

Steel Panel Proles
2.667"
2 1/2" Corrugated
26" OVERALL
21 1/2" COVERAGE (ROOFING)
24" COVERAGE (SIDING)
1/2"
NAIL PATTERN
ROOFING - INTERMEDIATE SUPPORTS
SIDING - ALL SUPPORTS
ROOFING - EAVES, RIDGES, AND ENDLAPS
SCREW PATTERN
ROOFING - INTERMEDIATE SUPPORTS
ROOFING - EAVES, RIDGES, AND ENDLAPS
SIDING - ALL SUPPORTS
XPRT 936
38 3/8" FORMED WIDTH
36" COVERAGE
5/8"
Intermediate Roof Purlins and All Siding
SCREW PATTERNS
Eaves and Endlaps - Roof Purlins
Sidelap Detail
12" or 16" Coverage
5 3/8"
7/8"
Factory Applied Sealant
421
4" Formed Width
1
2"
7
8"
9"
4"
49
16"13
8"
36" Coverage
100°
134°
134°
16" Coverage
1 1/2"
39" Formed Width
36" Coverage
12"
4 3/8"3 1/4"4 3/8"
1 3/16"
1 1/2” SSR
24 Gauge Standing Seam Roong
Mighti-Rib®
26 Gauge Roong & Siding
Climaguard™
26 Gauge Roong
Grandbeam®
26 Gauge Roong & Siding
Other Steel Proles Available
*Not all proles are available in all areas. Please contact Fabral for availabilty.
*The panels above are available at certain locations and have their own particular details, ashings, and accessories. Please contact Fabral for more information.
6
Proclad

Alu-Tuff
9"
37 3/4" FORMED WIDTH
36" COVERAGE
3/4"
ROOFING - EAVES, RIDGES, AND ENDLAPS
ROOFING - INTERMEDIATE SUPPORTS
SIDING - ALL SUPPORTS
Aluminum Panel Proles
Grandrib 3
37 3/4" FORMED WIDTH
36" COVERAGE
3/4" 9"
SCREW PATTERN
EAVE AND ENDLAPS - ROOF PURLINS
INTERMEDIATE ROOF PURLINS AND ALL SIDING
51 3
16" FORMED WIDTH
48" COVERAGE
Fabrib
9
16"2.667"
ROOFING - EAVES, RIDGES, AND ENDLAPS
SIDING - ALL SUPPORTS
ROOFING - INTERMEDIATE SUPPORTS
AluTwin
7
16"501
4" FORMED WIDTH
48" COVERAGE
8"
ROOFING - EAVES, RIDGES, AND ENDLAPS
ROOFING - INTERMEDIATE SUPPORTS
SIDING - ALL SUPPORTS
2.667"
51 1
4" OVERALL
1
2"
48" COVERAGE (ROOFING)
2 1/2" Corrugated
48" COVERAGE (SIDING)
ROOFING - INTERMEDIATE SUPPORTS
SIDING - ALL SUPPORTS
ROOFING - EAVES, RIDGES, AND ENDLAPS
.0155 and .018 Aluminum, Plain, and Painted White
Strongrib
37 3/4" FORMED WIDTH
36" COVERAGE
3
4"9" 2 1/2"
Correct Strongrib
Sidelap
BUTYL SEALANT
LOCATION (OPTIONAL
FIELD APPLIED)
PURLIN BEARING
LEG
*Not all proles are available in all areas. Please contact Fabral for availabilty. 7

Post Frame Estimating & Roof Types
Estimating Metal Roong, Siding & Flashings
Panel lengths are to be determined by the truss top chord
or actual eld measurements. Remember to add for over-
hangs at the eaves; subtract for a gap at the ridge. Sid-
ing should be kept up away from the ground with a skirt
board.
Number of Panels
The coverage of the panel being used will determine the
number of panels at a length (i.e.: 3’ coverage panel on a
30 ft. long building would require 10 panels on each side of
the ridge or 20 panels at the particular length.)
Horizontal Measurment to a Roof
Divide the building width in half, then multiply by the slope
factor (i.e.: 40’ wide building with 4/12 slope. 40 divided
by 2 equals 20’ times 1.054 equals 21’-1” in slope dimen-
sion.) Allow for 1/2” to 1” gap at peak and 1” to 2” eave
overhang.
Roof Pitch Slope Factor
3/12 1.031
4/12 1.054
5/12 1.083
6/12 1.120
8/12 1.202
10/12 1.302
12/12 1.414
Flashing Conditions
Roof - Eave, Ridge, Gable, Sidewall, Endwall, Valley, Hip,
Transition, Gambrel, Softs
Siding - Base Perimeter, Corners, Inside Corners, Man
Doors, Windows, Sliding Doors, Overhead Doors
Please contact Fabral’s Engineering Department
for all your estimating & specication needs.
1-800-916-1413
1-800-322-1030 Fax
Gambrel Roof
Transition Roof
Hip Roof
8

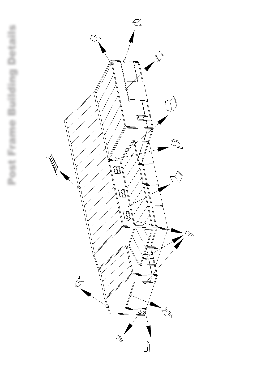
Post Frame Building Details
9
Ridge/Peak
Eave
Outside Corner
Sidewall
Sliding Door Track Covers
Inside Corner
Endwall
Drip Cap
J-Channel/Doors/Windows
Gable/Rake
Zee
Base Guard

Standard Post Frame Flashing/Trims
All ashing is 10’ 6” in length & available in steel & aluminum, unless otherwise
noted. Please contact Fabral for specics on the trim available in your area.
AJ6
Jamb Trim
(for 2x wood)
8 7/8"
1 5/8"
1 1/2"
1"
6 25/32"
AR3
Ridge Cap
5 9/16"
4 3/8"
13/16"
11/16"
1 1/16"
AG1
Gable/Rake
Aluminum 10'
Steel 10' Standard
14' in select colors
5 1/2"
5 1/2"
RR1
Universal
Ridge/Hip
Flash
Steel Only
Customer to specify roof pitch
AR3 w/ VersaVent RX-10
Ridge Cap
Grandrib 3 & Alutuff net free area = 10.66 sq. in. per lineal
feet of ridge (5.33 per side)
4 5/8"
3"
13/16"
AE1
Eave Flash
4"
24"
SunSky Ridge
Ridge Cap
Clear Only
6"
4"
1/2"
CP1
Monoslope
Ridge
Steel Only
Customer to specify roof pitch
3"
2 1/2"
1/2"
CE1
Denver Eave
Steel Only
Customer to specify roof pitch
RJ9
F-J Trim
1 1/4"
2 7/8"
7/8"
7
8"
8 7/8"
2 3/16"
7/8"
7/8"
PJFB
One Piece Door Trim
AH4
10'-6" Length
Face-Mount Track
Cover for Cannonball
Track with 1" Track
Plank Matches
Cannonball Trim
#646224
1 3/4" 7/8"
6 15/16"
1 5/16"
3/4"
10
7

Standard Post Frame Flashing/Trims
7 1/4"
6 1/4"
Notched
AGRN4
For Grandrib 3 401
4" Length
Notched Gambrel Flash
10 1/8"
RV1
Valley Flash
Customer to specify roof pitch
16"
Soff Vent A
Vented Aluminum Soffit
Net free area = 12.96 sq. in. per
lineal ft. of soffit
7" 5"
1/2"
AT1
Transition Flash
Typical for 8/12 to 4/12
(otherwise specify pitches)
Steel Only
9 3/16"
1"
RV2
W-Valley Flash
Steel Only
Customer to specify roof pitch
11 1/4"
AB3
Soffit Box
Net free area - 22.9 sq. in. per lineal ft. of soffit
(Vented available in white steel only)
5 1/2"
2 1/2"
4"
5"
1/2"
ASW1
Sidewall/Endwall
Flash
7 1/4"
5 1/2"
2 1/2"
AB1
Soffit Box
11 1/4"
7 1/2"
2 1/2"
AB4
Soffit Box
Net free area = 22.9 sq. in. per lineal ft. of soffit
(Vented available in white steel only)
7 1/4"
6 1/4"
Notched
AEWN4
For Grandrib 3 40 1/4" Length
Notched Endwall Flash
7 1/4" 2 1/2"
7 1/2" AB2
Soffit Box
7" 5"
1/2"
AT1
Transition Flash
Typical for 8/12 to 4/12
(otherwise specify pitches)
Steel Only
11

Standard Post Frame Flashing/Trims
AC1
Corner
Aluminum 10'
14'-6" in select
colors
4 3/8"
1 1/16"
13/16"
4 3/8"
3/4"
ABG1
Base Guard
1 5/8"
7/8"
1 1/2"
AL2,3,4,5
Angle Flashing
AL2 = 3 1/2"
AL3 = 5 1/2"
AL4 = 7 1/4"
AL5 = 9 1/4"
1 1/2"
AC2
Inside Corner
7/8"
1 1/16"
2 3/4"
3/4"
AZ2
Zee
1 5/8"
13/16"
1 5/8"
AL7
Angle Flashing
1 1/2"
2 5/16"
AL6
Angle Flashing
1 1/2"
1 1/2"
AC3
Corner
Available in Lancaster
service area only
9/16"
4 1/8"
AJ3
J-Channel
For Grandrib 3, Strongrib and all
other Agri panels
2 1/4"
13/16"
1"
AJ4
Jamb Trim
Steel Only
(For 2x wood)
1"
1 1/2"
1 5/8"
3 11/16"
12
AJ2
Jamb Trim
Steel Only
7 1/4"
3 5/8"
1 1/16"
13/16"
AH5
10'-6" Length
Face-Mount Track Cover
for Cannonball Track with
2" Track Plank
(Replaces STC-503)
Matches Cannonball Trim
#646225
1 3/4"
6 15/16"
1 5/8"
1 5/16"
3/4"
AH3
10'-6" Lengths
Fits National 5100, 5103
and 5105 box rail.
Matches National trim #5120
(Replaces STC-504)
1 3/8" 3 3/8"
2 3/8"
2 5/16"
1/2"

FLASH AG-1
SEALANT TAPE
FASTENER
24" C/C MAX
FLASH AB-1, AB-2,
AB-3, OR AB-4
FASTENER @ EVERY
MAIN RIB OR
12" C/C MAX.
SIDING
7 1
4" OR 11 1
4"
OUTSIDE CLOSURE
(OPTIONAL)
1"x6" FASCIA
2" LONG FASTENER
@ 24" C/C MAX
SEALANT TAPE
ROOFING
ROOF PURLIN
END RAFTER
SEALANT TAPE
TOP & BOTTOM
OF CLOSURE
Standard Post Frame Flashing/Trims
AC4
Corner
Steel Only
13/16"
1 1/16"
4 1/4"
6"
3/4"
AD1
Drip Cap
1 5/8"
7/8"
1/2"
AJ5
Jamb Trim
Steel Only
(For 4x wood)
1"
1 1/2"
3 5/8"
3 5/8"
13
AH4
10'-6" Length
Face-Mount Track
Cover for Cannonball
Track with 1" Track
Plank Matches
Cannonball Trim
#646224
1 3/4" 7/8"
6 15/16"
1 5/16"
3/4"
AH6
10'-6" Length
Fits National Top-Mount
#5433 Rail with #5436
Bracket or National
Top-Mount #5460 Rail with
attached bracket. Matches
National Trim #5455
1 1/2" 4"
1 7/16"
4"
1/2"
AH2
10'-6" Length
Fits National 5110 &
59 bo rail. Matches
National trim #5122
1 3/8"
2 3/8"
2 9/32"
1/2"
1 13/16"
BOX GABLE
Post Frame Flashing Details

STEP #2
STEP #1
ROOF PANEL
10" To Sealant
ENDLAP PATTERN
BUTYL SEALANT TAPE
CONTINUOUS BEAD OF 3/32" x 1/2"
2"
OVERLAPPING
FROM PURLIN EDGE
2"
OVERLAPPING
FROM PURLIN EDGE
DOWN SLOPE
DOWN SLOPE
ROOF PANEL
6 1/2"
3 1/2"
12" Total Lap
3 1/2"
FASTENERS @
6 1/2"
PURLIN
WHEN INSTALLING 2 1/2" OR 1 1/4"
CORRUGATED ROOFING USE
INSTALLATION SEQUENCE AS SHOWN
ENDLAP TAPE
THIS EDGE
SIDELAP TAPE
THIS EDGE
1
5
4
2
3
"L" (IN FEET)
PREVAILING WIND
SIDELAP TAPE
THIS EDGE
SKIRT BOARD OF
TREATED LUMBER OR
FOUNDATION OF BLOCK
12" TO 18" FROM
GROUND LEVEL
EAVE
OVERHANG
1" TO 2"
START END
3
1
ENDLAP TAPE ALIGN
WITH PURLIN EDGE
INSTALLATION SEQUENCE
FOR STRONGRIB, GRANDRIB 3,
5V CRIMP, ALU-TWIN
5
4
2
Post Frame Flashing Details
ENDLAP
6:12
1. All values based on a 1-hour duration storm of 4"/hr. intensity.
2. Values represent the point at which the panel ribs will flood.
3. Size and frequency of penetrations can greatly reduce the amount of water removed from a rooof.
4. All panel endlaps must be caulked.
5. When weather-tightness is crtical, use sealant tape in all sidelaps.
ALLOWABLE PANEL LENGTHS (ft.) ALONG
THE SLOPE FOR 4" RAINFALL PER HOUR
Minimum
2 1/2:12
2 1/2:12
2 1/2:12
2 1/2:12
2 1/2:12
2 1/2:12
2 1/2:12
2 1/2:12
Notes For Rain-Carrying Tables
5V
2 1/2" Corrugated
1 1/4" Corrugated
Alutwin
Fabrib
Alu-Tuff
Grandrib 3
Prime Rib
Name
Panel
54 5845 47 4943
31
17
41
36
37
32
16
28
39
34
16
29
43
38
18
32
46
41
35
20
50
44
21
38
3 1/2:12
64
64
43
2 1/2:12
Slope
39
58
58
3:12
41
61
61
Roof Slope
45
67
4:12
67
73
49
5:12
73
53
78
78
1. Apply 3/32” x 1/2” butyl endlap sealant on bottom pan-
el just below centerline of purlin (see endlap diagram for
location) on panel #1.
2. Apply sidelap sealant on panel #1 and connect to end-
lap sealant.
3. Place panel #2 so it overlaps panel #1, 12” as shown.
Install screws per endlap fastening pattern.
4. Apply sidelap sealant on panel #2 to connect to side-
lap sealant of panel #1.
5. Place panel #3 over sidelap of #1 and #2.
6. Apply endlap sealant on panel #3.
7. Apply sidelap sealant on panel #3 and connect with
endlap sealant.
8. Place panel #4 over endlap of panel #3. Install screws
per endlap pattern.
9. Repeat sequence for entire roof.
14

Post Frame Flashing Details
PROVIDES 8" OR 12" OVERHANG WITH GRANDRIB 3, ALU-TUFF, OR STRONGRIB SIDING
BOX EAVE
AB-3
Soffit Box
(Vented Available
in White steel only)
AB-4
Soffit Box
AB-1
Soffit Box
AB-2
Soffit Box
51
2"
21
2"21
2"
71
2"51
2"
21
2"
71
2"
21
2"
5 1
2"
OR
7 1
2"
7 1
4" OR 11 1
4"
7 1
4"
7 1
4"
11 1
4"
11 1
4"
ROOF PANEL
FASTENER PER
STANDARD EAVE
PATTERN SEALANT TAPE
TOP & BOTTOM
OF CLOSURE
MODIFIED
AL-2
FASTENER @
24" C/C MAX.
SEALANT TAPE
FASCIA BOARD
EAVE PURLIN
INSIDE CLOSURE
ROOF TRUSS
OUTSIDE
CLOSURE
(OPTIONAL)
POST
TOP PLATE
FASTENER
SIDING
FLASH AB-1, AB-2,
AB-3, OR AB-4
AS REQUIRED
EAVE
AE-1
Eave Flash
CE-1
Denver
Eave
3"
13
16"
45
8"
1
2"
21
2"
3"
FASTENER PER
STANDARD EAVE
PATTERN
SEALANT TAPE
TOP & BOTTOM OF CLOSURE
INSIDE CLOSURE
ROOF PANEL
FLASH CE-1
SEALANT TAPE
TOP & BOTTOM
OF CLOSURE
OUTSIDE CLOSURE
(OPTIONAL)
SIDING
FASTENER
ROOF PURLIN
POST
TOP PLATE
ROOF TRUSS
FASTENER @ EVERY
RIB OR 12" C/C MAX.
15

Post Frame Flashing Details
INSIDE CLOSURE WITH SEALANT
TAPE TOP & BOTTOM
F/J TRIM
FASTENER PER STANDARD
EAVE PATTERN
FABRAL ALUMINUM
SOFFIT
FASCIA L-TRIM,
AL-3, 4, OR 5
EAVE TRIM
FABRAL METAL
SIDING PANEL
FASCIA BOARD
FABRAL METAL ROOF PANEL
TRUSS OR RAFTER
16" COVERAGE
If closures are omitted, Fabral suggests using screen wire between
panels and ridge gap area to keep insects and birds out of attic area.
Closures and sealant are recommended for optimum weather resistance.
AR-3,
RIDGE FLASHING
OUTSIDE CLOSURE
(ON HIP ROOFS, USE
1"X1"X19'-8" SEALER STRIP
& RR-1 FLAHING)
ROOF PANEL
PURLIN
SEALANT TAPE
TOP & BOTTOM
OF CLOSURE
2" LONG FASTENER
@ EVERY MAIN RIB
GAP AS REQUIRED
OR 12" C/C MAX.
VENTED EAVE
RIDGE/PEAK - NON VENTED
16

Post Frame Flashing Details
VersaVent RX-10 Factory Applied To Ridge Cap
Vent Material and Ridge Cap Install As A Unit
VERSAVENT RX-10
GAP AS REQUIRED
PURLIN
2" LONG FASTENER
@ EVERY MAIN RIB
AR-3, RR-1
RIDGE FLASH
ROOF PANEL
Fabral RR-1 Ridge Flash with CoraVent (shown). The RR-1 can be modified to fit many
other solid, plastic vents. Other solid, plastic vents (ie..Ridge Master,...) are available
from local lumberyards or dealers. The metal ridge flashing may have to be customized
to fit the particular vent. Mesh vents or fiber-type vents are not recommended because
a metal ridge can not be fastened securely. They are not rigid enough to give good
support or appearance to the metal flash. Coravent is available from Fabral.
OPTIONAL J-CHANNEL
FOR SUPPORT
2 1
2" FASTENER @ EVERY
MAIN RIB OR 12" C/C MAX.
METAL ROOF
PANEL
RR-1 RIDGE FLASH
OUTSIDE CLOSURE
WITH BUTYL SEALANT
TOP & BOTTOM
2" TO 4" OR
AS REQUIRED
BY VENT
MANUFACTURER
PANEL FASTENER PER
STANDARD PATTERN
VENTED RIDGE
ALTERNATE VENTED RIDGE
17

Post Frame Flashing Details
GAP AS REQUIRED
Profile Vent is pre-notched and self adhesive. Fabral stocks
Profile Vent for Grandrib 3, Alu-Tuff, and 5v Crimp.
2" LONG FASTENER
@ EVERY MAIN RIB
PROFILE VENT
PURLIN
ROOF PANEL
AR-3, RR-1
RIDGE FLASH
FLASH AG-1 2" FASTENER @
24" C/C MAX.
ROOFING
PURLIN
SEALANT TAPE
END RAFTER
OUTSIDE CLOSURE
(OPTIONAL)
SIDING
FASTENER @
24" C/C MAX
OPTIONAL
SEALANT TAPE
TOP & BOTTOM
OF CLOSURE
ALTERNATE VENTED RIDGE
GABLE - STRONGRIB, GRANDRIB 3
18

FLASH AG-4
FASTENER @
24" C/C MAX
ROOFING
PURLIN
SEALANT TAPE
END RAFTER
OUTSIDE CLOSURE
(OPTIONAL)
SIDING
FASTENER @
24" C/C MAX
OPTIONAL
SEALANT TAPE
TOP & BOTTOM
OF CLOSURE
Post Frame Flashing Details
FLASH AC-1 OR AC-4
ROOFING
PURLIN
SEALANT TAPE
END RAFTER
OUTSIDE CLOSURE
(OPTIONAL)
SIDING
OPTIONAL
SEALANT TAPE
TOP & BOTTOM
OF CLOSURE
FASTENER @
24" C/C MAX
FASTENER @
24" C/C MAX
GABLE - FABRIB
GABLE - GRANDRIB 3 , STRONGRIB
19

CE1
BUTYL SEALANT TOP AND
BOTTOM OF SEALER STRIP
FASTENER
FASCIA BOARD
ROOF FELT
SEALER STRIP
(ASPHALT IMPREGNATED)
Post Frame Flashing Details
FLYING GABLE DETAIL
20

FLASH ASW-1
INSIDE CLOSURE
GIRT
SIDING
FASTENER PER STANDARD
EAVE PATTERN
2" FASTENER @ EVERY MAIN
RIB OR 12" C/C MAX.
SEALANT TAPE
TOP & BOTTOM
OF CLOSURE
PURLIN
ROOF PANEL
OUTSIDE CLOSURE
1"
Post Frame Flashing Details
NOTCHED FLASH
AEW-N4 OR AEW-N5
GIRT
INSIDE CLOSURE
SIDING
SEALANT TAPE
TOP & BOTTOM
OF CLOSURE
PURLIN
OUTSIDE CLOSURE
ROOF PANEL
1"
FASTENER PER STANDARD
EAVE PATTERN
2" FASTENER @ EVERY MAIN
RIB OR 12" C/C MAX.
ENDWALL
ENDWALL - NOTCHED
21

Post Frame Flashing Details
FLASH ASW-1
FIELD BEND
AS REQUIRED
SLOPING RAFTER
2" FASTENER @
24" C/C MAX.
PURLIN
FASTENER PER STANDARD EAVE PATTERN
SIDING
SEALER STRIP
WITH BUTYL SEALANT
TAPE
GIRT
SEALANT TAPE
SPACE AS REQUIRED
NOTE: VALLEY FLASH MUST HAVE SOLID SUPPORT.
FOR ADDITIONAL INFORMATION ON THE VALLEY
DETAIL REFER TO PAGES 42 AND 43 OF THIS BOOK.
RV-2
SHOWN
SEALER STRIP,
1"x1"x19'-8"
BLOCK CLOSURE
FILLS RIB VOIDS
ROOF FELT AND
ICE & WATER SHIELD
ROOF STRUCTURE
SOLID 2x'S OR
PLYWOOD
SCREWS
EACH SIDE OF MAIN
RIB (EAVE/ENDLAP
PATTERN)
METAL ROOF PANEL
BUYTL SEALANT
TOP & BOTTOM
OF SEALER STRIP
CUT PANEL AS
NECESSARY
6" MINIMUM
LARGER VALLEYS MAY BE
REQUIRED FOR LONG PANEL
RUNS OR HEAVY SNOW
AREAS.
SIDEWALL
VALLEY
22

Post Frame Flashing Details
NOTE: Specify both roof pitches for AT-2 flash. AGRN-4 for Grandrib 3
and AGRN-5 for Strongrib are for 3/12 to 15/12 Gambrel's
3/12
15/12
ROOF PANEL
BUTYL SEALANT TAPE
TOP & BOTTOM
OF CLOSURE
OUTSIDE CLOSURE
2" FASTENER @ EVERY MAIN RIB
OR 12" C/C MAX.
FLASH AT-2 OR
AGR-N4 (GRANDRIB 3)
INSIDE CLOSURE
BUTYL SEALANT TAPE
TOP & BOTTOM
OF CLOSURE
FASTENER PER
STANDARD EAVE PATTERN
NOTE: Specify both roof pitches when ordering AT-1.
Standard is 9/12 to 3/12.
9/12
3/12
ROOF PANEL
OUTSIDE CLOSURE
BUTYL SEALANT TAPE
TOP & BOTTOM
OF CLOSURE
2" LONG FASTENER @ EVERY
MAIN RIB OR 12" C.C MAX.
FLASH AT-1
INSIDE CLOSURE
FASTENER PER STANDARD
EAVE PATTERN
BUTYL SEALANT TAPE
TOP & BOTTOM
OF CLOSURE
GAMBREL
TRANSITION
23

Post Frame Flashing Details
* Available in Lancaster service area only.
POST
GIRT
SIDING
2" FASTENER THROUGH PANEL
RIB @ 24" C/C MAX.
FLASH AC-3 *
SEALANT TAPE
POST
WALL GIRT
FLASH AC-1 OR AC-4
SIDING
FASTENER @ 24" C/C MAX.
SEALANT TAPE
OUTSIDE CORNER
OUTSIDE CORNER
24

Post Frame Flashing Details
GIRT
POST
SEALANT TAPE
FASTENER @
24" C/C MAX.
FLASH AC-2
SIDING PANEL
FASTENER PER STANDARD
SIDING PATTERN
FLASH ABG-1
INSIDE CLOSURE
(OPTIONAL)
6" MIN.
TREATED BASE
PLANK
GRADE
FLOOR 4"
BARRIER BETWEEN METAL
AND ACQ TREATED LUMBER
INSIDE CORNER
BASE GUARD
25

Post Frame Flashing Details
DOOR JAMB
FASTENER
GIRT
SIDING FLASH PJFB
DOOR STOP
DOOR
DOOR
DOOR JAMB
FASTENER
GIRT
SIDING
DOOR STOP
FLASH AL-2, AL-3, AL-4,
AL-5, OR AL-7 DEPENDING ON
WIDTH OF JAMB
SEALANT
FLASH AJ-3
FIELD BEND OR CUT THIS AREA
IF NECESSARY
DOOR
1x3 DOOR STOP
FLASH AJ-2
FASTENER
SIDING
GIRT
SEALANT TAPE
3
4"
DOOR JAMBS
26

Post Frame Flashing Details
DOOR
1 x 3 GUIDE
FLASH PJFB
1 PIECE DOOR TRIM
FASTENER
SIDING
GIRT
DOOR JAMB
FIELD BEND OR CUT THIS AREA
IF NECESSARY
DOOR
1 x 3 GUIDE
FLASH AJ-2
DOOR JAMB
POST
GIRT
SIDING
FASTENER DOOR OPENING
3
4"
DOOR
1 x 3 GUIDE
FLASH AL-5 OR AL-7
FASTENER
SEALANT TAPE
FLASH AJ-4
FASTENER
SIDING
GIRT
POST
DOOR JAMB
DOOR OPENING
OVERHEAD DOOR JAMBS
DOOR
1 x 3 GUIDE
FLASH AL-3, AL-4,
AL-5 OR AL-7
SEALANT
FLASH AJ-3
DOOR JAMB
GIRT
SIDING
FASTENER
27

Post Frame Flashing Details
SIDING
DOOR HEADER
FLASH AL-2, AL-3, AL-4,
AL-5 OR AL-7
OVERHEAD
DOOR
MAN DOOR
DOOR STOP
FLASH AD-1
FASTENER PER
SIDING PATTERN
SIDING
FLASH AJ-3
SEALANT TAPE
FLASH AL-6
FASTENER
SLIDING DOOR
AJ-4 JAMB TRIM
2 x 2 FILLER BLOCK
POST
WALL GIRT
SIDING PANEL
OPTIONAL AL-3 TRIM
DOOR HEADER
SLIDING DOOR JAMB DETAIL
28

Post Frame Flashing Details
SIDING
FLASH AH-2, AH-3 (SHOWN),
AH-4, OR AH-5.
REFER TO PAGE 11 FOR
CORRECT FLASHING FOR
PARTICULAR MANUFACTURER'S
DOOR TRACK BEING USED.
SIDING ON
SLIDING DOOR
SIDING BEYOND OPENING
2x6 TRACK BOARD
TRACK SUPPORT
TREATED BASE PLANK
DOOR GIRT
AD-1 OR BOTTOM RAIL
FROM DOOR MFR.
2x2 FILLER BLOCK
USE TRANSLUCENT PANELS AS
SIDING PANELS TO ALLOW
LIGHT INTO THE BUILDING.
DO NOT USE ON ROOFS.
METAL SIDING OR
TRANSLUCENT PANEL
INSIDE CLOSURE
(OPTIONAL)
GIRT
OUTSIDE CLOSURE
(OPTIONAL)
TRANSLUCENT SIDING OR
METAL SIDING
SEALANT TAPE
TOP & BOTTOM
OF CLOSURE
FASTENER @ EVERY MAIN
RIB OR 12" C/C MAX.
FLASH AZ-2
FASTENER PER
STANDARD PATTERN
SEALANT TAPE
TOP & BOTTOM
OF CLOSURE
TRANSLUCENT PANEL
SLIDING DOOR HEADER DETAIL
29

HEAD
FASTENER PER
STANDARD PATTERN
SEALANT TAPE
TOP & BOTTOM
OF CLOSURE
AD1 DRIP CAP
INSIDE CLOSURE
(OPTIONAL)
WINDOW UNIT
2x4
Post Frame Flashing Details
WINDOW DETAILS
SILL
FLASH AJ-3
FASTENER PER
STANDARD PATTERN
SIDING
2x4
1x6 BEVELED
WINDOW UNIT 1"
JAMB
FLASH AJ-3
FASTENER
OPTIONAL
SEALANT TAPE
SIDING
GIRT
2x4
WINDOW UNIT
30

PIPE PENETRATION
VALLEY
RIDGE/PEAK
SIDEWALL
GABLE/RAKE
SKYLIGHT
CHIMNEY
EAVE
TRANSITION
HIP
ENDWALL
Residential Building Details
Basics for Residential Installation
1. Determine the thickness and type of substrate to be used to support the metal roong.
Solid decking is highly recommended for all resdiential applications (i.e.,
plywood, OSB).
2. Refer to the Load-Span tables to select the proper fastener and spacing to meet loads on your
structure.
Nails are NOT recommended for residential applications.
3. Consult local building codes and restrictions to determine acceptable methods of construction
for residential applications in your area.
4. Solid decking with 30# felt or Pro Master® underlayment for residential applications is recom-
mended. Ice & water shield or similar self-adhesive membrane is recommended at all valleys,
dormers, chimneys, transitions, skylights and other critical areas.
5. When re-roong with metal panels over an existing shingle roof, 2x4 purlins or 1x4 furring
strips run parallel with the ridge of the roof and must be securely fastened into the roof rafters
or trusses.
6. Request Fabral’s technical bulletins # 720 and # 721 for more details on residential roong.
31

Residential Load Table
GRANDRIB 3 R
S u bs tra te Fastener 9"
Spacing of Fastener Rows
Load-Span Tables For 29 Gauge Grandrib 3 & Alu-Tuff
R
12" 15" 18" 21" 24"
Allowable Wind Uplift L oads (ps f)
3/4" Plywood
5/8" Plywood
1/2" P lywood
23/32" OSB
19/32" OSB
7/16" OSB
Solid 2x SPF
Solid 2x SPF
Solid 1x Pine
Solid 1x Pine
S crews per S quare
# 14 Woodtite
# 14 Woodtite
# 14 Woodtite
# 14 Woodtite
# 14 Woodtite
# 14 Woodtite
# 14 Woodtite
# 14 Woodtite
# 9 WoodFast
# 9 WoodFast
275.6
160
135.9
115.9
100.7
61.5
293
207.1
218.7
168.4
190
206.7
120
101.9
86.9
75.5
46.1
220.0
155.3
164.0
126.3
150 120
101.0
131.2
124.2
176.0
36.9
60.4
69.5
81.5
96
165.4 137.8
80
67.9
57.9
50.3
30.7
146.7
103.5
109.3
84.2
100 90
72.2
93.7
88.7
125.7
26.3
43.1
49.7
58.2
68.6
118.1 103.4
60
51.0
43.5
37.8
23.1
110.0
77.7
80
82.0
63.2
The Above Loads and fastener quantities are based on the standard fastening
schedule shown on page 4 of this book, with the fastener having an embedment
depth of 1" into the solid wood and penetrating the plywood or OSB. Contact
FABRAL for additional design information on our products.
Other Residential Proles
16" Coverage
1 1/2"
1 1/2” SSR
24 Gauge Standing Seam Roong
12" or 16" Coverage
5 3/8"
7/8"
Factory Applied Sealant
Climaguard™
26 Gauge Roong
The above Fabral proles have their own detail manuals, ashings, and accessories. Please contact Fabral for additional information.
26" Formed Width
24" Coverage
12"
1/2"
1" 1" 1/2"
5V Crimp
26 Gauge Roong
32

Standard Residential Flashings/Trim
16"
Soff Vent A
Vented Aluminum Soffit
Net free area = 12.96 sq. in. per
lineal ft. of soffit
3"
2 1/2"
1/2"
CE1
Denver Eave
Steel Only
Customer to specify roof pitch
All ashing is 10’ 6” in length & available in steel & aluminum, unless otherwise
noted. Please contact Fabral for specics on the trim available in your area.
6"
4"
1/2"
CP1
Monoslope
Ridge
Steel Only
Customer to specify roof pitch
RG1
Residential
Gable
4 1/4"
1 1/16"
7/8"
3 1/4"
1/2"
WG1
Residential
Gable
7/8"
2 1/2"
1 1/16"
3 1/4"
1/2"
9 3/16"
1"
RV2
W-Valley Flash
Steel Only
Customer to specify roof pitch
6 25/32"
AR3
Ridge Cap
4 1/8"
9/16"
4 1/8"
9/16"
AG4
Gable
10 1/8"
RV1
Valley Flash
Customer to specify roof pitch
4"
5"
1/2"
ASW1
Sidewall/Endwall
Flash
11 1/4"
AB3
Soffit Box
Net free area - 22.9 sq. in. per lineal ft. of soffit
(Vented available in white steel only)
5 1/2"
2 1/2"
7" 5"
1/2"
AT2
Gambrel Flash
Typical for 3/12 to 15/12
(otherwise specify pitches)
7" 5"
1/2"
AT1
Transition Flash
Typical for 8/12 to 4/12
(otherwise specify pitches)
Steel Only
5 1/2"
5 1/2"
RR1
Universal
Ridge/Hip
Flash
Steel Only
Customer to specify roof pitch
33

All residential ashings are formed for a 4/12 pitch unless otherwise requested by
the customer.
Residential Flashings Detail
SEALANT TAPE
TOP & BOTTOM OF
CLOSURE OR SEALER
STRIP
RIDGE CAP
RR-1 or AR-3
ROOF PANEL
ROOF STRUCTURE
2" LONG FASTENER
@ EVERY MAIN RIB
OR 12" C/C MAX.
OUTSIDE CLOSURE
(ON HIP ROOFS USE
1" x 1" x 19'-8"
SEALER STRIP AND
RR-1 FLASHING)
RR-1 or AR-3
RIDGE CAP
ROOF PANEL
ROOF STRUCTURE
2" LONG FASTENER
@ EVERY MAIN RIB
OR 12" C/C MAX.
VERSAVENT RX-10
OR
PROFILEVENT
RESIDENTIAL VENTED RIDGE
RESIDENTIAL RIDGE/HIP
34

Residential Flashings Detail
RESIDENTIAL VENTED EAVE
RESIDENTIAL EAVE
16" COVERAGE
INSIDE CLOSURE WITH SEALANT
TAPE TOP & BOTTOM FABRAL METAL ROOF PANEL
TRUSS OR RAFTER
FABRAL METAL
SIDING PANEL
FASCIA L-TRIM
FABRAL ALUMINUM
SOFFIT
F/J TRIM
FASCIA BOARD
EAVE TRIM
BUTYL TAPE
TOP & BOTTOM
OF CLOSURE
FASTENER PER STANDARD EAVE PATTERN
CE-1
ROOF PANEL
INSIDE
CLOSURE
ROOF STRUCTURE
FASTENER
@ 24" C/C MAX.
35

FINISHING
END GABLE
CUT PANEL AS
NECESSARY
Residential Flashings Detail
RESIDENTIAL GABLE
RESIDENTIAL ENDWALL
SCREW
FASTENER
@ 24" C/C MAX.
START GABLE
ROOF STRUCTURE
RG-1, WG-1
OR AG-4
BUTYL TAPE
ROOF PANEL
SIDING
BUTYL TAPE
TOP & BOTTOM
OF CLOSURE
OUTSIDE CLOSURE
ROOF PANEL
2" FASTENER @ EVERY
MAIN RIB
FLASH ASW-1
36

Residential Flashings Detail
FLASH AT-2 OR
AGR-N4 (GRANDRIB 3)
INSIDE CLOSURE
2" FASTENER@ EVERY MAIN
RIB OR 12" C/C MAX.
BUTYL SEALANT TAPE
TOP & BOTTOM
OF CLOSURE
OUTSIDE CLOSURE
ROOF PANEL
BUTYL SEALANT TAPE
TOP & BOTTOM
OF CLOSURE
FASTENER PER STANDARD
EAVE PATTERN
RESIDENTIALGAMBREL
RESIDENTIAL SIDEWALL
ROOF PANEL
BUTYL SEALANT
FLASH ASW-1
SIDING
ROOF SHEATHING
2" FASTENER @ 12" C/C
FASTENER
ROOFING FELT AND
ICE AND WATER SHIELD
FOR ADDED WEATHER TIGHTNESS
37

Residential Flashings Detail
RESIDENTIAL TRANSITION
RESIDENTIAL PIPE BOOTS
FASTENER @ EVERY MAIN
RIB OR 12" C/C MAX.
FLASH AT-1
OUTSIDE CLOSURE
FASTENER PER EAVE
FASTENING PATTERN INSIDE CLOSURE
BUTYL TAPE
TOP & BOTTOM
OF CLOSURE
ROOF PANEL
30# FELT AND ICE AND WATER SHIELD
FOR ADDED WEATHERTIGHTNESS
VENTILATION
PIPE
ROOF PANEL
PIPE BOOT
BUTYL SEALANT TAPE
UNDER BASE OF
PIPE BOOT
PLYWOOD DECK SCREWS SPACED 2" TO 3"
MAX AROUND BASE TO
SECURE
(OPTIONAL) SILICONE
SEALANT AROUND
CUT OF BOOT
PIPE BOOT SIZES
#3 1
4" TO 5" PIPE DIA.
#5 4 1
4" TO 7 1
2" DIA.
#8 7" TO 13" DIA.
38

CUT TRIANGULAR CRICKET TOP
FOLD UP WIDE END OF TRIANGLE.
SLIT CENTER OF FOLD AND BEND
SLIGHTLY DOWN THE CENTER.
TOP OF CRICKET FIELD
FORMED FROM FLAT SHEET
ALTERNATIVE CRICKET DETAIL
I I/2" SSR WHC1 "HIP
CLOSURE"
USE TO CREATE
BASE/FRAME OF
CRICKET
FABRICATE SMALL CAP
TO COVER AREA WHICH
WAS SLIT
FASTEN TOP OF CRICKET TO BASE
USING #14 MP. CAULK ALL JOINTS
AND SEAMS WITH ONE-PART
POLYURETHANE SEALANT.
Residential Flashings Detail
For optimum weatherthightness, use
ice and water shield or similar
around penetrations.
NOTE: SEE CROSS
SECTIONS A-A, B-B, C-C
SKYLIGHT & CHMINEY DETAILS
CRICKET FIELD FORMING
39

Residential Flashings Detail
SKYLIGHT DETAILS
SIDEWALL DETAIL
SECTION A-A
ROOF SHEATHING
JAMB ROOF FRAMING
FLASHING ASW-1 - FIELD MODIFY AS REQUIRED
SASH
SCREEN
FRAME
SEALANT
FASTENER @ 6" C/C
SEALANT
ICE AND WATER SHIELD AND
30# FELT OR TITANIUM UDL UNDERLAYMENT
CRICKET FIELD FORMING
SECTION B-B
ROOF PANEL
INSIDE CLOSURE
1/2" RIGID INSULATION
1/2" PLYWOOD
SEALANT
BATT INSULATION
FRAME
PLYWOOD
DRYWALL
HEADER
SASH
ROOF SHEATHING
SEALANT TAPE
TOP & BOTTOM
OF CLOSURE
CUSTOM DIVERTER FLASH
CONTINUE SUCH THAT
THE DIVERTER AND
VALLEY FLASH OVERLAP
FASTENER @ 6" C/C MAX.
6" MIN
ICE AND WATER SHIELD AND
30# FELT OR TITANIUM UDL
UNDERLAYMENT
ENDWALL DETAIL
SECTION C-C
BUTYL TAPE
TOP & BOTTOM
OF CLOSURE
ASW-1 FLASHING
FIELD MODIFIED
TO FIT
ROOF PANEL
SASH
SEALANT
FRAME
FASTENER
ROOF SHEATHING
HEADER
OUTSIDE CLOSURE
ICE AND WATER SHIELD AND
30# FELT OR TITANIUM UDL
UNDERLAYMENT
2" FASTENER @ EVERY
MAIN RIB OR 12" C/C MAX.
SIDEWALL DETAIL
ALTERNATE SECTION A-A
CONTINUOUS SIKAFLEX
CAULK @ PERIMETER
SEALANT TAPE
BETWEEN FLASH
AND ROOF PANEL
FLASHING -REVERSE
AL FLASHING
SEALANT ROOF PANEL
FASTENER @ 6" C/C
ICE AND WATER
SHIELD AND 30# FELT
OR TITANIUM UDL
UNDERLAYMENT
40

ENDWALL DETAIL
SEALANT
AL FLASHING
FASTENER
OUTSIDE COLSURE
ROOF SHEATHING
ALTERNATE FLASHING
SAW CUT REGLET
1/2" - 1" DEEP
BLOW OUT DUST & FILL WITH SIKAFLEX
SEALANT. SET FLASH & FASTEN WITH
COMPATIBLE MASONRY ANCHOR
ASW-1 FLASHING
FIELD MODIFIED
TO FIT
BUTYL TAPE
TOP & BOTTOM
OF CLOSURE
ROOF PANEL
ICE AND WATER SHIELD AND
30# FELT OR TITANIUM UDL
UNDERLAYMENT
2" FASTENER @ EVERY
MAIN RIB OR 12" C/C MAX.
Residential Flashings Detail
CHIMNEY DETAILS
CRICKET FIELD FORMING
ROOF SHEATING
SAW CUT REGLET
1/2" - 1" DEEP
BLOW OUT DUST & FILL WITH SIKAFLEX
SEALANT. SET FLASH & FASTEN WITH
COMPATIBLE MASONRY ANCHOR
BATT INSULATION
ROOF PANEL
INSIDE CLOSURE
SEALANT TAPE
TOP & BOTTOM
OF CLOSURE
1/2" PLYWOOD
1/2" RIGID INSULATION
CUSTOM DIVERTER FLASH
CONTINUE SUCH THAT
THE DIVERTER AND
VALLEY FLASH OVERLAP
ICE AND WATER SHIELD AND
30# FELT OR TITANIUM UDL
UNDERLAYMENT
FASTENER @
6" C/C MAX.
6" MIN
SIDEWALL DETAIL
ALTERNATE FLASHING
SEALANT TAPE
BETWEEN FLASH
AND ROOF PANEL
ROOF SHEATING
SEALANT
AL FLASHING
SAW CUT REGLET
1/2" - 1" DEEP
BLOW OUT DUST & FILL WITH SIKAFLEX
SEALANT. SET FLASH & FASTEN WITH
COMPATIBLE MASONRY ANCHOR
CONTINUOUS SIKAFLEX
CAULK @ PERIMETER
FLASHING -REVERSE
AL FLASHING
ROOF PANEL
FASTENER @ 6" C/C
ICE AND WATER SHIELD AND
30# FELT OR TITANIUM UDL
UNDERLAYMENT
SIDEWALL DETAIL
ALTERNATE FLASHING
SEALANT
AL FLASHING
ROOF SHEATING
SAW CUT REGLET
1/2" - 1" DEEP
BLOW OUT DUST & FILL WITH SIKAFLEX
SEALANT. SET FLASH & FASTEN WITH
COMPATIBLE MASONRY ANCHOR
FASTENER @ 6" C/C
SEALANT
ROOF PANEL
FLASHING ASW-1 - FIELD MODIFY
AS REQUIRED ICE AND WATER SHIELD AND
30# FELT OR TITANIUM UDL
UNDERLAYMENT
41

PLAN VIEW OF SIDE OF DORMER
DORMER DETAIL- SIDE VIEW
Residential Flashings Detail
DORMER DETAILS
VALLEY FLASHING
SECTION B-B
SOLID SUPPORT IS REQUIRED UNDER THE VALLEY. EPDM LINING IS
RECOMMENDED UNDER LAPPED PANELS AND VALLEY FLASHING.
LINING MUST CONTINUE DOWN TO EAVE LINE.
RV-1 OR
RV-2 (SHOWN)
SCREWS
EACH SIDE OF MAIN
RIB (EAVE/ENDLAP
PATTERN) AND ONE
ADDITIONAL, CENTRALLY
LOCATED IN THE PAN OF
THE PANEL
BUTYL SEALANT
TOP & BOTTOM
OF SEALER STRIP 6" MIN
SEALER STRIP,
1" x 1" x 19'-8"
BLOCK CLOSURE
FILLS RIB VOIDS
SOLID DECK
ROOF FELT AND
ICE & WATER SHIELD
42

DORMER DETAILS
PLAN VIEW OF TOP OF DORMER
RIDGE CAP; EXTEND TO VALLEY
PEAK; CUT, FOLD, TRIM, SEAL,
AND FASTEN TO VALLEY PEAK
METAL FLASHING TO COVER
LAP AT VALLEY PEAKS (CAULK)
6" MIN
SECTION A-A
VALLEY LINING
VALLEY FLASHING
RV-2 SHOWN
SCREWS
EACH SIDE OF MAIN
RIB (EAVE/ENDLAP
PATTERN) AND ONE
ADDITIONAL, CENTRALLY
LOCATED IN THE PAN OF
THE PANEL
SOLID DECK
BUTYL SEALANT
TOP & BOTTOM
OF SEALER STRIP
SEALER STRIP
SCREW
CLOSURE; CAULK PERIMETER
TRIM AND SEAL AT VALLEY PEAK
43
Residential Flashings Detail

Sealant Tape
3
16" x 1
4" x 40'
3
32 "x 1
2" x40'
Pipe Flashing Item Pipe Size
Gray EPDM No. Min Ma
Base Diameter
7 3
4" 3 1
4" 5"
10 3
4" 5 4 1
4" 7 1
2"
16 1
2" 8 7" 13"
Pipe Boots
516" hex head, EPDM/metal washer,
Oxyseal Long-Life coating. Plain or Painted
1", 112", 2" USE AS STITCH SCREW & TO
FASTEN METAL TO PLYWOOD OR OSB
#14-10 WoodTite
Translucent Panels
Fiberglass
Grandrib 3 - White, Green - 8', 10', 12'
Strongrib - White - 10', 12'
Fabrib - Green -12'
(availability by location - check with
sale service rep.)
SunSky Polycarbonate
Grandrib 3 & Alutuff
Clear & White - 8',10',12'
(Available Everywhere)
PROFILE VENT
GRANDRIB 3 & ALU-TUFF (SHOWN),
5V CRIMP
Grandrib 3 net free area = 10.66 sq. in. per
lineal ft. of ridge (5.33 per side)
#9-16 WoodFast
300 Series Stainless Steel
Available in 1", 1 1
2", and 2"
1
4" hex head, EPDM/metal washer
USE WITH ALUMINUM PANELS
#10-16 Ultimate WoodTite
516" cast Zinc hex head
Available in 1", 1 12", 2" , 212" and 3"
USE WITH GALVALUME PANELS
Fabroseal with 1
4" washer for
roofing -2", 21
2" & 3"
Regular neoprene washer for siding
-11
2", 13
4", 2", & 21
2"
Plain Zinc coated and Painted
Nails
Accessories
Flat 29 gage painted and plain galvanized
sheets available in full width (40 13
16" x10').
Flat sheets are made in grade 33 steel for
better hemming, forming, and flexibility for
field forming.
Used for field forming crickets around
chimneys, skylights, and penetrations.
Also used for field forming special flashing
as necessary.
44
#9-16 WoodFast
14" hex head, EPDM/metal washer,
Oxyseal Long-Life Coating
Available in 1", 1 1
2", 2", 2 1
2" and 3"
- Plain or Painted
Screws
Grandrib 3, Strongrib, 11
4" Corrugated,
21
2" Corrugated, 5V Crimp, and Fabrib
available by location - check with
sales service rep.
Closures
Outside (Ridge)
Inside (Eave)
Asphalt Impregnated Sealer Strip
1"x1"x19'-6.8" long
USE AT VALLEYS AND HIPS