Mopho Manual V.1.0 Mophoownersmanual
Dave Smith Instruments Mopho Owner's Manual mophoownersmanual Dave Smith Instruments - Mopho - Owner's Manual
Dave Smith Instruments Mopho Owner's Manual mophoownersmanual Dave Smith Instruments - Mopho - Owner's Manual
User Manual: Synthesizer Manuals
Open the PDF directly: View PDF
.
Page Count: 52

Operation Manual
Mopho
Operation Manual
Version 1.0
September 2008
Dave Smith Instruments
1590 Sylvaner Avenue
Saint Helena, CA 94574-2340
USA
©2008 Dave Smith Instruments
www.DaveSmithInstruments.com

Tested To Comply
With FCC Standards
FOR OFFICE USE
This device complies with Part 15 of the FCC Rules.
Operation is subject to the following two conditions:
(1) This device may not cause harmful interference and
(2) this device must accept any interference received,
including interference that may cause undesired
operation.
This Class B digital apparatus meets all requirements of
the Canadian Interference-Causing Equipment Regulations.
Cet appareil numerique de la classe B respecte toutes
les exigences du Reglement sur le materiel brouilleur du
Canada.
For Technical Support, email: support@davesmithinstruments.com
Contents
Quick Start................................................................................................. 1
Getting Connected ....................................................................................3
Front Panel Controls .................................................................................5
Basic Operation.........................................................................................9
Global Parameters ..................................................................................13
Program Parameters...............................................................................15
Oscillator Parameters ..........................................................................15
Miscellaneous Oscillator Parameters .................................................. 16
Mixer Parameters ................................................................................17
Low-pass Filter Parameters................................................................. 17
VCA Parameters..................................................................................18
LFO Parameters ..................................................................................19
Envelope 3 Parameters .......................................................................20
Modulation Parameters .......................................................................21
Push It Switch Parameters ..................................................................22
Clock Parameters ................................................................................23
Arpeggiator Parameters ......................................................................23
Sequence Parameters.........................................................................24
Name Parameter .................................................................................25
Modulation Destinations..........................................................................26
Modulation Sources ................................................................................28
Parameter List......................................................................................... 29
MIDI Implementation ...............................................................................30
MIDI Messages.................................................................................... 30
NRPN Messages .................................................................................33
Global Parameter Data........................................................................34
Program Parameter Data ....................................................................35
Sysex Messages .................................................................................41
Packed Data Format............................................................................ 44
Hidden Function ......................................................................................44
1
Quick Start
Thanks for purchasing your Mopho synthesizer! Listen to the sounds, twiddle
some knobs, have some fun!
Please Register!
Please go to www.davesmithinstruments.com and register your synth. If you
purchased directly from us, there is no need to register — we already have your
contact information.
Powering Up
So, plug in the power supply, connect (in stereo!!) to your mixer/sound system,
and start playing!
You can use the PUSH IT switch to trigger sounds without a keyboard. If you’re
using a MIDI keyboard, try applying keyboard pressure (aftertouch) and the
mod wheel. Many sounds are fairly simple at first, then come alive when you
use the controllers. With other sounds, you may need to hold the notes a while to
let the sound unfold. Playing in different ways has a big effect on the programs.
Selecting and Editing Programs and Global Settings
You can use the increment and decrement (+ and -) switches to step through the
programs. Hold them down briefly to increment or decrement the bank. There
are 3 banks of 128 programs.
If you want to edit a program, just turn any knob. The new value will be
displayed in the bottom line of the LCD (the top line displays the programmed
value for handy reference).
After turning knobs, just hit PROGRAM MODE so the LCD goes back to the
program/bank screen, allowing you to change programs again.
Press and hold the PROGRAM MODE switch briefly to display the Global menu
and change higher level parameters such as MIDI channel number,
Transpose/Detune, and so on. The PROGRAM knob changes the displayed page
and increment and decrement change the values. These settings are remembered
when the synth is turned off.
Summary
You should be up and running now; for more operation information, read on. Or,
just look up specific parameters for detailed notes. Pages 26 through 28 contain
a handy reference for mod destinations and sources. At some point you should
2
read through the manual to discover all the little features that you might not
notice at first.
Don’t forget you get a free editor for Mac OS or Windows with your purchase.
Download it from www.soundtower.com/mopho.
I should mention that this manual does not include explanations of basic analog
synthesizer functions. It assumes you already know what an oscillator is, how a
low-pass filter affects the sound, what an ADSR envelope looks like, and so on.
Fortunately, these days it is quite easy to find such resources on the Internet. If
you want to learn the lingo and the basics, just try a search in Google (or the
search engine of your choice), something like “analog synthesizer tutorial.”
You’ll find plenty of good reading material.
Have fun!
Dave Smith
Special thanks to:
Jeff Koepper, Andrew McGowan, Dave Polich, and Stefan Trippler. Thanks also
to the authors of the Prophet ’08 programs, many of which are used in Mopho.
3
Getting Connected
Mopho has several inputs and outputs on its back panel.
Power Input — Connect the power supply included with your Mopho. The
power supply comes with different AC adaptor prongs that allow it to work
anywhere in the world. If for whatever reason you need to use a different supply,
it must match the specifications printed on the front panel.
Note: The power supply label says “Evolver” on it; we use the same
supply for the mono Evolvers and the Prophets.
MIDI In — To receive MIDI data from another device, connect this to the other
device's MIDI Out.
MIDI Out — To send MIDI data to another device, connect this to the other
device's MIDI In. This output can also be configured as a MIDI Thru using the
MIDI Out Select parameter in the Global menu.
Audio In — Mopho can be used as a signal processor. Audio is routed through
the filter and envelopes and, when the signal level is high enough, a gate is
generated. Audio can also be used to advance the sequencer when Seq Trigger is
set to Audio In.
Note: Though Mopho can process external audio, it does not have a pitch
detector, so the oscillators do not track the pitch of the source audio.
Audio Out — Mopho’s unbalanced, stereo outputs.
Phones — A 1/4 inch stereo headphone jack.
4

5
Front Panel Controls
Input Gain — Used to adjust the gain of AUDIO IN. For more about using
Mopho to process external audio, see page 11. For low-level sources (like
guitars), INPUT GAIN should be turned up. For line-level sources, it will usually
be turned down. Turning it down does not turn it off, it just decreases the gain.
External Input Volume (see Mixer Parameters on page 17) controls the amount
of signal that gets mixed into the filter and must be turned up for any audio—
external or feedback—to be heard.
Note: The factory programs use a naming convention where “FB”
indicates a program is designed to take advantage of the feedback
capability. When nothing is plugged into the Audio In jack, the left
Audio Output is normalled to the input. This provides a feedback path
that will create some unique, wild sounds. INPUT GAIN is not a
programmable control, so its position will have an effect on those
programs.. For most FB sounds, the INPUT GAIN should be set to
minimum, and will get out of control (often nicely!) when turned up.
Program — Use PROGRAM to change and scroll through the programs. Also
used to select parameters in Global mode.
Program Mode — Mopho has three modes of operation: program, edit, and
global. When in program mode, the display shows the name, number, and bank
of the current program. Editing any of the parameters puts Mopho into edit
6
mode and displays the last parameter edited and its stored and edited values. See
Program Parameters starting on page 15 for more information.
Global mode is accessed by briefly holding down the PROGRAM MODE button.
The Global menu is displayed. Use PROGRAM to change global parameters and
the increment and decrement (+ and -) buttons to change the settings. See Global
Parameters on page 13 for more information.
To return to program mode from edit or global mode, simply press PROGRAM
MODE.
Write — Use WRITE to save an edited program to any of Mopho’s 384 memory
locations. To execute the write operation, press the increment (+) button. To
cancel a write, press WRITE, decrement (-), or PROGRAM MODE. WRITE is also
used to execute certain operations in the Global menu.
Note: You can store a program in a different location. After hitting the
WRITE button, you can change the destination using the PROGRAM knob,
and you can change banks by holding the increment (+) and decrement
(-) buttons. Be careful changing the banks! If you hit the increment
button quickly, it saves the program wherever you are at that point. If you
want to change banks, just be sure to hold the button for a couple
seconds.
Volume — Controls the volume of the left and right audio outputs and the
headphone output.
Increment/Decrement — The increment and decrement (+ and -) controls are
used to step through programs in program mode, to change values in the Global
menu, and to confirm or cancel various operations. In edit mode they
increase/decrease the parameter value. They are also used to select Mopho’s
three program banks. Hold increment briefly to switch to the next highest bank;
hold decrement to switch to the next lowest bank.
Assignable Parameters 1-4 — Any of Mopho’s program parameters can be
edited from the front panel using the ASSIGNABLE PARAMETERS controls and the
assignments for the controls are saved per program, to best suit that program. In
other words, the assignments for the controls can be completely different from
one program to another.
Assign Parameters — When the ASSIGN PARAMETERS LED is lit, turn any of
the ASSIGNABLE PARAMETERS controls to select from the list of program
parameters. Press ASSIGN PARAMETERS again (turn the LED off) to use the
ASSIGNABLE PARAMETERS controls to edit the selected parameters. For a
description of the parameters, see Program Parameters beginning on page 15.
For a list of the parameters, see page 29.
7
Pitch — Controls the base frequency of the two oscillators. The relative interval
between the two oscillators is maintained, even when the extremes are reached.
Cutoff — Controls the filter cutoff.
Resonance — Controls filter resonance.
Note: The filter will only self oscillate when in 4-pole mode. See Low-
pass Filter Parameters on page 17 for more information.
Attack — Simultaneously adjusts the attack portion of all envelope generators:
filter, amplifier, and Envelope 3.
Decay/Release — Simultaneously adjusts the decay and release portions of all
envelope generators: filter, amplifier, and Envelope 3.
Push It! — The PUSH IT button is a manual trigger to play Mopho. It can trigger
a specific note (at a specific velocity) or a gated sequence, latch notes or
sequences on and off, and manually step through a sequence. For more
information, see Program Parameters, beginning on page 15.
9
Basic Operation
In designing Mopho, the goal was to make a great sounding analog mono synth
that was also affordable. Toward that end, we wanted to give players enough
control over parameters to make it useful for performance, so we came up with a
combination of “hard-wired” commonly used controls and user-assignable
controls. Any of Mopho’s parameters can be edited in real time from the front
panel controls. But we also recognize that may not be the quickest or easiest
way to program sounds from scratch. A free editor is available for Mac OS and
Windows that gives you access to all of Mopho’s program parameters
simultaneously. Download it here: www.soundtower.com/mopho. Also, an
advanced version of the editor with more features can be purchased from our
Web site.
Note: Most of the Prophet ’08’s controls map directly to Mopho’s
controls, so if you have a Prophet ’08, you can use it as a MIDI control
surface for Mopho.
When Mopho first powers up, it is in Program mode. The top line of the LCD
shows the Program (1…128) and Bank (1…3) number of the currently selected
program, and the bottom line shows the 16-character name of the program. The
PROGRAM knob changes the program. The program can also be changed by
pressing the increment (+) or decrement (—) switches, respectively. To
increment to the next bank, hold the increment switch briefly; to decrement to
the previous bank, hold the decrement switch.
To edit a program, simply turn any knob. The ASSIGNABLE PARAMETERS knobs
have been preset to useful parameters for the factory programs. To change a
knob’s assignment, press ASSIGN PARAMETERS to light the LED. Turning any of
the ASSIGNABLE PARAMETERS knobs now will scroll through the list of available
parameters. Choose one or more parameters to edit and then press ASSIGN
PARAMETERS again to exit the assignment mode (ASSIGN PARAMETERS LED
should now be off). See Program Parameters on page 15 for a detailed list of all
parameters and their functions. After editing parameters, press the PROGRAM
MODE switch to exit edit mode and return to program mode.
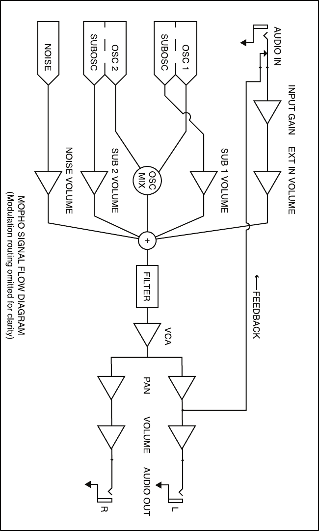
Feedback
As you can see from the illustration on the following page, the left Audio Output
is normalled to the Audio In. (This connection is broken when a plug is inserted
in the Audio In.) Turning up the external input volume (ExtIn Vol parameter)
will cause varying amounts of the audio output to be mixed back in pre-filter.
For most purposes, small amounts of feedback are most useful and the resulting
effect is similar to an overdrive distortion. Higher levels of feedback can get
very squirrelly and rude (which may be exactly the effect you’re looking for).

10

11
INPUT GAIN also affects the level of the feedback signal, so you’ll typically want
to start with INPUT GAIN turned down.
Several of the factory programs already have some level of feedback
programmed in, as indicated by the letters “FB” following the name. To hear the
effect of ExtIn Vol and INPUT GAIN, call up one of those programs and vary
those parameters.
Audio In
Audio In can also be used to process an external audio source, to get access to
the analog filter as a sound processor. In general, when using a line-level input,
you will want the INPUT GAIN control set to minimum. When using a low-level
source, such as an electric guitar, you’ll need to turn up the INPUT GAIN to get
sufficient signal level.
When processing external audio, you will first need to turn up the ExtIn Vol
level in the Mixer. Otherwise no signal gets to the filter. Also note that the VCA
needs to be open to hear the input. This can be done a number of ways:
1. Just turn up the VCA Level if you want the signal to go through
continuously
2. Manually trigger the VCA envelope with the PUSH IT button or a MIDI
keyboard
3. Select AudioIn as the mode in the PushItSw parameter, which
automatically gates the VCA envelope with an input signal greater than
a fixed threshold
There are also numerous other ways of opening the VCA using modulation.
Saving a Program
To save a Program, press the WRITE switch and the following screen appears:
Write? P:xxx B:x
Hit: Inc if Yes
Press the increment (+) switch to save the current program, or decrement (-) to
cancel (or press the WRITE switch again). To store in a different location, use
PROGRAM to select a new destination, and hold the increment or decrement
switch to choose a different bank.

13
Global Parameters
Mopho’s Global parameters affect all programs globally. Examples include
MIDI channel and fine tune. To edit the Global parameters, hold down the
PROGRAM MODE switch until Global Parameter is displayed. The PROGRAM
knob changes the global parameter and the increment and decrement buttons
change the value.
Transpose: -12…+12 — Master Transpose control, 0 is centered. Steps in
semitones.
Fine Tune: -50…+50 — Master Fine Tune control; 0 centered. Steps in cents (50
cents = 1/2 semitone).
MIDI Channel: ALL, 1…16 — Selects which MIDI channel to send and receive
data, 1 to 16. All receives on all 16 channels.
Clock: see table — Selects the MIDI clock status.
Display MIDI Clock Setting
Internal MIDI clock is neither sent nor received
MIDI Out MIDI clock is sent
MIDI In MIDI clock is received
MidiIn/Out MIDI clock is received and transmitted
MIDI Parameter Send: NRPN, CC, Off — Changes to the values of Mopho’s
front panel controls are transmitted via MIDI as Non-registered Parameter
Number (NRPN) controllers or as Continuous Controllers (CC). Transmission of
parameters can also be turned off. See MIDI Implementation on page 30 for
details.
Note: NRPNs are the preferred method of parameter transmission, since
they cover the complete range of all parameters, while CCs only handle
the main parameters.
MIDI Parameter Receive: All, NRPN, CC, Off — Sets the method by which
Mopho receives parameter changes via MIDI. As with transmission, NRPNs are
the preferred method, though some controllers may only be able to send CCs.
MIDI Control: Off, On — When On, the synth will respond to MIDI controllers,
including Pitch Wheel, Mod Wheel, Pedal, Breath, Volume, and Expression.
MIDI SysEx: Off, On — When On, the synth will respond to received MIDI
SysEx messages, and will transmit them, when prompted, to the MIDI Out. See
Sysex Messages on page 41 for details.

14
Audio Out: Stereo, Mono — Mopho defaults to stereo operation. When set to
Mono, this parameter defeats all pan settings and modulation, effectively
making each of the outputs a mono output.
MIDI Out Select: Out, Thru — MIDI Out can be switched to MIDI Thru to
daisychain multiple MIDI devices.
Basic Patch — Press the WRITE button to load a basic patch into the edit buffer.
(The patch will not actually be written to the current program location unless
intentionally written to memory in program mode using the WRITE button.)
Reset Globals — Mopho does not have a full hardware reset, but select this
parameter and press WRITE to reset the global parameters to their factory
defaults.
MIDI SysEx Dump: see table — Allows dumping of Programs in SysEx format
via MIDI.
Display MIDI Transmit Operation
Current Program Dump current program
Current Bank Dump all 128 programs in current bank
All Banks Dump all programs in all 3 banks
Press the WRITE switch to start transmission. This feature is handy for saving
Programs on a computer in SysEx format, or for sending them to another Mopho
via a direct MIDI connection. The dumps include Program and Bank numbers,
so when received, the programs will be stored in the same location.
15
Program Parameters
All Program parameters can be edited using any of ASSIGNABLE PARAMETERS
controls. To assign a parameter to a control, press the ASSIGN PARAMETERS
button to light the LED, and then turn any of the knobs (1 through 4) to select a
parameter. A full list of the parameters can be found on page 29. The selected
parameter and value appear in the LCD display. The top line of the LCD
displays the programmed value for reference; the bottom line displays the edited
value.
To then change the value of the parameter you selected, hit the ASSIGN
PARAMETERS button again, and the same knob will now change the value. You
can also use the increment and decrement switches to adjust parameter values.
Press both switches at the same time to set the parameter to zero.
Note: Once you are done editing a program, before you save it, you
should consider what parameters you want to access when playing the
new program. Generally, when making a program, we try to assign each
of the 4 knobs to a different parameter that makes sense for that
particular program, providing extra live control.
Though it is certainly possible to perform detailed program generation and
editing using these controls, it is usually much faster to use the free editor
available for Mac OS or Windows. The minimal front panel of the Mopho is
designed for fast, real-time changes in live performance.
Following are descriptions of each Mopho Program parameter.
Oscillator Parameters
Mopho has two analog oscillators. The basic controls for each oscillator are the
same.
Note: There are additional modulation controls that can affect the pitch
of Oscillators 1 and 2. These are covered in other sections of the
Parameter definitions.
Osc Freq: C 0…C 10 — Sets the base oscillator frequency over a 10 octave
range, from 8 Hz to 8KHz, stepping in semitones. C3 is middle C, the first
octave is 0 (C0, C#0, etc.), the second octave is 1 (C1, C#1, etc.), and so on.
Fine Freq: -50…+50 — Fine Tune control; 0 centered. Steps in cents (50 cents =
1/2 semitone).
Shape: see table — Selects the oscillator waveshape as follows:

16
Display Waveshape
Osc Off No output
Sawtooth Sawtooth
Triangle Triangle
Saw-Tri Sawtooth — Triangle mix
Pulse xx Pulse Wave, with pulse width ranging from minimum
(0) to maximum (99). The pulse width will turn off at the
two extremes — this allows some interesting
modulation possibilities. A square wave will be at Pulse
50.
Glide: 0…127 — Sets the oscillator glide (portamento) rate. Glide can be set
independently for each oscillator. Low values are faster.
Note: See “Glide Mode” in Miscellaneous Oscillator Parameters on
page 22 for additional Glide settings.
Keyboard: On, Off — Turns keyboard tracking for the oscillator on and off.
Sub Osc 1: 1...127 — Sub-oscillator 1 generates a square wave pitched one
octave below oscillator 1. This parameter controls the level.
Sub Osc 2: 1...127 — Sub-oscillator 2 generates a square wave pitched two
octaves below oscillator 2. This parameter controls the level.
Miscellaneous Oscillator Parameters
Sync 2-> 1: Off, On — Turns oscillator hard sync on. With sync on, whenever
oscillator 2 resets, it will force oscillator 1 to reset for the classic hard sync
sound.
Glide Mode: see table — Sets the way the oscillators respond to Glide settings.
Display Glide mode
FixRate The Glide rate is fixed. The time to
transition from one note to another varies
depending upon the interval between the
notes.
FixRate A The same, but Glide is only applied when
played legato; that is, when a new note is
hit while another note is still held.
FixTime The Glide time is fixed. The time to
transition from one note to another is the
same, regardless of the interval.
FixTime A The same, but Glide only is applied when
played legato; that is, when a new note is
hit while another note is still held.

17
Osc Slop: 0…5 — The amount of random oscillator frequency slop. The analog
oscillators in Mopho are very accurate, and will not drift. This works great for
accurate sounds, and allows precise de-tuning. The Oscillator Slop parameter
allows subtle amounts of frequency drift. For larger amounts, use a random LFO
or white noise mod.
Pitch Wheel Range: 0…12 — Sets the bend range, in semitones, of the pitch
wheel. The setting is the range in the positive or negative direction. For
example, a setting of 7 lets you bend a note up or down by a fifth.
Key Assign: see table — Determines how Mopho responds to keyed notes.
Display Key mode
Low Note Low note priority
LowRetrig Low note priority, re-trigger envelopes
HighNote High note priority
HighRetrg High note priority, re-trigger envelopes
LastNote Last note hit priority
LastRetrg Last note hit priority, re-trigger envelopes
Mixer Parameters
Osc Mix: 0...127 — Enables the outputs of Oscillators 1 and 2 to be mixed in
varying amounts. A setting of 0 is equivalent to 100% Oscillator 1 and 0%
Oscillator 2. A setting of 127 is just the opposite. A setting of 64 is essentially a
50-50 mix of both oscillators.
Noise Level: 0…127 — Controls the volume of white noise mixed into the
filter.
Ext In Volume: 0...127 — Controls the level of external audio input mixed into
the filter. This is used for processing other audio sources (guitars, recordings,
etc.) through Mopho’s analog electronics. This works in conjunction with the
front panel’s INPUT GAIN control.
Also, since the left channel of AUDIO OUT is normalled to AUDIO IN, this control
sets the amount of Mopho’s audio output returned to the audio input. Use this
for crazy feedback sounds.
Low-pass Filter Parameters
Mopho utilizes a switchable, 2- or 4-pole analog low-pass filter coupled with a
4-stage (plus delay) ADSR envelope generator.
Frequency: 0…164 — Sets the base filter cutoff frequency over more than 13
octaves. This control steps in semitones.
18
Resonance: 0…127 — Sets the Resonance level of the filter. At high settings
the filter will self-oscillate in 4-pole mode. If the filter does not oscillate, switch
to 4-pole mode.
Keyboard Amount: 0…127 — Sets the amount of keyboard (MIDI note) to the
filter cutoff. A setting of 64 will step the filter one semitone for each note, 32
would be half-semitones, and so on.
Audio Mod: 0...127 — Controls the amount of audio from Oscillator 1 used to
modulate the filter cutoff frequency. For filter-only audio, set OSCILLATOR MIX
to 127, OSCILLATOR 2 SHAPE to Off, and OSCILLATOR 1 SHAPE to the desired
waveshape. This is useful for bell-like FM sounds. A wide range of sounds can
also be made using AUDIO MOD with the oscillators routed normally through the
filter.
Config: 2 Pole, 4 Pole — Selects either 2- or 4-pole operation for the filter.
Envelope Amount: -127…+127 — Sets the amount of filter envelope routed to
the cutoff frequency. This can be positive or negative, allowing inverted
envelope control of the filter.
Envelope Velocity: 0…127 — Amount of key velocity controlling the level of
the filter envelope.
Delay: 0...127 — Sets a delay between the time the filter envelope is triggered
and when the Attack portion actually begins.
Attack: 0…127 — Sets the Attack time of the filter ADSR envelope generator.
Decay: 0…127 — Sets the Decay time.
Sustain: 0…127 — Sets the Sustain level.
Release: 0…127 — Sets the Release time.
VCA Parameters
VCA Level: 0…127 — Sets a base level for the VCA (Voltage Controlled
Amplifier). This allows the VCA to be essentially bypassed, which is necessary
for Programs that drone.
Note: If VCA LEVEL is on full, Envelope Amount has no effect. You
normally want VCA LEVEL set to zero. For droning sounds, or using the
Mopho to process external audio, you will probably turn the VCA Level
up.

19
Env Amount: 0…127 — Sets the amount of VCA envelope to the VCA level.
Env Velocity: 0…127 — Sets the amount of keyboard velocity controlling the
level of the VCA envelope.
Delay: 0...127 — Sets a delay between the time the amplifier envelope is
triggered and when the Attack portion actually begins.
Attack: 0…127 — Sets the Attack time of the VCA ADSR envelope generator.
Decay: 0…127 — Sets the Decay time.
Sustain: 0…127 — Sets the Sustain level.
Release: 0…127 — Sets the Release time.
Program Volume: 0…127 — Sets the volume of the current program to match
volumes between programs.
Note: There is enough gain in the synth voice that with some settings,
some mild clipping distortion may be heard. If this happens, try lowering
the VOICE VOLUME, and/or the VCA ENVELOPE AMOUNT (or VCA
VELOCITY AMOUNT).
LFO Parameters
Mopho has four Low Frequency Oscillators (LFOs). The same parameters are
available for each.
Frequency: 0…150, sync — Sets the LFO frequency. Range 0—150 for un-
synced LFO; speed ranges from slow (30 seconds) to very fast — at 90 (8 HZ,
C-2) and above the speed steps in semitones, up to 150 (261 Hz, middle C).
Note: Some of the analog functions may not respond well to the fastest
LFO speeds, due to speed limitations of the control voltages; but they
will certainly generate some interesting sounds.
Above 150, the sync speeds are as follows:
Display Timing Sync
32 Steps Sequence speed divided by 32; i.e. one LFO cycle
takes 32 steps
16 Steps Sequence speed divided by 16
8 Steps Sequence speed divided by 8
6 Steps Sequence speed divided by 6
4 Steps Sequence speed divided by 4

20
3 Steps Sequence speed divided by 3
2 Steps Sequence speed divided by 2
1.5 Step Sequence speed divided by 1.5
1 Step One cycle per step
2/3 Step Two cycles every three steps
1/2 Step Two cycles per step
1/3 Step One cycles every three steps
1/4 Step Four cycles per step
1/6 Step Six cycles per step
1/8 Step Eight cycles per step
1/16Step Sixteen cycles per step
Shape: see table — Selects the LFO waveshape:
Display LFO Shape
Triangle Triangle
Rev Saw Reverse Sawtooth
Sawtooth Sawtooth
Square Square Wave
Random Random — changes once per cycle for
sample-and-hold effects
Amount: 0…100 — Sets the amount of LFO routed to the destination.
Key Sync: Off, On — When on, the LFO is re-started each time a new note is
played. Key Sync is set independently on each LFO.
Destination — See Modulation Destinations on page 26 for a list of possible
destinations.
Envelope 3 Parameters
Envelope 3 is an auxiliary envelope for modulating various destinations. It can
even be used as a sort of LFO using the Repeat parameter, which is unique to
Envelope 3.
Destination — Sets the Envelope 3 destination. See Modulation Destinations
on page 26 for a list of possible destinations.
Amount: -127…+127 — Sets the amount of Envelope 3.
Env Velocity: 0…127 — Sets the amount of key velocity controlling the level of
envelope 3.
21
Env Delay: 0…127 — Sets a delay between the time Envelope 3 is triggered and
when the Attack portion actually begins.
Env Attack: 0…127 — Sets the Attack time of Envelope 3.
Env Decay: 0…127 — Sets the Decay time.
Env Sustain: 0…127 — Sets the Sustain level.
Env Release: 0…127 — Sets the Release time.
Repeat: Off, On — When on, causes the decay, attack, and release portions of
Envelope 3 to loop for as long as the envelope is gated on.
Modulation Parameters
The Modulation Parameters let you configure the modulation routing and
amount for Mopho’s four general-purpose modulation slots as well as for MIDI
controllers (Mod Wheel, Key Pressure, Breath Control, Velocity, and Foot
Controller).
Since each Mopho mod source has a single destination, the four general purpose
Mods provide a way to send a mod source (such as a sequence or LFO) to
additional destinations, with a different amount. There are also additional mod
sources available here, such as Noise, allowing a wide variety of possibilities.
To configure a general-purpose modulation slot, select the appropriate
modulator (Mod 1, Mod 2, Mod 3, or Mod 4), and use the Source, Destination,
and Amount parameters to route the modulation as desired.
To configure modulation for a standard MIDI controller, select the desired
controller and amount, and then set the destination.
Source — Selects a modulation source. See Modulation Sources on page 28 for
possible sources.
Amount: -127…+127 — Sets the amount of modulation.
Destination — Selects a modulation destination. See Modulation Destinations
on page 26 for a list of possible destinations.
Mod Wheel Amount: -127…+127 — Sets the maximum amount of modulation
that can be applied from MIDI Continuous Controller 1 (mod wheel).
22
Mod Wheel Destination — Selects the destination to which the mod wheel is
routed. See Modulation Destinations on page 26 for a list of possible
destinations.
Press Amount: -127…+127 — Sets the maximum amount of modulation that
can be applied from MIDI Channel Pressure (aftertouch).
Press Destination — Selects the destination to which the Channel Pressure is
routed. See Modulation Destinations on page 26 for a list of possible
destinations.
Breath Amount: -127…+127 — Sets the maximum amount of modulation that
can be applied from MIDI Continuous Controller 2 (breath controller).
Breath Destination — Selects the destination to which the breath control is
routed. See Modulation Destinations on page 26 for a list of possible
destinations.
Veloc Amount: -127…+127 — Sets the maximum amount of modulation that
can be applied from MIDI note-on velocity.
Veloc Destination — Selects the destination to which the note-on velocity is
routed. See Modulation Destinations on page 26 for a list of possible
destinations.
Foot Amount: -127…+127 — Sets the maximum amount of modulation that can
be applied from MIDI Continuous Controller 4 (foot controller).
Foot Destination — Selects the destination to which the foot control is routed.
See Modulation Destinations on page 26 for a list of possible destinations.
Push It Switch Parameters
These parameters determine the behavior of the PUSH IT switch, Mopho’s
manual trigger.
Note: C0…C10 — Sets the note that plays when PUSH IT is pressed.
Velocity: 0…127 — Sets the MIDI note-on velocity.
Mode: Normal, Toggle, Audio In — When set to Normal, PUSH IT responds like a
key: press it and a note plays, release it and the note ends. But when set to
Toggle, PUSH IT turns the note on with one press and off with a second press.
This is handy for making a note drone or for latching a gated sequence on.

23
Somewhat realated, the Audio In setting will generate a gate from the Audio
Input. When the signal gets above a certain level, the gate will go on. When it
drops below that level, the gate will go off.
Clock Parameters
The sequencer and arpeggiator share the BPM and CLOCK DIVIDE settings.
BPM: 30…250 — Sets the programmed tempo for the sequencer in BPM (beats
per minute).
Clock Divide: see table — Sets the note value for each sequence step relative to
the BPM.
Display Tempo Timing Division
Half BPM/2 Half note
Quartr BPM Quarter note
Eighth BPM x 2 Eighth note
8 half BPM x 2 Eighth note, half swing timing
8swing BPM x 2 Eighth note, full swing timing
8 trip BPM x 3 Eighth note triplets
16th BPM x 4 Sixteenth note
16half BPM x 4 Sixteenth note, half swing timing
16swng BPM x 4 Sixteenth note, full swing timing
16trip BPM x 6 Sixteenth note triplets
32nd BPM x 8 Thirty-second note
32trip BPM x 12 Thirty-second note triplets
64trip BPM x 24 Sixty-fourth note triplets
Arpeggiator Parameters
Mopho’s arpeggiator has four different operating modes and can be synced to a
MIDI clock source.
Note: If the arpeggiator does not seem to be working, check the GLOBAL
parameters to make sure Clock is set to Internal. If Clock is set to use an
external clock source, Mopho must be receiving MIDI clock messages in
order for the arpeggiator to run.
The tempo and note value are determined by the Clock Parameters.
Mode: see table — Sets the order in which the arpeggiator plays notes.

24
Display Arpeggiator mode
Up Arpeggiated notes play in ascending
order.
Down Arpeggiated notes play in descending
order.
Up Down Arpeggiated notes play in alternately
ascending and descending order.
Assign Arpeggiated notes play in the order in
which they were struck.
On/Off: Off, On — Turns the arpeggiator on and off. Turning it on will turn off
the Sequencer if it is on.
Sequence Parameters
Mopho features a 4 x 16 “analog-style” step sequencer that can generate four
separate sequence tracks of up to 16 steps each. Individual sequencer tracks can
be routed to any standard modulation destination (see the table on page 26).
Using VCA Envelope as a destination, for example, varies the volume of each
step; a destination of Filter or Filter Envelope Amount will produce different
filter settings per step. Typically, however, at least one sequence is routed to an
oscillator to control pitch.
The sequencer is a “gated” sequencer. That is, a note must be played, either
from the PUSH IT switch or via MIDI, in order for the sequence to be heard and
it will continue to play as long as the note is held (gated) .
Note: The PUSH IT switch’s Toggle parameter enables notes (and,
therefore, sequences) to be latched on for sustained playback.
The Clock Parameters determine the note value/tempo of the sequencer. The
actual gate duration for each step is fixed at half the step time. Use the envelopes
to generate notes of longer or shorter duration.
One very useful way to modulate a parameter in sync with a sequence is using
LFOs with sync; LFO frequency runs from 0 to 150, after which you can select
the sync settings. A setting of 16 Steps for LFO Frequency with a Triangle wave
selected and routed to the filter will provide a clean filter sweep over a 16 step
sequence, perfectly in sync! This is much easier (and smoother) than
programming a filter sweep using sequence steps.
Note: If the sequencer does not seem to be working, check the GLOBAL
settings to make sure Clock is set to Internal. If Clock is set to use an
external clock source, Mopho must be receiving MIDI clock messages in
order for the sequencer to run.

25
Seq Trigger: see table — Sets the triggering mode for the Gated Sequencer.
Display Trigger mode
Normal Sequence plays from the first step when a
key is held, and resets to step 1 each time
a new note is played. Each sequence step
retriggers the envelopes.
No Reset The same, but does not reset to step 1 on
every note.
No Gate The keyboard triggers the envelopes; the
sequence steps do not.
NoGateNR Same, but does not reset with subsequent
notes.
Key Step Striking a key advances the sequencer
one step.
Audio In Steps the sequencer whenever the
external audio input gets over a certain
level.
On/Off: Off, On — Turns the sequencer on and off.
Seq 1, 2, 3, or 4 Destinations — Sets the destination for each of the four
sequence tracks. For a complete list, see Modulation Destinations on page 26.
Seq 1, 2, 3, or 4 Steps: C0…D5+ or 0…125, Reset, Rest — Sets each step value
for each of the four sequence tracks. The values are displayed as both relative
note values and as simple numerical values. Note values are displayed in quarter
tones with a plus sign (+) indicating that the pitch is a quarter tone higher than
the displayed note number. The two highest values are Reset and Rest. Reset
causes the sequence to reset to the first step, enabling sequences of fewer than
16 steps or even sequences in which the tracks are different lengths. Rest inserts
a rest on the selected step.
Name Parameter
Edit Name — The lower LCD line displays the name of the Program with the
active character blinking. When ASSIGN PARAMETERS is lit, the parameter
control changes the position of the active character. When ASSIGN PARAMETERS
is not lit, the parameter control steps through all the available characters for the
active character. The increment and decrement buttons also change the
character.

26
Modulation Destinations
Display Destination
Off No destination selected
Osc 1 Freq Oscillator 1 Frequency
Osc 2 Freq Oscillator 2 Frequency
OscAllFreq Oscillator 1 and 2 Frequency
Osc Mix Oscillator Mix
NoiseLevel Noise Level
Osc1 PulsW Oscillator 1 Pulse Width
Osc2 PulsW Oscillator 2 Pulse Width
Osc All PW All Oscillators Pulse Width
Low Pass Lowpass Filter Frequency
Resonance Resonance
Audio Mod Audio Mod Amount
UCA Level VCA Amount
LFO 1 Freq LFO 1 Frequency
LFO 2 Freq LFO 2 Frequency
LFO 3 Freq LFO 3 Frequency
LFO 4 Freq LFO 4 Frequency
LFOAllFreq All LFO Frequencies
LFO 1 Amt LFO 1 Amount
LFO 2 Amt LFO 2 Amount
LFO 3 Amt LFO 3 Amount
LFO 4 Amt LFO 4 Amount
LFOAll Amt All LFO Amounts
Env 1 Amt Envelope 1 Amount (Level)
Env 2 Amt Envelope 2 Amount (Level)
Env 3 Amt Envelope 3 Amount (Level)
EnvAll Amt All Envelope Amounts (Levels)
Env1Attack Envelope 1 Attack Rate
Env2Attack Envelope 2 Attack Rate
Env3Attack Envelope 3 Attack Rate
EnvAll Att All Envelope Attack Rates
Env1 Decay Envelope 1 Decay Rate
Env2 Decay Envelope 2 Decay Rate
Env3 Decay Envelope 3 Decay Rate
EnvAll Dec All Envelope Decay Rates
Env1Releas Envelope 1 Release Rate
Env2Releas Envelope 2 Release Rate
Env3Releas Envelope 3 Release Rate

27
EnvAll Rel All Envelope Release Rates
Mod 1 Amt Modulator 1 Amount
Mod 2 Amt Modulator 2 Amount
Mod 3 Amt Modulator 3 Amount
Mod 4 Amt Modulator 4 Amount
AudioInVol Mixer Audio In Volume
Sub Osc 1 Sub Oscillator 1 Level
Sub Osc 2 Sub Oscillator 2 Level

28
Modulation Sources
Display Source
Off No source selected
Sequence1 Sequence 1
Sequence2 Sequence 2
Sequence3 Sequence 3
Sequence4 Sequence 4
LFO 1 LFO 1
LFO 2 LFO 2
LFO 3 LFO 3
LFO 4 LFO 4
Filt Env1 Filter Envelope
VCA Env 2 Amp (VCA) Envelope
Envelope3 Envelope 3
PitchBend Pitch Bend
Mod Wheel Mod Wheel
Pressure Pressure (Aftertouch)
MidBreath MIDI — Breath Controller
Midi Foot MIDI — Foot Controller
Midi Exp MIDI — Expression
Velocity Keyboard Note Velocity
KeyNumber Keyboard Note Number
Noise Noise
EnvFollow Audio In Envelope Follower
Peak Hold Audio In Peak Hold
29
Parameter List
Osc 1 Frequency
Osc 1 Fine Freq
Oscillator 1 Shape
Oscillator 1 Glide
Osc 1 Key Track
Sub Osc 1 Level
Osc 2 Frequency
Osc 2 Fine Freq
Oscillator 2 Shape
Oscillator 2 Glide
Osc 2 Key Track
Sub Osc 2 Level
Osc Hard Sync
Oscillator Mix
Noise Level
Ext In Volume
Glide Mode
Oscillator Slop
Pitch Wheel Range
Key Assign
Filter Audio Mod
Filter Mode
Filter Env Amount
Filter Env Velocity
Filter Env Delay
Filter Env Attack
Filter Env Decay
Filter Env Sustain
Filter Env Release
VCA Env Amount
VCA Env Velocity
VCA Env Delay
VCA Env Attack
VCA Env Decay
VCA Env Sustain
VCA Env Release
Program Volume
LFO 1 Frequency
LFO 1 Shape
LFO 1 Amount
LFO 1 Destination
LFO 1 Key Sync
LFO 2 Frequency
LFO 2 Shape
LFO 2 Amount
LFO 2 Destination
LFO 2 Key Sync
LFO 3 Frequency
LFO 3 Shape
LFO 3 Amount
LFO 3 Destination
LFO 3 Key Sync
LFO 4 Frequency
LFO 4 Shape
LFO 4 Amount
LFO 4 Destination
LFO 4 Key Sync
Env 3 Desination
Envelope 3 Amount
Envelope 3 Velocity
Envelope 3 Delay
Envelope 3 Attack
Envelope 3 Decay
Envelope 3 Sustain
Envelope 3 Sustain
Envelope 3 Repeat
Mod 1 Source
Mod 1 Amount
Mod 1 Destination
Mod 2 Source
Mod 2 Amount
Mod 2 Destination
Mod 3 Source
Mod 3 Amount
Mod 3 Destination
Mod 4 Source
Mod 4 Amount
Mod 4 Destination
Mod Wheel Amount
Mod Wheel Dest
Pressure Amount
Pressure Destination
Breath Amount
Breath Destination
Velocity Amount
Velocity Destination
Foot Control Amt
Foot Control Dest
Push It Note
Push It Velocity
Push It Mode
Clock BPM
Clock Divide
Arpeggiator Mode
Arpeggiator On/Off
Sequence Trigger
Sequencer On/Off
Seq 1 Destination
Seq 2 Destination
Seq 3 Destination
Seq 4 Destination
Seq 1 Steps 1 - 16
Seq 2 Steps 1 - 16
Seq 3 Steps 1 - 16
Seq 4 Steps 1 - 16
Edit Name

30
MIDI Implementation
Mopho receives MIDI data according to the mode controls under GLOBAL. In
addition, there is interaction between some of the Program parameters that
determine the overall response of Mopho to MIDI data.
Following are the Global parameters that affect response to MIDI:
MIDI Channel: ALL, 1…16 — Selects the MIDI channel to send and receive
data, 1 to 16. All receives on any channel.
Clock: see table — Selects the MIDI clock status as follows:
Display MIDI Clock Setting
Internal MIDI clock is neither sent nor received
MIDI Out MIDI clock is sent
MIDI In MIDI clock is received
MIDIn/Out MIDI clock is received and transmitted
MIDI Parameter Send: NRPN, CC, Off — Changes to the values of Mopho’s
front panel controls are transmitted via MIDI as Non-registered Parameter
Number (NRPN) controllers or as Continuous Controllers (CC). Transmission of
parameters can also be turned off.
MIDI Parameter Receive: All, NRPN, CC, Off — Sets the method by which
Mopho receives parameter changes via MIDI. As with transmission, NRPNs are
the preferred method, though some controllers may only be able to send CCs.
MIDI Control: Off, On — When On, the synth will respond to MIDI controllers,
including Pitch Wheel, Mod Wheel, Pedal, Breath, Volume, and Expression.
MIDI SysEx: Off, On — When On, the synth will respond to received MIDI
SysEx messages, and will transmit them, when prompted, to the MIDI Out.
MIDI Messages
System Real-time Messages
Status Description
1111 1000 MIDI Timing Clock

31
Received Channel Messages
Status Second Third Description
1000 nnnn 0kkkkkkk 0vvvvvvv Note Off. Velocity is ignored
1001 nnnn 0kkkkkkk 0vvvvvvv Note On. Note off if vvvvvvv = 0
1010 nnnn 0kkkkkkk 0vvvvvvv Polyphonic Key Pressure
1011 nnnn 0vvvvvvv 0vvvvvvv Control Change; see “Received Controller
Messages” table following
1100 nnnn 0ppppppp Program change, 0 — 127 for Programs 1 —
128 within current Bank
1101 nnnn 0vvvvvvv Channel Pressure
1110 nnnn 0vvvvvvv 0vvvvvvv Pitch Bend LS Byte then MS Byte
Notes: 0kkkkkkk Note number 0 — 127
nnnn Channel number 0 to 15 (MIDI channel 1-16). Ignored if MIDI
channel set to ALL
0vvvvvvv Value
Received Controller Messages
Status Second Third Description
1011 nnnn 1 0vvvvvvv Mod Wheel — directly assignable controller
1011 nnnn 2 0vvvvvvv Breath Controller — directly assignable controller
1011 nnnn 4 0vvvvvvv Foot Controller — directly assignable controller
1011 nnnn 7 0vvvvvvv Volume — Combined with Master Volume and
Voice Volume
1011 nnnn 74 0vvvvvvv Brightness — Added to lowpass filter cutoff
frequency
1011 nnnn 11 0vvvvvvv Expression Controller — directly assignable
controller
1011 nnnn 32 0vvvvvvv Bank Select — 0 -2 select banks 1 - 3; others
ignored
1011 nnnn 64 0vvvvvvv Damper pedal — holds envelopes in Sustain if
0100 0000 or higher
1011 nnnn 123 0vvvvvvv All Notes Off — clear all MIDI notes
1011 nnnn 121 0vvvvvvv Reset All Controllers — clears all MIDI
controllers to 0, MIDI volume to maximum
See sections below for additional Continuous Controller (CC) and Non-
registered Parameter Number (NRPN) messages received.
Transmitted Channel Messages
Status Second Third Description
1100 nnnn 0ppppppp Program change, 0 — 127 for Programs 1 —
128 within current Bank

32
Transmitted Controller Messages
Status Second Third Description
1011 nnnn 0000 0111 0vvvvvvv Volume knob
1011 nnnn 0010 0000 0vvvvvvv Bank Select — 0 to 2
See sections below for additional Continuous Controller (CC) and Non-
registered Parameter Number (NRPN) messages transmitted.
Additional Continuous Controllers
(CCs) Transmitted/Received
The following table details how CCs are mapped onto Mopho’s controls. They
are transmitted when MIDI Parameter Send is set to CC in Global, and
recognized when received when MIDI Parameter Receive is set to either CC or
All in Global.
Parameter CC#
Osc 1 Frequency 20
Osc 1 Freq Fine 21
Osc 1 Shape 22
Glide 1 23
Osc 2 Frequency 24
Osc 2 Freq Fine 25
Osc 2 Shape 26
Glide 2 27
Osc Mix 28
Noise Level 29
Filter Frequency 102
Resonance 103
Filter Key Amt 104
Filter Audio Mod 105
Filter Env Amt 106
Filter Env Vel Amt 107
Filter Delay 108
Filter Attack 109
Filter Decay 110
Filter Sustain 111
Filter Release 112
Parameter CC#
VCA Level 113
Amp Env Amt 115
Amp Velocity Amt 116
Amp Delay 117
Amp Attack 118
Amp Decay 119
Amp Sustain 75
Amp Release 76
Env 3 Destination 85
Env 3 Amt 86
Env 3 Velocity Amt 87
Env 3 Delay 88
Env 3 Attack 89
Env 3 Decay 90
Env 3 Sustain 77
Env 3 Release 78
BPM 14
Clock Divide 15

33
NRPN Messages
The Non-Registered Parameter Number (NRPN) MIDI messages are used to
transmit and receive both global and program parameters. They are transmitted
when MIDI Parameter Send is set to NRPN in Global, and received when MIDI
Parameter Receive is set to either NRPN or All in Global.
The messages are handled in standard MIDI format using the NRPN CC
commands in running status byte format. Below is the format used for
transmitting a NRPN parameter:
Transmitted NRPN Messages
Status Description
1011 nnnn Control Change
0110 0011 NRPN parameter number MSB CC
0vvv vvvv Parameter Number MSB
0110 0010 NRPN parameter number LSB CC
0vvv vvvv Parameter Number LSB
0000 0110 NRPN parameter value MSB CC
0vvv vvvv Parameter value MSB
0010 0110 NRPN parameter value LSB CC
0vvv vvvv Parameter value LSB
The parameter number can be found in the two tables below, one for Global
parameters, and the other for Program parameters. The parameter numbers and
the parameter values are broken into two 7-bit bytes for MIDI transmission; the
LSB has the seven least-significant bits, and the MSB has the seven most-
significant bits, though in most cases the MSB will be zero or one, and never
more than two.
When receiving an NRPN, all messages do not necessarily need to be
transmitted, since the synth will track the most recent NRPN number, though it
is usually good practice to send the entire message above.
Once an NRPN is selected, the synth will also respond to NRPN Data Increment
and Decrement commands, which some controllers utilize. Finally, it responds
to one RPN (Registered Parameter Number) command, the RPN/NRPN Reset
command, which can be handy for resetting the currently selected parameter to a
known state.

34
Received NRPN Messages
Status Second Third Description
1011 nnnn 0110 0011 0vvvvvvv NRPN parameter number MSB CC
1011 nnnn 0110 0010 0vvvvvvv NRPN parameter number LSB CC
1011 nnnn 0000 0110 0vvvvvvv NRPN parameter value MSB CC
1011 nnnn 0010 0110 0vvvvvvv NRPN parameter value LSB CC
1011 nnnn 0110 0000 0xxxxxxx NRPN parameter value Increment
1011 nnnn 0110 0001 0xxxxxxx NRPN parameter value Decrement
1011 nnnn 0010 0101 0111111 RPN parameter number MSB CC — Reset
NRPN parameter number (when both MSB and
LSB received)
1011 nnnn 0010 0100 0111111 RPN parameter number LSB CC — Reset
NRPN parameter number (when both MSB and
LSB received)
Global Parameter Data
The following table shows the Global data that is sent and received on global
parameter dumps, and the corresponding NRPN number when sent/received
individually.
Param NRP
N
Range Description
0 384 0 -24 Master Transpose; 0 = -12 semitones (1 octave), 12
= 0 (no transpose), and 24 = +12 semitones.
1 385 0- 100 Master Fine Tune; 0 = -50 cents, 50 = 0 (centered),
100 = + 50 cents
2 386 0 - 16 MIDI Channel; if = 0, data received on all MIDI
channels. Otherwise = channel number 1 — 16.
3 388 0 - 3 MIDI clock select
0 Use Internal clock, don’t send MIDI clock
1 Use Internal clock, send MIDI clock
2 Use MIDI clock In
3 Use MIDI clock In, and retransmit MIDI clock out
4 390 0 - 2 Parameter Send:
0 NRPN
1 CC
2 Off
5 391 0 - 3 Parameter Receive:
0 All
1 NRPN only
2 CC only
3 Off
6 394 0 - 1 MIDI Controller Send/Receive Off/On
7 395 0 - 1 MIDI Sysex Send/Receive Off/On

35
8 405 0 - 5 Audio Out:
0 Stereo
1 Mono
9 406 0 - 1 MIDI Out Select:
0 MIDI Out
1 MIDI Thru
Program Parameter Data
The following table lists Mopho’s voice parameters. The parameter number in
the program and edit buffer dumps are different than the NRPN numbers as
seen; this was to maintain NRPN compatibility with the Prophet ’08 as much as
possible.
Param NRPN Range Description
0 0 0 - 120 Oscillator 1 Frequency, 0 — 120 in semitones (10
octave range)
1 1 0 - 100 Oscillator 1 Fine Tune; 0 = -50 cents, 50 = 0
(centered), 100 = + 50 cents
2 2 0-103 Oscillator 1 Shape
0 Oscillator Off
1 Sawtooth
2 Triangle
3 Sawtooth/triangle mix
4 — 103 Pulse Wave, Pulse width 0 — 99
3 3 0 - 127 Oscillator 1 Glide
4 4 0 - 1 Oscillator 1 Keyboard Off/On
5 114 0-127 Sub Oscillator 1 Level
6 5 0 - 120 Oscillator 2 Frequency, 0 — 120 in semitones (10
octave range)
7 6 0 - 100 Oscillator 2 Fine Tune; 0 = -50 cents, 50 = 0
(centered), 100 = + 50 cents
8 7 0-103 Oscillator 2 Shape
0 Oscillator Off
Sawtooth
Triangle
Sawtooth/triangle mix
4 — 103 Pulse Wave, Pulse width 0 — 99
9 8 0 - 127 Oscillator 2 Glide
10 9 0 - 1 Oscillator 2 Keyboard Off/On
11 115 0 - 127 Sub Oscillator 2 Level
12 10 0 - 1 Sync off/on
13 11 0 - 3 Glide Mode:
0 fixed rate
1 fixed rate auto
2 fixed time
3 fixed time auto
14 12 0 - 5 Oscillator Slop
15 93 0 - 12 Pitch Bend Range

36
16 96 0 - 5 Key Assign Mode:
Low note priority
Low note priority with re-trigger
High note priority
High note priority with re-trigger
Last note hit priority
Last note hit priority with re-trigger
17 13 0 - 127 Oscillator 1 - 2 Mix
18 14 0 - 127 Noise Level
19 116 0 - 127 External Audio Input Level
20 15 0 - 164 Filter Frequency, steps in semitones
21 16 0 - 127 Resonance
22 17 0 - 127 Filter Keyboard Amount
23 18 0 - 127 Filter Audio Modulation
24 19 0 - 1 Filter Poles 0: 2-pole; 1: 4-pole
25 20 0 - 254 Filter Envelope Amount; -127 to +127
26 21 0 - 127 Filter Envelope Velocity Amount
27 22 0 - 127 Filter Envelope Delay
28 23 0 - 127 Filter Envelope Attack
29 24 0 - 127 Filter Envelope Decay
30 25 0 - 127 Filter Envelope Sustain
31 26 0 - 127 Filter Envelope Release
32 27 0 - 127 VCA Initial Level
33 30 0 - 127 VCA Envelope Amount
34 31 0 - 127 VCA Envelope Velocity Amount
35 32 0 - 127 VCA Envelope Delay
36 33 0 - 127 VCA Envelope Attack
37 34 0 - 127 VCA Envelope Decay
38 35 0 - 127 VCA Envelope Sustain
39 36 0 - 127 VCA Envelope Release
40 29 0 - 127 Voice Volume
41 37 0 - 166 LFO 1 Frequency; 0 — 150 unsynced frequencies
151 Sequence speed divided by 32
152 Sequence speed divided by 16
153 Sequence speed divided by 8
154 Sequence speed divided by 6
155 Sequence speed divided by 4
156 Sequence speed divided by 3
157 Sequence speed divided by 2
158 Sequence speed divided by 1.5
159 One cycle per step
160 Two cycles per three steps
161 Two cycles per step
162 One cycles per three steps
163 Four cycles per step
164 Six cycles per step

37
165 Eight cycles per step
166 Sixteen cycles per step
42 38 0 - 4 LFO 1 Shape
0 Triangle
1 Reverse Sawtooth
2 Sawtooth
3 Pulse (square)
4 Random
43 39 0 - 127 LFO 1 Amount
44 40 0 - 46 LFO 1 Mod Destination; See Modulation Destination
list below
45 41 0 - 1 LFO 1 Key Sync Off/On
46 42 0 - 166 LFO 2 Frequency; same as LFO 1
47 43 0 - 4 LFO 2 Shape; same as LFO 1
48 44 0 - 127 LFO 2 Amount
49 45 0 - 46 LFO 2 Mod Destination; See Modulation Destination
list below
50 46 0 - 1 LFO 2 Key Sync Off/On
51 47 0 - 166 LFO 3 Frequency; same as LFO 1
52 48 0 - 4 LFO 3 Shape; same as LFO 1
53 49 0 - 127 LFO 3 Amount
54 50 0 - 46 LFO 3 Mod Destination; See Modulation Destination
list below
55 51 0 - 1 LFO 3 Key Sync Off/On
56 52 0 - 166 LFO 4 Frequency; same as LFO 1
57 53 0 - 4 LFO 4 Shape; same as LFO 1
58 54 0 - 127 LFO 4 Amount
59 55 0 - 46 LFO 4 Mod Destination; See Modulation Destination
list below
60 56 0 - 1 LFO 4 Key Sync Off/On
61 57 0 - 46 Envelope 3 Mod Destination; See Mod Destination
list below
62 58 0 - 254 Envelope 3 Amount; -127 to +127
63 59 0 - 127 Envelope 3 Velocity Amount
64 60 0 - 127 Envelope 3 Delay
65 61 0 - 127 Envelope 3 Attack
66 62 0 - 127 Envelope 3 Decay
67 63 0 - 127 Envelope 3 Sustain
68 64 0 - 127 Envelope 3 Release
69 98 0 - 1 Envelope 3 Repeat Off/On
70 65 0 - 22 Mod 1 Source; See Modulation Source list below
71 66 0 - 254 Mod 1 Amount; -127 to +127
72 67 0 - 46 Mod 1 Destination; See Modulation Destination list
below
73 68 0 - 22 Mod 2 Source; See Modulation Source list below
74 69 0 - 254 Mod 2 Amount; -127 to +127

38
75 70 0 - 46 Mod 2 Destination; See Modulation Destination list
below
76 71 0 - 22 Mod 3 Source; See Modulation Source list below
77 72 0 - 254 Mod3 Amount; -127 to +127
78 73 0 - 46 Mod 3 Destination; See Modulation Destination list
below
79 74 0 - 22 Mod 4 Source; See Modulation Source list below
80 75 0 - 254 Mod 4 Amount; -127 to +127
81 76 0 - 46 Mod 4 Destination; See Modulation Destination list
below
82 81 0 - 254 Mod Wheel Amount; -127 to +127
83 82 0 - 43 Mod Wheel Destination; See ModDestination list
below
84 83 0 - 254 Pressure Amount; -127 to +127
85 84 0 - 43 Pressure Destination; See ModDestination list below
86 85 0 - 254 Breath Amount; -127 to +127
87 86 0 - 43 Breath Destination; See ModDestination list below
88 87 0 - 254 Velocity Amount; -127 to +127
89 88 0 - 43 Velocity Destination; See ModDestination list below
90 89 0 - 254 Foot Control Amount; -127 to +127
91 90 0 - 43 Foot Control Destination; See ModDestination list
below
92 111 0 - 120 Push It Switch Note Number
93 112 0 - 127 Push It Switch velocity
94 113 0 - 1 Push It Switch Mode:
0 Normal
1 Toggle
2 Audio In
95 91 30 - 250 BPM tempo
96 92 0 - 12 Clock Divide:
Half Note
Quarter Note
Eighth Note
Eighth Note half swing
Eighth Note full swing
Eighth Note triplets
Sixteenth Note
Sixteenth Note half swing
Sixteenth Note full swing
Sixteenth Note triplets
Thirty-second Notes
Thirty-second Notes triplets
Sixty-Fourth note triplets

39
97 97 0 - 3 Arpeggiator Mode:
Up
Down
Up/Down
Assign
98 100 0 - 1 Arpeggiator; off/on
99 94 0 - 5 Sequencer Trigger:
Normal
Normal, no reset
No gate
No gate/no reset
key step
Audio In
100 101 0 - 1 Gated Sequencer; off/on
101 77 0 - 46 Sequence 1 Destination; See ModDestination list
below
102 78 0 - 46 Sequence 1 Destination; See ModDestination list
below
103 79 0 - 46 Sequence 1 Destination; See ModDestination list
below
104 80 0 - 46 Sequence 1 Destination; See ModDestination list
below
105 105 0 - 183 Assignable Parameter 1
106 106 0 - 183 Assignable Parameter 1
107 107 0 - 183 Assignable Parameter 1
108 108 0 - 183 Assignable Parameter 1
109—
119
Unused
120-135 120-135 0 - 127 Sequence Track1, steps 1 — 16
0 to 125: Normal sequence step value
126 Reset
127 Rest
136-151 136-151 0 - 126 Sequence Track 2, steps 1 — 16
0 to 125: Normal sequence step value
126 Reset
152-167 152-167 0 - 126 Sequence Track 3, steps 1 — 16
0 to 125: Normal sequence step value
126 Reset
168-183 168-183 0 - 126 Sequence Track 4, steps 1 — 16
0 to 125: Normal sequence step value
126 Reset
184-199 184-199 32 - 127 Name charaters 1 — 16, in ASCII format
200-255 unused

40
The following tables list the values used with the program parameters to specify
modulation destinations and sources.
Mod Destinations Value
Off 0
Osc 1 Freq 1
Osc 2 Freq 2
Osc 1 and 2 Freq 3
Osc Mix 4
Noise Level 5
Osc 1 Pulse Width 6
Osc 2 Pulse Width 7
Osc 1 and 2 Pulse Width 8
Filter Frequency 9
Resonance 10
Filter Audio Mod Amt 11
VCA Level 12
Pan Spread 13
LFO 1 Freq 14
LFO 2 Freq 15
LFO 3 Freq 16
LFO 4 Freq 17
All LFO Freq 18
LFO 1 Amt 19
LFO 2 Amt 20
LFO 3 Amt 21
LFO 3 Amt 22
All LFO Amt 23
Filter Env Amt 24
Amp Env Amt 25
Env 3 Amt 26
All Env Amounts 27
Env 1 Attack 28
Env 2 Attack 29
Env 3 Attack 30
All Env Attacks 31
Env 1 Decay 32
Env 2 Decay 33
Env 3 Decay 34
All Env Decays 35
Env 1 Release 36
Env 2 Release 37
Env 3 Release 38
All Env Releases 39
Mod 1 Amt 40
Mod 2 Amt 41
Mod 3 Amt 42
Mod 4 Amt 43
External Audio In Level 44

41
Sub Osc 1 Level 45
Sub Osc 2 Level 46
Mod Sources Value
Off 0
Sequence Track 1 1
Sequence Track 2 2
Sequence Track 3 3
Sequence Track 4 4
LFO 1 5
LFO 2 6
LFO 3 7
LFO 4 8
Filter Envelope 9
Amp Envelope 10
Envelope 3 11
Pitch Bend 12
Mod Wheel 13
Pressure 14
MIDI Breath 15
MIDI Foot 16
MIDI Expression 17
Velocity 18
Note Number 19
Noise 20
Audio In Envelope Follower 21
Audio In Peak Hold 22
Sysex Messages
Universal System Exclusive Message (Device Inquiry)
Status Description
1111 0000 System Exclusive (SysEx)
0111 1110 Non-realtime message
0vvv vvvv If MIDI channel is set to 1-16, 0vvvvvvv must match (unless MIDI Channel
= ALL); always responds if 0vvvvvvv = 0111 1111.
0000 0110 Inquiry Message
0000 0001 Inquiry Request
1111 0111 End of Exclusive (EOX)
Mopho responds with:
Status Description
1111 0000 System Exclusive (SysEx)
0111 1110 Non-realtime message
0vvv vvvv If MIDI Channel = ALL, 0vvvvvvv = 0111 1111. Otherwise 0vvvvvvv =
Channel Number 0-15.

42
0000 0110 Inquiry Message
0000 0010 Inquiry Reply
0000 0001 DSI ID
0010 0101 Mopho ID (Family LS)
0000 0001 Family MS
0000 0000 Family Member LS
0000 0000 Family Member MS
0jjj nnnn Main Software version: jjj — Minor rev; nnnn — Major rev
0000 0000 Zero Byte
0000 0000 Zero Byte
1111 0111 End of Exclusive (EOX)
Request Program Dump
Status Description
1111 0000 System Exclusive (SysEx)
0000 0001 DSI ID
0010 0101 Mopho ID
0000 0101 Request Program Transmit
0000 00vv Bank Number, 0 — 1
0vvv vvvv Program Number, 0 — 127
1111 0111 End of Exclusive (EOX)
Mopho will respond by sending out the Program Data in the format described
below in Program Data Dump.
Request Program Edit Buffer Dump
Status Description
1111 0000 System Exclusive (SysEx)
0000 0001 DSI ID
0010 0101 Mopho ID
0000 0110 Request Program Edit Buffer Transmit
1111 0111 End of Exclusive (EOX)
Mopho will respond by sending out the current Program edit buffer in the format
described below in Program Edit Buffer Data Dump.

43
Request Global Parameter Dump
Status Description
1111 0000 System Exclusive (SysEx)
0000 0001 DSI ID
0010 0101 Mopho ID
0000 1110 Request Global Parameter Transmit
1111 0111 End of Exclusive (EOX)
Mopho will respond by sending out the current values of Global Parameters in
the format described below in Global Parameters Data Dump.
Program Data Dump
Status Description
1111 0000 System Exclusive (SysEx)
0000 0001 DSI ID
0010 0101 Mopho ID
0000 0010 Program Data
0000 00vv Bank Number, 0 — 2
0vvv vvvv Program Number, 0 — 127
0vvv vvvv 256 bytes expanded to 293 MIDI bytes in “packed MS bit” format (see
page 44.)
1111 0111 End of Exclusive (EOX)
Program Edit Buffer Data Dump
Status Description
1111 0000 System Exclusive (SysEx)
0000 0001 DSI ID
0010 0101 Mopho ID
0000 0011 Edit Buffer Data
0vvv vvvv 256 bytes expanded to 293 MIDI bytes in “packed MS bit” format (see
page 44.)
1111 0111 End of Exclusive (EOX)

44
Global Parameters Data Dump
Status Description
1111 0000 System Exclusive (SysEx)
0000 0001 DSI ID
0010 0101 Mopho ID
0000 1111 Main Parameter Data
0vvv vvvv 20 nibbles (LS then MS) for 10 Global parameters. Global Parameters
are listed starting on page 34.
1111 0111 End of Exclusive (EOX)
Note: The Global Parameters Data Dump is not recognized when received; it is
only transmitted when requested. NRPN messages are used to change Globals.
Packed Data Format
Data is packed in 8 byte “packets”, with the MS bit stripped from 7 parameter
bytes, and packed into an eighth byte, which is sent at the start of the 8 byte
packet.
Example:
Input Data Packed MIDI data
1 A7 A6 A5 A4 A3 A2 A1 A0 1 00 G7 F7 E7 D7 C7 B7 A7
2 B7 B6 B5 B4 B3 B2 B1 B0 2 00 A6 A5 A4 A3 A2 A1 A0
3 C7 C6 C5 C4 C3 C2 C1 C0 3 00 B6 B5 B4 B3 B2 B1 B0
4 D7 D6 D5 D4 D3 D2 D1 D0 4 00 C6 C5 C4 C3 C2 C1 C0
5 E7 E6 E5 E4 E3 E2 E1 E0 5 00 D6 D5 D4 D3 D2 D1 D0
6 F7 F6 F5 F4 F3 F2 F1 F0 6 00 E6 E5 E4 E3 E2 E1 E0
7 G7 G6 G5 G4 G3 G2 G1 G0 7 00 F6 F5 F4 F3 F2 F1 F0
8 00 G6 G5 G4 G3 G2 G1 G0
This explains why it takes 293 MIDI bytes to transmit 256 Program data bytes.
Hidden Function
Hold the ASSIGN PARAMETER switch and hit the +/increment switch to calibrate
the low-pass filter and analog oscillator waveshapes. This should not be
necessary for normal operation.
Dave Smith Instruments
1590 Sylvaner Avenue
Saint Helena, CA 94574-2340
USA
www.DaveSmithInstruments.com