Siemens SITRANS FM Mag8000 Water Meter Operating Manual 8000 Sitransfm Man ED8
User Manual: FM-8000
Open the PDF directly: View PDF
.
Page Count: 56
- Contents
- 1. Introduction
- 2. Installation
- 3. Electrical connection
- 4. Commissioning
- 5. Operation
- 5.1.1 Meter operation via key and display
- 5.1.2 Display symbols
- 5.1.3 Menu overview
- 5.1.4 Default display information and accessible display menus
- 5.2 Operator menu
- 5.3 Internal data handling
- 5.4 Operation on battery power
- 5.4.1 Battery indication
- 5.4.2 Battery operation time and calculation
- 5.4.3 Installation and replacement of batteries
- 5.4.4 Power up with battery reset, date and time set up
- 6. Verification
- 7. Service
- 8. Technical data
- 9. Ordering

Operating Manual
Edition 01/2007 - Revision 08
Order no.: FDK:521H1193
SFIDK.PS.026.D8.02 *083R9174*
SITRANS F M
Electromagnetic water meter type MAG 8000
[
s
Technical Documentation (handbooks, instructions, manuals etc.) for the complete product
range SITRANS F can be found on the internet/intranet via the following link:
English: http://www4.ad.siemens.de/WW/view/en/10806951/133300
]

SITRANS F M MAG 8000
2SFIDK.PS.026.D8.02
Contents 1. Introduction .......................................................................................................................3
1.1 User guidelines.................................................................................................................3
1.2 Manufacturer’s design and safety statement ....................................................................4
2. Installation.........................................................................................................................5
2.1 Mechanical installation .....................................................................................................5
3. Electrical connection ..................................................................................................... 10
3.1 Electrical installation ......................................................................................................10
3.2 IP enclosure rating ......................................................................................................... 13
4. Commissioning .............................................................................................................. 14
4.1 Unit selection ................................................................................................................. 18
4.1.1 Unit conversion table ..................................................................................................... 18
4.2 Output configuration ...................................................................................................... 19
4.3 Parameter list ................................................................................................................. 21
5. Operation ....................................................................................................................... 29
5.1.1 Meter operation via key and display ............................................................................. 29
5.1.2 Display symbols............................................................................................................. 29
5.1.3 Menu overview ..............................................................................................................30
5.1.4 Default display information and accessible display menus .......................................... 30
5.2 Operator menu ............................................................................................................... 31
5.3 Internal data handling .................................................................................................... 33
5.4 Operation on battery power ........................................................................................... 35
5.4.1 Battery indication ........................................................................................................... 35
5.4.2 Battery operation time and calculation .......................................................................... 36
5.4.3 Installation and replacement of batteries ...................................................................... 37
5.4.4 Power up with battery reset, date and time set up ......................................................... 38
6. Verification ..................................................................................................................... 39
7. Service ........................................................................................................................... 40
7.1 MAG 8000 service guidelines ....................................................................................... 40
7.1.1 Faults codes ................................................................................................................... 40
7.2 Flow simulation ..............................................................................................................42
7.3 Replace a trans-mitter or PCB board ............................................................................ 42
8. Technical data ................................................................................................................43
8.1 MAG 8000 ...................................................................................................................... 43
8.2 Features/Version ............................................................................................................ 45
8.3 Meter uncertainty ........................................................................................................... 48
8.4 Sizing table DN 25...DN 1200 (1"...48")......................................................................... 49
8.5 The effect of temperature on working pressure............................................................. 50
8.6 “Physical” dimension ..................................................................................................... 50
8.7 Flange mating dimensions (Metric) ............................................................................... 51
9. Ordering ......................................................................................................................... 52
9.1 Accessories.................................................................................................................... 53
9.2 Spare parts .................................................................................................................... 54

SITRANS F M MAG 8000
3
SFIDK.PS.026.D8.02
1. Introduction For safety reasons it is important that the following points, especially those marked with a warning
sign, are read and understood before the system is installed:
•Installation, connection, commissioning and service must be carried out by personnel who
are qualified and authorized to do so.
•It is very important that all personnel working with the equipment have read and understand
the instructions and directions provided in this manual and that they follow the instructions
and directions before taking the equipment into use!
•Only personnel authorized and trained by the owner of the equipment may operate the
equipment.
•Installation personnel must ensure that the measuring system is correctly connected in
accordance with the connection diagram.
•For applications involving high working pressures or media that can be dangerous to
people, surroundings, equipment or other in the event of pipe fracture, Siemens recommends
taking precautions such as special placement, shielding or installation of a safety guard or
safety valve prior to installation of the sensor.
•Repair and service may be performed by approved Siemens Flow Instruments personnel
only.
1. Introduction
1.1 User guidelines MAG 8000 configuration is made via a PC with an IrDA interface and the configuration software
program Flow Tool.
Parameters or data are in the following manual identified with an „FT“ in front of the number, where
the information is stored.
The Flow Tool program can bee downloaded from the internet www.siemens.com/flow navigate
to Tools & downloads or order on a CD rom - see accessories in section 9.1.

SITRANS F M MAG 8000
4SFIDK.PS.026.D8.02
1.2 Manufacturer’s
design and safety
statement
1. Introduction
•Responsibility for the choice of lining and electrode materials as regards abrasion and
corrosion resistance lies with the purchaser; the effect of any change in process medium
during the operating of the meter should be taken into account. Incorrect selection of lining
and/or electrode materials could lead to a failure of the meter.
•Stresses and loading caused by earthquakes, traffic, high winds and fire damage are not
taken into account during meter design.
•Do not install the meter such that it acts as a focus for pipeline stresses. External loading is
not taken into account during meter design.
•During operation do not exceed the pressure and/or temperature ratings indicated on the data
label or in this Operating Manual.
•It is recommended that all installations include an appropriate safety valve and adequate
means for draining/venting.
•Under the “Pressure Equipment Directive” (PED) this product is a pressure accessory and
not approved for use as a safety accessory, as defined by the PED.
•Removal of the terminal box except by Siemens Flow Instruments A/S or their approved
agents will invalidate the PED conformity of the product.
In accordance with “Pressure Equipment Directive” (97/23/EC).
Battery operation:
•Pulse output and RS 232/RS 485 add-on modules must be connected to equipment
complying with Low Voltage Directive (LVD) in order to be considered safe. The isolation
within MAG 8000 pulse output is only a functional isolation.
•Lithium batteries are primary power sources with high energy content. They are designed to
meet the highest possible safety standard. They may, however, present a potential hazard
if they are abused electrically or mechanically. This is in most circumstances associated with
the generation of excessive heat, where increased internal pressure may cause the cell to
rupture.
Thus the following basic precautions should be observed when handling and using lithium
batteries:
−Do not short-circuit, recharge, overcharge or connect with false polarity.
−Do not expose to temperature beyond the specified temperature range or incinerate the
battery.
−Do not crush, puncture or open cells or disassemble battery packs.
−Do not weld or solder to the body of the battery.
−Do not expose contents to water.
•Lithium batteries are regulated under United Nations Model Regulations on Transport of
Dangerous goods, UN document ST/SGAC.10-1, 12th revised edition, 2001. UN no. 3091
class 9 covers lithium batteries packed with or inside the equipment. UN no. 3090 class 9
covers transportation of batteries on their own.
Thus the following basic precautions should be followed when transporting lithium batteries:
−Transport only in special packaging with special labels and transportation documents.
−Exercise caution in handling, transportation and packaging in order to prevent short
circuiting of the batteries.
−The gross mass of the package is limited according to the type of transportation.
In general, a gross mass below 5 kg is acceptable for all forms of transportation.
•Remove the battery from transmitter before returning the flowmeter to Siemens for service or
warranty claim.

SITRANS F M MAG 8000
5
SFIDK.PS.026.D8.02
2. Installation
2.1 Mechanical installation
Please note sensor flow direction.
2. Installation
Flow direction
Inlet and outlet condition
Horizontal pipes
Vertical pipes
To achieve most accurate flow measurement it
is essential to have minimum straight lengths of
the inlet and outlet pipes as shown.
(Di: sensor diameter).
Installation in horizontal pipes.
The sensor must be mounted as shown in the
upper figure. Do not mount the sensor as shown
in the lower figure. This will position the
electrodes at the top where there is possibility
for air bubbles and at the bottom where there is
possibility for mud, sludge, sand etc.
If using “Empty Pipe Detection”, the sensor
should be tilted 45° as shown in the upper
figure to maximize full pipe detection and
provide accurate volume calculations.
Note
Physical installation of the battery pack may
influence the battery capacity. Optimal battery
capacity is achieved with the battery pack in
an upright position. The marked installation
examples with the dotted cross will affect the
battery capacity.
Recommended installation is in a vertical/inclin-
ed pipe to minimize the wear and deposits in
the sensor.
If the process flow direction is opposite of the
sensor’s flow direction label, forward flow rates
can be restored via software parameter FT327,
customer adjusting factor to “-1“.

SITRANS F M MAG 8000
6SFIDK.PS.026.D8.02
2. Installation
The sensor must always be completely full with
liquid.
Therefore avoid:
•Air in the pipe
•Installation at the highest point in the pipe
system
•Installation in vertical pipes with free outlet.
For partially filled pipes or pipes with downward
flow and free outlet, the flowmeter should be
located in a U-tube.
Installation instructions
The water meter can be installed between two
reducers (e.g. DIN 28545). With an 8° reducer,
the following pressure drop curve applies. The
curves are applicable to water.
Example:
A flow velocity of 3 m/s (10 ft./sec.) (V) in a
sensor with a diameter reduction from DN 100
to DN 80 (4" to 3") (d1/d2 = 0.8) gives a pressure
drop of 2.9 mbar (0.04 psi).
Installation in large pipes

SITRANS F M MAG 8000
7
SFIDK.PS.026.D8.02
2. Installation
Potential equalization
Liquid potential equalization or grounding is
accomplished with the built-in grounding
electrodes. The electrodes electrically bond
the liquid to the meter to provide a stable and
accurate measurement.
Bonding & grounding
Gaskets are installed and connection flange
must have a smooth surface and be in line with
the sensor. Gaskets are recommended, but are
not included with the flowmeter.
Advice for gasket selection:
•Only use flat, rubber gaskets.
•Thickness 1...6 mm (0.0...0.02 ft) dependant
on gap/tolerance.
•The inner diameter must not protrude into the
bore of the flowmeter.
•The material should be compatible with the
process fluid.
•The hardness should be maximum Durometer
of 75 Shore A.
Installation instructions
(continued)
Combination of metal and plastic pipelines
A combination of metal and plastic requires
straps for metal pipeline and grounding rings
for plastic pipeline.
Bonding/grounding straps, grounding rings and
straps are not included with the sensor.
All straps or grounding wires should be #12
AWG (or heavier) copper wire and connected
with 6 mm screws.
The sensor body must be grounded using
grounding/bonding straps and/or grounding
rings to protect the flow signal against stray
electrical noise and/or lightning. This ensures
that the noise is carried through the sensor
body and a noise-free measuring area within
the sensor body.
Metal pipelines
On metal pipelines, connect the straps to both
flanges with 6 mm (1/4”) screws. Bonding/
grounding straps are not included with the
flowmeter.
Plastic pipelines
On plastic pipelines and lined metal pipes,
optional grounding rings must be used at both
ends.
Grounding rings is not included in the delivery.

SITRANS F M MAG 8000
8SFIDK.PS.026.D8.02
Maximum allowable
torques
Standard bolts must be well lubricated and
tightened evenly around the gasket. Leakage/
damage to the flowmeter or piping may arise if
bolts are overtightened.
Torque calculations
All values are theoretical and are calculated
making the following assumptions:
•All bolts are new and material selection is
according to EN 1515-1 table 2.
•Gasket material not exceeding 75 shore A
durometer is used between the flowmeter
and mating flanges.
•All bolts are galvanized and adequately
lubricated.
•The values are calculated for use with car-
bon steel flanges.
•Flowmeter and mating flanges are correctly
aligned.
Special attention for meter installation in
cathodic protected pipeline.
Isolate the meter from the pipeline by mounting
isolation Sleeves and Washers on the flange
bolts and connect a wire between the pipelines,
dimensioned to manage the cathodic current
and environmental influence.
Cathodic protected piping
2. Installation
Suggestions for direct
burial of remote sensor
Remote sensor is protected to IP68/NEMA 6P
and can be buried.
The use of pea gravel, at least 300 mm (12
inches) all around the sensor, is recommended.
This provides some drainage and prevents dirt
from solidifying on the sensor.
It also helps locate the sensor should excavation
be necessary. Before covering the pea gravel
with earth, we suggest using electrical cable
identification tape above the gravel.
Remote sensor cable should be run through a
plastic conduit of 50 mm (2 inches) minimum.

SITRANS F M MAG 8000
9
SFIDK.PS.026.D8.02
2. Installation
Remote installation
Verify that the model and serial numbers shown on the labels of the sensor and transmitter are
matched properly (1). Make sure that the cable is safety installed to avoid damaging of cable and
connectors. Please note the different connector types for the coil and electrodes, both having a
minimum diameter of 90 mm (3.6 inches). Save the dust covers for future use and protection (2).
Make sure the connectors are clean and fastened securely to achieve a good connection and
watertight seal (3 & 4).
Note
If dirt enters the connector ends, use plain water for cleaning. Ensure the connectors are
completely dry before making connections.
mm inch Nm f/lbs Nm f/lbs Nm f/lbs Nm f/lbs
25 1" N/A N/A N/A N/A 10 7 7 5
40 1½" N/A N/A N/A N/A 16 12 9 7
50 2" N/A N/A 25 18 N/A N/A 25 18
65 2½" N/A N/A 25 18 N/A N/A 25 18
80 3" N/A N/A 25 18 N/A N/A 34 25
100 4" N/A N/A 25 18 N/A N/A 26 19
125 5" N/A N/A 29 21 N/A N/A 42 31
150 6" N/A N/A 50 37 N/A N/A 57 42
200 8" 50 37 50 37 N/A N/A 88 65
250 10" 50 37 82 61 N/A N/A 99 73
300 12" 57 42 111 82 N/A N/A 132 97
350 14" 60 44 120 89 N/A N/A 225 166
400 16" 88 65 170 125 N/A N/A 210 155
450 18" 92 68 170 125 N/A N/A 220 162
500 20" 103 76 230 170 N/A N/A 200 148
600 24" 161 119 350 258 N/A N/A 280 207
Nominal size PN 10 PN 16 PN 40 Class 150
Maximum allowable
torques
(continued)
Installation of add-on
module
The module must be mounted on the backside
of the MAG 8000 electronic.
Use the two 3 mm screws and washers to fix the
module to the MAG 8000 electronic, with
maximum torque 0.5 Nm.

SITRANS F M MAG 8000
10 SFIDK.PS.026.D8.02
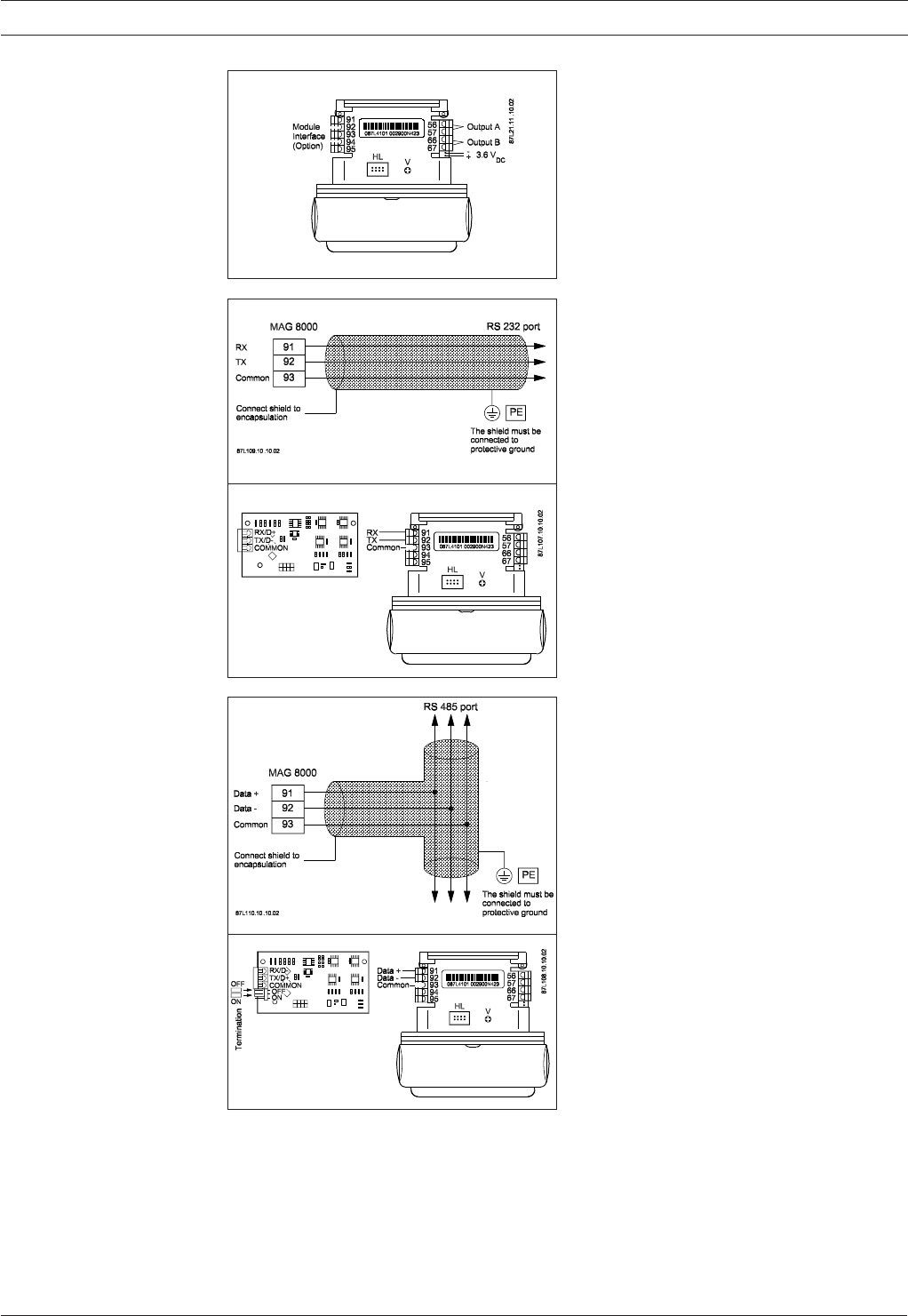
3. Electrical connection
3.1 Electrical installation 3.6 V DC battery connector - male and pulse
connection terminals are placed in the right
side of the PCB board - see figure.
Connection for add-on interface modules is
placed on the left side.
HL = Hardware lock key connection
V = Push bottom for verification mode
To configure the outputs please see output
configuration in Flow Tool (PC-software) ID
400 to 425.
Connection diagram
A MODBUS over serial line cable must be
shielded.
At one end of each cable its shield must be
connected to protective ground. If a connector
is used at this end, the shell of the connector is
connected to the shield of the cable.
RS 232 connection
diagram
RS 485 connection
diagram
A RS 485 - MODBUS must use a balanced pair
(for D+ - D−) and a third wire (for the common).
For the balanced pair used in a RS 485-system,
a characteristic impedance with a value bet-
ween 100 and 120 ohms must be used.
The shield must always be connected to the
MAG 8000 encapsulation using the cable clamp
as shown in the figure under cable installation.
Bus termination:
All RS 485 based networks must be terminated
correctly to function properly. A termination
must be placed at each end of the segment.
The MODBUS RTU module can add a 120 ohm
termination by placing the jumper beside the
terminals in position "ON".
The termination is set to "ON" from the factory.

SITRANS F M MAG 8000
11
SFIDK.PS.026.D8.02
Pulse output connection
diagram
The pulse output can be configured as volume, alarm or call-up, see section 4 “Commissioning”.
Pulse output is not polarized and can be connected for positive or negative logic.
R = pull up/down resistor is selected in relation to the V power supply and with at max. current
I of 50 mA.
Pulse output must be connected to equipment complying with Low Voltage Directive in order
to be considered safe. The isolation within MAG 8000 pulse output is only a functional isolation.
3. Electrical connection

SITRANS F M MAG 8000
12 SFIDK.PS.026.D8.02
Connection diagram for
115/230 V AC (mains) or
12-24 V AC/DC (line)
power supply
Mains power input: Factory mounted PUR cable with 2 x 1 mm2 (brown wire, blue wire)
cable length = 3 m
Mains power input: Brown wire - L (line, hot) and blue wire - N (neutral, cold)
Mains power output: Battery connector - female with blue wire and yellow wire, blue wire is
ground. The battery connector - female has to be connected to the
male connector 3.6 V DC on the PCB board
Battery backup input: Battery connector - male with black wire and red wire, black wire is ground.
The battery connector - male has to be connected to the female
connector on the backup battery
Functional ground: Black wire with terminal must be connected to MAG 8000 encapsulation
with a screw
Mains power supply has to be connected to a switch, near the flowmeter, according to IEC 61010-1
clause 5.4.3.d
Connection diagram for
115/230 V AC (mains)
power supply
Line power input: Factory mounted PUR cable with 2 x 1 mm2 (brown wire, blue wire)
cable length = 3 m
Line power input: Brown wire - L (line, hot, positive) and blue wire (neutral, cold, negative)
Line power output: Battery connector - female with blue wire and yellow wire, blue wire is
ground. The battery connector - female has to be connected to the
male connector 3.6 V DC on the PCB board
Battery backup input: Battery connector - male with black wire and red wire, black wire is ground.
The battery connector - male has to be connected to the female
connector on the backup battery
Functional ground: Black wire with terminal must be connected to MAG 8000 encapsulation
with a screw
Connection diagram for
12-24 V AC/DC (line)
power supply
3. Electrical connection

SITRANS F M MAG 8000
13
SFIDK.PS.026.D8.02
3.2 IP enclosure rating
IP68 - IP67 enclosure
rating
The meter is rated IP68/NEMA 6P from the
factory as standard. If cable glands are used,
the IP68/NEMA 6P enclosure rating can be
obtained by potting the transmitter bottom with
Sylgard potting kit. Otherwise only an IP67/
NEMA 4 rating is obtained.
To ensure the IP68/NEMA 6P enclosure rating,
follow these steps:
1. Select the proper gland size to fit the in-
stalled cable size.
2. O-ring is properly and correctly mounted
and greased with gel.
3. Sylgard potting kit is filled in the bottom part
of the casing.
4. If nessesary renew the Silicagel bag to
prevent condensation within the meter.
Note
Make sure not to fill Sylgard potting kit in the
space for the battery pack.
Cable installation
Choose the correct glands for the selected cable type, see section 9.1 „Accessories“ for glands
selection. Make sure the shield is mounted under the cable clamps - do not make pig tails.
The mains or line powered PUR cable (no shield) has to be mounted under the cable clamps.
All cable glands have to be sufficiently tightened to ensure the IP-rating.
3. Electrical connection

SITRANS F M MAG 8000
14 SFIDK.PS.026.D8.02
4. Commissioning
Before communication
After the program has been started, a meter is selected by using the right mouse button on the
project icon.
After giving the meter a name, a selection of “Manual” or “Automatic” configuration mode is
selected. “Automatic” is chosen for direct connection to the meter. “Manual” is used when creating
a configuration without any connection to a meter, and where the configuration is downloaded
later to the meter.
Monitor or configure meter
data
The following guidelines are based on an installed PC Flow Tool program, and the IrDA
communication adaptor (see section 9.1 „Accessories“). Read Flow Tool FAQ and Release Note
installed with the Flow Tool software.
Visit www.siemens.com/flow, navigate to Tools & Downloads for newest update and support.
MAG 8000 has a build-in IrDA communica-
tion interface on top of the meter.
The IrDA adaptor can be fixed by a rubber
band in the lid.
Select the Flow Tool icon on the windows
desktop.
Note
For on-line communication make sure the
IrDA symbol is visible in the toolbar
status menu before starting Flow Tool.
Connecting the PC to the meter Start Flow Tool software program
4. Commissioning

SITRANS F M MAG 8000
15
SFIDK.PS.026.D8.02
4. Commissioning
Data protection by
password
Device driver
The Device Drivers are related to the meter version and is automatic selected in “Automatic”
mode. In “Manual” mode, the meter version is manually selected and the version check is
automatically made when data is uploaded or downloaded.
New device drivers are included in the latest Flow Tool program available at www.siemens.com/
flow under Electromagnetic Flowmeter - Tools & Downloads - SITRANS F M MAG 8000.
The meter information is software protected by a password. The default factory password is
“1000” and can be changed after gaining access to the meter. If the password is lost, it can
be reset with a new password using the hardware key.
Meter information is stored in a internal data prom, that secure data when the power disappear.
Information like the totalizer 1 and 2, date and time, and the statistic data in the Advanced version
is stored each 10 minutes. Every 4 hours is the battery consumption calculated and remain battery
capacity is updated together with „operation time since first power up“ and „battery operation
time“.
Data backup

SITRANS F M MAG 8000
16 SFIDK.PS.026.D8.02
4. Commissioning
Select the parameter or group which is to be read, written, printed, or exported to a CSV file by
selecting via the right mouse button in left or right window.
Only data with white background can be changed. Red text indicates off-line data. Black text
shows data identical with meter data.
Each parameter has a prompt advising the purpose of the parameter and the setting limitations.
Select a parameter, by clicking in the white cell in the right window of the Flow Tool.
Depending on the parameter selected, a form or dialog box will open to allow selections or data
entry. The figure shows the alarm status, where marked alarms are enabled.
Read - write, print or
export the meter data
Data protection by
hardware key
A hardware key is installed in the HL hole to
change protected parameters. The HL hole is
located in the front of the PCB board behind the
battery. (FT = Flow Tool parameter number)
Protected parameters are:
New Password
FT5 - Sensor tube diameter
FT7 - Meter No.
FT8 - Totalizer unit
FT9 - Flow unit
FT10 - Qn (Q3)
FT300 - Totalizer unit factor
FT301 - Flow unit factor
FT302 - Pipe size
FT321 - Calibration date
FT323 - Calibration factor
FT325 - Sensor offset
FT332 - Max. sensor excitation frequency
Additional protected CT parameters:
FT101 - Totalizer 1
FT102 - Totalizer 2
FT303 - Operation excitation frequency
FT305 - Decimal point place
FT310 - Flow direction totalizer 1
FT312 - Flow direction totalizer 2
FT327 - Adjustment factor
FT328 - Low flow cut off
FT332 - Empty pipe impedance
FT550 - Coil current active
FT551 - Fix flow mode active

SITRANS F M MAG 8000
17
SFIDK.PS.026.D8.02
4. Commissioning
Customer selected
parameter list
The default parameter list is divided into functional groups with maximum 99 parameters
included.
Your own parameter list can be configured by generating a new parameter list and copying an
existing parameter to the new list. The parameters are updated and handled as the existing ones
and listed in the same order that they are copied to the parameter list.
There is no limitation on the number of customer-specified parameter lists. By saving the project,
the parameter list configuration will be available for use in the future.
Save the file with only the customer parameter list explored so future monitoring and changes
of parameters will be easier.

SITRANS F M MAG 8000
18 SFIDK.PS.026.D8.02
4.1 Unit selection
4. Commissioning
MAG 8000 have totalizer and flow rate units set as ordered via the MLFB structure. The standard
format for each region is:
•Europe - m3 as totalizer and m3/h as flow rate
•US - Gallon as totalizer and GPM as flow rate (Gallon per minute)
•Australian - MI as totalizer and MI/d as flow rate (Mega Liters)
Additional pre-defined units or combinations can be implemented at the factory by using the -Z
option in the MLFB ordering structure:
•Volume = m3, m3 × 100, l × 100, Gallon, G × 100, G × 1000, MG, CF × 100, CF × 1000, AF,
AI, kl, Ml
•Flow rate = m3/min, m3/h, m3/d, l/s, l/min, l/h, Ml/d, GPS, GPM, GPH, GPD, MGD, CFS, CFM,
CFH
Totalizer / Volume unit Correction factor
(FT8) parameter FT300
Default 1 m3
m3*100 0.01
Gallon (US) 264.1721
G*100 (100*Gallon) 2.641721
G*1000 (1000*Gallon) 0.2641721
MG (1000000*Gallon) 0.0002641721
AI (Acre Inches) 0.009728558
AF (Acre ft) 0.0008107132
CF*100 (100*ft3) 0.3531467
CF*1000 (1000*ft3) 0.03531467
I*100 (Liter) 10
kI (1000*Liter) 1
MI (Mega Liter) 0.001
Flow rate unit (FT9) Correction factor
parameter FT301
Default 1 m3/s
m3/min (m3/minute) 60
m3/h (m3/hour) 3600
m3/d (m3/day) 86400
GPS (Gallon/second) 264.1721
GPM (Gallon/minute) 15850.32
GPH (Gallon/hour) 951019.4
GPD (Gallon/day) 22824465
MGPD
(1000000*Gallon/day) 22.824465
CFS (ft3/second) 35.31467
CFM (ft3/minute) 2118.882
CFH (ft3/hour) 127132.8
I/s (Liter/second) 1000
I/min (Liter/minute) 60000
I/h (Liter/hour) 3600000
MI/d (1000000*Liter/day) 86.4
4.1.1 Unit conversion
table
All units of measure are printed on a label and affixed to the display (except the European version)
and some meter sizes have a factor included to secure the 8 digit display value will not overrun
after short time of operation. A sticker and manual configuration of units also allows selection of
new units.
Changing units via PC software program Flow Tool:
•Select service mode and meter version – upload data from the meter
•Open the transmitter, remove the battery (still connected) and attached the hardware lock to
the PCB board
•Change units description in parameter FT8 and FT9
•Change units factor in parameter FT300 and FT301
•Change the maximum flow rate Qn (Q3) to the new unit selection FT10
•Select unit display FT306
•Download each parameter to the meter, remove the hardware key and re-assemble the meter.
The service mode opens many parameters which, if changed, can seriously affect the meter
accuracy and operation. Care must be exercised when writing new parameter values, as the
meter has no default setting to return to.

SITRANS F M MAG 8000
19
SFIDK.PS.026.D8.02
4.2 Output configuration Pulse output can be configured as volume pulse, alarm or call-up. Default factory setting is with
output A enabled for forward flow and output B for alarm output. Other output function and pulse
settings may be ordered by selecting the -Z option in the MLFB ordering structure.
Output A and B as pulse
volume
When outputs A or B are configured as volume
per pulse, the output delivers a pulse when the
preset volume has passed the sensor in the
selected direction, and is calculated based on
Forward/Reverse or Net Forward/Reverse flow.
The volume per pulse is freely scalable, from
0.000001 to 10,000 units per pulse, and should
not exceed the pulse rate of the output configu-
ration table.
If volume per pulse is set too low the limitation
of the pulse output rate could cause a pulse
overrun alarm.
When output B is configured as an „alarm“
output, it will follow the internal alarms that
were previously chosen in the Alarm Configu-
ration List.
Note - the alarm output is inverted to a pulse
output providing an alarm should power dis-
appear or the cable connection becomes inter-
rupted.
Output B as call-up output
Output B as alarm output
PR = pulse rate, PF = pulse frequency and
PW = pulse width
Factory regional settings
DN size Pulse width Europe USA Australian
mm (inch) ms m3Gallons Ml
25 (1") 50 0.01 1 0.001
40 (½") 50 0.01 1 0.001
50 (2") 50 0.01 1 0.001
65 (2½") 50 0.1 10 0.001
80 (3") 50 0.1 10 0.001
100 (4") 50 0.1 10 0.001
125 (5") 50 0.1 10 0.001
150 (6") 50 0.1 10 0.001
200 (8") 50 1 100 0.01
250 (10") 50 1 100 0.01
300 (12") 50 1 100 0.01
350 (14") 50 1 100 0.01
400 (16") 50 1 100 0.01
450 (18") 50 1 100 0.01
500 (20") 50 1 100 0.01
600 (24") 50 10 100 0.01
Pulse A is set to ON - Forward flow. Pulse B is set to Alarm.
Note
Via the MLFB order system is it possible to select other units than the default region units.
The pulse output will only be enabled if the pulse settings are selected in the MLFB no.
4. Commissioning
When output B is configured as “call-up”, the
output is activated by an alarm condition and
remains on until it is reset via the meter display
key or communication interface.
A new alarm will not activate a “call-up” function
if the “call-up” function is still active from a
previous alarm.
Note - like the alarm output, the call-up output
inverts to a pulse output providing a call-up
should power disappear or the cable connec-
tion becomes interrupted.

SITRANS F M MAG 8000
20 SFIDK.PS.026.D8.02
4. Commissioning
Output configuration in
Flow Tool (PC software)
The Flow Tool window shows the parameters for output configuration. Each parameter has its
own guideline in selecting the correct parameter setting.
Pulse output, volume
selection
Max. Guidelines for min. volume per pulse at Qn
flow Volume [m3] = Qn [m3/s] * (2*PW [s])
DN rate Qn 5 ms 10 ms 50 ms 50 ms 50 ms 100 ms 500 ms
(Inches) (Q3) PW m3PW m3PW m3PW gallon PW Ml PW m3PW m3
m3[50Hz] [50Hz] [10Hz] [10Hz] [10Hz] [5Hz] [1Hz]
25 (1") 17.67 0.00005 0.0001 0.0005 0.130 0.000001 0.001 0.005
40 (1½“) 45 0.0001 0.0003 0.001 0.330 0.000001 0.003 0.013
50 (2") 63 0.0002 0.0004 0.002 0.462 0.000002 0.004 0.018
65 (2½“) 100 0.0003 0.0006 0.003 0.734 0.000003 0.006 0.028
80 (3") 160 0.0004 0.0009 0.004 1.174 0.000004 0.009 0.044
100 (4") 250 0.0007 0.0014 0.007 1.835 0.000007 0.014 0.069
125 (5") 400 0.0011 0.0022 0.011 2.935 0.000011 0.022 0.111
150 (6") 630 0.0018 0.0035 0.018 4.623 0.000018 0.035 0.175
200 (8") 1000 0.0028 0.0056 0.028 7.338 0.000028 0.056 0.278
250 (10") 1600 0.0044 0.0089 0.044 11.741 0.000044 0.089 0.444
300 (12") 2500 0.0069 0.0139 0.069 18.345 0.000069 0.139 0.694
350 (14") 3463 0.0096 0.0192 0.096 25.412 0.000096 0.192 0.962
400 (16") 4523 0.0126 0.0251 0.126 33.190 0.000126 0.251 1.256
450 (18") 5725 0.0159 0.0318 0.159 42.010 0.000159 0.318 1.590
500 (22") 7068 0.0196 0.0393 0.196 51.865 0.000196 0.393 1.963
600 (24") 10178 0.0283 0.0565 0.283 74.687 0.000283 0.565 2.827
PW = pulse width
Note
Display volume for 5 ms pulse width is based on a basic version with maximum 50 Hz pulse output
rate.
For the advanced version, with maximum 100 Hz pulse rate, the pulse volume values can be
reduced to half.
The calculated numbers of pulses are an average of the measuring period.

SITRANS F M MAG 8000
21
SFIDK.PS.026.D8.02
4. Commissioning
Net flow output
The MAG 8000 has a special net pulse output that includes bi-directional flow calculations.
The example shows that over time, the net pulse output indicates the bi-directional totalizer as
calculated internally.
The same principle applies for forward and reverse flow calculation. By changing the status of
the pulse output, the internal pulse calculator will be reset.
Net totalizer in
meter display
(Bi-directional)
Pulse output forward
Uni-directional mode
Volume [m3]
Pulse output net forward
Bi-directional mode
Volume [m3]
Flow
Volume [m3]Delivered
volume
Internal
calculation
Total accounted volume
[m3]
Forward/Reverse
Delivered
volume
Internal
calculation
0-000
10 - 10 0 10
−2- 0−12 0
18 - 20 −12+20= 8
18F 30F 18F
FT ID Meter Display Parameter/data type Factory settings Data range
number version view Fix parameter or meter data that not are changeable
1 All M1 Application identifier Indetity Max. 14 characters. Only numbers
are visible on the display
2 All - Application location Location Max. 14 characters
3 All M3 Module type MLFB depended Basic or Advanced
4 All M4 Software version x.xxPxx (x.xxPx.x)
5 All - Sensor size Sensor related DN 25..600(1"..24")
6 All - Vendor name Siemens Siemens
8 All - Totalizer unit MLFB depended Max. 10 characters
9 All - Flowrate unit MLFB depended Max. 10 characters
10 All - Qn (Q3) Sensor related 0 to 1*10^9
11 All - Product code number 7ME6810XXXXXXXXX
12 All - Serial number XXXXXXNXXX
100 All M2 Actual date and time PI3 production date and time year-month-day T
hours:minutes:seconds
101 All O1 Totalizer 1 0 0 to +-2*10^9
102 All O2 Totalizer 2 0 0 to +-2*10^9
103 All O5 Customer totalizer 3 0 0 to +-2*10^9
104 All O5 Reset customer totalizer 3 No Yes/no
4.3 Parameter list MAG 8000 is delivered with factory settings that are not stored as default values. Because defaults
values are not present in the meter, an automatic return to factory values is not possible.
The default settings are available at www.siemens.com/flow. Navigate to Tools & Downloads
under MAG 8000.
Visible display information is indicated in the table by menu and index number. Remember to
enable displayed menus FT130.
The abbreviations used in the display menu table are: Operator menu = O, Meter menu = M,
Service menu = Se, Data Logger menu = L, Statistic menu = St, Revenue menu = R.

SITRANS F M MAG 8000
22 SFIDK.PS.026.D8.02
4. Commissioning
FT/PDM Meter Display Parameter/data type Factory settings Data range
number version view Fix parameter or meter data that not are changeable
104 All O5 Reset customer totalizer 3 No Yes/no
105 All - Customer totalizer 3 reset date PI3 production date and time year-month-day T
hours:minutes:seconds
106 All - Flow rate 0 - 1.25 Qn
107 All - Actual velocity 0 - 12500
108 All - Flowrate percent value 0-125% (Qn)
120 All - Actual flow meter status 0 0 to 255, binary presented with
information 1 for bit 0
1: Totalizer 1 or 2 changed or reset,
2: Tariff setting changed or reset,
3: Tariff register changed or reset,
4: Date - time changed,
5: Alarm have been active,
6: Fault log has been reset,
7: Hardware key has been activated,
8: Meter has been power Up
130 All - Menu active 63=all menus active 0 to 63, binary presented with information
1 for bit 0
1: Operator menu,
2: Meter info menu,
3: Service menu,
4: Log menu,
5: Statistic menu,
6: Revenue menu
131 All - Default operator menu index Totalizer 1 Totalizer 1, Totalizer 2, Actual Flow rate,
Fault codes, Customer Totalizer
200 All O4 Fault status 0 0 to 8191, binary presented with
information 1 for bit 0
1: Insulation error,
2: Coil current error,
3: Preamplifier overload,
4: Database checksum error,
5: Low power warning,
6: Flow overload warning,
7: Pulse A overload warning,
8: Pulse B overload warning,
9: Consumption interval warning,
10/L: Leakage warning,
11/E: Empty pipe warning,
12/C: Low impedance (high conductivity)
warning,
13/d: Flow limit warning
201 All - Alarm configuration list 254= Alarm 2 to 8 enabled 0 to 8191, See 200
202 All - Date of fault log reset PI3 production date and time year-month-day T
hours:minutes:seconds
203 All O4 Non optimal measure time 0
204 All - Reset the fault log and faults 2000-01-01 T 00:00:00
205 All - Call up acknowledge No Yes/no
206 All - Battery alarm level 10% 0-100%
208 All - Reset leakage fault No Yes / No
209 All - Reset consumption log fault No Yes / No
210 All - Insulation alarm output enable No Yes / No
211 All - Insulation fault hours 0
212 All - Insulation fault counter 0
213 All - Insulation fault appears 2000-01-01 T 00:00:00
214 All - Insulation fault disappears 2000-01-01 T 00:00:00
215 All - Coil current alarm output enable Yes Yes / No
216 All - Coil current fault hours 0
217 All - Coil current fault counter 0
218 All - Coil current fault appears 2000-01-01 T 00:00:00
219 All - Coil current fault disappears 2000-01-01 T 00:00:00
220 All - Amplifier alarm output enable Yes Yes / No
221 All - Amplifier fault hours 0
222 All - Amplifier fault counter 0

SITRANS F M MAG 8000
23
SFIDK.PS.026.D8.02
4. Commissioning
FT/PDM Meter Display Parameter/data type Factory settings Data range
number version view Fix parameter or meter data that not are changeable
223 All - Amplifier fault appears 2000-01-01 T 00:00:00
224 All - Amplifier fault disappears 2000-01-01 T 00:00:00
225 All - Database alarm output enable Yes Yes / No
226 All - Database fault hours 0
227 All - Database fault counter 0
228 All - Database fault appears 2000-01-01 T 00:00:00
229 All - Database fault disappears 2000-01-01 T 00:00:00
230 All - Low power alarm output enable Yes Yes / No
231 All - Low power fault hours 0
232 All - Low power fault counter 0
233 All - Low power fault appears 2000-01-01 T 00:00:00
234 All - Low power fault disappears 2000-01-01 T 00:00:00
235 All - Flow overflow alarm output enable Yes Yes / No
236 All - Overflow fault hours 0
237 All - Overflow fault counter 0
238 All - Overflow fault appears 2000-01-01 T 00:00:00
239 All - Overflow fault disappears 2000-01-01 T 00:00:00
240 All - Pulse A overload alarm output enable Yes Yes / No
241 All - Pulse A overload fault hours 0
242 All - Pulse A overload fault counter 0
243 All - Pulse A overload fault appears 2000-01-01 T 00:00:00
244 All - Pulse A overload fault disappears 2000-01-01 T 00:00:00
245 All - Pulse B overload alarm output enable Yes Yes / No
246 All - Pulse B overload fault hours 0
247 All - Pulse B overload fault counter 0
248 All - Pulse B overload fault appears 2000-01-01 T 00:00:00
249 All - Pulse B overload fault disappears 2000-01-01 T 00:00:00
250 All - Consumption alarm output enable No Yes / No
251 All - Consumption fault hours 0
252 All - Consumption fault counter 0
253 All - Consumption fault appears 2000-01-01 T 00:00:00
254 All - Consumption fault disappears 2000-01-01 T 00:00:00
255 All - Leakage alarm output enable No Yes / No
256 All - Leakage fault hours 0
257 All - Leakage fault counter 0
258 All - Leakage fault appears 2000-01-01 T 00:00:00
259 All - Leakage fault disappears 2000-01-01 T 00:00:00
260 All - Empty pipe alarm output enable No Yes / No
261 All - Empty pipe fault timer 0
262 All - Empty pipe fault counter 0
263 All - Empty pipe fault appears 2000-01-01 T 00:00:00
264 All - Empty pipe fault disappears 2000-01-01 T 00:00:00
265 All - Low impedance alarm output enable No Yes / No
266 All - Low impedance fault timer 0
267 All - Low impedance fault counter 0
268 All - Low impedance fault appears 2000-01-01 T 00:00:00
269 All - Low impedance fault disappears 2000-01-01 T 00:00:00
270 All - High flow alarm output enable No Yes / No
271 All - High flow alarm fault timer 0
272 All - High flow alarm fault counter 0
273 All - High flow alarm fault appears 2000-01-01 T 00:00:00
274 All - High flow alarm fault disappears 2000-01-01 T 00:00:00
300 All - Totalizer volume unit factor MLFB depended 0-1*10^10
301 All - Flow unit factor MLFB depended 0-1*10^10
302 All - Pipe size Sensor related 25 to 1200
303 All - Meter excitation frequency 1/15Hz 1/15Hz, 1/5Hz, 1.5625Hz, 3.125Hz,
(in battery power mode) 6.25Hz, 1/30Hz, 1/60Hz
304 All - Mains frequency MLFB depended 50 or 60 mains Hz
305 All - Decimal point Automatic point adjustment No point, One digit after point, Two digits
after point, Three digits after point,
Automatic point adjust
306 All - Displayed unit MLFB depended MLFB depended
310 All - Flow direction totalizer 1 Forward forward, reverse or bi-directional net flow
311 All - Totalizer 1 changes date PI3 production date and time

SITRANS F M MAG 8000
24 SFIDK.PS.026.D8.02
FT/PDM Meter Display Parameter/data type Factory settings Data range
number version view Fix parameter or meter data that not are changeable
312 All - Flow direction totalizer 2 Reverse forward, reverse or bi-directional net flow
313 All - Totalizer 2 changes date PI3 production date and time
320 All - Verification mode enable No Yes / No
321 All - Calibration date Calibration date year-month-day T
hours:minutes:seconds
323 All - Calibration factor Sensor related
324 All - Gain correction Sensor related
325 All - Sensor offset Sensor related
327 All - Adjustment Factor 1 -2 to 2
328 All - Low flow cut off 0.05% 0 to 9.9%
329 All - Filter time constant 5 Tau 1 to 1000
331 All - Excitation frequency limit 6.25Hz for advanced version 1/15Hz, 1/5Hz, 1.5625Hz, 3.125Hz,
and 1/15Hz for basic version 6.25Hz, 1/30Hz, 1/60Hz
332 All - Excitation frequency sensor limit Sensor related 6.25 Hz (DN25...DN200 (1"...8"))
3.125 Hz (DN250..DN600 (10"..24"))
333 All - Empty pipe detection enable Yes Yes / No
334 All - Empty pipe limit 25000 ohm = 20uS/cm 0 to 2.15*10^9
400 All - Output A enable Yes Yes / No
401 All Se3 Pulse A function Forward Forward, Reverse, Forward net,
Reverse net
402 All Se3 Amount per pulse A Sensor related 0-1*10^10
403 All - Pulse width for pulse A 50 ms 5 ms, 10 ms, 50 ms, 100 ms, 500 ms
404 All - Output B enable Yes Yes / No
405 All Se4 Pulse B function Alarm pulse, alarm, call-up
406 All - Pulse B direction Reverse Forward, Reverse, Forward net,
Reverse net
407 All Se4 Amount per pulse B Sensor related 0-1*10^10
408 All - Pulse width for pulse B Sensor related 5 ms, 10 ms, 50 ms, 100 ms, 500 ms
420 All M5 Device Communication Address 1 1 to 32
421 All M6 Baudrate 19200 1200, 2400, 4800, 9600, 19200, 38400
422 All M7 Parity Even 1 stop Even 1 stop, Odd 1 stop, None 2 stop,
None 1 stop
423 All - Interframe space 35 35 to 255
424 All - Response delay 5 1 to 50 ms
425 All - Reset communication driver No Yes / No
500 All - Latest service date PI3 production date and time year-month-day T
hours:minutes:seconds
501 All - Operating hours since power up 0 hours
502 All - Battery operating time 0 hours
505 All - Power supply Power supply level Battery or mains power
506 All - Numbers of power up 0
507 All - Battery power MLFB depended 1 to 4 batteries
508 All - Battery change enable No Yes / No
509 All Se1 Battery installation date PI3 production date and time year-month-day T
hours:minutes:seconds
510 All Se2 Actual battery capacity 100% 100 to 0%
512 All - Excitations no. 0
513 All - Power status 0 0: Normal operation, 1: Battery alarm.
Actual battery capacity is below battery
alarm level (% of max capacity), 2: Too
low power (enters stand by mode), 3: As
value 1 and 2 together, 4: External power
gone, 5: As value 1 and 4 together, 6: As
value 2 and 4 together, 7: As value 1 and
2 and 4 together
514 All - Transmitter temperature Actual degree celsius
540 All - Electrode impedance A Measured values 0-185000 ohm
541 All - Electrode impedance B Measured values 0-185000 ohm
542 All - Low medium impedance alarm 0 0 to 2.15*10^9
550 All - Coil current disable No Yes / No
551 All - Fixed flow mode enable No Yes / No
552 All - Fixed flow value 0 -1*10*10^9 to 1*10*10^9
553 All - Flow alarm limit 1000000000 0 to 1*10*9
560 All - Repair checksum No Yes / No
4. Commissioning

SITRANS F M MAG 8000
25
SFIDK.PS.026.D8.02
4. Commissioning
FT/PDM Meter Display Parameter/data type Factory settings Data range
number version view Fix parameter or meter data that not are changeable
570 All - Device Product ID 10779
600 All - Log interval Monthly Daily, Weekly (7 days), Monthly
601 All - Delay weekly log interval 0 0 to 30
602 All - Limit for too high consumption 1000000 -1*10^9 to 1*10*9
603 All - Limit for too low consumption 0 -1*10^9 to 1*10*9
610 All L1 Date of latest log period 2000-01-01 T00:00 year-month-day T
hours:minutes:seconds
611 All L1 Latest Log period totalized (1)
612 All - Latest Log period totalized (2)
613 All - Latest Log period fault status 0 Active faults in log period; 1: Insulation
error, 2: Coil current error, 3: Preamplifier
overload, 4: Database checksum error, 5:
Low power warning, 6: Flow overload war-
ning, 7: Pulse A overload warning, 8: Pulse
B overload warning, 9: Consumption inter-
val warning, 10/L: Leakage warning, 11/E:
Empty pipe warning, 12/C: Low impedance
/ high conductivity warning, 13/d: High flow
limit warning, 14/15/16: Not used
614 All - Latest Log period status 0 Meter operation conditions in log periode;
information 1: Totalizer 1 or 2 changed or reset, 2:
Tariff setting changed or reset, 3: Tariff
register changed or reset, 4: Date - time
changed, 5: Alarm active in logged period
(See alarm fault log for same period), 6:
Fault log has been reset, 7: HW lock
broken, 8: Power Up
615 All L2 Date of log period 2
616 All L2 Log period 2 totalized (1)
617 All - Log period 2 totalized (2)
618 All - Log period 2 fault status See 168
619 All - Log period 2 status information See 169
620 All L3 Date of log period 3
621 All L3 Log period 3 totalized (1)
622 All - Log period 3 totalized (2)
623 All - Log period 3 fault status See 168
624 All - Log period 3 status information See 169
625 All L4 Date of log period 4
626 All L4 Log period 4 totalized (1)
627 All - Log period 4 totalized (2)
628 All - Log period 4 fault status See 168
629 All - Log period 4 status information See 169
630 All L5 Date of log period 5
631 All L5 Log period 5 totalized (1)
632 All - Log period 5 totalized (2)
633 All - Log period 5 fault status See 168
634 All - Log period 5 status information See 169
635 All L6 Date of log period 6
636 All L6 Log period 6 totalized (1)
637 All - Log period 6 totalized (2)
638 All - Log period 6 fault status See 168
639 All - Log period 6 status information See 169
640 All L7 Date of log period 7
641 All L7 Log period 7 totalized (1)
642 All - Log period 7 totalized (2)
643 All - Log period 7 fault status See 168
644 All - Log period 7 status information See 169
645 All L8 Date of log period 8
646 All L8 Log period 8 totalized (1)
647 All - Log period 8 totalized (2)
648 All - Log period 8 fault status See 168
649 All - Log period 8 status information See 169
650 All L9 Date of log period 9
651 All L9 Log period 9 totalized (1)

SITRANS F M MAG 8000
26 SFIDK.PS.026.D8.02
FT/PDM Meter Display Parameter/data type Factory settings Data range
number version view Fix parameter or meter data that not are changeable
652 All - Log period 9 totalized (2)
653 All - Log period 9 fault status See 168
654 All - Log period 9 status information See 169
655 All L10 Date of log period 10
656 All L10 Log period 10 totalized (1)
657 All - Log period 10 totalized (2)
658 All - Log period 10 fault status See 168
659 All - Log period 10 status information See 169
660 All L11 Date of log period 11
661 All L11 Log period 11 totalized (1)
662 All - Log period 11 totalized (2)
663 All - Log period 11 fault status See 168
664 All - Log period 11 status information See 169
665 All L12 Date of log period 12
666 All L12 Log period 12 totalized (1)
667 All - Log period 12 totalized (2)
668 All - Log period 12 fault status See 168
669 All - Log period 12 status information See 169
670 All L13 Date of log period 13
671 All L13 Log period 13 totalized (1)
672 All - Log period 13 totalized (2)
673 All - Log period 13 fault status See 168
674 All - Log period 13 status information See 169
675 All L14 Date of log period 14
676 All L14 Log period 14 totalized (1)
677 All - Log period 14 totalized (2)
678 All - Log period 14 fault status See 168
679 All - Log period 14 status information See 169
680 All L15 Date of log period 15
681 All L15 Log period 15 totalized (1)
682 All - Log period 15 totalized (2)
683 All - Log period 15 fault status See 168
684 All - Log period 15 status information See 169
685 All L16 Date of log period 16
686 All L16 Log period 16 totalized (1)
687 All - Log period 16 totalized (2)
688 All - Log period 16 fault status See 168
689 All - Log period 16 status information See 169
690 All L17 Date of log period 17
691 All L17 Log period 17 totalized (1)
692 All - Log period 17 totalized (2)
693 All - Log period 17 fault status See 168
694 All - Log period 17 status information See 169
695 All L18 Date of log period 18
696 All L18 Log period 18 totalized (1)
697 All - Log period 18 totalized (2)
698 All - Log period 18 fault status See 168
699 All - Log period 18 status information See 169
700 All L19 Date of log period 19
701 All L19 Log period 19 totalized (1)
702 All - Log period 19 totalized (2)
703 All - Log period 19 fault status See 168
704 All - Log period 19 status information See 169
705 All L20 Date of log period 20
706 All L20 Log period 20 totalized (1)
707 All - Log period 20 totalized (2)
708 All - Log period 20 fault status See 168
709 All - Log period 20 status information See 169
710 All L21 Date of log period 21
711 All L21 Log period 21 totalized (1)
712 All - Log period 21 totalized (2)
713 All - Log period 21 fault status See 168
714 All - Log period 21 status information See 169
715 All L22 Date of log period 22
716 All L22 Log period 22 totalized (1)
4. Commissioning

SITRANS F M MAG 8000
27
SFIDK.PS.026.D8.02
4. Commissioning
FT/PDM Meter Display Parameter/data type Factory settings Data range
number version view Fix parameter or meter data that not are changeable
717 All - Log period 22 totalized (2)
718 All - Log period 22 fault status See 168
719 All - Log period 22 status information See 169
720 All L23 Date of log period 23
721 All L23 Log period 23 totalized (1)
722 All - Log period 23 totalized (2)
723 All - Log period 23 fault status See 168
724 All - Log period 23 status information See 169
725 All L24 Date of log period 24
726 All L24 Log period 24 totalized (1)
727 All - Log period 24 totalized (2)
728 All - Log period 24 fault status See 168
729 All - Log period 24 status information See 169
730 All L25 Date of log period 25
731 All L25 Log period 25 totalized (1)
732 All - Log period 25 totalized (2)
733 All - Log period 25 fault status See 168
734 All - Log period 25 status information See 169
735 All L26 Date of log period 26
736 All L26 Log period 26 totalized (1)
737 All - Log period 26 totalized (2)
738 All - Log period 26 fault status See 168
739 All - Log period 26 status information See 169
800 Advanced - Insulation test enable No Yes / No
801 Advanced - Insulation test interval 30 0 to 65535
802 Advanced - Insulation value
803 Advanced - Insulation test date 2000-01-01 T00:00 year-month- day T
hours:minutes:seconds
804 Advanced - Insulation tests fulfilled 0
810 Advanced - Leakage detection mode Off Off/ fix value/ fix + lowest value
811 Advanced - Leakage source Flow rate Flow rate / volume
812 Advanced - Start period for leakage 120min=2:00 [24:00] 0 to 1430
detection minutes (0-23:50)
813 Advanced - Duration leakage detection 120min=2hours 1 to 144 (1440 minutes)
814 Advanced - Leakage value unit Flow / volume unit
815 Advanced - Leakage limit 1 0 to 1*10^9
816 Advanced - Leakage excitation frequency 1.5625 Hz 1/15Hz, 1/5Hz, 1.5625Hz,
3.125Hz, 6.25Hz, 1/30Hz, 1/60Hz
817 Advanced - Leakage status Leakage status; 1: Finished
successfully, 2: Leakage detection
running, 3: Leakage detection failed
(SystemStatus have fatal error), 4:
Leakage detection failed (Empty-pipe
detection disabled), 5: Leakage detection
failed (Coil current off), 6: Leakage
detection failed (Insulation test was
active during detection), 7: Leakage
detection stopped because leakage
parameter was changed.
818 Advanced - Periods with possible leakage
819 Advanced - Leakage periods before alarm 3 0 to 255
820 Advanced - Reset leakage period information No Yes / No
821 Advanced St1 Latest leakage period flowrate 0
822 Advanced St1 Latest leakage period volume 0
823 Advanced - Lowest measured leakage value 1000000000
824 Advanced - Date of lowest leakage value 2000-01-01 T00:00 year-month-day T
hours:minutes:seconds
825 Advanced - Highest measured leakage value 0
826 Advanced - Date of highest leakage value 2000-01-01 T00:00 year-month-day T
hours:minutes:seconds
830 Advanced R8 Next settling date PI3 production date and time year-month-day T
hours:minutes:seconds
831 Advanced R9 Latest settling date PI3 production date and time year-month-day T
hours:minutes:seconds
832 Advanced R9 Latest totalizer 1 value 0

SITRANS F M MAG 8000
28 SFIDK.PS.026.D8.02
FT/PDM Meter Display Parameter/data type Factory settings Data range
number version view Fix parameter or meter data that not are changeable
833 Advanced R10 Previous settling date PI3 production date and time year-month-day T
hours:minutes:seconds
834 Advanced R10 Previous totalizer 1 value 0
840 Advanced - Tariff control mode Off Off / time / flow / combination
841 Advanced R7 Date of tariff reset PI3 production date and time year-month-day T
hours:minutes:seconds
842 Advanced - Reset tariff values No Yes / No
843 Advanced R1 Tariff1 volume 1 0
844 Advanced R1 Tariff1 period time end 360min=6:00 [24:00] 0 to 1439 minutes (23:59)
845 Advanced R1 Tariff1 upper limit range 15% 0 to 100% Qn
846 Advanced R2 Tariff2 volume 2 0
847 Advanced R2 Tariff2 period time end 540min=9:00 [24:00] 0 to 1439 minutes (23:59)
848 Advanced R2 Tariff2 upper limit range 30% 0 to 100% Qn
849 Advanced R3 Tariff3 volume 3 0
850 Advanced R3 Tarif3 period time end 720min=12:00 [24:00] 0 to 1439 minutes (23:59)
851 Advanced R3 Tariff3 upper limit range 45% 0 to 100% Qn
852 Advanced R4 Tariff4 volume 4 0
853 Advanced R4 Tariff4 period time end 1080min=18:00 [24:00] 0 to 1439 minutes (23:59)
854 Advanced R4 Tariff4 upper limit range 60% 0 to 100% Qn
855 Advanced R5 Tariff5 volume 5 0
856 Advanced R5 Tariff5 period time end 1260min=21:00 [24:00] 0 to 1439 minutes (23:59)
857 Advanced R5 Tariff5 upper limit range 80% 0 to 100% Qn
858 Advanced R6 Tariff6 volume 6 0
860 Advanced - Reset date of statistic inf. PI3 production date and time year- month-day T
hours:minutes:seconds
861 Advanced - Reset statistic information No Yes / No
862 Advanced St2 Lowest flowrate 0
863 Advanced St2 Date of lowest flowrate PI3 production date and time year-month-day T
hours:minutes:seconds
864 Advanced St3 Highest flowrate 0
865 Advanced St3 Date of highest flowrate PI3 production date and time year-month-day T
hours:minutes:seconds
866 Advanced St5 Lowest day consumption 0
867 Advanced - Date of lowest day consumption PI3 production date and time year-month-day T
hours:minutes:seconds
868 Advanced St6 Highest day consumption 0
869 Advanced - Date of highest day consumption PI3 production date and time year-month-day T
hours:minutes:seconds
870 Advanced St4 Day 1 (yesterday) of last 0
week consumption
871 Advanced - Day 2 of last week consumption 0
872 Advanced - Day 3 of last week consumption 0
873 Advanced - Day 4 of last week consumption 0
874 Advanced - Day 5 of last week consumption 0
875 Advanced - Day 6 of last week consumption 0
876 Advanced - Day 7 (7 days ago) of last 0
week consumption
877 Advanced St7 Latest week consumption 0
878 Advanced St8 Actual month consumption 0
879 Advanced St9 Latest month consumption 0
880 Advanced - Reset date of consumptionprofile PI3 production date and time year-month-day T
hours:minutes:seconds
881 Advanced - Reset consumption profile No Yes / No
882 Advanced - Total time in CP range 1 0
883 Advanced - Upper limit in CP range 1 15% 0 to 100% Qn
884 Advanced - Total time in CP range 2 0
885 Advanced - Upper limit in CP range 2 30% 0 to 100% Qn
886 Advanced - Total time in CP range 3 0
887 Advanced - Upper limit in CP range 3 45% 0 to 100% Qn
888 Advanced - Total time in CP range 4 0
889 Advanced - Upper limit in CP range 4 60% 0 to 100% Qn
890 Advanced - Total time in CP range 5 0
891 Advanced - Upper limit in CP range 5 80% 0 to 100% Qn
892 Advanced - Total time in CP range 6 0
4. Commissioning

SITRANS F M MAG 8000
29
SFIDK.PS.026.D8.02
5. Operation
5. Operation
5.1.1 Meter operation via
key and display
The meter is designed with a single key and a
symbolic display for optimal dialog. A PC software
program is available on the internet to simulate
the display and key operation of MAG 8000.
Display
The display is divided into 3 areas.
Top area with symbols for status information.
Middle area with actual information, and the
bottom area with index for actual information and
the selected menu. Some of the information has
additional information connected and the display
will automatically toggle between the information
(see display overview). After 10 minutes without
pressing the key, the display will time-out and go
back to the default configured operator menu.
Key
There are three different ways the interface key
will respond to being pressed: Briefly pressing
the key for less than 2 seconds will advance the
screen to the next index or menu; pressing the
key for 2 to 5 seconds will enter a menu or
escape the menu selection; pressing the key
for longer than 5 seconds while in the (−)
operator menu will activate a reset of the
selected value (e.g., totalizer or call-up function)
indicated by an “r”. A flashing “r” indicates
activation of reset. Under power up can the time
and date be set up and a “A” will indicated a
acceptable value has been selected and will
be stored when flashing.
5.1.2 Display symbols The status information symbols show the actual
operation of the meter.
The tariff symbol shows the actual accounting
tariff. In the operator menu, the tariff value will
change to “r“ if the information is resetable, like
index “5“ - customer totalizer 3.
The alarm symbol is active when an alarm is
active and independently of the alarm output
configuration.
The empty pipe symbol indicates an empty
pipe condition. To conserve power and prevent
false readings due to exposed measurement
electrodes, flow measurement is disabled until
a full pipe is detected and the symbol has dis-
appeared.
The type of power supply is automatically
detected by the meter. When mains power is
supplied, the plug symbol is shown. When
powered by batteries, the battery symbol is
shown while also indicates remaining battery
capacity - see section 5.2. “Operation menu“
index 1 for more information.
The menu bar icons indicate the actual selected
menu and the related index for the selected
information. The display overview shows rela-
tion between menu, index and information.
Only the (−) operator menu has information and
functions that can be reset. Under the power up
function, battery power can be preset to 100%
capacity and time and date can be adjusted - an
“A” in the index shows acceptable values. The
end of each menu index shows possible menu
selections.

SITRANS F M MAG 8000
30 SFIDK.PS.026.D8.02
5. Operation
5.1.3 Menu overview
Flow tool parameter FT131 defines the default display information with selection between
•Totalizer 1 (Index 1)
•Totalizer 2 (Index 2)
•Flow rate (Index 3, updated with selected measuring frequency)
•Fault codes (Index 4)
•Customer totalizer (Index 5 - resetable)
Default information is shown after power up and after no key operation for 10 minutes.
Flow tool parameter FT130 defines the accessible menus on the display with selection off:
•Operator menu
•Meter info menu
•Service menu
•Data logger menu
•Statistic and leakage menu
•Revenue menu
Disabling display of the menu data will not affect the operation of the functions.
5.1.4 Default display
information and
accessible display
menus

SITRANS F M MAG 8000
31
SFIDK.PS.026.D8.02
Index 4
Active alarm
Fault information. Each number indicates a dedicated fault:
1 Insulation fault
2 Coil current fault*)
3 Preamplifier overload fault*)
4 Data base checksum fault
5 Low power warning
(alarm limits are configurable)
6 Flow overload > Qmax. (125% Qn) flow overload
7 Pulse output 1 overflow > PF [Hz] pulse output 1 overflow
8 Pulse output 2 overflow > PF [Hz] pulse output 2 overflow
9 Consumption interval warning
(alarm limits are configurable)
L Leakage warning
(alarm limits are configurable)
E Empty pipe / low conductivity - when enabled*
C High conductivity/low impedance warning
(alarm limits are configurable)
d High flow rate warning
(alarm limits are configurable)
*) Meter disables measurement to reduce power consumption during fatal faults.
Faults are indicated with the lowest number
first. The display on the left indicates 3 alarm
conditions: low power warning (5), leakage
warning (L), and empty pipe warning (E).
Faults 1 to 4 affect the performance of the meter
and remain active until the alarm condition
disappears. Faults 5 to d are warnings that will
disappear when the alarm condition has been
corrected and reset via communication inter-
face.
Fault evaluation and service guidelines are
made in the service section.
After all faults have disappeared the display
show total hours of faults until the meter is reset.
5. Operation
5.2 Operator menu
Index 1
Totalizer 1
Index 2
Totalizer 2
Index 3
Flow rate
Flow volume totalizer 1 (factory configured for
forward flow calculation).
Flow volume totalizer 2 (factory configured for
reverse flow). A negative value indicates re-
verse flow calculation.
The value of totalizer 2 can be reset to zero or
set to any value desired (example - replacing
an existing old meter).
Index 3 shows the actual flow rate. If a negative
value is indicated, flow is in a reverse direction.
The value of totalizer 1 can be reset to zero or
set to any value desired (example - replacing
an existing old meter).

SITRANS F M MAG 8000
32 SFIDK.PS.026.D8.02
All segments of the display are alternately
flashed on and off during this test.
Index 5
Customer totalizer
5. Operation
Display test
Customer totalizer 3 indicates the totalized
volume since it was last reset. The totalized
volume follows totalizer 1 and the display “r”
indicates that it can be reset by activating a long
key function. When pressing the key while the
“r” is flashing, the totalizer 3 value will reset to
0 and the actual date and time will be stored
permanent in memory. The display information
will now alternate between customer volume
and the reset date.
Menu selection
By activating a middle key function, the menu
selection will flash indicating that a new
selection can be made.
After toggling to the menu of choice, a middle
key function will enter the selected menu.
Index 0 (when active)
Call out reset Call-up reset window (index 0) is only shown
when the call-up function is activated. The “r”
indicates it can be reset by activating a long key
function. When releasing the key while the “r”
is flashing, the call-up function will be reset and
the window disappears.

SITRANS F M MAG 8000
33
SFIDK.PS.026.D8.02
5. Operation
5.3 Internal data handling
Meter status
The meter status parameter (FT120) gives a fast indication of the reliability of the revenue data.
It shows whether important information has been reset or manipulated, for instance if the meter
has been powered down.
The status information can only be reset via the Flow Tool service mode while the hardware lock
key is attached.

SITRANS F M MAG 8000
34 SFIDK.PS.026.D8.02
The logged information has a time & date stamp
and the data logger never stops storing data -
old data is overwritten following the first in/first
out principle. Log 1 is the last stored information,
that is moved to log 2 when the next logging is
made and so on.
The consumption alarm monitors whether the
actual consumption on totalizer 1 is above or
below the consumption limits.
5. Operation
Data logger /
Consumption alarm
The integrated data logger has 26 logging periods where data can be stored daily, weekly or
monthly.
The logger stores the real consumption for totalizer 1 and totalizer 2 in the selected period.
Forward calculated consumption is stored as positive values and reverse calculated consumption
is stored as negative values.
Alarm and meter status are also stored for the same period to indicate the alarm that has been
active or revenue data has been influenced in the specific period.

SITRANS F M MAG 8000
35
SFIDK.PS.026.D8.02
5.4 Operation on battery
power The MAG 8000 is factory configured for 6 years of typical operation on the internal battery pack.
High or low temperature, frequent use of IrDA communication, high pulse output rate, and high
excitation frequency in leakage detection mode will reduce actual operation time. The MAG 8000
power management function controls each power consuming element and measures the tem-
perature for optimal calculation of remaining battery power capacity.
5.4.1 Battery indication
Status and alarm
The battery power capacity for operation is
indicated in 3 levels.
•Full symbol indicates the battery capacity is
above the battery alarm level (% preset
parameter FT206).
•Low symbol indicates that the battery should
be replaced; however, the measurement
will remain active. The level is based on a
preset alarm level.
•When the low symbol is flashing the mea-
surement and communication is disabled
until the battery pack has been replaced and
reset.
The “Low battery” is a selectable % parameter
(FT206) of 100% full capacity. The meter calcu-
lates the remaining capacity every four hours,
including all consuming elements and influ-
ence of change in temperature.
Battery configuration
The battery figure (generated as customer parameter list - see section 4 “Commissioning”) shows
power management information.
At each new battery replacement the capacity is reset to 100% (Flow Tool parameter FT508-
FT510) which is then reduced with the real meter consumption each 4 hours.
The battery limit (FT206) is the level where the low power alarm is activated and generates an
alarm or call up (if configured).
Power status (FT513) follows the battery symbol on the display.
When changing battery power from internal to external battery packs, or visa versa, “Battery
power” (FT507) must be adjusted to match the actual number of batteries connected.
5. Operation

SITRANS F M MAG 8000
36 SFIDK.PS.026.D8.02
5. Operation
5.4.2 Battery operation
time and calculation
The battery operation time depends on the connected battery pack as well as the operation
conditions of the meter. Every 4 hours the advanced power management system calculates the
real power consumption and remaining operation capacity.
The power consumption calculation includes flow measurement, meter dialog (communication
and display) and pulse output.
The temperature is also measured to control and adjust its influence on the battery capacity.
The internal battery pack has a nominal capacity of 33 Ah giving a typical operation time of 6 years
in a revenue application. The nominal capacity of external battery packs is 66 Ah and the
operation time is limited to the lifetime of the batteries - typically 10 years. Configuration and
operation conditions for a typical revenue application is shown in the table.
The typical operation time of 6 years is based on only 80% battery capacity and an operation time/
temperature profile of 5% @ 0 °C/32 °F, 80% @ 15 °C/59 °F and 15% @ 50 °C/122 °F.
The leakage detection, in the advance version, will affect the battery operation time if a higher
excitation frequency is selected during leakage period.
The effect from other temperatures can be seen from the figure.
A variation in temperature from 15 °C to 55 °C (59 °F to 131 °F) reduces the capacity by 17%.
(In the table from 15 Ah to 12½ Ah).
Note
Physical installation of the battery pack may
influence the battery capacity. Optimal battery
capacity is achieved with the battery pack in
an upright position.
Excitation frequency (24 hours operation) 1/30 Hz 1/15 Hz 1/5 Hz 1.5625 Hz 3.125 Hz 6.25 Hz
Two D-Cell battery DN 25...200 8 year 6 year 40 8 months 4 months 2 months
33 Ah Internal (1"...8") months
battery pack DN 250…600 6 year 4 year 20 4 months 2 months NA
(10"...24") months
Four D-Cell battery DN 25...200 10 year 10 year 80 16 months 8 months 4 months
66 Ah External (1"...8") months
battery pack DN 250…600 10 year 8 year 40 8 months 4 months NA
(10"..24") months
Scenario - Revenue application
Output A Pulse - 10 Hz
Output B Alarm or Call up
Meter dialog 1 hour per month
Excitation frequency 1/15 Hz
Country main frequency 50 Hz / 60 Hz

SITRANS F M MAG 8000
37
SFIDK.PS.026.D8.02
5. Operation
5.4.3 Installation and
replacement of
batteries
Position 1-2
Remove the top of the transmitter.
Position 3-4 (only replacement)
Dispose of the silicagel bag. Check the O-ring for damage or deformity. To ensure the continued
IP68 enclosure rating replace the O-ring and smear the O-ring with an acid free lubricating gel.
Position 5-8
Remove the battery pack by pushing the locking tab and loosen the strip. Take the battery pack
out with power connected, place and secure the new battery pack.
Place the new silicagel pack on top of the battery pack, after removing the plastic bag. The silicagel
prevents condensation within the meter.
Position 9-10
Connect the battery pack. After each power up the meter asks if a new battery has been installed
and the internal battery calculation has to be reset. As this information will come soon after the
power has been connected the wire nail or display key must be activated to reset the battery. The
battery Reset will reset the operating time calculate and ensure the correct indication of the
remaining battery capacity. After resetting the battery capacity can date and time be adjusted -
see section 5.2 “Operator menu“ index 4 for more information.
Position 11
Replace the top lid and if necessary, adjust the time and the date via the Flow Tool.
Battery disposal
Disposal of used batteries is regulated under The European Community (EC) two directives, 91/
157/EEC and 93/86/EEC. These directives are implemented by each member country of the EC
independently and in a different way - please contact Siemens for specific regional rules for
disposal of batteries.
For batteries bought from Siemens, a disposal service is offered upon customer request. A
Technical Notice with further recommendations is available upon request.
Package containing used batteries shall bear the inscription: “USED LITHIUM CELLS“.

SITRANS F M MAG 8000
38 SFIDK.PS.026.D8.02
5. Operation
5.4.4 Power up with
battery reset, date
and time set up
After installing new batteries, the power up procedure will enable a reset of the battery capacity
calculation and the setup of date and time. Battery capacity reset, date, and time can also be
corrected via functions FT508 and FT200.
When the battery plug is connected, the meter will display the meter version for 10 seconds. The
display will then show “rESEt.bAt” indicating the option to reset the internal battery power
calculation. To execute the reset, press the key within 6 seconds. If the key is not pressed, the
meter will proceed to the set date and set clock and finally normal operation mode.
If the key is pressed within the reset battery time, the display will indicate “Accept“ to ensure that
the reset should take place. The reset function will take place only if the key is pressed again within
the next 6 seconds. If not, normal operation will begin.
For setting up the date and time, the different key function must be used - see section 5.2 „Operator
menu“ index 1. An “A“ indicates an acceptable value and a flashing “A“ indicates the value is
stored when the key if released.
The reset function also sets the actual date as the battery replacement date.

SITRANS F M MAG 8000
39
SFIDK.PS.026.D8.02
6. Verification Verification mode increases the measurement
frequency to provide maximum measurements
per second. This function is especially useful to
minimize calibration rig time when validating
the flowmeter’s accuracy. The frame around
the digits will blink slowly to indicate verification
mode is enabled. The maximum pulse rate on
output A is increased to 1 kHz and the pulse
width is set to 1 ms. After the verification mode,
the previous pulse setting is restored. Another
pulse width than 1 ms can be selected by
storing new pulse values. This setting remains
after the verification mode is finished.
Verification mode can be activated in two ways:
1) Via the Flow Tool (FT320)
2) By pushing the switch on the transmitter
PCB through the hole labeled “V“ on the
front shield.
Verification mode stops automatically after 4
hours of operation. Verification mode can also
be aborted manually via the Flow Tool (FT320).
6. Verification

SITRANS F M MAG 8000
40 SFIDK.PS.026.D8.02
7. Service
7.1 MAG 8000 service
guidelines The MAG 8000 electromagnetic water meter is based on a very reliable measurement technology
and the advanced alarm monitoring and diagnostics provides valuable information concerning
the meter performance, faults, and service conditions.
Optimal meter performance requires proper meter selection, proper installation, and proper
commissioning for the particular application. This service guideline section indicates how to
detect and solve the most common problems. Meter and application problems are indicated by
the alarm program via the main fault and warning symbol on the display and the comprehensive
data logging and monitoring available via the communication interface.
Alarm monitoring includes individual registration of each alarm, how many hours the alarm has
been active, when the alarm first appeared, and when it disappeared last. The alarm log can be
reset with its own date and time registration. A common fault hour counter includes all active
alarms in one counter. Additionally, active alarms are logged in the data logger to monitor when
the alarms have been activated.
Fatal faults 1 through 4 are the most important to resolve as they influence the operation of the
meter. Fatal faults will disappear as soon the alarm condition is corrected.
7.1.1 Faults codes Faults Alarm description Alarm reasons
codes Faults Measurement is disabled
1 Insulation “Cross talk“ between the coil circuit and the signal circuit, or
(Advanced version strong electrical disturbances from outside influencing the flow
only) signal. The alarm is active until a new test period detects no
failures. A re-activation of the insulation test will also reset the
alarm and start a new insulation test.
During the 4 minute insulation test, the measurement is disabled.
The function is re-activated via FT800.
-> Check cable and wiring installation and disturbing elements in the
surrounding.
2 Coil current Coil circuit is interrupted. The alarm is active until the fault condition
is corrected.
-> Check cable and wiring installation.
3 Preamplifier overload The flow input signal is outside of the expected range and the input
amplifier circuit can not provide a stable measurement. The alarm
is active until the fault condition is corrected.
-> Check cable and wiring installation.
4 Data base checksum All data is checked after operation (e.g., new flow calculation,
writing to the EEprom, etc.) with a checksum control. If the
checksum result fails, data will not be considered as valid and
repair data must be made. The alarm is active until the fault
condition is corrected.
-> Reset checksum repair alarm via FT560 and check the data.
If data is wrong or checksum error reoccurs, replace the PCB
board.

SITRANS F M MAG 8000
41
SFIDK.PS.026.D8.02
7. Service
7.1.1 Faults codes
(continued)
Faults Alarm description Alarm reasons
codes Warning Indication of wrong setting or application issues
5 Low power Battery voltage is below 2 volts or battery capacity is below the low
power % limit (set as customer parameter FT206). When low
voltage is detected, flow measurement and communication will stop,
but the display will remain active as long as some power is
available. The alarm remains active until the fault condition is
resolved.
-> Check the calculated battery capacity (FT510) versus the
battery alarm limit (FT206) and replace batteries as necessary.
6 Flow overflow Flow rate through the meter is 25% above Qn (Q3) and the meter
stops counting at 125% flow. The alarm remains active until the
fault condition is resolved.
-> Check the sizing of the meter for the current installation.
7 & 8 Pulse 1 & 2 overflow The pulse rate is higher than the pulse output can deliver.
Reminder: the basic version is limited to 50 Hz maximum; the
advanced version is limited to 100 Hz maximum. The alarm
remains active until the output pulse rate drops below the maxi-
mum pulse rate.
-> Change volume per pulse to a higher value - see section 8
“Technical data“ for pulse selection.
9 Consumption warning The data logged consumption on totalizer 1 has exceed the too low
or too high consumption limit. The alarm remains active until it is
manually reset by FT209.
-> Check data logger values and consumption limit.
L Leakage The lowest flow rate or volume during leakage period has
(Advanced version exceeded the leakage detection settings. The alarm is active until
only) it is manually reset by FT208. An alarm reset (similar to leakage
period reset FT820) will reset information for the selected function.
-> Check setting and pipe installation.
E Empty pipe The measured electrode impedance is above the empty pipe level
(FT540 & FT541 & FT334). The alarm remains active until the fault
condition is resolved.
-> Make sure the sensor is filled with water.
C High conductivity The electrode impedance is below the low media impedance
(FT542) - meaning the water has a high conductivity. The alarm is
active until the resistance in the water is above the low media
alarm limit.
d High flow rate The flow rate is greater than the flow alarm limit (FT553).
The alarm remains active until the flow rate drops below the flow
alarm limit.
Warning faults cover operating conditions where settings or monitored values exceed configured
limits.
Some of the warnings require a manual reset before they are removed from the alarm list.
Note
A reset of the fault log (FT204) also resets all alarms. Once reset, only active alarms become
visible again.

SITRANS F M MAG 8000
42 SFIDK.PS.026.D8.02
7.2 Flow simulation
7. Service
The MAG 8000 has a built-in flow simulator (FT551 & FT552) to verify and adjust the pulse output
to any connected device or system.
Warning
Totalized values are changed during the simulation and actual flow is NOT measured.
Simulation continues until manually turned off (normal operation restored).
7.3 Replace a trans-
mitter or PCB board Since the MAG 8000 does not have a removable SENSORPROM (EEprom), special care must
be taken when replacing a damaged or defective transmitter or PCB board to ensure proper
operation and continued accuracy. There are three ways to achieve an easy and successful
replacement:
1) Order a complete transmitter as a spare part, which comes configured the same way as the
original meter left the factory. The system serial number of the original meter must be provided
when ordering the replacement.
2) Order a complete transmitter as a spare part with default settings and a blank product label.
Final configuration is done on-site. Missing data and configuration can be uploaded from the
old meter or it can be read from the old meter product label.
3) Order only a replacement PCB board. The PCB board can only be order a an advanced
version and only with default settings. When making the configuration on site, the service
mode must be selected in the Flow Tool and the Hardware key must be attached to the PCB
board to change important parameters.

SITRANS F M MAG 8000
43
SFIDK.PS.026.D8.02
Description Specification
Meter
Accuracy
Standard calibration ±0.4% of rate ±2mm/s
Extended calibration ±0.2% of rate ±2mm/s
Media conductivity Clean water > 20 µs/cm
Temperature
Ambient −20...+60°C (−4...+140°F)
Media 0...70°C (32...+158°F)
Storage −40...+70°C (−22...+158°F)
Enclosure IP68/NEMA6P rating;
Cable glands mounting requires Sylgard potting kit to remain IP68/
NEMA6P, otherwise IP67/NEMA4 rating is obtained;
Factory mounted cable provides IP68/NEMA6P rating
Approvals Drinking water approval
- NSF 61 (cold water) USA (is pending)
- WRAS (BS 6920 cold water) UK
- ACS Listed France
- KTW D1 & D2 and DVGW W270 Germany drinking water approval
- OIML R49 pattern approval including PTB
Conformity PED: 97/23EC
EMC: EN 61000-6-3, EN 61000-6-2, EN 61326-1
Sensor
Size, flange and pressure range
EN 1092-1 (DIN 2501) DN 25 and DN 40: PN 40
DN 50…150: PN 16
DN 200…600: PN 10 or PN 16
ANSI 16.5 Class 150 lb 1”…2”: 580 psi
2”…6”: 230 psi
8”…24”: 145 or 230 psi
AS 4087 DN 50…600: PN 16
Max. excitation frequency 6.25 Hz for sensor size DN 25...DN 200 (1”...8”)
(The transmitter decides 3.125 Hz for sensor size DN 250…DN 600 (10”…24”)
the excitation frequency)
Liner EPDM
Electrode and grounding
electrodes Hastelloy C276
Transmitter
Installation Integral (compact) or remote with factory mounted sensor cable
in 5 m (16.4 ft), 10 m (32.8 ft), 20 m (65.6 ft), 30 m (98.4 ft) lengths
with IP68/NEMA 6P connectors.
Connection is made at the bottom of the transmitter
Enclosure Stainless steel top housing (AISI 316) and coated brass bottom.
Remote wall mount bracket in stainless steel (AISI 304)
Cable entries 2 x M20 (one gland for one cable of size 6…8 mm (0.02...0.026 ft)
is included in the standard delivery)
Display and key Display with 8 digits for main information.
Index, menu and symbol icons for dedicated information
Key for toggling through the function, as set up of date and time
under power up and reset customer totalizer and call-up function
Selectable default display information from the operator menu and
the accessible menus.
Displayed information includes:
- Operator
- Meter
- Service
- Data Logger
- Statistics and leakage (Advanced version only)
- Revenue and tariffs (Advanced version only)
Totalized information can be displayed with 1, 2, 3 decimals or
automatic adjustment for maximum resolution
8. Technical data
8.1 MAG 8000
8. Technical data

SITRANS F M MAG 8000
44 SFIDK.PS.026.D8.02
Flow unit
Europe standard Volume in m3 and flow rate in m3/h
US standard Volume in Gallon and flow rate in GPM
Australian standard Volume in Ml and flow rate as Ml/d
Other defined units:
Volume: m3 x 100, l x 100, G x 100, G x 1000, MG, CF x 100,
CF x 1000, AF, Al, kl
Flow: m3/min, m3/d, l/s, l/min, GPS, GPH, GPD, MGD, CFS, CFM,
CFH
Other units are selectable from factory via MLFB ordering number
system or manually configured on-site by sticking a label on the
display and changing the unit scaling factor. Manual configuration
allows selection of new units
Digital output 2 passive outputs (MOS), individual galvanically isolated
Maximum load ± 35 V DC, 50 mA short circuit protected
Output A function
Programmable as pulse volume – forward – reverse –
forward/net – reverse/net
Output B function
Programmable as pulse volume (like output A), alarm or call-up
Output
Max. pulse rate of 50 Hz (Basic version) and 100 Hz
(Advanced version), pulse width of 5, 10, 50, 100, 500 ms
Communication IrDA: Standard integrated infrared communication interface with
MODBUS RTU protocol
Battery power supply1) Auto detection of power source with displayed symbol for remaining
power. In battery mode, excitation frequency is manually selected
Internal battery pack: 2 D-Cell 3.6 V / 33 Ah
External battery pack: 4 D-Cell 3.6 V / 66 Ah
12-24 V AC/DC power supply Input voltage range: 12-24 V AC/DC (10-32 V AC/DC)
Power consumption during line: 2 VA
Isolation: Class II
Fuse: 1000 mA T - Not replaceable
Short circuit protection: Module is protected from short circuit on
the output connector. Both during mains and backup supply
Complies with standards: IEC 61010-1, OIML R49-1,
EN 61000-6-3, EN 610000-6-2
115/230 V AC mains power Input voltage range: 115/230 V AC, +15% to −20%, 50-60 Hz
supply Power consumption during mains: 2 VA
Isolation: Class II
Fuse: 250 mA T - Not replaceable
Short circuit protection: Module is protected from short circuit on
the output connector. Both during mains and backup supply
Complies with standards: IEC 61010-1, OIML R49-1,
EN 61000-6-3, EN 610000-6-2
Input cable for Factory mounted PUR cable with 2 x 1 mm2
12-24 V AC/DC and (brown, blue), length = 3 m
115/230 V AC power supply Resistant to sunlight and water
Outer diameter 7 mm
Rated voltage (V AC) 300/500 V AC
Testing voltage (V AC) 2000 V AC
Temperature range (°C): Fixed laying −40 to +90 °C
Flexible application −30 to +80 °C
Minumum bending radius 28 mm, (fixed installation)
Maximum pulling force 200 N
Output: As battery connector - female
Backup battery: As battery connector - male
8. Technical data
(continued)
1) Lithium batteries are subject to special transportation regulations accord-ing to United Nations
"Regulation of Dangerous Goods, UN 3090 and UN 3091". Special transport documentation is required
to observe these regu-lations. This may influence both transport time and costs.

SITRANS F M MAG 8000
45
SFIDK.PS.026.D8.02
Features/Version MAG 8000 basic MAG 8000 advanced
Measurering frequency Max. 1/15 Hz Max. 6.25 Hz
(battery power)
Totalizer 3 3
Pulse output 2, max. 50 Hz 2, max. 100 Hz
Communication Add-on Add-on
IrDA Yes Yes
Time and date Yes Yes
Data protection Yes Yes
Data logger Yes Yes
Application identifier Yes Yes
Alarm handling Yes Yes
Meter status Yes Yes
Diagnostics Yes Yes
Battery power management Yes Yes
Insulation test - Yes
Leakage detection - Yes
Meter utilization - Yes
Statistics - Yes
Tariff - Yes
Settle date (Revenue) - Yes
8.2 Features/Version
Siemens Flow Instruments Modbus RTU specification for add-on modules
Device type Slave
Baud rates 1200, 2400, 4800, 9600, 19200, 38400 bits/sec.
Number of stations Recommended: max. 31 per segment without repeaters
Device address range 1-247
Protocol RTU
(Other Modbus protocols like ASCII, Plus or TCP/IP are not supported)
Electrical interface RS 485, 2 wire and RS 232, 2 wire
Connecter type Screw terminals
Supported function codes 1 read coils
3 read holding registers
5 write single coil
16 write multiple registers
17 report slave ID
Broadcast Yes
Maximum cable length 1200 meters (@38400 bits/sec.)
Standard Modbus over serial line v1.0
Certified No
Device profile None
Add-on modules - MODBUS over serial line specification & implementation guide v. 1.0
comply with modbus.org 12/02/02
- MODBUS application protocol specification v. 1.1
modbus.org 12/06/02
Isolation 500 V AC functional isolation of data signals and common
(continued)
Add-on modules must be connected to equipment complying with "Low Voltage Directive" in
order to be considered safe. The isolation within the MAG 8000 add-on MODBUS module is only
functional isolation.

SITRANS F M MAG 8000
46 SFIDK.PS.026.D8.02
8. Technical data
Application Identification
(FT1 & FT2)
Tag number (visible on display if numbers are selected) and meter location, up to 15 characters
per information.
Time and date
(FT100)
Real time clock and date (max. 15 min. change per year)
Totalizer
(FT101 & FT102 & FT103)
• 2 totalizer: Forward, reverse, bidirectional netflow calculation and free selectable start value.
•1 customer totalizer, following totalizer 1 setting and resetable via display key or software with
logging of date and time.
Measurement
(FT300...FT334)
• Free selectable volume and flow unit, where m3 and m3/h is default in display. All other units
are displayed with a display label.
• Excitation frequency in battery operation (manually selected):
- Basic, max. selectable excitation frequency of 1/15 Hz
- Advanced, max. selectable excitation frequency of 6.25 Hz and sensor related
- Default excitation frequency is selected for typically 6 years operation in a revenue
application; 1/15 Hz for DN 25 … 200 (1“ … 8“)
1/30 Hz for DN 250 … 600 (10“ … 24“)
• Excitation frequency with mains power follow maximum sensor excitation frequency
•Filter constant as numbers of excitations
• Low flow cut off, % of Qn (Q3)
•Empty pipe detection (active symbol on display when active)
• Filter selection for mains power frequency (50/60 Hz)
• Correction factor for change of flow direction or to adjust flow measurement
Data logger
(FT600...FT739)
• Logging of 26 records: selectable as daily, weekly or monthly logging
• Each logging includes:
- Consumption on totalizer 1
- Consumption on totalizer 2
- Alarm in current period (13 alarms)
- Meter status (8 values)
• Alarm on high or low consumption for selected logging period
• Totalizer 1 values for all 26 periods can be read on the display
Alarm
(FT200...FT274)
• Active alarm is indicated on the display
•Monitoring of all alarms with statistic recording on each alarm
- Total hours an alarm has been active
- Numbers of time the alarm has been activated
- First time an alarm appears
- Last time the alarm disappears
•Fatal faults interrupt the measurement, if active
- Signal insulation – Flow signal immunity is influenced (Advanced version only)
-Coil current – Fault in driving magnetic sensor field
- Amplifier – Fault in signal circuit
- Check sum – Fault in calculation or handling of data
• Warning faults
- Low Power – Customer-selectable battery alarm level or power drop-out
- Flow overflow – Flow in sensor exceeds Qmax (125% Qn (Q3))
-Pulse overflow on output A and B – Selected pulse volume is too small compared to actual
flow rate and max. output pulse rate
- Consumption – Saved data logger consumption exceeds customer selected limit on high
or low consumption
- Leakage – Leakage detected based on customer settings (Advanced version only)
- Empty pipe – No water in the pipe/sensor
- Low impedance – Measured electrode impedance below customer low impedance level
- Flow limit – Actual flow exceeds selected high flow limited
Meter status
(FT120)
Monitoring of important revenue parameters and data
•Changing totalizers 1 and 2
• Changing tariff totalizer
• Changing tariff settings
• Changing date and time
• Alarm has been active (see alarm log for details)
Features

SITRANS F M MAG 8000
47
SFIDK.PS.026.D8.02
8. Technical data
• Fault log has been reset
•Hardware key has been broken
• Meter has been repowered
Data protection
• All data stored in an EEPROM. Totalizers 1 and 2 are backed up every 10 min, statistic every
hour and power consumption and temperature measurement every 4 hour.
• Password protection of all parameters and hardware protection of calibration and revenue
parameters.
Battery power management
• Optimal battery information on remaining capacity.
• Calculated capacity includes all consuming elements and available battery capacity is
adjusted related to change in ambient temperature.
Diagnostic
• Continuous self test including
- Coil current to drive the magnetic field
- Signal input circuit
- Data calculation, handling and storing
• Features
- Alarm statistics and logging for fault analyzing
- Electrode impedance to check actual media contact
- Flow simulation to check pulse and communication signal chain for correct scaling
- Number of sensor measurements (excitations)
- Transmitter temperature (battery capacity calculation)
- Low impedance alarm for change in media
- Flow alarm when defined high flow exceeds
- Verification mode for fast measure performance check
• Advanced version includes
- Insulation “Cross-Talk” test
-Meter utilization
- Consumption profile
- Statistical flow and consumption data
Insulation test
(Advanced version only)
Test of signal immunity against disturbances and poor installations. Test interval is
selectable and measurement is interrupted during the test period of 4 min.
Leakage detection
(Advanced version only)
Monitoring the lowest flow or volume during selected time window within 24 hours. Leakage is
detected over a selectable period where monitored value exceed the possible leakage level. Min.
and max. values are stored with date registration. Last store value visible on the display.
Meter Utilization
(Advanced version only)
6 registers for monitoring total time the meter has operated in different flow intervals. Registered
intervals are free selectable as % of Qn (Q3).
Tariff
(Advanced version only)
6 tariff registers count the volume delivered within the selected tariff windows, based on time of
day, flow rates, or a combination.
Tariff can also be used for consumption profile where consumption is related to different time
intervals or flow rates.
Tariff values visible on the display.
Settling date
(Advanced version only)
On a predefined date, the totalizer 1 index value is stored. Old values are stored to show the latest
two totalized 1 index values. Settling values are visible on the display.
Statistic
(Advanced version only)
• Min. flow rate with time and date registration
• Max. flow rate with time and date registration
• Min. daily consumption with date registration
• Max. daily consumption with date registration
• Latest 7 days total and daily consumption
• Actual month consumption
• Latest month consumption

SITRANS F M MAG 8000
48 SFIDK.PS.026.D8.02
Calibration references conditions (ISO 9104 and DIN EN 29104)
Media temperature 20°C ± 5K (68°F ± 9°F)
Ambient temperature 20°C ± 5K (68°F ± 9°F)
Warming-up time 30 min.
Incorporation in pipe section
• Inlet section 10 x DN
• Outlet section 5 x DN
Flow conditions Fully developed flow profile
To ensure continuously accurate measurements, water meters must be periodically calibrated.
Calibration is performed at Siemens flow facilities, which are accredited according to ISO/IEC
17025 by DANAK and UKAS.
The accreditation bodies, DANAK and UKAS, have signed the ILAC MRA agreement (International
Laboratory Accreditation Cooperation - Mutual Recognition Arrangement). This accreditation
ensures international traceability and recognition of the test results in 39 countries world-wide,
including NIST traceability in the United States.
The selected calibration determines the accuracy of the water meter. A standard calibration
results in max. ±0.4% of rate ±0.2 mm/s uncertainty and an extended calibration results in a max.
±0.2% of rate ±0.2 mm/s (pending). A calibration certificate is included with every sensor and
calibration data is stored within the meter.
8.3 Meter uncertainty
8. Technical data

SITRANS F M MAG 8000
49
SFIDK.PS.026.D8.02
8.4
Sizing table
DN 25...DN 1200 (1"...48")
The table shows the relationship between flow velocity V, flow quantity Q and sensor dimension
DN (size).
Guidelines for selection of sensor
Min. measuring range: 0-0.25 m/s (0-0.8 ft/sec.)
Max. measuring range: 0-10 m/s (0-33 ft/sec.)
Normally the sensor is selected so that V lies within the measuring range 1-2 m/s (3-7 ft/sec.).
Flow velocity calculation formula:
V = 1273.24 x Q [l/s] [m/s]
DN2 [mm] or V = [m/s]
DN2 [mm]
353.68 x Q [m3/h]
8. Technical data
Flow velocity calculation formula:
GPM = (Pipe I.D. inches)2 x velocity (ft/sec.) x 2.448
V = GPM x 0.408
(Pipe I.D. inches)2or V =
(Pipe I.D. inches)2
MGD x 283.67

SITRANS F M MAG 8000
50 SFIDK.PS.026.D8.02
8. Technical data
8.5 The effect of tempe-
rature on working
pressure
Metric (Pressures in bar)
Sizes 25 mm, 40 mm & > 300 mm
Flange spec. Flange Temperature °C
rating 0105070
EN 1092-1 PN 10 10.0 10.0 9.7 9.4
PN 16 16.0 16.0 15.5 15.1
PN 40 40.0 40.0 38.7 37.7
ANSI 16.5 150 lb 19.7 19.7 19.3 18.0
Sizes 50 mm to 300 mm
EN 1092-1 PN 10 10.0 10.0 10.0 8.2
PN 16 10.0 16.0 16.0 13.2
ANSI 16.5 150 lb 10.0 19.7 19.7 16.2
Imperial (Pressures in Psi)
Sizes 1", 1½", & > 12"
Flange spec. Flange Temperature °F
rating 32 50 122 158
EN 1092-1 PN 10 145 145 141 136
PN 16 232 232 225 219
PN 40 580 580 561 547
ANSI 16.5 150 lb 286 286 280 261
Sizes 2" to 12"
EN 1092-1 PN 10 145 145 145 119
PN 16 145 232 232 191
ANSI 16.5 150 lb 145 286 286 235
8.6 “Physical”
dimension
Dimension mm [inch]
(Nominal A L, lenghts D, diameter Weight1)
DN EN 1092-1 ANSI AS 4087 DI DO
size) PN PN PN 16.5 PN 16
10 16 40 Cl. 150
mm (inch) mm (inch) mm mm mm inch mm mm (inch) mm (inch) kg lbs
25 (1) 194 (7.7) - - 200 7.9 200 25 (0.98) See flange table 6 13
40 (1½) 204 (8.1) - - 200 7.9 200 40 (1.57) See flange table 9 20
50 (2) 195 (7.7) - 200 - 7.9 200 42 (1.65) See flange table 11 25
65 (2½) 201 (8) - 200 - 7.9 200 55 (2.17) See flange table 13 29
80 (3) 207 (8.2) - 200 - 7.9 200 67 (2.64) See flange table 15 34
100 (4) 214 (8.5) - 250 - 9.8 250 81 (3.19) See flange table 17 38
125 (5) 224 (8.9) - 250 - 9.8 250 101 (3.98) See flange table 22 50
150 (6) 239 (9.5) - 300 - 11.8 300 131 (5.16) See flange table 28 63
200 (8) 264 (10.5) 350 350 - 13.8 350 169 (6.65) See flange table 50 113
250 (10) 291 (11.5) 450 450 - 17.7 450 212 (8.35) See flange table 71 160
300 (12) 317 (12.6) 500 500 - 19.7 500 265 (10.43) See flange table 88 198
350 (14) 369 (14.6) 550 550 - 21.7 550 350 (13.78) See flange table 111 250
400 (16) 394 (15.6) 600 600 - 23.6 600 400 (15.75) See flange table 126 284
450 (18) 425 (16.8) 600 600 - 23.6 600 450 (17.72) See flange table 175 394
500 (20) 450 (17.8) 600 600 - 26.8 600 500 (19.68) See flange table 225 507
600 (24) 501 (19.8) 600 600 - 32.3 600 600 (23.62) See flange table 299 649
1) for remote version the sensor weight is reduced with 2 kg (4.5 lb)

SITRANS F M MAG 8000
51
SFIDK.PS.026.D8.02
8 Technical data
Remote version
Dimensions in mm (inch),
weight 3.5 kg (8 lbs)
Note
Physical installation of the battery pack may influence the battery capacity.
Optimal battery capacity is achieved with the battery pack in an upright position as shown.
8.7 Flange mating dimen-
sions (Metric) Dimensions mm Bolting
mm OD PCD T B Holes Bolts
PN 10
200 340 295 24 22 8 M20
250 395 350 26 22 12 M20
300 445 400 26 22 12 M20
350 505 460 28 22 16 M20
400 565 515 32 26 16 M24
450 615 565 36 26 20 M24
500 670 620 38 26 20 M24
600 780 725 42 30 20 M27
PN 16
50 165 125 19 18 4 M16
65 185 145 20 18 8 M16
80 200 160 20 18 8 M16
100 220 180 22 18 8 M16
125 250 210 22 18 8 M16
150 285 240 24 22 8 M20
200 340 295 26 22 12 M20
250 405 355 29 26 12 M24
300 460 410 32 26 12 M24
350 520 470 35 26 16 M24
400 580 525 38 30 16 M27
450 640 585 42 30 20 M27
500 715 650 46 33 20 M30
600 840 770 52 36 20 M33
PN 40
25 115 85 16 14 4 M12
40 150 110 18 18 4 M16
Dimensions inches Bolting
inch OD PCD T B Holes Bolts
ANSI Class 150
1" 4.25 3.12 0.56 0.62 4 9/16"
1 ½" 5 3.88 0.68 0.62 4 9/16"
2" 6 4.75 0.75 0.75 4 5/8"
2 ½" 7 5.5 0.88 0.75 4 5/8"
3" 7.5 6 0.94 0.75 4 5/8"
4" 9 7.5 0.94 0.75 8 5/8"
5" 10 8.5 0.94 0.88 8 3/4"
6" 11 9.5 1 0.88 8 3/4"
8" 13.5 11.75 1.12 0.88 8 3/4"
10" 16 14.25 1.19 1.00 12 7/8"
12" 19 17 1.25 1.00 12 7/8"
14" 21 18.75 1.38 1.12 12 1"
16" 23.5 21.25 1.44 1.12 16 1"
18" 25 22.75 1.56 1.25 16 1 1/8"
20" 27.5 25 1.69 1.25 20 1 1/8"
24" 32 29.5 1.88 1.38 20 1 1/4"
Dimensions in mm (inch),
weight 2.0 kg (4.5 lbs)
External battery pack

SITRANS F M MAG 8000
53
SFIDK.PS.026.D8.02
9. Ordering
9.1 Accessories Description Order No. Symbol
One cable entry 6...8 mm (0.02...0.026 ft)
M20 brass glands package (1 pc) FDK:087L4196
One cable entry 3.5...5 mm (0.011...0.016 ft)
M12 brass glands with M20 reduction.
Package of 10 pcs FDK:087L4154
One cable entry 6...8 mm (0.02...0.026 ft)
M20 brass glands package (10 pcs) FDK:087L4155
One cable entry 8...11 mm (0.026...0.036 ft)
M20 brass glands package (10 pcs) FDK:087L4156
One cable entry 11...15 mm (0.036...0.049 ft)
M20 brass glands package (10 pcs) FDK:087L4157
Two cable entries 3.5...5 mm (0.011...0.016 ft)
M20 brass glands package (10 pcs) FDK:087L4158
Two cable entries 5.5...7.5 mm (0.018...0.024 ft)
M20 brass glands package (10 pcs) FDK:087L4159
Battery backup for mains power supply,
one pc. D-cell (3.6 V, 16.5 Ah) FDK:087L4201
Attention on note 1)
Internal battery pack, one set
D-cell (3.6 V 33 Ah) and replacement
accessories; silicagel, O-ring and gel
Attention on note 1) FDK:087L4150
External battery pack IP68/NEMA6P
with connector, four D-cell (3.6 V 66 Ah)
Attention on note 1) FDK:087L4151
Line power supply 12 ... 24 V AC/DC with battery
backup and 3 m (9.8 ft) power cable for external
connection (no battery included) FDK:087L4210
Mains power supply 115 ... 230 V AC with battery
backup up and 3 m (9.8 ft) power cable for
external connection (no battery included) FDK:087L4211
RS 232 add-on module, point to point
communication interface with MODBUS RTU
protocol FDK:087L4212
RS 485 add-on module, multidrop
communication interface with MODBUS RTU
protocol FDK:087L4213
PC Flow Tool on CD (Download for
free from www.siemens.com/flow) FDK:087L6001
IrDA infrared interface adapter with
USB for data acquisition with 1.2 m (3.9 ft) cable FDK:087L4163
MAG 8000 Hardware key to access
protected parameters FDK:087L4165
1) Lithium batteries are subject to special transportation regulations according to United Nations „Regulation
of Dangerous Goods, UN 3090 and 3091“. Special transport documentation is required to observe these
regulations. This may influence both transport time and costs.

SITRANS F M MAG 8000
54 SFIDK.PS.026.D8.02
9.2 Spare parts Description Order No. Symbol
MAG 8000 compact transmitter (Basic version) FDK:087L4166
replacement kit with system configuration
specified by ordering.
No battery included
MAG 8000 remote transmitter (Basic version) FDK:087L4202
replacement kit with system configuration
specified by ordering.
No battery included
MAG 8000 advanced compact transmitter FDK:087L4203
replacement kit with default configuration
and blank product label.
No battery included
MAG 8000 advanced remote transmitter FDK:087L4204
replacement kit and blank product label.
No battery included.
MAG 8000 advanced transmitter PCB FDK:087L4168
replacement kit with default settings
Enclosure top including plastic lid, FDK:087L4167
screws and blank product label
Cable for external battery pack, FDK:087L4152
1.5 m (4.92 ft) with IP68/NEMA 6P connector
Service tool kit package with various FDK: 087L4162
component for service and replacement
(Drawing indicates quantity in the package)
Remote cable set 5 m (16.4 ft) with FDK: 087L4108
IP68/NEMA6P plugs
Remote cable set 10 m (32.8 ft) with FDK: 087L4109
IP68/NEMA6P plugs
Remote cable set 20 m (65.6 ft) with FDK: 087L4110
IP68/NEMA6P plugs
Remote cable set 30 m (98.4 ft) with FDK: 087L4111
IP68/NEMA6P plugs
9. Ordering

SITRANS F M MAG 8000
55
SFIDK.PS.026.D8.02
Item Description
1 Transmitter Lid
2 Rubber band for holding down IrDA
3 Transmitter cover
4 Hold-down screws
5 Battery pack tie-down
6 Internal battery pack
7 Battery holder
8 Battery holder plate
9 O-ring for transmitter cover
10 Unit label and hardware lock protection
11 Transmitter PCB
12 PCB shield
13 Communication module (optional)
14 Silicagel bag
15 Screws
16 Cable shield connection
17 Brass transmitter base
18 Threaded conduit plug
19 M20 Cable glands
16 M20 glands
20 Cable
21 O-ring sensor*)
22 Sensor
23 Backup battery
24 Main power supply
9. Ordering
*) Sensor o-ring, is available in two versions. To secure the IP ratings it is important to choose
the right sensor o-ring to the sensor, when changing it.

Siemens has checked the contents of this manual for agreement with the hardware and
software described. Since deviations cannot be precluded entirely, Siemens cannot
guarantee full agreement. However, the data in this manual are reviewed regularly and
any necessary corrections included in subsequent editions. Suggestions for
improvement are always welcome.
Technical data subject to change without prior notice.
The reproduction, transmission or use of this document or its contents is not permitted without
express written authority.
Offenders will be liable for damages. All rights, including rights created by patent grant or
registration of a utility model or design, are reserved.
Copyright © Siemens AG 01.2007 All Rights Reserved
Siemens Flow Instruments A/S
Nordborgvej 81
DK-6430 Nordborg
Order no.: FDK:521H1193-08
Printed in: Denmark
