EndoSolution ETS-1000L ENDO TRACKER User Manual
EndoSolution ENDO TRACKER Users Manual
Users Manual

ENDO TRACKER
E T S - 1 0 0 0 L
USER MANUAL
EndoSolution

- 2 -
< Contents >
1. Notes before use 3
1-1. (Warning) Related to power adapter 3
1-2. (Warning) Prohibited requirements for the prevention of invasive 3
1-3. (Caution) About general use 3
2. The name of each part 3
3. H/W Diagram 4
4. How to use 4
4-1. Power Connection 4
4-2. System settings using mobile phone apps 5
4-3. install 5
4-4. How to use in the laboratory 5
4-5. How to use in the disinfecting room 6
4-6. How to use in the storage room 6
4-7. How to use in the administration Office 6
5. Care and Storage 7
6. Product Specifications 7

- 3 -
1. Notes before use
▶ Please refer to the user manual always keep in close.
▶ Before you can use in order to safely and properly use, please read this manual carefully.
- Warning : When handled improperly, it will display the content that can result in death or
injury.
- Caution : When handled improperly, it will display the content by injury or material loss
that may have occurred.
☞ Material loss says the losses up to houses, livestock and pets.
1-1. (Warning) Related to power adapter
▶ Use only the power adapter !
▶ Do not excessively bend or damage the power cord !
1-2. (Warning) Prohibited requirements for the prevention of invasive
▶ Use in a place without water !
▶ Please use the main body in places that do not fall water !
▶ When used near water, use a waterproof sheet !
1-3. (Caution) About general use
▶ Please use after you fully understand the instruction manual of this product !
▶ Do not use for any purpose other than !
▶ Do not disassemble or modify the main body !
▶ Do not drop or give strong impact to the main body !
2. The name of each part
① FrontLED : S(red) D(white) P(green) T(blue)
④ Down
⑤ Reset
⑥ Search
⑦ Up
⑧ NFC
② Corner LED
③ 4Digit LED
⑨ Adaptor LAN Port Run/Set

- 4 -
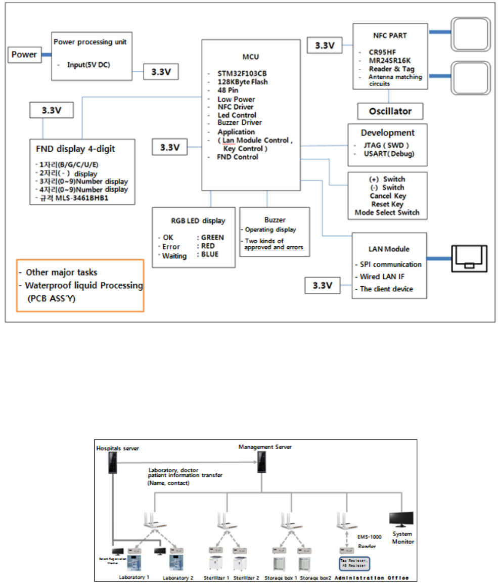
3. H/W Diagram
4. How to use
Endoscopic checker, sterilizers and storage box etc in the endoscopic management system, attach
each in the ETS-1000L. When an endoscopy or disinfection will lead the RFID tag. So transfer the
data to the server, and used to display the data received from the server.
A network configuration of an endoscope management system
4-1. Power Connection
1) A dedicated Adaptor to connect to the adapter jack of the main body.
- When the power is turned on will automatically connect to the server.
- If the server connection fails, automatic retry the connection.
Caution - If you continue to server connection fails, check the system settings using a mobile
phone app.

- 5 -
4-2. System settings using mobile phone apps
(ETS-1000L) (Mobile phone apps)
1) Run / Set key for the ETS-1000L is set to Set position.
- If you set the position of the Set, the number display LED will be displayed with the Set.
2) Install the Endo Medical app to a mobile phone. The tagging the mobile phone to the RFID
reader of the ETS-1000L. This mobile phone apps is run. Once again, the RFID reader to tag
the mobile phone. This displays the device ID, address, and port number of the server set
in the ETS-1000L.
3) Modify the data of mobile phone apps and check the entries Register (∨) and tagging
the reader again.
- When stored properly, it displays the message "Write successful".
4-3. Install
Depending on the network configuration of the endoscopic management system and attach it
to the designated place of endoscopic checker, sterilizers, storage box.
Caution - The device ID registered in the endoscopic management server must match the registered
location and installation site.
4-4. How to use in the laboratory
1) Examination start :
a) Input of doctor and patient data : Data of doctors and patients, endoscopic management
system server, enter the data in conjunction with the hospital's systems and servers.
b) Scope tag input : Tagging the RFID tag attached to an endoscope.
c) Tester input tag : To tag the tester tag.
- When the Normal Front LED (S, D, P, T) both is turned ON, the server stores the input data
to the examination start.
2) Examination end :
a) Nurses enter tags : When the examination is started and once again input of the nurse tag,
the server then automatically stores the input data as examination end.
- When the normal examination is end, all Front LED will turn OFF.
- 6 -
4-5. How to use in the disinfecting room
1) Disinfection start :
a) Scope tag input : Tagging the RFID tag attached to an endoscope.
b) Tester input tag : To tag the tester tag.
- When the Normal Front LED (S, T) both is turned ON, the servedr stores the input data
to the disinfection start.
2) Disinfection end :
a) Nurses enter tags : When the disinfection is started and once again input of the nurse tag,
the server then automatically stores the input data as disinfection end.
- When the normal disinfection is end, all Front LED will turn OFF.
3) Up key
- Pressing the Up key to increase the amount of servers disinfection 1.
4) Down key
- Pressing the Down key to decrease the amount of servers disinfection 1.
5) Search key
- Search 키를 누르면 서버로부터 데이터를 수신하여 소독기안에 들어있는 첫 번째 ScopeID를 4Digit
LED에 표시하고, 다시 한번 키를 입력하면 두 번째 ScopeID를 표시하고, 또 다시한번 키를
입력하면, 소독기의 소독횟수를 표시합니다.
6) Reset key
- Pressing the Reset key, the server will reset to zero the number of disinfection.
Caution - Reset key is to replace the antiseptic solution, and used to initialize
the disinfection count to 0.
4-6. How to use in the storage room
1) Storage start :
a) Scope tag input : Tagging the RFID tag attached to an endoscope.
b) Tester input tag : To tag the tester tag.
- When tag of the endoscope scope and tester is Successfully entered, the server stores
the endoscopic scope to storage conditions.
4-7. How to use in the administration Office
- How to use the tag such as registration/modification, registration A/S, loading/unloading :
Tagging the tags according to the instructions of the server management program.

- 7 -
5. Care and Storage
▶ Use always clean the main body.
▶ Contaminants adhering to the main body, please wipe with a soft, dry cloth.
▶ If heavily soiled, wipe the well woven cloth moistened with water or mild detergent. And then wipe
it with a soft, dry cloth.
- Please do not enter such as water inside the main body.
(Notes on storage)
Please do not keep any of the following locations.
▶ Place there is water
▶ A place to receive high temperature, high humidity, direct sunlight, dust, the impact of air that
contains such as salt.
▶ Tilt, vibration, and shock location
▶ Place the storage of chemicals or occur the corrosive gas.
6. Product Specifications
Product specification table
Item Description
Product Name. ENDO TRACKER
Model Name. ETS - 1000L
Front LED S:Scope LED, D:Doctor LED, P:Patient LED, T:Tester LED
Display 4 Digit LED
Button Down, Reset, Search, Up
NFC Reader 13.56MHz, ISO15693(ICODE SLI), ISO14443A
Ethernet 10MHz / 100MHz
Power supply Dedicated adapter 100~240VAC 50/60Hz
AC-DC Adapter : DC5V 1,000mA
Weight 192g
External size (WxDxH) 94mm x 184mm x 25mm
7. A/S Contact
EndoSolution
#1712 Hanla Sigma Valley 545, Dunchon-daero, Jungwon-gu, Seongnam-si,
Gyeonggi-do, Korea
Tel: +82-31-745-9466
Fax: +82-31-746-9466

FCC Information to User
This equipment has been tested and found to comply with the limits for a Class B digital device,
pursuant to Part 15 of the FCC Rules. These limits are designed to provide reasonable
protection against harmful interference in a residential installation. This equipment generates,
uses and can radiate radio frequency energy and, if not installed and used in accordance with
the instructions, may cause harmful interference to radio communications. However, there is no
guarantee that interference will not occur in a particular installation. If this equipment does
cause harmful interference to radio or television reception, which can be determined by turning
the equipment off and on, the user is encouraged to try to correct the interference by one of the
following measures:
• Reorient or relocate the receiving antenna.
• Increase the separation between the equipment and receiver.
• Connect the equipment into an outlet on a circuit different from that to which the receiver is
con-nected.
• Consult the dealer or an experienced radio/TV technician for help.
Caution
Modifications not expressly approved by the party responsible for compliance could void the
user’s authority to operate the equipment.
FCC Compliance Information : This device complies with Part 15 of the FCC Rules.
Operation is subject to the following two conditions: (1) This device may not cause harmful
interference, and (2) this device must accept any interference received, including interference
that may cause undesired operation
IMPORTANT NOTE:
FCC RF Radiation Exposure Statement:

1) Read these instructions.
2) Keep these instructions.
3) Heed all warnings.
4) Follow all instructions.
5) Do not use this equipment near water.
6) Do not using near any heat sources such as radiators, heat resisters, stove, or other
equipment that produce heat.
Information to user.
The users manual or instruction manual for an intentional or unintentional radiator shall caution
the user that changes or modifications not expressly approved by the party responsible for
compliance could void the user's authority to operate the equipment. In cases where the manual
is provided only in a form other than paper, such as on a computer disk or over the Internet, the
information required by this section may be included in the manual in that alternative form,
provided the user can reasonably be
expected to have the capability to access information in that form.
European CE notice to users and product statements
This product is CE marked according to the provisions of the R&TTE
Directive(2014/53/EU). Hereby, EndoSolution declares that this product is
in compliance with the essential requirements and other relevant
provisions of Directive 2014/53/EU.
For further information, please contact http:// www.endosolution.com
EndoSolution
#1712 Hanla Sigma Valley 545, Dunchon-daero, Jungwon-gu, Seongnam-si,
Gyeonggi-do, Korea
Tel: +82-31-745-9466
Fax: +82-31-746-9466
URL: www.endosolution.com
CONTACT INFORMATION
Manufacturer Address #1712 Hanla Sigma Valley 545, Dunchon-daero, Jungwon-gu, Seongnam-si,
Gyeonggi-do, Korea To locate in-country ENDOSOLUTION, distributors of the ENDO TRACKER please refer
to the ENDOSOLUTION Website http:// www.endosolution.com
These distributor(s) represent local contacts for this product.
CORPORATE HEADQUARTERS:
ENDOSOLUTION
#1712 Hanla Sigma Valley 545, Dunchon-daero, Jungwon-gu, Seongnam-si, Gyeonggi-do, Korea
Tel: +82-31-745-9466
Fax: +82-31-746-9466
Web: http:// www.endosolution.com
This device complies with Industry Canada license-exempt RSS standard(s).
Operation is Subject to the following two condition: (1) this device may not cause interference
,and (2) this device must accept any interference, including interference that may cause undesired
operation of the device.

EUROPEAN UNION “DECLARATION OF CONFORMITY”
DECLARATION OF CONFORMITY
ENDOSOLUTION
#1712 Hanla Sigma Valley 545, Dunchon-daero, Jungwon-gu, Seongnam-si, Gyeonggi-do, Korea
declare under our sole responsibility that the product(s)
ENDO TRACKER – ETS-1000L
to which this declaration relate(s) is in conformance with the following standards:
EN 300 330-1 V1.8.0:2014
EN 300 330-2 V1.6.0:2014
EN 301 489-1 V1.9.2 :2011
EN 301 489-3 V1.6..1 :2013
EN 60950-1:2006+A11:2009+A1:2010+A12:2011+A2:2013
following the provisions of the 2014/53/EU Directives.