Ensemble Communications ODU-2800-001 Fiberless 2800 Series Outdoor Unit transceiver User Manual Users manual 2 of 3 ODU Install
Ensemble Communications Inc. Fiberless 2800 Series Outdoor Unit transceiver Users manual 2 of 3 ODU Install
Contents
- 1. RF Exposure manual info
- 2. Users manual 1 of 3 Site Setup
- 3. Users manual 2 of 3 ODU Install
- 4. Users manual 3 of 3 IDU Install
Users manual 2 of 3 ODU Install

Ensemble Communications Inc.
6-4
Operator’s Guide to the Fiberless System
ODU Installation
Note Installers are responsible for supplying mounting bolts.
Ground Mast All steel mounting structures attached to the building and the
antenna mast must be connected to the building grounding
system. If no grounding system or ring is available, ground the
antenna mounting structures to the nearest structural beam. The
grounding conductor should be set at least a # 2 (AWG) solid
tinned copper wire. Use exothermic welds (Cad Welds) when
possible to connect to the mounting structure and the building
grounding system.
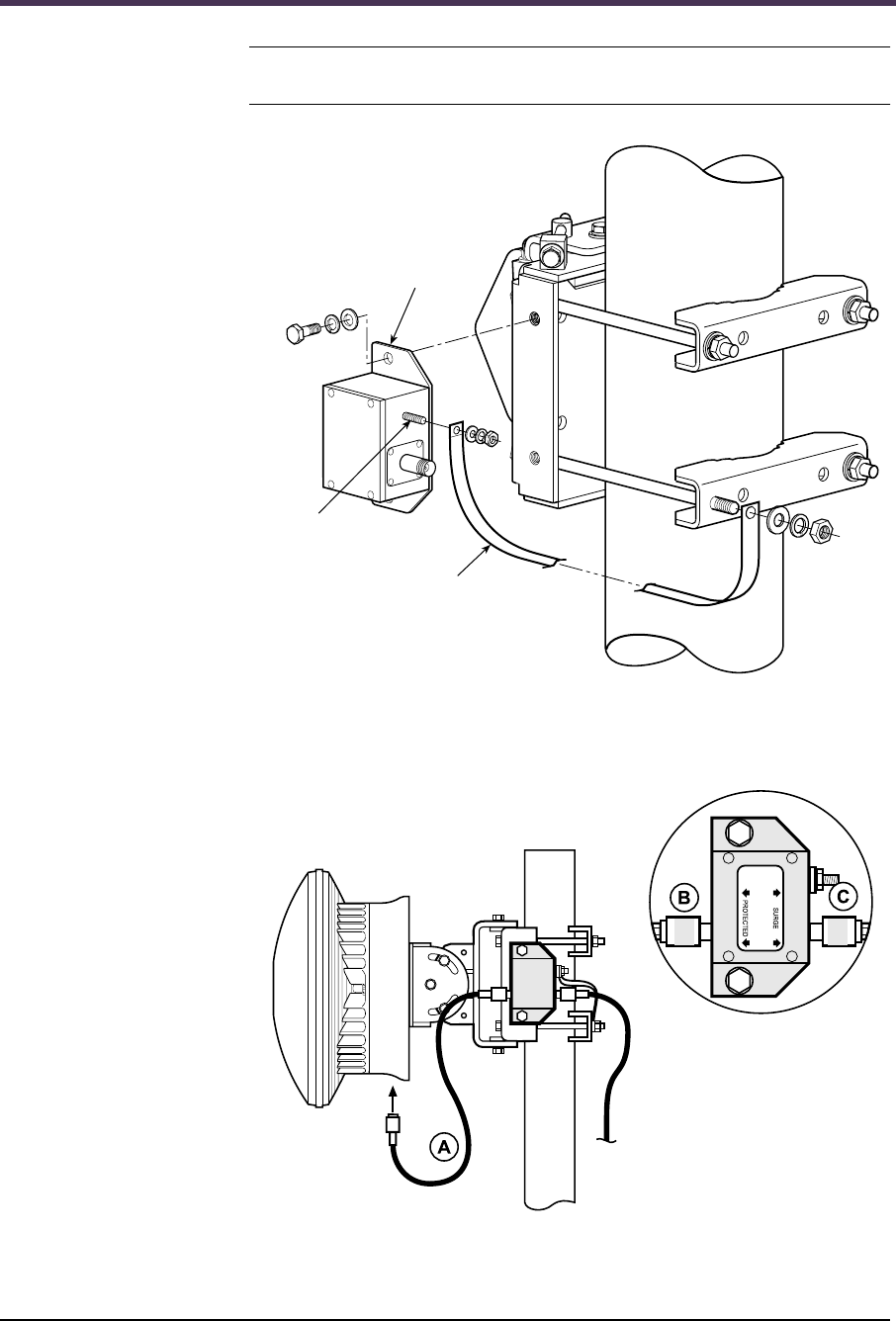
Antenna Mounting 1. Attach the ODU mounting bracket to a mast between 2- and 4-
inches in diameter (1 in Figure 6-1).
2. Remove the nuts and washers (2 in Figure 6-1) from one side of
each of the two mounting clamps (3) and slide the mounting
clamps off the bolts. Set them aside in a safe place.
3. Slip the mounting rack (4 in Figure 6-1) around the mast.
4. Reattach each of the two mounting clamps with the flat washer,
lock washer, and nut.
5. Tighten with a 1/2-inch socket wrench until secure.

Ensemble Communications Inc.
CPE Site Setup
6-5
Figure 6-1. CPE Pole Mount Assembly
6. Attach the antenna to the mounting plate, orienting it for
proper polarization (see the next sections) and LOS alignment
with the base stations.
7. After aligning the antenna, tighten the mounting clamps.
Lightning Suppressor
Installation
Note A lightning suppressor is not shipped with the ODU. See page 3-10 for
the Ensemble-recommended lightning suppressor.
WARNING
It is not possible to guarantee that lightning protection will
be 100 percent effective against a direct lightning strike.
Install one suppressor as close as possible to the point at which the
cable enters the building. Another suppressor should be installed
as close as possible to the ODU. See Table 6-2 and Table 6-3 for
illustrations of the suppressor installation.
Elevation (6)
Markers
Alignment (5)
Bracket
Azimuth (7)
Alignment
Bolt
Vertical Alignment Bolt
(2)
(1) Mast
Flat Washer
Lock Washer
Nut
(3) Mounting
Clamps
(4) Mounting
Rack

Ensemble Communications Inc.
6-6
Operator’s Guide to the Fiberless System
Note Connect the supplied ground strap from the ODU housing to the pole
mount (antenna ground points), ensuring there is contact on the pole.
Figure 6-2. Lightning Suppressor Assembly
Figure 6-3. Lightning Suppressor Assembly Closeup
Grounding
stud
Ground
strap
Suppressor
From
Indoor Unit
Outdoor Unit
To TNC IF
Connector

Ensemble Communications Inc.
CPE Site Setup
6-7
Vertical Antenna
Polarization
•For a vertical polarized antenna, mount the unit with its two
cable connectors facing down.
•Line up the bolts in the antenna with the four holes in the
mounting bracket as shown in Figure 6-4.
.
Figure 6-4. Mounting Vertically Polarized ODU
Horizontal Antenna
Polarization
•For a horizontally polarized antenna, mount the unit with its
two cable connectors facing sideways, so that the TNC connec-
tor points downward.
•Line up the bolts in the antenna with the four holes in the
mounting bracket as shown in Figure 6-5.
Figure 6-5. Mounting Horizontally Polarized ODU
BNC
alignment
connector
Drain hole
TNC IF
connector
Drain hole
Antenna
Ground
Points
BNC
alignment
connector
Drain hole
TNC IF
connector
Drain hole
Antenna
Ground
Points