FLIR Systems FLIRC7200 Infrared Camera User Manual
FLIR Systems AB Infrared Camera
User Manual

User’s manual
FLIR Cx series

User’s manual
FLIR Cx series
#T559918; r. AL/40424/40424; en-US iii

Table of contents
1 Disclaimers ......................................................................................1
1.1 Legal disclaimer .......................................................................1
1.2 Usage statistics ........................................................................ 1
1.3 Changes to registry ...................................................................1
1.4 U.S. Government Regulations......................................................1
1.5 Copyright ................................................................................1
1.6 Quality assurance .....................................................................1
1.7 Patents...................................................................................1
1.8 EULATerms ............................................................................1
1.9 EULATerms ............................................................................1
2 Safety information .............................................................................3
3 Notice to user ...................................................................................7
3.1 User-to-user forums ..................................................................7
3.2 Calibration...............................................................................7
3.3 Accuracy ................................................................................7
3.4 Disposal of electronic waste ........................................................7
3.5 Training ..................................................................................7
3.6 Documentation updates .............................................................7
3.7 Important note about this manual..................................................7
3.8 Note about authoritative versions..................................................8
4 Customer help ..................................................................................9
4.1 General ..................................................................................9
4.2 Submitting a question ................................................................9
4.3 Downloads ............................................................................ 10
5 Quick Start Guide ............................................................................ 11
5.1 Procedure............................................................................. 11
6 Description.....................................................................................12
6.1 View from the front .................................................................. 12
6.2 View from the rear................................................................... 12
6.3 Connector............................................................................. 13
6.4 Screen elements .................................................................... 13
6.5 Auto-orientation...................................................................... 13
6.6 Navigating the menu system...................................................... 14
7 Operation .......................................................................................15
7.1 Charging the battery................................................................ 15
7.2 Turning on and turning off the camera.......................................... 15
7.3 Saving an image..................................................................... 15
7.3.1 General...................................................................... 15
7.3.2 Image capacity ............................................................ 15
7.3.3 Naming convention....................................................... 15
7.3.4 Procedure .................................................................. 15
7.4 Recalling an image.................................................................. 15
7.4.1 General...................................................................... 15
7.4.2 Procedure .................................................................. 15
7.5 Deleting an image................................................................... 16
7.5.1 General...................................................................... 16
7.5.2 Procedure .................................................................. 16
7.6 Deleting all images.................................................................. 16
7.6.1 General...................................................................... 16
7.6.2 Procedure .................................................................. 16
7.7 Measuring a temperature using a spotmeter ................................. 17
7.7.1 General...................................................................... 17
7.8 Hiding measurement tools ........................................................ 17
7.8.1 Procedure .................................................................. 17
#T559918; r. AL/40424/40424; en-US v

Table of contents
7.9 Changing the color palette ........................................................ 17
7.9.1 General...................................................................... 17
7.9.2 Procedure .................................................................. 17
7.10 Changing the image mode ........................................................ 18
7.10.1 General...................................................................... 18
7.10.2 Procedure .................................................................. 18
7.11 Changing the temperature scale mode ........................................ 19
7.11.1 General...................................................................... 19
7.11.2 When to use Lock mode ................................................ 19
7.11.3 Procedure .................................................................. 19
7.12 Setting the emissivity ............................................................... 19
7.12.1 General...................................................................... 19
7.12.2 Procedure .................................................................. 20
7.13 Changing the reflected apparent temperature ............................... 20
7.13.1 General...................................................................... 20
7.13.2 Procedure .................................................................. 20
7.14 Changing the distance ............................................................. 20
7.14.1 General...................................................................... 20
7.14.2 Procedure .................................................................. 20
7.15 Performing a non-uniformity correction ........................................ 21
7.15.1 What is a non-uniformity correction?................................. 21
7.15.2 When to perform a non-uniformity correction ...................... 21
7.15.3 Procedure .................................................................. 21
7.16 Using the camera lamp ............................................................ 21
7.16.1 General...................................................................... 21
7.16.2 Procedure .................................................................. 21
7.17 Configuring Wi-Fi.................................................................... 21
7.17.1 Setting up a peer-to-peer connection (most common
use) .......................................................................... 22
7.17.2 Connecting the camera to a wireless local area network
(less common use) ....................................................... 22
7.18 Changing the settings .............................................................. 22
7.18.1 General...................................................................... 22
7.18.2 Procedure .................................................................. 23
7.19 Updating the camera ............................................................... 23
7.19.1 General...................................................................... 23
7.19.2 Procedure .................................................................. 24
8 Technical data.................................................................................25
8.1 Online field-of-view calculator .................................................... 25
8.2 Note about technical data ......................................................... 25
8.3 Note about authoritative versions................................................ 25
8.4 FLIR C2................................................................................ 26
8.5 FLIR C2 Educational Kit ........................................................... 29
8.6 FLIR C3 (incl. Wi-Fi) ................................................................ 32
8.7 FLIR C3 (incl. Wi-Fi) Educational Kit ........................................... 36
9 Mechanical drawings ....................................................................... 40
10 CE Declaration of conformity ............................................................ 42
11 Cleaning the camera ........................................................................ 44
11.1 Camera housing, cables, and other items..................................... 44
11.1.1 Liquids....................................................................... 44
11.1.2 Equipment.................................................................. 44
11.1.3 Procedure .................................................................. 44
11.2 Infrared lens .......................................................................... 44
11.2.1 Liquids....................................................................... 44
11.2.2 Equipment.................................................................. 44
#T559918; r. AL/40424/40424; en-US vi

Table of contents
11.2.3 Procedure .................................................................. 44
12 Application examples....................................................................... 45
12.1 Moisture & water damage ......................................................... 45
12.1.1 General...................................................................... 45
12.1.2 Figure........................................................................ 45
12.2 Faulty contact in socket ............................................................ 45
12.2.1 General...................................................................... 45
12.2.2 Figure........................................................................ 45
12.3 Oxidized socket...................................................................... 46
12.3.1 General...................................................................... 46
12.3.2 Figure........................................................................ 46
12.4 Insulation deficiencies.............................................................. 47
12.4.1 General...................................................................... 47
12.4.2 Figure........................................................................ 47
12.5 Draft .................................................................................... 47
12.5.1 General...................................................................... 47
12.5.2 Figure........................................................................ 47
13 About FLIR Systems ........................................................................ 49
13.1 More than just an infrared camera .............................................. 50
13.2 Sharing our knowledge ............................................................ 50
13.3 Supporting our customers......................................................... 51
14 Definitions and laws ........................................................................ 52
15 Thermographic measurement techniques .......................................... 54
15.1 Introduction .......................................................................... 54
15.2 Emissivity.............................................................................. 54
15.2.1 Finding the emissivity of a sample.................................... 54
15.3 Reflected apparent temperature................................................. 58
15.4 Distance ............................................................................... 58
15.5 Relative humidity .................................................................... 58
15.6 Other parameters.................................................................... 58
16 History of infrared technology........................................................... 59
17 Theory of thermography................................................................... 62
17.1 Introduction ........................................................................... 62
17.2 The electromagnetic spectrum................................................... 62
17.3 Blackbody radiation................................................................. 62
17.3.1 Planck’s law ................................................................ 63
17.3.2 Wien’s displacement law................................................ 64
17.3.3 Stefan-Boltzmann's law ................................................. 65
17.3.4 Non-blackbody emitters................................................. 66
17.4 Infrared semi-transparent materials............................................. 68
18 The measurement formula................................................................ 69
19 Emissivity tables ............................................................................. 73
19.1 References............................................................................ 73
19.2 Tables .................................................................................. 73
#T559918; r. AL/40424/40424; en-US vii

Disclaimers
1
1.1 Legal disclaimer
All products manufactured by FLIR Systems are warranted against defective
materials and workmanship for a period of one (1) year from the delivery date
of the original purchase, provided such products have been under normal
storage, use and service, and in accordance with FLIR Systems instruction.
Uncooled handheld infrared cameras manufactured by FLIR Systems are
warranted against defective materials and workmanship for a period of two
(2) years from the delivery date of the original purchase, provided such prod-
ucts have been under normal storage, use and service, and in accordance
with FLIR Systems instruction, and provided that the camera has been regis-
tered within 60 days of original purchase.
Detectors for uncooled handheld infrared cameras manufactured by FLIR
Systems are warranted against defective materials and workmanship for a
period of ten (10) years from the delivery date of the original purchase, pro-
vided such products have been under normal storage, use and service, and
in accordance with FLIR Systems instruction, and provided that the camera
has been registered within 60 days of original purchase.
Products which are not manufactured by FLIR Systems but included in sys-
tems delivered by FLIR Systems to the original purchaser, carry the warranty,
if any, of the particular supplier only. FLIR Systems has no responsibility
whatsoever for such products.
The warranty extends only to the original purchaser and is not transferable. It
is not applicable to any product which has been subjected to misuse, neglect,
accident or abnormal conditions of operation. Expendable parts are excluded
from the warranty.
In the case of a defect in a product covered by this warranty the product must
not be further used in order to prevent additional damage. The purchaser
shall promptly report any defect to FLIR Systems or this warranty will not
apply.
FLIR Systems will, at its option, repair or replace any such defective product
free of charge if, upon inspection, it proves to be defective in material or work-
manship and provided that it is returned to FLIR Systems within the said one-
year period.
FLIR Systems has no other obligation or liability for defects than those set
forth above.
No other warranty is expressed or implied. FLIR Systems specifically dis-
claims the implied warranties of merchantability and fitness for a particular
purpose.
FLIR Systems shall not be liable for any direct, indirect, special, incidental or
consequential loss or damage, whether based on contract, tort or any other
legal theory.
This warranty shall be governed by Swedish law.
Any dispute, controversy or claim arising out of or in connection with this war-
ranty, shall be finally settled by arbitration in accordance with the Rules of the
Arbitration Institute of the Stockholm Chamber of Commerce. The place of ar-
bitration shall be Stockholm. The language to be used in the arbitral proceed-
ings shall be English.
1.2 Usage statistics
FLIR Systems reserves the right to gather anonymous usage statistics to help
maintain and improve the quality of our software and services.
1.3 Changes to registry
The registry entry HKEY_LOCAL_MACHINE\SYSTEM\CurrentControlSet
\Control\Lsa\LmCompatibilityLevel will be automatically changed to level 2 if
the FLIR Camera Monitor service detects a FLIR camera connected to the
computer with a USB cable. The modification will only be executed if the
camera device implements a remote network service that supports network
logons.
1.4 U.S. Government Regulations
This product may be subject to U.S. Export Regulations. Please send any in-
quiries to exportquestions@flir.com.
1.5 Copyright
© 2016, FLIR Systems, Inc. All rights reserved worldwide. No parts of the
software including source code may be reproduced, transmitted, transcribed
or translated into any language or computer language in any form or by any
means, electronic, magnetic, optical, manual or otherwise, without the prior
written permission of FLIR Systems.
The documentation must not, in whole or part, be copied, photocopied, re-
produced, translated or transmitted to any electronic medium or machine
readable form without prior consent, in writing, from FLIR Systems.
Names and marks appearing on the products herein are either registered
trademarks or trademarks of FLIR Systems and/or its subsidiaries. All other
trademarks, trade names or company names referenced herein are used for
identification only and are the property of their respective owners.
1.6 Quality assurance
The Quality Management System under which these products are developed
and manufactured has been certified in accordance with the ISO 9001
standard.
FLIR Systems is committed to a policy of continuous development; therefore
we reserve the right to make changes and improvements on any of the prod-
ucts without prior notice.
1.7 Patents
One or several of the following patents and/or design patents may apply to
the products and/or features. Additional pending patents and/or pending de-
sign patents may also apply.
000279476-0001; 000439161; 000499579-0001; 000653423; 000726344;
000859020; 001106306-0001; 001707738; 001707746; 001707787;
001776519; 001954074; 002021543; 002058180; 002249953; 002531178;
0600574-8; 1144833; 1182246; 1182620; 1285345; 1299699; 1325808;
1336775; 1391114; 1402918; 1404291; 1411581; 1415075; 1421497;
1458284; 1678485; 1732314; 2106017; 2107799; 2381417; 3006596;
3006597; 466540; 483782; 484155; 4889913; 5177595; 60122153.2;
602004011681.5-08; 6707044; 68657; 7034300; 7110035; 7154093;
7157705; 7237946; 7312822; 7332716; 7336823; 7544944; 7667198;
7809258 B2; 7826736; 8,153,971; 8,823,803; 8,853,631; 8018649 B2;
8212210 B2; 8289372; 8354639 B2; 8384783; 8520970; 8565547; 8595689;
8599262; 8654239; 8680468; 8803093; D540838; D549758; D579475;
D584755; D599,392; D615,113; D664,580; D664,581; D665,004; D665,440;
D677298; D710,424 S; D718801; DI6702302-9; DI6903617-9; DI7002221-6;
DI7002891-5; DI7002892-3; DI7005799-0; DM/057692; DM/061609; EP
2115696 B1; EP2315433; SE 0700240-5; US 8340414 B2; ZL
201330267619.5; ZL01823221.3; ZL01823226.4; ZL02331553.9;
ZL02331554.7; ZL200480034894.0; ZL200530120994.2;
ZL200610088759.5; ZL200630130114.4; ZL200730151141.4;
ZL200730339504.7; ZL200820105768.8; ZL200830128581.2;
ZL200880105236.4; ZL200880105769.2; ZL200930190061.9;
ZL201030176127.1; ZL201030176130.3; ZL201030176157.2;
ZL201030595931.3; ZL201130442354.9; ZL201230471744.3;
ZL201230620731.8.
1.8 EULA Terms
• You have acquired a device (“INFRARED CAMERA”) that includes soft-
ware licensed by FLIR Systems AB from Microsoft Licensing, GP or its
affiliates (“MS”). Those installed software products of MS origin, as well
as associated media, printed materials, and “online” or electronic docu-
mentation (“SOFTWARE”) are protected by international intellectual
property laws and treaties. The SOFTWARE is licensed, not sold. All
rights reserved.
• IF YOU DO NOT AGREE TO THIS END USER LICENSE AGREEMENT
(“EULA”), DO NOT USE THE DEVICE OR COPY THE SOFTWARE. IN-
STEAD, PROMPTLY CONTACT FLIR Systems AB FOR INSTRUC-
TIONS ON RETURN OF THE UNUSED DEVICE(S) FOR A REFUND.
ANY USE OF THE SOFTWARE, INCLUDING BUT NOT LIMITED TO
USE ON THE DEVICE, WILL CONSTITUTE YOUR AGREEMENT TO
THIS EULA (OR RATIFICATION OF ANY PREVIOUS CONSENT).
•GRANT OF SOFTWARE LICENSE. This EULA grants you the following
license:
◦ You may use the SOFTWARE only on the DEVICE.
◦NOT FAULT TOLERANT. THE SOFTWARE IS NOT FAULT TOL-
ERANT. FLIR Systems AB HAS INDEPENDENTLY DETERMINED
HOW TO USE THE SOFTWARE IN THE DEVICE, AND MS HAS
RELIED UPON FLIR Systems AB TO CONDUCT SUFFICIENT
TESTING TO DETERMINE THAT THE SOFTWARE IS SUITABLE
FOR SUCH USE.
◦NO WARRANTIES FOR THE SOFTWARE. THE SOFTWARE is
provided “AS IS” and with all faults. THE ENTIRE RISK AS TO
SATISFACTORY QUALITY, PERFORMANCE, ACCURACY, AND
EFFORT (INCLUDING LACK OF NEGLIGENCE) IS WITH YOU.
ALSO, THERE IS NO WARRANTY AGAINST INTERFERENCE
WITH YOUR ENJOYMENT OF THE SOFTWARE OR AGAINST
INFRINGEMENT. IF YOU HAVE RECEIVED ANY WARRANTIES
REGARDING THE DEVICE OR THE SOFTWARE, THOSE WAR-
RANTIES DO NOT ORIGINATE FROM, AND ARE NOT BINDING
ON, MS.
◦ No Liability for Certain Damages. EXCEPT AS PROHIBITED BY
LAW, MS SHALL HAVE NO LIABILITY FOR ANY INDIRECT,
SPECIAL, CONSEQUENTIAL OR INCIDENTAL DAMAGES
ARISING FROM OR IN CONNECTION WITH THE USE OR PER-
FORMANCE OF THE SOFTWARE. THIS LIMITATION SHALL
APPLY EVEN IF ANY REMEDY FAILS OF ITS ESSENTIAL PUR-
POSE. IN NO EVENT SHALL MS BE LIABLE FOR ANY
AMOUNT IN EXCESS OF U.S. TWO HUNDRED FIFTY DOL-
LARS (U.S.$250.00).
◦Limitations on Reverse Engineering, Decompilation, and Dis-
assembly. You may not reverse engineer, decompile, or disas-
semble the SOFTWARE, except and only to the extent that such
activity is expressly permitted by applicable law notwithstanding
this limitation.
◦SOFTWARE TRANSFER ALLOWED BUT WITH RESTRIC-
TIONS. You may permanently transfer rights under this EULA only
as part of a permanent sale or transfer of the Device, and only if
the recipient agrees to this EULA. If the SOFTWARE is an up-
grade, any transfer must also include all prior versions of the
SOFTWARE.
◦EXPORT RESTRICTIONS. You acknowledge that SOFTWARE is
subject to U.S. export jurisdiction. You agree to comply with all ap-
plicable international and national laws that apply to the SOFT-
WARE, including the U.S. Export Administration Regulations, as
well as end-user, end-use and destination restrictions issued by U.
S. and other governments. For additional information see http://
www.microsoft.com/exporting/.
1.9 EULA Terms
Qt4 Core and Qt4 GUI, Copyright ©2013 Nokia Corporation and FLIR Sys-
tems AB. This Qt library is a free software; you can redistribute it and/or mod-
ify it under the terms of the GNU Lesser General Public License as published
by the Free Software Foundation; either version 2.1 of the License, or (at your
option) any later version. This library is distributed in the hope that it will be
useful, but WITHOUT ANY WARRANTY; without even the implied warranty of
MERCHANTABILITY or FITNESS FOR A PARTICULAR PURPOSE. See the
GNU Lesser General Public License, http://www.gnu.org/licenses/lgpl-2.1.
#T559918; r. AL/40424/40424; en-US 1

Safety information
2
WARNING
Applicability: Class B digital devices.
This equipment has been tested and found to comply with the limits for a Class B digital device, pur-
suant to Part 15 of the FCC Rules. These limits are designed to provide reasonable protection against
harmful interference in a residential installation. This equipment generates, uses and can radiate radio
frequency energy and, if not installed and used in accordance with the instructions, may cause harmful
interference to radio communications. However, there is no guarantee that interference will not occur in
a particular installation. If this equipment does cause harmful interference to radio or television recep-
tion, which can be determined by turning the equipment off and on, the user is encouraged to try to cor-
rect the interference by one or more of the following measures:
• Reorient or relocate the receiving antenna.
• Increase the separation between the equipment and receiver.
• Connect the equipment into an outlet on a circuit different from that to which the receiver is
connected.
• Consult the dealer or an experienced radio/TV technician for help.
WARNING
Applicability: Digital devices subject to 15.19/RSS-210.
NOTICE: This device complies with Part 15 of the FCC Rules and with RSS-210 of Industry Canada.
Operation is subject to the following two conditions:
1. this device may not cause harmful interference, and
2. this device must accept any interference received, including interference that may cause undesired
operation.
WARNING
Applicability: Digital devices subject to 15.21.
NOTICE: Changes or modifications made to this equipment not expressly approved by FLIR Systems
may void the FCC authorization to operate this equipment.
WARNING
Applicability: Digital devices subject to 2.1091/2.1093/OET Bulletin 65.
Radiofrequency radiation exposure Information: The radiated output power of the device is below
the FCC/IC radio frequency exposure limits. Nevertheless, the device shall be used in such a manner
that the potential for human contact during normal operation is minimized.
WARNING
Applicability: Cameras with one or more batteries.
Do not disassemble or do a modification to the battery. The battery contains safety and protection devi-
ces which, if damage occurs, can cause the battery to become hot, or cause an explosion or an ignition.
WARNING
Applicability: Cameras with one or more batteries.
If there is a leak from the battery and you get the fluid in your eyes, do not rub your eyes. Flush well with
water and immediately get medical care. The battery fluid can cause injury to your eyes if you do not do
this.
WARNING
Applicability: Cameras with one or more batteries.
Do not continue to charge the battery if it does not become charged in the specified charging time. If
you continue to charge the battery, it can become hot and cause an explosion or ignition. Injury to per-
sons can occur.
#T559918; r. AL/40424/40424; en-US 3

Safety information
2
WARNING
Applicability: Cameras with one or more batteries.
Only use the correct equipment to remove the electrical power from the battery. If you do not use the
correct equipment, you can decrease the performance or the life cycle of the battery. If you do not use
the correct equipment, an incorrect flow of current to the battery can occur. This can cause the battery
to become hot, or cause an explosion. Injury to persons can occur.
WARNING
Make sure that you read all applicable MSDS (Material Safety Data Sheets) and warning labels on con-
tainers before you use a liquid. The liquids can be dangerous. Injury to persons can occur.
CAUTION
Do not point the infrared camera (with or without the lens cover) at strong energy sources, for example,
devices that cause laser radiation, or the sun. This can have an unwanted effect on the accuracy of the
camera. It can also cause damage to the detector in the camera.
CAUTION
Do not use the camera in temperatures more than +50°C (+122°F), unless other information is specified
in the user documentation or technical data. High temperatures can cause damage to the camera.
CAUTION
Applicability: Cameras with one or more batteries.
Do not attach the batteries directly to a car’s cigarette lighter socket, unless FLIR Systems supplies a
specific adapter to connect the batteries to a cigarette lighter socket. Damage to the batteries can
occur.
CAUTION
Applicability: Cameras with one or more batteries.
Do not connect the positive terminal and the negative terminal of the battery to each other with a metal
object (such as wire). Damage to the batteries can occur.
CAUTION
Applicability: Cameras with one or more batteries.
Do not get water or salt water on the battery, or permit the battery to become wet. Damage to the bat-
teries can occur.
CAUTION
Applicability: Cameras with one or more batteries.
Do not make holes in the battery with objects. Damage to the battery can occur.
CAUTION
Applicability: Cameras with one or more batteries.
Do not hit the battery with a hammer. Damage to the battery can occur.
CAUTION
Applicability: Cameras with one or more batteries.
Do not put your foot on the battery, hit it or cause shocks to it. Damage to the battery can occur.
#T559918; r. AL/40424/40424; en-US 4

Safety information
2
CAUTION
Applicability: Cameras with one or more batteries.
Do not put the batteries in or near a fire, or into direct sunlight. When the battery becomes hot, the built-
in safety equipment becomes energized and can stop the battery charging procedure. If the battery be-
comes hot, damage can occur to the safety equipment and this can cause more heat, damage or igni-
tion of the battery.
CAUTION
Applicability: Cameras with one or more batteries.
Do not put the battery on a fire or increase the temperature of the battery with heat. Damage to the bat-
tery and injury to persons can occur.
CAUTION
Applicability: Cameras with one or more batteries.
Do not put the battery on or near fires, stoves, or other high-temperature locations. Damage to the bat-
tery and injury to persons can occur.
CAUTION
Applicability: Cameras with one or more batteries.
Do not solder directly onto the battery. Damage to the battery can occur.
CAUTION
Applicability: Cameras with one or more batteries.
Do not use the battery if, when you use, charge, or put the battery in storage, there is an unusual smell
from the battery, the battery feels hot, changes color, changes shape, or is in an unusual condition.
Speak with your sales office if one or more of these problems occurs. Damage to the battery and injury
to persons can occur.
CAUTION
Applicability: Cameras with one or more batteries.
Only use a specified battery charger when you charge the battery. Damage to the battery can occur if
you do not do this.
CAUTION
Applicability: Cameras with one or more batteries.
Only use a specified battery for the camera. Damage to the camera and the battery can occur if you do
not do this.
CAUTION
Applicability: Cameras with one or more batteries.
The temperature range through which you can charge the battery is +10°C to +45°C (+50°F to +113°F).
If you charge the battery at temperatures out of this range, it can cause the battery to become hot or to
break. It can also decrease the performance or the life cycle of the battery.
CAUTION
Applicability: Cameras with one or more batteries.
The temperature range through which you can remove the electrical power from the battery is -15°C to
+50°C (+5°F to +122°F), unless other information is specified in the user documentation or technical
data. If you operate the battery out of this temperature range, it can decrease the performance or the life
cycle of the battery.
#T559918; r. AL/40424/40424; en-US 5

Safety information
2
CAUTION
Applicability: Cameras with one or more batteries.
When the battery is worn, apply insulation to the terminals with adhesive tape or equivalent materials
before you discard it. Damage to the battery and injury to persons can occur if you do not do this.
CAUTION
Applicability: Cameras with one or more batteries.
Remove any water or moisture on the battery before you install it. Damage to the battery can occur if
you do not do this.
CAUTION
Do not apply solvents or equivalent liquids to the camera, the cables, or other items. Damage to the bat-
tery and injury to persons can occur.
CAUTION
Be careful when you clean the infrared lens. The lens has an anti-reflective coating which is easily dam-
aged. Damage to the infrared lens can occur.
CAUTION
Do not use too much force to clean the infrared lens. This can cause damage to the anti-reflective
coating.
Note The encapsulation rating is only applicable when all the openings on the camera
are sealed with their correct covers, hatches, or caps. This includes the compartments
for data storage, batteries, and connectors.
#T559918; r. AL/40424/40424; en-US 6

Notice to user
3
3.1 User-to-user forums
Exchange ideas, problems, and infrared solutions with fellow thermographers around the
world in our user-to-user forums. To go to the forums, visit:
http://forum.infraredtraining.com/
3.2 Calibration
We recommend that you send in the camera for calibration once a year. Contact your lo-
cal sales office for instructions on where to send the camera.
3.3 Accuracy
For very accurate results, we recommend that you wait 5 minutes after you have started
the camera before measuring a temperature.
3.4 Disposal of electronic waste
As with most electronic products, this equipment must be disposed of in an environmen-
tally friendly way, and in accordance with existing regulations for electronic waste.
Please contact your FLIR Systems representative for more details.
3.5 Training
To read about infrared training, visit:
• http://www.infraredtraining.com
• http://www.irtraining.com
• http://www.irtraining.eu
3.6 Documentation updates
Our manuals are updated several times per year, and we also issue product-critical notifi-
cations of changes on a regular basis.
To access the latest manuals, translations of manuals, and notifications, go to the Down-
load tab at:
http://support.flir.com
It only takes a few minutes to register online. In the download area you will also find the
latest releases of manuals for our other products, as well as manuals for our historical
and obsolete products.
3.7 Important note about this manual
FLIR Systems issues generic manuals that cover several cameras within a model line.
#T559918; r. AL/40424/40424; en-US 7

Notice to user3
This means that this manual may contain descriptions and explanations that do not apply
to your particular camera model.
3.8 Note about authoritative versions
The authoritative version of this publication is English. In the event of divergences due to
translation errors, the English text has precedence.
Any late changes are first implemented in English.
#T559918; r. AL/40424/40424; en-US 8

Customer help
4
4.1 General
For customer help, visit:
http://support.flir.com
4.2 Submitting a question
To submit a question to the customer help team, you must be a registered user. It only
takes a few minutes to register online. If you only want to search the knowledgebase for
existing questions and answers, you do not need to be a registered user.
When you want to submit a question, make sure that you have the following information
to hand:
• The camera model
• The camera serial number
• The communication protocol, or method, between the camera and your device (for ex-
ample, SD card reader, HDMI, Ethernet, USB, or FireWire)
• Device type (PC/Mac/iPhone/iPad/Android device, etc.)
• Version of any programs from FLIR Systems
#T559918; r. AL/40424/40424; en-US 9

Customer help
4
• Full name, publication number, and revision number of the manual
4.3 Downloads
On the customer help site you can also download the following, when applicable for the
product:
• Firmware updates for your infrared camera.
• Program updates for your PC/Mac software.
• Freeware and evaluation versions of PC/Mac software.
• User documentation for current, obsolete, and historical products.
• Mechanical drawings (in *.dxf and *.pdf format).
• Cad data models (in *.stp format).
• Application stories.
• Technical datasheets.
• Product catalogs.
#T559918; r. AL/40424/40424; en-US 10

Quick Start Guide
5
5.1 Procedure
Follow this procedure:
1. Charge the battery for approximately 1.5 hours, using the FLIR power supply.
2. Push the On/off button to turn on the camera.
3. Aim the camera toward your target of interest.
4. Push the Save button to save an image.
(Optional steps)
5. Download FLIR Tools from http://support.flir.com/tools.
6. Install FLIR Tools on your computer.
7. Start FLIR Tools.
8. Connect the camera to your computer, using the USB cable.
9. Import the images into FLIR Tools.
10. Create a PDF report in FLIR Tools.
#T559918; r. AL/40424/40424; en-US 11

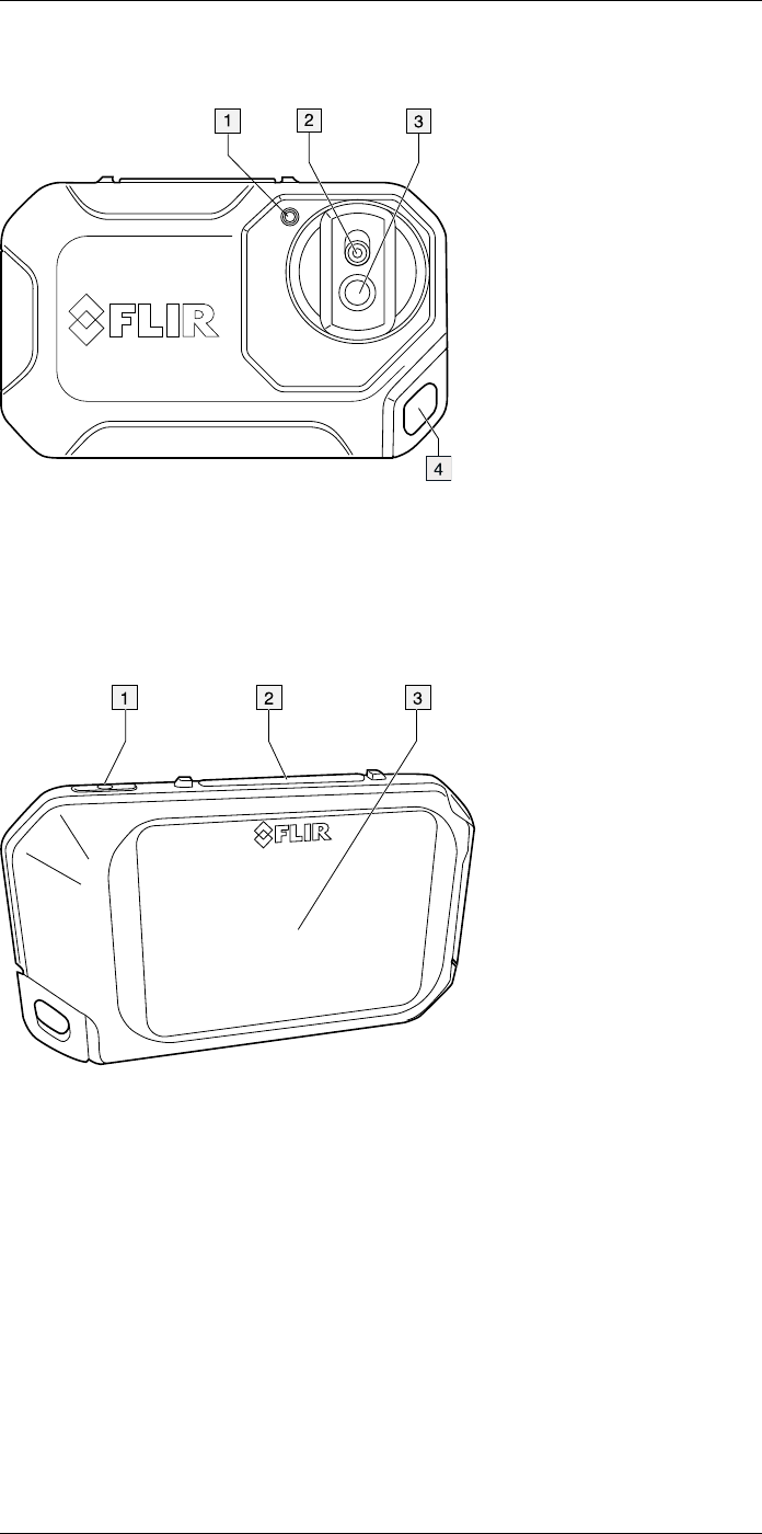
Description6
6.3 Connector
The purpose of this USB Micro-B connector is the following:
• Charging the battery using the FLIR power supply.
• Moving images from the camera to a computer for further analysis in FLIR Tools.
Note Install FLIR Tools on your computer before you move the images.
6.4 Screen elements
1. Main menu toolbar.
2. Submenu toolbar.
3. Result table.
4. Status icons.
5. Temperature scale.
6. Spotmeter.
6.5 Auto-orientation
The camera has an auto-orientation feature, which means that the camera automatically
adjusts the measurement information on the display to the vertical or horizontal position
of the camera.
Note The auto-orientation feature is enabled by a setting. Select Settings >Device set-
tings >Auto orientation >On.
#T559918; r. AL/40424/40424; en-US 13

Operation
7
7.1 Charging the battery
WARNING
For equipment with plugs:
Make sure that you install the socket-outlet near the equipment and that it is easy to get access to.
Follow this procedure:
1. Connect the FLIR power supply to a wall outlet.
2. Connect the power supply cable to the USB connector on the camera.
7.2 Turning on and turning off the camera
• Push the On/off button to turn on the camera.
• Push and hold the On/off button until the screen goes off (for less than 5 sec-
onds) to put the camera in standby mode. The camera then automatically turns off
after 2 hours.
• Push and hold the On/off button for more than 5 seconds to turn off the
camera.
7.3 Saving an image
7.3.1 General
You can save images to the internal camera memory.
The camera saves both a thermal image and a visual image at the same time.
7.3.2 Image capacity
Approximately 500 images can be saved to the internal camera memory.
7.3.3 Naming convention
The naming convention for images is FLIRxxxx.jpg, where xxxx is a unique counter.
7.3.4 Procedure
Follow this procedure:
1. To save an image, push the Save button.
7.4 Recalling an image
7.4.1 General
When you save an image, it is stored in the internal camera memory. To display the im-
age again, you can recall it from the internal camera memory.
7.4.2 Procedure
Follow this procedure:
1. Tap the camera screen. This displays the main menu toolbar.
2. Select Images . This displays an image in the image archive.
#T559918; r. AL/40424/40424; en-US 15

Operation
7
3. To view the previous or next image, do one of the following:
• Swipe left or right.
• Tap the left arrow or the right arrow .
4. To switch between a thermal image and a visual image, swipe up or down.
5. Tap the camera screen. This displays a toolbar.
• Select Full screen or Exit full screen to switch between the full screen and
normal views.
• Select Thumbnails to display the thumbnail overview. To scroll between the
thumbnails, swipe up/down. To display an image, tap its thumbnail.
• Select Delete to delete the image.
• Select Information to display information about the image.
• Select Camera to return to live mode.
7.5 Deleting an image
7.5.1 General
You can delete an image from the internal camera memory.
7.5.2 Procedure
Follow this procedure:
1. Tap the camera screen. This displays the main menu toolbar.
2. Select Images . This displays an image in the image archive.
3. To display the previous or next image, do one of the following:
• Swipe left or right.
• Tap the left arrow or the right arrow .
4. When the image you want to delete is displayed, tap the camera screen. This dis-
plays a toolbar.
5. On the toolbar, select Delete . This displays a dialog box.
6. In the dialog box, select Delete.
7. To return to live mode, tap the camera screen and select Camera .
7.6 Deleting all images
7.6.1 General
You can delete all images from the internal camera memory.
7.6.2 Procedure
Follow this procedure:
1. Tap the camera screen. This displays the main menu toolbar.
2. Select Settings . This displays a dialog box.
3. In the dialog box, select Device settings. This displays a dialog box.
4. In the dialog box, select Reset options. This displays a dialog box.
#T559918; r. AL/40424/40424; en-US 16

Operation
7
5. In the dialog box, select Delete all saved images. This displays a dialog box.
6. In the dialog box, select Delete.
7. To return to live mode, tap the upper left arrow repeatedly. You can also push the
Save button once.
7.7 Measuring a temperature using a
spotmeter
7.7.1 General
You can measure a temperature using a spotmeter. This will display the temperature at
the position of the spotmeter on the screen.
7.7.1.1 Procedure
Follow this procedure:
1. Tap the camera screen. This displays the main menu toolbar.
2. Select Measurement . This displays a submenu toolbar.
3. On the submenu toolbar, select Center spot .
The temperature at the position of the spotmeter will now be displayed in the top left
corner of the screen.
7.8 Hiding measurement tools
7.8.1 Procedure
Follow this procedure:
1. Tap the camera screen. This displays the main menu toolbar.
2. Select Measurement . This displays a submenu toolbar.
3. On the submenu toolbar, select No measurements .
7.9 Changing the color palette
7.9.1 General
You can change the color palette that the camera uses to display different temperatures.
A different palette can make it easier to analyze an image.
7.9.2 Procedure
Follow this procedure:
1. Tap the camera screen. This displays the main menu toolbar.
2. Select Color . This displays a submenu toolbar.
3. On the submenu toolbar, select the type of color palette:
•Iron.
•Rainbow.
•Rainbow HC.
•Gray.
#T559918; r. AL/40424/40424; en-US 17

Operation
7
7.10 Changing the image mode
7.10.1 General
The camera captures both thermal and visual images at the same time. By your choice
of image mode, you select which type of image to display on the screen.
The camera supports the following image modes:
•Thermal MSX (Multi Spectral Dynamic Imaging): The camera displays an infrared im-
age where the edges of the objects are enhanced with visual image details.
•Thermal: The camera displays a fully infrared image.
•Digital camera: The camera displays only the visual image captured by the digital
camera.
To display a good fusion image (Thermal MSX mode), the camera must make adjust-
ments to compensate for the small difference in position between the digital camera lens
and the infrared lens. To adjust the image accurately, the camera requires the alignment
distance (i.e., the distance to the object).
7.10.2 Procedure
Follow this procedure:
1. Tap the camera screen. This displays the main menu toolbar.
2. Select Image mode . This displays a submenu toolbar.
#T559918; r. AL/40424/40424; en-US 18

Operation
7
3. On the submenu toolbar, select one of the following:
•Thermal MSX .
•Thermal .
•Digital camera .
4. If you have selected the Thermal MSX mode, also set the distance to the object by
doing the following:
• On the submenu toolbar, select Alignment distance . This displays a dialog
box.
• In the dialog box, select the distance to the object.
7.11 Changing the temperature scale mode
7.11.1 General
The camera can operate in two different temperature scale modes:
•Auto mode: In this mode, the camera is continuously auto-adjusted for the best image
brightness and contrast.
•Lock mode: In this mode, the camera locks the temperature span and the temperature
level.
7.11.2 When to use Lock mode
A typical situation where you would use Lock mode is when looking for temperature
anomalies in two items with a similar design or construction.
For example, you have two cables, and you suspect that one is overheated. With the
camera in Auto mode, direct the camera toward the cable that has a normal temperature,
and then activate Lock mode. When you then direct the camera, in Lock mode, toward
the suspected overheated cable, that cable will appear in a lighter color in the thermal im-
age if its temperature is higher than the first cable.
If you instead use Auto mode, the color for the two items might appear the same despite
their temperature being different.
7.11.3 Procedure
To go between Auto mode and Lock mode, tap the top or bottom temperature value in
the temperature scale.
A gray padlock icon indicates that Lock mode is active.
7.12 Setting the emissivity
7.12.1 General
To measure temperatures accurately, the camera must be aware of the type of surface
you are measuring. You can choose between the following surface properties:
•Matt.
•Semi-matt.
•Semi-glossy.
As an alternative, you can set a custom emissivity value.
For more information about emissivity, see section 15 Thermographic measurement
techniques, page 54.
#T559918; r. AL/40424/40424; en-US 19

Operation
7
7.12.2 Procedure
Follow this procedure:
1. Tap the camera screen. This displays the main menu toolbar.
2. Select Settings . This displays a dialog box.
3. In the dialog box, select Measurement parameters. This displays a dialog box.
4. In the dialog box, select Emissivity. This displays a dialog box.
5. In the dialog box, select one of the following:
•Matt.
•Semi-matt.
•Semi-glossy.
•Custom value. This displays a dialog box where you can set a value.
6. To return to live mode, tap the upper left arrow repeatedly. You can also push the
Save button once.
7.13 Changing the reflected apparent
temperature
7.13.1 General
This parameter is used to compensate for the radiation reflected by the object. If the
emissivity is low and the object temperature significantly different from that of the re-
flected temperature, it will be important to set and compensate for the reflected apparent
temperature correctly.
For more information about the reflected apparent temperature, see section 15 Thermo-
graphic measurement techniques, page 54.
7.13.2 Procedure
Follow this procedure:
1. Tap the camera screen. This displays the main menu toolbar.
2. Select Settings . This displays a dialog box.
3. In the dialog box, select Measurement parameters. This displays a dialog box.
4. In the dialog box, select Reflected temperature. This displays a dialog box where you
can set a value.
5. To return to live mode, tap the upper left arrow repeatedly. You can also push the
Save button once.
7.14 Changing the distance
7.14.1 General
The distance is the distance between the object and the front lens of the camera. This
parameter is used to compensate for the following two facts:
• That radiation from the target is absorbed by the atmosphere between the object and
the camera.
• That radiation from the atmosphere itself is detected by the camera.
For more information, see section 15 Thermographic measurement techniques, page 54.
7.14.2 Procedure
Follow this procedure:
1. Tap the camera screen. This displays the main menu toolbar.
#T559918; r. AL/40424/40424; en-US 20

Operation
7
2. Select Settings . This displays a dialog box.
3. In the dialog box, select Measurement parameters. This displays a dialog box.
4. In the dialog box, select Distance. This displays a dialog box where you can set a
value.
5. To return to live mode, tap the upper left arrow repeatedly. You can also push the
Save button once.
7.15 Performing a non-uniformity correction
7.15.1 What is a non-uniformity correction?
A non-uniformity correction (or NUC) is an image correction carried out by the camera
software to compensate for different sensitivities of detector elements and other optical
and geometrical disturbances1.
7.15.2 When to perform a non-uniformity correction
The non-uniformity correction process should be carried out whenever the output image
becomes spatially noisy. The output can become spatially noisy when the ambient tem-
perature changes (such as from indoors to outdoors operation, and vice versa).
7.15.3 Procedure
To perform a non-uniformity correction, tap and hold the icon. The text Calibrating...
appears on the screen.
7.16 Using the camera lamp
7.16.1 General
You can use the camera lamp as a flashlight, or as a flash when taking an image.
7.16.2 Procedure
Follow this procedure:
1. Tap the camera screen. This displays the main menu toolbar.
2. Select Lamp .
3. Tap one of the following:
•Flash (to use the lamp as a flash when taking an image).
•On (to turn on the lamp and use it as a flashlight).
•Off (to turn off the lamp).
7.17 Configuring Wi-Fi
Depending on your camera configuration, you can connect the camera to a wireless local
area network (WLAN) using Wi-Fi, or let the camera provide Wi-Fi access to another
device.
You can connect the camera in two different ways:
•Most common use: Setting up a peer-to-peer connection (also called an ad hoc or
P2P connection). This method is primarily used with other devices, e.g., an iPhone or
iPad.
•Less common use: Connecting the camera to a WLAN.
#T559918; r. AL/40424/40424; en-US 21
1. Definition from the imminent international adoption of DIN 54190-3 (Non-destructive testing – Thermographic
testing – Part 3: Terms and definitions).

Operation
7
7.17.1 Setting up a peer-to-peer connection (most common use)
Follow this procedure:
1. Tap the camera screen. This displays the main menu toolbar.
2. Select Settings . This displays a dialog box.
3. Select Device settings.
4. Select Wi-Fi.
5. Select Share.
6. (Optional step.) To display and change the parameters, select Settings.
• To change the channel (the channel that the camera is broadcasting on), select
Channel.
• To activate WEP (encryption algorithm), select WEP. This will check the WEP
check box.
• To change the WEP password, select Password.
Note These parameters are set for your camera’s network. They will be used by the
external device to connect that device to the network.
7.17.2 Connecting the camera to a wireless local area network (less common
use)
Follow this procedure:
1. Tap the camera screen. This displays the main menu toolbar.
2. Select Settings . This displays a dialog box.
3. Select Device settings.
4. Select Wi-Fi.
5. Select Connect to network.
6. To display a list of the available networks, select Networks.
7. Select one of the available networks.
Password-protected networks are indicated with a padlock icon, and for these you
will need to enter a password.
Note Some networks do not broadcast their existence. To connect to such a network,
select Add network... and set all parameters manually according to that network.
7.18 Changing the settings
7.18.1 General
You can change a variety of settings for the camera.
The Settings menu includes the following:
•Measurement parameters.
•Save options.
•Device settings.
7.18.1.1 Measurement parameters
•Emissivity.
•Reflected temperature.
•Distance.
7.18.1.2 Save options
•Photo as separate JPEG: When this menu command is selected, the digital photo-
graph from the visual camera is saved at its full field of view as a separate JPEG im-
age. It may be necessary to activate this option if you are not using the FLIR Tools
software.
#T559918; r. AL/40424/40424; en-US 22

Operation
7
7.18.1.3 Device settings
•Language, time & units:
◦Language.
◦Temperature unit.
◦Distance unit.
◦Date & time.
◦Date & time format.
•Reset options:
◦Reset default camera mode.
◦Reset device settings to factory default.
◦Delete all saved images.
•Auto power off.
•Auto orientation.
•Display intensity.
•Camera information: This menu command displays various items of information about
the camera, such as the model, serial number, and software version.
7.18.2 Procedure
Follow this procedure:
1. Tap the camera screen. This displays the main menu toolbar.
2. Select Settings . This displays a dialog box.
3. In the dialog box, tap the setting that you want to change.
4. To return to live mode, tap the upper left arrow repeatedly. You can also push the
Save button once.
7.19 Updating the camera
7.19.1 General
To take advantage of our latest camera firmware, it is important that you keep your cam-
era updated. You update your camera using FLIR Tools.
#T559918; r. AL/40424/40424; en-US 23

Operation
7
7.19.2 Procedure
Follow this procedure:
1. Start FLIR Tools.
2. Start the camera.
3. Connect the camera to the computer using the USB cable.
4. FLIR Tools displays a welcome screen when the camera is identified. On the wel-
come screen, click Check for updates.
You can also click Check for updates on the Help menu in FLIR Tools.
5. Follow the on-screen instructions.
#T559918; r. AL/40424/40424; en-US 24

Technical data
8
Table of contents
8.1 Online field-of-view calculator........................................................... 25
8.2 Note about technical data................................................................. 25
8.3 Note about authoritative versions...................................................... 25
8.4 FLIR C2 ..........................................................................................26
8.5 FLIR C2 Educational Kit.................................................................... 29
8.6 FLIR C3 (incl. Wi-Fi) ......................................................................... 32
8.7 FLIR C3 (incl. Wi-Fi) Educational Kit................................................... 36
8.1 Online field-of-view calculator
Please visit http://support.flir.com and click the photo of the camera series for field-of-
view tables for all lens–camera combinations.
8.2 Note about technical data
FLIR Systems reserves the right to change specifications at any time without prior notice.
Please check http://support.flir.com for latest changes.
8.3 Note about authoritative versions
The authoritative version of this publication is English. In the event of divergences due to
translation errors, the English text has precedence.
Any late changes are first implemented in English.
#T559918; r. AL/40424/40424; en-US 25

Technical data8
8.4 FLIR C2
P/N: 72001-0101
Rev.: 40418
Imaging and optical data
NETD 100 mK
Field of view 41° × 31°
Minimum focus distance • Thermal: 0.15 m (0.49 ft.)
• MSX: 1.0 m (3.3 ft.)
Focal length 1.54 mm (0.061 in.)
Spatial resolution (IFOV) 11 mrad
F-number 1.1
Image frequency 9 Hz
Focus Focus free
Detector data
Focal Plane Array Uncooled microbolometer
Spectral range 7.5–14 µm
Detector pitch 17 µm
IR sensor size 80 × 60
Image presentation
Display (color) • 3.0 in.
• 320 × 240 pixels
Display, aspect ratio 4:3
Auto orientation Yes
Touch screen Yes, capacitive
Image adjustment (alignment calibration) Yes
Image presentation modes
Infrared image Yes
Visual image Yes
MSX Yes
Gallery Yes
Measurement
Object temperature range –10°C to +150°C (14 to 302°F)
Accuracy ±2°C (±3.6°F) or 2%, whichever is greater, at 25°
C (77°F) nominal.
Measurement analysis
Spotmeter On/off
Emissivity correction Yes; matt/semi-matt/semi-glossy + custom value
Measurements correction • Emissivity
• Reflected apparent temperature
#T559918; r. AL/40424/40424; en-US 26

Technical data8
Set-up
Color palettes • Iron
• Rainbow
• Rainbow HC
• Gray
Set-up commands Local adaptation of units, language, date and time
formats
Languages Arabic, Czech, Danish, Dutch, English, Finnish,
French, German, Greek, Hungarian, Italian, Japa-
nese, Korean, Norwegian, Polish, Portuguese,
Russian, Simpl. Chinese, Spanish, Swedish, Trad.
Chinese, Turkish.
Lamp
Output power 0.85 W
Field of view 60°
Service functions
Camera software update Using FLIR Tools
Storage of images
Storage media Internal memory store at least 500 sets of images
Image file format • Standard JPEG
• 14-bit measurement data included
Video streaming
Non-radiometric IR video streaming Yes
Visual video streaming Yes
Digital camera
Digital camera 640 × 480 pixels
Digital camera, focus Fixed focus
Data communication interfaces
USB, connector type USB Micro-B: Data transfer to and from PC
USB, standard USB 2.0
Power system
Battery type Rechargeable Li-ion polymer battery
Battery voltage 3.7 V
Battery operating time 2 h
Charging system Charged inside the camera
Charging time 1.5 h
Charging temperature 10°C to +45°C (+50°F to +113°F)
External power operation • AC adapter, 90–260 VAC input
• 5 V output to camera
Power management Automatic shut-down
Environmental data
Operating temperature range –10°C to +50°C (14 to 122°F)
Storage temperature range –40°C to +70°C (–40 to 158°F)
Humidity (operating and storage) IEC 60068-2-30/24 h 95% relative humidity +25°C
to +40°C (+77°F to +104°F) / 2 cycles
#T559918; r. AL/40424/40424; en-US 27

Technical data8
Environmental data
Relative humidity 95% relative humidity +25°C to +40°C (+77°F to
+104°F) non condensing
EMC • WEEE 2012/19/EC
• RoHs 2011/65/EC
• C-Tick
• EN 61000-6-3
• EN 61000-6-2
• FCC 47 CFR Part 15 Class B
Magnetic fields EN 61000-4-8
Battery regulations UL 1642
Encapsulation Camera housing and lens: IP 40 (IEC 60529)
Shock 25 g (IEC 60068-2-27)
Vibration 2 g (IEC 60068-2-6)
Physical data
Weight (incl. Battery) 0.13 kg (0.29 lb.)
Size (L × W × H) 125 × 80 × 24 mm (4.9 × 3.1 × 0.94 in.)
Tripod mounting No
Housing material • PC and ABS, partially covered with TPE
• Aluminum
Color Black and gray
Shipping information
Packaging, type Cardboard box
List of contents • Infrared camera
• Lanyard
• Power supply/charger with EU, UK, US, CN
and Australian plugs
• Printed documentation
• USB cable
Packaging, weight 0.53 kg (1.17 lb.)
Packaging, size 175 × 115 × 75 mm (6.9 × 4.5 × 3.0 in.)
EAN-13 4743254001961
UPC-12 845188010614
Country of origin Estonia
Supplies & accessories:
• T198532; Car charger
• T198534; Power supply USB-micro
• T198533; USB cable Std A <-> Micro B
• T198584; FLIR Tools
• T198583; FLIR Tools+ (download card incl. license key)
• T199233; FLIR Atlas SDK for .NET
• T199234; FLIR Atlas SDK for MATLAB
#T559918; r. AL/40424/40424; en-US 28

Technical data8
8.5 FLIR C2 Educational Kit
P/N: 72002-0202
Rev.: 40418
NOTE
Only educational institutions are eligible for purchasing this product.
Imaging and optical data
NETD 100 mK
Field of view 41° × 31°
Minimum focus distance • Thermal: 0.15 m (0.49 ft.)
• MSX: 1.0 m (3.3 ft.)
Focal length 1.54 mm (0.061 in.)
Spatial resolution (IFOV) 11 mrad
F-number 1.1
Image frequency 9 Hz
Focus Focus free
Detector data
Focal Plane Array Uncooled microbolometer
Spectral range 7.5–14 µm
Detector pitch 17 µm
IR sensor size 80 × 60
Image presentation
Display (color) • 3.0 in.
• 320 × 240 pixels
Display, aspect ratio 4:3
Auto orientation Yes
Touch screen Yes, capacitive
Image adjustment (alignment calibration) Yes
Image presentation modes
Infrared image Yes
Visual image Yes
MSX Yes
Gallery Yes
Measurement
Object temperature range –10°C to +150°C (14 to 302°F)
Accuracy ±2°C (±3.6°F) or 2%, whichever is greater, at 25°
C (77°F) nominal.
Measurement analysis
Spotmeter On/off
Emissivity correction Yes; matt/semi-matt/semi-glossy + custom value
Measurements correction • Emissivity
• Reflected apparent temperature
#T559918; r. AL/40424/40424; en-US 29

Technical data8
Set-up
Color palettes • Iron
• Rainbow
• Rainbow HC
• Gray
Set-up commands Local adaptation of units, language, date and time
formats
Languages Arabic, Czech, Danish, Dutch, English, Finnish,
French, German, Greek, Hungarian, Italian, Japa-
nese, Korean, Norwegian, Polish, Portuguese,
Russian, Simpl. Chinese, Spanish, Swedish, Trad.
Chinese, Turkish.
Lamp
Output power 0.85 W
Field of view 60°
Service functions
Camera software update Using FLIR Tools
Storage of images
Storage media Internal memory store at least 500 sets of images
Image file format • Standard JPEG
• 14-bit measurement data included
Video streaming
Non-radiometric IR video streaming Yes
Visual video streaming Yes
Digital camera
Digital camera 640 × 480 pixels
Digital camera, focus Fixed focus
Data communication interfaces
USB, connector type USB Micro-B: Data transfer to and from PC
USB, standard USB 2.0
Power system
Battery type Rechargeable Li-ion polymer battery
Battery voltage 3.7 V
Battery operating time 2 h
Charging system Charged inside the camera
Charging time 1.5 h
Charging temperature 10°C to +45°C (+50°F to +113°F)
External power operation • AC adapter, 90–260 VAC input
• 5 V output to camera
Power management Automatic shut-down
Environmental data
Operating temperature range –10°C to +50°C (14 to 122°F)
Storage temperature range –40°C to +70°C (–40 to 158°F)
Humidity (operating and storage) IEC 60068-2-30/24 h 95% relative humidity +25°C
to +40°C (+77°F to +104°F) / 2 cycles
#T559918; r. AL/40424/40424; en-US 30

Technical data8
Environmental data
Relative humidity 95% relative humidity +25°C to +40°C (+77°F to
+104°F) non condensing
EMC • WEEE 2012/19/EC
• RoHs 2011/65/EC
• C-Tick
• EN 61000-6-3
• EN 61000-6-2
• FCC 47 CFR Part 15 Class B
Magnetic fields EN 61000-4-8
Battery regulations UL 1642
Encapsulation Camera housing and lens: IP 40 (IEC 60529)
Shock 25 g (IEC 60068-2-27)
Vibration 2 g (IEC 60068-2-6)
Physical data
Weight (incl. Battery) 0.13 kg (0.29 lb.)
Size (L × W × H) 125 × 80 × 24 mm (4.9 × 3.1 × 0.94 in.)
Tripod mounting Yes
Housing material • PC and ABS, partially covered with TPE
• Aluminum
Color Black and gray
Shipping information
Packaging, type Cardboard box
List of contents • Infrared camera
• Lanyard
• Power supply/charger with EU, UK, US, CN
and Australian plugs
• Printed documentation
• Tripod mount
• FLIR C2 educational kit card with download
links for FLIR Tools+, FLIR ResearchIR Stand-
ard (incl. printed license key), and educational
resources.
• USB cable
Packaging, weight 0.53 kg (1.17 lb.)
Packaging, size 175 × 115 × 75 mm (6.9 × 4.5 × 3.0 in.)
EAN-13 4743254002067
UPC-12 845188011376
Country of origin Estonia
Supplies & accessories:
• T198532; Car charger
• T198534; Power supply USB-micro
• T198533; USB cable Std A <-> Micro B
• T198584; FLIR Tools
• T198583; FLIR Tools+ (download card incl. license key)
• T199012; FLIR ResearchIR Standard 4 (printed license key)
• T199233; FLIR Atlas SDK for .NET
• T199234; FLIR Atlas SDK for MATLAB
#T559918; r. AL/40424/40424; en-US 31

Technical data8
8.6 FLIR C3 (incl. Wi-Fi)
P/N: 72003-0303
Rev.: 40418
Imaging and optical data
NETD 100 mK
Field of view 41° × 31°
Minimum focus distance • Thermal: 0.15 m (0.49 ft.)
• MSX: 1.0 m (3.3 ft.)
Focal length 1.54 mm (0.061 in.)
Spatial resolution (IFOV) 11 mrad
F-number 1.1
Image frequency 9 Hz
Focus Focus free
Detector data
Focal Plane Array Uncooled microbolometer
Spectral range 7.5–14 µm
Detector pitch 17 µm
IR sensor size 80 × 60
Image presentation
Display (color) • 3.0 in.
• 320 × 240 pixels
Display, aspect ratio 4:3
Auto orientation Yes
Touch screen Yes, capacitive
Image adjustment (alignment calibration) Yes
Image presentation modes
Infrared image Yes
Visual image Yes
MSX Yes
Gallery Yes
Picture in Picture IR area on visual image
Measurement
Object temperature range –10°C to +150°C (14 to 302°F)
Accuracy ±2°C (±3.6°F) or 2%, whichever is greater, at 25°
C (77°F) nominal.
Measurement analysis
Spotmeter On/off
Area Box with max./min.
Emissivity correction Yes; matt/semi-matt/semi-glossy + custom value
Measurements correction • Emissivity
• Reflected apparent temperature
#T559918; r. AL/40424/40424; en-US 32

Technical data8
Set-up
Color palettes • Iron
• Rainbow
• Rainbow HC
• Gray
Set-up commands Local adaptation of units, language, date and time
formats
Languages Arabic, Czech, Danish, Dutch, English, Finnish,
French, German, Greek, Hungarian, Italian, Japa-
nese, Korean, Norwegian, Polish, Portuguese,
Russian, Simpl. Chinese, Spanish, Swedish, Trad.
Chinese, Turkish.
Lamp
Output power 0.85 W
Field of view 60°
Service functions
Camera software update Using FLIR Tools
Storage of images
Storage media Internal memory store at least 500 sets of images
Image file format • Standard JPEG
• 14-bit measurement data included
Video streaming
Non-radiometric IR video streaming Yes
Visual video streaming Yes
Digital camera
Digital camera 640 × 480 pixels
Digital camera, focus Fixed focus
Data communication interfaces
Wi-Fi Peer-to-peer (ad hoc) or infrastructure (network)
USB, connector type USB Micro-B: Data transfer to and from PC
USB, standard USB 2.0
Radio
Wi-Fi • Standard: 802.11 b/g/n
• Frequency range:
◦ 2400–2480 MHz
◦ 5150–5260 MHz
• Max. output power: 15 dBm
Power system
Battery type Rechargeable Li-ion polymer battery
Battery voltage 3.7 V
Battery operating time 2 h
Charging system Charged inside the camera
Charging time 1.5 h
Charging temperature 10°C to +45°C (+50°F to +113°F)
#T559918; r. AL/40424/40424; en-US 33

Technical data8
Power system
External power operation • AC adapter, 90–260 VAC input
• 5 V output to camera
Power management Automatic shut-down
Environmental data
Operating temperature range –10°C to +50°C (14 to 122°F)
Storage temperature range –40°C to +70°C (–40 to 158°F)
Humidity (operating and storage) IEC 60068-2-30/24 h 95% relative humidity +25°C
to +40°C (+77°F to +104°F) / 2 cycles
Relative humidity 95% relative humidity +25°C to +40°C (+77°F to
+104°F) non condensing
EMC • WEEE 2012/19/EC
• RoHs 2011/65/EC
• C-Tick
• EN 61000-6-3
• EN 61000-6-2
• FCC 47 CFR Part 15 Class B
Radio spectrum • ETSI EN 300 328
• FCC 47 CSR Part 15
• RSS-247 Issue 1
Magnetic fields EN 61000-4-8
Battery regulations UL 1642
Encapsulation Camera housing and lens: IP 40 (IEC 60529)
Shock 25 g (IEC 60068-2-27)
Vibration 2 g (IEC 60068-2-6)
Drop 2 m (6.6 ft.)
Physical data
Weight (incl. Battery) 0.13 kg (0.29 lb.)
Size (L × W × H) 125 × 80 × 24 mm (4.9 × 3.1 × 0.94 in.)
Tripod mounting No
Housing material • PC and ABS, partially covered with TPE
• Aluminum
Color Black and gray
Shipping information
Packaging, type Cardboard box
List of contents • Infrared camera
• Lanyard
• Pouch
• Power supply/charger with EU, UK, US, CN
and Australian plugs
• Printed documentation
• Tripod mount
• USB cable
Packaging, weight TBD
Packaging, size 175 × 110 × 105 mm (6.9 × 4.3 × 4.1 in.)
EAN-13 4743254002845
UPC-12 845188014094
Country of origin Estonia
#T559918; r. AL/40424/40424; en-US 34

Technical data8
Supplies & accessories:
• T198532; Car charger
• T198534; Power supply USB-micro
• T198533; USB cable Std A <-> Micro B
• T198584; FLIR Tools
• T198583; FLIR Tools+ (download card incl. license key)
• T199233; FLIR Atlas SDK for .NET
• T199234; FLIR Atlas SDK for MATLAB
#T559918; r. AL/40424/40424; en-US 35

Technical data8
8.7 FLIR C3 (incl. Wi-Fi) Educational Kit
P/N: 72003-0404
Rev.: 40418
NOTE
Only educational institutions are eligible for purchasing this product.
Imaging and optical data
NETD 100 mK
Field of view 41° × 31°
Minimum focus distance • Thermal: 0.15 m (0.49 ft.)
• MSX: 1.0 m (3.3 ft.)
Focal length 1.54 mm (0.061 in.)
Spatial resolution (IFOV) 11 mrad
F-number 1.1
Image frequency 9 Hz
Focus Focus free
Detector data
Focal Plane Array Uncooled microbolometer
Spectral range 7.5–14 µm
Detector pitch 17 µm
IR sensor size 80 × 60
Image presentation
Display (color) • 3.0 in.
• 320 × 240 pixels
Display, aspect ratio 4:3
Auto orientation Yes
Touch screen Yes, capacitive
Image adjustment (alignment calibration) Yes
Image presentation modes
Infrared image Yes
Visual image Yes
MSX Yes
Gallery Yes
Picture in Picture IR area on visual image
Measurement
Object temperature range –10°C to +150°C (14 to 302°F)
Accuracy ±2°C (±3.6°F) or 2%, whichever is greater, at 25°
C (77°F) nominal.
Measurement analysis
Spotmeter On/off
Area Box with max./min.
#T559918; r. AL/40424/40424; en-US 36

Technical data8
Measurement analysis
Emissivity correction Yes; matt/semi-matt/semi-glossy + custom value
Measurements correction • Emissivity
• Reflected apparent temperature
Set-up
Color palettes • Iron
• Rainbow
• Rainbow HC
• Gray
Set-up commands Local adaptation of units, language, date and time
formats
Languages Arabic, Czech, Danish, Dutch, English, Finnish,
French, German, Greek, Hungarian, Italian, Japa-
nese, Korean, Norwegian, Polish, Portuguese,
Russian, Simpl. Chinese, Spanish, Swedish, Trad.
Chinese, Turkish.
Lamp
Output power 0.85 W
Field of view 60°
Service functions
Camera software update Using FLIR Tools
Storage of images
Storage media Internal memory store at least 500 sets of images
Image file format • Standard JPEG
• 14-bit measurement data included
Video streaming
Non-radiometric IR video streaming Yes
Visual video streaming Yes
Digital camera
Digital camera 640 × 480 pixels
Digital camera, focus Fixed focus
Data communication interfaces
Wi-Fi Peer-to-peer (ad hoc) or infrastructure (network)
USB, connector type USB Micro-B: Data transfer to and from PC
USB, standard USB 2.0
Radio
Wi-Fi • Standard: 802.11 b/g/n
• Frequency range:
◦ 2400–2480 MHz
◦ 5150–5260 MHz
• Max. output power: 15 dBm
Power system
Battery type Rechargeable Li-ion polymer battery
Battery voltage 3.7 V
Battery operating time 2 h
Charging system Charged inside the camera
#T559918; r. AL/40424/40424; en-US 37

Technical data8
Power system
Charging time 1.5 h
Charging temperature 10°C to +45°C (+50°F to +113°F)
External power operation • AC adapter, 90–260 VAC input
• 5 V output to camera
Power management Automatic shut-down
Environmental data
Operating temperature range –10°C to +50°C (14 to 122°F)
Storage temperature range –40°C to +70°C (–40 to 158°F)
Humidity (operating and storage) IEC 60068-2-30/24 h 95% relative humidity +25°C
to +40°C (+77°F to +104°F) / 2 cycles
Relative humidity 95% relative humidity +25°C to +40°C (+77°F to
+104°F) non condensing
EMC • WEEE 2012/19/EC
• RoHs 2011/65/EC
• C-Tick
• EN 61000-6-3
• EN 61000-6-2
• FCC 47 CFR Part 15 Class B
Radio spectrum • ETSI EN 300 328
• FCC 47 CSR Part 15
• RSS-247 Issue 1
Magnetic fields EN 61000-4-8
Battery regulations UL 1642
Encapsulation Camera housing and lens: IP 40 (IEC 60529)
Shock 25 g (IEC 60068-2-27)
Vibration 2 g (IEC 60068-2-6)
Drop 2 m (6.6 ft.)
Physical data
Weight (incl. Battery) 0.13 kg (0.29 lb.)
Size (L × W × H) 125 × 80 × 24 mm (4.9 × 3.1 × 0.94 in.)
Tripod mounting No
Housing material • PC and ABS, partially covered with TPE
• Aluminum
Color Black and gray
Shipping information
Packaging, type Cardboard box
List of contents • FLIR C3 educational kit card with download
links for FLIR Tools+, FLIR ResearchIR Stand-
ard (incl. printed license key), and educational
resources.
• Infrared camera
• Lanyard
• Pouch
• Power supply/charger with EU, UK, US, CN
and Australian plugs
• Printed documentation
• Tripod mount
• USB cable
Packaging, weight TBD
Packaging, size 175 × 110 × 105 mm (6.9 × 4.3 × 4.1 in.)
#T559918; r. AL/40424/40424; en-US 38

Technical data8
Shipping information
EAN-13 4743254002852
UPC-12 845188014100
Country of origin Estonia
Supplies & accessories:
• T198532; Car charger
• T198534; Power supply USB-micro
• T198533; USB cable Std A <-> Micro B
• T198584; FLIR Tools
• T198583; FLIR Tools+ (download card incl. license key)
• T199233; FLIR Atlas SDK for .NET
• T199234; FLIR Atlas SDK for MATLAB
#T559918; r. AL/40424/40424; en-US 39

4,9
124,5
mm
3,1
78,7
mm
1,02
25,9
mm
Optical axis
1,78
45,3
mm
0,43
11
mm
1,31
33,4
mm
0,91
23,1
mm
0,58
14,8
mm
Camera with build-in IR lens f=1,54mm
Visual Optical axis
IR Optical axis
12345678910
1 632 54
A
B
C
D
E
F
G
H
F
C
E
G
D
A
B
-
Scale
1:1
B
Size
Modified
R&D Thermography
MABR
Basic Dimensions Flir Cx
T128439
1(1)
A2
Denomination
Drawn by
Check
Size
Drawing No.
Sheet
7
© 2012, FLIR Systems, Inc. All rights reserved worldwide. No part of this drawing may be reproduced, stored in a retrieval system, or transmitted in any form, or by any means, electronic, mechanical, photocopying, recording, or otherwise,
without written permission from FLIR Systems, Inc. Specifications subject to change without further notice. Dimensional data is based on nominal values. Products may be subject to regional market considerations. License procedures may apply.
Product may be subject to US Export Regulations. Please refer to exportquestions@flir.com with any questions. Diversion contrary to US law is prohibited.
2014-12-18


Cleaning the camera
11
11.1 Camera housing, cables, and other items
11.1.1 Liquids
Use one of these liquids:
• Warm water
• A weak detergent solution
11.1.2 Equipment
A soft cloth
11.1.3 Procedure
Follow this procedure:
1. Soak the cloth in the liquid.
2. Twist the cloth to remove excess liquid.
3. Clean the part with the cloth.
CAUTION
Do not apply solvents or similar liquids to the camera, the cables, or other items. This can cause
damage.
11.2 Infrared lens
11.2.1 Liquids
Use one of these liquids:
• A commercial lens cleaning liquid with more than 30% isopropyl alcohol.
• 96% ethyl alcohol (C2H5OH).
11.2.2 Equipment
Cotton wool
11.2.3 Procedure
Follow this procedure:
1. Soak the cotton wool in the liquid.
2. Twist the cotton wool to remove excess liquid.
3. Clean the lens one time only and discard the cotton wool.
WARNING
Make sure that you read all applicable MSDS (Material Safety Data Sheets) and warning labels on con-
tainers before you use a liquid: the liquids can be dangerous.
CAUTION
• Be careful when you clean the infrared lens. The lens has a delicate anti-reflective coating.
• Do not clean the infrared lens too vigorously. This can damage the anti-reflective coating.
#T559918; r. AL/40424/40424; en-US 44

Application examples
12
12.1 Moisture & water damage
12.1.1 General
It is often possible to detect moisture and water damage in a house by using an infrared
camera. This is partly because the damaged area has a different heat conduction prop-
erty and partly because it has a different thermal capacity to store heat than the sur-
rounding material.
Many factors can come into play as to how moisture or water damage will appear in an
infrared image.
For example, heating and cooling of these parts takes place at different rates depending
on the material and the time of day. For this reason, it is important that other methods are
used as well to check for moisture or water damage.
12.1.2 Figure
The image below shows extensive water damage on an external wall where the water
has penetrated the outer facing because of an incorrectly installed window ledge.
12.2 Faulty contact in socket
12.2.1 General
Depending on the type of connection a socket has, an improperly connected wire can re-
sult in local temperature increase. This temperature increase is caused by the reduced
contact area between the connection point of the incoming wire and the socket , and can
result in an electrical fire.
A socket’s construction may differ dramatically from one manufacturer to another. For
this reason, different faults in a socket can lead to the same typical appearance in an in-
frared image.
Local temperature increase can also result from improper contact between wire and
socket, or from difference in load.
12.2.2 Figure
The image below shows a connection of a cable to a socket where improper contact in
the connection has resulted in local temperature increase.
#T559918; r. AL/40424/40424; en-US 45

Application examples12
12.3 Oxidized socket
12.3.1 General
Depending on the type of socket and the environment in which the socket is installed, ox-
ides may occur on the socket's contact surfaces. These oxides can lead to locally in-
creased resistance when the socket is loaded, which can be seen in an infrared image
as local temperature increase.
A socket’s construction may differ dramatically from one manufacturer to another. For
this reason, different faults in a socket can lead to the same typical appearance in an in-
frared image.
Local temperature increase can also result from improper contact between a wire and
socket, or from difference in load.
12.3.2 Figure
The image below shows a series of fuses where one fuse has a raised temperature on
the contact surfaces against the fuse holder. Because of the fuse holder’s blank metal,
the temperature increase is not visible there, while it is visible on the fuse’s ceramic
material.
#T559918; r. AL/40424/40424; en-US 46

Application examples12
12.4 Insulation deficiencies
12.4.1 General
Insulation deficiencies may result from insulation losing volume over the course of time
and thereby not entirely filling the cavity in a frame wall.
An infrared camera allows you to see these insulation deficiencies because they either
have a different heat conduction property than sections with correctly installed insulation,
and/or show the area where air is penetrating the frame of the building.
When you are inspecting a building, the temperature difference between the inside and
outside should be at least 10°C (18°F). Studs, water pipes, concrete columns, and simi-
lar components may resemble an insulation deficiency in an infrared image. Minor differ-
ences may also occur naturally.
12.4.2 Figure
In the image below, insulation in the roof framing is lacking. Due to the absence of insula-
tion, air has forced its way into the roof structure, which thus takes on a different charac-
teristic appearance in the infrared image.
12.5 Draft
12.5.1 General
Draft can be found under baseboards, around door and window casings, and above ceil-
ing trim. This type of draft is often possible to see with an infrared camera, as a cooler
airstream cools down the surrounding surface.
When you are investigating draft in a house, there should be sub-atmospheric pressure
in the house. Close all doors, windows, and ventilation ducts, and allow the kitchen fan
to run for a while before you take the infrared images.
An infrared image of draft often shows a typical stream pattern. You can see this stream
pattern clearly in the picture below.
Also keep in mind that drafts can be concealed by heat from floor heating circuits.
12.5.2 Figure
The image below shows a ceiling hatch where faulty installation has resulted in a strong
draft.
#T559918; r. AL/40424/40424; en-US 47

About FLIR Systems
13
FLIR Systems was established in 1978 to pioneer the development of high-performance
infrared imaging systems, and is the world leader in the design, manufacture, and mar-
keting of thermal imaging systems for a wide variety of commercial, industrial, and gov-
ernment applications. Today, FLIR Systems embraces five major companies with
outstanding achievements in infrared technology since 1958—the Swedish AGEMA In-
frared Systems (formerly AGA Infrared Systems), the three United States companies In-
digo Systems, FSI, and Inframetrics, and the French company Cedip.
Since 2007, FLIR Systems has acquired several companies with world-leading expertise
in sensor technologies:
• Extech Instruments (2007)
• Ifara Tecnologías (2008)
• Salvador Imaging (2009)
• OmniTech Partners (2009)
• Directed Perception (2009)
• Raymarine (2010)
• ICx Technologies (2010)
• TackTick Marine Digital Instruments (2011)
• Aerius Photonics (2011)
• Lorex Technology (2012)
• Traficon (2012)
• MARSS (2013)
• DigitalOptics micro-optics business (2013)
• DVTEL (2015)
• Point Grey Research (2016)
• Prox Dynamics (2016)
Figure 13.1 Patent documents from the early 1960s
FLIR Systems has three manufacturing plants in the United States (Portland, OR, Bos-
ton, MA, Santa Barbara, CA) and one in Sweden (Stockholm). Since 2007 there is also a
manufacturing plant in Tallinn, Estonia. Direct sales offices in Belgium, Brazil, China,
France, Germany, Great Britain, Hong Kong, Italy, Japan, Korea, Sweden, and the USA
—together with a worldwide network of agents and distributors—support our internation-
al customer base.
#T559918; r. AL/40424/40424; en-US 49

About FLIR Systems
13
FLIR Systems is at the forefront of innovation in the infrared camera industry. We antici-
pate market demand by constantly improving our existing cameras and developing new
ones. The company has set milestones in product design and development such as the
introduction of the first battery-operated portable camera for industrial inspections, and
the first uncooled infrared camera, to mention just two innovations.
Figure 13.2 1969: Thermovision Model 661. The
camera weighed approximately 25 kg (55 lb.), the
oscilloscope 20 kg (44 lb.), and the tripod 15 kg
(33 lb.). The operator also needed a 220 VAC
generator set, and a 10 L (2.6 US gallon) jar with
liquid nitrogen. To the left of the oscilloscope the
Polaroid attachment (6 kg/13 lb.) can be seen.
Figure 13.3 2015: FLIR One, an accessory to
iPhone and Android mobile phones. Weight: 90 g
(3.2 oz.).
FLIR Systems manufactures all vital mechanical and electronic components of the cam-
era systems itself. From detector design and manufacturing, to lenses and system elec-
tronics, to final testing and calibration, all production steps are carried out and
supervised by our own engineers. The in-depth expertise of these infrared specialists en-
sures the accuracy and reliability of all vital components that are assembled into your in-
frared camera.
13.1 More than just an infrared camera
At FLIR Systems we recognize that our job is to go beyond just producing the best infra-
red camera systems. We are committed to enabling all users of our infrared camera sys-
tems to work more productively by providing them with the most powerful camera–
software combination. Especially tailored software for predictive maintenance, R & D,
and process monitoring is developed in-house. Most software is available in a wide varie-
ty of languages.
We support all our infrared cameras with a wide variety of accessories to adapt your
equipment to the most demanding infrared applications.
13.2 Sharing our knowledge
Although our cameras are designed to be very user-friendly, there is a lot more to ther-
mography than just knowing how to handle a camera. Therefore, FLIR Systems has
founded the Infrared Training Center (ITC), a separate business unit, that provides certi-
fied training courses. Attending one of the ITC courses will give you a truly hands-on
learning experience.
The staff of the ITC are also there to provide you with any application support you may
need in putting infrared theory into practice.
#T559918; r. AL/40424/40424; en-US 50

About FLIR Systems
13
13.3 Supporting our customers
FLIR Systems operates a worldwide service network to keep your camera running at all
times. If you discover a problem with your camera, local service centers have all the
equipment and expertise to solve it within the shortest possible time. Therefore, there is
no need to send your camera to the other side of the world or to talk to someone who
does not speak your language.
#T559918; r. AL/40424/40424; en-US 51

Definitions and laws
14
Term Definition
Absorption and emission2The capacity or ability of an object to absorb incident radi-
ated energy is always the same as the capacity to emit its
own energy as radiation
Apparent temperature uncompensated reading from an infrared instrument, con-
taining all radiation incident on the instrument, regardless of
its sources3
Color palette assigns different colors to indicate specific levels of apparent
temperature. Palettes can provide high or low contrast, de-
pending on the colors used in them
Conduction direct transfer of thermal energy from molecule to molecule,
caused by collisions between the molecules
Convection heat transfer mode where a fluid is brought into motion, ei-
ther by gravity or another force, thereby transferring heat
from one place to another
Diagnostics examination of symptoms and syndromes to determine the
nature of faults or failures4
Direction of heat transfer5Heat will spontaneously flow from hotter to colder, thereby
transferring thermal energy from one place to another6
Emissivity ratio of the power radiated by real bodies to the power that is
radiated by a blackbody at the same temperature and at the
same wavelength7
Energy conservation8The sum of the total energy contents in a closed system is
constant
Exitant radiation radiation that leaves the surface of an object, regardless of
its original sources
Heat thermal energy that is transferred between two objects (sys-
tems) due to their difference in temperature
Heat transfer rate9The heat transfer rate under steady state conditions is di-
rectly proportional to the thermal conductivity of the object,
the cross-sectional area of the object through which the heat
flows, and the temperature difference between the two ends
of the object. It is inversely proportional to the length, or
thickness, of the object10
Incident radiation radiation that strikes an object from its surroundings
IR thermography process of acquisition and analysis of thermal information
from non-contact thermal imaging devices
Isotherm replaces certain colors in the scale with a contrasting color. It
marks an interval of equal apparent temperature11
Qualitative thermography thermography that relies on the analysis of thermal patterns
to reveal the existence of and to locate the position of
anomalies12
Quantitative thermography thermography that uses temperature measurement to deter-
mine the seriousness of an anomaly, in order to establish re-
pair priorities12
#T559918; r. AL/40424/40424; en-US 52
2. Kirchhoff’s law of thermal radiation.
3. Based on ISO 18434-1:2008 (en).
4. Based on ISO 13372:2004 (en).
5. 2nd law of thermodynamics.
6. This is a consequence of the 2nd law of thermodynamics, the law itself is more complicated.
7. Based on ISO 16714-3:2016 (en).
8. 1st law of thermodynamics.
9. Fourier’s law.
10.This is the one-dimensional form of Fourier’s law, valid for steady-state conditions.
11.Based on ISO 18434-1:2008 (en)
12.Based on ISO 10878-2013 (en).

Definitions and laws
14
Term Definition
Radiative heat transfer Heat transfer by the emission and absorption of thermal
radiation
Reflected apparent temperature apparent temperature of the environment that is reflected by
the target into the IR camera13
Spatial resolution ability of an IR camera to resolve small objects or details
Temperature measure of the average kinetic energy of the molecules and
atoms that make up the substance
Thermal energy total kinetic energy of the molecules that make up the
object14
Thermal gradient gradual change in temperature over distance13
Thermal tuning process of putting the colors of the image on the object of
analysis, in order to maximize contrast
#T559918; r. AL/40424/40424; en-US 53
13.Based on ISO 16714-3:2016 (en).
14.Thermal energy is part of the internal energy of an object.

Thermographic measurement
techniques
15
15.1 Introduction
An infrared camera measures and images the emitted infrared radiation from an object.
The fact that radiation is a function of object surface temperature makes it possible for
the camera to calculate and display this temperature.
However, the radiation measured by the camera does not only depend on the tempera-
ture of the object but is also a function of the emissivity. Radiation also originates from
the surroundings and is reflected in the object. The radiation from the object and the re-
flected radiation will also be influenced by the absorption of the atmosphere.
To measure temperature accurately, it is therefore necessary to compensate for the ef-
fects of a number of different radiation sources. This is done on-line automatically by the
camera. The following object parameters must, however, be supplied for the camera:
• The emissivity of the object
• The reflected apparent temperature
• The distance between the object and the camera
• The relative humidity
• Temperature of the atmosphere
15.2 Emissivity
The most important object parameter to set correctly is the emissivity which, in short, is a
measure of how much radiation is emitted from the object, compared to that from a per-
fect blackbody of the same temperature.
Normally, object materials and surface treatments exhibit emissivity ranging from approx-
imately 0.1 to 0.95. A highly polished (mirror) surface falls below 0.1, while an oxidized
or painted surface has a higher emissivity. Oil-based paint, regardless of color in the visi-
ble spectrum, has an emissivity over 0.9 in the infrared. Human skin exhibits an emissiv-
ity 0.97 to 0.98.
Non-oxidized metals represent an extreme case of perfect opacity and high reflexivity,
which does not vary greatly with wavelength. Consequently, the emissivity of metals is
low – only increasing with temperature. For non-metals, emissivity tends to be high, and
decreases with temperature.
15.2.1 Finding the emissivity of a sample
15.2.1.1 Step 1: Determining reflected apparent temperature
Use one of the following two methods to determine reflected apparent temperature:
#T559918; r. AL/40424/40424; en-US 54

Thermographic measurement techniques15
15.2.1.1.1 Method 1: Direct method
Follow this procedure:
1. Look for possible reflection sources, considering that the incident angle = reflection
angle (a = b).
Figure 15.1 1 = Reflection source
2. If the reflection source is a spot source, modify the source by obstructing it using a
piece if cardboard.
Figure 15.2 1 = Reflection source
#T559918; r. AL/40424/40424; en-US 55

Thermographic measurement techniques15
3. Measure the radiation intensity (= apparent temperature) from the reflection source
using the following settings:
• Emissivity: 1.0
• Dobj: 0
You can measure the radiation intensity using one of the following two methods:
Figure 15.3 1 = Reflection source Figure 15.4 1 = Reflection source
You can not use a thermocouple to measure reflected apparent temperature, because a
thermocouple measures temperature, but apparent temperatrure is radiation intensity.
15.2.1.1.2 Method 2: Reflector method
Follow this procedure:
1. Crumble up a large piece of aluminum foil.
2. Uncrumble the aluminum foil and attach it to a piece of cardboard of the same size.
3. Put the piece of cardboard in front of the object you want to measure. Make sure that
the side with aluminum foil points to the camera.
4. Set the emissivity to 1.0.
#T559918; r. AL/40424/40424; en-US 56

Thermographic measurement techniques15
5. Measure the apparent temperature of the aluminum foil and write it down. The foil is
considered a perfect reflector, so its apparent temperature equals the reflected appa-
rent temperature from the surroundings.
Figure 15.5 Measuring the apparent temperature of the aluminum foil.
15.2.1.2 Step 2: Determining the emissivity
Follow this procedure:
1. Select a place to put the sample.
2. Determine and set reflected apparent temperature according to the previous
procedure.
3. Put a piece of electrical tape with known high emissivity on the sample.
4. Heat the sample at least 20 K above room temperature. Heating must be reasonably
even.
5. Focus and auto-adjust the camera, and freeze the image.
6. Adjust Level and Span for best image brightness and contrast.
7. Set emissivity to that of the tape (usually 0.97).
8. Measure the temperature of the tape using one of the following measurement
functions:
•Isotherm (helps you to determine both the temperature and how evenly you have
heated the sample)
•Spot (simpler)
•Box Avg (good for surfaces with varying emissivity).
9. Write down the temperature.
10. Move your measurement function to the sample surface.
11. Change the emissivity setting until you read the same temperature as your previous
measurement.
12. Write down the emissivity.
Note
• Avoid forced convection
• Look for a thermally stable surrounding that will not generate spot reflections
• Use high quality tape that you know is not transparent, and has a high emissivity you
are certain of
• This method assumes that the temperature of your tape and the sample surface are
the same. If they are not, your emissivity measurement will be wrong.
#T559918; r. AL/40424/40424; en-US 57

Thermographic measurement techniques15
15.3 Reflected apparent temperature
This parameter is used to compensate for the radiation reflected in the object. If the
emissivity is low and the object temperature relatively far from that of the reflected it will
be important to set and compensate for the reflected apparent temperature correctly.
15.4 Distance
The distance is the distance between the object and the front lens of the camera. This
parameter is used to compensate for the following two facts:
• That radiation from the target is absorbed by the atmosphere between the object and
the camera.
• That radiation from the atmosphere itself is detected by the camera.
15.5 Relative humidity
The camera can also compensate for the fact that the transmittance is also dependent
on the relative humidity of the atmosphere. To do this set the relative humidity to the cor-
rect value. For short distances and normal humidity the relative humidity can normally be
left at a default value of 50%.
15.6 Other parameters
In addition, some cameras and analysis programs from FLIR Systems allow you to com-
pensate for the following parameters:
• Atmospheric temperature – i.e. the temperature of the atmosphere between the cam-
era and the target
• External optics temperature – i.e. the temperature of any external lenses or windows
used in front of the camera
• External optics transmittance – i.e. the transmission of any external lenses or windows
used in front of the camera
#T559918; r. AL/40424/40424; en-US 58

History of infrared technology
16
Before the year 1800, the existence of the infrared portion of the electromagnetic spec-
trum wasn't even suspected. The original significance of the infrared spectrum, or simply
‘the infrared’ as it is often called, as a form of heat radiation is perhaps less obvious to-
day than it was at the time of its discovery by Herschel in 1800.
Figure 16.1 Sir William Herschel (1738–1822)
The discovery was made accidentally during the search for a new optical material. Sir
William Herschel – Royal Astronomer to King George III of England, and already famous
for his discovery of the planet Uranus – was searching for an optical filter material to re-
duce the brightness of the sun’s image in telescopes during solar observations. While
testing different samples of colored glass which gave similar reductions in brightness he
was intrigued to find that some of the samples passed very little of the sun’s heat, while
others passed so much heat that he risked eye damage after only a few seconds’
observation.
Herschel was soon convinced of the necessity of setting up a systematic experiment,
with the objective of finding a single material that would give the desired reduction in
brightness as well as the maximum reduction in heat. He began the experiment by ac-
tually repeating Newton’s prism experiment, but looking for the heating effect rather than
the visual distribution of intensity in the spectrum. He first blackened the bulb of a sensi-
tive mercury-in-glass thermometer with ink, and with this as his radiation detector he pro-
ceeded to test the heating effect of the various colors of the spectrum formed on the top
of a table by passing sunlight through a glass prism. Other thermometers, placed outside
the sun’s rays, served as controls.
As the blackened thermometer was moved slowly along the colors of the spectrum, the
temperature readings showed a steady increase from the violet end to the red end. This
was not entirely unexpected, since the Italian researcher, Landriani, in a similar experi-
ment in 1777 had observed much the same effect. It was Herschel, however, who was
the first to recognize that there must be a point where the heating effect reaches a maxi-
mum, and that measurements confined to the visible portion of the spectrum failed to lo-
cate this point.
Figure 16.2 Marsilio Landriani (1746–1815)
Moving the thermometer into the dark region beyond the red end of the spectrum, Her-
schel confirmed that the heating continued to increase. The maximum point, when he
found it, lay well beyond the red end – in what is known today as the ‘infrared
wavelengths’.
#T559918; r. AL/40424/40424; en-US 59

History of infrared technology
16
When Herschel revealed his discovery, he referred to this new portion of the electromag-
netic spectrum as the ‘thermometrical spectrum’. The radiation itself he sometimes re-
ferred to as ‘dark heat’, or simply ‘the invisible rays’. Ironically, and contrary to popular
opinion, it wasn't Herschel who originated the term ‘infrared’. The word only began to ap-
pear in print around 75 years later, and it is still unclear who should receive credit as the
originator.
Herschel’s use of glass in the prism of his original experiment led to some early contro-
versies with his contemporaries about the actual existence of the infrared wavelengths.
Different investigators, in attempting to confirm his work, used various types of glass in-
discriminately, having different transparencies in the infrared. Through his later experi-
ments, Herschel was aware of the limited transparency of glass to the newly-discovered
thermal radiation, and he was forced to conclude that optics for the infrared would prob-
ably be doomed to the use of reflective elements exclusively (i.e. plane and curved mir-
rors). Fortunately, this proved to be true only until 1830, when the Italian investigator,
Melloni, made his great discovery that naturally occurring rock salt (NaCl) – which was
available in large enough natural crystals to be made into lenses and prisms – is remark-
ably transparent to the infrared. The result was that rock salt became the principal infra-
red optical material, and remained so for the next hundred years, until the art of synthetic
crystal growing was mastered in the 1930’s.
Figure 16.3 Macedonio Melloni (1798–1854)
Thermometers, as radiation detectors, remained unchallenged until 1829, the year Nobili
invented the thermocouple. (Herschel’s own thermometer could be read to 0.2 °C
(0.036 °F), and later models were able to be read to 0.05 °C (0.09 °F)). Then a break-
through occurred; Melloni connected a number of thermocouples in series to form the
first thermopile. The new device was at least 40 times as sensitive as the best thermome-
ter of the day for detecting heat radiation – capable of detecting the heat from a person
standing three meters away.
The first so-called ‘heat-picture’ became possible in 1840, the result of work by Sir John
Herschel, son of the discoverer of the infrared and a famous astronomer in his own right.
Based upon the differential evaporation of a thin film of oil when exposed to a heat pat-
tern focused upon it, the thermal image could be seen by reflected light where the inter-
ference effects of the oil film made the image visible to the eye. Sir John also managed
to obtain a primitive record of the thermal image on paper, which he called a
‘thermograph’.
#T559918; r. AL/40424/40424; en-US 60

History of infrared technology
16
Figure 16.4 Samuel P. Langley (1834–1906)
The improvement of infrared-detector sensitivity progressed slowly. Another major break-
through, made by Langley in 1880, was the invention of the bolometer. This consisted of
a thin blackened strip of platinum connected in one arm of a Wheatstone bridge circuit
upon which the infrared radiation was focused and to which a sensitive galvanometer re-
sponded. This instrument is said to have been able to detect the heat from a cow at a
distance of 400 meters.
An English scientist, Sir James Dewar, first introduced the use of liquefied gases as cool-
ing agents (such as liquid nitrogen with a temperature of -196 °C (-320.8 °F)) in low tem-
perature research. In 1892 he invented a unique vacuum insulating container in which it
is possible to store liquefied gases for entire days. The common ‘thermos bottle’, used
for storing hot and cold drinks, is based upon his invention.
Between the years 1900 and 1920, the inventors of the world ‘discovered’ the infrared.
Many patents were issued for devices to detect personnel, artillery, aircraft, ships – and
even icebergs. The first operating systems, in the modern sense, began to be developed
during the 1914–18 war, when both sides had research programs devoted to the military
exploitation of the infrared. These programs included experimental systems for enemy
intrusion/detection, remote temperature sensing, secure communications, and ‘flying tor-
pedo’ guidance. An infrared search system tested during this period was able to detect
an approaching airplane at a distance of 1.5 km (0.94 miles), or a person more than 300
meters (984 ft.) away.
The most sensitive systems up to this time were all based upon variations of the bolome-
ter idea, but the period between the two wars saw the development of two revolutionary
new infrared detectors: the image converter and the photon detector. At first, the image
converter received the greatest attention by the military, because it enabled an observer
for the first time in history to literally ‘see in the dark’. However, the sensitivity of the im-
age converter was limited to the near infrared wavelengths, and the most interesting mili-
tary targets (i.e. enemy soldiers) had to be illuminated by infrared search beams. Since
this involved the risk of giving away the observer’s position to a similarly-equipped enemy
observer, it is understandable that military interest in the image converter eventually
faded.
The tactical military disadvantages of so-called 'active’ (i.e. search beam-equipped) ther-
mal imaging systems provided impetus following the 1939–45 war for extensive secret
military infrared-research programs into the possibilities of developing ‘passive’ (no
search beam) systems around the extremely sensitive photon detector. During this peri-
od, military secrecy regulations completely prevented disclosure of the status of infrared-
imaging technology. This secrecy only began to be lifted in the middle of the 1950’s, and
from that time adequate thermal-imaging devices finally began to be available to civilian
science and industry.
#T559918; r. AL/40424/40424; en-US 61

Theory of thermography
17
17.1 Introduction
The subjects of infrared radiation and the related technique of thermography are still new
to many who will use an infrared camera. In this section the theory behind thermography
will be given.
17.2 The electromagnetic spectrum
The electromagnetic spectrum is divided arbitrarily into a number of wavelength regions,
called bands, distinguished by the methods used to produce and detect the radiation.
There is no fundamental difference between radiation in the different bands of the elec-
tromagnetic spectrum. They are all governed by the same laws and the only differences
are those due to differences in wavelength.
Figure 17.1 The electromagnetic spectrum. 1: X-ray; 2: UV; 3: Visible; 4: IR; 5: Microwaves; 6:
Radiowaves.
Thermography makes use of the infrared spectral band. At the short-wavelength end the
boundary lies at the limit of visual perception, in the deep red. At the long-wavelength
end it merges with the microwave radio wavelengths, in the millimeter range.
The infrared band is often further subdivided into four smaller bands, the boundaries of
which are also arbitrarily chosen. They include: the near infrared (0.75–3 μm), the middle
infrared (3–6 μm), the far infrared (6–15 μm) and the extreme infrared (15–100 μm).
Although the wavelengths are given in μm (micrometers), other units are often still used
to measure wavelength in this spectral region, e.g. nanometer (nm) and Ångström (Å).
The relationships between the different wavelength measurements is:
17.3 Blackbody radiation
A blackbody is defined as an object which absorbs all radiation that impinges on it at any
wavelength. The apparent misnomer black relating to an object emitting radiation is ex-
plained by Kirchhoff’s Law (after Gustav Robert Kirchhoff, 1824–1887), which states that
a body capable of absorbing all radiation at any wavelength is equally capable in the
emission of radiation.
#T559918; r. AL/40424/40424; en-US 62

Theory of thermography
17
Figure 17.2 Gustav Robert Kirchhoff (1824–1887)
The construction of a blackbody source is, in principle, very simple. The radiation charac-
teristics of an aperture in an isotherm cavity made of an opaque absorbing material rep-
resents almost exactly the properties of a blackbody. A practical application of the
principle to the construction of a perfect absorber of radiation consists of a box that is
light tight except for an aperture in one of the sides. Any radiation which then enters the
hole is scattered and absorbed by repeated reflections so only an infinitesimal fraction
can possibly escape. The blackness which is obtained at the aperture is nearly equal to
a blackbody and almost perfect for all wavelengths.
By providing such an isothermal cavity with a suitable heater it becomes what is termed
acavity radiator. An isothermal cavity heated to a uniform temperature generates black-
body radiation, the characteristics of which are determined solely by the temperature of
the cavity. Such cavity radiators are commonly used as sources of radiation in tempera-
ture reference standards in the laboratory for calibrating thermographic instruments,
such as a FLIR Systems camera for example.
If the temperature of blackbody radiation increases to more than 525°C (977°F), the
source begins to be visible so that it appears to the eye no longer black. This is the incipi-
ent red heat temperature of the radiator, which then becomes orange or yellow as the
temperature increases further. In fact, the definition of the so-called color temperature of
an object is the temperature to which a blackbody would have to be heated to have the
same appearance.
Now consider three expressions that describe the radiation emitted from a blackbody.
17.3.1 Planck’s law
Figure 17.3 Max Planck (1858–1947)
Max Planck (1858–1947) was able to describe the spectral distribution of the radiation
from a blackbody by means of the following formula:
#T559918; r. AL/40424/40424; en-US 63

Theory of thermography
17
where:
Wλb Blackbody spectral radiant emittance at wavelength λ.
cVelocity of light = 3 × 108m/s
h Planck’s constant = 6.6 × 10-34 Joule sec.
kBoltzmann’s constant = 1.4 × 10-23 Joule/K.
T Absolute temperature (K) of a blackbody.
λ Wavelength (μm).
Note The factor 10-6 is used since spectral emittance in the curves is expressed in
Watt/m2, μm.
Planck’s formula, when plotted graphically for various temperatures, produces a family of
curves. Following any particular Planck curve, the spectral emittance is zero at λ = 0,
then increases rapidly to a maximum at a wavelength λmax and after passing it ap-
proaches zero again at very long wavelengths. The higher the temperature, the shorter
the wavelength at which maximum occurs.
Figure 17.4 Blackbody spectral radiant emittance according to Planck’s law, plotted for various absolute
temperatures. 1: Spectral radiant emittance (W/cm2× 103(μm)); 2: Wavelength (μm)
17.3.2 Wien’s displacement law
By differentiating Planck’s formula with respect to λ, and finding the maximum, we have:
This is Wien’s formula (after Wilhelm Wien, 1864–1928), which expresses mathemati-
cally the common observation that colors vary from red to orange or yellow as the tem-
perature of a thermal radiator increases. The wavelength of the color is the same as the
wavelength calculated for λmax. A good approximation of the value of λmax for a given
blackbody temperature is obtained by applying the rule-of-thumb 3 000/T μm. Thus, a
very hot star such as Sirius (11 000 K), emitting bluish-white light, radiates with the peak
of spectral radiant emittance occurring within the invisible ultraviolet spectrum, at wave-
length 0.27 μm.
#T559918; r. AL/40424/40424; en-US 64

Theory of thermography
17
Figure 17.5 Wilhelm Wien (1864–1928)
The sun (approx. 6 000 K) emits yellow light, peaking at about 0.5 μm in the middle of
the visible light spectrum.
At room temperature (300 K) the peak of radiant emittance lies at 9.7 μm, in the far infra-
red, while at the temperature of liquid nitrogen (77 K) the maximum of the almost insignif-
icant amount of radiant emittance occurs at 38 μm, in the extreme infrared wavelengths.
Figure 17.6 Planckian curves plotted on semi-log scales from 100 K to 1000 K. The dotted line represents
the locus of maximum radiant emittance at each temperature as described by Wien's displacement law. 1:
Spectral radiant emittance (W/cm2(μm)); 2: Wavelength (μm).
17.3.3 Stefan-Boltzmann's law
By integrating Planck’s formula from λ = 0 to λ = ∞, we obtain the total radiant emittance
(Wb) of a blackbody:
This is the Stefan-Boltzmann formula (after Josef Stefan, 1835–1893, and Ludwig Boltz-
mann, 1844–1906), which states that the total emissive power of a blackbody is propor-
tional to the fourth power of its absolute temperature. Graphically, Wbrepresents the
area below the Planck curve for a particular temperature. It can be shown that the radiant
emittance in the interval λ = 0 to λmax is only 25% of the total, which represents about the
amount of the sun’s radiation which lies inside the visible light spectrum.
#T559918; r. AL/40424/40424; en-US 65

Theory of thermography
17
Figure 17.7 Josef Stefan (1835–1893), and Ludwig Boltzmann (1844–1906)
Using the Stefan-Boltzmann formula to calculate the power radiated by the human body,
at a temperature of 300 K and an external surface area of approx. 2 m2, we obtain 1 kW.
This power loss could not be sustained if it were not for the compensating absorption of
radiation from surrounding surfaces, at room temperatures which do not vary too drasti-
cally from the temperature of the body – or, of course, the addition of clothing.
17.3.4 Non-blackbody emitters
So far, only blackbody radiators and blackbody radiation have been discussed. However,
real objects almost never comply with these laws over an extended wavelength region –
although they may approach the blackbody behavior in certain spectral intervals. For ex-
ample, a certain type of white paint may appear perfectly white in the visible light spec-
trum, but becomes distinctly gray at about 2 μm, and beyond 3 μm it is almost black.
There are three processes which can occur that prevent a real object from acting like a
blackbody: a fraction of the incident radiation α may be absorbed, a fraction ρ may be re-
flected, and a fraction τ may be transmitted. Since all of these factors are more or less
wavelength dependent, the subscript λ is used to imply the spectral dependence of their
definitions. Thus:
• The spectral absorptance αλ= the ratio of the spectral radiant power absorbed by an
object to that incident upon it.
• The spectral reflectance ρλ= the ratio of the spectral radiant power reflected by an ob-
ject to that incident upon it.
• The spectral transmittance τλ= the ratio of the spectral radiant power transmitted
through an object to that incident upon it.
The sum of these three factors must always add up to the whole at any wavelength, so
we have the relation:
For opaque materials τλ= 0 and the relation simplifies to:
Another factor, called the emissivity, is required to describe the fraction ε of the radiant
emittance of a blackbody produced by an object at a specific temperature. Thus, we
have the definition:
The spectral emissivity ελ= the ratio of the spectral radiant power from an object to that
from a blackbody at the same temperature and wavelength.
Expressed mathematically, this can be written as the ratio of the spectral emittance of
the object to that of a blackbody as follows:
Generally speaking, there are three types of radiation source, distinguished by the ways
in which the spectral emittance of each varies with wavelength.
• A blackbody, for which ελ= ε = 1
• A graybody, for which ελ= ε = constant less than 1
#T559918; r. AL/40424/40424; en-US 66

Theory of thermography
17
• A selective radiator, for which ε varies with wavelength
According to Kirchhoff’s law, for any material the spectral emissivity and spectral absorp-
tance of a body are equal at any specified temperature and wavelength. That is:
From this we obtain, for an opaque material (since αλ+ ρλ= 1):
For highly polished materials ελapproaches zero, so that for a perfectly reflecting materi-
al (i.e. a perfect mirror) we have:
For a graybody radiator, the Stefan-Boltzmann formula becomes:
This states that the total emissive power of a graybody is the same as a blackbody at the
same temperature reduced in proportion to the value of ε from the graybody.
Figure 17.8 Spectral radiant emittance of three types of radiators. 1: Spectral radiant emittance; 2: Wave-
length; 3: Blackbody; 4: Selective radiator; 5: Graybody.
Figure 17.9 Spectral emissivity of three types of radiators. 1: Spectral emissivity; 2: Wavelength; 3: Black-
body; 4: Graybody; 5: Selective radiator.
#T559918; r. AL/40424/40424; en-US 67

Theory of thermography
17
17.4 Infrared semi-transparent materials
Consider now a non-metallic, semi-transparent body – let us say, in the form of a thick flat
plate of plastic material. When the plate is heated, radiation generated within its volume
must work its way toward the surfaces through the material in which it is partially ab-
sorbed. Moreover, when it arrives at the surface, some of it is reflected back into the inte-
rior. The back-reflected radiation is again partially absorbed, but some of it arrives at the
other surface, through which most of it escapes; part of it is reflected back again.
Although the progressive reflections become weaker and weaker they must all be added
up when the total emittance of the plate is sought. When the resulting geometrical series
is summed, the effective emissivity of a semi-transparent plate is obtained as:
When the plate becomes opaque this formula is reduced to the single formula:
This last relation is a particularly convenient one, because it is often easier to measure
reflectance than to measure emissivity directly.
#T559918; r. AL/40424/40424; en-US 68

The measurement formula
18
As already mentioned, when viewing an object, the camera receives radiation not only
from the object itself. It also collects radiation from the surroundings reflected via the ob-
ject surface. Both these radiation contributions become attenuated to some extent by the
atmosphere in the measurement path. To this comes a third radiation contribution from
the atmosphere itself.
This description of the measurement situation, as illustrated in the figure below, is so far
a fairly true description of the real conditions. What has been neglected could for in-
stance be sun light scattering in the atmosphere or stray radiation from intense radiation
sources outside the field of view. Such disturbances are difficult to quantify, however, in
most cases they are fortunately small enough to be neglected. In case they are not negli-
gible, the measurement configuration is likely to be such that the risk for disturbance is
obvious, at least to a trained operator. It is then his responsibility to modify the measure-
ment situation to avoid the disturbance e.g. by changing the viewing direction, shielding
off intense radiation sources etc.
Accepting the description above, we can use the figure below to derive a formula for the
calculation of the object temperature from the calibrated camera output.
Figure 18.1 A schematic representation of the general thermographic measurement situation.1: Sur-
roundings; 2: Object; 3: Atmosphere; 4: Camera
Assume that the received radiation power W from a blackbody source of temperature
Tsource on short distance generates a camera output signal Usource that is proportional to
the power input (power linear camera). We can then write (Equation 1):
or, with simplified notation:
where C is a constant.
Should the source be a graybody with emittance ε, the received radiation would conse-
quently be εWsource.
We are now ready to write the three collected radiation power terms:
1. Emission from the object = ετWobj, where ε is the emittance of the object and τ is the
transmittance of the atmosphere. The object temperature is Tobj.
#T559918; r. AL/40424/40424; en-US 69

The measurement formula
18
2. Reflected emission from ambient sources = (1 – ε)τWrefl, where (1 – ε) is the reflec-
tance of the object. The ambient sources have the temperature Trefl.
It has here been assumed that the temperature Trefl is the same for all emitting surfa-
ces within the halfsphere seen from a point on the object surface. This is of course
sometimes a simplification of the true situation. It is, however, a necessary simplifica-
tion in order to derive a workable formula, and Trefl can – at least theoretically – be giv-
en a value that represents an efficient temperature of a complex surrounding.
Note also that we have assumed that the emittance for the surroundings = 1. This is
correct in accordance with Kirchhoff’s law: All radiation impinging on the surrounding
surfaces will eventually be absorbed by the same surfaces. Thus the emittance = 1.
(Note though that the latest discussion requires the complete sphere around the ob-
ject to be considered.)
3. Emission from the atmosphere = (1 – τ)τWatm, where (1 – τ) is the emittance of the at-
mosphere. The temperature of the atmosphere is Tatm.
The total received radiation power can now be written (Equation 2):
We multiply each term by the constant C of Equation 1 and replace the CW products by
the corresponding U according to the same equation, and get (Equation 3):
Solve Equation 3 for Uobj (Equation 4):
This is the general measurement formula used in all the FLIR Systems thermographic
equipment. The voltages of the formula are:
Table 18.1 Voltages
Uobj Calculated camera output voltage for a blackbody of temperature
Tobj i.e. a voltage that can be directly converted into true requested
object temperature.
Utot Measured camera output voltage for the actual case.
Urefl Theoretical camera output voltage for a blackbody of temperature
Trefl according to the calibration.
Uatm Theoretical camera output voltage for a blackbody of temperature
Tatm according to the calibration.
The operator has to supply a number of parameter values for the calculation:
• the object emittance ε,
• the relative humidity,
• Tatm
• object distance (Dobj)
• the (effective) temperature of the object surroundings, or the reflected ambient tem-
perature Trefl, and
• the temperature of the atmosphere Tatm
This task could sometimes be a heavy burden for the operator since there are normally
no easy ways to find accurate values of emittance and atmospheric transmittance for the
actual case. The two temperatures are normally less of a problem provided the surround-
ings do not contain large and intense radiation sources.
A natural question in this connection is: How important is it to know the right values of
these parameters? It could though be of interest to get a feeling for this problem already
here by looking into some different measurement cases and compare the relative
#T559918; r. AL/40424/40424; en-US 70

The measurement formula
18
magnitudes of the three radiation terms. This will give indications about when it is impor-
tant to use correct values of which parameters.
The figures below illustrates the relative magnitudes of the three radiation contributions
for three different object temperatures, two emittances, and two spectral ranges: SW and
LW. Remaining parameters have the following fixed values:
• τ = 0.88
• Trefl = +20°C (+68°F)
• Tatm = +20°C (+68°F)
It is obvious that measurement of low object temperatures are more critical than measur-
ing high temperatures since the ‘disturbing’ radiation sources are relatively much stron-
ger in the first case. Should also the object emittance be low, the situation would be still
more difficult.
We have finally to answer a question about the importance of being allowed to use the
calibration curve above the highest calibration point, what we call extrapolation. Imagine
that we in a certain case measure Utot = 4.5 volts. The highest calibration point for the
camera was in the order of 4.1 volts, a value unknown to the operator. Thus, even if the
object happened to be a blackbody, i.e. Uobj = Utot, we are actually performing extrapola-
tion of the calibration curve when converting 4.5 volts into temperature.
Let us now assume that the object is not black, it has an emittance of 0.75, and the trans-
mittance is 0.92. We also assume that the two second terms of Equation 4 amount to 0.5
volts together. Computation of Uobj by means of Equation 4 then results in Uobj = 4.5 /
0.75 / 0.92 – 0.5 = 6.0. This is a rather extreme extrapolation, particularly when consider-
ing that the video amplifier might limit the output to 5 volts! Note, though, that the applica-
tion of the calibration curve is a theoretical procedure where no electronic or other
limitations exist. We trust that if there had been no signal limitations in the camera, and if
it had been calibrated far beyond 5 volts, the resulting curve would have been very much
the same as our real curve extrapolated beyond 4.1 volts, provided the calibration algo-
rithm is based on radiation physics, like the FLIR Systems algorithm. Of course there
must be a limit to such extrapolations.
Figure 18.2 Relative magnitudes of radiation sources under varying measurement conditions (SW cam-
era). 1: Object temperature; 2: Emittance; Obj: Object radiation; Refl: Reflected radiation; Atm: atmos-
phere radiation. Fixed parameters: τ = 0.88; Trefl = 20°C (+68°F); Tatm = 20°C (+68°F).
#T559918; r. AL/40424/40424; en-US 71

The measurement formula
18
Figure 18.3 Relative magnitudes of radiation sources under varying measurement conditions (LW cam-
era). 1: Object temperature; 2: Emittance; Obj: Object radiation; Refl: Reflected radiation; Atm: atmos-
phere radiation. Fixed parameters: τ = 0.88; Trefl = 20°C (+68°F); Tatm = 20°C (+68°F).
#T559918; r. AL/40424/40424; en-US 72

Emissivity tables
19
This section presents a compilation of emissivity data from the infrared literature and
measurements made by FLIR Systems.
19.1 References
1. Mikaél A. Bramson: Infrared Radiation, A Handbook for Applications, Plenum press,
N.Y.
2. William L. Wolfe, George J. Zissis: The Infrared Handbook, Office of Naval Research,
Department of Navy, Washington, D.C.
3. Madding, R. P.: Thermographic Instruments and systems. Madison, Wisconsin: Uni-
versity of Wisconsin – Extension, Department of Engineering and Applied Science.
4. William L. Wolfe: Handbook of Military Infrared Technology, Office of Naval Research,
Department of Navy, Washington, D.C.
5. Jones, Smith, Probert: External thermography of buildings..., Proc. of the Society of
Photo-Optical Instrumentation Engineers, vol.110, Industrial and Civil Applications of
Infrared Technology, June 1977 London.
6. Paljak, Pettersson: Thermography of Buildings, Swedish Building Research Institute,
Stockholm 1972.
7. Vlcek, J: Determination of emissivity with imaging radiometers and some emissivities
at λ = 5 µm. Photogrammetric Engineering and Remote Sensing.
8. Kern: Evaluation of infrared emission of clouds and ground as measured by weather
satellites, Defence Documentation Center, AD 617 417.
9. Öhman, Claes: Emittansmätningar med AGEMA E-Box. Teknisk rapport, AGEMA
1999. (Emittance measurements using AGEMA E-Box. Technical report, AGEMA
1999.)
10. Matteï, S., Tang-Kwor, E: Emissivity measurements for Nextel Velvet coating 811-21
between –36°C AND 82°C.
11. Lohrengel & Todtenhaupt (1996)
12. ITC Technical publication 32.
13. ITC Technical publication 29.
14. Schuster, Norbert and Kolobrodov, Valentin G. Infrarotthermographie. Berlin: Wiley-
VCH, 2000.
Note The emissivity values in the table below are recorded using a shortwave (SW)
camera. The values should be regarded as recommendations only and used with
caution.
19.2 Tables
Table 19.1 T: Total spectrum; SW: 2–5 µm; LW: 8–14 µm, LLW: 6.5–20 µm; 1: Material; 2: Specification;
3:Temperature in °C; 4: Spectrum; 5: Emissivity: 6:Reference
1 2 3 4 5 6
3M type 35 Vinyl electrical
tape (several
colors)
< 80 LW ≈ 0.96 13
3M type 88 Black vinyl electri-
cal tape
< 105 LW ≈ 0.96 13
3M type 88 Black vinyl electri-
cal tape
< 105 MW < 0.96 13
3M type Super 33
+
Black vinyl electri-
cal tape
< 80 LW ≈ 0.96 13
Aluminum anodized sheet 100 T 0.55 2
Aluminum anodized, black,
dull
70 SW 0.67 9
Aluminum anodized, black,
dull
70 LW 0.95 9
#T559918; r. AL/40424/40424; en-US 73

Emissivity tables19
Table 19.1 T: Total spectrum; SW: 2–5 µm; LW: 8–14 µm, LLW: 6.5–20 µm; 1: Material; 2: Specification;
3:Temperature in °C; 4: Spectrum; 5: Emissivity: 6:Reference (continued)
1 2 3 4 5 6
Aluminum anodized, light
gray, dull
70 SW 0.61 9
Aluminum anodized, light
gray, dull
70 LW 0.97 9
Aluminum as received, plate 100 T 0.09 4
Aluminum as received,
sheet
100 T 0.09 2
Aluminum cast, blast
cleaned
70 SW 0.47 9
Aluminum cast, blast
cleaned
70 LW 0.46 9
Aluminum dipped in HNO3,
plate
100 T 0.05 4
Aluminum foil 27 10 µm 0.04 3
Aluminum foil 27 3 µm 0.09 3
Aluminum oxidized, strongly 50–500 T 0.2–0.3 1
Aluminum polished 50–100 T 0.04–0.06 1
Aluminum polished plate 100 T 0.05 4
Aluminum polished, sheet 100 T 0.05 2
Aluminum rough surface 20–50 T 0.06–0.07 1
Aluminum roughened 27 10 µm 0.18 3
Aluminum roughened 27 3 µm 0.28 3
Aluminum sheet, 4 samples
differently
scratched
70 SW 0.05–0.08 9
Aluminum sheet, 4 samples
differently
scratched
70 LW 0.03–0.06 9
Aluminum vacuum
deposited
20 T 0.04 2
Aluminum weathered,
heavily
17 SW 0.83–0.94 5
Aluminum bronze 20 T 0.60 1
Aluminum
hydroxide
powder T 0.28 1
Aluminum oxide activated, powder T 0.46 1
Aluminum oxide pure, powder
(alumina)
T 0.16 1
Asbestos board 20 T 0.96 1
Asbestos fabric T 0.78 1
Asbestos floor tile 35 SW 0.94 7
Asbestos paper 40–400 T 0.93–0.95 1
Asbestos powder T 0.40–0.60 1
Asbestos slate 20 T 0.96 1
Asphalt paving 4 LLW 0.967 8
Brass dull, tarnished 20–350 T 0.22 1
Brass oxidized 100 T 0.61 2
Brass oxidized 70 SW 0.04–0.09 9
#T559918; r. AL/40424/40424; en-US 74

Emissivity tables19
Table 19.1 T: Total spectrum; SW: 2–5 µm; LW: 8–14 µm, LLW: 6.5–20 µm; 1: Material; 2: Specification;
3:Temperature in °C; 4: Spectrum; 5: Emissivity: 6:Reference (continued)
1 2 3 4 5 6
Brass oxidized 70 LW 0.03–0.07 9
Brass oxidized at 600°C 200–600 T 0.59–0.61 1
Brass polished 200 T 0.03 1
Brass polished, highly 100 T 0.03 2
Brass rubbed with 80-
grit emery
20 T 0.20 2
Brass sheet, rolled 20 T 0.06 1
Brass sheet, worked
with emery
20 T 0.2 1
Brick alumina 17 SW 0.68 5
Brick common 17 SW 0.86–0.81 5
Brick Dinas silica,
glazed, rough
1100 T 0.85 1
Brick Dinas silica,
refractory
1000 T 0.66 1
Brick Dinas silica, un-
glazed, rough
1000 T 0.80 1
Brick firebrick 17 SW 0.68 5
Brick fireclay 1000 T 0.75 1
Brick fireclay 1200 T 0.59 1
Brick fireclay 20 T 0.85 1
Brick masonry 35 SW 0.94 7
Brick masonry,
plastered
20 T 0.94 1
Brick red, common 20 T 0.93 2
Brick red, rough 20 T 0.88–0.93 1
Brick refractory,
corundum
1000 T 0.46 1
Brick refractory,
magnesite
1000–1300 T 0.38 1
Brick refractory,
strongly radiating
500–1000 T 0.8–0.9 1
Brick refractory, weakly
radiating
500–1000 T 0.65–0.75 1
Brick silica, 95% SiO21230 T 0.66 1
Brick sillimanite, 33%
SiO2, 64% Al2O3
1500 T 0.29 1
Brick waterproof 17 SW 0.87 5
Bronze phosphor bronze 70 SW 0.08 9
Bronze phosphor bronze 70 LW 0.06 9
Bronze polished 50 T 0.1 1
Bronze porous, rough 50–150 T 0.55 1
Bronze powder T 0.76–0.80 1
Carbon candle soot 20 T 0.95 2
Carbon charcoal powder T 0.96 1
Carbon graphite powder T 0.97 1
#T559918; r. AL/40424/40424; en-US 75

Emissivity tables19
Table 19.1 T: Total spectrum; SW: 2–5 µm; LW: 8–14 µm, LLW: 6.5–20 µm; 1: Material; 2: Specification;
3:Temperature in °C; 4: Spectrum; 5: Emissivity: 6:Reference (continued)
1 2 3 4 5 6
Carbon graphite, filed
surface
20 T 0.98 2
Carbon lampblack 20–400 T 0.95–0.97 1
Chipboard untreated 20 SW 0.90 6
Chromium polished 50 T 0.10 1
Chromium polished 500–1000 T 0.28–0.38 1
Clay fired 70 T 0.91 1
Cloth black 20 T 0.98 1
Concrete 20 T 0.92 2
Concrete dry 36 SW 0.95 7
Concrete rough 17 SW 0.97 5
Concrete walkway 5LLW 0.974 8
Copper commercial,
burnished
20 T 0.07 1
Copper electrolytic, care-
fully polished
80 T 0.018 1
Copper electrolytic,
polished
–34 T 0.006 4
Copper molten 1100–1300 T 0.13–0.15 1
Copper oxidized 50 T 0.6–0.7 1
Copper oxidized to
blackness
T 0.88 1
Copper oxidized, black 27 T 0.78 4
Copper oxidized, heavily 20 T 0.78 2
Copper polished 50–100 T 0.02 1
Copper polished 100 T 0.03 2
Copper polished,
commercial
27 T 0.03 4
Copper polished,
mechanical
22 T 0.015 4
Copper pure, carefully
prepared surface
22 T 0.008 4
Copper scraped 27 T 0.07 4
Copper dioxide powder T 0.84 1
Copper oxide red, powder T 0.70 1
Ebonite T 0.89 1
Emery coarse 80 T 0.85 1
Enamel 20 T 0.9 1
Enamel lacquer 20 T 0.85–0.95 1
Fiber board hard, untreated 20 SW 0.85 6
Fiber board masonite 70 SW 0.75 9
Fiber board masonite 70 LW 0.88 9
Fiber board particle board 70 SW 0.77 9
Fiber board particle board 70 LW 0.89 9
Fiber board porous, untreated 20 SW 0.85 6
#T559918; r. AL/40424/40424; en-US 76

Emissivity tables19
Table 19.1 T: Total spectrum; SW: 2–5 µm; LW: 8–14 µm, LLW: 6.5–20 µm; 1: Material; 2: Specification;
3:Temperature in °C; 4: Spectrum; 5: Emissivity: 6:Reference (continued)
1 2 3 4 5 6
Glass pane (float
glass)
non-coated 20 LW 0.97 14
Gold polished 130 T 0.018 1
Gold polished, carefully 200–600 T 0.02–0.03 1
Gold polished, highly 100 T 0.02 2
Granite polished 20 LLW 0.849 8
Granite rough 21 LLW 0.879 8
Granite rough, 4 different
samples
70 SW 0.95–0.97 9
Granite rough, 4 different
samples
70 LW 0.77–0.87 9
Gypsum 20 T 0.8–0.9 1
Ice: See Water
Iron and steel cold rolled 70 SW 0.20 9
Iron and steel cold rolled 70 LW 0.09 9
Iron and steel covered with red
rust
20 T 0.61–0.85 1
Iron and steel electrolytic 100 T 0.05 4
Iron and steel electrolytic 22 T 0.05 4
Iron and steel electrolytic 260 T 0.07 4
Iron and steel electrolytic, care-
fully polished
175–225 T 0.05–0.06 1
Iron and steel freshly worked
with emery
20 T 0.24 1
Iron and steel ground sheet 950–1100 T 0.55–0.61 1
Iron and steel heavily rusted
sheet
20 T 0.69 2
Iron and steel hot rolled 130 T 0.60 1
Iron and steel hot rolled 20 T 0.77 1
Iron and steel oxidized 100 T 0.74 4
Iron and steel oxidized 100 T 0.74 1
Iron and steel oxidized 1227 T 0.89 4
Iron and steel oxidized 125–525 T 0.78–0.82 1
Iron and steel oxidized 200 T 0.79 2
Iron and steel oxidized 200–600 T 0.80 1
Iron and steel oxidized strongly 50 T 0.88 1
Iron and steel oxidized strongly 500 T 0.98 1
Iron and steel polished 100 T 0.07 2
Iron and steel polished 400–1000 T 0.14–0.38 1
Iron and steel polished sheet 750–1050 T 0.52–0.56 1
Iron and steel rolled sheet 50 T 0.56 1
Iron and steel rolled, freshly 20 T 0.24 1
Iron and steel rough, plane
surface
50 T 0.95–0.98 1
Iron and steel rusted red, sheet 22 T 0.69 4
Iron and steel rusted, heavily 17 SW 0.96 5
#T559918; r. AL/40424/40424; en-US 77

Emissivity tables19
Table 19.1 T: Total spectrum; SW: 2–5 µm; LW: 8–14 µm, LLW: 6.5–20 µm; 1: Material; 2: Specification;
3:Temperature in °C; 4: Spectrum; 5: Emissivity: 6:Reference (continued)
1 2 3 4 5 6
Iron and steel rusty, red 20 T 0.69 1
Iron and steel shiny oxide layer,
sheet,
20 T 0.82 1
Iron and steel shiny, etched 150 T 0.16 1
Iron and steel wrought, carefully
polished
40–250 T 0.28 1
Iron galvanized heavily oxidized 70 SW 0.64 9
Iron galvanized heavily oxidized 70 LW 0.85 9
Iron galvanized sheet 92 T 0.07 4
Iron galvanized sheet, burnished 30 T 0.23 1
Iron galvanized sheet, oxidized 20 T 0.28 1
Iron tinned sheet 24 T 0.064 4
Iron, cast casting 50 T 0.81 1
Iron, cast ingots 1000 T 0.95 1
Iron, cast liquid 1300 T 0.28 1
Iron, cast machined 800–1000 T 0.60–0.70 1
Iron, cast oxidized 100 T 0.64 2
Iron, cast oxidized 260 T 0.66 4
Iron, cast oxidized 38 T 0.63 4
Iron, cast oxidized 538 T 0.76 4
Iron, cast oxidized at 600°C 200–600 T 0.64–0.78 1
Iron, cast polished 200 T 0.21 1
Iron, cast polished 38 T 0.21 4
Iron, cast polished 40 T 0.21 2
Iron, cast unworked 900–1100 T 0.87–0.95 1
Krylon Ultra-flat
black 1602
Flat black Room tempera-
ture up to 175
LW ≈ 0.96 12
Krylon Ultra-flat
black 1602
Flat black Room tempera-
ture up to 175
MW ≈ 0.97 12
Lacquer 3 colors sprayed
on Aluminum
70 SW 0.50–0.53 9
Lacquer 3 colors sprayed
on Aluminum
70 LW 0.92–0.94 9
Lacquer Aluminum on
rough surface
20 T 0.4 1
Lacquer bakelite 80 T 0.83 1
Lacquer black, dull 40–100 T 0.96–0.98 1
Lacquer black, matte 100 T 0.97 2
Lacquer black, shiny,
sprayed on iron
20 T 0.87 1
Lacquer heat–resistant 100 T 0.92 1
Lacquer white 100 T 0.92 2
Lacquer white 40–100 T 0.8–0.95 1
Lead oxidized at 200°C 200 T 0.63 1
Lead oxidized, gray 20 T 0.28 1
#T559918; r. AL/40424/40424; en-US 78

Emissivity tables19
Table 19.1 T: Total spectrum; SW: 2–5 µm; LW: 8–14 µm, LLW: 6.5–20 µm; 1: Material; 2: Specification;
3:Temperature in °C; 4: Spectrum; 5: Emissivity: 6:Reference (continued)
1 2 3 4 5 6
Lead oxidized, gray 22 T 0.28 4
Lead shiny 250 T 0.08 1
Lead unoxidized,
polished
100 T 0.05 4
Lead red 100 T 0.93 4
Lead red, powder 100 T 0.93 1
Leather tanned T 0.75–0.80 1
Lime T 0.3–0.4 1
Magnesium 22 T 0.07 4
Magnesium 260 T 0.13 4
Magnesium 538 T 0.18 4
Magnesium polished 20 T 0.07 2
Magnesium
powder
T 0.86 1
Molybdenum 1500–2200 T 0.19–0.26 1
Molybdenum 600–1000 T 0.08–0.13 1
Molybdenum filament 700–2500 T 0.1–0.3 1
Mortar 17 SW 0.87 5
Mortar dry 36 SW 0.94 7
Nextel Velvet
811-21 Black
Flat black –60–150 LW > 0.97 10 and
11
Nichrome rolled 700 T 0.25 1
Nichrome sandblasted 700 T 0.70 1
Nichrome wire, clean 50 T 0.65 1
Nichrome wire, clean 500–1000 T 0.71–0.79 1
Nichrome wire, oxidized 50–500 T 0.95–0.98 1
Nickel bright matte 122 T 0.041 4
Nickel commercially
pure, polished
100 T 0.045 1
Nickel commercially
pure, polished
200–400 T 0.07–0.09 1
Nickel electrolytic 22 T 0.04 4
Nickel electrolytic 260 T 0.07 4
Nickel electrolytic 38 T 0.06 4
Nickel electrolytic 538 T 0.10 4
Nickel electroplated on
iron, polished
22 T 0.045 4
Nickel electroplated on
iron, unpolished
20 T 0.11–0.40 1
Nickel electroplated on
iron, unpolished
22 T 0.11 4
Nickel electroplated,
polished
20 T 0.05 2
Nickel oxidized 1227 T 0.85 4
Nickel oxidized 200 T 0.37 2
Nickel oxidized 227 T 0.37 4
#T559918; r. AL/40424/40424; en-US 79

Emissivity tables19
Table 19.1 T: Total spectrum; SW: 2–5 µm; LW: 8–14 µm, LLW: 6.5–20 µm; 1: Material; 2: Specification;
3:Temperature in °C; 4: Spectrum; 5: Emissivity: 6:Reference (continued)
1 2 3 4 5 6
Nickel oxidized at 600°C 200–600 T 0.37–0.48 1
Nickel polished 122 T 0.045 4
Nickel wire 200–1000 T 0.1–0.2 1
Nickel oxide 1000–1250 T 0.75–0.86 1
Nickel oxide 500–650 T 0.52–0.59 1
Oil, lubricating 0.025 mm film 20 T 0.27 2
Oil, lubricating 0.050 mm film 20 T 0.46 2
Oil, lubricating 0.125 mm film 20 T 0.72 2
Oil, lubricating film on Ni base:
Ni base only
20 T 0.05 2
Oil, lubricating thick coating 20 T 0.82 2
Paint 8 different colors
and qualities
70 SW 0.88–0.96 9
Paint 8 different colors
and qualities
70 LW 0.92–0.94 9
Paint Aluminum, vari-
ous ages
50–100 T 0.27–0.67 1
Paint cadmium yellow T 0.28–0.33 1
Paint chrome green T 0.65–0.70 1
Paint cobalt blue T 0.7–0.8 1
Paint oil 17 SW 0.87 5
Paint oil based, aver-
age of 16 colors
100 T 0.94 2
Paint oil, black flat 20 SW 0.94 6
Paint oil, black gloss 20 SW 0.92 6
Paint oil, gray flat 20 SW 0.97 6
Paint oil, gray gloss 20 SW 0.96 6
Paint oil, various colors 100 T 0.92–0.96 1
Paint plastic, black 20 SW 0.95 6
Paint plastic, white 20 SW 0.84 6
Paper 4 different colors 70 SW 0.68–0.74 9
Paper 4 different colors 70 LW 0.92–0.94 9
Paper black T 0.90 1
Paper black, dull T 0.94 1
Paper black, dull 70 SW 0.86 9
Paper black, dull 70 LW 0.89 9
Paper blue, dark T 0.84 1
Paper coated with black
lacquer
T 0.93 1
Paper green T 0.85 1
Paper red T 0.76 1
Paper white 20 T 0.7–0.9 1
Paper white bond 20 T 0.93 2
Paper white, 3 different
glosses
70 SW 0.76–0.78 9
#T559918; r. AL/40424/40424; en-US 80

Emissivity tables19
Table 19.1 T: Total spectrum; SW: 2–5 µm; LW: 8–14 µm, LLW: 6.5–20 µm; 1: Material; 2: Specification;
3:Temperature in °C; 4: Spectrum; 5: Emissivity: 6:Reference (continued)
1 2 3 4 5 6
Paper white, 3 different
glosses
70 LW 0.88–0.90 9
Paper yellow T 0.72 1
Plaster 17 SW 0.86 5
Plaster plasterboard,
untreated
20 SW 0.90 6
Plaster rough coat 20 T 0.91 2
Plastic glass fibre lami-
nate (printed circ.
board)
70 SW 0.94 9
Plastic glass fibre lami-
nate (printed circ.
board)
70 LW 0.91 9
Plastic polyurethane iso-
lation board
70 LW 0.55 9
Plastic polyurethane iso-
lation board
70 SW 0.29 9
Plastic PVC, plastic floor,
dull, structured
70 SW 0.94 9
Plastic PVC, plastic floor,
dull, structured
70 LW 0.93 9
Platinum 100 T 0.05 4
Platinum 1000–1500 T 0.14–0.18 1
Platinum 1094 T 0.18 4
Platinum 17 T 0.016 4
Platinum 22 T 0.03 4
Platinum 260 T 0.06 4
Platinum 538 T 0.10 4
Platinum pure, polished 200–600 T 0.05–0.10 1
Platinum ribbon 900–1100 T 0.12–0.17 1
Platinum wire 1400 T 0.18 1
Platinum wire 500–1000 T 0.10–0.16 1
Platinum wire 50–200 T 0.06–0.07 1
Porcelain glazed 20 T 0.92 1
Porcelain white, shiny T 0.70–0.75 1
Rubber hard 20 T 0.95 1
Rubber soft, gray, rough 20 T 0.95 1
Sand T 0.60 1
Sand 20 T 0.90 2
Sandstone polished 19 LLW 0.909 8
Sandstone rough 19 LLW 0.935 8
Silver polished 100 T 0.03 2
Silver pure, polished 200–600 T 0.02–0.03 1
Skin human 32 T 0.98 2
Slag boiler 0–100 T 0.97–0.93 1
Slag boiler 1400–1800 T 0.69–0.67 1
Slag boiler 200–500 T 0.89–0.78 1
#T559918; r. AL/40424/40424; en-US 81

Emissivity tables19
Table 19.1 T: Total spectrum; SW: 2–5 µm; LW: 8–14 µm, LLW: 6.5–20 µm; 1: Material; 2: Specification;
3:Temperature in °C; 4: Spectrum; 5: Emissivity: 6:Reference (continued)
1 2 3 4 5 6
Slag boiler 600–1200 T 0.76–0.70 1
Snow: See Water
Soil dry 20 T 0.92 2
Soil saturated with
water
20 T 0.95 2
Stainless steel alloy, 8% Ni, 18%
Cr
500 T 0.35 1
Stainless steel rolled 700 T 0.45 1
Stainless steel sandblasted 700 T 0.70 1
Stainless steel sheet, polished 70 SW 0.18 9
Stainless steel sheet, polished 70 LW 0.14 9
Stainless steel sheet, untreated,
somewhat
scratched
70 SW 0.30 9
Stainless steel sheet, untreated,
somewhat
scratched
70 LW 0.28 9
Stainless steel type 18-8, buffed 20 T 0.16 2
Stainless steel type 18-8, oxi-
dized at 800°C
60 T 0.85 2
Stucco rough, lime 10–90 T 0.91 1
Styrofoam insulation 37 SW 0.60 7
Tar T 0.79–0.84 1
Tar paper 20 T 0.91–0.93 1
Tile glazed 17 SW 0.94 5
Tin burnished 20–50 T 0.04–0.06 1
Tin tin–plated sheet
iron
100 T 0.07 2
Titanium oxidized at 540°C 1000 T 0.60 1
Titanium oxidized at 540°C 200 T 0.40 1
Titanium oxidized at 540°C 500 T 0.50 1
Titanium polished 1000 T 0.36 1
Titanium polished 200 T 0.15 1
Titanium polished 500 T 0.20 1
Tungsten 1500–2200 T 0.24–0.31 1
Tungsten 200 T 0.05 1
Tungsten 600–1000 T 0.1–0.16 1
Tungsten filament 3300 T 0.39 1
Varnish flat 20 SW 0.93 6
Varnish on oak parquet
floor
70 SW 0.90 9
Varnish on oak parquet
floor
70 LW 0.90–0.93 9
Wallpaper slight pattern,
light gray
20 SW 0.85 6
Wallpaper slight pattern, red 20 SW 0.90 6
Water distilled 20 T 0.96 2
#T559918; r. AL/40424/40424; en-US 82

Emissivity tables19
Table 19.1 T: Total spectrum; SW: 2–5 µm; LW: 8–14 µm, LLW: 6.5–20 µm; 1: Material; 2: Specification;
3:Temperature in °C; 4: Spectrum; 5: Emissivity: 6:Reference (continued)
1 2 3 4 5 6
Water frost crystals –10 T 0.98 2
Water ice, covered with
heavy frost
0 T 0.98 1
Water ice, smooth 0 T 0.97 1
Water ice, smooth –10 T 0.96 2
Water layer >0.1 mm
thick
0–100 T 0.95–0.98 1
Water snow T 0.8 1
Water snow –10 T 0.85 2
Wood 17 SW 0.98 5
Wood 19 LLW 0.962 8
Wood ground T 0.5–0.7 1
Wood pine, 4 different
samples
70 SW 0.67–0.75 9
Wood pine, 4 different
samples
70 LW 0.81–0.89 9
Wood planed 20 T 0.8–0.9 1
Wood planed oak 20 T 0.90 2
Wood planed oak 70 SW 0.77 9
Wood planed oak 70 LW 0.88 9
Wood plywood, smooth,
dry
36 SW 0.82 7
Wood plywood,
untreated
20 SW 0.83 6
Wood white, damp 20 T 0.7–0.8 1
Zinc oxidized at 400°C 400 T 0.11 1
Zinc oxidized surface 1000–1200 T 0.50–0.60 1
Zinc polished 200–300 T 0.04–0.05 1
Zinc sheet 50 T 0.20 1
#T559918; r. AL/40424/40424; en-US 83

A note on the technical production of this publication
This publication was produced using XML — the eXtensible Markup Language. For more information
about XML, please visit http://www.w3.org/XML/
A note on the typeface used in this publication
This publication was typeset using Linotype Helvetica™ World. Helvetica™ was designed by Max
Miedinger (1910–1980)
LOEF (List Of Effective Files)
T501109.xml; en-US; AL; 40424; 2017-02-16
T505552.xml; en-US; 9599; 2013-11-05
T505469.xml; en-US; 39689; 2017-01-25
T505013.xml; en-US; 39689; 2017-01-25
T505799.xml; en-US; 39839; 2017-01-30
T505800.xml; en-US; 39839; 2017-01-30
T505801.xml; en-US; 40414; 2017-02-16
T505816.xml; en-US; 40286; 2017-02-14
T505470.xml; en-US; 39513; 2017-01-18
T505012.xml; en-US; 39581; 2017-01-20
T505007.xml; en-US; 39512; 2017-01-18
T505004.xml; en-US; 39512; 2017-01-18
T505000.xml; en-US; 39687; 2017-01-25
T505005.xml; en-US; 39512; 2017-01-18
T505001.xml; en-US; 39512; 2017-01-18
T505006.xml; en-US; 39581; 2017-01-20
T505002.xml; en-US; 39512; 2017-01-18
#T559918; r. AL/40424/40424; en-US 84

last page
Publ. No.: T559918
Release: AL
Commit: 40424
Head: 40424
Language: en-US
Modified: 2017-02-16
Formatted: 2017-02-16
Website
http://www.flir.com
Customer support
http://support.flir.com
Copyright
© 2017, FLIR Systems, Inc. All rights reserved worldwide.
Disclaimer
Specifications subject to change without further notice. Models and accessories subject to regional market considerations. License procedures may apply.
Products described herein may be subject to US Export Regulations. Please refer to exportquestions@flir.com with any questions.





