Fluke 724 Users Manual
2015-09-09
: Fluke Fluke-724-Users-Manual-806441 fluke-724-users-manual-806441 fluke pdf
Open the PDF directly: View PDF
.
Page Count: 58
- 724 Temperature Calibrator
- Temperature Calibrator
- Introducción
- Comunicación con Fluke
- Equipo estándar
- Información sobre seguridad
- Conocimiento básico del calibrador
- Funcionamiento básico
- Modo Apagado automático
- Ajuste del contraste
- Utilización del modo Measure
- Utilización del modo Source
- Ajuste del 0 % y 100 % de los parámetros de salida
- Salida en escalonamiento y rampa
- Almacenamiento y recuperación de ajustes
- Calibración de un transmisor
- Prueba de un dispositivo de salida
- Reemplazo de la batería
- Reemplazo de los fusibles
- Mantenimiento
- Especificaciones
- Índice

®
724
Temperature Calibrator
Manual de Uso
February 2000 (Spanish) Rev.1, 8/03
© 2000-2003 Fluke Corporation. All rights reserved.
All product names are trademarks of their respective companies.
GARANTÍA LIMITADA Y LIMITACIÓN DE RESPONSABILIDAD
Se garantiza que todo producto de Fluke no tendrá defectos en los materiales ni en la mano de obra en condiciones normales de utilización y
mantenimiento. El periodo de garantía es de tres años y comienza en la fecha de despacho. Las piezas de repuesto, reparaciones y servicios son
garantizados por 90 días. Esta garantía se extiende sólo al comprador original o al cliente final de un revendedor autorizado por Fluke y no es
válida para fusibles, baterías desechables o productos que, en opinión de Fluke, hayan sido utilizados incorrectamente, modificados, maltratados,
contaminados o dañados ya sea accidentalmente o a causa de condiciones de funcionamiento o manejo anormales. Fluke garantiza que el
software funcionará substancialmente de acuerdo con sus especificaciones funcionales durante 90 días y que ha sido grabado correctamente en
un medio magnético sin defectos. Fluke no garantiza que el software no tendrá errores ni que operará sin interrupción.
Los revendedores autorizados por Fluke podrán extender esta garantía solamente a los Compradores finales de productos nuevos y sin uso previo,
pero carecen de autoridad para extender una garantía mayor o diferente en nombre de Fluke. La asistencia técnica en garantía estará disponible
únicamente si el producto fue comprado a través de un centro de distribución autorizado por Fluke o si el comprador pagó el precio internacional
correspondiente. Fluke se reserva el derecho a facturar al Comprador los costos de importación de reparaciones/repuestos cuando el producto
comprado en un país es enviado a reparación a otro país.
La obligación de Fluke de acuerdo con la garantía está limitada, a discreción de Fluke, al reembolso del precio de compra, reparación gratuita o al
reemplazo de un producto defectuoso que es devuelto a un centro de servicio autorizado por Fluke dentro del periodo de garantía.
Para obtener el servicio de la garantía, comuníquese con el centro de servicio autorizado por Fluke más cercano a usted, solicite la información
correspondiente a la autorización de la devolución y luego envíe el producto a dicho centro de servicio con una descripción del fallo y los portes y
el seguro prepagados (FOB destino). Fluke no asume ningún riesgo por daño durante el tránsito. Después de la reparación de garantía, el producto
será devuelto al Comprador, con los fletes prepagados (FOB destino). Si Fluke determina que el fallo fue causado por maltrato, mala utilización,
contaminación, modificación o por una condición accidental o anormal presentada durante el funcionamiento o manejo, incluidos los fallos por
sobretensión causados por el uso fuera de los valores nominales especificados para el producto, o por el desgaste normal de los componentes
mecánicos, Fluke preparará una estimación de los costos de reparación y obtendrá su autorización antes de comenzar el trabajo. Al concluir la
reparación, el producto será devuelto al Comprador con los fletes prepagados y al Comprador le serán facturados la reparación y los costos de
transporte (FOB en el sitio de despacho).
ESTA GARANTÍA ES EL ÚNICO Y EXCLUSIVO RECURSO DEL COMPRADOR Y SUBSTITUYE A TODAS LAS OTRAS GARANTÍAS,
EXPRESAS O IMPLÍCITAS, INCLUYENDO, PERO SIN LIMITARSE A, TODA GARANTÍA IMPLÍCITA DE COMERCIABILIDAD O IDONEIDAD
PARA UN PROPÓSITO DETERMINADO. FLUKE NO SE RESPONSABILIZA DE PÉRDIDAS NI DAÑOS ESPECIALES, INDIRECTOS,
IMPREVISTOS O CONTINGENTES, INCLUIDA LA PÉRDIDA DE DATOS, QUE SURJAN POR CUALQUIER TIPO DE CAUSA O TEORÍA.
Como algunos países o estados no permiten la limitación de los términos de una garantía implícita, ni la exclusión ni limitación de daños
incidentales o consecuentes, las limitaciones y exclusiones de esta garantía pueden no ser válidas para todos los Compradores. Si una cláusula de
esta Garantía es considerada inválida o inaplicable por un tribunal o por algún otro ente de jurisdicción competente y responsable de la toma de
decisiones, dicha consideración no afectará la validez o aplicabilidad de cualquier otra cláusula.
Fluke Corporation
P.O. Box 9090,
Everett, WA 98206-9090
EE.UU.
Fluke Europe B.V.
P.O. Box 1186,
5602 BD Eindhoven
Países Bajos
11/99
i
Contenido
Título Página
Introducción ................................................................................................................... 1
Comunicación con Fluke ............................................................................................... 1
Equipo estándar ............................................................................................................ 3
Información sobre seguridad ......................................................................................... 3
Conocimiento básico del calibrador............................................................................... 8
Terminales de entrada y salida................................................................................. 8
Teclas ....................................................................................................................... 10
Pantalla..................................................................................................................... 13
Funcionamiento básico.................................................................................................. 14
Modo Apagado automático............................................................................................ 14
Ajuste del contraste....................................................................................................... 16
Utilización del modo Measure........................................................................................ 17
Medición de parámetros eléctricos (parte superior de la pantalla) ........................... 17
Medición de corriente con alimentación de bucle..................................................... 17
Medición de parámetros eléctricos (parte inferior de la pantalla) ............................. 19
Medición de temperatura .......................................................................................... 20
Utilización de termopares..................................................................................... 20

724
Manual de Uso
ii
Utilización de termodetectores de resistencia (RTD)............................................ 23
Utilización del modo Source........................................................................................... 26
Fuente de parámetros eléctricos............................................................................... 26
Simulación de termopares......................................................................................... 27
Simulación de RTD.................................................................................................... 27
Ajuste del 0 % y 100 % de los parámetros de salida ..................................................... 30
Salida en escalonamiento y rampa ................................................................................ 30
Escalonamiento manual de la salida......................................................................... 30
Rampa automática de la salida ................................................................................. 31
Almacenamiento y recuperación de ajustes................................................................... 31
Calibración de un transmisor.......................................................................................... 32
Prueba de un dispositivo de salida ................................................................................ 34
Reemplazo de la batería................................................................................................ 35
Reemplazo de los fusibles ............................................................................................. 35
Mantenimiento................................................................................................................ 36
Limpieza del calibrador ............................................................................................. 36
Calibración o reparación en el centro de servicio...................................................... 36
Repuestos ................................................................................................................. 37
Especificaciones............................................................................................................. 39
Medición de tensión CC ............................................................................................ 39
Fuente de tensión CC ............................................................................................... 39
Medición de mA CC................................................................................................... 39
Medición de ohmios................................................................................................... 40
Fuente de ohmios...................................................................................................... 40
Medición y fuente de milivoltios* ............................................................................... 41
Temperatura, termopares.......................................................................................... 41
Temperatura, rangos RTD y exactitudes (ITS-90)..................................................... 42
Alimentación de bucle ............................................................................................... 43

Temperature Calibrator
Contents (continued)
iii
Especificaciones generales ...................................................................................... 43
Índice ....................................................................................................................................... 45

724
Manual de Uso
iv
v
Lista de tablas
Tabla Título Página
1. Resumen de las funciones de fuente y medición ................................................................. 2
2. Símbolos internacionales...................................................................................................... 7
3. Terminales y conectores de entrada/salida .......................................................................... 9
4. Funciones de las teclas ........................................................................................................ 11
5. Tipos de termopares aceptados ........................................................................................... 21
6. Tipos de RTD aceptados...................................................................................................... 24
7. Repuestos............................................................................................................................. 37

724
Manual de Uso
vi
vii
Lista de figuras
Figura Título Página
1. Equipo estándar.................................................................................................................... 6
2. Terminales y conectores de entrada/salida .......................................................................... 8
3. Teclas ................................................................................................................................... 10
4. Enter your title here .............................................................................................................. 13
5. Prueba tensión a tensión...................................................................................................... 15
6. Ajuste del contraste .............................................................................................................. 16
7. Medición de la salida de tensión y corriente......................................................................... 17
8. Conexiones para el suministro de la alimentación de bucle................................................. 18
9. Medición de parámetros eléctricos ....................................................................................... 19
10. Medición de la temperatura usando un termopar ................................................................. 22
11. Medición de la temperatura usando un RTD, Medición de resistencia
bifilar, trifilar y tetrafilar.......................................................................................................... 25
12. Conexiones para la fuente de parámetros eléctricos............................................................ 26
13. Conexiones para simular un termopar.................................................................................. 28
14. Conexiones para simular un RTD con 3 conductores........................................................... 29
15. Calibración de un transmisor de termopar............................................................................ 33
16. Calibración de un registrador de gráficos ............................................................................. 34
17. Reemplazo de la batería....................................................................................................... 36

Temperature Calibrator
Contents (continued)
ix

1
Temperature Calibrator
Introducción
Su calibrador de temperatura Fluke 724 Temperature
Calibrator es un instrumento manual, alimentado por
baterías, que mide y suministra una variedad de
termopares y RTD. Consulte la tabla 1.
Además de las funciones relacionadas en la tabla 1, el
calibrador tiene las siguientes características y funciones:
• Pantalla dividida. La parte superior de la pantalla
permite medir tensión y corriente. La parte inferior de
la pantalla permite medir y servir de fuente de:
tensión, termodetectores de resistencia, termopares
y ohmios.
• Un terminal de entrada/salida de termopar (TC) y un
bloque isotérmico interno con compensación térmica
automática en la unión de referencia.
• Almacenamiento y recuperación de 8 ajustes.
• Escalonamiento manual, escalonamiento y rampa
automáticos.
Comunicación con Fluke
Para pedir accesorios, recibir asistencia con la operación
o conocer la dirección del distribuidor o Centro de
Servicio de Fluke más cercano a su localidad, llame al:
EE.UU.: 1-888-99-FLUKE (1-888-993-5853)
Canadá: 1-800-363-5853
Europa: +31-402-675-200
Japón: +81-3-3434-0181
Singapur: +65-738-5655
Desde cualquier otro país: +1-425-356-5500
O bien, visite el sitio Web de Fluke en www.fluke.com.

724
Manual de Uso
2
Tabla 1. Resumen de las funciones de fuente y medición
FunciónMedición Fuente
V cc 0 V a 30 V 0 V a 10 V
Resistencia 0 Ω a 3200 Ω15 Ω a 3200 Ω
Termopar Tipos E, J, K, T, B, R, S, L, U, N, mV
RTD
(termodetectores de
resistencia)
Pt100 Ω (385)
Pt100 Ω (3926)
Pt100 Ω (3916)
Pt200 Ω (385)
Pt500 Ω (385)
Pt1000 Ω (385)
Ni120
Otras funciones Alimentación de bucle, escalonamiento, rampa, memoria, pantalla dual

Temperature Calibrator
Equipo estándar
3
Equipo estándar
Los componentes listados a continuación y mostrados en
la figura 1 se suministran junto con su calibrador. Si el
calibrador está dañado o si falta algún componente del
mismo, comuníquese de inmediato con el lugar en donde
fue adquirido. Para repuestos o piezas de recambio,
consulte la lista de repuestos recambiables por el usuario
en la tabla 7.
• Conductores de prueba TL75 (un juego)
• Pinzas de conexión (un juego)
• Conductores de prueba con pinzas de conexión
superponibles (un juego)
• 724 Breve manual del producto 724
• CD-ROM 724 (contiene el Manual de uso)
• Fusible de repuesto
Información sobre seguridad
El calibrador está diseñado en conformidad con las
normas IEC1010-1, ANSI/ISA S82.01-1994 y CAN/CSA
C22.2 No.1010.1-92. 1010.1-92. Utilice el calibrador
solamente de acuerdo con las especificaciones de este
manual; de lo contrario, la protección provista por el
instrumento podría ser afectada.
Una Advertencia identifica condiciones y acciones que
podrían ser peligrosas para el usuario; una Precaución
identifica condiciones y acciones que pueden causar
daños al calibrador o al equipo que se esté probando.
Los símbolos internacionales utilizados en el calibrador y
en este manual se explican en la tabla 2.

724
Manual de Uso
4
W Advertencia
Para evitar posibles choques eléctricos o lesiones personales:
• No aplique una tensión superior a la tensión nominal, especificada en el calibrador, entre los terminales
o entre cualquier terminal y la conexión a tierra. El máximo para todos los terminales es de 30 V, 24 mA.
• Siempre que vaya a utilizarlo, compruebe el funcionamiento del calibrador midiendo una tensión
conocida.
• Siga todos los procedimientos de seguridad de los equipos.
• Nunca toque con la sonda una fuente de tensión cuando los conductores de prueba estén conectados
en los terminales de corriente.
• No utilice el calibrador si está dañado. Antes de utilizar el calibrador, inspeccione la caja. Observe la
existencia de grietas o carencia de plástico. Preste atención especial al aislamiento que rodea a los
conectores.
• Seleccione la función y el rango apropiados para las mediciones.
• Asegúrese de que la puerta de la batería esté cerrada y trabada antes de utilizar el calibrador.
• Retire los conductores de prueba del calibrador antes de abrir la puerta de la batería.
• Inspeccione los conductores de prueba para ver si el aislamiento está dañado o si hay partes de metal
expuesto. Compruebe la continuidad de los conductores de prueba. Sustituya los conductores de
prueba dañados antes de utilizar el calibrador.
• Al utilizar las sondas, mantenga sus dedos alejados de los contactos de éstas. Mantenga sus dedos
detrás de los protectores para estos en las sondas.
• Conecte el conductor de prueba neutro antes de conectar el conductor de prueba que transporta
electricidad. Al desconectar los conductores de prueba, desconecte primero el conductor de prueba
que transporta electricidad.
• No utilice el calibrador si éste está funcionando de manera anormal. Es posible que la protección esté
afectada. En caso de duda, haga revisar el calibrador.
• No utilice el calibrador cerca de gases explosivos, vapor o polvo.

Temperature Calibrator
Información sobre seguridad
5
W Advertencia
• Para alimentar el calibrador, utilice sólo 4 baterías AA, instaladas correctamente en la caja del
calibrador.
• Desconecte los conductores de prueba antes de cambiar a otra función de medición o de fuente.
• Al reparar el calibrador, utilice solamente los repuestos especificados.
• Para evitar lecturas falsas, que podrían tener como consecuencia choques eléctricos o lesiones
personales, reemplace la batería tan pronto como aparezca el indicador (M).
Precaución
Para evitar daños posibles al calibrador o al equipo sometido a prueba:
• Desconecte la alimentación eléctrica y descargue todos los condensadores de alta tensión antes de
efectuar pruebas de resistencia o continuidad.
• Utilice los conectores, funciones y rangos correctos para el tipo de medición o fuente que necesite
aplicar.

724
Manual de Uso
6
100%
25%
25%
RECALL
STORE
SETUP
0%
Conductores de
prueba superponibles
Juego de
conductores
de prueba TL75
Pinzas de
conexión
V
mA
MEASURE
SOURCE / MEASURE
30V MAX ALL TERMINALS
4W
3W
V
RTD
mA-
TC
COM COM
LOOP
aff01f.eps
Figura 1. Equipo estándar

Temperature Calibrator
Información sobre seguridad
7
Tabla 2. Símbolos internacionales
CA - Corriente alterna Aislamiento doble
CC - Corriente continua Batería
Conexión a tierra Encontrará más información acerca de
esta característica en el manual.
PresiónOON / OFF
Cumple las normas de la Canadian
Standards Association Cumple las normas de la Unión Europea

724
Manual de Uso
8
Conocimiento básico del calibrador
Terminales de entrada y salida
La figura 2 muestra los terminales de entrada y salida del
calibrador. La tabla 3 explica su utilización.
TC RTD
100%
25%
25%
RECALL
MEAS
SOURCE
STORE
SETUP
0%
TEMPERATURE CALIBRATOR
724
765432
1
V
LOOP
mA
V
˚F
˚C
zi02f.eps
Figura 2. Terminales y conectores de entrada/salida

Temperature Calibrator
Conocimiento básico del calibrador
9
Tabla 3. Terminales y conectores de entrada/salida
No Nombre Descripción
A, BTerminales
MEASURE V, mA Terminales de entrada para la medición de tensión, corriente y el suministro de
alimentación de bucle.
CEntrada/salida TC Terminal para la medición o simulación de termopares. Este terminal acepta
miniclavijas polarizadas para termopar con patillas planas en línea con separación
de 7,9 mm (0,312 pulg.) entre centros.
D, ETerminales SOURCE/
MEASURE V, RTD, ΩTerminales para fuente o medición de tensión, resistencia y RTD.
F, GMEASURE 3 W, 4 W Terminales para realizar mediciones de RTD con 3 W y 4 W (3 y 4 conductores).

724
Manual de Uso
10
Teclas
La figura 3 muestra las teclas del calibrador y la tabla 4
explica su utilización.
TC RTD
100%
25%
25%
RECALL
MEAS
SOURCE
STORE
SETUP
0%
TEMPERATURE CALIBRATOR
724
TC RTD
100%
25%
25%
RECALL
MEAS
SOURCE
STORE
SETUP
0%
TEMPERATURE CALIBRATOR
724
18
9
10
2
3
46
7
5
12 11
13
14
15
16
17
18
19 20
V
mA
MEASURE
SOURCE / MEASURE
30V MAX ALL TERMINALS
4W
3W V
RTD
mA+
mA-
TC
COM COM
LOOP
V
mA
MEASURE
SOURCE / MEASURE
30V MAX ALL TERMINALS
4W
3W V
RTD
mA+
mA-
TC
COM COM
LOOP
VLOOP
mA
V
˚
F
˚
C
VLOOP
mA
V
˚
F
˚
C
zi03f.eps
Figura 3. Teclas

Temperature Calibrator
Conocimiento básico del calibrador
11
Tabla 4. Funciones de las teclas
No Nombre Descripción
AOEnciende y apaga la alimentación.
BVSelecciona la función medición de la tensión en la parte superior de la pantalla.
CASelecciona la función medición de mA en la parte superior de la pantalla.
DKActiva la alimentación de bucle de 24 voltios al medir mA.
ECEnciende o apaga la retroiluminación. Activa el modo Ajuste del contraste durante el encendido.
FFMuestra la temperatura en grados centígrados al estar activas las funciones TC o RTD.
GDMuestra la temperatura en grados Fahrenheit al estar activas las funciones TC o RTD.
HGRecupera de la memoria un valor de fuente correspondiente al 100 % de la amplitud y lo fija como
el valor de fuente. Púlsela y manténgala pulsada para guardar cualquier valor de fuente como el
valor del 100 %.
IHIncrementa la salida en el 25 % de la amplitud.
JIDecrece la salida en el 25 % de la amplitud.
KJRecupera de la memoria un valor de fuente correspondiente al 0 % de la amplitud y lo fija como el
valor de fuente. Púlsela y manténgala pulsada para guardar el valor de fuente como el valor del
0 %. Identifica la versión del Firmware. Mantenga presionado J durante el encendido.

724
Manual de Uso
12
Tabla 4. Funciones de las teclas (cont.)
No Nombre Descripción
LLAvanza cíclicamente a través de:
E Repetición lenta de rampa 0 % -100 % - 0 %
P Repetición rápida de rampa 0 % -100 % - 0 %
N Repetición de rampa 0 % -100 % - 0 % con escalonamiento de 25 %
A M
A M
OY
OZ
Desactiva el modo Apagado automático
Activa el modo Apagado automático
MXW
Y Z
Incrementa o disminuye el nivel de fuente.
Recorre cíclicamente las selecciones 2, 3 y 4 conductores.
Avanza a través de las ocho posiciones de memoria de los ajustes del calibrador. En modo
Ajuste del contraste; la flecha hacia arriba oscurece el contraste y la flecha hacia abajo, lo aclara.
NQRecupera un ajuste previo del calibrador desde una de las ocho posiciones de memoria.
OSGuarda el ajuste del calibrador a una de las ocho posiciones de memoria. Guarda la
configuración de Ajuste del contraste.
PMAvanza cíclicamente el calibrador a través de los modos MEASURE y SOURCE en la parte
inferior de la pantalla.
QTSelecciona la función medición y fuente TC (termopar) en la parte inferior de la pantalla.
Pulsándola repetidamente avanza cíclicamente a través de los tipos de termopares.
RVAlterna entre las funciones de tensión, fuente y medición en la parte inferior de la pantalla.
SRSelecciona la función medición y fuente de RTD (termodetectores de resistencia) en la parte
inferior de la pantalla. Pulsándola repetidamente avanza cíclicamente a través de los tipos de
RTD.
TUSelecciona la función de medición y fuente de ohmios.

Temperature Calibrator
Conocimiento básico del calibrador
13
Pantalla
La figura 4 muestra los elementos de una pantalla típica.
Símbolo de batería
descargada
Anunciador
de bucle
Posiciones de memoria
para los ajustes del calibrador
Pantalla
de unidades
Rampa
automática
Indicador
del modo
aff07f.eps
Figura 4. Elementos de una pantalla típica

724
Manual de Uso
14
Funcionamiento básico
Esta sección le permitirá conocer algunas operaciones
básicas del calibrador.
Proceda como sigue para realizar una prueba tensión a
tensión:
1. Conecte la salida de tensión del calibrador a su
entrada de tensión tal como se muestra en la
figura 5.
2. Pulse
O para encender el calibrador. Pulse l
para seleccionar tensión cc (parte superior de la
pantalla).
3. Si es necesario, pulse M para activar el modo
SOURCE (parte inferior de la pantalla). El calibrador
continúa midiendo tensión cc y usted puede ver las
mediciones activas en la parte superior de la
pantalla.
4. Pulse
l para seleccionar fuente de tensión cc.
5. Pulse
Y y Z para seleccionar un dígito a cambiar.
Pulse X para seleccionar 1 V para el valor de
salida. Pulse y mantenga pulsada J para
introducir 1 V como el valor correspondiente a 0 %.
6. Pulse X para incrementar la salida a 5 V. Pulse y
mantenga pulsada G para introducir 5 V como el
valor correspondiente al 100 %.
7. Pulse
H y I para desplazarse entre 0 y 100 %
en incrementos del 25 %.
Modo Apagado automático
El calibrador viene con el modo Apagado automático
activado y configurado en una duración de 30 minutos
(que se visualiza durante 1 segundo al encender por
primera vez el calibrador). Al activar el modo Apagado
automático, el calibrador se apagará automáticamente
después de transcurrido cierto tiempo desde la última vez
que se presionó una tecla. Para desactivar el modo
Apagado automático, pulse O y Y simultáneamente. Para
activarlo, pulse O y Z simultáneamente. Para ajustar el
tiempo que debe transcurrir antes de apagarse, pulseO y
Z simultáneamente, y luegoX y/oW para ajustarlo entre
1 y 30 minutos.

Temperature Calibrator
Modo Apagado automático
15
V
V
TC RTD
˚
F
˚
C
100%
25%
25%
RECALL
LOOP
mA
MEAS
SOURCE
STORE
SETUP
0%
TEMPERATURE CALIBRATOR
724
zi04f.eps
Figura 5. Prueba tensión a tensión

724
Manual de Uso
16
Ajuste del contraste
Nota
Disponible con el Firmware V2.1 o superior. Para
identificar la versión del firmware, mantenga
presionado J durante el encendido. La versión
del firmware aparecerá en la parte superior de la
pantalla de unidades durante aproximadamente
1 segundo después de la inicialización.
Para ajustar el contraste, proceda de la siguiente manera:
1. Presione C y O hasta que aparezca Ajuste del
contraste, tal como se ilustra en la figura 6.
2. Mantenga presionadoX para oscurecer el contraste.
3. Mantenga presionado Wpara aclarar el contraste.
4. Pulse S para guardar el nivel de contraste.
TC RTD
100%
25%
25%
RECALL
MEAS
SOURCE
STORE
SETUP
0%
TEMPERATURE CALIBRATOR
724
V
LOOP
mA
V
˚
F
˚
C
1
4
2
3
zi15f.eps
Figure 6. Ajuste del contraste

Temperature Calibrator
Utilización del modo Measure
17
Utilización del modo Measure
Medición de parámetros eléctricos (parte
superior de la pantalla)
Para medir la salida de corriente o tensión de un
transmisor, utilice la parte superior de la pantalla y
proceda como sigue:
1. Pulse A para seleccionar la corriente. La función
LOOP no debe estar activada.
2. Conecte los conductores tal como se muestra en la
figura 7.
Medición de corriente con alimentación de bucle
La función alimentación de bucle activa una fuente
de 24 V en serie con el circuito de medición de corriente,
permitiendo así probar un transmisor cuando está
desconectado del cableado de la planta. Para medir la
corriente con la alimentación de bucle, proceda como
sigue:
1. Conecte el calibrador a los terminales del bucle de
corriente del transmisor tal como se muestra en la
figura 8.
2. Pulse K mientras el calibrador está en el modo de
medición de corriente. LOOP aparece y una fuente
interna de bucle de 24 V se enciende.
TC RTD
100%
25%
25%
RECALL
MEAS
SOURCE
STORE
SETUP
0%
TEMPERATURE CALIBRATOR
724
Negro
Rojo
V
LOOP
mA
V
˚F
˚C
aff05f.eps
Figura 7. Medición de la salida de tensión y corriente

724
Manual de Uso
18
Rojo
TEST DC PWR
+–+–
–+
Negro
TC RTD
100%
25%
25%
RECALL
MEAS
SOURCE
STORE
SETUP
0%
TEMPERATURE CALIBRATOR
724
VLOOP
mA
V
˚F
˚C
aff06f.eps
Figura 8. Conexiones para el suministro de la alimentación de bucle

Temperature Calibrator
Utilización del modo Measure
19
Medición de parámetros eléctricos (parte inferior
de la pantalla)
Para medir parámetros eléctricos utilizando la parte
inferior de la pantalla, proceda como sigue:
1. Conecte el calibrador tal como se muestra en la
figura 9.
2. Si es necesario, pulse M para activar el modo
MEASURE (parte inferior de la pantalla).
3. Pulse
l para tensión o corriente continua, o
U para resistencia.
TC RTD
100%
25%
25%
RECALL
MEAS
SOURCE
STORE
SETUP
0%
TEMPERATURE CALIBRATOR
724
V
LOOP
mA
V
˚
F
˚
C
zi07f.eps
Figura 9. Medición de parámetros eléctricos

724
Manual de Uso
20
Medición de temperatura
Utilización de termopares
El calibrador es compatible con diez termopares estándar,
incluidos los tipos E, N, J, K, T, B, R, S, L o U. La tabla 5
resume los rangos y características de los termopares
compatibles.
Para medir temperatura utilizando un termopar, proceda
como sigue:
1. Conecte los conductores del termopar a la miniclavija
TC apropiado y luego a la entrada/salida TC tal como
se muestra en la figura 10.
Nota
Una patilla es más ancha que la otra. No trate de
forzar la miniclavija en la polaridad incorrecta.
Si el calibrador y el conector macho del termopar
están a temperaturas diferentes, espere un
minuto o más para que se estabilice la
temperatura del conector después de insertar la
miniclavija en la salida/entrada TC.
2. Si es necesario, pulse M para activar el modo
MEASURE.
3. Pulse
T para presentar la pantalla TC. Si gusta
hacerlo, continúe pulsando esta tecla para
seleccionar el tipo de termopar deseado.
Si es necesario, puede seleccionar unidades de
temperatura en °C pulsando F o unidades de
temperatura en °F pulsando D.

Temperature Calibrator
Utilización del modo Measure
21
Tabla 5. Tipos de termopares aceptados
Conductor positivo
Color del conductor
positivo (H) Conductor negativo Rango
especificado
Tipo Material ANSI* IEC** Material (°C)
ECromel Púrpura Violeta Constantan -200 a 950
N Ni-Cr-Si Anaranjado Rosado Ni-Si-Mg -200 a 1300
J Hierro Blanco Negro Constantan -200 a 1200
K Cromel Amarillo Verde Alumel -200 a 1370
T Cobre Azul Marrón Constantan -200 a 400
B Platino (30 % de rodio) Gris Platino (6 % de rodio) 600 a 1800
R Platino (13 % de rodio) Negro Anaranjado Platino -20 a 1750
S Platino (10 % de rodio) Negro Anaranjado Platino -20 a 1750
L Hierro Constantan -200 a 900
U Cobre Constantan -200 a 400
*Según el American National Standards Institute (ANSI) el conductor negativo (L) del dispositivo siempre es rojo.
**Según la International Electrotechnical Commission (IEC) el conductor negativo (L) del dispositivo siempre es blanco.

724
Manual de Uso
22
V
mA
MEASURE
SOURCE / MEASURE
30V MAX ALL TERMINALS
4W
3W
V
RTD
TC
COM COM
LOOP
Temperatura del proceso
Advertencia
30 V máximo a
TC
Miniclavija
del termopar
aff14f.eps
Figura 10. Medición de la temperatura usando un termopar

Temperature Calibrator
Utilización del modo Measure
23
Utilización de termodetectores de resistencia (RTD)
El calibrador acepta los tipos de RTD incluidos en la tabla
6. Los RTD están caracterizados por su resistencia a 0 °C
(32 °F), que se denomina “temperatura de fusión del
hielo” o R0. El R0 más común es 100 Ω. El calibrador
acepta entradas de medición con RTD mediante
conexiones con dos, tres o cuatro conductores, siendo la
conexión con tres conductores la más común. Una
configuración de cuatro conductores proporciona la
exactitud más alta, mientras que una de dos conductores
proporciona la exactitud más baja para la medición.
Para medir temperatura utilizando una entrada de RTD,
proceda como sigue:
1. Si es necesario, pulse M para activar el modo
MEASURE.
2. Pulse
R para presentar la pantalla RTD. Si lo
desea, continúe pulsando esta tecla para seleccionar
el tipo de RTD deseado.
3. Pulse
X o W para seleccionar una conexión de 2, 3
ó 4 conductores.
4. Conecte el RTD a los terminales de entrada tal como
se muestra en la figura 11.
Si es necesario, puede seleccionar unidades de
temperatura en °C pulsando F o unidades de
temperatura en °F pulsando. D.

724
Manual de Uso
24
Tabla 6. Tipos de RTD aceptados
Tipo de RTD
Punto fusión
del hielo (R0) Material αRango (°C)
Pt100 (3926) 100 ΩPlatino 0,003926 Ω/°C -200 a 630
Pt100 (385) 100 ΩPlatino 0,00385 Ω/°C -200 a 800
Ni120 (672) 120 ΩNíquel 0,00672 Ω/°C -80 a 260
Pt200 (385) 200 ΩPlatino 0,00385 Ω/°C -200 a 630
Pt500 (385) 500 ΩPlatino 0,00385 Ω/°C -200 a 630
Pt1000 (385) 1000 ΩPlatino 0,00385 Ω/°C -200 a 630
Pt100 (3916) 100 ΩPlatino 0,003916 Ω/°C -200 a 630
El Pt100 de uso común en aplicaciones industriales en los EE.UU. es Pt100 (3916), α = 0,003916 Ω/°C. (También
designado como curva JIS). El RTD estándar de la IEC es el Pt100 (385), α = 0,00385 Ω/°C.

Temperature Calibrator
Utilización del modo Measure
25
Resistencia
a medir
Resistencia
a medir
Resistencia
a medir
RTD
RTD
RTD
2 conductores
3 conductores
4 conductores
V
mA
MEASURE
SOURCE / MEASURE
30V MAX ALL TERMINALS
4W
3W V
RTD
TC
COM COM
LOOP
V
mA
MEASURE
SOURCE / MEASURE
30V MAX ALL TERMINALS
4W
3W V
RTD
TC
COM COM
LOOP
V
mA
MEASURE
SOURCE / MEASURE
30V MAX ALL TERMINALS
4W
3W V
RTD
TC
COM COM
LOOP
aff08f.eps
Figura 11. Medición de la temperatura usando un RTD, Medición de resistencia bifilar, trifilar y tetrafilar

724
Manual de Uso
26
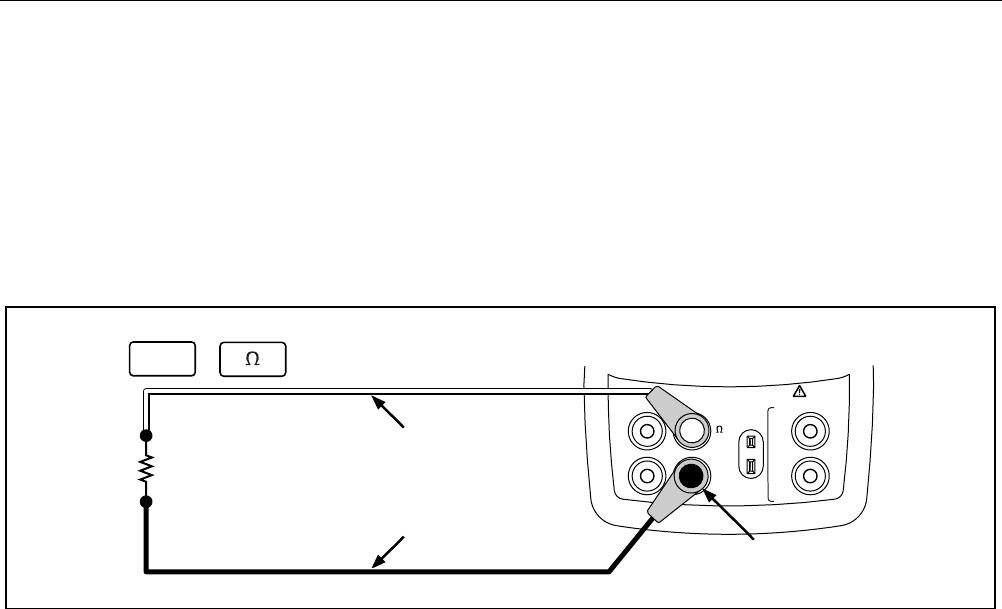
Utilización del modo Source
En el modo SOURCE, el calibrador genera señales
calibradas para probar y calibrar instrumentos de
proceso; suministra tensiones y resistencias; y simula la
señal eléctrica de salida de detectores de temperatura
por RTD o termopar.
Fuente de parámetros eléctricos
El calibrador puede servir de fuente de voltios y ohmios
presentándolos en la parte inferior de la pantalla.
Para seleccionar una función de fuente de un parámetro
eléctrico, proceda como sigue:
1. Conecte los conductores de prueba tal como se
muestra en la figura 12, dependiendo de la función
de fuente.
2. Si es necesario, pulse M para activar el modo
SOURCE.
3. Pulse
V para tensión cc o U para
resistencia.
4. Pulse las teclas X y W para introducir el valor de
salida que desea. Pulse Y y Z para seleccionar un
dígito diferente a cambiar.
V
mA
MEASURE
SOURCE / MEASURE
30V MAX ALL TERMINALS
4W
3W V
RTD
TC
COM COM
LOOP
Rojo
Negro
+
–
Común
V
aff09f.eps
Figura 12. Conexiones para la fuente de parámetros eléctricos

Temperature Calibrator
Utilización del modo Source
27
Simulación de termopares
Conecte la entrada/salida TC del calibrador al instrumento
sometido a prueba mediante cable de termopar y la
miniclavija de termopar (miniclavija polarizada de
termopar con patillas planas en línea con separación de
7,9 mm [0,312 pulg.] entre centros).
Nota
Una patilla es más ancha que la otra. No trate de
forzar la miniclavija en la polaridad incorrecta. La
figura 13 muestra esta conexión.
Para simular un termopar, proceda como sigue:
1. Conecte los conductores del termopar a la miniclavija
TC apropiado y luego a la entrada/salida TC tal como
se muestra en la figura 13.
2. Si es necesario, pulse M para activar el modo
SOURCE.
3. Pulse
T para presentar la pantalla TC. Si lo
desea, continúe pulsando esta tecla para seleccionar
el tipo de termopar deseado.
4. Pulse las teclas X y W para introducir el valor de
temperatura que desea. Pulse Y y Z para seleccionar
un dígito diferente a editar.
Simulación de RTD
Conecte el calibrador al instrumento sometido a prueba
tal como se muestra en la figura 14. Para simular un RTD,
proceda como sigue:
1. Si es necesario, pulse M para activar el modo
SOURCE.
2. Pulse
R para presentar la pantalla RTD.
Nota
Utilice los terminales 3 W y 4 W sólo para
mediciones y no para simulaciones. El calibrador
simula un RTD de 2 conductores en su panel
frontal. Para conectar a un transmisor de 3 ó 4
conductores, utilice los cables superponibles
para proveer así los conductores adicionales.
Véase la figura 14.
3. Pulse las teclas X y W para introducir el valor de
temperatura que desea. Pulse Y y Z para seleccionar
un dígito diferente a editar.
4. Si la pantalla del 724 indica ExI HI, la corriente de
excitación del dispositivo bajo prueba excede los
límites del mismo.

724
Manual de Uso
28
TEST DC PWR
++–
–+
El color depende
del tipo de termopar
TC RTD
100%
25%
25%
RECALL
MEAS
SOURCE
STORE
SETUP
0%
TEMPERATURE CALIBRATOR
724
TC
Miniclavija del termopar
V
LOOP
mA
V
˚
F
˚
C
aff10f.eps
Figura 13. Conexiones para simular un termopar

Temperature Calibrator
Utilización del modo Source
29
TC RTD
100%
25%
25%
RECALL
MEAS
SOURCE
STORE
SETUP
0%
TEMPERATURE CALIBRATOR
724
Negro
Terminales del sensor
Negro
Rojo
1
2
3
4
V
V
˚
F
˚
C
LOOP
mA
aff11f.eps
Figura 14. Conexiones para simular un RTD con 3 conductores

724
Manual de Uso
30
Ajuste del 0 % y 100 % de los
parámetros de salida
Antes de poder utilizar las funciones de escalonamiento y
rampa para los demás parámetros de salida (voltios,
ohmios, potenciales de TC o resistencia RTD), debe fijar
los puntos correspondientes al 0 % y al 100 %. Para
hacerlo, proceda como sigue:
1. Si es necesario, pulse M para activar el modo
SOURCE.
2. Seleccione la función de fuente de TC y utilice las
teclas de dirección (flechas) para introducir el valor.
Nuestro ejemplo es una fuente de termopar que
utiliza los valores 100 °C y 300 °C.
3. Introduzca 100 °C, pulse y mantenga pulsada la tecla
J para guardar el valor.
4. Introduzca 300 °C, pulse y mantenga pulsada la tecla
G para guardar el valor.
Ahora puede utilizar este ajuste para lo siguiente:
• Escalonar manualmente una salida con incrementos
del 25 %.
• Saltar entre los puntos 0 % y 100 % de la amplitud
pulsando momentáneamente J o G.
Salida en escalonamiento y rampa
Existen dos formas para ajustar el valor de las funciones
de fuente.
• Salida con escalonamiento manual, con las teclas
H y I, o automático.
• Salida de rampa.
El escalonamiento y la rampa se aplican a todas las
funciones.
Escalonamiento manual de la salida
Para el escalonamiento manual de la salida puede
proceder como sigue:
• Utilice
H o I para ajustar la salida hacia arriba
o hacia abajo en incrementos de 25 %.
• Pulse momentáneamente J para desplazarse a
0 %, o G para desplazarse a 100 %.

Temperature Calibrator
Almacenamiento y recuperación de ajustes
31
Rampa automática de la salida
La generación automática de rampas le da la capacidad
de aplicar continuamente un estímulo variable desde el
calibrador a un transmisor, manteniendo sus manos libres
para probar la respuesta del transmisor.
Al pulsar L, el calibrador produce una rampa que se
repite continuamente de 0 % a 100 % a 0 % de acuerdo
con tres formas de onda de rampa posibles:
• ERampa aplanada 0 % - 100 % - 0 %
de 40 segundos.
• PRampa aplanada 0 % - 100 % - 0 %
de 15 segundos.
• NRampa 0 % - 100 % - 0 % con escalonamiento
de 25 % y una pausa de 5 segundos en
cada escalón.
Para abandonar la función de rampa, pulse cualquier
botón.
Almacenamiento y recuperación de
ajustes
Puede guardar hasta ocho de sus ajustes en una
memoria no volátil y recuperarlos para utilizarlos
posteriormente. Una condición de batería descargada o
un cambio de batería no modifica los ajustes guardados.
Para hacerlo, proceda como sigue:
1. Después de crear un ajuste para el calibrador, pulse
S. En la pantalla aparecen las posiciones de
memoria.
2. Pulse
Y o Z para seleccionar las posiciones de la uno
a la ocho. Un carácter de subrayado aparece bajo la
posición de memoria seleccionada.
3. Pulse S. Sólo se mostrará la localización de
memoria almacenada. Esto indica que el ajuste fue
guardado. Esto indica que el ajuste fue guardado.
Para recuperar ajustes, proceda como sigue:
1. Pulse
Q. Las posiciones de memoria aparecen en
la pantalla.
2. Pulse
Y o Z para seleccionar la posición de memoria
apropiada y luego pulse Q.

724
Manual de Uso
32
Calibración de un transmisor
Para calibrar un transmisor utilice los modos medición
(parte superior de la pantalla) y fuente (parte inferior de la
pantalla). El ejemplo siguiente muestra cómo calibrar un
transmisor de temperatura.
Conecte el calibrador al instrumento sometido a prueba
tal como se muestra en la figura 15. Para calibrar un
transmisor, proceda como sigue:
1. Pulse
K para la medición de corriente con
alimentación de bucle.
2. Pulse
T (parte inferior de la pantalla). Si lo desea,
continúe pulsando esta tecla para seleccionar el tipo
de termopar deseado.
3. Si es necesario, pulse M para activar el modo
SOURCE.
4. Pulse las teclas X y W para ajustar los parámetros
de cero y amplitud. Pulse y mantenga pulsadas J y
G para introducir estos parámetros. Para obtener
más información acerca del ajuste de parámetros,
consulte la sección “Ajuste del 0 % y 100 % de los
parámetros de salida”, presentada anteriormente en
este manual.
5. Realice pruebas de comprobación en los puntos
0-25-50-75-100 % pulsando H o I. Ajuste el
transmisor según sea necesario.

Temperature Calibrator
Calibración de un transmisor
33
Rojo
TEST DC PWR
+–+–
–+
Negro
TC RTD
100%
25%
25%
RECALL
MEAS
SOURCE
STORE
SETUP
0%
TEMPERATURE CALIBRATOR
724
VLOOP
mA
V
˚
F
˚
C
aff12f.eps
Figura 15. Calibración de un transmisor de termopar

724
Manual de Uso
34
Prueba de un dispositivo de salida
Utilice las funciones de fuente para calibrar dispositivos
tales como actuadores, registradores e indicadores. Para
hacerlo, proceda como sigue:
1. Conecte los conductores de prueba al instrumento
sometido a prueba tal como se muestra en la
figura 16.
2. Pulse l para tensión cc o U para resistencia
(parte inferior de la pantalla).
3. Si es necesario, pulse M para activar el modo
SOURCE.
TC RTD
100%
25%
25%
RECALL
MEAS
SOURCE
STORE
SETUP
0%
TEMPERATURE CALIBRATOR
724
Negro
Rojo
Entrada
0 a 1 V cc
V
LOOP
mA
V
˚
F
˚
C
aff13f.eps
Figura 16. Calibración de un registrador de gráficos

Temperature Calibrator
Reemplazo de la batería
35
Reemplazo de la batería
WAdvertencia
Para evitar lecturas falsas, que podrían tener
como consecuencia choques eléctricos o
lesiones personales, reemplace la batería tan
pronto como aparezca el indicador (M).
La figura 17 le muestra cómo reemplazar la batería.
Reemplazo de los fusibles
El calibrador viene equipado con un fusible con clavija de
0,05 A y 250 V para proteger el calibrador.
WAdvertencia
Para evitar choques eléctricos, retire los conductores de
prueba del calibrador antes de abrir la puerta de la
batería. Cierre y bloquee la tapa de la batería antes de
utilizar el calibrador.
El fusible se puede retirar para verificar su resistencia.
Un valor de < 10 Ω es correcto. Los problemas durante la
medición utilizando los conectadores derechos indican
que F3 posiblemente esté abierto. Para reemplazar el
fusible, remítase a la figura 17 y siga estos pasos:
1. Apague el calibrador, retire los conductores de
prueba de los terminales y coloque el calibrador de
cara hacia abajo.
2. Utilizando un destornillador de hoja plana, gire los
tornillos de la puerta de la batería 1/4 de vuelta en el
sentido opuesto a las agujas del reloj y retire la
puerta de la batería.
3. Retire y reemplace el fusible dañado.
4. Vuelva a colocar la puerta de la batería y asegúrela
girando los tornillos 1/4 de vuelta en el sentido de las
agujas del reloj.

724
Manual de Uso
36
Batería y
compartimiento
Compartimiento
de fusibles
si38f.eps
Figura 17. Reemplazo de la batería
Mantenimiento
Limpieza del calibrador
W Advertencia
Para evitar lesiones personales o daños al
calibrador, utilice solamente los repuestos
especificados y no permita que entre agua
dentro de la caja.
Precaución
Para evitar dañar la lente de plástico y la
caja, no utilice solventes ni limpiadores
abrasivos.
Limpie el calibrador con un paño suave humedecido con
agua o agua con jabón suave.
Calibración o reparación en el centro de servicio
Los procedimientos de reparación, calibración y servicio
técnico que no se describan en este manual deben ser
realizados sólo por personal técnico cualificado. Si el
calibrador presenta un fallo, en primero compruebe las
baterías y reemplácelas si es necesario.
Compruebe que se esté usando el calibrador de acuerdo
con las instrucciones dadas en este manual. Si el
calibrador no funciona correctamente, envíe una
descripción del fallo con el calibrador. Asegúrese de
embalar el calibrador en forma segura, utilice el embalaje
original, en caso de estar disponible. Envíe el equipo,
con el porte pagado y el seguro adecuado, al centro de

Temperature Calibrator
Mantenimiento
37
servicio más cercano. Fluke no asume ninguna
responsabilidad por daños durante el transporte.
El calibrador de temperatura Fluke 724 Temperature
Calibrator protegido por la garantía será reparado o
reemplazado (a discreción de Fluke) con prontitud y
devuelto a usted sin costo alguno. Consulte la garantía
que aparece al principio de este manual para conocer
sus condiciones. Si la garantía ha caducado, el
calibrador será reparado y devuelto a un costo fijo. Si el
calibrador no está protegido por los términos de la
garantía, comuníquese con un centro de servicio
autorizado para obtener una cotización del valor de la
reparación.
Para localizar un centro de servicio autorizado, refiérase
a la sección “Comunicación con Fluke” al comienzo del
manual.
Repuestos
La tabla 7 lista el número de pieza de cada componente
reemplazable. Consulte la figura.
Tabla 7. Repuestos
Artículo DescripciónNº de
pieza Can.
1Parte superior de la caja 664232 1
2Marco de la pantalla LCD 1548383 1
3Correas elastoméricas 802063 2
4Soporte entrada/salida 1549221 1
5Soporte de la pantalla LCD 667287 1
6Tornillos de montaje 494641 11
7Unidad de retroiluminación690336 1
8Pantalla de cristal líquido
(LCD) 690963 1
9Teclado 1548126 1
10 Base de la caja 664235 1
11 Baterías alcalinas AA 376756 4
12 Tornillos de la caja 832246 4
13 Puerta de la batería664250 1
14 Accesorio de montaje 658424 1
15 Soporte inclinado 659026 1
16 Fiadores de ¼ de vuelta para
la puerta de la batería 948609 2
17 Conductores de prueba de la
serie TL75 855742 1
18 Conductor de prueba, rojo
Conductor de prueba, negro 688051
688066 1
1
19 724 Product Overview
Manual (Manual descriptivo
del producto 724)
1547851 1
20
Pinza de conexión AC72, roja
Pinza de conexión AC72,
negra
1670641
1670652 1
1
21 CD-ROM 1547849 1
22 Calcomanía para la parte
superior de la caja 1548329 1
23 Fusible de 0,05A/250V 2002234 1

724
Manual de Uso
38
1
8
6
6
21
9
19
10
12
13
2
18
20
17
3
4
5
3
7
16
11
14
15
22
23
zi46f.eps
Figura 18. Repuestos

Temperature Calibrator
Especificaciones
39
Especificaciones
Las especificaciones se basan en un ciclo de calibración
de un año y se aplican de +18 °C a +28 °C a menos que
se especifique de otro modo.Todas las especificaciones
suponen un período de calentamiento
de 5 minutos.
Medición de tensión CC
Rango Resolución
Exactitud (% de la
lectura + conteos)
30 V (parte
superior de
la pantalla)
0,001 V 0,02 % + 2
20 V (parte
inferior de
la pantalla)
0,001 V 0,02 % + 2
90 mV 0,01 mV 0,02 % + 2
Coeficiente de temperatura -10 °C a 18 °C, +28 °C a
55 °C: ±0,005 % del rango por °C
Fuente de tensión CC
Rango Resolución
Exactitud
(% de la lectura +
conteos)
100 mV 0,01 mV 0,02 % + 2
10 V 0,001 V 0,02 % + 2
Coeficiente de temperatura -10 °C a 18 °C, +28 °C a
55 °C: ±0,005 % del rango por °C
Carga máxima: 1 mA
Medición de mA CC
Rango Resolución
Exactitud
(% de la lectura +
conteos)
24 mA 0,001 mA 0,02 % + 2
Coeficiente de temperatura -10 °C a 18 °C, +28 °C a
55 °C: ±0,005 % del rango por °C
Capacidad de excitación: 1000 Ω a 20 mA

724
Manual de Uso
40
Medición de ohmios
Exactitud ± Ω
Rango de
ohmios 4 conductores 2 y 3 conductores
0 a 400 Ω0,1 0,15
400 a 1,5 kΩ0,5 1,0
1,5 a 3,2 kΩ11,5
Corriente de excitación: 0,2 mA
Tensión máxima de entrada: 30 V
Coeficiente de temperatura -10 °C a 18 °C, +28 °C a
55 °C: ± 0,005 % del rango por °C
* Bifilar: No incluye la resistencia del conductor.
Trifilar: Supone conductores coincidentes con una
resistencia total no superior a 100 Ω.
Fuente de ohmios
Rango de
ohmios
Corriente de excitación
del instrumento de
medición
Precisión
± Ω
15 a 400 Ω0,15 a 0,5 mA 0,15
15 a 400 Ω0,5 a 2 mA 0,1
400 a 1,5 kΩ0,05 a 0,8 mA 0,5
1,5 a 3,2 kΩ0,05 a 0,4 mA 1
Resolución
15 a 400 Ω0,1 Ω
400 a 3,2 kΩ1 Ω
Coeficiente de temperatura -10 °C a 18 °C, +28 °C a
55 °C: ± 0,005 % del rango de resistencia por °C

Temperature Calibrator
Especificaciones
41
Medición y fuente de milivoltios*
Rango Resolución Precisión
-10 mV a 75 mV 0,01 mV ±(0,025 % + 1 conteo)
Tensión máxima de entrada: 30 V
Coeficiente de temperatura -10 °C a 18 °C, +28 °C a
55 °C: ±0,005 % del rango por °C
*Seleccione esta función pulsando T. La señal está
disponible en la miniclavija del termopar.
Temperatura, termopares
Tipo Rango
Exactitud en los modos
medición y fuente
(ITS-90)
J -200 a 0 °C
0 a 1200 °C
1,0 °C
0,7 °C
K -200 a 0 °C
0 a 1370 °C
1,2 °C
0,8 °C
T -200 a 0 °C
0 a 400 °C
1,2 °C
0,8 °C
E -200 a 0 °C
0 a 950 °C
0,9 °C
0,7 °C
R -20 a 0 °C
0 a 500 °C
500 a 1750 °C
2,5 °C
1,8 °C
1,4 °C
S -20 a 0 °C
0 a 500 °C
500 a 1750 °C
2,5 °C
1,8 °C
1,5 °C
B 600 a 800 °C
800 a 1000 °C
1000 a 1800 °C
2,2 °C
1,8 °C
1,4 °C
L -200 a 0 °C
0 a 900 °C
0,85 °C
0,7 °C
U -200 a 0 °C
0 a 400 °C
1,1 °C
0,75 °C
N -200 a 0 °C
0 a 1300 °C
1,5 °C
0,9 °C
Resolución:
J, K, T, E, L, N, U: 0.1 °C, 0,1 °F
B, R, S: 1 °C, 1 °F

724
Manual de Uso
42
Temperatura, rangos RTD y exactitudes (ITS-90)
Precisión
Tipo Rango °C
Medición con 4
conductores °C
Medición con 2 y 3
conductores* °C Fuente °C
Ni120 -80 a 260 0,2 0,3 0,2
Pt100-385 -200 a 800 0,33 0,5 0,33
Pt100-392 -200 a 630 0,3 0,5 0,3
Pt100-JIS -200 a 630 0,3 0,5 0,3
Pt200-385 -200 a 250
250 a 630
0,2
0,8
0,3
1,6
0,2
0,8
Pt500-385 -200 a 500
500 a 630
0,3
0,4
0,6
0,9
0,3
0,4
Pt1000-385 -200 a 100
100 a 630
0,2
0,2
0,4
0,5
0,2
0,2
Resolución: 0,1 °C, 0,1 °F
Corriente de excitación permisible (fuente): Ni120, Pt100-385, Pt100-392, Pt100-JIS, Pt200-385: 0,15 3,0 mA
Pt500-385: 0,05 a 0,80 mA; Pt1000-385: 0,05 a 0,40 mA
Fuente RTD: Responde a transmisores de pulso y PLC con pulsos tan breves como de 5 más.
* Bifilar: No incluye la resistencia del conductor.
Trifilar: Supone conductores coincidentes con una resistencia total no superior a 100 Ω.

Temperature Calibrator
Especificaciones
43
Alimentación de bucle
Tensión: 24 V
Corriente máxima: 22 mA
Protegido contra cortocircuitos
Especificaciones generales
Temperatura de funcionamiento -10 °C a 55 °C
Temperatura de almacenamiento - 20 °C a 71 °C
Altitud de operación 3000 metros sobre el nivel medio del mar
Humedad relativa (% HR en funcionamiento sin
condensación) 90 % (10 a 30 °C)
75 % (30 a 40 °C)
45 % (40 a 50 °C)
35 % (50 a 55 °C)
no controlada < 10 °C
Vibración Aleatoria 2 g, 5 a 500 Hz
Seguridad EN 61010-1:1993, ANSI/ISA S82.01-1994; CAN/CSA C22.2
No 1010.1:1992
Requisitos de alimentación eléctrica 4 baterías alcalinas AA
Dimensiones 96 x 200 x 47 mm. (3,75 x 7,9 x 1,86 pulgadas)
Peso 650 gm (1 lb, 7 oz)

724
Manual de Uso
44
45
Índice
—A—
Ajuste
0 % del parámetro de salida, 30
100% del parámetro de salida, 30
Ajustes
guardado, 31
recuperación, 31
Alimentación de bucle
suministro, 17
—B—
Batería, reemplazo, 35
—C—
Calibración, 36
—D—
Dispositivo de salida, prueba, 34
—E—
Equipo estándar, 3
Escalonamiento de la salida, 30
Especificaciones, 39
—F—
Fuente
parámetros eléctricos, 26
termopares, 27
Funcionamiento básico, 14
—G—
Guardado de ajustes, 31
—I—
Información sobre seguridad, 3
—L—
Limpieza del calibrador, 36
—M—
Medición
temperatura con RTD, 23
Medir
temperatura con termopares, 20

724
Manual de Uso
46
Modo Measure, 17
—P—
Pantalla, 13
Parámetros eléctricos
fuente, 26
medición, 19
—R—
Rampa automática de la salida, 31
Recuperación de ajustes, 31
Reparación, 36
Repuestos, lista, 37
RTD
medir, 23
simulación, 27
tipos, 23
—S—
Salida
terminales, 8
Servicio, 36
Simulación
RTD, 27
termopares, 27
—T—
Teclas, 10
Temperatura
medición con RTD, 23
medición con termopares, 20
Terminales
entrada, 8
salida, 8
Terminales de entrada, 8
Termopar
medir, 20
medir temperatura, 20
tipos, 20
Termopares
fuente, 27
simulación, 27
Transmisor, calibración, 32
