Fomotech ALPHA3000MODEL Industrial Radio Remote Control User Manual Manual
Fomotech International Corp. Industrial Radio Remote Control Manual
Fomotech >
Exhibit D Users Manual per 2 1033 b3
1
T
TA
AB
BL
LE
E
O
OF
F
C
CO
ON
NT
TE
EN
NT
TS
S
Page
1. INTRODUCTION ....................................................................................................... 2
2. SAFETY INSTRUCTION ............................................................................................. 3
3. TRANSMITTER ILLUSTRATION
3.1 Alpha 3000 External Assembly ......................................................................... 4
3.2 Alpha 3000 Internal Assembly ......................................................................... 5
4. RECEIVER ILLUSTRATION
4.1 External Assembly ............................................................................................... 6
4.2 Alpha 3000 Internal Assembly ......................................................................... 7
5. OUTPUT CONTACT DIAGRAM
Alpha 3000 Output Contact ............................................................................. 8
6. SYSTEM CONFIGURATIONS
6.1 Jumper Settings ................................................................................................... 9
6.2 Security ID Code Settings ..................................................................................... 10
6.3 Pushbutton Contact Settings ................................................................................. 11
6.4 Voltage Settings ..................................................................................................... 11
7. RECEIVER INSTALLATION
7.1 Preparation For Installation ................................................................................... 12
7.2 Step By Step Installation ....................................................................................... 12
7.3 System Testing ....................................................................................................... 13
8. TRANSMITTER OPERATION ................................................................................... 14
9. TROUBLE SHOOTING ............................................................................................... 15
10. SYSTEM SPECIFICATION ......................................................................................... 16
11. PARTS LIST ................................................................................................................. 17

2
1
1.
.
I
IN
NT
TR
RO
OD
DU
UC
CT
TI
IO
ON
N
The Alpha 3000 System is a highly reliable industrial radio remote control system. The
versatile features of the Alpha 3000 system permit its use in many different remote control
applications that required 3-step control. The system can be used to control factory cranes,
multiple hoists, trolleys, mining equipment, building construction equipment, automatic
control systems, and many others.
The Alpha 3000 Radio Remote Control System incorporates numerous redundant safety
circuits that guaranty maximum security and ensure the system is resistant to outside
interference. The major features of the Alpha 3000 system are as follow:
* The system uses advanced microprocessors with highly evolved software that has
redundant error checking and correcting capabilities to ensure 100% error-free
transmission, decoding, and control of all output relays. This highly evolved software
includes CRC (cyclical redundancy check codes) and Hamming Codes (error recovery).
* To insure maximum operating safety, the Alpha 3000 system incorporates numerous
safety features. Some of these built-in safety features include transmitter pushbutton
self-diagnosing, transmitter low-voltage detection and warning, receiver self-diagnosing,
and MAIN deactivation when the system is in sleep mode.
* The transmitter encoder and receiver decoder both utilize advanced microprocessor
control. The availability of 65,536 sets of unique ID codes will ensure that only
commands from the matching control transmitter can be carried out without any
interference from other radio systems.
* For added safety, the system also incorporates special Safety MAIN Relay. If the Safety
MAIN Relay is defective (fails to open or close during operation), it will signal the
system to shut down immediately to avoid the possibility of any accidents occurring.
* Water-resistant transmitter and receiver enclosures.
The Alpha 3000 Radio Remote Control System consists of a water-resistant handheld
transmitter and receiver. The transmitter casing is molded using industrial strength composite
materials which are impervious to dust, water, oil, acids, alkaline, heat and sunlight as well as
being resistant to deformation due to long term use in harsh environments. The industry’s best
3-step pushbuttons are also constructed from industrial strength composite materials with a
minimum of up to one million press cycles. For power savings, the transmitter is designed
with an ultra high efficiency power saving circuit that requires only four “AA” size alkaline
batteries for more than 200 hours of continuos operation between replacements.

3
2
2.
.
S
SA
AF
FE
ET
TY
Y
I
IN
NS
ST
TR
RU
UC
CT
TI
IO
ON
N
The Alpha 3000 system is relatively simple to use, however, it is very important to observe the
proper safety procedures before, during, and after operation. When used properly our Alpha
3000 radio remote controls will enhance safety, productivity and efficiency in the workplace.
The following procedures should be strictly followed:
1. Check the transmitter casing and pushbuttons daily. Should any damage that could
inhibit the proper operation of the transmitter be found the unit should be immediately
removed from service.
2. The transmitter voltage should be checked on a daily basis. If the voltage is low (red
status light blinking, refer to section 8 on page 14), the four “AA” alkaline batteries
should be replaced.
3. The red mushroom type emergency stop button (EMS) should be checked at the
beginning of each shift to ensure it is in proper working order and the Stop command is
being received.
4. In the event of an emergency, depress the emergency stop button (EMS) immediately to
disengage the receiver MAIN and the transmitter power. Then turned the power “off”
from the main power source to the crane or equipment.
5. The transmitter power key switch should be pulled “off” after each use and should never
leave the transmitter in the power “on” position when the unit is unattended.
6. Do not use the same channel and ID code as any other system in use at the same facility
or within 600 feet.
7. Ensure the shoulder strap is worn at all time during operation to avoid accidental damage
to the transmitter.
8. Never operate a crane or equipment with two transmitter units at the same time with the
same channel and ID code.
FCC ID: LZ6ALPHA3000MODEL
This device complies with Part 15 of the FCC Rules. Operation is
subject to the following two conditions; (1) this device may not cause
harmful interference, and (2) this device must accept any interference
receiv ed, including interference that may cause undesired operations.

4
1
2
4
5
6
7
8
9
10
11
12
13
14
15
16
17
3
3
3.
.
T
TR
RA
AN
NS
SM
MI
IT
TT
TE
ER
R
I
IL
LL
LU
US
ST
TR
RA
AT
TI
IO
ON
N
3
3.
.1
1
A
Al
lp
ph
ha
a
3
30
00
00
0
E
Ex
xt
te
er
rn
na
al
l
A
As
ss
se
em
mb
bl
ly
y
(Front Few) (Back View)
1. Transmitter Unit 9. Pushbutton #1 (Up)
2. Status LED Display* 10. Pushbutton #3 (East)
3. Spare Power Key Switch 11. Pushbutton #5 (North)
4. Pushbutton #2 (Down) 12. START/AUX Pushbutton
5. Pushbutton #4 (West) 13. System Information
6. Pushbutton #6 (South) 14. Shoulder Strap Ring
7. Emergency Stop (EMS) 15. FCC/IC Label
8. Power Key Switch 16. Battery Cover
17. Warning Label
* Please refer to page14 for Transmitter Status LED information

5
3
3.
.2
2
A
Al
lp
ph
ha
a
3
30
00
00
0
I
In
nt
te
er
rn
na
al
l
A
As
ss
se
em
mb
bl
ly
y
(Front View) (Back View) (RF Board)
1. Status LED Display 6. Battery Power Connector
2. RF-to-Encoder Board Connector 7. ID Code Dip-switch
3. 3-Speed Pushbuttons 8. Antenna
4. Emergency Stop Button (EMS) 9. Transmitting RF Board
5. Power ON/OFF Micro-Switch 10. Quartz Crystal
5
6
7
1
4
3
8
109
2

6
5
6
2
3
1
4
7
4
4.
.
R
RE
EC
CE
EI
IV
VE
ER
R
I
IL
LL
LU
US
ST
TR
RA
AT
TI
IO
ON
N
4
4.
.1
1
E
Ex
xt
te
er
rn
na
al
l
A
As
ss
se
em
mb
bl
ly
y
1. Antenna mount 4. External Grounding Hole
2. Receiver Enclosure 5. Shock Absorber
3. Key Lock 6. System Information
7. Cable Gland / Cord Grip

7
Z1 ~
1
2
3
8
9
10
11
ID
S1N1 N3
+
S3
N2
+
S2
W1E1
U3
+
D3
U2
+
D2
D1U1 E2
+
W2 E3
+
W3
~
7
12
13
14
15
16
6
5
4
4
4.
.2
2
A
Al
lp
ph
ha
a
3
30
00
00
0
I
In
nt
te
er
rn
na
al
l
A
As
ss
se
em
mb
bl
ly
y
1. Antenna Seat 9. Bottom Relay Board
2. Receiving RF Module 10. Power Transformer
3. Decoder Module 11. Input Voltage Selector Seat
4. Decoder Module Power Display 12. Contact Relay LED Display
5. Receiver Status LED Display* 13. Terminal Block
6. SQ Status LED Display* 14. Power Fuses (1.0A)
7. Power (AC) LED Display 15. AC Power Input
8. Upper Relay Board 16. MAIN Safety Contact Relay
* Please refer to page 15 for Receiver and SQ display information

8
U1 D1 U2
+
D2 U3
+
D3 E1 W1 E2
+
W2 E3
+
W3 N1 S1 N2
+
S2 N3
+
S3
MAIN
Z1
UPPER RELAY BOARD
BOTTOM RELAY BOARD
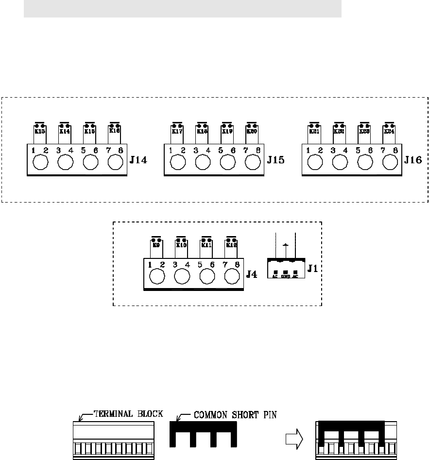
ID
5.
OUTPUT CONTACT DIAGRAM
A
Al
lp
ph
ha
a
3
30
00
00
0
O
Ou
ut
tp
pu
ut
t
C
Co
on
nt
ta
ac
ct
t
Note: Z1 represents START/AUX output contact.
Terminal Block and Common Shorting Pin Assembly
Common shorting pin illustrated above can be used rather than “daisy chaining” wiring
for the common.

9
JUMP
6
6.
.
S
SY
YS
ST
TE
EM
M
C
CO
ON
NF
FI
IG
GU
UR
RA
AT
TI
IO
ON
NS
S
6
6.
.1
1
J
Ju
um
mp
pe
er
r
S
Se
et
tt
ti
in
ng
gs
s
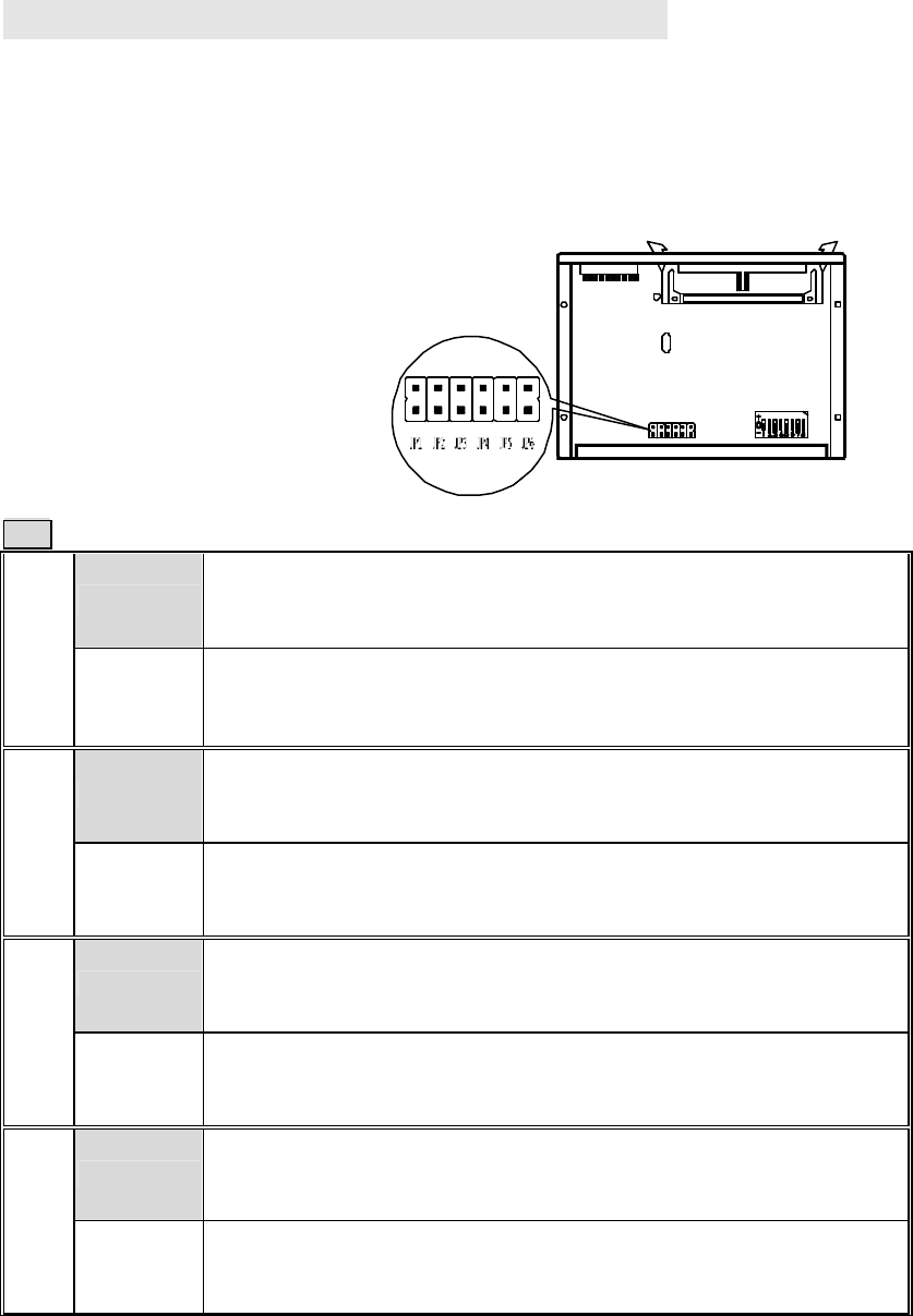
There are numerous functions that can be set via jumpers located inside the decoder module.
Please see the diagram and chart below on how to set these functions.
Manufacture Setting
Open After inserting the transmitter power key switch, or after EMS reset, press
START/AUX pushbutton to activate the receiver MAIN.
JP1
Short
Insert the transmitter power key switch will immediately activates the
receiver MAIN. After EMS reset, re-insert the power key switch to
reactivate the receiver MAIN.
Open After 5 minutes of transmitter non-usage the receiver MAIN
will be deactivated (sleep mode).
JP2
Short Sleep mode deactivated with receiver MAIN stays on constantly.
Open Pushbutton 1 ~ 6 interlocked.
JP3
Short Pushbutton 1 ~ 6 non-interlocked with single speed contact.
Open No acceleration delay from 1st through 3rd speed.
JP4
Short Acceleration delay for up to 1 second from 1st through 3rd speed.
Note: Every time when you change jumper settings you must first turn the receiver power “off” and then turn
it back “on” after setting so that they can be stored in memory.

10
JP1
JP1
Open
Insert the transmitter
power key switch
Press START/AUX
Receiver MAIN
activated or After EMS
reset
Press
START/AUX
Receiver MAIN
activated
JP1
Short
Insert the transmitter
power key switch
Receiver MAIN
activated or After EMS reset Re-insert the transmitter
power key switch Receiver MAIN activated
JP2
JP2
Open After 5 minutes of transmitter non -usage Receiver MAIN deactivated
JP2
Short Receiver MAIN stays “on” constantly until the main power source of the system is turn “off”
JP3
JP3
Open Pushbutton 1 ~ 6 interlocked
JP3
Short Pushbutton 1 ~ 6 non-interlocked with single speed contact
JP4
JP4
Open No acceleration delay from 1st through 3rd speed
JP4
Short
1st speed
depressed
After 1
second
1st speed contact
relay engaged
2nd speed
depressed
After 1
second
2nd
speed contact
relay engaged
3rd speed
depressed
After 1
second
3rd speed contact
relay engaged
6
6.
.2
2
S
Se
ec
cu
ur
ri
it
ty
y
I
ID
D
C
Co
od
de
e
S
Se
et
tt
ti
in
ng
gs
s
The ID code dip-switch is located on the backside of the encoder board (refer to item #7 on
page 5) and on the top of the decoder module (see below).
Example : ID code ? 10001100
Top Location ? “1”
Bottom Location ? “0”

11
ID
DIP SWITCH
6
6.
.3
3
P
Pu
us
sh
hb
bu
ut
tt
to
on
n
C
Co
on
nt
ta
ac
ct
t
S
Se
et
tt
ti
in
ng
gs
s
The START/AUX pushbutton can be set either to normal or latching contact. This function
that can be set via an 8-position dip-switch located inside the decoder module (please refer to
the diagram below). By adjusting the dip setting either to the top or bottom slot will change
the contact form of the pushbutton (please refer to the chart below). Pus hbuttons are
numbered from right-to-left and from top-to-bottom.
Top position ? “1”
Bottom position ? “0”
Alpha 3000
DIP1 ? “0” ? Pushbutton 7 (START/AUX) with normal momentary contact
“1” ? Pushbutton 7 (START/AUX) with toggle / latching contact
66..44 VVoollttaaggee SSeettttiinnggss
There are four different voltage settings available inside the Alpha 3000 receiver enclosure
(bottom relay board), please select one that corresponds to the main power source of the crane
or equipment.
Input Voltage Range Accepted:
1) AC 110V ? From AC 100V ~ AC 120V
2) AC 220V ? From AC 220V ~ AC 240V
3) AC 380V ? From AC 380V ~ AC 400V
4) AC 415V ? From AC 415V ~ AC 440V

12
7
7.
.
R
RE
EC
CE
EI
IV
VE
ER
R
I
IN
NS
ST
TA
AL
LL
LA
AT
TI
IO
ON
N
7
7.
.1
1
P
Pr
re
ep
pa
ar
ra
at
ti
io
on
n
F
Fo
or
r
I
In
ns
st
ta
al
ll
la
at
ti
io
on
n
1. Required Tools:
(1) Flat Head Screwdriver (-)
(2) Phillips Head Screwdriver (+)
(3) Multi-Meter
(4) Open End Wrench
(5) Power Drill with 10.5mm ~ 11mm Drill-Bit
2. Check to ensure that your receiver is not set to the same channel and ID code as any
other systems in operation at the same facility within 600 feet.
3. Prior to installation, make sure that the crane or equipment itself is working
properly.
4. Use a multi-meter to check the voltage source available and ensure that the receiver
voltage setting matches your power source.
5. Prior to installation, switch “off” the main power source to the crane or equipment.
7
7.
.2
2
S
St
te
ep
p
B
By
y
S
St
te
ep
p
I
In
ns
st
ta
al
ll
la
at
ti
io
on
n
1. The location selected should have the antenna visible from all areas where the
transmitter is to be used.
2. The location selected should not be exposed to high levels of electrical noise.
3. Ensure the selected location has adequate space to accommodate the receiver
enclosure.
4. Make sure the receiver unit is in upright position (vertical).
5. The distance between the antenna and the control panel should be as far apart as
possible.
6. Drill two holes on the control panel (10.5mm). Refer to diagrams next page.
7. Tightened the bolt nuts provided.
8. Ensure AC ground is connected to the power input terminal block, otherwise chassis
ground should be connect to the chassis ground connection hole on the receiver
enclosure (refer to item #4 on page 6).
9. For system wiring, please refer to the output contact diagram on page 8.
10. Ensure all wiring is correct and safely secured and all screws are fastened.

13
7
7.
.3
3
S
Sy
ys
st
te
em
m
T
Te
es
st
ti
in
ng
g
1. Connect the power source to the receiver and test the MAIN relay output (EMS
button) and observe that it properly opens and closes the main line.
2. Test the operation of each function to ensure it corresponds to the transmitter
direction labels and/or the pendant it is replacing.
3. Test the limit switches on the crane and verify that they are working properly.
4. If your new remote control is replacing an existing pendant make sure it is
completely disconnected to prevent unwanted control commands.
5. If your new remote control is replacing an existing pendant make sure the
pushbutton is stored in a safe location where it will not interfere with remote
operation.

14
UD
8.
.
T
TR
RA
AN
NS
SM
MI
IT
TT
TE
ER
R
O
OP
PE
ER
RA
AT
TI
IO
ON
N
1. Batteries _ Make sure the four “AA” alkaline batteries are installed correctly, the labels
on the battery holder will tell you which side is “up” and which side is “down”. Use
2000mA alkaline type batteries for optimum operating time between replacements.
2. Start Up _ Insert the power key switch located on the top right hand side of the
transmitter unit (refer to diagram below). The Status LED on the face of the transmitter
will display a green light (type -1 below) for up to 2 seconds when the power key switch is
inserted. Do make sure the red EMS pushbutton is in elevated position when the
transmitter power key is inserted, by pulling it upward. Then depress the START/AUX
pushbutton to activate the receiver MAIN (depending on JP1 setting on page 9). When
the pushbuttons are depressed, the transmitter status LED will display a blinking green
light (type-2 below) telling you that the command signals are being transmitted to the
receiver. After 5 minutes of transmitter non-usage (pushbuttons not depressed), the
receiver MAIN will be automatically deactivated (depending on JP2 setting on page 9).
To resume work, just depress the START/AUX pushbuttons.
3. Status Light Display (refer to item #2 on page 4).
TYPE LED DISPLAY INDICATION
1 Green “on” ? 2.0 seconds System power “on”
2 Green “on” ? 0.1 second
“off” ? 2.0 seconds Pushbutton depressed with signal transmitted
3 Red “on” ? 0.1 second
“off” ? 2.0 seconds Transmitter low -voltage warning
4 2 fast red blinks followed
by 2 seconds “off” Pushbutton contact jammed or locked
5 Red “on” ? 0.5 second
“off” ? 0.5 second Emergency Stop Button activated (depressed)
4. EMS & Restarting _ In case of an emergency, depressing the Red EMS pushbutton will
immediately deactivates the receiver MAIN contact relay. When EMS is activated, the
Status LED will display a red blinking lights that is “on” ? 0.5 second and “off” ? 0.5
second (refer to the chart above). To reactivate the system, just pull up the EMS
pushbutton and depress START/AUX (depending on JP1 setting on page 9).
5. Interlocking Pushbuttons _ The top three sets of motions (the first 6 pushbuttons) are
interlocked to its self so no conflicting commands can take place for safety purpose. For
example, depressing the hoist “UP” and “DOWN” pushbutton simultaneously will result
in no command being sent.

15
9
9.
.
T
TR
RO
OU
UB
BL
LE
E
S
SH
HO
OO
OT
TI
IN
NG
G
Should the operator find the equipment not operating normally, please check the chart below
for simple trouble shooting tips.
PROBLEM POSSIBLE REASON SOLUTION
Transmitter does not
communicate to
receiver.
Transmitter and the receiver are
not on the same RF channel
(SQ not lit) or ID code.
Ensure the correct transmitter is in
use. The labels on the receiver and
the transmitter will identify the RF
channel and ID code in use.
Transmitter does not
communicate to
receiver.
Low or no transmitting power
from the transmitter unit.
Turn on the transmitter and with
EMS elevated. If the status LED
shows blinking red lights or no
lights, then turn the power off and
replace the four batteries.
No power to the
receiver. Blown fuse or no input power
connection.
Ensure power input to the receiver
unit is correct. If power indicator
(AC) is not lit, please check the
receiver for any open fuse.
Outputs do not
operate correctly. Receiver configuration and output
wiring is not set properly.
Please refer to section 5 and 6 to
ensure receiver is correctly wired
and configured for your application.
Receiver Status LED Display
(refer to item #5 on page 7)
TYPE
LED INDICATION PROBLEM AND SOLUTION
1 3 fast blinks followed by
OFF ? 2.0 seconds Defective MAIN contact relay.
2 2 fast blinks followed by
OFF ? 2.0 seconds Incorrect ID code setting.
3 ON ? 0.1 second
OFF ? 2.0 seconds Decoder on standby.
4 ON ? 0.1 second
OFF ? 0.1 second Transmitted signal decoded.
SQ Status LED Display
(refer to item #6 on page 7)
TYPE
LED INDICATION PROBLEM AND SOLUTION
1 ON ? 0.1 second
OFF ? 0.1 second Transmitted signal received by the receiver.
2 Blinking when pushbuttons are
not depressed. Other radio interference.

16
1
10
0.
.
S
SY
YS
ST
TE
EM
M
S
SP
PE
EC
CI
IF
FI
IC
CA
AT
TI
IO
ON
N
Transmitter Unit
Frequency Range : 301MHz
Transmitting Range : 150 feet
Hamming Distance : ?6
Channel Spacing : 25KHz
Frequency Control : Quartz Crystals
Frequency Drift : < 5ppm @-4? ~ 158?
Frequency Deviation : < 1ppm @ 77?
Spurious Emission : -50dB
Transmitting Power : 0.1mW
Emission : F1D
Antenna Impedance : 50 ohms
Enclosure : IP -66
Source Voltage : DC 6.0V
Current Drain : 8mA @ 6V
Operating Temp. : -4? ~ 158?
Dimension : 23cm x 7.8cm x 4.7cm
Weight (include batteries) : 21oz
Receiver Unit
Frequency Range : 301MHz
Modulation : Narrow Band FM
Frequency Control : Quartz Crystals
Frequency Drift : < 5ppm @ -4? ~ 158?
Frequency Deviation : < 1ppm @ 77?
Sensitivity : -118dBm
Antenna Impedance : 50ohms
Data Decoder Reference : Quartz Crystals
Responding Time : 64~100mS
Enclosure : IP -66
Standard Source Voltage : AC 120V/220V/380V/415V @ 50/60 Hz.
Power Consumption : 11VA
Operating Temp. : -4? ~ 158?
Output Contact Rating : 250V @ 10A
Dimension : 42.5cm x 24.5cm x 13cm
Weight (include antenna) : 17.68lb

17
1
11
1.
.
P
PA
AR
RT
TS
S
L
LI
IS
ST
T
1. Transmitting RF Board TX-2005
2. Encoder Board EN-3000
3. Receiving RF Module RX-3000
4. Decoder Module DE-3000
5. Upper Rely Board RY-3000
6. Bottom Relay Board RY-3001
7. Transmitter Casing TC-3000
8. Receiver Enclosure RC-3000
9. Receiver Antenna (301MHz) ANT-301
10. Transformer (AC-110V/220V/380V/415V) SSB-1726
(AC-115V/208V/230V/460V) SSB-2213
11. 1-Step Pushbutton (Optional) PB-3001
2-Step Pushbutton (Optional) PB-3002
3-Step Pushbutton (Standard) PB-3003
12. Emergency Stop Button EMS-3000
13. Emergency Stop Red Cap RD-3000
14. Pushbutton Rubber Boot RB-3000
15. Pushbutton Compass Label DL-3000
16. Transmitter Power Key + Strap TK-3000
17. Receiver Panel Key RK-3000
18. Transmitter Battery Holder BH-3000
19. Transmitter Battery Cover BC-3000
20. Terminal Block TB-3000
21. Common Shorting Pin SP-3000
22. Cable Gland / Cord Grip CG-3000
23. Shock Absorber SA-3000
24. Transmitter Shoulder Strap SS-3000
25. Protective Vinyl Covering PC-3000