Fujitsu Isotec 020M33335A Dot Matrix Printer User Manual
Fujitsu Isotec Limited Dot Matrix Printer
User Manual

FUJITSU DL7600Pro 
DOT MATRIX PRINTER 
USER'S MANUAL 

READ THE ENTIRE MANUAL CAREFULLY BEFORE USING THIS PRODUCT. 
INCORRECT USE OF THE PRODUCT MAY RESULT IN INJURY OR DAMAGE TO 
USERS, BYSTANDERS OR PROPERTY. 
While FUJITSU ISOTEC has sought to ensure the accuracy of all information in this manual, 
FUJITSU ISOTEC assumes no liability to any party for any damage caused by any error or 
omission contained in this manual, its updates or supplements, whether such errors or omissions 
result from negligence, accident, or any other cause. In addition, FUJITSU ISOTEC assumes no 
liability with respect to the application or use of any product or system in accordance with 
descriptions or instructions contained herein; including any liability for incidental or 
consequential damages arising therefrom. FUJITSU ISOTEC DISCLAIMS ALL WARRANTIES 
REGARDING THE INFORMATION CONTAINED HEREIN, WHETHER EXPRESSED, 
IMPLIED, OR STATUTORY. 
FUJITSU ISOTEC reserves the right to make changes to any products described herein without 
further notice and without obligation. 
This Product is designed, developed and manufactured as contemplated for general use, including 
without limitation, general office use, personal use, household use, and ordinary industrial use, 
but is not designed, developed and manufactured as contemplated for use accompanying fatal 
risks or dangers that, unless extremely high safety is secured, could lead directly to death, 
personal injury, sever physical damage or other loss(hereinafter “High Safety Required Use”), 
including without limitation, nuclear control in nuclear facility, aircraft flight control, air traffic 
control, mass transport control, medical life support system, missile launch control in weapon 
system. You shall not use this  Product without securing the sufficient safety required for the High 
Safety Required Use. If you wish to use this Product for  High Safety Required Use, please 
consult with our sales representatives in charge before such use. 
This manual contains technology which is subject to the Foreign Exchange and Foreign Trade 
Law of Japan. This manual should not be exported or transferred to foreign countries in any from 
or method, or released to anyone other than the residents of Japan prior obtaining applicable 
license from your local government or authorities and/ or the Ministry of Economy, Trade and 
Industry of Japan in accordance with the above law.  
IMPORTANT NOTE TO USERS
Using This Product in High-risk Situations
EXPORT CONTROL 

User's Manual  i 
 Following notes for United States are valid for 
100-120V model only. 
Federal Communications Commission 
Radio Frequency Interference Statement  
for United States Users 
NOTE: This equipment has been tested and found to comply with the 
limits for a Class B digital device, pursuant to Part 15B of the FCC Rules. 
These limits are designed to provide reasonable protection against 
harmful interference in a residential installation. This equipment 
generates, uses, and can radiate radio frequency energy and, if not 
installed and used in accordance with the instructions, may cause harmful 
interference to radio communications. However, there is no guarantee 
that interference will not occur in a particular installation. If this 
equipment does cause harmful interference to radio or television 
reception, which can be determined by turning the equipment off and on, 
the user is encouraged to try to correct the interference by one or more of 
the following measure: 
 Reorient or relocate the receiving antenna. 
 Increase the separation between the equipment and receiver. 
 Connect the equipment into an outlet on a circuit different from that 
to which the receiver is connected. 
 Consult the dealer or an experienced radio/TV technician for help. 
FCC warning: Changes or modifications not expressly approved by the 
party responsible for compliance could void the user’s authority to 
operate the equipment. 
NOTES 
1.  Testing of this equipment was performed on model number 
M33335A. 
2.  The use of an unshielded a non-shielded interface cable with the 
referenced device is prohibited. The length of the parallel interface 
cable must be 3 meters (10 feet) or less. The length of the optional 
serial interface cable must be 15 meters (50 feet) or less.  
3.  The length of the power cord must be 3 meters (10 feet) or less. 

ii  User's Manual 
The contents of this manual may be revised without prior notice and 
without obligation to incorporate changes and improvements into units 
already shipped. 
Every effort has been made to ensure that the information included here 
is complete and accurate at the time of publication; however, Fujitsu 
Isotec Limited cannot be held responsible for errors and omissions. 
Printer model specifications differ with the power supply input voltage 
(M33335A; 100-120 V or M33335B; 220-240 V). 
KA02087-Y890-01EN DECEMBER 2015 
Copyright © 2015 FUJITSU ISOTEC LIMITED 
Printed in Japan. All rights reserved. No part of this manual may be 
reproduced or translated, stored in a database or retrieval system, or 
transmitted, in any form or by any means, electronic, mechanical, 
photocopying, recording, or otherwise, without the prior written 
permission of Fujitsu Isotec Limited. 
FUJITSU is a registered trademark and Fujitsu Creative Faces is a 
trademark of Fujitsu Limited. Centronics is a trademark of Centronics 
Data Computer Corporation. IBM PC and IBM Proprinter XL24E are 
trademarks of International Business Machines Corporation. ESC/P2 is a 
trademark of Seiko Epson Corporation. Microsoft is a registered 
trademark and MS-DOS and Windows are trademarks of Microsoft 
Corporation. Nimbus Sans is a registered trademark of URW 
Unternehmensberatung Karow Rubow Weber GmbH, Hamburg. 
Other product names mentioned in this manual may also be trademarks 
of their respective companies. 
TRADEMARK 
ACKNOWLEDGEMENT 

User's Manual  iii 
ABOUT THIS MANUAL 
Thank you for buying the Fujitsu DL7600Pro dot matrix printer. You can 
expect years of reliable service with very little maintenance. This manual 
explains how to use your printer to full advantage. It is written for both 
new and experienced printer users. 
This manual describes how to install, set up, and use your printer and 
printer options. It also explains how to keep the printer in good working 
condition and what to do should something go wrong. Detailed 
procedures are provided for first-time users. Experienced users can skip 
some of the details, using the table of contents and chapter introductions 
to locate information. 
This manual has several appendixes, a glossary, and an index. Appendix 
A lists supplies and additional documentation and information available 
from your dealer or authorized Fujitsu representative. Fujitsu offices are 
listed at the end of the manual. 
This manual covers model DL7600Pro, a 136-column printer. Each 
model has a 100-120 (M33335A) V or 220-240 (M33335B) V power 
supply. 
A LAN card, a user add-on option, can be installed only on printer 
models with the Centronics parallel + USB  interfaces. You must specify 
these when purchasing the printer. 
Other options include a cut sheet feeder can be added by yourself after 
purchasing the printer. 
DL7600Pro 
Basic specifications 
Print line at 10 cpi:  136 columns (DL7600Pro) 
Control Panel: LED type 
                        LCD type 
Interface:  Centronics parallel + RS-232C 
  Centronics parallel + USB + LAN (LAN user option) 
Alternative specification 
Power supply:   100-120 V (M33335A) 
  220-240 V (M33335B) 
User add-on option 
LAN card 
Cut sheet feeder 
Tractor unit 
Sound proof cover  
Large Stacker  
Small paper table 
cpi: characters per inch 
PRINTER MODELS 
AND OPTIONS 

iv  User's Manual 
This manual is organized as follows: 
Quick Reference summarizes everyday printer operations. After you 
become familiar with the printer, use this section as a memory aid. 
Chapter 1, Introduction, introduces the printer and identifies key 
features and options that enhance the printer’s capabilities. 
Chapter 2, Setting Up, gives step-by-step procedures for setting up the 
printer for immediate use and identifies the main parts of the printer. If 
this is your first printer, you should read the entire chapter before 
attempting to use the printer. 
Chapter 3, Paper Handling, explains how to load and use paper with 
your printer. 
Chapter 4, Printing, covers basic printing operations. This chapter 
describes everyday operations from the printer’s control panel, such as 
loading paper and selecting print features, in detail. After you become 
more familiar with the printer, use Quick Reference at the beginning of 
the manual to refresh your memory as needed. 
Chapter 5, Using Setup Mode, describes how to change the printer’s 
optional settings, such as print features, hardware options, and top-of-
form. Most settings only affect print features such as the typestyle and 
page format. Note that certain settings directly affect hardware and 
software compatibility. Refer to this chapter as indicated in Chapter 2 or 
as required. 
Chapter 6, Maintenance, explains basic maintenance procedures for 
this printer. 
Chapter 7, Trouble-Shooting, describes problem-solving techniques. 
Before you contact your dealer for help, check the list of problems and 
solutions provided in this chapter. 
Chapter 8, Installing Options, describes the options available for the 
printer and explains how to install them. 
At the end of this manual, you will find several appendixes, a glossary, 
and an index. Appendix A gives order numbers for printer supplies, 
options, and publications. Other appendixes provide additional technical 
information about the printer. 
ORGANIZATION 

User's Manual  v 
Special information, such as warnings, cautions, and notes, are indicated 
as follows: 
WARNING 
A WARNING indicates that personal injury may result if you do not 
follow a procedure correctly. 
CAUTION 
A CAUTION indicates that damage to the printer may result if you do not 
follow a procedure correctly. 
NOTE 
A NOTE provides “how-to” tips or suggestions to help you perform 
a procedure correctly. NOTEs are particularly useful for first-time 
users. 
For Experienced Users: 
If you are familiar with this printer or with dot matrix printers in general, 
this information will help you use the manual effectively. 
CONVENTIONS 

viii  User's Manual 
 Warning symbols 
Various graphic symbols are used in this manual.  They serve as signs to help users of this product use 
the product safely and correctly as well as prevent damage and personal injury to the users or bystanders.  
The following tables show and explain each symbol.  Be sure that you understand the meaning of each 
symbol before reading the manual. 
  WARNING    CAUTION 
A WARNING indicates that death or serious 
personal injury may result if you do not follow a 
procedure correctly. 
A CAUTION indicates that personal injury or 
property damage may result if you do not follow a 
procedure correctly. 
Examples and explanations of graphic symbols 
 Indicates a warning or caution item.  By itself, the image in this 
symbol suggests the meaning of the warning or caution (the example 
on the left is a caution of possible electric shock). 
 Indicates a prohibited action.  The image in or beside this symbol 
expresses the prohibited action (the example on the left indicates that 
disassembly is prohibited). 
 Indicates a direction that must be observed.  The image in this 
symbol shows the direction (the example on the left shows the 
direction in which a power plug is disconnected from an outlet). 
Caution: Hot 
This symbol and accompanying statement indicate a risk of injury from 
a hot object. 
Caution: Flammable 
This symbol and accompanying statement indicate a risk of fire. 
Do not touch 
This symbol and accompanying statement indicate a risk of injury from 
touching part of the equipment. 
Do not disassemble 
This symbol and accompanying statement indicate a risk of injury, 
such as from electric shock, caused by disassembling the equipment. 
General prohibited 
action 
This symbol and accompanying statement indicate a general prohibited 
action. 
General caution 
This symbol and accompanying statement indicate a general caution. 

User's Manual    ix 
Notes on Safety 
 WARNING 
   WARNING  
Do not place a container containing water, such as a vase, potted plant, and drinking glass, 
or a metal object on or near the printer. 
Otherwise, electric shock or fire may result. 
Do not place the printer in a humid or dusty area, in an area with explosive fumes, an area 
with poor ventilation or close to a fire. 
Otherwise, electric shock or fire may result. 
Use only one of the power cords included with this product, for this product.  Do not use 
any other power cord for this product. 
Otherwise, electric shock or fire may result. 
Do not use this product in an area exposed to a high level of moisture, such as a bathroom 
and shower room. 
Otherwise, electric shock or fire may result. 

x  User's Manual 
  WARNING  
When mounting or removing an optional device or component, turn off the power to the 
printer and personal computer and disconnect their power plugs from the outlets before 
performing the work. 
Otherwise, electric shock may result. 
Connect only Fujitsu-recommended optional devices and components. 
Otherwise, electric shock, fire, or failure may result. 
  CAUTION  
Do not block openings in the printer (e.g., ventilation openings). 
If ventilation openings are blocked, heat accumulates inside the printer, possibly resulting 
in a fire. 
Do not place a heavy object on the printer.  Also, do not subject the printer to shocks. 
Otherwise, the printer may become unbalanced, causing it to fall, and possibly resulting in 
personal injury. 
Do not place the printer in an area exposed to strong vibration or an unstable area such as 
on a slope. 
Otherwise, the printer may fall or topple, possibly resulting in personal injury. 
Do not leave the printer in an area exposed to direct sunlight for a long time, such as inside 
a car under the sun or any other area subjected to high temperatures. 
Otherwise, the printer surface heats up, possibly melting covers or resulting in other 
deformities, or the inside of the printer may become extremely hot, possibly resulting in 
fire. 
Before moving the printer, be sure to disconnect the power plug from the outlet and 
disconnect all connected cables from the printer. 
Otherwise, the power cord may be damaged, possibly resulting in electric shock or fire, or 
the printer may fall or topple, possibly resulting in personal injury. 
Before connecting or disconnecting a printer cable, be sure to turn off the power to the 
printer and personal computer. 
Performing that and related work without the power turned off may result in a personal 
computer or printer failure. 

User's Manual    xi 
  Notes about the printer in operation 
   WARNING  
If the printer is making a strange noise, which indicates a problem, discontinue printer 
operation.  Request your printer dealer to fix the problem. 
Continued operation of the printer without repairs may result in electric shock or fire. 
Do not use a power source whose voltage is other than that indicated.  Also, an excessive 
number of plugged-in power cords must not be connected to a single outlet. 
Otherwise, electric shock or fire may result. 
Do not spill any liquid, such as water, on the printer. 
Otherwise, electric shock or fire may result. 
Do not damage or modify the power cord. 
The power cord may be damaged by placing a heavy object on it, stretching it excessively, 
forcibly bending it, twisting it, or heating it, and this may result in electric shock or fire. 
Do not use the power cord if it or the power plug is damaged or the plug does not fit 
securely in the outlet receptacle. 
Using the power cord in that condition may result in electric shock or fire. 
Do not insert the power cord into an outlet or turn on the power to the printer when any of 
its covers has been removed. 
Otherwise, electric shock or fire may result. 
Prevent foreign objects, such as metal shards and inflammable materials, from being 
inserted or dropped into any openings in the printer (e.g., ventilation openings). 
Otherwise, electric shock or fire may result. 
Do not disconnect the power plug from the outlet while the power to the printer is turned 
on. 
Otherwise, the plug becomes deformed, possibly resulting in fire. 
Do not remove the main printer cover or the cover for the cable connectors except as 
necessary.  To check and repair internal components, request your printer dealer to do so. 
Some internal components use high voltage, and touching them may result in electric 
shock. 
Do not modify the printer by yourself. 
Otherwise, electric shock or fire may result. 
Do not connect or disconnect the power plug with wet hands. 
Otherwise, electric shock may result. 

xii  User's Manual 
  WARNING  
If excessive heat, smoke, a strange odor, or a strange noise is coming the printer or any 
other abnormality is observed, immediately turn off the power to the printer by using the 
power switch, and be sure to disconnect the power plug from the outlet. 
Then, after verifying the end of the abnormality (e.g., no more smoke is coming from the 
printer), request your printer dealer to make repairs.  Do not repair the printer by yourself 
as doing so is dangerous. 
Continued use of the printer when it is operating abnormally may result in electric shock or 
fire. 
If a foreign object (e.g., water or other liquid, metal shard) has entered the printer, 
immediately turn off the power to the printer by using the power switch, and disconnect the 
power plug from the outlet.  Then, contact your printer dealer. 
Continued use of the printer in that condition may result in electric shock or fire.  
Customers who use the printer near children should take especial care regarding this point. 
If the printer is dropped or a cover is damaged, turn off the power to the printer by using 
the power switch, and disconnect the power plug from the outlet.  Then, contact your 
printer dealer. 
Continued use of printer in that condition may result in electric shock or fire. 
Before performing cleaning, maintenance, or troubleshooting work on the printer, switch 
off the power switch, and be sure to disconnect the power plug from the outlet. 
Performing that work on the printer without the power turned off may result in burns or 
electric shock. 
If dust accumulates on or near the metal parts of the power plug, so wipe away that dust 
with a dry cloth. 
Continued use of printer in that condition may result in fire. 
Do not drop or strike the printer, such as by hitting it against something. 
Otherwise, a failure may result. 

User's Manual    xiii 
  CAUTION  
Insert the power plug completely into an outlet so that it is securely connected. 
Otherwise, electric shock or fire may result. 
Exercise caution to keep loose clothing, hair, neckties, etc. away from paper feed- or 
ejection openings, and tractors while the printer is operating. 
Otherwise, personal injury may result. 
When disconnecting the power plug from the outlet, pull it out while grasping the plug, not 
the cord. 
If you pull it out while grasping the cord, the insulation may be damaged or the cable core 
may be exposed or damaged, possibly resulting in electric shock or fire. 
Do not cover or wrap the printer with a cloth or anything else while it is operating. 
Otherwise, heat accumulates, possibly resulting in fire. 
Do not use the power cord with it bunched together. 
Otherwise, heat accumulates, possibly resulting in fire. 
If the printer operates when the front cover is unclosed, immediately turn the printer off, 
and unplug the power code from wall outlet.  
Then contact your printer dealer to make repair of safety interlock. 
Continued use of the printer in that condition, operation of the mechanism inside of the 
front cover may become a cause of an injury.  
If the printer is not to be used for a long time, disconnect the power plug from the outlet 
for safety reasons. 
Otherwise, electric shock or fire may result. 
If a lightning storm is in nearby, disconnect the power plug from the outlet. 
Leaving the plug connected to the outlet may result in damage to the printer or other 
property damage. 
The print head and internal frames become extremely hot during printer operation and 
remain so immediately afterwards.  Do not touch these parts until sufficient time has 
passed to allow them to cool. 
Otherwise, burns or personal injury may result. 

xiv  User's Manual 
  CAUTION  
Do not touch the paper feed- or ejection openings  while the printer is operating. 
Otherwise, personal injury may be result. 
Do not touch the printer cable connectors or the metal part of the print head. 
Otherwise, personal injury or a printer failure may result. 
Do not touch the print head while it is moving. 
Otherwise, burns or personal injury may result. 
Note that continuous forms that are fed in the reverse direction continuously may come off 
the paper feed tractors. 
Operate the printer with the paper thickness set to the appropriate paper thickness. 
Use only an original ribbon cassette that is specified as suitable by Fujitsu. 
Textile fibers accumulate on components inside the printer and parts of the roller, so clean 
these parts regularly. 
Do not turn the ribbon feed knob in the reverse direction. 
Otherwise, the ribbon may become jammed and stuck. 
If printing is started with a slack ribbon, the ribbon may become tangled or the ribbon feed 
mechanism may become locked. 
The print head is extremely hot immediately after printing.  When replacing the ribbon, 
verify that the print head is sufficiently cool before setting the print head to the ribbon 
replacement position. 

User's Manual    xv 
TABLE OF CONTENTS 
QUICK REFERENCE .........................................................1 
CHAPTER 1 INTRODUCTION ....................................................................... 1-1 
FEATURES ................................................................... 1-1 
MODELS ....................................................................... 1-3 
OPTIONS ...................................................................... 1-3 
CHAPTER 2 SETTING UP............................................................................. 2-1 
SELECTING A GOOD LOCATION ................................. 2-1 
UNPACKING THE PRINTER ......................................... 2-2 
Checking Options and Supplies ................................. 2-4 
ASSEMBLING THE PRINTER ....................................... 2-5 
Handling the paper table ........................................... 2-5 
Installing the Ribbon cartridge ................................... 2-7 
Mounting and removing the tractor unit .....................2-12 
GETTING ACQUAINTED WITH YOUR PRINTER .........2-15 
CONNECTING THE POWER CORD ............................2-18 
TESTING THE PRINTER (OFFLINE) ............................2-19 
Loading Paper for the Self-Test ................................2-19 
Printing the Self-Test ................................................2-19 
CONNECTING THE PRINTER TO YOUR 
COMPUTER .................................................................2-22 
Selecting a Parallel Interface Cable ..........................2-22 
Selecting a Serial Interface Cable.............................2-22 
Selecting a USB Cable .............................................2-23 
Selecting a LAN cable ..............................................2-23 
Connecting the Interface Cable ................................2-23 
SELECTING AN EMULATION ......................................2-24 
PRINTING A SAMPLE PAGE (ONLINE) .......................2-27 
INSTALLING THE PRINTER DRIVER...........................2-29 
CHAPTER 3 PAPER HANDLING .................................................................. 3-1 
SELECTING PAPER...................................................... 3-1 
OVERVIEW OF PAPER OPERATIONS ......................... 3-2 
SELECTING PAPER PATH ........................................... 3-5 
Paper Paths and Feed Directions .............................. 3-5 
ADJUSTING FOR PAPER THICKNESS (LED) .............. 3-9 
ADJUSTING FOR PAPER THICKNESS (LCD) .............3-10 
USING CONTINUOUS FORMS ....................................3-11 
Positioning the Paper Stack .....................................3-11 
Loading Continuous Forms (Front Feed) ..................3-12 
Loading Continuous Forms (Rear Feed) ...................3-15 
Unloading Continuous Forms ...................................3-17 
Tearing Off Continuous Forms .................................3-17 
USING SINGLE SHEETS .............................................3-19 
Loading a Paper From The Paper Table. ..................3-19 
Loading Paper from the Cut Sheet Feeder ...............3-22 
(Option)....................................................................3-22 
Ejecting Single Sheets .............................................3-24 

xvi  User's Manual 
FEEDING AND POSITIONING PAPER ......................... 3-25 
Line Feed/Form Feed .............................................. 3-25 
Micro Feed............................................................... 3-25 
Load Position Adjust ................................................ 3-25 
TIPS ON PAPER HANDLING ....................................... 3-27 
General Tips ............................................................ 3-27 
Multipart Forms ........................................................ 3-27 
Envelopes ................................................................ 3-27 
Labels ...................................................................... 3-27 
CHAPTER 4 PRINTING ................................................................................. 4-1 
MULTIPART FORMS (HI IMPACT MODE) ..................... 4-1 
PRINT MODE(HI SPEED MODE/QUIET MODE) ............ 4-2 
STARTING OR STOPPING PRINTING ........................... 4-3 
Starting Printing ......................................................... 4-3 
Stopping Printing ....................................................... 4-3 
Resuming from a Paper-Out ...................................... 4-3 
Printing the remaining lines on a page ........................ 4-3 
Continuing printing after supplying paper.................... 4-4 
REMOVING PRINTED PAGES ....................................... 4-5 
Removing Single Sheets ............................................ 4-5 
Removing Continuous Forms ..................................... 4-5 
CLEARING THE PRINT BUFFER ................................... 4-5 
SELECTING PRINT FEATURES .................................... 4-6 
Using Commercial Software ....................................... 4-6 
Using the Control Panel ............................................. 4-7 
Selecting MENU1 or MENU2 ..................................... 4-8 
Using the Control Panel (LCD type only) .................... 4-9 
CHAPTER 5 USING SETUP MODE .............................................................. 5-1 
HOW TO USE THIS CHAPTER ...................................... 5-1 
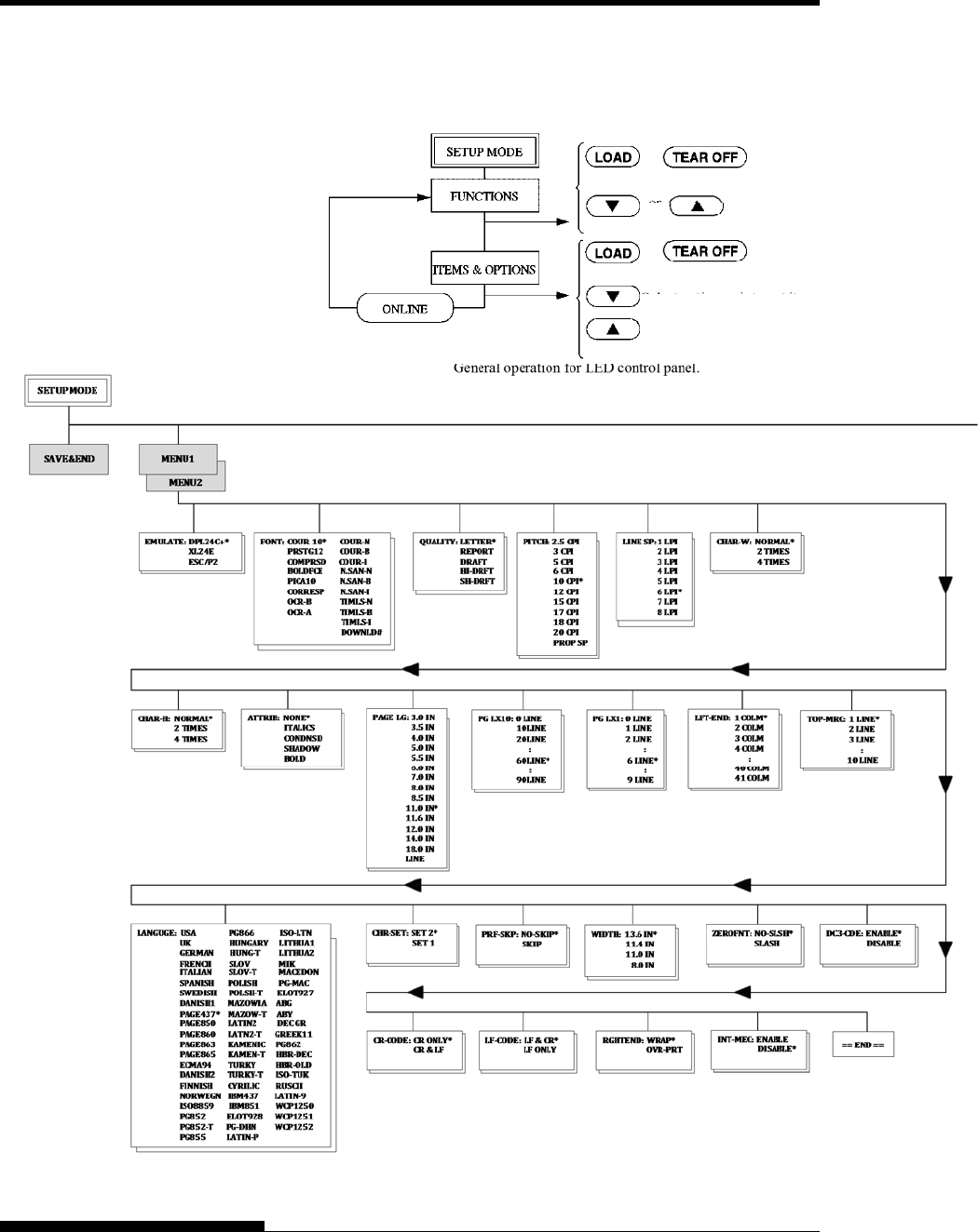
ENTERING SETUP MODE(LED) .................................... 5-2 
OVERVIEW OF SETUP MODE (LED) ............................ 5-4 
Setup Mode Example (LED) ....................................... 5-5 
Points to Remember .................................................. 5-7 
PRINTING A LIST OF SELECTED OPTIONS(LED) ........ 5-7 
ENTERING SETUP MODE(LCD) .................................. 5-10 
Setup Mode Example (LCD) .................................... 5-11 
OVERVIEW OF SETUP MODE (LCD) .......................... 5-12 
PRINTING A LIST OF SELECTED OPTIONS(LCD) ...... 5-12 
DECIDING WHICH OPTIONS TO CHANGE ................. 5-13 
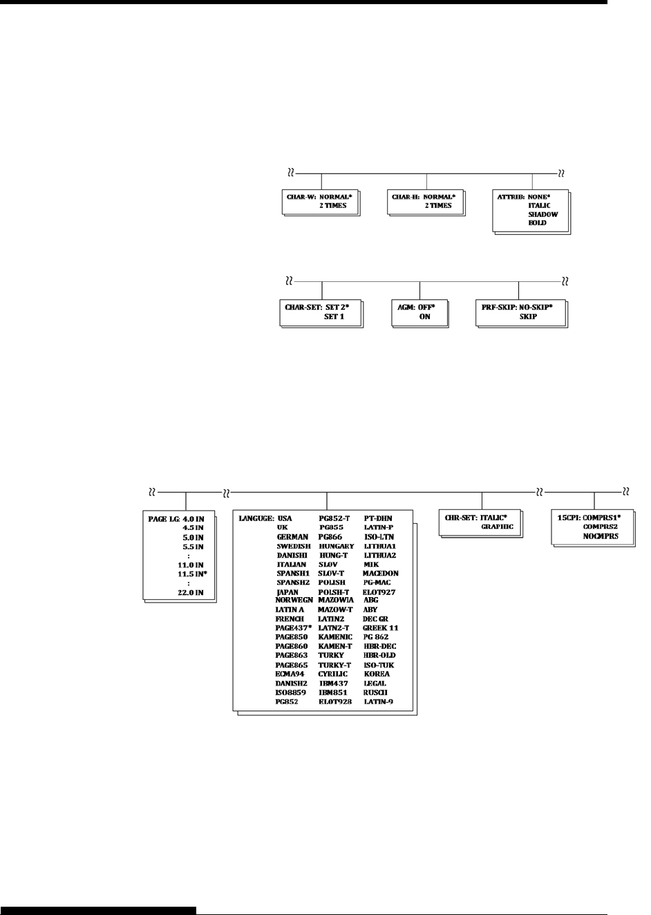
MENU1 AND MENU2 ITEMS AND OPTIONS ............... 5-15 
Resetting MENU1 and MENU2 ................................ 5-30 
CHANGING HARDWARE OPTIONS ............................ 5-30 
CHANGING PRINT POSITION ADJUSTMENT 
OPTIONS ..................................................................... 5-36 
CHANGING CONFIGURATION OPTIONS ................... 5-45 
HEAD GAP ADJUSTMENT ITEMS AND OPTIONS ...... 5-58 
EXITING AND SAVING................................................. 5-59 
Procedure (for LED type) ......................................... 5-59 
Procedure (for LCD type) ......................................... 5-59 
RESETTING DEFAULTS .............................................. 5-60 
Resetting Power-On Defaults ................................... 5-60 

User's Manual    xvii 
Resetting Factory Defaults .......................................5-60 
Resetting Factory Defaults in MENU1 and MENU2 ..5-60 
Procedure (for LED type) .........................................5-60 
Procedure (for LCD type) .........................................5-61 
USING THE DIAGNOSTIC FUNCTIONS ......................5-62 
Printing the Self-Test ................................................5-62 
Procedure ................................................................5-62 
Printing Hex Dumps .................................................5-64 
Procedure ................................................................5-64 
Checking Vertical Print Alignment (V-ALMNT) ..........5-66 
Procedure ................................................................5-66 
SETUP MODE REFERENCE ........................................5-69 
DPL24C PLUS ORGANIZATION .............................5-70 
 ................................................................................5-72 
Differences in IBM Proprinter XL24E Emulation ........5-73 
Differences in Epson ESC/P2 Emulation ..................5-73 
ONLINE SETUP MODE ................................................5-74 
CHAPTER 6 MAINTENANCE ........................................................................ 6-1 
CLEANING .................................................................... 6-1 
Cleaning and Vacuuming the Printer ......................... 6-1 
Cleaning the Platen ................................................... 6-2 
REPLACING THE RIBBON ............................................ 6-3 
OPENING AND CLOSING THE CONTROL PANEL ....... 6-8 
REMOVING THE STACKER UNIT ................................. 6-8 
MOUNTING THE STACKER UNIT ................................. 6-9 
CHAPTER 7 TROUBLE-SHOOTING ............................................................ 7-1 
SOLVING PROBLEMS .................................................. 7-1 
Print Quality Problems............................................... 7-1 
Paper Handling Problems ......................................... 7-5 
Operating Problems .................................................. 7-7 
Printer Failures.......................................................... 7-8 
Alarm display function(LED) ...................................... 7-9 
Alarm display function(LCD) .....................................7-10 
Responses to alarm occurrences .............................7-11 
DIAGNOSTIC FUNCTIONS ..........................................7-11 
GETTING HELP ...........................................................7-12 
CHAPTER 8 INSTALLING OPTIONS ........................................................... 8-1 
INSTALLING THE LAN card .......................................... 8-1 
INSTALLING THE CUT SHEET FEEDER ...................... 8-3 
Installing on the front side of the printer ..................... 8-3 
Installing on the rear side of the printer ...................... 8-6 
Removing the Cut Sheet Feeder ............................... 8-9 
INSTALLING THE TRACTOR UNIT ..............................8-10 
INSTALLING THE LARGE STACKER ...........................8-11 
INSTALLING THE SMALL PAPER TABLE ....................8-13 
INSTALLING THE SOUND PROOF COVER .................8-15 
APPENDIX A SUPPLIES AND OPTIONS....................................................... A-1 
SUPPLIES ..................................................................... A-1 

xviii  User's Manual 
OPTIONS ...................................................................... A-1 
APPENDIX B PRINTER AND PAPER SPECIFICATIONS .............................  B-1 
PHYSICAL SPECIFICATIONS .......................................  B-1 
FUNCTIONAL SPECIFICATIONS .................................. B-3 
PERFORMANCE SPECIFICATIONS .............................  B-6 
PAPER SPECIFICATIONS ............................................ B-8 
Paper Thickness ..................................................... B-10 
APPENDIX C COMMAND SETS .................................................................... C-1 
FUJITSU DPL24C PLUS ............................................... C-2 
Bar Code Printing Control ....................................... C-14 
IBM PROPRINTER XL24E EMULATION ..................... C-22 
EPSON ESC/P2 EMULATION ..................................... C-28 
APPENDIX D INTERFACE INFORMATION ................................................... D-1 
PARALLEL INTERFACE ................................................ D-1 
Compatible Mode ...................................................... D-2 
Nibble Mode ............................................................. D-4 
Data Transmission Timing......................................... D-6 
SERIAL INTERFACE ..................................................... D-7 
Serial  Options ........................................................... D-8 
Cable  Wiring ............................................................. D-8 
Serial Protocols....................................................... D-10 
USB INTERFACE ........................................................ D-11 
Cable ...................................................................... D-11 
Specification ........................................................... D-11 
LAN INTERFACE ........................................................ D-12 
APPENDIX E CHARACTER SETS ................................................................. E-1 
CHARACTER SETS 1 AND 2 
(DPL24C PLUS AND IBM XL24E EMULATION)  ........... E-1 
ITALIC AND GRAPHICS CHARACTER SETS 
(ESC/P2 EMULATION) .................................................. E-2 
NATIONAL CHARACTER SETS  
(ALLEMULATIONS) ....................................................... E-4 
NATIONAL CHARACTER SETS  
(DPL24C PLUS AND IBM XL24E EMULATION) . ........ E-15 
NATIONAL CHARACTER SETS  
(ESC/P2 EMULATION) ................................................ E-17 
NATIONAL CHARACTER SETS AND SUPPORTED 
RESIDENT FONTS (ALL EMULATIONS)...................... E20 
APPENDIX F RESIDENT FONTS .................................................................... F1 
INDEX     ................................................................................................ IN-1 
FUJITSU OFFICES ....................................................................................................................... 1 

User's Manual  QR-1 
Q
QUICK REFERENCE 
QUICK REFERENCE 
Quick Reference is written for experienced users — 
users who are familiar with how the printer works, 
but who may need to refresh their memory 
occasionally. Only the printer’s normal (non-setup) 
mode is covered. For details on setup mode, see Chapter 5. 
Normal mode operation includes everyday operations, such as paper 
handling and font selection. The printer comes up in normal mode when 
turned on.  
LED type Control panel 
 LCD type Control panel 
The table on the next page lists normal mode operations with online and 
offline conditions and gives the required user response. 
Operations are listed by functions. 

QUICK REFERENCE 
QR-2  User's Manual 
Printer Operations (Normal Mode) 
:  Operation can be performed when the printer is in this state. 
— :  Operation cannot be performed when the printer is in this state. 
N/A: Does not apply. 
Operation Online Offline Required Response 
Enter normal mode  N/A  N/A  Turn printer on.  (Press I on the power switch.) 
If STANDBY lamp lights, Press any buttons. 
Place printer offlin
e
(Stop printing) 
 —  Press ONLINE.
So that ONLINE lamp is off. 
Place printer onlin
e
(Start printing)  —   Press ONLINE.
So that ONLINE lamp lights. 
Load paper    Press LOAD. 
Line feed (forward)    Press LF/FF within three seconds. 
Unload paper to park position 
(both front and rear-fed 
continuous forms) 
  Press LOAD. 
Form feed (forward)    Press and hold LF/FF until the operation starts. 
Eject single sheets    Press and hold LF/FF until the operation starts. 
Tear off forms 
(continuous forms only) 
  Press TEAR OFF.  Tear off forms, then press 
any button to retract forms. 
Micro feed (backward)    Press MICRO . 
Micro feed (forward)    Press MICRO . 
Select a direction from which cut 
sheet is ejected. 
 —  Press FRONT DIR. 
When FRONT DIR lamp lights, cut sheet is 
ejected to the front side.  
When FRONT DIR lamp is off, cut sheet is 
ejected to the rear side. 
Select a print mode   Press PRINT MODE. 
Set/reset high impact mode    Press HI IMPACT. 
Select a paper input source    Press PAPER PATH. 

QUICK REFERENCE 
User's Manual  QR-3 
Printer Operations (Normal Mode) (Cont.) 
:  Operation can be performed when the printer is in this state. 
— :  Operation cannot be performed when the printer is in this state. 
N/A: Does not apply. 
Operation Online Offline Required Response 
Select auto adjusting for paper 
thickness. 
  (LED type)
Press AUTO GAP 2 second or more. 
So that AUTO GAP lamp lights 
(LCD type) 
Press GAP ADJUST. 
So that LCD display “AUTO” 
Adjust for paper thickness 
manually 
  (LED type)
Press AUTO GAP 2 second or more. 
So that AUTO GAP lamp is off. 
Then manual gap dial become effective. 
(LCD type) 
Press GAP ADJUST repeatedly. 
So that LCD display   
“GAP-1~GAP9,GAP-A~GAP-D 
Save adjusted load positions    Press ONLINE and LOAD. 
Select MENU1 or MENU2  —   Press PAPER PATH and HI IMPACT. 
Clear print buffer  —   (LED type)
Press FRONT DIR and AUTO GAP. 
(LCD type) 
 Press HI IMPACT and PRINT MODE. 
Reset power-on defaults    Turn printer off, then on. 
Start/stop/resume printing    Start:  Send print command. 
Stop/resume:  Press ONLINE. 
Resume printing after paper  —   Press ONLINE. 
Enter setup mode  —   (LED type)
Press SET UP . 
(LCD type) 
Press SET UP.  
Enter font/pitch/quality 
Setting mode 
 —  (LCD type only)
Press FONT/PITCH. 
Exit to normal mode 
Self-test printing 
  Start: Turn printer off.  Press LF/FF while 
turning printer on. 
Pause/resume:  Press LOAD. 
Exit:  Press ONLINE. 

User's Manual  1-1 
1 
CHAPTER 1  INTRODUCTION 
INTRODUCTION 
Congratulations on purchasing this printer. This 
printer is a compact, versatile, flat paper path 
printer that offers maximum compatibility with 
today’s software packages and personal computers. 
The 24-wire print head provides crisp, clear printing for business, office, 
and home environments. This printer is also easy to install and use. 
DL7600Pro dot matrix printer (136 columns) 
Key printer features, models and options are listed in the next two 
sections. 
 Software compatibility. This printer, which operates primarily with 
the Fujitsu DPL24C PLUS command set, is compatible with the 
IBM Proprinter XL24E command set and the Epson ESC/P2 
command set. 
 Various character sets. As basic character sets, IBM PC character 
sets 1 and 2 are available for the Fujitsu DPL24C PLUS command 
set and the IBM Proprinter XL24E emulation, and the italic 
character set and graphics character sets 1 and 2 are available for the 
Epson ESC/P2 emulation. As national character sets, a total of 56 or 
58 national character sets (depending on the emulation), including 
IBM PS/2 character sets, are available. 
 Multiple fonts. The printer has nineteen resident fonts:  Ten bit-map 
fonts — Courier 10, Pica 10, Prestige Elite 12, Boldface PS, OCR-B 
10, OCR-A 10, Correspondence, Compressed, Draft, and High-
speed Draft and nine outline fonts — Timeless, Nimbus Sans, and 
Courier, each in upright, italic, and bold. 
 High-speed printing. At 10 cpi, print speed ranges from 180 cps for 
letter quality to 800 cps for Super high draft quality. 
FEATURES 

INTRODUCTION 
1-2  User's Manual 
 Large print buffer. 128K bytes are available in total for storing 
input data and downloading fonts. A large input data buffer allows 
you to send files to the printer and return to work in your application. 
A large download buffer allows you to use custom fonts. 
 136-column print line. 136-column printers print in landscape mode 
using legal- or standard-size computer forms. 
 Simple switching of paper types. The ability to “park” continuous 
forms makes it easy to switch between continuous forms and single 
sheets from the control panel. This switching is possible even for an 
optional cut sheet feeder and second tractor. 
 Dual tractor feeding capability. The tractor unit is removable and 
can be converted to front-feed or rear-feed. 
 Multi-path of paper.  The printer has multiple paths to feed paper : 
For the continuous form front and rear tractor(second tractor is 
option), For cut sheet loading paper table (front), front csf(option), 
rear csf(option).Also for cut sheet ejecting front and rear is 
selectable(front eject paper require removing for next paper loading) 
 Tear off function. Available at both the front and the rear of the 
printer. TEAR OFF  button on the control panel is used. 
 High copy capability 
 Up to nine sheets for front/rear continuous forms and cut sheets 
fed from front paper table. 
 Up to five sheets for CSF fed 
 Auto paper thickness control. Features as standard equipment. 
 Auto interface selection.  The printer automatically selects the 
interface proper to the occasion. 
 Paper skew detection. The printer detects a skew of paper that is 
manually fed from the paper table and automatically ejects it without 
printing. 
 Area-over print prevention. The printer senses and memorizes the 
left and right edges of paper when loading the paper. If receiving 
data beyond either edge, the printer ignores it to prevent breakage of 
wires of print head. 
 Left Margin adjustment. The printer senses and memorizes the left 
and right edges of paper when loading the paper. Printer adjusts the 
left margin according to paper left edge. This function allows you 
inaccurate paper setting. Would you use set-up mode to select this 
function. 
 Maintenance-free. The printer only requires periodic cleaning and 
changing of the ribbon cartridge. 

INTRODUCTION 
User's Manual  1-3 
 Power Supply type;  100-120 V input (M33335A) 
   220-240 V input (M33335B) 
 Interface type;  Centronics parallel + USB interfaces 
   Centronics parallel + RS232C serial interface 
 Control panel type; LED type. 
     LCD  type. 
Printer add-on options are listed below. For details, see Chapter 8. 
 Cut sheet feeder. The SF940 single-bin feeder is available as an 
option. Two cut sheet feeders can be installed in front of and behind 
the printer at the same time. A cut sheet feeder allows single cut 
sheets and multiple-part cut sheets to be fed automatically. 
 Tractor unit. A second tractor unit may be bought as an additional 
option if dual tractor feeding capability is required. 
 LAN card. A LAN card is available as a printer add-on option. A 
user installable function, the LAN card can be installed only on 
printer models with the Centronics parallel + USB interfaces. For 
details, see Chapter 8. 
OPTIONS of DL7600Pro dot matrix printer 
 Small paper table. It is used in printing a short cut sheet.  
MODELS 
OPTIONS 
SF940 single-bin feeder (front). 
SF940 single-bin feeder (rear). 
Tractor unit (rear) 
Slot for LAN card is available.
(Centronics parallel + USB interfaces MODEL) 
Replacing stacker with large stacker is required 
when SF940 is installed in rear side. 

INTRODUCTION 
1-4  User's Manual 
 Large stacker. The large stacker accommodates sheets output from 
the rear.  It is used in continuous printing with a cut sheet feeder. 
 Sound proof cover. The acoustic noise is reduced.  
OPTIONS of DL7600Pro dot matrix printer 
Large stacker 
Sound proof cover 
Small paper table 

User's Manual  2-1 
2 
CHAPTER 2  SETTING UP 
SETTING UP 
Your new printer is easy to install and set up.  
This chapter tells you how to set up the printer 
and start printing right away. If this is your first 
printer, you should read the entire chapter before 
attempting to use the printer. 
In this chapter, you will learn how to: 
  Unpack, assemble, and select a good location for the printer 
  Identify the printer’s major parts 
  Connect the power and interface cables 
  Test the printer before connecting it to your computer 
  Install the printer driver 
  Select an emulation and print a sample page using your software 
If you have a problem while setting up the printer, review the section 
Solving Problems in Chapter 7. If the problem persists, contact your 
dealer. 
This printer is suitable for most business, office, and home environments. 
To obtain peak performance from the printer, select a location that meets 
the following guidelines: 
  Place the printer on a sturdy, level surface. 
  Place the printer near a well-grounded AC power outlet. 
  Ensure easy access to the front and rear of the printer by leaving 
several inches of space around the printer. Do not block the air 
vents on the front, left, and right sides of the printer. 
  Do not place the printer in direct sunlight or near heaters. 
  Make sure that the room is well-ventilated and free from 
excessive dust. 
  Do not expose the printer to extremes of temperature and 
humidity. 
SELECTING A GOOD 
LOCATION 

SETTING UP 
2-2  User's Manual 
  Use only the power cord supplied with the printer or 
recommended by your dealer. Do not use an extension cord. 
  Do not plug the printer into a power outlet that is shared with 
heavy industrial equipment, such as motors, or appliances, or 
such as copiers or coffee makers. Such equipment often emits 
electrical noise or causes power degradation. 
Unpack the printer as follows: 
1.  Open the carton and remove the printer and its components. 
Make sure that you have all of the items shown below. Note that 
the power cord supplied depends on the printer model (100-120 
V or 220-240 V power supply). 
Checking items received 
UNPACKING THE 
PRINTER 
Printer
Power cord  Ribbon cassette 
CD-ROM 
Quick Guide 

SETTING UP 
User's Manual  2-3 
2.  Carefully examine each item for damage. Report any problems 
to your dealer or shipping agent. 
3.  Place the printer where you plan to use it. 
4.  Remove the tapes and cushions securing the printer. Open the 
front cover and remove the shipping restraint cardboard that 
holds the print head carriage in place (shown below). 
Removing the shipping restraint cardboard  
5.  Store the original shipping carton and packaging materials for 
future use. For example, the original packaging is ideal for use 
when you move or ship your printer to another location. 
NOTE 
The interface cable is not included with the printer. You must 
purchase it separately. Connection of the interface cable is described 
later in this chapter. 

SETTING UP 
2-4  User's Manual 
Checking Options and Supplies 
The following options and supplies, if ordered, are shipped separately: 
  LAN card (option) 
  Cut sheet feeder (option) 
  Tractor unit (option) 
  Small Paper Table (option) 
  Large Stacker (option) 
  Sound proof cover (option) 
  Extra monochrome ribbon cartridges 
Make sure that you received all the options you ordered. Installation of 
options is described in Chapter 8. 
Once you are sure you have everything, you are ready to assemble the 
printer. 

SETTING UP 
User's Manual  2-5 
This section explains how to handle the paper table, change the tractor 
unit position and install the ribbon cartridge. 
Handling the paper table 
You must open or close the paper table when you operate the front 
tractor.  
1  Open the paper table. 
Slightly raise the front end of the paper table (1), then pull (2) and 
lift the table (3). 
ASSEMBLING THE 
PRINTER 
(1)(2)
(3)

SETTING UP 
2-6  User's Manual 
2 
Close the paper table. 
Lower the paper table as shown in the figure below (1), then push 
(2) and close (3) the cover. 
The complete setup conditions are shown below.  Make sure that the top 
end of the paper table is engaged with the printer guide pin and the guide 
pin on the paper table is inserted into the cover groove. 
NOTE 
Do not apply unreasonable force while you are handling the paper 
table.  It could cause damage.  Also, do not leave the paper table in 
incomplete setting.  Running the printer with the paper table left in 
incomplete conditions could cause a paper jam.  
Cover groove.  Paper table guide pin 
Guide pin (metal stud) 
(3)
(2)
(1)

SETTING UP 
User's Manual  2-7 
Installing the Ribbon cartridge 
(HOT) 
CAUTION <HOT> 
The print head and metal frame is hot during 
printing or immediately after printing.  Do not touch 
them until it cools down. 
1.  Prepare the printer to install the ribbon cartridge. 
Make sure that the print head protecting cardboard used for 
transportation has been removed, then turn on the printer power with 
the top cover closed.  Ensure that the print head moves and stops at 
the ribbon replacement position.  
NOTE 
If you turn on the printer power with the top cover open, the 
print head does not move.  Turn the printer power with the 
top cover closed. 
2.  Turn off the printer power. 
Make sure that the power switch is set to the “” side. 
3. Open the front cover of the printer. Slide the print head carriage so 
that its center is at the position for replacing the ribbon cartridge 
(indicated by the triangle marking on the front of the upper cover). 
4. Open the control panel for easy installation of ribbon cassette. 
Preparing the printer to install the ribbon cartridge 
Power Switch 
Control panel 

SETTING UP 
2-8  User's Manual 
5.  Remove the ribbon guide (green part) from the ribbon cassette.        
Don’t turn the ribbon feed knob before installation. 
Preparing the ribbon cassette 

SETTING UP 
User's Manual  2-9 
5. Put the green ribbon guide into the space in front of print head. And 
then place the mounting pins (both side of ribbon cassette) on the 
slot of the printer cover. And then push the ribbon cassette so that 
the ribbon cassette is installed vertically. 
Installing the ribbon cassette 
Mounting pi
n
Mounting pin 
Ribbon guide 
Print head  Space Slot 
Slot 
Push the ribbon cassette until it 
clicks. 

SETTING UP 
2-10  User's Manual 
7.  Attach the green ribbon guide on the print head. 
       Please make sure that the ribbon slack lightly. (If the ribbon is 
strained, it will quirk when installation.)Push the green ribbon guide 
until the triangle mark ” ”meets the round projection of print head. 
8.  Turn the ribbon feed knob clockwise to take up any slack in the 
ribbon.  
9. Return the control panel. 
10.  Close the front cover. 
NOTE 
A Fujitsu ribbon cassette is recommended. Don’t use other cassettes.  
If other cassettes are used, operating problems or a damage of the 
print head may be caused. 
Triangle mark 
Projections  
Print Head 
Ribbon Guide 
Knob 

SETTING UP 
User's Manual  2-11 
Selecting the Tractor Unit Position 
NOTE 
This printer uses a detachable tractor that can be used on either the 
front or back of the printer.  You can attach the tractor to either the 
front or back of the printer according to your installation or 
operating conditions.  The printer is delivered to you with the tractor 
attached to the front.  You can detach it from the front and then 
attach it to the back if needed. 
See “SELECTING PAPER PATH” in Chapter 3. 

SETTING UP 
2-12  User's Manual 
Mounting and removing the tractor unit 
Tractor unit at the front 
[Removing the tractor unit] 
Raise the paper table.  While pressing the lock levers of the tractor 
frames located on both sides of the tractor unit, lift out the tractor 
unit to remove it. 
[Mounting the tractor unit] 
1)  Position the U-shaped slots on both sides of the tractor unit over the 
guide pins of the printer unit.  (To set the tractor unit in position, line 
it up with the groove of the left guide pin.  The right guide pin has 
no groove). 
2)  Push down the shaft at the front of the tractor unit until it locks with 
an audible click.  (Do not press the lock levers when pushing down 
the shaft.) 
Lock lever 
Lock lever 
Paper table 
Guide pin 
U-shaped slot
U-shaped slot
Guide pin 

SETTING UP 
User's Manual  2-13 
3)  Verify that the hooks on both sides of the tractor unit are securely 
hooked onto guide pin 2 as shown in the following figure. 
Tractor unit at the rear  
[Removing the tractor unit] 
While pressing the lock levers of the tractor frames located on both 
sides of the tractor unit, lift out the tractor unit to remove it. 

SETTING UP 
2-14  User's Manual 
[Mounting the tractor unit] 
1)  Position the U-shaped slots on both sides of the tractor unit over 
the guide pins of the printer unit.  (To set the tractor unit in 
position, line it up with the groove of the left guide pin.  The 
right guide pin has no groove). 
2)  Push down the shaft at the front of the tractor unit until it locks 
with an audible click.  (Do not press the lock levers when 
pushing down the shaft.) 
3)  Verify that the hooks on both sides of the tractor unit are 
securely hooked onto guide pin 2 as shown in the following 
figure. 

SETTING UP 
User's Manual  2-15 
Now that your printer is assembled, take a moment to become familiar 
with its major parts. 
Looking at the printer from the front left side and rear right side, you can 
see the parts of the printer shown in the figure below. 
Printer components (front) 
The printer control panel has the buttons and indicators used to load and 
feed paper (see Chapter 3) and select print features (see Chapter 4). The 
control panel also allows you to change the printer’s optional settings 
(see Chapter 5). 
GETTING 
ACQUAINTED WITH 
YOUR PRINTER 
Paper table 
Tractor unit 
Front cover 
Ribbon cassette  Control Panel 
Power Switch 
Front CSF connector 
Print Head 
Card Guid
e
(Aluminum print guide) 

SETTING UP 
2-16  User's Manual 
Printer components (rear) 
Tractor unit (option). 
Power Connector 
Rear stacker
Rear CSF connector 
INF connector 

SETTING UP 
User's Manual  2-17 
The explanation of Symbols on the printer 
• Power Switch 
Turns the printer power ON (Printable Condition)/ OFF (Unprintable 
Condition). 
 Print head 
The print head become extremely hot during printer operation and 
remain so immediately afterwards.  Do not touch these parts until 
sufficient time has passed to allow them to cool. 
Otherwise, burns or personal injury may result. 
ON 
OFF 

SETTING UP 
2-18  User's Manual 
Before you plug in the printer: 
  Make sure that the printer power is switched off. The side 
marked “” on the power switch should be depressed. 
  Make sure that the power outlet is properly grounded. 
  Make sure that you use the power cord shipped with the printer. 
To plug in the power cord: 
1.  Plug one end of the power cord into the power connector on the 
rear of the printer. 
2.  Plug the other end of the power cord into the power outlet. 
Connecting the power cord 
3.  Make sure that the power cord is securely connected. 
4.  Turn on the power by pressing the side marked “I” on the power 
switch. The POWER indicator on the printer control panel will 
light, the print head will move to its home position within a few 
seconds, and the ONLINE indicator will light (green). 
NOTE 
If no forms are loaded, the printer beeps and the PAPER OUT 
indicator lights and the ONLINE indicator will not light. 
CONNECTING THE 
POWER CORD 
Power connector 
Power cord 
Power outlet 

SETTING UP 
User's Manual  2-19 
At this point, load paper and run the printer self-test. The self-test checks 
printer performance and print quality before you connect the printer to 
the computer.  
Loading Paper for the Self-Test 
To print the self-test, load continuous form wider than 254 mm (10 
inches) and set the left tractor so that the left end of continuous form  
may suit “0-10mm” of a scale (see Chapter 3). 
Printing the Self-Test 
The printer has a built-in self-test program. The self-test prints the 
firmware version, the names of the printer’s resident emulations, and all 
of the characters available in the emulations. The self-test prints 80 
characters per line. 
To print a self-test page, make sure that continuous forms are loaded. 
Then proceed as follows: 
1.  Turn the printer off. 
2.  While pressing the LF/FF button, turn the printer back on. 
Keep the LF/FF button pressed until the printer beeps.  
Self-test printing will start.   
Starting the self-test 
3.  Allow printing to continue for a dozen or more lines of repeat 
printing. To exit the self-test mode, press the ONLINE button. 
To remove the test page refer to Chapter 3. 
TESTING THE 
PRINTER (OFFLINE) 

SETTING UP 
2-20  User's Manual 
4.  Examine the self-test page. It should look like the sample on the 
below. 
Check that printing is uniform and that there are no light, dark, 
or smudged areas. If the print quality is good, go to step 5. 
Otherwise, try to correct the problem as follows: 
  Make sure that the ribbon is installed correctly.  
  Load a new sheet of paper. 
  Repeat the self-test procedure. 
Sample self-test page 
5.  To exit the self-test mode, press the ONLINE button. The 
printer will return online. 
NOTE 
The printer can also print a special “demo pattern” that illustrates 
some of the printer’s capabilities. To print the demo pattern: 
1.  Load continuous forms (wider than 254 mm (10 inches)). 
2.  Turn the printer off . 
3.  While pressing the PRINT MODE button, turn the printer back 
on.   
The printer will start printing the demo pattern. 
4.  The demo pattern stops printing after one page. To pause or 
restart the demo during printing of a page, press the ONLINE 
button. 
5.  To exit demo mode, turn the printer off. 
XXXXX-XXXX(XXX) XXXXX 
X.XX 
X.XX 
X.XX 

SETTING UP 
User's Manual  2-21 
Demo pattern 

SETTING UP 
2-22  User's Manual 
Your printer supports one of the following interface options: 
  Centronics parallel interface+RS-232C serial interface 
  Centronics parallel interface+USB (+LAN) interface 
The parallel interface connector has wire clips. The serial interface 
connector has tapped holes. Cables for these interfaces are available from 
dealers, cable manufacturers, and other suppliers. 
The LAN card is a user installable option. For details, see Chapter 8.  
For detailed interface specifications, see Appendix D. 
Selecting a Parallel Interface Cable 
For the parallel interface, use a cable that meets the following 
specifications: 
  At the printer end, use a shielded male Centronics connector, 
such as an Amphenol DDK 57FE-30360 or its equivalent. To 
prevent RFI (radio frequency interference), the connector cover 
must be connected to the cable shield. 
  Make sure that the cable length does not exceed 3 meters (10 
feet). 
Selecting a Serial Interface Cable 
For the serial interface, use a cable that meets the following 
specifications: 
  At the printer end, use a 25-pin male connector, such as a 
Cannon DB-25P or its equivalent. 
  To determine the type of connector your computer requires, 
refer to your computer user manual or ask your dealer. 
  The cable length can be up to 15 meters (50 feet). This type of 
length is required in many networking and shared-printer 
configurations. 
CONNECTING THE 
PRINTER TO YOUR 
COMPUTER 

SETTING UP 
User's Manual  2-23 
Selecting a USB Cable 
  When the USB interface is used to connect to the host computer, 
the parallel interface and the serial interface (factory add-on 
option) cannot be connected simultaneously. 
  The USB interface does not guarantee all connections of USB-
supported devices. 
Selecting a LAN cable 
  When the LAN cable is connected, the parallel and USB cables 
cannot be used. 
  The LAN cable, when used in 100BASE-TX environments, 
must conform to category 5 or higher. 
Connecting the Interface Cable 
To connect the interface cable: 
1.  Turn off both the printer and the computer. 
2.  Attach the interface cable to the connector. Do not connect more 
than one interface cable type to the printer at the same time.  
Connecting the interface cable 
RS232C Serial connector 

SETTING UP 
2-24  User's Manual 
NOTE 
The LAN interface is a user add-on option. 
When installing a LAN card, remove the two screws securing the 
cover and remove the cover. Then insert the LAN card and reattach 
the cover with the two screws removed earlier. For details, see 
Chapter 8. 
3.  To secure a parallel interface cable, flip the fastener clips 
located on the printer into the notches on the cable connector. 
To secure a serial interface cable, tighten the screws in the cable 
connector. 
4.  Attach the other end of the interface cable to your computer.  
Gently pull on the cable to verify that it is secure. 
Before printing with your software, verify that the correct emulation 
is selected on your printer. This section describes the available 
emulations and their selection. 
For Experienced Users: 
The printer’s factory default factory setting is the Fujitsu DPL24C PLUS 
emulation. If this emulation is acceptable, you may skip this section. 
An emulation is a set of commands used by your software to 
communicate with the printer. There are different emulations available 
for printers. 
Each emulation has unique features and capabilities. This printer offers 
three resident emulations: 
  Fujitsu DPL24C PLUS (for Fujitsu DL-series printers) 
  IBM Proprinter XL24E 
 Epson ESC/P2 
Resident emulations are stored in the printer’s permanent memory.  
Here are some points to help you determine which emulation to select: 
  Determine which emulations your software supports. (Refer to 
your software documentation.) Since most software programs 
support this printer, try to run a program with the factory default 
emulation first. 
(DPL24C PLUS emulation is the factory default.) Try this 
emulation even if you are not sure of which emulation to choose. 
See Chapter 5 for detailed information about how your printer 
communicates with your software. 
SELECTING AN 
EMULATION 

SETTING UP 
User's Manual  2-25 
  If you are using more than one software package, determine 
which emulation is supported by the software you use most 
frequently. 
Select that emulation. 
  If your software supports more than one emulation, select the 
DPL24C PLUS emulation if possible. This emulation has the 
greatest capabilities. 
  If you want to use an emulation that is not supported by your 
software, contact your software manufacturer or printer dealer 
and ask whether support is available. You may be able to obtain 
a printer driver that is not shipped with the original software 
package. 
To select an emulation, proceed as follows(LED): 
1.  Turn the printer on and load continues forms. 
To print the “OFFLINE SET UP MODE”, load continuous form 
wider than 254 mm (10 inches) and set the left tractor so that the 
left end of continuous form may suit “0-10mm” of a scale (see 
Chapter 3). 
2.  Enter setup mode.(LED)  
Press the ONLINE button to place the printer offline. Then, 
press the SETUP button. 
As the printer enters offline setup mode, it prints the following 
information: 
NOTE 
If LCD type control panel. Please refer to Chapter 5. 
OFF

SETTING UP 
2-26  User's Manual 
Initial printout in setup mode 
Check that the <<FUNCTION>> menu is printed at the bottom 
of the page. 
3.  Select the MENU1 function.(LED) 
Locate the cursor on left edge of the Card guide (aluminum 
print guide). Initially, this cursor should be positioned at SAVE 
& END at the beginning of the <<FUNCTION>> menu. Press 
the LOAD button repeatedly to position the cursor at MENU1, 
as shown below:  
<<FUNCTION>> menu
Function 
 Cursor  Card guide Print head 
<<FUNCTION>> 
SAVE&END  MENU1 
HEX-DUMP  V-ALMNT 
SELF-TEST 

SETTING UP 
User's Manual  2-27 
Press the   MICRO FEED button to select MENU1 and print 
the following <EMULATE> options: 
<EMULATE>      DPL24C+    XL24E    ESC/P2 
The currently selected emulation is indicated by a short 
underline. In the figure shown above, the Fujitsu DPL24C 
PLUS emulation is selected. 
4.  Select an emulation.(LED) 
Press the LOAD button repeatedly to position the cursor at the 
required emulation. Press the   MICRO FEED button to select 
the emulation and print the next MENU1 item. 
5. Exit MENU1.(LED) 
Press the ONLINE button to exit the MENU1 function and 
reprint the <<FUNCTION>> menu. 
6.  Exit setup mode to save the emulation.(LED) 
To exit setup mode and save the new emulation, make sure that 
the cursor is positioned under SAVE & END. Then press the 
 MICRO FEED button. The printer selects SAVE & END 
and then goes online. 
To change other printer settings using the printer setup mode, see 
Chapter 5. 
Once the self-test verifies that the printer is functioning correctly, try 
printing using one of your software packages. This exercise will ensure 
that the printer is correctly connected to your computer. 
If you are using a parallel interface, the printer usually prints the correct 
characters automatically. However, you may need to adjust the page 
layout or various print features using your software or the printer setup 
mode. If you are using a serial interface, the printer may not work at all 
or it may print a lot of “?” characters. In this case, the serial settings on 
the printer do not match those of your computer or your software. Before 
changing any settings, use the procedure described below to try printing 
using the printer’s preselected factory settings. 
Test communication between the printer and computer as follows: 
1.  Load continuous forms. 
2.  Check that the printer is online. If the ONLINE indicator is not 
green, press the ONLINE button. 
3.  Try to print using your word processor, a programming 
language, or other software. 
PRINTING A 
SAMPLE PAGE 
(ONLINE) 

SETTING UP 
2-28  User's Manual 
4.  Use your software printer selection menus or the printer setup 
mode (described in Chapter 5) to make required changes in the 
page layout or other print features. 
If the printer does not print or prints the wrong characters, 
proceed as follows: 
  Make sure that the interface cable is properly connected. 
  Make sure that the printer emulation selected in your 
software is the same as that selected on the printer. 
  If you are using a serial interface, make sure that the printer 
serial interface settings are the same as those on the 
computer. The printer’s factory default settings are 8 data 
bits, no parity, 1 stop bit, 9600 baud, and XON/XOFF 
protocol.  
You can change the serial settings on either the printer or 
your computer. To change the printer settings, see Chapter 
5. To change the computer settings, use the selection menus 
provided by your software or the commands of your 
computer operating system. 
The following example uses the MS-DOS operating 
system: 

SETTING UP 
User's Manual  2-29 
Using MS-DOS to Specify Serial Interface Settings 
For an IBM PC or compatible device, use the following MS-DOS 
MODE commands to set the computer serial settings to match the 
printer factory default  settings: 
MODE COM1:9600,N,8,1,P 
MODE LPT1:=COM1 
To activate these settings whenever you turn the computer on, write the 
MODE commands in your AUTOEXEC.BAT file. Make sure that the 
MODE.COM file is included in your root directory. 
If the printer still doesn’t work, consult your dealer or 
someone experienced in serial interface communications. 
  If an error occurs during printing with Windows, simply 
printing the page again will cause the printed characters to 
be garbled. To avoid this problem, execute reset from the 
control panel or turn off the printer, then print the page 
again. 
You are now finished setting up and testing the printer. To familiarize 
yourself with everyday printer operations, such as loading paper, 
selecting print features, and printing, see Chapters 3 and 4. 
A printer driver is required for using the printer in a Windows 
environment.  Special printer drivers are provided with the DL7600Pro 
printer. 
For information about how to install printer drivers, refer to 
INSTALLGUIDE_(LANG).PDF or Readme.txt of the printer driver to 
be installed. 
-  These printer drivers run with DLP24C+ emulation. Be sure to 
specify DLP24C+ emulation for the printer mode. 
-  The DL7600Pro printer driver is a printer driver for 
monochrome printing. 
The color data printing result may differ from its print preview 
or the monochrome data printing result. 
INSTALLING THE 
PRINTER DRIVER 

User's Manual  3-1 
3 
CHAPTER 3  PAPER HANDLING 
PAPER HANDLING 
This chapter explains how your printer uses paper. 
Topics covered are: 
 Selecting paper 
  Overview of paper operations 
  Selecting the paper path 
  Adjusting for paper thickness 
  Using continuous forms (front-tractor feed and rear-tractor feed) 
  Using single sheets 
  Feeding and positioning paper 
  Switching paper types 
Tips for paper handling are given at the end of this chapter. Check that 
section if you are using multipart forms, envelopes, or labels. 
The printer can handle either single sheets or continuous forms. Single 
sheets, also called cut sheets, include envelopes and non-continuous, 
multipart forms. Continuous forms include labels and multipart forms fed 
into the printer using the forms tractors. 
For best results, use paper that meets the specifications listed below.  
(See Appendix B for detailed specifications.) If you are unsure of the 
suitability of a particular paper, try testing the paper or consult your 
dealer. 
Length  Single sheets: 70 to 420 mm (3 to 16.5 in) 
Continuous forms: 102 mm (4 in) or greater 
Width  Single sheets: 55 to 420 mm (2.16 to 16.5 in) 
Continuous forms: 102 to 420 mm (4 to 16.5 in) 
Thickness  0.65 mm (0.026 in) maximum total thickness. 
Copies  1 to 9-copies (Paper table/Front/Rear tractor) 
1 to 5-copies (Cut sheet feeder) 
Note: 
To use cut sheets exceeding 297 mm in length, the optional large 
stacker are required. 
SELECTING PAPER 

PAPER HANDLING 
3-2  User's Manual 
The following buttons are used in paper handling: 
  LF/FF, TEAR OFF, PAPER PATH,   MICRO FEED, 
 MICRO FEED and LOAD buttons on the control panel 
(Different functions are enabled when each button is pressed in 
conjunction with the ONLINE button.) 
The following figure shows the location of each button: 
LED type Control panel 
 LCD type Control panel 
Location of the buttons  
Table 3.1 summarizes the use of buttons in paper handling. More detailed 
information is provided later in this chapter. 
NOTE 
To load or feed paper, the printer must be: 
  Online but not receiving or printing data 
  Offline but not in setup mode 
To micro feed paper, the printer must be: 
  Online but not receiving or printing data 
  Offline but not in setup mode 
OVERVIEW OF 
PAPER 
OPERATIONS 

PAPER HANDLING 
User's Manual  3-3 
Table 3.1  Buttons Used for Paper Handling 
Button/Dial Purpose  Action 
ONLINE Change the 
printer mode  
Stop/resume 
printing 
Press ONLINE to place the printer online or offline.
Press ONLINE to stop or resume printing. 
LOAD Load/unload 
paper  
Save adjusted 
load point 
Press LOAD to load paper or to retract continuous 
forms to the “park position.” 
Press LOAD and ONLINE simultaneously to 
permanently store a load position adjusted by micro 
feeding immediately after loading paper. 
LF/FF Form feed 
Line feed 
Press and hold LF/FF to execute a form feed. 
Continuous forms are fed forward by one page. 
Single sheets are ejected. 
Press LF/FF within three seconds to feed paper 
forward by one line. 
TEAR OFF  Advance 
forms for 
tear-off 
Press TEAR OFF to advance the forms perforation 
to the tear-off edge. Tear off the forms, then press 
any button to retract the remaining forms. 
PAPER 
PATH 
Selects paper 
path 
Press PAPER PATH to select the paper path: front 
tractor, rear tractor, cut sheet. 

PAPER HANDLING 
3-4  User's Manual 
Table 3.1  Buttons Used for Paper Handling (Cont.) 
Button/Dial Purpose  Action 
(LED) 
FRONT 
DIR/AUTO 
GAP 
(LCD) 
FRONT 
DIR/GAP 
ADJUST 
Select cut 
sheet ejection
(LED) 
Press  FRONT DIR/AUTO GAP at Offline to select 
a direction of ejecting cut sheet. 
(LCD) 
Press  FRONT DIR/ GAP ADJUST at Offline to 
select a direction of ejecting cut sheet. 
Front ejection –  FRONT indicator lights. It blinks 
when paper is ejected to the paper table prompting 
the user to remove the paper. 
 Rear ejection –  FRONT indicator does not 
light. 
When you save your setting in the setup mode, it 
becomes the new default. The default setting is 
invoked whenever you turn on the printer. 
 MICRO  Micro Feed  Press  MICRO/ MICRO to feed paper by 1/180 
inch in the direction of the arrow. 
 MICRO 
(LED) 
AUTO GAP 
Select paper 
thickness 
control mode 
Select paper thickness control mode. 
AUTO GAP — AUTO GAP indicator lights. 
Manual Gap — AUTO GAP indicator doesn't 
lights. 
The Manual Gap dial is enabled. 
(LED) 
MANUAL 
GAP DIAL 
Select paper  
Thickness at 
MANUAL 
MODE 
Select the paper thickness at MANUAL MODE. 
Auto Gap is usually used.  Auto Gap is used for 
printing on paper of different thicknesses. 
(LCD) 
GAP 
ADJUST 
Select paper  
Thickness 
Select the paper thickness as follows. 
AUTO,GAP-1,・・・・・・・,GAP-9,GAP-A,・・,GAP-D    

PAPER HANDLING 
User's Manual  3-5 
This printer has a variety of paper paths and feed directions. 
Paper Paths and Feed Directions 
See the following five cases.    : Cut sheet 
    : Continuous forms 
  (n) : Input 
  [n] : Output 
With front tractor 
(1) Front tractor  Print  Rear eject 
With rear tractor 
(2) Rear tractor  Print  Front eject 
SELECTING PAPER 
PATH 
(1) 
[1]
(2) 
[2] 

PAPER HANDLING 
3-6  User's Manual 
With front and rear tractors (either optional) 
(1) Front tractor  Print  Rear eject  
(2) Rear tractor  Print  Front eject    
(3)  Paper table    Print  Paper table  
(4) Paper table   Print  Rear stacker  
(1) 
(2) 
[2] 
[1]
[3] 
(3)(4) 
[4] 

PAPER HANDLING 
User's Manual  3-7 
In the next two cases, the number of cut sheets stacked in the printer may 
be reduced depending on printing conditions and environments.  Follow 
the notes. 
With rear tractor and front optional cut sheet feeder and 
large stacker(optional) . 
(2) Rear tractor   Print  Front eject 
(3) Paper table   Print  Paper table 
(4) Paper table   Print  Rear stacker 
(5)  Front cut sheet feeder   Print  Paper table 
(6)  Front cut sheet feeder   Print  Rear stacker 
With front or rear tractor (either optional)and rear optional cut 
sheet feeder and large stacker(optional).  
In addition, the front and rear tractor (either is optional) can be mounted. 
(1) Front tractor    Print   Rear eject  
(2) Rear tractor   Print   Front eject 
(3) Paper table   Print   Paper table 
(4) Paper table   Print   Rear stacker 
(7)  Rear cut sheet feeder   Print   Paper table 
(8)  Rear cut sheet feeder   Print   Rear stacker 
(5)(6) 
(2) 
[2] 
[
3
]
[
5
]
(3)(4) 
[4] [6]
(1)
(2) 
[2] 
[1]
[3][7] 
(3)(4) 
[4]
(7)(8) 
[8]

PAPER HANDLING 
3-8  User's Manual 
With rear tractor and front and rear optional cut sheet feeder 
and large stacker. In addition, the front and rear tractor (either is 
optional) can be mounted. 
(2) Rear tractor   Print  Front eject 
(3) Paper table   Print  Paper table 
(4) Paper table   Print  Rear stacker 
(5)  Front cut sheet feeder   Print  Paper table 
(6)  Front cut sheet feeder   Print  Rear stacker 
(7)  Rear cut sheet feeder   Print  Paper table 
(8)  Rear cut sheet feeder   Print  Rear stacker 
NOTES 
When remaining the ejected cut sheet on the paper table, the 
REMOVE PAPER indicator blinks and the printer stops printing.  
Before restarting printing, be sure to remove the cut sheet. 
You must remove cut sheets one by one immediately after ejection. 
This is required because the printer may load an ejected sheet again 
or an ejected sheet may push the previous sheets out of the printer.  
To eject sheets larger than A4 size onto the paper table, the paper 
table must be replaced with the optional large cut sheet table to 
prevent ejected sheets from falling off the paper table. 
When printing thin paper, multipart copy paper, or large size paper, 
frequently remove the paper from the rear stacker or the paper table. 
(2) 
[2]  [3][5][7] 
(3)(4) 
[4] 
(7)(8)  [8] 
(5)(6) 
[6] 

PAPER HANDLING 
User's Manual  3-9 
The printer can handle paper of different thicknesses, including multipart 
forms with up to nine parts (original plus eight copies). For details on 
paper thickness specifications, see Appendix B. 
The printer automatically adjusts for different paper thicknesses. 
You can use the MANUAL GAP DIAL to adjust the paper thickness 
manually at manual mode. To place printer manual mode, press AUTO 
GAP button 2 seconds or more so that AUTO GAP lamp is off.  
Adjusting the manual gap dial 
Table 3.2  Manual Gap Dial Settings (LED) 
Number of Copies  
(Including the Original) *1  Setting *2 
1 copy   1 
2 copies   2 
3 copies   3 
4 copies   4 
5 copies   5 
6 copies   6 
7 copies   7 
8 copies   8 
9 copies, Envelopes  A 
Slips  B, C, D 
Ribbon replacement  R 
*1  For carbon-interleaved paper, the carbon counts as one copy. 
*2  Vary the setting up or down (including A to R) to optimize printing 
especially for labels and envelopes. Select R when replacing a 
ribbon or clearing a paper jam. 
NOTE 
If printing is messy, the ribbon miss-feeds, or the paper jams, move 
the manual gap dial  one setting higher. 
ADJUSTING FOR 
PAPER THICKNESS 
(LED) 

PAPER HANDLING 
3-10  User's Manual 
The printer can handle paper of different thicknesses, including multipart 
forms with up to nine parts (original plus eight copies). For details on 
paper thickness specifications, see Appendix B. 
The printer automatically adjusts for different paper thicknesses. 
You can use the GAP ADJUST button to adjust the paper thickness 
manually. 
Adjusting the manual gap  
Table 3.3  Manual Gap Settings (LCD) 
Number of Copies  
(Including the Original) *1  Setting *2 
1 copy   GAP-1 
2 copies   GAP-2 
3 copies   GAP-3 
4 copies   GAP-4 
5 copies   GAP-5 
6 copies   GAP-6 
7 copies   GAP-7 
8 copies   GAP-8 
9 copies, Envelopes  GAP-9 
Slips  GAP-A,B,C 
Ribbon replacement  GAP-D 
*1  For carbon-interleaved paper, the carbon counts as one copy. 
*2  Vary the setting up or down (including A to D) to optimize printing 
especially for labels and envelopes. Select D when replacing a 
ribbon or clearing a paper jam. 
NOTE 
If printing is messy, the ribbon miss-feeds, or the paper jams, move 
the manual gap one setting higher. 
ADJUSTING FOR 
PAPER THICKNESS 
(LCD) 
Area for Gap adjust value 

PAPER HANDLING 
User's Manual  3-11 
Continuous forms paper, fan-folded at the horizontal perforations, is 
ideal for printing rough drafts and long files. The paper is fed into the 
printer using the forms tractors. 
Positioning the Paper Stack 
Place the stack of continuous forms paper directly below the rear of the 
printer or below the front of the printer. After the paper is installed in the 
printer, the paper path should look like this: 
Good placement 
Bad placement 
Placement of continuous forms 
USING 
CONTINUOUS 
FORMS 

PAPER HANDLING 
3-12  User's Manual 
Loading Continuous Forms (Front Feed) 
This section explains how to use continuous forms as the tractor unit is 
installed at the front of the printer. The tractor unit pushes continuous 
forms. This condition applies when you first purchase the printer. 
Up to 8-ply media can be fed by the front tractor unit. 
You can use continuous forms paper even if you have a cut sheet feeder 
installed at the rear of the printer. 
To load continuous forms paper: 
1.  Make sure that the printer is turned on. Remove any single-sheet 
paper from the printer. 
2.  Lift up the paper table as shown below. 
3.  Release the tractor locking levers by pulling them up(①). Open 
the tractor paper holders. See the following figure(②). 
4.  Position the tractors and center guide. 
5.    Fit the paper feed holes onto the left and right tractor pins.  
Adjust the right tractor to the width of the form. Close the paper 
holders. 
Paper Holders  Paper Holders 
Locking Levers 
Center Guide 

PAPER HANDLING 
User's Manual  3-13 
Set the continuous forms to front tractors  
6.  Adjust the left margin.  
Below the left tractor, there is a tractor guide, short inch-based 
ruler graduated in 10 columns per inch. Use the ruler to help 
position the tractor. When the paper edge is positioned to the 
zero line, the left margin is 12 mm (0.5 inch) including 
perforation area and the arrow indicates the location of the first 
character. 
7.  Pull the right tractor to stretch the paper taut. Push the right 
locking lever down to secure the tractor in place. 
Adjusting tractor position 
8.  Lower the paper table to the down position (normal mode). 
Lowering the paper table  
Locking Lever 
Locking Leve
r

PAPER HANDLING 
3-14  User's Manual 
CAUTION 
 Before lowering the paper table, make sure that the paper holders 
are closed. 
If the holders are opened, they may cause damage to the tractors 
and the paper table. 
 Make sure that the paper table is positioned to its normal mode. If 
it is not done, jamming may occur when continuous forms paper is 
fed. 
9.  Press the PAPER PATH button to select “FRONT TRACTOR”. 
(The indicator lights.) 
10.  Press the LOAD button to advance the paper to the top-of-form 
position. Top-of-form is the first line on which printing can start. 
After loading paper, the printer goes into online mode. 
11.  Print a sample page and check the page margins. Make the 
following adjustments, as necessary: 
  Horizontal alignment. Move the forms tractors as required. 
  Top-of-form setting (see Chapter 5). 
  Margin settings. Use your software or the printer setup 
mode (see Chapter 5). 
NOTE 
Do not open the front cover during printing. 

PAPER HANDLING 
User's Manual  3-15 
Loading Continuous Forms (Rear Feed) 
A tractor is supplied as standard and is attached to the front of the printer. 
It can be attached to the rear of the printer. You can also buy a tractor 
unit as an additional rear tractor unit. 
A maximum of 8-ply media can be fed from the rear tractor unit. 
For reinstalling the tractor unit for rear feed, see page 2-10 to 2-13. 
1.  Release the tractor locking levers by pulling them up(①). Open 
the tractor paper holders. See the following figure(②). 
2.  Position the tractors and center guide. 
3.    Fit the paper feed holes onto the left and right tractor pins.  
Adjust the right tractor to the width of the form. Close the paper 
holders. 
Locking Levers 
Paper Holder  Paper Holder 

PAPER HANDLING 
3-16  User's Manual 
4.  Adjust the left margin. 
Below the left tractor, there is a tractor guide, short inch-based 
ruler graduated in 10 columns per inch. Use the ruler to help 
position the tractor. When the paper edge is positioned to the 
zero line, the left margin is 12 mm (0.5 inch) including 
perforation area and the arrow indicates the location of the first 
character. 
5.  Pull the right tractor to stretch the paper taut. Push the right 
locking lever down to secure the tractor in place.  
6.  Press the PAPER PATH button to select REAR TRACTOR (the 
indicator lights). 
7.    Press the LOAD button to advance the paper to the top-of-form 
position. Top-of-form is the first line on which printing can start. 
After loading paper, the printer goes into online mode. 
8.  Print a sample page and check the page margins. Make the 
following adjustments, as necessary: 
  Horizontal alignment. Move the forms tractors as required. 
  Top-of-form setting (see Chapter 5). 
  Margin settings. Use your software or the printer setup 
mode (see Chapter 5). 
Lock Lever  Lock Lever

PAPER HANDLING 
User's Manual  3-17 
Unloading Continuous Forms 
To unload continuous forms: 
1.  Make sure that the FRONT TRACTOR or REAR TRACTOR 
indicator lights. 
2.  Press the LOAD button. The continuous forms paper is retracted 
to the park position. If the paper cannot be retracted in one 
operation, continue to press the LOAD button until the paper is 
parked. 
NOTE 
The printer can retract continuous forms paper up to a 
maximum of 55.8 cm (22 inches) per operation. 
3.  To remove the paper, raise the tractor paper holders and lift out 
the paper. 
NOTE 
If continuous forms are unloaded without stopping, the 
paper may slip off the tractors. 
Tearing Off Continuous Forms 
Your printer has a special “tear-off edge” that allows you to tear off 
printed pages without wasting paper. The tear-off edge is located on the 
front and rear of the printer. 
To tear off continuous forms using the tear-off edge: 
1.  Press the TEAR OFF button. The bottom perforation of the last 
page advances to the tear-off edge. If you specified TEAR OFF: 
AUTO using the HARDWARE function in setup mode, the 
paper automatically advances to the tear-off edge at the end of 
each job (or when the printer has printed all the data received). 
NOTE 
If the bottom perforation of your paper is not positioned at 
the tear-off edge, the length of your paper may not be 
specified correctly in your software or the printer setup 
mode. 

PAPER HANDLING 
3-18  User's Manual 
Check that the paper length is specified correctly. For 
information on specifying page length using setup mode, see 
Chapter 5. 
2.  Tear the paper off at the perforation. 
Tearing off continuous forms (front feed) 
Tearing off continuous forms (rear feed) 
3.  Press any button to retract the forms back to the top-of-form 
position. 

PAPER HANDLING 
User's Manual  3-19 
This section describes how to load paper from the paper table or cut sheet 
feeder. The paper table allows paper to be loaded manually, one sheet at 
a time. A cut sheet feeder allows paper to be loaded automatically from 
the paper bin. 
Loading a Paper From The Paper Table. 
To load a sheet of paper from the paper table: 
1.  Make sure that the printer is turned on. 
2.  Press the PAPER PATH button to select CUT SHEET (the 
indicator lights). 
3.  Press the FRONT DIR button to select the direction of ejecting 
single sheets. 
  Front ejection — FRONTDIR indicator lights. 
  Rear ejection — FRONTDIR indicator doesn’t light. 
4.  Adjust the left margin. 
On the left hand side of the paper table, a scale graduated in 
units of 1 [mm]. When the paper guide is positioned at scale 0 
[mm], the left margin is 5 mm (0.2 inch).  
Push the lock lever down to secure the guide. 
5.  Pull the sub-guide out as required to the paper size.  
NOTE 
When using the paper whose width is under 100 mm (4 inch), 
position the paper guide at scale 0 [mm].  
USING SINGLE 
SHEETS 

PAPER HANDLING 
3-20  User's Manual 
Preparing to load a sheet of paper  
6.  Insert a sheet of paper into the paper table. Make sure that the 
front edge of the paper engages snugly with the feed roller. 
NOTE 
If paper skews when it is loaded, the printer does not print and ejects 
the paper. (This function can be disabled by a setting in setup mode.) 
0(zero) 
Movable guide 
Lock lever 
Sub guide 

PAPER HANDLING 
User's Manual  3-21 
7.  Press the LOAD button. The paper will advance to the top-of-
form position. The top-of-form position is the first line on which 
printing can start. To adjust the position of the paper slightly, 
press the   MICRO FEED button or the   MICRO FEED 
button. The paper will move forward or backward in 1/180-inch 
increments. 
After loading paper, the printer goes into online mode. 
Loading a sheet of paper 
8.  Print a sample page and check the page margins. Make the 
following adjustments, as necessary: 
  Horizontal alignment. Readjust the paper guide if required. 
  Top-of-form setting (see Chapter 5). 
  Margin settings. Use your software or the printer setup 
mode (see Chapter 5). 
NOTE 
Do not open the front cover during printing. With the cover open 
detection option installed, the printer never prints while the front 
cover is open. Close the front cover to perform printing. 
LOAD 

PAPER HANDLING 
3-22  User's Manual 
Loading Paper from the Cut Sheet Feeder  
(Option) 
A cut sheet feeder (SF940) allows automatic printing on single sheets 
without the need to manually insert the sheets one-by-one. This can save 
you a lot of time when printing long files using single sheets. See 
Chapter 8 for more information on the cut sheet feeder. 
For installation of the feeder, refer to its user’s manual. When a feeder is 
mounted and the feeder cable is connected, the printer automatically 
knows the feeder type and controls the feeder accordingly. 
1.  Two steps of extension are available for supporting long sheets 
of paper. 
Steps of extension 
2.  Adjust the left margin. 
To help align the left paper guide, use the inch-based ruler 
located behind the paper guides. The ruler is graduated in 10 
columns per inch. For example, setting the left paper guide 12.7 
mm (0.5 inch) from the left gives a left margin of 6.3 mm (0.25 
inch) plus the left margin specified by your software or the 
printer setup mode. 

PAPER HANDLING 
User's Manual  3-23 
  Slide the right paper guide until the distance between the 
two guides is the approximate width of your paper. 
3.  Manually fan the stack of paper and place it in the paper bin. 
NOTE 
A short horizontal mark inside the left paper guide indicates 
the maximum capacity of the bin. Make sure that your 
paper stack does not exceed this horizontal mark. 
Loading the cut sheet feeder (Front feed) 
Loading the cut sheet feeder (Rear feed) 
4.  Readjust the right paper guide, leaving a slight gap between the 
paper guide and the right edge of the paper. Slide the guide to 
the approximate width of the paper, or the paper will not be 
loaded properly. Pull the right locking lever forward. 
5.  Push the bin lever down to the “SET” position. 
6.  Load paper to the top-of-form position using either of the 
following methods: 

PAPER HANDLING 
3-24  User's Manual 
  Load the paper manually. Press the LOAD button. The 
paper will advance to the top-of-form position. Adjust the 
position of the paper as needed by the  MICRO button or 
the  MICRO button (micro feed). 
  Load the paper using your software. Press the ONLINE 
button to place the printer online. Load paper according to 
the instructions in your software documentation. Most 
software packages load paper automatically. 
After loading paper, the printer goes into online mode. 
7.  Print a sample page and check the page margins. Make the 
following adjustments, as necessary: 
  Horizontal alignment. Readjust the paper guides if required. 
  Top-of-form setting (see Chapter 5). 
  Margin settings. Use your software or the printer setup 
mode (see Chapter 5). 
NOTE 
Do not open the front cover during printing. 
Ejecting Single Sheets 
If you print using software, each sheet is ejected automatically when the 
end of the printed page is reached. To manually eject sheets of paper, use 
the following method: 
  Press and hold down the LF/FF button to execute a forward 
form feed. 

PAPER HANDLING 
User's Manual  3-25 
The following functions are available whether the printer is online or 
offline. 
Line Feed/Form Feed 
Use the line feed/form feed function to move paper forward. 
  Pressing and holding down the LF/FF button feeds one sheet of 
paper. 
  Pressing the LF/FF button once advances the paper one line (do 
not hold the button more than three seconds). 
Micro Feed 
Use the micro feed function to fine tune the position of the paper. 
  Press the   MICRO button to feed paper backward by 1/180 
inch. 
  Press the   MICRO button to feed paper forward by 1/180 inch.  
Remember that the top-of-form will differ from the original setting. 
Load Position Adjust 
Use also the micro feed function to adjust the load position of the paper. 
  When the   MICRO button or the   MICRO button is used 
immediately after the LOAD button is pressed, the adjusted 
position of paper is retained as the new load position until the 
power is turned off. 
  Pressing the ONLINE and LOAD buttons simultaneously saves 
the new position permanently. 
The load position can be set for single sheets and continuous forms 
respectively. 
FEEDING AND 
POSITIONING 
PAPER 

PAPER HANDLING 
3-26  User's Manual 
Adjusting Load Position by Using Window of Card Guide  
The lines of window on the right side of card guide indicate printing line. 
So use this as a guide to adjust load position. 
Print Head 

PAPER HANDLING 
User's Manual  3-27 
General Tips 
  Use high-quality paper. Do not use paper that is wrinkled or 
curled at the edges. 
  Do not use paper with staples or metal parts. 
  Do not use paper with unpredictable variations in thickness, 
such as paper with partial multilayers, paper with embossed 
printing, and labels with the backing sheet exposed. 
  Store paper in a clean, dry environment. 
Multipart Forms 
  Avoid using carbon-interleaved single sheets if possible. 
Printing tends to become misaligned on the bottom sheet. 
  To ensure smoother feeding of paper-stapled, multipart forms, 
raise the rear stacker to support the forms. 
Envelopes 
  When printing envelopes, use the paper table or the manual feed 
slot of the cut sheet feeder. Note the following: 
-  When loading envelopes, make sure that the envelope flaps 
face forward. Otherwise, the envelopes may jam in the 
printer. 
Labels 
  Be careful to check operating conditions when using labels. 
Labels are sensitive to temperature and humidity. 
  Only use labels mounted on continuous forms backing sheets. 
Do not print labels mounted on single sheet backing. Labels 
mounted on single sheet backing tend to slip and printing 
becomes crooked. 
  Do not feed labels backwards using the LOAD button from the 
control panel. Jamming may occur. 
  Do not use the printer tear-off feature when printing labels. If 
the labels are retracted, the backing may peel off and the labels 
may jam in the printer. 
  Test-print labels before running a job. If jams occur, go into 
setup mode and 
-  set the paper thickness control to manual mode and 
-  set the paper thickness indicator to a wider position 
manually. 
If jamming problems continue, try a different type of label. 
TIPS ON PAPER 
HANDLING 

User's Manual  4-1 
4 
CHAPTER 4  PRINTING 
PRINTING 
This chapter describes the following everyday  
printing operations: 
  Using multipart form (high impact mode) 
  Selecting the print mode(quiet mode) 
  Starting, stopping, or resuming printing 
  Removing printed pages 
  Clearing the print buffer 
  Selecting the print features 
Instructions for loading paper are given in Chapter 3. 
This printer has enough capability to print multipart forms.  When 
superior copy capability is required, use the HI IMPACT mode.  Press 
the HI IMPACT button on the printer control panel. This function is 
valid when the HI IMPACT indicator lights. 
Print control panel  
NOTE 
 Setting HI IMPACT mode by pressing the HI IMPACT button is 
cancelled when you turn off the printer. 
 If you wish to have the HI IMPACT mode set on power-on, save 
the setting in setup mode. 
MULTIPART FORMS 
(HI IMPACT MODE) 

PRINTING 
4-2  User's Manual 
It has three print modes in this printer. 
・STANDARD MODE 
・HI SPEED MODE 
Horizontally consecutive dots are omitted (LQ), and the printer 
stpeed is twice as STANDARD MODE . 
・QUIET MODE 
The consecutive dots are omitted (LQ). 
The print speed is slowed to LQ speed (except for LQ). 
Skipping the space (no characters) at higher speed doesn’t work. 
To select Print mode:   
1.    If the PRINT MODE button is pressed at STANDARD MODE 
(Both HI SPEED indicator light and QUIET indicator light are 
turned off), it becomes HI SPEED MODE. At this time, the HI 
SPEED indicator lights.  
2.    If the PRINT MODE button is pressed at HI SPEED MODE, HI 
SPEED MODE is released, and it becomes QUIET MODE. At 
this time, the QUIET indicator lights . 
3.    If the PRINT MODE button is pressed  at QUIET MODE, the 
QUIET mode is released, and it becomes STANDARD MODE. 
Print control panel 
NOTE 
 Setting quiet mode by pressing the PRINT MODE button is 
cancelled when you turn off the printer. 
 If you wish to have the quiet mode set on power-on, save the 
setting in setup mode. 
PRINT MODE(HI 
SPEED MODE/QUIET 
MODE) 

PRINTING 
User's Manual  4-3 
Starting Printing 
Before you start to print, make sure that paper is loaded. 
To start printing, press the ONLINE button to place the printer online. 
Then start your software. 
Stopping Printing 
To stop printing immediately, press the ONLINE button to place the 
printer offline. You can also use your software to stop printing, but there 
will be a slight delay before printing stops. Any data sent to the print 
buffer but not yet printed is stored until you resume printing. Data in the 
print buffer is lost if you turn the printer off. 
To resume printing, press the ONLINE button again. To cancel printing, 
use the cancel commands provided by your software or computer. To 
clear the print buffer, place the printer offline and press the PRINT 
MODE and HI IMPACT buttons. Any data sent to the print buffer before 
you canceled printing will be lost. 
Resuming from a Paper-Out 
The printer can “sense” when paper runs out. Depending upon how PPR-
OUT (paper-out) is set in setup mode, the printer either: 
  Stops printing and lights the red PAPER OUT indicator, or 
  Continues printing until no more data remains in the printer. 
See Chapter 5 for details on setting PPR-OUT. The factory default is to 
stop printing if continuous forms paper runs out and to continue printing 
if single sheet paper runs out. 
To resume printing when paper runs out, use either of the methods 
described below: 
Printing the remaining lines on a page 
This method is convenient to continue printing under the paper-out 
condition, but is not available when the cut sheet feeder is used. 
1.  Press the ONLINE button. The printer returns to online mode, 
prints or feeds one line, and the PAPER OUT indicator lights up 
again. 
2.  Repeat this procedure until the full page is printed. Line 
spacing , however, may be uneven. 
STARTING OR 
STOPPING 
PRINTING 

PRINTING 
4-4  User's Manual 
CAUTION 
When printing remaining lines, be careful not to print on the platen. 
Printing on the platen may damage both the platen and the print head. 
Continuing printing after supplying paper 
1.  Install paper on the forms tractors or on the cut sheet stand, or in 
the cut sheet feeder bin, as described in Chapter 3. 
2.  To load the first sheet of paper, press the LOAD button. The 
PAPER OUT indicator will turn off. 
3.  Press the ONLINE button to place the printer online. The printer 
resumes printing. 
NOTE 
For continuous forms paper, the page where printing 
stopped and the page where printing resumes may be 
incorrectly printed. In this case, wait for the entire job to 
finish printing. Then reprint the incorrect pages. 

PRINTING 
User's Manual  4-5 
This section describes the best methods for removing single sheets or 
continuous forms paper after printing. 
Removing Single Sheets 
When you print using software, the printer automatically ejects each 
sheet of paper when the end of the printed page is reached. To eject 
sheets manually, use one of the following methods: 
  Press and hold down the LF/FF button to execute a form feed. 
Removing Continuous Forms 
To avoid wasting paper, use the printer tear-off function to remove 
continuous forms paper. Press the TEAR OFF button to advance the 
perforation to the tear-off edge. Tear the paper off, and then press any 
button to retract the paper back to the top-of-form position. See Chapter 
3 for more detailed instructions. 
Place the printer offline. Press the PRINT MODE and HI IMPACT 
buttons simultaneously to clear all data from the print buffer. This 
method is useful when you cancel a print operation and do not want to 
continue printing data already sent to the printer. 
This method does not change or clear MENU1 and MENU2 settings, 
paper loading position settings, and downloaded fonts. 
REMOVING 
PRINTED PAGES 
CLEARING THE 
PRINT BUFFER 

PRINTING 
4-6  User's Manual 
The print features you select determine how your printed pages will look. 
Print features include the following: 
 Print quality 
 Fonts 
  Pitch (characters per horizontal inch) 
  Page length and width 
  Line spacing (lines per vertical inch) 
To select print features, you can use either commercial software or the 
printer control panel. The method you use depends on the capabilities of 
your software. If your software has most of the features you require, you 
may rarely – if ever – have to use the control panel. In fact, your software 
often overrides the printer settings. 
If your software has limited options, you can use the printer control panel 
to select print features. Sometimes, the control panel enables you to 
select features not available through your software. For example, you can 
select downloaded fonts not supported by your software. 
Using Commercial Software 
Many commercial software packages offer a wide variety of print 
features, including some features that are not supported by this printer. 
For example, software often provides a wider range of font sizes than the 
printer can accommodate. Software also allows you to specify multiple 
fonts on a page. 
To determine which features your software supports and how to select 
them, refer to your software documentation. 
SELECTING PRINT 
FEATURES 

PRINTING 
User's Manual  4-7 
Using the Control Panel 
Use the PAPER PATH  and HI IMPACT  button to directly select one of 
the two menus.  
Printer control panel 
The PAPER PATH and HI IMPACT buttons specify MENU1 or 
MENU2, either of which allows you to specify different sets of options 
in advance. Some of the print features include emulation, print quality, 
character pitch, and line spacing. To setup the print features to MENU1 
and MENU2, refer to the chapter 5. 
When you first turn the printer on, the MENU 1 indicator is lit; that is, all 
of the print features assigned to MENU1 are enabled. However, you can 
easily switch to MENU2 before printing.  
NOTE 
For easy reference, keep a list of your current MENU 1 and MENU 2 
settings near the printer. To print a list of current settings, see the 
section Printing a List of Selected Options in Chapter 5. You may 
also want to use the space provided in Table 4.1 to record your 
settings. 

PRINTING 
4-8  User's Manual 
Selecting MENU1 or MENU2 
When you first turn the printer on, MENU1 is selected. To change to 
MENU2 or back to MENU1, proceed as follows: 
1.  Press the ONLINE button to place the printer offline. 
2.  Repeatedly press the PAPER PATH  and HI IMPACT  buttons. 
The lighted indicator (1 or 2) shows the menu selected. When 
the menu selection is changed, the font (font, pitch, and quality) 
assigned in the selected menu becomes valid.  
3.  Press the ONLINE button to return online. You are ready to 
print using the selected menu. 

PRINTING 
User's Manual  4-9 
Using the Control Panel (LCD type only) 
LCD type Control panel also can select print features including 
FONT/PITCH/QUALITY that assigned current MENU1 or 2 directly. 
To select print features enter select mode as follows. 
1.  Press the ONLINE button to place the printer online. 
2.  Press the FONT/PITCH button to enter select menu.  
3.  To move layer and in transverse direction, use  , ,  and   
buttons. 
4.  To select print features, use   ,  and SELECT buttons. 
5.  To save or exit press SAVE/EXIT buttons. 
6.  Press    or   buttons to finish. 
FONT/PITCH/QUAL setting mode. 
ONLINE 
AUTO   TRACTOR F 
FONT/PITCH/QUAL 
FONT            
FONT/PITCH/QUAL 
PITCH           
FONT/PITCH/QUAL 
QUALITY         
FONT 
*COUR 10        
FONT 
 PRSTG12        
FONT 
*PRSTG12        
FONT/PITCH butto
n
SELECT SW
:SAVE  :CANCEL  
SAVE/EXIT button 
or
“*” is applied to a selected option.

PRINTING 
4-10  User's Manual 
Table 4.1  MENU1 and MENU2 Settings 
Setting  Default Settings 
For easy reference, check (
) or record 
your default settings in the space below. 
Print Feature  MENU1 MENU2 
Emulation 
Fujitsu DPL24C PLUS 
IBM Proprinter XL24E 
Epson ESC/P2 
Font 
Courier 10 
Prestige Elite 12 
Compressed 17 
Boldface PS 
Pica 10 
Correspondence 
OCR-B 10 
OCR-A 10 
Courier Normal 10 (outline) 
Courier Bold 10 (outline) 
Courier Italic 10 (outline) 
Nimbus Sans Normal PS (outline) 
Nimbus Sans Bold PS (outline) 
Nimbus Sans Italic PS (outline) 
Timeless Normal PS (outline) 
Timeless Bold PS (outline) 
Timeless Italic PS (outline) 
Downloaded font 0 
Downloaded font 1 
Print quality 
Letter 
Report 
Draft 
High-speed draft 
Super high-speed draft  
Pitch 
2.5, 3, 5, 6, 10, 12 
15, 17, 18 or 20 cpi 
Proportional spacing 
Other features:    

User's Manual  5-1 
5 
CHAPTER 5  USING SETUP MODE 
USING SETUP MODE 
Your printer has two modes: normal and setup. 
Normal mode is used for everyday printer operations 
and is explained in Chapters 3 and 4. 
Setup mode serves two purposes. It enables you to: 
  Select the printer’s optional settings 
  Help diagnose printer problems 
These setup mode functions can be done either offline, using the printer 
control panel (offline setup), or remotely, using a setup program in your 
computer system or software (online setup).  Primarily, this chapter 
explains how to use the offline setup mode.  The online setup mode, 
which is reviewed briefly at the end of this chapter, is valid in all 
emulations. 
Optional settings on the printer include the emulation, fonts, pitch, page 
length and page width, serial interface options, and the top-of form 
setting. When you save your settings in the printer’s permanent memory, 
they become the new settings or defaults. These defaults are invoked 
whenever you turn on the printer. For example, if you save DPL24C 
PLUS as the default emulation, DPL24C PLUS is invoked when you turn 
on the printer. 
The printer diagnostic functions are SELF-TST, HEX-DUMP, and 
V-ALMNT. These functions are helpful for printer trouble-shooting, as 
described in Chapter 7. 
The sections in this chapter are presented in logical sequence. If you are 
a first-time user, be sure to read the following sections first: 
  Entering Setup Mode 
  Overview of Setup Mode 
These sections will familiarize you with how setup mode works.  Once 
you understand the basics, use the following sections to select printer 
options that are compatible with your computer system’s hardware and 
software setup: 
  Printing a List of Selected Options 
  Deciding Which Options to Change 
  MENU1 and MENU2 Items and Options 
  Hardware Items and Options 
  Print Position Adjustment Items and Options 
  Configuration Items and Options 
HOW TO USE THIS 
CHAPTER 

USING SETUP MODE 
5-2  User's Manual 
  Head Gap Adjustment Items and Options 
  Exiting and Saving 
To restore the printer default settings (factory defaults or power-on 
defaults), see the section Resetting Defaults later in this chapter. 
For information on using the SELF-TST, HEX-DUMP, and V-ALMNT 
functions, see the section Using the Diagnostic Functions later in this 
chapter. 
For Experienced Users: 
Once you are familiar with setup mode, you may want to use the 
flowchart at the end of this chapter for quick reference. The flowchart 
lists all printer setup functions, items, and options. 
Before entering setup mode, load continuous forms paper from the front 
tractor into the printer as described in Chapter 3. Several sheets of paper 
may be required to make all of your setup mode selections. 
To enter setup mode, follow these steps: 
1.  Make sure that front continuous forms paper is loaded and press 
the PAPER PATH button to select the appropriate paper path. 
If continuous forms paper is fed from the rear or a CSF is 
mounted, the printer does not enter SETUP mode. 
2.  Press the ONLINE button to place the printer offline. 
3.  Press the SETUP buttons until the printer beeps. 
Entering setup mode
 イラスト変更済
If you do not hear a beep or an alarm beep (beeps four times), 
you are not in setup mode. Place the printer offline and try again. 
ENTERING SETUP 
MODE(LED) 

USING SETUP MODE 
User's Manual  5-3 
4.  When the printer enters offline setup mode, it prints the 
following information. 
Initial printout in setup mode 
The initial printout contains a header, help menu, and <<FUNCTION>> 
menu. The header tells you that the printer is offline and in setup mode. 
The help menu provides a quick summary of how to use setup mode. The 
<<FUNCTION>> menu lists all of the functions available to you in setup 
mode. Note that the cursor on the left edge of the aluminum print guide is 
initially positioned at the SAVE & END function. 
Setup mode can also be entered by turning off the printer, then turning 
the printer back on while pressing the SETUP button  until the printer 
beeps. 
Function buttons in  
Setup mode 
<<Function>> menu 
Function 
Card guide (aluminum print guide (head guide)) 
Cursor 

USING SETUP MODE 
5-4  User's Manual 
When you enter setup mode, the following <<FUNCTION>> menu is 
printed: 
<< FUNCTION >> 
SAVE&END MENU1    MENU2    HARDWRE  ADJUST   CONFIG   GAP-ADJ  DEFAULT  LIST     SELF-TST   
HEX-DUMP V-ALMNT  INITIAL 
Table 5.1 summarizes the purpose of each function. 
Table 5.1  Setup Mode Functions 
Function Purpose 
SAVE & END  Exits setup mode and saves any changes made while 
in setup mode. 
MENU1 and 
MENU2 
Assigns print features to MENU1 and MENU2 on the 
printer control panel. 
HARDWRE  Changes the printer hardware options. 
ADJUST  Changes the print position adjustment options. 
CONFIG  Changes the configuration options. 
GAP-ADJ  Adjust the gap between the print head and printing 
paper. 
DEFAULT  Resets factory defaults in MENU1 and MENU2. 
INITIAL  Resets factory defaults in MENU1, MENU2, 
HARDWRE, ADJUST, CONFIG, GAP-ADJ. 
LIST  Prints a list of all currently selected options. 
SELF-TST  Runs the self-test. 
HEX-DUMP Prints hex dumps. 
V-ALMNT  Checks and corrects vertical print alignment. 
To select a function from the <<FUNCTION>> menu: 
1.  Repeatedly press the “TEAR OFF” or “LOAD” button to 
position the cursor on the left edge of the aluminum print guide 
at the function you require. 
2.  Press the   button or the   button to select the function. If the 
function has items and options, the printer prints the first item 
and its options. The MENU1, MENU2, HARDWRE, ADJUST, 
CONFIG, and GAP-ADJ functions contain items that have 
selectable options. The other functions have neither items nor 
options. 
OVERVIEW OF 
SETUP MODE (LED) 

USING SETUP MODE 
User's Manual  5-5 
The first three MENU1 items and their options are shown below. 
Items are enclosed in single brackets < >. A short underlined 
portion is current option and long underlined portion is selected 
option.  
< EMULATE>DPL24C+   XL24E   ESC/P2 
<FONT    > 
COUR 10  PRSTG12  COMPRSD  BOLDFCE  PICA 10  CORRESP  OCR-B    OCR-A    COUR-N    COUR-B
COUR-I   N.SAN-N  N.SAN-B  N.SAN-I  TIMLS-N  TIMLS-B  TIMLS-I  DOWNLD0  DOWNLD1 
<QUALITY>LETTER   REPORT   DRAFT    HI-DRFT  SH-DRFT 
To select an option from the <item> menu: 
1.  Repeatedly press the “TEAR OFF” or “LOAD” button to 
position the cursor on the left edge of the aluminum print guide 
at the option you require. 
2.  Press the   button to select the option. The printer prints the 
next item and its options. You can press   to select the option.  
Then, the printer prints the previous item and its options. 
3.  After selecting the desired options, press the ONLINE button to 
reprint the <<FUNCTION>> menu. 
For each item, the short-underlined option is the current default 
option (the option currently saved in the printer’s permanent 
memory). In the previous example, the default options are 
Fujitsu DPL24C PLUS emulation, Courier 10 font, and letter 
print quality. 
Setup Mode Example (LED) 
To become familiar with setup mode, try the following example. This 
example shows how to change the font and pitch in MENU2 to Prestige 
Elite 12 and 12 cpi. 
1.  Load continuous forms paper. 
2.  Enter setup mode. 
Press the SETUP button until the printer beeps. 
3.  Select the MENU2 function. 
Wait for the printer to stop printing and press the “TEAR OFF” 
or “LOAD” button twice to position the cursor on the left edge 
of the aluminum print guide at MENU2. Press the “ ” button 
or the “ ” button to select the MENU2 function and print the 
<EMULATE> item and its options. 

USING SETUP MODE 
5-6  User's Manual 
4.  Select the current emulation. 
Since you do not want to change the emulation, press the “ ” 
button to select the current emulation and print the next item, 
<FONT> and its options. 
5.  Change the font to Prestige Elite 12. 
Press the “TEAR OFF” or “LOAD” button once to position the 
cursor on the left edge of the aluminum print guide on 
PRSTG12. Press the “ ” button to select PRSTG12 and print 
the next item, <QUALITY>, and its options. 
6.  Select the current print quality. 
Since you do not want to change the print quality, press the   
button to select the current print quality and print the next item, 
<PITCH>, and its options. 
7.  Change the pitch to 12 cpi and exit the MENU2 function. 
Press the “TEAR OFF” or “LOAD” button once to position the 
cursor on the left edge of the aluminum print guide on 12 CPI. 
Since you do not want to make any other changes in MENU2, 
press the ONLINE button to select 12 CPI and exit MENU2.  
The <<FUNCTION>> menu is then reprinted. 
8.  Exit setup mode, saving the new font and pitch. 
Since the cursor on the left edge of the aluminum print guide is 
on SAVE & END, press the   MICRO FEED button or the   
MICRO FEED button to select SAVE & END. The printer 
saves Prestige Elite 12 and 12 cpi as the new power-on defaults 
in MENU2.  The printer then exits setup mode and returns 
online. These settings remain in effect until changed. 

USING SETUP MODE 
User's Manual  5-7 
Points to Remember 
  Whenever you enter setup mode, short help menus are printed at 
the top of the page. Help menus are also printed when you select 
the SELF-TST, HEX-DUMP, or V-ALMNT functions. 
Use help menus for quick reference while in setup mode. 
  When printing the items and options for each function, you can 
only print one item at a time. However, you can move either 
forward or backward in the item list. To move forward (print the 
next item), press the   button. To move backward (print the 
previous item), press the   button. 
  While in the <<FUNCTION>> menu or when selecting a 
function that contains items and selectable options, press the 
ONLINE button to reprint the <<FUNCTION>> menu. 
  A short underline under the first two letters of an option 
indicates that it is the current default setting. For example, 12 
CPI indicates that 12 characters per inch is the default pitch. 
To change the default, select and save a new pitch setting. 
  While in setup mode, you can use the LIST function to print out 
a list of the currently selected options (see the next section for 
details). 
  To exit setup mode and permanently save your changes, select 
the SAVE & END function. For details, see the section Exiting 
and Saving later in this chapter. To exit setup mode without 
saving your changes, turn the printer off. Your previous power-
on defaults are active when you turn the printer on again. 
The LIST function prints a list of all the printer’s currently selected 
options. This function is useful for checking the printer settings when 
you first enter setup mode or just before you exit. To print a list of 
options, load continuous forms paper and then proceed as follows: 
1.  Enter setup mode. 
Press the SETUP button until the printer beeps. Wait for the 
printer to stop printing and check that the following 
<<FUNCTION>> menu is printed: 
<< FUNCTION >> 
SAVE&END MENU1    MENU2    HARDWRE  ADJUST   CONFIG   GAP-ADJ  DEFAULT  LIST     SELF-TST   
HEX-DUMP V-ALMNT  INITIAL 
PRINTING A LIST OF 
SELECTED 
OPTIONS(LED) 

USING SETUP MODE 
5-8  User's Manual 
2.  Select the LIST function. 
Repeatedly press the “TEAR OFF” or “LOAD” button to 
position the cursor on the left edge of the aluminum print guide 
on LIST. Next press the   button or the   button to select the 
LIST function. The printer starts to print a list of the currently 
selected options. The preselected factory settings, also called 
factory defaults, are shown on the opposite page. 
When the printer finishes printing the list of options, it reprints 
the <<FUNCTION>> menu. 
3.  Do either of the following: 
  Select another function, or 
  Exit setup mode, saving any changes you made.  
For details about other functions, see the other sections in this 
chapter. To exit setup mode and save your changes, make sure 
that the cursor on the left edge of the aluminum print guide is 
positioned on SAVE & END, then press the   button or the   
button. 

USING SETUP MODE 
User's Manual  5-9 
*1  FORMAT to CD are not printed when PARALEL option is selected 
for INTRFCE. 
It is printed equipped with RS-232C. 
*2  TEAR-EN is printed when AUTO option is selected for TEAROFF. 
Func. Item Option Func. Item Option
MENU1 EMULATE DPL24C+ MENU2 EMULATE DPL24C+
MENU1 FONT COUR 10 MENU2 FONT COUR 10
MENU1 QUALITY LETTER MENU2 QUALITY LETTER
MENU1 PITCH 10 CPI MENU2 PITCH 10 CPI
MENU1 LINE SP 6 LPI MENU2 LINE SP 6 LPI
MENU1 CHAR-W NORMAL MENU2 CHAR-W NORMAL
MENU1 CHAR-H NORMAL MENU2 CHAR-H NORMAL
MENU1 ATTRIB NONE MENU2 ATTRIB NONE
MENU1 PAGE LG 11.0 IN MENU2 PAGE LG 11.0 IN
MENU1 LFT-END 1  COLM MENU2 LFT-END 1  COLM
MENU1 TOP-MRG 1  LINE MENU2 TOP-MRG 1  LINE
MENU1 LANGUGE PAGE437 MENU2 LANGUGE PAGE437
MENU1 CHR-SET SET2 MENU2 CHR-SET SET2
MENU1 PRF-SKP NO-SKIP MENU2 PRF-SKP NO-SKIP
MENU1 WIDTH 13.6 IN MENU2 WIDTH 13.6 IN
MENU1 ZEROFNT NO-SLSH MENU2 ZEROFNT NO-SLSH
MENU1 DC3-CDE ENABLE MENU2 DC3-CDE ENABLE
MENU1 CR-CODE CR ONLY MENU2 CR-CODE CR ONLY
MENU1 LF-CODE LF & CR MENU2 LF-CODE LF & CR
MENU1 RGHTEND WRAP MENU2 RGHTEND WRAP
MENU1 INT-MEC DISABLE MENU2 INT-MEC DISABLE
MENU1 ==END== MENU2 ==END==
Func. Item Option Func. Item Option
HARDWRE PPR-OUT DETECT CONFIG TEAROFF MANUAL
HARDWRE PRT-DIR BI-DIR CONFIG TEARPOS VISIBLE
HARDWRE BUZZER ON CONFIG TEAR-EN 1 SEC (*3)
HARDWRE WORD-LG 8 BIT CONFIG CUTLOAD AUTO
HARDWRE BUFFER  8KBYTE CONFIG LOADTIM 1.5 SEC (*4)
HARDWRE SENLEVL 100% CONFIG DECODE DIRECT
HARDWRE STANDBY 1MIN CONFIG FCNTARE ENABLE1
HARDWRE INTRFCE AUTO-2S (*1) CONFIG RCNTARE ENABLE1
HARDWRE FORMAT 8NONE 1 (*2) CONFIG CUT-ARE ENABLE1
HARDWRE BAUD-RT 9600 (*2) CONFIG CUT-ONL ONLINE
HARDWRE PROTOCL XON/XOF (*2) CONFIG CNT-ONL ONLINE
HARDWRE DSR IGNORE (*2) CONFIG LOCK NONE
HARDWRE DUPLEX FULL (*2) CONFIG //S// DISABLE
HARDWRE CTS DETECT (*2) CONFIG FCNT-PE EDGE
HARDWRE CD IGNORE (*2) CONFIG RCNT-PE EDGE
HARDWRE ==END== CONFIG GATHER DISABLE
CONFIG CUT-CTL SPEED
CONFIG SKIP-PR ENABLE
CONFIG STATUS DISABLE
CONFIG BANDCTL DISABLE
Func. Item Option CONFIG TOF-CTL DRIVER
CONFIG FCNT-SF DISABLE
ADJUST FCNTORG 1.8/6IN CONFIG RCNT-SF DISABLE
ADJUST FCNTFIN 0 /180 CONFIG CUT-SF DISABLE
ADJUST RCNTORG 1.8/6IN CONFIG CUTEDIR FRONT
ADJUST RCNTFIN 0 /180 CONFIG CSFEDIR REAR
ADJUST FCUTORG 1.8/6IN CONFIG CUTEJCT AUTO
ADJUST FCUTFIN 0 /180 CONFIG FL-CENT POSN1
ADJUST RCUROTG 1.8/6IN CONFIG RL-CENT POSN1
ADJUST RCUTFIN 0 /180 CONFIG SKEWCNT PRCISIN
ADJUST FCNTBTM 0 /180 CONFIG FF-CODE EJECT
ADJUST RCNTBTM 0 /180 CONFIG CSFBIN1 FRONT
ADJUST CUT-BTM 0 /180 CONFIG CNT-LD SPEED
ADJUST CNT-LFT 0 /90 CONFIG CSF-LD NORMAL
ADJUST CUT-LFT 0 /90 CONFIG CSFAPTC NORMAL
ADJUST FCNTADJ 0 /360 CONFIG LF-CTL SPEED
ADJUST RCNTADJ 0 /360 CONFIG PR-MODE NORMAL
ADJUST FCNTAJL 0 /360 CONFIG HI-IMPT DISABLE
ADJUST RCNTAJL 0 /360 CONFIG LQ-MODE MODE1
ADJUST CUT-ADJ 0 /360 CONFIG DQ-MODE MODE2
ADJUST FCSFADJ 0 /360 CONFIG POW-POS NORMAL
ADJUST RCSFADJ 0 /360 CONFIG ==END==
ADJUST FCNTLOR 4 /9 ---------------------------
ADJUST FCNTLFN 0 /90
ADJUST RCNTLOR 4 /9
<
< Ga
p
 Ad
j
ust settin
g
s >>
ADJUST RCNTLFN 0 /90 ---------------------------
ADJUST CUTLOR 1.8/9 Func. Item Option
ADJUST CUTLFN 0 /90 ---------------------------
ADJUST FCNTCUT 99 /180 GAP-ADJ AMOUNT AUTO
ADJUST RCNTCUT 99 /180 GAP-ADJ ==END==
ADJUST CUT-CUT 20 /180 ---------------------------
ADJUST FRCSLNT 28/360
ADJUST ==END==
*** Setu
p
 Parameters ***
-------------------------
<
< Config settings >>
-
------------------------
-
-
------------------------
-
-
------------------------
-
-------------------------
-------------------------
<< Menu 1 settings >>
<
< Menu 2 settings >>
-
------------------------
-
-
------------------------
-
-------------------------
-------------------------
<< Hardware settings >>
-------------------------
-------------------------
-------------------------
<< Adjust settings >>
-------------------------

USING SETUP MODE 
5-10  User's Manual 
Printout of factory defaults using LIST 
To enter setup mode, follow these steps: 
1.  Press the ONLINE button to place the printer offline. 
2.  Press the SETUP button until the printer beeps.  
Entering setup mode  
3.  When the printer enters offline setup mode, LCD display shall 
change as follows.   
ENTERING SETUP 
MODE(LCD) 
OFFLINE 
AUTO   TRACTOR F 
SETUP MODE 
MENU1           
SETUP MODE 
MENU2         
SETUP MODE 
SELFDIAGNOSTIC  
MENU1 
EMULATE         
EMULATE 
*DPL24C+        
:SAVE   :CANCEL
MENU1 
FONT          
EMULATE 
 XL24E        
EMULATE 
*XL24E        
SELECT button 
SETUP button  SAVE/EXIT button
SETUP MEN
U
“*” is applied to a selected option.
or
explanatory note 
 : button 
 : button 
 : button 
 : button 

USING SETUP MODE 
User's Manual  5-11 
Transition of LCD SETUP MODE 
Setup Mode Example (LCD) 
To become familiar with setup mode, try the following example. This 
example shows how to change the Emulation in MENU2 to ESC/P2. 
1.  Press the ONLINE button to place the printer online. 
2.  Press the SETUP button to enter select menu. Then following 
message is displayed. 
3.  Press    button until following message is displayed. 
4.  Press     buttons to move to lower layer. Then following 
message is displayed. 
5.  Press    ,  to choose Items in this layer. 
6.  Press     buttons to move to lower layer. Then following 
message is displayed. 
7.  Press    ,  to choose Options in this Item. 
8.  Press SELECT button to select displayed option. Then “*” is 
applied to a selected option (not saved yet). 
7. Press SAVE/EXIT buttons to register selected option on 
printer’s permanent memory.  
6.  Press     to finish. 
SETUP MODE 
MENU1         
SETUP MODE 
MENU2         
MENU2 
EMULATE          
MENU2 
EMULATE          
EMULATE 
*DPL24C+      
EMULATE 
 ESC/P2       
EMULATE 
*ESC/P2       
:SAVE   :CANCEL

USING SETUP MODE 
5-12  User's Manual 
Available functions of  LCD types SETUP MODE are as follows. 
Table 5.2 summarizes the purpose of each function. 
Table 5.2  Setup Mode Functions(LCD) 
Function Purpose 
MENU1 and MENU2  Assigns print features to MENU1 and MENU2 on 
the printer control panel. 
HARDWRE  Changes the printer hardware options. 
ADJUST  Changes the print position adjustment options. 
CONFIG  Changes the configuration options. 
GAP-ADJ  Adjust the gap between the print head and printing 
paper. 
SUB FUNCTION  SAVE&EXIT  Exits setup mode and saves any changes made 
while in setup mode. 
LIST  Prints a list of all currently selected options. 
DEFAULT  Resets factory defaults in MENU1 and MENU2. 
INITIAL  Resets factory defaults in MENU1, MENU2, 
HARDWRE, ADJUST, CONFIG, GAP-ADJ. 
SELFDIAGNOSTIC  SELF-TST  Runs the self-test. 
HEX-DUMP Prints hex dumps. 
V-ALMNT  Checks and corrects vertical print alignment. 
Detail of selecting items and options are almost same as LED type. 
General difference of LCD type SETUP MODE is only SETUP method. 
The LIST function prints a list of all the printer’s currently selected 
options. This function is useful for checking the printer settings when 
you first enter setup mode or just before you exit. To print a list of 
options, load paper A4 size or more in advance and select list function.  
NOTE 
If paper runs out only LOAD button is available. 
OVERVIEW OF 
SETUP MODE (LCD) 
PRINTING 
A
 LIST OF 
SELECTED 
OPTIONS(LCD) 

USING SETUP MODE 
User's Manual  5-13 
The previous page shows a printout of the printer’s factory default 
settings. In this printout, options are listed by functional group: 
  Menu 1 settings (MENU1 function) 
  Menu 2 settings (MENU2 function) 
  Hardware settings (HARDWRE function) 
  Print position adjustment settings (ADJUST function) 
  Configuration settings (CONFIG function) 
  Print head gap adjustment settings (GAP-ADJ function) 
Most selectable options only alter print features, such as the typestyle, 
and page format. However, some options must be selected correctly for 
the printer to work properly with your hardware and software. 
For each function, Table 5.3 lists items whose options must be selected 
correctly for system and printer accessory compatibility. 
Table 5.3  Required Options 
Function Item  Option 
MENU1 EMULATE The emulation selected on the printer must be the 
same as the emulation selected in your software. 
If you selected an emulation when you set up the 
printer (Chapter 2), you do not need to change the 
EMULATE option unless you want to change to 
a different emulation. The emulation assigned to 
MENU1 is the default when you turn the printer 
on. 
See the section MENU1 and MENU2 Items and 
Options later in this chapter. 
MENU2 None  If you use MENU2, the emulation selected for 
MENU 2 must be the same as the emulation 
selected in your software. 
See the section MENU1 and MENU2 Items and 
Options later in this chapter. 
DECIDING WHICH 
OPTIONS TO 
CHANGE 

USING SETUP MODE 
5-14  User's Manual 
Table 5.3  Required Options (Cont.) 
Function Item  Option 
HARDWRE  FORMAT 
BAUD-RT 
PROTOCL 
DSR 
DUPLEX 
CTS  
CD 
If you have a serial interface, the serial interface 
options selected on the printer must be the same 
as the settings you selected using your software or 
your computer operating system. If the settings 
are not the same, the printer will not print or will 
print garbage. 
See the section Hardware Items and Options 
later in this chapter. 
ADJUST None  If you are not using software to specify the top 
margin of the page, use the printer’s default top-
of-form setting, 1 inch (25.4 mm) from the top of 
the paper. If you are using software to specify the 
top margin of the page, change the default setting 
to 1/6 inch (4.2 mm). 
See the section Print Position Adjustment Items 
and Options later in this chapter. 
CONFIG None  You can change the printer’s primary 
configuration. 
See the section Configuration Items and 
Options later in this chapter. 
GAP-ADJ None  If you adjust the gap manually or fix the gap, 
change the setting.  
See the section Print Head Gap Adjustment 
Items and Options. 

USING SETUP MODE 
User's Manual  5-15 
The MENU1 and MENU2 functions allow you to change the print 
options assigned to MENU1 and MENU2 on the printer control panel.  In 
normal (non-setup) mode, you can easily switch between the menus for 
printing, as described in Chapter 4. 
MENU1 is invoked when you first turn the printer on. 
Select the same emulation on the printer as is selected in your software. 
If the emulations are not the same, the printer will not work correctly 
with your software. If you plan to use two different emulations on a 
regular basis, assign the most frequently used emulation to MENU1. 
Assign the second emulation to MENU2. All of the other settings 
available for MENU1 and MENU2 are optional.  Some of the items and 
options will vary with the emulation. 
To determine which features your software supports, refer to your 
software documentation. 
Table 5.4 describes the MENU1 and MENU2 items and options. Both 
functions offer the same items and options. The items in Table 5.4 are 
listed in the order in which they are printed. Not all items are defined for 
all emulations and some options vary with the emulation. 
The procedure for changing the options is referred to in the section Setup 
Mode Example. 
MENU1 AND MENU2 
ITEMS AND 
OPTIONS 

USING SETUP MODE 
5-16  User's Manual 
Table 5.4  MENU1 and MENU2 Items and Options 
NOTES: 
 Underlined options are the factory defaults. 
 Asterisks identify items and options that differ for the IBM XL24E 
and Epson ESC/P2 emulations. The notes are defined at the end of 
the table. 
MENU1 and 
MENU2 Items  Options Description 
<EMULATE>    Select the same emulation as is selected in your 
software. See the section Selecting an 
Emulation in Chapter 2 for information on 
selecting an emulation. 
 DPL24C+ Fujitsu DL-series printers  
(DPL24C PLUS command set) 
 XL24E 
ESC/P2 
IBM Proprinter XL24E printers Epson printers 
using the ESC/P2 command set 
NOTE: When you change the emulation, all 
MENU1 or MENU2 options are reset to the 
factory defaults for that emulation. 
<FONT>  
COUR 10 
PRSTG12 
COMPRSD
BOLDFCE
PICA 10 
CORRESP
OCR-B 
OCR-A 
COUR-N 
COUR-B 
COUR-I 
N.SAN-N 
N.SAN-B 
N.SAN-I 
For each of the following fonts, the 
recommended pitch settings are given after the 
font name. When you change the font, be sure 
to also change the pitch, if required. 

USING SETUP MODE 
User's Manual  5-17 
Table 5.4  MENU1 and MENU2 Items and Options (Cont.) 
NOTES: 
 Underlined options are the factory defaults. 
 Asterisks identify items and options that differ for the IBM XL24E 
and Epson ESC/P2 emulations. The notes are defined at the end of 
the table. 
MENU1 and 
MENU2 Items Options Description 
<FONT> 
(continued) 
TIMLS-N 
TIMLS-B 
TIMLS-I   
  DOWNLD# Font 0 or font 1 in the printer’s download 
RAM 
See Appendix F for font examples. 
<QUALITY>    Select the print quality that most often meets 
your needs. 
 LETTER Letter print quality. This option provides the 
highest resolution but the slowest print 
speed. It cannot be used with the 
compressed font. 
  REPORT  Report print quality. This option provides 
lower resolution than letter quality, but at 
twice the speed. If you want only the double 
speed, regardless of fonts, use the 
correspondence font. The quality of the 
correspondence font is higher than that of 
report. 
  DRAFT  Regular draft print quality. This option 
provides lower resolution than report 
quality, but at 3 times letter speed. 
  HI-DRFT  High-speed draft print quality. This option 
provides lower resolution than draft quality, 
but at 4 times letter speed. 
 SH-DRFT 
Super high-speed draft print quality. This 
option provides lower resolution than hi-
draft quality, but at 4.4 times letter speed.  
Condition: The margin is enough to speed 
up. 

USING SETUP MODE 
5-18  User's Manual 
Table 5.4  MENU1 and MENU2 Items and Options (Cont.) 
NOTES: 
 Underlined options are the factory defaults. 
 Asterisks identify items and options that differ for the IBM XL24E 
and Epson ESC/P2 emulations. The notes are defined at the end of 
the table. 
MENU1 and 
MENU2 Items  Options Description 
<PITCH>  ## CPI  2.5, 3, 5, 6, 10, 12, 15, 17, 18, or 20 cpi 
(characters per horizontal inch) 
If 15cpi is selected at ESC/P2 emulation, font 
size is compressed and DQ and HDQ printing 
is done at LQ speed. 
To avoid speed down, select NOCMPRS at 
15CPI item.  
  PROP SP  Proportional spacing (1/12 inch per character 
space) 
<LINE SP>  ## LPI  1, 2, 3, 4, 5, 6, 7, or 8 lpi  
(lines per vertical inch) 
6 lpi  3 lpi (double spacing) 
ABCD ABCD 
ABCD 
ABCD ABCD 
ABCD 
ABCD ABCD 
ABCD 
<CHAR-W>    Change also the pitch 2 TIMES or 4 TIMES is 
selected. 
 NORMAL Standard character width 
  2 TIMES  Double character width 
 4 TIMES 
(*1) 
Quadruple character width 

USING SETUP MODE 
User's Manual  5-19 
Table 5.4  MENU1 and MENU2 Items and Options (Cont.) 
NOTES: 
 Underlined options are the factory defaults. 
 Asterisks identify items and options that differ for the IBM XL24E 
and Epson ESC/P2 emulations. The notes are defined at the end of 
the table. 
MENU1 and 
MENU2 Items Options Description 
<CHAR-H>    Change also the line spacing if 2 TIMES or 4 
TIMES is selected. 
 NORMAL Standard character height 
  2 TIMES  Double character height 
 4 TIMES 
(*1) 
Quadruple character height 
<ATTRIB>    Selects an attribute to add emphasis to your 
documents. 
Only one attribute may be selected at a time. 
 NONE 
 ITALICS   
 CONDNSD 
(*1)   
 SHADOW 
 BOLD 

USING SETUP MODE 
5-20  User's Manual 
Table 5.4  MENU1 and MENU2 Items and Options (Cont.) 
NOTES: 
 Underlined options are the factory defaults. 
 Asterisks identify items and options that differ for the IBM XL24E 
and Epson ESC/P2 emulations. The notes are defined at the end of 
the table. 
MENU1 and 
MENU2 Items  Options Description 
<PAGE LG>    Specifies the length of the page in inches.   
  ## IN  For DPL24C PLUS and IBM XL24E 
emulations: 
3.0, 3.5, 4.0, 5.0, 5.5, 6.0, 7.0, 8.0, 8.5, 11.0 
(letter size), 11.6 (A4 size), 12.0, 14.0, 18.0 
inches, or LINE 
For Epson ESC/P2 emulation: 4.0, 4.5, 5.0, ..., 
11.0, 11.5, ..., 22.0 inches 
  LINE  Selecting the page length by specifying 
number of lines per page (default: 66 lines per 
page) Selecting this option displays the <PG 
LX10> and <PG LX1>. Use in combination 
the <PG LX10> to set the tens value of the 
lines-per-page setting, and the <PG LX1> to 
set the ones value of the lines-per-page setting. 
<PG LX10>  Tens value 
setting for 
setting 
number of 
lines per 
page 
0 LINE, 10 LINE, 20 LINE, 30 LINE 40 
LINE, 50 LINE, 60 LINE, 70 LINE 80 LINE, 
90 LINE 
 The LINE setting depends on the line 
spacing setting 'LINE SP'. 
 When 0 LINE is set, the line spacing 
value is 11.0 IN (only when both 'PG 
LX10' = '0 LINE' and 'PG LX1' = '0 
LINE' are set). 
<PG LX1>  Ones value 
setting for 
setting 
number of 
lines per 
page 
0 LINE, 1 LINE, 2 LINE, 3 LINE 4 LINE, 5 
LINE, 6 LINE, 7 LINE 8 LINE, 9 LINE 
 The LINE setting depends on the line 
spacing setting 'LINE SP'. 
 When 0 LINE is set, the line spacing 
value is 11.0 IN (only when both 'PG 
LX10' = '0 LINE' and 'PG LX1' = '0 
LINE' are set). 

USING SETUP MODE 
User's Manual  5-21 
Table 5.4  MENU1 and MENU2 Items and Options (Cont.) 
NOTES: 
 Underlined options are the factory defaults. 
 Asterisks identify items and options that differ for the IBM XL24E 
and Epson ESC/P2 emulations. The notes are defined at the end of 
the table. 
MENU1 and 
MENU2 Items Options Description 
<LFT-END>   Specifies the print start column for changing 
the left margin. Printing starts at the position 
given by this column plus your software-
specified left margin. 
  ## COLM  Column 1, 2, 3, ..., 41 
<TOP-MRG>   Specifies the number of space lines for the top 
margin. The resultant blank space is the 
<TOP-MRG> setting minus 1 line. 
The total size of your top margin is the above 
resultant value plus the following two settings: 
top-of-form (default = 1 inch) and the 
software-specified top margin. If you are using 
software to specify the top margin, use the 
default (1 line) for <TOP-MRG>. 
  ## LINE  1, 2, 3,4, 5, 6, 7, 8, 9, or 10 lines 

USING SETUP MODE 
5-22  User's Manual 
Table 5.4  MENU1 and MENU2 Items and Options (Cont.) 
NOTES: 
 Underlined options are the factory defaults. 
 Asterisks identify items and options that differ for the IBM XL24E 
and Epson ESC/P2 emulations. The notes are defined at the end of 
the table. 
MENU1 and 
MENU2 Items  Options Description 
<LANGUGE>    Selects a language. Appendix E shows the 
character sets for each language. 
Two-pass means that diacritical marks are 
printed separately from their letters and that 
letters are printed without any reduction. 
The first listing is common to all emulations. 
Options specific to each emulation are 
skipped. See the subsequent listings (*2) 
and(*3). 
 USA American English 
(Same as code page 437) 
 UK British English 
 GERMAN German 
 SWEDISH Swedish 
 PAGE437 Code page 437 
  PAGE850  Code page 850 
  PAGE860  Code page 860 
  PAGE863  Code page 863 
  PAGE865  Code page 865 
 ECMA94 ECMA 94 
 ISO8859 ISO 8859-1 
  PG852  Code page 852 
  PG852-T  Code page 852 two-pass 
  PG855  Code page 855 
  PG866  Code page 866 
 HUNGARY Hungarian 
 HUNG-T Hungarian two-pass 

USING SETUP MODE 
User's Manual  5-23 
Table 5.4  MENU1 and MENU2 Items and Options (Cont.) 
NOTES: 
 Underlined options are the factory defaults. 
 Asterisks identify items and options that differ for the IBM XL24E 
and Epson ESC/P2 emulations. The notes are defined at the end of 
the table. 
MENU1 and 
MENU2 Items Options Description 
<LANGUGE> 
(continued) 
SLOV Slovenian 
SLOV-T Slovenian two-pass 
 POLISH Polish 
 POLSH-T Polish two-pass 
 MAZOWIA Mazowian 
 MAZOW-T Mazowian two-pass 
 LATIN2 Latin 2 
 LATIN2-T Latin 2 two-pass 
 KAMENIC Kamenicky 
 KAMEN-T Kamenicky two-pass 
 TURKY Turkish 
 TURKY-T Turkish two-pass 
 CYRILIC Cyrillic 
 IBM437 IBM 437 
 IBM851 IBM 851 
 ELOT928 ELOT 928 
  PG-DHN  Code page DHN 
 LATIN-P Latin Polish 
 ISO-LTN ISO Latin 
 LITHUA1 Lithuanian1 
 LITHUA2 Lithuanian2 
 MIK  
 MACEDON Macedonian 
 PG-MAC  
 ELOT927  

USING SETUP MODE 
5-24  User's Manual 
Table 5.4  MENU1 and MENU2 Items and Options (Cont.) 
NOTES: 
 Underlined options are the factory defaults. 
 Asterisks identify items and options that differ for the IBM XL24E 
and Epson ESC/P2 emulations. The notes are defined at the end of 
the table. 
MENU1 and 
MENU2 Items  Options Description 
<LANGUGE> 
(continued) 
ABG  
ABY  
 DEC GR  
 HBR-OLD  
 PG862  
 HBR-DEC  
 GREEK 11  
 ISO-TUK ISO Turkish 
 RUSCII  
 LATIN-9  
 WCP1250 Windows-1250 
 WCP1251 Windows-1251 
 WCP1252 Windows-1252 
 (*2)  
 FRENCH French 
 ITALIAN Italian 
 SPANISH Spanish 
 DANISH1 Danish I 
 DANISH2 Danish II 
 FINNISH Finnish 
 NORWEGN Norwegian 

USING SETUP MODE 
User's Manual  5-25 
Table 5.4  MENU1 and MENU2 Items and Options (Cont.) 
NOTES: 
 Underlined options are the factory defaults. 
 Asterisks identify items and options that differ for the IBM XL24E 
and Epson ESC/P2 emulations. The notes are defined at the end of 
the table. 
MENU1 and 
MENU2 Items Options Description 
<LANGUGE> 
(continued) 
DANISH1 Danish I 
 ITALIAN Italian 
 SPANSH1 Spanish I 
 SPANSH2 Spanish II 
 JAPAN Japanese 
 NORWEGN Norwegian 
  LATIN A  Latin American 
 FRENCH French 
 DANISH2 Danish II 
 KOREA Korea 
 LEGAL Legal 
<CHR-SET> (*2) 
SET 1 
IBM character set 1 
 SET 2 IBM character set 2 
    If a downloaded (soft) font is used, the 
character set for that font overrides the 
<CHR-SET> setting. 
 (*3)  
 ITALIC Italic characters are available. 
  GRAPHIC  Graphics characters (ruled lines) are 
available. 

USING SETUP MODE 
5-26  User's Manual 
Table 5.4  MENU1 and MENU2 Items and Options (Cont.) 
NOTES: 
 Underlined options are the factory defaults. 
 Asterisks identify items and options that differ for the IBM XL24E 
and Epson ESC/P2 emulations. The notes are defined at the end of 
the table. 
MENU1 and 
MENU2 Items  Options Description 
<AGM> 
 (*5) 
ON  Enables the graphic image command. 
 OFF Disables the graphic image command. 
<PRF-SKP>    For continuous forms, this option specifies 
whether an inch is skipped around the 
perforation. If you are not using software to 
specify a bottom margin, select SKIP when 
using thicker, multipart forms. 
SKIP  One inch is skipped around the perforation. 
 NO-SKIP The perforation is not skipped. Printing 
continues in the bottom margin of the page. 
<WIDTH> 13.6 IN  13.6-inch page width 
  11.4 IN  11.4-inch page width 
  11.0 IN  11-inch page width 
  8.0 IN  8-inch page width 
<ZEROFNT>     Specifies whether to print the number zero 
with a slash. This is useful to distinguish the 
capital letter “O” from the number “0”. 
Invalid for some soft fonts. 
 NO-SLSH 0 
 SLASH 0 

USING SETUP MODE 
User's Manual  5-27 
Table 5.4  MENU1 and MENU2 Items and Options (Cont.) 
NOTES: 
 Underlined options are the factory defaults. 
 Asterisks identify items and options that differ for the IBM XL24E 
and Epson ESC/P2 emulations. The notes are defined at the end of 
the table. 
MENU1 and 
MENU2 Items Options Description 
<DC3-CDE> 
(*4) 
ENABLE  Enables the DC1 and DC3 codes. 
Any data received between DC3 and the 
next DC1 is ignored. 
DISABLE  Disables the DC1 and DC3 codes. These 
codes are then ignored. 
<CR-CODE> CR ONLY No line feed is added to a carriage return. 
  CR & LF  A line feed is added to each carriage return.
<LF-CODE> 
(*2) 
LF ONLY  No carriage return is added to a line feed. 
  LF & CR  A carriage return is added to each line feed.
Note 
The default value of <LF-CODE> changes with the selected emulations as 
follows.  
"LF&CR" is a default value in the DPL24C+ emulations.  
"LF ONLY" is a default value in the XL24E emulations. 

USING SETUP MODE 
5-28  User's Manual 
Table 5.4  MENU1 and MENU2 Items and Options (Cont.) 
NOTES: 
 Underlined options are the factory defaults. 
 Asterisks identify items and options that differ for the IBM XL24E 
and Epson ESC/P2 emulations. The notes are defined at the end of 
the table. 
MENU1 and 
MENU2 Items  Options Description 
<RGHTEND> WRAP  End-of-line wrap. Causes a carriage return 
plus a line feed. 
OVR-PRT  Characters are overprinted at the end of a 
line. 
<15CPI> COMPRES1 Enables compression of font when 15cpi 
selected at ESC/P2 emulation. Horizontal 
and vertical font size is compressed.  
COMPRS2  Enables compression of font when 15cpi 
selected at ESC/P2 emulation. Horizontal 
font size is compressed.  
NOCMPRS  Disables compression of font when 15cpi 
selected at ESC/P2 emulation.  When accept 
the compressing command, only horizontal 
compression is executed.    

USING SETUP MODE 
User's Manual  5-29 
Table 5.4  MENU1 and MENU2 Items and Options (Cont.) 
NOTES: 
 Underlined options are the factory defaults. 
 Asterisks identify items and options that differ for the IBM XL24E 
and Epson ESC/P2 emulations. The notes are defined at the end of 
the table. 
MENU1 and 
MENU2 Items Options Description 
<INT-MEC>  ENABLE  Mechanical initial is operated by receiving a 
reset command.  
DISABLE  Mechanical initial isn’t operated by receiving 
a reset command.  
<==END==>   Indicates the end of MENU1 items.  Press 
the  button to print the first item, 
<EMULATE>. Press the  button to print 
the previous item, <INT-MEC>. Press the 
ONLINE button to reprint the 
<<FUNCTION>> menu. 
*1  Unavailable in the IBM XL24E emulation 
*2  Unavailable in the Epson ESC/P2 emulations 
*3  Available only in the Epson ESC/P2 emulations 
*4  Available only in the DPL24C+ emulation 
*5  Available only in the IBM XL24E emulation 

USING SETUP MODE 
5-30  User's Manual 
Resetting MENU1 and MENU2 
To reset the factory defaults for both MENU1 and MENU2, select the 
DEFAULT/INITIAL function.  For more information, see the section 
Resetting Defaults later in this chapter.  The DEFAULT function cannot 
reset those options which are handled by the HARDWRE, ADJUST, 
CONFIG, and GAP-ADJ functions. The INITIAL function can reset 
those options which are handled by the HARDWRE, ADJUST, CONFIG, 
and GAP-ADJ functions. 
The HARDWRE function defines the printer’s hardware operating 
conditions.  If you are using the optional RS-232C serial interface, 
the serial interface options must be set properly for the printer to 
function correctly with your system hardware. 
Table 5.5 describes the HARDWRE items and options. Items are 
listed in the order in which they are printed. The procedure for changing 
the hardware options is described after Table 5.5. 
Table 5.5  HARDWARE Items and Options 
NOTE: Underlined options are the factory defaults. 
HARDWARE 
Items  Options Description 
<PPR-OUT>    Specifies how the printer responds when you 
run out of paper. 
  CNTONLY The printer detects paper-out only for 
continuous forms. Printing stops and the 
PAPER OUT indicator lights red. 
 DETECT The printer detects paper-out for both 
continuous forms and single sheets. Printing 
stops and the PAPER OUT indicator lights 
red.   
  IGNORE  The printer ignores paper-out for both 
continuous forms and single sheets. Printing 
continues until no more data remains. No 
PAPER OUT warning is displayed. 
CHANGING 
HARDWARE 
OPTIONS 

USING SETUP MODE 
User's Manual  5-31 
Table 5.5  HARDWARE  Items and Options (Cont.) 
NOTE: Underlined options are the factory defaults. 
HARDWARE 
Items  Options Description 
<PRT-DIR> BI-DIR  Bidirectional printing. The printer prints in 
either direction while seeking the next print 
direction for a shorter print time. 
  UNI-DIR  Unidirectional printing. Unidirectional 
printing is used for printing vertical lines in 
tables even if vertical alignment is not 
adjusted. Unidirectional printing is slower 
than bidirectional printing. 
<BUZZER>    Enables or disables the printer status buzzer. 
 ON Buzzer on (recommended). 
The printer beeps to indicate paperout or 
other conditions. 
  ON-1  Buzzer on (Low quality)  
Sound in bass (Low frequency sound) 
  ON-2  Buzzer on (High-quality sound) 
Sound in high-pitched tone (High frequency 
sound) 
  OFF  Buzzer off under any conditions. 
<WORD-LG>    To determine the required word length, refer 
to your computer documentation. Select 8-
BIT to print bit image graphics. 
 8 BIT 8-bit word length (used by most computers) 
  7 BIT  7-bit word length (MSB = 0) 

USING SETUP MODE 
5-32  User's Manual 
Table 5.5  HARDWAREItems and Options (Cont.) 
NOTE: Underlined options are the factory defaults. 
HARDWARE 
Items  Options Description 
<BUFFER>    Assigns buffer memory to input data and 
downloaded font data. 
Print buffer  Download buffer 
 NONE 0 byte 128K bytes 
  256BYTE  256 bytes  127.75K bytes 
  2KBYTE  2K bytes  126K bytes 
 8KBYTE 8K bytes  120K bytes 
  24KBYTE  24K bytes  104K bytes 
  32KBYTE  32K bytes  96K bytes 
  96KBYTE  96K bytes  32K bytes 
  128KBYT  128K bytes  0K bytes 
NOTE: 
 0BYTE option is recommended only 
for graphics application. 
 With 128KB selected, the printer 
cannot accept any download font data. 
<SENLEVL>  ## %  120, 110, 100, 90, 80, 70 or 60 % 
The threshold level of Photo Sensor for Paper 
Edge Detection. 
If output voltage of photo sensor is not 
enough, threshold level should be lower so 
that sensor can detect paper properly. 
In general reasons of low voltage of sensor 
output are as follows. 
・Paper color is too dark. 
・Preprint is on scanning area. 
Note 
The margin for strong light from outside 
would be decreased, if you select threshold 
level lower than 100% (90,80,70 or 60%).  

USING SETUP MODE 
User's Manual  5-33 
Table 5.5  HARDWARE Items and Options (Cont.) 
NOTE: Underlined options are the factory defaults. 
HARDWARE  
Items  Options Description 
<STANDBY>  ## MIN  1, 3, 5, 10, 20 or 30 MIN 
Time until shifting to the power saving mode 
is set. 
<INTRFCE>    Selects the type of the interface to the 
computer. 
  PARALEL  Centronics parallel interface 
  SERIAL  RS-232C serial interface 
 USB USB interface 
 AUTO-2S Auto interface selection mode 
 AUTO-4S 
AUTO-6S 
 Both interfaces are ready for 
communication. 
 AUTO10S 
AUTO15S 
 Specify the timing regarding the selected 
interface as being inactive. 
  AUTO20S  To switch the interface to the optional LAN 
interface, mount the LAN card with the setup 
mode set to “AUTO-XS” or “AUTOXXS” 
under “INTERFCE,” which in turn is under 
“HARDWRE” The interface will 
automatically switch to the optional LAN 
interface. 
To switch the interface to something other 
than the optional LAN interface, do either of 
the following: 
 To return the setup mode to 
“INTERFCE” under “HARDWRE,” 
remove the LAN card. 
 To switch the interface to a fixed 
interface, set PARALEL,USB with the 
LAN card mounted, and the setup mode 
set to “INTERFCE” under 
“HARDWRE.” 

USING SETUP MODE 
5-34  User's Manual 
Table 5.5  HARDWARE Items and Options (Cont.) 
NOTE: Underlined options are the factory defaults. 
HARDWARE 
Items  Options Description 
Serial Interface or USB interface Items. The following <FORMAT> to 
<DUPLEX> items are not printed when you select the PARALEL option for 
the <INTRFCE> item. Be sure that the options selected on the printer are the 
same as the options selected using your computer operating system or your 
software. Refer to the documentation provided for your computer and software. 
<FORMAT>   Number 
of data 
bits 
Parity bit Number of stop 
bits 
 8NONE 1 8 None  1 
 8NONE 2 8 None 2 
 8EVEN 1 8 Even 1 
 8ODD 1 8 Odd 1 
 7EVEN 1 7 Even 1 
 7ODD 1 7 Odd 1 
 7MARK 1 7 Mark 1 
 7SPACE 1 7 Space 1 
 7EVEN 2 7 Even 2 
 7ODD 2 7 Odd 2 
    The data format also includes a start bit. The 
mark is logical 1. The space is logical 0. 
<BAUD-RT> 150 
300 
600 
1200 
2400 
4800 
9600 
19200 
The baud rate is in bps (bits per second). 
Select the same baud rate as 600 used by your 
computer or modem. 

USING SETUP MODE 
User's Manual  5-35 
Table 5.5  HARDWARE  Items and Options (Cont.) 
NOTE: Underlined options are the factory defaults. 
HARDWARE 
Items  Options Description 
<PROTOCL>    Indicates data transmission protocol. 
 XON/XOF The DC1 and DC3 codes are used. 
  DTR  The Data Terminal Ready signal is used. 
  REV-CHL  The Reverse Channel signal is used. 
<DSR>  DETECT  DSR is detected by the printer. 
 IGNORE  DSR is ignored by the printer. 
<DUPLEX> FULL  Simultaneous data transmission occurs in 
opposite directions. 
  HALF  Data transmission occurs in either direction, 
but not simultaneously. 
<CTS> DETECT  CTS is detected by the printer. 
  IGNORE  CTS is ignored by the printer. 
<CD>  DETECT  CD is detected by the printer. 
 IGNORE  CD is ignored by the printer. 
<==END==>   (LED only) 
Indicates the end of the HARDWRE item 
list. Press the   button to print the first item, 
which is <PPR-OUT>.  
Press the   button to print the previous 
item. Press the ONLINE button to reprint the 
<<FUNCTION>> menu. 

USING SETUP MODE 
5-36  User's Manual 
When you print using ruled paper, you often want to adjust the print 
position so that the print sits properly on the ruled lines. The ADJUST 
function allow you to: 
 Set top-of-form position 
 Fine-tune top-of-form position 
 Fine-tune left print start column (left margin) 
 Adjust for accumulative line spacing error in a page 
The top edge of your paper is the physical top of the page. The logical 
top of the page, as “understood” by the printer when loading paper, is 
called the top-of-form. Printing starts at this position. Note that printing 
actually starts at the position obtained by adding the following: 
 Top-of-form, default = 1.8/6 inch (7.6mm) 
 Top margin specified by your software 
 Printer TOP-MRG (top margin setting), default = 1 line 
Table 5.6 describes the ADJUST items and options. Items are listed in 
the order they are printed. The procedure for changing top-of-form is 
described after Table 5.6. 
CHANGING PRINT 
POSITION 
ADJUSTMENT 
OPTIONS 

USING SETUP MODE 
User's Manual  5-37 
Table 5.6  ADJUST Items and Options 
NOTE: The top of form position is out of paper at [-1/6 IN] and [0/6 IN].   
When printing, set the margin more than 1/6inch.   
ADJUST 
Items  Options Description 
<FCNTORG> -1/6 IN 
0/6 IN 
1/6 IN 
1.8/6 IN 
  : 
6/6 IN 
  : 
66/6 IN 
Sets the top-of-form for front 
continuous forms in increments of 1/6 
inch (4.2 mm) from the physical top of 
the page. 
The default is recommended if your top 
margin is not software-specified.  A 
setting of 1/6 inch is preferable when 
your top margin is software-specified. 
<FCNTFIN>  
0/180, ..., 29/180 
Fine-tunes the top-of-form position for 
front continuous forms. 
Increases top-of-form in increments of 
1/180 inch 
(0.14 mm). 
<RCNTORG> -1/6 IN 
0/6 IN 
1/6 IN 
1.8/6 IN 
  : 
6/6 IN 
  : 
66/6 IN 
Sets the top-of-form for rear continuous 
forms in increments of 1/6 inch (4.2 
mm) from the physical top of the page. 
The default is recommended if your top 
margin is not software-specified.  A 
setting of 1/6 inch is preferable when 
your top margin is software-specified. 
<RCNTFIN>  
0/180, ..., 29/180 
Fine-tunes the top-of-form position for 
rear continuous forms. 
Increases top-of-form in increments of 
1/180 inch 
(0.14 mm). 

USING SETUP MODE 
5-38  User's Manual 
Table 5.6  ADJUST Items and Options (Cont.) 
NOTE: The top of form position is out of paper at [-1/6 IN] and [0/6 IN].   
When printing, set the margin more than 1/6inch.   
ADJUST 
Items  Options Description 
<FCUTORG> -1/6 IN 
0/6 IN 
1/6 IN 
1.8/6 IN 
  : 
6/6 IN 
  : 
66/6 IN 
Sets the top-of-form for front single 
sheets in increments of 1/6 inch (4.2 
mm) from the physical top of the page. 
The default is recommended if your top 
margin is not software-specified.  A 
setting of 1/6 inch is preferable when 
your top margin is software-specified. 
<FCUTFIN>   
0/180, ..., 29/180 
Fine-tunes the top-of-form position for 
front single sheets. 
Increases top-of-form in increments of 
1/180 inch 
(0.14 mm). 
<RCUTORG> -1/6 IN 
0/6 IN 
1/6 IN 
1.8/6 IN 
  : 
6/6 IN 
  : 
66/6 IN 
Sets the top-of-form for rear single 
sheets in increments of 1/6 inch (4.2 
mm) from the physical top of the page. 
The default is recommended if your top 
margin is not software-specified.  A 
setting of 1/6 inch is preferable when 
your top margin is software-specified. 
<RCUTFIN>   
0/180, ..., 29/180 
Fine-tunes the top-of-form position for 
rear single sheets. 
Increases top-of-form in increments of 
1/180 inch 
(0.14 mm). 

USING SETUP MODE 
User's Manual  5-39 
Table 5.6  ADJUST Items and Options (Cont.) 
NOTE: Underlined options are the factory defaults. 
ADJUST 
Items  Options Description 
<FCNTBTM>  
-30/180, ..., 0/180,
..., 30/180 
It is possible to fine-tune the bottom 
blank by every 1/180 inches for its 
amount (4.2mm) of the front 
continuous form.  
NOTE: 
This setting is effective only at < 
FCNT-PE:EDGE >. 
<RCNTBTM>  
-30/180, ..., 0/180,
..., 30/180 
It is possible to fine-tune the bottom 
blank by every 1/180 inches for its 
amount (4.2mm) of the back 
continuous form.  
NOTE: 
This setting is effective only at < 
FCNT-PE:EDGE >. 
<CUT-BTM>  
-30/180, ..., 0/180,
..., 30/180 
It is possible to fine-tune the bottom 
blank by every 1/180 inches for its 
amount (4.2mm) of the cut sheet paper. 

USING SETUP MODE 
5-40  User's Manual 
Table 5.6  ADJUST Items and Options (Cont.) 
NOTE: Underlined options are the factory defaults. 
ADJUST 
Items  Options Description 
<CNT-LFT>  
-10/90, ..., 0/90, 
..., 10/90 
Fine-tunes the left print start position 
for continuous forms. 
Moves the position left or right in 
increments of 1/90 inch  
(0.28 mm). 
NOTE: 
This setting is effective only at  
< RCNT-SF: DISABLE > when the 
back tractor is used.  
< FCNT-SF: DISABLE > when the 
front tractor is used.  
<CUT-LFT>  
-10/90, ..., 0/90, 
..., 10/90 
Fine-tunes the left print start position 
for single sheets. 
Moves the position left or right in 
increments of 1/90 inch  
(0.28 mm). 
NOTE: 
This setting is effective only at < CUT-
SF:DISABLE >. 
<FCNTADJ>  -14/360, -9/360, -
4/360, 0/360 
4/360, 9/360, 
14/360, 
GRAPHIC(*1) 
Compensates for the forms feed error 
accumulated through feeding of front 
continuous forms. 
<RCNTADJ>  -14/360, -9/360, -
4/360, 0/360 
4/360, 9/360, 
14/360, 
GRAPHIC(*1) 
Compensates for the forms feed error 
accumulated through feeding of rear 
continuous forms. 
<FCNTAJL>  -14/360, -9/360, -
4/360, 0/360 
4/360, 9/360, 
14/360, 
GRAPHIC(*1) 
Compensates for the forms feed error 
accumulated through feeding of front 
continuous forms. (Last page) 

USING SETUP MODE 
User's Manual  5-41 
Table 5.6   ADJUST Items and Options (Cont.) 
NOTE: Underlined options are the factory defaults. 
ADJUST 
Items  Options Description 
<RCNTAJL>  -14/360, -9/360, -
4/360, 0/360 
4/360, 9/360, 
14/360, 
GRAPHIC(*1) 
Compensates for the forms feed error 
accumulated through feeding of rear 
continuous forms.  (Last page) 
<CUT-ADJ>  -14/360, -9/360, -
4/360, 0/360 
4/360, 9/360, 
14/360, 
GRAPHIC(*1) 
Compensates the line spacing pitch on 
the basis of the spacing error 
accumulated for feeding single sheets 
by10 inches. 
Decreases or increases in increments of 
1/360 inch in total. 
<FCSFADJ>  -14/360, -9/360, -
4/360, 0/360 
4/360, 9/360, 
14/360, 
GRAPHIC(*1) 
Compensates the line spacing pitch on 
the basis of the spacing error 
accumulated for feeding single sheets 
by10 inches. 
Decreases or increases in increments of 
1/360 inch in total. 
This option is available only when 
paper is being loaded in the front cut 
sheet feeder. 
<RCSFADJ>  -14/360, -9/360, -
4/360, 0/360 
4/360, 9/360, 
14/360, 
GRAPHIC(*1) 
Compensates the line spacing pitch on 
the basis of the spacing error 
accumulated for feeding single sheets 
by10 inches. 
Decreases or increases in increments of 
1/360 inch in total. 
This option is available only when 
paper is being loaded in the rear cut 
sheet feeder. 

USING SETUP MODE 
5-42  User's Manual 
Table 5.6  ADJUST Items and Options (Cont.) 
NOTE: Underlined options are the factory defaults. 
ADJUST 
Items  Options Description 
<FCNTLOR>  
0/9, 1/9, 1.8/9, 
2/9, 3/9, 4/9, ..., 
15/9 
It is possible to fine-tune the left blank 
of the front continues form (the amount 
of between the left paper edge to the 
first dot for the first character).  
This setting is effective only for the 
front continues form at < FCNT-
SF:ENABLE >. 
<FCNTLFN>   
0/90, ..., 29/90 
It is possible to fine-tune the left blan
k
of the front continues form by every 
1/90 inches. 
<RCNTLOR>  
0/9, 1/9, 1.8/9, 
2/9, 3/9, 4/9, ..., 
15/9 
It is possible to fine-tune the left blank 
of the back continues form (the amount 
of between the left paper edge to the 
first dot for the first character).  
This setting is effective only for the 
back continues form at < RCNT-
SF:ENABLE >. 
<RCNTLFN>   
0/90, ..., 29/90 
It is possible to fine-tune the left blan
k
of the back continues form by every 
1/90 inches. 
<CUTLOR>  
0/9, 1/9, 1.8/9, 
2/9, 3/9, 4/9, ..., 
15/9 
It is possible to fine-tune the left blank 
of the cut sheet paper (the amount of 
between the left paper edge to the first 
dot for the first character).  
This setting is effective only for the cut 
sheet paper at < CUT-SF:ENABLE >. 
<CUTLFN>   
0/90, ..., 29/90 
It is possible to fine-tune the left blan
k
of the cut sheet paper by every 1/90 
inches. 

USING SETUP MODE 
User's Manual  5-43 
Table 5.6  ADJUST Items and Options (Cont.) 
NOTE: Underlined options are the factory defaults. 
ADJUST 
Items  Options Description 
<FCNTCUT>  71 /180, 74 /180, 
78 /180, 81 /180, 
85 /180, 88 /180, 
92 /180, 95 /180, 
99 /180, 102/180, 
106/180, 109/180,
113/180, 116/180, 
120/180, 124/180, 
128/180, 131/180,
135/180, 138/180, 
142/180 
It is possible to set the amount of blank 
area of both sides of the front continues 
form. 
This setting is effective only for the 
front continues form at < 
FCNTARE:ENABLE1 or ENABLE2> 
<RCNTCUT>  71 /180, 74 /180, 
78 /180, 81 /180, 
85 /180, 88 /180, 
92 /180, 95 /180, 
99 /180, 102/180, 
106/180, 109/180,
113/180, 116/180, 
120/180, 124/180, 
128/180, 131/180,
135/180, 138/180, 
142/180 
It is possible to set the amount of blank 
area of both sides of the back continues 
form. 
This setting is effective only for the 
back continues form at < 
RCNTARE:ENABLE1 or ENABLE2>.
<CUT-CUT>  7  /180, 10 /180, 
14 /180, 17 /180, 
20 /180, 24 /180, 
28 /180, 31 /180, 
35 /180, 38 /180, 
43 /180, 46 /180, 
50 /180, 53 /180, 
57 /180, 60 /180, 
64 /180, 67 /180, 
71 /180 
It is possible to set the amount of blank 
area of both sides of the cut sheet paper.
This setting is effective only for the cut 
sheet paper at < CUT-ARE:ENABLE1 
or ENABLE2>. 
<FRCSLNT> 
7 /360, 14/360,  
21/360, 28/360,  
35/360 
It is possible to set the threshol
d
 of 
skew detection during manual paper 
insertion of a cut sheet. 

USING SETUP MODE 
5-44  User's Manual 
Table 5.6  ADJUST Items and Options (Cont.) 
NOTE: Underlined options are the factory defaults. 
ADJUST 
Items  Options Description 
<==END==>   (LED only) 
Indicates the end of MENU1 items. 
Press the   button to print the first 
item, <FCNTORG>.  Press the   
button to print the previous item, < 
FRCSLNT >  Press the ONLINE 
button to reprint the <<FUNCTION>> 
menu. 
*1:  When printing graphics, selecting “GRAPHIC” may result in the 
printing of clearer graphics. 

USING SETUP MODE 
User's Manual  5-45 
The CONFIG function defines the printer’s primary configuration. You 
can set the following options to ensure that the printer meets your 
requirements: 
 Tear off for continuous forms 
 Auto loading of single sheets 
 Direct decoding of certain commands 
 Enabling of the Area-over detection 
Table 5.6 describes the CONFIG items and options. Items are listed in 
the order they are printed. The procedure for changing the configuration 
options is described after Table 5.7. 
Table 5.7  CONFIG Items and Options 
NOTE: Underlined options are the factory defaults. 
CONFIG 
Items  Options Description 
<TEAROFF>    Auto or manual tear off  feed. 
  AUTO  Automatic tear off  feed is valid but only 
for continuous forms. Tear off feed can 
also be done using the TEAR OFF 
button. 
 MANUAL Automatic tear off feed is invalid, and 
tear off feed must be done using the 
TEAR OFF button. 
CHANGING 
CONFIGURATION 
OPTIONS 

USING SETUP MODE 
5-46  User's Manual 
Table 5.7  CONFIG Items and Options (Cont.) 
NOTE: Underlined options are the factory defaults. 
CONFIG 
Items  Options Description 
<TEARPOS>    Tear off position. 
 VISIBLE Select this option when your software 
positions forms to the next top-of 
form  after printing the last data. The 
printer performs tear off feed without 
adding a form feed when data transfer 
has stopped. 
  ALWAYS  Select this option when your software 
stops after printing the last data. The 
printer performs tear off feed after 
adding a form feed when data transfer 
has stopped. 
Note: For both settings, tear off 
positioning will fail if the page 
length setting does not match the 
actual perforation spacing. 
The following <TEAR-EN> item is printed when TEAROFF:AUTO is 
specified for the <TEAROFF> item. 
<TEAR-EN>    Tear off enabled time (offset time). 
 0 SEC 
1 SEC 
2 SEC 
4 SEC 
6 SEC 
The offset time is from when data 
transfer stops to when the printer 
performs automatic tear off feed. 
If the printer receives data again 
within the offset time, the printer 
does not perform automatic tear off 
feed. 

USING SETUP MODE 
User's Manual  5-47 
Table 5.7  CONFIG Items and Options (Cont.) 
NOTE: Underlined options are the factory defaults. 
CONFIG 
Items  Options Description 
<TEAR-EN> 
(continued) 
  In some application programs, data 
transfer may stop temporarily due to 
internal processing. This setting can 
avoid an undesired tear off feed by 
waiting for up to six seconds each 
time data transfer stops. 
<CUTLOAD>   Single sheet auto loading. 
 AUTO Single sheet paper is automatically 
loaded a certain time after you set the 
paper. 
  BUTTON  Single sheet paper can be loaded by 
pressing the LOAD button. 
The following <LOADTIM> item is printed when CUTLOAD:AUTO 
is specified for the <CUTLOAD> item. 
<LOADTIM>    Auto load start time. 
  0.5, 1.0, 1.5, 
2.0 2.5, 
3.0SEC 
Auto loading starts when this amount 
of time passes after you set single 
sheet paper. 
<DECODE>    Command decode timing. 
 DIRECT The printer decodes certain 
commands immediately after 
receiving data. 
Example: 
ESC SUB I, ESC CR  
P (DPL24C+) ESC  
Q # (IBM XL24E) 
  QUEUED  The printer decodes commands after 
storing all data (including commands) 
in the input buffer. This speeds data 
reception because the printer does not 
require decoding time during data 
reception. 

USING SETUP MODE 
5-48  User's Manual 
Table 5.7  CONFIG Items and Options (Cont.) 
NOTE: Underlined options are the factory defaults. 
CONFIG 
Items  Options Description 
<FCNTARE>    Area-over detection control of front 
continuous forms. 
 ENABLE1 Detects the left and right edges of 
paper when loading the paper.  
  ENABLE2  Detects the left and right edges of 
paper at 13mm and 43mm from top 
of the paper.  This setting is 
effective if the left and right edges 
are not detected by <ENABLE1> 
for preprint papers, etc. 
 DISABLE 
Does not detect the edges. Select 
this option when you are using 
colored or preprinted paper. 
<RCNTARE>   Area-over detection control of rear 
continuous forms. 
 ENABLE1 
Detects the left and right edges of 
paper when loading the paper.  
  ENABLE2  Detects the left and right edges of 
paper at 13mm and 43mm from top 
of the paper.  This setting is 
effective if the left and right edges 
are not detected by <ENABLE1> 
for preprint papers, etc. 
 DISABLE 
Does not detect the edges. Select 
this option when you are using 
colored or preprinted paper. 
<CUT-ARE>   Area-over detection control of cut 
sheets. 
 ENABLE1 
Detects the left and right edges of 
paper when loading the paper.  
 ENABLE2 
Detects the left and right edges of 
paper at 13mm and 43mm from top 
of the paper.  This setting is 
effective if the left and right edges 
are not detected by <ENABLE1> 
for preprint papers, etc. 
 DISABLE  Does not detect the edges. Select 
this option when you are using 
colored or preprinted paper. 
Table 5.7  CONFIG Items and Options (Cont.) 
NOTE: Underlined options are the factory defaults. 

USING SETUP MODE 
User's Manual  5-49 
CONFIG 
Items  Options Description 
<CUT-ONL>   Printer status after loading paper in 
offline mode for single sheets. 
  OFFLINE  Remains offline after paper loading.
 ONLINE Goes into online after paper 
loading. 
<CNT-ONL>    Printer status after loading paper in 
offline mode for continuous forms. 
  OFFLINE  Remains offline after paper loading.
 ONLINE Goes into online after paper 
loading. 
<LOCK>    Lock function of setup mode. 
 NONE Enables all buttons on the control 
panel. 
  SETUP  Disables the setup-related buttons 
to keep the printer from entering 
setup mode during the offline state.
  ALL  Disables the setup-related buttons 
and the MENU button. 
Once this setting has been selected, 
setup mode cannot be entered from 
the control panel. To cancel this 
setting, turn the power on while 
simultaneously pressing the HI 
IMPACT, PAPER PATH, and 
LF/FF buttons. 

USING SETUP MODE 
5-50  User's Manual 
Table 5.7  CONFIG Items and Options (Cont.) 
NOTE: Underlined options are the factory defaults. 
CONFIG 
Items  Options Description 
<//S//>    Effectiveness of the Cut Sheet 
Selection command (//S//). 
  ENABLE  Makes the command effective. 
Note:  The Cut Sheet Selection 
command (//S//) changes the 
paper source to the paper table 
and waits for manual insertion 
of a cut sheet. 
 DISABLE Makes the command ineffective. 
<FCNT-PE>    Detection of end of front continuous 
forms. 
 TRACTOR 
Paper end is detected by the sensor on 
the tractor unit. 
Paper-end unprinted area:  
Continuous forms:  About 101 mm 
 EDGE 
Regardless of paper end, printing 
continues near to the edge of paper. 
Paper-end unprinted area:  About 4 
mm for both continuous forms 
<RCNT-PE>    Detection of end of rear continuous 
forms. 
 TRACTOR 
Paper end is detected by the sensor on 
the tractor unit. 
Paper-end unprinted area:  
Continuous forms:  About 157 mm 
 EDGE 
Regardless of paper end, printing 
continues near to the edge of paper. 
Paper-end unprinted area:   
About 4 mm for both continuous 
forms 

USING SETUP MODE 
User's Manual  5-51 
Table 5.7  CONFIG Items and Options (Cont.) 
NOTE: Underlined options are the factory defaults. 
CONFIG 
Items  Options Description 
GATHER    Setting of ribbon protective control at 
a line feed on continuous forms 
  ENABLE  The protective control is executed. 
 DISABLE The protective control is not 
executed. 
CUT-CTL    Setting of retracting control at 
canceling TEAR OFF of continuous 
forms. 
 PRCISIN The precision-prioritized retracting 
control is executed. 
It retracts a certain amount of paper 
(the top part of the paper which hangs 
out from the TOFS), and then moves 
back to the position before TEAR 
OFF. If TOFS detects paper end 
when a certain amount of paper is 
retracted, it executes the continuous 
forms save operation and then 
executes the paper loading operation.
 SPEED The speed-prioritized retracting 
control is executed. 
It retracts the paper by the amount the 
paper was advanced. 

USING SETUP MODE 
5-52  User's Manual 
Table 5.7  CONFIG Items and Options (Cont.) 
NOTE: Underlined options are the factory defaults. 
CONFIG 
Items  Options Description 
SKIP-PR    Setting of printing speed change 
processing (skip) 
 ENABLE The skip processing is executed. 
When a certain amount of blank 
spaces are found in a line, it 
changes the printing speed for the 
blank spaces. 
  DISABLE  The skip processing is not executed. 
It does not change the printing 
speed for the blank spaces. 
-  If the printing speed of the 
printing data varies before and 
after the blank spaces (such as 
LQ characters + blank space + 
CQ characters), it changes 
printing speeds regardless of 
this setting. 
STATUS    Setting of the asynchronous status 
function 
  ENABLE  The status information is stored in 
the send buffer by a nibble mode 
request. 
 DISABLE The status information is not stored 
in the send buffer by a nibble mode 
request. 
BANDCTL    Setting of reducing backward line 
feeds as much as possible. 
Backward line feeds occur when 
printing vertical enlargement 
characters or multi-path characters 
which involve several printing 
paths for a print activation. 
  ENABLE  Reduce control is performed. 
 DISABLE Reduce control is not performed. 

USING SETUP MODE 
User's Manual  5-53 
Table 5.7  CONFIG Items and Options (Cont.) 
NOTE: Underlined options are the factory defaults. 
CONFIG 
Items  Options Description 
TOF-CTL    Setting of priority on TOF control to 
a printer driver specification or a 
setup specification. TOF control 
determines the amout of the top 
margin when paper is fed to the home 
position. 
 DRIVER Driver specification is given priority.
  SETUP  Setup specification is given priority. 
<FCNT-SF>    SET-FREE function of front 
continues papers is set. 
SET-FREE function is to adjust 
automatically the start printing 
position of print data by detecting the 
left edge position of paper during 
paper feeding. 
  EBANLE  Enables SET-FREE function 
 DISABLE Disables SET-FREE function 
<RCNT-SF>    Enables SET-FREE function of the 
back continues paper. 
  EBANLE  Enables SET-FREE function 
 DISABLE Disables SET-FREE function 
<CUT-SF>    Enables SET-FREE function of the 
cut sheet paper. 
  EBANLE  Enables SET-FREE function 
 DISABLE Disables SET-FREE function 

USING SETUP MODE 
5-54  User's Manual 
Table 5.7  CONFIG Items and Options (Cont.) 
NOTE: Underlined options are the factory defaults. 
CONFIG 
Items  Options Description 
<CUTEDIR>    Selection of the eject direction of cut 
sheets with manually feeding of cut 
sheets 
 FRONT Ejected to the front. 
  REAR  Ejected to the rear. 
<CSFEDIR>    Selection of the eject direction of cut 
sheets with use of a CSF 
  FRONT  Ejected to the front. 
 REAR Ejected to the rear. 
<CUTEJCT>    Selection for automatic ejection of 
cut sheets 
 AUTO Automatic ejection of cut sheets 
when no cut sheet is detected 
  MANUAL  No automatic ejection of cut sheets 
when no cut sheet is detected 
<FL-CENT>   Selection of the print carrier position 
when paper is fed via a front path 
(with feeding of continuous forms 
paper from the front, use of a front 
CSF, and manual feeding of cut 
sheets) 
 POSN1  Position 1: Column 31 
 POSN2  Position 2: Column 42 
<RL-CENT>    Selection of the print carrier position 
when paper is fed via a front path 
(with feeding of continuous forms 
paper from the rear and use of a rear 
CSF) 
 POSN1 Position 1: Column 31 
  POSN2  Position 2: Column 42 

USING SETUP MODE 
User's Manual  5-55 
Table 5.7  CONFIG Items and Options (Cont.) 
NOTE: Underlined options are the factory defaults. 
CONFIG 
Items  Options Description 
<SKEWCNT>   Detection of paper feed skew 
 PRCISIN Enables paper feed skew detection. 
Precision is the first priority. 
  SPEED  Enables paper feed skew detection. 
Speed is the first priority. 
  DISABLE  Disables paper feed skew detection. 
<FF-CODE>    Selection of the method of processing 
for the FF code is received in cut sheet 
mode or for the “LF/FF” switch 
 EJECT Ejects cut sheets. 
  FORM-FD  Uses a page break. 
<CSFBIN1>    Selection of the CSF for bin 1 if both a 
front CSF and rear CSF are mounted 
 FRONT  Front CSF 
 REAR Rear CSF 
<CNT-LD>    Selection for the paper feeding of 
continuous forms paper 
  PRCIS-1  Precision is the first priority. 
  PRCIS-2  Speed is the first priority. 
Reduces the disturbance of line break 
outstretching fold of the paper by over 
feeding during the process of paper 
feeding 
 SPEED Speed is the first priority. 

USING SETUP MODE 
5-56  User's Manual 
Table 5.7  CONFIG Items and Options (Cont.) 
NOTE: Underlined options are the factory defaults. 
CONFIG 
Items  Options Description 
<CSF-LD>    Selection of the method of feeding 
from the CSF 
 NORMAL Feeds paper directly from the CSF 
hopper. 
  SWBACK  Feeds paper from the CSF hopper to 
either the Paper table used with a 
front CSF or the stacker used with a 
rear CSF.  Then, that paper is fed 
again. 
<CSFAPTC>    Paper thickness detection with use of 
a CSF 
 NORMAL Sheet of paper that is fed immediately 
after the feed bin is switched 
  ALWAYS  Every sheet of paper that is fed 
<LF-CTL>    Selection for LF mode 
  PRCISIN  Precision is the first priority. 
 SPEED Speed is the first priority. 
<PR-MODE>    Selection for print mode 
 (standard/hi speed/low noise) 
 NORMAL Prints in standard mode. 
  HISPEED  Prints in hi-speed mode. 
  QUIET  Prints in low-noise mode. 
<HI-IMPT>    Selection for high printing pressure 
mode 
  ENABLE  Prints in high impact mode. 
 DISABLE Prints in standard impact mode. 

USING SETUP MODE 
User's Manual  5-57 
Table 5.7  CONFIG Items and Options (Cont.) 
NOTE: Underlined options are the factory defaults. 
CONFIG 
Items  Options Description 
<LQ-MODE >   Selection for letter quality printing 
mode 
 MODE1 Prints in 180CPS printing mode. 
  MODE2  Prints in 125CPS printing mode. 
<DQ-MODE >   Selection for draft quality printing 
mode 
  MODE1  Prints in 720CPS printing mode. 
 MODE2 Prints in 540CPS printing mode. 
  MODE3  Prints in 800CPS printing mode. 
<POW-POS >    It is possible to set the paper position 
at power on. 
 NORMAL Current position 
  TEAROFF  Tear off position 
<==END==>   (LED only) 
Indicates the end of the CONFIG 
item list. Press the   button to print 
the first item, which is <TEAROFF>.
Press the   button to print the 
previous item. Press the ONLINE 
button to reprint the 
<<FUNCTION>> menu. 

USING SETUP MODE 
5-58  User's Manual 
The GAP-ADJ function adjusts the gap between the print head and 
the paper. The automatic paper thickness control (APTC) feature is 
built in this printer. If you adjust the gap manually or fix the gap, 
change the option of GAP-ADJ function. 
For the procedure how to change the options refer to the section 
Setup Mode Example earlier in this chapter. 
Table 5.8  GAP-ADJ Items and Options 
NOTE: Underlined options are the factory defaults. 
GAP-ADJ 
Items  Options Description 
<AMOUNT>  (LED type)  Specifies the print head gap. 
 AUTO  The print head gap is set 
automatically. 
 MANUAL  Turn the paper thickness dial 
(indicator) manually. 
(LCD type)  
AUTO The print head gap is set 
automatically. 
GAP-1 
GAP-2 
GAP-3 
GAP-4 
GAP-5 
GAP-6 
GAP-7 
GAP-8 
GAP-9 
GAP-A 
GAP-B 
GAP-C 
GAP-D 
The print head gap is set  
selected manual gap. 
<==END==>   (LED only) 
Indicates the end of the GAP-
ADJ item list. Press the   
button to print the first item, 
which is <AMOUNT>. 
Press the   button to print the 
previous item. Press the 
ONLINE button to reprint the 
<<FUNCTION>> menu. 
HEAD GAP 
ADJUSTMENT 
ITEMS AND 
OPTIONS 

USING SETUP MODE 
User's Manual  5-59 
This section describes how to exit setup mode and save any changes you 
made: 
To exit setup mode immediately, select the SAVE & END (for LED 
type) SAVE&EXIT (for LCD type) function. 
Any settings changed while in setup mode are saved as the new power-
on defaults for the printer. The new defaults remain active until you 
change them again. 
NOTE (LED only) 
The only way to exit setup mode without saving your changes is to 
turn off the printer. When you turn the printer back on, the previous 
default settings are used. 
Procedure (for LED type) 
To exit setup mode and save your changes using SAVE/END, proceed as 
follows: 
1.  Print the <<FUNCTION>> menu. 
The <<FUNCTION>> menu should be the last printed line on 
the page. If the menu is not printed, press the ONLINE button to 
print the menu. The <<FUNCTION>> menu is shown below: 
<< FUNCTION >> 
SAVE&END MENU1    MENU2    HARDWRE  ADJUST   CONFIG   GAP-ADJ  DEFAULT  LIST     SELF-
T
ST  
HEX-DUMP V-ALMNT  INITIAL 
2.  Select the SAVE/END function. 
Make sure that the cursor on the left edge of the aluminum print 
guide is positioned under SAVE & END. Press the   button or 
the   button to select SAVE & END. The printer exits setup 
mode and returns online (the ONLINE indicator lights green). 
Any changes you made while in setup mode are saved. 
Procedure (for LCD type) 
To exit setup mode and save or cancel your changes using SAVE/EXIT 
function, proceed as follows: 
1.  Push SAVE/EXIT button. 
Push SAVE/EXIT button, then  “ :SAVE   :CANCEL” is 
displayed on LCD PANEL 
2. Push  or  button. 
Push   to save changing. 
Push   to cancel changing. 
EXITING AND 
SAVING 

USING SETUP MODE 
5-60  User's Manual 
This section describes how to reset the printer’s power-on defaults, 
all of the factory defaults, or the factory defaults only for MENU1 
and MENU2. 
Resetting Power-On Defaults 
Power-on defaults are the settings saved in the printer’s permanent 
memory. The defaults are enabled whenever you turn the printer on. 
The only (LED type) way to reset the power-on defaults is to turn the 
printer off and then on again. This method is useful if you have made 
changes in setup mode that you do not want to save. LCD type, save or 
cancel options are available on exit menu. 
Resetting Factory Defaults 
Factory defaults are those settings preselected at the factory. For a list of 
the printer’s factory defaults, see the section Printing a List of Selected 
Options earlier in this chapter. To reset the factory defaults for all 
functions, proceed as follows: 
1.  Turn off the printer. 
2.  While pressing the LOAD and, TEAR OFF buttons, turn on the 
printer. Continue to press the two buttons until the printer beeps. 
The factory defaults are now reset. 
Another available method is to select INITIAL in SETUP mode.  
The method of making settings is the same as the method for 
selecting DEFAULT on the next page, except that INITIAL 
must be selected instead of DEFAULT. 
Resetting Factory Defaults in MENU1 and 
MENU2 
This method resets factory defaults for MENU1 and MENU2 options, 
listed in Table 5.4, but does not reset the printer hardware, print position 
adjustment, and configuration options.  
Procedure (for LED type) 
To reset the factory defaults in MENU1 and MENU2, select DEFAULT 
in SETUP mode. Detail of method as follows: 
1.  Enter setup mode (LED type). 
Press the SETUP button until the printer beeps. Wait for the 
printer to stop printing and check that the following 
<<FUNCTION>> menu is printed: 
RESETTING 
DEFAULTS 

USING SETUP MODE 
User's Manual  5-61 
<< FUNCTION >> 
SAVE&END MENU1    MENU2    HARDWRE  ADJUST   CONFIG   GAP-ADJ  DEFAULT  LIST     SELF-
T
ST  
HEX-DUMP V-ALMNT  INITIAL 
2.  Select the DEFAULT function (LED type). 
Repeatedly press the “TEAR OFF” or “LOAD” button to 
position the cursor on the left edge of the aluminum print guide 
on DEFAULT. Press the   button or the   button to select the 
DEFAULT function. The printer reprints the <<FUNCTION>> 
menu. The default values in MENU1 and MENU2 are now reset 
(not saved yet). 
3.  Save reset values (LED type). 
To exit setup mode and save the new defaults, make sure that 
the cursor on the left edge of the aluminum print guide are 
positioned on SAVE & END, then press the   MICRO button 
or the   MICRO button.  
Procedure (for LCD type) 
To reset the factory defaults in MENU1 and MENU2, select DEFAULT 
in SETUP mode. Detail of method as follows: 
1.  Enter setup mode (LCD type). 
Press the SETUP button at offline state. Check that the “SETUP 
MODE” is displayed on LCD panel. 
2.  Select the DEFAULT function (LCD type). 
Repeatedly press the “ ” or “ ” button to display “SUB 
FUNCTION”. And then press the“ ” button to move lower 
layer. And then repeatedly press the “ ” or “ ” button to 
display “DEFAULT”. And then press the “SELECT” button to 
reset the default values in MENU1 and MENU2 (not saved yet). 
3.  Save reset values (LCD type). 
Exit setup mode, saving the factory defaults. 
Push SAVE/EXIT button. Check that “ :SAVE  :CANCEL” is 
displayed on LCD panel. Then press the“ ” button. 

USING SETUP MODE 
5-62  User's Manual 
This section describes how to use the following diagnostic functions: 
 SELF-TST 
 HEX-DUMP 
 V-ALMNT 
These functions are used for checking print quality and diagnosing 
printer problems. HEX-DUMP also provides useful information for 
programmers. 
Printing the Self-Test 
The SELF-TST function prints test pages to check how the printer 
operates independently of your computer. The self-test does not check 
the interface between the computer and the printer. 
The self-test prints the printer’s firmware version, its resident emulations, 
and all of the characters available in the currently selected character set. 
If the DPL24C PLUS emulation is selected for MENU1, the self-test is 
printed using the settings currently assigned to MENU1. 
Procedure 
This procedure assumes that you are in setup mode. To print the self-test, 
make sure that continuous forms paper is loaded into the printer. 
Then proceed as follows : 
1.  Print the <<FUNCTION>> menu.(LED) 
The <<FUNCTION>> menu should be the last printed line on 
the page. If the menu is not printed, press the ONLINE button to 
print the menu.  If you are using the HEX-DUMP function, 
press the “TEAR OFF” or “LOAD” button instead of the 
ONLINE button to print the menu.  The following 
<<FUNCTION>> menu is printed:   
<< FUNCTION >> 
SAVE&END MENU1    MENU2    HARDWRE  ADJUST   CONFIG   GAP-ADJ  DEFAULT  LIST     SELF-TST   
HEX-DUMP V-ALMNT  INITIAL 
2.  Select the SELF-TST function.(LED) 
Repeatedly press the “TEAR OFF” or “LOAD” button to 
position the cursor on the left edge of the aluminum print guide 
on SELF-TST, and then press the “ ” button or the “ ” 
button. The printer selects SELF-TST and starts printing. A 
short help menu is printed at the top of the page, followed by the 
self-test.  Note that the printer is not online during self-test 
printing. 
USING THE 
DIAGNOSTIC 
FUNCTIONS 

USING SETUP MODE 
User's Manual  5-63 
1.  Move to TOP MENU of SETUP MODE.(LCD) 
Press the “ ” button until “SETUPMODE” is displayed on 
LCD panel. 
2.  Select the SELF-TST function.(LCD) 
Repeatedly press the “ ” or “ ” button to display 
“SELFDIAGNOSTIC”. And then press the“ ” button to move 
lower layer. And then repeatedly press the “ ” or “ ” button 
to display “SELF-TEST”. And then press the “SELECT” button 
to start self-test printing. A short help menu is printed at the top 
of the page, followed by the self-test.  Note that the printer is not 
online during self-test printing. 
3.  Examine the self-test page. 
A sample self-test page is shown in Chapter 2. To pause during 
self-test printing, press the “LOAD” button. To resume self-test 
printing, press the “LOAD” button again. 
4.  Exit the SELF-TST function. 
Exit the SELF-TST function in either of the following ways: 
  To exit SELF-TST and remain in setup mode, press the 
LF/FF button. The <<FUNCTION>> menu is then 
reprinted (LED type). 
  To exit SELF-TST and return online, press the ONLINE 
button. The printer permanently saves any changes made 
while in setup mode and returns online. 
The self-test can also be started by turning off the printer, and then 
pressing the LF/FF button while turning the printer back on. As 
described in Chapter 2, this method is useful when you first set up the 
printer. 

USING SETUP MODE 
5-64  User's Manual 
Printing Hex Dumps 
The HEX-DUMP function prints data and commands in hexadecimal 
characters and abbreviated control codes. The IBM character set 2 is 
used for printing (see Appendix E). The HEX-DUMP function is useful 
for checking whether your computer is sending the correct commands to 
the printer and whether the printer is executing the commands correctly. 
It is also useful for debugging software programs. 
Procedure 
To print hex dumps, make sure that continuous forms paper is loaded 
into the printer. Then proceed as follows: 
1.  Enter setup mode(LED). 
Press the SETUP button  until the printer beeps. Wait for the 
printer to stop printing and check that the following 
<<FUNCTION>> menu is printed: 
2.  Select the HEX-DUMP function (LED) . 
<< FUNCTION >> 
SAVE&END MENU1    MENU2    HARDWRE  ADJUST   CONFIG   GAP-ADJ  DEFAULT  LIST     SELF-TST  
HEX-DUMP V-ALMNT  INITIAL 
Repeatedly press the “TEAR OFF” or “LOAD” button to 
position the cursor on the left edge of the aluminum print guide 
on HEX-DUMP, then press the  button or the  button to 
select the HEX-DUMP function. The printer goes online and 
prints a header and a short help menu. 
1.  Enter setup mode (LCD) . 
Press the SETUP button at offline state. Check that the “SETUP 
MODE” is displayed on LCD panel. 
2.  Select the HEX-DUMP function (LCD). 
Repeatedly press the “ ” or “ ” button to display 
“SELFDIAGNOSTIC”. And then press the“ ” button to move 
lower layer. And then repeatedly press the “ ” or “ ” button 
to display “HEX-DUMP”. And then press the “SELECT” 
button. The printer goes online and prints a header and a short 
help menu. 
3.  Print the hex dump. 
To start hex dump printing, send your file or program to the 
printer. The printer goes online and prints the hex dump. 
Press the LOAD button to pause during hex dump printing. To 
resume hex dump printing, press the “LOAD” button again. 

USING SETUP MODE 
User's Manual  5-65 
NOTE 
When hex dump printing stops, data that is less than one 
line printed yet, to print remaining data exit Hex-Dump 
mode(push LF/FF or ONLINE). 
Sample hex dump 
4.  Exit the HEX-DUMP function. 
Exit the HEX-DUMP function in either of the following ways: 
  To remain in setup mode, press the LF/FF button.  The 
<<FUNCTION>> menu is then reprinted (LED type). For 
details on other functions, see other sections in this chapter. 
  To return to online normal mode, press the ONLINE button. 
If you press the ONLINE button while the hex dump is 
printing, the printer immediately switches to normal online 
mode, but data that was sent to the printer is printed in 
normal mode. At same time the printer permanently saves 
any changes made while in setup mode. 
You can also enter hex dump mode, by turning off the printer, and then 
turning the printer back on while simultaneously pressing the ONLINE 
button and the LF/FF button until the printer beeps. 

USING SETUP MODE 
5-66  User's Manual 
Checking Vertical Print Alignment (V-ALMNT) 
The V-ALMNT function corrects the vertical character displacement that 
sometimes occurs with bidirectional printing. Characters printed from 
left to right are not aligned with characters printed from right to left as 
shown below: 
This example shows how printing looks 
 when characters are vertically 
misaligned. Note that the left 
 margin is not straight. 
If you notice misaligned printing, use the following procedure to check 
and correct the vertical print alignment. 
Procedure 
Make sure that continuous forms paper is loaded in the printer. If 
possible, use forms at least 356 mm (14 inches) wide to avoid printing on 
the platen. However, you can also use letter or A4 size forms if you set 
the WIDTH option in MENU1 to 8 inches. See the section Changing 
MENU1 and MENU2 Items and Options for details. Then proceed as 
follows to check and correct vertical print alignment: 
1.  Enter setup mode (LED). 
Press the SETUP button until the printer beeps. Wait for the 
printer to stop printing and check that the following 
<<FUNCTION>> menu is printed: 
<< FUNCTION >> 
SAVE&END MENU1    MENU2    HARDWRE  ADJUST   CONFIG   GAP-ADJ  DEFAULT  LIST     SELF-TST  
HEX-DUMP V-ALMNT  INITIAL 
2.  Select the V-ALMNT function (LED). 
Repeatedly press the “TEAR OFF” or “LOAD” button to 
position the cursor at V-ALMNT, then press the “ ” button or 
the “ ” button to select the V-ALMNT function. The printer 
prints the help menu then starts printing rows of parallel bars 
using letter quality speed. 
1.  Enter setup mode (LCD) . 
Press the SETUP button at offline state. Check that the “SETUP 
MODE” is displayed on LCD panel. 
2.  Select the V-ALNMNT function (LCD) . 
Repeatedly press the “ ” or “ ” button to display 
“SELFDIAGNOSTIC”. And then press the“ ” button to move 
lower layer. And then repeatedly press the “ ” or “ ” button 
to display “V-ALNMNT”. And then press the “SELECT” 
button. The printer prints the help menu then starts printing 
rows of parallel bars using letter quality speed. 

USING SETUP MODE 
User's Manual  5-67 
3.  Adjust the vertical print alignment at letter quality speed. 
Examine the parallel bars. If the bars are aligned (not jagged), 
go to step 4. If the bars are offset to the left, repeatedly press the 
“ ” button until the bars are aligned. If the bars are offset to 
the right, repeatedly press the “ ” button until the bars are 
aligned. (In the following figure, the first line is assumed to be 
printed from left to right.) 
  Bars offset to the left  Bars offset to the right 
Press the HI IMPACT button to enter Hi Impact mode.  Make 
similar adjustments. 
4.  Adjust the vertical print alignment at letter 2 speed. 
Press the “TEAR OFF” button to switch from letter speed to 
letter 2 speed. 
Examine the parallel bars and adjust the vertical print alignment 
as described in step 3. 
HI IMPACT button is disable at letter 2 speed in V-ALMNT 
function. 
HI IMPACT mode of letter quality 2 is the same speed as HI 
IMPACT mode of letter quality. 
5.  Adjust the vertical print alignment at correspondence speed. 
Press the “TEAR OFF” button to switch from letter 2 speed to 
correspondence speed. 
Examine the parallel bars and adjust the vertical print alignment 
as described in step 3. 
Press the HI IMPACT button to enter Hi Impact mode.  Make 
similar adjustments. 
6.  Adjust the vertical print alignment at draft speed. 
Press the “TEAR OFF” button to switch from correspondence 
speed to draft speed. 
Examine the parallel bars and adjust the vertical print alignment 
as described in step 3. 
Press the HI IMPACT button to enter Hi Impact mode.  Make 
similar adjustments. 

USING SETUP MODE 
5-68  User's Manual 
7.  Adjust the vertical print alignment at high draft speed. 
Press the “TEAR OFF” button to switch from draft speed to 
high draft speed. 
Examine the parallel bars and adjust the vertical print alignment 
as described in step 3. 
Press the HI IMPACT button to enter Hi Impact mode.  Make 
similar adjustments. 
8.  Adjust the vertical print alignment at super high draft speed. 
Press the “TEAR OFF” button to switch from high draft speed 
to super high draft speed. 
Examine the parallel bars and adjust the vertical print alignment 
as described in step 3. 
Press the HI IMPACT button to enter Hi Impact mode.  Make 
similar adjustments. 
9.  Exit the V-ALMNT function. 
Press the ONLINE button to exit the V-ALMNT function and 
save the new vertical alignment settings. The printer exits setup 
mode and returns online. 
NOTE 
To exit the V-ALMNT function, you must exit setup mode. 
Correct vertical print alignment 

USING SETUP MODE 
User's Manual  5-69 
The following flowchart shows how setup mode is organized for the 
Fujitsu DPL24C PLUS emulation. Differences in the IBM Proprinter 
XL24E and Epson ESC/P2 emulations are summarized after the 
flowchart. 
SETUP MODE 
REFERENCE 

USING SETUP MODE 
5-70  User's Manual 
DPL24C PLUS ORGANIZATION 
Note: 
Asterisks (*) indicate default setting at shipment. 
or
or
or
Move the cursor on the prime guide. 
Select function. 
Select option, print next item. 
Select option, print previous item. 
Move the cursor on the prime guide. 
General operation for LED control panel.  

USING SETUP MODE 
User's Manual  5-71 
To enter SETUP MODE press SETUP at offline state.
Move displaced items 
Select the displayed option. 
Exit SETUP MODE. 
General operation for LCD control panel.  

USING SETUP MODE 
5-72  User's Manual 
This area is only for LED type. 
This area is only for LCD type instead of below area. 
SUB FUNCTION
SAVE&EXIT LIST DEFAULT INITIAL
SELFDIAGNOSTIC
SELF‐TST HEX‐DUMP V‐ALNMNT

USING SETUP MODE 
User's Manual  5-73 
Differences in IBM Proprinter XL24E Emulation 
In the IBM Proprinter XL24E emulation, MENU1 and MENU2 differ 
from the DPL24C PLUS emulation in the following ways: 
  The following options are different: 
  The AGM item is provided: 
Differences in Epson ESC/P2 Emulation 
In the Epson ESC/P2 emulation, MENU1 and MENU2 differ from the 
DPL24C PLUS emulation in the following ways: 
  The LF-CODE item is not defined. 
  The following options are different: 

USING SETUP MODE 
5-74  User's Manual 
The preceding sections describe offline setup mode. This section 
introduces online setup mode. The tedious task of setting up printer 
features one-by-one from the control panel and printing and checking the 
desired options on paper can be avoided by using online setup mode. In 
online setup mode, printer features are set via the computer rather than 
the printer control panel. 
Put the printer in online setup mode, in either of the following two ways: 
  Turn the printer off and then turn the printer back on while 
pressing the TEAR OFF button. Hold down the button until the 
printer beeps. 
  Issue the printer command ESC e ONLINE. This command is 
valid in any emulation. 
Send setup data from the computer in any of the following three ways: 
  Enter setup data directly from the computer keyboard before 
starting your job. With MS-DOS, hold down the Ctrl key and 
type P. Data entered from the keyboard is sent directly to the 
printer. When data entry is complete, hold down the Ctrl key 
again and type P. This method is useful when just a few settings 
need to be changed. 
  Use an editor program to prepare a setup data file and then send 
the file to the printer using a command before starting your job. 
With MS-DOS, use the COPY command. This method is useful 
when settings are used repeatedly. 
  Install a program that enables interactive entry of setup data on 
the screen. This method is the most useful of the three. This 
printer is provided with a CD which contains this program 
called DLMENU. Execute “setup.exe” in Utility folder of CD to 
install it. 
To exit from online setup mode, send EXIT as the last setup data. 
For details of setup data and its format, refer to the programmer’s manual 
for each emulation. 
ONLINE SETUP 
MODE 

User's Manual  6-1 
6 
CHAPTER 6  MAINTENANCE 
MAINTENANCE 
Your printer requires very little care. Occasional 
cleaning and replacement of the ribbon cartridge 
are all that is required. 
Lubrication of the printer is usually not necessary. 
If the print head carriage does not move smoothly back and forth, clean 
the printer as described in this chapter. If the problem continues, contact 
your dealer to determine whether lubrication might be needed. 
The front cover, the rear stacker and the paper table of the printer help 
protect against dust, dirt, and other contaminants. However, paper 
produces small particles that accumulate inside the printer. 
This section explains how to clean and vacuum the printer and how to 
clean the platen. 
It is easier to clean the printer when the front cover and the rear stacker 
are removed. 
Cleaning and Vacuuming the Printer 
WARNING 
To avoid any possibility of injury, before cleaning the 
printer, turn off the power to both the printer and the 
computer, and unplug the printer. 
Use the following procedure to clean and vacuum the printer as required: 
1.  Remove any paper from the printer. Make sure that the power is 
off, and then disconnect the printer power cord. 
2.  Using a soft vacuum brush, vacuum the exterior of the printer. 
Be sure to vacuum the air vents at the front, left sides, and 
bottom of the printer. Also vacuum the paper table, rear stacker, 
and the cut sheet feeder. 
3.  Use a soft, damp cloth to wipe the exterior of the printer, 
including the cover, paper table, and rear stacker. A mild 
detergent may be used. 
CAUTION 
Do not use solvents, kerosene, or abrasive cleaning materials 
that may damage the printer. 
CLEANING 

MAINTENANCE 
6-2  User's Manual 
4.  Open the front cover of the printer and remove the ribbon 
cartridge. If necessary lay down control panel. Using a soft 
vacuum brush, gently vacuum the platen, print head carriage, 
and surrounding areas. You can easily slide the print head to the 
left or right when the power is off. Be careful not to press too 
hard on the flat ribbon cable that extends from the print head 
carriage. 
Printer interior 
5.  Re-install the ribbon cartridge. Close the front cover. 
6.  Raise the soundproof cover or paper table and rear stacker. 
Vacuum the forms tractors and surrounding areas. 
Cleaning the Platen 
Clean the platen about once a month to remove excess ink. Use the 
platen cleaner recommended by your supplier and proceed as follows: 
1.  Apply a small amount of platen cleaner to a soft cloth. Avoid 
spilling platen cleaner inside the printer. 
CAUTION 
Do not use alcohol to clean the platen. Alcohol may cause the 
rubber to harden. 
2.  Place the cloth against the platen. 
3.  To dry the platen, place a dry cloth against the platen. 
Control panel 

MAINTENANCE 
User's Manual  6-3 
There are two ways of replacing the ribbon. You can install a new ribbon 
cassette in the printer or refill the old ribbon cassette with new ribbon 
from a ribbon sub cassette. Appendix A lists order numbers for ribbon 
cassettes and ribbon sub cassettes. The following procedure is for ribbon 
cassettes. For ribbon sub cassettes, refer to the instructions shipped with 
the sub cassette. 
To replace the ribbon cassette: 
1.  Turn off the printer. 
Note: 
If the power is turned off during or immediately after 
printing, turn on the power again.  Verify that the print 
head has moved to the ribbon replacement position, and 
then turn off the power again. 
2.  Open the front cover and control panel of the printer. Please 
make sure that the print head stops at the ribbon replacement 
position. 
(HOT) 
CAUTION <HOT> 
The print head and metal frame is hot during printing 
or immediately after printing.  Do not touch them until 
it cools down. 
Preparing the printer to install the ribbon cartridge 
REPLACING THE 
RIBBON 
Control
p
anel

MAINTENANCE 
6-4  User's Manual 
3.  Remove the ribbon guide. 
Removing the ribbon guide 
4.  To remove the ribbon cassette, pull the underside of ribbon 
cassette and carefully lift the cartridge out of the printer.  
Removing the ribbon cassette 

MAINTENANCE 
User's Manual  6-5 
5.  Remove the ribbon guide (green part) from the ribbon cassette.        
Don’t turn the ribbon feed knob before installation.  
Preparing the ribbon cassette 

MAINTENANCE 
6-6  User's Manual 
6.  Put the green ribbon guide into the space in front of print head. And 
then place the mounting pins (both side of ribbon cassette) on the 
slot of the printer cover. And then push the ribbon cassette so that 
the ribbon cassette is installed vertically. 
Installing the ribbon cassette 
Mounting pin 
Mounting pin
Ribbon guide 
Print head  Space  Slot 
Slot 
Push the ribbon cassette until it 
clicks. 

MAINTENANCE 
User's Manual  6-7 
7.  Attach the green ribbon guide on the print head. 
       Please make sure that the ribbon slack lightly. (If the ribbon is 
strained, it will quirk when installation.)Push the green ribbon guide 
until the triangle mark” ” meets the round projection of print head.  
8.  Turn the ribbon feed knob clockwise to take up any slack in the 
ribbon.  
9.  Return the control panel.. 
10.  Close the front cover. 
NOTE 
A Fujitsu ribbon cassette is recommended. Don’t use other cassettes.  
If other cassettes are used, operating problems or a damage of the 
print head may be caused. 
Triangle mark 
Projections  
Print Head 
Ribbon Guide 
Knob 

MAINTENANCE 
6-8  User's Manual 
The control panel of this printer can be pulled down toward the front as 
necessary, such as when jammed paper must be removed.  
The stacker unit of this printer can be removed in the event that paper is 
jammed in it unit. 
While pushing down the lock levers of the stacker guide, pull out the 
stacker unit from the rear. 
OPENING AND 
CLOSING THE 
CONTROL PANEL 
REMOVING THE 
STACKER UNIT 
Front cover
Control Panel 
Stacker guide
Lock lever 
Stacker 
Lock lever 

MAINTENANCE 
User's Manual  6-9 
Position groove 1 over guide pin 1 on the right and left sides of the 
stacker unit.  Then, push in the stacker unit until guide pin 2 is hooked  
onto slot 2. 
MOUNTING THE 
STACKER UNIT 
Guide pin 2
Guide pin 1
Groove 1 
Slot 2 
Groove 1 
Slot 2 

User's Manual  7-1 
7 
CHAPTER 7  TROUBLE-SHOOTING 
TROUBLE-SHOOTING 
Your printer is extremely reliable, but occasional 
problems may occur. You can solve many of 
these problems yourself, using this chapter. 
If you encounter problems that you cannot resolve, 
contact your dealer for assistance. 
This chapter is organized as follows: 
 Solving problems 
 Diagnostic functions 
 Getting help 
The tables in this section describe common printer problems and their 
solutions. The following types of problems are considered: 
  Print quality problems 
 Paper handling problems 
 Operating problems 
 Printer failures 
Print Quality Problems 
Poor print quality or other printing problems are often caused by 
incorrect printer setup or incorrect software settings. A gradual decrease 
in print quality usually indicates a worn ribbon. Table 7.1 identifies 
common print quality problems and suggests solutions. 
SOLVING 
PROBLEMS 

TROUBLE-SHOOTING 
7-2  User's Manual 
Table 7.1  Print Quality Problems and Solutions 
Problem Solution 
Printing is too light or 
too dark. 
Make sure that the ribbon cartridge is 
properly installed and that the ribbon feeds 
smoothly. 
Check ribbon wear. Replace the ribbon if 
necessary. 
Check the difference of thickness of 
medium. If auto adjustment function detects 
difference level of medium, it doesn’t work 
properly. In this case you must adjust for 
paper thickness manually. See ADJUSTING 
PAPER THICKNESS in Chapter 3. 
If you adjust for paper thickness manually, 
tune-up as follows. 
If printing is too light, decrease setting. 
If printing is dark, increase setting. 
Note 
Printer accepts the value for paper thickness 
from Printer Driver or application program. 
In this case, check the setting of the Printer 
Driver or application program at your host 
computer. And then tune the value by way 
above.       
Stains or smudges 
appear on the page. 
Check ribbon wear. Replace the ribbon if 
necessary. 
Check whether the tip of the print head is 
dirty. 
Clean the head with a soft cloth if necessary. 
The page is blank.  Make sure that the ribbon cartridge is 
properly installed. 
Printing is erratic or the 
wrong characters are 
printed. One or more 
“?” characters are 
printed. 
Make sure that the interface cable is securely 
connected to both the printer and computer. 
Make sure that the printer emulation selected 
in your software is the same as the emulation 
selected on the printer. See the section 
Selecting an Emulation in Chapter 2. 
If you are using an RS-232C serial interface, 
make sure that the serial settings required by 
your software or computer are the same as 
the settings on the printer. See the section 
Hardware Items and Options in Chapter 5. 

TROUBLE-SHOOTING 
User's Manual  7-3 
Table 7.1  Print Quality Problems and Solutions (Cont.) 
Problem Solution 
Characters are lost at 
the left or right end. 
If lost area is about 10mm (3mm) from left and 
right edge of continuous forms(single sheet), 
Area-over detection control woks properly. 
 In this case make sure that paper size, paper 
position, and left and right margins are properly 
set. 
Note 
Preprinted dark color area, shape of corner cut, 
paper skew may cause incorrect detection. 
Please don’t use medium like this. 
If you must use medium like this absolutely, 
you can disable Area-over detection by using 
setup mode. But risk of print head broken is 
increase.     
Incorrect paper size selection of the Printer 
Driver causes right side area is lost (exactly 
Printer Driver divide the page by paper size 
setting and postpone divided right page). Please 
check the paper size setting. 
Printing is vertically 
misaligned (jagged). 
Use the printer’s V-ALMNT function to check 
the vertical print alignment. If necessary, adjust 
the print alignment. See the section Using the 
Diagnostic Functions in Chapter 5. 
Smaller adjustment for paper thickness causes 
vertically misalignment too.  
Please refer to Printing is too light or too dark. 
The top margin is 
wrong. 
The top margin is the sum of the top-of-form 
setting, the software-specified top margin, and 
the printer’s TOP-MRG setting. Proceed as 
follows: 
 Make sure that the top-of-form setting is 
correct. The factory default is 25.4 mm (1 
inch). See the section Changing Top-of 
Form in Chapter 5. 
 Check the software-specified top margin.  
Refer to your software documentation. 
 Check the printer’s TOP-MRG setting. See 
the section MENU1 and MENU2 Items 
and Options in Chapter 5. 

TROUBLE-SHOOTING 
7-4  User's Manual 
Table 7.1  Print Quality Problems and Solutions (Cont.) 
Problem Solution 
Lines are double 
spaced instead of 
single spaced. 
Check the line spacing setting in your software. 
Change the CR-CODE setting in the printer 
setup mode to CR ONLY. See the section 
MENU1 and MENU2 Items and Options in 
Chapter 5. 
The printer 
overprints on the 
same line. 
Change the CR-CODE setting in the printer 
setup mode to CR & LF. See the section 
MENU1 and MENU2 Items and Options in 
Chapter 5. 
The next print line 
starts where the 
previous line ended 
instead of at the left 
margin. 
Change the LF-CODE setting in the printer 
setup mode to LF & CR. See the section 
MENU1 and MENU2 Items and Options in 
Chapter 5. 
The top of form of 
continuous form 
displaces gradually. 
Variation of the top of form is saturated in a few 
pages and displacement is about 1mm or less. In 
this case adjust value is prepared in setup mode. 
See ADJUST Items and Options and search 
<FCNTADJ> or <RCNTADJ>. 
Variation of the top of form isn’t saturated. In 
this case setting of page length isn’t correct. 
Make sure that page length setting equal actual 
page length exactly.  
In general page length of continuous form is 
multiple of 0.5inch. Anyway don’t set page 
length of continuous forms using mm unit. 

TROUBLE-SHOOTING 
User's Manual  7-5 
Paper Handling Problems 
Table 7.2 describes common paper handling problems and suggests 
solutions. See Chapter 3 for detailed procedures on loading and using 
paper. 
Table 7.2  Paper Handling Problems and Solutions 
Problem Solution 
Paper cannot be loaded 
or fed. 
Make sure that the paper path indicator 
(FRONT TRACTOR, REAR TRACTOR, 
CUT SHEET) lights correctly. 
Press the PAPER PATH button to select the 
paper path. 
Make sure that the paper covers the paper-
out sensor, i.e., the left paper edge is within 
52 mm for single sheets or 41 mm for 
continuous forms from the left edge of the 
platen. (This problem cannot occur if you 
use the forms tractor unit or insert a single 
sheet with its left edge in contact 
with the left paper guide.) 
Make sure that the tractor unit is correctly 
installed and that the tractor shaft gear 
engages the platen shaft gear. 
If you are using a cut sheet feeder, make 
sure that the bin lever is set to the 
“CLOSED” position. (The bin lever is on the 
left side of the feeder.) 
If you are using a cut sheet feeder, make 
sure that the feeder is firmly mounted on the 
printer and the cable is correctly connected. 
Paper manually loaded 
is ejected without 
printing 
If you are using the paper skew detection 
(option), adjust the paper guide on the paper 
table for the print start position and correctly 
slide the sheet along the guide. 

TROUBLE-SHOOTING 
7-6  User's Manual 
Table 7.2 Paper Handling Problems and Solutions (Cont.) 
Problem Solution 
Paper jams while 
loading. 
Turn off the printer and remove the jammed 
paper. Remove any obstructions from the paper 
path. 
If you are using a cut sheet feeder, make sure 
that the bin lever is set to the “CLOSED” 
position. (The bin lever is on the left side of the 
feeder.) 
Make sure that the paper is not folded, creased, 
or torn. 
Reload the paper. 
Make sure that the paper table is in normal 
mode. Set the paper table to normal mode. 
Paper jams while 
printing. 
Turn off the printer and remove the jammed 
paper. Remove any obstructions from the paper 
path. 
For continuous forms, make sure that the 
incoming and outgoing paper stacks are 
correctly placed. Paper should feed straight. 
Make sure that the paper table is in normal 
mode. Set the paper table to normal mode. 
If you are using a cut sheet feeder, make sure 
that the bin lever is set to the “CLOSED” 
position. (The bin lever is on the left side of the 
feeder.) 
Reload the paper. 
Paper slips off the 
forms tractors or the 
perforated holes of 
the paper tear during 
printing. 
Make sure that the forms tractors are positioned 
correctly for the width of your paper and that 
the perforated holes of the paper fit directly over 
the tractor sprockets. 

TROUBLE-SHOOTING 
User's Manual  7-7 
Operating Problems 
Table 7.3 identifies common operating problems and suggests solutions. 
If you cannot resolve a problem, contact your dealer. 
Table 7.3 Operating Problems and Solutions 
Problem Solution 
The power does not 
turn on. 
Make sure that the “I” on the printer power 
switch is depressed. 
Make sure that the power cord is securely 
connected to both the printer and the outlet.  
Make sure that the power outlet is functional. 
Turn the power off. Wait 100 seconds and 
then turn the printer on again. If the printer 
still has no power, contact your dealer. 
The printer is on but it 
will not print. 
Make sure that the printer is online. 
Make sure that the interface cable is securely 
connected to both the printer and the 
computer. 
If the red PAPER OUT indicator is lit, load 
paper. 
Run the printer self-test (see Chapter 5). If the 
self-test executes normally, the problem is 
caused by the interface, the computer, 
incorrect printer settings, or incorrect software 
settings. 
Make sure that the printer emulation selected 
in your software is the same as the emulation 
selected on the printer. See the section 
Selecting an Emulation in Chapter 2. 
Make sure that the front cover is completely 
closed. 
If you are using an RS-232C serial interface, 
make sure that the serial settings required by 
your software or computer are the same as the 
settings on the printer. See the section 
Hardware Items and Options in Chapter 5. 
The cut sheet feeder 
does not operate. 
Make sure that the cut sheet feeder is firmly 
mounted on the printer. 
Make sure that the cable is correctly 
connected. 
The FRONT DIR 
indicator blinks. 
Remove the printed sheet of paper from the 
paper table. 

TROUBLE-SHOOTING 
7-8  User's Manual 
Printer Failures 
A user cannot generally resolve a problem involving defective printer 
hardware. On detecting a fatal error, the printer will:  
 Stop printing 
 Beep four times 
  Turn the ONLINE indicator off 
The control panel displays alarms.  The meanings of alarms can be 
checked in the following table. 

TROUBLE-SHOOTING 
User's Manual  7-9 
Alarm display function(LED) 
This printer has a function for distinguishing between alarms by using 
the blinking of individual lamps on the control panel. 
From the combination of blinking lamps in an alarm state, the meaning 
of the alarm can be determined as shown in the following table. 
Lamp 
Alarm name 
PAPER OUT 
REMOVE PAPER 
FRONT DIR 
QUIET 
HI SPEED 
AUTO GAP 
HI IMPACT 
TRACTOR F 
TRACTOR R 
CUT SHEET 
MENU1 
MENU2 
ONLINE 
Condition of occurrence 
LRES alarm         
          LRES could not be detected during the 
space initial operation. 
Space problem alarm          
        The shield board could not be detected 
normally by the LRES sensor. 
Fan alarm           
      The cooling fan could not rotate. 
Fire check alarm 
SP motor 
          
  
Abnormally high current of motor driver 
was detected.  
Fire check alarm 
Ribbon  motor 
           
 Abnormally high current of motor driver 
was detected. 
Ribbon jam alarm            
   Detect the jam of the ribbon. 
Detect the ribbons other than the genuine 
product 
HCPP (cut sheet or 
continuous forms paper 
switching) alarm 
        
    Switching between cut sheet paper and 
continuous forms paper was not possible.
Fire check alarm 
LF  motor 
         
   
Abnormally high current of motor driver 
was detected. 
Fire check alarm 
CSF  motor 
          
  
Abnormally high current of motor driver 
was detected. 
Overload alarm     
    
     
An overload occurred during printing, and 
second pass printing was performed.  
However, the power source voltage was 
not restored. 
Low voltage alarm     
     
        The power source voltage dropped below 
the specified level when no printing was in 
progress. 
Fire check alarm 
Print Head 
   
      
      Abnormally long driving of print head 
driver was detected. 
Over voltage alarm     
       
    Over voltage of power source was 
detected. 
APTC gap alarm       
      
During the APTC operation, paper was 
detected immediately after the start of 
approach motion, or no paper was 
detected. 
APTC home position 
sensor alarm 
     
  
    During the APTC operation, no reference 
position was detected. 
ROM/RAM alarm        
       A sum-check error or read/write error 
occurred, or no CG-ROM is mounted. 
:  Blinking 
Blank: Off 

TROUBLE-SHOOTING 
7-10  User's Manual 
Alarm display function(LCD) 
This printer has a function for distinguishing between alarms by using 
the blinking of message lamp and LCD on the control panel. 
Alarm name 
Message Lamp 
LCD  Condition of occurrence 
LRES alarm  FATAL! 
LRES ALARM 
LRES could not be detected during the space initial operation. 
Space problem alarm  FATAL! 
SPACE ALARM 
The shield board could not be detected normally by the LRES sensor.
Fan alarm  FATAL! 
FAN ALARM 
The cooling fan could not rotate. 
Fire check alarm 
SP motor 
FATAL! 
SPM ALARM 
Abnormally high current of motor driver was detected.  
Fire check alarm 
Ribbon  motor 
FATAL! 
RBFM ALARM 
Abnormally high current of motor driver was detected. 
HCPP (cut sheet or continuous 
forms paper switching) alarm 
FATAL! 
HCPP ALARM 
Switching between cut sheet paper and continuous forms paper was 
not possible. 
Fire check alarm 
LF  motor 
FATAL! 
LFM ALARM 
Abnormally high current of motor driver was detected. 
Fire check alarm 
CSF  motor 
FATAL! 
CSFM ALARM 
Abnormally high current of motor driver was detected. 
Overload alarm  FATAL! 
OVERLOAD ALARM 
An overload occurred during printing, and tripartite printing was 
performed.  However, the power source voltage was not restored. 
Low voltage alarm  FATAL! 
LOW VOLT ALARM 
The power source voltage dropped below the specified level when no 
printing was in progress. 
Fire check alarm 
Print Head 
FATAL! 
HEAD ALARM 
Abnormally long driving of print head driver was detected. 
High voltage alarm  FATAL! 
HIGH VOLT ALARM 
Over voltage of power source was detected. 
APTC gap alarm  FATAL! 
APTC GAP ALARM 
During the APTC operation, paper was detected immediately after 
the start of approach motion, or no paper was detected. 
APTC home position sensor 
alarm 
FATAL! 
APTC HPS ALARM 
During the APTC operation, no reference position was detected. 
Ribbon jam alarm  FATAL! 
RIBBON JAM ALARM 
Detect the jam of the ribbon. 
Detect the ribbons other than the genuine product 
ROM/RAM alarm  FATAL! 
ROM/RAM ALARM 
A sum-check error or read/write error occurred, or no CG-ROM is 
mounted. 
:  Blinking 
Blank: Off 

TROUBLE-SHOOTING 
User's Manual  7-11 
Responses to alarm occurrences 
Your first response to each alarm should be as described in the following 
table. 
Problem Solution 
LRES alarm  Remove any paper dust, which may cause problems 
in carriage operation. 
Space problem 
alarm 
Same solution same as above should be done. 
Check adjustment for paper thickness. 
Smaller setting causes spacing problem.  
Fan alarm  Remove any dust of ventilation near the Fan motor.
APTC gap 
alarm 
Check the paper thickness (0.04 to 0.65 mm). 
Check whether the paper has different thicknesses 
or whether the paper has filing holes. 
For problems other than the above, request your printer dealer to make 
repairs. 
Especially Fire Check is happen, please refrain using printer.  
The printer diagnostic functions are SELF-TST, HEX-DUMP, and V-
ALMNT. 
  SELF-TST tells you whether the printer hardware is functioning 
correctly. If the printer hardware is functional, any problems 
you are having are probably caused by incorrect printer settings, 
incorrect software settings, the interface, or the computer. 
  HEX-DUMP allows you to determine whether the computer is 
sending the correct commands to the printer, and whether the 
printer is executing the commands correctly. This function is 
useful to programmers or others who understand how to 
interpret hex dumps. 
  V-ALMNT allows you to check and, if necessary, correct the 
printer’s vertical print alignment. 
For details on using these functions, all of which are available in the 
printer setup mode, see the section Using the Diagnostic Functions in 
Chapter 5. 
DIAGNOSTIC 
FUNCTIONS 

TROUBLE-SHOOTING 
7-12  User's Manual 
If you are not able to correct a problem using this chapter, contact 
your dealer for assistance. Be prepared to provide the following 
information: 
  Your printer model number, serial number, and date of 
manufacture. Look for this information on the rating label at the 
back of the printer. 
  Description of the problem 
  Type of interface you are using 
  Names of your software packages 
  List of the printer default settings. To print the default settings, 
see the section Printing a List of Selected Options in Chapter 
5. 
GETTING HELP 

User's Manual  8-1 
8 
CHAPTER 8  INSTALLING OPTIONS 
INSTALLING OPTIONS 
The installation of options allows you to expand 
the capabilities of your printer. Options available 
for the printer include: 
 LAN card 
  Cut sheet feeder 
 Tractor unit 
 Large stacker 
  Small paper table 
  Sound proof cover 
The LAN card is a user installable option, but can be installed only on a 
printer model with the parallel and USB interfaces. For information on 
the installation procedure, refer to the manual that comes with the LAN 
card. 
Options can be purchased from your dealer. Order numbers for options 
are given in Appendix A. 
This section explains how to install the LAN card. 
WARNING (Electric shock) 
Before mounting or removing the LAN card, turn off 
the power switches of the personal computer and the 
printer and remove the power plug from the outlet.  
Otherwise, you may receive electric shock. 
1.  Turn the power off.  
Make sure that the power switch is set to the “○”side, and make 
sure that a power plug is disconnected from an outlet. 
INSTALLING THE 
LAN card 

INSTALLING OPTIONS 
8-2  User's Manual 
2.    Remove metal plate 
Remove two screws and metal plate on the parallel port. 
Keep metal plate removed. 
3.    Insert LAN card 
 Insert the LAN card along both sides of guide rails slowly.   
Make sure that LAN card is inserted all the way into the slot. 
4.  Tighten the LAN card 
Tighten the LAN card with two screws removed in step 2. 
LAN cable 
Metal plate 

INSTALLING OPTIONS 
User's Manual  8-3 
5.   Connect LAN cable 
After tightening LAN card, connect LAN cable first, then the 
power plug. 
Please refer to the manual attached to LAN card about LAN 
card setting.  
This chapter describes what to do after installing cut sheet feeder. 
WARNING (Electric shock) 
Before mounting or removing the cut sheet feeder, turn 
off the power switches of the personal computer and 
the printer and remove the power plug from the outlet.  
Otherwise, you may receive electric shock. 
A cut sheet feeder (SF940) allows you to automatically feed single sheets.  
It can be mounted on the front or the rear of the printer. 
When attaching the cut sheet feeder to the rear of the printer, replacing 
the stacker with large stacker is necessary (See “INSTALLING THE 
LARGE STACKER” on page 8-9). 
For both front and rear, the cut sheet feeder can handle a max. of 5-ply 
multipart media. 
When installing the front and rear cut sheet feeders, the printer assigns 
the first bin to the front feeder.  You can change the assignment using set 
up mode. 
Installing on the front side of the printer 
1.  Turn off the printer power. 
Confirm that the printer power is turned to the  side. 
2.  Removing the tractor unit 
INSTALLING THE 
CUT SHEET 
FEEDER 
LAN cable 

INSTALLING OPTIONS 
8-4  User's Manual 
Raise the paper table and remove the tractor unit.  (For details 
on mounting and removing the tractor unit, see “Selecting the 
Tractor Unit Position” on page 2-10.) 
3.  Installing the cut sheet feeder 
Adjust the U slots made on both sides of the cut sheet feeder to 
the mounting pins inside the printer and lower the cut sheet 
feeder slowly.   
Check that the cut sheet feeder frame is correctly mounted on 
mounting pin 2. 
Paper table 
tractor unit 

INSTALLING OPTIONS 
User's Manual  8-5 
4.  Replacing the paper table 
Be sure to replace the paper table.  (Same way as “Close the 
paper table” on page 2-6.) 
If the paper table is incorrectly set, a paper jam may occur. 
5.  Connecting the cable 
Connect the cut sheet feeder cable to the connector on the front 
right of the printer.  Insert the cable with the connector arrow 
mark up.  

INSTALLING OPTIONS 
8-6  User's Manual 
6.  Extend the extension and extension wire in the order from 
(1) to (2) according to the size of the paper to be used. 
Installing on the rear side of the printer 
Before mounting the cut sheet feeder, turn off the printer power. 
1.  Turn off the printer power. 
Confirm that the printer power is turned to the O side. 
2.  Installing the cut sheet feeder 
Open the rear stacker.  Hold both sides of the cut sheet feeder 
and adjust the U slots made on both side of the cut sheet feeder 
to the mounting pins inside the printer.  (Attach the slots with 
the letter A of the cut sheet feeder adjusted to that on the printer 
side.)  Then, lower the cut sheet feeder like it turns in the 
direction of arrow B, using the mounting pins as supporting 
points. 

INSTALLING OPTIONS 
User's Manual  8-7 
Check that the cut sheet feeder frame is correctly mounted on 
mounting pin 2. 
3.  Close the rear stacker. 

INSTALLING OPTIONS 
8-8  User's Manual 
4.  Connecting the cable 
Connect the cut sheet feeder cable to the connector on the rear 
right of the printer.  Insert the cable with the connector arrow 
mark up. 
5.  Extend the extension and extension wire in the order from 
(1) to (2) according to the size of the paper to be used 

INSTALLING OPTIONS 
User's Manual  8-9 
Removing the Cut Sheet Feeder 
Before removing the cut sheet feeder, disconnect the cable. 
WARNING (Electric shock) 
Before mounting or removing the cut sheet feeder, turn 
off the power switches of the personal computer and 
the printer and remove the power plug from the outlet.  
Otherwise, you may receive electric shock. 
When mounted on the front side of the printer 
Cable 

INSTALLING OPTIONS 
8-10  User's Manual 
When mounted on the rear side of the printer 
A tractor unit is supplied as standard equipment attached to the front of 
the printer.   
This unit may also be attached to the rear of the printer for rear feeding 
of continuous forms. 
For details on removing and mounting the tractor unit, see “Mounting 
and removing the Tractor unit” on page 2-10. 
INSTALLING THE 
TRACTOR UNIT 
Cable 

INSTALLING OPTIONS 
User's Manual  8-11 
To stack cut sheets continuously or eject long cut sheets to the rear, 
mount the large stacker. 
Also, if a cut sheet feeder is mounted at the rear, the stacker must be 
replaced with the large stacker even if cut sheets need not be 
continuously stacked. 
1 
Removing the current stacker 
1.  Lift up the current stacker in the direction indicated by the arrow. 
2.  With the stacker in the condition described in step 1, push out 
the right and left stacker frames to separate them from the 
protrusions on the stacker plate. 
INSTALLING THE 
LARGE STACKER 

INSTALLING OPTIONS 
8-12  User's Manual 
2 
Mounting the rear stacker 
At the rear of the printer, push the protrusions on both sides of the 
rear stacker into the holes inside the rear stacker guide as shown in 
the following figure. 

INSTALLING OPTIONS 
User's Manual  8-13 
Please install it when you use only a short cut sheet. 
1 Removing the current paper table 
After opening the paper table and adjusting it to a tilted position, 
remove the paper table by pulling it to separate the left and right 
protrusions on the paper table ends from the grooves on the cover.  
INSTALLING THE 
SMALL PAPER 
TABLE 

INSTALLING OPTIONS 
8-14  User's Manual 
2  Installing the Small Paper Table 
Insert and push the left and right protrusions on the paper table ends 
into the grooves on the cover as shown in the following figure.  Set 
the paper table in the normal position. (See “Setting the paper table” 
in Chapter 2.) 
The paper table can be opened or closed in the same way as the 
removed current paper table.  
Make sure the protrusions 
are inserted completely as 
left figure. 

INSTALLING OPTIONS 
User's Manual  8-15 
The Acoustic noise  can be decreased by installing Sound proof cover.  
However, the cut sheet and Cut Sheet Feeder cannot be used. 
1  Removing the current paper table 
 After opening the paper table and adjusting it to a tilted position, 
remove the paper table by pulling it to separate the left and right 
protrusions on the paper table ends from the grooves on the cover.  
INSTALLING THE 
SOUND PROOF 
COVER 

INSTALLING OPTIONS 
8-16  User's Manual 
2 
Installing the Sound Proof Cover 
Insert and push the left and right protrusions on the paper table ends 
into the grooves on the cover as shown in the following figure.  Set 
the paper table in the normal position. (See “Setting the paper table” 
in Chapter 2.) 
The paper table can be opened or closed in the same way as the 
removed current paper table. 
Make sure the protrusions 
are inserted completely as 
left figure. 

User's Manual  A-1 
A 
APPENDIX A  SUPPLIES AND OPTIONS 
SUPPLIES AND OPTIONS 
This appendix lists the supplies and options available 
for the printer. 
Contact your dealer for information on ordering 
any of these items. 
Supplies Order Number 
Ribbon cassette   
Black ribbon  KA02087-D811 
Ribbon sub cassette   
Black ribbon  KA02087-D881 
Options Order Number Description 
LAN card  KA02086-C130  Installable only on 
a printer model 
with the parallel 
and USB 
interfaces. 
Cut sheet feeder  
(SF940) 
KA02027-D750  
Tractor Unit  KA02038-E650   
Large Stacker  KA02086-D160   
Small paper table KA02086-D170  
Sound proof cover KA02086-D190  
SUPPLIES 
OPTIONS 

User's Manual  B-1 
B 
APPENDIX B  PRINTER AND PAPER SPECIFICATIONS 
PRINTER AND PAPER 
SPECIFICATIONS 
This appendix gives the physical, functional, and  
performance specifications for the printer. 
It also gives detailed paper specifications. 
Dimensions 
Height: 290 mm (11.4 in) 
Width: 600 mm (23.6 in) 
Depth: 350 mm (13.8 in) 
Weight:  22.5 kg (50 lb) 
AC power requirements 
M33335A: 100 to 120 V ±10%; 50/60 Hz 
M33335B: 220 to 240 V ±10%; 50/60 Hz 
Power consumption 
Model:M33335A 
Average  485  VA 
Maximum 820 VA 
Standby    1W  
Model:M33335B 
Average  360  VA 
Maximum 810 VA 
Standby    1W  
Heat generation  Average 980 kJ/h 
Interface  Centronics parallel and RS-232C serial 
Centronics parallel and USB and LAN (option). 
Data buffer size  0, 256, 2K, 8K, 24K, 32K, 96K, or 128K bytes 
Download buffer  Maximum 128K bytes 
(128K minus data buffer size) 
Operating environment  5 to 38°C (41 to 100°F) 
30% to 80% RH (no condensation) 
Wet bulb temperature, less than 29°C (84°F) 
Storage environment  -15 to 60°C (-4 to 140°F) 
10% to 95% RH (no condensation) 
Acoustic noise  Standard model :Average 59  dB (A) 
Install sound proof cover : Average  55 dB (A) 
PHYSICAL 
SPECIFICATIONS 

PRINTER AND PAPER SPECIFICATIONS 
B-2  User's Manual 
ISO 7779 (Bystander Position-Front) 
(Letter MODE 2) 

PRINTER AND PAPER SPECIFICATIONS 
User's Manual  B-3 
Print method  Impact dot matrix with a 0.21 mm or 0.25mm, 
24-wire head 
Print direction  Bidirectional logic-seeking or unidirectional 
seeking 
Character cell Horizontal  vertical 
Letter (10 cpi): 36  24 dots 
Letter (12 cpi): 30  24 dots 
Report: 18  24 dots 
Draft: 9  24 dots   (MODE 1) 
12  24 dots  (MODE 2) 
High-speed draft: 9  24 dots 
Paper handling  
Standard: Friction-feed platen (cut sheets) 
Convertible bi-directional tractor on front or 
rear 
Paper loading by LOAD button Advancing 
perforations to tear-off edge by TEAR OFF 
button 
Parking continuous forms is available. 
Optional: Cut sheet feeder(for front or rear) 
Tractor unit (for 2nd tractor) 
Paper type  1 to 5-copies for cut sheet feeder 
1 to 9-copies for tractor and paper table 
Paper size   
Continuous  Width: 102-420 mm (4-16.5 in) 
  Length: 102 mm (4 in) or greater 
Cut sheets  
(Paper table) 
Width: 55-420 mm (2.16-16.5 in) 
  Length: 70-420 mm (2.76-16.5 in) 
(Cut sheet feeder)   
  Width: 100-420 mm (4-16.5 in) 
 Length: 70-420 mm for front cut sheet feeder  
(2.76-16.5 in) 
 100-420 mm for front cut sheet feeder  
(4-16.5 in) 
Note: 
To use cut sheets exceeding 297 mm in length, the optional large  
large stacker is  
FUNCTIONAL 
SPECIFICATIONS 

PRINTER AND PAPER SPECIFICATIONS 
B-4  User's Manual 
 required. For detail see Chapter 3.   
Paper thickness Up to 0.65 mm (0.026 inch) 
Page length  
By software Programmable in one line or inch 
increments in all emulations 
By control panel  Depends upon emulations. Default is 11 
inches for all emulations. 
DPL24C+/XL24E: 3, 3.5, 4, 5, 5.5, 6, 7, 8, 8.5, 11, 11.6, 12, 
14, or 18 inches 
ESC/P2: 4, 4.5, 5, 5.5, ..., 11, 11.5, ..., 22 inches 
Number of copies  Up to 8, including the original 
Up to 9, including the original 
 (At HI IMPACT mode) 
Paper stack   
Cut sheet 100 sheets (A4 size, 1p, 55 kg/m2) (The 
stack of cut sheets may decrease, 
depending upon the various paper 
conditions such as quality, the extent of 
curl, and storage environment.) 
Command sets 
(emulations)   
Resident  Fujitsu DPL24C PLUS 
IBM Proprinter XL24E 
Epson ESC/P2 
Character sets   
DPL24C+/XL24E:  IBM PC character sets 1 and 2 (code 
pages 437) 
 IBM PS/2 character sets (code pages 
and other national character sets (57 
+ 2 languages in total) 
 Fujitsu character sets (691 
characters) 
ESC/P2:  Italic character set Graphics 
character sets 1 and 2 
 IBM PS/2 character sets (code 
pages) and other national character 
sets (61 + 2 languages in total) 

PRINTER AND PAPER SPECIFICATIONS 
User's Manual  B-5 
Fonts   
Resident Nineteen fonts available 
Bit map: Courier 10, Pica 10, OCR-B 10, OCR-A 10 , 
Prestige Elite 12, Boldface PS, 
Correspondence, Compressed, Draft, and 
High-speed Draft. 
Scalable: Courier, Timeless, and Nimbus Sans®; each 
in normal, bold, and italic styles 
Downloaded  Available from independent vendors 
Line spacing 1, 2, 3, 4, 5, 6, 7, or 8 lines per inch.  
Programmable in 1/360 inch or various 
increments for image graphics. 
Character pitch 2.5, 3, 5, 6, 10, 12, 15, 17.1, 18, or 20 cpi, or 
proportional spacing. 
Programmable in 1/360 inch or various 
increments for image graphics. 
Characters per line   
10 cpi: 136 cpl 
12 cpi: 163 cpl 
15 cpi: 204 cpl 
17.1 cpi: 232 cpl 
18 cpi: 244 cpl 
20 cpi: 272 cpl 
  cpi: characters per inch 
cpl: characters per line 
Note 
Draft has 2 modes as follows. (Default setting is mode2) 
To select these mode see chapter 5 and search <DQ-MODE>  
MODE1: Draft is replaced with hi-speed Draft for high speed printing. 
MODE2: Draft is printing as Draft.  

PRINTER AND PAPER SPECIFICATIONS 
B-6  User's Manual 
Print speed  Print head wire 
diameter 0.21mm 
Print head wire 
diameter 0.25mm 
 10 cpi     12 cpi  10 cpi     12 cpi   
Letter: 180 cps  216 cps  150 cps  180 cps  (MODE 1) 
125 cps  150 cps  120 cps  144 cps  (MODE 2) 
Report: 360 cps  432 cps  300 cps  360 cps 
Correspondence: 360 cps  432 cps  300 cps  360 cps 
Draft: 720 cps  864 cps  600 cps  720 cps  (MODE 1) 
540 cps   648 cps  450 cps  540 cps  (MODE 2) 
Hi-speed draft: 720 cps  864 cps  600 cps  720 cps 
Super-hi-speed draft: 800 cps  960cps  750 cps  900cps 
  cpi: characters per inch 
cps: characters per second 
Line feed speed  50 ms per line at 6 lines per inch 
Form feed speed  9 inches per second 
Ribbon life  Up to 18 million characters 
Certification  
Safety:  
Model Regulation Country 
M33335A  UL60950-1 United States 
(for 100 V to 120 V) United States 
 CSA C22.2 No. 60950-1 
(for 100 V to 120 V) Canada 
 CNS14336 
(for 100 V to 120 V) 
Taiwan 
M33335B  EN 60950-1 
(for 220 V to 240 V) 
Europe 
BSMI(CNS14336) 
(for 220 V to 240 V)  Asia 
EMI regulation: 
Model Regulation Country 
M33335A 
CFR 47 FCC Part 15 Subpart B class B  United States 
ICES-003 class B  Canada 
  CNS 13438 class B  Taiwan 
PERFORMANCE 
SPECIFICATIONS 

PRINTER AND PAPER SPECIFICATIONS 
User's Manual  B-7 
M33335B 
EN 55022 class B  Europe 
AS/NZS CISPR22 class B  Australia and 
New Zealand 

PRINTER AND PAPER SPECIFICATIONS 
B-8  User's Manual 
Print Area 
This section illustrates the recommended print area for single sheets and 
continuous forms. 
Print area for single sheets 
PAPER 
SPECIFICATIONS 
(2.75-16.5in) 
4.23
0.16 
0.16 
4.23

PRINTER AND PAPER SPECIFICATIONS 
User's Manual  B-9 
Print area for continuous forms 
Approx. 101 mm (4 inches) 
  for front tractor feed 
Approx. 157 mm (6.2 inches) 
 for rear tractor feed 
4.23
4.23
4.23
0.16
0.16
0.16

PRINTER AND PAPER SPECIFICATIONS 
B-10  User's Manual 
Paper Thickness 
Paper thickness is given by the weight of the paper in either grams per 
square meter (g/m2) or in pounds per bond (lbs/bond). The following 
table shows the allowable paper thickness for one-part paper or for each 
sheet of multipart paper. The total thickness must not exceed 0.65 mm 
(0.026 inch). 
The weight of carbonless or carbon-backed paper may vary, depending 
upon the paper manufacturer. When using paper of borderline thickness, 
test the paper before running a job. 
Type of Paper Number of 
Parts  Thickness 
One-part Single  47-81 g/m2 (40-70 kg or 12-22 lb) 
Carbonless  
Top 
Bottom 
40-64 g/m2 (34-55 kg or 11-17 lb) 
40-81 g/m2 (34-70 kg or 11-22 lb) 
Top 
Middle 
Bottom 
40-50 g/m2 (34-43 kg or 11-13 lb) 
40-50 g/m2 (34-43 kg or 11-13 lb) 
40-81 g/m2 (34-70 kg or 11-22 lb) 
Top 
Middle (2-3p)
Bottom 
40 g/m2 (34 kg or 11 lb) 
40 g/m2 (34 kg or 11 lb) 
40-81 g/m2 (34-70 kg or 11-22 lb) 
Top 
Middle (2-4p)
Bottom 
40 g/m2 (34 kg or 11 lb) 
40 g/m2 (34 kg or 11 lb) 
40-64 g/m2 (34-55 kg or 11-17 lb) 
Top 
Middle (2-5p)
Bottom 
40 g/m2 (34 kg or 11 lb) 
40 g/m2 (34 kg or 11 lb) 
40-64 g/m2 (34-55 kg or 11-17 lb) 
kg:  Weight in kilograms of 1000 sheets of 788  1091 mm paper 
(1.16 g/m2) 
lb:  Weight in pounds of 500 sheets of 17  22 inch paper (3.76 g/m2) 

PRINTER AND PAPER SPECIFICATIONS 
User's Manual  B-11 
Type of Paper Number of 
Parts  Thickness 
Carbonless  
Top 
Middle (2-6p)
Bottom 
40 g/m2 (34 kg or 11 lb) 
40 g/m2 (34 kg or 11 lb) 
40-64 g/m2 (34-55 kg or 11-17 lb) 
Top 
Middle (2-7p)
Bottom 
40 g/m2 (34 kg or 11 lb) 
40 g/m2 (34 kg or 11 lb) 
40-64 g/m2 (34-55 kg or 11-17 lb) 
Top 
Middle (2-8p)
Bottom 
40 g/m2 (34 kg or 11 lb) 
40 g/m2 (34 kg or 11 lb) 
40-64 g/m2 (34-55 kg or 11-17 lb) 
Carbon-backed  Do not use in high humidity environments. 
Top 
Bottom 
40-64 g/m2 (34-55 kg or 11-17 lb) 
40-81 g/m2 (34-70 kg or 11-22 lb) 
Top 
Middle 
Bottom 
40-52 g/m2 (34-45 kg or 11-14 lb) 
40-52 g/m2 (34-45 kg or 11-14 lb) 
40-81 g/m2 (34-70 kg or 11-22 lb) 
Top 
Middle (2-3p)
Bottom 
40 g/m2 (34 kg or 11 lb) 
40 g/m2 (34 kg or 11 lb) 
40-81 g/m2 (34-70 kg or 11-22 lb) 
Top 
Middle (2-4p)
Bottom 
40 g/m2 (34 kg or 11 lb) 
40 g/m2 (34 kg or 11 lb) 
40-64 g/m2 (34-55 kg or 11-17 lb) 
Top 
Middle (2-5p)
Bottom 
40 g/m2 (34 kg or 11 lb) 
40 g/m2 (34 kg or 11 lb) 
40-64 g/m2 (34-55 kg or 11-17 lb) 
kg:  Weight in kilograms of 1000 sheets of 788  1091 mm paper 
(1.16 g/m2) 
lb:  Weight in pounds of 500 sheets of 17  22 inch paper (3.76 g/m2) 

PRINTER AND PAPER SPECIFICATIONS 
B-12  User's Manual 
Type of Paper Number of 
Parts  Thickness 
Carbon-backed  Do not use in high humidity environments. 
Top 
Middle (2-6p)
Bottom 
40 g/m
2
 (34 kg or 11 lb) 
40 g/m
2
 (34 kg or 11 lb) 
40-64 g/m
2
 (34-55 kg or 11-17 lb) 
Top 
Middle (2-7p)
Bottom 
40 g/m
2
 (34 kg or 11 lb) 
40 g/m
2
 (34 kg or 11 lb) 
40-64 g/m
2
 (34-55 kg or 11-17 lb) 
Top 
Middle (2-8p)
Bottom 
40 g/m
2
 (34 kg or 11 lb) 
40 g/m
2
 (34 kg or 11 lb) 
40-64 g/m
2
 (34-55 kg or 11-17 lb) 
Carbon-
interleaved 
Avoid using carbon-interleaved single sheets. 
Top 
Carbon 
Bottom 
35-52 g/m
2
 (30-45 kg or 9-14 lb) 
Counted as one sheet 
35-81 g/m
2
 (30-70 kg or 9-22 lb) 
Top 
Carbon 
Middle 
Carbon 
Bottom 
35-46 g/m
2
 (30-40 kg or 9-12 lb) 
Counted as one sheet 
35-46 g/m
2
 (30-40 kg or 9-12 lb) 
Counted as one sheet 
35-64 g/m
2
 (30-55 kg or 9-17 lb) 
Top 
Carbon 
Middle (3,5P)
Carbon (4,6P)
Bottom 
35-46 g/m
2
 (30-40 kg or 9-12 lb) 
Counted as one sheet 
35-46 g/m
2
 (30-40 kg or 9-12 lb) 
Counted as one sheet 
35-64 g/m
2
 (30-55 kg or 9-17 lb) 
Top 
Carbon 
Middle (3,5,7P)
Carbon (4,6,8P)
Bottom 
35-46 g/m
2
 (30-40 kg or 9-12 lb) 
Counted as one sheet 
35-46 g/m
2
 (30-40 kg or 9-12 lb) 
Counted as one sheet 
35-64 g/m
2
 (30-55 kg or 9-17 lb) 
kg:  Weight in kilograms of 1000 sheets of 788  1091 mm paper 
(1.16 g/m
2
) 
lb:  Weight in pounds of 500 sheets of 17  22 inch paper (3.76 g/m
2
) 

User's Manual  C-1 
C 
APPENDIX C  COMMAND SETS 
COMMAND SETS 
This appendix describes printer commands and 
their parameters. 
This printer has three resident command sets: 
 Fujitsu DPL24C PLUS (native command set for Fujitsu DL 
series printers) 
 IBM Proprinter XL24E 
 Epson ESC/P2 
Separate programmer s manuals are available for these emulations. 
See Appendix A for order information. 
Select the same emulation on the printer and in your software. If your 
software emulations include DPL24C PLUS, select DPL24C PLUS for 
optimum performance. 

COMMAND SETS (DPL24CPLUS) 
C-2  User's Manual 
This section describes the printer commands for the DPL24C PLUS 
command set which is the native command set of this printer.  See the 
Programmer’s Manual (DPL24C PLUS) for detailed information on 
using these commands. 
Function Command 
Print Mode Control 
Double-strike (bold) printing on 
Double-strike (bold) printing off 
Emphasized (shadow) printing on 
Emphasized (shadow) printing off 
Italic printing on 
Italic printing off 
Select character style and screening   
n1= 0:Normal 
 1:Outline 
 2:Shaded 
 3:Outline and shaded 
 4:Thin outline 
 5:Thin shaded 
  6:Thin outline and shaded 
n2= 0:Transparent 
 1:Light dot matrix 
  2:Heavy dot matrix 
 3:Vertical bars 
 4:Horizontal bars 
 5:Slants 
 6:Back slants 
 7:Lattice 
One-line double width characters on  
One-line double width characters off  
Double width characters on/off  
(on: n = 1, off: n = 0) 
ESC G 
ESC H 
ESC E 
ESC F 
ESC 4 
ESC 5 
ESC e S (n1) (n2) 
SO or ESC SO 
DC 4 
ESC W (n) 
FUJITSU DPL24C 
PLUS 

COMMAND SETS 
User's Manual  C-3 
Function Command 
Double-height characters on/off  
(on: n = 1, off: n = 0) 
This command does not adjust the line 
spacing. 
Multiwidth and height printing  
n =  0: Not adjusted  
 1: Character pitch multiplied 
  2: Line spacing multiplied 
  3: Character pitch and line spacing 
  multiplied 
h1:  Tens digit of horizontal multiple 
h2:  Units digit of horizontal multiple 
v1:  Tens digit of vertical multiple 
v2:  Units digit of vertical multiple 
(0 < h1h2 or v1v2 < 11) 
Condensed characters on  
Condensed characters off  
Subscript or superscript printing on  
(subscript: n = 1, superscript: n = 0) 
Subscript and superscript printing off  
Select underline type  
n =  0:Single line 
 1:Bold single line 
  2:Extremely bold single line 
 3:Double line 
  4:Bold double line 
  5:Extremely bold double line 
Underline on/off  
(on: n=1, off: n=0) 
Overline on/off  
(on: n=1, off: n=0) 
ESC V (n) 
ESC u (n) (h1) (h2) 
(v1) (v2) 
SI or ESC SI 
DC2 
ESC S (n) 
ESC T 
ESC e U (n) 
ESC- (n) 
ESC e o (n) 

COMMAND SETS (DPL24CPLUS) 
C-4  User's Manual 
Function Command 
Select printing style  
This command allows you to combine 
various printing styles.  The value of n is 
the sum of the values of the styles you 
want  to combine. 
n= 0:Pica pitch 
 1:Elite pitch 
 4:Condensed 
 8:Shadow 
 16:Bold 
 32:Double width 
 64:Proportional 
Select image overlay type  
This command allows you to overlay a 
pattern on characters. 
n= 1:Light dot matrix 
  2:Heavy dot matrix 
 3:Vertical bars 
 4:Horizontal bars 
 5:Slants 
 6:Back slants 
 7:Lattice 
Image overlay printing on/off  
(on:n=1, off: n=0) 
ESC ! (n) 
ESC e I (n) 
ESC e L (n) 
Horizontal Control 
Space  
Backspace 
Carriage return 
Elite pitch (12 cpi)  
Pica pitch (10 cpi)  
Proportionally spaced characters on/off  
(on:n=1, off: n=0) 
Set character pitch to (n-1)/120 inch  
(1 < n < 127) 
Set character pitch to n/180 inch  
(0 < n < 255) 
SP 
BS 
CR 
ESC M 
ESC P 
ESC p (n) 
ESC US (n) 
ESC h (n) 

COMMAND SETS 
User's Manual  C-5 
Function Command 
Set character offset to n/120 inch  
Cancelled by CR or ESC x. 
(0 < n < 63) (64 < n < 127) 
Set character pitch to n/360 inch  
(0 < n1 n2 n3 < 999)  
n1, n2, and n3 are the hundreds, tens, and 
units digits. 
ESC DC1 (n) 
ESC e H 
(n1) (n2) (n3) 
Vertical Control 
Line feed  
Reverse line feed  
Form feed 
Advance paper n/180 inch (0 < n < 255)  
Reverse paper n/180 inch (0 < n < 255)  
Advance paper n/360 inch  
(0 < n1 n2 n3 < 999)  
n1, n2, and n3 are the hundreds, tens, and 
units digits. 
Reverse paper n/360 inch  
(0 < n1 n2 n3 < 999)  
n1, n2, and n3 are the hundreds, tens, and 
units digits. 
Set line spacing to 1/8 inch (8 lpi)  
Set line spacing to n/180 inch  
(0 < n < 255) 
Set line spacing to 7/60 inch  
Set line spacing to n/60 inch  
(0 < n < 127) 
Set line spacing to 1/6 inch (6 lpi) or to the value 
set with the ESC A command. 
The preset line spacing command is 
ESC A (n). 
Set line spacing to n/360 inch  
(0 < n1 n2 n3 < 999)  
n1, n2, and n3 are the hundreds, tens, and 
units digits. 
Set line spacing to n/360 inch  
(1 < n < 255) 
LF 
LF ESC 
FF 
ESC J (n) 
ESC j (n) 
ESC e J 
(n1) (n2) (n3) 
ESC e j 
(n1) (n2) (n3) 
ESC 0 
ESC 3 (n) 
ESC 1 
ESC A (n) 
ESC 2 
ESC e V 
(n1) (n2) (n3) 
FS 3 (n) 

COMMAND SETS (DPL24CPLUS) 
C-6  User's Manual 
Function Command 
Tabulation 
Horizontal tab execution  
Set horizontal tabs  
The values of n1 to nk in this command  
are the ASCII values of the print 
columns (at the current character width) 
at which tabs are to be set. 
(1 < n < 255) (1 < k < 255) 
Move to print column n (1 < n < 255)  
Move dot column n/360 inch  
(n = n1 + n2  256) 
The value below is for 136-column printers. 
(0 < n1 < 255) (0 < n2 < 19) 
(0 < n2  256 + n1 < 4895) 
Horizontal relative move by n/360 inch  
(-999 < n1 n2 n3 < +999)  
n1, n2, and n3 are the hundreds, tens, and 
units digits of the distance.s is a plus 
or minus ( + or -) sign. 
Vertical tab execution  
Set vertical tabs  
The values of n1 to nk in this command  
are the ASCII values of the lines (at the 
current line spacing) at which tabs are 
to be set. 
(1 < n < 255) (1 < k < 64) 
Move to line n (1 < n < 255)  
HT 
ESC D (n1) ... (nk) 
NUL 
ESC HT (n) 
ESC $ (n1) (n2) 
ESC e R (s) 
(n1) (n2) (n3) 
VT 
ESC B (n1) ... (nk) 
NUL 
ESC VT (n) 
Page Formatting 
Set right margin (0 < n < 255)  
Set left margin (0 < n< 255)  
Set perforation skip by n lines  
(1 < n < 127) 
Perforation skip off 
Set page length to n lines  
(1 < n < 127) 
ESC Q (n) 
ESC 1 (n) 
ESC N (n) 
ESC O 
ESC C (n) or 
ESC FF (n) 

COMMAND SETS 
User's Manual  C-7 
Function Command 
Set page length to n inches  
(1 < n < 22)  
Set page length to n/360 inch  
(n = n1  256 + n2) 
(0 < n1 n2 < 255) 
(1 < n1 < 256 + n2 < 7920) 
ESC C NUL (n) or 
ESC e C NUL (n) or
ESC FF NUL (n) 
ESC e f (n1) (n2) 
Character Set Control 
Select character set 1  
Appendix E gives the character sets 
Select character set 2  
Appendix E gives the character sets. 
Select international character set  
n =  0:USA 
 1:France 
 2:Germany 
 3:United Kingdom 
 4:Denmark 1/Norway 
 5:Sweden/Finland 
 6:Italy 
 7:Spain 
 8:Denmark 2 
Clear print buffer  
Select printer  
Deselect printer (ignore input)  
Force most significant bit to 1  
Force most significant bit to 0  
Cancel control over most significant bit 
ESC 7 
ESC 6 
ESC R (n) 
CAN 
DC1 
DC3 
ESC > 
ESC = 
ESC # 

COMMAND SETS (DPL24CPLUS) 
C-8  User's Manual 
Function Command 
Select code table  
n =  0:Code page 437 
  1:Code page 850 
  2:Code page 860 
  3:Code page 863 
  4:Code page 865 
  5:ISO 8859-1/ECMA 94 
Select extended character by character  
number  
(0 < n1 n2 n3 < 664) 
n1, n2, and n3 are the hundreds, tens, and 
units digits. 
ESC e C (n) 
ESC e E 
(n1) (n2) (n3) 
Word Processing 
Line justification on  
Automatically center printing  
Reset word processing features 
ESC m 
ESC c 
ESC x 
Font Selection and Downloading 
Select font m with source and style set by n  
 m (bits 0 and 1: Font device selection) 
Bit 1  Bit 0 Selection of font
0 
0 
1 
0 
1 
0 
Resident font 
Downloaded font
Resident font 
 m (bits 2 and 3: Print quality specification 
Bit 3  Bit 2 Print quality 
0 
0 
1 
1 
0 
1 
0 
1 
Original quality of font 
Letter quality (360 dpi) 
Correspondence 
quality (180 dpi) 
Draft quality (120 dpi) 
ESC % (m) (n) 

COMMAND SETS 
User's Manual  C-9 
Function Command 
 n (bit 0 to 2: Specification of font number) 
(1) Resident fonts 
n m (bit 1, 0) = 0, 0 m (bit 1, 0) = 1, 0
0
1
2
3
4
5
6
7
Courier 10  
Prestige elite 12  
Draft 
Compressed 
Boldface PS 
Pica 10 
Correspondence 
High-speed draft 
OCR-B 
OCR-A 
(2) Downloaded fonts 
n =  0: Downloaded font 0 
  1: Downloaded font 1 
Select print quality (font attributes) 
n =  0:Letter (360  180 dpi) 
 1:Correspondence (180  180 dpi) 
 2:Draft (120  180 dpi) 
  3:High-speed Draft (90  180 dpi) 
4:Super-High-speed Draft (72180 dpi) 
Select spacing mode (font attributes)  
n =  0:Fixed pitch font 
  1:Proportional spacing font 
Select character pitch (n/360 inch, font  
attributes) 
(0 < n1 < 255) (1 < n2 < 255) 
(n = n1  256 + n2) 
Ex.n = 36:  10 pitch 
  30:  12 pitch 
  24:  15 pitch 
  21:  17 pitch 
Condense/enlarge vertically (font attributes)  
n =  1:Executed 
 0:Not executed 
Select point size (n/1200 inch, font attributes)  
(0 < n1 < 255) (0 < n2 < 255) 
(n = n1  256 + n2) 
Ex. n =166:  10 point 
ESC e q (n) 
ESC e s (n) 
ESC e p (n1) (n2) 
ESC e A (n) 
ESC  e v (n1) (n2) 

COMMAND SETS (DPL24CPLUS) 
C-10  User's Manual 
Function Command 
Select character style (font attributes)  
n =  0:Upright 
 1:Italic 
Select stroke weight (font attributes)  
n =  249:-7 (reserved) 
 251:-5 (reserved) 
 253:-3 (light) 
 0:0 (medium) 
 3:3 (bold) 
 5:5 (black) 
 7:7 (ultrablack) 
Select typeface (font attributes)  
n =  1:Pica 
 3:Courier (bitmap) 
  4:Nimbus Sans   
 5:Timeless 
 6:Gothic 
 8:Prestige 
 23:Boldface 
 130:OCR-A 
 131:OCR-B 
 134:Courier (scalable) 
Select font by I.D. (font attributes) 
ESC e i  (n) 
ESC e w (n) 
ESC e t (n) 
ESC e F (n) 
n Quality Spacing Pitch Point Typeface 
1 
2 
3 
4 
9 
10 
32 
34 
128 
129 
130 
132 
133 
134 
140 
141 
142 
LQ
LQ 
LQ 
LQ 
LQ 
LQ 
LQ 
LQ 
LQ 
LQ 
LQ 
LQ 
LQ 
LQ 
LQ 
LQ 
LQ 
Fixe
d
Fixed 
PS 
Fixed 
Fixed 
Fixed 
Fixed 
Fixed 
PS 
PS 
PS 
PS 
PS 
PS 
Fixed 
Fixed 
Fixed 
10 cpi
12 cpi
- 
10 cpi
10 cpi
10 cpi
10 cpi
12 cpi
- 
- 
- 
- 
- 
- 
10 cpi
10 cpi
10 cpi
12 pt
10 pt
12 pt
12 pt
12 pt
12 pt
12 pt
11pt 
10 pt
10 pt
10 pt
10 pt
10 pt
10 pt
10 pt
10 pt
Courier (bitmap) 
Prestige 
Boldface  
Pica 
OCR-A 
OCR-B 
Courier (bitmap) 
Gothic 
Timeless 
Timeless Italic 
Timeless Bold 
Nimbus Sans  
Nimbus Sans Italic 
Nimbus Sans Bold 
Courier (scalable) 
Courier Bold (scalable) 
Courier Italic (scalable) 

COMMAND SETS 
User's Manual  C-11 
Function Command 
Copy resident font to download area  
m = 0:Courier 10 
 1:Prestige Elite 12 
 2:Draft 
 3:Compressed 
 4:Boldface PS 
 5:Pica 10 
 6:Correspondence 
 7:High-speed Draft 
n =  0:Downloaded font 0 
  1:Downloaded font 1 
Create download font  
 m (bits 4 and 5: Specifies the quality of  
  characters to be registered) 
Bit 5 Bit 4 Font quality selection 
0 
1 
1 
1 
0 
1 
Letter (360 dpi) 
Correspondence (180 dpi)
Draft (120 dpi) 
 m (bit 0: Specifies external font number 
  to be registered)  
ESC : NUL (m) (n) 
ESC & (m) (Cs) 
(Ce) (data) 
Bit 0 Font number selection  Remarks 
0  Downloaded font 0  At power on, resident font 0 is 
automatically downloaded. 
1  Downloaded font 1  At power on, resident font 1 is 
automatically downloaded. 
 m (bits 1, 2, 3, 6, 7) Not used (don’t care) 
 Cs (Download start character, ASCII code) 
 Ce (Download end character, ASCII code) 
Decimal 00 < Cs, Ce < 255 
Hex  00 < Cs, Ce < FF 
 Precaution: Ce  Cs 
 data (More than one byte of data 
  containing bit map data) 
(Reserved) 
ESC e D (data); 

COMMAND SETS (DPL24CPLUS) 
C-12  User's Manual 
Function Command 
Bit Image Graphics 
Graphics type m graphics  
Graphics type m graphics  
Single-density graphics  
Double-density graphics  
High-speed double-density graphics  
Quadruple-density graphics  
360 dot per inch 24-pin graphics 
ESC * (m) 
(n1) (n2) (data) 
ESC e b (m) 
(n1) (n2) (data) or 
ESC e B (m) 
(n1) (n2) (data) 
ESC K (n1) (n2) (data) 
ESC L (n1) (n2) (data) 
ESC Y (n1) (n2) (data) 
ESC Z (n1) (n2) (data) 
FS Z (n1) (n2) (data) 
Cut Sheet Feeder Control 
Feed a sheet from bin 1  
Feed a sheet from bin 2  
Feed a sheet from bin 3  
Eject a page from the printer  
Select bin 1 for following pages  
Select bin 2 for following pages  
Select bin 3 for following pages  
ESC EM 1 
ESC EM 2 
ESC EM E 
ESC EM R 
/ / 1 / / 
/ / 2 / / 
/ / E / / 
Initialize Printer 
Reset printer  
Reset printer  
Initialize printer 
ESC @ 
ESC CR P 
ESC SUB I 

COMMAND SETS 
User's Manual  C-13 
Function Command 
Bar Code Printing 
Print bar code  
b:  Total number of parameters  
R: (fixed)  
c:  Type of bar code 
ESC DC4 (b) R 
(c) (w) (h) (a) 
(ch1) ... (chn) 
ASCII Decimal Hex Type 
1 
2 
3 
4 
5 
6 
7 
A 
B 
a 
49 
50 
51 
52 
53 
54 
55 
65 
66 
97 
31 
32 
33 
34 
35 
36 
37 
41 
42 
61 
Codabar (nw-7) 
EAN 13 
EAN 8 
Code 3 of 9 
Industrial 2 of 5 
Interleaved 2 of 5 
Matrix 2 of 5 
UPC type A 
Code 128 
UPC type A with checkdigit printing
w:  Width of narrow bar in 1/1440-inch 
 units 
h:  Height of bar code 
a:  Defines check characters and OCR 
 characters 
ch1 ... chn:  Bar code characters 
NOTE 
When EAN13, UPC type A, or UPC type A 
with checkdigit printing is selected as the type 
of barcode, printing the barcode from the left 
(from the first dot) will cause the omission of 
a flag character that should by printed on the 
lower left or middle left of it.  Therefore, 
when printing these types of barcode, leave 
two or more spaces open from  the left. 
See the next page for details of the Bar Code 
Command. 

COMMAND SETS (DPL24CPLUS) 
C-14  User's Manual 
Bar Code Printing Control 
ASCII  :  ESC  + DC4 + b + R  + c + w  + a  + ch1 … + chn 
Hexadecimal :  1B  + 14  + b + 52 + c + w  + a  + ch1 … + chn 
Decimal  :  27  + 20  + b + 82 + c + w  + a  + ch1 … + chn 
(1) Function 
(a)  Instructs the printing of bar codes according to the different 
specifications of this command. 
(2)  Valid range of parameters 
(a)  b (Specification of number of bytes) = Actual number of data + 
6 
(b)  R (Fixed) 
 ASCII  : R 
Hexadecimal :  82 
Decimal : 52 
(c)  C (Specifies the type of bar code to be printed.  No printing is 
done if any value other than the following is specified.) 
C  Type of bar code 
ASCII Decimal Hexadecimal
1  49 31 Codabar (nw-7) 
2 50  32 EAN 13 
3  51 33 EAN 8 
4  52  34  Code 3 of 9 
5  53  35  Industrial 2 of 5 
6  54  36  Interleaved 2 of 5 
7  55  37  Matrix 2 of 5 
A  65  41  UPC type A 
B 66  42 CODE 128 
a 97  61 
UPC type A with 
check character 

COMMAND SETS 
User's Manual  C-15 
(d)  w (Specify the width of the narrow bar of the bar code to be 
printed in units of 1/1440.) 
Specify the “Logical value” to be printed (in units of 1/1440). 
Actual printing: The printer prints with the width given in the 
following table in units of 1/180 inches. 
w  Width of narrow bar 
1 ~ 19  2 Dots (2/180 inches) 
20 ~ 27  3 Dots (3/180 inches) 
28 ~  4 Dots (4/180 inches) 
(e)  h (Specify the height of the bar code to be printed in units of 
1/1440 taking the narrow bar width as the reference.) 
  Height of bar code  =  (parameter w)  (parameter h) [in units  
  of 1/1440] 
Height of bar code   11 Inches 
Actual printing:  The printing is done with the following initial 
values if the bar code height is less than or 
equal to 24 dots taking 1 dot equal to 1/180 
inches of the printing unit of the printer. 
  The following values are the standard heights for the respective 
bar code standards.  Enter the value so that the height is ≤ 
23/180 if the standard is correct. 
Narrow bar 
width  EAN 
13/UCP-A  EAN 8  Others 
2 Dots 
(16/1440) 
162 Dots 
(1296/1440)
130 Dots 
(1040/1040) 
108 Dots 
(864/1440) 
3 Dots 
(24/1440) 
234 Dots 
(1872/1440)
187 Dots 
(1496/1040) 
135 Dots 
(1080/1440)
4 Dots 
(32/1440) 
312 Dots 
(2496/1440)
249 Dots 
(1992/1040) 
162 Dots 
(1296/1440)
  Figures in parentheses ( ) are values converted to units of 
1/1440. 
..

COMMAND SETS (DPL24CPLUS) 
C-16  User's Manual 
(f)  a (Bits 2~0: Specifications related to the check and OCR 
characters.) 
Bit Content of specification value Content of 
setting 
0 
Check character 
Additional specification 
* 1 
0 Added 
1 Not added 
1 
Specification of  OCR 
character printing 
(OCR-B is taken as the 
standard) 
0 Printed 
1 Not printed 
2 
Printing position of 
EAN, UPC flag 
character 
0  To the left of the 
bar code 
1 
To the bottom 
left of the bar 
code 
*1:  The specification becomes invalid for the following bar 
codes: 
  Codabar   … Always the non-additional code is set. 
  EAN, UPC  … Always the additional code is set. 
*2:   The flag character is printed when Bit 1 = 0. 

COMMAND SETS 
User's Manual  C-17 
(g)  (ch1) … (chn) 
  The data and the printable character set are listed below. 
Type of bar 
code  Usable character 
set  Data count 
Codabar  Numerals: 0 ~ 9 
Symbols; + -, $/: 
Start, Stop: 
 A,a,B,b,C,c,D,d, 
 T,t,N,n,*,E,e 
1 ≤ n ≤ 64 
Includes Start and 
Stop 
EAN 13  Numerals: 0 ~ 9  Fixed at n=12 
EAN 8  Numerals: 0 ~ 9  Fixed at n=7 
Code 3 of 9  Numerals: 0 ~ 9 
Alphabets: A ~ Z: 
Symbols:  
 +-,$/%SPACE 
Start, Stop:* 
Check character 
Additional code 
1 ≤ n ≤ 63 
Check character 
Non-additional 
code 
1 ≤ n ≤ 64 
Industrial 2 of 5  Numerals: 0 ~ 9 
Interleaved  
2 of 5  Numerals: 0 ~ 9 
Matrix 2 of 5  Numerals: 0 ~ 9 
UPC Type A  Numerals: 0 ~ 9  Fixed at n=11 
UPC Type A 
with check 
character 
Numerals: 0 ~ 9  Fixed at n=11 
Code 128 
ASCII Code 
Start code: A, B, C 
Code set C: 0 ~ 9 
Check character 
Additional code 
1 ≤ n ≤ 63 
Check character 
Non-additional 
code 
1 ≤ n ≤ 64 
Code set C: 2n 

COMMAND SETS (DPL24CPLUS) 
C-18  User's Manual 
Function Command 
Print Option Control 
Friction feed selection  
Rear tractor feed selection  
Front tractor feed selection  
Cut sheet feed selection  
Host controlled paper path control  
n =  “F”  :Friction  
 “T” :Rear Tractor 
 “M” : Front Tractor 
Automatic paper thickness control 
/ / F / / 
/ / T / / 
/ / M / / 
/ / S / / 
ESC e T (n) 
ESC e P (n1) (n2) (n3) (n4) 
Miscellaneous 
Sound bell  
Enable paper-out sensor  
Ignore paper-out sensor  
Typewriter mode on/off  
(on:n=1, off: n=0) 
Move print head to home position  
Unidirectional printing on/off  
(on:n=1, off: n=0) 
Select CR code definition  
n =  0:CR = CR only 
  1:CR = CR + LF 
Select LF code definition  
n =  0:LF = LF only 
  1:LF = LF + CR 
Enter online setup mode 
Move print head (unit: 1/180 inch) 
(0 < n1 < 255) (0 < n2 < 255) 
BEL 
ESC 9 
ESC 8 
ESC i (n) 
ESC < 
ESC U (n) 
ESC e r (n) 
ESC e l (n) 
ESC e ONLINE (data) 
ESC e h (n1) (n2) 

COMMAND SETS 
User's Manual  C-19 
Factory Default Settings 
The following table describes the printer commands used to control 
options of the items that can be selected in printer setup mode. Command 
parameters are omitted 
Item   Selectable options in setup mode   Command  
Emulate  DPL24C+, XL24E, ESC/P2   Controllable in 
online setup mode  
Font   COUR 10, PRSTG 12, COMPRSD,  
BOLDFCE, PICA 10, CORRESP,  
COUR-N, COUR-B, COUR-I,  
TIMLS-N, TIMLS-B, TIMLS-I,  
N.SAN-N, N.SAN-B, N.SAN-I. 
OCR-B, OCR-A, DOWNLD 0, 
DOWNLD 1  
ESC e t  
ESC e F  
ESC %  
Quality   LETTER, REPORT, DRAFT, HI-
DRFT, SH-DRFT 
ESC e q  
Pitch   2.5, 3, 5, 6, 10, 12, 15, 17, 18, 20 CPI 
or PROP SP  
ESC e p  
ESC e H  
ESC h  
ESC US  
ESC M  
ESC P  
ESC p 
ESC i  
ESC e s  
Line 
space  
1, 2, 3, 4, 5, 6, 7, 8, LPI   ESC e V  
ESC 0 
ESC 1  
ESC 2  
ESC 3  
ESC A  
Character 
width  
NORMAL, 2 TIMES, 4 TIMES   ESC W  
SO or ESC SO  
(DC4) ESC u  
ESC !  
Character 
height  
NORMAL, 2 TIMES, 4 TIMES   ESC V  
ESC u  
Underline: Factory default 
( ): Cancel command 

COMMAND SETS (DPL24CPLUS) 
C-20  User's Manual 
Item   Selectable options in setup mode  Command  
Attributes   NONE, ITALICS, CONDNSD, 
SHADOW, BOLD  
ESC 4 (ESC 5)  
SI or ESC SI 
(DC2)  
ESC E (ESC F) 
ESC G (ESC H) 
ESC e i ESC !  
Page 
length  
3.0, 3.5, 4.0, 5.0, 5.5, 6.0, 7.0, 8.0, 
8.5, 11.0, 11.6, 12.0, 14.0, 18.0 IN  
ESC C NUL  
ESC e C NUL  
ESC FF NUL  
ESC C  
ESC e C  
ESC FF  
Left end   1 , 2, 3, ... , 41 COLM   Controllable in 
online setup mode  
Top 
margin  
1 , 2, 3, ... , 10 LINE   Controllable in 
online setup mode  
Language   USA, UK, GERMAN, FRENCH, 
ITALIAN, SPANISH, SWEDISH, 
FINNISH, DANISH1, DANISH2, 
NORWEGN, PAGE437, PAGE850, 
PAGE860, PAGE863, PAGE865 
ISO8859, ECMA94  
ESC R  
ESC e C  
PG852, PG852-T, PG855, PG866, 
HUNGARY, HUNG-T, SOLV, 
SOLV-T, POLISH, POLSH-T, 
MAZOWIA, MAZOW-T, LATIN7, 
LATIN2, LATN2-T, KAMENIC, 
KAMEN-T, TURKY, TURKY-T, 
CYRILIC, IBM437, IBM851, 
ELOT928, PG-DHN, LATIN-P, 
ISO-LTN, LITHUA1, LITHUA2, 
MIK, MACEDON, ABG, ABY, PG-
MAC, ELOT927, DEC-GR, GREEK 
11, PG862, HBR-OLD, HBR-DEC, 
ISO-TUK, RUSCII, LATIN-9 , 
WCP1250, WCP1251, WCP1252 
Uncontrollable by 
commands but 
controllable in 
online setup mode  
Underline: Factory default 
( ): Cancel command 

COMMAND SETS 
User's Manual  C-21 
Item   Selectable options in setup mode   Command  
Character 
set  
SET 1, SET2   ESC7 ESC6  
Perfora-
tion skip 
SKIP, NO-SKIP   ESC N (ESC O)  
Paper 
width  
8.0 IN, 11.0 IN, 11.4 IN, 13.6IN, (8.0 
IN is default for 80-column printer, 
and 13.6 IN is default for 136-
column printer)  
Controllable in 
online setup mode 
Zero font  NO-SLSH, SLASH   Controllable in 
online setup mode 
DC3   ENABLE, DISABLE   Controllable in 
online setup mode 
CR code  CR-ONLY, CR & LF   ESC e r  
LF code   LF-ONLY, LF & CR   ESC e l  
Right end 
wrap  
WRAP, OVR-PRT   Controllable in 
online setup mode 
Paper-out  CNTONLY, DETECT, IGNORE   ESC 9 (ESC 8)  
Print 
direction 
BI-DIR, UNI-DIR   ESC U  
Print 
mode 
NORMAL, HISPEED, QUIET  ESC e X 
ESC e O 
High 
Impact 
DISABLE, ENABLE  ESC e z 
Underline: Factory default 
( ): Cancel command 

COMMAND SETS (IBM XL24E) 
C-22  User's Manual 
This section describes the printer commands for the IBM Proprinter 
XL24E emulation.  Asterisks in the “Function” column indicate extended 
commands that are not supported by the original printer. 
Function Command 
Print Mode Control 
Double-strike (bold) printing on  
Double-strike (bold) printing off  
Emphasized (shadow) printing on  
Emphasized (shadow) printing off  
One-line double-width characters on  
One-line double-width characters off  
Double-width characters on/off  
(on:  n = 1, off:  n = 0) 
Double-height/double-width characters  
n1 = 4, n2 = 0, m1 = 0, m2 = 0  
m3 controls character height and line spacing: 
m3 Height  Spacing 
0 
1 
2 
16 
17 
18 
32 
33 
34 
Unchanged
Normal 
Double 
Unchanged
Normal 
Double 
Unchanged
Normal 
Double 
Unchanged 
Unchanged 
Unchanged 
Single 
Single 
Single 
Double 
Double 
Double 
m4 controls character width: 
m3 Height 
0 
1 
2 
Unchanged
Normal 
Double 
ESC G 
ESC H 
ESC E 
ESC F 
SO or ESC SO 
DC4 
ESC W (n) 
ESC [ @ (n1)(n2) 
(m1) ... (m4) 
IBM PROPRINTER 
XL24E EMULATION 

COMMAND SETS 
User's Manual  C-23 
Function Command 
Condensed characters on  
Condensed and elite characters off 
Subscript or superscript printing on  
(subscript:  n = 1, superscript:  n = 0) 
Subscript and superscript printing off  
Underline on/off (on:  n = 1, off:  n = 0)  
Overline on/off (on:  n = 1, off:  n = 0) 
SI or ESC SI 
DC2 
ESC S (n) 
ESC T 
ESC - (n) 
ESC_(n) 
Horizontal Control 
Space 
Backspace 
Carriage return 
Elite characters on 
Proportionally spaced characters on/off  
(on:n= 1, off:  n= 0) 
SP 
BS 
CR 
ESC: 
ESC P (n) 
Vertical Control 
Line feed 
Form feed 
Advance paper  n/216 inch (1 < n < 255)  
Advance paper  n/180 inch (in AG mode)  
 (1 < n < 255) 
Set line spacing to 1/8 lines  
Set line spacing to 7/72 inch  
Set line spacing to n/216 inch  
(0 < n < 255) 
Set line spacing to n/180 inch (in AG mode)  
(0 < n < 255) 
Preset line spacing to n/72 inch  
(1 < n < 255) 
Preset line spacing to n/60 inch (in AG mode)  
(1 < n < 255) 
Set line spacing to 1/6 inch or to the value  
preset by line spacing command  ESC A (n) 
LF 
FF 
ESC J (n) 
ESC J (n) 
ESC 0 
ESC 1 
ESC 3 (n) 
ESC 3 (n) 
ESC A (n) 
ESC A (n) 
ESC 2 

COMMAND SETS (IBM XL24E) 
C-24  User's Manual 
Function Command 
Change graphics line spacing base to  
1/216 or 1/180 inch (for ESC J and ESC 3)  
m1 = 4, m2 = 0 
0 < t1 < 255, 0 < t2 < 255, t3 = 0 
t4 = 180 or 216 
ESC [ \ (m1) (m2) 
(t1) ... (t4) 
Tabulation 
Horizontal tab execution  
Set horizontal tabs  
The values of n1 to nk in this command  
are the ASCII values of the print columns 
(at the current character width) at which 
tabs are to be set.  (1 < n< 255) (1 < k < 28) 
Clear all horizontal tabs  
Move print position right by n/120 inch  
(0 < n1, n2 < 255) (n = n1 + n2  256) 
Vertical tab execution  
Set vertical tabs  
The values of n1 to nk in this command  
are the ASCII values of the lines (at the 
current line spacing) at which tabs are to be 
set.  (1 < n < 255) (1 < k < 64) 
Clear all vertical tabs  
Reset tabs to default values 
HT 
ESC D (n1)... 
(nk) NUL 
ESC D NUL 
ESC d (n1)(n2) 
VT 
ESC B (n1)... 
(nk) NUL 
ESC B NUL 
ESC R 
Page Formatting 
Set left margin at column n and right  
margin at column m (0 < n, m < 255) 
Set perforation skip by n lines  
(1 < n < 255) 
Perforation skip off  
Set page length to n lines (1 < n < 255)  
Set page length to n inches (1 < n < 22)  
Set top of form 
ESC X (n) (m) 
ESC N (n) 
ESC O 
ESC C (n) 
ESC C NUL (n) 
ESC 4 

COMMAND SETS 
User's Manual  C-25 
Function Command 
Character Set Control 
Select character set 1  
Select character set 2  
Print n1+ n2  256 characters from all-  
character set  
(chars.:  codes of characters to print, 
0 < chars. < 255) 
Print a character from all-character set  
(char.:  a code of character to print, 
0 < char. < 255) 
Select code page table n  
(0 < n1, n2 < 255) (n = n1+ n2  256) 
c1c2Code page ID 
0
1
3
3
3
3
0 
181
82
92
95
97
Ignore command 
Code page 437 
Code page 850 
Code page 860 
Code page 863 
Code page 865 
Clear input buffer  
Select printer  
Deselect printer (ignore input) 
ESC 7 
ESC 6 
ESC \ (n1)(n2) 
(chars.) 
ESC  ^ (char.) 
ESC [ T (n1)(n2) 
0 0 (c1)(c2) 
CAN 
DC1 
ESC Q # 

COMMAND SETS (IBM XL24E) 
C-26  User's Manual 
Function Command 
Downloading 
Select resident or downloaded font  
Ex.n = 0:Resident Draft 
 2:Resident Courier 
 4:Downloaded Draft 
 6:Downloaded Courier 
Create download font 
ESC I (n) 
ESC = (n1) (n2) 
ID (m1) (m2) (data) 
Bit Image Graphics 
Single-density graphics  
Double-density graphics  
High-speed double-density graphics  
Quadruple-density graphics  
High-resolution graphics  
Select graphics mode (in AG mode only) 
ESC K (n1)(n2) (data) 
ESC L (n1)(n2) (data) 
ESC Y (n1)(n2) (data) 
ESC Z (n1)(n2) (data) 
ESC [ g (n1)(n2) 
(m) (data) 
ESC * (m) (c1) (c2) 
(data) 
Cut Sheet Feeder Control 
Feed a sheet from bin 1  
Feed a sheet from bin 2 
Feed a sheet from bin 3 
Eject a page from the printer  
Select bin 1 for following pages  
Select bin 2 for following pages  
Select bin 3 for following pages  
Change bins at next page 
ESC EM 1 
ESC EM 2 
ESC EM E 
ESC EM R 
/ / 1 / /  
/ / 2 / /  
/ / E / /  
/ / C / /  
Print Option Control 
Friction feed selection  
Rear tractor feed selection  
Front tractor feed selection  
Cut sheet feed selection 
Host controlled paper path control  
n =  “F”  :Friction  
 “T” :Rear Tractor 
 “M” : Front Tractor 
Automatic paper thickness control 
/ / F / /  
/ / T / /  
/ / M / /  
/ / S / /  
ESC e T (n) 
ESC e P (n1) (n2) (n3) (n4) 

COMMAND SETS 
User's Manual  C-27 
Function Command 
Miscellaneous 
Sound the bell  
Unidirectional printing on/off  
(on:n= 1, off:n= 0) 
Add a carriage return to all line feeds  
(on:n= 1, off:n= 0) 
Printer offline  
Enter online setup mode  
Select default settings 
BEL 
ESC U (n) 
ESC 5 (n) 
ESC j 
ESC e ONLINE (data) 
ESC [ K (n1)(n2) 
(i) (ID) (p1)(p2) 
Bar Code Printing 
Print bar code  
b:  Total number of parameters  
R: (fixed)  
c:  Type of bar code  
w:  Width of narrow bar in 1/1440-
inch 
 units 
h:  Height of bar code 
a:  Defines check characters and 
OCR 
 characters 
ch1 ... chn:  Bar code characters 
NOTE 
Please refer to the command specification 
of DPL24CPLUS for details. 
ESC DC4 (b) R 
(c) (w) (h) (a) 
(ch1) ... (chn) 

COMMAND SETS (ESC/P2) 
C-28  User's Manual 
This section describes the printer commands for the Epson ESC/P2 
emulation.  Asterisks in the “Function” column indicate extended 
commands that are not supported by the original printer. 
Function Command 
Print Mode Control 
Double-strike (bold) printing on  
Double-strike (bold) printing off  
Emphasized (shadow) printing on  
Emphasized (shadow) printing off  
Italic printing on  
Italic printing off  
Select character style  
n = 0: Normal 
 1: Outlined 
 2: Shaded 
  3: Outlined and shadowed 
One-line double-width characters on  
One-line double-width characters off  
Double-width characters on/off  
(on: n= 1, off: n= 0) 
Double-height characters on/off  
(on: n= 1, off: n= 0) 
Condensed characters on  
Condensed characters off  
Subscript or superscript printing on  
(subscript: n= 1, superscript: n= 0) 
Subscript and superscript printing off  
Underline on/off  
(on: n= 1, off: n= 0) 
ESC G 
ESC H 
ESC E 
ESC F 
ESC 4 
ESC 5 
ESC q (n) 
SO or ESC SO 
DC4 
ESC W (n) 
ESC w (n) 
SI or  ESC SI 
DC2 
ESC S (n) 
ESC T 
ESC - (n) 
EPSON ESC/P2 
EMULATION 

COMMAND SETS 
User's Manual  C-29 
Function Command 
Select line  
n1 = 3, n2 = 0, d1 = 1  
d2 = 0:Ignore command 
 1:Underline 
 2:Strike through 
 3:Overscore 
d3 = 0 or 4:Cancel line selection 
  1:Single line 
  2 or 3:Double line 
  5:Single-dotted line 
  6 or 7:Double-dotted line 
Select printing style  
This command allows you to combine 
various printing styles.  The value 
of n is the sum of the values of the 
styles you want to combine. 
n =  0:Pica pitch 
 1:Elite pitch 
 2:Proportional spacing 
 4:Condensed 
 8:Shadow 
 16:Bold 
 32:Double-width 
 64:Italics 
 128:Underline 
ESC ( - (n1)(n2) 
(d1) (d2) (d3) 
ESC ! (n) 
Horizontal Control 
Space 
Backspace 
Carriage return 
Set elite pitch 
Set pica pitch 
Set 15 CPI 
Proportionally spaced characters on/off  
(on: n = 1, off: n = 0) 
Set inter-character space to n/120 inch (for  
draft) or n/180 inch (for letter and 
proportional) (0 < n < 127) 
SP 
BS 
CR 
ESC M 
ESC P 
ESC g 
ESC p (n) 
ESC SP (n) 

COMMAND SETS (ESC/P2) 
C-30  User's Manual 
Function Command 
Set character pitch to (n1+ n2  256)/360 inch  
(0 < n1 < 255) (0 < n2 < 4) 
Select character pitch (specify unit of pitch)  
n1 = 1, n2 = 0 
d = 10 to 19:  10/3600 inch = 1/360 inch 
d = 20 to 29:  20/3600 inch = 1/180 inch 
d = 30 to 39:  30/3600 inch = 1/120 inch 
d = 40 to 49:  40/3600 inch = 1/90 inch 
d = 50 to 59:  50/3600 inch = 1/72 inch 
d = 60 to 69:  60/3600 inch = 1/60 inch 
ESC c (n1)(n2) 
ESC ( U (n1)(n2) (d) 
Vertical Control 
Line feed 
Form feed 
Advance paper n/180 inch (1 < n < 255)  
Set line spacing to 1/8  inch  
Set line spacing to n/180 inch (0 < n <  255)  
Set line spacing to n/60 inch (0 < n < 127)  
Set line spacing to 1/6 inch  
Set line spacing to n/360 inch (0 < n < 255) 
LF 
FF 
ESC J (n) 
ESC 0 
ESC 3 (n) 
ESC A (n) 
ESC 2 
ESC + (n) 
Tabulation 
Horizontal tab execution 
Set horizontal tabs  
The values of n1 to nk in this  
command are the ASCII values of the 
print columns (at the current character 
width) at which tabs are to be set. 
(1 < n < 255) (1 < k < 32) 
Move print position n/120 inch (for draft)(*1)  
or n/180 inch (for letter)(*1) right from 
left margin (n = n1+ n2  256) 
Move print position n/120(*1) inch (for draft)  
Or n/180(*1) inch (for letter) left or right 
from the current position 
(n = n1+ n2  256) 
Vertical tab execution 
HT 
ESC D 
(n1)... (nk) NUL 
ESC $ (n1)(n2) 
ESC \ (n1)(n2) 
VT 

COMMAND SETS 
User's Manual  C-31 
Function Command 
Set vertical tabs  
The values of n1 to nk in this  
command are the ASCII values of the 
lines (at the current line spacing) 
at which tabs are to be set. 
(1 < n < 255) (1 < k < 16) 
Move to dot line (d1 + d2  256)/360(*1) inch  
n1 = 2, n2 = 0  
(0 < d1 < 255) (0 < d2 < 127) 
Vertical relative move by (d1 + d2  256)/360(*1)  
Inch  
n1 = 2, n2 = 0 
(0 < d1 < 255) (0 < d2 < 127) 
-32768 < d1 + d2 256  32768 
ESC B (n1)... 
(nk) NUL 
ESC ( V (n1) (n2) 
(d1) (d2) 
ESC ( v (n1) (n2) 
(d1) (d2) 
Page Formatting 
Set right margin to column n  
(1 < n < 255) 
Set left margin to column n  
(0 < n < 255) 
Set top and bottom margins from top of page  
n1 = 4, n2 = 0  
 Top margin = (t1 + t2  256)/360(*1) inch 
  (0 < t1 < 255) (0 < t2 < 127) 
 Bottom margin = (b1+b2  256)/360(*1) inch 
  (0 < b1< 255) 
  (0 < b2 < 127) 
Set perforation skip by n lines  
(1 < n < 127) 
Perforation skip off  
Set page length to n lines (1 < n < 127)  
Set page length to n inches (1 < n < 22)  
Set page length to (d1 + d2  256)/360(*1) inch  
n1 = 2, n2 = 0  
(0 < d1< 255) (0 < d2 < 127) 
ESC Q (n) 
ESC  l (n) 
ESC ( c (n1) (n2) 
(t1) (t2) (b1) (b2) 
ESC N (n) 
ESC O 
ESC C (n) 
ESC C NUL (n) 
ESC ( C (n1) (n2) 
(d1) (d2) 
*1  The value depends on the pitch set by the ESC (U command. 
  The default is 1/360 inch. 

COMMAND SETS (ESC/P2) 
C-32  User's Manual 
Function Command 
Character Set Control 
Select character set 1  
Select character set 2 
Select character set table  
n =  0:Italics character set 
  1:Graphics character set 
  2:Downloaded character set 
  3:Graphics character set 
Select international character set  
n =  0:USA 
 1:France 
 2:Germany 
 3:United Kingdom 
 4:Denmark 1 
 5:Sweden 
 6:Italy 
 7:Spanish 1 
 8:Japan 
 9:Norway 
 10:Denmark 2 
 11:Spanish 2 
 12:Latin America 
 13:Korea 
 64:Legal 
ESC 7 
ESC 6 
ESC t (n) 
ESC R (n) 

COMMAND SETS 
User's Manual  C-33 
Function Command 
Assign a character set to active character set  
number 0 to 3  
n1 = 3, n2 = 0 
d1 = 0:Active character set number 0 
  1:Active character set number 1 
  2:Active character set number 2 
  3:Active character set number 3 
d2 = 0:Italic 
   1:PC 437 (USA) 
   3:PC 850 (Multilingual) 
  7:PC 860 (Portugal) 
  8:PC 863 (Canada-French) 
  9:PC 865 (Norway) 
d3 = 0 
Print n1+ n2  256 characters from all-  
character set  
(0 < n1 < 255) (0 < n2 < 127) 
(0 < n1 + n2  256 < 255) 
(0 character codes < 254) 
Clear input buffer 
Delete a character 
Force most significant bit to 1 
Force most significant bit to 0 
Cancel control over most significant bit 
ESC ( t (n1) (n2) 
(d1) (d2) (d3) 
ESC ( ^ (n1)(n2) 
(character codes) 
CAN 
DEL 
ESC > 
ESC = 
ESC # 
Font Selection and Downloading 
Select font  
n =  0:Resident character set 
  1:Downloaded character set 
Select letter or draft quality  
n =  0:Draft 
 1:Letter 
ESC % (n) 
ESC x (n) 

COMMAND SETS (ESC/P2) 
C-34  User's Manual 
Function Command 
Select type style 
 Bitmap font: 
n =  0:Courier 
 1:Courier 
 2:Courier 
 3:Prestige 
 4:Courier 
 5:OCR-B 
 6:OCR-A 
 7:Courier 
 8:Courier 
 9:Courier 
 Scalable font: 
n =  0:Timeless 
 1:Nimbus Sans 
 
 2:Courier 
 3:Timeless 
 4:Timeless 
 5:Timeless 
 6:Timeless 
 7:Timeless 
 8:Timeless 
 9:Timeless 
Set scalable font mode  
 m sets character pitch. 
m = 0:Keep previous pitch 
  1:Set proportional space mode 
m > 5:Select character pitch 
  (m/360 inch) 
    (Reset proportional space mode) 
 n1 and n2 set point size of font. 
Point size = (n1 + n2  256)  0.5 point 
(0 < n1 < 255) (0 < n2 < 127) 
Copy resident character set to download area  
Create download font 
ESC k (n) 
ESC X m (n1)(n2) 
ESC : NUL(n)(s) 
ESC & NUL (n1)(n2) 
(d0) (d1) (d2) (data) 
*  Indicates extended commands not supported by the original printer. 

COMMAND SETS 
User's Manual  C-35 
Function Command 
Bit Image Graphics 
Graphics type m graphics  
Bit image mode definition  
Single-density graphics  
Double-density graphics  
High-speed double-density graphics  
Quadruple-density graphics  
Select raster image graphics  
n1 = 1, n2 = 0 
d= 1:  Raster image graphics mode 
Print raster image graphics 
ESC * (m) (n1)(n2) 
(data) 
ESC ? (s) (n) 
ESC K (n1)(n2) (data) 
ESC L (n1)(n2) (data) 
ESC Y (n1)(n2) (data) 
ESC Z (n1)(n2) (data) 
ESC ( G (n1)(n2) (d) 
ESC . (c)(v) (h) (m) 
(n1)(n2) (data) 
Cut Sheet Feeder Control 
Feed a sheet from bin 1  
Feed a sheet from bin 2  
Feed a sheet from bin 3  
Eject a page from the printer  
Select bin 1 for following pages   
Select bin 2 for following pages   
Select bin 3 for following pages   
Change bins at next page  
ESC EM 1 
ESC EM 2 
ESC EM E 
ESC EM R 
/ / 1 / /  
/ / 2 / /  
/ / E / /  
/ / C / /  
Print Option Control 
Friction feed selection  
Rear tractor feed selection  
Front tractor feed selection  
Cut sheet feed selection 
Host controlled paper path control  
n =  “F”  :Friction  
 “T” :Rear Tractor 
 “M” : Front Tractor 
Automatic paper thickness control 
/ / F / /  
/ / T / /  
/ / M / /  
/ / S / /  
ESC e T (n) 
ESC e P (n1) (n2) (n3) 
(n4) 

COMMAND SETS (ESC/P2) 
C-36  User's Manual 
Function Command 
Miscellaneous 
Sound the bell  
Move print head to home position  
Unidirectional printing on/off  
(on:n = 1, off:n = 0) 
Initialize printer  
Enter online setup mode  
BEL 
ESC < 
ESC U (n) 
ESC @ 
ESC e ONLINE 
(data) 
Bar Code Printing 
Print bar code  
b:  Total number of parameters  
R: (fixed)  
c:  Type of bar code  
w:  Width of narrow bar in 1/1440-inch 
 units 
h:  Height of bar code 
a:  Defines check characters and OCR 
 characters 
ch1 ... chn:  Bar code characters 
NOTE 
Please refer to the command specification of 
DPL24CPLUS for details. 
ESC DC4 (b) R 
(c) (w) (h) (a) 
(ch1) ... (chn) 

User's Manual  D-1 
D 
APPENDIX D  INTERFACE INFORMATION 
INTERFACE INFORMATION 
This printer can communicate with a computer 
through  a Centronics parallel interface, a RS-232C  
serial interface, a USB interface, or a LAN interface.  You can specify 
the interface selection mode so that the printer uses which interface or it 
can automatically select the interface from which it first receives data. 
This appendix provides information you may need for wiring your own 
interface cables or for programming computer-to-printer communications. 
Most users do not need the information in this appendix.  To simply 
connect your printer to your computer, follow the instructions in Chapter 
2. 
This parallel interface can operate in the following two modes: 
 Unidirectional (forward channel) mode or conventional mode:  This 
printer supports a conventional Centronics interface. 
 Bidirectional (forward/reverse channel) mode or nibble mode:  This 
printer supports a bidirectional communication per Nibble mode of 
the IEEE 1284 Standard. 
The cable connector at the printer side should be a shielded, Amphenol 
DDK 57FE-30360 or equivalent. 
The connector pin assignments are given in the following tables by 
modes.  In the tables: 
 “Input” denotes a signal from the computer to the printer. 
 “Output” denotes a signal from the printer to the computer. 
 The return lines specified in the second column represent 
twisted pairs, with one side  connected to signal ground. 
 The standard signal levels are 0.0 to +0.4 V (low), and +2.4 to 
+5.0 V (high). 
PARALLEL 
INTERFACE 

INTERFACE INFORMATION  
D-2  User's Manual 
Compatible Mode 
Pin 
No.  Return
Pin No. Signal Name Direction Description 
1 19 Data Strobe 
(DSTB) 
Input  This signal is a strobe 
pulse for reading data 
(Data 1 to 8).  The printer 
reads data when this signal 
is low. The pulse width 
must be 1 s or more at 
the receiving terminal. 
2-9  20-27  Data 1 to 8  Input  Data 8 (pin 9) is the most 
significant bit; however, 
this pin is not used in 7-bit 
ASCII communications. 
Logical 1 signals must go 
high at least 1 s before 
the falling edge of the  
Data Strobe signal and 
must stay high for at least 
1 s after the rising edge. 
10 28 Acknowledge
(ACK) 
Output  This pulse signal indicates 
that the printer has 
received data and is ready 
to accept the next set of 
data. 
This signal is also sent 
when the printer is 
switched from offline to 
online. 
11  29  Busy  Output  Data cannot be received 
when this signal is high.  
This signal is high during 
data entry, when the 
printer is offline, when the 
buffer is full, or when an 
error occurs. 
12 30 Paper Empty 
(PE) 
Output  This signal is high when 
the printer is out of paper. 

INTERFACE INFORMATION 
User's Manual  D-3 
Pin 
No.  Return
Pin No. Signal Name Direction Description 
13   Select 
(SLCT) 
Output  This signal is high when 
the printer is online. 
14   Auto Feed 
XT 
Input Not used 
15     No connection 
16   Signal 
Ground 
 Logic ground level (0 V) 
17   Frame 
Ground 
 Printer chassis ground line.  
FG and SG are connected.
18   +5 V  Output  +5 V source (up to 300 
mA) 
19- 
30 
 Signal 
Ground 
 Twisted pair return lines 
31   Input Prime 
(INPRM) 
  If this signal is low for 
more (INPRM) than 50 s, 
the printer is reset to the 
initial condition and is 
placed online. 
32   Fault  Output  This signal is low when 
the printer is offline, paper 
is out, or when there is a 
printer error. 
33   Signal 
Ground 
 Logic ground level (0 V) 
34     No connection 
35   +5 VR  Output  Pulled up to +5 V through 
a 3.3 k resistor 
36   SLCT-IN Input  Not used 

INTERFACE INFORMATION  
D-4  User's Manual 
Nibble Mode 
Pin numbers 2 to 9, 15 to 31, and 33 to 35 are the same as the 
conventional mode. 
Pin 
No.  Return
Pin No. Signal Name Direction Description 
1  19  Host Clock  Input  This signal is set high 
when the host requests the 
reverse data transfer phase 
(nibble mode). 
10  28  Printer Clock  Output  Reverse data transfer 
phase:  
This signal goes high 
when data being sent to the 
host is established. 
Reverse idle phase: 
This signal is set low then 
goes high to interrupt the 
host, indicating that data is 
available. 
11  29  Printer Busy  Output  Reverse data transfer 
phase: 
Data bit 3, data bit 7, then 
forward path (host to 
printer) busy status 
12  30  Ack Data Req Output  Reverse data transfer 
phase: 
Data bit 2, then data bit 6 
Reverse idle phase: 
This signal is set high until 
the host requests data and, 
after that, follows the Data 
Available signal. 
13   X Flag  Output  Reverse data transfer 
phase: 
Data bit 1, then data bit 5 

INTERFACE INFORMATION 
User's Manual  D-5 
Pin 
No.  Return
Pin No. Signal Name Direction Description 
14   Host Busy  Input  Reverse data transfer 
phase: 
This signal is set low when 
the host can receive data, 
and goes high when the 
host has received data.  
Following a reverse data 
transfer, the interface 
enters the reverse idle 
phase when the Host Busy 
signal goes low and the 
printer has no data. 
Reverse idle phase: 
This signal goes high 
when the Printer Clock 
signal goes low so that the 
interface re-enters the 
reverse data transfer phase.  
If it goes high with the 
1284 Active signal low, 
the 1284 idle phase is 
aborted and the interface 
returns to the compatibility 
mode. 
32   Data 
Available 
Output  Reverse data transfer 
phase: 
This signal is set low when 
the printer is ready to send 
data to the host.  During 
the data transfer, it is used 
as data bit 0 (LSB), then 
data bit 4. 
Reverse idle phase: 
This signal is used to 
indicate that data is 
available. 
36   1284 Active  Input  This signal goes high to 
cause the printer to enter 
the reverse data transfer 
phase (nibble mode). 

INTERFACE INFORMATION  
D-6  User's Manual 
Data Transmission Timing 
In unidirectional mode (conventional Centronics interface), this printer 
guarantees the received data when the Data and Data Strobe signals from 
the computer have the following timing with respect to the Busy and 
Acknowledge signals from the printer. 
T1, T2, T3 > 1 s 
T4 < 1 s 
0 s < T5 < 3 s 
2 s < T6 < 6 s 
In bidirectional mode (nibblemode), this printer can send data to the 
computer.  Data is sent in units of four bits (nibble) using four output 
signal lines as data paths.  The following outlines one byte of data sent 
during reverse data transfer phase in nibble mode. 

INTERFACE INFORMATION 
User's Manual  D-7 
RS-232C is the standard serial interface for data terminal equipment. The 
cable connector at the printer side should be a D-subminiature Cannon or 
Cinch DB-25P male connector or equivalent that conforms to EIA 
standards. 
The table that follows shows the pin assignments commonly used by 
most computers.  In the table: 
  “Input” denotes a signal from the computer to the printer. 
  “Output” denotes a signal from the printer to the computer. 
 The signal level for mark state (logical 1) is -3 V or lower; for 
space state (logical 0), it is +3 V or higher. 
Pin 
No.  Signal 
Name Direction Description 
1 FG   Frame Ground 
2  TD  Output  This pin carries information from the printer 
to the computer. 
3  RD  Input  Received Data.  This pin carries information 
from the computer to the printer. 
4  RTS  Output  Request To Send.  Spaces are sent when the 
printer is ready to transmit data. 
5  CTS  Input  Clear To Send.  Spaces are sent when the 
computer is ready to receive data. 
6  DSR Input  Data Set Ready.  Spaces are sent when the 
computer has been powered on and is ready 
to receive or transmit data. 
7 SG   Signal Ground (common return) 
8  CD  Input  Carrier Detect.  Spaces are sent when the 
computer allows the printer to receive data. 
11  RC  Output  Reverse Channel.  This signal is used instead 
of the DTR signal in the RC protocol.  
Spaces are sent when the printer is ready to 
receive or transmit data. 
20  DTR Output  Data Terminal Ready.  Spaces are sent when 
the printer has been powered on and is ready 
to receive or transmit data. 
SERIAL INTERFACE 

INTERFACE INFORMATION  
D-8  User's Manual 
Serial Options 
The serial options for the computer and the printer must match.  Use the 
printer control panel, the computer operating system, or your software to 
change options specified as “selectable.” 
Transmission mode:  Asynchronous, full duplex, or half duplex 
(selectable) 
Speed:  150, 300, 600, 1200, 2400, 4800, 9600, or 
19200 baud (selectable) 
Data bits:  7 or 8 bits (selectable) 
Parity bit:  Odd, even, mark, space, or none (selectable) 
Start bit:  1 bit 
Stop bit:  1 or 2 bits (selectable) 
Protocol:  XON/XOFF (DC1/DC3), DTR (Data Terminal 
Ready), or RC (Reverse Channel) (selectable) 
Buffer size:  256, 2K, 8K, 24K, 32K, 96K, or 128K bytes 
(selectable) 
Cable Wiring 
This printer allows two types of serial communication control:  DSR-
enabled and DSR-disabled.  The type of control required is determined 
by your computer requirements.  The type of control also affects the way 
the interface cable is wired.  To determine whether you need DSR-
enabled control or DSR-disabled control, use the printer HARDWRE 
function (see Chapter 5). 
DSR-disabled control offers simpler cabling and communication than 
DSR-enabled control.  DSR-disabled control can be used to interface 
with an IBM PC and most other personal computers.  With DSR-disabled 
control, the input control signals DSR, CTS, and CD are always 
considered high, regardless of their actual states.  Therefore, no wire 
connection for these pins is required.  The following figure shows the 
wiring required for connection to an IBM PC.  

INTERFACE INFORMATION 
User's Manual  D-9 
# indicates an open wire. 
Wire q is unnecessary for the DTR (or RC) protocol. 
Some computers may not require wire w. 
DSR-enabled control enables communication using an RS-232C 
interface.  The CTS and DSR input control signals are enabled; CD is 
ignored.  DSR must be high when the printer receives data.  If the printer 
has data to be transmitted to the computer, the printer transmits the data 
when both DSR and CTS are high. 
When using DSR-enabled control, use a straight-through cable to 
connect to a DCE (data communications equipment) device.  Use a null-
modem cable to connect to a DTE (data terminal equipment) device, as 
shown below. 

INTERFACE INFORMATION  
D-10  User's Manual 
Serial Protocols 
A protocol is a set of instructions that control the way data is transmitted 
between devices such as a computer and printer.  The protocol ensures 
that the computer does not send information to the printer faster than the 
information can be processed.  By telling the computer when the printer 
can receive data, the protocol prevents the printer s buffer from 
overflowing. 
This printer offers a choice of four different protocols for connection to a 
variety of computers:  XON/XOFF, DTR, and RC.  If you computer 
documentation does not recommend a particular protocol, try DTR.  The 
following table describes the three protocols. 
Protocol Description 
XON/XOFF
(DC1/DC3) 
When the printer is ready to receive data, it sends the 
XON (DC1) code (hex 11).  When fewer than 255 bytes 
of space remain in the buffer (or when the printer is taken 
offline), the printer sends the XOFF (DC3) code (hex 13).  
(When the input buffer is configured for 256 bytes, the 
buffer limit is reduced from 255 bytes to 63 bytes.)  The 
computer must stop transmitting data within 255 (63)  
characters of receiving the XOFF code, or information 
may be lost.  If paper runs out, the printer sends an NAK 
code (hex 15). 
DTR  DTR is a hardware protocol; that is, the DTR signal on 
interface cable pin 20 is used to control the flow of data 
rather than transmission of a character code.  When the 
printer is ready to receive data, pin 20 is high.  When 
fewer than 255 (63) bytes of space remain in the buffer 
(or when the printer is taken offline), pin 20 is low.  The 
computer must stop transmitting data within 255 (63) 
characters of DTR being low, or information may be lost.  
RC  The RC protocol is the same as the DTR protocol, except 
that the Reverse Channel signal (pin 11) is used instead of 
the Data Terminal Ready signal (pin 20). 

INTERFACE INFORMATION 
User's Manual  D-11 
Cable 
This printer supports the USB2.0 Full speed specification.  To connect to 
the host, use USB 2.0-compliant INF cables (5 meters  (196 inch) or 
shorter).  (Use the shielded cables.) 
Connector pin alignment 
No. Signal line name  Function 
1 VBUS Power supply 
2 D- Data transfer 
3 D+ Data transfer 
4 GND Signal ground 
Shell Shield  
- Connector specification 
Printer side 
Cable side 
Type B receptacle (female) 
Upstream port 
Type B plug (male) 
Specification 
-  Basic specification  USB interface compliant 
 Note 
  It does not guarantee all operations on hosts. 
-  Power control  Self-power device 
-  Transmission mode  Full speed (Maximum 12 Mbps  
   +0.25%) 
USB INTERFACE

INTERFACE INFORMATION  
D-12  User's Manual 
Cable 
This printer supports the 10Base-T and 100Base-TX cables. 
Connector pin alignment No. Signal line
 name 
DIR Function 
1  TXO+  NIC-HUB  Transmit data + 
2 TXO- NIC-HUB Transmit data - 
3  RXI+  HUB-NIC  Receive data + 
4     
5     
6 RXI- HUB-NIC Receive data - 
7     
8     
Green LED:   100Mbps 
Amber LED:  Link/Act 
Specification 
- Ethernet specifications 
   Standard:  IEEE802.3 10BASE-T,  
     IEEE802.3u 100BASE-TX  
   Speed:  100Mbps/10Mbps  
       Auto negotiation 
   Duplex:  Full/Half  
     Auto negotiation 
   MDI/MID-X:  Auto negotiation 
-  Internet protocol specifications 
   Link layer:  ARP 
    Internet layer:  IPv4, ICMPv4 
    Transport layer:  TCP, UDP 
    Application layer:  #9100 RAW, LPD, FTP, 
      HTTP, SNMP, DHCP 
 Note 
  It does not guarantee all operations on hosts. 
LAN INTERFACE  
Green LED  Amber LED 

User's Manual  E-1 
E 
APPENDIX E  CHARACTER SETS 
CHARACTER SETS 
Below are character sets 1 and 2 of Code Page 437, 
available in the DPL24C PLUS command set and 
the IBM Proprinter XL24E emulation.  Characters 
enclosed in boxes differ for sets 1 and 2. 
Characters in set 2 also vary with the national character set. 
Code Page 437 is for the USA character set. 
Code Page 437 Character Set 1 
Code Page 437 Character Set 2 
CHARACTER SETS 
1 AND 2 
(DPL24C PLUS AND 
IBM XL24E 
EMULATION) 

CHARACTER SETS 
E-2  User's Manual 
The following shows character sets available in the Epson ESC/P2 
emulation.  Characters differ in codes 128 to 255 (hex 80 to FF). 
Italic Character Set 
Graphics Character Set 1 
ITALIC AND 
GRAPHICS 
CHARACTER SETS 
(ESC/P2 
EMULATION) 

CHARACTER SETS 
User's Manual  E-3 
Graphics Character Set 2 

CHARACTER SETS 
E-4  User's Manual 
Below are the 52 national character sets available for all emulations of 
this printer.  These character sets support different characters and 
symbols specific to different languages.  Note that these tables are for 
Courier 10, a resident font, and that some national character sets do not 
have some characters and symbols whose use depends on resident fonts.  
For details, see the table at the end of this appendix. 
When the following character sets are used with the Epson ESC/P2 
emulation, the printing of FFh code characters is not supported. 
ECMA94, ISO8859, ISO-LTN, ISO-TUK, CYRILIC, LATIN-9 
NATIONAL 
CHARACTER SETS 
(ALL EMULATIONS) 
UK (British English)  S
W
EDISH (Swedish)
GERMAN (German)  ISO8859/ECMA94 (ISO 8859-1/ECMA94) 

CHARACTER SETS 
User's Manual  E-5 
PAGE437/USA (Code Page 437/USA) PAGE852/PG852-T (Code Page 852) 
PAGE850 (Code Page 850(Multilingual)) PAGE855 (Code Page 855) 

CHARACTER SETS 
E-6  User's Manual 
PAGE860 (Code Page 860(Portugal))  PAGE865 (Code Page 865(Nordic)) 
PAGE863 (Code Page 863(Canada-French))  PAGE866 (Code Page 866(Cyrillic)) 

CHARACTER SETS 
User's Manual  E-7 
HUNGARY/HUNG-T (Hungarian)  POLISH/POLS
H
-T (Polish) 
SLOV/SLOV-T (Slovenian)  MAZOWIA/MAZO
W
-T (Mazowian) 

CHARACTER SETS 
E-8  User's Manual 
LATIN2/LATN2-T (Latin2) TURKY/TURKY-T (Turkish)
KAMENIC/KAMEN-T (Kamenicky)  CYRILIC (Cyrillic)

CHARACTER SETS 
User's Manual  E-9 
IBM437 (IBM 437)  ELOT928 (ELOT 928)
IBM851 (IBM 851)  PG-DHN (Code Page DHN) 

CHARACTER SETS 
E-10  User's Manual 
LATIN-P (Latin Polish)  LITHUA1 (Lithuanian 1)
ISO-LTN (ISO Latin)  LITHUA2 (Lithuanian 2)

CHARACTER SETS 
User's Manual  E-11 
MACEDON (Macedonian)  PG-MAC
MI
K
 ELOT 927

CHARACTER SETS 
E-12  User's Manual 
ABG DEC G
R
ABY HB
R
-OLD

CHARACTER SETS 
User's Manual  E-13 
PAGE 862 (Code Page 862)  GREEK 11
HB
R
-DEC ISO-TUK

CHARACTER SETS 
E-14  User's Manual 
RUSCII LATIN-9
WCP1250 (Windows 
–
 1250)
WCP1251 (Windows 
–
1251)

CHARACTER SETS 
User's Manual  E-15 
The following character sets differ from those of Code Page 437 (USA), 
available in the DPL24C PLUS command set and the IBM Proprinter 
XL24E emulation. 
NATIONAL 
CHARACTER SETS 
(DPL24C PLUS AND 
IBM XL24E 
EMULATION) 
FRENCH (French)  ITALIAN (Italian)
WCP1252 (Windows 
–
1252) 

CHARACTER SETS 
E-16  User's Manual 
SPANISH (Spanish)  FINNISH (Finnish)
DANISH1/NORWEGN (Danish1/Norwegian) DANISH2 (Danish2)

CHARACTER SETS 
User's Manual  E-17 
The following character sets differ from the graphics character sets 
available in the Epson ESC/P2 emulation. 
NATIONAL 
CHARACTER SETS 
(ESC/P2 
EMULATION) 
DANISH1 (Danish1) SPANSH1 (Spanish1)
ITALIAN (Italian)  SPANSH2 (Spanish2)

CHARACTER SETS 
E-18  User's Manual 
JAPAN (Japanese)   LATIN A (Latin American)
N
ORWEGN (Norwegian)  FRENC
H
(French)

CHARACTER SETS 
User's Manual  E-19 
DANISH2 (Danish2) KOREA
LEGAL 

CHARACTER SETS 
E-20  User's Manual 
In all emulations, this printer supports 52 national character sets for 
characters and symbols specific to different languages.  Some national 
character sets, however, do not have some characters and symbols and 
may not be usable, depending on resident fonts.  The following tables 
show which of the resident fonts are supported for each national 
character set: 
Resident font 
National  
character set  Name in 
setup menu
USA *  USA      
United Kingdom UK       
German GERMAN 
     
Swedish SWEDISH 
     
ISO 8859-1  ISO8859       
ECMA94 ECMA94 
     
Code Page 437*  PAGE437      
Code Page 850  PAGE850       
Code Page 852  PAGE852       
Code two-pass  PAGE852-T      
Code Page 855  PAGE855           
Code Page 860  PAGE860       
Code Page 863  PAGE863       
Code Page 865  PAGE865       
Code Page 866  PAGE866           
(Continued on the next page) 
*  USA is the same as Code Page 437. 
**  Upright, italic, and bold available 
 :  Supported 
NATIONAL 
CHARACTER SETS 
AND SUPPORTED 
RESIDENT FONTS 
(ALL EMULATIONS) 

CHARACTER SETS 
User's Manual  E-21 
Resident font 
National  
character set  Name in 
setup menu
Hungarian HUNGARY       
Hungarian two-
pass 
HUNG-T        
Slovenian SLOV 
     
Slovenian two-
pass 
SLOV-T        
Polish POLISH 
      
Polish two-pass POLISH-T        
Mazowian MAZOWIA       
Mazowian two-
pass 
MAZOW-
T 
      
Latin 2  LATIN2        
Latin 2 two-pass LATIN2-T        
Kamenicky KAMENIC 
      
Kamenicky two-
pass 
KAMEN-T        
Turkish TURKY 
      
Turkish two-pass TURKY-T        
Cyrillic CYRILIC 
        
IBM 437  IBM437          
IBM 851  IBM851          
ELOT 928  ELOT928          
Code Page DHN PG-DHN        
Latin Polish  LATIN-P        
ISO Latin  ISO-LTN        
(Continued on the next page) 
**  Upright, italic, and bold available 
 :  Supported 

CHARACTER SETS 
E-22  User's Manual 
Resident font 
National  
character set  Name in 
setup menu
Lithuanian 1  LITHUA1          
Lithuanian 2  LITHUA2          
MIK MIK 
        
Macedonian MACEDON         
ABG ABG 
        
ABY ABY 
        
DEC Greek  DEC GR          
ELOT 927  ELOT 927          
GREEK 11  GREEK 11          
Code Page 862  PG 862        
Hebrew DEC  HBR-DEC        
Hebrew Old  HBR-OLD        
Code Page MAC PG-MAC          
ISO Turkish  ISO-TUK       
RUSCII RUSCII 
     
ISO8859-15 LATIN-9 
     
Windows Code 
Page 1250 
WCP1250        
Windows Code 
Page 1251 
WCP1251        
Windows Code 
Page 1252 
WCP1252        
**  Upright, italic, and bold available 
 :  Supported 

User's Manual  F-1 
F 
APPENDIX F  RESIDENT FONTS 
RESIDENT FONTS 
This appendix provides print samples of  
the printer's nineteen resident fonts. 
COURIER 10 
PRESTIGE ELITE 12 
DRAFT 12 
COMPRESSED 
PICA 10 
CORRESPONDENCE 10 
HIGH-SPEED DRAFT 12 
BOLDFACE PS 
OCR-B 10 
OCR-A 10 

RESIDENT FONTS 
F-2  User's Manual 
COURIER (SCALABLE) 
Normal 
Bold 
Italic 
Normal 
Bold 
Italic 
Normal 
Bold 
Italic 
NIMBUS SANS  
(SCALABLE) 
TIMELESS (SCALABLE) 

User's Manual  IN-1 
INDEX 
INDEX
A 
Adjustments 
  left margin ..................... 3-13, 3-16, 3-19, 5-21 
  left print start position ............................... 5-37 
  top-of-form .................... 3-24,  5-21, 5-34, 5-35 
  paper thickness................................... 3-9, 3-10 
AMOUNT ...................................................... 5-51 
ATTRIB ......................................................... 5-19 
B 
Bidirectional printing ............................. 5-30, 5-59 
Boldface ...........................................1-1, 4-10, F-1 
BUFFER ............................... QR-3, 4-1, 5-30, B-1 
BUZZER ........................................................ 5-30 
C 
Cables 
  LAN ................................... 1-3, 2-22, 8-1, A-1 
  parallel interface .............................. 2-21, 5-31 
  serial interface ......................... 2-21, 5-14, 5-31 
  USB ....................................... 2-22, 5-31, D-11 
Centronics ..................................... 2-21,  5-31,  D-1 
Character .............................. 5-18, 5-22, 5-25, E-1 
Cleaning ..........................................................  6-1 
Continuous forms 
 loading ............................................. 3-12, 3-15 
 placement ................................................. 3-11 
 tearing off ................................................. 3-17 
 unloading .................................................. 3-17 
Control panel ......................... QR-1, 2-15, 3-2, 4-7 
Cut sheet feeder 
  installing ...................................... 3-7, 8-1, A-1 
  loadin g ...................................................... 3-21 
D 
Default ........................................... 5-4,  5-12,  5-53 
Demo pattern .................................................. 2-20 
Diagnostic functions ............................. 5-55, 7-11 
Download ........................................ B-1, B-4, C-8 
DPL24C PLUS .............................................. 5-16 
DRAFT .................................................. 5-17, B-2 
E 
Eject .................................................... QR-2,  3-23 
Emulation .............................................  2-23,  5-16 
Envelope ....................................................... 3-26 
Epson ESC/P2 ...................................... 5-16, 5-65 
F 
Feeding paper 
  form feed ................................ QR-2, 3-3, 3-24 
  line feed .................................. QR-2, 3-3, 3-24 
Font ........................................................  4-9,  5-16 
Function ................................................. 5-4, 5-12 
H 
HEX-DUMP .......................... 5-4, 5-12, 5-55, 7-11 
I 
IBM Proprinter XL24E ................. 2-23, 5-16, 5-65 
Interface ........................................ 2-22, 5-31, D-1 
L 
Label .............................................................  3-26 
LAN interface .............................. 2-23, 5-31, D-12 
LF/FF .................................................... QR-2,  3-3 
Line feed ...............................QR-2, 3-3, 3-24, B-5 
Line spacing  ................................. 5-19, 5-38, B-4 
LIST ................................................ 5-4, 5-9, 5-12 
LOAD ................................................... QR-2, 3-3 
Loading ............................... 3-12, 3-15, 3-19, 3-21 
Lubrication ...................................................... 6-1 

INDEX 
IN-2  User's Manual 
M 
Maintenan ce..................................................... 6-1 
Margin ........................................................... 5-34 
Menu ............................ QR-3, 2-25, 4-8, 5-4, 5-12 
Multipart paper ............................................... B-8 
N 
Number of copies ............................ 3-9, 3-10, B-3 
O 
ONLINE ....................................... QR-2, 3-3, 5-43 
Order number .................................................. A-1 
P 
Page ...............................................................  2-26 
PAPER OUT............................. 4-3, 5-29, 7-7, 7-9 
Paper path .......................................QR-2, 3-3, 3-5 
Power ................................... QR-2, 2-17, 7-7, B-1 
Print area ........................................................ B-6 
Print head ......................................................... 6-8 
Printer  Driver ................................................. 2-28 
Q 
QUALITY .............................................. 5-17, 7-1 
Quick Reference........................................... QR-1 
R 
Removing printed pages ................................... 4-5 
Replacing the ribbon ........................................ 6-3 
Resume printing .................................... QR-3, 4-3 
Ribbon cartridge................................ 2-7, 6-3, A-1 
Ribbon  subcassette .......................................... A-1 
RS-232C ........................................................ 5-31 
S 
Self-test ................................. 2-18, 5-4, 5-12, 5-55 
Serial interface .............................. 2-21, 2-28, D-7 
Setup mode ..................................................... 5-1 
Single sheet 
  loadin g ...................................................... 3-19 
 Single sheets .............................................. B-6 
 ejecting ..................................................... 3-23 
Soft ware ..........................................................  4-6 
Specifications .................................................. B-1 
Supplies .......................................................... A-1 
T 
TEAR OFF................................... QR-2, 3-3, 3-17 
Testing printer 
 offline ....................................................... 2-18 
 online........................................................ 2-26 
Top margin..................................................... 5-21 
U 
Unidirectional printing............................ 5-30, B-2 
Un packin g .......................................................  2-2 
USB interface .............................. 2-22, 5-31, D-11 
V 
V-ALMNT function ....................................... 5-59 
Vertical character displacement ...................... 5-59 
W 
WIDTH .......................................... 5-26, B-1, B-2 
Please send your comments on this manual or on Fujitsu products to the 
following addresses: 
North American Contact: 
FUJITSU CANADA INC. 
6975 Creditview Road, Unit 1 
Mississauga, ON, Canada 
L5N 8E9 
Phone: +1-905-286-9666 
Fax: +1-905-286-5997 
European, Middle East, African 
Contact: 
Fujitsu Technology Solutions GmbH 
Mies-van-der-Rohe-Strasse 8 
80807 Munich, Germany 
Phone: +49-89-62060-0 
Internet: www.fujitsu.com/fts/ 
Australian Contact: 
FUJITSU AUSTRALIA LTD. 
Fujitsu House 2 Julius Avenue 
North Ryde N.S.W. 2113 
Australia 
Phone: +61-2-9776-4555 
Fax: +61-2-9776-4556 
Asian Contact: 
FUJITSU HONG KONG LTD. 
10/F., Lincoln House, 979 King's Road 
Taikoo Place, Island East, Hong Kong 
Phone: +852-2827-5780 
Fax: +852-2827-4724 
FUJITSU TAIWAN LTD. 
19F, No.39, Section 1, Chung hwa Road Taipei, Taiwan 
Phone: +886-2-2311-2255 
Fax: +886-2-2311-2277 
FUJITSU SYSTEMS BUSINESS (THAILAND) LTD.  
22-23 Fl., Exchange Tower, 388 Sukhumvit Rd. 
Klongtoey, Bangkok, Thailand 10110 
Phone: +66-2-302-1500 
Fax: +66-2-302-1555 
FUJITSU ASIA PTE. LTD. 
20, Science Park Road, #03-37 TeleTech Park 
Singapore Science Park II, Singapore 117674 
Phone: +65-6512-7555 
Fax : +65 6512-7502 
FUJITSU PHILIPPINES, INC. 
2nd Floor, United Life Building, A. Arnaiz Avenue 
Legaspi Village 1229, Makati City 
Metro Manila, Philippines 
Phone: +63-2-812-4001 
Fax: +63-2-817-7576 
FUJITSU (MALAYSIA) SDN. BHD. 
Level 1 & 2, No.3505 Jalan Technokrat 5 
Cyberjaya, Selangor Darul Ehsan, Malaysia 63000 
Tel: +60-3-8318-3700 
Fax: +60-3-8318-8700 
PT FUJITSU INDONESIA OFFICES 
Wisma Kyoei Prince 10th Floor 
Jl. Jend. Sudirman Kav 3-4, Jakarta Indonesia 10220 
Phone: +62-21-570-9330 
Fax: +62-21-573-5150 
FUJITSU VIETNAM LIMITED 
Unit 01-03, 17th Floor, Keangnam Hanoi Landmark Tower,  
Lot E6, Cau Giay New Urban Area, Me Tri Ward, Tu Liem 
District, Hanoi, Vietnam 
Phonel:+84-4-22203113  
Fax: +84-4-22203114 
Manufacturer contact: 
FUJITSU ISOTEC LIMITED 
Printer Business Division 
135, Higashinozaki, Hobara-machi, Date-shi, Fukushima 
960-0695, JAPAN 
Phone: +81-24-574-2236,  
Fax: +81-24-574-2382 
URL http://jp.fujitsu.com/group/fit/en/ 
Contact Email fit-gsm@cs.jp.fujitsu.com 
FUJITSU OFFICES 

KA02087-Y890-01EN