Furuno USA 9ZWRTR120 Transceiver for Radar User Manual OME 36660 A
Furuno USA Inc Transceiver for Radar OME 36660 A
User Manual

MARINE RADAR
MODEL 1815
OPERATOR'S MANUAL
www.furuno.com

i
IMPORTANT NOTICES
General
• This manual has been authored with simplified grammar, to meet the needs of international users.
• The operator of this equipment must read and follow the descriptions in this manual.
Wrong operation or maintenance can cancel the warranty or cause injury.
• Do not copy any part of this manual without written permission from FURUNO.
• If this manual is lost or worn, contact your dealer about replacement.
• The contents of this manual and equipment specifications can change without notice.
• The example screens (or illustrations) shown in this manual can be different from the screens you
see on your display. The screens you see depend on your system configuration and equipment
settings.
• Save this manual for future reference.
• Any modification of the equipment (including software) by persons not authorized by FURUNO will
cancel the warranty.
• The following concern acts as our importer in Europe, as defined in DECISION No 768/2008/EC.
- Name: FURUNO EUROPE B.V.
- Address: Ridderhaven 19B, 2984 BT Ridderkerk, The Netherlands
• All brand and product names are trademarks, registered trademarks or service marks of their
respective holders.
How to discard this product
Discard this product according to local regulations for the disposal of industrial waste. For disposal in
the USA, see the homepage of the Electronics Industries Alliance (http://www.eiae.org/) for the
correct method of disposal.
How to discard a used battery
Some FURUNO products have a battery(ies). To see if your product has a battery, see the chap-
ter on Maintenance. Follow the instructions below if a battery is used. Tape the + and - terminals
of battery before disposal to prevent fire, heat generation caused by short circuit.
In the European Union
The crossed-out trash can symbol indicates that all types of batteries
must not be discarded in standard trash, or at a trash site. Take the
used batteries to a battery collection site according to your national leg-
islation and the Batteries Directive 2006/66/EU.
In the USA
The Mobius loop symbol (three chasing arrows) indicates that
Ni-Cd and lead-acid rechargeable batteries must be recycled.
Take the used batteries to a battery collection site according to
local laws.
In the other countries
There are no international standards for the battery recycle symbol. The number of symbols can
increase when the other countries make their own recycle symbols in the future.
Cd
Ni-Cd Pb

ii
SAFETY INSTRUCTIONS
WARNING
Indicates a condition that can cause death or serious
injury if not avoided.
CAUTION
Indicates a condition that can cause minor or moderate
injury if not avoided.
Warning, Caution Mandatory Action
Prohibitive Action
Read these safety instructions before you operate or install the equipment.
WARNING
Radio Frequency Radiation Hazard
The radar antenna sends the electromagnetic
radio frequency (RF) energy. This energy can
be dangerous to you, especially your eyes.
Do not look at the radiator or near the
antenna when the antenna is rotating.
The distances at which RF radiation levels of
100 W/m2, 50 W/m2 and 10 W/m2 exist are
shown in the table.
Note: If the antenna unit is installed at a
close distance in front of the wheel house,
prevent the transmission in that area to
protect passengers and crew from microwave
radiation. Set the [Sector Blanks] in the
[System] menu.
Distance to
100 W/m2 point
Distance to
50 W/m2 point
Distance to
10 W/m2 point
Worst case 1.1 m
Standard Steering
Display unit 0.45 m 0.30 m
CAUTIONCAUTION
M1815 Antenna unit 1.70 m 1.05 m
Unit
Observe the following compass safe distances to
prevent deviation of a magnetic compass.
WARNING
Do not open the equipment.
The equipment uses high voltage that
can cause electrical shock. Refer any
repair work to a qualified technician.
Before turning on the radar, be sure
no one is near the antenna.
Prevent the potential risk of being
struck by the rotating antenna, which
can result in serious injury or death.
If water leaks into the equipment or
something is dropped into the
equipment, immediately turn off the
power at the switchboard.
Fire or electrical shock can result.
If the equipment is giving off smoke
or fire, immediately turn off the
power at the switchboard.
Fire or electrical shock can result.
Do not disassemble or modify the
equipment.
Fire, electrical shock or serious injury
can result.
Do not place operate the equipment
with wet hands.
Electrical shock can result.

SAFETY INSTRUCTIONS
iii
WARNING
Usethe correct fuse.
Use of a wrong fuse can result in fire or
damage to the equipment.
Do not place liquid-filled containers
on the equipment.
Fire or electrical shock can result if a
liquid spills into the equipment.
CAUTIONCAUTION
The guard zone alarm is an effective aid
to anti-collison.
Its use does not relieve the operator of the
responsibility to keep a vigilant watch on
his or her surroundings.
The data presented by this equipment
is intended as a source of navigation
information.
The prudent navigator never relies
exclusively on any one source of
navigation information, for safety of
vessel and crew.
WARNING
The TT function is a valuable aid to
navigation. However, the navigator
must check all aids available to avoid
collision.
- The TT automatically tracks an
automatically or manually acquired
radar target and calculates its course
and speed, indicating them with a
vector. Since the data generated by
the TT depends on the selected radar
targets, the radar must be optimally
tuned for use with the TT, to ensure
required targets will not be lost or
unnecessary targets, like sea returns
and noise, will not be acquired and
tracked.
- A target is not always a landmass,
reef, ship, but can also be returns
from the sea surface and from clutter.
As the level of clutter changes with
the environment, the operator must
correctly adjust the sea and rain
clutter controls and the gain control so
that the target echoes do not dis-
appear from the radar screen.
TT safety information
CAUTIOCAUTION
The plotting accuracy and response of
this TT meets IMO standards. Tracking
accuracy is affected by the following:
• Tracking accuracy is affected by course
change. One to two minutes is required to
restore vectors to full accuracy after an
abrupt course change. (The actual amount
depends on gyrocompass specifications.)
• The amount of tracking delay is inversely
proportional to the relative speed of the
target. Delay is approx. 15-30 seconds for
the higher relative speed; approx. 30-60
seconds for the lower relative speed. The
following factors can affect accuracy:
- Echo intensity
- Radar transmission pulse length
- Radar bearing error
- Gyrocompass error
- Course change (own ship and targets)

SAFETY INSTRUCTIONS
iv
WARNING
To avoid electrical shock, do not
remove cover. No user-serviceable
parts inside.
WARNING
Radiation hazard. Only qualified
personnel should work inside scanner.
Confirm that TX has stopped before
opening scanner.
Name: Warning Label 1
Type: 86-003-1011-1
Code No.: 100-236-233-10
Name: Warning Sticker
Type: 0
3-142-3201-0
Code No.:
100-266-890-10
Warning Label(s)
Warning label(s) is(are) attached to the
equipment. Do not remove the label(s). If a
label is missing or damaged, contact a
FURUNO agent or dealer about replacement.
TFT display
The high quality TFT (Thin Film Transistor) LCD
displays 99.99% of its picture elements. The
remaining 0.01% may drop out or light,. However,
this is an inherent property of the TFT; it is not a
sign of malfunction.

v
TABLE OF CONTENTS
FOREWORD................................................................................................................. viii
SYSTEM CONFIGURATION ........................................................................................... x
1. INSTALLATION .....................................................................................................1-1
1.1 Equipment List............................................................................................................1-1
1.2 How to Install the Display Unit....................................................................................1-1
1.3 How to Install the Antenna Unit ..................................................................................1-3
2. WIRING ..................................................................................................................2-1
2.1 Wiring .........................................................................................................................2-1
3. INITIAL SETTINGS................................................................................................3-1
3.1 How to Select Language ............................................................................................3-1
3.2 How to Select Radar Purpose ....................................................................................3-2
3.3 Initial Settings .............................................................................................................3-2
4. OPTIONAL EQUIPMENT ......................................................................................4-1
4.1 External Buzzer ..........................................................................................................4-1
5. OPERATION ..........................................................................................................5-1
5.1 Controls ......................................................................................................................5-1
5.2 How to Turn the Radar On/Off and Transmit..............................................................5-2
5.3 Display Indications......................................................................................................5-3
5.4 How to Adjust Display Brilliance, Panel Dimmer ........................................................5-4
5.5 Menu Description........................................................................................................5-4
5.6 Tuning.........................................................................................................................5-6
5.7 Display Modes ............................................................................................................5-7
5.7.1 How to select the display mode......................................................................5-7
5.7.2 Description of display modes .........................................................................5-8
5.8 How to Select the Range Scale................................................................................5-10
5.9 How to Adjust the Gain (sensitivity)..........................................................................5-10
5.10 How to Reduce the Sea Clutter................................................................................5-11
5.11 How to Reduce the Rain Clutter...............................................................................5-12
5.12 Cursor.......................................................................................................................5-13
5.13 Interference Rejector................................................................................................5-14
5.14 Noise Rejector..........................................................................................................5-15
5.15 How to Measure the Range to a Target ...................................................................5-15
5.15.1 How to adjust range ring brilliance ...............................................................5-15
5.15.2 How to measure the range with a VRM........................................................5-16
5.15.3 How to select VRM unit ................................................................................5-17
5.16 How to Measure the Bearing to a Target..................................................................5-18
5.16.1 How to measure the bearing with an EBL ....................................................5-18
5.16.2 EBL reference ..............................................................................................5-19
5.17 How to Measure the Range and Bearing Between Two Targets .............................5-20
5.18 Target Alarm.............................................................................................................5-21
5.18.1 How to set a target alarm zone ....................................................................5-21
5.18.2 How to stop the audio alarm.........................................................................5-22
5.18.3 How to select the alarm type ........................................................................5-22
5.18.4 How to sleep a target alarm temporarily.......................................................5-23
5.18.5 How to deactivate a target alarm..................................................................5-23
5.18.6 How to select the target strength which triggers a target alarm ...................5-23
5.18.7 How to turn the buzzer on/off .......................................................................5-23
TABLE OF CONTENTS
vi
5.19 How to Off-center the Display .................................................................................. 5-24
5.19.1 How to select the off-center mode ............................................................... 5-24
5.19.2 Off-center the display...................................................................................5-25
5.20 Zoom ........................................................................................................................5-26
5.20.1 Zoom mode.................................................................................................. 5-26
5.20.2 How to zoom ................................................................................................ 5-27
5.21 Echo Stretch............................................................................................................. 5-29
5.22 Target Trails ............................................................................................................. 5-29
5.22.1 Trail time ...................................................................................................... 5-29
5.22.2 Trail mode .................................................................................................... 5-30
5.22.3 Trail gradation .............................................................................................. 5-31
5.22.4 Trail color ..................................................................................................... 5-31
5.22.5 Trail level...................................................................................................... 5-32
5.22.6 How to restart, stop the trails ....................................................................... 5-32
5.22.7 Narrow trails ................................................................................................. 5-33
5.22.8 Your ship trail ............................................................................................... 5-33
5.22.9 How to erase all trails................................................................................... 5-33
5.23 How to Program the FUNC Key ............................................................................... 5-34
5.24 Echo Average........................................................................................................... 5-34
5.25 Wiper........................................................................................................................ 5-35
5.26 Characteristics Curve............................................................................................... 5-36
5.27 Own Ship and Barge Markers.................................................................................. 5-36
5.27.1 How to show the own ship marker ............................................................... 5-36
5.27.2 How to show the barge marker .................................................................... 5-37
5.28 Watchman ................................................................................................................ 5-38
5.29 Alarm Message ........................................................................................................ 5-39
5.30 Color Selections ....................................................................................................... 5-41
5.30.1 Preset colors ................................................................................................ 5-41
5.30.2 Custom colors .............................................................................................. 5-41
5.31 Echo Area ................................................................................................................ 5-42
5.32 Initial Sub Menu ....................................................................................................... 5-43
5.32.1 How to open the Initial sub menu................................................................. 5-43
5.32.2 Description of Initial sub menu..................................................................... 5-43
5.33 Sector Blank............................................................................................................. 5-45
5.34 Other Menu Items .................................................................................................... 5-46
5.34.1 Brill/Color menu............................................................................................ 5-46
5.34.2 Display menu ............................................................................................... 5-48
5.34.3 Echo menu................................................................................................... 5-48
5.34.4 Units menu................................................................................................... 5-49
5.35 Navigation Data........................................................................................................ 5-50
5.35.1 Navigation data during standby.................................................................... 5-50
5.35.2 Navigation data at the bottom of the screen ................................................ 5-50
5.36 Waypoint Marker ...................................................................................................... 5-52
5.37 How to Send the Target Position and Enter the Origin Mark ................................... 5-53
6. HOW TO INTERPRET THE RADAR DISPLAY.....................................................6-1
6.1 General ......................................................................................................................6-1
6.1.1 Minimum and maximum ranges..................................................................... 6-1
6.1.2 Radar resolution............................................................................................. 6-2
6.1.3 Bearing accuracy ........................................................................................... 6-3
6.1.4 Range measurement...................................................................................... 6-3
6.2 False Echoes ............................................................................................................. 6-3
6.2.1 Multiple echoes .............................................................................................. 6-3
6.2.2 Sidelobe echoes............................................................................................. 6-4
6.2.3 Virtual image .................................................................................................. 6-4
6.2.4 Shadow sector ............................................................................................... 6-5
TABLE OF CONTENTS
vii
6.3 SART (Search and Rescue Transponder)..................................................................6-6
6.3.1 SART description ...........................................................................................6-6
6.3.2 General remarks on receiving SART..............................................................6-7
6.4 RACON.......................................................................................................................6-8
7. TT OPERATION.....................................................................................................7-1
7.1 Precautions for Use....................................................................................................7-1
7.2 Controls for Use with TT.............................................................................................7-1
7.3 TT Display On/Off.......................................................................................................7-2
7.4 How to Acquire and Track the Targets .......................................................................7-2
7.4.1 Manual acquisition..........................................................................................7-2
7.4.2 Automatic acquisition .....................................................................................7-3
7.5 How to Stop the Tracking of TT..................................................................................7-3
7.5.1 How to stop the tracking of selected targets ..................................................7-3
7.5.2 How to stop the tracking of all targets ............................................................7-3
7.6 Vector Attributes.........................................................................................................7-4
7.6.1 What is a vector?............................................................................................7-4
7.6.2 Vector time and vector reference ...................................................................7-4
7.6.3 Vector of your ship .........................................................................................7-5
7.7 Past Position Display (target past position) ................................................................7-6
7.8 TT Data.......................................................................................................................7-7
7.9 CPA/TCPA Alarm .......................................................................................................7-8
7.10 Proximity Alarm ..........................................................................................................7-9
7.11 Lost Target ...............................................................................................................7-10
7.12 Symbol Color............................................................................................................7-10
8. AIS OPERATION ...................................................................................................8-1
8.1 AIS Display On/Off .....................................................................................................8-1
8.2 AIS Symbols...............................................................................................................8-2
8.3 Activating, Sleeping Targets.......................................................................................8-2
8.4 AIS Target Data..........................................................................................................8-3
8.5 How to Sort Targets....................................................................................................8-4
8.6 Display Range ............................................................................................................8-4
8.7 How to Display the Targets within a Specific Sector ..................................................8-5
8.8 Number of Targets to Display.....................................................................................8-5
8.9 Vector Attributes.........................................................................................................8-6
8.9.1 What is a vector?............................................................................................8-6
8.9.2 Vector time and vector reference ...................................................................8-6
8.10 Past Position Display (target past position) ................................................................8-7
8.11 CPA/TCPA Alarm .......................................................................................................8-8
8.12 Proximity Alarm ..........................................................................................................8-9
8.13 Lost Target .................................................................................................................8-9
8.14 Symbol Color............................................................................................................8-10
8.15 How to Ignore Slow Targets .....................................................................................8-10
9. GPS OPERATION .................................................................................................9-1
9.1 Navigator Mode ..........................................................................................................9-1
9.2 Datum.........................................................................................................................9-2
9.3 WAAS Setup...............................................................................................................9-3
9.4 Satellite Monitor..........................................................................................................9-4
9.5 Self Test .....................................................................................................................9-5
9.6 Cold Start....................................................................................................................9-6
10. MAINTENANCE, TROUBLESHOOTING ............................................................10-1
10.1 Preventive Maintenance...........................................................................................10-2
10.2 Fuse Replacement ...................................................................................................10-3
TABLE OF CONTENTS
viii
10.3 Magnetron Life ......................................................................................................... 10-3
10.4 Simple Troubleshooting ........................................................................................... 10-4
10.5 Advanced-level Troubleshooting.............................................................................. 10-5
10.6 Diagnostic Test ........................................................................................................ 10-7
10.7 LCD Test .................................................................................................................. 10-9
10.8 Radar Sensor Test................................................................................................. 10-10
APPENDIX 1 MENU TREE .......................................................................................AP-1
APPENDIX 2 GEODETIC CHART LIST ...................................................................AP-5
APPENDIX 3 DIGITAL INTERFACE.........................................................................AP-7
APPENDIX 4 JIS CABLE GUIDE ...........................................................................AP-14
APPENDIX 5 RADIO REGULATORY INFORMATION ...........................................AP-15
SPECIFICATIONS .....................................................................................................SP-1
INDEX.......................................................................................................................... IN-1

ix
FOREWORD
A Word to the Owner of the MODEL1815 Marine Radar
Congratulations on your choice of the FURUNO MODEL1815 Marine Radar. We are confident
you will see why the FURUNO name has become synonymous with quality and reliability.
Since 1948, FURUNO Electric Company has enjoyed an enviable reputation for innovative and
dependable marine electronics equipment. This dedication to excellence is furthered by our ex-
tensive global network of agents and dealers.
Your equipment is designed and constructed to meet the rigorous demands of the marine envi-
ronment. However, no machine can perform its intended function unless properly installed and
maintained. Please carefully read and follow the operation and maintenance procedures set forth
in this manual.
We would appreciate feedback from you, the end-user, about whether we are achieving our pur-
poses.
Thank you for considering and purchasing FURUNO equipment.
Features
The main features are as shown below.
• The main specifications of the MODEL 1815 are outlined in the table below.
• The radar is operated with keys, knobs and a Cursorpad.
• Easy-to-view 8.4 inch LCD.
• Echo area display with full screen provides observation of a wider range around the vessel.
• User-programmable function key
• AIS data available with connection of FURUNO AIS Transponder/Receiver.
Program No.
0359375-01.**
**=Minor modification
Model Output Range Antenna unit size
and type Antenna RPM
Model 1815 4 kW 36 nm 48 cm, Radome 24 RPM

FOREWORD
x
Radar function availability
The Model 1815 is available in two types, [River] (river use) and [Sea] (sea use). Some functions
may not available depending on the type selected See the table below for item and availability.
Type and function availability
Note on Chinese font: The Chinese font used in this equipment is Ricoh Company Ltd.'s Ricoh
bitmap font.
Item Type Page reference
River Sea
Automatic menu clo-
sure
Menu closes automatically.
Effective radius dot
count
240 dots
Echo color Select the echo display color
Echo color customiz-
ing
Can customize the echo display color.
Echo area Select the display area from [Normal] or [Full
Screen].
Base text display Can show or hide the base text indications.
Range preset Select the radar rang-
es to use.
Unit defaults
1) range 2) speed
1) KM 2) km/h, m/s 1) NM 2) kn
Bearing scale Graduation every 1°, 5°, 10°, 30°, no numeric in-
dication, displayed in the effective radius
VRM unit Can set the VRM unit independently from the
range unit.
Range unit Can change the range unit when transmitting.
AIS symbol color Select the AIS symbol color from [Green], [Red],
[Blue], [White] or [Black].
Vector reference Select the display mode for the vector from [Rel-
ative] or [True].
TT number Empty numbers numbered in ascending order
Heading line erasure Heading line, EBL, VRM, guard zone, etc. tem-
porarily erased.

xi
SYSTEM CONFIGURATION
Basic configuration is shown below with solid line.
Equipment category
Antenna Unit: Exposed to the weather
Other Equipment : Protected from the weather
GPS navigator
Satellite compass
Heading sensor
Plotter
AIS
DSB transceiver
Power cable 1.4 m
Antenna cable (FRU-CF-FF-XXM) (10/15/20 m)
* Option: CP03-37630 (30 m)
External Buzzer (OP03-21)
Junction Box (FI-5002)
NMEA Data Converter (IF-NMEA2K2)
:Option
Display Unit
RDP-157
MODEL 1815
Antenna Unit
RSB-127-120
RTR-120
Junction Box
(local supply)
Cable Assembly
(FRU-CF-F01)
Power supply
12 - 24 VDC
SYSTEM CONFIGURATION
xii
This page is intentionally left blank.

1-1
1. INSTALLATION
1.1 Equipment List
1.2 How to Install the Display Unit
The display unit can be installed on a desktop or flush mounted in a console. Do not
install the unit on the overhead or a bulkhead. Select a suitable location for the unit
considering the following points:
Desktop mount
Fasten the unit to the mounting location as shown below. For mounting dimensions,
see the outline drawing at the back of this manual.
Name Type Code No. Qty Remarks
Display Unit RDP-157 — 1
Antenna Unit RTR-120 — 1
Mounting Base RTR-120 — 1
Installation Materials
CP03-37600 000-033-122 Select
one
CP03-37610 000-033-123
CP03-37620 000-033-124
Radome Mounting Bracket OP03-209 001-078-350 1 Option
External Buzzer OP03-21 000-030-097 1 Option
NMEA Data Converter IF-NMEA2K2 000-020-510 1
Junction Box FI-5002 000-010-765 1
Cable Assy. FRU-CF-FF-30M 001-464-290 1
Flush Mount Kit OP03-242 0001-464-280 1 Option
CAUTION
Do not use paint, anti-corrosion products, contact spray or
other items containing organic solvents on the equipment.
Organic solvents can harm paint and plastic, particularly the con-
nectors.
• Select a location where the controls can be easily operated.
• Locate the unit away from the direct wind from air conditioners.
• The temperature range in the mounting location should be -15°C(5°F to 55°C(131°F).
• Locate the unit away from devices that emit active gas.
• The mounting location must be well ventilated.
• Select a location where vibration and shock are minimal.
• A magnetic compass will be affected if the display unit is placed too close to the com-
pass. Observe the compass safe distances in the safety instructions to prevent inter-
ference to the compass.
• Locate the unit away from direct sunlight to prevent heat build up inside the cabinet
and condensation in the display.
• Keep the unit away from water and water splash. (The unit complies with waterproofing
specification IP5.)

1. INSTALLATION
1-2
1. Fix the bracket assembly to a desktop with four self-tapping screws (525, sup-
plied). Be sure to follow the recommended maintenance space show in the outline
drawing. Insufficient space may damage to the connectors when disconnecting
and reconnecting them.
2. Loosely screw knob into the bracket assembly.
3. Set the display unit to the bracket assembly.
4. Tighten the knob to fix the display unit.
5. Adjust the angle of the display unit for comfortable viewing angle.
Note: Do not tilt the unit 90-degree backward or forward. The cable connector
may be damaged if it contacts the bracket.
6. Attach the hard cover to the display unit to protect the unit when it is not in use.
Flush mount (in a console)
Select a flat mounting location and install the unit as shown below.
It is recommended to set up a dedicated breaker when flush mounting the unit, since
it will be difficult to disconnect cables.
1. Using the paper template (supplied), make a cutout in the mounting location.
2. Unfasten four washer head screws on the rear of the display unit to remove the
bracket cover and the cover sponge.
3. Set the flush mounting sponge (supplied) to the display unit.
4. Screw four threaded rods (supplied) to the display unit.
5. Set the display unit to the cutout.
6. Fasten the display unit from behind with four sets of flat washers, spring washers
and wing nuts (supplied).
Screw
Hanger cover
Cover sponge

1. INSTALLATION
1-3
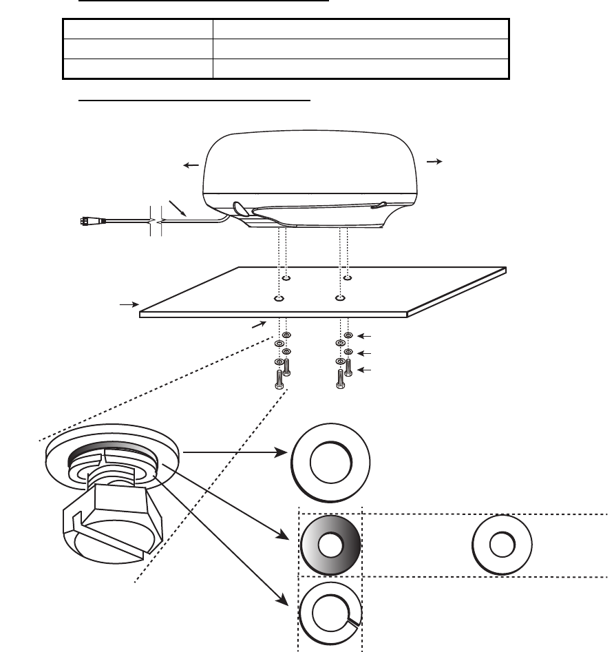
1.3 How to Install the Antenna Unit
Select a mounting location for the antenna unit considering the following points.
• Install the unit on a common mast, radar mast. etc.
• Install the antenna unit on a solid location, for example radar arch or on a mast on
a platform. (For sailboats, a mounting bracket is optionally available.) You must put
the antenna unit where there is a good complete view. Make sure that no part of the
superstructure is within the scanning beam. Any obstruction causes shadow sec-
tors. For example, a mast with a diameter smaller than the horizontal beam width
causes only a small blind sector. A horizontal spreader or crosstrees in the same
horizontal plane creates a large obstruction. Install the antenna unit above a hori-
zontal spreader or crosstrees.
• To avoid electrical interference, do not run the antenna cable near other electrical
equipment. Also do not run the cable in parallel to power cables.
• Do not install the unit where its motor noise may affect crew or passengers.
• As much as possible install the unit on the ship’s centerline, to prevent misplace-
ment of echoes (wrong bearing) on the display.
• Make sure the mounting location does not allow water to accumulate at the mount-
ing platform.
• A magnetic compass will be affected if the display unit is placed too close to the
compass. Observe the compass safe distances in the safety instructions to prevent
interference to the compass.
• Do not paint the radome.
• Be sure to follow the recommended maintenance space shown in the outline draw-
ing at the back of this manual.
• If the unit is installed on a large vessel observe the following points.
• The antenna cable comes in lengths of 10, 15 and 20 m. Consider the length of
the cable when selecting a mounting location.
Mounting on a sailboat Mounting on a power boat
AntennaAntennaAntenna
AntennaAntennaAntenna
Rear view
Rear view
Horizontal beam width
12.5°
12.5°
Rear view

1. INSTALLATION
1-4
• Keep the unit away from smoke and exhaust stacks. Hot air affects antenna per-
formance. Hot air can also damage the unit. The temperature at the mounting lo-
cation should not exceed 55°C(131°F)
Tools and materials for mounting
How to mount the antenna unit
Note: The outer diameter of the small flat washer is the same size as the bolt hole.
If the radome is put upside down with only the small flat washer and hex bolt in
place, the hex bolt and flat washer may protrude into the radome and damage the
RT unit. For this reason, DO NOT put the radome upside down when carrying the
radome.
Name Usage
Electric drill Drill holes for mounting. Drill bit: 11 mm
Hexagonal wrench Fastening bolts: Diagonal: 6 mm
Stern Bow
Align bow mark (
▲
) on
antenna with ship’s centerline.
Power cable (1.4 m)
Drill holes referring to outline
Mounting platform
Hex head bolt (M10×20)
Spring washer
Flat washer
Flat washer (large) top in order
Flat washer
(small) middle
in order
Spring washer
(large) last in order.
Default orientation of bolt and
flat washer
Bolt hole

1. INSTALLATION
1-5
1. From the bottom of the radome, remove spring washers (M10), flat washers
(M10) and hex head bolts (M1025).
2. Use the mounting template (supplied) to mark the location of fixing holes in the
mounting platform. Be sure to drill the holes parallel with the bow.
3. Lay the antenna unit on the mounting platform with the bow mark() on the an-
tenna unit facing the bow.
4. Use hex bolts*, flat washers and spring washers (removed at step 1) to fasten
the radar sensor to the platform. The torque for the bolts must be 19.6 to 24.5
N.m. Apply silicone sealant (local supply) to hex bolt, flat washer and spring
washer as shown below.
*See the figure below to determine the bolt length to use.
5. Connect the power cable to the antenna unit. The pin arrangement is as shown
below.
Platform thickness Bolt size to use
5 mm or less M1020m
6 to 10 mm M1025
More than 10 mm Local supply
Hex head bolt (M10×20)
Spring washer
Flat washer
×4
Platform
Sensor base
Flat washer
Hex bolt
Spring washer
Determine the length of bolts
according to platform thickness.
Silicone sealant (local supply)
Pin arrangement
10 mm

1. INSTALLATION
1-6
How to connect the power cable
Observe the following guidelines for connecting the power cable.
• The connectors must not strike any part of the vessel by wind, etc.
• The load applied to the connectors must not be more than their own weight.
• If the cable is passed through a mast on a sailboat, be sure the cable does not
touch ropes (sheet, halyard, etc.).
• Do not fasten the cable to the hull.
1. The cable must be fixed so no tension is applied to the connectors. To prevent
tension, make a loop in the cable close to the sensor and tie the loop with cable
ties, as in the figure below.
2. Wrap the junction of the connectors with self vulcanizing tape for waterproofing.
3. Fasten the cable to the mast, etc. at the neck of each connector with a cable tie.
How to use the radome mounting bracket (option)
The optional radome mount lets you fasten the radar sensor to a mast on a sailboat.
Name, Type: Radome Mount, OP03-209
Code No.: 001-078-350
Name Type Code No. Qty
Mounting plate 03-018-9001-0 100-206-740-10 1
Support plate (1) 03-018-9005-0 100-206-780-10 1
Support plate (2) 03-018-9006-0 100-206-790-10 1
Bracket (1) 03-028-9101-1 100-206-811-10 1
Bracket (2) 03-028-9101-2 100-206-812-10 1
Fixing plate 03-028-9103-1 100-206-831-10 2
Hex bolt w/washer M820 SUS304 000-162-955-10 8
Hex bolt w/washer M412 SUS304 000-162-956-10 4
Loop cable and tie the loop with cable
ties. (Min. bending radius: 80 mm)
Connect and wrap with tape.

1. INSTALLATION
1-7
How to assemble the bracket:
1. Fasten the fixing plates to brackets (1) and (2) with four M820 hex bolts.
2. Fit brackets (1) and (2) loosely with support plates (1) and (2) using four M412
hex bolts, so that the gap between the brackets can be adjusted.
3. Place the mounting plate on the bracket and fix it loosely with four M820 hex
bolts.
How to fasten the bracket to the mast:
1. Drill eight holes of 6.5 mm into the mast. Fasten the bracket to the mast with
eight stainless steel rivets whose diameter is 6.4 mm.
2. Tighten the bolts on the bracket.
3. Fasten the antenna unit to the bracket.
Fixing plate
Bracket (2) Bracket (1)
Bracket (2)
Bracket (1) M8×20
M4×12 M4×12
Mounting
plate
Dwg (1) Dwg (2) Dwg (3)
M8×20
M8×20
M10×25
Rivet
1. INSTALLATION
1-8
This page is intentionally left blank.

2-1
2. WIRING
2.1 Wiring
Use the supplied cable FRU-CF-F01 to connect a satellite compass, heading sensor,
GPS navigator, external buzzer, and power supply to the 12-24 VDC/NMEA connec-
tor.
Connect the antenna cable (FU-CF-xxM (10m/15m/20m/30m) to the antenna port.
See the interconnection diagram at the back of this manual for details. Leave slack in
the cable to ease maintenance.
Display unit, rear view
Note 1: The display unit comes with connector caps. Use the caps to cover the con-
nectors whenever the display unit is removed from the boat.
Note 2: Cut unused wires and wrap them with vinyl tape to keep them from touching
one another.
Note 3: Use care when disconnecting cables to prevent damage to their connectors.
Note 4: If an NMEA device is to use +12 V power from this radar, do not connect the
device’s circuit GND or chassis GND. (Do not connect chassis GND to 12V_M.)
Ground
Ship’s switchboard,
external equipment,
ground terminal, etc.
Power/signal connector
Antenna cable
䠄FRU-CF-FF-**M, 10/15/20/30m䠅

2. WIRING
2-2
Ground
Grounding guidelines:
• The ground wire (local supply) should be 2sq or higher.
• The length of the ground wire should be as short as possible.
• For an FRP vessel, fasten a 20 cm30 cm earthing plate to the outside of the ship’s
hull and attach the ground wire to a bolt on the plate.
• Attach a closed-end lug ( ) to the ground wire. Do not use an open-end lug
().
• External equipment whose signal line is connected to ground cannot be directly
connected to this equipment if the positive polarity of the vessel’s DC power is con-
nected to ground.
Connector Color Remarks
1 DC-P-IN(+) RED Power input, 12-24 VDC
2 DC-M-IN(-) BLK
3 TD1-A GRN/BLK(1) IEC61162-2/NMEA1
4 TD1-B GRN/RED(1)
5 RD1-H GRY/BLK(1)
6 RD1-C GRY/RED(1)
7 TD2-A GRN/BLK(2) IEC61162-2/NMEA2
8 TD2-B GRN/RED(2)
9 RD2-H GRY/BLK(2)
10 RD2-C GRY/RED(2)
11 RD3-H GRY/BLK(3) IEC61162-2/NMEA3
12 RD3-C GRY/RED(3)
13 12V-P(+) BRN Power output, 12-24 VDC
14 12V-M(-) ORG
15 EXT-BUZZ-EN WHT External buzzer
16 SHIELD BLK Drain wire, to ship’s switchboard’s
ground terminal
CAUTION
Do not fail to ground the display unit.
If the ground is poor or there is no ground, inter-
ference to the radar and other equipment can
result.

3-1
3. INITIAL SETTINGS
3.1 How to Select Language
Do the following to select the language to use.
1. Press the ( ) key on the display unit to turn on the power.
2. Press the MENU/ESC key to show the menu.
3. Press , on the Cursorpad to select [Factory], then press the ENTER key.The
cursor moves to the menu item section and [Language] is selected. Press the EN-
TER key again to show the language options.
4. Press , on the Cursorpad to select a language, then press the ENTER key.
5. Press the MENU/ESC key to close the menu.
㻌
㻌
㼀
㼄

3. INITIAL SETTINGS
3-2
3.2 How to Select Radar Purpose
1. Press the MENU/ESC key to show the menu.
2. Press , on the Cursorpad to select [Factory], then press the ENTER key.
3. Press , on the Cursorpad to select [Usage], then press the ENTER key.
4. Press , on the Cursorpad to select a [River] or [Sea], then press the ENTER
key.
5. Press the MENU/ESC key to close the menu.
3.3 Initial Settings
1. Press the MENU/ESC key to show the menu.
2. Press , on the Cursorpad to select [Installation], then press the ENTER key.
3. While holding down and pressing the ENTER key, press the ALARM key five
times to unlock the [Installation] menu.
4. Press , on the Cursorpad to select the item to set, then press the ENTER key.
5. Press , on the Cursorpad to select the option required, then press the ENTER
key
6. After setting all items, press the MENU/ESC key to close the menu.

3. INITIAL SETTINGS
3-3
Item description
• [Simulation]: Normally, set to [Off.] To view the demonstration picture, select [On].
• [Antenna Rotation]: Select [Rotate] to rotate the antenna and transmit radar puls-
es. The [Stop] setting, which transmits radar pulses without rotating the antenna, is
for use by the service technician.
• [Heading Alignment]: You have installed the antenna unit so that the unit faces to-
ward the bow. A target at the front of the boat and aligned with the bow must appear
on the heading line (zero degrees). If the target does not appear on the heading line,
do the procedure shown below to adjust the heading.
1. Set ship heading toward an acceptable target (for example, ship at anchor or
buoy) at a range between 0.125 and 0.25 nautical mile.
2. Transmit the radar at the range of 0.25 nautical mile and measure the bearing
of that target relative to ship heading with an EBL.
3. Open the [Installation] menu and select [Heading Adjust].
4. Press the ENTER key to show the heading adjustment window.
5. Press or to set the value measured at the above step 2. Check that the
target appears on the heading line.
6. Press the ENTER key to finish.
• [Sweep Timing]: This adjustment gives correct radar performance on short ranges.
The radar measures the time required for a transmitted echo to go to the target and
return to the source. The received echo appears on the display according to the
measured time. The sweep must start from the center of the display.A trigger pulse
created in the display unit goes to the antenna unit through the signal cable to acti-
vate the transmitter (magnetron). The time taken by the signal to move to the anten-
na unit changes, according to the length of the signal cable. During this period, the
display unit must wait before the radar starts the sweep. When the display unit is
not adjusted correctly, the echoes from a straight object will not appear as a straight
line. The target appears "pushed" or "pulled" near the picture center. The range to
objects are shown at wrong distances.
1. Transmit on the shortest range, then adjust the gain and the A/C SEA.
2. Visibly select a target that creates a straight line (harbor wall, straight piers).
3. Open the [Installation] menu and select [Timing Adjust].
4. Press the ENTER key to show the timing adjustment window.
5. Press or to make straight the target selected at step 2, then press the EN-
TER key to finish.
(1) Target pulled (2) Correct (3) Target pushed outward
3. INITIAL SETTINGS
3-4
• [Main Bang Suppression]: Reduce the main bang (black hole at center of screen),
which appears at the display center on short ranges, as follows.
1. Transmit on the shortest range.
2. Open the [Installation] menu and select [MBS Adjust].
3. Press the ENTER key to show the MBS adjustment window.
4. Press or on the Cursorpad so that the main bang is reduced.
5. Press the ENTER key to finish.
• How to automatically set the equipment: The tuning, timing, and video can be au-
tomatically adjusted as follows.
Note: Before doing this procedure, transmit the radar more than 10 minutes on a
long range and check that [Sector Blank] is [Off].
1. Transmit on the maximum range.
2. Open the [Installation] menu and select [Auto Initial Setup], then press the EN-
TER key.
3. Press on the Cursorpad to select [Yes], then press the ENTER key.
The tuning adjustment begins automatically, and the message "Tuning adjusting"
appears during tuning adjustment. After the tuning adjustment is completed, the tim-
ing and video are adjusted in that order. The messages "Timing adjusting" and "Vid-
eo adjusting" appear during those adjustments. After all adjustments are
completed, the window disappears. If the result for any item is not best for your con-
ditions, manually adjust the item according to the procedure in this section.
• [Total On Time]: You can set the total on time as shown below.
1. Open the [Installation] menu and select [Total On Time].
2. Press the ENTER key.
3. Press or on the Cursorpad to set value. The range is 000000.H to
999999.9 H.
4. Press the ENTER key to finish.
• [Total TX Time]: You can set the total TX time as shown below.
1. Open the [Installation] menu and select [Total TX Time].
2. Press the ENTER key.
3. Press or on the Cursorpad to set value. The range is 000000.H to
999999.9 H.
4. Press the ENTER key to finish.
• [Memory Clear]: The memory clear feature restores all settings to default, including
the default settings for the antenna connected to LAN.
1. Open the [Installation] menu and select [Memory Clear].
2. Press the ENTER key.
3. Press or on the Cursorpad to select [Yes], then press the ENTER key.
4. Press the ENTER key to finish.

4-1
4. OPTIONAL EQUIPMENT
4.1 External Buzzer
The external buzzer alerts you to violation of the guard zone in a remote location. Con-
nect the buzzer to the display unit as shown below, using the external buzzer installa-
tion kit.
External Buzzer Installation Kit
Type: OP03-31, Code No.: 000-030-097
As shown in the illustration below, cut the connector from the end of the cables. Fab-
ricate the cables as shown below, then connect the cables to the terminal board in the
display unit.
Name Type Code No. Qty Remarks
1 Buzzer PKB42SWH2940 000-153-221-10 1 Connector at both
ends
2 Cable Tie CV-70N 000-162-185-10 4
3 Heat Shrink Tube 30.25 BLK 000-165-283-10 1 40 mm
4 Double-sided Tape 9760 000-800-851-00 1 25 m25 mm
DISPLAY UNIT
RDP-157
12 V
Connection port
RED
BLK
ORG
WHT
Power
EXT_BUZZ_EN
External
Buzzer
ࠉTerminal board (local supply)
SheathSheath
5
40 40
5
SheathSheath
ࠉFabricate the cables as shown.

4. OPTIONAL EQUIPMENT
4-2
EXTERNAL
BUZZER
ࠉTerminal Board (local supply)
TD1_A
TD1_B
RD1_H
RD1_C
TD2_A
TD2_B
RD2_H
RD2_C
RD3_H
RD3_C
12V_P
12V_M
RED
BLK
WHT EXT_BUZZ_EN
ORG

5-1
5. OPERATION
5.1 Controls
Display unit
The display unit has six keys, two knob controls and a Cursorpad that control the ra-
dar. When you correctly do an operation, the unit beeps one time. If the operation is
incorrect, the unit beeps three times.
Control Description
MENU/ESC • Open/close the menu.
• Cancel selection (setting),
Cursorpad • Select the menu items and options.
• Move the cursor.
ENTER • Save selected menu option.
• Acquire target to track its movement.
• Select TT or AIS target to display its data.
MODE Show the mode selection window.
ALARM Set the target alarm, which checks for targets in the
operator-set area.
FUNC Execute the function assigned to this key.
RANGE
(PUSH FOR
GAIN)
Select the detection range.
DATA BOX Select the data box to display on the radar screen.
Short push: Turn on the power.
Long push: Turn off the power.
• Adjust the display brilliance.
• Switch the radar between standby and TX.
㻌
㻌
㼀
㼄

5. OPERATION
5-2
5.2 How to Turn the Radar On/Off and Transmit
Press the key to turn on the radar. To turn off the radar, press and hold down
the key until the screen turns off.
Start-up screen
When you turn on the power, the initialization screen appears followed by the start-up
screen. The start-up screen shows the model name, program number and the results
of the ROM and RAM check, OK or NG (No Good). If the test results are normal, the
stand-by screen ([Normal] or [Nav]) appears approx. 5 sec. later, and the time remain-
ing for magnetron warm-up (approx. 90 seconds) is counted down on the screen. If
NG appears, contact your dealer for instruction.
After the magnetron has warmed, the indication [ST-BY] at the screen center. The ra-
dar is now ready to transmit radar pulses.
Push the key to show the [Brill/Panel] window.
The cursor is selecting [TX/STBY]. Press the ENTER key to transmit the radar pulses.
The key switches between standby and transmit. The antenna rotates in trans-
mit and is stopped in standby. Because the magnetron ages with use, set the radar in
stand-by when you are not using the radar, to extend the life of the magnetron.
㻌
㻌
㼀
㼄
㻌
㻌
㼀
㼄
㻌
㻌
㼀
㼄

5. OPERATION
5-3
5.3 Display Indications
Display indications
Heading
Nav data: Appears at screen bottom when [Data Box]
in the [Display] menu is set to [Nav] or [All]. Appropriate
sensors required to display nav data.
Cursor data
(Range and bearing or L/L position)
Display mode
Range ring interval
Range
Trail reference
No. 1 EBL bearing
No. 2 EBL bearing
Offcenter
(M: Manual, A: Auto, C: Custom)
North marker
Tuning indicator
Target Alarm 1 (2)
indications
No. 1 VRM range
No. 2 VRM range
WATCHMAN
Target alarm zone 1
Target alarm zone 2
350.0°
TRAIL(T)
15 S
+
1.51.5NMNM
WTC
Heading line
Range ring
No. 2 VRM
No. 2 EBL
Zoom window
Zoom cursor
No. 1 EBL
No. 1 VRM
Cursor
Bearing scale
HDG
0.5
H UP
TUNEAUTO
ALM1_IN
ALM2_IN
IR 1
VRM
0.889
NM
0.422
NM
Interference rejector
22.0°
R
270.0°
R
ES 1
EAV 1
EBL
Echo stretch
Echo averaging
241.0
°
R
1.592
NM
VECT
TRUE
05:00
Vector time
ZOOM(R)
Zoom indication
+
Trail time
LAT 34°56.123N
LON 135°34.567E
SPEED 12.3KN
LAT 34°56.123N
LON 135°34.567E
TTG 01:00
B RG
14.8°
RNG 0.876NM
TT G
00:20
OWN SHIP + CURSOR WAYPOINT
OFFCENT(A)

5. OPERATION
5-4
5.4 How to Adjust Display Brilliance, Panel Dimmer
You can adjust the display brilliance and panel dimmer as follows:
1. Press the key to show the [Brill/Panel] window.
Brill/Panel dialog box
2. Press the ENTER key (or , ) to select [Brill] or [Panel] as required.
3. Use the Cursorpad ( or ) to adjust. (For brilliance, you can also use the
key.)
4. Press the MENU/ESC key to close the window.
5.5 Menu Description
This MODEL 1815 series has 14 menus and 7 sub menus. Below is the basic proce-
dure for menu operation.
1. Press the MENU/ESC key to open the menu.
Menu
㻌
㻌
㼀
㼄
㻌
㻌
㼀
㼄
Cursor
Menu items
and current
settings
Currently selected menu
Scroll bar (Indicates menus currently not shown in menu
window. Black vertical line indicates location in menu.
You can see the menus and sub menus currently not shown
by using or .)
Menu
Title bar
Guide message
(The simple explanation for
the current menu.)

5. OPERATION
5-5
2. Use the Cursorpad ( or ) to select a menu or a sub menu. The cursor (yellow)
in the Menu column indicates the menu currently selected. The menu items in the
right window change according to the menu selected.
Menu description
[Brill/Color]: Adjust the brilliance and color.
[Display]: Set up the display-related features.
[Echo]: Adjust the echo features.
[Alert Settings]: Customize the user settings.
[Alarm]: Set up the alarm items.
[Trails]: Process trails of the radar targets.
[Tuning]: Adjust the radar tuning.
[Others]: Set up other items.
[Target]: Set up the targets configuration.
[OS/Barge Mark]: Set up the own ship mark and barge mark.
[TT]: Set up tracked targets.
[AIS]: Set up AIS targets.
[GPS]: Set up GP-320B (Black-Box GPS).
[System]
[Initial]: Initial settings.
[Tests]: System diagnostic and LCD test.
[Sector Blanks]: Set up the sector blanks to prevent the transmission in a certain
area.
[Units]: Set up units.
[TT]: Set up TT system.
[Installation] and [Factory]: For use by the installer. See the Installation Man-
ual.
3. Press the ENTER key to switch the control to the menu items column. The cursor
in the menu column now turns gray and the cursor in the menu items column is
yellow.
To switch the control from the menu items column to the menu column, use the
MENU/ESC key. The color of the title bar of the active column is blue and of the
inactive column is gray.
4. Use the Cursorpad ( or ) to select a menu item and press the ENTER key. A
window with options for the related menu item appears.
Example windows
5. Use the Cursorpad ( or ) to select an option or numeric value.
6. Press the ENTER key to save your selection. To close the window without saving,
press he MENU/ESC key (instead of the ENTER key).
7. Press the MENU/ESC key to close the menu.
Display Color options Echo Brill setting window

5. OPERATION
5-6
5.6 Tuning
In default, the radar receiver can be tuned automatically after turning the radar to TX.
If you require fine tuning in manual, do the following:
1. Transmit the radar and select the maximum range with the RANGE knob.
2. Press the MENU/ESC key to open the menu.
3. Use the Cursorpad ( or ) to select [Tuning] and press the ENTER key.
Tuning menu
4. Use the Cursorpad ( or ) to select [Tuning Mode] and press the ENTER key.
Tuning Mode options
5. Use the Cursorpad ( or ) to select [Manual] and press the ENTER key.
6. Use the Cursorpad ( or ) to select [Manual Tuning] and press the ENTER key
to show the manual tuning setting window.
Manual Tuning setting window
7. Use the Cursorpad ( or ) to adjust
the tuning while you look at the tuning
bar at the upper-right corner of the dis-
play. The best tuning point is where
the tuning bar moves to maximum value. The vertical bar on the tuning bar shows
the tuning voltage.
8. Press the ENTER key.
9. Press the MENU/ESC key to close the menu.
Note: If the automatic tuning does not give the correct tuning, run the [Tuning Initial-
ization] again.
TUNE MAN Tuning method (Manual)
Tuning bar
Vertical bar

5. OPERATION
5-7
5.7 Display Modes
This radar has the display modes shown below. All modes except head-up require a
heading signal. The true motion mode additionally requires position data.
Relative Motion (RM)
• [Head Up] (H UP)
• [Course Up] (C UP)
• [North Up] (N UP)
• [True View]
True Motion (TM)
• [True Motion] (TM)
5.7.1 How to select the display mode
1. Press the MENU/ESC key to open the menu.
2. Use the Cursorpad ( or ) to select [Display] and press the ENTER key.
Display menu
3. Use the Cursorpad ( or ) to select [Display Mode] and press the ENTER key.
Display Mode options
4. Use the Cursorpad ( or ) to select a display mode and press the ENTER key.
5. Press the MENU/ESC key to close the menu.
Note 1: The display mode is automatically switch to head up if the heading signal be-
comes lost.

5. OPERATION
5-8
Note 2: All modes except head-up require a heading signal in AD-10 format or NMEA
format. If the heading signal is lost, the mode is changed to head-up and the north
marker disappears. The display for heading is XXX.X and the alarm sounds. The mes-
sage "GYRO" (AD-10 format data) or "NMEA_HDG" (NMEA format data) appears in
the alarm message display. To stop the audio alarm, press any key. When the heading
signal is restored, check the heading. The numeric value is displayed at the heading
indication when the heading signal is restored.
5.7.2 Description of display modes
Head-up mode
A display without azimuth stabilization in
which the line that connects the center with
the top of the display indicates your heading.
Targets are shown at their measured dis-
tances and their directions relative to your
heading. The short dotted line on the bearing
scale is the north marker.
Course-up mode
The radar picture is stabilized and displayed
with the currently selected course at the top
of the screen. When you change the head-
ing, the heading line moves with the course
selected. If you select a new course, select
the course-up mode again to display the new
course at the top of the display.
Targets are shown at their measured dis-
tances and their directions relative to the set
course, which is at the 0-degree position.
The heading line moves according to the yawing and any course change.
North-up mode
Targets are shown at their measured dis-
tances and their true (compass) directions
from your ship. North is at the top of the
screen. The heading line changes its direc-
tion according to your heading.
Heading line
North marker
Heading line
North marker
Heading line
North marker