Gammex GLDRC Laser Remote Control User Manual Manual Green CoverBody
Gammex, Inc Laser Remote Control Manual Green CoverBody
Gammex >
Contents
- 1. Manual Green CoverBody
- 2. Manual Focus Red CoverBody
Manual Green CoverBody

FOCUS -
REMOTE CONTROL
(Green)
Installation
and User’s Guide
GLD-300-RC
(Sagittal)
GLD-500-RC
(Crosshair)

Table of Contents
Introduction and Intended Use .................................................... 1
Definitions.................................................................................................... 2
Safety Information ................................................................................... 2-3
Storage and Transportation ........................................................................ 3
Environmental Limits .................................................................................. 3
Location of Labels ...................................................................................... 4
Operator Controls ....................................................................................... 5
Pre-Installation ............................................................................6-9
Typical Room Layout ...................................................................................6
Installation Requirements ........................................................................... 7
Room Preparation .......................................................................................9
Side Laser Installation ........................................................... 10-13
Remote Control ................................................................................14-19
Laser Positioning Adjustments ............................................ 20-31
Laser Coarse Adjustments....................................................................20-22
Remote Control Laser adjustment .............................................................23
Laser Coarse Rotational Adjustments ..................................................... 24
Curvature Adjustments ............................................................................. 25
Laser Fine Horizontal and Vertical Adjustments ...................................... 26
Laser Focus Adjustments ......................................................................... 27
Single Line Adjustments ........................................................................... 28
Angular Line Adjustments ........................................................................ 29
Centering Optics over Laser .................................................................... 30
Additional Installations ......................................................... 32-39
Second Side Laser Installation ........................................................... 33-34
Installation on Angled Walls ..................................................................... 35
Ceiling Laser Installation ..................................................................... 36-37
Sagittal Laser Installation .................................................................... 38-39
Laser Calibration and Adjustments ..................................... 40-41
Troubleshooting ...........................................................................42
Maintenance & Cleaning.................................................................42
Repair and Parts Information ............................................... 43-46
Replacing the Laser Diode ................................................................. 43-44
Dismantling and Disposal .......................................................... 45
Parts List ...................................................................................... 46
Specifications .........................................................................47- 51
Technical Support ....................................................................... 52
Product Warranty ........................................................................ 52
Mounting Templates ............................................................. 54, 56

Dear Valued Customer
Congratulations on your recent purchase of a Gammex
Laser Alignment System! This diode laser product is the
result of over 25 years of continuous quality improvement
of laser technologies. If, after carefully reading this manual,
you have any questions, please contact our Sales and
Service Department at 1-800-Gammex 1.
Introduction
This Installation and User’s Guide includes the information
you will need to safely and efficiently install, operate and
maintain your medical alignment laser. This guide is only
intended for use with Gammex FOCUS - REMOTE
CONTROL (Green) Diode Laser models GLD–500-RC
(Crosshair) and GLD–300-RC (Sagittal).
Intended Use
These lasers are intended to be used for aligning patients to
medical diagnostic imaging and radiation therapy equipment
which utilizes ionizing radiation. They are intended to be
used in medical clinic or hospital settings by trained medical
staff. The lasers are not designed to be used around
flammable anesthetics, which present a risk of explosion or
fire. The lasers are not intended to be used in a sterile or
corrosive environment. No other uses intended or implied.
Installation and User Guide
1
Introduction

Definitions
Symbols
Indicates user to consult accompanying document
General Safety
Signal words are used according to international standards.
The meanings of these signal words are:
DANGER
- Indicates an imminently hazardous situation which, if not avoided,
will result in death or serious injury. This signal word is to be limited to the
most extreme situations.
WARNING
- Indicates a potentially hazardous situation which, if not avoided,
could result in death or serious injury.
CAUTION
- Indicates a potentially hazardous situation which, if not avoided,
may result in minor or moderate injury. It may also be used to alert against
unsafe practices. Permitted for property damage only accidents.
2
FOCUS - Remote Control (GREEN) Diode Laser
Introduction
(safety) Class II equipment
This symbol indicates that when the end-user
wishes to discard this product, it must be sent to a
separate collection facilities for recovery and
recycling.
Laser
Apertures

3
Installation and User Guide
Introduction
LASER SAFETY
WARNING
- Risk of incorrect diagnosis or treatment. Isocenter of alignment lasers
must coincide with isocenter of diagnostic or treatment equipment. Test alignment of
lasers before use daily for first month of operation and weekly after first month. Newly
installed equipment will shift as building walls and floor settle and as building
materials dry out. Realign lasers to isocenter before use, if they have moved.
CAUTION
- Laser Light, risk of eye damage.
• To prevent eye damage, do not stare into beam and do not allow patients to stare
into beam. The normal blink reflex will prevent eye damage. If a patient is unable
to blink normally the laser operator must prevent laser from shining in patient's eye.
Laser is a class II laser.
• Replace laser diode only with assembly provided by Gammex to ensure that laser
power levels do not exceed class II limits.
• Do not adjust sealed potentiometers as power levels could exceed class II limits and
damage the laser diode.
GENERAL
•
Sagittal laser
- Single vertical line projecting laser
•
Crosshair laser
- Crossed line projected from laser
•
Iso-center
- Center point where the X, Y, and Z planes coincide.
Storage and Transportation
• Do not drop
• Non-corrosive environment
• Storage Temperature: -20 - +75° C (-4 -167° F)
• Storage Humidity: 0 - 85% Relative Humidity (no dew condensation)
Environmental Limits:
• Temperature: 0-60° C (32 -140° F)
• Humidity: 0 - 85 % relative humidity (no dew or condensation)
• No flammable anesthetics
• No corrosives

Location of Labels
Safety labels are located in two places on
the laser:
1. inside on the laser baseplate.
2. bottom outside of housing
007061 DECAL/CAUTION CLASS II DIODE LASER
Focus - Remote Control (Green) Diode Laser
Location of Labels
4

Operator Controls
A- Cover
B- Green Mylar Window
C- Power Supply Cord
D- Screw-on Power Plug
E- ON/OFF Switch (Push on/push off)
Lighted when on.
F- Remote Control Cable
• To turn the laser on: push the
ON/OFF button (E). The switch (E) will glow
green and you will see the beam of the green
laser on the window (B).
• To turn the laser off: push the On/Off
switch (E).The switch goes dark.
• Some facilities like to connect all the
lasers to one wall switch so all lasers
can be turned on and off from a
convenient location.
• Some facilities connect the lasers to a
timer so the lasers are automatically
turned off.
CAUTION - Use of controls or adjustments or
performance of procedures other than those
specified herein may result in hazardous
raditation exposure.
Operator Controls
Installation and User Guide
5

Figure 1
Pre-Installation
Focus - Remote Control (Green) Diode Laser
6

I
ntroduction
GENERAL
All Gammex FOCUS - REMOTE CONTROL (GREEN) Laser Alignment
Systems provide an optical aid for rapid and accurate patient positioning
and repositioning for therapy and simulator machines.
TECHNICAL DESCRIPTION
Various combinations of the GLD-500-RC crosshair FOCUS - REMOTE
CONTROL (GREEN) and the GLD-300-RC sagittal (straight line)
FOCUS - REMOTE CONTROL (GREEN) are used with different
systems. The GLD-500-RC lasers, mounted on each side, beam
crosshairs along the X-axis. The crosshair GLD-500-RC laser, mounted
on the ceiling, beams a crosshair vertically along the Z-axis. The Sagittal
GLD-300-RC laser beams a straight line in the Z-Y plane.
Installation Requirements
ELECTRICAL
Each laser is provided with a universal power supply (transformer) with
an input of 100 to 240 volts at 50 to 60 Hz. The universal power supply
plugs into a wall outlet with 4 interchangeable “snap-in” plugs to fit most
outlets. A 1.2 meter (4 foot) power cord supplies 12 volt dc power to the
laser with a screw-on power plug
TOOLS NEEDED
In addition to some basic tools, such as screwdrivers, hammer and
ladder; you will need an electric hammer drill, plumb bob, level, water
level, masking tape and 15M (50 feet) of string. (The mounting
hardware, a 1/4-20 tap and tap drill, and 4 hex (Allen) wrenches (.050”,
1/8”, 3/32”, & 5/64”) are included with the lasers.)
CAUTION: The location of the lasers is determined in relation to the
therapy machine’s crosshair and isocenter. Before installing lasers, ask
the physicist to verify that the field light aligns with the machine’s
isocenter. Figure 1.
Pre-Installation
Installation and User Guide
7

Figure 2
Use a water level to line up
the laser exit reference point
at the height of isocenter.
Pre-Installation
Focus - Remote Control (Green) Diode Laser
8

Pre-Installation
Use a water level, see Fig. 2, to line up the laser exit reference
point at the height of isocenter.
PREPARING THE ROOM
1. Unpack each laser, add the cord and plug into a wall outlet.
2. Turn the linear accelerator lamp on.
3. Set gantry and collimator to 0° and level the collimator.
4. Lower the table as low as possible.
COLLIMATOR CROSSHAIR ACCURACY
The collimator-projected crosshair is used as a reference
when determining the laser locations. The light field should
coincide with isocenter, the gantry should be level and, if
collimator crosshair displacement exists, it should be
compensated for.
1. Project a crosshair onto a piece of paper taped to the table
and mark the center with a dot.
2. Rotate through 360° and mark the center again.
3. If there is a difference between the two dots, find the
center of the distance between the two dots. Mark this
point and use this point as the crosshair center reference
point. Use this point to line up the laser.
USING THE WATER LEVEL
Use a water level, see Fig. 2, to determine the height of the
laser exit reference point when installing lasers in a simulator
room or in a room with angled walls. In standard treatment
rooms, the water level should also be used to verify the laser
location.
1. Raise the table to the front pointer (isocenter).
2. Remove caps on ends of water level and remove air
bubbles.
3. Line up with the table edge and with the wall.
Figure 2
4. The water line on the wall indicates the horizontal axis of
the laser exit reference point.
Use a level to verify:
• Gantry is level each time
it is rotated
• Template is placed
accurately on wall
• Crosshairs on wall are
at 90° angles
Pre-Installation
Installation and User Guide
9

Figure 3
Rotate the gantry
90° and project
a crosshair onto
the wall.
Figure 4
Use a string to
verify the location
of the side lasers.
Side Laser Installation
Focus - Remote Control (Green) Diode Laser
10

Installing Lasers
SIDE LASER INSTALLATION
For all GLD-500 RC installations.
For angled walls, refer to page 35.
1. Rotate the gantry 90° to the 270° position and project
a crosshair onto the wall.
Figure 3
2. Use a pencil and straight rule to trace the crosshair
onto the wall.
3. Line up the template from page 56, so that the
projected crosshair lines up with the laser exit point on
the template. Use a level to line up the template.
4. Mark the outer edge of the template and also mark the
mounting holes.
5. Rotate the gantry 180° to the 90° position and repeat
steps 2-4 on the opposite wall.
6. Return the gantry to 0°.
7. Tape a piece of paper to the table.
8. Project a crosshair onto the paper, keep the field as
wide as possible.
9. Hold the ends of a plumb bob on each wall until string
shadow is in line with projected crosshair.
Figure 4
10. The point at which the string hits the wall is the center
of the laser exit point. Mark the center on the wall.
Use the template to verify the location of the mounting
holes.
11. Drill the mounting holes.
12. Remove the FOCUS - REMOTE CONTROL (GREEN)
from its carton. Remove two screws at the top of the
cover using a 5/64” hex (Allen) wrench. Slide the
cover up, to disengage it, and lift the cover out.
Remove the packing support from the optics and
remove the plastic tie from around the optics.
Use a level to verify:
• Gantry is level each time
it is rotated
• Template is placed
accurately on wall
• Crosshairs on wall are
at 90° angles
Side Laser Installation
Installation and User Guide
11

Figure 5
Mount the base
plate to the wall
with the supplied
mounting hardware.
Use the template
to indicate where
on the wall to
mount the laser.
A: Exit Reference
B: Base Plate
C: Laser Assembly
D: End Plate
E: Main body cover
F: Mounting Screws
G: Washers
H: Wall Anchors (Masonry)
Use 3/8" drill
I: Mounting Spacers
Side Laser Installation
Focus - Remote Control (Green) Diode Laser
12

Installing Lasers
SIDE LASER INSTALLATION (continued)
13. Attach washers and screws with mounting spacers as
shown in
Figure 5
. Mount the laser to the wall Figure 5.
Laser must be firmly mounted. Oversized holes provide
flexibility to line up the exit reference, Use suitable
anchors. Wall anchors for masonry are provided in the
mounting kit.
Use a 3/8” diameter drill for the provided anchors.
14. Do not replace the cover at this time.
15. Plug in the universal power supply. Attach the threaded
power plug to the bottom of the laser. Turn on the laser.
The push switch will toggle on and off. The switch should
light and the laser lines project.
16. Plug in the remote control receiver.
17. Rotate the gantry 90° (so that the crosshair is projected
onto the laser) and tape a piece of paper to the gantry
head, covering the projected light field.
18. Adjust the laser so that the laser crosshair lines up with
the collimator cross hair. Refer to the following pages for
the methods for making laser adjustments.
19. Place a piece of paper directly in front of the laser.
20. Verify that the center of the projected collimator crosshair
is centered on the top laser lens.
21. Adjust for straight lines if necessary.
Refer to the following pages.
22. Turn off the laser.
23. Place the cover on the laser. Slide it downward to
engage the pins, then replace the screws at the top of
the cover. Take care not to jolt or bang the laser.
24. Check the alignment of the laser several times. Use the
remote control for minor adjustments.
25. Return the gantry to 0°.
Side Laser Installation
Installation and User Guide
13

Remote Control
Remote control is a radio communication feature that allows the operator to align as
many as five lasers with one hand-held controller. Each Focus laser has a separate wall
mounted receiver that communicates with the operator's transmitter. The receivers and
transmitter all have an ID switch. The ID switch sets the identification number for the
system. This allows different rooms to operate remote control lasers in close proximity
without interference. All remote control receivers in a room will have the same ID
number. Different rooms will have different ID numbers. To communicate properly, the
transmitter ID must be set to match the receiver IDs of all of the laser receivers in a
system.
SETTING THE TRANSMITTER ID
The transmitter ID switch is accessible
through the battery compartment. To set
transmitter identification, remove the
battery cover and locate the switch. It will
have three small toggles labeled 1, 2, and
3. Each toggle has an "on" position and
an "off" position. For ID one, set switch 1
"on" and all other switches "off". For ID
two, set switch 2 "on" and all other
switches "off". ID three has 1 and 2 "on"
and 3 "off". ID four has 3 "on" and all other
switches "off". This sequence can continue
up to ID seven which has all switches "on".
The following table gives all of the
combinations.
Operator Controls
Focus - Remote Control (Green) Diode Laser
14

ID SWITCH 1 SWITCH 2 SWITCH 3
0 OFF OFF OFF
1 ON OFF OFF
2 OFF ON OFF
3 ON ON OFF
4 OFF OFF ON
5 ON OFF ON
6 OFF ON ON
7 ON ON ON
Operator Controls
Installation and User Guide
15
SETTING THE RECEIVER LASER NUMBER
The other switch on the bottom of the receiver selects the number for the laser. This
corresponds directly to the laser number selection on the hand held transmitter.
Each receiver has a switch with five positions. These positions represent the number of the
laser that the receiver controls. If we move the first lever down and the rest up, then that makes
the receiver number one, and the laser connected to it is also number one. The second lever
stands for number two, and the third lever stands for number three. Only one lever may be in
the down position for any given receiver. The other four switch levers must be up.
Verify that the id switch settings on all receivers in a
system match the transmitter ID switch setting.

16
FOCUS - Remote Control (Green) Diode Laser
Laser Positioning Adjustments
To Align the lasers using the
Remote Control
1. Plug in the receiver if they are not
already connected.
2. Push the unlock button to activate
the transmitter. The transmitter light
should turn on.
3. On the transmitter, select the
number of the laser that you
wish to align.
The remote control receivers can be
mounted to a wall, ceiling or other
appropriate surface using two #8
screws (not included), spaced 1.5”
apart. Keyhole slots in the back of the
receivers will then fit over the screw
heads and hold the receivers in place.
The receivers can be damaged by
radiation and should therefore be
mounted outside of the radiation field.
Once mounted, connect each receiver
to its corresponding laser with the
included cable.
The remote control transmitter can be
damaged by radiation and should not
be left in the radiation field.

17
Installation and User Guide
Laser Positioning Adjustments
5. Move the laser line
to its correct position.
This button moves the laser
line upward or toward the
head
This button moves the laser
beam downward or toward the
feet
4. The corresponding
receiver light should
come on.

This button moves the
laser beam to the left
This button moves the
laser beam to the right.
6. When the line is correctly positioned, push the lock button to secure alignment.
The transmitter light will go out. If the lock button is not pressed, the transmitter
will automatically lock the lasers and go into hibernation after 90 seconds of
inactivity.
Operator Controls
Focus - Remote Control (Green) Diode Laser
18

8. Repeat the procedure for each laser that needs alignment
Operator Controls
Installation and User Guide
19

Movement of Crosshair and Sagittal Laser
Figure 6
Laser Positioning Adjustments
Focus - Remote Control (Green) Diode Laser
20

Coarse Carriage Adjustments
The carriage on which the laser is seated
can be moved both horizontally and
vertically.
Coarse vertical adjustment
of the laser carriage.
1. Loosen the hex head cap screws (B) with
a 1/8" hex wrench.
2. Now use the wrench to turn the setscrew
(A), which moves the carriage vertically.
3. When vertical adjustment is satisfactory,
tighten the hex head cap screws (B)
firmly.
Laser Positioning Adjustments
Installation and User Guide
21
B
A

Coarse Carriage Adjustments
Coarse horizontal adjustment
of the laser carriage.
4. Loosen the hex head cap screws (D)
with a 1/8" stubby hex wrench included
in calibration kit.
5. Now use the wrench to turn the
setscrew (C), which moves the carriage
horizontally.
6. When horizontal adjustment is
satisfactory, tighten the hex head cap
screws (D) firmly.
Fine Horizontal and Vertical
Adjustments
7. Fine Horizontal and Vertical adjustments
of the crosshairs and lines can be
made using the remote control as
shown on the following pages.
D
C
Laser Positioning Adjustments
Focus - Remote Control (Green) Diode Laser
22

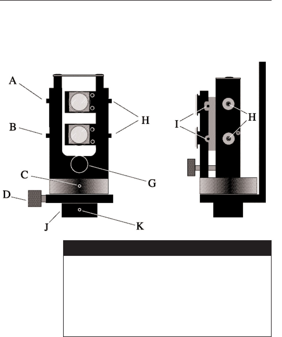
Focus - Remote Control (Green) Laser Positioning Adjustments
Figure 6 shows schematically the positioning adjustments available on the FOCUS -
REMOTE CONTROL (GREEN).
Figure 7 shows the different adjustments available on the
FOCUS - REMOTE CONTROL (GREEN). The FOCUS - REMOTE CONTROL (GREEN)
has both coarse and fine horizontal position adjustments. The remote control fine
adjustment has limited range and is factory set in the middle of the range. If the limit of the
range is reached, run the remote control a short distance in the opposite direction. Then use
the coarse adjustment to move close to the desired position.
Finally use the remote control fine adjustment to accurately position the crosshair.
Focus, angularity, and line curvature are factory set and should not
require adjustments at installation. Adjustments are available, if
required, and are explained on the following pages.
Laser Positioning Adjustments
Installation and User Guide
23

Laser Coarse Rotational Positioning
The
FOCUS - REMOTE CONTROL (GREEN)
optics can be
rotated for coarse horizontal positioning. To make this adjustment,
loosen the setscrew as shown using a .050 hex wrench. The entire
optics assembly can be rotated by hand, left or right, to move the
crosshair horizontally. This is a very coarse adjustment. The
setscrew must then be re-tightened. A fine-tuning adjustment can
then be used to accurately position the crosshair.
Laser Positioning Adjustments
Focus - Remote Control (Green) Diode Laser
24

Curvature Adjustments
The line curvature is factory set. Adjustment should not be
necessary. If needed, the 2 adjustments on the right hand
side of the optics are used to straighten either line of the
crosshair. Use a 3/32" hex wrench.
Figure 7
Figure 7
A. Mirror adjustment screw:
Move horizontal line
B. Beam splitter adjustment:
Move vertical line
C. Locking setscrew:
Coarse rotational adjustment
D. Horizontal motor
G. Vertical motor
H. Curvature adjustment screws
I. Lens angle adjustment screws
J. Line focus adjustment knob
K. Focus lock screw
Laser Positioning Adjustments
Installation and User Guide
25

Laser Fine Positioning
Both of the following adjustments can be made
with the cover on.
FINE HORIZONTAL POSITIONING
After positioning the crosshair close to the
proper location with the coarse adjustment, use
remote control to finely position the crosshair
horizontally. Push the left or right arrow button to
move the crosshair left or right.
FINE VERTICAL POSITIONING
After positioning the crosshair close to the
proper location with the coarse carriage
adjustment, Use remote control button to finely
position the crosshair vertically. Press the up
arrow to move the cross hair upward and the
down arrow to move the crosshair downward.
Laser Positioning Adjustments
Focus - Remote Control (Green) Diode Laser
26

Laser Fine Positioning
LASER FOCUS ADJUSTMENT
The following adjustments must be made with the
cover removed (see page 40)
The focus of the
FOCUS - REMOTE CONTROL
(GREEN)
can be adjusted as follows:
Remove the cover (see page 40).
The cylinder between the Laser Diode and the
optics can be used to adjust the Focus. The
cylinder can be rotated to access the set screws.
There are two setscrews locking the Focus
adjustment cylinder. Loosen both setscrews, as
shown. Figure 8
Focus the crosshair by moving the cylinder in and
out (vertically) to concentrate the crosshair into fine
lines.
Re-tighten both setscrews.
Replace the bottom cover and check the crosshair
alignment.
Figure 8
Laser Positioning Adjustments
Installation and User Guide
27

Laser Fine Positioning
Both of the following adjustments must be made
with the cover removed. (see page 40).
SINGLE LINE ADJUSTMENTS
The two adjustments on the left hand side of
the optics move either line of the crosshair up
or down with respect to the other line.
Use a 3/32" hex wrench.
MIRROR ADJUSTMENT SCREW
This upper screw moves the horizontal line up
and down.
Figure 9
Figure 10
Figure 9
BEAM SPLITTER ADJUSTMENT SCREW
This lower screw moves the
vertical line up and down.
Figure 10
Laser Positioning Adjustments
Focus - Remote Control (Green) Diode Laser
28

Laser Fine Positioning
Both of the following adjustments must be
made with the cover removed. (see page 40).
ROTATE HORIZONTAL LINE
The horizontal line of the crosshair can be
rotated as follows. Loosen the locking set
screw, as shown, on the right side of the
upper lens holder. Use a .050" hex wrench.
Rotate the lens holder by hand. Use care not
to touch the lens or upset the factory
calibration of the lens or the mirror.
Figure 11A
ROTATE VERTICAL LINE
The vertical line of the crosshair can be
rotated as follows. Loosen the locking set
screw, as shown, on the right side of the
lower lens holder. Use a .050" hex wrench.
rotate the lens holder by hand. Use care not
to touch the lens or upset the factory
calibration of the lens or the mirror.
Figure 11B
Figure 11
Laser Positioning Adjustments
Installation and User Guide
29
A
B

Laser Fine Positioning
CENTERING OPTICS OVER LASER
The FOCUS - REMOTE CONTROL (GREEN) optics are factory set to be centered on
the laser diode. Adjustment is probably not necessary unless the laser diode is replaced.
Most of the time, adjustment will not be needed when a new laser diode is installed,
but if the new diode does not center on the optics, this adjustment can be made:
The following adjustment must be made with the cover removed (see page 40).
Loosen the two screws that hold the optics assembly to the mounting bracket,
as shown. Use a 3/32" hex (allen) wrench. Loosen the screws just enough to ease the
optics assembly to a new position. Pictured below. Turn on the laser and move the optics
assembly to center on the laser light. Retighten the screws.
Laser Positioning Adjustments
Focus - Remote Control (Green) Diode Laser
30

Notes
Laser Positioning Adjustments
Installation and User Guide
31

Figure 12
Use a sheet of
typing paper to
verify the placement
of the side lasers.
Figure 13
Use a front pointer
to verify that the
side lasers hit
isocenter.
Additional Installations
Focus - Remote Control (Green) Diode Laser
32

Second Side Laser Installation
1. Repeat the process, on the opposite wall, used to
mount the first laser. Pencil a crosshair on this wall
to determine the exit reference point (center of the
laser upper lens) and use the mounting template to
identify the mounting holes.
2. Drill the mounting holes.
3. Unplug laser and remove the cover.
4. Attach washers and screws and mount the laser to
the wall.
5. Plug in and turn on laser.
6. Place paper in path and verify:
• laser lines overlap
• front pointer (isocenter) lines up with the laser
lines
• lines are straight up and down
• lines are level on the horizontal axis
• lines are sharp and focused at isocenter.
NOTE:
If there is no front pointer, raise
the table to isocenter and align the lasers with the
table edge. Line the second laser with the first.
Use a level to verify:
• Gantry is level each time
it is rotated
• Template is placed
accurately on wall
• Crosshairs on wall are
at 90° angles
laser lines overlap
front pointer lines up
with the laser lines
lines are straight up
and down
lines are level on the
horizontal axis
lines are sharp
and focused
QUICK
Additional Installations
Installation and User Guide
33

Figure 14
Use a string to verify the
location of the side lasers
Additional Installations
Focus - Remote Control (Green) Diode Laser
34

Installation on Angled Walls
1. When mounting on Angled Walls, Cut out, fold and
tape to the mounting template the strip of paper
provided with the template. This strip approximates
the distance to the center of rotation of the top lens of
the laser optics.
2. Use a water level to determine the height of the laser
exit reference point. (Refer to Pages 9 & 10).
3. Set gantry at 0°, tape a piece of paper to the table.
4. Project a crosshair onto the paper, keeping the field
as wide as possible.
5. Hold the ends of a string on each wall until the string
shadow is in line with the projected crosshair. Several
people may be needed. See
Figure 14
.
6. On each wall use the template with its extension.
Move the template until the string touches the Xon
the extension. That is the center of the laser exit
reference point. Level the template and mark the
mounting holes.
7. Drill the mounting holes.
8. Mount the laser. Adjust the turret of the laser by
loosening the setscrew as shown on page 24 and
rotating the optics until the laser crosshair lines up
with the gantry pointer. Tighten the setscrew. Use
the fine adjustments to make any additional
corrections horizontally.
9. Repeat the process on the other side laser.
10. Laser should form a continuous plane.
11. Place a piece of paper in the path (
Figure 13)
and
verify and correct as needed:
NOTE:
If there is no front pointer, raise the table to
isocenter and align the lasers with the table edge.
Use a level to verify:
• Gantry is level each time
it is rotated
• Template is placed
accurately on wall
• Crosshairs on wall are
at 90° angles
laser lines overlap
front pointer lines up
with the laser lines
lines are straight up
and down
lines are level on the
horizontal axis
lines are sharp
and focused at the
isocenter
QUICK
Additional Installations
Installation and User Guide
35

Figure 15
Use a plumb bob to
determine the placement
of the ceiling laser.
Additional Installations
Focus - Remote Control (Green) Diode Laser
36

Use a level to verify:
• Gantry is level each time
it is rotated
• Template is placed
accurately on wall
• Crosshairs on wall are
at 90° angles
Ceiling Laser Installation
1. Level gantry at 0° and place the table at isocenter
height.
2. Tape a piece of paper to the table.
3. Project a crosshair and mark the center point
with a pencil.
4. Move collimator out of the way.
5. Hold a plumb bob from the ceiling so that the bottom
weight hits the dot on the table. The point at which
the string hits the ceiling indicates the laser exit
reference point. Mark this with a pencil.
Figure 15
6. Use the template to mark the location of the
mounting holes.
7. Drill the mounting holes.
8. Unplug the laser and remove the cover.
9. Attach washers and screws and mount the laser to
the ceiling.
10. Plug in and turn on laser.
11. The center of the laser crosshair should correspond
with the dot on the table.
12. Raise and lower the table. The crosshair should align
for the entire course. Refer to Laser Positioning
Adjustments on pages 20 through 30.
NOTE:
If mounted in a recess, cut a hole in the ceiling
tile large enough to allow the entire cross to be
projected.
Additional Installations
Installation and User Guide
37

Figure 16
Use a string and the ceiling
laser crosshair to determine the
placement of the sagittal laser.
Additional Installations
Focus - Remote Control (Green) Diode Laser
38

Use a level to verify:
• Gantry is level each time
it is rotated
• Template is placed
accurately on wall
• Crosshairs on wall are
at 90° angles
Sagittal Laser Installation
The Sagittal Laser is mounted high on the wall (room
layout). Minimum height: 7', the higher the better.
1. Set the table to isocenter height.
2. Use the crosshair from the ceiling laser as a reference
and tape a plumb bob string to the center of the table
so that the string shadow aligns with the crosshair.
(
Point A in Figure 16
)
If your system does not contain a ceiling laser, use the
collimator-projected crosshair. Be sure to check for
collimator accuracy. (Refer to page 9).
3. Move the table up and down to verify tracking of the
string shadow.
4. The point at which the string hits the wall indicates the
center of the vertical laser exit reference point. (
Point
B in Figure 16
)
5. Use the template to determine the location of the
mounting holes.
6. Drill the mounting holes.
7. Unplug the laser and remove the cover.
8. Attach washers and screws and mount the laser
to the wall.
9. Plug in and turn on laser.
10. Verify that the laser line tracks the crosshair projected
onto the table.
laser lines overlap
front pointer lines up
with the laser lines
lines are straight up
and down
lines are sharp
and focused
QUICK
Additional Installations
Installation and User Guide
39

Calibration and Adjustments – FOCUS - REMOTE
CONTROL (GREEN)
Warning - Risk of incorrect diagnosis of treatment.
• Isocenter of alignment lasers must coincide with isocenter of diagnostic of
treatment equipment. Test alignment of laser daily, before use, for first
month of operation and weekly after first month. Newly installed
equipment will shift as building walls and floor settle and as building
materials dry out. Re-align lasers to isocenter before use, if they have
moved.
• The laser must be aligned with the diagnostic or therapy equipment to be
safely useful. Only a GAMMEX service technician, Medical Physicist,
Biotech Engineer or Service Technician should perform alignment.
Caution - Laser Light Risk of eye damage. Do not stare into beam.
• Alignment procedures need to be performed with laser on.
• Look only at laser light reflected from a diffuse surface (like paper or a
wall).
See Simplified Room Layout for general concept of laser alignment.
Removing the Cover
FOCUS - REMOTE CONTROL (GREEN) routine adjustments can be made
with the remote control. Some adjustments and repairs require the removal of
the cover. Remove this cover, as follows: First, turn off the laser. Unplug the
power cord from the main socket. Remove two screws at the top of the bottom
cover using the 5/64” Allen wrench. Slide the cover up, to disengage it, and lift
the cover out.
Plug in the power cord and on laser for adjustments.
To replace the cover after making adjustments, reverse the process. Turn off
the laser. Unplug the power cord. Tilt the top of the cover slightly away from the
wall. Slide the two bottom fasteners into slots in the bottom end plate. Tilt the
top of the cover toward the wall so that two holes in the top corners align with
holes in the top end plate. Secure the cover with two side screws at the top
corners.
Take care not to jar the laser.
Plug in the power cord.
Laser Calibration and Adjustments
Focus - Remote Control (Green) Diode Laser
40

Calibration and Adjustments – FOCUS - REMOTE CONTROL
(GREEN)
GENERAL
Test the alignment of the lasers daily, before use, for the first month after installation.
After the first month test the system at least weekly. Isocenter of the alignment lasers
must coincide with the isocenter of the diagnostic or treatment equipment.
CEILING AND SAGITTAL LASERS
Tape a piece of typing paper to the table under the gantry (Leveled and Set at 0°).
Project a crosshair on the paper from the gantry. Mark the center point. Move the
gantry out of the way. Project the Ceiling laser crosshair on the paper. Raise and lower
the table. The center of the crosshair should align with the dot on the paper. In the
same way the Sagittal line should pass through the dot on the paper.
SIDE LASERS
Turn on both side lasers. Use a piece of typing paper held perpendicular to the laser
light. The two-projected laser crosshairs should line up on the paper (
Figure 13
).
With the gantry at 0° (Leveled and Set at 0°) use a front pointer (
Figure 14
) to verify that
both side lasers hit isocenter. If there is not a front pointer, raise the table to isocenter
and project a crosshair on the table to verify that the side lasers hit isocenter.
ADJUSTMENTS
In a new installation some building movements can be expected. In most cases the fine
adjustments made by pushing the remote control buttons as shown on pages 16 to 19
should be sufficient to make any adjustments.
The remote control adjustments have limited range. If the remote control adjustment is
at the end of the range, run it a short distance in the opposite direction. Use a coarse
adjustment to come close to the desired position and use the remote control adjustment
to zero in.
Pages 20 through 30 outline various adjustments available on the FOCUS - REMOTE
CONTROL (GREEN). In most cases only the remote control horizontal and vertical
adjustments will be needed.
Laser Calibration and Adjustments
Installation and User Guide
41

Repair
Warning
- Use only repair parts specified by Gammex. Some parts may be similar, but may
result in unit drifting out of alignment, early failure or being out of compliance with laser
regulations.
See pages 43 through 48 for FOCUS - REMOTE CONTROL (GREEN) repair instructions.
Troubleshooting
PROBLEM POSSIBLE CAUSE POSSIBLE REMEDY
NO LASER LIGHT Wall switch not on. Check switch by turning laser
off and on.
Wall switch not in full on
position.
Verify switch lever is in the full
on position.
Plug/connector not plugged in.
Plug partially plugged in.
Verify plug is in the fully
plugged in position.
Power supply not functioning. Use voltmeter to measure the
voltage output of the power
supply wall plug. If voltage less
than 11 or greater than 13 VDC,
the power supply will need to
be replaced. Call Gammex
Sales and Service for
assistance.
INTERMITTENT LASER Use voltmeter and check power
supply. See above.
Troubleshooting
Focus - Remote Control (Green) Diode Laser
42
Maintenance & Cleaning
Once installed, Gammex Lasers require no maintenance other than cleaning of mirrors,
beam splitters, and lenses according to standard optical practices. Occasional outside
dusting of the green plastic window in the cover may be necessary. The window is very
delicate. Use only a camera lens brush or other soft brush for this purpose. Clean other
outside surfaces of the laser, receiver and transmitter with a soft cloth slightly moistened
with water or a mild detergent solution, then wipe the surface with a dry cloth. Do not use
any type of abrasive pad, scouring powder or chemical solvent such as thinner, benzene,
alcohol or disposable wipes as these may damage the finish. Should a laser fail to
function properly, contact Gammex Sales and Service.

Repair
REPLACING THE LASER DIODE
CAUTION Laser Light. Risk of eye
damage.
If the Laser Light fails it can be easily replaced
with a new laser diode.
TOOLS REQUIRED:
5/64" & 3/32" Hex Allen Wrenches.
1. Turn off the FOCUS - REMOTE CONTROL
(GREEN) by pressing the ON/OFF switch.
Disconnect the power plug from the bottom of
the FOCUS - REMOTE CONTROL (GREEN).
2. Remove two screws at the top of the cover,
using a 5/64" hex (Allen) wrench . Slide this
cover up to disengage it and lift the cover out.
3. Remove FOUR (4) 4-40 socket head caps
screws (using a 3/32" hex (Allen) wrench) that
hold the lead shield over the cylindrical laser
diode. Figure 17.
4. Lift off the lead shield and remove the laser
diode.
5. Remove the plug at the end of the laser diode
electrical leads from the circuit board. This
plug snaps in and out of the socket in the
circuit board. Figure 18.
6. Remove the old laser diode.
7. Place the new laser diode in the groove that
held the old laser diode. Space the diode 3/8"
from the round black lens in front of laser
diode. The spacing is not critical and has little
effect on the focus.
8. Re-attach the lead shield to the top of the laser
diode, using the four 4-40 screws. Retighten
evenly, keeping the top of the lead shield
level. Do not over tighten.
Figure 17
Figure 18
Repair and Parts Information
Installation and User Guide
43

Repair
REPLACING THE LASER DIODE
9. The laser focus should not require adjustment. If necessary, make focus
adjustment as outlined in the Installation and User’s Guide. Focus
adjustments must be made with the cover off.
10. Replace the cover.
11. Check the positioning of the laser crosshair or line. If necessary, make
position adjustments as outlined in the Installation and User’s Guide.
Check the alignment of the laser with the cover on and off.
REPLACING THE TRANSMITTER BATTERIES
The transmitter has a battery compartment on the back that can be opened
by pushing down on the catch and sliding it toward the end of the case. The
cover may be tight. It may be necessary to very carefully pry the opening
apart at the parting line
Repair and Parts Information
Focus - Remote Control (Green) Diode Laser
44

REPLACING THE TRANSMITTER BATTERIES (continued)
It is very important to replace the batteries with the proper polarity in the right
direction as shown. The spring contact always matches the negative ( -) end.
These batteries are not rechargeable. Do not try to recharge them. They are
long life lithium batteries. Transmitter batteries will not often require replacement,
but when they do, they are available from Gammex Sales Department.
Repair and Parts Information
Installation and User Guide
45
DISMANTLING
The FOCUS - REMOTE CONTROL (GREEN) can be removed from the wall by
following the reverse of the installation instructions.
DISPOSAL
The FOCUS - REMOTE CONTROL (GREEN) laser contains steel, aluminum,
lead, lead alloys copper, glass, brass, lead-free paint and plastic. Recycle
according to your applicable laws.

46
Focus - Remote Control (Green) Diode Laser
Repair and Parts Information
PART NO.
804972
007589
007538
DESCRIPTION
GREEN LASER DIODE
REPLACEMENT KIT
Includes tools and
instructions.
POWER SUPPLY 12VDC
Universal Medical Grade
POWER SUPPLY PLUGS
Set of 4
WINDOW:
GREEN LENS
Parts List
007575 LITHIUM BATTERY

47
Installation and User Guide
Specifications
Specifications
Laser Beam Output
Maximum Power..........................................................................1.0 mW (each beam)
Range ..............................................................................................Up to 6.0 m(20 ft.)
Line Width.................................................................................< 0.8 mm @ 3 m (7 ft.)
Beam (Line) Divergence .....................................................................................15-17°
Drift.................................................................................................No measurable drift
WaveLength ...................................................................5320Å (532 nm) visible green
Visibility ...............................................................Clearly visible in strong ambient light
Intensity .....................................................................User adjustable to desired levels
Pulse Duration and Repetition Rate..............................Continuous (No Pulse) Output
Laser Beam Adjustment
Horizontal Range of Vertical Projection .................................................330 cm @ 3 m
Vertical Range of Horizontal Projection .................Plus 100 cm /minus 300cm @ 3 m
Line angle adjustment range ...................................................................±180 degrees
Mounting Turret................................................................................ adjustable to ±45°
Laser Dimensions
Length..................................................................................................27 cm (10.6 in.)
Width..................................................................................................14.0 cm (5.5 in.)
Depth. ................................................................................................12.0 cm (4.7 in.)
Weight..................................................................................................3.2 kg (7.0 lbs.)
Universal Power Supply................includes adapters for U.S. and international use.
Power Requirements........................................100 VAC - 240 VAC. 50-60 Hz, 0.4 A
Environmental Conditions
Operating Temperature:................................................................................0 - +60oC
Storage Temperature:................................................................................-20 - +75oC
Operating Humidity: ......................0 - 85% Relative Humidity (no dew condensation)
Storage Humidity:..........................0 - 85% Relative Humidity (no dew condensation)
Certification
Complies with Center for Devices and Radiological Health regulations for Class II Lasers.
Compliance Information
Complies with 21 CFR 1040.10 and.11:April, 2008 for Class II visible lasers.
Complies with IEC 60825-1:2007 for Class II visible lasers.
Complies with IEC 61140:2001 for Class II equipment
CE marked.
Power supply UL, cUL, GS and CE marked.
FCC ID: WXY-GLDRC
IC: 8084A-GLDRC
This device complies with part 15 of the FCC Rules. Operation is subject to the following
two conditions. (1) This device may not cause harmful interference, and
(2) this device must accept and interference received, including interference that
may cause undesired operation.

48
Focus - Remote Control (Green)Diode Laser
Specifications
Guidance and Manufacturer’s Declaration – Emissions
The GLD450-RC, GLD500-RC & Remote Control is intended for use in the
electromagnetic environment specified below. The customer or user of the
GLD450-RC, GLD500-RC and Remote Control should ensure that it is used in
such an environment.
Emissions Test Compliance Electromagnetic Environment
Guidance
RF Emissions
CISPR 11
Group 1 The GLD450-RC, GLD500-RC &
Remote Control uses RF energy
only for its internal function. There
for its RF emissions are very low
and are not likely to cause any
interference in nearby electronic
equipment.
RF Emissions
CISPR 11
Class B
Harmonics
IEC 61000-3-2
Class A
Flicker
IEC 61000-3-3
Compliance The GLD450-RC, GLD500-RC &
Remote Control is suitable for
use in all establishments, including
domestic, and those directly
connected to the public low-voltage
power supply network that supplies
buildings used for domestic purposes.
WARNING: No modifications may be made to the remote control without the expressed
written consent of Gammex, Inc.
Making unauthorized changes will void authority to use this equipment.

49
Installation and User Guide
Specifications
Guidance and Manufacturer’s Declaration – Immunity
The GLD450-RC, GLD500-RC and Remote Control are intended for use in the
electromagnetic environment specified below. The customer or user of the GLD450-RC,
GLD500-RC and Remote Control should ensure that it is used in such an environment.
Immunity Test EN/IEC 60601
Test Level
Compliance
Level
Electromagnetic
Environment
Guidance
ESD
EN/IEC 61000-4-2
+6kV Contact
+8kV Air
Floors should be wood, concrete,
or ceramic tile. If floors are
synthetic, the r/h should be at
least 30%
EFT
EN/IEC 61000-4-4
+2kV Mains
+1kV I/Os
Mains power quality should be
that of a typical commercial or
hospital environment.
Surge
EN/IEC 61000-4-5
+1kV Differential
+2kV Common
Mains power quality should be
that of a typical commercial or
hospital environment.
Voltage
Dips/Dropout
EN/IEC 61000-4-11
>95% Dip for
0.5 Cycle
60% Dip for
5 Cycles
30% Dip for
25 Cycles
>95% Dip for
5 Seconds
Mains power quality should be
that of a typical commercial or
hospital environment. If the user
of the GLD450-RC, GLD500-RC
and Remote Control requires
continued operation during power
mains interruptions, it is
recommended that the GLD450-
RC, GLD500-RC and Remote
Control be powered from an
uninterruptible power supply
battery.
Power Frequency
50/60 Hz
Magnetic Field
EN/IEC 61000-4-8
3A/m Power frequency magnetic fields
should be that of a typical
commercial or hospital
environment.

50
Focus - Remote Control (Green)Diode Laser
Specifications
Guidance and Manufacturer’s Declaration – Emissions
The GLD450-RC, GLD500-RC & Remote Control is intended for use in the electromagnetic
environment specified below. The customer or user of the GLD450-RC, GLD500-RC and
Remote Control should ensure that it is used in such an environment.
Immunity
Test
EN/IEC 60601
Test Level
Compliance
Level
Electromagnetic
Environment –
Guidance
Conducted RF
EN/IEC 61000-4-6
Radiated RF
EN/IEC 61000-4-3
3 Vrms
150 kHz to 80 MHz
3V/m
80 MHz to 2.5 GHz
(V1) Vrms
(E1) V/m
Portable and mobile
communications
equipment should be
separated from the
GLD450-RC, GLD500-RC
and Remote Control by
no less than the distances
calculated/listed below:
D=(3.5/V1)(Sqrt P)
D=(3.5/E1)(Sqrt P)
80 to 800 MHz
D=(7/E1)(Sqrt P)
800 MHz to 2.5 GHz
Where P is the max
power in watts and D is
the recommended
separation distance in
meters.
Field strengths from fixed
transmitters, as
determined by an
electromagnetic site
survey, should be less
than the compliance
levels (V1 and E1).
Interference may occur in
the vicinity of equipment
containing a transmitter.

51
Installation and User Guide
Specifications
Recommended Separations Distances for the GLD450-RC, GLD500-RC and Remote Control
The GLD450-RC, GLD500-RC and Remote Control are intended for use in the electromagnetic
environment in which radiated disturbances are controlled. The customer or user of the
GLD450-RC, GLD500-RC and Remote Control can help prevent electromagnetic interference by
maintaining a minimum distance between portable and mobile RF Communications Equipment
and the GLD450-RC, GLD500-RC and Remote Control as recommended below, according to the
maximum output power of the communications equipment.
Max Output Power
(Watts)
Separation (m)
150kHz to 80 MHz
D=(3.5/V1)(Sqrt P)
Separation (m)
80 to 800 MHz
D=(3.5/E1)(Sqrt P)
Separation (m)
800MHz to 2.5 GHz
D=(7/E1)(Sqrt P)
0.01 .1166 .1166 .2333
0.1 .3689 .3689 .7378
1 1.1666 1.1666 2.3333
10 3.6893 3.6893 7.3786
100 11.6666 11.6666 23.3333

52
Focus - Remote Control (Green) Diode Laser
Product Warranty
Technical Support
Technical support is available from Gammex Service Representatives who
are available to work with facility planners, architects and hospital personnel
throughout the planning and installation process.
Contact the Gammex Service department at 1-800-232-9699.
Product Warranty
Gammex Inc. warrants its patient positioning equipment to be free from
defects in materials and workmanship under normal use and service for 1
year from the date of shipment. The sole obligation of Gammex Inc. under
this warranty is to repair or replace without charge or to refund the
purchase price, at the option of Gammex Inc., of any parts which its
examination shall have disclosed to be defective, provided that Buyer shall
have given to Gammex Inc., a written notice of the claimed defect no later
than 7 days after the end of the warranty period (one (1) year of the date of
shipment of such equipment to Buyer). At the request of Gammex Inc.,
Buyer, at its expense, shall return the claimed defective part to Gammex
Inc.
THIS CLASS II LASER PRODUCT COMPLIES
WITH DHHS REQUIREMENTS PURSUANT TO
21 CFR, SUB-CHAPTER J.
DISCLAIMER OF OTHER WARRANTIES
The aforesaid warranty rights are buyer's exclusive remedies and are in lieu
of any other remedies, obligations, or rights, including, without limitation,
any other warranties, expressed or implied (e.g., implied warranties of
merchantability or fitness for a particular purpose). Under no circumstances
shall Gammex Inc. be liable for any incidental, indirect, special or
consequential damages or for any other loss, damage, penalty or expense
of any kind, including, without limitation, loss of profits or overhead,
reimbursement, personal injury or property damage. The aforesaid
warranty obligation of Gammex Inc. constitutes its sole liability, and under
no circumstances, shall the maximum liability of Gammex Inc., under any
legal theory(e.g., contract, warranty, negligence, promissory estoppel, strict
liability, misrepresentation, tort) and for any reason whatsoever(e.g., defect,
delay or otherwise) exceed the purchase price of the defective part
regardless whether the claim is asserted by buyer or any other person or
entity. The liabilities of Gammex Inc. as above set forth, shall not be
extended because of advice given by it in connection with the design,
installation or use of the equipment or parts therefore.

53
Installation and User Guide
Mounting Template
This page intentionally left blank.

Focus - Remote Control (Green) Diode Laser
Mounting Template
54

This page intentionally left blank.
Mounting Template
Installation and User Guide
55

Focus - Remote Control (Green) Diode Laser
Mounting Template
56

Product Ordering Information
and Customer Service
Gammex is committed to satisfying our customers’ needs. If you have any
questions, comments or suggestions regarding our products and service, please
call or fax us. Please contact a GAMMEX dealer or representative for a
quotation or for a detailed description of our ordering policies, warranties,
delivery policy, conditions of sale, damaged goods policy, and returned goods
policy.
In the United States, Sales Department hours are:
7:30 a.m. through 5:00 p.m. (Central Time).
SALES/CUSTOMER SERVICE: 608-828-7000
TOLL FREE (U.S. and Canada only): 800-426-6391
FAX: 608-828-7500
Sales e-mail: sales@gammex.com
In the United States, Service Department hours are:
7:30 a.m. through 5:00 p.m. (Central Time).
SERVICE DEPARTMENT: 608-828-7000
TOLL FREE (U.S. and Canada only): 800-232-9699
FAX: 608-828-7500
Service e-mail: support@gammex.com
GAMMEX, Inc.
7600 Discovery Dr.
P.O. Box 620327
Middleton, WI 53562-0327 USA
On the internet at: www.gammex.com
VISA, MasterCard and American Express accepted.
© 2004 GAMMEX. All rights reserved.
Printed in U.S.A. 007590-00-02
All products and specifications are subject to change without notice.

GAMMEX
7600 Discovery Dr.
P.O. Box 620327
Middleton, WI 53562-0327 USA
1 800 GAMMEX 1 (426-6391)
1 608 828 7000
Fax: 1 608 828 7500
www.gammex.com
e-mail: sales@gammex.com
GAMMEX-RMI LTD
Broadway Business Centre
32A Stoney Street
Nottingham NG1 1LL
United Kingdom
+44 0115 92474188
Fax: +44 0115 9247189
e-mail: uksales@gammex.com
GAMMEX-RMI Gmbh
Bergstrasse 2
35398 Giessen - Allendorf
Germany
+49 641 250 9176
Fax: +49 641 966 2642
e-mail: desales@gammex.com