Graupner 2027 V2 2 De En Fr 2027.V2_Bernhard_Gruben_DE_EN_FR_IT User Manual
2017-08-27
User Manual: Graupner 2027 V2 2 De En Fr 2027_V2_2_de_en_fr S
Open the PDF directly: View PDF
.
Page Count: 42

DE
No. 2027.V2
Seenotrettungskreuzer der 23 Meter Klasse / rescue boat / canot de sauvetage / scialuppa di salvataggio
Bernhard Gruben
Anleitung
Copyright © Graupner/SJ GmbH printed in GERMANY ENFRIT
Manual
Notice
Manuale
Seite 5-38
page 11-38
page 16-38
pagina 21-38


3 / 42
2027.V2_MP_V1
Inhaltsverzeichnis
Einführung ........................................................................... 5
Servicestellen ...................................................................... 5
Bestimmungsgemäße Verwendung ................................. 6
Lieferumfang ....................................................................... 6
Technische Daten ............................................................... 7
Symbolbeschreibung ......................................................... 8
Sicherheitshinweise ........................................................... 9
Wartung und Pflege .......................................................... 10
Garantiebedingungen ...................................................... 10
Teileübersicht,Stückliste .............................................26-31
Montage .......................................................................32-39
Lackierung,Beschriftung ............................................40-41
Introduction ....................................................................... 11
Service Centre .................................................................. 11
Intended use .................................................................... 12
Package content ............................................................... 12
Technical data ................................................................... 13
Symbols explication ......................................................... 14
Safety notes ...................................................................... 13
Care and maintenance ..................................................... 15
Warranty ........................................................................... 15
Parts overview, parts list .............................................26-31
Assembly ...................................................................... 32-39
Painting, labeling .........................................................40-41
EN
DE

Introduction ....................................................................... 16
Centres de service ............................................................ 16
Utilisation propre ............................................................. 17
Contenu de la livraison .................................................... 17
Caractéristiques techniques ........................................... 18
Explication des symboles ................................................ 19
Notes de sécurité ............................................................. 18
Entretien et maintenance ................................................. 20
Garantie ............................................................................ 20
Vue d'ensemble des pièces, liste des pièces ...........26-31
Montage .......................................................................32-39
Peinture, lettrage .........................................................40-41
Introduzione ...................................................................... 21
Centro assistenza ............................................................. 21
Utilizzo proprio ................................................................. 22
Contenuto della confezione ............................................. 22
Dati tecnici ........................................................................ 23
Descrizione dei simboli .................................................... 25
Note di sicurezza .............................................................. 23
Cura e manutenzione ....................................................... 24
Garanzia ........................................................................... 24
Vista generale delle parti, lista delle parti .................26-31
Montaggio ....................................................................32-39
Verniciatura, didascalia ...............................................40-41
FR
IT

5 / 42
2027.V2_MP_V1
Einführung
Vielen Dank, dass Sie sich für das Graupner Seenotrettungskreuzer
Bernhard Gruben entschieden haben. Dieses Modell ist ext-
rem vielseitig in der Funktion.
Lesen Sie diese Anleitung sorgfältig durch, um die besten opti-
schen und fahrtechnischen Resultate mit Ihrem Modell zu erzie-
len und vor allem sicher zu steuern. Sollten beim Betrieb irgend-
welche Schwierigkeiten auftauchen, nehmen Sie die Anleitung
zu Hilfe oder fragen Sie Ihren Händler oder das Graupner Service
Center.
Aufgrund technischer Änderungen können die Informa tionen in
dieser Anleitung ohne vorherige Ankündigung geändert werden.
Informieren Sie sich in regelmäßigen Abständen im Internet
unter www.graupner.de um auf dem neuesten Stand des Pro-
duktes und der digitalen Anleitung zu bleiben. Diese steht als pdf
zum Download bereit.
Dieses Produkt entspricht den gesetzlichen nationalen und
europäischen Anforderungen.
Um diesen Zustand zu erhalten und einen gefahrlosen Betrieb sicher-
zustellen, müssen Sie als Anwender vor der Inbetriebnahme des Pro-
duktes diese Anleitung und die Sicherheitshinweise lesen und beach-
ten!
HINWEIS
Diese Anleitung ist Bestandteil des Produkts. Sie enthält wichtige
Hinweise zur Inbetriebnahme und Handhabung. Heben Sie deshalb
die Anleitung zum Nachlesen auf und geben Sie sie bei Weitergabe
des Produkts an Dritte mit.
Servicestellen
Graupner-Zentralservice
Graupner/SJ GmbH
Henriettenstraße 96
D-73230 Kirchheim/Teck
Servicehotline
(+49) (0)7021/722-130
Montag - Donnerstag:
9:15 -16:00 Uhr
Freitag:
9:15 - 13:00 Uhr
service@graupner.de
Graupner im Internet Die Adressen der Servicestellen außerhalb Deutschlands ent-
nehmen Sie bitte unserer Webseite www.graupner.de

6 / 42 2027.V2_MP_V1
Bestimmungsgemäße Verwendung
Das Seenotrettungskreuzer Bernhard Gruben ist ein vorbildgete-
ruer Nachbau eines Seenotrettungskreuzers im M1:20
Das Seenotrettungskreuzer Bernhard Gruben ist ausschließlich für
den Einsatz mit batterie- bzw. akkubetriebenen, funkfernge-
steuerten Komponenten vorgesehen, ein anderweitiger Betrieb
ist nicht zulässig. Für jegliche nicht bestimmungsgemäße Ver-
wendung wird keine Garantie oder Haftung übernommen.
Lesen Sie vorab die gesamte Anleitung gewissenhaft bevor Sie
mit den Bau des Seenotrettungskreuzer Bernhard Grubens starten.
Graupner arbeitet ständig an der Weiterentwicklung sämtlicher
Produkte; Änderungen des Lieferumfangs in Form, Technik und
Ausstattung müssen wir uns deshalb vorbehalten.
Zielgruppe
Das Produkt ist kein Spielzeug. Es ist nicht für Kinder unter 14
Jahren geeignet. Der Zusammenbau und der Betrieb des See-
notrettungskreuzer Bernhard Grubens darf nur durch sehr erfah-
rene Modellbauer erfolgen. Sollten Sie nicht über ausreichende
Kenntnisse über den Bau und Umgang mit ferngesteuerten
Modellen verfügen, so wenden Sie sich an einen erfahrenen
Modellbauer oder an einen Modellbau-Club.
Lieferumfang GFK Rumpf CNC bearbeitet
Aufbauten und Decks aus CNC gefrästen Kunststoffplatten
Messingdrähte und Rohre für den Mast und die Relings
PVC Scheiben fertig gefräst
Elektromotoren der 600er Klasse
RC Einbaurahmen
Messing-Stevenrohre mit Stahlwelle und Propeller
Zahlreiche Details in Resinguss
Bauplanbögen im M1:20 (Modell ist 1:1 abgebildet)
Ausführliche Bauanleitung
Schiffständer aus Holz

7 / 42
2027.V2_MP_V1
Technische Daten
Seenotrettungskreuzer Bernhard Gruben Best.Nr. 2027.V2
Länge 1.160 mm
Breite 300 mm
Gesamthöhe 640 mm
Gesamtgewicht ab 10 Kg inkl. Akku
Maßstab 1:20
Schwierigkeitslevel Expert
HINWEIS
Empfänger, Akkus und Fernsteuerung sind nicht inbegriffen und
seperat erhältlich. Siehe „Zubehör“
Ersatzteilliste
Ersatzteile und interessantes, aktuelles Zubehör, finden Sie unter Zubehör bei
dem jeweiligen Artikel auf unserer Homepage im Onlineshop: www.graupner. de
Empfohlenes Zubehör
Ð1x S1033 mc-28 4D Fernsteuerung
Ð2x 2880 Fahrtregler Navy V30
Ð2x 2591 Blei Akku
Ð1x 570 Hochleistungsschmierfett
Ð1x 968.50 Wet.Protect 50ml Feuchtigkeitsschutz
Ð1x 3597 Faston-Flachsteckh. 4,8mm VE10
Ð2x 94308 Anschlusskabel vom Regler zum Akku
Ð1x 2381 Lichtmodul

8 / 42
Symbolbeschreibung
!
Beachten Sie immer die mit diesem Warnpiktogramm gekenn-
zeichneten Informationen. Insbesondere diejenigen, welche
zusätzlich durch VORSICHT oder WARNUNG gekennzeichnet sind.
Das Signalwort WARNUNG weist Sie auf mögliche, schwere Ver-
letzungen hin, das Signalwort VORSICHT auf mögliche, leichte
Verletzungen.
Hinweis warnt Sie vor möglichen Fehlfunktionen.
Achtung warnt Sie vor möglichen Sachschäden.
Klebeanleitung Dieses Symbol zeigt, dass mit Sekundenkleber
geklebt verwendet werden soll. Gefahrenhinweise auf dem
Behälter beachten.
Material – Material Geeignete Klebstoffe
Metall – Metall Sekundenkleber, UHU plus
ABS – Holz Sekundenkleber, UHU acrylit
ABS – ABS Sekundenkleber, UHU acrylit, UHU plast
spezial
ABS – Metall Sekundenkleber, UHU acrylit
Holz – Holz Sekundenkleber, UHU hart, Weißleim
Holz – Metall Sekundenkleber
Konformitätserklärung
2027.V2 Seenotrettungskreuzer Bernhard Gruben
Graupner erklärt, dass das Produkt den CE Bestimmungen ent-
spricht.
BENÖTIGTES WERKZEUG UND EMPFOHLENES ZUBEHÖR ZUR MONTAGE
Schmierfett
Grease
Schere
Zange
Schraubendreher,Inbusschlüssel
G

9 / 42
2027.V2_MP_V1
Sicherheitshinweise
Allgemeines
!
Diese Sicherheitshinweise dienen nicht nur zum Schutz des
Produkts, sondern auch zu Ihrer eigenen Sicherheit und der
anderer Personen. Lesen Sie sich deshalb dieses Kapitel sehr
aufmerksam durch, bevor Sie das Produkt in Betrieb nehmen!
Lassen Sie das Verpackungsmaterial nicht achtlos liegen,
dieses könnte für Kinder zu einem gefährlichen Spielzeug
werden.
Personen, einschließlich Kinder, die aufgrund ihrer physi-
schen, sensorischen oder geistigen Fähigkeiten oder Uner-
fahrenheit oder Unkenntnis nicht in der Lage sind, den Sen-
der sicher zu bedienen, dürfen den Sender nicht ohne
Aufsicht oder Anweisung durch eine verantwortliche Person
nutzen.

10 / 42 2027.V2_MP_V1
Hinweise zum Umweltschutz
Entsorgungshinweis
Dieses Symbol auf dem Produkt, der Gebrauchsanleitung oder
der Verpackung weist darauf hin, dass dieses Produkt am Ende
seiner Lebensdauer nicht über den normalen Haushaltsabfall
entsorgt werden darf. Es muss an einem Sammelpunkt für das
Recycling von elektrischen und elektronischen Geräten abgege-
ben werden.
Die Werkstoffe sind gemäß ihrer Kennzeichnung wiederverwert-
bar. Mit der Wiederverwendung, der stofflichen Verwertung oder
anderen Formen der Verwertung von Altgeräten leisten Sie einen
wichtigen Beitrag zum Umweltschutz.
Batterien und Akkus müssen aus dem Gerät entfernt werden
und bei einer entsprechenden Sammelstelle getrennt entsorgt
werden. Bitte erkundigen Sie sich ggf. bei der Gemeindeverwal-
tung nach der zuständigen Entsorgungsstelle.
Wartung und Pflege
Pflegehinweis
Das Produkt benötigt regelmäßige Wartung und Pflege.
Schmieren Sie Ruderwelle, Stevenrohr regelmäßig mit unseren
Hochleitungsschmierstoffen ab. (Nr.570 und 206) Reinigen
Sie die Oberflächen mit einem feuchten Tuch, jedoch nicht mit
Lösemitteln da diese den Lack angreifen können.
Garantiebedingungen
Die Fa.Graupner GmbH, Henriettenstrasse 96, 73230 Kirch-
heim/Teck gewährt ab dem Kaufdatum auf dieses Produkt eine
Garantie von 24 Monaten. Die Garantie gilt nur für die bereits
beim Kauf des Produktes vorhandenen Material- oder Funkti-
onsmängel. Schäden, die auf Abnutzung, Überlastung, falsches
Zubehör oder unsachgemäße Behandlung zurückzuführen sind,
sind von der Garantie ausgeschlossen. Die gesetzlichen Rechte
und Gewährleistungsansprüche des Verbrauchers werden
durch diese Garantie nicht berührt. Bitte überprüfen Sie vor
einer Reklamation oder Rücksendung das Produkt genau auf
Mängel, da wir Ihnen bei Mängelfreiheit die entstandenen Unkos-
ten in Rechnung stellen müssen.
Die vorliegende Bau- bzw. Bedienungsanleitung dient aus-
schließlich Infor mations zwecken und kann ohne Vorankündi-
gung geändert werden. Die jeweils aktuelle Version finden Sie im
Internet unter www.graupner.de auf der entsprechenden Pro-
duktseite. Darüber hinaus übernimmt die Firma Graupner keiner-
lei Verantwortung oder Haftung für Fehler oder Ungenauigkei-
ten, die in Bau- bzw. Bedienungsanleitungen auftreten können.
Für Druckfehler kann keine Haftung übernommen werden.
P

11 / 42
2027.V2_MP_V1
Introduction
Thank you very much for purchasing a Graupner rescue boat Ber-
nhard Gruben. This model is sophisticated in construction but
also extremely versatile in function.
Read this manual carefully to achieve the best optical and tech-
nical navigation results with your model and especially to control
safely. If you experience any trouble during operation, take the
instructions to help or ask your dealer or Graupner Service Cen-
tre.
Due to technical changes, the information may be changed in
this manual without prior notice. Be always updated by check-
ing periodically on our website, www.graupner.de to be always
updated with the products and firmware. It is already available
as pdf download.
This product complies with national and European legal require-
ments.
To maintain this condition and to ensure safe operation, you must
read and follow this user manual and the safety notes before using
the product!
NOTE
This manual is part of that product. It contains important information
concerning operation and handling. Keep these instructions for future
reference and give it to third person in case you gave the product.
Service Centre
Graupner Central Service
Graupner/SJ GmbH
Henriettenstraße 96
D-73230 Kirchheim/Teck
Servicehotline
(+49) (0)7021/722-130
Monday - Thursday:
9:15 am - 4:00 pm
Friday:
9:15 am - 1:00 pm
service@graupner.de
Graupner in Internet For the service centers outside Germany please refer to our web
site www.graupner.de
EN

12 / 42 2027.V2_MP_V1
Intended use
The Seenotrettungskreuzer Bernhard Gruben is a faithful to the
original reproduction of a see rescue cruiser in 1:20 scale
The Seenotrettungskreuzer Bernhard Gruben is conceived exclu-
sively to be used in battery-powered, radio controlled models,
any other use is not allowed. For any improper use no warranty
or liability is accepted.
Read through this entire manual before you attempt to assem-
bly the Seenotrettungskreuzer Bernhard Gruben.
Graupner/SJ constantly works on the development of all prod-
ucts; we reserve the right to change the item, its technology and
equipment.
Target group
The product is not a toy. It is not suitable for children under 14
years. The installation and operation of the Seenotrettungskreu-
zer Bernhard Gruben must be performed by experienced model-
ers. If you do not have sufficient knowledge about assembling
and dealing with radio-controlled models, please contact an
experienced modeler or a model club.
Package content GFK molded hull
Structures and decks made of CNC milled plastic plates
Brass wires and pipes for the mast and the railings.
ready milled PVC sheets
600-class electric motors
Rudder servo
RC mounting frame
Brass steve pipe with steel shaft and propeller
Numerous injected details

13 / 42
2027.V2_MP_V1
Technical Data
Seenotrettungskreuzer Bernhard Gruben No.2027.V2
Length 1.160 mm
Width 300 mm
Overall height 640 mm
All-up weight from 10 Kg incl. battery
Scale 1:20
Difficulty level Expert
NOTE
Receiver, battery and transmitter are not included and they are sep-
arately available. See "accessories"
Replacement parts
Other interesting, actual accessories are available in the Accessories area for the
respective items on our website in the online shop: www.graupner. de
Recommended accessories
Ð1x S1033 mc-28 4D transmitter
Ð2x 2880 ESC Navy V30
Ð2x 2591 PB batteries
Ð1x 968.50 Wet.Protect 50ml humidity protection
Ð1x 570 High performance Grease
Ð1x 2381 Light module
Ð1x 3597 Faston flat connector 4,8mm VE10
Ð2x 94308 Connection cable from from speed controller to the battery
Safety notes
General
!
These safety instructions are intended not only to protect the
product, but also for your own and other people’s safety. There-
fore please read this section very carefully before using the prod-
uct!
Do not carelessly leave the packaging material lying around,
since it might become a dangerous toy for children.
Persons, including children, with reduced physical, sensory
or mental capabilities, or lack of experience or knowledge,
or not capable to use safely the transmitter must not use the
transmitter without supervision or instruction by a responsi-
ble person.

14 / 42 2027.V2_MP_V1
Symbols explication
!
Always observe the information indicated by this warning sign.
Particularly those which are additionally marked with the CAU-
TION or WARNING. The signal word WARNING indicates the poten-
tial for serious injury, the signal word CAUTION indicates possibil-
ity of lighter injuries.
The signal word Note indicates potential malfunctions.
Attention indicates potential damages to objects.
Gluing instruction This symbol shows that cyano glue must be
used. Pay attention to the hazard notices on the package.
Material – Material Suitable adhesive
Metal – Metal Cyano glue, UHU plus
ABS - wood Cyano glue, UHU acrylit
ABS – ABS Cyano glue, UHU acrylit, UHU plast
special
ABS – Metal Cyano glue, UHU acrylit
Wood - Wood Cyano glue, UHU hart, white glue
Wood - metal Cyano glue
Declaration of conformity
2027.V2 Seenotrettungskreuzer Bernhard Gruben
Graupner declares that the product is conform to CE norms.
REQUIRED TOOLS AND RECOMMANDED ACCESSORIES FOR THE ASSEMBLY
Grease
Scissors
Pliers
Screwdriver, hex key
G

15 / 42
2027.V2_MP_V1
Notes on environmental protection
Disposal notes
This symbol on the product, user manual or packaging indicates
that this product must not be disposed of with other household
waste at the end of its life. It must be handed over to the appli-
cable collection point for the recycling of electrical and electronic
equipment.
The materials are recyclable as marked. By recycling, material
reusing or other forms of scrap usage you are making an import-
ant contribution to environmental protection.
Batteries and accumulators must be removed from the device
and disposed of at an appropriate collection point. Please inquire
if necessary from the local authority for the appropriate disposal
site.
Care and maintenance
Notes on care
The product requires regularly care and maintenance.
Grease the rudder shaft, steve pipe and hinges of the back door
regularly with our high performance grease. (Nr.570 and
206) Clean the surface with a humid cloth, however not with sol-
vents which could damage the paint.
Warranty
The Graupner, Henriettenstrassee 96, 73230 Kirchheim/Teck
grants from the date of purchase of this product for a period of
24 months. The warranty applies only to the material or opera-
tional defects already existing when you purchased the item.
Damage due to misuse, wear, overloading, incorrect accesso-
ries or improper handling are excluded from the guarantee. The
legal rights and claims are not affected by this guarantee. Please
check exactly defects before a claim or send the product,
because we have to ask you to pay shipping costs if the item is
free from defects.
The present construction or user manual is for informational pur-
poses only and may be changed without prior notice. The cur-
rent version can be found on the Internet at www.graupner.de
on the relevant product page. In addition, the company Graupner
has no responsibility or liability for any errors or inaccuracies that
may appear in construction or operation manuals.
No liability can be accepted for printing errors.
P

16 / 42 2027.V2_MP_V1
Introduction
Merci, d’avoir choisi le Graupner Seenotrettungskreuzer Bernhard
Gruben. Ce modèle est sophistiqué dans la construction, mais
aussi extrêmement polyvalent en fonctions.
Lire attentivement ce manuel pour obtenir une performance
maximale de votre Seenotrettungskreuzer Bernhard Gruben et
pour contrôler en sécurité vos modèles. Si vous rencontrez des
problèmes lors de l’utilisation, reportez-vous à ce manuel ou
contactez un revendeur ou centre de service Graupner.
En raison de modifications techniques, les informations conte-
nues dans ce document peuvent changer sans préavis. Mettez
vous à jour périodiquement sur les derniers produits et les
notices digitales sur le site www.graupner.de. La notice digi-
tale est disponible au format PDF à télécharger.
Ce produit est conforme aux normes nationales et européennes.
Pour maintenir cet état et pour fonctionner en toute sécurité, vous
devez lire et observer ce manuel et les consignes de sécurité avant
d’utiliser le produit!
NOTE
Ce manuel fait partie du produit. Il contient des informations impor-
tantes sur l’utilisation. Conservez le manuel pour une utilisation ulté-
rieure et si vous passez le produit à un autre propriétaire, il faut don-
ner le manuel aussi.
Centre de service
Graupner - Service cent-
rale
Graupner/SJ GmbH
Henriettenstraße 96
D-73230 Kirchheim/Teck
Servicehotline
(+49) (0)7021/722-130
Lundi - Jeudi:
9:15 -16:00
Vendredi:
9:15 - 13:00
service@graupner.de
Graupner en Internet Pour les centres de service à l’extérieur de l’Allemagne vous
pouvez référer au site internet www.graupner.de

17 / 42
2027.V2_MP_V1
Utilisation propre
Le Seenotrettungskreuzer Bernhard Gruben est une réplique
fidèle à l’original d'un bateau de sauvetage en échelle 1:20.
L'Seenotrettungskreuzer Bernhard Gruben est exclusivement
conçu pour une utilisation dans les modèles à commande radio
à distance fonctionnant sur batterie ou accu, toute autre utilisa-
tion est interdite. Pour toute utilisation abusive aucune garantie
ou responsabilité est assumée.
Lisez attentivement et complètement cette notice avant d'as-
sembler l'Seenotrettungskreuzer Bernhard Gruben.
Graupner travaille dans le développement de tous les produits;
nous nous réservons le droit de modifier les produits, les tech-
nologies et le contenu.
Groupe de référence
Le produit n’est pas un jeu. Il ne convient pas aux enfants de
moins de 14 ans. L’utilisation des Seenotrettungskreuzer Bern-
hard Gruben est réservée pour les modélistes très expérimentés.
Si vous n’avez pas assez d’expérience avec la construction et
le fonctionnement des modèles radio-commandés, nous vous
recommandons de consulter un modéliste expérimenté ou un
club de modélisme.
Contenu de la livraison ABS souffler coque moulée
Structures et des ponts en CNC fraisés des plaques en plas-
tique
Les fils et les tuyaux en laiton pour le mât et les balustrades.
feuilles de PVC fraisées prêts
Moteur électrique 600-classe
Rudder servo
RC cadre de montage
Brass steve pipe avec arbre en acier et de l’hélice
De nombreux détails injectés
plans de construction à échelle 1:20 (le modèle est en 1:
Représenté 1 échelle)
Instructions de construction intelligibles
Wood était navire
FR

18 / 42 2027.V2_MP_V1
Données techniques
Seenotrettungskreuzer Bernhard Gruben No.2027.V2
Longueur 1.160mm
Largeur 300mm
Hauteur totale 640mm
Poids total de 10 Kg incl. l'accu
Echelle 1:20
Niveau de difficulté Expert
NOTE
Récepteur, accus et émetteur ne sont pas inclus et ils sont dispo-
nibles séparément. Voir "Accessoires"
Liste des pièces de rechange
Autres accessoires actuels et intéressants sont disponibles dans la section des
accessoires du produit dans la page d‘accueil de l‘onlineshop: www.graupner.de
Accessoires recommandés
Ð1x S1033 émetteur mc-28 4D
Ð2x 2880 Régulateur de vitesse Navy V 30
Ð1x 570 Graisse haute performance
Ð1x 968.50 Wet.Protect 50ml protection pour l'humidité
Ð2x 2591 accumulateur
Ð1x 3597 Connecteurs plats Faston 4,8mm VE10
Ð2x 94308 Câble de connexion du régulateur à l’accu
Ð1x 2381 Module d’éclairage
Notes de sécurité
Général
!
Ces consignes de sécurité sont destinés non seulement à pro-
téger le produit, mais aussi à votre sécurité et celle des autres.
Ensuite, lisez attentivement cette section avant de l’utiliser!
Ne laissez pas le matériel d’emballage sans surveillance, il
pourrait être dangereux pour les enfants.
Les personnes, compris les enfants, avec troubles senso-
riels, moteurs ou physiques ou sans expérience ou connais-
sances, ou qui ne sont pas capables d’utiliser correctement
l'émetteur ne devrait pas utiliser le'émetteur à moins que
sous la supervision d’un modéliste expérimenté et respon-
sable.

19 / 42
2027.V2_MP_V1
Explication des symboles
!
Respectez toujours l'information indiquée par ce signe d'aver-
tissement. En particulier ceux qui sont en outre marqués par les
mots MISE EN GUARDE ou AVERTISSEMENT. Les mots AVERTISSE-
MENT Indiquent le risque de potentielles blessures graves, le mot
de signal MISE EN GUARDE Indique les blessures mineurs.
Note vous avertit d'éventuels dysfonctionnements.
Attention vous alerte des dommages matériels potentiel.
Instructions pour le collage Ce symbole met en évidence la néces-
sité d’utiliser de la colle instantanée. Respecter les avertisse-
ments de danger sur l'emballage.
Matériel – Matériel Colle indiquée
Métal - métal Colle cyanoacrylate, UHU plus
ABS - bois Colle cyanoacrylate, UHU acrylit
ABS – ABS Colle cyanoacrylate, UHU acrylit, UHU
plast spezial
ABS – métal Colle cyanoacrylate, UHU acrylit
Bois - bois Colle cyanoacrylate, UHU hart, colle
blanche
Métal - bois Colle cyanoacrylate
Déclaration de conformité
2027.V2 Seenotrettungskreuzer Bernhard Gruben
Graupner déclare que le produit est conforme aux exigences des
normes CE.
OUTILS NÉCESSAIRES ET ACCESSOIRES RECOMMANDÉS POUR LE MONTAGE
Graisse
Ciseaux
Pinces
Tournevis, clé allen
G

20 / 42 2027.V2_MP_V1
Notes pour la protection de l’environnement
Notes pour l’élimination
Le symbole, qui figure sur le produit, dans la notice ou sur l’em-
ballage indique que cet article ne peut pas être jeté aux or-dures
ménagères en fin de vie. Il doit être remis à une collecte pour le
recyclage des appareils électriques et électroniques.
Selon leur marquage, les matériaux sont recyclables. Avec ce
recyclage, sous quelque forme que ce soit, vous participez de
manière significative, à la protection de l’environnement.
Les piles et accus doivent être retirés des appareils, et remis à
un centre de collection approprié. Renseignez-vous auprès de
votre commune pour connaître les centres de collecte et de col-
lection compétents.
Entretien et maintenance
Notes pour l’entretien
Le produit a besoin régulièrement d'entretien et maintenance.
Graisser régulièrement l'arbre du gouvernail, le tube d'étambot
et les charnières du hayon avec nos lubrifiants de haute per-
formance. (Nr.570 et 206) Nettoyez les surfaces avec un chif-
fon humide, mais pas avec des solvants qui peuvent endomma-
ger la vernis.
Garantie
Graupner GmbH, Henriettenstraße 96, 73230 Kirchheim/Teck
garantit le produit de la date d’achat pour une période de 24
mois. La garantie couvre les défauts dans le fonctionnement ou
dans les matériaux déjà existants au moment de l’achat. Les
dommages dus à la négligence, la surcharge, accessoires, uti-
lisation ou traitement mauvaises, sont exclus de la garantie. Les
droits juridiques et la garantie du consommateur ne sont pas
limités par cette garantie. S’il vous plaît vérifiez vous exactement
les dommages avant de réclamer ou envoyer le produit, parce
que si l’élément s’avère en bon état, nous devrions encore vous
facturer les frais d’expédition.
Cette notice ou l’utilisation est entendue à titre seulement indi-
catif et peuvent être modifiées à tout moment. La dernière ver-
sion est disponible sur le site www.graupner.de dans la page du
produit. En outre, la société Graupner a aucune responsabilité
pour les erreurs, les incohérences, imprécisions ou inexactitu-
des dans cette notice.
La Société décline toute responsabilité en cas d'erreurs d'im-
pression.
P

21 / 42
2027.V2_MP_V1
Introduzione
Grazie tante, per aver scelto il Graupner Seenotrettungskreuzer
Bernhard Gruben. Questo modello è sofisticato nella costruzione
ma anche estremamente versatile nelle funzioni.
Leggete attentamente questo manuale per ottenere i migliori
risultati dalla vostra Seenotrettungskreuzer Bernhard Gruben e
soprattutto per pilotare il vostro modello in sicurezza. Se incor-
rete in problemi durante l’uso, fate riferimento a questo manuale
o rivolgetevi a un rivenditore o al centro assistenza Graupner.
A causa di cambiamenti tecnici, le informazioni contenute in
questo manuale possono cambiare senza preavviso. Aggiorna-
tevi periodicamente sulle ultime novità dei prodotti e delle istru-
zioni digitali sul sito internet www.graupner.de. Questo manuale
è disponibile come pdf per download.
Questo prodotto è conforme alle norme nazionali ed europee.
Per mantenere questa condizione e per operare in sicurezza, Dovete
leggere e osservare questo manuale e le note di sicurezza prima di
usare il prodotto!
NOTA
Questo manuale è parte del prodotto. Contiene informazioni impor-
tanti sull’uso. Conservate il manuale per un uso futuro e tenetelo in
considerazione se cedete il prodotto ad altro proprietario.
Centro assistenza
Servizio assistenza
Graupner
Graupner GmbH
Henriettenstraße 96
D-73230 Kirchheim/Teck
Servicehotline
(+49) (0)7021/722-130
Lunedì - Giovedì:
9:15 -16:00
Venerdì:
9:15 - 13:00
service@graupner.de
Graupner in Internet Per i centri assistenza al di fuori della Germania fate riferimento
al sito internet www.graupner.de
IT

22 / 42 2027.V2_MP_V1
Utilizzo proprio
La Seenotrettungskreuzer Bernhard Gruben è una riproduzione
fedele all'originale di un incrociatore per salvataggio in mare in
scala 1:20.
La Seenotrettungskreuzer Bernhard Gruben è progettata per fun-
zionare con batterie o accumulatori e componenti radiocoman-
date, non è ammesso altro tipo di uso. Per ogni altro utilizzo non
consentito non è ammessa alcuna forma di garanzia o di respon-
sabilità
Leggere attentamente l’intero manuale prima di provare ad
assemblare la Seenotrettungskreuzer Bernhard Gruben.
Graupner lavora costantemente allo sviluppo di tutti i prodotti;
per questo ci riserviamo il diritto di apportare modifiche al volume
di fornitura per ciò che riguarda la forma, la tecnica e l'equipag-
giamento.
Gruppo di riferimento
Il prodotto non è un gioco. Non è adatto a bambini sotto i 14
anni. Il montaggio e l’uso dell'Seenotrettungskreuzer Bernhard
Gruben sono riservati a modellisti molto esperti. Se non avete
abbastanza esperienza con l'uso e la costruzione di modelli
radiocomandati, vi consigliamo di rivolgervi a un modellista
esperto o a un club di modellismo.
Contenuto della confezione ABS colpo dello scafo
Strutture e ponti realizzati in CNC fresati piatti di plastica
Fili di ottone e tubi per l’albero e le ringhiere.
fogli di PVC fresati pronti
Motore elettrico 600-class
servo del timone
RC telaio di montaggio
Ottone Tubo steve con albero in acciaio ed elica
Numerosi dettagli iniettati
piani di costruzione in scala 1:20 (il modello è in scala 1: 1
Rappresentato)
Istruzioni di montaggio comprensibili
Nave di legno era

23 / 42
2027.V2_MP_V1
Dati tecnici
Seenotrettungskreuzer Bernhard Gruben No.2027.V2
Lunghezza 1.160 mm
Larghezza 300 mm
Altezza complessiva 640 mm
Peso complessivo da 10 Kg inclusa batteria
Scala 1:20
Livello di difficoltà Esperto
NOTA
Ricevente, batterie e trasmettitore non sono incluse nel kit e sono
disponibili separatamente. Vedere "Accessori"
Parti di ricambio
Altri accessori attuali interessanti sono disponibili nella pagina relativa agli articoli
nella homepage del nostro onlineshop: www.graupner. de
Accessori consigliati
Ð1x S1033 Trasmettitore mc-28 4D
Ð2x 2880 Regolatore Navy V 30
Ð1x 570 Grasso ad alte prestazioni
Ð1x 968.50 Wet.Protect 50ml protezione anti-umidità
Ð2x 2591 accumulatore
Ð1x 3597 Connettori piatti Faston 4,8mm VE10
Ð2x 94308 Cavo di connessione tra regolatore e batteria
Ð1x 2381 Modulo luci
Dichiarazione di conformità
2027.V2 Seenotrettungskreuzer Bernhard Gruben
Graupner dichiara che il prodotto è conforme alle attuali norme
CE.
Note di sicurezza
Generale
!
Queste indicazioni di sicurezza non mirano solo alla tutela del
prodotto, ma anche alla vostra ed altrui sicurezza. Quindi leg-
gete attentamente questa sezione prima dell’uso!
Non lasciate il materiale di imballaggio incustodito, potrebbe
essere pericoloso per i bambini.
Persone, inclusi i bambini, con deficit sensoriali, motori o
fisici o senza esperienza o conoscenza, o non capaci di
usare correttamente il trasmettitore non devono usare il tra-
smettitore se non sotto la supervisione di una persona
esperta e responsabile.

24 / 42 2027.V2_MP_V1
Note per la protezione dell’ambiente
Note per lo smaltimento
La presenza di questo simbolo sul prodotto, sul manuale di
istruzioni o sulla confezione, indica che l’oggetto non deve
essere smaltito con l’immondizia domestica alla fine della sua
vita. Il modo corretto di smaltire questo prodotto è di portarlo
presso un centro di raccolta per il riciclaggio dei materiali elettrici
ed elettronici.
I singoli simboli indicano il modo in cui i singoli materiali sono
riutilizzabili e riciclabili. Potete effettuare un gesto di grande
importanza per la salvaguardia dell’ambiente in cui viviamo riu-
tilizzando o riciclando i materiali di base o usando gli strumenti
per altri usi.
Le batterie secche e gli accumulatori devono essere rimossi dai
dispositive e smaltiti presso I centri di raccolta per le batterie
esauste. Se non siete a conoscenza dei centri di raccolta nelle
vostre vicinanze potete chiedere alle autorità locali di indicarvi i
luoghi idonei.
Cura e manutenzione
Note per la manutenzione
Il prodotto necessita di regolare manutenzione e cura.
Ingrassare l'asse del timone, il tubo di Steve e le cerniere del
portello posteriore regolarmente con il nostro grasso ad alte
prestazioni. (Nr.570 e 206) Pulire le superfici con un panno
umido, in nessun caso con solventi che potrebbero danneggiare
la vernice.
Garanzia
Graupner GmbH, Henriettenstrassee 96, 73230 Kirchheim/Teck
garantisce questo prodotto per un periodo di 24 mesi dall’ac-
quisto. La garanzia si applica solo a difetti materiali e di costru-
zione già esistenti all’acquisto del prodotto. Danni dovuti all’u-
sura, al sovraccarico, all’uso di accessori impropri o a una
gestione scorretta sono esclusi dalla garanzia. I diritti e i reclami
legali non sono affetti da questa dichiarazione. Si prega di veri-
ficare con precisione il difetto prima di inoltrare un reclamo o di
spedire l’oggetto, perché dovremo addebitarvi i costi di spedi-
zione se l’oggetto fosse privo di difetti.
Il presente manuale di montaggio o d’uso è inteso per solo
scopo illustrativo e può essere modificato in qualsiasi momento.
La versione più recente è disponibile sul sito internet www.
graupner.de nella pagina relativa al prodotto. In oltre la società
Graupner non ha responsabilità per eventuali errori, discordanze,
inesattezze o imprecisioni presenti in questo manuale.
Non ci si assume alcuna responsabilità per eventuali errori di
stampa.
P

25 / 42
2027.V2_MP_V1
Descrizione dei simboli
!
Seguire sempre le istruzioni indicate da questo segnale di avver-
timento. In particolare quelle che sono inoltre contrassegnate
con CAUTELA o AVVERTENZA. Le parti segnalate con la parola
AVVERTENZA contengono indicazioni contro i danni potenziali
gravi, le parti segnalate con la parola CAUTELA contengono indi-
cazioni contro i danni di minore entità.
Le Note indicano importanti informazioni che vi avvertono su
potenziali malfunzionamenti.
Cautela indica importanti informazioni che vi avvertono su poten-
ziali danni materiali.
Istruzioni per l’incollaggio Questo simbolo evidenzia la necessità
di usare colla ciano-acrilica. Seguite le relative note di sicurezza.
Attenersi alle note di pericolo sulla confezione.
Materiale - Materiale Adesivo indicato
Metallo – Metallo Colla ciano-acrilica, UHU plus
ABS - Legno Colla ciano-acrilica, UHU acrylit
ABS – ABS Colla ciano-acrilica, UHU acrylit, UHU
plast spezial
ABS - Metallo Colla ciano-acrilica, UHU acrylit
Legno - Legno Colla ciano-acrilica, UHU hart, colla
vinilica
Legno - Metallo Colla ciano-acrilica
ATTREZZI NECESSARI E ACCESSORI CONSIGLIATI PER IL MONTAGGIO
Grasso
Forbice
Pinza
Cacciavite, chiavi esagonali
G

26 / 42 2027.V2_MP_V1
Montage / Assembly / Montage / Montaggio
DE Zur Kontrolle von Maßen und Baugruppen bitte die 1:1 Pläne
zu Hilfe nehmen. Sie erleichtern den Bau sowie den Überblick.
EN Please refer to the 1:1 plan to check the measures and the
construction groups. They make the construction so as the over-
view easier.
FR Pour le contrôle des dimensions et des modules se référer au
plan 1:1 pour de l'aide. Ils rendent la construction et la vue géné-
rale plus facile.
IT Per la verifica delle misure e dei gruppi costruttivi prendere
come riferimento i piani 1:1. Questi facilitano la costruzione come
anche la visione d'insieme.
1/4
2027.V2 2027.V2
2017
1/4
T55
T18
T55
T55
T55
T55
T1 T4
T5
T6
T6
T6
T7 T7
T7
T8
T16 T21
T55
T55
T18
T55
T55
S17
T17
T18 T54
T20
T22T22
T24
T25 T26
T33
T33 T33
T37
T38
T45
T47
T49
T50
K1
S8
K3
S9 J1
S3
J8K14
A18
A8
K1
S8 S8
S7
T54
K1
S8
S9 K3
T38
T16T21
B9
S8
K1
T51
S14 S14
S14
F10
T51
T24
D4
A21
A11
L1
H1
H31
H44
H33
H36
L1
T54
T47
T16
C1
07
T4
O4
06
06
A19
A20
A26
T59
T59
I1
A26
0.8
2
2
1.2
3
3
2
1.2
2
3
T71
8
T57
T52
Q8
T63
Q1
07
T20
T55
T58
F14 F15
S15 S15
S15
S15
B2
S15
T2
D5
T72
T72
F14 F15
Q23
Q23
8
9
2.5
T60
T61
11 13
12 10
01
T73
T53
D5
B9
P8
P8
T61 T61
T60 T60
P3
P3
D11
D1
P5
P5
P5
P5
15
16
17
18
T55
D8
D8
A4
A4
A24
P20
P6
H1
21
21
C5 C6 P6
D12
A4 D13
P10
H36
P15
P5
22
E26
A23
T74
T62
T62
ABS tube
Brass bar Brass bar
ABS tube
ABS tube
ABS tube
Brass bar
Brass bar
ABS tube
Brass bar
A13
O11
S17
Bamboo
holding
P2
P2
Q6
D8
A27
T30
D3
Q23
A2
P4
P9
Z2
Z1
P15
Z3
120
Tutti i diritti riservati. L'utilizzo commerciale di questo disegno non è consentito.
Qualsiasi rappresentazione dello schema di installazione di motori, telecomandi, strutture
meccaniche per varie attività, ecc cambiamenti nella struttura del modello per uso
di parti diverse rispetto a quelle consigliate sotto propria responsabilità.
Capacità di fornitura dei singoli prodotti riservata.
Alle Rechte vorbehalten. Die gewerbliche Nutzung dieser Zeichnung ist nicht gestattet.
Eventuelle Darstellungen im Plan über Einbau von Motoren, Fernsteuerungen, mechanischen
Einrichtungen für diverse Betätigungen etc. Änderungen im Aufbau des Modells bei Verwendung
anderer als im Plan empfohlener Teile sind nach eigenem Ermessen durchzuführen.
Liefermöglichkeiten einzelner Artikel vorbehalten.
All rights rexerved. Commercial use of this plan is strictly interidited.
Any illustrations in this plan showing the installation of engines, RC equipment and mechanical
gear for several functions are to be considered as mere recommendations, the installation
instructions of such components being dependent on the state of their respective development at
the time of installation.
accomodate such equipment. Delivery of individual items subject to availability.
Tous droits réservés. L‘utilisation à usage commercial de ce plan est strictement interdite. Les illustrations sur
ce plan montrant L‘installation de moteurs, d‘équipments RC, de dispositifs mécaniques pour la commande
des différentes fonctions, etc...sont seulement conseillés en fonction de leur stadede développment technique
respectif actuel.
Les modifications dans la construction du modéle dûes à l‘utilisation d‘éléments autres que ceux conseillés
devront être enterprises sur initiative personelle. Sous réserve de possibilité de livrasion de certains articles.
2/4
T2
T3
T14
T23
T23
T27
T28
C4
S7
A7
T38
N2
N4 N3
A17
A3
S13
T27
T18
T18
A11
B4
K10
S12
S12
S10
K11
P20
P10
P9
B1
B13
K9
T56
B3
B7
A22
A14
17
19
T59
A6 011
S17
S17
P2
T11
T10
T30 T29
T38
L2
07
S1
K12
T4
T38
D6
D10
D13
T18
T18
A26
S8
K1
T54 T54
S3
H39
S5
S10
K16
P15
Q9
130,0
23 1,5
2027.V2 2027.V2
2017
2/4
Tutti i diritti riservati. L'utilizzo commerciale di questo disegno non è consentito.
Qualsiasi rappresentazione dello schema di installazione di motori, telecomandi, strutture
meccaniche per varie attività, ecc cambiamenti nella struttura del modello per uso
di parti diverse rispetto a quelle consigliate sotto propria responsabilità.
Capacità di fornitura dei singoli prodotti riservata.
Alle Rechte vorbehalten. Die gewerbliche Nutzung dieser Zeichnung ist nicht gestattet.
Eventuelle Darstellungen im Plan über Einbau von Motoren, Fernsteuerungen, mechanischen
Einrichtungen für diverse Betätigungen etc. Änderungen im Aufbau des Modells bei Verwendung
anderer als im Plan empfohlener Teile sind nach eigenem Ermessen durchzuführen.
Liefermöglichkeiten einzelner Artikel vorbehalten.
All rights rexerved. Commercial use of this plan is strictly interidited.
Any illustrations in this plan showing the installation of engines, RC equipment and mechanical
gear for several functions are to be considered as mere recommendations, the installation
instructions of such components being dependent on the state of their respective development at
the time of installation.
accomodate such equipment. Delivery of individual items subject to availability.
Tous droits réservés. L‘utilisation à usage commercial de ce plan est strictement interdite. Les illustrations sur
ce plan montrant L‘installation de moteurs, d‘équipments RC, de dispositifs mécaniques pour la commande
des différentes fonctions, etc...sont seulement conseillés en fonction de leur stadede développment technique
respectif actuel.
Les modifications dans la construction du modéle dûes à l‘utilisation d‘éléments autres que ceux conseillés
devront être enterprises sur initiative personelle. Sous réserve de possibilité de livrasion de certains articles.
9x∅5 ABS
25.6x∅5ABS
47x∅5 ABS
22x∅5 ABS
25.7x∅4 ABS
123
4
16.5x∅4 ABS
16.5x∅3 ABS
∅2
5 6
18.8x∅4 ABS
18.8x∅3 ABS
∅2
∅1.5Brass bar
∅1.5Brass bar ∅1.5Brass bar ∅1.5Brass bar
Brass bar
Brass bar
B10 B10
B10 B10 B10 B10
41.2x∅5ABS
∅1.5Brass bar
B10 B10
41.2x∅5ABS
∅1.5 Brass bar
B10 B10
24
25
21x∅5 ABS
∅2
21x∅4 ABS
7
M1
M2
M3
M4
M8
M7
M9
M10
T52
T52
Q3
Q2
Q6
Q6
Q16
Q16
Q1
Q1
Q16
Q16
Q10
Q13
Q8
Q8
Q21
Q23
Q20
Q17
Q4
Q4
Q7
Q17
Q8
Q22
Q5
Q5
Q2
Q11
Q11
Q11
Q11
Q9
Q18
F18
F20
F20
F16
F17
F17
F17
F17
D15
D14
P15
E27
C8
C7
C8
F18
F19
T65
T64
D7 D7
7
P18
Brass bar
P1
23
M6
T52
Q19
Q14
Q16
Q7
Q10
Q13
Q12
Q15
21x∅3 ABS
3/4
2027.V2 2027.V2
2017
3/4
Tutti i diritti riservati. L'utilizzo commerciale di questo disegno non è consentito.
Qualsiasi rappresentazione dello schema di installazione di motori, telecomandi, strutture
meccaniche per varie attività, ecc cambiamenti nella struttura del modello per uso
di parti diverse rispetto a quelle consigliate sotto propria responsabilità.
Capacità di fornitura dei singoli prodotti riservata.
Alle Rechte vorbehalten. Die gewerbliche Nutzung dieser Zeichnung ist nicht gestattet.
Eventuelle Darstellungen im Plan über Einbau von Motoren, Fernsteuerungen, mechanischen
Einrichtungen für diverse Betätigungen etc. Änderungen im Aufbau des Modells bei Verwendung
anderer als im Plan empfohlener Teile sind nach eigenem Ermessen durchzuführen.
Liefermöglichkeiten einzelner Artikel vorbehalten.
All rights rexerved. Commercial use of this plan is strictly interidited.
Any illustrations in this plan showing the installation of engines, RC equipment and mechanical
gear for several functions are to be considered as mere recommendations, the installation
instructions of such components being dependent on the state of their respective development at
the time of installation.
accomodate such equipment. Delivery of individual items subject to availability.
Tous droits réservés. L‘utilisation à usage commercial de ce plan est strictement interdite. Les illustrations sur
ce plan montrant L‘installation de moteurs, d‘équipments RC, de dispositifs mécaniques pour la commande
des différentes fonctions, etc...sont seulement conseillés en fonction de leur stadede développment technique
respectif actuel.
Les modifications dans la construction du modéle dûes à l‘utilisation d‘éléments autres que ceux conseillés
devront être enterprises sur initiative personelle. Sous réserve de possibilité de livrasion de certains articles.
T5
T5
T36
T7
T7
T7
T8
T9
T12
T13
T35
T15
T35
T15
T35 T15
T35
T15
T31
T33T33T33
T33 T33 T33
T43 T39
T40
T41
T42
T44
H37
H42
H1
H39
H40
S14
T7
T51 T51
H32
T4
A15
T1
T57
B14
T6
T6
07
T48
T46
T53
T71
S16
T69
S16
S16
T69
T34
T34
T70
T58
K8
K7
K2 K2
K2
K5
K17
K2 K2
03
T67
T67
D6
F14
F15
F14
F15
T22 T22
N1
08
04
H38
H33
H33
H30
H30
2
8
T67
T26
T25
T67
T59 T67
9
14
P20
P20
P10
P10 P9
P9
P16 P16 P16
A1
9
P18
P18
A9
T59
H32 H30
C1 A16
D10
9
T74
P5
P5
T66 P4
P4
T66
Rubber tube Rubber tube Rubber tube
A13
A13
Brass bar
B11 B12
B11 B12
T75
T75
T37 T57
P15
T77
24
25
Z2
Z2
Z3
Z3
T51
Z3
T57
1
1
1
2
2
3
3
3
3
4
4
5
5
6
F9
F11 E17
E18
T68
Q21
Q6
Q6
Q14
Q9
Servo Optional
Servo
Optional
Q5
Q5
Q5
Q3
Q2
Q2
Q3
Q4
Q22 Q8
Q8
Q17Q17 M5
E25
23
F10
D9
F3
E6
E14
E1
F8
F7
E22
E23
F5
F4
F2
F12
E5
T48
T46 E20
E24
E4
E12
E7
E8
E13
E3
E10
E21
E11
E21
F1
F6
E26
T32
T32
22
E19
E16
F13
P12
P17
∅522
∅4Aluminium tube
ABS tube
4/4
T47
T45
T49
T50
∅1.5
∅2.5
∅1.5
∅5
∅4
∅4
∅4
Assembly drawing
8
14
P17
P17
P19
P13
15
16
20
Aluminium bar
∅1.5 Aluminium bar
∅1.5 Aluminium bar
Bamboo holding
ABS tube
∅2.5Bamboo holding
∅2.5Bamboo holding
∅2.5Bamboo holding ∅2.5Bamboo holding
∅2.5Bamboo holding
∅2.5Bamboo holding
C
Aluminium tube
Aluminium tube D E
∅4Aluminium tube
Aluminium tube B
P17
∅4Aluminium tube B
∅4Aluminium tube A
∅4Aluminium tube A
∅4 C
Aluminium tube
∅4 C
Aluminium tube E
∅4Aluminium tube
∅4Aluminium tube D
∅2.5Bamboo holding
Aluminium bar
T76
∅3
∅2
∅4
T32
T32
T7
T7
910
11
13
12
P2
P2
P2
P2
17
D3
T31 H31
P10 P11
18
19
N1
N6 N5 N7
M13
M14
M12
M11
P13 P13
ABS tube
ABS tube
Brass bar Brass bar Brass bar Brass bar Brass bar Brass bar Brass bar Brass bar Brass bar Brass bar ∅2 Brass bar ∅2 Brass bar
∅1.5 Brass bar
∅1.5 Brass bar
∅1.5 Brass bar ∅1.5 Brass bar
∅1.5 Brass bar ∅1.5 Brass bar
∅1.5 Brass bar
∅2.5Bamboo holding
∅2.5Bamboo holding
ABS tube
∅2
∅1.5 ∅2∅2∅2∅2∅2∅2∅2∅2
H27
H37
H42
H29
H28
H10 H11
H17 H16
H12
H13
H34
H26
H43
H15 H14
H8
H9
H19
H18
H6
H7
H20
H21 H23
H22
H4
T5
T15
T35
T5
H5
T31
T31
H2
H3
T36
T12
T13
H32
T70
H30
H30
H32 H30
T66 P4
P4
T66
name specifications
ABS bar
∅
2X1000MM
∅
1.5X1000MM
∅
1.2X1000MM
5
10
1
∅
1.5X500MM
∅
2X500MM
2
4
∅
3X500MM 1
ABS tube
∅
2X500MM
∅
3X500MM
∅
4X500MM
∅
5X500MM
3
2
2
3
ABS half-raund
bar
∅
8X500MM 1
∅
2.5X250MM 5
∅
3X250MM 1
∅
0.8X250MM 1
Steel wire
∅
0.5X500MM 1
Rubber tube 1
∅
6X550MM
Aluminium
tube
ABS tube
∅
4X1000MM 3
∅
10X100MM
∅
1.5X700MM
1
1
Steel bar
∅
1.0X700MM 1
P1
P2
P3
P4
P5
P6
P7
P8
P9
P10
P11
P12
P13
P14
P15
P16
P17
P18
P19
P20
Brass bar
Brass bar
Brass bar
Brass bar
ABS bar
ABS bar
Aluminium bar
ABS tube
ABS tube
ABS tube
Bamboo
holding
Bamboo
holding
quantity
number
2027.V2 2027.V2
2017
4/4
Tutti i diritti riservati. L'utilizzo commerciale di questo disegno non è consentito.
Qualsiasi rappresentazione dello schema di installazione di motori, telecomandi, strutture
meccaniche per varie attività, ecc cambiamenti nella struttura del modello per uso
di parti diverse rispetto a quelle consigliate sotto propria responsabilità.
Capacità di fornitura dei singoli prodotti riservata.
Alle Rechte vorbehalten. Die gewerbliche Nutzung dieser Zeichnung ist nicht gestattet.
Eventuelle Darstellungen im Plan über Einbau von Motoren, Fernsteuerungen, mechanischen
Einrichtungen für diverse Betätigungen etc. Änderungen im Aufbau des Modells bei Verwendung
anderer als im Plan empfohlener Teile sind nach eigenem Ermessen durchzuführen.
Liefermöglichkeiten einzelner Artikel vorbehalten.
All rights rexerved. Commercial use of this plan is strictly interidited.
Any illustrations in this plan showing the installation of engines, RC equipment and mechanical
gear for several functions are to be considered as mere recommendations, the installation
instructions of such components being dependent on the state of their respective development at
the time of installation.
accomodate such equipment. Delivery of individual items subject to availability.
Tous droits réservés. L‘utilisation à usage commercial de ce plan est strictement interdite. Les illustrations sur
ce plan montrant L‘installation de moteurs, d‘équipments RC, de dispositifs mécaniques pour la commande
des différentes fonctions, etc...sont seulement conseillés en fonction de leur stadede développment technique
respectif actuel.
Les modifications dans la construction du modéle dûes à l‘utilisation d‘éléments autres que ceux conseillés
devront être enterprises sur initiative personelle. Sous réserve de possibilité de livrasion de certains articles.

27 / 42
2027.V2_MP_V1
A
A1
A3
A13
A5 A6
A7
A8
A9
A10
A16
A15
A14
A13
A17
A18
A19 A20
A26
A22
A21
A23
A25
A2 A4 A24 A27
A11
A11
B
B1
B2
B3 B4
B6
B9
B8
B7
B5
B10
B10
B10
B11 B12
B13
B14
C
C1
C2
C3
C4
C5
C6
C7
C8
C7C7C7
C7 C7 C7 C7
C8
C8
Stückliste / parts list / Liste des pièces / Lista delle parti

28 / 42 2027.V2_MP_V1
D
D10
D13
D11
D6
D9
D8 D8
D2
D3
D3D3D3
D4
D12
D1
D5
D7 D7
D14 D15
E
E1
E3
E6
E26
E25
E21 E22 E23
E17 E18
E16 E19
E14
E10
E20
E5
E4
E24
E8
E13
E7 E9
E11 E12
E2
E27
F
F1
F7
F9
F3
F2 F4
F5
F10
F6
F8
F11
F12 F13
F13
F14
F14
F15
F15
F16 F17
F18
F19
F18
F18
F18
F19
F20 F20

29 / 42
2027.V2_MP_V1
H
H2 H3 H4 H5 H6 H7 H8 H9 H10 H11 H12 H13 H14 H15 H16 H17 H18 H19 H20 H21 H22 H23 H2
H31 H33
H1
H36 H33
H37
H26 H27H28 H29
H42
H43
H41
H36
H34
H38 H39 H40 H39 H32
H30
H44 H44
H3
J1 J1 J1 J1 J1 J1J2 J3 J4
J4
J5 J6 J7 J8 J9 J10 J10 J1
J
K
K1 K1 K1 K1 K1 K1 K1 K1 K1 K1 K1 K1 K2
K3 K1
K3 K3 K3 K3 K3 K3K4 K6
K7
K8 K2
K5
K2
K2
K2
K9 K10 K10 K11 K11
K12 K13 K14 K15 K16
K17
LL1
L2 L2 L2 L3
M
M1
M2 M3
M4
M5 M6
M7
M8
M9
M10
M5 M6
M6
M5
M5
M- M11
M12
M13
M14
�[�$
N1 N2
N7
N6
N5
N4N3

30 / 42 2027.V2_MP_V1
S1 S2 S3 S4 S5 S6 S14
S7
S8
S8
S8
S8
S8S8
S8S8S8
S8S8S8
S8
S9 S9 S9 S10 S10 S9
S9 S9 S9
S11 S12 S13
S14
S7
S7
S7
S14
S15
S15
S16
S16
S12
2027
S1:20
S17
w
W1
W2
W3
W4
Z3 Z3
Z
Z2
Z2
Z4
Z1

31 / 42
2027.V2_MP_V1
T1
1x
T2
1x
T5
1x
T6
2x
T7
6x
T8
1x
T9
1x
T10
1x
T30
1x
T21
1x
T23
1x
T22
2x
T24
1x
T25
1x
T26
1x
T27
1x
T28
1x
T29
1x
T50
1x
T41
1x
T43
1x
T42
1x
T44
1x
T45
1x
T46
1x
T47
1x
T48
1x
T49
1x
T61
2x
T62
4x
T64
2x
T65
2x
T63
1x
T66
1x
T67
9x
T68
1x
T69
1x
T70
1x
T3
1x
T4
1x
T11
1x
T12
1x
T14
1x
T13
1x
T15
4x
T16
1x
T17
1x
T18
2x
T19
1x
T20
1x
T32
6x
T34
2x
T33
6x
T36
2x
T37
1x
T38
3x
T39
1x
T40
1x
T51
5x
T52
2x
T53
1x
T54
2x
T55
6x
T56
1x
T57
2x
T58
2x
T59
2x
T60
2x
T31
1x
T71
2x
T35
4x
T72
1x
T73
1x
T74
1x
T75
2x
T76
1x
T77
1x
T78
1x
Q5
4x
Q1
2x
Q2
2x
Q4
2x
Q3
2x
Q6
2x
Q7
2x
Q8
2x
Q9
1x
Q10
3x
Q11
4x
Q12
3x
Q13
2x
Q14
2x
Q17
4x
Q18
2x
Q19
4x
Q20
2x
Q21
1x
Q22
1x
Q23
4x
Q15
2x
Q16
5x
01 02
04
04
03
05
04
04
06 06
070708 O11
011
O11
09
Beschriftung / lettering / didascalia / légende

32 / 42 2027.V2_MP_V1
E22
F1
E23
F13
F6
T32
E24
E7
E4
E12
E4
E5
E20
E24
P8
F11
F9
E10
E10
F3
E14
T32
F8
E17
E18
F10
D9
E26
E22
F3
F12
F2
F4
F5
22
T46
T48
E21
E2
F1
F13
E22
E3 E21
E23
F13
F6
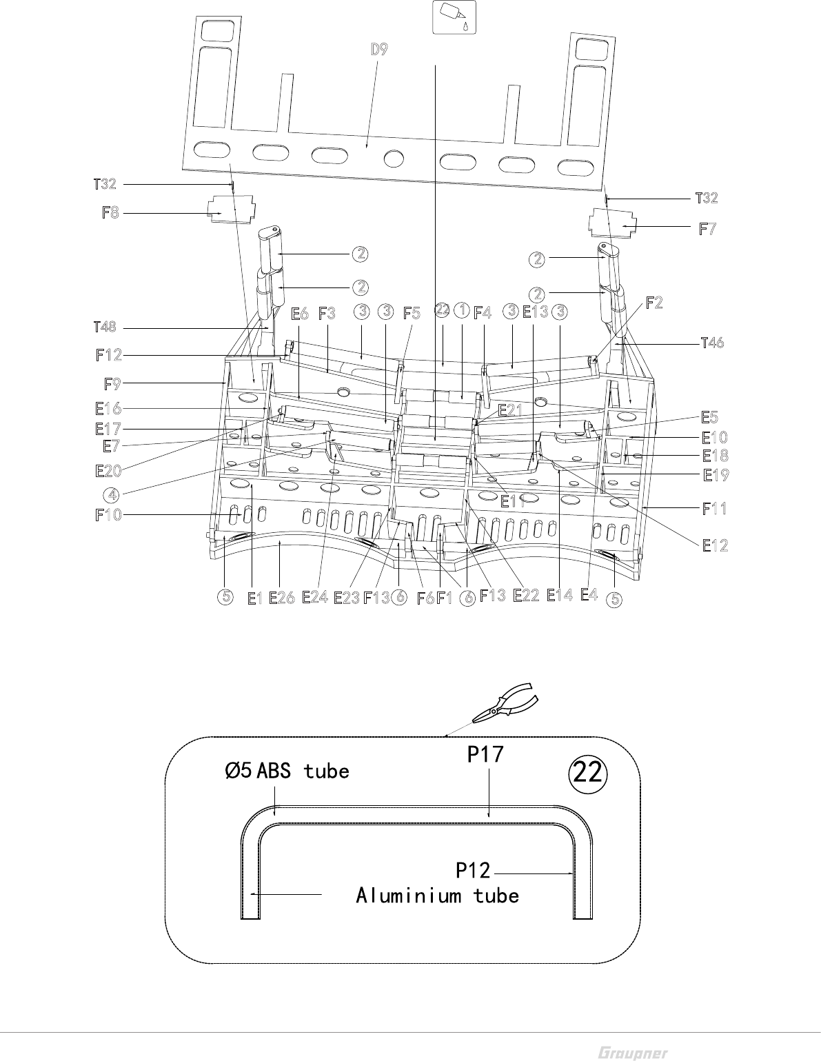
Siehe 1:1 Plan Nr.2 für Maßangabe / See 1:1 plan no. 2
for dimensionin / Voir 1: 1 Plan n ° 2 pour unitspan /
Vedere 1: 1 Piano No.2 per unitspan
Montage Heckklappe / Assembly tailgate / Montage hayon / Montaggio portellone

33 / 42
2027.V2_MP_V1
E11
E21
E20
E7
E24 E23 E22
4
E13
E12
E4
E5
F10
E10
E6 F3
E16
E19
E14
E1
F12
F2
E18
F9
F11
E17
D9
F5 F4
F13 F13
66
F1
F6
33
2
2
2
22
2
3
3
5
5E26
F7
F8
T46
T48
T32
T32
1

34 / 42 2027.V2_MP_V1
Montage Schanzkleid / Assembly fender / Montage garde-boue / Montaggio para-
fango
T5
H37
18
H42
T5
18
P11
P10 H31
T31 D3
P5
9
9
H40
T36
T15
T35
T13
T15
T35
H43
H34
H30
T12
H39
H34
H43
H1
P5
T9
T8
9
9
18
P11
P10 H31
T31 D3
H15
H14
H17
H16
H29
H28
H18
H19
H21
H20
H23
H22
H3
H2
H13
H12
H10
H11
H27
H9
H26
H8
H7
H6
H4
H5 H37
2mm Brass bar
2mm Brass bar

35 / 42
2027.V2_MP_V1
T66
P4
P4
T66
H30
H32
H30
H30
T70
H32
T13
T12
T36
H3
H2
T31
T31
H5
T5
T35
T15
T5
H4
H22
H23
H21
H20
H7
H6
H18
H19
H9
H8
H14
H15
H43
H26
H34
H13
H12
H16H17
H11
H10
H28
H29
H42
H37
H27
P9
T69
S16
H22
H23
H20
H21
T9
H19 H18
H16
H17
H14
H15
H36
P10
H36
H3
H2
H13 H12
H11
H10
H30
H38
H27
H26
H9
H8
H7
H6
H5
H4
18
T51
H5
H4
T10
T11

36 / 42 2027.V2_MP_V1
A16
A10
D10
A25
B8
B9
A16
A10
B5
A5
C1
C2
C3
D2
A15
T4
T4
L1
B8
A5
2.5
Bamboo
holding
15
P6
P6
C6
C6 15
2.5
Bamboo
holding
Montage Aufbau / Assembly superstructure / Montage structure / Montaggio strut-
tura

37 / 42
2027.V2_MP_V1
A16
A10
D10
A25
B8
B9
A16
A10
B5
A5
C1
C2
C3
D2
A15
T4
T4
L1
B8
A5
2.5
Bamboo
holding
15
P6
P6
C6
C6 15
2.5
Bamboo
holding

38 / 42 2027.V2_MP_V1
B9
B2
N1
N6
N6
N7
B1
C4
A6
T28
T27
A18
A8 A11
P5
A17
A22
N2
B4
B7
A7
B6
B4
A11
A11
T3
T2
T1
A23
N3
A14
B3
B2
A20
A26
Montage Aufbau / Assembly superstructure / Montage structure / Montaggio strut-
tura

39 / 42
2027.V2_MP_V1
B9
B2
N1
N6
N6
N7
B1
C4
A6
T28
T27
A18
A8 A11
P5
A17
A22
N2
B4
B7
A7
B6
B4
A11
A11
T3
T2
T1
A23
N3
A14
B3
B2
A20
A26

40 / 42 2027.V2_MP_V1
RAL
T1 T2 T3
T4 T5 T6 T7 T8
RAL RAL
RAL
3009
9005 2005
RAL RAL
9006
RAL RAL
5017 2004 white
6019 6016
T9 T10 T11
RAL RAL RAL
3020 3013 6001
T12
T12
T3
T10
T1
T11
T11
T9
T7
T2
T12
T2
T12
T2
T12
T3
T8
T6
T6
T1
T12
T2
T2
T2
T4
T12
T8
T11 T10
T1
T5
T5
T6
T6
T2
T1
T1
T3
T2
T12 T1
T3
T12
T2
T2
T2
T6
T6
T6 T8 T1 T3
T1
T12 T12
T9
T9
T2
T2
T2
T12
T13
Gold
T13 T13
T2
T2
T3
T9
T2
Farbschema / color scheme / combinazione di colori / schéma de couleurs
Beschriftung / lettering / didascalia / légende
*Wahl der Bezeichnung / Choice of name
Choix du nom / Scelta del nome
DBBS Bernhard Gruben
DBBR Theo Fischer
DBAT Hans Hackmack
DBAC Hermann Rudolf Meyer

41 / 42
2027.V2_MP_V1
RAL
T1 T2 T3
T4 T5 T6 T7 T8
RAL RAL
RAL
3009
9005 2005
RAL RAL
9006
RAL RAL
5017 2004 white
6019 6016
T9 T10 T11
RAL RAL RAL
3020 3013 6001
T12
T12
T3
T10
T1
T11
T11
T9
T7
T2
T12
T2
T12
T2
T12
T3
T8
T6
T6
T1
T12
T2
T2
T2
T4
T12
T8
T11 T10
T1
T5
T5
T6
T6
T2
T1
T1
T3
T2
T12 T1
T3
T12
T2
T2
T2
T6
T6
T6 T8 T1 T3
T1
T12 T12
T9
T9
T2
T2
T2
T12
T13
Gold
T13 T13
T2
T2
T3
T9
T2
Farbschema / color scheme / combinazione di colori / schéma de couleurs

42 / 42 2027.V2_MP_V1
Für Ihre Notizen / For your notes / Pour vos notes / Per le vostre note