Hangzhou Hikvision Digital Technology IPC2Q IP Camera User Manual
Hangzhou Hikvision Digital Technology Co., Ltd. IP Camera
User Manual

1
Camera
Network Mini PT Dome Camera
Quick Start Guide
UD.6L0201B1883A01

Network Mini PT Dome Camera·Quick Start Guide
2
2
Quick Start Guide
COPYRIGHT © 2015 Hangzhou Hikvision Digital Technology Co., Ltd.
ALL RIGHTS RESERVED.
Any and all information, including, among others, wordings, pictures,
graphs are the properties of Hangzhou Hikvision Digital Technology
Co., Ltd. or its subsidiaries (hereinafter referred to be “Hikvision”).
This user manual (hereinafter referred to be “the Manual”) cannot
be reproduced, changed, translated, or distributed, partially or
wholly, by any means, without the prior written permission of
Hikvision. Unless otherwise stipulated, Hikvision does not make any
warranties, guarantees or representations, express or implied,
regarding to the Manual.
About this Manual
This Manual is applicable to 2Qxx Network Camera.
The Manual includes instructions for using and managing the
product. Pictures, charts, images and all other information
hereinafter are for description and explanation only. The
information contained in the Manual is subject to change, without
notice, due to firmware updates or other reasons. Please find the
latest version in the company website
(http://overseas.hikvision.com/en/).
Please use this user manual under the guidance of professionals.
Trademarks Acknowledgement
and other Hikvision’s trademarks and logos are the
properties of Hikvision in various jurisdictions. Other trademarks and
logos mentioned below are the properties of their respective
owners.

Network Mini PT Dome Camera·Quick Start Guide
3
3
Legal Disclaimer
TO THE MAXIMUM EXTENT PERMITTED BY APPLICABLE LAW, THE
PRODUCT DESCRIBED, WITH ITS HARDWARE, SOFTWARE AND
FIRMWARE, IS PROVIDED “AS IS”, WITH ALL FAULTS AND ERRORS,
AND HIKVISION MAKES NO WARRANTIES, EXPRESS OR IMPLIED,
INCLUDING WITHOUT LIMITATION, MERCHANTABILITY,
SATISFACTORY QUALITY, FITNESS FOR A PARTICULAR PURPOSE, AND
NON-INFRINGEMENT OF THIRD PARTY. IN NO EVENT WILL
HIKVISION, ITS DIRECTORS, OFFICERS, EMPLOYEES, OR AGENTS BE
LIABLE TO YOU FOR ANY SPECIAL, CONSEQUENTIAL, INCIDENTAL, OR
INDIRECT DAMAGES, INCLUDING, AMONG OTHERS, DAMAGES FOR
LOSS OF BUSINESS PROFITS, BUSINESS INTERRUPTION, OR LOSS OF
DATA OR DOCUMENTATION, IN CONNECTION WITH THE USE OF
THIS PRODUCT, EVEN IF HIKVISION HAS BEEN ADVISED OF THE
POSSIBILITY OF SUCH DAMAGES.
REGARDING TO THE PRODUCT WITH INTERNET ACCESS, THE USE OF
PRODUCT SHALL BE WHOLLY AT YOUR OWN RISKS. HIKVISION SHALL
NOT TAKE ANY RESPONSIBILITES FOR ABNORMAL OPERATION,
PRIVACY LEAKAGE OR OTHER DAMAGES RESULTING FROM CYBER
ATTACK, HACKER ATTACK, VIRUS INSPECTION, OR OTHER INTERNET
SECURITY RISKS; HOWEVER, HIKVISION WILL PROVIDE TIMELY
TECHNICAL SUPPORT IF REQUIRED.
SURVEILLANCE LAWS VARY BY JURISDICTION. PLEASE CHECK ALL
RELEVANT LAWS IN YOUR JURISDICTION BEFORE USING THIS
PRODUCT IN ORDER TO ENSURE THAT YOUR USE CONFORMS THE
APPLICABLE LAW. HIKVISION SHALL NOT BE LIABLE IN THE EVENT
THAT THIS PRODUCT IS USED WITH ILLEGITIMATE PURPOSES.

Network Mini PT Dome Camera·Quick Start Guide
4
4
IN THE EVENT OF ANY CONFLICTS BETWEEN THIS MANUAL AND THE
APPLICABLE LAW, THE LATER PREVAILS.
Regulatory Information
FCC Information
FCC compliance: This equipment has been tested and found to
comply with the limits for a digital device, pursuant to part 15 of the
FCC Rules. These limits are designed to provide reasonable
protection against harmful interference when the equipment is
operated in a commercial environment. This equipment generates,
uses, and can radiate radio frequency energy and, if not installed and
used in accordance with the instruction manual, may cause harmful
interference to radio communications. Operation of this equipment
in a residential area is likely to cause harmful interference in which
case the user will be required to correct the interference at his own
expense.
FCC Conditions
This device complies with part 15 of the FCC Rules. Operation is
subject to the following two conditions:
1. This device may not cause harmful interference.
2. This device must accept any interference received, including
interference that may cause undesired operation.
EU Conformity Statement
This product and - if applicable - the supplied
accessories too are marked with "CE" and comply
therefore with the applicable harmonized European
standards listed under the EMC Directive 2004/108/EC, the RoHS
Directive 2011/65/EU.

Network Mini PT Dome Camera·Quick Start Guide
5
5
2012/19/EU (WEEE directive): Products marked
with this symbol cannot be disposed of as unsorted
municipal waste in the European Union. For proper
recycling, return this product to your local supplier
upon the purchase of equivalent new equipment, or dispose of it at
designated collection points. For more information see:
www.recyclethis.info
2006/66/EC (battery directive): This product
contains a battery that cannot be disposed of as
unsorted municipal waste in the European Union.
See the product documentation for specific battery
information. The battery is marked with this symbol,
which may include lettering to indicate cadmium (Cd), lead (Pb), or
mercury (Hg). For proper recycling, return the battery to your
supplier or to a designated collection point. For more information
see: www.recyclethis.info
Industry Canada ICES-003 Compliance
This device meets the CAN ICES-3 (A)/NMB-3(A) standards
requirements.
This device complies with Part 15 of the FCC Rules. Operation is
subject to the following two conditions:
(1) This device may not cause harmful interference, and
(2) This device must accept any interference received, including
interference that may cause undesired operation.

Network Mini PT Dome Camera·Quick Start Guide
6
6
Cet appareil est conforme à la section 15 des réglementations de la
FCC. Le fonctionnement de l’appareil est sujetaux deux conditions
suivantes :
(1) cet appareil ne doit pas provoquer d’interférences néfastes, et
(2) cet appareil doit tolérer les interférences reçues, y compris celles
qui risquent de provoquer un fonctionnement indésirable.
Note: This product has been tested and found to comply with the
limits for a Class B digital device, pursuant to Part 15 of the FCC Rules.
These limits are designed to provide reasonable protection against
harmful interference in a residential installation. This product
generates, uses, and can radiate radio frequency energy and, if not
installed and used in accordance with the instructions, may cause
harmful interference to radio communications. However, there is no
guarantee that interference will not occur in a particular installation.
If this product does cause harmful interference to radio or television
reception, which can be determined by turning the equipment off
and on, the user is encouraged to try to correct the interference by
one or more of the following measures:
—Reorient or relocate the receiving antenna.
—Increase the separation between the equipment and receiver.
—Connect the equipment into an outlet on a circuit different from
that to which the receiver is connected.
—Consult the dealer or an experienced radio/TV technician for help.

Network Mini PT Dome Camera·Quick Start Guide
7
7
Please take attention that changes or modification not expressly
approved by the party responsible for compliance could void the
user’s authority to operate the equipment.
This equipment should be installed and operated with a minimum
distance 20cm between the radiator and your body
Cet équipement doit être installé et utilisé à une distance minimale
de 20 cm entre le radiateur et votre corps
This device complies with Industry Canada licence-exempt RSS
standard(s). Operation is subject to the following two conditions:
(1) this device may not cause interference, and
(2) this device must accept any interference, including interference
that may cause undesired operation of the device.
Le présent appareil est conforme aux CNR d'Industrie Canada
applicables aux appareils radioexempts de licence. L'exploitation est
autorisée aux deux conditions suivantes :
(1) l'appareil ne doit pas produire de brouillage, et
(2) l'utilisateur de l'appareil doit accepter tout brouillage
radioélectrique subi, même si le brouillage est susceptible d'en
compromettre le fonctionnement.
Under Industry Canada regulations, this radio transmitter may only
operate using an antenna of a type and maximum (or lesser) gain
approved for the transmitter by Industry Canada. To reduce potential

Network Mini PT Dome Camera·Quick Start Guide
8
8
radio interference to other users, the antenna type and its gain
should be so chosen that the equivalent isotropically radiated power
(e.i.r.p.) is not more than that necessary for successful
communication.
Conformément à la réglementation d'Industrie Canada, le présent
émetteur radio peut
fonctionner avec une antenne d'un type et d'un gain maximal (ou
inférieur) approuvé pour l'émetteur par Industrie Canada. Dans le
but de réduire les risques de brouillage radioélectrique à l'intention
des autres utilisateurs, il faut choisir le type d'antenne et son gain de
sorte que la puissance isotrope rayonnée équivalente (p.i.r.e.) ne
dépasse pas l'intensité nécessaire à l'établissement d'une
communication satisfaisante.
Safety Instruction
These instructions are intended to ensure that user can use the
product correctly to avoid danger or property loss.
The precaution measure is divided into “Warnings” and “Cautions”
Warnings: Serious injury or death may occur if any of the warnings
are neglected.
Cautions: Injury or equipment damage may occur if any of the
cautions are neglected.

Network Mini PT Dome Camera·Quick Start Guide
9
9
Warnings
● Proper configuration of all passwords and other security
settings is the responsibility of the installer and/or end-user.
● In the use of the product, you must be in strict compliance with
the electrical safety regulations of the nation and region. Please
refer to technical specifications for detailed information.
● Input voltage should meet both the SELV (Safety Extra Low
Voltage) and the Limited Power Source with 24 VAC or 12 VDC
according to the IEC60950-1 standard. Please refer to technical
specifications for detailed information.
● Do not connect several devices to one power adapter as
adapter overload may cause over-heating or a fire hazard.
● Please make sure that the plug is firmly connected to the power
socket. When the product is mounted on wall or ceiling, the
device shall be firmly fixed.
● If smoke, odor or noise rise from the device, turn off the power
at once and unplug the power cable, and then please contact
the service center.
Cautions
Warnings Follow these
safeguards to prevent
serious injury or death.
Cautions Follow these
precautions to prevent
potential injury or material
damage.

Network Mini PT Dome Camera·Quick Start Guide
10
10
● Make sure the power supply voltage is correct before using the
camera.
● Do not drop the camera or subject it to physical shock.
● Do not touch sensor modules with fingers. If cleaning is
necessary, use clean cloth with a bit of ethanol and wipe it
gently. If the camera will not be used for an extended period,
please replace the lens cap to protect the sensor from dirt.
● Do not aim the camera at the sun or extra bright places.
Blooming or smearing may occur otherwise (which is not a
malfunction), and affect the endurance of sensor at the same
time.
● The sensor may be burned out by a laser beam, so when any
laser equipment is in using, make sure that the surface of
sensor will not be exposed to the laser beam.
● Do not place the camera in extremely hot, cold (the operating
temperature shall be-30°C ~+60°C , or -40°C ~ +60°C if the
camera model has an “H” in its suffix), dusty or damp locations,
and do not expose it to high electromagnetic radiation.
● To avoid heat accumulation, good ventilation is required for
operating environment.
● Keep the camera away from liquid while in use.
● While in delivery, the camera shall be packed in its original
packing, or packing of the same texture.
● Regular part replacement: a few parts (e.g. electrolytic
capacitor) of the equipment shall be replaced regularly
according to their average enduring time. The average time
varies because of differences between operating environment

Network Mini PT Dome Camera·Quick Start Guide
11
11
and using history, so regular checking is recommended for all
the users. Please contact with your dealer for more details.
● Improper use or replacement of the battery may result in
hazard of explosion. Replace with the same or equivalent type
only. Dispose of used batteries according to the instructions
provided by the battery manufacturer.
● If the product does not work properly, please contact your
dealer or the nearest service center. Never attempt to
disassemble the camera yourself. (We shall not assume any
responsibility for problems caused by unauthorized repair or
maintenance.)

Network Mini PT Dome Camera·Quick Start Guide
12
12
Table of Contents
1 Appearance Description ............................................................... 13
Overview ....................................................................... 13
Installing SD / SIM Card ................................................. 19
Remote Control ............................................................. 20
2 Installation .................................................................................... 22
3 Setting the Network Camera over the LAN .................................. 27
3.1 Wiring ........................................................................... 27
3.2 Activating the Camera ................................................... 28
3.2.1 Activation via Web Browser ................................ 28
3.2.2 Activation via SADP Software ............................. 30
3.3 Modifying the IP Address .............................................. 31
4 Accessing via Web Browser .......................................................... 33

Network Mini PT Dome Camera·Quick Start Guide
13
13
1 Appearance Description
Overview
Two types of network Mini PT cameras are shown below.
Type I: WiFi network transmission is supported for the Type I
network Mini PT camera.
1
2
34
Overview (1)-Type I
5
6
7
8
9
10
Overview (2)-Type I

Network Mini PT Dome Camera·Quick Start Guide
14
14
1312
11
15
14
17
16
Overview (3)-Type I
Description of Type I Network Mini PT Camera
No.
Description
1
Silicone Gasket
2
Dome Drive
3
WPS(Wi-Fi Protected Setup) Button
4
Micro SD Card Slot
5
Photic Cover
6
Lens
7
Lens Ring
8
PIR(Passive Infrared) sensor
9
MIC
10
Mounting Base
11
10M / 100M self-adaptive Ethernet interface

Network Mini PT Dome Camera·Quick Start Guide
15
15
No.
Description
12
Alarm Input/output Interface
13
Reset
14
Audio Out
15
Power supply interface (5 VDC)
16
Speaker
17
Status LED
Solid blue: Network is connected, and
camera is unarmed.
Flicking blue: No network connection.
Solid red: Camera is armed.
Flicking red: Camera is not working
properly.
Solid green: Camera is connected to the
platform.

Network Mini PT Dome Camera·Quick Start Guide
16
16
Type II: Wireless alarm is supported for the Type II network Mini PT
camera. 4G and Wi-Fi network transmission are optional.
1
2
3 4
Overview (1)-Type II
9
5
6
7
810
Overview (2)-Type II
For the Type II network Mini PT camera supporting the 4G network
transmission, the Wi-Fi network transmission does not take effect.

Network Mini PT Dome Camera·Quick Start Guide
17
17
18
17
11
12 13
14
15
16
Overview (3)-Type II
Description of Type II Network Mini PT Camera
No.
Description
1
Silicone Gasket
2
Dome Drive
3
4G SIM Card Slot, (optional)
4
Micro SD Card Slot
5
Photic Cover
6
Lens
7
Lens Ring
8
PIR(Passive Infrared) sensor
9
MIC
10
Mounting Base
11
Alarm Input/output Interface

Network Mini PT Dome Camera·Quick Start Guide
18
18
No.
Description
12
10M / 100M self-adaptive Ethernet interface
13
Audio Out
14
WPS(Wi-Fi Protected Setup) Button, (optional)
15
Power supply interface (5 VDC)
16
Reset
17
Speaker
18
Status LED
Solid blue: Network is connected, and
camera is unarmed.
Flicking blue: No network connection.
Solid red: Camera is armed.
Flicking red: Camera is not working
properly.
Solid green: Camera is connected to the
platform and unarmed.
Solid yellow: Camera is connected to the
platform and armed.
The figures shown in this manual are for reference only. The
appearance and interfaces of the camera are subject to the
actual model.

Network Mini PT Dome Camera·Quick Start Guide
19
19
You can disable the status LED when you access the camera via
browsers. Go to Configuration—Advanced
Configuration—System—Service, and check off the checkbox of
Enable Status LED to disable the status LED.
Press RESET about 10s when the camera is powering on or
rebooting to restore the default settings, including the user
name, password, port No., etc.
A wireless router with the WPS function is required to enable
the WPS function of the camera.
Steps:
1) Press the WPS button on the router.
2) Press the WPS button (about 2s) on the camera within 120s
you enable the WPS of the router to join in the wireless
network.
Installing SD / SIM Card
Steps:
Pull the removable cover on the mounting base outwards and
move it aside.
Insert the SIM card into the SIM card slot.
SIM card slot is only available for some certain camera models.
Insert the micro SD card into the micro SD card slot.
Fix the cover back to the mounting base.

Network Mini PT Dome Camera·Quick Start Guide
20
20
SIM Card Micro SD Card
Removable Cover
Install SD / SIM Card
Remote Control
A remote control is supplied for the Type II network Mini PT camera.
Remote Control

Network Mini PT Dome Camera·Quick Start Guide
21
21
Description of Remote Control
Button
Description
Arm Button
Press the button to arm the camera. In arming
status, the alarm function, such as the wireless alarm
and the PIR alarm is enabled.
Disarm
Button
Press the button to disarm the camera. In the
disarming status, the alarm linkage is disabled.
Emergency
Button
Long press the button for 2s to trigger the
emergency alarm. The emergency alarm has the
highest priority.
Privacy
Button
Press the button to stop or start video stream
sending. When the video stream is stopped, you
can’t see the live view or get the record stream on
the remote client or web browser.

Network Mini PT Dome Camera·Quick Start Guide
22
22
2 Installation
Before you start:
● Make sure the device in the package is in good condition and all
the assembly parts are included.
● The standard power supply is 12V DC or 24V AC, please make
sure your power supply matches with your camera.
● Make sure all the related equipment is power-off during the
installation.
● Check the specification of the products for the installation
environment.
● Make sure that the wall is strong enough to withstand four
times the weight of the camera and the bracket.
For the camera that supports IR, you are required to pay attention to
the following precautions to prevent IR reflection:
● Dust or grease on the dome cover will cause IR reflection.
Please do not remove the dome cover film until the installation
is finished. If there is dust or grease on the dome cover, clean
the dome cover with clean soft cloth and isopropyl alcohol.
● Make sure that there is no reflective surface too close to the
camera lens. The IR light from the camera may reflect back into
the lens causing reflection.
● The foam ring around the lens must be seated flush against the
inner surface of the bubble to isolate the lens from the IR LEDS.
Fasten the dome cover to camera body so that the foam ring
and the dome cover are attached seamlessly.

Network Mini PT Dome Camera·Quick Start Guide
23
23
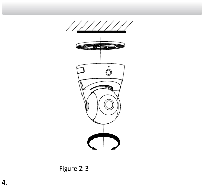
Steps:
Drill the screw holes on the ceiling according to the supplied drill
template.
Drill Template
Align the screw holes on the ceiling and adapter plate, and then
fix the adapter plate to the ceiling with the supplied screws.

Network Mini PT Dome Camera·Quick Start Guide
24
24
Bayonet Joint
Install the Adapter Plate
For cement wall, you need to use the expansion screw to fix the
mount; for wooden wall, you can just use the self-tapping screw to
fix the mount.
Align the mounting base of the camera to the adapter plate, and
rotate the camera clockwise until it is locked up by the three
bayonet joints on the adapter plate.

Network Mini PT Dome Camera·Quick Start Guide
25
25
OPEN LOCK
Install the Camera
Adjust surveillance view angle.
1) Hold and rotate the main camera body to adjust the view angle
in the pan direction: [0°~355°].
2) Move the dome drive upwards or downwards to adjust the
view angle in the tilt direction: [-20°~90°].

Network Mini PT Dome Camera·Quick Start Guide
26
26
Pan: 0°~355°
Tilt: -20°~90°
Camera Body
Dome Drive
Adjust the View Angle
Table mounting is also available for the network Mini PT camera. If
the camera needs to be fixed on the table, refer to the above steps
described for the ceiling mounting; if not, just place the camera on
the table.

Network Mini PT Dome Camera·Quick Start Guide
27
27
3 Setting the Network Camera over the
LAN
Note:
You shall acknowledge that the use of the product with Internet
access might be under network security risks. For avoidance of any
network attacks and information leakage, please strengthen your
own protection. If the product does not work properly, please
contact with your dealer or the nearest service center.
Wiring
Please connect to the camera to the network according to the
following figures
Connecting Directly
Connecting via a Switch or a Router

Network Mini PT Dome Camera·Quick Start Guide
28
28
Activating the Camera
You are required to activate the camera first by setting a strong
password for it before you can use the camera.
Activation via Web Browser, Activation via SADP, and Activation via
Client Software are all supported. We will take activation via SADP
software and Activation via Web Browser as examples to introduce
the camera activation. Please refer to the User Manual of Network
Camera for Activation via Client Software.
Activation via Web Browser
Steps:
1. Power on the camera, and connect the camera to the network.
2. Input the IP address into the address bar of the web browser, and
click Enter to enter the activation interface.
Notes:
The default IP address of the camera is 192.168.1.64.
For the camera enables the DHCP by default, you need to
activate the camera via SADP software and search the IP
address.

Network Mini PT Dome Camera·Quick Start Guide
29
29
Activation Interface(Web)
3. Create a password and input the password into the password
field.
STRONG PASSWORD RECOMMENDED– We highly
recommend you create a strong password of your own
choosing (using a minimum of 8 characters, including
upper case letters, lower case letters, numbers, and
special characters) in order to increase the security of
your product. And we recommend you reset your
password regularly, especially in the high security
system, resetting the password monthly or weekly can
better protect your product.
4. Confirm the password.
5. Click OK to save the password and enter the live view interface.

Network Mini PT Dome Camera·Quick Start Guide
30
30
Activation via SADP Software
SADP software is used for detecting the online device, activating the
camera, and resetting the password.
Get the SADP software from the supplied disk or the official website,
and install the SADP according to the prompts. Follow the steps to
activate the camera, please refer to the User Manual of Network
Camera for other two activation methods.
Steps:
1. Run the SADP software to search the online devices.
2. Check the device status from the device list, and select the
inactive device.
SADP Interface
Note:
The SADP software supports activating the camera in batch. Please
refer to the user manual of SADP software for details.

Network Mini PT Dome Camera·Quick Start Guide
31
31
3. Create a password and input the password in the password field,
and confirm the password.
STRONG PASSWORD RECOMMENDED– We highly
recommend you create a strong password of your own
choosing (using a minimum of 8 characters, including
upper case letters, lower case letters, numbers, and
special characters) in order to increase the security of
your product. And we recommend you reset your
password regularly, especially in the high security
system, resetting the password monthly or weekly can
better protect your product.
4. Click OK to save the password.
You can check whether the activation is completed on the popup
window. If activation failed, please make sure that the password
meets the requirement and try again.
Modifying the IP Address
Purpose:
To view and configure the camera via LAN (Local Area Network), you
need to connect the network camera in the same subnet with your
PC. Then, install the SADP software or client software to search and
change the IP of network camera. We will take modifying the IP
Address via SADP software as an example to introduce the IP address
modification.
Steps:
1. Run the SADP software.
2. Select an active device.

Network Mini PT Dome Camera·Quick Start Guide
32
32
Note:
Please refer to Chapter 3.2 to activate the camera if the camera is
inactive.
3. Change the device IP address to the same subnet with your
computer by either modifying the IP address manually or checking
the checkbox of Enable DHCP.
Modify the IP Address
4. Input the password to activate your IP address modification.
The batch IP address modification is supported by the SADP; please
refer to the User Manual of SADP for details.

Network Mini PT Dome Camera·Quick Start Guide
33
33
4 Accessing via Web Browser
System Requirement:
Operating System: Microsoft Windows XP SP1 and above version
CPU: 2.0 GHz or higher
RAM: 1G or higher
Display: 1024×768 resolution or higher
Web Browser: Internet Explorer 8.0 and above version, Apple Safari
5.0.2 and above version, Mozilla Firefox 5.0 and above version and
Google Chrome 18 and above version
Steps:
1. Open the web browser.
2. In the browser address bar, input the IP address of the network
camera, and press the Enter key to enter the login interface.
Note:
The default IP address is 192.168.1.64.
If the camera is not activated, please activate the camera first
according to Chapter 3.2.
3. Input the user name and password.
The admin user should configure the device accounts and
user/operator permissions properly. Delete the unnecessary
accounts and user/operator permissions.
Note:
The device IP address gets locked if the admin user performs 7
failed password attempts (5 attempts for the user/operator).

Network Mini PT Dome Camera·Quick Start Guide
34
34
4. Click Login.
Login Interface
5. Install the plug-in before viewing the live video and managing
the camera. Please follow the installation prompts to install the
plug-in.
You may have to close the web browser to finish the installation of
the plug-in.

Network Mini PT Dome Camera·Quick Start Guide
35
35
Download Plug-in
Install Plug-in (1)

Network Mini PT Dome Camera·Quick Start Guide
36
36
Install Plug-in (2)
6. Reopen the web browser after the installation of the plug-in and
repeat steps 2~4 to login.
For detailed instructions of further configuration, please refer to the
user manual of network camera.

0