Harbor Freight Abrasive Blasting Deadman Valve With 4 Ceramic Nozzles Product Manual

Harbor-Freight-60491-Owner-S-Manual harbor-freight-60491-owner-s-manual

Manual for the 60491 Abrasive Blasting Deadman Valve with 4 Ceramic Nozzles 60491 Abrasive Blasting Deadman Valve with 4 Ceramic Nozzles

2015-05-27

: Harbor-Freight Harbor-Freight-Abrasive-Blasting-Deadman-Valve-With-4-Ceramic-Nozzles-Product-Manual-723812 harbor-freight-abrasive-blasting-deadman-valve-with-4-ceramic-nozzles-product-manual-723812 harbor-freight pdf

Open the PDF directly: View PDF PDF.
Page Count: 12

Page 2 For technical questions, please call 1-800-444-3353. ITEM 60491
WARNING SYMBOLS AND DEFINITIONS
This is the safety alert symbol. It is used to alert you to potential personal injury hazards.
Obey all safety messages that follow this symbol to avoid possible injury or death.
Indicates a hazardous situation which, if not avoided,
will result in death or serious injury.
Indicates a hazardous situation which, if not avoided,
could result in death or serious injury.
Indicates a hazardous situation which, if not avoided,
could result in minor or moderate injury.
Addresses practices not related to personal injury.
Important Safety Instructions
INSTRUCTIONS PERTAINING TO A RISK OF FIRE,
ELECTRIC SHOCK, OR INJURY TO PERSONS
WARNING – When using tools, basic precautions
should always be followed, including the following:
Work Area
a. Keep the work area clean and well lighted.
Cluttered benches and dark areas increase the
risks of electric shock, re, and injury to persons.
b. Do not operate the tool in explosive atmospheres,
such as in the presence of ammable liquids,
gases, or dust. The tool is able to create sparks
resulting in the ignition of the dust or fumes.
c. Keep bystanders, children, and visitors away
while operating the tool. Distractions are able
to result in the loss of control of the tool.
Personal Safety
a. Stay alert. Watch what you are doing and
use common sense when operating the tool.
Do not use the tool while tired or under the
inuence of drugs, alcohol, or medication.
A moment of inattention while operating the
tool increases the risk of injury to persons.
b. Dress properly. Do not wear loose clothing or
jewelry. Contain long hair. Keep hair, clothing, and
gloves away from moving parts. Loose clothes,
jewelry, or long hair increases the risk of injury to
persons as a result of being caught in moving parts.
c. Do not overreach. Keep proper
footing and balance at all times.
Proper footing and balance enables better
control of the tool in unexpected situations.
d. Use safety equipment. A dust mask,
non-skid safety shoes and a hard hat
must be used for the applicable
conditions. Wear heavy-duty work
gloves during use.
e. Always wear eye protection.
Wear ANSI-approved safety goggles.
f. Always wear hearing protection when
using the tool. Prolonged exposure to
high intensity noise is able to cause
hearing loss.
Tool Use and Care
a. Do not force the tool. Use the correct tool for the
application. The correct tool will do the job better
and safer at the rate for which the tool is designed.
b. Disconnect the tool from the air source
before making any adjustments, changing
accessories, or storing the tool. Such preventive
safety measures reduce the risk of starting the
tool unintentionally. Turn off and detach the air
supply, safely discharge any residual air pressure,
and release the throttle and/or turn the switch to
its off position before leaving the work area.
c. Store the tool when it is idle out of reach
of children and other untrained persons.
A tool is dangerous in the hands of untrained users.
Page 3For technical questions, please call 1-800-444-3353.ITEM 60491
d. Check for misalignment or binding of moving
parts, breakage of parts, and any other condition
that affects the tool’s operation. If damaged,
have the tool serviced before using. Many accidents
are caused by poorly maintained tools.
There is a risk of bursting if the tool is damaged.
e. Use only accessories that are identied by the
manufacturer for the specic tool model. Use of
an accessory not intended for use with the specic
tool model, increases the risk of injury to persons.
Service
a. Tool service must be performed only
by qualied repair personnel.
b. When servicing a tool, use only identical
replacement parts. Use only authorized parts.
Air Source
a. Never connect to an air source that is
capable of exceeding 200 psi.
Over pressurizing the tool may cause
bursting, abnormal operation, breakage
of the tool or serious injury to persons.
Use only clean, dry, regulated compressed air at the
rated pressure or within the rated pressure range as
marked on the tool. Always verify prior to using the
tool that the air source has been adjusted to the rated
air pressure or within the rated air-pressure range.
b. WARNING! Do not exceed 100 PSI
working air pressure during use.
c. Never use oxygen, carbon dioxide, combustible
gases or any bottled gas as an air source
for the tool. Such gases are capable of
explosion and serious injury to persons.
SAVE THESE
INSTRUCTIONS.
Symbols and Specic Safety Instructions
Symbol Denitions
Symbol Property or statement
noNo-load speed
.../min Revolutions or reciprocation per minute
PSI Pounds per square inch of pressure
Chart continued in next column.
Symbol Property or statement
ft-lb Foot-pounds of torque
BPM Blows per minute
CFM Cubic Feet per Minute ow
SCFM Cubic Feet per Minute ow
at standard conditions
NPT National pipe thread, tapered
NPS National pipe thread, straight
WARNING marking
concerning Risk of Eye Injury.
Wear ANSI-approved eye protection.
WARNING marking concerning Risk of
Hearing Loss. Wear hearing protection.
WARNING marking concerning
Risk of Respiratory Injury. Wear
NIOSH-approved dust mask/respirator.
WARNING marking concerning
Risk of Explosion.
Specic Safety Instructions
1. The warnings and precautions discussed in this
manual cannot cover all possible conditions and
situations that may occur. It must be understood
by the operator that common sense and caution
are factors which cannot be built into this
product, but must be supplied by the operator.
2. Do not exceed maximum 100 PSI.
3. Avoid unintentional starting. Prepare to
begin work before turning on the tool.
4. Do not leave the tool unattended when it is plugged
into compressor. Release the Trigger, and unplug
it from its pneumatic air source before leaving.
5. Never point the Trigger at a human or an animal.
6. Use clamps (not included) or other
practical ways to secure and support
the workpiece to a stable platform.
7. This product is not a toy. Keep it
out of reach of children.
8. WARNING: This product, when used for abrasive
blasting and similar applications, produces chemicals
known to the State of California to cause cancer
and birth defects (or other reproductive harm).
(California Health & Safety Code § 25249.5, et seq.)
Page 4 For technical questions, please call 1-800-444-3353. ITEM 60491
9. WARNING: The brass components of this
product contain lead, a chemical known to
the State of California to cause birth defects
(or other reproductive harm). (California
Health & Safety code § 25249.5, et seq.)
10. Obey the manual for the air compressor
used to power this tool.
11. Install an in-line shutoff valve to allow
immediate control over the air supply in an
emergency, even if a hose is ruptured.
12. If any abnormal vibration occurs,
stop use immediately.
Silicosis and Aluminum
Oxide Warnings
Warning: Abrasive blasting with sand containing
crystalline silica can cause serious or fatal respiratory
disease. Exposure to crystalline silica may cause
silicosis (a serious lung disease), cancer and death.
Exposure to aluminum oxide (a dust generated from
material removing processes) can result in eye, skin
and breathing irritation. Always use a NIOSH (National
Institute for Occupational Safety and Health) approved
respirator and safety goggles. Avoid skin exposure.
Proper ventilation in the work area is required. Read
and understand the 10 recommended measures below
to reduce crystalline silica exposures in the workplace
and prevent silicosis and silicosis related deaths.
NIOSH recommends the following measures to
reduce crystalline silica exposures in the workplace
and prevent silicosis and silicosis-related deaths:
1. Prohibit silica sand (or other substances
containing more than 1% crystalline silica)
as an abrasive blasting material and
substitute less hazardous materials.
2. Conduct air monitoring to measure worker exposures.
3. Use containment methods such as blast-cleaning
machines and cabinets to control the hazard
and protect adjacent workers from exposure.
4. Practice good personal hygiene to avoid
unnecessary exposure to silica dust.
5. Wear washable or disposable protective clothes
at the work site. Shower and change into clean
clothes before leaving the work site to prevent
contamination of cars, homes and other work areas.
6. Use respiratory protection when source controls
cannot keep silica exposures below the NIOSH REL.
7. Provide periodic medical examinations for all
workers who may be exposed to crystalline silica.
8. Post signs to warn workers about the hazard and to
inform them about required protective equipment.
9. Provide workers with training that includes
information about health effects, work practices
and protective equipment for crystalline silica.
10. Report all cases of silicosis to State health
departments and to OSHA or the Mine Safety
and Health Administration (MSHA)
11. The warnings and precautions discussed in this
manual cannot cover all possible conditions and
situations that may occur. It must be understood
by the operator that common sense and caution
are factors which cannot be built into this
product, but must be supplied by the operator.
SAVE THESE INSTRUCTIONS.
Page 5For technical questions, please call 1-800-444-3353.ITEM 60491
Functional Description
Specications
Nozzle Sizes
2 mm (Fine)
2.5 mm (Medium)
3 mm / 3.5 mm (Coarse Grit)
Max. Air Pressure 100 PSI
Air Inlet 3/8 IN. - 18 NPT
Initial Tool Set Up/Assembly
Read the ENTIRE IMPORTANT
SAFETY INFORMATION section at the
beginning of this manual including
all text under subheadings therein
before set up or use of this product.
Note: For additional information regarding the
parts listed in the following pages, refer to the
Assembly Diagram near the end of this manual.
Note: This air tool may be shipped with a protective plug
covering the air inlet. Remove this plug before set up.
Assembly
1. The Valve is equipped with four different size Ceramic
Nozzles (37a-d) for ne, medium, and course grit.
2. To install a Ceramic Nozzle, unscrew and
remove the Nozzle Cap Nut (39). Place the
Gasket (36) against the Adapter (35) and place
the Ceramic Nozzle against the Gasket.
3. Insert the corresponding size Rubber Adapter
(38) onto the Ceramic Nozzle. Then, rmly screw
the Nozzle Cap Nut back onto the Adapter.
Air Supply Setup
TO PREVENT SERIOUS INJURY
FROM EXPLOSION:
Use only clean, dry, regulated, compressed
air to power this tool. Do not use oxygen,
carbon dioxide, combustible gases, or any other
bottled gas as a power source for this tool.
1. To attach a grit supply hose - 3/8” - 18 NPT (not
included) to the Valve, wrap approximately 3” of
pipe thread sealer tape (not included) around
the male threads at the end of the grit supply
hose. Then, rmly tighten the grit supply hose
onto the Intake Connector (34) of the Valve.
2. Incorporate a lter, regulator with pressure gauge,
dryer, in-line shutoff valve, and quick coupler for
best service, as shown on Figure A on page 6
and Figure B on page 7. An in-line shutoff
ball valve is an important safety device because
it controls the air supply even if the air hose
is ruptured. The shutoff valve should be a
ball valve because it can be closed quickly.
Note: An oiler system should not be used
with this tool. The oil will mix with the material
being propelled, causing poor results.
3. Attach an air hose to the compressors air outlet.
Connect the air hose to the air inlet of the tool.
Other components, such as a coupler plug
and quick coupler, will make operation
more efcient, but are not required.
WARNING! TO PREVENT SERIOUS INJURY
FROM ACCIDENTAL OPERATION:
Do not install a female quick coupler on the tool.
Such a coupler contains an air valve that will
allow the air tool to retain pressure and operate
accidentally after the air supply is disconnected.
Note: Air ow, and therefore tool performance, can
be hindered by undersized air supply components.
4. The air hose must be long enough to reach
the work area with enough extra length to
allow free movement while working.
5. Close the in-line shutoff valve between
the compressor and the tool.
6. Turn on the air compressor according to
the manufacturers directions and allow it
to build up pressure until it cycles off.
7. Adjust the air compressors output regulator so
that the air output is enough to properly power
the tool, but the output will not exceed the tool’s
maximum air pressure of 100 PSI at any time.
Adjust the pressure gradually, while checking the
air output gauge to set the right pressure range.
8. Inspect the air connections for leaks.
Repair any leaks found.
9. If the tool will not be used at this time, turn off and
detach the air supply and safely discharge any
residual air pressure to prevent accidental operation.
Note: Residual air pressure should not be present after
the tool is disconnected from the air supply. However, it
is a good safety measure to attempt to discharge the tool
in a safe fashion after disconnecting to ensure that the
tool is disconnected and unpowered.
Page 6 For technical questions, please call 1-800-444-3353. ITEM 60491
Figure A: Portable Air Supply Setup
G
A
E
E H
F
B
Non-lubricated
Tools
Lubricated
Tools
A
B
C
C
DA
Description Function
A Air Hose Connects air to tool
B Filter Prevents dirt and condensation from damaging tool or work piece
C Regulator Adjusts air pressure to tool
D Lubricator (optional) For air tool lubrication
E Coupler and Plug Provides each connection
F Leader Hose (optional) Increases coupler life
G Air Cleaner / Dryer (optional) Prevents water vapor from damaging work piece
H Air Adjusting Valve (optional) For ne tuning airow at tool
Page 7For technical questions, please call 1-800-444-3353.ITEM 60491
Figure B: Stationary Air Supply Setup
I
M
M N
O
C
C
Non-lubricated
Tools
Lubricated
Tools
L
H
H
J
JKL
F
G
E
Slope
F
F
B B
A A
CD
Description Function
A Vibration Pads For noise and vibration reduction
B Anchor Bolts Secures air compressor in place
C Ball Valve Isolates sections of system for maintenance
D Isolation Hose For vibration reduction
E Main Air Line - 3/4” minimum recommended Distributes air to branch lines
F Ball Valve To drain moisture from system
G Branch Air Line -1/2” minimum recommended Brings air to point of use
H Filter Prevents dirt and condensation from damaging tool or work piece
I Air Cleaner / Dryer (optional) Prevents water vapor from damaging work piece
J Regulator Adjusts air pressure to tool
K Lubricator For air tool lubrication
L Air Hose Connects air to tool
M Coupler and Plug Provides each connection
NAir Adjusting Valve For ne tuning airow at tool
O Lead Hose Increases coupler life
Page 8 For technical questions, please call 1-800-444-3353. ITEM 60491
Operating Instructions
Read the ENTIRE IMPORTANT
SAFETY INFORMATION section at the
beginning of this manual including
all text under subheadings therein
before set up or use of this product.
Inspect tool before use, looking
for damaged, loose, and missing
parts. If any problems are found,
do not use tool until repaired.
Tool Set Up
TO PREVENT SERIOUS INJURY FROM
ACCIDENTAL OPERATION:
Detach the air supply and safely discharge any
residual air pressure in the tool before performing
any inspection, maintenance, or cleaning procedures.
TO PREVENT SERIOUS INJURY:
Do not adjust or tamper with any control or
component in a way not specically explained
within this manual. Improper adjustment can
result in tool failure or other serious hazards.
Work Piece and
Work Area Set Up
1. Designate a work area that is clean and well-lit.
The work area must not allow access by children
or pets to prevent distraction and injury.
2. Route the air hose along a safe route to reach
the work area without creating a tripping hazard
or exposing the air hose to possible damage.
The air hose must be long enough to reach
the work area with enough extra length to
allow free movement while working.
3. There must not be hazardous objects (such
as utility lines or foreign objects) nearby that
will present a hazard while working.
CAUTION! Prior to sandblasting, protect other
people (and property) in the work area from
ying debris by providing barriers or shields.
Always wear appropriate clothing and safety
gear when operating the Deadman Valve.
General Operating Instructions
1. If possible, place the workpiece inside a sandblast
cabinet (not included). Otherwise, isolate the
workpiece to make sure no damage can occur to
nearby walls, tools, equipment, or other property.
2. Install the desired size Ceramic Nozzle (37) and
Rubber Adapter (38) on the Deadman Valve.
4. Connect the grit supply hose to the Valve.
To keep the grit supply hose out of the
way, hang it over your shoulder.
5. Turn on the sandblaster unit (not included).
6. Grip the Valve rmly, aim it at the workpiece, and
squeeze the Trigger (42) while slowly moving
the tool in a circular or right to left motion.
7. Continue moving in a circular or right to left
motion until you have achieved the desired
appearance (nish) on the workpiece.
8. When the sandblasting job is completed,
release pressure on the Trigger (42) to turn off
the Valve. Turn off the sandblaster unit.
9. Turn off the air compressor. Squeeze the
Trigger once to release any compressed air.
Disconnect the Valve from its air supply.
10. Clean, then store the tool indoors
out of children’s reach.
Page 9For technical questions, please call 1-800-444-3353.ITEM 60491
User-Maintenance Instructions
Procedures not specically explained
in this manual must be performed
only by a qualied technician.
TO PREVENT SERIOUS INJURY FROM
ACCIDENTAL OPERATION:
Detach the air supply and safely discharge any
residual air pressure in the tool before performing
any inspection, maintenance, or cleaning procedures.
TO PREVENT SERIOUS INJURY
FROM TOOL FAILURE:
Do not use damaged equipment.
If abnormal noise, vibration, or leaking air occurs,
have the problem corrected before further use.
Cleaning, Maintenance,
and Lubrication
Note: These procedures are in addition to the
regular checks and maintenance explained as part
of the regular operation of the air-operated tool.
1. BEFORE EACH USE, inspect the general condition
of the tool. Check for loose screws, misalignment or
binding of moving parts, clogged Ceramic Nozzle,
damaged supply hose, cracked or broken parts,
and any other condition that may affect its safe
operation. Do not use damaged equipment.
2. AFTER USE, clean external surfaces of tool with a
clean, moist cloth. If necessary, use a mild detergent.
WARNING! Do not use solvents or
immerse in liquids, as damage to the
Dead Man Valve may occur.
3. Store in a dry, secure area out of reach of children.
Troubleshooting
Problem Possible Causes Likely Solutions
Tool will not start. 1. Compressor not on.
2. Air line not connected properly.
1. Turn compressor on.
2. Check that air line is connected.
Blast ow surges /
Excessive abrasive consumption.
Air pressure too low. Increase air pressure.
Clogging and plugging
of blast ow.
Excessive debris in abrasive. Purge and lter abrasive.
Lack of abrasive ow. 1. Bag empty.
2. Moisture in abrasive
3. Not enough air pressure.
4. Air hose kinked.
5. Excessive debris in abrasive.
1. Fill Bag
2. Use dry abrasive.
3. Increase air pressure.
4. Un-kink air hose.
5. Clean or lter abrasive.
Follow all safety precautions whenever diagnosing or servicing the tool.
Disconnect air supply before service.
Page 10 For technical questions, please call 1-800-444-3353. ITEM 60491
PLEASE READ THE FOLLOWING CAREFULLY
NEITHER THE MANUFACTURER OR DISTRIBUTOR MAKES ANY REPRESENTATION OR WARRANTY
OF ANY KIND TO THE BUYER THAT HE OR SHE IS QUALIFIED TO MAKE ANY REPAIRS TO THE
PRODUCT, OR THAT HE OR SHE IS QUALIFIED TO REPLACE ANY PARTS OF THE PRODUCT. IN
FACT, THE MANUFACTURER AND/OR DISTRIBUTOR EXPRESSLY STATES THAT ALL REPAIRS AND
PARTS REPLACEMENTS SHOULD BE UNDERTAKEN BY CERTIFIED AND LICENSED TECHNICIANS,
AND NOT BY THE BUYER. THE BUYER ASSUMES ALL RISK AND LIABILITY ARISING OUT OF
HIS OR HER REPAIRS TO THE ORIGINAL PRODUCT OR REPLACEMENT PARTS THERETO, OR
ARISING OUT OF HIS OR HER INSTALLATION OF REPLACEMENT PARTS THERETO.
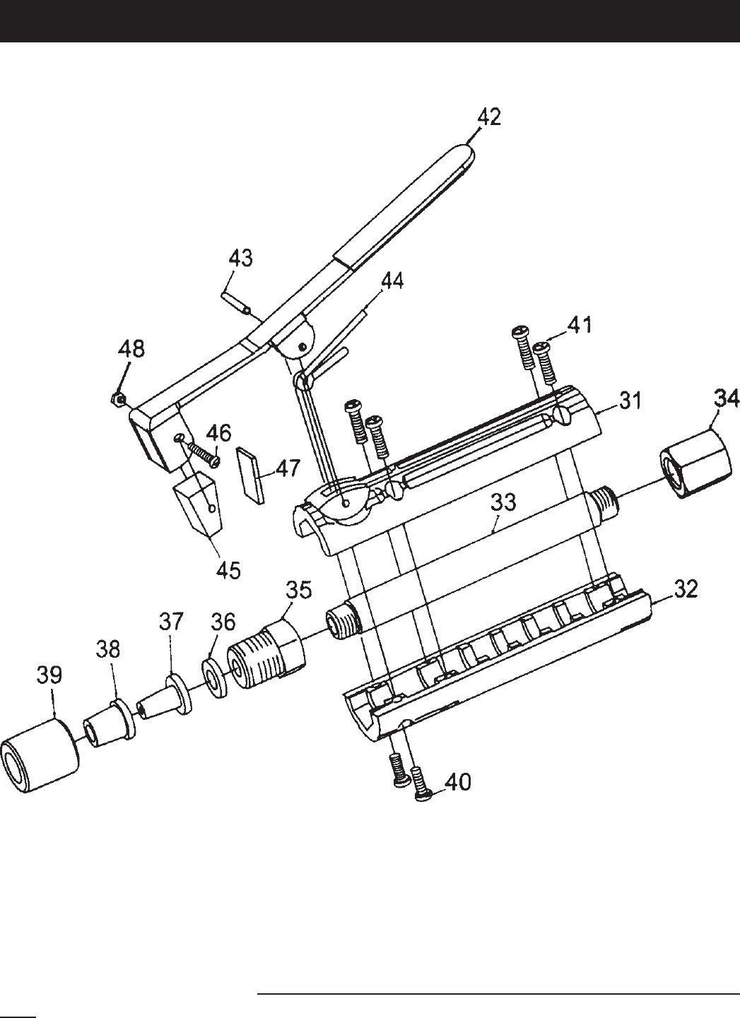
Part Description Qty
31 Upper Body 1
32 Lower Body 1
33 Metal Pipe 1
34 Intake Connector (3/8 IN. -18 NPT) 1
35 Adapter 1
36 Gasket 1
37A 2mm Ceramic Nozzle 1
37B 2.5mm Ceramic Nozzle 1
37C 3mm Ceramic Nozzle 1
37D 3.5mm Ceramic Nozzle 1
38 Rubber Adapter 4
Part Description Qty
39 Nozzle Cap Nut 1
40 Screw (ST4.2x12) 2
41 Screw (ST4.2x12) 4
42 Trigger 1
43 Roll Pin 1
44 Spring 1
45 Rubber Pad 1
46 Screw (M3x25) 1
47 Pad 1
48 Nut (M3) 1
49 Abrasive Gun Assembly (not shown) 1
Parts List
Note: Parts for this manual are numbered 31-49.
Page 11For technical questions, please call 1-800-444-3353.ITEM 60491
Record Product’s Serial Number Here:
Note: If product has no serial number, record month and year of purchase instead.
Replacement parts are not available for this item.
Assembly Diagram
Limited 90 Day Warranty
Harbor Freight Tools Co. makes every effort to assure that its products meet high quality and durability standards,
and warrants to the original purchaser that this product is free from defects in materials and workmanship for the
period of 90 days from the date of purchase. This warranty does not apply to damage due directly or indirectly,
to misuse, abuse, negligence or accidents, repairs or alterations outside our facilities, criminal activity, improper
installation, normal wear and tear, or to lack of maintenance. We shall in no event be liable for death, injuries
to persons or property, or for incidental, contingent, special or consequential damages arising from the use of
our product. Some states do not allow the exclusion or limitation of incidental or consequential damages, so the
above limitation of exclusion may not apply to you. THIS WARRANTY IS EXPRESSLY IN LIEU OF ALL OTHER
WARRANTIES, EXPRESS OR IMPLIED, INCLUDING THE WARRANTIES OF MERCHANTABILITY AND FITNESS.
To take advantage of this warranty, the product or part must be returned to us with transportation charges
prepaid. Proof of purchase date and an explanation of the complaint must accompany the merchandise.
If our inspection veries the defect, we will either repair or replace the product at our election or we may
elect to refund the purchase price if we cannot readily and quickly provide you with a replacement. We will
return repaired products at our expense, but if we determine there is no defect, or that the defect resulted
from causes not within the scope of our warranty, then you must bear the cost of returning the product.
This warranty gives you specic legal rights and you may also have other rights which vary from state to state.
3491 Mission Oaks Blvd. • PO Box 6009 • Camarillo, CA 93011 • (800) 444-3353

Navigation menu