Harbor Freight Multipurpose Workbench With Light Product Manual
2015-05-27
: Harbor-Freight Harbor-Freight-Multipurpose-Workbench-With-Light-Product-Manual-723970 harbor-freight-multipurpose-workbench-with-light-product-manual-723970 harbor-freight pdf
Open the PDF directly: View PDF
.
Page Count: 12

Read this material before using this product.
Failure to do so can result in serious injury.
SAVE THIS MANUAL.
Copyright© 2012 by Harbor Freight Tools®. All rights reserved.
No portion of this manual or any artwork contained herein may be reproduced in
any shape or form without the express written consent of Harbor Freight Tools.
Diagrams within this manual may not be drawn proportionally. Due to continuing
improvements, actual product may differ slightly from the product described herein.
Tools required for assembly and service may not be included.
When unpacking, make sure that the product is intact
and undamaged. If any parts are missing or broken,
please call 1-888-866-5797 as soon as possible.
Save This Manual Keep this manual for the safety warnings and precautions, assembly, operating,
inspection, maintenance and cleaning procedures. Write the product’s serial number in the back of the manual
near the assembly diagram (or month and year of purchase if product has no number). Keep this manual and
the receipt in a safe and dry place for future reference.
Owner’s Manual & Safety Instructions
Visit our website at: http://www.harborfreight.com
Email our technical support at: productsupport@harborfreight.com
Tools Sold Separately
REV 15e

Page 2 For technical questions, please call 1-888-866-5797. Item 60723
Table of Contents
Safety ......................................................... 5
Specifications ............................................. 4
Assembly .................................................... 5
Maintenance ............................................... 8
Parts List and Diagram .............................. 10
Warranty .................................................... 12
WARNING SYMBOLS AND DEFINITIONS
This is the safety alert symbol. It is used to alert you to potential personal injury hazards.
Obey all safety messages that follow this symbol to avoid possible injury or death.
Indicates a hazardous situation which, if not avoided,
will result in death or serious injury.
Indicates a hazardous situation which, if not avoided,
could result in death or serious injury.
Indicates a hazardous situation which, if not avoided,
could result in minor or moderate injury.
Addresses practices not related to personal injury.
IMPORTANT SAFETY INFORMATION
Assembly Precautions
1. Assemble only according to these instructions.
Improper assembly can create hazards.
2. Wear ANSI-approved safety goggles and
heavy-duty work gloves during assembly.
3. Keep assembly area clean and well lit.
4. Keep bystanders out of the area during assembly.
5. Do not assemble when tired or when under the
influence of alcohol, drugs or medication.
6. Weight capacity and other product capabilities apply
to properly and completely assembled product only.
Use Precautions
1. This product is not a toy. Do not allow
children to play with or near this item.
2. Setup and use indoors only. Keep dry.
3. Do not overtighten workpiece; damage
to workpiece may occur. Be careful not
to pinch fingers when working
4. Locate Workbench on a flat, level, solid surface
that is capable of supporting the weight of
the workpiece, Workbench and tools.
5. Use as intended only.
6. Replace bulb only with same bulb size and rating.
7. Inspect before every use; do not use
if parts are loose or damaged.
8. Do not exceed listed weight capacity, evenly
distributed Be aware of dynamic loading!
Sudden load movement may briefly create
excess load causing product failure.
9. Maintain product labels and nameplates.
These carry important safety information.
If unreadable or missing, contact
Harbor Freight Tools for a replacement.
10. People with pacemakers should consult their
physician(s) before use. Electromagnetic fields in
close proximity to heart pacemaker could cause
pacemaker interference or pacemaker failure.
11. WARNING: This product contains lead, a chemical
known to the State of California to cause cancer
and birth defects or other reproductive harm.
(California Health & Safety Code , et seq.)

Page 3For technical questions, please call 1-888-866-5797.Item 60723
12. Grounding
TO PREVENT ELECTRIC SHOCK AND DEATH FROM INCORRECT GROUNDING
WIRE CONNECTION:
Check with a qualified electrician if you are in doubt as to whether the outlet is properly grounded.
Do not modify the power cord plug provided with the tool. Never remove the grounding prong from
the plug. Do not use the tool if the power cord or plug is damaged. If damaged, have it repaired by a service
facility before use. If the plug will not fit the outlet, have a proper outlet installed by a
qualified el§ 25249.5ectrician.
Grounded Tools: Tools with Three Prong Plugs
3-Prong Plug and Outlet
1. Tools marked with “Grounding Required” have a three
wire cord and three prong grounding plug. The plug
must be connected to a properly grounded outlet.
If the tool should electrically malfunction or break
down, grounding provides a low resistance path to
carry electricity away from the user, reducing the risk
of electric shock. (See 3-Prong Plug and Outlet.)
2. The grounding prong in the plug is connected through
the green wire inside the cord to the grounding
system in the tool. The green wire in the cord must
be the only wire connected to the tool’s grounding
system and must never be attached to an electrically
“live” terminal. (See 3-Prong Plug and Outlet.)
3. The tool must be plugged into an appropriate outlet,
properly installed and grounded in accordance with
all codes and ordinances. The plug and outlet should
look like those in the preceding illustration.
(See 3-Prong Plug and Outlet.)
Double Insulated Tools: Tools with Two Prong Plugs
Outlets for 2-Prong Plug
1. Tools marked “Double Insulated” do not
require grounding. They have a special
double insulation system which satisfies
OSHA requirements and complies with
the applicable standards of Underwriters
Laboratories, Inc., the Canadian Standard
Association, and the National Electrical Code.
2. Double insulated tools may be used in either of the
120 volt outlets shown in the preceding illustration.
(See Outlets for 2-Prong Plug.)
Extension Cords
1. Grounded tools require a three wire extension cord.
Double Insulated tools can use either
a two or three wire extension cord.
2. As the distance from the supply outlet increases,
you must use a heavier gauge extension cord.
Using extension cords with inadequately sized wire
causes a serious drop in voltage, resulting in loss of
power and possible tool damage. (See Table A.)
3. The smaller the gauge number of the wire, the
greater the capacity of the cord. For example,
a 14 gauge cord can carry a higher current
than a 16 gauge cord. (See Table A.)
4. When using more than one extension cord to
make up the total length, make sure each cord
contains at least the minimum wire size required.
(See Table A.) If you are using one extension
cord for more than one tool, add the nameplate
amperes and use the sum to determine the
required minimum cord size. (See Table A.)

Page 4 For technical questions, please call 1-888-866-5797. Item 60723
5. If you are using an extension cord outdoors, make
sure it is marked with the suffix “W-A” (“W” in
Canada) to indicate it is acceptable for outdoor use.
6. Make sure the extension cord is properly wired
and in good electrical condition. Always replace
a damaged extension cord or have it repaired
by a qualified electrician before using it.
7. Protect the extension cords from sharp objects,
excessive heat, and damp or wet areas.
TABLE A: RECOMMENDED MINIMUM WIRE
GAUGE FOR EXTENSION CORDS* (120/240 VOLT)
NAMEPLATE
AMPERES
(at full load)
EXTENSION CORD
LENGTH
25´ 50´ 75´ 100´ 150´
0 – 2.0 18 18 18 18 16
2.1 – 3.4 18 18 18 16 14
3.5 – 5.0 18 18 16 14 12
5.1 – 7.0 18 16 14 12 12
7.1 – 12.0 18 14 12 10 -
12.1 – 16.0 14 12 10 - -
16.1 – 20.0 12 10 - - -
* Based on limiting the line voltage drop to five volts at
150% of the rated amperes.
Double Insulated
Canadian Standards Association
Underwriters Laboratories, Inc.
VVolts
~Alternating Current
AAmperes
n0 xxxx/min. No Load Revolutions per Minute (RPM)
WARNING marking concerning Risk
of Eye Injury. Wear ANSI-approved
safety goggles with side shields.
Read the manual before
set-up and/or use.
WARNING marking
concerning Risk of Fire.
Do not cover ventilation ducts.
Keep flammable objects away.
WARNING marking concerning
Risk of Electric Shock.
Properly connect power cord
to appropriate outlet.
Specifications
Power Strip Rating 125VAC / 13A
Replacement Bulb T5 14W
Maximum Weight
Capacity
514 lb. evenly distributed as follows:
Bench Top - 220 lb.
Bottom Shelf - 200 lb.
Each Drawer - 25 lb.
Top Shelf - 44 lb.

Page 5For technical questions, please call 1-888-866-5797.Item 60723
Assembly Instructions
Read the ENTIRE IMPORTANT SAFETY INFORMATION section at the beginning of this document
including all text under subheadings therein before set up or use of this product.
Note: Unless stated otherwise, all connections are
made using Bolts, Washers and Nuts (B). Finger tighten
all connections until assembly is done. Assemble
the Workbench on a flat, level, hard surface.
1. Attach Side Beams (4) to Front (1)
and Back Posts (2).
2. Attach Rubber Feet (3) to the bottom of each post.
1
2
4
3
3
1
2
3
3
4
Figure A
3. Attach Bottom Beams (5) to Front and Back Posts.
5
5
Figure B
4. Attach Side Beam (4) and Side Beam with Power
Strip Opening (4A) to the top 2 holes on Front
Posts and the middle 2 holes on Back Posts.
Note: Side Beam with Power Strip Opening can
be attached to either the right or left side.
5. Attach Power Strip (22) to Side Beam with Power
Strip Opening using U Brackets (F) and Screws (E).
44A
22
F
F
E
Figure C
6. Attach Top Beams (6) to the top 2 holes on
Front Posts and the middle 2 holes on Back Posts.
Note: Make sure the Front Top Beam carries
the Warning Label and is right-side up.
6
6
Warning
Label
1
Figure D

Page 6 For technical questions, please call 1-888-866-5797. Item 60723
7. Attach Front (7F) and Back (7B)
Drawer Brackets to Top Beams.
7F
7B
Figure E
8. Attach Middle Drawer Mount (8) to
Front and Back Drawer Brackets.
9. Attach Left (9L) and Right (9R) Drawer Mounts
to Front and Back Posts. Tighten hardware.
W
9L 8
9R
Figure F
10. Attach Drawer Handle (14) to the
Front Drawer Panel (11) using Bolts, Washers
and Nuts (A). Repeat for second Front
Drawer Panel. Tighten hardware.
11. Lay Drawer Bottom (13) down on a flat
surface. Attach Right (10R) and Left (10L)
Drawer Panels to the Front and Back (12)
Drawer Panels. Repeat for second Drawer.
12. Install the Drawers, making sure the runners on
the Drawers are level with the Drawer Mounts.
14
11
10R
10L
13
12
A
AA
A
Figure G
13. Attach left and right Back Upper Posts (15)
to left and right Back Posts.
14. Attach Back Shelf Beam (16B) to Back Upper Posts.
15. Attach Left Shelf Beam (17L) and Right
Shelf Beam (17R) to back Shelf Beam.
16. Attach Front Shelf Beam (16F) to
Left and Right Shelf Beams.
17L
15
15
16F
16B
17R
Figure H

Page 7For technical questions, please call 1-888-866-5797.Item 60723
17. Attach Pegboard (18) to Back Upper
Posts and Middle Drawer Mount using
Bolts, Washers and Nuts (C).
C
C
18
C
Figure I
18. Attach Bench Top (19) to Side Beams and
Bottom Shelf (20) to Lower Side Beams using Bolts,
Washers and Nuts (D).
D
D
D
D
D
D
D
D
19
20
Figure J
19. Attach Top Shelf (21) to Shelf Beams using Bolts,
Washers and Nuts (D).
DD
DD
21
Figure K
20. Attach Light Fixture (23) to the underside
of the Top Shelf using Bolts (G).
a. Insert a Bolt through each Light Fixture Clip.
b. Thread Bolts through the holes on
the underside of the Top Shelf.
c. Push Light Fixture up into the Clips.
23
GG
Figure L
21. Attach the Light Fixture power cord to the receptacle
at the end of the fixture. It will only connect one way.
Route the cord through the hole in the Pegboard.
Note: Make sure all Shelves are level. Then,
tighten all Bolts and Screws securely.

Page 8 For technical questions, please call 1-888-866-5797. Item 60723
Maintenance and Servicing
Procedures not specifically explained in this manual must
be performed only by a qualified technician.
TO PREVENT SERIOUS INJURY FROM ACCIDENTAL OPERATION:
Make sure that the Trigger is in the off-position and unplug the tool from its
electrical outlet before performing any procedure in this section.
TO PREVENT SERIOUS INJURY FROM TOOL FAILURE:
Do not use damaged equipment. If abnormal noise or vibration
occurs, have the problem corrected before further use.
Cleaning, Maintenance, and Lubrication
1. BEFORE EACH USE, inspect the general
condition of the Workbench. Check for:
• loose hardware,
• misalignment or binding of moving parts,
• damaged cord/electrical wiring,
• cracked or broken parts, and
• any other condition that may
affect its safe operation.
2. AFTER USE, wipe external surfaces with clean cloth.
Replacing Light Bulb
The Light Fixture has a semitransparent
cover over the bulb.
1. Allow Bulb to cool completely, then gently pull straight
down at both ends of the cover and set aside.
2. Remove the Bulb by rotating it 90º, rolling
in a forward or backward direction and
dropping the Bulb straight down.
3. With the prongs on either end of the Bulb
vertically aligned, fit the new bulb up into the
slots at the right and left fixture receptacles.
4. Rotate the Bulb 90º again to seat
the bulb. Replace the cover.

Page 9For technical questions, please call 1-888-866-5797.Item 60723
PLEASE READ THE FOLLOWING CAREFULLY
THE MANUFACTURER AND/OR DISTRIBUTOR HAS PROVIDED THE PARTS LIST AND ASSEMBLY DIAGRAM
IN THIS MANUAL AS A REFERENCE TOOL ONLY. NEITHER THE MANUFACTURER OR DISTRIBUTOR
MAKES ANY REPRESENTATION OR WARRANTY OF ANY KIND TO THE BUYER THAT HE OR SHE IS
QUALIFIED TO MAKE ANY REPAIRS TO THE PRODUCT, OR THAT HE OR SHE IS QUALIFIED TO REPLACE
ANY PARTS OF THE PRODUCT. IN FACT, THE MANUFACTURER AND/OR DISTRIBUTOR EXPRESSLY
STATES THAT ALL REPAIRS AND PARTS REPLACEMENTS SHOULD BE UNDERTAKEN BY CERTIFIED AND
LICENSED TECHNICIANS, AND NOT BY THE BUYER. THE BUYER ASSUMES ALL RISK AND LIABILITY
ARISING OUT OF HIS OR HER REPAIRS TO THE ORIGINAL PRODUCT OR REPLACEMENT PARTS
THERETO, OR ARISING OUT OF HIS OR HER INSTALLATION OF REPLACEMENT PARTS THERETO.

Page 10 For technical questions, please call 1-888-866-5797. Item 60723
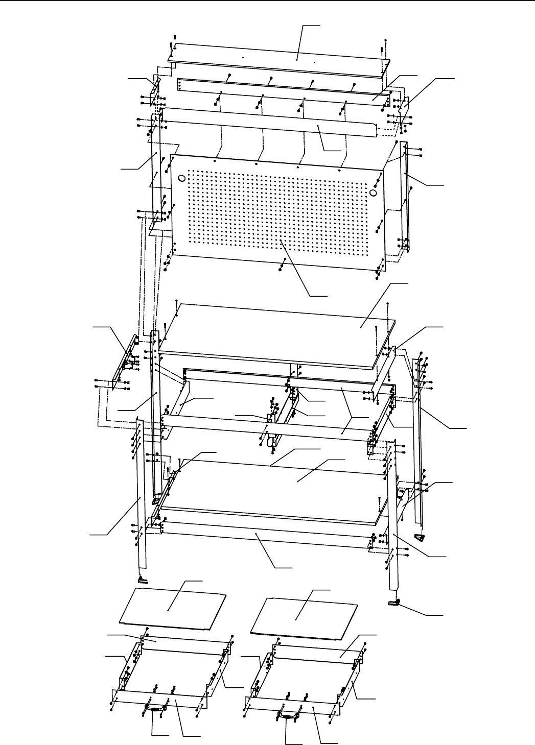
Parts List and Diagram
Parts List
Part Description Qty
1 Front Post 2
2 Back Post 2
3 Rubber Foot 4
4 Side Beam 3
4A Side Beam with Power Strip Opening 1
5 Bottom Beam 2
6 Top Beam 2
7F Front Drawer Bracket 1
7B Back Drawer Bracket 1
8 Middle Drawer Mount 1
9L Left Drawer Mount 1
9R Right Drawer Mount 1
10L Left Drawer Panel 2
10R Right Drawer Panel 2
11 Front Drawer Panel 2
12 Back Drawer Panel 2
13 Drawer Bottom 2
14 Drawer Handle 2
Part Description Qty
15 Back Upper Post 2
16F Front Shelf Beam 1
16B Back Shelf Beam 1
17L Left Shelf Beam 1
17R Right Shelf Beam 1
18 Pegboard 1
19 Bench Top 1
20 Bottom Shelf 1
21 Top Shelf 1
22 Power Strip (not shown) 1
23 Light Fixture (not shown) 1
A Bolt (M4x10), Washer, Nut 8
B Bolt (M6x10), Washer, Nut 78
C Bolt (M6x16), Washer, Nut 13
D Bolt (M5x25), Washer, Nut 12
E Screw (ST4x9.5) 4
F U Bracket 2
G Bolt (M4x16) 2
Record Product’s Serial Number Here:
Note: If product has no serial number, record month and year of purchase instead.
Note: Some parts are listed and shown for illustration purposes only,
and are not available individually as replacement parts.

Page 11For technical questions, please call 1-888-866-5797.Item 60723
21
16B 17R
16F
15
18
19
4
4
8
5
20
6
4
5
13
13
3
1
12
2
9R
7B
9L
27F
4A
1
10L
10R
10L
10R
11
14
14 11
12
17L
15
(Under Part 20)
Assembly Diagram

3491 Mission Oaks Blvd. • PO Box 6009 • Camarillo, CA 93011 • 1-888-866-5797
Limited 90 Day Warranty
Harbor Freight Tools Co. makes every effort to assure that its products meet high quality and durability standards,
and warrants to the original purchaser that this product is free from defects in materials and workmanship for the
period of 90 days from the date of purchase. This warranty does not apply to damage due directly or indirectly,
to misuse, abuse, negligence or accidents, repairs or alterations outside our facilities, criminal activity, improper
installation, normal wear and tear, or to lack of maintenance. We shall in no event be liable for death, injuries
to persons or property, or for incidental, contingent, special or consequential damages arising from the use of
our product. Some states do not allow the exclusion or limitation of incidental or consequential damages, so the
above limitation of exclusion may not apply to you. THIS WARRANTY IS EXPRESSLY IN LIEU OF ALL OTHER
WARRANTIES, EXPRESS OR IMPLIED, INCLUDING THE WARRANTIES OF MERCHANTABILITY AND FITNESS.
To take advantage of this warranty, the product or part must be returned to us with transportation charges
prepaid. Proof of purchase date and an explanation of the complaint must accompany the merchandise.
If our inspection verifies the defect, we will either repair or replace the product at our election or we may
elect to refund the purchase price if we cannot readily and quickly provide you with a replacement. We will
return repaired products at our expense, but if we determine there is no defect, or that the defect resulted
from causes not within the scope of our warranty, then you must bear the cost of returning the product.
This warranty gives you specific legal rights and you may also have other rights which vary from state to state.