Hitachi Kokusai Electric UM04KO Wireless Communication Module User Manual

Hitachi Kokusai Electric Inc. Wireless Communication Module

User Manual

  Version  1.0          LTE Ubiquitous Module®(UM04-KO)  Instruction Manual         Version 1.0 August 2015
  Version  1.0    ―  Contents  ―  Introduction ...................................................................................................................................................................................................... 3 ■Dimensional outline drawing ............................................................................................................................................................ 4 ■Interface for the external device ...................................................................................................................................................... 5 ■Available services with this device .................................................................................................................................................. 6 Device specification ...................................................................................................................................................................................... 7 Main specification.......................................................................................................................................................................................... 7 Interface ........................................................................................................................................................................................................ 9 1.Main connector ............................................................................................................................................................................... 9 2.Power supply ................................................................................................................................................................................. 19 3.UART interface ............................................................................................................................................................................ 28 4.USB interface ................................................................................................................................................................................ 33 5.Monitor interface ......................................................................................................................................................................... 35 6.UIM card interface ..................................................................................................................................................................... 38 7.RF connector (Main/Sub) ......................................................................................................................................................... 40 8.External antenna ......................................................................................................................................................................... 41 Precautions for connecting to the external device .......................................................................................................................... 42 Precaution for design of the external device .................................................................................................................................. 42 Recommended installation method ..................................................................................................................................................... 43 ■In case of using the flexible connector ................................................................................................................................... 43 ■In case of using the BtoB connector ........................................................................................................................................ 43 ■Antenna connection ...................................................................................................................................................................... 44 Operation mode ............................................................................................................................................................................................ 45 Communication mode .............................................................................................................................................................................. 45 Service function ........................................................................................................................................................................................... 47 Packet communication ........................................................................................................................................................................... 47 SMS .............................................................................................................................................................................................................. 49 Area Mail ..................................................................................................................................................................................................... 49 Software update ....................................................................................................................................................................................... 50 RF part ON/ OFF function .................................................................................................................................................................... 50 AT command ................................................................................................................................................................................................. 51 AT command list....................................................................................................................................................................................... 51
  Version  1.0 3   Introduction Please note that “UM04-KO” is referred to as “this device” in this instruction manual. This device is the communication module which unified in combination with the radio part of the cellular telephone and the modem part. This device has the functions of packet communication and SMS. As this device is built-in to the external device product, the LTE communication service (only in Japan) and W-CDMA/GSM communication service (out of Japan) can be used.   This device is an environment-conscious product which is compliant with the RoHS Directive.   Introduction
  Version  1.0 4   ■Dimensional outline drawing      ●Name plate seal outline drawing     RF connector (MAIN)コネクタ Shield case (Insulation label) Mounting hole Mounting hole Main connector (BtoB) Main connector (flexible) RF connector (SUB) Unit: mm
  Version  1.0 5   ■Interface for the external device ●Interface between this device and the external device (A-side : Flexible connector)   ●Interface between this device and the external device (B-side : BtoB connector)    This device has two main connectors. One is flexible connector on A-side and another is BtoB connector on B-side. They each contain the interface of power supply, UART , USB (only in case of BtoB connector), UIM card. RF connectors on A-side are used to connect the external antennas. UIM card  Main connector (flexible connector)   ・Power supply ・Power supply Control ・UARTserial interface ・Monitor interface ・UIM card interface   External device       This device (A-side)   RF connector (Sub) RF connector (Main) UIM card  Main connector (BtoB connector)   ・Power supply ・Power supply Control ・UARTserial interface ・USB interafce ・Monitor interface ・UIM card interface   External device       This device (B-side)
  Version  1.0 6   ■Available services with this device This device can use various communication services of DOCOMO. Packet communication, SMS and other associated various services are available. In addition, for the use of the service, production of the external device which incorporated this device is necessary.  ●Packet communication Packet communication (packet switching) is communication method that transmits and receives divided data which is partitioned into the unit of called packet (package). Because the packet communication can use one line in common by plural external devices or applications, it can communicate efficiently. The data communication speed is 112.5Mbps for downlink and 37.5Mbps for uplink (best effort type) in LTE network, and 42.2Mbps for downlink and 5.7Mbps for uplink (best effort type) in W-CDMA network.  ●SMS SMS (short message service) is the service that can transmit and receive the letter message of the short sentence easily with the address which is same to phone number regardless of the mobile phone career through SMS center of DOCOMO.  ●Area Mail Early warning “Area Mail” service is the service in Japan that earthquake early warning and tsunami warning from Japan Meteorological Agency and the disaster and the refuge information from the country and the regional public institution are delivered to cellphones and communication models which exist in the particular area all at once through the DOCOMO network.   Please refer to the website of DOCOMO for the regional public institution which started service of the disaster and the refuge information using Area Mail. This device can not receive Area Mail at the place of weak radio wave. During packet and other communication, it may receive Area Mail depending on communication situation. In addition, it can not receive the Area Mail again that it missed to receive. The reception of Area Mail is free of charge.  ●Software update   This is the function to update the software of this device in LTE network after sale.
  Version  1.0 7  Device specification  Main specification  Item Description Remarks LTE mode (LTE method) Roaming mode (W-CDMA/GSM method) Supported service Packet communication, SMS - Communication protocol PPP, IP - Control method AT command - UART serial interface Number of ports One line - Signals SD、RD、XER、XDR、XRS、XCS、XCD、XCI - Communication speed (bps) 1200/2400/4800/9600/19200/38400/ 57600/115200/230400/460800 - Communication format Start:1bit, Stop:1bit, Data:8bit, Parity:none - Sending/Receiving control Support hardware flow control, software flow control,   and without flow control - Baud rate deviation Sending:2% or less Receiving:2% or less - USB interface Communication standard Conformity USB2.0 Supported in case of BtoB connector Number of ports One line Function Device function Communication speed HS:480Mbps, FS:12Mbps Signals USB_DPLUS、USB_DMINUS、USB_VBUS、USB_D_RDY_n、USB_H_RDY_n RF interface Radio frequency 2GHz/800MHz Band 【W-CDMA method】 2GHz/800MHz Band 【GSM method】 GSM850MHz/ GSM900MHz/ GSM1800MHz/ GSM1900MHz - Access method OFDMA, SC-FDMA  【W-CDMA method】 DS-CDMA, T-HCDMA 【GSM method】 TDMA - Data communication speed Uplink :37.5Mbps Max Downlink :112.5Mbps Max 【W-CDMA method】 Uplink : 5.7Mbps Max Downlink: 42.2Mbps Max 【GSM method】 Uplink : 237kbps Max Downlink: 237kbps Max Best effort type Monitor interface BtoB connector ANT1_n, ANT2_n, TRX_n, LEDG_n, LEDGMS_n, ADL_n、 3G / LTE (GSM), SMS_n, CBS_ETWS_n - Flexible connector PACKET, ANT1, ANT2, ANT3, LEDG, LEDR, LEDGMS - UIM card interface Conformity to 3GPP TS31series  External interface  Main connector 80pin BtoB connector - 57 pin flexible connector - Antenna connector U.FL×2 (Main, Sub) -  Device specification
  Version  1.0 8   Item Description Remarks LTE mode (LTE method) Roaming mode (W-CDMA/GSM method) Operation environment Temperature:-30℃  to +60℃ Humidity:25% to 85% (Without condensation) - Storage environment Temperature:-40℃  to +85℃、 Humidity:25% to 85% (Without condensation) Without electrical and mechanical stress Power supply voltage DC+3.3V to 4.2V Recommendation DC+3.7V Power supply ripple 50mVp-p (0Hz to 2.5GHz) or less - Current consumption During communication:TBD mA or less Measurement condition:  500 ms average. With output of maximum TX power Stand-by state:TBD mA or less Stationary state in in-service area Without neighbor cell search. ER-OFF USB:inactive DRX cycle:2.56 sec Environment temperature: 25℃±2℃ Power supply voltage:3.7V Inrush current drain:TBD A or less (Within 100μsec) Power supply voltage condition: With the supply of the voltage of 3.7V (Which is voltage to reach to the stable state in more than 300μs after start of power supply). Note) When supply the voltage except the above condition, inrush current drain may exceed the value stated. Peak current drain:TBD A or less - Dimensions Approx. 36.5(W)×Approx. 35.7(D)×Approx. 5.0(H) mm Without convex part Weight Approx. 11g - Electrostatic withstand voltage ±1kV (all pins) - Vibration condition After a vibration of 19.6m/s2 (2G) acceleration and the frequency of 30 to 100 Hz is applied to this device with the one cycle sweeping time of 20 minutes for up/down, left/right, and back/forth directions, the function and performance of this device is normal with no damage or dropped parts observed. - Environmental compliance RoHS compliant - Technical standard conformity proof (the construction design certification by the registration proof institution) Construction design certification number:TBD - Technical standard conformity certification of the terminal equipment Certification number:  TBD -
  Version  1.0 9  Interface  1.Main connector This device has two main connectors. One is flexible connector on the A-side and another is BtoB connector on the B-side. They each contain the interface of power supply, UART , USB (only in case of BtoB connector), UIM card. RF connectors on A-side are used to connect the external antennas.    ■Flexible connector This flexible connector is same as one used in UM01/02 series.    Connector specification Number of pins 57   Pin pitch 0.3 ㎜ Connection type Connector for FPC Model number 57FXL-RSM1-S-H-G-TB(LF)(SN) Manufacturer JST CO., LTD  1 57 Interface
  Version  1.0 10   ●Assignment of connector pins Connector Pin Type Pin No. Pin Name Signal Direction (UM04-KO ⇔ external device) Signal Function Setting of unused pins Power supply 1 SG - Grounding Unconnection prohibited 20 SG - 22 SG - 23 SG - 28 SG - 33 SG - 37 SG - 51 SG - 53 SG - 55 SG - 57 SG - 2 VCC ← Power Supply (3.3 to 4.2V) 4 VCC ← 6 VCC ← 48 VCC ← 50 VCC ← Power supply control 30 PWRKEY ← Power ON/OFF request Open 43 SYSRST ← System reset Open UARTserial interface 41 XCD → Carrier detection signal Open 39 XCI → Incoming call indication signal Open 35 XCS → Permission signal of sending from this device Open 32 XRS ← Request signal of sending from external device Open 31 XER ← Ready signal from external device Open 29 XDR → Ready signal from this device Open 27 RD → Received data Open 25 SD ← Sending data Open 19 DTE1 ← External device serial communication data speed configuration Open 17 DTE2 ← Open 21 DTE3 ← Open Monitor interface  13 PACKET → In packet service area/Out of packet service area Open 11 ANT3 → Antenna indication 3 Open 9 ANT2 → Antenna indication 2 Open 7 ANT1 → Antenna indication 1 Open 40 LEDG → For communication status display Open 36 LEDR → For communication status display Open 34 LEDGMS → For communication status display Open UIM card interface  18 SIM_VCC(C1) → Power to the UIM card Unconnection prohibited 15 SIM_RST(C2) → Reset signal 14 SIM_CLK(C3) → Clock signal 12 SIM_GND(C5) - Ground 10 SIM_DIO(C7) ⇔ Data input/output Maintenance interface  3 N.C. - Manufacturer maintenance Connection prohibited 16 N.C. - 26 N.C. - 38 N.C. - 42 N.C. -
  Version  1.0 11  Connector Pin Type Pin No. Pin Name Signal Direction (UM04-KO ⇔ external device) Signal Function Setting of unused pins 44 N.C. - 45 N.C. - 46 N.C. - 47 N.C. - 49 N.C. - 52 N.C. - 54 N.C. - 56 N.C. - N.C. 5 N.C. - Not used Connection prohibited 8 N.C. - Not used Connection prohibited 24 N.C. - Not used Connection prohibited
  Version  1.0 12  ●Electrical characteristics Item Pin No. Min Typ Max Unit Remarks Power supply input VCC 2,4,6,48,50   3.3 3.7 4.2 V - Power supply control PWRKEY VT+ 30   0.77 - 1.44 V Schmitt trigger VIH 30   1.44 - 5.25 V -     ILEAK - - 10 μA - VT- 30   0.33 - 0.77 V Schmitt trigger VIL 30   0 - 0.33 V -     ILEAK - - -10 μA - Hysteresis 30   0.34 - 0.8 V - Power supply control SYSRST VT+ 43   0.7 1.1 1.5 V Schmitt trigger VIH 43   1.5 - 5.25 V -     ILEAK - - 10 μA - VT- 43   0.25 0.61 0.9 V Schmitt trigger VIL 43   0 - 0.25 V -     ILEAK - - -10 μA - Hysteresis 43   0.15 0.49 1 V - UARTserial interface XCD, XCI, XCS, XRS, XER, XDR, SD, RD VT+ 25,31,32   0.7 1.1 1.5 V Schmitt trigger VIH 25,31,32   1.5 - 5.25 V -     ILEAK - - 30 μA - VT- 25,31,32   0.25 0.61 0.9 V Schmitt trigger VIL 25,31,32   0 - 0.25 V -     ILEAK - - -2 mA - Hysteresis 25,31,32   0.15 0.49 1 V - VOH 27,29,35,39,41   - - 5.25 V Equivalent to open circuit imp.       IOH - - - mA There is no definition because of open drain output VOL 27,29,35,39,41   0 - 0.33 V -     IOL - 2 - mA - Serial communication data   speed configuration DTE1, DTE2, DTE3 VT+ 17,19,21   0.7 1.1 1.5 V Schmitt trigger VIH 17,19,21   1.5 - 5.25 V -     ILEAK - - 10 μA - VT- 17,19,21   0.25 0.61 0.9 V Schmitt trigger VIL 17,19,21   0 - 0.25 V -     ILEAK - - -10 μA - Hysteresis 17,19,21   0.15 0.49 1 V - Monitor interface ANT1, ANT2, ANT3,   LEDR, LEDG, LEDGMS, PACKET VOH 7,9,11,13,34,36,40   - - 5.25 V Equivalent to open circuit imp.       IOH - - - mA There is no definition because of open drain output VOL 7,9,11,13,34,36,40   0 - 0.28 V -     IOL - 2 - mA - UIM card interface SIM_VCC(C1) SIM_RST(C2) SIM_CLK(C3) SIM_DIO(7)   Output 18   2.7 - 3.3 V Class B voltage     1.62 - 1.98 V Class C VIH 10   C1×0.7 - C1+0.3 V Class B/C VIL 10   -0.3 - C1×0.2 V Class B/C VOH 15   C1×0.8 - C1 V Class B/C     IOH - -1 - mA Class B/C VOL 15   0 - C1×0.2 V Class B/C
  Version  1.0 13  Item Pin No. Min Typ Max Unit Remarks     IOL - - 2 mA Class B/C VOH 10   C1×0.7 - C1 V Class B/C     IOH - -1 - mA Class B/C VOL 10   0 - 0.4 V Class B       0 - 0.3 V Class C     IOL - - 1 mA Class B/C VOH 14   C1×0.7 - C1 V Class B/C     IOH - -1 - mA Class B/C VOL 14   0 - C1×0.2 V Class B/C     IOL - - 2 mA Class B/C
  Version  1.0 14   ■BtoB Connector This flexible connector is same as one used in UM03-KO.    Connector specification Number of pins 80  Pin pitch 0.5 ㎜ Connection type Board to Board Connector Model number DF12(3.0)-80DS-0.5V(86) Manufacturer Hirose Electric CO., LTD.  ◆Please use the connector shown in the following table for the external device which connected to this device.  Connector specification Number of pins 80 Pin pitch 0.5mm Connection type Board to Board Connector Model number DF12B(3.0)-80DP-0.5V(86) Manufacturer Hirose Electric CO., LTD.   ●Assignment of connector pins Connector Pin Type Pin No. Pin Name Signal Direction (UM04-KO⇔external device) Signal Function Setting of Unused pins Power supply 14 SG - Grounding Unconnection prohibited 18 SG - 21 SG - 31 SG - 34 SG - 37 SG - 38 SG - 39 SG - 40 SG - 51 SG - 41 VCC ← Power supply (3.3 to 4.2V) Unconnection prohibited 42 VCC ← 43 VCC ← 44 VCC ← 45 VCC ← 46 VCC ← 49 BtoB_DET(SG) - BtoB connection detection signal Unconnection prohibited [Note1] Power supply control 5 PWRKEY_ON_n ← Power ON request Open 6 PWRKEY_OFF_n ← Power OFF request Open 4 SYSRST_n ← System reset Open UARTserial interface 76 XCD → Carrier detection signal Open 80 XCI → Incoming call indication signal Open 78 XCS → Permission signal of sending from this device Open
  Version  1.0 15  Connector Pin Type Pin No. Pin Name Signal Direction (UM04-KO⇔external device) Signal Function Setting of Unused pins 1 XRS ← Request signal of sending from external device Open [Note2] 3 XER ← Ready signal from external device Open [Note2] 79 XDR → Ready signal from this device Open 77 RD → Received data Open 2 SD ← Sending data Open [Note2] 10 DTE1 ← External device serial communication data speed configuration Depends on configured value 11 DTE2 ← 12 DTE3 ← モニタ インタフェース 71 ANT1_n → Antenna indication 1 Open 72 ANT2_n → Antenna indication 2 Open 70 TRX_n → Packet communication status indication Open 48 LEDG_n → Operation status indication Open 47 LEDGMS_n → Communication status indication Open 30 ADL_n → Software update status indication Open 68 SMS_n → Notification of SMS receiving Open 67 CBS_ETWS_n → Notification of Area Mail receiving Open 74 3G/LTE (GSM) → Attached network indication Open UIM card interface  54 SIM_VCC(C1) → Power supply Unconnection prohibited 52 SIM_RST(C2) → Reset Signal 55 SIM_CLK(C3) → Clock signal 56 SIM_GND(C5) - Grounding 53 SIM_DIO(C7) ⇔ Data input/output USB interface 20 USB_DPLUS ⇔ Data signal + Open 19 USB_DMINUS ⇔ Data signal - Open 23 USB_VBUS ← USB detection signal Open 22 USB_H_RDY_n ← Request of activation from external device Pull-down [Note3] 66 USB_D_RDY_n → Request of activation from this device Open Maintenance interface  17 N.C. - Manufacturer maintenance Connection prohibited 25 N.C. - 58 N.C. - 59 N.C. - 60 N.C. - 61 N.C. - 62 N.C. - 63 N.C. - 64 N.C. - 65 N.C. - 73 N.C. - N.C. 7 N.C. - Not used Connection prohibited 8 N.C. - 9 N.C. -
  Version  1.0 16  Connector Pin Type Pin No. Pin Name Signal Direction (UM04-KO⇔external device) Signal Function Setting of Unused pins 13 N.C. - 15 N.C. - 16 N.C. - 24 N.C. - 26 N.C. - 27 N.C. - 28 N.C. - 29 N.C. - 32 N.C. - 33 N.C. - 35 N.C. - 36 N.C. - 50 N.C. - 57 N.C. - 69 N.C. - 75 N.C. - [Note1] This signal is for the detection of BtoB connector connection. Please connect to SG without fail. [Note2] The connection of the pull-up resistor is no problem. In case of connecting the pull-up resistor, please use the power supply for pulling up within +1.8V to +5.25V. [Note3] Recommended resistor value of the pulling down is 10kΩ to 100kΩ. Direct connection with SG is no problem.
  Version  1.0 17  ●Electrical characteristics Current I regards its direction to flow into this device as plus.  Item Pin No. Min Typ Max Unit Remarks Power supply input VCC 41,42,43,44,45,46   3.3 3.7 4.2 V - Power supply control PWRKEY_ON_n VT+ 5   0.77 - 1.44 V Schmitt trigger VIH 5   1.44 - 5.25 V -     ILEAK - - 10 μA - VT- 5   0.33 - 0.77 V Schmitt trigger VIL 5   0 - 0.33 V -     ILEAK - - -10 μA - Hysteresis 5   0.34 - 0.8 V - Power supply control PWRKEY_OFF_n SYSRST_n VT+ 4,6   0.7 1.1 1.5 V Schmitt trigger VIH 4,6   1.5 - 5.25 V -     ILEAK - - 10 μA - VT- 4,6   0.25 0.61 0.9 V Schmitt trigger VIL 4,6   0 - 0.25 V -     ILEAK - - -10 μA - Hysteresis 4,6   0.15 0.49 1 V - UARTserial interface XCD, XCI, XCS, XRS, XER, XDR, SD, RD VT+ 1,2,3   0.7 1.1 1.5 V Schmitt trigger VIH 1,2,3   1.5 - 5.25 V -     ILEAK - - 30 μA - VT- 1,2,3   0.25 0.61 0.9 V Schmitt trigger VIL 1,2,3   0 - 0.25 V -     ILEAK - - -2 mA - Hysteresis 1,2,3   0.15 0.49 1 V - VOH 76,77,78,79,80   - - 5.25 V Equivalent to open circuit imp.       IOH - - - mA There is no definition because of open drain output VOL 76,77,78,79,80   0 - 0.33 V -     IOL - 2 - mA - Serial communication data speed configuration   DTE1, DTE2, DTE3 VT+ 10,11,12   0.7 1.1 1.5 V Schmitt trigger VIH 10,11,12   1.5 - 5.25 V -     ILEAK - - 10 μA - VT- 10,11,12   0.25 0.61 0.9 V Schmitt trigger VIL 10,11,12   0 - 0.25 V -     ILEAK - - -10 μA - Hysteresis 10,11,12   0.15 0.49 1 V - USB interface USB_H_RDY_n   VT+ 22   0.7 1.1 1.5 V Schmitt trigger VIH 22   1.5 - 5.25 V -     ILEAK - - 10 μA - VT- 22   0.25 0.61 0.9 V Schmitt trigger VIL 22   0 - 0.25 V -     ILEAK - - -10 μA - Hysteresis 22   0.15 0.49 1 V - USB_D_RDY_n VOH 66   - - 5.25 V Equivalent to open circuit imp.       IOH - - - mA There is no definition because of open drain output VOL 66   0 - 0.33 V -
  Version  1.0 18  Item Pin No. Min Typ Max Unit Remarks     IOL - 2 - mA - Monitor interface ANT1_n, ANT2_n,   TRX_n, LEDG_n, LEDGMS_n,   SMS_n,ADL_n, CBS_ETWS_n,   3G/LTE(GSM) VOH 30,47,48,67,68,69,   - - 5.25 V Equivalent to open circuit imp.     70,71,72,74 IOH - - - mA There is no definition because of open drain output VOL 30,47,48,67,68,   0 - 0.28 V -   70,71,72,74 IOL - 2 - mA - UIM card interface SIM_VCC(C1) SIM_RST(C2) SIM_CLK(C3) SIM_DIO(7) Output 54   2.7 - 3.3 V Class B voltage     1.62 - 1.98 V Class C VIH 53   C1×0.7 - C1+0.3 V Class B/C VIL     -0.3 - C1×0.2 V Class B/C VOH 52   C1×0.8 - C1 V Class B/C     IOH - -1 - mA Class B/C VOL 52   0 - C1×0.2 V Class B/C     IOL - - 2 mA Class B/C VOH 53   C1×0.7 - C1 V Class B/C     IOH - -1 - mA Class B/C VOL 53   0 - 0.4 V Class B       0 - 0.3 V Class C     IOL - - 1 mA Class B/C VOH 55   C1×0.7 - C1 V Class B/C     IOH - -1 - mA Class B/C VOL 55   0 - C1×0.2 V Class B/C     IOL - - 2 mA Class B/C
  Version  1.0 19   2.Power supply (1) Recommended specification for the external power supply Item Specification Voltage range DC+3.3V to +4.2V (Load condition: Steady supply   in 0.1mA to 1,500mA) Ripple 50mVp-p (0Hz to 2.5GHz) or less Rating current 1,500mA or more Inrush current 2A (within 100μs) or less  (2) Power supply input specification Pin name Min Typ Max Unit Remarks VCC +3.3 +3.7 +4.2 V -  (3) Transient specification of the power supply voltage rising  Pin name Min Typ Max Unit Remarks VCC - - 50 msec Refer to the following figure for waveform.    ●Transient waveform of power supply voltage rising   T[msec] 50msec  Steady supply 4.2 3.7 3.3 VCC[V] 0
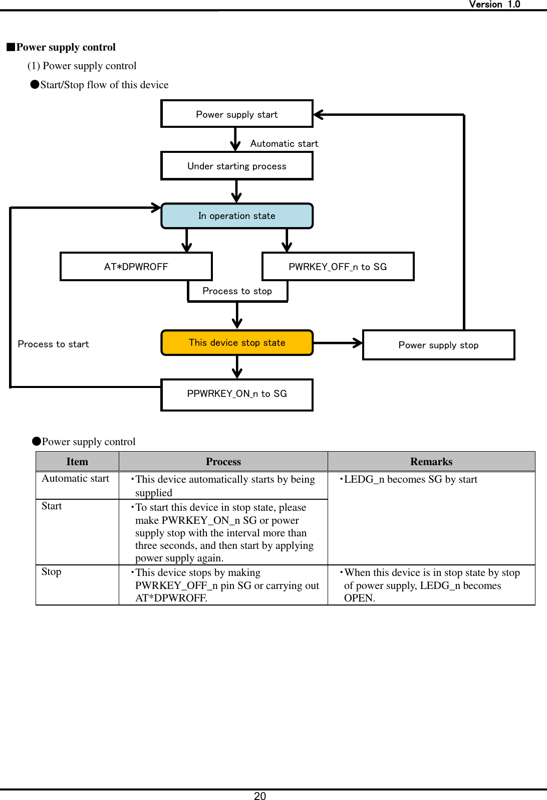
  Version  1.0 20   ■Power supply control   (1) Power supply control ●Start/Stop flow of this device   ●Power supply control Item Process Remarks Automatic start ・This device automatically starts by being supplied ・LEDG_n becomes SG by start Start ・To start this device in stop state, please make PWRKEY_ON_n SG or power supply stop with the interval more than three seconds, and then start by applying power supply again. Stop ・This device stops by making PWRKEY_OFF_n pin SG or carrying out AT*DPWROFF. ・When this device is in stop state by stop of power supply, LEDG_n becomes OPEN. Under starting process In operation state PWRKEY_OFF_n to SG AT*DPWROFF This device stop state PPWRKEY_ON_n to SG Power supply stop Power supply start Automatic start Process to stop Process to start
  Version  1.0 21  (2) Pin behavior and AC characteristics ●This device operation for the PWRKEY_ON_n input status Because it causes the malfunction, please input pulses more than specified time. It is recognized as a demand only at the time of state change from OPEN to SG.  Pin state Process of this device OPEN→SG→OPEN Start request (It is recognized as a demand only at the time of state change from OPEN to SG)  ●AC characteristics of PWRKEY_ON_n pin  Item Min Typ Max Unit Remarks PWRKEY_ON_n TPWRKEY_ON 1 - - msec -    ●This device operation for the PWRKEY_OFF_n pin status Because it causes the malfunction, please input pulses more than specified time. It is recognized as a demand when SG state continues more than 500msec.  Pin state Process of this device OPEN→SG→OPEN Stop request (It is recognized as a demand when SG state continues SG more than 500msec.)  ●AC characteristics of PWRKEY_OFF_n pin  Item Min Typ Max Unit Remarks PWRKEY_OFF_n TPWRKEY_OFF 500 - - msec -    PWRKEY_ON_n VIL VIL OPEN TPWRKEY_ON SG TPWRKEY_OFF PWRKEY_OFF_n VIL VIL OPEN SG
  Version  1.0 22   ●This device operation for the SYSRST_n pin status Because it causes the malfunction, please input pulses more than specified time.  Pin state Process of this device OPEN→SG→OPEN Hardware reset (During SG state, hardware reset occurs)  ●AC characteristics of SYSRST_n pin  Item Min Typ Max Unit Remarks SYSRST_n TSYSRST 50 - - msec -       SYSRST_n VIL TSYSRST VIL OPEN SG
  Version  1.0 23   (3) Sequence Start and stop sequences are shown below. ◆Start method (two types)        ◆Stop method (two types) ・Automatic start          ・Stop by PWRKEY_OFF_n pin ・Start by PWRKEY_ON_n pin        ・Stop by AT command  ●Automatic start sequence (XER-SG state) ・Though this device starts automatically in case of XER-OPEN, the XCS and XDR line remain OPEN.   VCC  OPEN       Max 5 sec Power supply LEDG_n XCS XDR OPEN   SG OPEN   SG OPEN   SG PWRKEY_ON_n OPEN   SG OPEN   SG PWRKEY_OFF_n This device start Stop demand recognition   is impossible   Stop demand recognition is possible   Start demand recognition is impossible   Max 20 sec Reading time of UIM card AT command is controllable
  Version  1.0 24  ●Start sequence by PWRKEY_ON_n pin (XER-SG state) ・In case of XER-HIGH, the XCS and XDR line remain OPEN. ・Please use this sequence for the start in the VCC supply state after the stop by PWRKEY_OFF_n pin or the AT command. ・Because this device automatically starts regardless of the behavior of PWRKEY_ON_n pin, the start demand by PWRKEY_ON_n pin is not recognized at the time of the automatic start. Before start by PWRKEY_ON_n, please make sure to change PWRKEY_OFF_n to OPEN. When start process is carried out by PWRKEY_OFF_n while PWRKEY_ON_n is SG, this device detects that PWRKEY_OFF_n is SG after start process completed and it stops.   VCC Stop demand recognition is possible  1 msec Recognize start   Power supply LEDG_n XCS XDR OPEN   SG OPEN   SG OPEN   SG This device start Reading time of UIM card PWRKEY_ON_n OPEN   SG PWRKEY_OFF_n OPEN   SG Stop demand recognition   is impossible  Max 5 sec Max 20 sec AT command is controllable
  Version  1.0 25   ●Stop sequence by PWRKEY_OFF_n pin ・After PWRKEY_OFF_n pin SG is carried out for 500 ms, there is no problem even if it is returned to OPEN in any timing. Please return it to OPEN before the next start. When start process is carried out while PWRKEY_OFF_n is SG, this device detects that PWRKEY_OFF_n is SG after start process completed and it stops.    500 msec     During stop process of this device (within TBD sec) OPEN   SG Power supply LEDG_n XCS XDR VCC OPEN   SG OPEN   SG This device stop PWRKEY_OFF_n OPEN   SG Recognize a stop demand   PWRKEY_ON_n OPEN   SG Start demand recognition is impossible Stop of VCC supply is possible Within 2.5 sec
  Version  1.0 26  (4) Connection example ●PWRKEY_ON_n pin, PWRKEY_OFF_n pin, SYSRST_n pin ①Connection example with IC  ※  R is a dumping resistor. Please design it to adapt to the circuitry in the external device.  ②Connection example with switch   ※  R is a dumping resistor. Please design it to adapt to the circuitry in the external device.  This device   ↑ Input pin   R   (Open drain output)   IC   VCC1   External device   This device   ↑ Input pin   External device   R
  Version  1.0 27   ■System reset The specification of system reset signal is shown below.  ◆AC characteristic of SYSRST pin  Item Min Typ Max Unit Remarks SYSRST_n TSYSRST 1.0 - - ms -  ・Please do not usually use SYSRST pin. ・But because the system reset does not carry out the normal stop process and internal data saving of this device, it may cause the internal data failure and this device may not start normally.
  Version  1.0 28   3.UART interface The specification of the UART is shown below  Item Specification Signal line SD, RD, XER, XDR, XRS, XCS, XCD, XCI Communication data speed [bps] 1200/2400/4800/9600/19200/38400/57600/115200/230400/460800 Configuration method of communication data speed External pins (DTE1, DTE2, DTE3), AT command Communication format Start:1bit, Stop:1bit, Data:8bit, Parity:none Sending/Receiving   control hardware flow control, software flow control, and without flow control Detection of escape +++  (guard time is specified) Detection of break None Baud rate deviation Sending:2% or less Receiving:2% or less     ■Configuration of serial communication data speed by AT command Only when the configuration of serial communication data speed by DTE1, DTE2 and DTE3 is 19200 [bps], the configuration by AT command can be used.  ●The serial communication data speed configured by AT+IPR  Serial communication data speed[bps] Remarks 1 1200 - 2 2400 - 3 4800 - 4 9600 - 5 19200 Initial value 6 38400 - 7 57600 - 8 115200 - 9 230400 - 10 460800 -
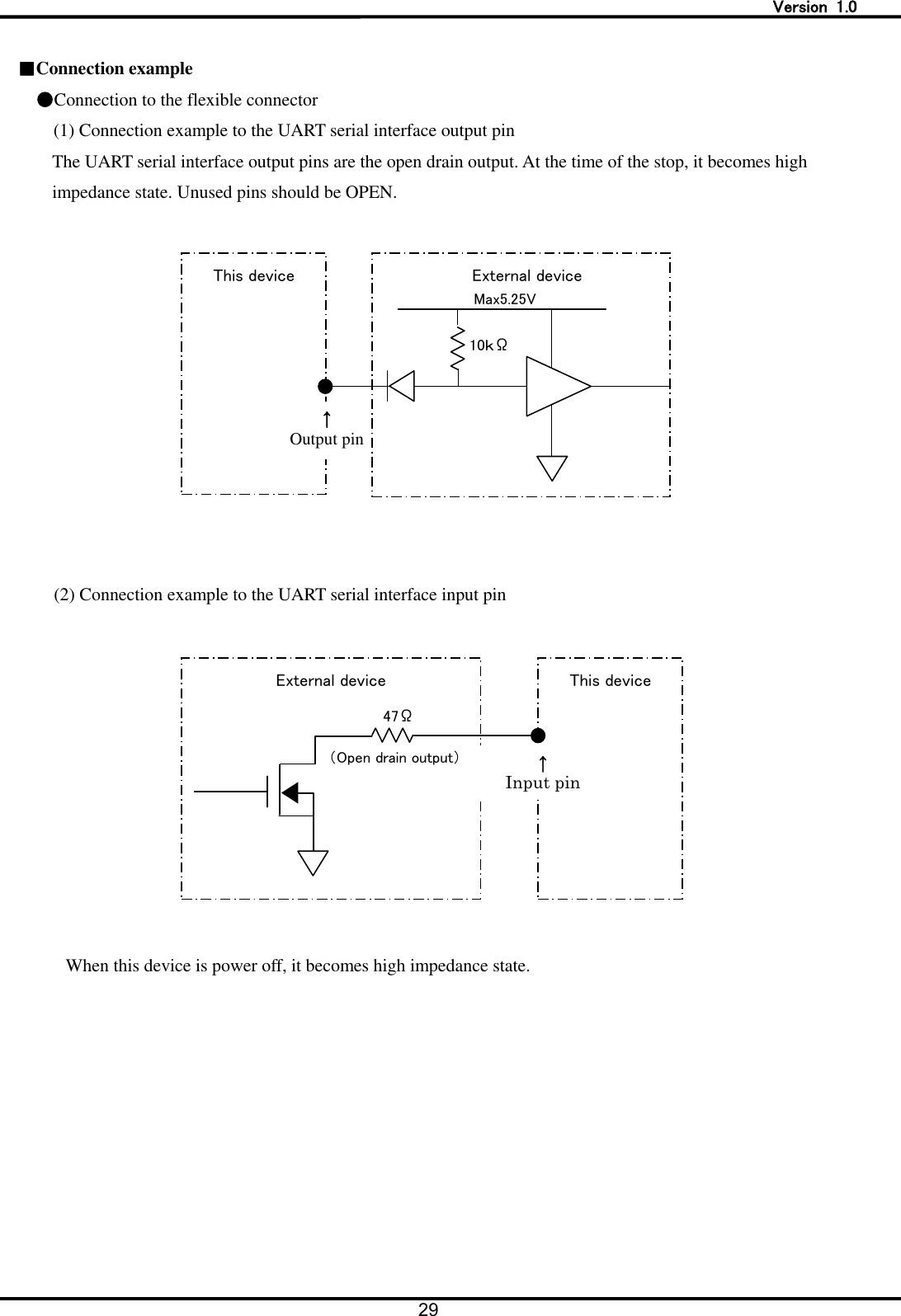
  Version  1.0 29     ■Connection example     ●Connection to the flexible connector (1) Connection example to the UART serial interface output pin The UART serial interface output pins are the open drain output. At the time of the stop, it becomes high impedance state. Unused pins should be OPEN.     (2) Connection example to the UART serial interface input pin    When this device is power off, it becomes high impedance state. This device 10kΩ ↑ Output pin Max5.25V External device External device This device ↑ Input pin 47Ω (Open drain output)
  Version  1.0 30       ●Connection to BtoB connector (1) Connection example to the UART serial interface output pin (XCD、XCI、XCS、XDR、RD) The UART serial interface output pins are the open drain output. At the time of the stop, it becomes high impedance state. Unused pins should be OPEN.    [Note] R is pull-up resistor. Please design it to adapt to the circuitry in the external device.   (2) Direct Connection example to the UART serial interface input pins (XRS, XER, SD, DTE1, DTE2, DTE3) The input pins are the Schmitt trigger input with tolerant of 5V  ●Direct connection example to the UART serial interface input pins  [Note] R is pull-up resistor. Please design it to adapt to the circuitry in the external device. This device  ↑ Output pin R       External device  +1.8V~+5V  R   This device  ↑ Input pin  IC External device
  Version  1.0 31   ●Open drain connection example to the UART serial interface input pins Please input the open drain output when the external device which can not meet DC characteristic is connected.  [Note] R1 is pull-up resistor and R2 is dumping resistor. Please design it to adapt to the circuitry in the external device.   ●Connection example to DTE1、DTE2、DTE3 input pins When fixed serial communication data speed is used, please fix the level by pull-up or pull-down depending on configuration value.  [Note] R1 is pull-up resistor and R2 is pull-down resistor. Please design it to adapt to the circuitry in the external device.  [Requirement of SD pin and RD pin]    (1) Requirement of SD pin (input) ①When the external device which is connected to SD pin can not meet DC characteristic, it is necessary to be connected by the open drain output. Dull of wave pattern caused by connection of the open drain output may cause data communication failure. Therefore, requirement for the input waveform for the connection of the open drain output is specified.     R2   +1.8V~+5V   R1  This device  ↑ Input pin  (Open drain output)   IC VCC1 External device    R1   +1.8V~+5V   R2   Pull-up This device  ↑ Input pin  Pull-down ↑ Input pin External device
  Version  1.0 32   ②For the requirement for SD pin input waveforms, the ratio per one bit of data which is measured in voltage level of SG interval [A] and OPEN interval [B] should be adjusted within from 50:50 to 56:44. ・This requirement is applied for the waveform that was measured at the most close point to the main connector. ・The slope of the rising wave pattern depends on the circuitry of the external device. In case that the dull of the wave pattern is big and the ratio of SG is wider, for example, please adjust it so that the dull of the wave pattern becomes small to reduce the pull-up resistor value.  ●SD pin (input) wave pattern  ●Waveform measurement point of UART serial receiving data (SD pin)      (2)Requirement of RD pin (output) ①The RD pin is the open drain output. ②Dull of rising wave pattern may cause any failure. Please confirm it each external devices to be connected. In case that the dull of the wave pattern is big, for example, please adjust it in external device so that the dull of the wave pattern becomes small to reduce the pull-up resistor value. SD pin  Vt+(Max)1.29V 【A】 【B】   Vt-(Max)0.67V Vt-(Max)0.67V Assume this section 100 The ratio of  【A】  and  【B】 Within from 50:50 to 56:44 Vt+:The  OPEN  level  threshold  voltage  of this device Vt-:The SG level threshold voltage of this device This device External device          Main connector Circuit   Measurement point
  Version  1.0 33   4.USB interface The USB interface of this device is based on USB 2.0 specification. The transmission and reception of data is possible as a USB device. You can use it for the control by the AT command. The connection with the USB host is disconnected when you make reboot (power off / on, reset by AT*DHWRST).  Item Specification Communication standard Conformity USB2.0 (Device) Communication speed FULL SPEED (12Mbit/s),  、HIGH SPEED (480Mbit/s) Signals USB_DPLUS, USB_DMINUS, USB_VBUS, USB_H_RDY_n, USB_D_RDY_n Virtual COM port Port1 : Modem control Port2 : Network card control       ■Connection example (1) USB interface pin (USB_DPLUS, USB_DMINUS, USB_VBUS) ●Connection example to the external device   [Note] USB_VBUS does not mean power supply of 5V from a host, and it mean a USB host connection state.  (2)USB_D_RDY_n output pin This output pin is the open drain output. At the time of the stop of this device, it becomes the high impedance state. In case of unused condition, set a pin as OPEN. ●Connection example to USB_D_RDY_n output pin  This device   USB_DPLUS USB_DMINUS USB_VBUS   SG     USB host External device
  Version  1.0 34   [Note] R is pull-up resistor. Please design it to adapt to the circuitry in the external device.  (3)USB_H_RDY_n input pin The input composes it of Schmidt trigger of 5V tolerant. When you connect the external device which cannot meet DC characteristics, it is necessary to input at this device by the output of the open drain. ●Direct connection example to USB_H_RDY_n input pin  [Note] R is dumping resistor. Please design it to adapt to the circuitry in the external device.  ●Open drain connection example to USB_H_RDY_n input pin    [Note] R1 is pull-up resistor and R2 is dumping resistor. Please design it to adapt to the circuitry in the external device.  This device  R  ↑ Output pin     External device   +1.8V~+5V R This device  ↑ Input pin  IC  External device   +1.8V~+5V R1   R2    This device ↑ Input pin  (Open drain output)  External device   IC VCC1
  Version  1.0 35    5.Monitor interface    ■Antenna indication ●Antenna indication specification  State ANT1_n ANT2_n Remarks 1 In operation Out of service OPEN OPEN Result code “0” (out of service) for the AT command “AT*DANTE”. 2 Antenna one bar SG OPEN Result code “1” (one bar) for the AT command “AT*DANTE”. 3 Antenna two bars OPEN SG Result code “2” (two bars) for the AT command “AT*DANTE”. 4 Antenna three bars SG SG Result code “3” (three bars) for the AT command “AT*DANTE”. 5 During   software   update During download Depends on receiving signal level Depends on receiving signal level - 6 During rewriting (SW update mode 3) SG SG Equals to the state of antenna three bars 7 During reboot (SW update mode 3) OPEN OPEN - 8 During the update completion notification transmitting (SW update mode 3) Depends on receiving signal level Depends on receiving signal level - ※ Refer to “Software update” about the function of software update.    ■Attached network indication 3G/LTE (GSM) signal indicates the attached network. (1)LTE mode ●Attached network indication only in LTE mode (only in Japan)  Service status 3G/LTE(GSM) 1 In service of LTE SG 2 Out of service of LTE OPEN  (2)Roaming mode ●Attached network indication in roaming mode (out of Japan)  Service status 3G/LTE (GSM) 1 In service of W-CDMA OPEN 2 Out of service of W-CDMA and in service of GSM SG 3 Out of service of W-CDMA and out of service of GSM OPEN
  Version  1.0 36     ■Communication state indication Communication state is indicated based on the combination of TRX_n, LEDG_n and LEDGMS_n. ●Communication state indication specification  State TRX_n LEDG_n LEDGMS_n Remarks 1 In operation During stand-by OPEN SG OPEN - 2 During communication SG SG OPEN  3 During incoming OPEN SG SG⇔OPEN [Note1] 4 During software update During download Depends on communication state SG Depends on communication state - 5 During rewriting (SW update mode 3) OPEN SG OPEN - 6 During reboot (SW update mode 3) OPEN OPEN OPEN - 7 During the update completion notification   transmitting (SW update mode 3) Depends on communication state SG Depends on communication state - 8 Stop state of this device OPEN OPEN OPEN - [Note1] Waveform of LEDGMS_n is shown below during incoming.    ●Waveform of LEDGMS_n signal during incoming     ■Software update state indication Software update state is indicated by ADL_n signal. ●Software update state indication specification  State ADL_n (NW reservation type) ADL_n (AT command type) Remarks 1 During software update During download OPEN SG - 2 During rewriting (SW update mode 3) SG SG - 3 During reboot (SW update mode 3) OPEN OPEN - 4 During the update completion notification transmitting (SW update mode 3) SG SG - 5 During other than software update OPEN OPEN -  OPEN SG 0.2±0.01[s] 1.8±0.01[s] 1.2±0.01[s] 1cycle:3.0±0.01[s] LEDGMS_n
  Version  1.0 37     ■SMS receiving indication The receiving of SMS is indicated by SMS_n. ●SMS receiving indication specification  State SMS_n Remarks 1 Receiving SMS OPEN→SG→OPEN - 2 Other than SMS receiving OPEN -  ●Waveform of SMS_n when a SMS is received     ■Area Mail receiving indication The receiving of Area Mail is indicated by CBS_ETWS_n. ●Area Mail receiving indication specification  State CBS_ETWS_n Remarks 1 Receiving Area Mail OPEN→SG→OPEN - 2 Other than Area Mail receiving OPEN -  ●Waveform of CBS_ETWS_n when an Area Mail is received    ■Connection example The monitor interface of this device is the open drain output. ●A connection example of the external LED lamp to monitor interface At the time of the stop of this device, it becomes the high impedance state.  ※R is a pull-up resistor. Please assume it a value to adapt to a circuitry of the external device OPEN SG 90[ms] or more CBS_ETWS_n This device  R    ↑ Output pin     External device     OPEN SG 90[ms] or more SMS_n
  Version  1.0 38   6.UIM card interface This device is equipped with UIM card interface that meets the 3GPP TS31series specifications. UIM card is the IC card which can record the information such as phone numbers and inserts it in a card socket of the external device to connect to this device. Please do not perform take out it, placing it in the power on state to prevent data damage and UIM card damage.  (1) Signal ●Pin assignment of UIM card    ●Pin names of UIM interface  Pin No. Pin name 1 C1 UIM_VCC(C1) 2 C2 UIM_RST(C2) 3 C3 UIM_CLK(C3) 4 C4 N.C. 5 C5 UIM_GND(C5) 6 C6 N.C. 7 C7 UIM_DIO(C7) 8 C8 N.C. (2) Electrical characteristic ●DC characteristic Pin name Item Min Typ Max Unit Remarks UIM_VCC(C1) VCC 2.7 - 3.3 V Class B 1.62 - 1.98 V Class C UIM_RST(C2) VOH C1×0.8 - C1 V Class B/C  IOH - -4 - mA Class B/C VOL 0 - C1×0.2 V Class B/C  IOL - 3.9 - mA Class B/C UIM_CLK(C3) VOH C1×0.7 - C1 V Class B/C  IOH - -4 - mA Class B/C VOL 0 - C1×0.2 V Class B/C  IOL - 3.9 - mA Class B/C UIM_DIO(C7)  VIH C1×0.7 - C1+0.3 V Class B/C VIL -0.3 - C1×0.2 V Class B/C VOH C1×0.7 - C1 V Class B/C  IOH - -4 - mA Class B/C VOL 0 - C1×0.4 V Class B  0 - 0.3 V Class C  IOL - - 1 mA Class B/C  ●AC characteristic Pin name Item Min Typ Max Unit Remarks UIM_RST(C2) TR/TF - - 400 μs - UIM_CLK(C3) TR/TF - - 50 ns - UIM_DIO(C7) TR/TF - - 1.0 μs - C1 C2 C3 C4 C5 C6 C7 C8
  Version  1.0 39   (3) Connection method For an output signal from this device, please be connected directly with a card socket to comply DC and AC characteristics. If its connection is not direct, please care for the delay of signal timing and loss of signal level ●The recommended equivalent circuit for UIM card interface   (4) Recommended card socket Please use the following recommended card socket. ●Recommended card socket Size Model Manufacturer Remarks Standard SF7W006S1AE1000 Japan Aviation Electronics Industry Hinge type Mini SF15W006S4BR2000 Japan Aviation Electronics Industry Hinge type  (5) PIN code In this device, only PIN1 code is used for the password of the DOCOMO UIM card. ●About PIN1 code The PIN1 code is four digits to eight digits of passwords to input to prevent the unauthorized use of the terminal by the third party. It comes to be able to use service using LTE networks such as packet communication, SMS by inputting PIN1 code. ●Input of PIN1 code Input of the PIN1 code is necessary when PIN1 code becomes effective. At the time of the subscription, the PIN1 code is set for invalidity.   ●Change of PIN1 code The PIN1 code is set to “0000” at the time of the subscription. You can change the code when necessary. Please note that three consecutive failed attempts to enter the PIN1 code will automatically lock the code entry. Please do not forget the set PIN1 code by writing it down and saving it in a secure location  ModemchipLSI UIM card I/F  C1  C2 C3 C5  C7  Power supply part UIMcardI/F  C1  C2 C3 C5  C7  C4 C6 C8 UIM card socket Not in use Internal of this device
  Version  1.0 40   ●About PIN1 unlock code The PIN1 unlock code is used to clear the locked state of the PIN1 code. This code will be provided to the customer at the time of the subscription. Entering the eight digits PIN1 unlock code clears the locked state. Note that ten consecutive failed attempts to enter the PIN1 unlock code will automatically lock the code entry. If you forget the PIN1 unlock code or when the PIN1 code lock can not be cleared, please contact the customer service.  7.RF connector (Main/Sub) This device is equipped with RF connectors to connect the antenna.      ■Used connector  ●A model name and the manufacturer name of the RF connector are shown below     RF connector (This device side) RF connector [Note1] (External device side) Model name U.FL-R-SMT U.FL-LP-040 U.FL-LP-066 Manufacturer Hirose Electric CO., LTD Hirose Electric CO., LTD   [Note1] Confirm the details with  the manufacturer,  as the  part number will be  different depending  on  the diameter of the used cable.       ■Pin assignment ●Pin assignment  Signal No. Pin   name Description Signal Direction (This device  ⇔ Antenna) Remarks TRX connector (Main) Transmit and receive 1 TRX Transmit and receive signal ⇔ 2GHz/800MHz RF signals 2 SG Grounding - - TRX connector (Sub) Receive 1 TRX Receive signal ⇔ 2GHz/800MHz RF signals 2 SG Grounding - -  Pin1(Signal pin) Pin2 (SG)
  Version  1.0 41   8.External antenna ・The external antenna (optional product) of DOCOMO can be used as the external antenna to be connected to this device. ・Plural antennas, which are main antenna (for transmit and receive) and sub antenna (for receive), can be connected. ・About the selection of use of the plural or single antenna, it can be configured by the command “AT*KMIMO” which is the AT command to select MIMO receiving or not MIMO receiving.   ・If “not MIMO receiving” is selected, this device can be in operation with single antenna. In that case, please connect the external antenna to main antenna connector.  ●External antennas of the optional products (Sale product particularly) of DOCOMO  Name Connector type Remarks 1 Roof-top antenna for FOMA adaptor 02 SMA-P Dual band (2 GHz/800 MHz) antenna Supplied with an antenna cable (about 5.5 meters long) 2 Simple antenna for FOMA adaptor SMA-P Dual band (2 GHz/800 MHz) antenna Supplied with an antenna cable (about 5.0 meters long) 3 Compact water-proof antenna for FOMA adaptor SMA-P Dual band (2 GHz/800 MHz) antenna Supplied with an antenna cable (about 2.5 meters long)  The connector adaptation methods (U.FL to SMA) for connecting this device to the antenna recommended in the above list are shown below, with examples of adaptor types. As the method of connector adaptation, you can use either an adaptor cable or a combination of an adaptor connector and an RF cable. Please refer to the manufacturer for the specification of cable and connector.  [Adaptor cable]      This adaptor cable is used to converts RF connector (U.FL female) into a SMA-male. Model number Manufacturer Type Remarks HRMJ-U.FL-066N1-A-100RS Hirose Electric CO., LTD U.FL female to SMA female Cable length 100mm   [RF cable and adaptor connector]    ●RF cable Model number Manufacturer Type Remarks U.FL-2LP-04K2T-A-(80) Hirose Electric CO., LTD U.FL female to   U.FL female Cable length 80mm Cable color black     ●Adaptor connector Model number Manufacturer Type Remarks HRMJ-U.FLJ-PC-1 Hirose Electric CO., LTD U.FL male to   SMA female For direct connection to the circuit board.
  Version  1.0 42   Precautions for connecting to the external device  Precaution for design of the external device The  external  device  must  be  adequately  designed  to  provide  sufficient  heat  dissipation  so  that  the  internal temperature of the external device will not exceed the operating environment temperature range specified for this device (+60°C) when this device is installed in the external device. In addition, the external device must be adequately designed to provide sufficient heat dissipation so that the surface temperature of the enclosure of this device will not exceed +85°C as this device may generate excess heat depending on the communication condition. Precautions for connecting to the external device Precautions for design of the external device
  Version  1.0 43   Recommended installation method  ■In case of using the flexible connector               In case of using the flexible connector, this device can be used only in Japan.  ■In case of using the BtoB connector BtoB connector for connection to external equipment to is the board to board connector, please use a spacer of the height same as the stacking height of the board to board connector (3mm).              In case of using the BtoB connector, this device can be used both in Japan and outside of Japan.  Recommended installation method  Screw External device PCB ・There not being unnecessary radiation in receive frequency band. ・Shields the sensitive circuit as measure to protect from RF power. ・Use a conductive material. (e.g. PCB, metal chassis, etc.)   for the mounting surface of the external device to enable sufficient heat transfer. ・Do not short-circuit with a ground of the external device side.  Flexible cable ・Low DC resistance RF cable Heat dissipationsheet External device PCB ・There not being unnecessary radiation in receive frequency band. ・Shields the sensitive circuit as measure to protect from RF power. ・Use a conductive material. (e.g. PCB, metal chassis, etc.)   for the mounting surface of the external device to enable sufficient heat transfer. ・Do not short-circuit with a ground of the external device side.  M2 hex nut Metal spacer Outside diameter: φ4, L=3 ㎜ This device BtoB connector Stancking height 3mm Graphite sheet M2 W sems screw M2 hex nut This device Heat dissipationsheet Graphite sheet RF cable M2 W sems screw Metal spacer Outside diameter: φ4, L=3 ㎜
  Version  1.0 44   ■Antenna connection   Please connect antennas as following figure.           ・Do not pull the RF cable with too much force. It may cause damage to the RF connector ・Avoid an excessive twisting action upon connection or disconnection the connector as such an action can cause damage to the connector. ・After connect fit, please do not add load more than that is shown in following figure to a cable.    ●Permission load for the cable after the connector fit   1N or less(U.FL-LP(V)-040) 2N or less(U.FL-LP-040、U.FL-LP-066) 1N or less(U.FL-LP(V)-040) 2N or less(U.FL-LP-040、U.FL-LP-066) 3N or less(U.FL-LP(V)-040) 4N or less(U.FL-LP-040、U.FL-LP-066) U.FL-R-SMT U.FL-R-SMT-1 U.FL-LP Harness type
  Version  1.0 45    Operation mode   Communication mode This device supports three communication modes. Only in roaming mode, this device supports the communication method selection function.    ●Supported communication mode Communication mode Description Remarks LTE mode (fixed) Operated in LTE network only in Japan Default Roaming mode (fixed) Operated out of Japan. [Note1] Auto selection mode Select the communication mode (LTE or Roaming) automatically  [Note1] Only in roaming mode, the communication method can be configuration by AT*KNWMODE. Communication modes which can be selected are dual of WCDMA+GSM (default), WCDMA single and GSM single.  ・If flexible connector is used to connect to the external device, then only LTE mode can be available. ・Communication mode and method can be changed by AT command. And the configuration is stored in this device. ・After the communication mode is changed by AT command, please reboot this device ・This device reports the UE Capability corresponding with the selected communication mode to the network.  ●LTE mode ◆Supported communication method : LTE ◆Supported mobile phone career : only NTT DOCOMO ◆Roaming operation : None  (Because LTE mode is used only in Japan)    ●Roaming mode ◆Supported communication method : WCDMA, GSM Configuration can be dual of WCDMA+GSM or WCDMA single or GSM single.   ◆Supported mobile phone career : Mobile phone career out of Japan Operation mode Communication mode
  Version  1.0 46   ●Auto selection mode (1)In this mode, this device selects the communication mode automatically.   (2)After this device selects the communication mode automatically, this device holds the communication mode with the selected one, which is LTE mode or roaming mode.   (3)Actual working communication mode in auto selection mode can be confirmed by AT command. (4)In this mode, this device selects the communication mode only at the time of start timing of this device. It select the communication mode based on the condition of the radio environment (detected mobile phone career).    ●Condition to select the communication mode in auto selection mode No. Condition of radio environment Selected mode 1 One or more Japanese mobile phone career is detected LTE mode 2 Any mobile phone career is not detected LTE mode 3 Only the mobile phone career out of Japan is detected Roaming mode    ●Precausion Please note that the following description for the peculiar cases. (1)In case that communication mode is roaming mode and communication method is dual of WCDMA+GSM or WCDMA single, if Japanese mobile phone career is detected, this device will automatically reset with auto selection mode.   (2)Because the accesses of this device is limited to only DOCOMO network in LTE mode operation, this device never access to other mobile phone career in LTE communication method. If this device moves from inside Japan to outside Japan in LTE mode operation, this device should be reset from the external device to keep operation because this device does not have the function to detect the moving to outside Japan.   (3) If this device moves from outside Japan to inside Japan in roaming mode operation and GSM single method, this device should be reset from the external device to keep operation because this device does not have the function to detect the moving to inside Japan.
  Version  1.0 47   Service function   Packet communication The data communication speed this device supports is 112.5Mbps max for downlink and 37.5Mbps max for uplink in LTE network, and 42.2Mbps max for downlink and 5.7Mbps max for uplink in W-CDMA network , and 237kbps for both downlink and uplink in GSM network.  【Summary of function】 ・This  device  establishes  PPP  protocol  for  the  external  device  with  the  trigger  of  originating  or  incoming control by AT command. Then this device carries out the PDP/PDN link connection of radio segment ・This device configures the IP address of the external device using PPP. IPV4 and IPV6 are supported for IP address. ・The interface which the external device can use in packet communication is UART and USB interface. Each interface  controls  the  packet  communication  independently.  The  multi  PDP  connection,  that  can  do  the multiple communication in same time, is supported. Multi PDP connection is valid only in operation of LTE communication mode.   ・The  USB  interface  provided  to  the  external  device  is  modem  type  (RAS  method)  and  LAN  type  (NDIS method). ・The incoming of packet communication incoming is supported only with modem type USB interface. It is not supported with the LAN type USB interface.  ■In case of the operation in LTE communication mode ・  At least one PDP type and APN must be configured. (The detail of PDP type and APN is described later.)   Please configure them by AT+CGDCONT. ・  The configuration of the peculiar function of LTE communication (packet communication and NDIS automatic connection) is required.   Please configure it by AT*KALWAYSON.  ■In case of the operation in roaming communication mode ・ The communication mode of this device must be configured.   Please configure it by AT*KNWMODE. ・  PDP type and APN must be configured before the packet communication.   Please configure it by AT+CGDCONT.  Service function Packet communication
  Version  1.0 48     ■PDP type This device supports two PDP type. They are PDP-Type=PPP and PDP-Type=IP. In case of PDP-Type=IP, IPv4 and IPv6 can be configured as IP type. Only IPv4 is supported as static IP address. PDP-Type=PPP of LAN card type is not supported. Please configure by AT+CGDCONT to suitable for the customer’s environment with considering above condition. ●Supported IP address PDP-Type IPv4 IPv6 IPv4v6 Static IPaddress Dynamic IPaddress Static IPaddress Dynamic IPaddress Static IPaddress Dynamic IPaddress PPP(pseudo) ○ ○ × × × × IP ○ ○ × ○ × ×           ○:Supported, ×:Not supported    ■APN In the packet communication, the LAN/ISP in the company to be accessed is appointed in the access point names (APN) instead of phone number, and this device carries out dial-up connection using it. Please register the Access Point Name (APN) for each connection point in this device prior to communication. And then, please appoint the registration number (cid*) as the other party phone number to connect. For the connection to each provider or LAN in the company, it is necessary to register the corresponding APN for each connection point. The max number of APN can be configured in this device is twenty Please configure the APN by AT+CGDCONT by terminal software. At the factory shipment, APN is not configured. The APN used in mock packet incoming is limited to the APN which corresponds to the CID configured by AT*KALWAYSON
  Version  1.0 49   SMS This device supports the sending, receiving, storage and display of SMS (Short Message Service) ●Supported SMS service Supported SMS service Sending/Receiving Remarks General text SMS Sending/Receiving Supports linked SMS Notification of SMS delivery information   Receiving - Center push SMS   Receiving -  ●Supported SMS service for each communication mode Supported SMS service LTE mode Roaming mode Remarks General text SMS ○ ○ - Notification of SMS delivery information   ○ ○ - Center push SMS   ○ × -           ○:Supported, ×:Not supported   Area Mail This device can receive earthquake early warning and tsunami warning delivered by the Japan Meteorological Agency and disaster and evacuation information delivered by national and regional public institution.    ■Supported Area Mail method This device supports ETWS method. The ETWS method delivers the Area Mail to the external device faster by using simple information notification. Method The process of the notification ETWS Notify the warning information by two steps. (two messages) 1. Notify only the simple information (warning for the earthquake and tsunami). 2. Notify the information about the warning by the Area Mail text.    ■Supported Area Mail method for each communication mode Method LTE mode Roaming mode Remarks ETWS ○ × -           ○:Supported, ×:Not supported   SMS Area Mail
  Version  1.0 50  Software update Software update function is used to update its software via the LTE network to improve the functions of this device after sale.  Because the communication between this device and the server in allocated in DOCOMO network to carry out software update, this function is available only in DOCOMO network.   If other mobile phone career’s UIM card is used or this device is used outside of Japan, software update can not be carried out.    ■Software update method This device supports the following two software update methods (1) Software update from the network (PUSH type software update) Software update is carried out by receiving the control SMS from server in DOCOMO network. (2) Software update from the external device (PULL type software update) Software update is carried out by receiving the AT command “AT*DSWU=0” from the external device.   RF part ON/ OFF function This device has RF part ON/OFF function. The status of RF part ON/OFF can be changed by AT+CFUN command.  Software update RF part ON/OFF function
  Version  1.0 51   AT command    AT command list  No. Command Function 1 ATA Carry out manual operated incoming response of packet communication。 2 ATD Carry out originating of packet communication。 3 ATE Configure the echo existence or nonexistence for the sent command from the external device. 4 ATH Disconnect the packet communication. 5 ATI Display the product information about this device 6 ATO Return to online data mode from online command mode 7 ATQ Configure existence or nonexistence of result code sending after carrying out of the command 8 ATV Configure the result code to numeric or English character 9 ATX Configure the communication speed indication in the CONNECT indication at the time of packet connection 10 ATZ Overwrite the configuration value of this device to the contents of the non-volatile memory 11 AT&C Select the behavior of CD line to external device 12 AT&D Select the behavior of this device by ER line in online data mode 13 AT&F Initialize the configuration value of this device at the time of the factory shipment 14 AT&W Store the configuration value of this device to non-volatile memory 15 AT&Z Initialize the configuration value of this device and the contents of non-volatile memory to factory shipment value 16 ATS0 Configure the number of times of RING until auto answer 17 ATS6 Configure the pose time until dialing 18 ATS7 Configure the wait time for the connection in packet communication after originating 19 ATS8 Configure the pose time (unit: sec) by comma dial. 20 ATS10 Configure the delay time for the automatic disconnection 21 ATS61 Display and reset the number of boot times by PWRKEY 22 ATS64 Display and reset the number of boot times by AT*DHWRST 23 ATS65 Display and reset the number of boot times by SYSRST button 24 AT¥S Display the present configuration of this device 25 +++ Transfer from online data mode to online command mode 26 AT+GCAP Display the supported range of AT command 27 AT+GMI Display the manufacturer of this device 28 AT+GMM Display the model (product name) of this device 29 AT+GMR Display the version of this device 30 AT+IFC Configure the flow control method between the external device and this device 31 AT+IPR Configure the serial communication speed between the external device and this device 32 AT+CRON Get the APN of previous incoming of packet communication 33 AT+PNRII Display the restriction state of the network 34 AT*DANTE Display the antenna level of this device. 35 AT*DHWRST Carry out the hardware reset of this device 36 AT*DRPW Display the indication of received radio wave power for this device 37 AT*DSWU Carry out start and stop of the software update and confirm the state 38 AT+CCLK Get the internal time information of this device 39 AT+CEER Display the reason for previous disconnection of packet communication 40 AT+CGDCONT Configure the access point name (APN) for packet communication 41 AT+CGMR Display revision (IMEISV) of this device 42 AT+CGREG Configure existence or nonexistence of display of +CGREG unsolicited result code in case of transferring to in-service area from out-of-service area during packet communication In addition, confirm the current state of in-service or out-of-service 43 AT+CGSN Display the production number (IMEI) of this device 44 AT+CLCK Enable or disable the PIN1 code and display the state of the PIN1 code 45 AT+CMEE Configure the error report indication of this device 46 AT+CNUM Display the phone number of the DOCOMO UIM card connected to this device 47 AT+CPAS Inquire whether this device can send and receive the control signal. 48 AT+CPIN Verify the PIN1 code and cancel the PIN1 code lock 49 AT+CPWD Change PIN1 code AT command AT command list
  Version  1.0 52    50 AT+CR Configure existence or nonexistence of +CR (unsolicited result) display at the time of packet connection 51 AT+CRC Configure existence or nonexistence of +CRING (unsolicited result) display at the time of packet incoming 52 AT+CREG Configure existence or nonexistence of +CREG (unsolicited result) display when the state of circuit switching area transfers from out-of-service area to in-service area In addition, confirm the current state of in-service area or out-of-service area 53 AT+CSCS Configure the character code used for output and input of SMS and Area Mail to/from the external device 54 AT+CMGD Delete SMS 55 AT+CMGF Configure the format of SMS and Area Mail 56 AT+CMGL Display SMS and Area Mail of appointed state 57 AT+CMGR Display SMS and Area Mail of appointed stored number 58 AT+CMGS Send SMS 59 AT+CMGW Store SMS in DOCOMO UIM card or this device 60 AT+CMSS Send SMS stored in the memory 61 AT+CNMA Notify the reception result to network at the time of receiving SMS 62 AT+CNMI Configure the notification method at the time of receiving SMS and Area Mail 63 AT+CPMS Configure the memory used for displaying, deleting and storing SMS and Area Mail 64 AT+CSCA Configure SMS center number 65 AT+CSDH Configure existence or nonexistence of indication of the detailed header information in the TEXT mode 66 AT+CSMP Configure the parameter to send SMS in TEXT mode (AT+CMGF=1) 67 AT+CSMS Configure the additional process of SMS message service 68 AT*DCHKLOC Confirm radio wave environment at the time of the antenna setting 69 AT*DCHKANT Display the condition whether communication is possible 70 AT*DPWROFF Stop this device 71 AT*DTELNUM Link the APN to the phone number and register them 72 AT*DCMGS Send SMS directly 73 AT*DMEMFULL Notify that SMS can not be received because of lack of stored area (memory full) 74 A/ Carry out again the previous carried out command 75 AT&P Display the phone number stored in DOCOMO UIM card 76 AT! Display the status of present this device 77 AT+CGACT Carry out the connection and disconnection of NDIS. Display the use condition for the CID configured by AT+CGDCONT 78 AT*KDEGSET Configure the indication of the temperature in case that temperature becomes higher than the threshold.   79 AT*KDEG Display the temperature of this device 80 AT+CFUN Configure the ON/OFF of the RF part 81 AT+CEREG Configure the indication of in-service or out-of-service for the LTE network 82 AT*KNWMODE Configure the communication method 83 AT*KATMODE Configure the operation mode of AT command 84 AT*KICCID Display the identification number with 19 digits (ICCID) of UIM 85 AT*DLANTE Display the LTE antenna level of this device. 86 AT*KINDSET Configure the identification of SMS receiving, Area Mail receiving and arrival to the threshold temperature by the signal line   87 AT*KMIMO Configure the MIMO or not MIMO receiving 88 AT+COPS Configure the PLMN (MCC + MNC) in roaming mode operation 89 AT*KCMGR Display the linked SMS 90 AT*KCMGD Delete the linked SMS 91 AT*KCNMI Configure the indication method at the time of linked SMS receiving 92 AT*KNDIS Configure the parameter of manual NDIS connection 93 AT*KALWAYSON Configure the parameter of Always-ON connection
FCC Regulatory notices  Modification statement  “Hitachi Kokusai Electric Inc.” has not approved any changes or modifications to this device by the user. Any changes or modifications could void the user’s authority to operate the equipment.   Interference statement  This device complies with Part 15 of the FCC Rules. Operation is subject to the following two conditions: (1) this device may not cause interference, and (2) this device must accept any interference, including interference that may cause undesired operation of the device.   Wireless notice  This equipment complies with FCC radiation exposure limits  set forth  for  an uncontrolled  environment.  The antenna should be installed and operated with minimum distance of 20 cm between the radiator and your body. Antenna gain must be as below:  Frequency band  Maximum antenna gain GSM 850/FDD V                                 3.42 dBi PCS 1900                                             2.01 dBi  This transmitter must not be co-located or operating in conjunction with any other antenna or transmitter.  FCC Class B digital device notice  This equipment has been tested and found to comply with the limits for a Class B digital device, pursuant to part  15  of  the  FCC  Rules.  These  limits  are  designed  to  provide  reasonable  protection  against  harmful interference in a residential installation. This equipment generates uses and can radiate radio frequency energy and,  if  not  installed  and  used  in  accordance  with  the  instructions,  may  cause  harmful  interference  to  radio communications. However, there is no guarantee that interference will not occur in a particular installation. If this  equipment does cause harmful interference to radio or television reception, which can be determined by turning the equipment off and on, the user is encouraged to try to correct the interference by one or more of the following measures:  - Reorient or relocate the receiving antenna. - Increase the separation between the equipment and receiver.  - Connect the equipment into an outlet on a circuit different from that to which the receiver is connected.  - Consult the dealer or an experienced radio/TV technician for help.  Labelling Requirements for the Host device   The host device shall be properly labelled to identify the modules within the host device. The certification label of the module shall be clearly visible at all times when installed in the host device, otherwise the host device must be labelled to display the FCC ID of the module, preceded by the words "Contains transmitter module", or the word "Contains", or similar wording expressing the same meaning, as follows:   Contains FCC ID: TTIUM04KO   53
1999/5/EC Directive regulatory notices  This device has been evaluated against the essential requirements of the 1999/5/EC Directive.  Bulgarian С настоящето ““Hitachi Kokusai Electric Inc.” декларира, че ““UM04-KO”отговаря на съществените изисквания и другите приложими изисквания на Директива 1999/5/ЕС. Croatian Ovime “Hitachi Kokusai Electric Inc.”, izjavljuje da je ovaj “UM04-KO” je u skladu s osnovnim zahtjevima i drugim relevantnim odredbama Direktive 1999/5/EC. Czech ““Hitachi Kokusai Electric Inc.” tímto prohlašuje, že tento ““UM04-KO”je ve shodě se základními požadavky a dalšími příslušnými ustanoveními směrnice 1999/5/ES. Danish Undertegnede ““Hitachi Kokusai Electric Inc.” erklærer herved, at følgende udstyr ““UM04-KO”overholder de væsentlige krav og øvrige relevante krav i direktiv 1999/5/EF. Dutch Hierbij verklaart ““Hitachi Kokusai Electric Inc.” dat het toestel ““UM04-KO”in overeenstemming is met de essentiële eisen en de andere relevante bepalingen van richtlijn 1999/5/EG. English Hereby, ““Hitachi Kokusai Electric Inc.”, declares that this ““UM04-KO”is in compliance with the essential requirements and other relevant provisions of Directive 1999/5/EC. Estonian Käesolevaga kinnitab ““Hitachi Kokusai Electric Inc.” seadme ““UM04-KO”vastavust direktiivi 1999/5/EÜ põhinõuetele ja nimetatud direktiivist tulenevatele teistele asjakohastele sätetele. German Hiermit erklärt ““Hitachi Kokusai Electric Inc.”, dass sich das Gerät ““UM04-KO”in Übereinstimmung mit den grundlegenden Anforderungen und den übrigen einschlägigen Bestimmungen der Richtlinie 1999/5/EG befindet. Greek ΜΕ ΤΗΝ ΠΑΡΟΥΣΑ ““Hitachi Kokusai Electric Inc.” ΔΗΛΩΝΕΙ ΟΤΙ ““UM04-KO”ΣΥΜΜΟΡΦΩΝΕΤΑΙ ΠΡΟΣ ΤΙΣ ΟΥΣΙΩΔΕΙΣ ΑΠΑΙΤΗΣΕΙΣ ΚΑΙ ΤΙΣ ΛΟΙΠΕΣ ΣΧΕΤΙΚΕΣ ΔΙΑΤΑΞΕΙΣ ΤΗΣ ΟΔΗΓΙΑΣ 1999/5/ΕΚ. Hungarian Alulírott, ““Hitachi Kokusai Electric Inc.” nyilatkozom, hogy a ““UM04-KO”megfelel a vonatkozó alapvetõ követelményeknek és az 1999/5/EC irányelv egyéb elõírásainak. Finnish ““Hitachi Kokusai Electric Inc.” vakuuttaa täten että ““UM04-KO”tyyppinen laite on direktiivin 1999/5/EY oleellisten vaatimusten ja sitä koskevien direktiivin muiden ehtojen mukainen. French Par la présente ““Hitachi Kokusai Electric Inc.” déclare que l'appareil ““UM04-KO”est conforme aux exigences essentielles et aux autres dispositions pertinentes de la directive 1999/5/CE. Icelandic Hér með lýsir ““Hitachi Kokusai Electric Inc.” yfir því að ““UM04-KO”er í samræmi við grunnkröfur og aðrar kröfur, sem gerðar eru í tilskipun 1999/5/EC Italian Con la presente ““Hitachi Kokusai Electric Inc.” dichiara che questo ““UM04-KO”è conforme ai requisiti essenziali ed alle altre disposizioni pertinenti stabilite dalla direttiva 1999/5/CE. Latvian Ar šo ““Hitachi Kokusai Electric Inc.” deklarē, ka ““UM04-KO”atbilst Direktīvas 1999/5/EK būtiskajām prasībām un citiem ar to saistītajiem noteikumiem. Lithuanian Šiuo ““Hitachi Kokusai Electric Inc.” deklaruoja, kad šis ““UM04-KO”atitinka esminius reikalavimus ir kitas 1999/5/EB Direktyvos nuostatas. Maltese Hawnhekk, ““Hitachi Kokusai Electric Inc.”, jiddikjara li dan ““UM04-KO”jikkonforma mal-ħtiġijiet essenzjali u ma provvedimenti oħrajn relevanti li hemm fid-Dirrettiva 1999/5/EC. Norwegian ““Hitachi Kokusai Electric Inc.” erklærer herved at utstyret ““UM04-KO”er i samsvar med de grunnleggende krav og øvrige relevante krav i direktiv 1999/5/EF. Polish Niniejszym ““Hitachi Kokusai Electric Inc.” oświadcza, że ““UM04-KO”jest zgodny z zasadniczymi wymogami oraz pozostałymi stosownymi postanowieniami Dyrektywy 1999/5/EC Portuguese ““Hitachi Kokusai Electric Inc.” declara que este ““UM04-KO”está conforme com os requisitos essenciais e outras disposições da Directiva 1999/5/CE. Slovak ““Hitachi Kokusai Electric Inc.” týmto vyhlasuje, že ““UM04-KO”spĺňa základné požiadavky a všetky príslušné ustanovenia Smernice 1999/5/ES. Slovenian ““Hitachi Kokusai Electric Inc.” izjavlja, da je ta ““UM04-KO”v skladu z bistvenimi zahtevami in ostalimi relevantnimi določili direktive 1999/5/ES. Spanish  Por medio de la presente ““Hitachi Kokusai Electric Inc.” declara que ““UM04-KO”cumple con los requisitos esenciales y cualesquiera otras disposiciones aplicables o exigibles de la Directiva 1999/5/CE. Swedish  Härmed intygar ““Hitachi Kokusai Electric Inc.” att denna ““UM04-KO”står I överensstämmelse med de väsentliga egenskapskrav och övriga relevanta bestämmelser som framgår av direktiv 1999/5/EG.   54
     In order to satisfy the essential requirements of 1999/5/EC Directive, the product is compliant with the following standards:  RF spectrum use (R&TTE art. 3.2) EN 301 511 V9.0.2 EN 301 908-1 V6.2.1 EN 301 908-2 V6.2.1 EN 301 908-13 V6.2.1 EMC (R&TTE art. 3.1b) EN 301 489-1 V1.9.2 EN 301 489-7 V1.3.1 EN 301 489-24 V1.5.1 Health & Safety (R&TTE art. 3.1a) EN 60950-1:2006 + A11:2009 + A1:2010 + A12:2011 + AC:2011 + A2: 2013   The conformity assessment procedure referred to in Article 10 and detailed in Annex IV of Directive 1999/5/EC has been followed with the involvement of the following Notified Body:  AT4 wireless, S.A. Parque Tecnologico de Andalucía C/ Severo Ochoa 2 29590 Campanillas – Málaga SPAIN Notified Body No: 1909  Thus, the following marking is included in the product:    There is no restriction for the commercialization of this device in all the countries of the European Union.   Final product integrating this module must be assessed against essential requirements of the 1999/5/EC (R&TTE) Directive. It should be noted that assessment does not necessarily lead to testing. Hitachi Kokusai Electric Inc. recommends carrying out the following assessments:  RF spectrum use (R&TTE art. 3.2) It will depend on the antenna used on the final product.  EMC (R&TTE art. 3.1b) Testing Health & Safety (R&TTE art. 3.1a) Testing   55

Navigation menu