Honeywell Ms4120F Users Manual 63 2584 7 MS4120F; MS4620F,S; MS8120F,S; S2024 F; S20230 F Fast Acting, Two Position Actuators
S to the manual d94d6c1f-c9e9-4297-8c37-043a96c738f6
2015-01-23
: Honeywell Honeywell-Ms4120F-Users-Manual-261076 honeywell-ms4120f-users-manual-261076 honeywell pdf
Open the PDF directly: View PDF
.
Page Count: 12

PRODUCT DATA
63-2584—7
MS4120F; MS4620F,S;
MS8120F,S; S2024-F; S20230-F
Fast-Acting, Two-Position Actuators
APPLICATION
The MS4120F, MS4620F, MS8120F, S2024-F, and S20230-F
Fast-Acting, Two-Position Actuators are spring return direct
coupled actuators (DCA) for on/off damper control. The
actuator accepts an on/off signal from a single-pole, single-
throw (spst) controller. Reversible mounting allows actuator to
be used for either clockwise (cw) or counterclockwise (ccw)
spring rotation.
Designed to operate reliably in smoke control systems
requiring Underwriter’s Laboratories Inc. UL555S ratings up to
350°F.
APPLICABLE LITERATURE
— Specification Data Sheet 63-2592
— Motor/Actuator Selection Guide
for Damper Applications 63-8419
— Engineering Manual of Automatic Control
(also called The Gray Manual) 77-1100
— Direct Coupled Actuator
Quick Selection Guide 63-8553
— Damper Torque Calculator 63-8437
FEATURES
• 175 lb-in. (20 N•m) minimum driving torque at 350°F
(176°C).
• Reversible mounting facilitates use in either clockwise
(cw) or counterclockwise (ccw) spring rotation.
• Integral spring return ensures level of return torque.
• Stainless steel internal spring.
• Fifteen-second spring return timing.
• No special cycling required during long-term holding.
(See Operation section.)
• No audible noise during holding.
• Patent pending design eliminates need for limit
switches to reduce power consumption.
• Models available for 24, 120, and 230 Vac applications.
• Ninety-five degree angle of rotation.
• Actuator holds rated torque at reduced power level.
• Die-cast aluminum housing.
• Housing design allows flush mounting to damper.
• Self-centering shaft adapter (SCSA), patent pending.
• Designed to operate reliably in smoke control systems
requiring Underwriter’s Laboratories Inc. UL555S
ratings up to 350°F.
MS4120F, MS4620F, MS8120F
• High temperature Teflon® lead wires.
• Models available with integral high temperature (350°F)
SPST position-indicating switches (7°, 85° stroke).
S2024-F, S20230-F, MS4620S, MS8120S
• Double-insulation rating.
• High-temperature, halogen-free, silicone-free
leadwires.
• Models available with integral high temperature (350°F)
SPDT position-indicating switches (7°, 85° stroke).

MS4120F; MS4620F,S; MS8120F,S; S2024-F; S20230-F FAST-ACTING, TWO-POSITION ACTUATORS
63-2584—7 2
ORDERING INFORMATION
When purchasing replacement and modernization products from your TRADELINE® wholesaler or distributor, refer to the
TRADELINE® Catalog or price sheets for complete ordering number.
If you have additional questions, need further information, or would like to comment on our products or services, please write or
phone:
1. Your local Honeywell Automation and Control Products Sales Office (check white pages of your phone directory).
2. Honeywell Customer Care
1885 Douglas Drive North
Minneapolis, Minnesota 55422-4386
In Canada—Honeywell Limited/Honeywell Limitée, 35 Dynamic Drive, Scarborough, Ontario M1V 4Z9.
International Sales and Service Offices in all principal cities of the world. Manufacturing in Australia, Canada, Finland, France,
Germany, Japan, Mexico, Netherlands, Spain, Taiwan, United Kingdom, U.S.A.
SPECIFICATIONS
Models: See Tables 1, 2, and 3.
Table 1. Models.
aInternal switches are designed to pass UL555S
requirements (at 350°F).
Dimensions: See Fig. 1.
Device Weight: 7 lb (3.2 kg).
Stroke: 95° ± 3°, mechanically limited.
Electrical Ratings:
Power Input:
MS4120F: 120 Vac ±10%, 60 Hz.
MS4620F,S; S20230-F: 230 Vac ±10%, 50/60 Hz.
MS8120F,S; S2024-F: 24 Vac +20%, -10%, 50/60 Hz
(Class 2).
Power Consumption:
MS4120F: Driving: 0.35A, 35W. Holding: 0.15A, 10W.
MS4620F,S; S20230-F:
Driving: 0.20A, 35W. Holding: 0.14A, 10W.
MS8120F,S; S2024-F: Driving: 45 VA. Holding: 10 VA.
Electrical Connections:
Lead Wires:
MS4120F, MS4620F, MS8120F: 1m Teflon wire.
MS4620S, MS8120S, S2024-F, S20230-F: 1m halogen-
free, silicone-free wire.
Two integral 3/8 in. flexible conduit connections.
Timing (At Rated Torque and Voltage):
Drive Open: 15 seconds typical.
Spring Close: 15 seconds typical.
Auxiliary Switches:
Ratings (maximum load): 250 Vac, 5A resistive, 3A inductive.
Settings (fixed): 7° nominal stroke, 85° nominal stroke.
Torque Rating (at Rated Voltage):
Typical Holding (minimum at 350°F): 175 lb-in. (20 N•m).
Spring Return (minimum at 350°F): 175 lb-in. (20 N•m).
Stall Maximum (fully open at 75°F): 425 lb-in. (48.0 N•m).
350°F Minimum Driving: 175 lb-in. (20 N•m).
Design Life (at Rated Voltage): 30,000 full stroke cycles.
Minimum Damper Shaft Length:
1 in. (25 mm); 3-1/4 (83 mm) recommended.
Cycling Requirements:
Prolonged holding-period (1 year) testing of these actuators
has been performed with no spring return failures. The
actuator and the internal spring are designed to require no
special cycling during long-term holding.
Honeywell recommends following all local, state and national
codes for periodic testing of the entire smoke control
system. Refer to National Fire Protection Association
(NFPA) National Fire Codes®: NFPA90A, NFPA92A and
NFPA92B for your application.
NFPA recommends periodic examination of each fire/smoke
damper (semi-annually or annually) to ensure proper
performance.
Mounting: Self-centering shaft adapter.
Round Damper Shafts: 0.5 to 1.06 in.
Square Damper Shafts: 1/2 to 3/4 in.
Actuator can be mounted with shaft in any position.
IMPORTANT
• Honeywell does not recommend using linkages with
these actuators because side-loading of the output
hub reduces actuator life.
• 3/4 in. or greater shaft diameter recommended.
Noise Rating at 1m (Maximum):
Driving or Spring Return: 70 dBA.
Holding: 20 dBA (no audible noise).
Model
Voltage
in Vac
Internal Auxiliary
Switches
MS4120F1006 120 None
MS4120F1204 120 2 SPSTa
MS4620F1005 230 None
MS4620F1203 230 2 SPSTa
MS8120F1002 24 None
MS8120F1200 24 2 SPSTa
S2024-F (MS8120S1006) 24 None
S20230-F (MS4620S1009) 230
S2024-F-SW2 (MS8120S1204) 24 2 SPDTa
S20230-F-SW2 (MS4620S1207) 230

MS4120F; MS4620F,S; MS8120F,S; S2024-F; S20230-F FAST-ACTING, TWO-POSITION ACTUATORS
363-2584—7
Temperature Ratings:
Ambient: -40°F to 130°F (-40°C to 55°C).
Shipping and Storage: -40°F to 140°F (-40°C to 60°C).
IMPORTANT
The actuator is designed to meet UL555S standards
at 350°F (176°C). The actuator must be tested with
the damper to achieve this rating.
NOTE: The actuator is designed to operate for 30 minutes
during a one-time excursion to 350°F (176°C).
Humidity Ratings: 5% to 95% RH noncondensing.
Environmental Protection Ratings:
NEMA2 and IP54 when mounted on a horizontal shaft.
Accessories:
205649 Mounting Bracket (not supplied with actuator).
Approvals: See Table 4.
Controller Type:
MS4120F: Line voltage (120 Vac), 2-position, spst (Series 40).
MS4620F,S; S20230-F: Line voltage (230 Vac), 2-position, spst
(Series 40).
MS8120F,S; S2024-F: Low voltage (24 Vac), 2-position, spst
(Series 80).
Table 4. Approvals.
aPlenum applications require that conductors be enclosed in
conduit (see Wiring section for conduit details).
Fig. 1. Dimensional drawing of actuator in inches (mm).
Table 2. Actuator
S
election
(
M
S
S
eries
)
.
MElectrical Motor
SFail Safe Function (Spring Return)
41 120 Vac 2-position Control; Reversible Mount Spring Return
46 230 Vac 2-position Control; Reversible Mount Spring Return
81 24 Vac 2-position Control; Reversible Mount Spring Return
20 175 lb-in. (20 N•m)
FFire and Smoke (US)
SFire and Smoke (EU)
1No Feedback
0No Auxiliary Switches
2Two Auxiliary Switches
XX System Controlled Numbers
MS 41 20 F 1 2 XX
MS4120F
MS4620F,
MS8120F
S20230-F,
S2024-F,
MS4620S,
MS8120S
UL/cUL X X
UL873 Plenum Rating,
File No. E4436;
Guide No. XAPX.a
XX
CE X X
C-TICK X X
Table 3. Actuator
S
election
(S
20
S
eries
)
.
SFail Safe Function (Spring Return)
20 20 N•m (175 lb-in.)
24 24 Vac 2-position Control; Reversible Mount Spring Return
230
230 Vac 2-position Control; Reversible Mount Spring
Return
FFire and Smoke Actuator
No Auxiliary Switches
-SW2 Two Auxiliary Switches
S2024-F -SW2
10-11/16
(271)
1-9/16
(40)
8-5/8
(220)
2 (50)
3-15/16 (100)
2-15/16 (75)1/4 (6)
M20051

MS4120F; MS4620F,S; MS8120F,S; S2024-F; S20230-F FAST-ACTING, TWO-POSITION ACTUATORS
63-2584—7 4
INSTALLATION
When Installing this Product...
1. Read these instructions carefully. Failure to follow
them could damage the product or cause a hazardous
condition.
2. Check the ratings given in the instructions and on the
product to make sure the product is suitable for your
application.
3. Installer must be a trained, experienced service
technician.
4. After installation is complete, check out product
operation as provided in these instructions.
WARNING
Electrical Power Hazard.
Line voltage can cause death or serious injury
and short equipment circuitry.
Disconnect power supply before installation.
CAUTION
Electrical Shock or Equipment Damage Hazard.
Low voltage can shock individuals or short
equipment circuitry.
Disconnect power supply before installation.
IMPORTANT
All wiring must agree with applicable codes,
ordinances and regulations.
Location
The actuators are designed to open a damper by driving the
damper shaft in either a clockwise or counterclockwise
direction. The actuator housing has two slots on the
bottom, either of which, with a 205649 Mounting Bracket,
secures it flush to a damper box (see Fig. 2).
NOTE: When mounted correctly, these slots allow the
actuator to float without rotating relative to the damper
shaft.
CAUTION
Equipment Damage Hazard.
Tightly securing actuator to damper housing can
damage actuator.
Mount actuator to allow it to float along its vertical axis.
Preparation
Before mounting the actuator onto the damper shaft, determine
the:
— Damper/valve opening direction for correct spring return
rotation. The actuator can be mounted to provide clockwise
or counterclockwise spring return.
— Damper shaft size (see Specifications section).
Determine Appropriate Mounting Orientation
See Fig. 2 for mounting orientation.
NOTES:
— Actuators are shipped in the fully closed position.
— An arrow molded into the hub points to tick marks
on the label to indicate the hub rotary position.
— See Fig. 3 for proper mounting to a square damper
shaft.
Fig. 2. Spring Return DCA mounting orientation.
Fig. 3. Proper mounting to square damper shaft.
Measure Damper/Valve Shaft Length
If the shaft is less than three inches in length, the shaft
coupling must be located between the damper/valve and
actuator housing. If the shaft length is more than three inches,
the shaft coupling may be located on either side of the actuator
housing.
If the coupling must be moved from one side of the actuator to
the reverse, follow these instructions (see Fig. 4):
1. Remove the retainer clip from the shaft coupling and set
it aside for later use.
2. Remove shaft coupling from one side of the actuator.
3. Replace the shaft coupling on the opposite side of the
actuator aligning it based on the stroke labelling.
4. Replace the retainer clip on the shaft coupling using the
groove of the coupling.
M20052
CCW TO CLOSE
(FAIL-SAFE
POSITION)
CW TO OPEN
CW TO CLOSE
(FAIL-SAFE
POSITION)
CCW TO OPEN
DAMPER SHAFT
M21007

MS4120F; MS4620F,S; MS8120F,S; S2024-F; S20230-F FAST-ACTING, TWO-POSITION ACTUATORS
563-2584—7
Fig. 4. Mounting shaft coupling to actuator opposite side.
Mounting
CAUTION
Device Malfunction Hazard.
Improper shaft coupling tightening causes device
malfunction.
Tighten shaft coupling with proper torque to prevent
damper shaft slippage.
CAUTION
Actuator Damage Hazard.
Using actuator as shaft bearing causes device
damage.
Use actuator only to supply rotational torque. Avoid any
side loads to actuator output coupling bearings.
To mount actuator, proceed as follows:
1. Place actuator over damper shaft; and hold mounting
bracket in place. See Fig. 5.
2. Mark screw holes on damper housing.
3. Remove actuator and mounting bracket.
4. Drill or center-punch holes for mounting screws (or use
no.10 self-tapping sheet metal screws).
NOTE: If necessary, use a field-fabricated steel base plate
secured with sheet metal screws.
5. Turn damper blades to desired normal (closed) position.
6. Place actuator and mounting bracket back into position
and secure bracket to damper box with sheet metal
screws.
7. Using 10 mm wrench, tighten shaft coupling securely
onto damper shaft using minimum 120 lb-in., maximum
180 lb-in. torque.
Fig. 5. Mounting actuator to damper housing.
M20054
ENSURE THAT MOUNTING ASSEMBLY PREVENTS ACTUATOR
ROTATION AND ALLOWS ACTUATOR TO FLOAT ALONG
INDICATED AXIS. WHEN TOO TIGHT, THE RESULTING BINDING
CAN DAMAGE THE ACTUATOR OR REDUCE TORQUE OUTPUT.
ACCESSORY MOUNTING BRACKET IS NOT SUPPLIED WITH
THE ACTUATOR.
1
2
1
2
M20055

MS4120F; MS4620F,S; MS8120F,S; S2024-F; S20230-F FAST-ACTING, TWO-POSITION ACTUATORS
63-2584—7 6
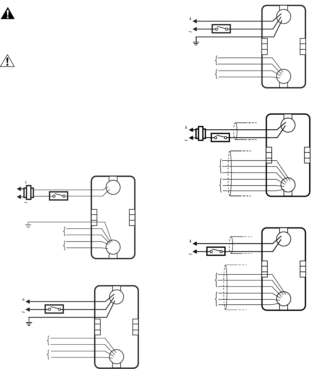
WIRING
See Fig. 6 through 10 for typical wiring diagrams.
WARNING
Electrical Power Hazard.
Line voltage can cause death or serious injury and
short equipment circuitry.
Disconnect power supply before installation.
CAUTION
Electrical Shock or Equipment Damage Hazard.
Disconnect all power supplies before installation.
Motors with auxiliary switches can have more than one
disconnect.
IMPORTANT
1. All wiring must comply with local electrical codes,
ordinances and regulations.
2. Voltage and frequency of transformer used with
MS8120F,S and S2024-F must correspond with the
characteristics of power supply and actuator.
NOTE: The conduit fittings are designed for use with 3/8 in.
reduced-wall steel or aluminum flexible conduit.
Fig. 6. Typical 24 Vac wiring (MS Series).
Fig. 7. Typical 120 Vac wiring (MS Series).
Fig. 8. Typical 230 Vac wiring (MS Series).
Fig. 9. Typical 24 Vac wiring (S20 Series).
Fig. 10. Typical 230 Vac wiring (S20 Series).
M20053A
24 VAC
BLACK
RED
GREEN
MS8120F
L1
( )
L2 ( )
YELLOW
YELLOW
BLUE
7° AUXILIARY
SWITCH
85° AUXILIARY
SWITCH
BLUE
M20056A
WHITE
BLACK
GREEN
MS4120F
L1
( )
L2 ( )
YELLOW
YELLOW
BLUE
BLUE
7° AUXILIARY
SWITCH
85° AUXILIARY
SWITCH
120 VAC
M20057A
BLUE
BROWN
GREEN
230 VAC
MS4620F
L1
( )
L2 ( )
YELLOW
YELLOW
BLUE
BLUE
7° AUXILIARY
SWITCH
85° AUXILIARY
SWITCH
M20678A
BLUE
BROWN
230 VAC
S2024-F-SW2, MS8120S
L1
( )
L2 ( )
BLACK/BLUE
BLACK/RED
BLACK/YELLOW
GRAY/RED
GRAY/BLUE
GRAY/YELLOW
85° AUXILIARY
SWITCH
7° AUXILIARY
SWITCH
M20680A
BLUE
BROWN
230 VAC
S20230-F-SW2, MS4620S
L1
( )
L2 ( )
BLACK/BLUE
BLACK/RED
BLACK/YELLOW
GRAY/RED
GRAY/BLUE
GRAY/YELLOW
7° AUXILIARY
SWITCH
85° AUXILIARY
SWITCH

MS4120F; MS4620F,S; MS8120F,S; S2024-F; S20230-F FAST-ACTING, TWO-POSITION ACTUATORS
763-2584—7
OPERATION
The actuators are designed for use in Smoke Control Systems.
If power fails, the actuator spring returns to the 0° position. The
actuator mounts flush with the damper box. The actuator drives
from 0° to 95° and spring returns back to 0°.
The actuators are operated by an spst two-position controller.
When using an spst two-position controller, the actuator drives
to the damper fully open position when controller contact
makes and spring returns to the damper fully closed position
when controller contact breaks. The actuator drops to holding
power level on detection of stall, independent of hub position.
Cycling
The actuator and the internal spring are designed so that no
special cycling during long-term holding is required. Honeywell
recommends following all local, state, and national codes for
periodic testing of the entire smoke control system. Refer to
National Fire Protection Association (NFPA) National Fire
Codes®: NFPA90A, NFPA92A, and NFPA92B for your
application.
Auxiliary Switches
Some models include auxiliary switches (see Table 1).
SPST Switches (Table 5)
See Fig. 6 through 8 for SPST auxiliary switch wiring.
Table 5. SPST Auxiliary Switch Operation.
NOTE: Both sets of contacts are open when the actuator is
between 7° and 85°.
SPDT Switches (Fig. 11)
See Fig. 9 through 11 for SPDT auxiliary switch wiring.
Fig. 11. SPDT auxiliary switch operation.
Switch
Wire
Color
Makes Breaks
(degrees from fully closed position)
7° blue less than 7 greater than 7
85° yellow greater than 85 less than 85
BLACK/BLUE
BLACK/RED
BLACK/YELLOW
BLACK/BLUE
BLACK/RED
BLACK/YELLOW
LESS 7° MORE 7°
GRAY/BLUE
GRAY/RED
GRAY/YELLOW
GRAY/BLUE
GRAY/RED
GRAY/YELLOW
LESS 85° MORE 85°
7° SWITCH 85° SWITCH
M20679B
MS4120F; MS4620F,S; MS8120F,S; S2024-F; S20230-F FAST-ACTING, TWO-POSITION ACTUATORS
63-2584—7 8
CHECKOUT
MS4120F (120 Vac model)
1. Check damper position.
2. Connect 120 Vac to the black and white leadwires to
drive the damper to the open position. The actuator
should drive the damper.
3. If the actuator does not run, remove power for at least
two seconds.
4. If the actuator spring returns, allow it to close entirely,
then return to step 2.
5. If the actuator does not spring return, verify that the actu-
ator is properly installed. See Installation section.
6. If the actuator is correctly installed but neither runs nor
spring returns, replace the actuator.
MS4620F,S; S20230-F (230 Vac models)
1. Check damper position.
2. Connect 230 Vac to the blue and brown leadwires to
drive the damper to the open position. The actuator
should drive the damper.
3. If the actuator does not run, remove power for at least
two seconds.
4. If the actuator spring returns, allow it to close entirely,
then return to step 2.
5. If the actuator does not spring return, verify that the actu-
ator is properly installed. See Installation section.
6. If the actuator is correctly installed but neither runs nor
spring returns, replace the actuator.
MS8120F,S; S2024-F (24 Vac models)
1. Check damper position.
2. Connect 24 Vac to the red and black leadwires to drive
the damper to the open position. The actuator should
drive the damper.
3. If the actuator does not run, remove power for at least
two seconds.
4. If the actuator spring returns, allow it to close entirely,
then return to step 2.
5. If the actuator does not spring return, verify that the actu-
ator is properly installed. See Installation section.
6. If the actuator is correctly installed but neither runs nor
spring returns, replace the actuator.

MS4120F; MS4620F,S; MS8120F,S; S2024-F; S20230-F FAST-ACTING, TWO-POSITION ACTUATORS
963-2584—7
D Montageanweisung NL Installatievoorschrift SF Asennusohje
F Instructions d’Installation DK Installasjonsinstruks S Installations Instrukioner
I Istruzioni per I’Installazione N Installationsinstrukioner E Instrucciones de montage
M20726
ASSEMBLY
EINBAU
MONTAGE
MONTAGGIO
MONTAGE
MONTERE
MONTERING
ASENTAMINEN
MONTERA
MONTAJE
D
F
I
NL
DK
N
FIN
S
E
!24 VAC
120 VAC
230 VAC
b
a
M20727
M20729
a
b
M20730A
a
b
10 mm
M12030
a
b
d
c
b
M20728
AA1,
A4
A2
A5
A3
A6

MS4120F; MS4620F,S; MS8120F,S; S2024-F; S20230-F FAST-ACTING, TWO-POSITION ACTUATORS
63-2584—7 10
M20734
a
M20733A
M20735A
M20731A
!
24 VAC
120 VAC
230 VAC
DISASSEMBLY
AUSBAU
DÉMONTAGE
SMONTAGGIO
DEMONTAGE
AFMONTERE
DEMONTERE
PURKAMINEN
NEDMONTERA
DESMONTAJE
D
F
I
NL
DK
N
FIN
S
E
M20732
a
b
BB1
B4B3
B2
MS4120F; MS4620F,S; MS8120F,S; S2024-F; S20230-F FAST-ACTING, TWO-POSITION ACTUATORS
11 63-2584—7

Automation and Control Solutions
Honeywell International Inc. Honeywell Limited-Honeywell Limitée
1985 Douglas Drive North 35 Dynamic Drive
Golden Valley, MN 55422 Scarborough, Ontario M1V 4Z9
customer.honeywell.com
MS4120F; MS4620F,S; MS8120F,S; S2024-F; S20230-F FAST-ACTING, TWO-POSITION ACTUATORS
® U.S. Registered Trademark
© 2006 Honeywell International Inc.
63-2584—7 C.H. Rev. 03-06
Teflon® is a registered trademark of the E.I. du Pont de Nemours and Company.
National Fire Codes® is a registered trademark of the National Fire Protection Association (NFPA).