Hottinger Bruel and Kjaer TCAS5 TCA Torquemeter User Manual
Hottinger Baldwin Messtechnik GmbH TCA Torquemeter
User Manual

HBM: Business Document
Mounting instructions
Torque transducer KV180-nfz
TCA-S5 (MPZ1605016)
HBM: Business Document
Directory
1 Safety Instructions ........................................................................................................................................ 3
2 Markings used ............................................................................................................................................... 1
2.1 Symbols on the transducer .................................................................................................................. 1
2.2 The markings used in this document ................................................................................................. 2
3 Application...................................................................................................................................................... 2
4 Structure and mode of operation ................................................................................................................ 3
5 Mechanical installation ................................................................................................................................. 5
5.1 Important precautions during installation .......................................................................................... 5
5.2 Conditions on site ................................................................................................................................. 6
5.3 Installation orientation .......................................................................................................................... 6
5.4 Installation options ................................................................................................................................ 6
5.4.2 Installation with
subsequent
stator
mounting
........................................................................ 8
5.5 Preparing for the rotor mounting (exemplary) .................................................................................. 9
5.6 Mounting the rotor ............................................................................................................................... 11
5.7 Installing the stator .............................................................................................................................. 14
6 General information .................................................................................................................................... 17
6.2 EMC protection.................................................................................................................................... 17
6.3 Evaluation unit ..................................................................................................................................... 19
6.4 S
upply voltage
................................................................................................................................... 22
6.5 Use of EMI suppressor ...................................................................................................................... 23
7 Shunt signal ................................................................................................................................................. 25
8 Functionality testing .................................................................................................................................... 26
9 Maintenance ................................................................................................................................................ 27
10 Dimensions of the rotor and stator antenna ........................................................................................... 28
11 Dimensions .............................................................................................................................................. 29
11.1 Rotor- 30kN·m .................................................................................................................................... 29
12 Specifications .......................................................................................................................................... 31
13 Declaration of conformity ....................................................................................................................... 34

HBM: Business Document
1 Safety Instructions
FCC Compliance & Advisory Statement
Important
Any changes or modification not expressly approved in writing by by the party
responsible for compliance could void the user’s authority to operate the device.
Where specified additional components or accessories elsewhere defined to be
used with the installation of the product, they must be used in order to ensure
compliance with FCC regulations.
This device complies with Part 15 of the FCC Rules. Operation is subject to the
following two conditions: (1) this device may not cause harmful interference, and
(2) this device must accept any interference received, including interference that
may cause undesired operation.
The FCC identifier or the unique identifier, as appropriate, must be displayed on
the device.
Model
Measuring
range
FCC ID
IC
TCA
30 kN·m
2ADAT-TCAS5
12438A-TCAS5
Label example with FCC ID.
Fig 1.1: Location of the label on the stator of the device

HBM: Business Document
Model: TCA-S5
FCC ID: 2ADAT-TCAS5
This device complies with part 15 of the FCC Rules.
Operation is subject to the following two conditions:
(1) This device may not cause harmful interference, and
(2) this device must accept any interference received,
including interference that may cause undesired operation.
Fig. 1.2 Example of the label
Appropriate use
The torque transducer is used exclusively for torque, angle of rotation and
power measurement tasks within the load limits stipulated in the specifica-
tions. Any other use is not the designated use.
Stator operation is only permitted when the rotor and stator antenna are
coupled.
The torque flange may only be installed by qualified personnel in compliance
with the specifications and with the safety requirements and regulations of
these mounting instructions. It is also essential to observe the applicable legal
and safety regulations for the application concerned. The same applies to the
use of accessories.
The torque flange is not intended for use as a safety component. Please also
refer to the section: “Additional safety precautions". Proper and safe operation
requires proper transportation, correct storage, siting and mounting, and care-
ful operation.
Loading capacity limits
The data in the technical data sheets must be complied with when using the
torque flange. In particular, the respective maximum loads specified must
never be exceeded. The values stated in the specifications‐must not be
exceeded, for example, for
limit torque,
longitudinal limit force, lateral limit force or limit bending moment,
torque oscillation width,
breaking torque,
temperature limits,
the limits of the electrical loading capacity.
HBM: Business Document
Use as a machine element
The torque flange can be used as a machine element. When used in this
manner, it must be noted that, to favor greater sensitivity, the transducer is not
designed with the safety factors usual in mechanical engineering. Please refer
here to the section “Loading capacity limits", and to the specifications.
Accident prevention
According to the prevailing accident prevention regulations, once the trans-
ducers have been mounted, a covering agent or cladding has to be fitted as
follows:
The covering agent or cladding must not be free to rotate.
The covering agent or cladding should prevent squeezing or shearing and
provide protection against parts that might come loose.
Covering agents and cladding must be positioned at a suitable distance or
be so arranged that there is no access to any moving parts within.
Covering agents and cladding must still be attached even if the moving
parts of the torque flange are installed outside people's movement and
working range.
The only permitted exceptions to the above requirements are if the torque
flange is already fully protected by the design of the machine or by existing
safety precautions.
Additional safety precautions
The torque flange cannot (as a passive transducer) implement any (safety‐rel
evant) cutoffs. This requires additional components and constructive meas-
ures for which the installer and operator of the plant is responsible. The layout
of the electronics conditioning the measurement signal should be such that
measurement signal failure does not cause damage.
The scope of supply and performance of the transducer covers only a small
area of torque measurement technology. In addition, equipment planners,
installers and operators should plan, implement and respond to safety engin-
eering considerations in such a way as to minimize residual dangers. Pertin-
ent national and local regulations must be complied with.
General dangers of failing to follow the safety instructions
The torque flange corresponds to the state of the art and is failsafe. Trans-
ducers can give rise to residual dangers if they are incorrectly operated or
inappropriately mounted, installed and operated by untrained personnel.
Every person involved with siting, starting‐up, operating or repairing a torque
flange must have read and understood the mounting instructions and in
particular the technical safety instructions. The transducers can be damaged or
destroyed by non-designated use of the transducer or by non-compliance with
the mounting and operating instructions, these safety instructions or any other
HBM: Business Document
applicable safety regulations (safety and accident prevention regulations),
when using the transducers. Transducers can break, particularly in the case of
overloading. The breakage of a transducer can also cause damage to prop-
erty or injury to persons in the vicinity of the transducer.
If the torque flange is not used according to the designated use, or if the
safety instructions or specifications in the mounting and operating instructions
are ignored, it is also possible that the transducer may fail or malfunction, with
the result that persons or property may be adversely affected (due to the
torques acting on or being monitored by the torque flange).
Conversions and modifications
The transducer must not be modified from the design or safety engineering
point of view except with our express agreement. Any modification shall
exclude all liability on our part for any damage resulting therefrom.
Selling on
If the torque flange is sold on, these mounting instructions must be included
with the torque flange.
Qualified personnel
Qualified personnel means persons entrusted with siting, mounting, starting
up and operating the product, who possess the appropriate qualifications for
their function.
This includes people who meet at least one of the three following require-
ments:
- Knowledge of the safety concepts of automation technology is a
requirement and as project personnel, you must be familiar with these
concepts.
- As automation plant operating personnel, you have been instructed how to
handle the machinery. You are familiar with the operation of the equipment
and technologies described in this documentation.
- As commissioning engineers or service engineers, you have successfully
completed the training to qualify you to repair the automation systems. You
are also authorized to activate, ground and label circuits and equipment in
accordance with safety engineering standards.

1
HBM: Business Document
2 Markings used
2.1 Symbols on the transducer
Label example
Label example with FCC ID number,
Location of label on the stator unit.

2
HBM: Business Document
2.2 The markings used in this document
Important instructions for your safety are specifically identified. It is essential
to follow these instructions in order to prevent accidents and damage the
property.
Symbol
Meaning
This marking warns of a potentially
dangerous situation in which failure to
comply with safety requirements can result
in death or serious physical injury.
CAUTION
This marking warns of a potentially
dangerous situation in which failure to
comply with safety requirements can result
in slight or moderate physical injury.
NOTE
This marking draws your attention to a
situation in which failure to comply with
safety requirements can lead to damage to
property.
Important
This marking draws your attention to
important information about the product or
about handling the product.
Tip
This marking indicates application tips or
other information that is useful to you.
This marking draws your attention to
information about the product or about
handling the product.
Emphasis
Italics are used to emphasize and highlight
texts.
3 Application
This transducer is designed only for Daimler Trucks USA

3
HBM: Business Document
4 Structure and mode of operation
The torque flange consists of two separate parts: the rotor and the stator. The
rotor comprises the measuring body and the signal transmission elements.
Strain gauges (SGs) are installed on the measuring body. The rotor electronics
for transmitting the bridge excitation voltage and the measurement signal are
located centrally in the flange. The transmitter coils for contactless
transmission of excitation voltage and measurement signal are located on the
measuring body's outer circumference. The signals are sent and received by a
separable antenna ring. The antenna ring is mounted on a housing that
contains the electronics for the automatic self-tuning function of the antenna.
The connection cable connects the stator housing with the evaluation unit
which contains the electronics for voltage adaptation and the signal
conditioning.
Connectors and screw terminals for the torque signal and the voltage supply
are located on the evaluation unit. The stator antenna ring should be
mounted more or less concentrically with some gap to the rotor antenna
(see Chapter 5).
Fig. 4.1: Transducer with stator antenna and evaluation unit

4
HBM: Business Document
Fig. 4.2: EMI suppressor
Important
The use of the shielding plates is important to ensure compliance with FCC
regulations. If the shielding plates has to be removed for any purpose (e.g.
installation or maintenance), they must be replaced in the original position
before the product is used.

5
HBM: Business Document
5 Mechanical installation
5.1 Important precautions during installation
A torque flange is a precision measurement element and therefore needs
careful handling. Dropping or knocking the transducer may cause permanent
damage. Make sure that the transducer cannot be overloaded, including while it
is being mounted.
Handle the transducer with care.
Check the effect of bending moments, critical rotational speeds and
natural torsional oscillations, to prevent the transducer being
overloaded by resonance sharpness
Make sure that the transducer cannot be overloaded.
There is a danger of the transducer breaking if it is overloaded. This can cause
danger for the
operating personnel
of the system in which the
transducer
is
installed
.
Implement appropriate safety measures to avoid overloads and to protect
against resulting dangers.
Use a Use a thread locker (medium strength, e.g. LOCTITE) to
glue the screws into the counter thread to exclude prestressing
loss due to screw slackening, in the event of alternating loads.
Comply with the mounting dimensions to enable correct operation.
An appropriate shaft flange enables the special torque flange to be mounted
directly. It is also possible to mount a joint shaft or relevant compensating
element directly on the rotor (using an intermediate flange when required).
Under no circumstances should the permissible limits specified for bending
moments, lateral and longitudinal forces be exceeded. Due to the torque
flange's high torsional stiffness, dynamic shaft train changes are kept to a
minimum.
Note
WARNING

6
HBM: Business Document
Important
Even if the unit is installed correctly, the zero point adjustment made at the
factory can shift by up to approx. 0.5% of the characteristic value. If this value
is exceeded, we advise you to check the mounting conditions. If the residual
zero offset when the unit is removed is greater than 1% of the sensitivity,
please send the transducer back to the Darmstadt factory for testing.
5.2 Conditions on site
The special torque flange must be protected against coarse dirt particles,
dust, oil, solvents and humidity.
There is wide ranging compensation for the effects of temperature on the
output and zero signals of the transducer (see Chapter 13, "Specifications"). If
there are no static temperature ratios, for example, because of the
temperature differences between the measuring body and the flange, the
values given in the specifications can be exceeded. In this case, ensure static
temperature ratios by cooling or heating, depending on the application. As an
alternative, check if thermal decoupling is possible, e.g. by means of heat
radiating elements such as multiple disc couplings.
5.3 Installation orientation
The torque flange can be installed with any orientation.
With clockwise torque, when using the voltage output mode a positive output
signal (0 V…+10 V) or when using the frequency output mode an output
frequency of 10 kHz … 15 kHz is present on the output (corresponding zero to
nominal torque load).
5.4 Installation options
There are basically two options for mounting the special torque flange: with or
without dismantling the antenna ring. We recommend mounting as described
in Chapter 5.4.1.
If mounting in accordance with Chapter 5.4.1 is not possible (e.g. in the case
of subsequent stator replacement), you will have to dismantle the antenna
ring. It is essential in this case to comply with the notes on assembling the
antenna segments (see Chapter 5.4.2).

7
HBM: Business Document
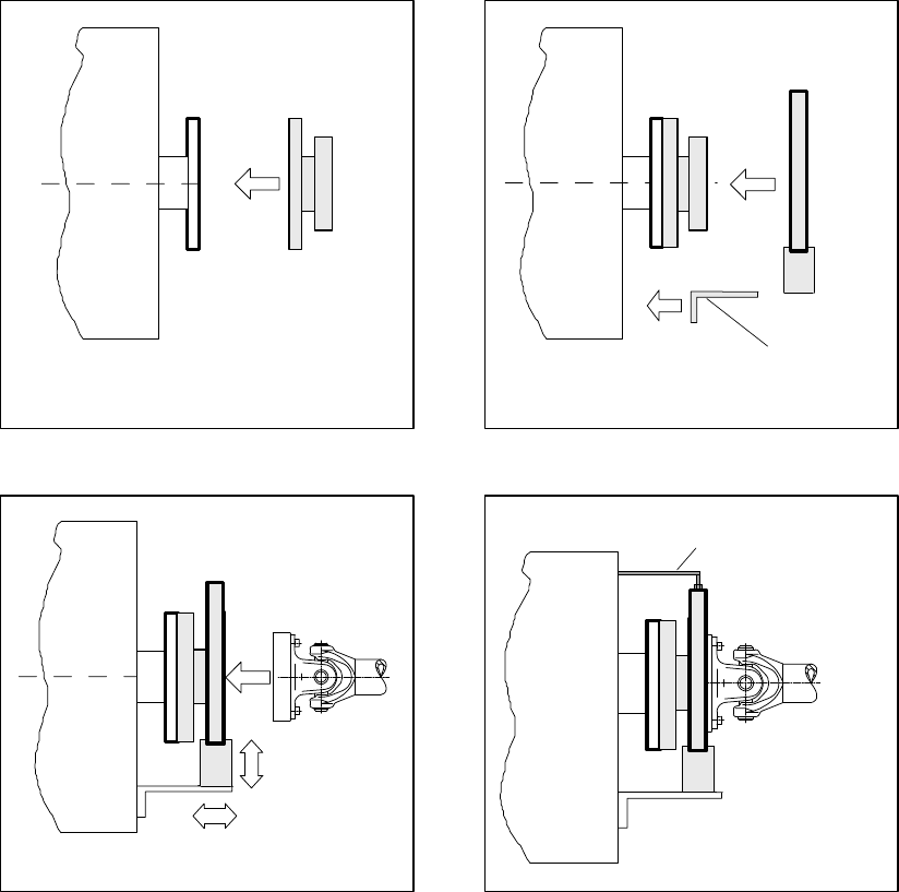
5.4.1 Installation without dismantling the antenna ring
1. Install rotor 2. Install stator
3. Finish shaft train installation
Mounting supplied by
customer
Support supplied by customer
4. Fit support

8
HBM: Business Document
5.4.2 Installation with
subsequent
stator
mounting
2. Install shaft train
3. Dismantle antenna segment 4. Install antenna segment
1. Install rotor
5. Fit support
1. Open
2x M4
Fan-type
lock
washers
Support supplied by customer
2.
2.

9
HBM: Business Document
5.5 Preparing for the rotor mounting (exemplary)
CAUTION
The rotor is heavy
Use a crane or other suitable lifting equipment to lift it out of its packaging and
install it.
Use flexible eye bolts as transport and mounting aids. Hook the lifting
equipment to these eye bolts as this ensures that the rotor is lifted
horizontally out of the packaging (see Fig 4.1).
Transport and mounting eye bolts
Fig 5.1: Transport and mounting eye bolts on the rotor

10
HBM: Business Document
1. Lift the rotor out of the packaging, rotate horizontally by 180°, so that
the bigger flange is pointing upwards (see exemplary Fig 5.1).
Flange B
Fig 5.2: Rotating the rotor
2. Place the rotor carefully onto a clean and stable table.
3. If the rotor is to be installed horizontally as shown in Fig 5.3, remove one
mounting eye bolt. Both mounting eye bolts can initially remain in the
flange for vertical installation.
Fig 5.3: Rotor installation (horizontal)

11
HBM: Business Document
4. Clean the plane surfaces of the transducer flange and the counter flange.
For safe torque transfer, the faces must be clean and free from grease.
Use a piece of cloth or paper soaked in solvent. Make sure that no solvent
drips into the inside of the transducer and that the transmitter coils are not
damaged during cleaning.
5. Fasten the lifting equipment to the mounting eye bolt(s).
6. Carefully lift up the rotor and move it to the mounting position (see Fig 5.1).
5.6 Mounting the rotor
Usually the rotor identification plate is no longer visible after installation. This
is why we include with the rotor additional stickers with the important
characteristics, which you can attach to the stator or any other relevant test-
bench components. You can then refer to them whenever there is anything
you wish to know, such as the shunt signal. To explicitly assign the data, the
identification number and the size are engraved on the rotor flange, where
they can be seen from outside.
Make sure during installation that you do not damage the measuring zone
marked in Fig. 5.4 by using it to support tools or knocking tools against it when
tightening screws, for example. This can damage the transducer and produce
measurement errors, or even destroy the transducer.
1. Prior to installation, clean the plane surfaces of the transducer flange and
the counter flange.
For safe torque transfer, the surfaces must be clean and free from grease.
Use a piece of cloth or paper soaked in solvent. When cleaning, make sure
that you do not damage the transmitter winding.
Tip
Note

12
HBM: Business Document
Fig. 5.4: Bolted rotor
connection
2. For the connection of flange A (see Fig. 5.4), use DIN EN ISO 4762
property class 10.9 hexagon socket screws of a suitable length (dependent
on the connection geometry, see Tab. 5.1).
We recommend fillister head screws DIN EN ISO 4762, blackened, smooth
headed, permitted size and shape variance in accordance with DIN ISO
4759, Part 1, product class A.
3. Fasten all screws with the specified torque (Table 5.1).
4. Now remove the eye bolt(s) used for transportation and mounting.
Keep them in a safe place for future dismounting.
5. There are relevant tapped holes on flange B for continuing the shaft train
mounting. Again use screws of property class 10.9 and tighten them with
the pre scribed torque, as specified in Tab. 5.1.
Use a threadlocker (medium strength, e.g. LOCTITE) to glue the screws into
the counter thread to exclude prestressing loss due to screw slackening, in
the event of alternating loads.
Important
Important

13
HBM: Business Document
Comply with the maximum screw-in depth as per Tab. 5.1. Otherwise significant
measurement errors may result from torque shunt, or the transducer may be damaged.
Dry screw connections can result in different and higher friction factors (see
VDI 2230, for example). This means a change to the required tightening
moments.
The required tightening moments can also change if you use screws with a
surface or property class other than that specified in Tab. 5.1, as this affects
the friction factor
5. There are relevant tapped holes on flange B for continuing the shaft train
mounting. Again use screws of property class 10.9 and tighten them with
the pre scribed torque, as specified in Tab. 5.1.
Note
Important

14
HBM: Business Document
5.7 Installing the stator
On delivery, the stator has already been installed and is ready for operation.
If necessary, the antenna segments can be divided from the antenna
segment clamp for maintenance or to facilitate stator mounting.
We recommend to use the stator ring as it is and to only open if absolutely
necessary.
When the flexible antenna segments are bent, they easily deviate from
circularity.
Prevent the antenna segments from a large deformation while bending.
While opening the stator ring, bend the antenna segments only as wide as
necessary to slip them over a thin part of the shaft nearby.
Fig. 5.5: Bolted connection of the antenna segments on the stator
1. Undo and remove the bolted connections (M4) on the Antenna segment
clamp.
There are fan type lock washers (or toothed washers) between the antenna
segments: Make sure that they do not get lost.
Important
Antenna segment
screws M4
Toothed washer
between the segments
M5 mounting slots for
for fixing the stator ring
Antenna segment
screws M5
Toothed washers
Stator housing
Antenna segments
Antenna segment clamp
and fixation point

15
HBM: Business Document
2. Careful bend the antenna segments to the necessary amount of gap and
slip the antenna ring over the thinnest part of the shaft nearby.
3. Use an appropriate mounting base to install the stator housing in the shaft
train so that there is sufficient opportunity for horizontal and vertical
adjustments. Do not fully tighten the bolts yet.
4. Now use two hexagon socket screws to mount the antenna segment clamp
removed in Point 1.
Make sure that the fan type lock washer is inserted between the antenna
segments (these ensure that there is a defined contact resistance)!
To make sure that they function perfectly, the fan-type lock washers (A5.3-
FST DIN 6798 ZN/galvanized) must be replaced after the bolted antenna
connection has been loosened three times.
5. Now tighten all antenna-segment bolted connections with a tightening torque
of 5 Nm.
6. Then align the antenna to the rotor in such a way that the antenna encloses
the rotor more or less coaxially and the antenna ring in the axial direction
shows the position and the center of the transmitter winding on the rotor (on
flange B).
Fig. 5.6: Bolted connection of the antenna segments on the
stator
6. Now fully tighten the bolted stator housing connection.
Important

16
HBM: Business Document
Prevention
of
stator
axial
oscillation
Depending on the operating conditions, the stator may be excited to vibrate.
This effect is dependent on:
The rotational speed,
The antenna diameter,
The design of the machine base.
To prevent this axial oscillation, the antenna ring requires additional support
by the customer. There are two mounting slots on the upper antenna
segment clamp (with an inner diameter of 5.5mm), which can be used to
incorporate a clamping device .The cable plug also requires support in this
case, a construction example is shown in Fig. 5.7
Fig. 5.7: Construction example for connector cables (here for two plugs,
needs adjustment to MPZ1604008 to only one plug)
Important

17
HBM: Business Document
6 General information
With extension cables, make sure that there is a proper connection
with minimum contact resistance and good insulation.
All cable connectors or swivel nuts must be fully tightened.
6.2 EMC protection
The product offered is a special assembly for stationary systems that is not
available on the general market or a transducer for installation by system
integrators and plant manufacturers. According to EMVG1 §12 paragraph 2 and
Directive 2004/1008/EC article 13 paragraph 1 this product does not require an
EC declaration of conformity nor the CE marking.
This product is intended exclusively for subsequent processing by companies or
persons that are experts in the field of electromagnetic compatibility (EMC).
Relevant EMC protection requirements relating to the product offered are met
when the following Installation notes are observed and implemented.
Installation notes
Please note the following points during installation and use:
It is essential to observe the specifications and notes provided in the
operating manual and the data sheet
Connecting cables, in particular the measuring and control cables, need to be
shielded
Make sure that the transducer and shielding are connected extensively to
ground.
Ensure an interference-free environment, avoid radiation interference
Devices connected to this product need to comply with protection
requirements per EMVG (Gesetz über die elektromagnetische Verträglichkeit
von Geräten / law on electromagnetic compatibility of instruments).
You have to install the shield of the connection cable at the shielded housing of the
electronics, to achieve the EMC-protection of the measuring chain. Make sure that the
transducer and shielding are connected extensively to ground.
Important
18
HBM: Business Document
Electrical and magnetic fields often induce interference voltages in the
measuring circuit. Therefore:
Use shielded, low-capacitance measurement cables only
Only use plugs that meet EMC guidelines.
Do not route the measurement cables parallel to power lines and control
circuits.
If this is not possible, protect the measurement cable with e.g. steel
conduit.
Avoid stray fields from transformers, motors and contact switches.
Do not ground the transducer, amplifier and indicator more than once.
Connect all devices in the measurement chain to the same grounded
conductor.
In the case of interference due to potential differences (compensating
currents), supply voltage zero and housing ground must be disconnected
on the amplifier and a potential equalization line established between the
evaluation unit and the amplifier housing (copper conductor, minimum 10
mm² wire cross-section).
Should differences in potential between the machine rotor and stator,
because of unchecked leakage, for example, cause interference, this
can usually be overcome by connecting the rotor definitively to ground,
e.g. with a wire loop. The stator must be connected to the same
(ground) potential.

19
HBM: Business Document
6.3 Evaluation unit
Fig. 6.1: Front view of the evaluation unit

20
HBM: Business Document
Functional overview of the evaluation unit (See fig. 5.8)
Item
Function description
1
Display
Shows analog output voltage. For monitoring only - accurate measurement values to
be read out on the output BNC connector
2
LED power
The LED indicates the on/off status of the device
3
LED RF-level
The LED indicates an acceptable RF signal strength from the transmitter
4
BNC output
Voltage ±10V / frequency 10kHz±5kHz (select with switch no. 12)
5
Potentiometer „offset“
Potentiometer for offset correction within the range of ±1V
6
Main switch
On / off switch (self-locking, pull to switch)
7
Supply voltage (+)
9 V….36 V DC
8
Supply voltage
GND
9
RF output (+)
Analog output correla1ng to the strength of the received RF-Signal. Acceptable RF-
Level is received, when voltage is above 3,4V
10
RF output GND
Ground connec1on of the telemetry system. Connect with main ground of vehicle / test
field
11
Stator-connection
Female connector for cable to stator unit
12
“Analog / frequency” output switch
Switch for setting the output format of the measurement signal.
Analog: ±10V, frequency: 10kHz ±5kHz TTL
13
Filter switch
Changes the filter frequency on output between 1.000Hz and 100Hz (-3dB). For slow
signals set on 100 Hz to get extra low noise signals.
14
Mode switch „measure / offset“
Switch up to „measure“: Normal measuring mode. The offset can be adjusted with the
potentiometer
Switch down to „offset“: The Control Unit generates internally an exact 0V output signal
which is only affected by the offset potentiometer. So the offset value can be precisely
determined and re-adjusted by setting any desired value.
15
Shunt cal-function on (push button)
Push button to release shunt cal-function. Cal-function will be released for app. 5
seconds (the orange LED above the button is activated for this time span).
Table 6.1: Functions of the evaluation unit

21
HBM: Business Document
Technical details
Supply voltage
9…36 VDC
Max. power consumption
30 VA
Signal bandwidth
Switchable 1000 Hz / 100Hz
Voltage output
±10 V
Frequency output
5 … 15 kHz TTL
Signal-to-noise ratio
63dB (1000Hz) / 83dB (100Hz)
Signal transit time
450µs
Wireless shunt calibration
Key button at control unit
Protection class
IP40
Weight
700 grams
Temperature range
-10 … +70 °C
Table 6.2: Technical details of the evaluation unit
Dimensions of the evaluation unit
Fig. 6.2: Main dimensions of the evaluation unit
175,0 mm
191,0 mm
60,5 mm
113 mm

22
HBM: Business Document
6.4 S
upply voltage
The transducer must be operated with a separated extra low voltage (supply
voltage
9 … 36 VDC). You can supply one or more torque flanges within a test bench
at the same time. Should the device be operated on a DC voltage network1),
additional precautions must be taken to discharge excess voltages.
The information in this Chapter relates to the self-contained operation of the
special torque transducer without HBM system solutions.
The supply voltage is electrically isolated from signal out puts and shunt
signal inputs. Connect a separated extra low voltage of 9 V … 36 V DC to
bracket 7 (+) and bracket 8 (-) of the evaluation unit.
The cable can be up to 50m long for voltages ≥24V, otherwise it can be up to
20m long.
1) Distribution system for electrical energy with greater physical expansion (over several test benches, for
example) that may possibly also supply consumers with high nominal (rated) currents
At the instant of power-up, a current of up to 4 A may flow, which could switch off power
packs with electronic current limiters.
Important

23
HBM: Business Document
6.5 Use of EMI suppressor
To suppress high frequencies a EMI suppressor on the cable between rotor
and stator has to be used. Use at least 1 loops of the cable.
Fastening must be done in an area not subject to mechanical loads (i.e. no
unwanted vibrations, etc.) using cable ties fit for the specific application.
Fig 6.1: Installation example EMI suppressor
Information
Consider longer cable of approximately 40cm due to the installation of the EMI
suppressor. The max. distance of EMI suppressor to connector is 500mm.
If the EMI suppressor has to be removed for any purpose (e.g. for
maintenance), it must be replaced on the cable. Use only EMI suppressor of
the correct type.
Type: Vitroperm R
Model No.: T60006-22063W517
Size: external diameter x internal diameter x height = 63 x 50 x 25
Important
The use of the EMI suppressor on the power cable is mandatory to ensure
compliance with FCC regulations.
24
HBM: Business Document

25
HBM: Business Document
7 Shunt signal
The special torque flange delivers an electrical shunt signal that can be
activated from the evaluation unit for measuring chains with HBM components.
The transducer generates a shunt signal of about 50% of the nominal (rated)
torque; the precise value is specified on the type plate.
After activation of push button no. 15 (see Fig. 6.1), the shunt signal is activated
for a time span of 5s. Adjust the amplifier output signal to the shunt signal
supplied by the connected transducer to adapt the amplifier to the transducer.
The transducer should not be under load when the shunt signal is being measured, as the
shunt signal is mixed additively.
Triggering the shunt signal
Push button no. 15 (see Fig. 6.1) on the evaluation unit to activate the shunt signal for a time
span of 5s.
Information

26
HBM: Business Document
8 Functionality testing
You can check the
functionality
of the rotor and the
stator
from the LEDs on
the evaluation unit.
Fig. 8.1: LEDs on the evaluation unit
LED
Color
Significance
LED no. 2
(power status)
Green (permanently lit)
normal operation
The main switch (no. 6 in Fig. 6.1) is on
and the evaluation unit is under power
Off (not lit)
The main power is off
LED no. 3
(RF level status)
Green (permanently lit)
normal operation
The LED indicates an acceptable RF
signal strength
Off (not lit)
The RF signal strength is too low, the
transmission between rotor and stator is
broken. Check rotor / stator alignment
LED
(cal-function
status)
Off (not lit)
normal operation
The shunt signal is not active.
Orange (permanently lit)
The shunt signal is active as long as the
LED is lit.
LED no. 2 (green),
power status
LED no. 3 (green),
RF level status
LED (orange),
cal-function status

27
HBM: Business Document
9 Maintenance
The torque transducer is maintenance‐free.

28
HBM: Business Document
10 Dimensions of the rotor and stator antenna

29
HBM: Business Document
11 Dimensions
11.1 Rotor- 30kN·m

30
HBM: Business Document
Typ
X-Toothing according to ISO 12667
KV180
A
mm
180 h7
B
mm
200
C
mm
192 h7
D
mm
150
E
mm
M14
F
mm
15
G
mm
22
H
mm
50
Φ N
mm
200

31
HBM: Business Document
12 Specifications
Ty
pe
TCA MPZ1605016
Accuracy class
0.3
Torque measuring system
Nominal (rated) torque M
nom
kN·m
30
Nominal (rated) sensitivity
(spread between torque =
zero and nominal (rated) torque)
Freq. output 10 kHz
Voltage output
Sensitivity tolerance
(deviation of the actual output
quantity at Mnom from the nominal (rated) sensitivity)
All outputs
kHz
V
%
5
10
<±0.3
Output signal
at
torque
=
zero
Frequency output
Voltage output
kHz
V
10
0
Nominal output signal
Frequency output
at positive nominal (rated) torque
at negative nominal (rated) torque
Voltage output
at positive nominal (rated) torque
at negative nominal (rated) torque
kHz
kHz
V
V
15 (TTL)
5 (TTL)
+10
-10
Low-pass filter
Low-pass filter LP1
Low-pass filter LP2
Hz
Hz
100
1000
Measurement frequency range,
-3
dB
Hz
0 … 1000
Temperature influence
per 10 K
in the
nominal
temperature range
on the
output signal,
related to
the
actual value of the
signal span (TKC)
Frequency output
Voltage output
on the
zero signal,
related to the
nominal (rated)
sensitivity (TK0)
Frequency output
Voltage output
%
%
%
%
<±0.1
<±0.1
<±0.1
<±0.1
Maximum
level control range
Frequency output
Voltage output
kHz
V
4.5 ... 15.5
-11 … +11
Energy supply
Nominal (rated) supply voltage (separated extra low
DC voltage)
Maximum power consumption
Maximum cable length
V
W
m
9 - 36
30
50

32
HBM: Business Document
Linearity deviation,
including
hysteresis,
relative to nominal (rated) sensitivity
Frequency output
Voltage output
Rel.
Standard deviation
of
repeatability
as per DIN 1319, relative to the variation of the output
signal
Frequency output
Voltage output
%
%
%
%
<±0.3
<±0.3
<±0.1
<±0.1
Shunt signal
%
approx. 50 % of Mnom
General information
Nominal (rated) torque M
nom
kNm
30
Reference temperature
Nominal (rated) temperature range
Operating temperature range
Storage temperature range
°C
°C
°C
°C
2
3
-
1
0
…
+
7
0
-
2
0
…
+
8
5
-
4
0
…
+
8
5
Mechanical
shock
as per
EN‐60068‐2‐27 1)
Quantity
Duration
Acceleration (half sine)
n
ms
m/s2
1000
3
650
Vibrational stress
in 3 directions as per
EN‐60068‐2‐6 1)
Frequency range
Duration
Acceleration (amplitude)
Hz
h
m/s2
10 … 2000
2.5
200
Nominal (rated) speed
rpm
8000
Load limits 2)
Limit torque
kN·m
45
Breaking torque (static)
kN·m
>90
Longitudinal limit force (static)
kN
100
Lateral limit force (static)
kN
12
Limit bending moment (static)
N·m
1800
1) The antenna ring and connection plug must be fixed.
2) Each type of irregular stress (bending moment, lateral or longitudinal force, exceeding nominal (rated) torque) can only be
permitted up to its specified limit, provided none of the others can occur at the same time. If this condition is not met, the limit
values must be reduced. If 30% of the limit bending moment and lateral limit force occur at the same time, only 40% of the
longitudinal limit force is permissible and the nominal (rated) torque must not be exceeded. The effects of permissible bending
moments, longitudinal and lateral forces on the measurement result are ≤±1% of the nominal (rated) torque. The load limits only
apply for the nominal (rated) temperature range. At temperatures <10°C, the load limits must be reduced by approx. 30% (strength
reduction).
3) The data refer to static loading of the measuring body; note the bolted connection!
4) The nominal (rated) torque must not be exceeded.

33
HBM: Business Document
Mechanical values
Permissible eccentricity of the rotor
(radially) to the center point of the stator
mm
±10
Permissible axial displacement between
rotor and stator
mm
±10
Weight
Rotor
Stator
kg
kg
3,8
<1

34
HBM: Business Document
13 Declaration of conformity

35
HBM: Business Document
Hottinger Baldwin Messtechnik GmbH.
Subject to modifications. All product descriptions are for
general information only. They are not to be understood
as a guarantee of quality or durability.
Hottinger Baldwin Messtechnik GmbH.
Änderungen vorbehalten. Alle Angaben beschreiben
unsere Produkte in allgemeiner Form. Sie stellen keine
Beschaffenheits- oder Haltbarkeitsgarantie im Sinne des
§443 BGB dar.
Hottinger Baldwin Messtechnik GmbH
Im Tiefen See 45 • 64293 Darmstadt • Germany
Tel. +49 6151 803-0 • Fax: +49 6151
803-9100
Email: info@hbm.com • www.hbm.com