Huawei Technologies RRU3642 Multi-mode Multi-carriers Remote Radio Unit User Manual
Huawei Technologies Co.,Ltd Multi-mode Multi-carriers Remote Radio Unit
Installation Guide

RRU3642
V400
Installation Guide
Issue 01
Date 2011-12-27
HUAWEI TECHNOLOGIES CO., LTD.

Issue 01 (2011-12-27) Huawei Proprietary and Confidential
Copyright © Huawei Technologies Co., Ltd. i
Copyright © Huawei Technologies Co., Ltd. 2011. All rights reserved.
No part of this document may be reproduced or transmitted in any form or by any means without prior
written consent of Huawei Technologies Co., Ltd.
Trademarks and Permissions
and other Huawei trademarks are trademarks of Huawei Technologies Co., Ltd.
All other trademarks and trade names mentioned in this document are the property of their respective
holders.
Notice
The purchased products, services and features are stipulated by the contract made between Huawei and
the customer. All or part of the products, services and features described in this document may not be
within the purchase scope or the usage scope. Unless otherwise specified in the contract, all statements,
information, and recommendations in this document are provided "AS IS" without warranties, guarantees or
representations of any kind, either express or implied.
The information in this document is subject to change without notice. Every effort has been made in the
preparation of this document to ensure accuracy of the contents, but all statements, information, and
recommendations in this document do not constitute the warranty of any kind, express or implied.
Huawei Technologies Co., Ltd.
Address: Huawei Industrial Base
Bantian, Longgang
Shenzhen 518129
People's Republic of China
Website: http://www.huawei.com
Email: support@huawei.com

RRU3642
Installation Guide About This Document
Issue 01 (2011-12-27) Huawei Proprietary and Confidential
Copyright © Huawei Technologies Co., Ltd.
ii
About This Document
Overview
This document describes the procedure for installing a direct current (DC) RRU3642 (referred
to as RRU in this document). RRU is short for remote radio unit.
Product Version
The following table lists the product version related to this document.
Product Name Product Version
DBS3900 V400
Intended Audience
This document is intended for:
z Base station installation engineers
Organization
1 Changes in the RRU3642 Installation Guide
This chapter describes changes in the RRU3642 Installation Guide.
2 Installation Preparations
Before the installation, you must obtain all reference documents and required tools and
instruments, and have been trained on installation skills.
3 Information About the Installation
Before installing an RRU, you must be familiar with its exterior, ports, installation options,
physical supports, and installation clearance requirements.
4 Unpacking the Equipment
Unpack and check the delivered equipment to ensure that all the materials are included and
intact.

RRU3642
Installation Guide About This Document
Issue 01 (2011-12-27) Huawei Proprietary and Confidential
Copyright © Huawei Technologies Co., Ltd.
iii
5 Installation Process
The installation process involves installing an RRU and RRU cables, checking the RRU
hardware installation, and powering on the RRU.
6 Installing the RRU
This chapter describes the procedure for installing the RRU. The RRU can be installed on a
pole, U-steel, angle steel, or wall. The procedure for installing the RRU varies depending on
installation options.
7 Installing RRU Cables
This section describes the procedures for installing remote radio unit (RRU) cables.
8 Checking the RRU Hardware Installation
After an RRU is installed, check the hardware installation.
9 Powering On an RRU
After all the devices are installed, check the power-on status of an RRU.
10 Appendix
This section describes the procedure for adding an easy power receptacle (pressfit type)
connector.
Conventions
Symbol Conventions
The symbols that may be found in this document are defined as follows.
Symbol Description
Indicates a hazard with a high level of risk that, if not avoided,
will result in death or serious injury.
Indicates a hazard with a medium or low level of risk which, if
not avoided, could result in minor or moderate injury.
Indicates a potentially hazardous situation that, if not avoided,
could cause equipment damage, data loss, and performance
degradation, or unexpected results.
Indicates a tip that may help you solve a problem or save time.
Provides additional information to emphasize or supplement
important points of the main text.

RRU3642
Installation Guide About This Document
Issue 01 (2011-12-27) Huawei Proprietary and Confidential
Copyright © Huawei Technologies Co., Ltd.
iv
General Conventions
Convention Description
Times New Roman Normal paragraphs are in Times New Roman.
Boldface Names of files, directories, folders, and users are in
boldface. For example, log in as user root.
Italic Book titles are in italics.
Courier New Terminal display is in Courier New.
Command Conventions
Convention Description
Boldface The keywords of a command line are in boldface.
Italic Command arguments are in italics.
[ ] Items (keywords or arguments) in square brackets [ ] are
optional.
{ x | y | ... } Alternative items are grouped in braces and separated by
vertical bars. One is selected.
[ x | y | ... ] Optional alternative items are grouped in square brackets
and separated by vertical bars. One or none is selected.
{ x | y | ... } * Alternative items are grouped in braces and separated by
vertical bars. A minimum of one or a maximum of all can
be selected.
GUI Conventions
Convention Description
Boldface Buttons, menus, parameters, tabs, windows, and dialog titles
are in boldface. For example, click OK.
> Multi-level menus are in boldface and separated by the ">"
signs. For example, choose File > Create > Folder.
Keyboard Operation
Format Description
Key Press the key. For example, press Enter and press Tab.

RRU3642
Installation Guide About This Document
Issue 01 (2011-12-27) Huawei Proprietary and Confidential
Copyright © Huawei Technologies Co., Ltd.
v
Format Description
Key 1+Key 2 Press the keys concurrently. For example, pressing
Ctrl+Alt+A means the three keys should be pressed
concurrently.
Key 1, Key 2 Press the keys in turn. For example, pressing Alt, A means
the two keys should be pressed in turn.
Mouse Operation
Action Description
Click Select and release the primary mouse button without
moving the pointer.
Double-click Press the primary mouse button twice continuously and
quickly without moving the pointer.
Drag Press and hold the primary mouse button and move the
pointer to a certain position.

RRU3642
Installation Guide Contents
Issue 01 (2011-12-27) Huawei Proprietary and Confidential
Copyright © Huawei Technologies Co., Ltd.
vi
Contents
About This Document .................................................................................................................... ii
1 Changes in the RRU3642 Installation Guide ........................................................................... 1
2 Installation Preparations ............................................................................................................. 2
2.1 Reference Documents ...................................................................................................................................... 2
2.2 Tools and Instruments ...................................................................................................................................... 2
2.3 Skills and Requirements for Onsite Personnel ................................................................................................. 3
3 Information About the Installation ........................................................................................... 5
3.1 RRU Exterior ................................................................................................................................................... 5
3.2 RRU Ports ........................................................................................................................................................ 6
3.3 RRU Indicators ................................................................................................................................................. 9
3.4 Installation Options ........................................................................................................................................ 10
3.5 Installation Clearance Requirements of an RRU ............................................................................................ 15
3.5.1 Installation Clearance for a Single RRU ............................................................................................... 15
3.5.2 Installation Clearance for Multiple RRUs ............................................................................................. 17
3.5.3 Installation Spacing Between RRUs ..................................................................................................... 21
4 Unpacking the Equipment ........................................................................................................ 24
5 Installation Process ..................................................................................................................... 26
6 Installing the RRU ...................................................................................................................... 27
6.1 Mounting Kits for an RRU ............................................................................................................................. 28
6.2 Installing the RRU on a Pole .......................................................................................................................... 29
6.2.1 Installing a Single RRU ........................................................................................................................ 31
6.2.2 Installing Two RRUs ............................................................................................................................. 33
6.2.3 Installing Multiple RRUs ...................................................................................................................... 36
6.3 Installing the RRU on U-steel ........................................................................................................................ 39
6.4 Installing the RRU on Angle Steel ................................................................................................................. 43
6.5 Installing the RRU on a Wall .......................................................................................................................... 46
6.6 Hoisting an RRU onto a Tower ...................................................................................................................... 50
7 Installing RRU Cables ................................................................................................................ 54
7.1 Cabling Requirements .................................................................................................................................... 55
7.2 Cable Connections ......................................................................................................................................... 60

RRU3642
Installation Guide Contents
Issue 01 (2011-12-27) Huawei Proprietary and Confidential
Copyright © Huawei Technologies Co., Ltd.
vii
7.3 Installation Process ......................................................................................................................................... 63
7.4 RRU Cable List .............................................................................................................................................. 64
7.5 Installing the RRU PGND Cable .................................................................................................................... 66
7.6 Installing an RRU RF Jumper ........................................................................................................................ 68
7.7 Installing an Inter-RRU RF Cable .................................................................................................................. 70
7.8 Installing an RRU AISG Multi-Wire Cable and AISG Extension Cable ........................................................ 71
7.9 Opening the Cover Plate of an RRU Cabling Cavity ..................................................................................... 73
7.10 Installing an RRU power cable .................................................................................................................... 75
7.11 Installing a CPRI Fiber Optic Cable ............................................................................................................. 77
7.12 Installing an RRU Alarm Cable .................................................................................................................... 79
7.13 Closing the Cover Plate of an RRU Cabling Cavity .................................................................................... 80
8 Checking the RRU Hardware Installation ............................................................................. 82
9 Powering On an RRU ................................................................................................................. 83
10 Appendix .................................................................................................................................... 85
10.1 Adding an Tool-less Female Connector (Pressfit Type) to the RRU Power Cable on the RRU Side ........... 85

RRU3642
Installation Guide 1 Changes in the RRU3642 Installation Guide
Issue 01 (2011-12-27) Huawei Proprietary and Confidential
Copyright © Huawei Technologies Co., Ltd.
1
1 Changes in the RRU3642 Installation
Guide
This chapter describes changes in the RRU3642 Installation Guide.
Draft A (2011-12-30)
This is the draft.

RRU3642
Installation Guide 2 Installation Preparations
Issue 01 (2011-12-27) Huawei Proprietary and Confidential
Copyright © Huawei Technologies Co., Ltd.
2
2 Installation Preparations
About This Chapter
Before the installation, you must obtain all reference documents and required tools and
instruments, and have been trained on installation skills.
2.1 Reference Documents
Before the installation, you must familiarize yourself with the information in the following
documents:
2.2 Tools and Instruments
All tools and instruments required for RRU installation must be ready before the installation.
2.3 Skills and Requirements for Onsite Personnel
Onsite personnel must be qualified and trained. Before performing any operation, onsite
personnel must be familiar with correct operation methods and safety precautions.
2.1 Reference Documents
Before the installation, you must familiarize yourself with the information in the following
documents:
z RRU3642 Hardware Description
z RRU Hardware Maintenance Guide
z DBS3900 Installation Guide
z OCB User Guide
2.2 Tools and Instruments
All tools and instruments required for RRU installation must be ready before the installation.
Hammer drill (a φ 14 bit) ESD gloves Vacuum cleaner

RRU3642
Installation Guide 2 Installation Preparations
Issue 01 (2011-12-27) Huawei Proprietary and Confidential
Copyright © Huawei Technologies Co., Ltd.
3
Heat gun
Phillips screwdriver (M3 to
M6)
Flat-head screwdriver (M3 to
M6)
Rubber mallet
COAX crimping tool
Wire stripper
Utility knife
Cable cutter
Adjustable wrench (capacity
≥ 32 mm [1.26 in.])
Level
Torque screwdriver
5 mm
(M3 to M6)
(M3 to M6)
Torque wrench
Capacity: 17 mm [0.67 in.],
21 mm [0.82 in.], and 32 mm
[1.26 in.]
Combination wrench
Capacity: 17 mm [0.67 in.],
21 mm [0.82 in.], and 32 mm
[1.26 in.]
Multimeter
Marker (diameter ≤ 10 mm
[0.39 in.])
Measuring tape
2.3 Skills and Requirements for Onsite Personnel
Onsite personnel must be qualified and trained. Before performing any operation, onsite
personnel must be familiar with correct operation methods and safety precautions.
Before the installation, pay attention to the following items:

RRU3642
Installation Guide 2 Installation Preparations
Issue 01 (2011-12-27) Huawei Proprietary and Confidential
Copyright © Huawei Technologies Co., Ltd.
4
z The customer's technical engineers must be trained by Huawei and be familiar with the
proper installation and operation methods.
z The number of onsite personnel depends on the engineering schedule and installation
environment. Generally, only three to five onsite personnel are necessary.

RRU3642
Installation Guide 3 Information About the Installation
Issue 01 (2011-12-27) Huawei Proprietary and Confidential
Copyright © Huawei Technologies Co., Ltd.
5
3 Information About the Installation
About This Chapter
Before installing an RRU, you must be familiar with its exterior, ports, installation options,
physical supports, and installation clearance requirements.
3.1 RRU Exterior
This section describes the exterior and dimensions of an RRU.
3.2 RRU Ports
This section describes the ports on the remote radio unit (RRU) panels. An RRU has a bottom
panel, cabling cavity panel, and indicator panel.
3.3 RRU Indicators
This section describes six indicators on an RRU. They indicate the running status.
3.4 Installation Options
This section describes RRU installation options. An RRU can be installed on a pole, U-steel,
angle steel, or wall.
3.5 Installation Clearance Requirements of an RRU
This section describes the requirements for the installation clearance of a single RRU and
multiple RRUs and the requirements for the installation spacing between RRUs.
3.1 RRU Exterior
This section describes the exterior and dimensions of an RRU.
Figure 3-1 shows an RRU.

RRU3642
Installation Guide 3 Information About the Installation
Issue 01 (2011-12-27) Huawei Proprietary and Confidential
Copyright © Huawei Technologies Co., Ltd.
6
Figure 3-1 RRU exterior
Figure 3-2 shows RRU dimensions.
Figure 3-2 RRU dimensions
3.2 RRU Ports
This section describes the ports on the remote radio unit (RRU) panels. An RRU has a bottom
panel, cabling cavity panel, and indicator panel.
Figure 3-3 shows RRU ports on the panels.

RRU3642
Installation Guide 3 Information About the Installation
Issue 01 (2011-12-27) Huawei Proprietary and Confidential
Copyright © Huawei Technologies Co., Ltd.
7
Figure 3-3 RRU ports on the panels
Table 3-1 describes RRU ports and indicators on the panels.
Table 3-1 RRU ports and indicators on the panels
Item Label Description
(1) Ports at the
bottom
ANT_TX/RXA TX/RX port A, transmitting remote electrical
tilt (RET) signals
ANT_RXC RX port C
ANT_RXD Port RX port D

RRU3642
Installation Guide 3 Information About the Installation
Issue 01 (2011-12-27) Huawei Proprietary and Confidential
Copyright © Huawei Technologies Co., Ltd.
8
Item Label Description
ANT_TX/RXB TX/RX port B
RX_IN/OUT Port for connecting to the inter-RRU radio
frequency (RF) cable
RET RET antenna port, transmitting RET signals
(2) Ports in the
cabling cavity
RTN (+) Power supply port
NEG (-)
CPRI0 Optical/electrical port 0
CPRI1 Optical/electrical port 1
EXT_ALM Port for alarm reporting
(3) Indicators RUN See RRU Indicators.
ALM
ACT
VSWR
CPRI0/IR0
CPRI1/IR1
The port for transmitting RET signals is configured using software.
Table 3-2 lists the combination of RF ports.
Table 3-2 Combination of RF ports
TX/RX Channel Number of RF Ports Combination of RF ports
One 1T2R channel 2 Combination of
ANT_TX/RXA and
ANT_TX/RXA ports
2 Combination of
ANT_TX/RXB and
ANT_RXD ports
2 Combination of
ANT_TX/RXA and
ANT_RXB ports
Two 1T2R channels 4 Combination of
ANT_TX/RXA and
ANT_RXC ports and
combination of
ANT_TX/RXB and
ANT_RXD ports

RRU3642
Installation Guide 3 Information About the Installation
Issue 01 (2011-12-27) Huawei Proprietary and Confidential
Copyright © Huawei Technologies Co., Ltd.
9
TX/RX Channel Number of RF Ports Combination of RF ports
2T2R channel 2 Combination of
ANT_TX/RXA and
ANT_TX/RXB ports
3.3 RRU Indicators
This section describes six indicators on an RRU. They indicate the running status.
For detailed positions of RRU indicators, see RRU Ports.
Table 3-3 describes RRU indicators.
Table 3-3 RRU indicators
Label Color Status Description
RUN Green On There is power supply, but the module is
faulty.
Off There is no power supply, or the module is
faulty.
Blinking (on for
1s and off for 1s)
The module is working properly.
Blinking (on for
0.125s and off for
0.125s)
Software is being loaded to the module, or
the module is not started.
ALM Red On Alarms are generated, and the module must
be replaced.
Blinking (on for
1s and off for 1s)
Alarms are generated. The alarms may be
caused by the faults on the related boards or
ports. Therefore, the necessity for module
replacement is uncertain.
Off No alarm is generated.
ACT Green On The module is working properly with TX
channels enabled.
Blinking (on for
1s and off for 1s)
The module is working properly with TX
channels disabled.
VSWR Red Off No VSWR alarm is generated.
Blinking (on for
1s and off for 1s)
VSWR alarms are generated on the
ANT_TX/RXB port.
On VSWR alarms are generated on the
ANT_TX/RXA port.

RRU3642
Installation Guide 3 Information About the Installation
Issue 01 (2011-12-27) Huawei Proprietary and Confidential
Copyright © Huawei Technologies Co., Ltd.
10
Label Color Status Description
Blinking (on for
0.125s and off for
0.125s)
VSWR alarms are generated on the
ANT_TX/RXA and ANT_TX/RXB ports.
CPRI0/IR0 Red and
green
Steady green The CPRI link is available.
Steady red An optical module fails to transmit or
receive signals because the optical module
is faulty or the fiber optic cable is broken.
Blinking red (on
for 1s and off for
1s)
The CPRI link is out of lock because of
mutual lock of dual-mode clock sources or
mismatched data rates over CPRI ports
(you are advised to check the system
configuration to identify the fault).
Off The SFP module is not properly installed,
or the optical module is powered off.
CPRI1/IR1 Red and
green
Steady green The CPRI link is available.
Steady red An optical module fails to transmit or
receive signals because the optical module
is faulty or the fiber optic cable is broken.
Blinking red (on
for 1s and off for
1s)
The CPRI link is out of lock because of
mutual lock of dual-mode clock sources or
mismatched data rates over CPRI ports
(you are advised to check the system
configuration to identify the fault).
Off The SFP module is not properly installed,
or the optical module is powered off.
3.4 Installation Options
This section describes RRU installation options. An RRU can be installed on a pole, U-steel,
angle steel, or wall.
Installing an RRU on a Pole
Figure 3-4 shows the diameter of pole for installing an AAU3801.

RRU3642
Installation Guide 3 Information About the Installation
Issue 01 (2011-12-27) Huawei Proprietary and Confidential
Copyright © Huawei Technologies Co., Ltd.
11
Figure 3-4 Diameter of a pole
z The diameter of a pole for installing an RRU ranges from 60 mm (2.36 in.) to 114 mm
(4.49 in.). The recommended diameter is 80 mm (3.15 in.).
z If the diameter of a pole ranges from 60 mm (2.36 in.) to 76 mm (2.99 in.), a maximum of
two RRUs can be installed on the pole and the side-mounted installation is not
recommended.
Figure 3-5 shows an RRU installed on a pole.
Figure 3-5 RRU installed on a pole
Installing an RRU on U-steel
Figure 3-6 shows U-steel specifications.

RRU3642
Installation Guide 3 Information About the Installation
Issue 01 (2011-12-27) Huawei Proprietary and Confidential
Copyright © Huawei Technologies Co., Ltd.
12
Figure 3-6 U-steel specifications
z It is recommended that only one RRU be installed on U-steel.
z The vertical deviation angle of U-steel must be less than or equal to 10 degrees, as shown
in Figure 3-7.
Figure 3-7 Requirements for the vertical deviation angle of U-steel or angle steel
(1) RRU (2) U-steel or angle steel
Figure 3-8 shows an RRU installed on U-steel.

RRU3642
Installation Guide 3 Information About the Installation
Issue 01 (2011-12-27) Huawei Proprietary and Confidential
Copyright © Huawei Technologies Co., Ltd.
13
Figure 3-8 RRU installed on U-steel
Installing an RRU on Angle Steel
Figure 3-9 shows angle steel specifications.
Figure 3-9 Angle steel specifications
z It is recommended that only one RRU be installed on angle steel.
z The vertical deviation angle of angle steel must be less than or equal to 10 degrees, as
shown in Figure 3-7.
Figure 3-10 shows an RRU installed on angle steel.

RRU3642
Installation Guide 3 Information About the Installation
Issue 01 (2011-12-27) Huawei Proprietary and Confidential
Copyright © Huawei Technologies Co., Ltd.
14
Figure 3-10 RRU installed on angle steel
Installing an RRU on a Wall
The wall on which RRUs are installed must meet the following requirements:
z When a single RRU is installed, the wall has a capacity of bearing at least four times the
weight of the RRU.
z Expansion bolts must be tightened to 30 N·m (265.52 lbf·in.) to ensure the bolts work
properly and the wall remains intact without cracks in it.
The brackets cannot be combined when RRUs are installed on a wall, as shown in Figure
3-11.
Figure 3-11 Correct placement of brackets
Figure 3-12 shows an RRU installed on a wall.

RRU3642
Installation Guide 3 Information About the Installation
Issue 01 (2011-12-27) Huawei Proprietary and Confidential
Copyright © Huawei Technologies Co., Ltd.
15
Figure 3-12 RRU installed on a wall
3.5 Installation Clearance Requirements of an RRU
This section describes the requirements for the installation clearance of a single RRU and
multiple RRUs and the requirements for the installation spacing between RRUs.
The recommended installation clearance ensures normal running and provides an appropriate space for
Operation and Maintenance (O&M). If there is sufficient space, leave the recommended installation
clearance.
The minimum installation clearance ensures normal running and heat dissipation, but OM activities such
as checking indicator status and opening the maintenance cavity cannot be properly conducted. If the
installation space is restricted, leave the minimum installation clearance.
3.5.1 Installation Clearance for a Single RRU
This section describes the recommended and minimum installation clearance for a single
RRU.
Recommended Installation Clearance for a Single RRU
Figure 3-13 shows the recommended installation clearance for a single RRU.

RRU3642
Installation Guide 3 Information About the Installation
Issue 01 (2011-12-27) Huawei Proprietary and Confidential
Copyright © Huawei Technologies Co., Ltd.
16
Figure 3-13 Recommended installation clearance for a single RRU
Minimum Installation Clearance for a Single RRU
Figure 3-14 shows the minimum installation clearance for a single RRU.
Figure 3-14 Minimum installation clearance for a single RRU
Minimum Installation Clearance for a Single RRU Installed on a Tower
Figure 3-15 shows the minimum installation clearance for a single RRU installed on a tower.

RRU3642
Installation Guide 3 Information About the Installation
Issue 01 (2011-12-27) Huawei Proprietary and Confidential
Copyright © Huawei Technologies Co., Ltd.
17
Figure 3-15 Minimum installation clearance for a single RRU installed on a tower
3.5.2 Installation Clearance for Multiple RRUs
This section describes the recommended and minimum installation clearance for multiple
RRUs.
Recommended Installation Clearance for Multiple RRUs Installed in Centralized
Mode
Figure 3-16 shows the recommended installation clearance for multiple RRUs installed in
centralized mode.

RRU3642
Installation Guide 3 Information About the Installation
Issue 01 (2011-12-27) Huawei Proprietary and Confidential
Copyright © Huawei Technologies Co., Ltd.
18
Figure 3-16 Recommended installation clearance for multiple RRUs installed in centralized mode
Minimum Installation Clearance for Multiple RRUs Installed in Centralized
Mode
Figure 3-17 shows the minimum installation clearance for multiple RRUs installed in
centralized mode.

RRU3642
Installation Guide 3 Information About the Installation
Issue 01 (2011-12-27) Huawei Proprietary and Confidential
Copyright © Huawei Technologies Co., Ltd.
19
Figure 3-17 Minimum installation clearance for multiple RRUs installed in centralized mode
Recommended Clearance for Multiple RRUs Installed on a Wall in Standard
Mode
Figure 3-18 shows the recommended clearance for multiple RRUs installed on a wall in
standard mode.
Figure 3-18 Recommended clearance for multiple RRUs installed on a wall in standard mode

RRU3642
Installation Guide 3 Information About the Installation
Issue 01 (2011-12-27) Huawei Proprietary and Confidential
Copyright © Huawei Technologies Co., Ltd.
20
Minimum Clearance for Multiple RRUs Installed on a Wall in Standard Mode
Figure 3-19 shows the minimum clearance for multiple RRUs installed on a wall in standard
mode.
Figure 3-19 Minimum clearance for multiple RRUs installed on a wall in standard mode
Recommended Clearance for Multiple RRUs Side-Mounted on a Wall
Figure 3-20 shows the recommended clearance for multiple RRUs side-mounted on a wall.

RRU3642
Installation Guide 3 Information About the Installation
Issue 01 (2011-12-27) Huawei Proprietary and Confidential
Copyright © Huawei Technologies Co., Ltd.
21
Figure 3-20 Recommended clearance for multiple RRUs side-mounted on a wall
3.5.3 Installation Spacing Between RRUs
This section describes the horizontal and vertical installation spacing between RRUs.
Recommended Horizontal Spacing Between RRUs
Figure 3-21 shows the recommended horizontal spacing between RRUs.
Figure 3-21 Recommended horizontal spacing between RRUs
Minimum Horizontal Spacing Between RRUs
Figure 3-22 shows the minimum horizontal spacing between RRUs.

RRU3642
Installation Guide 3 Information About the Installation
Issue 01 (2011-12-27) Huawei Proprietary and Confidential
Copyright © Huawei Technologies Co., Ltd.
22
Figure 3-22 Minimum horizontal spacing between RRUs
Recommended Vertical Spacing Between RRUs
Figure 3-23 shows the recommended vertical spacing between RRUs.
Figure 3-23 Recommended vertical spacing between RRUs
Minimum Vertical Spacing Between RRUs
Figure 3-24 shows the minimum vertical spacing between RRUs.

RRU3642
Installation Guide 3 Information About the Installation
Issue 01 (2011-12-27) Huawei Proprietary and Confidential
Copyright © Huawei Technologies Co., Ltd.
23
Figure 3-24 Minimum vertical spacing between RRUs

RRU3642
Installation Guide 4 Unpacking the Equipment
Issue 01 (2011-12-27) Huawei Proprietary and Confidential
Copyright © Huawei Technologies Co., Ltd.
24
4 Unpacking the Equipment
Unpack and check the delivered equipment to ensure that all the materials are included and
intact.
Context
When transporting, moving, or installing the equipment, components, or parts, you must:
z Prevent them from colliding with doors, walls, shelves, or other objects.
z Wear clean gloves, and avoid touching the equipment, components, or parts with bare hands,
sweat-soaked gloves, or dirty gloves.
z After a cabinet or an BBU is unpacked, it must be powered on within 7 days.
z After an RRU is unpacked, it must be powered on within 24 hours.
Procedure
Step 1 Check the total number of articles in each case according to the packing list.
If ... Then ...
The total number tallies with the
packing list Go to Step 2.
The total number does not tally with
the packing list Find out the cause and report any missing
articles to the local Huawei office.
Step 2 Check the exterior of the packing case.

RRU3642
Installation Guide 4 Unpacking the Equipment
Issue 01 (2011-12-27) Huawei Proprietary and Confidential
Copyright © Huawei Technologies Co., Ltd.
25
If ... Then ...
The outer packing is intact Go to Step 3.
The outer packing is severely
damaged or soaked Find out the cause and report it to the local
Huawei office.
The vibrating indicator is red Stop unpacking the wooden crate, and then
report it to the transportation company.
Step 3 Check the type and quantity of the equipment in the cases according to the packing list.
If ... Then ...
Types and quantity of the article tally
with those on the packing list Sign the Packing List with the customer.
There is any shipment shortage or
wrong shipment Fill in and submit the Cargo Shortage and
Mishandling Report.
Articles are damaged. Fill in and submit the Article Replacement
Report.
To protect the equipment and prevent damage to the equipment, you are advised to keep the
unpacked equipment and packing materials indoors, take photos of the stocking environment,
packing case or carton, packing materials, and any rusted or eroded equipment, and then file
the photos.
----End

RRU3642
Installation Guide 5 Installation Process
Issue 01 (2011-12-27) Huawei Pro
p
rietary and Confidential
Copyright © Huawei Technologies Co., Ltd.
26
5 Installation Process
The installation process involves installing an RRU and RRU cables, checking the RRU
hardware installation, and powering on the RRU.
Figure 5-1 shows the process of installing an RRU.
Figure 5-1 Process of installing an RRU

RRU3642
Installation Guide 6 Installing the RRU
Issue 01 (2011-12-27) Huawei Proprietary and Confidential
Copyright © Huawei Technologies Co., Ltd.
27
6 Installing the RRU
About This Chapter
This chapter describes the procedure for installing the RRU. The RRU can be installed on a
pole, U-steel, angle steel, or wall. The procedure for installing the RRU varies depending on
installation options.
z Do not stand the RRU upright because the load-bearing capacity of the RF ports at the
RRU bottom is low.
z Place a foam pad or cardboard under an RRU to protect the RRU housing from damage
during the installation.
6.1 Mounting Kits for an RRU
This section describes the bracket assembly and the attachment plate for an RRU.
6.2 Installing the RRU on a Pole
One or more RRUs can be installed on a pole.
6.3 Installing the RRU on U-steel
This section describes the procedure for installing the RRU on U-steel and the precautions
that must be taken during the installation. The RRU installed on U-steel can be mounted to a
tower or placed on the ground. It is recommended that only one RRU be installed on U-steel.
6.4 Installing the RRU on Angle Steel
This section describes the procedure for installing the RRU on angle steel and the precautions
that must be taken during the installation. The RRU installed on angle steel can be mounted to
a tower or placed on the ground. It is recommended that only one RRU be installed on angle
steel.
6.5 Installing the RRU on a Wall
This section describes the procedure for installing the RRU on a wall and the precautions that
must be taken during the installation.

RRU3642
Installation Guide 6 Installing the RRU
Issue 01 (2011-12-27) Huawei Proprietary and Confidential
Copyright © Huawei Technologies Co., Ltd.
28
6.6 Hoisting an RRU onto a Tower
Before installing an RRU on a tower, bind the RRU and mounting kits and then hoist them
onto the tower. The RRU can be installed on a pole, U-steel, or angle steel. This section
describes the procedure for hoisting the RRU and mounting kits onto the tower and the
precautions that must be taken.
6.1 Mounting Kits for an RRU
This section describes the bracket assembly and the attachment plate for an RRU.
Figure 6-1 shows the front and rear view of an RRU.
Figure 6-1 Front and rear view of an RRU
(1) Cover plate (2) Attachment plate
Figure 6-2 shows the bracket assembly for an RRU.
Figure 6-2 Bracket assembly for an RRU
(1) Auxiliary (2) Dual-nut bolt (3) Main (4) Hoist clamp on the

RRU3642
Installation Guide 6 Installing the RRU
Issue 01 (2011-12-27) Huawei Proprietary and Confidential
Copyright © Huawei Technologies Co., Ltd.
29
mounting bracket assembly mounting bracket main mounting bracket
6.2 Installing the RRU on a Pole
One or more RRUs can be installed on a pole.
Figure 6-3 shows a single RRU installed on a pole.
Figure 6-3 A single RRU installed on a pole
Figure 6-4 shows two RRUs installed on a pole.
Figure 6-4 Two RRUs installed on a pole
Figure 6-5, Figure 6-6, and Figure 6-7 show more than two RRUs installed on a pole.

RRU3642
Installation Guide 6 Installing the RRU
Issue 01 (2011-12-27) Huawei Proprietary and Confidential
Copyright © Huawei Technologies Co., Ltd.
30
Figure 6-5 Three RRUs installed on a pole in centralized mode
Figure 6-6 Four RRUs installed on a pole in centralized mode

RRU3642
Installation Guide 6 Installing the RRU
Issue 01 (2011-12-27) Huawei Proprietary and Confidential
Copyright © Huawei Technologies Co., Ltd.
31
Figure 6-7 Six RRUs installed on a pole in centralized mode
6.2.1 Installing a Single RRU
This section describes the procedure for installing a single RRU on a pole and the precautions
that must be taken during the installation.
Prerequisite
Before you install an RRU on a tower, the RRU and mounting kits are hoisted onto the tower.
For details, see 6.6 Hoisting an RRU onto a Tower.
The hoist clamp on the main mounting bracket is secured properly.
Procedure
Step 1 Determine a position for installing the main mounting bracket.
z If the RRU must be installed on a tower, see 3.5.1 Installation Clearance for a Single
RRU to determine a position.
z If the RRU must be installed on the ground, see Figure 6-8 to determine a position.

RRU3642
Installation Guide 6 Installing the RRU
Issue 01 (2011-12-27) Huawei Proprietary and Confidential
Copyright © Huawei Technologies Co., Ltd.
32
Figure 6-8 Distance between the main mounting bracket and the ground
Step 2 Fit one end of the auxiliary mounting bracket to one dual-nut bolt assembly of the main
mounting bracket.
Step 3 Install the bracket assembly on the pole, and then fit the other end of the auxiliary mounting
bracket to the other dual-nut bolt assembly, as shown in Figure 6-9.
Figure 6-9 Installing the bracket assembly
Verify that the arrow on the main mounting bracket is pointing up.
Step 4 Using a torque wrench, tighten the nuts to 40 N·m (354.03 lbf·in.) to secure the bracket
assembly onto the pole, as shown in Figure 6-10.
Tighten the two dual-nut bolt assemblies alternatively. After the main and auxiliary brackets
are secured properly, measure the spacing between the brackets on both sides and ensure that
the spacing is the same on the two sides.

RRU3642
Installation Guide 6 Installing the RRU
Issue 01 (2011-12-27) Huawei Proprietary and Confidential
Copyright © Huawei Technologies Co., Ltd.
33
Figure 6-10 Securing the bracket assembly onto the pole
Step 5 Install the RRU on the main mounting bracket until the RRU snaps shut, as shown in Figure
6-11.
Figure 6-11 Installing the RRU on the main mounting bracket
----End
6.2.2 Installing Two RRUs
This section describes the procedure for installing two RRUs on a pole and the precautions
that must be taken during the installation.

RRU3642
Installation Guide 6 Installing the RRU
Issue 01 (2011-12-27) Huawei Proprietary and Confidential
Copyright © Huawei Technologies Co., Ltd.
34
Procedure
Step 1 Install the first RRU, as shown in Figure 6-12. For details, see 6.2.1 Installing a Single RRU.
Figure 6-12 Installing the first RRU
Step 2 Install the other main mounting bracket on the auxiliary mounting bracket to secure the
second RRU, as shown in Figure 6-13.
Figure 6-13 Installing the second main mounting bracket
Step 3 Interchange the cover plate and plastic screws in the front and the attachment plate and
stainless steel screws at the rear of the second RRU, as shown in Figure 6-14.

RRU3642
Installation Guide 6 Installing the RRU
Issue 01 (2011-12-27) Huawei Proprietary and Confidential
Copyright © Huawei Technologies Co., Ltd.
35
Figure 6-14 Interchanging the cover plate in the front and the attachment plate at the rear of the
second RRU
1. Remove the attachment plate from the RRU rear using an inner hexagon screwdriver.
2. Remove the cover plate from the RRU front, and use a Phillips screwdriver to remove
the plastic screws from the RRU.
3. Install the plastic screws onto the RRU rear, and tighten the screws to 0.25 N·m (2.21
lbf·in.) using a torque screwdriver.
4. Install the cover plate onto the RRU rear.
5. Install the attachment plate onto the RRU front, and tighten the stainless steel screws on
the attachment plate to 5 N·m (44.25 lbf·in.) using a torque screwdriver.
Step 4 Install the second RRU on the main mounting bracket, as shown in Figure 6-15.
Figure 6-15 Installing the second RRU on the main mounting bracket
----End

RRU3642
Installation Guide 6 Installing the RRU
Issue 01 (2011-12-27) Huawei Proprietary and Confidential
Copyright © Huawei Technologies Co., Ltd.
36
6.2.3 Installing Multiple RRUs
The section describes the procedure for installing multiple RRUs on a pole and the
precautions that must be taken during the installation.
Context
A pole supports the installation of three, four, or six RRUs. The procedures for installing them
are the same. Following is the procedure of installing four RRUs on a pole.
Procedure
Step 1 Install one set of bracket assembly on a pole. For details, see 6.2.1 Installing a Single RRU.
Step 2 Interchange the attachment plate and stainless steel screws at the RRU rear and the cover plate
and plastic screws on the RRU side, as shown in Figure 6-16.
Figure 6-16 Interchanging the attachment plate at the RRU rear and the cover plate on the RRU
side
1. Remove the attachment plate from the RRU rear using an inner hexagon screwdriver.
2. Remove the cover plate from the RRU side, and use a Phillips screwdriver to remove the
plastic screws from the RRU.
3. Install the plastic screws onto the RRU rear, and tighten the screws to 0.25 N·m (2.21
lbf·in.) using a torque screwdriver.
4. Install the cover plate onto the RRU rear.
5. Install the attachment plate onto the RRU side, and tighten the stainless steel screws on
the attachment plate to 5 N·m (44.25 lbf·in.) using a torque screwdriver.
Step 3 Install the first RRU on the main mounting bracket, as shown in Figure 6-17.

RRU3642
Installation Guide 6 Installing the RRU
Issue 01 (2011-12-27) Huawei Proprietary and Confidential
Copyright © Huawei Technologies Co., Ltd.
37
Figure 6-17 Installing the first RRU on the main mounting bracket
Step 4 Install the second main mounting bracket on the side of the first main mounting bracket, as
shown in Figure 6-18.
Figure 6-18 Installing the second main mounting bracket
Step 5 Install the second RRU on the second main mounting bracket, as shown in Figure 6-19.

RRU3642
Installation Guide 6 Installing the RRU
Issue 01 (2011-12-27) Huawei Proprietary and Confidential
Copyright © Huawei Technologies Co., Ltd.
38
Figure 6-19 Installing the second RRU on the second main mounting bracket
Step 6 Install the third main mounting bracket, and then install the third RRU on the main mounting
bracket, as shown in Figure 6-20.
Figure 6-20 Installing the third RRU on the third main mounting bracket
Step 7 Install the fourth main mounting bracket, as shown in Figure 6-21.

RRU3642
Installation Guide 6 Installing the RRU
Issue 01 (2011-12-27) Huawei Proprietary and Confidential
Copyright © Huawei Technologies Co., Ltd.
39
Figure 6-21 Installing the fourth main mounting bracket
Step 8 Install the fourth RRU on the fourth main mounting bracket, as shown in Figure 6-22.
Figure 6-22 Installing the fourth RRU on the fourth main mounting bracket
----End
6.3 Installing the RRU on U-steel
This section describes the procedure for installing the RRU on U-steel and the precautions
that must be taken during the installation. The RRU installed on U-steel can be mounted to a
tower or placed on the ground. It is recommended that only one RRU be installed on U-steel.
Prerequisite
Before you install an RRU on a tower, the RRU and mounting kits are hoisted onto the tower.
For details, see 6.6 Hoisting an RRU onto a Tower.

RRU3642
Installation Guide 6 Installing the RRU
Issue 01 (2011-12-27) Huawei Proprietary and Confidential
Copyright © Huawei Technologies Co., Ltd.
40
The hoist clamp on the main mounting bracket is secured properly.
Context
Figure 6-23 shows the top view of the RRU installed on U-steel.
Figure 6-23 Top view of the RRU
(1) U-steel
Procedure
Step 1 Determine a position for installing the main mounting bracket.
z If the RRU must be installed on a tower, see 3.5.1 Installation Clearance for a Single
RRU to determine a position.
z If the RRU must be installed on the ground, see Figure 6-24 to determine a position.

RRU3642
Installation Guide 6 Installing the RRU
Issue 01 (2011-12-27) Huawei Proprietary and Confidential
Copyright © Huawei Technologies Co., Ltd.
41
Figure 6-24 Distance between the main mounting bracket and the ground
It is recommended that the main mounting bracket be 1,200 mm (47.24 in.) to 1,600 mm (62.99 in.)
above the ground.
Step 2 Fit one end of the auxiliary mounting bracket to one dual-nut bolt assembly of the main
mounting bracket.
Step 3 Install the bracket assembly on U-steel, and then fit the other end of the auxiliary mounting
bracket to the other dual-nut bolt assembly, as shown in Figure 6-25.
Figure 6-25 Installing the bracket assembly
Verify that the arrow on the main mounting bracket is pointing up.
Step 4 Using a torque wrench, tighten the nuts to 40 N·m (354.03 lbf·in.) to secure the bracket
assembly onto the U-steel, as shown in Figure 6-26.

RRU3642
Installation Guide 6 Installing the RRU
Issue 01 (2011-12-27) Huawei Proprietary and Confidential
Copyright © Huawei Technologies Co., Ltd.
42
Tighten the two dual-nut bolt assemblies alternatively. After the main and auxiliary brackets
are secured properly, measure the spacing between the brackets on both sides and ensure that
the spacing is the same on the two sides.
Figure 6-26 Securing the bracket assembly onto U-steel
Step 5 Install the RRU on the main mounting bracket until the RRU snaps shut, as shown in Figure
6-27.
Figure 6-27 Installing the RRU on the main mounting bracket
----End

RRU3642
Installation Guide 6 Installing the RRU
Issue 01 (2011-12-27) Huawei Proprietary and Confidential
Copyright © Huawei Technologies Co., Ltd.
43
6.4 Installing the RRU on Angle Steel
This section describes the procedure for installing the RRU on angle steel and the precautions
that must be taken during the installation. The RRU installed on angle steel can be mounted to
a tower or placed on the ground. It is recommended that only one RRU be installed on angle
steel.
Prerequisite
Before you install an RRU on a tower, the RRU and mounting kits are hoisted onto the tower.
For details, see 6.6 Hoisting an RRU onto a Tower.
The hoist clamp on the main mounting bracket is secured properly.
Context
Figure 6-28 shows the top view of the RRU installed on angle steel.
Figure 6-28 Top view of the RRU
(1) Angle steel
Procedure
Step 1 Determine a position for installing the main mounting bracket.
z If the RRU must be installed on a tower, see 3.5.1 Installation Clearance for a Single
RRU to determine a position.
z If the RRU must be installed on the ground, see Figure 6-29 to determine a position.

RRU3642
Installation Guide 6 Installing the RRU
Issue 01 (2011-12-27) Huawei Proprietary and Confidential
Copyright © Huawei Technologies Co., Ltd.
44
Figure 6-29 Distance between the main mounting bracket and the ground
It is recommended that the main mounting bracket be 1,200 mm (47.24 in.) to 1,600 mm (62.99 in.)
above the ground.
Step 2 Fit one end of the auxiliary mounting bracket to one dual-nut bolt assembly of the main
mounting bracket.
Step 3 Install the bracket assembly on angle steel, and then fit the other end of the auxiliary
mounting bracket to the other dual-nut bolt assembly, as shown in Figure 6-30.
Figure 6-30 Installing the bracket assembly
Verify that the arrow on the main mounting bracket is pointing up.
Step 4 Using a torque wrench, tighten the nuts to 40 N·m (354.03 lbf·in.) to secure both the bracket
assembly onto the angle steel, as shown in Figure 6-31.

RRU3642
Installation Guide 6 Installing the RRU
Issue 01 (2011-12-27) Huawei Proprietary and Confidential
Copyright © Huawei Technologies Co., Ltd.
45
Tighten the two dual-nut bolt assemblies alternatively. After the main and auxiliary brackets
are secured properly, measure the spacing between the brackets on both sides and ensure that
the spacing is the same on the two sides.
Figure 6-31 Securing the bracket assembly onto angle steel
Step 5 Install the RRU on the main mounting bracket until the RRU snaps shut, as shown in Figure
6-32.
Figure 6-32 Installing the RRU on the main mounting bracket
----End

RRU3642
Installation Guide 6 Installing the RRU
Issue 01 (2011-12-27) Huawei Proprietary and Confidential
Copyright © Huawei Technologies Co., Ltd.
46
6.5 Installing the RRU on a Wall
This section describes the procedure for installing the RRU on a wall and the precautions that
must be taken during the installation.
Prerequisite
The hoist clamp on the main mounting bracket is secured properly.
Context
The wall on which RRUs are installed must meet the following requirements:
z When a single RRU is installed, the wall has a capacity of bearing at least four times the
weight of the RRU.
z Expansion bolts must be tightened to 30 N·m (265.52 lbf·in.) to ensure the bolts work
properly and the wall remains intact without cracks in it.
Procedure
Step 1 Place the auxiliary mounting bracket against the installation position, use a level to verify that
the auxiliary mounting bracket is placed horizontally, and then mark anchor points with a
marker, as shown in Figure 6-33.
Figure 6-33 Marking anchor points
(1) Auxiliary mounting bracket (2) RRU
It is recommended that the auxiliary mounting bracket be 1,200 mm (47.24 in.) to 1,600 mm (62.99 in.)
above the ground.

RRU3642
Installation Guide 6 Installing the RRU
Issue 01 (2011-12-27) Huawei Proprietary and Confidential
Copyright © Huawei Technologies Co., Ltd.
47
Figure 6-34 Expansion bolt assembly
(1) M10x65 bolt (2) Spring
washer 10
(3) Plastic tube (4) Flat washer
10
(5) Expansion
tube
Step 2 Drill holes at the anchor points, and then insert expansion bolt assemblies, as shown in Figure
6-35.
Figure 6-35 Drilling a hole and inserting an expansion bolt assembly
1. Use a hammer drill with a φ14 bit to drill holes vertically at the marked anchor points.
Ensure that the depth of each hole ranges from 55 mm (2.17 in.) to 60 mm (2.36 in.).
Take proper safety measures to protect your eyes and respiratory tract against the dust before
drilling holes.

RRU3642
Installation Guide 6 Installing the RRU
Issue 01 (2011-12-27) Huawei Proprietary and Confidential
Copyright © Huawei Technologies Co., Ltd.
48
2. Hit the expansion bolt with a rubber mallet until the expansion tube completely enters
the hole.
3. Tighten an expansion bolt slightly and place it vertically into each hole.
4. Remove the M10x65 bolt, spring washer, plastic tube, and flat washer from each
expansion bolt assembly in sequence.
After completely removing an expansion bolt, store the plastic tube properly.
5. Hammer the bolt into the wall.
Do not hammer the expansion bolt entirely into the wall. Instead, leave 20 mm (0.79 in.) to 30
mm (1.18 in.) of the expansion bolt outside the wall.
Step 3 Fit the auxiliary mounting bracket on the expansion bolt, and then use a torque wrench (17
mm [0.67 in.]) to tighten the expansion bolt to 30 N·m (265.52 lbf·in.), as shown in Figure
6-36.
Figure 6-36 Fitting the auxiliary mounting bracket on expansion bolts
Verify that the arrow on the auxiliary mounting bracket is pointing up.
Step 4 Loosen the screws on the main mounting bracket and store them properly.

RRU3642
Installation Guide 6 Installing the RRU
Issue 01 (2011-12-27) Huawei Proprietary and Confidential
Copyright © Huawei Technologies Co., Ltd.
49
Step 5 Install the main mounting bracket, as shown in Figure 6-37.
Figure 6-37 Installing the main mounting bracket
Step 6 Install the RRU on the main mounting bracket until the RRU snaps shut, as shown in Figure
6-38.
Figure 6-38 Installing the RRU

RRU3642
Installation Guide 6 Installing the RRU
Issue 01 (2011-12-27) Huawei Proprietary and Confidential
Copyright © Huawei Technologies Co., Ltd.
50
----End
6.6 Hoisting an RRU onto a Tower
Before installing an RRU on a tower, bind the RRU and mounting kits and then hoist them
onto the tower. The RRU can be installed on a pole, U-steel, or angle steel. This section
describes the procedure for hoisting the RRU and mounting kits onto the tower and the
precautions that must be taken.
Prerequisite
Place a foam pad or cardboard on the ground to protect the housing of the RRU from damage
before the binding. Do not stand the RRU upright because the load-bearing capacity of the RF
ports at the RRU bottom is low.
When installed on a tower, only one RRU can be installed in standard mode or reverse mode,
and two RRUs can be installed on a pole in back-to-back mode. RRUs cannot be installed on
the side, and the brackets for more than two RRUs cannot be combined.
Procedure
Step 1 Bind the RRU and mounting kits properly using a lifting sling, as shown in Figure 6-39.
Figure 6-39 Binding mounting kits for the RRU
Step 2 Lead one sling through the lifting eye and RRU handle and use the sling as a lifting sling, and
lead the other sling through the RRU handle and use the sling as a traction sling, as shown in
Figure 6-40.

RRU3642
Installation Guide 6 Installing the RRU
Issue 01 (2011-12-27) Huawei Proprietary and Confidential
Copyright © Huawei Technologies Co., Ltd.
51
Figure 6-40 Binding the RRU
(1) Lifting sling (2) Lifting eye (3) Traction sling (4) Handle

RRU3642
Installation Guide 6 Installing the RRU
Issue 01 (2011-12-27) Huawei Proprietary and Confidential
Copyright © Huawei Technologies Co., Ltd.
52
z Each sling has a maximum load-bearing capacity of 200 kg (441 lb), the diameter of the
sling must be less than 25 mm (0.98 in.), and the angle at the top of the traction sling [by
the knot] must not be greater than 60 degrees.
z When hoisting the RRU and mounting kits onto the tower, protect them from colliding
with the ground and tower.
z Hoist the RRU onto the tower before it is installed on a pole, angle steel, or U-steel.
z Do not hoist the RRU by the handle or lifting eye only, as shown in Figure 6-41 and
Figure 6-42.
Figure 6-41 Incorrect binding method
Figure 6-42 Incorrect binding method

RRU3642
Installation Guide 6 Installing the RRU
Issue 01 (2011-12-27) Huawei Proprietary and Confidential
Copyright © Huawei Technologies Co., Ltd.
53
Step 3 Hoist the RRU and mounting kits onto the tower respectively, as shown in Figure 6-43.
Hoist mounting kits onto the tower and then install the mounting kits before hoisting the RRU onto the
tower. When hoisting the mounting kits and RRU, protect them from colliding with the tower.
Figure 6-43 Hoisting the RRU onto the tower
(1) Traction sling (2) Lifting sling (3) Fixed pulley
1. After climbing up to the tower, installation engineer A secures the fixed pulley to the
tower platform support and leads the lifting sling through the fixed pulley.
2. Installation engineer C binds the RRU using the lifting sling and secures the traction
sling to the RRU handle.
3. Installation engineer B pulls the lifting sling downwards, and installation engineer C
pulls the traction sling outwards to protect the RRU and mounting kits from colliding
with the tower.
4. Installation engineer A catches the RRU, install the RRU on the main mounting bracket
until the RRU snaps shut, and then unties the sling.
The procedure for hoisting the RRU onto the tower is for your reference only.
----End

RRU3642
Installation Guide 7 Installing RRU Cables
Issue 01 (2011-12-27) Huawei Proprietary and Confidential
Copyright © Huawei Technologies Co., Ltd.
54
7 Installing RRU Cables
About This Chapter
This section describes the procedures for installing remote radio unit (RRU) cables.
7.1 Cabling Requirements
Cables must be routed according to the specified cabling requirements to prevent signal
interference.
7.2 Cable Connections
This section describes the remote radio unit (RRU) cable connections.
7.3 Installation Process
This section describes the process of installing RRU cables.
7.4 RRU Cable List
This section provides a remote radio unit (RRU) cable list.
7.5 Installing the RRU PGND Cable
This section describes the procedure for installing a remote radio unit (RRU) protection
ground (PGND) cable.
7.6 Installing an RRU RF Jumper
This section describes the procedure for installing an RRU RF jumper.
7.7 Installing an Inter-RRU RF Cable
This section describes the procedure for installing the inter-RRU RF cable.
7.8 Installing an RRU AISG Multi-Wire Cable and AISG Extension Cable
This section describes the procedures for installing an RRU AISG multi-wire cable and AISG
extension cable.
7.9 Opening the Cover Plate of an RRU Cabling Cavity
This section describes the procedure for opening the cover plate of an RRU cabling cavity.
7.10 Installing an RRU power cable
This section describes the procedure for installing an RRU power cable.

RRU3642
Installation Guide 7 Installing RRU Cables
Issue 01 (2011-12-27) Huawei Proprietary and Confidential
Copyright © Huawei Technologies Co., Ltd.
55
7.11 Installing a CPRI Fiber Optic Cable
This section describes the procedure for installing a CPRI fiber optic cable.
7.12 Installing an RRU Alarm Cable
This section describes the procedure for installing an RRU alarm cable.
7.13 Closing the Cover Plate of an RRU Cabling Cavity
This section describes the procedure for closing the cover plate of an RRU cabling cavity.
7.1 Cabling Requirements
Cables must be routed according to the specified cabling requirements to prevent signal
interference.
If a cable listed below is not required, skip the routing requirements of the cable.
General Cabling Requirements
Requirements for Bending Radius
z The bending radius of the 7/8'' feeder must be more than 250 mm (9.84 in.), and the
bending radius of the 5/4'' feeder must be more than 380 mm (14.96 in.).
z The bending radius of the 1/4'' jumper must be more than 35 mm (1.38 in.). The bending
radius of the super-flexible 1/2'' jumper must be more than 50 mm (1.97 in.), and the
bending radius of the ordinary 1/2'' jumper must be more than 127 mm (5 in.).
z The bending radius of the power cable or PGND cable must be at least three times the
diameter of the cable.
z The bending radius of a fiber optic cable is at least 20 times the diameter of the fiber
optic cable, and the minimum bending radius of the breakout cable at each end of the
fiber optic cable is 30 mm (1.18 in.).
z The bending radius of the E1/T1 cable must be at least three times the diameter of the
cable.
z The bending radius of the signal cable must be at least five times the diameter of the
cable.
Requirements for Cable Binding
z The same types of cable must be bound together.
z Different types of cable must be separately routed with the minimum spacing of 30 mm
(1.18 in.) and cannot be entangled.
z The cables must be bound tightly and neatly. The sheaths of the cables must not be
damaged.
z Cable ties are installed in the same direction, and those at the same horizontal line must
be in a straight line.
z The excess of indoor cable ties is trimmed off, and the excess of outdoor cable ties
allows about 5 mm (0.2 in.), without remaining rough edges.
z Labels or nameplates must be attached to both ends, joints, or turns of cables after they
are installed.

RRU3642
Installation Guide 7 Installing RRU Cables
Issue 01 (2011-12-27) Huawei Proprietary and Confidential
Copyright © Huawei Technologies Co., Ltd.
56
Security Requirements
z Cables should be placed away from sharp objects or wall burrs. If these positions are
inevitable, protect the cables with protection pipes.
z Cables must be routed away from heat sources, or heat-insulation materials are added
between cables and heat sources.
z Sufficient slack (recommended for about 0.1 m [0.33 ft.]) is provided in cables at turns
or the position close to a device, facilitating cable and device maintenance.
Indoor Cabling Requirements
z Cables are routed indoors through the feeder window.
z Drip loops must be made outside the feeder window, and the requirements for the
minimum bending radius are met.
z When cables are routed indoors, engineers are required indoors for cooperation.
z The feeder window must be waterproofed.
Outdoor Cabling Requirements
z Cables routed outdoors must be led through a pipe when they may be damaged.
z AC power cables, transmission cables, and cables buried in the ground must be
protected.
z If cables at the cabinet bottom need to be routed through a pipe along the ground, lead
the pipe into the cabinet base for about 3 m (9.84 ft.) to 5 m (16.4 ft.), not into the
cabinet. Block the pipe with waterproof tape or silicon gel, and secure the pipe to the
cable hole at the cabinet bottom with metal piece.
z If cables at the cabinet bottom need to be routed through a pipe along the metal cable
trough, do not lead the pipe into the cabinet base. The cable trough must be sealed and
routed through the cable hole at the cabinet bottom.
z Cables are secured with cable clips.
z Cables are routed neatly along the specified cabling direction and secured with cable
clips.
z The positions for cable clips are determined onsite. For example, the cable clips for the
7/8" feeder are installed at the spacing of 1.5 m (4.92 ft.) to 2 m (6.56 ft.) in the same
direction, and the cable clips for the power cables are installed at the spacing of 1 m
(3.28 ft.) to 1.5 m (4.92 ft.) in the same direction.
z Cable clips must be vertical with cables, and the cables in a cable clip must be parallel.
z After routing cables neatly and correctly, tighten the screws on cable clips.
Secure cables on the cable tray, as shown in Figure 7-1.

RRU3642
Installation Guide 7 Installing RRU Cables
Issue 01 (2011-12-27) Huawei Proprietary and Confidential
Copyright © Huawei Technologies Co., Ltd.
57
Figure 7-1 Securing cables on the cable tray
Secure cables on the tower, as shown in Figure 7-2.

RRU3642
Installation Guide 7 Installing RRU Cables
Issue 01 (2011-12-27) Huawei Proprietary and Confidential
Copyright © Huawei Technologies Co., Ltd.
58
Figure 7-2 Securing cables on the tower
Special Cabling Requirements
Cabling Requirements for Power Cables
z Power cables must be installed in the position specified in engineering design
documents.
z If the length of power cables is insufficient, replace the cables rather than adding
connectors or soldering joints to lengthen the cables.

RRU3642
Installation Guide 7 Installing RRU Cables
Issue 01 (2011-12-27) Huawei Proprietary and Confidential
Copyright © Huawei Technologies Co., Ltd.
59
z Cables must be routed by only qualified and trained personnel before all preparations are
made.
z Cables are routed in an untangled and orderly fashion.
z If DC power cables need to be routed on the tower platform, lay out the cables on the
guardrail with the shortest distance and route the cables along the guardrail.
z If DC power cables need to be routed close to a device on the tower, secure the cables to
the guardrail or pole with cable clips. The device cannot be far away from the position
for securing the cables.
Cabling Requirements for PGND Cables
z PGND cables for the base station must be connected to the same ground bar.
z PGND cables must be buried in the ground or routed indoors. They should not be routed
overhead before they are led into the equipment room.
z The exterior of the coaxial wire and the shield layer of the shielded cable must have
proper electrical contact with the metal surface of the equipment to which they are
connected.
z PGND cables and signal cables must be installed in an untangled and orderly fashion. A
certain distance must be reserved between them to prevent interference from each other.
z Fuses or switches must not be installed on the PGND cables.
z Other devices must not be used for electrical connections of the PGND cables.
z All the metal parts in the housing of the equipment must be reliably connected to the
ground terminal.
Cabling Requirements for E1 Cables
z E1 cables must not cross power cables, PGND cables, or RF cables when routed. If
transmission cables are routed with power cables, PGND cables, or RF cables in parallel,
the spacing between them must be greater than 30 mm (1.18 in.).
z E1 cables are routed straightly and bound neatly with cable ties.
z Sufficient slack is provided in E1 cables at turns.
Cabling Requirements for Fiber Optic Cables
z Fiber optic cables must be routed by at least three qualified and trained personnel before
all preparations are made.
z Fiber optic cables are used within the temperature range of -40°C to 60°C. If the current
temperature is out of the range, make protection measures or route the cables again.
z Cables are routed in an untangled and orderly fashion.
z Do not bind fiber optic cables at turns.
z Do not stretch, step on, or place heavy objects on fiber optic cables. Keep the cables
away from sharp objects.
z When fiber optic cables are routed, the excess of the cables must be coiled around
special devices, such as a fiber coiler.
z When coiling fiber optic cables, apply even strength. Do not bend the cables with force.
z Vacant optical connectors must be covered with dustproof caps.
z Fiber optic cables cannot be squeezed by the cabinet door when routed through the
cabinet.
z If fiber optic cables need to be routed on the tower platform, lay out the cables on the
guardrail with the shortest distance and route the cables along the guardrail.

RRU3642
Installation Guide 7 Installing RRU Cables
Issue 01 (2011-12-27) Huawei Proprietary and Confidential
Copyright © Huawei Technologies Co., Ltd.
60
z If fiber optic cables need to be routed close to a device on the tower, secure the cables to
the guardrail or pole with cable clips. The device cannot be far away from the position
for securing the cables.
z If the fiber optic cables close to a device are too long, coil the excess of the cables and
secure them on the tower.
7.2 Cable Connections
This section describes the remote radio unit (RRU) cable connections.
RRU power cables cannot be cascaded.
Figure 7-3 shows the cable connections of a single RRU in a base station in CDMA only (CO)
mode. CDMA is short for Code Division Multiple Access.
Figure 7-3 Cable connections of a single RRU in a base station in CO mode
1. Protection ground
(PGND) cable
2. Radio frequency
(RF) jumper
3. Antenna Interface Standards Group
(AISG) multi-wire cable for the RRU
4. AISG extension
cable for the RRU
5. RRU power cable 6. Common public radio interface (CPRI)
optical fiber
7. RRU alarm cable - -

RRU3642
Installation Guide 7 Installing RRU Cables
Issue 01 (2011-12-27) Huawei Proprietary and Confidential
Copyright © Huawei Technologies Co., Ltd.
61
Figure 7-4 shows the cable connections of a single RRU in a base station in CDMA+UMTS
(CU) or CDMA+LTE (CL) mode. UMTS is short for Universal Mobile Telecommunications
System. LTE is short for Long Term Evolution.
Figure 7-4 Cable connections of a single RRU in a base station in CU or CL mode
1. PGND cable 2. RF jumper 3. AISG multi-wire cable for the
RRU
4. AISG extension cable for the
RRU
5. RRU power
cable
6. CPRI optical fiber
7. RRU alarm cable - -
Figure 7-5 shows the cable connections of multiple RRUs in a base station in CO mode.

RRU3642
Installation Guide 7 Installing RRU Cables
Issue 01 (2011-12-27) Huawei Proprietary and Confidential
Copyright © Huawei Technologies Co., Ltd.
62
Figure 7-5 Cable connections of multiple RRUs in a base station in CO mode
1. PGND cable 2. RF jumper 3. RRU power cable
4. CPRI optical fiber - -
Figure 7-6 shows the cable connections of multiple RRUs in a base station in CU or CL mode.

RRU3642
Installation Guide 7 Installing RRU Cables
Issue 01 (2011-12-27) Huawei Proprietary and Confidential
Copyright © Huawei Technologies Co., Ltd.
63
Figure 7-6 Cable connections of multiple RRUs in a base station in CU or CL mode
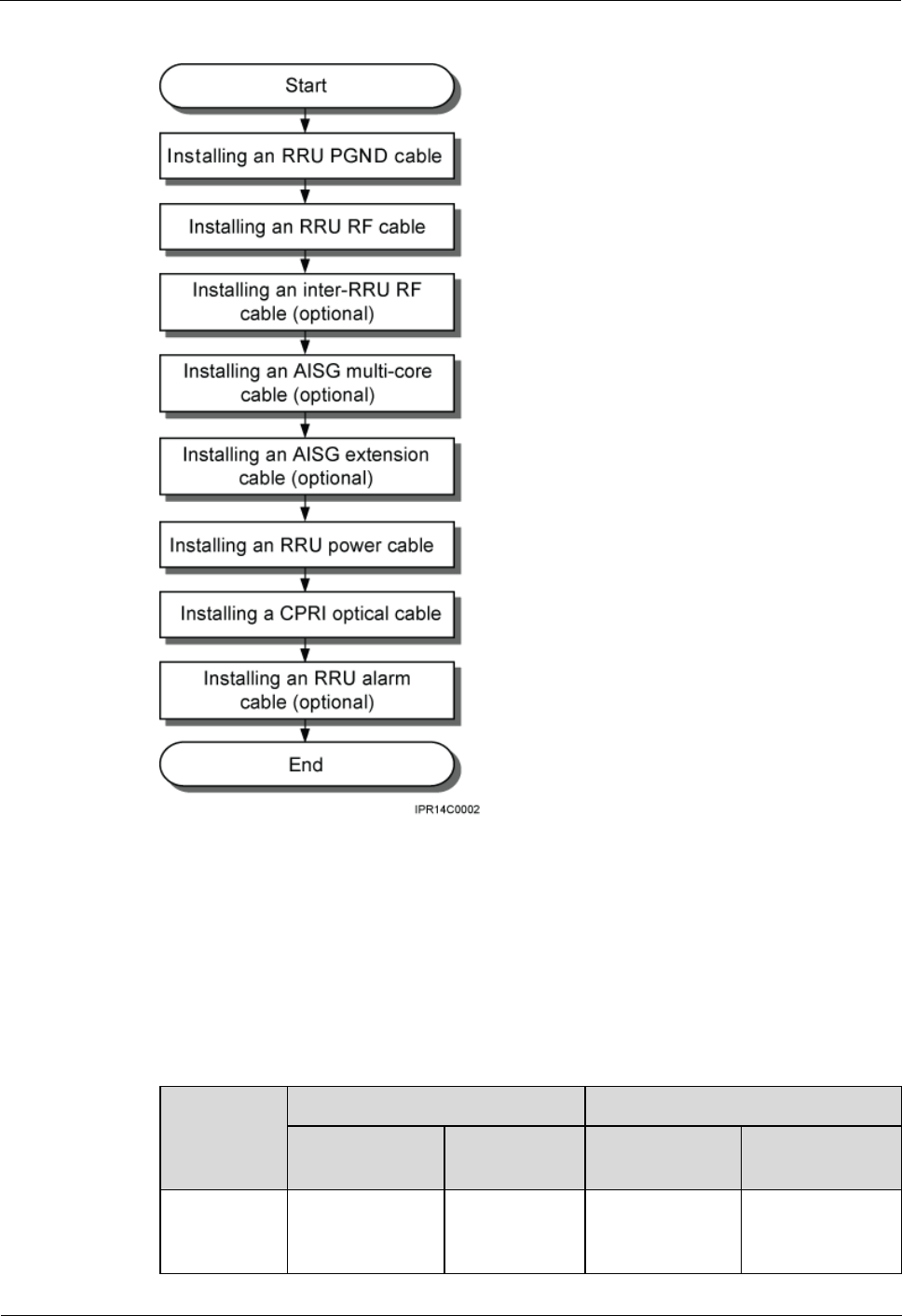
7.3 Installation Process
This section describes the process of installing RRU cables.
Figure 7-7 shows the process of installing RRU cables.

RRU3642
Installation Guide 7 Installing RRU Cables
Issue 01 (2011-12-27) Huawei Proprietary and Confidential
Copyright © Huawei Technologies Co., Ltd.
64
Figure 7-7 Process of installing RRU cables
7.4 RRU Cable List
This section provides a remote radio unit (RRU) cable list.
Table 7-1 lists RRU cables.
Table 7-1 RRU cable list
Cable One End The Other End
Connector Installation
Position Connector Installation
Position
RRU PGND
Cable
M6 OT terminal
with a
cross-sectional
Ground
terminal on the
RRU
M8 OT terminal
with a
cross-sectional
Ground terminal
on the ground bar

RRU3642
Installation Guide 7 Installing RRU Cables
Issue 01 (2011-12-27) Huawei Proprietary and Confidential
Copyright © Huawei Technologies Co., Ltd.
65
Cable One End The Other End
Connector Installation
Position Connector Installation
Position
area of 16 mm
2
(0.02 in.2 or 6
AWG)
area of 16 mm
2
(0.02 in.2 or 6
AWG)
RRU power
cable
Easy power
receptacle
(pressfit type)
connector
NEG(-) and
RTN(+) ports
on the RRU
Easy power
receptacle
(pressfit type)
connector
One of six ports
(RRU0-RRU5)
on the embedded
power subrack
unit (EPU)
One of six ports
(LOAD0-LOAD
5) on the direct
current
distribution
unit-11B
(DCDU-11B)
RRU alarm
cable
DB15 connector EXT_ALM
port on the
RRU
Cord end
terminal
External alarm
device
Multi-mode
common
public radio
interface
(CPRI)
optical fiber
DLC connector CPRI0 port on
the RRU
CPRI1 port on
the RRU
DLC connector Code Division
Multiple Access
(CDMA)+Univer
sal Mobile
Telecommunicati
ons System
(UMTS) mode
SFP port on the
HCPM or HECM
in the baseband
unit (BBU)
CPRI port on the
WBBP in the
BBU
CDMA+Long
Term Evolution
(LTE) mode
SFP port on the
Huawei
Enhanced Radio
Terminal
(HERT) channel
processing
module (HCPM)
or HERT
enhance channel
processing
(HECM) in the

RRU3642
Installation Guide 7 Installing RRU Cables
Issue 01 (2011-12-27) Huawei Proprietary and Confidential
Copyright © Huawei Technologies Co., Ltd.
66
Cable One End The Other End
Connector Installation
Position Connector Installation
Position
BBU
CPRI port on the
LTE baseband
processing unit
(LBBP) in the
BBU
Single-mode
CPRI optical
fiber
DLC connector CPRI0 port on
the RRU
DLC connector CDMA only
(CO) mode
SFP port on the
HCPM or HECM
in the BBU
RRU radio
frequency
(RF) jumper
DIN male
connector
ANT_TX/RX
A or
ANT_TX/RX
B port on the
RRU
DIN male
connector
Antenna system
Inter-RRU
RF cable
DB2W2
connector
RX_IN/OUT
port on the
RRU
DB2W2
connector
RX_IN/OUT port
on the RRU
AISG
multi-wire
cable for the
RRU
Waterproof DB9
male connector
RET port on
the RRU
Standard AISG
female connector
Standard AISG
male connector
on the remote
control unit
(RCU) or on the
AISG extension
cable
RRU AISG
extension
cable
Standard AISG
male connector
Standard AISG
female
connector on
the AISG
multi-wire
cable
Standard AISG
female connector
Standard AISG
male connector
on the RCU
7.5 Installing the RRU PGND Cable
This section describes the procedure for installing a remote radio unit (RRU) protection
ground (PGND) cable.

RRU3642
Installation Guide 7 Installing RRU Cables
Issue 01 (2011-12-27) Huawei Proprietary and Confidential
Copyright © Huawei Technologies Co., Ltd.
67
Context
The cross-sectional area of the RRU3642 PGND cable is 16 mm2 (0.02 in.2 or 6 AWG). One
end of the cable is terminated with an M6 OT terminal, and other end is terminated with an
M8 OT terminal.
Procedure
Step 1 Prepare an RRU PGND cable.
1. Cut off the extra length of a PGND cable based on the required cable route.
2. Install an OT terminal on each end of the cable by referring to Assembling the OT
Terminal and the Power Cable.
Step 2 Install the RRU PGND cable.
Connect the M6 OT terminal at one end of the PGND cable to the ground terminal at the
bottom of the RRU, and connect the M8 OT terminal at the other end of the PGND cable to
the external ground bar, as shown in Figure 7-8.
Figure 7-8 Installing the RRU PGND cable
You must correctly crimp the OT terminals in the direction shown in Figure 7-9.

RRU3642
Installation Guide 7 Installing RRU Cables
Issue 01 (2011-12-27) Huawei Proprietary and Confidential
Copyright © Huawei Technologies Co., Ltd.
68
Figure 7-9 Direction for crimping OT terminals
Step 3 Label the installed cable by referring to Attaching a Cable-Tying Label.
----End
7.6 Installing an RRU RF Jumper
This section describes the procedure for installing an RRU RF jumper.
Procedure
Step 1 Link the DIN connector at one end of the RF jumper to the ANT port and use a torque wrench
to tighten the connector to 25 N·m (221.27 lbf·in.), as shown in Figure 7-10.
Figure 7-10 Installing an RRU RF jumper

RRU3642
Installation Guide 7 Installing RRU Cables
Issue 01 (2011-12-27) Huawei Proprietary and Confidential
Copyright © Huawei Technologies Co., Ltd.
69
On AC-powered electric railways, such as high speed railways, when leaky cables are
connected to RRUs installed in tunnels, high-voltage-resistance DC blocks must be installed
between RRU RF jumpers and the leaky cables to protect the RRUs against damage.
Step 2 Link the other end of the RF jumper to the external antenna system.
Step 3 Waterproof the connectors of the RF jumper by referring to Figure 7-11.
Figure 7-11 Waterproofing a connector of the RF jumper
(1) Waterproof tape (2) PVC insulation tape
z Before wrapping waterproof tape, stretch the tape evenly until the width of the tape is half of its
original width.
z Wrap each layer of tape around the connector tightly and neatly, and ensure that each layer of tape
overlaps more than 50% of the preceding layer.
1. Wrap each connector with three layers of waterproof tape, from bottom up, then from top
down, and finally from bottom up. Start the wrapping at the position 50 mm (1.97 in.)
away from the bottom of the connector. Do not cut the tape until all the three layers of
the tape are already wrapped. Wrap each layer of tape around the connector tightly.
2. Wrap each connector with three layers of PVC insulation tape, from bottom up, then
from top down, and finally from bottom up. Start the wrapping at the position 30 mm
(1.18 in.) away from the bottom of the connector. Do not cut the tape until all the three
layers of the tape are already wrapped. Wrap each layer of tape around the connector
tightly.
Step 4 Check the dustproof caps on antenna connectors. In outdoor scenarios, dustproof caps must be
waterproofed, as shown in Figure 7-12.

RRU3642
Installation Guide 7 Installing RRU Cables
Issue 01 (2011-12-27) Huawei Proprietary and Confidential
Copyright © Huawei Technologies Co., Ltd.
70
Do not remove dustproof caps from vacant antenna connectors.
Figure 7-12 Waterproofing a dustproof cap
(1) Dustproof cap (2) Waterproof tape (3) PVC insulation tape
z Before wrapping waterproof tape, stretch the tape evenly until the width of the tape is half of its
original width.
z Wrap each layer of tape around the connector tightly and neatly, and ensure that each layer of tape
overlaps more than 50% of the preceding layer.
1. Verify that dustproof caps are not removed.
2. Wrap each dustproof cap with three layers of waterproof tape, from bottom up, then from
top down, and finally from bottom up. Do not cut the tape until all the three layers of the
tape are already wrapped. Wrap each layer of tape around the cap tightly.
3. Wrap each dustproof cap with three layers of PVC insulation tape, from bottom up, then
from top down, and finally from bottom up. Do not cut the tape until all the three layers
of the tape are already wrapped. Wrap each layer of tape around the connector tightly.
Step 5 Lay out the jumper by referring to 7.1 Cabling Requirements, and then bind the jumper using
cable ties.
Step 6 Label the installed jumper by referring to Attaching a Sign Plate Label.
Step 7 Attach colored insulation tapes to the jumper by referring to Attaching the Color Ring.
----End
7.7 Installing an Inter-RRU RF Cable
This section describes the procedure for installing the inter-RRU RF cable.

RRU3642
Installation Guide 7 Installing RRU Cables
Issue 01 (2011-12-27) Huawei Proprietary and Confidential
Copyright © Huawei Technologies Co., Ltd.
71
Procedure
Step 1 Link the DB2W2 connector at one end of the RF cable to the RX_IN/OUT port of an RRU,
and link the other end to the RX_IN/OUT port of the other RRU, as shown in Figure 7-13.
Figure 7-13 Installing an inter-RRU RF cable
Step 2 Lay out the cable by referring to 7.1 Cabling Requirements, and then bind the cable using
cable ties.
Step 3 Label the installed cable by referring to Attaching an L-Shaped Label.
----End
7.8 Installing an RRU AISG Multi-Wire Cable and AISG
Extension Cable
This section describes the procedures for installing an RRU AISG multi-wire cable and AISG
extension cable.
Context
When the distance between an RRU and a Remote Control Unit (RCU) is longer than 5 m
(16.4 ft.), an AISG multi-wire cable is not long enough to connect the RRU and the RCU. In
this case, an AISG extension cable is used to extend the AISG multi-wire cable.
Procedure
z Install an AISG multi-wire cable that is not configured with an AISG extension cable.
1. Link the waterproofed DB9 connector at one end the AISG multi-wire cable to the RET
port on the RRU bottom, as shown in Figure 7-14.

RRU3642
Installation Guide 7 Installing RRU Cables
Issue 01 (2011-12-27) Huawei Proprietary and Confidential
Copyright © Huawei Technologies Co., Ltd.
72
Figure 7-14 Installing an RRU AISG multi-wire cable
2. Connect the other end of the cable to the standard AISG male connector on the RCU.
3. Lay out the cable by referring to 7.1 Cabling Requirements, and then bind the cable
using cable ties.
4. Label the installed cable by referring to Attaching an L-Shaped Label.
z Install an AISG multi-wire cable that is configured with an AISG extension cable.
1. Link the waterproofed DB9 connector at one end of the AISG multi-wire cable to the
RET port on the RRU bottom, and link the other end to the standard AISG male
connector of the AISG extension cable, as shown in Figure 7-15.
Figure 7-15 Installing an RRU AISG multi-wire cable

RRU3642
Installation Guide 7 Installing RRU Cables
Issue 01 (2011-12-27) Huawei Proprietary and Confidential
Copyright © Huawei Technologies Co., Ltd.
73
2. Connect the other end of the AISG extension cable to the standard AISG male connector
on the RCU, as shown in Figure 7-16.
Figure 7-16 Installing an RRU AISG multi-wire cable
3. Lay out the cable by referring to 7.1 Cabling Requirements, and then bind the cable
using cable ties.
4. Label the installed cable by referring to Attaching an L-Shaped Label.
----End
7.9 Opening the Cover Plate of an RRU Cabling Cavity
This section describes the procedure for opening the cover plate of an RRU cabling cavity.
Procedure
Step 1 Wear ESD gloves.
Take proper ESD protection measures, for example, wear ESD gloves, to prevent electrostatic
damage to the boards, modules, or electronic components.
Step 2 Loosen the protection screw on the cover plate of the RRU cabling cavity using an M4
Phillips screwdriver, and then lower the handle to open the cover plate, as shown in Figure
7-17.

RRU3642
Installation Guide 7 Installing RRU Cables
Issue 01 (2011-12-27) Huawei Proprietary and Confidential
Copyright © Huawei Technologies Co., Ltd.
74
Figure 7-17 Opening the cover plate of the RRU cabling cavity
(1) Protection screw
Figure 7-18 shows the RRU cabling cavity.
Figure 7-18 RRU cabling cavity
(1) Cover plate (2) Cable diagram on
labels
(3) Cable trough for the fiber
optic cable
(4) Cable trough for the
power cable
(5) Cable trough for the
alarm cable
(6) Waterproof block
(7) Clip (8) Cabling cavity -
Step 3 Loosen the screws on the clip, and open the clip, as shown Figure 7-19.
Open the clip only for the associated cable.

RRU3642
Installation Guide 7 Installing RRU Cables
Issue 01 (2011-12-27) Huawei Proprietary and Confidential
Copyright © Huawei Technologies Co., Ltd.
75
Figure 7-19 Opening clips
----End
7.10 Installing an RRU power cable
This section describes the procedure for installing an RRU power cable.
Prerequisite
z An tool-less female connector (pressfit type) is added to the RRU power cable on the
RRU side. For details, see 10.1 Adding an Tool-less Female Connector (Pressfit Type) to
the RRU Power Cable on the RRU Side.
z A connector or OT terminals are added to the RRU power cable on the power device side.
For details, see the DBS3900 Installation Guide.
Context
The cross-sectional area of the RRU power cable is 6 mm2 (0.009 in.2).
Procedure
z Install an RRU power cable that feeds power to an RRU from a DCDU-11B when the
DCDU-11B is configured.
1. Link the tool-less female connector (pressfit type) at one end of the RRU power cable to
the power supply socket on the RRU, as shown in Figure 7-20.

RRU3642
Installation Guide 7 Installing RRU Cables
Issue 01 (2011-12-27) Huawei Proprietary and Confidential
Copyright © Huawei Technologies Co., Ltd.
76
Figure 7-20 Installing an RRU power cable
Ensure that the exposed shield layer of the power cable is properly tightened using the clip.
2. Link the tool-less female connector (pressfit type) at the other end of the RRU power
cable to the LOAD0 port on the DCDU-11B.
One DCDU-11B can supply power to a maximum of six RRUs. The RRU power cable can be connected
to any wiring terminal from LOAD0 to LOAD5 on the DCDU-11B.
3. Lay out the cable by referring to 7.1 Cabling Requirements, and then bind the cable
using cable ties.
4. Label the installed cable by referring to Attaching a Cable-Tying Label.
z Install an RRU power cable that feeds power to an RRU from an EPU when the EPU is
configured.
1. Link the tool-less female connector (pressfit type) at one end of the RRU power cable to
the power supply socket on the RRU, as shown in Figure 7-20.
2. Link the tool-less female connector (pressfit type) at one end of the RRU power cable to
the RRU0 port on the EPU subrack.

RRU3642
Installation Guide 7 Installing RRU Cables
Issue 01 (2011-12-27) Huawei Proprietary and Confidential
Copyright © Huawei Technologies Co., Ltd.
77
z The blue core wire in the tool-less female connector (pressfit type) is linked to the left port on the
EPU subrack, and the black/brown core wire is linked to the right port on the EPU subrack.
z The EPU can supply power to a maximum of six RRUs. The RRU power cable can be connected to
any of RRU0 to RRU5 ports on the EPU.
3. Lay out the cable by referring to 7.1 Cabling Requirements, and then bind the cable
using cable ties.
4. Label the installed cable by referring to Attaching a Cable-Tying Label.
----End
7.11 Installing a CPRI Fiber Optic Cable
This section describes the procedure for installing a CPRI fiber optic cable.
Prerequisite
Before the installation, single-mode optical modules can be distinguished from multi-mode
optical modules in either of the following ways:
z SM and MM labels on an optical module: SM indicates a single-mode optical module,
and MM indicates a multi-mode optical module.
z Color of the puller on an optical module: Blue indicates a single-mode optical module,
and black or gray indicates a multi-mode optical module.
The optical modules to be installed must match CPRI rates.
Context
A CPRI fiber optic cable transmits CPRI signals between a BBU and an RRU.
For details about CPRI fiber optic cable connections, see the descriptions of connections for
the CPRI fiber optic cable in the BBU3900 Hardware Description.
Procedure
Step 1 Lower the pullers of two optical modules, insert one optical module into the CPRI0 port on
the RRU and the other optical module into the CPRI port on the BBU, and then raise the
pullers, as shown in Figure 7-21.

RRU3642
Installation Guide 7 Installing RRU Cables
Issue 01 (2011-12-27) Huawei Proprietary and Confidential
Copyright © Huawei Technologies Co., Ltd.
78
Figure 7-21 Installing an optical module
The performance of an optical module that is exposed to the air for more than 20 minutes may
be abnormal. Therefore, you must insert an fiber optic cable into an unpacked optical module
within 20 minutes.
Step 2 Connect the end labeled 1A and 1B of the fiber optic cable to the optical module on the RRU
side, as shown in Figure 7-22.
Figure 7-22 Installing a CPRI fiber optic cable

RRU3642
Installation Guide 7 Installing RRU Cables
Issue 01 (2011-12-27) Huawei Proprietary and Confidential
Copyright © Huawei Technologies Co., Ltd.
79
Install the fiber optic cable in the cable clip near the power cable to leave some slack at the
bend. Tighten the screws on the cable clip to 1.4 N·m (12.39 lbf·in.).
Step 3 Connect the end labeled 2A and 2B of the fiber optic cable to the optical module on the BBU
side.
Step 4 Lay out the fiber optic cable by referring to 7.1 Cabling Requirements, and then bind the
cable using cable ties.
Step 5 Label the fiber optic cable by referring to Attaching an L-Shaped Label.
----End
7.12 Installing an RRU Alarm Cable
This section describes the procedure for installing an RRU alarm cable.
Procedure
Step 1 Link the DB15 connector at one end of the RRU alarm cable to the EXT_ALM port on the
RRU, and link the eight cord end terminals at the other end to the external alarm device, as
shown in Figure 7-23.
Figure 7-23 Installing an RRU alarm cable

RRU3642
Installation Guide 7 Installing RRU Cables
Issue 01 (2011-12-27) Huawei Proprietary and Confidential
Copyright © Huawei Technologies Co., Ltd.
80
Step 2 Lay out the cable by referring to 7.1 Cabling Requirements, and then bind the cable using
cable ties.
Step 3 Label the installed cable by referring to Attaching an L-Shaped Label.
----End
7.13 Closing the Cover Plate of an RRU Cabling Cavity
This section describes the procedure for closing the cover plate of an RRU cabling cavity.
Procedure
Step 1 Close clips and tighten the screws on each clip to 1.4 N·m (12.39 lbf·in.) using a torque
screwdriver, as shown in Figure 7-24.
Figure 7-24 Closing clips
Ensure that the exposed shield layer of the power cable is properly tightened using the clip.
Step 2 Insert waterproof blocks into vacant cable troughs in the cabling cavity, as shown in Figure
7-25.

RRU3642
Installation Guide 7 Installing RRU Cables
Issue 01 (2011-12-27) Huawei Proprietary and Confidential
Copyright © Huawei Technologies Co., Ltd.
81
Figure 7-25 Correct placement of waterproof blocks
Step 3 Close the cover plate of the RRU cabling cavity and tighten the screws on the cover plate to
0.8 N·m (7.08 lbf·in.) using a torque screwdriver, as shown in Figure 7-26.
Figure 7-26 Closing the cover plate of the RRU cabling cavity
(1) Protection screw
z Before tightening the screws on the cover plate, ensure that cables and waterproof blocks
are properly inserted into troughs.
z Tighten the screws on the cover plate in the sequence shown in the figure.
Step 4 Take off the ESD gloves, and pack up all the tools.
----End

RRU3642
Installation Guide 8 Checking the RRU Hardware Installation
Issue 01 (2011-12-27) Huawei Proprietary and Confidential
Copyright © Huawei Technologies Co., Ltd.
82
8 Checking the RRU Hardware Installation
After an RRU is installed, check the hardware installation.
Table 8-1 provides the checklist for the RRU hardware installation.
Table 8-1 Checklist for the RRU hardware installation
SN Item
1 The position for each device conforms to the engineering drawing and meets the
space requirement. Sufficient space is reserved for equipment maintenance.
2 The RRU is securely installed.
3 The cover plate is securely installed on the RRU cabling cavity.
4 Waterproof blocks are securely installed in vacant cable troughs of the RRU
cabling cavity, and the cover plate for the cabling cavity is securely installed. In
addition, vacant RF ports are covered with dustproof caps and the caps are
tightened.
5 There are no connectors or joints on each power cable or PGND cable.
6 The terminals at two ends of each power cable or PGND cable are securely
soldered or crimped.
7 None of power cables and PGND cables can be short-circuited or reversely
connected. In addition, these cables are not damaged or broken.
8 Power cables and PGND cables are separately bound from other cables.
9 The protection grounding of the RRU and the surge protection grounding of the
building share one group of ground conductors.
10 The connectors of each signal cable are intact and securely linked, and these
cables are not damaged or broken.
11 Labels are correct, legible, and complete at both ends of each cable, feeder, and
jumper.

RRU3642
Installation Guide 9 Powering On an RRU
Issue 01 (2011-12-27) Huawei Proprietary and Confidential
Copyright © Huawei Technologies Co., Ltd.
83
9 Powering On an RRU
After all the devices are installed, check the power-on status of an RRU.
After you unpack an RRU, you must power on it within 24 hours. If you power off the RRU
for maintenance, you must restore power to the RRU within 24 hours.
Figure 9-1 shows the RRU power-on check process.

RRU3642
Installation Guide 9 Powering On an RRU
Issue 01 (2011-12-27) Huawei Proprietary and Confidential
Copyright © Huawei Technologies Co., Ltd.
84
Figure 9-1 RRU power-on check process

RRU3642
Installation Guide 10 Appendix
Issue 01 (2011-12-27) Huawei Proprietary and Confidential
Copyright © Huawei Technologies Co., Ltd.
85
10 Appendix
About This Chapter
This section describes the procedure for adding an easy power receptacle (pressfit type)
connector.
10.1 Adding an Tool-less Female Connector (Pressfit Type) to the RRU Power Cable on the
RRU Side
This section describes the procedure for adding an tool-less female connector (pressfit type) to
the RRU power cable on the RRU side.
10.1 Adding an Tool-less Female Connector (Pressfit Type)
to the RRU Power Cable on the RRU Side
This section describes the procedure for adding an tool-less female connector (pressfit type) to
the RRU power cable on the RRU side.
Procedure
Step 1 Figure 10-1 shows the cable diagram on labels.

RRU3642
Installation Guide 10 Appendix
Issue 01 (2011-12-27) Huawei Proprietary and Confidential
Copyright © Huawei Technologies Co., Ltd.
86
Figure 10-1 Cable diagram on labels
(1) Cable diagram on labels
Step 2 Determine the length of the power cable for different operations based on the labels, as shown
in Figure 10-2.
Figure 10-2 Determining the length of the power cable
Step 3 Strip the specified length of the sheath off the power cable, as shown in Figure 10-3.
Figure 10-3 Stripping the specified length of sheath
Step 4 Strip a specified length of sheath off each core wire. The length must be consistent with the
length of the notch in the tool-less female connector (pressfit type), as shown in Figure 10-4.

RRU3642
Installation Guide 10 Appendix
Issue 01 (2011-12-27) Huawei Proprietary and Confidential
Copyright © Huawei Technologies Co., Ltd.
87
Figure 10-4 Stripping the sheath off each core wire
Figure 10-5 Matched length
Step 5 Add an tool-less female connector (pressfit type) to two core wires.
1. Tighten the screws using a Phillips screwdriver, as shown in Figure 10-6.
Figure 10-6 Tightening screws
2. Connect the blue core wire labeled NEG(-) to the - port and the black/brown core wire
labeled RTN(+) to the + port on the tool-less female connector (pressfit type), and then
tighten the screws using a Phillips screwdriver, as shown in Figure 10-7.

RRU3642
Installation Guide 10 Appendix
Issue 01 (2011-12-27) Huawei Proprietary and Confidential
Copyright © Huawei Technologies Co., Ltd.
88
Figure 10-7 Adding an tool-less female connector (pressfit type) to two core wires
Step 6 Strip the specified length of the sheath off the power cable to expose the intact shield layer, as
shown in Figure 10-8.
Figure 10-8 Stripping the sheath off the power cable
Each core wire is exposed outside the tool-less female connector (pressfit type) for 1.5 mm
(0.059 [in.]), as shown in Figure 10-9.

RRU3642
Installation Guide 10 Appendix
Issue 01 (2011-12-27) Huawei Proprietary and Confidential
Copyright © Huawei Technologies Co., Ltd.
89
Figure 10-9 Inserting core wires into the tool-less female connector (pressfit type)
----End