ICOM orporated IC-R5 Scanning Receiver User Manual IC R5 Instruction Manual
ICOM Incorporated Scanning Receiver IC R5 Instruction Manual
Users Manual

INSTRUCTION MANUAL
iR5
COMMUNICATIONS RECEIVER
This device complies with Part 15 of the FCC rules. Operation is sub-
ject to the following two conditions: (1) This device may not cause
harmful interference, and (2) this device must accept any interference
received, including interference that may cause undesired operation.
New2001
IC-R5.qxd 02.9.17 16:10 Page 1 (1,1)

i
New2001
FOREWORD
Thank you for purchasing this Icom product. The IC-R5
COM
-
MUNICATIONS RECEIVER
is designed and built with Icom’s supe-
rior technology and craftsmanship. With proper care, this
product should provide you with years of trouble-free operation.
We want to take a couple of moments of your time to thank you
for making your IC-R5 your radio of choice, and hope you agree
with Icom’s philosophy of “technology first.” Many hours of re-
search and development went into the design of your IC-R5.
DD
FEATURES
❍Covers 0.150–1309.995 MHz* wide
frequency range
*Some frequency bands are inhibited according to version
❍External power supply operation
❍1250 memory channels* with 18 banks
available
*200 auto write and 50 scan edge channels are included.
❍Built-in bar-antenna
❍
New DMS (Dynamic Memory Scan) System
IMPORTANT
READ ALL INSTRUCTIONS carefully and completely
before using the receiver.
SAVE THIS INSTRUCTION MANUAL— This in-
struction manual contains important operating instructions for
the IC-R5.
EXPLICIT DEFINITIONS
WORD DEFINITION
RWARNING!
CAUTION
NOTE
Personal injury, fire hazard or electric shock
may occur.
Equipment damage may occur.
Recommended for optimum use. No risk of
personal injury, fire or electric shock.
Icom, Icom Inc. and the logo are registered trademarks of Icom
Incorporated (Japan) in the United States, the United Kingdom, Ger-
many, France, Spain, Russia and/or other countries.
IC-R5.qxd 02.9.17 16:10 Page i (1,1)

RWARNING! NEVER operate the receiver with a ear-
phone, headphones or other audio accessories at high vol-
ume levels. Hearing experts advise against continuous high
volume operation. If you experience a ringing in your ears, re-
duce the volume level or discontinue use.
RWARNING! NEVER connect the receiver to an AC
outlet. This may pose a fire hazard or result in an electric
shock.
RWARNING! NEVER operate the receiver while dri-
ving a vehicle. Safe driving requires your full attention—any-
thing less may result in an accident.
RWARNING! NEVER throw a battery cell into a fire
since as internal battery gas can cause explosion.
RWARNING! NEVER disassemble the battery cell. If
the battery cell’s internal material (electrolyte liquid) gets into
your eyes, wash your eyes with water and obtain treatment
from an eye doctor immediately.
NEVER connect the receiver to a power source of more
than 6 V DC directly. This will damage the receiver.
NEVER connect the receiver to a power source using re-
verse polarity. This will damage the receiver.
NEVER expose the receiver to rain, snow or any liquids.
The receiver may be damaged.
NEVER operate or touch the receiver with wet hands. This
may result in an electric shock or damage the receiver.
NEVER solder the battery cell. This may damage the bat-
tery.
AVOID using or placing the receiver in direct sunlight or in
areas with temperatures below –10°C (+14˚F) or above
+60°C (+140˚F).
AVOID the use of chemical agents such as benzine or al-
cohol when cleaning, as they can damage the receiver’s sur-
faces.
Even when the receiver power is OFF, a slight current still
flows in the circuits. Remove batteries from the receiver when
not using it for a long time. Otherwise, the installed batteries
will become exhausted, and will need to be recharged.
For U.S.A. only
CAUTION: Changes or modifications to this device, not ex-
pressly approved by Icom Inc., could void your authority to
operate this device under FCC regulations.
ii
New2001
PRECAUTION
IC-R5.qxd 02.9.17 16:10 Page ii (1,1)

New2001
iii
SUPPLIED ACCESSORIES
qAntenna ………………………………………………………1
wHand strap …………………………………………………1
eBelt clip ………………………………………………………1
rNi-Cd battery cells†…………………………………………2
tAC adapter* …………………………………………………1
*Not supplied with UK and Italy versions.
†Not supplied with Italy version.
OPERATING THEORY
Electromagnetic radiation which has frequencies of
20,000 Hz (20 kHz*) and above is called radio frequency (RF)
energy because it is useful in radio transmissions. The IC-R5
receives RF energy from 0.150 MHz* to 1309.995 MHz and
converts it into audio frequency (AF) energy which in turn ac-
tuates a loudspeaker to create sound waves. AF energy is in
the range of 20 to 20,000 Hz.
*kHz is an abbreviation of kilohertz or 1000 hertz, MHz is abbreviation
of megahertz or 1,000,000 hertz, where hertz is a unit of frequency.
OPERATING NOTES
The IC-R5 may receive its own oscillated frequency, resulting
in no reception or only noise reception, on some frequencies.
The IC-R5 may receive interference from extremely strong
signals on different frequencies or when using an external
high-gain antenna.
qw e
t
r
IC-R5.qxd 02.9.17 16:10 Page iii (1,1)

New2001
iv
TABLE OF CONTENTS 1
2
3
4
5
6
7
8
9
10
11
12
13
14
15
FOREWORD .................................................. i
IMPORTANT .................................................. i
EXPLICIT DEFINITIONS ................................ i
PRECAUTION ............................................... ii
SUPPLIED ACCESSORIES ......................... iii
OPERATING THEORY ................................. iii
OPERATING NOTES ................................... iii
TABLE OF CONTENTS ................................ iv
QUICK REFERENCE GUIDE .................. I–VI
■Preparation ............................................. I
■Receiving a signal ................................ III
■Memory programming .......................... IV
■Programmed scan operation................. V
1 PANEL DESCRIPTION ........................ 1–4
■Front, top and side panels .................... 1
■Function display .................................... 3
2 BATTERY CHARGING ........................ 5–6
■Battery installation ................................. 5
■Caution .................................................. 5
■Battery charging .................................... 6
3 FREQUENCY AND CHANNEL SETTING
........................................................... 7–10
■VFO and memory channels................... 7
■Operating band selection....................... 7
■Setting a frequency................................ 9
■Setting a tuning step.............................. 9
■Selecting a memory channel ............... 10
■Lock function ....................................... 10
4 BASIC OPERATION ........................ 11–15
■Receiving ............................................. 11
■Setting audio volume ........................... 11
■Squelch level setting............................ 12
■Receive mode selection ...................... 12
■Monitor function ................................... 13
■Attenuator function .............................. 13
■Duplex operation ................................. 14
■Dial select step .................................... 15
5 MEMORY CHANNELS ..................... 16–24
■General description ............................. 16
■Memory channel programming............ 16
■Memory bank setting ........................... 17
■Memory bank selection........................ 18
■Programming memory/bank name ...... 19
■Selecting display type.......................... 20
■Copying memory contents................... 21
■Memory clearing .................................. 22
■Transferring memory contents............. 23
■Erasing/transferring bank contents...... 24
6 SCAN OPERATION ......................... 25–31
■Scan types........................................... 25
■Full/band/programmed scan................ 26
■Scan edges programming ................... 27
■Memory/bank/all bank scan................. 28
■Auto memory write scan ...................... 29
■Skip channel/frequency setting............ 30
■Scan resume condition ........................ 31
7 PRIORITY WATCH .......................... 32–34
■Priority watch types ............................. 32
■Priority watch operation ....................... 33
8 TONE SQUELCH AND POCKET BEEP
.......................................................... 35–38
■Tone/DTCS squelch operation............. 35
■Tone squelch frequency/DTCS code set-
ting....................................................... 36
■DTCS polarity setting........................... 37
■Tone scan ............................................ 38
9 SET MODE ...................................... 39–47
■General................................................ 39
■Set mode items.................................... 40
10 OTHER FUNCTIONS ....................... 48–53
■Antenna selection ................................ 48
■[DIAL] function assignment.................. 49
■Weather channel operation ................. 49
■Data cloning ........................................ 51
■Auto power-off function........................ 52
■Partial reset ......................................... 53
■All reset ............................................... 53
11 FREQUENCY TABLE ...................... 54–61
■TV channels......................................... 54
■VHF marine channels .......................... 57
■Weather channels................................ 57
■Other communications in the USA ...... 58
■Other communications— other countries
............................................................. 60
12 MAINTENANCE ............................... 62–63
■Troubleshooting ................................... 62
■CP-18A/E fuse replacement ................ 63
13 SPECIFICATIONS ................................. 64
14 OPTIONS ............................................... 65
15 POCKET GUIDE .............................. 66–67
16 DOC ....................................................... 68
IC-R5.qxd 02.9.17 16:10 Page iv (1,1)

I
QUICK REFERENCE GUIDE
New2001
■Preparation
DBattery installation
qRemove the battery cover
from the receiver.
wInstall 2 R6(AA) size Ni-
Cd, Ni-MH or alkaline cell
batteries.
• Be sure to observe the cor-
rect polarity.
• Charge Ni-Cd or Ni-MH
batteries before use. (See
the right page for charging
instructions.)
Keep battery the contacts clean. It’s a good idea to clean
the battery terminals once a week.
DBelt clip
Conveniently attaches to
your belt.
Slide the belt clip into the
plastic loop on the back of
the receiver.
DDAntenna
Insert the supplied antenna into the
antenna connector and screw down
the antenna as shown at right.
NEVER hold the antenna when car-
rying the receiver.
Keep the jack cover attached when
jack is not in use to protect the con-
nectors from dust and moisture.
✔
For your information
Third-party antennas may increase receiver performance.
An optional AD-92SMA
ANTENNA CONNECTOR ADAPTER
is
available to connect an antenna with a BNC connector.
DHandstrap
Slide the handstrap through the
loop on the side of the belt clip as il-
lustrated at right. Facilities carrying.
IC-R5.qxd 02.9.17 16:10 Page I (1,1)

II
QUICK REFERENCE GUIDE
New2001
DCharging the battery
qInstall the Ni-Cd batteries.
• Ni-MH batteries can also be charged.
wPlug the AC adapter into an AC outlet.
eInsert the adapter plug into the [DC 6V] of the receiver.
rThe battery confirmation is displayed as above right.
RRWARNING!:
NEVER charge the alkaline batteries.
tRotate [DIAL] to select “Y” then push [BAND• ].
yThe charging confirmation is displayed as below.
uRotate [DIAL] to select “Y” then push [BAND• ] to start
battery charging.
• The battery indicator scrolls during charge as below.
• Both segments blink when completely charged.
[BAND• ]
[DIAL]
IC-R5
to [DC 6V]
jack
Optional CP-18A/E
Cigarette lighter cable
with DC-DC converter
AC adapter
to cigarette
lighter socket
to AC outlet
Quick reference guide
IC-R5.qxd 02.9.17 16:10 Page II (1,1)

III
QUICK REFERENCE GUIDE
New2001
■Your first scanning
experience
Now that you have your IC-R5 ready, you are probably ex-
cited to start listening. We would like to take you through a
few basic operation steps to make your first “Scanning Expe-
rience” enjoyable.
DAbout default setting
The [DIAL] control function can be traded with [Y]/[Z] keys
function in set mode. However, in this QUICK REFERENCE
GUIDE, the factory default setting ([DIAL] sets operating fre-
quency) is used for simple instruction.
DBasic operation
1. Turning ON the receiver
➥Push [PWR] for 1 sec. to turn
the power ON.
2. Adjusting audio level
➥Push [Y]/[Z] to set the de-
sired audio level.
3. Adjusting squelch level
➥While pushing [SQL], rotate
[DIAL] to set the squelch
level.
4. Tune the desired
frequency
The tuning dial will allow you to
dial in the frequency you want to
operate. Pages 9 and 15 will in-
struct you on how to set the tun-
ing speed.
qPush [BAND•] several
times to select the desired fre-
quency band.
•While pushing [BAND•],
rotate [DIAL] also select fre-
quency band.
wRotate [DIAL] to set the desired receive frequency.
•While pushing [FUNC], rotate [DIAL] to select frequency in 1 MHz
step.
[DIAL]
[BAND• ]
[SQL]
[Y]/[Z]
[DIAL]
[PWR]
IC-R5.qxd 02.9.17 16:10 Page III (1,1)

IV
QUICK REFERENCE GUIDE
New2001
5. Receive mode selection
➥Push [MODE•SCAN] several
times to select the desired re-
ceive mode.
•FM, WFM and AM are available.
■Memory programming
The IC-R5 has a total of 1250 memory channels (including
200 auto write channels and 50 scan edges) for storing often
used receive frequency, mode, etc.
1. Setting frequency
In VFO mode, set the desired receive frequency mode.
•When “” indicator is displayed, push [V/M•S.MW•~] to se-
lect the VFO mode.
2. Selecting a memory
channel
Push [V/M•S.MW•~] for 1 sec.,
then rotate [DIAL] to select the
desired memory channel.
•“ ” indicator and memory
channel number blink.
3. Writing a memory channel
Push [V/M•S.MW•~] for 1 sec. until 3 beeps sound.
•Memory channel number automatically increases when continuing
to push [V/M•S.MW•~] after programming.
[V/M•S.MW•~]
[DIAL]
[MODE•SCAN]
Quick reference guide
IC-R5.qxd 02.9.17 16:10 Page IV (1,1)

V
QUICK REFERENCE GUIDE
New2001
■Programmed scan operation
25 pairs, 50 channels of memories are used for programmed
scan operation, that specifying a scanning ranges. The pro-
grammed scan scans between “xxA” and “xxB” (xx=00 to 24)
frequencies. Therefore, before operating the programmed
scan, different frequencies must be programmed into “A” and
“B” channels.
DDProgramming scan edges
A start frequency must be programmed into a “xxA,” and end
frequency must be programmed into a “xxB” memory chan-
nel.
1. Setting frequency
In VFO mode, set the desired receive frequency mode.
•When “” indicator is displayed, push [V/M•S.MW•~] to se-
lect the VFO mode.
2. Selecting a scan edge channel “A”
Push [V/M•S.MW•~] for 1 sec.,
then
rotate [DIAL] to select one of the de-
sired scan edge channel “A.”
•“ ” indicator and scan edge channel number blink.
3. Writing a memory channel
Push [V/M•S.MW•~] for 1 sec. until 3 beeps sound.
•Scan edge channel “B” is automatically selected when continuing
to push [V/M•S.MW•~] after programming.
•After programming is completed, return to VFO indication.
4. Selecting a scan edge channel “B”
Push [V/M•S.MW•~] for 1 sec.,
then
rotate [DIAL] to select one of the de-
sired scan edge channel “B.”
•“ ” indicator and scan edge channel number blink.
•When the scan edge channel “B” is already selected at step 3. (con-
tinuing to push [V/M•S.MW•~] after programming), skip this step.
5. Writing a memory channel
Push [V/M•S.MW•~] for 1 sec. until 3 beeps sound.
•The next scan edge channel “A” is automatically selected when con-
tinuing to push [V/M•S.MW•~] after programming.
•After programming is completed, return to VFO indication.
IC-R5.qxd 02.9.17 16:10 Page V (1,1)

VI
QUICK REFERENCE GUIDE
New2001
DDStarting scan
1. Select VFO mode.
Push [V/M•S.MW•~] to select the VFO mode for full, band
and programmed scan operation.
•Select memory mode by pushing [V/M•S.MW•~] again for mem-
ory or bank scan.
2. Selecting a scanning type
Push [MODE•SCAN] for 1 sec.,
then rotate [DIAL] to select
one of the desired scanning type.
•Available scan types when VFO mode is selected; “ALL” for full
scan; “BAND” for the selected band; one of “PROGxx” (xx=0 to 24)
for programmed scan.
•Available scan types when memory bank is selected; “ALL” for all
bank scan; “BANK” for the selected bank scan.
3. Starting scan
Push [MODE•SCAN] to start scan.
•Rotate [DIAL] to change the scanning direction.
4. Cancelling scan
Push [MODE•SCAN] again to stop scan.
✔
For your information
The memory channel number you program the scan edges
into correlate “PROGxx” as follows:
00A/00B: Scans between frequencies programmed in 00A
and 00B channels, and select “PROG 00”
01A/01B: Scans between frequencies programmed in 01A
and 01B channels, and select “PROG 01”
•
•
•
•
23A/23B: Scans between frequencies programmed in 23A
and 23B channels, and select “PROG 23”
24A/24B: Scans between frequencies programmed in 24A
and 24B channels, and select “PROG 24”
FM AM SKIPPWFM AM SKIPPW
FM AM DUP SQL DTCSTWFM AM DUP SQL DTCSTW
• Programmed scan• Full/Band scan
• Bank scan• Memory/All bank scan
[DIAL]
[MODE•SCAN]
•Full scan
•Scan type indication examples
•Program scan
•Bank scan
Quick reference guide
IC-R5.qxd 02.9.17 16:10 Page VI (1,1)

■Front, top and side panels
qANTENNA CONNECTOR (p. I)
Connects the supplied antenna.
•An optional AD-92SMA is available for connecting an antenna
with a BNC connector.
wEXTERNAL SPEAKER CONNECTOR [SP]
Connect an optional earphone or headphone.
The internal speaker will not function when any external
equipment is connected. (See p. 65 for a list of available
options.)
eFUNCTION SWITCH [FUNC]
While pushing this switch, access to secondary function.
rSQUELCH SWITCH [SQL]
➥Push and hold to temporarily open the squelch and
monitor the operating frequency. (p. 13)
➥While pushing this switch, rotate [DIAL]* to adjust the
squelch level. (p. 12)
tUP/DOWN SWITCHES [YY]/[ZZ]
Adjusts audio volume level.* (p. 11)
yBAND•LOCK SWITCH [BAND•]
➥Push to select the operating frequency band. (p. 7)
➥After pushing [FUNC], push for 1 sec. to toggle the lock
function ON and OFF. (p. 10)
u
i
!1
o
!0
!2
y
t
r
e
w
q
Function display
(pgs 3, 4)
Speaker
1
PANEL DESCRIPTION
New2001
1
IC-R5.qxd 02.9.17 16:10 Page 1 (1,1)

2
1
PANEL DESCRIPTION
New2001
1
uCONTROL DIAL [DIAL]
➥Rotate to select the operating frequency.* (p. 9)
➥While scanning, changes the scanning direction.*
(p. 26)
➥While pushing [SQL], sets the squelch level.* (p. 12)
➥While pushing [FUNC], sets the operating frequency in
100 kHz, 1 MHz or 10 MHz in VFO mode.* (p. 9)
➥While pushing [FUNC], selects the memory channel in
10 channels steps in memory mode.* (p. 10)
➥While pushing [BAND•], selects the operating band
in VFO mode.* (p. 7)
iEXTERNAL DC-IN CONNECTOR [DC 6V] (p. 6)
Connects an AC adapter or an optional cigarette lighter
cable for both charging the installed re-chargeable battery
and operating.
oVFO/MEMORY•MEMORY WRITE SWITCH
[V/M•S.MW•~~]
➥Toggles between VFO and memory mode. (p. 7)
➥Push for 1 sec. to enter memory edit condition. (p. 16)
➥After pushing [FUNC], select scan skip condition. (p. 30)
!0POWER SWITCH [PWR]
Push for 1 sec. to turn the receiver power ON and OFF.
!1MODE•SCAN SWITCH [MODE•SCAN]
➥Push to select the receive mode. (p. 12)
➥Push for 1 sec. to start a scan. (p. 26)
➥While pushing [FUNC], start a tone scan. (p. 38)
!2TUNING STEP•SET SWITCH [TS•SET]
➥Push to enter tuning step selecting mode. (p. 9)
➥Push for 1 sec. to enter set mode. (p. 39)
➥While pushing [FUNC], trade [DIAL] and [Y]/[Z] func-
tion. (p. 49)
*The function of [DIAL] and [Y]/[Z] can be traded. See page 49 for
details.
IC-R5.qxd 02.9.17 16:10 Page 2 (1,1)

3
1PANEL DESCRIPTION
New2001
■Function display
qFREQUENCY READOUT
Shows variety of information, such as an operating fre-
quency, set mode contents, memory names.
•The smaller “75,” “50” and “25” to the right of the readout indi-
cate 0.75, 0.5 and 0.25 kHz, respectively.
•The decimal point blinks during scan.
wLOCK INDICATOR (p. 10)
Appears when the lock function is activated.
eRECEIVE MODE INDICATOR (p. 12)
Shows the selected receive mode.
•FM, WFM and AM are available.
rDUPLEX INDICATORS (p. 14)
“DUP” appears when plus duplex, “–DUP” appears when
minus semi-duplex (repeater) operation is selected.
tTONE INDICATORS
➥“T SQL” appears while the tone squelch function is in
use. (p. 35)
➥“DTCS” appears while the DTCS squelch function is in
use. (p. 35)
➥“S” appears with the “T SQL” or “DTCS” indicator
while the pocket beep function (with CTCSS or DTCS) is in
use. (p. 35)
FM
ATT VOL
AM DUP SQL DTCS SKIPTP
PRIO
75
50
25
W
R
q
we r t yu
i
o
!4
!0
!3 !2 !1
IC-R5.qxd 02.9.17 16:10 Page 3 (1,1)

4
1
PANEL DESCRIPTION
New2001
1
yAUTO WRITE CHANNEL INDICATOR (p. 29)
Appears when auto write channel is selected.
uSKIP INDICATORS (p. 30)
➥“SKIP” appears when the selected memory channel is
specified as a skip channel.
➥“P SKIP” appears when the displayed frequency is
specified as a skip frequency.
iPRIORITY WATCH INDICATOR (p. 33)
Appears when priority watch is in use.
oMEMORY INDICATOR (pgs. 7, 10)
Appears when memory mode is selected.
!0MEMORY CHANNEL NUMBER INDICATORS
Shows the selected memory channel number. (pgs. 7, 10)
!1SIGNAL STRENGTH INDICATOR (p. 11)
Shows the relative signal strength while receiving signals.
!2VOLUME EXCHANGE INDICATOR (p. 49)
Appears when the function of [DIAL] and [Y]/[Z] are
traded.
!3BATTERY INDICATOR
➥Both segments appear when the installed batteries have
ample capacity.
•They do not appear when operating with an external power
source.
➥Only the right segment “” appears when the batter-
ies are nearing exhaustion.
➥Scrolls while charging the installed rechargeable batter-
ies. (p. 6)
➥Both segments blink when completely charged.
!4ATTENUATOR INDICATOR (p. 13)
Appears when the RF attenuator is in use.
IC-R5.qxd 02.9.17 16:10 Page 4 (1,1)

5
BATTERY CHARGING
New2001
2
■Battery installation
Before installing, or replacing the batteries, push [PWR] for
1 sec. to turn the power OFF.
qRemove the battery
cover from the receiver.
wInstall 2 R6 (AA) size Ni-
Cd or Ni-MH batteries.
•Be sure to observe the cor-
rect polarity.
Keep the battery contacts
clean to avoid rust or
poor contact. It’s a good
idea to clean the battery
terminals once a week.
■Caution
DDBattery caution
•CAUTION! NEVER short the battery terminals. Also, current
may flow into nearby metal objects such as a necklace, so
be careful when placing battery cells in handbags, etc.
•NEVER mix old and new batteries.
•Make sure all battery cells are the same brand, type and
capacity.
Either of the above may cause a fire hazard or damage the
receiver if ignored.
•NEVER incinerate used battery cells. Internal battery gas
may cause explosion.
If your re-chargeable batteries seem to have no capacity even
after being charged, completely discharge them by leaving
the power ON overnight. Then fully charge the batteries
again. If the batteries still does not retain a charge (or very lit-
tle charge), a new battery cells must be purchased.
DDCharging caution
RWARNING! NEVER charge dry or alkaline batteries.
AVOID over charging—
The installed re-chargeable batteries
can be charged during operation when the AC adapter or the
optional cigarette lighter cable is connected. To prevent over
charging, the IC-R5 has charging timer that automatically dis-
connecting the charging line electronically after 15 hours from
charging. However, the charging timer will reset and start
charging again when disconnect then re-connecting the AC
adapter or CP-18A/E more than 1 min. interval.
•Recommended temperature for charging:
±0˚C to +40˚C (; +32˚F to +140˚F)
•Connect the supplied (or optional for UK and Italy versions)
AC adapter or optional cigarette lighter cable only when
charging the installed Ni-Cd or Ni-MH batteries. NEVER use
other manufactures’chargers.
CAUTION: BE SURE to disconnect the CP-18A/E from
the cigarette lighter socket when charging is finished, be-
cause, a slight current still follows in the CP-18A/E and the
vehicle’s battery will become exhausted.
IC-R5.qxd 02.9.17 16:10 Page 5 (1,1)

6
2
BATTERY CHARGING
New2001
2
■Battery charging
DCharging connections
•Charging periods: Approx. 10 hours
DCharging description
qInstall the Ni-Cd batteries. (See left page)
•Ni-MH batteries can also be charged.
wPlug the AC adapter into an AC outlet; or the optional CP-
18A/E into a cigarette lighter socket.
eInsert the adapter plug into [DC 6V] of the receiver.
rThe battery type confirmation is displayed as above right.
•When no confirmation display is indicated, insert the adapter plug
while pushing [FUNC].
•Once the batteries are removed for more then 2 sec., the follow-
ing operations are necessary.
tRotate [DIAL] to select “Y” then push [BAND•].
yThe charging confirmation is displayed.
uRotate [DIAL] to select “Y” then push [BAND•] to start
battery charging.
•The battery indicator scrolls during charge as below.
•When the batteries are charged completely, the battery indica-
tor (both segments) blinks.
•Takes approximately 10 hours for fully charge with the supplied
Ni-Cd cells.
[BAND• ]
[DIAL]
IC-R5
to [DC 6V]
jack
Optional CP-18A/E
Cigarette lighter cable
with DC-DC converter
AC adapter
to cigarette
lighter socket
to AC outlet
IC-R5.qxd 02.9.17 16:10 Page 6 (1,1)

7
FREQUENCY AND CHANNEL SETTING
New2001
3
■VFO and memory channels
The IC-R5 has 2 normal operating modes: VFO mode and
memory mode.
VFO mode is used for the desired frequency setting within
the frequency coverage.
➥Push [V/M•S.MW•~] to select VFO mode.
Memory mode is used for the desired frequency setting
within the frequency coverage.
➥Push [V/M•S.MW•~] to select memory mode.
•See p. 16 for memory programming details.
What is VFO?
VFO is an abbreviation of Variable Frequency Oscillator. Fre-
quencies for receiving are generated and controlled by the
VFO.
■Operating band selection
The receiver can receive the AM broadcast, HF band,
50 MHz, FM broadcast, VHF air, 144 MHz, 300 MHz,
400 MHz, 800 MHz,* 1200 MHz, television channels or
Weather channels†.
➥Push [BAND•] several times to select the desired fre-
quency band.
•When a memory mode is selected, push [V/M•S.MW•~] to se-
lect VFO mode first, then push [BAND•] to select the de-
sired band.
➥While pushing and holding [BAND•], rotating [DIAL]
also selects frequency band.
Available frequency bands are differ depending on version.
See the specification for details.
*Some frequency ranges are inhibited for the USA version
due to local regulation.
†Available for the USA version only.
[BAND• ]
[DIAL]
FM SKIPP
FM
[DIAL]
[V/M•S.MW•~]
“ ” and memory channel
number appear.
• VFO mode indication
• Memory mode indication
IC-R5.qxd 02.9.17 16:10 Page 7 (1,1)

8
3
FREQUENCY AND CHANNEL SETTING
New2001
3
• Available frequency bands
AM AM FM FMW
AM
FM
AMFMFMFM
FM
FMW
AM broadcast band HF band 50 MHz band
800 MHz band 400 MHz band
FM broadcast band
VHF air band
144 MHz band
300 MHz band
Weather channels*
TV channels†
1200 MHz band
: Push
: Rotating while pushing
Showing initial frequencies are differ according to version.
*Available for the USA version only
†Appears only when TV channels are programmed via the
optional CS-R5.
IC-R5.qxd 02.9.17 16:10 Page 8 (1,1)

9
3FREQUENCY AND CHANNEL SETTING
New2001
■Setting a frequency
qPush [V/M•S.MW•~] to select VFO mode, if necessary.
wSelect the desired frequency band with [BAND•].
•Or, while pushing and holding [BAND•], rotate the [DIAL] to
select the desired frequency band.
eRotate [DIAL] to select the desired frequency band.
•The frequency changes according to the preset tuning steps.
See the right section for setting the tuning step.
•While pushing and holding [FUNC], rotate [DIAL] to change the
frequency in 1 MHz steps (default).
The 1 MHz tuning step (dial select step) can be set to
100 kHz, 1 MHz or 10 MHz tuning steps in set mode. See
p. 15 for details.
■Setting a tuning step
The tuning step can be selected for each frequency band,
however, the tuning steps, 8.33 kHz and 9 kHz, are appeared
when setting the tuning step for the VHF air band and AM
broadcast band, respectively. The following tuning steps are
available for the IC-R5.
•5.0 kHz •6.25 kHz •8.33 kHz •9.0 kHz
•10.0 kHz •12.5 kHz •15.0 kHz •20.0 kHz
•25.0 kHz •30.0 kHz •50.0 kHz •100.0 kHz
DDTuning step selection
qPush [V/M•S.MW•~] to select VFO mode, if necessary.
wPush [BAND•] to select the desired frequency band.
•Or, while pushing and holding [BAND•], rotate the [DIAL] to
select the desired frequency band.
ePush [TS•SET] to enter tuning step selecting condition.
rRotate [DIAL] to select the desired tuning step.
tPush [TS•SET] to return to VFO mode.
[DIAL]
[TS•SET] 5 kHz tuning step
FM
75
50
25
FM
75
50
25
[BAND• ]
[DIAL]
[FUNC]
[DIAL] changes the frequency
according to the selected tuning
step.
While pushing [FUNC], [DIAL]
changes the frequency in 1 MHz
steps (default).
IC-R5.qxd 02.9.17 16:10 Page 9 (1,1)

10
3
FREQUENCY AND CHANNEL SETTING
New2001
3
■Selecting a memory channel
qPush [V/M•S.MW•~] to select the memory mode.
•“ ” appears when a memory channel is selected.
wRotate [DIAL] to select the desired memory channel.
•Only programmed memory channels can be selected.
•While pushing and holding [FUNC], rotate [DIAL] to select a
memory channel in 10 channels steps.
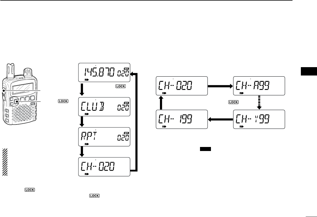
■Lock function
To prevent accidental frequency changes and unnecessary
function access, use the lock function.
➥While pushing [FUNC], push [BAND•] for 1 sec. to
turn the lock function ON and OFF.
•“ ” appears while the lock function is activated.
•[SQL] and [Y]/[Z] can be used while the lock function is in use
with default setting. Either or both [SQL] and [Y]/[Z] keys are
also be locked in set mode. (p. 43)
FM
VOL
SKIPP
[FUNC]
“ ” appears while the
lock function is in use.
[BAND• ]
FM
[V/M•S.MW•~]
[DIAL]
[FUNC]
[DIAL] changes the mem-
ory channel.
IC-R5.qxd 02.9.17 16:10 Page 10 (1,1)

11
BASIC OPERATION
New2001
4
■Receiving
Make sure charged Ni-Cd or brand new alkaline batteries are
installed (p. 5).
qPush [PWR] for 1 sec. to turn power ON.
wPush [Y] or [Z] to set the desired audio level.
•The frequency display shows the volume level while setting. See
the section at right for details.
eSet the receiving frequency. (p. 9)
rSet the squelch level. (p. 12)
•While pushing [SQL], rotate [DIAL].
•The first click of [DIAL] indicates the current squelch level.
•“LEVEL 1” is loose squelch and “LEVEL 9” is tight squelch.
•“AUTO” indicates automatic level adjustment with a noise pulse
count system.
•Push and hold [SQL] to open the squelch manually.
tWhen a signal is received:
•Squelch opens and audio is emitted.
•The S-meter shows the relative signal strength level.
■Setting audio volume
The audio level can be adjusted through 32 levels.
➥P
ush [Y] or [Z] to adjust the audio level.
•Beep tone sounds while setting. The tone sound let you know the
approximate sound level.
•Pushing and holding either key change the audio level continu-
ously.
•The display shows the volume level while setting.
[Z]
[Y]
INDICATION AUDIO LEVEL
Minimum setting
(no audio)
Muximum setting
Initial setting
q [PWR]
e Set frequency
r Set squelch level
w Set audio level
e Select band
r Push for setting
the squelch
(Push to monitor)
IC-R5.qxd 02.9.17 16:10 Page 11 (1,1)

12
4
BASIC OPERATION
New2001
4
■Squelch level setting
The squelch circuit mutes the received audio signal depend-
ing on the signal strength. The receiver has 9 squelch levels,
a continuously open setting and an automatic squelch setting.
➥While pushing and holding [SQL], rotate [DIAL] to select
the squelch level.
•“LEVEL 1” is loose squelch and “LEVEL 9” is tight squelch.
•“AUTO” indicates automatic level adjustment with a noise pulse
count system.
•“OPEN” indicates continuously open setting.
■Receive mode selection
Receive modes are determined by the physical properties of
the radio signals. The receiver has 3 receive modes: FM, AM
and WFM modes. The mode selection is stored indepen-
dently in each band and memory channels.
Typically, AM mode is used for the AM broadcast stations
(0.495–1.620 MHz) and air band (118–135.995 MHz), and
WFM is used for FM broadcast stations (76–107.9 MHz).
➥Push [MODE•SCAN] several times to select the desired re-
ceive mode.
FM SKIPP
AM SKIPP
FM SKIPPW
[MODE•SCAN]
FM mode
AM mode
WFM mode
[SQL]
[DIAL]
Automatic squelch
Maximum level
IC-R5.qxd 02.9.17 16:10 Page 12 (1,1)

■Monitor function
This function is used to listen to weak signals without disturb-
ing the squelch setting or to open the squelch manually even
when mute functions such as the tone squelch are in use.
➥Push and hold [SQL] to monitor the operating frequency.
•The 1st segment of the S-meter blinks.
The [SQL] switch can be set to ‘sticky’operation in ex-
panded set mode. See page 43 for details.
■Attenuator function
The attenuator prevents a desired signal from distorting when
very strong signals are near the desired frequency or when
very strong electric fields, such as from a broadcasting sta-
tion, are near your location.
➥
While pushing [FUNC], push [SQL] to toggle the attenuator
function ON and OFF.
•“ATT” appears when the attenuator functions is in use.
FM
ATT
SKIPP
[SQL]
[FUNC]
“ATT” appears while the
attenuator functions is in
use.
FM SKIPP
[SQL] The 1st segment blinks
13
4BASIC OPERATION
New2001
IC-R5.qxd 02.9.17 16:10 Page 13 (1,1)

14
4
BASIC OPERATION
New2001
4
■Duplex operation
Duplex communication uses 2 different frequencies for trans-
mitting and receiving. Generally, duplex is used in communi-
cation through a repeater, some utility communications, etc.
During duplex operation, the transmit station frequency is
shifted from the receive station frequency by the offset fre-
quency. Repeater information (offset frequency and shift di-
rection) can be programmed into memory channels. (p. 16)
DDSetting
qSet the receive station frequency (repeater output frequency).
wPush [TS•SET] for 1 sec. to enter set mode.
eRotate [DIAL] to select “EXPAND.”
•“EXPAND” disappears after 1 sec. and “OFF” (default) and “EX”
appear.
rWhile pushing [FUNC], rotate [DIAL] to select “ON.”
tRotate [DIAL] to select “OFFSET.”
•“OFFSET” disappears after 1 sec. and “0.000” (default) and
“OW” appear.
yWhile pushing [FUNC], rotate [DIAL] to set the desired off-
set frequency within 0.000–159.995 MHz range.
•The tuning step, selected in VFO mode, is used for setting.
uRotate [DIAL] to select “DUP.”
•“DUP” disappears after 1 sec. and “OFF” (default) and “DP” ap-
pear.
iWhile pushing [FUNC], rotate [DIAL] to select “–DUP” or
“+DUP.”
oPush [TS•SET] to exit set mode.
!0Push and hold [SQL] to monitor the transmit station fre-
quency (repeater input frequency) directly.
Duplex item Setting indication
After 1 sec.
Offset frequency item Setting indication
After 1 sec.
[TS•SET]
[FUNC]
[DIAL]
Expanded set mode item
Setting indication
After 1 sec.
USING
EXPANDED SET MODE
IC-R5.qxd 02.9.17 16:10 Page 14 (1,1)

15
4BASIC OPERATION
New2001
■Dial select step [
This receiver has a 1 MHz tuning step for quick frequency
setting. This dial select step can be set to 100 kHz, 1 MHz or
10 MHz steps, as desired.
DDSetting dial select step
qSelect VFO mode with [V/M•S.MW•~].
wPush [TS•SET] for 1 sec. to enter set mode.
eRotate [DIAL] to select “D SEL.”
•“D SEL” disappears after 1 sec. and “1M” (default) and “DS” ap-
pear.
rWhile pushing [FUNC], rotate [DIAL] to select the desired
dial select step.
•100 kHz, 1 MHz and 10 MHz can be selected.
tPush [TS•SET] momentarily to exit set mode.
[TS•SET]
[FUNC]
[DIAL]
1 MHz step
10 MHz step
100 kHz step
IC-R5.qxd 02.9.17 16:10 Page 15 (1,1)

16
5
MEMORY CHANNELS
4
5
■General description
The receiver has 1050 memory channels including 50 scan
edge memory channels (25 pairs) for storage of often-used
frequencies. And a total of 18 memory banks, A to H, J, L, N,
O to R, T, U and Y are available for usage by group, etc. Up
to 100 channels can be assigned into a bank.
DDMemory channel contents
The following information can be programmed into memory
channels:
•Operating frequency (p. 9)
•Receive mode (p. 12)
•Duplex direction (DUP or –DUP) with an offset frequency
(p. 14)
•Tone squelch or DTCS squelch ON/OFF (p. 35)
•Tone squelch frequency or DTCS code with polarity
(pgs. 36, 37)
•Scan skip information* (p. 30).
■
Memory channel programming
qPush [V/M•S.MW•~] to select VFO mode.
wSet the desired frequency:
➥Select the desired band with [BAND•].
➥Set the desired frequency with [DIAL].
➥Set other data (e.g. offset frequency, duplex direction, tone
squelch, etc.), if desired.
ePush [V/M•S.MW•~] for 1 sec. to select select memory
write condition.
•1 short and 1 long beep sound.
•“ ” indicator memory channel number blink.
rRotate [DIAL] to select the desired channel.
•Scan edge channel, 00A/B to 24A/B can also be selected.
•While pushing [FUNC], rotate [DIAL] to selects memory channel
in 10 channels steps.
tPush [V/M•S.MW•~] for 1 sec.
•3 beeps sound
•Memory channel number automatically increases when contin-
uing to push [V/M•S.MW•~] after programming.
[EXAMPLE]: Programming 145.870 MHz into memory channel 20 (blank channel).
FM DUP SQL SKIPTP FM FM DUP SQL SKIPTPFM DUP SQL SKIPTP
Push for 1 sec. Push for 1 sec.Rotate
IC-R5.qxd 02.9.17 16:10 Page 16 (1,1)

17
5MEMORY CHANNELS
New2001
■Memory bank setting
The IC-R5 has a total of 18 banks (A to H, J, L, N, O to R, T, U
and Y). Regular memory channels, 000 to 999, are assigned
into the desired bank for easy memory management.
qPush [V/M•S.MW•~] for 1 sec. to select select memory
write condition.
•1 short and 1 long beep sound.
•“ ” indicator memory channel number blink.
wRotate [DIAL] to select the desired memory channel.
eWhile pushing [MODE•SCAN], rotate [DIAL] to select
“BANK.”
•After releasing [MODE•SCAN], “-- -- -- --” is displayed instead of
the frequency indication, and only “” indicator blinks.
•Bank group and channel number is displayed if the selected
memory channel has already been assigned into a bank, the
previous .
•“BANK” item can also be selected by pushing [MODE•SCAN]
several times.
rWhile pushing [BAND•], rotate [DIAL] to select the de-
sired bank group.
•Bank group A to H, J, L, N, O to R, T, U and Y are available.
•The bank group can also be selected by pushing [BAND•]
several times.
tRotate [DIAL] to select the desired bank channel number.
•Vacant bank channel numbers are only be displayed.
yPush [V/M•S.MW•~] momentarily to set the channel into
the bank.
•Return to the previous indication.
Bank channel is selected with [DIAL]
Bank group is selected with [BAND• ]
[V/M•S.MW•~]
[MODE•SCAN]
[DIAL]
After [MDE•SCAN]
released
[BAND• ]
IC-R5.qxd 02.9.17 16:10 Page 17 (1,1)

18
5
MEMORY CHANNELS
New2001
5
■Memory bank selection
qPush [V/M•S.MW•~] to select memory mode, if desired.
wWhile pushing [BAND•], rotate [DIAL] to select the de-
sired bank (A to H, J, L, N, O to R, T, U and Y).
•The bank can also be selected by pushing [BAND•] several
times.
•The only programmed banks are displayed.
eRotate [DIAL] to select the bank channel.
•The only programmed channels are displayed.
rTo return to regular memory
condition, rotate [DIAL] while
pushing
[BAND•], or push [BAND•] several times.
FM DUP SQLT
Bank initial
Bank chanel number
FM DUP SQLT
FM DUP SQLT
FM
FM
R
[V/M•S.MW•~]
[DIAL]
[BAND• ]
Rotate [DIAL] while
pushing [BAND• ]
Appears only the
programmed bank.
Auto write channels
IC-R5.qxd 02.9.17 16:10 Page 18 (1,1)

19
5MEMORY CHANNELS
New2001
■Programming memory/bank name
Each memory channel can be programmed with an alphanu-
meric channel name for easy recognition and can be indicated
independently by channel. Names can be a maximum of 6
characters.
qPush [V/M•S.MW•~] to select memory mode.
wRotate [DIAL] to select the desired memory channel.
ePush [V/M•S.MW•~] for 1 sec. to select select memory
write condition.
•1 short and 1 long beep sound.
•“ ” indicator and memory channel number blink.
rWhile pushing [MODE•SCAN], rotate [DIAL] to select
“M NAME” or “B NAME” when programming the memory
name or the bank name, respectively.
•The item can also be selected by pushing [MODE•SCAN] sev-
eral times.
•After releasing [MODE•SCAN], an under bar blinks for the first
digit instead of the frequency indication, and only “” indicator
blinks.
tWhile pushing [FUNC], rotate [DIAL] to select the desired
character.
•The selected character blinks.
yRotate [DIAL] to move the cursor to left or right.
uRepeat steps tand yuntil the desired 6-character chan-
nel names are displayed.
iPush [MODE•SCAN] several times, or rotate [DIAL] while
pushing [MODE•SCAN] to select “S.MW” item.
oPush [V/M•S.MW•~] for 1 sec. to program the name and
exit the channel name programming condition.
•3 beeps sound.
•Available characters
A to Z, 0 to 9, (, ), ✱, +, –, ,, /, |, = and space.
NOTE: The bank name can only be programmed into each
bank. Therefore, previously programmed bank name will
be displayed when bank name indication is selected. And
also, the programmed bank name is assigned for the other
bank channels automatically.
Bank nameMemory name
Bank name selectionMemory name selection
FM DUP SQLT
IC-R5.qxd 02.9.17 16:10 Page 19 (1,1)

20
5
MEMORY CHANNELS
New2001
5
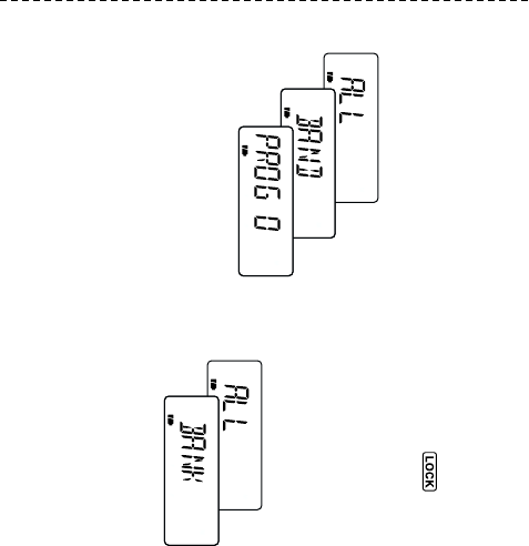
■Selecting display type
During memory mode operation, one of the programmed
memory name, bank name or the channel number can be dis-
played instead of the frequency for your preference.
qPush [V/M•S.MW•~] to select memory mode.
•[BAND•] to select the desired bank group.
wWhile pushing [FUNC], push [BAND•] to select display
type from frequency, bank name, memory name and chan-
nel number indications.
DDSelecting bank channel indication
During bank channel operation, the bank channel number can
also be displayed instead of the memory channel number in-
dication.
➥After selecting channel number indication as described at
left, push [BAND•] to select the desired bank.
FMFM
R
FM DUP SQLTFM DUP SQLT
Push [BAND• ]
Memory channel No. indication Bank channel No. indication
Bank channel No. indicationAuto write channel No.
FM DUP SQLT
FM DUP SQLT
FM DUP SQLT
FM DUP SQLT
[FUNC]
[BAND• ]
Push [BAND• ]
while pushing [FUNC]
When no memory or bank
name is programmed with the
selected memory channel,
frequency is displayed on the
function display.
IC-R5.qxd 02.9.17 16:10 Page 20 (1,1)

21
5MEMORY CHANNELS
New2001
■
Copying memory contents
This function transfers a memory channel’s contents to VFO
(or another memory channel). This is useful when searching
for signals around a memory channel frequency and for re-
calling the offset frequency, subaudible tone frequency etc.
DMemory➪VFO
qSelect the memory channel to be copied.
➥Push [V/M•S.MW•~] to select memory mode, then ro-
tate [DIAL] to select the desired memory channel.
•Select the bank channel with [BAND•] and [DIAL], if de-
sired.
wPush [V/M•S.MW•~] for 1 sec. to select select memory
write condition.
•1 short and 1 long beep sound.
•“ ” indicator memory channel number blink.
eRotate [DIAL] to select “VF.”
rPush [V/M•S.MW•~] for 1 sec. again.
•VFO mode is selected automatically.
Pushing [V/M•S.MW•~] for 2 sec. at the step w, can
also be copied the memory contents to VFO. In this case,
the steps eand rare not necessary.
DMemory➪memory
qSelect the memory channel to be transferred.
➥
Push
[V/M•S.MW•~]
to select memory mode, then ro-
tate the tuning dial to select the desired memory channel.
wPush [V/M•S.MW•~] for 1 sec. to select select memory
write condition.
•1 short and 1 long beep sound.
•“ ” indicator memory channel number blink.
•Do not hold [V/M•S.MW•~] for more than 1 sec. otherwise the
memory contents will be copied to VFO.
eRotate [DIAL] to select the target memory channel.
rPush [V/M•S.MW•~] for 1 sec. again to transfer.
[EXAMPLE]: Transferring channel 20 to 51.
FM DUP SQLTFM DUP SQLTFM DUP SQL SKIPTP
Push for 1 sec. Rotate
Select memory channel
Push for 1 sec.
IC-R5.qxd 02.9.17 16:10 Page 21 (1,1)

22
5
MEMORY CHANNELS
New2001
5
■Memory clearing
Contents of programmed memories can be cleared (blanked),
if desired.
qPush [V/M•S.MW•~] for 1 sec. to select select memory
write condition.
•1 short and 1 long beeps sound.
•“ ” indicator and memory channel number blink.
•Do not hold [V/M•S.MW•~] for more than 2 sec. otherwise the
memory contents will be copied to VFO.
wRotate [DIAL] to select the desired memory channel to be
cleared.
eWhile pushing [MODE•SCAN], rotate [DIAL] to select
“CLEAR.”
•After releasing [MODE•SCAN], “CLR” is displayed instead of the
frequency indication, and only “” indicator blinks.
•“CLEAR” item can also be selected by pushing [MODE•SCAN]
several times.
rPush [V/M•S.MW•~] for 1 sec. to clear the contents.
•3 beeps sound.
•Return to VFO or memory mode, if VFO is selected before per-
forming the step q.
•Return to select memory write conditions if memory mode is se-
lected before performing the step q.— “” indicator memory
and channel number blink. Push [V/M•S.MW•~] momentarily
to return to memory mode.
While pushing [FUNC], push [V/M•S.MW•~] for 1 sec.
after the step wis operated can also be cleared the mem-
ory contents. In this case, the steps eand rare not nec-
essary.
☞NOTE: Be careful!— the contents of cleared memories
CANNOT be re-called even in bank channel opera-
tion.
Push for 1 sec.
[V/M•S.MW•~]
[MODE•SCAN]
[DIAL]
After [MODE•SCAN]
released
IC-R5.qxd 02.9.17 16:10 Page 22 (1,1)

23
5MEMORY CHANNELS
New2001
■
Transferring memory contents
Contents of programmed memory channels can be trans-
ferred to another memory.
qPush [V/M•S.MW•~] for 1 sec. to enter select memory
write condition.
•1 short and 1 long beeps sound.
•“ ” indicator and memory channel number blink.
•Do not hold [V/M•S.MW•~] for more than 2 sec. otherwise the
memory contents will be copied to VFO.
wRotate [DIAL] to select the desired memory channel to be
transferred.
eWhile pushing [MODE•SCAN], rotate [DIAL] to select
“CLEAR” item.
•Pushing [MODE•SCAN] several times also “CLEAR” item is se-
lectable.
rPush [V/M•S.MW•~] for 1 sec.
•The displayed contents are cleared.
CONVENIENT!:
Instead of the steps eand roperations, while pushing
and holding [FUNC], push [V/M•S.MW•~] for 1 sec. also
clearing the contents.
tRotate [DIAL] to select the desired target memory channel.
yPush [V/M•S.MW•~] for 1 sec. to transfer the contents.
FM DUP SQLT
FM DUP SQLT
[V/M•S.MW•~]
[MODE•SCAN]
[FUNC]
[DIAL]
• Example— Transferring the
contents of memory channel
20 to channel 30.
Steps q and w
Step e
Step r
Step t
Step y
IC-R5.qxd 02.9.17 16:10 Page 23 (1,1)

24
5
MEMORY CHANNELS
New2001
5
■Erasing/transferring bank contents
Contents of programmed memory channels can be or trans-
ferred to another memory.
INFORMATION: Even if the memory bank contents are
cleared, the memory channel contents still remain pro-
grammed.
qSelect the desired bank contents to be transferred or
erased from the bank.
➥Push [V/M•S.MW•~] to select memory mode.
➥While pushing [BAND•], rotate the [DIAL] to select
the desired memory bank group.
➥Rotate [DIAL] to select the bank channel.
•Bank initial stops blinking.
•Select the bank channel with [BAND•] and [DIAL], if de-
sired.
•Bank initial blinks.
wPush [V/M•S.MW•~] for 1 sec. to enter select memory
write condition.
•1 short and 1 long beeps sound.
•Displays the original memory channel number automatically and
“” indicator and memory channel number blink.
•Do not hold [V/M•S.MW•~] for more than 2 sec. otherwise the
bank contents will be copied to VFO.
eWhile pushing [MODE•SCAN], rotate [DIAL] to select
“BANK” item.
•Pushing [MODE•SCAN] several times, “BANK” item is also se-
lectable.
rWhile pushing [BAND•], rotate [DIAL] to select the de-
sired bank group to be transfer.
•Select “-- -- -- --” indication when erasing the contents from the
bank.
tRotate [DIAL] to select the desired bank channel.
yWhile pushing [MODE•SCAN], rotate [DIAL] to select
“S.MW” item.
•Pushing [MODE•SCAN] several times, “S.MW” item is also se-
lectable.
uPush [V/M•S.MW•~] for 1 sec.
When transferring When erasing
FM DUP SQLTFM DUP SQLT
Push for 1 sec.
IC-R5.qxd 02.9.17 16:10 Page 24 (1,1)

25
SCAN OPERATION
New2001
6
■Scan types
Scanning searches for signals automatically and makes it
easier to locate new stations for contact or listening purposes.
There are 7 scan types and 4 resume conditions to suit your
operating needs.
FULL SCAN (p. 26) Repeatedly scans all frequen-
cies over the entire band.
Some frequency ranges are
not scanned according to the
frequency coverage of the re-
ceiver’s version.
150
kHz
1303.995
MHz
Scan
Jump
SELECTED BAND SCAN
(p. 26)
Repeatedly scans all frequen-
cies over the entire selected
band.
Band
edge
Band
edge
Scan
Jump
ALL/SELECTED BANK
SCAN (p. 28)
Repeatedly scans all bank
channels or selected bank
channels. The skip scan is
also available.
SKIP
SKIP
A99 A03
A00 A01 A02
A04
A98
A05
FREQUENCY/MEMORY
SKIP FUNCTION (p. 30)
Skips unwanted frequencies
or channels that inconve-
niently stop scanning. This
function can be turned ON
and OFF by pushing [FUNC]
+ [V/M•S.MW•~] in either
VFO or memory mode.
Band
edge
Band
edge
Scan
SKIP SKIP
Jump
PROGRAMMED SCAN
(p. 26)
Repeatedly scans between
two user-programmed fre-
quencies. Used for checking
for frequencies within a speci-
fied range such as repeater
output frequencies, etc.
Band
edge xxA xxB
Band
edge
Scan edges
Scan
Jump
MEMORY (SKIP) SCAN
(p. 28)
Repeatedly scans memory
channels except those set as
skip channels. Skip channels
can be turned ON and OFF
by pushing [FUNC] +
[V/M•S.MW•~] in memory
mode.
SKIP
SKIP
M 0 M 4
M 1 M 2 M 3
M 5
M 199
M 6
IC-R5.qxd 02.9.17 16:10 Page 25 (1,1)

26
6
SCAN OPERATION
New2001
6
■Full/band/programmed scan
qSelect VFO mode with [V/M•S.MW•~].
•Select the desired frequency band with [BAND•], if desired.
wSet the squelch to the point where noise is just muted.
ePush [MODE•SCAN] for 1 sec. to enter scanning type se-
lection condition.
rRotate [DIAL] to select the desired scanning type.
•“ALL” for full scan; “BAND” for band scan, “PROGxx” for pro-
grammed scan (xx= 0 to 24; programmed scan edges numbers
only displayed)
tTo start the scan, push [MODE•SCAN].
•Scan pauses when a signal is received.
•Rotate [DIAL] to change the scanning direction, or resumes
manually.
•Push [MODE•SCAN] again to stop the scan.
NOTE: Instead of the steps eto toperations, while
pushing and holding [MODE•SCAN], rotate [DIAL] to se-
lect the desired scan type. In this case, scan starts when
releasing [MODE•SCAN].
About the scanning steps: The selected tuning step in
each frequency band (in VFO mode) is used during scan.
FM SKIPPFM SKIPP
• During full/band scan • During programmed scan
[MODE•SCAN]
[DIAL]
• Full scan selection
• Band scan selection
• Programmed scan selection
Selectable between “ 0” to “24”
if programmed
IC-R5.qxd 02.9.17 16:10 Page 26 (1,1)

27
6SCAN OPERATION
New2001
■Scan edges programming
Scan edges can be programmed in the same manner as
memory channels. Scan edges are programmed into scan
edges, 00A/00B to 24A/24B, in memory channels.
qPush [V/M•S.MW•~] to select VFO mode.
wSet the desired frequency:
➥Select the desired band with [BAND•].
➥Set the desired frequency with [DIAL].
➥Set other data (e.g. offset frequency, duplex direction, tone
squelch, etc.), if desired.
ePush [V/M•S.MW•~] for 1 sec. to select select memory
write condition.
•1 short and 1 long beeps sound.
•“ ” indicator and memory channel number blink.
rRotate [DIAL] to select the desired programmed scan edge
channel from 00A to 24A.
tPush [V/M•S.MW•~] for 1 sec.
•3 beeps sound
•The other scan edge channel “B,” 00B to 24B, automatically se-
lected when continuing to push [V/M•S.MW•~] after program-
ming.
yTo program a frequency for the other pair of scan edges,
00B or 24B, repeat steps wand r.
•If the same frequency is programmed into a pair of scan edges,
programmed scan will not function.
[V/M•S.MW•~]
[DIAL]
[EXAMPLE]: Programming 145.300 MHz into scan edges 03A.
FM SKIPPFM FM SKIPPFM SKIPP
Push for 1 sec. Push for 1 sec.Rotate
IC-R5.qxd 02.9.17 16:10 Page 27 (1,1)

28
6
SCAN OPERATION
New2001
6
■Memory/bank/all bank scan
qSelect memory mode with [V/M•S.MW•~].
•Select the desired bank with [BAND•] for bank scan.
wSet the squelch to the point where noise is just muted.
ePush [MODE•SCAN] for 1 sec. to;
• When memory mode is selected at the step
qq
:
- start memory scan.
• When a bank channel is selected at the step
qq
:
- enter scan type selection mode.
rRotate [DIAL] to select the desired scanning type.
•“ALL” for all bank scan; “BANK” for bank scan.
tPush [MODE•SCAN] momentarily to start all bank or bank
scan.
•Scan pauses when a signal is received.
•Rotate [DIAL] to change the scanning direction, or resumes
manually.
yTo stop the scan, push [MODE•SCAN].
IMPORTANT!: To perform memory or bank scan, 2 or
more memory/bank channels MUST be programmed, oth-
erwise the scan never starts.
FM AM DUP SQL DTCSTW
FM AM DUP SQL DTCSTW
• During memory/all bank scan • During bank scan
[MODE•SCAN]
[DIAL] • All bank scan selection
• Bank scan selection
IC-R5.qxd 02.9.17 16:10 Page 28 (1,1)

29
6SCAN OPERATION
New2001
■Auto memory write scan
This scan is useful for searching a specified frequency range
and automatically storing busy frequencies into memory
channels. The same frequency ranges used for program scan
are used for auto memory write scan.
qSelect VFO mode with [V/M•S.MW•~].
wPush [MODE•SCAN] for 1 sec. to enter scanning type se-
lection condition.
eRotate [DIAL] to select the desired scanning type.
•“ALL” for full scan; “BAND” for band scan, “PROGxx” for pro-
grammed scan (xx= 0 to 24; programmed scan edges numbers
only displayed)
rPush [MODE•SCAN] to start the scan.
tPush [V/M•S.MW•~] to turn the automatic memory write
function ON and OFF.
•“ ” indicator blinks.
yPush [MODE•SCAN] to stop scan.
DDDuring auto-memory write scanning:
•When signal is received, scan pauses and the frequency is
stored into auto memory write channel group (R000–R199).
- 2 short beeps sound when stored.
•Scan resumes after frequency storing.
•When all channels are stored, the scan cancels automati-
cally and 1 long beep sounds.
DDRe-calling the stored frequencies:
qPush [V/M•S.MW•~] to select memory mode.
wPush [BAND•] several times, or while pushing
[BAND•], rotate [DIAL] to select the auto memory write
channel group.
•“R” appears.
eRotate [DIAL] to select the desired channel.
DDClearing the stored frequencies:
qSelect the auto memory write channel group.
wWhile pushing [FUNC], push [V/M•S.MW•~] for 1 sec. to
clear the all channels contents.
•1 short and 1 long beeps sound.
NOTE: The auto memory write channel contents CANNOT
be cleared by an independent channel. Thus it is good idea
to copy the contents into regular memory channel.
FM
R
“R”
appears when auto memory
write channel group is selected.
FM SKIPP
[V/M•S.MW•~]
[MODE•SCAN]
[DIAL] • During auto memory
write scan
“ ” indicator blinks dur-
ing auto memory write
scan.
IC-R5.qxd 02.9.17 16:10 Page 29 (1,1)

30
6
SCAN OPERATION
New2001
6
Memory channels can be set to be skipped for memory skip
scan. In addition, memory channels can be set to be skipped
for both memory skip scan and frequency skip scan. These
are useful to speed up the scan interval.
qSelect a memory channel:
➥Push [V/M•S.MW•~] to select memory mode.
➥Rotate [DIAL] to select the desired channel to be a skip
channel/frequency.
wPush [V/M•S.MW•~] for 1 sec. to enter select memory
write condition.
ePush [MODE•SCAN] several times to select “SKIP” item.
•While pushing [MODE•SCAN], rotating [DIAL] can also select
“SKIP” item.
rWhile pushing [FUNC], rotate [DIAL] to select the skip con-
dition from “SKIP,” “PSKIP” or “OFF” for the selected chan-
nel.
•SKIP : The channel is skipped during memory or bank scan.
•PSKIP : The channel is skipped during memory/bank scan and
the programmed frequency is skipped during VFO scan,
such as programmed scan.
•OFF : The channel or programmed frequency is scanned dur-
ing any scan.
tPush [MODE•SCAN] several times, or while pushing and
holding [MODE•SCAN] rotate [DIAL] to select “S.MW” item.
yPush [V/M•S.MW•~] for 1 sec. to set the skip condition.
•“SKIP” or “P SKIP” indicator appears, according to the skip se-
lection in the step r.
✔
CONVENIENT!
The skip setting can also be set with the following operation
for easy setting.
qSelect the desired memory channel to be set as a skip
channel/frequency.
w
While pushing [FUNC], push [V/M•S.MW•~] to select the
skip condition from “SKIP,” “P SKIP” and “OFF (no indication).”
FM SKIPP
FM SKIP
• Skip channel setting • Program skip setting
“SKIP”
appears
“P SKIP”
appears
[MODE•SCAN]
[DIAL]
• Skip setting
■Skip channel/frequency setting
IC-R5.qxd 02.9.17 16:10 Page 30 (1,1)

31
6SCAN OPERATION
New2001
DDScan pause timer
The scan pauses when receiving signals according to the
scan pause time. It can be set from 2–20 sec. or unlimited.
qPush [TS•SET] for 1 sec. to enter set mode.
wRotate [DIAL] to select “EXPAND” item.
eWhile pushing [FUNC], rotate [DIAL] to turn the expand set
mode selection ON.
rRotate [DIAL] to select “PAUSE” item.
tWhile pushing [FUNC], rotate [DIAL] to set the desired
scan pausing time from 2–20 sec. (2 sec. steps) and
“HOLD.”
•“2SEC”–“20SEC”: Scan pauses 2–20 sec. while receiving a sig-
nal.
•“HOLD”: Scan pauses on a received a signal until it
disappears.
yPush [TS•SET] to exit set mode.
DDScan resume timer
The scan re-starts after a signal disappears according to the
resume time. it can be set from 0–5 sec. or unlimited.
qPush [TS•SET] for 1 sec. to enter set mode.
wRotate [DIAL] to select “EXPAND” item.
eWhile pushing [FUNC], rotate [DIAL] to turn the expand set
mode selection ON.
rRotate [DIAL] to select “RESUME” item.
tWhile pushing [FUNC], rotate [DIAL] to set the desired
scan pausing time from 0–5 sec. (1 sec. steps) and
“HOLD.”
•“0SEC”: Scan restarts immediately after the signal dis-
appears.
•“1SEC”–“5SEC”: Scan restarts 1–5 sec. after the signal disap-
pears.
•“HOLD”: Scan restarts by rotating [DIAL] only.
yPush [TS•SET] to exit set mode.
[TS•SET]
[FUNC]
[DIAL]
• Resume timer setting
Setting indication
After 1 sec.
[TS•SET]
[FUNC]
[DIAL]
• Pause timer setting
Setting indication
After 1 sec.
■Scan resume condition
USING
EXPANDED SET MODE
IC-R5.qxd 02.9.17 16:10 Page 31 (1,1)

32
7
PRIORITY WATCH
6
7
■Priority watch types
Priority watch checks for signals on a frequency every 5 sec.
while operating on a VFO frequency or scanning. The re-
ceiver has 3 priority watch types to suit your needs.
The watch resumes according to the selected scan resume
condition. See the left page for details.
NOTES:
If the pocket beep function is activated, the receiver auto-
matically selects the tone squelch function when priority
watch starts.
DDAbout priority beep function
When receiving a signal on the priority frequency, you can be
alerted with beeps and a blinking “S.” This function can be
activated when setting the priority watch function ON.
MEMORY CHANNEL WATCH
While operating on a VFO fre-
quency, priority watch checks for
a signal on the selected memory
channel every 5 sec.
•A memory channel with skip infor-
mation can be watched.
MEMORY SCAN WATCH
While operating on a VFO fre-
quency, priority watch checks for
signals on each memory chan-
nel in sequence.
•The memory skip function and/or
memory bank scan is useful to
speed up the scan.
5 sec.
VFO
frequency
Memory
channel
5 sec.
VFO
frequency
SKIP
Mch 000
Mch 001
Mch 001
Mch 999
VFO SCAN WATCH
While scanning on VFO mode,
priority watch checks for signals
on the selected memory chan-
nel every 5 sec.
5 sec.
VFO
scan
Memory
channel
IC-R5.qxd 02.9.17 16:10 Page 32 (1,1)

33
7PRIORITY WATCH
New2001
■Priority watch operation
DDMemory channel watch and memory scan watch
qSelect VFO mode; then, set an operating frequency.
•TV channel can also be selected.
wSet the watching channel(s).
For memory channel watch:
Select the desired memory channel.
For memory scan watch:
Select memory mode, or the desired bank group; then,
push [MODE•SCAN] for 1 sec. to start memory/bank scan.
ePush [TS•SET] for 1 sec. to enter set mode.
rRotate [DIAL] to select “PRIO” item.
tWhile pushing [FUNC], rotate to turn the priority watch ON.
•Select “BELL” if the priority beep function is necessary.
yPush [TS•SET] to exit set mode and start the watch.
•“PRIO” indicator appears.
•The receiver checks the memory/bank channel(s) every 5 sec.
•The watch resumes according to the selected scan resume con-
dition. (p. 31)
uPush [TS•SET] to cancel the watch.
FM SKIPP
PRIO
FM
PRIO
FM SKIPP
PRIO
FM
PRIO
• During priority watch
Monitors VFO frequency
for 5 sec.
Pauses on a memory
(bank) channel when a
signal is received.
• During priority watch with priority beep
Emits beep and blinks “S” indicator when a signal is
received on a memory (bank) channel.
[TS•SET]
[FUNC]
[DIAL]
• Priority setting item
• Priority ON
• Priority beep ON
IC-R5.qxd 02.9.17 16:10 Page 33 (1,1)

34
7
PRIORITY WATCH
New2001
7
DDVFO scan watch
qSelect memory mode.
•Select a memory bank, if desired.
wPush [MODE•SCAN] for 1 sec. to start memory/bank scan,
if desired.
When scanning memory/bank channels:
Starts memory/bank scan first. Memory/bank scan can-
not be started after VFO scan is started.
ePush [TS•SET] for 1 sec. to enter set mode.
rRotate [DIAL] to select “PRIO” item.
tWhile pushing [FUNC], rotate to turn the priority watch ON.
•Select “BELL” if the priority beep function is necessary.
yPush [TS•SET] to exit set mode and start the watch.
•“PRIO” indicator appears.
uPush [MODE•SCAN] for 1 sec. to enter scan type selection
condition.
iRotate [DIAL] to select the desired scan type from “ALL,”
“BAND” and “PROGxx (xx= 0–24).”
oPush [MODE•SCAN] to start the VFO scan watch.
•The receiver checks the memory channel(s) every 5 sec.
•The watch resumes according to the selected scan resume con-
dition. (p. 31)
!0Push [TS•SET] to cancel the watch and scan.
FM SKIPP
PRIO
FM
PRIO
FM SKIPP
PRIO
FM
PRIO
• During VFO scan watch
Searches VFO frequen-
cies for 5 sec.
Pauses on a memory
(bank) channel when a
signal is received.
• During VFO scan watch with priority beep
Emits beep and blinks “S” indicator when a signal is
received on a memory (bank) channel.
IC-R5.qxd 02.9.17 16:10 Page 34 (1,1)

35
TONE SQUELCH AND POCKET BEEP
New2001
8
■Tone/DTCS squelch operation
The tone or DTCS squelch opens only when receiving a sig-
nal with the same pre-programmed subaudible tone or DTCS
code, respectively. You can silently wait for the specified sig-
nal using the same tone.
qSet the desired frequency in FM mode.
wPush [TS•SET] for 1 sec. to enter set mode.
eRotate [DIAL] to select “EXPAND” item.
rWhile pushing [FUNC], rotate [DIAL] to turn the expanded
set mode ON.
tRotate [DIAL] to select “TSQL” item.
yWhile pushing [FUNC], rotate [DIAL] to select the desired
subaudible tone condition from “TSQL,” “P BEEP,” “DTCS,”
“P DTCS” and “OFF.”
uPush [TS•SET] to exit set mode.
•One of “TSQL,” TSQLS,” “DTCS” or “SDTCS” appears ac-
cording to the tone selection in the step y.
iWhen a signal with the matched tone is received, the
squelch opens and the receiver emits audio.
When pocket beep function is activated, the receiver also
emits beep tones and blinks “S”.
•Beep tones sound and “S” blinks for 30 sec.
oPush [FUNC] to stop the beeps and blinking manually.
•“S” disappears and the pocket beep function is deactivated.
!0To cancel the tone squelch or DTCS, select “OFF” with the
“TSQL” item in the expanded set mode, as described in the
step y.
FM SQL SKIPTP FM SQL SKIPTP
FM DTCS SKIPPFM DTCS SKIPP
Tone squelch selection
Tone squelch with pocket
beep function selection
DTCS selection DTCS with pocket beep
function selection
Tone squelch selection
Tone squelch with pocket
beep function selection
DTCS selection DTCS with pocket beep
function selection
IC-R5.qxd 02.9.17 16:10 Page 35 (1,1)

36
8
TONE SQUELCH AND POCKET BEEP
New2001
8
■Tone squelch frequency/DTCS code setting
88.5 Hz and 023 is set as the default for the tone squelch fre-
quency and the DTCS code, respectively. The frequency and
code can be selected as desired.
qPush [TS•SET] for 1 sec. to enter set mode.
wRotate [DIAL] to select “EXPAND” item.
eWhile pushing [FUNC], rotate [DIAL] to turn the expanded
set mode ON.
rRotate [DIAL] to select “TONE” item when selecting the
tone squelch frequency; select “CODE” item when select-
ing the DTCS code.
tWhile pushing [FUNC], rotate [DIAL] to select the desired
subaudible tone frequency or DTCS code.
•See the tables at right.
yPush [TS•SET] to exit set mode.
•Available tone frequency list
NOTE: The receiver has 50 tone frequencies and conse-
quently their spacing is narrow compared to units having
38 tones. Therefore, some tone frequencies may receive
interference from adjacent tone frequencies.
•Available DTCS code list
023
025
026
031
032
036
043
047
051
053
125
131
132
134
143
145
152
155
156
162
245
246
251
252
255
261
263
265
266
271
356
364
365
371
411
412
413
423
431
432
506
516
523
526
532
546
565
606
612
624
054
065
071
072
073
074
114
115
116
122
165
172
174
205
212
223
225
226
243
244
274
306
311
315
325
331
332
343
346
351
445
446
452
454
455
462
464
465
466
503
627
631
632
654
662
664
703
712
723
731
732
734
743
754
67.0
69.3
71.9
74.4
77.0
79.7
82.5
85.4
88.5
91.5
94.8
97.4
100.0
103.5
107.2
110.9
114.8
118.8
123.0
127.3
131.8
136.5
141.3
146.2
151.4
156.7
159.8
162.2
165.5
167.9
171.3
173.8
177.3
179.9
183.5
186.2
189.9
192.8
196.6
199.5
203.5
206.5
210.7
218.1
225.7
229.1
233.6
241.8
250.3
254.1
Tone squelch frequency selection
DTCS code selection
After
1 sec.
After
1 sec.
IC-R5.qxd 02.9.17 16:10 Page 36 (1,1)

37
8TONE SQUELCH AND POCKET BEEP
New2001
■DTCS polarity setting
As well as the code setting, the polarity setting is also avail-
able for the DTCS operation. When a different polarity is set,
the DTCS never releases audio mute even a signal with
matched code number is received.
qPush [TS•SET] for 1 sec. to enter set mode.
wRotate [DIAL] to select “EXPAND” item.
eWhile pushing [FUNC], rotate [DIAL] to turn the expanded
set mode ON.
rRotate [DIAL] to select “DTCS P” item.
tWhile pushing [FUNC], rotate [DIAL] to select the polarity
from normal (NORMAL) and reverse (REV).
yPush [TS•SET] to exit set mode.
Normal polarity Reverse polarity
After 1 sec.
[TS•SET]
[FUNC]
[DIAL]
IC-R5.qxd 02.9.17 16:10 Page 37 (1,1)

38
8
TONE SQUELCH AND POCKET BEEP
New2001
8
■Tone scan
By monitoring a signal that is being operated with pocket
beep, tone or DTCS squelch function, you can determine the
tone frequency or DTCS code necessary to open a squelch.
qSet the frequency to be checked for a tone frequency or
code.
wTurn the desired tone type, tone squelch or DTCS, ON in
expanded set mode.
•One of “TSQL” or “DTCS” appears.
•Even the pocket beep function is activated, the function is can-
celled when starts the tone scan.
eWhile pushing [FUNC], push [MODE•SCAN] to start the
tone scan.
•To change the scanning direction, rotate [DIAL].
rWhen the CTCSS tone frequency or 3-digit DTCS code is
matched, the squelch opens and the tone frequency or
code is temporarily programmed into the selected condi-
tion, such as memory channel.
•The tone scan pauses when a CTCSS tone frequency or 3-digit
DTCS code is detected.
✔
For your convenient!
Even no tone type is selected, either tone squelch or DTCS,
pushing [MODE•SCAN] while pushing and holding [FUNC]
also start tone scan. In this case, the tone scan searching for
tone squelch frequency only.
☞NOTE: The decoded tone frequency or code is pro-
grammed temporarily when a memory channel is se-
lected. However, this will be cleared when the memory
channel is re-selected.
DTCS scan
Tone squelch scan
[MODE•SCAN]
[FUNC]
IC-R5.qxd 02.9.17 16:10 Page 38 (1,1)

39
SET MODE
New2001
9
■General
Set mode is used for programming infrequently changed val-
ues or conditions of functions.
In addition, the IC-R5 has an expanded set mode which is
used for programming even more infrequently changed val-
ues or conditions of functions. When turning the expanded
set mode OFF, only half of the set mode items are displayed
for simple operation.
DDSet mode entering and operation
qPush [TS•SET] for 1 sec. to enter set mode.
wRotate [DIAL] to select the desired item.
eWhile pushing [FUNC], rotate [DIAL] to select the desired
value or condition.
rPush [TS•SET] to exit set mode, or rotate [DIAL] to select
another set mode item.
DDExpanded set mode ON/OFF
qPush [TS•SET] for 1 sec. to enter set mode.
wRotate [DIAL] to select “EXPAND” item.
eWhile pushing [FUNC], rotate [DIAL] to turn the expanded
set mode ON and OFF.
rRotate [DIAL] to select the desired item.
tWhile pushing [FUNC], rotate [DIAL] to select the desired
value or condition.
yPush [TS•SET] to exit set mode, or rotate [DIAL] to select
another item.
Expanded set mode OFF Expanded set mode ON
[TS•SET]
[FUNC]
[DIAL]
IC-R5.qxd 02.9.17 16:10 Page 39 (1,1)

40
9
SET MODE
New2001
9
■Set mode items
The following items are available in the set mode and ex-
panded set mode.
DDGeneral set mode items
*Appears when accessing set mode from AM broadcast band or FM
broadcast band only.
DDExpanded set mode items
†Available for the USA version only.
• Monitor switch action (p. 43) • Auto power OFF (p. 44)
• Scan pause timer (p. 44)
• Tone squelch (p. 45)
• Duplex direction (p. 45)
• Offset frequency (p. 45)
• Scan stop beep (p. 44)
• Scan resume timer (p. 44)
• Tone frequency (p. 46) • DTCS code (p. 46)
• DTCS polarity (p. 46) • LCD contrast (p. 47)
• Weather alert† (p. 47)
• Key lock effect (p. 43)
• Dial speed acceleration (p. 43)
• Dial select step (p. 41) • Priority watch (p. 41)
• Key-touch beep (p. 41) • Beep output level (p. 41)
• Display backlighting (p. 41)
• Expanded set mode (p. 39)• Antenna selection* (p. 42)
• Power save (p. 42)
IC-R5.qxd 02.9.17 16:10 Page 40 (1,1)

41
9SET MODE
New2001
DDDial select step
Select the tuning step while pushing [FUNC] from 100 kHz,
1 MHz (default) and 10 MHz.
DDPriority watch
Turn the priority watch or priority beep (priority watch with
beep emission capability) ON. (default: OFF)
•ON : Start priority watch after exiting set mode.
•BELL : Emits beeps and blinking “S” indicator when
a signal is received on the priority frequency.
DDKey-touch beep
The key-touch beep can be turned OFF for silent operation.
(default: ON)
DDBeep output level
Adjust the key-touch beep tone level to the desired level
within 32 levels or to the related level with volume control.
•VOLUME : The beep tone level is linked with the vol-
ume set level. (default)
•______ – ooo ooo
: The beep tone level is fixed in 32 steps.
The key-touch beep (previous item) must be set to ON to
have a beep tone.
DDDisplay backlighting
The receiver has display backlighting with a 5 sec. timer for
nighttime operation. The backlighting can be turned ON con-
tinuously or turned OFF, if desired.
•AUTO : Lights when some operation is performed, goes
out after 5 sec. (default)
•ON : Lights continuously during receiver power is ON.
•OFF : Never lights.
Auto setting Continuously ON setting
Related to volume level Fixed output level
Key-touch beep ON Key-touch beep OFF
Priority watch ON Priority beep ON
1 MHz step 100 kHz step
IC-R5.qxd 02.9.17 16:10 Page 41 (1,1)

42
9
SET MODE
New2001
9
DDPower save
The power save function reduces the current drain to con-
serve battery power. This power save function can be turned
OFF, if desired.
In the default setting (“ON” selection), the power save func-
tion is activated in 1:4 (125 msec.: 500 msec.) ratio when no sig-
nal is received for 5 sec. The ratio becomes 1:8 (125 msec.:
1 sec.) when no signal is received for another 60 sec.
DDAntenna selection
This item appears only when accessing set mode from
AM or FM broadcast band, 0.495–1.620 MHz or
76.000–107.995 MHz (differ according to version), re-
spectively. And the selectable condition is differ ac-
cording to the selected band.
Select using antenna for the AM or FM broadcast band re-
ception independently.
•EXT : Use the antenna connected to the antenna con-
nector. (default)
•BAR : Use the internal bar antenna for AM broadcast
band reception. (This selection appears only
when accessing set mode from AM broadcast
band.)
•EAR : Use the connected earphone’s cable as the an-
tenna for FM broadcast band reception. (This se-
lection appears only when accessing set mode
from FM broadcast band.)
External antenna Internal bar antenna
Connected earphone cable
Power save ON Power save OFF
IC-R5.qxd 02.9.17 16:10 Page 42 (1,1)

43
9SET MODE
New2001
DDKey lock effect
While the key lock function is ON, [Y]/[Z] and [SQL] can still
be accessed. Accessible switches can be set to one of 4
groups.
[PWR] and [FUNC]+[BAND•] are also accessible during
the lock, however, these switches are not effected by this set-
ting.
•NORMAL : [Y]/[Z] and [SQL] are accessible. (default)
•NO SQL : [SQL] is accessible.
•NO VOL : [Y]/[Z] are accessible.
•ALL : No accessible switch is available, except
[PWR] and [FUNC]+[BAND•].
DDDial speed acceleration
The dial speed acceleration automatically speeds up the tun-
ing dial speed when rotating [DIAL] rapidly.
•ON : The dial speed acceleration is tuned ON.
(default)
•OFF : The dial speed acceleration is turned OFF.
DDMonitor switch action
The monitor switch, [SQL], can be set as a ‘sticky’switch.
When set to the sticky condition, each push of [SQL] toggles
the monitor function ON and OFF.
•PUSH : Pushing and holding [SQL] to monitor the fre-
quency. (default)
•HOLD : Push [SQL] momentarily to monitor the fre-
quency and push momentarily again to cancel it.
Push and hold [SQL] to monitorPush to monitor
The acceleration ON The acceleration OFF
Normal lock condition
Audio output can be adjusted
Squelch level can be adjusted
Receiver power and lock
function only switchable
IC-R5.qxd 02.9.17 16:10 Page 43 (1,1)

44
9
SET MODE
New2001
9
DDAuto power OFF
The receiver can be set to automatically turn OFF after a
specified period with a beep when no key operations are per-
formed.
30 min., 1 hour, 1.5 hours, 2 hours and OFF (default) can be
specified. The specified period is retained even when the re-
ceiver is turned OFF by the auto power OFF function. To can-
cel the function, select “OFF” in this set mode.
DDScan pause timer
Selects the scan pause time. When receiving signals, the
scan pauses according to the scan pause time.
•2–20 : Scan pauses for 2–20 sec. on a received signal,
and selected in 2 sec. steps. (default: 10 sec.)
•HOLD : Scan pauses on a received signal until it disap-
pears. Rotate [DIAL] to resume manually.
DDScan resume timer
Selects scan resume time. Scan resumes after the specified
period when the received signal disappears.
•0 : Scan resumes immediately when the received
signal disappears.
•1–5 : Scan pause 1–5 sec. after the received signal
disappears. (default: 2 sec.)
•HOLD : Scan pauses on the received signal even if it
disappears. Rotate [DIAL] to resume manually.
DDScan stop beep
Turns the scan stop beep function ON and OFF.
When the function is activated (“ON” is selected), a long beep
will sounds each time when signal is received during scan.
No beep is sound when
receiving a signal
A long beep is sound when
receiving a signal
Scan resumes after 2 sec. Scan resumes manually
Scan pauses for 10 sec. Scan pauses until signal
disappears
30 min. timer 2 hrs. timer
IC-R5.qxd 02.9.17 16:10 Page 44 (1,1)

45
9SET MODE
New2001
DDOffset frequency
Sets the duplex offset frequency for each frequency band in-
dependently within 0 to 159.995 MHz range. During duplex
operation (–DUP or +DUP), the monitoring frequency (while
[SQL] is pushed) shifts the set frequency.
The default value may differ according to the selected fre-
quency band (before accessing set mode) and receiver version.
The selected tuning step in VFO mode is used for the off-
set frequency setting.
DDDuplex direction
Sets the duplex direction. The displaying frequency shifts the
programmed frequency in offset frequency above when mon-
itor function is in use (while pushing [SQL]).
•OFF : Simplex operation. (default)
•–DUP : The displaying frequency shifts down dur-
ing monitor.
•+DUP : The displaying frequency shifts up during
monitor.
DDTone squelch
Sets tone or DTCS squelch operation and pocket beep capa-
bility, when waiting for the desired signal.
•OFF : Regular noise squelch operation. (default)
•TSQL : Using tone squelch. The squelch opens only
when a signal with matched subaudible tone
is received.
•P BEEP : In addition to the “TSQL” setting, alert beeps
will sound when a signal with matched tone is
received.
•DTCS : Using DTCS squelch. The squelch opens
only when a signal with matched DTCS code
is received.
•P DTCS : In addition to the “DTCS” setting, alert beeps
will sound when a signal with matched DTCS
code is received.
The subaudible tone frequency and DTCS code is pro-
grammed in the tone frequency and DTCS code item, re-
spectively.
Tone squelch operation Pocket beep operation
DTCS squelch operation DTCS beep operation
Simplex operation Positive duplex operation
IC-R5.qxd 02.9.17 16:10 Page 45 (1,1)

46
9
SET MODE
New2001
9
DDTone frequency
Sets subaudible tone frequency for tone squelch operation.
Total of 50 tone frequencies (67.0–254.1 Hz) are available.
(default: 88.5 Hz)
•Available subaudible tone frequencies
DDDTCS code
Sets DTCS code for DTCS squelch operation. Total of 104
codes (023–754) are available.
(default: 023)
•Available DTCS code
The polarity can also be set in “DTCS polarity” as follow.
DDDTCS polarity
Sets DTCS polarity from normal and reverse.
(default: NORMAL)
Normal setting Reverse setting
023
025
026
031
032
036
043
047
051
053
125
131
132
134
143
145
152
155
156
162
245
246
251
252
255
261
263
265
266
271
356
364
365
371
411
412
413
423
431
432
506
516
523
526
532
546
565
606
612
624
054
065
071
072
073
074
114
115
116
122
165
172
174
205
212
223
225
226
243
244
274
306
311
315
325
331
332
343
346
351
445
446
452
454
455
462
464
465
466
503
627
631
632
654
662
664
703
712
723
731
732
734
743
754
Code 023 setting Code 754 setting
67.0
69.3
71.9
74.4
77.0
79.7
82.5
85.4
88.5
91.5
94.8
97.4
100.0
103.5
107.2
110.9
114.8
118.8
123.0
127.3
131.8
136.5
141.3
146.2
151.4
156.7
159.8
162.2
165.5
167.9
171.3
173.8
177.3
179.9
183.5
186.2
189.9
192.8
196.6
199.5
203.5
206.5
210.7
218.1
225.7
229.1
233.6
241.8
250.3
254.1
88.5 Hz setting 254.1 Hz setting
IC-R5.qxd 02.9.17 16:10 Page 46 (1,1)

47
9SET MODE
New2001
DDLCD contrast
Sets the LCD contrast within 1 (light) to 4 (dark) levels as de-
sired. (default: 3)
DDWeather alert function
Turns weather alert function ON and OFF.
Weather alert OFF Weather alert ON
U.S.A. version only
Contraset 3 setting Contraset 4 setting
IC-R5.qxd 02.9.17 16:10 Page 47 (1,1)

48
10
OTHER FUNCTIONS
9
10
■Antenna selection
The IC-R5 has an internal bar antenna for receiving AM
broadcast band (0.495–1.620 MHz) signals. In addition, the
connected earphone’s cable can be used as an antenna for
receiving FM broadcast band (76.000–107.995 MHz; differ ac-
cording to version) signals.
DDSelecting antenna
qSelect VFO mode with [V/M•S.MW•~].
wPush [BAND•] several times, or while pushing
[BAND•] rotate [DIAL] to select the AM or FM broad-
cast band.
ePush [TS•SET] for 1 sec. to enter set mode.
rRotate [DIAL] to select “ANT” item.
•“ANT” disappears after 1 sec. and “EXT” (default) and “An” ap-
pear.
tWhile pushing [FUNC], rotate [DIAL] to select “BAR” when
set mode has accessed from the AM broadcast band; se-
lect “EAR” when set mode has accessed from the FM
broadcast band.
yPush [TS•SET] momentarily to exit set mode.
NOTE:
•Some noise or spurious may be received when the inter-
nal bar or earphone cable is used for antenna.
•The supplied or third party’s antenna MUST BE con-
nected to the antenna connector to receive signals other
than AM or FM broadcast bands.
•When receiving an AM broadcast signal with internal bar
antenna, aim the receiver to better audio direction.
•When the internal bar or earphone cable is used for an-
tenna, the attenuator function cannot be used.
Bar antenna selection
for 0.495–1.620 MHz band
Earphone cable selection
for 76.000–107.995 MHz band
[TS•SET]
[FUNC]
[DIAL]
After 1 sec.
USING
EXPANDED SET MODE
IC-R5.qxd 02.9.17 16:10 Page 48 (1,1)

49
10 OTHER FUNCTIONS
New2001
■[DIAL] function assignment
The [DIAL] control can be used as an audio volume control in-
stead of [Y]/[Z] keys to suit your preference. However, while
[DIAL] is functions as an audio volume, [Y]/[Z] keys function
as tuning control.
➥
While pushing [FUNC], push [TS•SET] to toggle the [DIAL]
function from tuning dial and audio volume.
•“VOL” appears when [DIAL] functions as an audio volume.
•[DIAL] and [YY]/[ZZ] functions
■Weather channel operation
DDWeather channel selection
qSelect VFO mode with [V/M•S.MW•~].
wPush [BAND•] several times, or while pushing
[BAND•] rotate [DIAL] to select the weather channel
group.
eRotate [DIAL] to select the desired weather channel.
rPush [BAND•] to change frequency band, or push
[V/M•S.MW•~] to select memory mode.
FM
[DIAL]
[BAND• ]
Weather channel indication
U.S.A. version only
FM
VOL
SKIPP
[TS•SET]
[FUNC]
“VOL” appears while
[DIAL] functions as an
audio volume.
No “VOL” indication “VOL” appears
Frequency, Memory channel,
Audio volume
[DIAL] Squelch level, Scanning
direction, Set mode item
and condition set
Audio volume set
Frequency, Memory channel,
[Y]/[Z]Squelch level, Scanning
direction, Set mode item
and condition set
IC-R5.qxd 02.9.17 16:10 Page 49 (1,1)

50
10
OTHER FUNCTIONS
New2001
10
DDWeather alert function
NOAA broadcast stations transmit weather alert tones before
important weather announcements. When the weather alert
function is turned ON, the selected weather channel is moni-
tored each 5 sec. for the announcement. When the alert sig-
nal is detected, the “AL.T” and the WX channel are displayed
alternately and sounds a beep tone until the receiver is oper-
ated. The previously selected (used) weather channel is
checked periodically during standby or while scanning.
qSelect the desired weather channel.
wTurn the weather alert function ON in set mode.
➥Push [TS•SET] to enter set mode.
➥Rotate [DIAL] to select the weather alert item, then ro-
tate [DIAL] while pushing and holding [FUNC] to set
ON.
➥Push [TS•SET] to exit set mode.
eSet the desired stand-by condition.
•Select VFO or memory channel.
•Scan or priority watch operation can also be selected.
rWhen the alert is detected, a beep sounds and the follow-
ing indication will be displayed.
tTurn the weather alert function OFF in set mode.
NOTE: While receiving a signal (on a frequency other than
the weather alert ON frequency), the receiving signal or
audio will be interrupted momentarily every 5 sec. (approx.)
in case the alert function is turned ON. This symptom is
caused by the WX alert function. To cancel these symp-
toms, set the weather alert item OFF in set mode.
FM FM
Show above indications alternately.
IC-R5.qxd 02.9.17 16:10 Page 50 (1,1)

51
10 OTHER FUNCTIONS
New2001
■Data cloning
Cloning allows you to quickly and easily transfer the pro-
grammed contents from one receiver to another; or data from
a personal computer to a receiver using the optional CS-R5
CLONING SOFTWARE
.
DCloning between receivers
qConnect the OPC-474 cloning cable to the [SP] jack of the
master and sub-receivers.
•The master receiver is used to send data to the sub-receiver.
wWhile pushing [V/M•S.MW•~], turn power ON to enter
cloning mode (master receiver only— power ON only for sub-re-
ceiver).
ePush [SQL] on the master receiver.
•The receiver show following indications.
rWhen cloning is finished, turn power OFF, then ON to exit
cloning mode.
During cloning
After cloning
Master receiver indications Sub-receiver indications
Master receiver
[V/M•S.MW•~]
[PWR]
“CLONE” and “m” appear
when entered into cloning
mode.
to [SP] to [SP]
Master
receiver
Sub-
receiver
AT
POWER ON
IC-R5.qxd 02.9.17 16:10 Page 51 (1,1)

52
10
OTHER FUNCTIONS
New2001
10
DCloning using a personal computer
Data can be cloned to and from a personal computer (Mi-
crosoft®Windows®98/Me/2000/XP) using the optional CS-R5
CLONING SOFTWARE
and the optional OPC-478U
CLONING
CABLE
. Consult the CS-R5
CLONING SOFTWARE
HELP file for
details.
DCloning error
☞NOTE: DO NOT push any key on the sub-receiver during
cloning. This will cause a cloning error.
When the display appears as below, a cloning error has oc-
curred.
In such a case, both receivers automatically return to the
clone standby condition and cloning must be repeated.
■Auto power-off function
The IC-R5 can be set to automatically turn OFF after a spec-
ified period in which no operation is performed.
120 min., 90 min., 60 min., 30 min. and OFF can be specified.
The specified period is retained even when the receiver is
turned OFF by the auto power-off function. To cancel the
function, select “OFF” in step ebelow.
qPush [TS•SET] for 1 sec. to enter set mode.
wRotate [DIAL] to select “AP OFF” item.
•Turn the expanded set mode ON for selection. (p. 39)
eWhile pushing [FUNC], rotate [DIAL] to select the desired
time or to turn the function OFF.
rPush [TS•SET] to exit set mode.
[TS•SET]
[FUNC]
[DIAL]
After 1 sec.
USING
EXPANDED SET MODE
Microsoft and Windows are registered trademarks of Microsoft Corporation in
the U.S.A. and other countries.
IC-R5.qxd 02.9.17 16:10 Page 52 (1,1)

53
10 OTHER FUNCTIONS
New2001
■Partial reset
If you want to initialize the operating conditions (VFO fre-
quency, VFO settings, set mode contents) without clearing
the memory contents, a partial resetting function is available
for the receiver.
➥While pushing [FUNC] and [TS•SET], turn the power ON
to partially reset the receiver.
■All reset
The function display may occasionally display erroneous in-
formation (e.g. when first applying power). This may be
caused externally by static electricity or by other factors.
If this problem occurs, turn power OFF. After waiting a few
seconds, turn power ON again. If the problem persists, per-
form the following procedure.
•Partial resetting is also available. See left for details.
IMPORTANT!:
Resetting the receiver CLEARS all memory information
and initializes all values in the receiver, including TV chan-
nel skip setting.
➥While pushing [FUNC] and [V/M•S.MW•~], turn the
power ON to reset the CPU.
FM SKIPP
[FUNC]
[V/M•S.MW•~]
[PWR]
*The appearing frqeuency
is differ according to
receiver version.
AT
POWER ON
[FUNC]
[TS•SET]
[PWR]
AT
POWER ON
IC-R5.qxd 02.9.17 16:10 Page 53 (1,1)

54
11
FREQUENCY TABLE
10
11
CH Freq.
40 628.75
41 636.75
42 644.75
43 652.75
44 660.75
45 668.75
46 676.75
47 684.75
48 692.75
49 700.75
50 708.75
51 716.75
52 724.75
53 732.75
54 740.75
55 748.75
56 756.75
57 764.75
58 772.75
59 780.75
60 788.75
61 796.75
62 804.75
63 812.75
64 820.75
65 828.75
66 836.75
67 844.75
68 852.75
69 860.75
CH Freq.
1 46.75
2 53.75
3 60.75
4 67.75
5 180.75
6 187.75
7 194.75
8 201.75
9 208.75
10 215.75
11 222.75
12 229.75
21 476.75
22 484.75
23 492.75
24 500.75
25 508.75
26 516.75
27 524.75
28 532.75
29 540.75
30 548.75
31 556.75
32 564.75
33 572.75
34 580.75
35 588.75
36 596.75
37 604.75
38 612.75
39 620.75
■TV channels
The following tables show the channels versus
video and audio frequencies depending on each
version.
DDU.S.A. channels (unit: MHz)
CH Freq.
2 59.75
3 65.75
4 71.75
5 81.75
6 87.75
7 179.75
8 185.75
9 191.75
10 197.75
11 203.75
12 209.75
13 215.75
14 475.75
15 481.75
16 487.75
17 493.75
18 499.75
19 505.75
20 511.75
21 517.75
22 523.75
23 529.75
24 535.75
25 541.75
26 547.75
CH Freq.
27 553.75
28 559.75
29 565.75
30 571.75
31 577.75
32 583.75
33 589.75
34 595.75
35 601.75
36 607.75
37 613.75
38 619.75
39 625.75
40 631.75
41 637.75
42 643.75
43 649.75
44 655.75
45 661.75
46 667.75
47 673.75
48 679.75
49 685.75
50 691.75
51 697.75
CH Freq.
52 703.75
53 709.75
54 715.75
55 721.75
56 727.75
57 733.75
58 739.75
59 745.75
60 751.75
61 757.75
62 763.75
63 769.75
64 775.75
65 781.75
66 787.75
67 793.75
68 799.75
69 805.75
DDCCIR channels (unit: MHz) DDAustralian channels
(unit: MHz)
CH Freq.
43 637.75
44 644.75
45 651.75
46 658.75
47 665.75
48 672.75
49 679.75
50 686.75
51 693.75
52 700.75
53 707.75
54 714.75
55 721.75
56 728.75
57 735.75
58 742.75
59 749.75
60 756.75
61 763.75
62 770.75
63 777.75
64 784.75
65 791.75
66 798.75
67 805.75
68 812.75
69 819.75
CH Freq.
0* 51.75
1 62.75
2 69.75
3 91.75
4 100.75
5 107.75
5A 143.75
6 180.75
7 187.75
8 194.75
9 201.75
10 214.75
11 221.75
28 532.75
29 539.75
30 546.75
31 553.75
32 560.75
33 567.75
34 574.75
35 581.75
36 588.75
37 595.75
38 602.75
39 609.75
40 616.75
41 623.75
42 630.75
IC-R5.qxd 02.9.17 16:10 Page 54 (1,1)

55
11 FREQUENCY TABLE
New2001
DDChina channels (unit: MHz)
CH Freq.
1 56.25
2 64.25
3 72.25
4 83.75
5 91.75
6 174.75
7 182.75
8 190.75
9 198.75
10 206.75
11 214.75
12 222.75
13 477.75
14 485.75
15 493.75
16 501.75
17 509.75
18 517.75
19 525.75
20 533.75
21 541.75
22 549.75
23 557.75
24 565.75
25 613.75
26 621.75
27 629.75
28 637.75
29 645.75
30 653.75
31 661.75
CH Freq.
32 669.75
33 677.75
34 685.75
35 693.75
36 701.75
37 709.75
38 717.75
39 725.75
40 733.75
41 741.75
42 749.75
43 757.75
44 765.75
45 773.75
46 781.75
47 789.75
48 797.75
49 805.75
50 813.75
51 821.75
52 829.75
53 837.75
54 845.75
55 853.75
56 861.75
57 869.75
58 877.75
59 885.75
60 893.75
61 901.75
62 909.75
CH Freq.
63 917.75
64 925.75
65 933.75
66 941.75
67 949.75
68 957.75
CH Freq.
1 50.75
2 60.75
3 67.75
4 180.75
5 187.75
6 194.75
7 201.75
8 208.75
9 215.75
10 222.75
11 229.75
DDNew
Zealand
channels
(unit: MHz)
CH Freq.
52 725.25
53 733.25
54 741.25
55 749.25
56 757.25
57 765.25
58 773.25
59 781.25
60 789.25
61 797.25
62 805.25
63 813.25
64 821.25
65 829.25
66 837.25
67 845.25
68 853.25
69 861.25
CH Freq.
21 477.25
22 485.25
23 493.25
24 501.25
25 509.25
26 517.25
27 525.25
28 533.25
29 541.25
30 549.25
31 557.25
32 565.25
33 573.25
34 581.25
35 589.25
36 597.25
37 605.25
38 613.25
39 621.25
40 629.25
41 637.25
42 645.25
43 653.25
44 661.25
45 669.25
46 677.25
47 685.25
48 693.25
49 701.25
50 709.25
51 717.25
DDUK channels (unit: MHz)
CH Freq.
43 653.75
44 661.75
45 669.75
46 677.75
47 685.75
48 693.75
49 701.75
50 709.75
51 717.75
52 725.75
53 733.75
54 741.75
55 749.75
56 757.75
57 765.75
58 773.75
59 781.75
60 789.75
61 797.75
62 805.75
63 813.75
64 821.75
65 829.75
66 837.75
67 845.75
68 853.75
69 861.75
CH Freq.
2 49.25
3 54.00
4 57.25
5 182.50
6 190.50
7 198.50
8 206.50
9 214.50
10 222.50
21 477.75
22 485.75
23 493.75
24 501.75
25 509.75
26 517.75
27 525.75
28 533.75
29 541.75
30 549.75
31 557.75
32 565.75
33 573.75
34 581.75
35 589.75
36 597.75
37 605.75
38 613.75
39 621.75
40 629.75
41 637.75
42 645.75
DDFrench channels (unit: MHz)
IC-R5.qxd 02.9.17 16:10 Page 55 (1,1)

56
11
FREQUENCY TABLE
New2001
11
DDIndonesian channels
(unit: MHz)
CH Freq.
2 53.75
3 60.75
4 67.75
5 180.75
6 187.75
7 194.75
8 201.75
9 208.75
10 215.75
11 222.75
12 229.75
21 476.75
22 484.75
23 492.75
24 500.75
25 508.75
26 516.75
27 524.75
28 532.75
29 540.75
30 548.75
31 556.75
32 564.75
33 572.75
34 580.75
35 588.75
36 596.75
37 604.75
38 612.75
39 620.75
CH Freq.
40 628.75
41 636.75
42 644.75
43 652.75
44 660.75
45 668.75
46 676.75
47 684.75
48 692.75
49 700.75
50 708.75
51 716.75
52 724.75
53 732.75
54 740.75
55 748.75
56 756.75
57 764.75
58 772.75
59 780.75
60 788.75
61 796.75
62 804.75
63 812.75
64 820.75
65 828.75
66 836.75
67 844.75
68 852.75
69 860.75
DDItalian channels (unit: MHz)
CH Freq.
A 59.25
B 67.75
C 87.75
D 180.75
E 188.75
F 197.75
G 206.75
H 215.75
H1 222.75
H2 229.75
21 476.75
22 484.75
23 492.75
24 500.75
25 508.75
26 516.75
27 524.75
28 532.75
29 540.75
30 548.75
31 556.75
32 564.75
33 572.75
34 580.75
35 588.75
36 596.75
37 604.75
38 612.75
39 620.75
40 628.75
41 636.75
CH Freq.
42 644.75
43 652.75
44 660.75
45 668.75
46 676.75
47 684.75
48 692.75
49 700.75
50 708.75
51 716.75
52 724.75
53 732.75
54 740.75
55 748.75
56 756.75
57 764.75
58 772.75
59 780.75
60 788.75
61 796.75
62 804.75
63 812.75
64 820.75
65 828.75
66 836.75
67 844.75
68 852.75
69 860.75
DDTaiwan channels
(unit: MHz)
CH Freq.
7 179.75
8 185.75
9 191.75
10 197.75
11 203.75
12 209.75
DDFOT channels
(unit: MHz)
CH Freq.
4 181.75
5 189.75
6 197.75
7 205.75
8 213.75
9 221.75
IC-R5.qxd 02.9.17 16:10 Page 56 (1,1)

57
11 FREQUENCY TABLE
New2001
■VHF marine channels (unit: MHz)
CH Ship Ship
No. Transmit Receive
01 156.050 160.650
01A 156.050 156.050
02 156.100 160.700
03 156.150 160.750
03A 156.150 156.150
04 156.200 160.800
04A 156.200 156.200
05 156.250 160.850
05A 156.250 156.250
06 156.300 156.300
07 156.350 160.950
07A 156.350 156.350
08 156.400 156.400
09 156.450 156.450
10 156.500 156.500
11 156.550 156.550
12 156.600 156.600
13 156.650 156.650
14 156.700 156.700
15 156.750 156.750
16 156.800 156.800
17 156.850 156.850
18 156.900 161.500
18A 156.900 156.900
19 156.950 161.550
19A 156.950 156.950
20 157.000 161.600
20A 157.000 157.000
21 157.050 161.650
WX CH Frequency
01 162.550
02 162.400
03 162.475
04 162.425
05 162.450
06 162.500
07 162.525
08 161.650
09 161.775
10 163.275
CH Ship Ship
No. Transmit Receive
21A 157.050 157.050
21b 161.650 161.650
22 157.100 161.700
22A 157.100 157.100
23 157.150 161.750
23A 157.150 157.150
24 157.200 161.800
25 157.250 161.850
25b 161.850 161.850
26 157.300 161.900
27 157.350 161.950
28 157.400 162.000
28b 162.000 162.000
60 156.025 160.625
61 156.075 160.675
61A 156.075 156.075
62 156.125 160.725
62A 156.125 156.125
63 156.175 160.775
63A 156.175 156.175
64 156.225 160.825
64A 156.225 156.225
65 156.275 160.875
65A 156.275 156.275
66 156.325 160.925
66A 156.325 156.325
67 156.375 156.375
68 156.425 156.425
69 156.475 156.475
CH Ship Ship
No. Transmit Receive
70 156.525 156.525
71 156.575 156.575
72 156.625 156.625
73 156.675 156.675
74 156.725 156.725
77 156.875 156.875
78 156.925 161.525
78A 156.925 156.925
79 156.975 161.575
79A 156.975 156.975
80 157.025 161.625
80A 157.025 157.025
81 157.075 161.675
81A 157.075 157.075
82 157.125 161.725
82A 157.125 157.125
83 157.175 161.775
83A 157.175 157.175
83b 161.775 161.775
84 157.225 161.825
84A 157.225 157.225
85 157.275 161.875
85A 157.275 157.275
86 157.325 161.925
86A 157.325 157.325
87 157.375 161.975
87A 157.375 157.375
88 157.425 162.025
88A 157.425 157.425
■Weather channels(unit: MHz)
IC-R5.qxd 02.9.17 16:10 Page 57 (1,1)

58
11
FREQUENCY TABLE
New2001
11
CH Frequency
1 462.5625 MHz
2 462.5875 MHz
3 462.6125 MHz
4 462.6375 MHz
5 462.6625 MHz
6 462.6875 MHz
7 462.7125 MHz
■Other communications in the USA
DDFRS (Family Radio Service) channels
Dot color Frequency
Red 151.625 MHz
Purple 151.955 MHz
Blue 154.570 MHz
Green 154.600 MHz
White 462.575 MHz
Black 462.625 MHz
Orange 462.675 MHz
Brown 464.500 MHz
Yellow 464.550 MHz
“J” Dot 467.763 MHz
“K” Dot 467.813 MHz
Silver Star 467.850 MHz
Gold Star 467.875 MHz
Red Star 467.900 MHz
Blue Star 467.925 MHz
Transceiver Transceiver
Receive transmit
462.5500 MHz 467.5500 MHz
462.5625 MHz
462.5750 MHz 467.5750 MHz
462.5875 MHz
462.6000 MHz 467.6000 MHz
462.6125 MHz
462.6250 MHz 467.6250 MHz
462.6375 MHz
462.6500 MHz 467.6500 MHz
462.6625 MHz
462.6750 MHz 467.6750 MHz
462.6875 MHz
462.7000 MHz 467.7000 MHz
462.7125 MHz
462.7250 MHz 467.7250 MHz
CH Frequency
1 151.820 MHz
2 151.880 MHz
3 151.940 MHz
4 154.570 MHz
5 154.600 MHz
CH Frequency
1 26.965 MHz
2 26.975 MHz
3 26.985 MHz
4 27.005 MHz
5 27.015 MHz
6 27.025 MHz
7 27.035 MHz
8 27.055 MHz
9 27.065 MHz
10 27.075 MHz
11 27.085 MHz
12 27.105 MHz
13 27.115 MHz
14 27.125 MHz
15 27.135 MHz
16 27.155 MHz
17 27.165 MHz
18 27.175 MHz
19 27.185 MHz
20 27.205 MHz
DDBRS (Business Radio
Service) channels
DDGMRS (General Mobile
Radio Service) channels
DDMURS channels
DDHF CB (Citizens Band) channels
CH Frequency
21 27.215 MHz
22 27.225 MHz
23 27.255 MHz
24 27.235 MHz
25 27.245 MHz
26 27.265 MHz
27 27.275 MHz
28 27.285 MHz
29 27.295 MHz
30 27.305 MHz
31 27.315 MHz
32 27.325 MHz
33 27.335 MHz
34 27.345 MHz
35 27.355 MHz
36 27.365 MHz
37 27.375 MHz
38 27.385 MHz
39 27.395 MHz
40 27.405 MHz
CH Frequency
8 467.5625 MHz
9 467.5875 MHz
10 467.6125 MHz
11 467.6375 MHz
12 467.6625 MHz
13 467.6875 MHz
14 467.7125 MHz
IC-R5.qxd 02.9.17 16:10 Page 58 (1,1)

59
11 FREQUENCY TABLE
New2001
Frequency Description
121.500 Emergencies
122.000 Flight Advisory Service
122.200 Flight Service Stations
122.700 Unicom— Uncontrolled airports
122.725 Unicom— Private airports
122.750 Unicom— Air-to-air communications
122.800 Unicom— Uncontrolled airports
122.900 Search & rescue training, & uncontrolled airports
122.950 Unicom— Controlled airports
123.000 Unicom— Uncontrolled airports
123.025 Helicopters— Air-to-air communications
123.050 Unicom— Heliports
123.075 Unicom— Heliports
123.100 Search & Rescue
123.300 Flight Schools
123.450 Air-to-air communications (unofficial)
123.500 Flight Schools
123.600 Flight Service Stations— Uncontrolled airports
148.125 Civil Air Patrol Repeaters— Secondary
148.150 Civil Air Patrol Repeaters— Primary
156.300 Aircraft-to-ship— safety
156.400 Aircraft-to-ship— commercial
156.425 Aircraft-to-ship— non-commercial
156.450 Aircraft-to-ship— commercial
156.625 Aircraft-to-ship— non-commercial
156.900 Aircraft-to-ship— commercial
243.000 Military Emergency “Guard”
255.400 Flight Advisory Service
257.800 Civilian Towers
311.000 SAC Primary
321.000 SAC Secondary
381.800 USCG— Primary
DDGeneral aviation frequencies
CH
Frequency
Remarks
range
2–13 54–216 (same as broadcast VHF)
14–22 120–174 Mid band Ch. A–I
23–36 216–300 Super band J–W
37–53 300–402 Hyper band AA–QQ
54–64 402–468
65–94 468–648 (Ultra band)
95–99 90–120 Low band A5–A1
100–125 648–804 (Ultra band)
DDCable TV (IRC) (unit: MHz)
169.445 MHz
169.505 MHz
170.245 MHz
170.305 MHz
171.045 MHz
171.105 MHz
171.845 MHz
171.905 MHz
*Power limited to 1/20 watt. These frequencies are also used at drive-in win-
dows at some fast-food restaurants.
DDWireless Microphones
IC-R5.qxd 02.9.17 16:10 Page 59 (1,1)

60
11
FREQUENCY TABLE
New2001
11
■Other communications— other countries
CH Frequency
1 446.00625
2 446.01875
3 446.03125
4 446.04375
5 446.05625
6 446.06875
7 446.08125
8 446.09375
DD
PMR446 channels
(unit: MHz)
CH Frequency
59 434.525
60 434.550
61 434.575
62 434.600
63 434.625
64 434.650
65 434.675
66 434.700
67 434.725
68 434.750
69 434.775
CH Frequency
1 433.075
2 433.100
3 433.125
4 433.150
5 433.175
6 433.200
7 433.225
8 433.250
9 433.275
10 433.300
11 433.325
12 433.350
13 433.375
14 433.400
15 433.425
16 433.450
17 433.475
18 433.500
19 433.525
20 433.550
21 433.575
22 433.600
23 433.625
24 433.650
25 433.675
26 433.700
27 433.725
28 433.750
29 433.775
DDLPD (Low Power Device) channels (unit: MHz)
CH Frequency
30 433.800
31 433.825
32 433.850
33 433.875
34 433.900
35 433.925
36 433.950
37 433.975
38 434.000
39 434.025
40 434.050
41 434.075
42 434.100
43 434.125
44 434.150
45 434.175
46 434.200
47 434.225
48 434.250
49 434.275
50 434.300
51 434.325
52 434.350
53 434.375
54 434.400
55 434.425
56 434.450
57 434.475
58 434.500
IC-R5.qxd 02.9.17 16:10 Page 60 (1,1)

61
11 FREQUENCY TABLE
New2001
CH Frequency
1 476.425 MHz
2 476.450 MHz
3 476.475 MHz
4 476.500 MHz
5 476.525 MHz
6 476.550 MHz
7 476.575 MHz
8 476.600 MHz
9 476.625 MHz
10 476.650 MHz
11 476.675 MHz
12 476.700 MHz
13 476.725 MHz
14 476.750 MHz
15 476.775 MHz
16 476.800 MHz
17 476.825 MHz
18 476.850 MHz
19 476.875 MHz
20 476.900 MHz
DDUHF C.R.S (Citizen Radio Service) channels
CH Frequency
21 476.925 MHz
22 476.950 MHz
23 476.975 MHz
24 477.000 MHz
25 477.025 MHz
26 477.050 MHz
27 477.075 MHz
28 477.100 MHz
29 477.125 MHz
30 477.150 MHz
31 477.175 MHz
32 477.200 MHz
33 477.225 MHz
34 477.250 MHz
35 477.275 MHz
36 477.300 MHz
37 477.325 MHz
38 477.350 MHz
39 477.375 MHz
40 477.400 MHz
IC-R5.qxd 02.9.17 16:10 Page 61 (1,1)

62
12
MAINTENANCE
11
12
PROBLEM POSSIBLE CAUSE SOLUTION REF.
■Troubleshooting If your receiver seems to be malfunctioning, please check the
following points before sending it to a service center.
No power comes on.
No sound comes from the
speaker.
Sensitivity is low and only
strong signals are audible.
Frequency cannot be set.
No beep sound.
Receive audio is distorted.
Desired set mode item
cannot be selected.
Programmed scan does
not start.
Memory or bank scan
does not start.
Installed batteries cannot
be charged.
•The batteries are exhausted.
•The battery polarity is reversed.
•Volume level is too low.
•Squelch level is set too tight.
•Different tone is selected with tone squelch.
•Attenuator function is activated.
•The lock function is activated.
•Beep tones are turned OFF or the beep tone level
is too low.
•The operating mode is not selected correctly.
•“EXPAND” item is set to OFF.
•Some set mode items can be selected in the AM
or FM broadcast band only.
•Program scan edges are not programmed.
•No or only one memory or bank channel is pro-
grammed.
•The batteries over discharged.
•Replace the batteries or charge the batteries.
•Check the battery polarity.
•Push [Y] to obtain a suitable level.
•While pushing [SQL], rotate [DIAL] to set the
squelch level.
•Turn the appropriate function OFF.
•While pushing [FUNC], push [SQL] to urn the at-
tenuator function OFF.
•While pushing [FUNC], push [BAND•] for
1 sec. to turn the function OFF.
•Turn beep tone ON or set the beep tone level to ap-
propriate level in set mode.
•Push [MODE•SCAN] several times to select a suit-
able operating mode.
•Turn “EXPAND” item ON.
•Choose the AM or FM broadcast band.
•Program a pair of scan edge channels.
•Program at least 2 memory or bank channels
•Re-install the batteries (wait at least for 1 sec.),
then plug the AC adapter while pushing [FUNC].
pgs. 5, 6
p. 5
p. 11
p. 12
p. 35
p. 13
p. 10
p. 41
p. 12
p. 39
p. 7
p. 27
pgs. 16,
17
p. 6
IC-R5.qxd 02.9.17 16:10 Page 62 (1,1)

63
12 MAINTENANCE
New2001
■CP-18A/E fuse replacement
If the fuse blows or the receiver stops functioning while oper-
ating with the optional CP-18A/E, find the source of the prob-
lem if possible, and replace the damaged fuse with a new,
rated one (FGB 5 A) as shown below.
Fuse 5 A
IC-R5.qxd 02.9.17 16:10 Page 63 (1,1)

64
13
SPECIFICATIONS
12
13
DDGENERAL
•Frequency coverage : (Unit: MHz)
USA 0.150–823.995, 849.000–868.995,
894.000–1309.995
France 0.150–29.995, 50.200–51.200,
87.500–108.000, 144.000–146.000,
430.000–440.000,
1240.000–1300.000
Other than above 0.150–1309.995 MHz
•Number of memory channels : 1250 (incl. 50 scan edges and 200
auto write channels)
•Frequency resolution : 5, 6.25, 8.33,* 9*, 10, 12.5, 15, 20,
25, 30, 50, 100 kHz
*selectable depending on the operating frequency band.
•Operating temperature range : –10°C to +60°C; +14˚F to +140˚F
•Reference frequency stability : ±6 ppm (–10°C to +60°C)
•Power supply requirement : 2 AA (R6) alkaline calls
2 AA (R6) Ni-Cd or Ni-MH cells
6.0 V DC ±5% (with AC adapter or
CP-18A/E)
•Current drain (at 3.0 V DC: approx.):
standby (power saved) 41 mA typical
max. audio 170 mA typical
charging (at 6.0 V DC) 120 mA typical
•Antenna connector : SMA (50 Ω)
•Dimensions (proj. not included) : 58(W) ×86(H) ×27(D) mm
29⁄32(W)×33⁄8(H)×11⁄16(D) in
•Weight (approx.) : 185 g; 6.5 oz
DDRECEIVER
•Receive system : Triple-conversion superheterodyne
•Intermediate frequencies : 1st: 266.7 MHz, 2nd: 19.65 MHz,
3rd: 450 kHz
•Sensitivity and squelch sensitivity (except spurious points):
FM (1 kHz/3.5 kHz Dev.; 12 dB SINAD)
1.625–4.995 MHz 0.32 µV typ.
5.000–179.995 MHz 0.2 µV typ.
118.000–246.995 MHz 0.18 µV typ.
247.000–329.995 MHz 0.2 µV typ.
330.000–469.995 MHz 0.18 µV typ.
470.000–832.995 MHz 0.28 µV typ.
833.000–999.995 MHz 0.28 µV typ.
1000.000–1309.995 MHz 0.35 µV typ.
WFM (1 kHz/52.5 kHz Dev.; 12 dB SINAD)
76.000–108.000 MHz 0.89 µV typ.
175.000–221.995 MHz 0.71 µV typ.
470.000–770.000 MHz 1.0 µV typ.
AM (1 kHz/30% MOD.; 10 dB S/N)
0.495–4.995 MHz 1.3 µV typ.
5.000–29.995 MHz 0.71 µV typ.
118.000–136.000 MHz 0.56 µV typ.
222.000–246.995 MHz 0.56 µV typ.
247.000–329.995 MHz 0.71 µV typ.
•Selectivity :
AM/FM More than 15 kHz/–9dB
Less than 30 kHz/–60 dB
WFM More than 150 kHz/–6dB
•
AF output power (at 3.0 V DC)
: 100 mW typical at 10% distortion with
an 8 Ωload
•Ext. speaker connector : 3-conductor 3.5 (d) mm (1⁄8″)/8 Ω
All stated specifications are subject to change without notice or obligation.
IC-R5.qxd 02.9.17 16:10 Page 64 (1,1)

65
OPTIONS
New2001New2001
14
■Options
BC-136A/D or BC-149
AC ADAPTER
Regularly charges the installed
batteries.
6 V DC/500 mA (BC-136); 1 A
(BC-149) output.
CP-18A/E
CIGARETTE LIGHTER
CABLE WITH DC
-
DC CONVERTER
Allows you to operate the re-
ceiver through a 12 V cigarette
lighter socket, and also charges
the installed rechargeable bat-
teries regularly. A DC-DC con-
verter is built-in.
AD-92SMA
ANTENNA
CONNECTOR ADAPTER
Allows you to connect an exter-
nal antenna with a BNC con-
nector.
SP-13
EARPHONE
Provides clear receive audio in
noisy environments.
LC-146A
CARRYING CASE
Helps protect the receiver from
scratches, etc.
OPC-474
CLONING CABLE
For connection between receivers
for data cloning.
CS-R5
CLONING SOFTWARE
+ OPC-478U
CLONING CABLE
(USB type)
Allows you to transfer data, such
as memories, and quickly and
easily edit and store data via a
PC (for Microsoft®Windows®
98/Me/2000/XP). Current RS-
232C (DB 9-pin) type cloning
cable, OPC-478, is also available.
IC-R5.qxd 02.9.17 16:11 Page 65 (1,1)

New2001
q
w
iR5
■ VFO and memory mode selection
POCKET GUIDE
Push [V/M•S.MW•~] to toggle
between VFO and memory mode.
➥
■ Receive mode selection
Push [MODE•SCAN] several
times to select the desired mode
➥
■ Audio level setting
Push [Y] to increase, push [Z]
to decrease the audio level.
➥
■ Squelch level setting
While pushing [SQL], rotate
[DIAL] to set the squelch level.
➥
■ Frequency band selection
Push [BAND• ] several times,
or while pushing [BAND• ],
rotate [DIAL] to select the desired
frequency band.
➥
■ Tuning step selection
Push [TS•SET], then rotate [DIAL]
to select the desired tuning step.
• Push [TS•SET] again to return to the
previous condition.
➥
■ Key lock function
While pushing [FUNC], push
[BAND• ] for 1 sec. to toggle
the key lock function ON and OFF.
• “ ” appears when the lock function
is in use.
➥
■ Frequency setting
Push [V/M•S.MW•~] to select
VFO mode.
Rotate [DIAL] to set the desired
operating frequency.
q
w
■ Memory channel selection
Push [V/M•S.MW•~] to select
memory mode.
Rotate [DIAL] to set the desired
memory channel.
• While pushing [FUNC], [DIAL]
rotation changes memory channel
in 10 channels steps.
q
w
e
■ Memory bank channel selection
Push [V/M•S.MW•~] to select
memory mode.
Push [BAND• ] several times,
or while pushing [BAND• ],
rotate [DIAL] to select the desired
bank.
Rotate [DIAL] to select the
desired bank channel.
■ Attenuator function
While pushing [FUNC], push
[SQL] to toggle the attenuator
ON and OFF.
• “ ” appears when the lock func-
tion is in use.
➥
66
15
POCKET GUIDE
Important operating instructions are summed up in this and the following
page for your simple reference.
By cutting along the line and folding on the dotted line, it will become a card
sized operating guide which can easily be carried in a card case or wallet,
etc.
q Cut w Fold e Complete
<CUT HERE>
IC-R5.qxd 02.9.17 16:11 Page 66 (1,1)

New2001
q
w
e
r
■ Memory channel programming
Set the desired frequency and
other functions in VFO mode.
Push [V/M•S.MW•~] for 1 sec.
to enter select memory write
condition.
• 1 short and 1 long beeps sound.
Rotate [DIAL] to select the
desired memory channel number.
Push [V/M•S.MW•~] for 1 sec.
again to program the contents
into the selected channel.
• 3 beeps sound.
q
w
e
■ Scan skip setting
Push [V/M•S.MW•~] to select
memory mode.
Rotate [DIAL] to select the
desired memory channel.
While pushing [FUNC], push
[V/M•S.MW•~] to set the skip
setting (skip channel or skip
frequency) ON and OFF.
q
w
■ VFO scans
Push [V/M•S.MW•~] to select
VFO mode.
Push [MODE•SCAN] for 1 sec.
• One of scan type “ALL,” “BAND” or
“PROG xx” (xx= 0–24) appear.
e
r
Rotate [DIAL] to select the
desired scan type.
Push [MODE•SCAN] momen-
tarily to start scan.
• Rotate [DIAL] to change the scanning
direction.
• During scan, push [V/M•S.MW•~]
to start auto memory write scan.
Push [MODE•SCAN] momen-
tarily again to stop scan.
q
w
■ Memory scans
Push [V/M•S.MW•~] to select
memory mode.
• Push [BAND• ] to select a bank,
if desired.
Push [MODE•SCAN] for 1 sec.
• One of scan type “ALL” or “BANK”
appear, for bank scan. Rotate [DIAL]
to select the desired scan type, in this
case.
• When memory mode is selected at
step q, memory scan starts.
e
r
Push [MODE•SCAN] momen-
tarily to start bank scan.
• Rotate [DIAL] to change the scanning
direction.
Push [MODE•SCAN] momen-
tarily again to stop scan.
IC-R5.qxd 02.9.17 16:11 Page 67 (1,1)

1-1-32 Kamiminami, Hirano-ku, Osaka 547-0003 Japan
A-6198H-1EX
Printed in Japan
©2002 Icom Inc.
New2001
IC-R5.qxd 02.9.17 16:11 Page 69 (1,1)