Impex Fitness Me 709 Owners Manual PARTS LIST
Impex-Fitness-Me-709-Owner-S-Manual impex-fitness-me-709-owner-s-manual
2015-06-15
: Impex-Fitness Impex-Fitness-Me-709-Owners-Manual-746518 impex-fitness-me-709-owners-manual-746518 impex-fitness pdf
Open the PDF directly: View PDF
.
Page Count: 17
- BEFORE YOU BEGIN...................................................................................…. 1
- IMPORTANT SAFETY NOTICES..................................................................…. 2
- HARDWARE PACK……….....…....................................................................…. 4
- ASSEMBLY INSTRUCTIONS........................................................................…. 5
- EXPLODED DIAGRAM………………………………………………………………. 10
- PARTS LIST...................................................................................................… 11 COMPUTER................................................................................................…… 12
- WARRANTY.................................................................................................…. 16
- ORDERING PARTS.....................................................................................….. 16
- Part# Description Identifier
- ASSEMBLY INSTRUCTION
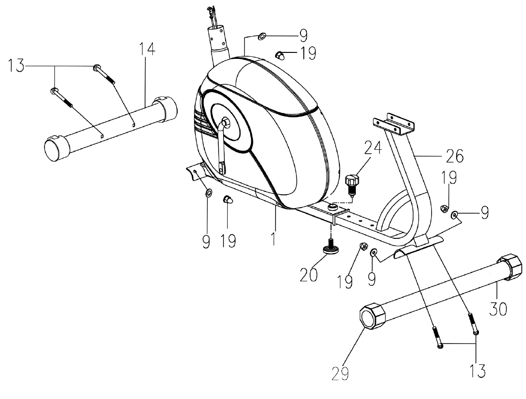
- Attach the Seat Support (#25) to bracket on the Sliding Frame (#26). Secure it with two M8 x 2 ¾” Hex Bolts (#31), two Ø 5/8” Washers (#27), and two M8 Aircraft Nuts (#33).
- Attach the Backrest Board (#28) to the Seat Support. Secure it with four M8 x 5/8” Allen Bolts (#8) and four Ø 5/8” Washers (#27).
- Attach the Seat Pad (#32) to the Seat Support. Secure it with four M8 x 5/8” Allen Bolts (#8) and four Ø 5/8” Washers (#27).
- Pull up the Quick Release Knob (#24), slide the Sliding Frame to desired position, and release the Knob to lock the Seat in position.
- Attach the Handle (#22) to the Seat Support (#25). Secure it with two M8 x 2 ¾” Hex Bolts (#31), two Ø 5/8 Washers (#27), and two M8 Aircraft Nuts (#33).
- Connect Upper Computer Wire (#10) to the wire on the Computer. Remove the two M5 x 3/8” Philips Screws (#3) from Computer. Slide the Computer onto the bracket on Front Post. Secure it with the two Screws.
- Thread the left Pedal (#17L) Counterclockwise into the left Crank #21). Thread the right Pedal (#17R) Clockwise into the Crank on the other side.
- 24 Quick Release Knob 1
- ASSEMBLY INSTRUCTION
- CURRENT SPEED

NOTE:
Please read all instructions
carefully before using this
product
Table of Contents
Safety Notice
Hardware Pack
Assembly Instruction
Parts List
Warranty
Ordering Parts
Model
ME-709
Retain This
Manual for
Reference
06-15-09
OWNER'S
MANUAL
MARCY®
Magnetic-Resistance
Recumbent Bike
ME-709
IMPEX® INC.
14777 DON JULIAN RD., CITY OF INDUSTRY, CA 91746
Tel: (800) 999-8899 Fax: (626) 961-9966
www.impex-fitness.com
info@impex-fitness.com

TABLE OF CONTENTS
BEFORE YOU BEGIN...................................................................................…. 1
IMPORTANT SAFETY NOTICES..................................................................…. 2
HARDWARE PACK……….....…....................................................................…. 4
ASSEMBLY INSTRUCTIONS........................................................................…. 5
EXPLODED DIAGRAM………………………………………………………………. 10
PARTS LIST...................................................................................................… 11
COMPUTER................................................................................................…… 12
WARRANTY.................................................................................................…. 16
ORDERING PARTS.....................................................................................….. 16
BEFORE YOU BEGIN
Thank you for selecting the MARCY® Magnetic Recumbent Bike ME-709 by
IMPEX® INC. For your safety and benefit, read this manual carefully before
using the machine. As a manufacturer, we are committed to provide you
complete customer satisfaction. If you have any questions, or find there are
missing or damaged parts, we guarantee you complete satisfaction through
direct assistance from our factory. To avoid unnecessary delays, please call
our TOLL-FREE customer service number. Our Customer Service Agents
will provide immediate assistance to you.
1
Toll-Free Customer Service Number
1-800-999-8899
Mon. - Fri. 9 a.m. - 5 p.m. PST
www.impex-fitness.com
info@impex-fitness.com

IMPORTANT SAFETY NOTICE
PRECAUTIONS
This exercise machine is built for optimum safety. However, certain
precautions apply whenever you operate a piece of exercise equipment. Be
sure to read the entire manual before you assemble or operate your machine.
In particular, note the following safety precautions:
1. Keep children and pets away from the machine at all times. DO NOT
leave children unattended in the same room with the machine.
2. Only one person at a time should use the machine.
3. If the user experiences dizziness, nausea, chest pain, or any other
abnormal symptoms, STOP the workout at once. CONSULT A PHYSICIAN
IMMEDIATELY.
4. Position the machine on a clear, leveled surface. DO NOT use the machine
near water or outdoors.
5. Keep hands away from all moving parts.
6. Always wear appropriate workout clothing when exercising. DO NOT wear
robes or other clothing that could become caught in the machine. Running
or aerobic shoes are also required when using the machine.
7. Use the machine only for its intended use as described in this manual. DO
NOT use attachments not recommended by the manufacturer.
8. Do not place any sharp object around the machine.
9. Disabled person should not use the machine without a qualified person or
physician in attendance.
10. Before using the machine to exercise, always do stretching exercises to
properly warm up.
11. Never operate the machine if the machine is not functioning properly.
12. The Maximum Weight Capacity is 300 lbs.
13. Read all warnings posted on the exercise bike.
14. Inspect the exercise bike for worn or loose component prior to use.
Tighten/replace any loose or wore components prior to use.
15. Care should be taken in mounting or dismounting the exercise bike.
16. This exercise bike is for consumer and home use only.
WARNING: BEFORE BEGINNING ANY EXERCISE PROGRAM, CONSULT
YOUR PHYSICIAN. THIS IS ESPECIALLY IMPORTANT FOR INDIVIDUALS
OVER THE AGE OF 35 OR PERSONS WITH PRE-EXISTING HEALTH
PROBLEMS. READ ALL INSTRUCTIONS BEFORE USING ANY FITNESS
EQUIPMENT. IMPEX INC. ASSUMES NO RESPONSIBILITY FOR
PERSONAL INJURY OR PROPERTY DAMAGE SUSTAINED BY OR
THROUGH THE USE OF THIS PRODUCT.
SAVE THESE INSTRUCTIONS. 2

WARNING LABEL REPLACEMENT
The Warning Label shown here has been placed on the Rear Stabilizer. If the label is missing or
illegible, please call customer service at 1-800-999-8899 for replacement. Apply the label in
location shown.
3

HARDWARE PACK
Part# Description Identifier
#8 M8 x 5/8” Allen Bolt (Qty 12)
#9 Ø 7/8” Curved Washer (Qty 8)
#13 M8 x 2 ½” Carriage Bolt (Qty 4)
#19 Acorn Nut (Qty 4)
#20 M8 Leverage Knob (Qty 1)
#27 Ø 5/8” Washer (Qty 12)
#31 M8 x 3” Hex Bolt (Qty 4)
#33 M8 Aircraft Nut (Qty 4)
Tools:
Allen Wrench (Qty 1)
Crossing Wrench (Qty 1)
4

PRE-ASSEMBLY CHECK LIST
PART NO. DESCRIPTION Q’TY
1 Main frame 1
25 Seat support tube 1
26 Sliding frame 1
14 Front Stabilizer w/Transportation Wheel 1
30 Rear Stabilizer w/Leveling End Cap 1
4 Front post 1
35 Back Cushion 1
28 Seat Cushion 1
32 Seat support tube 1
2 Computer 1
17 Pedal 2
5

ASSEMBLY INSTRUCTION
NOTE: It is strongly recommended that two or more people assemble this machine to
avoid possible injury.
STEP 1 (See Diagram1)
A.) Do not tighten Nuts and Bolts until instructed to do so.
B.) Insert the Sliding Frame (#26) into the Main Frame (#1). Thread the Quick Release Knob
(#24) through selected hole on Main Frame into Sliding Frame to lock the Frame in position.
Thread a M8 Leverage Knob (#20) into the Sliding Frame from bottom.
C.) Attach the Front Stabilizer (#14) to the Main Frame (#1). Secure it with two M8 x 2 ½”
Carriage Bolts (#13), two ∅7/8” Curved Washers (#9), and two M8 Acorn Nuts (#19).
D.) Attach the Sliding Frame to the Rear Stabilizer (#30). Secure it with two M8 x 2 ½” Carriage
Bolts (#13), two Ø 7/8” Curved Washers (#9), and two M8 Acorn Nuts (#19).
E.) Securely tighten all Nuts and Bolts.
F.) Rotate the two Rear Stabilizer End Caps (#29), and attach the M8 Leverage Knob on floor
completely to stabilize the Bike before exercising. DIAGRAM 1
6

STEP 2 (See Diagram 2)
A.) Note: In order to hold the Front Post (#4) while connecting the cables and wires,
extra help may be needed.
B.) Attach the Front Post (#4) to the Main Frame (#1). Connect the Upper Computer Wire
(#10) from the bottom of Front Post to the Lower Computer Wire (#12) from the main
Fame.
C.) Pull the tension connector from the Upper Tension Cable (#7) and slide in between the
opening on the connector holder on the Lower Tension Cable (#11). Pull the Upper
Tension Cable upward and slide the wire through the slot on the bracket.
D.) Drop down the Upper Tension Cable so the fitting sits firmly on top of the bracket.
E.) Secure the Front Post to the Main Frame with four M8 x 5/8” Allen Bolts (#8) and four
Ø 7/8” Curved Washers (#9).
DIAGRAM 2
7

STEP 3 (See Diagram 3)
A.) Attach the Seat Support (#25) to bracket on the Sliding Frame (#26). Secure it with
two M8 x 2 ¾” Hex Bolts (#31), two Ø 5/8” Washers (#27), and two M8 Aircraft Nuts
(#33).
B.) Attach the Backrest Board (#28) to the Seat Support. Secure it with four M8 x 5/8”
Allen Bolts (#8) and four Ø 5/8” Washers (#27).
C.) Attach the Seat Pad (#32) to the Seat Support. Secure it with four M8 x 5/8” Allen
Bolts (#8) and four Ø 5/8” Washers (#27).
D.) Pull up the Quick Release Knob (#24), slide the Sliding Frame to desired position,
and release the Knob to lock the Seat in position. DIAGRAM 3
8

STEP 4 (See Diagram 4)
A.) Attach the Handle (#22) to the Seat Support (#25). Secure it with two M8 x
2 ¾” Hex Bolts (#31), two Ø 5/8 Washers (#27), and two M8 Aircraft Nuts
(#33).
B.) Connect Upper Computer Wire (#10) to the wire on the Computer.
Remove the two M5 x 3/8” Philips Screws (#3) from Computer. Slide the
Computer onto the bracket on Front Post. Secure it with the two Screws.
C.) Thread the left Pedal (#17L) Counterclockwise into the left Crank #21).
Thread the right Pedal (#17R) Clockwise into the Crank on the other side.
DIAGRAM 4
9

10

PARTS LIST
KEY NO. DESCRIPTION QUANTITY
1 Main Frame 1
2 Computer 1
3 M5 x 3/8” Philips Screw 2
4 Front Post 1
5 Ø ½” Washer 1
6 M5 x 2” Philips Screw 1
7 Upper Tension Cable 1
8 M8 x 5/8” Allen Bolt 12
9 Ø 7/8” Curved Washer 8
10 Upper Computer Wire 1
11 Lower Tension Cable 1
12 Lower Computer Wire 1
13 M8 x 2 ½” Carriage Bolt 4
14 Front Stabilizer 1
15 Roller Cap 2
16 M5 x 5/8“ Philips Screw 4
17 Pedal 2
18 Square End Cap 2
19 M8 Acorn Nut 4
20 M8 Leverage Knob 1
21 Crank 1
22 Handle 1
23 Ø 1” Handle End Cap 2
24 Quick Release Knob 1
25 Seat Support 1
26 Sliding Frame 1
27 Ø 5/8” Washer 12
28 Backrest Board 1
29 Rear Stabilizer End Cap 2
30 Rear Stabilizer 1
31 M8 x 2 ¾” Hex Bolt 4
32 Seat Pad 1
33 M8 Aircraft Nut 4
11

COMPUTER
AUTO START / STOP
When exercise starts, the monitor will automatically turn on and display the progress.
When exercise stops, the monitor will automatically turn off after 8 minutes to save
energy.
Press “MODE” key, will automatically scan Time, Speed, Distance, Calories, and ODO
for every 4 seconds.
DISPLAY:
Time Display the elapsed time. Max value is up to 99:59
Speed Display the current speed in miles per hour.
Distance Display the distance traveled in Miles. Max value is 99.99 miles.
Calories Display the calorie consumption in cal.
Odometer Display the accumulation of distance from previous and current
exercises. Max value is 9999 miles.
REPLACE BATTERY:
1. Remove the battery cover on the back of the computer.
2. Replace two 1.5V (AA) batteries.
3. Make sure the batteries are installed correctly and the polarities are correct.
4. If the display is not clear or only partial segments appeared, remove the batteries
and wait for 15 seconds before re-install them.
5. The battery life is approx. 3 months under normal usage.
6. When the batteries are removed, all the functional values will reset to zero.
Note:
Please note all values on this computer are approximate and they are for
comparison purpose only. Do not use these values for any medical or
rehabilitation purpose.
SPECIFICATIONS:
AUTO SCAN Every 4 seconds
TIME 00:00’~99:59’
CURRENT SPEED The maximum signal can be
pickup is 99.9KM/H
TRIP DISTANCE 0.00~99.99KM
FUNCTION
CALORIES 0~9999kCAL
BATTERY TYPE 2pcs of SIZE –AA or UM –3
OPERATING TEMPERATURE 0°C ~ +40°C
STORAGE TEMPERATURE -10°C ~ +60°C
12

Maintenance and Storage
1. Inspect and tighten all parts each time you use the machine. Replace any
worn parts immediately.
2. The bike can be cleaned using a damp cloth and mild non-abrasive detergent.
Do not use solvents.
3. Store the machine IN-DOOR. Excess moisture and water would cause rust on
the frame.
4. The machine shall be placed at least 24 inches away from the wall or/and any
other object such as furniture to provide safe access to and passage around
the machine.
5. To avoid possible injury, the help of two or more people are needed when
moving the machine around.
13

EXERCISE INSTRUCTIONS
Using your MAGNETIC ROWER
will provide you with several benefits, it will improve
your physical fitness, tone muscle and in conjunction with calorie controlled diet help
you lose weight.
1. The Warm Up Phase
This stage helps get the blood flowing around the body and the muscles working
properly. It will also reduce the risk of cramp and muscle injury. It is advisable to do a
few stretching exercises as shown below. Each stretch should be held for
approximately 30 seconds, do not force or jerk your muscles into a stretch - if it hurts,
STOP.
2. The Exercise Phase
This is the stage where you put the effort in. After regular use, the muscles in your legs
will become more flexible. Work to your but it is very important to maintain a steady
tempo throughout. The rate of work should be sufficient to raise your heartbeat into the
target zone shown on the graph below.
This stage should last for a minimum of 12 minutes though most people start at
about 15-20 minutes 14
SIDE BENDS OUTER THIGH
INNER THIGH
FORWARD
BENDS CALF / ACHILLES
3. The Cool Down Phase
This stage is to let your Cardio-vascular System and muscles wind down. This is a
repeat of the warm up exercise e.g. reduce your tempo, continue for approximately 5
minutes. The stretching exercises should now be repeated, again remembering not to
force or jerk your muscles into the stretch.
As you get fitter you may need to train longer and harder. It is advisable to train at least
three times a week, and if possible space your workouts evenly throughout the week.
MUSCLE TONING
To tone muscle while on your MAGNETIC ROWER you will need to have the
resistance set quite high. This will put more strain on our leg muscles and may mean
you cannot train for as long as you would like. If you are also trying to improve your
fitness you need to alter your training program. You should train as normal during the
warm up and cool down phases, but towards the end of the exercise phase you should
increase resistance making your legs work harder. You will have to reduce your speed
to keep your heart rate in the target zone.
WEIGHT LOSS
The important factor here is the amount of effort you put in. The harder and
longer you work the more calories you will burn. Effectively this is the same as if
you were training to improve your fitness, the difference is the goal.
15

IMPEX® INC.
LIMITED WARRANTY
IMPEX Inc. ("IMPEX®") warrants this product to be free from defects in workmanship and material, under
normal use and service conditions, for a period of two years on the Frame from the date of purchase.
This warranty extends only to the original purchaser. IMPEX's obligation under this Warranty is limited
to replacing or repairing, at IMPEX's option.
All returns must be pre-authorized by IMPEX. Pre-authorization may be obtained by calling IMPEX
Customer Service Department at 1-800-999-8899. All freights for products return to IMPEX must be
prepaid by the customer. This warranty does not extend to any product or damage to a product caused
by or attributable to freight damage, abuse, misuse, improper or abnormal usage or repairs not provided
by an IMPEX authorized service center or for products used for commercial or rental purposes. No other
warranty beyond that specifically set forth above is authorized by IMPEX.
IMPEX is not responsible or liable for indirect, special or consequential damages arising out of or in
connection with the use or performance of the product or other damages with respect to any economic
loss, loss of property, loss of revenues or profits, loss of enjoyments or use, costs of removal, installation
or other consequential damages or whatsoever natures. Some states do not allow the exclusion or
limitation of incidental or consequential damages. Accordingly, the above limitation may not apply to you.
The warranty extended hereunder is in lieu of any and all other warranties and any implied warranties of
merchantability or fitness for a particular purpose is limited in its scope and duration to the terms set forth
herein. Some states do not allow limitations on how long an implied warranty lasts. Accordingly, the
above limitation may not apply to you.
This warranty gives you specific legal right. You may also have other rights which vary from state to
state. Register on-line www.impex-fitness.com
IMPEX® INC.
14777 Don Julian
City of Industry, CA 91746
ORDERING REPLACEMENT PARTS
Replacement parts can be ordered by calling our Customer Service Department toll-free at 1-800-999-
8899 during our regular business hours: Monday through Friday, 9 am until 5 pm Pacific standard time.
info@impex-fitness.com
When ordering replacement part, always give the following information.
1. Model
2. Description of Parts
3. Part Number
4. Date of Purchase
16