Impex Fitness Mwb 500 Owners Manual PARTS LIST
Impex-Fitness-Mwb-500-Owner-S-Manual impex-fitness-mwb-500-owner-s-manual
2015-06-15
: Impex-Fitness Impex-Fitness-Mwb-500-Owners-Manual-746832 impex-fitness-mwb-500-owners-manual-746832 impex-fitness pdf
Open the PDF directly: View PDF
.
Page Count: 10
- BEFORE YOU BEGIN...................................................................................…. 1
- IMPORTANT SAFETY NOTICES..................................................................…. 2
- HARDWARE IDENTIFIER.....…....................................................................…. 3
- ASSEMBLY INSTRUCTIONS........................................................................…. 4
- EXPLODED DIAGRAM………………………………………………………………. 7
- PARTS LIST...............................................................................................……. 8
- WARRANTY.................................................................................................…. 9
- ORDERING PARTS.......................................................................................… 9
- ASSEMBLY INSTRUCTION
- Insert the Leg Developer Holder (#7) into the top opening on the Main Seat Support (#1). Thread a ½” Philips Screw to secure the sleeve on the Leg Developer Holder. Secure the Leg Developer with a M12 Lock Knob (#36).
- Attach the Leg Developer (#9) to the Leg Developer Holder. Secure it with an Axle (#46), two M10 x 5/8” Allen Bolts (#39) and ( ¾” Washers (#41).
- Insert one Foam Tube (#12) halfway through the hole on the Leg Developer Holder. Insert two Foam Tubes halfway through the holes on the Leg Developer (#9). Push six Foam Rolls (#16) onto the Tubes from both ends. Plug six (2 ½” End Caps to the end of th
- Attach the Olympic Sleeve (#23) onto the weight post on the Leg Developer. Attach a ( 2” Spring Clip (#26) to the Sleeve.
- 20 ( 2 ½” End Cap 6

NOTE:
Please read all instructions
carefully before using this
product
Table of Contents
Safety Notice
Hardware Identifier
Assembly Instruction
Parts List
Warranty
Ordering Parts
Model
MWB-500
Retain This
Manual for
Reference
06-25-03
OWNER'S
MANUAL
MARCY WEIGHT BENCH
MWB-500
IMPEX FITNESS PRODUCTS
14777 DON JULIAN RD., CITY OF INDUSTRY, CA 91746
Tel: (800) 999-8899 Fax: (626) 961-9966
www.impex-fitness.com
info@impex-fitness.com

_________________________________________________
TABLE OF CONTENTS
BEFORE YOU BEGIN...................................................................................…. 1
IMPORTANT SAFETY NOTICES..................................................................…. 2
HARDWARE IDENTIFIER.....…....................................................................…. 3
ASSEMBLY INSTRUCTIONS........................................................................…. 4
EXPLODED DIAGRAM………………………………………………………………. 7
PARTS LIST...............................................................................................……. 8
WARRANTY.................................................................................................…. 9
ORDERING PARTS.......................................................................................… 9
BEFORE YOU BEGIN
Thank you for selecting the MARCY MWB-500 Weight Bench by
IMPEX FITNESS PRODUCTS. For your safety and benefit, read
this manual carefully before using the machine. As a
manufacturer, we are committed to provide you complete customer
satisfaction. If you have any questions, or find there are missing
or damaged parts, we guarantee you complete satisfaction
through direct assistance from our factory. To avoid unnecessary
delays, please call our TOLL-FREE customer service number.
Our Customer Service Agents will provide immediate assistance to
you.
1
Toll-Free Customer Service Number
1-800-999-8899
Mon. - Fri. 9 a.m. - 5 p.m. PST
www.impex-fitness.com
info@impex-fitness.com

IMPORTANT SAFETY NOTICE
PRECAUTIONS
This exercise machine is built for optimum safety. However, certain
precautions apply whenever you operate a piece of exercise equipment. Be
sure to read the entire manual before you assemble or operate your machine.
In particular, note the following safety precautions:
1. Keep children and pets away from the machine at all times. DO NOT
leave children unattended in the same room with the machine.
2. Only one person at a time should use the machine.
3. If the user experiences dizziness, nausea, chest pain, or any other
abnormal symptoms, STOP the workout at once. CONSULT A PHYSICIAN
IMMEDIATELY.
4. Position the machine on a clear, leveled surface. DO NOT use the machine
near water or outdoors.
5. Keep hands away from all moving parts.
6. Always wear appropriate workout clothing when exercising. DO NOT wear
robes or other clothing that could become caught in the machine. Running
or aerobic shoes are also required when using the machine.
7. Use the machine only for its intended use as described in this manual. DO
NOT use attachments not recommended by the manufacturer.
8. Do not place any sharp object around the machine.
9. Disabled person should not use the machine without a qualified person or
physician in attendance.
10. Before using the machine to exercise, always do stretching exercises to
properly warm up.
11. Never operate the machine if the machine is not functioning properly.
12. A spotter is recommended during exercise.
WARNING: BEFORE BEGINNING ANY EXERCISE PROGRAM, CONSULT
YOUR PHYSICIAN. THIS IS ESPECIALLY IMPORTANT FOR INDIVIDUALS
OVER THE AGE OF 35 OR PERSONS WITH PRE-EXISTING HEALTH
PROBLEMS. READ ALL INSTRUCTIONS BEFORE USING ANY FITNESS
EQUIPMENT. IMPEX INC. ASSUMES NO RESPONSIBILITY FOR
PERSONAL INJURY OR PROPERTY DAMAGE SUSTAINED BY OR
THROUGH THE USE OF THIS PRODUCT.
SAVE THESE INSTRUCTIONS.
2

HARDWARE PACK
3

ASSEMBLY INSTRUCTION
Tools Required Assembling the Machine: Two Adjustable and Allen Wrenches.
NOTE: It is strongly recommended two or more people assembling this machine to
avoid possible injury.
STEP 1 (See Diagram 1)
A.) Plug two ∅3” End Caps (#33) to the bottom openings on the Main Seat Support (#1).
B.) Connect the Left & Right Upright Beams (#2 & #3) by a Cross Brace (#4) in the Mid-span.
Secure them with two M10 x 3 ¾” Carriage Bolts (#38), one Bracket (#15), two ∅ ¾”
Washers (#41), and two M10 Aircraft Nuts (#45) on each end of the Cross Brace.
C.) Attach the Main Seat Support (#1) to the Cross Brace (#4). Secure it with two M10 x 3 ¾”
Carriage Bolts (#38), one Bracket (#15), two ∅ ¾” Washers (#41), and two M10 Aircraft
Nuts (#45).
D.) Place the Backrest Adjustment Bar (#8) onto a selected holder on the Upright Beams to
obtain desired incline of Backrest.
E.) Slide the Left & Right Bar Holders (#10 & 11) onto the Upright Beams (#2 & 3) from the
top. Secure each Bar Holder with a M18 x ∅3/8” Lock Knob (#37).
F.) Plug four ∅ 3” End Caps (#17) into the openings on the bottom of the Upright Beams.
DIAGRAM 1
4

STEP 2 (See Diagram 2)
A.) Attach the Backrest Incline Support (#14) to the holes in between the two Backrest
Supports (#6). Attach the hole-side of the two Backrest Supports (#6) onto the pivot on
the Main Seat Support (#1).
B.) Attach the Backrest Board (#34) to the Backrest Supports. Secure it with four M6 x 1 3/8”
Hex Bolts (#40) and ∅ ½” Washers (#42). Place the Backrest Supports rest against the
Backrest Adjustment Bar (#8).
C.) Attach the Seat Incline Support (#13) to the holes in between the two Seat Supports (#5).
Attach the Seat Supports to the pivot on the Main Seat Support (#1).
D.) Attach the Seat (#35) to the Seat Supports. Secure it with four M6 x 1 3/8” Hex Bolts
(#40) and ∅ ½” Washers (#42). Insert the Seat Incline Support (#13) through the
opening on the Main Seat Support. Use a 3 ¾” L-shaped Pin (#24) to lock the Seat in a
desired incline position. Attach a ∅ 3/8” Spring Clip (#27) to secure the Pin.
E.) When doing Squat exercises from the rear of the machine, lift up the Backrest Board to a
near vertical position. Lock the Backrest Incline Support (#14) to the bracket with a 3” L-
shaped Pin (#25). Please note that the Support, Pin and Bracket are designed only to
get the Backrest Board out of your way while doing Squat exercise. They are not
designed to hold any weight or to perform any other exercises.
DIAGRAM 2
5

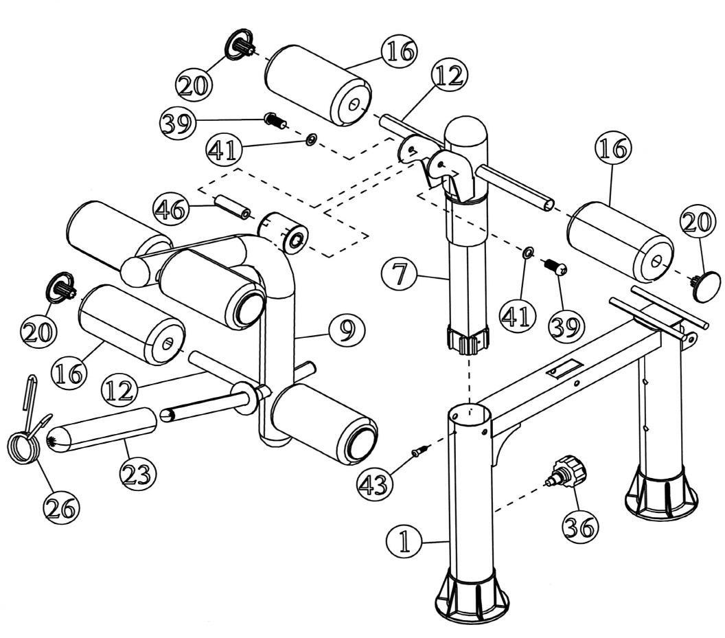
STEP 3 (See Diagram 3)
A.) Insert the Leg Developer Holder (#7) into the top opening on the Main Seat Support
(#1). Thread a ½” Philips Screw to secure the sleeve on the Leg Developer Holder.
Secure the Leg Developer with a M12 Lock Knob (#36).
B.) Attach the Leg Developer (#9) to the Leg Developer Holder. Secure it with an Axle
(#46), two M10 x 5/8” Allen Bolts (#39) and ∅ ¾” Washers (#41).
C.) Insert one Foam Tube (#12) halfway through the hole on the Leg Developer Holder.
Insert two Foam Tubes halfway through the holes on the Leg Developer (#9). Push six
Foam Rolls (#16) onto the Tubes from both ends. Plug six ∅2 ½” End Caps to the end
of the tubes.
D.) Attach the Olympic Sleeve (#23) onto the weight post on the Leg Developer. Attach a
∅ 2” Spring Clip (#26) to the Sleeve. DIAGRAM 3
6

7

PARTS LIST
KEY NO. DESCRIPTION QUANTITY
1 Main Seat Support 1
2 Left Upright Beam 1
3 Right Upright Beam 1
4 Cross Brace 1
5 Seat Support 2
6 Backrest Support 2
7 Leg Developer Holder 1
8 Backrest Adjustment Bar 1
9 Leg Developer 1
10 Left Bar Holder 1
11 Right Bar Holder 1
12 Foam Tube 3
13 Seat Incline Support 1
14 Backrest Incline Support 1
15 Bracket 3
16 Foam Roll 6
17 ∅ 3” End Cap 7
18 ∅ 2 3/8” End Cap 2
19 ∅ 3” Sleeve 1
20 ∅ 2 ½” End Cap 6
21 ∅ 2 3/8” Bushing 2
22 ∅ 2 ¾” Sleeve 1
23 Olympic Sleeve 1
24 3 ¾” L-shaped Pin 1
25 3” L-shaped Pin 1
26 ∅ 2” Spring Clip 1
27 ∅ 3/8” Spring Clip 1
28 Ø 1” End Cap 1
29 ∅ 1” Cone-shaped End Cap 3
30 1” Square End Cap 4
31 Ø 1 1/8” End Cap 2
32 ∅ 3 ½” Sleeve 4
33 ∅ 3” End Cap 2
34 Backrest Board 1
35 Seat 1
36 M18 x ∅1/2” Lock Knob 1
37 M18 x ∅3/8” Lock Knob 2
38 M10 x 3 ¾” Carriage Bolt 6
39 M10 x 5/8” Allen Bolt 2
40 M6 x 1 3/8” Hex Bolt 8
41 ∅ ¾” Washer 8
42 ∅ ½” Washer 8
43 ½” Philips Screw 1
44 3/8” Philips Screw 2
45 M10 Aircraft Nut 6
46 Axle 1
47 1 ½” Rubber Bumper 2
48 4 ½” Rubber Bumper 2
#6 Allen Wrench (Tool) 2
#4 Allen Wrench (Tool) 1
8

IMPEX INC.
LIMITED WARRANTY
IMPEX Inc. ("IMPEX") warrants this product to be free from defects in workmanship and material, under
normal use and service conditions, for a period of two years on the Frame from the date of purchase.
This warranty extends only to the original purchaser. IMPEX's obligation under this Warranty is limited
to replacing or repairing, at IMPEX's option.
All returns must be pre-authorized by IMPEX. Pre-authorization may be obtained by calling IMPEX
Customer Service Department at 1-800-999-8899. All freights for products return to IMPEX must be
prepaid by the customer. This warranty does not extend to any product or damage to a product caused
by or attributable to freight damage, abuse, misuse, improper or abnormal usage or repairs not provided
by an IMPEX authorized service center or for products used for commercial or rental purposes. No other
warranty beyond that specifically set forth above is authorized by IMPEX.
IMPEX is not responsible or liable for indirect, special or consequential damages arising out of or in
connection with the use or performance of the product or other damages with respect to any economic
loss, loss of property, loss of revenues or profits, loss of enjoyments or use, costs of removal, installation
or other consequential damages or whatsoever natures. Some states do not allow the exclusion or
limitation of incidental or consequential damages. Accordingly, the above limitation may not apply to you.
The warranty extended hereunder is in lieu of any and all other warranties and any implied warranties of
merchantability or fitness for a particular purpose is limited in its scope and duration to the terms set forth
herein. Some states do not allow limitations on how long an implied warranty lasts. Accordingly, the
above limitation may not apply to you.
This warranty gives you specific legal right. You may also have other rights which vary from state to
state. Register on-line www.impex-fitness.com
IMPEX INC.
14777 Don Julian
City of Industry, CA 91746
ORDERING REPLACEMENT PARTS
Replacement parts can be ordered by calling our Customer Service Department toll-free at 1-800-999-
8899 during our regular business hours: Monday through Friday, 9 am until 5 pm Pacific standard time.
info@impex-fitness.com
When ordering replacement parts, always give the following information.
1. Model
2. Description of Parts
3. Part Number
4. Date of Purchase
9