JVC KD NX5000E NX5000 User Manual LVT1628 001B
KD-NX5000E KD-NX5000E (Europe) LVT1628-001B
User Manual: JVC KD-NX5000E KD-NX5000E nglish, German, French,
Open the PDF directly: View PDF
.
Page Count: 357 [warning: Documents this large are best viewed by clicking the View PDF Link!]

KD-NX5000
HDD NAVIGATION/DVD RECEIVER
FESTPLATTEN-NAVIGATIONSSYSTEM/DVD-RECEIVER
SYSTÈME DE NAVIGATION À DISQUE DUR/RÉCEPTEUR DVD
For installation and connections, refer to the separate manual.
Für den Einbau und die Anschlüsse siehe das eigenständige Handbuch.
Pour l’installation et les raccordements, se référer au manuel séparé.
INSTRUCTIONS
LVT1628-001B
[E]
BEDIENUNGSANLEITUNG
MANUEL D’INSTRUCTIONS
ENGLISHDEUTSCHFRANÇAIS
Cover_NX5000_rev.indd 1Cover_NX5000_rev.indd 1 12/3/07 7:15:53 pm12/3/07 7:15:53 pm

2
ENGLISH
Warning:
If you need to operate the unit while driving,
be sure to look ahead carefully or you may be
involved in a traffic accident.
Every time you turn on the unit, the screen
below appears. Take enough care when
operating the unit and make sure safe driving.
CAUTION!
DRIVER IS RESPONSIBLE FOR
DRIVING DECISIONS AND
KEEPING EYES ON THE ROAD!
Please see owner’s manual
for complete safety
instructions.
IMPORTANT FOR LASER PRODUCTS
1. CLASS 1 LASER PRODUCT
2. CAUTION: Do not open the top cover. There are no user serviceable parts inside the unit; leave
all servicing to qualified service personnel.
3. CAUTION: Visible and/or invisible class 1M laser radiation when open. Do not view directly
with optical instruments.
4. REPRODUCTION OF LABEL: CAUTION LABEL, PLACED OUTSIDE THE UNIT.
Thank you for purchasing a JVC product.
Please read all instructions carefully before operation, to ensure your complete understanding and to
obtain the best possible performance from the unit.
Caution:
Changes or modifications not approved by
JVC could void the user’s authority to operate
the equipment.
Caution:
Never try to analyse or retrieve the data
stored in the Hard Disk Drive (HDD).
Otherwise, you may have your warranty
invalid, and be penalized by law. The
manufacturer assumes no liability for any
damage resulting from such conduct as
mentioned above.
KDNX5000_E_en_rev.indb 2KDNX5000_E_en_rev.indb 2 30/3/07 2:01:09 pm30/3/07 2:01:09 pm

3
When the temperature is low, the HDD may
take some time to start up, or may reboot
automatically.
This unit does not function properly unless
the speed signal lead is connected (refer to the
Installation/Connection Manual).
It may be unlawful to record or play back
copyrighted material without the consent of
the copyright owner.
• DO NOT install any unit in locations
where:
– it may obstruct the steering wheel and
gearshift lever operations.
– it may obstruct the operation of safety
devices such as air bags.
– it may obstruct visibility.
• DO NOT operate the unit while driving. If
you need to operate the unit while driving,
be sure to look ahead carefully.
• The driver must not watch the monitor
while driving.
• If the parking brake is not engaged,
“
Parking Brake
” flashes on the monitor,
and no playback picture will be shown.
– This warning appears only when the
parking brake wire is connected to the
parking brake system built in the car
(refer to the Installation/Connection
Manual).
Hard Disk Drive (HDD)
Installation
This unit has a built-in HDD, which is a device
to read minute magnetic changes. The inside of
the device is precision components, requiring
you to notice the following when installing the
unit:
Install the unit at a place where the following
conditions are satisfied:
• Dry and neither too hot nor too cold—
between 5°C and 35°C.
If the temperature is too low, the HDD will
not work. Wait until the temperature in the
car becomes normal before operating the
unit.
• At an altitude between –300 m below sea level
and +3000 m above sea level.
• With adequate ventilation to prevent internal
heat buildup in the unit.
Before using HDD
While the unit is turned on, the hard disk
is constantly rotating at a high speed. This
requires you to notice the following:
• DO NOT impart vibration or shock.
• DO NOT allow anything having strong
magnetism or emitting strong electromagnetic
waves (mobile phones, etc.) near the unit.
• DO NOT disconnect the power cords from
the car battery when the unit is turned on.
Failure in following the above cautions may
damage the HDD (the stored data will be lost
and be never restored).
WARNINGS:
To prevent accidents and damage
For security reasons, a numbered ID card
is provided with this unit, and the same ID
number is imprinted on the unit’s chassis.
Keep the card in a safe place, as it will help the
authorities to identify your unit if stolen.
KDNX5000_E_en_rev.indb 3KDNX5000_E_en_rev.indb 3 30/3/07 2:01:15 pm30/3/07 2:01:15 pm

4
ENGLISH
How to detach/attach the control panel
Detaching
Attaching
How to forcibly eject a disc
If a disc cannot be recognized by the unit or
cannot be ejected, eject the disc as follows.
Emergency Eject
and
No Eject
(or
Eject
OK
) appear on the monitor.
Press 5 / ∞ repeatedly to select
Emergency
Eject
, then press ENT.
• If this does not work, reset your unit.
• Be careful not to drop the disc when it ejects.
[Hold]
How to reset your unit
• Your preset adjustments
will also be erased.
KDNX5000_E_en_rev.indb 4KDNX5000_E_en_rev.indb 4 30/3/07 2:01:16 pm30/3/07 2:01:16 pm

5
This product incorporates copyright
protection technology that is protected
by U.S. patents and other intellectual
property rights. Use of this copyright
protection technology must be authorized
by Macrovision, and is intended for home
and other limited viewing uses only unless
otherwise authorized by Macrovision.
Reverse engineering or disassembly is
prohibited.
For safety...
• Do not raise the volume level too much, as
this will block outside sounds, making driving
dangerous.
• Stop the car before performing any
complicated operations.
Temperature inside the car...
If you have parked the car for a long time in hot
or cold weather, wait until the temperature in
the car becomes normal before operating the
unit.
Caution on volume setting:
Discs produce very little noise compared with
other sources. Lower the volume before playing
a disc to avoid damaging the speakers by the
sudden increase of the output level.
• The monitor built in this unit has been
produced with high precision, but it may
have some ineffective dots. This is inevitable
and is not malfunction.
• Do not expose the monitor to direct
sunlight.
Cautions on the monitor: Information for Users on Disposal of Old
Equipment
This symbol indicates that the product with
this symbol should not be disposed as general
household waste at its end-of-life. If you wish
to dispose of this product, please do so in
accordance with applicable national legislation
or other rules in your country and municipality.
By disposing of this product correctly, you will
help to conserve natural resources and will
help prevent potential negative effects on the
environment and human health.
Dear Customer,
This apparatus is in conformance with the
valid European directives and standards
regarding electromagnetic compatibility and
electrical safety.
European representative of Victor Company
of Japan, Limited is:
JVC Technology Centre Europe GmbH
Postfach 10 05 52
61145 Friedberg
Germany
This symbol is only valid in the
European Union.
KDNX5000_E_en_rev.indb 5KDNX5000_E_en_rev.indb 5 30/3/07 2:01:17 pm30/3/07 2:01:17 pm

6
ENGLISHENGLISH
8 Introduction
Initial settings
Basic operations
Parts index
Remote controller—RM-RK250
18 Navigation system
Basic operations
Registering your home
Starting guidance
Searching for a place
How you are guided
Arranging your route
Registering favourite points
Traffic information on map—TMC
Navigation menu items
Contents
KDNX5000_E_en_rev.indb 6KDNX5000_E_en_rev.indb 6 30/3/07 2:01:17 pm30/3/07 2:01:17 pm

7
51 Radio
Listening to the radio
RDS operations
DAB operations
59 Discs and HDD
Disc operations
Music server operations
CD changer operations
79 Other functions
iPod/D. player operations
Playing other external components
Using Bluetooth devices
AV Menu items
Sound equalization
109 Troubleshooting
117 Specifications
KDNX5000_E_en_rev.indb 7KDNX5000_E_en_rev.indb 7 30/3/07 2:01:18 pm30/3/07 2:01:18 pm

8
ENGLISH
Initial settings
When you turn on the unit for the first time, the initial setup screen appears. Follow the procedure
below and make necessary settings.
4
Reverse Polarization
Engage the parking brake, step on the
brake pedal, then switch the gear lever.
If
Forward
and
Reverse
alternates
on the display, connection is correct.
Select one of the alternatives (
GND
or
Battery
) that shows the gear position
correctly.
You can also change these settings (except
Store Display Mode
) through
Setup
Menu and
AV Menu
when necessary.
•
Language
☞ [46]
•
Installation Angle
☞ [46]
•
Reverse Polarization
☞ [95]
Back to the previous setting
Select an item
Proceed to the next setting
Turn on the power.
Adjust the following settings.
Finish the procedure.
Language 1/2
Dansk
Deutsch
English UK
English US
Español
1
Language
Select the language you want for the
display and the voice guidance.
2
Store Display Mode
Select
Off
.
• If you select
On
, the System starts in
the navigation demonstration mode
for shops. (☞ [47])
3
Installation Angle
Select which angle your unit is installed
at. This setting is necessary for the
precise functioning of the Navigation
System.
• See “Measuring the installation
angle” on the Installation/Connection
Manual.
KDNX5000_E_en_rev.indb 8KDNX5000_E_en_rev.indb 8 30/3/07 2:01:19 pm30/3/07 2:01:19 pm

9
Sensor Status
Learning Lv. :0
GPS Antenna :OK [5]
Speed Signal :12.0
Parking Brake :Off
Direction :Forward
Calibrating...
Calibration
Before using the Navigation System first time, it is required to calibrate the Navigation System.
• After deleting the calibration data (☞ [46]
Reset Calibration
) or changing the installation
angle (☞ [46]
Installation Angle
), calibration is also required.
1 Display the map screen.
2 Display the detail screen and check the
connections.
GPS Antenna
•
OK
] Connection is OK. (
[5]
: number of the GPS
satellites whose signal is detected.)
•
NG
] Aerial is disconnected or short-circuited.
Speed Signal
Drive the car for a while.
• If the number increases as you speed up the car,
connection is OK.
Parking Brake
Step on the brake pedal, then disengage and engage the
parking brake repeatedly.
• If
Off
appears when disengaged and
On
appears when engaged, connection is OK.
If the result is not good, check the connection.
• You can see detailed information on the items of
Sensor Status
in
Information
]
Connection
. (☞ [43])
3 After confirming all the above connections, drive the car to start
calibration.
• This process can take five minutes or more depending on the average speed driven.
• A certain speed (greater than 40 km/h) is required for calibration.
• Calibration time differs among the cars.
• During calibrating, you can use the AV functions of the unit (you can listen to the music,
etc.)
• If you turn off the ignition switch, calibration is temporarily stopped. When it is turned
on, calibration will restart.
Once calibration is finished, the arrowhead icon turns red and the current position information
appears instead of
Calibrating...
.
Learning Lv.
(maximum level is
4
) reaches
1
after
calibration finished.
Navigation (functions such as guidance or route simulation) cannot be used until calibration
is complete.
Initial settings
[Hold]
Calibrating... Detail
: Calibration not in
progress.
: Calibration in progress.
KDNX5000_E_en_rev.indb 9KDNX5000_E_en_rev.indb 9 30/3/07 2:01:20 pm30/3/07 2:01:20 pm

10
ENGLISH
Reset the unit.
• Use only when the internal
system malfunctions.
Basic operations
To turn on the power
To turn off the power
[Hold]
To drop the volume in a moment (ATT)
ATT indicator flashes.
To restore the sound, press the same
button again.
To adjust the volume
To change the source
TUNER
=
DAB*
=
DISC*
=
HDD
=
CD-CH/
EXT-IN/iPod/D. PLAYER*
=
Bluetooth Audio*
=
(Back to the beginning)
* You cannot select these sources if they are not
ready.
To turn off the AV function
[Hold]
The display switches to the map screen.
• To activate the AV function, press the
button briefly.
For navigation operations,
☞
[18]
.
For radio operations,
☞
[51]
.
For disc/HDD operations,
☞
[59]
.
For Bluetooth operations,
☞
[83]
.
For other sources,
☞
[79]
.
KDNX5000_E_en_rev.indb 10KDNX5000_E_en_rev.indb 10 30/3/07 2:01:21 pm30/3/07 2:01:21 pm

11Basic operations
To change the display of AV screens
Vehicle information
AV screen 2
* The number and contents of AV screens depend on the source.
** Appears only when you have selected Video or Camera for Video Input setting (
☞
[94]
).
AV screen 1 Video input
(
☞
[82]
)
How to change the control panel angle
[Hold]
Caution: Do not insert your finger behind the control panel.
Tilt 1 Tilt 2 Tilt 3 Tilt 4
Map screenAV screen
To switch between the map screen and AV
screen
You can always switch between the AV
screen and the map screen.
This switching does not affect the playback
sound of the unit (except while recording an
Audio CD) or the guidance function of the
Navigation System.
FM1 Classics
Station name
92.5 MHz
Current time
The built-in clock is automatically adjusted by
receiving the GPS signals.
AV screen
Distance to the next turn/Turn
icon
(While not guided: Speed/
Direction) (
☞
[35]
)
KDNX5000_E_en_rev.indb 11KDNX5000_E_en_rev.indb 11 30/3/07 2:01:21 pm30/3/07 2:01:21 pm

12
ENGLISH
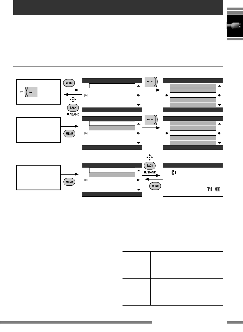
Menu operations
Map screen AV screen
To call up a menu
AV Menu ☞ [90]Destination Menu ☞ [42]
Information Menu ☞ [42]
Setup Menu ☞ [43]
Destination 1/2
Home
Return
Address
POI
Previous
Information 1/2
Current Position
TMC
Turns List
Trip
Destination
Setup 1/2
Guidance Voice
Guidance Options
Route Options
Map Colour
Map Options
AV Menu 1/2
Setup
EQ
Sound
Screen Control
Aspect
To navigate through menus
Press: Select a menu item
Hold: Skip to the first menu
item on the next page
Proceed to the next menu
Back to the previous menu
To go back to the previous screen
and adjust other items:
To cancel menu operations and
return to the map screen or the AV
screen:
Navigation Menus AV Menu
FM1 Classics
Station name
92.5 MHz
• The display indications may change according
to change of the specifications.
KDNX5000_E_en_rev.indb 12KDNX5000_E_en_rev.indb 12 30/3/07 2:01:22 pm30/3/07 2:01:22 pm

13Basic operations
1 Call up
AV Menu
.
2 Select
EQ
in
AV Menu
.
3 Change the setting as you like.
Now the setting is changed. Press DISP to exit
from the menu, or BACK to go back to the
previous menu.
Display 1/2
Language
Demonstration
Wall Paper
Scroll
Tag Display
[Off]
Current menu title
Current setting of the
selected item.
Remaining time until the
menu screen goes off.
(Appears only on AV Menu.)
Menu items On some screens, special operations are indicated
here with the button to use.
Ex.:
: Button to press
: Button to press and hold
• When no icon is displayed here, ENT button
functions the same as
¢
button.
Button icons indicate the
available operations in
each screen.
Selected menu item
Current page number/
Total page number
• If items are displayed in grey, you
cannot use them now.
Menu screen
AV Menu 1/2
Setup
EQ
Sound
Screen Control
Aspect
[Flat]
EQ 1/3
Flat
Hard Rock
R&B
Pop
Jazz
Exit
EQ 1/3
Flat
Hard Rock
R&B
Pop
Jazz
Exit
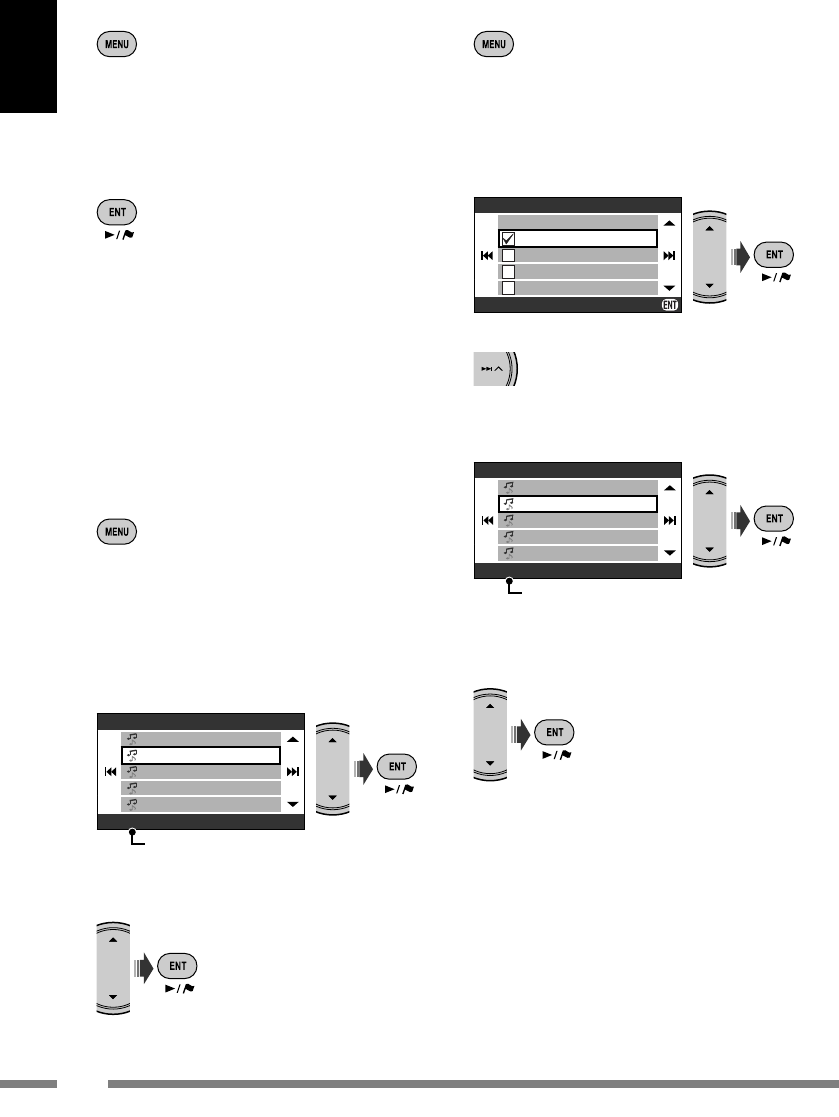
In this manual, operation of selecting a menu item is instructed as in the example below.
Ex.:
AV Menu
]
EQ
]
Pop
Delete
KDNX5000_E_en_rev.indb 13KDNX5000_E_en_rev.indb 13 30/3/07 2:01:23 pm30/3/07 2:01:23 pm

14
ENGLISH
12
8
463
9
pqwe
75
Parts index
On the map screen On the AV screens On menu screens
1 /ATT
• Turn on the unit.
• Turn off the unit if pressed and held.
• Attenuate/restore the sound.
2AV/SRC
Switch to the AV screen. Change the source.
In Navigation Menus:
Switch to the AV
screen.
In AV Menu: Change
the source and switch
to the AV screen.
Turn off the AV function if pressed and held.
3MAP/POS
• Change the map view.
• Display your current
position after scrolling
the map.
Switch to the map screen.
4+/–
Adjust the volume.
5MENU
Call up Destination
Menu.
☞ [42]
Call up AV Menu.
☞ [90]
In Navigation Menus:
Switch to other
menus.
In AV Menu: Go back
to the top screen of AV
Menu or switch to the
AV screen.
Call up Phone Menu if pressed and held when the Bluetooth adapter is connected.
☞ [83]
6/DISP
Enter the scaling mode. Change the display.
☞ [11]
Exit from the menu.
7T/P
TRAFFIC
Display the TMC List.
☞ [40]
Activate TA Standby Reception/PTY
Search.
☞
[54, 55, 58]
In AV Menu: Activate
TA Standby Reception.
KDNX5000_E_en_rev.indb 14KDNX5000_E_en_rev.indb 14 30/3/07 2:01:24 pm30/3/07 2:01:24 pm

15
Installing the batteries
Before using the remote controller:
• Aim the remote controller directly at the
remote sensor on the unit.
The unit is equipped with the steering wheel
remote control function.
• See the Installation/Connection Manual
(separate volume) for connection.
Remote sensor
Parts index / Remote controller—RM-RK250
• If the range or effectiveness of the remote
control decreases, replace both batteries.
• Do not expose batteries to heat or flame.
Caution:
Remote controller—RM-RK250
On the map screen On the AV screens On menu screens
8
5
/
∞
Operate the current
source.
☞ [50]
DAB: Select services.
DVD: Select titles/groups.
Files: Select folders.
Music server: Select albums.
iPod/D. player:
5
Enter the main menu.
∞
Pause/resume playback.
Bluetooth Audio: Select a device. Select an item.
9/
FM/AM: Search for stations.
DAB: Search for ensembles.
Disc, Music server, iPod/D. player,
Bluetooth Audio: Select tracks/
chapters.
p
• Open/close the control panel.
• Change the control panel angle if pressed and held.
q/BACK
7/BAND
• Enter the manual
scrolling mode.
☞ [22]
• Repeat the last voice
guidance if pressed
and held during
guidance.
☞ [33]
Tuner: Select the bands.
Disc: Stop playing.
Go back to the
previous screen.
wENT/3/
Call up Shortcut Menu.
☞ [25]
Disc: Start playing. Confirm the selection.
e
Detach the control panel.
R03(UM-4)/
AAA(24F)
• DO NOT expose the remote sensor to bright
light (direct sunlight or artificial lighting).
KDNX5000_E_en_rev.indb 15KDNX5000_E_en_rev.indb 15 30/3/07 2:01:25 pm30/3/07 2:01:25 pm

16
ENGLISH
Operations from the remote controller
On the map screen On the AV screens On menu screens
1AV/OFF
Switch to the AV screen. • Change the source.
In Navigation Menus:
Switch to the AV screen.
In AV Menu: Change the
source and switch to the
AV screen.
Turn off the AV function if pressed and held.
2MAP/POS
• Change the map view.
• Display your current
position after scrolling
the map.
Switch to the map screen.
3MENU
Call up Destination Menu.
☞ [42]
Call up AV Menu.
☞ [90]
In Navigation Menus:
Switch to other menus.
In AV Menu: Go back to the
top screen of AV Menu or
switch to the AV screen.
Call up Phone Menu if pressed and held when the Bluetooth adapter is connected.
☞ [83]
4TRAFFIC
Display the TMC List.
☞ [40]
(Not used)
5ENT 6
Call up Shortcut Menu.
☞ [25]
Disc: Start playing/pause. Confirm the selection.
6
5
/
∞
Scroll the map (in eight
directions).
DAB: Select services.
DVD: Select titles/groups.
Files: Select folders.
Music server: Select albums.
iPod/D. player:
5
Enter the main menu.
∞
Pause/resume playback.
Bluetooth Audio: Select a device.
Select an item.
7 /
FM/AM: Search for stations.
DAB: Search for ensembles.
Disc, Music server, iPod/D. player,
Bluetooth Audio: Select tracks/
chapters.
8
PHONE
Call up Dial Menu when the Bluetooth adapter is connected.
☞ [86]
9
BACK/BAND
/7/
Repeat the last voice
guidance if pressed and
held during guidance.
Tuner: Select the bands.
Disc: Stop playing.
Go back to the previous
screen.
pVOL +/–
Adjust the volume.
q +/–
Scale the map. (Not used)
wHOME
Start guidance to a home.
☞ [24]
(Not used) Start guidance to a home.
☞ [24]
eATT
Attenuate/restore the sound.
rDISP
Enter the scaling mode. Change the display.
☞ [11]
Exit from the menu.
KDNX5000_E_en_rev.indb 16KDNX5000_E_en_rev.indb 16 30/3/07 2:01:26 pm30/3/07 2:01:26 pm

17
Only on the AV screens
t
• Make selections in disc menus.
• DISC +/– buttons: Change discs for a CD changer.
yENT
Disc: Confirm the selection.
uTOP M
DVD/DivX 6: Show the disc menu.
☞ [67]
VCD with PBC: Resume PBC playback.
☞ [67]
iDVD MENU
oOSD
Display the on-screen bar.
☞ [68]
;RETURN
VCD with PBC: Return to the previous menu.
☞ [67]
aDIRECT/
CLEAR
Disc: To select a chapter/title/group/folder/track directly.
☞ [66]
sASPECT
Disc: Change the aspect ratio of the playback pictures.
dNumber
keys
Disc: To select a chapter/title/group/folder/track directly.
☞ [66]
Tuner: Select a preset station.
CD changer: Select a disc.
Bluetooth phone: Input telephone number.
☞ [87]
f1/¡
Disc: Reverse search/forward search. Slow playback if pressed while paused.
g
Disc: Select audio languages/audio channels.
h
Disc: Select subtitles.
j
Disc: Select a view angle.
Remote controller—RM-RK250
Slide to open
r
ty
ui
o;
12
34
567
89
pq
w
e
sa
d
f
ghj
These buttons do
not function at this
position.
KDNX5000_E_en_rev.indb 17KDNX5000_E_en_rev.indb 17 30/3/07 2:01:27 pm30/3/07 2:01:27 pm

18
ENGLISH
Navigation System
20 Safety instructions for
Navigation System
22 Basic operations
24 Registering your home
To register your home
24
To go home
24
26 Starting guidance
Setting a destination using Shortcut Menu
26
Setting a destination using Destination Menu
27
To go back to where you started
27
28 Searching for a place
By address
28
From the list of POI
29
From last destinations
30
POI near a place/route
30
From your favourites
31
By postcode
31
By coordinates
31
32 How you are guided
Getting information on your route and places
34
Customizing how you are guided
35
KDNX5000_E_en_rev.indb 18KDNX5000_E_en_rev.indb 18 30/3/07 2:01:28 pm30/3/07 2:01:28 pm

1919
36 Arranging your route
Setting places to stop by
36
Saving and loading routes
37
Avoiding a congestion ahead
37
38 Registering favourite points
Marking your favourite points
38
Editing your favourite points
38
40 Traffic information on map
—TMC
What is TMC?
40
Checking the TMC information
41
How TMC information is reflected in navigation
41
42 Navigation menu items
Destination Menu
42
Information Menu
42
Setup Menu
43
47 Additional information
KDNX5000_E_en_rev.indb 19KDNX5000_E_en_rev.indb 19 30/3/07 2:01:28 pm30/3/07 2:01:28 pm

20
ENGLISH
Safety instructions for Navigation System
SAFETY INSTRUCTIONS
Use of the Navigation System is only permitted
if the traffic conditions are suitable and you
are absolutely sure that no risk, obstruction
or inconvenience will be incurred to you,
your passengers or other road users. The
requirements of the Road Traffic Regulations
must always be followed. The destination must
not be entered while driving the car.
The Navigation System serves solely as an aid
to navigation. It never releases the drivers from
their duties to drive carefully and to make
own judgement in road traffic. Inaccurate
or incorrect instructions may happen to be
given due to changing traffic conditions. The
actual road signs and traffic regulations must
therefore always be observed. In particular, the
Navigation System cannot be used as an aid to
orientation when visibility is poor.
This Navigation System must only be used for
its intended purpose. The volume of the car
radio/Navigation System must be adjusted so
that external noise is still audible.
• Traffic signs should be observed carefully
while driving using the Navigation System.
Navigation System is only an aid. Driver must
always decide whether or not to heed the
information provided. JVC does not accept
liability for erroneous data provided by the
Navigation System.
• Traffic guidance is restricted to
passenger vehicles only. Special driving
recommendations and regulations for other
vehicles (e.g. commercial vehicles) are not
included.
• Do not operate the unit while driving.
Terms of licence
You are granted a non-exclusive licence to use
the database for your personal purposes. The
present licence does not authorise the granting
of sublicenses.
Use of the data is only permitted in this
specific JVC system. It is forbidden to extract
or make further use of significant parts of
the database content, or to duplicate, modify,
adapt, translate, analyse, decompile or reverse-
engineer any part thereof.
Navigation guidance is performed, based on
the database, therefore, it may not be applicable
to the current situation because of changes in
traffic conditions (e.g. changes in tollroads,
principal roads, one-way traffic, or other traffic
regulations). In this case, observe the current
traffic signs or regulations.
KDNX5000_E_en_rev.indb 20KDNX5000_E_en_rev.indb 20 30/3/07 2:01:28 pm30/3/07 2:01:28 pm

21
When replacing/rotating the tyres:
It is required to clear all the accumulated
calibration data which is important for accurate
navigation. To clear the data, perform
Reset
Calibration
on page 46.
Safety instructions for Navigation System
© 2006 NAVTEQ All rights reserved.
WARNING:
Road traffic regulations always take priority
when a vehicle is being driven in traffic.
Navigation System is only an aid. Errors may
occur in individual data items/entries. At all
times, the driver must decide whether or not to
heed the information provided.
JVC does not accept liability for erroneous data
provided by the Navigation System. On map updating
If “Your map data is more than one year old
and updates may be available.” appears on the
monitor, visit <http://www.jvc-exad.com>.
For details about updating your unit, visit
<http://www.jvc-exad.com>.
KDNX5000_E_en_rev.indb 21KDNX5000_E_en_rev.indb 21 30/3/07 2:01:29 pm30/3/07 2:01:29 pm

22
ENGLISH
Basic operations
Adjust the volume.
Switch to the AV screen.
Call up Shortcut Menu.
Current position mode
—The map scrolls automatically so that your position is always at the centre of the map.
Operate the current AV source. (
☞ [50]
)
Change the map view. (
☞
next page
)/Display your
current position.
Call up a menu screen.
Scale the map.
Show TMC information. (
☞ [41]
)
Scroll the map.
To display your current position
Your position
Scale
To scroll the map
1
2
The map scrolls in eight directions.
• Press and hold the button to keep
scrolling the map.
Current street name
To change the map scale
1
2
Zoom in
Zoom out rapidly
Zoom out
Zoom in rapidly
Scale bar
Direction and
distance from your
current position
Current time
KDNX5000_E_en_rev.indb 22KDNX5000_E_en_rev.indb 22 30/3/07 2:01:29 pm30/3/07 2:01:29 pm

23Basic operations
To change the map view
The map view changes as follows:
Heading Up
=
3D Map
=
North Up
You can also change the map view through
Setup
Menu ]
Map Options
]
Map
View
(☞ [45]).
North Up
The map view is oriented with north
“upwards,” like usual paper maps. The
direction you are heading to is displayed at
the upper right corner of the screen with an
icon such as .
Heading Up
The map rotates so that you are always
displayed heading “upwards.” The direction
is displayed with a compass icon .
3D Map
The map is displayed in “heading up” and in
a three-dimensional view. The direction is
displayed with a compass icon .
To call up menus
Navigation Menus
Each time you press the button, the menu
switches as follows:
(Map screen)
=
Destination Menu
=
Information Menu
=
Setup Menu
=
(Back to the map screen)
Menu operations ☞ [13]
Menu items ☞ [42 – 46]
Shortcut Menu
While the map is displayed...
Shortcut Menu appears. ☞ [25]
Icons on the map
Favourite points (
☞ [38 – 39]
)
POI (Point Of Interest) (
☞ [30, 49]
)
TMC (
☞ [40, 50]
)
• Favourite icons are displayed on the map
when a group is selected in the
Favourite
Icon
setting (☞ [45]) and the map scale is
between 30 m and 2.0 km.
• POI icons are displayed on the map when a
group is selected in the
POI Icon
setting (☞
[45]). They may not be displayed depending
on the map scale and the POI data.
• TMC icons are displayed on the map when
the
Traffic Display
setting is activated (☞
[45]) and the map scale is between 30 m and
2.0 km.
KDNX5000_E_en_rev.indb 23KDNX5000_E_en_rev.indb 23 30/3/07 2:01:30 pm30/3/07 2:01:30 pm

24
ENGLISH
To register your home
Register your home or your office, wherever
you go often, as Home, so that you can easily set
that place as destination.
• You can register homes only after calibration
is finished. (☞ [9])
1 If you are at home now, check
that your home is displayed at
the centre of the map.
• Adjust the position by scrolling the map if
necessary.
2 Call up Shortcut Menu.
3 Select [Add to Favourite] .
The home is marked with icon.
4 Select [Set Home] .
A confirmation message appears. Press ENT
to confirm the operation. Press BACK to
cancel.
The home is marked with icon.
• The icon may not appear depending on the
map scale and your
Favourite Icon
setting.
(☞ [45])
• You can register several places as Home by
registering the places as favourite points and
setting their group to
Home
. (☞ [38, 39])
To go home (
Home
)
When you have registered your home, you can
easily get guided to home.
While not guided...
1 Call up Shortcut Menu.
2 Select [Go Home] to start
guidance.
• If you have registered several homes,
select the one you want to go to from a
list.
On the remote:
You can also be guided to home through
Destination
Menu ]
Home
.
Registering your home
To cancel guidance
1 Call up Shortcut Menu.
2 Select [Cancel Guidance] .
You can also cancel guidance through
Destination
Menu ]
Cancel Guide
.
KDNX5000_E_en_rev.indb 24KDNX5000_E_en_rev.indb 24 30/3/07 2:01:32 pm30/3/07 2:01:32 pm

25Registering your home
What is Shortcut Menu?
On the map screen, you can call up Shortcut Menu by pressing ENT. Shortcut Menu is a gateway
to various operations.
While guided
While not guided
To select an icon, press ENT or one of the four
keys on the right circle button corresponding
to the icon.
Icon Name Function Button
View
Information
Show information on this place. ☞ [35]
Go Home
Start guidance to a home. ☞ [24] (Not
selectable if no home is registered.)
Set Home
Register this place as home. ☞ [24] (Appears
when no home is registered and a favourite
icon is selected.)
Cancel
Guidance
Cancel the guidance. ☞ [24]
Add to
Favourite
Add this place to your favourite points. ☞
[38]
Edit Favourite
Edit this favourite point. ☞ [39] (Appears
only when a favourite icon is selected. Not
selectable while driving.)
Vicinity
Search for POI around this place. ☞ [31]
Go Here
Start guidance to this place. ☞ [26]
Add to Via
Point
Recalculate the route to stop by this place. ☞
[36] (Appears only while guided.)
Shortcut Menu
Map screen
KDNX5000_E_en_rev.indb 25KDNX5000_E_en_rev.indb 25 30/3/07 2:01:33 pm30/3/07 2:01:33 pm

26
ENGLISH
Scroll the map to display the destination at the centre of the
map.
Call up Shortcut Menu.
Select [Go Here] to start guidance.
The System starts calculating the route to the selected destination, and guidance starts.
Setting a destination using Shortcut Menu
Starting guidance
• You can set destinations only after calibration is finished. (☞ [9])
To cancel guidance
1 Call up Shortcut Menu.
2 Select [Cancel Guidance] .
You can also cancel guidance through
Destination
Menu ]
Cancel Guide
.
KDNX5000_E_en_rev.indb 26KDNX5000_E_en_rev.indb 26 30/3/07 2:01:34 pm30/3/07 2:01:34 pm

27
Call up Destination Menu.
Select one of the methods to search for your destination.
* During guidance, Cancel Guide appears.
** During guidance, Avoid Section appears.
• You cannot select the items when they are grey.
The information on the search result appears.
Select [Go Here] to start guidance.
The System starts calculating the route to the selected destination, and guidance starts.
Starting guidance
Setting a destination using Destination Menu
☞ [28]
☞ [29]
☞ [30]
☞ [24]
☞ [below]
Destination 1/2
Home*
Return**
Address
POI
Previous
☞ [30]
☞ [31]
☞ [31]
☞ [31]
Destination 2/2
Vicinity
Favourite
Postcode
Coordinates
Route Edit
To go back to where you started (
Return
)
You can go back to the start point of the last guidance.
1 Call up Destination Menu.
2
Destination
]
Return
Direction and distance from
your current position
To see the search result on
map
KDNX5000_E_en_rev.indb 27KDNX5000_E_en_rev.indb 27 30/3/07 2:01:35 pm30/3/07 2:01:35 pm

28
ENGLISH
1 Enter characters.
• Available characters are automatically
narrowed down as the System searches its
database for matches.
2 Display the list of matches.
• This button is available when the matches
are narrowed down to 100 or less.
• You can also display the list of matches by
pressing and holding ENT.
• When the matches are narrowed down to
5 or less, the list appears automatically.
By address (
Address
)
1 Call up Destination Menu.
2
Destination
]
Address
3 Select a country from the list.
• Input the city name if a country is already
selected.
4 Input the city name.
• Inputting characters ☞ [left column]
Address
Germany
City
Street
House Number
- Input City Name -
BS More
MoreBS
* You can also change the keyboard by pressing
DISP. For available characters,
☞ [105].
** Buttons vary depending on the input item.
Move the cursor on the
keyboard
Enter the selected character
Ex. Input screen for a city name
To input names, addresses, or numbers
Display other
keyboards*
Enter a space
Delete the last character
Searching for a place
Display the list of
matches
3 Select the item you want from the
list.
Select Country 1/6
Andorra
Austria
Belgium
Channel Islands
Denmark
KDNX5000_E_en_rev.indb 28KDNX5000_E_en_rev.indb 28 30/3/07 2:01:36 pm30/3/07 2:01:36 pm

29Searching for a place
From the list of POI (
POI
)
The System has a huge database of POI (Point
Of Interest), such as restaurants, petrol stations,
hospitals, etc.
1 Call up Destination Menu.
2
Destination
]
POI
3 Select a country from the list.
• Proceed to the next step if a country is
already selected.
POI
Germany
Name
Category
Telephone
4 Select a method to search for a
POI with.
You can search for a POI in three ways:
By name
By category
By telephone number
POI
Germany
Name
Category
Telephone
By name
1 Input the name of the POI you are
looking for.
• Inputting characters ☞ [28]
2 Select a category (then a sub
category if any) of the POI.
3 Input the city name if asked.
4 Select a POI from the list.
By category
1 Input the city name to search.
• Inputting characters ☞ [28]
2 Select a category (then a sub
category if any) of the POI.
3 Select a POI from the list.
By telephone number
1 Input the telephone number.
• Inputting characters ☞ [28]
2 Select a POI from the list.
5 Input the street name.
• You can also select the centre of the city.
(The list of city centres may appear.) You
do not have to input the house number in
this case.
• Select the area to search from the list if
Select Area
is displayed.
6 Input the house number.
• You can also select the entire street or an
intersection on the street.
• If no data of house number for the
selected street is available in the database,
this step is skipped.
KDNX5000_E_en_rev.indb 29KDNX5000_E_en_rev.indb 29 30/3/07 2:01:37 pm30/3/07 2:01:37 pm

30
ENGLISH
From last destinations (
Previous
)
You can select a place from the last 50
destinations and via points.
1 Call up Destination Menu.
2
Destination
]
Previous
The list of previous destinations/via points
is displayed.
3 Select a place from the list.
To delete items in the list of previous
destinations/via points
1 After step 2 above...
2 Check the boxes of the items you
want to delete.
• Checkbox operations ☞ [105]
3
A confirmation message appears. Press
ENT to confirm the operation. Press BACK
to cancel.
[Hold]
[Hold]
POI near a place/route (
Vicinity
)
You can search for a POI around the place
where you are now. While guided, you can also
search for a POI near the destination or along
the route.
1 Call up Destination Menu.
2
Destination
]
Vicinity
Select Category 1/3
Business
City/Town
Community
Emergency
Food
Area: Local Change
While guided, select the area to search if
necessary.
Local Area
: within 2 km of your current
position. If no POI is found in this area,
the System expands the area to search.
Near Destination
: within 2 km of the
destination. If no POI is found in this
area, the System expands the area to
search.
Along Route
: 50 km along the route you
are taking.
Select Area
Local Area
Near Destination
Along Route
[Hold]
KDNX5000_E_en_rev.indb 30KDNX5000_E_en_rev.indb 30 30/3/07 2:01:38 pm30/3/07 2:01:38 pm

31
By coordinates (
Coordinates
)
1 Call up Destination Menu.
2
Destination
]
Coordinates
3 Input the latitude and the
longitude.
4 Select
Detail
when finished.
By postcode (
Postcode
)
• Search by postcode is not available in some
countries.
1 Call up Destination Menu.
2
Destination
]
Postcode
3 Select a country.
• Input the postcode if a country is already
selected.
4 Input the postcode.
• The input screen varies with the selected
country.
• Inputting characters ☞ [28]
5 Input the street name.
6 Input the house number.
• You can also select the entire street.
From your favourites (
Favourite
)
• Registering your favourite points ☞ [38].
1 Call up Destination Menu.
2
Destination
]
Favourite
3 Select a group.
4 Select a favourite point from the
list.
Searching for a place
Select Group 1/2
Home 3
Friend 12
Relative 6
Business 26
Visit 15
Delete
South Detail
Moves the cursor.
To correct a
misentry, move
the cursor and
enter the number
again.
Switches South and North for
latitude, or East and West for
longitude.
3 Select a category (then a sub
category if any) of the POI.
The result is listed in the order of distance
from the place where you are.
4 Select a POI from the list.
You can search for a POI around a place
on the map through Shortcut Menu ]
[Vicinity]
. Follow steps 3 and 4
above after selecting
[Vicinity]
.
Select Category 1/3
Business
City/Town
Community
Emergency
Food
Area: Local Change
KDNX5000_E_en_rev.indb 31KDNX5000_E_en_rev.indb 31 30/3/07 2:01:39 pm30/3/07 2:01:39 pm

32
ENGLISH
How you are guided
To cancel guidance
1 Call up Shortcut Menu.
2 Select [Cancel Guidance] .
Destination found Route calculation
Screen while guided
To cancel calculation, press BACK.
Current time
Next turn/
Distance to the
next turn
Estimated time of
arrival and distance
to the destination/
next via point
To adjust the volume of the voice guidance
☞ [43]
Volume
You can also cancel guidance through
Destination
Menu ]
Cancel Guide
.
Route to take
Calculating...
: Name of the current street
: Name of the next street
KDNX5000_E_en_rev.indb 32KDNX5000_E_en_rev.indb 32 30/3/07 2:01:40 pm30/3/07 2:01:40 pm

33How you are guided
To repeat the last voice guidance
[Hold]
2
1
3
Guidance at turns
When you approach a turn, the System guides you with voice guidance and indications on the
screen.
• Guidance voice comes out only through the front speakers (and the front line out on the rear).
Following turn (if any)
What if I miss a turn?
Don’t worry. The System
calculates a new route quickly
and guides you to the destination.
Indicate the distance to the next turn
Guidance point
• You can remove the progress bar to the next
turn by pressing MAP.
Name of the next street
Name of the current street
“Right turn
300 m ahead.”
“Right turn
1 km ahead.”
“Right turn
now.”
KDNX5000_E_en_rev.indb 33KDNX5000_E_en_rev.indb 33 30/3/07 2:01:41 pm30/3/07 2:01:41 pm

34
ENGLISH
Getting information on your route and places
To see the itinerary and the turns list
Trip information
Trip
Distance Driven 8.1km
Time Driven 0:12
Average speed 40km/h
• You can also view the trip through
Information
Menu ]
Trip
.
• You can also view the turns list through
Information
Menu ]
Turns List
.
Map screen
To get information on the destination and via points
1 Call up Information Menu.
2
Information
]
Destination
3 Select the destination or a via point.
[Hold]
Turns list
Turns List 1/5
500 m A124
2km A2120
2.5 km xx street
6kmZ square
7km B12
Prev. Next
Turn on map
Trip
Trip Info
Remaining 2.7km
Arrival 13:54
[twice]
Press
∞
/
5
to see the next/previous turn.
13:54 2.7 km
KDNX5000_E_en_rev.indb 34KDNX5000_E_en_rev.indb 34 30/3/07 2:01:41 pm30/3/07 2:01:41 pm

35
The guidance continues even when you
switch the display to an AV screen. Guidance
information is displayed on the lower-right
corner of the AV screen.
To check the estimated arrival time and
distance to the next via point
Each time you press and hold the button,
the information on the upper left corner
alternates between that of the next via point
and of the final destination.
[Hold]
To see how your trip will go
Information
Menu ]
Simulation
appears on the display.
To cancel simulation and resume guidance,
press MENU, then DISP.
disappears.
To see information on a place
• This operation is always possible regardless of
whether you are guided or not.
1 Display where you want to
know of at the centre of the
map.
2 Call up Shortcut Menu.
3 Select [View Information] .
Customizing how you are guided
To customize the guidance and display on the
map screen
☞ [43]
Guidance View
To customize how the map scale changes
☞ [45]
Auto Zoom
To customize the voice guidance on an AV
screen
☞ [44]
Interruption
To customize the mixing of audio sound and
voice guidance
☞ [43]
Audio Mixing
How you are guided
FM1 Classics
Station name
92.5 MHz
Distance to the next turn/Turn icon
(While not guided: Speed/Direction)
If a telephone number is available, you can
call to the number through JVC’s Bluetooth
adapter. ☞ [86]
You can also get information on your current
position through
Information
Menu ]
Current Position
.
KDNX5000_E_en_rev.indb 35KDNX5000_E_en_rev.indb 35 30/3/07 2:01:42 pm30/3/07 2:01:42 pm

36
ENGLISH
You can also set via points on the map
through Shortcut Menu ]
[Add to Via
Point]
.
3 Select the via point you want to
move.
4 Move the selected via point in
the list.
5 Repeat steps 3 and 4 to move
other via points.
6 Finish the rearrangement.
• You can also use MENU, DISP,
MAP, or .
A confirmation message appears. Press ENT
to confirm the operation. Press BACK to
cancel.
The System starts calculating the new route,
and guidance starts.
• No confirmation message appears if the
via points are not changed.
To delete a via point
Press and hold ENT in step 4.
A confirmation message appears. Press ENT
to confirm the operation. Press BACK to
cancel.
Arranging your route
Setting places to stop by
After selecting your destination, you can select
up to nine places (“via points”) to stop by.
To add via points
After guidance has started...
1 Select a place you want to stop
by.
• Searching for a place ☞ [27]
2 Select [Add to Via Point] .
The System starts calculating the new route,
and guidance starts.
For other options for routing ☞ [44]
Route
Options
Select Point 1/2
Station
Forest Inn
Intr’l Airport
Car Dealer
Michael
Select
1
2
3
4
5
Move Point 1/2
Station
Forest Inn
Car Dealer
Michael
Intr’l Airport
Set Delete
1
2
4
5
3
To rearrange the sequence of via points
1 Call up Destination Menu.
2
Destination
]
Route Edit
]
Edit
The list of via points appears.
KDNX5000_E_en_rev.indb 36KDNX5000_E_en_rev.indb 36 30/3/07 2:01:43 pm30/3/07 2:01:43 pm

37
Saving and loading routes
You can save up to 50 combinations of
destination and via points. You can easily call
up your usual route without the trouble of
setting destinations.
• Each route can contain up to nine via points.
To save a route
1 Select your destination (and via
points if necessary), and start
guidance.
2 Call up Destination Menu.
3
Destination
]
Route Edit
]
Save
4 Name the route you are saving.
• Inputting characters ☞ [105]
5 Select
Store
.
To load a saved route
1 Call up Destination Menu.
2
Destination
]
Route Edit
]
Load
3 Select the route you want to
take.
A confirmation message appears. Press ENT
to confirm the operation. Press BACK to
cancel.
The route is calculated, and guidance starts.
Arranging your route
Avoiding a congestion ahead
If you realize a congestion exists ahead...
While being guided...
1 Call up Destination Menu.
2
Destination
]
Avoid Section
3 Select the distance to avoid.
A confirmation message appears. Press ENT
to confirm the operation. Press BACK to
cancel.
A detour is calculated, and guidance starts.
Select Distance
1km
3km
5km
10km
15km
Start
Load
Route A
Route B
Route C
Route D
To delete saved routes
1 Call up Destination Menu.
2
Destination
]
Route Edit
]
Delete
3 Check the boxes at the head of
the routes you want to delete.
• Checkbox operations ☞ [105]
4 Delete the selected routes.
[Hold]
A confirmation message appears. Press ENT
to confirm the operation. Press BACK to
cancel.
KDNX5000_E_en_rev.indb 37KDNX5000_E_en_rev.indb 37 30/3/07 2:01:45 pm30/3/07 2:01:45 pm

38
ENGLISH
Registering favourite points
Just like you mark your friend’s house or a nice
Chinese restaurant on your map book, you can
register your favourite points in the system.
Marking your favourite points
• You can register 300 favourite points.
• You can register favourite points only when
the map scale is 2.0 km or more detailed.
1 Display the place you want to
save as favourite at the centre of
the map.
• Searching for a place ☞ [27]
2 Call up Shortcut Menu.
3 Select [Add to Favourite] .
The favourite point is registered in the
group of
Other
and marked with icon.
• The icon may not appear depending on
the map scale and your
Favourite Icon
setting. (☞ [45])
• To be guided to a favourite point ☞ [31]
Editing your favourite points
1 Call up Destination Menu.
2
Destination
]
Favourite
3 Select a group, then a favourite
point to edit.
Select Group 1/2
Home 2
Friend 12
Relative 5
Business 17
Visit 24
Delete
Edit Favourite
Input Name
Other
Input Address
Input Phone Number
Sound Off
Delete
To proceed to edit the registered favourite
point, select
[Edit Favourite]
after
step 4.
You can open the edit screen in step 3 of
“Editing your favourite points.”
[Hold]
KDNX5000_E_en_rev.indb 38KDNX5000_E_en_rev.indb 38 30/3/07 2:01:46 pm30/3/07 2:01:46 pm

39Registering favourite points
4 Select the item you want to edit.
Name
The name of the favourite point.
• You can use up to 32
characters.
Group
See the table on the right for the
available ten groups.
Categorize the favourite points
so that you can find them easily.
Address
The address of the favourite
point.
Telephone
number
If you have connected
KS-BTA200, you can call to this
number. ☞ [86]
Sound Sound Off, Alarm, Bell,
Siren
You can assign a sound to each
favourite point. You hear the
assigned sound when you come
close (about within 200 m) to
the favourite point.
• Press ENT to listen to a sample
sound.
5 Edit the item.
• Inputting characters ☞ [105]
Icons and groups for favourite points
Home Shopping
Friend Food
Relative Caution
Business Sightseeing
Visit Other
To delete a favourite point
Press and hold ENT after step 3 of “Editing
your favourite points.”
A confirmation message appears. Press ENT
to confirm the operation. Press BACK to
cancel.
• You cannot delete a favourite point
directly after editing it. To delete it, exit
from the
Edit Favourite
screen once
and do the procedure above.
To delete all the favourite points in a group
1 Press and hold ENT after step 2 of
“Editing your favourite points.”
2 Select the groups to delete.
• Checkbox operations ☞ [105]
3 Delete the selected groups.
A confirmation message appears. Press ENT
to confirm the operation. Press BACK to
cancel.
Select Group 1/2
Home 2
Friend 12
Relative 5
Business 17
Visit 24
Check Delete
[Hold]
KDNX5000_E_en_rev.indb 39KDNX5000_E_en_rev.indb 39 30/3/07 2:01:47 pm30/3/07 2:01:47 pm

40
ENGLISH
Traffic information on map—TMC
What is TMC?
TMC (Traffic Message Channel) is a technology
for delivering real-time traffic information to
drivers. The traffic information sent by a TMC
radio station is received and analysed by the
System. The System can inform you of where
congestion exists, and how you can detour it.
• You do not have to tune in to a special radio
station to receive the TMC information.
How to get TMC information
This unit can receive the TMC information
provided by Trafficmaster and V-trafic. It can
also receive free TMC information.
• TMC is not available in some countries.
As the TMC information is transmitted
by radio stations, JVC cannot assume
responsibility for the completeness or
accuracy of the information.
TMC iconCongestion
TMC information on the map
• List of TMC icons ☞ [50]
• TMC icons and congestion lines are
displayed on the map when the
Traffic
Display
setting is activated (☞ [45]).
• TMC icons are displayed on the map
when its scale is between 30 m and
2.0 km.
• Congestion lines are displayed on the
map when its scale is between 30 m and
5.0 km.
KDNX5000_E_en_rev.indb 40KDNX5000_E_en_rev.indb 40 30/3/07 2:01:48 pm30/3/07 2:01:48 pm

41
How TMC information is reflected in
navigation
If
Bypass Traffic
is set to
Manual Reroute
(☞ [44]), [Reroute] appears on the screen when
the TMC service informs the System of traffic
accidents or congestion ahead on your route.
To check the information and decide whether
to calculate a detour
[Hold]
If
Bypass Traffic
is set to
Auto Reroute
,
the System automatically calculates a new route
when TMC informs of an obstacle on your
route.
If
Bypass Traffic
is set to
Off
, the System
does not take TMC information into account in
calculating a route.
To see detailed information
Select an item on the list and press ¢.
You can also call up the TMC List through
Information
Menu ]
TMC
.
Checking the TMC information
Traffic information on map—TMC
You can also see detailed information of a
TMC icon on the map in the following way:
Display a TMC icon at the centre of the map
] Shortcut Menu ]
[View Information]
While guided, select the area to see the
information of.
Along Route
or
All Information
.
Reroute
TMC 1/2
KDNX5000_E_en_rev.indb 41KDNX5000_E_en_rev.indb 41 30/3/07 2:01:49 pm30/3/07 2:01:49 pm

42
ENGLISH
Navigation menu items
☞ [12]
for the detailed Menu operations.
Destination Menu
Menu items
Home
Start guidance to a home. (Appears only while not guided.) ☞ [24]
Cancel Guide
Cancels the guidance. (Appears only while guided.) ☞ [24, 26, 32]
Return
Starts guidance to the place where you have started your last guidance.
(Appears only while not guided.) ☞ [27]
Avoid Section
Calculate a new route avoiding the selected distance ahead. (Appears only
while guided.) ☞ [37]
1km
,
3km
,
5km
,
10km
,
15km
(or
1mi
,
3mi
,
5mi
,
10mi
,
15mi
)*1
Address
Search for a place using the database in the System. ☞ [27]
POI
Previous
Vicinity
Favourite
Postcode
Coordinates
Route Edit
• Arrange the order of via points.
• Save, load or delete routes. ☞ [36]
Edit
,
Save
,
Load
,
Delete
*1 Depends on your setting of Measuring Units (
☞ [46]
).
Information Menu
Menu items
Current Position
You can see the information on your current position.
Country, City, Street, Latitude, Longitude
TMC
You can check the TMC information. ☞ [40]
Along Route
*1
, All Information
Turns List
*1 You can see the list of turns on your route. ☞ [34]
Trip
*1 You can see the information on your route. ☞ [34]
Destination
*1 You can see the list of via points and the destination. ☞ [34]
GPS
You can see the status of GPS reception.
*1 Selectable only while guided.
KDNX5000_E_en_rev.indb 42KDNX5000_E_en_rev.indb 42 30/3/07 2:01:50 pm30/3/07 2:01:50 pm

43
Setup Menu
Menu items Selectable settings
(Initial setting)
Guidance Voice
Gender Female, Male
*1
Volume
Adjust the volume of the voice guidance.*1
Off
,
01
to
50
(
25
)
Output Channel
Select the guidance output channel.*1
L-ch Only, R-ch Only, L-ch & R-ch
Audio Mixing
You can turn down the volume of the AV source while voice
guidance is produced.*1
Muting
: The AV source sound does not come out.
Attenuation
: The AV source sound is lowered.
Normal
: The AV source sound is not changed.
Guidance Options
Guidance View
Select the items to be displayed at turns.
Auto Magnification
: • Next turn icon: Big
• Following turn icon: On
• Progress bar to the turn: On
Symbolic View
:• Next turn icon: Big
• Following turn icon: Off
• Progress bar to the turn: Off
Simple View
: • Next turn icon: Small
• Following turn icon: Off
• Progress bar to the turn: Off
Navigation menu items
Menu items
Connection
You can check the connection status.
Learning Lv., Angle, GPS Antenna, Gyro, Speed Signal,
Parking Brake, Reverse Signal, Illumination, Tel. Muting
Version
You can check the model name, the version of the unit, and the version of
the map database.
Simulation
Once the route is determined, you can simulate it on the map. ☞ [35]
Information Menu (continued)
*1 Press ENT to listen to a sample voice with the current setting.
KDNX5000_E_en_rev.indb 43KDNX5000_E_en_rev.indb 43 30/3/07 2:01:51 pm30/3/07 2:01:51 pm

44
ENGLISH
Menu items Selectable settings
(Initial setting)
Guidance Options
Interruption
Select the voice guidance output on an AV screen.
• A small icon of the next turn is always displayed at the lower-
right corner of the AV screen while guided, regardless of this
setting. If you want to see the turn on map, press MAP to switch
to the map screen.
Off
,
On
Bypass Traffic Off
,
Auto Reroute
,
Manual Reroute
☞ [41]
Voice Cruise
When this function is activated, the System automatically increases
the guidance volume level as the car speeds up.
To obtain stronger effect, set the level to higher numbers.
Off
,
01
to
10
(
05
)
Attention Tone
Select the type of attention tone, which comes out before voice
guidance.
Off, Attention 1, Attention 2, Attention 3
• Press ENT to listen to a sample sound.
Route Options
Priority Fastest
: The System calculates the shortest journey time.
Shortest
: The System calculates the shortest route to the
destination.
• This setting is effective next time the System calculates a route.
Avoid Motorway
Check the boxes at the head of the options you want to be effective.
• This setting is effective next time the System calculates a route.
Avoid Ferry
Avoid Toll Road
Map Colour
Day Colour
Select the colour for the day screen.
Type 1, Type 2, Type 3
Route Colour
Select the colour for the route.
Colour 1, Colour 2, Colour 3
Night Mode
Select the condition to switch the display to the night screen.
Off
: Cancels.
Auto
: Switches to the night screen when you turn on the
headlights.
Time
: Switches to the day/night screen at set times.
• When you choose
Time
, set when to switch the display colour on
the following screen.
Brightness
*2 Set the brightness of the screen.
–15
to
+15 (00)
*2 This setting is shared with the Screen Control setting in AV Menu. (
☞
[96]
)
Setup Menu (continued)
KDNX5000_E_en_rev.indb 44KDNX5000_E_en_rev.indb 44 30/3/07 2:01:51 pm30/3/07 2:01:51 pm

45
Menu items Selectable settings
(Initial setting)
Map Options
Map View North Up
,
Heading Up
,
3D Map
☞ [23]
Auto Zoom
Select how the zoom scale changes.
Off
: (Effective only while guided) Zoom into 30 m scale at turns
if
Guidance View
is set to
Auto Magnification
. If else, the
scale does not change at turns.
Fit For Guidance
: (Effective only while guided) When you
approach turns, the scale changes gradually so that your current
position and the turn is always displayed on the map at the same
time.
Fit For Speed
: The scale changes gradually in accordance with
the speed of your car; as you slow down, the map is zoomed in.
POI Icon
Check the box at the head of each POI category to display its icons
on the map.
Favourite Icon
Check the box at the head of each favourite group to display its
icons on the map.
Car Tracks
*3
Display
: Check the box to display the tracks of your car on the
map.
Record
*4: Check the box to record the track of your car.
Delete
: Deletes the recorded tracks.
Street Name
Check the box to display the current/next street name on the
monitor.
One-Way
Check the box to display the one-way icon on the map.
Traffic Display
Check the box to display the TMC icons on the map.
Navigation menu items
*3 When you want the track of the current drive displayed, you need to check both Display and Record.
*4 The recorded tracks are deleted from old ones when the internal memory gets full.
Setup Menu (continued)
KDNX5000_E_en_rev.indb 45KDNX5000_E_en_rev.indb 45 30/3/07 2:01:52 pm30/3/07 2:01:52 pm

46
ENGLISH
Menu items Selectable settings
(Initial setting)
System Setting
Installation
Angle
Select the angle of the unit measured by the supplied gauge. (See
also the Installation/Connection Manual.)
1
: –5.0° to 1.0°
2
: 1.0° to 6.0°
3
: 6.0° to 14.0°
4
: 14.0° to 32.0°
• It is not recommended to install the main unit at an angle of
more than 30˚; otherwise, the malfunction may result.
• Guidance is canceled when you change this setting.
WAAS/EGNOS
Select whether to use WAAS and EGNOS to increase the accuracy
of positioning.
Off
: Cancels.
On
: Activates.
Language
*5 Select the language used for on-screen information and voice
guidance.
Dansk, Deutsch, English UK, English US, Español,
Français, Italiano, Nederlands, Svenska
Reset Calibration
Reset the calibration data in the following cases:
• When you reinstall the unit to another car.
• When you change
Installation Angle
.(☞ above)
• When you replace or rotate the tyres.
Once this is carried out, the calibration data is cleared. Calibration
starts when you exit from the menu. (☞ [9])
• Guidance is canceled when you reset the calibration data.
Overspeed Caution
Visit <http://www.jvc-exad.com> for details.
Measuring Units
Select the measuring units for distance.
km / m
,
mi / yd
Coordinates
Select the measuring units for coordinate degrees.
Deg / Min / Sec
,
Deg / Milli / Micro
Car Position
If you find your current position displayed on a wrong place on the
map, use this setting to correct your position.
Adjust the position with 4¢5∞, then the direction with 5∞.
Setup Menu (continued)
*5 This setting is shared with the Language setting in AV Menu (
☞
[90]
).
KDNX5000_E_en_rev.indb 46KDNX5000_E_en_rev.indb 46 30/3/07 2:01:53 pm30/3/07 2:01:53 pm

47
Additional information
Initial settings
• If you select
On
for
Store Display Mode
,
the system starts up in demonstration mode
for shops, and the initial setup screen appears
every time you turn on the unit after turning
off and on the ignition switch. Select
Off
to
obtain the full performance from the unit.
Basic operations
• In a small scale, the map scrolling may stop
when the map view approaches the border
of the map coverage. Scrolling resumes in a
larger scale when you keep scrolling the map.
Searching for a place
• While driving at a speed faster than
10 km/h, you cannot select a destination.
If you try to do the operation, the following
screen appears, and you cannot continue the
operation.
• The search result is displayed in North Up
view regardless of your map view setting.
• The name you entered to search for a POI
may be different from the name of the search
result.
From the list of POI
• If no POI data exists for the selected city,
POI
not found.
appears on the display. Press
BACK until the city entry menu appears, then
re-enter another city.
POI around a place/route
• If no POI data exists for the selected area,
POI
not found.
appears on the display. Press
BACK until the main categories list appears.
• POI search in
Along Route
is canceled if the
guidance finishes or if rerouting starts before
the search completes.
By coordinates
• If the entered position is out of the database,
Out of the map coverage.
appears on the
display. Enter again.
Basic navigation procedure
• When you reach the area approximately
within 30 m around the destination/via point,
the Navigation System considers that you
have reached your destination/via point.
How you are guided
• If GPS signal reception is poor, navigation
guidance may not be correct.
• The System may not receive GPS signals in
the following places...
– in a tunnel or parking lot in the building
– under an overhead road
– in a place surrounded by high buildings or
by closely standing trees.
• The position of your car may not be detected
correctly in the following cases...
– when running on a road close to the other
one (e.g. a motorway and ordinary road
running in parallel)
– when turning at an almost straight fork in
the road
– when running on a gridiron road
– after taking a ferry, etc.
– when running on a steep mountain road
– when running on a spiral road
– when turning left or right after running
on a long straight road
– when running in a zigzag line on a broad
road
– when starting your car shortly after
starting the engine
– when running for the first time after
installing the unit
Additional information
You cannot operate while
driving. Operate again
after stopping.
KDNX5000_E_en_rev.indb 47KDNX5000_E_en_rev.indb 47 30/3/07 2:01:53 pm30/3/07 2:01:53 pm

48
ENGLISH
– when changing tyres or attaching chains
on the tyres
– when tyre slip occurs continuously and
frequently
– after running on areas other than a road
(e.g. private lands or parking lots)
– after running in underground or tower
type parking lots
– after rotating your car on a turntable
– after frequent stops and starts in a
congestion
– when the accuracy of GPS is deteriorated
intentionally
– when running on a road constructed
recently
• The route calculated by the System is one of
the possible routes to your destination. The
route is not always the most appropriate one.
• If a street name is not available in the
database,
Unnamed
appears in place of the
street name.
• If no-exit roads (only entering the roundabout
from the roads is allowed) exist on the
roundabout, the no-exit roads can neither be
shown in the route guidance on the display
nor counted in the route guidance voice
message.
• The following phenomena may occur even if
the System is working correctly...
– It may guide to a closed road or to a route
requiring U-turn.
– It may not guide to your destination if
there is only a narrow road or no road to
your destination.
– It may not avoid a congestion even
if
Bypass Traffic
is set to
Auto
Reroute
.
– It may show a different road name.
– It may not ask you to turn at a junction
even if you need to.
– It may give a guidance different from the
actual road condition.
– It may give an incorrect distance
information.
48
Arranging your route
• Motorways are always used to calculate the
route if the distance to the destination is over
200 km.
• If the destination cannot be reached without
using motorways, ferries, or toll roads, they
are used to calculate the route without respect
to the
Route Options
settings.
• A detour may not be calculated with
Avoid
Section
depending on the route.
Traffic information on map
• When
Bypass Traffic
is set to
Manual
Reroute
, the rerouting may be canceled
while you are checking due to a change
of traffic condition. The rerouting is also
canceled if you do not confirm the rerouting
in one minute.
KDNX5000_E_en_rev.indb 48KDNX5000_E_en_rev.indb 48 30/3/07 2:01:54 pm30/3/07 2:01:54 pm

49Additional information
List of POI icons
Business
Convention/Conference Centre
Office/Factory
City/Town
Capital City
National Capital
Community
Bank
Civic/Community Centre
College Or University
Hospital
Law Court
Library
Museum
Police Station
Post Office
School
Town Hall
Emergency
Medical Centre
Pharmacy/Chemist
Food
Coffee Shop
Restaurant
Supermarket
Government
County Council
Embassy
Leisure
Amusement Park
Casino
Cinema
Historical Monument
Marina
Night Club
Pub/Bar
Sports
Sports Field
Theatre
Lodging
Guest House
Hotel/Motel
Places
Border Crossing
Industrial Park
Sports Stadium
Shopping
Book Shop
Shopping Centre
Vineyard
Tourist
Tourist Attraction
Tourist Information
Travel
Airport/Terminal
Bus/Coach Station
Car Park
Car Park
Ferry Terminal
Metro/Tram Station
Motorway Services
Park & Ride
Railway Station
Vehicle Services
Auto Dealership-Used Cars
Car Dealer
Car Hire
Car Repair/Maintenance
Motorcycle Dealer
Petrol Station
KDNX5000_E_en_rev.indb 49KDNX5000_E_en_rev.indb 49 30/3/07 2:01:55 pm30/3/07 2:01:55 pm

ENGLISH
50
List of TMC icons
Traffic Jam
Road works
Road is blocked or closed
Traffic lane closed
Accident
Condition
Other Caution Event
Information
Rain
Snow
Strong winds
Fog
AV source operations in the map screen
Source
Tuner
Auto search. (No function)
DAB
Auto search. Change services.
Disc
Change tracks.
Change titles/groups/folders.
Music server
Change albums.
CD changer
Change folders.
iPod/D. player
(No function)
Bluetooth Audio
(No function)
KDNX5000_E_en_rev.indb 50KDNX5000_E_en_rev.indb 50 30/3/07 2:01:57 pm30/3/07 2:01:57 pm

51
Radio
52 Listening to the radio
FM station automatic presetting
—SSM (Strong-station Sequential Memory)
52
Manual presetting
52
Selecting preset stations
53
When an FM stereo broadcast is hard to receive
53
Tuning in to stations with sufficient signal strength
53
54 RDS operations
Searching for FM RDS programme—PTY Search
54
Storing your favourite programme types
54
PTY Standby Reception
55
TA Standby Reception
55
Tracing the same programme
—Network-Tracking Reception
56
Viewing RDS Radio Text
56
56 DAB operations
Presetting services
56
Selecting preset services
57
Viewing DLS information
57
When surrounding sounds are noisy
57
TA/PTY Standby Reception
58
Announcement Standby Reception
58
Tracing the same programme
—Alternative Frequency Reception (DAB AF)
58
KDNX5000_E_en_rev.indb 51KDNX5000_E_en_rev.indb 51 30/3/07 2:01:58 pm30/3/07 2:01:58 pm

ENGLISH
52
This function works only for FM bands.
You can preset six stations for each band.
1
2
3
AV Menu
]
Mode
]
SSM
4
SSM
appears on the display.
Local FM stations with the strongest signals
are searched and stored automatically in the
FM band.
Select “TUNER.”
Select the bands.
Search for a station—Auto Search.
• Manual Search: Press and hold either 4 or ¢ until
Manual Search
appears on
the monitor, then press it repeatedly.
• lights up when receiving an FM stereo broadcast with sufficient signal strength.
Listening to the radio
* Only for RDS stations.
FM1 Preset Store
187.5 MHz
288.3 MHz
388.7 MHz
491.5 MHz
593.1 MHz
695.3 MHz
FM1 Preset4 Classics
Station name
*
92.5 MHz
FM station automatic presetting
—SSM (Strong-station Sequential
Memory)
Band
Manual presetting
You can preset six stations for each band.
1
2 Tune in to the station you want
to preset.
3 Display the Preset List.
• For FM only: Each time you press and
hold the button, you can change the
bands.
PTY
Equalizer type
☞
[98]
PTY code*
[Hold]
or
KDNX5000_E_en_rev.indb 52KDNX5000_E_en_rev.indb 52 30/3/07 2:01:58 pm30/3/07 2:01:58 pm

53
FM1 Preset4 Classic
Station name
92.5 MHz
10:35 AM 80 km/h
PTY
FM1 Preset4 Classic
Station name
92.5 MHz
10:35 AM 80 km/h
PTY
Listening to the radio
Selecting preset stations
On the remote:
1
2 Select a preset number.
From the Preset List
1 Display the Preset List.
• For FM only: Each time you press and
hold the button, you can change the
bands.
2 Select a preset number.
4 Select a preset number.
You can also access the Preset List through
AV Menu
]
List
.
FM1 Preset Store
187.5 MHz
288.3 MHz
388.7 MHz
491.5 MHz
593.1 MHz
695.3 MHz
[Hold]
Tuning in to stations with sufficient
signal strength
This function works only for FM bands.
Once you have activated this function (selected
Local
), it always works when searching for FM
stations.
1
2
AV Menu
]
Mode
]
DX/Local
]
Local
3
lights up. Only stations with sufficient
signal strength will be detected.
To tune in to all receivable stations again,
select
DX
in step 2.
When an FM stereo broadcast is hard
to receive
1
2
AV Menu
]
Mode
]
Mono
]
On
3
lights up. Reception improves, but stereo
effect will be lost.
To restore stereo effect, select
Off
in step 2.
[Hold]
or
KDNX5000_E_en_rev.indb 53KDNX5000_E_en_rev.indb 53 30/3/07 2:02:01 pm30/3/07 2:02:01 pm

ENGLISH
54
Searching for FM RDS programme—
PTY Search
You can search for your favourite programmes
being broadcast by selecting the PTY code for
your favourite programmes.
1
[Hold]
2
PTY Mode
]
PTY Search
]
PTY Preset List
or
PTY List
• To select from the six preset PTY codes,
select
PTY Preset List
.
• To select from all the PTY codes, select
PTY List
.
3 Select a PTY code.
• If there is a station broadcasting a
programme of the same PTY code as you
have selected, that station is tuned in.
The following features are available only for
FM RDS stations.
Storing your favourite programme
types
You can store your favourite PTY codes into the
PTY Preset List.
1
[Hold]
2
PTY Mode
]
PTY Memory
3 Select a PTY code to be replaced
with the new one.
4 Select a PTY code to be stored
into the List.
Now
Pop M
is replaced with
News
.
RDS operations
PTY Search
1Pop M
2Rock M
3Easy M
4 Classics
5 Affairs
6 Varied
PTY Mode
PTY Search
PTY Memory
PTY Mode
PTY Search
PTY Memory
PTY Memory
1 Pop M
2Rock M
3Easy M
4 Classics
5 Affairs
6 Varied
PTY Memory 1/6
News
Affairs
Info
Sports
Educate
Set
PTY
PTY
PTY
PTY
PTY
KDNX5000_E_en_rev.indb 54KDNX5000_E_en_rev.indb 54 30/3/07 2:02:02 pm30/3/07 2:02:02 pm

55RDS operations
Available PTY codes:
News, Affairs, Info, Sport, Educate, Drama,
Culture, Science, Varied, Pop M, Rock M, Easy
M, Light M, Classics, Other M, Weather, Finance,
Children, Social, Religion, Phone In, Travel,
Leisure, Jazz, Country, Nation M, Oldies, Folk M,
Document
PTY Standby Reception
PTY Standby Reception allows the unit to
switch temporarily to your favourite PTY
programme from any source other than AM.
• If the DAB tuner is connected, Standby
Reception also works to search for a DAB
service.
To activate PTY Standby Reception
1
2
AV Menu
]
Mode
]
PTY Standby
]
News
3
4 Select a PTY code you want.
To deactivate the PTY Standby Reception
Select
Off
in step 2.
TA Standby Reception
TA Standby Reception allows the unit to switch
temporarily to Traffic Announcement (TA)
from any source other than AM.
• The volume changes to the preset TA volume
level (☞ [93]
TA Volume
).
• If the DAB tuner is connected, Standby
Reception also works to search for a DAB
service.
To activate TA Standby Reception
either lights up or flashes.
• If lights up, TA Standby Reception is
activated.
• If flashes, TA Standby Reception is not
yet activated. (This occurs when you are
listening to an FM station without the RDS
signals required for TA Standby Reception.)
To activate TA Standby Reception, tune in to
another station (or DAB service) providing
these signals. will stop flashing and
remain lit.
To deactivate the TA Standby Reception
goes off.
PTY Standby 1/6
News
Affairs
Info
Sport
Educate
Set
KDNX5000_E_en_rev.indb 55KDNX5000_E_en_rev.indb 55 30/3/07 2:02:03 pm30/3/07 2:02:03 pm

ENGLISH
56
DAB operations
Programme A broadcast in different frequency
areas (01 – 05)
Select “DAB.”
Search for an ensemble.
• Manual Search: Hold either 4
or ¢ until
Manual Search
appears on the monitor, then press it
repeatedly.
Select a service (either
primary or secondary) to
listen to.
Presetting services
You can preset six DAB services (primary) for
each band.
1
2 Select the service you want to
preset.
3 Call up the Preset List screen.
• Each time you press and hold the button,
you can change the DAB bands.
Viewing RDS Radio Text
When the received RDS station sends RDS
Radio Text, lights up.
To display the Radio Text
Each time you press DISP, the display changes
as follows:
Station name and frequency
=
Radio Text
• It may take some time to display the Radio
Text. While loading the text,
Loading
and a
progress indicator are displayed.
When shipped from the factory, Network-
Tracking Reception is activated.
To change the Network-Tracking Reception
setting, ☞ [93]
AF Regional
.
• When the DAB tuner is connected, ☞ [58]
“Tracing the same programme—Alternative
Frequency Reception (DAB AF)”.
Tracing the same programme
—Network-Tracking Reception
When driving in an area where FM reception
is not sufficient enough, this unit automatically
tunes in to another FM RDS station of the
same network, possibly broadcasting the same
programme with stronger signals.
• You can also access the Preset List through
AV Menu
]
List
.
DAB1 Preset Store
1HR1
2 No Serv.
3 FFH
4 HRH
5 HRS
6 No Serv.
[Hold]
or
KDNX5000_E_en_rev.indb 56KDNX5000_E_en_rev.indb 56 30/3/07 2:02:04 pm30/3/07 2:02:04 pm

57
DAB1 Preset4
Ensemble label
227.360 MHz 12C
CH
DAB operations
4 Select a preset number.
[Hold]
Selecting preset services
On the unit:
After steps 1 and 3 of “Presetting services”...
On the remote:
1
2
* To enjoy DAB, connect a DAB tuner (separately purchased) to the unit.
Viewing DLS information
When the received DAB service sends DLS
(Dynamic Label Segment) information,
lights up.
To display the DLS
Each time you press DISP, the display changes
as follows:
Service Label, Ensemble Label, frequency, and
Channel number
=
Service Label, Ensemble Label, and PTY code
=
Service Label and DLS information
When surrounding sounds are noisy
Some services provide Dynamic Range Control
(DRC) signals together with their regular
programme signals. DRC will reinforce the low
level sounds to improve your listening.
• will light up while receiving a service
with the DRC signals.
Band
Channel number
DAB1 Preset4
P
RG
Service1
Ensemble label
227.360 MHz 12C
Service Label
Continued on the next page.
CH
DAB1 Preset Store
1 HR1
2 No Serv.
3 FFH
4 HRH
5 HRS
6 No Serv.
KDNX5000_E_en_rev.indb 57KDNX5000_E_en_rev.indb 57 30/3/07 2:02:05 pm30/3/07 2:02:05 pm

ENGLISH
58
• If lights up, Announcement Standby
Reception is activated.
• If flashes, Announcement Standby
Reception is not yet activated. To activate,
tune in to another service providing the
signal required for Announcement Standby
Reception. will stop flashing and
remain lit.
To deactivate the Announcement Standby
Reception
Select
Off
in step 2.
Available announcement types
Travel, Warning, News, Weather, Event,
Special, Rad Inf, Sports, Finance
1
2
AV Menu
]
Mode
]
D.Range Control
]
DRC1
or
DRC2
or
DRC3
• As the number increases, the effect
becomes stronger.
3
TA/PTY Standby Reception
• Operations are exactly the same as explained
on page 55 for FM RDS stations.
• You cannot store PTY codes separately for the
DAB tuner and for the FM tuner.
Announcement Standby Reception
Announcement Standby Reception allows the
receiver to switch temporarily to your favourite
service (announcement type).
Activating Announcement Standby Reception
1
2
AV Menu
]
Mode
]
Announce Standby
]
Travel
3 Select an announcement type
you want.
Tracing the same programme—
Alternative Frequency Reception
(DAB AF)
• While receiving a DAB service:
When driving in an area where a service
cannot be received, this unit automatically
tunes in to another ensemble or FM RDS
station, broadcasting the same programme.
• While receiving an FM RDS station:
When driving in an area where a DAB service
is broadcasting the same programme as the
FM RDS station is broadcasting, this unit
automatically tunes in to the DAB service.
When shipped from the factory, Alternative
Frequency Reception is activated.
To change the Alternative Frequency Reception
setting, ☞ [93]
DAB AF
.
Announce Standby 1/2
Travel
Warning
News
Weather
Event
Set
KDNX5000_E_en_rev.indb 58KDNX5000_E_en_rev.indb 58 30/3/07 2:02:09 pm30/3/07 2:02:09 pm

59
Discs and HDD
60 Disc operations
Playable discs/files
61
Selecting playback modes
64
Selecting tracks on the list
65
Prohibiting disc ejection
65
Remote operations
65
Special functions for DVD Audio
68
Operations using the on-screen bar
68
70 Music server operations
Selecting tracks using lists
71
Selecting playback modes
71
Recording/copying tracks from a disc
72
Editing the library
75
Checking the remaining storage size
76
77 CD changer operations
Selecting playback modes
78
KDNX5000_E_en_rev.indb 59KDNX5000_E_en_rev.indb 59 30/3/07 2:02:10 pm30/3/07 2:02:10 pm

ENGLISH
60
If “ ” appears on the monitor, the unit
cannot accept the operation you have tried to
do.
• In some cases, without showing “ ,”
operations will not be accepted.
Start playback.Stop playback.
The disc type is automatically detected, and
playback starts automatically (for some
discs: automatic start depends on its internal
program).
If a disc does not have any disc menu, all tracks
in it will be played repeatedly until you change
the source or eject the disc.
To eject the disc
Disc operations
Select “DISC.”
Equalizer type
☞
[98]
To insert a disc
Each time you press DISP, the display
changes.
For picture discs
: playback picture
=
disc
information
=
vehicle information (
☞
[11]
)
=
Video input* (
☞
[82]
)
=
(back to the
beginning)
For audio discs
: disc information
=
vehicle
information
=
Video input*
=
(back to the
beginning)
When a disc contains different types of file
(music, movie or still pictures), you need to
select the file type to play back. (☞ [92]
File
Type
)
Playback mode
☞
[64]
Disc type
01 0:00:03
Album Name
Artist Name
Track Name
* Appears only when you have selected Video or
Camera for Video Input setting (
☞
[94]
). • For discs except DVD and VCD: The control screen
appears on the connected external monitor. (
☞
[102]
)
KDNX5000_E_en_rev.indb 60KDNX5000_E_en_rev.indb 60 30/3/07 2:02:10 pm30/3/07 2:02:10 pm

61Disc operations
Playable discs/files
Disc type Recording format, file type, etc. Playable
DVD
DVD Video
DVD Audio
DVD-ROM
DVD Recordable/Rewritable
(DVD-R*1/-RW, +R/+RW*2)
• Compliant to UDF bridge
format
• DVD-RAM cannot be
played.
DVD Video
DivX/MPEG1/MPEG2
JPEG
MP3/WMA/WAV
ASF
DVD-VR, DVD+VR
Dual Disc DVD side
Non-DVD side
CD/VCD
Audio CD/CD Text (CD-DA), DTS-CD
VCD (Video CD)
CD-ROM
CD-I (CD-I Ready)
CD Recordable/Rewritable
(CD-R/-RW)
• Compliant to ISO 9660
level 1, level 2, Romeo,
Joliet
CD-DA
MP3/WMA/WAV
DivX/MPEG1/MPEG2
JPEG
MPEG4
*1 DVD-R recorded in multi-border format is also playable (except for dual layer discs).
*2 It is possible to play back finalized +R/+RW (Video mode only) discs. However, the use of +R double layer disc is not
recommended.
Note on Region Code:
DVD players and DVD Video discs have their
own Region Code numbers. This unit can
only play back DVD discs whose Region Code
numbers include “2.”
If you insert a DVD Video disc of an incorrect
Region Code,
Region Code Error
appears
on the monitor.
• This unit is not compatible with Multiple
Bit Rate (MBR: a file that contains the same
content encoded at several different bit rates).
KDNX5000_E_en_rev.indb 61KDNX5000_E_en_rev.indb 61 30/3/07 2:02:11 pm30/3/07 2:02:11 pm

ENGLISH
62
File type
DivX, MPEG
MP3, WMA, WAV
CD
4
,
¢
Press: Select track
Hold: Reverse/
forward search
*1
4
,
¢
Press: Select file
Hold: Reverse/
forward search
*1
∞
,
5
Press: Select folder
Hold: Display Folder
List
4
,
¢
Press: Select file
Hold: Reverse/
forward search
*2
∞
,
5
Press: Select folder
Hold: Display Folder
List
01 0:00:03
Disc Title
*
Artist Name
*
Track Name
*
01 01 0:00:03
Folder Name
*
File Name.mp3
*
* Tag data will be shown instead of folder/
file names when they are recorded and
Tag Display is set to On.
☞
[91]
Track no./Playing time
DTS icon (only for DTS-CDs)
Folder no./File no./Playing time
Audio format
Folder no./File no./Playing time
* Only for CD-Text. “No Name” appears
for conventional CDs.
01 01 0:00:03
Folder Name
File Name.avi
KDNX5000_E_en_rev.indb 62KDNX5000_E_en_rev.indb 62 30/3/07 2:02:12 pm30/3/07 2:02:12 pm

63
01 01 0:00:03
G
01 0:00:03
Disc operations
DVD Audio
VCD
DVD Video
4
,
¢
Press: Select
chapter
Hold: Reverse/
forward search
*1
∞
,
5
Press: Select title
4
,
¢
Press: Select track
Hold: Reverse/
forward search
*1
∞
,
5
Press: Select group
4
,
¢
Press: Select track
Hold: Reverse/
forward search
*1
01 01 0:00:03
T C
Audio format
Title no./Chapter no./Playing time
Audio formatGroup no./Track no./Playing time BONUS indicator
☞
[68]
B.S.P indicator
☞
[68]
Track no./Playing time PBC indicator: lights up when PBC is in use.
☞
[67]
*1 Search speed: x2
]
x10 *2 Search speed:
¡
1
]
¡
2
KDNX5000_E_en_rev.indb 63KDNX5000_E_en_rev.indb 63 30/3/07 2:02:13 pm30/3/07 2:02:13 pm

ENGLISH
64
Selecting playback modes
You can use only one of the following playback
modes—
Intro
/
Repeat
/
Random
.
Ex. To select Track Repeat
1
2
AV Menu
]
Mode
]
Repeat
]
Track
3
When one of the playback modes is selected, the
corresponding indicator lights up on the disc
information screen.
To cancel, select
Off
in step 2.
JPEG
4
,
¢
Press: Select file
∞
,
5
Press: Select folder
Hold: Display Folder
List
01 01
Folder Name
File Name.jpg
Folder no.
Disc type
Intro Repeat Random
Track
:
Plays the first 15 seconds
of each track (for VCD:
PBC not in use)
Track
:
Repeats current track
(for VCD: PBC not in
use)
Disc
:
Randomly plays all tracks
(for VCD: PBC not in
use)
Track
:
Plays the first 15 seconds
of each track
Folder
:
Plays the first 15 seconds
of the first track of each
folder
Track
:
Repeats current track
Folder
:
Repeats all tracks of the
current folder
Folder
:
Randomly plays all tracks
of current folder, then
tracks of next folders
Disc
:
Randomly plays all tracks
Disc type
Repeat
Chapter
:
Repeats current chapter
Title
:
Repeats current title
Track
:
Repeats current track
Track
:
Repeats current track
Folder
:
Repeats current folder
Folder
:
Repeats current folder
File no.
KDNX5000_E_en_rev.indb 64KDNX5000_E_en_rev.indb 64 30/3/07 2:02:14 pm30/3/07 2:02:14 pm

65Disc operations
Selecting tracks on the list
If a disc includes folders, you can display the
Folder/Track Lists, then start playback.
1 Display the Folder List.
[Hold]
2 Select a folder, then a track.
• If you press ENT while a folder is selected, all
tracks in the selected folder are played back.
You can also access the Folder List through
AV Menu
]
List
.
Prohibiting disc ejection
1
[Hold]
2 Select
No Eject
.
To cancel the prohibition, select
Eject OK
in
step 2.
Remote operations
Common operations
AV/OFF
• Change the source.
• Turn off the AV function if
pressed and held.
MAP/POS
Switch to the map screen.
ENT 6
Start playing/pause.
(For JPEG: Slide show)
BACK/BAND
Stop playing.
MENU
Call up AV Menu.
VOL +/–
Adjust the volume.
ATT
Attenuate/restore the sound.
DISP
Change the display.
☞
[11]
OSD
Display the on-screen bar.
☞
[68]
ASPECT
Change the aspect ratio of the
playback pictures.
Folder List 1/4
My Best
Cinema
My Best2
Pops
Favourites
020315
Eject
Emergency Eject
No Eject
Set
or
KDNX5000_E_en_rev.indb 65KDNX5000_E_en_rev.indb 65 30/3/07 2:02:15 pm30/3/07 2:02:15 pm

ENGLISH
66
Selecting an item with number keys
You can select a chapter/title/group/folder/
track by inputting its number.
Ex.: To select a title of a DVD Video.
1 [twice]
On the playback screen:
TITLE – –
appears on the screen.
On the disc information screen:
The title number lights up in grey.
• Each time you press , the
selectable item changes. See the table
above.
2 Input the title number.
• To correct a misentry, press DIRECT to
clear the entry and input again.
3
4/¢
Press: Select a track.
Press and hold: Reverse/forward search
*1
∞/5
—Select a folder.
DIRECT
(☞
below
)
Track
=
Off File
=
Folder
=
Off
1/¡
Reverse/forward search
*2
4/¢
Press: Select a chapter.
Press and hold: Reverse/forward search
*1
.
Press: Select a track.
Press and hold: Reverse/forward search
*1
.
∞/5
Select a title. Select a group.
DIRECT
(☞
below
)
Chapter
=
Title
=
Off Track
=
Group
=
Off
1/¡
Reverse/forward search
*2
Slow motion
*3
during pause. (No sound can
be heard.)
Reverse/forward search
*2
Select audio language.
Select subtitle language. —
Select a view angle. —
KDNX5000_E_en_rev.indb 66KDNX5000_E_en_rev.indb 66 30/3/07 2:02:17 pm30/3/07 2:02:17 pm

67Disc operations
Menu driven operations
(For DVD and DivX 6)
1 or (only for DVD
Video and DivX)
2 Select an item you want
to play.
3
Quick skip
Return/advance the scenes by 5
minutes.
While playing...
current playback position
PBC playback
Select an item on the menu.
• To return to the previous menus, press
.
To cancel PBC playback
1
2 Select a track.
• To resume PBC, press / .
Press: Select a track.
Press and hold: Reverse/forward
search
*4
. (No sound can be heard.)
Press: Select a track.
Press and hold: Reverse/forward
search
*1
. (No sound can be heard.)
Press: Select a track.
Select a folder. — Select a folder.
Track
=
Folder
=
Off Track
=
Off File
=
Folder
=
Off
Reverse/forward search
*5
(No
sound can be heard.)
Reverse/forward search
*2
Forward slow motion
*3
during
pause. (No sound can be heard.)
—
Select audio language. (Only for
DivX.) Select audio channel. —
Select subtitle language. (Only
for DivX.) ——
———
*1 Search speed: x2
]
x10
*2 Search speed: x2
]
x5
]
x10
]
x20
]
x60
*3 Slow motion speed: 1/32
]
1/16
]
1/8
]
1/4
]
1/2
*4 Search speed:
¡
1
]
¡
2
*5 Search speed:
¡
1
]
¡
2
]
¡
3
KDNX5000_E_en_rev.indb 67KDNX5000_E_en_rev.indb 67 30/3/07 2:02:18 pm30/3/07 2:02:18 pm

ENGLISH
68
[twice]
Operations using the on-screen bar
For DVD/VCD/DivX/MPEG/JPEG discs, you
can check the disc information and use some
functions through the on-screen bar.
1 Display the on-screen bar.
• When you press OSD once, the
information bar appears. When you press
it again, the operation bar spreads out
below.
2 Select an item.
3 Make a selection.
If pop-up menu appears...
• For entering time/numbers, see below.
To remove the on-screen bar
To enter numbers
1 Select a number.
2 Move to the next digit.
3 Repeat steps 1 and 2.
4
• To correct a misentry, use ¤.
• It is not necessarily required to enter trailing
zeros.
Special functions for DVD Audio
Playing back a bonus group
If a DVD Audio including a “bonus group”
is detected, lights up on the disc
information screen.
1 Select the bonus group.
• The bonus group is usually recorded as
the last group.
2 Enter the key number.
• ☞ next column “To enter numbers”
• “Key number” (a kind of password) for
the bonus group is not open to public.
The way of getting the key number
depends on the disc.
3 Follow the interactive
instructions shown on the
monitor.
Selecting browsable still pictures
When a disc including browsable still pictures
is detected, lights up on the disc
information screen.
When disc shows the BSP selecting icons such
as @ or # on the screen...
1 Select an item you want to
display.
2
KDNX5000_E_en_rev.indb 68KDNX5000_E_en_rev.indb 68 30/3/07 2:02:20 pm30/3/07 2:02:20 pm

69Disc operations
DVD -V T02-C03 TOTAL 1:25:58
TIME TITLE CHAP
RPT
C. RPT
Information
Operation
1
Disc type
2
Audio signal format
(for DVD)
PBC
(for VCD)
3
Playback mode
T. RPT
Title Repeat/Track Repeat*
C. RPT
Chapter Repeat*
F. RPT
Folder Repeat*
D. RND
Disc Random*
T. INT
Track Intro*
4
Playback information
T02-C03 Current title/chapter
G02-T03 Current group/track
TRACK 01 Current track
F001-T001 Current folder/track
F001-F001 Current folder/file
5
Time indication
TOTAL Elapsed playing time of the disc
T. REM Remaining title/group time (for
DVD)
Remaining disc time (for others)
TIME Elapsed playing time of the
current chapter/track
REM Remaining time of the current
chapter/track
6
Playback status
Play
Reverse/forward search
Reverse/forward slow-motion
Pause
Stop
7
Operation icons
TIME Change time indication (☞ 5)
Time Search (Enter the elapsed
playing time of the current title
or of the disc.)
TITLE Title Search (by its number)
GROUP
Group Search (by its number)
CHAP Chapter Search (by its number)
TRACK
Track Search (by its number)
RPT Repeat play*
INT Intro play*
RND Random play*
Change the audio language or
audio channel
Change the subtitle language or
hide the subtitle.
Change the view angle
PAGE 1/15
Change the B.S.P (for DVD
Audio) (The numbers in the
indicator show the current page/
total page number.)
*
☞
[64]
KDNX5000_E_en_rev.indb 69KDNX5000_E_en_rev.indb 69 30/3/07 2:02:21 pm30/3/07 2:02:21 pm

ENGLISH
70
Music server operations
The built-in HDD works not only as storage for navigation data, but as a music server, where you
can record CD tracks and music files (MP3, WMA and WAV files).
The recorded tracks are categorized into genres and albums.
You can make 99 genres in the music server, and 99 albums in each genre. Each album can contain
999 tracks.
Select “HDD.”
The last selected track starts playing from the beginning.
Select the track.
Genre 1 Track 1
Album 1
Track 2
Track 3
Track 1
Track 2
Album 2
Genre 2
Genre no./Album no./Track no./Play time
File type/Compression mode
Equalizer type
☞
[98]
Change the track.
Change the album.
01 01 01 0:00:03
Genre Name
Album Name
Track Name
Playback mode
☞
[71]
KDNX5000_E_en_rev.indb 70KDNX5000_E_en_rev.indb 70 30/3/07 2:02:23 pm30/3/07 2:02:23 pm

71
Selecting playback modes
You can use only one of the following playback
modes—
Intro
/
Repeat
/
Random
.
Ex. To select Track Repeat
1
2
AV Menu
]
Mode
]
Repeat
]
Track
3
When one of the playback modes is selected,
the corresponding indicator lights up on the
monitor.
To cancel, select
Off
in step 2.
Intro Track
:
Plays the first 15 seconds
of all tracks in the current
album
Album
:
Plays the first 15 seconds
of the first tracks of each
album in the current genre
Genre
:
Plays the first 15 seconds of
the first tracks of each genre
Repeat Track
:
Repeats current track
Album
:
Repeats all tracks of the
current album
Genre
:
Repeats all tracks of the
current genre
Random
Album
:
Randomly plays all tracks of
the current album
Genre
:
Randomly plays all tracks of
the current genre
All
:
Randomly plays all tracks in
the music server
Music server operations
You can also access the Genre List through
AV Menu
]
List
.
Selecting tracks using lists
1 Call up the Genre List.
2 Select a genre, then an album.
• Repeat the same procedure to select the
album.
3 Select a track to play back.
• If you press ENT while a genre or an
album is selected, all tracks in the selected
genre or album are played back.
Genre List
60’s
Jazz
Drive
Favourites
Classical
80’s
[Hold]
or
KDNX5000_E_en_rev.indb 71KDNX5000_E_en_rev.indb 71 30/3/07 2:02:25 pm30/3/07 2:02:25 pm

ENGLISH
72
Recording/copying tracks from a disc
• You can record tracks of audio CDs into the
HDD.
Record
appears in
AV Menu
.
• You can copy music files (MP3, WMA, WAV)
into the HDD.
Copy
appears in
AV Menu
.
Preparation:
Insert the disc to record/copy, and select DISC
as the source.
• While recording an audio CD, you cannot
listen to the tracks being recorded with the
map screen displayed.
• While copying music files, you cannot listen
to them.
• You cannot change the source while
recording or copying tracks. If you want to
interrupt the recording and enjoy another
source, cancel the recording/copying (☞
below).
When the recording/copying is finished
Completed
is displayed, and playback
resumes.
To record the current track
1
2
AV Menu
]
Record
]
Current Track
3 Start recording.
Recording...
appears.
• The track is recorded in the
High
Quality
mode. (☞ next page)
• When you record a track for the first
time with this function, a new genre and
a new album is automatically created for
the track. Other tracks recorded with
this function are recorded into the same
album until you turn off the ignition
switch or edit the library.
To cancel recording/copying
While recording or copying...
Notes on the name of new genres and
albums
• If you want to make a new genre or a new
album for the tracks to be recorded/copied,
select
[New Genre]
or
[New Album]
. To
name the new genre/album, press and hold
DISP. You can also name it later through
Title Entry
(☞ [75] “Changing the titles”).
• If you do not specify a genre name or
album name on recording/copying, they are
assigned as follows.
– For audio CDs, the genre name and
album name are assigned automatically
using the recording date and time.
– For music files, the genre name is
assigned automatically using the
recording date and time. The original
folder name and file name are used as
the album name and the track name.
You can also cancel recording/copying
through
AV Menu
]
Record
/
Copy
]
Cancel
.
KDNX5000_E_en_rev.indb 72KDNX5000_E_en_rev.indb 72 30/3/07 2:02:26 pm30/3/07 2:02:26 pm

73
To record selected tracks
1
2
AV Menu
]
Record
]
Select Track
3 Select the tracks to record.
• Checkbox operations ☞ [105]
4
5 Select the genre and album to
record the tracks into.
• Repeat the same procedure to select the
album.
6 Select a compression mode.
High Quality
: High quality lossless
recording (LLC).
Normal Quality
: More compressed
recording, so data size becomes smaller
(BSC).
7 Start recording.
Recording...
appears.
Music server operations
To record all the tracks in a disc
1
2
AV Menu
]
Record
]
Select All
3 Select the genre and album to
record the tracks into.
• Repeat the same procedure to select the
album.
4 Select a compression mode.
High Quality
: High quality lossless
recording (LLC).
Normal Quality
: More compressed
recording, so data size becomes smaller
(BSC).
5 Start recording.
Recording...
appears.
Select Genre 1/2
[New Genre]
Jazz
Drive
Favourites
Classical
[34/99]
Number of albums in the selected genre
Compress
High Quality
Normal Quality
Record
Select Track 1/3
Select All
Track 1
Track 2
Track 3
Track 4
Check
Compress
High Quality
Normal Quality
Record
Select Genre 1/2
[New Genre]
Jazz
Drive
Favourites
Classical
[34/99]
Number of albums in the selected genre
KDNX5000_E_en_rev.indb 73KDNX5000_E_en_rev.indb 73 30/3/07 2:02:27 pm30/3/07 2:02:27 pm

ENGLISH
74
To copy selected tracks
1
2
AV Menu
]
Copy
]
Select Track
3 Select the tracks to copy.
• Checkbox operations ☞ [105]
4
5 Select the genre to copy the
tracks into.
6 Select the album to copy the
tracks into.
Copying...
appears, and copying starts.
Select Track 1/3
Select All
Track 1
Track 2
Track 3
Track 4
Check
To copy all the tracks in a folder
1 Select the target folder.
2
3
AV Menu
]
Copy
]
Select All
4 Select the genre to copy the
tracks into.
5 Select the album to copy the
tracks into.
Copying...
appears, and copying starts.
To copy the current track
1
2
AV Menu
]
Copy
]
Current Track
3 Start copying.
Copying...
appears.
• When you copy a track for the first time
with this function, a new genre and a
new album is automatically created for
the track. Other tracks copied with this
function are copied into the same album
until you turn off the ignition switch or
edit the library.
To resume the interrupted recording/copying
If have turned off the power, switched off the
car ignition switch, or detached the control
panel while recording/copying, you can resume
the last recording/copying.
• If you eject the disc or edit the library of the
music sever,
Continue
mode is canceled.
• You cannot use
Continue
if you have
canceled recording/copying manually.
Select Genre 1/2
[New Genre]
Jazz
Drive
Favourites
Classical
[34/99]
Number of albums in the selected genre
Select Genre 1/2
[New Genre]
Jazz
Drive
Favourites
Classical
[34/99]
Number of albums in the selected genre
KDNX5000_E_en_rev.indb 74KDNX5000_E_en_rev.indb 74 30/3/07 2:02:29 pm30/3/07 2:02:29 pm

75
Editing the library
• Library editing is possible only when HDD is
selected as the source.
Changing the titles
You can change the names of genres, albums
and tracks in the HDD.
Ex. To change the name of a track
1
2
AV Menu
]
Title Entry
3 Select a genre, then an album.
Playback of the selected item starts.
• Repeat the same procedure to select the
album.
4 Select a track to edit.
5 Enter the name.
• Inputting characters ☞ [105]
• You can use up to 32 characters for the
name of tracks, albums, or genres.
Moving tracks between albums/Moving
albums between genres
Ex. To move tracks between albums
• Select the album which the target tracks
belong to.
1
2
AV Menu
]
Edit
]
Move
]
Track
3 Check the tracks to move.
• Checkbox operations ☞ [105]
4
5 Select the album to move the
tracks into.
6 Move the selected tracks.
A confirmation message appears. Press ENT
to confirm the operation. Press BACK to
cancel.
Music server operations
Number of tracks in the selected album
1
2
AV Menu
]
Record
or
Copy
]
Continue
3 Start recording/copying.
Recording...
/
Copying...
appears.
6 Select
Store
to finish editing.
• You cannot edit the tag data of tracks.
Move Track 1/2
Select All
Track 1
Track 2
Track 3
Track 4
Check
Move to 1/2
[New Album]
Album 1
Album 2
Album 3
Album 4
[15/999] Move
More
Store
Over the Rainbow
Del
KDNX5000_E_en_rev.indb 75KDNX5000_E_en_rev.indb 75 30/3/07 2:02:30 pm30/3/07 2:02:30 pm

ENGLISH
76
Checking the remaining storage size
1
2
AV Menu
]
Edit
]
HDD Free Area
Free space of the music server
Deleting tracks, albums, or genres
Ex. To delete tracks
• Select the album which the target tracks
belong to.
1
2
AV Menu
]
Edit
]
Delete
]
Track
3 Check the tracks to delete.
• Checkbox operations ☞ [105]
4 Delete the selected tracks.
A confirmation message appears. Press ENT
to confirm the operation. Press BACK to
cancel.
Edit
Delete
Move
Sort
HDD Free Area
80.5%[20.0GB] Exit
Rearranging the order of tracks, albums and
genres
Ex. To rearrange the order of tracks in an
album
• Select the album which the target tracks
belong to.
1
2
AV Menu
]
Edit
]
Sort
]
Track
3 Select the track to move.
4 Move the selected track.
A confirmation message appears. Press ENT
to confirm the operation. Press BACK to
cancel.
• To rearrange more tracks, repeat steps 1 to 4.
[Hold]
Sort Track 1/2
Track 1
Track 2
Track 3
Track 4
Track 5
Select
Sort Track 1/2
Track 2
Track 3
Track 1
Track 4
Track 5
Sort
Delete Track 1/2
Select All
Track 1
Track 2
Track 3
Track 4
Delete Select
KDNX5000_E_en_rev.indb 76KDNX5000_E_en_rev.indb 76 30/3/07 2:02:31 pm30/3/07 2:02:31 pm

77
CD changer operations
Select “CD-CH.”
Playback starts automatically.
Display the Disc List.
• Each time you hold the button,
you can display the other list of the
remaining discs.
Select a disc to start
playing.
It is recommended to use a JVC MP3-compatible CD changer with your unit.
• You can play only CDs (CD-DA) and MP3 discs.
Preparation:
Make sure
Changer
is selected for the external input setting. (☞ [94])
CD changer operations
Disc no./Track no./Playing time
To select tracks
Disc List 1/2
MP3 Disc
Disc 02
Disc 03
Disc 04
Disc 05
Disc 06
[Hold]
* “No Name” appears for
conventional CDs.
Press: Select track
Hold: Reverse/forward
search
Press: Select folder (MP3
only)
Hold: Display the Disc List
On the remote:
To select a disc
or
: Select track
: Select folder
(MP3 only)
01 01 0:00:03
Disc Title
*
Artist Name
*
Current Track
*
Equalizer type
☞
[98]
Playback mode
☞
[78]
or
KDNX5000_E_en_rev.indb 77KDNX5000_E_en_rev.indb 77 30/3/07 2:02:32 pm30/3/07 2:02:32 pm

ENGLISH
78
Selecting playback modes
You can use only one of the following playback
modes—Intro/Repeat/Random.
Ex. To select Track Repeat
1
2
AV Menu
]
Mode
]
Repeat
]
Track
3
When one of the playback modes is selected,
the corresponding indicator lights up on the
monitor.
To cancel, select
Off
in step 2.
Disc type
Intro Repeat Random
Track
:
Plays the first 15 seconds
of each track
Disc
:
Plays the first 15 seconds
of the first track of all
loaded discs
Track
:
Repeats current track
Disc
:
Repeats all tracks of the
current disc
Disc
:
Randomly plays all tracks
of the current disc
All
:
Randomly plays all tracks
of all loaded discs
Track
:
Plays the first 15 seconds
of each track
Folder
:
Plays the first 15 seconds
of the first track of each
folder
Disc
:
Plays the first 15 seconds
of the first track of all
loaded discs
Track
:
Repeats current track
Folder
:
Repeats all tracks of the
current folder
Disc
:
Repeats all tracks of the
current disc
Folder
:
Randomly plays all tracks
of current folder, then
tracks of next folders
Disc
:
Randomly plays all tracks
of the current disc
All
:
Randomly plays all tracks
of all loaded discs
• You can also access the Disc List through
AV Menu
]
List
.
• While playing an MP3 disc, you can select and start playing a track in the disc using the Lists.
Disc List 1/2
MP3 Disc
Disc 02
Disc 03
Disc 04
Disc 05
Disc 06
Folder List 1/2
My Best
Cinema
Pops
My Best2
Favourite Song
Cinema2
Track List 1/2
Song011.mp3
Song012.mp3
Song013.mp3
Song014.mp3
Song015.mp3
Song016.mp3
KDNX5000_E_en_rev.indb 78KDNX5000_E_en_rev.indb 78 30/3/07 2:02:33 pm30/3/07 2:02:33 pm

79
Other functions
80 iPod/D. player operations
Selecting a track from the player’s menu
80
Selecting playback modes
80
81 Playing other external
components
External input
81
Video input
82
83 Using Bluetooth® devices
—Mobile phone/audio player
Menu operation for Bluetooth devices
83
Registering a Bluetooth device
83
Using the Bluetooth mobile phone
85
Using the Bluetooth audio player
87
Phone Menu
88
90 AV Menu items
98 Sound equalization
Selecting an equalizer type
98
Storing your own adjustment
98
99 Additional Information
KDNX5000_E_en_rev.indb 79KDNX5000_E_en_rev.indb 79 30/3/07 2:02:35 pm30/3/07 2:02:35 pm

ENGLISH
80
Selecting playback modes
1
2
AV Menu
]
Mode
]
Repeat
or
Random
Repeat One
:
Functions the same as “Repeat
One” or “Repeat Mode = One.”
All
:
Functions the same as “Repeat
All” or “Repeat Mode = All.”
Random
Song /On
:
Functions the same as “Shuffle
Songs” or “Random Play =
On.”
Album
:
Functions the same as “Shuffle
Albums” of the iPod.
To cancel, select
Off
in step 2.
iPod/D. player operations
For Apple iPod and JVC D. player, it is required to connect the interface adapter (KS-PD100 for
iPod or KS-PD500 for D. player) to the CD changer jack on the rear.
Preparation:
Make sure
Changer
is selected for the external input setting. (☞ [94])
Selecting a track from the player’s
menu
1 Enter the player’s menu.
appears.
• This mode will be canceled if no
operations are done for about 5 seconds.
2 Select the desired menu item.
3 Confirm the selection.
4 Repeat steps 2 and 3 to select a
track.
• When a track is selected finally, playback
starts.
• To return to the previous menu...
Select “iPod” or “D. PLAYER.”
Playback starts automatically.
Select a track.
Pause/Resume
01 0:00:03
Album Name
Artist Name
Track Name
Playback mode
☞
below
Equalizer type
☞
[98]
• iPod is a trademark of Apple Computer, Inc.,
registered in the U.S. and other countries.
KDNX5000_E_en_rev.indb 80KDNX5000_E_en_rev.indb 80 30/3/07 2:02:36 pm30/3/07 2:02:36 pm

81
4 Assign a title.
• Inputting characters ☞ [105]
• You can use up to 16 characters.
5 Select
Store
.
• While driving at a speed greater than 10 km/h,
operations of inputting are prohibited.
Playing other external components
External input
You can connect an external component to the CD changer jack on the rear using the Line Input
Adapter—KS-U57 (not supplied) or AUX Input Adapter—KS-U58 (not supplied).
Preparation:
Make sure
Ext Input
is selected for the external input setting. (☞ [94])
iPod/D. player operations / Playing other external components
Assigning title to the external input
1 Select
EXT-IN
as the source.
2
3
AV Menu
]
Title Entry
Select “EXT-IN.”
Turn on the connected component and start playing the
source.
AV Input
Equalizer type
☞
[98]
StoreMoreDel
KDNX5000_E_en_rev.indb 81KDNX5000_E_en_rev.indb 81 30/3/07 2:02:37 pm30/3/07 2:02:37 pm

ENGLISH
82
Video input
You can connect an external component to the VIDEO IN plug.
Preparation:
When connecting a video component
Make sure
Ext Input
is selected for the external input setting, and
Video
for the video input
setting. (☞ [94])
• You cannot view the video picture when the parking brake is not engaged.
When connecting a camera
Make sure
Camera
is selected for the video input setting. (☞ [94])
Each time you press DISP, the display switches as follows:
AV screen
=
Vehicle information (
☞ [11]
)
=
Video picture or camera picture
=
(Back to the AV
screen)
For video components:
Turn on the connected component and start playing.
To switch to the camera view automatically
You can set the unit to automatically display
the camera view when the car is put into reverse
gear or when the car slows down.
☞ [94]
Interlock
To reverse the camera picture
☞ [94]
Horizontal
and
Vertical
KDNX5000_E_en_rev.indb 82KDNX5000_E_en_rev.indb 82 30/3/07 2:02:37 pm30/3/07 2:02:37 pm

83
Using Bluetooth® devices—Mobile phone/audio player
Using Bluetooth devices
For Bluetooth operations, it is required to connect the Bluetooth Adapter (KS-BTA200) to the CD
changer jack on the rear.
• Refer also to the instructions supplied with the Bluetooth Adapter and the Bluetooth device.
• Refer to the list (included in the box) to see the countries where you may use the Bluetooth®
function.
Phone Menu
Mode
List
Mode 1/2
Dial
Message
Open
Search
Special Device
AV Menu 2/2
Mode
Map screen/AV
screen: other sources
than Bluetooth Audio
AV screen:
=
Bluetooth Audio
Preparation:
Operate the device to turn on its Bluetooth
function.
To use a Bluetooth device through the unit
(“Bluetooth Phone” and “Bluetooth Audio”) for
the first time, you need to establish Bluetooth
wireless connection between the unit and the
device.
• Once the connection is established, it is
registered in the unit even if you reset your
unit. Up to five devices can be registered in
total.
• Only one device for Bluetooth Phone and one
for Bluetooth Audio can be connected at a
time.
Registering a Bluetooth device
Menu operation for Bluetooth devices
Registration (Pairing) methods
• Use
Phone Menu
to register a device as a
mobile phone.
• Use
AV Menu
to register a device as an
audio player.
Open
Make the unit ready to establish
a new Bluetooth connection.
Connection is established by
operating the Bluetooth device.
Search
Make the unit ready to establish
a new Bluetooth connection.
Connection is established by
operating this unit.
Map screen/
AV screen
Phone Menu
Mode
List
[Hold]
[Hold]
Bluetooth Phone
P902i
10:35
Mode 1/2
Dial
Message
Open
Search
Special Device
Registering a Bluetooth device
Using the Bluetooth mobile phone
KDNX5000_E_en_rev.indb 83KDNX5000_E_en_rev.indb 83 30/3/07 2:02:38 pm30/3/07 2:02:38 pm

ENGLISH
84
Registering using
Open
1
Mode
]
Open
2 Enter a PIN (Personal
Identification Number)* code to
the unit.
• Inputting characters ☞ [105]
• You can enter any number you like (1-
digit to 16-digit number).
* Some devices have their own PIN code. Enter the
specified PIN code to the unit.
3 Select
Connect
.
4 Operate the target Bluetooth
device.
Enter the same PIN code (as entered in the
above step) on the device to be connected.
Now connection is established and you can use
the device through the unit.
Searching for available devices
1
Mode
]
Search
The unit searches for available devices and
displays the list of them. (If no available
device is detected,
Device Unfound
appears.)
2 Select a device you want to
connect.
3 Enter the specific PIN code of
the device to the unit.
• Inputting characters ☞ [105]
• Refer to the instructions supplied with the
device to check the PIN code.
4 Use the Bluetooth device to
connect.
Now connection is established and you can
use the device through the unit.
Searching...
Connecting...
The device remains registered even after
you disconnect the device. Use
Connect
(or activate
Auto Connect
) to connect the
same device from next time. (☞ [89])
Open...
0000
BS
Connect
To register another device after you have
registered a device, make sure
New Device
is selected. (☞ [85])
Connecting a special device
1
Mode
]
Special Device
The unit displays the list of the preset
devices.
2 Select a device you want to
connect.
3 Use
Open
(or
Search
) to
connect.
KDNX5000_E_en_rev.indb 84KDNX5000_E_en_rev.indb 84 30/3/07 2:02:39 pm30/3/07 2:02:39 pm

85
Bluetooth Phone
*2
P902i
Calling...
Jack
09845671234
10:35
Using Bluetooth devices
Connecting/disconnecting a registered device
1 On the Bluetooth Phone screen
or the Bluetooth Audio screen,
select a registered device you
want to connect/disconnect.
2
Mode
]
Connect
or
Disconnect
• Select
Connect
to connect the selected
device.
• Select
Disconnect
to disconnect the
selected device.
You can set the unit to connect a Bluetooth
device automatically when the unit is turned
on. (☞ [89])
Deleting a registered device
After step 1 above...
Mode
]
Delete Pair
]
Yes
• To cancel, select
No
.
2 Select the method to make a
call.
•
Redial
: Shows the list of the phone
numbers you have dialed. Go to the
following step.
•
Received Calls
: Shows the list of the
received calls. Go to the following step.
•
Phonebook
: Shows the phone book of
the connected mobile phone. Go to the
following step.
•
Missed Calls
: Shows the list of the
missed calls. Go to the following step.
•
Phone Number
: Shows the phone
number entry screen. = Input numbers
and select
Dial
. (Inputting characters ☞
[105])
•
Voice
(Only when the connected mobile
phone has the voice recognition system):
= Speak the name you want to call.
3 Select the name/phone number
you want to call.
• Each time you press 5 ∞, the
registered device names (and
New
Device
when a new device can be
registered) appear in turn.
Using the Bluetooth mobile phone
Making a call
You can make a call using one of the
Dial
Menu items.
1
Phone Menu
]
Mode
]
Dial
Dial 1/2
Redial
Received Calls
Phonebook
Missed Calls
Phone Number
[01234567890]
*1 Blue: The device is connected.
White: The device is not connected.
*2 Mobile phone
Mobile phone with audio function
*3 Appears only when the information comes from
the device.
Status of the device
*3
Signal strength/Battery remainder
Bluetooth icon
lights up when the adapter is connected.
*1
KDNX5000_E_en_rev.indb 85KDNX5000_E_en_rev.indb 85 30/3/07 2:02:40 pm30/3/07 2:02:40 pm

ENGLISH
86
On the unit:
1 Call up the preset list.
2 Select the preset number to call.
You can also access the preset number list
through
Phone Menu
]
List
.
Dial Preset
11122223333
22233336666
44455556666
09845671234
99988887777
55566668888
To dial to the number acquired in Navigation
System
1 Search for a POI or a favourite
point which has telephone
number information.
2 Select [Call] .
[Hold]
• You cannot make an
international call through this
function.
Presetting the phone numbers
You can preset up to six phone numbers.
1 Display the phone number you
want to preset by using one of
the
Dial
Menu items.
2 Call up the preset list.
[Hold]
• To preset a phone number using
Phone
Number
, select
Store
after inputting a
phone number.
3 Select a preset number.
You can use the following buttons on the
remote controller for the Bluetooth phone
operations.
ENT 6, PHONE: Answer the incoming
call.
BACK: End the call.
Number keys: Enter the phone number/PIN
code.
PHONE: Call up the redial list if pressed and
held.
or
[Hold]
Preset Memory Store
11122223333
22233336666
44455556666
09845671234
99988887777
55566668888
To adjust the volume
• This adjustment does not affect the
volume level of the other sources.
• You can adjust the microphone
volume level. ☞ [89]
To end the call
Press and hold MENU, DISP, BACK, ENT,
5
,
∞
, , or TRAFFIC.
• You can also access the
Dial
menu by
pressing PHONE on the remote controller.
• You can also access the redial list by
pressing and holding PHONE on the
remote controller.
• You can also access the voice calling screen
by pressing and holding MENU while the
Bluetooth Phone screen is displayed.
To call a preset number
On the remote:
While the Bluetooth Phone screen is displayed...
KDNX5000_E_en_rev.indb 86KDNX5000_E_en_rev.indb 86 30/3/07 2:02:41 pm30/3/07 2:02:41 pm

87
Select “Bluetooth
Audio.”
Start playback.
Using the Bluetooth audio player
*1 Audio player
Mobile phone with audio function
*2 Each time you press
5
∞
, the registered device names (and
New Device when a new device can be registered) appear in
turn.
*3 Indicates the button pressed. It may be different from the
operation status.
Reverse/forward skip
Stop playback.
• ☞ [83] for connecting a new device.
• ☞ [85] for connecting/disconnecting a
registered device.
• ☞ [85] for deleting a registered device.
You can use the following buttons on the
remote controller for the Bluetooth audio
operations.
ENT 6, BACK: Start/stop playback.
4/¢: Reverse/forward skip
VOL +/−: Adjust the volume.
Number keys: Enter the PIN code.
Using Bluetooth devices
When a call comes in...
The screen is automatically changed to
Bluetooth Phone.
When
Auto Answer
is activated
The unit answers the incoming calls
automatically. (☞ [89])
• When
Auto Answer
is deactivated, press
MENU, DISP, BACK, ENT,
5
,
∞
, ,
or TRAFFIC to answer the incoming
call.
Bluetooth Phone
P902i
Receiving Call
Jack
09845671234
10:35
Name and
phone number
(if acquired)
When an SMS comes in...
If the mobile phone is compatible with SMS
(Short Message Service) and
Message
Info
is set to
Auto
(☞ [89]), the unit rings
and
Receiving Message
appears on the
monitor to inform you of the arrival of the
message.
To read the message
While
Receiving Message
is displayed...
• You cannot edit or send a message through
the unit.
*1
Connected device
*2
Play
*3
Bluetooth icon: lights up when the adapter is
connected.
Equalizer type
☞
[98]
KDNX5000_E_en_rev.indb 87KDNX5000_E_en_rev.indb 87 30/3/07 2:02:43 pm30/3/07 2:02:43 pm

ENGLISH
88
Phone Menu
Menu items Selectable settings
(Initial setting)
Dial
*1
Redial
Select a phone number from the list of the phone numbers you have
dialed.
Received Calls
Select a phone number from the list of the received calls.
Phonebook
Select a name, then phone number from the phone book of the
connected mobile phone.
Missed Calls
Select a phone number from the list of the missed calls.
Phone Number
Enter the phone number.
Voice
If the connected mobile phone has the voice recognition system, you
can call by voice command.
Message
*2
You can read a message from the following message histories.
Unread
: Messages you have not read.
Read
: Messages you have read.
Unsent
: Messages you have not sent.
Sent
: Messages you have sent.
Open
*3
Only for
New Device
.
Make the unit ready to establish a new Bluetooth connection. Select
this when establishing a Bluetooth connection with a device for the
first time, mainly from the device. ☞ [84]
• Once the connection is established, it is registered in the unit. You
can connect the unit and the device by using
Connect
(☞ [89])
from the next time.
Search
*3
Only for
New Device
.
Make the unit ready to establish a new Bluetooth connection. Select
this when establishing a Bluetooth connection with a device for the
first time, mainly from the unit. The unit searches for available new
devices. ☞ [84]
• Before starting a search, turn on the Bluetooth function of the
device so that the unit can detect it.
• Once the connection is established, it is registered in the unit. You
can connect the unit and the device by using
Connect
(☞ [89])
from the next time.
Special Device
*3
Only for
New Device
.
Shows the list of Bluetooth devices which requires some special
procedure to establish Bluetooth connection. Select a device you want
to connect. ☞ [84]
• After selecting the device, use
Open
or
Search
(☞ above) for
connection.
• Once the connection is established, it is registered in the unit. You
can connect the unit and the device by using
Connect
(☞ [89])
from the next time.
KDNX5000_E_en_rev.indb 88KDNX5000_E_en_rev.indb 88 30/3/07 2:02:44 pm30/3/07 2:02:44 pm

89Using Bluetooth devices
Menu items Selectable settings
(Initial setting)
Connect
*3
Only for the registered devices.
After selecting a device from among the registered devices (☞ [85,
87]), establish the connection with it. ☞ [85]
Disconnect
*3
Only for the device being connected.
Disconnect the current device before connecting another device. ☞
[85]
Delete Pair
*3 Only for the registered devices.
Delete the registered devices. ☞ [85]
Setup
*3
Auto Connect
When the unit is turned on, the connection is established
automatically with...
Off
: No Bluetooth device.
Last
: The last connected Bluetooth device.
Order
: The available registered Bluetooth device found at first.
Auto Answer
*4 Only for the device being connected for “Bluetooth Phone.”
Off
: The unit does not answer the calls automatically. Answer the call
manually.
On
: The unit answers the incoming calls automatically.
Reject
: The unit rejects all incoming calls.
Message Info
*4 Only for the device being connected for “Bluetooth Phone.”
Auto
: The unit informs you of the arrival of a message by ringing and
displaying
Receiving Message
. To read the message, press ENT
(☞ [87]).
Manual
: The unit does not inform you of the arrival of a message.
Microphone
Level
*4
Only for the device being connected for “Bluetooth Phone.”
Adjust microphone volume connected to the Bluetooth adapter.
1
,
2
,
3
Version
The Bluetooth software and hardware version is shown.
*1 Selectable items vary depending on the connected device.
*2 Selectable only when the device is compatible with SMS.
*3 Also available in Mode in AV Menu for Bluetooth Audio.
*4 Not selectable for New Device.
Phone Menu (continued)
Bluetooth Information:
If you wish to receive more information about
Bluetooth, visit our JVC web site.
The Bluetooth word mark and logos are
owned by the Bluetooth SIG, Inc. and any
use of such marks by Victor Company of
Japan, Limited (JVC) is under licence. Other
trademarks and trade names are those of their
respective owners.
KDNX5000_E_en_rev.indb 89KDNX5000_E_en_rev.indb 89 30/3/07 2:02:45 pm30/3/07 2:02:45 pm

ENGLISH
90
AV Menu items
Menu items Selectable settings
(Initial setting)
Setup
]
Display
Language
*1
Dansk, Deutsch, English UK, English US,
Español, Français, Italiano, Nederlands,
Svenska
Demonstration Off
: Cancels.
On
: Activates the demonstration on the monitor.
Wall Paper
You can select the background picture of the monitor.
Default, Digital, Midnight, Sunset, Gauges,
Sunrise, Nucleus, Carbon, Tunnels, Orbit,
Shadow, Forest
Scroll Off
: Cancels.
Once
: Scrolls the display information once.
Auto
: Repeats scrolling (5-second intervals).
• Holding DISP scrolls the information regardless of this
setting.
☞ [12]
for the detailed Menu operations.
AV Menu 1/2
Setup
EQ
Sound
Screen Control
Aspect
AV Menu 2/2
Mode
List
Record
Edit
Title Entry
Setup 1/2
Display
Clock
Disc
Tuner
Input
Setup 2/2
Others
*1 This setting is shared with the Language setting in Setup Menu (
☞
[46]
)
• The menu items shown may vary.
KDNX5000_E_en_rev.indb 90KDNX5000_E_en_rev.indb 90 30/3/07 2:02:46 pm30/3/07 2:02:46 pm

91
Menu items Selectable settings
(Initial setting)
Setup
]
Display
Tag Display Off
: Cancels.
On
: Shows the Tag data while playing MP3/WMA/WAV
tracks on discs or on HDD.
Dimmer Off
: Cancels.
On
: Activates dimmer.
Auto
:
Dims the monitor when you turn on the headlights.*2
Time Set
: Set the time to switch the day/night screen.
• When you choose
Time Set
, set the switching time on
the following screen.
Setup
]
Clock
Local Time Adjust Auto
: The time zone and summer time is adjusted
automatically using RDS signal.
Manual
: Select the time zone and summer time manually.
Time Format 12Hours
,
24Hours
Time Zone
*3
UTC
,
UTC+1
,
UTC+2
(UTC: Coordinated Universal Time)
Summer Time
*3 Activate this if your residential area is subject to summer
time.
Off
: Cancels.
Auto
: Automatically applies summer time when necessary.
Setup
]
Disc
*4
Menu Language
*5 Select the initial disc menu language (☞ also [104]).
(
English
)
Audio Language
*5 Select the initial audio language (☞ also [104]). (
English
)
Subtitle
*5 Select the initial subtitle language or erase the subtitle (
Off
)
(☞ also [104]). (
English
)
OSD Language
Select the on-screen language used for the external monitor
connected to the VIDEO OUT plug. (
English
)
*2 The ILLUMINATION CONTROL lead connection is required. (
☞
Installation/Connection Manual)
*3 Adjustable only when Local Time Adjust is set to Manual.
*4 Adjustable only while the source is set to DISC and playback is stopped.
*5 After you change these settings, turn off then on the power so that your setting takes effect.
AV Menu items
KDNX5000_E_en_rev.indb 91KDNX5000_E_en_rev.indb 91 30/3/07 2:02:47 pm30/3/07 2:02:47 pm

ENGLISH
92
Menu items Selectable settings
(Initial setting)
Setup
]
Disc
*4
Monitor Type
Select the monitor type to watch a wide screen picture.
16:9
: Select when the aspect ratio of the external monitor
is 16:9.
4:3 Letter Box
/
4:3 Pan Scan
: Select when the
aspect ratio of the external monitor is 4:3. Refer to the
illustrations on the left to see how the pictures are shown
on the monitor.
16:9 4:3 Letter Box
4:3 Pan Scan
OSD Position
Select the position of the on-screen bar. ☞ [68]
1
: Higher position
2
: Lower position
Position 1 Position 2
File Type
Select playback file type when a disc contains different
types of files.
Audio
: Plays back audio files.
Still Picture
: Plays back JPEG files.
Video
: Plays back DivX/MPEG files.
D. Audio Output
Select the signal format to be emitted through the
DIGITAL OUT (Optical) terminal on the rear. For details,
☞ [106].
Off
: No signal is output from the terminal.
PCM Only
: Select this when connecting an amplifier or a
decoder incompatible with Dolby Digital, DTS or MPEG
Audio, or connecting to a recording device.
Dolby Digital/PCM
: Select this when connecting an
amplifier or a decoder compatible with Dolby Digital.
Stream/PCM
: Select this when connecting an amplifier
or a decoder compatible with Dolby Digital, DTS, and
MPEG Audio.
Down Mix
When playing back a multi-channel DVD disc, this setting
affects the signals reproduced through the LINE OUT jacks
(and through the DIGITAL OUT terminal when
PCM
Only
is selected for
D. Audio Output
).
Surround Compat.
: Select this when you want to enjoy
multichannel surround audio by connecting an amplifier
compatible with Dolby Surround to this receiver.
Stereo
: Normally select this.
KDNX5000_E_en_rev.indb 92KDNX5000_E_en_rev.indb 92 30/3/07 2:02:48 pm30/3/07 2:02:48 pm

93
Menu items Selectable settings
(Initial setting)
Setup
]
Disc
*4
D. Range Comp.
You can enjoy a powerful sound at a low volume level
while playing Dolby Digital software.
Auto
: Select to apply the effect to multi-channel encoded
software.
On
: Select to always use this function.
DivX Registration
This unit has its own Registration Code. Once you
have played back a disc in which the Registration Code
recorded, this unit’s Registration Code is overwritten for
copyright protection.
Video Output Format
Select the format of video output according to the colour
system of your external monitor.
• The colour system of the unit’s display is also changed.
Picture quality on the main unit’s display may deteriorate
when you select
PAL
.
NTSC
,
PAL
Setup
]
Tuner
AF Regional
When the received signals from the current station become
weak...
AF
: Switches to another station. The programme may
differ from the one currently received ( lights up).
AF Regional
: Switches to another station broadcasting
the same programme. ( lights up.)
Off
: Cancels—not selectable when
DAB AF
is set to
On
.
☞ [56]
TA Volume 0
to
30
or
50
*6. (
15
) ☞ [55]
Programme Search Off
: Cancels.
On
: Using the AF data, the receiver tunes in to another
frequency broadcasting the same programme as the
original preset RDS station is if the preset station signals
are not sufficient.
DAB AF
*7
Off
,
On
. ☞ [58]
IF Band Width Auto
: Increases the tuner selectivity to reduce interference
noises between adjacent stations. (Stereo effect may be
lost.)
Wide
: Subject to the interference from adjacent stations,
but sound quality will not be degraded and the stereo
effect will remain.
AV Menu items
*6 Depends on the amplifier gain control.
*7 Appears only when a DAB tuner is connected.
KDNX5000_E_en_rev.indb 93KDNX5000_E_en_rev.indb 93 30/3/07 2:02:48 pm30/3/07 2:02:48 pm

ENGLISH
94
Menu items Selectable settings
(Initial setting)
Setup
]
Input
External Input
*8 When connecting an external component to the CD
changer jack on the rear.
Changer
: CD changer, iPod, or D. player.
Ext Input
: Any other than the above.
• For connecting the DAB tuner or the Bluetooth Adapter,
this setting is not required. It is automatically detected.
Video Input
*9 You can determine the use of the VIDEO IN plug. ☞ [82]
Off
: Select if no component is connected. (Video input is
skipped while changing the display with DISP key.)
Video
: Select when connecting an AV component such as
VCR.
Camera
: Select when connecting a camera.
For
Camera
Interlock Off
: Cancels.
Reverse
: Automatically switch to the camera view when
the gear is shifted into reverse.*10
Low Speed
: Automatically switch to the camera view
when your car slows down.*11
Horizontal/
Vertical
Horizontal adjustment is required according to how you
would like to see the picture on the monitor. Vertical
adjustment is required according to how you have installed
your camera.
Horizontal: Normal Horizontal: Reverse
Vertical:
Normal
Vertical:
Reverse
Video Format
*12 Select the format of video input according to the colour
system of the component connected to the VIDEO IN
plug.
NTSC
,
PAL
*8 Not selectable when the component connected to the CD changer jack is selected as the source.
*9 Not selectable when “EXT-IN” is selected as the source.
*10 Reverse lamp lead connection is required. (
☞
Installation/Connection Manual)
*11 Speed signal lead connection is required. (
☞
Installation/Connection Manual)
*12 Not selectable when Video Input is set to Off.
KDNX5000_E_en_rev.indb 94KDNX5000_E_en_rev.indb 94 30/3/07 2:02:49 pm30/3/07 2:02:49 pm

95
Menu items Selectable settings
(Initial setting)
Setup
]
Others
Beep Off
: Cancels.
On
: Activates the key-touch tone.
Telephone Muting
You can mute the sound of the System (AV source sounds
and voice guidance) while you talk on the mobile phone.
Off
: Cancels.
Muting1
,
Muting2
: Select either one which mute the
sounds while using the mobile phone.*13
Reverse Polarization
Select either of the two which indicates your gear direction
correctly.
GND
,
Battery
Connection
*14 You can check the connection status.
EQ
Flat, Hard Rock, R&B, Pop, Jazz, Dance Music,
Country, Reggae, Classic, User 1, User 2,
User 3
☞ [98]
Sound
Fader/Balance
Adjust fader—speaker output balance between the front
and rear speakers. (
00
)
F06
: front only
R06
: rear only
• When using a two-speaker system, set the fader to the
centre (
00
).
Adjust balance—speaker output balance between the left
and right speakers. (
00
)
L06
: left only
R06
: right only
Volume Adjust
Adjust and store auto-adjustment volume level for each
source, comparing to the FM volume level. The volume
level will automatically increase or decrease when you
change the source.
–12
to
+12
(
00
)
Subwoofer
Adjust the settings below in the submenu:
•
Phase
: Subwoofer phase. Select either
Normal
or
Reverse
, which reproduces a better sound.
•
Level
: Subwoofer output level.
00
to
08
(
04
)
Fader/Balance
Exit
F02
L02
AV Menu items
*13 The TEL MUTING lead connection is required. (
☞
Installation/Connection Manual)
*14 This shows the same information as Connection in the Information Menu (
☞ [43]
).
KDNX5000_E_en_rev.indb 95KDNX5000_E_en_rev.indb 95 30/3/07 2:02:50 pm30/3/07 2:02:50 pm

ENGLISH
96
Menu items Selectable settings
(Initial setting)
Sound
High Pass Filter Through
: Select when the subwoofer is not connected.
On
: Select when the subwoofer is connected.
Crossover
Adjust the crossover frequency between the front/rear
speakers and the subwoofer.
55 Hz, 85 Hz, 125 Hz
Amplifier Gain
You can change the maximum volume level of this
receiver.
Amplifier Off
: Deactivates the built-in amplifier.
Low Power
: Volume 00 to 30 (Select this if the maximum
power of the speakers is less than 50 W)
High Power
: Volume 00 to 50
Screen Control/
Picture [Disc]/
Picture [Video]
You can adjust the monitor to make it clear and legible.
• While picture from VIDEO IN is displayed, you can
adjust the playback picture of VIDEO IN (
Picture
[Video]
).
• While DISC is selected as the source and playback
picture is displayed, you can adjust the playback picture
of DISC (
Picture [Disc]
).
• For other screens than above,
Screen Control
appears.*15
Bright
*16: Adjust if the picture is too bright or too dark.
–15
to
+15
(
00
)
Color Temp.
: Adjust the colour temperature of the
picture—warmer or cooler.
–15
to
+15
(
00
)
Contrast
: Adjust the contrast.
–15
to
+15
(
00
)
Tint
: Adjust the tint if the human skin colour is unnatural.
–15
to
+15
(
00
)
•
Tint
is adjustable only for VIDEO IN signal in NTSC
and discs in NTSC.
*15 The settings of Screen Control are also applied to the map screen and screens of Navigation Menus.
*16 This setting in Screen Control is shared with Brightness setting in Setup Menu (
☞
[44]).
Screen Control
Exit
+03
Bright
KDNX5000_E_en_rev.indb 96KDNX5000_E_en_rev.indb 96 30/3/07 2:02:51 pm30/3/07 2:02:51 pm

97
Menu items Selectable settings
(Initial setting)
Aspect [Disc]/
Aspect [Video]
You can change the aspect ratio of the picture.
Aspect ratio of incoming signal
4:3 16:9
Full
:
For 16:9 original
pictures
Regular
:
For 4:3 original
pictures
Auto
:• For “DISC”: Aspect ratio is
automatically selected to match
to the incoming signals.
• For the other video sources:
Aspect ratio is fixed to
Full
.
Mode
*17
Mono
Only for FM. (
Off
,
On
) ☞ [53]
DX / Local
Only for FM. (
DX
,
Local
) ☞ [53]
SSM
Only for FM. ☞ [52]
PTY Standby
Only for FM/DAB. ☞ [55, 58]
D.(Dynamic) Range
Control
Only for DAB. (
Off
,
DRC1
,
DRC2
,
DRC3
) ☞ [58]
Announce Standby
Only for DAB. ☞ [58]
Intro/Repeat/Random
Only for disc playback, music server, CD changer and
iPod/D. player. ☞ [64, 71, 78, 80]
List
The accessible lists differ depending on the sources.
Record
To record audio CDs into the music server. ☞ [72, 73]
Copy
To copy music files into the music server. ☞ [74]
Edit
To edit the tracks in the music server. ☞ [75]
Title Entry
☞ [75, 81]
AV Menu items
*17 For the menu items in Mode for Bluetooth Audio,
☞ [88, 89]
.
KDNX5000_E_en_rev.indb 97KDNX5000_E_en_rev.indb 97 30/3/07 2:02:51 pm30/3/07 2:02:51 pm

ENGLISH
98
Storing your own adjustment
You can store your adjustment into
User 1
,
User 2
, and
User 3
.
1 Repeat steps 1 and 2 above, then
in step 3...
2 Adjust.
3 Store the setting into
User 1
,
User 2
or
User 3
.
Selecting an equalizer type
1
2
AV Menu
]
EQ
3 Select an equalizer type.
Preset equalizing values
Equalizer type 60
Hz
150
Hz
400
Hz
1
kHz
2.4
kHz
6
kHz
12
kHz
Flat
00 00 00 00 00 00 00
Hard Rock
+03 +03 +01 00 00 +02 +01
R&B
+03 +02 +02 00 +01 +01 +03
Pop
00 +02 00 00 +01 +01 +02
Jazz
+03 +02 +01 +01 +01 +03 +02
Dance Music
+04 +02 00 –02 –01 +01 +01
Country
+02 +01 00 00 00 +01 +02
Reggae
+03 00 00 +01 +02 +02 +03
Classic
+02 +03 +01 00 00 +02 00
User 1/2/3
00 00 00 00 00 00 00
Sound equalization
Store
Frequency
Settings
EQ - Flat
60 Hz
00
EQ 1/3
Flat
Hard Rock
R&B
Pop
Jazz
Exit
EQ - Store To
User 1
User 2
User 3
Store
Select the frequency.
Adjust the level.
KDNX5000_E_en_rev.indb 98KDNX5000_E_en_rev.indb 98 30/3/07 2:02:53 pm30/3/07 2:02:53 pm

99Sound equalization / Additional information
Additional Information
General
• There is a time limit for some operations.
In this case, if no further operation is done
for a certain period, the current operation is
canceled.
• By pressing SRC or MAP on the unit, you
can also turn on the power. The map screen
is displayed at turn-on if you press MAP, and
an AV screen if you press SRC. If the source is
ready, playback starts.
• You cannot select some sources if they are not
ready.
– DAB/CD-CH/iPod/D. PLAYER: cannot
be selected without connecting the target
source component.
– DISC: cannot be selected if a disc is not in
the loading slot.
– EXT-IN: cannot be selected without
selecting
Ext Input
for the
External
Input
setting. (☞ [94])
– Bluetooth Audio: cannot be selected if a
Bluetooth adapter is not connected.
• If you turn off the power while DISC is
selected as the source, disc play will start
automatically next time you turn on the
power.
• The voltage and the speed on the vehicle
information screen may be different from the
actual values.
Listening to the radio
Storing stations in memory
• When SSM is over, all previously stored
stations are erased and stations are stored
newly.
• When SSM is over, received stations are
preset in No. 1 (lowest frequency) to No. 6
(highest frequency), and preset station No. 1
is tuned in.
• When storing a station manually, a previously
preset station is erased when a new station is
stored in the same preset number.
RDS operations
• TA Standby Reception and PTY Standby
Reception will be cancelled temporarily in the
following cases:
– While recording a CD into the HDD.
– While copying the disc contents into the
HDD.
– While editing the HDD contents.
• If you want to know more about RDS, visit
<http://www.rds.org.uk>.
DAB operations
• Only the primary DAB service can be preset
even when you store a secondary service.
Disc operations
General
• In this manual, words “track” and “file” are
interchangeably used.
• This unit can also play back 8 cm discs.
• This unit can only play back audio CD
(CD-DA) files if different type of files are
recorded in the same disc.
• On some discs, the actual operations may
be different from what is explained in this
manual.
• This unit can display only one-byte
characters. No other characters can be
correctly displayed.
• Reverse search stops automatically when it
reaches the beginning of the disc. Playback
resumes at normal speed.
• No sound comes out during slow motion
playback. When playing a VCD, reverse slow
motion playback is prohibited.
• When playing a DVD/VCD, no sound comes
out during Search.
• For some DVDs and VCDs, changing the
subtitle language, audio language (or audio
channel) without using the disc menu is
prohibited.
KDNX5000_E_en_rev.indb 99KDNX5000_E_en_rev.indb 99 30/3/07 2:02:54 pm30/3/07 2:02:54 pm

ENGLISH
100
• For DVD-R/DVD-RW: This receiver can
play only discs recorded in the DVD-Video
format. (Discs recorded in the DVD-VR
format cannot be played.)
• DVD-RWs or CD-RWs may require a longer
readout time since the reflectance of DVD-
RW and CD-RW is lower than that of regular
discs.
• Do not use discs on which labels can be
directly printed by an ink jet printer. Using
these discs under high temperatures or high
humidity may cause malfunctions or damages
to discs.
Playing DivX files
• This unit can play back DivX files with
the extension code <.divx>, <.div>, <.avi>
(regardless of the letter case—upper/lower).
• This unit supports the DivX files whose
resolution is 720 x 576 pixels or less.
• This unit supports DivX 6.x, 5.x, 4.x, and 3.11.
• Audio stream should conform to MP3 or
Dolby Digital.
• This unit does not support GMC (Global
Motion Compression).
• The file encoded in the interlaced scanning
mode may not be played back correctly.
• This unit can display a unique registration
code—DivX Video On Demand (DRM—
Digital Rights Management). For activation
and more detail, visit <www.divx.com/vod>.
Inserting a disc
• When a disc is inserted upside down,
Disc
Error
appears on the monitor. Eject the disc.
Ejecting a disc
• If the ejected disc is not removed within
15 seconds, the disc is automatically inserted
again into the loading slot to protect it from
dust.
• If the control panel is left open for a while, it
closes automatically.
Changing the source
• If you change the source, playback also stops
without ejecting the disc.
Next time you select “DISC” for the playback
source, disc play starts from where it has been
stopped previously.
• When a disc has been loaded, selecting
“DISC” for the playback source starts disc
play.
Playing Recordable/Rewritable discs
• This unit can recognize a total of 3 500 files
and 250 folders (a maximum of 999 files per
folder).
• If no playable files are recorded in a folder, the
folder will not be recognized.
• Use only “finalized” discs.
• This unit can play back multi-session discs;
however, unclosed sessions will be skipped
while playing.
• This unit may be unable to play back some
discs or files due to their characteristics or
recording conditions.
• This unit can recognize a total 25 characters
for file/folder names.
KDNX5000_E_en_rev.indb 100KDNX5000_E_en_rev.indb 100 30/3/07 2:02:55 pm30/3/07 2:02:55 pm

101Additional information
On-screen guide icons
During play, the following guide icons may
appear for a while on the monitor.
Appears at the beginning of a scene
containing multi-subtitle languages
(for DVD only).
Appears at the beginning of a scene
containing multi-audio languages (for
DVD only).
Appears at the beginning of a scene
containing multi-angle views (for DVD
only).
Playback
Pause
Forward slow motion playback (for
DVD and VCD only)
Reverse slow motion playback (for
DVD only)
Forward search
Reverse search
Playing MPEG files
• This unit can play back MPEG files with the
extension code <.mpg> or <.mpeg>.
• The stream format should conform to MPEG
system/program stream.
• The file format should be MP@ML (Main
Profile at Main Level)/SP@ML (Simple Profile
at Main Level)/MP@LL (Main Profile at Low
Level).
• Audio streams should conform to MPEG1
Audio Layer-2.
Playing JPEG files
• It is recommended that you record a file at
640 x 480 resolution.
• This unit can play back baseline JPEG files.
Progressive JPEG files or lossless JPEG files
cannot be played.
Playing MP3/WMA/WAV files
• This unit can play back files with the
extension code <.mp3>, <.wma>, or <.wav>
(regardless of the letter case—upper/lower).
• This unit can show ID3 Tag Version
1.0/1.1/2.2/2.3/2.4 (for MP3). This unit can
also show WAV Tag and WMA Tag.
• This unit can play back the files meeting the
conditions below:
– Bit rate: MP3/WMA: 32 kbps - 320 kbps
– Sampling frequency:
48 kHz, 44.1 kHz, 32 kHz (for MPEG1)
24 kHz, 22.05 kHz, 16 kHz (for MPEG2)
48 kHz, 44.1 kHz, 32 kHz (for WMA)
44.1 kHz (for WAV)
– Disc format: ISO 9660 Level 1/ Level 2,
Romeo, Joliet, Windows long file name
• This unit can play back files recorded in VBR
(variable bit rate).
Files recorded in VBR have a discrepancy in
elapsed time indication.
• This unit cannot play back the following files
and skips them when playing back files:
– MP3 files encoded with MP3i and
MP3 PRO format.
– MP3 files encoded in an unappropriated
format.
– MP3 files encoded with Layer 1/2.
– WMA files encoded with lossless,
professional, and voice format.
– WMA files which are not based upon
Windows Media® Audio.
– WMA DRM (Digital Rights
Management).
– Files which have the data such as AIFF,
ATRAC3, etc.
– WMA files encoded with MBR (Multiple
Bit Rate) format.
– AAC files.
– OGG files.
KDNX5000_E_en_rev.indb 101KDNX5000_E_en_rev.indb 101 30/3/07 2:02:56 pm30/3/07 2:02:56 pm

ENGLISH
102
Music server operations
• Sound quality may deteriorate if you select
Normal Quality
for recording mode.
• While recording, recorded sounds are
reproduced from the speakers. When
recording is stopped, CD original sounds are
reproduced.
• You cannot change the source while recording
or copying tracks.
• This system uses SCMS (Serial Copy
Management System) which allows only
first-generation digital copies to be made of
premastered software such as regular CDs. If
you try to record from a duplicated CD-R/
-RW,
SCMS Cannot Copy
may appear on
the display then recording will be cancelled.
• Text data in the CD Text cannot be recorded
into the HDD.
• Play time indication may advance unstably
on the monitor while recording. This is not a
malfunction of this unit.
• You cannot edit the Tag data of tracks in the
HDD.
• While the System is moving, rearranging or
deleting items in the library, no sound comes
out, and you cannot change the playback
source.
• When you move, rearrange or delete items in
the llibrary, the playback mode is canceled.
Control screen
• The following control screens appear only
on the external monitor.
DivX/MPEG/JPEG/MP3/WMA/WAV
1
Current folder (highlighted bar)
2
Current folder number/total folder number
3
Folder list
4
Selected playback mode
5
Elapsed playing time of the current track (not
displayed for JPEG)
6
Operation status
7
Current track number/total number of tracks
in the current folder (total number of tracks
on the disc)
8
Track information (only for MP3/WMA/WAV)
9
Track list
p
Current track (highlighted)
TIME 00:14
Tra ck : 6 / 14
Track Information
Cloudy
Fair
Fog
Hail
Indian summer
Rain
Shower
Snow
Thunder
Typhoon
Wind
Winter sky
Album
Four seasons
Artist
Robert M. Smith
Title
Rain
T. RPT
Folder : 2 / 3
TIME 00:00:14T. RPT
Track : 6 / 14 (Total 41)
01 Music
02 Music
03 Music
Track Information
Cloudy.mp3
Fair.mp3
Fog.mp3
Hail.wma
Indian summer.mp3
Rain.mp3
Shower.mp3
Snow.mp3
Thunder.wma
Typhoon.mp3
Wind.mp3
Winter sky.mp3
Album
Weather
Artist
Robert M. Smith
Title
Rain
CD
1
Selected playback mode
2
Elapsed playing time of the current track
3
Operation status
4
Current track number/total number of tracks
on the disc
5
Track information
6
Track list
7
Current track (highlighted bar)
KDNX5000_E_en_rev.indb 102KDNX5000_E_en_rev.indb 102 30/3/07 2:02:57 pm30/3/07 2:02:57 pm

103
iPod/D. player operations
• When you turn on this unit, the iPod or
D. player is charged through this unit.
• The text information may not be displayed
correctly. This unit can display up to 40
characters.
• The items in the player’s top menu are as
follows:
For iPod:
Playlists Ô Artists Ô Albums Ô Songs
Ô Genres Ô Composers Ô (back to
the beginning)
For D. player:
Playlist Ô Artist Ô Album Ô Genre
Ô Track Ô (back to the beginning)
Notice:
When operating an iPod or a D. player, some
operations may not be performed correctly
or as intended. In this case, visit the following
JVC web site:
For iPod users: <http://www.jvc.co.jp/
english/car/support/ks-pd100/index.html>
For D. player users: <http://www.jvc.co.jp/
english/car/support/ks-pd500/index.html>
Additional information
Using Bluetooth devices
General
• While driving, do not perform complicated
operation such as dialing the numbers, using
phone book, etc. When you perform these
operations, stop your car in a safe place.
• Some Bluetooth devices may not be connected
to this unit depending on the Bluetooth
version of the device.
• This unit may not work for some Bluetooth
devices.
• Connecting condition may vary depending on
circumstances around you.
• When the unit is turned off, the device is
disconnected.
Icons for phone types
• These icons indicate the phone type set on the
device.
: Mobile phone
: Household phone
: Office
: General
: Other than above
Warning messages for Bluetooth operations
•
Connection Error
: The device is registered
but the connection has failed. Use
Connect
to connect the device again. (☞ [85])
•
Error
: Try the operation again. If
Error
appears again, check if the device supports the
function you have tried.
•
Device Unfound
: No available Bluetooth
device is detected by
Search
.
•
Loading
: The unit is updating the phone
book and/or a text message.
•
Please Wait...
: The unit is preparing to
use the Bluetooth function. If the message
does not disappear, turn off and turn on the
unit, then connect the device again (or reset
the unit).
•
Reset 08
: Check the connection between
the adapter and this unit.
KDNX5000_E_en_rev.indb 103KDNX5000_E_en_rev.indb 103 30/3/07 2:02:58 pm30/3/07 2:02:58 pm

ENGLISH
104
AV Menu items
• If you change the
Amplifier Gain
setting
from
High Power
to
Low Power
while the
volume level is set higher than
30
, the unit
automatically changes the volume level to
Volume 30
.
• After you change any of
Menu Language
/
Audio Language
/
Subtitle
settings, turn
off then on the power, and re-insert the disc
(or insert another disc) so that your setting
takes effect.
• When the language you have selected is not
recorded on a disc, the original language is
automatically used as the initial language. In
addition, for some discs, the initial languages
settings will not work as you set due to their
internal disc programming.
• When you select
16:9
for a picture whose
aspect ratio is 4:3, the picture slightly changes
due to the process for converting the picture
width.
• Even if
4:3 Pan Scan
is selected, the screen
size may become
4:3 Letter Box
for some
discs.
• When you change the
DAB AF
setting from
Off
to
On
, the
AF Regional
setting changes
to
AF
if it has been set to
Off
.
Language codes (for DVD/DivX language selection)
Code Language Code Language Code Language Code Language Code Language
AA
Afar
FA
Persian
KL
Greenlandic
OC
Occitan
ST
Sesotho
AB
Abkhazian
FI
Finnish
KM
Cambodian
OM
(Afan) Oromo
SU
Sundanese
AF
Afrikaans
FJ
Fiji
KN
Kannada
OR
Oriya
SW
Swahili
AM
Ameharic
FO
Faroese
KO
Korean (KOR)
PA
Panjabi
TA
Tamil
AR
Arabic
FY
Frisian
KS
Kashmiri
PL
Polish
TE
Telugu
AS
Assamese
GA
Irish
KU
Kurdish
PS
Pashto, Pushto
TG
Tajik
AY
Aymara
GD
Scots Gaelic
KY
Kirghiz
PT
Portuguese
TH
Thai
AZ
Azerbaijani
GL
Galician
LA
Latin
QU
Quechua
TI
Tigrinya
BA
Bashkir
GN
Guarani
LN
Lingala
RM
Rhaeto-Romance
TK
Turkmen
BE
Byelorussian
GU
Gujarati
LO
Laothian
RN
Kirundi
TL
Tagalog
BG
Bulgarian
HA
Hausa
LT
Lithuanian
RO
Rumanian
TN
Setswana
BH
Bihari
HI
Hindi
LV
Latvian, Lettish
RW
Kinyarwanda
TO
Tonga
BI
Bislama
HR
Croatian
MG
Malagasy
SA
Sanskrit
TR
Turkish
BN
Bengali, Bangla
HU
Hungarian
MI
Maori
SD
Sindhi
TS
Tsonga
BO
Tibetan
HY
Armenian
MK
Macedonian
SG
Sangho
TT
Tatar
BR
Breton
IA
Interlingua
ML
Malayalam
SH
Serbo-Croatian
TW
Twi
CA
Catalan
IE
Interlingue
MN
Mongolian
SI
Singhalese
UK
Ukrainian
CO
Corsican
IK
Inupiak
MO
Moldavian
SK
Slovak
UR
Urdu
CS
Czech
IN
Indonesian
MR
Marathi
SL
Slovenian
UZ
Uzbek
CY
Welsh
IS
Icelandic
MS
Malay (MAY)
SM
Samoan
VI
Vietnamese
DZ
Bhutani
IW
Hebrew
MT
Maltese
SN
Shona
VO
Volapuk
EL
Greek
JI
Yiddish
MY
Burmese
SO
Somali
WO
Wolof
EO
Esperanto
JW
Javanese
NA
Nauru
SQ
Albanian
XH
Xhosa
ET
Estonian
KA
Georgian
NE
Nepali
SR
Serbian
YO
Yoruba
EU
Basque
KK
Kazakh
NO
Norwegian
SS
Siswati
ZU
Zulu
KDNX5000_E_en_rev.indb 104KDNX5000_E_en_rev.indb 104 30/3/07 2:02:59 pm30/3/07 2:02:59 pm

105
- Input Genre Name -
More Store
Characters available for word entry
In addition to the roman alphabet (A – Z, a – z),
the following characters can be used to input
various information.
Select a character on the
keyboard
Enter the selected character
Inputting characters
Ex.:
Display other keyboardsEnter a space
Delete a character
To display other keyboards
• Each time you press the button, the
keyboard changes cyclically. By pressing
and holding the button, you can change
the keyboards in the reverse direction.
To delete all the characters
Select
Del
and hold ENT.
• While driving at a speed greater than 10 km/
h, operations of inputting are prohibited.
Additional information
Checkbox operations
Ex.:
To select an item in the list
• Each time you press ENT, the checkbox
alternates between checked (selected) and
not checked (not selected).
To select all the items in the list
Select
Select All
and press ENT.
• When you have selected all the items, the
top item in the list changes to
Deselect
All
. To remove all the item from
selection, select
Deselect All
and press
ENT.
Select Track 1/3
Select All
Track 1
Track 2
Track 3
Track 4
Check
Move the cursor
space
Del
KDNX5000_E_en_rev.indb 105KDNX5000_E_en_rev.indb 105 30/3/07 2:03:00 pm30/3/07 2:03:00 pm

ENGLISH
106106
About sounds reproduced through the rear terminals
• Through the analog terminals (Speaker out/LINE OUT):
2-channel signal is emitted. When playing a multi-channel encoded disc, multi-channel signals are
downmixed. (☞ [92]
Down Mix
.)
• Through DIGITAL OUT (optical):
Digital signals (Linear PCM, Dolby Digital, DTS, MPEG Audio) are emitted through this terminal.
To reproduce multi-channel sounds such as Dolby Digital, DTS, and MPEG Audio, connect an
amplifier or a decoder compatible with these multi-channel sources to this terminal, and set
D.
Audio Output
correctly. (☞ below.)
Output signals through the DIGITAL OUT terminal
Output signals are different depending on the
D. Audio Output
setting (☞ [92]).
D. Audio Output
PCM Only Dolby Digital/
PCM Stream/PCM
Playback disc
DVD
Video
48 kHz, 16/20/24 bits
Linear PCM 48 kHz, 16 bits stereo Linear PCM*
96 kHz, Linear PCM 48 kHz, 16 bits stereo Linear PCM
with Dolby Digital 48 kHz, 16 bits stereo
Linear PCM Dolby Digital bitstream
with DTS 48 kHz, 16 bits stereo Linear PCM DTS bitstream
with MPEG Audio 48 kHz, 16 bits stereo Linear PCM MPEG bitstream
DVD
Audio
44.1/88.2/176.4 kHz,
16/20/24 bits Linear
PCM
44.1 kHz, 16 bits stereo Linear PCM
48/96/192 kHz,
16/20/24 bits Linear
PCM
48 kHz, 16 bits stereo Linear PCM
with Dolby Digital 48 kHz, 16 bits stereo
Linear PCM Dolby Digital bitstream
with DTS 48 kHz, 16 bits stereo Linear PCM DTS bitstream
Audio CD, Video CD
44.1 kHz, 16 bits stereo Linear PCM
48 kHz, 16 bits stereo Linear PCM
Audio CD with DTS
48 kHz, 16 bits stereo Linear PCM DTS bitstream
DivX
with Dolby Digital 48 kHz, 16 bits stereo
Linear PCM Dolby Digital bitstream
with MPEG Audio 32/44.1/48 kHz, 16 bits Linear PCM
MPEG
44.1/48 kHz, 16 bits Linear PCM
MP3/WMA
32/44.1/48 kHz, 16 bits Linear PCM
WAV
44.1 kHz, 16 bits stereo Linear PCM
* While playing some DVDs, digital signals may be emitted at 20 bits or 24 bits (at their original bit rate) through the
DIGITAL OUT terminal if the discs are not copy-protected.
KDNX5000_E_en_rev.indb 106KDNX5000_E_en_rev.indb 106 30/3/07 2:03:01 pm30/3/07 2:03:01 pm

107
Information
108 Maintenance
109 Troubleshooting
117 Specifications
KDNX5000_E_en_rev.indb 107KDNX5000_E_en_rev.indb 107 30/3/07 2:03:02 pm30/3/07 2:03:02 pm

ENGLISH
108
Do not use the following discs:
How to handle discs
When removing a disc from its
case, press down the centre holder
of the case and lift the disc out,
holding it by the edges.
• Always hold the disc by the
edges. Do not touch its recording surface.
When storing a disc into its case, gently insert
the disc around the centre holder (with the
printed surface facing up).
• Make sure to store discs into the cases after
use.
To keep discs clean
A dirty disc may not play correctly.
If a disc does become dirty, wipe it
with a soft cloth in a straight line
from centre to edge.
• Do not use any solvent (for
example, conventional record cleaner, spray,
thinner, benzine, etc.) to clean discs.
To play new discs
New discs may have some rough
spots around the inner and outer
edges. If such a disc is used, this
unit may reject the disc.
To remove these rough spots, rub
the edges with a pencil or ball-point pen, etc.
Maintenance
Moisture condensation
Moisture may condense on the lens inside the
DVD/CD player in the following cases:
• After starting the heater in the car.
• If it becomes very humid inside the car.
Should this occur, the DVD/CD player may
malfunction. In this case, eject the disc and
leave the unit turned on for a few hours until
the moisture evaporates.
To clean the unit
When the unit is very dirty, wipe with a
well-wrung cloth dipped in a kitchen cleanser
(neutral) thinned by water and then go over the
same surface with a dry cloth.
(Since there is the possibility of water drops
getting inside of the unit, do not directly apply
cleanser to the surface.)
Warped disc
Sticker
Stick-on label
Sticker residue
How to clean the connectors
Frequent detachment will deteriorate the
connectors.
To minimize this possibility, periodically wipe
the connectors with a cotton swab or cloth
moistened with alcohol, being careful not to
damage the connectors.
Connectors
Centre
holder
KDNX5000_E_en_rev.indb 108KDNX5000_E_en_rev.indb 108 30/3/07 2:03:02 pm30/3/07 2:03:02 pm

109
Troubleshooting
What appears to be trouble is not always serious. Check the following points before calling a service
centre.
Symptoms Causes/Remedies
General
•
Parking Brake
appears on the
monitor.
Some operations are prohibited without the
parking brake engaged. Park the car in a safe place
before the operations.
• Sound cannot be heard from the
speakers.
• Adjust the volume to the optimum level.
• Check the cords and connections.
• The monitor is not clear and legible for
watching the playback picture or the
map.
Sunshine from the windscreen may cause this
symptom. Adjust
Bright
and
Contrast
of
Screen Control
. (☞ [96]).
•
Low Temperature
/
HDD Warming
Up
appears and some functions do not
work properly.
The internal temperature is too low. Leave the
power on, and wait until the internal temperature
rises and the indication goes off.
•
Push Reset
appears on the display,
and the control panel movement is
freezed.
Something is blocking the control panel
movement. Remove the obstacle, then reset the
unit (☞ [4]).
• If this does not work, check if the installation
has been correctly done.
• The unit does not work at all. Reset the unit (☞ [4]).
Navigation
• Cannot operate some functions of an
AV source on the map screen.
On the map screen, you can operate only some
limited functions of the current source. Press SRC
to display the AV screen and operate the source.
• Cannot operate AV sources with the
remote controller on the map screen.
On the map screen, 4¢5∞ keys of the
remote controller always works for scrolling the
map.
• Route calculation seems to have
stopped.
Route calculation may take long depending on the
route. Wait for a while.
• Navigation voice cannot be heard from
the speakers.
Guidance voice level is set to the minimum level.
Adjust it to the optimum level. (☞ [43])
• Voice guidance are not heard while
viewing an AV screen.
Interruption
is set to
Off
. Set it to
On
to allow
the voice guidance interrupt the AV source. (☞
[44])
• The voice guidance does not come out
from the speaker on the driver’s side.
Change the
Output Channel
setting. (☞ [43])
• Cannot scroll the map to northeast, etc. To scroll to northeast, you need to press 5 and
¢ at the same time.
Maintenance / Troubleshooting
KDNX5000_E_en_rev.indb 109KDNX5000_E_en_rev.indb 109 30/3/07 2:03:03 pm30/3/07 2:03:03 pm

ENGLISH
110
Symptoms Causes/Remedies
Navigation
• Navigation guidance is incorrect. Installation angle setting is not correct. Set it
correctly. (☞ [46])
• Navigation guidance is sometimes
incorrect.
Reversing signal/speed signal wires are not
connected. Connect them correctly (☞
Installation/Connection Manual—separate
volume).
• Navigation guidance is hard to listen to. Surround noise interferes. Increase the voice
cruise level. (☞ [44])
•
Route Calculation Error.
appears
on the monitor.
Failed to calculate the route. Select another
destination/via point.
•
City not found.
,
Street/Centre
not found.
,
Valid information not
found.
,
Coordinate information
not found.
or
Street not found.
appears on the monitor.
Valid information is not available in the database.
Search for another place.
• A POI found using
Category
in the
Destination
Menu is not within the
selected city/country.
This is not a malfunction. The system may also
search areas around the selected city/country.
•
The route name already exists.
appears on the monitor.
You tried to save a route in an existing name.
Select another name.
•
No space to store the new
route.
appears on the monitor.
Delete some routes and save the new one.
•
There are no valid traffic
information.
appears on the monitor.
No valid TMC information is available now.
• The current position displayed on the
map remains wrong for more than 30
minutes.
Check the connection information of the leads
below. (☞ [43]
Connection
)
– GPS antenna
– Speed signal lead
– Reverse gear signal lead
If any disconnection is found, connect the lead
again.
• If no problems are found with connections,
reset the calibration data. (☞ [46]
Reset
Calibration
)
FM/AM
• SSM automatic presetting does not
work.
Store stations manually (☞ [53]).
• Static noise while listening to the radio. Connect the aerial firmly.
KDNX5000_E_en_rev.indb 110KDNX5000_E_en_rev.indb 110 30/3/07 2:03:04 pm30/3/07 2:03:04 pm

111Troubleshooting
Symptoms Causes/Remedies
DAB tuner
•
No DAB Signal
appears on the
monitor.
Move to an area with stronger signals.
•
Reset 08
appears on the monitor. Connect this unit and the DAB tuner correctly,
then reset the unit (☞ [4]).
• The DAB tuner does not work at all. Reconnect this unit and the DAB tuner correctly.
Then, reset the unit (☞ [4]).
•
Antenna Power NG
appears on the
monitor.
Check the cords and connections.
Disc playback
• Disc can be neither recognized nor
played.
Eject the disc forcibly (☞ [4]).
• Disc cannot be ejected. Unlock the disc (☞ [65]).
• Recordable/Rewritable discs cannot be
played back.
• Tracks on the Recordable/Rewritable
discs cannot be skipped.
• Insert a finalized disc.
• Finalize the discs with the component which
you used for recording.
•
Not Support
appears on the monitor. The format of the disc is supported.
•
Disc Error
appears on the monitor. Insert the disc correctly again.
•
Eject Error
or
Loading Error
appears on the monitor.
The player may have malfunctioned. Eject the disc
forcibly.
• Sound and pictures are sometimes
interrupted or distorted.
• Stop playback while driving on rough roads.
• Change the disc.
• No playback picture appears on the
monitor.
Parking brake wire is not connected properly. (☞
Installation/Connection Manual.)
• No sound is heard while playing back a
DVD Audio.
Some DVD Audios prohibit downmixed output.
When you play back such a disc, the unit plays
back the right front and left front signals only.
•
Region Code Error
appears on the
monitor when you insert a DVD Video.
Region code is not correct (☞ [61]).
KDNX5000_E_en_rev.indb 111KDNX5000_E_en_rev.indb 111 30/3/07 2:03:05 pm30/3/07 2:03:05 pm

ENGLISH
112
Symptoms Causes/Remedies
MP3/WMA/WAV playback
• Disc cannot be played back. • Change the disc.
• Record the tracks using a compliant application
in the appropriate discs (☞ [61]).
• Add appropriate extension codes to the file
names.
• WMA track cannot be played back, and
skipped.
The track is copy-protected with DRM.
• Noise is generated. The track played back is not a playable file. Skip to
another file.
• Tracks are not played back as you have
intended.
Playback order may differ from the one played
back using other players.
• A longer readout time is required. Readout time varies due to the complexity of the
folder/file configuration. Do not use too many
hierarchies and folders.
• Elapsed playing time is not correct. This sometimes occurs during playback. This is
caused by how the tracks are recorded.
• Correct characters are not displayed
(e.g. album name).
This unit can only display alphabets (A – Z, a
– z), numbers, and a limited number of symbols
and some accented letters. Available characters ☞
[105]
•
No Files
appears on the monitor. Insert a disc that contains tracks of proper
formats.
KDNX5000_E_en_rev.indb 112KDNX5000_E_en_rev.indb 112 30/3/07 2:03:05 pm30/3/07 2:03:05 pm

113Troubleshooting
Symptoms Causes/Remedies
Music server
• Sound does not come out while
copying music files.
This is not a malfunction.
• Sound does not come out in the map
screen while recording a CD.
This is not a malfunction.
• Cannot change the source while
recording/copying.
This is not a malfunction. If you want to enjoy
another source, cancel recording/copying and
change the source.
• Edited track name is not displayed. Tag information instead of the track name is
displayed. Set
Tag Display
to
Off
to display the
track name. (☞ [91])
•
No Music
appears on the monitor. No track is stored in the HDD.
•
No Track
or
No Album
appears on
the monitor.
The selected item contains no tracks/albums.
Select another.
•
Cannot record tracks over.
or
Cannot copy tracks over.
appears
on the monitor.
The selected album is full. Select another album.
•
Record only xx/XX tracks.
or
Copy only xx/XX tracks.
appears
on the monitor.
The selected album cannot contain all the
tracks you wanted to record/copy. Press ENT to
continue recording/copying, or press BACK to
select another album.
•
Move only xx/XX tracks?
or
Move only xx/XX albums?
appears on the monitor.
The selected album/genre cannot contain all the
items you wanted to move. Press ENT to continue
moving the items, or press BACK to select
another album/genre.
•
HDD Full
,
Track Full
,
Album
Full
, or
Genre Full
appears on the
monitor.
The capacity of the target storage you have
selected is already full. Delete the unwanted items
in the target storage to make an enough space.
•
Write Error
/
Read Error
appears
and CD recording is canceled.
Recording is failed due to the external influences
such as vibration, shaking of the car. Try to record
once more while driving on a paved road. If the
trouble still persist, consult your dealer.
•
SCMS Cannot Copy
appears. You have tried to copy non-original disc. Copy its
original disc.
•
Not Supported
appears on the
monitor.
The format of the track is not supported.
•
Not Playable
appears on the
monitor.
The selected track does not exist in the HDD.
KDNX5000_E_en_rev.indb 113KDNX5000_E_en_rev.indb 113 30/3/07 2:03:06 pm30/3/07 2:03:06 pm

ENGLISH
114
Symptoms Causes/Remedies
CD changer
•
No Disc
appears on the monitor. • Insert a disc into the magazine.
• A disc is inserted upside down. Insert the disc
correctly.
•
No Magazine
appears on the
monitor.
Insert the magazine.
•
No Files
appears on the monitor. Disc does not include playable files. Replace the
disc with playable files.
•
Reset 08
appears on the monitor. Connect this unit and the CD changer correctly
and press the reset button of the CD changer.
•
Reset 01
–
Reset 07
appears on the
monitor.
Press the reset button of the CD changer.
• The CD changer does not work at all. Reset the unit (☞ [4]).
iPod/D. player playback
• The iPod or D. player does not turn on
or does not work.
• Check the connecting cable and its connection.
• Charge the battery.
• For D. player: Update the firmware version.
• The sound is distorted. Deactivate the equalizer either on this unit or the
iPod/D. player.
•
Disconnect
appears on the monitor. Check the connecting cable and its connection.
• For iPod: Playback stops. The headphones are disconnected during
playback. Restart playback.
• No sound can be heard when
connecting an iPod nano.
Disconnect the headphones from the iPod nano.
• No sound can be heard.
•
ERROR 01
appears on the monitor
when connecting a D. player.
Disconnect the adapter from the D. player. Then,
connect it again.
•
No Files
or
No Track
appears on
the monitor.
No tracks are stored. Import tracks to the iPod or
D. player.
•
Reset 01
–
Reset 07
appears on the
monitor.
Disconnect the adapter from both this unit and
iPod/D. player. Then, connect it again.
•
Reset 08
appears on the monitor. Check the connection between the adapter and
this unit.
• The iPod’s or D. player’s controls do
not work after disconnecting from this
unit.
Reset the iPod or D. player.
KDNX5000_E_en_rev.indb 114KDNX5000_E_en_rev.indb 114 30/3/07 2:03:06 pm30/3/07 2:03:06 pm

115Troubleshooting
* For Bluetooth operations, refer also to the instructions supplied with the Bluetooth Adapter.
Symptoms Causes/Remedies
Bluetooth*
• Bluetooth device does not detect the
unit.
This unit can be connected with one Bluetooth
mobile phone and one Bluetooth audio device at a
time. While connecting a device, this unit cannot
be detected from another device. Disconnect
currently connected device and search again.
• The unit does not detect the Bluetooth
device.
• Check the Bluetooth setting of the device.
• Search from the Bluetooth device. After the
device detects the unit, select
Open
on the unit
to connect the device. (☞ [84])
• The unit does not make pairing with
the Bluetooth device.
• Enter the same PIN code for both the unit and
target device.
• Select the device name from
Special Device
,
then try to connect again. (☞ [84])
• Echo or noise occurs. Adjust the microphone unit position.
• Phone sound quality is poor. • Place the Bluetooth audio device nearer to the
adapter.
• Move the car to place where you can get a better
signal reception.
• The sound is interrupted or skipped
during playback of a Bluetooth audio
device.
• Place the Bluetooth audio device nearer to the
adapter.
• Disconnect the device connected for “Bluetooth
Phone.”
• Turn off, then turn on the unit.
• (When the sound is not yet restored,) connect
the device again.
• The connected audio device cannot be
controlled.
Check whether the connected audio device
supports AVRCP (Audio Video Remote Control
Profile).
KDNX5000_E_en_rev.indb 115KDNX5000_E_en_rev.indb 115 30/3/07 2:03:07 pm30/3/07 2:03:07 pm

ENGLISH
116
Playback sources
Dolby Digital
Compressed digital audio, developed by
Dolby Laboratories, which enables multi-
channel encode to create the realistic
surround sound.
DTS
Compressed digital audio, developed by
Digital Theater Systems, Inc., which enables
multichannel like Dolby Digital. As the
compression ratio is lower than for Dolby
Digital, it provides wider dynamic range and
better separation.
Linear PCM
Uncompressed digital audio, the same format
used for CDs and most studio masters.
MPEG Audio
Another compressed digital audio which also
enables multi-channel encode to create the
realistic surround sound.
On-screen guide
While operating the built-in DVD/CD
player, operation modes are displayed on the
monitor. (☞ [102])
UDF-Bridge Format
A hybrid file system used to provide
compatibility with ISO 9660 for accessing
any type of files on the disc. (UDF stands for
Universal Disk Format.)
WMA
Windows Media Audio. A compression
process developed by Microsoft® for
compressing audio data (i.e. music).
Glossary
Navigation System
GPS
Global Positioning System. By receiving the
GPS signals from the satellites, the Navigation
System determines the position of the car.
POI
Points of Interest. You can select your
destinations by selecting from the
categories—such as business centres,
shopping centres.
TMC
Traffic Message Channel. Traffic messages
transmitted by some VHF broadcasters via
RDS signals. Using this data, the Navigation
System informs you of road conditions.
Via Point
A location through which you reach your final
destination. For this Navigation System, you
can determine nine locations through which
you can reach your final destination.
KDNX5000_E_en_rev.indb 116KDNX5000_E_en_rev.indb 116 30/3/07 2:03:08 pm30/3/07 2:03:08 pm

117Specifications
Specifications
Navigation System
System & Service
L1, C/A code
Global Positioning System
Standard Positioning Service
Reception System
15-channel multi-channel reception system
Reception Frequency
1 575.42 MHz
Sensitivity
–130 dBm
Update Rate
1/second, continuous
GPS Aerial
Polarization Right Handed Circular Polarization
Dimensions (approx.)
(W × H × D)
30.4 mm × 11.7 mm × 35.5 mm
Cable (approx.) 5.0 m
Attachment mat size
(approx.)
70 mm × 70 mm
Amplifier
Maximum Power Output
Front/Rear 50 W per channel
Continuous Power
Output (RMS)
Front/Rear 20 W per channel into 4 Ω, 40 Hz to
20 000 Hz at no more than 0.8% total
harmonic distortion
Load Impedance
4 Ω (4 Ω to 8 Ω allowance)
Equalizer Control Range
Frequencies 60 Hz, 150 Hz, 400 Hz, 1 kHz, 2.4 kHz,
6 kHz, 12 kHz
Level ±10 dB
Signal to Noise Ratio
70 dB
Audio output level
Line-Out Level/
Impedance
2.5 V/20 kΩ load (full scale)
Output Impedance 1 kΩ
Digital (DIGITAL OUT:
Optical)
Signal wave length 660 nm
Output level –21 dBm to –15 dBm
Colour system
NTSC
Video output (composite)
1 Vp-p/75 Ω
Video input (composite)
1 Vp-p/75 Ω
Other Terminals
Input VIDEO IN, steering wheel remote input
Output VIDEO OUT, LINE OUT (FRONT),
LINE OUT (REAR), SUBWOOFER OUT
Others CD changer
KDNX5000_E_en_rev.indb 117KDNX5000_E_en_rev.indb 117 30/3/07 2:03:08 pm30/3/07 2:03:08 pm

ENGLISH
118
Tuner
Frequency Range
FM 87.5 MHz to 108.0 MHz
AM (MW) 522 kHz to 1 620 kHz
(LW) 144 kHz to 279 kHz
FM Tuner
Usable Sensitivity 11.3 dBf (1.0 μV/75 Ω)
50 dB Quieting
Sensitivity
16.3 dBf (1.8 μV/75 Ω)
Alternate Channel
Selectivity (400 kHz)
65 dB
Frequency Response 40 Hz to 15 000 Hz
Stereo Separation 40 dB
Capture Ratio 1.5 dB
MW Tuner
Sensitivity 20 μV
Selectivity 65 dB
LW Tuner
Sensitivity 50 μV
DVD/CD Player
Signal Detection System
Non-contact optical pickup
(semiconductor laser)
Number of Channels
2 channels (stereo)
Frequency Response
DVD, fs=48 kHz/
96 kHz
16 Hz to 20 000 Hz
DVD, fs=192 kHz 16 Hz to 20 000 Hz
VCD/CD 16 Hz to 20 000 Hz
Dynamic Range
96 dB
Signal-to-Noise Ratio
98 dB
Wow and Flutter
Less than measurable limit
DivX Video
Max. Resolution 720 x 480 pixels (30 fps)
720 x 576 pixels (25 fps)
Audio
Bit Rate 32 Kbps – 320 Kbps
Sampling Frequency MPEG-1: 32 kHz, 44.1 kHz, 48 kHz
MPEG-2: 16 kHz, 22.05 kHz, 24 kHz
MPEG Video Video
Max. Resolution 720 x 480 pixels (30 fps)
720 x 576 pixels (25 fps)
Audio
Bit Rate 32 Kbps – 384 Kbps
Sampling Frequency 32 kHz, 44.1 kHz, 48 kHz
MP3 (MPEG Audio Layer 3)
Max. Bit Rate: 320 Kbps
WMA (Windows Media® Audio)
Max. Bit Rate: 320 Kbps
KDNX5000_E_en_rev.indb 118KDNX5000_E_en_rev.indb 118 30/3/07 2:03:09 pm30/3/07 2:03:09 pm

119Specifications
HDD
HDD
40 GB (Map data: 16 GB / Storage: 24 GB)
MP3 (MPEG Audio Layer 3)
Max. Bit Rate: 320 kbps
WMA (Windows Media® Audio)
Max. Bit Rate: 320 kbps
Monitor
Screen size
3.5 inch wide liquid crystal display
Number of Pixel
224 640 pixels: 320 (horizontal) × 3 × 234 (vertical)
Drive Method
TFT (Thin Film Transistor) active matrix format
Colour System
NTSC
Aspect Ratio
16:9 (wide)
General
Power Requirement
Operating Voltage DC 14.4 V (11 V to 16 V allowance)
Grounding System
Negative ground
Allowable Storage Temperature
–10°C to +60°C
Allowable Operating Temperature
0°C to +40°C
Allowable Operating Altitude
–300 m to +3 000 m
Dimensions (approx.)
(W × H × D)
Installation Size 182 mm × 52 mm × 158 mm
Panel Size 188 mm × 58 mm × 12 mm
Mass (approx.)
2.2 kg (excluding accessories)
Design and specifications are subject to change without notice.
• DivX, DivX Ultra Certified, and associated
logos are trademarks of DivX, inc. and are
used under license.
• Official DivX® Ultra Certified product
• Plays all versions of DivX® video (including
DivX® 6) with enhanced playback of DivX®
media files and the DivX® Media Format
• “DTS” is a registered trademark of DTS, Inc.
and “DTS 2.0 + Digital Out” is a trademark of
DTS, Inc.
• Microsoft and Windows Media are either
registered trademarks or trademarks of
Microsoft Corporation in the United States
and/or other countries.
• “DVD Logo” is a trademark of DVD Format/
Logo Licensing Corporation registered in the
US, Japan and other countries.
• Manufactured under license from Dolby
Laboratories. Dolby and the double-D symbol
are trademarks of Dolby Laboratories.
KDNX5000_E_en_rev.indb 119KDNX5000_E_en_rev.indb 119 30/3/07 2:03:10 pm30/3/07 2:03:10 pm

2
DEUTSCH
Warnung:
Wenn Sie den Receiver beim Fahren bedienen
müssen, dürfen Sie nicht den Blick von der
Straße nehmen, da sonst die Gefahr von
Verkehrsunfällen besteht.
Jedesmal, wenn Sie die Einheit einschalten,
erscheint das unten gezeigte Bildschirmbild.
Seien Sie beim Betrieb des Geräts vorsichtig
und sorgen Sie dafür, dass sicheres Fahren im
Straßenverkehr gewährleistet ist.
VORSICHT!
DER FAHRER MUSS FAHRENT-
SCHEIDUNGEN TREFFEN UND
AUF DEN STRASSENVERKEHR
ACHTEN! Die Sicherheitsan-
weisungen befinden sich in
der Bedienungsanleitung.
WICHTIG FÜR LASER-PRODUKTE
1. LASER-PRODUKT DER KLASSE 1
2. ACHTUNG: Die obere Abdeckung nicht öffnen. Das Gerät enthält keine Teile, die vom Benutzer
gewartet werden können. Wartungen nur von qualifziertem Fachpersonal durchführen lassen.
3. ACHTUNG: Sichtbare und/oder unsichtbare Laserstrahlung der Klasse 1M bei offenen
Abdeckungen. Nicht direkt mit optischen Instrumenten betrachten.
4. ANBRINGEN DES ETIKETTS: WARNHINWEIS-ETIKETT, AUSSEN AM GERÄT
ANGEBRACHT.
Wir danken Ihnen für den Kauf eines JVC Produkts.
Bitte lesen Sie die Anleitung vollständig durch, bevor Sie das Gerät in Betrieb nehmen,um
sicherzustellen, daß Sie alles vollständig verstehen und die bestmögliche Leistung des Geräts
erhalten.
Vorsicht:
Durch nicht von JVC genehmigte
Änderungen oder Modifikationen kann die
Befugnis des Benutzers zum Betrieb des
Geräts hinfällig werden.
Vorsicht:
Niemals versuchen, die auf dem
Festplattenlaufwerk (HDD) gespeicherten
Daten zu analysieren oder abzurufen.
Andernfalls wird die Garantie hinfällig und
Sie können sich strafbar machen.
Der Hersteller übernimmt keine Haftung für
jegliche Schäden, die sich aus dem Verhalten
wie oben beschrieben ergeben.
DE_KDNX5000[E].indb 2DE_KDNX5000[E].indb 2 07.4.4 2:12:32 PM07.4.4 2:12:32 PM

3
Wen n die Temperatur niedrig ist, kann
die Festplatte einige Zeit zum Hochfahren
erfordern, oder sie kann automatisch neu
hochfahren.
• Wählen Sie für das Gerät KEINESFALLS
einen Einbauort, wo folgendes gilt:
– die Handhabung von Lenkrad und
Schalthebel kann behindert werden.
– die Funktion von
Sicherheitseinrichtungen wie etwa
Airbags kann behindert werden.
– die Sicht kann behindert werden.
• NICHT das Gerät beim Fahren bedienen.
Wenn Sie das Gerät beim Fahren bedienen
müssen, dürfen Sie nicht den Blick von der
Straße nehmen.
• Der Fahrer darf während der Fahrt auf
keinen Fall auf den Monitor sehen.
• Ist die Feststellbremse nicht angezogen,
erscheint blinkend die Meldung
“
Handbremse
” auf dem Monitor und es
erfolgt keine Bildwiedergabe.
– Diese Warnung wird nur angezeigt,
wenn das Feststellbremskabel an
das in das Fahrzeug eingebaute
Feststellbremssystem angeschlossen ist
(siehe Einbau/Anschlußanleitung).
Festplattenlaufwerk (HDD)
Einbau
Dieses Gerät hat ein eingebautes
Festplattenlaufwerk, eine Vorrichtung die
winzige magnetische Signale von Datenträgern
liest. Im Inneren des Geräts befinden sich
Präzisionsbauteile, auf die Sie beim Einbau des
Geräts achten müssen:
Das Gerät an einer Stelle einbauen, wo die
folgenden Bedingungen erfüllt werden:
• Trocken und nicht zu heiß oder kalt —
zwischen 5°C und 35°C.
Wenn die Temperatur zu niedrig ist,
arbeitet das Festplattenlaufwerk nicht.
Warten Sie, bis sich die Temperatur im
Fahrzeug normalisiert hat, bevor Sie das
Gerät betreiben.
• In einer Höhenlage zwischen –300 m unter
dem Meeresspiegel und +3 000 m über dem
Meeresspiegel.
• Mit angemessener Lüftung, um Hitzestau im
Gerät zu vermeiden.
Vor der Verwendung der Festplatte
Während das Gerät eingeschaltet ist, dreht die
Festplatte ständig mit hoher Geschwindigkeit.
Deshalb müssen Sie auf Folgendes achten:
• NICHT Vibrationen oder Erschütterungen
aussetzen
• NICHT Objekte mit starkem Magnetismus
oder solche,die starke Magnetfelder erzeugen
(Mobiltelefone usw.) in die Nähe des Geräts
bringen.
• NICHT die Betriebsstromkabel von der
Autobatterie abtrennen, wenn das Gerät
eingeschaltet ist.
Wen n die obigen Vorsichtsmaßnahmen
missachtet werden, kann die Festplatte
beschädigt werden (die gespeicherten
Daten gehen verloren und können nicht
wiederhergestellt werden).
WARNUNGEN:
Um Unfälle und Schäden zu vermeiden
Aus Sicherheitsgründen wird eine
nummerierte ID-Karte mit diesem Receiver
mitgeliefert, und die gleiche ID-Nummer ist
auf dem Chassis des Receivers aufgedruckt.
Die Karte muss an sicherer Stelle aufbewahrt
werden, da sie den Behörden bei der
Identifikation des Receivers im Falle eines
Diebstahls helfen kann.
Das Gerät funktioniert nicht richtig wenn die
Geschwindigkeitssignalleitung nicht
angeschlossen ist (siehe Einbau/
Anschlußanleitung).
DE_KDNX5000[E].indb 3DE_KDNX5000[E].indb 3 07.4.4 2:12:45 PM07.4.4 2:12:45 PM

4
DEUTSCH
Anbringen/Abnehmen des Bedienfelds
Abnehmen
Anbringen
Zwangsweises Ausschieben einer Disc
Wenn eine Disc von der Einheit nicht erkannt
wird oder nicht ausgeschoben kann, können Sie
zwangsweisen Ausschub wie folgt ausführen.
Notfall-Auswurf
und
No Eject
(oder
Eject
OK
) erscheinen im Monitor.
Drücken Sie 5 / ∞ wiederholt, um
Notfall-
Auswurf
zu wählen, und drücken Sie dann
ENT.
• Wenn das nicht funktioniert, führen Sie einen
Reset am Gerät aus.
• Achten Sie darauf, die ausgeschobene Disc
nicht fallen zu lassen.
[Gedrückt halten]
Zurücksetzen des Geräts
• Ihre vorgegebenen
Einstellungen werden
ebenfalls gelöscht.
DE_KDNX5000[E].indb 4DE_KDNX5000[E].indb 4 07.4.4 2:12:46 PM07.4.4 2:12:46 PM

5
Benutzerinformationen zur Entsorgung alter
Geräte
Dieses Symbol zeigt an, dass das damit
gekennzeichnete Produkt nicht als normaler
Haushaltsabfall entsorgt werden soll. Wenn
Sie dieses Produkt entsorgen möchten, halten
Sie sich dabei bitte an die entsprechenden
Landesgesetze und andere Regelungen
in Ihrem Land bzw. Ihrer Gemeinde. Die
korrekte Entsorgung dieses Produkts dient
dem Umweltschutz und verhindert mögliche
Schäden für die Umwelt und die menschliche
Gesundheit.
Dieses Produkt beinhält urheberrechtlich
geschützte Technik mit dem Schutz von
U.S.-Patenten und anderen intellektuellen
Eigentumsrechten. Der Gebrauch dieser
urheberrechtlich geschützten Technik ist
durch Macrovision genehmigen zu lassen
und nur für den Heimgebrauch und die
Betrachtung in begrenztem Ausmaß
vorgesehen, soweit nicht ausdrücklich
von Macrovision genehmigt. Rückwärtige
Entwicklung oder Zerlegung ist verboten.
Für die Sicherheit...
• Die Lautstärke nicht zu laut stellen, da
dadurch Außengeräusche überdeckt und das
Autofahren gefährlich wird.
• Das Auto vor dem Durchführen von
komplizierten Bedienschritten anhalten.
Temperatur im Auto...
Wenn Sie das Auto für lange Zeit in heißem
oder kaltem Wetter parken, bitte warten, bis sich
die Temperatur im Auto sich normalisiert
hat, bevor Sie das Gerät einschalten.
Achtung bei der Lautstärkeeinstellung:
Discs erzeugen im Vergleich zu anderen
Tonträgern sehr wenig Rauschen. Senken Sie die
Lautstärke vor dem Abspielen einer Disc, um
Beschädigung der Lautsprecher durch plötzliche
Tonspitzen zu vermeiden.
• Das in diesem Receiver eingebaute
Displayfenster wurde mit hoher Präzision
hergestellt, aber es lässt sich nicht
ausschließen, dass fehlerhafte Bildpunkte
vorhanden sind. Dies ist unvermeidbar und
keine Fehlfunktion.
• Setzen Sie den Monitor keiner direkten
Sonneneinstrahlung aus.
Achtungshinweise am Monitor:
Sehr geehrter Kunde, sehr geehrte Kundin,
dieses Gerät stimmt mit den gültigen
europäischen Richtlinien und Normen
bezüglich elektromagnetischer Verträglichkeit
und elektrischer Sicherheit überein.
Die europäische Vertretung für die Victor
Company of Japan, Limited ist:
JVC Technology Centre Europe GmbH
Postfach 10 05 52
61145 Friedberg
Deutschland
Dieses Symbol ist nur in der
Europäischen Union gültig.
DE_KDNX5000[E].indb 5DE_KDNX5000[E].indb 5 07.4.4 2:12:46 PM07.4.4 2:12:46 PM

6
DEUTSCHDEUTSCH
8 Einleitung
Anfängliche Einstellungen
Grundlegende Bedienung
Teile-Index
Fernbedienung—RM-RK250
18 Navigationssystem
Grundlegende Bedienung
Registrieren Ihrer Zuhause-Position
Führung starten
Suchen nach einem Ort
So werden Sie geführt
Erstellen Ihrer Route
Registrieren von Favorit-Punkten
Verkehrsinformation auf Karte — TMC
Navigationsmenügegenstände
Inhalt
DE_KDNX5000[E].indb 6DE_KDNX5000[E].indb 6 07.4.4 2:12:47 PM07.4.4 2:12:47 PM

7
51 Radio
Rundfunkempfang
RDS-Bedienungen
DAB-Bedienungen
59 Disc und Festplatte
Disc-Bedienungen
Musik-Server-Bedienungen
CD-Wechsler-Bedienungen
79 Andere Funktionen
iPod/D. player-Bedienungen
Abspielen anderer externer Komponenten
Verwendung von Bluetooth®-Geräten
AV-Menügegenstände
Klang-Entzerrung
109 Störungssuche
117 Technische Daten
DE_KDNX5000[E].indb 7DE_KDNX5000[E].indb 7 07.4.4 2:12:48 PM07.4.4 2:12:48 PM

8
DEUTSCH
Anfängliche Einstellungen
Wenn Sie das Gerät zum ersten Mal einschalten, erscheint der anfängliche Setup-Bildschirm. Folgen
Sie den Angaben unten zur Vornahme der erforderlichen Einstellungen.
4
Polarität umkehren
Ziehen Sie die Feststellbremse, treten
Sie auf das Bremspedal, und stellen Sie
den Schalthebel um. Wenn
Normal
und
Reverse
abewchselnd im Display
erscheint, ist der Anschluss richtig.
Wählen Sie eine der Alternativen (
GND
oder
Batterie
), die die Gangposition
korrekt anzeigt.
Sie können diese Einstellungen
(ausgenommen
Vorführmodus
) bis
Setup
Menü und
AV Menü
wählen, wenn
erforderlich.
•
Sprache
☞ [46]
•
Installationswinkel
☞ [46]
•
Polarität umkehren
☞ [95]
Zurück zur vorherigen
Einstellung
Wählen Sie einen Gegenstand
Gehen Sie zur nächsten
Einstellung weiter
Das Gerät einschalten.
Passen Sie die folgenden
Einstellungen an.
Beenden Sie den Vorgang.
Language 1/2
Dansk
Deutsch
English UK
English US
Español
1
Sprache
Wählen Sie die Sprache für die Anzeige
und die Sprachführung.
2
Vorführmodus
Wählen Sie
Aus
.
• Wenn Sie
Ein
wählen, startet das
System im Navigationsdemonstrations
modus für Geschäfte. (☞ [47])
3
Installationswinkel
Wählen Sie den Winkel, in dem das
Gerät eingebaut ist. Diese Einstellung
ist zur präzisen Funktion des
Navigationssystems erforderlich.
• Siehe “Messung des Einbauwinkels” in
der Einbau/Anschlußanleitung.
DE_KDNX5000[E].indb 8DE_KDNX5000[E].indb 8 07.4.4 2:12:48 PM07.4.4 2:12:48 PM

9
Kalibrierung
Vor der ersten Verwendung des Navigationssystems muss das Navigationssystem kalibriert werden.
• Nach dem Löschen der Kalibrierungsdaten (☞ [46]
Kalibrier. zurücks.
) oder Ändern des
Einbauwinkels (☞ [46]
Installationswinkel
) ist Kalibrierung ebenfalls erforderlich.
1 Rufen Sie den Karten-Bildschirm auf.
2 Rufen Sie das Detail-Bildschirmbild auf und
prüfen Sie die Verbindungen.
GPS-Verbind.
•
OK
] Verbindung ist in Ordnung. (
[5]
: Anzahl der
GPS-Satelliten, deren Signal erkannt wird.)
•
NG
] Antenne ist abgetrennt oder kurzgeschlossen.
Speed Signal
Fahren Sie das Fahrzeug eine Zeit lang.
• Wenn die Zahlenanzeige bei Beschleunigung höher wird,
ist der Anschluss in Ordnung.
Handbremse
Treten Sie auf das Bremspedal und ziehen und lösen die
Feststellbremse wiederholt.
• Wenn
Aus
in gelöstem Zustand und
Ein
in gezogenem
Zustand erscheint, ist der Anschluss in Ordnung.
Wenn das Ergebnis nicht in Ordnung ist, prüfen Sie den Anschluss.
• Sie können Detailinformation über die Gegenstände
Sensorstatus
in
Information
]
Verbindung
sehen. (☞ [43])
3 Nach der Bestätigung der obigen Anschlüsse fahren Sie das
Fahrzeug zum Starten der Kalibrierung.
• Dieser Vorgang kann je nach durchschnittlicher Fahrtgeschwindigkeit fünf Minuten oder
länger dauern.
• Eine bestimmte Geschwindigkeit (über 40 km/h) ist zur Kalibrierung erforderlich.
• Die Kalibrierungszeit ist je nach Fahrzeug unterschiedlich.
• Während der Kalibrierung können Sie die AV-Funktionen der Einheit verwenden (Sie
können Musik hören usw.)
• Wenn Sie die Zündung ausschalten, wird Kalibrierung kurzzeitig gestoppt. Beim
Einschalten wird die Kalibrierung neu gestartet.
Wenn die Kalibrierung beendet ist, wechselt das Dreiecksspitzensymbol auf Rot um, und
die aktuelle Positionsinformation erscheint anstelle von
Kalibrierung...
.
Lernniveau
(Maximalpegel ist
4
) erreicht
1
wenn die Kalibrierung beendet ist.
Navigation (Funktionen wie Führung oder Routensimulation) kann nicht verwendet werden,
bevor die Kalibrierung beendet ist.
Anfängliche Einstellungen
[Gedrückt halten]
Kalibrierung... Detail
Sensorstatus
Lernniveau :0
GPS-Verbind. :OK [5]
Speed Signal :12.0
Handbremse :Aus
Richtung :Normal
Kalibrierung...
: Kalibrierung läuft
nicht.
: Kalibrierung läuft.
DE_KDNX5000[E].indb 9DE_KDNX5000[E].indb 9 07.4.4 2:12:49 PM07.4.4 2:12:49 PM

10
DEUTSCH
Setzen Sie das Gerät zurück.
• Nur verwenden, wenn eine
Fehlfunktion im internen
System auftritt.
Grundlegende Bedienung
Zum Einschalten der Stromversorgung
Zum Ausschalten
[Gedrückt halten]
Zum kurzzeitigen Senken der Lautstärke (ATT)
ATT-Anzeige blinkt.
Um die Lautstärke wieder anzuheben,
drücken Sie die gleiche Taste erneut.
Zum Einstellen der Lautstärke
Zum Ändern der Quelle
TUNER
=
DAB*
=
DISC*
=
HDD
=
CD-CH/
EXT-IN/iPod/D. PLAYER*
=
Bluetooth Audio*
=
(Zurück zum Anfang)
* Sie können diese Quellen nicht wählen, wenn diese
nicht bereit sind.
Zum Ausschalten der AV-Funktion
[Gedrückt halten]
Das Display schaltet auf den Karten-
Bildschirm um.
• Zum Aktivieren der AV-Funktion drücken
Sie die Taste kurz.
Für Navigationbedienungen
☞
[18]
.
Für Radiobedienungen
☞
[51]
.
Für Disc-/Festplatte-Bedienungen
☞
[59]
.
Für Bluetooth-Bedienungen
☞
[83]
.
Für andere Quellen
☞
[79]
.
DE_KDNX5000[E].indb 10DE_KDNX5000[E].indb 10 07.4.4 2:12:50 PM07.4.4 2:12:50 PM

11
Zum Umschalten zwischen Kartenbildschirm
und AV-Bildschirm
Sie können immer zwischen dem AV-
Bildschirm und dem Kartenbildschirm
umschalten.
Dieses Umschalten hat beeinträchtigt
nicht den Wiedergabeklang der Einheit
(ausgenommen bei Aufzeichnung einer
Audio-CD) und die Führungsfunktion des
Navigationssystems.
Grundlegende Bedienung
Zum Ändern der AV-Bildschirmanzeigen
Fahrzeuginformation
AV-Bildschirm 2
* Die Zahl und Inhalte der AV-Bildschirme ist je nach Quelle unterschiedlich.
** Erscheint nur, wenn Sie Video oder Kamera für die Einstellung Video-Eingang
(
☞
[94]
)
gewählt haben.
AV-Bildschirm 1 Videoeingang
(
☞
[82]
)
Wie der Winkel des Bedienfelds geändert wird
[Gedrückt halten]
Neigung 1
Neigung 2
Neigung 3
Neigung 4
Karten-Bildschirm
AV-Bildschirm
FM1 Classic
Sendername
92.5 MHz
Aktuelle Zeit
Die eingebaute Uhr wird automatisch
entsprechend empfangenen GPS-Signalen
eingestellt.
AV-Bildschirm
Abstand zum nächsten Abbiegen/
Abbiegen-Symbol
(Während die Führung nicht läuft:
Geschwindigkeit/Richtung) (
☞
[35]
)
Vorsicht: Stecken Sie keinen Finger hinter das Bedienfeld.
DE_KDNX5000[E].indb 11DE_KDNX5000[E].indb 11 07.4.4 2:12:51 PM07.4.4 2:12:51 PM

12
DEUTSCH
Menü-Bedienungen
Karten-Bildschirm AV-Bildschirm
Zum Aufrufen eines Menüs
AV-Menü ☞ [90]Ziel Menü ☞ [42]
Information Menü ☞ [42]
Setup Menü ☞ [43]
Ziel 1/2
Zuhause
Rückfahrt
Adresse
POI
Vorheriger
Information 1/2
Aktuelle Position
Verkehr
Abbieg.-liste
Reise
Ziel
Setup 1/2
Guidance Stimme
Guidanceoptionen
Routen Parameter
Kartenfarbe
Kartenoptionen
AV Menü 1/2
Setup
EQ
Klang
Bildsch_regelung
Seitenverhältnis
Zum Navigieren durch Menüs
Drücken: Einen Menüpunkt
wählen
Halten: Zum ersten
Menügegenstand auf der
nächsten Seite springen
Weiter zum nächsten Menü
Zurück zum vorherigen Menü
Zum Zurückgehen zum vorherigen
Schirmbild und Einstellen der
anderen Gegenstände:
Um die Menüvorgänge abzubrechen
und zum Karten-Bildschirm oder
AV-Bildschirm zurückzukehren:
Navigationsmenüs AV-Menü
FM1 Classics
Sendername
92.5 MHz
• Die Displayanzeigen können sich je nach der
Änderung der Spezifikationen ändern.
DE_KDNX5000[E].indb 12DE_KDNX5000[E].indb 12 07.4.4 2:12:52 PM07.4.4 2:12:52 PM

13
Grundlegende Bedienung
1 Rufen Sie
AV Menü
auf.
2 Wählen Sie
EQ
in
AV Menü
.
3 Ändern Sie die Einstellung nach Wunsch.
Jetzt ist die Einstellung geändert. Drücken Sie
DISP, um das Menü zu verlassen, oder BACK,
um zum vorherigen Menü zurückzugehen.
Display 1/2
Sprache
Demonstration
Hintergrund
Scroll
Tag-Anzeige
[Aus]
Aktueller Menütitel
Aktuelle Einstellung
des gewählten
Gegenstands.
Restzeit bis zum Erlöschen
des Menübildschirms.
(Erscheint nur im AV-Menü.)
Menügegenstände Auf manchen Schirmbildern sind besondere
Bedienungen hier mit der zu verwendenden
Taste angezeigt.
Beisp.:
: Zu drückende Taste
: Gedrückt zu haltende Taste
• Wenn hier kein Symbol angezeigt ist, fungiert die
ENT-Taste auf gleiche Weise wie die Taste
¢
.
Tastensymbole zeigen die
verfügbaren Bedienungen
in jedem Schirmbild an.
Gewählter Menüpunkt
Aktuelle Seitennummer/
Gesamt-Seitenzahl
• Wenn Gegenstände nicht in Grau
angezeigt werd, können sie momentan
nicht gewählt werden.
Menü-Schirmbild
AV Menü 1/2
Setup
EQ
Klang
Bildsch_regelung
Seitenverhältnis
[Flat]
EQ 1/3
Flat
Hard Rock
R&B
Pop
Jazz
Exit
EQ 1/3
Flat
Hard Rock
R&B
Pop
Jazz
Exit
In dieser Anleitung wird die Wahl eines Menügegenstands wie im Beispiel unten angegeben.
Beisp.:
AV Menü
]
EQ
]
Pop
Löschen
DE_KDNX5000[E].indb 13DE_KDNX5000[E].indb 13 07.4.4 2:12:53 PM07.4.4 2:12:53 PM

14
DEUTSCH
12
8
463
9
pqwe
75
Teile-Index
Im Karten-Bildschirm In den AV-Bildschirmen In den Menü-
Bildschirmen
1/ATT
• Schalten Sie die Einheit ein.
• Schaltet die Einheit aus, wenn gedrückt gehalten.
• Dämpfen/Wiederherstellen des Klangs.
2AV/SRC
Umschalten zum AV-
Bildschirm. Ändern der Quelle.
In Navigationsmenüs:
Umschalten zum AV-
Bildschirm.
Im AV Menü: Ändern Sie
die Quelle und schalten
auf den AV-Bildschirm
um.
Schaltet die AV-Funktion aus, wenn gedrückt gehalten.
3MAP/POS
• Ändert die
Kartenansicht.
• Zeigen Sie Ihre aktuelle
Position nach dem
Scrollen der Karte an.
Umschalten zum Karten-Bildschirm.
4+/–
Stellen Sie die Lautstärke ein.
5MENU
Rufen Sie das Ziel-Menü
auf.
☞ [42]
Rufen Sie AV Menü auf.
☞ [90]
In Navigationsmenüs:
Umschalten auf andere
Menüs.
Im AV Menü: Gehen Sie
zum Top-Schirmbild von
AV Menü oder schalten
Sie zum AV-Schirmbild
um.
Aufrufen des Telefon-Menüs, wenn gedrückt gehalten, während der Bluetooth-Adapter
angeschlossen ist.
☞ [83]
6 /DISP
Den Skaliermodus
aufrufen. Ändern der Anzeige.
☞ [11]
Verlassen Sie das Menü.
7T/P
TRAFFIC
Zeigen Sie die TMC-Liste
an.
☞ [40]
Aktivieren Sie TA-Standbyempfangs/
PTY-Suche.
☞
[54, 55, 58]
Im AV Menü: Aktivieren/
Sie den TA-Standby-
Empfang.
DE_KDNX5000[E].indb 14DE_KDNX5000[E].indb 14 07.4.4 2:12:55 PM07.4.4 2:12:55 PM

15
Batterien einsetzen
Vor der Verwendung der Fernbedienung:
• Richten Sie die Fernbedienung direkt auf den
Fernbedienungssensor am Gerät.
Der Receiver ist mit Lenkrad-
Fernbedienungsfunktion ausgestattet.
• Siehe Einbau/Anschlußanleitung
(getrennter Band) zum Anschluss.
Fernbedienungssensor
Teile-Index / Fernbedienung—RM-RK250
• Wenn die Reichweite oder Wirksamkeit
der Fernbedienung abnimmt, müssen
beide Batterien ausgewechselt werden.
• Setzen Sie Batterien nicht Hitze oder
Flammen aus.
Achtung:
Fernbedienung—RM-RK250
Im Karten-Bildschirm In den AV-Bildschirmen In den Menü-
Bildschirmen
8
5
/
∞
Zum Bedienen der
aktuellen Quelle.
☞ [50]
DAB: Dienste wählen.
DVD: Wählen Sie Titel/Gruppen.
Dateien: Zur Auswahl der Ordner
Musik-Server: Zum Wählen von Alben.
iPod/D. player:
5
Schalten Sie auf das Hauptmenü.
∞
Pausieren/Fortsetzen der
Wiedergabe.
Bluetooth Audio: Ein Gerät wählen.
Wählen Sie einen
Gegenstand.
9/
UKW/AM: Suchen Sie nach Sendern.
DAB: Ensembles suchen.
Disc, Musik-Server, iPod/D. player,
Bluetooth Audio: Wählen Sie Tracks/
Kapitel aus.
p
• Öffnen/Schließen Sie das Bedienfeld.
• Ändert den Bedienfeldwinkel, wenn gedrückt gehalten.
q/BACK
7/BAND
• Den manuellen Scroll-
Modus aufrufen.
☞ [22]
• Wiederholt die letzte
Sprachführung, wenn
während der Führung
gedrückt gehalten.
☞ [33]
Tuner: Die Frequenzbänder wählen.
Disc: Die Wiedergabe stoppen.
Gehen Sie zum
vorherigen Bildschirm
zurück.
wENT/3/
Rufen Sie das Shortcut-
Menü auf.
☞ [25]
Disc: Starten Sie die Wiedergabe. Bestätigen Sie die
Auswahl.
e
Nehmen Sie das Bedienfeld ab.
R03(Microzelle)/
AAA(24F)
• Setzen Sie den Fernbedienungssensor KEINEM
intensiven Licht (direkte Sonneneinstrahlung
oder künstliches Licht) aus.
DE_KDNX5000[E].indb 15DE_KDNX5000[E].indb 15 07.4.4 2:12:56 PM07.4.4 2:12:56 PM

16
DEUTSCH
Bedienungen von der Fernbedienung
ImKarten-Bildschirm In den AV-Bildschirmen In denMenü-Bildschirmen
1AV/OFF
Umschalten zum AV-
Bildschirm. • Ändern der Quelle.
In Navigationsmenüs:
Umschalten zum AV-Bildschirm.
Im AV Menü: Ändern Sie die
Quelle und schalten auf den AV-
Bildschirm um.
Schaltet die AV-Funktion aus, wenn gedrückt gehalten.
2MAP/POS
• Ändert die Kartenansicht.
• Zeigen Sie Ihre aktuelle
Position nach dem
Scrollen der Karte an.
Umschalten zum Karten-Bildschirm.
3MENU
Rufen Sie das Ziel-Menü
auf.
☞ [42]
Rufen Sie AV Menü auf.
☞ [90]
In Navigationsmenüs:
Umschalten auf andere Menüs.
Im AV Menü: Gehen Sie zum Top-
Schirmbild von AV Menü oder
schalten Sie zum AV-Schirmbild
um.
Aufrufen des Telefon-Menüs, wenn gedrückt gehalten, während der Bluetooth-Adapter
angeschlossen ist.
☞ [83]
4TRAFFIC
Zeigen Sie die TMC-Liste
an.
☞ [40]
(Nicht verwendet)
5ENT 6
Rufen Sie das Shortcut-
Menü auf.
☞ [25]
Disc: Starten der
Wiedergabe/Pause. Bestätigen Sie die Auswahl.
6
5
/
∞
Scrollen Sie die Karte (in
acht Richtungen).
DAB: Dienste wählen.
DVD: Wählen Sie Titel/
Gruppen.
Dateien: Zur Auswahl der
Ordner
Musik-Server: Zum Wählen
von Alben.
iPod/D. player:
5
Schalten Sie auf das
Hauptmenü.
∞
Pausieren/Fortsetzen der
Wiedergabe.
Bluetooth Audio: Ein Gerät
wählen.
Wählen Sie einen Gegenstand.
7 /
UKW/AM: Suchen Sie nach
Sendern.
DAB:
Ensembles suchen.
Disc, Musik-Server, iPod/
D. player, Bluetooth Audio:
Wählen Sie Tracks/Kapitel aus.
8
PHONE
Aufrufen des Anwählen-Menüs, wenn der Bluetooth-Adapter angeschlossen ist.
☞ [86]
9
BACK/BAND
/7/
Wiederholt die letzte
Sprachführung, wenn
während der Führung
gedrückt gehalten.
Tuner: Die Frequenzbänder
wählen.
Disc: Die Wiedergabe
stoppen.
Gehen Sie zum vorherigen
Bildschirm zurück.
pVOL +/–
Stellen Sie die Lautstärke ein.
q +/–
Skalieren Sie die Karte. (Nicht verwendet)
wHOME
Starten Sie die Führung zu
einer Zuhause-Position.
☞ [24]
(Nicht verwendet) Starten Sie die Führung zu einer
Zuhause-Position.
☞ [24]
eATT
Dämpfen/Wiederherstellen des Klangs.
rDISP
Den Skaliermodus aufrufen.
Ändern der Anzeige.
☞ [11]
Verlassen Sie das Menü.
DE_KDNX5000[E].indb 16DE_KDNX5000[E].indb 16 07.4.4 2:12:57 PM07.4.4 2:12:57 PM

17
Nur in den AV-Bildschirmen
t
• Nehmen Sie Auswahlen in den Disc-Menüs vor.
• Tasten DISC +/–: Wechseln von Discs für einen CD-Wechsler.
yENT
Disc: Bestätigen Sie die Auswahl.
uTOP M
DVD/DivX 6: Rufen Sie das Disc-Menü ab.
☞ [67]
VCD mit PBC: Setzen Sie die PBC-Wiedergabe fort.
☞ [67]
iDVD MENU
oOSD
Anzeige des Bildschirm-Balkens.
☞ [68]
;RETURN
VCD mit PBC: Schalten Sie zum vorherigen Menü zurück.
☞ [67]
aDIRECT/
CLEAR
Disc: Zum direkten Wählen von Kapitel/Titel/Gruppe/Ordner/Track.
☞ [66]
sASPECT
Disc: Ändern des Seitenverhältnisses der Wiedergabebilder.
d
Zifferntasten
Disc: Zum direkten Wählen von Kapitel/Titel/Gruppe/Ordner/Track.
☞ [66]
Tuner: Wählen Sie einen Festsender.
CD-Wechsler: Wählen Sie eine Disc.
Bluetooth-Telefon: Telefonnummer eingeben.
☞
[87]
f1/¡
Disc: Reverse-/Vorwärts-Suche. Langsame Wiedergabe, wenn im Pausebetrieb gedrückt.
g
Disc: Audio-Sprachen/Audio-Kanäle wählen.
h
Disc: Untertitel wählen.
j
Disc: Wählen Sie einen Sichtwinkel.
Fernbedienung—RM-RK250
Zum Öffnen schieben
r
ty
ui
o;
12
34
567
89
pq
w
e
sa
d
f
ghj
Diese Tasten arbeiten
nicht in dieser Position.
DE_KDNX5000[E].indb 17DE_KDNX5000[E].indb 17 07.4.4 2:12:58 PM07.4.4 2:12:58 PM

18
DEUTSCH
Navigationssystem
20 Sicherheitsanweisungen für
Navigationssystem
22 Grundlegende Bedienung
24 Registrieren Ihrer Zuhause-
Position
Zum Registrieren Ihrer Zuhause-Position
24
Zum Heimkehren
24
26 Führung starten
Einstellen eines Ziels mit dem Shortcut-Menü
26
Einstellen eines Ziels mit dem Ziel-Menü
27
Zum Zurückgehen zum Anfangspunkt
27
28 Suchen nach einem Ort
Nach Adresse
28
Aus der Liste der Sonderziele
29
Aus den letzten Zielen
30
Sonderziel in der Nähe eines Orts/einer Route
30
Aus Ihren Favoriten
31
Nach Postleitzahl
31
Nach Koordinaten
31
32 So werden Sie geführt
Erhalten von Information über Ihre Route und Orte
34
Benutzeranpassung der Führung
35
DE_KDNX5000[E].indb 18DE_KDNX5000[E].indb 18 07.4.4 2:12:58 PM07.4.4 2:12:58 PM

1919
36 Erstellen Ihrer Route
Einstellen von Orten zum Anhalten
36
Speichern und Laden von Routen
37
Vermeiden von vorausliegenden Staus
37
38 Registrieren von Favorit-
Punkten
Markieren Ihrer Favorit-Punkte
38
Bearbeiten Ihrer Favorit-Punkte
38
40 Verkehrsinformation auf Karte
—TMC
Was ist TMC?
40
Prüfen der TMC-Information
41
Wie TMC-Information in der Navigation
reflektiert wird
41
42 Navigationsmenü-
Gegenstände
Ziel-Menü
42
Information-Menü
42
Setup-Menü
43
47 Zusätzliche Information
DE_KDNX5000[E].indb 19DE_KDNX5000[E].indb 19 07.4.4 2:12:59 PM07.4.4 2:12:59 PM

20
DEUTSCH
SICHERHEITSANWEISUNGEN
Die Verwendung des Navigationssystems ist
nur bei geeigneten Verkehrsbedingungen
zulässig, und Sie müssen absolut sicher sein,
dass dadurch keine Risiken, Beeinträchtigungen
oder Behinderungen für den Fahrer,
Insassen oder andere Verkehrsteilnehmer
hervorgerufen werden. Die Regeln der
Straßenverkehrsordnung müssen immer befolgt
werden. Das Ziel darf nicht während der Fahrt
eingegeben werden.
Das Navigationssystem dient ausschließlich
als Navigationshilfe. Es nimmt den Fahrern
nicht die Verantwortung zum vorsichtigen
Fahren und Treffen eigener Entscheidungen
im Verkehr ab. Ungenaue oder falsche
Anweisungen können aufgrund von
wechselnden Verkehrsbedingungen gegeben
werden. Vorhandene Verkehrszeichen und
Verkehrsregeln müssen deshalb immer
beachtet werden. Insbesondere darf das
Navigationssystem nicht als Orientierungshilfe
bei schlechter Sicht verwendet werden.
Dieses Navigationssystem darf nur für seinen
vorgesehenen Zweck verwendet werden. Die
Lautstärke von Autoradio/Navigationssystem
muss so eingestellt werden, dass Geräusche von
außen immer noch hörbar sind.
Navigationsführung wird basierend auf der
Datenbank ausgeführt. Deshalb kann sie
je nach aktueller Situation aufgrund von
Verkehrssituationen (z.B. Änderungen bei
Mautstraßen, Hauptstraßen, Einbahnstraßen
oder anderen Verkehrsregeln) u.U. unzutreffend
sein. Vorhandene Verkehrszeichen oder -regeln
haben auf jeden Fall Vorrang.
Sicherheitsanweisungen für Navigationssystem
• Verkehrszeichen müssen selbstverständlich
auch beim Fahren mit Navigationssystem
beachtet werden. Das Navigationssystem ist
nur eine Hilfe zum Fahren. Es enthebt den
Fahrer nicht von der eigenen Entscheidung,
wie die gebotene Information verwendet
wird. JVC übernimmt keine Haftung für
möglicherweise vom Navigationssystem
gelieferte fehlerhafte Daten.
• Die Verkehrsführung ist auf Pkws beschränkt.
Spezielle Fahrtempfehlungen und Regeln
für andere Fahrzeuge (z.B. Nutzfahrzeuge)
werden nicht geboten.
• Bedienen Sie das Gerät nicht beim Fahren.
Lizenzbedingungen
Sie erhalten eine nichtexklusive Lizenz zur
Ver w endu ng der Datenbank für persönliche
Zwecke. Die vorhandene Lizenz autorisiert nicht
zur Vergabe von Unterlizenzen.
Die Verwendung der Daten ist nur in diesem
spezifischen JVC-System gestattet. Es ist nicht
gestattet, die Datenbank ganz oder teilweise
zu extrahieren, zu duplizieren, modifizieren,
adaptieren, übersetzen, analysieren,
dekompilieren oder Reverse Engineering zu
unterziehen.
DE_KDNX5000[E].indb 20DE_KDNX5000[E].indb 20 07.4.4 2:12:59 PM07.4.4 2:12:59 PM

21
Wenn Sie die Reifen wechseln/drehen:
Es ist erforderlich, alle angesammelten
Kalibrationsdaten zu löschen, um präzise
Navigation sicherzustellen. Zum Löschen der
Daten führen Sie
Kalibrier. zurücks.
auf
Seite 46 aus.
Sicherheitsanweisungen für Navigationssystem
© 2006 NAVTEQ, Alle Rechte vorbehalten.
WARNUNG:
Die Verkehrsregeln müssen beim Fahren
immer beachtet werden. Das Navigationssystem
ist nur eine Hilfe zum Fahren. Fehler bei
einzelnen Datenelementen/Einträgen können
vorkommen. Der Fahrer muss immer
entscheiden, wie er die vom System gebotene
Information verwendet.
JVC übernimmt keine Haftung für
möglicherweise vom Navigationssystem
gelieferte fehlerhafte Daten.
Zur Aktualisierung der Karte
Wen n die Meldung “Ihre Kartendaten sind älter
als ein Jahr und Updates sind ggf. verfügbar.” im
Monitor erscheint, besuchen Sie <http://www.
jvc-exad.com>.
Für Einzelheiten zur Aktualisierung der Einheit
besuchen Sie <http://www.jvc-exad.com>.
DE_KDNX5000[E].indb 21DE_KDNX5000[E].indb 21 07.4.4 2:13:00 PM07.4.4 2:13:00 PM

22
DEUTSCH
Grundlegende Bedienung
Stellen Sie die Lautstärke ein.
Umschalten zum AV-Bildschirm.
Rufen Sie das
Shortcut-Menü auf.
Aktueller Positionsmodus
— Die Karte scrollt automatisch, so dass Ihre aktuelle Position immer in der Mitte der Karte ist.
Bedienen Sie die aktuelle AV-Quelle. (
☞ [50]
)
Ändert die Kartenansicht.
(
☞ nächste Seite
)/Anzeige
Ihrer aktuellen Position.
Rufen Sie einen
Menü-Bildschirm auf.
Skalieren Sie die Karte.
Zeigen Sie TMC-Information an.
(
☞ [41]
)
Scrollen der Karte.
Zur Anzeige Ihrer aktuellen Position
Ihre Position
Maßstab
Zum Scrollen der Karte
1
2
Die Karte scrollt in acht Richtungen.
• Halten Sie die Taste gedrückt, um schnell
durch die Karte zu scrollen.
Aktueller Straßenname
Zum Ändern der Kartenskala
1
2
Heranzoomen
Schnell Wegzoomen
Wegzoomen
Schnell Heranzoomen
Maßstableiste
Richtung und
Abstand von der
aktuellen Position.
Aktuelle Zeit
DE_KDNX5000[E].indb 22DE_KDNX5000[E].indb 22 07.4.4 2:13:01 PM07.4.4 2:13:01 PM

23
Grundlegende Bedienung
Zum Ändern der Kartenansicht
Die Kartenansicht wechselt wie folgt um:
Überschrift oben
=
3D-Karte
=
Norden oben
Sie können die Kartenansicht auch über das
Setup-Menü
]
Kartenoptionen
]
Kartenansicht
ändern (☞ [45]).
Norden oben
Die Karten-Ansicht ist mit dem Norden
nach “oben” ausgerichtet, wie gewöhnliche
Karten auf Papier. Die Richtung, in die Sie
fahren, wird oben rechts im Bildschirm mit
einem Symbol wie angezeigt.
Überschrift oben
Die Karte dreht sich, so dass sie immer mit
der Richtung “nach oben” angezeigt wird.
Die Richtung wird mit einem Kompass-
Symbol angezeigt.
3D-Karte
Die Karte wird mit “Richtung oben” und in
einer dreidimensionalen Ansicht gezeigt.
Die Richtung wird mit einem Kompass-
Symbol angezeigt.
Zum Aufrufen von Menüs
Navigationsmenüs
Bei jedem Drücken der Taste schaltet das
Menü wie folgt um:
(Kartenbildschirm)
=
Ziel-Menü
=
Information-Menü
=
Setup-Menü
=
(Zurück zum Karten-Bildschirm)
Menu-Bedienungen ☞ [13]
Menügegenstände ☞ [42 – 46]
Shortcut-Menü
Während die Karte erscheint...
Das Shortcut-Menü wird angezeigt. ☞ [25]
Symbole auf der Karte
Favorit-Punkte (
☞ [38 – 39]
)
Sonderziel (Sonderziel) (
☞ [30, 49]
)
TMC (
☞ [40, 50]
)
• Favorit-Symbole erscheinen auf der Karte,
wenn eine Gruppe in der Einstellung
Favorit-Symbol
(☞ [45]) gewählt ist und
die Kartenskala 30 m und 2,0 km beträgt.
• Karte, wenn eine Gruppe in der Einstellung
Sonderziel-Symbole erscheinen auf der
Karte, wenn eine Gruppe in der Einstellung
POI-Symbol
gewählt ist (☞ [45]). Werden
möglicherweise je nach Kartenskala und SOZ-
Daten nicht angezeigt.
• TMC-Symbole erscheinen auf der Karte, wenn
die Einstellung
Verkehrsanzeige
(☞ [45])
gewählt ist und die Kartenskala 30 m und 2,0
km beträgt.
DE_KDNX5000[E].indb 23DE_KDNX5000[E].indb 23 07.4.4 2:13:01 PM07.4.4 2:13:01 PM

24
DEUTSCH
Zum Registrieren Ihrer Zuhause-Position
Registrieren Sie Ihr Heim oder Ihr Büro, oder
wo immer Sie am häufigsten hinfahren, als
Heimstandort, so dass sie den Ort leicht als Ziel
einstellen können.
•
Sie können Zuhause-Positionen erst registrieren,
nachdem die Kalibrierung beendet ist.
(☞ [9])
1 Wenn Sie jetzt am Home-
Standort sind, prüfen Sie ob
dieser Ort in der Mitte der Karte
angezeigt wird.
• Passen Sie die Position bei Bedarf durch
Scrollen der Karte an.
2 Rufen Sie das Shortcut-Menü auf.
3 Wählen Sie [Zu Favorit
hinzufügen] .
Die Zuhause-Position wird mit dem Symbol
angezeigt.
4 Wählen Sie [Zuhause einr.] .
Eine Bestätigungsmeldung erscheint.
Drücken Sie ENT, um den Vorgang zu
bestätigen. Drücken Sie BACK zum
Aufheben.
Die Zuhause-Position wird mit dem Symbol
angezeigt.
• Das Symbol erscheint möglicherweise nicht, je
nach Kartenmaßstab und ihrer Einstellung für
Favorit-Symbol
. (☞ [45])
• Sie können mehrere Orte als Zuhause-
Position registrieren, indem Sie die Orte als
Ihre Favorit-Punkte registrieren und ihre
Gruppe auf
Zuhause
einstellen. (☞ [38, 39])
Zum Heimkehren (
Zuhause
)
Wenn Sie Ihren Heimstandort registriert haben,
können Sie leicht nach Hause geführt werden.
Während die Führung nicht läuft...
1 Rufen Sie das Shortcut-Menü auf.
2 Wählen Sie [Nach Hause fahren]
zum Starten der Führung.
• Wenn Sie mehrere Heimstandorte
registriert haben, wählen Sie den den
gewünschten aus einer Liste.
An der Fernbedienung:
Sie können auch über das Menü
Ziel
]
Zuhause
heimgeführt werden.
Registrieren Ihrer Zuhause-Position
Zum Aufheben der Führung
1 Rufen Sie das Shortcut-Menü auf.
2 Wählen Sie [Führung aufheben]
.
Sie können auch die Führung über das Menü
Ziel
]
G.Abbrechen
aufheben.
DE_KDNX5000[E].indb 24DE_KDNX5000[E].indb 24 07.4.4 2:13:02 PM07.4.4 2:13:02 PM

25
Registrieren Ihrer Zuhause-Position
Was ist das Shortcut-Menü?
Im Kartenbildschirm können Sie das Shortcut-Menü durch Drücken von ENT aufrufen. Das
Shortcut-Menü bietet Zugang zu verschiedenen Bedienvorgängen.
Im Führungsbetrieb
Während die Führung nicht läuft
Zum Wählen eines Symbols drücken Sie ENT
oder eine der vier Tasten auf der rechten
Kreistaste entsprechend dem Symbol.
Symbol Name Funktion Taste
Information betrachten
Zeigen Sie Information über diesen Ort. ☞
[35]
Nach Hause fahren
Starten Sie die Führung zu einer Zuhause-
Position. ☞ [24] (Nicht wählbar, wenn keine
Zuhause-Position registriert ist.)
Zuhause einr.
Registrieren Sie diesen Ort als Zuhause.
☞ [24] (Erscheint, wenn kein Zuhause
registriert ist und ein Favorit-Symbol
gewählt ist.)
Führung aufheben
Heben Sie die Führung auf. ☞ [24]
Zu Favorit hinzufügen
Fügen Sie diesen Ort zu den Favorit-
Punkten hinzu. ☞ [38]
Favoriten bearbeiten
Bearbeiten Sie diesen Favorit-Punkt. ☞ [39]
(Erscheint nur, wenn ein Favorit-Symbol
gewählt ist Nicht beim Fahren wählbar.)
Umgebung
Suchen Sie nach Sonderzielen in der Nähe
dieses Orts. ☞ [31]
Hier hinfahren
Starten Sie die Führung zu diesem Ort. ☞ [26]
Zu Unterbrechungspunkt
hinzufügen
Die Route neu berechnen, um an diesem
Ort anzuhalten. ☞ [36] (Erscheint nur,
während geführt.)
Shortcut-Menü
Karten-Bildschirm
DE_KDNX5000[E].indb 25DE_KDNX5000[E].indb 25 07.4.4 2:13:04 PM07.4.4 2:13:04 PM

26
DEUTSCH
Scrollen Sie die Karte zur Anzeige des Ziels in der Mitte der
Karte.
Rufen Sie das Shortcut-Menü auf.
Wählen Sie [Hier hinfahren] zum Starten der Führung.
Das System beginnt mit der Berechnung der Route zum gewählten Ziel, und die Führung
beginnt.
Einstellen eines Ziels mit dem Shortcut-Menü
Führung starten
• Sie können Ziele erst registrieren, nachdem die Kalibrierung beendet ist. (☞ [9])
Zum Aufheben der Führung
1 Rufen Sie das Shortcut-Menü auf.
2 Wählen Sie [Führung aufheben]
.
Sie können auch die Führung über das Menü
Ziel
]
G.Abbrechen
aufheben.
DE_KDNX5000[E].indb 26DE_KDNX5000[E].indb 26 07.4.4 2:13:05 PM07.4.4 2:13:05 PM

27
Rufen Sie das Ziel-Menü auf.
Wählen Sie eine der Methoden zum Suchen nach Ihrem Ziel.
* Während der Führung erscheint G.Abbrechen.
** Während der Führung erscheint Abschn. vermeid..
• Sie können nicht die Gegenstände wählen, wenn sie grau erscheinen.
Die Information im Sucherergebnis erscheint.
Wählen Sie [Hier hinfahren] zum Starten der Führung.
Das System beginnt mit der Berechnung der Route zum gewählten Ziel, und die Führung
beginnt.
Führung starten
Einstellen eines Ziels mit dem Ziel-Menü
☞ [28]
☞ [29]
☞ [30]
☞ [24]
☞ [unten]
Ziel 1/2
Zuhause*
Rückfahrt**
Adresse
POI
Vorheriger
☞ [30]
☞ [31]
☞ [31]
☞ [31]
Ziel 2/2
Umgebung
Favoriten
Postleitzahl
Koordinaten
Route bearbeiten
Zum Zurückgehen zum Anfangspunkt (
Rückfahrt
)
Sie können zum Startpunkt der letzten Führung zurückgehen.
1 Rufen Sie das Ziel-Menü auf.
2
Ziel
]
Rückfahrt
Richtung und Abstand von der
aktuellen Position.
Zum Sehen des
Suchergebnisses auf der Karte.
DE_KDNX5000[E].indb 27DE_KDNX5000[E].indb 27 07.4.4 2:13:06 PM07.4.4 2:13:06 PM

28
DEUTSCH
1 Geben Sie Zeichen ein.
• Verfügbare Zeichen werden automatisch
eingeschränkt, während das System seine
Datenbank nach Treffern absucht.
2 Die Liste der Treffer anzeigen.
• Diese Taste steht zur Verfügung, wenn die
Treffer auf 100 oder weniger eingeengt
wurden.
• Sie können die Liste der Treffer auch
anzeigen, indem Sie die Taste ENT
gedrückt halten.
• Wenn die Treffer auf 5 oder weniger
eingeengt wurden, erscheint die Liste
automatisch.
Nach Adresse (
Adresse
)
1 Rufen Sie das Ziel-Menü auf.
2
Ziel
]
Adresse
3 Wählen Sie ein Land aus der
Liste.
• Geben Sie den Namen der Stadt ein, wenn
bereits ein Land gewählt ist.
4 Geben Sie den Stadtnamen ein.
• Eingabe von Zeichen ☞ [linke Spalte]
Adresse
Deutschland
Stadt
Straße
Hausnummer
- Stadtname eingeben -
RT Weit.
Weit.RT
* Sie können die Tastatur ändern, indem Sie DISP
wählen. Für verfügbare Zeichen
☞ [105].
** Tasten sind je nach dem Eingabepunkt
unterschiedlich.
Verschieben des Cursors auf
der Tastatur
Eingabe des gewählten
Zeichens
Beispiel: Eingabebildschirm für einen Stadtnamen
Zur Eingabe von Namen, Adressen oder Zahlen
Andere Tastaturen
anzeigen*
Eine Leerstelle
eingeben
Den letzten Buchstaben
löschen
Suchen nach einem Ort
Die Liste der Treffer
anzeigen
3 Wählen Sie den gewünschten
Gegenstand aus der Liste.
Land auswählen 1/6
Andorra
Belgien
Deutschland
Dänemark
England
DE_KDNX5000[E].indb 28DE_KDNX5000[E].indb 28 07.4.4 2:13:07 PM07.4.4 2:13:07 PM

29
Suchen nach einem Ort
Aus der Liste der Sonderziele (
POI
)
Das System hat eine riesige Datenbank von SOZ
(Sonderzielen), wie Restaurants, Tankstellen,
Krankenhäusern usw.
1 Rufen Sie das Ziel-Menü auf.
2
Ziel
]
POI
3 Wählen Sie ein Land aus der
Liste.
• Gehen Sie zum nächsten Schritt weiter,
wenn bereits ein Land gewählt ist.
POI
Deutschland
Name
Kategorie
Telefon
4 Wählen Sie eine Methode zum
Suchen eines Sonderziels.
Sie können ein Sonderziel auf drei Weisen
suchen:
Nach Namen
Nach Kategorie
Nach Telefonnummer
POI
Deutschland
Name
Kategorie
Telefon
Nach Namen
1 Geben Sie den Namen des
gesuchten Sonderziels ein.
• Eingabe von Zeichen ☞ [28]
2 Wählen Sie eine Kategorie (und
dann eine Unterkategorie) der SOZ
(Sonderziele) aus.
3 Geben Sie den Stadtnamen ein,
wenn aufgefordert.
4 Wählen Sie ein Sonderziel aus der
Liste.
Nach Kategorie
1 Geben Sie den Stadtnamen zur
Suche ein.
• Eingabe von Zeichen ☞ [28]
2 Wählen Sie eine Kategorie (und
dann eine Unterkategorie) der SOZ
(Sonderziele) aus.
3 Wählen Sie ein Sonderziel aus der
Liste.
Nach Telefonnummer
1 Die Telefonnummer eingeben.
• Eingabe von Zeichen ☞ [28]
2 Wählen Sie ein Sonderziel aus der
Liste.
5 Geben Sie den Straßennamen ein.
• Sie können auch die Stadtmitte auswählen.
(Die Liste der Stadtzentren kann
erscheinen.) Sie brauchen in diesem Fall
nicht die Hausnummer einzugeben.
• Wählen Sie den Bereich zum Absuchen
aus der Liste, wenn
Bereich
auswählen
angezeigt wird.
6 Geben Sie die Hausnummer ein.
• Sie können auch die ganze Straße oder
eine Kreuzung auf der Straße wählen.
• Wenn keine Daten einer Hausnummer
für die gewählte Straße in der Datenbank
verfügbar sind, wird dieser Schritt
übersprungen.
DE_KDNX5000[E].indb 29DE_KDNX5000[E].indb 29 07.4.4 2:13:08 PM07.4.4 2:13:08 PM

30
DEUTSCH
Aus den letzten Zielen (
Vorheriger
)
Sie können einer Ort unter den letzten 50 Zielen
und Unterbrechungspunkten wählen.
1 Rufen Sie das Ziel-Menü auf.
2
Ziel
]
Vorheriger
Die Liste der vorherigen Ziele/
Unterbrechungspunkte erscheint.
3 Wählen Sie einen Ort aus der
Liste.
Zum Löschen von Gegenständen in der Liste
der vorherigen Ziele/Unterbrechungspunkte
1 Nach Schritt 2 oben...
2 Markieren Sie die Kästchen der zu
löschen gewünschten Gegenstände.
• Checkbox-Bedienungen ☞ [105]
3
Eine Bestätigungsmeldung erscheint.
Drücken Sie ENT, um den Vorgang zu
bestätigen. Drücken Sie BACK zum
Aufheben.
[Gedrückt halten]
[Gedrückt halten]
Sonderziel in der Nähe eines Orts/
einer Route (
Umgebung
)
Sie können ein Sonderziel in der Nähe des
aktuellen Standorts suchen. Während der
Führung können Sie auch nach einem SOZ
in der Nähe des Ziels oder entlang der Route
suchen.
1 Rufen Sie das Ziel-Menü auf.
2
Ziel
]
Umgebung
Kategorie auswählen 1/3
Business
Einkaufen
Freizeit
Kfz-Services
Lebensmittel
Bereich: Lokal Änderung
Während der Führung wählen Sie den Bereich
zum Suchen wenn erforderlich.
Lokale Umgebung
: innerhalb von
2 km von der aktuellen Position. Wenn
kein Sonderziel in diesem Gebiet
gefunden wird, erweitert das System den
Suchbereich.
In der Nähe des Ziels
: innerhalb von
2 km vom Ziel. Wenn kein Sonderziel in
diesem Gebiet gefunden wird, erweitert
das System den Suchbereich.
Auf der Strecke
: 50 km entlang der
Route, die Sie fahren.
Bereich auswählen
Lokale Umgebung
In der Nähe des Ziels
Auf der Strecke
[Gedrückt halten]
DE_KDNX5000[E].indb 30DE_KDNX5000[E].indb 30 07.4.4 2:13:09 PM07.4.4 2:13:09 PM

31
Nach Koordinaten (
Koordinaten
)
1 Rufen Sie das Ziel-Menü auf.
2
Ziel
]
Koordinaten
3 Geben Sie den Breitengrad und
den Längengrad ein.
4 Wählen Sie
Detail
, wenn Sie
fertig sind.
Nach Postleitzahl (
Postleitzahl
)
• Suche nach Postleitzahl ist in manchen
Ländern nicht möglich.
1 Rufen Sie das Ziel-Menü auf.
2
Ziel
]
Postleitzahl
3 Wählen Sie ein Land.
• Geben Sie die Postleitzahl ein, wenn
bereits ein Land gewählt ist.
4 Geben Sie die Postleitzahl ein.
• Das Eingabeschirmbild ist je nach
gewähltem Land unterschiedlich.
• Eingabe von Zeichen ☞ [28]
5 Geben Sie den Straßennamen ein.
6 Geben Sie die Hausnummer ein.
• Sie können auch die ganze Straße wählen.
Aus Ihren Favoriten (
Favoriten
)
• Registrieren Sie Ihre Favorit-Punkte ☞ [38].
1 Rufen Sie das Ziel-Menü auf.
2
Ziel
]
Favoriten
Gruppenauswahl 1/2
Zuhause 3
Freund 12
Verwandte 6
Geschäft 26
Besuch 15
Löschen
3 Wählen Sie eine Gruppe.
4 Wählen Sie einen Favorit-Punkt
aus der Liste.
Suchen nach einem Ort
Süden Detail
Verschiebt den
Cursor.
Zum Korrigieren
einer Fehleingabe
bewegen Sie den
Cursor und geben
die Zahl erneut
ein.
Schaltet zwischen Süden und
Norden für Breitengrad
sowie Osten und Westen für
Längengrad um.
3 Wählen Sie eine Kategorie (und
dann eine Unterkategorie falls
vorhanden) der SOZ (Sonderziele)
aus.
Das Ergebnis wird in der Reihenfolge der
Entfernungen von dem Ort, wo Sie sich
gerade befinden, aufgeführt.
4 Wählen Sie ein Sonderziel aus
der Liste.
Sie können ein Sonderziel in der Nähe eines
Ortes auf der Karte über das Shortcut-Menü
]
[Umgebung]
suchen. Folgen
Sie
Schritt 3 und 4 oben nach Auswahl von
[Umgebung]
.
Kategorie auswählen 1/3
Business
Einkaufen
Freizeit
Kfz-Services
Lebensmittel
Bereich: Lokal Änderung
DE_KDNX5000[E].indb 31DE_KDNX5000[E].indb 31 07.4.4 2:13:09 PM07.4.4 2:13:09 PM

32
DEUTSCH
So werden Sie geführt
Zum Aufheben der Führung
1 Rufen Sie das Shortcut-Menü
auf.
2 Wählen Sie [Führung aufheben]
.
Ziel gefunden
Routenberechnung
Bildschirm während die Führung läuft
Zum Abbrechen der Berechnung
drücken Sie BACK.
Aktuelle Zeit
Nächstes Abbiegen/
Abstand zum
nächsten Abbiegen
Geschätzte Zeit für
Ankunf und Abstand
zum Ziel/nächsten
Unterbrechungspunkt
Zum Einstellen des Sprachführung-Lautstärke
☞ [43]
Lautst.
Sie können auch die Führung über das Menü
Ziel
]
G.Abbrechen
aufheben.
Zu nehmende Route
Wird berechnet ...
: Name der aktuellen Straße
: Name der nächsten Straße
DE_KDNX5000[E].indb 32DE_KDNX5000[E].indb 32 07.4.4 2:13:11 PM07.4.4 2:13:11 PM

33
So werden Sie geführt
Zum Wiederholens der letzten Sprachführung
[Gedrückt halten]
2
1
3
Führung bei Abbiegungen
Wenn Sie sich einer Abbiegung nähern führt das System mit Sprachführung und Anzeigen auf dem
Bildschirm.
• Führungsstimme kommt nur von den vorderen Lautsprechern (und dem vorderen Line-Ausgang
hinten).
Nach einem Abbiegen (falls vorhanden)
Was ist, wenn ich eine Abbiegung verpasse?
Machen Sie sich keine Sorgen. Das System
berechnet schnell eine neue Route und führt
Sie zum Ziel.
Zeigt den Abstand zum nächsten Abbiegen an
Führungspunkt
• Schaltet zwischen Süden und Norden für
Breitengrad oder Osten und Westen für
Längengrad um.
Name der nächsten Straße
Name der aktuellen Straße
“Bitte nach
300 Metern rechts
abbiegen”.
“Bitte nach 1
Kilometer rechts
abbiegen”.
“Jetzt rechts”.
DE_KDNX5000[E].indb 33DE_KDNX5000[E].indb 33 07.4.4 2:13:11 PM07.4.4 2:13:11 PM

34
DEUTSCH
Zum Erhalten von Information über das Ziel und Unterbrechungspunkte
1 Rufen Sie das Information-Menü auf.
2
Information
]
Ziel
3 Wählen Sie das Ziel oder einen Unterbrechungspunkt.
Verbleibend 2.7 km
Ankunft 13:54
Erhalten von Information über Ihre Route und Orte
Zum Sehen der Reiseroute und der Abbiegungsliste
Fahrt-Information
Reise
Gefahrene Entfern. 8.1km
Fahrtdauer 0:12
Durchs. Geschw. 40 km/h
• Sie können auch die Fahrt über das
Menü
Information
]
Reise
sehen.
• Sie können auch die Abbiegungsliste
über das Menü
Information
]
Abbieg.-liste
sehen.
Karten-Bildschirm
[Gedrückt halten]
Abbiegungsliste
Abbieg.-liste 1/5
500 m A124
2km A2120
2.5km xx Straße
6km Z Platz
7km B12 Vorh. Nächst.
Abbiegung auf Karte
Fahrt
Reise Information
[zweimal]
Drücken Sie
∞
/
5
, um die nächste/vorherige Abbiegung zu sehen.
13:54 2.7 km
DE_KDNX5000[E].indb 34DE_KDNX5000[E].indb 34 07.4.4 2:13:12 PM07.4.4 2:13:12 PM

35
Die Führung wird fortgesetzt, auch wenn
Sie das Display auf einen AV-Bildschirm
umschalten. Führungsinformation erscheint
unten rechts im AV-Bildschirmbild.
Zum Prüfen der geschätzten Ankunftzszeit
und der Entfernung zum nächsten
Unterbrechungspunkt
Bei jedem Gedrückthalten der Taste wechselt
die Information oben links abwechselnd
auf die des nächsten Unterbrechungspunkts
oder die des endgültigen Ziels um.
[Gedrückt halten]
Zum Sehen des Verlaufs der Fahrt
Menü Information
]
Simulation
erscheint im Display.
Zum Aufheben der Simulation und Fortsetzen
der Führung drücken Sie MENU und dann
DISP.
wird ausgeblendet.
Zum Sehen von Information über einen Ort
• Dieser Vorgang ist immer möglich, ungeachtet
ob Sie geführt werden oder nicht.
1 Zeigen Sie die abzufragende
Position in der Mitte der Karte
an.
2 Rufen Sie das Shortcut-Menü auf.
3 Wählen Sie [Information
betrachten] .
Benutzeranpassung der Führung
Zur Benutzeranpassung der Führung und der
Anzeige im Karten-Bildschirm
☞ [43]
Guidanceansicht
Zur Benutzeranpassung der Kartenmaßstab-
Änderungen
☞ [45]
Auto-Zoom
Zur Benutzeranpassung der Sprachführung
und der Anzeige im AV-Bildschirm
☞ [44]
Unterbrechung
Zur Benutzeranpassung der Mischung von
Audioton und Sprachführung
☞ [43]
Audio-Mixing
So werden Sie geführt
FM1 Classics
Sendername
92.5 MHz
Abstand zum nächsten Abbiegen/Abbiegen-
Symbol
(Während die Führung nicht läuft:
Geschwindigkeit/Richtung)
Wenn eine Telefonnummer verfügbar ist,
können Sie die Nummer über den Bluetooth-
Adapter von JVC anrufen. ☞ [86]
Sie können auch Information über Ihre aktuelle
Position über das Menü
Information
]
Aktuelle Position
erhalten.
DE_KDNX5000[E].indb 35DE_KDNX5000[E].indb 35 07.4.4 2:13:14 PM07.4.4 2:13:14 PM

36
DEUTSCH
Sie können auch Unterbrechungspunkte
über das Shortcut-Menü ]
[
Zu
Unterbrechungspunkt hinzufügen
]
einstellen.
3 Wählen Sie den zu bewegen
gewünschten Wegpunkt.
4 Wählen Sie den gewählten
Wegpunkt aus der Liste.
5 Wiederholen Sie die Schritte 3
und 4 zur bewegung anderer
Unterbrechungspunkte.
6 Beenden Sie die Neuanordnung.
• Sie können auch MENU, DISP,
MAP oder verwenden.
Eine Bestätigungsmeldung erscheint.
Drücken Sie ENT, um den Vorgang zu
bestätigen. Drücken Sie BACK zum
Aufheben.
Das System beginnt mit der Berechnung der
neuen Route, und die Führung beginnt.
• Es erscheint keine Bestätigungsmeldung,
wenn die Unterbrechungspunkte nicht
geändert werden.
Zum Löschen eines Unterbrechungspunkts
Halten Sie ENT in Schritt 4 gedrückt.
Eine Bestätigungsmeldung erscheint.
Drücken Sie ENT, um den Vorgang zu
bestätigen. Drücken Sie BACK zum
Aufheben.
Erstellen Ihrer Route
Einstellen von Orten zum Anhalten
Nach dem Wählen Ihres Ziels können Sie bis
zu neun Orte (“Unterbrechungspunkte”) zum
Anhalten wählen.
Zu Hinzufügen von Unterbrechungspunkten
Nach dem Beginn der Führung...
1 Wählen Sie einen Ort, an dem
Sie anhalten möchten.
• Suchen nach einem Ort ☞ [27]
2 Wählen Sie [Zu
Unterbrechungspunkt
hinzufügen] .
Das System beginnt mit der Berechnung der
neuen Route, und die Führung beginnt.
Für andere Optionen zur Streckenführung
☞ [44]
Routen Parameter
Punkt auswählen 1/2
Station
Forest Inn
Intr’l Airport
Car Dealer
Michael
Auswahl
1
2
3
4
5
Punkt verschieben 1/2
Station
Forest Inn
Car Dealer
Michael
Intr’l Airport
Set Löschen
1
2
4
5
3
Zum Neuanordnen der Abfolge von
Unterbrechungspunkten
1 Rufen Sie das Ziel-Menü auf.
2
Ziel
]
Route bearbeiten
]
Editieren
Die Liste der Unterbrechungspunkte erscheint.
DE_KDNX5000[E].indb 36DE_KDNX5000[E].indb 36 07.4.4 2:13:15 PM07.4.4 2:13:15 PM

37
Speichern und Laden von Routen
Sie können bis zu 50 Kombinationen von Zielen
und Unterbrechungspunkten speichern. Sie
können leicht Ihre gewöhnliche Route aufrufen,
ohne die Ziele einzugeben.
• Jede Route kann bis zu neun
Unterbrechungspunkte enthalten.
Zum Speichern einer Route
1 Wählen Sie Ihr Ziel (und die
Unterbrechungspunkte wenn
erforderlich), und starten Sie die
Führung.
2 Rufen Sie das Ziel-Menü auf.
3
Ziel
]
Route bearbeiten
]
Speichern
4 Benennen Sie die Route, die Sie
speichern.
• Eingabe von Zeichen ☞ [105]
5 Wählen Sie
Speich.
Zum Laden einer gespeicherten Route
1 Rufen Sie das Ziel-Menü auf.
2
Ziel
]
Route bearbeiten
]
Laden
3 Wählen Sie die zu fahren
gewünschte Route.
Laden
Route A
Route B
Route C
Route D
Eine Bestätigungsmeldung erscheint. Drücken
Sie ENT, um den Vorgang zu bestätigen.
Drücken Sie BACK zum Aufheben.
Die Route wird berechnet, und die Führung
beginnt.
Erstellen Ihrer Route
Vermeiden von vorausliegenden Staus
Wenn Sie merken, dass weiter vorne ein Stau ist...
Während die Führung läuft...
1 Rufen Sie das Ziel-Menü auf.
2
Ziel
]
Abschn. vermeid.
3 Wählen Sie die zu vermeidende
Strecke.
Entfernung auswähl.
1km
3km
5km
10km
15km
Start
Eine Bestätigungsmeldung erscheint. Drücken
Sie ENT, um den Vorgang zu bestätigen.
Drücken Sie BACK zum Aufheben.
Eine Umleitung wird berechnet, und die
Führung beginnt.
Zum Löschen gespeicherter Routen
1 Rufen Sie das Ziel-Menü auf.
2
Ziel
]
Route bearbeiten
]
Löschen
3 Markieren Sie die Kästchen vor
den zu löschen gewünschten
Routen.
• Checkbox-Bedienungen ☞ [105]
4 Löschen Sie die gewählten
Routen.
[Gedrückt halten]
Eine Bestätigungsmeldung erscheint. Drücken
Sie ENT, um den Vorgang zu bestätigen.
Drücken Sie BACK zum Aufheben.
DE_KDNX5000[E].indb 37DE_KDNX5000[E].indb 37 07.4.4 2:13:16 PM07.4.4 2:13:16 PM

38
DEUTSCH
Registrieren von Favorit-Punkten
Ebenso wie Sie die Anschrift eines Freundes
oder ein gutes China-Restaurant in einer
gewöhnlichen Landkarte markieren würden,
können Sie Ihre Lieblingsorte in dem System
registrieren.
Markieren Ihrer Favorit-Punkte
• Sie können bis zu 300 Favorit-Punkte
registrieren.
• Sie können Favorit-Punkte nur registriren,
wenn der Kartenmaßstab 2,0 km oder
detaillierter ist.
1 Zeigen Sie den als Favorit zu
speicherenden Ort in der Mitte
der Karte an.
• Suchen nach einem Ort ☞ [27]
2 Rufen Sie das Shortcut-Menü auf.
3 Wählen Sie [Zu Favorit
hinzufügen] .
Der Favorit-Punkt ist in der Gruppe
Andere
registriert und mit dem Symbol
markiert.
• Das Symbol erscheint möglicherweise
nicht, je nach Kartenmaßstab und ihrer
Einstellung für
Favorit-Symbol
. (☞
[45])
• Zur Führung zu einem Favorit-Punkt ☞ [31]
Bearbeiten Ihrer Favorit-Punkte
1 Rufen Sie das Ziel-Menü auf.
2
Ziel
]
Favoriten
3 Wählen Sie eine Gruppe und
dann einen Favorit-Punkt zur
Bearbeitung.
[Gedrückt halten]
Favorit bearbeiten
Name eingeben
Andere
Adresse eingeben
Telefonnr. eingeben
Ton aus
Löschen
Gruppenauswahl 1/2
Zuhause 2
Freund 12
Verwandte 5
Geschäft 17
Besuch 24
Löschen
Zum Weiterführen der Bearbeitung des
registrierten Favorit-Punkts wählen Sie
[Favorit bearbeiten]
nach Schritt
4.
Sie können den Bearbeiten-Bildschirm in
Schritt 3 unter “Bearbeiten Ihrer Favorit-
Punkte” öffnen.
DE_KDNX5000[E].indb 38DE_KDNX5000[E].indb 38 07.4.4 2:13:17 PM07.4.4 2:13:17 PM

39
Registrieren von Favorit-Punkten
4 Wählen Sie den zu löschen
gewünschten Gegenstand.
Name
Der Name des Favorit-
Punkts.
• Sie können bis zu 32
Zeichen verwenden.
Gruppe
Siehe Tabelle rechts
bezüglich der verfügbaren
zehn Gruppen.
Kategorisieren Sie die
Favorit-Punkte so, dass diese
leicht gefunden werden
können.
Adresse
Die Adresse des Favorit-
Punkts.
Telefonnummer
Wenn Sie KS-BTA200
angeschlossen haben,
können Sie diese Nummer
anrufen. ☞ [86]
Sound Ton aus, Alarm,
Glocke, Sirene
Sie können einen Sound
zu jedem Favorit-Punkt
zuweisen. Sie hören den
zugewiesenen Sound, wenn
Sie sich dem Favorit-Punkt
nähern (auf etwa 200 m).
• Drücken Sie ENT, um
einen Muster-Klang zu
hören.
5 Bearbeiten Sie den Gegenstand.
• Eingabe von Zeichen ☞ [105]
Symbole und Gruppen für Favorit-Punkte
Zuhause Einkaufen
Freund Essen
Verwandte Achtung
Geschäft
Sehenswürdigkeit
Besuch Andere
Zum Löschen eines Favorit-Punkts
Halten Sie ENT nach Schritt 3 unter
“Bearbeiten Ihrer Favorit-Punkte” gedrückt.
Eine Bestätigungsmeldung erscheint.
Drücken Sie ENT, um den Vorgang zu
bestätigen. Drücken Sie BACK zum
Aufheben.
• Sie können einen Favorit-Punkt nicht
direkt nach dem Bearbeiten löschen. Zum
Löschen verlassen Sie das Bildschirmbild
Favorit bearbeiten
einmal und führen
das obige Verfahren aus.
Zum Löschen aller Favorit-Punkte in einer
Gruppe
1 Halten Sie ENT nach Schritt 2
unter “Bearbeiten Ihrer Favorit-
Punkte” gedrückt.
2 Wählen Sie die zu löschenden
Gruppen.
• Checkbox-Bedienungen ☞ [105]
3 Löschen Sie die gewählten
Gruppen.
[Gedrückt halten]
Eine Bestätigungsmeldung erscheint.
Drücken Sie ENT, um den Vorgang zu
bestätigen. Drücken Sie BACK zum
Aufheben.
Gruppenauswahl 1/2
Zuhause 2
Freund 12
Verwandte 5
Geschäft 17
Besuch 24
Auswählen Löschen
DE_KDNX5000[E].indb 39DE_KDNX5000[E].indb 39 07.4.4 2:13:18 PM07.4.4 2:13:18 PM

40
DEUTSCH
Verkehrsinformation auf Karte—TMC
Was ist TMC?
TMC (Traffic Message Channel) ist eine
Technologie zur Lieferung von Echtzeit-
Verkehrsinformation an Fahrer. Die von
einem TMC-Rundfunksender ausgestrahlte
Verkehrsinformation wird empfangen und
vom System analysiert. Das System kann kann
Sie über Staus und mögliche Umgehungen
informieren.
• Sie brauchen nicht auf einen bestimmten
Sender abzustimmen, um die TMC-
Information zu erhalten.
Erhalt der TMC-Information an
Diese Einheit kann die von Trafficmaster
und V-Trafic gesendete TMC-Information
empfangen. Es ist auch möglich, kostenloste
TMC-Information zu empfangen.
• TMC steht in manchen Ländern nicht zur
Verfügung.
Diese Einheit kann die von Trafficmaster
und V-Trafic gesendete TMC-Information
empfangen. Es ist auch möglich, kostenloste
TMC-Information zu empfangen.
TMC-SymbolVerstopfung
TMC-Information auf der Karte
• Liste der TMC-Symbole ☞ [50]
• TMC-Symbole und Verkehrsstaunlinien
sind auf der Karte angezeigt, wenn die
Einstellung
Verkehrsanzeige
aktiviert
ist (☞ [45]).
• TMC-Symbole werden auf der Karte
angezeigt, wenn ihr Maßstab zwischen
30 m und 2,0 km ist.
• Verkehrsstaulinien werden auf der Karte
angezeigt, wenn ihr Maßstab zwischen
30 m und 5,0 km ist.
DE_KDNX5000[E].indb 40DE_KDNX5000[E].indb 40 07.4.4 2:13:19 PM07.4.4 2:13:19 PM

41
Wie TMC-Information in der
Navigation reflektiert wird
Wen n
Verkehr umgehen
auf
Manuelle
Umleit. gestellt ist
(☞ [44]), erscheint
[Umleit.] im Bildschirm, wenn der TMC-
Dienst das System über Verkehrsunfälle oder
dichten Verkehr weiter voraus auf der Strecke
informiert.
Zum Prüfen der Information und Entscheibe,
ob ein Umweg berechnet werden soll
[Gedrückt halten]
Wen n
Verkehr umgehen
auf
Auto Reroute
gestellt ist, berechnet das System automatisch
eine neue Route, wenn TMC über eine
Behinderung auf Ihrer Route informiert.
Wen n
Verkehr umgehen
auf
Aus
gestellt
ist, berücksichtigt das System nicht TMC-
Information bei der Berechnung einer Route.
Zum Sehen detaillierter Information
Wählen Sie einen Gegenstand aus der Liste und
drücken Sie ¢.
Sie können auch die TMC-Liste über das
Menü
Information
]
Verkehr
aufrufen.
Prüfen der TMC-Information
Verkehr 1/2
Verkehrsinformation auf Karte — TMC
Sie sehen auch detaillierte Information über ein
TMC-Symbol auf der Karte auf folgende Weise:
Zeigen Sie das TMC-Symbol in der Mitte der
Karte an ] Shortcut-Menü]
[Information
betrachten]
.
Während der Führung wählen Sie den Bereich,
für den Information gesehen werden soll.
Auf der Strecke
oder
Alle
Informationen
.
Umleit
DE_KDNX5000[E].indb 41DE_KDNX5000[E].indb 41 07.4.4 2:13:19 PM07.4.4 2:13:19 PM

42
DEUTSCH
Navigationsmenü-Gegenstände
☞ [12]
für die detaillierten Menü-Bedienungen.
Ziel-Menü
Menügegenstände
Zuhause
Starten Sie die Führung zu einer Zuhause-Position. (Erscheint nur,
während nicht geführt.) ☞ [24]
G.Abbrechen
Hebt die Führung auf. (Erscheintnur, während geführt.) ☞ [24, 26, 32]
Rückfahrt
Startet die Führung zu der Stelle, wo Sie die letzte Führung gestartet haben.
(Erscheintnur, während nicht geführt.) ☞ [27]
Abschn.
vermeid.
Berechnen Sie eine neue Route unter Vermeidung der gewählten
vorausliegenden Distanz. (Erscheintnur, während geführt.) ☞ [37]
1km
,
3km
,
5km
,
10km
,
15km
(oder
1mi
,
3mi
,
5mi
,
10mi
,
15mi
)*1
Adresse
Suchen nach einem Ort mit der Datenbank im System. ☞ [27]
POI
Vorheriger
Umgebung
Favoriten
Postleitzahl
Koordinaten
Route bearbeiten
• Ordnen Sie die Reihenfolge der Unterbrechungspunkte an.
• Speichern, Laden oder Löschen Sie Routen. ☞ [36]
Editieren
,
Speichern
,
Laden
,
Löschen
*1 Je nach der Einstellung von Maßeinheiten (
☞ [46]
).
Information-Menü
Menügegenstände
Aktuelle Position
Sie können die Information über Ihre aktuelle Position sehen.
Land, Stadt, Straße, Breitengrad, Längengrad
Verkehr
Liste der TMC-Symbole ☞ [40]
Auf der Strecke
*1
, Alle Informationen
Abbieg.-liste
*1 Sie können die Liste der Abbiegungen auf Ihrer Route sehen. ☞ [34]
Reise
*1 Sie können die Information auf Ihrer Route sehen. ☞ [34]
Ziel
*1 Sie können die Liste der Unterbrechungspunkte und das Ziel sehen. ☞ [34]
GPS
Sie können den Status des GPS-Empfangs sehen.
*1 Wählbar nur, während geführt.
DE_KDNX5000[E].indb 42DE_KDNX5000[E].indb 42 07.4.4 2:13:20 PM07.4.4 2:13:20 PM

43
Setup-Menü
Menügegenstände Wählbare Einstellungen
(Anfangseinstellung)
Guidance Stimme
Geschlecht Weiblich, Männlich
*1
Lautst.
Stellen Sie die Lautstärke der Sprachführung ein.*1
Aus
,
01
bis
50
(
25
)
Ausgangskanal
Wählen Sie den Führung-Ausgangskanal.*1
Nur linker Kanal, Nur rech. Kanal, Rech. & lin. K.
Audio-Mixing
Sie können die Lautstärke der AV-Quelle senken, während die
Sprachführung erzeugt wird.*1
Stummschaltung
:
Der AV-Quellton wird nicht ausgegeben.
Dämpfung
: Der AV-Quellton wird gesenkt.
Normal
: Der AV-Quellton wird nicht gesenkt.
Guidanceoptionen
Guidanceansicht
Wählen Sie die Gegenstände zur Anzeige bei Abbiegungen.
Autom. Vergrößer.
:• Nächstes Abbiegen-Symbol: Groß
• Folgendes Abbiegen-Symbol: Ein
• Fortschrittsbalken zum Abbiegen:
Ein
Symbol. Ansicht
:• Nächstes Abbiegen-Symbol: Groß
• Folgendes Abbiegen-Symbol: Aus
• Fortschrittsbalken zum Abbiegen:
Aus
Simpelansicht
:
• Nächstes Abbiegen-Symbol: Klein
• Folgendes Abbiegen-Symbol: Aus
• Fortschrittsbalken zum Abbiegen:
Aus
Navigationsmenü-Gegenstände
Menügegenstände
Verbindung
Sie können den Verbindungsstatus bestätigen.
Lernniveau, Winkel, GPS-Verbind., Gyrokompass, Speed
Signal, Handbremse, Rück. signal, Beleuchtung, Tel.-Stumms.
Version
Sie können den Modellnamen, die Version der Einheit und die Version der
Karten-Datenbank prüfen.
Simulation
Wen n die Route festgelegt ist, können Sie sie auf der Karte simulieren. ☞ [35]
Information-Menü (Fortsetzung)
*1 Drücken Sie ENT, um eine Musterstimme in der aktuellen Einstellung zu hören.
DE_KDNX5000[E].indb 43DE_KDNX5000[E].indb 43 07.4.4 2:13:20 PM07.4.4 2:13:20 PM

44
DEUTSCH
Menügegenstände Wählbare Einstellungen
(Anfangseinstellung)
Guidanceoptionen
Unterbrechung
Wählen Sie die Sprachführungsausgabe im AV-Bildschirm.
• Ein kleines Symbol der nächsten Abbiegung erscheint unten
rechts im AV-Bildschirm während der Führung, ungeachtet
dieser Einstellung. Wenn Sie eine Abbiegung auf der Karte
sehen wollen, drücken Sie MAP, um zum Kartenbildschirm
umzuschalten.
Aus
,
Ein
Verkehr umgehen Aus
,
Auto Reroute
,
Manuelle Umleit.
☞ [41]
Modus Fahrt
Wen n diese Funktion aktiviert ist, steigert das System
automatisch die Sprachausgabelautstärke, während das Fahrzeug
beschleunigt.
Zum Erhalten eines stärkeren Effekts stellen Sie den Pegel auf
höhere Zahlen ein.
Aus
,
01
bis
10
(
05
)
Warnton
Wählen Sie den Typ des Achtungstons, der vor der
Sprachführung ausgegeben wird.
Aus, Achtung 1, Achtung 2, Achtung 3
• Drücken Sie ENT, um einen Muster-Klang zu hören.
Routen Parameter
Priorität Schnellste
: Das System berechnet die kürzeste Reisezeit.
Kürzeste
: Das System berechnet die kürzeste Route zum Ziel.
• Diese Einstellung ist das nächste Mal wirksam, wenn das
System eine Route berechnet.
Autobahn vermeid.
Markieren Sie die Kästchen vor den zu aktivieren gewünschten
Optionen.
• Diese Einstellung ist das nächste Mal wirksam, wenn das
System eine Route berechnet.
Fähre vermeiden
Mautstraß.
vermeid.
Kartenfarbe
Tagesfarbe
Wählen Sie die Farbe für die Tages-Bildschirmanzeige.
Typ 1, Typ 2, Typ 3
Routenfarbe
Wählen Sie die Farbe für die Route.
Farbe 1, Farbe 2, Farbe 3
Nachtmodus
Wählen Sie die Bedingung zum Umschalten des Displaysauf das
Nacht-Schirmbild.
Aus
: Hebt auf.
Auto
: Blendet das Nacht-Schirmbild beim Einschalten der
Autoscheinwerfer ein.
Paz.
: Schaltet zu eingestellten Zeiten auf die Tag-/Nacht-
Bildschirmanzeigen um.
• Wenn Sie
Paz.
wählen, stellen Sie dies ein, um die
Displayfarbe auf einem folgenden Bildschirm umzuschalten.
Helligkeit
*2 Stellen Sie die Helligkeit des Bildschirms ein.
–15
bis
+15 (00)
*2 Diese Einstellung wird mit der Einstellung Bildsch_regelung im AV-Menü geteilt. (
☞
[96]
)
Setup-Menü (Fortsetzung)
DE_KDNX5000[E].indb 44DE_KDNX5000[E].indb 44 07.4.4 2:13:21 PM07.4.4 2:13:21 PM

45
Menügegenstände Wählbare Einstellungen
(Anfangseinstellung)
Kartenoptionen
Kartenansicht Norden oben
,
Überschrift oben, 3D-Karte
☞ [23]
Auto-Zoom
Wählen Sie, wie sich der Zoommaßstab ändert.
Aus:
(Nur bei Führung wirksam) Heranzoomen an30 m
Maßstab bei Abbiegungen, wenn
Guidanceansicht
gestellt
ist auf
Autom. Vergrößer.
. Ansonsten wechselt der Maßstab
nichtbei Abbiegungen.
Guidance anpass.
: (Nur bei der Führung wirksam) Wenn Sie
sich Abbiegungen nähern, wechselt der Maßstab allmählich,
so dass die aktuelle Position und die Abbiegung immer
gleichzeitig auf der Karte angezeigt wird.
Geschwind. anpass.
: Der Maßstab wechselt allmählich
entsprechend der Geschwindigkeit des Fahrzeugs; beim
Verlangsamen wird die Karte herangezoomt.
POI-Symbol
Markieren Sie die Kästchen vor jeder Sonderziel-Kategorie zur
Anzeige ihrer Symbole auf der Karte.
Favorit-Symbol
Markieren Sie das Kästchen vor jeder Favorit-Gruppe zur
Anzeige ihrer Symbole auf der Karte.
Autospuren
*3
Display
: Markieren Sie das Kästchen zur Anzeige der Spuren
Ihres Fahrzeugs auf der Karte.
Aufnahme
*4: Markieren Sie das Kästchen zum Aufzeichnen der
Spur Ihres Fahrzeugs.
Löschen
: Löscht die aufgezeichneten Spuren.
Straßenname
Markieren Sie das Kästchen zur Anzeige des aktuellen/nächsten
Straßennamens auf dem Monitor.
Einbahnstraße
Markieren Sie das Kästchen zur Anzeige des Einbahnstraße-
Symbols auf der Karte.
Verkehrsanzeige
Markieren Sie das Kästchen zur Anzeige der TMC-Symbole auf
der Karte.
Navigationsmenü-Gegenstände
*3 Wenn Sie die Spur der aktuellen Fahrt anzeigen wollen, müssen Sie sowohl Display als auch Aufnahme
markieren.
*4 Die aufgezeichneten Spuren werden beginnend mit den ältesten gelöscht, wenn der interne Speicher voll wird.
Setup-Menü (Fortsetzung)
DE_KDNX5000[E].indb 45DE_KDNX5000[E].indb 45 07.4.4 2:13:21 PM07.4.4 2:13:21 PM

46
DEUTSCH
Menügegenstände Wählbare Einstellungen
(Anfangseinstellung)
Systemeinstell.
Installationswinkel
Wählen Sie den Winkel des Geräts mit dem mitgelieferten
Winkelmesser. (Siehe auch Einbau/Anschlussanleitung).
1
: –5,0° bis 1,0°
2
: 1,0° bis 6,0°
3
: 6,0° bis 14,0°
4
: 14,0° bis 32,0°
• Es wird davon abgeraten, das Gerät in einem Winkel von
mehr als 30° einzubauen; andernfalls können Fehlfunktionen
auftreten.
• Führung wird aufgehoben, wenn Sie diese Einstellung ändern.
WAAS/EGNOS
Wählen Sie, ob WAAS und EGNOS zur Steigerung der
Genauigkeit der Positionierung verwendet werden sollen.
Aus
: Hebt auf.
Ein
: Aktiviert.
Sprache
*5 Wählen Sie die Sprache für die Bildschirminformation und
Sprachführung.
Dansk, Deutsch, English UK, English US, Español,
Français, Italiano, Nederlands, Svenska
Kalibrier. zurücks.
Setzen Sie die Kalibrationsdaten in den folgenden Fällen zurück:
• Wenn Sie das Gerät in einem anderen Fahrzeug einbauen.
• Wenn Sie
Installationswinkel
ändern.(☞ oben)
• Wenn Sie die Reifen wechseln oder drehen.
Wen n dies ausgeführt wird, werden die Kalibrationsdaten
gelöscht. Die Kalibrierung beginnt, wenn Sie das Menü verlassen.
(☞ [9])
• Führung wird aufgehoben, wenn Sie die Kalibrierungsdaten
rücksetzen.
Acht. Höchstgesch.
Für Einzelheiten besuchen Sie <http://www.jvc-exad.com>.
Maßeinheiten
Wählen Sie die Maßeinheiten für die Entfernung.
km / m
,
mi / yd
Koordinaten
Wählen Sie die Maßeinheiten für Koordinatengrade.
Grd / Min / Sek
,
Grd / Mill / Mikr
Position des Autos
Wenn Ihre aktuelle Position an einer falschen Stelle auf der Karte
angezeigt wird, verwenden Sie diese Einstellung zum Korrigieren
Ihrer Position.
Stellen Sie die Position mit 4¢5∞ ein, und dann die
Richtung mit 5∞.
Setup-Menü (Fortsetzung)
*5 Diese Einstellung wird mit der Einstellung Sprache im AV-Menü (
☞
[90]
) geteilt.
DE_KDNX5000[E].indb 46DE_KDNX5000[E].indb 46 07.4.4 2:13:22 PM07.4.4 2:13:22 PM

47
Zusätzliche Information
Anfängliche Einstellungen
• Wenn Sie
Ein
für
Vorführmodus
wählen,
startet das System im Demonstrationsmodus
für Geschäfte, und der anfängliche Setup-
Bildschirm erscheint bei jedem Einschalten
des Systems nach dem Ein- und Ausschalten
des Zündschalters. Wählen Sie
Aus
, um volle
Leistung mit dem Gerät zu erzielen.
Grundlegende Bedienung
• Bei kleinem Maßstab kann das Scrollen der
Karte aufhören, wenn die Kartenansicht
den Rand der Kartendeckung erreicht. Beim
fortgesetzten Scrolen wird das Scrollen in
einem großen Maßstab fortgesetzt.
Suchen nach einem Ort
• Beim Fahren mit mehr als 10 km/h können
Sie nicht ein Ziel wählen.
Wenn Sie versuchen, die Bedienung
auszuführen, erscheint das folgende
Bildschirmbild, und Sie können den Vorgang
nicht fortsetzen.
• Das Suchergebnis wird in der Norden-
oben-Ansicht angezeigt, ungeachtet Ihrer
Kartenansicht-Einstellungen.
• Der für ein Sonderziel eingegebene
Name kann sich von dem namen des
Suchergebnisses unterscheiden.
Aus der Liste der Sonderziele
• Wenn keine Daten für Sonderziele für die
gewählte Stadt vorhanden sind, erscheint
POI
nicht gefunden.
im Display. Drücken Sie
BACK, bis der Stadt-Menüeintrag erscheint,
und geben Sie eine andere Stadt ein.
Sonderziel in der Umgebung eines Orts/einer
Route
• Wenn keine Daten für Sonderziele für das
gewählte Gebiet vorhanden sind, erscheint
POI nicht gefunden.
im Display. Drücken
Sie BACK, bis die Liste der Hauptkategorien
erscheint.
• Sonderziel-Suche in
Auf der Strecke
wird
aufgehoben, wenn die Führung beendet ist
oder die Routen-Neuberechnung beginnt,
bevor die Suche fertig ist.
Nach Koordinaten
• Wenn die eingegebene Position nicht in der
Datenbank ist, erscheint
Außerhalb
des
Kartenbereichs.
im Display. Wiederholen
Sie die Eingabe.
Grundlegender Navigationsvorgang
• Wenn Sie die Gegend ungefähr innerhalb
von 30 Meter um den Zielpunkt/
Unterbrechungspunkt erreicht haben, nimmt
das Navigationssystem an, dass Sie Ihr Ziel/
Ihren Unterbrechungspunkt erreicht haben.
So werden Sie geführt
• Wenn der GPS-Signalempfang schlecht ist,
kann die Navigationsführung inkorrekt sein.
• Das System kann an den folgenden Orten
keine GPS-Signale empfangen...
– in einem Tunnel oder einem Parkplatz
innerhalb eines Gebäudes
– unter einer Überführung
– an einem Ort, der von sehr hohen
Gebäuden oder dicht stehenden Bäumen
umgeben ist
• Die Fahrzeugposition kann in den folgenden
Fällen nicht richtig erkannt werden...
– beim Fahren auf einer Straße, die sehr
nahe an einer anderen ist (z.B. wenn
eine Autobahn und normale Landstraße
parallel verlaufen)
– beim Abbiegen an einer sehr spitzen
Gabelung in der Straße
– beim Fahren auf im Quadratraster
angelegten Stadtstraßen
– nach dem Benutzen einer Autofähre usw.
– beim Fahren auf einer steilen Bergstraße
– beim Fahren auf Serpentinen
–
beim Abbiegen nach links oder Rechts nach
Fahren auf einer langen geraden Straße
– beim Zickzackwahren auf einer einer sehr
breiten Straße
– beim Starten des Fahrzeugs kurz nach
dem Starten des Motors
– beim ersten Fahren nach dem Einbau des
Geräts
Zusätzliche Information
Keine Bedienung beim
Fahren möglich. Nach dem
Anhalten weiter bedienen.
DE_KDNX5000[E].indb 47DE_KDNX5000[E].indb 47 07.4.4 2:13:22 PM07.4.4 2:13:22 PM

48
DEUTSCH
– beim Reifenwechsel oder Montieren von
Schneeketten
– wenn häufiges längeres
Reifendurchdrehen auftritt
– beim Fahren in Bereichen ohne Straßen
(z.B. auf Privatgrundstücken oder auf
großen Parkplätzen)
– nach dem Fahren in einer unterirdischen
Parkgarage oder einem Parkhaus
– beim Wenden des Fahrzeug auf einer
Drehscheibe
– nach häufigem Anhalten und Neustarten
beim Fahren im dichten Verkehr
– wenn die Genauigkeit des GPS absichtlich
niedriger gestellt wird
– beim Fahren auf einer neu gebauten Straße
• Die vom System berechnete Route ist eine der
möglichen Routen zum Ziel. Die Route ist
nicht immer die vorteilhafteste.
• Wenn ein Straßenname nicht in der
Datenbank verfügbar ist, erscheint
Unbenannt
anstelle des Straßennamens.
• Wenn Keine-Ausfahrt-Straßen in einen
Kreisverkehr münden (nur Einfahrt ist
erlaubt) können diese Nicht-Ausfahrten weder
in der Routenführung im Display gezeigt noch
in der Routenführung-Sprachmeldung gezählt
werden.
• Die folgenden Erscheinungen können auftreten,
auch wenn das System richtig arbeitet...
– Die vorgeschlagene Straße kann gesperrt
sein oder eine Kehrtwendung erfordern.
– Führung zum Ziel kann unmöglich sein,
wenn nur eine sehr enge Straße oder eine
nicht offiziell vorhandene Straße zum Ziel
führt.
– Möglicherweise vermeidet das System
eine Verkehrsverstopfung nicht, auch
wenn
Verkehr umgehen
auf
Auto
Reroute
gestellt ist.
– Ein falscher Straßenname kann angezeigt
werden.
– Das System fordert möglicherweise nicht
zum Abbiegen an einer Kreuzung auf, wo
dies erforderlich ist.
– Die gegebene Führung kann von den
tatsächlichen Straßenbedingungen
abweichen.
– Die angegebene Entfernungsinformation
kann falsch sein.
48
Erstellen Ihrer Route
• Wenn das Ziel weiter als 200 km entfernt ist,
werden immer Autobahnen zur Berechnung
der Route verwendet.
• Wenn das Ziel nicht ohne Verwendung von
Autobahnen, Fähren oder Mautstraßen
erreichbar ist, werden diese zur Berechnung
der Route verwendet, ungeachtet der
Einstellungen von
Routen Parameter
.
• Ein Umweg kann möglicherweise mit
Abschn. vermeid.
nicht berechnet werden,
je nach der Route.
Verkehrsinformation auf Karte
• Wenn
Verkehr umgehen
auf
Manuelle
Umleit.
gestellt ist, kann die Routen-
Neuberechnung aufgehoben werden,
während Sie aufgrund einer Änderung
der Verkehrsbedingungen eine Prüfung
vornehmen. Die Neuberechnung kann
auch aufgehoben werden, wenn Sie die
Neuberechnung nicht innerhalb einer Minute
bestätigen.
DE_KDNX5000[E].indb 48DE_KDNX5000[E].indb 48 07.4.4 2:13:23 PM07.4.4 2:13:23 PM

49
Zusätzliche Information
Liste der Sonderziel-Symbole
Business
Ausstellungszentrum/Messegelände
Gewerbebetrieb
Einkaufen
Buchgeschäft
Einkaufszentrum
Weingut/Kellerei
Freizeit
Bar/Gasthaus
Erholungsgebiet (Park)
Historisches Bauwerk
Kino
Nachtclub
Spielkasino
Sport
Theater
Vergnügungspark
Yachthafen
Kfz-Services
Autovermietung
Gebrauchtwagenhändler
Kfz-Händler
Kfz-Werkstatt
Motorradhändler
Tankstelle
Lebensmittel
Kaffeehaus
Restaurant
Supermarkt
Notfälle
Ambulanz/Poliklinik
Apotheke
Orte
Grenzübergang
Industriegebiet
Sportstadion
Reisen
Bahnhof
Busbahnhof
Fähranlegestelle
Flughafen
Nahverkehrsbahnhof
Park And Ride
Parkhaus
Parkplatz
Raststätte/Autobahnparkplatz
Soziales
Bank
Bibliothek
Gemeindezentrum
Gericht
Krankenhaus
Museum
Polizei
Postamt
Rathaus/Stadtverwaltung
Schule
Universität/Hochschule
Staatliche Einrichtungen
Botschaft
Kreisverwaltung
Stadtzentrum
Hauptstadt Bundeshauptstadt
Landeshauptstadt/Hauptstadt Eines
Touristik
Sehenswürdigkeit
Touristeninformation
Unterkunft
Hotel/Motel
Pension
DE_KDNX5000[E].indb 49DE_KDNX5000[E].indb 49 07.4.4 2:13:23 PM07.4.4 2:13:23 PM

DEUTSCH
50
Liste der TMC-Symbole
Verkehrsstau
Straßenarbeiten
Straße ist blockiert oder gesperrt
Fahrspur ist gesperrt
Unfall
Bedingung
Andere Vorsicht-Ereignisse
Information
Regen
Schnee
Starker Wind
Nebel
AV-Quellenbedienungen im Karten-Bildschirm
Quelle
Tuner
Auto-Search. (Keine Funktion)
DAB
Auto-Search. Wechsel von Diensten.
Disc
Wechseln Sie Tracks.
Ändern Sie Titel/Gruppen/Ordner.
Musik-Server
Alben wechseln.
CD-Wechsler
Ordner wechseln.
iPod/D.-Player
(Keine Funktion)
Bluetooth Audio
(Keine Funktion)
DE_KDNX5000[E].indb 50DE_KDNX5000[E].indb 50 07.4.4 2:13:25 PM07.4.4 2:13:25 PM

51
Radio
52 Rundfunkempfang
Automatische Voreinstellung von UKW-Sendern
—SSM (Strong-Station Sequential Memory)
52
Manuelle Voreinstellung
52
Wählen von Festsendern
53
Wenn Sie Schwierigkeiten haben, eine Sendung in
Stereo zu empfangen
53
Zum Abstimmen von Sendern mit ausreichender
Signalstärke
53
54 RDS-Bedienungen
Suchen nach UKW RDS-Programm—PTY-Suchlauf
54
Speichern Ihrer bevorzugten Programmtypen
54
PTY-Standbyempfang
55
TA-Standbyempfang
55
Verfolgen des gleichen Programms
— Network-Tracking-Empfang
56
Betrachten von RDS-Radiotext
56
56 DAB-Bedienungen
Dienste voreinstellen
56
Vorwahl-Dienste wählen
57
Betrachten von DLS-Information
57
Wenn laute Umgebungsgeräusche vorhanden sind
57
TA/PTY-Standbyempfang
58
Verkehrsansagen-Standbyempfang
58
Dynamische Programmverfolgung
—Alternativfrequenzempfang (DAB AF)
58
DE_KDNX5000[E].indb 51DE_KDNX5000[E].indb 51 07.4.4 2:13:26 PM07.4.4 2:13:26 PM

DEUTSCH
52
Diese Funktion arbeitet nur bei UKW-Sendern.
Sie können für jedes Frequenzband bis zu sechs
Sender voreinstellen.
1
2
3
AV Menü
]
Modus
]
SSM
4
SSM
erscheint im Display.
Die lokalen UKW-Sender im ausgewählten
Frequenzband mit den stärksten Signalen
werden automatisch als Festsender
gespeichert.
Wählen Sie “TUNER”.
Die Frequenzbänder wählen.
Suchen Sie einen Sender—Automatischer Suchlauf.
• Manueller Suchlauf: Halten Sie entweder 4 oder ¢ gedrückt, bis
Manuelle
Suche
im Monitor erscheint, und drücken Sie die Taste dann wiederholt.
• leuchtet auf, wenn eine UKW-Stereosendung mit ausreichender Signalstärke
empfangen wird.
Rundfunkempfang
* Nur für RDS-Sender.
FM1 Preset4 Classics
Sendername
*
92.5 MHz
Automatische Voreinstellung von
UKW-Sendern—SSM (Strong-Station
Sequential Memory)
Wellenbereich
Manuelle Voreinstellung
Sie können für jedes Frequenzband bis zu sechs
Sender voreinstellen.
1
2 Stimmen Sie den als Festsender
einzugeben gewünschten Sender
ab.
3 Zeigen Sie die Vorwahlliste an.
[Gedrückt halten]
oder
FM1 Vorwahl Speich.
1 87.5 MHz
2 88.3 MHz
3 88.7 MHz
4 91.5 MHz
5 93.1 MHz
6 95.3 MHz
• Nur bei UKW: Jedesmal wenn Sie die
Taste gedrückt halten, können Sie die
Wellenbereiche umschalten.
PTY
Equalizer-Typ
☞
[98]
PTY-Code*
DE_KDNX5000[E].indb 52DE_KDNX5000[E].indb 52 07.4.4 2:13:26 PM07.4.4 2:13:26 PM

53
FM1 Preset4 Classic
Sendername
92.5 MHz
10:35 AM 80 km/h
PTY
Rundfunkempfang
Wählen von Festsendern
An der Fernbedienung:
1
2 Wählen Sie eine
Festsendernummer.
Aus der Vorwahlliste
1 Zeigen Sie die Vorwahlliste an.
FM1 Vorwahl Speich.
1 87.5 MHz
2 88.3 MHz
3 88.7 MHz
4 91.5 MHz
5 93.1 MHz
6 95.3 MHz
[Gedrückt halten]
oder
• Nur bei UKW: Jedesmal wenn Sie die
Taste gedrückt halten, können Sie die
Wellenbereiche umschalten.
2 Wählen Sie eine
Festsendernummer.
4 Wählen Sie eine
Festsendernummer.
FM1 Preset4 Classic
Sendername
92.5 MHz
10:35 AM 80 km/h
PTY
Sie können auch die Vorwahlliste über
AV
Menü
]
Liste
sehen.
[Gedrückt
halten]
Zum Abstimmen von Sendern mit
ausreichender Signalstärke
Diese Funktion arbeitet nur bei UKW-Sendern.
Wenn Sie diese Funktion aktiviert haben
(
Lokal
gewählt haben), arbeitet sie immer bei
der Suche nach UKW-Sendern.
1
2
AV Menü
]
Modus
]
DX/Lokal
]
Lokal
3
leuchtet auf. Es wird nur nach Sendern mit
ausreichender Signalstärke gesucht.
Um alle empfangbaren Sender erneut
abzustimmen, wählen Sie
DX
in Schritt 2.
Wenn Sie Schwierigkeiten haben,
eine Sendung in Stereo zu empfangen
1
2
AV Menü
]
Modus
]
Mono
]
Ein
3
leuchtet auf. Der Empfang wird besser,
jedoch geht der Stereo-Effekt verloren.
Zum Wiederherstellen des Stereoeffekts
wählen Sie
Aus
in Schritt 2.
DE_KDNX5000[E].indb 53DE_KDNX5000[E].indb 53 07.4.4 2:13:27 PM07.4.4 2:13:27 PM

DEUTSCH
54
Suchen nach UKW RDS-Programm
—PTY-Suchlauf
Sie können Ihre ausgestrahlten
Lieblingsprogramme suchen, indem Sie den
PTY-Code Ihrer Lieblingsprogramme wählen.
1
PTY Modus
PTY Suche
PTY Speicher
[Gedrückt halten]
2
PTY Modus
]
PTY Suche
]
PTY Vorwahl-Liste
oder
PTY-Liste
• Zum Wählen unter den sechs Vorwahl-
PTY-Codes wählen Sie
PTY Vorwahl-
Liste
.
• Zum Wählen unter allen PTY-Codes
wählen Sie
PTY-Liste
.
PTY Suche
1 Pop M
2 Rock M
3 Easy M
4 Classics
5 Affairs
6Varied
3 Wählen Sie einen PTY-Code.
• Wenn ein Sender eine Sendung mit dem
PTY-Code ausstrahlt, den Sie gewählt
haben, wird dieser Sender eingestellt.
Die folgenden Merkmale stehen nur für
UKW-RDS-Sender zur Verfügung. Speichern Ihrer bevorzugten
Programmtypen
Sie können Ihre bevorzugten PTY-Codes unter
der PTY-Vorwahlliste abspeichern.
1
PTY Modus
PTY Suche
PTY Speicher
[Gedrückt halten]
2
PTY Modus
]
PTY Speicher
3 Wählen Sie einen PTY-Code
zum Austausch mit dem neuen.
PTY Speicher
1 Pop M
2 Rock M
3 Easy M
4 Classics
5 Affairs
6Varied
4 Wählen Sie einen PTY-Code zur
Speicherung in der Liste.
PTY Speicher 1/6
News
Affairs
Info
Sports
Educate
Set
PTY
PTY
PTY
PTY
PTY
Jetzt wird
Pop M
durch
News
ersetzt.
RDS-Bedienungen
DE_KDNX5000[E].indb 54DE_KDNX5000[E].indb 54 07.4.4 2:13:29 PM07.4.4 2:13:29 PM

55RDS-Bedienungen
Verfügbare PTY-Codes:
News, Affairs, Info, Sport, Educate, Drama,
Culture, Science, Varied, Pop M, Rock M, Easy M,
Light M, Classics, Other M, Weather, Finance,
Children, Social, Religion, Phone In, Travel,
Leisure, Jazz, Country, Nation M, Oldies, Folk M,
Document
PTY-Standbyempfang
PTY-Standby erlaubt es dem Receiver, von der
aktuellen Signalquelle außer AM kurzzeitig auf
Ihr bevorzugtes PTY-Programm umzuschalten.
• Ist ein DAB-Tuner angeschlossen, so lässt
sich über Standbyempfang auch nach DAB-
Diensten suchen.
So aktivieren Sie den PTY-Standbyempfang
1
2
AV Menü
]
Modus
]
PTY Standby
]
News
3
4 Wählen Sie einen gewünschten
PTY-Code.
PTY Standby 1/6
News
Affairs
Info
Sport
Educate
Set
So deaktivieren Sie den PTY-Standbyempfang
Wählen Sie
Aus
in Schritt 2.
TA-Standbyempfang
Verkehrsdurchsagen-Standby erlaubt es dem
Receiver, von allen Signalquellen außer AM
kurzzeitig auf Verkehrsdurchsagen (TA)
umzuschalten.
• Die Lautstärke schaltet auf den
voreingestellten TA-Lautstärkepegel um (☞
[93]
TA-Lautstärke
).
• Ist ein DAB-Tuner angeschlossen, so lässt
sich über Standbyempfang auch nach DAB-
Diensten suchen.
So aktivieren Sie den TA-Standbyempfang
leuchtet auf oder blinkt.
• Wenn aufleuchtet, ist der TA-
Standbyempfang aktiviert.
• Wenn blinkt, ist der TA-Standbyempfang
noch nicht aktiviert. (Dies ist der Fall, wenn
Sie einen UKW-Sender hören, bei dem die
für den TA-Standbyempfang erforderlichen
RDS-Signale nicht mitgesendet werden.)
Zum Aktivieren des TA-Standbyempfangs
müssen Sie einen anderen Sender (oder
DAB-Dienst) einstellen, bei dem diese Signale
mitgesendet werden. geht von Blinken
auf Dauerleuchten über.
So deaktivieren Sie den TA-Standbyempfang
erlischt.
DE_KDNX5000[E].indb 55DE_KDNX5000[E].indb 55 07.4.4 2:13:30 PM07.4.4 2:13:30 PM

DEUTSCH
56
Programm A wird in unterschiedlichen
Frequenzbereichen ausgestrahlt (01 – 05)
Wählen Sie “DAB”.
Suchen Sie nach einem
Ensemble.
• Manueller Suchlauf: Halten Sie
entweder 4 oder ¢ gedrückt,
bis Manuelle Suche im Monitor
erscheint, und drücken Sie dann
wiederholt.
Wählen Sie einen Dienst
(primär oder sekundär)
zum Hören.
Dienste voreinstellen
Sie können sechs DAB-Dienste (Primärdienste)
für jedes Frequenzband vorwählen.
1
2 Wählen Sie den vorzuwählen
gewünschten Dienst.
3 Rufen Sie den Vorwahlliste-
Bildschirm auf.
DAB1 Vorwahl Speich.
1HR1
2 No Serv.
3 FFH
4 HRH
5 HRS
6 No Serv.
[Gedrückt halten]
oder
• Jedesmal wenn Sie die Taste gedrückt
halten, können Sie die DAB-
Wellenbereiche umschalten.
Betrachten von RDS-Radiotext
Wenn der empfangene RDS-Sender RDS-
Radiotext ausstrahlt, leuchtet auf.
Zur Anzeige von Radiotext
Bei jedem Drücken von DISP schaltet das
Display wie folgt um:
Sendername und Frequenz
=
Radiotext
• Es kann eine gewisse Zeit dauern, den
Radiotext zu erkennen. Beim Laden
von Text erscheinen
Laden
und eine
Fortschrittsanzeige.
Bei Versand ab Werk ist der Network-Tracking-
Empfang aktiviert.
Zum Ändern der Einstellung für den Network-
Tracking-Empfang ☞ [93]
AF Regional
.
• Wenn der DAB-Tuner angeschlossen ist,
☞ [58] “Dynamische Programmverfolgung
—Alternativfrequenzempfang (DAB AF)”.
Verfolgen des gleichen Programms
— Network-Tracking-Empfang
Wenn Sie in einem Bereich unterwegs sind,
in dem kein guter UKW-Empfang möglich
ist, sucht dieser Receiver automatisch nach
anderen Frequenzen, auf denen das UKW-RDS-
Programm möglicherweise besser empfangen
werden kann.
• Sie können auch die Vorwahl-Liste über
AV
Menü
]
Liste
sehen.
DAB-Bedienungen
DE_KDNX5000[E].indb 56DE_KDNX5000[E].indb 56 07.4.4 2:13:30 PM07.4.4 2:13:30 PM

57
DAB-Bedienungen
4 Wählen Sie eine
Festsendernummer.
DAB1 Preset4
Ensemble-Etikett
227.360 MHz 12C
CH
[Gedrückt
halten]
Vorwahl-Dienste wählen
Am Gerät:
Nach Schritt 1 und 3 von “Dienste
voreinstellen”...
DAB1 Vorwahl Speich.
1 HR1
2 No Serv.
3 FFH
4 HRH
5 HRS
6 No Serv.
An der Fernbedienung:
1
2
*
Zum Genießen von DAB schließen Sie einen DAB-Tuner (getrennt erhältlich) an die Einheit an.
Betrachten von DLS-Information
Wenn der empfangene DAB-Dienst DLS
(Dynamic Label Segment) Information
ausstrahlt, leuchtet auf.
Zur Anzeige des DLS
Bei jedem Drücken von DISP schaltet das
Display wie folgt um:
Dienst-Etikett, Ensemble-Etikett, Frequenz und
Kanalnummer
=
Dienst-Etikett, Ensemble-Etikett und PTY-
Code
=
Dienst-Etikett und DLS-Information
Wenn laute Umgebungsgeräusche
vorhanden sind
Manche Dienste bieten Dynamikumfang-
Steuersignale (DRC) zusammen mit ihren
regulären Programmsignalen. DRC hebt die
leisen Klänge für besseres Hören an.
• leuchtet beim Empfang eines Dienstes
mit DRC-Signalen auf.
Wellenbereich
Kanalnummer
DAB1 Preset4
P
RG
Service1
Ensemble-Etikett
227.360 MHz 12C
Dienst-Etikett
Fortsetzung auf nächster Seite.
CH
DE_KDNX5000[E].indb 57DE_KDNX5000[E].indb 57 07.4.4 2:13:31 PM07.4.4 2:13:31 PM

DEUTSCH
58
• Wenn aufleuchtet, ist der Ansagen-
Standbyempfang aktiviert.
• Wenn blinkt, ist der Ansagen-
Standbyempfang noch nicht aktiviert. Zum
Aktivieren müssen Sie einen anderen Dienst
einstellen, der die Ansagen-Standbyempfang
erforderlichen Signale liefert. geht von
Blinken auf Dauerleuchten über.
Zum Deaktivieren der Verkehrsansagen-
Standbyempfang
Wählen Sie
Aus
in Schritt 2.
Verfügbare Ansagetypen
Travel, Warning, News, Weather, Event,
Special, Rad Inf, Sports, Finance
1
2
AV Menü
]
Modus
]
D-Bereichsreg.
]
DRC1
oder
DRC2
oder
DRC3
• Je höher die Stufe, desto stärker der Effekt.
3
TA/PTY-Standbyempfang
• Die Bedienung erfolgt wie auf Seite 55 für
UKW-RDS-Sender beschrieben.
• Sie können nicht PTY-Codes separat für den
DAB-Tuner und den UKW-Tuner speichern.
Verkehrsansagen-Standbyempfang
Der Verkehrsansagen-Standbyempfang
erlaubt es dem Receiver, kurzfristig auf Ihren
bevorzugten Dienst (Ansagetyp) umzuschalten.
Aktivieren von Verkehrsansagen-
Standbyempfang
1
2
AV Menü
]
Modus
]
Ansage Standby
]
Travel
3 Wählen Sie einen gewünschten
Ansagetyp.
Ansage Standby 1/2
Travel
Warning
News
Weather
Event
Set
Dynamische Programmverfolgung
—Alternativfrequenzempfang
(DAB AF)
• Beim Empfang eines DAB-Dienstes:
Beim Fahren in einem Empfangsbereich, wo
ein Dienst nicht empfangen werden kann,
stellt dieser Receiver automatisch ein anderes
Ensemble oder einen UKW-RDS-Sender ein,
der dasselbe Programm ausstrahlt.
• Beim Empfang eines UKW-RDS-Senders:
Beim Fahren in einem Empfangsbereich, wo
ein DAB-Dienst dasselbe Programm wie der
betreffende UKW-RDS-Sender ausstrahlt,
stellt dieser Receiver automatisch den DAB-
Dienst ein.
Bei Versand ab Werk ist der Alternativfrequenze
mpfang aktiviert.
Zur Änderung der Einstellung für den
Alternativempfang ☞ [93]
DAB AF
.
DE_KDNX5000[E].indb 58DE_KDNX5000[E].indb 58 07.4.4 2:13:32 PM07.4.4 2:13:32 PM

59
Discs und Festplatte
60 Disc-Bedienungen
Abspielbare Discs/Dateien
61
Auswählen von Wiedergabemodi
64
Wählen von Tracks auf der Liste
65
Auswurfsperre
65
Fernbedienungen
65
Spezielle Funktionen für DVD Audio
68
Bedienvorgänge mit dem On-Screen-Balken
68
70 Musik-Server-Bedienungen
Wählen von Tracks mit Listen
71
Auswählen von Wiedergabemodi
71
Aufnehmen/Überspielen von Tracks von einer Disc
72
Bearbeiten der Bibliothek
75
Prüfen der restlichen Speichergröße
76
77 CD-Wechsler-Bedienungen
Auswählen von Wiedergabemodi
78
DE_KDNX5000[E].indb 59DE_KDNX5000[E].indb 59 07.4.4 2:13:33 PM07.4.4 2:13:33 PM

DEUTSCH
60
Wenn “ ” im Monitor erscheint, kann das
Gerät nicht den gewünschten Bedienvorgang
akzeptieren.
• In manchen Fällen wird zwar “ ”, n i cht
angezeigt, aber der Bedienvorgang ist
dennoch nicht möglich.
Starten Sie die
Wiedergabe.
Stoppen Sie die
Wiedergabe.
Der Disc-Typ wird automatisch erkannt,
und die Wiedergabe startet automatisch (bei
manchen Discs: automatischer Start hängt vom
internen Programm ab).
Wenn eine Disc kein Disc-Menü hat, werden
alle Tracks darauf wiederholt abgespielt,
bis Sie die Quelle umschalten oder die Disc
entnehmen.
Zum Ausschieben der Disc
Disc-Bedienungen
Wählen Sie “DISC”.
Equalizer-Typ
☞
[98]
Zum Einsetzen einer Disc
Jedesmal, wenn Sie DISP drücken,
wechselt die Anzeige.
Für Bild-Discs
: Wiedergabebild
=
Disc-
Information
=
Fahrzeug-Information (
☞
[11]
)
=
Video-Eingabe* (
☞
[82]
)
=
(zurück zum
Anfang)
Für Audio-Discs
: Disc-Information
=
Fahrzeug-
Information
=
Video-Eingabe*
=
(zurück zum
Anfang)
Wenn eine Disc verschiedene Dateitypen
enthält (Musik, Film oder Standbilder),
müssen Sie den Dateityp zur Wiedergabe
wählen. (☞ [92]
Dateityp
)
Wiedergabemodus
☞
[64]
Disc-Typ
01 0:00:03
Album-Name
Interpretenname
Trackname
* Erscheint nur, wenn Sie Video oder Kamera für die
Einstellung Video-Eingang gewählt haben (
☞
[94]
). • Für Discs ausgenommen DVD und VCD: Der
Steuerbildschirm erscheint im angeschlossenen
Monitor. (
☞
[102]
)
DE_KDNX5000[E].indb 60DE_KDNX5000[E].indb 60 07.4.4 2:13:33 PM07.4.4 2:13:33 PM

61
Disc-Bedienungen
Abspielbare Discs/Dateien
Disc-Typ Aufnahmeformat, Dateityp usw. Abspielbar
DVD
DVD-Video
DVD-Audio
DVD-ROM
DVD Recordable/Rewritable
(DVD-R*1/-RW, +R/+RW*2)
• Konform mit UDF-Bridge-
Format
• DVD-RAM kann nicht
abgespielt werden.
DVD-Video
DivX/MPEG1/MPEG2
JPEG
MP3/WMA/WAV
ASF
DVD-VR, DVD+VR
Dual-Disc DVD Seite
Nicht-DVD-Seite
CD/VCD
Audio-CD/CD-Text (CD-DA), DTS-CD
VCD (Video-CD)
CD-ROM
CD-I (CD-I Ready)
CD Recordable/Rewritable
(CD-R/-RW)
• Konform mit ISO 9660
Level 1, Level 2, Romeo,
Joliet
CD-DA
MP3/WMA/WAV
DivX/MPEG1/MPEG2
JPEG
MPEG4
*1 Im “Multi-Border”-Format bespielte DVD-R ist ebenfalls abspielbar (ausgenommen für Dual-Layer-Discs).
*2 Es ist möglich, finalisierte +R/+RW-Discs (nur Video-Modus) abzuspielen. Die Verwendung von +R Doppel-Layer-
Discs wird nicht empfohlen.
Hinweis zum Regionalcode:
DVD-Spieler und DVD-Videodiscs sind
durch spezifische Regionalcode-Nummern
gekennzeichnet. Dieser Receiver kann nur
DVD-Discs mit Regionalcode-Nummer “2”
wiedergeben.
Wenn Sie eine DVD-Videodisc mit einem
unzulässigem Regionalcode einlegen, erscheint
die Meldung
Falsch. Ländercode
im
Monitor.
• Dieses Gerät ist nicht mit Mehrfach-Bitrate
(MBR: eine Datei, die den gleichen Inhalt
mit unterschiedlichen Bitraten enthält)
kompatibel.
DE_KDNX5000[E].indb 61DE_KDNX5000[E].indb 61 07.4.4 2:13:34 PM07.4.4 2:13:34 PM

DEUTSCH
62
Dateityp
DivX, MPEG
MP3, WMA, WAV
CD
4
,
¢
Drücken: Track
wählen
Halten: Reverse-/
Vorwärts-Suche
*1
4
,
¢
Drücken: Datei
wählen
Halten: Reverse-/
Vorwärts-Suche
*1
∞
,
5
Drücken: Ordner
wählen
Halten: Ordnerliste
anzeigen
4
,
¢
Drücken: Datei
wählen
Halten: Reverse-/
Vorwärts-Suche
*2
∞
,
5
Drücken: Ordner
wählen
Halten: Ordnerliste
anzeigen
01 0:00:03
Disc-Titel
*
Interpretenname
*
Trackname
*
01 01 0:00:03
Ordnername
*
Dateiname.mp3
*
* Tag-Daten werden anstelle von Ordner/Datei-
Namen angezeigt, wenn sie aufgezeichnet sind
und Tag-Anzeige auf Ein gestellt ist.
☞
[91]
Track-Nr./Spielzeit
DTS-Symbol (nur für DTS-CDs)
Ordner-Nr./Datei-Nr./Spielzeit
Audio-Format
Ordner-Nr./Datei-Nr./Spielzeit
* Nur für CD-Text. “Keine Namen”
erscheint bei herkömmlichen CDs
01 01 0:00:03
Ordnername
Dateiname.avi
DE_KDNX5000[E].indb 62DE_KDNX5000[E].indb 62 07.4.4 2:13:35 PM07.4.4 2:13:35 PM

63
01 01 0:00:03
G
01 0:00:03
Disc-Bedienungen
DVD-Audio
Video-CD
DVD-Video
4
,
¢
Drücken: Kapitel
wählen
Halten: Reverse-/
Vorwärts-Suche
*1
∞
,
5
Drücken: Titel
wählen
4
,
¢
Drücken: Track
wählen
Halten: Reverse-/
Vorwärts-Suche
*1
∞
,
5
Drücken: Gruppe
wählen
4
,
¢
Drücken: Track
wählen
Halten: Reverse-/
Vorwärts-Suche
*1
01 01 0:00:03
T C
Audio-Format
Titel-Nr./Kapitel-Nr./Spielzeit
Audio-FormatGruppen-Nr./Track-Nr./Spielzeit BONUS-Anzeige
☞
[68]
B.S.P-Anzeige
☞
[68]
Track-Nr./Spielzeit PBC-Anzeige: leuchtet auf, wenn PBC verwendet wird.
☞
[67]
*1 Suchgeschwindigkeit: x2
]
x10 *2 Suchgeschwindigkeit:
¡
1
]
¡
2
DE_KDNX5000[E].indb 63DE_KDNX5000[E].indb 63 07.4.4 2:13:36 PM07.4.4 2:13:36 PM

DEUTSCH
64
Auswählen von Wiedergabemodi
Sie können nur einen der folgenden
Wiedergabemodi wählen —
Anspielen
/
Wiederholung
/
Zufall
.
Beispiel: Zur Wahl von Track-Wiederholung
1
2
AV Menü
]
Modus
]
Wiederholung
]
Track
3
Wenn einer der Wiedergabemodi gewählt ist,
leuchtet die entsprechende Anzeige im Disc-
Information-Schirmbild auf.
Zum Abbrechen wählen Sie
Aus
in Schritt 2.
JPEG
4
,
¢
Drücken: Datei
wählen
∞
,
5
Drücken: Ordner
wählen
Halten: Ordnerliste
anzeigen
01 01
Ordnername
Dateiname.jpg
Ordner-Nr.
Disc-Typ
Anspielen Wiederholung Zufall
Track
:
Spielt die ersten 15
Sekunden jedes Tracks
an (für VCD: wenn
PBC nicht aktiviert ist)
Track
:
Aktuellen Track wiederholen
(für VCD: wenn PBC nicht
aktiviert ist)
Disc
:
Alle Tracks in zufälliger
Reihenfolge abspielen
(für VCD: wenn PBC
nicht aktiviert ist)
Track
:
Spielt die ersten 15
Sekunden jedes Tracks
an
Ordner
:
Spielt die ersten 15
Sekunden des ersten
Tracks jedes Ordners an
Track
:
Wiederholt aktuellen Track
Ordner
:
Wiederholt alle Tracks des
aktuellen Ordners
Ordner
:
Spielt in zufälliger
Reihenfolge alle Tracks
des aktuellen Ordners
ab, und dann Tracks
der nächsten Ordner
Disc
:
Alle Tracks in zufälliger
Reihenfolge abspielen
Disc-Typ
Wiederholung
Kapitel
:
Wiederholt aktuelles Kapitel
Titel
:
Wiederholt aktuellen Titel
Track
:
Wiederholt aktuellen Track
Track
:
Wiederholt aktuellen Track
Ordner
:
Wiederholt aktuellen Ordner
Ordner:
Wiederholt aktuellen Ordner
Datei-Nr.
DE_KDNX5000[E].indb 64DE_KDNX5000[E].indb 64 07.4.4 2:13:38 PM07.4.4 2:13:38 PM

65
Disc-Bedienungen
Sie können auch die Ordnerliste über
AV
Menü
]
Liste
sehen.
Auswurfsperre
1
[Gedrückt halten]
Auswerfen
Notfall-Auswurf
No Eject
Set
2 Wählen Sie
No Eject
.
Zum Aufheben der Sperre wählen Sie
Eject
OK
in Schritt 2.
Fernbedienungen
Gemeinsame Bedienvorgänge
AV/OFF
• Ändern der Quelle.
• Schaltet die AV-Funktion aus,
wenn gedrückt gehalten.
MAP/POS
Umschalten zum Karten-
Bildschirm.
ENT 6
Starten der Wiedergabe/Pause.
(Bei JPEG: Diaschau)
BACK/BAND
Die Wiedergabe stoppen.
MENU
Aufrufen des AV-Menüs.
VOL +/–
Stellen Sie die Lautstärke ein.
ATT
Dämpfen/Wiederherstellen des
Klangs.
DISP
Ändern der Anzeige.
☞
[11]
OSD
Anzeige des Bildschirm-Balkens.
☞
[68]
ASPECT
Ändern des Seitenverhältnisses der
Wiedergabebilder.
Wählen von Tracks auf der Liste
Wen n die Disc Ordner enthält, können Sie die
Ordner/Track-Liste anzeigen und dann die
Wiedergabe starten.
1 Zeigen Sie die Ordnerliste an.
Ordner-Liste 1/4
My Best
Cinema
My Best2
Pops
Favoriten
020315
oder
2 Wählen Sie einen Ordner, dann
einen Track.
• Wenn Sie ENT drücken, während ein Ordner
gewählt ist, werden alle Tracks im gewählten
Ordner abgespielt.
[Gedrückt halten]
DE_KDNX5000[E].indb 65DE_KDNX5000[E].indb 65 07.4.4 2:13:39 PM07.4.4 2:13:39 PM

DEUTSCH
66
Wählen eines Gegenstands mit den
Zifferntasten
Sie können ein Kapitel/Titel/Gruppe/Ordner/
Track durch Eingabe seiner Nummer wählen.
Beisp.: Zum Wählen eines Titels in einer
DVD-Video.
1 [zweimal]
Im Wiedergabe-Bildschirm:
TITLE – –
erscheint im Bildschirm.
Im Disc-Information-Bildschirm:
Die Titelnummer leuchtet grau auf.
• Jedesmal, wenn Sie drücken,
wechselt der wählbare Gegenstand. Siehe
Tabel le oben.
2 Geben Sie die Titelnummer ein.
• Zur Korrektur einer Fehleingabe drücken
Sie DIRECT zum Löschen der letzten
Eingabe und wiederholen die Eingabe.
3
4/¢
Drücken: Wählen Sie einen Track.
Drücken und halten: Reverse-/Vorwärts-Suche
*1
∞/5
—Wählen Sie einen Ordner.
DIRECT
(☞
unten
)
Track
=
Aus Datei
=
Ordner
=
Aus
1/¡
Reverse-/Vorwärts-Suche
*2
4/¢
Drücken: Wählen Sie ein Kapitel.
Drücken und halten: Reverse-/Vorwärts-
Suche
*1
.
Drücken: Wählen Sie einen Track.
Drücken und halten: Reverse-/Vorwärts-
Suche
*1
.
∞/5
Einen Titel wählen. Wählen Sie eine Gruppe.
DIRECT
(☞
unten
)
Kapitel
=
Titel
=
Aus Track
=
Gruppe
=
Aus
1/¡
Reverse-/Vorwärts-Suche
*2
Zeitlupe im
*3
Pausebetrieb. (Es wird kein Ton
gehört).
Reverse-/Vorwärts-Suche
*2
Zur Auswahl der Audiosprache
Zur Auswahl der Untertitelsprache —
Wählen Sie einen Sichtwinkel. —
DE_KDNX5000[E].indb 66DE_KDNX5000[E].indb 66 07.4.4 2:13:40 PM07.4.4 2:13:40 PM

67
Drücken: Wählen Sie einen Track.
Drücken und halten: Reverse-
/Vorwärts-Suche
*4
. (Es wird kein
Ton gehört).
Drücken: Wählen Sie einen Track.
Drücken und halten: Reverse-
/Vorwärts-Suche
*1
. (Es wird kein
Ton gehört).
Drücken: Wählen Sie einen Track.
Wählen Sie einen Ordner. — Wählen Sie einen Ordner.
Track
=
Ordner
=
Aus Track
=
Aus Datei
=
Ordner
=
Aus
Reverse/Vorwärts-Suche
*5
(Es
wird kein Ton gehört.)
Reverse-/Vorwärts-Suche*2
Vorwärts-Zeitlupe*3 im
Pausebetrieb. (Es wird kein Ton
gehört).
—
Zur Auswahl der Audiosprache
(Nur für DivX.) Wählen Sie den Audio-Kanal. —
Zur Auswahl der Untertitelsprache
(Nur für DivX.) ——
———
Disc-Bedienungen
Menü-geführte Bedienungen
(Bei DVD und DivX 6)
1 oder (nur für DVD
Video und DivX)
2 Wählen Sie einen zur
Wiedergabe gewünschten
Gegenstand.
3
PBC-Wiedergabe
Wählen Sie einen Punkt im Menü.
• Zum Zurückschalten zu vorherigen
Menüs drücken Sie .
Zum Beenden der PBC-Wiedergabe
1
2 Wählen Sie einen Track.
• Zum Fortsetzen von PBC drücken Sie
/.
Schnell überspringen
Schalten Sie die Szenen um 5
Minuten zurück/vor.
Während der Wiedergabe...
Aktuelle Wiedergabeposition
*1 Suchgeschwindigkeit: x2
]
x10
*2 Suchgeschwindigkeit: x2
]
x5
]
x10
]
x20
]
x60
*3 Zeitlupengeschwindigkeit: 1/32
]
1/16
]
1/8
]
1/4
]
1/2
*4 Suchgeschwindigkeit:
¡
1
]
¡
2
*5 Suchgeschwindigkeit:
¡
1
]
¡
2
]
¡
3
DE_KDNX5000[E].indb 67DE_KDNX5000[E].indb 67 07.4.4 2:13:41 PM07.4.4 2:13:41 PM

DEUTSCH
68
Bedienvorgänge mit dem On-Screen-
Balken
Bei DVD/VCD/DivX/MPEG/JPEG-Discs
können Sie die Disc-Information prüfen und
weitere Funktionen über den Bildschirm-Balken
verwenden.
1 Anzeige des Bildschirm-
Balkens.
[zweimal]
• Wenn Sie OSD einmal drücken, erscheint
der Informationsbalken. Wenn Sie die
Taste erneut drücken, erscheint der
Bedienungsbalken wie unten gezeigt.
2 Wählen Sie einen Gegenstand.
3 Treffen Sie eine Wahl.
Wenn das Popup-Menü erscheint...
• Zur Eingabe von Zeit/Zahlen siehe unten.
Zum Entfernen des On-Screen-Balkens
Zur Eingabe von Zahlen
1 Wählen Sie eine Zahl.
2 Zur nächsten Stelle gehen.
3 Wiederholen Sie die Schritte 1
und 2.
4
• Zur Korrektur einer Fehleingabe ¤ drücken.
• Es ist nicht erforderlich, nachfolgende Nullen
einzugeben.
Spezielle Funktionen für DVD Audio
Wiedergabe einer Bonus-Gruppe
Wenn eine DVD-Audio mit einer
“Bonusgruppe” erkannt wird, leuchtet im
Disc-Information-Schirmbild auf.
1 Wählen Sie die Bonus-Gruppe.
• Die Bonusgruppe ist normalerweise als
letzte Gruppe einer Disc aufgezeichnet.
2 Geben Sie die Schlüsselnummer
ein.
• ☞ nächste Spalte “Zur Eingabe von
Zahlen”
• “Schlüsselnummer” (eine Art Passwort)
für die Bonus-Gruppe ist nicht frei
zugänglich. Die Art der Mitteilung
der Schlüsselnummer ist je nach Disc
unterschiedlich.
3 Folgen Sie den interaktiven
Anweisungen im Monitor.
Wählen durchsuchbarer Standbilder
Wenn eine Disc mit durchsuchbaren
Standbildern erkannt wird, leuchtet im
Disc-Information-Schirmbild auf.
Wenn die Disc die BSP-Wahlsymbole wie @
oder # im Schirmbild zeigt...
1 Wählen Sie einen zur Anzeige
gewünschten Gegenstand.
2
DE_KDNX5000[E].indb 68DE_KDNX5000[E].indb 68 07.4.4 2:13:43 PM07.4.4 2:13:43 PM

69
Disc-Bedienungen
DVD -V T02-C03 TOTAL 1:25:58
TIME TITLE CHAP
RPT
C. RPT
Information
Bedienung
1
Disc-Typ
2
Audiosignalformat-Typ
(bei DVD)
PBC (bei VCD)
3
Wiedergabemodus
T. RPT
Titel-Wiederholung/
TrackWiederholung*
C. RPT
KapitelWiederholung*
F. RPT
OrdnerWiederholung*
D. RND
Disc Zufall*
T. INT
Track-Anspielen*
4
Wiedergabe-Information
T02-C03 Aktueller Titel/Kapitel
G02-T03 Aktuelle Gruppe/Track
TRACK 01 Aktueller Track
F001-T001 Aktueller Ordner/Track
F001-F001 Aktueller Ordner/Datei
5
Zeitanzeige
TOTAL Verflossene Spielzeit der Disc
T. REM Restliche Titel/Gruppe-Zeit (bei
DVD)
Restliche Disczeit (bei anderen)
TIME Bisherige Abspielzeit des
aktuellen Kapitels/Titels
REM Restliche Abspielzeit des
aktuellen Kapitels/Titels
6
Wiedergabezustand
Wiedergabe
Reverse-/Vorwärts-Suche
Rückwärts-/Vorwärts-Zeitlupe
Pause
Stopp
7
Bedienungssymbole
TIME
Ändern Sie die Zeitanzeige (☞ 5)
Zeitsuche (Geben Sie die
abgelaufene Spielzeit des aktuellen
Titels oder der Disc ein).
TITLE Titelsuche (nach Nummer)
GROUP
Gruppensuche (nach Nummer)
CHAP Kapitelsuche (nach Nummer)
TRACK
Tracksuche (nach Nummer)
RPT Wiederholungswiedergabe*
INT Anspielfunktion*
RND Zufallswiedergabe*
Ändern Sie die Audio-Sprache
oder den Audio-Kanal
Ändern Sie die Untertitelsprache
oder verstecken Sie den
Untertitel.
Ändern Sie den Sichtwinkel
PAGE 1/15
Ändern Sie den B.S.P. (bei
DVD-Audio) (Die Zahlen in
der Anzeige zeigen die aktuelle
Seite/Gesamtseitenzahl an.)
*
☞
[64]
DE_KDNX5000[E].indb 69DE_KDNX5000[E].indb 69 07.4.4 2:13:44 PM07.4.4 2:13:44 PM

DEUTSCH
70
Musik-Server-Bedienungen
Die eingebaute Festplatte dient nicht nur zur Speicherung der Navigationsdaten sondern auch als
Musik-Server, wo Sie CD-Tracks und Musik-Dateien (MP3, WMA- und WAV-Dateien) aufnehmen
können.
Die aufgenommenen Tracks sind in Genres und Alben kategorisiert.
Sie können 99 Genres im Musik-Server erstellen und 99 Alben in jedem Genre. Jedes Album kann
999 Tracks enthalten.
Wählen Sie “HDD”.
Die Wiedergabe des letzten gewählten Tracks beginnt vom Anfang an.
Wählen Sie den Track.
Genre 1 Track 1
Album 1
Track 2
Track 3
Track 1
Track 2
Album 2
Genre 2
Genre-Nr./Album-Nr./Track-Nr./Spielzeit
Datei-Typ/Kompressionsmodus
01 01 01 0:00:03
Genrename
Album-Name
Trackname
Equalizer-Typ
☞
[98]
Wiedergabemodus
☞
[71]
Ändern Sie den Track.
Wechseln Sie das Album.
DE_KDNX5000[E].indb 70DE_KDNX5000[E].indb 70 07.4.4 2:13:47 PM07.4.4 2:13:47 PM

71
Auswählen von Wiedergabemodi
Sie können nur einen der folgenden
Wiedergabemodi wählen—
Anspielen
/
Wiederholung
/
Zufall
.
Beispiel: Zur Wahl von Track-Wiederholung
1
2
AV Menü
]
Modus
]
Wiederholung
]
Track
3
Wenn einer der Wiedergabemodi gewählt ist,
leuchtet die entsprechende Anzeige im Monitor
auf.
Zum Abbrechen wählen Sie
Aus
in Schritt 2.
Anspielen Track
:
Spielt die ersten 15
Sekunden aller Tracks
im aktuellen Album an
Album
:
Spielt die ersten 15
Sekunden des ersten
Tracks jedes Albums
im aktuellen Genre an
Genre
:
Spielt die ersten 15
Sekunden des ersten
Tracks jedes Genres an
Wiederholung Track
:
Wiederholt aktuellen
Track
Album
:
Wiederholt alle Tracks
im aktuellen Album
Genre
:
Wiederholt alle Tracks
im aktuellen Genre
Zufall
Album
:
Spielt in zufälliger
Reihenfolge alle Tracks
im aktuellen Album
Genre
:
Spielt in zufälliger
Reihenfolge alle
Tracks im aktuellen
Genre
Alle
:
Spielt zufällig alle
Tracks im Musik-
Server ab
Musik-Server-Bedienungen
Sie können auch die Genre-Liste über
AV
Menü
]
Liste
sehen.
Wählen von Tracks mit Listen
1 Rufen Sie die Genre-Liste auf.
Genreliste
60’s
Jazz
Drive
Favoriten
Classical
80’s
oder
2 Wählen Sie ein Genre, ein
Album.
• Wiederholen Sie das gleiche Verfahren
zum Wählen des Albums.
3 Wählen Sie einen Track zur
Wiedergabe.
• Wenn Sie ENT drücken, während ein
Genre oder ein Album gewählt ist, werden
alle Tracks im gewählten Genre oder
Album abgespielt.
[Gedrückt halten]
DE_KDNX5000[E].indb 71DE_KDNX5000[E].indb 71 07.4.4 2:13:48 PM07.4.4 2:13:48 PM

DEUTSCH
72
Aufnehmen/Überspielen von Tracks
von einer Disc
• Sie können Tracks von Audio-CDs auf der
Festplatte aufzeichnen.
Aufnahme
erscheint
in
AV Menü
.
• Sie können Musikdateien (MP3, WMA,
WAV ) auf die Festplatte kopieren.
Kopieren
erscheint in
AV Menü
.
Vorbereitung:
Setzen Sie die Disc zum Aufnehmen/Kopieren
ein, und wählen Sie DISC als Quelle.
• Bei der Wiedergabe einer Audio-CD können
Sie nicht die aufgenommenen Tracks hören,
wahrend der Karten-Bildschirm erscheint.
• Beim Überspielen von Musikdateien können
Sie diese nicht hören.
• Sie können die Quelle nicht umstellen,
während Tracks aufgenommen oder
überspielt werden. Wenn Sie die Aufnahme
unterbrechen und eine andere Quelle
genießen möchten, heben Sie Aufnahme/
Kopieren auf (☞ unten).
Wenn das Aufnahmen/Überspielen beendet
ist
Beendet
erscheint, und die Wiedergabe wird
fortgesetzt.
Zum Aufnehmen des aktuellen Tracks
1
2
AV Menü
]
Aufnahme
]
Aktueller Track
3 Starten Sie die Aufnahme.
Aufnahme...
erscheint.
• Der Track wird im Modus
Hohe Qualität
aufgenommen. (☞ nächste Seite)
• Wenn Sie einen Track zum ersten
Mal mit dieser Funktion aufnehmen,
werden automatisch ein neues Genre
und ein neues Album für den Track
angelegt. Andere mit dieser Funktion
aufgenommene Tracks werden im
gleichen Album aufgenommen, bis Sie
den Zündschlüssel auf Aus stellen oder die
Bibliothek bearbeiten.
Zum Abbrechen der Aufnahme/Kopie
Beim Aufnehmen oder Überspielen...
Hinweise zum Namen neuer Genres und
Alben
• Wenn Sie ein neues Genre oder ein neues
Album für die Tracks zum Aufnehmen/
Kopieren erstellen wollen, wählen Sie
[Neues Genre]
oder
[Neues Album]
.
Zum Benennen des neuen Genres/Albums
halten Sie DISP gedrückt. Sie können die
Bennenung auch später über
Titeleingab.
vornehmen (☞ [75] “Ändern der Titel”).
• Wenn Sie nicht einen Genre-Namen oder
einen Album-Namen beim Aufnehmen/
Kopieren angeben, sind sie wie folgt
zugewiesen.
– Für Audio-CDs werden Genre-Name
und Album-Name automatisch mit
Aufnahmedatum und -zeit zugewiesen.
– Für Musikdateien wird der Genre-Name
automatisch mit Aufnahmedatum
und -zeit zugewiesen. Der originale
Ordnername und Dateiname werden als
Albumname und Trackname verwendet.
Sie können auf das Aufnehen/Kopieren mit
AV Menü
]
Aufnahme
/
Kopieren
]
Abbrechen
aufheben.
DE_KDNX5000[E].indb 72DE_KDNX5000[E].indb 72 07.4.4 2:13:49 PM07.4.4 2:13:49 PM

73
Zur Aufnahme gewählter Tracks
1
2
AV Menü
]
Aufnahme
]
Track auswählen
3 Wählen Sie die
aufzunehmenden Tracks.
Track auswählen 1/3
Alle auswählen
Track 1
Track 2
Track 3
Track 4
Auswählen
• Checkbox-Bedienungen ☞ [105]
4
5 Wählen Sie das Genre und
Album, in dem die Tracks
aufgenommen werden sollen.
Genre auswählen 1/2
[Neues Genre]
Jazz
Drive
Favoriten
Classical
[34/99]
Anzahl der Alben im gewählten Genre
• Wiederholen Sie das gleiche Verfahren
zum Wählen des Albums.
6 Wählen Sie einen
Kompressionsmodus.
Komprimieren
Hohe Qualität
Normale Qualität
Aufnahme
Hohe Qualität
: Verlustfreie Aufnahme
mit hoher Qualität (LLC).
Normale Qualität
: Stärker komprimierte
Aufnahme, deshalb ist die Datenmenge
kleiner (BSC).
7 Starten Sie die Aufnahme.
Aufnahme...
erscheint.
Musik-Server-Bedienungen
Zum Aufnehmen aller Tracks in einer Disc
1
2
AV Menü
]
Aufnahme
]
Alle auswählen
3 Wählen Sie das Genre und
Album, in dem die Tracks
aufgenommen werden sollen.
Genre auswählen 1/2
[Neues Genre]
Jazz
Drive
Favoriten
Classical
[34/99]
Anzahl der Alben im gewählten Genre
• Wiederholen Sie das gleiche Verfahren
zum Wählen des Albums.
4 Wählen Sie einen
Kompressionsmodus.
Komprimieren
Hohe Qualität
Normale Qualität
Aufnahme
Hohe Qualität
: Verlustfreie Aufnahme
mit hoher Qualität (LLC).
Normale Qualität
: Stärker komprimierte
Aufnahme, deshalb ist die Datenmenge
kleiner (BSC).
5 Starten Sie die Aufnahme.
Aufnahme...
erscheint.
DE_KDNX5000[E].indb 73DE_KDNX5000[E].indb 73 07.4.4 2:13:49 PM07.4.4 2:13:49 PM

DEUTSCH
74
Zum Kopieren gewählter Tracks
1
2
AV Menü
]
Kopieren
]
Track auswählen
3 Wählen Sie die zu kopierenden
Tracks.
Track auswählen 1/3
Alle auswählen
Track 1
Track 2
Track 3
Track 4
Auswählen
• Checkbox-Bedienungen ☞ [105]
4
5 Wählen Sie das Genre, in das die
Tracks kopiert werden sollen.
Genre auswählen 1/2
[Neues Genre]
Jazz
Drive
Favoriten
Classical
[34/99]
Anzahl der Alben im gewählten Genre
6 Wählen Sie das Album, in das
die Tracks kopiert werden sollen.
Wird kopiert...
erscheint, und der
Kopiervorgang startet.
Zum Kopieren aller Tracks in einem Ordner
1 Zielordner wählen.
2
3
AV Menü
]
Kopieren
]
Alle auswählen
4 Wählen Sie das Genre, in das die
Tracks kopiert werden sollen.
Genre auswählen 1/2
[Neues Genre]
Jazz
Drive
Favoriten
Classical
[34/99]
Anzahl der Alben im gewählten Genre
5 Wählen Sie das Album, in das
die Tracks kopiert werden sollen.
Wird kopiert...
erscheint, und der
Kopiervorgang startet.
Zum Kopieren des aktuellen Tracks
1
2
AV Menü
]
Kopieren
]
Aktueller Track
3 Starten Sie den Kopiervorgang.
Wird kopiert...
erscheint.
• Wenn Sie einen Track zum ersten Mal
mit dieser Funktion kopieren, werden
automatisch ein neues Genre und ein
neues Album für den Track angelegt.
Andere mit dieser Funktion kopierte
Tracks werden in das gleiche Album
kopiert, bis Sie den Zündschlüssel auf Aus
stellen oder die Bibliothek bearbeiten.
Zum Fortsetzen des unterbrochenen
Aufnahme-/Kopiervorgangs
Wenn Sie die Stromversorgung ausgeschaltet
haben, den Autozündschlüssel auf Aus gestellt
haben, oder das Bedienfeld beim Aufnehmen/
Kopieren abgenommen haben, können Sie den
letzten Aufnahme-/Kopiervorgang fortsetzen.
• Wenn Sie die Disc ausschieben oder die
Bibliothek des Musik-Servers bearbeiten, wird
der Modus
Weiter
aufgehoben.
• Sie können nicht
Weiter
verwenden, wenn
Sie den Aufnahme-/Kopiervorgang manuell
ausführen.
DE_KDNX5000[E].indb 74DE_KDNX5000[E].indb 74 07.4.4 2:13:50 PM07.4.4 2:13:50 PM

75
Bearbeiten der Bibliothek
• Bearbeiten der Bibliothek ist nur möglich,
wenn die Festplatte als Quelle gewählt ist.
Ändern der Titel
Sie können die Namen von Genres, Alben und
Tracks auf der Festplatte ändern.
Beispiel: Zum Ändern des Namens eines Tracks
1
2
AV Menü
]
Titeleingab.
3 Wählen Sie ein Genre, ein Album.
Die Wiedergabe des gewählten Gegenstands
beginnt.
• Wiederholen Sie das gleiche Verfahren
zum Wählen des Albums.
4 Wählen Sie einen Track zum
Bearbeiten.
Weit.
Speich.
Over the Rainbow
Lös.
5 Geben Sie den Namen ein.
• Eingabe von Zeichen ☞ [105]
• Sie können bis zu 32 Zeichen für den
Namen von Tracks, Alben oder Genres
eingeben.
Verschieben von Tracks zwischen Alben/
Verschieben von Alben zwischen Genres
Beispiel: Zum Bewegen von Tracks zwischen
Alben
• Wählen Sie das Album, zu dem die Ziel-
Tracks gehören.
1
2
AV Menü
]
Editieren
]
Verschieb
]
Track
3 Markieren Sie die zu
verschiebenden Tracks.
Track verschieben 1/2
Alle auswählen
Track 1
Track 2
Track 3
Track 4
Auswählen
• Checkbox-Bedienungen ☞ [105]
4
5 Wählen Sie das Album, in das
die Tracks verschoben werden
sollen.
Anzahl der Tracks im gewählten Album
Verschieben nach 1/2
[Neues Album]
Album 1
Album 2
Album 3
Album 4
[15/999] Verschieb
6 Verschieb en Sie die gewählten
Tracks.
Eine Bestätigungsmeldung erscheint. Drücken
Sie ENT, um den Vorgang zu bestätigen.
Drücken Sie BACK zum Aufheben.
Musik-Server-Bedienungen
1
2
AV Menü
]
Aufnahme
oder
Kopieren
]
Weiter
3 Starten Sie den Aufnahme-/
Kopiervorgang.
Aufnahme...
/
Wird kopiert...
erscheint.
6 Wählen Sie
Speich.
zum
Fertigstellen der Bearbeitung.
• Sie können nicht die Tag-Daten von Tracks
bearbeiten.
DE_KDNX5000[E].indb 75DE_KDNX5000[E].indb 75 07.4.4 2:13:51 PM07.4.4 2:13:51 PM

DEUTSCH
76
Prüfen der restlichen Speichergröße
1
2
AV Menü
]
Editieren
]
Kein HDD
Freier Platz im Musik-Server
Editieren
Löschen
Verschieb
Sortieren
Kein HDD
80.5%[20.0 GB] Exit
Löschen von Tracks, Alben oder Genres
Beispiel: Zum Löschen von Tracks
• Wählen Sie das Album, zu dem die Ziel-
Tracks gehören.
1
2
AV Menü
]
Editieren
]
Löschen
]
Track
3 Markieren Sie die zu löschenden
Tracks.
Track löschen 1/2
Alle auswählen
Track 1
Track 2
Track 3
Track 4
Löschen Auswählen
• Checkbox-Bedienungen ☞ [105]
4 Löschen Sie die gewählten
Tracks.
[Gedrückt halten]
Eine Bestätigungsmeldung erscheint. Drücken
Sie ENT, um den Vorgang zu bestätigen.
Drücken Sie BACK zum Aufheben.
Neuanordnen der Reihenfolge von Tracks,
Alben und Genres
Beispiel: Zum Neuanordnen der Reihenfolge
von Tracks in einem Album
• Wählen Sie das Album, zu dem die Ziel-
Tracks gehören.
1
2
AV Menü
]
Editieren
]
Sortieren
]
Track
3 Wählen Sie den zu
verschiebenden Track.
Tracks sortieren 1/2
Track 1
Track 2
Track 3
Track 4
Track 5
Auswählen
4 Verschieb en Sie den Track.
Tracks sortieren 1/2
Track 2
Track 3
Track 1
Track 4
Track 5
Sortieren
Eine Bestätigungsmeldung erscheint. Drücken
Sie ENT, um den Vorgang zu bestätigen.
Drücken Sie BACK zum Aufheben.
• Zum Neuanordnen weiterer Tracks
wiederholen Sie Schritt 1 bis 4.
DE_KDNX5000[E].indb 76DE_KDNX5000[E].indb 76 07.4.4 2:13:52 PM07.4.4 2:13:52 PM

77
CD-Wechsler-Bedienungen
Wählen Sie “CD-CH”.
Wiedergabe beginnt automatisch.
Lassen Sie die Disc-Liste
anzeigen.
Disc-Liste 1/2
MP3 Disc
Disc 02
Disc 03
Disc 04
Disc 05
Disc 06
oder
• Jedesmal wenn Sie die Taste gedrückt
halten, können Sie die andere Liste der
verbleibenden Discs anzeigen lassen.
Wählen Sie eine Disc zum
Starten der Wiedergabe.
Es wird empfohlen, einen MP3-kompatiblen CD-Wechsler von JVC mit diesem Receiver zu verwenden.
• Sie können nur CDs (CD-DA) und MP3-Discs abspielen.
Vorbereitung:
Stellen Sie sicher, dass
Wechsler
für die externe Eingangseinstellung gewählt ist. (☞ [94])
CD-Wechsler-Bedienungen
Disc-Nr./Track-Nr./Spielzeit
Zur Wahl von Tracks
[Gedrückt halten]
* “Keine Namen” erscheint bei
herkömmlichen CDs
Drücken: Track wählen
Halten: Reverse-/
Vorwärts-Suche
Drücken: Wählen Sie einen
Ordner (nur MP3).
Halten: Lassen Sie die Disc-
Liste anzeigen
An der Fernbedienung:
Zum Wählen einer Disc
oder
: Track wählen
: Wählen Sie
einen Ordner
(nur MP3).
01 01 0:00:03
Disc-Titel
*
Interpretenname
*
Aktueller Track
*
Equalizer-Typ
☞
[98]
Wiedergabemodus
☞
[78]
DE_KDNX5000[E].indb 77DE_KDNX5000[E].indb 77 07.4.4 2:13:54 PM07.4.4 2:13:54 PM

DEUTSCH
78
Auswählen von Wiedergabemodi
Sie können nur einen der folgenden
Wiedergabemodi wählen – Anspielen/
Wiederholen/Zufall.
Beispiel: Zur Wahl von Track-Wiederholung
1
2
AV Menü
]
Modus
]
Wiederholung
]
Track
3
Wenn einer der Wiedergabemodi gewählt ist,
leuchtet die entsprechende Anzeige im Monitor
auf.
Zum Abbrechen wählen Sie
Aus
in Schritt 2.
Disc-Typ
Anspielen Wiederholung Zufall
Track
:
Spielt die ersten 15
Sekunden jedes Tracks
an
Disc
:
Spielt die ersten 15
Sekunden jedes Tracks
aller eingelegten Discs an
Track
:
Wiederholt aktuellen Track
Disc
:
Wiederholt alle Tracks auf
der aktuellen Disc
Disc
:
Spielt in zufälliger
Reihenfolge alle Tracks
auf der aktuellen Disc
Alle
:
Spielt in zufälliger
Reihenfolge alle Tracks
aller eingelegten Discs
Track
:
Spielt die ersten 15
Sekunden jedes Tracks an
Ordner
:
Spielt die ersten 15
Sekunden des ersten
Tracks jedes Ordners an
Disc
:
Spielt die ersten 15
Sekunden
des ersten
Tracks aller eingelegten
Discs an
Track
:
Wiederholt aktuellen Track
Ordner
:
Wiederholt alle Tracks des
aktuellen Ordners
Disc
:
Wiederholt alle Tracks auf
der aktuellen Disc
Ordner
:
Spielt in zufälliger
Reihenfolge alle Tracks
des aktuellen Ordners
ab, und dann Tracks
der nächsten Ordner
Disc
:
Spielt in zufälliger
Reihenfolge alle Tracks
auf der aktuellen Disc
Alle
:
Spielt in zufälliger
Reihenfolge alle Tracks
aller eingelegten Discs
• Sie können auch die Discliste über
AV Menü
]
Liste
sehen.
• Bei Wiedergabe einer MP3-Disc können Sie einen Track in der Disc wählen und dessen
Wiedergabe mit den Listen beginnen.
Disc-Liste 1/2
MP3 Disc
Disc 02
Disc 03
Disc 04
Disc 05
Disc 06
Ordner-Liste 1/2
My Best
Cinema
Pops
My Best2
Lieblingssong
Cinema2
Trackliste 1/2
Song011.mp3
Song012.mp3
Song013.mp3
Song014.mp3
Song015.mp3
Song016.mp3
DE_KDNX5000[E].indb 78DE_KDNX5000[E].indb 78 07.4.4 2:13:55 PM07.4.4 2:13:55 PM

79
Andere Funktionen
80 iPod/D. player-Bedienungen
Wählen Sie einen Track aus dem Player-Menü
80
Auswählen von Wiedergabemodi
80
81 Abspielen anderer externer
Komponenten
Externer Eingang
81
Videoeingang
82
83 Verwendung von Bluetooth®-
Geräten—Handy/Audio-Player
Menü-Bedienung für Bluetooth-Geräte
83
Registrieren eines Bluetooth-Geräts
83
Verwendung des Bluetooth-Handys
85
Verwendung des Bluetooth-Audioplayers
87
Phone Menu
88
90 AV-Menügegenstände
98 Klang-Entzerrung
Wählen eines Equalizer-Typs
98
Speichern Ihrer eigenen Einstellungen
98
99 Zusätzliche Information
DE_KDNX5000[E].indb 79DE_KDNX5000[E].indb 79 07.4.4 2:13:56 PM07.4.4 2:13:56 PM

DEUTSCH
80
Auswählen von Wiedergabemodi
1
2
AV Menü
]
Modus
]
Wiederholung
oder
Zufall
Wiederholung
Ein
:
Hat die gleiche Funktion
wie “Repeat One” oder
“Repeat Mode = One”.
Alle
:
Hat die gleiche Funktion
wie “Repeat All” oder
“Repeat Mode = All”.
Zufall Song /Ein
:
Hat die gleiche Funktion
wie “Shuffle Songs” oder
“Random Play = On”.
Album
:
Hat die gleiche Funktion
wie “Shuffle Albums” am
iPod.
Zum Abbrechen wählen Sie
Aus
in Schritt 2.
iPod/D. player-Bedienungen
Für Apple iPod und JVC D. player wird empfohlen, den Schnittstellenadapter (KS-PD100 für iPod
oder KS-PD500 foü D. player) an die CD-Wechsler-Buchse an der Rückseite anzuschließen.
Vorbereitung:
Stellen Sie sicher, dass
Wechsler
für die externe Eingangseinstellung gewählt ist. (☞ [94])
Wählen Sie einen Track aus dem
Player-Menü
1 Rufen Sie das Player-Menü auf.
escheint.
• Dieser Modus wird aufgehoben, wenn
etwa 5 Sekunden lang keine Bedienung
vorgenommen wird.
2 Wählen Sie den gewünschten
Menüpunkt.
3 Bestätigen Sie die Auswahl.
4 Wiederholen Sie Schritte 2 und 3
zur Wahl eines Tracks.
• Wenn ein Track schließlich gewählt ist,
startet die Wiedergabe.
• So kehren Sie zum vorherigen Menü zurück...
Wählen Sie “iPod” oder
“D. PLAYER”.
Wiedergabe beginnt automatisch.
Wählen Sie einen Track.
Pause/Fortsetzung
01 0:00:03
Album-Name
Interpretenname
Trackname
Wiedergabemodus
☞
unten
Equalizer-Typ
☞
[98]
• iPod ist ein Warenzeichen von Apple
Computer, Inc., eingetragen in den USA und
anderen Ländern.
DE_KDNX5000[E].indb 80DE_KDNX5000[E].indb 80 07.4.4 2:13:56 PM07.4.4 2:13:56 PM

81
4 Eine Betitelung zuweisen.
• Eingabe von Zeichen ☞ [105]
• Sie können bis zu 16 Zeichen verwenden.
5 Wählen Sie
Speich.
.
• Beim Fahren mit mehr als 10 km/h ist
Eingabebedienung verboten.
Abspielen anderer externer Komponenten
Externer Eingang
Sie können eine externe Komponente an die CD-Wechsler-Buchse an der Rückseite mit dem
Line-Eingangsadapter—KS-U57 (nicht mitgeliefert) oder AUX-Eingangsadapter—KS-U58 (nicht
mitgeliefert) anschließen.
Vorbereitung:
Stellen Sie sicher, dass
Ext. Eing.
für die externe Eingangseinstellung gewählt ist. (☞ [94])
iPod/D. player-Bedienungen / Abspielen anderer externer Komponenten
Zuweisen eines Titels zum externen Eingang
1 Wählen Sie
EXT-IN
als Quelle.
2
3
AV Menü
]
Titeleingab.
Speich.Weit.Lös.
Wählen Sie “EXT-IN”.
Schalten Sie die angeschlossene Komponente ein und starten
Sie die Wiedergabe der Quelle.
AV Eingang
Equalizer-Typ
☞
[98]
DE_KDNX5000[E].indb 81DE_KDNX5000[E].indb 81 07.4.4 2:13:57 PM07.4.4 2:13:57 PM

DEUTSCH
82
Videoeingang
Sie können eine externe Komponente an den Anschlüsse VIDEO IN anschließen.
Vorbereitung:
Beim Anschließen einer Video-Komponente
Stellen Sie sicher, dass
Ext. Eing.
für die externe Eingangseinstellung gewählt, und
Video
für
die Video-Eingangseinstellung. (☞ [94])
• Sie können nicht das Video-Bild sehen, wenn die Feststellbremse nicht angezogen ist.
Beim Anschließen einer Kamera
Stellen Sie sicher, dass
Kamera
für die Video-Eingangseinstellung gewählt ist. (☞ [94])
Bei jedem Drücken von DISP schaltet das Display wie folgt um:
AV-Bildschirm
=
Fahrzeug-Information (
☞ [11]
)
=
Video-Bild oder Kamerabild
=
(Zurück zum
AV-Bildschirm)
Für Video-Komponenten:
Schalten Sie die angeschlossene Komponente ein und starten
Sie die Wiedergabe.
Zum automatischen Umschalten der
Kameraansicht
Sie können die Einheit so einstellen, dass die
Kameraansicht automatisch gezeigt wird, wenn
der Rückwärtsgang eingelegt oder das Fahrzeug
abgebremst wird.
☞ [94]
Sicherheitsschalter
Zum Umkehren des Kamerabildes
☞ [94]
Horizontal
und
Vertikal
DE_KDNX5000[E].indb 82DE_KDNX5000[E].indb 82 07.4.4 2:13:58 PM07.4.4 2:13:58 PM

83
Verwendung von Bluetooth®-Geräten—Handy/Audio-Player
Verwendung von Bluetooth®-Geräten
Für Bluetooth-Bedienvorgänge ist es erforderlich, den Bluetooth-Adapter (KS-BTA200) an die CD-
Wechsler-Buchse an der Rückseite anzuschließen.
• Siehe auch mit dem Bluetooth-Gerät und dem Bluetooth-Adapter mitgelieferte
Bedienungsanleitung.
• Siehe Liste (im Karton) zur Bestätigung der Länder, in denen die Bluetooth®-Funktion verwendet
werden kann.
Vorbereitung:
Bdienen Sie das Gerät zum Einschalten seiner
Bluetooth-Funktion.
Zur ersten Verwendung eines Bluetooth-
Geräts mit dem Gerät (“Bluetooth Phone” und
“Bluetooth Audio”) müssen Sie die Bluetooth
wireless-Verbindung zwischen der Einheit und
dem Gerät herstellen.
• Wenn die Verbindung hergestellt ist, ist sie
in der Einheit registriert, auch wenn Sie Ihre
Einheit zurücksetzen. Bis zu fünf Geräte
können insgesamt registriert werden.
• Nur ein Gerät für Bluetooth Phone und
eines für Bluetooth Audio kann zur Zeit
angeschlossen werden.
Registrieren eines Bluetooth-Geräts
Registrierungsmethoden (Pairing)
• Verwenden Sie
Phone Menu
zum
Registrieren eines Geräts als Mobiltelefon.
• Verwenden Sie
AV Menü
zum Registrieren
eines Geräts als Audio-Player.
Öffnen
Bereiten Sie die Einheit zum
Herstellen einer neuen Bluetooth-
Verbindung vor. Die Verbindung
wird durch Bedienung des
Bluetooth-Geräts hergestellt.
Suche
Bereiten Sie die Einheit zum
Herstellen einer neuen Bluetooth-
Verbindung vor. Die Verbindung
wird durch Bedienung dieser
Einheit hergestellt.
Menü-Bedienung für Bluetooth-Geräte
Phone Menu
Modus
Liste
Modus 1/2
Wähls.
SMS
Öffnen
Suche
Besondere Geräte
AV Menü 2/2
Modus
Karten-Bildschirm/
AV-Bildschirm:
andere Quellen als
Bluetooth Audio
AV-Bildschirm:
=
Bluetooth Audio
Karten-Bildschirm/
AV-Bildschirm
Phone Menu
Modus
Liste
[Gedrückt
halten]
Bluetooth Phone
P902i
10:35
Modus 1/2
Wähls.
SMS
Öffnen
Suche
Besondere Geräte
Registrieren eines Bluetooth-Geräts
Ver wendung des Bluetooth-Handys
[Gedrückt
halten]
DE_KDNX5000[E].indb 83DE_KDNX5000[E].indb 83 07.4.4 2:13:58 PM07.4.4 2:13:58 PM

DEUTSCH
84
Registrierung mit
Öffnen
1
Modus
]
Öffnen
2 Geben Sie einen PIN- (Personal
Identification Number)* Code
in die Einheit ein.
• Eingabe von Zeichen ☞ [105]
• Sie können jede beliebige Zahl eingeben
(1-stellige bis 16-stellige Zahl).
* Manche Geräte haben ihren eigenen PIN-Code.
Geben Sie den festgelegten PIN-Code in die Einheit
ein.
3 Wählen Sie
Verbind.
.
Öffnen...
4 Bedienen Sie das Ziel-
Bluetooth-Gerät.
Geben Sie den gleichen PIN-Code
(wie im obigen Schritt eingegeben) am
anzuschließenden Gerät ein.
Jetzt ist die Verbindung hergestellt, und Sie
können das Gerät durch die Einheit verwenden.
Suchen nach verfügbaren Geräten
1
Modus
]
Suche
Suchen...
Die Einheit sucht nach verfügbaren
Geräten und zeigt deren Liste. (Wenn kein
verfügbares Gerät erkannt wird, erscheint
die Meldung
Gerät Nicht Gefunden
.)
2 Wählen Sie ein zum Anschluss
gewünschtes Gerät.
3 Geben Sie den spezifischen
PIN-Code des Geräts in die
Einheit ein.
• Eingabe von Zeichen ☞ [105]
• Siehe mit dem Gerät mitgelieferte
Bedienungsanleitung zum Prüfen des
PIN-Codes.
Wird verbunden...
4 Ver wen den Sie das Bluetooth-
Gerät zum Anschließen.
Jetzt ist die Verbindung hergestellt, und
Sie können das Gerät durch die Einheit
verwenden.
Das Gerät bleibt registriert, auch wenn
es abgetrennt wird. Verwenden Sie
Verbindung
(oder aktivieren Sie
Auto
Verbinden
) zum Anschließen des gleichen
Geräts von nächsten Mal an. (☞ [89])
0000
RT
Verbind.
Zum Registrieren eines anderen Gerätes,
nachdem Sie ein Gerät registriert haben,
stellen Sie sicher, dass
Neues Gerät
gewählt
ist. (☞ [85])
Anschließen eines speziellen Geräts
1
Modus
]
Besondere Geräte
Die Einheit zeigt die Liste der vorgewählten
Geräte.
2 Wählen Sie ein zum Anschluss
gewünschtes Gerät.
3 Ver wen den Sie
Öffnen
(oder
Suche
) zum Verbinden.
DE_KDNX5000[E].indb 84DE_KDNX5000[E].indb 84 07.4.4 2:13:59 PM07.4.4 2:13:59 PM

85
Bluetooth Phone
*2
P902i
Benennen...
Jack
09845671234
10:35
Verwendung von Bluetooth®-Geräten
Anschließen/Abtrennen eines registrierten
Geräts
1 Im Bildschirm Bluetooth Phone
oder dem Bildschirm Bluetooth
Audio wählen Sie dann ein
anzuschließen/abzutrennen
gewünschtes Gerät.
• Bei jedem Drücken von 5
∞, erscheint der registrierte
Gerätename (und
Neues Gerät
,
wenn ein neues Gerät registriert
werden kann) der Reihe nach.
2
Modus
]
Verbindung
oder
Verbindung Tren.
• Wählen Sie
Verbindung
zum
Anschließen des gewählten Geräts.
• Wählen Sie
Verbindung Tren.
zum
Abtrennen des gewählten Geräts.
Sie können die Einheit auf automatische
Verbindung eines Bluetooth-Geräts einstellen,
wenn die Einheit eingeschaltet wird. (☞ [89])
Löschen eines registrierten Geräts
Nach Schritt 1 oben...
Modus
]
Löschen Kopplung
]
Ja
• Zum Abbrechen wählen Sie
Nein
.
2 Wählen Sie die Methode zum
Vornehmen eines Rufs.
•
Gewählte
: Zeigt die Liste der gewählten
Telefonnummern. Fahren Sie mit dem
folgenden Schritt fort.
•
Angenommene
: Zeigt die Liste der
entgegengenommenen Anrufe. Fahren Sie
mit dem folgenden Schritt fort.
•
Telefonbuch
: Zeigt das Telefonbuch des
angeschlossenen Handys. Fahren Sie mit
dem folgenden Schritt fort.
•
Entgang. Anrufe
: Zeigt die Liste der
verpassten Anrufe. Fahren Sie mit dem
folgenden Schritt fort.
•
Telefonnummern
: Zeigt den
Telefonnummmer-Eingabebildschirm an.
= Geben Sie Nummern ein und wählen
Wähls.
. Eingabe von Zeichen ☞ [105])
•
Stimme
(Nur wenn das angeschlossene
Handy mit dem Spracherkennungssystem
ausgestattet ist): = Sprechen Sie den
Namen, der angerufen werden soll.
3 Wählen Sie den Namen/die
Tel efonnummer, die angerufen
werden soll.
Verwendung des Bluetooth-Handys
Einen Ruf tätigen
Sie können einen Anruf mit einem der
Wähls.
-Menüpunkte tätigen.
1
Phone Menu
]
Modus
]
Wähls.
Wähls. 1/2
Gewählte
Angenommene
Telefonbuch
Entgang. Anrufe
Telefonnummern
[01234567890]
*1 Blau: Das Gerät ist angeschlossen.
Weiß: Das Gerät ist nicht angeschlossen.
*2 Handy
Handy mit Audiofunktion
*3 Erscheint nur, wenn die Information von dem
Gerät kommt.
Status des Geräts
*3
Signalstärke/Batterieerinnerung
Bluetooth-Symbol
leuchtet auf, wenn der Adapter angeschlossen ist.
*1
DE_KDNX5000[E].indb 85DE_KDNX5000[E].indb 85 07.4.4 2:14:00 PM07.4.4 2:14:00 PM

DEUTSCH
86
Am Gerät:
1 Rufen Sie die Voreingabe-Liste
auf.
oder
[Gedrückt halten]
2 Wählen Sie die zu rufende
Voreingabe-Nummer.
Schnellwahl
11122223333
22233336666
44455556666
09845671234
99988887777
55566668888
Sie können auch die Voreingabenummer-Liste
über
Phone Menu
]
Liste
sehen.
Zum Wählen der im Navigationssystem
übernommenen Nummer
1 Suchen Sie ein Sonderziel oder
einen Favorit-Punkt, der die
Tel efonnummer-Information hat.
2 Wählen Sie [Call] .
[Gedrückt halten]
• Sie können keine
internationalen Ruf mit
dieser Funktion ausführen.
Voreingeben der Telefonnummern
Sie können bis zu 6 Telefonnummern voreingeben.
1 Zeigen Sie die zur Voreingabe
gewünschte Telefonnummer mit
einem der
Wähls.
-Menüpunkte
an.
2 Rufen Sie die Voreingabe-Liste
auf.
[Gedrückt halten]
• Zur Voreingabe einer Telefonnummer mit
Telefonnummern
wählen Sie
Speich.
nach der Eingabe einer Telefonnummer.
3 Wählen Sie eine
Festsendernummer.
Vorwahl Speich. Speich.
11122223333
22233336666
44455556666
09845671234
99988887777
55566668888
Sie können die folgenden Tasten an
der Fernbedienung für Bluetooth-
Anrufbedienungen verwenden.
ENT 6, PHONE: Nehmen Sie den
ankommenden Ruf entgegen.
BACK: Beenden Sie den Ruf.
Zifferntasten: Geben Sie die Telefonnummer/
PIN-Code ein.
PHONE: Ruft die Neuwahl-Liste auf, wenn
gedrückt gehalten.
Zum Einstellen der Lautstärke
• Diese Einstellung hat keine
Auswirkung auf den Lautstärkepegel
der anderen Quellen.
• Sie können den Mikrofon-
Lautstärkepegel einstellen. ☞ [89]
Zum Beenden des Rufs
Halten Sie MENU, DISP, BACK, ENT,
5
,
∞
,
, oder TRAFFIC gedrückt.
• Sie können auf das Menü
Wähls.
auch
zugreifen, indem Sie PHONE an der
Fernbedienung drücken.
• Sie können auch auf die Neuwahlliste
zugreifen, indem Sie PHONE an der
Fernbedienung gedrückt halten.
• Sie können auch auf den Sprachruf-
Bildschirm zugreifen, indem Sie MENU
gedrückt halten, während der Bisi Bluetooth
Phone angezeigt wird.
Zum Rufen einer Voreingabe-Nummer
An der Fernbedienung:
Während das Bluetooth-Telefon-Bildschirmbild erscheint...
DE_KDNX5000[E].indb 86DE_KDNX5000[E].indb 86 07.4.4 2:14:01 PM07.4.4 2:14:01 PM

87
Verwendung des Bluetooth-Audioplayers
Wählen Sie “Bluetooth
Audio”.
Starten Sie die
Wiedergabe.
*1 Audio-Player
Handy mit Audiofunktion
*2 Bei jedem Drücken von
5
∞
, erscheint der registrierte
Gerätename (und Neues Gerät, wenn ein neues Gerät
registriert werden kann) der Reihe nach.
*3 Zeigt die gedrückte Taste an. Dies kann sich vom Betriebsstatus
unterscheiden.
Reverse-/Vorwärts-Überspringen
Stoppen Sie die
Wiedergabe.
• ☞ [83] zum Anschließen eines neues Geräts.
• ☞ [85] zum Anschließen/Abtrennen eines
registrierten Geräts.
• ☞ [85] zum Löschen eines registrierten
Geräts.
Sie können die folgenden Tasten an
der Fernbedienung für Bluetooth-
Audiobedienungen verwenden.
ENT 6, BACK: Starten/stoppen Sie die
Wiedergabe.
4/¢: Sprung rückwärts/Sprung vorwärts.
VOL +/-: Stellen Sie die Lautstärke ein.
Zifferntasten: Geben Sie den PIN-Code ein.
Verwendung von Bluetooth®-Geräten
Wenn ein Anruf empfangen wird...
Das Schirmbild schaltet automatisch auf
Bluetooth Phone um.
Wenn
Auto Rufannahme
aktiviert ist
Die Einheit nimmt die ankommenden Rufe
automatisch entgegen. (☞ [89])
• Wenn
Auto Rufannahme
deaktiviert ist,
drücken Sie MENU, DISP, BACK, ENT,
5
,
∞
, , oder TRAFFIC zum
Entgegennehmen des ankommenden Rufs.
Bluetooth Phone
P902i
Empfangen Anrufe
Jack
09845671234
10:35
Name und
Telefonnummer
(wenn
übernommen)
Wenn eine SMS ankommt...
Wenn das Handy mit SMS (Short Message
Service) kompatibel ist und
SMS
Information
auf
Auto
(☞ [89]) gestellt
ist, klingelt die Einheit, und
Mitteilung
Empfangen
erscheint im Monitor, um über
die Ankunft der Meldung zu informieren.
Zum Lesen der Meldung
Während
Mitteilung Empfangen
erscheint...
• Sie können eine Nachricht nicht über die
Einheit bearbeiten oder senden.
*1Angeschlossenes Gerät*2
Wiedergabe
*3
Bluetooth-Symbol: leuchtet auf, wenn der Adapter
angeschlossen ist.
Equalizer-Typ
☞
[98]
DE_KDNX5000[E].indb 87DE_KDNX5000[E].indb 87 07.4.4 2:14:02 PM07.4.4 2:14:02 PM

DEUTSCH
88
Phone Menu
Menügegenstände Wählbare Einstellungen
(Anfangseinstellung)
Wähls.
*1
Gewählte
Wählen Sie eine Telefonnummer aus der Liste der gewählten
Telefonnummern.
Angenommene
Wählen Sie eine Telefonnummer aus der Liste der empfangenen Rufe.
Telefonbuch
Wählen Sie einen Namen, dann eine Telefonnummer aus dem
Telefonbuch des angeschlossenen Handys.
Entgang. Anrufe
Wählen Sie eine Telefonnummer aus der Liste der verpassten Rufe.
Telefonnummern
Geben Sie die Telefonnummer ein.
Stimme
Wenn das angeschlossene Handy ein Spracherkennungssystem hat,
können Sie mit Sprachbefehl rufen.
SMS
*2
Sie können eine Meldung aus den folgenden Meldungshistorien
wählen.
Ungelesene
: Meldungen, die Sie nicht gelesen haben.
Gelesene
: Meldungen, die Sie gelesen haben.
Entwürfe
: Meldungen, die Sie nicht gesendet haben.
Gesendet
: Meldungen, die Sie gesendet haben.
Öffnen
*3
Nur bei
Neues Gerät
.
Bereiten Sie die Einheit zum Herstellen einer neuen Bluetooth-
Verbindung vor. Wählen Sie dies, wenn eine Bluetooth-Verbindung
mit einem Gerät zum ersten Mal hergestellt wird, hauptsächlich vom
Gerät . ☞ [84]
• Wenn die Verbindung hergestellt ist, ist sie in der Einheit registriert.
Sie können die Einheit und das Gerät durch Verwendung von
Verbindung
(☞ [89]) vom nächsten Mal ab anschließen.
Suche
*3
Nur bei
Neues Gerät
.
Bereiten Sie die Einheit zum Herstellen einer neuen Bluetooth-
Verbindung vor. Wählen Sie dies, wenn eine Bluetooth-Verbindung mit
einem Gerät zum ersten Mal hergestellt wird, hauptsächlich von der
Einheit. Die Einheit such nach verfügbaren neuen Geräten. ☞ [84]
• Vor dem Starten einer Suche schalten Sie die Bluetooth-Funktion
des Geräts aus, so dass die Einheit es erkennen kann.
• Wenn die Verbindung hergestellt ist, ist sie in der Einheit registriert.
Sie können die Einheit und das Gerät durch Verwendung von
Verbindung
(☞ [89]) vom nächsten Mal ab anschließen.
Besondere Geräte
*3
Nur bei
Neues Gerät
.
Zeigt die Liste der Bluetooth-Geräte, die ein besonderes Verfahren
zum Herstellen einer Bluetooth-Verbindung erfordern. Wählen Sie
ein zum Anschluss gewünschtes Gerät. ☞ [84]
• Nach dem Wählen des Geräts verwenden Sie
Öffnen
oder
Suche
(☞ oben) zum Anschluss.
• Wenn die Verbindung hergestellt ist, ist sie in der Einheit registriert.
Sie können die Einheit und das Gerät durch Verwendung von
Verbindung
(☞ [89]) vom nächsten Mal ab anschließen.
DE_KDNX5000[E].indb 88DE_KDNX5000[E].indb 88 07.4.4 2:14:03 PM07.4.4 2:14:03 PM

89
Verwendung von Bluetooth®-Geräten
Menügegenstände Wählbare Einstellungen
(Anfangseinstellung)
Verbindung
*3
Nur für registrierte Geräte.
Nach dem Wählen eines Geräts unter den registrierten Geräten (☞
[85, 87]) stellen Sie die Verbindung her. ☞ [85]
Verbindung Tren.
*3
Nur für das angeschlossene Gerät.
Trennen Sie das aktuelle Gerät vor dem Anschließen eines anderen
Geräts ab. ☞ [85]
Löschen Kopplung
*3 Nur für registrierte Geräte.
Löschen Sie die registrierten Geräte. ☞ [85]
Setup
*3
Auto Verbinden
Wenn das Gerät eingeschaltet ist, wird die Verbindung automatisch
hergestellt mit...
Aus
: Kein Bluetooth-Gerät.
Zuletzt
: Das letzte angeschlossene Bluetooth-Gerät.
Zuletzt u. Kopp.
: Das erste gefundene registrierte verfügbare
Bluetooth-Gerät.
Auto
Rufannahme
*4
Nur für das für “Bluetooth Phone” angeschlossene Gerät.
Aus
: Die Einheit nimmt Rufe nicht automatisch entgegen. Nehmen
Sie den Ruf manuell entgegen.
Ein
: Die Einheit nimmt die ankommenden Rufe automatisch
entgegen.
Abweisen
: Die Einheit weist alle ankommenden Rufe ab.
SMS
Information
*4
Nur für das für “Bluetooth Phone” angeschlossene Gerät.
Auto
: Die Einheit informiert Sie über die Ankunft einer Meldung
durch Klingeln und Anzeige von
Mitteilung Empfangen
. Zum
Lesen der Meldung, drücken Sie ENT (☞ [87]).
Manuell
: Die Einheit informiert Sie nicht über die Ankunft einer
Meldung.
Mikrofonpegel
*4 Nur für das für “Bluetooth Phone” angeschlossene Gerät.
Stellen Sie die am Bluetooth-Adapter angeschlossene
Mikrofonlautstärke ein.
1
,
2
,
3
Version
Die Version von Software- und Hardware-Version für Bluetooth wird
angezeigt.
*1 Wählbare Gegenstände können je nach angeschlossenem Gerät unterschiedlich sein.
*2 Nur wählbar, wenn das Gerät mit SMS kompatibel ist.
*3 Auch verfügbar in Modus in AV Menü für Bluetooth Audio.
*4 Nicht wählbar für Neues Gerät.
Phone Menu (Fortsetzung)
Bluetooth-Information:
Wenn Sie weitere Information über Bluetooth
wünschen, besuchen Sie uns auf der JVC-
Website.
Die Wortmarke Bluetooth und die Logos
sind Eigentum der Bluetooth SIG, Inc., und
jegliche Verwendung solcher Marken durch
die Victor Company of Japan, Limited (JVC)
geschieht unter Lizenz. Andere Warenzeichen
und Handelsnamen sind Eigentum ihrer
jeweiligen Besitzer und werden von uns
anerkannt.
DE_KDNX5000[E].indb 89DE_KDNX5000[E].indb 89 07.4.4 2:14:03 PM07.4.4 2:14:03 PM

DEUTSCH
90
AV-Menügegenstände
Menügegenstände Wählbare Einstellungen
(Anfangseinstellung)
Setup
]
Display
Sprache
*1
Dansk, Deutsch, English UK, English US,
Español, Français, Italiano, Nederlands,
Svenska
Demonstration Aus
: Hebt auf.
Ein
: Aktiviert die Demonstration im Monitor.
Hintergrund
Sie können das Hintergrundbild im Monitor auswählen.
Standard, Digital, Mitternacht,
Sonnenuntergang, Pegel, Sonnenaufgang,
Nukleus, Kohle, Tunnel, Orbit, Schatten, Wald
Scroll Aus
: Hebt auf.
Einmal
: Scrollt die Display-Information einmal.
Auto
:
Wiederholt das Scrollen (in 5-Sekunden-Intervallen).
• Wenn DISP gedrückt gehalten wird, rollt die Information
ungeachtet dieser Einstellung weiter.
☞ [12]
für die detaillierten Menü-Bedienungen.
AV Menü 1/2
Setup
EQ
Klang
Bildsch_regelung
Seitenverhältnis
AV Menü 2/2
Modus
Liste
Aufnahme/Kopieren
Editieren
Titeleingab.
Setup 1/2
Display
Uhrzeit
Disc
Tuner
Eingang
Setup 2/2
Sonstiges
*1 Diese Einstellung wird mit der Einstellung Sprache im Setup-Menü geteilt (
☞
[46]
)
• Die angezeigte Menüpunkte können sich ändern.
DE_KDNX5000[E].indb 90DE_KDNX5000[E].indb 90 07.4.4 2:14:04 PM07.4.4 2:14:04 PM

91
Menügegenstände Wählbare Einstellungen
(Anfangseinstellung)
Setup
]
Display
Tag-Anzeige Aus
: Hebt auf.
Ein
: Zeigt die Markierung bei der Wiedergabe von MP3/
WMA/WAV-Tracks auf Disc oder auf Festplatte.
Dimmer Aus
: Hebt auf.
Ein
: Aktiviert Abblendfunktion.
Auto
:
Blendet den Monitor beim Einschalten der
Autoscheinwerfer ab.*2
Zeiteinstellung
: Stellen Sie die Zeit zum Unmschalten
des Tag/Nacht-Bildschirms ein.
• Wenn Sie
Zeiteinstellung
wählen, stellen Sie die
Umschaltzeit im folgenden Bildschirm ein.
Setup
]
Uhrzeit
Lokale Zeit einstellen Auto
: Die Zeit-Zone und DST werden automatisch mit
Hilfe des RDS-Signals eingestellt.
Manuell
: Wählen Sie die Zeit-Zone und DST manuell.
Zeitformat 12 Stunden, 24 Stunden
Zeitzone
*3
UTC
,
UTC+1
,
UTC+2
(UTC: Coordinated Universal Time)
Sommerzeit
*3
Aktivieren Sie dies, wenn für Ihr Wohngebiet DST gilt.
Aus
: Hebt auf.
Auto
: Wendet automatisch DST an, wenn erforderlich.
Setup
]
Disc
*4
Menüsprache
*5 Wählen Sie die anfängliche Disc-Menüsprache aus (☞ auch
[104]). (
English
)
Audio Sprache
*5 Wählen Sie die anfängliche Audio-Sprache (☞ auch [104]).
(
English
)
Untertitel
*5 Wählen Sie die anfängliche Untertitelsprache oder löschen
Sie Untertitel (
Aus
) (☞ auch [104]). (
English
)
OSD-Sprache
Wählen Sie die Bildschirm-Sprache für den externen
Monitor, angeschlossen am VIDEO OUT Anschluss.
(
English
)
*2 Die ILLUMINATION CONTROL Leitungsverbindung ist erforderlich. (
☞
Einbau/Anschlußanleitung)
*3 Nur einstellbar, wenn Lokale Zeit einstellen auf Manuell gestellt ist.
*4 Nur einstellbar, wenn die Quelle DISC ist und die Wiedergabe gestoppt ist.
*5 Nachdem Sie diese Einstellungen ändern, schalten Sie die Stromversorgung aus, so dass die Einstellung wirksam wird.
AV-Menügegenstände
DE_KDNX5000[E].indb 91DE_KDNX5000[E].indb 91 07.4.4 2:14:04 PM07.4.4 2:14:04 PM

DEUTSCH
92
Menügegenstände Wählbare Einstellungen
(Anfangseinstellung)
Setup
]
Disc
*4
Monitor-Typ
Wählen Sie den Monitortyp zum Betrachten eines
Breitbilds.
16:9
: Wählen Sie dies, wenn das Bildseitenverhältnis des
externen Monitors 16:9 ist.
4:3 Letterbox/4:3 Pan Scan
: SWählen Sie dies, wenn
das Bildseitenverhältnis des externen Monitors 4:3 ist.
Siehe Abbildungen links um zu sehen, wie Bilder auf dem
Monitor gezeigt werden.
16:9
4:3 Letterbox
4:3 Pan Scan
Osd Position
Wählen Sie die Position des On-screen-Balkens. ☞ [68]
1
: Höhere Position
2
: Niedrigere Position
Position 1 Position 2
Dateityp
Wählen Sie den Wiedergabedateityp, wenn die eingelegte
Disc unterschiedliche Dateitypen enthält.
Audio
: Wiedergabe von Audio-Dateien.
Standbild
: Wiedergabe von JPEG-Dateien.
Video
: Wiedergabe von DivX/MPEG-Dateien.
Digit.-Audio-Ausgang
Wählen Sie das Signalformat zur Ausgabe über die Buchse
DIGITAL OUT (Optical) an der Rückseite. Einzelheiten ☞
[106].
Aus
: Kein Signal wird von der Klemme ausgegeben.
Nur PCM
: Wählen Sie dies beim Anschluss eines
Ver stä rker s o der Decoders, der nicht mit Dolby Digital,
DTS, MPEG Audio, kompatibel ist oder bei Anschluss an
ein Aufnahmegerät.
Dolby Digital/PCM
: Wählen Sie dies beim Anschluss
eines Verstärkers oder Decoders, der mit Dolby Digital
kompatibel ist.
Bitstrom/PCM
: Wählen Sie dies beim Anschluss eines
Verstärkers oder Decoders, der mit Dolby Digital, DTS
und MPEG Audio kompatibel ist.
Abwärtsmischung
Bei der Wiedergabe einer Mehrkanal-DVD-Disc
beeinflusst diese Einstellung die über die Buchsen LINE
OUT (und über die Buchse DIGITAL OUT reproduzierten
Signale, wenn
Nur PCM
gewählt ist für
Digit.-Audio-
Ausgang)
.
Surround-Kompatibel
: Wählen Sie dies, wenn Sie
Mehrkanal-Surround-Audio durch Anschließen eines
mit Dolby Surround kompatiblen Verstärkers an diesen
Receiver genießen wollen.
2-Kanal-Stereo
: Wählen Sie im Normalbetrieb diese
Einstellung.
DE_KDNX5000[E].indb 92DE_KDNX5000[E].indb 92 07.4.4 2:14:05 PM07.4.4 2:14:05 PM

93
Menügegenstände Wählbare Einstellungen
(Anfangseinstellung)
Setup
]
Disc
*4
Dynamik-Komprimie.
Sie können einen kraftvollen Klang auch bei niedriger
Lautstärke genießen, wenn Sie mit Dolby Digital
aufgenommenes Material hören.
Auto
: Wählen Sie dies zum Anlegen des Effekts an
mehrkanalig codiertes Material.
Ein
: Wählen Sie dies, um diese Funktion immer zu
verwenden.
DivX Reg.
Dieses Gerät hat seinen eigenen Registrierungscode.
Wenn Sie eine Disc abgespielt haben, bei der der
Registrierungscode aufgenommen ist, wird der
Registrierungscode dieses Geräts für Urheberrechtsschutz
überschrieben.
Video Output Format
Wählen Sie das Format des Videoausgangs entsprechend
dem Farbsystem Ihres externen Monitors.
• Das Farbsystem des Displays der Einheit wurde ebenfalls
geändert. Die Bildqualität im Display der Haupteinheit
kann sich verschlechtern, wen Sie
PAL
wählen.
NTSC, PAL
Setup
]
Tuner
AF Regional
Wen n die vom aktuellen Sender empfangenen Signale
schwach werden...
AF
: Schaltet auf einen anderen Sender um. Das Programm
kann sich von dem aktuell gewählten unterscheiden
( leuchtet auf).
AF Regional
: Schaltet auf eine andere Frequenz mit
demselben Programm um. ( leuchtet auf).
Aus
: Hebt auf—nicht wählbar, wenn
DAB AF
auf
Ein
gestellt ist. ☞ [56]
TA-Lautstärke 0
bis
30
oder
50
*6. (
15
) ☞ [55]
Programmsuche Aus
: Hebt auf.
Ein
: Mit den AF-Daten stimmt der Receiver eine andere
Frequenz mit demselben Programm wie der ursprünglich
eingestellte RDS-Sender, wenn die Festsendersignale
nicht ausreichend stark sind.
DAB AF
*7
Aus
,
Ein
. ☞ [58]
ZF-Bandbreite Auto
: Steigert die Tuner-Empfindlichkeit, um
Störgeräusche zwischen benachbarten Sendern zu
verringern. (Stereo-Effekt kann verlorengehen.)
Breit
: Ist Interferenzen von benachbarten Sendern
ausgesetzt, aber die Klangqualität wird nicht verringert,
und der Stereoeffekt bleibt erhalten.
AV-Menügegenstände
*6 Je nach Verstärker-Verstärkungsgradeinstellung.
*7 Erscheint nur, wenn ein DAB-Tuner angeschlossen ist.
DE_KDNX5000[E].indb 93DE_KDNX5000[E].indb 93 07.4.4 2:14:05 PM07.4.4 2:14:05 PM

DEUTSCH
94
Menügegenstände Wählbare Einstellungen
(Anfangseinstellung)
Setup
]
Eingang
Externer Eingang
*8 Beim Anschließen einer externen Komponente an der CD-
Wechslerbuchse an der Rückseite.
Wechsler
: CD-Wechsler, iPod oder D. player.
Ext. Eing.
: Jegliche anderen als die obigen.
• Zum Anschließen des DAB-Tuners oder Bluetooth-
Adapters ist diese Einstellung nicht erforderlich. Sie wird
automatisch erkannt.
Video-Eingang
*9 Sie können die Verwendung des VIDEO IN-Steckers
festlegen. ☞ [82]
Aus
: Wählen Sie dies, wenn keine Komponente
angeschlossen ist. (Video-Eingabe wird übersprungen,
während das Display mit der DISP-Taste umgeschaltet
wird.)
Video
: Wählen, wenn Sie eine AV-Komponente wie einen
Videorecorder anschließen.
Kamera
: Wählen Sie dies beim Anschließen einer Kamera.
Für
Kamera
Sicherheitsschalter Aus
: Hebt auf.
Reverse
: Schaltet automatisch auf Kameraansicht um,
wenn der Rückwärtsgang eingelegt wird.*
10
Niedr. Geschwind.
: Schaltet automatisch auf
Kameraansicht um, wenn sich das Fahrzeug verlangsamt.*11
Horizontal/Vertikal
Horizontale Einstellung ist erforderlich, je nachdem wie Sie
das Bild im Monitor sehen möchten. Vertikale Einstellung
ist erforderlich, je nachdem wie Sie die Kamera installiert
haben.
Horizontal: Normal Horizontal: Reverse
Vertikal:
Normal
Vertikal:
Reverse
Video-Format
*12 Wählen Sie das Format des Videoeingangs entsprechend
dem Farbsystem der an den Stecker VIDEO IN
angeschlossenen Komponente.
NTSC
,
PAL
*8 Nicht wählbar, wenn die an die CD-Wechslerbuchse angeschlossene Komponente als Quelle gewählt ist.
*9 Nicht wählbar, wenn “EXT-IN” als Quelle gewählt ist.
*10 Reverse-Lämpchen Leitungsverbindung ist erforderlich. (
☞
Einbau/Anschlußanleitung)
*11 Geschwindigkeitssignal-Leitungsverbindung ist erforderlich. (
☞
Einbau/Anschlußanleitung)
*12 Nicht wählbar, wenn Video-Eingang auf Aus gestellt ist.
DE_KDNX5000[E].indb 94DE_KDNX5000[E].indb 94 07.4.4 2:14:06 PM07.4.4 2:14:06 PM

95
Menügegenstände Wählbare Einstellungen
(Anfangseinstellung)
Setup
]
Sonstiges
Piep Aus
: Hebt auf.
Ein
: Aktiviert den Tastenbeührungston.
Tel-Stummschalt
Sie können den Ton des Systems stummschalten (AV-
Quellklang und Sprachführung), während Sie am
Mobiltelefon sprechen.
Aus
: Hebt auf.
Stummschaltung1
,
Stummschaltung2
: Wählen
Sie eine davon, die den Ton bei der Verwendung des
Mobiltelefons stummschalten kann.*13
Polarität umkehren
Wählen Sie eine der beiden, welche die Gangrichtung
korrekt anzeigt.
GND
,
Batterie
Verbindung
*14 Sie können den Verbindungsstatus bestätigen.
EQ Flat, Hard Rock, R&B, Pop, Jazz, Dance Music,
Country, Reggae, Classic, User 1, User 2, User 3
☞ [98]
Klang
Fader/Balance
Fader/Balance
Exit
F02
L02
Stellen Sie den Fader ein — Balance für den
Lautsprecherausgang auf den vorderen und hinteren
Lautsprechern. (
00
)
F06
: nur vorne
R06
: nur hinten
• Wenn Sie eine Anlage mit zwei Lautsprechern
verwenden, stellen Sie den Fader auf Mittenstellung (
00
).
Stellen Sie die Balance ein — die Lautsprecherausgangsbalance
zwischen linken und rechten Lautsprechern.
(
00
)
L06
: nur links
R06
: nur rechts
Lautst.Einstlg.
Stellen Sie die Auto-Lautstärkepegel für jede Quelle ein
und speichern Sie die Einstellungen unter Vergleich mit
dem UKW-Pegel. Der Lautstärkepegel wird automatisch
angehoben oder abgesenkt, wenn Sie die Quelle ändern.
–12
bis
+12
(
00
)
Subwoofer
Passen Sie die nachstehenden Einstellungen im Untermenü
an:
•
Phase
: Subwoofer-Phase. Wählen Sie entweder
Normal
oder
Reverse
, je nachdem womit ein besserer Klang
erzielt wird.
•
Pegel
: Subwoofer-Ausgangspegel.
00
bis
08
(
04
)
AV-Menügegenstände
*13 Die TEL MUTING Leitungsanschluss ist erforderlich. (
☞
Einbau/Anschlußanleitung)
*14 Dies zeigt die gleiche Information wie Verbindung im Information Menu (
☞ [43]
).
DE_KDNX5000[E].indb 95DE_KDNX5000[E].indb 95 07.4.4 2:14:07 PM07.4.4 2:14:07 PM

DEUTSCH
96
Menügegenstände Wählbare Einstellungen
(Anfangseinstellung)
Klang
Hochpassfilter Direkt
: Wählen Sie dies, wenn der Subwoofer nicht
angeschlossen ist.
Ein
:
Wählen Sie dies, wenn der Subwoofer angeschlossen ist.
Crossover
Stellen Sie die Übergangsfrequenz zwischen vorderen/
hinteren Lautsprechern und dem Subwoofer ein.
55 Hz, 85 Hz, 125 Hz
Verstärkungsgrad
Sie können den maximalen Lautstärkepegel dieses
Receivers ändern.
Verstärker Aus
: Deaktiviert den eingebauten Verstärker.
Wenig Leistung
: Lautstärke 00 bis Lautstärke 30
(Wählen Sie dies, wenn die Maximalleistung des
Lautsprechers weniger als 50 W beträgt)
Hohe Leistung
: Lautstärke 00 bis 50
Bildsch_regelung/
Bild [Disc]/
Bild [Video]
Bildsch_regelung
Exit
+03
Helligkeit
Sie können den Monitor einstellen, um ihn deutlich und
lesbar zu machen.
• Während das Bild von VIDEO IN angezeigt wird, können
Sie das Wiedergabebild anpassen in VIDEO IN (
Bild
[Video]
).
• Während DISC als Quelle gewählt ist und das
Wiedergabebild erscheint, können Sie das
Wiedergabebild von DISC (
Bild [Disc]
) anpassen.
• Für andere als obige Bildschirmbilder erscheint
Bildsch_regelung.
*15
Helligkeit
*16: Passen Sie diesen Wert an, wenn das Bild zu
hell oder zu dunkel ist.
–15
bis
+15
(
00
)
Farbtemp.
: Stellen Sie die Farbtemperatur des Bildes ein
— wärmer oder kühler
–15
bis
+15
(
00
)
Kontrast
: Stellen Sie den Kontrast ein.
–15
bis
+15
(
00
)
Farbton
: Einstellung des Farbtons, falls die Hautfarbe
unnatürlich erscheint.
–15
bis
+15
(
00
)
•
Farbton
ist alleine anpassbar für VIDEO IN Signal in
NTSC und Discs in NTSC.
*15 Die Einstellungen von Bildsch_regelung gelten auch für die Karten-Bildschirmbilder und die Bildschirmbilder
der Navigationsmenüs.
*16 Diese Einstellung in Bildsch_regelung wird mit der Einstellung Helligkeit im Setup-Menü geteilt
(
☞
[44]).
DE_KDNX5000[E].indb 96DE_KDNX5000[E].indb 96 07.4.4 2:14:07 PM07.4.4 2:14:07 PM

97
Menügegenstände Wählbare Einstellungen
(Anfangseinstellung)
Aspect [Disc]/
Aspect [Video]
Sie können das Bildseitenverhältnis des Bildes ändern.
Bildseitenverhältnis des
eingehenden Signals
4:3 16:9
Vollbild
:
Für 16:9 Originalbilder
Normal
:
Für 4:3 Originalbilder
Auto
:• Bei “DISC”: Das
Bildseitenverhältnis wird
automatisch entsprechend den
angelegten Signalen gewählt.
• Für die anderen Video quellen:
ist das Seitenverhältnis
festgelegt auf
Vollbild
.
Modus
*17
Mono
Nur für UKW. (
Aus
,
Ein
) ☞ [53]
DX / Lokal
Nur für UKW. (
DX
,
Lokal
) ☞ [53]
SSM
Nur für UKW. ☞ [52]
PTY Standby
Nur für UKW/DAB. ☞ [55, 58]
D-Bereichsreg.
Nur für DAB. (
Aus
,
DRC1
,
DRC2
,
DRC3
) ☞ [58]
Ansage Standby
Nur für DAB. ☞ [58]
Anspielen/
Wiederholung/Zufall
Nur für Disc-Wiedergabe, Musik-Server, CD-Wechsler und
iPod/D. player. ☞ [64, 71, 78, 80]
Liste
Auf welche Listen der Zugriff möglich ist, hängt von den
Quellen ab.
Aufnahme
Zur Aufnahme von Audio-CDs im Musik-Server. ☞ [72,
73]
Kopieren
Zum Überspielen von Musikdateien in den Musik-Server.
☞ [74]
Editieren
Zum Bearbeiten der Tracks im Musik-Server. ☞ [75]
Titeleingab.
☞ [75, 81]
AV-Menügegenstände
*17 Für die Menügegenstände in Modus für Bluetooth Audio,
☞ [88, 89]
.
DE_KDNX5000[E].indb 97DE_KDNX5000[E].indb 97 07.4.4 2:14:08 PM07.4.4 2:14:08 PM

DEUTSCH
98
Speichern Ihrer eigenen
Einstellungen
Sie können Ihre Einstellung unter
User 1
,
User 2
und
User 3
speichern.
1 Wiederholen Sie Schritte 1 ud 2
oben, dann in Schritt 3...
Speich.
Frequenz
Einstellung
EQ - Flat
60 Hz
00
2 Einstellen.
3 Speichern Sie die Einstellung
unter
User 1
,
User 2
oder
User 3
.
EQ - Speichern in
User 1
User 2
User 3
Speich.
Wählen eines Equalizer-Typs
1
2
AV Menü
]
EQ
EQ 1/3
Flat
Hard Rock
R&B
Pop
Jazz
Exit
3 Wählen Sie einen Equalizer-Typ.
Vorgabe-Equalizerwerte
Equalizer-Typ 60
Hz
150
Hz
400
Hz
1
kHz
2,4
kHz
6
kHz
12
kHz
Flat
00 00 00 00 00 00 00
Hard Rock
+03 +03 +01 00 00 +02 +01
R&B
+03 +02 +02 00 +01 +01 +03
Pop
00 +02 00 00 +01 +01 +02
Jazz
+03 +02 +01 +01 +01 +03 +02
Dance Music
+04 +02 00 –02 –01 +01 +01
Country
+02 +01 00 00 00 +01 +02
Reggae
+03 00 00 +01 +02 +02 +03
Classic
+02 +03 +01 00 00 +02 00
User 1/2/3
00 00 00 00 00 00 00
Klang-Entzerrung
Wählen Sie die Frequenz.
Stellen Sie den Pegel ein.
DE_KDNX5000[E].indb 98DE_KDNX5000[E].indb 98 07.4.4 2:14:09 PM07.4.4 2:14:09 PM

99
Klang-Entzerrung / Zusätzliche Information
Zusätzliche Information
Allgemeines
• Es gibt eine Zeitgrenze für manche
Bedienvorgänge. In diesem Fall wird der
aktuelle Vorgang aufgehoben, wenn eine
bestimmte Zeit lang keine weitere Bedienung
erfolgt.
• Sie können auch durch Drücken von
SRC oder MAP am Receiver einschalten.
Der Karten-Bildschirm erscheint beim
Einschalten, wenn Sie MAP drücken, und ein
AV-Bilds chirm, wenn Sie SRC drücken. Wenn
die gewählte Quelle startbereit ist, startet die
Wiedergabe.
• Sie können bestimmte Quellen nicht wählen,
wenn diese nicht bereit sind.
– DAB/CD-CH/iPod/D. PLAYER: Kann
nicht gewählt werden, ohne dass die
Zielquellenkomponente angeschlossen ist.
– DISC: Kann nicht gewählt werden, wenn
keine Disk im Ladeschlitz eingesetzt ist.
– EXT-IN: kann nicht gewählt werden,
ohne dass
Ext. Eing.
für die Einstellung
Externer Eingang
gewählt wird. (☞
[94])
– Bluetooth Audio: kann nicht gewählt
werden, wenn kein Bluetooth-Adapter
angeschlossen ist.
• Wenn Sie das Gerät ausschalten, während
DISC als Quelle gewählt ist, startet die
Disc-Wiedergabe beim nächsten Einschalten
automatisch.
• Die Spannung und die Geschwindigkeit des
Fahrzeuginformation-Bildschirms kann sich
von den tatsächlichen Werten unterscheiden.
Rundfunkempfang
Speichern von Sendern
• Wenn SSM beendet ist, werden alle vorher
gespeicherten Sender gelöscht, und Sender
werden neu gespeichert.
• Wenn SSM über ist, werden empfangene
Sender werden in Nr. 1 (niedrigste Frequenz)
bis Nr. 6 (höchste Frequenz) abgelegt, und der
Festsender Nr. 1 wird abgestimmt.
• Beim manuellen Speichern eines Senders
wird ein vorher vorgewählter Sender gelöscht,
wenn ein neuer Sender unter der gleichen
Festsendernummer gespeichert wird.
RDS-Bedienungen
• TA-Standbyempfang und PTY-
Standbyempfang werden in den folgenden
Fällen vorübergehend deaktiviert:
– Während der Aufnahme einer CD auf der
Festplatte.
– Während des Kopierens der Disc-Inhalte
auf die Festplatte.
– Während des Schneidens der HDD-Inhalte.
• Wenn Sie mehr über RDS erfahren wollen,
besuchen Sie <http://www.rds.org.uk>.
DAB-Bedienungen
• Nur die primären DAB-Dienste können
vorgewählt werden, wenn Sie einen
Sekundärdienst speichern.
Disc-Bedienungen
Allgemeines
• Die Wörter “Track” und “Datei” werden in
dieser Anleitung mit gleicher Bedeutung
verwendet.
• Dieser Receiver kann auch Single-Discs (8
cm) abspielen.
• Dieser Reciever kann nur Audio-CD
(CD-DA) Dateien abspielen, wenn
andere Dateitypen auf der gleichen Disc
aufgezeichnet sind.
• Bei manchen Discs können die tatsächlichen
Bedienverfahren von den Erläuterung in
dieser Anleitung abweichen.
• Dieses Gerät kann nur Einzelbyte-Zeichen
anzeigen. Andere Zeichen können nicht
korrekt angezeigt werden.
• Der Rückwärts-Suchlauf stoppt automatisch,
wenn der Anfang der Disc erreicht wird. Die
Wiedergabe wird mit Normalgeschwindigkeit
wieder aufgenommen.
• Kein Ton kommt bei Zeitlupen-Wiedergabe.
Bei der Wiedergabe einer VCD ist Rückwärts-
Zeitlupenwiedergabe nicht möglich.
• Bei der Wiedergabe einer DVD/VCD kommt
kein Ton beim Suchlauf.
• Bei manchen DVDs und VCDs ist Ändern der
Untertitel-Sprache, der Tonsprache (oder des
Soundtracks) ohne Verwendung des Disc-
Menüs verboten.
DE_KDNX5000[E].indb 99DE_KDNX5000[E].indb 99 07.4.4 2:14:09 PM07.4.4 2:14:09 PM

DEUTSCH
100
• Bei DVD-R/DVD-RW: Dieser Receiver kann
nur im DVD-Video-Format aufgenommene
Discs abspielen. (Discs, die im DVD-VR-
Format bespielt wurden, können nicht
abgespielt werden.)
• DVD-RWs oder CD-RWs können eine
längere Auslesezeit erfordern, da die
Reflektanz von DVD-RW und CD-RW
niedriger als die normaler Discs ist.
• Verwenden Sie keine Discs, auf denen
Beschriftungen direkt mit einem
Tintenstrahldrucker aufgedruckt sind.
Bei Verwendung solcher Discs bei hohen
Temperaturen oder hoher Luftfeuchtigkeit
können Fehlfunktionen oder Schäden an den
Discs verursacht werden.
Wiedergabe von DivX-Dateien
• Dieses Gerät kann DivX-Dateien mit der
Dateierweiterung <.divx>, <.div> oder <.avi>
abspielen (ungeachtet der Schreibung mit
Groß- und Kleinbuchstaben).
• Dies Gerät unterstützt DivX-Dateien mit einer
Auflösung von 720 x 576 Pixeln oder weniger.
• Das Gerät unterstützt DivX 6.x, 5.x, 4.x und
3.11.
• Audio-Stream muss mit MP3 oder Dolby
Digital konform sein.
• Das Gerät unterstützt nicht GMC (Global
Motion Compression).
• Im Zeilensprung-Abtastverfahren codierte
Dateien werden möglicherweise nicht richtig
abgespielt.
• Das Gerät kann einen unverkennbaren
Registrierungscode anzeigen—DivX
Video On Demand (DRM—Digital Rights
Management). Zur Aktivierung und für
weitere Einzelheiten gehen Sie bitte zu <www.
divx.com/vod>.
Einsetzen einer Disc
• Wenn eine Disc umgekehrt herum eingesetzt
ist, erscheint
Disc-Fehler
im Monitor. Disc
auswerfen.
Auswerfen einer Disc
• Wenn die ausgeworfene Disc nicht innerhalb
von 15 Sekunden entfernt wird, wird die
Disc automatisch wieder in den Ladeschlitz
eingezogen, um sie vor Staub zu schützen.
• Wenn das Bedienfeld einige Zeit lang offen
gelassen wird, schließt es automatisch.
Ändern der Quelle
• Wenn Sie die Quelle ändern, stoppt die
Wiedergabe ebenfalls, ohne dass die Disc
ausgeworfen wird.
Wenn Sie zum nächsten Mal “DISC” als
Wiedergabequelle wählen, startet die Disc-
Wiedergabe von der Stelle, wo die Wiedergabe
vorher abgebrochen wurde.
• Wenn eine Disc eingelegt ist, wird durch
Wählen von “DISC” als Wiedergabequelle die
Disc-Wiedergabe gestartet.
Abspielen von Recordable/Rewritable-Discs
• Dieses Gerät kann insgesamt 3 500 Dateien
und 250 Ordner (maximal 999 Dateien pro
Ordner) erkennen.
• Wenn keine abspielbaren Dateien in einem
Ordner aufgeommen sind, wird der Ordner
nicht erkannt.
• Verwenden Sie nur “finalisierte” Discs.
• Dieses Gerät kann Multi-Session-Discs
abspielen, nicht geschlossene Sessions werden
aber bei der Wiedergabe übersprungen.
• Dies Gerät kann nicht in der Lage sein,
bestimmte Discs oder Dateien aufgrund ihrer
Eigenschaften oder Aufnahmebedingungen
abzuspielen.
• Dieses Gerät kann insgesamt 25 Zeichen für
Datei-/Ordnernamen erkennen.
DE_KDNX5000[E].indb 100DE_KDNX5000[E].indb 100 07.4.4 2:14:10 PM07.4.4 2:14:10 PM

101
Zusätzliche Information
Auf dem Schirm eingeblendete
Hinweissymbole
Während der Wiedergabe erscheinen ggf. die
folgenden Hinweissymbole kurze Zeit auf dem
Monitor.
Erscheint am Beginn einer Szene mit
Untertiteln in mehreren Sprachen (nur
bei DVD).
Erscheint am Beginn einer Szene mit
Soundtracks in mehreren Sprachen
(nur bei DVD).
Erscheint am Beginn einer Szene mit
Ansichten aus mehreren Blickwinkeln
(nur bei DVD).
Wiedergabe
Pause
Vorwärts-Zeitlupe Wiedergabe (nur
für DVD und VCD)
Zeitlupenwiedergabe rückwärts (nur
bei DVD)
Vorwärts-Suche
Rückwärts-Suche
Wiedergabe von MPEG-Dateien
• Dieses Gerät kann MPEG-Dateien mit den
Erweiterungscodes <.mpg> oder <.mpeg>
abspielen.
• Das Stream-Format muss dem MPEG System/
Programm-Stream entsprechen.
• Das Dateiformat soll MP@ML (Main Profile
@ Main Level)/SP@ML (Simple Profile @
Main Level)/MP@LL (Main Profile @ Low
Level) sein.
• Audio-Streams müssen mit MPEG1 Audio
Layer-2 konform sein.
Wiedergabe von JPEG-Dateien
• Es wird empfohlen, Dateien mit einer
Auflösung von 640 x 480 zu speichern.
• Dieses Gerät kann Baseline-MP3-Dateien
abspielen. Progressive JPEG-Dateien oder
verlustfreie JPEG-Dateien können nicht
wiedergegeben werden.
Wiedergabe von MP3/WMA/WAV-Dateien
• Dieses Gerät kann MP3-Dateien mit der
Dateierweiterung <.mp3>, <.wma> oder
<.wav> abspielen (ungeachtet der Schreibung
mit Groß- und Kleinbuchstaben).
• Diese Einheit kann die ID3-Tag-Version
1.0/1.1/2.2/2.3/2.4 (für MP3) anzeigen. Diese
Einheit kann auch die WAV-Tag und WMA-
Tag anzeigen.
• Dieser Receiver kann die Dateien abspielen,
die den unten aufgeführten Bedingungen
entsprechen:
– Bit-Rate: MP3/WMA: 32 Kbps - 320 Kbps
– Samplingfrequenz:
48 kHz, 44,1 kHz, 32 kHz (für MPEG1)
24 kHz, 22,05 kHz, 16 kHz (für MPEG2)
48 kHz, 44,1 kHz, 32 kHz (für WMA)
44,1 kHz (für WAV)
– Disc-Format: ISO 9660 Level 1/Level
2, Romeo, Joliet, Lange Windows-
Dateinamen
• Diese Einheit kann Dateien abspielen, die mit
VBR (variabler Bitrate) aufgenommene sind.
Die mit VBR aufgenommenen Dateien
weisen eine Discrepanz zwischen Anzeige
verflossener Zeit auf.
• Die Einheit kann nicht die folgenden
Dateien abspielen und überspringt sie bei der
Dateiwiedergabe:
– MP3-Dateien, die in den Formaten MP3i
und MP3 PRO codiert sind.
– MP3-Dateien, die in einem
unverwendeten Format codiert sind.
– MP3-Dateien, die mit Layer 1/2 codiert
sind.
– WMA-Dateien, die mit verlustfreien,
professionellen und Sprachformaten
codiert sind.
– WMA-Dateien, die nicht auf Windows
Media® Audio basieren.
– WMA DRM (Digital Rights
Management).
– Dateien, die Daten wie AIFF, ATRAC3
usw. enthalten.
– WMA-Dateien, die im MBR-Format
(Multiple Bit Rate) codiert sind.
– AAC-Dateien.
– OGG-Dateien.
DE_KDNX5000[E].indb 101DE_KDNX5000[E].indb 101 07.4.4 2:14:10 PM07.4.4 2:14:10 PM

DEUTSCH
102
Musik-Server-Bedienungen
• Die Klangqualität kann nachlassen, wenn Sie
Normale Qualität
als Aufnahmemodus
wählen.
• Während der Aufnahme wird der
aufgenommene Ton von den Lautsprechern
wiedergegeben. Wenn die Aufnahme gestoppt
wird, wird CD-Originalklang wiedergegeben.
• Sie können die Quelle nicht umstellen,
während Tracks aufgenommen oder überspielt
werden.
• Dieses System verwendet den Kopierschutz
SCMS (Serial Copy Management System),
der nur das Erstellen einer ersten Generation
digitaler Kopien von premastered Material
wie normalen CDs erlaubt. Wenn Sie
versuchen, von einer duplizierten CD-R/-RW
aufzunehmen, erscheint
SCMS kann nicht
kopiert werden
im Display, und die
Aufnahme wird abgebrochen.
• Textdaten in der CD-Text können nicht auf
Festplatte aufgenommen werden.
• Die Wiedergabezeitanzeige kann bei der
Aufnahme ungleichmäßig im Monitor
weiterschalten. Dies ist keine Fehlfunktion des
Geräts.
• Sie können nicht die Tag-Daten von Tracks
auf der Festplatte bearbeiten.
• Während die Anlage Gegenstände in der
Bibliothek verschiebt, neu anordnet oder
löscht, wird kein Ton ausgegeben, und Sie
können nicht die Wiedergabequelle ändern.
• Wenn Sie Gegenstände in der Bibliothek
verschieben, neu anordnen oder löschen, wird
der Wiedergabemodus aufgehoben.
Steuerbildschirm
• Der folgende Steuerbildschirm erscheint
nur am externen Monitor.
DivX/MPEG/JPEG/MP3/WMA/WAV
1
Aktueller Ordner (hervorgehobener Balken)
2
Aktuelle Ordnernummer/Gesamt-Ordnerzahl
3
Ordnerliste
4
Gewählter Wiedergabemodus
5
Verflossene Spielzeit des aktuellen Tracks
(erscheint nicht bei JPEG)
6
Betriebsstatus
7
Aktuelle Tracknummer/Gesamtzahl des Tracks
in aktuellen Ordner (Gesamtzahl des Tracks
auf der Disc)
8
Track-Information (nur für MP3/WMA/WAV)
9
Trackliste
p
Aktueller Track (hervorgehoben)
TIME 00:14
Tra ck : 6 / 14
Track Information
Cloudy
Fair
Fog
Hail
Indian summer
Rain
Shower
Snow
Thunder
Typhoon
Wind
Winter sky
Album
Four seasons
Artist
Robert M. Smith
Title
Rain
T. RPT
Folder : 2 / 3
TIME 00:00:14T. RPT
Track : 6 / 14 (Total 41)
01 Music
02 Music
03 Music
Track Information
Cloudy.mp3
Fair.mp3
Fog.mp3
Hail.wma
Indian summer.mp3
Rain.mp3
Shower.mp3
Snow.mp3
Thunder.wma
Typhoon.mp3
Wind.mp3
Winter sky.mp3
Album
Weather
Artist
Robert M. Smith
Title
Rain
CD
1
Gewählter Wiedergabemodus
2
Verflossene Spielzeit des laufenden Tracks
3
Betriebsstatus
4
Aktuelle Tracknummer/Gesamtzahl der Tracks
auf der Disc
5
Track-Information
6
Trackliste
7
Aktueller Track (hervorgehobener Balken)
DE_KDNX5000[E].indb 102DE_KDNX5000[E].indb 102 07.4.4 2:14:11 PM07.4.4 2:14:11 PM

103
iPod/D. player-Bedienungen
• Wenn Sie dieses Gerät einschalten, wird iPod
oder D. player über dieses Gerät geladen.
• Die Textinformation wird möglicherweise
nicht richtig angezeigt. Dieses Gerät kannn bis
zu 40 Zeichen anzeigen.
• Die Gegenstände im Top-Menü des Players
sind wie folgt:
Für iPod:
Playlists Ô Artists Ô Albums Ô Songs
Ô Genres Ô Composers Ô (zurück
zum Anfang)
Für D. player:
Playlist Ô Artist Ô Album Ô Genre
Ô Track Ô (zurück zum Anfang)
Zur Beachtung:
Bei Bedienung eines iPod oder eines D. player
kann es sein, dass manche Vorgänge nicht
richtig oder nach Wunsch ausgeführt werden.
In diesem Fall besuchen Sie folgende JVC-
Website:
Für iPod-Anwender: <http://www.jvc.co.jp/
english/car/support/ks-pd100/index.html>
Für D. player-Anwender: <http://www.jvc.
co.jp/english/car/support/ks-pd500/index.
html>
Zusätzliche Information
Verwendung Bluetooth-Geräten
Allgemeines
• Nehmen Sie beim Fahren keine komplizierten
Bedienungen vor, wie Wählen von Nummern,
Ver wenden des Telefonbuchs usw. Wenn Sie
solche Bedienungen vornehmen möchten,
stoppen Sie das Fahrzeug an einer sicheren
Stelle.
• Manche Bluetooth-Geräte lassen sich
möglicherweise je nach Bluetooth-Version des
Geräts nicht an dieses Gerät anschließen.
• Diese Einheit arbeitet u.U. bei bestimmten
Bluetooth-Geräten nicht.
• Der Verbindungszustand kann sich je nach
Umständen ändern.
• Wenn die Einheit ausgeschaltet ist, ist das
Gerät abgetrennt.
Symbole für Telefon-Typen
• Diese Symbole zeigen den am Gerät
eingestellten Telefon-Typ an.
: Handy
: Haushaltstelefon
: Büro
: Allgemeines
: Andere als die obigen
Warnmeldungen für Bluetooth-Bedienungen
•
Verbindungsfehler
: Das Gerät ist
registriert, aber die Verbindung ist
fehlgeschlagen. Verwenden Sie
Verbindung
zum erneuten Anschließen des Geräts. (☞ [85])
•
Fehler
: Probieren Sie den Betrieb erneut.
Wen n
Fehler
erneut erscheint, prüfen Sie, ob
das Gerät die probierte Funktion unterstützt.
•
Gerät Nicht Gefunden
: Es wird kein
verfügbares Bluetooth-Gerät durch
Suche
erkannt.
•
Laden
: Die Einheit aktualisiert die
Telefonbuch- und/oder eine Textmeldung.
•
Bitte Wartezeit...
: Die Einheit bereitet
die Verwendung der Bluetooth-Funktion
vor. Wenn die Meldung nicht verschwindet,
schaltet Sie die Einheit aus und wieder ein,
und schließen dann das Gerät erneut an
(oder setzen die Einheit zurück).
•
Zurücksetzen 08
: Prüfen Sie die
Verbindung zwischen dem Adapter und
diesem Gerät.
DE_KDNX5000[E].indb 103DE_KDNX5000[E].indb 103 07.4.4 2:14:12 PM07.4.4 2:14:12 PM

DEUTSCH
104
AV-Menügegenstände
• Wenn Sie die Einstellung von
Verstärkungsgrad
von
Hohe Leistung
auf
Wenig Leistung
umstellen, während
der Lautstärkepegel höher eingestellt ist
als
30
, schaltet das Gerät automatisch den
Lautstärkepegel auf
Lautst. 30
um.
• Nachdem Sie die Einstellungen in
Menüsprache
/
Audio Sprache
/
Untertitel
verändert haben, schalten Sie das
Gerät ab und legen Sie die Disc wieder ein
(oder legen Sie eine neue Disc ein), damit die
Einstellungen übernommen werden können.
• Wenn die gewählte Sprache nicht auf der
Disc aufgezeichnet ist, wird automatisch
die Originalsprache als Anfangssprache
verwendet. Außerdem funktionieren
bei manchen Discs die anfänglichen
Spracheinstellungen aufgrund der internen
Discprogrammierung nicht.
• Wenn Sie
16:9
für ein Bild mit einem
Seitenverhältnis von 4:3 wählen ändert
sich das Bild wegen des Verfahrens zur
Bildbreitenumrechnung leicht.
• Auch wenn
4:3 Pan Scan
gewählt ist, kann
die Bildschirmgröße bei manchen Discs
4:3
Letterbox
werden.
• Wenn Sie die Einstellung von
DAB AF
von
Aus
auf
Ein
umstllen, wechselt die
Einstellung
AF Regional
auf
AF
um, wenn
sie auf
Aus
gestellt ist.
Sprachcodes (für DVD/DivX-Sprachauswahl)
Code Sprache Code Sprache Code Sprache Code Sprache Code Sprache
AA
Afar
FA
Persisch
KL
Grönländisch
OC
Occitan
ST
Sesotho
AB
Abchasisch
FI
Finnisch
KM
Kambodianisch
OM
(Afan) Oromo
SU
Sundanesisch
AF
Afrikaans
FJ
Fidschi
KN
Kannadisch
OR
Oriya
SW
Suahili
AM
Ameharisch
FO
Faröisch
KO
Koreanisch
(KOR)
PA
Panjabi
TA
Tamilisch
AR
Arabisch
FY
Friesisch
KS
Kashmirisch
PL
Polnisch
TE
Telugu
AS
Assamesisch
GA
Irisch
KU
Kurdisch
PS
Pashto, Pushto
TG
Tajik
AY
Aymara
GD
Schottisch
Gälisch
KY
Kirghisisch
PT
Portugiesisch
TH
Thailändisch
AZ
Aserbaijanisch
GL
Galizisch
LA
Lateinisch
QU
Quechua
TI
Tigrinya
BA
Bashkir
GN
Guarani
LN
Lingala
RM
Rätoromanisch
TK
Turkmenisch
BE
Weißrussisch
GU
Gujarati
LO
Laotianisch
RN
Kirundi
TL
Tagalog
BG
Bulgarisch
HA
Haussa
LT
Litauisch
RO
Rumänisch
TN
Setswana
BH
Bihari
HI
Hindi
LV
Lettisch
RW
Kinyarwanda
TO
Tonga
BI
Bislama
HR
Kroatisch
MG
Malagasy
SA
Sanskrit
TR
Türkisch
BN
Bengali, Bangla
HU
Ungarisch
MI
Maori
SD
Sindhi
TS
Tsonga
BO
Tibetanisch
HY
Armenisch
MK
Mazedonisch
SG
Sangho
TT
Tatar
BR
Bretonisch
IA
Interlingua
ML
Malayalam
SH
Serbo-Kroatisch
TW
Twi
CA
Katalanisch
IE
Interlingue
MN
Mongolisch
SI
Singhalesisch
UK
Ukrainisch
CO
Korsisch
IK
Inupiak
MO
Moldavisch
SK
Slovakisch
UR
Urdu
CS T
schechisch
IN
Indonesisch
MR
Marathi
SL
Slovenisch
UZ
Usbekisch
CY
Walisisch
IS
Isländisch
MS
Malayisch
(MAY)
SM
Samoanisch
VI
Vietnamesisch
DZ
Bhutani
IW
Hebräisch
MT
Maltesisch
SN
Shona
VO
Volapük
EL
Griechisch
JI
Jiddisch
MY
Burmesisch
SO
Somalisch
WO
Wolof
EO
Esperanto
JW
Javanesisch
NA
Nauru
SQ
Albanisch
XH
Xhosa
ET
Estländisch
KA
Georgisch
NE
Nepalesisch
SR
Serbisch
YO
Yoruba
EU
Baskisch
KK
Kazakh
NO
Norwegisch
SS
Siswati
ZU
Zulu
DE_KDNX5000[E].indb 104DE_KDNX5000[E].indb 104 07.4.4 2:14:13 PM07.4.4 2:14:13 PM

105
Für Wörtereingabe verfügbare Zeichen
Neben den Buchstaben des lateinischen
Alphabets (A – Z, a – z) können Sie die
folgenden Zeichen zur Eingabe verschiedener
Informationen verwenden.
Wählen Sie ein Zeichen auf
der Tastatur
Eingabe des gewählten
Zeichens
Eingabe von Zeichen
Beisp.:
Zur Anzeige anderer Tastaturen
• Bei jedem Drücken der Taste schaltet die
Tastatur zyklisch um. Indem die Taste
gedrückt gehalten wird, können Sie die
Tastaturen in umgekehrter Richtung
umschalten.
So löschen Sie alle Zeichen
Wählen Sie
Lös.
und halten ENT gedrückt.
• Beim Fahren mit mehr als 10 km/h ist
Eingabe verboten.
Zusätzliche Information
Checkbox-Bedienungen
Beisp.:
Zum Wählen eines Gegenstands aus der Liste
• Bei jedem Drücken von ENT wechselt die
Checkbox zwischen markiert (gewählt)
und nicht markiert (nicht gewählt) um.
Zum Wählen aller Gegenstände aus der Liste
Wählen Sie
Alle auswählen
und drücken
ENT.
• Wenn Sie alle Gegenstände gewählt
haben, wechselt der oberste Gegenstand
in der Liste auf
Alle abwählen
um.
Um alle Gegenstände aus der Auswahl zu
entfernen, wählen Sie
Alle abwählen
und drücken ENT.
Track auswählen 1/3
Alle auswählen
Track 1
Track 2
Track 3
Track 4
Auswählen
Leerstelle
Eingabe Genrename
Weit. Speich.
Andere Tastaturen anzeigenEine Leerstelle
eingebenEin Zeichen löschen
Den Cursor verschieben
Lös.
DE_KDNX5000[E].indb 105DE_KDNX5000[E].indb 105 07.4.4 2:14:14 PM07.4.4 2:14:14 PM

DEUTSCH
106106
Über von den Rückseitenbuchsen ausgegebenen Ton
• Über die Analogbuchsen (Lautsprecherausgang/LINE OUT):
2-Kanal-Signal wird ausgegeben. Beim Abspielen einer mehrkanalig codierten Disc werden
Mehrkanalsignale abgemischt. (☞ [92]
Abwärtsmischung
.)
• Über DIGITAL OUT (optisch):
Digitalsignale (Linear PCM, Dolby Digital, DTS, MPEG Audio) werden über diese Buchse
ausgegeben. Zum Reproduzieren von Mehrkanalton wie Dolby Digital, DTS und MPEG Audio
schließen Sie einen Verstärker oder Decoder an diese Buchse an, der mit diesen Mehrkanalquellen
kompatibel ist, und stellen
Digit.-Audio-Ausgang
richtig ein. (☞ unten.)
Ausgabe von Signalen über die Buchse DIGITAL OUT
Ausgangssignale unterscheiden sich je nach der Einstellung von
Digit.-Audio-Ausgang
(☞ [92]).
Nur PCM Dolby Digital/
PCM Bitstrom/PCM
Wiedergabe-Disc
DVD-
Video
48 kHz, 16/20/24 Bit
Linear-PCM 48 kHz, 16 Bit Stereo-Linear-PCM*
96 kHz, Linear-PCM 48 kHz, 16 Bit Stereo-Linear-PCM
mit Dolby Digital 48 kHz, 16 Bit Stereo-
Linear-PCM Dolby Digital Bitstream
mit DTS 48 kHz, 16 Bit Stereo-Linear-PCM DTS Bitstream
mit MPEG Audio 48 kHz, 16 Bit Stereo-Linear-PCM MPEG Bitstream
DVD-
Audio
44,1/88,2/176,4 kHz,
16/20/24 Bit Linear
PCM
44,1 kHz, 16 Bit Stereo-Linear-PCM
48/96/192 kHz,
16/20/24 Bit Linear
PCM
48 kHz, 16 Bit Stereo-Linear-PCM
mit Dolby Digital 48 kHz, 16 Bit Stereo-
Linear-PCM Dolby Digital Bitstream
mit DTS 48 kHz, 16 Bit Stereo-Linear-PCM DTS Bitstream
Audio-CD, Video-CD
44,1 kHz, 16 Bit Stereo-Linear-PCM
48 kHz, 16 Bit Stereo-Linear-PCM
Audio-CD mit DTS
48 kHz, 16 Bit Stereo-Linear-PCM DTS Bitstream
DivX
mit Dolby Digital 48 kHz, 16 Bit Stereo-
Linear-PCM Dolby Digital Bitstream
mit MPEG Audio 32/44,1/48 kHz, 16 Bit Linear-PCM
MPEG
44,1/48 kHz, 16 Bit Linear-PCM
MP3/WMA
32/44,1/48 kHz, 16 Bit Linear-PCM
WAV
44,1 kHz, 16 Bit Stereo-Linear-PCM
* Bei der Wiedergabe bestimmter DVDs können Digitalsignale mit 20 oder 24 Bit (mit ihrer ursprünglichen Bitrate)
über die Buchse DIGITAL OUT ausgegeben werden, wenn die Discs nicht kopiergeschützt sind.
Digit.-Audio-
Ausgang
DE_KDNX5000[E].indb 106DE_KDNX5000[E].indb 106 07.4.4 2:14:15 PM07.4.4 2:14:15 PM

107
Information
108 Wartung
109 Störungssuche
117 Technische Daten
DE_KDNX5000[E].indb 107DE_KDNX5000[E].indb 107 07.4.4 2:14:15 PM07.4.4 2:14:15 PM

DEUTSCH
108
Wartung
Feuchtigkeitskondensation
Auf der Linse im Inneren des DVD/CD-Players
kann sich in den folgenden Fällen Kondensation
absetzen:
• Nach dem Einschalten der Heizung im Auto.
• Wenn es sehr feucht im Auto wird.
In diesem Fall können Fehlfunktionen im DVD/
CD-Player auftreten. In diesem Fall entnehmen
Sie die Disc und lassen das Gerät einige Stunden
lang eingeschaltet, bis die Feuchtigkeit verflogen
ist.
Zum Reinigen der Einheit
Bei sehr starker Verschmutzung tränken Sie
einen Lappen mit einer wässrigen Lösung
von Küchenspülmittel (neutral), wringen Sie
diesen Aus, wischen das Gehäuse damit ab und
wischen danach mit einem trockenen Lappen
trocken.
(Das es möglich ist, dass Wassertropfen in
die Einheit geräten können, bringen Sie nicht
Reinigungsmittel direkt auf die Oberfläche auf.)
Reinigen der Anschlüsse
Durch häufiges Einstecken und Abtrennen
werden die Anschlüsse verschlissen.
Um diese Gefahr zu minimieren, sollten Sie die
Anschlüsse mit einem mit Alkohol befeuchteten
Wattetupfer oder Lappen reinigen, wobei darauf
geachtet werden muss, die Anschlusskontakte
nicht zu beschädigen.
Anschlüsse
Mittenhalter
Umgang mit Discs
Beim Entnehmen einer Disc
aus ihrer Hülle immer den
Mittenhalter der Hülle eindrücken
und die Disc an den Rändern
haltend herausheben.
• Die Disc immer an den Rändern halten.
Berühren Sie nicht die Aufnahmeoberfläche.
Beim Einsetzen einer Disc in ihre Hülle die
Disc vorsichtig um den Mittenhalter eindrücken
(mit der beschrifteten Seite nach oben weisend).
• Denken Sie immer daran, die Discs nach der
Ver wendung wieder in ihren Hüllen abzulegen.
Sauberhalten der Discs
Eine verschmutzte Disc lässt sich
möglicherweise nicht richtig
abspielen.
Wenn eine Disc verschmutzt wird,
wischen Sie diese mit einem weichen
Lappen gerade von der Mitte nach
außen hin ab.
• Verwenden Sie keine Lösungsmittel (z.B.
Schallplattenreiniger, Spray, Terpentin, Benzol
usw.) zur Reinigung von Discs.
Wiedergabe neuer Discs
Neue Discs haben möglicherweise
rauhe Stellen an den Innen- und
Außenrändern. Wenn solch eine
Disc verwendet wird, kann sie von
diesem Receiver abgewiesen werden.
Um solche rauhen Stellen zu beseitigen,
reiben Sie die Ränder mit einem Bleistift,
Kugelschreiber usw.
Discs mit folgenden Mängeln dürfen nicht
verwendet werden:
Verzogene Discs
Klebestreifen
Aufklebetikett
Aufkleberrest
DE_KDNX5000[E].indb 108DE_KDNX5000[E].indb 108 07.4.4 2:14:15 PM07.4.4 2:14:15 PM

109
Störungssuche
Was wie eine Betriebsstörung erscheint, muss nicht immer ein ernstes Problem darstellen. Gehen Sie
die folgenden Prüfpunkte durch, bevor Sie sich an den Kundendienst wenden.
Symptome Ursachen/Abhilfen
Allgemeines
•
Handbremse
erscheint im Monitor. Manche Bedienungen sind verboten, wenn die
Feststellbremse nicht angezogen ist. Parken Sie
das Fahrzeug vor der Bedienung an einer sicheren
Stelle.
• Es kommt kein Ton von den
Lautsprechern.
• Die Lautstärke auf den optimalen Pegel
einstellen.
• Prüfen Sie die Kabel und Verbindungen.
• Der Monitor ist nicht klar und
deutlich lesbar zur Betrachtung des
Wiedergabebildes oder der Karte.
Sonnenschein von der Windschutzscheibe
kann dieses Symptom verursachen. Stellen Sie
Helligkeit
und
Kontrast
unter
Bildsch_
regelung
ein. (☞ [96]).
•
Niedrige Temperatur
/
HDD startet
erscheint, und manche Funktionen
arbeiten nicht richtig.
Die Innentemperatur ist zu niedrig. Eingeschaltet
lassen und warten, bis die Innentemperatur
ansteigt und die Anzeige erlischt.
•
Rücksetztaste drücken
erscheint
im Display, und die Bedienfeld-
Bewegung wird eingefroren.
Die Bedienfeldbewegung wird durch etwas
blockiert. Entfernen Sie das Hindernis und setzen
die Einheit dann zurück (☞ [4]).
• Wenn das nicht funktioniert, prüfen Sie, ob die
Installation korrekt ausgeführt wurde.
• Das Gerät funktioniert überhaupt nicht.
Nehmen Sie einen Reset an der Einheit vor (☞ [4]).
Navigation
• Bestimmte Funktionen einer AV-Quelle
können im Karten-Bildschirm nicht
bedient werden.
Im Karten-Bildschirm können Sie nur eine
begrenzte Anzahl der Funktionen der aktuellen
Quelle bedienen. Drücken Sie SRC, um den AV-
Bildschirm anzuzeigen und die Quelle zu bedienen.
• AV-Quellen können nicht mit der
Fernbedienung im Karten-Bildschirm
bedient werden.
Im Karten-Bildschirm fungieren die Tasten
4¢5∞ der Fernbedienung immer zum
Scrollen der Karte.
• Die Routenberechnung scheint gestoppt
zu haben.
Die Routenberechnung kann je nach der Route
eine gewisse Zeit in Anspruch nehmen. Warten
Sie kurz.
• Es kommt keine Navigationsstimme
von den Lautsprechern.
Die Lautstärke der Führungsstimme ist auf
Minimum gestellt. Stellen Sie auf optimalen Pegel
ein. (☞ [43])
• Sprachführung wird beim Betrachten
eines AV-Bildschirms nicht gehört.
Unterbrechung
ist auf
Aus
gestellt. Stellen Sie
sie auf
Ein
, um der Sprachführung zu erlauben,
die AV-Quelle zu unterbrechen. (☞ [44])
• Die Sprachführung kommt nicht vom
Lautsprechern an der Fahrerseite. Ändern Sie die Einstellung
Ausgangskanal
.
(☞ [43])
• Kann nicht die Karte nach Nordost usw.
scrollen. Um nach Nordost zu scrollen müssen Sie 5 und
¢ zur gleichen Zeit drücken.
Wartung / Störungssuche
DE_KDNX5000[E].indb 109DE_KDNX5000[E].indb 109 07.4.4 2:14:16 PM07.4.4 2:14:16 PM

DEUTSCH
110
Symptome Ursachen/Abhilfen
Navigation
• Die Navigationsführung ist falsch. Die Einbauwinkeleinstellung ist nicht richtig.
Nehmen Sie die korrekte Einstellung vor. (☞ [46])
• Die Navigationsführung ist manchmal
falsch.
Die Signaldrähte für Rückwärtssignal/-
geschwindigkeit sind nicht angeschlossen. Richtig
anschließen (☞ Einbau/Anschlußanleitung
- getrennter Band.)
• Die Navigationsführung ist schwer
hörbar.
Störung durch Umgebungsrauschen. Den Sprach-
Grundpegel höher einstellen. (☞ [44])
•
Berechnungsfehler der Route.
erscheint im Monitor.
Berechnung der Route ist fehlgeschlagen. Wählen
Sie ein anderes Ziel/Unterbrechungspunkt ein.
•
Stadt nicht gefunden.
,
Straße/
Zentrum nicht gefunden.
,
Keine gültigen Informationen
gefunden.
,
Koordinaten nicht
gefunden.
oder
Straße nicht
gefunden.
erscheinen im Monitor.
Gültige Information ist in der Datenbank nicht
verfügbar. Suchen Sie nach einem anderen Ort.
• Ein Sonderziel, das mit
Kategorie
im
Ziel
-Menü gefunden wurde, ist nicht
innerhalb der gewählten Stadt/Land.
Das ist keine Fehlfunktion. Das System kann auch
Bereiche in der Nähe der gewählten Stadt/des
Landes durchsuchen.
•
Dieser Routenname existiert
bereits.
erscheint im Monitor.
Sie haben versucht, eine Route in einem
vorhandenen Namen zu speichern. Wählen Sie
einen anderen Namen.
•
Kein Speicherplatz für die neue
Route vorhanden.
erscheint im
Monitor.
Löschen Sie einzelne Routen und speichern die
neue.
•
Es gibt keine gültigen
Verkehrsinformationen.
erscheint
im Monitor.
Keine gültige TMC-Information ist momentan
vorhanden.
• Die aktuelle auf der Karte angezeigte
Position bleibt für mehr als 30 Minuten
falsch.
Prüfen Sie die unten aufgeführte
Anschlussinformation der Leitungen. (☞ [43]
Verbindung
)
– GPS-Antenne
– Geschwindigkeitssignalleitung
– Rückwärtsgangsignalleitung
Wenn eine abgetrennte Verbindung vorgefunden
wird, stellen Sie diese wieder her.
• Wenn keine Probleme mit den Verbindungen
vorgefunden werden, setzen Sie die
Kalibrierungsdaten zurück. (☞ [46]
Kalibrier.
zurücks.
)
UKW/AM
• SSM automatische Vorwahl
funktioniert nicht.
Speichern Sie die Sender manuell (☞ [53]).
• Statikrauschen beim Radiohören. Schließen Sie das Antennenkabel fest an.
DE_KDNX5000[E].indb 110DE_KDNX5000[E].indb 110 07.4.4 2:14:16 PM07.4.4 2:14:16 PM

111
Störungssuche
Symptome Ursachen/Abhilfen
DAB-Tuner
•
No DAB Signal
erscheint im Monitor. Gehen Sie zu einem Bereich mit stärkeren
Signalen.
•
Zurucksetzen 08
erscheint im
Monitor.
Schließen Sie dies Gerät und den DAB-Tuner
ordnungsgemäß an, und setzen Sie das Gerät
zurück (☞ [4]).
• Der DAB-Tuner funktioniert überhaupt
nicht.
Schließen Sie dies Gerät und den DAB-Tuner
ordnungsgemäß an. Nehmen Sie dann einen Reset
an der Einheit vor (☞ [4]).
•
Antenna Power NG
erscheint im
Monitor.
Prüfen Sie die Kabel und Verbindungen.
Disc-Wiedergabe
• Disc kann weder erkannt noch
abgespielt werden.
Die Disc gezwungen ausschieben (☞ [4]).
• Disc kann nicht ausgegeben werden. Die Disc freigeben (☞ [65]).
• Recordable/Rewritable Discs können
nicht abgespielt werden.
• Tracks auf Recordable/Rewritable Discs
können nicht übersprungen werden.
• Eine finalisierte Disc einsetzen.
• Finalisieren Sie die Discs mit dem zur
Aufnahme verwendeten Gerät.
•
Nicht Unterstützt
erscheint im
Monitor.
Das Format der Disc wird unterstützt.
•
Disc-Fehler
erscheint im Monitor. Setzen Sie die Disc richtig erneut ein.
•
Eject Fehler
oder
Ladefehler
erscheint im Monitor.
Es kann eine Fehlfunktion am Player vorliegen.
Die Disc zwangsweise ausschieben.
• Ton und Bilder werden manchmal
unterbrochen oder verzerrt.
• Stoppen Sie die Wiedergabe beim Fahren auf
einer holperigen Straße.
• Wechseln Sie die Disc.
• Kein Wiedergabebild erscheint im
Monitor.
Der Feststellbremsendraht ist nicht angeschlossen.
(☞ Einbau/Anschlußanleitung.)
• Bei der Wiedergabe einer DVD-Audio
kommt kein Ton.
Manche DVD-Audios lassen abgemischte Ausgabe
nicht zu. Wenn Sie solch eine Disc abspielen,
spielt die Einheit nur das rechte vordere und linke
vordere Signal ab.
•
Falsch. Ländercode
erscheint im
Monitor bei Einlegen einer DVD-
Video.
Regionalcode ist falsch (☞ [61])
DE_KDNX5000[E].indb 111DE_KDNX5000[E].indb 111 07.4.4 2:14:17 PM07.4.4 2:14:17 PM

DEUTSCH
112
Symptome Ursachen/Abhilfen
MP3/WMA/WAV-Wiedergabe
• Die Disc kann nicht wiedergegeben
werden.
• Wechseln Sie die Disc.
• Nehmen Sie Tracks mit einer konformen
Anwendung auf geeigneten Discs auf (☞ [61])
• Fühgen Sie geeignete Erweiterungscodes zu den
Dateinamen hinzu.
• WMA-Stücke können nicht
wiedergegeben werden und werden
übersprungen.
Das Stück ist mit DRM kopiergeschützt.
• Rauschen wird erzeugt. Der abgespielte Track hat keine abspielbare Datei.
Springen Sie zu einer anderen Datei.
• Tracks werden nicht wie gewünscht
abgespielt.
Die Wiedergabereihenfolge kann sich von der bei
anderen Playern unterscheiden.
• Eine längere Auslesezeit ist erforderlich. Die Auslesezeit unterscheidet sich wegen der
Komplexität der Ordner/Datei-Konfiguration.
Ver wenden Sie nicht zu viele Hierarchien und
Ordner.
• Verflossene Spielzeit ist nicht richtig. Dies kann manchmal bei der Wiedergabe
auftreten. Dies liegt daran, wie die Tracks
aufgezeichnet sind.
• Richtige Zeichen werden nicht
angezeigt (z.B. Albumname).
Diese Einheit kann nur alphabetische Zeichen
anzeigen (A - Z, a - z) und eine begrenzte Anzahl
von Symbolen und einige Sonderzeichen anzeigen.
Verfügbares Zeichen ☞ [105]
•
Keine Dateien
erscheint im Monitor. Legen Sie eine Disc ein, die Tracks in richtigen
Formaten enthält.
DE_KDNX5000[E].indb 112DE_KDNX5000[E].indb 112 07.4.4 2:14:17 PM07.4.4 2:14:17 PM

113
Störungssuche
Symptome Ursachen/Abhilfen
Musik-Server
• Beim Kopieren von Musikdateien
kommt kein Ton.
Das ist keine Fehlfunktion.
• Beim Bespielen einer CD kommt kein
Ton, wenn der Karten-Bildschirm aktiv
ist.
Das ist keine Fehlfunktion.
• Sie können die Quelle während
des Aufnehmens/Kopierens nicht
umstellen.
Das ist keine Fehlfunktion. Wenn Sie eine andere
Quelle genießen wollen, heben Sie Aufnahme/
Kopieren auf und wechseln die Quelle.
• Der bearbeitete Track-Name wird nicht
angezeigt.
Tag-Information anstelle des Track-Namens wird
angezeigt. Stellen Sie
Tag-Anzeige
auf
Aus
zur
Anzeige des Tracknamens. (☞ [91])
•
Kein Musik
erscheint im Monitor. Kein Track ist auf der Festplatte gespeichert.
•
Kein Track
oder
Kein Album
erscheint im Monitor.
Der gewählte Gegenstand enthält keine Tracks/
Alben. Wählen Sie einen anderen.
•
Kann Tracks nicht
überspeichern.
oder
Kann
Tracks nicht kopieren.
erscheint
im Monitor.
Das gewählte Album ist voll. Wählen Sie ein
anderes Album.
•
Nur xx/XX Tracks aufnehmen.
oder
Nur xx/XX Tracks kopieren.
erscheint im Monitor.
Das gewählte Album kann nicht alle Tracks
enthalten, die Sie aufnehmen/kopieren
wollen. Drücken Sie ENT zum Fortsetzen des
Aufnehmens/Kopierens, oder drücken Sie BACK
zum Wählen eines anderen Albums.
•
Nur xx/XX Tracks verschieb?
oder
Nur xx/XX Alben
verschieben?
erscheint im
Monitor..
Das gewählte Album/Genre kann nicht alle
Gegenstände enthalten, die Sie verschieben
wollen. Drücken Sie ENT zum Verschieben
der Gegenstände, oder drücken Sie BACK zum
Wählen eines anderen Albums/Genres.
•
HDD voll
,
Track voll
,
Album
voll
, oder
Genre voll
erscheint im
Monitor.
Die Kapazität des gewählten Zieldatenträgers ist
bereits erschöpft. Löschen Sie nicht benötigte
Einträge im Zieldatenträger, um Platz zu schaffen.
•
Schreibfehler
/
Lesefehler
erscheint, und CD-Aufnahme wird
abgebrochen.
Aufnahme versagt wegen externen Einwirkungen
wie Vibration oder Fahrzeugbewegungen.
Nehmen Sie erneut auf, wenn Sie wieder auf einer
ebenen Fahrbahn sind. Wenn das Problem weiter
besteht, wenden Sie sich an Ihren Fachhändler.
•
SCMS kann nicht kopiert
werden
erscheint.
Sie haben versucht, eine nicht-originale Disc zu
kopieren. Kopieren Sie die Original-Disc.
•
Nicht unterstützt
erscheint im
Monitor.
Das Format des Tracks wird nicht unterstützt.
•
Nicht spielbar
erscheint im
Monitor.
Der gewählte Track ist auf der Festplatte nicht
vorhanden.
DE_KDNX5000[E].indb 113DE_KDNX5000[E].indb 113 07.4.4 2:14:17 PM07.4.4 2:14:17 PM

DEUTSCH
114
Symptome Ursachen/Abhilfen
CD-Wechsler
•
Keine Disc eingelegt
erscheint im
Monitor.
• Setzen Sie eine Disc in das Magazin ein.
• Eine Disc wurde verkehrt herum eingelegt.
Setzen Sie die Disc richtig ein.
•
Kein Magazin
erscheint im Monitor. Das Magazin einsetzen.
•
Keine Dateien
erscheint im
Monitor.
Auf der Disc befinden sich keine abspielbaren
Dateien. Ersetzen Sie die Disc mit einer, die
abspielbare Dateien enthält.
•
Zurücksetzen 08
erscheint im
Monitor.
Verbinden Sie dieses Gerät und den CD-Wechsler
richtig, und drücken Sie die Rückstelltaste am
CD-Wechsler.
•
Zurücksetzen 01
–
Zurücksetzen
07
erscheint im Monitor.
Drücken Sie die Rückstell-Taste am CD-Wechsler.
• Dieser CD-Wechsler funktioniert
überhaupt nicht.
Nehmen Sie einen Reset an der Einheit vor (☞
[4]).
iPod/D. player-Wiedergabe
• Der iPod oder D. player schaltet nicht
ein oder arbeitet nicht.
• Prüfen Sie das Verbindungskabel und seinen
Anschluss.
• Laden Sie die Batterie auf.
• Für D. player: Aktualisieren Sie die Firmware-
Version.
• Der Klang ist verzerrt. Deaktivieren Sie den Equalizer entweder an
diesem Gerät oder am iPod/D. player.
•
Verbindung Tren.
erscheint im
Monitor.
Prüfen Sie das Verbindungskabel und seinen
Anschluss.
• Für iPod: Die Wiedergabe stoppt. Die Kopfhörer sind während der Wiedergabe
abgetrennt. Starten Sie die Wiedergabe neu.
• Bei Anschluss eines iPod nano kommt
kein Ton.
Trennen Sie den Kopfhörer vom iPod nano ab.
• Es wird kein Ton gehört.
•
ERROR 01
erscheint im Monitor bei
Anschluss eines D. player.
Trennen Sie den Adapter vom D. player ab. Dann
schließen Sie ihn erneut an.
•
No Files
oder
No Track
erscheint
im Monitor.
Keine Tracks sind aufgezeichnet. Importieren Sie
Tracks in den iPod oder D. player.
•
Zurücksetzen 01
–
Zurücksetzen
07
erscheint im Monitor.
Trennen Sie den Adapter sowohl von diesem
Gerät als auch vom iPod/D. player ab. Dann
schließen Sie ihn erneut an.
•
Zurücksetzen 08
erscheint im
Monitor.
Prüfen Sie die Verbindung zwischen dem Adapter
und diesem Gerät.
• Die Bedienungselemente des iPod
oder D. player arbeiten nicht nach dem
Abtrennen von diesem Gerät.
Setzen Sie den iPod oder D. player zurück.
DE_KDNX5000[E].indb 114DE_KDNX5000[E].indb 114 07.4.4 2:14:18 PM07.4.4 2:14:18 PM

115
Störungssuche
* Für Bluetooth-Bedienungen siehe auch die mit dem Bluetooth-Adapter mitgelieferte Bedienungsanleitung.
Symptome Ursachen/Abhilfen
Bluetooth*
• Das Bluetooth-Gerät erkennt nicht die
Einheit.
Diese Einheit kann mit einem Bluetooth-Handy
und einem Bluetooth-Audiogerät zur Zeit
verbunden werden. Beim Anschließen eines Geräts
kann diese Einheit nicht von einem anderen Gerät
erkannt werden. Trennen Sie das momentan
angeschlossene Gerät ab und suchen Sie erneut.
• Die Einheit erkennt nicht das
Bluetooth-Gerät.
• Prüfen Sie die Bluetooth-Einstellung des Geräts.
• Suchen Sie vom Bluetooth-Gerät. Nachdem das
Gerät die Einheit erkennt, wählen Sie
Öffnen
an
der Einheit zum Anschließen des Geräts.
(☞ [84])
• Die Einheit kann nicht das Pairing mit
dem Bluetooth-Gerät ausführen.
• Geben Sie den gleichen PIN-Code für die Einheit
und das Ziel-Gerät ein.
• Wählen Sie den Gerätenamen unter
Besondere
Geräte
, und probieren Sie, erneut zu verbinden.
(☞ [84])
• Echo oder Rauschen tritt auf. Justieren Sie die Mikrofoneinheit-Position.
• Die Telefon-Tonqualität ist schlecht. • Stellen Sie das Bluetooth-Audiogerät näher am
Adapter auf.
• Bewegen Sie das Fahrzeug zu einem Ort, wo ein
besseres Telefonsignal empfangen wird.
• Der Ton wird unterbrochen oder weist
bei Wiedergabe von einem Bluetooth-
Audiogerät Aussetzer auf.
• Stellen Sie das Bluetooth-Audiogerät näher am
Adapter auf.
• Trennen Sie das für “Bluetooth Phone”
angeschlossene Gerät ab.
• Schalten Sie die Einheit aus und dann wieder ein.
• (Wenn der Ton noch nicht wiederhergestellt ist,)
schließen Sie das Gerät erneut an.
• Das angeschlossene Audiogerät kann
nicht gesteuert werden.
Prüfen Sie, ob das angeschlossene Audiogerät
AVRCP (Audio Video Remote Control Profile)
unterstützt.
DE_KDNX5000[E].indb 115DE_KDNX5000[E].indb 115 07.4.4 2:14:18 PM07.4.4 2:14:18 PM

DEUTSCH
116
Wiedergabequellen
Bedienerführung
Beim Betrieb des eingebauten DVD/CD-
Players werden die Betriebsarten im Monitor
gezeigt. (☞ [102])
Dolby Digital
Von Dolby Laboratories entwickeltes
komprimiertes digitales Audioformat, das
Multikanalcodierung zur Erzeugung eines
realistisch wirkenden Surroundklangs
ermöglicht.
DTS
Von von Digital Theater Systems, Inc.
entwickeltes komprimiertes digitales
Audioformat, das Multikanalverfahren wie
Dolby Digital ermöglicht. Aufgrund der
niedrigeren Kompressionsrate als bei Dolby
Digital ist ein breiterer Dynamikbereich
und damit eine bessere Kanaltrennung
gewährleistet.
Linear PCM
Dies ist ein unkomprimiertes Digital-
Audiosignal, wie es auf CDs sowie den
meisten Studio-Mastern verwendet wird.
MPEG Audio
Weiteres komprimiertes digitales
Audioformat, ebenfalls für einen realistischen
Surroundklang durch Multikanalcodierung.
UDF-Bridge-Format
Ein Hybrid-Dateisystem, das zur
Kompatibilität mit ISO 9660 zum Zugriff auf
jeden Dateityp auf der Disc dient. (UDF steht
für “Universal Disc Format” (universelles
Disc-Format)).
WMA
Windows Media Audio. Ein
Komprimierungsverfahren, das von
Microsoft® zur Komprimierung von
Audiodaten (d.h. Musik) entwickelt wurde.
Glossar
Navigationssystem
GPS
Globales Positionierungssystem. Durch
Empfang von GPS-Signalen von Satelliten
bestimmt das Navigationssystem die Position
des Fahrzeugs.
Sonderziel
Auf manchmal als “POI” (eng. “Points
of Interest”) oder “SOZ” (“Sonderziele)
abgekürzt. Sie können Zielorte durch
Auswahl aus Kategorien eingeben — wie
Geschäftsviertel, Einkaufszentren usw.
TMC
Verkehrsmitteilungskanal (eng. “Traffic
Message Channel). Verkehrsmitteilungen
werden von manchen VHF-Sendern mittels
RDS-Signalen ausgestrahlt. Mit Hilfe dieser
Daten informiert das Navigationssystem Sie
über Straßenbedingungen.
Unterbrechungspunkt
Ein Ort, über den Sie Ihr endgültiges Ziel
erreichen. Für dieses Navigationssystem
können Sie neun Orte festlegen, über die Sie
Ihr endgültiges Ziel erreichen wollen.
DE_KDNX5000[E].indb 116DE_KDNX5000[E].indb 116 07.4.4 2:14:18 PM07.4.4 2:14:18 PM

117
Technische Daten
Technische Daten
Navigationssystem
System u. Service
L1, C/A-Code
Globales Positionierungssystem
Standard-Positionierungsdienst
Empfangssystem
15-Kanal Mehrkanalempfangssystem
Empfangsfrequenz
1 575,42 MHz
Empfindlichkeit
–130 dBm
Aktualisierngsrate
1/Sekunde, kontinuierlich
GPS-Antennel
Polarisation Rechtsdrehende
Zirkularpolarisation
Abmessungen (ca.) (B × H × T) 30,4 mm × 11,7 mm × 35,5 mm
Kabel (ca.) 5,0 m
Anbringungsmattengröße (ca.) 70 mm × 70 mm
Verstärker
Max. Ausgangsleistung
Vorne/Hinten 50 W pro Kanal
Sinus-Ausgangsleistung
(eff.)
Vorne/Hinten 20 W pro Kanal an 4 Ω, 40 Hz
bis 20 000 Hz bei nicht mehr als
0,8% Klirrfaktor
Lastimpedanz
4 Ω (4 Ω bis 8 Ω Toleranz)
Equalizer-Steuerbereich
Frequenzen 60 Hz, 150 Hz, 400 Hz, 1 kHz,
2,4 kHz, 6 kHz, 12 kHz
Pegel ±10 dB
Signal-Rauschabstand
70 dB
Audio-Ausgangspegel
Line-Out Pegel/Impedanz 2,5 V/20 kΩ Last (volle Skala)
Ausgangsimpedanz 1 kΩ
Digital (DIGITAL OUT:
Optisch)
Signal-Wellenlänge 660 nm
Ausgangspegel –21 dBm bis –15 dBm
Farbfernsehsystem
NTSC
Videoausgang (FBAS)
1 Vs-s/75 Ω
Videoeingang (FBAS)
1 Vs-s/75 Ω
Andere Anschlüsse
Eingang VIDEO IN, Lenkrad-
Ferneingabe
Ausgang VIDEO OUT, LINE OUT
(FRONT), LINE OUT (REAR),
SUBWOOFER OUT
Andere CD-Wechsler
DE_KDNX5000[E].indb 117DE_KDNX5000[E].indb 117 07.4.4 2:14:19 PM07.4.4 2:14:19 PM

DEUTSCH
118
Tuner
Frequenzgang
UKW 87,5 MHz bis 108,0 MHz
AM (MW) 522 kHz bis 1 620 kHz
(LW) 144 kHz bis 279 kHz
UKW-Tuner
Nutzbare
Empfindlichkeit
11,3 dBf (1,0 μV/75 Ω)
50 dB
Geräuschberuhigung
16,3 dBf (1,8 µV/75 Ω)
Ausweichkanalabstim
mschärfe (400 kHz)
65 dB
Frequenzgang 40 Hz bis 15 000 Hz
Übersprechdämpfung 40 dB
Gleichwellenselektion 1,5 dB
MW-Tuner
Empfindlichkeit 20 μV
Trennschärfe 65 dB
LW-Tuner
Empfindlichkeit 50 μV
DVD/CD-Player
Signalerkennungssystem
Kontaktfreier optischer Tonabnehmer
(Halbleiterlaser)
Anzahl Kanäle
2 Kanäle (Stereo)
Frequenzgang
DVD, fs=48 kHz/96
kHz:
16 Hz bis 20 000 Hz
DVD, fs=192 kHz 16 Hz bis 20 000 Hz
VCD/CD 16 Hz bis 20 000 Hz
Dynamikumfang
96 dB
Signal-/Rauschabstand
98 dB
Gleichlaufschwankungen
Unter der Messgrenze
DivX Video
Max. Auflösung 720 × 480 Pixel (30 B/s)
720 × 576 Pixel (25 B/s)
Audio
Bit-Rate 32 kbps – 320 kbps
Samplingfrequenz MPEG-1: 32 kHz, 44,1 kHz, 48 kHz
MPEG-2: 16 kHz, 22,05 kHz, 24 kHz
MPEG-Video Video
Max. Auflösung 720 × 480 Pixel (30 B/s)
720 × 576 Pixel (25 B/s)
Audio
Bit-Rate 32 kbps – 384 kbps
Samplingfrequenz 32 kHz, 44,1 kHz, 48 kHz
MP3 (MPEG Audio Layer 3)
Max. Bitrate: 320 kbps
WMA (Windows Media® Audio)
Max. Bitrate: 320 kbps
DE_KDNX5000[E].indb 118DE_KDNX5000[E].indb 118 07.4.4 2:14:19 PM07.4.4 2:14:19 PM

119
Technische Daten
Festplatte
Festplatte
40 GB (Kartendaten: 16 GB / Speicherung: 24 GB)
MP3 (MPEG Audio Layer 3)
Max. Bitrate: 320 Kbps
WMA (Windows Media® Audio)
Max. Bitrate: 320 Kbps
Monitor
Bildschirmgröße
Flüssigkristalldisplay mit 3,5 Zoll Diagonale
Anzahl Pixel
224 640 Pixel: 320 (horizontal) × 3 × 234 (vertikal)
Ansteuerungsmethode
TFT (Thin Film Transistor) Aktivmatrixformat
Farbfernsehsystem
NTSC
Seitenverhältnis
16:9 (breit)
Allgemeines
Betriebsstromanforder
ungen
Betriebsspannung DC 14,4 V (11 V bis 16 V Toleranz)
Erdungssystem
Negative Masse
Zulässige Lagertemperatur
–10°C bis +60°C
Zulässige Betriebstemperatur
0°C bis +40°C
Zulässige Betriebshöhe
–300 m bis +3 000 m
Abmessungen (ca.)
(B × H × T)
Einbaugröße 182 mm × 52 mm × 158 mm
Tafelgröße 188 mm × 58 mm × 12 mm
Gewicht (ca.)
2,2 kg (ohne Zubehör)
Änderungen bei Design und technischen Daten bleiben vorbehalten.
• DivX, DivX Ultra Certified und die
zugehörigen Logos sind Marken von DivX,
Inc. und werden unter Lizenz verwendet.
• Offizielles DivX® Ultra-zertifiziertes Produkt
• Wiedergabe aller DivX®-Videos
(einschließlich DivX® 6) sowie verbesserte
Wiedergabe von DivX®-Media-Dateien und
des DivX®-Media-Formats
• “DTS” ist ein eingetragenes Warenzeichen von
DTS, Inc. und “DTS 2.0 + Digital Out” ist ein
Warenzeichen von DTS, Inc.
• Microsoft und Windows Media sind entweder
eingetragene Marken oder Marken der
Microsoft Corporation in den Vereinigten
Staaten und/oder anderen Ländern.
• “DVD Logo” ist ein eingetragenes
Warenzeichen von DVD Format/Logo
Licensing Corporation in den USA, Japan und
anderen Ländern.
• Hergestellt unter Lizenz von Dolby
Laboratories. Dolby und das Doppel-D-
Symbol sind Warenzeichen von Dolby
Laboratories.
DE_KDNX5000[E].indb 119DE_KDNX5000[E].indb 119 07.4.4 2:14:20 PM07.4.4 2:14:20 PM

2
FRANÇAIS
Avertissement:
Si vous souhaitez opérer l’appareil pendant
que vous conduisez, assurez-vous de bien
regarder devant vous afin de ne pas causer un
accident de la circulation.
Chaque fois que vous mettez l’appareil sous
tension, l’écran ci-dessous apparaît. Faites
suffisamment attention lors de la manipulation
de l’appareil et prenez soin de conduire
prudemment.
IMPORTANT POUR PRODUITS LASER
1. PRODUIT LASER CLASSE 1
2. ATTENTION: N’ouvrez pas le couvercle supérieur. Il n’y a aucune pièce réparable par
l’utilisateur à l’intérieur de l’appareil; confiez toute réparation à un personnel qualifié.
3. ATTENTION: Rayonnement laser visible et/ou invisible de classe 1 M une fois ouvert. Ne
regarder pas directement avec des instruments optiques.
4. REPRODUCTION DE L’ÉTIQUETTE: ÉTIQUETTE DE PRÉCAUTION PLACÉE À
L’EXTÉRIEUR DE L’APPAREIL.
Merci pour avoir acheté un produit JVC.
Veuillez lire attentivement toutes les instructions avant d’utiliser l’appareil afin de bien comprendre
son fonctionnement et d’obtenir les meilleures performances possibles.
Attention:
N’essayez jamais d’analyser ou d’extraire les
données stockées sur le disque dur (HDD).
Sinon, votre garantie pourrait être invalidée
et vous pouvez être pénalisé par la loi. Le
fabricant ne peut être tenu responsable pour
tout dommage résultant d’une telle conduite.
ATTENTION!
LE CONDUCTEUR EST
RESPONSABLE DE SES ACTES
ET DOIT REGARDER LA ROUTE !
Consultez le manuel de l’utili-
sateur pour obtenir des info.
de sécurité complétes.
Attention:
Tout changement ou modification non
approuvés par JVC peut annuler l’autorité de
l’utilisateur d’utiliser l’appareil.
FR_KDNX5000[E].indb 2FR_KDNX5000[E].indb 2 07.4.4 1:19:18 PM07.4.4 1:19:18 PM

3
• N’INSTALLEZ aucun appareil dans les
endroits suivants où:
– il peut gêner l’utilisation du volant ou
du levier de vitesse.
– il peut gêner le fonctionnement de
dispositifs de sécurité tels que les
coussins de sécurité.
– il peut gêner la visibilité.
• NE manipulez pas l’appareil quand vous
conduisez. Si vous devez commander
l’appareil pendant que vous conduisez,
assurez-vous de bien regarder devant vous.
• Le conducteur ne doit pas regarder le
moniteur lorsqu’il conduit.
• Si le frein de stationnement n’est pas
engagé, “
Frein à Main
” clignote sur
le moniteur et aucune image de lecture
n’apparaît.
– Cet avertissement apparaît uniquement
quand le fil du frein de stationnement
est connecté au système de frein de
stationnement intégré à la voiture
(référez-vous au Manuel d’installation/
raccordement).
Disque dur (HDD)
Installation
Cet appareil contient un disque dur intégré,
qui est dispositif permettant de lire les charges
magnétiques minuscules. L’intérieur de l’appareil
est composé de dispositifs de précision, vous
demandant de prendre les précautions suivantes
lors de l’installation de l’appareil:
Installez l’appareil dans un endroit où les
conditions suivantes sont satisfaites:
• Sec et ni trop chaud ni trop froid—entre 5°C
et 35°C.
Si la température est trop basse, le disque
dur ne fonctionne pas. Attendez que la
température dans la voiture redevienne
normale avant d’utiliser l’appareil.
• À une altitude située entre –300 m au-dessous
du niveau de la mer et +3000 m au-dessus du
niveau de la mer.
• Avec une ventilation suffisante pour éviter
tout échauffement interne de l’appareil.
Avant d’utiliser le disque dur
Pendant que l’appareil est sous tension, le disque
est en rotation constante à grande vitesse. C’est
pourquoi vous devez noter les points suivants:
• NE soumettez pas l’appareil à des vibrations
ou des chocs.
• NE placez pas à proximité de l’appareil
de dispositif avec un fort magnétisme ou
émettant des ondes électromagnétiques
puissantes (téléphone portable, etc.).
• NE déconnectez pas les cordons
d’alimentation de la batterie de la voiture
quand l’appareil est sous tension.
Si les précautions ci-dessus ne sont pas prises,
le disque dur risque d’être endommagé (les
données mémorisées sont perdues et ne peuvent
pas être récupérée).
Quand la température est basse, le disque dure
peut prendre un certain temps pour démarrer
ou peut redémarre automatiquement.
Notez qu’il peut être illégal d’enregistrer ou de
reproduire un matériel protégé par des droits
d’auteur sans la permission du propriétaire
des droits.
AVERTISSEMENTS:
Pour éviter tout accident et tout
dommage
Pour des raisons de sécurité, une carte
d’identification numérotée est fournie
avec cet appareil, et le même numéro
d’identification est imprimé sur le châssis
de l’appareil. Conserver cette carte dans un
endroit sûr, elle pourra aider les autorités
pour identifier votre appareil en cas de vol.
Cet appareil ne fonctionne pas correctement
quand le fil de signal de vitesse n’est
pas connecté (référez-vous au Manuel
d’installation/raccordements).
FR_KDNX5000[E].indb 3FR_KDNX5000[E].indb 3 07.4.4 1:19:27 PM07.4.4 1:19:27 PM

4
FRANÇAIS
Comment détacher/attacher le panneau de commande
Détachement
Attachement
Comment forcer l’éjection d’un disque
Si un disque ne peut pas être reconnu ou
ne peut pas être éjecté par l’appareil, forcez
l’éjection de la façon suivante.
Ejecter d’Urgence
et
Pas d’Ejection
(ou
Ejection
) apparaissent sur le moniteur.
Appuyez répétitivement sur 5 / ∞ pour choisir
Ejecter d’Urgence
, puis appuyez sur ENT.
• Si cela ne fonctionne pas, essayez de
réinitialiser l’autoradio.
• Faites attention de ne pas faire tomber le
disque quand il est éjecté.
[Maintenez
pressée]
Comment réinitialiser votre appareil
• Vos ajustements préréglés
sont aussi effacés.
FR_KDNX5000[E].indb 4FR_KDNX5000[E].indb 4 07.4.4 1:19:27 PM07.4.4 1:19:27 PM

5
Ce produit intègre une technologie de
protection des droits d’auteur qui est
protégée par des brevets américains et
d’autres droits à la propriété intellectuelle.
L’utilisation de cette technologie de
protection des droits d’auteur doit
être autorisée par Macrovision et est
exclusivement destinée à une exploitation
à domicile et à d’autres usages limités, sauf
autorisation contraire de Macrovision.
L’ingénierie inverse et le désassemblage sont
interdits.
Pour sécurité...
• N’augmentez pas trop le volume car cela
bloquerait les sons de l’extérieur rendant la
conduite dangereuse.
• Arrêtez la voiture avant de réaliser toute
opération compliquée.
Température à l’intérieur de la voiture...
Si votre voiture est restée garée pendant
longtemps dans un climat chaud ou froid,
attendez que la température à l’intérieur de la
voiture redevienne normale avant d’utiliser
l’appareil.
Précautions sur le réglage du volume:
Les disques produisent très peut de bruit par
rapport aux autres sources. Réduisez le volume
avant de reproduire un disque afin d’éviter
d’endommager les enceintes par la soudaine
augmentation du niveau de sortie.
• Le moniteur intégré à l’autoradio est un
produit de grande précision, mais qui
peut posséder des pixels déficients. C’est
inévitable et ce n’est pas un mauvais
fonctionnement.
• N’exposez pas le moniteur à la lumière
directe du soleil.
Précautions concernant le moniteur: Informations relatives à l’élimination
des appareils usagés, à l’intention des
utilisateurs
Lorsque ce symbole figure sur le produit, cela
signifie qu’il ne doit pas être éliminé en tant que
déchet ménager à la fin de son cycle de vie.
Si vous souhaitez éliminer ce produit, faites-
le conformément à la législation nationale ou
autres règles en vigueur dans votre pays et
votre municipalité. En éliminant correctement
ce produit, vous contribuez à la conservation
des ressources naturelles et à la prévention des
éventuels effets négatifs sur l’environnement et
la santé humaine.
Cher(e) client(e),
Cet appareil est conforme aux directives et
normes européennes en vigueur concernant
la compatibilité électromagnétique et à la
sécurité électrique.
Représentant européen de la société Victor
Company of Japan, Limited:
JVC Technology Centre Europe GmbH
Postfach 10 05 52
61145 Friedberg
Allemagne
Ce symbole n’est reconnu pue
dans l’Union européenne.
FR_KDNX5000[E].indb 5FR_KDNX5000[E].indb 5 07.4.4 1:19:28 PM07.4.4 1:19:28 PM

FRANÇAISFRANÇAIS
6
Table des matières
8 Introduction
Réglages initiaux
Fonctionnement de base
Nomenclature
Télécommande—RM-RK250
18 Système de
navigation
Fonctionnement de base
Enregistrement de votre domicile
Démarrage du guidage
Recherche d’un lieu
Comment fonctionne le guidage
Préparation de votre route
Enregistrement de vos points favoris
Informations routière sur la carte—TMC
Options du menu de navigation
FR_KDNX5000[E].indb 6FR_KDNX5000[E].indb 6 07.4.4 1:19:28 PM07.4.4 1:19:28 PM

7
51 Radio
Écoute de la radio
Opérations RDS
Opérations DAB
59 Disques et disque
dur
Opérations des disques
Opérations relatives au serveur de musique
Fonctionnement du changeur de CD
79 Autres fonctions
Utilisation de iPod/lecteur D.
Lecture d’un autre appareil extérieur
Utilisation d’appareils Bluetooth
Articles du menu AV
Égalisation du son
109 Dépannage
117 Spécifications
FR_KDNX5000[E].indb 7FR_KDNX5000[E].indb 7 07.4.4 1:19:28 PM07.4.4 1:19:28 PM

8
FRANÇAIS
Réglages initiaux
Quand vous mettez l’appareil sous tension pour la première fois, l’écran des réglages initiaux
apparaît. Suivez la procédure ci-dessous et réalisez les réglages nécessaires.
Vous pouvez aussi changer ces réglages (sauf
Mode démo. affic.
) à partir du menu
Réglage
et
Menu AV
si nécessaire.
•
Langue
☞ [46]
•
Angle installation
☞ [46]
•
Polarisation Inversée
☞ [95]
Retournez à l’écran précédent
Sélectionnez un élément
Passez au réglage suivant
Mettez l’appareil hors tension.
2
Mode démo. affic.
Choisissez
Arrêt
.
• Si vous choisissez
Marche
, le
système démarre en mode de
démonstration de navigation
pour les magasins. (☞ [47])
1
Langue
Choisissez la langue que vous
souhaitez pour l’affichage et le
guidage vocal.
3
Angle installation
Choisissez l’angle d’installation
de votre appareil. Ce réglage est
nécessaire pour le fonctionnement
précis du système de navigation.
• Référez-vous à “Mesure de
l’angle d’installation” sur
le manuel d’installation/
raccordement.
Ajustez les réglages suivants.
4
Polarisation Inversée
Engagez le frein de stationnement,
appuyez sur la pédale de frien puis
changez la position du levier de
vitesses. Si
En Avant
et
Inversé
alternent sur l’affichage, c’est
que la connexion est correcte.
Choisissez une des alternatives
(
GND
ou
Batterie
) qui montre
la position correcte du levier de
vitesse.
Terminez la procédure.
Language 1/2
Dansk
Deutsch
English UK
English US
Español
FR_KDNX5000[E].indb 8FR_KDNX5000[E].indb 8 07.4.4 1:19:29 PM07.4.4 1:19:29 PM

9Réglages initiaux
[Maintenez pressée]
Étalonnage
Avant d’utiliser votre système de navigation pour la première fois, le système de navigation doit
être étalonné.
• Après avoir effacé les données d’étallonnage (☞ [46]
Réinit. Calibrage
) ou modifié l’angle
d’installation (☞ [46]
Angle installation
), l’étalonnage doit aussi être réalisé.
1 Affichez l’écran de carte.
2 Affichez l’écran détaillé et vérifiez les
connexions.
Connexion GPS
•
OK
] La connexion est correcte. (
[5]
: nombre de satellites
GPS dont le signal est détecté.)
•
NG
] L’antenne est déconnectée ou court-circuité.
Signal vites.
Conduisez la voiture pendant un moment.
• Si le nombre augmente quand vous augmentez la vitesse de
la voiture, c’est que la connexion est correcte.
Frein à Main
Appuyez sur la pédale de frein, puis désengagez et réengagez
le frein de stationnement répétitivement.
• Si
Arrêt
apparaît quand le frein est désengagé et
Marche
apparaît quand il est engagé, c’est que la connexion est correcte.
Si le résultat n’est pas satisfaisant, vérifiez la connexion.
• Vous pouvez voir des informations détaillez sur les articles de
État Capteurs
dans
Info
Service
]
Connexion
. (☞ [43])
3 Après avoir vérifié toutes les connexions ci-dessus, conduisez la
voiture pour démarrer l’étalonnage.
• Ce processus peut prendre cinq minutes ou plus en fonction de la vitesse de conduite du
véhicule.
• Une certaine vitesse (supérieure à 40 km/h) est nécessaire pour l’étallonnage.
• La durée de l’étalonnage diffère d’une voiture à l’autre.
• Pendant l’étalonnage, vous pouvez utiliser les fonctions AV de l’appareil (vous pouvez
écouter de la musique, etc.)
• Si vous coupez le contact, l’étalonnage est interrompu momentanément. Quand vous
remettez le contact, l’étalonnage reprend.
Une fois l’étalonnage terminé, l’icône en forme de tête de flèche devient rouge et les
informations de la position actuelle apparaissent à la place de
Calibrer...
.
Niv. de form.
(le
niveau maximum est
4
) est de
1
, une fois l’étalonnage terminé.
La navigation (fonctions telles que le guidage ou la simulation de la route) ne peut pas être
utilisée tant que l’étalonnage n’est pas terminé.
État Capteurs
Niv. de form. :0
Connex. GPS :OK [5]
Signal vites. :12.0
Frein à Main :Arrêt
Orientation :En Avant
Calibrer...
Calibrer... Détail
: L’étalonnage n’est pas
en cours.
: L’étalonnage est en
cours.
FR_KDNX5000[E].indb 9FR_KDNX5000[E].indb 9 07.4.4 1:19:29 PM07.4.4 1:19:29 PM

10
FRANÇAIS
Réinitialisez l’appareil.
• Utilisez ce bouton uniquement
quand le système interne ne
fonctionne pas correctement.
Fonctionnement de base
Pour mettre l’appareil sous tension
Pour mettre l’appareil hors tension
[Maintenez pressée]
Pour couper le volume momentanément
(ATT)
L’indicateur ATT clignote.
Pour rétablir le son, appuyez de nouveau
sur la même touche.
Pour ajuster le volume
Pour changer la source
TUNER
=
DAB*
=
DISC*
=
HDD
=
CD-CH/
EXT-IN/iPod/D. PLAYER*
=
Bluetooth Audio*
=
(retour au début)
* Vous ne pouvez pas choisir ces sources si elles ne
sont pas prêtes.
Pour mettre hors service la fonction AV
[Maintenez pressée]
L’affichage commute sur l’écran de carte.
• Appuyez brièvement sur la touche pour
mettre en service la fonction AV.
Pour les opérations de navigation,
☞
[18]
.
Pour la commande de la radio,
☞
[51]
.
Pour les opérations du disque/disque dur,
☞
[59]
.
Pour les opérations Bluetooth,
☞
[83]
.
Pour les autres sources,
☞
[79]
.
FR_KDNX5000[E].indb 10FR_KDNX5000[E].indb 10 07.4.4 1:19:30 PM07.4.4 1:19:30 PM

11Fonctionnement de base
Pour changer l’affichage des écran AV
Informations sur le
véhicule
Écran AV 2
* Le nombre et le contenu des écrans AV dépend de la source.
** Apparaît uniquement si vous avez choisi Vidéo ou Caméra pour le réglage Entrée Vidéo (
☞
[94]
).
Écran AV 1 Entrée vidéo
(
☞
[82]
)
Comment changer l’angle du panneau de commande
Attention: N’insérez vos doigts derrière le panneau de commande.
Écran de
carte
Écran AV
Pour commuter entre l’écran de carte et
l’écran AV
Vous pouvez toujours commuter entre
l’écran AV et l’écran de carte.
Cette commutation n’affecte pas le son
de lecture de l’appareil (sauf pendant
l’enregistrement d’un CD Audio) ni
la fonction de guidage du système de
navigation.
Heure actuelle
L’horloge intégrée est ajustée automatiquement
en recevant les signaux GPS.
Écran AV
[Maintenez
pressée]
Inclinaison 1 Inclinaison 2 Inclinaison 3 Inclinaison 4
Distance au prochain changement de
direction/icône de changement de
direction
(Quand le guidage n’est pas en cours:
Vitesse/Direction) (
☞
[35]
)
FM1 Classics
Nom de la station
92.5 MHz
FR_KDNX5000[E].indb 11FR_KDNX5000[E].indb 11 07.4.4 1:19:31 PM07.4.4 1:19:31 PM

12
FRANÇAIS
Utilisation des menus
Écran de carte Écran AV
Pour appeler un menu
Menu AV ☞ [90]Menu Destination ☞ [42]
Menu Info Service ☞ [42]
Menu Réglage ☞ [43]
Info Service 1/2
Position actuelle
Trafic
Bifurcations
Voyage
Destination
Réglage 1/2
Voix de guidage
Options guidage
Options de route
Couleur carte
Options carte
Menu AV 1/2
Réglage
EQ
Son
Commande d’ écran
Format Image
Pour naviguer à travers les menus
Appuyez sur la touche: Choisit
un élément de menu
Maintenez pressée: Saute au
premier article de la page
suivante
Passe au menu suivant
Retournez au menu précédent
Menus de navigation Menu AV
Pour retourner à l’écran
précédent et ajuster les autres
articles:
Pour annuler les opérations de
menu et retourner à l’écran de
carte ou à l’écran AV:
Destination
1/2
Domicile
Retour
Adresse
POI
Précédent
FM1 Classics
Nom de la station
92.5 MHz
• Les indications de l’affichage peuvent changer
en fonction de modification des spécifications.
FR_KDNX5000[E].indb 12FR_KDNX5000[E].indb 12 07.4.4 1:19:31 PM07.4.4 1:19:31 PM

13Fonctionnement de base
1 Appelez le menu
Menu AV
.
2 Choisissez
EQ
dans
Menu AV
.
3 Changez le réglage selon vos préférences.
Le réglage est maintenant changé. Appuyez sur
DISP pour quitter le menu ou sur BACK pour
retourner au menu précédent.
Titre du menu actuel
Réglage actuel de
l’article choisi.
Les icônes des touches
indiquent les opérations
disponibles pour chaque
écran.
• Si les options sont affichées en gris, vous ne
pouvez pas les utiliser maintenant.
Écran de menu
EQ 1/3
Flat
Hard Rock
R&B
Pop
Jazz
Quitte
Dans ce manuel, l’utilisation d’un article de menu choisi est expliquée comme dans l’exemple
ci-dessous.
Ex.:
Menu AV
]
EQ
]
Pop
Afficher
1/2
Langue
Démonstration
Papier Peint
Défilement
Affichage Balise
[
Arrêt
]
Élément de menu choisi
Numéro de la page
actuelle/nombre total de
pages
Sur certains écrans, les opérations spéciales sont
indiquées ici avec la touche à utiliser.
Ex.:
: Touche à pressée
: Touche à maintenir pressée
• Quand aucun icône n’est affiché ici, la touche
ENT fonctionne de la même façon que la
touche
¢
.
Supprim.
Durée restante avant
que l’écran de menu
disparaisse.
(Apparaît uniquement sur
le menu AV.)
Articles du menu
Menu AV 1/2
Réglage
EQ
Son
Commande d’ écran
Format Image
[Flat]
EQ 1/3
Flat
Hard Rock
R&B
Pop
Jazz
Quitte
FR_KDNX5000[E].indb 13FR_KDNX5000[E].indb 13 07.4.4 1:19:32 PM07.4.4 1:19:32 PM

14
FRANÇAIS
12
8
463
9
pqwe
75
Nomenclature
Sur l’écran de carte Sur tous les écrans AV Sur les écrans de menu
1 /ATT • Mettez l’appareil sous tension.
• Maintenez cette touche pressé pour mettre l’appareil hors tension.
• Atténuez/rétablissez le son.
2AV/SRC Commutez sur l’écran AV. Changez la source.
Dans les menu des navigation:
Commutez sur l’écran AV.
Dans le Menu AV: Change la source
et commute sur l’écran AV.
Maintenez cette touche pressé pour mettre hors service la fonction AV.
3MAP/POS
• Changez la vue de la carte.
• Affichez votre position
actuelle après avoir fait
défiler la carte.
Commutez sur l’écran de carte.
4+/– Ajustez le volume.
5MENU
Appelez le menu Destination.
☞ [42] Appelez le Menu AV.
☞ [90]
Dans les menu des navigation:
Commute sur les autres menus.
Dans le Menu AV: Retournez à
l’écran supérieur du Menu AV ou
commutez sur l’écran AV.
Maintenez cette touche pressée pour afficher le Menu Téléphone quand l’adaptateur Bluetooth est
connecté. ☞ [83]
6/DISP Entrez en mode de
modification de l’échelle. Changez l’affichage.
☞ [83] Quittez le menu.
7T/P
TRAFFIC Affichez la liste TMC.
☞ [40]
Mettez en service l’attente de
réception TA/recherche PTY.
☞ [54, 55, 58]
Dans le Menu AV: Mettez en service
l’attente de réception TA
FR_KDNX5000[E].indb 14FR_KDNX5000[E].indb 14 07.4.4 1:19:33 PM07.4.4 1:19:33 PM

15Nomenclature / Télécommande—RM-RK250
Mise en place des piles
Avant d’utiliser la télécommande:
• Dirigez la télécommande directement sur le
capteur de télécommande de autoradio.
L’autoradio est muni d’une fonction de
télécommande de volant.
• Référez-vous au Manuel d’installation/
raccordement (volume séparé) pour les
connexion.
Capteur de
télécommande
• Si la télécommande perd de sa puissance
ou de son efficacité, remplacez les deux
piles.
• N’exposez pas les piles à une chaleur
excessive et ne les jetez pas au feu.
Attention:
Télécommande—RM-RK250
R03(UM-4)/
AAA(24F)
• N’EXPOSEZ PAS le capteur de télécommande
à une forte lumière (lumière directe du soleil
ou éclairage artificiel).
Sur l’écran de carte Sur tous les écrans AV Sur les écrans de
menu
85/
∞
Commandez la source actuelle.
☞ [50]
DAB: Choisissez les services.
DVD: Choisit les titres/groupes.
Fichiers: Choisissez des dossiers.
Serveur de musique: Choisissez des albums.
iPod/lecteur D.:
5
Entrez dans le menu principal.
∞
Mettez en pause/reprenez la lecture.
Audio Bluetooth: Choisit un appareil. Choisissez un élément.
9/
FM/AM: Recherchez des stations.
DAB: Recherche un ensemble.
Disque, serveur de musique, iPod/lecteur
D., Audio Bluetooth: Choisit des plages/
chapitres.
p• Ouvrez ou fermez le panneau de commande.
• Maintenez la touche pressée pour changer l’angle du panneau de commande.
q/BACK
7/BAND
• Entrez en mode de
défilement manuel. ☞ [22]
• Maintenez la touche pressée
pendant le guidage pour
répéter le dernier guidage
vocal. ☞ [33]
Tuner: Choisissez les bandes.
Disque: Arrêtez la lecture.
Retournez à l’écran
précédent.
wENT/3/Appelez le menu de Raccourci.
☞ [25] Disque: Démarrez la lecture. Validez le choix.
eDétachez le panneau de commande.
FR_KDNX5000[E].indb 15FR_KDNX5000[E].indb 15 07.4.4 1:19:34 PM07.4.4 1:19:34 PM

16
FRANÇAIS
Opérations à partir de la télécommande
Sur l’écran de carte Sur tous les écrans AV Sur les écrans de menu
1AV/OFF Commutez sur l’écran AV. • Changez la source.
Dans les menu des navigation:
Commutez sur l’écran AV.
Dans le Menu AV: Change la
source et commute sur l’écran
AV.
Maintenez cette touche pressé pour mettre hors service la fonction AV.
2MAP/POS
• Changez la vue de la carte.
• Affichez votre position actuelle
après avoir fait défiler la carte. Commutez sur l’écran de carte.
3MENU
Appelez le menu Destination.
☞ [42] Appelez le Menu AV. ☞ [90]
Dans le menu de navigation:
Commute sur les autres menus.
Dans le Menu AV: Retournez à
l’écran supérieur du Menu AV ou
commutez sur l’écran AV.
Maintenez cette touche pressée pour afficher le Menu Téléphone quand l’adaptateur Bluetooth est
connecté. ☞ [83]
4TRAFFIC Affichez la liste TMC.
☞ [40] (non utilisé)
5ENT 6Appelez le menu de Raccourci.
☞ [25]
Disque: Démarrez/mettez en pause la
lecture. Validez le choix.
6
5
/
∞
Faites défiler la carte (dans une
des huit directions).
DAB: Choisissez les services.
DVD: Choisit les titres/groupes.
Fichiers: Choisissez des dossiers.
Serveur de musique: Choisissez des
albums.
iPod/lecteur D.:
5
Entrez dans le menu principal.
∞
Mettez en pause/reprenez la lecture.
Bluetooth Audio: Choisit un appareil.
Choisissez un élément.
7 /
FM/AM: Recherchez des stations.
DAB: Recherche un ensemble.
Disque, serveur de musique, iPod/
lecteur D.,
Bluetooth Audio
: Choisit des
plages/chapitres.
8
PHONE
Appelez le menu Dial quand l’adaptateur Bluetooth est connecté. ☞ [86]
9
BACK/BAND
/7/
Maintenez la touche pressée
pendant le guidage pour répéter
le dernier guidage vocal.
Tuner: Choisissez les bandes.
Disque: Arrêtez la lecture. Retournez à l’écran précédent.
pVOL +/– Ajustez le volume.
q +/–
Modifiez l’échelle de la carte.
(non utilisé)
wHOME Démarrez le guidage jusqu’à
votre domicile. ☞ [24] (non utilisé) Démarrez le guidage jusqu’à
votre domicile. ☞ [24]
eATT Atténuez/rétablissez le son.
rDISP Entrez en mode de modification
de l’échelle. Changez l’affichage. ☞ [11] Quittez le menu.
FR_KDNX5000[E].indb 16FR_KDNX5000[E].indb 16 07.4.4 1:19:35 PM07.4.4 1:19:35 PM

17
Uniquement sur les écran AV
t• Réalisez des sélections dans les menus de disque.
• Touches DISC +/–: Changez les disques pour un changeur de CD.
yENT Disque: Validez le choix.
uTOP M DVD/DivX 6: Affichez le menu du disque. ☞ [67]
VCD avec PBC: Reprenez la lecture PBC. ☞ [67]
iDVD MENU
oOSD Affichez la barre sur écran. ☞ [68]
;RETURN VCD avec PBC: Retournez au menu précédent. ☞ [67]
aDIRECT/
CLEAR Disque: Choisissez un chapitre/titre/groupe/dossier/plage directement. ☞ [66]
sASPECT Disque: Changez le format des images reproduites.
dTouches
numériques
Disque: Choisissez un chapitre/titre/groupe/dossier/plage directement. ☞ [66]
Tuner: Choisissez une station préréglée.
Changeur de CD: Choisissez un disque.
Bluetooth phone: Entrez un numéro de téléphone ☞ [87]
f1/¡Disque: Recherche vers l’arrière/recherche vers l’avant. Appuyez sur cette touche pendant une pause
pour démarrer la lecture au ralenti.
gDisque: Choisissez une langue des dialogues/canal audio.
hDisque: Choisissez les sous-titres.
jDisque: Choisissez un angle de vue.
Télécommande—RM-RK250
Côté à ouvrir
Ces touches ne
fonctionnent pas dans
cette position.
r
ty
ui
o;
12
34
567
89
pq
w
e
sa
d
f
ghj
FR_KDNX5000[E].indb 17FR_KDNX5000[E].indb 17 07.4.4 1:19:35 PM07.4.4 1:19:35 PM

FRANÇAIS
18
Système de navigation
20 Instructions de sécurité pour le
système de navigation
22 Fonctionnement de base
24 Enregistrement de votre
domicile
Pour enregistrer votre domicile
24
Pour aller à votre domicile
24
26 Démarrage du guidage
Réglage d’une destination en utilisant le menu
Raccourci
26
Réglage d’une destination en utilisant le menu
Destination
27
Pour retourner à l’endroit d’où vous êtes parti
27
28 Recherche d’un lieu
Par adresse
28
À partir de la liste des POI
29
À partir des dernières destinations
30
POI près d’un lieu/d’une route
30
À partir des favoris
31
Par code postal 31
Par coordonnées
31
32 Comment fonctionne le
guidage
Obtention d’informations sur votre route et vos lieus
34
Personnalisation du guidage
35
FR_KDNX5000[E].indb 18FR_KDNX5000[E].indb 18 07.4.4 1:19:36 PM07.4.4 1:19:36 PM

1919
36 Préparation de votre route
Réglage des étapes
36
Enregistrement et chargement de routes
37
Déviation pour éviter un encombrement plus loin
sur la route
37
38 Enregistrement de vos points
favoris
Marquage de vos points favoris
38
Modification de vos points favoris
38
40 Informations routière sur la
carte—TMC
Qu’est-ce que le service TMC?
40
Vérification des informations TMC
41
Comment les informations TMC sont-elles utilisées
dans la navigation
41
42 Options du menu de
navigation
Menu Destination
42
Menu Info Service
42
Menu Réglage
43
47 Informations additionnelles
FR_KDNX5000[E].indb 19FR_KDNX5000[E].indb 19 07.4.4 1:19:37 PM07.4.4 1:19:37 PM

20
FRANÇAIS
Instructions de sécurité pour le système de navigation
INSTRUCTIONS DE SÉCURITÉ
L’u tilisation du système de navigation est permis
uniquement si les conditions de circulation le
permettent et que vous êtes absolument sûr
que vous, vos passagers et les autres usagers de
la route ne courent aucun risque, obstacle ou
inconvénient. Les règles du code de la route
doivent être respectées. La destination ne doit
pas être entrée pendant que vous conduisez.
Le système de navigation sert uniquement
d’aide à la navigation. Il ne dispense pas
les conducteurs de leur devoir de conduire
attentivement et d’avoir leur propre jugement
sur le trafic routier. Des instructions imprécises
ou incorrectes peuvent être données par le
système à cause de changements dans les
conditions du trafic. Les panneaux de la
circulation et le code de la route doivent par
conséquent être respectés. En particulier, le
système de navigation ne peut pas être utilisé
pour vous aider à vous orienter quand la
visibilité est mauvaise.
Ce système de navigation doit être utilisé
uniquement dans le but où il a été conçu. Le
volume de l’autoradio/système de navigation
doit être ajusté de façon que les bruits extérieurs
soit toujours audibles.
Le guidage est réalisé à partir de la base de
données, par conséquent, il peut ne pas être
disponible dans une situation donnée à cause
de changements dans les conditions de la route
(par exemple, changement de péages, de routes
principales, de routes à sens unique ou d’autres
régulations routières). Dans ce cas, respectez les
panneaux et les règlements routiers en cours.
• Respectez scrupuleusement les panneaux
de la circulation lorsque vous conduisez en
utilisant le système de navigation. Le système
de navigation est seulement une aide. Le
conducteur doit jours décider s’il doit tenir
compte ou non des informations fournies.
JVC ne peut être tenu responsable pour
toute donnée erronée fournie par le système
de navigation.
• Le guidage sur la route est réservé aux
véhicules particuliers uniquement. Cela
n’inclut pas les véhicules nécessitant un
permis ou des règles de conduites spéciales
(par exemple, les véhicules commerciaux).
• Ne manipulez pas l’appareil quand vous
conduisez.
Termes de la licence
Il vous est attribué une licence non exclusive
pour utiliser la base de données à des buts
personnels. La présente licence n’autorise pas
l’attribution de sous-licences.
L’ ut i l is a t i o n des données est permise
uniquement dans ce système JVC spécifique.
Il est interdit d’extraire ou d’utiliser de façon
différente toute partie du contenu de la base
de données, de la copier, de la modifier, de
l’adapter, de la traduire, de l’analyser, de la
décompiler ou de faire de l’ingénierie inverse.
FR_KDNX5000[E].indb 20FR_KDNX5000[E].indb 20 07.4.4 1:19:37 PM07.4.4 1:19:37 PM

21
Lors du remplacement ou de la rotation des
pneus:
Il est nécessaire d’annuler toutes les données
d’étalonnage accumulées, importantes pour une
navigation précise. Pour annuler les données,
réalisez
Réinit. Calibrage
à la page 46.
À propos de la mise à jour de la carte
Si “Votre carte date de plus d’un an. Une mise
à jour est peut-être disponible.” apparaît sur le
moniteur, consultez le site <http://www.
jvc-exad.com>.
Pour en savoir plus sur la mise à jour de votre
appareil, consultez le site <http://www.jvc-exad.
com>.
Instructions de sécurité pour le système de navigation
AVERTISSEMENT:
Le code de la route a toujours priorité lorsqu’un
véhicule est conduit sur la route. Le système de
navigation est seulement une aide. Des erreurs
peuvent se produire dans certains données/
entrées individuelles. Le conducteur doit
toujours décider s’il doit tenir compte ou non
des informations fournies.
JVC ne peut être tenu responsable pour toute
donnée erronée fournie par le système de
navigation.
© 2006 NAVTEQ Tous droits réservés.
FR_KDNX5000[E].indb 21FR_KDNX5000[E].indb 21 07.4.4 1:19:37 PM07.4.4 1:19:37 PM

22
FRANÇAIS
Échelle
Fonctionnement de base
Mode de position actuelle
—La carte défile automatiquement de façon que votre position se trouve toujours au centre de
la carte.
Appelez un écran de menu.
Modifiez l’échelle de la carte.
Affichez les informations TMC. (
☞ [41]
)
Votre position
Pour faire défiler la carte
1
2
La carte défile dans une des huit directions.
• Maintenez la touche pressée pour faire
défiler la carte de façon continue.
Direction et
distance à partir
de votre position
actuelle
Zoom avant
Zoom arrière rapide
Zoom arrière
Zoom avant rapide
Barre de l’échelle
Commutez sur l’écran AV.
Ajustez le volume.
Appelez le menu de
Raccourci.
Commandez la source AV actuelle. (
☞ [50]
)
Faites défiler la carte.
Nom de la rue actuelle
Pour changer l’échelle de la carte
1
2
Pour afficher votre position actuelle
Changez la vue de la carte.
(
☞ page suivante
)/Affichez
votre position actuelle.
Heure actuelle
FR_KDNX5000[E].indb 22FR_KDNX5000[E].indb 22 07.4.4 1:19:38 PM07.4.4 1:19:38 PM

23Fonctionnement de base
Pour changer la vue de la carte
La vue de la carte change comme suit:
Titre en haut
=
Carte 3D
=
Nord en haut
Vous pouvez aussi changer la vue de la carte à
partir du menu
Réglage
]
Options carte
]
Vue de la carte
(☞ [45]).
Nord en haut
La carte est orientée avec le Nord dirigé vers
le haut, comme les cartes papier ordinaires.
La direction dans laquelle vous vous dirigez
est affichée dans le coin supérieur droit de
l’écran avec un icône du type .
Titre en haut
La carte est orientée de façon que vous vous
dirigiez toujours vers le haut. La direction
est affichée avec l’icône d’une boussole .
Carte 3D
La carte est affichée de la même façon que
pour la vue “Titre en haut” mais dans une
vue en trois dimensions. La direction est
affichée avec l’icône d’une boussole .
Pour appeler les menus
Menus de navigation
Chaque fois que vous appuyez sur la touche,
le menu change comme suit:
(Écran de carte)
=
menu Destination
=
menu Info Service
=
menu Réglage
=
(Retour à l’écran de carte)
Commandes du menu ☞ [13]
Articles du menu ☞ [42 – 46]
Menu Raccourci
Lorsque la carte est affichée...
Le menu Raccourci apparaît. ☞ [25]
Icônes sur la carte
Points favoris (
☞ [38 – 39]
)
POI (point d’intérêt) (
☞ [30, 49]
)
TMC (
☞ [40, 50]
)
• Les icônes de favoris sont affichés sur la carte
quand un groupe est choisi dans le réglage
Icône choisie
(☞ [45]) et que l’échelle est
entre 30 m et 2,0 km.
• Les icônes de POI sont affichés sur la carte
quand un groupe est choisi dans le réglage le
réglage
Icône POI
(☞ [45]). Ils peuvent ne
pas être affichés en fonction de l’échelle de la
carte et des données POI.
• Les icônes TMC sont affichés sur la carte
quand le réglage
Affichage trafic
est en
service (☞ [45]) et que l’échelle est comprise
entre 30 m et 2,0 km.
FR_KDNX5000[E].indb 23FR_KDNX5000[E].indb 23 07.4.4 1:19:38 PM07.4.4 1:19:38 PM

24
FRANÇAIS
Enregistrement de votre domicile
Pour enregistrer votre domicile
Enregistrez votre domicile ou votre bureau,
l’endroit où vous vous rendez le plus souvent
comme Domicile, de façon à pouvoir régler
facilement ce lieu comme destination.
• Vous pouvez enregistrer des domiciles uniquement
une fois que l’étalonnage est terminé. (☞ [9])
1 Vous vous trouvez à votre
domicile maintenant, vérifiez
que votre domicile est affiché au
centre de la carte.
• Ajustez la position, si nécessaire, en faisant
défiler la carte.
2 Appelez le menu de Raccourci.
3 Choisissez [Ajoutez aux favoris]
.
Le domicile est marqué avec un icône .
4 Choisissez [Régler le domicile]
.
Un message de confirmation apparaît.
Appuyez sur ENT pour confirmer l’opération.
Appuyez sur BACK pour annuler.
Le domicile est marqué avec un icône .
• L’icône peut ne pas apparaît en fonction de
l’échelle de la carte et de votre réglage
Icône
choisie
. (☞ [45])
• Vous pouvez enregistrer plusieurs endroits
comme domicile en enregistrant ces endroits
comme points favoris et en réglant leur groupe
sur
Domicile
. (☞ [38, 39])
Pour aller à votre domicile (domicile)
Si vous avez enregistré votre domicile, vous pouvez
facilement être guidé jusqu’à votre domicile.
Quand le guidage n’est pas en cours...
1 Appelez le menu de Raccourci.
2
Choisissez [Aller à votre domicile]
pour démarrer le guidage.
• Si vous avez enregistré plusieurs domiciles,
choisissez celui où vous souhaitez aller à
partir de la liste.
Sur la télécommande:
Vous pouvez aussi être guidé jusqu’à votre
domicile à partir du menu
Destination
]
Domicile
.
Pour annuler le guidage
1 Appelez le menu de Raccourci.
2 Choisissez [Annuler le guidage]
.
Vous pouvez aussi annuler le guidage avec le
menu
Destination
]
A. guidage
.
FR_KDNX5000[E].indb 24FR_KDNX5000[E].indb 24 07.4.4 1:19:39 PM07.4.4 1:19:39 PM

25Enregistrement de votre domicile
Qu’est-ce que le menu Raccourci?
Sur l’écran de carte, vous pouvez appeler le menu Raccourci en appuyant sur ENT. Le menu
Raccourci offre un raccourci à diverses opérations.
Pendant le guidage
Quand le guidage n’est pas en cours
Pour choisir un icône, appuyez sur ENT ou sur
une des quatre touches sur le bouton circulaire
de droite correspondant à l’icône.
Icône Nom Fonction Touche
Informations
sur la vue
Affiches les informations sur ce lieu. ☞ [35]
Aller à votre
domicile
Démarrez le guidage jusqu’à votre domicile. ☞
[24] (Ne peut pas être choisi si aucun domicile n’est
enregistré.)
Régler le
domicile
Enregistrez cet endroit comme domicile. ☞ [24]
(Apparaît quand aucun domicile n’est enregistré et
qu’un icône de favori est choisi.)
Annuler le
guidage
Annulez le guidage. ☞ [24]
Ajoutez aux
favoris
Ajoute ce lieu à vos points favoris. ☞ [38]
Modifier les
favoris
Modifie ce point favori. ☞ [39] (Apparaît
uniquement quand un icône de favori est choisi. Ne
peut pas être choisi pendant que vous conduisez.)
Proximité
Recherche d’un POI à proximité de ce lieu. ☞ [31]
Se rendre ici
Démarrez le guide jusqu’à ce lieu. ☞ [26]
Ajouter une
étape
Recalculez la route pour pouvoir vous arrête à
cette étape. ☞ [36] (Apparaît uniquement quand le
guidage est en cours.)
Menu Raccourci
Écran de carte
FR_KDNX5000[E].indb 25FR_KDNX5000[E].indb 25 07.4.4 1:19:41 PM07.4.4 1:19:41 PM

26
FRANÇAIS
Faites défiler la carte pour afficher la destination au centre de
la carte.
Appelez le menu de Raccourci.
Choisissez [Se rendre ici] pour démarrer le guidage.
Le système démarre le calcul de la route jusqu’à la destination choisie et le guidage
démarre.
Réglage d’une destination en utilisant le menu Raccourci
Démarrage du guidage
• Vous pouvez régler les destinations uniquement une fois que l’étalonnage est terminé. (☞ [9])
Pour annuler le guidage
1 Appelez le menu de Raccourci.
2 Choisissez [Annuler le guidage]
.
Vous pouvez aussi annuler le guidage avec le
menu
Destination
]
A. guidage
.
FR_KDNX5000[E].indb 26FR_KDNX5000[E].indb 26 07.4.4 1:19:42 PM07.4.4 1:19:42 PM

27Recherche d’un lieu
Appelez le menu Destination.
Choisissez une des méthodes de recherche pour votre
destination.
* Pendant le guidage, A. guidage apparaît.
** Pendant le guidage, Eviter section apparaît.
• Vous ne pouvez pas choisir l’article quand il est en gris.
Les informations du résultat de la recherche apparaissent.
Choisissez [Se rendre ici] pour démarrer le guidage.
Le système démarre le calcul de la route jusqu’à la destination choisie et le guidage démarre.
Démarrage du guidage
Réglage d’une destination en utilisant le menu Destination
Direction et distance à partir
de votre position actuelle
☞ [28]
☞ [29]
☞ [30]
☞ [24]
☞ [
ci-dessous
]
Destination 1/2
Domicile*
Retour**
Adresse
POI
Précédent
☞ [30]
☞ [31]
☞ [31]
☞ [31]
Destination 2/2
Proximité
Favoris
Code postal
Coord.
Modif. itin.
Pour retourner à l’endroit d’où vous êtes parti (
Retour
)
Vous pouvez retourner au point de départ de votre dernier guidage.
1 Appelez le menu Destination.
2
Destination
]
Retour
Pour voir le résultat de la
recherche sur la carte
FR_KDNX5000[E].indb 27FR_KDNX5000[E].indb 27 07.4.4 1:19:42 PM07.4.4 1:19:42 PM

28
FRANÇAIS
1 Entrez les caractères.
• Le nombre de caractères disponibles
est automatiquement réduit au fur et
à mesure que le système recherche les
résultats dans sa base de données.
2 Affichez la liste des résultats.
• Cette touches est disponible quand il y a
100 résultat ou moins.
• Vous pouvez aussi afficher la liste des
correspondances en maintenant pressée
ENT.
• Quand le nombre de résultats est de 5 ou
moins, la liste apparaît automatiquement.
Par adresse (
Adresse
)
1 Appelez le menu Destination.
2
Destination
]
Adresse
• Entrez le nom de la ville si un état est déjà
choisi.
3 Choisissez un pays dans la liste.
• Entrez le nom de la ville si un pays est déjà
choisi.
4 Entrez le nom de la ville.
• Entrez les caractères ☞ [colonne de
gauche]
-
Saisie nom ville
-
Ef.a
Plus
Plus
Ef.a
* Vous pouvez aussi changer la clavier en appuyant
sur DISP. Pour savoir quels sont les caractères
disponibles,
☞
[105].
** Les touches varient en fonction de l’élément entré.
Déplacez le curseur sur le
clavier
Entrez le caractère choisi
Ex. Écran d’entrée pour un nom de ville
Pour entrer des noms, des adresses ou des
nombres
Affichage d’autres
claviers*
Entrez une
espace
Suppression du dernier
caractère
Recherche d’un lieu
Affichage de la liste
des correspondances
3 Choisissez l’article souhaité dans la
liste.
Sélection pays 1/6
Allemagne
Andorre
Angleterre
Autriche
Belgique
Adresse
Allemagne
Ville
Rue
Numéro maison
FR_KDNX5000[E].indb 28FR_KDNX5000[E].indb 28 07.4.4 1:19:43 PM07.4.4 1:19:43 PM

29
5 Entrez le nom de la rue.
• Vous pouvez aussi choisir le centre de
la ville. (La liste des centres-villes peut
apparaître.) Vous n’avez pas besoin d’entrer
le numéro de la maison dans ce cas.
• Choisissez la zone de recherche sur la liste
si
Sélection zone
est affiché.
6 Entrez le numéro de la maison.
• Vous pouvez aussi choisir toute la rue une
intersection sur la rue.
• Si aucune donnée de numéro de maison
pour la rue choisie n’est disponible dans la
base de données, cette étape est sautée.
À partir de la liste des POI (
POI
)
Le système possède une immense base de
données de POI (points d’intérêt), tels que des
restaurants, des stations services, des hôpitaux,
etc.
1 Appelez le menu Destination.
2
Destination
]
POI
3 Choisissez un pays dans la liste.
• Passez à l’étape suivante si un pays est déjà
choisi.
Recherche d’un lieu
POI
Allemagne
Nom
Catégorie
Téléphone
4 Choisissez une méthode de
recherche de POI.
Vous pouvez rechercher un POI de trois
façons différentes:
Par nom
Par catégorie
Par numéro de téléphone
POI
Allemagne
Nom
Catégorie
Téléphone
Par nom
1 Entrez le nom du POI que vous
recherchez.
• Entrez les caractères ☞ [28]
2 Choisissez une catégorie (puis une
sous-catégorie s’il y en a) pour le
POI.
3 Entrez le nom de la ville si on vous
le demande.
4 Choisissez un POI dans la liste.
Par catégorie
1 Entrez le nom de la ville à
rechercher.
• Entrez les caractères ☞ [28]
2 Choisissez une catégorie (puis une
sous-catégorie s’il y en a) pour le
POI.
3 Choisissez un POI dans la liste.
Par numéro de téléphone
1 Entrez le numéro de téléphone.
• Entrez les caractères ☞ [28]
2 Choisissez un POI dans la liste.
FR_KDNX5000[E].indb 29FR_KDNX5000[E].indb 29 07.4.4 1:19:44 PM07.4.4 1:19:44 PM

30
FRANÇAIS
À partir des dernières destinations
(
Précédent
)
Vous pouvez choisir un lieu parmi les 50
dernières destinations et étapes.
1 Appelez le menu Destination.
2
Destination
]
Précédent
La liste des destinations/étapes précédentes
est affichée.
3 Choisissez un lieu dans la liste.
Pour supprimer des articles dans la liste des
destinations/étapes précédentes
1 Après l’étape 2 ci-dessus...
2 Cochez les case des articles que
vous souhaitez supprimer.
• Cases à cocher ☞ [105]
3
Un message de confirmation apparaît.
Appuyez sur ENT pour confirmer
l’opération. Appuyez sur BACK pour
annuler.
[Maintenez pressée]
[Maintenez pressée]
POI près d’un lieu/d’une route
(
Proximité
)
Vous pouvez rechercher un POI près de l’endroit
où vous vous trouvez actuellement. Pendant le
guidage, vous pouvez aussi rechercher un POI
près de la destination ou le long de la route.
1 Appelez le menu Destination.
2
Destination
]
Proximité
Pendant le guidage, choisissez si nécessaire la
zone de recherche.
[Maintenez pressée]
Zone locale
: à moins de 2 km de votre
position actuelle. Si aucun POI n’est
trouvé dans cette région, le système
étend la zone de recherche.
Destinat proche
: à moins de 2 km de
la destination. Si aucun POI n’est trouvé
dans cette région, le système étend la
zone de recherche.
Sur itinéraire
: 50 km le long de la route
que vous prenez.
Sélection zone
Zone locale
Destinat proche
Sur itinéraire
Sél. catégorie 1/3
Administration
Alimentation
Entreprises
Hébergement
Lieux
Zone: Loc Mod
FR_KDNX5000[E].indb 30FR_KDNX5000[E].indb 30 07.4.4 1:19:45 PM07.4.4 1:19:45 PM

31
Par code postal (
Code postal
)
• La recherche par code postal n’est pas
disponible dans certains pays.
1 Appelez le menu Destination.
2
Destination
]
Code postal
3 Sélectionner un pays.
• Entrez le code postal si un pays est déjà
choisi.
4 Entrez le code postal.
• L’écran d’entrée varie en fonction du pays
choisi.
• Entrez les caractères ☞ [28]
5 Entrez le nom de la rue.
6 Entrez le numéro de la maison.
• Vous pouvez aussi choisir toute la rue.
Par coordonnées (
Coord.
)
1 Appelez le menu Destination.
2
Destination
]
Coord.
3 Entrez la latitude et la longitude.
4 Choisissez
Détail
quand c’est
terminé.
Recherche d’un lieu
3 Choisissez une catégorie (puis
une sous-catégorie s’il y en a)
pour le POI.
Le résultat apparaît dans une liste dans
l’ordre des distances au point où vous vous
trouvez.
4 Choisissez un POI dans la liste.
À partir des favoris (
Favoris
)
• Enregistrement de vous points favoris ☞ [38].
1 Appelez le menu Destination.
2
Destination
]
Favoris
3 Choisissez un groupe.
4 Choisissez un point favori dans
la liste.
Sud Détail
Commute Sud et Nord pour
la latitude, ou Est et Ouest
pour la longitude.
Déplace le curseur.
Pour corriger une
mauvaise entrée,
déplacez le curseur
et entrez de
nouveau le chiffre.
Sél. groupe 1/2
Domicile 3
Amis 12
Famille 6
Commerce 26
Visite 15
Supprim.
Vous pouvez rechercher un POI autour
d’un endroit sur la carte à partir du menu
Raccourci ]
[Proximité]
. Suivez
les étapes 3 et 4 ci-dessus après avoir choisi
[Proximité]
.
Sél. catégorie 1/3
Administration
Alimentation
Entreprises
Hébergement
Lieux
Zone: Loc Mod
FR_KDNX5000[E].indb 31FR_KDNX5000[E].indb 31 07.4.4 1:19:45 PM07.4.4 1:19:45 PM

32
FRANÇAIS
Comment fonctionne le guidage
Pour annuler le guidage
1 Appelez le menu de Raccourci.
2 Choisissez [Annuler le guidage]
.
Écran pendant le guidage
Calcul de la route
Pour annuler le calcul, appuyez
sur BACK.
Cacul en cours...
Destination trouvée
Heure estimée
d’arrivée et distance
à la destination/
étape Route à prendre
Heure actuelle
Changement de
direction suivant/
distance au
changement de
direction suivant
Vous pouvez aussi annuler le guidage avec le
Menu
Destination
]
A. guidage
.
Pour ajuster le volume du guidage vocal
☞ [43]
Volume
: Nom de la rue actuelle
: Nom de la rue suivante
FR_KDNX5000[E].indb 32FR_KDNX5000[E].indb 32 07.4.4 1:19:46 PM07.4.4 1:19:46 PM

33Comment fonctionne le guidage
Pour répéter le dernier guidage vocal
[Maintenez pressée]
2
1
3
Guide près d’un changement de direction
Quand vous approchez d’un changement de direction, le système vous guide avec le guidage vocal et
des indications sur l’écran.
• La voix de guidage sort uniquement par les enceintes avant (et la sortie de ligne à l’arrière).
Changement de direction suivant (s’il y en a un)
Que faire si j’ai raté un changement de direction?
Ne vous inquiétez pas. Le système calcule une
nouvelle route rapidement et vous guide jusqu’à
la destination.
Indique la distance jusqu’à changement
de direction suivant
• Vous pouvez faire disparaître la barre de
progression jusqu’au prochain changement
de direction en appuyant sur MAP.
Point de guidage
Nom de la rue actuelle
Nom de la rue suivante
“Dans 300
mètres tournez à
droite.”
“Dans 1
kilomètre tournez
à droite.”
“Tournez à
droite.”
FR_KDNX5000[E].indb 33FR_KDNX5000[E].indb 33 07.4.4 1:19:47 PM07.4.4 1:19:47 PM

34
FRANÇAIS
Obtention d’informations sur votre route et vos lieus
Pour voir l’itinéraire et la liste de changements
de direction
Informations sur l’itinéraire
Voyage
Distance 8.1km
Durée 0:12
Vitesse Moy. 40km/h
• Vous pouvez aussi voir l’itinéraire à partir
du menu
Info Service
]
Voyage
.
• Vous pouvez aussi voir la liste des
changements de direction à partir du menu
Info Service
]
Bifurcations
.
Écran de carte
Pour obtenir les informations sur la destination et les étapes
1 Appelez le menu Info Service.
[deux fois]
2
Info Service
]
Destination
3 Choisissez la destination ou une étape.
[Maintenez pressée]
Préc. Suivant
Changement de
direction sur la carte
Voyage
Voyage Infos
Bifurcations
Bifurcations 1/5
500 m A124
2km A2120
2.5km rue xx
6km quartier Z
7km B12
Appuyez sur
∞
/
5
pour voir le changement de
direction suivant/précédent.
Restant 2.7km
Arrivée 13:54
13:54 2.7 km
FR_KDNX5000[E].indb 34FR_KDNX5000[E].indb 34 07.4.4 1:19:48 PM07.4.4 1:19:48 PM

35
Pour vérifier l’heure d’arrivée estimée et la
distance à l’étape suviante
Chaque fois que vous appuyez et maintenez
pressée la touche, les information dans
le coins supérieur gauche alternent entre
l’étape suivante et à la destination finale.
[Maintenez
pressée]
Vous voir comment votre voyage se présente
Menu
Info Service
]
Simulation
apparaît sur l’affichage.
Pour annuler la simulation et reprendre le
guidage, appuyez sur MENU, puis DISP.
disparaît.
Pour voir les informations d’un lieu
• Cette opération est toujours possible que le
guide soit en cours ou non.
1 Affichez le lieu souhaité au
centre de la carte.
2 Appelez le menu de Raccourci.
3 Choisissez [Informations sur la
vue] .
Si un numéro de téléphone est disponible,
vous pouvez l’appelé à travers l’adaptateur
Bluetooth de JVC. ☞ [86]
Vous pouvez aussi obtenir les informations
sur la position actuelle à partir du menu
Info
Service
]
Position actuelle
.
Personnalisation du guidage
Pour personnaliser le guidage et l’affichage
sur l’écran de carte
☞ [43]
Vue guidage
Pour personnaliser le changement d’échelle
de la carte
☞ [45]
Zoom auto
Pour personnaliser le guidage vocal sur
l’écran AV
☞ [44]
Interrompre
Pour personnaliser le mixage du son audio et
de la voix du guidage
☞ [43]
Audio Mixing
Comment fonctionne le guidage
Le guidage continue même si vous commuter
l’affichage sur l’écran AV. L’information du
guidage est affichée dans le coin inférieur droit
de l’écran AV.
Distance au prochain changement de
direction/icône de changement de direction
(Quand le guidage n’est pas en cours: Vitesse/
Direction)
FM1 Classics
Nom de la station
92.5 MHz
FR_KDNX5000[E].indb 35FR_KDNX5000[E].indb 35 07.4.4 1:19:49 PM07.4.4 1:19:49 PM

36
FRANÇAIS
Vous pouvez aussi régler les étapes sur
la carte à partir du menu Raccourci ]
[Ajouter une étape]
.
3 Choisissez l’étape que vous
souhaitez déplacer.
4 Déplacez l’étape choisi dans la
liste.
5 Répétez les étapes 3 et 4 pour
changer d’autres étapes.
6 Ter minez le réarrangement.
• Vous pouvez aussi utiliser MENU,
DISP, MAP ou .
Un message de confirmation apparaît.
Appuyez sur ENT pour confirmer l’opération.
Appuyez sur BACK pour annuler.
Le système commence à calculer la nouvelle
route et le guidage démarre.
• Aucun message de confirmation n’apparaît
si les étapes ne sont pas changées.
Pour supprimer une étape
Appuyez et maintenez pressée ENT à l’étape 4.
Un message de confirmation apparaît.
Appuyez sur ENT pour confirmer l’opération.
Appuyez sur BACK pour annuler.
Préparation de votre route
Réglage des étapes
Après avoir choisi votre destination, vous
pouvez choisir un maximum de neuf lieux
(“étapes”) où vous arrêter.
Pour ajouter des étapes
Une fois que le guidage a commencé...
1 Choisissez un endroit où vous
souhaitez vous arrêter.
• Recherche d’un lieu ☞ [27]
2 Choisissez [Ajouter une étape]
.
Le système commence à calculer la nouvelle
route et le guidage démarre.
Pour les autres options de route ☞ [44]
Options de route
Sélect. point 1/2
Station
Forest Inn
Aéroport international
Revendeur de voiture
Michael
Sélection.
1
2
3
4
5
Déplacer point 1/2
Station
Forest Inn
Revendeur de voiture
Michael
Aéroport international
Régler Supprim.
1
2
4
5
3
Pour réarranger l’ordre des étapes
1 Appelez le menu Destination.
2
Destination
]
Modif. itin.
]
Éditez
La liste des étapes apparaît.
FR_KDNX5000[E].indb 36FR_KDNX5000[E].indb 36 07.4.4 1:19:50 PM07.4.4 1:19:50 PM

37
Pour supprimer des routes enregistrées
1 Appelez le menu Destination.
2
Destination
]
Modif. itin.
]
Supprim.
3 Cochez les case des rouges que
vous souhaitez supprimer.
• Cases à cocher ☞ [105]
4 Supprimez les rouges choisies.
[Maintenez pressée]
Un message de confirmation apparaît.
Appuyez sur ENT pour confirmer l’opération.
Appuyez sur BACK pour annuler.
Déviation pour éviter un
encombrement plus loin sur la route
Si vous réalisez qu’il y a un encombrement plus
loin sur la route...
Quand le guidage est en cours...
1 Appelez le menu Destination.
2
Destination
]
Eviter section
3 Choisissez la distance à éviter.
Un message de confirmation apparaît.
Appuyez sur ENT pour confirmer l’opération.
Appuyez sur BACK pour annuler.
Un détour est calculé, et le guidage démarre.
Enregistrement et chargement de routes
Vous pouvez enregistrer un maximum de 50
combinaisons de destinations et d’étapes. Vous
pouvez appeler facilement votre route habituelle
sans avoir à régler de nouveau vos destinations.
• Chaque route peut contenir un maximum de
neuf étapes.
Pour enregistrer une route
1 Choisissez votre destination
(et les étapes, si nécessaire) et
démarrez le guidage.
2 Appelez le menu Destination.
3
Destination
]
Modif. itin.
]
Enregistrer
4 Donnez un nom à la route que
vous enregistrez.
• Entrez les caractères ☞ [105]
5 Choisissez
Enr
.
Pour charger d’une route enregistrée
1 Appelez le menu Destination.
2
Destination
]
Modif. itin.
]
Charger
3 Choisissez la route que vous
souhaitez prendre.
Un message de confirmation apparaît.
Appuyez sur ENT pour confirmer l’opération.
Appuyez sur BACK pour annuler.
La route est calculée, et le guidage démarre.
Préparation de votre route
Charger
Route A
Route B
Route C
Route D
Sél. distance
1km
3km
5km
10km
15km
Démarr
FR_KDNX5000[E].indb 37FR_KDNX5000[E].indb 37 07.4.4 1:19:51 PM07.4.4 1:19:51 PM

38
FRANÇAIS
Enregistrement de vos points favoris
De la même façon que vous marqueriez la
maison d’un ami ou un bon restaurant chinois
sur une carte papier, vous pouvez enregistrer vos
points favoris dans le système.
Marquage de vos points favoris
• Vous pouvez enregistrer 300 points favoris.
• Vous pouvez enregistrer un point favori
uniquement quand l’échelle de la carte est de
2,0 km ou plus détaillée.
1 Affichez le lieu que vous
souhaitez enregistrer comme
point favori au centre de la
carte.
• Recherche d’un lieu ☞ [27]
2 Appelez le menu de Raccourci.
3 Choisissez [Ajoutez aux favoris]
.
Le point favori est enregistré dans le groupe
Autres
et marqué par l’icône .
• L’icône peut ne pas apparaît en fonction
de l’échelle de la carte et de votre réglage
Icône choisie
. (☞ [45])
• Pour être guidé jusqu’à un point favori ☞ [31]
Modification de vos points favoris
1 Appelez le menu Destination.
2
Destination
]
Favoris
3 Choisissez un groupe, puis un
point favori à modifier.
Sél. groupe 1/2
Domicile 2
Amis 12
Famille 5
Commerce 17
Visite 24
Supprim.
Modif.Préf.
Saisie nom
Autres
Saisie adresse
Saisir n° de tél
Muet
Supprim.
Pour modifier le point favori enregistré,
choisissez
[Modif.Préf.]
après
l’étape 4.
Vous pouvez ouvrir l’écran de modification
à l’étape 3 de “Modification de vos points
favoris”.
[Maintenez
pressée]
FR_KDNX5000[E].indb 38FR_KDNX5000[E].indb 38 07.4.4 1:19:52 PM07.4.4 1:19:52 PM

39
Nom
Le nom du point favori.
• Vous pouvez utiliser un maximum
de 32 caractères.
Groupe
Référez-vous au tableau sur la droite
pour connaître les dix groupes
disponibles.
Catégorisez vos points favoris
de façon à pouvoir les retrouver
facilement.
Adresse
L’a d re s s e du point favori.
Numéro
de
téléphone
Si vous avez connecté le KS-BTA200,
vous pouvez appeler ce numéro. ☞
[86]
Son Muet, Alerte, Sonnerie,
Sirène
Vous pouvez affecter un son à
chaque point favori. Vous entendez
le son affecté quand vous approchez
(à moins de 200 m) du point favori.
• Appuyez sur ENT pour écouter un
exemple de son.
5 Modifier l’article.
• Entrez les caractères ☞ [105]
Icônes et groupes pour les points favoris
Domicile Magasins
Amis Restauration
Famille Attention
Commerce
Tourisme
Visite Autres
Enregistrement de vos points favoris
Pour supprimer un point favori
Maintenez pressée ENT après l’étape 3 de
“Modification de vos points favoris”.
Un message de confirmation apparaît.
Appuyez sur ENT pour confirmer l’opération.
Appuyez sur BACK pour annuler.
• Vous ne pouvez pas effacer un point favori
directement après l’avoir modifié. Pour
l’effacer, quittez d’abord l’écran
Modif.
Préf.
puis réaliser la procédure ci-dessus.
Pour supprimer tous les points favoris d’un
groupe
1 Maintenez pressée ENT après
l’étape 2 de “Modification de vos
points favoris”.
2 Choisissez les groupes à supprimer.
• Cases à cocher ☞ [105]
3 Supprimez les groupes choisis.
Un message de confirmation apparaît.
Appuyez sur ENT pour confirmer l’opération.
Appuyez sur BACK pour annuler.
Sél. groupe
1/2
Domicile
2
Amis
12
Famille
5
Commerce
17
Visite
24
Vérifier.
Supprim.
[Maintenez pressée]
4 Choisissez l’article que vous
souhaitez modifier.
FR_KDNX5000[E].indb 39FR_KDNX5000[E].indb 39 07.4.4 1:19:52 PM07.4.4 1:19:52 PM

40
FRANÇAIS
Informations routière sur la carte—TMC
Qu’est-ce que le service TMC?
TMC (canal d’informations routières) est une
technologie qui délivres des informations
routières en temps réel aux conducteurs. Les
informations de circulation routière envoyées
par la station radio TMC sont reçues et
analysées par le système. Le système vous
informe des encombrements existant et de la
façon de les contourner.
• Vous n’avez pas besoin d’accorder une station
radio spéciale pour recevoir les informations
TMC.
Comment obtenir les informations TMC
Cet appareil peut aussi recevoir les informations
TMC fournies par Trafficmaster et V-Trafic.
Il peut aussi recevoir les information gratuite
TMC.
• TMC n’est pas disponible dans certains pays.
Comme les informations TMC sont
transmises par les stations radio, JVC ne peut
être tenu responsable pour l’intégralité ou la
précision des informations.
Informations TMC sur la carte
• Liste de icônes TMC ☞ [50]
• Les icônes TMC et les lignes
d’encombrement sont affichées sur la
carte quand le réglage
Affichage trafic
est en service (☞ [45]).
• Les icônes TMC sont affichées sur la carte
quand l’échelle de la carte est comprise
entre 30 m et 2,0 km.
• Les lignes encombrées sont affichées
sur la carte quand l’échelle de la carte est
comprise entre 30 m et 5,0 km.
Icône TMCEncombrement
FR_KDNX5000[E].indb 40FR_KDNX5000[E].indb 40 07.4.4 1:19:53 PM07.4.4 1:19:53 PM

41
Pour voir les informations détaillées
Choisissez un article sur la liste et appuyez sur ¢.
Vous pouvez aussi afficher la liste TMC à
partir du menu Info Service ] Trafic.
Pendant le guidage, choisissez la zone pour
laquelle vous souhaitez voir les informations.
Sur itinéraire
ou
Toutes les infos
.
Vous pouvez aussi voir les informations
détaillées d’un icône TMC sur la carte de la
façon suivante:
Affichez l’icône de circulation routière au
centre de la carte ] menu Raccourci ]
[Informations sur la vue]
Vérification des informations TMC Comment les informations TMC sont-
elles utilisées dans la navigation
Si
Contourne.
Trafic
est réglé sur
Modif.
itinéraire
(☞ [44])
, [
Modif. Itin.
] apparaît
sur l’écran quand le service TMC informe le
système d’un accident de la circulation ou d’un
encombrement en avant sur votre route.
Pour vérifier les informations et décider de
calculer un détour ou non
[Maintenez pressée]
Si
Contourne. Trafic
est réglé sur
Modif.
auto Itin.
, le système calcul automatiquement
une nouvelle route quand le service TMC
informe le système d’un obstacle sur votre route.
Si
Contourne. Trafic
est réglé sur
Arrêt
,
le système ne prend pas en compte les
informations routière dans le calcul d’une route.
Informations routière sur la carte—TMC
Modif. Itin.
Trafic 1/2
FR_KDNX5000[E].indb 41FR_KDNX5000[E].indb 41 07.4.4 1:19:54 PM07.4.4 1:19:54 PM

42
FRANÇAIS
Options du menu de navigation
☞ [12]
pour les détails sur l’utilisation des menus.
Menu Destination
Articles du menu
Domicile
Démarrez le guidage jusqu’à votre domicile. (Apparaît uniquement
quand le guidage n’est pas en cours.) ☞ [24]
A. guidage
Annule le guidage. (Apparaît uniquement quand le guidage est en
cours.) ☞ [24, 26, 32]
Retour
Démarre le guidage jusqu’à l’endroit où vous avez démarré votre dernier
guidage. (Apparaît uniquement quand le guidage n’est pas en cours.) ☞
[27]
Eviter section
Calculez une nouvelle route évitant une distance donnée en avant sur la
route. (Apparaît uniquement quand le guidage est en cours.) ☞ [37]
1km
,
3km
,
5km
,
10km
,
15km
(ou
1mi
,
3mi
,
5mi
,
10mi
,
15mi
)
*
1
Adresse
Recherche d’un lieu en utilisant la base de donnée du système. ☞ [27]
POI
Précédent
Proximité
Favoris
Code postal
Coord.
Modif. itin.
• Arrange l’ordre des étapes.
• Enregistre, charge ou supprimer des routes. ☞ [36]
Éditez
,
Enregistrer
,
Charger
,
Supprim.
*1 Dépend de votre réglage de Unités mesure (
☞
[46]
).
Menu Info Service
Articles du menu
Position actuelle
Vous pouvez voir les informations de votre position actuelle.
Pays, Ville, Rue, Latitude, Longitude
Trafic
Vous pouvez vérifier les informations TMC. ☞ [40]
Sur itinéraire*
1
, Toutes les infos
Bifurcations*
1Vous pouvez voir la liste des changements de direction de votre route.
☞ [34]
Voyage*
1Vous pouvez voir les informations de votre route. ☞ [34]
Destination*
1Vous pouvez voir la liste des étapes et la destination. ☞ [34]
GPS
Vous pouvez voir l’état de la réception GPS.
*1 Peut être choisi uniquement quand le guidage est en cours.
FR_KDNX5000[E].indb 42FR_KDNX5000[E].indb 42 07.4.4 1:19:54 PM07.4.4 1:19:54 PM

43
Menu Réglage
Options du menu de navigation
Articles du menu
Connexion
Vous pouvez vérifier l’état de la connexion.
Niv. de form., Angle, Connex. GPS, Gyrocompas, Signal
vites., Frein à Main, Signal arrièr., Eclairage, Tél. silenc.
Version
Vous pouvez vérifier le nom du modèle, la version de l’appareil et la
version de la base de données de la carte.
Simulation
Une fois que la route est déterminée, vous pouvez la simuler sur la carte. ☞ [35]
Articles du menu Réglages sélectionnables
(Réglage initial)
Voix de guidage
Sexe Femme, Homme
*1
Volume
Ajustez le volume du guidage vocal.*1
Arrêt
,
01
à
50
(
25
)
Canal de sortie
Choisissez le canal de sortie du guidage.*1
Canal g. uniqmnt, Canal dr. uniqmnt, Canaux dr. & g.
Audio Mixing
Vous pouvez réduire le volume de la source AV quand le guide vocale
a lieu.*1
Sourdine
: Le son de la source AV ne sort pas.
Atténuation
: Le son de la source AV est réduit.
Normal
: Le son de la source AV n’est pas changé.
Options guidage
Vue guidage
Choisissez les éléments à afficher aux changements de direction.
Agrandisse. auto.
: • Icône du changement de direction
suivant: Grand
• Icône du prochain changement de
direction: En service
• Barre de progression jusqu’au
changement de direction: En service
Affichage symboles
:• Icône du changement de direction
suivant: Grand
• Icône du prochain changement de
direction: Hors service
• Barre de progression jusqu’au
changement de direction: Hors service
Vue simple
:
• Icône du changement de direction
suivant: Petit
• Icône du prochain changement de
direction: Hors service
• Barre de progression jusqu’au
changement de direction: Hors service
Menu Info Service (suite)
*1 Appuyez sur ENT pour écouter un exemple de voix avec le réglage actuel.
FR_KDNX5000[E].indb 43FR_KDNX5000[E].indb 43 07.4.4 1:19:55 PM07.4.4 1:19:55 PM

44
FRANÇAIS
*2 Ce réglage est commun avec le réglage Commande d’écran du menu AV . (
☞
[96]
)
Articles du menu Réglages sélectionnables
(Réglage initial)
Options guidage
Interrompre
Choisissez le guidage vocal sur un écran AV.
• Un petit icône du prochain changement de direction apparaît
dans le coin inférieur droit de l’écran AV pendant le guidage,
quel que soit ce réglage. Si vous souhaitez voir le changement
de direction sur la carte, appuyez sur MAP pour commuter sur
l’écran de carte.
Arrêt
,
Marche
Contourne. Trafic Arrêt
,
Modif. auto Itin.
,
Modif. itinéraire
☞ [41]
Parcourir voix
Quand cette fonction est en service, le système augmente
automatiquement le niveau de volume du guidage au fur et à
mesure que la vitesse de la voiture augmente.
Pour obtenir un effet plus fort, réglez le niveau sur un nombre
plus grand.
Arrêt
,
01
à
10
(
05
)
Sonnette d’alarme
Choisit le type de tonalité d’avertissement, qui retentit avant le
guidage vocal.
Arrêt
,
Attention 1
,
Attention 2
,
Attention 3
• Appuyez sur ENT pour écouter un exemple de son.
Options de route
Priorité Le + rapide
: Le système calcule le temps de voyage le plus
rapide.
Le + court
: Le système calcul la route la plus courte jusqu’à la
destination.
• Ce réglage prend effet la prochaine fois que le système calcule
une route.
Éviter les autoroutes
Cochez les case des options que vous souhaitez mettre en service.
• Ce réglage prend effet la prochaine fois que le système calcule
une route.
Éviter les ferry-
boats
Évit. route à péage
Couleur carte
Couleur Jour
Choisissez la couleur pour l’écran de jour.
Type 1
,
Type 2
,
Type 3
Couleur itin.
Choisissez la couleur pour la route.
Couleur1
,
Couleur2
,
Couleur3
Mode Nuit
Choisissez la condition pour commuter l’affichage à l’écran de nuit.
Arrêt
: Annulation.
Auto
: Commute sur l’écran de nuit quand vous allumez les feux
de la voiture.
Heure
: Commute sur l’écran de jour/nuit aux heures réglées.
• Quand vous choisissez
Heure
, règle quand commuter la
couleur d’affichage sur l’écran suivant.
Luminosité*
2Règle la luminosité de l’écran.
–15
à
+15 (00)
Menu Réglage (suite)
FR_KDNX5000[E].indb 44FR_KDNX5000[E].indb 44 07.4.4 1:19:55 PM07.4.4 1:19:55 PM

45Options du menu de navigation
Articles du menu Réglages sélectionnables
(Réglage initial)
Options carte
Vue de la carte Nord en haut
,
Titre en haut, Carte 3D
☞ [23]
Zoom auto
Choisissez comment l’échelle du zoom change.
Arrêt
: (Fonctionne uniquement pendant le guidage) zoom sur une
échelle de 30 m pour les changements de direction si
Vue guidage
est réglé sur
Agrandisse. auto.
. Sinon, l’échelle nechange pas aux
changements de direction.
Adapt. au guidage
: (Fonctionne uniquement pendant le guidage)
Quand vous approchez d’un changement de direction, l’échelle change
graduellement de façon que la position actuelle et le changement de
direction soient toujours affichés sur la carte en même temps.
Adapt. à la vitesse
: L’échelle change graduellement en fonction de la
vitesse de votre voiture et quand vous ralentissez, la carte est agrandie.
Icône POI
Cochez la case devant chaque catégorie de POI pour afficher les icônes
correspondants sur la carte.
Icône choisie
Cochez la case devant chaque groupe favori pour afficher les icônes
correspondants sur la carte.
Circuits*
3
Afficher
: Cochez cette case pour afficher les traces de votre voiture sur
la carte.
Enregistrer*
4: Coche la case pour enregistrer la trace de votre voiture.
Supprim.
: Supprime les traces enregistrées.
Rue
Cochez cette case pour afficher le nom de la rue actuelle/suivante sur le
moniteur.
Sens unique
Cochez cette case pour afficher l’icône de sens unique sur la carte.
Affichage
trafic
Cochez cette case pour afficher les icônes TMC sur la carte.
Menu Réglage (suite)
*3 Quand vous souhaitez que la trace de votre route actuelle soit affichée, vous devez cocher Afficher et
Enregistrer.
*4 Les traces enregistrées les plus anciennes sont effacées les premières quand la mémoire est pleine.
FR_KDNX5000[E].indb 45FR_KDNX5000[E].indb 45 07.4.4 1:19:56 PM07.4.4 1:19:56 PM

46
FRANÇAIS
Articles du menu Réglages sélectionnables
(Réglage initial)
Config. système
Angle
installation
Choisissez l’angle de l’appareil mesuré avec le gabarit fourni. (Référez-
vous au Manuel d’installation/Raccordement.)
1
: –5,0° à 1,0°
2
: 1,0° à 6,0°
3
: 6,0° à 14,0°
4
: 14,0° à 32,0°
• Il n’est pas recommandé d’installer l’appareil principal avec un angle
de plus de 30˚; sinon, un mauvais fonctionnement peut se produire.
• Le guidage est annulé quand vous changez ce réglage.
WAAS/EGNOS
Choisissez si vous souhaitez utiliser WAAS et EGNOS pour augmenter
la précision du positionnement.
Arrêt
: Annulation.
Marche
: En service.
Langue*
5
Choisissez la langue utilisée pour l’affichage sur l’écran et le guidage
vocal.
Dansk, Deutsch, English UK, English US, Español,
Français, Italiano, Nederlands, Svenska
Réinit.
Calibrage
Réinitialisez les données d’étalonnage dans les cas suivants:
• Quand vous réinstallez l’appareil dans une autre voiture.
• Quand vous changez
Angle installation
. (☞ ci-dessus)
• Quand vous remplacez ou faites une rotation des pneus.
Une fois que l’initialisation est effectuée, les données d’étalonnage sont
effacés. L’étalonnage démarre quand vous quittez le menu. (☞ [9])
• Le guidage est annulé quand vous réinitialisez les données
d’étalonnage.
Dépass. Vitesse
Consultez le site <http://www.jvc-exad.com> pour en savoir plus.
Unités mesure
Choisissez les unités de mesure pour la distance.
km / m
,
mi / yd
Coord.
Choisissez les unités de mesure pour les degrés des coordonnées.
Deg / Min / Sec
,
Deg / Milli / Micro
Position véhicule
Si vous trouvez que votre position actuelle est affichée incorrectement
sur la carte, utilisez ce réglage pour corriger votre position.
Ajustez la position avec 4¢5∞, puis la direction avec 5∞.
*5 Ce réglage est commun avec le réglage Langue du menu AV (
☞
[90]
).
Menu Réglage (suite)
FR_KDNX5000[E].indb 46FR_KDNX5000[E].indb 46 07.4.4 1:19:56 PM07.4.4 1:19:56 PM

47
Informations additionnelles
Informations additionnelles
Réglages initiaux
• Si vous choisissez
Marche
pour
Mode
démo. affic.
, le système démarre en mode de
démonstration pour les magasins et l’écran des
réglages initiaux apparaît chaque fois que vous
mettez l’appareil sous tension après avoir coupé
et rétabli le contact. Choisissez
Arrêt
pour
obtenir toutes les performances de l’appareil.
Fonctionnement de base
•
Si l’échelle de la carte est petite, le défilement
de la carte peut être interrompu quand vous
approchez du bord de la zone couverte par la
carte. Le défilement reprend à une échelle plus
grande si vous continuez de faire défiler la carte.
Recherche d’un lieu
• Quand vous conduisez à un vitesse supérieure
à 10 km/h, vous ne pouvez pas choisir une
destination.
Si vous essayez de réaliser l’opération, l’écran
suivant apparaît et vous ne pouvez pas
continuer l’opération.
• Le résultat de la recherche est affiché en vue
dirigée vers le Nord quel que soit le réglage de
vue de la carte.
• Le nom que vous avez entré pour la recherche de
POI peut être différent du nom du résultat de la
recherche.
À partir de la liste des POI
• Si aucune donnée de point d’intérêt (POI)
n’existe pour la ville choisie,
POI introuvable.
apparaît sur l’affichage. Appuyez sur BACK
jusqu’à ce que le menu d’entrée de la ville
apparaisse, puis entrez une autre ville.
POI autour d’un lieu/d’une route
• Si aucune donnée de point d’intérêt (POI)
n’existe pour la zone choisie,
POI introuvable.
apparaît sur l’affichage. Appuyez sur BACK
jusqu’à ce que la liste des catégories principales
apparaisse.
• La recherche de POI pour
Sur itinéraire
est
annulée sur le guidage se termine ou si un
reroutage démarre avant que recherche soit
terminée.
Par coordonnées
• Si la position entrée est en dehors de la base de
données,
Hors zone de couverture.
apparaît
sur l’affichage. Entrez une autre position.
Procédure de navigation de base
• Quand vous atteignez une zone à environ 30 m
de la destination ou d’une étape, le système de
navigation considère que vous avez atteint votre
destination ou l’étape.
Comment fonctionne le guidage
• Si la réception du signal GPS est mauvaise, le
guidage de navigation peut ne pas être correct.
• Le système peut ne pas recevoir les signaux GPS
dans les endroits suivants...
– dans un tunnel ou un parking intérieur
– dans une route encaissée
– dans un endroit entouré de hauts immeuble
ou d’arbres serrés.
• La position de votre voiture peut ne pas être
détectée correctement dans les cas suivants...
– quand vous roulez sur une route près d’une
autre route (par ex. une autoroute et une
route ordinaire en parallèle)
– quand vous faites presque demi-tour sur la
route
– quand vous roulez sur un système de route
en quadrillage
– après avoir pris un ferry-boat, etc.
– quand vous roulez sur une route de
montagne très inclinée
– quand vous roulez sur une route en spiral
– quand vous tournez à gauche ou à droite
après avoir roulé sur une longue route droite
– quand vous roulez en zigzag sur une route
très large
– quand vous commencez à rouler très peu de
temps après avoir mis en route le moteur
– quand vous roulez pour la première fois
après avoir installé l’appareil
– quand vous changez les pneus ou attachez
des chaînes sur les pneus
– quand un ripage des pneus se produit de
façon continue et fréquemment
Utilisation impossible lors
de la conduite. Réessayez
après vous être arrêté.
FR_KDNX5000[E].indb 47FR_KDNX5000[E].indb 47 07.4.4 1:19:57 PM07.4.4 1:19:57 PM

48
FRANÇAIS
48
– après avoir roulé dans une autre autre
qu’une route (par ex, un terrain privé ou un
parking)
– après avoir roulé sous la terre ou dans un
parking dans une tour
– après avoir fait tourné votre voiture sur une
plaque tournante
– après des arrêts fréquents et des
redémarrage dans un encombrement
– quand la précision du GPS est détériorée
intentionnellement
– quand vous roulez sur une route construite
récemment
• La route calculée par le système représente une
des routes possibles jusqu’à votre destination.
Cette route n’est pas toujours la plus appropriée.
• Si aucun nom de rue n’est disponible dans la
base de données,
Sans nom
apparaît à la place
du nom de la rue.
• Si des rues sans issue (seule l’entrée au rond-
point de ces routes est permise) existent sur le
rond-point, lces routes sans issue n’apparaissent
pas sur le guidage routier sur l’affichage et ne
sont pas comptées dans le message vocal du
guidage routier.
• Le phénomène suivant peut se produire même si
le système fonctionne correctement...
– Vous pouvez être guidé sur une route
fermée ou une route nécessitant un demi-
tour.
– Le système peut ne pas vous guider jusqu’à
votre destination s’il y a seulement une route
étroite ou aucune route jusqu’à celleci.
– Le système peut ne pas éviter un
encombrement même si
Contourne.
Trafic
est réglé sur
Modif. auto Itin.
.
– Le système peut indiquer un nom de route
différent.
– Le système peut ne pas vous demander de
tourner à une intersection où vous devez
tourner.
– Le système peut vous donner un guidage
différente de la condition de la route réelle.
– Le système peut vous donner une
information de distance incorrecte.
Préparation de votre route
• Les autoroutes sont toujours utilisée pour
le calcul de la route si la distance jusqu’à
destination est supérieure à 200 km.
• Si la destination ne peut pas être atteinte sans
utiliser d’autoroute, de ferry-boat ou de route
payantes, ils sont utilisés pour le calcul de la
route quel que soient les réglages de
Options
de route
.
• Un détout peut ne pas être calculé avec
Eviter
section
en fonction de la route.
Informations routière sur la carte
• Quand
Contourne. Trafic
est réglé sur
Modif.
itinéraire
, le reroutage peut être annuler
pendant la vérification à cause d’un changement
des conditions de circulation. Le reroutage est
aussi annulé si vous ne le confirmez pas avant
une minute.
FR_KDNX5000[E].indb 48FR_KDNX5000[E].indb 48 07.4.4 1:19:57 PM07.4.4 1:19:57 PM

49Informations additionnelles
Liste de icônes POI
Administration
Ambassade
Conseil Général
Alimentation
Restaurant
Salon De Thé
Supermarché
Entreprises
Palais Des Congrès/Parc Des Expositions
Zone Industrielle
Hébergement
Hôtel/Motel
Maison D’hôtes
Lieux
Complexe Sportif
Frontière
Zone Industrielle
Loisirs
Activités Sportives
Bar/Café
Boite De Nuit
Casino
Cinéma
Espace De Loisirs (Parc)
Monument Historique
Parc D’attractions
Port De Plaisance
Théâtre
Services Socio-Culturels
Banque
Bibliothèque
Centre Administratif/Culturel
Commissariat De Police
École
Hôpital
Mairie
Musée
Palais De Justice
Poste
Université/Grande École
Servuces Auto
Agence De Location De Voitures
Concessionnaire Auto
Concessionnaire Moto
Garage
Station-Service
Véhicules D’occasion
Shopping
Centre Commercial
Établissement Vinicole
Librairie
Tourisme
Attraction Touristique
Office De Tourisme
Urgences
Cabinet Médical
Pharmacie
Ville
Capitale Nationale
Capitale/Chef-Lieu
Voyages
Aéroport/Aérogare
Aire De Repos
Gare
Gare De Train De Banlieue
Gare Maritime
Gare Routière
Parking Couvert
Parking Découvert
Parking D’échange
FR_KDNX5000[E].indb 49FR_KDNX5000[E].indb 49 07.4.4 1:19:58 PM07.4.4 1:19:58 PM

50
FRANÇAIS
Commande de la source AV sur l’écran de carte
Source
Tuner
Recherche automatique. Changez des stations préréglées.
DAB
Recherche automatique. Changez les services.
Disque
Changez les plages.
Changez des titres/groupes/dossiers.
Serveur de musique
Changez les albums.
Changeur de CD
Changez les dossiers.
iPod/lecteur CD
(pas de fonction)
Audio Bluetooth
(pas de fonction)
Liste de icônes TMC
Encombrement
Travaux routiers
Route bloquée ou fermée
Voie de circulation fermée
Accident
Condition
Autres avertissements
Informations
Pluie
Neige
Vent fort
Brouillard
FR_KDNX5000[E].indb 50FR_KDNX5000[E].indb 50 07.4.4 1:19:59 PM07.4.4 1:19:59 PM

51
Radio
52 Écoute de la radio
Préréglage automatique des stations FM
—SSM (Mémorisation automatique séquentielle
des stations puissantes)
52
Préréglage manuel
52
Sélection de stations préréglées
53
Quand une émission FM stéréo est difficile à recevoir
53
Accord de stations avec un signal suffisamment fort
53
54 Opérations RDS
Recherche d’un programme FM RDS
—Recherche PTY
54
Mémorisation de vos types de programme préférés
54
Attente de réception PTY
55
Attente de réception TA
55
Poursuite du même programme
—Poursuite de réception en réseau
56
Affichage des radio textes RDS
56
56 Opérations DAB
Préréglage des services
56
Sélection des services préréglés
57
Affichage de l’information DLS
57
Quand les sons environnants sont bruyants
57
Attente de réception TA/PTY
58
Attente de réception d’annonce
58
Poursuite du même programme
—Recherche de fréquence alternative (DAB AF)
58
FR_KDNX5000[E].indb 51FR_KDNX5000[E].indb 51 07.4.4 1:20:00 PM07.4.4 1:20:00 PM

52
FRANÇAIS
Choisissez “TUNER”.
Choisissez les bandes.
Recherchez une station—Recherche automatique.
• Recherche manuelle: Maintenez pressé 4 ou ¢ jusqu’à ce que
Recherche
Manuelle
apparaisse sur l’affichage, puis appuyez répétitivement sur la touche.
• s’allume lors de la réception d’une émission FM stéréo avec un signal suffisamment
fort.
Écoute de la radio
Bande * Nom affecté à la station.
Préréglage manuel
Vous pouvez prérégler six stations pour chaque
bande.
1
2 Accordez la station que vous
souhaitez prérégler.
3 Affichez la liste des préréglages.
[Maintenez pressée]
• Pour FM uniquement: Chaque fois que
vous appuyez sur la touche et la maintenez
pressée, vous pouvez changer les bande.
Préréglage automatique des stations
FM—SSM (Mémorisation automatique
séquentielle des stations puissantes)
Fonctionne uniquement pour les bandes FM.
Vous pouvez prérégler six stations pour chaque
bande.
1
2
3
Menu AV
]
Mode
]
SSM
4
SSM
apparaît sur l’affichage.
Les stations FM locale avec les signaux les
plus forts sont recherchées et mémorisées
automatiquement dans la bande FM.
Type d’égaliseur
☞
[98]
FM1 Préréglage Enr
187.5 MHz
288.3 MHz
388.7 MHz
491.5 MHz
593.1 MHz
695.3 MHz
ou
FM1 Preset4 Classics
Nom de la station
*
92.5 MHz
Code PTY*
FR_KDNX5000[E].indb 52FR_KDNX5000[E].indb 52 07.4.4 1:20:00 PM07.4.4 1:20:00 PM

53
FM1 Preset4 Classic
Nom de la station
92.5 MHz
10:35 AM 80 km/h
PTY
FM1 Preset4 Classic
Nom de la station
92.5 MHz
10:35 AM 80 km/h
PTY
Écoute de la radio
[Maintenez
pressée]
FM1 Préréglage Enr
187.5 MHz
288.3 MHz
388.7 MHz
491.5 MHz
593.1 MHz
695.3 MHz
ou
4 Choisissez un numéro de
préréglage.
Sélection de stations préréglées
Sur la télécommande:
1
2 Choisissez un numéro de
préréglage.
À partir de la liste des préréglages
1 Affichez la liste des préréglages.
[Maintenez pressée]
• Pour FM uniquement: Chaque fois que
vous appuyez sur la touche et la maintenez
pressée, vous pouvez changer les bande.
2 Choisissez un numéro de
préréglage.
Vous pouvez aussi accéder à la liste des
préréglages à partir de
Menu AV
]
Liste
.
Quand une émission FM stéréo est
difficile à recevoir
1
2
Menu AV
]
Mode
]
Mono
]
Marche
3
s’allume. La réception est améliorée, mais
l’effet stéréo est perdu.
Pour rétablir l’effet stéréo, choisissez
Arrêt
à
l’étape 2.
Accord de stations avec un signal
suffisamment fort
Fonctionne uniquement pour les bandes FM.
Une fois que vous avez mis en service cette
fonction (choisissez
Local
), elle reste toujours
en service lors de la recherche des stations FM.
1
2
Menu AV
]
Mode
]
DX/Local
]
Local
3
s’allume. Seules les stations dont le signal
est suffisamment fort sont détectées.
Pour accorder de nouveau toutes les stations
recevables, choisissez
DX
à l’étape 2.
FR_KDNX5000[E].indb 53FR_KDNX5000[E].indb 53 07.4.4 1:20:01 PM07.4.4 1:20:01 PM

54
FRANÇAIS
Recherche d’un programme FM
RDS—Recherche PTY
Vous pouvez rechercher vos programmes
préférés en choisissant le code PTY
correspondant à vos programmes préférés.
1
[Maintenez
pressée]
2
Mode PTY
]
Recherche PTY
]
Liste Préréglage PTY
ou
Liste PTY
• Pour choisir un des six codes PTY
préréglés, choisissez
Liste Préréglage
PTY
.
• Pour choisir parmi tous les codes PTY,
choisissez
Liste PTY
.
3 Choisissez un code PTY.
• S’il y a une station diffusant un
programme du code PTY que vous avez
choisi, la station est accordée.
Les fonctionnalités suivantes sont accessibles
uniquement pour les stations FM RDS. Mémorisation de vos types de
programme préférés
Vous pouvez mémoriser vos codes PTY préférés
dans la liste des préréglages PTY.
1
[Maintenez
pressée]
2
Mode PTY
]
Mémoire PTY
3 Choisissez le code PTY qui doit
être remplacé par le nouveau
code.
4 Choisissez un code PTY à
mémoriser dans la liste.
Pop M
a été remplacé par
News
.
Opérations RDS
Recherche PTY
1Pop M
2Rock M
3Easy M
4 Classics
5 Affairs
6Varied
Mode PTY
Recherche PTY
Mémoire PTY
Mode PTY
Recherche PTY
Mémoire PTY
Mémoire PTY
1 Pop M
2Rock M
3Easy M
4 Classics
5 Affairs
6Varied
Mémoire PTY 1/6
News
Affairs
Info
Sports
Educate
Régler
PTY
PTY
PTY
PTY
PTY
FR_KDNX5000[E].indb 54FR_KDNX5000[E].indb 54 07.4.4 1:20:03 PM07.4.4 1:20:03 PM

55
Attente de réception PTY
L’a t t e nte de réception PTY permet à l’autoradio
de commuter temporairement sur votre
programme PTY préféré à partir de n’importe
quelle source autre que AM.
• Si le tuner DAB est connecté, l’attente de
réception fonctionne aussi pour rechercher un
service DAB.
Pour mettre en service l’attente de réception
PTY
1
2
Menu AV
]
Mode
]
Attente PTY
]
News
3
4 Choisissez le code PTY
souhaité.
Pour mettre hors service l’attente de
réception PTY
Choisissez
Arrêt
à l’étape 2.
Attente de réception TA
L’attente de réception TA permet à l’appareil
de commuter temporairement sur des
informations routières (TA) à partir de
n’importe quelle source autre que AM.
• Le volume change sur le niveau de volume TA
préréglé (☞ [93]
Volume TA
).
• Si le tuner DAB est connecté, l’attente de
réception fonctionne aussi pour rechercher
un service DAB.
Pour mettre en service l’attente de réception TA
s’allume ou clignote.
• Si s’allume, c’est que l’attente de
réception TA est en service.
• Si clignote, c’est que l’attente de
réception TA est n’est pas encore en service.
(Cela se produit quand vous écoutez une
station FM sans les signaux RDS nécessaires
à l’attente de réception TA). Pour mettre en
service l’attente de réception PTY, accordez
une autre station (ou un service DAB)
diffusant ces signaux. s’arrête ce clignoter
et reste allumé.
Pour mettre hors service l’attente de
réception TA
s’éteint.
Attente PTY 1/6
News
Affairs
Info
Sport
Educate
Régler
Codes PTY disponibles:
News, Affairs, Info, Sport, Educate, Drama, Culture,
Science, Varied, Pop M, Rock M, Easy M, Light M,
Classics, Other M, Weather, Finance, Children,
Social, Religion, Phone In, Travel, Leisure, Jazz,
Country, Nation M, Oldies, Folk M, Document
Opérations RDS
FR_KDNX5000[E].indb 55FR_KDNX5000[E].indb 55 07.4.4 1:20:04 PM07.4.4 1:20:04 PM

56
FRANÇAIS
Opérations DAB
À l’expédition de l’usine, la poursuite de
réception en réseau est en service.
Pour changer le réglage de la poursuite de
réception en réseau, ☞ [93]
AF Régionale
.
• Quand le tuner DAB est connecté, référez-
vous à ☞ [58] “Poursuite du même
programme—Recherche de fréquence
alternative (DAB AF)”.
Affichage des radio textes RDS
Quand la station RDS reçue envoie des radio
texte RDS, s’allume.
Pour afficher le radiotexte
Chaque fois que vous appuyez sur DISP,
l’affichage change comme suit:
Nom et fréquence de la station
=
Radiotexte
• L’affichage du radiotexte peut prendre un
certain temps. L’affichage du radiotexte
peut prendre un certain temps. Pendant le
chargement d’un texte,
Chargement
et un
indicateur de progression sont affichés.
Choisissez “DAB”.
Recherchez un ensemble.
• Recherche manuelle: Maintenez
pressé 4 ou ¢ jusqu’à ce que
Recherche Manuelle
apparaisse
sur l’affichage, puis appuyez
répétitivement sur la touche.
Choisissez le service
(primaire ou secondaire)
que vous souhaitez
écouter.
Préréglage des services
Vous pouvez prérégler 6 services DAB
(primaires) pour chaque bande.
1
2 Choisissez le service que vous
souhaitez prérégler.
3 Appelez l’écran de la liste des
préréglages.
• Chaque fois que vous appuyez sur la
touche et la maintenez pressée, vous
pouvez changer les bandes DAB.
[Maintenez
pressée]
• Vous pouvez aussi accéder à la liste des
préréglages à partir de Menu AV ] Liste.
Poursuite du même programme
—Poursuite de réception en réseau
Lorsque vous conduisez dans une région où la
réception FM n’est pas suffisamment forte, cet
autoradio accorde automatiquement une autre
station FM RDS du même réseau, susceptible
de diffuser le même programme avec un signal
plus fort.
Programme A diffusé sur une zone de fréquence
différente (01 à 05)
DAB1 Préréglage Enr
1HR1
2 No Serv.
3 FFH
4HRH
5HRS
6 No Serv.
ou
FR_KDNX5000[E].indb 56FR_KDNX5000[E].indb 56 07.4.4 1:20:05 PM07.4.4 1:20:05 PM

57
DAB1 Preset4
Étiquette d’ensemble
227.360 MHz 12C
CH
Nombre de canaux
DAB1 Preset4
P
RG
Service1
Étiquette d’ensemble
227.360 MHz 12C
Étiquette du service
CH
4 Choisissez un numéro de
préréglage.
[Maintenez
pressée]
Affichage de l’information DLS
Quand le service DAB reçu envoie une
information DLS (segment d’étiquette
dynamique), s’allume.
Pour afficher le segment DLS
Chaque fois que vous appuyez sur DISP,
l’affichage change comme suit:
Étiquette du service, étiquette de l’ensemble et
numéro de canal
=
Étiquette de service, étiquette d’ensemble et
code PTY
=
Étiquette de service et information DLS
Quand les sons environnants sont
bruyants
Certains services offrent des signaux de
commande de la plage dynamique (DRC) en
même temps que les signaux ordinaires de leur
signal. Le DRC permet de renforcer les sons de
faible niveau afin d’améliorer le confort d’écoute.
• s’allume quand un service avec des
signaux DRC est reçu.
Suite à la page suivante.
Sélection des services préréglés
Sur l’appareil:
Après les étapes 1 et 3 de “Préréglage des
Services”...
Sur la télécommande:
1
2
Bande
DAB1 Préréglage Enr
1 HR1
2 No Serv.
3 FFH
4 HRH
5 HRS
6 No Serv.
Opérations DAB
* Pour profiter de la réception DAB, connectez un tuner DAB (à acheter séparément) à cet appareil.
FR_KDNX5000[E].indb 57FR_KDNX5000[E].indb 57 07.4.4 1:20:05 PM07.4.4 1:20:05 PM

FRANÇAIS
58
Types d’annonces disponibles
Travel, Warning, News, Weather, Event,
Special, Rad Inf, Sports, Finance
1
2
Menu AV
]
Mode
]
Commande P. Dyna
]
DRC1
ou
DRC2
ou
DRC3
• Plus le numéro augmente, plus le niveau
de l’effet devient fort.
3
Attente de réception TA/PTY
• Les opérations sont exactement les mêmes que
celles expliquées à la page 55 pour les stations
FM RDS.
• Vous ne pouvez pas mémoriser des codes PTY
séparément pour le tuner DAB et le tuner FM.
Attente de réception d’annonce
L’a t t e nte de réception d’annonce permet à
l’autoradio de commuter temporairement sur
votre service préféré (type d’annonce).
Mise en service de l’attente de réception
d’annonce
1
2
Menu AV
]
Mode
]
Attente Annonce
]
Travel
3 Choisissez le type d’annonce que
vous souhaitez.
Poursuite du même programme—
Recherche de fréquence alternative
(DAB AF)
• Lors de la réception d’un service DAB:
Si vous conduisez dans une région ou un
service ne peut pas être reçu, cet autoradio
accorde automatiquement un autre ensemble
ou une station FM RDS, diffusant le même
programme.
• Lors de la réception d’une station FM RDS:
Quand vous conduisez dans une région
ou un service DAB diffuse le même
programme de la station FM RDS que vous
écoutez actuellement, cet autoradio accorde
automatiquement le service DAB.
À l’expédition de l’usine, la recherche de
fréquence alternative est en service.
Pour changer le réglage de réception de la
fréquence alternative, ☞ [93]
FA DAB
.
Attente Annonce 1/2
Travel
Warning
News
Weather
Event
Régler
• Si s’allume, c’est que l’attente de
réception d’annonce est en service.
• Si clignote, c’est que l’attente de
réception d’annonce est n’est pas encore en
service. Pour la mettre en service, accordez un
autre service diffusant le signal requis pour
l’attente de réception d’annonce. s’arrête
ce clignoter et reste allumé.
Pour mettre hors service l’attente de
réception d’annonce
Choisissez
Arrêt
à l’étape 2.
FR_KDNX5000[E].indb 58FR_KDNX5000[E].indb 58 07.4.4 1:20:06 PM07.4.4 1:20:06 PM

59 59
Disques et disque dur
60 Opérations des disques
Disques/fichiers reproductibles
61
Sélection des modes de lecture
64
Sélection de plages sur la liste
65
Interdiction de l’éjection du disque
65
Utilisation de la télécommande
65
Fonctions spéciales pour les DVD Audio
68
Opérations en utilisant la barre sur l’écran
68
70 Opérations relatives au serveur
de musique
Sélection des plages en utilisant les listes
71
Sélection des modes de lecture
71
Enregistrement/copie de plages à partir d’un disque
72
Modification de la bibliothèque
75
Vérification de la taille de stockage restante
76
77 Fonctionnement du changeur
de CD
Sélection des modes de lecture
78
FR_KDNX5000[E].indb 59FR_KDNX5000[E].indb 59 07.4.4 1:20:07 PM07.4.4 1:20:07 PM

FRANÇAIS
60
Si “ ” apparaît sur le moniteur, c’est que
l’autoradio ne peut pas accepter la commande
effectuée.
• Dans certains cas, la commande peut être
refusée sans que “ ” apparaisse.
Démarrez la lecture.Arrêtez la lecture.
Le type de disque est détecté automatiquement
et la lecture démarre automatiquement (pour
certains disques: le démarrage automatique de la
lecture dépend de son programme interne).
Si le disque ne possède pas de menu de disque,
toutes ses plages sont reproduites répétitivement
jusqu’à ce que vous changiez la source ou
éjectiez le disque.
Pour éjecter le disque
Opérations des disques
Pour insérer un disque
Chaque fois que vous appuyez sur DISP,
l’affichage change:
Pour les autres images
: image de lecture
=
information sur le disque
=
information sur la
conduite (
☞
[11]
)
=
entrée vidéo* (
☞
[82]
)
=
(retour au début)
Pour les disques audio
: informations sur le
disque
=
informations sur la conduite
=
entrée
vidéo*
=
(retour au début)
Quand un disque contient des types de fichier
différents (musiques, séquences vidéo ou
images fixes), vous devez choisir le type de
fichier à reproduire. (☞ [92]
Type Fichier
)
Type de disque
* Apparaît uniquement si vous avez choisi Vidéo
ou Caméra pour le réglage Entrée Vidéo (
☞
[94]
). • Pour les disques sauf les DVD et VCD: L’écran de
commande apparaît sur le moniteur extérieur
connecté. (
☞
[102]
)
Type d’égaliseur
☞
[98]
Mode de lecture
☞
[64]
Choisissez “DISC”.
01 0:00:03
Nom de l’album
Nom de l’artiste
Nom de la plage
FR_KDNX5000[E].indb 60FR_KDNX5000[E].indb 60 07.4.4 1:20:07 PM07.4.4 1:20:07 PM

61Opérations des disques
Disques/fichiers reproductibles
Type de disque Format d’enregistrement, type de fichier, etc. Compatible
DVD
DVD vidéo
DVD Audio
DVD-ROM
DVD enregistrable/
réinscriptible
(DVD-R*1/-RW, +R/+RW*2)
• Compatible avec le format
UDF bridge
• Les DVD-RAM ne peuvent
pas être reproduits.
DVD vidéo
DivX/MPEG1/MPEG2
JPEG
MP3/WMA/WAV
ASF
DVD-VR, DVD+VR
Dual Disc Côté DVD
Face non DVD
CD/VCD
CD Audio/CD Text (CD-DA), DTS-CD
VCD (CD Vidéo)
CD-ROM
CD-I (CD-I Ready)
CD enregistrables/
réinscriptibles (CD-R/-RW)
• Compatibles avec ISO 9660
Niveau 1, Niveau 2, Romeo
et Joliet
CD-DA
MP3/WMA/WAV
DivX/MPEG1/MPEG2
JPEG
MPEG4
*1 Un DVD-R enregistré en format MultiBorder est également compatible (à l’exception des disques double-couche).
*2 Il est possible de reproduire des disques +R/+RW (mode vidéo uniquement) finalisés. Cependant, l’utilisation de
disque +R à deux couches n’est pas recommandée.
Remarque sur le code de région:
Les lecteurs de DVD et les disques vidéo DVD
ont leur propre numéro de code de région.
Cet autoradio peut reproduire uniquement
des disques DVD dont le numéro de code de
région comprend “2”.
Si vous insérez un disque DVD Vidéo d’un
code de région incorrect
Erre. de code
region.
apparaît sur le moniteur.
• Cet appareil n’est pas compatible avec le débit
binaire multiple (MBR: un fichier qui possède
le même contenu codé à plusieurs débits
différents).
FR_KDNX5000[E].indb 61FR_KDNX5000[E].indb 61 07.4.4 1:20:08 PM07.4.4 1:20:08 PM

FRANÇAIS
62
CD
4
,
¢
Appuyez sur la touche:
Choisissez une plage
Maintenez pressée:
Recherche vers
l’arrière/vers l’avant
*1
Icône DTS (uniquement pour les CD DTS)
* Uniquement pour les CD-Text.
“No Nom”
apparaît pour les CD ordinaires.
Type de fichier
DivX, MPEG
MP3, WMA, WAV
*
Les données des balises apparaissent à la place des noms
de dossier/fichier quand elles sont enregistrées et que
Affichage Balise
est réglé sur
Marche.
☞
[91]
4
,
¢
Appuyez sur la touche:
Choisissez un fichier
Maintenez pressée:
Recherche vers l’arrière/
vers l’avant
*1
∞
,
5
Appuyez sur la touche:
Choisissez un dossier
Maintenez pressée:
Affichez la liste des
dossiers
4
,
¢
Appuyez sur la touche:
Choisissez un fichier
Maintenez pressée:
Recherche vers l’arrière/
vers l’avant
*2
∞
,
5
Appuyez sur la touche:
Choisissez un dossier
Maintenez pressée:
Affichez la liste des
dossiers
01 0:00:03
Titre du disque
*
Nom de l’artiste
*
Nom de la plage
*
No de plage/Durée de lecture
01 01 0:00:03
Nom du dossier
*
Nom du fichier.mp3
*
No de dossier/No de fichier/
Durée de lecture Format audio
01 01 0:00:03
Nom du dossier
Nom du fichier.avi
No de dossier/No de fichier/
Durée de lecture
FR_KDNX5000[E].indb 62FR_KDNX5000[E].indb 62 07.4.4 1:20:09 PM07.4.4 1:20:09 PM

63Opérations des disques
DVD Audio
VCD
DVD vidéo
4
,
¢
Appuyez sur la touche:
Choisir un chapitre
Maintenez pressée:
Recherche vers
l’arrière/vers l’avant
*1
∞
,
5
Appuyez sur la touche:
Sélection d’un titre
4
,
¢
Appuyez sur la touche:
Choisissez une plage
Maintenez pressée:
Recherche vers
l’arrière/vers l’avant
*1
∞
,
5
Appuyez sur la touche:
Choisissez le groupe
4
,
¢
Appuyez sur la touche:
Choisissez une plage
Maintenez pressée:
Recherche vers l’arrière/
vers l’avant
*1
Format audio
*1 Vitesse de recherche: x2
]
x10 *2 Vitesse de recherche:
¡
1
]
¡
2
01 01 0:00:03
T C
No de titre/No de chapitre/
Durée de lecture
01 01 0:00:03
G
No de groupe/No de plage/
Durée de lecture Format audio Indicateur BONUS
☞
[68]
Indicateur B.S.P
☞
[68]
01 0:00:03
No de plage/Durée de
lecture
Indicateur PBC: s’allume quand la fonction PBC est en service.
☞
[67]
FR_KDNX5000[E].indb 63FR_KDNX5000[E].indb 63 07.4.4 1:20:10 PM07.4.4 1:20:10 PM

FRANÇAIS
64
Sélection des modes de lecture
Vous pouvez utiliser uniquement un des
modes de lecture suivants—
Introduction
/
Répétition
/
Aléatoire
.
Ex. Pour choisir la répétition de plage
1
2
Menu AV
]
Mode
]
Répétition
]
Plage
3
Quand un des modes de lecture est choisi,
l’indicateur correspondant s’allume sur l’écran
d’information du disque.
Pour annuler, choisissez
Arrêt
à l’étape 2.
Type de
disque
Introduction Répétition Aléatoire
Plage
:
Reproduit les 15
premières secondes de
chaque plage (pour les
VCD: PBC hors service)
Plage
:
Répète la plage actuelle
(pour les VCD: PBC
hors service)
Disque
:
Reproduire aléatoirement
toutes les plages (pour les
VCD: PBC hors service)
Plage
:
Reproduit les 15 premières
secondes de chaque plage
Dossier
:
Reproduit les 15 premières
secondes de la première
plage de chaque dossier
Plage
:
Répète la plage actuelle
Dossier
:
Répète toutes les
plages du dossier
actuel
Dossier
:
Reproduit aléatoirement
toutes les plages du dossier
actuel, puis toutes les plages
des dossiers suivants
Disque
:
Reproduit aléatoirement
toutes les plages
Type de
disque
Répétition
Chapitre
:
Répète le chapitre actuel
Titre
:
Répète le titre actuel
Plage
:
Répète la plage actuelle
Plage
:
Répète la plage actuelle
Dossier
:
Répète le dossier actuel
Dossier
:
Répète le dossier actuel
JPEG
4
,
¢
Appuyez sur la touche:
Choisissez un fichier
∞
,
5
Appuyez sur la touche:
Choisissez un dossier
Maintenez pressée: Affichez
la liste des dossiers
01 01
Nom du dossier
Nom du fichier.jpg
No de dossier No de fichier
FR_KDNX5000[E].indb 64FR_KDNX5000[E].indb 64 07.4.4 1:20:11 PM07.4.4 1:20:11 PM

65Opérations des disques
Vous pouvez aussi accéder à la liste des dossier
à partir de
Menu AV
]
Liste
.
Interdiction de l’éjection du disque
1
[Maintenez pressée]
2 Choisissez
Pas d’Ejection
.
Pour annuler l’interdiction, choisissez
Ejection
à l’étape 2.
Utilisation de la télécommande
Opérations communes
AV/OFF
• Changez la source.
• Maintenez cette touche pressé
pour mettre hors service la
fonction AV.
MAP/POS
Commutez sur l’écran de carte.
ENT 6
Démarrez/mettez en pause la
lecture.
(Pour les JPEG: Lecture de
diaporama)
BACK/BAND
Arrêtez la lecture.
MENU
Appelez le menu AV.
VOL +/–
Ajustez le volume.
ATT
Atténuez/rétablissez le son.
DISP
Changez l’affichage.
☞
[11]
OSD
Affichez la barre sur écran.
☞
[68]
ASPECT
Changez le format des images
reproduites.
Liste Dossiers 1/4
Mes préférés
Cinéma
Mes préférés 2
Pops
Favoris
020315
Ejecter
Ejecter d’Urgence
Pas d’Ejection
Régler
Sélection de plages sur la liste
Si un disque comprend des dossiers, vous
pouvez afficher la liste des dossiers/plages, puis
démarrer la lecture.
1 Affichez la liste des dossiers.
2 Choisissez un dossier, puis une
plage.
• Si vous appuyez sur ENT pendant qu’un
dossier est choisi, toutes les plages du dossier
choisi son reproduite.
[Maintenez pressée]
ou
FR_KDNX5000[E].indb 65FR_KDNX5000[E].indb 65 07.4.4 1:20:12 PM07.4.4 1:20:12 PM

FRANÇAIS
66
Sélection d’un article avec les touches
numériques
Vous pouvez choisir un chapitre/titre/groupe/
dossier/plage en entrant son numéro.
Ex.:
Pour choisir un titre sur un DVD Vidéo.
1 [deux fois]
Sur l’écran de lecture:
TITLE – –
apparaît sur l’écran.
Sur l’écran d’information du disque:
Le numéro de titre s’allume en gris.
• Chaque fois que vous appuyez sur
, l’article sélectionnable change.
Référez-vous au tableau ci-dessus.
4/¢
Appuyez sur la touche: Choisissez une plage.
Appuyez sur cette touche et maintenez-la pressée: Recherche vers l’arrière/vers l’avant
*1
.
∞/5
—Choisissez un dossier.
DIRECT
(☞ ci-dessous)
Plage
=
Hors service Fichier
=
Dossier
=
Hors service
1/¡
Recherche vers l’arrière/vers l’avant
*2
4/¢
Appuyez sur la touche: Choisissez un chapitre.
Appuyez sur cette touche et maintenez-la
pressée: Recherche vers l’arrière/vers l’avant
*1
.
Appuyez sur la touche: Choisissez une plage.
Appuyez sur cette touche et maintenez-
la pressée: Recherche vers l’arrière/vers
l’avant
*1
.
∞/5
Choisissez un titre. Choisissez un groupe.
DIRECT
(☞ ci-dessous)
Chapitre =Titre = Hors service Plage =Groupe = Hors service
1/¡
Recherche vers l’arrière/vers l’avant
*2
Lecture au ralenti si la touche est pressée
*3
pendant une pause. (Aucun son n’est entendu.)
Recherche vers l’arrière/vers l’avant
*2
Choisissez la langue des dialogues.
Choisissez la langue des sous-titres.
—
Choisissez un angle de vue.
—
2 Entrez le numéro du titre.
• Pour corriger une mauvaise entrée,
appuyez sur DIRECT pour annuler
l’entrée et recommencez.
3
FR_KDNX5000[E].indb 66FR_KDNX5000[E].indb 66 07.4.4 1:20:13 PM07.4.4 1:20:13 PM

67
Appuyez sur la touche: Choisissez une
plage.
Appuyez sur cette touche et maintenez-
la pressée: Recherche vers l’arrière/vers
l’avant
*4
. (Aucun son n’est entendu.)
Appuyez sur la touche: Choisissez une
plage.
Appuyez sur cette touche et maintenez-
la pressée: Recherche vers l’arrière/vers
l’avant
*1
. (Aucun son n’est entendu.)
Appuyez sur la touche: Choisissez une
plage.
Choisissez un dossier. — Choisissez un dossier.
Plage =Dossier =Hors service Plage =Hors service Fichier =Dossier =Hors service
Recherche vers l’arrière/vers l’avant
*5
(Aucun son n’est entendu.)
Recherche vers l’arrière/vers l’avant
*2
Lecture au ralenti vers l’avant si la touche
est pressée
*3
pendant une pause. (Aucun
son n’est entendu.)
—
Choisissez la langue des dialogues.
(uniquement pour DivX) Choisissez le canal audio.
—
Choisissez la langue des sous-
titres. (uniquement pour DivX) —
—
—— —
Opérations des disques
Utilisation du menu de conduite
(Pour les DVD et DivX 6)
1 ou (uniquement
pour DVD Vidéo et DivX)
2 Choisissez l’article que
vous souhaitez reproduire.
3
Saut rapide
Recule/avance la scène de 5
minutes.
Pendant la lecture...
position de la lecture actuelle
Lecture PBC
Choisissez un article sur le menu.
• Pour revenir aux menus précédents,
appuyez sur .
Pour annuler la lecture PBC
1
2 Choisissez une plage.
• Pour reprendre la lecture PBC, appuyez
sur / .
*1 Vitesse de recherche: x2
]
x10
*2 Vitesse de recherche: x2
]
x5
]
x10
]
x20
]
x60
*3 Vitesse de la lecture au ralenti: 1/32
]
1/16
]
1/8
]
1/4
]
1/2
*4 Vitesse de recherche:
¡
1
]
¡
2
*5 Vitesse de recherche:
¡
1
]
¡
2
]
¡
3
FR_KDNX5000[E].indb 67FR_KDNX5000[E].indb 67 07.4.4 1:20:14 PM07.4.4 1:20:14 PM

FRANÇAIS
68
[deux fois]
Opérations en utilisant la barre sur
l’écran
Pour les disques DVD/VCD/DivX/MPEG/
JPEG, vous pouvez vérifier l’information du
disque est utiliser certaines fonctions à partir de
la barre sur l’écran.
1 Affichez la barre sur écran.
• Quand vous appuyez une fois sur OSD,
la barre d’information apparaît. Quand
vous appuyez de nouveau sur la touche de
fonctionnement se déploie vers le bas.
2 Choisissez un élément.
3 Choisissez un article.
Si le menu déroulant apparaît...
• Pour entrer une durée ou des nombres, référez
à ce qui suit.
Pour effacer la barre sur l’écran
Pour entrer des numéros
1 Choisissez un numéro.
2 Passez au chiffre suivant.
3 Répétez les étapes 1 et 2.
4
• Pour corriger une mauvaise entrée, utilisez ¤.
• Il n’est pas forcément nécessaire d’entrer les
zéros restants.
Fonctions spéciales pour les DVD Audio
Lecture d’un groupe bonus
Si un DVD Audio comprenant un “groupe
bonus” est détecté, s’allume sur l’écran
d’information de disque.
1 Choisissez le groupe bonus.
• Le groupe bonus est habituellement
enregistré comme dernier groupe.
2 Entrez le numéro de code.
• ☞ colonne suivante “Pour entrer des
numéros”
• Le “numéro de code” (une sorte de mot
de passe) pour le groupe bonus n’est pas
accessible au public. La façon d’obtenir le
numéro de code dépend du disque.
3 Suivez les instructions
interactives qui apparaissent sur
le moniteur.
Sélection d’images fixes affichables
Quand un disque comprenant des images fixes
affichables est détectée, s’allume sur
l’écran d’information de disque.
Quand le disque affiche des icônes de
sélection BSP tels que @ ou # sur l’écran...
1 Choisissez l’article que vous
souhaitez afficher.
2
FR_KDNX5000[E].indb 68FR_KDNX5000[E].indb 68 07.4.4 1:20:16 PM07.4.4 1:20:16 PM

69Opérations des disques
DVD -V T02-C03 TOTAL 1:25:58
TIME TITLE CHAP
RPT
C. RPT
Informations
Opérations
1
Type de disque
2
Format de signal audio
(pour les DVD)
PBC
(pour les VCD)
3
Mode de lecture
T. RPT
Répétition de titre/plage Lecture
répétée
*
C. RPT
Répétition de chapitre
*
F. RPT
Répétition de dossier
*
D. RND
Lecture aléatoire de disque
*
T. INT
Introduction des plages
*
4
Informations sur la lecture
T02-C03 Titre/chapitre actuel
G02-T03 Groupe/plage actuelle
TRACK 01 Plage actuelle
F001-T001 Dossier/plage actuelle
F001-F001 Dossier/fichier actuel
5
Indications de la durée
TOTAL Durée de lecture écoulée du
disque
T. REM Durée restante du titre/groupe
(pour les DVD)
Durée restante du disque (pour
les autres)
TIME Durée de lecture écoulée du
chapitre ou de la plage actuelle
REM Durée de lecture restante du
chapitre ou de la plage actuelle
6
État de lecture
Lecture
Recherche vers l’arrière/vers
l’avant
Lecture au ralenti vers l’arrière/
vers l’avant
Pause
Arrêt
7
Icônes de fonctionnement
TIME Changement de l’indication de la
durée (☞ 5)
Recherche temporelle (Entrée la
durée de lecture écoulée du titre
actuel ou du disque.)
TITLE Recherche d’un titre (par son
numéro)
GROUP
Recherche d’un groupe (par son
numéro)
CHAP Recherche d’un chapitre (par son
numéro)
TRACK
Recherche d’une plage (par son
numéro)
RPT Lecture répétée
*
INT Lecture des introductions
*
RND Lecture aléatoire
*
Changement de la langue des
dialogues ou du canal audio
Changez la langue de sous-titre
ou masquer les sous-titres.
Changement de l’angle de vue
PAGE 1/15
Changement des images B.S.P
(pour les DVD Audio) (Les
numéros dans l’indicateur
indique la numéro de la page
actuelle/nombre total de pages.)
*
☞
[64]
FR_KDNX5000[E].indb 69FR_KDNX5000[E].indb 69 07.4.4 1:20:17 PM07.4.4 1:20:17 PM

FRANÇAIS
70
Opérations relatives au serveur de musique
Le disque dur intégré ne fonctionne pas seulement comme espace de stockage pour les données de
navigation, mais aussi comme serveur de musique où vous pouvez enregistrer des plages de CD et
des fichiers musicaux (fichiers MP3, WMA et WAV).
Les plages enregistrées sont catégorisées en genres et en albums.
Vous pouvez créer 99 genres dans le serveur de musique et 99 albums pour chaque genre. Chaque
album peut contenir 999 plages.
Genre 1 Plage 1
Album 1
Plage 2
Plage 3
Plage 1
Plage 2
Album 2
Genre 2
Choisissez “HDD”.
La lecture de la dernière plage choisie démarre à partir du début.
Choisissez une plage.
No de genre/No d’album/No de plage/Durée de lecture
Changez la plage.
Changez l’album.
Type de fichier/mode de compression
01 01 01 0:00:03
Nom du genre
Nom de l’album
Nom de la plage
Type d’égaliseur
☞
[98]
Mode de lecture
☞
[71]
FR_KDNX5000[E].indb 70FR_KDNX5000[E].indb 70 07.4.4 1:20:19 PM07.4.4 1:20:19 PM

71
Sélection des plages en utilisant les
listes
1 Appelez la liste des genres.
2 Choisissez un genre, puis un
album.
• Répétez la même procédure pour choisir
l’album.
3 Choisissez une plage à partir de
laquelle démarrer la lecture.
• Si vous appuyez sur ENT pendant qu’un
genre ou un album est choisi, toutes les
plages du genre ou de l’album choisi sont
reproduites.
Sélection des modes de lecture
Vous pouvez utiliser uniquement un des
modes de lecture suivants—
Introduction
/
Répétition
/
Aléatoire
.
[Maintenez
pressée]
Ex. Pour choisir la répétition de plage
1
2
Menu AV
]
Mode
]
Répétition
]
Plage
3
Quand un des modes de lecture est choisi,
l’indicateur correspondant s’allume sur le
moniteur.
Pour annuler, choisissez
Arrêt
à l’étape 2.
Introduction
Plage
:
Reproduit les 15 premières
secondes de toutes les
plages de l’album actuel
Album
:
Reproduit les 15 premières
secondes de la première
plage de chaque album du
genre actuel
Genre
:
Reproduit les 15 premières
secondes des premières
plages de chaque genre
Répétition Plage
:
Répète la plage actuelle
Album
:
Répète toutes les plages
de l’album actuel
Genre
:
Répète toutes les plages
du genre actuel
Aléatoire Album
:
Reproduit aléatoirement
toutes les plages de
l’album actuel
Genre
:
Reproduit aléatoirement
toutes les plages du
genre actuel
Tous
:
Reproduit aléatoirement
toutes les plages du
serveur de musique
Opérations relatives au serveur de musique
Vous pouvez aussi accéder à la liste des genres
à partir de
Menu AV
]
Liste
.
Liste de genres
60’s
Jazz
Drive
Favoris
Classique
80’s
ou
FR_KDNX5000[E].indb 71FR_KDNX5000[E].indb 71 07.4.4 1:20:20 PM07.4.4 1:20:20 PM

FRANÇAIS
72
Enregistrement/copie de plages à
partir d’un disque
• Vous pouvez enregistrer les plages de CD
audio sur le disque dur.
Enregistrer
apparaît
dans le
Menu AV
.
• Vous pouvez copier des fichiers musicaux
(MP3, WMA, WAV) dans le disque dur.
Copier
apparaît dans le
Menu AV
.
Préparation:
Insérez un disque pour enregistrer/copier et
choisissez DISC comme source.
• Pendant l’enregistrement d’un CD audio,
vous pouvez écouter les plages en cours
d’enregistrement avec l’écran de carte affiché.
• Pendant la copie de fichiers musicaux, vous
ne pouvez pas les écouter.
• Vous ne pouvez pas changer la source
pendant l’enregistrement ou la copie de
plages. Si vous souhaitez interrompre
l’enregistrement et écouter une autre source,
annulez l’enregistrement ou la copie (☞ ci-
dessous).
Quand l’enregistrement/copie est terminé.
Terminé
est affiché et la lecture reprend.
Pour annuler l’enregistrement ou la copie
Pendant un enregistrement ou une copie...
Vous pouvez aussi annuler l’enregistrement/
copie à partir de
Menu AV
]
Enregistrer
/
Copier
]
Annuler
.
Pour enregistrer la plage actuelle
1
2
Menu AV
]
Enregistrer
]
Plage en Cours
3 Commencez l’enregistrement.
Enregistrement en cours...
apparaît
• La plage est enregistrée en mode
Haute
Qualité
. (☞ page suivante)
• Quand vous enregistrez une plage pour
la première fois avec cette fonction, un
nouveau genre et un nouvel album sont
créés automatiquement pour la plage.
Les autres plages enregistrées avec cette
fonction sont enregistrées dans le même
album jusqu’à ce que vous coupiez le
contact ou modifiez la bibliothèque.
Remarques sur le nom des nouveaux genres
et albums
• Si vous souhaitez créer un nouveau genre
ou un nouvel album pour les plages à
enregistrer/copier, choisissez
[Nouveau
genre]
ou
[Nouvel album]
. Pour
donner un nom à un nouveau genre/album,
maintenez pressée DISP. Vous pouvez aussi
donner un nom plus tard en utilisant
Ent.
titre
(☞ [75] “Modification des titres”).
• Si vous ne spécifiez pas de nom de genre
ou de nom d’album pour l’enregistrement/
copie, il est affecté de la façon suivante.
– Pour les CD audio, le nom du genre
et le nom de l’album sont affectés
automatiquement en utilisant la date et
l’heure d’enregistrement.
– Pour les fichiers musicaux, le nom
du genre et affecté automatiquemetn
en utilisant la date et l’heure de
l’enregistrement. Le nom du dossier et
le nom du fichier original sont utilisés
pour le nom de l’album et le nom de la
plage.
FR_KDNX5000[E].indb 72FR_KDNX5000[E].indb 72 07.4.4 1:20:21 PM07.4.4 1:20:21 PM

73
Pour enregistrer les plages choisies
1
2
Menu AV
]
Enregistrer
]
Sélectionner Plage
3
Choisissez les plages à enregistrer.
• Cases à cocher ☞ [105]
4
5 Choisissez le genre et l’album
dans lesquels vous souhaitez
enregistrer les plages.
• Répétez la même procédure pour choisir
l’album.
6 Choisissez un mode de
compression.
Haute Qualité
: Enregistrement de grande
qualité et sans perte (LLC).
Qualité Normale
:
La compression de
l’enregistrement est plus importante, mais la
taille des données devient plus petite (BSC).
7 Commencez l’enregistrement.
Enregistrement en cours...
apparaît.
Opérations relatives au serveur de musique
Sélectionner Plage 1/3
Sélectionner Tout
Plage 1
Plage 2
Plage 3
Plage 4
Vérifier
Pour enregistrer toutes les plages d’un disque
1
2
Menu AV
]
Enregistrer
]
Sélectionner Tout
3 Choisissez le genre et l’album
dans lesquels vous souhaitez
enregistrer les plages.
• Répétez la même procédure pour choisir
l’album.
4 Choisissez un mode de
compression.
Haute Qualité
: Enregistrement de grande
qualité et sans perte (LLC).
Qualité Normale
: La compression de
l’enregistrement est plus importante, mais
la taille des données devient plus petite
(BSC).
5 Commencez l’enregistrement.
Enregistrement en cours...
apparaît.
Compresser
Haute Qualité
Qualité Normale
Enregistrer
Compresser
Haute Qualité
Qualité Normale
Enregistrer
Sélectionner Genre
1/2
[Nouveau genre]
Jazz
Drive
Favorites
Classical
[34/99]
Nombre d’albums dans le genre choisi
Sélectionner Genre
1/2
[Nouveau genre]
Jazz
Drive
Favorites
Classical
[34/99]
Nombre d’albums dans le genre choisi
FR_KDNX5000[E].indb 73FR_KDNX5000[E].indb 73 07.4.4 1:20:21 PM07.4.4 1:20:21 PM

FRANÇAIS
74
Pour copier les plages choisies
1
2
Menu AV
]
Copier
]
Sélectionner Plage
3 Choisissez les plages à copier.
• Cases à cocher ☞ [105]
4
5 Choisissez le genre dans lequel
vous souhaitez copier les plages.
6 Choisissez l’album dans lequel
vous souhaitez copier les plages.
Copie en cours...
apparaît et la copie
démarre.
Pour copier toutes les plages d’un dossier
1 Choisissez le dossier cible.
2
3
Menu AV
]
Copier
]
Sélectionner Tout
4 Choisissez le genre dans lequel
vous souhaitez copier les plages.
5 Choisissez l’album dans lequel
vous souhaitez copier les plages.
Copie en cours...
apparaît et la copie
démarre.
Pour copier la plage actuelle
1
2
Menu AV
]
Copier
]
Plage en Cours
3 Commencez la copie.
Copie en cours...
apparaît.
• Quand vous copiez une plage pour la
première fois avec cette fonction, un
nouveau genre et un nouvel album sont
créés automatiquement pour la plage. Les
autres plages copiées avec cette fonction
sont copiées dans le même album jusqu’à
ce que vous coupiez le contact ou modifiez
la bibliothèque.
Sélectionner Genre
1/2
[Nouveau genre]
Jazz
Drive
Favorites
Classical
[34/99]
Nombre d’albums dans le genre choisi
Pour reprendre l’enregistrement/copie interrompu
Si vous avez mise l’appareil hors tension, coupé
le contact de la voiture ou détachez le panneau
de commande pendant un enregistrement/
copie, vous pouvez reprendre le dernier
enregistrement/copie.
• Si vous éjectez le disque ou modifiez la
bibliothèque du serveur de musique, le mode
Continuer
est annulé.
• Vous ne pouvez pas utiliser
Continuer
si vous avez annulé l’enregistrement/copie
manuellement.
Sélectionner Plage
1/3
Sélectionner Tout
Plage 1
Plage 2
Plage 3
Plage 4
Vérifier
Sélectionner Genre
1/2
[Nouveau genre]
Jazz
Drive
Favorites
Classical
[34/99]
Nombre d’albums dans le genre choisi
FR_KDNX5000[E].indb 74FR_KDNX5000[E].indb 74 07.4.4 1:20:22 PM07.4.4 1:20:22 PM

75
Modification de la bibliothèque
• La modification de bibliothèque est possible
uniquement quand le disque dur est choisi
comme source.
Modification des titres
Vous pouvez modifier les noms de genre, des
albums et des plages dans le disque dur.
Ex. Pour changer le nom d’une plage
1
2
Menu AV
]
Ent. titre
3
Choisissez un genre, puis un album.
La lecture de l’élément choisi démarre.
• Vous ne pouvez pas modifier les données
de balise des plages.
4 Choisissez une plage à modifier.
5 Entrez le nom.
• Entrez les caractères ☞ [105]
• Vous pouvez utiliser un maximum de 32
caractères pour le nom des plages, des
albums ou des genres.
6 Choisissez
Enr
pour terminer la
modification.
• Vous ne pouvez pas modifier les données de
balise des plages.
Déplacement de plages entre les albums/
déplacement d’albums entre les genres
Ex. Pour déplacer des plages entre des albums
• Choisissez l’album auquel appartient les plages
cibles.
1
2
Menu AV
]
Éditez
]
Déplacer
]
Plage
3 Cochez les plages à déplacer.
• Cases à cocher ☞ [105]
4
5 Choisissez l’album dans lequel
vous souhaitez déplacer les plages.
6 Déplacez les plages choisies.
Un message de confirmation apparaît.
Appuyez sur ENT pour confirmer l’opération.
Appuyez sur BACK pour annuler.
Opérations relatives au serveur de musique
Déplacer vers 1/2
[Nouvel album]
Album 1
Album 2
Album 3
Album 4
[15/999] Déplacer
Nombre de plages dans l’album choisi
Déplacer Piste 1/2
Sélectionner Tout
Plage 1
Plage 2
Plage 3
Plage 4
Vérifier
1
2
Menu AV
]
Enregistrer
ou
Copier
]
Continuer
3 Commencez l’enregistrement/la
copie.
Enregistrement en cours...
/
Copie
en cours...
apparaît.
Plus Enr
Over the Rainbow
Supp
FR_KDNX5000[E].indb 75FR_KDNX5000[E].indb 75 07.4.4 1:20:23 PM07.4.4 1:20:23 PM

FRANÇAIS
76
Suppression de plages, albums ou genres
Ex. Pour supprimer des plages
• Choisissez l’album auquel appartient les plages
cibles.
1
2
Menu AV
]
Éditez
]
Supprim.
]
Plage
3 Cochez les plages à supprimer.
• Cases à cocher ☞ [105]
4 Supprimez les plages choisis.
Un message de confirmation apparaît.
Appuyez sur ENT pour confirmer l’opération.
Appuyez sur BACK pour annuler.
Vérification de la taille de stockage
restante
1
2
Menu AV
]
Éditez
]
Zone HDD disponible
Espace libre du serveur de musique
Réarrangement de l’ordre des plages, albums
et genres
Ex. Pour réarranger l’ordre des plages d’un
album
• Choisissez l’album auquel appartient les plages
cibles.
1
2
Menu AV
]
Éditez
]
Trier
]
Plage
3 Choisissez les plages à déplacer.
4 Déplacez la plages choisies.
Un message de confirmation apparaît.
Appuyez sur ENT pour confirmer l’opération.
Appuyez sur BACK pour annuler.
• Pour réarranger plus de plages, répétez les
étapes 1 à 4.
Éditez
Supprim.
Déplacer
Trier
Zone HDD disponible
80.5%[20.0GB] Quitte
Trier Plage 1/2
Plage 1
Plage 2
Plage 3
Plage 4
Plage 5
Sélection.
Trier Plage 1/2
Plage 2
Plage 3
Plage 1
Plage 4
Plage 5
Trier
[Maintenez pressée]
Supprimer Plage 1/2
Sélectionner Tout
Plage 1
Plage 2
Plage 3
Plage 4
Supprim.
Sélection.
FR_KDNX5000[E].indb 76FR_KDNX5000[E].indb 76 07.4.4 1:20:24 PM07.4.4 1:20:24 PM

77
Fonctionnement du changeur de CD
Il est recommandé d’utiliser un changeur de CD JVC compatible MP3 avec votre autoradio.
• Vous pouvez uniquement reproduire des CD (CD-DA) et des disques MP3.
Préparation:
Assurez-vous que
Changeur
est choisi pour le réglage de l’entrée extérieure. (☞ [94])
Fonctionnement du changeur de CD
Choisissez “CD-CH”.
La lecture démarre automatiquement.
Affichez la liste des disques.
• Chaque fois que vous maintenez la
touche pressée, vous pouvez afficher
l’autre liste des disques restants.
Choisissez le disque à
reproduire.
No de disque/No de plage/Durée de lecture
Liste Disques
1/2
MP3 Disc
Disc
02
Disc
03
Disc
04
Disc
05
Disc
06
[Maintenez
pressée]
Sur la télécommande:
Pour choisir un disque
ou
: Choisissez une
plage
: Sélection d’un
dossier (MP3
uniquement)
Pour choisir des plages
Appuyez sur la touche:
Choisissez une plage
Maintenez pressée: Recherche
vers l’arrière/vers l’avant
Appuyez sur la touche:
Sélection d’un dossier (MP3
uniquement)
Maintenez pressée: Appelez la
liste des disques
01 01 0:00:03
Titre du disque
*
Nom de l’artiste
*
Plage actuelle
*
Mode de lecture
☞
[78]
* “No Nom” apparaît pour les
CD ordinaires.
Type d’égaliseur
☞
[98]
ou
FR_KDNX5000[E].indb 77FR_KDNX5000[E].indb 77 07.4.4 1:20:25 PM07.4.4 1:20:25 PM

FRANÇAIS
78
3
Quand un des modes de lecture est choisi,
l’indicateur correspondant s’allume sur le
moniteur.
Pour annuler, choisissez
Arrêt
à l’étape 2.
Type de
disque
Introduction Répétition
Aléatoire
Plage
:
Reproduit les 15 premières
secondes de chaque plage
Disque
:
Reproduit les 15 premières
secondes de la première
plage de tous les disques en
place
Plage
:
Répète la plage actuelle
Disque
:
Répète toutes les plages
du disque actuel
Disque
:
Reproduit aléatoirement
de toutes les plages du
disque actuel
Tous
:
Reproduit aléatoirement
toutes les plages des
disques en place
Plage
:
Reproduit les 15 premières
secondes de chaque plage
Dossier
:
Reproduit les 15 premières
secondes de la première
plage de chaque dossier
Disque
:
Reproduit les 15 premières
secondes de la première
plage de tous les disques en
place
Plage
:
Répète la plage actuelle
Dossier
:
Répète toutes les plages
du dossier actuel
Disque
:
Répète toutes les plages
du disque actuel
Dossier
:
Reproduit aléatoirement
toutes les plages du
dossier actuel, puis
toutes les plages des
dossiers suivants
Disque
:
Reproduit aléatoirement
de toutes les plages du
disque actuel
Tous
:
Reproduit aléatoirement
toutes les plages des
disques en place
• Vous pouvez aussi accéder à la liste des disques à partir de
Menu AV
]
Liste
.
• Lors de la lecture d’un disque MP3, vous pouvez choisir et démarrer la lecture d’une plage dans
le disque en utilisant les listes.
Sélection des modes de lecture
Vous pouvez utiliser uniquement un des modes
de lecture suivants—Lecture des introductions/
répétée/aléatoire.
Ex. Pour choisir la répétition de plage
1
2
Menu AV
]
Mode
]
Répétition
]
Plage
Liste Disques 1/2
MP3 Disc
Disc
02
Disc
03
Disc
04
Disc
05
Disc
06
Liste Dossiers 1/2
My Best
Cinema
Pops
My Best2
Favorite Song
Cinema2
Liste de Plages 1/2
Song011.mp3
Song012.mp3
Song013.mp3
Song014.mp3
Song015.mp3
Song016.mp3
FR_KDNX5000[E].indb 78FR_KDNX5000[E].indb 78 07.4.4 1:20:26 PM07.4.4 1:20:26 PM

79 79
Autres fonctions
80 Utilisation de iPod/lecteur D.
Sélection d’une plage à partir du menu du lecteur
80
Sélection des modes de lecture
80
81 Lecture d’un autre appareil
extérieur
Entrée extérieure
81
Entrée vidéo
82
83 Utilisation d’appareils
Bluetooth®
—Téléphone cellulaire/lecteur audio
Utilisation des menus pour les périphériques
Bluetooth
83
Enregistrement d’un appareil Bluetooth
83
Utilisation d’un téléphone portable Bluetooth
85
Utilisation d’un lecteur audio Bluetooth
87
Menu Téléphone
88
90 Articles du menu AV
98 Égalisation du son
Sélection d’un type d’égaliseur
98
Mémorisation de votre propre ajustement
98
99 Informations additionnelles
FR_KDNX5000[E].indb 79FR_KDNX5000[E].indb 79 07.4.4 1:20:27 PM07.4.4 1:20:27 PM

FRANÇAIS
80
Sélection des modes de lecture
1
2
Menu AV
]
Mode
]
Répétition
ou
Aléatoire
Répétition
Un
:
Fonctionne de la même façon
que “Répéter Un” ou “Mode
répétition = Un”.
Tous
:
Fonctionne de la même
façon que “Répéter Tous” ou
“Mode répétition = Tous”.
Aléatoire
Morceau /Marche
:
Fonctionne de la même façon
que “Aléatoire Morceaux” ou
“Lecture aléatoire = Activé”.
Album
:
Fonctionne de la même façon
que la fonction “Aléatoire
Albums” pour iPod.
Pour annuler, choisissez
Arrêt
à l’étape 2.
• iPod est une marque de commerce d’Apple
Computer, Inc., enregistrée aux États-Unis et
dans les autres pays.
Utilisation de iPod/lecteur D.
Pour iPod d’Apple et le lecteur D. de JVC, il est nécessaire de connecter l’adaptateur d’interface
(KS-PD100 pour iPod ou KS-PD500 pour le lecteur D.) à la prise de changeur de CD à l’arrière.
Préparation:
Assurez-vous que
Changeur
est choisi pour le réglage de l’entrée extérieure. (☞ [94])
Choisissez “iPod” ou “D. PLAYER”.
La lecture démarre automatiquement.
Choisissez une plage.
Sélection d’une plage à partir du
menu du lecteur
1 Affichez le menu du lecteur.
apparaît.
• Ce mode est annulé si aucune opération
n’est réalisée pendant environ 5 secondes.
2 Choisissez l’article de menu
souhaité.
3 Validez le choix.
4 Répétez les étapes 2 à 3 pour
choisir une plage.
• Quand une plage est finalement
sélectionnée, la lecture démarre.
• Pour retourner au menu précédent...
Pause/reprise
01 0:00:03
Nom de l’album
Nom de l’artiste
Nom de la plage
Mode de lecture
☞
ci-dessous
Type d’égaliseur
☞
[98]
FR_KDNX5000[E].indb 80FR_KDNX5000[E].indb 80 07.4.4 1:20:28 PM07.4.4 1:20:28 PM

81
Affectation d’un titre à l’entrée extérieure
1 Choisissez
EXT-IN
comme
source.
2
3
Menu AV
]
Ent. titre
4 Affectez un titre.
• Entrez les caractères ☞ [105]
• Vous pouvez utiliser un maximum de 16
caractères.
5 Choisissez
Enr
.
• Quand vous conduisez à une vitesse
supérieure à 10 km/h, les opérations d’entrée
sont interdites.
Utilisation de iPod/lecteur D. / Lecture d’un autre appareil extérieur
Choisissez “EXT-IN”.
Mettez l’appareil connecté sous tension et démarrez la lecture
de la source.
Lecture d’un autre appareil extérieur
Entrée extérieure
Vous pouvez connecter un appareil extérieur aux prises du changeur de CD à l’arrière de l’appareil en
utilisant l’adaptateur d’entrée de ligne—KS-U57 (non fourni) ou l’adaptateur d’entrée auxiliaire—KS-
U58 (non fourni).
Préparation:
Assurez-vous que
EntréeExt.
est choisi pour le réglage de l’entrée extérieure. (☞ [94])
Entrée AV
Type d’égaliseur
☞
[98]
EnrPlus
Supp
FR_KDNX5000[E].indb 81FR_KDNX5000[E].indb 81 07.4.4 1:20:29 PM07.4.4 1:20:29 PM

FRANÇAIS
82
Chaque fois que vous appuyez sur DISP, l’affichage change comme suit:
Écran AV
=
Informations sur le véhicule (
☞ [11]
)
=
image vidéo ou image de la caméra
=
(retour à l’écran AV)
Pour les appareils vidéo:
Mettez l’appareil connecté sous tension et démarrez la lecture.
Pour commuter la vue de la caméra
automatiquement
Vous pouvez régler l’appareil pour afficher
automatiquement la vue de la caméra quand la
voiture est mise en marche arrière ou quand la
voiture ralentit.
☞ [94]
Interlock
Pour inverser l’image de la caméra
☞ [94]
Horizontal
et
Vertical
Entrée vidéo
Vous pouvez connecter un appareil extérieur à la fiche VIDEO IN.
Préparation:
Lors de la connexion d’un appareil vidéo
Assurez-vous que
EntréeExt.
est choisi pour le réglage de l’entrée extérieure et
Vidéo
pour le
réglage de l’entrée vidéo. (☞ [94])
• Vous ne pouvez pas voir l’image vidéo quand le frein de stationnement n’est pas engagé.
Lors de la connexion d’une caméra
Assurez-vous que
Caméra
est choisi pour le réglage de l’entrée vidéo. (☞ [94])
FR_KDNX5000[E].indb 82FR_KDNX5000[E].indb 82 07.4.4 1:20:29 PM07.4.4 1:20:29 PM

83
Utilisation d’appareils Bluetooth
®
—
Téléphone cellulaire/lecteur audio
Pour les opérations Bluetooth, il faut connecter l’adaptateur Bluetooth (KS-BTA200) à la prise de
changeur de CD à l’arrière.
• Référez-vous aussi aux instructions fournies avec l’adaptateur Bluetooth et l’appareil Bluetooth.
• Référez-vous à la liste (comprise dans la boîte) pour voir les pays où vous pouvez utiliser la
fonction Bluetooth®.
Méthodes d’enregistrement (pairage)
• Utilisez
Menu Téléphone
pour enregistrer
un périphérique tel qu’un téléphone portable.
• Utilisez
Menu AV
pour enregistrer un
périphérique tel qu’un lecteur audio
numérique.
Ouvert
Rendez l’appareil prêt
pour établir une nouvelle
connexion Bluetooth. La
connexion est établie à partir
de l’appareil Bluetooth.
Recherche
Rendez l’appareil prêt
pour établir une nouvelle
connexion Bluetooth. La
connexion est établie à partir
de cet appareil.
Utilisation d’appareils Bluetooth
Préparation:
Réglez l’appareil pour mettre en service la
fonction Bluetooth.
Pour utiliser un appareil Bluetooth à travers
cet appareil (“Bluetooth Phone” et “Bluetooth
Audio”) pour la première fois, vous devez établir
la connexion sans fil Bluetooth entre l’appareil
Bluetooth et cet appareil.
• Une fois que la connexion est établie, l’appareil
extérieur reste enregistré dans cet appareil
même si vous réinitialisez l’appareil. Un
maximum de cinq appareils peuvent être
enregistrés en tout.
• Un seul appareil pour Téléphone Bluetooth
et un appareil pour Audio Bluetooth peuvent
être connectés en même temps.
Menu Téléphone
Mode
Liste
Mode 1/2
Dial
Message
Ouvert
Recherche
Équipem. Spécial
Menu AV 2/2
Mode
Écran de carte/écran
AV: autres sources
que Bluetooth Audio
Écran AV:
=
Bluetooth Audio
Écran de carte/
écran AV
Menu Téléphone
Mode
Liste
Enregistrement d’un appareil Bluetooth
Utilisation des menus pour les périphériques Bluetooth
[Maintenez
pressée]
[Maintenez
pressée]
Bluetooth Phone
P902i
10:35
Enregistrement d’un appareil Bluetooth
Utilisation d’un téléphone portable Bluetooth
Mode 1/2
Dial
Message
Ouvert
Recherche
Équipem. Spécial
FR_KDNX5000[E].indb 83FR_KDNX5000[E].indb 83 07.4.4 1:20:30 PM07.4.4 1:20:30 PM

FRANÇAIS
84
Recherche des appareils disponibles
1
Mode
]
Recherche
L’a p p a r e il recherche les appareils disponibles
et affiche leur liste. (Si aucun appareil
disponible n’est détecté,
Non Trouvé
apparaît.)
2 Choisissez un appareil que vous
souhaitez connecter.
3 Entrez le code PIN spécifique
de l’appareil extérieur sur cet
appareil.
• Entrez les caractères ☞ [105]
• Référez-vous aux instructions fournies
avec l’appareil pour vérifier le code PIN.
4 Utilisez l’appareil Bluetooth
pour réaliser la connexion.
Maintenant la connexion est établie et vous
pouvez utiliser l’appareil extérieur à travers
cet appareil.
Rechercher...
Connexion en cours...
Connexion d’un appareil spécial
1
Mode
]
Équipem. Spécial
L’a p p a r e il affiche la liste des appareils
préréglés.
2 Choisissez un appareil que vous
souhaitez connecter.
3 Utilisez
Ouvert
(ou
Recherche
) pour réaliser la
connexion.
L’a p p a r e il reste enregistré même après que
vous le déconnectez. Utilisez
Connecter
(ou
mettez en service
Connection Auto
) pour
connecter le même appareil la prochaine fois.
(☞ [89])
2 Entrez un code PIN (Numéro
personnel d’identification)*
dans l’appareil.
• Entrez les caractères ☞ [105]
• Vous pouvez entrer n’importe quel
nombre (entre 1 et 16 chiffres).
* Certains périphériques ont leur propre code PIN.
Entrez le code PIN spécifié sur l’appareil.
3 Choisissez
Connect
.
4 Utilisez l’appareil cible
Bluetooth.
Entrez le même code PIN (que vous avez
entré à l’étape ci-dessus) sur l’appareil à
connecter.
Maintenant la connexion est établie et vous
pouvez utiliser l’appareil extérieur à travers cet
appareil.
Ouverture...
0000
Ef.a
Connect
Enregistrement en utilisant
Ouvert
1
Mode
]
Ouvert
Pour enregistrer un autre périphérique après
avoir enregistré un périphérique, assurez-vous
que
Nouvel Equipment
est choisi. (☞ [85])
FR_KDNX5000[E].indb 84FR_KDNX5000[E].indb 84 07.4.4 1:20:31 PM07.4.4 1:20:31 PM

85
Bluetooth Phone
*2
P902i
Appeler...
Jack
09845671234
10:35
Utilisation d’appareils Bluetooth
Utilisation d’un téléphone portable
Bluetooth
Pour faire un appel
Vous pouvez faire un appel en utilisant une des
options du menu
Dial
.
1
Menu Téléphone
]
Mode
]
Dial
Connexion/déconnexion d’un appareil
enregistré
1 Sur l’écran Bluetooth Phone
ou l’écran Bluetooth Audio,
choisissez le périphérique
enregistré que vous souhaitez
connecté/déconnecté.
2
Mode
]
Connecter
ou
Déconnexion
• Choisissez
Connecter
pour connecter
l’appareil choisi.
• Choisissez
Déconnexion
pour
déconnecter l’appareil choisi.
Vous régler l’appareil pour vous connecter
automatiquement à un appareil Bluetooth
quand l’autoradio est mis sous tension. (☞ [89])
Suppression d’un appareil enregistré
Après l’étape 1 ci-dessus...
Mode
]
Supprimer Liais.
]
Oui
• Pour annuler, choisissez
Non
.
*1 Bleu: L’appareil est connecté.
Blanc: L’appareil n’est pas connecté.
*2 Téléphone cellulaire
Téléphone portable avec fonction audio
*3 Apparaît uniquement quand l’information
provient de l’appareil extérieure
• Chaque fois que vous appuyez
sur
5
∞
, le nom des appareils
enregistrés (et
Nouvel
Equipement
quand un nouvel
appareil peut être enregistré)
apparaissent dans l’ordre.
2 Choisissez la méthode pour
faire un appel.
•
Appels Composés
: Affiche la liste
des numéros de téléphone que vous avez
composés. Passez à l’étape suivante.
•
Appels Reçus
: Affiche la liste des
appels reçus. Passez à l’étape suivante.
•
Annuaire
: Affiche le répertoire
téléphonique du téléphone portable
connecté. Passez à l’étape suivante.
•
Appels Absence
: Affiche la liste des
appels ratés. Passez à l’étape suivante.
•
Numéro de Tel.
: Affiche l’écran d’entrée
de numéro de téléphone. = Entrez les
numéros et choisissez
Dial
. (Entrez les
caractères ☞ [105])
•
Voix
(Uniquement quand le téléphone
portable connecté possède un système de
reconnaissance vocale): = Dites le nom
que vous souhaitez appeler.
3 Choisissez le nom/numéro de
téléphone que vous souhaitez
appeler.
État de l’appareil
*3
Rappel de force du signal/batterie
Dial 1/2
Appels Composés
Appels Reçus
Annuaire
Appels Absence
Numéro de Tel.
[01234567890]
Icône Bluetooth
s’allume quand l’adaptateur est connecté.
*1
FR_KDNX5000[E].indb 85FR_KDNX5000[E].indb 85 07.4.4 1:20:31 PM07.4.4 1:20:31 PM

FRANÇAIS
86
Vous pouvez aussi accéder à la liste des
numéros préréglés à partir de
Menu
Téléphone
]
Liste
.
Vous pouvez utiliser les touches suivantes
sur la télécommande pour les opérations
téléphonique Bluetooth.
ENT 6, PHONE: Répondez à un appel
entrant.
BACK: Terminez l’appel.
Touches numériques: Entrez le numéro de
téléphone/code PIN.
PHONE: Maintenez pressée la touche pour
afficher la liste de recomposition.
Sur l’appareil:
1 Appelez la liste des préréglages.
2 Choisissez le numéro préréglé à
appeler.
[Maintenez pressée]
Préréglage Numérotation
11122223333
22233336666
44455556666
09845671234
99988887777
55566668888
Pour composer le numéro acquis dans le
système de navigation
1 Recherchez un POI ou un point
favori qui des informations de
numéro de téléphone.
2 Choisissez [Appel] .
[Maintenez pressée]
• Vous ne pouvez pas passer
un appel international avec
cette fonction.
• Vous pouvez aussi accéder au menu
Dial
en
appuyant sur PHONE sur la télécommande.
• Vous pouvez aussi accéder à la liste de
recomposition en maintenant pressée
PHONE sur la télécommande.
• Vous pouvez aussi accéder à l’écran d’appel
vocal en maintenant pressée MENU. Pendant
que l’écran du téléphone Bluetooth est affiché.
• Cet ajustement n’affecte pas le
niveau de volume des autres
sources.
• Vous pouvez ajuster le niveau de
volume du microphone. ☞ [89]
Pour terminer un appel
Maintenez pressée MENU, DISP, BACK,
ENT,
5
,
∞
, , ou TRAFFIC.
Préréglage de numéros de téléphone
Vous pouvez prérégler un maximum de six
numéros de téléphone.
1 Affichez le numéro de téléphone
que vous souhaitez prérégler
en utilisant une des options du
menu
Dial
.
2 Appelez la liste des préréglages.
[Maintenez pressée]
• Pour prérégler un numéro de téléphone
en utilisant
Numéro de Tel.
, choisissez
Enr
après avoir entré un numéro de
téléphone.
3
Choisissez un numéro de préréglage.
Pour appeler un numéro préréglé
Sur la télécommande:
Pendant que l’écran du téléphone Bluetooth est
affiché...
Pour ajuster le volume
ou
Mémoire Prérégl. Enr
11122223333
22233336666
44455556666
09845671234
99988887777
55566668888
FR_KDNX5000[E].indb 86FR_KDNX5000[E].indb 86 07.4.4 1:20:32 PM07.4.4 1:20:32 PM

87
Choisissez “Bluetooth Audio”.
Démarrez la lecture.
Utilisation d’un lecteur audio Bluetooth
*1 lecteur audio
Téléphone portable avec fonction audio
*2 Chaque fois que vous appuyez sur 5 ∞, le nom des
appareils enregistrés (et Nouvel Equipement
quand un nouvel appareil peut être enregistré)
apparaissent dans l’ordre.
*3 Indique la touche pressée. Cela peut être différent de
l’état de lecture.
• ☞ [83] pour la connexion d’un nouvel
appareil.
• ☞ [85] pour la connexion/déconnexion d’un
appareil enregistré.
• ☞ [85] pour la suppression d’un appareil
enregistré.
Vous pouvez utiliser les touches suivantes sur
la télécommande pour les opérations audio
Bluetooth.
ENT 6, BACK: Démarrez/arrêtez la lecture.
4/¢: Saut vers l’arrière/saut vers l’avant
VOL +/−: Ajustez le volume.
Touches numériques: Entrez le code PIN.
Utilisation d’appareils Bluetooth
Arrêtez la lecture.
Quand un appel arrive...
L’é cran change automatiquement sur Bluetooth
Phone.
Quand
Reponse Auto
est en service
L’a p p a r e il répond automatiquement aux appels
entrant. (☞ [89])
• Quand
Reponse Auto
est hors service,
appuyez sur MENU, DISP, BACK, ENT,
5
,
∞
, , ou TRAFFIC répondre à
l’appel entrant.
Quand un SMS arrive...
Si le téléphone portable est compatible avec
SMS (Service de messages courts) et que
Info. de Message
est réglé sur
Auto
(☞ [89]), l’appareil sonne et
Récéption
Message
apparaît sur le moniteur pour vous
informer de l’arrivée d’un message.
Pour lire le message
Pendant que
Récéption Message
est
affiché...
• Vous ne pouvez pas modifier ou envoyer un
message avec cet appareil.
Bluetooth Phone
P902i
Réception Appel
Jack
09845671234
10:35
Nom et
numéro de
téléphone (s’ils
sont obtenus)
Saut vers l’arrière/saut
vers l’avant
*1
Appareil connecté
*2
Lecture
*3
Icône Bluetooth: s’allume quand l’adaptateur est connecté.
Type d’égaliseur
☞
[98]
FR_KDNX5000[E].indb 87FR_KDNX5000[E].indb 87 07.4.4 1:20:33 PM07.4.4 1:20:33 PM

FRANÇAIS
88
Menu Téléphone
Articles du menu Réglages sélectionnables
(Réglage initial)
Dial*
1
Appels
Composés
Choisissez un numéro de téléphone à partir de liste des numéros de
téléphone que vous avez composés.
Appels Reçus
Choisissez un numéro de téléphone à partir de liste des appels reçus.
Annuaire
Choisissez un nom, puis un numéro de téléphone à partir du
répertoire téléphonique du téléphone cellulaire connecté.
Appels Absence
Choisissez un numéro de téléphone à partir de liste des appels manqués.
Numéro de Tel.
Entrez le numéro de téléphone.
Voix
Si le téléphone cellulaire connecté a un système de reconnaissance
vocal, vous pouvez faire un appel avec une commande vocale.
Message*
2
Vous pouvez lire un message à partir de l’historique des messages
suivant.
Non Lus
: Les messages que vous n’avez pas lus.
Lus
: Messages que vous avez lus.
Non Envoyés
: Les messages que vous n’avez pas envoyés.
Envoyés
: Les messages que vous avez envoyés.
Ouvert*
3
Uniquement pour
Nouvel Equipement
.
Rendez l’appareil prêt pour établir une nouvelle connexion Bluetooth.
Choisissez ce réglage lors de l’établissement d’une connexion
Bluetooth avec un appareil pour la première fois, principalement à
partir de l’appareil extérieur. ☞ [84]
• Une fois que la connexion est établie, il est enregistré dans l’appareil.
Vous pouvez connecter cet appareil et l’appareil extérieur en
utilisant
Connecter
(☞ [89]) à partir de la fois suivante.
Recherche*
3
Uniquement pour
Nouvel Equipement
.
Rendez l’appareil prêt pour établir une nouvelle connexion Bluetooth.
Choisissez ce réglage lors de l’établissement d’une connexion
Bluetooth avec un appareil pour la première fois, principalement à
partir de cet appareil. L’appareil recherche les nouveaux appareils
disponibles. ☞ [84]
• Avant de démarrer une recherche, mettez en service la fonction de
l’appareil extérieur de façon que cet appareil puisse le détecter.
• Une fois que la connexion est établie, il est enregistré dans l’appareil.
Vous pouvez connecter cet appareil et l’appareil extérieur en
utilisant
Connecter
(☞ [89]) à partir de la fois suivante.
Équipem. Spécial*
3
Uniquement pour
Nouvel Equipement
.
Montre la liste des appareils Bluetooth qui demandent certaines
procédures spéciales pour que la connexion Bluetooth soit établie.
Choisissez un appareil que vous souhaitez connecter. ☞ [84]
• Après avoir choisi l’appareil, utilisez
Ouvert
ou
Recherche
(☞ ci-dessous) pour la connexion.
• Une fois que la connexion est établie, il est enregistré dans l’appareil.
Vous pouvez connecter cet appareil et l’appareil extérieur en
utilisant
Connecter
(☞ [89]) à partir de la fois suivante.
FR_KDNX5000[E].indb 88FR_KDNX5000[E].indb 88 07.4.4 1:20:34 PM07.4.4 1:20:34 PM

89Utilisation d’appareils Bluetooth
Articles du menu Réglages sélectionnables
(Réglage initial)
Connecter*
3
Uniquement pour les appareils enregistrés.
Après avoir choisi un appareil à partir de la liste des appareils
enregistrés (☞ [85, 87]), établissez la connexion avec lui. ☞ [85]
Déconnexion*
3Uniquement pour l’appareil connecté.
Déconnectez l’appareil actuel avant d’en connecter un autre. ☞ [85]
Supprimer Liais.*
3Uniquement pour les appareils enregistrés.
Supprimez les appareils enregistrés. ☞ [85]
Réglage
*3
Connection
Auto
Quand l’appareil est sous tension, la connexion est établie
automatiquement avec...
Arrêt
: Aucun appareil Bluetooth.
Durer
: Le dernier appareil Bluetooth connecté.
Durer et Liais.
: L’appareil Bluetooth enregistré trouvé en premier.
Reponse Auto*
4Uniquement pour l’appareil connecté pour “Bluetooth Phone”.
Arrêt
: L’appareil ne répond pas automatiquement. Répondez aux
appels manuellement.
Marche
: L’appareil répond automatiquement aux appels entrant.
Rejeter
: L’appareil refuse tous les appels entrants.
Info. de
Message*
4
Uniquement pour l’appareil connecté pour “Bluetooth Phone”.
Auto
: L’appareil vous informe de l’arrivée d’un message par une
sonnerie et en affichant
Récéption Message
. Pour lire le
message, appuyez sur ENT (☞ [87]).
Manuel
: L’appareil ne vous informe pas de l’arrivée d’un message.
Volume du
Micro*
4
Uniquement pour l’appareil connecté pour “Bluetooth Phone”.
Ajustez le volume du microphone connecté à l’adaptateur Bluetooth.
1
,
2
,
3
Version
La version du logiciel et du matériel Bluetooth est affichée.
*1 Les éléments sélectionnables varient en fonction de l’appareil connecté.
*2 Peut être choisi uniquement quand le périphérique est compatible avec les SMS (Short Message Service).
*3 Disponible aussi en Mode dans Menu AV pour Bluetooth Audio.
*4 Ne peut pas être choisi pour Nouvel Equipement.
Menu Téléphone (suite)
Informations sur le système Bluetooth:
Si vous souhaitez recevoir plus d’informations
sur le système Bluetooth, consultez le site web
de JVC.
La marque du mot et les logos Bluetooth
sont la propriété de Bluetooth SIG, Inc. et
toute utilisation de ces marques par Victor
Company of Japan, Limited (JVC) est faite
sous licence. Les autres marques et noms
de commerce sont la propriété de leur
propriétaire respectif.
FR_KDNX5000[E].indb 89FR_KDNX5000[E].indb 89 07.4.4 1:20:35 PM07.4.4 1:20:35 PM

FRANÇAIS
90
Articles du menu AV
☞ [12]
pour les détails sur l’utilisation des menus.
Menu AV 1/2
Réglage
EQ
Son
Commande d’écran
Format Image
Menu AV 2/2
Mode
Liste
Enregistrer
Éditez
Ent. titre
Réglage 1/2
Afficher
Horloge
Disque
Tuner
Entrée
Réglage 2/2
Autres
Articles du menu Réglages sélectionnables
(Réglage initial)
Réglage
]
Afficher
Langue*
1
Dansk, Deutsch, English UK, English US,
Español, Français, Italiano, Nederlands,
Svenska
Démonstration Arrêt
:
Annulation.
Marche
:
Met en service la démonstration sur le moniteur.
Papier Peint
Vous pouvez choisir l’image de fond du moniteur.
Par défaut, Numérique, Minuit, Coucher de
soleil, Gauges, Aube, Nucléus, Carbone,
Tunnels, Orbite, Ombre, Forêt
Défilement Arrêt
:
Annulation.
Une Fois
:
Fait défiler une fois les informations de l’affichage.
Auto
:
Répète le défilement (à 5 secondes d’intervalle).
• Maintenir DISP pressée permet de faire défiler les
informations quel que soit ce réglage.
*1 Ce réglage est commun avec le réglage Langue du menu de Réglage (
☞
[46]
)
• Les articles de menu affichés peuvent
varier.
FR_KDNX5000[E].indb 90FR_KDNX5000[E].indb 90 07.4.4 1:20:35 PM07.4.4 1:20:35 PM

91
Articles du menu Réglages sélectionnables
(Réglage initial)
Réglage
]
Afficher
Affichage Balise Arrêt:
Annulation.
Marche
: Affiche les données de la balise lors de la
lecture d’une plage MP3/WMA/WAV sur un disque ou
sur le disque dur.
Gradateur Arrêt
: Annulation.
Marche
: Met en service le gradateur.
Auto
: Assombrit le moniteur quand vous allumez les
feux de la voiture.
*
2
Réglage Heure
: Réglez l’heure pour commuter l’écran
jour/nuit.
• Quand vous choisissez
Réglage Heure
, réglez
l’heure de commutation sur l’écran suivant.
Réglage
]
Horloge
Réglage Heure Locale Auto
: Le fuseau horaire et l’heure d’été sont
ajustés automatiquement en utilisant le signal RDS.
Manuel
: Choisissez le fuseau horaire et l’heure d’été
manuellement.
Format de l’Heure 12 Heures, 24 Heures
Fuseau Horaire
*3
UTC
,
UTC+1
,
UTC+2
(UTC: Temps universel coordonné)
Heure d’Eté
*3 Mettez en service l’heure d’été si votre zone d’habitation
y est soumise.
Arrêt
:
Annulation.
Auto
:
Règle l’heure d’été automatiquement quand c’est
nécessaire.
Réglage
]
Disque
*4
Langue Menu
*5 Choisissez la langue initiale du menu de disque (☞ aussi
[104]). (
English
)
Langue Audio
*5 Choisissez la langue initiale des dialogues (☞ aussi
[104]). (
English
)
Sous-Titre
*5 Choisissez la langue initiale des sous-titres ou supprimez
les sous-titres (
Arrêt
)
(☞ aussi [104]). (
English
)
Langue D’Ecran
Choisissez la langue de l’affichage sur l’écranutilisée pour
le moniteur extérieur connecté à la fiche VIDEO OUT.
(
English
)
*2 La connexion du fil ILLUMINATION CONTROL est requise. (
☞
Manuel d’installation/Raccordement)
*3 Ajustable uniquement quand Réglage Heure Locale est réglé sur Manuel.
*4 Ajustable uniquement quand la source est réglée sur DISC et que la lecture est arrêtée.
*5 Après avoir changé ces réglages, mettez l’appareil hors tension puis de nouveau sous tension pour que le réglage
prenne effet.
Articles du menu AV
FR_KDNX5000[E].indb 91FR_KDNX5000[E].indb 91 07.4.4 1:20:36 PM07.4.4 1:20:36 PM

FRANÇAIS
92
Articles du menu Réglages sélectionnables
(Réglage initial)
Réglage
]
Disque
*4
Type D’Ecran
Choisissez le type de moniteur de façon à ce qu’il
corresponde à une image d’écran large.
16:9:
Choisissez ce réglage quand le format de votre
moniteur extérieur est 16:9.
4:3 Letterbox/4:3 Pan Scan
: Choisissez ce réglage
quand le format de votre moniteur extérieur est 4:3.
Référez-vous aux illustrations ci-à gauche pour savoir
comment les images apparaissent sur le moniteur.
Position Osd
Choisissez la position de la barre sur l’écran. ☞ [68]
1
: Position élevée
2
: Position basse
Type Fichier
Choisissez le type de fichier de lecture à reproduire
quand un disque contient différents types de fichiers.
Audio
: Reproduit les fichiers audio.
Image Fixe
: Reproduit les fichiers JPEG.
Vidéo
: Reproduit les fichiers DivX/MPEG.
Sortie Audio Num.
Choisissez le format de signal à émettre par la prise
DIGITAL OUT (optique) à l’arrière de l’appareil. Pour les
détails, ☞ [106].
Arrêt:
Aucun signal n’est sorti par la prise.
Seulement PCM
: Choisissez ce réglage quand un
amplificateur ou un décodeur incompatible avec le
Dolby Digital, DTS ou MPEG Audio, ou bien un
appareil d’enregistrement est connecté.
Dolby Digital/PCM
: Choisissez ce réglage quand
un amplificateur ou un décodeur compatible avec le
Dolby Digital est connecté.
Flux/PCM
: Choisissez ce réglage quand un
amplificateur ou un décodeur compatible avec le
Dolby Digital, DTS et le MPEG Audio est connecté.
Mixage Demulti.
Lors de la lecture d’un disque DVD multicanaux, ce
réglage affecte les signaux reproduits par les prises LINE
OUT (et par la prise DIGITAL OUT quand
Seulement
PCM
est choisi pour
Sortie Audio Num.
).
Compatible Surround
: Choisissez ce réglage si vous
souhaitez profiter d’un son Surround multicanaux
en connectant à cet autoradio un amplificateur
compatible avec le Dolby Surround.
Stéréo
: Normalement choisissez ce réglage.
16:9 4:3 Letterbox
4:3 Pan Scan
Position 1 Position 2
FR_KDNX5000[E].indb 92FR_KDNX5000[E].indb 92 07.4.4 1:20:37 PM07.4.4 1:20:37 PM

93
Articles du menu Réglages sélectionnables
(Réglage initial)
Réglage
]
Disque*
4
Compres. P. Dyna
Vous pouvez profiter d’un son puissant à un faible niveau
de volume lors de la lecture d’un support Dolby Digital.
Auto
: Choisissez ce réglage pour appliquer les effets aux
supports codés multicanaux.
Marche
: Choisissez ce réglage pour toujours utiliser
cette fonction.
Enregistrement DivX
Cet appareil possède son propre code d’enregistrement.
Une fois que vous avez reproduit un disque sur
lequel se trouve un code d’enregistrement, le code
d’enregistrement de l’appareil est remplacé pour des
raison de protection des droits d’auteur.
Format Sortie Vidéo
Choisit le format de la sortie vidéo en fonction du
standard de couleur du moniteur extérieur.
• Le standard de système de l’affichage de l’appareil
change aussi. La qualité de l’image de l’affichage de
l’appareil principal peut être détériorée quand vous
choisissez
PAL
.
NTSC, PAL
Réglage
]
Tuner
AF Régionale
Quand les signaux reçus de la station actuelle
deviennent faibles...
AF
: Commute sur une autre station. Le programme
peut différer du programme actuellement reçu (
s’allume).
AF Régionale
: Commute sur une autre station
diffusant le même programme. ( s’allume.)
Arrêt
: Annulation—ne peut pas être choisi quand
FA
DAB
est réglé sur
Marche
. ☞ [56]
Volume TA 0
à
30
ou
50
*6. (
15
) ☞ [55]
Recherche Progr. Arrêt
: Annulation.
Marche
: En utilisant les données AF, l’autoradio
accorde une même station diffusant le même
programme que celui diffusé par la station RDS
originale si les signaux de la station ne sont pas
suffisants.
FA DAB
*7
Arrêt
,
Marche
. ☞ [58]
Largeur Bande IF Auto
: Augmente la sélectivité du tuner pour réduire
les interférences entre les stations adjacentes. (L’effet
stéréo peut être perdu.)
Large
: Il y a des bruits d’interférence des stations
adjacentes, mais la qualité du son n’est pas dégradée et
l’effet stéréo est conservé.
Articles du menu AV
*6 Dépend de la commande de gain de l’amplificateur.
*7 Apparaît uniquement quand un tuner DAB est connecté.
FR_KDNX5000[E].indb 93FR_KDNX5000[E].indb 93 07.4.4 1:20:37 PM07.4.4 1:20:37 PM

FRANÇAIS
94
Articles du menu Réglages sélectionnables
(Réglage initial)
Réglage
]
Entrée
Entrée ext.*
8Quand un appareil extérieur est connecté à la prise du
changeur de CD à l’arrière.
Changeur
: Changeur de CD, iPod ou lecteur D.
EntréeExt.
: N’importe quel autre appareils que ceux
donnés ci-dessus.
• Pour la connexion du tuner DAB ou du adaptateur
Bluetooth ce réglage n’est pas requis. Il est détecté
automatiquement.
Entrée Vidéo*
9
Vous pouvez déterminer l’utilisation de la fiche
VIDEO IN. ☞ [82]
Arrêt
: Choisissez ce réglage si aucun appareil n’est
connecté. (L’entrée vidéo est sautée pendant le
changement de l’affichage avec la touche DISP.)
Vidéo
: Choisissez ce réglage quand un appareil audio/
vidéo tel qu’un magnétoscope est connecté.
Caméra
: Choisissez ce réglage quand une caméra est
connectée.
Pour
Caméra
Interlock Arrêt
: Annulation.
Inversé
: Commute automatiquement sur la caméra
de recul quand le levier de vitesse est mis en marche
arrière.
*
10
Faible Vitesse
: Commute automatiquement sur la
vue de la caméra quand votre voiture ralentit.
*
11
Horizontal/
Vertical
L’a j u s t e m e nt horizontal est nécessaire selon le type
d’image que vous souhaitez voir sur le moniteur.
L’a j u s t e m e nt vertical est nécessaire selon la façon dont
vous avez installé votre caméra.
Horizontal: Normal Horizontal: Inversé
Vertical:
Normal
Vertical:
Inversé
Format Vidéo*
12 Choisit le format de l’entrée vidéo en fonction du
standard de couleur de l’appareil connecté à la fiche
VIDEO IN.
NTSC
,
PAL
*8 Ne peut pas être choisi quand le composant connecté à la prise de changeur de CD est choisi comme source.
*9 Ne peut pas être choisi quand “EXT-IN” est choisi comme source.
*10 Le fil de signal de vitesse doit être connecté. (
☞
Manuel d’installation/Raccordement)
*11 La connexion du fil des feux de recul est requised. (
☞
Manuel d’installation/Raccordement)
*12 Ne peut pas être choisi quand Entrée Vidéo est réglé sur Arrêt.
FR_KDNX5000[E].indb 94FR_KDNX5000[E].indb 94 07.4.4 1:20:38 PM07.4.4 1:20:38 PM

95
*13 La connexion du fil TEL MUTING est requise. (
☞
Manuel d’installation/Raccordement)
*14 Ce réglage permet d’afficher la même information que Connexion du menu d’information (
☞ [43]
).
Articles du menu Réglages sélectionnables
(Réglage initial)
Réglage
]
Autres
Bips Arrêt
: Annulation.
Marche
: Met en service la tonalité sonore des touches.
Sourd. Téléphon.
Vous pouvez mettre en sourdine le son du système (les
sons de la source AV et le guidage vocal) quand vous
parlez avec le téléphone cellulaire.
Arrêt
: Annulation.
Sourdine 1
,
Sourdine 2
: Choisissez le mode qui
permet de couper le son lors de l’utilisation d’un
téléphone cellulaire.
*
13
Polarisation Inversée
Choisissez le réglage qui indique correctement la
direction de votre boîte de vitesse.
GND
,
Batterie
Connexion*
14 Vous pouvez vérifier l’état de la connexion.
EQ Flat, Hard Rock, R&B, Pop, Jazz, Dance
Music, Country, Reggae, Classic, User 1,
User 2, User 3
☞ [98]
Son
Fader/Balance
Ajustez le fader— la balance de sortie des enceintes entre
les enceintes avant et arrière. (
00
)
F06
: avant uniquement
R06
: arrière uniquement
• Lors de l’utilisation d’un système à deux enceintes,
réglez le fader au centre (
00
).
Ajustez la balance—la balance de sortie des enceintes
entre les enceintes gauche et droite. (
00
)
L06
: gauche uniquement
R06
: droite uniquement
Réglage volume
Ajustement et mémorisation du niveau de volume
de l’ajustement automatique pour chaque source, par
rapport au niveau de volume FM. Le niveau de volume
augmente ou diminue automatiquement quand vous
changez la source.
–12
à
+12
(
00
)
Caisson de grave
Ajustez les réglages ci-dessous dans le sous-menu:
•
Phase
: Phase du caisson de grave. Choisissez
Normal
ou
Inversé
, le réglage qui vous donne le
meilleur son.
•
Niveau
: Niveau de sortie du caisson de grave.
00
à
08
(
04
)
Fader/Balance
Quitte
F02
L02
Articles du menu AV
FR_KDNX5000[E].indb 95FR_KDNX5000[E].indb 95 07.4.4 1:20:38 PM07.4.4 1:20:38 PM

FRANÇAIS
96
Articles du menu Réglages sélectionnables
(Réglage initial)
Son
Filtre Pass Haut Connect. Directe
: Choisissez ce réglage quand aucun
caisson de grave n’est connecté.
Marche
: Choisissez ce réglage quand un caisson de
grave est connecté.
Transition
Ajustez la fréquence de transition entre les enceintes
avant/arrière et le caisson de grave.
55 Hz, 85 Hz, 125 Hz
Gain amplific.
Vous pouvez changer le niveau de volume maximum de
cet autoradio.
Arrêt de l’amplific.
: Met hors service l’amplificateur
intégré.
Basse Puissance
: Volume 00 à 30 (Choisissez ce
réglage si la puissance maximum des enceintes est
inférieure à 50 W)
Haute Puissance
: Volume 00 à 50
Commande d’écran/
Image [Disque]/
Image [Vidéo]
Vous pouvez ajuster le moniteur pour le rendre clair et
lisible.
• Quand une image de VIDEO IN est affichée, vous
pouvez ajuster l’image de lecture de VIDEO IN
(
Image [Vidéo]
).
• Pendant que DISC est choisi comme source et que
l’image de lecture est affichée, vous pouvez ajuster
l’image de lecture de DISC (
Image [Disque]
).
• Pour les autres écrans que ceux ci-dessus,
Commande d’écran
apparaît.
*
15
Luminosité*
16: Ajustez ce réglage si l’image est trop
lumineuse ou sombre.
–15
à
+15
(
00
)
Tempé. Coul.
: Ajustez la couleur de l’image—plus
chaude ou plus froide.
–15
à
+15
(
00
)
Contraste
: Ajustez le contraste.
–15
à
+15
(
00
)
Teinte
: Ajustez la teinte si la couleur de la peau
humaine n’est pas naturelle.
–15
à
+15
(
00
)
•
Teinte
est ajustable uniquement pour un signal
VIDEO IN au standard NTSC ou pour les disques
NTSC.
*15 Le réglage de Commande d’écran est aussi appliqué à l’écran de carte et aux écrans des menus de navigation.
*16 Ce réglage dans Commande d’écran est commun avec le réglage Luminosité dans Réglage Menu
(
☞
[44]).
Commande d' écran
Quitte
+03
Luminosité
FR_KDNX5000[E].indb 96FR_KDNX5000[E].indb 96 07.4.4 1:20:39 PM07.4.4 1:20:39 PM

97Articles du menu AV
*17 Pour les articles de menu de Mode pour Bluetooth Audio,
☞
[88, 89].
Articles du menu Réglages sélectionnables
(Réglage initial)
Format Image [Disque]/
Format Image [Vidéo]
Vouspouvez changer le format de l’image.
Format d’image du signal d’entrée
4:3 16:9
Plein
:
Pour les images
originales 16:9
Régulier
:
Pour les images
originales 4:3
Auto
:
• Pour “DISC”: Le format d’image
est choisi automatiquement en
fonction des signaux d’entrée.
• Pour les autres sourcesvidéo:
Le format d’image est fixésur
Plein
.
Mode*
17
Mono
Uniquement pour FM. (
Arrêt
,
Marche
) ☞ [53]
DX / Local
Uniquement pour FM. (
DX
,
Local
) ☞ [53]
SSM
Uniquement pour FM. ☞ [52]
Attente PTY
Uniquement pour FM/DAB. ☞ [55, 58]
Commande P. Dyna
Uniquement pour DAB. (
Arrêt
,
DRC1
,
DRC2
,
DRC3
) ☞
[58]
Attente Annonce
Uniquement pour DAB. ☞ [58]
Introduction/Répétition/
Aléatoire
Uniquement pour la lecture de disque, le serveur de
musique, le changeur de CD et iPod/lecteur D. ☞ [64, 71,
78, 80]
Liste
Les listes accessibles diffèrent en fonction de la source.
Enregistrer
Pour enregistrer des CD audio dans le serveur de musique.
☞ [72, 73]
Copier
Pour copier des fichiers musicaux dans le serveur de
musique. ☞ [74]
Éditez
Pour modifier des plages dans le serveur de musique. ☞ [75]
Ent. titre
☞ [75, 81]
FR_KDNX5000[E].indb 97FR_KDNX5000[E].indb 97 07.4.4 1:20:39 PM07.4.4 1:20:39 PM

FRANÇAIS
98
Mémorisation de votre propre
ajustement
Vous pouvez mémoriser votre propre
ajustement dans
User 1
,
User 2
, et
User 3
.
1 Répétez les étapes1 et 2, puis à
l’étape 3...
2 Ajustez.
3 Mémorisez votre réglage dans
User 1
,
User 2
ou
User 3
.
Choisissez la fréquence.
Ajustez le niveau.
Égalisation du son
Enr
Fréquence
Réglages
EQ - Flat
60 Hz
00
EQ 1/3
Flat
Hard Rock
R&B
Pop
Jazz
Quitte
Enregistrer EQ sous
User 1
User 2
User 3
Enr
Sélection d’un type d’égaliseur
1
2
Menu AV
]
EQ
3 Choisissez un type d’égaliseur.
Valeurs d’égalisation préréglées
Type d’égaliseur 60
Hz
150
Hz
400
Hz
1
kHz
2.4
kHz
6
kHz
12
kHz
Flat
00 00 00 00 00 00 00
Hard Rock
+03 +03 +01 00 00 +02 +01
R&B
+03 +02 +02 00 +01 +01 +03
Pop
00 +02 00 00 +01 +01 +02
Jazz
+03 +02 +01 +01 +01 +03 +02
Dance Music
+04 +02 00 –02 –01 +01 +01
Country
+02 +01 00 00 00 +01 +02
Reggae
+03 00 00 +01 +02 +02 +03
Classic
+02 +03 +01 00 00 +02 00
User 1/2/3
00 00 00 00 00 00 00
FR_KDNX5000[E].indb 98FR_KDNX5000[E].indb 98 07.4.4 1:20:40 PM07.4.4 1:20:40 PM

99
Informations additionnelles
Généralités
• Il y a un temps limite pour effectuer certaines
opérations. Dans ce cas, si aucune opération
suplémentaire n’est réalisée pendant une certaine
période, l’opération actuelle est annulée.
• En appuyant sur SRC ou MAP sur l’autoradio,
vous pouvez aussi mettre l’appareil sous
tension. L’écran de carte est affichée à la mise
sous tension si vous appuyez sur MAP ou
l’écran AV si vous appuyez sur SRC. Si la
source est prête, la lecture démarre.
• Vous ne pouvez pas choisir certaines sources
si elles ne sont pas prêtes.
– DAB/CD-CH/iPod/D. PLAYER: ne peut
pas être choisi si l’appareil sousrce cible
n’est pas connecté.
– DISC: ne peut pas être choisi si aucun
disque ne se trouve dans la fente d’insertion.
– EXT-IN: ne peut pas etre choisi si
EntréeExt.
n’est pas choisi pour le
réglage
Entrée ext.
. (☞ [94])
– Audio Bluetooth: ne peut pas être choisi si
aucun adaptateur Bluetooth n’est connecté.
• Si vous mettez l’appareil hors tension pendant
que DISC est choisi comme source, la lecture du
disque démarre automatiquement, la prochaine
fois que vous mettez l’appareil sous tension.
• La tension et la vitesse sur l’écran
d’information du véhicule peut différer de la
valeur réelle.
Écoute de la radio
Mémorisation des stations
• Quand le préréglage automatique SSM est
terminé, toutes les stations mémorisées
précédemment sont supprimées et de
nouvelles stations sont mémorisées à la place.
• Quand la recherche SSM est terminée, les
stations reçues sont préréglées sur les No 1
(fréquence la plus basse) à No 6 (fréquence
la plus haute), et la station préréglée No 1 est
accordée.
• Lors de la mémorisation manuelle d’une
station, la station précédemment mémorisée
est effacée quand une nouvelle station est
mémorisée sur le même numéro de préréglage.
Opérations RDS
• L’attente de réception TA et l’attente de
réception PTY sont annulés temporairement
dans les cas suivants:
– Pendant l’enregistrement d’un CD sur le
disque dur.
– Pendant la copie du contenu d’un disque
sur le disque dur.
– Pendant l’édition du contenu du disque
dur.
• Si vous souhaitez en savoir plus sur le système
RDS, visitez le site <http://www.rds.org.uk>.
Opérations DAB
• Seuls les services DAB primaires peuvent être
préréglés même si vous mémorisez un service
secondaire.
Opérations des disques
Généralités
• Dans ce manuel, les mots “plage” et “fichier”
sont utilisés de façon interchangeable.
• Cet appareil peut aussi reproduire les disques
de 8 cm.
• Cet autoradio peut uniquement reproduire les
fichiers CD audio (CD-DA) si différents types
de fichier sont enregistrés sur le même disque.
• Avec certains disques, les opérations décrites
dans ce manuel peuvent être légèrement
différentes.
• Cet autoradio peut afficher uniquement les
caractères d’un octet. Les autres caractères ne
peuvent pas être affichés correctement.
• La recherche vers l’arrière s’arrête
automatiquement quand elle atteint le début du
disque. La lecture reprend à vitesse normale.
• Aucun son ne sort pendant la lecture au
ralenti. Lors de la lecture d’un VCD, la lecture
au ralenti vers l’arrière n’est pas disponible.
• Lors de la lecture d’un DVD/VCD, aucun son
ne sort pendant la recherche.
• Avec certains DVD et VCD, il est interdit de
changer la langue des sous-titres, la langue des
dialogues (ou le canal audio) sans utiliser le
menu de disque.
Égalisation du son / Informations additionnelles
FR_KDNX5000[E].indb 99FR_KDNX5000[E].indb 99 07.4.4 1:20:41 PM07.4.4 1:20:41 PM

FRANÇAIS
100
Insertion d’un disque
• Si un disque est inséré à l’envers,
Erreur
Disque
apparaît sur le moniteur. Éjection
d’un disque.
Éjection d’un disque
• Si le disque éjecté n’est pas retiré avant 15
secondes, il est réinséré automatiquement
dans la fente d’insertion pour le protéger de la
poussière.
• Si le panneau de commande est laissé
ouvert pendant un certain temps, il se ferme
automatiquement.
Changement de la source
• Si vous changez la source, la lecture s’arrête
aussi sans éjecter le disque.
La prochaine fois que vous choisissez “DISC”
comme source de lecture, la lecture du disque
reprend à partir de l’endroit où elle a été
interrompue.
• Quand un disque est en place, choisir “DISC”
comme source de lecture démarre la lecture
du disque.
Lecture de disques enregistrables/réinscriptibles
• Cet appareil peut reconnaître un maximum de
3 500 fichiers, 250 dossiers (un maximum de
999 fichiers par dossier).
• Si aucun fichier reproductible n’est enregistré
dans un dossier, le dossier n’est pas reconnu.
• Utilisez uniquement des disques “finalisés”.
• Cet autoradio peut reproduire les disques
multi-session; mais les sessions non fermée
sont sautées lors de la lecture.
• Cet appareil peut ne pas être capable de
reproduire certaines disques ou fichiers
à causes de leurs caractéristiques ou des
conditions d’enregistrement.
• Cet appareil peut reconnaître un total de 25
caractères pour les noms de fichier/dossier.
• Pour les DVD-R/DVD-RW: Cet autoradio
peut uniquement reproduire les disques
enregistrés au format DVD Vidéo. (Les
disques enregistrés au format DVD-VR ne
peuvent pas être reproduits.)
• Les DVD-RW ou CD-RW nécessite un temps
d’initialisation plus long à cause de leur indice
de réflexion plus faible que celui des disques
ordinaires.
• N’utilisez pas des disques sur lesquels une
étiquette peut être imprimée directement avec
une imprimante à jet d’encre. Utiliser de tels
disques par haute température ou humidité
peut entraîner un mauvais fonctionnement ou
endommager les disques.
Lecture de fichiers DivX
• Cet appareil peut reproduire les fichiers DivX
portant le code d’extension <.divx>, <.div>,
<.avi> (quel que soit la casse des lettres).
• Cet appareil prend en charge les fichiers
DivX d’une résolution de 720 x 576 pixels ou
inférieure.
• Cet appareil prend en charge les formats DivX
6.x, 5.x, 4.x et 3.11.
• Le flux audio doit être conforme au format
MP3 ou Dolby Digital.
• Cet appareil ne prend pas en charge le format
GMC (Global Motion Compression).
• Les fichiers codés en mode à balayage entrelacé
ne peuvent pas être reproduits correctement.
• Cet appareil peut afficher un seul code
d’enregistrement—DivX Video On Demand
(DRM—Digital Rights Management). Pour
l’activation et pour en savoir plus, consultez le
site <www.divx.com/vod>.
FR_KDNX5000[E].indb 100FR_KDNX5000[E].indb 100 07.4.4 1:20:42 PM07.4.4 1:20:42 PM

101Informations additionnelles
Lecture de fichiers MPEG
• Cet appareil peut reproduire les fichier MPEG
portant l’extension <.mpg> ou <.mpeg>.
• Le format de transmission en continu doit être
conforme au programme/système MPEG.
• Le format de fichier doit être MP@ML (profil
principal au niveau principal)/SP@ML (profil
simple au niveau principal)/MP@LL (profil
principal au niveau inférieur).
• Les flux audio doivent être conforme au
format MPEG1 Audio Layer-2.
Lecture de fichiers JPEG
• Il est recommandé d’enregistrer les fichiers à la
résolution de 640 x 480.
• Cet appareil peut reproduire les fichiers JPEG
au format de base (baseline). Les fichiers JPEG
progressifs ou sans perte (lossless) ne peuvent
pas être reproduits.
Lecture de fichiers MP3/WMA/WAV
• Cet appareil peut reproduire les fichiers
portant le code d’extension <.mp3>, <.wma>
ou <.wav> (quel que soit la casse des lettres).
• Cet appareil peut affiché les balises ID3,
version 1.0/1.1/2.2/2.3/2.4 (pour MP3). Cet
appareil peut aussi afficher les balises WAV et
WMA.
• Cet autoradio peut reproduire les fichiers
respectant les conditions suivantes:
– Débit binaire: MP3/WMA: 32 kbps à
320 kbps
– Fréquence d’échantillonnage:
48 kHz, 44,1 kHz, 32 kHz (pour MPEG1)
24 kHz, 22,05 kHz, 16 kHz (pour MPEG2)
48 kHz, 44,1 kHz, 32 kHz (pour WMA)
44,1 kHz (pour WAV)
– Format du disque: ISO 9660 Level 1/Level 2,
Romeo, Joliet, nom de fichier long Windows
• Cet auroradio peut reproduire les fichiers
enregistrés au mode VBR (débit binaire
variable).
Les fichiers enregistrés en VBR affichent une
durée écoulée différente.
• Cet appareil ne peut pas reproduire les fichiers
suivants et les saute lors de la lecture de fichiers:
– Fichiers MP3 codés au format MP3i et
MP3 PRO.
– Fichiers MP3 codés dans un format
inapproprié.
– Fichiers MP3 codés avec Layer 1/2.
– Fichiers WMA codés sans perte,
professionnels et formats vocaux.
– Fichiers WMA qui ne sont pas basés sur
Windows Media® Audio.
– WMA DRM (Digital Rights Management).
– Fichiers qui contiennent des données
telles que AIFF, ATRAC3, etc.
– Fichiers WMA codés au format MBR
(Multiple Bit Rate).
– Fichiers AAC.
– Fichiers OGG.
Icônes guides sur l’écran
Pendant la lecture, les icônes suivantes
peuvent apparaître un instant sur le moniteur.
Apparaît au début d’une scène
contenant des plusieurs langues de
sous-titres (pour les DVD uniquement).
Apparaît au début d’une scène
contenant des plusieurs langues des
dialogues (pour les DVD uniquement).
Apparaît au début d’une scène
contenant des plusieurs angles de vue
(pour les DVD uniquement).
Lecture
Pause
Lecture au ralenti vers l’avant
(uniquement pour les DVD et VCD)
Lecture au ralenti vers l’arrière
(uniquement pour les DVD)
Recherche vers l’avant
Recherche vers l’arrière
FR_KDNX5000[E].indb 101FR_KDNX5000[E].indb 101 07.4.4 1:20:42 PM07.4.4 1:20:42 PM

FRANÇAIS
102
Écran de commande
• Les écrans de commande suivants
apparaissent uniquement sur le moniteur
extérieur.
DivX/MPEG/JPEG/MP3/WMA/WAV
1 Dossier actuel (mise en valeur)
2 Numéro du dossier actuel/nombre total de
dossiers
3 Liste des dossiers
4 Mode de lecture choisi
5 Durée de lecture écoulée de la plage actuelle
(n’est pas affichée pendant la lecture JPEG)
6 État de fonctionnement
7 Numéro de la plage actuelle/nombre total
de plages du dossier actuel (nombre total de
plage du disque)
8 Information sur la plage (uniquement pour
les MP3/WMA/WAV)
9 Liste des plages
p Plage actuelle (mise en valeur)
TIME 00:14
Tra ck : 6 / 14
Track Information
Cloudy
Fair
Fog
Hail
Indian summer
Rain
Shower
Snow
Thunder
Typhoon
Wind
Winter sky
Album
Four seasons
Artist
Robert M. Smith
Title
Rain
T. RPT
Folder : 2 / 3
TIME 00:00:14T. RPT
Track : 6 / 14 (Total 41)
01 Music
02 Music
03 Music
Track Information
Cloudy.mp3
Fair.mp3
Fog.mp3
Hail.wma
Indian summer.mp3
Rain.mp3
Shower.mp3
Snow.mp3
Thunder.wma
Typhoon.mp3
Wind.mp3
Winter sky.mp3
Album
Weather
Artist
Robert M. Smith
Title
Rain
CD
1 Mode de lecture choisi
2 Durée de lecture écoulée de la plage actuelle
3 État de fonctionnement
4 Numéro de la plage actuelle/nombre total de
plages du disque
5 Informations sur la plage
6 Liste des plages
7 Plage actuelle (mise en valeur)
Opérations relatives au serveur de musique
• La qualité du son peut être détériorée si vous
choisissez
Qualité Normale
pour le mode
d’enregistrement.
• Pendant l’enregistrement, les sons enregistrés
sont reproduits par les enceintes. Quand
l’enregistrement est arrêté, le son du CD
original est reproduit.
• Vous ne pouvez pas changer la source pendant
l’enregistrement ou la copie de plages.
• Ce système utilise SCMS (Serial Copy
Management System/Système de gestion
de la copie en série) qui permet de faire
uniquement des copies numériques
de première généraltion d’un matériel
préenregistré tel qu’un CD ordinaire. Si vous
essayez d’enregistrer un CD-R/-RW copié,
SCMS. Copie impossible.
peut apparaître
sur l’affichage et l’enregistrement être annulé.
• Les données de texte des CD Text ne peuvent
pas être enregistrés sur le disque dur.
• L’indication de la durée de lecture peut
avancer de façon instable sur le moniteur
pendant l’enregistrement. Ce n’est pas un
mauvais fonctionnement de l’appareil.
• Vous ne pouvez pas modifier les données de la
balise des plages du disque dur.
• Si vous mettez l’appareil hors tension pendant
que DISC est choisi comme source, la lecture
du disque démarre automatiquement, la
prochaine fois que vous mettez l’appareil sous
tension.
• Quand vous roulez, réarangez ou supprimez
des éléments dans la bibliothèque, le mode de
lecture est annulé.
FR_KDNX5000[E].indb 102FR_KDNX5000[E].indb 102 07.4.4 1:20:43 PM07.4.4 1:20:43 PM

103
Utilisation de iPod/lecteur D.
• Quand vous mettez cet appareil sous tension,
iPod ou le lecteur D. est chargé à travers cet
appareil.
• Le texte d’information peut ne pas être affiché
correctement. Cet appareil peut afficher un
maximum de 40 caractères.
• Les articles du menu supérieur du lecteur sont
les suivants:
Pour iPod:
Playlists Ô Artists Ô Albums Ô Songs
Ô Genres Ô Composers Ô (retour au
début)
Pour le lecteur D. :
Playlist Ô Artist Ô Album Ô Genre
Ô Track Ô (retour au début)
Remarque:
Lors de l’utilisation de iPod ou d’un lecteur
D., certaines opérations peuvent ne pas être
réalisées correctement ou comme prévues.
Dans ce cas, consultez le site Web JVC suivant:
Pour les utilisateurs de iPod: <http://www.
jvc.co.jp/english/car/support/ks-pd100/
index.html>
Pour les utilisateurs d’un lecteur D.:
<http://www.jvc.co.jp/english/car/support/
ks-pd500/index.html>
Informations additionnelles
Utilisation d’appareils Bluetooth
Généralités
• Pendant que vous conduisez, ne réalisez
pas d’opérations compliquées telles que la
composition d’un numéro, l’utilisation du
répertoire téléphonique, etc. Pour réaliser
ces opérations, arrêtez votre voiture dans un
endroit sûr.
• Il se peut que certains périphériques Bluetooth
ne puissent pas être connectés à cet appareil
en fonction de la version Bluetooth du
périphérique.
• Cet appareil peut ne pas fonctionner avec
certains périphériques Bluetooth.
• Les conditions de connexion peuvent varier
en fonction des circonstances autour de vous.
• Quand cet appareil est mis hors tension,
l’appareil extérieur est déconnecté.
Icônes pour les types de téléphone
• Ces icônes indiquent le type de téléphone
réglé sur l’appareil.
Messages d’avertissement pour les opérations
Bluetooth
•
Erreur de Connexion
: L’appareil est
enregistré mais la connexion a échouée.
Utilisez
Connecter
pour connecter de
nouveau l’appareil. (☞ [85])
•
Erreur
: Essayez de nouveau l’appareil. Si
Erreur
apparaît de nouveau, vérifiez si
l’appareil extérieur prend en charge la fonction
que vous avez essayée.
•
Non Trouvé
: Aucun périphérique Bluetooth
disponible n’est détecté avec
Recherche
.
•
Chargement
: L’appareil met à jour le
répertoire téléphonique et/ou un message
textuel.
•
Attendez SVP...
: L’appareil se prépare pour
utiliser la fonction Bluetooth. Si le message ne
disparaît pas, mettez l’appareil hors tension
puis sous tension, puis connecter de nouveau
le périphérique (ou réinitialisez l’appareil).
•
Réinitialisation 08
: Vérifiez la connexion
entre l’adaptateur et cet appareil.
: Téléphone cellulaire
: Téléphone domestique
: Bureau
: Généralités
: Autre que ci-dessus
FR_KDNX5000[E].indb 103FR_KDNX5000[E].indb 103 07.4.4 1:20:44 PM07.4.4 1:20:44 PM

FRANÇAIS
104
Articles du menu AV
• Si vous changez le réglage
Gain Amplific.
de
Haute Puissance
sur
Basse
Puissance
pendant que le niveau de volume
est réglé plus fort que
30
, l’appareil change
automatiquement le niveau de volume sur
Volume 30
.
• Après avoir changé un des réglages
Langue
Menu
/
Langue Audio
/
Sous-Titre
, mettez
l’appareil hors tension puis de nouveau sous
tension, puis réinsérez le disque (ou insérez
un autre disque) de façon que le réglage soit
effectif.
Codes de langue (pour la sélection de la langue des DVD/DivX)
Code Langue Code Langue Code Langue Code Langue Code Langue
AA
Afar
FA
Persan
KL
Groenlandais
OC
Langue d’oc
ST
Sesotho
AB
Abkhazien
FI
Finnois
KM
Cambodgien
OM
(Afan) Oromo
SU
Soudanais
AF
Afrikaans
FJ
Fidji
KN
Kannara
OR
Oriya
SW
Swahili
AM
Amharique
FO
Faroese
KO
Coréen (KOR)
PA
Panjabi
TA
Tamil
AR
Arabe
FY
Frison
KS
Kashmiri
PL
Polonais
TE
Télougou
AS
Assamais
GA
Irlandais
KU
Kurde
PS
Pashto, Pushto
TG
Tadjik
AY
Aymara
GD
Gaélique
écossais
KY
Kirghiz
PT
Portugais
TH
Thaï
AZ
Azerbaïdjanais
GL
Galicien
LA
Latin
QU
Quechua
TI
Tigrinya
BA
Bashkir
GN
Guarani
LN
Lingala
RM
Rhaeto-Romance
TK
Turkmène
BE
Biélorusse
GU
Gujarati
LO
Laotien
RN
Kirundi
TL
Tagalog
BG
Bulgare
HA
Hausa
LT
Lithuanien
RO
Roumain
TN
Setswana
BH
Bihari
HI
Hindi
LV
Latvian, Letton
RW
Kinyarwanda
TO
Tongan
BI
Bislama
HR
Croate
MG
Malagasy
SA
Sanskrit
TR
Turc
BN
Bengali,
Bangladais
HU
Hongrois
MI
Maori
SD
Sindhi
TS
Tsonga
BO
Tibétain
HY
Arménien
MK
Macédonien
SG
Sango
TT
Tatar
BR
Breton
IA
Interlingua
ML
Malayalam
SH
Serbo-Croate
TW
Twi
CA
Catalan
IE
Interlangue
MN
Mongol
SI
Cingalais
UK
Ukrainien
CO
Corse
IK
Inupiak
MO
Moldavien
SK
Slovaque
UR
Ourdou
CS T
chèque
IN
Indonésien
MR
Marathi
SL
Slovène
UZ
Ouzbek
CY
Gallois
IS
Islandais
MS
Malais (MAY)
SM
Samoan
VI
Vietnamien
DZ
Bhutani
IW
Hébreu
MT
Maltais
SN
Shona
VO
Volapük
EL
Grec
JI
Yiddish
MY
Birman
SO
Somalien
WO
Ouolof
EO
Espéranto
JW
Javanais
NA
Nauruan
SQ
Albanais
XH
Xhosa
ET
Estonien
KA
Géorgien
NE
Népalais
SR
Serbe
YO
Yoruba
EU
Basque
KK
Kazakh
NO
Norvégien
SS
Siswati
ZU
Zoulou
• Si la langue que vous avez choisie n’est pas
enregistrée sur le disque, la langue originale est
utilisée automatiquement comme langue initiale.
De plus, pour certains disques, les réglages de
langue peuvent ne pas fonctionner comme prévu
à cause du programme interne du disque.
• Si vous choisissez
16:9
pour une image de
format 4:3, l’image change légèrement à cause
du processus de conversion de la largeur de
l’image.
• Même si
4:3 Pan Scan
est choisi, la taille
de l’écran peut devenir
4:3 Letterbox
avec
certains disques.
• Quand vous changez le réglage
FA DAB
de
Arrêt
sur
Marche
, le réglage
AF Régionale
change sur
AF
s’il a été réglé sur
Arrêt
.
FR_KDNX5000[E].indb 104FR_KDNX5000[E].indb 104 07.4.4 1:20:44 PM07.4.4 1:20:44 PM

105
Caractères disponibles pour l’entrée de mots
En plus des alphabets romains (A – Z, a –z), les
caractères suivants peuvent être utilisés pour
entrer diverses informations.
Déplacez le curseur sur le
clavier
Entrez le caractère choisi
Entrée des caractères
Ex.:
Affichage d’autres claviers
• Chaque fois que vous appuyez sur la touche,
le clavier change de façon clyclique. En
maintenant pressée la touche, vous pouvez
changer le clavier dans la direction inverse.
Suppression de tous les caractères
Choisissez
Supp
et maintenez pressé ENT.
• Quand vous conduisez à une vitesse
supérieure à 10 km/h, les opérations d’entrée
sont interdites.
Cases à cocher
Ex.:
Pour choisir un élément sur la liste
• Chaque fois que vous appuyez sur ENT, la
case est cochée (choisie) et décochée (non
choisie) alternativement.
Pour choisir tous les éléments sur la liste
Choisissez
Sélectionner Tout
et appuyez
sur ENT.
• SI vous avez choisi tous les éléments,
l’élément supérieur de la liste change en
Désélect. Tout
. Pour décochez tous les
éléments, choisissez
Désélect. Tout
et
appuyez sur ENT.
Sélectionner Plage
1/3
Sélectionner Tout
Plage 1
Plage 2
Plage 3
Plage 4
Vérifier
Informations additionnelles
- Entrée Nom Genre -
Plus Enr
Supp
espace
Affichage d’autres claviersEntrez une espace
Supprimer un caractère
Déplacez le curseur
FR_KDNX5000[E].indb 105FR_KDNX5000[E].indb 105 07.4.4 1:20:45 PM07.4.4 1:20:45 PM

FRANÇAIS
106
À propos des sons reproduits par les prises arrière
• Par les prises analogiques (Sortie des enceintes/LINE OUT):
Un signal à 2 canaux est sorti. Lors de la lecture d’un disque codé multicanaux, les signaux
multicanaux sont sous mixés. (☞ [92]
Mixage Demulti.
)
• Par la sortie DIGITAL OUT (optique):
Les signaux numériques (Linear PCM, Dolby Digital, DTS, MPEG Audio) sont sortis par cette
prise. Pour reproduire les sons multicanaux, Dolby Digital, DTS et MPEG Audio, par exemple,
connectez à cette prise un amplificateur ou un décodeur compatible avec ces sources multicanaux,
et réglez
Sortie Audio Num.
correctement. (☞ ci-dessous.)
Signaux sortis par la prise DIGITAL OUT
Les signaux sortis sont différents en fonction du réglage
Sortie Audio Num.
(☞ [92]).
Sortie Audio Num.
Seulement PCM Dolby Digital/
PCM Flux/PCM
Disque de lecture
DVD
vidéo
48 kHz, 16/20/24 bits
Linear PCM 48 kHz, 16 bits stéréo Linear PCM*
96 kHz, Linear PCM 48 kHz, 16 bits stéréo Linear PCM
avec Dolby Digital 48 kHz, 16 bits stéréo
Linear PCM Flux binaire Dolby Digital
avec DTS 48 kHz, 16 bits stéréo Linear PCM Flux binaire DTS
avec MPEG Audio 48 kHz, 16 bits stéréo Linear PCM Flux binaire MPEG
DVD
Audio
44,1/88,2/176,4 kHz,
16/20/24 bits Linear
PCM
44,1 kHz, 16 bits stéréo Linear PCM
48/96/192 kHz,
16/20/24 bits Linear
PCM
48 kHz, 16 bits stéréo Linear PCM
avec Dolby Digital 48 kHz, 16 bits stéréo
Linear PCM Flux binaire Dolby Digital
avec DTS 48 kHz, 16 bits stéréo Linear PCM Flux binaire DTS
CD Audio, CD Vidéo
44,1 kHz, 16 bits stéréo Linear PCM
48 kHz, 16 bits stéréo Linear PCM
CD Audio avec DTS
48 kHz, 16 bits stéréo Linear PCM Flux binaire DTS
DivX
avec Dolby Digital 48 kHz, 16 bits stéréo
Linear PCM Flux binaire Dolby Digital
avec MPEG Audio 32/44,1/48 kHz, 16 bits Linear PCM
MPEG
44,1/48 kHz, 16 bits Linear PCM
MP3/WMA
32/44,1/48 kHz, 16 bits Linear PCM
WAV
44,1 kHz, 16 bits stéréo Linear PCM
* Lors de la lecture de certains DVD, les signaux numériques peuvent être émis en 20 bits ou 24 bits (à leur débit binaire
original) par la prise DIGITAL OUT si les disques ne sont pas protégés contre la copie.
FR_KDNX5000[E].indb 106FR_KDNX5000[E].indb 106 07.4.4 1:20:46 PM07.4.4 1:20:46 PM

107
Informations
108 Entretien
109 Dépannage
117 Spécifications
FR_KDNX5000[E].indb 107FR_KDNX5000[E].indb 107 07.4.4 1:20:47 PM07.4.4 1:20:47 PM

FRANÇAIS
108
N’utilisez pas les disques suivants:
Comment manipuler les disques
Pour retirer un disque de sa boîte,
faites pression vers le centre du
boîtier et soulevez légèrement le
disque en el tenant par ses bords.
• Tenez toujours le disque par ses
bords. Ne touchez pas la surface enregistrée.
Pour remettre un disque dans sa boîte, insérez-
le délicatement sur le support central (avec la
surface imprimée dirigée vers le haut).
• Conservez les disques dans leur boîte quand
vous ne les utilisez pas.
Pour garder les disques propres
Si le disque est sale, sa lecture risque
d’être déformée.
Si un disque est sale, essuyez-le avec
un chiffon doux, en ligne droite du
centre vers les bords.
• N’utilisez pas de solvant (par exemple, un
nettoyant conventionnel pour disque vinyle,
un vaporisateur, un diluant, du bezène, etc.)
pour nettoyer les disques.
Pour reproduire un disque neuf
Les disques neufs ont parfois des
ebarbures sur le bord intérieur et
extérieur. Si un tel disque est utilisé,
cet autoradio risque de le rejeter.
Pour retirer ces ebarbures, frotter les
bords avec un crayon, un stylo, etc.
Entretien
Disque gondolé
Autocollant
Étiquette
autocollante
Reste
d’étiquette
Comment nettoyer les connecteurs
Un détachement fréquent détériorera les
connecteurs.
Pour minimiser ce problème, frottez
périodiquement les connecteurs avec un
coton tige ou un chiffon imprégné d’alcool, en
faisant attention de ne pas endommager les
connecteurs.
Connecteurs
Support
central
Condensation
De la condensation peut se produire sur la
lentille à l’intérieur du lecteur de DVD/CD dans
les cas suivants:
• Après le démarrage du chauffage dans la
voiture.
• Si l’intérieur de la voiture devient très humide.
Si cela se produit, le lecteur de DVD/CD risque
de ne pas fonctionner correctement. Dans ce
cas, éjectez le disque et laissez l’autoradio sous
tension pendant quelques heures jusqu’à ce que
l’humidité s’évapore.
Pour nettoyez l’appareil
Quand l’appareil est très sale, essuyez-le avec un
chiffon bien essoré humidifié par un produit
nettoyant (neutre) pour cuisine dilué dans l’eau
puis essuyez la même surface avec un chiffon
sec.
(Comme il y a des risque que des goutes d’eau
pénêtrent à l’intérieur de l’appareil, n’appliquez
pas directement le nettoyant sur la surface.)
FR_KDNX5000[E].indb 108FR_KDNX5000[E].indb 108 07.4.4 1:20:47 PM07.4.4 1:20:47 PM

109
Dépannage
Ce qui apparaît être un problème n’est pas toujours sérieux. Vérifiez les points suivants avant
d’appeler un centre de service.
Symptôme Causes/Remèdes
Généralités
•
Frein à Main
apparaît sur le moniteur.
Certaines opérations sont interdites quand le frein
de stationnement n’est pas attaché. Garez la voiture
dans un endroit sûr avant les opérations.
• Aucun son n’est entendu des enceintes. • Ajustez le volume sur le niveau optimum.
• Vérifiez les cordons et les connexions.
• Le moniteur n’est pas clair et lisible
pour l’affichage de d’image de lecteur ou
la carte.
Un ensoleillement direct du pare-brise peut causer
ce symptôme. Ajustez
Luminosité
et
Contraste
de
Commande d’écran
(☞ [96]).
•
Basse Température
/
Echauffe.
du disque dur
apparaît et certaines
fonction ne fonctionnent pas
correctement.
La température interne est trop basse. Laissez
l’appareil sous tension et attendez que la
température interne augmente et que l’indication
disparaisse.
•
Appuyer sur Reset
apparaît sur
l’affichage et le mouvement du panneau
de commande est arrêté.
Quelque chose bloque le mouvement du panneau
de commande. Retirez l’obstacle, puis réinitialisez
l’appareil (☞ [4]).
• Si cela ne fonctionne pas, vérifiez si l’installation
a été réalisée correctement.
• Cet autoradio ne fonctionne pas du tout.
Réinitialisez l’appareil (☞ [4]).
Navigation
• Impossible d’utiliser certaines fonctions
de la source AV sur l’écran de carte.
Sur l’écran de carte, vous pouvez unqiuement
utiliser certaines fonctions limitées de la source
actuelle. Appuyez sur SRC pour afficher l’écran AV
et commandez la source.
• Impossible de commander les sources
AV avec la télécommande sur l’écran de
carte.
Sur l’écran de carte, les touches 4¢5∞ de la
télécommande fonctionnent toujours pour faire
défiler la carte.
• Le calcul de la route semble s’être arrêté. Le calcul de la route peut être long en fonction de
la route. Attendez un instant.
• La voix de la navigation n’est pas
entendu des enceintes.
Le niveau de la voix est réglé sur le niveau
minimum. Ajustez-le sur le niveau correct.
(☞ [43])
• Le guidage vocal n’est pas entendu
pendant l’affichage de l’écran AV.
Interrompre
est réglé sur
Arrêt
. Réglez-le
sur
Marche
pour permettre au guidage vocal
d’interrompre la source AV. (☞ [44])
• Le guidage vocal ne sort pas de
l’enceinte du côté du conducteur.
Changez le eglage
Canal de sortie
. (☞ [43])
• Impossible de faire défiler la carte vers
le Nord-Est, etc.
Pour faire défiler la carte vers le Nord-Est, vous
devez appuyer sur 5 et ¢ en même temps.
Entretien / Dépannage
FR_KDNX5000[E].indb 109FR_KDNX5000[E].indb 109 07.4.4 1:20:47 PM07.4.4 1:20:47 PM

FRANÇAIS
110
Symptôme Causes/Remèdes
Navigation
• Le guidage est incorrect. L’angle d’installation n’est pas correct. Réglez-le
correctement. (☞ [46])
• Le guidage est parfois incorrect. Les fils du signal de marche arrière/vitesse ne
sont pas connectés. Connectez-les correctement
(☞ Manuel d’installation/raccordement—volume
séparé).
• Le son du guidage est difficile à
entendre.
Des bruits environnants interfèrent. Augmentez le
réglage du niveau de la voix de croisière. (☞ [44])
•
Erreur calcul d’itinéraire
apparaît
sur le moniteur.
Le calcul de la route a échoué. Choisissez une
autre destination/étape.
•
Ville introuvable.
,
Rue/Centre
introuvable.
,
Aucune info
valide trouvée.
,
Coordonnées
introuvables.
ou
Rue
introuvable.
apparaît sur le moniteur.
Aucune information valide n’est disponible dans la
base de données. Recherchez un autre endroit.
• Un POI trouvé en utilisant
Catégorie
dans le menu
Destination
n’est pas
dans la ville ou le pays choisi.
Ce n’est pas un mauvais fonctionnement. Le
système peut aussi rechercher des endroits autour
de la ville ou du pays choisi.
•
Le nom d’itinéraire existe déjà.
apparaît sur le moniteur.
Vous avez essayé de sauvegarder une route avec un
nom qui existe déjà. Choisissez un autre nom.
•
Mémoire insuffisante.
apparaît sur
le moniteur.
Supprimez certaines routes et sauvegardez la
nouvelle.
•
Aucune informations trafic
disponible.
apparaît sur le moniteur.
Aucune information TMC n’est disponible
actuellement.
• La position actuelle affichée sur la carte
reste incorrecte pendant plus de 30
minutes.
Vérifiez les informations de connexion des fils ci-
dessous. (☞ [43]
Connexion
)
– Antenne GPS
– Fil de signal de vitesse
– Fil du signal de marche arrière
Si un fil déconnecté est trouvé, connectez-le à
nouveau.
• Si aucun problème n’est trouvé avec les
connexions, réinitialisez les données
d’étalonnage. (☞ [46]
Réinit. Calibrage
)
FM/AM
• Le préréglage automatique SSM ne
fonctionne pas. Mémorises les stations manuellement (☞ [53]).
• Bruit statique pendant l’écoute de la radio.
Connectez l’antenne solidement.
FR_KDNX5000[E].indb 110FR_KDNX5000[E].indb 110 07.4.4 1:20:48 PM07.4.4 1:20:48 PM

111Dépannage
Symptôme Causes/Remèdes
DAB tuner
•
No DAB Signal
apparaît sur le
moniteur.
Déplacez-vous dans un endroit où les signaux sont
plus forts.
•
Réinitialisation 08
apparaît sur le
moniteur.
Connectez cet appareil et le tuner DAB
correctement, puis réinitialisez l’appareil (☞ [4]).
• Le tuner DAB ne fonctionne pas du
tout.
Reconnectez cet appareil et le tuner DAB
correctement. Puis,réinitialisez l’appareil (☞ [4]).
•
Antenna Power NG
apparaît sur le
moniteur.
Vér if ie z les cordons et les connexions.
Lecture de disque
• Le disque ne peut pas être reconnu ni
reproduit. Forcez l’éjection du disque (☞ [4]).
• Le disque ne peut pas être éjecté. Déverrouillez le disque (☞ [65]).
• Les disques enregistrables/réinscriptibles
ne peuvent pas être reproduits.
• Les plages surles disques enregistrables/
réinscriptibles ne peuvent pas être
sautées.
• Insérez un disque finalisé.
• Finalisez lesdisques avec l’appareil qui a été
utilisé pour l’enregistrement.
•
Pas de Clé
apparaît sur le moniteur. Le format du disque n’est pas pris en charge.
•
Erreur Disque
apparaît sur le
moniteur.
Insérez de nouveau le disque correctement.
•
Problème d’Éjection
ou
Prob. de
Charge.
apparaît sur le moniteur.
Le lecteur a mal fonctionné. Éjecter le disque de
force.
• Le son et les images sont quelque fois
interrompus ou déformés.
• Arrêtez la lecture lorsque vous conduisez sur
une route accidentée.
• Changez le disque.
• Aucune image de lecture n’apparaît sur
le moniteur.
Le fil de frein de stationnement n’est pas connecté
correctement. (☞ Manuel d’installation/
Raccordement.)
• Aucun son n’est entendu pendant la
lecture d’un DVD Audio.
Certains DVD Audio interdisent une sortie sous-
mixée.
Quand vous reproduisez un tel disque, cette
appareil reproduit uniquement les signaux avant
gauche et droit.
•
Erre. de code region.
apparaît
sur le moniteur quand vous insérez un
DVD Vidéo.
Le code de région n’est pas correct (☞ [61]).
FR_KDNX5000[E].indb 111FR_KDNX5000[E].indb 111 07.4.4 1:20:48 PM07.4.4 1:20:48 PM

FRANÇAIS
112
Symptôme Causes/Remèdes
Lecture MP3/WMA/WAV
• Le disque ne peut pas être reproduit. • Changez le disque.
• Enregistrez les plages en utilisant une application
compatible sur les disques appropriés (☞ [61]).
• Ajoutez le code d’extension approprié pour les
noms des fichiers.
• La plage WMA ne peut pas être
reproduite et est sautée.
La plage est protégée contre la copie avec DRM.
• Du bruit est produit. La plage reproduite n’est pas dans un format de
fichier reproductible. Passez à un autre fichier.
• Les plages ne sont pas reproduites
comme prévu.
L’o r d re de lecture peut différer de celui utilisé par
d’autres lecteurs.
• Un temps d’initialisation plus long est
requis.
Le temps de lecture varie en fonction de la
complexité de la configuration des dossiers/fichiers.
N’utilisez pas trop de hiérarchies et de dossiers.
• La durée de lecture écoulée n’est
pascorrecte.
Cela se produit quelque fois pendant la lecture.
C’est causé par la façon dont les plages ont été
enregistrées.
• Les caractères corrects ne sont pas
affichés (ex.: nom de l’album).
Cet appareil peut uniquement afficher les lettres
de l’alphabet (A– Z, a – z), les chiffres et un
nombre limité de symboles et de lettres accentuées.
Caractères disponibles
☞ [105]
•
Pas de Fichiers
apparaît sur le
moniteur.
Insérez un disque contenant des plages au format
correct.
FR_KDNX5000[E].indb 112FR_KDNX5000[E].indb 112 07.4.4 1:20:49 PM07.4.4 1:20:49 PM

113Dépannage
Symptôme Causes/Remèdes
Serveur de musique
• Le son ne sort pas pendant la copie de
fichiers musicaux.
Ce n’est pas un mauvais fonctionnement.
• Le son ne sort pas sur l’écran de carte
pendant l’enregistrement d’un CD.
Ce n’est pas un mauvais fonctionnement.
• Impossible de changer la source
pendant l’enregistrement ou la copie.
Ce n’est pas un mauvais fonctionnement. Si vous
souhaitez écouter une autre source, annulez
l’enregistrement/copie et changez la source.
• Le nom d’une plage modifiée n’est pas
affiché.
L’ i n f o r m at i o n de la balise est affichée au lieu du
nom de la plage. Réglez
Affichage Balise
sur
Arrêt
pour afficher le nom de la plage. (☞ [91])
•
Pas de musique
apparaît sur le
moniteur.
Aucune plage n’est stockée dans le disque dur.
•
Aucune Plage
ou
Aucun Album
apparaît sur le moniteur.
L’élément choisi ne contient aucune plage/album.
Choisissez en un nouveau.
•
Enregistrement impossible des
plages.
ou
Copie impossible des
plages.
apparaît sur le moniteur.
L’album choisi est plein. Choisissez un autre
album.
•
Enregistrer uniquement
les plages xx/XX.
ou
Copier
uniquement les plages xx/XX.
apparaît sur le moniteur.
L’a l b u m ch o i si n e peut pas contenir toutes les plages
que vous souhaitez enregistrer/copier. Appuyez
sur ENT pour continuer l’enregistrement/copie ou
appuyez sur BACK pour choisir un autre album.
•
Déplac. unique. les plages
xx/XX ?
ou
Déplac. unique. les
albums xx/XX ?
apparaît sur le
moniteur.
L’album/genre choisi ne peut pas contenir toutes
les plages/albums que vous souhaitez déplacer.
Appuyez sur ENT pour continuer à déplacer les
éléments ou appuyez sur BACK pour choisir un
autre album/genre.
•
Disque Dur Plein
,
Plage Pleine
,
Album Plein
, ou
Genre plein
apparaît sur le moniteur.
La capacité du support d’enregistrement que vous
avez choisi, est déjà plein. Supprimez des fichiers
indésirables dans le support cible pour faire
suffisamment de place.
•
Erreur Ecriture
/
Erreur Lecture
apparaît et l’enregistrement de CD est
annulé.
L’e n re g i s t rement a échoué à cause de facteurs
extérieurs tels que des vibrations ou des secousses
de la voiture. Essayez à nouveau quand vous roulez
sur une route goudronnée. Si le problème persiste,
consultez votre revendeur.
•
SCMS. Copie impossible.
apparaît.
Vous essayez de copier un disque non original.
Copiez le disque original.
•
Non Compatible
apparaît sur le
moniteur.
Le format de la plage n’est pas pris en charge.
•
Lecture impossible
apparaît sur le
moniteur.
La plage choisie n’existe pas sur le disque dur.
FR_KDNX5000[E].indb 113FR_KDNX5000[E].indb 113 07.4.4 1:20:49 PM07.4.4 1:20:49 PM

FRANÇAIS
114
Symptôme Causes/Remèdes
Changeur de CD
•
Pas De Disque
apparaît sur le
moniteur.
• Insérez des disques dans le magasin.
• Un disque est inséré à l’envers. Insérez le disque
correctement.
•
Pas de Magasin
apparaît sur le
moniteur.
Insérez le magasin.
•
Pas de Fichiers
apparaît sur le
moniteur.
Le disque ne comprend pas de fichiers
reproductibles. Remplacez le disque par un disque
contenant des fichiers reproductibles.
•
Réinitialisation 08
apparaît sur le
moniteur.
Connectez cet autoradio et le changeur de
CD correctement et appuyez sur le bouton de
réinitialisation du changeur de CD.
•
Réinitialisation 01
–
Réinitialisation 07
apparaît sur le
moniteur.
Appuyez sur le touche de réinitialisation du
changeur de CD.
• Le changeur de CD ne fonctionne pas
du tout.
Réinitialisez l’appareil (☞ [4]).
Lecture de iPod/lecteur D.
• iPod ou le lecteur D. ne peut pas être
mis sous tension ou ne fonctionne pas.
• Vérifiez le câble de connexion et le
raccordement.
• Chargez de la batterie.
• Pour le lecteur D.: Mettez à jour la version du
micrologiciel.
• Le son est déformé. Mettez hors service l’égaliseur sur cet appareil ou
sur iPod/lecteur D.
•
Déconnexion
apparaît sur le
moniteur.
Vérifiez le câble de connexion et le raccordement.
• Pour iPod: La lecture s’arrête. Le casque d’écoute a été déconnecté pendant la
lecture. Redémarrez la lecture.
• Aucun son n’est entendu quand iPod
nano est connecté.
Déconnectez le casque d’écoute de iPod nano.
• Aucun son n’est entendu.
•
ERROR 01
apparaît sur le moniteur
quand un lecteur D. est connecté.
Déconnectez l’adaptateur au niveau du lecteur D.
Puis, connectez-le à nouveau.
•
No Files
ou
No Track
apparaît sur le
moniteur.
Aucune plage ne se trouve dans l’appareil.
Importez des plages dans iPod ou le lecteur D.
•
Réinitialisation 01
–
Réinitialisation 07
apparaît sur le
moniteur.
Déconnectez l’adaptateur au niveau de cet appareil
et de iPod/lecteur D. Puis, connectez-le à nouveau.
•
Réinitialisation 08
apparaît sur le
moniteur.
Vérifiez la connexion entre l’adaptateur et cet
appareil.
• Les commandes de iPod ou du lecteur
D. ne fonctionnent pas après l’avoir
déconnecté de cet appareil.
Réinitialisez iPod ou le lecteur D.
FR_KDNX5000[E].indb 114FR_KDNX5000[E].indb 114 07.4.4 1:20:49 PM07.4.4 1:20:49 PM

115Dépannage
* Pour les opérations Bluetooth, référez-vous aux instructions fournies avec l’adaptateur Bluetooth.
Symptôme Causes/Remèdes
Bluetooth*
• Le périphérique Bluetooth ne détecte
pas l’appareil.
Cet autoradio peut être connecté à un téléphone
portable Bluetooth et à un appareil audio Bluetooth
en même temps. Pendant la connexion à un
appareil, cet autoradio ne peut pas être détecté
par un autre appareil. Déconnectez l’appareil
actuellement connecté et refaites une recherche.
• L’appareil ne détecte pas l’appareil
Bluetooth.
• Vérifiez le réglage Bluetooth de l’appareil.
• Faites une recherche à partir du périphérique
Bluetooth. Après que le périphérique Bluetooth
a détecté cet appareil, choisissez
Ouvert
sur cet
appareil pour connecter le périphérique. (☞ [84])
• L’appareil ne réalise pas le pairage avec
le périphérique Bluetooth.
• Entrez le même code PIN pour cet appareil et
l’appareil cible.
• Choisissez le nom de l’appareil à partir de
Équipem. Spécial
,
puis essayez de nouveau la
connexion. (☞ [84])
• Il y a un écho ou du bruit. Ajustez la position du microphone.
• Le son du téléphone est de mauvaise
qualité.
• Placez l’appareil audio Bluetooth plus près de cet
adaptateur.
• Déplacez la voiture dans un endroit où vous
pouvez obtenir un meilleur signal de réception.
• Le son est interrompu ou saute pendant
la lecture d’un appareil audio Bluetooth.
• Placez l’appareil audio Bluetooth plus près de cet
adaptateur.
• Déconnectez le périphérique connecté pour
“Bluetooth Phone”.
• Mettez l’appareil hors tension, puis de nouveau
sous tension.
• (Si le son n’est toujours pas rétabli,) connectez de
nouveau le périphérique.
• L’appareil audio connecté ne peut pas
être commandé.
Vérifiez si l’appareil audio connecté prend en
charge AVRCP (Audio Video Remote Control
Profile).
FR_KDNX5000[E].indb 115FR_KDNX5000[E].indb 115 07.4.4 1:20:50 PM07.4.4 1:20:50 PM

FRANÇAIS
116
Sources de lecture
Dolby Digital
Format audio numérique compressé, mis au
point par Dolby Laboratories, qui permet un
codage sur plusieurs canaux afin de créer un
son Surround réaliste.
DTS
Format audio compressé, mis au point par
Digital Theater Systems, Inc., qui permet
aussi un codage multicanaux comme le Dolby
Digital. Comme le rapport de compression
est plus faible que pour le Dolby Digital, il
offre une plage dynamique plus large et une
meilleure séparation.
Format UDF-Bridge
Un système de fichier hybride utilisé pour
offrir une compatibilité avec ISO 9660 et
permettre l’accès à n’importe quel type de
fichiers sur le disque. (UDF signifie Format de
disque universel.)
Guide sur l’écran
Lors de l’utilisation du lecteur de DVD/CD
intégré, les modes de fonctionnement sont
affichés sur le moniteur. (☞ [102])
MPEG Audio
Un autre format audio numérique compressé
qui permet aussi le codage multicanaux afin
de créer un son Surround réaliste.
PCM linéaire
Format audio numérique non compressé, le
même format qui est utilisé pour les CD et la
plupart des originaux de studio.
WMA
Windows Media Audio. Un procédé de
compression mis au point par Microsoft®
pour la compression des données audio (la
musique, par exemple).
Glossaire
Système de navigation
Étape
Un lieur par lequel vous souhaitez passer
pour atteindre votre destination finale.
Avec ce système de navigation, vous pouvez
définir neuf étapes le long de la route avant
d’atteindre votre destination finale.
GPS
Système de positionnement mondial En
recevant les signaux GPS des satellites, le
système de navigation peut déterminer la
position de la voiture.
POI
Point d’intérêt. Vous pouvez choisir votre
destination en la choisissant parmi les
catégories proposées—telles que Centre
d’affaires ou Centres commerciaux.
TMC
Traffic Message Channel (canal d’informations
de la circulation). Les messages d’informations
routières sont envoyés par certains émetteurs
VHF via les signaux RDS. En utilisant ces
données, le système de navigation vous
informe de la condition de la route.
FR_KDNX5000[E].indb 116FR_KDNX5000[E].indb 116 07.4.4 1:20:50 PM07.4.4 1:20:50 PM

117Spécifications
Spécifications
Système de navigation
Système & Service
L1, C/A code
Système de positionnement mondial
Service de positionnement standard
Système de réception
Système de réception multicanal à 15 canaux
Fréquence de réception
1 575,42 MHz
Sensibilité
–130 dBm
Vitesse de mise à jour
1/seconde, en continu
Antenne GPS
Polarisation Polarisation circulaire dextrorsum
Dimensions (approx.)
(L × H × P)
30,4 mm × 11,7 mm × 35,5 mm
Câble (approx.) 5,0 m
Taille du tapis de
fixation (approx.)
70 mm × 70 mm
Amplificateur
Puissance de sortie
maximum
Avant/Arrière 50 W par canal
Puissance de sortie en
mode continu (RMS)
Avant/Arrière 20 W par canal pour 4 Ω, 40 Hz à
20 000 Hz avec moins de 0,8% de
distorsion harmonique totale
Impédance de charge
4 Ω (4 Ω à 8 Ω admissible)
Plage de commande de
l’égaliseur
Fréquence 60 Hz, 150 Hz, 400 Hz, 1 kHz, 2,4 kHz,
6 kHz, 12 kHz
Niveau ±10 dB
Rapport signal sur bruit
70 dB
Niveau de sortie audio
Niveau de sortie de
ligne/Impédance
2,5 V/20 kΩ en charge (pleine échelle)
Impédance de sortie 1 kΩ
Numérique (DIGITAL
OUT: Optique)
Longueur d’onde du
signal
660 nm
Niveau de sortie –21 dBm à –15 dBm
Standard de couleur
NTSC
Sortie vidéo (composite)
1 Vc-c/75 Ω
Entrée vidéo (composite)
1 Vc-c/75 Ω
Autres prises
Entrée VIDEO IN, entrée de télécommande de
volant
Sortie VIDEO OUT, LINE OUT (FRONT),
LINE OUT (REAR), SUBWOOFER OUT
Autres Changeur de CD
FR_KDNX5000[E].indb 117FR_KDNX5000[E].indb 117 07.4.4 1:20:50 PM07.4.4 1:20:50 PM

FRANÇAIS
118
Tuner
Plage de fréquences
FM 87,5 MHz à 108,0 MHz
AM (PO) 522 kHz à 1 620 kHz
(GO) 144 kHz à 279 kHz
Tuner FM
Sensibilité utile 11,3 dBf (1,0 μV/75 Ω)
Sensibilité utile à 50 dB
16,3 dBf (1,8 µV/75 Ω)
Sélectivité de canal
alterné (400 kHz)
65 dB
Réponse en fréquence 40 Hz à 15 000 Hz
Séparation stéréo 40 dB
Rapport de
synchronisation
1,5 dB
Tuner PO
Sensibilité 20 μV
Sélectivité 65 dB
Tuner GO
Sensibilité 50 μV
Lecteur de DVD/CD
Système de détection du signal
Capteur optique sans contact (laser semi-
conducteur)
Nombre de canaux
2 canaux (stéréo)
Réponse en fréquence
DVD, fs=48 kHz/
96 kHz
16 Hz à 20 000 Hz
DVD, fs=192 kHz 16 Hz à 20 000 Hz
VCD/CD 16 Hz à 20 000 Hz
Plage dynamique
96 dB
Rapport signal sur bruit
98 dB
Pleurage et scintillement
Inférieur à la limite mesurable
DivX Vidéo
Résolution max. 720 × 480 pixels (30 i/s)
720 × 576 pixels (25 i/s)
Audio
Débit binaire 32 Kbps – 320 Kbps
Fréquence
d’échantillonnage
MPEG-1: 32 kHz, 44,1 kHz, 48 kHz
MPEG-2: 16 kHz, 22,05 kHz, 24 kHz
Vidéo MPEG Vidéo
Résolution max. 720 × 480 pixels (30 i/s)
720 × 576 pixels (25 i/s)
Audio
Débit binaire 32 Kbps – 384 Kbps
Fréquence
d’échantillonnage
32 kHz, 44,1 kHz, 48 kHz
MP3 (MPEG Audio Layer 3)
Débit binaire maximum: 320 Kbps
WMA (Windows Media® Audio)
Débit binaire maximum: 320 Kbps
FR_KDNX5000[E].indb 118FR_KDNX5000[E].indb 118 07.4.4 1:20:51 PM07.4.4 1:20:51 PM

119Spécifications
Disque dur
Disque dur
40 Go (Données de carte: 16 Go / Stockage: 24 Go)
MP3 (MPEG Audio Layer 3)
Débit binaire maximum: 320 kbps
WMA (Windows Media® Audio)
Débit binaire maximum: 320 kbps
Moniteur
Taille de l’écran
Écran large de 3,5 pouces à cristaux liquides
Nombre de pixels
224 640 pixels: 320 (horizontal) × 3 × 234 (vertical)
Méthode d’affichage
Matrice active TFT (transistor à couches minces)
Standard de couleur
NTSC
Format d’image
16:9 (large)
Généralités
Alimentation
Tension de
fonctionnement
CC 14,4 V (11 V à 16 V admissibles)
Système de mise à la masse
Masse négative
Température de stockage admissible
–10°C à +60°C
Températures de fonctionnement admissibles
0°C à +40°C
Altitude de fonctionnement admissible
–300 m à +3 000 m
Dimensions (approx.)
(L × H × P)
Taille d’installation 182 mm × 52 mm × 158 mm
Taille du panneau 188 mm × 58 mm × 12 mm
Masse (approx.)
2,2 kg (sans les accessoires)
Le modèle et les caractéristiques peuvent être sujets à modifications sans avis préalable.
• Microsoft et Windows Media est une marque
déposée ou une marque de commerce de
Microsoft Corporation aux États-Unis et/ou
dans les autres pays.
• Le “DVD Logo” est une marque de commerce
de DVD Format/Logo Licensing Corporation,
enregistrée aux États-Unis, au Japon et dans
d’autres pays.
• Fabriqué sous licence de Dolby Laboratories.
Le terme Dolby et le sigle double D sont des
marques commerciales de Dolby Laboratories.
• DivX, la certification DivX ultra et les logos
associés sont des marques de DivX, Inc. et
sont utilisés sous licence.
• Produit officiel certifié DivX® ultra
• Prend en charge la lecture de toutes les
versions de vidéo DivX® (y compris DivX® 6),
des fichiers DivX® standard et de DivX® Media
Format
• “DTS” est une marque déposée de DTS, Inc.
et “DTS 2.0 + Digital Out” est une marque de
commerce de DTS, Inc.
FR_KDNX5000[E].indb 119FR_KDNX5000[E].indb 119 07.4.4 1:20:51 PM07.4.4 1:20:51 PM

© 2007 Victor Company of Japan, Limited
Having TROUBLE with operation?
Please reset your unit
Refer to page of How to reset your unit
Haben Sie PROBLEME mit dem Betrieb?
Bitte setzen Sie Ihr Gerät zurück
Siehe Seite Zurücksetzen des Geräts
Vous avez des PROBLÈMES de fonctionnement?
Réinitialisez votre appareil
Référez-vous à la page intitulée Comment réinitialiser votre appareil
EN, GE, FR
0207NSMMDWJEIN
Rear_NX5000.indd 1Rear_NX5000.indd 1 29/1/07 10:10:16 am29/1/07 10:10:16 am

Instructions HDD NAVIGATION/DVD RECEIVER KD-NX5000
BBone.indd 1 22/12/06 2:42:12 pm