JVC TH A75R A75R[E] User Manual LVT0958 001A
User Manual: JVC TH-A75R TH-A75R German, French, Dutch,
Open the PDF directly: View PDF
.
Page Count: 217 [warning: Documents this large are best viewed by clicking the View PDF Link!]

For Customer Use:
Enter below the Model No. and Serial
No. which are located either on the rear,
bottom or side of the cabinet. Retain this
information for future reference.
Model No.
Serial No.
LVT0958-001A
[E]
TH-A75R
Consists of XV-THA75R, SP-WA75, SP-XSA75, and SP-XCA75
Bestehend aus XV-THA75R, SP-WA75, SP-XSA75 und SP-XCA75
Se compose de XV-THA75R, SP-WA75, SP-XSA75, et SP-XCA75
Bestaat uit XV-THA75R, SP-WA75, SP-XSA75, en SP-XCA75
STANDBY
COMPACT
SUPER VIDEO
DIGITAL•EX
PRO LOGIC
DVD DIGITAL CINEMA SYSTEM
RGB
PHONES
SOURCE − VOLUME +
RM–STHA75R
DVD CINEMA SYSTEM
CHANNEL/ZOOM
VOLUMETV VOL
TUNING
STOP
DIMMER
PAUSE
FF/
/REW
TV/VIDEO
1
MUTING
¡
REC
PLAY
DOWN UP
MEMORY STROBE
DVD
VCR 1
AUDIO
VIDEO/
TV SOUND
ANGLE
FM/AM
SUBTITLE DECODE
RETURN DIGEST
VFP
TOP MENU MENU
CONTROL
EFFECT
S.WFR TEST
SLEEP
TV
VCR
SETTING
TV RETURN
ENTER
ON
SCREEN
CHOICE
FM MODE
123
456
789
10
0
+10
100+
TV AUDIO
VCR
SOUND
PTY SEARCH
DVD
RDS
TA/NEWS/INFO
PTY(PTY9
RDS DISPLAY
SURROUND OFF
DSP
CENTER
–
+
–
+
–
+
–
+
SURR-L SURR-R
S-BACK
–
+
ADJUST
O.T.
REPLAY
XV-THA75R
SP-WA75
SP-XSA75
DVD DIGITAL CINEMA SYSTEM
DVD DIGITAL KINO SYSTEM
SYSTÈME CINÈMA NUMÉRIQUE DVD
DVD DIGITALE BIOSCOOP
INSTRUCTIONS
BEDIENUNGSANLEITUNG
MANUEL D’INSTRUCTIONS
GEBRUIKSAANWIJZING
SP-XCA75
cover.TH-A75R[E] 02.8.20, 8:28 AM1

G-1
Warnung, Achtung und sonstige Hinweise / Mises en garde, précautions et
indications diverses / Waarschuwingen, voorzorgen en andere mededelingen
Achtung –– Taste!
Um den Strom ganz abzuschalten, muss der Netzstecker gezogen
werden (STANDBYschaltet ab).
Die Taste schaltet die Netzstrom nicht ab.
Die Stromzufuhr kann mit der Fernbedienung gesteuert werden.
Attention –– Touche !
Déconnectez la fiche d’alimentation secteur pour couper
l’alimentation complètement (le témoin STANDBY s’éteint).
La touche , dans n’importe quelle position, ne déconnecte pas le
système du secteur.
L’alimentation ne peut pas être télécommandée.
ACHTUNG
Zur Verhinderung von elektrischen Schlägen, Brandgefahr, usw:
1. Keine Schrauben lösen oder Abdeckungen enternen und nicht
das Gehäuse öffnen.
2. Dieses Gerät weder Regen noch Feuchtigkeit aussetzen.
ACHTUNG
• Blockieren Sie keine Belüftungsschlitze oder -bohrungen.
(Wenn die Belüftungsöffnungen oder -löcher durch eine
Zeitung
oder ein Tuch etc. blockiert werden, kann die entstehende
Hitze nicht abgeführt werden.)
• Stellen Sie keine offenen Flammen, beispielsweise
angezündete Kerzen, auf das Gerät.
• Wenn Sie Batterien entsorgen, denken Sie an den
Umweltschutz. Batterien müssen entsprechend den
geltenden örtlichen Vorschriften oder Gesetzen entsorgt
werden.
• Setzen Sie dieses Gerät auf keinen Fall Regen,
Feuchtigkeit oder Flüssigkeitsspritzern aus. Es dürfen auch
keine mit Flüssigkeit gefüllen Objekte, z. B. Vasen, auf das
Gerät gestellt werden.
ATTENTION
Afin d’éviter tout risque d’électrocution, d’incendie, etc.:
1. Ne pas enlever les vis ni les panneaux et ne pas ouvrir le coffret
de l’appareil.
2. Ne pas exposer l’appareil à la pluie ni à l’humidité.
ATTENTION
• Ne bloquez pas les orifices ou les trous de ventilation.
(Si les orifices ou les trous de ventilation sont bloqués par un
journal un tissu, etc., la chaleur peut ne pas être évacuée
correctement de l’appareil.)
• Ne placez aucune source de flamme nue, telle qu’une
bougie, sur l’appareil.
• Lors de la mise au rebut des piles, veuillez prendre en
considération les problèmes de l’environnement et suivre
strictement les règles et les lois locales sur la mise au rebut
des piles.
• N’exposez pas cet appareil à la pluie, à l’humidité, à un
égouttement ou à des éclaboussures et ne placez pas des
objets remplis de liquide, tels qu’un vase, sur l’appareil.
Voorzichtig –– toets!
Trek de stekker van het netsnoer uit het stopcontact om de stroom
geheel uit te schakelen (STANDBY dooft).
Met de toets in welke stand dan ook, wordt de stroom niet
geheel uitgeschakeld.
De stroom kan met de afstandsbediening worden ingeschakeld.
VOORZICHTIG
Ter vermindering van gevaar voor brand, elektrische schokken,
enz.:
1. Verwijder geen schroeven, panelen of de behuizing.
2. Stel dit toestel niet bloot aan regen of vocht.
VOORZICHTIG
• Zorg dat u de ventilatieopeningen en -gaten niet afsluit.
(Als de ventilatieopeningen en -gaten worden afgesloten door
bijvoorbeeld papier of een doek, kan er hitte in het apparaat
worden opgebouwd.)
• Zet geen bronnen met open vuur, zoals brandende kaarsen,
op het apparaat.
• Wees milieubewust en gooi lege batterijen niet bij het
huishoudelijk afval. Lege batterijen dient u in te leveren met
het KCA of bij een innamepunt voor batterijen.
• Stel dit apparaat niet bloot aan regen, vocht, drupwater of
spatwater en plaats geen enkel voorwerp waarin zich een
vloeistof bevindt, zoals een vaas, op het apparaat.
safety_TH-A75R[E] 02.9.10, 6:51 PM1

G-2
Achtung: Angemessene Ventilation
Stellen Sie das Gerät zur Verhütung von elektrischem Schlag und
Feuer und zum Schutz gegen Beschädigung wie folgt auf:
Vorderseite: Offener Platz ohne Hindernisse.
Seiten: Keine Hindernisse innerhalb 10 cm von den Seiten.
Oberseite: Keine Hindernisse innerhalb 15 cm von der
Oberseite.
Rückseite: Keine Hindernisse innerhalb 20 cm von der
Rückseite.
Unterseite: Keine Hindernisse. Auf eine ebene Oberfläche
stellen.
Zusätzlich die bestmögliche Luftzirkulation wie gezeigt erhalten.
Attention: Ventilation Correcte
Pour éviter les chocs électriques, l’incendie et tout autre dégât.
Disposer l’appareil en tenant compte des impératifs suivants
Avant: Rien ne doit gêner le dégagement
Flancs: Laisser 10 cm de dégagement latéral
Dessus: Laisser 15 cm de dégagement supérieur
Arrière: Laisser 20 cm de dégagement arrière
Dessous: Rien ne doit obstruer par dessous; poser l’appareil
sur une surface plate.
Veiller également à ce que l’air circule le mieux possible comme
illustré.
Voorzichtig: Zorg Voor Goede Ventilatie
Om gevaar voor brand of een elektrische schok te voorkomen,
dient u bij opstelling van het apparaat op de volgende punten te
letten:
Voorkant: Voldoende ruimte vrij houden.
Zijkanten: Minstens 10 cm aan weerszijden vrij houden.
Bovenkant: Niets bovenop plaatsen; 15 cm speling geven.
Achterkant: Minstens 20 cm ruimte achteraan vrij houden.
Onderkant: Opstellen op een egaal horizontaal oppervlak.
Bovendien moet er rondom voldoende luchtdoorstroming zijn,
zoals in de afbeelding aangegeven.
XV-THA75R
Standhöhe 15 cm oder mehr
Hauteur du socle: 15 cm ou plus
Standard op minstens 15 cm van de vloer
Boden
Plancher
Vloer
Vorderseite
Avant
Voorkant
Abstand von 20 cm oder mehr
Dégagement de 20 cm ou plus
Minstens 20 cm tussenruimte
Wand oder Hindernisse
Mur, ou obstruction
Wand of meubilair
Deutsch
Français
Nederlands
safety_TH-A75R[E] 02.9.10, 6:51 PM2

G-3
WICHTIGER HINWEIS FÜR LASER-PRODUKTE / IMPORTANT POUR LES PRODUITS LASER /
BELANGRIJKE INFORMATIE VOOR LASERPRODUKTEN
ANBRINGUNGSORTE FÜR LASER-PRODUKTE / REPRODUCTION DES ETIQUETTES / VERLARING VAN DE LABELS
1KLASSIFIZIERUNGSHINWEIS BEFINDET SICH AUF DER
AUSSENSIETE
1ÉTIQUETTE DE CLASSIFICATION, PLACÉE SUR LA
SURFACE EXTÉRIEURE
1CLASSIFICATIE-ETIKET AAN DE BUITENKANT VAN HET
APPARAAT
2WARNETIKETTE IM GERÄTEINNEREN
2ETIQUETTE D’AVERTISSEMENT PLACÉE À L’INTERIEUR
DE L’APPAREIL
2WAARSCHUWINGSLABEL, IN HET APPARAAT
1. LASER-PRODUKT DER KLASSE 1
2. ACHTUNG: Sichtbare und unsichtbare Laserstrahlung bei
Öffnung und unterlassener oder kaputter Sperre. Vermeiden
Sie direkte Strahlung.
3. ACHTUNG: Das Gehäuse nicht öffnen. Das Gerät enthält
keinerlei Teile, die vom Benutzer gewartet werden können.
Überlassen Sie Wartungsarbeiten bitte qualifizierten
Kundendienst-Fachleuten.
1. PRODUIT LASER CLASSE 1
2. ATTENTION: Radiations laser visibles et invisibles lorsque le
boîtier de l’appareil est ouvert et que le verrouillage est
défaillant ou a été annulé. Eviter une exposition directe au
rayon.
3. ATTENTION: Ne pas ouvrir le couvercle du dessus. Il n’y a
aucune pièce utilisable à l’intérieur. Laisser à un personnel
qualifié le soin de réparer votre appareil.
1. KLAS 1 LASERPRODUKT
2. VOORZICHTIG: Zichtbare en onzichtbare laserstraling
wanneer geopend en interlock uitgeschakeld of buitenwerking.
Vermijd directe blootstelling aan de straal.
3. VOORZICHTIG: De bovenkap niet openen. Binnenin het
toestel bevinden zich geen door de gebruiker te repareren
onderdelen: laat onderhoud over aan bekwaam vakpersoneel.
safety_TH-A75R[E] 02.9.10, 6:51 PM3

1
Deutsch
Inhaltsverzeichnis
Einleitung .............................................. 2
Info zu diesem Handbuch ................................................. 2
Vorsichtsmaßnahmen ........................................................ 2
Überprüfung des mitgelieferten Zubehörs ...................... 2
Bedienungselemente.............................. 3
Centereinheit ...................................................................... 3
Fernbedienung ................................................................... 4
Über Discs ............................................. 5
Abspielbare Disc-Typen .................................................... 5
Disc-Struktur ...................................................................... 6
Die Wiedergabe-Kontroll-Funktion (PBC)
—Nur für VCD und SVCD ................................................ 6
Erste Schritte .......................................... 7
Anschlüsse ......................................................................... 7
Anschluss eines Fernsehgeräts ......................................... 7
Der Anschluss der UKW und AM (MW)-Antennen ............. 8
Satelliten-Lautsprecher und Subwoofer anschließen ....... 10
Satelliten-Lautsprecher an der Wand befestigen ............. 12
Videokomponenten anschließen ...................................... 13
Anschluss des Netzsteckers ............................................ 14
Benutzung der Fernbedienung ....................................... 15
Das Einsetzen der Batterien in die Fernbedienung ......... 15
Die Bedienung des Systems mit der Fernbedienung ...... 15
Die Verwendung der Fernbedienung für die
Fernsehbedienung...................................................... 16
Grundlegende Bedienung .................... 17
Gerät einschalten ............................................................. 17
Auswahl der abzuspielenden Quelle .............................. 17
Anpassen der Lautstärke ................................................ 18
Ausgangspegel des Subwoofers einstellen .................. 18
Das zeitweilige Ausschalten des Tons ........................... 18
Das Anpassen der Helligkeit .......................................... 18
Das Abschalten mit dem Einschlafschaltuhr ................ 19
Analogen/digitalen Eingangsmodus und
Decoding-Modus ändern ............................................... 19
Grundeinstellungen speichern—Auto Memory ............ 19
Grundbetrieb des DVD-Spielers ............ 20
Tuner-Bedienung.................................. 22
Sender manuell aufsuchen ............................................. 22
Verwenden von Voreinstellung ....................................... 22
Auswahl des UKW-Empfangsmodus ............................. 23
Verminderung der Geräusche beim AM (MW)
-Empfang ........................................................................ 23
Verwendung des RDS (Radio Data System) für den
Empfang von UKW-Sendern ........................................... 24
Suche nach einem Programm mit PTY-Codes .............. 25
Kurzfristiges Umschalten zu einem Sender nach
Wunsch ........................................................................... 26
Grundeinstellungen ............................. 28
Vorgehensweise ............................................................... 28
Lautsprechergrößen einstellen ...................................... 28
Auswahl von Kanalnummern zur Reproduktion von
mehrkanaligen digitalen Audiosignalen ...................... 28
Einstellen des Lautsprecherabstands ........................... 29
Übergangsfrequenz einstellen........................................ 29
Phase des Subwoofers einstellen .................................. 29
Audio-Einstellungen ............................. 30
Vorgehensweise ............................................................... 30
Klang einstellen ............................................................... 30
Pegel des Low Frequency Effect Attenuator einstellen ... 30
Einstellen des Dynamikbereichs .................................... 30
Bassverstärkung .............................................................. 30
Subwoofer-Audioposition einstellen .............................. 30
Einstellung der Balance der vorderen Lautsprecher ... 30
Einstellung realistischer Klangfelder ..... 31
Surround-Modi ................................................................. 31
DSP-Modi .......................................................................... 33
Surround-Modus verwenden .......................................... 35
DSP-Modus verwenden ................................................... 35
Klang einstellen ............................................................... 36
Bedienung des DVD-Spielers ................ 37
Verwendung der Bildschirmleiste .................................. 37
Anzeigen der Bildschirmleiste .......................................... 37
Grundlegende Bedienung über Bildschirmleiste ............. 38
Änderung der Zeitinformationen .................................... 38
Aufsuchen einer gewünschten Szene über das Disc-Menü ...
39
Aufsuchen einer gewünschten Szene über das DVD-Menü ...
39
Aufsuchen einer gewünschten Szene über das
VCD/SVCD-Menü mit PBC .......................................... 39
Auswählen eines DVD-Sichtwinkels .............................. 40
Auswahl eines Sichtwinkels .............................................. 40
Alle Sichtwinkel auf dem Fernsehbildschirm anzeigen .... 40
Änderung der Untertitel-Sprache und Audio-Sprache ... 41
Auswahl der Untertitel-Sprache ....................................... 41
Auswahl der Audio-Sprache ............................................ 41
Auswahl des Audio-Kanals .............................................. 42
Wiedergabe von einer bestimmten Position auf einer Disc ....
43
Auffinden eines gewünschten Kapitels—Kapitelsuche.... 43
Auffinden einer gewünschten Position—Zeitpunktsuche... 43
Auffinden einer gewünschten Szene—DIGEST ............... 44
Spezielle Bildwiedergabe ................................................ 45
Wiedergabe Bild für Bild .................................................. 45
Anzeige fortlaufender Standbilder ................................... 45
Wiedergabe in Zeitlupe .................................................... 46
Vergrößern und verkleinern .............................................. 46
Änderung der VFP-Einstellungen ..................................... 47
Wiedergabe in der gewünschten Reihenfolge
—Programmierte Wiedergabe...........................................
48
Zufällige Wiedergabe der Stücke—Zufällige Wiedergabe ...
48
Wiedergabe wiederholen................................................. 49
Wiederholung eines aktuellen Titels, Kapitels oder Stücke ... 49
Einen bestimmten Abschnitt wiederholen—A-B repeat ... 49
Wiedergeben von MP3-Discs................ 50
Grundlegende Bedienung ............................................... 50
Bedienung über das MP3 CONTROL-Bildschirm ......... 51
Wiedergeben von JPEG-Discs ............... 52
Diaschau ........................................................................... 52
Bedienung über das JPEG CONTROL-Bildschirm ....... 53
Auswahlmenüs verwenden.................. 54
Auswahl-Menüs ................................................................ 54
Konfiguration des Auswahlmenüs .................................... 54
Betriebstasten für die Auswahlmenüs .............................. 54
Grundbetriebsverfahren ................................................... 55
Menü SPRACHE ............................................................... 56
Menü BILD ........................................................................ 57
Menü AUDIO ..................................................................... 58
Menü LAUTSPRECHER ................................................... 59
Menü SONSTIGES ........................................................... 60
Einschränkung der Wiedergabe—Kindersicherung ..... 61
Einstellung der Kindersicherung ...................................... 61
Änderung der Einstellung der Kindersicherung ............... 62
Kurzzeitiges Aufheben der Kindersicherung ................... 62
Betrieb von Videorecordern anderer
Hersteller........................................... 64
Wartung .............................................. 65
Fehlersuche ......................................... 66
Glossar................................................ 69
Technische Daten ................................. 70
GE01-16.TH-A75R[E]f.pm6 5/9/02, 6:21 PM1

2
Deutsch
Einleitung
Etikette Versch-
mutzungen
Label-Etikett
Info zu diesem Handbuch
Dieses Handbuch erläutert vorwiegend die Bedienung der
Tasten und Steuerungen auf der Fernbedienung. Sie können
auch die Tasten an der Centereinheit verwenden, wenn diese
genauso oder ähnlich wie die Tasten auf der Fernbedienung
bezeichnet sind.
Wenn sich die Bedienung der Centereinheit von der der
Fernbedienung unterscheidet, wird hierauf hingewiesen.
• Die für diverse Verfahren angegebenen Zeitspannen
dienen nur als Referenzwerte. Die tatsächliche benötigte
Zeit ist unterschiedlich.
• In diesem Handbuch werden die folgenden Symbole
verwendet:
:
Spezielle Warnungen und Vorsichtshinweise,
die Sie benötigen, um die beste Leistung
aus dem System zu holen.
:Spezifische Informationen und Hinweise,
die Sie über die Funktionen und
Verfahren wissen müssen.
:Verfügbare Disctypen für die in jedem
Kapitel beschriebenen Verfahren. Nicht
verfügbare Disctypen werden in
Halbtonfarben angezeigt.
Vorsichtsmaßnahmen
Installation des Systems
• Wählen Sie zur Aufstellung einen Ort, der eben, trocken
und weder zu kalt noch zu heiß ist, d. h. zwischen 5°C und
35°C.
• Lassen Sie genügend Platz zwischen dem System und
dem Fernsehgerät.
• Verwenden Sie das System nicht an einem Ort, der
Vibrationen ausgesetzt ist.
Netzstecker
• Den Netzstecker nie mit nassen Händen anfassen.
• Eine geringe Menge Strom (2,5 Watt) fließt immer, während
der Netzstecker an die Steckdose angeschlossen ist (nur
die Centereinheit).
• Wenn der Netzstecker aus der Steckdose gezogen wird,
bitte nur am Netzstecker ziehen, nicht am Kabel.
Vermeiden von Funktionsstörungen des Systems
• Es sind keine Teile im System vorhanden, die vom Benutzer
gewartet werden können. Falls Störungen auftreten, ziehen
Sie den Stecker und fragen Sie bei Ihrem Händler nach.
• Führen Sie keine metallischen Objekte in das System ein.
• Verwenden Sie nur standardmäßig geformten Discs, also
keine herz-, blumen- oder kreditkartenförmige Discs, die
auf dem Markt erhältlich sind.
• Verwenden Sie keine Discs mit Klebeband, Etiketten oder
Verschmutzungen.
Hinweis zum Urheberrechtsgesetz
Erkundigen Sie sich über Urheberrechte in Ihrem Land, bevor
Sie DVD Videos (DVD), Super Video CDs (SVCD), Video CD
(VCD) und Audio CDs kopieren, das Kopieren von
urheberrechtlich geschütztem Material kann gegen
Urheberrechtsgesetze verstoßen.
Hinweis zum Kopierschutz-System
DVD Video Discs werden durch das Kopierschutz-System vor
dem Kopieren geschützt. Wenn Sie das System direkt an
Ihren Videorecorder anschließen, aktiviert sich das
Kopierschutz-System und es ist möglich, dass das Bild nicht
korrekt wiedergegeben wird.
7Sicherheitshinweise
Vermeiden Sie Feuchtigkeit, Wasser und Staub
Stellen Sie das System nicht an feuchten oder staubigen
Orten auf.
Vermeiden Sie hohe Temperaturen
Setzen Sie das System nicht direktem Sonnenlicht aus und
stellen Sie es nicht in der Nähe von Heizkörpern auf.
Bei Abwesenheit
Wenn Sie auf Reisen sind oder das Gerät aus anderen
Gründen längere Zeit nicht verwendet werden soll, entfernen
Sie den Netzstecker aus der Steckdose.
Blockieren Sie nicht die Lüftungsöffnungen
Ein Blockieren der Lüftungsöffnungen kann das System
beschädigen.
Pflege des Gehäuses
Bei der Reinigung des Systems ein weiches Tuch verwenden.
Beachten Sie die betreffenden Hinweise hinsichtlich der
Verwendung von chemisch beschichteten Stoffen.
Verwenden Sie kein Benzol, Terpentin oder andere
organische Lösungsmittel, einschließlich Desinfektionsmittel.
Diese können Verformungen oder Verfärbungen verursachen.
Wenn Wasser in das System eindringt
Schalten Sie das System aus, entfernen Sie den Stecker aus
der Steckdose. Rufen Sie dann in dem Geschäft an, wo Sie
das Gerät gekauft haben.
Sollten Sie das Gerät in diesem Zustand weiterverwenden,
kann dies zu einem Feuer oder einem elektrischen Schlag
führen.
Überprüfung des mitgelieferten
Zubehörs
Überprüfen Sie, ob Sie das ganze Zubehör mitgeliefert wurde.
Die in Klammern angegebene Zahl gibt die Menge der
mitgelieferten Stücke an.
Sollte etwas fehlen, kontaktieren Sie bitte unverzüglich Ihren
Händler.
Paket der Centereinheit
• Fernbedienung—RM-STHA75R (1)
• Batterien—R6S (SUM-3)/AA (15F) (2)
• UKW-Antenne (1)
• AM (MW) Ringantenne (1)
• Composite-Videokabel (1)
Paket des Lautsprecher
• Lautsprecherkabel
ca. 5 m (3) mit einem Ministecker
:Für den linken vorderen, rechten
vorderen und den mitten
ca. 5 m (1) :Für den Subwoofer
ca. 10 m (3) mit einem Ministecker
:Für den linken und rechten Surround-
Lautsprecher sowie für den hinteren
Surround-Lautsprecher
• Wandhalterungen für die Satelliten-Lautsprecher (5)
• Schrauben für die Wandhalterungen der Satelliten-
Lautsprecher (5)
GE01-16.TH-A75R[E]f.pm6 9/9/02, 9:16 AM2

3
Deutsch
LINEAR PCM L
S.WFR
LS RS
CR
S
LFE
DSP
SB
PRO LOGIC
DIGITAL EX
CH
MP3 RESUME
BASS
SURROUND TUNED ST AUTO MUTING RDS TA NEWS INFO
1234 5
q
9p
8
7
61
2
R
14 5 6 789pqw
t
23
er
STANDBY
COMPACT
SUPER VIDEO
DIGITAL•EX
PRO LOGIC
DVD DIGITAL CINEMA SYSTEM
RGB
PHONES
− VOLUME +SOURCE
SURROUND SPEAKERS SURROUND BACK
VCR
RGB YC
STB
COAXIAL
AM LOOP
(STB)
RIGHT LEFT SPEAKER
VCR IN
AV COMPU
LINK- S-VIDEO
AV
DIGITAL IN
ANTENNA
STB IN OUT
AUDIO IN
VIDEO
RL RL
CENTER
RIGHTSUBWOOFER LEFT SPEAKER
CAUTION:SPEAKER IMPEDANCE 4 16
FM 75
AM EXT
FRONT SPEAKERS
134 5
6 7 89
2
Vorderseite
Weitere Hinweise erhalten Sie auf den in Klammern angegebenen Seitenzahlen.
Centereinheit
Bedienungselemente
1STANDBY-Lampe (17)
2 (Standby/Ein) Taste (17)
3CD-Lade (20)
40 (zum Öffnen/Schließen) Taste (20)
5RGB-Lampe (7)
67 (stop) Taste (20, 50, 52)
73 (Wiedergabe) Taste (20, 50, 52, 53)
88 (Pause) Taste (20, 45, 50, 52, 53)
94 (Suchlauf rückwärts) Taste
(20, 50, 52)
p¢ (Suchlauf vorwärts) Taste
(20, 50, 52)
qSOURCE Taste (17)
wVOLUME +/– Tasten (18)
eDisplay (siehe unten)
rFernbedienungssensor (15)
tPHONES-Buchse (18)
Display
1• LINEAR PCM-Anzeige (19)
• Pro Logic-Anzeigen (32)
PRO LOGIC, PRO LOGIC II
• Digitalsignalformat-Anzeigen (19, 31, 32)
DIGITAL, DIGITAL EX, DTS
2MP3-Anzeige (50)
3CH (Kanal)-Anzeige (23)
4Hauptdisplay
5RESUME-Anzeige (21, 60)
6Signal- (1) und Lautsprecher- (2) Anzeigen (34)
7SURROUND-Anzeige (31, 32, 34, 35)
8DSP-Anzeige (33, 35)
9Tuner-Betriebsanzeigen (22, 23)
TUNED, ST (Stereo), AUTO MUTING
pRDS-Betriebsanzeigen (24, 26)
RDS, TA, NEWS, INFO
qBASS-Anzeige (30)
Rückseite
1Lautsprecheranschlüsse (11)
SUBWOOFER,
RIGHT/LEFT FRONT SPEAKERS,
CENTER SPEAKER,
RIGHT/LEFT SURROUND SPEAKERS,
SURROUND BACK SPEAKER
2Netzkabel (14)
3AUDIO IN Buchsen (13)
VCR, STB
4DIGITAL IN (STB) Buchse (13)
5ANTENNA-Buchsen (8, 9)
6AV COMPU LINK-III Buchsen
(zur späteren Verwendung)
7VIDEO Buchsen
VCR IN (13), STB IN (13), OUT (7)
8RGB-Y/C Schalter (7)
9AV (SCART) Buchse (7)
GE01-16.TH-A75R[E]f.pm6 5/9/02, 6:21 PM3

4
Deutsch
Fernbedienung
RM–STHA75R
DVD CINEMA SYSTEM
CHANNEL/ZOOM
VOLUMETV VOL
TUNING
STOP
DIMMER
PAUSE
FF/
/REW
TV/VIDEO
1
MUTING
¡
REC
PLAY
DOWN UP
MEMORY STROBE
DVD
VCR 1
AUDIO
VIDEO/
TV SOUND
ANGLE
FM/AM
SUBTITLE DECODE
RETURN DIGEST
VFP
TOP MENU MENU
CONTROL
EFFECT
S.WFR TEST
SLEEP
TV
VCR
SETTING
TV RETURN
ENTER
ON
SCREEN
CHOICE
FM MODE
123
456
789
10
0
+10
100+
TV AUDIO
VCR
SOUND
PTY SEARCH
DVD
RDS
TA/NEWS/INFO
PTY(PTY9
RDS DISPLAY
SURROUND OFF
DSP
CENTER
–
+
–
+
–
+
–
+
SURR-L SURR-R
S-BACK –
+
ADJUST
O.T.
REPLAY
7
1
2
3
4
6
5
8
9
p
q
w
e
r
y
u
i
o
;
a
g
h
j
k
l
f
d
t/
s
1Signalquellen-Wahltasten (17)
VIDEO/TV SOUND, FM/AM, DVD
2AUDIO Taste (41, 42)
3ANGLE Taste (40)
4TOP MENU Taste (39)
5MENU Taste (39)
6Surround- und DSP-Betriebstasten
SURROUND (20, 35), DSP (20, 35), OFF (35)
7CONTROL Tasten
VCR (64), TV (16)
8SLEEP Taste (19)
9• SETTING Taste (28)
• ADJUST Taste (30)
pON SCREEN Taste (37, 38)
q• ENTER Taste (38, 51, 53)
• Cursor 3/2/∞/5 Tasten (28, 30, 38, 50 – 53)
• Steuertasten für RDS (25, 26)
PTY 9, PTY (, TA/NEWS/INFO, PTY SEARCH
• Betriebstasten für die Auswahlmenüs (54, 61, 62)
w• CHOICE Taste (54, 61, 62)
• RDS DISPLAY Taste (24)
e• CHANNEL +/– Tasten (16, 64)
• ZOOM +/– Tasten (46, 53)
rTV VOL (volume) +/– Tasten (16)
tTV/VIDEO Taste (16)
y• Discbetriebstasten (20, 39, 44, 45, 46, 50, 52, 53, 64)
1, ¡, 4/REW, PLAY, FF/¢,
O.T. (One Touch) REPLAY, STOP, PAUSE
• TUNING UP/DOWN Tasten (22)
•÷ REC Taste (64)
• MEMORY Taste (22, 23)
• STROBE Taste (45)
uDIMMER Taste (18)
iTV Taste (16)
oAUDIO Taste (17)
;VCR Taste (64)
aDECODE Taste (19)
sSUBTITLE Taste (41)
dDIGEST Taste (44)
fRETURN Taste (39)
gSOUND Taste (18, 36)
h• Zifferntasten (16, 21, 23, 39, 43, 48, 61, 62, 64)
• Klangeinstellungs-Tasten (18, 36)
S.WFR +/–, CENTER +/–, SURR-L +/–,
S-BACK +/–, SURR-R +/–
• EFFECT Taste (36)
• TEST Taste (36)
• TV RETURN Taste (16)
• FM MODE Taste (23)
jModuswahlhebel der Fernbedienung (17, 24)
kVFP Taste (47)
lVOLUME +/– Tasten (18)
/MUTING Taste (18)
Bedienungselemente
GE01-16.TH-A75R[E]f.pm6 5/9/02, 6:21 PM4

5
Deutsch
52 23
45
2
Über Discs
COMPACT
DIGITAL AUDIO
Abspielbare Disc-Typen
Dieses System wurde entwickelt, um folgende Discs
abzuspielen:
DVD Video (DVD), Video CD (VCD), Super Video CD
(SVCD), Audio CD, CD-R und CD-RW.
• Dieses System kann ebenfalls MP3 und JPEG-Dateien
wiedergeben, die auf CD-Rs und CD-RWs gespeichert
wurden. Weitergehenden Informationen über MP3 erhalten
Sie unter „Wiedergaben von MP3-Disc“ auf Seite 50, zu
Informationen über JPEG siehe „Wiedergaben von JPEG-
Disc“ auf Seite 52.
• Abgeschlossene DVD-R-Discs, die mit dem DVD-VIDEO-
Format aufgezeichnet wurden, können abgespielt werden.
Einige Discs können jedoch möglicherweise durch
bestimmte Discmerkmale oder Aufnahmebedingungen
nicht wiedergegeben werden.
Abspielbare Discs:
Disc- Warenzeichen Video- Ländercodes*
Typ (Logo) Format
DVD Video PAL 2
(DVD) ALLE
Video CD PAL ——
(VCD)
Super Video PAL ——
CD (SVCD)
Audio CD —— ——
CD-R —— ——
CD-RW —— ——
*Hinweis zu Ländercodes
DVD Player und DVDs haben ihre eigenen Ländercodes.
Dieses System kann nur DVDs abspielen, die mit dem
Farbsystem PAL, dessen Ländercodes „2“ enthalten,
aufgenommen wurden.
Bsp.:
Wenn eine DVD mit einem falschen Ländercode geladen
wird, erscheint „FALSCHER LÄNDERCODE!“ auf dem
Display und die Wiedergabe kann nicht gestartet werden.
• Die folgenden Discs können nicht abgespielt werden:
DVD Audio, DVD-ROM, DVD-RAM, DVD-RW, DVD+RW,
CD-ROM, CD-I (CD-I Ready), Photo CD, usw.
Die Wiedergabe von diesen Discs kann Geräusche und
Schäden an den Lautsprechern hervorrufen.
•Bei manchen DVD, VCD oder SVCD Discs kann sich die
tatsächliche Bedienung von den hier in dieser
Bedienungsanleitung gegebenen Erläuterungen
unterscheiden. Dies ist auf die Disc-Programmierung
und die Disc-Struktur zurückzuführen und stellt keine
Störung des Systems dar.
•Hinweise zu CD-R und CD-RW
–Vom Benutzer editierte CD-Rs (Recordable) und CD-RWs
(Rewritable) können nur wiedergegeben werden, wenn
sie „abgeschlossen“ wurden.
–Das System kann CD-Rs oder CD-RWs wiedergeben, die
auf einem PC aufgenommen wurden, vorausgesetzt, sie
wurden im Audio-CD-Format aufgenommen.
Das System ist ebenfalls in der Lage, CD-Rs oder
CD-RWs wiederzugeben, wenn MP3-Stücke (Dateien)
oder JPEG-Dateien darauf abgespeichert wurden.
Weiterhin wird die Konfiguration und die Eigenschaften
einer MP3-Disc oder einer JPEG-Disc durch die Schreibe-
(Kodierungs-) Software bestimmt sowie durch die für die
Aufnahme verwendete Hardware. Es können daher, je
nach verwendeter Soft- und Hardware folgende
Anzeichen auftreten:
• Einige Discs können nicht abgespielt werden.
• Einige Stücke (Dateien) einer MP3-Disc werden
übersprungen und können nicht normal wiedergegeben
werden.
• Einige Dateien auf einer JPEG-Disc können verzerrt
wiedergegeben werden.
–Bevor Sie CD-Rs oder CD-RWs abspielen, lesen Sie die
Anweisungen oder Vorsichtsmaßregeln sorgfältig durch.
–CD-RWs können eine längere Lesezeit erfordern. Dies
kann darauf zurückgeführt werden, dass der
Reflektionsfaktor geringer ist als jener normaler CDs.
7Informationen zu MP3-Discs
Dieses System kann MP3-Dateien abspielen, die auf einer
CD-R oder CD-RW gespeichert wurden. Diese Art von CD
wird in diesem Handbuch als „MP3-Disc“ bezeichnet.
MP3 ist eine Abkürzung für Motion Picture Experts Group 1
(oder MPEG-1) Audio Layer 3. MP3 ist einfach ein
Dateiformat mit Datenkompression. Durch die Verwendung
des MP3-Formats, kann eine CD-R oder CD-RW 10-Mal so
viele Daten enthalten als eine normale CD.
Dieses System vereinfacht die hierarchische Konstruktion
einer Disc und verwaltet Dateien und Ordner durch „Stücke“
und „Gruppen“.
7Informationen zu JPEG-Discs
Dieses System kann JPEG-Dateien, wie z. B. digitale
Photographien, abspielen, die auf einer CD-R oder CD-RW
gespeichert wurden.
Ein Standbild Datenkompressions-System, vorgeschlagen
von der Joint Photographic Expert Group, das bei einem
geringen Verlust von Bildqualität ein hohes
Datenkompressionsverhältnis bietet.
Dieses System vereinfacht die hierarchische Konstruktion
einer Disc und verwaltet Ordner durch „Gruppen“.
GE01-16.TH-A75R[E]f.pm6 5/9/02, 6:21 PM5

6
Deutsch
Titel 1
Kapitel 1 Kapitel 2 Kapitel 3
Titel 2
Kapitel 1 Kapitel 2
Stück 1 Stück 2 Stück 3 Stück 4 Stück 5
Gruppe 2
Gruppe 1
Gruppe 3 Gruppe 4 Gruppe 5
Stück 1 Stück 2
Gruppe 2
Gruppe 1
Gruppe 3 Gruppe 4 Gruppe 5
Dateien 1 Dateien 2
Disc-Struktur
Eine DVD -Disc besteht aus „Titeln“ und jeder Titel kann in
einige „Kapitel“ unterteilt sein.
Wenn z. B. eine DVD-Disc mehrere Filme enthält, kann jeder
einzelne Film eine eigene Titelnummer haben und dieser
kann wiederum in mehrere Kapitel unterteilt sein.
Eine VCD, SVCD oder Audio-CD aus „Stücke“.
Im Allgemeinen verfügt jede Stück über eine eigene
Stücknummer. (Auf manchen Discs können einzelne Stücke
auch durch Indices unterteilt sein).
Auf einer MP3-Disc wird jeder Song in einer Stück (Datei)
gespeichert. Stücke werden normalerweise in einem Gruppe
(Ordner) gruppiert. Gruppen können auch andere Gruppen
enthalten und so hierarchische Gruppen-Ebenen schaffen.
Dieses System kann bis zu 150 Stücke pro Gruppe und bis
zu 99 Gruppen pro Disc (bis zu 14.850 Stücke) erkennen.
• Wenn andere Dateiarten als MP3-Dateien in einem Ordner
sind, werden auch diese zu der Gesamtanzahl von 150
gezählt.
Auf einer JPEG-Disc wird jedes Standbild als Datei
aufgenommen. Dateien werden normalerweise in einem
Gruppe (Ordner) gruppiert. Gruppen können auch andere
Gruppen enthalten und so hierarchische Gruppen-Ebenen
schaffen.
Dieses System kann bis zu 150 Dateien pro Gruppe und bis
zu 99 Gruppen pro Disc (bis zu 14.850 Dateien) erkennen.
• Wenn andere Dateiarten als JPEG-Dateien in einem Ordner
sind, werden auch diese zu der Gesamtanzahl von 150
gezählt.
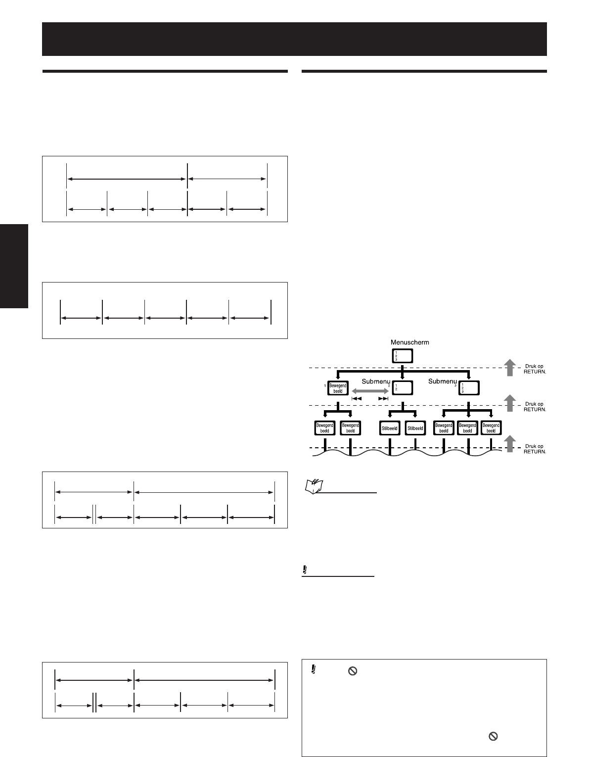
Die Wiedergabe-Kontroll-
Funktion (PBC)—Nur für VCD
und SVCD
Die Wiedergabe-Kontroll-Funktion erlaubt es Ihnen,
menügesteuerte Bedienverfahren und hochauflösende
Standbilder zu genießen, die eine vier Mal höhere Auflösung
ausweisen als bewegte Bilder.
•Anzeige hochauflösender Standbilder
Sie können qualitative hochwertige Bilder mit dem
vierfachen an Auflösung als bewegte Bilder anzeigen.
•Menügesteuertes Bedienverfahren
Ein Auswahl-Menü wird angezeigt, wenn Sie die
Wiedergabe einer VCD und SVCD-Disc mit der
Wiedergabe-Kontroll-Funktion starten. Das Auswahl-Menü
zeigt eine Nummernliste zur Auswahl. Einige Discs können
bewegte Bilder oder einen geteilten Bildschirm anzeigen.
Sie können mit dem Bildschirm interagieren, indem Sie das
Menü-Display verwenden um eine Eingabe auszuwählen
und abzuspielen.
Die folgende Abbildung zeigt die Grundfunktionen der
menügesteuerten Wiedergabe. Einzelheiten zur
Verwendung des Menüs auf Seite 39.
HINWEIS:
Während Sie eine VCD oder SVCD über das Menü bedienen, kann
es vorkommen, dass einige Funktionen, wie z. B. das Wiederholen,
nicht funktionieren.
WICHTIG:
Bevor Sie eine Disc abspielen, stellen Sie folgendes
sicher....
• Überprüfen Sie die Verbindung mit dem Fernsehgerät.
• Schalten Sie den Fernsehgerät ein und wählen Sie den
korrekten Eingangsmodus an Ihrem Fernsehgerät, um die
Bilder oder Bildschirmangaben auf dem Fernsehbildschirm
anzusehen.
Wenn das Symbol beim Drücken einer Taste auf
Ihrem Bildschirm erscheint, akzeptiert die Disc einen
Vorgang nicht, den Sie vornehmen wollten, oder aber
Informationen die für diesen Vorgang benötigt werden,
sind nicht auf der Disc gespeichert.
HINWEIS: In manchen Fällen wird ein Vorgang nicht
akzeptiert, auch wenn das Symbol nicht angezeigt
wird.
Über Discs
GE01-16.TH-A75R[E]f.pm6 5/9/02, 6:21 PM6

7
Deutsch
Erste Schritte
VCR
RGB Y/C
STB
COAXIAL
AM LOOP
(STB)
VCR IN
AV COMPU
LINK- S-VIDEO
AV
DIGITAL IN
ANTENNA
STB IN OUT
AUDIO IN
VIDEO
RL RL
FM 75
AM EXT
RGB
VCR
Y/C
STB
COAXIAL
AM LOOP
(STB)
VCR IN
AV COMPU
LINK- S-VIDEO
AV
DIGITAL IN
ANTENNA
STB IN OUT
AUDIO IN
VIDEO
RL RL
FM 75
AM EXT
VCR
RGB Y/C
STB
COAXIAL
AM LOOP
(STB)
VCR IN
O
MPU S-VIDEO
AV
DIGITAL IN
ANTENNA
STB IN OUT
AUDIO IN
VIDEO
RL RL
FM 75
AM EXT
RGB Y/C
Anschlüsse
•Schließen Sie das AC-Netzkabel nicht an, bis Sie alle Anschlüsse vorgenommen haben.
• Da verschiedene Komponenten oft verschiedene Namen für Kabelenden haben, sollten Sie sorgfältig die Anweisungen
lesen, die mit der Komponente, die Sie anschließen möchten geliefert wurden.
Anschluss eines Fernsehgeräts
Um Bilder und die Bildschirmanzeigen anzusehen, schließen Sie ein Fernsehgerät an die Centereinheit an.
• Der Anschluss an ein Fernsehgerät über einen Videorecorder, oder an einen Fernsehgerät mit eingebautem Videorecorder,
kann eine Beeinträchtigung des Bildes hervorrufen.
• Sie müssen den „MONITOR-TYP“ im BILD-Menü korrekt gemäß dem Bildformat Ihres Fernsehgeräts einstellen. Siehe Seite 57.
7Der Anschluss eines Fernsehgeräts ohne AV (SCART)-Stecker
Schließen Sie ein Fernsehgerät wie folgt an.
• Ein Anschluss über die S-Videobuchsen erzeugt eine bessere Bildqualität.
•Durch die S-Videobuchsen •Durch die Composite-Videobuchsen
Die Markierung ∞ auf
dem Stecker mit der auf
der mittleren Anlage
ausrichten.
S-Videokabel (nicht mitgeliefert)
Zum S-Videoeingang
Fernsehgerät
Composite-Video-Kabel
(mitgeliefert)
Zum Composite-Video-Eingang
Fernsehgerät
7Der Anschluss eines Fernsehgeräts mit AV (SCART)-Buchse
Fernsehgerät
Zum SCART-Buchse*
SCART-Kabel (nicht mitgeliefert)
Stellen Sie den RGB-Y/C-Schalter korrekt gemäß Ihrem Fernsehgerät ein.
–Wenn Ihr Fernsehgerät das RGB-Videosignal unterstützt, stellen Sie den
RGB-Y/C-Schalter auf „RGB“ ein, so dass Sie eine bessere Bildqualität
erzielen können. Die RGB-Lampe leuchtet auf der mittleren Anlage
ausrichten.
–Wenn Ihr Fernsehgerät ein S-Video-Signal unterstützt, stellen Sie den
RGB-Y/C-Schalter auf „Y/C“ ein.
HINWEISE:
•Wenn der RGB-Y/C-Schalter auf „RGB“ eingestellt ist, wird kein korrektes Videosignal aus der S-VIDEO OUT-Buchse auf der Rückseite
ausgegeben.
•Egal ob der RGB-Y/C-Schalter auf „RGB“ oder „Y/C“ eingestellt ist, das gemischte Videosignal wird immer aus der VIDEO OUT-Buchse.
*
Manche SCART-Steckverbinder geben kein Audiosignal aus. Ein SCART-Anschlussausgangssignal verwenden, wenn der Fernsehgeräteklang
durch dieses System ausgegeben werden soll.
GE01-16.TH-A75R[E]f.pm6 5/9/02, 6:21 PM7

8
Deutsch
SURROUND SPEAKERS SURROUND BACK
VCR
RGB Y/C
STB
COAXIAL
AM LOOP
(STB)
RIGHT LEFT SPEAKER
VCR IN
AV COMPU
LINK- S-VIDEO
AV
DIGITAL IN
ANTENNA
STB IN OUT
AUDIO IN
VIDEO
RL RL
CENTER
RIGHTSUBWOOFER LEFT SPEAKER
CAUTION:SPEAKER IMPEDANCE 4 16
FM 75
AM EXT
FRONT SPEAKERS
1
2
3
• Drehen Sie die
Ringantenne, bis Sie
den besten Empfang
haben.
Erste Schritte
Der Anschluss der AM (MW) und UKW-Antennen
• Stellen Sie sicher, dass die Antennenkabel keine Buchsen, Anschlusskabel oder Netzkabel berühren. Dies könnte einen
schlechten Empfang verursachen.
7AM (MW)-Ringantenne
Aufbau der AM (MW)-Ringantenne
Verbinden Sie den AM (MW)-Ring mit dem Fuß, indem Sie die Stecker
des Rings in den dafür vorgesehenen Schlitz am Fuß einrasten lassen.
Wenn das Antennenkabel mit Vinyl beschichtet ist,
entfernen Sie das Vinyl, in dem Sie, wie unten
beschrieben, daran drehen.
Vinylbeschichtetes Außen-Einzel-Kabel (nicht mitgeliefert)
Bei schlechtem Empfang:
Schließen Sie ein
vinylbeschichtetes Außen-
Einzel-Kabel an die AM EXT-
Buchse an, während die AM
(MW)-Ringantenne
angeschlossen bleibt.
AM (MW)
Ringantenne
Kabel
Anschluss der AM (MW)-Ringantenne
Drücken und halten Sie
die Buchsenklemme.
Führen Sie das
Antennenkabel ein.
Lassen Sie die
Klemme los.
GE01-16.TH-A75R[E]f.pm6 5/9/02, 6:21 PM8

9
Deutsch
HINWEISE:
•Entfernen Sie die mitgelieferte UKW-Antenne, bevor Sie einen 75
Ω
Koaxialstecker anschließen (Draht mit runder Abschirmung, das zur
Außenantenne führt).
•Wir empfehlen, dass Sie ein Koaxialkabel (nicht mitgeliefert) zur UKW-Antenne verwenden, da dies gut abgeschirmt ist gegen
Störeinwirkungen.
SURROUND SPEAKERS SURROUND BACK
VCR
RGB Y/C
STB
COAXIAL
AM LOOP
(STB)
RIGHT LEFT SPEAKER
VCR IN
AV COMPU
LINK- S-VIDEO
AV
DIGITAL IN
ANTENNA
STB IN OUT
AUDIO IN
VIDEO
RL RL
CENTER
RIGHTSUBWOOFER LEFT SPEAKER
CAUTION:SPEAKER IMPEDANCE 4 16
FM 75
AM EXT
FRONT SPEAKERS
7UKW-Antenne
Anschluss der mitgelieferten UKW-Antenne
Strecken Sie die mitgelieferte UKW-Antenne waagerecht aus.
Bei schlechtem Empfang:
Schließen Sie eine UKW-
Außenantenne mit eine Standard-
(Koaxial)-Buchse an.
UKW-Außenantenne
(nicht mitgeliefert)
UKW-Außenantenne (nicht mitgeliefert)
GE01-16.TH-A75R[E]f.pm6 5/9/02, 6:21 PM9

10
Deutsch
7Anschluss der Lautsprecherkabel an die
Satellitenlautsprecher
1Drücken und halten Sie
die Buchsenklemme.
2Führen Sie das
Lautsprecherkabel ein.
3Lassen Sie die
Buchsenklemme los.
Erste Schritte
Satelliten-Lautsprecher und Subwoofer anschließen
Die im Lieferumgang enthaltenen Satelliten-Lautsprecher und Subwoofer anschließen.
Lautsprecher-Platzierung
Wenn Sie die Lautsprecher aufstellen, müssen Sie, um den bestmöglichen Klang zu erhalten, alle Satellitenlautsprecher in der
selben Entfernung von der Zuhörerposition aufstellen, wobei die Vorderseite dieser Lautsprecher auf den Zuhörer ausgerichtet
sein muss.
Wenn Sie diese nicht in der selben Entfernung von der Zuhörerposition aufstellen können, können Sie Anpassungen
vornehmen, als wenn die Lautsprecher in der besten Position aufgestellt wären. Siehe Seiten 29 und 59.
• Stellen Sie den Subwoofer an der rechten, vorderen Seite des Fernsehgeräts auf. Wenn Sie den Subwoofer auf der linken
Seite der Fernsehgeräts aufstellen, können die Farben auf dem Bildschirm verzerrt sein.
HINWEISE:
•Obwohl die Satellitenlautsprecher und der Subwoofer magnetisch abgeschirmt sind, kann der Bildschirm flimmern. Sollte dies der Fall sein,
sollte die Entfernung zum Fernsehgerät über 10 cm betragen.
•Aus Sicherheitsgründen sollten Sie sicherstellen, dass sich immer genügend Platz hinter dem Subwoofer befindet.
•Wenn Sie die Satellitenlautsprecher weit oben platzieren möchten, wie z. B. auf Ihrem Bücherregal, sollten Sie darauf achten, dass die
Oberfläche flach und eben ist.
7Vor dem Anschluss des
Lautsprecherkabels
Wenn das
Lautsprecherkabel mit
Vinyl beschichtet ist,
entfernen Sie das Vinyl, in
dem Sie, wie rechts
beschrieben, daran
drehen.
Hinterer Surround-Lautsprecher
Centereinheit
Linker Surround-
Lautsprecher
Centerlautsprecher
Rechter vorderer
Lautsprecher
Linker vorderer
Lautsprecher
Rechter Surround-
Lautsprecher
STANDBY
COMPACT
SUPER VIDEO DIGITAL•EX
PRO LOGIC
DVD DIGITAL CINEMA SYSTEM
PROGRESSIVE
PHONES
VOLUMESOURCE
Subwoofer
GE01-16.TH-A75R[E]f.pm6 5/9/02, 6:21 PM10

11
Deutsch
ACHTUNG:
•Wenn Sie nicht die mitgelieferten sondern andere (größere) Lautsprecher anschließen, achten Sie darauf, die Lautsprecher mit der
SPEAKER IMPEDANCE anzuschließen, die durch die Lautsprecherbuchsen auf der Rückseite des Centereinheit angegeben ist.
•Schließen Sie NICHT mehr als einen Lautsprecher an eine Lautsprecherbuchse an.
Satelliten-Lautsprecher:
1Die Ministecker an den Lautsprecherkabeln in die Buchsen an der Rückseite des jeweiligen
Lautsprechers einstecken.
2Schließen Sie das weiße Kabel an die rote (+) und das schwarze Kabel an die schwarze (–)
Buchse.
SURROUND SPEAKERS SURROUND BACK
RIGHT LEFT SPEAKER
CENTER
RIGHTSUBWOOFER LEFT SPEAKER
CAUTION:SPEAKER IMPEDANCE 4 16
FRONT SPEAKERS
Linker vorderer
Lautsprecher
Centerlautsprecher
Rechter vorderer
Lautsprecher
Linker Surround-
Lautsprecher
Rechter Surround-
Lautsprecher
Subwoofer
Hinterer Surround-
Lautsprecher
Subwoofer:
Schließen Sie das weiße Kabel an die rote (+) und das schwarze
Kabel an die schwarze (–) Buchse.
Wenn das
Lautsprecherkabel
mit Vinyl
beschichtet ist,
entfernen Sie
das Vinyl, in
dem Sie, wie
rechts beschrieben,
daran drehen.
HINWEISE:
•Die Abdeckungen der Satellitenlautsprecher sind abnehmbar. Nehmen Sie die Abdeckungen nicht gewaltsam ab, um Beschädigungen zu
vermeiden.
•Die Abdeckung des Subwoofers ist nicht abnehmbar.
GE01-16.TH-A75R[E]f.pm6 5/9/02, 6:21 PM11

12
Deutsch
Satelliten-Lautsprecher an der Wand befestigen
Die Surround-Lautsprecher können mit den im Lieferumfang enthaltenen Satelliten-Lautsprecherwandhalterungen an der Wand
angebracht werden.
ACHTUNG:
Wenn Sie die Bügel an der Wand befestigen, sollte dies durch eine qualifizierte Person geschehen.
Bringen Sie die Bügel NICHT selbst an der Wand an, um einen unvorhergesehen Schaden zu verhindern, wenn diese von der Wand fallen, weil
sie nicht richtig angebracht wurde oder die Wand eine Schwäche aufweist.
Auswahl der Wandposition:
Bei der Auswahl der Wandposition für die Surround Lautsprecher vorsichtig sein. Personen können verletzt werden oder die
Geräte können beschädigt werden, wenn die Lautsprecher an eine Stelle der Wand aufgehängt werden, wo sie die täglichen
Aktivitäten behindern.
Anbringung der Bügel an die Lautsprecher
1Verwenden Sie die mitgelieferten Schrauben,
um die Bügel an die hinteren Lautsprecher
anzubringen.
2Passen Sie den Winkel der Lautsprecher an.
Lockern Sie die Schrauben leicht, nehmen Sie die
Anpassung vor und ziehen Sie die Schrauben dann fest an.
ACHTUNG:
Wenn die Schrauben nicht fest genug angezogen werden, kann dies zu Verletzungen von Personen oder Beschädigungen an Geräten führen.
Erste Schritte
GE01-16.TH-A75R[E]f.pm6 5/9/02, 6:21 PM12

13
Deutsch
RGB YC
AV COMPU
LINK-
S-VIDEO
SURROUND SPEAKERS SURROUND BACK
VCR STB
COAXIAL
AM LOOP
(STB)
RIGHT LEFT SPEAKER
VCR IN
AV
DIGITAL IN
ANTENNA
STB IN OUT
AUDIO IN
VIDEO
RL RL
CENTER
RIGHT
S
UBWOOFER LEFT SPEAKER
CAUTION:SPEAKER IMPEDANCE 4 16
FM 75
AM EXT
FRONT SPEAKERS
Audiokabel
Zum
Audioausgang
Zum
S-Video-
ausgang
S-Video-
kabel
Composite-
Videokabel
Zum
Composite-
Videoausgang
Audio-
anschluss
Video-
anschluss
Videorecorder
RGB Y/C
oder
RGB YC
AV COMPU
LINK-
S-VIDEO
SURROUND SPEAKERS SURROUND BACK
VCR STB
COAXIAL
AM LOOP
(STB)
RIGHT LEFT SPEAKER
VCR IN
AV
DIGITAL IN
ANTENNA
STB IN OUT
AUDIO IN
VIDEO
RL RL
MPEDANCE 4 16
FM 75
AM EXT
Audiokabel
Zum
Audio-
ausgang
Zum
S-Video-
ausgang
S-Video-
kabel
Composite-
Videokabel
Zum
Composite-
Videoausgang
Video-
anschluss
STB (Set-Top-Box)
Optisches
Digitalkabel
Zum
Optisches
Digitalausgang
Audio-
anschluss
RGB Y/C
oder
2
Zwischen den
Audiobuchsen oder
optischen digitalen
Anschlüssen
anschließen.
Stecken Sie den weißen
Stecker in die linke
Audiobuchse („L“) und
den roten in die rechte
Audiobuchse („R“).
•Ein Anschluss über
die optischen digitalen
Anschlüsse erzeugt
einen besseren Klang.
HINWEISE:
•Signaleingang durch die S-Videobuchsen ergibt einen Signalausgang durch die Composite- und S-Videobuchsen. Dahingegen ergibt ein
Signaleingang durch die Composite-Videobuchsen keinen Ausgang aus den S-Videobuchsen.
•Wenn sowohl die Composite- als auch die S-Videobuchsen angeschlossen werden, wird das S-Videosignal als Videosignal gewählt.
Videokomponenten anschließen
Sie können Bild und Ton des Videorecorders und der Set-Top-Box (STB) durch das System genießen.
7Videorecorder-Anschluss
1
Videobuchsen anschließen.
Das S-Videokabel anschließen,
indem die Markierung ∞ auf dem
Stecker mit der auf der
centereinheit ausgerichtet wird.
2
Audiobuchsen anschließen.
Stecken Sie den weißen
Stecker in die linke
Audiobuchse („L“) und den
roten in die rechte Audiobuchse
(„R“).
Ziehen Sie den
Schutzstecker ab, bevor
Sie ein digitales
Lichtwellenleiterkabel
anschließen.
7STB-Anschluss
1
Videobuchsen
anschließen.
Das S-Videokabel
anschließen, indem die
Markierung ∞ auf dem
Stecker mit der auf der
centereinheit
ausgerichtet wird.
GE01-16.TH-A75R[E]f.pm6 9/9/02, 9:16 AM13

14
Deutsch
SURROUND SPEAKERS SURROUND BACK
VCR
RGB Y/C
STB
COAXIAL
AM LOOP
(STB)
RIGHT LEFT SPEAKER
VCR IN
AV COMPU
LINK- S-VIDEO
AV
DIGITAL IN
ANTENNA
STB IN OUT
AUDIO IN
VIDEO
RL RL
CENTER
RIGHTSUBWOOFER LEFT SPEAKER
CAUTION:SPEAKER IMPEDANCE 4 16
FM 75
AM EXT
FRONT SPEAKERS
ACHTUNG:
•Stecken Sie die Netzstecker aus, bevor Sie das System säubern oder bewegen.
•Fassen Sie die Netzstecker nie mit nassen Händen an.
•Ziehen Sie nicht am Kabel, um den Netzstecker aus zu stecken.
Wenn Sie das Kabel ausstecken möchten, fassen Sie bitte immer den Stecker an und nicht das Kabel, um Schäden des Kabels
vorzubeugen.
HINWEISE:
•Die Netzstecker nicht mit den Anschlusskabeln in Berührung kommen lassen. Die Netzstecker können zu Ton- oder Bildstörungen führen.
•Die Voreinstellungen, wie z. B. die voreingestellten Sender und die Klanganpassungen können innerhalb von ein paar Tagen in folgenden
Fällen gelöscht werden:
– Wenn der Netzstecker ausgesteckt wird.
– Wenn ein Stromausfall eintritt.
Erste Schritte
Anschluss des Netzsteckers
Stellen Sie sicher, dass alle Anschlüsse gemacht wurden, bevor Sie die Netzkabel einstecken.
In Wechselstrom-
steckdosen
einstecken.
Netzstecker
GE01-16.TH-A75R[E]f.pm6 5/9/02, 6:21 PM14

15
Deutsch
12 3
STANDBY
COMPACT
SUPER VIDEO
DIGITAL•EX
PRO LOGIC
DVD DIGITAL CINEMA SYSTEM
RGB
PHONES
SOURCE − VOLUME +
Fernbedienungssensor
Benutzung der Fernbedienung
Das Einsetzen der Batterien in die Fernbedienung
Bevor Sie die Fernbedienung verwenden, setzen Sie zuerst die zwei mitgelieferten Batterien ein.
1Auf der Rückseite der Fernbedienung entfernen Sie die Batterie-Abdeckung.
2Setzen Sie die Batterien ein.
• Achten Sie auf die Polung: (+) auf (+) und (–) auf (–).
3Setzen Sie die Abdeckung wieder auf.
Wenn die Reichweite oder die Leistung der Fernbedienung nachlässt, ersetzen Sie die Batterien. Verwenden Sie zwei R6S
(SUM-3)/AA (15F) Trockenbatterien.
ACHTUNG:
Folgen Sie diesen Sicherheitsregeln, um ein Lecken oder Bersten der Batterien zu vermeiden:
•Die Batterien immer mit der richtigen Polung in die Fernbedienung einlegen: (+) auf (+) und (–) auf (–).
•Immer die richtigen Batterien verwenden. Auch Batterien, die ähnlich aussehen, können eine andere Spannung haben.
•Immer beide Batterien zusammen ersetzen.
•Batterien nicht Hitze oder Feuer aussetzen.
Die Bedienung des Systems mit der Fernbedienung
Zielen Sie mit der Fernbedienung direkt auf den Fernbedienungssensor der Centereinheit. Der effektive Abstand zwischen der
Fernbedienung und dem Fernbedienungssensor am Centereinheit beträgt ca. 7 m.
• Sie können auch andere Komponenten über die mit diesem System mitgelieferte Fernbedienung steuern.
– Um Ihr Fernsehgerät zu bedienen, siehe Seite 16.
– Um Ihren Videorecorder zu bedienen, siehe Seite 64.
Um andere Komponenten zu steuern, zielen Sie mit der Fernbedienung direkt auf den Fernbedienungssensor dieser
Komponenten.
Bitte lesen Sie auch die Bedienungsanleitung dieser Geräte.
• Zur richtigen Anwendung der Fernbedienung sollte nichts die Fernbedienung behindern.
GE01-16.TH-A75R[E]f.pm6 5/9/02, 6:21 PM15

16
Deutsch
7Einstellung der sendefähigen Signale zur
Bedienung Ihres Fernsehgerätes
Wenn Ihr Fernsehgerät ein Gerät von JVC ist, können Sie Ihren
Fernseher bedienen, ohne das Fernbedienungssignal einzustellen.
1Stellen Sie den Moduswahlhebel der
Fernbedienung auf „DVD“.
2Drücken und halten Sie TV .
•Halten Sie diese gedrückt, bis Schritt 5 beendet ist.
3Drücken Sie TV CONTROL.
4Drücken Sie die Zifferntasten (1–9, 0), um
einen Herstellercode (2 Zahlen) einzugeben.
In der Liste unten finden Sie die Herstellercodes.
Bsp.: Für ein Fernsehgerät von Sanyo, drücken Sie 0,
dann 5.
Für ein Fernsehgerät von Toshiba, drücken Sie 2,
dann 9.
5Lassen Sie TV los.
6Testen Sie Ihr Fernsehgerät, indem Sie
TV drücken.
Wenn sich Ihr Fernsehgerät ein- und ausschalten lässt,
haben Sie den richtigen Code eingegeben.
Sollten mehrere Codes für Ihre Fernsehmarke angegeben
sein, probieren Sie jeden Code, bis Sie den richtigen
gefunden haben.
Nachdem Sie die sendefähigen Signale eingestellt haben,
können Sie folgende Tasten für die Bedienung des
Fernsehgeräts verwenden.
TV :Schaltet Ihr Fernsehgerät ein oder aus.
TV VOL +/–:Passt die Lautstärke an.
TV/VIDEO :Auswahl des Eingangsmodus (entweder TV
oder VIDEO).
Nach dem Drücken von TV CONTROL:
CHANNEL +/–:Wechselt den Kanal.
1-10, 0, +10 (100+) :Wählt den Kanal aus.
Bsp.:
•Für Kanalnummer 3, drücken Sie 3.
•Für Kanalnummer 24, drücken Sie
+10, +10, dann 4.
•Für Kanalnummer 123, drücken Sie
100+, +10, +10, dann 3.
TV RETURN :Wechselt zwischen dem vorher
eingestellten und dem aktuellen Kanal.
RM–STHA75R
DVD CINEMA SYSTEM
CHANNEL/ZOOM
VOLUMETV VOL
TUNING
STOP
DIMMER
PAUSE
FF/
/REW
TV/VIDEO
1
MUTING
¡
REC
PLAY
DOWN UP
MEMORY STROBE
DVD
VCR 1
AUDIO
VIDEO/
TV SOUND
ANGLE
FM/AM
SUBTITLE DECODE
RETURN DIGEST
VFP
TOP MENU MENU
CONTROL
EFFECT
S.WFR TEST
SLEEP
TV
VCR
SETTING
TV RETURN
ENTER
ON
SCREEN
CHOICE
FM MODE
123
456
789
10
0
+10
100+
TV AUDIO
VCR
SOUND
PTY SEARCH
DVD
RDS
TA/NEWS/INFO
PTY(PTY9
RDS DISPLAY
SURROUND OFF
DSP
CENTER
–
+
–
+
–
+
–
+
SURR-L SURR-R
S-BACK
–
+
ADJUST
O.T.
REPLAY
Erste Schritte
Die
Moduswahltaste
auf der
Fernbedienung
auf „DVD“ stellen.
Herstellercodes für Fernsehgeräte
* Änderungen der
Herstellercodes ohne
vorherige
Ankündigung
vorbehalten. Sollten
Änderungen
vorgenommen werden,
kann diese
Fernbedienung das
Gerät nicht mehr
steuern.
Hersteller Code
JVC 01
Akai 02, 05
Blaupunkt 03
Daewoo 10, 31, 32
Fenner 04, 31, 32
Fisher 05
Grundig 06
Hitachi 07, 08
Inno-Hit 09
Irradio 02, 05
Magnavox 10
Mitsubishi 11, 33
Miver 03
Nokia 12, 34
Hersteller Code
Nordmende 13, 14, 18, 26 – 28
Okano 09
Orion 15
Panasonic 16, 17
Philips 10
Saba 13, 14, 18, 26 – 28
Samsung 10, 19, 32
Sanyo 05
Schneider 02, 05
Sharp 20
Sony 21 – 25
Telefunken 13, 14, 18, 26 – 28
Thomson 13, 14, 18, 26 – 28, 30
Toshiba 29
Die Verwendung der Fernbedienung für die Fernsehbedienung
Sie können Ihr Fernsehgerät bedienen, indem Sie die mit
diesem System mitgelieferte Fernbedienung verwenden.
• Lesen Sie auch die Bedienungsanleitung Ihres
Fernsehgerätes.
GE01-16.TH-A75R[E]f.pm6 5/9/02, 6:21 PM16

17
Deutsch
Grundlegende Bedienung
L
S.WFR
R
TUNED
RM–STHA75R
DVD CINEMA SYSTEM
CHANNEL/ZOOM
VOLUMETV VOL
TUNING
STOP
DIMMER
PAUSE
FF/
/REW
TV/VIDEO
1
MUTING
¡
REC
PLAY
DOWN UP
MEMORY STROBE
DVD
VCR 1
AUDIO
VIDEO/
TV SOUND
ANGLE
FM/AM
SUBTITLE DECODE
RETURN DIGEST
VFP
TOP MENU MENU
CONTROL
EFFECT
S.WFR TEST
SLEEP
TV
VCR
SETTING
TV RETURN
ENTER
ON
SCREEN
CHOICE
FM MODE
123
456
789
10 0+10
100+
TV AUDIO
VCR
SOUND
PTY SEARCH
DVD
RDS
TA/NEWS/INFO
PTY(PTY9
RDS DISPLAY
SURROUND OFF
DSP
CENTER
–
+
–
+
–
+
–
+
SURR-L SURR-R
S-BACK –
+
ADJUST
O.T.
REPLAY
Dieser Abschnitt beschreibt vorwiegend die gewöhnlichen
Grundbetriebsfunktionen.
• Schalten Sie das Fernsehgerät ein und wählen Sie ggf. den
entsprechenden Eingangsmodus.
HINWEISE:
•Eine geringe Menge Strom fließt immer, auch wenn das Gerät
ausgeschaltet ist (sog. Standby-Modus). Entfernen Sie den
Netzstecker aus der Steckdose, um die Stromversorgung komplett
abzuschalten.
•Die STANDBY- Lampe leuchtet für eine Weile nachdem der
Netzstecker ausgesteckt wird. Das heißt nicht daß das Gerät ist
kaputt.
Auswahl der abzuspielenden
Quelle
Über die Fernbedienung:
Drücken Sie eine der Signalquellen-wahltasten
(DVD, FM/AM oder VIDEO/TV SOUND).
DVD :Wählen Sie den DVD-Player.
FM/AM :Wählen Sie einen UKW- oder AM (MW)-
Sender.
• Bei jedem Drücken der Taste, wechselt
der Kanal von UKW auf AM (MW).
VIDEO/TV SOUND:Einen über die VCR IN-Buchsen
angeschlossenen Videorecorder, eine
über die STB IN-Buchsen
angeschlossene STB oder TV SOUND
wählen*.
• Bei jedem Drücken der Taste, wechselt
die Quelle wie folgt:
VCR ] STB (STB DIGITAL) ]
TV SOUND* ] (zurück zum Anfang)
An der Centereinheit:
Drücken Sie SOURCE wiederholt.
Bei jedem Drücken der Taste, wechselt die Quelle wie folgt:
DVD ] AM ] FM ] VCR ] STB (STB DIGITAL) ]
TV SOUND* ] (zurück zum Anfang)
Bsp.: Wenn „AM“ gewählt wurde.
HINWEIS:
*
„TV SOUND“ kann nur dann gewählt werden, wenn das
Fernsehgerät über ein SCART-Kabel mit Ausgangsaudiosignal
angeschlossen ist (siehe Seite 7).
Gerät einschalten
Drücken Sie AUDIO auf der
Fernbedienung oder (Standby/Ein) auf der
Centereinheit.
Die STANDBY-Lampe erlischt und die zuletzt gewählte
Signalquelle wird aktiviert.
•0 auf der Centereinheit oder einer der
Signalquellenwahltasten auf der Fernbedienung schaltet
das Gerät ebenfalls ein.
Gerät ausschalten
Drücken Sie AUDIO auf der Fernbedienung oder
(Standby/Ein) auf der Centereinheit erneut.
Die STANDBY-Lampe leuchtet auf.
Die
Moduswahltaste
auf der
Fernbedienung
auf „DVD“ stellen.
GE17-21.TH-A75R[E]f.pm6 12/9/02, 4:29 PM17

18
Deutsch
L
S.WFR
R
Grundlegende Bedienung
CHANNEL/ZOOM
VOLUMETV VOL
TUNING
STOP
DIMMER
PAUSE
FF/
/REW
TV/VIDEO
1
MUTING
¡
REC
PLAY
DOWN UP
MEMORY STROBE
AUDIO ANGLE SUBTITLE DECODE
RETURN DIGEST
VFP
TOP MENU MENU
CONTROL
EFFECT
S.WFR TEST
SLEEP
TV
VCR
SETTING
TV RETURN
ENTER
ON
SCREEN
CHOICE
FM MODE
123
456
789
10 0+10
100+
SOUND
PTY SEARCH
DVD
RDS
TA/NEWS/INFO
PTY(PTY9
RDS DISPLAY
SURROUND OFF
DSP
CENTER
–
+
–
+
–
+
–
+
SURR-L SURR-R
S-BACK –
+
ADJUST
O.T.
REPLAY
ACHTUNG:
Achten Sie darauf, die Lautstärke zu verringern:
•Bevor Kopfhörer angeschlossen oder aufgesetzt werden, da hohe
Lautstärken sowohl den Kopfhörer als auch Ihr Hörvermögen
schädigen können.
•Bevor Kopfhörer von der Buchse abgezogen werden, da hohe
Lautstärken sonst unvermittelt über die Lautsprecher ausgegeben
werden.
Ausgangspegel des Subwoofers
einstellen
Sie können den Ausgangspegel des Subwoofers einstellen.
Sobald Sie den Ausgangspegel des Subwoofers eingestellt
haben, wird dieser für jede Signalquelle gespeichert.
Sie können den Ausgangspegel auch über das
Bildschirmmenü einstellen (siehe Seite 59).
NUR über die Fernbedienung:
1Drücken Sie SOUND.
2S.WFR +/– drücken, um den
Ausgangspegel des Subwoofers
einzustellen (–10 dB bis +10 dB).
Das zeitweilige Ausschalten des
Tons
NUR über die Fernbedienung:
Drücken Sie MUTING.
„MUTING“ erscheint auf dem Displayfenster und der Ton
wird stummgeschalten.
Den Ton wiederherstellen
Drücken Sie MUTING erneut.
• Durch das Drücken von VOLUME +/– wird der Ton
ebenfalls wieder hergestellt.
Das Anpassen der Helligkeit
Sie können die Displayanzeigen verdunkeln.
NUR über die Fernbedienung:
Drücken Sie DIMMER.
Bei Jedem Drücken der Taste ändert die Helligkeit wie folgt.
OFF ] DIMMER 1 ] DIMMER 2 ] (zurück zum Anfang)
DIMMER 1 :Verdunkelt das Display und das blaue
Licht auf beiden Seiten des Displays.
DIMMER 2 :Verdunkelt das Display und schaltet das
blaue Licht auf beiden Seiten des
Displays aus.
OFF :Erhellt das Display und das blaue Licht
auf beiden Seiten des Displays.
Anpassen der Lautstärke
Sie können den Lautstärkepegel innerhalb des Bereiches „0“
(Minimum) bis „70“ (Maximum) anpassen.
Drücken Sie VOLUME +/–.
• Drücken Sie +, um die Lautstärke zu erhöhen.
• Drücken Sie –, um die Lautstärke zu mindern.
Der Lautstärkepegel erscheint auf dem Display-Fenster.
ACHTUNG:
Drehen Sie die Lautstärke immer auf Minimum, bevor Sie eine
Quelle anwählen.
Wenn die Lautstärke zu hoch eingestellt ist, kann die plötzlich
eintretende Lautstärke permanent Ihr Gehör verletzen oder Ihre
Lautsprecher beschädigen.
7Verwenden eines Kopfhörers
Die Kopfhörer an die PHONES-Buchse an der Centereinheit
anschließen
.
Dadurch wird der aktuell eingestellte Surround-/
DSP-Modus (siehe Seiten 31 bis 33) ausgeschaltet, die
Lautsprecher werden deaktiviert und der HEADPHONE-
Modus wird aktiviert.
•Wenn die Kopfhörer von der PHONES-Buchse abgezogen
werden, wird der HEADPHONES-Modus unterbrochen und
die Lautsprecher und der zuvor gewählte Surround-/DSP-
Modus werden aktiviert.
HEADPHONE-Modus
Bei Verwendung eines Kopfhörers werden die folgenden
Signale ohne Beachtung Ihrer Lautsprechereinstellungen
ausgegeben:
—Bei 2-Kanal-Audiosignalen werden die vorderen linken
und rechten Kanalsignale direkt über den Kopfhörer
ausgegeben.
—
Bei Mehrkanal-Audiosignalen werden die vorderen linken und
rechten, mittleren und Surround-Kanalsignale
heruntergemischt und dann über den Kopfhörer ausgegeben.
Sie können den Klang von heruntergemischten
mehrkanaligen Signalquellen über Kopfhörer genießen.
Die
Moduswahltaste
auf der
Fernbedienung
auf „DVD“ stellen.
GE17-21.TH-A75R[E]f.pm6 5/9/02, 6:24 PM18

19
Deutsch
L
S.WFR
R
Wenn STB als Signalquelle gewählt wurde:
ANALOG ] AUTO/PCM ] DOLBY D ] DTS ]
(zurück zum Anfang)
•Wenn Sie digitalen Klang, müssen Sie die Centereinheit
und die Komponente über die optischen digitalen
Anschlüsse anschließen.
ANALOG :Diese Option wählen, wenn die STB an die
AUDIO IN-Buchsen angeschlossen ist.
Digitaler Anschluss
AUTO/PCM :Wählen Sie diese Einstellung für den digitalen
Eingangsmodus aus.
Dieses System erkennt eingehende Signale
automatisch.
DOLBY D :Wählen Sie dies aus, wenn die oben
beschriebenen Fälle beim Abspielen einer
Software eintreten, die mit Dolby Digital oder
Dolby Digital EX kodiert wurden.
DTS :Wählen Sie dies aus, wenn die oben
beschriebenen Fälle beim Abspielen einer
Software eintreten, die mit DTS Digital
Surround oder DTS-ES kodiert wurden.
Im Folgenden sind die digitalen Signalanzeigen auf dem
Display aufgeführt, die anzeigen, welche Art von Signal im
System eingeht (siehe auch Seite 34).
LINEAR PCM :Leuchtet auf, wenn ein Linear PCM
-Signal empfangen wird.
DIGITAL EX :Leuchtet auf, wenn ein Dolby Digital EX
Signal empfangen wird.
DIGITAL :•Leuchtet auf, wenn ein Dolby Digital
Signal empfangen wird.
•Blinkt, wenn „DOLBY D“ für Software
gewählt wird, die nicht mit Dolby Digital
kodiert wurde.
:•Leuchtet auf, wenn ein DTS oder DTS-ES
-Signal empfangen wird.
•Blinkt, wenn „DTS“ für Software gewählt
wird, die nicht mit DTS kodiert wurde.
HINWEISE zum digitalen Eingangsmodus:
•Wenn das empfangene Signal nicht erkannt wird und „AUTO/PCM“
gewählt wurde, leuchten keine Signalanzeigen auf dem Display auf.
•Wird das System ausgeschaltet oder die Signalquelle geändert,
kehrt der Eingangsmodus automatisch auf „AUTO/PCM“ zurück.
Grundeinstellungen speichern—
Auto Memory
Dieses System speichert Klangeinstellungen für jede Signalquelle:
•Wenn Sie die Stromzufuhr ausschalten und
•Wenn Sie die Signalquelle ändern
Folgendes kann gespeichert werden:
•Die Einstellung für die vorderen Lautsprecher—balance,
Bass und Höhen (siehe Seiten 30 und 58)
•Low Frequency Effect Attenuator (siehe Seiten 30 und 58)
•Subwoofer-Audioposition (siehe Seite 30)
•Ausgangspegel der Lautsprecher und des Subwoofers
(siehe Seiten 18, 36 und 59)*
•Bassverstärkungseinstellung (Bass Boost) (siehe Seite 30)*
•Surround- und DSP-Modiauswahl (siehe Seite 35)*
•DSP-Effektpegel (siehe Seite 36)*
HINWEIS:
Die Teile, die mit „
*
“ markiert sind, können für jede Signalquelle,
einschließlich UKW und AM (MW), eine unterschiedliche
Einstellungen erhalten.
Das Abschalten mit der
Einschlafschaltuhr
Mit Hilfe der Einschlafschaltuhr können Sie einschlafen,
während Sie Musik hören.
NUR über die Fernbedienung:
Drücken Sie SLEEP.
Bei jedem Drücken der Taste, ändert sich die Abschaltzeit
wie folgt:
0min (aufgehoben) ] 10min (Minuten) ] 20min ]
30min ] 60min ] 90min ] 120min ] 150min ]
(zurück zum Anfang)
Bsp. : Wenn „150min“ ausgewählt ist.
Überprüfen der verbleibenden Zeit bis zum Abschalten
Drücken Sie SLEEP nur einmal.
Die verbleibende Zeit bis zum Abschalten erscheint für einen
gewissen Zeitraum auf dem Display-Fenster.
Änderung der verbleibenden Zeit bis zum Abschalten
Drücken Sie mehrmals die Taste SLEEP, um die Abschaltzeit
zu ändern.
•Bei jedem Drücken der Taste, ändert sich die Abschaltzeit.
Den Einschlafschaltuhr aufheben
Drücken Sie SLEEP wiederholt, bis „0min“ auf dem Display-
Fenster erscheint.
•Wenn Sie der Stromversorgung ausschalten, wird die
Einschlafschaltuhr ebenfalls deaktiviert.
HINWEISE:
•Wenn DVD als abzuspielende Quelle gewählt ist, kann dieses
System auch automatisch abgeschalten werden, falls die
Wiedergabe nicht innerhalb einer von Ihnen bestimmten Zeitdauer
wieder gestartet wird (Funktion Auto Standby). Siehe Seite 60.
•Wenn sowohl der Einschlafschaltuhr als auch die Funktion Auto
Standby aktiviert sind, und die Abschaltzeit der Funktion Auto
Standby vor der des Einschlafschaltuhr eintritt, so wird die Funktion
Auto Standby ausgeführt.
Analogen/digitalen
Eingangsmodus und Decoding-
Modus ändern
Wenn Sie eine Disc (oder Software) abspielen, die mit Dolby
Digital oder DTS Digital Surround kodiert wurde, könnten
folgende Symptome auftreten:
•Kein Ton beim Starten der Wiedergabe.
•Lärm ertönt, wenn Kapitel oder Stücke gesucht oder
übersprungen werden.
Den korrekten Decoding-Modus wählen, um diese Probleme
zu beheben.
NUR über die Fernbedienung:
Drücken Sie DECODE, um den digitalen
Eingangsmodus zu wählen, wenn DVD oder
STB als Quelle gewählt ist.
Bei Jedem Drücken der Taste ändert den Eingangsmodus
wie folgt.
Wenn DVD als Signalquelle gewählt wurde:
AUTO/PCM ] DOLBY D ] DTS ] (zurück zum Anfang)
GE17-21.TH-A75R[E]f.pm6 5/9/02, 6:24 PM19

20
Deutsch
Grundbetrieb des DVD-Spielers
Richtig
Falsch
CHANNEL/ZOOM
VOLUMETV VOL
TUNING
STOP
DIMMER
PAUSE
FF/
/REW
TV/VIDEO
1
MUTING
¡
REC
PLAY
DOWN UP
MEMORY STROBE
VFP
CONTROL
EFFECT
S.WFR TEST
SLEEP
TV
VCR
SETTING
TV RETURN
ENTER
ON
SCREEN
CHOICE
FM MODE
123
456
789
10 0+10
100+
SOUND
PTY SEARCH
DVD
RDS
TA/NEWS/INFO
PTY(PTY9
RDS DISPLAY
SURROUND OFF
DSP
CENTER
–
+
–
+
–
+
–
+
SURR-L SURR-R
S-BACK
–
+
ADJUST
O.T.
REPLAY
STANDBY
COMPACT
SUPER VIDEO
DIGITAL•EX
PRO LOGIC
Weitere Einzelheiten zur Bedienung des DVD-Spielers finden
Sie auf den Seiten 37 bis 49.
Für die Wiedergabe von MP3, siehe Seiten 50 und 51. Für die
Wiedergabe von JPEG-Discs, siehe Seiten 52 und 53.
•Bevor Sie die Fernbedienung verwenden, drücken Sie
die Taste DVD, um den Modus der Fernbedienung zu
ändern.
•
Vor dem Einschalten der Anlage das Fernsehgerät einschalten
und den entsprechenden Eingangsmodus wählen.
5Bevorzugten Surround- oder DSP-Modus
aktivieren.
NUR über die Fernbedienung:
Drücken Sie SURROUND oder DSP.
•Weitere Einzelheiten auf Seite 35.
Die Wiedergabe anhalten.
Über die Fernbedienung: Drücken Sie STOP.
An der Centereinheit: Drücken Sie 7.
Eingelegte Disc auswerfen
Die Taste 0auf der Centereinheit drücken.
Die Wiedergabe zeitweilig anhalten.
Über die Fernbedienung: Drücken Sie PAUSE.
An der Centereinheit: Drücken Sie 8.
•Durch das Drücken der Tasten PLAY oder 3 auf der
Centereinheit wird die Wiedergabe erneut gestartet.
So setzen Sie die Wiedergabe um 10 Sekunden zurück
(nur DVD)—One Touch Replay
NUR über die Fernbedienung: Drücken Sie O.T. REPLAY.
Das 10 Sekunden zurückliegende Bild wird wiederholt.
HINWEISE:
•One Touch Replay funktioniert zwischen den Kapiteln eines Titels.
•One Touch Replay funktioniert nicht bei einigen DVDs.
Schnellvorlauf (oder Schnellrücklauf) der Wiedergabe
Über die Fernbedienung: Drücken Sie ¡ (oder 1).
Bei jedem Drücken der Taste ändert die Schnellvorlauf- bzw.
-rücklaufgeschwindigkeit wie folgt:
x2
]
x5
]
x10
]
x20
]
x60
*
(oder
x2
]
x5
]
x10
]
x20
]
x60
*)
*
x60
und
x60
sind
nur für DVD erhältlich.
•Über das Drücken von PLAY kehrt man zur normalen
Wiedergabe zurück.
An der Centereinheit: Drücken und halten Sie ¢ (oder 4).
Wenn Sie die Taste gedrückt halten, ändert sich die
Schnellvorlauf- bzw. -rücklaufgeschwindigkeit wie folgt:
x5
]
x20
(oder
x5
]
x20
)
•Wenn Sie die Taste ¢ (oder 4) loslassen, kehrt das
System auf normale Wiedergabe zurück.
HINWEISE:
•Wenn eine DVD, VCD oder SVCD wiedergegeben wird, ertönt kein
Ton während Schnellvorlauf (oder Schnellrücklauf) der Wiedergabe.
•Diese Funktion kann bei einigen DVDs nicht funktionieren.
Das Aufsuchen des Anfangs eines gewünschten Kapitels
oder Stücks
Kapitel auf DVD : Während der Wiedergabe
Stück auf VCD/SVCD: Während der Wiedergabe mit PBC-
Funktion deaktiviert oder wenn
gestoppt
Stück auf CD : Während der Wiedergabe oder wenn
gestoppt
Über die Fernbedienung: Drücken Sie FF/¢ (oder 4/REW).
An der Centereinheit: Drücken Sie ¢ (oder 4).
HINWEIS:
Diese Funktion kann bei einigen DVDs nicht funktionieren.
1Drücken Sie 0 auf der Centereinheit.
Das Gerät wird eingeschaltet und die CD-Lade wird geöffnet.
Die STANDBY-Lampe erlischt.
•Siehe Seite 41, um Untertitel oder Audiosprache zu
ändern.
2Eine Disc mit dem Etikett nach oben in die
CD-Lade einlegen.
3Starten der Wiedergabe.
Über die Fernbedienung: Drücken Sie PLAY.
An der Centereinheit: Drücken Sie 3.
Der Disc-Ladeschacht schließt sich und das Gerät startet
die Wiedergabe der eingelegten Disc.
•Sie können die CD-Lade auch über die Taste 0 auf der
Centereinheit schließen.
4Einstellen der Lautstärke.
•Weitere Einzelheiten auf Seite 18.
Die
Moduswahltaste
auf der
Fernbedienung
auf „DVD“ stellen.
GE17-21.TH-A75R[E]f.pm6 5/9/02, 6:24 PM20

21
Deutsch
L
S.WFR
LS RS
CR
LFE
DIGITAL
SURROUND
LINEAR PCM L
S.WFR
R
Das Aufsuchen eines Titel, Kapitel oder Stück durch
Zifferntasten
Titel auf DVD :Wenn gestoppt
Kapitel auf DVD :Während der Wiedergabe
Stück auf VCD/SVCD:Während der Wiedergabe mit PBC-
Funktion deaktiviert oder wenn
gestoppt
Stück auf Audio CD :Während der Wiedergabe oder wenn
gestoppt
NUR über die Fernbedienung: Drücken Sie die Zifferntasten.
•Zum Auswählen von 3, drücken Sie 3.
•Zum Auswählen von 14, drücken Sie +10 dann 4.
•Zum Auswählen von 24, drücken Sie +10, +10, dann 4.
•Zum Auswählen von 40, drücken Sie +10, +10, +10 dann
10.
Die gewählte Titel-, Kapitel oder Stücknummer beginnt zu
spielen.
HINWEIS:
Die Zahlentasten können ebenfalls zur Auswahl eines Artikels in den
Menüs der DVD oder VCD/SVCD mit PBC-Funktion verwendet
werden.
Info zur Anzeige im Display
Während der Wiedergabe einer Disc werden die
Wiedergabe-Informationen im Display:
Bsp.: Wenn Sie Wiedergabe einer DVD
Kapitelnummer Verstrichene Spielzeit
Surround-/DSP-Modus Lautsprecher und
Eingangssignal werden
aktiviert**
Bsp.: Wenn Sie Abspielen einer Audio CD
Disc-Typ Verstrichene Spielzeit*
Surround/DSP-Modus Stück-
nummer
Lautsprecher und
Eingangssignal
werden aktiviert**
HINWEISE:
•Sie können den Zeitinformations-Modus ändern. Siehe Seite
38.
•Die Informationen zum aktuelle Disc-Typ erscheinen wie folgt:
– „VCD“: zeigt an, dass eine VCD oder SVCD geladen wird.
– „CD“: zeigt an, dass eine Audio CD geladen wird.
*
Wenn eine VCD oder SVCD mit PBC-Funktion abgespielt wird,
erscheint die Zeitinformation nicht, doch „PBC“ wird angezeigt.
**
Weitere Einzelheiten auf Seite 34.
Resume-Wiedergabefunktion (siehe Seite 60):
Wenn Sie das Gerät ausschalten, während eine Disc
abgespielt wird, wird die Wiedergabe gestoppt und diese
Position wird gespeichert.
Die RESUME-Anzeige leuchtet im Display auf, wenn die
RESUME-Funktion aktiviert ist.
Um die Wiedergabe von der gespeicherten Position aus
fortzusetzen, drücken Sie DVD oder PLAY auf der
Fernbedienung.
•Die Lesezeichen-Funktion funktioniert nicht bei Audio CDs.
Verhindern des Durchbrennen durch Bildschirmschoner
Ein Fernsehbildschirm kann durchbrennen, wenn ein
statisches Bild über einen langen Zeitraum hinweg angezeigt
wird. Um dies zu verhindern, dimmt das System den
Bildschirm automatisch, wenn ein statisches Bild über 5
Minuten lang angezeigt wird (Funktion Bildschirmschoner).
•Das Drücken einer beliebigen Taste wird die
Bildschirmschoner-Funktion beenden.
•Wenn Sie die Bildschirmschoner-Funktion nicht verwenden
möchten, siehe Seite 57.
GE17-21.TH-A75R[E]f.pm6 5/9/02, 6:24 PM21

22
Deutsch
Tuner-Bedienung
L
S.WFR
R
TUNED
L
S.WFR
R
TUNED
CHANNEL/ZOOM
VOLUMETV VOL
TUNING
STOP
DIMMER
PAUSE
FF/
/REW
TV/VIDEO
1
MUTING
¡
REC
PLAY
DOWN UP
MEMORY STROBE
DVD
VCR 1
AUDIO
VIDEO/
TV SOUND
ANGLE
FM/AM
SUBTITLE DECODE
RETURN DIGEST
VFP
TOP MENU MENU
CONTROL
EFFECT
S.WFR TEST
SLEEP
TV
VCR
SETTING
TV RETURN
ENTER
ON
SCREEN
CHOICE
FM MODE
123
456
789
10 0+10
100+
VCR
SOUND
PTY SEARCH
DVD
RDS
TA/NEWS/INFO
PTY(PTY9
RDS DISPLAY
SURROUND OFF
DSP
CENTER
–
+
–
+
–
+
–
+
SURR-L SURR-R
S-BACK
–
+
ADJUST
O.T.
REPLAY
L
S.WFR
R
TUNED ST AUTO MUTING
L
S.WFR
R
TUNED ST AUTO MUTING
CHANNEL/ZOOM
VOLUMETV VOL
TUNING
FF/
/REW
TV/VIDEO
1
MUTING
¡
PLAY
DOWN UP
DVD
VCR 1
AUDIO
VIDEO/
TV SOUND
ANGLE
FM/AM
SUBTITLE DECODE
RETURN DIGEST
VFP
TOP MENU MENU
CONTROL
EFFECT
S.WFR TEST
SLEEP
TV
VCR
SETTING
TV RETURN
ENTER
ON
SCREEN
CHOICE
FM MODE
123
456
789
10
0
+10
100+
VCR
SOUND
PTY SEARCH
DVD
RDS
TA/NEWS/INFO
PTY(PTY9
RDS DISPLAY
SURROUND OFF
DSP
CENTER
–
+
–
+
–
+
–
+
SURR-L SURR-R
S-BACK –
+
ADJUST
Sie können alle Sender durchgehen oder die Voreinstellungs-
Funktion verwenden, um sofort einen bestimmten Sender
anzuwählen.
• Bevor Sie die Fernbedienung verwenden, müssen Sie
auf die Taste FM/AM drücken, um den
Fernbedienungsmodus entsprechend einzustellen.
Sender manuell aufsuchen
NUR über die Fernbedienung:
1Drücken Sie FM/AM wiederholt, um den
Wellenbereich zu wählen.
Bei jedem Drücken der Taste, wechselt der Wellenbereich
von UKW auf AM (MW).
Der ausgewählte Wellenbereich erscheint auf dem Display-
Fenster und danach der letzte empfangene Sender.
Bsp.: Wenn AM ausgewählt ist
2Drücken Sie TUNING UP oder DOWN
wiederholt, bis Sie die Frequenz gefunden
haben, die Sie suchen.
•TUNING UP :Erhöht die Frequenz.
•TUNING DOWN :Vermindert die Frequenz.
Wenn Sie die Taste länger gedrückt halten und sie dann
loslassen, startet das System mit der Suche nach
Sendern und stoppt dann, wenn ein Sender mit
ausreichender Signalstärke gefunden wurde.
HINWEISE:
•Wenn ein Sender mit ausreichender Signalstärke gefunden wurde,
leuchtet die TUNED-Anzeige auf dem Display-Fenster auf.
•Wenn ein UKW-Stereoprogramm empfangen wird, leuchtet die
ST-Anzeige auf.
Verwenden von Voreinstellung
Sobald ein Sender einer Kanalnummer zugewiesen wurde,
kann der Sender schnell angewählt werden. Sie können
30 UKW- und 15 AM (MW)-Sender einspeichern.
7Die voreingestellten Stationen speichern
Bevor Sie beginnen, bedenken Sie...
Es gibt eine Zeitbegrenzung, um die folgenden Schritte
durchzuführen. Sollte die Einstellung aufgehoben werden, bevor Sie
fertig sind, beginnen Sie erneut ab Schritt 2.
NUR über die Fernbedienung:
1Wählen Sie den Sender an, den Sie
voreinstellen möchten (siehe “Sender
manuell aufsuchen”).
• Wenn Sie den UKW-Empfangsmodus für einen UKW-
Sender speichern möchten, wählen Sie den
gewünschten Empfangsmodus. Siehe „Auswahl des
UKW-Empfangsmodus“ auf Seite 23.
2Drücken Sie MEMORY.
Die Kanalnummer-Position beginnt auf dem Display-
Fenster für 5 Sekunden zu blinken.
Die
Moduswahltaste
auf der
Fernbedienung
auf „DVD“ stellen. Die
Moduswahltaste
auf der
Fernbedienung
auf „DVD“ stellen.
GE22-27.TH-A75R[E]f.pm6 5/9/02, 6:25 PM22

23
Deutsch
3Drücken Sie die Zifferntasten (1–10, +10),
um eine Kanalnummer auszuwählen,
während die Kanalnummer-Position blinkt.
Die Kanalnummer und die CH-Anzeige beginnen zu blinken.
Bsp.:
• Für Kanalnummer 3, drücken Sie 3.
• Für Kanalnummer 14, drücken Sie +10, dann 4.
(Nur für UKW-Sender)
• Für Kanalnummer 24, drücken Sie +10, +10, dann 4.
• Für Kanalnummer 30, drücken Sie +10, +10, dann 10.
4Drücken Sie MEMORY nochmals, während
die ausgewählte Nummer auf dem Display-
Fenster blinkt.
Die ausgewählte Nummer hört auf zu blinken.
Der Sender wurde der ausgewählten
Voreinstellungsnummer zugewiesen.
5Wiederholen Sie Schritte 1 bis 4, bis Sie
alle gewünschten Sender gespeichert
haben.
Einen gespeicherten, voreingestellten Sender entfernen
Das Speichern eines neuen Senders auf einer schon
zugewiesenen Nummer, entfernt den vorher gespeicherten
Sender.
7Anwählen eines voreingestellten Senders
NUR über die Fernbedienung:
1Drücken Sie FM/AM wiederholt, um den
Wellenbereich auszuwählen.
Bei jedem Drücken der Taste, wechselt der Wellenbereich
von UKW auf AM (MW).
2Drücken Sie die Zifferntasten (1–10, +10),
um eine voreingestellte Kanalnummer
auszuwählen.
Bsp.:
• Für Kanalnummer 3, drücken Sie 3.
• Für Kanalnummer 14, drücken Sie +10, dann 4.
(Nur für UKW-Sender)
• Für Kanalnummer 24, drücken Sie +10, +10, dann 4.
• Für Kanalnummer 30, drücken Sie +10, +10, dann 10.
Auswahl des
UKW-Empfangsmodus
Wenn ein aktuell angewähltes UKW-Stereoprogramm
Geräusche verursacht, können Sie den UKW-
Empfangsmodus ändern, um den Empfang zu verbessern.
• Sie können den UKW-Empfangsmodus für jeden
voreingestellten Sender speichern. Siehe „Verwenden von
Voreinstellung“ auf Seite 22.
L
S.WFR
R
CH
TUNED ST AUTO MUTING
VFP
SLEEP
SETTING
TV RETURN
ENTER
ON
SCREEN
CHOICE
FM MODE
789
10
0
+10
100+
PTY SEARCH
DVD
RDS
TA/NEWS/INFO
PTY(PTY9
RDS DISPLAY
–
+
–
+
SURR-L SURR-R
S-BACK
–
+
ADJUST
VFP
SLEEP
SETTING
TV RETURN
ENTER
ON
SCREEN
CHOICE
FM MODE
789
10 0+10
100+
PTY SEARCH
DVD
RDS
TA/NEWS/INFO
PTY(PTY9
RDS DISPLAY
–
+
–
+
SURR-L SURR-R
S-BACK –
+
ADJUST
Drücken Sie FM MODE, während des Hörens
eines AM (MW)-Senders.
Der aktuelle Beat Cut-Modus erscheint auf dem Display-
Fenster.
Bei jedem Drücken der Taste, wechselt der Beat Cut-Modus
von „BEAT CUT 1“ auf „BEAT CUT 2.“
• Wählen Sie „BEAT CUT 1“ oder „BEAT CUT 2“, das ergibt
einen klareren Klang.
Drücken Sie FM MODE, während des Hörens
eines UKW-Senders.
Der UKW-Empfangsmodus erscheint auf dem Display-Fenster.
Bei jedem Drücken der Taste, wechselt der UKW-
Empfangsmodus von „AUTO MUTING“ auf „MONO“.
•AUTO MUTING:
Wenn ein Programm in Stereo gesendet wird, werden Sie
Stereotöne hören.
Wird ein Programm monaural gesendet, werden Sie
monaurale Töne hören. Dieser Modus ist sinnvoll, um
statische Geräusche zwischen Sendern zu unterdrücken.
Die AUTO MUTING-Anzeige leuchtet auf dem Display-
Fenster auf.
•MONO:
Der Empfang wird verbessert, obwohl Sie den Stereo-Effekt
verlieren. In diesem Modus werden Sie Geräusche hören,
bis Sie einen Sender anwählen. (Die AUTO MUTING-
Anzeige schaltet ebenfalls ab.) Die ST-Anzeige im Display
erlischt.
Verminderung der Geräusche
beim AM (MW)-Empfang
Wenn Sie einen AM (MW)-Sender mit vielen
Geräuschbeeinträchtigungen hören, können Sie den Beat
Cut-Modus ändern, um die Geräusche zu vermindern.
NUR über die Fernbedienung:
NUR über die Fernbedienung:
Die
Moduswahltaste
auf der
Fernbedienung
auf „DVD“ stellen.
Die
Moduswahltaste
auf der
Fernbedienung
auf „DVD“ stellen.
GE22-27.TH-A75R[E]f.pm6 5/9/02, 6:25 PM23

24
Deutsch
L
S.WFR
R
TUNED ST AUTO MUTING RDS
CHANNEL/ZOOM
VOLUMETV VOL
VFP
TV RETURN
ENTER
ON
SCREEN
CHOICE
FM MODE
10 0+10
100+
PTY SEARCH
DVD
RDS
TA/NEWS/INFO
PTY(PTY9
RDS DISPLAY
ADJUST
Tuner-Bedienung
7Welche Informationen können RDS-
Signale übertragen?
Sie können die von dem Sender ausgestrahlten RDS-Signale
auf dem Display erkennen.
Anzeige der RDS-Signale
NUR über die Fernbedienung:
Drücken Sie RDS DISPLAY, während des
Hörens eines UKW-Senders.
Bei jedem Drücken der Taste, wechselt die Anzeige auf dem
Display-Fenster und zeigt folgende Informationen an:
PS ] PTY ] RT ] Frequenz (Normale Anzeige) ]
(zurück zum Anfang)
•PS (Program Service):
Während der Suche erscheint „PS“, dann wird der
Sendername angezeigt. „NO PS“ erscheint, wenn kein
Signal gesendet wird.
•PTY (Program Type):
Während der Suche erscheint „PTY“, dann wird die Art des
Senderprogramms angezeigt. „NO PTY“ erscheint, wenn
kein Signal gesendet wird.
•RT (Radio Text):
Während der Suche erscheint „RT”, dann werden vom
Sender übertragene Textnachrichten angezeigt. „NO RT”
erscheint, wenn kein Signal gesendet wird.
•Frequenz:
Senderfrequenz (Service für Nicht-RDS-Sender).
Über die auf dem Display angezeigten Zeichen
Wenn PS-, PTY- oder RT-Signale auf dem Display-Fenster
erscheinen, können einige Sonderzeichen und Markierungen
nicht richtig dargestellt werden.
HINWEIS:
Wenn die Suche plötzlich abgeschlossen wird, erscheinen „PS“,
„PTY“ und „RT“ nicht auf dem Display.
Verwendung des RDS (Radio
Data System) für den Empfang
von UKW-Sendern
RDS erlaubt UKW-Sendern, ein zusätzliches Signal mit ihren
normalen Programmsignalen zu senden. Sender senden z. B.
ihren Sendernamen, aber auch Informationen zu der Art des
Sendeprogramms, wie z. B. Sport oder Musik usw.
Wenn Sie einen UKW-Sender anwählen, der den RDS-
Service anbietet, leuchtet die RDS-Anzeige auf dem Display
auf.
Mit diesem System können Sie folgende RDS-Signalarten
empfangen:
•PS (Program Service) :Zeigt allgemein bekannte
Sendernamen an.
•PTY (Program Type) :Zeigt Arten der
Senderprogramme.
•RT (Radio Text) :Zeigt Textnachrichten des
Senders.
•Enhanced Other Networks:Siehe Seite 26.
HINWEISE:
•RDS ist nicht auf AM (MW)-Sender anwendbar.
•RDS könnte nicht korrekt funktionieren, wenn der angewählte
Sender das RDS-Signal nicht genau überträgt oder wenn die
Signalstärke zu gering ist.
RDS-Anzeige Die
Moduswahltaste
auf der
Fernbedienung
auf „RDS“ stellen.
GE22-27.TH-A75R[E]f.pm6 5/9/02, 6:25 PM24

25
Deutsch
Travel
Affairs
Rock M
(Rockmusik)
Religion Easy M
(Leichte Unterhaltungsmusik)
Children Classics
Finance
Weather
Other M
(Sonstige Musik)
Social
Phone In
Light M
(Leichte Musik)
Info
(Informationen)
Sport
Educate
(Erziehung)
Folk M
(Folkmusik)
Oldies
Drama
Nation M
(Volksmusik)
Culture
Jazz
Varied
Pop M
(Popmusik)
Country
Science
Leisure
Alarm !
TEST
Document
None
News
VFP
SLEEP
SETTING
TV RETURN
ENTER
ON
SCREEN
CHOICE
FM MODE
789
10
0
+10
100+
PTY SEARCH
DVD
RDS
TA/NEWS/INFO
PTY(PTY9
RDS DISPLAY
–
+
–
+
SURR-L SURR-R
S-BACK
–
+
ADJUST
Suche nach einem Programm
mit PTY-Codes
Einer der Vorteile des RDS-Service ist, dass Sie eine
bestimmte Programmart über die voreingestellten Kanäle
aufsuchen können (siehe Seite 26), indem Sie die PTY-Codes
festlegen.
Suche nach einem Programm mit PTY-
Codes
Bevor Sie beginnen, bedenken Sie...
•Die PTY-Suche ist nur auf voreingestellte Sender anwendbar.
•Um zu jedem Zeitpunkt während des Vorganges zu stoppen,
drücken Sie während der Suche PTY SEARCH.
•Es gibt eine Zeitbegrenzung, um die folgenden Schritte
durchzuführen. Sollte die Einstellung aufgehoben werden, bevor
Sie fertig sind, beginnen Sie erneut ab Schritt 1.
NUR über die Fernbedienung:
1Drücken Sie PTY SEARCH, während des
Hörens eines UKW-Senders.
„PTY SELECT“ blinkt auf dem Display auf.
2Drücken Sie PTY 9 oder PTY ( während
„PTY SELECT“ blinkt, bis der gewünschte
PTY-Code auf dem Display-Fenster
erscheint.
• Zu weiteren Details, siehe „Beschreibung der PTY-
Codes“ auf Seite 26.
3Drücken Sie PTY SEARCH erneut,
während der im vorherigen Schritt
ausgewählte PTY-Code noch immer auf
dem Display ist.
Während der Suche, wechseln sich die Anzeigen
„SEARCH“ und der ausgewählte PTY-Code auf dem
Display ab.
Das System durchsucht 30 voreingestellte UKW-Sender,
stoppt, wenn der von Ihnen ausgesuchte gefunden ist,
und gibt diesen Sender wieder.
Weitersuchen nach dem ersten Stopp
Drücken Sie PTY SEARCH erneut, während die Anzeigen auf
dem Display blinken.
• Wenn kein Programm gefunden wird, erscheint „NOT
FOUND“ auf dem Display.
PTY-Codes
Die
Moduswahltaste
auf der
Fernbedienung
auf „RDS“ stellen.
GE22-27.TH-A75R[E]f.pm6 5/9/02, 6:25 PM25

26
Deutsch
Beschreibung der PTY-Codes:
News: Nachrichten.
Affairs: Themenprogramm, das Nachrichten aufgreift
und sich darüber genauer äußert—Debatten
oder Analysen.
Info: Programme, die im weitesten Sinne
Hilfestellung leisten sollen.
Sport: Programme, die alle Aspekte des Sports
betrachten.
Educate: Erzieherische Programme.
Drama: Alle Radiospiele und -Serien.
Culture: Programme, die alle Aspekte der nationalen
oder regionalen Kultur, einschließlich
Sprache, Theater usw. betrachten.
Science: Programme über Naturwissenschaften und
Technologie.
Varied: Hauptsächlich für sprachbasierte
Programme, wie z. B. Quizshows, Spiele und
Interviews.
Pop M: Kommerzielle Populär-Musik.
Rock M: Rockmusik.
Easy M: Aktuelle zeitgenössische Musik, eingestuft als
„berieselnd“.
Light M: Instrumentalmusik und Stimmen oder
Chorarbeiten.
Classics: Aufführungen von wichtigen Orchestern,
Symphonien, Kammermusik usw.
Other M: Musik, die in keine der anderen Kategorien
passt.
Weather: Wetterberichte und Vorhersagen.
Finance: Berichte über Aktienmärkte, Wirtschaft,
Handel usw.
Children: Programme für junges Publikum.
Social: Programme über Soziologie, Geschichte,
Geographie, Psychologie und Gesellschaft.
Religion: Programme zu Religion.
Phone In: Miteinbeziehung von Zuhörern, die ihre
Ansichten entweder am Telefon oder vor
einem öffentlichen Forum darlegen.
Travel: Reiseinformationen.
Leisure: Programme über Freizeitaktivitäten.
Jazz: Jazz-Musik.
Country: Lieder, die aus den Südstaaten Amerikas
kommen oder deren musikalische Tradition
fortführen.
Nation M: Aktuelle Populärmusik eines Staates oder
einer Region in der Landessprache.
Oldies: Musik aus dem sogenannten „Goldenen
Zeitalter“ der Populärmusik.
Folk M: Musik, die ihre Wurzeln in der musikalischen
Kultur eines bestimmten Landes hat.
Document: Programme über Fakten, in investigativem Stil
präsentiert.
TEST: Sendungen zum Testen von
Sendungsgeräten oder -einheiten für den
Notfall.
Alarm !: Notfallm eldungen.
Die Klassifizierung der PTY-Codes bei einigen UKW-
Sendern kann sich von der oben angegebenen
unterscheiden.
L
S.WFR
R
CH
TUNED ST AUTO MUTING RDS TA NEWS INFO
Tuner-Bedienung
CHANNEL/ZOOM
VOLUMETV VOL
VFP
SETTING
TV RETURN
ENTER
ON
SCREEN
CHOICE
FM MODE
10 0+10
100+
PTY SEARCH
DVD
RDS
TA/NEWS/INFO
PTY(PTY9
RDS DISPLAY
– – –
ADJUST
Die Programmtyp-
Anzeige
Kurzfristiges Umschalten zu
einem Sender nach Wunsch
Ein weiterer angenehmer RDS-Service wird „Enhanced Other
Networks“ genannt.
Dies erlaubt dem System, kurzzeitig auf ein Sendeprogramm
Ihrer Wahl (TA, NEWS, und/oder INFO) von einem anderen
Sender zu wechseln, außer in den folgenden Fällen:
• Wenn Sie einen Nicht-RDS-Sender hören (alle AM (MW)-
Sender, einige UKW-Sender und andere Quellen).
• Wenn das System im Standby-Modus ist.
Bevor Sie beginnen, bedenken Sie...
Die Funktion Enhanced Other Networks ist nur auf die
voreingestellten Sender anwendbar.
Drücken Sie TA/NEWS/INFO wiederholt, bis
die gewünschte Programmart (TA/NEWS/
INFO)-Anzeige auf dem Display erscheint.
• Bei jedem Drücken der Taste, wechselt die Anzeige auf
dem Display und zeigt folgendes an:
TA ] NEWS ] INFO ] TA/NEWS ] TA/INFO ]
NEWS/INFO ] TA/NEWS/INFO ] None ]
(zurück zum Anfang)
•TA :Verkehrsmeldungen in Ihrer Umgebung.
•NEWS :Nachrichten.
•INFO :Programm, das im weitesten Sinne Hilfestellung
leisten soll.
Ebenso leuchtet die RDS-Anzeige im Display auf, wenn Sie
oben aufgeführte Programme auswählen.
RDS-Anzeige
Die
Moduswahltaste
auf der
Fernbedienung
auf „RDS“ stellen.
GE22-27.TH-A75R[E]f.pm6 5/9/02, 6:25 PM26

27
Deutsch
HINWEISE:
•Im Enhanced Other Networks-Standby-Modus wird dieser temporär
aufgehoben, wenn Sie die abzuspielende Quelle ändern.
Wenn Sie die Quelle wieder auf UKW einstellen, kehrt das System
zum Enhanced Other Networks-Standby-Modus zurück.
•Enhanced Other Networks-Daten, gesendet von manchen
Sendern, sind vielleicht nicht mit diesem System kompatibel.
•Die Funktion Enhanced Other Networks funktioniert nicht bei
einigen UKW-Sendern mit RDS-Service.
•Während des Hörens eines Programms über die Funktion
Enhanced Other Networks wird der Sender nicht gewechselt, auch
wenn ein anderer Netzsender eine Ausstrahlung mit den selben
Enhanced Other Networks-Daten beginnt.
•Während des Hörens eines Programms über die Funktion
Enhanced Other Networks können Sie nur TA/NEWS/INFO und
RDS DISPLAY als Tuner-Steuerungstasten verwenden.
Wie die Funktion Enhanced Other Networks
wirklich funktioniert:
FALL 1
Wenn kein Sender das Programm ausstrahlt, das Sie
gewählt haben
Das System wählt sich weiterhin in den aktuellen Sender
ein.
«
Wenn ein Sender das von Ihnen ausgewählte Programm
auszustrahlen beginnt, wechselt das System automatisch
auf diesen Sender. Die Anzeige des empfangenen PTY-
Codes beginnt an zu blinken.
«
Wenn das Programm beendet ist, kehrt das System zu
dem vorher gewählten Sender zurück, doch die Funktion
Enhanced Other Networks bleibt aktiviert.
FALL 2
Wenn der UKW-Sender, den Sie hören, das von
Ihnen gewählte Programm ausstrahlt
Das System fährt mit dem Empfang des Senders fort,
doch die Anzeige des empfangenen PTY-Codes beginnt
zu blinken.
«
Wenn das Programm beendet ist, hört die Anzeige des
empfangenen PTY-Codes auf zu blinken und bleibt
beleuchtet, doch die Funktion Enhanced Other Networks
bleibt aktiviert.
Das von Enhanced Other Networks gewählte Programm
nicht mehr hören.
Drücken Sie TA/NEWS/INFO erneut wiederholt, so dass die
Programmart (TA/NEWS/INFO)-Anzeige auf dem Display
erlischt. Das System verlässt den Enhanced Other Networks-
Standby-Modus und kehrt zum vorher ausgesuchten Sender
zurück.
Wenn eine Notfallmeldung (Alarm !-Signal) von einem
UKW-Sender ausgestrahlt wird.
Das System wählt sich automatisch in den Sender ein, außer
in folgenden Fällen:
• Wenn Sie einen Nicht-RDS-Sender hören (alle AM (MW)-
Sender, einige UKW-Sender und andere Quellen).
• Wenn das System im Standby-Modus ist.
Während des Empfangs einer Notfallmeldung, erscheint
„Alarm !“ auf dem Display.
Das TEST-Signal wird zum Testen von Geräten verwendet
und ob diese das Alarm !-Signal korrekt empfangen
können.
Das TEST-Signal erzeugt im System die gleichen Vorgänge,
wie das Alarm !-Signal. Wenn das TEST-Signal empfangen
wird, wechselt das System automatisch auf den Sender, der
das TEST-Signal ausstrahlt.
Während des Empfanges des TEST-Signals, erscheint „TEST“
auf dem Display.
GE22-27.TH-A75R[E]f.pm6 5/9/02, 6:25 PM27

28
Deutsch
Grundeinstellungen
L
S.WFR
R
VFP
SETTING
TV RETURN
ENTER
ON
SCREEN
CHOICE
FM MODE
10 0+10
100+
PTY SEARCH
DVD
RDS
TA/NEWS/INFO
PTY(PTY9
RDS DISPLAY
–
+
–
+
SURR-L SURR-R
S-BACK –
+
ADJUST
Einige der folgenden Einstellungen sind nach dem Anschluss
und der Aufstellung der Lautsprecher erforderlich, andere
erleichtern den Betrieb.
• Sie können auch die folgenden Lautsprechereinstellungen
über das Auswahlmenü festlegen, mit Ausnahme von „EX/
ES“ und „PHASE“ (siehe Seiten 59 und 60).
Vorgehensweise
Bevor Sie beginnen, bedenken Sie...
Es gibt eine Zeitbegrenzung, um die folgenden Schritte
durchzuführen. Sollte die Einstellung aufgehoben werden, bevor Sie
fertig sind, beginnen Sie erneut ab Schritt 1.
NUR über die Fernbedienung:
1Drücken Sie SETTING/ADJUST einmal.
Auf dem Display wird „SETTING“ angezeigt.
•Wenn Sie die Taste SETTING/ADJUST drücken, ändert
sich ihre Funktion wie folgt:
SETTING \ADJUST \Aktuelle Signalquelle \
(zurück zum Anfang)
2Drücken Sie Cursor ∞/5 wiederholt, um die
gewünschte Funktion zu wählen, während auf
dem Display „SETTING“ angezeigt wird.
•Bei jedem Drücken der Taste, ändert die auf dem
Display angezeigte Funktion wie folgt:
FRNT SP“CNTR SP“SURR SP“BACK SP “
EX/ES “FRNT D “CNTR D “SURR D “
BACK D “CROSS “PHASE “
(zurück zum Anfang)
3
Drücken Sie Cursor 3/2 wiederholt, um die
geeignete Einstellung für die Funktion zu wählen.
Ihre Einstellung wird gespeichert.
Lautsprechergrößen einstellen
—FRNT SP (Frontlautsprecher), CNTR SP
(Centerlautsprecher), SURR SP (Surround-
Lautsprecher), BACK SP (Hinteren Surround-
Lautsprecher)
Wählen Sie die Größe für jeden Lautsprecher aus.
LARGE :Wählen Sie dies, wenn die kegelförmige
Lautsprechereinheit, die in den Lautsprecher
eingebaut ist, größer als 12 cm ist.
SMALL :Wählen Sie dies, wenn die kegelförmige
Lautsprechereinheit, die in den Lautsprecher
eingebaut ist, kleiner als 12 cm ist.
NO :(Nur bei „BACK SP“) Wählen, wenn kein
Lautsprecher angeschlossen ist.
VORSICHT:
Wenn Sie die mitgelieferten Lautsprecher verwenden,
wählen Sie „SMALL“ für jeden. Sollten Sie „LARGE“
auswählen, könnte dies die Lautsprecher beschädigen.
HINWEISE:
•Wenn Sie „SMALL“ als Einstellung für die Frontlautsprecher
gewählt haben, können Sie nicht „LARGE“ als Einstellung für den
Centerlautsprecher, den Surround-Lautsprecher und die hinteren
Surround-Lautsprecher wählen.
•Falls Sie „SMALL“ für die Surround-Lautsprecher gewählt haben,
können Sie für den hinteren Surround-Lautsprecher nicht „LARGE“
wählen.
Auswahl von Kanalnummern zur
Reproduktion von mehrkanaligen
digitalen Audiosignalen—EX/ES
Bei der Wiedergabe von mehrkanaligen digitalen Audiosignalen
(mehr als 5,1-Kanäle) können Sie eine 5,1-Kanal- oder 6,1-
Kanal-Reproduktion auswählen, wenn die hinteren Surround-
Lautsprecher auf „LARGE“ oder „SMALL“ eingestellt werden
(siehe linker). „AUTO“ ist die Grundeinstellung.
Wählen Sie eine der folgenden Optionen:
AUTO :Wählen, um das ursprünglich aufgezeichnete
Signal zu reproduzieren.
• Bei der Wiedergabe von Dolby Digital EX-Tonträgern
(die mit gekennzeichnet sind) werden „DOLBY D
EX (Dolby Digital EX)“ und der/die hintere(n) Surround-
Lautsprecher aktiviert.
• Bei der Wiedergabe von Dolby Digital 5,1-Kanal-
Tonträgern wird „DOLBY D (Dolby Digital)“ ohne den/
die hintere(n) Surround-Lautsprecher aktiviert.
• Bei der Wiedergabe von Tonträgern mit diskretem
DTS-ES-Signal (die mit gekennzeichnet sind)
wird „ES DSCRETE (DTS-ES Discrete)“ und der/die
hintere(n) Surround-Lautsprecher aktiviert.
• Bei der Wiedergabe von Tonträgern mit DTS-ES-Matrix-
Signal (die mit gekennzeichnet sind) wird
„ES MATRIX (DTS-ES Matrix)“ und der/die hintere(n)
Surround-Lautsprecher aktiviert.
• Bei der Wiedergabe von Tonträgern mit DTS Digital
Surround 5,1-Kanal-Signal wird „DTS (DTS Digital
Surround“ ohne des/der hintere(n) Surround-
Lautsprecher(s) aktiviert.
ON :Wählen Sie diese Option aus, um eine 6,1-Kanal-
Reproduktion und den/die hinteren Surround-
Lautsprecher zu aktivieren.
• Bei der Wiedergabe von Dolby Digital EX-Tonträgern
wird „DOLBY D EX (Dolby Digital EX)“ und der/die
hintere(n) Surround-Lautsprecher aktiviert.
• Bei der Wiedergabe von Dolby Digital 5,1-Kanal-
Tonträgern wird „DOLBY D EX (Dolby Digital EX)“ und
der/die hintere(n) Surround-Lautsprecher aktiviert. Der
hintere Surround-Kanal wird durch das Surround-Signal
reproduziert.
• Bei der Wiedergabe von Tonträgern mit diskretem
DTS-ES-Signal wird „ES DSCRETE (DTS-ES Discrete)“
und der/die hintere(n) Surround-Lautsprecher aktiviert.
• Bei der Wiedergabe von Tonträgern mit DTS-ES-Matrix-
Signal wird „ES MATRIX (DTS-ES Matrix)“ und der/die
hintere(n) Surround-Lautsprecher aktiviert.
• Bei der Wiedergabe von Tonträgern mit DTS Digital
Surround 5,1-Kanal-Signal wird „DTS + NEO:6“ und
der/die hintere(n) Surround-Lautsprecher aktiviert.
Hintere Surround-Kanäle werden mit Hilfe des digitalen
Matrixverfahrens reproduziert.
Die
Moduswahltaste
auf der
Fernbedienung
auf „DVD“ stellen.
Bsp.: „FRNT SP“ wurde ausgewählt.
GE28-30.TH-A75R[E]f.pm6 5/9/02, 6:26 PM28

29
Deutsch
Übergangsfrequenz einstellen
—CROSS
Kleine Lautsprecher sind nicht in der Lage, Bassfrequenzen
effizient zu reproduzieren. Wenn Sie einen kleinen
Lautsprecher innerhalb des Systems verwenden, leitet
dieses Gerät die Basselemente, die für den kleinen
Lautsprecher vorgesehen sind, automatisch an große
Lautsprecher weiter.
Um diese Funktion nutzen zu können, stellen Sie diese
Übergangsfrequenz abhängig von der Größe des kleinsten
angeschlossenen Lautsprechers ein.
• Wenn Sie „LARGE“ für alle Lautsprecher ausgewählt
haben, wird diese Funktion nicht aktiviert und die Frequenz
kann nicht geändert werden.
Wählen Sie eine der folgenden Optionen:
80Hz :Wählen Sie diese Frequenz aus, wenn der
Durchmesser des in diesen Lautsprecher
integrierten Lautsprecherkonus etwa 12 cm beträgt.
100Hz :Wählen Sie diese Frequenz aus, wenn der
Durchmesser des in diesen Lautsprecher
integrierten Lautsprecherkonus etwa 10 cm beträgt.
120Hz :Wählen Sie diese Frequenz aus, wenn der
Durchmesser des in diesen Lautsprecher
integrierten Lautsprecherkonus etwa 8 cm beträgt.
150Hz :Wählen Sie diese Frequenz aus, wenn der
Durchmesser des in diesen Lautsprecher
integrierten Lautsprecherkonus etwa 6 cm beträgt.
200Hz :Wählen Sie diese Frequenz aus, wenn der
Durchmesser des in diesen Lautsprecher
integrierten Lautsprecherkonus weniger als 5 cm
beträgt.
VORSICHT:
Werden die mitgelieferten Lautsprecher verwendet,
„200Hz“ wählen.
HINWEIS:
Die Übergangsfrequenz gilt nicht für den HEADPHONE-Modus.
Phase des Subwoofers
einstellen—PHASE
Die Subwoofer-Phase ist eng mit der Entfernung der
vorderen Lautsprecher und des Subwoofers von der
Hörposition verbunden. Sie können die Phase verändern, um
einen besseren Bassklang zu erreichen.
Wählen Sie eine der folgenden Optionen:
NORMAL :Verwenden Sie normalerweise diese
Einstellung.
REVERS :Verwenden Sie diese Einstellung, wenn
dadurch Ihrer Meinung nach der Bassklang
besser wiedergegeben wird als mit der
Einstellung “NORMAL“.
2,1 m
2,4 m
2,7 m
3,0 m
3,3 m
C
LR
LS RS
SB
Subwoofer
OFF :Wählen Sie diese Option aus, um eine 5,1-Kanal-
Reproduktion ohne den/die hinteren Surround-
Lautsprecher zu aktivieren.
• Bei der Wiedergabe von Dolby Digital EX-Tonträgern
oder DTS-ES-Tonträgern werden die hinteren mit den
regulären Surround-Signalen gemischt und über die
Surround-Lautsprecher ausgegeben.
• Bei der Wiedergabe von Dolby Digital- oder DTS Digital
Surround 5,1-Kanal-Audiosignalen wird das
herkömmliche „DOLBY D (Dolby Digital)“ oder „DTS
(DTS Digital Surround)“ aktiviert.
HINWEISE:
•Wenn Sie für die hinteren Surround-Lautsprecher „OHNE“
ausgewählt haben (siehe Seite 28), kann diese Einstellung nicht
ausgewählt werden. Audiosignale im 6,1-Kanal- und 5,1-
Kanalformat werden wiedergegeben, wenn „AUS“ ausgewählt ist.
•Wenn kein Signal von dem hinteren Surround-Lautsprecher
ausgegeben wird, obwohl Dolby Digital EX Software
(gekennzeichnet mit ) wiedergegeben und die Einstellung von
„EX/ES“ auf „AUTO“ geändert wird, wählen Sie „ON“ anstelle von
„EX/ES“.
Einstellen des
Lautsprecherabstands
—FRNT D (Entfernung zum vorderen Lautsprecher),
CNTR D (Entfernung zum Centerlautsprecher),
SURR D (Entfernung zum Surround-Lautsprecher),
BACK D (Entfernung zum hinteren Surround-
Lautsprecher)
Der Abstand der Lautsprecher zu Ihnen ist ein weiterer
wichtiger Aspekt, um den bestmöglichen Surround-Klang in
den Modi Surround und DSP zu erzielen. Sie müssen den
Abstand von Ihrem Sitzplatz zu den Lautsprechern angeben.
Anhand der Einstellung für den Lautsprecherabstand legt
das Gerät automatisch die Verzögerungszeit des Schalls für
die einzelnen Lautsprecher fest, so dass Sie die Wiedergabe
aus allen Lautsprechern gleichzeitig erreicht.
Stellen Sie die Entfernung von der Hörposition zu jedem
Lautsprecher zwischen 0,3 m und 9,0 m (in Schritten von
je 0,3 m) ein.
HINWEIS:
Falls Sie „OHNE“ für „BACK SP“ gewählt haben (siehe Seite 28), können
Sie keine Entfernung für den hinteren Surround-Lautsprecher wählen.
Bsp.: Legen Sie für den oben beschriebenen Fall den
Lautsprecherabstand folgendermaßen fest:
FRNT D : 3.0 m
CNTR D : 3.0 m
SURR D : 2.7 m
BACK D : 2.4 m
GE28-30.TH-A75R[E]f.pm6 5/9/02, 6:26 PM29

30
Deutsch
Audio-Einstellungen
Einstellen des Dynamikbereichs
—MIDNIGHT
Sie können nicht zufrieden stellende Bassklänge verstärken.
Wählen Sie eine der folgenden Optionen:
1:Wählen Sie diese Einstellung, wenn Sie den
Kompressionseffekt voll nutzen wollen.
2:Wählen Sie diese Einstellung, wenn Sie die
dynamische Reichweite etwas verringern möchten
(sinnvoll zu späterer Stunde).
OFF :Wählen Sie diese Einstellung, wenn Sie den Klang
in seiner vollen dynamischen Reichweite genießen
möchten (keine Effekte).
Bassverstärkung—B (Bass).BOOST
Sie können die Bassverstärkung ein- oder ausschalten.
• Wenn die Bassverstärkung eingeschaltet wird, leuchtet die
BASS-Anzeige auf dem Display auf.
Die Bassverstärkung ein- oder ausschalten.
ON :Wählen, wenn die Bassverstärkung aktiviert
wird.
OFF :Wählen, wenn die Bassverstärkung deaktiviert
wird.
Subwoofer-Audioposition
einstellen—AUDIO POS (Position)
Sie haben möglicherweise den Eindruck, dass der Subwoofer
bei Stereoklang verstärkt ist.
Sollte dies der Fall sein, kann die Bassstärke entsprechend
automatisch während der Wiedergabe von Stereoklang
angepasst werden.
• Einstellungen des Subwoofer-Pegels sind auf Seite 18
beschrieben.
Wählen Sie den automatischen Einstellpegel zwischen
„0“ und „−6“ (in −2 Schritt-Intervallen):
Wenn keine Einstellung erforderlich ist, „0“ wählen. Je kleiner
die Zahl, desto mehr erhöht sich automatisch der Pegel,
wenn in Stereo gehört wird.
Einstellung der Balance der
vorderen Lautsprecher—BAL (Balance)
Wenn der Klang der vorderen Lautsprecher nicht gut
balanciert ist, kann die Ausgangsbalance der vorderen
Lautsprecher eingestellt werden.
Die Balance der vorderen Lautsprecher im Bereich
„R −21“ und „L −21“ einstellen.
• „R −21“ : Die Wiedergabe ist über den rechten
Lautsprecher nicht hörbar.
• „L −21“ : Die Wiedergabe ist über den linken
Lautsprecher nicht hörbar.
• „CENTER“: Die Ausgangspegel sind bei beiden
Lautsprechern gleich.
VFP
SETTING
TV RETURN
ENTER
ON
SCREEN
CHOICE
FM MODE
10 0+10
100+
PTY SEARCH
DVD
RDS
TA/NEWS/INFO
PTY(PTY9
RDS DISPLAY
– –
SURR-L SURR-R
S-BACK –
ADJUST
Sie können die Einstellungen des Klangs gemäß Ihren
Vorzügen und Ihrer Hörumgebung bzw. Klangquelle wählen.
• Sie können den Klang auch über das Bildschirmmenü
einstellen, außer “AUDIO POS” und “B.BOOST” (siehe Seite 58).
Vorgehensweise
Bevor Sie beginnen, bedenken Sie...
Es gibt eine Zeitbegrenzung, um die folgenden Schritte
durchzuführen. Sollte die Einstellung aufgehoben werden, bevor Sie
fertig sind, beginnen Sie erneut ab Schritt 1.
NUR über die Fernbedienung:
1Drücken Sie SETTING/ADJUST zweimal.
Auf dem Display wird „ADJUST“ angezeigt.
•Wenn Sie die Taste SETTING/ADJUST drücken, ändert
sich ihre Funktion wie folgt:
SETTING \ADJUST \Aktuelle Signalquelle \
(zurück zum Anfang)
2Drücken Sie Cursor ∞/5 wiederholt, um die
gewünschte Funktion zu wählen, während auf
dem Display „ADJUST“ angezeigt wird.
•Bei jedem Drücken der Taste, ändert die auf dem
Display angezeigte Funktion wie folgt:
BASS “TREBLE “LFE ATT. “
MIDNIGHT “B.BOOST “AUDIO POS “
BAL “(zurück zum Anfang)
3
Drücken Sie Cursor 3/2 wiederholt, um die
geeignete Einstellung für die Funktion zu wählen.
Ihre Einstellung wird gespeichert.
Klang einstellen—BASS, TREBLE
Sie können die Tiefen und Höhen nach Ihrem persönlichen
Geschmack einstellen.
Die Tiefen- und Höhenpegel des vorderen Kanals in
2-Schritt-Intervallen einstellen.
• Einstellbarer Bereich: „−10“ bis „10“.
Pegel des Low Frequency Effect
Attenuator einstellen—LFE ATT.
Die Dämpfung des Bassfrequenzeffekts reduziert die Störung
des Basses durch den Subwoofer, wenn eine Disc mit Dolby
Digital oder DTS Digital Surround abgespielt wird.
Den LFE-Attenuator ein- oder ausschalten:
ON (−−
−−
−10 dB) :Wählen Sie diese Einstellung, um die Bass-
Störung durch den Subwoofer zu verringern.
OFF (0 dB) :Wählen Sie diese Einstellung, um die Funktion
abzuschalten.
Die
Moduswahltaste
auf der
Fernbedienung
auf „DVD“ stellen.
GE28-30.TH-A75R[E]f.pm6 5/9/02, 6:26 PM30

31
Deutsch
Dieses Gerät bietet eine Reihe von Surround- und DSP- (Digital Signal Processor) Modi. Zur ordnungsgemäßen Verwendung der
einzelnen Surround- und DSP-Modi müssen die zu den Surround- und DSP-Modi gehörenden Lautsprecher aktiviert werden.
Einstellung realistischer Klangfelder
Subwoofer
Rechter vorderer
Lautsprecher
Linker vorderer
Lautsprecher
Hinterer Surround-Lautsprecher
Centereinheit Center-
lautsprecher
Rechter Surround-
Lautsprecher
Linker Surround-
Lautsprecher
STANDBY
COMPACT
SUPER VIDEO DIGITAL•EX
PRO LOGIC
DVD DIGITAL CINEMA SYSTEM
PROGRESSIVE
PHONES
VOLUMESOURCE
Surround-Modi
7 Erzeugen von Theateratmosphäre
In einem Kinosaal sind zahlreiche Lautsprecher an den
Wänden angebracht, um einen beeindruckenden Multi-
Surround-Klang zu erzeugen, der den Hörer von allen Seiten
erreicht.
Mit der umfangreichen Anzahl an Lautsprechern kann ein
räumliches Klangbild und eine Klangbewegung erzielt
werden.
Die in diesem Receiver integrierten Surround-Betriebsarten
können fast dieselben Surround-Klänge wie in einem
richtigen Kinosaal erzeugen—und zwar mit nur fünf oder
sieben Lautsprechern (plus Subwoofer).
Kinosaal
Zu Hause
7 Einführung zu den Surround-Modi
Dolby Surround
Dolby Digital EX*
Dieser Modus ist am besten dazu geeignet, mehrkanalige
Film-Soundtracks von Software wiederzugeben, die mit Dolby
Digital EX ( ) kodiert wurde.
Dolby Digital EX ist ein neues Surround-Kodierformat und
erweitert das Mehrkanal-Dolby Digital-Format 5,1 um einen
zusätzlichen Surround-Kanal (siehe unten). Durch den
Einsatz eines Matrix-Kodier-/Dekodierverfahrens wird ein
zusätzliches hinteres Surround-Kanalsignal in dem linken als
auch dem rechten Surround-Kanalsignal kodiert (und
dekodiert).
Im Vergleich zu dem herkömmlichen Dolby Digital 5,1-
Kanalformat kann dieser zusätzliche hintere Surround-Kanal
detailliertere Bewegungsabläufe hinter Ihnen bei der
Wiedergabe von Videofilmen reproduzieren. Zusätzlich wird
eine stabilere Schallortung erreicht, durch die ein
realistisches Surround-Feld in Ihrem Hörraum erzeugt wird.
• Bei aktiviertem Dolby Digital EX leuchten die Anzeigen
DIGITAL EX und SURROUND auf dem Display auf.
Dolby Digital*
Dieses Format wird verwendet, um mehrkanalige
Soundtracks von Software wiederzugeben, die mit Dolby
Digital (
DIGITAL
) kodiert wurden.
Das Dolby Digital 5,1-Kanal-Kodierverfahren (das sogenannte
5,1-Kanal digitale Audioformat) nimmt die Signale des linken
und rechten vorderen Kanals, des Mittelkanals, des linken
und rechten Surround-Kanals und des LFE-Kanals
(insgesamt 6 Kanäle, aber der LFE-Kanal wird als 0,1 Kanal
gezählt, daher 5,1 Kanäle) digital auf und komprimiert diese.
Das Signal jedes Kanals ist völlig getrennt von den Signalen
der anderen Kanäle, um eine Beeinflussung zu vermeiden.
Daher erhalten Sie eine viel bessere Soundqualität und
bessere Stereo- und Surround-Effekte.
• Bei aktiviertem Dolby Digital leuchten die Anzeigen
DIGITAL und SURROUND auf dem Display auf.
*Dolby Digital-Software kann grob in zwei Kategorien
eingeteilt werden: Mehrkanal- (bis zu 5,1-Kanal) und
2-Kanal-Software. Sie können Dolby Pro Logic II
verwenden, um Surround-Sounds bei der Wiedergabe von
Dolby Digital 2-Kanal-Software zu genießen.
HINWEIS: MPEG-Mehrkanal
MPEG-Mehrkanalsignale werden in Lineare PCM-Signale
gewandelt, dann, sie werden reproduziert.
GE31-36.TH-A75R[E]f.pm6 5/9/02, 7:55 PM31

32
Deutsch
Einstellung realistischer Klangfelder
Dolby Pro Logic II*
Dolby Pro Logic II besitzt ein neu entwickeltes
Mehrkanalwiedergabeformat, um 2-Kanal- in 5-Kanal-
Audiosignale (zuzüglich Subwoofer) umzuwandeln.
Das auf dem Matrixdekodierverfahren basierende Dolby Pro
Logic II besitzt keine Einschränkungen bzgl. der
Übergangsfrequenz der hohen Surround-Frequenzen und
ermöglicht so stereophonen Surround-Sound, der bisher mit
dem herkömmlichen Dolby Pro Logic nicht möglich war.
Dolby Pro Logic II reproduziert von dem Originalklang ein
räumliches Klangbild, ohne daß neue Töne hinzugefügt und
klangliche Veränderungen vorgenommen werden.
Dolby Pro Logic II besitzt zwei Modi—Movie Modi und Music
Modi:
Pro Logic II Movie (PL II MOVIE)—geeignet für die
Reproduktion von Dolby Surround kodierter Software, die mit
(
DOLBY SURROUND
) gekennzeichnet ist. Sie können ein
Soundfeld erzeugen, das dem des diskreten 5,1-Kanals sehr
ähnlich ist.
Pro Logic II Music (PL II MUSIC)—geeignet für die
Reproduktion von 2-Kanal-Stereo-Signalquellen. Mit diesem
Modus können Sie ein breites und baßintensives Klangbild
genießen.
• Bei aktiviertem Dolby Pro Logic II leuchten die Anzeigen
PRO LOGIC II und SURROUND auf dem Display auf.
Dolby Pro Logic (Dolby Surround)*
Wird zur Wiedergabe von Soundtracks von Software
verwendet, die mit Dolby Surround (
DOLBY SURROUND
) codiert
wurde.
Bei dem Dolby Surround-Kodierformat werden die Signal
des linken vorderen Kanal, des rechten vorderen Kanal, des
Mittelkanal und des Surround-Kanal (insgesamt 4 Kanäle) in
2 Kanälen aufgenommen.
Der in diesem Receiver eingebaute Dolby Pro Logic-
Decoder dekodiert die Signale dieser zwei Kanäle zurück in
die ursprünglichen Signale der 4 Kanäle—Mehrkanal-
Reproduktion auf Matrix-Basis, und sorgt für einen
realistischen Stereoklang in Ihrem Musikzimmer.
• Bei aktiviertem Dolby Pro Logic leuchten die Anzeigen
PRO LOGIC und SURROUND auf dem Display auf.
*
In Lizenz von Dolby Laboratories hergestellt. „Dolby“, „Pro Logic“,
und das Doppel-D-Symbol sind Warenzeichen der Dolby
Laboratories.
**
Hergestellt unter der Lizenz von Digital Theater Systems, Inc. US,
Pat. Nr. 5,451,942 und anderer, weltweit ausgegebener oder noch
schwebender Patente. „DTS“ und „DTS Digital Surround“ sind
eingetragene Warenzeichen der Digital Theater Systems, Inc.
Copyright 1996, Digital Theater Systems, Inc. Alle Rechte
vorbehalten.
DTS Surround
DTS-ES (Extended Surround)**
Wird zur Reproduktion von Mehrkanal-Film-Soundtracks der
Software verwendet, die mit DTS-ES kodiert ist ( ).
DTS-ES ist ein anderes neues Format, das durch Digital
Theater Systems, Inc. entwickelt wurde und einen dritten
hinteren Surround-Kanal hinzufügt. (Siehe „Dolby Digital EX“
auf Seite 31).
Es gibt zwei Arten von DTS ES—DTS-ES Discrete 6,1-Kanal
und DTS-ES Matrix 6,1-Kanal.
DTS-ES Discrete 6,1-Kanal—wurde entwickelt, um 6,1-
Kanalsignale diskret zu kodieren und dekodieren, um
Störungen zwischen den einzelnen Kanälen zu vermeiden.
DTS-ES Matrix 6,1-Kanal—wurde entwickelt, um einen
zusätzlichen Surround-Kanal dem DTS Digital Surround 5,1-
Kanal-Audioformat hinzuzufügen. Durch den Einsatz eines
Matrix-Kodier-/Dekodierverfahrens wird ein zusätzliches
hinteres Surround-Kanalsignal in dem linken als auch dem
rechten Surround-Kanalsignal kodiert (und dekodiert).
• Bei aktiviertem DTS-ES leuchten die Anzeigen und
SURROUND auf dem Display auf.
DTS Digital Surround**
Wird zur Wiedergabe von Mehrkanal-Soundtracks von Software
verwendet, die mit DTS Digital Surround ( ) codiert wurde.
DTS Digital Surround ist ein anderes digitales diskretes
5,1-Kanal-Audioformat, das auf CDs, LDs und DVD-Software
vorkommt.
Im Vergleich zu Dolby Digital ist die Audio-Kompressionsrate
des DTS Digital Surround-Formats geringer, wodurch das
Klangfeld erweitert wird und die Wiedergabe mehr Tiefe
erhält. DTS Digital Surround gibt daher einen natürlichen,
vollen und klaren Klang.
• Bei aktiviertem DTS Digital Surround leuchten die Anzeigen
und SURROUND auf dem Display auf.
NEO:6**
Neo:6 ist ein neues Dekodierverfahren, das aus einer
analogen/digitalen 2-Kanal-Signalquelle und einer DTS-
Digitalsurround-Signalquelle ein
6-Kanal-Signal (zuzüglich Subwoofer) reproduziert.
Neo:6 hat zwei Modi—Neo:6 Cinema und Neo:6 Music:
Neo:6 Cinema—eignet sich zur Reproduktion von Surround-
kodierter Software.
Neo:6 Music—eignet sich zur Reproduktion von Musik-Software.
• Wenn einer der Neo:6 ausgewählt ist, leuchtet die
SURROUND-Anzeige im Display auf.
• DTS Digital Surround kann mittels NEO:6 in 6.1-Kanal
umgewandelt werden (siehe Seite 28).
Reproduzierte Software und Kanäle für jeden Surround-Modus
Surround-
Modus
Wiederzugebende
software
Reproduzierte
Kanäle
Dolby Digital EX
Dolby Digital EX
6,1-Kanal
Dolby Digital 5,1-Kanal
Dolby Digital 5,1-Kanal
Dolby Digital EX
5,1-Kanal
Dolby Pro Logic II
2-Kanal-Software
5-Kanal (+ subwoofer)
Surround-
Modus
Wiederzu
gebende software
Reproduzierte
Kanäle
DTS-ES Discrete
6,1-Kanal
DTS-ES
(mit diskreten
6,1-Kanal-Signalen)
6,1-Kanal
DTS-ES Matrix
6,1-Kanal
DTS-ES
(mit Matrix
6,1-Kanal -Signalen)
6,1-Kanal
Neo6: Cinema/
Neo6: Music
2-Kanal-Software
DTS Digital Surround
6-Kanal (+ subwoofer)
Dolby Pro Logic
Dolby Surround
2-Kanal-Stereo-Software
4-Kanal (+ subwoofer)
DTS Digital Surround
DTS Digital Surround
DTS-ES
5,1-Kanal
GE31-36.TH-A75R[E]f.pm6 6/9/02, 10:18 AM32

33
Deutsch
DSP-Modi
DAP (Digital Acoustic Processor)-Modi
Der Sound den man in einer Konzerthalle hört, besteht, usw
aus direktem Sound und indirektem Sound—frühe
Reflexionen und Reflexionen von hinten. Direkter Sound
erreicht den Zuhörer ohne Reflexion. Indirekter Sound wird
dagegen durch die Entfernung zur Decke oder den Wänden
verzögert (siehe untenstehende Abbildung). Diese direkten
und indirekten Töne sind das wichtigste Element des
akustischen Surround-Effekts.
Der DAP-Modus kann durch Hinzufügen indirekter Klänge ein
realistisches Soundfeld reproduzieren.
• Wenn einer der DAP-Modi ausgewählt ist, leuchtet die
DSP-Anzeige im Display auf.
Sie können unter den folgenden DAP-Modi wählen, um bei
der Musikwiedergabe ein räumlicheres Klangbild zu erzielen.
THEATER :Reproduziert das Klangfeld eines Theaters.
HALL :Vermittelt klaren Gesang und das Gefühl in
einer Konzerthalle.
LIVE CLUB :Vermittelt das Gefühl in einem Live Musik
Club mit einer niedrigen Decke.
DANCE CLUB :Vermittelt den klopfenden Bassschlag.
PAVILION :Vermittelt das geräumige Gefühl in einem
Pavillion mit hoher Decke.
All Channel-Stereo
Der All Channel-Stereo (ALL CH ST.)-Modus kann ein
größeres Stereo-Klangfeld erzeugen, indem alle
angeschlossenen (und aktivierten) Lautsprecher verwendet
werden.
Alle Kanalstereoquellen können verwendet werden, wenn die
vorderen und die Surround-Lautsprecher an die Centereinheit
angeschlossen sind.
• Wenn All Channel Stereo ausgewählt ist, leuchtet die
DSP-Anzeige auf dem Display auf.
Herkömmliches Stereo
Reflexionen
von hinten
Frühe
Reflexionen
Direkter Sound
All Channel-Stereo
GE31-36.TH-A75R[E]f.pm6 5/9/02, 7:55 PM33

34
Deutsch
Wiedergabequelle
DTS
2-Kanal
DTS
2-Kanal
DTS
2-Kanal
DTS
2-Kanal
DTS
2-Kanal
Linear PCM
Linear PCM
Linear PCM
Linear PCM
Linear PCM
Analog
Analog
Analog
Analog
Analog
Wiedergabequelle
Dolby Digital EX
6,1-Kanal
Dolby Digital EX
6,1-Kanal
Dolby Digital EX
6,1-Kanal
Dolby Digital EX
6,1-Kanal
Dolby Digital
5,1-Kanal
Dolby Digital
5,1-Kanal
Dolby Digital
5,1-Kanal
Dolby Digital
5,1-Kanal
Dolby Digital
2-Kanal
Dolby Digital
2-Kanal
Dolby Digital
2-Kanal
Dolby Digital
2-Kanal
Dolby Digital
2-Kanal
DTS-ES diskreten
6,1-Kanal
DTS-ES Matrix
6,1-Kanal
DTS-ES
diskreten
/
Matrix 6,1-
Kanal
DTS-ES
diskreten
/
Matrix 6,1-
Kanal
DTS-ES
diskreten
/
Matrix 6,1-
Kanal
DTS
5,1-Kanal
DTS
5,1-Kanal
DTS
5,1-Kanal
DTS
5,1-Kanal
7 Lautsprecher- und Signalanzeigen
Je nach empfangenem Signal leuchten die Lautsprecher- und Signalleuchten wie folgt auf.
Verfügbarer
Surround- oder
DSP-Modus
DOLBY D EX
DOLBY D*
DAP-Modi
ALL CH ST.
OFF
DOLBY D EX**
DOLBY D
DAP-Modi
ALL CH ST.
OFF
PLII MOVIE
PLII MUSIC
PRO LOGIC
NEO6: CINEMA
NEO6: MUSIC
DAP-Modi***
ALL CH ST.
OFF
DTS-ES DSCRT
DTS-ES MATRX
DTS*
DAP-Modi
ALL CH ST.
OFF
DTS + NEO:6**
DTS
DAP-Modi
ALL CH ST.
OFF
L
S.WFR
LS RS
CR
LFE
SB
DIGITAL EX
SURROUND
L
S.WFR
LS RS
CR
LFE
DIGITAL
SURROUND
L
S.WFR
LS RS
CR
LFE
SB
SURROUND
L
S.WFR
LS RS
CR
LFE
SURROUND
L
S.WFR
LS RS
CR
LFE
SB
SURROUND
Verfügbarer
Surround- oder
DSP-Modus
NEO6: CINEMA
NEO6: MUSIC
PLII MOVIE
PLII MUSIC
PRO LOGIC
DAP-Modi***
ALL CH ST.
OFF
PLII MOVIE
PLII MUSIC
PRO LOGIC
NEO6: CINEMA
NEO6: MUSIC
DAP-Modi***
ALL CH ST.
OFF
PLII MOVIE
PLII MUSIC
PRO LOGIC
NEO6: CINEMA
NEO6: MUSIC
DAP-Modi***
ALL CH ST.
OFF
L
S.WFR
LS RS
CR
LFE
SB
DIGITAL EX
SURROUND
L
S.WFR
LS RS
CR
LFE
DIGITAL
SURROUND
L
S.WFR
LS RS
CR
LFE
DSP
DIGITAL
L
S.WFR
R
DSP
PRO LOGIC
DIGITAL
L
S.WFR
R
PRO LOGIC
DIGITAL
SURROUND
L
S.WFR
R
PRO LOGIC
DIGITAL
SURROUND
L
S.WFR
R
DIGITAL
L
S.WFR
LS RS
CR
LFE
DSP
SB
L
S.WFR
LS RS
CR
LFE
SB
SURROUND
L
S.WFR
LS RS
CR
LFE
SURROUND
L
S.WFR
LS RS
CR
LFE
DSP
L
S.WFR
R
PRO LOGIC
DIGITAL
SURROUND
L
S.WFR
R
DSP
PRO LOGIC
L
S.WFR
R
PRO LOGIC
SURROUND
L
S.WFR
R
PRO LOGIC
SURROUND
L
S.WFR
R
SURROUND
L
S.WFR
R
LINEAR PCM L
S.WFR
R
LINEAR PCM L
S.WFR
R
DSP
LINEAR PCM L
S.WFR
R
PRO LOGIC
SURROUND
LINEAR PCM L
S.WFR
R
PRO LOGIC
SURROUND
LINEAR PCM L
S.WFR
R
SURROUND
L
S.WFR
R
L
S.WFR
R
DSP
L
S.WFR
R
SURROUND
L
S.WFR
R
PRO LOGIC
SURROUND
L
S.WFR
R
PRO LOGIC
SURROUND
Anzeigen
Anzeigen
L
S.WFR
LS RS
CR
LFE
SB
DIGITAL EX
L
S.WFR
LS RS
CR
LFE
DSP
SB
DIGITAL EX
L
S.WFR
LS RS
CR
LFE
DIGITAL
L
S.WFR
LS RS
CR
LFE
SB
L
S.WFR
LS RS
CR
LFE
HINWEISE:
*
Diese Surround-Modi werden aktiviert, wenn die Einstellung
„EX/ES“ auf „OFF“ gestellt ist (siehe Seite 28).
**
Diese Surround-Modi werden aktiviert, wenn die Einstellung
„EX/ES“ auf „ON“ gestellt ist (siehe Seite 28).
***
Wenn „THEATER“ gewählt wird, leuchtet ebenso die
PRO LOGIC II Anzeige auf dem Display auf.
•Wenn für den hinteren Surround-Lautsprecher „NO“ gewählt
wurde (siehe Seite 28), wird kein Klang aus diesem reproduziert
und die Lautsprecheranzeige („ “) für den hinteren Surround-
Lautsprecher leuchtet nicht auf.
Einstellung realistischer Klangfelder
Zu den Anzeigen:
L :Leuchtet auf, wenn das linke vordere Signal
empfangen wird.
C:
Leuchtet auf, wenn das mittlere Signal empfangen wird.
R :Leuchtet auf, wenn das rechte vordere Signal
empfangen wird.
LFE :Leuchtet auf, wenn das LFE-Signal empfangen wird.
S.WFR :Leuchtet stets auf.
LS :Leuchtet auf, wenn das linke Surround-Signal
empfangen wird.
RS :Leuchtet auf, wenn das rechte Surround-Signal
empfangen wird.
SB :Leuchtet auf, wenn das hintere Surround-Signal
empfangen wird.
S :Leuchtet auf, wenn das Surround-Signal (Mono)
empfangen wird.
Aktuell verwendete Lautsprecher, die Klang ausgeben
werden durch „ “ gezeigt.
GE31-36.TH-A75R[E]f.pm6 5/9/02, 7:55 PM34

35
Deutsch
RETURN DIGEST
VFP
TOP MENU MENU
CONTROL
EFFECT
S.WFR TEST
SLEEP
TV
VCR
SETTING
TV RETURN
ENTER
ON
SCREEN
CHOICE
FM MODE
123
456
789
10 0+10
100+
SOUND
PTY SEARCH
DVD
RDS
TA/NEWS/INFO
PTY(PTY9
RDS DISPLAY
SURROUND OFF
DSP
CENTER
–
+
–
+
–
+
–
+
SURR-L SURR-R
S-BACK
–
+
ADJUST
RETURN DIGEST
VFP
TOP MENU MENU
CONTROL
EFFECT
S.WFR TEST
SLEEP
TV
VCR
SETTING
TV RETURN
ENTER
ON
SCREEN
CHOICE
FM MODE
123
456
789
10 0+10
100+
SOUND
PTY SEARCH
DVD
RDS
TA/NEWS/INFO
PTY(PTY9
RDS DISPLAY
SURROUND OFF
DSP
CENTER
–
+
–
+
–
+
–
+
SURR-L SURR-R
S-BACK
–
+
ADJUST
Surround-Modus verwenden
Das System ist so voreingestellt, dass es automatisch den
optimalen Surround-Modus für jedes Eingangssignal wählt
(Auto Surround-Modus).
Nur wenn Sie einen automatisch ausgewählten Surround-
Modus ändern möchten, gehen Sie wie folgt vor.
• Wenn Sie den Surround-Modus geändert haben und
anschließend das Gerät entweder ausschalten oder die
Quelle ändern, wird erneut der Auto-Surround-Modus
übernommen.
NUR über die Fernbedienung:
1Die Softwarewiedergabe starten.
Wird eine Komponente wiedergegeben, die über die
VCR IN- oder STB IN-Buchsen an den Videorecorder
angeschlossen ist, die Signalquelle auf VCR oder STB
ändern.
•Wenn Sie STB als Wiedergabequelle wählen, den
korrekten Eingangsmodus wählen (siehe Seite 19).
2Drücken Sie SURROUND.
•Es wird ein passender Surround-Modus gemäß Ihren
Einstellungen ausgewählt, wenn mehrkanalige
Digitalsoftware wiedergegeben wird. Siehe „Auswahl
von Kanalnummern zur Reproduktion von
mehrkanaligen digitalen Audiosignalen“ auf Seite 28
bzgl. weiterer Einzelheiten.
•Bei der Wiedergabe anderer Software wie analog, Linear
PCM und Dolby Digital 2-Kanal wird der zuletzt
ausgewählte Surround-Modus aktiviert. Bei jedem
Drücken der Taste, ändert den Surround-Modus wie
folgt:
PL II MOVIE ]PL II MUSIC ]
PRO LOGIC ]NEO:6 CINEMA ]
NEO:6 MUSIC ](zurück zum Anfang)
•Wenn der Surround-Modus aktiviert wird, leuchtet die
SURROUND-Anzeigeleuchte auf dem Display auf.
3Wenn Sie Audio-Einstellungen hinzufügen
möchten, siehe „Klang einstellen“ auf Seite
36.
Beenden des Surround-Modus
Drücken Sie OFF. Wenn der Surround-Modus deaktiviert wird,
erlischt die SURROUND-Anzeigeleuchte auf dem Display.
• Wenn der Surround-Modus während der Wiedergabe
mehrkanaliger digitaler Software deaktiviert wird, werden
die Signale aller Kanäle gemischt und über die
Frontlautsprecher.
DSP-Modus verwenden
Der von Ihnen gewählte DSP-Modus wird für jede
Signalquelle gespeichert.
NUR über die Fernbedienung:
1Die Softwarewiedergabe starten.
Wird eine Komponente wiedergegeben, die über die
VCR IN- oder STB IN-Buchsen an den Videorecorder
angeschlossen ist, die Signalquelle auf VCR oder STB
ändern.
•Wenn Sie STB als Wiedergabequelle wählen, den
korrekten Eingangsmodus wählen (siehe Seite 19).
2Drücken Sie DSP.
Der zuvor ausgewählte DSP-Modus ist aktiviert und
Anzeige „DSP“ leuchtet im Display auf.
• Bei jedem Drücken der Taste, ändert den DSP-Modus
wie folgt:
THEATER ]HALL ]LIVE CLUB ]
DANCE CLUB ]PAVILION ]ALL CH ST. ]
(zurück zum Anfang)
3Wenn Sie Audio-Einstellungen hinzufügen
möchten, siehe „Klang einstellen“ auf Seite
36.
Beenden des DSP-Modus
Drücken Sie OFF drücken. Wenn der DSP-Modus deaktiviert
wird, erlischt die DSP-Anzeigeleuchte auf dem Display.
Die
Moduswahltaste
auf der
Fernbedienung
auf „DVD“ stellen. Die
Moduswahltaste
auf der
Fernbedienung
auf „DVD“ stellen.
GE31-36.TH-A75R[E]f.pm6 5/9/02, 7:55 PM35

36
Deutsch
L
3Anpassung des Lautsprecherpegels
(–10 dB bis +10 dB).
Die Center, rechten, linken und hinteren Surround-
Lautsprecher einstellen, indem Sie diese mit dem Klang
der vorderen Lautsprecher vergleichen.
•Drücken Sie CENTER +/–, um den pegel des
Centerlautsprecher einzustellen.
•Drücken Sie SURR-R +/–, um den pegel des rechten
Surround-Lautsprechers einzustellen.
•Drücken Sie S-BACK +/–, um den pegel des hinteren
Surround-Lautsprechers einzustellen.
•Drücken Sie SURR-L +/–, um den pegel des linken
Surround-Lautsprechers einzustellen.
4Drücken Sie TEST nochmals um den
Testton abzustellen.
5Nur für DAP-Modi:
Drücken Sie EFFECT, um den
gewünschten Effektpegel auszuwählen
(1 bis 5).
Bei jedem Drücken der Taste, ändert sich der Effektpegel
wie folgt:
DSP EFFECT 1 ] DSP EFFECT 2 ] DSP EFFECT 3 ]
DSP EFFECT 4 ] DSP EFFECT 5 ]
(zurück zum Anfang)
Je höher die Nummer, desto kraftvoller wird der
ausgewählte Modus (Normalerweise können Sie diesen
auf „DSP EFFECT 3“ einstellen).
HINWEISE:
•Wenn für den hinteren Surround-Lautsprecher „NO“ gewählt wurde
(siehe Seite 28), wird kein Klang aus diesem reproduziert und
dessen Ausgangspegel kann nicht verstellt werden.
•Der Testton wird nicht über den Subwoofer ausgegeben.
Einstellungen des Subwoofer-Pegels sind auf Seite 18 beschrieben.
RETURN DIGEST
VFP
TOP
MENU MENU
CONTROL
EFFECT
S.WFR TEST
SLEEP
TV
VCR
SETTING
TV RETURN
ENTER
ON
SCREEN
CHOICE
FM MODE
123
456
789
10 0+10
100+
SOUND
DVD
RDS
TA/NEWS/INFO
PTY(PTY9
SURROUND OFF
DSP
CENTER
–
+
–
+
–
+
–
+
SURR-L SURR-R
S-BACK –
+
ADJUST
Einstellung realistischer Klangfelder
Klang einstellen
Sobald Sie den Klang angepasst haben, wird die Anpassung
für jede einzelne Signalquelle gespeichert.
• Ebenso können Sie das Klangbild (außer DSP-Effektpegel)
mit Hilfe des Auswahlmenüs anpassen (siehe Seite 59).
Bevor Sie beginnen, bedenken Sie...
Es gibt eine Zeitbegrenzung, um die folgenden Schritte
durchzuführen. Sollte die Einstellung aufgehoben werden, bevor Sie
fertig sind, beginnen Sie erneut ab Schritt 2.
NUR über die Fernbedienung:
1Drücken Sie SOUND.
Die 10 Tastenfelder sind für Klanganpassungen aktiviert.
2Drücken Sie TEST, um zu testen, ob Sie die
Klänge über Lautsprecher gleichgut hören.
„TEST TONE L“ und die entsprechende Signalanzeige
leuchten auf dem Display auf und der Test-Ton ertönt in
folgender Reihenfolge aus den Lautsprechern:
•Sie können den Ausgangspegel der Lautsprecher auch
ohne Verwendung des Testtons anpassen.
Linker vorderer Lautsprecher (L) ]
Centerlautsprecher (C) ]
Rechter vorderer Lautsprecher (R) ]
Rechter Surround-Lautsprecher (RS) ]
Hinterer Surround-Lautsprecher (SB) ]
Linker Surround Lautsprecher (LS) ]
(zurück zum Anfang)
Die
Moduswahltaste
auf der
Fernbedienung
auf „DVD“ stellen.
GE31-36.TH-A75R[E]f.pm6 5/9/02, 7:55 PM36

37
Deutsch
Wenn „ “ auf dem Bildschirm des Fernsehgeräts
erscheint, nachdem Sie eine Taste gedrückt hat, kann
die von Ihnen gewünschte Funktion von der Disc nicht
ausgeführt werden, oder die zur Ausführung der Funktion
erforderlichen Daten sind nicht auf der Disc gespeichert.
Bedienung des DVD-Spielers
VFP
SETTING
TV RETURN
ENTER
ON
SCREEN
CHOICE
FM MODE
10
0
+10
100+
SC
DVD
RDS
TA/NEWS/INFO
PTY(PTY9
RDS DISPLAY
–
+
–
+
SURR-L SURR-R
S-BACK
–
+
ADJUST
8.5Mbps
DVD-VIDEO
TITLE
14
TIME
1:25:58
CHAP
23
8.5Mbps
DVD-VIDEO
TITLE 14 TIME
1:25:58
CHAP 23
8.5Mbps TITLE 14 TIME
1:25:58
CHAP 23
OFF
1/3 1/3 1/3
TIME CHAP.
DVD-VIDEO
8.5Mbps
TITLE
14
TIME
1:25:58
CHAP
23
OFF
1/3 1/3 1/3
TIME
CHAP.
DVD-VIDEO
23
4
1
In diesem Abschnitt wird beschrieben, wie Sie die erweiterten
Bedienfunktionen des integrierten DVD-Spielers mit der
Fernbedienung vornehmen können. Hinweise zur
Wiedergabe von MP3-Discs finden Sie auf den Seiten 50 und
51 und zur Wiedergabe von JPEG-Discs auf den Seiten 52
und 53.
•Bevor Sie die Fernbedienung verwenden, müssen Sie
auf die Taste DVD drücken, um den
Fernbedienungsmodus entsprechend einzustellen.
• Schalten Sie Ihr Fernsehgerät ein und wählen Sie den
entsprechenden Eingangsmodus am Fernsehgerät aus.
Verwendung der Bildschirmleiste
Sie können die Informationen einer Disc prüfen, während diese geladen wird und Sie können einige Funktionen über die
Bildschirmleiste verwenden.
Anzeigen der Bildschirmleiste
NUR über die Fernbedienung:
Bsp.: Wenn eine DVD abgespielt wird.
Löschen der Bildschirmleiste.
7Immer, wenn eine Disc geladen wird
Drücken Sie ON SCREEN.
• Bei jedem Drücken der Taste ändert sich die
Bildschirmleiste wie rechts abgebildet.
Inhalt der Bildschirmleiste
Bsp.: Wenn eine DVD abgespielt wird.
1Disc-Typ
2Wiedergabe-Informationen
Markierung
Mbps
TITLE
14
CHAP
23
TRACK
14
TOTAL
1:25:58
Zeigt:
Übertragungsrate (Megabits
pro Sekunde)
Titelnummer
Kapitelnummer
Stücknummer
Verstrichene Spielzeit
Verwendet für:
3Wiedergabe-Bedingungen für alle Disc-Typen
Zeigt die aktuell geladene Disc:
Gibt wieder
Schnellvorlauf/Schnellrücklauf
Gibt in Zeitlupe wieder (vorwärts/rückwärts)
Pausiert
Stoppt
Markierung
/
/
4Bedienungssymbole
Markierung
TIME
OFF
CHAP.
Bsp.
1/3
Bsp.
1/3
Bsp.
1/3
PROG.
RND.
Auswählen, um:
Zeitangaben zu
ändern
Wiederholt
wiederzugeben
Zeitsuche zu
verwenden
Kapitelsuche zu
aktivieren
Audiosprache/
-kanal zu ändern
Untertitelsprache
zu ändern
Multiview zu ändern
Programmierte
Wiedergabe zu
aktivieren
Wiedergabe in
zufälliger
Reihenfolge zu
aktivieren
Verfügbar für:
Siehe auch
Seite
38
49
43
43
41
42
41
40
48
48
• Bitte beachten Sie auch den Abschnitt „Grundbetrieb des
DVD-Spielers“ auf den Seite 20.
• zeigt, welche Disctypen bei den in jedem
Kapitel beschriebenen Verfahren unterstützt werden. Nicht
verfügbare Disctypen werden in Halbtonfarben angezeigt.
Die
Moduswahltaste
auf der Fernbe-
dienung auf
„DVD“ stellen.
GE37-49.TH-A75R[E]f.pm6 5/9/02, 6:40 PM37

38
Deutsch
7Immer, wenn eine Disc geladen wird
Bsp.: Während des Abspielens einer DVD „TITEL“ für den
Wiederholungsmodus wählen:
1Drücken Sie ON SCREEN zweimal.
Die folgende Bildschirmleiste erscheint im Fernsehgerät.
2Drücken Sie Cursor 3/2 wiederholt, um
auf zu bewegen.
3Drücken Sie ENTER.
Das Popup-Fenster erscheint unter der Bildschirmleiste.
•Die zuvor gewählte Option erscheint.
4Drücken Sie Cursor ∞/5 wiederholt, um die
gewünschte Option zu wählen.
•Bei jedem Drücken der Taste ändern sich die Optionen.
5Drücken Sie ENTER.
Die Einstellung wird geändert und das Popup-Fenster
wird ausgeblendet.
Die Bildschirmleiste ausschalten
Drücken Sie ON SCREEN.
8.5Mbps
DVD-VIDEO
TITLE
14 TIME
1:25:58
CHAP
23
OFF
1/3 1/3 1/3
TIME CHAP.
8.5Mbps
DVD-VIDEO
TITLE
14
TIME
1:25:58
CHAP
23
1/3 1/3 1/3
TIME CHAP.
TITEL
8.5Mbps
DVD-VIDEO
TITLE
14
TIME
1:25:58
CHAP
23
1/3 1/3 1/3
TIME CHAP.
AUS
8.5Mbps
DVD-VIDEO
TITLE
14
TIME
1:25:58
CHAP
23
TITLE
1/3 1/3 1/3
TIME CHAP.
VFP
TV RETURN
ENTER
ON
SCREEN
CHOICE
FM MODE
10
0
+
10
100+
PTY SEARCH
DVD
RDS
TA/NEWS/INFO
PTY(PTY9
RDS DISPLAY
ADJUST
8.5Mbps
DVD-VIDEO
TITLE
14
TOTAL
1:25:58
CHAP
23
OFF
1/3 1/3 1/3
TIME CHAP.
VFP
TV RETURN
ENTER
ON
SCREEN
CHOICE
FM MODE
10
0
+
10
100+
PTY SEARCH
DVD
RDS
TA/NEWS/INFO
PTY(PTY9
RDS DISPLAY
ADJUST
Bedienung des DVD-Spielers
Grundlegende Bedienung
über Bildschirmleiste
Weitere Informationen zu den Funktionen finden Sie auf den
jeweiligen Seiten.
Änderung der
Zeitinformationen
Sie können die Zeitinformationen in der Bildschirmleiste und
dem Display an der Centereinheit ändern.
7Während der Wiedergabe oder wenn gestoppt
1Drücken Sie ON SCREEN zweimal.
Die Bildschirmleiste erscheint im Fernsehgerät.
2Drücken Sie Cursor 3/2 wiederholt, um
auf
TIME
zu bewegen.
3Drücken Sie ENTER.
•Bei jedem Drücken der Taste ändert sich die
Zeitinformation wie folgt:
Bsp.: Wenn eine DVD abgespielt wird.
TIME
0:25:58
]
REM
0:18:14
]
TOTAL
1:25:58
]
T.REM
0:45:41
](zurück zum Anfang)
TIME :Abgelaufene Spielzeit des aktuellen Kapitels/
Stücks
REM :Verbleibende Zeit des aktuellen Kapitels/
Stücks
TOTAL :Abgelaufene Zeit der Disc
T. REM :Verbleibende Zeit der Disc
Die Bildschirmleiste ausschalten
Drücken Sie ON SCREEN.
HINWEISE:
Während der Wiedergabe einer VCD, SVCD oder Audio CD, wird die
Ziffer zur Stundenanzeige nicht angezeigt.
Die
Moduswahltaste
auf der
Fernbedienung
auf „DVD“ stellen.
Die
Moduswahltaste
auf der
Fernbedienung
auf „DVD“ stellen.
GE37-49.TH-A75R[E]f.pm6 5/9/02, 6:40 PM38

39
Deutsch
123
RETURN DIGEST
VFP
TOP MENU MENU
CONTROL
EFFECT
S.WFR TEST
SLEEP
TV
VCR
SETTING
TV RETURN
ENTER
ON
SCREEN
CHOICE
FM MODE
123
456
789
10
0
+10
100+
SOUND
PTY SEARCH
DVD
RDS
TA/NEWS/INFO
PTY(PTY9
RDS DISPLAY
SURROUND OFF
DSP
CENTER
–
+
–
+
–
+
–
+
SURR-L SURR-R
S-BACK
–
+
ADJUST
7Immer, wenn eine DVD geladen wird
1Drücken Sie TOP MENU oder MENU.
Das DVD-Menü erscheint auf dem Fernsehgerät.
(Gewöhnlich wird das Menü automatisch im Fernsehgerät
eingeblendet, sobald ein DVD-VIDEO eingelegt wird).
Bsp.:
Normalerweise wird eine DVD-Disc, die mehr als einen
Titel hat, über ein „Titel“-Menü verfügen, das die Titel
einzeln auflistet. Drücken Sie TOP MENU, um das
Titelmenü anzuzeigen.
Einige DVD-Discs können aber auch über ein anderes
Menü verfügen, das nicht durch Drücken der MENU-Taste
angezeigt wird.
Sehen Sie sich die Anweisungen einer jeden einzelnen
DVD-Disc an für deren bestimmtes Menü.
2Verwenden Sie den Cursor 3/2/∞/5, um
einen gewünschten Punkt auszuwählen,
dann drücken Sie ENTER.
Das System beginnt mit der Wiedergabe vom gewählten
Punkt aus.
•Bei einigen Discs können Sie auch Punkte durch die
Eingabe der entsprechenden Nummer über die
Zifferntasten eingeben.
CHANNEL/ZOOM
VOLUMETV VOL
TUNING
STOP PAUSE
FF/
/REW
TV/VIDEO
1
MUTING
¡
PLAY
DOWN UP
RETURN DIGEST
VFP
TOP MENU MENU
CONTROL
EFFECT
S.WFR TEST
SLEEP
TV
VCR
SETTING
TV RETURN
ENTER
ON
SCREEN
CHOICE
FM MODE
123
456
789
10 0+10
100+
SOUND
PTY SEARCH
DVD
RDS
TA/NEWS/INFO
PTY(PTY9
RDS DISPLAY
SURROUND OFF
DSP
CENTER
–
+
–
+
–
+
–
+
SURR-L SURR-R
S-BACK
–
+
ADJUST
O.T.
REPLAY
7Wenn ein Menü auf dem Fernsehbildschirm während
der Wiedergabe eine VCD/SVCD-Disc mit PBC erscheint
Drücken Sie Zifferntasten (1–10, +10), um die
Nummer des gewünschten Punktes
auszuwählen.
Das System beginnt mit der Wiedergabe vom gewählten
Punkt aus.
Bsp.: Um 3 auszuwählen, drücken Sie 3.
Um 11 auszuwählen, drücken Sie +10, dann 1.
Zurück zum Menü
Drücken Sie RETURN.
Wenn „NEXT“ oder „PREVIOUS“ auf dem
Fernsehbildschirm angezeigt wird:
• Gehen Sie auf die nächste Seite und drücken Sie FF/¢.
• Gehen Sie auf die vorhergehende Seite und drücken Sie
4/REW.
So können Sie PBC-kompatible Discs vom Typ VCD/SVCD
ohne PBC-Funktion wiedergeben
Starten Sie durch Drücken der Zifferntasten die Wiedergabe.
Anstelle von „PBC“ wird die verstrichene Spielzeit im Display
angezeigt.
So stellen Sie die PBC-Funktion wieder her
Drücken Sie die Taste TOP MENU oder MENU.
„PBC“ erscheint wieder im Display.
Aufsuchen einer gewünschten
Szene über das Disc-Menü
Über das Disc-Menü können Sie einen Titel, ein Kapitel oder
ein Stück abspielen, das Sie bestimmt haben.
Aufsuchen einer gewünschten
Szene über das DVD-Menü
DVD-Discs verfügen normalerweise über eigene Menüs, in
welchen der Disc-Inhalt gezeigt wird. Diese Menüs enthalten
verschiedene Punkte, wie z. B. Filmtitel, Namen von Lieder
oder Künstlerinformationen und werden auf dem
Fernsehbildschirm angezeigt. Sie können eine gewünschte
Szene über eben solche Menüs aufsuchen.
Aufsuchen einer gewünschten
Szene über das VCD/SVCD-Menü
mit PBC
Eine VCD oder SVCD-Disc, die mit PBC aufgenommen
wurde, hat ihr eigenes Menü wie eine Stücke. (Wenn eine
solche Disc eingelegt wird, „PBC“ erscheint im Display). Sie
können die bestimmte Szene über das Menü aufsuchen.
(Siehe auch Seite 6).
Die
Moduswahltaste
auf der
Fernbedienung
auf „DVD“ stellen.
Die
Moduswahltaste
auf der
Fernbedienung
auf „DVD“ stellen.
GE37-49.TH-A75R[E]f.pm6 5/9/02, 6:40 PM39

40
Deutsch
3Drücken Sie Cursor ∞/5 wiederholt, um
den gewünschten Sichtwinkel zu wählen.
• Bei jedem Drücken der Taste, ändert sich der Winkel
der Szene.
4Drücken Sie ENTER.
Das Popup-Fenster schließt sich.
Die Bildschirmleiste ausschalten
Drücken Sie ON SCREEN.
Alle Sichtwinkel auf dem
Fernsehbildschirm anzeigen
7Während der Wiedergabe
1Drücken und halten Sie ANGLE länger als
1 Sekunde.
Bis zu 9 Bildern der unterschiedlichen Kamerawinkel, die
auf der Disc aufgezeichnet sind, erscheinen auf dem
Fernsehbildschirm.
2Drücken Sie Cursor 3/2/∞/5 wiederholt,
um zum gewünschten Sichtwinkel zu
führen.
3Drücken Sie ENTER.
Die Sichtwinkelliste schließt sich und die Wiedergabe
beginnt in dem ausgewählten Sichtwinkel.
HINWEIS:
Während Sie die Sichtwinkelliste auf dem Fernsehbild sehen, können
Sie keinen Ton hören.
1
1/3
2
1/3
3
1/3
8.5Mbps
DVD-VIDEO
TITLE 14 TIME
1:25:58
CHAP 23
OFF
1/3 1/3 1/3
TIME CHAP.
1
AUDIO ANGLE SUBTITLE DECODE
RETURN DIGEST
VFP
TOP MENU MENU
CONTROL
EFFECT
S.WFR TEST
SLEEP
TV
VCR
SETTING
TV RETURN
ENTER
ON
SCREEN
CHOICE
FM MODE
123
456
789
10
0
+10
100+
SOUND
PTY SEARCH
DVD
RDS
TA/NEWS/INFO
PTY(PTY9
RDS DISPLAY
SURROUND OFF
DSP
CENTER
–
+
–
+
–
+
–
+
SURR-L SURR-R
S-BACK –
+
ADJUST
Bedienung des DVD-Spielers
Auswählen eines DVD-
Sichtwinkels
Während der Wiedergabe einer DVD, die Mehrwinkel-
Ansichten enthält, können Sie die gleiche Szene aus
verschiedenen Winkeln betrachten.
• Das -Symbol erscheint zu Beginn der Wiedergabe,
wenn Multiview für die aktuelle Szene zur Verfügung steht.
Auswahl eines Sichtwinkels
7Während der Wiedergabe
1Drücken Sie ANGLE.
Das Popup-Fenster erscheint im Fernsehgerät.
2Drücken Sie ANGLE oder Cursor ∞/5
wiederholt, um den gewünschten
Sichtwinkel zu wählen.
•Bei jedem Drücken der Taste, ändert sich der Winkel der
Szene.
Bsp.:
•Das Popup-Fenster schließt sich, wenn 5 Sekunden lang
keine Bedienung erfolgt.
Über die Bildschirmleiste:
1Drücken Sie ON SCREEN zweimal.
Die Bildschirmleiste erscheint im Fernsehgerät.
2Drücken Sie Cursor 3/2, um auf
in der Bildschirmleiste zu führen, dann
ENTER drücken.
Das Popup-Fenster erscheint unter der Bildschirmleiste.
Bsp.: Der erste Sichtwinkel wird aus 3
aufgezeichneten Sichtwinkeln gewählt.
Winkelliste
Bsp.: Wenn 3 Sichtwinkel aufgezeichnet sind.
3/3
1
1
1/3
1/3
Bsp.: Der erste
Sichtwinkel wird
aus 3
aufgezeichneten
Sichtwinkeln
gewählt.
Die
Moduswahltaste
auf der
Fernbedienung
auf „DVD“ stellen.
2/3
1/3
GE37-49.TH-A75R[E]f.pm6 5/9/02, 6:40 PM40

41
Deutsch
7Während der Wiedergabe
1Drücken Sie SUBTITLE.
Das Popup Fenster erscheint im Fernsehgerät.
2Drücken Sie SUBTITLE oder Cursor ∞/5
wiederholt, um die gewünschte Untertitel-
Sprache auszuwählen.
Bei jedem Drücken der Taste, ändert sich die Untertitel-Sprache.
•Das Popup-Fenster schließt sich, wenn 5 Sekunden lang
keine Bedienung erfolgt.
Über die Bildschirmleiste:
1Drücken Sie ON SCREEN zweimal.
Die Bildschirmleiste erscheint auf Ihrem Fernsehbildschirm.
2Drücken Sie Cursor 3/2 wiederholt, um
auf zu bewegen, dann ENTER
drücken.
Das Popup-Fenster erscheint unter der Bildschirmleiste.
DEUTSCH
DEUTSCH
1/3
1/3
AUDIO ANGLE SUBTITLE DECODE
RETURN DIGEST
VFP
TOP MENU MENU
CONTROL
EFFECT
S.WFR TEST
SLEEP
TV
VCR
SETTING
TV RETURN
ENTER
ON
SCREEN
CHOICE
FM MODE
123
456
789
10 0+10
100+
SOUND
PTY SEARCH
DVD
RDS
TA/NEWS/INFO
PTY(PTY9
RDS DISPLAY
SURROUND OFF
DSP
CENTER
–
+
–
+
–
+
–
+
SURR-L SURR-R
S-BACK
–
+
ADJUST
8.5Mbps
DVD-VIDEO
TITLE
14
TIME
1:25:58
CHAP
23
OFF
1/3 1/3 1/3
TIME CHAP.
DEUTSCH
AUDIO ANGLE SUBTITLE DECODE
RETURN DIGEST
VFP
TOP MENU MENU
CONTROL
EFFECT
S.WFR TEST
SLEEP
TV
VCR
SETTING
TV RETURN
ENTER
ON
SCREEN
CHOICE
FM MODE
123
456
789
10
0
+10
100+
SOUND
PTY SEARCH
DVD
RDS
TA/NEWS/INFO
PTY(PTY9
RDS DISPLAY
SURROUND OFF
DSP
CENTER
–
+
–
+
–
+
–
+
SURR-L SURR-R
S-BACK –
+
ADJUST
DEUTSCH
DEUTSCH
1/3
1/3
FORTSETZUNG AUF FOLGENDER SEITE
Änderung der Untertitel-
Sprache und Audio-Sprache
Auswahl der Untertitel-
Sprache
Während der Wiedergabe einer DVD (oder SVCD), die
Untertitel in verschiedenen Sprachen enthält, können Sie
wählen, dass die Untertitel-Sprache auf dem
Fernsehbildschirm angezeigt wird.
•
Das -Symbol erscheint zu Beginn der Wiedergabe, wenn für
die aktuelle Einstellung mehrere Untertitel zur Verfügung stehen.
• Sie können Ihre bevorzugte Sprache als Ausgangssprache
wählen (siehe Seite 56).
Bsp.: „DEUTSCH“
wurde von den 3
aufgezeichneten
Untertitel-
Sprachen
ausgewählt.
3Drücken Sie Cursor ∞/5 wiederholt, um die
gewünschte Untertitel-Sprache auszuwählen.
Bei jedem Drücken der Taste, ändert sich die Untertitel-
Sprache.
4Drücken Sie ENTER.
Das Popup-Fenster schließt sich.
Die Bildschirmleiste ausschalten
Drücken Sie ON SCREEN.
HINWEISE:
•Für DVD: Manche Untertitel-Sprachen werden im
Überlagerungsfenster abgekürzt. Siehe „Liste der Sprachcodes“ auf
Seite 56.
•Für SVCD: Discs vom Typ SVCD können bis zu vier verschiedene
Untertitel beinhalten. Durch Drücken der Taste SUBTITLE werden
die Untertitel geändert, unabhängig davon, ob die Untertitel
aufgezeichnet sind oder nicht.
Auswahl der Audio-Sprache
Wenn eine DVD Audio-Sprachen (Soundtrack) enthält,
können Sie die Sprache (Soundtrack) auswählen, die Sie
hören möchten.
• Das -Symbol erscheint zu Beginn der Wiedergabe,
wenn für die aktuelle Einstellung mehrere Audio-Sprachen
zur Verfügung stehen.
• Sie können Ihre bevorzugte Sprache als Ausgangssprache
wählen (siehe Seite 56).
7Während der Wiedergabe
1Drücken Sie AUDIO.
Das Popup-Fenster erscheint im Fernsehgerät.
Bsp.: „DEUTSCH“ wurde
von den 3
aufgezeichneten
Audio-Sprachen
ausgewählt.
Die
Moduswahltaste
auf der
Fernbedienung
auf „DVD“ stellen.
Die
Moduswahltaste
auf der
Fernbedienung
auf „DVD“ stellen.
Bsp.: „DEUTSCH“ wurde von den 3 aufgezeichneten
Untertitel-Sprachen ausgewählt.
GE37-49.TH-A75R[E]f.pm6 5/9/02, 6:40 PM41

42
Deutsch
AUDIO ANGLE SUBTITLE DECODE
RETURN DIGEST
VFP
TOP MENU MENU
CONTROL
EFFECT
S.WFR TEST
SLEEP
TV
VCR
SETTING
TV RETURN
ENTER
ON
SCREEN
CHOICE
FM MODE
123
456
789
10
0
+10
100+
SOUND
PTY SEARCH
DVD
RDS
TA/NEWS/INFO
PTY(PTY9
RDS DISPLAY
SURROUND OFF
DSP
CENTER
–
+
–
+
–
+
–
+
SURR-L SURR-R
S-BACK –
+
ADJUST
3Drücken Sie Cursor ∞/5 wiederholt, um
den/die gewünschte(n) Audio-Kanal
(Kanäle) auszuwählen.
Bei jedem Drücken der Taste, ändern sich die Audio-
Kanäle.
4Drücken Sie ENTER.
Das Popup-Fenster schließt sich.
Die Bildschirmleiste ausschalten
Drücken Sie ON SCREEN.
Bedienung des DVD-Spielers
2Drücken Sie AUDIO oder Cursor ∞/5
wiederholt, um die gewünschte Audio-
Sprache auszuwählen.
Bei jedem Drücken der Taste, ändert sich die Audio-Sprache.
•Das Popup-Fenster schließt sich, wenn 5 Sekunden lang
keine Bedienung erfolgt.
Über die Bildschirmleiste:
1Drücken Sie ON SCREEN zweimal.
Die Bildschirmleiste erscheint im Fernsehgerät.
2Drücken Sie Cursor 3/2 wiederholt, um
auf zu bewegen, dann ENTER
drücken.
Das Popup-Fenster erscheint unter der Bildschirmleiste.
3Drücken Sie Cursor ∞/5 wiederholt, um die
gewünschte Audio-Sprache auszuwählen.
Bei jedem Drücken der Taste, ändert sich die Audio-Sprache.
4Drücken Sie ENTER.
Das Popup-Fenster schließt sich.
Die Bildschirmleiste ausschalten
Drücken Sie ON SCREEN.
HINWEIS:
Für DVD: Manche Audio-Sprachen werden im Überlagerungsfenster
abgekürzt. Siehe „Die Sprachencode-Liste“ auf Seite 56.
Auswahl des Audio-Kanals
Wenn Sie Karaoke-VCDs oder –SVCDs abspielen, können Sie
Karaoke genießen, indem Sie den abzuspielenden Audio-
Kanal wählen.
7Während der Wiedergabe
1Drücken Sie AUDIO.
Das Popup-Fenster erscheint im Fernsehgerät.
2Drücken Sie AUDIO oder Cursor ∞/5
wiederholt, um den gewünschten Audio-
Kanal auszuwählen.
Bei jedem Drücken der Taste, ändern sich die Audio-
Kanäle.
•Das Popup-Fenster schließt sich, wenn 5 Sekunden lang
keine Bedienung erfolgt.
Für VCD:
ST ] L ] R ] (zurück zum Anfang)
ST : Hören einer normalen Stereo-Wiedergabe.
L: Hören des L (linken) Audio-Kanals.
R: Hören des R (rechten) Audio-Kanals.
Für SVCD:
ST 1 ] ST 2 ] L 1 ] R 1 ] L 2 ] R 2 ]
(zurück zum Anfang)
ST 1 :Hören einer normalen Stereo-Wiedergabe
vom ST 1.
ST 2 :Hören einer normalen Stereo-Wiedergabe
vom ST 2.
L 1 :Hören des L (linken) Kanal von ST 1.
R 1 :Hören des R (rechten) Kanal von ST 1.
L 2 :Hören des L (linken) Kanal von ST 2.
R 2 :Hören des R (rechten) Kanal von ST 2.
Über die Bildschirmleiste:
1Drücken Sie ON SCREEN zweimal.
Die Bildschirmleiste erscheint im Fernsehgerät.
2Drücken Sie Cursor 3/2 wiederholt, um
auf zu bewegen, dann ENTER
drücken.
Das Popup-Fenster erscheint unter der Bildschirmleiste.
8.5Mbps
DVD-VIDEO
TITLE
14
TIME
1:25:58
CHAP
23
OFF
1/3 1/3 1/3
TIME CHAP.
DEUTSCH
Bsp.: „DEUTSCH“ wurde von den 3
aufgezeichneten Audio-Sprachen ausgewählt.
ST
ST
ST
ST
Bsp.: Wenn eine VCD
abgespielt wird.
VIDEO-CD
TRACK
4
TIME
25:58
OFF
ST
TIME
ST
PROG.
Bsp.: Wenn eine VCD abgespielt wird.
Die
Moduswahltaste
auf der
Fernbedienung
auf „DVD“ stellen.
GE37-49.TH-A75R[E]f.pm6 5/9/02, 6:40 PM42

43
Deutsch
7Während der Wiedergabe
1Drücken Sie ON SCREEN zweimal.
Die Bildschirmleiste erscheint im Fernsehgerät.
2Drücken Sie Cursor 3/2 wiederholt, um
auf
CHAP.
zu bewegen, dann ENTER
drücken.
Das Popup-Fenster erscheint unter der Bildschirmleiste.
3Drücken Sie die Zifferntasten (0–9), um die
gewünschte Kapitelnummer einzugeben.
Bsp.:
Um die Kapitelnummer 8 zu wählen, drücken Sie 8.
Um die Kapitelnummer 10 zu wählen, drücken Sie 1,
dann 0.
Um die Kapitelnummer 37 zu wählen, drücken Sie 3,
dann 7.
Eine falsche Eingabe korrigieren
Wiederholen Sie Schritt 3, bis die korrekte Nummer in
dem Popup-Fenster erscheint.
4Drücken Sie ENTER.
Das System beginnt die Wiedergabe von dem
ausgewählten Kapitel aus.
Die Bildschirmleiste ausschalten
Drücken Sie ON SCREEN.
HINWEISE:
•Sie können auch die Taste 10 verwenden, um die „10“ einzugeben.
•Die Taste +10 kann in dieser Funktion nicht verwendet werden.
•Sie können bis zu 99 Kapitel anwählen.
8.5Mbps
DVD-VIDEO
TITLE
14 TIME
1:25:58
CHAP
23
OFF
1/3 1/3 1/3
TIME CHAP.
KAPITEL _
VFP
CONTROL
EFFECT
S.WFR TEST
SLEEP
TV
VCR
SETTING
TV RETURN
ENTER
ON
SCREEN
CHOICE
FM MODE
123
456
789
10
0
+10
100+
PTY SEARCH
DVD
RDS
TA/NEWS/INFO
PTY(PTY9
RDS DISPLAY
CENTER
–
+
–
+
–
+
–
+
SURR-L SURR-R
S-BACK –
+
ADJUST
VFP
CONTROL
EFFECT
S.WFR TEST
SLEEP
TV
VCR
SETTING
TV RETURN
ENTER
ON
SCREEN
CHOICE
FM MODE
123
456
789
10
0
+10
100+
PTY SEARCH
DVD
RDS
TA/NEWS/INFO
PTY(PTY9
RDS DISPLAY
CENTER
–
+
–
+
–
+
–
+
SURR-L SURR-R
S-BACK –
+
ADJUST
7Für DVD :
Während der Wiedergabe
7Für VCD/SVCD :Während der Wiedergabe ohne die PBC
-Funktion aktiviert oder wenn gestoppt
7Für Audio CD :Während der Wiedergabe oder wenn gestoppt
1Drücken Sie ON SCREEN zweimal.
Die Bildschirmleiste erscheint im Fernsehgerät.
2Drücken Sie Cursor 3/2 wiederholt, um
auf zu bewegen, dann ENTER
drücken.
Das Popup-Fenster erscheint unter der Bildschirmleiste.
3Die Zifferntasten (0–9) drücken, um die
gewünschte Uhrzeit einzugeben.
Bsp.:
So starten Sie die Wiedergabe ab dem Zeitpunkt
2 (Stunde): 34 (Minuten): 08 (Sekunden) sind seit dem
Start vergangen:
Drücken Sie 2, 3, 4, 0 und anschließend 8.
Eine falsche Eingabe korrigieren
Drücken Sie Cursor 2 wiederholt, bis die falsche Nummer
gelöscht ist, dann drücken Sie die Ziffernnummern, um
die korrekte Nummer einzugeben.
4Drücken Sie ENTER.
Das System beginnt die Wiedergabe von der
angegebenen Zeit.
Die Bildschirmleiste ausschalten
Drücken Sie ON SCREEN.
HINWEISE:
•Sie können auch die Taste 10 verwenden, um die „0“ einzugeben.
•Die Taste +10 kann in dieser Funktion nicht verwendet werden.
•Sie können die Zeit in Stunden/Minuten/Sekunden bei einer DVD
und in Minuten/Sekunden bei einer VCD/SVCD/Audio CD
einstellen.
8.5Mbps
DVD-VIDEO
TITLE
14 TIME
1:25:58
CHAP
23
OFF
1/3 1/3 1/3
TIME CHAP.
TIME _ : _ _ : _ _
Wiedergabe von einer bestimmten
Position auf einer Disc
Sie können die Wiedergabe eines Titels, Kapitels oder
Stückes von einer von Ihnen bestimmten Position starten.
Sie können auch eine Disc von einem vorher bestimmten
Zeitmoment starten.
Auffinden eines gewünschten
Kapitels—Kapitelsuche
Wenn Sie eine DVD-Disc wiedergeben, können Sie die
Kapitelnummer, die abgespielt werden soll, auf der
Bildschirmleiste eingeben.
Auffinden einer gewünschten
Position—Zeitpunktsuche
Sie können die Wiedergabe von einer gewünschten Position
beginnen, indem Sie die abgelaufene Zeit von dem Anfang
des aktuellen Titels (für ein DVD) oder von dem Anfang einer
Disc (für VCD/SVCD/Audio CD) bestimmen.
Die
Moduswahltaste
auf der
Fernbedienung
auf „DVD“ stellen.
Die
Moduswahltaste
auf der
Fernbedienung
auf „DVD“ stellen.
GE37-49.TH-A75R[E]f.pm6 5/9/02, 6:40 PM43

44
Deutsch
7Für DVD :Während der Wiedergabe oder wenn
gestoppt
7Für VCD/SVCD :
Während der Wiedergabe ohne die PBC
-Funktion aktiviert oder wenn gestoppt
1Drücken Sie DIGEST.
Bis zu 9 Eröffnungsszenen werden angezeigt.
•Wenn eine DVD gestoppt ist:
Die Eröffnungsszene von jedem Titel erscheint auf dem
Fernsehbildschirm.
•Während der DVD-Wiedergabe:
Die Eröffnungsszene von jedem Kapitel im aktuellen Titel
erscheint auf dem Fernsehbildschirm.
•Wenn eine Video CD oder SVCD geladen wird:
Die Eröffnungsszene von jedem Stück erscheint auf dem
Fernsehbildschirm.
CHANNEL/ZOOM
VOLUMETV VOL
TUNING
STOP PAUSE
FF/
/REW
TV/VIDEO
1
MUTING
¡
PLAY
DOWN UP
RETURN DIGEST
VFP
TOP MENU MENU
CONTROL
EFFECT
S.WFR TEST
SLEEP
TV
VCR
SETTING
TV RETURN
ENTER
ON
SCREEN
CHOICE
FM MODE
123
456
789
10 0+10
100+
SOUND
PTY SEARCH
DVD
RDS
TA/NEWS/INFO
PTY(PTY9
RDS DISPLAY
SURROUND OFF
DSP
CENTER
–
+
–
+
–
+
–
+
SURR-L SURR-R
S-BACK
–
+
ADJUST
O.T.
HINWEIS:
Bei einigen Discs—je nach Inhalt-kann es dauern, bis alle Szenen auf
dem Fernsehbildschirm angezeigt werden.
Bedienung des DVD-Spielers
Auffinden einer gewünschten
Szene—DIGEST
Das System kann die Eröffnungsszene jedes Titels oder Kapitels
einer DVD oder jedes Stücks einer VCD/SVCD anzeigen.
Sie können den gewünschten Titel oder das gewünschte
Stück aus der Eröffnungsszene, die auf dem
Fernsehbildschirm gezeigt wird, auswählen.
Diese Szene
ist ausge-
wählt
worden.
2Drücken Sie Cursor 3/2/∞/5, um auf
die gewünschte Szene zu führen.
•Gibt es mehr als 9 Szenen, können Sie auf der nächsten
Seite fortfahren (siehe „Andere Seiten des Digest-
Bildschirms anzeigen“ im folgenden Text).
3Drücken Sie ENTER.
Das System beginnt die Wiedergabe von der
ausgewählten Szene aus.
Andere Seiten des Digest-Bildschirms anzeigen
Drücken Sie FF/¢, um die nächste Seite anzuzeigen.
Drücken Sie 4/REW, um die vorherige Seite anzuzeigen.
oder
Um die vorherige Seite anzuzeigen, drücken Sie
Cursor 3/2/∞/5, und wählen die linke obere
Szene, dann drücken Sie Cursor 2.
Um die nächste Seite anzuzeigen, drücken Sie
Cursor 3/2/∞/5, und wählen die rechte
untere Szene, dann drücken Sie Cursor 3.
Die
Moduswahltaste
auf der
Fernbedienung
auf „DVD“ stellen.
GE37-49.TH-A75R[E]f.pm6 5/9/02, 6:40 PM44

45
Deutsch
CHANNEL/ZOOM
VOLUMETV VOL
TUNING
STOP
DIMMER
PAUSE
FF/
/REW
TV/VIDEO
1
MUTING
¡
REC
PLAY
DOWN UP
MEMORY STROBE
VFP
SETTING
TV RETURN
ENTER
ON
SCREEN
CHOICE
FM MODE
789
10 0+10
100+
PTY SEARCH
DVD
RDS
TA/NEWS/INFO
PTY(PTY9
RDS DISPLAY
–
+
–
+
SURR-L SURR-R
S-BACK –
+
ADJUST
O.T.
REPLAY
Spezielle Bildwiedergabe
Dieses System bietet spezielle Bildwiedergabe-Funktionen,
einschließlich Bild-für-Bild, Strobe (kontinuierliche Fotos),
Zeitlupe und Zoom.
Wiedergabe Bild für Bild
7Während der Wiedergabe
1PAUSE an der Stelle drücken, von dem an
Sie ein Bild nach dem anderen einzeln
betrachten möchten (Einzelbildbetrieb).
Wiedergabe wird angehalten.
2Drücken Sie PAUSE wiederholt.
•Bei jedem Drücken der Taste, geht das Standbild zum
nächsten Bild über.
Zur normalen Wiedergabe zurückkehren
Drücken Sie PLAY.
HINWEIS:
Sie können die obige Bedienung auch durch die Verwendung von
8
an der Centereinheit durchführen.
Anzeige fortlaufender
Standbilder
7Während der Wiedergabe
1Drücken Sie STROBE an der Stelle, die Sie
als fortlaufende Standbilder sehen
möchten.
Wiedergabe wird angehalten.
2Drücken und halten Sie STROBE länger als
1 Sekunde.
9 gleiche Bilder (Standbilder) erscheinen auf dem
Fernsehbildschirm.
3Drücken Sie STROBE einmal.
Das Bild in der Mitte der oberen Reihe zeigt
fortgeschrittenes Bild zum linken Bild.
Jedes Drücken der Taste STROBE geht zum nächsten
Bild über.
Wenn Sie PLAY, anstatt STROBE drücken, wird jedes Bild
in normaler Wiedergabegeschwindigkeit angewählt,
allerdings mit einer Zeitverzögerung über die ganzen 9
Bilder hinweg. (Der Ton ist ausgeschalten).
Rückkehr zum normalen Bildschirm
Drücken und halten Sie STROBE länger als 1 Sekunde.
HINWEISE:
•Wenn Sie STROBE während der Wiedergabe länger als eine
Sekunde drücken und halten, werden die 9 Standbilder auch
angezeigt, doch sie werden in normaler
Wiedergabegeschwindigkeit mit einer Zeitverzögerung angewählt
(Der Ton ist ausgeschalten).
•Sie können die obige Bedienung auch durch die Verwendung von
8
an der Centereinheit durchführen.
Fortgeschrittenes
Bild
Die
Moduswahltaste
auf der
Fernbedienung
auf „DVD“ stellen.
GE37-49.TH-A75R[E]f.pm6 5/9/02, 6:40 PM45

46
Deutsch
Bedienung des DVD-Spielers
CHANNEL/ZOOM
VOLUMETV VOL
TUNING
STOP
DIMMER
PAUSE
FF/
/REW
TV/VIDEO
1
MUTING
¡
REC
PLAY
DOWN UP
MEMORY STROBE
VFP
SETTING
TV RETURN
ENTER
ON
SCREEN
CHOICE
FM MODE
789
10 0+10
100+
PTY SEARCH
DVD
RDS
TA/NEWS/INFO
PTY(PTY9
RDS DISPLAY
–
+
–
+
SURR-L SURR-R
S-BACK –
+
ADJUST
O.T.
REPLAY
Vergrößern und verkleinern
7Während der Wiedergabe
1Drücken Sie an der Stelle PAUSE, an der
Sie die Wiedergabe in Zeitlupe beginnen
möchten.
Das System hält die Wiedergabe an.
2Drücken Sie ¡ oder 1.
•Für eine Wiedergabe in Zeitlupe vorwärts, drücken Sie
¡.
•Für eine Wiedergabe in Zeitlupe rückwärts, drücken Sie
1.
Bei jedem Drücken der Taste, ändert sich die
Wiedergabegeschwindigkeit wie folgt:
Vorwärts:
1/32
]
1/16
]
1/8
]
1/4
]
1/2
Rückwärts:
1/32
]
1/16
]
1/8
]
1/4
]
1/2
Zeitlupenwiedergabe anhalten
Drücken Sie PAUSE.
Rückkehr zur normalen Wiedergabe
Drücken Sie PLAY.
HINWEISE:
•Während der Zeitlupen-Wiedergabe können Sie keinen Ton hören.
•Wiedergabe in Zeitlupe rückwärts funktioniert nicht bei VCDs und
SVCDs.
Wiedergabe in Zeitlupe
Die
Moduswahltaste
auf der
Fernbedienung
auf „DVD“ stellen.
ZOOM x4
2Nur wenn vergrößert wurde: Drücken Sie
Cursor 3/2/∞/5, um den vergrößerten
Bildausschnitt zu bewegen.
Rückkehr zur normalen Wiedergabe
Drücken Sie ENTER.
HINWEIS:
Bei einer Vergrößerung kann das Bild verzerrt sein.
7Während der Wiedergabe
1Drücken Sie ZOOM +, um den Bildausschnitt
zu vergrößern und ZOOM – drücken, um den
Bildausschnitt zu verkleinern.
Bei jedem Druck auf die ZOOM + oder die ZOOM –-Taste
wird das Vergrößerungsverhältnis wie folgt geändert.
x 1/8 Ox 1/4 Ox 1/2 O Normale GrößeO
x 2 Ox 4 Ox 8 Ox 16 Ox 32 O
x 64 Ox 128 Ox 256 Ox 512 Ox 1024
Bsp.: Wenn x4-Zoom ausgewählt wurde.
Die
Moduswahltaste
auf der
Fernbedienung
auf „DVD“ stellen.
CHANNEL/ZOOM
VOLUMETV VOL
TUNING
STOP
DIMMER
PAUSE
FF/
/REW
TV/VIDEO
1
MUTING
¡
REC
PLAY
DOWN UP
MEMORY STROBE
VFP
SETTING
TV RETURN
ENTER
ON
SCREEN
CHOICE
FM MODE
789
10 0+10
100+
PTY SEARCH
DVD
RDS
TA/NEWS/INFO
PTY(PTY9
RDS DISPLAY
–
+
–
+
SURR-L SURR-R
S-BACK –
+
ADJUST
O.T.
REPLAY
GE37-49.TH-A75R[E]f.pm6 5/9/02, 6:40 PM46

47
Deutsch
Bevor Sie beginnen, bedenken Sie...
Es gibt eine Zeitbegrenzung, um die folgenden Schritte
durchzuführen. Sollte die Einstellung aufgehoben werden, bevor Sie
fertig sind, beginnen Sie erneut ab Schritt 1.
7Während der Wiedergabe
1Drücken Sie VFP.
Die aktuellen VFP-Einstellungen erscheinen auf dem
Fernsehgerät.
Bsp.: Wenn „NORMAL“ ausgewählt wurde.
2Drücken Sie Cursor 3/2 wiederholt, um
den VFP-Modus auszuwählen.
Bei jedem Drücken der Taste, ändert sich der VFP-Modus
wie folgt:
NORMAL “ KINO “ BENUTZER 1 “
BENUTZER 2 “ (zurück zum Anfang)
NORMAL :
Wählen Sie normalerweise dies aus.
KINO :Geeignet für eine Filmquelle.
BENUTZER 1, BENUTZER 2:
Sie können Parameter anpassen,
welche die Erscheinung von
Bildern beeinflussen und die
Einstellungen speichern (siehe
Abbildung rechts).
Die
VFP-Einstellungen
ausschalten
Drücken Sie VFP.
HINWEIS:
Wenn Sie “NORMAL” oder “KINO” gewählt haben, können Sie das
Erscheinungsbild nicht verändern.
7Erscheinungsbild ändern
Wenn Sie „BENUTZER 1“ oder „BENUTZER 2“ wählen,
können Sie das Erscheinungsbild verändern.
1Drücken Sie VFP, dann drücken Sie Cursor
3/2 wiederholt, um „BENUTZER 1“ oder
„BENUTZER 2“ auszuwählen.
+0
NORMAL
GAMMA
HELLIGKEIT
KONTRAST
SÄTTIGUNG
FARBTON
SCHÄRFE
+0
+0
+0
+0
+3
+0
+0
BENUTZER 1
GAMMA
HELLIGKEIT
KONTRAST
SÄTTIGUNG
FARBTON
SCHÄRFE
+0
+0
+0
+0
+3
+0
CHANNEL/ZOOM
VOLUMETV VOL
TV/VIDEO MUTING
VFP
TV RETURN
ENTER
ON
SCREEN
CHOICE
FM MODE
10
0
+10
100+
PTY SEARCH
DVD
RDS
TA/NEWS/INFO
PTY(PTY9
RDS DISPLAY
ADJUST
+0
GAMMA
+0
GAMMA
1Drücken Sie Cursor ∞/5 wiederholt, um
den Parameter auszuwählen, den Sie
anpassen möchten.
Die Parameter so einstellen, dass das Bild wunschgemäß
angezeigt wird.
•GAMMA:
Diese Funktion einstellen, wenn die Farbe zu hell oder
zu dunkel ist. Die Helligkeit des dunklen und grellen
Abschnitts wird beibehalten.
Verfügbarer Bereich: –4 (am dunkelsten) bis +4 (am hellsten)
•HELLIGKEIT:
Diese Funktion einstellen, wenn die Farbe des Bildes
insgesamt zu hell oder zu dunkel ist.
Verfügbarer Bereich: –16 (am dunkelsten) bis +16 (am hellsten)
•KONTRAST:
Diese Funktion einstellen, wenn die weit entfernte und
die nahe Position unnatürlich erscheinen.
Verfügbarer Bereich: –16 bis +16
•SÄTTIGUNG:
Diese Funktion einstellen, wenn das Bild weiß oder
schwarz gefärbt erscheint.
Verfügbarer Bereich: –16 (eher schwarz) bis +16 (eher weiß)
•FARBTON:
Diese Funktion einstellen, wenn die menschliche
Hautfarbe unnatürlich erscheint.
Verfügbarer Bereich: –16 bis +16
•SCHÄRFE:
Diese Funktion einstellen, wenn das Bild unscharf ist.
Verfügbarer Bereich: +0 bis +3
•Y VERZÖGERUNG:
Diese Funktion einstellen, wenn das Bild getrennt bzw.
überlappt erscheint.
Verfügbarer Bereich: –2 bis +2
3Drücken Sie ENTER.
Die Liste mit den VFP-Parametern wird ausgeblendet und
das folgende Popup-Fenster für die gewählte Funktion
erscheint auf dem Fernsehgerät.
4Den Cursor ∞/5 wiederholt drücken, um
die Einstellung zu ändern, dann ENTER
drücken.
Ihre Einstellung wird gespeichert und die aktuelle VFP-
Parameterliste erscheint wieder.
5Wiederholen Sie die Schritte 2—4, um die
anderen Parameter anzupassen.
Die
VFP-Einstellungen
ausschalten
Drücken Sie VFP.
Aktivierung Ihrer Einstellungen
Drücken Sie VFP, dann drücken Sie Cursor 3/2 wiederholt
und wählen „BENUTZER 1“ oder „BENUTZER 2“.
HINWEIS:
Die VFP-Einstellungen schließen sich, wenn keine Bedienung
innerhalb von 10 Sekunden erfolgt.
Änderung der VFP-Einstellungen
Die Funktion VFP (Video Fine Processor) ermöglicht es Ihnen,
die Bildeigenschaften gemäß der Programmierart, dem
Bildton oder den persönlichen Vorzügen anzupassen.
Die
Moduswahltaste
auf der
Fernbedienung
auf „DVD“ stellen.
GE37-49.TH-A75R[E]f.pm6 5/9/02, 6:40 PM47

48
Deutsch
7Wenn gestoppt
1Drücken Sie ON SCREEN zweimal.
Die Bildschirmleiste erscheint im Fernsehgerät.
2
Drücken Sie Cursor 3/2 wiederholt, um auf
PROG.
zu bewegen, dann ENTER drücken.
Das Programm-Menü erscheint im Fernsehgerät.
3Drücken Sie die Zifferntasten (1–10, +10),
um die Stücknummer einzugeben, die Sie
programmieren möchten.
Bsp.:
Um 3 zu wählen, drücken Sie 3.
Um 14 zu wählen, drücken Sie +10, dann 4.
Um 40 zu wählen, drücken Sie +10, +10, +10, dann 10.
4Den Schritt 3 wiederholen, um weitere
Stück zu programmieren.
• Bei der Eingabe einer Stücknummer im letzten Schritt
wird der nächste Schritt auf dem Bildschirm angezeigt.
PROGRAMM
No.
1
2
3
4
5
6
7
8
9
10
Total Program Time 00:00:00
Track
CHANNEL/ZOOM
VOLUMETV VOL
TUNING
STOP
DIMMER
PAUSE
FF/
/REW
TV/VIDEO
1
MUTING
¡
REC
PLAY
DOWN UP
MEMORY STROBE
VFP
CONTROL
EFFECT
S.WFR TEST
SLEEP
TV
VCR
SETTING
TV RETURN
ENTER
ON
SCREEN
CHOICE
FM MODE
123
456
789
10
0
+10
100+
SOUND
PTY SEARCH
DVD
RDS
TA/NEWS/INFO
PTY(PTY9
RDS DISPLAY
CENTER
–
+
–
+
–
+
–
+
SURR-L SURR-R
S-BACK –
+
ADJUST
O.T.
REPLAY
VFP
ENTER
ON
SCREEN
CHOICE
PTY SEARCH
DVD
RDS
TA/NEWS/INFO
PTY(PTY9
RDS DISPLAY
7Wenn gestoppt
1Drücken Sie ON SCREEN zweimal.
Die Bildschirmleiste erscheint im Fernsehgerät.
2Drücken Sie Cursor 3/2 wiederholt, um
auf
RND.
zu bewegen, dann ENTER
drücken.
Wiedergabe beginnt in zufälliger Reihenfolge.
• Wenn alle Stücke ein Mal abgespielt wurden, endet die
zufällige Wiedergabe.
Die Bildschirmleiste ausschalten
Drücken Sie ON SCREEN.
Die zufällige Wiedergabe verlassen
Drücken Sie STOP. Die Wiedergabe stoppt und der Modus
Zufällige Wiedergabe wird gelöscht.
HINWEISE:
•Während der zufälligen Wiedergabe, können Sie zurück zum
Anfang des aktuellen Stücke springen, indem Sie
4
/REW
drücken, doch Sie können nicht auf Stücke zurückspringen, die
schon abgespielt wurden.
•Während der zufälligen Wiedergabe wird der Modus Zufällige
Wiedergabe verlassen und die Wiedergabe in normaler
Reihenfolge erfolgt, wenn ENTER gedrückt wird, während
RND.
in
der Bildschirmleiste angewählt ist.
Bedienung des DVD-Spielers
Wiedergabe in der
gewünschten Reihenfolge
—Programmierte Wiedergabe
Sie können bis zu 99 Stücken in der gewünschten
Reihenfolge wiedergeben.
•
Sie können die gleichen Stücke mehr als einmal einprogrammieren.
• Diese Funktion ist für den DVD-Betrieb nicht verfügbar.
5Drücken Sie PLAY.
Wenn eine VCD oder SVCD abgespielt wird, schließt sich
das Programm-Menü.
Die Wiedergabe beginnt in der programmierten Reihenfolge.
• Wenn alle programmierten Stücke gespielt wurden,
stoppt die programmierte Wiedergabe.
Einen programmierten Schritt löschen
Drücken Sie Cursor 5/∞, um auf den gewünschten Schritt
zu führen, dann drücken Sie STOP.
Um nun den nächsten Schritt zu programmieren, drücken Sie
Cursor ∞ wiederholt, um auf den leeren Schritt zu führen,
dann wiederholen Sie Schritt 3.
Die programmierte Wiedergabe stoppen
Drücken Sie STOP.
Der Programmbildschirm erscheint wieder.
• Um Ihre Programmierung abzuändern, wiederholen Sie
Schritte 3 und 4.
So brechen Sie die programmierte Wiedergabe ab
Löschen Sie das von Ihnen erstellte Programm wie folgt:
1Drücken Sie die Taste STOP, um die Wiedergabe
anzuhalten.
2Drücken Sie die Taste ON SCREEN, um die
Bildschirmleiste einzublenden.
3Drücken Sie die Taste STOP.
• Sie können das Programm auch löschen, indem Sie die
Disc auswerfen oder das System ausschalten.
Die Bildschirmleiste ausschalten
Drücken Sie SCREEN.
Zufällige Wiedergabe der
Stücke—Zufällige Wiedergabe
• Diese Funktion ist für den DVD-Betrieb nicht verfügbar.
Die
Moduswahltaste
auf der
Fernbedienung
auf „DVD“ stellen.
Die
Moduswahltaste
auf der
Fernbedienung
auf „DVD“ stellen.
PROGRAMM
No 1
2
3
4
5
6
7
8
9
10
3
Total Program Time 00:04:14
Track
Die Gesamtprogrammzeit wird angezeigt.
GE37-49.TH-A75R[E]f.pm6 6/9/02, 10:32 AM48

49
Deutsch
7Während der Wiedergabe
1Drücken Sie ON SCREEN zweimal.
Die Bildschirmleiste erscheint im Fernsehgerät.
2Drücken Sie Cursor 3/2 wiederholt, um
auf zu bewegen, dann ENTER
drücken.
Das Popup-Fenster erscheint unter der Bildschirmleiste.
3Drücken Sie Cursor ∞/5 wiederholt, um
„A-B“ auszuwählen.
4An der Stelle, an der mit der Wiederholung
begonnen werden soll (Punkt A) ENTER
drücken.
Das folgende Display erscheint in der Bildschirmleiste.
5An der Stelle, an der die Wiederholung
abgebrochen werden soll (Punkt B) ENTER
drücken.
A-B Wiedergabe wiederholen beginnt. Die gewählte
Passage der Disc (zwischen Punkt A und B) wird
wiederholt abgespielt.
A-B Wiedergabe wiederholen aufheben
Wiederholen Sie den Vorgang von Schritt 1, wählen Sie
„AUS“ in Schritt 3, dann drücken Sie ENTER.
Die Bildschirmleiste ausschalten
Drücken Sie ON SCREEN.
HINWEISE:
•Während der Wiedergabe einer DVD-Disc, ist A-B Wiedergabe
wiederholen nur innerhalb des selben Titels möglich.
•„A-B“ kann nicht während der Programmierung und der zufälligen
Wiedergabe ausgewählt werden.
•„A-B“ kann nicht angewählt werden, wenn gestoppt.
A B
8.5Mbps
A -
TIME
C
DVD-VIDEO
VFP
ENTER
ON
SCREEN
CHOICE
PTY SEARCH
DVD
RDS
TA/NEWS/INFO
PTY(PTY9
RDS DISPLAY
8.5Mbps
DVD-VIDEO
TITLE
14
TIME
1:25:58
CHAP
23
1/3 1/3 1/3
TIME CHAP.
AUS
VFP
ENTER
ON
SCREEN
CHOICE
PTY SEARCH
DVD
RDS
TA/NEWS/INFO
PTY(PTY9
RDS DISPLAY
8.5Mbps
DVD-VIDEO
TITLE
14
TIME
1:25:58
CHAP
23
1/3 1/3 1/3
TIME CHAP.
AUS
Wiedergabe wiederholen
Sie können die Wiedergabe des aktuellen Titels oder Kapitels (für
DVD) oder Stücks (für VCD/SVCD/Audio CD) wiederholen.
Sie können auch die Wiedergabe einer gewünschten
Passage wiederholen.
Wiederholung eines aktuellen
Titels, Kapitels oder Stücke
Einen bestimmten Abschnitt
wiederholen—A-B repeat
Sie können die Wiedergabe einer gewünschten Passage
wiederholen, indem Sie einen Anfangspunkt (Punkt A) und
einen Endpunkt (Punkt B) festlegen.
Die
Moduswahltaste
auf der
Fernbedienung
auf „DVD“ stellen.
Die
Moduswahltaste
auf der
Fernbedienung
auf „DVD“ stellen.
7Für DVD :Während der Wiedergabe
7Für VCD/SVCD :
Während der Wiedergabe ohne die
PBC-Funktion aktiviert oder wenn
gestoppt
7Für Audio CD :Während der Wiedergabe oder
wenn gestoppt
1Drücken Sie ON SCREEN zweimal.
Die Bildschirmleiste erscheint im Fernsehgerät.
2Drücken Sie Cursor 3/2 wiederholt, um
auf zu bewegen, dann ENTER
drücken.
Das Popup-Fenster erscheint unter der Bildschirmleiste.
3Drücken Sie Cursor ∞/5 wiederholt, um
den Wiederholungs-Modus zu wählen.
•Bei jedem Druck auf diese Taste verändert sich der
Wiederholungs-Wiedergabemodus erneut wie folgt.
Für DVD:
KAPITEL (CHAPTER) O TITEL (TITLE) O A-B O
AUS (OFF) O(zurück zum Anfang)
Für VCD/SVCD/Audio CD:
TRACK O ALLE (ALL) O A-B OAUS (OFF) O
(zurück zum Anfang)
KAPITEL : Wiederholt das aktuelle Kapitel.
TITEL : Wiederholt den aktuellen Titel.
TRACK : Wiederholt den aktuellen Stück.
ALLE : Wiederholt alle Musiktitel auf einer Disc.
A-B : Wiederholte einen ausgewählten Abschnitt
(siehe Abbildung rechts).
AUS : Bricht die Wiederholungs-Wiedergabe ab.
HINWEIS:
Wenn Sie „ALLE“ während der zufälligen Wiedergabe auswählen,
werden alle Stücke der Disc wiederholt in zufälliger Reihenfolge
abgespielt.
4Drücken Sie ENTER.
Die Wiederholungs-Wiedergabe startet.
Die Wiederholung der Wiedergabe aufheben
Wiederholen Sie den Vorgang von Schritt 1, wählen Sie
„AUS“ in Schritt 3, dann drücken Sie ENTER.
Die Bildschirmleiste ausschalten
Drücken Sie ON SCREEN.
GE37-49.TH-A75R[E]f.pm6 5/9/02, 6:40 PM49

50
Deutsch
Wiedergeben von MP3-Disc
CHANNEL/ZOOM
VOLUMETV VOL
TUNING
STOP
DIMMER
PAUSE
FF/
/REW
TV/VIDEO
1
MUTING
¡
REC
PLAY
DOWN UP
MEMORY STROBE
VFP
ENTER
ON
SCREEN
CHOICE
PTY SEARCH
DVD
RDS
TA/NEWS/INFO
PTY(PTY9
RDS DISPLAY
O.T.
REPLAY
Mit diesem Gerät können Sie MP3-Stück (Dateien) von CD-R oder CD-RW abspielen. Diese Art von Disc wird hier als „MP3-Disc“
bezeichnet.
• Bevor Sie die Fernbedienung verwenden, drücken Sie die Taste DVD, um den Modus der Fernbedienung auf MP3-Disc
zu ändern.
• Bei der Wiedergabe einer MP3-Disc das „MP3/JPEG“ auf dem PICTURE-Menü des Auswahlmenüs auf „MP3“ einstellen
(siehe Seite 57).
• Schalten Sie das Fernsehgerät ein und wählen Sie den entsprechenden Eingangsmodus.
Falls bei dem Druck einer Taste „ “ auf Ihrem Fernsehgerät erscheint, kann die CD den von Ihnen gewählten
Vorgang nicht ausführen.
7HINWEISE zu MP3-Disc
• MP3-Discs (entweder CD-R oder CD-RW) benötigen eine
längere Zugriffszeit. (Die Zeit ist je nach Komplexität der
Konfiguration der Gruppe (Ordner)/des Stücke (Datei)
unterschiedlich).
• Wenn Sie eine MP3-Disc erstellen, wählen Sie als Disc-
Format ISO 9660 Ebene 1 oder Ebene 2.
• Dieses System unterstützt „Multi-Session“ Discs (bis zu 5
Sitzungen).
• Dieses System kann keine „Packet Write“ Discs abspielen.
• Das System kann nur MP3-Dateien mit folgenden
Dateierweiterungen abspielen: „.MP3“, „.Mp3“, „.mP3“ und
„.mp3“.
• ID3*-Tags können nicht auf dem Display angezeigt werden.
* Eine MP3-Datei kann Datei-Informationen enthalten, sog. “ID3
Tag”, in welchen der Album-Name, Künstler, Stücktitel usw.
gespeichert sind. Es gibt 2 Versionen—ID3v1 (ID3 Tag Version
1) und ID3v2 (ID3 Tag Version 2).
• Es wird empfohlen, jede MP3-Datei bei einer Abtastfrequenz
von 44,1 kHz und einer Bitrate von 128 kbps aufzuzeichnen.
Das Gerät kann Dateien, die unterhalb der Bitrate von
64 kbps erstellt wurden, nicht abspielen.
• Wenn sowohl MP3-Dateien als auch JPEG-Dateien auf einer
Disc aufgenommen werden, stellen Sie die MP3/JPEG-
Einstellung im BILD-Menü auf „MP3“ ein (siehe Seite 57).
• Einige MP3-Discs können auf Grund ihrer Disc-
Eigenschaften und Aufnahmebedingungen nicht
abgespielt werden.
Grundlegende Bedienung
HINWEISE:
• Die folgenden Funktionen sind für die Wiedergabe von
MP3-Disc nicht verfügbar:
Programmierte Wiedergabe, Zufällige Wiedergabe,
Wiedergabe wiederholen, Schnell-Vorlauf/Rücklauf,
Bildschirmleiste und Auswahl-Menüs
• Einige Stücke einer MP3-Disk werden übersprungen und
können nicht normal wiedergegeben werden.
NUR über die Fernbedienung:
7 Wiedergabe starten
Legen Sie eine MP3-Disc ein und drücken Sie
auf PLAY (Wiedergabe).
Das System startet die Wiedergabe.
Die folgenden Informationen erscheinen auf dem Display und
der MP3 CONTROL-Bildschirm (siehe Seite 51) erscheint auf
dem Fernsehgerät.
Die Wiedergabe zeitweilig anhalten
Drücken Sie PAUSE (oder 8 an der Centereinheit).
Die Wiedergabe wieder starten, drücken Sie PLAY (oder 3
an der Centereinheit).
Um Gruppen vorwärts zu überspringen
Drücken Sie Cursor 3.
Um Gruppen rückwärts zu überspringen
Drücken Sie Cursor 2.
Um Stücks vorwärts überspringen
Drücken Sie FF/¢ oder Cursor ∞ (oder ¢ an der
Centereinheit), so oft wie erforderlich.
Zum Anfang des aktuellen Stücks springen
Drücken Sie 4/REW (oder 4 an der Centereinheit)
einmal.
Um Stücks rückwärts überspringen
Drücken Sie 4/REW oder Cursor 5 (oder 4 an der
Centereinheit), so oft wie erforderlich.
Wiedergabe ganz stoppen
Drücken Sie STOP (oder 7 an der Centereinheit).
L
S.WFR
R
MP3
MP3-Anzeige Aktuelle Stücknummer
Aktuelle
Gruppennummer Abgelaufene Spielzeit des
aktuellen Stück
Die
Moduswahltaste
auf der
Fernbedienung
auf „DVD“ stellen.
GE50-53.TH-A75R[E]f.pm6 5/9/02, 6:44 PM50

51
Deutsch
MP3 CONTROL
Group : 01 / 03
Time : 00:00:14
Track : 01 / 14 (Total 41)
Blue
Red
Green
Cloudy
Fair
Fog
Hail
Indian summer
Rain
Shower
Snow
Thunder
Typhoon
Wind
Winter sky
CHANNEL/ZOOM
VOLUMETV VOL
TUNING
FF/
/REW
TV/VIDEO
1
MUTING
¡
PLAY
DOWN UP
VFP
CONTROL
EFFECT
S.WFR TEST
SLEEP
TV
VCR
SETTING
TV RETURN
ENTER
ON
SCREEN
CHOICE
FM MODE
123
456
789
10 0+10
100+
PTY SEARCH
DVD
RDS
TA/NEWS/INFO
PTY(PTY9
RDS DISPLAY
CENTER
–
+
–
+
–
+
–
+
SURR-L SURR-R
S-BACK –
+
ADJUST
1Drücken Sie die Cursor 3/2, um eine
Gruppe auszuwählen.
2Drücken Sie die Cursor ∞/5, um einen
Titel, den Sie hören möchten, auszuwählen,
und drücken Sie danach die Taste PLAY
oder ENTER.
Wiedergabe durch das Eingeben einer Stücknummer
beginnen
Drücken Sie Zifferntasten (1–10, +10), um die Stücknummer
einzugeben.
Bsp.:
• Um 3 auszuwählen, drücken Sie 3.
• Um 14 auszuwählen, drücken Sie +10, dann 4.
• Um 24 auszuwählen, drücken Sie +10, +10, dann 4.
• Um 110 auszuwählen, drücken Sie +10 zehn Mal, dann 10.
Die eingegebene Nummer erscheint in der Stücknummer-
Anzeige, dann beginnt die Wiedergabe von dem Stück aus,
das Sie gewählt haben.
Bedienung über das
MP3 CONTROL-Bildschirm
Sie können die gewünschten Gruppen und Stücke über das
MP3 CONTROL-Bildschirm suchen und abspielen.
7MP3 CONTROL-Bildschirm
Beim Laden einer MP3-Disc erscheint der folgende
Bildschirm auf dem Fernsehgerät.
Aktueller
Gruppenname
Aktuelle Gruppen-
nummer/Gesamt-
gruppennummer
Aktuelle Stücknummer/
Stücknummern Gesamt in
der Gruppe (Stücknummern
Gesamt auf der eingelegten
Disc)
Abgelaufene Spielzeit
des aktuellen Stück
Aktueller Stückname
HINWEISE:
•Einige Gruppen- und Stücknamen können auf Grund der
Aufnahmebedingungen nicht korrekt angezeigt werden.
•Die Reihenfolge von Gruppen und Stück einer MP3-Disc können
von der Reihenfolge variieren, die auf Ihrem PC angezeigt wird.
•Gruppen und Stücke werden bis zu 12 gleichzeitig angezeigt. Das
wiederholte Drücken von Cursor
3
/
2
/
∞
/
5
zeigt versteckte
Gruppen und Stück einzeln an.
7Bedienungsschritte
Die
Moduswahltaste
auf der
Fernbedienung
auf „DVD“ stellen.
GE50-53.TH-A75R[E]f.pm6 5/9/02, 6:44 PM51

52
Deutsch
Mit diesem Gerät können Sie JPEG-Dateien von CD-R oder CD-RW abspielen. Diese Art von Disc wird hier als „JPEG-Disc“
bezeichnet.
•Bevor Sie die Fernbedienung verwenden, drücken Sie die Taste DVD, um den Modus der Fernbedienung auf JPEG-
Disc zu ändern.
• Bei der Wiedergabe einer JPEG-Disc das „MP3/JPEG“ auf dem PICTURE-Menü des Auswahlmenüs auf „JPEG“ einstellen
(siehe Seite 57).
• Schalten Sie das Fernsehgerät ein und wählen Sie den entsprechenden Eingangsmodus.
Falls bei dem Druck einer Taste „ “ auf Ihrem Fernsehgerät erscheint, kann die CD den von Ihnen gewählten
Vorgang nicht ausführen.
Wiedergeben von JPEG-Disc
CHANNEL/ZOOM
VOLUMETV VOL
TUNING
STOP
DIMMER
PAUSE
FF/
/REW
TV/VIDEO
1
MUTING
¡
REC
PLAY
DOWN UP
MEMORY STROBE
VFP
ENTER
ON
SCREEN
CHOICE
PTY SEARCH
DVD
RDS
TA/NEWS/INFO
PTY(PTY9
RDS DISPLAY
O.T.
REPLAY
7HINWEISE für JPEG-Disc
• JPEG-Discs (entweder CD-R oder CD-RW) benötigen eine
längere Zugriffszeit. (Die Zeit ist je nach Komplexität der
Konfiguration der Gruppe (Ordner)/des Datei
unterschiedlich).
• Wenn Sie eine JPEG-Disc erstellen, wählen Sie als Disc-
Format ISO 9660 Ebene 1 oder Ebene 2.
• Dieses System unterstützt „Multi-Session“ Discs (bis zu 5
Sitzungen).
• Dieses System kann keine „Packet Write“ Discs abspielen.
• Das System kann nur JPEG-Dateien mit folgenden
Dateierweiterungen abspielen: „.jpg“, „.jpeg“, „.JPG“,
„.JPEG“ und jede weitere Kombination aus Groß- und
Kleinbuchstaben (wie z. B. “.Jpg”.)
• Wir empfehlen die Aufnahme von Dateien bei einer
Auflösung von 640 x 480. (Wenn eine Datei mit einer
Auflösung aufgezeichnet wird, die höher als 640 x 480,
wird die Anzeige länger dauern).
• Wenn sowohl JPEG-Dateien als auch MP3-Dateien auf
einer Disc aufgezeichnet sind, stellen Sie die MP3/JPEG-
Einstellung im BILD-Menü auf „JPEG“ ein (siehe Seite 57).
• Dieses System kann nur baseline-kodierte JPEG-Dateien*
lesen. Folgende Kodierungsmethoden bei JPEG-Dateien*
können nicht abgespielt werden: Progressive oder lossless
(verlustfreie Komprimierung). Dateien, die ein anderes
Format aufweisen, werden u. U. nicht wiedergegeben.
*
Format Baseline JPEG: Verwendet für Digital-Kameras, Internet, usw.
Format Progressive JPEG: Verwendet für Internet.
Format Lossless JPEG (Verlustfreie Komprimierung):
Eine veraltete Art, die kaum noch verwendet wird.
• Einige JPEG-Discs können auf Grund ihrer Disc-
Eigenschaften und Aufnahmebedingungen nicht
abgespielt werden.
Diaschau
Sie können Standbilder in der Diaschau-Wiedergabe
automatisch eins nach dem anderen betrachten.
HINWEISE:
• Die folgenden Funktionen sind für die Wiedergabe von
JPEG-Discs nicht verfügbar:
Programmierte Wiedergabe, Zufällige Wiedergabe,
Wiedergabe wiederholen, Schnell-Vorlauf/Rücklauf,
Bildschirmleiste und Auswahl-Menüs.
• Wenn während der Diaschau-Wiedergabe durchgehend
ein schwarzer Bildschirm angezeigt wird:
Das aktuell abgespielte Datei könnte eine nicht-baseline
JPEG-Datei sein. In diesem Falle wählen Sie wieder ein
abspielbares Datei (eine baseline JPEG-Datei) (z. B.
durch das Drücken von STOP oder MENU öffnen Sie das
JPEG-Kontrolldisplay, usw.)
Beachten Sie, dass es einige Zeit dauern kann, ein
anderes Datei auszuwählen.
• Einige Dateien auf einer JPEG-Disc können verzerrt
wiedergegeben werden.
NUR über die Fernbedienung:
7 Diashow-Wiedergabe starten
Legen Sie eine JPEG-Disc ein und drücken
Sie auf PLAY (Wiedergabe).
Die Diashow-Wiedergabe beginnt.
• Jedes Datei (Standbild) wird auf dem Fernsehbildschirm
für etwa 3 Sekunden gezeigt, dann wird zum nächsten
Datei gewechselt, eins nach dem anderen. Wenn alle
Dateien in einer Gruppe abgespielt wurden, spielt das
System die Dateien der nächsten Gruppe ab.
Um Gruppen vorwärts zu überspringen
Drücken Sie Cursor 3.
Um Gruppen rückwärts zu überspringen
Drücken Sie Cursor 2.
Um Dateien vorwärts zu überspringen
Drücken Sie FF/¢ oder den Cursor ∞ (oder ¢ auf der
Centereinheit) drücken.
Um Dateien rückwärts zu überspringen
Drücken Sie 4/REW oder den Cursor 5 (oder 4 auf der
Centereinheit) drücken.
Die Diaschau-Wiedergabe zeitweilig anhalten
Drücken Sie PAUSE (oder 8 an der Centereinheit).
Die Diaschau-Wiedergabe wieder starten, drücken Sie PLAY
(oder 3 an der Centereinheit).
Die Diaschau-Wiedergabe komplett stoppen
Drücken Sie STOP (oder 7 an der Centereinheit).
Das JPEG CONTROL-display erscheint auf dem
Fernsehbildschirm.
HINWEIS:
Die Tasten drücken, um fortzufahren, nachdem ein Gesamtbild auf dem
Display erscheint. Das System kann diesen Vorgang nicht akzeptieren,
obwohl Sie Tasten drücken, während ein Bild angezeigt wird.
L
S.WFR
R
Aktuelle Gruppennummer Aktuelle Dateinummer
Die
Moduswahltaste
auf der
Fernbedienung
auf „DVD“ stellen.
GE50-53.TH-A75R[E]f.pm6 5/9/02, 6:44 PM52

53
Deutsch
JPEG CONTROL
Group : 01 / 03 File : 01 / 14 (Total 41)
Anemone fish
Bonito
Butterfly fish
Dolphin
Garden eel
Manta ray
Seal
Swordfish
Tuna
Turtle
Whale
Whale shark
Sea
Mountain
Sky
CHANNEL/ZOOM
VOLUMETV VOL
TUNING
STOP
DIMMER
PAUSE
FF/
/REW
TV/VIDEO
1
MUTING
¡
REC
PLAY
DOWN UP
MEMORY STROBE
RETURN DIGEST
VFP
TOP MENU MENU
CONTROL
EFFECT
S.WFR TEST
SLEEP
TV
VCR
SETTING
TV RETURN
ENTER
ON
SCREEN
CHOICE
FM MODE
123
456
789
10
0
+10
100+
SOUND
PTY SEARCH
DVD
RDS
TA/NEWS/INFO
PTY(PTY9
RDS DISPLAY
SURROUND OFF
DSP
CENTER
–
+
–
+
–
+
–
+
SURR-L SURR-R
S-BACK
–
+
ADJUST
O.T.
REPLAY
1Drücken Sie die Cursor 3/2, um eine
Gruppe auszuwählen.
2Drücken Sie die Cursor ∞/5, um eine
Datei, die Sie anzeigen möchten,
auszuwählen, und drücken Sie die Taste
ENTER.
Das ausgewählte Bild wird auf dem Fernsehgerät
angezeigt.
So vergrößern oder verkleinern Sie ein Standbild
Drücken Sie die Taste ZOOM + oder –, nachdem das
ausgewählte Bild vollständig auf dem Fernsehgerät
angezeigt wird. (Siehe auch Seite 46).
So beginnen Sie die Diashow-Wiedergabe vom
ausgewählten Bild
Drücken Sie die Taste PLAY (oder 3 an der Centereinheit).
Wiedergabe mit der festgelegten Datei starten
Drücken Sie Zifferntasten (1–10, +10), um die Dateinummer
einzugeben.
Bsp.:
• Um 3 auszuwählen, drücken Sie 3.
• Um 14 auszuwählen, drücken Sie +10, dann 4.
• Um 24 auszuwählen, drücken Sie +10, +10, dann 4.
• Um 110 auszuwählen, drücken Sie +10 zehn Mal, dann 10.
Die ausgewählte Dateinummer erscheint in der Dateinummer-
Anzeige, dann beginnt die Diaschau-Wiedergabe von dem
Datei aus, das Sie gewählt haben.
JPEG CONTROL-Bildschirm anzeigen
MENU oder STOP drücken (oder 7 an der Centereinheit).
Bedienung über das JPEG
CONTROL-Bildschirm
Sie können die gewünschten Gruppen und Dateien über das
JPEG CONTROL-Bildschirmsuchen und anzeigen.
7JPEG CONTROL-Bildschirm
Aktueller Gruppen-
name
Aktuelle Gruppen-
nummer/Gesamt-
gruppennummer
Aktuelle Dateinummer/
Gesamtdateinummer in
der Gruppe (Gesamt-
dateinummer auf der
eingelegten Disc)
Aktueller Dateiname
HINWEISE:
•Einige Gruppen- und Dateinamen können auf Grund der
Aufnahmebedingungen nicht korrekt angezeigt werden.
•Die Reihenfolge von Gruppen und Dateien einer JPEG-Disc
können von der Reihenfolge variieren, die auf Ihrem PC angezeigt
wird.
•Gruppen und Dateien werden bis zu 12 gleichzeitig angezeigt.
Das wiederholte Drücken von Cursor
3
/
2
/
∞
/
5
zeigt versteckte
Gruppen und Dateien einzeln an.
7Bedienungsschritte
Die
Moduswahltaste
auf der
Fernbedienung
auf „DVD“ stellen.
GE50-53.TH-A75R[E]f.pm6 6/9/02, 10:33 AM53

54
Deutsch
DEUTSCH
DEUTSCH
DEUTSCH
SPRACHE
MENÜSPRACHE
BILDSCHIRMMENÜ-SPRACHE
AUDIO-SPRACHE
UNTERTITEL
ZUR AUSWAHL, ENTER ZUR BESTÄTIGUNG.
ZUM BEENDEN CHOICE DRÜCKEN.
EINGABE
WAHL
DEUTSCH
CENTER
0
0
AUDIO
BALANCE L/R
BASS
HÖHEN
LAUTSTÄRKE SUBWOOFER
MITTERNACHTSMODUS
AUS
AUS
ZUR AUSWAHL, ENTER ZUR BESTÄTIGUNG.
ZUM BEENDEN CHOICE DRÜCKEN.
EINGABE
WAHL
BILD
ZUR AUSWAHL, ENTER ZUR BESTÄTIGUNG.
ZUM BEENDEN CHOICE DRÜCKEN.
EINGABE
WAHL
4:3 LETTERBOX
MONITOR-TYP
STANDBILD-MODUS
BILDSCHIRMSCHONER
AUTO
EIN
MP3 / JPEG MP3
EIN
SONSTIGES
LESEZEICHEN-FUNKTION
BILDSCHIRM-ANLEITUNG
AUTOM. BEREITSCHAFT
EIN
AUS
KINDERSICHERUNG
ZUR AUSWAHL, ENTER ZUR BESTÄTIGUNG.
ZUM BEENDEN CHOICE DRÜCKEN.
EINGABE
WAHL
200Hz
LAUTSPRECHER
ÜBERKREUZUNG
STUFE
GRÖßE
ENTFERNUNG
ZUR AUSWAHL, ENTER ZUR BESTÄTIGUNG.
ZUM BEENDEN CHOICE DRÜCKEN.
EINGABE
WAHL
CHANNEL/ZOOM
VOLUMETV VOL
VFP
TV RETURN
ENTER
ON
SCREEN
CHOICE
FM MODE
10 0+10
100+
PTY SEARCH
DVD
RDS
TA/NEWS/INFO
PTY(PTY9
RDS DISPLAY
ADJUST
Auswahlmenüs verwenden
Sie können die Grundeinstellungen mit dem Auswahlmenü
auf dem Fernsehgerät ändern.
• Bevor Sie die Fernbedienung verwenden, müssen Sie
auf die Taste DVD drücken, um den
Fernbedienungsmodus entsprechend einzustellen.
• Wenn Sie eine Wahl außer DVD treffen, können Sie das
Auswahlmenü nicht verwenden.
• Schalten Sie Ihr Fernsehgerät ein und wählen Sie den
entsprechenden Eingangsmodus am Fernsehgerät aus.
• Sie können die Sprache im Auswahlmenü ändern. Siehe
Seite 56.
HINWEISE:
•Sie können für die Bedienung des Auswahlmenüs die
Fernbedienung verwenden.
•Das Auswahlmenü kann nicht angezeigt werden, wenn eine MP3-
Disc oder JPEG-Disc eingelegt ist.
Auswahl-Menüs
Konfiguration des Auswahlmenüs
Menü SPRACHE
(siehe Seite 56)
Sie können die
Ausgangssprache für das
Disc-Menü, Audio und die
Untertitel wählen.
Menü BILD
(siehe Seite 57)
Sie können die
gewünschten Optionen im
Bezug auf Bilder oder den
Monitor-Bildschirm
auswählen.
Menü AUDIO
(siehe Seite 58)
Sie können die
Klangeinstellungen dieses
Systems über dieses Menü
anpassen.
Menü LAUTSPRECHER
(siehe Seite 59)
Sie können die
Lautsprecher und auch den
Lautsprecherausgangspegel
einstellen.
Menü SONSTIGES
(siehe Seite 60)
Sie können die Einstellung
einiger Funktionen ändern.
Um die Kindersicherung
einzustellen, verwenden Sie
dieses Menü.
Betriebstasten für die
Auswahlmenüs
NUR über die Fernbedienung:
Taste
CHOICE
Cursor 3/2
Cursor ∞/5
ENTER
Funktion
Zeigt das Auswahlmenü im
Fernsehgerät an.
Bei jedem Drücken der Taste schaltet
das Auswahlmenü ein bzw. aus.
Wählt eine Einstellung.
Wählen Sie ein Menü aus.
Ändert die gewählte Einstellung im
Auswahlmenü.
Geht zum Untermenü der gewählten
Einstellung oder bestätigt die
Einstellung.
Die
Moduswahltaste
auf der
Fernbedienung
auf „DVD“ stellen.
GE54-63.TH-A75R[E]f.pm6 5/9/02, 7:48 PM54

55
Deutsch
4Drücken Sie ENTER.
Das Popup-Fenster erscheint und zeigt alle zur
Verfügung stehenden Optionen an.
5Drücken Sie die Cursor ∞/5 wiederholt, um
die gewünschte Einstellung zu wählen.
6Drücken Sie ENTER.
Ihre Wahl wird gespeichert.
Um die anderen Einstellungen im gleichen Auswahlmenü
zu ändern
Wiederholen Sie Schritte 3 bis 6.
Um andere Einstellungen in einem anderen
Auswahlmenü zu betrachten
Wiederholen Sie Schritte 2 bis 6.
Auswahlmenüs verlassen
Drücken Sie CHOICE.
HINWEIS:
Manche Optionen in den Auswahlmenüs bestehen aus Untermenüs.
Das Untermenü erscheint, wenn Sie die Taste ENTER drücken. Sie
können die Einstellungen auf dem Untermenü mit dem Cursor
3
/
2
/
∞
/
5
und der Taste ENTER einstellen.
Bsp.: Beim Einstellen der Bildschirmschoner-Funktion auf
dem Menü BILD.
1Drücken Sie CHOICE.
Das SPRACHE-Menü erscheint auf dem Fernsehgerät.
2Drücken Sie Cursor 3/2 wiederholt, bis
das Menü BILD auf dem Bildschirm
erscheint.
3Drücken Sie die Cursor ∞/5 wiederholt, um
zur Auswahl „BILDSCHIRMSCHONER”
zu gelangen.
DEUTSCH
DEUTSCH
DEUTSCH
SPRACHE
MENÜSPRACHE
BILDSCHIRMMENÜ-SPRACHE
AUDIO-SPRACHE
UNTERTITEL
ZUR AUSWAHL, ENTER ZUR BESTÄTIGUNG.
ZUM BEENDEN CHOICE DRÜCKEN.
EINGABE
WAHL
DEUTSCH
CHANNEL/ZOOM
VOLUMETV VOL
VFP
TV RETURN
ENTER
ON
SCREEN
CHOICE
FM MODE
10
0
+10
100+
PTY SEARCH
DVD
RDS
TA/NEWS/INFO
PTY(PTY9
RDS DISPLAY
ADJUST
BILD
ZUR AUSWAHL, ENTER ZUR BESTÄTIGUNG.
ZUM BEENDEN CHOICE DRÜCKEN.
EINGABE
WAHL
4:3 LETTERBOX
MONITOR-TYP
STANDBILD-MODUS
BILDSCHIRMSCHONER
AUTO
EIN
MP3 / JPEG JPEG
BILD
ZUR AUSWAHL, ENTER ZUR BESTÄTIGUNG.
ZUM BEENDEN CHOICE DRÜCKEN.
EINGABE
WAHL
4:3 LETTERBOX
MONITOR-TYP
STANDBILD-MODUS
BILDSCHIRMSCHONER
AUTO
EIN
MP3 / JPEG JPEG
BILD
ZUR AUSWAHL, ENTER ZUR BESTÄTIGUNG.
ZUM BEENDEN CHOICE DRÜCKEN.
EINGABE
WAHL
4:3 LETTERBOX
MONITOR-TYP
STANDBILD-MODUS
BILDSCHIRMSCHONER
AUTO
EIN
MP3 / JPEG JPEG
AUS
EIN
BILD
ZUR AUSWAHL, ENTER ZUR BESTÄTIGUNG.
ZUM BEENDEN CHOICE DRÜCKEN.
EINGABE
WAHL
4:3 LETTERBOX
MONITOR-TYP
STANDBILD-MODUS
BILDSCHIRMSCHONER
AUTO
AUS
MP3 / JPEG JPEG
Grundbetriebsverfahren
Bevor das Auswahlmenü bedient wird, drücken Sie die
Taste DVD, um die Signalquelle auf DVD zu ändern.
BILD
ZUR AUSWAHL, ENTER ZUR BESTÄTIGUNG.
ZUM BEENDEN CHOICE DRÜCKEN.
EINGABE
WAHL
4:3 LETTERBOX
MONITOR-TYP
STANDBILD-MODUS
BILDSCHIRMSCHONER
AUTO
EIN
MP3 / JPEG JPEG
AUS
EIN
Bsp.: Wenn „AUS“
ausgewählt wurde.
Die
Moduswahltaste
auf der
Fernbedienung
auf „DVD“ stellen.
GE54-63.TH-A75R[E]f.pm6 5/9/02, 7:48 PM55

56
Deutsch
Liste der Sprachcodes
SO Somali
SQ Albanisch
SR Serbisch
SS Swazi
ST Süd-Sotho
SU Sundanesisch
SV Schwedisch
SW Swahili
TA Tamil
TE Telugu
TG Tadschikisch
TH Thailändisch
TI Tigrinya
TK Turkmenisch
TL Tagalog
TN Tswana
TO Tonganisch
TR Türkisch
TS Tsonga
TT Tatarisch
TW Twi
UK Ukrainisch
UR Urdu
UZ Usbekisch
VI Vietnamesisch
VO Volapük
WO Wolof
XH Xhosa
YO Yoruba
ZU Zulu
AA Danakil
AB Abkhazian
AF Afrikaans
AM Amharisch
AR Arabisch
AS Assamesisch
AY Aymara
AZ Aserbaidschanisch
BA Baschkirisch
BE Belorussisch
BG Bulgarisch
BH Bihari
BI Bislama
BN Bengali
BO Tibetisch
BR Bretonisch
CA Katalanisch
CO Korsisch
CS Tschechisch
CY Walisisch
DA Dänisch
DZ Dzongkha
EL Griechisch
EO Esperanto
ET Estnisch
EU Baskisch
FA Persisch
FI Finnisch
FJ Fidschianisch
FO Färöisch
FY Friesisch
GA Irisch
GD Gälisch-Schottisch
GL Galizisch
GN Guarani
GU Gujarati
HA Haussa
HI Hindi
HR Kroatisch
HU Ungarisch
HY Armenisch
IA Interlingua
IE Interlingue
IK Inupiak
IN Indonesisch
IS Isländisch
IW Hebräisch
JI Jiddisch
JW Javanisch
KA Georgisch
KK Kasachisch
KL Eskimoisch
KM Kambodschanisch
KN Kannada
KO Koreanisch (KOR)
KS Kaschmiri
KU Kurdisch
KY Kirgisisch
LA Lateinisch
LN Lingala
LO Laotisch
LT Litauisch
LV Lettisch
MG Madagassisch
MI Maori
MK Mazedonisch
ML Malabarisch
MN Mongolisch
MO Moldauisch
MR Marathi
MS Malaiisch (MAY)
MT Maltesisch
MY Birmanisch
NA Naurisch
NE Nepali
NL Niederländisch
NO Norwegisch
OC Okzitanisch
OM Galla
OR Oriya
PA Panjabi
PL Polnisch
PS Paschtu
PT Portugiesisch
QU Quechua
RM Rätoromanisch
RN Rundi
RO Rumänisch
RU Russisch
RW Rwanda
SA Sanskrit
SD Sindhi
SG Sango
SH Serbokroatisch
SI Singhalesisch
SK Slowakisch
SL Slowenisch
SM Samoanisch
SN Schona
Auswahlmenüs verwenden
Menü SPRACHE
Die Menüs „MENÜ SPRACHE“, „AUDIO-SPRACHE“ und „UNTERTITEL“ können nur vor der
Wiedergabe gewählt werden.
• Sie können ebenfalls vorübergehend während der Wiedergabe „AUDIO-SPRACHE“ und
„UNTERTITEL“ wählen (siehe Seite 41).
Wählen Sie als „BILDSCHIRMMENÜ-SPRACHE“ zuerst
Ihre Lieblingssprache, um weitere Verfahren zu erleichtern.
¶BILDSCHIRMMENÜ-SPRACHE
Sie können das System in der von Ihnen gewählten
Sprache bedienen.
Wählen Sie eine der folgenden Sprachen—ENGLISCH,
FRANZÖSISCH oder DEUTSCH.
¶MENÜSPRACHE
Einige Discs haben mehrsprachige Discmenüs. Sie können
während der Bedienung des DVD-Menüs Ihre
Lieblingssprache wählen.
Wählen Sie eine der Sprachen oder Sprachcodes von
AA bis ZU (siehe „Liste der Sprachcodes“ im folgenden
Text) als Menüsprache.
¶AUDIO-SPRACHE
Einige CDs haben mehrere Audiosprachen. Sie können
beim Anschauen einer DVD Ihre Lieblingssprache wählen.
Wählen Sie eine der Sprachen oder Sprachcodes von
AA bis ZU (siehe „Liste der Sprachcodes“ im folgenden
Text).
¶UNTERTITEL
Einige CDs haben mehrere Untertitel-Sprachen. Sie können
beim Anschauen einer DVD Ihre Lieblingssprache wählen.
Wählen Sie eine der Sprachen oder Sprachcodes von
AA bis ZU (siehe „Liste der Sprachcodes“ im folgenden
Text) oder „AUS (keine Untertitel)“.
HINWEIS:
Wenn die Sprache, die Sie für MENÜSPRACHE, AUDIO-
SPRACHE, oder UNTERTITEL ausgewählt haben, nicht auf einer
Disc vorhanden ist, wird die Originalsprache automatisch
eingestellt.
DEUTSCH
DEUTSCH
DEUTSCH
SPRACHE
MENÜSPRACHE
BILDSCHIRMMENÜ-SPRACHE
AUDIO-SPRACHE
UNTERTITEL
ZUR AUSWAHL, ENTER ZUR BESTÄTIGUNG.
ZUM BEENDEN CHOICE DRÜCKEN.
EINGABE
WAHL
DEUTSCH
GE54-63.TH-A75R[E]f.pm6 5/9/02, 7:48 PM56

57
Deutsch
¶MONITOR-TYP
Sie können den Monitor-Typ so wählen, dass er zu Ihrem
Fernsehbildschirm passt, wenn Sie DVDs abspielen, die in
einem Bildgrößenverhältnis von 16:9 aufgenommen wurden.
Wählen Sie eine der folgenden Optionen:
16:9 NORMAL (Breitbild-Konversion) :
: Wählen Sie diese Einstellung, wenn das
Bildseitenverhältnis Ihres TV-Geräts auf 16:9
(Breitbild) eingestellt ist. Das System
konvertiert die Bildbreite automatisch auf 16:9
ein, wenn ein Bild wiedergegeben wird, das ein
Aspektverhältnis von 4:3 hat.
16:9 AUTO (Breitbild-Konversion) :
: Wählen Sie diese Einstellung, wenn das
Bildseitenverhältnis Ihres TV-Geräts 16:9
beträgt (Breitbild-Format).
4:3 LETTERBOX (Letter Box-Konversion) :
: Wählen Sie diese Einstellung, wenn das
Bildseitenverhältnis Ihres Fernsehgeräts 4:3
beträgt (herkömmliches Fernsehgerät). Wenn
Sie einen Spielfilm im Breitbild-Format
wiedergeben, erscheinen oben und unten im
Bild schwarze Balken.
4:3 PAN & SCAN (Pan Scan-Konversion) :
: Wählen Sie diese Einstellung, wenn das
Bildseitenverhältnis Ihres Fernsehgeräts 4:3
beträgt (herkömmliches Fernsehgerät). Wenn
Sie einen Spielfilm im Breitbild-Format
wiedergeben, erscheinen die schwarzen
Balken nicht, es können jedoch die rechte und
linke Seite nicht angezeigt werden.
Menü BILD
¶STANDBILD-MODUS
Sie können den „STANDBILD-MODUS“ ändern, um ein
besseres Bild zu erhalten, wenn das Wiedergabebild
unscharf oder gestört ist, oder wenn schräge Linien auf
dem Bildschirm erscheinen.
Wählen Sie normalerweise „AUTO“. Wenn das Bild auf
einer Disc unklar oder gestört ist, „HALBBILD“ oder
„VOLLBILD“ wählen.
Wählen Sie eine der folgenden Optionen:
AUTO : Das Gerät erkennt die Signalquelle des Films
(Video oder Filmquelle) auf der eingelegten
Disc und stellt automatisch den richtigen
Modus ein.
HALBBILD: Wählen Sie diese Einstellung, wenn Sie eine
Video-CD abspielen.
VOLLBILD: Wählen Sie diese Einstellung, wenn Sie einen
Spielfilm abspielen.
¶BILDSCHIRMSCHONER
Sie können den Bildschirmschoner ein- oder ausstellen.
Den Bildschirmschoner ein- oder ausschalten
(EIN oder AUS):
EIN : Der Bildschirm wird schwarz, wenn 5 Minuten
lang keine Eingabe erfolgt ist.
AUS : Die Bildschirmschonerfunktion ist
ausgeschaltet.
¶MP3/JPEG
Befinden sich MP3-Stück (Dateien) und JPEG-Dateien
zusammen auf einer Disc, können Sie wählen, welche Datei
abgespielt werden soll.
Wählen Sie eine der folgenden Optionen:
MP3 : Wählen Sie diese Einstellung für MP3 Stück
(Dateien).
JPEG : Wählen Sie diese Einstellung für JPEG-Dateien.
• Selbst wenn „4:3 PAN & SCAN“ ausgewählt wurde, kann
sich die Bildschirmgröße bei manchen DVD auf
„4:3 LETTERBOX“ ändern. Dies hängt von der
Aufzeichnungsart ab.
• Wenn Sie „16:9 NORMAL“ für einen Spielfilm mit einem
Verhältnis von 4:3 wählen, ändert sich das Bild leicht
aufgrund der Anpassung an die Bildweite.
Bsp.: 16:9 Bsp.: 4:3
LETTERBOX Bsp.: 4:3
PAN & SCAN
BILD
ZUR AUSWAHL, ENTER ZUR BESTÄTIGUNG.
ZUM BEENDEN CHOICE DRÜCKEN.
EINGABE
WAHL
4:3 LETTERBOX
MONITOR-TYP
STANDBILD-MODUS
BILDSCHIRMSCHONER
AUTO
EIN
MP3 / JPEG MP3
GE54-63.TH-A75R[E]f.pm6 5/9/02, 7:48 PM57

58
Deutsch
Auswahlmenüs verwenden
Menü AUDIO
Sie können folgende Funktionen auch über die Taste SETTING/ADJUST auf der
Fernbedienung einstellen (siehe Seite 30).
¶BALANCE L/R
Wenn der Klang der vorderen Lautsprecher nicht gut
balanciert ist, kann die Ausgangsbalance der vorderen
Lautsprecher eingestellt werden.
Die Balance der vorderen Lautsprecher im Bereich
„R –21“ und „L –21“ einstellen.
• “R –21”: Die Wiedergabe ist über den rechten
Lautsprecher nicht hörbar.
• “L –21”: Die Wiedergabe ist über den linken
Lautsprecher nicht hörbar.
• “CENTER”: Die Ausgangspegel sind bei beiden
Lautsprechern gleich.
¶BASS, HÖHEN
Sie können die Tiefen und Höhen nach Ihrem persönlichen
Geschmack einstellen.
Die Tiefen- und Höhenpegel des vorderen Kanals in
2-Schritt-Intervallen einstellen.
• Einstellbarer Bereich: „–10“ bis „10“.
¶LAUTSTÄRKE SUBWOOFER
Die Dämpfung des Bassfrequenzeffekts reduziert die
Störung des Basses durch den Subwoofer, wenn eine Disc
mit Dolby Digital oder DTS Digital Surround abgespielt
wird.
Den Dämpfung des Bassfrequenzeffekts ein- oder
ausschalten:
EIN (–10 dB) : Wählen Sie diese Einstellung, um die Bass-
Störung durch den Subwoofer zu
verringern.
AUS (0 dB) : Wählen Sie diese Einstellung, um die
Funktion abzuschalten.
¶MITTERNACHTSMODUS
Sie können nicht zufrieden stellende Bassklänge
verstärken.
Wählen Sie eine der folgenden Optionen:
1: Wählen Sie diese Einstellung, wenn Sie die
dynamische Reichweite etwas verringern
möchten.
2: Wählen Sie diese Einstellung, wenn Sie den
Kompressionseffekt voll nutzen wollen (sinnvoll
zu späterer Stunde).
AUS : Wählen Sie diese Einstellung, wenn Sie den
Klang in seiner vollen dynamischen Reichweite
genießen möchten (keine Effekte).
CENTER
0
0
AUDIO
BALANCE L/R
BASS
HÖHEN
LAUTSTÄRKE SUBWOOFER
MITTERNACHTSMODUS
AUS
AUS
ZUR AUSWAHL, ENTER ZUR BESTÄTIGUNG.
ZUM BEENDEN CHOICE DRÜCKEN.
EINGABE
WAHL
GE54-63.TH-A75R[E]f.pm6 5/9/02, 7:48 PM58

59
Deutsch
¶GRÖßE
Wählen Sie diese Einstellung,
um zum Untermenü GRÖß zu
gelangen.
• Sie können folgende
Funktionen auch über die
Taste SETTING/ADJUST auf
der Fernbedienung einstellen
(siehe Seite 28).
Wählen Sie die Größe für jeden Lautsprecher aus.
GROß: Wählen Sie dies, wenn die kegelförmige
Lautsprechereinheit, die in den Lautsprecher
eingebaut ist, größer als 12 cm ist.
KLEIN : Wählen Sie dies, wenn die kegelförmige
Lautsprechereinheit, die in den Lautsprecher
eingebaut ist, kleiner als 12 cm ist.
OHNE : (Nur bei „RAUMLANGSPRECHER HINTEN“)
Wählen, wenn kein Lautsprecher
angeschlossen ist.
VORSICHT:
Wenn Sie die mitgelieferten Lautsprecher verwenden,
wählen Sie „KLEIN“ für jeden. Sollten Sie „GROß“
auswählen, könnte dies die Lautsprecher beschädigen.
HINWEISE:
•Wenn Sie „KLEIN“ als Einstellung für die vorderer Lautsprecher
gewählt haben, können Sie nicht „GROß“ als Einstellung für den
Centerlautsprecher, den Surround-Lautsprecher und die hinteren
Surround-Lautsprecher wählen.
•Falls Sie „KLEIN“ für die Surround-Lautsprecher gewählt haben,
können Sie für den hinteren Surround-Lautsprecher nicht
„GROß“ wählen.
SUB WOOFER
Diese Funktion ist fest auf „VERWENDUNG“ eingestellt.
Zum LAUTSPRECHER-Menü zurückkehren
Drücken Sie Cursor 3/2 drücken.
KLEIN
GRÖßE
LAUTSPRECHER VORN
CENTERLAUTSPRECHER
RAUMLANGLAUTSPRECHER
KLEIN
KLEIN
RAUMLANGLAUTSPRECHER HINTEN
KLEIN
SUB WOOFER VERWENDUNG
0dB
STUFE
CENTERLAUTSPRECHER
RAUMLANGSPRECHER LINKS
TEST-TON
RAUMLANGSPRECHER RECHTS
0dB
0dB
SUBWOOFER
RAUMLANGPRECHER HINTEN
0dB
0dB
3.0m
ENTFERNUNG
LAUTSPRECHER VORN
CENTERLAUTSPRECHER
RAUMLANGSPRECHER
TEST-TON
3.0m
3.0m
RAUMLANGSPRECHER HINTEN
3.0m
FORTSETZUNG AUF FOLGENDER SEITE
Menü LAUTSPRECHER
Lautsprecherdiagramm
Linker
vorderer
Lautsprecher
Subwoofer
Linker
Surround-
Lautsprecher
Center-
lautsprecher
Rechter
vorderer
Lautsprecher
Rechter
Surround-
Lautsprecher
Hinteren
Surround-
Lautsprecher
200Hz
LAUTSPRECHER
ÜBERKREUZUNG
STUFE
GRÖßE
ENTFERNUNG
ZUR AUSWAHL, ENTER ZUR BESTÄTIGUNG.
ZUM BEENDEN CHOICE DRÜCKEN.
EINGABE
WAHL
¶STUFE
Mit dieser Einstellung gelangen
Sie in das Untermenü STUFE.
•Sie können die
Klangausgangspegel auch
über die Zahlentasten auf der
Fernbedienung einstellen
(siehe Seiten 18 und 36).
Sie können den Lautsprecherausgangspegel für jeden
Lautsprecher zwischen –10 dB und +10 dB in 1 dB-
Schritten einstellen.
Sie können die Ausgangspegel der Lautsprecher ebenfalls
durch Prüfen des Testtons jedes Lautsprechers einstellen.
•Die Pegel der Lautsprecher so einstellen, dass Sie den
Klang auf dem gleichen Pegel aus allen Lautsprechern
hören können.
TEST-TON
Sie können den Testton ein- oder ausschalten.
Zum LAUTSPRECHER-Menü zurückkehren
Drücken Sie Cursor 3/2 drücken.
HINWEISE:
•Wenn „OHNE“ für den hinteren Surround-Lautsprecher
ausgewählt wurde, wird kein Testton aus diesem Lautsprecher
abgegeben.
•Der Testton wird nicht über den Subwoofer ausgegeben.
¶ENTFERNUNG
Mit dieser Einstellung gelangen
Sie in das Untermenü
ENTFERNUNG.
• Sie können folgende
Funktionen auch über die
Taste SETTING/ADJUST auf
der Fernbedienung einstellen
(Weitere Einzelheiten auf Seite
29).
Stellen Sie die Entfernung von der Hörposition zu
jedem Lautsprecher zwischen 0,3 m und 9,0 m (in
Schritten von je 0,3 m) ein.
TEST-TON
Sie können den Testton ein- oder ausschalten.
Zum LAUTSPRECHER-Menü zurückkehren
Drücken Sie Cursor 3/2 drücken.
HINWEISE:
•Falls Sie „OHNE“ für den hinteren Surround-Lautsprecher
gewählt haben können Sie keine Entfernung für den hinteren
Surround-Lautsprecher wählen.
•Wenn „OHNE“ für den hinteren Surround-Lautsprecher
ausgewählt wurde, wird kein Testton aus diesem Lautsprecher
abgegeben.
•Der Testton wird nicht über den Subwoofer ausgegeben.
GE54-63.TH-A75R[E]f.pm6 5/9/02, 7:48 PM59

60
Deutsch
Auswahlmenüs verwenden
VORSICHT:
Werden die mitgelieferten Lautsprecher verwendet,
„200Hz“ wählen.
HINWEIS:
Die Übergangsfrequenz gilt nicht für den HEADPHONE-Modus.
¶ZURÜCK ZU STANDARDEINST
Wählen Sie diese Einstellung, um alle Lautsprecher-
Einstellungen zurückzusetzen.
Menü SONSTIGES
¶LESEZEICHEN-FUNKTION
Wenn Sie das Gerät ausschalten, während eine Disc
abgespielt wird, wird die Wiedergabe gestoppt und diese
Position wird gespeichert. Sie können die
Wiedergabefunktion ein- oder ausschalten.
Die RESUME-Anzeige leuchtet im Display auf, wenn die
RESUME-Funktion aktiviert ist.
Um die Wiedergabe von der gespeicherten Position aus
fortzusetzen, drücken Sie DVD oder PLAY auf der Fernbedienung.
• Die Lesezeichen-Funktion funktioniert nicht bei Audio CDs.
Wählen Sie eine der folgenden Optionen:
EIN : Wählen Sie diese Einstellung, um die Funktion
einzuschalten.
AUS : Wählen Sie diese Einstellung, um die Funktion
auszuschalten.
¶BILDSCHIRM-ANLEITUNG
Sie können die folgenden Bildschirmsymbole ein- oder
ausschalten:
Multiview :
Untertitel :
Audio-Sprachversionen :
Wiedergabestatus : , ,
x2
, usw.
Diese Bildschirmsymbole erscheinen auf dem Fernsehgerät
bei Beginn der Wiedergabe, wenn diese Funktion aktiviert ist.
Wählen Sie eine der folgenden Optionen:
EIN : Wählen Sie diese Einstellung, um die Funktion
einzuschalten.
AUS : Wählen Sie diese Einstellung, um die Funktion
auszuschalten.
• Untertitel (siehe Seite 41) und die Zoom-Informationen
(siehe Seite 46) erscheinen in der Anzeige, auch wenn
die Funktion „AUS“ ist.
¶AUTOM. BEREITSCHAFT
Wenn die Wiedergabe der Disc im DVD-Spieler beendet ist
und keine weitere Eingabe im ausgewählten Zeitraum
erfolgt (60 oder 30), wird das Gerät automatisch
abgeschaltet.
•Diese Funktion wird nur wirksam, wenn DVD als
Signalquelle gewählt ist.
Wählen Sie eine der folgenden Optionen:
60 : Schaltet das Gerät ab, wenn innerhalb von 60
Minuten keine Eingabe erfolgt ist.
30 : Schaltet das Gerät ab, wenn innerhalb von 30
Minuten keine Eingabe erfolgt ist.
AUS : Wählen Sie diese Einstellung, um die Funktion
auszuschalten.
• Wenn die Einschlafschaltuhr (siehe Seite 19) und Auto
Standby gleichzeitig aktiviert sind, wird das Gerät zur der
jeweils früheren Zeit abgeschaltet.
¶KINDERSICHERUNG
Mit dieser Einstellung gelangen Sie in das Untermenü
KINDERSICHERUNG zu gelangen.
Sie können die Wiedergabe von DVD mit gewalttätigem
oder für einige Familienmitglieder ungeeignetem Inhalt
einschränken. (Weitere Einzelheiten zu diesem Verfahren
unter „Einschränkung der Wiedergabe—Kindersicherung“
auf Seite 61.)
• Sie können „KINDERSICHERUNG“ nur vor der
Wiedergabe einschalten.
¶ÜBERKREUZUNG
Kleine Lautsprecher sind nicht in der Lage,
Bassfrequenzen effizient zu reproduzieren. Wenn Sie einen
kleinen Lautsprecher innerhalb des Systems verwenden,
leitet dieses Gerät die Basselemente, die für den kleinen
Lautsprecher vorgesehen sind, automatisch an große
Lautsprecher weiter.
Um diese Funktion nutzen zu können, stellen Sie diese
Übergangsfrequenz abhängig von der Größe des kleinsten
angeschlossenen Lautsprechers ein.
• Wenn Sie für alle Lautsprecher „GROß“ gewählt haben,
wird diese Funktion nicht angewendet.
• Ebenso können Sie die Übergangsfrequenz mit Hilfe der
Taste SETTING/ADJUST auf der Fernbedienung
einstellen (siehe Seite 29).
Wählen Sie eine der folgenden Optionen:
80Hz :
Wählen Sie diese Frequenz aus, wenn der
Durchmesser des in diesen Lautsprecher
integrierten Lautsprecherkonus etwa 12 cm beträgt.
100Hz :
Wählen Sie diese Frequenz aus, wenn der
Durchmesser des in diesen Lautsprecher
integrierten Lautsprecherkonus etwa 10 cm beträgt.
120Hz :
Wählen Sie diese Frequenz aus, wenn der
Durchmesser des in diesen Lautsprecher
integrierten Lautsprecherkonus etwa 8 cm beträgt.
150Hz :
Wählen Sie diese Frequenz aus, wenn der
Durchmesser des in diesen Lautsprecher
integrierten Lautsprecherkonus etwa 6 cm beträgt.
200Hz : Wählen Sie diese Frequenz aus, wenn der
Durchmesser des in diesen Lautsprecher
integrierten Lautsprecherkonus weniger als 5 cm
beträgt.
EIN
SONSTIGES
LESEZEICHEN-FUNKTION
BILDSCHIRM-ANLEITUNG
AUTOM. BEREITSCHAFT
EIN
AUS
KINDERSICHERUNG
ZUR AUSWAHL, ENTER ZUR BESTÄTIGUNG.
ZUM BEENDEN CHOICE DRÜCKEN.
EINGABE
WAHL
GE54-63.TH-A75R[E]f.pm6 5/9/02, 7:48 PM60

61
Deutsch
1Drücken Sie CHOICE, dann drücken Sie
Cursor 3/2, um das Menü SONSTIGES
anzuzeigen.
2Drücken Sie Cursor ∞/5 wiederholt, um
auf „KINDERSICHERUNG“ zu führen, dann
drücken Sie ENTER.
Das Untermenü KINDERSICHERUNG erscheint auf dem
Fernsehbildschirm.
3Drücken Sie Cursor ∞/5 wiederholt, um
auf „LÄNDERCODE“ zu führen, dann
drücken Sie ENTER.
Das Popup-Fenster mit den Ländercodes erscheint.
4Drücken Sie Cursor ∞/5 wiederholt, um
den Ländercode auszuwählen, dann
drücken Sie ENTER.
Das Symbol bewegt sich auf „STUFE“.
•Siehe „Liste der Ländercodes für die Kindersicherung“
auf Seite 63.
5Drücken Sie ENTER.
Das Popup-Fenster mit den Kindersicherungsstufen
erscheint.
6Drücken Sie Cursor ∞/5 wiederholt, um die
Einschränkungsstufe auszuwählen, dann
drücken Sie ENTER.
Der bewegt sich auf „PASSWORT“.
•Wählen Sie „OHNE“, um diese Funktion aufzuheben.
7Drücken Sie Zifferntasten (0–9), um eine
vierstellige Zahl als Ihr Passwort
einzugeben, dann drücken Sie ENTER.
Der bewegt sich auf „VERLASSEN“.
8Drücken Sie ENTER.
Rückkehr in das Menü SONSTIGES.
Auswahlmenüs verlassen
Drücken Sie CHOICE.
HINWEIS:
Merken Sie sich Ihr Passwort, oder notieren Sie es sich.
Sie müssen das Passwort eingeben, wenn Sie die Einstellungen
ändern oder die Sperre aufheben möchten. Um die Einstellungen zu
ändern, siehe Seite 62.
ZUR AUSWAHL, ENTER ZUR BESTÄTIGUNG.
ZUM BEENDEN CHOICE DRÜCKEN.
EINGABE
WAHL
DE
KINDERSICHERUNG
LÄNDERCODE
STUFE EINSTELLEN
PASSWORT
OHNE
_ _ _ _
VERLASSEN
ZUR AUSWAHL, ENTER ZUR BESTÄTIGUNG.
ZUM BEENDEN CHOICE DRÜCKEN.
EINGABE
WAHL
DE
KINDERSICHERUNG
LÄNDERCODE
STUFE EINSTELLEN
PASSWORT
OHNE
_ _ _ _
VERLASSEN
DJ
DK
CY
DM
CX
CZ
DE
ZUR AUSWAHL, ENTER ZUR BESTÄTIGUNG.
ZUM BEENDEN CHOICE DRÜCKEN.
EINGABE
WAHL
DE
KINDERSICHERUNG
LÄNDERCODE
STUFE EINSTELLEN
PASSWORT
OHNE
_ _ _ _
VERLASSEN
5
4
7
6
8
OHNE
3
FÜR NEUS PASSWORT BITTE TASTEN 0 ~ 9 DRÜCKEN
•••
ZUM BEENDEN CHOICE DRÜCKEN.
EINGABE
WAHL
DE
KINDERSICHERUNG
LÄNDERCODE
STUFE EINSTELLEN
PASSWORT
4
_ _ _ _
VERLASSEN
VFP
CONTROL
EFFECT
S.WFR TEST
SLEEP
TV
VCR
SETTING
TV RETURN
ENTER
ON
SCREEN
CHOICE
FM MODE
123
456
789
10
0
+10
100+
PTY SEARCH
DVD
RDS
TA/NEWS/INFO
PTY(PTY9
RDS DISPLAY
CENTER
–
+
–
+
–
+
–
+
SURR-L SURR-R
S-BACK
–
+
ADJUST
Einschränkung der
Wiedergabe—Kindersicherung
Mit dieser Funktion können Sie die Wiedergabe einer DVD
einschränken, die gewalttätige Szenen oder solche, die nicht für
Ihre Familienmitglieder geeignet sind, enthält. Keiner kann eine
solche Disc abspielen, außer, die Funktion wird aufgehoben.
•
Diese Einstellung wird nur auf DVDs angewendet, die
Informationen zu Kindersicherungsstufen enthalten—Stufe 1
(höchste Einschränkung) bis Stufe 8 (geringste Einschränkung).
• Sie können die Kindersicherung nur einstellen, wenn die
Wiedergabe gestoppt ist.
•Bevor Sie die Fernbedienung verwenden, müssen Sie
auf die Taste DVD drücken, um den
Fernbedienungsmodus entsprechend einzustellen.
Einstellung der Kindersicherung
Die
Moduswahltaste
auf der
Fernbedienung
auf „DVD“ stellen.
GE54-63.TH-A75R[E]f.pm6 5/9/02, 7:48 PM61

62
Deutsch
1Drücken Sie CHOICE, dann drücken Sie
den Cursor 3/2, um das Menü
SONSTIGES anzuzeigen.
2Drücken Sie Cursor ∞/5 wiederholt, um
auf „KINDERSICHERUNG“ zu führen, dann
drücken Sie ENTER.
Das Untermenü KINDERSICHERUNG erscheint auf dem
Fernsehbildschirm.
•Sie können nur auf „PASSWORT“ oder
„VERLASSEN“ führen, bevor Sie das Passwort
eingeben.
3Drücken Sie Zifferntasten (0–9), um Ihr
Passwort einzugeben, dann drücken Sie
ENTER.
Der bewegt sich auf „LÄNDERCODE“.
•Wenn Sie ein falsches Passwort eingeben, erscheint
„FALSCH! BITTE TASTEN 0~9 WIEDERHOLT
DRÜCKEN...“ im Meldungsfeld.
Die nächsten Optionen können nicht angewählt werden,
solange das richtige Kennwort nicht eingegeben wurde.
4Drücken Sie Cursor ∞/5 wiederholt, um
auf das Symbol zu führen, das Sie ändern
möchten, dann drücken Sie ENTER.
5Drücken Sie Cursor ∞/5 wiederholt, um die
Einstellung zu ändern, dann drücken Sie
ENTER.
6Drücken Sie Zifferntasten (0–9), um das
Passwort einzugeben, dann drücken Sie
ENTER.
Die neuen Einstellungen sind gespeichert.
FÜR PASSWORT BITTE TASTEN 0
~
9 DRÜCKEN
•••
ZUM BEENDEN CHOICE DRÜCKEN.
EINGABE
WAHL
DE
KINDERSICHERUNG
LÄNDERCODE
STUFE
PASSWORT
4
_ _ _ _
VERLASSEN
VFP
CONTROL
EFFECT
S.WFR TEST
SLEEP
TV
VCR
SETTING
TV RETURN
ENTER
ON
SCREEN
CHOICE
FM MODE
123
456
789
10 0+10
100+
PTY SEARCH
DVD
RDS
TA/NEWS/INFO
PTY(PTY9
RDS DISPLAY
CENTER
–
+
–
+
–
+
–
+
SURR-L SURR-R
S-BACK
–
+
ADJUST
1Drücken Sie Cursor ∞/5 wiederholt, führen
Sie auf „ZEITWEILIG FREIGEBEN“,
dann drücken Sie ENTER.
Der bewegt sich auf „PASSWORT“.
•Wenn Sie „NICHT FREIGEBEN” auswählen, drücken Sie
0, um die Disc zu entfernen.
2Drücken Sie Zifferntasten (0–9), um Ihr
Passwort einzugeben.
Die Wiedergabe beginnt.
•Wenn Sie ein falsches Passwort eingeben, erscheint
„FALSCH! BITTE TASTEN 0~9 WIEDERHOLT
DRÜCKEN...“ im Meldungsfeld.
Sie können die Disc nicht abspielen, bis Sie das richtige
Passwort eingegeben haben.
HINWEIS:
Wenn Sie mehr als 3 Mal ein falsches Passwort eingeben, bewegt
sich automatisch auf „NICHT FREIGEBEN“ und die Cursor
∞
/
5
funktionieren nicht mehr. Drücken Sie
0
, um die Disc zu
entfernen.
Auswahlmenüs verwenden
Änderung der Einstellung der
Kindersicherung
HINWEISE:
•Sie können die Kindersicherung erst einstellen, wenn Sie ein
Passwort eingegeben haben (siehe Seite 61).
•Wenn Sie das Untermenü KINDERSICHERUNG verlassen, bevor Sie
Ihr Passwort in Schritt 6 eingegeben haben, wird der neue
Ländercode und die Kindersicherungsstufe nicht angewendet und der
alte Ländercode und die alte Kindersicherungsstufe bleiben aktiv.
•Wenn Sie mehr als 3 Mal ein falsches Passwort eingeben, bewegt
sich automatisch auf „VERLASSEN“ und die Cursor
∞
/
5
funktionieren nicht mehr. Drücken Sie Cursor
3
/
2
, um das
Untermenü KINDERSICHERUNG zu verlassen, dann wiederholen
Sie von Schritt 1 aus.
•Wenn Sie Ihr Passwort vergessen, geben Sie „8888“ ein.
Kurzzeitiges Aufheben der
Kindersicherung
Wenn Sie eine hohe Kindersicherungsstufe einstellen, können
manche Discs gar nicht wiedergegeben werden. Wenn Sie
solch eine Disc laden und versuchen, diese abzuspielen,
erscheint das folgende Display auf Ihrem Fernsehbildschirm.
Sie können dann die Kindersicherung kurzzeitig aufheben.
KINDERSICHERUNG
PASSWORT _ _ _ _
ZEITWEILIG FREIGEBEN
FÜR PASSWORT BITTE TASTEN 0
~
9 DRÜCKEN
•••
EINGABE
WAHL
NICHT FREIGEBEN
VFP
CONTROL
EFFECT
S.WFR TEST
SLEEP
TV
VCR
SETTING
TV RETURN
ENTER
ON
SCREEN
CHOICE
FM MODE
123
456
789
10
0
+10
100+
PTY SEARCH
DVD
RDS
TA/NEWS/INFO
PTY(PTY9
RDS DISPLAY
CENTER
–
+
–
+
–
+
–
+
SURR-L SURR-R
S-BACK
–
+
ADJUST
Die
Moduswahltaste
auf der
Fernbedienung
auf „DVD“ stellen.
Die
Moduswahltaste
auf der
Fernbedienung
auf „DVD“ stellen.
GE54-63.TH-A75R[E]f.pm6 6/9/02, 10:35 AM62

63
Deutsch
Liste der Ländercodes für die Kindersicherung
AD Andorra
AE
Vereinigte Arabische Emirate
AF Afghanistan
AG Antigua und Barbuda
AI Anguilla
AL Albanien
AM Armenien
AN
Niederländische Antillen
AO Angola
AQ Antarktis
AR Argentinien
AS Amerik. Samoa
AT Österreich
AU Australien
AW Aruba
AZ Aserbaidschan
BA
Bosnien und Herzegowina
BB Barbados
BD Bangladesch
BE Belgien
BF Burkina Faso
BG Bulgarien
BH Bahrain
BI Burundi
BJ Benin
BM Bermuda
BN Brunei Darussalam
BO Bolivien
BR Brasilien
BS Bahamas
BT Bhutan
BV Bouvetinsel
BW Botswana
BY Belarus
BZ Belize
CA Kanada
CC Kokosinseln
CF
Zentralafrikanische Republik
CG Kongo
CH Schweiz
CI Elfenbeinküste
CK Cookinseln
CL Chile
CM Kamerun
CN China
CO Kolumbien
CR Costa Rica
CU Kuba
CV Kap Verde
CX Weihnachstsinsel
CY Zypern
CZ Tschechische Republik
DE Deutschland
DJ Dschibuti
DK Dänemark
DM Dominica
DO
Dominikanische Republik
DZ Algerien
EC Ecuador
EE Estland
EG Ägypten
EH Westsahara
ER Eritrea
ES Spanien
ET Äthiopien
FI Finnland
FJ Fidschi
FK Fidschi (Malvinas)
FM
Mikronesien
(Föderierte Staaten von)
FO Färöer
FR Frankreich
FX Frankreich,
Metropolitanisch
GA Gabun
GB Großbritannien
GD Grenada
GE Georgien
GF Französisch-Guayana
GH Ghana
GI Gibraltar
GL Grönland
GM Gambia
GN Guinea
GP Guadeloupe
GQ Äquatorial-Guinea
GR Griechenland
GS
Südgeorgien und die
südlichen Sandwichinseln
GT Guatemala
GU Guam
GW Guinea-Bissau
GY Guyana
HK Hongkong
HM
Herald und McDonaldinseln
HN Honduras
HR Kroatien
HT Haïti
HU Ungarn
ID Indonesien
IE Irland
IL Israel
IN Indien
IO
Britisches Territorium im
Indischen Ozean
IQ Irak
IR
Iran (Islamische Republik)
IS Island
IT Italien
JM Jamaica
JO Jordanien
JP Japan
KE Kenia
KG Kirgisistan
KH Kambodscha
KI Kiribati
KM Komoren
KN St. Kitts und Nevis
KP
Korea, Demokratische
Volksrepublik (Nordkorea)
KR
Korea, Republik (Südkorea)
KW Kuwait
KY Kaimaninseln
KZ Kasachstan
LA Laos, Demokratische
Volksrepublik
LB Libanon
LC St. Lucia
LI Liechtenstein
LK Sri Lanka
LR Liberia
LS Lesotho
LT Litauen
LU Luxembourg
LV Lettland
LY Lybisch-Arabische
Dschamahirija
MA Marokko
MC Monaco
MD Moldau, Republik
MG Madagaskar
MH Marshallinseln
ML Mali
MM Myanmar
MN Mongolei
MO Macau
MP Marianen, nördliche
MQ Martinique
MR Mauretanien
MS Montserrat
MT Malta
MU Mauritius
MV Malediven
MW Malawi
MX Mexiko
MY Malaysia
MZ Mosambik
NA Namibia
NC Neukaledonien
NE Niger
NF Norfolkinseln
NG Nigeria
NI Nicaragua
NL Niederlande
NO Norwegen
NP Nepal
NR Nauru
NU Niue
NZ Neuseeland
OM Oman
PA Panama
PE Peru
PF
Französisch-Polynesien
PG Papua Neuguinea
PH Philippinen
PK Pakistan
PL Polen
PM St. Pierre und Miquelon
PN Pitcairninseln
PR Puerto Rico
PT Portugal
PW Palau
PY Paraguay
QA Katar
RE Réunion
RO Rumänien
RU Russische Föderation
RW Ruanda
SA Saudi-Arabien
SB Salomonen
SC Seychellen
SD Sudan
SE Schweden
SG Singapur
SH St. Helena
SI Slowenien
SJ
Svalbard und Jan Mayen
SK Slowakei
SL Sierra Leone
SM San Marino
SN Senegal
SO Somalia
SR Surinam
ST São Tomé und Principe
SV El Salvador
SY
Syrien, Arabische Republik
SZ Swasiland
TC Turks- und Caicosinseln
TD Tschad
TF
Französische Südgebiete
TG Togo
TH Thailand
TJ Tadschikistan
TK Tokelau
TM Turkmenistan
TN Tunesien
TO Tonga
TP Osttimor
TR Türkei
TT Trinidad und Tobago
TV Tuvalu
TW Taiwan
TZ
Tansania, Vereinigte Republik
UA Ukraine
UG Uganda
UM
Amerik. Überseeinseln,
kleinere
US Vereinigte Staaten von
Amerika
UY Uruguay
UZ Usbekistan
VA Vatikan
VC St. Vincent und die
Grenadinen
VE Venezuela
VG
Jungferninseln (Britisch)
VI Jungferninseln (U.S.)
VN Vietnam
VU Vanuatu
WF Wallis und Futuna
WS Samoa
YE Jemen
YT Mayotte
YU Jugoslawien
ZA Südafrika
ZM Sambia
ZR Zaire
ZW Simbabwe
GE54-63.TH-A75R[E]f.pm6 5/9/02, 7:48 PM63

64
Deutsch
Betrieb von Videorecordern anderer Hersteller
Herstellercodes für Videorecorder
Hersteller Code
JVC 01
Aiwa 02, 20
Bell+Howell 03, 16
Blaupunkt 04
CGM 03, 05, 16
Daewoo 34
Digtal 05
Fisher 03, 16
G.E. 06
Grundig 07
Hitachi 08, 09
Loewe 05, 10, 11
Magnavox 04, 05
Mitsubishi 12 – 15
Hersteller Code
Nokia 16
Nordmende 17 – 19, 31
Orion 20
Panasonic 21
Philips 05, 22
Phonola 05
Saba 17 – 19, 23, 31
Samsung 24, 25
Sanyo 03, 16
Sharp 26, 27
Siemens 07
Sony 28 – 30, 35
Telefunken 17 – 19, 31, 32
Toshiba 33
* Änderungen der
Herstellercodes ohne
vorherige
Ankündigung
vorbehalten. Sollten
Änderungen
vorgenommen
werden, kann diese
Fernbedienung das
Gerät nicht mehr
steuern.
RM–STHA75R
DVD CINEMA SYSTEM
CHANNEL/ZOOM
VOLUMETV VOL
TUNING
STOP
DIMMER
PAUSE
FF/
/REW
TV/VIDEO
1
MUTING
¡
REC
PLAY
DOWN UP
MEMORY STROBE
DVD
VCR 1
AUDIO
VIDEO/
TV SOUND
ANGLE
FM/AM
SUBTITLE DECODE
RETURN DIGEST
VFP
TOP MENU MENU
CONTROL
EFFECT
S.WFR TEST
SLEEP
TV
VCR
SETTING
TV RETURN
ENTER
ON
SCREEN
CHOICE
FM MODE
123
456
789
10 0+10
100+
TV AUDIO
VCR
SOUND
PTY SEARCH
DVD
RDS
TA/NEWS/INFO
PTY(PTY9
RDS DISPLAY
SURROUND OFF
DSP
CENTER
–
+
–
+
–
+
–
+
SURR-L SURR-R
S-BACK –
+
ADJUST
O.T.
REPLAY
Durch Änderung der voreingestellten Signale der
Fernbedienung auf die anderer Hersteller, können Sie die für
dieses System mitgelieferte Fernbedienung auch für den
Betrieb von Videorecordern anderer Hersteller verwenden.
• Sie können auch Fernseher anderer Hersteller mit der für
dieses System mitgelieferten Fernbedienung betreiben
(siehe Seite 16).
• Wenn Sie Videorecorder anderer Hersteller betreiben,
zielen Sie mit Ihrer Fernbedienung direkt auf den
Fernbedienungssensor Ihres Videorecorders. Beachten Sie
ebenfalls die Bedienungsanleitung Ihres Videorecorders.
7Einstellung der sendefähigen Signale zur
Bedeinung Ihres Videorecorders.
•
Wenn Ihr Fernsehgerät ein Gerät von JVC ist, können Sie Ihren
Videorecorders
bedienen, ohne das Fernbedienungssignal
einzustellen.
1Stellen Sie den Moduswahlhebel der
Fernbedienung auf „DVD“.
2Drücken und halten Sie VCR .
Halten sie die Taste gedrückt, bis Schritt 5 vollendet ist.
3Drücken Sie VCR CONTROL.
4Drücken Sie die Zifferntasten (1–9, 0), um
einen Herstellercode (2 Zahlen) einzugeben.
In der Liste unten finden Sie die Herstellercodes.
Bsp.: Für ein Videorecorder von Siemens, drücken Sie 0,
dann 7.
Für ein Videorecorder von Panasonic, drücken Sie
2, dann 1.
5Lassen Sie VCR los.
6Testen Sie Ihr Videorecorder, indem Sie
drücken.
Wenn sich Ihr Videorecorder ein- und ausschalten lässt,
haben Sie den richtigen Code eingegeben.
Sollten mehrere Codes für Ihre Video-Marke angegeben
sein, probieren Sie jeden code, bis Sie den richtigen
gefunden haben.
Nachdem Sie die sendefähigen Signale eingestellt haben,
können Sie folgende Tasten für die Bedienung des
Videorecorders verwenden.
VCR :Schaltet das Videorecorder ein oder aus.
Nach dem Drücken von VCR CONTROL:
PLAY :Starten der Wiedergabe.
STOP :Stoppen des Vorganges.
PAUSE :Wiedergabe unterbrechen.
¡:Vorlaufen eines Videobandes.
1:Zurücklaufen eines Videobandes.
÷ REC :Drücken Sie diese Taste gemeinsam mit
PLAY, um den Aufnahmevorgang zu starten.
Drücken Sie diese Taste gemeinsam mit
PAUSE, um den Aufnahmevorgang zu
unterbrechen.
CHANNEL +/–:Umstellung des Fernsehkanals am
Videorecorder.
Die
Moduswahltaste
auf der
Fernbedienung
auf „DVD“ stellen.
GE64-70.TH-A75R[E]f.pm6 5/9/02, 7:52 PM64

65
Deutsch
Wartung
Um die beste Performance des Systems zu erzielen, halten Sie Ihre Discs und den Mechanismus des Gerätes stets sauber.
KEINE Lösungsmittel—wie z. B. die
handelsüblichen Schallplattenreiniger, Sprays,
Verdünnungen oder Benzol—zur Reinigung der
Disc verwenden.
Allgemeine Hinweise
Im Allgemeinen werden Sie die beste Performance erzielen,
wenn Sie Ihre Discs und den Mechanismus des Gerätes stets
sauber halten.
• Lagern Sie die Discs in ihren Hüllen auf und legen Sie
diese in Schränken oder in Regalen ab.
Handhabung der Discs
• Entfernen Sie die Disc aus
ihrer Hülle, in dem Sie diese
am Rand anfassen und dabei
leicht auf das Loch in der Mitte
drücken.
• Achten Sie darauf, nicht die
glänzende Oberfläche der
Disc zu berühren oder die Disc
zu biegen.
• Legen Sie die Disc nach
Gebrauch wieder in ihre Hülle,
um einer Verformung
vorzubeugen.
• Achten Sie darauf, die
Oberfläche der Disc nicht zu
zerkratzen, wenn Sie diese in
die Hülle zurücklegen.
• Vermeiden Sie direktes
Sonnenlicht, hohe
Temperaturschwankungen und
Feuchtigkeit.
Reinigung der Disc
Wischen Sie die Disc mit einem
weichen Tuch, von innen nach
außen, ab.
Reinigung des Systems
•Flecken auf dem System
Flecken sollten mit einem weichen Tuch abgewischt
werden. Wenn das Gerät starke Flecken aufweist, wischen
Sie diese mit einem Tuch ab, dass sie zuerst in mit einem
neutralen Putzmittel versehenen Wasser nass machen und
anschließend gut ausgewrungen haben. Danach wischen
Sie mit einem trockenen Tuch nach.
•Da das Gerät in der Qualität gemindert und beschädigt
werden und die Farbe abblättern kann, sollten Sie auf
folgendes besonders achten:
— NICHT mit einem harten Tuch abwischen.
— NICHT mit Kraft abwischen.
— NICHT mit Verdünner oder Benzol abwischen.
— KEINE flüchtigen Stoffe, wie z. B. Insektizide anwenden.
— KEIN Gummi oder Plastik über längere Zeit mit dem
Gerät in Kontakt lassen.
GE64-70.TH-A75R[E]f.pm6 5/9/02, 7:52 PM65

66
Deutsch
Verwenden Sie diese Tabelle, um Betriebsprobleme zu beheben. Sollte ein Problem vorhanden sein, das sich nicht beheben
lässt, wenden Sie sich an Ihren JVC-Kundendienst.
• Diese sind auch in den Handbüchern der Komponenten aufgeführt, die an dieses System angeschlossen werden.
Fehlersuche
PROBLEM
Die Stromversorgung lässt sich nicht
einschalten.
„OVERLOAD“ blinkt im Display.
Plötzlich schaltet sich das System
von selbst ab.
Kein Ton.
Die Wiedergabe erfolgt nur über einen
Lautsprecher.
Die Wiedergabe ist über die hinteren
Surround-Lautsprecher nicht hörbar.
Die Fernbedienung funktioniert nicht.
Eine 6,1-Kanal-Reproduktion kann
nicht von Dolby Digital EX oder DTS
ES-Software erfolgen.
Bei der Stereowiedergabe wird der
Bassklang verstärkt.
LÖSUNG
Stecken Sie das Netzkabel in eine
Netzsteckdose.
Drücken Sie die Taste
auf der Frontplatte,
um das Gerät auszuschalten, und prüfen Sie
die Lautsprecher-verbindung, dann schalten
Sie das Gerät wieder ein. Wenn „OVERLOAD“
wieder angezeigt wird, stecken Sie den
Netzstecker aus, und stecken Sie es erneut in
die Steckendose. Wenn die Lautsprecher-
kabel nicht kurzgeschlossen sind, setzen Sie
sich mit einem Fachhändler in Verbindung.
Schalten Sie die Funktionen ab.
(Siehe Seiten 19 und 60).
Drüken Sie die Taste auf der Frontplatte,
um das Gerät auszuschalten. Dann schalten Sie
das erneut ein und stellen Sie die Lautstärke ein.
Prüfen Sie die Lautsprecherverbindung, dann
schalten Sie das Gerät wieder ein. Wenn das
Problem nicht gelöst wird, setzen Sie sich mit
einem Fachhändler in Verbindung.
Prüfen Sie den Lautsprecherkabelanschluss
und schließen Sie diesen bei Bedarf neu an.
Prüfen Sie den Lautsprecheranschluss.
Schließen Sie das Kabel korrekt an.
Wählen Sie die richtige Signalquelle aus.
(Siehe Seite 17).
Drücken Sie MUTING, um die
Stummschaltung auszuschalten.
Wählen Sie den richtigen Eingangsmodus aus.
(Siehe Seite 19).
Prüfen Sie die Anschlüsse.
Stellen Sie die Balance ordnungsgemäß ein.
(Siehe Seiten 30 und 58).
Die Lautsprechereinstellung korrigieren.
(Siehe Seiten 28 und 59).
Verwenden Sie die Fernbedienung im Umkreis
von 7 m des Sensors der Centereinheit.
Vermeiden Sie Behinderungen.
(Siehe Seite 15).
Richten Sie Ihre Fernbedienung auf den
Fernbedienungssensor der Geräte, die Sie
bedienen möchten.
Schieben Sie ihn in die korrekte Position
„DVD“ oder „RDS“.
Erneuern Sie die Batterien.
Legen Sie die Batterien korrekt ein.
Wählen Sie eine korrekte Signalquelle.
Drücken Sie hierzu DVD, FM/AM oder VCR/TV
CONTROL. Drücken Sie SOUND, bevor Sie
Klangeinstellungen vornehmen.
Schützen Sie den Fernbedienungssensor vor
direktem Sonnenlicht.
Geben Sie den richtigen Herstellercode ein.
(Siehe Seiten 16 und 64).
Die Wiedergabe-Software ist entweder
mit oder
gekennzeichnet.
Schalten Sie „EX/ES“ ein („ON“) oder
auf „AUTO“. (Siehe Seite 28).
„AUDIO POS“ einstellen. (Siehe Seite 30).
MÖGLICHE URSACHE
Das Netzkabel ist nicht ordnungsgemäß
eingesteckt.
Die Lautsprecher sind überlastet weil die
Lautsprecherkabel kurzgeschlossen sind.
Der Sleep-Timer oder die Funktion Autom.
Bereitschaft ist aktiviert.
Die Lautsprecher sind wegen zu hoher
Lautstärke überlastet.
Der Schutzstromkreis funktioniert aus
irgendeinem Grund.
Lautsprecherkabel sind nicht angeschlossen.
Die Lautsprecherkabel sind kurz.
Das Audio-Kabel ist nicht ordnungsgemäß
angeschlossen.
Eine falsche Signalquelle wurde ausgewählt.
Die Stummschaltung ist aktiviert.
Falscher analoger/digitaler Ausgangsmodus
gewählt.
Die Lautsprecherkabel sind nicht korrekt
angeschlossen.
Die Balance wurde auf einen Extremwert
eingestellt.
Die Lautsprechereinstellung ist falsch.
Sie ist zu weit von der Centereinheit entfernt, oder
ist nicht direkt auf die Centereinheit gerichtet.
Es befindet sich ein Hindernis zwischen dem
Fernbedienungssensor und dem Gerät.
Die Fernbedienung ist nicht direkt auf den
Fernbedienungssensor der Centereinheit oder
der Komponenten gerichtet.
Der Moduswahlhebel der Fernbedienung ist in
einer falschen Position.
Die Batterien sind verbraucht.
Die Batterien wurden falsch herum eingelegt (+/–).
Falsche Taste gewählt, bevor das gewünschte
Verfahren begonnen wird.
Sonnenlicht fällt direkt auf den
Fernbedienungssensor.
Die Signale der Fernbedienung sind nicht
korrekt eingestellt.
Reproduzierte „nicht“ 6,1-Kanal-Software oder
„EX/ES“ ist ausgeschaltet „OFF“.
Es wurde kein entsprechender Basspegel für
Stereoklang ausgewählt.
Allgemeines
GE64-70.TH-A75R[E]f.pm6 12/9/02, 2:48 PM66

67
Deutsch
LÖSUNG
Schließen Sie das Kabel korrekt
an. (Siehe Seite 7).
Wählen Sie den richtigen Modus
aus. (Siehe Seite 7).
Wählen Sie den richtigen Eingang
an Ihrem Fernsehgerät.
Verwenden Sie eine abspielbare
Disc. (Siehe Seite 5).
Ersetzen Sie die Disc.
(Siehe Seite 5).
Geben Sie das Passwort ein, um
den Grad der Kindersicherung zu
ändern. (Siehe Seite 62).
Legen Sie die Disc korrekt ein.
(Siehe Seite 20).
Ersetzen Sie die Disc.
(Siehe Seite 5).
Ersetzen oder reinigen Sie die
Disc. (Siehe Seite 65).
Schließen Sie die Centereinheit
direkt an Ihr Fernsehgerät an.
Ändern Sie „STANDBILD-MODUS“.
(Siehe Seite 57).
Stellen Sie den Monitor-Typ korrekt
ein. (Siehe Seite 57).
Stellen Sie Ihr Fernsehgerät korrekt
ein.
Einige DVDs sind so programmiert,
dass sie anfänglich keine Untertitel
anzeigen. Wenn dies der Fall ist,
drücken Sie SUBTITLE auf der
Fernbedienung nach dem
Wiedergabe-Start. (Siehe Seite 41).
Einige DVDs sind so programmiert,
dass sie anfänglich die
Originalsprache verwenden. Wenn
dies der Fall ist, drücken Sie AUDIO
auf der Fernbedienung nach dem
Wiedergabe-Start. (Siehe Seite 41).
Schließen Sie die Antennen wieder
korrekt und sicher an.
Verändern Sie die Position und
Ausrichtung der AM (MW)
Ringantenne.
Versuchen Sie den Beat Cut-
Modus zu ändern. (Siehe Seite 23).
Strecken Sie die UKW-Antenne bis
zur besten Position aus.
Schließen Sie eine UKW-
Außenantenne (Siehe Seite 9) an
oder kontaktieren Sie Ihren Händler.
Wählen Sie einen anderen Sender.
Fragen Sie einen Fachhändler, ob
Sie die richtige Antenne verwenden.
DVD Wiedergabe
MÖGLICHE URSACHE
Das Video- oder SCART-Kabel ist nicht
richtig angeschlossen.
Der RGB-Y/C Schalter ist nicht richtig
eingestellt.
Die Eingangswahl des Fernsehgerätes ist
falsch.
Die Disc kann nicht abgespielt werden.
Das Gerät und der Disc-Ländercode sind
nicht kompatibel.
Die Wiedergabe wird durch die
Kindersicherung eingeschränkt.
Die Disc ist falsch herum eingelegt
worden.
Eine nicht-abspielbare Disc ist eingelegt
worden.
Die Disc ist zerkratzt oder schmutzig.
Ein Videorecorder ist zwischen der
Centereinheit und dem Fernsehgerät
angeschlossen.
„STANDBILD-MODUS“ ist
möglicherweise für die aktuelle Software
nicht korrekt eingestellt.
Der „MONITOR-TYP“ ist nicht korrekt
eingestellt.
Das Fernsehgerät ist nicht korrekt
eingestellt.
Die Antennen sind nicht angeschlossen.
Die AM (MW)-Ringantenne befindet sich
zu nahe an der Centereinheit.
Der Beat Cut-Modus ist nicht richtig
eingestellt.
Die mitgelieferte UKW-Antenne wurde
nicht richtig ausgestreckt und -gerichtet.
Das Empfangssignal ist zu schwach.
Die Station ist zu weit weg.
Eine falsche Antenne wurde
angeschlossen.
PROBLEM
Kein Bild wird auf dem Bildschirm
angezeigt.
Eine Disc kann nicht abgespielt
werden.
Eine Disc kann nicht abgespielt
werden und „0:00“ wird auf dem
Display-Fenster angezeigt.
Video und Audio sind verzerrt.
Das Bild passt nicht auf den
Bildschirm.
Es erscheinen keine Untertitel auf dem
Bildschirm, obwohl Sie Ihre
ursprüngliche Untertitel-Sprache
ausgewählt haben.
Die Audio-Sprache unterscheidet von
der von Ihnen ursprünglich
ausgewählten Audio-Sprache.
Es ist auf Grund der Geräusche
schwer, einer Sendung zu folgen.
—Bei AM (MW)
—Bei UKW
Kontinuierliche Statik während dem
UKW-Empfang.
UKW/AM
GE64-70.TH-A75R[E]f.pm6 5/9/02, 7:52 PM67

68
Deutsch
PROBLEM
Eine Disc kann nicht abgespielt
werden.
Es werden keine MP3-Dateien,
aber dafür JPEG-Dateien
abgespielt.
Das MP3-Kontrolldisplay
erscheint auf dem Bildschirm,
doch es kann kein Vorgang
durchgeführt werden.
Eine Disc kann nicht abgespielt
werden.
Es werden keine JPEG-Dateien,
aber dafür MP3-Dateien
abgespielt.
MÖGLICHE URSACHE
Es sind keine MP3-Dateien auf dieser
Disc vorhanden.
MP3-Dateien haben die korrekte Datei-
Erweiterung im Dateinamen.
MP3-Dateien wurde nicht in dem Format
aufgenommen, das ISO 9660 Ebene 1
oder 2 entspricht.
MP3-Dateien wurden unter einer Bitrate
von 64 kbps erstellt.
Die Einstellung MP3/JPEG ist auf „JPEG“
eingestellt.
Es sind keine MP3-Dateien oder JPEG-
Dateien auf dieser Disc gespeichert,
oder die Disc ist eine nicht abspielbare
Disc (wie z. B. eine CD-ROM).
Keine JPEG-Dateien sind auf der Disc
gespeichert.
JPEG-Dateien haben nicht die korrekte
Datei-Erweiterung im Dateinamen.
JPEG-Dateien wurden nicht in dem
Format aufgenommen, das ISO 9660
Ebene 1 oder 2 entspricht.
Die Einstellung MP3/JPEG ist auf „MP3“
eingestellt.
LÖSUNG
Ersetzen Sie die Disc.
Fügen Sie die Dateiendungen—.mp3,
.Mp3, .mP3 oder .MP3—an die
Dateinamen an. (Siehe Seite 50).
Ersetzen Sie die Disc. (Nehmen Sie MP3-
Dateien mit einer entsprechenden
Anwendung auf).
Diese einheit ist nicht für das Abspielen
dieser Dateien ausgelegt.
Legen Sie eine andere Disc ein.
Wenn sowohl MP3-Dateien als auch
JPEG-Dateien auf einer Disc gespeichert
sind, stellen Sie die Einstellung auf „MP3“
ein, um MP3-Dateien abzuspielen.
(Siehe Seite 57).
Ersetzen Sie die Disc. (Siehe Seite 5).
Ersetzen Sie die Disc.
Fügen Sie die Dateiendungen .jpg, .jpeg,
.JPG, .JPEG und alle Groß- und
Kleinbuchstabenkombinationen wie (z. B.
„.Jpg“) an ihre Dateinamen an (siehe
Seite 52).
Ersetzen Sie die Disc. (Nehmen Sie
JPEG-Dateien mit einer entsprechenden
Anwendung auf).
Wenn sowohl MP3-Dateien als auch
JPEG-Dateien auf einer Disc gespeichert
sind, stellen Sie die Einstellung auf
„JPEG“, um JPEG-Dateien abzuspielen
(siehe Seite 57).
MP3 Wiedergabe
Fehlersuche
JPEG Wiedergabe
GE64-70.TH-A75R[E]f.pm6 5/9/02, 7:52 PM68

69
Deutsch
Glossar
Abtastfrequenz
Die Frequenz zur Abtastung von Daten, wenn analoge Daten
in digitale Daten umgewandelt werden. Eine numerische
Abtastfrequenz zeigt an, wie viele Male das Original-
Analogsignal pro Sekunde abgetastet wird.
Bildseitenverhältnis
Das Verhältnis vertikaler und horizontaler Größen des
dargestellten Bildes. Das horizontal-vertikale Verhältnis eines
normalen Fernsehgerätes beträgt 4:3, das von Breitbild-
Fernsehern 16:9.
Disc-Menü
Ein Bildschirm-Display, das die Auswahl von Bildern,
Klängen, Untertiteln, Mehrwinkeln usw. erlaubt, die auf einer
DVD gespeichert sind.
Gemischtes Video-Signal
Bezieht sich auf ein Video-Signal, das aus drei
verschiedenen, zusammengefügten Signalen, besteht: einem
Bildsignal, das aus Luminanz- und Chrominanzsignalen
besteht, die eine Frequenzvermehrungstechnik verwenden;
einem Farbsynchronisiersignal, das die Basis für die
Farbreproduktion darstellt, und einem Synchronisiersignal.
JPEG
Ein Standbild-Datenkomprimierungssystem, das von der
Firma Joint Photographic Expert Group erfunden wurde und
das eine geringe Verschlechterung in der Bildqualität bei
großer Komprimierungsrate bietet.
Kapitel
Siehe „Titel und Kapitel“.
Kindersicherung
Eine Funktion dieses Systems, um automatisch bestimmt, ob
eine bestimmte DVD-Software abgespielt werden darf, indem
die Kindersicherung (eine Maßnahme gegen unerwünschte
Szenen, z. B. aus einem erzieherischen Standpunkt), die für
die Software schon im Vorfeld definiert wurde, verglichen
wird mit der auf diesem System vom Benutzer gespeicherten
Kindersicherung. Wenn die Kindersicherungsstufe geringer
ist als die vom Benutzer eingespeicherte, wird die DVD-
Software abgespielt.
Letter box-Format
Eine Methode zur Anzeige von Breitbildern, wie z. B. von
Filmen, mittig auf einem 4:3-Bildschirm ausgerichtet, wobei
kein Teil des Bildes gelöst wird, indem schwarze Balken am
oberen und unteren Bildrand entstehen. Der Name entstand
aus der Bildschirm-Form, die buchstäblich wie ein
Briefkasten aussah.
Lineare PCM (PCM: Pulse Code Modulation
—Pulscode-Modulation)
Ein System zur Konvertierung analoger Tonsignale in digitale
Signale für die spätere Bearbeitung, wobei keine
Datenkomprimierung bei der Konvertierung verwendet wird.
Ländercode
Ein System, welches das Abspielen von Discs nur in Ländern
ermöglicht, die vorher bestimmt wurden. Alle Länder der
Erde sind in sechs Regionen unterteilt und jede Region wird
durch einen bestimmten Ländercode (oder eine
Ländernummer) identifiziert. Wenn der Ländercode einer
Disc eine Nummer enthält, die zu einem Ländercode eines
Players passt, kann die Disc abgespielt werden.
Mehrkanal
Software hat 3 oder mehr Kanäle. Die meisten DVDs haben
mehr als 5 Audiokanäle. Eine Reproduktion solcher Software
über mehrere Lautsprecher erzeugt ein realistisches
Klangfeld wie im Theater.
Mehrwinkel
Durch die Aufnahme mehrerer Szenen, die gleichzeitig in
einem einzigen Titel laufen, kann der Benutzer Sichtwinkel
auswählen. Diese Funktion wird die Mehrwinkel-Funktion
genannt.
MP3
Ein Dateiformat mit einem Tondaten-Komprimierungssystem.
„MP3“ ist die Abkürzung für Motion Picture Experts Group 1
(oder MPEG-1) Audio-Ebene 3. Durch die Verwendung des
MP3-Formats kann eine CD-R oder CD-RW zehn Mal mehr
Datenmengen enthalten als eine normale CD.
Multisprachen
DVDs können mehrere Untertitel- (bis zu 32) und
Audiosprachen (bis zu 8) haben.
Surround
Ein System zum Erstellen dreidimensionaler realistischer
Klangfelder durch die Aufstellung mehrerer Lautsprecher um
den Zuhörer herum.
S-Videosignal
Das Videosignal ist in ein Y-Signal (Luminance) und ein
C-Signal (Chrominance) aufgeteilt. Diese Aufteilung des
Videos ergibt eine bessere Auflösung und bessere Qualität.
Titel und Kapitel
Eine DVD ist in mehrere Titel aufgeteilt (große Teilung) und
jeder Titel ist in Kapitel aufgeteilt (kleine Teilungen).
Diese Teilungen werden mit eigenen Nummern versehen, um
einfach auf sie zugreifen zu können.
Übertragungsrate
Die Rate zur Übertragung digitaler Daten. Normalerweise
wird in Baud pro Sekunde gemessen. Das DVD-System
verwendet verschiedene Übertragungsratensysteme für eine
hohe Leistungsfähigkeit.
Wiedergabe-Kontrolle (PBC)
Bezieht sich auf ein Signal, das auf Video-CDs oder SVCDs
zur Reproduktionskontrolle aufgenommen ist. Durch die
Verwendung von Menü-Bildschirmen, die auf einer Video-CD
oder SVCD, die PBC unterstützt, gespeichert sind, können
Sie sowohl interaktive Software als auch Software verwenden,
die über eine Suchfunktion verfügt.
GE64-70.TH-A75R[E]f.pm6 5/9/02, 7:52 PM69

70
Deutsch
Technische Daten Technische Daten und Konstruktion können ohne vorherige
Nachricht geändert werden.
7Centereinheit (XV-THA75R)
Ausgangsleistung
FRONT/CENTER/SURROUND/SURROUND BACK:
20 W × 6, 4 Ω, 1 kHz, 0,7% THD
30 W × 6, 4 Ω, 1 kHz, 10% THD
SUBWOOFER:
100 W, 4 Ω, 100 Hz, 0,7% THD
140 W, 4 Ω, 100 Hz, 10% THD
Audio-Stufe
Audio-Eingangsempfindlichkeit/Widerstand (bei 1 kHz)
Analog-Eingang:
STB/VCR/TV SOUND: 340 mV/47 kΩ
Digital-Eingang*:
DIGITAL IN (STB): –21 dBm bis –15 dBm
(660 nm ±30 nm)
* Entsprechend Linear PCM, Dolby Digital und DTS
Digital Surround (mit Abtastfrequenz — 32 kHz,
44,1 kHz, 48 kHz)
Video-Stufe
Farbsystem: PAL
Horizontale Auflösung: 500 Zeilen
Signal-Rauschabstand: 70 dB
(Gemischtes Signal, wenn
„RGB“ eingestellt ist)
VIDEO ausgangspegelsempfindlichkeit/Impedanz
(bei 1 kHz)
Gemischt: 1,0 V(p-p)/75 Ω
S-video-Y: 1,0 V(p-p)/75 Ω
S-video-C: 0,286 V(p-p)/75 Ω
VIDEO eingangsempfindlichkeit/Impedanz (bei 1 kHz)
Gemischt:
VCR IN, STB IN: 1,0 V(p-p)/75 Ω
S-video-Y:
VCR IN, STB IN: 1,0 V(p-p)/75 Ω
S-video-C:
VCR IN, STB IN: 0,286 V(p-p)/75 Ω
RGB: 0,7 V(p-p)/75 Ω
Tuner-Stufe
Senderbereich
UKW: 87,50 MHz – 108,00 MHz
AM (MW): 522 kHz – 1 629 kHz
Allgemeines
Betriebsstrom: AC 230 V Ó, 50 Hz
Leistungsaufnahme: 165 W (bei Betrieb)
2,5 W (bei Bereitschaft)
Abmessungen: 435 mm × 70 mm × 353 mm
(B × H × T)
Gewicht (ca.): 5,0 kg
7Verstärker-Subwoofer (SP-WA75)
Lautsprecher: 20 cm
Bassreflex, magnetisch
abgeschirmt
Leistungskapazität: 140 W
Widerstand: 4 Ω
Frequenzgang: 25 Hz bis 200 Hz
Abmessungen: 200 mm × 410 mm × 428 mm
(B × H × T)
Gewicht (ca.): 9,1 kg
7Satellitenlautsprecher (SP-XSA75)
Lautsprecher: 7 cm × 4 cm
Bassreflex, magnetisch
abgeschirmt
Leistungskapazität: 30 W
Widerstand: 4 Ω
Frequenzgang: 110 Hz bis 20 kHz
Abmessungen: 62 mm × 102 mm × 109 mm
(B × H × T)
Gewicht (ca.): 440 g
7Centerlautsprecher (SP-XCA75)
Lautsprecher: 7 cm × 4 cm
Bassreflex, magnetisch
abgeschirmt
Leistungskapazität: 30 W
Widerstand: 4 Ω
Frequenzgang: 100 Hz bis 20 kHz
Abmessungen: 152 mm × 62 mm × 109 mm
(B × H × T)
Gewicht (ca.): 475 g
7Zubehör
Fernbedienung (1)
Batterien (2)
UKW-Antenne (1)
AM (MW) Ringantenne (1)
Gemischt Videokabel (1)
Lautsprecherkabel
ca. 5 m (3) mit einem Ministecker:
Für den linken vorderen, rechten
vorderen und den mitten
ca. 5 m (1): Für den Subwoofer
ca. 10 m (3) mit einem Ministecker:
Für den linken und rechten Surround-
Lautsprecher sowie für den hinteren
Surround-Lautsprecher
Wandhalterungen für die Satelliten-Lautsprecher (5)
Schrauben für die Wandhalterungen der Satelliten-
Lautsprecher (5)
GE64-70.TH-A75R[E]f.pm6 5/9/02, 7:52 PM70

1
Français
Table des matières
Création de champs sonores réalistes ...
31
Modes Surround .............................................................. 31
Modes DSP ....................................................................... 33
Utilisation du mode Surround ....................................... 35
Utilisation du mode DSP ................................................. 35
Ajustement du son .......................................................... 36
Fonctionnement du lecteur de DVD ....... 37
Utilisation de la barre sur l’écran ................................... 37
Affichage de la barre sur l’écran ...................................... 37
Opérations de base à l’aide de la barre sur l’écran ......... 38
Changement des informations de durée ....................... 38
Localisation de la scène souhaitée à partir du menu
de disque .................................................................... 39
Localisation de la scène souhaitée à partir du menu de DVD .....
39
Localisation de la scène souhaitée à partir du menu des
VCD/SVCD avec PBC ................................................. 39
Sélection d’un angle de vue ........................................... 40
Sélection d’un angle de vue ............................................. 40
Affichage de tous les angles de vue sur le téléviseur ...... 40
Changement de la langue des sous-titres et de la
langue audio ............................................................... 41
Sélection de la langue des sous-titres ............................. 41
Sélection de la langue audio ............................................ 41
Sélection du canal audio .................................................. 42
Lecture à partir d’un emplacement ................................ 43
Localisation d’un chapitre souhaité
––Recherche de chapitre ............................................ 43
Localisation d’une position souhaitée
––Recherche temporelle ............................................. 43
Localisation d’une scène souhaitée—DIGEST ................. 44
Lecture d’image avec effets spéciaux ........................... 45
Lecture image par image ................................................. 45
Affichage d’images fixes en continu ................................ 45
Lecture au ralenti .............................................................. 46
Zoom avant et arrière ....................................................... 46
Changement du réglage VFP ........................................... 47
Lecture dans l’ordre souhaité—
Lecture programmée ....
48
Lecture dans l’ordre aléatoire—Lecture aléatoire ......... 48
Lecture répétée ................................................................ 49
Répétition du titre ou du chapitre ou du plages ............... 49
Répétition d’un passage particulier—Répétition A-B ....... 49
Lecture de disque MP3 ......................... 50
Opérations de base ......................................................... 50
Operations à l’aide de l’écran MP3 CONTROL .............. 51
Lecture de disque JPEG ........................ 52
Diaporama ........................................................................ 52
Operations à l’aide de l’écran JPEG CONTROL............ 53
Utilisation du menu de choix................ 54
Menus de choix ................................................................ 54
Configuration des menus de choix .................................. 54
Touches de commande pour le menu de choix ............... 54
Procédure de base ........................................................... 55
Menu LANGUE ................................................................. 56
Menu IMAGE ..................................................................... 57
Menu AUDIO ..................................................................... 58
Menu REGLAGE H.-P ....................................................... 59
Menu AUTRES .................................................................. 60
Lecture restreinte—Censure parentale ......................... 61
Réglage de la censure parentale ..................................... 61
Changement du réglage de la censure parentale ........... 62
Mise hors service temporaire de la censure parentale .... 62
Commande d’un magnétoscope d’un
autre fabricant ................................. 64
Entretien .............................................. 65
Guide de dépannage ........................... 66
Glossaire ............................................. 69
Spécifications ....................................... 70
Introduction ........................................... 2
A propos de ce mode d’emploi......................................... 2
Précautions ........................................................................ 2
Vérification des accessoires fournis ............................... 2
Noms des pièces et des commandes ...... 3
Appareil central .................................................................. 3
Télécommande ................................................................... 4
A propos des disques............................. 5
Types de disques reproductibles ..................................... 5
Structure des disques ....................................................... 6
Fonction de commande de la lecture (PBC)
—Uniquement pour les VCD et SVCD ........................ 6
Pour commencer .................................... 7
Connexions ........................................................................ 7
Connexion d’un téléviseur .................................................. 7
Connexion des antennes AM (PO) et FM ........................... 8
Connexion des enceintes satellite et du caisson de grave .. 10
Installation des enceintes satellites sur le mur ................. 12
Connexion des appareils vidéo ........................................ 13
Connexion du cordon d’alimentation................................ 14
Utilisation de la télécommande ...................................... 15
Mise en place des piles dans la télécommande .............. 15
Commande du système à partir de la télécommande ..... 15
Utilisation de la télécommande pour commander le
téléviseur ..................................................................... 16
Opérations de base ............................. 17
Mise sous tension du système ....................................... 17
Sélection de la source de lecture ................................... 17
Ajustement du volume .................................................... 18
Ajustement du niveau de sortie du caisson de grave ....
18
Coupure temporaire du son ............................................ 18
Ajustement de la luminosité ........................................... 18
Mise hors tension de l’appareil avec la minuterie d’arrêt .......
19
Changement du mode d’entrée analogique/numérique
et du mode de décodage ........................................... 19
Mémorisation des ajustements de bas
—Mémorisation automatique .................................... 19
Fonctionnement de base du lecteur de
DVD ................................................. 20
Opérations du tuner ............................ 22
Accord manuel d’une station.......................................... 22
Utilisation de l’accord par préréglage............................ 22
Sélection du mode de réception FM .............................. 23
Réduction du bruit des émissions AM (PO) .................. 23
Utilisation de la fonction RDS (Radio Data System)
pour recevoir des stations FM .................................. 24
Recherche d’un programme par code PTY ................... 25
Commutation temporaire sur le programme de votre
choix ............................................................................ 26
Réglages de base ................................ 28
Procédure de réglage ...................................................... 28
Réglage taille des enceintes ........................................... 28
Sélection du nombre de canaux pour la reproduction
des sources numériques multicanaux ..................... 28
Réglage de la distance des enceintes ........................... 29
Réglage de la fréquence de transition ........................... 29
Réglage de la phase du caisson de grave ..................... 29
Ajustements sonores ............................ 30
Procédure de réglage ...................................................... 30
Ajustement de la tonalité .........................................................
30
Réglage du niveau de l’atténuation de l’effet basse
fréquence ....................................................................
30
Réglage de la plage dynamique ..................................... 30
Renforcement des sons graves ...................................... 30
Réglage de la position audio du caisson de grave....... 30
Ajustement de la balance des enceintes avant ............. 30
FR01-16.TH-A75R[E]f.pm6 5/9/02, 10:20 AM1

2
Français
Autocollant Ruban
adhésif
Étiquette
A propos de ce mode d’emploi
Ce mode d’emploi explique le fonctionnement de cet
appareil à l’aide des touches et des réglages de la
télécommande. Vous pouvez aussi utiliser les touches de
l’appareil central si le nom (ou la marque) qu’elles portent et
le même ou similaire que celui de la télécommande.
Si l’opération à l’aide de la télécommande est différente de
celle avec l’appareil central, elle est expliquée.
• Les durées données pour les diverses opérations ne le
sont qu’à titre de référence. La durée réelle peut varier.
• Les marques suivantes sont utilisées dans ce mode d’emploi:
:
Avertissement et précautions spéciales dont
vous avez besoin pour obtenir les meilleures
performances possibles du système.
:Informations et conseils spécifiques dont
vous avez besoin pour connaître les
caractéristiques et les procédures.
:Types de disques disponibles pour les
opérations expliquées dans chaque
section. Les types de disque non
disponibles apparaissent en grisé.
Précautions
Installation du système
• Choisissez un endroit plat, sec et qui est ni trop chaud ni
trop froid, entre 5°C et 35°C.
•
Laissez suffisamment d’espace entre le système et le téléviseur.
• N’utilisez pas le système dans un endroit sujet aux vibrations.
Cordon d’alimentation
• Ne manipulez pas le cordon d’alimentation avec les mains
mouillées!
• Une petite quantité d’électricité (2,5 watts) est toujours
consommée quand le cordon d’alimentation est connecté à
une prise secteur murale.
• Pour débrancher le cordon d’alimentation de la prise
murale, tirez toujours sur la fiche et non pas sur le cordon.
Pour éviter tout mauvais fonctionnement du système
• Il n’y a pas de pièce réparable par l’utilisateur à l’intérieur
de l’appareil. En cas de problème, débranchez le cordon
d’alimentation et consultez votre revendeur.
• N’insérez pas d’objet métallique dans un appareil.
• N’utilisez pas de disques de forme non standard (tels que
des disques en forme de cœur, de fleur, de carte de crédit,
etc.) disponibles dans le commerce.
• N’utilisez pas de disques avec du ruban adhésif ou des
autocollants collés à leur surface, car ils pourraient
endommager le système.
A propos des droits d’auteur
Vérifiez les lois sur les droits d’auteur dans votre pays avant
d’enregistrer à partir d’un DVD Vidéo (DVD), Super Vidéo CD
(SVCD), CD Vidéo (VCD) et CD Audio. L’enregistrement de
matériel protégé par des droits d’auteur peut contrevenir aux
lois sur les droits d’auteur.
A propos du système copyguard
Les disques DVD Vidéo sont protégés par le système
copyguard. Quand vous connectez le système à votre
magnétoscope, le système copyguard se met en service et
l’image peut ne pas être reproduite correctement.
Introduction
7Précautions de sécurité
Eviter l’humidité, l’eau et la poussière
Ne placez pas le système dans un endroit humide ou
poussiéreux.
Eviter les hautes températures
N’exposez pas le système à la lumière directe du soleil ni ne
le placez près d’un appareil de chauffage.
Quand vous êtes absent
Quand vous êtes absent en voyage ou pour une période
prolongée, retirez la fiche secteur de la prise murale.
Ne bloquez pas les évents de ventilation
Bloquer les évents de ventilation peut endommager le système.
Prenez soin du boîtier
Pour nettoyer le système, utiliser un chiffon doux et suivez les
instructions concernant l’utilisation des chiffons enduits de
substance chimique. N’utilisez pas de benzène, de diluant,
de solvant organique ni de désinfectant. Ils pourraient
déformer ou décolorer l’appareil.
Si de l’eau pénètre à l’intérieur du système
Mettez le système hors tension et retirez la fiche secteur de la
prise murale, puis appelez le magasin où vous avez acheté
l’appareil.
Utiliser le système dans cet état peut entraîner un incendie
ou un choc électrique.
Vérification des accessoires
fournis
Vérifiez que vous avez bien tous les accessoires fournis.
Le nombre entre parenthèses indique la quantité de pièces
fournies.
Si quelque chose manquait, contactez votre revendeur
immédiatement.
Emballage de l’appareil central
• Télécommande—RM-STHA75R (1)
• Piles—R6S (SUM-3)/AA (15F) (2)
• Antenne FM (1)
• Antenne cadre AM (PO) (1)
• Cordon vidéo composite (1)
Emballage des enceintes
• Cordons d’enceinte
Environ 5 m (3) avec une fiche mini
:Pour l’enceinte avant gauche, l’enceinte
avant droite et l’enceinte centrale
Environ 5 m (1) :Pour le caisson de grave
Environ 10 m (3) avec une fiche mini
:Pour l’enceinte Surround gauche,
l’enceinte Surround droite et l’enceinte
Surround arrière
• Supports muraux d’enceintes satellites (5)
• Vis pour les supports muraux d’enceintes satellite (5)
FR01-16.TH-A75R[E]f.pm6 5/9/02, 10:20 AM2

3
Français
LINEAR PCM L
S.WFR
LS RS
CR
S
LFE
DSP
SB
PRO LOGIC
DIGITAL EX
CH
MP3 RESUME
BASS
SURROUND TUNED ST AUTO MUTING RDS TA NEWS INFO
1234 5
q
9p
8
7
61
2
R
14 5 6 789pqw
t
23
er
STANDBY
COMPACT
SUPER VIDEO
DIGITAL•EX
PRO LOGIC
DVD DIGITAL CINEMA SYSTEM
RGB
PHONES
− VOLUME +SOURCE
SURROUND SPEAKERS SURROUND BACK
VCR
RGB Y/C
STB
COAXIAL
AM LOOP
(STB)
RIGHT LEFT SPEAKER
VCR IN
AV COMPU
LINK- S-VIDEO
AV
DIGITAL IN
ANTENNA
STB IN OUT
AUDIO IN
VIDEO
RL RL
CENTER
RIGHTSUBWOOFER LEFT SPEAKER
CAUTION:SPEAKER IMPEDANCE 4 16
FM 75
AM EXT
FRONT SPEAKERS
134 5
6 7 89
2
Noms des pièces et des commandes
Référez-vous aux pages entre parenthèses pour les détails.
Appareil central
Panneau avant
6Touche 7 (arrêt) (20, 50, 52, 53)
7Touche 3 (lecture) (20, 50, 52, 53)
8Touche 8 (pause) (20, 45, 50, 52)
9Touche 4 (saut vers l’arrière)
(20, 50, 52)
pTouche ¢ (saut vers l’avant)
(20, 50, 52)
qTouche SOURCE (17)
wTouches VOLUME +/– (18)
eAffichage (voir ci-dessous)
rCapteur de télécommande (15)
tPrise PHONES (18)
Affichage
1• Indicateur LINEAR PCM (19)
• Indicateurs Pro Logic (32)
PRO LOGIC, PRO LOGIC II
• Indicateurs de format de signal numérique
(19, 31, 32)
DIGITAL, DIGITAL EX, DTS
2Indicateur MP3 (50)
3Indicateur CH (canal) (23)
4Affichage principal
5Indicateur RESUME (21, 60)
6Indicateurs de signal (1) et d’enceinte (2) (34)
7Indicateur SURROUND (31, 32, 34, 35)
8Indicateur DSP (33, 35)
9Indicateurs de fonctionnement du tuner (22, 23)
TUNED, ST (stéréo), AUTO MUTING
pIndicateur de fonctionnement du RDS (24, 26)
RDS, TA, NEWS, INFO
qIndicateur BASS (30)
Panneau arrière
1Prises d’enceintes (11)
SUBWOOFER,
RIGHT/LEFT FRONT SPEAKERS,
CENTER SPEAKER,
RIGHT/LEFT SURROUND SPEAKERS,
SURROUND BACK SPEAKER
2Cordon d’alimentation (14)
3Prises AUDIO IN (13)
VCR, STB
4Prise DIGITAL IN (STB) (13)
5Prises ANTENNA (8, 9)
6Prises AV COMPU LINK-III
(pour une utilisation future)
7Prises VIDEO
VCR IN (13), STB IN (13), OUT (7)
8Sélecteur RGB-Y/C (7)
9Prise AV (SCART) (7)
1Témoin STANDBY (17)
2Touche (attente/sous
tension) (17)
3Plateau à disque (20)
4Touche 0 (ouverture/fermeture)
(20)
5Témoin RGB (7)
FR01-16.TH-A75R[E]f.pm6 5/9/02, 10:20 AM3

4
Français
Télécommande
RM–STHA75R
DVD CINEMA SYSTEM
CHANNEL/ZOOM
VOLUMETV VOL
TUNING
STOP
DIMMER
PAUSE
FF/
/REW
TV/VIDEO
1
MUTING
¡
REC
PLAY
DOWN UP
MEMORY STROBE
DVD
VCR 1
AUDIO
VIDEO/
TV SOUND
ANGLE
FM/AM
SUBTITLE DECODE
RETURN DIGEST
VFP
TOP MENU MENU
CONTROL
EFFECT
S.WFR TEST
SLEEP
TV
VCR
SETTING
TV RETURN
ENTER
ON
SCREEN
CHOICE
FM MODE
123
456
789
10
0
+10
100+
TV AUDIO
VCR
SOUND
PTY SEARCH
DVD
RDS
TA/NEWS/INFO
PTY(PTY9
RDS DISPLAY
SURROUND OFF
DSP
CENTER
–
+
–
+
–
+
–
+
SURR-L SURR-R
S-BACK –
+
ADJUST
O.T.
REPLAY
7
1
2
3
4
6
5
8
9
p
q
w
e
r
y
u
i
o
;
a
g
h
j
k
l
f
d
t/
s
1Touches de sélection de source (17)
VIDEO/TV SOUND, FM/AM, DVD
2Touche AUDIO (41, 42)
3Touche ANGLE (40)
4Touche TOP MENU (39)
5Touche MENU (39)
6Touches de commande du Surround et du DSP
SURROUND (20, 35), DSP (20, 35), OFF (35)
7Touches CONTROL
VCR (64), TV (16)
8Touche SLEEP (19)
9• Touche SETTING (28)
• Touche ADJUST (30)
pTouche ON SCREEN (37, 38)
q• Touche ENTER (38, 51, 53)
• Touches de curseur 3/2/∞/5 (28, 30, 38, 50 – 53)
• Touches de commande du RDS (25, 26)
PTY 9, PTY (, TA/NEWS/INFO, PTY SEARCH
• Touches de commande pour le menu de choix
(54, 61, 62)
w• Touche CHOICE (54, 61, 62)
• Touche RDS DISPLAY (24)
e• Touches CHANNEL +/– (16, 64)
• Touches ZOOM +/– (46, 53)
rTouches TV VOL (volume) +/– (16)
tTouche TV/VIDEO (16)
y• Touches de commande de disque
(20, 39, 44, 45, 46, 50, 52, 53, 64)
1, ¡, 4/REW, PLAY, FF/¢,
O.T. (monotouche) REPLAY, STOP, PAUSE
• Touches TUNING UP/DOWN (22)
• Touche ÷ REC (64)
• Touche MEMORY (22, 23)
• Touche STROBE (45)
uTouche DIMMER (18)
iTouche TV (16)
oTouche AUDIO (17)
;Touche VCR (64)
aTouche DECODE (19)
sTouche SUBTITLE (41)
dTouche DIGEST (44)
fTouche RETURN (39)
gTouche SOUND (18, 36)
h• Touches numériques
(16, 21, 23, 39, 43, 48, 61, 62, 64)
• Touches d’ajustement du son (18, 36)
S.WFR +/–, CENTER +/–, SURR-L +/–,
S-BACK +/–, SURR-R +/–
• Touche EFFECT (36)
• Touche TEST (36)
• Touche TV RETURN (16)
• Touche FM MODE (23)
jSélecteur du mode de télécommande (17, 24)
kTouche VFP (47)
lTouches VOLUME +/– (18)
/Touche MUTING (18)
Noms des pièces et des commandes
FR01-16.TH-A75R[E]f.pm6 5/9/02, 10:20 AM4

5
Français
52 23
45
2
COMPACT
DIGITAL AUDIO
A propos des disques
•L’utilisation de certains disques DVD, VCD ou SVCD
peut différer de ce qui est expliqué dans ce manuel.
Cela est dû à la programmation et à la structure du
disque et ce n’est pas un mauvais fonctionnement du
système.
•Remarques sur les CD-R et CD-RW
– Les CD-R (enregistrables) et CD-RW (réinscriptibles)
réalisés par l’utilisateur peuvent être reproduits
uniquement s’ils ont déjà été “finalisés”.
– Le système peut reproduire les CD-R et les CD-RW
enregistrés sur un ordinateur personnel si ces derniers
ont été enregistrés au format CD Audio.
Le système peut aussi reproduire les CD-R et les CD-RW
si des plages (fichiers) MP3 ou des fichiers JPEG y sont
enregistrés.
Plus spécialement, la configuration et les caractéristiques
d’un disque MP3 ou JPEG est déterminée par le logiciel
d’écriture (codage) et le matériel utilisé pour
l’enregistrement. Par conséquent, selon le logiciel et le
matériel utilisé, les symptômes suivants peuvent se
produire:
• Certains disques ne peuvent pas être reproduits.
• Certaines plages (fichiers) d’un disque MP3 sont
sautées et ne peuvent pas être reproduites
normalement.
• Certains fichiers d’un disque JPEG sont reproduits avec
des déformations.
– Avant de reproduire un CD-R ou un CD-RW, lisez les
instructions et leurs précautions attentivement.
– Les CD-RW peuvent demander plus de temps avant
d’être reconnus par le système. Cela vient du fait que
l’indice de réflexion des CD-RW est plus faible que celui
CD ordinaires.
7A propos des disques MP3
Ce système peut reproduire les fichiers MP3 enregistrés sur
un CD-R ou un CD-RW. Nous appellerons un tel disque un
“disque MP3” dans ce mode d’emploi.
MP3 est l’abréviation de Motion Picture Experts Group 1
(ou MPEG-1) Audio Layer 3 (Norme MPEG 1 de niveau 3).
MP3 est un simple format de fichier avec compression des
données. En utilisant le format MP3, un CD-R ou un CD-RW
peut contenir 10 fois plus de données qu’un CD ordinaire.
Ce système simplifie la construction hiérarchique du disque
et gère les fichiers et les répertoires en “plages” et
“groupes”.
7A propos des disques JPEG
Ce système peut reproduire les fichiers JPEG tels que les
photos numériques enregistrées sur un CD-R ou CD-RW.
Nous appellerons un tel disque un “disque JPEG” dans ce
mode d’emploi.
JPEG c’est un système de compression de données pour
images fixes mis au point par le groupe “Joint Photographic
Expert Group” et qui offre une légère diminution de la qualité
de l’image en échange du taux de compression élevé.
Ce système simplifie la construction hiérarchique du disque
et gère les répertoires en “groupes”.
Types de disques reproductibles
Ce système est conçu pour reproduire les disques suivants:
DVD Vidéo (DVD), CD Vidéo (VCD), Super Vidéo CD
(SVCD), CD Audio, CD-R et CD-RW
• Ce système peut aussi reproduire les fichiers MP3 et
JPEG enregistrés sur des CD-R et des CD-RW. Pour de
plus amples informations sur le format MP3, référez-vous
à “Lecture de disque MP3” à la page 50, et pour le format
JPEG, référez-vous à “Lecture de disque JPEG” à la page
52.
• Les disques DVD-R finalisés enregistrés au format DVD
VIDEO peuvent être reproduits. Cependant, certains
disques ne pourront pas être reproduits à cause de leurs
caractéristiques ou des conditions d’enregistrement.
Disques que vous pouvez reproduire:
Type de Marque Format
Numéro de
disque (Logo) vidéo
code de région*
DVD Vidéo PAL 2
(DVD) ALL
CD Vidéo PAL ——
(VCD)
Super Video CD PAL ——
(SVCD)
CD Audio —— ——
CD-R —— ——
CD-RW —— ——
*Remarque sur le code de région
Les lecteurs de DVD et les DVD possèdent leur propre
numéro de code de région. Ce système ne peut reproduire
que les DVD enregistrés avec le système de couleur PAL et
les numéros de code de région comprenant “2”.
Ex.:
Si un DVD avec un numéro de code de région incorrect est
chargé dans l’appareil, “ERREUR DE CODE REGION”
apparaît sur l’affichage et la lecture ne peut pas démarrer.
• Les disques suivants ne peuvent pas être reproduits:
DVD Audio, DVD-ROM, DVD-RAM, DVD-RW, DVD+RW,
CD-ROM, CD-I (CD-I Ready), Photo CD, etc.
Reproduire ces types de disque peut générer du bruit et
endommager les enceintes.
FR01-16.TH-A75R[E]f.pm6 5/9/02, 10:20 AM5

6
Français
Titre 1
Chapitre 1Chapitre 2 Chapitre 3
Titre 2
Chapitre 1 Chapitre 2
Plage 1 Plage 2 Plage 3 Plage 4 Plage 5
Écran
de menu
Sous-menuSous-menu
Appuyez
sur RETURN.
Appuyez
sur RETURN.
Appuyez
sur RETURN.
Image
fixe Image
fixe
Image
animée
Image
animéeImage
animéeImage
animéeImage
animéeImage
animée
Fonction de commande de la
lecture (PBC)—Uniquement
pour les VCD et SVCD
La fonction de commande de la lecture vous permet de
commander le disque à l’aide d’un menu et d’obtenir des
images fixes de haute résolution, une résolution quatre fois
plus grande que celle des images animées.
•Affichage des images fixes à haute résolution
Vous pouvez afficher des images de grande qualité, quatre
fois plus claires que les images animées.
•Commande de la lecture par menu
Un menu de sélection est affiché quand vous démarrez la
lecture d’un disque VCD ou SVCD utilisant la fonction de
commande de la lecture. Le menu de sélection montre une
liste de nombres permettant la sélection. Certains disques
peuvent afficher des images animées ou un écran divisé.
Vous pouvez interagir avec l’écran en utilisant l’affichage
du menu afin de choisir et reproduire une entrée.
L’illustration ci-dessous montre les caractéristiques de
base de la lecture à partir du menu. Référez-vous à la
page 39 pour les détails sur l’utilisation du menu.
REMARQUE:
Lors de la commande d’un VCD ou d’un SVCD en utilisant le menu,
certaines fonctions telles que la lecture répétée peuvent ne pas
fonctionner.
IMPORTANT:
Avant de reproduire un disque, assurez-vous de ce qui
suit....
• Vérifiez la connexion avec le téléviseur.
• Mettez le téléviseur sous tension et choisissez le mode
d’entrée correct sur le téléviseur pour voir les images ou
les indications de l’affichage sur l’écran sur le téléviseur.
Si apparaît sur l’écran du téléviseur quand vous
appuyez sur une touche, c’est que le disque ne peut
pas accepter l’opération que vous essayez de faire, ou
que l’information nécessaire pour cette opération n’est
pas enregistrée sur le disque.
NOTICE: Dans certains cas, l’opération sera refusée
sans que n’apparaisse sur l’écran.
Groupe 2
Groupe 1
Groupe 3 Groupe 4 Groupe 5
Plage 1 Plage 2
Groupe 2
Groupe 1
Groupe 3 Groupe 4 Groupe 5
Fichier 1 Fichier 2
Structure des disques
Un disque DVD est composé de “titres” et chaque titre est
divisé en “chapitres”.
Par exemple, si un disque DVD contient des films, chaque
film peut avoir son propre numéro de titre et même être divisé
en plusieurs chapitres.
Les VCD, SVCD et les CD Audio sont composés de “plages”.
En général, chaque plage possède son propre numéro. (Sur
certains disques, chaque plage peut aussi être divisée en
index.)
Su un disque MP3, chaque chanson est enregistré sur un
plage (fichier). Les plages sont normalement regroupés dans
un groupe (répertoire). Les groupes peuvent aussi
comprendre d’autres groupes, créant ainsi des niveaux
hiérarchiques de groupe.
Ce système peut accepter 150 plages maximum par groupe
et 99 groupes maximum par disque (14.850 plages).
• S’il y a un autre type de fichiers, non MP3, dans un
répertoire, ce fichiers est aussi pris en compte pour le
nombre total de 150.
Sur un disque JPEG, chaque image fixe est enregistrée sur
un fichier. Les fichiers sont normalement regroupés dans un
groupe (répertoire). Les groupes peuvent aussi comprendre
d’autres groupes, créant ainsi des niveaux hiérarchiques de
répertoire.
Ce système peut accepter 150 fichiers maximum par groupe
et 99 groupes maximum par disque (14.850 fichiers).
• S’il y a un autre type de fichiers, non JPEG, dans un
répertoire, ce fichiers est aussi pris en compte pour le
nombre total de 150.
A propos des disques
FR01-16.TH-A75R[E]f.pm6 5/9/02, 10:20 AM6

7
Français
VCR
RGB Y/C
STB
COAXIAL
AM LOOP
(STB)
VCR IN
AV COMPU
LINK- S-VIDEO
AV
DIGITAL IN
ANTENNA
STB IN OUT
AUDIO IN
VIDEO
RL RL
FM 75
AM EXT
Faites correspondre la
marque ∞ de la fiche avec
celle de l’appareil central.
RGB
VCR
Y/C
STB
COAXIAL
AM LOOP
(STB)
VCR IN
AV COMPU
LINK- S-VIDEO
AV
DIGITAL IN
ANTENNA
STB IN OUT
AUDIO IN
VIDEO
RL RL
FM 75
AM EXT
VCR
RGB Y/C
STB
COAXIAL
AM LOOP
(STB)
VCR IN
O
MPU S-VIDEO
AV
DIGITAL IN
ANTENNA
STB IN OUT
AUDIO IN
VIDEO
RL RL
FM 75
AM EXT
RGB Y/C
Connexions
•Ne connectez pas le cordon d’alimentation secteur avant toutes les autres connexions ne soient terminées.
• Puisque chaque appareil différent a des noms de prises différents, lisez attentivement les instructions fournies avec
l’appareil que vous souhaitez connecter.
Connexion d’un téléviseur
Pour voir les images et les affichages sur l’écran, connectez un téléviseur à l’appareil central.
• Une connexion à un téléviseur à travers un magnétoscope ou à un téléviseur avec un magnétoscope intégré peut causer
une déformation de l’image.
• Vous devez régler correctement “TYPE D’ECRAN” dans le menu IMAGE en fonction du format d’image de votre téléviseur.
Voir page 57.
7Pour connecter un téléviseur sans prise AV (SCART)
Connectez un téléviseur en utilisant une des méthodes suivantes.
• La connexion par les prises S-vidéo offre une image de meilleure qualité.
•Par les prises S-vidéo•Par les prises vidéo composite
A l’entrée S-vidéo
Cordon S-vidéo (non fourni) Cordon vidéo composite (fourni)
A l’entrée vidéo composite
Téléviseur
7Pour connecter un téléviseur muni d’une prise AV (SCART)
Réglez le sélecteur RGB-Y/C correctement en fonction de votre téléviseur.
– Si le téléviseur prend en charge les signaux vidéo RGB, réglez le sélecteur
RGB-Y/C sur “RGB” de façon à pouvoir des images de meilleure qualité.
Le témoin RGB s’allume de l’appareil central.
– Si le téléviseur prend en charge uniquement les signaux S-vidéo, réglez le
sélecteur RGB-Y/C sur “Y/C”.
Pour commencer
Téléviseur
Téléviseur
Câble SCART (non fourni)
À la prise SCART*
REMARQUES:
•Quand le sélecteur RGB-Y/C est réglé sur “RGB” un signal vidéo correct n’est pas sorti par la prise S-VIDEO OUT sur le panneau arrière.
•Que le sélecteur RGB-Y/C soit réglé sur “RGB” ou “Y/C”, le signal vidéo composite est toujours sorti par la prise VIDEO OUT.
*
Certains connecteurs SCART ne sortent pas les signaux audio. Utilisez un connecteur SCART sortant les signaux audio pour écouter le son
du téléviseur à travers ce système.
FR01-16.TH-A75R[E]f.pm6 5/9/02, 10:20 AM7

8
Français
SURROUND SPEAKERS SURROUND BACK
VCR
RGB Y/C
STB
COAXIAL
AM LOOP
(STB)
RIGHT LEFT SPEAKER
VCR IN
AV COMPU
LINK- S-VIDEO
AV
DIGITAL IN
ANTENNA
STB IN OUT
AUDIO IN
VIDEO
RL RL
CENTER
RIGHTSUBWOOFER LEFT SPEAKER
CAUTION:SPEAKER IMPEDANCE 4 16
FM 75
AM EXT
FRONT SPEAKERS
1
2
3
Connexion de l’antenne cadre AM (PO)
Pour commencer
Connexion des antennes AM (PO) et FM
• Assurez-vous que les conducteurs d’antenne ne touchent aucune autre prise, cordon de connexion ou cordon
d’alimentation. Cela pourrait causer une mauvaise réception.
7Antenne cadre AM (PO)
Installation de l’antenne cadre AM (PO)
Attachez l’antenne cadre AM (PO) à sa base en insérant les
languettes du cadre dans les fentes de la base.
Si le cordon d’antenne est recouvert de vinyle, retirez
la partie en vinyle en la torsadant comme montré sur
l’illustration.
Fil extérieur recouvert de vinyle (non fourni)
Si la réception est mauvaise:
Connectez un fil extérieur
recouvert de vinyle à la prise
AM EXT. Laissez l’antenne
cadre AM (PO) connectée.
Antenne cadre
AM (PO)
Fil
• Tournez le cadre
jusqu’à ce que vous
obteniez la meilleure
réception possible.
Relâchez votre doigt du
serre-câble.
Insérez le cordon
d’antenne.
Poussez pour maintenir
le serre-câble en
position ouverte.
FR01-16.TH-A75R[E]f.pm6 5/9/02, 10:20 AM8

9
Français
REMARQUES:
•Déconnectez l’antenne FM fournie avant de connecter un connecteur coaxial de 75
Ω
(connecteur avec un câble rond provenant de l’antenne
extérieure).
•Nous recommandons que vous utilisiez un câble coaxial (non fourni)
pour l’antenne FM car il est bien protégé contre les interférences.
SURROUND SPEAKERS SURROUND BACK
VCR
RGB Y/C
STB
COAXIAL
AM LOOP
(STB)
RIGHT LEFT SPEAKER
VCR IN
AV COMPU
LINK- S-VIDEO
AV
DIGITAL IN
ANTENNA
STB IN OUT
AUDIO IN
VIDEO
RL RL
CENTER
RIGHTSUBWOOFER LEFT SPEAKER
CAUTION:SPEAKER IMPEDANCE 4 16
FM 75
AM EXT
FRONT SPEAKERS
Connexion de l’antenne FM fournie
Etendez l’antenne FM fournie horizontalement.
Si la réception est mauvaise:
Connectez une antenne FM
extérieure avec un connecteur
de type standard (coaxial).
7Antenne FM
Antenne FM extérieure
(non fourni)
Cordon d’antenne FM extérieure (non fourni)
FR01-16.TH-A75R[E]f.pm6 5/9/02, 10:20 AM9

10
Français
Pour commencer
Connexion des enceintes satellite et du caisson de grave
Connectez les enceintes satellites fournies et le caisson de grave.
Diagramme disposition des enceintes
Lorsque vous disposez les enceintes dans la pièce afin d’obtenir le meilleur son possible du système, vous devez placer
toutes les enceintes à la même distance de la position d’écoute avec l’avant de chaque enceinte dirigé vers l’auditeur.
Si vous ne pouvez pas les placer toutes à la même distance de la position d’écoute, vous pouvez réaliser un
ajustement et faire comme si toutes les enceintes étaient à la meilleure position. Voir pages 29 et 59.
• Placez le caisson de grave du côté avant droit du téléviseur. Si vous le placez du côté gauche du téléviseur, les couleurs de
l’écran du téléviseur risquent d’être déformées.
REMARQUES:
•Bien que les enceintes satellites et le caisson de grave actif soient blindés magnétiquement, l’écran du téléviseur peut être parasité. Dans ce
cas, laissez une distance de plus de 10 cm entre eux.
•Pour des raisons de sécurité, assurez-vous toujours qu’il y a suffisamment d’espace derrière le caisson de grave.
•Quand vous placez les enceintes satellites à une position relativement élevée, comme sur un meuble, placez-les sur une surface plate et à
niveau.
7Avant de connecter les cordons d’enceinte
Si le cordon d’enceinte est
recouvert de vinyle, retirez
ce dernier en le torsadant
comme montré ci-à droite.
7Connexion des cordons d’enceinte aux
prises d’enceintes
1Maintenez pressé le
serre-câble.
2Insérez le cordon
d’enceinte.
3Relâchez votre doigt du
serre-câble de la prise.
Enceinte avant droite
Enceinte avant gauche
Enceinte suround arrière
Enceinte suround gauche Enceinte suround droite
Appareil central Enceinte centrale Caisson de grave
STANDBY
COMPACT
SUPER VIDEO DIGITAL•EX
PRO LOGIC
DVD DIGITAL CINEMA SYSTEM
PROGRESSIVE
PHONES
VOLUMESOURCE
FR01-16.TH-A75R[E]f.pm6 5/9/02, 10:20 AM10

11
Français
ATTENTION:
•Si vous ne connectez pas les enceintes fournies mais en connectez d’autres (plus grandes), utilisez des enceintes avec SPEAKER
IMPEDANCE indiquée à côté des prises d’enceintes sur le panneau arrière du appareil central.
•NE CONNECTEZ PAS plus d’une enceinte à une prise d’enceinte.
Enceintes satellites:
1Insérez les mini fiches des cordons d’enceinte sur les prises à l’arrière de chaque enceinte.
2Connectez le fil blanc à la prise rouge (+) et le fil noir à la prise noire (–).
SURROUND SPEAKERS SURROUND BACK
RIGHT LEFT SPEAKER
CENTER
RIGHTSUBWOOFER LEFT SPEAKER
CAUTION:SPEAKER IMPEDANCE 4 16
FRONT SPEAKERS
Enceinte avant gauche
Enceinte centrale
Enceinte avant droite
Caisson
de grave
Caisson de grave:
Connectez le fil blanc à la prise rouge (+) et le fil noir à la prise noire (–).
Si le cordon
d’enceinte est
recouvert de
vinyle, retirez
ce dernier en le
torsadant comme
montré ci-à droite.
Enceinte
surround droite
Enceinte surround arrière
Enceinte
surround gauche
REMARQUES:
•Les grilles des enceintes satellites sont démontables. N’appliquez pas de force sur les grilles des enceintes satellite pour éviter de les
endommager.
•Les grilles du caisson de grave ne sont pas démontables.
FR01-16.TH-A75R[E]f.pm6 5/9/02, 10:20 AM11

12
Français
Installation des enceintes satellites sur le mur
En utilisant les supports muraux des enceintes satellites, vous pouvez fixer les enceintes surround sur le mur.
ATTENTION:
Lors de la fixation des supports au mur, faites réaliser ce travail par une personne qualifiée.
NE FIXEZ PAS les supports sur un mur par vous-même afin d’éviter tout dommage accidentel s’ils devaient tomber du mur, à cause d’une
mauvaise fixation ou de la faiblesse du mur.
Emplacement du support au mur:
Choisissez avec soin l’emplacement de la fixation des enceintes surround au mur. Quelqu’un pourrait être blessé ou quelque
chose pourrait être endommagé si les enceintes sont fixées à un endroit où elles interfèrent avec les activités quotidiennes.
Fixation des enceintes sur les supports
1Utilisez la vis fournie pour fixer le support à
l’enceintes surround.
2Ajustez l’angle des enceintes.
Desserrez légèrement la vis, réaliser l’ajustement puis
resserrez fermement la vis.
ATTENTION:
Si la vis n’est pas serrée fermement, cela peut entraîner des blessures personnelles ou endommager l’appareil.
Pour commencer
FR01-16.TH-A75R[E]f.pm6 5/9/02, 10:20 AM12

13
Français
RGB YC
AV COMPU
LINK-
S-VIDEO
SURROUND SPEAKERS SURROUND BACK
VCR STB
COAXIAL
AM LOOP
(STB)
RIGHT LEFT SPEAKER
VCR IN
AV
DIGITAL IN
ANTENNA
STB IN OUT
AUDIO IN
VIDEO
RL RL
CENTER
RIGHT
S
UBWOOFER LEFT SPEAKER
CAUTION:SPEAKER IMPEDANCE 4 16
FM 75
AM EXT
FRONT SPEAKERS
Cordon audio
A la sortie
audio
A la
sortie
S-vidéo
Cordon
S-vidéo
Cordon
vidéo
composite
A la sortie
vidéo
composite
Connexion
audio
Connexion
vidéo
Magnétoscope
ou
RGB Y/C
RGB YC
AV COMPU
LINK-
S-VIDEO
SURROUND SPEAKERS SURROUND BACK
VCR STB
COAXIAL
AM LOOP
(STB)
RIGHT LEFT SPEAKER
VCR IN
AV
DIGITAL IN
ANTENNA
STB IN OUT
AUDIO IN
VIDEO
RL RL
MPEDANCE 4 16
FM 75
AM EXT
Cordon
audio
A la
sortie
audio
A la
sortie
S-vidéo
Cordon
S-vidéo
Cordon
vidéo
composite
A la sortie
vidéo
composite
Connexion
vidéo
STB (Décodeur)
Cordon
optique
numérique
A la sortie
optique
numérique
Connexion
audio
ou
RGB Y/C
REMARQUES:
•Le signal entrant par les prises S-vidéo est sorti à la fois par les prises composites vidéo et par les prises S-vidéo, cependant
le signal entrant par les prises composites n’est pas sorti par les prises S-vidéo.
•Lorsque vous effectuez une connexion à la fois à l’aide des prises composites et des prises S-vidéo, le signal S-vidéo est choisi
comme signal vidéo.
1Connectez les prises
vidéo entre elles.
Connectez le cordon
S-vidéo en faisant
coïncider la marque ∞
sur la fiche et celle de
l’appareil central.
2Connectez les prises
audio ou prises
optiques numériques
entre elles.
Connectez la fiche
blanche à la prise audio
gauche (“L”) et la fiche
rouge à la prise audio
droite (“R”).
• Réaliser la connexion
avec les prises
optiques numériques
vous permet d’obtenir
un son de meilleure
qualité.
Connexion des appareils vidéo
Vous pouvez regarder les images et écouter le son d’un magnétoscope ou d’un décodeur (STB) à travers le système.
7Connexion d’un magnétoscope
2Connectez les prises audio
entre elles.
Connectez la fiche blanche à la
prise audio gauche (“L”) et la
fiche rouge à la prise audio
droite (“R”).
Avant de connecter un
cordon optique
numérique, débranchez
le capuchon protecteur.
7Connexion du décodeur
1Connectez les prises vidéo
entre elles.
Connectez le cordon S-vidéo en
faisant coïncider la marque ∞
sur la fiche et celle de l’appareil
central.
FR01-16.TH-A75R[E]f.pm6 5/9/02, 10:20 AM13

14
Français
SURROUND SPEAKERS SURROUND BACK
VCR
RGB Y/C
STB
COAXIAL
AM LOOP
(STB)
RIGHT LEFT SPEAKER
VCR IN
AV COMPU
LINK- S-VIDEO
AV
DIGITAL IN
ANTENNA
STB IN OUT
AUDIO IN
VIDEO
RL RL
CENTER
RIGHTSUBWOOFER LEFT SPEAKER
CAUTION:SPEAKER IMPEDANCE 4 16
FM 75
AM EXT
FRONT SPEAKERS
Branchez sur une
prise secteur mural.
Pour commencer
Cordon d’alimentation
ATTENTION:
•Déconnectez le cordon d’alimentation avant de nettoyer ou de déplacer le système.
•Ne touchez pas le cordon d’alimentation avec des mains humides.
•Ne tirez pas sur le cordon d’alimentation pour débrancher le cordon.
Pour le débrancher, tirez toujours en tenant la fiche afin de ne pas endommager le cordon.
REMARQUES:
•Eloignez les cordons d’alimentation des cordons de connexion. Les cordons d’alimentation peuvent provoquer du bruit ou des interférences
sur l’écran.
•Les réglages préréglés tels que les stations préréglées et les ajustements sonores seront effacés en quelques jours dans les cas suivants:
– Quand vous débranchez le cordon d’alimentation.
– Quand une coupure de courant se produit.
Connexion du cordon d’alimentation
Assurez-vous que toutes les connexions ont été faites avant de brancher les cordons d’alimentation.
FR01-16.TH-A75R[E]f.pm6 5/9/02, 10:20 AM14

15
Français
12 3
STANDBY
COMPACT
SUPER VIDEO
DIGITAL•EX
PRO LOGIC
DVD DIGITAL CINEMA SYSTEM
RGB
PHONES
SOURCE − VOLUME +
Capteur de télécommande
Utilisation de la télécommande
Mise en place des piles dans la télécommande
Avant d’utiliser la télécommande, mettez d’abord en place les deux piles fournies.
1A l’arrière de la télécommande, retirez le couvercle du compartiment à piles.
2Insérez les piles.
• Assurez-vous de respecter les polarités: (+) à (+) et (–) à (–).
3Remettez le couvercle en place.
Si la plage de fonctionnement de la télécommande diminue, remplacez les piles. Utilisez deux piles de type sec R6S (SUM-3)/
AA (15F).
ATTENTION:
Suivez ces précautions pour éviter toute fuite ou fissure des piles:
•Placez les piles dans la télécommande en respectant les polarités: (+) à (+) et (–) à (–).
•Utilisez le type de pile correct. Des piles qui paraissent similaires peuvent avoir une tension différente.
•Remplacez toujours les deux piles en même temps.
•N’exposez pas les piles à la chaleur ou aux flammes.
Commande du système à partir de la télécommande
Dirigez la télécommande directement sur le capteur de télécommande de l’appareil central. La distance de fonctionnement
entre la télécommande et le capteur de télécommande de l’appareil central est d’environ 7 m.
• Vous pouvez aussi commander les autres appareils en utilisant la télécommande.
– Pour commander votre téléviseur, voir page 16.
– Pour commander votre magnétoscope, voir page 64.
Pour commander les autres appareils, dirigez la télécommande directement sur le capteur de télécommande de chaque
appareil.
Référez-vous aussi à leurs modes d’emploi.
• Pour utiliser la télécommande correctement, ne cachez pas le capteur de télécommande avec un obstacle.
FR01-16.TH-A75R[E]f.pm6 5/9/02, 10:20 AM15

16
Français
Utilisation de la télécommande pour commander le téléviseur
Vous pouvez commander votre téléviseur en utilisant
la télécommande.
• Référez-vous aussi au mode d’emploi fourni avec votre
téléviseur.
Codes de fabricant pour les téléviseurs
* Les codes de fabricant
sont sujets à
changement sans
notification. S’ils
changent, cette
télécommande ne peut
pas commander
l’appareil.
Fabricant Code
JVC 01
Akai 02, 05
Blaupunkt 03
Daewoo 10, 31, 32
Fenner 04, 31, 32
Fisher 05
Grundig 06
Hitachi 07, 08
Inno-Hit 09
Irradio 02, 05
Magnavox 10
Mitsubishi 11, 33
Miver 03
Nokia 12, 34
Fabricant Code
Nordmende 13, 14, 18, 26 – 28
Okano 09
Orion 15
Panasonic 16, 17
Philips 10
Saba 13, 14, 18, 26 – 28
Samsung 10, 19, 32
Sanyo 05
Schneider 02, 05
Sharp 20
Sony 21 – 25
Telefunken 13, 14, 18, 26 – 28
Thomson 13, 14, 18, 26 – 28, 30
Toshiba 29
RM–STHA75R
DVD CINEMA SYSTEM
CHANNEL/ZOOM
VOLUMETV VOL
TUNING
STOP
DIMMER
PAUSE
FF/
/REW
TV/VIDEO
1
MUTING
¡
REC
PLAY
DOWN UP
MEMORY STROBE
DVD
VCR 1
AUDIO
VIDEO/
TV SOUND
ANGLE
FM/AM
SUBTITLE DECODE
RETURN DIGEST
VFP
TOP MENU MENU
CONTROL
EFFECT
S.WFR TEST
SLEEP
TV
VCR
SETTING
TV RETURN
ENTER
ON
SCREEN
CHOICE
FM MODE
123
456
789
10
0
+10
100+
TV AUDIO
VCR
SOUND
PTY SEARCH
DVD
RDS
TA/NEWS/INFO
PTY(PTY9
RDS DISPLAY
SURROUND OFF
DSP
CENTER
–
+
–
+
–
+
–
+
SURR-L SURR-R
S-BACK
–
+
ADJUST
O.T.
REPLAY
Pour commencer
Positionnez le
sélecteur de mode
de télécommande
sur “DVD”.
7Réglage du signal de télécommande
pour la commande du téléviseur
Vous pouvez commander votre téléviseur sans régler le
signal de télécommande.
1Faites glisser le sélecteur de mode de
télécommande sur “DVD”.
2Maintenez pressée TV .
• Maintenez la touche pressée jusqu’à de l’étape 5.
3Appuyez sur TV CONTROL.
4Appuyez sur les touches numériques
(1–9, 0) pour entrer un code de fabricant (2
chiffres).
Référez-vous à la liste ci-dessous pour trouver les codes.
Ex.: Pour un téléviseur Sanyo, appuyez sur 0, puis sur 5.
Pour un téléviseur Toshiba, appuyez sur 2, puis sur 9.
5Relâchez TV .
6Essayez de commander votre téléviseur en
appuyant sur TV .
Si votre téléviseur se met sous ou hors tension, c’est que
vous avez entré le code correct.
S’il y a plus d’un code dans la liste pour la marque de
votre téléviseur, essayez-les un par un jusqu’à ce que
vous trouviez le bon.
Après avoir réglé les signaux de télécommande, vous pouvez
utiliser les touches suivantes pour commander le téléviseur.
TV :Met le téléviseur sous et hors tension.
TV VOL +/–:Ajuste le volume.
TV/VIDEO :Choisit le mode d’entrée (TV ou VIDEO).
Après appuyer sur TV CONTROL:
CHANNEL +/–:Changer les canaux.
1-10, 0, +10 (100+) :Choisir les canaux.
Ex.:
• Pour le numéro de canal 3, appuyez
sur 3.
• Pour le numéro de canal 24, appuyez
sur +10, sur +10, puis sur 4.
• Pour le numéro de canal 123,
appuyez sur 100+, sur +10, sur+10,
puis sur 3.
TV RETURN :Alterner entre le canal précédent et le
canal actuel.
FR01-16.TH-A75R[E]f.pm6 5/9/02, 10:20 AM16

17
Français
Opérations de base
L
S.WFR
R
TUNED
RM–STHA75R
DVD CINEMA SYSTEM
CHANNEL/ZOOM
VOLUMETV VOL
TUNING
STOP
DIMMER
PAUSE
FF/
/REW
TV/VIDEO
1
MUTING
¡
REC
PLAY
DOWN UP
MEMORY STROBE
DVD
VCR 1
AUDIO
VIDEO/
TV SOUND
ANGLE
FM/AM
SUBTITLE DECODE
RETURN DIGEST
VFP
TOP MENU MENU
CONTROL
EFFECT
S.WFR TEST
SLEEP
TV
VCR
SETTING
TV RETURN
ENTER
ON
SCREEN
CHOICE
FM MODE
123
456
789
10
0
+10
100+
TV AUDIO
VCR
SOUND
PTY SEARCH
DVD
RDS
TA/NEWS/INFO
PTY(PTY9
RDS DISPLAY
SURROUND OFF
DSP
CENTER
–
+
–
+
–
+
–
+
SURR-L SURR-R
S-BACK –
+
ADJUST
O.T.
REPLAY
Positionnez le
sélecteur de mode
de télécommande
sur “DVD”.
Cette section explique principalement les opérations de base
communes.
• Mettez votre téléviseur sous tension et choisissez, si
nécessaire, le mode d’entrée correct sur le téléviseur.
REMARQUES:
•Une petite quantité de courant est consommée même quand
l’appareil est hors tension (mode d’attente). Retirez le cordon
d’alimentation de la prise secteur murale pour mettre l’appareil
complètement hors tension.
•Le témoin STANBY reste allumer un certain temps après que le
cordon d’alimentation a été débranché. Ce n’est pas un mauvais
fonctionnement du système.
Sélection de la source de lecture
A partir de la télécommande:
Appuyez sur une des touches de sélection de
source (DVD, FM/AM ou VIDEO/TV SOUND).
DVD :Choisit le lecteur de DVD.
FM/AM :Choisit la bande FM ou AM (PO).
• Chaque fois que vous appuyez sur la
touche, la bande alterne entre FM et AM
(PO).
VIDEO/TV SOUND:Choisit le magnétoscope connecté aux
prises VCR IN, le décodeur (STB)
connecté aux prises STB IN ou le son du
téléviseur*.
• Chaque fois que vous appuyez sur la
touche, la source change comme suit.
VCR ] STB (STB DIGITAL) ]
TV SOUND* ] (retour au début)
Sur l’appareil central:
Appuyez répétitivement sur SOURCE.
Chaque fois que vous appuyez sur la touche, la source
change comme suit.
DVD ] AM ] FM ] VCR ] STB (STB DIGITAL) ]
TV SOUND* ] (retour au début)
Ex.: Quand “AM” est choisi.
REMARQUE:
*
“TV SOUND” peut être choisi uniquement lorsque votre téléviseur
est connecté à l’aide d’un câble SCART sortant les signaux audio
(voir page 7).
Mise sous tension du système
Appuyez sur AUDIO sur la télécommande
ou sur (attente/sous tension) sur l’appareil
central.
Le témoin STANDBY s’éteint et la dernière source choisie est
en service.
• Appuyer sur 0 sur l’appareil central ou sur une des
touches de sélection de source sur la télécommande met
aussi l’appareil sous tension.
Pour mettre le système hors tension
Appuyez de nouveau sur AUDIO sur la
télécommande ou sur (attente/sous tension) sur
l’appareil central.
Le témoin STANDBY s’allume.
FR17-21.TH-A75R[E]f.pm6 11/9/02, 12:09 PM17

18
Français
L
S.WFR
R
Opérations de base
CHANNEL/ZOOM
VOLUMETV VOL
TUNING
STOP
DIMMER
PAUSE
FF/
/REW
TV/VIDEO
1
MUTING
¡
REC
PLAY
DOWN UP
MEMORY STROBE
AUDIO ANGLE SUBTITLE DECODE
RETURN DIGEST
VFP
TOP MENU MENU
CONTROL
EFFECT
S.WFR TEST
SLEEP
TV
VCR
SETTING
TV RETURN
ENTER
ON
SCREEN
CHOICE
FM MODE
123
456
789
10 0+10
100+
SOUND
PTY SEARCH
DVD
RDS
TA/NEWS/INFO
PTY(PTY9
RDS DISPLAY
SURROUND OFF
DSP
CENTER
–
+
–
+
–
+
–
+
SURR-L SURR-R
S-BACK –
+
ADJUST
O.T.
REPLAY
Positionnez le
sélecteur de mode
de télécommande
sur “DVD”.
Ajustement du volume
Vous pouvez ajuster le niveau de volume dans une plage de
“0” (minimum) à “70” (maximum).
Appuyez sur VOLUME +/–.
• Appuyez sur + pour augmenter le volume.
• Appuyez sur – pour diminuer le volume.
Le niveau de volume apparaît sur la fenêtre d’affichage.
ATTENTION:
Réglez toujours le volume sur le minimum avant de démarrer une
source.
Si le volume est réglé à un niveau élevé, la soudaine déflagration
d’énergie sonore peut endommager votre ouïe et/ou vos enceintes.
7Ecoute avec un casque d’écoute
Connectez un casque d’écoute à la prise PHONES sur
l’appareil central. Cela annule le mode Surround/DSP (voir
pages 31 à 33) en service actuellement, met hors service les
enceintes et met en service le mode HEADPHONE.
•
Déconnecter le casque d’écoute de la prise PHONES annule
le mode HEADPHONE et remet en service les enceintes
ainsi que le mode Surround/DSP précédemment choisi.
Mode HEADPHONE
Lors de l’utilisation d’un casque d’écoute, les signaux
suivants sont sortis quel que soit le réglage de vos
enceintes:
—Pour les sources à 2 canaux, les signaux des canaux
avant gauche et droit sont sortis directement par le
casque d’écoute.
—Pour les sources multicanaux, les signaux des canaux
avant gauche et droite, du canal central et des canaux
surround sont mixés et sortis par le casque d’écoute.
Lors de l’utilisation d’un casque d’écoute, vous pouvez
profiter du son multicanaux sous-mixé.
ATTENTION:
Assurez-vous de baisser le volume:
•Avant de connecter ou de se mettre un casque sur les oreilles, car
un fort volume peut endommager votre casque et votre ouïe.
•Avant de débrancher le casque d’écoute, car un volume élevé peut
sortir brusquement des enceintes.
Ajustement du niveau de sortie
du caisson de grave
Vous pouvez ajuster le niveau de sortie du caisson de grave.
Une fois que vous avez ajusté ce niveau, l’ajustement est
mémorisé pour chaque source.
Vous pouvez aussi ajuster le niveau de sortie en utilisant le
menu sur l’écran (voir page 59).
A partir de la télécommande UNIQUEMENT:
1Appuyez sur SOUND.
2Appuyez sur S.WFR +/– pour ajuster le
niveau de sortie du caisson de grave
(–10 dB à +10 dB).
Coupure temporaire du son
A partir de la télécommande UNIQUEMENT:
Appuyez sur MUTING.
“MUTING” apparaît sur la fenêtre d’affichage et le volume est
coupé.
Pour rétablir le son
Appuyez de nouveau sur MUTING.
• Appuyez sur VOLUME +/– rétablit aussi le son.
Ajustement de la luminosité
Vous pouvez assombrir les indications sur l’affichage.
A partir de la télécommande UNIQUEMENT:
Appuyez sur DIMMER.
Chaque fois que vous appuyez sur la touche, le niveau de
luminosité change comme suit.
OFF ] DIMMER 1 ] DIMMER 2 ] (retour au début)
DIMMER 1 :Assombrit l’affichage et l’éclairage bleu
des deux côtés de l’affichage.
DIMMER 2 :Assombrit l’affichage et met hors service
l’affichage bleu des deux côtés de
l’affichage.
OFF :Éclaire l’affichage et met en service
l’éclairage bleu des deux côtés de
l’affichage.
FR17-21.TH-A75R[E]f.pm6 5/9/02, 10:21 AM18

19
Français
L
S.WFR
R
Mise hors tension de l’appareil
avec la minuterie d’arrêt
En utilisant la minuterie d’arrêt, vous pouvez vous endormir
en écoutant de la musique.
A partir de la télécommande UNIQUEMENT:
Appuyez sur SLEEP.
Chaque fois que vous appuyez sur la touche, la durée de
mise hors tension change comme suit:
0min (annulé) ] 10min (minutes) ] 20min ]
30min ] 60min ] 90min ] 120min ] 150min ]
(retour au début)
Ex.: Quand “150min” est choisi.
Pour vérifier la durée restante avant la mise hors tension
Appuyez une fois sur SLEEP.
La durée restante avant la mise hors tension apparaît sur
l’affichage quelques instants.
Pour changer la durée restante avec la mise hors tension
Appuyez répétitivement sur SLEEP pour changer la mise hors
tension.
• Chaque fois que vous appuyez sur la touche, la durée de
mise hors tension change.
Pour annuler la minuterie d’arrêt
Appuyez répétitivement sur SLEEP jusqu’à ce que “0min”
apparaisse sur la fenêtre d’affichage.
• Mettre l’appareil hors tension annule aussi la minuterie d’arrêt.
REMARQUES:
•Quand DVD est choisi comme source de lecture, vous pouvez
aussi mettre le système automatiquement hors tension si la lecture
s’arrête et ne reprend pas après une période spécifiée (attente
automatique). Voir page 60.
•Si l’heure de mise en attente réglée par la fonction de mise en
attente automatique arrive avant celle réglée par la minuterie
d’arrêt, la fonction de mise en attente automatique fonctionne.
Changement du mode d’entrée
analogique/numérique et du
mode de décodage
Lorsque vous reproduisez un morceau codé avec Dolby
Digital ou DTS Digital Surround, les symptômes suivants
peuvent se produire:
• Aucun son ne sort au début de la lecture.
• Du bruit est entendu pendant la recherche ou le saut de
chapitre ou de plage.
Pour résoudre ces problèmes, réglez le mode de décodage
correct.
A partir de la télécommande UNIQUEMENT:
Appuyez sur DECODE pour choisir le mode
d’entrée numérique quand DVD ou STB est
choisi comme source.
Chaque fois que vous appuyez sur la touche, le mode
d’entrée change comme suit.
Quand DVD est choisi comme source:
AUTO/PCM ] DOLBY D ] DTS ] (retour au début)
Quand STB est choisi comme source:
ANALOG ] AUTO/PCM ] DOLBY D ] DTS ]
(retour au début)
• Si vous souhaitez écouter un son numérique reproduit,
connectez l’appareil central et l’appareil extérieur par les
prises optiques numériques.
ANALOG : Choisissez ce réglage quand le STB est
connecté aux prises AUDIO IN.
Pour la connexion numérique
AUTO/PCM : Normalement, choisissez ce réglage pour le
mode d’entrée numérique.
Ce système détecte automatiquement le signal
entrant.
DOLBY D : Choisissez ce réglage si les symptômes ci-
dessus se produisent lors de la lecture d’un
morceau codé avec Dolby Digital ou Dolby
Digital EX.
DTS : Choisissez ce réglage si les symptômes ci-
dessus se produisent lors de la lecture d’un
morceau codé avec DTS Digital Surround ou
DTS-ES.
Les indicateurs suivants sur l’affichage correspondent aux
signaux numériques et indiquent quel type de signal entre
dans l’appareil (voir aussi page 34).
LINEAR PCM :
S’allume quand un signal Linear PCM
entre.
DIGITAL EX :
S’allume quand un signal
Dolby Digital
EX entre.
DIGITAL : • S’allume quand un signal Dolby Digital
entre.
• Clignote quand “DOLBY D” est choisi
pour une source qui n’est pas codée
avec Dolby Digital.
: • S’allume quand un signal DTS ou
DTS-ES entre.
• Clignote quand “DTS” est choisi pour
une source qui n’est pas codée avec
DTS.
REMARQUES pur le mode d’entrée numérique:
•Si le signal entrant ne peut pas être reconnu quand “AUTO/PCM”
est choisi, aucun indicateur de signal numérique ne s’allume sur
l’affichage.
•Mettre le système hors tension ou changer la source ramène
automatiquement le mode d’entrée sur “AUTO/PCM”.
Mémorisation des ajustements de
bas—Mémorisation automatique
Ce système mémorise les réglages sonores pour chaque source:
• Quand vous mettez l’appareil hors tension, et
• Quand vous changez la source
Les réglages suivants peuvent être mémorisés:
• Les ajustements pour les enceintes avant—balance,
graves et aigus (voir pages 30 et 58)
• L’atténuation de l’effet basse fréquence (voir pages 30
et 58)
• La position audio du caisson de grave (voir page 30)
• Le niveau de sortie des enceintes et du caisson de grave
(voir pages 18, 36 et 59)*
• Le réglage d’accentuation des graves (voir page 30)*
• La sélection du mode Surround et DSP (voir page 35)*
• Le niveau d’effet DSP (voir page 36)*
REMARQUE:
Pour les réglages repérés par un
“*”
, vous pouvez affecter un réglage
différent pour chaque source, y compris la bande FM et AM (PO).
FR17-21.TH-A75R[E]f.pm6 5/9/02, 10:21 AM19

20
Français
Fonctionnement de base du lecteur de DVD
CHANNEL/ZOOM
VOLUMETV VOL
TUNING
STOP
DIMMER
PAUSE
FF/
/REW
TV/VIDEO
1
MUTING
¡
REC
PLAY
DOWN UP
MEMORY STROBE
VFP
CONTROL
EFFECT
S.WFR TEST
SLEEP
TV
VCR
SETTING
TV RETURN
ENTER
ON
SCREEN
CHOICE
FM MODE
123
456
789
10 0+10
100+
SOUND
PTY SEARCH
DVD
RDS
TA/NEWS/INFO
PTY(PTY9
RDS DISPLAY
SURROUND OFF
DSP
CENTER
–
+
–
+
–
+
–
+
SURR-L SURR-R
S-BACK
–
+
ADJUST
O.T.
REPLAY
STANDBY
COMPACT
SUPER VIDEO
DIGITAL•EX
PRO LOGIC
Positionnez le
sélecteur de mode
de télécommande
sur “DVD”.
Pour plus de détails sur le fonctionnement du lecteur de
DVD, référez-vous aux pages 37 à 49.
Pour la lecture MP3, voir pages 50 et 51. Pour la lecture de
disques JPEG, voir pages 52 et 53.
•Avant d’utiliser la télécommande, appuyez sur DVD
pour changer le mode de télécommande.
• Mettez le téléviseur sous tension et choisissez le mode
d’entrée correct sur le téléviseur avant de mettre ce
système sous tension.
1Appuyez sur 0 sur l’appareil central.
Le système se met sous tension et le plateau à disque sort.
Le témoin STANDBY s’éteint.
•Pour changer les sous-titres ou la langue audio, référez-
vous à a page 41.
2Mettez un disque sur le plateau à l’étiquette
dirigée vers le haut.
3Démarrez la lecture
A partir de la télécommande: Appuyez sur PLAY.
Sur l’appareil central: Appuyez sur 3.
Le plateau à disque se ferme et l’appareil reproduit le
disque en place.
•Vous pouvez aussi refermer le plateau à disque en
appuyant sur 0 sur l’appareil central.
4Ajustement du volume.
•Référez-vous à la page 18 pour les détails.
Correct
Incorrect
5Mettez en service votre mode Surround ou
DSP préféré.
A partir de la télécommande UNIQUEMENT:
Appuyez sur SURROUND ou DSP.
•Référez-vous à la page 35 pour les détails.
Arrêt de la lecture
A partir de la télécommande: Appuyez sur STOP.
Sur l’appareil central: Appuyez sur 7.
Pour éjecter le disque en place
Appuyez sur 0sur l’appareil central.
Arrêt temporaire de la lecture
A partir de la télécommande: Appuyez sur PAUSE.
Sur l’appareil central: Appuyez sur 8.
• Appuyer sur PLAY ou sur 3 sur l’appareil central permet
de reprendre la lecture.
Pour reculer la lecture de 10 secondes (DVD uniquement)
—Relecture monotouche
A partir de la télécommande UNIQUEMENT: Appuyez sur
O.T. REPLAY.
Les 10 dernières secondes sont reproduites.
REMARQUES:
•Relecture monotouche peut être utilisée entre les chapitres d’un
même titre.
•Relecture monotouche peut ne pas fonctionner avec certains DVD.
Pour avancer rapidement (ou reculer rapidement) la lecture
A partir de la télécommande: Appuyez sur ¡ (ou 1).
Chaque fois que vous appuyez sur la touche, la vitesse de
l’avance rapide (ou du retour rapide) change comme suit:
x2
]
x5
]
x10
]
x20
]
x60
*
(ou
x2
]
x5
]
x10
]
x20
]
x60
*)
*
x60
et
x60
sont
disponibles uniquement
pour les DVD.
• Appuyer sur PLAY permet de reprendre la lecture normale.
Sur l’appareil central: Maintenez pressée ¢ (ou 4).
Si vous maintenez pressée la touche, la vitesse de l’avance
rapide (ou du retour rapide) change comme suit:
x5
]
x20
(ou
x5
]
x20
)
•
Relâcher
¢
(ou
4
) permet de reprendre la lecture normale.
REMARQUES:
•Quand un DVD, VCD ou SVCD est reproduit, aucun son ne sort
pendant la lecture rapide vers l’avant ou vers le retour.
•Cette fonction peut ne pas fonctionner avec certains DVD.
Localisation du début du chapitre ou de la plage souhaitée
Chapitre sur DVD : Pendant la lecture
Plage sur VCD/SVCD : Pendant la lecture avec la fonction
PBC est mis hors service ou à l’arrêt
Plage sur CD audio : Pendant la lecture ou à l’arrêt
A partir de la télécommande:
Appuyez sur FF/¢ (ou 4/REW).
Sur l’appareil central: Appuyez sur ¢ (ou 4).
REMARQUE:
Cette fonction peut ne pas fonctionner avec certains DVD.
FR17-21.TH-A75R[E]f.pm6 5/9/02, 10:21 AM20

21
Français
L
S.WFR
LS RS
CR
LFE
DIGITAL
SURROUND
LINEAR PCM L
S.WFR
R
Numéro de chapitre Durée de lecture écoulée
Mode Surround/DSP Enceintes actuellement
en service et signal
d’entrée**
Ex.: Quand la lecture d’un CD Audio
Type de disque Durée de lecture écoulée*
Numéro
de plage
Enceintes actuellement
en service et signal
d’entrée**
REMARQUES:
•Vous pouvez changer le mode d’information de la durée. Voir
page 38.
•L’information du type de disque actuel apparaît comme suit:
– “VCD”: indique qu’un VCD ou un SVCD est en place.
– “CD”: indique qu’un CD Audio est en place.
*
Quand un VCD ou un SVCD avec la fonction PBC est
reproduit, l’information de la durée n’apparaît pas, mais
seulement “PBC”.
**
Référez-vous à la page 34 pour les détails.
Fonction de reprise de la lecture (voir page 60):
Si vous mettez l’appareil hors tension pendant la lecture d’un
disque, la position d’arrêt de la lecture est mémorisée.
L’indicateur RESUME s’allume sur l’affichage quand la
fonction de reprise de la lecture est en service.
Pour reprendre la lecture à partir de la position mémorisée,
appuyez sur DVD ou sur PLAY sur la télécommande.
• La reprise de la lecture ne fonctionne pas avec les CD
Audio.
Protection contre les brûlures d’écran—fonction
d’économiseur d’écran
L’écran du téléviseur peut “brûler” si une image statique est
affichée pendant une période prolongée. Pour éviter ceci, le
système assombrit automatiquement l’écran si une image
statique est affichée pendant plus de 5 minutes—fonction
d’économiseur d’écran.
• Appuyer sur n’importe quelle touche annule la fonction
d’économiseur d’écran.
• Si vous ne souhaitez pas utiliser la fonction d’économiseur
d’écran, référez-vous à la page 57.
Mode Surround/
DSP
Pour choisir un titre, chapitre ou plage particulière en
utilisant les touches numériques
Titre sur DVD : A l’arrêt
Chapitre sur DVD : Pendant la lecture
Plage sur VCD/SVCD : Pendant la lecture avec la fonction
PBC est mis hors service ou à l’arrêt
Plage sur CD audio : Pendant la lecture ou à l’arrêt
A partir de la télécommande UNIQUEMENT: Appuyez sur les
touches numériques.
• Pour choisir 3, appuyez sur 3.
• Pour choisir 14, appuyez sur +10 puis sur 4.
• Pour choisir 24, appuyez sur +10, sur +10, puis sur 4.
• Pour choisir 40, appuyez sur +10, sur +10, sur +10 puis
sur 10.
La lecture du numéro de titre, chapitre ou de plage choisie
démarre.
REMARQUE:
Les touches numériques peuvent aussi être utilisées pour choisir un
élément sur les menus du DVD ou des VCD/SVCD avec fonction PBC.
A propos de l’indication sur l’affichage
Pendant la lecture d’un disque, l’information sur
l’affichage apparaît sur l’affichage.
Ex.: Quand la lecture d’un DVD
FR17-21.TH-A75R[E]f.pm6 5/9/02, 10:21 AM21

22
Français
Opérations du tuner
L
S.WFR
R
TUNED
L
S.WFR
R
TUNED
CHANNEL/ZOOM
VOLUMETV VOL
TUNING
STOP
DIMMER
PAUSE
FF/
/REW
TV/VIDEO
1
MUTING
¡
REC
PLAY
DOWN UP
MEMORY STROBE
DVD
VCR 1
AUDIO
VIDEO/
TV SOUND
ANGLE
FM/AM
SUBTITLE DECODE
RETURN DIGEST
VFP
TOP MENU MENU
CONTROL
EFFECT
S.WFR TEST
SLEEP
TV
VCR
SETTING
TV RETURN
ENTER
ON
SCREEN
CHOICE
FM MODE
123
456
789
10 0+10
100+
VCR
SOUND
PTY SEARCH
DVD
RDS
TA/NEWS/INFO
PTY(PTY9
RDS DISPLAY
SURROUND OFF
DSP
CENTER
–
+
–
+
–
+
–
+
SURR-L SURR-R
S-BACK
–
+
ADJUST
O.T.
REPLAY
L
S.WFR
R
TUNED ST AUTO MUTING
L
S.WFR
R
TUNED ST AUTO MUTING
CHANNEL/ZOOM
VOLUMETV VOL
TUNING
FF/
/REW
TV/VIDEO
1
MUTING
¡
PLAY
DOWN UP
DVD
VCR 1
AUDIO
VIDEO/
TV SOUND
ANGLE
FM/AM
SUBTITLE DECODE
RETURN DIGEST
VFP
TOP MENU MENU
CONTROL
EFFECT
S.WFR TEST
SLEEP
TV
VCR
SETTING
TV RETURN
ENTER
ON
SCREEN
CHOICE
FM MODE
123
456
789
10 0+10
100+
VCR
SOUND
PTY SEARCH
DVD
RDS
TA/NEWS/INFO
PTY(PTY9
RDS DISPLAY
SURROUND OFF
DSP
CENTER
–
+
–
+
–
+
–
+
SURR-L SURR-R
S-BACK –
+
ADJUST
Positionnez le
sélecteur de mode
de télécommande
sur “DVD”.
Positionnez le
sélecteur de mode
de télécommande
sur “DVD”.
Vous pouvez rechercher une station ou utiliser la fonction de
préréglage pour aller directement à une station donnée.
•Avant d’utiliser la télécommande, appuyez sur FM/AM
pour changer le mode de télécommande.
Accord manuel d’une station
A partir de la télécommande UNIQUEMENT:
Utilisation de l’accord par
préréglage
Une fois qu’une station a été affectée à un numéro de canal,
elle peut être accordée rapidement. Vous pouvez prérégler
30 stations FM et 15 stations AM (PO).
7Pour mémoriser les stations préréglées
Avant de commencer, rappelez-vous...
Il y a un temps limite pour effectuer les étapes suivantes. Si le réglage
est annulé avant que vous ne terminiez, recommencez à partir de
l’étape 2.
A partir de la télécommande UNIQUEMENT:
1Appuyez répétitivement sur FM/AM pour
choisir la bande.
Chaque fois que vous appuyez sur la touche, la bande
alterne entre FM et AM (PO).
La bande choisie apparaît sur la fenêtre l’affichage, puis
la dernière station reçue apparaît.
Ex.: Quand AM est choisi.
2Appuyez répétitivement sur TUNING UP ou
DOWN jusqu’à ce que vous trouviez la
fréquence souhaitée.
•TUNING UP :Augmente la fréquence.
•TUNING DOWN :Diminue la fréquence.
Si vous maintenez la touche pressée puis la relâchez, le
système commence à rechercher les stations et s’arrête
quand une station de signal suffisamment fort est accordée.
REMARQUES:
•Quand une station de signal suffisamment fort est accordée,
l’indicateur TUNED s’allume sur l’affichage.
•Quand un programme FM est reçu, l’indicateur ST s’allume.
1Accordez une station que vous souhaitez
prérégler (voir “Accord manuel d’une
station”).
• Si vous souhaitez mémoriser le mode de réception FM
pour une station FM, choisissez le mode de réception
souhaité. Référez-vous à “Sélection du mode de
réception FM” à la page 23.
2Appuyez sur MEMORY.
La position du numéro de canal clignote sur l’affichage
pendant environ 5 secondes.
FR22-27.TH-A75R[E]f.pm6 5/9/02, 10:22 AM22

23
Français
L
S.WFR
R
CH
TUNED ST AUTO MUTING
VFP
SLEEP
SETTING
TV RETURN
ENTER
ON
SCREEN
CHOICE
FM MODE
789
10 0+10
100+
PTY SEARCH
DVD
RDS
TA/NEWS/INFO
PTY(PTY9
RDS DISPLAY
–
+
–
+
SURR-L SURR-R
S-BACK –
+
ADJUST
VFP
SLEEP
SETTING
TV RETURN
ENTER
ON
SCREEN
CHOICE
FM MODE
789
10 0+10
100+
PTY SEARCH
DVD
RDS
TA/NEWS/INFO
PTY(PTY9
RDS DISPLAY
–
+
–
+
SURR-L SURR-R
S-BACK –
+
ADJUST
Positionnez le
sélecteur de mode
de télécommande
sur “DVD”.
Positionnez le
sélecteur de mode
de télécommande
sur “DVD”.
Appuyez sur FM MODE pendant l’écoute
d’une station AM (PO).
Le mode Beat Cut actuel apparaît sur l’affichage.
Chaque fois que vous appuyez sur la touche, le mode Beat
Cut alterne entre “BEAT CUT 1” et “BEAT CUT 2”.
• Choisissez “BEAT CUT 1” ou “BEAT CUT 2”, le réglage qui
vous donne le son le plus clair.
Appuyez sur FM MODE lors de l’écoute d’une
station FM.
Le mode de réception FM apparaît sur l’affichage.
Chaque fois que vous appuyez sur la touche, le mode de
réception FM alterne entre “AUTO MUTING” et “MONO”.
•AUTO MUTING:
Quand un programme est émis en stéréo, vous entendez
un son stéréo.
Quand il est en monaural, vous entendez un son monaural.
Ce mode est aussi pratique pour supprimer les bruits
statiques entre les stations. L’indicateur AUTO MUTING
s’allume sur l’affichage.
•MONO:
La réception est améliorée bien que l’effet stéréo soit
perdu. Dans ce mode, vous entendrez du bruit entre les
stations. (L’indicateur AUTO MUTING s’éteint aussi.)
L’indicateur ST s’éteint de l’affichage.
Réduction du bruit des
émissions AM (PO)
Lors de l’écoute d’une émission AM (PO) avec beaucoup de
bruit d’interférences, vous pouvez changer le mode Beat Cut
(coupure des battements) pour réduire le bruit.
A partir de la télécommande UNIQUEMENT:
A partir de la télécommande UNIQUEMENT:
3Appuyez sur les touches numériques
(1–10, +10) pour choisir un numéro de
canal pendant que la position du numéro de
canal clignote.
Le numéro de canal et l’indicateur CH clignotent.
Ex.:
• Pour le numéro de canal 3, appuyez sur 3.
• Pour le numéro de canal 14, appuyez sur +10 puis sur 4.
(Pour les stations FM uniquement)
• Pour le numéro de canal 24, appuyez sur +10, sur +10,
puis sur 4.
• Pour le numéro de canal 30, appuyez sur +10, sur +10,
puis sur 10.
4Appuyez de nouveau sur MEMORY
pendant que le numéro choisi clignote sur
l’affichage.
Le numéro choisi s’arrête de clignoter.
La station est affectée au numéro préréglé choisi.
5Répétez les étapes 1 à 4 jusqu’à ce que
vous mémorisiez toutes les stations
souhaitées.
Pour effacer une station préréglée
Mémoriser une nouvelle station sur un numéro utilisé efface la
station précédemment mémorisée.
7Pour accorder une station préréglée
A partir de la télécommande UNIQUEMENT:
1Appuyez répétitivement sur FM/AM pour
choisir la bande.
Chaque fois que vous appuyez sur la touche, la bande
alterne entre FM et AM (PO).
2Appuyez sur les touches numériques
(1–10, +10) pour choisir un numéro de
canal préréglé.
Ex.:
• Pour le numéro de canal 3, appuyez sur 3.
• Pour le numéro de canal 14, appuyez sur +10, puis sur 4.
(Pour les stations FM uniquement)
• Pour le numéro de canal 24, appuyez sur +10, sur +10,
puis sur 4.
• Pour le numéro de canal 30, appuyez sur +10, sur +10,
puis sur 10.
Sélection du mode de réception FM
Quand un programme FM stéréo accordé est parasité, vous
pouvez changer le mode de réception FM pour améliorer la
réception.
• Vous pouvez mémoriser le mode de réception FM pour
chaque station préréglée. Voir “Utilisation de l’accord par
préréglage” à la page 22.
FR22-27.TH-A75R[E]f.pm6 5/9/02, 10:22 AM23

24
Français
CHANNEL/ZOOM
VOLUMETV VOL
VFP
TV RETURN
ENTER
ON
SCREEN
CHOICE
FM MODE
10 0+10
100+
PTY SEARCH
DVD
RDS
TA/NEWS/INFO
PTY(PTY9
RDS DISPLAY
ADJUST
Opérations du tuner
Positionnez le
sélecteur de mode
de télécommande
sur “RDS”.
7
Quelles informations le signal RDS offre-t-il?
Vous pouvez voir les signaux RDS que la station envoie sur
l’affichage.
Pour afficher les signaux RDS
À partir de la télécommande UNIQUEMENT:
Appuyez sur RDS DISPLAY pendant l’écoute
d’une station FM.
Chaque fois que vous appuyez sur la touche, l’indication sur
l’affichage change comme suit:
PS ] PTY ] RT ] Fréquence (Indication normale) ]
(retour au début)
•PS (nom de la station):
Pendant la recherche, “PS” apparaît, puis le nom de la
station est affiché. “NO PS” apparaît si aucun signal n’est
envoyé.
•PTY (type de programme):
Pendant la recherche, “PTY” apparaît, puis le type de
programme diffusé est affiché. “NO PTY” apparaît si aucun
signal n’est envoyé.
•RT (radiotexte):
Pendant la recherche, “RT” apparaît, puis le message
envoyé par la station est affiché. “NO RT” apparaît si aucun
signal n’est envoyé.
•Fréquence:
Fréquence de la station (ce n’est pas un service RDS).
À propos des caractères apparaissant sur la fenêtre
l’affichage
Quand des signaux PS, PTY ou RT apparaissent sur la
fenêtre l’affichage, certains caractères et marques spéciaux
ne peuvent pas être affichés correctement.
REMARQUE:
Si la recherche se termine sans qu’aucune station n’ait été trouvée,
“PS”, “PTY” et “RT” n’apparaîtront pas sur la fenêtre l’affichage.
L
S.WFR
R
TUNED ST AUTO MUTING RDS
Indicateur RDS
Utilisation de la fonction RDS
(Radio Data System) pour
recevoir des stations FM
Le RDS permet aux stations FM d’envoyer un signal
supplémentaire en plus du signal de programme ordinaire.
Par exemple, les stations envoient leur nom, de même que
des informations sur le type de programme qu’elles diffusent,
tel que sport, musique, etc.
Quand une station FM offrant le service RDS est accordée,
l’indicateur RDS s’allume sur l’affichage.
Avec ce système vous pouvez recevoir les types de signaux
RDS suivants:
•PS (nom de la station) :Affiche le nom courant de la
station.
•PTY (type de programme) :Affiche le type de programme
diffusé.
•RT (radiotexte) :Affiche un message de la
station.
•Enhanced Other Networks:Référez-vous à la page 26.
REMARQUES:
•Le service RDS n’est pas disponible pour les émissions AM (PO).
•Le service RDS peut ne pas fonctionner correctement si la station
accordée ne transmet pas le signal RDS correctement ou le signal
est faible.
FR22-27.TH-A75R[E]f.pm6 5/9/02, 10:22 AM24

25
Français
Travel
Affairs
Rock M
(Musica rock)
Religion Easy M
(Musica de fácil escucha)
Children Classics
Finance
Weather
Other M
(Otra musica)
Social
Phone In
Light M
(Musica ligera)
Info
(Informacion)
Sport
Educate
(Educacion)
Folk M
(Musica folclorica)
Oldies
Drama
Nation M
(Musica nacional)
Culture
Jazz
Varied
Pop M
(Musica pop)
Country
Science
Leisure
Alarm !
TEST
Document
None
News
VFP
SLEEP
SETTING
TV RETURN
ENTER
ON
SCREEN
CHOICE
FM MODE
789
10
0
+10
100+
PTY SEARCH
DVD
RDS
TA/NEWS/INFO
PTY(PTY9
RDS DISPLAY
–
+
–
+
SURR-L SURR-R
S-BACK
–
+
ADJUST
Positionnez le
sélecteur de mode
de télécommande
sur “RDS”.
Recherche d’un programme par
code PTY
Un des avantages du service RDS est que vous pouvez
localiser un type de programme particulier parmi les canaux
préréglés (voir page 26) en spécifiant le code PTY.
Pour rechercher un programme en utilisant les
codes PTY
Avant de commencer, rappelez-vous...
•La recherche PTY ne s’applique qu’aux stations préréglées.
•Pour arrêter la recherche en cours, à n’importe quel moment,
appuyez sur PTY SEARCH.
•Il y a un temps limite pour effectuer les étapes suivantes. Si le
réglage est annulé avant que vous ne terminiez, recommencez à
partir de l’étape 1.
À partir de la télécommande UNIQUEMENT:
1Appuyez sur PTY SEARCH pendant
l’écoute d’une station FM.
“PTY SELECT” clignote sur l’affichage.
2Appuyez sur PTY 9 ou PTY ( jusqu’à ce
que le code PTY souhaité apparaisse sur la
fenêtre l’affichage, pendant que “PTY
SELECT” clignote.
• Pour les détails, référez-vous à “Description des codes
PTY” à la page 26.
3Appuyez de nouveau sur PTY SEARCH,
pendant que le code PTY choisi à l’étape
précédente est toujours sur l’affichage.
Pendant la recherche, “SEARCH” et le code PTY choisi
apparaissent alternativement sur l’affichage.
Le système fait une recherche parmi les 30 stations FM
préréglées, s’arrête quand il en a trouvé une avec le code
que vous avez choisi et accorde cette station.
Pour continuer la recherche après le premier arrêt
Appuyez de nouveau sur PTY SEARCH pendant que les
indications sur l’affichage clignotent.
• Si aucun programme n’est trouvé, “NOT FOUND” apparaît
sur l’affichage.
Codes PTY
FR22-27.TH-A75R[E]f.pm6 5/9/02, 10:22 AM25

26
Français
L
S.WFR
R
CH
TUNED ST AUTO MUTING RDS TA NEWS INFO
Opérations du tuner
CHANNEL/ZOOM
VOLUMETV VOL
VFP
SETTING
TV RETURN
ENTER
ON
SCREEN
CHOICE
FM MODE
10 0+10
100+
PTY SEARCH
DVD
RDS
TA/NEWS/INFO
PTY(PTY9
RDS DISPLAY
– – –
ADJUST
Positionnez le
sélecteur de mode
de télécommande
sur “RDS”.
Indicateur de type
de programme
Description des codes PTY:
News: Informations.
Affairs: Émissions d’actualité prolongeant les
informations—débats ou analyses.
Info: Émissions dont le but est de donner des
conseils dans le sens le plus large.
Sport: Programs concerned with any aspect of
sports.
Educate: Émissions concernant tous les aspects du
sport.
Drama: Feuilletons radiophoniques et séries.
Culture: Émissions concertant tous les aspects de la
culture nationale ou régionale, incluant la
langue, le théâtre, etc.
Science: Émissions concernant la science et la
technologie.
Varied: Utilisé principalement pour les émissions à
base de conversation comme les jeux
radiophoniques et les interviews de
personnalités.
Pop M: Musique commerciale des succès
populaires actuels.
Rock M: Musique rock.
Easy M: Musique contemporaine actuelle considérée
comme étant “facile à écouter”.
Light M: Musique instrumentale et vocale ou chorale.
Classics: Représentation d’œuvres orchestrales
majeures, de symphonies, de musique de
chambre, etc.
Other M: Musique n’appartenant à aucune des autres
catégories.
Weather: Prévisions météorologiques.
Finance: Marché des titres, commerce, finance, etc.
Children: Émissions destinées à un public jeune.
Social: Émissions à propos de sociologie, histoire,
géographie, psychologie et société.
Religion: Émissions religieuses.
Phone In: Émissions faisant intervenir des personnes
du public donnant leurs avis, soit par
téléphone ou directement.
Travel: Informations sur les voyages.
Leisure: Émissions à propos des activités de loisir.
Jazz: Musique de jazz.
Country: Chansons originaires ou prolongeant la
musique traditionnelle des états américains
du sud.
Nation M: Musique populaire actuelle d’un pays ou
d’une région dans la langue nationale.
Oldies: Musique de la période appelée “l’âge d’or”
de la musique populaire.
Folk M: Musiques ayant ses racines dans la culture
musicale d’un pays particulier.
Document: Émissions reposant sur des faits, présentées
avec un style d’investigation.
TEST: Émis pour tester les équipements et
appareils d’émission d’urgence.
Alarm !: Annonce d’urgence.
La classification des codes PTY pour certaines
stations FM peut être différente de la liste ci-dessus.
Commutation temporaire sur le
programme de votre choix
Un autre service RDS pratique s’appelle “Enhanced Other
Networks” (Information étendue aux autres réseaux).
Il permet au système de commuter temporairement su un
programme de votre choix (TA, NEWS et/ou INFO) à partir
d’une autre station, sauf dans les cas suivants:
•
Quand vous écoutez une station non RDS (toutes les stations
AM (PO), certaines stations FM et les autres sources).
• Quand le système est en mode d’attente.
Avant de commencer, rappelez-vous...
La fonction Enhanced Other Networks s’applique uniquement aux
stations préréglées.
Appuyez répétitivement sur TA/NEWS/INFO
jusqu’à ce que l’indicateur du type de
programme (TA/NEWS/INFO) souhaité
apparaisse sur la l’affichage.
• Chaque fois que vous appuyez sur la touche, l’indicateur
sur l’affichage change comme suit:
TA ] NEWS ] INFO ] TA/NEWS ] TA/INFO ]
NEWS/INFO ] TA/NEWS/INFO ] Aucun ]
(retour au début)
•TA :Informations routières de votre région.
•NEWS :Informations.
•INFO :Programme dont le but est de donner des conseils
dans le sens le plus large possible.
L’indicateur RDS s’allume sur l’affichage si vous choisissez
les programmes ci-dessus.
Indicateur RDS
FR22-27.TH-A75R[E]f.pm6 5/9/02, 10:22 AM26

27
Français
REMARQUES:
•En mode d’attente Enhanced Other Networks, si vous changez la
source de lecture, le mode d’attente Enhanced Other Networks est
annulé temporairement.
Si vous changez la source de nouveau sur FM, le système retourne
en mode d’attente Enhanced Other Networks.
•Les données Enhanced Other Networks envoyées par certaines
stations peuvent ne pas être compatibles avec ce système.
•Le service Enhanced Other Networks ne fonctionne pas avec
certaines stations FM offrant le service RDS.
•Pendant l’écoute d’un programme accordé par la fonction
Enhanced Other Networks, la station ne change pas même si une
autre station du réseau diffuse les mêmes données Enhanced
Other Networks.
•Pendant l’écoute d’un programme accordé par la fonction
Enhanced Other Networks, vous pouvez uniquement utiliser les
touches TA/NEWS/INFO et RDS DISPLAY parmi les touches de
commande du tuner.
Fonctionnement de la fonction Enhanced
Other Networks:
CAS 1
S’il n’y a pas de station diffusant le type de
programme que vous avez choisi
Le système reste accordé sur la station actuelle.
«
Quand une station commence à diffuser le type de
programme choisi, le système commute automatiquement
sur cette station. L’indicateur du code PTY reçu clignote.
«
Quand le programme est terminé, le système retourne sur
la station précédemment accordée, mais la fonction
Enhanced Other Networks reste en service.
CAS 2
Si la station FM que vous écoutez diffuse le type de
programme que vous avez choisi
Le système reste accordé sur la station actuelle, mais
l’indicateur du code PTY reçu clignote.
«
Quand le programme est terminé, l’indicateur du code
PTY reçu s’arrête de clignoter et reste allumé, mais la
fonction Enhanced Other Networks reste en service.
Pour arrêter d’écouter le programme choisi avec
Enhanced Other Networks.
Appuyez de nouveau répétitivement sur TA/NEWS/INFO de
façon que l’indicateur de type de programme (TA/NEWS/
INFO) s’éteigne sur l’affichage.
Le système quitte le mode d’attente Enhanced Other
Networks et retourne sur la station précédemment choisie.
Quand une émission d’urgence (signal Alarm !) est
envoyée à partir d’une station FM.
Le système accorde automatiquement cette station sauf dans
les cas suivants:
• Quand vous écoutez une station non RDS (toutes les
stations AM (PO), certaines stations FM et les autres
sources).
• Quand le système est en mode d’attente.
Pendant la réception de l’émission d’urgence, “Alarm !”
apparaît sur l’affichage.
Le signal TEST est utilisé pour tester les équipements
—pour savoir s’ils peuvent recevoir le signal Alarm !
correctement.
Le signal TEST fait réagir le système de la même façon que
s’il s’agissait d’un signal Alarm !. Si un signal TEST est reçu,
le système automatiquement sur la station diffusant le signal
TEST.
Lors de la réception du signal TEST, “TEST” apparaît sur
l’affichage.
FR22-27.TH-A75R[E]f.pm6 5/9/02, 10:22 AM27

28
Français
Réglages de base
L
S.WFR
R
VFP
SETTING
TV RETURN
ENTER
ON
SCREEN
CHOICE
FM MODE
10 0+10
100+
PTY SEARCH
DVD
RDS
TA/NEWS/INFO
PTY(PTY9
RDS DISPLAY
–
+
–
+
SURR-L SURR-R
S-BACK –
+
ADJUST
Positionnez le
sélecteur de mode
de télécommande
sur “DVD”.
1Appuyez une fois sur SETTING/ADJUST.
“SETTING” apparaît sur l’affichage.
• Chaque fois que vous appuyez sur SETTING/ADJUST,
la fonction pour la touche change comme suit.
SETTING \ADJUST \source actuelle \
(retour au début)
2Appuyez répétitivement sur la touche de
curseur ∞/5 pour choisir l’élément que
vous souhaitez pendant que “SETTING”
apparaît sur l’affichage.
• Chaque fois que vous appuyez sur la touche, l’élément
sur l’affichage change comme suit:
FRNT SP“CNTR SP“SURR SP“BACK SP “
EX/ES “FRNT D “CNTR D “SURR D “
BACK D “CROSS “PHASE “
(retour au début)
3Appuyez répétitivement sur la touche de
curseur 3/2 pour choisir le réglage
approprié pour l’élément choisi.
Le réglage est mémorisé.
Réglage taille des enceintes
—
FRNT SP (enceinte avant), CNTR SP (enceinte
centrale), SURR SP (enceinte surround),
BACK SP (enceinte surround arrière)
Choisissez la taille pour chaque enceinte.
LARGE :Choisissez ce réglage quand le cône du taille des
enceintes est plus grand que 12 cm.
SMALL :Choisissez ce réglage quand le cône du taille des
enceintes est plus petit que 12 cm.
NO :(Uniquement pur “BACK SP”) Choisissez ce
réglage quand aucune enceinte n’est connectée.
Ex.: “FRNT SP” est choisi.
Certains des réglages suivants doivent être réalisés après la
connexion et la mise en place des enceintes, tandis que
d'autres faciliteront le fonctionnement.
• Vous pouvez aussi régler les enceintes suivantes en
utilisant le menu de choix, à l’exception de “EX/ES” et
“PHASE” (voir pages 59 et 60).
Procédure de réglage
Avant de commencer, rappelez-vous...
Il y a un temps limite pour effectuer les étapes suivantes. Si le réglage
est annulé avant que vous ne terminiez, recommencez à partir de
l’étape 1.
A partir de la télécommande UNIQUEMENT:
ATTENTION:
Lors de l’utilisation des enceintes fournies, choisissez
“SMALL” pour chaque réglage. Choisir “LARGE” peut
endommager les enceintes.
REMARQUES:
•Si vous avez choisi “SMALL” pour les enceintes avant, vous ne
pouvez pas choisir “LARGE” pour les enceinte centrale, surround et
surround arrière.
•Si vous avez choisi “SMALL” pour les enceintes Surround, vous ne
pouvez pas choisir “LARGE” pour l’enceinte Surround arrière.
Sélection du nombre de canaux
pour la reproduction des sources
numériques multicanaux—EX/ES
Il est possible de choisir une reproduction à 5,1 canaux ou à
6,1 canaux lors de la lecture d’une source numérique
multicanaux (plus de 5,1 canaux) avec le réglage des
enceintes surround arrière sur “LARGE” ou sur “SMALL” (voir
ce-à gauche). “AUTO” est le réglage initial.
Choisissez un des réglages suivants.
AUTO :Choisissez ce réglage pour reproduire le signal
original.
• Lors de la reproduction d’une source Dolby Digital EX
(portant la marque ), “DOLBY D EX (Dolby Digital
EX)” entre en service en utilisant les enceinte surround
arrière.
• Lors de la reproduction d’une source Dolby Digital à
5,1 canaux, “DOLBY D (Dolby Digital)” entre en service
sans utiliser les enceinte surround arrière.
• Lors de la reproduction d’une source DTS-ES Discrete
(portant la marque ), “ES DSCRETE (DTS-ES
Discrete)” entre en service en utilisant les enceinte
surround arrière.
• Lors de la reproduction d’une source DTS-ES Matrix
(portant la marque ), “ES MATRIX (DTS-ES
Matrix)” entre en service en utilisant les enceinte
surround arrière.
•
Lors de la reproduction d’une source DTS Digital Surround
à 5,1 canaux, “DTS (DTS Digital Surround)” entre en service
sans utiliser les enceinte surround arrière.
ON :Choisir ce réglage pour mettre en service la
reproduction à 6,1 canaux en utilisant les
enceintes surround arrière.
• Lors de la reproduction d’une source Dolby Digital EX,
“DOLBY D EX (Dolby Digital EX)” entre en service en
utilisant les enceinte surround arrière.
•L
ors de la reproduction d’une source Dolby Digital à
5,1 canaux, “DOLBY D EX (Dolby Digital EX)” entre en
service en utilisant les enceinte surround arrière. Le canal
Surround arrière est reproduit à partir du signal Surround.
• Lors de la reproduction d’une source DTS-ES Discrete,
“ES DSCRETE (DTS-ES Discrete)” entre en service en
utilisant les enceinte surround arrière.
• Lors de la reproduction d’une source DTS-ES Matrix,
“ES MATRIX (DTS-ES Matrix)” entre en service en
utilisant les enceinte surround arrière.
•
Lors de la reproduction d’une source DTS Digital
Surround à 5,1 canaux, “DTS + NEO:6” entre en service
en utilisant les enceinte surround arrière. Le canal
Surround arrière est reproduit à partir du signal Surround.
OFF :Choisir ce réglage pour mettre en service la
reproduction à 5,1 canaux sans utiliser les
enceinte surround arrière.
• Lors de la reproduction d’une source Dolby Digital EX
ou DTS-ES les signaux surround arrière sont sortis par
les enceinte surround mixés avec les signaux surround.
• Lors de la reproduction d’une source Dolby Digital ou DTS
Digital Surround à 5,1 canaux, “DOLBY D (Dolby Digital)”
ou “DTS (DTS Digital Surround)” entre en service.
FR28-30.TH-A75R[E]f.pm6 5/9/02, 10:22 AM28

29
Français
2,1 m
2,4 m
2,7 m
3,0 m
3,3 m
C
LR
LS RS
SB
Caisson
de grave
Réglage de la fréquence de
transition—CROSS
Les petites enceintes ne peuvent pas reproduire
efficacement les graves. Si vous utilisez des petites
enceintes dans n’importe position, cet appareil redirige
automatiquement les éléments graves affectés aux petites
enceintes vers les grandes enceintes.
Pour utiliser cette fonction correctement, régler le niveau de
la fréquence de transition en fonction de la taille des petites
enceintes connectées.
• Si vous avez choisi “LARGE” pour toutes les enceintes,
cette fonction n’a aucun effet et vous ne pouvez pas
changer la fréquence.
Choisissez un des réglages suivants:
80Hz :Choisissez ce réglage quand le cône du haut-parleur
intégré à l’enceinte est d’environ 12 cm.
100Hz :Choisissez ce réglage quand le cône du haut-parleur
intégré à l’enceinte est d’environ 10 cm.
120Hz :Choisissez ce réglage quand le cône du haut-parleur
intégré à l’enceinte est d’environ 8 cm.
150Hz :Choisissez ce réglage quand le cône du haut-parleur
intégré à l’enceinte est d’environ 6 cm.
200Hz :Choisissez ce réglage quand le haut-parleur cône
intégré à l’enceinte est inférieur à 5 cm.
ATTENTION:
Lors de l’utilisation des enceintes fournies, choisissez
“200Hz”.
REMARQUE:
La fréquence de transition ne fonctionne pas avec le mode HEADPHONE.
Réglage de la phase du caisson
de grave—PHASE
La phase du caisson de grave est associée avec la distance
à la position d’écoute des enceintes avant et du caisson de
grave. Vous pouvez changer la phase pour obtenir un
meilleur son grave.
Choisissez un des réglages suivants:
NORMAL :Normalement choisissez ce réglage.
REVERS :Choisissez ce réglage si vous sentez que les
sons graves sont meilleurs avec ce mode
qu’avec le mode “NORMAL”.
Ex.: Dans le cas ci-dessus, réglez la distance des
enceintes comme suit:
FRNT D : 3.0 m
CNTR D : 3.0 m
SURR D : 2.7 m
BACK D : 2.4 m
REMARQUES:
•Si “NO” a été choisi pour les enceintes surround arrière (voir page
28), il n’est pas possible de choisir ce réglage. Les sources à 6,1
canaux et à 5,1 canaux sont reproduites comme si “OFF” est choisi.
•Si aucun son n’est sorti de l’enceinte surround arrière, même lors
de la lecture d’une source Dolby Digital EX (portant la marque
), avec “EX/ES” réglé sur “AUTO”, choisissez “ON” au lieu de
“AUTO” .
Réglage de la distance des
enceintes
—FRNT D (distance des enceintes avant),
CNTR D (distance de l’enceinte avant),
SURR D (distance des enceintes Surround),
BACK D (distance de l’enceinte Surround arrière)
La distance de votre point d’écoute aux enceintes est un
autre élément important pour obtenir le meilleur son possible
des modes Surround et DSP. Vous devez régler la distance
de votre point d’écoute aux enceintes.
En se référant à la distance aux enceintes, cet appareil règle
automatiquement le temps de retard du son pour chaque
enceinte de façon que le son de toutes les enceintes vous
atteigne en même temps.
Réglez la distance à partir du point d’écoute à chaque
enceinte dans une plage de 0,3 m à 9,0 m (par intervalles
de 0,3 m).
REMARQUE:
Si vous avez choisi “NO” pour “BACK SP” (voir page 28), vous ne
pouvez pas régler la distance de l’enceinte surround arrière.
FR28-30.TH-A75R[E]f.pm6 5/9/02, 10:22 AM29

30
Français
Ajustements sonores
VFP
SETTING
TV RETURN
ENTER
ON
SCREEN
CHOICE
FM MODE
10 0+10
100+
PTY SEARCH
DVD
RDS
TA/NEWS/INFO
PTY(PTY9
RDS DISPLAY
– –
SURR-L SURR-R
S-BACK –
ADJUST
Positionnez le
sélecteur de mode
de télécommande
sur “DVD”.
Vous pouvez ajuster le son selon vos préférences et en
fonction des conditions d’écoute ou de la source.
•
Vous pouvez aussi ajuster le son en utilisant le menu de
choix sauf pour “AUDIO POS” et “B.BOOST” (voir page 58).
Procédure de réglage
Avant de commencer, rappelez-vous...
Il y a un temps limite pour effectuer les étapes suivantes. Si le réglage
est annulé avant que vous ne terminiez, recommencez à partir de
l’étape 1.
A partir de la télécommande UNIQUEMENT:
1Appuyez deux fois sur SETTING/ADJUST.
“ADJUST” apparaît sur l’affichage.
• Chaque fois que vous appuyez sur SETTING/ADJUST,
la fonction pour la touche change comme suit.
SETTING \ADJUST \source actuelle \
(retour au début)
2Appuyez répétitivement sur la touche de
curseur ∞/5 pour choisir l’élément que
vous souhaitez pendant que “ADJUST”
apparaît sur l’affichage.
• Chaque fois que vous appuyez sur la touche, l’élément
sur l’affichage change comme suit:
BASS “TREBLE “LFE ATT. “
MIDNIGHT “B.BOOST “AUDIO POS “
BAL “(retour au début)
3Appuyez répétitivement sur la touche de
curseur 3/2 pour choisir le réglage
approprié pour l’élément choisi.
Votre ajustement est mémorisé.
Ajustement de la tonalité
—
BASS, TREBLE
Vous pouvez ajuster les graves et les aigus selon vos préférences.
Ajustez le niveau des graves et des aigus du signal des
canaux avant par intervalles de 2 pas.
• Plage d’ajustement: “−10” à “10”.
Réglage du niveau de l’atténuation
de l’effet basse fréquence
—LFE ATT.
L’atténuateur d’effet basse fréquence diminue la distorsion
des sons graves du caisson de grave lors de la lecture d’un
disque Dolby Digital ou marque DTS Digital Surround.
Mettez marche (ON) ou arret (OFF) service l’atténuateur LFE:
ON (−−
−−
−10 dB) : Choisissez ce réglage pour diminuer la
distorsion des sons graves du caisson
de grave.
OFF (0 dB) : Pour annuler cette fonction.
Réglage de la plage dynamique
—MIDNIGHT
Vous pouvez renforcer les graves si le son grave est insuffisant.
Choisissez un des réglages suivants:
1: Choisissez ce réglage quand vous souhaitez
réduire légèrement la plage dynamique.
2: Choisissez ce réglage quand vous souhaitez
appliquer complètement l’effet de compression
(pratique la nuit).
OFF : Choisissez ce réglage quand vous souhaitez
profiter du son Surround avec la plage
dynamique complète (aucun effet n’est appliqué).
Renforcement des sons graves
—B (bass).BOOST
Vous pouvez mettre en ou hors service l’accentuation des graves.
• Quand l’accentuation des graves est en service,
l’indicateur BASS est allumé sur l’affichage.
Mettez marche (ON) ou arret (OFF) service l’accentuation
des graves.
ON : Choisssez ce réglage pour mettre en service
l’accentuation des graves.
OFF : Choisissez ce réglage pour mettre hors
service l’accentuation des graves.
Réglage de la position audio du
caisson de grave—AUDIO POS (position)
Vous pouvez sentir que le son du caisson de grave est trop
fort pendant l’écoute d’un son stéréo.
Si c’est le cas, vous pouvez changer automatiquement le
niveau du caisson de grave au niveau correct lors de l’écoute
d’un son stéréo.
• Pour ajuster le niveau du caisson de grave, référez-vous à
la page 18.
Choisissez le niveau d’ajustement automatiquement de
"0" à "–6" (par intervalle de –2 pas).
Si aucun ajustement n’est nécessaire, choisissez “0”. Plus le
nombre est petit, plus le niveau sera diminué
automatiquement lors de l’écoute d’une source stéréo.
Ajustement de la balance des
enceintes avant—BAL (balance)
Si le son provenant des enceintes avant est déséquilibré,
ajustez la balance de sortie des enceintes avant.
Ajustez la balance de sortie des enceintes avant dans une
plage de “R −21” à “L −21”.
• “R −21”: aucun son ne sort de l’enceinte avant droite.
• “L −21”: aucun son ne sort de l’enceinte avant gauche.
•
“CENTER”: le niveau de sortie des deux enceintes est identique.
FR28-30.TH-A75R[E]f.pm6 5/9/02, 10:22 AM30

31
Français
Cet système possède divers modes Surround et DSP (processeur de signal numérique). Pour utiliser les modes Surround et
DSP correctement, les enceintes nécessaires à la création de chaque mode Surround et DSP doivent être en service.
Création de champs sonores réalistes
Enceinte
avant droite
Enceinte
avant gauche
Enceinte suround arrière
Caisson
de grave
Enceinte
surround droite
Enceinte
surround gauche
Enceinte centrale
Appareil central
STANDBY
COMPACT
SUPER VIDEO DIGITAL•EX
PRO LOGIC
DVD DIGITAL CINEMA SYSTEM
PROGRESSIVE
PHONES
VOLUMESOURCE
Modes Surround
7 Reproduction de l’ambiance d’un cinéma
Dans une salle de cinéma, beaucoup d’enceintes sont
situées sur les murs pour reproduire un son multi-surround
impressionnant vous atteignant de toutes les directions.
Avec toutes ces enceintes, la localisation du son et le
mouvement du son peuvent être exprimés.
Les modes Surround intégrés à cet ampli-tuner peuvent
recréer à peu près les mêmes son surround que vous
pourriez sentir dans une vraie salle de cinéma.
Salle de cinéma
À la maison
7 Introduction des modes Surround
Dolby Surround
Dolby Digital EX*
Permet de reproduire les pistes sonores des films
multicanaux codés avec Dolby Digital EX ( ).
Le Dolby Digital EX est un nouveau format de codage
surround, créé comme une extension du Dolby Digital
multicanaux et conçu pour ajouter un canal surround
supplémentaire au Dolby Digital 5,1 canaux (voir ci-dessous).
En utilisant une méthode de codage/décodage matriciel, un
signal de canal supplémentaire, “surround arrière” est codé
(et décodé) dans les deux signaux de canal surround
gauche et droit.
Comparé au Dolby Digital conventionnel à 5,1 canaux, le
nouveau canal surround arrière ajouté permet de reproduire
des mouvements plus détaillés derrière le spectateur lors de
la visualisation de logiciels vidéo. De plus, la localisation des
sons surround devient plus stable et permet de profiter d’un
champ surround réaliste dans la pièce d’écoute.
• Quand le Dolby Digital EX est en service, les indicateurs
DIGITAL EX et SURROUND sont allumés sur l’affichage.
Dolby Digital*
Utilisé pour reproduire les pistes sonores multicanaux des
logiciels codés avec Dolby Digital (
DIGITAL
).
La méthode de codage Dolby Digital 5,1-canaux (appelé
format audio numérique discret à 5,1 canaux) enregistre et
compresse numériquement les signaux du canal avant
gauche, du canal avant droit, du canal central, du canal
surround gauche, du canal surround droit et du canal LFE
(un total de 6 canaux, mais parmi lesquels le canal LFE est
compté comme 0,1 canal et par conséquent l’ensemble
comporte 5,1 canaux).
Puisque chaque canal est complètement indépendant des
autres canaux pour éviter les interférences, il est possible
d’obtenir une meilleure qualité sonore avec plus d’effets
stéréo et surround.
• Quand le Dolby Digital est en service, les indicateurs
DIGITAL et SURROUND sont allumés sur l’affichage.
*Les logiciels Dolby Digital peuvent être classés
grossièrement en deux catégories—multicanaux (jusqu’à
5,1 canaux) et à 2 canaux. Pour profiter des sons surround
lors de la reproduction de logiciel Dolby Digital à 2 canaux,
il est possible d’utiliser le Dolby Pro Logic II.
REMARQUE: MPEG Multicanaux
Les signaux MPEG Multicanaux sont convertis en signaux
Linear PCM puis reproduits.
FR31-36.TH-A75R[E]f.pm6 5/9/02, 10:23 AM31

32
Français
Création de champs sonores réalistes
Dolby Pro Logic II*
Le Dolby Pro Logic II est un format de lecture multicanaux
récemment mis au point qui convertit toutes les sources
stéréo à 2 canaux en 5 canaux reproduction (plus caisson de
grave).
La méthode de conversion matricielle du Dolby Pro Logic II n’a
pas de limitation de fréquence de coupure pour les aigus des
sons surround et permet la reproduction d’un son surround non
disponible avec le Dolby Pro Logic conventionnel.
Le Dolby Pro Logic II permet de reproduire un son spacieux,
à partir de la source originale, sans ajout de nouveaux sons
ni de colorations de tonalité.
Le Dolby Pro Logic II offre deux modes—le mode Movie
(cinéma) et le mode Music (musique).
Pro Logic II Movie (PL II MOVIE)—convient pour la
reproduction des sources codées avec Dolby Surround
portant la marque (
DOLBY SURROUND
). Il permet de reproduire
un champ sonore très proche de celui créé par les sons à 5,1
canaux discrets.
Pro Logic II Music (PL II MUSIC)—convient pour la
reproduction de n’importe quelle source musicale à 2 canaux
stéréo. Il permet de reproduire un son large et profond.
• Quand le Dolby Pro Logic II est en service, les indicateurs
PRO LOGIC II et SURROUND sont allumés sur
l’affichage.
Dolby Pro Logic (Dolby Surround)*
Utilisé pour reproduire les pistes sonores des logiciels codés
avec Dolby Surround (
DOLBY SURROUND
).
Les formats codés Dolby Surround enregistrent les signaux
du canal avant gauche, du canal avant droit, du canal central
et du canal surround (4 canaux en tout) sur 2 canaux.
Le décodeur Dolby Pro Logic intégré à cet ampli-tuner
décode les signaux de ces 2 canaux en signaux des 4
canaux d’origine—reproduction multicanaux à base
matricielle, et vous permet de profiter d’un son Surround
réaliste dans votre pièce d’écoute.
• Quand le Dolby Pro Logic est en service, les indicateurs
PRO LOGIC et SURROUND sont allumés sur l’affichage.
*
Fabriqué sous licence de Dolby Laboratories. “Dolby”, “Pro Logic” et
le symbole double D sont des marques de commerce de Dolby
Laboratories.
**
Fabriqué sous licence Digital Theater Systems, Inc. No de brevet
aux Etats-Unis 5,451,942 et brevets mondiaux en cours
d’homologation ou émis. “DTS” et “DTS Digital Surround” sont des
marques de fabrique de Digital Theater Systems, Inc. ©1996 Digital
Theater Systems, Inc. Tous droits réservés.
DTS Surround
DTS-ES (Extended Surround)**
Ce mode est utilisé pour reproduire les bandes son des films
multicanaux des sources codées avec DTS-ES ( ).
Le DTS-ES est un autre nouveau format mis au point par
Digital Theater Systems, Inc., ajoutant un troisième canal
surround—canal surround arrière. (Voir “Dolby Digital EX” à la
page 31)
Il y a deux types de DTS ES—DTS-ES Discrete 6,1-canaux et
DTS-ES Matrix 6,1-canaux.
Le DTS-ES Discrete 6,1-canaux—a été conçu pour codé (et
décodé) les signaux à 6,1 canaux discrets et éviter les
interférences entres les canaux.
DTS-ES Matrix 6,1-canaux—est conçu pour ajouter un canal
surround supplémentaire aux 5,1 canaux du DTS Digital
Surround. En utilisant une méthode de codage/décodage
matriciel, le signal de canal “surround arrière”
supplémentaire est codé (et décodé) pour les deux signaux
de canaux surround gauche et droit.
• Quand le DTS-ES est en service, les indicateurs et
SURROUND sont allumés sur l’affichage.
DTS Digital Surround**
Utilisé pour reproduire les pistes sonores multicanaux des
logiciels codés avec DTS Digital Surround ( ).
Le DTS Digital Surround est un format audio numérique à 5,1
canaux discrets disponible sur les logiciels CD, LD et DVD.
Comparé au Dolby Digital, le format DTS Digital Surround
utilise un taux de compression plus faible ce qui lui permet
d’ajouter un souffle et de la profondeur aux sons reproduits.
Et c’est pourquoi le DTS Digital Surround offre des sons
naturels solides et clairs.
• Quand le DTS Digital Surround est en service, les indicateurs
et SURROUND sont allumés sur l’affichage.
NEO:6**
Neo:6 est une méthode de conversion mise au point
récemment pour créer 6 canaux (plus un canal de caisson
de grave) à partir d’une source analogique/numérique à 2
canaux ou une source DTS Digital Surround.
Neo:6 a deux modes—Neo:6 Cinema et Neo:6 Music:
Neo:6 Cinema—convient à la reproduction des sources
codées Surround.
Neo:6 Music—convient à la reproduction des sources
musicales.
• Quand le NEO:6 est en service l’indicateur SURROUND
s’allume sur l’affichage.
• Les signaux DTS Digital Surround peuvent être convertis
en 6,1 canaux en utilisant NEO:6 (voir page 28).
Logiciel reproduit et canaux pour le mode Surround
Mode
Surround
Logiciel
reproduit
Canaux
reproduit
Dolby Digital EX
Dolby Digital EX
6,1 canaux
Mode
Surround
Dolby Pro Logic
Dolby Surround
Logiciel stéréo à 2 canaux
4 canaux
(+caisson de grave)
Dolby Pro Logic II
Logiciel à 2 canaux
5 canaux
(+caisson de grave)
Logiciel
reproduit
Canaux
reproduit
DTS Digital Surround
DTS Digital Surround
DTS-ES
5,1 canaux
DTS-ES Matrix
6,1-canaux
DTS-ES
(avec des signaux
matriciels de 6,1 canaux )
6,1 canaux
DTS-ES Discrete
6,1-canaux
DTS-ES
(avec des signaux 6,1
canaux discrets)
6,1 canaux
Dolby Digital 5,1-canaux
Dolby Digital 5,1-canaux
Dolby Digital EX
5,1 canaux
Neo6: Cinema/
Neo6: Music
Logiciel à 2 canaux
DTS Digital Surround
6 canaux +
(caisson de grave)
FR31-36.TH-A75R[E]f.pm6 5/9/02, 10:23 AM32

33
Français
Sons direct
Modes DSP
Modes DAP (Processeur acoustique numérique)
Le son entendu dans une salle de concert, un club, etc. est
constitué de son direct et de son indirect—réflexions
premières et réflexions arrière. Les sons directs atteignent
directement l’auditeur sans réflexion. Inversement, les sons
indirects sont retardés par la distance des murs et des
plafonds (voir l’illustration ci-dessous). Ces sons directs et
indirects sont les éléments les plus importants des effets
acoustiques surround.
Le mode DAP peut reproduire un champ sonore réaliste en
ajoutant ces sons indirects.
• Quand un des modes DAP est choisi, l’indicateur DSP
s’allume sur l’affichage.
Vous pouvez utiliser les modes DAP suivant afin de
reproduire un champ sonore plus acoustique dans votre
pièce d’écoute.
THEATER :Reproduit le champ sonore d’un cinéma.
HALL :Éclaircit les voix et donne l’impression
d’une salle de concert.
LIVE CLUB :Donne l’impression d’un club de musique à
plafond bas.
DANCE CLUB :Rend les sons graves palpitant.
PAVILION :Donne l’impression spacieuse d’un pavillon
à plafond haut.
Réflexion arrière
Réflexion première
All Channel Stereo
Le mode All Channel Stereo (ALL CH ST.) peut reproduire un
champ sonore stéréo plus large en utilisant les enceintes
connectées (et en service).
Le mode All Channel Stereo peut être utilisé quand les
enceintes avant et Surround sont connectées à l’appareil
central.
• Quand All Channel Stereo est choisi, l’indicateur DSP
s’allume sur l’affichage.
All Channel Stereo
Stéréo Conventionnelle
FR31-36.TH-A75R[E]f.pm6 5/9/02, 10:23 AM33

34
Français
Source reproduit
DTS
2-canaux
DTS
2-canaux
DTS
2-canaux
DTS
2-canaux
DTS
2-canaux
Linear PCM
Linear PCM
Linear PCM
Linear PCM
Linear PCM
Analogique
Analogique
Analogique
Analogique
Analogique
Source reproduit
Dolby Digital EX
6,1-canaux
Dolby Digital EX
6,1-canaux
Dolby Digital EX
6,1-canaux
Dolby Digital EX
6,1-canaux
Dolby Digital
5,1-canaux
Dolby Digital
5,1-canaux
Dolby Digital
5,1-canaux
Dolby Digital
5,1-canaux
Dolby Digital
2-canaux
Dolby Digital
2-canaux
Dolby Digital
2-canaux
Dolby Digital
2-canaux
Dolby Digital
2-canaux
DTS-ES Discrete
6,1-canaux
DTS-ES Matrix
6,1-canaux
DTS-ES Discrete/
Matrix 6.1-
canaux
DTS-ES Discrete/
Matrix 6.1-
canaux
DTS-ES Discrete/
Matrix 6,1-
canaux
DTS
5,1-canaux
DTS
5,1-canaux
DTS
5,1-canaux
DTS
5,1-canaux
7 Indicateurs d’enceinte et de signal
En fonction des signaux entrants, les indicateurs d’enceinte et de signaux s’allument comme suit.
Mode Surround
ou DSP
disponible
DOLBY D EX
DOLBY D*
Modes DAP
ALL CH ST.
OFF
DOLBY D EX**
DOLBY D
Modes DAP
ALL CH ST.
OFF
PLII MOVIE
PLII MUSIC
PRO LOGIC
NEO6: CINEMA
NEO6: MUSIC
Modes DAP***
ALL CH ST.
OFF
DTS-ES DSCRT
DTS-ES MATRX
DTS*
Modes DAP
ALL CH ST.
OFF
DTS + NEO:6**
DTS
Modes DAP
ALL CH ST.
OFF
L
S.WFR
LS RS
CR
LFE
SB
DIGITAL EX
SURROUND
L
S.WFR
LS RS
CR
LFE
DIGITAL
SURROUND
L
S.WFR
LS RS
CR
LFE
SB
SURROUND
L
S.WFR
LS RS
CR
LFE
SURROUND
L
S.WFR
LS RS
CR
LFE
SB
SURROUND
Mode Surround
ou DSP
disponible
NEO6: CINEMA
NEO6: MUSIC
PLII MOVIE
PLII MUSIC
PRO LOGIC
Modes DAP***
ALL CH ST.
OFF
PLII MOVIE
PLII MUSIC
PRO LOGIC
NEO6: CINEMA
NEO6: MUSIC
Modes DAP***
ALL CH ST.
OFF
PLII MOVIE
PLII MUSIC
PRO LOGIC
NEO6: CINEMA
NEO6: MUSIC
Modes DAP***
ALL CH ST.
OFF
L
S.WFR
LS RS
CR
LFE
SB
DIGITAL EX
SURROUND
L
S.WFR
LS RS
CR
LFE
DIGITAL
SURROUND
L
S.WFR
LS RS
CR
LFE
DSP
DIGITAL
L
S.WFR
R
DSP
PRO LOGIC
DIGITAL
L
S.WFR
R
PRO LOGIC
DIGITAL
SURROUND
L
S.WFR
R
PRO LOGIC
DIGITAL
SURROUND
L
S.WFR
R
DIGITAL
L
S.WFR
LS RS
CR
LFE
DSP
SB
L
S.WFR
LS RS
CR
LFE
SB
SURROUND
L
S.WFR
LS RS
CR
LFE
SURROUND
L
S.WFR
LS RS
CR
LFE
DSP
L
S.WFR
R
PRO LOGIC
DIGITAL
SURROUND
L
S.WFR
R
DSP
PRO LOGIC
L
S.WFR
R
PRO LOGIC
SURROUND
L
S.WFR
R
PRO LOGIC
SURROUND
L
S.WFR
R
SURROUND
L
S.WFR
R
LINEAR PCM L
S.WFR
R
LINEAR PCM L
S.WFR
R
DSP
LINEAR PCM L
S.WFR
R
PRO LOGIC
SURROUND
LINEAR PCM L
S.WFR
R
PRO LOGIC
SURROUND
LINEAR PCM L
S.WFR
R
SURROUND
L
S.WFR
R
L
S.WFR
R
DSP
L
S.WFR
R
SURROUND
L
S.WFR
R
PRO LOGIC
SURROUND
L
S.WFR
R
PRO LOGIC
SURROUND
Indicateurs
Indicateurs
L
S.WFR
LS RS
CR
LFE
SB
DIGITAL EX
L
S.WFR
LS RS
CR
LFE
DSP
SB
DIGITAL EX
L
S.WFR
LS RS
CR
LFE
DIGITAL
L
S.WFR
LS RS
CR
LFE
SB
L
S.WFR
LS RS
CR
LFE
Création de champs sonores réalistes
A propos des indicateurs:
L:S’allume quand un signal avant gauche entre.
C:S’allume quand un signal central entre.
R:S’allume quand un signal avant droit entre.
LFE :S’allume quand un signal LFE entre.
S.WFR :Est toujours allumé.
LS :S’allume quand un signal Surround gauche entre.
RS :S’allume quand un signal Surround droit entre.
SB :S’allume quand un signal Surround arrière entre.
S:S’allume quand un signal Surround (mono) entre.
L’enceinte utilisée actuellement pour sortir le son est
montrée par “ ”.
REMARQUES:
*
Ces modes Surround sont mis en service quand “EX/ES” est
réglé sur “OFF” (voir page 28).
**
Ces modes Surround sont mis en service quand “EX/ES” est
réglé sur “ON” (voir page 28).
***
Quand “THEATER” est choisi, l’indicateur PRO LOGIC II
s’allume aussi sur l’affichage.
• Quand “NO” est choisi pour l’enceinte Surround arrière (voir page
28), aucun son ne sort de l’enceinte Surround arrière et
l’indicateur d’enceinte (“ ”) pour l’enceinte Surround arrière ne
s’allume pas.
FR31-36.TH-A75R[E]f.pm6 5/9/02, 10:56 AM34

35
Français
RETURN DIGEST
VFP
TOP MENU MENU
CONTROL
EFFECT
S.WFR TEST
SLEEP
TV
VCR
SETTING
TV RETURN
ENTER
ON
SCREEN
CHOICE
FM MODE
123
456
789
10 0+10
100+
SOUND
PTY SEARCH
DVD
RDS
TA/NEWS/INFO
PTY(PTY9
RDS DISPLAY
SURROUND OFF
DSP
CENTER
–
+
–
+
–
+
–
+
SURR-L SURR-R
S-BACK
–
+
ADJUST
RETURN DIGEST
VFP
TOP MENU MENU
CONTROL
EFFECT
S.WFR TEST
SLEEP
TV
VCR
SETTING
TV RETURN
ENTER
ON
SCREEN
CHOICE
FM MODE
123
456
789
10 0+10
100+
SOUND
PTY SEARCH
DVD
RDS
TA/NEWS/INFO
PTY(PTY9
RDS DISPLAY
SURROUND OFF
DSP
CENTER
–
+
–
+
–
+
–
+
SURR-L SURR-R
S-BACK
–
+
ADJUST
Positionnez le
sélecteur de mode
de télécommande
sur “DVD”.
Positionnez le
sélecteur de mode
de télécommande
sur “DVD”.
Utilisation du mode Surround
Le système est réglé initialement de façon à ce qu’il
choisisse automatiquement le mode Surround optimal pour
chaque signal d’entrée (automatique du mode surround).
Réalisez la procédure suivante uniquement lorsque vous
souhaitez changer le mode Surround choisi automatiquement.
• Après avoir changé le mode Surround, mettre l’appareil
hors tension ou changer la source remet en service le
mode se sélection automatique du mode surround.
A partir de la télécommande UNIQUEMENT:
1Démarrez la lecture de la source.
Lors de la lecture d’un appareil connecté aux prises VCR
IN ou STB IN, changez la source sur VCR ou STB.
•Si vous choisissez STB comme source de lecture,
choisissez le mode d’entrée correct (voir page 19).
2Appuyez sur SURROUND.
•Lors de la reproduction d’un logiciel numérique
multicanaux, un mode Surround approprié est choisi en
fonction du réglage effectué. Voir “Sélection du nombre
de canaux pour la reproduction des sources numérique
multicanaux” à la page 28 pour les détails.
•Si un autre type de logiciel est reproduit—analogique,
Linear PCM, Dolby Digital à 2 canaux—le dernier mode
Surround choisi est mis en service. Chaque fois que la
touche est pressée, le mode Surround change comme
suit:
PL II MOVIE ]PL II MUSIC ]
PRO LOGIC ]NEO:6 CINEMA ]
NEO:6 MUSIC ](retour au début)
•Quand le mode Surround est en service, l’indicateur
SURROUND est allumé sur l’affichage.
3Si vous souhaitez ajouter un ajustement
audio, référez-vous à “Ajustement du son” à
la page 36.
Pour annuler le mode Surround
Appuyez sur OFF. Le mode Surround est mis hors service et
l’indicateur SURROUND s’éteint sur l’affichage.
• Si le mode Surround est annulé lors de la lecture d’un
logiciel numérique multicanaux, tous les signaux des
canaux sont mixés et sortis par les enceintes avant.
Utilisation du mode DSP
Le mode DSP que vous avez choisi est mémorisé pour
chaque source.
A partir de la télécommande UNIQUEMENT:
1Démarrez la lecture de la source.
Lors de la lecture d’un appareil connecté aux prises VCR
IN ou STB IN, changez la source sur VCR ou STB.
•Si vous choisissez STB comme source de lecture,
choisissez le mode d’entrée correct (voir page 19).
2Appuyez sur DSP.
Le mode DSP précédemment choisi est mis en service et
l’indicateur DSP s’allume sur l’affichage.
• Chaque fois que la touche est pressée, le mode DSP
change comme suit:
THEATER ]HALL ]LIVE CLUB ]
DANCE CLUB ]PAVILION ]ALL CH ST. ]
(retour au début)
3Si vous souhaitez ajouter un ajustement
audio, référez-vous à “Ajustement du son” à
la page 36.
Pour annuler le mode DSP
Appuyez sur OFF. Le mode DSP est mis hors service et
l’indicateur DSP s’éteint sur l’affichage.
FR31-36.TH-A75R[E]f.pm6 5/9/02, 10:23 AM35

36
Français
L
RETURN DIGEST
VFP
TOP
MENU MENU
CONTROL
EFFECT
S.WFR TEST
SLEEP
TV
VCR
SETTING
TV RETURN
ENTER
ON
SCREEN
CHOICE
FM MODE
123
456
789
10 0+10
100+
SOUND
DVD
RDS
TA/NEWS/INFO
PTY(PTY9
SURROUND OFF
DSP
CENTER
–
+
–
+
–
+
–
+
SURR-L SURR-R
S-BACK –
+
ADJUST
Création de champs sonores réalistes
Positionnez le
sélecteur de mode
de télécommande
sur “DVD”.
Ajustement du son
Une fois que vous avez ajusté le son, l’ajustement est
mémorisé pour chaque source.
• Vous pouvez aussi ajuster le son en utilisant le menu de
choix à l’exception du niveau de l’effet DSP (voir page 59).
Avant de commencer, rappelez-vous...
Il y a un temps limite pour effectuer les étapes suivantes. Si le réglage
est annulé avant que vous ne terminiez, recommencez à partir de
l’étape 2.
A partir de la télécommande UNIQUEMENT:
1Appuyez sur SOUND.
Les touches numériques peuvent être utilisées pour les
ajustements sonores.
2Appuyez sur TEST pour vérifier si vous
pouvez entendre les sons à travers les
enceintes au même niveau.
“TEST TONE L” et l’indicateur de signal correspondant
clignotent sur la fenêtre d’affichage, et la tonalité de test
sort des enceintes dans l’ordre suivant:
•Vous pouvez ajuster le niveau de sortie des enceintes
sans sortir la tonalité de test.
Enceinte avant gauche (L) ]
Enceinte centrale (C) ]
Enceinte avant droite (R) ]
Enceinte surround droite (RS) ]
Enceinte surround arrière (SB) ]
Enceinte surround gauche (LS) ]
(retour au début)
3Ajustez les niveaux de sortie des enceintes
(–10 dB à +10 dB).
Ajustez le niveau de l’enceinte centrale, Surround droite
et gauche et Surround arrière en comparant le son avec
les enceintes avant.
• Pour ajuster le niveau de l’enceinte central, appuyez
sur CENTER +/–.
• Pour ajuster le niveau de l’enceinte Surround droite,
appuyez sur SURR-R +/–.
• Pour ajuster le niveau de l’enceinte Surround arrière,
appuyez sur S-BACK +/–.
• Pour ajuster le niveau de l’enceinte Surround gauche,
appuyez sur SURR-L +/–.
4Appuyez de nouveau sur TEST pour arrêter
la tonalité de test.
5Pour les modes DAP uniquement:
Appuyez sur EFFECT pour choisir le niveau
d’effet (1 à 5) souhaité.
Chaque fois que vous appuyez sur la touche, le niveau
d’effet change comme suit:
DSP EFFECT 1 ] DSP EFFECT 2 ] DSP EFFECT 3 ]
DSP EFFECT 4 ] DSP EFFECT 5 ]
(retour au début)
Plus le nombre est important, plus l’effet du mode choisi
devient fort (normalement, réglez-le sur “DSP EFFECT 3”).
REMARQUES:
•Quand “NO” est choisi pour l’enceinte Surround arrière (voir page
28), la tonalité de test ne sort pas de l’enceinte Surround arrière et
vous ne pouvez pas ajuster le niveau de sortie de l’enceinte
Surround arrière.
•La tonalité de test n’est pas sortie pour le caisson de grave. Pour
ajuster le niveau de sortie du caisson de grave, référez-vous à la
page 18.
FR31-36.TH-A75R[E]f.pm6 5/9/02, 10:23 AM36

37
Français
Fonctionnement du lecteur de DVD
VFP
SETTING
TV RETURN
ENTER
ON
SCREEN
CHOICE
FM MODE
10
0
+10
100+
SC
DVD
RDS
TA/NEWS/INFO
PTY(PTY9
RDS DISPLAY
–
+
–
+
SURR-L SURR-R
S-BACK
–
+
ADJUST
8.5Mbps
DVD-VIDEO
TITLE
14
TIME
1:25:58
CHAP
23
8.5Mbps
DVD-VIDEO
TITLE 14 TIME
1:25:58
CHAP 23
8.5Mbps TITLE 14 TIME
1:25:58
CHAP 23
OFF
1/3 1/3 1/3
TIME CHAP.
DVD-VIDEO
8.5Mbps
TITLE
14
TIME
1:25:58
CHAP
23
OFF
1/3 1/3 1/3
TIME
CHAP.
DVD-VIDEO
23
4
1
Positionnez le
sélecteur de mode
de télécommande
sur “DVD”.
Cette section explique les opérations avancées du lecteur de
DVD intégré en utilisant la télécommande. Pour la lecture
MP3, référez-vous aux pages 50 et 51, et pour la lecture
JPEG, référez-vous aux pages 52 et 53.
•Avant d’utiliser la télécommande, appuyez sur DVD
pour changer le mode de télécommande.
• Mettez le téléviseur sous tension et choisissez le mode
d’entrée correct sur le téléviseur.
• Référez-vous aussi à “Fonctionnement de base du lecteur
de DVD” aux page 20.
•
indiquent quel type de disque est pris en
charge pour les opérations expliquées dans chaque
section. Les types de disque non pris en charge
apparaissent en grisé.
Si “ ” apparaît sur l’écran du téléviseur quand vous
appuyez sur une touche, c’est que le disque ne peut
pas accepter l’opération que vous essayez de faire, ou
que l’information nécessaire pour cette opération n’est
pas enregistrée sur le disque.
Utilisation de la barre sur l’écran
Vous pouvez vérifier les informations d’un disque quand il est en place et vous pouvez utiliser certaines fonctions à partir de la
barre sur l’écran.
Affichage de la barre sur l’écran
A partir de la télécommande UNIQUEMENT:
Ex.: Pendant la lecture d’un DVD
La barre sur l’écran disparaît.
7Chaque fois qu’un disque est en place
Appuyez sur ON SCREEN.
• Chaque fois que vous appuyez sur la touche, la barre sur
l’écran change comme montré ci-à droite.
Contenu de la barre sur l’écran
Ex.: Pendant la lecture d’un DVD
1Type de disque
2Information de lecture
3Conditions de lecture pour tous les types de disque
Marque
/
/
4Icônes de fonctionnement
Disponible pour:
Choisissez-la pour:
Changer
l’information de la
durée
Reproduire le
disque
répétitivement
Utiliser la recherche
temporelle
Utiliser la recherche
de chapitre
Changer la langue/
canaux audio
Changer la langue
des sous-titres
Changer l’angle de
vue
Utiliser la lecture
programmée
Reproduire le
disque
aléatoirement
Marque
TIME
OFF
CHAP.
Ex.
1/3
Ex.
1/3
Ex.
1/3
PROG.
RND.
Voir aussi
page
38
49
43
43
41
42
41
40
48
48
Indique le disque actuellement en place:
Lecture
Avance rapide/Retour rapide
Lecture au ralenti (vers l’avant/vers l’arrière)
Pause
Arrêt
Utilisé pour
Indique:
Vitesse de transfert
(Megaoctets par seconde)
Numéro de titre
Numéro de chapitre
Numéro de plage
Durée de lecture écoulée
Marque
Mbps
TITLE
14
CHAP
23
TRACK
14
TOTAL
1:25:58
FR37-49.TH-A75R[E]f.pm6 5/9/02, 6:56 PM37

38
Français
8.5Mbps
DVD-VIDEO
TITLE
14 TIME
1:25:58
CHAP
23
OFF
1/3 1/3 1/3
TIME CHAP.
8.5Mbps
DVD-VIDEO
TITLE
14 TIME
1:25:58
CHAP
23
1/3 1/3 1/3
TIME CHAP.
TITRE
8.5Mbps
DVD-VIDEO
TITLE
14
TIME
1:25:58
CHAP
23
1/3 1/3 1/3
TIME CHAP.
ARRET
8.5Mbps
DVD-VIDEO
TITLE
14 TIME
1:25:58
CHAP
23
TITLE
1/3 1/3 1/3
TIME CHAP.
VFP
TV RETURN
ENTER
ON
SCREEN
CHOICE
FM MODE
10
0
+
10
100+
PTY SEARCH
DVD
RDS
TA/NEWS/INFO
PTY(PTY9
RDS DISPLAY
ADJUST
8.5Mbps
DVD-VIDEO
TITLE
14 TOTAL
1:25:58
CHAP
23
OFF
1/3 1/3 1/3
TIME CHAP.
VFP
TV RETURN
ENTER
ON
SCREEN
CHOICE
FM MODE
10
0
+
10
100+
PTY SEARCH
DVD
RDS
TA/NEWS/INFO
PTY(PTY9
RDS DISPLAY
ADJUST
Fonctionnement du lecteur de DVD
Positionnez le
sélecteur de mode
de télécommande
sur “DVD”.
Positionnez le
sélecteur de mode
de télécommande
sur “DVD”.
Opérations de base à l’aide
de la barre sur l’écran
Référez-vous à la page correspondante pour chaque
fonction.
Changement des
informations de durée
Vous pouvez changer l’information de durée dans la barre
sur l’écran et la fenêtre d’affichage de l’appareil central.
7Chaque fois qu’un disque est en place
Ex.: Pour choisir “TITLE” pour le mode de répétition pendant
la lecture d’un DVD:
1Appuyez deux fois sur ON SCREEN.
La barre sur l’écran suivante apparaît sur le téléviseur.
2Appuyez répétitivement sur la touche de
curseur 3/2 pour amener sur .
3Appuyez sur ENTER.
La fenêtre déroulante apparaît sous la barre sur l’écran.
• L’option précédemment choisie apparaît.
4Appuyez répétitivement sur la touche de
curseur ∞/5 pour choisir l’option souhaitée.
•
Chaque fois que vous appuyez sur la touche l’option change.
5Appuyez sur ENTER.
Le réglage change et la fenêtre déroulante disparaît.
Pour faire disparaître la barre sur l’écran
Appuyez sur ON SCREEN.
7Pendant la lecture ou à l’arrêt
1Appuyez deux fois sur ON SCREEN.
La barre sur l’écran apparaît sur le téléviseur.
2Appuyez répétitivement sur la touche de
curseur 3/2 pour amener sur
TIME
.
3Appuyez sur ENTER.
• Chaque fois que vous appuyez sur la touche,
l’information de durée change comme suit.
Ex.: Pendant la lecture d’un DVD:
TIME
0:25:58
]
REM
0:18:14
]
TOTAL
1:25:58
]
T.REM
0:45:41
](retour au début)
TIME :Durée écoulée de lecture du chapitre ou de la
plage actuelle
REM :Durée restante du chapitre ou de la plage
actuelle
TOTAL :Durée écoulée du disque
T. REM :Durée restante du disque
Pour faire disparaître la barre sur l’écran
Appuyez sur ON SCREEN.
REMARQUE:
Pour les VCD, SVCD ou CD Audio, du chiffre des heures n’apparaît
pas.
FR37-49.TH-A75R[E]f.pm6 5/9/02, 10:24 AM38

39
Français
123
7Chaque fois qu’un DVD est en place
1Appuyez sur TOP MENU ou MENU.
Le menu apparaît sur le téléviseur. (Le menu apparaît
habituellement automatiquement sur le téléviseur après le
chargement du DVD VIDEO.)
Ex.:
Les DVD ont normalement un menu de “titres” quand ils
contiennent plus d’un titre. Dans ce cas, appuyez sur
TOP MENU pour afficher le menu de titre.
Certains DVD peuvent aussi avoir un menu différent qui
apparaît en appuyant sus la touche MENU.
Référez-vous aux instructions de chaque DVD pour son
menu particulier.
2Utilisez les touches de curseur 3/2/∞/5
pour choisir l’élément souhaité, puis
appuyez sur ENTER.
Le système démarre la lecture de l’élément choisi.
• Avec certains disques vous pouvez aussi choisir les
éléments en entrant le numéro correspondant avec les
touches numériques.
CHANNEL/ZOOM
VOLUMETV VOL
TUNING
STOP PAUSE
FF/
/REW
TV/VIDEO
1
MUTING
¡
PLAY
DOWN UP
RETURN DIGEST
VFP
TOP MENU MENU
CONTROL
EFFECT
S.WFR TEST
SLEEP
TV
VCR
SETTING
TV RETURN
ENTER
ON
SCREEN
CHOICE
FM MODE
123
456
789
10 0+10
100+
SOUND
PTY SEARCH
DVD
RDS
TA/NEWS/INFO
PTY(PTY9
RDS DISPLAY
SURROUND OFF
DSP
CENTER
–
+
–
+
–
+
–
+
SURR-L SURR-R
S-BACK
–
+
ADJUST
O.T.
REPLAY
7Quand le menu apparaît sur le téléviseur pendant une
lecture VCD/SVCD avec PBC
Appuyez sur les touches numérique (1–10,
+10) pour choisir le numéro de l’élément
souhaité.
Le système démarre la lecture de l’élément choisi.
Ex.: Pour choisir 3, appuyez sur 3.
Pour choisir 11, appuyez sur +10, puis sur 1.
Pour retourner au menu
Appuyez sur RETURN.
Quand “NEXT” ou “PREVIOUS” apparaît sur l’écran du
téléviseur:
• Pour aller à la page suivante, appuyez sur FF/¢.
• Pour retourner à la page précédente, appuyez sur 4/REW.
Pour reproduire un VCD/SVCD compatible PBC sans PBC
Démarrez la lecture en appuyant sur les touches numérique.
La durée de lecture écoulée apparaît sur l’affichage à la
place de “PBC”.
Pour rétablir la lecture PBC
Appuyez sur TOP MENU ou MENU.
“PBC” apparaît à nouveau sur l’affichage.
Localisation de la scène
souhaitée à partir du menu
de disque
En utilisant le menu de disque, vous pouvez démarrer la lecture
du titre, du chapitre ou de la plage que vous spécifiez.
Localisation de la scène souhaitée
à partir du menu de DVD
Les disques DVD possèdent généralement leur propre menu
qui montre le contenu du disque. Ces menus contiennent
divers éléments tels que les titres des films, les noms des
chansons ou des informations sur l’artiste et sont affichés sur
l’écran du téléviseur. Vous pouvez localiser la scène
souhaitée directement en utilisant ces menus.
Localisation de la scène souhaitée
à partir du menu des VCD/SVCD
avec PBC
Les VCD ou SVCD enregistrés avec PBC possèdent leurs
propres menus tels qu’une liste des plages. (Après avoir mis
en place un tel disque, “PBC” apparaît sur l’affichage.) Vous
pouvez localiser une plage spécifique en utilisant le menu
(voir aussi page 6).
Positionnez le
sélecteur de mode
de télécommande
sur “DVD”.
RETURN DIGEST
VFP
TOP MENU MENU
CONTROL
EFFECT
S.WFR TEST
SLEEP
TV
VCR
SETTING
TV RETURN
ENTER
ON
SCREEN
CHOICE
FM MODE
123
456
789
10
0
+10
100+
SOUND
PTY SEARCH
DVD
RDS
TA/NEWS/INFO
PTY(PTY9
RDS DISPLAY
SURROUND OFF
DSP
CENTER
–
+
–
+
–
+
–
+
SURR-L SURR-R
S-BACK
–
+
ADJUST
Positionnez le
sélecteur de mode
de télécommande
sur “DVD”.
FR37-49.TH-A75R[E]f.pm6 5/9/02, 10:24 AM39

40
Français
1
1
1/3
1/3
1
1/3
2
1/3
3
1/3
8.5Mbps
DVD-VIDEO
TITLE
14
TIME
1:25:58
CHAP
23
OFF
1/3 1/3 1/3
TIME CHAP.
1
AUDIO ANGLE SUBTITLE DECODE
RETURN DIGEST
VFP
TOP MENU MENU
CONTROL
EFFECT
S.WFR TEST
SLEEP
TV
VCR
SETTING
TV RETURN
ENTER
ON
SCREEN
CHOICE
FM MODE
123
456
789
10
0
+10
100+
SOUND
PTY SEARCH
DVD
RDS
TA/NEWS/INFO
PTY(PTY9
RDS DISPLAY
SURROUND OFF
DSP
CENTER
–
+
–
+
–
+
–
+
SURR-L SURR-R
S-BACK –
+
ADJUST
2/3
Fonctionnement du lecteur de DVD
Sélection de l’angle de vue
Pendant la lecture d’un DVD contenant des vues multi-
angles, vous pouvez regarder la même scène sous des
angles différents.
• L’icône apparaît au début de la lecture d’une scène
avec des angles multi-vues.
Sélection d’un angle de vue
7Pendant la lecture
1Appuyez sur ANGLE.
La fenêtre contextuelle apparaît sur le téléviseur.
2Appuyez répétitivement sur la touche de
ANGLE ou Cursor ∞/5 pour choisir l’angle
de vue souhaité.
• Chaque fois que vous appuyez sur la touche, l’angle de
la scène change.
Ex.:
• La fenêtre contextuelle disparaît si aucune opération
n’est faite pendant environ 5 secondes.
Ex.: Le premier angle
de vue est choisi
parmi les 3
angles de vue
enregistrés.
Utilisation de la barre sur l’écran:
1Appuyez deux fois sur ON SCREEN.
La barre sur l’écran apparaît sur le téléviseur.
2Appuyez répétitivement sur la touche de
curseur 3/2 pour amener sur ,
puis appuyez sur ENTER.
La fenêtre déroulante apparaît sous la barre sur l’écran.
3Appuyez répétitivement sur la touche de
curseur ∞/5 pour choisir l’angle de vue
souhaité.
• Chaque fois que vous appuyez sur la touche, l’angle de
la scène change.
4Appuyez sur ENTER.
La fenêtre déroulante disparaît.
Pour faire disparaître la barre sur l’écran
Appuyez sur ON SCREEN.
Affichage de tous les angles de
vue sur le téléviseur
7Pendant la lecture
1Maintenez pressée ANGLE pendant plus
d’une seconde.
9 images maximum des différents angles de caméra
enregistrés sur le disque apparaissent sur l’écran du
téléviseur.
2Appuyez répétitivement sur les touches de
curseur 3/2/∞/5 pour amener sur la
vue souhaitée.
3Appuyez sur ENTER.
La liste des angles disparaît la lecture démarre avec
l’angle choisi.
REMARQUE:
Pendant que la liste des angles apparaît sur le téléviseur, vous ne
pouvez pas écouter le son.
Ex.: Le premier angle de vue est choisi parmi les
3 angles de vue enregistrés.
1/3
3/3
L’image choisie
Ex.: Quand 3 angles de vue sont enregistrés.
Positionnez le
sélecteur de mode
de télécommande
sur “DVD”.
FR37-49.TH-A75R[E]f.pm6 5/9/02, 10:24 AM40

41
Français
FRANCAIS
FRANCAIS
1/3
1/3
AUDIO ANGLE SUBTITLE DECODE
RETURN DIGEST
VFP
TOP MENU MENU
CONTROL
EFFECT
S.WFR TEST
SLEEP
TV
VCR
SETTING
TV RETURN
ENTER
ON
SCREEN
CHOICE
FM MODE
123
456
789
10 0+10
100+
SOUND
PTY SEARCH
DVD
RDS
TA/NEWS/INFO
PTY(PTY9
RDS DISPLAY
SURROUND OFF
DSP
CENTER
–
+
–
+
–
+
–
+
SURR-L SURR-R
S-BACK –
+
ADJUST
8.5Mbps
DVD-VIDEO
TITLE
14
TIME
1:25:58
CHAP
23
OFF
1/3 1/3 1/3
TIME CHAP.
FRANCAIS
AUDIO ANGLE SUBTITLE DECODE
RETURN DIGEST
VFP
TOP MENU MENU
CONTROL
EFFECT
S.WFR TEST
SLEEP
TV
VCR
SETTING
TV RETURN
ENTER
ON
SCREEN
CHOICE
FM MODE
123
456
789
10 0+10
100+
SOUND
PTY SEARCH
DVD
RDS
TA/NEWS/INFO
PTY(PTY9
RDS DISPLAY
SURROUND OFF
DSP
CENTER
–
+
–
+
–
+
–
+
SURR-L SURR-R
S-BACK
–
+
ADJUST
FRANCAIS
FRANCAIS
1/3
1/3
SUITE À LA PAGE SUIVANTE
Changement de la langue des
sous-titres et de la langue audio
Sélection de la langue
des sous-titres
Lors de la lecture d’un DVD (ou SVCD) contenant des sous-
titres dans différentes langues, vous pouvez choisir ceux que
vous souhaitez afficher sur le téléviseur.
• L’icône apparaît au début de la lecture d’une scène
avec plusieurs langues de sous-titres.
• Vous pouvez régler votre langue préférée comme langue
initiale (voir page 56).
7Pendant la lecture
1Appuyez sur SUBTITLE.
La fenêtre contextuelle apparaît sur le téléviseur.
Ex.: “FRANCAIS” est
choisi parmi les 3
langues de sous-
titre engistrées.
Ex.: “FRANCAIS” est choisi parmi les 3 langues de
sous-titre enregistrées.
3Appuyez répétitivement sur les touches de
curseur ∞/5 pour choisir la langue de sous-
titre souhaitée.
Chaque fois que vous appuyez sur la touche, la langue
des sous-titres change.
4Appuyez sur ENTER.
La fenêtre déroulante disparaît.
Pour faire disparaître la barre sur l’écran
Appuyez sur ON SCREEN.
REMARQUES:
•Pour les DVD: Certaines langues de sous-titres sont abrégées dans
la fenêtre déroulante. Voir “Liste des codes de langue” à la page 56.
•Pour les SVCD: Les SVCD peuvent contenir quatre langues de
sous-titres maximum. Appuyer sur SUBTITLE change les sous-
titres que des sous-titres soient enregistrés ou non.
Sélection de la langue audio
Quand un DVD contient plusieurs langue audio (pistes son),
vous pouvez choisir la langue (piste son) à écouter.
• L’icône apparaît au début de la lecture d’une scène
avec plusieurs langues audio.
• Vous pouvez régler votre langue préférée comme langue
initiale (voir page 56).
7Pendant la lecture
1Appuyez sur AUDIO.
La fenêtre contextuelle apparaît sur le téléviseur.
Ex.: “FRANCAIS” est
choisi parmi les 3
langues audio
enregistrées.
2Appuyez répétitivement sur la touche de
SUBTITLE ou curseur ∞/5 pour choisir la
langue de sous-titre souhaitée.
Chaque fois que vous appuyez sur la touche, la langue
des sous-titres change.
• La fenêtre contextuelle disparaît si aucune opération
n’est faite pendant environ 5 secondes.
Utilisation de la barre sur l’écran:
1Appuyez deux fois sur ON SCREEN.
La barre sur l’écran apparaît sur le téléviseur.
2
Appuyez répétitivement
sur la touche de
curseur
3/2 pour amener sur ,
puis appuyez sur ENTER.
La fenêtre déroulante apparaît sous la barre sur l’écran.
Positionnez le
sélecteur de mode
de télécommande
sur “DVD”.
Positionnez le
sélecteur de mode
de télécommande
sur “DVD”.
FR37-49.TH-A75R[E]f.pm6 5/9/02, 10:24 AM41

42
Français
8.5Mbps
DVD-VIDEO
TITLE 14 TIME
1:25:58
CHAP 23
OFF
1/3 1/3 1/3
TIME CHAP.
FRANCAIS
AUDIO ANGLE SUBTITLE DECODE
RETURN DIGEST
VFP
TOP MENU MENU
CONTROL
EFFECT
S.WFR TEST
SLEEP
TV
VCR
SETTING
TV RETURN
ENTER
ON
SCREEN
CHOICE
FM MODE
123
456
789
10 0+10
100+
SOUND
PTY SEARCH
DVD
RDS
TA/NEWS/INFO
PTY(PTY9
RDS DISPLAY
SURROUND OFF
DSP
CENTER
–
+
–
+
–
+
–
+
SURR-L SURR-R
S-BACK
–
+
ADJUST
ST
ST
ST
ST
VIDEO-CD
TRACK
4
TIME
25:58
OFF
ST
TIME
ST
PROG.
Fonctionnement du lecteur de DVD
7Pendant la lecture
1Appuyez sur AUDIO.
La fenêtre contextuelle apparaît sur le téléviseur.
Ex.: “FRANCAIS” est choisi parmi les 3 langues
audio enregistrées.
2Appuyez répétitivement sur la touche de
AUDIO ou curseur ∞/5 pour choisir la
langue audio souhaitée.
Chaque fois que vous appuyez sur la touche, la langue
audio change.
• La fenêtre contextuelle disparaît si aucune opération
n’est faite pendant environ 5 secondes.
Utilisation de la barre sur l’écran:
1Appuyez deux fois sur ON SCREEN.
La barre sur l’écran apparaît sur le téléviseur.
2Appuyez répétitivement sur la touche de
curseur 3/2 pour amener sur ,
puis appuyez sur ENTER.
La fenêtre déroulante apparaît sous la barre sur l’écran.
3Appuyez répétitivement sur la touche de
curseur ∞/5 pour choisir la langue audio
souhaitée.
Chaque fois que vous appuyez sur la touche, la langue
audio change.
4Appuyez sur ENTER.
La fenêtre déroulante disparaît.
Pour faire disparaître la barre sur l’écran
Appuyez sur ON SCREEN.
REMARQUE:
Pour les DVD: Certaines langues de sous-titres sont abrégées dans la
fenêtre déroulante. Voir “Liste des codes de langue” à la page 56.
Sélection du canal audio
Lorsque vous reproduisez un VCD ou un SVCD karaoke,
vous pouvez choisir le canal audio à reproduire.
Ex.: Pendant la lecture
d’un VCD.
2Appuyez répétitivement sur la touche de
AUDIO ou curseur ∞/5 pour choisir le
canal audio souhaité.
Chaque fois que vous appuyez sur la touche, le canal
audio change.
• La fenêtre contextuelle disparaît si aucune opération
n’est faite pendant environ 5 secondes.
Pour les VCD:
ST ] L ] R ] (retour au début)
ST : Pour écouter la lecture stéréo normale.
L: Pour écouter le canal audio L (gauche).
R: Pour écouter le canal audio R (droit).
Pour les SVCD:
ST 1 ] ST 2 ] L 1 ] R 1 ] L 2 ] R 2 ]
(retour au début)
ST 1 :Pour écouter la lecture stéréo normale de ST 1.
ST 2 :Pour écouter la lecture stéréo normale de ST 2.
L 1 :Pour écouter le canal gauche (L) de ST 1.
R 1 :Pour écouter le canal droit (R) de ST 1.
L 2 :Pour écouter le canal gauche (L) de ST 2
R 2 :Pour écouter le canal droit (R) de ST 2.
Utilisation de la barre sur l’écran:
1Appuyez deux fois sur ON SCREEN.
La barre sur l’écran apparaît sur le téléviseur.
2Appuyez répétitivement sur la touche de
curseur 3/2 pour amener sur ,
puis appuyez sur ENTER.
La fenêtre déroulante apparaît sous la barre sur l’écran.
3Appuyez répétitivement sur la touche de
curseur ∞/5 pour choisir le ou les canaux
audio souhaités.
Chaque fois que vous appuyez sur la touche, le canal
audio change.
4Appuyez sur ENTER.
La fenêtre déroulante disparaît.
Pour faire disparaître la barre sur l’écran
Appuyez sur ON SCREEN.
Ex.: Pendant la lecture d’un VCD.
Positionnez le
sélecteur de mode
de télécommande
sur “DVD”.
FR37-49.TH-A75R[E]f.pm6 5/9/02, 10:24 AM42

43
Français
8.5Mbps
DVD-VIDEO
TITLE 14 TIME
1:25:58
CHAP 23
OFF
1/3 1/3 1/3
TIME CHAP.
CHAPITRE _
VFP
CONTROL
EFFECT
S.WFR TEST
SLEEP
TV
VCR
SETTING
TV RETURN
ENTER
ON
SCREEN
CHOICE
FM MODE
123
456
789
10
0
+10
100+
PTY SEARCH
DVD
RDS
TA/NEWS/INFO
PTY(PTY9
RDS DISPLAY
CENTER
–
+
–
+
–
+
–
+
SURR-L SURR-R
S-BACK –
+
ADJUST
VFP
CONTROL
EFFECT
S.WFR TEST
SLEEP
TV
VCR
SETTING
TV RETURN
ENTER
ON
SCREEN
CHOICE
FM MODE
123
456
789
10
0
+10
100+
PTY SEARCH
DVD
RDS
TA/NEWS/INFO
PTY(PTY9
RDS DISPLAY
CENTER
–
+
–
+
–
+
–
+
SURR-L SURR-R
S-BACK –
+
ADJUST
8.5Mbps
DVD-VIDEO
TITLE
14 TIME
1:25:58
CHAP
23
OFF
1/3 1/3 1/3
TIME CHAP.
TIME _ : _ _ : _ _
Lecture à partir d’un
emplacement
Vous pouvez commencer la lecture du titre, du chapitre ou de
la plage spécifiée.
Vous pouvez aussi reproduire un disque à partir d’une
position donnée.
Localisation d’un chapitre
souhaité—Recherche de
chapitre
Lors de la lecture d’un disque DVD, vous pouvez localiser le
numéro de chapitre à reproduire.
Localisation d’une position
souhaitée—Recherche
temporelle
Vous pouvez commencer la lecture à la position souhaitée en
spécifiant la durée de lecture écoulée à partir du début du
titre actuel (pour les DVD), ou du début du disque (pour les
VCD/SVCD/CD Audio).
7Pendant la lecture
1Appuyez deux fois sur ON SCREEN.
La barre sur l’écran apparaît sur le téléviseur.
2Appuyez répétitivement sur le touche de
curseur 3/2 pour amener sur
CHAP.
,
puis appuyez sur ENTER.
La fenêtre déroulante apparaît sous la barre sur l’écran.
3Appuyez sur les touches numérique (0–9)
pour entrer le numéro de chapitre souhaité.
Ex.:
Pour choisir le numéro de chapitre 8, appuyez sur 8.
Pour choisir le numéro de chapitre 10, appuyez sur 1 puis sur 0.
Pour choisir le numéro de chapitre 37, appuyez sur 3 puis sur 7.
Pour corriger une mauvaise entrée
Répétez l’étape 3 jusqu’à ce que le numéro correct
apparaisse sur la fenêtre déroulante.
4Appuyez sur ENTER.
Le système commence à reproduire le disque à partir du
chapitre choisi.
Pour faire disparaître la barre sur l’écran
Appuyez sur ON SCREEN.
REMARQUES:
•Vous pouvez aussi utiliser la touche 10 pour entrer “10”.
•La touche +10 n’est pas utilisée pour cette fonction.
•Vous pouvez choisir un chapitre jusqu’au numéro 99.
Positionnez le
sélecteur de mode
de télécommande
sur “DVD”.
Positionnez le
sélecteur de mode
de télécommande
sur “DVD”.
7Pour les DVD : Pendant la lecture
7Pour les VCD/SVCD : Pendant la lecture sans la fonction
PBC est en service ou à l’arrêt
7Pour les CD Audio : Pendant la lecture ou à l’arrêt
1Appuyez deux fois sur ON SCREEN.
La barre sur l’écran apparaît sur le téléviseur.
2Appuyez répétitivement sur la touche de
curseur 3/2 pour amener sur , puis
appuyez sur ENTER.
La fenêtre déroulante apparaît sous la barre sur l’écran.
3Appuyez sur les touches numériques (0–9)
pour entrer la durée spécifiée.
Ex.:
Pour reproduire à partir de la position 2 (heures): 34
(minutes): 08 (secondes) à partir du début:
Appuyez sur 2, 3, 4, 0 puis sur 8.
Pour corriger une mauvaise entrée
Appuyez répétitivement sur la touche de curseur 2
jusqu’à ce que le chiffre incorrect soit effacé, puis
appuyez sur les touches numériques pour entrer le
numéro correct.
4Appuyez sur ENTER.
Le système commence la lecture à partir de la position
spécifiée.
Pour faire disparaître la barre sur l’écran
Appuyez sur ON SCREEN.
REMARQUES:
•Vous pouvez aussi utiliser la touche 10 pour entrer “0”.
•La touche +10 n’est pas utilisée pour cette fonction.
•Vous pouvez spécifier la durée en heures/minutes/secondes pour
les DVD et en minutes/secondes pour les VCD/SVCD/CD audio.
FR37-49.TH-A75R[E]f.pm6 5/9/02, 10:24 AM43

44
Français
CHANNEL/ZOOM
VOLUMETV VOL
TUNING
STOP PAUSE
FF/
/REW
TV/VIDEO
1
MUTING
¡
PLAY
DOWN UP
RETURN DIGEST
VFP
TOP MENU MENU
CONTROL
EFFECT
S.WFR TEST
SLEEP
TV
VCR
SETTING
TV RETURN
ENTER
ON
SCREEN
CHOICE
FM MODE
123
456
789
10
0
+10
100+
SOUND
PTY SEARCH
DVD
RDS
TA/NEWS/INFO
PTY(PTY9
RDS DISPLAY
SURROUND OFF
DSP
CENTER
–
+
–
+
–
+
–
+
SURR-L SURR-R
S-BACK
–
+
ADJUST
O.T.
REMARQUE:
Avec certains disques, en fonction du contenu, il peut demander un
certain temps avant que toutes les scènes apparaissent sur l’écran du
téléviseur.
Fonctionnement du lecteur de DVD
Localisation d’une scène
souhaitée—DIGEST
Le système peut afficher les scènes d’ouverture de chaque
titre ou chapitre d’un DVD ou de chaque plage d’un VCD/
SVCD.
Vous pouvez choisir le titre ou la plage souhaitée à partir des
scènes d’ouverture montrées sur l’écran du téléviseur.
7Pour les DVD : Pendant la lecture ou à l’arrêt
7Pour les VCD/SVCD : Pendant la lecture sans la fonction
PBC est en service ou à l’arrêt
1Appuyez sur DIGEST.
9 scènes d’ouverture maximum sont affichées.
•Quand un DVD est à l’arrêt:
La scène d’ouverture de chaque titre apparaît sur
l’écran du téléviseur.
•Pendant la lecture de DVD:
La scène d’ouverture de chaque chapitre du titre actuel
apparaît sur l’écran du téléviseur.
•Quand un VCD ou un SVCD est en place:
La scène d’ouverture de chaque plage apparaît sur
l’écran du téléviseur.
2
Appuyez sur les touches de curseur 3/2/∞/5
pour amener sur la scène souhaitée.
• S’il y a plus de 9 scènes, vous pouvez passer à la page
suivante (voir “Pour afficher les autres pages de l’écran
de résumé” ci-dessous).
3Appuyez sur ENTER.
Le système démarre la lecture à partir de la scène choisie.
Pour afficher les autres pages de l’écran de résumé
Appuyez sur FF/¢, pour afficher la page suivante.
Appuyez sur 4/REW pour afficher la page précédente.
ou
Pour afficher la page précédente, appuyez sur les
touches de curseur 3/2/∞/5 pour choisir la scène en
haut à gauche, puis appuyez sur la touche de curseur 2.
Pour afficher la page suivante, appuyez sur les touches
de curseur 3/2/∞/5 pour choisir la scène en bas à
droite, puis appuyez sur la touche de curseur 3.
Cette scène
est choisie
Positionnez le
sélecteur de mode
de télécommande
sur “DVD”.
FR37-49.TH-A75R[E]f.pm6 5/9/02, 10:24 AM44

45
Français
CHANNEL/ZOOM
VOLUMETV VOL
TUNING
STOP
DIMMER
PAUSE
FF/
/REW
TV/VIDEO
1
MUTING
¡
REC
PLAY
DOWN UP
MEMORY STROBE
VFP
SETTING
TV RETURN
ENTER
ON
SCREEN
CHOICE
FM MODE
789
10 0+10
100+
PTY SEARCH
DVD
RDS
TA/NEWS/INFO
PTY(PTY9
RDS DISPLAY
–
+
–
+
SURR-L SURR-R
S-BACK –
+
ADJUST
O.T.
REPLAY
Lecture d’image avec effets
spéciaux
Ce système offre des fonctions de lecture avec effets
spéciaux tels que la lecture image par image,
stroboscopique, au ralenti et le zoom.
Lecture image par image
7Pendant la lecture
1Appuyez sur PAUSE à l’endroit à partir
duquel vous souhaitez voir les images,
image par image.
La lecture s’arrête momentanément (pause).
2Appuyez répétitivement sur PAUSE.
• Chaque fois que vous appuyez sur la touche, l’image
fixe avance sur l’image suivante.
Pour retourner à la lecture normale
Appuyez sur PLAY.
REMARQUE:
Vous pouvez réaliser l’opération ci-dessus en utilisant
8
sur l’appareil
central.
Image avancée
Affichage d’images fixes en
continu
7Pendant la lecture
1Appuyez sur STROBE à l’endroit où vous
souhaitez voir les images fixes en continu.
La lecture s’arrête momentanément (pause).
2Maintenez pressée STROBE pendant plus
d’une seconde.
9 images identiques (images fixes) apparaissent sur
l’écran du téléviseur.
3Appuyez une fois sur STROBE.
L’image au milieu de la rangée supérieure avance d’une
image par rapport l’image sur sa gauche.
Chaque fois que vous appuyez sur STROBE l’image
avance d’une image.
Si vous appuyez sur PLAY au lieu de STROBE chaque
image avance à la vitesse de lecture normale avec un
décalage entre les 9 images. (Le son est coupé.)
Pour retourner à un écran normal
Maintenez pressée STROBE pendant plus d’une
seconde.
REMARQUES:
•Si vous maintenez pressée STROBE pendant plus d’une seconde
pendant la lecture, 9 images fixes apparaissent aussi, mais elles
avances à la vitesse de lecture normale avec un décalage
temporel. (Le son est coupé.)
•Vous pouvez réaliser les opérations ci-dessus en utilisant
8
sur
l’appareil central.
Positionnez le
sélecteur de mode
de télécommande
sur “DVD”.
FR37-49.TH-A75R[E]f.pm6 5/9/02, 10:24 AM45

46
Français
ZOOM x4
Fonctionnement du lecteur de DVD
Lecture au ralenti
7Pendant la lecture
1Appuyez sur PAUSE à l’endroit où vous
souhaitez démarrer la lecture au ralenti.
Le système met la lecture en pause.
2Appuyez sur ¡ ou 1.
• Pour une lecture au ralenti vers l’avant, appuyez sur ¡.
• Pour une lecture au ralenti vers l’arrière, appuyez sur
1.
Chaque fois que vous appuyez sur la touche, la vitesse
de lecture change comme suit.
Vers l’avant:
1/32
]
1/16
]
1/8
]
1/4
]
1/2
Vers l’arrière:
1/32
]
1/16
]
1/8
]
1/4
]
1/2
Pour arrêter momentanément la lecture au ralenti
Appuyez sur PAUSE.
Pour retourner au mode de lecture
Appuyez sur PLAY.
REMARQUES:
•Vous ne pouvez pas écouter le son pendant la lecture au ralenti.
•La lecture au ralenti vers l’arrière n’est pas possible avec les VCD
et les SVCD.
CHANNEL/ZOOM
VOLUMETV VOL
TUNING
STOP
DIMMER
PAUSE
FF/
/REW
TV/VIDEO
1
MUTING
¡
REC
PLAY
DOWN UP
MEMORY STROBE
VFP
SETTING
TV RETURN
ENTER
ON
SCREEN
CHOICE
FM MODE
789
10 0+10
100+
PTY SEARCH
DVD
RDS
TA/NEWS/INFO
PTY(PTY9
RDS DISPLAY
–
+
–
+
SURR-L SURR-R
S-BACK –
+
ADJUST
O.T.
REPLAY
CHANNEL/ZOOM
VOLUMETV VOL
TUNING
STOP
DIMMER
PAUSE
FF/
/REW
TV/VIDEO
1
MUTING
¡
REC
PLAY
DOWN UP
MEMORY STROBE
VFP
SETTING
TV RETURN
ENTER
ON
SCREEN
CHOICE
FM MODE
789
10 0+10
100+
PTY SEARCH
DVD
RDS
TA/NEWS/INFO
PTY(PTY9
RDS DISPLAY
–
+
–
+
SURR-L SURR-R
S-BACK –
+
ADJUST
O.T.
REPLAY
Zoom avant et arrière
7Pendant la lecture
1Appuyez sur ZOOM + pour faire un zoom
avant et sur ZOOM – pour faire un zoom
arrière.
Chaque fois que vous appuyez sur ZOOM + ou ZOOM –,
le rapport d’agrandissement change comme suit:
x 1/8 Ox 1/4 Ox 1/2 O taille normale O
x 2 Ox 4 Ox 8 Ox 16 Ox 32 O
x 64 Ox 128 Ox 256 Ox 512 Ox 1024
Ex.: Quand le zoom x4 est choisi.
2Uniquement pour le zoom avant: appuyez
sur la touche de curseur 3/2/∞/5 pour
déplacer la position d’agrandissement.
Pour retourner à la lecture normale
Appuyez sur ENTER.
REMARQUE:
Pendant un zoom avant, l’image peut apparaître grossière.
Positionnez le
sélecteur de mode
de télécommande
sur “DVD”.
Positionnez le
sélecteur de mode
de télécommande
sur “DVD”.
FR37-49.TH-A75R[E]f.pm6 5/9/02, 10:24 AM46

47
Français
+0
NORMAL
GAMMA
LUMINOSITE
CONTRASTE
SATURATION
TEINTE
NET
RETARD LUMIN.
+0
+0
+0
+0
+3
+0
+0
USAGER 1
GAMMA
LUMINOSITE
CONTRASTE
SATURATION
TEINTE
NET
+0
+0
+0
+0
+3
+0
RETARD LUMIN.
CHANNEL/ZOOM
VOLUMETV VOL
TV/VIDEO MUTING
VFP
TV RETURN
ENTER
ON
SCREEN
CHOICE
FM MODE
10
0
+10
100+
PTY SEARCH
DVD
RDS
TA/NEWS/INFO
PTY(PTY9
RDS DISPLAY
ADJUST
+0
GAMMA
+0
GAMMA
Changement du réglage VFP
La fonction VFP (Video Fine Processor) vous permet d’ajuster
le caractère de l’image en fonction du type de programme,
de la tonalité de l’image ou de vos préférences.
Avant de commencer, rappelez-vous...
Il y a un temps limite pour réaliser les étapes suivantes. Si le réglage
est annulé avant la fin, recommencez à partir de l’étape 1.
7Pendant la lecture
1Appuyez sur VFP.
Les réglages VFP actuels apparaissent sur le téléviseur.
Ex.: Quand “NORMAL” est choisi.
2Appuyez répétitivement sur la touche de
curseur 3/2 pour choisir le mode VFP.
Chaque fois que vous appuyez sur la touche, le mode
VFP change comme suit.
NORMAL “ CINEMA “ USAGER 1 “
USAGER 2 “ (retour au début)
NORMAL : Normalement, choisissez ce
réglage.
CINEMA : Convient pour les films.
USAGER 1, USAGER 2 : Vous pouvez ajuster les
paramètres qui affectent
l’apparence de l’image et
mémoriser les réglages
(voir ce-à droite).
Pour faire disparaître l’écran des réglages VFP
Appuyez sur VFP.
REMARQUE:
Vous ne pouvez pas ajuster l’apparence de l’image quand “NORMAL”
ou “CINEMA” est choisi.
7Pour ajuster l’apparence de l’image
Quand “USAGER 1” ou “USAGER 2” est choisi, vous pouvez
ajuster l’apparence de l’image.
1Appuyez sur VFP, puis appuyez
répétitivement sur la touche de curseur 3/2
pour choisir “USAGER 1” ou “USAGER 2”.
Positionnez le
sélecteur de mode
de télécommande
sur “DVD”.
2Appuyez répétitivement sur la touche de
curseur ∞/5 pour choisir le paramètre que
vous souhaitez ajuster.
Ajustez les paramètres de façon que l’image apparaisse
selon vos préférences.
•GAMMA:
Ajustez ce paramètre si les couleurs neutres sont
lumineuses ou sombres. La luminosité des parties
sombres et brillantes est conservée.
Plage disponible: –4 (plus sombre) à +4 (plus lumineux)
•LUMINOSITE:
Ajustez ce paramètre si l’image est trop lumineuse ou
trop sombre dans l’ensemble.
Plage disponible –16 (plus sombre) à +16 (plus lumineux)
•CONTRASTE:
Ajustez ce paramètre si les positions éloignées et
proches ne sont pas naturelles.
Plage disponible:
–
16 à +16
•SATURATION:
Ajustez ce paramètre si l’image est blanchâtre ou noirâtre.
Plage disponible –16 (plus noirâtre) à +16 (plus blanchâtre)
•TEINTE:
Ajustez ce paramètre si la couleur de la peau n’est pas
naturelle.
Plage disponible: –16 à +16
•NET:
Ajustez ce paramètre si l’image n’est pas nette.
Plage disponible: +0 à +3
•RETARD LUMIN.:
Ajustez ce paramètre si l’image paraît séparée/chevauchée.
Plage disponible: –2 à +2
3Appuyez sur ENTER.
La liste des paramètres VFP disparaît et la fenêtre déroulante
suivante pour le paramètre choisi apparaît sur le téléviseur.
4Appuyez répétitivement sur la touche de
curseur ∞/5 pour changer le réglage, puis
sur ENTER.
Votre ajustement est mémorisé et la liste des paramètres
VFP actuels apparaît à nouveau.
5Répétez les étapes 2—4 pour ajuster les
autres paramètres.
Pour faire disparaître l’écran des réglages VFP
Appuyez sur VFP.
Pour mettre en service votre réglage
Appuyez sur VFP, puis appuyez répétitivement sur la touche
de curseur 3/2 pour choisir “USAGER 1” ou “USAGER 2”.
REMARQUE:
Les réglages VFP disparaissent si aucune opération n’est effectuée
pendant environ 10 secondes.
FR37-49.TH-A75R[E]f.pm6 5/9/02, 10:24 AM47

48
Français
PROGRAMME
No.
1
2
3
4
5
6
7
8
9
10
Total Program Time 00:00:00
Tr a c k
CHANNEL/ZOOM
VOLUMETV VOL
TUNING
STOP
DIMMER
PAUSE
FF/
/REW
TV/VIDEO
1
MUTING
¡
REC
PLAY
DOWN UP
MEMORY STROBE
VFP
CONTROL
EFFECT
S.WFR TEST
SLEEP
TV
VCR
SETTING
TV RETURN
ENTER
ON
SCREEN
CHOICE
FM MODE
123
456
789
10 0+10
100+
SOUND
PTY SEARCH
DVD
RDS
TA/NEWS/INFO
PTY(PTY9
RDS DISPLAY
CENTER
–
+
–
+
–
+
–
+
SURR-L SURR-R
S-BACK
–
+
ADJUST
O.T.
REPLAY
VFP
ENTER
ON
SCREEN
CHOICE
PTY SEARCH
DVD
RDS
TA/NEWS/INFO
PTY(PTY9
RDS DISPLAY
Fonctionnement du lecteur de DVD
PROGRAMME
No 1
2
3
4
5
6
7
8
9
10
3
Total Program Time 00:04:14
Tr a c k
7A l’arrêt
1Appuyez deux fois sur ON SCREEN.
La barre sur l’écran apparaît sur le téléviseur.
2Appuyez répétitivement sur la touche de
curseur 3/2 pour amener sur
RND.
,
puis appuyez ENTER.
La lecture aléatoire démarre.
• Quand toutes les plages ont été reproduites une fois, la
lecture aléatoire se termine.
Pour faire disparaître la barre sur l’écran
Appuyez sur ON SCREEN.
Pour quitter la lecture aléatoire
Appuyez sur STOP. La lecture s’arrête et le mode de lecture
aléatoire est annulé.
REMARQUES:
•Pendant la lecture aléatoire, vous pouvez revenir au début de la
plage actuelle en appuyant sur
4
/REW, mais vous ne pouvez pas
retourner aux plages qui ont déjà été reproduites.
•Pendant la lecture aléatoire, appuyer sur ENTER quand
RND.
de la
barre sur l’écran est choisi, quitte la lecture aléatoire et continue la
lecture dans l’ordre normal.
7A l’arrêt
1Appuyez deux fois sur ON SCREEN.
La barre sur l’écran apparaît sur le téléviseur.
2Appuyez répétitivement sur la touche de
curseur 3/2 pour amener sur
PROG.
,
puis appuyez sur ENTER.
Le d’écran de programme apparaît sur le téléviseur.
3Appuyez sur les touches numérique (1–10,
+10) pour entrer le numéro de plage que
vous souhaitez programmer.
Ex.:
Pour choisir 3, appuyez sur 3.
Pour choisir 14, appuyez sur +10 puis sur 4.
Pour choisir 40, appuyez sur +10, sur +10, sur +10 puis sur 10.
4Répétez l’étape 3 pour programmer les
autres plages.
• Entrer un numéro de plage pour le dernier pas affiche
l’étape suivante sur l’écran.
Positionnez le
sélecteur de mode
de télécommande
sur “DVD”.
La durée totale du programme apparaît.
Lecture dans l’ordre souhaité
—Lecture programmée
Vous pouvez reproduire 99 plages maximum dans l’ordre souhaité.
• Vous pouvez programmer la même plage plus d’une fois.
• Cette fonction n’est pas disponible pour les DVD.
5Appuyez sur PLAY.
Lors de la lecture d’un VCD ou d’un SVCD, le menu de
programme disparaît.
La lecture démarre dans l’ordre programmé.
•Quand toutes les plages programmées ont été
reproduites, la lecture programmée s’arrête.
Pour effacer un pas de programme
Appuyez sur la touche de curseur 5/∞ pour amener sur
l’étape souhaitée, puis appuyez sur STOP.
Pour programmer de nouveau les étapes suivantes, appuyez
répétitivement sur la touche de curseur ∞ pour amener
sur l’étape vide, puis répétez l’étape 3.
Pour arrêter la lecture programmée
Appuyez sur STOP.
L’écran de programme apparaît à nouveau.
• Pour corriger votre programme, répétez l’étape 3 et 4.
Pour annuler la lecture programmée
Annulez le programme que vous venez de faire de la façon
suivante:
1Appuyez sur STOP pour arrêter la lecture.
2Appuyez sur ON SCREEN pour afficher la barre sur l’écran.
3Appuyez sur STOP.
• Vous pouvez aussi annuler le programme en éjectant le
disque ou en mettant le système hors tension.
Pour faire disparaître la barre sur l’écran
Appuyez sur ON SCREEN.
Lecture dans l’ordre
aléatoire—Lecture aléatoire
• Cette fonction n’est pas disponible pour les DVD.
Positionnez le
sélecteur de mode
de télécommande
sur “DVD”.
FR37-49.TH-A75R[E]f.pm6 5/9/02, 10:24 AM48

49
Français
A B
8.5Mbps
A -
TIME
C
DVD-VIDEO
8.5Mbps
DVD-VIDEO
TITLE
14 TIME
1:25:58
CHAP
23
1/3 1/3 1/3
TIME CHAP.
ARRET
VFP
ENTER
ON
SCREEN
CHOICE
PTY SEARCH
DVD
RDS
TA/NEWS/INFO
PTY(PTY9
RDS DISPLAY
8.5Mbps
DVD-VIDEO
TITLE
14
TIME
1:25:58
CHAP
23
1/3 1/3 1/3
TIME CHAP.
ARRET
7Pendant la lecture
1Appuyez deux fois sur ON SCREEN.
La barre sur l’écran apparaît sur le téléviseur.
2Appuyez répétitivement sur la touche de
curseur 3/2 pour amener sur ,
puis appuyez sur ENTER.
La fenêtre déroulante apparaît sous la barre sur l’écran.
3Appuyez répétitivement sur la touche de
curseur ∞/5 pour choisir “A-B”.
4Appuyez sur ENTER à l’endroit où vous
souhaitez démarrer la répétition (point A).
L’affichage suivant apparaît sur la barre sur l’écran.
5Appuyez sur ENTER à l’endroit où vous
souhaitez terminer la répétition (point B).
La lecture répétée A-B démarre. Le passage choisi du
disque (entre les points A et B) est reproduit
répétitivement.
Pour annuler la lecture répétée A-B
Répétez les étapes 1 à 3 et choisissez “ARRET” à l’étape 3,
puis appuyez sur ENTER.
Pour faire disparaître la barre sur l’écran
Appuyez sur ON SCREEN.
REMARQUES:
•Lors de la lecture d’un disque DVD, la lecture répétée A-B n’est
possible qu’à l’intérieur du même titre.
•“A-B” ne peut pas être choisi pendant la lecture programmée ou
aléatoire.
•“A-B” ne peut pas être choisi à l’arrêt.
Répétition d’un passage
particulier—Répétition A-B
Vous pouvez répéter la lecture d’un passage souhaité en
spécifiant le point de départ (A) et le point de fin (B).
VFP
ENTER
ON
SCREEN
CHOICE
PTY SEARCH
DVD
RDS
TA/NEWS/INFO
PTY(PTY9
RDS DISPLAY
Lecture répétée
Vous pouvez répéter la lecture du titre ou du chapitre (pour les
DVD) ou de la plage actuelle (pour les VCD/SVCD/CD Audio).
Vous pouvez aussi répéter la lecture d’un passage donné.
Répétition du titre ou du
chapitre ou du plages
7Pour les DVD : Pendant la lecture
7Pour les VCD/SVCD : Pendant la lecture sans la fonction
PBC est en service ou à l’arrêt
7Pour les CD Audio : Pendant la lecture ou à l’arrêt
1Appuyez deux fois sur ON SCREEN.
La barre sur l’écran apparaît sur le téléviseur.
2Appuyez répétitivement sur la touche de
curseur 3/2 pour amener sur ,
puis appuyez sur ENTER.
La fenêtre déroulante apparaît sous la barre sur l’écran.
3
Appuyez répétitivement sur sur la touche de
curseur ∞/5 pour choisir le mode de répétition.
• Chaque fois que vous appuyez sur la touche, le mode
de répétition change comme suit.
Pour les DVD:
CHAPITRE O TITRE O A-B O ARRET O
(retour au début)
Pour les VCD/SVCD/CD Audio :
PLAGE O TOUTES O A-B OARRET O
(retour au début)
CHAPITRE : Répète le chapitre actuel.
TITRE : Répète le titre actuel.
PLAGE : Répète la plage actuelle.
TOUTES : Répète toutes les plages d’un disque.
A-B : Répète un passage choisi (voir ci-à droite)
ARRET : Annule la lecture répétée.
REMARQUE:
Si vous choisissez “TOUTES” pendant la lecture aléatoire, toutes
les plages du disque sont reproduites répétitivement dans un
ordre aléatoire.
4Appuyez sur ENTER.
La lecture répétée démarre.
Pour annuler la lecture répétée
Répétez les étapes 1 à 3 et choisissez “ARRET” à l’étape 3,
puis appuyez sur ENTER.
Pour faire disparaître la barre sur l’écran
Appuyez sur ON SCREEN.
Positionnez le
sélecteur de mode
de télécommande
sur “DVD”.
Positionnez le
sélecteur de mode
de télécommande
sur “DVD”.
FR37-49.TH-A75R[E]f.pm6 5/9/02, 10:24 AM49

50
Français
Lecture de disque MP3
CHANNEL/ZOOM
VOLUMETV VOL
TUNING
STOP
DIMMER
PAUSE
FF/
/REW
TV/VIDEO
1
MUTING
¡
REC
PLAY
DOWN UP
MEMORY STROBE
VFP
ENTER
ON
SCREEN
CHOICE
PTY SEARCH
DVD
RDS
TA/NEWS/INFO
PTY(PTY9
RDS DISPLAY
O.T.
REPLAY
L
S.WFR
R
MP3
Ce système peut reproduire les plages (fichiers) MP3 enregistrés sur un CD-R ou un CD-RW. Nous appelons un tel disque, un
“disque MP3”.
•Avant d’utiliser la télécommande, appuyez sur DVD pour changer le mode de télécommande pour la commande des
disques MP3.
• Lors de la lecture d’un disque MP3, régler “MP3/JPEG” du menu IMAGE sur “MP3” (voir page 57).
• Mettez votre téléviseur sous tension et choisissez le mode d’entrée correct sur le téléviseur.
Si “ ” apparaît sur l’écran du téléviseur quand vous appuyez sur une touche, c’est que le disque ne peut pas
accepter l’opération réalisée.
Numéro de plage actuel
Indicateur MP3
Numéro de
groupe actuel Durée de lecture
écoulée de la plage
actuelle
7REMARQUES à propos de disque MP3
• Les disques MP3 (CD-R ou CD-RW) demandent un temps
de reconnaissance plus long. (La durée diffère en fonction
de la complexité de la configuration du groupe (répertoire)/
plage (fichier).)
• Lors de la réalisation d’un disque MP3, choisissez le
Niveau ISO 9660 1 ou 2 comme format de disque.
• Ce système prend en charge les disques “multi-session”
(jusqu’à 5 sessions).
• Ce système ne peut pas reproduire les disques “packet
write” (écriture par paquet).
• Ce système peut reproduire uniquement les fichiers MP3 avec
les extensions suivantes: “.MP3”, “.Mp3”, “.mP3” et “.mp3”.
• Les balises ID3* n’apparaissent pas sur l’affichage.
* Un fichier MP3 peut contenir des informations sur le fichier
appelés “Balise ID3” où le nom de l’album, l’interprète, le titre de
la plage, etc. sont enregistrés. Il y a deux versions de balises—
ID3v1 (balise ID3 version 1) et ID3v2 (balise ID3 version 2).
• Nous recommandons d’enregistrer chaque fichier MP3 à la
fréquence d’échantillonnage de 44,1 kHz et avec un débit
de transfert de données de 128 kbps. Cet appareil ne peut
pas reproduire les fichiers créés avec un débit de transfert
de données inférieur à 64 kbps.
• Si des fichiers MP3 et JPEG sont enregistrés sur un même
disque, régler MP3/JPEG dans le menu IMAGE sur “MP3”.
(Voir page 57.)
• Certains disques MP3 ne peuvent pas être reproduits à cause
de leurs caractéristiques ou des conditions d’enregistrement.
Opérations de base
REMARQUES:
• Les fonctions suivantes ne sont pas disponibles pour la
lecture des disques MP3:
Lecture programmée, lecture aléatoire, lecture répétée,
lecture rapide vers l’avant/vers l’arrière, barre sur l’écran
et menu de choix.
• Certaines plages d’un disque MP3 sont sautées et ne
peuvent pas être reproduites normalement.
A partir de la télécommande UNIQUEMENT:
7 Pour démarrer la lecture
Mettez en place un disque MP3, puis appuyez
sur PLAY.
Le système démarre la lecture.
Les informations suivantes apparaissent sur l’affichage et
l’écran MP3 CONTROL (voir page 51) apparaît sur le
téléviseur.
Pour arrêter la lecture temporairement
Appuyez sur PAUSE (ou sur 8 sur l’appareil central).
Pour reprendre la lecture, appuyez sur PLAY (ou sur 3 sur
l’appareil central).
Pour sauter les groupes vers l’avant
Appuyez sur la touche de curseur 3.
Pour sauter les groupes vers l’arrière
Appuyez sur la touche de curseur 2.
Pour sauter les plages vers l’avant
Appuyez sur FF/¢ ou sur la touche de curseur ∞ (ou sur
¢ sur l’appareil central) autant de fois que nécessaire.
Pour sauter au début de la plage actuelle
Appuyez une fois sur 4/REW (ou sur 4 sur l’appareil central).
Pour sauter les plages vers l’arrière
Appuyez sur 4/REW ou sur la touche de curseur 5 (ou sur
4 sur l’appareil central) autant de fois que nécessaire.
Pour arrêter la lecture complètement
Appuyez sur STOP (ou sur 7 sur l’appareil central).
Positionnez le
sélecteur de mode
de télécommande
sur “DVD”.
FR50-53.TH-A75R[E]f.pm6 5/9/02, 10:26 AM50

51
Français
MP3 CONTROL
Group : 01 / 03
Time : 00:00:14
Track : 01 / 14 (Total 41)
Blue
Red
Green
Cloudy
Fair
Fog
Hail
Indian summer
Rain
Shower
Snow
Thunder
Typhoon
Wind
Winter sky
CHANNEL/ZOOM
VOLUMETV VOL
TUNING
FF/
/REW
TV/VIDEO
1
MUTING
¡
PLAY
DOWN UP
VFP
CONTROL
EFFECT
S.WFR TEST
SLEEP
TV
VCR
SETTING
TV RETURN
ENTER
ON
SCREEN
CHOICE
FM MODE
123
456
789
10 0+10
100+
PTY SEARCH
DVD
RDS
TA/NEWS/INFO
PTY(PTY9
RDS DISPLAY
CENTER
–
+
–
+
–
+
–
+
SURR-L SURR-R
S-BACK –
+
ADJUST
1Appuyez sur la touche de curseur 3/2 pour
choisir un groupe.
2Appuyez sur la touche de curseur ∞/5 pour
choisir la plage que vous souhaitez écouter,
puis appuyez sur PLAY ou ENTER
Pour démarrer la lecture en spécifiant le numéro de plage
Appuyez sur les touches numériques (1–10, +10) pour entrer
le numéro de plage.
Ex.:
• Pour choisir 3, appuyez sur 3.
• Pour choisir 14, appuyez sur +10 puis sur 4.
• Pour choisir 24, appuyez sur +10, sur +10, puis sur 4.
• Pour choisir 110, appuyez 10 fois sur +10, puis sur 10.
Le numéro entré apparaît à l’emplacement du numéro de
plage, puis la lecture démarre à partir de la plage que vous
avez spécifiée.
No du plage actuel/Nb
total de plages dans le
groupe (Nb total de plages
sur le disque en place)
Durée de lecture
écoulée de la plage
actuelle
REMARQUES:
•Certains noms de groupe et de plage peuvent ne pas être affichés
correctement à cause des conditions d’enregistrement.
•L’ordre des groupes et des plages sur un disque MP3 peut être
affiché différemment de celui affiché sur votre ordinateur personnel.
•Le MP3 CONTROL sont affichés par bloc de 12 éléments maximum.
Appuyez répétitivement sur la touche de curseur
3
/
2
/
∞
/
5
pour
afficher les groupes et les plages cachées un par un.
7Opérations
No du groupe
actuel/Nb total de
groupe
Nom du
groupe actuel
Nom du plage actuel
Positionnez le
sélecteur de mode
de télécommande
sur “DVD”.
Operations à l’aide de l’écran
MP3 CONTROL
Vous pouvez rechercher et reproduire les groupes et les
plages souhaités à l’aide de l’écran MP3 CONTROL.
7Ecran MP3 CONTROL
L’écran suivant apparaît sur le téléviseur lors du chargement
d’un disque MP3.
FR50-53.TH-A75R[E]f.pm6 5/9/02, 10:26 AM51

52
Français
Lecture de disque JPEG
CHANNEL/ZOOM
VOLUMETV VOL
TUNING
STOP
DIMMER
PAUSE
FF/
/REW
TV/VIDEO
1
MUTING
¡
REC
PLAY
DOWN UP
MEMORY STROBE
VFP
ENTER
ON
SCREEN
CHOICE
PTY SEARCH
DVD
RDS
TA/NEWS/INFO
PTY(PTY9
RDS DISPLAY
O.T.
REPLAY
L
S.WFR
R
Ce système peut reproduire les fichiers JPEG enregistrés sur un CD-R ou un CD-RW. Nous appelons un tel disque, un “disque
JPEG”.
•Avant d’utiliser la télécommande, appuyez sur DVD pour changer le mode de télécommande pour la commande des
disques JPEG.
• Lors de la lecture d’un disque JPEG, régler “MP3/JPEG” du menu IMAGE sur “JPEG” (voir page 57).
• Mettez votre téléviseur sous tension et choisissez le mode d’entrée correct sur le téléviseur.
Si “ ” apparaît sur l’écran du téléviseur quand vous appuyez sur une touche, c’est que le disque ne peut pas
accepter l’opération réalisée.
A partir de la télécommande UNIQUEMENT:
Numéro du groupe actuel Numéro du fichier actuel
7REMARQUES à propos de disque JPEG
• Les disques JPEG (CD-R ou CD-RW) demandent un temps
de reconnaissance plus long. (La durée diffère en fonction
de la complexité de la configuration du groupe (répertoire)/
fichier.)
• Lors de la création d’un disque JPEG, choisissez le Niveau
ISO 9660 1 ou 2 pour le format de disque.
• Ce système prend en charge les disques “multi-session”
(jusqu’à 5 sessions).
• Ce système ne peut pas reproduire les disques “packet
write” (écriture par paquet).
• Ce système peut reproduire uniquement les fichiers JPEG
avec les extensions suivantes: “.jpg”, “.jpeg”, “.JPG”,
“.JPEG” et n’importe quelle combinaison de minuscules et
majuscules (tel que “.Jpg”).
• Nous recommandons d’enregistrer les fichiers à la
résolution de 640 x 480. (Si un fichier est enregistré à une
résolution supérieure à 640 x 480, il prendra plus de temps
pour apparaître.)
• Si des fichiers MP3 et JPEG sont enregistrés sur un même
disque, régler MP3/JPEG dans le menu IMAGE sur “JPEG”.
(Voir page 57.)
• Ce système peut reproduire uniquement les fichiers JPEG
de base*. Les fichiers JPEG progressifs* ou les fichiers
JPEG sans perte* ne peuvent pas être reproduits. Les
autres formats de fichier ne peuvent pas être reproduits.
* Format JPEG de base: Utilisé pour les appareils photo
numériques, internet, etc.
Format JPEG progressif: Utilisé pour internet.
Format JPEG sans perte: Un ancien format rarement utilisé
aujourd’hui.
• Certains disques JPEG ne peuvent pas être reproduits à
cause de leurs caractéristiques ou des conditions
d’enregistrement.
Diaporama
Vous pouvez voir les images fixes automatiquement une
après l’autre—diaporama.
REMARQUES:
• Les fonctions suivantes ne sont pas disponibles pour la
lecture des disques JPEG:
Lecture programmée, lecture aléatoire, lecture répétée,
lecture rapide vers l’avant/vers l’arrière, barre sur l’écran
et menu de choix.
• Si un écran noir apparaît de façon continue pendant le
diaporama:
C’est que le fichier actuellement reproduit n’est peut-être
pas au format JPEG de base. Dans ce cas, choisissez à
nouveau un fichier reproductible (fichier JPEG de base).
(ex.: appuyer sur STOP ou MENU pour ouvrir l’affichage
de commande JPEG, etc.)
Notez qu’il peut falloir beaucoup de temps pour choisir un
autre fichier.
• Certains fichiers d’un disque JPEG sont reproduits avec
des déformations.
7 Pour démarrer le diaporama
Mettez en place un disque JPEG, puis
appuyez sur PLAY.
Le diaporama démarre.
• Chaque fichier (image fixe) apparaît sur le téléviseur
pendant environ 3 secondes, puis les fichiers suivants
apparaissent les uns après les autres. Quand tous les
fichiers d’un groupe ont été reproduits, le système
reproduit les fichiers du groupe suivant.
Pour sauter les groupes vers l’avant
Appuyez sur la touche de curseur 3.
Pour sauter les groupes vers l’arrière
Appuyez sur la touche de curseur 2.
Pour sauter un fichiers vers l’avant
Appuyez sur FF/¢ ou sur la touche de curseur ∞ (ou sur
¢ sur l’appareil central).
Pour sauter un fichiers vers l’arrière
Appuyez sur 4/REW ou sur la touche de curseur 5 (ou sur
4 sur l’appareil central).
Pour arrêter le diaporama temporairement
Appuyez sur PAUSE (ou sur 8 sur l’appareil central).
Pour reprendre le diaporama la lecture, appuyez sur PLAY
(ou sur 3 sur l’appareil central)
Pour arrêter le diaporama
Appuyez sur STOP (ou sur 7 sur l’appareil central).
L’écran JPEG CONTROL apparaît sur l’écran du téléviseur.
REMARQUE:
Appuyez sur les touches après que l’image est apparue entièrement
sur l’écran. Le système ne peut pas accepter les commandes même
si vous appuyez sur les touches pendant l’affichage d’une image.
Positionnez le
sélecteur de mode
de télécommande
sur “DVD”.
FR50-53.TH-A75R[E]f.pm6 5/9/02, 10:26 AM52

53
Français
JPEG CONTROL
Group : 01 / 03 File : 01 / 14 (Total 41)
Anemone fish
Bonito
Butterfly fish
Dolphin
Garden eel
Manta ray
Seal
Swordfish
Tuna
Turtle
Whale
Whale shark
Sea
Mountain
Sky
CHANNEL/ZOOM
VOLUMETV VOL
TUNING
STOP
DIMMER
PAUSE
FF/
/REW
TV/VIDEO
1
MUTING
¡
REC
PLAY
DOWN UP
MEMORY STROBE
RETURN DIGEST
VFP
TOP MENU MENU
CONTROL
EFFECT
S.WFR TEST
SLEEP
TV
VCR
SETTING
TV RETURN
ENTER
ON
SCREEN
CHOICE
FM MODE
123
456
789
10 0+10
100+
SOUND
PTY SEARCH
DVD
RDS
TA/NEWS/INFO
PTY(PTY9
RDS DISPLAY
SURROUND OFF
DSP
CENTER
–
+
–
+
–
+
–
+
SURR-L SURR-R
S-BACK –
+
ADJUST
O.T.
REPLAY
Operations à l’aide de l’écran
JPEG CONTROL
Vous pouvez rechercher et reproduire les groupes et les
fichiers souhaités à l’aide de l’écran JPEG CONTROL.
7Ecran JPEG CONTROL
Nom du
groupe actuel
No du groupe
actuel/Nb total de
groupe
No du fichier actuel/Nb
total de fichiers dans le
groupe (Nb total de fichier
sur le disque en place)
Nom du fichier actuel
REMARQUES:
•Certains noms de groupe et de fichier peuvent ne pas être affichés
correctement à cause des conditions d’enregistrement.
•L’ordre des groupes et des fichiers sur un disque JPEG peut être
affiché différemment de celui affiché sur votre ordinateur personnel.
•Le JPEG CONTROL sont affichés par bloc de 12 éléments
maximum. Appuyez répétitivement sur la touche de curseur
3
/
2
/
∞
/
5
pour afficher les groupes et les fichiers cachés un par un.
7Opérations
Positionnez le
sélecteur de mode
de télécommande
sur “DVD”.
1 Appuyez sur la touche de curseur 3/2 pour
choisir un groupe.
2 Appuyez sur la touche de curseur ∞/5 pour
choisir le fichier que vous souhaitez
regarder, puis appuyez sur ENTER.
L’image choisie apparaît sur l’écran du téléviseur.
Pour faire un zoom avant ou arrière sur une image fixe
Appuyez sur ZOOM + ou – après que l’image choisie est
apparue complètement sur l’écran du téléviseur. (Voir
aussi page 46.)
Pour démarrer le diaporama à partir de l’image choisie
Appuyez sur PLAY (ou sur 3 sur l’appareil central.)
Pour démarrer la lecture à partir d’un fichier spécifié
Appuyez sur les touches numériques pour entrer le numéro
du fichier (1–10, +10).
Ex.:
• Pour choisir 3, appuyez sur 3.
• Pour choisir 14, appuyez sur +10 puis sur 4.
• Pour choisir 24, appuyez sur +10, sur +10, puis sur 4.
• Pour choisir 110, appuyez 10 fois sur +10, puis sur 10.
Le numéro de fichier choisi apparaît à l’emplacement du
numéro de fichier, puis le diaporama démarre à partir du
fichier spécifié.
Pour afficher l’écran JPEG CONTROL
Appuyez sur MENU ou sur STOP (ou sur 7 sur l’appareil central).
FR50-53.TH-A75R[E]f.pm6 5/9/02, 6:57 PM53

54
Français
FRANCAIS
FRANCAIS
FRANCAIS
LANGUE
LANGUE MENU
LANGUE D'ECRAN
LANGUE AUDIO
SOUS-TITRE
POUR CHOISIR ET ENTER POUR VALIDER.
POUR QUITTER, APPUYER SUR CHOICE.
ENTRER
FRANCAIS
SELECTION
CENTRE
0
0
AUDIO
BALANCE G/D
GRAVE
AIGU
ATTENUATEUR LFE
MODE MINUIT
ARRET
ARRET
ENTRER
SELECTION POUR CHOISIR ET ENTER POUR VALIDER.
POUR QUITTER, APPUYER SUR CHOICE.
4:3LB
IMAGE
TYPE D’ECRAN
AUTO
ENTRER
SELECTION
MP3 / JPEG MP3
MARCHE
MODE ARRET SUR IMAGE
PROTECTION D'ECRAN
POUR CHOISIR ET ENTER POUR VALIDER.
POUR QUITTER, APPUYER SUR CHOICE.
MARCHE
AUTRES
REPRISE
GUIDE A L’ECRAN
ATTENTE AUTOMATIQUE
MARCHE
ARRET
CENSURE PARENTALE
ENTRER
SELECTION POUR CHOISIR ET ENTER POUR VALIDER.
POUR QUITTER, APPUYER SUR CHOICE.
200Hz
REGLAGE H. -P.
RECOUVREMENT
NIVEAU
TAILLE
DISTANCE
RETOUR REGLAGES INIT.
ENTRER
SELECTION POUR CHOISIR ET ENTER POUR VALIDER.
POUR QUITTER, APPUYER SUR CHOICE.
CHANNEL/ZOOM
VOLUMETV VOL
VFP
TV RETURN
ENTER
ON
SCREEN
CHOICE
FM MODE
10 0+10
100+
PTY SEARCH
DVD
RDS
TA/NEWS/INFO
PTY(PTY9
RDS DISPLAY
ADJUST
Utilisation du menu de choix
Vous pouvez ajuster les réglages initiaux en utilisant les
menus de chois sur le téléviseur.
•Avant d’utiliser la télécommande, appuyez sur DVD
pour changer le mode de télécommande.
• Lors de la sélection d’une source autre que DVD, vous ne
pouvez pas utiliser le menu de choix.
• Mettez le téléviseur sous tension et choisissez le mode
d’entrée correct sur le téléviseur.
• Vous pouvez changer la langue utilisée pour les menus de
choix. Voir page 56.
REMARQUES:
•Vous pouvez uniquement utiliser la télécommande pour les
opérations des menus de choix.
•Vous ne pouvez pas afficher les menus de choix quand un disque
MP3 ou un disque JPEG est en place.
Menus de choix
Configuration des menus de choix
Menu LANGUE
(voir page 56)
Vous pouvez choisir la
langue initiale du menu de
disque, audio et des sous-
titres.
Menu IMAGE
(voir page 57)
Vous pouvez choisir les
options souhaitées
concertant l’image ou
l’écran du moniteur.
Menu AUDIO
(voir page 58)
Vous pouvez ajuster les
réglages sonores du
système à l’aide de ce
menu.
Menu REGLAGE H.-P.
(voir page 59)
Vous pouvez réaliser les
réglages des enceintes et
ajuster le niveau de sortie
des enceintes.
Menu AUTRES
(voir page 60)
Vous pouvez changer les
réglages de certaines
fonctions.
Touches de commande pour le
menu de choix
A partir de la télécommande UNIQUEMENT:
Touche
CHOICE
Cursor 3/2
Cursor ∞/5
ENTER
Positionnez le
sélecteur de
mode de télécom-
mande sur “DVD”.
Pour
afficher le menu de choix sur le
teléviseur. Chaque fois que vous
appuyez sur la touche, le menu est
mis alternativement en et hors service.
choisir un menu.
choisir un élément.
se déplacer sur le sous-menu de
l’élément choisi ou valider un réglage.
FR54-63.TH-A75R[E]f.pm6 5/9/02, 10:25 AM54

55
Français
FRANCAIS
FRANCAIS
FRANCAIS
LANGUE
LANGUE MENU
LANGUE D'ECRAN
LANGUE AUDIO
SOUS-TITRE
ENTRER
SELECTION
FRANCAIS
POUR CHOISIR ET ENTER POUR VALIDER.
POUR QUITTER, APPUYER SUR CHOICE.
CHANNEL/ZOOM
VOLUMETV VOL
VFP
TV RETURN
ENTER
ON
SCREEN
CHOICE
FM MODE
10
0
+10
100+
PTY SEARCH
DVD
RDS
TA/NEWS/INFO
PTY(PTY9
RDS DISPLAY
ADJUST
IMAGE
TYPE D’ECRAN
PROTECTION D'ECRAN
ENTRER
SELECTION
MP3 / JPEG JPEG
4:3LB
MARCHE
MODE ARRET SUR IMAGE AUTO
POUR CHOISIR ET ENTER POUR VALIDER.
POUR QUITTER, APPUYER SUR CHOICE.
IMAGE
TYPE D’ECRAN
PROTECTION D'ECRAN
ENTRER
SELECTION
MP3 / JPEG JPEG
4:3LB
MARCHE
MODE ARRET SUR IMAGE AUTO
POUR CHOISIR ET ENTER POUR VALIDER.
POUR QUITTER, APPUYER SUR CHOICE.
IMAGE
TYPE D’ECRAN
PROTECTION D'ECRAN
ENTRER
SELECTION
MP3 / JPEG JPEG
MARCHE
MODE ARRET SUR IMAGE AUTO
4:3LB
ARRET
MARCHE
POUR CHOISIR ET ENTER POUR VALIDER.
POUR QUITTER, APPUYER SUR CHOICE.
IMAGE
TYPE D’ECRAN
PROTECTION D'ECRAN
ENTRER
SELECTION
MP3 / JPEG JPEG
MARCHE
MODE ARRET SUR IMAGE AUTO
4:3LB
ARRET
MARCHE
POUR CHOISIR ET ENTER POUR VALIDER.
POUR QUITTER, APPUYER SUR CHOICE.
IMAGE
TYPE D'ECRAN
PROTECTION D'ECRAN
MP3 / JPEG JPEG
ARRET
MODE ARRET SUR IMAGE AUTO
4:3LB
ENTRER
SELECTION POUR CHOISIR ET ENTER POUR VALIDER.
POUR QUITTER, APPUYER SUR CHOICE.
Procédure de base
Avant d’utiliser le menu de choix, appuyez sur DVD pour
changer la source sur DVD.
Ex.: Lors du réglage de la fonction d’économiseur d’écran sur
le menu IMAGE.
1Appuyez sur CHOICE.
Le menu LANGUE apparaît sur le téléviseur.
2Appuyez répétitivement sur la touche de
curseur 3/2 de façon que le menu IMAGE
apparaisse sur l’écran.
3Appuyez répétitivement sur la touche de
curseur ∞/5 pour amener sur
“PROTECTION D’ECRAN”.
Positionnez le
sélecteur de mode
de télécommande
sur “DVD”.
4Appuyez sur ENTER.
La fenêtre déroulante apparaît avec une liste des options
possibles.
5Appuyez répétitivement sur la touche de
curseur ∞/5 pour choisir l’option souhaitée.
6Appuyez sur ENTER.
Votre sélection est mémorisée.
Pour régler les autres options du même menu de choix
Répétez les étapes 3 à 6.
Pour régler d’autre élément sur un menu de choix
différent
Répétez les étapes 2 à 6.
Pour quitter le menu de choix
Appuyez sur CHOICE.
REMARQUE:
Certains éléments dans le menu de choix comprennent des sous-
menus. Les sous-menus apparaissent en appuyant sur ENTER. Vous
pouvez régler les éléments du sous-menu en utilisant la touche de
curseur
3
/
2
/
∞
/
5
et ENTER.
Ex.: Quand “ARRET” est choisi.
FR54-63.TH-A75R[E]f.pm6 5/9/02, 10:25 AM55

56
Français
Liste des codes de langue
SO Somalien
SQ Albanais
SR Serbe
SS Siswati
ST Sesotho
SU Soudanais
SV Suédois
SW Swahili
TA Tamil
TE Télougou
TG Tadjik
TH Thaï
TI Tigrinya
TK Turkmène
TL Tagalog
TN Setswana
TO Tongan
TR Turc
TS Tsonga
TT Tatar
TW Twi
UK Ukrainien
UR Ourdou
UZ Ouzbek
VI Vietnamien
VO Volapük
WO Ouolof
XH Xhosa
YO Yoruba
ZU Zoulou
AA Afar
AB Abkhazien
AF Afrikaans
AM Amharique
AR Arabe
AS Assamais
AY Aymara
AZ Azerbaïdjanais
BA Bashkir
BE Biélorusse
BG Bulgare
BH Bihari
BI Bislama
BN Bengali, Bangladais
BO Tibétain
BR Breton
CA Catalan
CO Corse
CS Tchèque
CY Gallois
DA Danois
DZ Bhutani
EL Grec
EO Espéranto
ET Estonien
EU Basque
FA Persan
FI Finnois
FJ Fidji
FO Faroese
FY Frison
GA Irlandais
GD Gaélique écossais
GL Galicien
GN Guarani
GU Gujarati
HA Hausa
HI Hindi
HR Croate
HU Hongrois
HY Arménien
IA Interlingua
IE Interlangue
IK Inupiak
IN Indonésien
IS Islandais
IW Hébreu
JI Yiddish
JW Javanais
KA Géorgien
KK Kazakh
KL Groenlandais
KM Cambodgien
KN Kannara
KO Coréen (KOR)
KS Kashmiri
KU Kurde
KY Kirghiz
LA Latin
LN Lingala
LO Laotien
LT Lithuanien
LV Latvian, Letton
MG Malagasy
MI Maori
MK Macédonien
ML Malayalam
MN Mongol
MO Moldavien
MR Marathi
MS Malais (MAY)
MT Maltais
MY Birman
NA Nauruan
NE Népalais
NL Néerlandais
NO Norvégien
OC Langue d’oc
OM (Afan) Oromo
OR Oriya
PA Panjabi
PL Polonais
PS Pashto, Pushto
PT Portugais
QU Quechua
RM Rhaeto-Romance
RN Kirundi
RO Roumain
RU Russe
RW Kinyarwanda
SA Sanskrit
SD Sindhi
SG Sangho
SH Serbo-Croate
SI Cingalais
SK Slovaque
SL Slovène
SM Samoan
SN Shona
Utilisation du menu de choix
Menu LANGUE
Vous pouvez choisir “LANGUE MENU”, “LANGUE AUDIO”, et “SOUS-TITRE” uniquement avant la
lecture.
• Vous pouvez aussi choisir “LANGUE AUDIO” et “SOUS-TITRE” temporairement pendant la lecture
(voir page 41).
FRANCAIS
FRANCAIS
FRANCAIS
LANGUE
LANGUE MENU
LANGUE D'ECRAN
LANGUE AUDIO
SOUS-TITRE
POUR CHOISIR ET ENTER POUR VALIDER.
POUR QUITTER, APPUYER SUR CHOICE.
ENTRER
FRANCAIS
SELECTION
Choisissez d’abord votre langue préférée pour la langue
des menus “LANGUE D’ECRAN” afin de réaliser les
autres opérations plus facilement.
¶LANGUE D’ECRAN
Vous pouvez commander le système dans la langue que
vous avez choisie.
Choisissez une des langues suivantes—ANGLAIS,
FRANCAIS ou ALLEMAND.
¶LANGUE MENU
Certains disques ont des menus de disque en plusieurs
langues. Vous pouvez choisir votre langue préférée pour
utiliser le propre menu du DVD.
Choisissez une des langues ou un code de langue de
AA à ZU (voir la“Liste des codes de langue” ci-dessous)
comme langue des menus.
¶LANGUE AUDIO
Certains disques ont plusieurs langues audio. Vous pouvez
choisir votre langue préférée et l’écouter pendant la lecture
du DVD.
Choisissez une des langues ou un code de langue de AA
à ZU (voir la“Liste des codes de langue” ci-dessous).
¶SOUS-TITRE
Certains disques ont plusieurs langues de sous-titres. Vous
pouvez choisir votre langue préférée et afficher les sous-
titres dans cette langue pendant la lecture du DVD.
Choisissez une des langues ou un code de langue de
AA à ZU (voir la“Liste des codes de langue” ci-dessous)
ou “ARRET (pas de sous-titres)”.
REMARQUE:
Si la langue que vous avez choisie pour LANGUE MENU, LANGUE
AUDIO ou SOUS-TITRE n’est pas enregistrée sur le disque, la
langue originale est utilisée automatiquement comme langue
initiale.
FR54-63.TH-A75R[E]f.pm6 5/9/02, 10:25 AM56

57
Français
¶TYPE D’ECRAN
Vous pouvez choisir le type de moniteur par rapport à votre
téléviseur, lors de la reproduction de DVD enregistrés avec
des images de rapport hauteur/largeur de 16:9.
Choisissez un des réglages suivants:
16:9 NORMAL (conversion téléviseur large) :
: Choisissez ce réglage quand le format d’image
de votre téléviseur est fixé à 16:9 (téléviseur
large). Le système convertit automatiquement
la largeur de l’image au format 16:9 lors de la
lecture d’une image au format 4:3.
16:9 AUTO (conversion téléviseur large) :
: Choisissez ce réglage quand le format de votre
téléviseur est 16:9 (téléviseur large).
4:3 LB (conversion boîte aux lettres) :
: Choisissez ce réglage quand le format d’image
de votre téléviseur est 4:3 (téléviseur ordinaire).
Lors de la reproduction d’images d’écran
large, des barres noires apparaissent en haut
et en bas de l’écran.
4:3 PS (conversion Pan Scan) :
: Choisissez ce réglage quand le format d’image
de votre téléviseur est 4:3 (téléviseur ordinaire).
Lors de la reproduction d’images d’écran
large, les barres noires n’apparaissent pas
mais les côtés gauche et droit des images sont
coupés.
Menu IMAGE
¶MODE ARRET SUR IMAGE
Vous pouvez changer le mode “MODE ARRET SUR
IMAGE” pour obtenir des meilleures images quand l’image
de lecture n’est pas claire ou parasitée, ou que des lignes
obliques apparaissent sur l’écran du téléviseur.
Normalement, choisissez “AUTO”. Si l’image n’est pas
claire ou parasitée, choisissez “TRAME” ou “IMAGE”.
Choisissez un des réglages suivants:
AUTO : L’appareil détecte le type de source de l’image
(source vidéo ou de film) sur le disque actuel et
choisit automatiquement le mode correct.
TRAME : Choisissez ce réglage lors de la lecture d’un
disque de source vidéo.
IMAGE : Choisissez ce réglage lors de la lecture d’un
disque de source de film.
¶PROTECTION D’ECRAN
Vous pouvez mettre en ou hors service la fonction
d’économiseur d’écran.
Mettez marche ou arret service la fonction
d’économiseur d’écran.
MARCHE : L’image sur l’écran du téléviseur devient
sombre quand aucune opération n’est réalisée
pendant 5 minutes.
ARRET : L’économiseur d’écran ne fonctionne pas.
¶MP3/JPEG
Si des plages (fichiers) MP3 et JPEG sont enregistrés sur
un même disque, vous pouvez choisir le type de fichier à
reproduire.
Choisissez un des réglages suivants:
MP3 : Choisissez ce réglage pour reproduire les
plages (fichiers) MP3.
JPEG : Choisissez ce réglage pour reproduire les
fichiers JPEG.
• Même si “4:3 PS” est choisi, le format de l’image peut
devenir “4:3 LB” avec certains DVD. Cela dépend de la
façon dont il a été enregistré.
• Si vous choisissez “16:9 NORMAL” pour une image au
format 4:3, l’image change légèrement à cause du
processus de conversion de la largeur de l’image.
Ex.: 16:9 Ex.: 4:3 LB Ex.: 4:3 PS
4:3LB
IMAGE
TYPE D’ECRAN
AUTO
ENTRER
SELECTION
MP3 / JPEG MP3
MARCHE
MODE ARRET SUR IMAGE
PROTECTION D'ECRAN
POUR CHOISIR ET ENTER POUR VALIDER.
POUR QUITTER, APPUYER SUR CHOICE.
FR54-63.TH-A75R[E]f.pm6 5/9/02, 10:25 AM57

58
Français
Utilisation du menu de choix
Menu AUDIO
Vous pouvez aussi ajuster les éléments suivants en utilisant la touche SETTING/ADJUST
sur la télécommande (voir page 30).
¶BALANCE G/D
Si le son provenant des enceintes avant est déséquilibré,
ajustez la balance de sortie des enceintes avant.
Ajustez la balance de sortie des enceintes avant dans
une plage de “D –21” à “G –21”.
• “D −21”: aucun son ne sort de l’enceinte avant droite.
• “G −21”: aucun son ne sort de l’enceinte avant gauche.
• “CENTRE”:
le niveau de sortie des deux enceintes est
identique.
¶GRAVE, AIGU
Vous pouvez ajuster les graves et les aigus selon vos
préférences.
Ajustez le niveau des graves et des aigus du signal des
enceintes avant par intervalles de 2 pas.
• Plage d’ajustement: “−10” à “10”.
¶ATTENUATEUR LFE
L’atténuateur d’effet basse fréquence diminue la distorsion
des sons graves du caisson de grave lors de la lecture
d’un disque Dolby Digital ou marque DTS Digital Surround.
Mettez marche ou arret service l’atténuateur:
MARCHE (–10 dB):Choisissez ce réglage pour diminuer
la distorsion des sons graves du
caisson de grave.
ARRET (0 dB) :Pour annuler cette fonction.
¶MODE MINUIT
Vous pouvez renforcer les graves si le son grave est
insuffisant.
Choisissez un des réglages suivants:
1: Choisissez ce réglage quand vous souhaitez
réduire légèrement la plage dynamique.
2: Choisissez ce réglage quand vous souhaitez
appliquer complètement l’effet de compression
(pratique la nuit).
ARRET : Choisissez ce réglage quand vous souhaitez
profiter du son Surround avec la plage
dynamique complète (aucun effet n’est
appliqué).
CENTRE
0
0
AUDIO
BALANCE G/D
GRAVE
AIGU
ATTENUATEUR LFE
MODE MINUIT
ARRET
ARRET
ENTRER
SELECTION POUR CHOISIR ET ENTER POUR VALIDER.
POUR QUITTER, APPUYER SUR CHOICE.
FR54-63.TH-A75R[E]f.pm6 5/9/02, 10:25 AM58

59
Français
PETIT
TAILLE
ENCEINTE AVANT
ENCEINTE CENTRALE
ENCEINTE SURROUND
PETIT
PETIT
ENCEINTE SURR.OUND ARR.
PETIT
CAISSON GRAVE
UTILISATION
0dB
NIVEAU
ENCEINTE CENTRALE
ENCEINTE SURROUND G.
SIGNAL TEST
ENCEINTE SURROUND D.
0dB
0dB
CAISSON GRAVE
ENCEINTE SURROUND ARR.
0dB
0dB
3.0m
DISTANCE
ENCEINTE AVANT
ENCEINTE CENTRALE
ENCEINTE SURROUND
SIGNAL TEST
3.0m
3.0m
ENCEINTE SURROUND ARR.
3.0m
SUITE À LA PAGE SUIVANTE
Menu REGLAGE H.-P
¶TAILLE
Choisissez cet élément pour
accéder au sous-menu TAILLE.
• Vous pouvez aussi régler la
taille des enceintes en utilisant
la touche SETTING/ADJUST
sur la télécommande (voir
page 28).
Choisissez la taille pour chaque enceinte.
GRAND : Choisissez ce réglage quand le cône du taille
des enceintes est plus grand que 12 cm.
PETIT : Choisissez ce réglage quand le cône du taille
des enceintes est plus petit que 12 cm.
NEANT : (Uniquement pur “ENCEINTE SURROUND
ARR.”) Choisissez ce réglage quand aucune
enceinte n’est connectée.
ATTENTION:
Lors de l’utilisation des enceintes fournies, choisissez
“PETIT” pour chaque réglage. Choisir “GRAND” peut
endommager les enceintes.
REMARQUES:
•Si vous avez choisi “PETIT” pour les enceintes avant, vous ne
pouvez pas choisir “GRAND” pour les enceinte centrale,
surround et surround arrière.
•Si vous avez choisi “PETIT” pour les enceintes surround, vous ne
pouvez pas choisir “GRAND” pour les enceintes surround arrière.
CAISSON GRAVE
Cet élément est fixé sur “UTILISATION”.
Pour retourner au menu REGLAGE H.-P
Appuyez sur la touche de curseur 3/2.
Diagramme des enceintes
Enceinte
surround arrière
Enceinte avant
droite
Enceinte
centrale
200Hz
REGLAGE H. -P.
RECOUVREMENT
NIVEAU
TAILLE
DISTANCE
RETOUR REGLAGES INIT.
ENTRER
SELECTION POUR CHOISIR ET ENTER POUR VALIDER.
POUR QUITTER, APPUYER SUR CHOICE.
Enceinte
avant
gauche
Caisson de
grave
Enceinte
surround
gauche
Enceinte
surround droite
¶NIVEAU
Choisissez cet élément pour
accéder au sous-menu NIVEAU.
•Vous pouvez aussi choisir le
niveau de sortie sonore en
utilisant les touches numériques
sur la télécommande
(voir pages 18 et 36).
Ajustez le niveau de sortie de chaque enceinte dans
une plage de –10 dB à +10 dB et par intervalle d’une
unité.
Vous pouvez aussi ajuster le niveau de sortie des enceintes
en écoutant la tonalité de test à partir de chaque enceinte.
•Ajustez le niveau des enceintes de façon que vous
puissiez entendre le son de chaque enceinte au même
niveau.
SIGNAL TEST
Choisissez cet élément pour démarrer ou arrêter la
tonalité de test.
Pour retourner au menu REGLAGE H.-P
Appuyez la touche de curseur 3/2.
REMARQUES:
•
Quand “NEANT” est choisi pour l’enceinte surround arrière, la
tonalité de test ne sort pas de l’enceinte surround arrière et vous
ne pouvez pas ajuster le niveau de sortie de l’enceinte surround
arrière.
•La tonalité de test n’est pas sortie pour le caisson de grave.
¶DISTANCE
Choisissez cet élément pour
accéder au sous-menu
DISTANCE.
• Vous pouvez aussi régler la
distance à partir de votre
point d’écoute en utilisant la
touche SETTING/ADJUST sur
la télécommande (voir page
29 pour les détails).
Réglez la distance à partir du point d’écoute à chaque
enceinte dans une plage de 0,3 m à 9,0 m (par
intervalles de 0,3 m).
SIGNAL TEST
Choisissez cet élément pour démarrer ou arrêter la
tonalité de test.
Pour retourner au menu REGLAGE H.-P
Appuyez la touche de curseur 3/2.
REMARQUES:
•Si vous avez choisi “NEANT” pour les enceintes surround arrière,
vous ne pouvez pas régler la distance de l’enceinte surround
arrière.
•Quand “NEANT” est choisi pour l’enceinte surround arrière, la
tonalité de test ne sort pas de l’enceinte.
•La tonalité de test n’est pas sortie pour le caisson de grave.
FR54-63.TH-A75R[E]f.pm6 5/9/02, 10:25 AM59

60
Français
Utilisation du menu de choix
¶RECOUVREMENT
Les petites enceintes ne peuvent pas reproduire
efficacement les graves. Si vous utilisez des petites
enceintes dans n’importe position, cet appareil redirige
automatiquement les éléments graves affectés aux petites
enceintes vers les grandes enceintes.
Pour utiliser cette fonction correctement, régler le niveau
de la fréquence de transition en fonction de la taille des
petites enceintes connectées.
• Si vous avez choisi “GRAND” pour toutes les enceintes,
cette fonction n’a aucun effet.
• Vous pouvez aussi régler la fréquence de transition en
utilisant la touche SETTING/ADJUST sur la
télécommande (voir page 29).
Choisissez un des réglages suivants:
80Hz :Choisissez ce réglage quand le cône du haut-parleur
intégré à l’enceinte est d’environ 12 cm.
100Hz :Choisissez ce réglage quand le cône du haut-parleur
intégré à l’enceinte est d’environ 10 cm.
120Hz :Choisissez ce réglage quand le cône du haut-parleur
intégré à l’enceinte est d’environ 8 cm.
150Hz :Choisissez ce réglage quand le cône du haut-parleur
intégré à l’enceinte est d’environ 6 cm.
200Hz :Choisissez ce réglage quand le haut-parleur cône
intégré à l’enceinte est inférieur à 5 cm.
ATTENTION:
Lors de l’utilisation des enceintes fournies, choisissez
“200Hz”.
REMARQUE:
La fréquence de transition ne fonctionne pas avec le mode
HEADPHONE.
¶RETOUR REGLAGES INIT.
Choisissez cet élément pour réinitialiser tous les
réglages d’enceinte aux réglages initiaux.
Menu AUTRES
¶REPRISE
Si vous mettez l’appareil hors tension pendant la lecture
d’un disque, la position d’arrêt de la lecture est mémorisée.
Vous pouvez mettre en ou hors service la fonction de
reprise de la lecture.
L’indicateur RESUME s’allume sur l’affichage quand la
fonction de reprise de la lecture est en service.
Pour reprendre la lecture à partir de la position mémorisée,
appuyez sur DVD ou sur PLAY sur la télécommande.
• La reprise de la lecture ne fonctionne pas avec les CD Audio.
Choisissez un des réglages suivants:
MARCHE : Choisissez ce réglage pour mettre cette
fonction en service.
ARRET : Choisissez ce réglage pour mettre cette
fonction hors service.
¶GUIDE A L’ECRAN
Vous pouvez mettre en ou hors service les icônes guide sur
l’écran.
Angles multi-vues :
Sous-titres :
Langue audio :
L’état de la lecture : , ,
x2
, etc.
Les icônes guide sur l’écran apparaissent sur le téléviseur
au début de la lecture quand cette fonction est en service.
Choisissez un des réglages suivants:
MARCHE : Choisissez ce réglage pour mettre cette
fonction en service.
ARRET : Choisissez ce réglage pour mettre cette
fonction hors service.
• Les sous-titres (voir page 41) et les informations du zoom
(voir page 46) apparaissent sur l’affichage même si cette
fonction est réglée sur “ARRET”.
¶ATTENTE AUTOMATIQUE
Lorsque la lecture d’un disque sur le lecteur de DVD
intégrée est terminée et ne reprend pas pendant une
période donnée (60 ou 30), l’appareil se met
automatiquement hors tension.
• Cette fonction n’a d’effet que si le lecteur de DVD est
choisi comme source.
Choisissez un des réglages suivants:
60 : Cet appareil se met hors tension automatiquement
si la lecture ne reprend pas après 60 minutes.
30 : Cet appareil se met hors tension
automatiquement si la lecture ne reprend pas
après 30 minutes.
ARRET : Choisissez ce réglage pour mettre cette
fonction hors service.
• Si la minuterie d’arrêt (voir page 19) et la fonction de
mise en attente automatique sont utilisées en même
temps, la fonction avec l’heure de mise hors tension la
plus tôt mettra l’appareil hors tension.
¶CENSURE PARENTALE
Choisissez cet élément pour accéder au sous-menu
CENSURE PARENTALE.
Vous pouvez restreindre la lecture de DVD contenant des
scènes violentes ou ne convenant pas à certains membres
de votre famille. (Référez-vous à “Lecture restreinte—
Censure parentale” à la page 61 pour plus de détails.)
• Vous pouvez choisir “CENSURE PARENTALE”
uniquement avant la lecture.
MARCHE
AUTRES
REPRISE
GUIDE A L’ECRAN
ATTENTE AUTOMATIQUE
MARCHE
ARRET
CENSURE PARENTALE
ENTRER
SELECTION POUR CHOISIR ET ENTER POUR VALIDER.
POUR QUITTER, APPUYER SUR CHOICE.
FR54-63.TH-A75R[E]f.pm6 5/9/02, 10:25 AM60

61
Français
ENTRER
SELECTION
FR
CENSURE PARENTALE
CODE PAYS
ETABLIR NIVEAU
CODE
NEANT
_ _ _ _
SORTIE
POUR CHOISIR ET ENTER POUR VALIDER.
POUR QUITTER, APPUYER SUR CHOICE.
FR
CENSURE PARENTALE
CODE PAYS
ETABLIR NIVEAU
CODE
NEANT
_ _ _ _
SORTIE
5
4
7
6
8
NEANT
3
ENTRER
SELECTION POUR CHOISIR ET ENTER POUR VALIDER.
POUR QUITTER, APPUYER SUR CHOICE.
NOUV. COURANT?
•••
SAISIR TOUCHE 0 9.
POUR QUITTER, APPUYER SUR CHOICE.
ENTRER
SELECTION
FR
CENSURE PARENTALE
CODE PAYS
ETABLIR NIVEAU
CODE
4
_ _ _ _
SORTIE
VFP
CONTROL
EFFECT
S.WFR TEST
SLEEP
TV
VCR
SETTING
TV RETURN
ENTER
ON
SCREEN
CHOICE
FM MODE
123
456
789
10
0
+10
100+
PTY SEARCH
DVD
RDS
TA/NEWS/INFO
PTY(PTY9
RDS DISPLAY
CENTER
–
+
–
+
–
+
–
+
SURR-L SURR-R
S-BACK
–
+
ADJUST
Lecture restreinte
—Censure parentale
Vous pouvez restreindre la lecture de DVD contenant des
scènes violentes ou qui ne conviennent pas à certains
membres de votre famille. Personne ne peut reproduire de
tels disque sans annuler cette fonction.
• Ce réglage n’a d’effet qu’avec les DVD contenant des
informations de niveau de censure parentale—Niveau 1
(le plus restrictif) au niveau 8 (le moins restrictif).
• Vous pouvez uniquement régler la censure parentale
quand la lecture est arrêtée.
•Avant d’utiliser la télécommande, appuyez sur DVD
pour changer le mode de télécommande.
Réglage de la censure parentale
Positionnez le
sélecteur de mode
de télécommande
sur “DVD”.
ENTRER
SELECTION
FR
CENSURE PARENTALE
CODE PAYS
ETABLIR NIVEAU
CODE
NEANT
_ _ _ _
SORTIE
GD
GE
FX
GF
FR
GA
GB
POUR CHOISIR ET ENTER POUR VALIDER.
POUR QUITTER, APPUYER SUR CHOICE.
1Appuyez sur CHOICE, puis appuyez sur la
touche de curseur 3/2 pour afficher le
menu AUTRES.
2Appuyez répétitivement sur la touche de
curseur ∞/5 pour amener sur
“CENSURE PARENTALE”, puis appuyez
sur ENTER.
Le sous-menu CENSURE PARENTALE apparaît sur le
téléviseur.
3Appuyez répétitivement sur la touche de
curseur ∞/5 pour amener sur
“CODE PAYS”, puis appuyez sur ENTER.
La fenêtre déroulante indiquant les codes des pays apparaît.
4Appuyez répétitivement sur la touche de
curseur ∞/5 pour choisir le pays, puis
appuyez sur ENTER.
se déplace sur “ETABLIR NIVEAU”.
•Référez-vous à la “Liste des codes de pays/zone pour la
censure parentale” à la page 63.
5Appuyez sur ENTER.
La fenêtre déroulante indiquant les niveaux de censure
parentale apparaît.
6Appuyez répétitivement sur la touche de
curseur ∞/5 pour choisir le niveau de
restriction, puis appuyez sur ENTER.
se déplace sur “CODE”.
•Choisissez “NEANT” pour annuler cette fonction.
7Appuyez sur les touches numériques (0–9)
opour entrer un code de quatre chiffres,
puis appuyez sur ENTER.
se déplace sur “SORTIE”.
8Appuyez sur ENTER.
Le menu AUTRE réapparaît.
Pour quitter le menu de choix
Appuyez sur CHOICE.
REMARQUE:
Rappelez-vous votre code ou notez-le quelque part.
Vous devez entrer votre code pour changer le réglage et enlevez la
censure. Pour changer le réglage, référez-vous à la page 62.
FR54-63.TH-A75R[E]f.pm6 5/9/02, 10:25 AM61

62
Français
CENSURE PARENTALE
CODE _ _ _ _
LIBERER TEMPOR.
CODE?
•••
SAISIR TOUCHE
0 ~ 9
ENTRER
SELECTION
NE PAS LIB. TEMP.
FR
CENSURE PARENTALE
CODE PAYS
ETABLIR NIVEAU
CODE
4
_ _ _ _
SORTIE
ENTRER
SELECTION
NOUV. COURANT?
•••
SAISIR TOUCHE 0 9.
POUR QUITTER, APPUYER SUR CHOICE.
VFP
CONTROL
EFFECT
S.WFR TEST
SLEEP
TV
VCR
SETTING
TV RETURN
ENTER
ON
SCREEN
CHOICE
FM MODE
123
456
789
10 0+10
100+
PTY SEARCH
DVD
RDS
TA/NEWS/INFO
PTY(PTY9
RDS DISPLAY
CENTER
–
+
–
+
–
+
–
+
SURR-L SURR-R
S-BACK
–
+
ADJUST
VFP
CONTROL
EFFECT
S.WFR TEST
SLEEP
TV
VCR
SETTING
TV RETURN
ENTER
ON
SCREEN
CHOICE
FM MODE
123
456
789
10
0
+10
100+
PTY SEARCH
DVD
RDS
TA/NEWS/INFO
PTY(PTY9
RDS DISPLAY
CENTER
–
+
–
+
–
+
–
+
SURR-L SURR-R
S-BACK
–
+
ADJUST
Utilisation du menu de choix
Changement du réglage de la
censure parentale
REMARQUES:
•Vous ne pouvez pas régler la censure parentale avant d’avoir réglé
votre code (voir page 61).
•Si vous quittez le sous-menu CENSURE PARENTALE avant de
régler votre code à l’étape 6, le nouveau code de pays et niveau de
censure parentale ne seront pas validés et l’ancien code de pays et
niveau de censure parentale resteront.
•Si vous entrez un code incorrect plus de trois fois, se déplace
sur “EXIT” automatiquement et la touche de curseur
∞
/
5
ne
fonctionne pas. Appuyez sur la touche de curseur
3
/
2
pour quitter
le sous-menu CENSURE PARENTALE, puis recommencez à partir
de l’étape 1.
•Si vous avez oublié votre code, entrez “8888”.
Mise hors service temporaire de la
censure parentale
Si vous avez réglé un niveau de censure parentale strict,
certains disques ne peuvent pas être reproduits du tout.
Quand vous insérez un tel disque, l’affichage suivant
apparaît sur l’écran du téléviseur. Vous pouvez mettre hors
service temporairement la censure parentale.
Positionnez le
sélecteur de mode
de télécommande
sur “DVD”.
Positionnez le
sélecteur de mode
de télécommande
sur “DVD”.
1Appuyez sur CHOICE, puis appuyez sur la
touche de curseur 3/2 pour afficher le
menu AUTRES.
2Appuyez répétitivement sur la touche de
curseur ∞/5 pour amener sur
“CENSURE PARENTALE”, puis appuyez
sur ENTER.
Le sous-menu CENSURE PARENTALE apparaît sur le
téléviseur.
•Vous pouvez uniquement amener sur “CODE” ou sur
“SORTIE” avant d’entrer le code.
3Appuyez sur les touches numériques (0–9)
pour entrer le code, puis appuyez sur
ENTER.
se déplace sur “CODE PAYS”.
•Si vous entrez un mauvais mot de passe, “ERRONE!
NOUVEL ESSAI...” apparaît dans la zone de message.
Vous ne pouvez pas passer à l’étape suivante sans
entrer le mot de passe.
4Appuyez répétitivement sur la touche de
curseur ∞/5 pour amener sur l’élément
que vous souhaitez changer, puis appuyez
sur ENTER.
5Appuyez répétitivement sur la touche de
curseur ∞/5 pour changer le réglage, puis
appuyez sur ENTER.
6Appuyez sur les touches numériques (0–9)
pour entrer votre code, puis appuyez sur
ENTER.
Le nouveau réglage est mémorisé.
1Appuyez répétitivement sur la touche de
curseur ∞/5 pour amener sur
“LIBERER TEMPOR.”, puis appuyez sur
ENTER.
se déplace sur “CODE”.
•Si vous choisissez “NE PAS LIB.TEMP.”, appuyez sur 0
pour retirer le disque.
2Appuyez sur les touches numériques (0–9)
pour entrer votre code.
La lecture démarre.
•Si vous entrez un mauvais mot de passe, “ERRONE!
NOUVEL ESSAI...” apparaît dans la zone de message.
Vous ne pouvez pas reproduire le disque avant d’avoir
entré le code correct.
REMARQUE:
Si vous entrez un code incorrect plus de trois fois, se déplace
sur “NE PAS LIB. TEMP.” automatiquement et la touche de curseur
∞
/
5
ne fonctionne pas. Appuyez sur
0
pour retirer le disque.
FR54-63.TH-A75R[E]f.pm6 5/9/02, 10:25 AM62

63
Français
Liste des codes de pays/zone pour la censure parentale
AD Andorre
AE Émirats Arabes Unis
AF Afghanistan
AG Antigua et Barbuda
AI Anguilla
AL Albanie
AM Arménie
AN Antilles Néerlandaises
AO Angola
AQ Antarctique
AR Argentine
AS Samoa Américaines
AT Autriche
AU Australie
AW Aruba
AZ Azerbaïdjan
BA Bosnie-Herzégovine
BB Barbade
BD Bangladesh
BE Belgique
BF Burkina Faso
BG Bulgarie
BH Bahreïn
BI Burundi
BJ Bénin
BM Bermudes
BN Brunéi Darussalam
BO Bolivie
BR Brésil
BS Bahamas
BT Bhoutan
BV Ile Bouvet
BW Botswana
BY Biélorussie
BZ Bélize
CA Canada
CC Îles Cocos (Keeling)
CF
Républiquecentrafricaine
CG Congo
CH Suisse
CI Côte d’Ivoire
CK Îles Cook
CL Chili
CM Cameroun
CN Chine
CO Colombie
CR Costa Rica
CU Cuba
CV Cap-Vert
CX Îles Christmas
CY Chypre
CZ République tchèque
DE Allemagne
DJ Djibouti
DK Danemark
DM Dominique
DO
République Dominicaine
DZ Algérie
EC Équateur
EE Estonie
EG Égypte
EH Sahara occidental
LA République
du peuple du Laos
LB Liban
LC Sainte-Lucie
LI Liechtenstein
LK Sri Lanka
LR Libéria
LS Lesotho
LT Lituanie
LU Luxembourg
LV Lettonie
LY
Libye Arabe Jamahiriya
MA Maroc
MC Monaco
MD
Moldavie, République de
MG Madagascar
MH Îles Marshall
ML Mali
MM Birmanie
MN Mongolie
MO Macap
MP Îles Marianne du Nord
MQ Martinique
MR Mauritanie
MS Montserrat
MT Malte
MU Île Maurice
MV Maldives
MW Malawi
MX Mexique
MY Malaisie
MZ Mozambique
NA Namibie
NC Nouvelle-Calédonie
NE Niger
NF Île Norfolk
NG Nigéria
NI Nicaragua
NL Pays Bas
NO Norvège
NP Népal
NR Nauru
NU Niue
NZ Nouvelle-Zélande
OM Oman
PA Panamá
PE Pérou
PF Polynésie française
PG
Papuasie Nouvelle Guinée
PH Philippines
PK Pakistan
PL Pologne
PM
Saint-Pierre-et-Miquelon
PN Pitcairn
PR Porto Rico
PT Portugal
PW Palau
PY Paraguay
QA Qatar
RE Réunion
RO Roumanie
RU Fédération de Russie
RW Rwanda
SA Arabie Saoudite
SB Îles Solomon
SC Seychelles
SD Soudan
SE Suède
SG Singapour
SH Sainte Hélène
SI Slovénie
SJ
Svalbard et Jan Mayen
SK Slovaquie
SL Sierra Léone
SM Saint-Marin
SN Sénégal
SO Somalie
SR Surinam
ST São Tomé-et-Príncipe
SV Salvador
SY
République arabe de Syrie
SZ Swaziland
TC Îles Turks et Caïques
TD Tchad
TF
Territoires français du Sud
TG Togo
TH Thaïlande
TJ Tadjikistan
TK Tokelau
TM Turkménistan
TN Tunisie
TO Tonga
TP Timor oriental
TR Turquie
TT Trinidad et Tobago
TV Tuvalu
TW Taïwan
TZ Tanzanie, République
unifiée de
UA Ukraine
UG Ouganda
UM États-Unis mineurs
des Îles Outlying
US États-Unis
UY Uruguay
UZ Ouzbékistan
VA Ville État du Vatican
(Saint-Siège)
VC Saint-Vincent et les
Grenadines
VE Vénézuela
VG
Îles Vierges (Britaniques)
VI Îles Vierges (U.S.)
VN Viêt Nam
VU Vanuatu
WF Îles Wallis et Futuna
WS Samoa
YE Yémen
YT Mayotte
YU Yougoslavie
ZA Afrique du Sud
ZM Zambie
ZR Zaïre
ZW Zimbabwe
ER Érythrée
ES Espagne
ET Éthiopie
FI Finlande
FJ Fidji
FK
Îles Falkland (Malouines)
FM Micronésie
(États fédérés de)
FO Îles Faroe
FR France
FX France métropolitaine
GA Gabon
GB Royaume-Uni
GD Grenade
GE Georgie
GF Guyane française
GH Ghana
GI Gibraltar
GL Groenland
GM Gambie
GN Guinée
GP Guadeloupe
GQ Guinée Équatoriale
GR Grèce
GS Géorgie du sud et les
Îles Sandwich du sud
GT Guatemala
GU Guam
GW Guinée-Bissau
GY Guyane
HK Hong Kong
HM Île Island et
Îles McDonald
HN Honduras
HR Croatie
HT Haïti
HU Hongrie
ID Indonésie
IE Irlande
IL Israël
IN Inde
IO Territoire britannique
en océan indien
IQ Iraq
IR
Iran (République islamique)
IS Islande
IT Italie
JM Jamaïque
JO Jordanie
JP Japon
KE Kenya
KG Kyrghyzstan
KH Cambodge
KI Kiribati
KM Comores
KN Saint-Kitts et Nevis
KP
Corée, République
démocratique populaire de
KR Corée, République de
KW Koweït
KY Îles Cayman
KZ Kazakhstan
FR54-63.TH-A75R[E]f.pm6 5/9/02, 10:25 AM63

64
Français
Commande d’un magnétoscope d’un autre fabricant
Codes de fabricant pour magnétoscope
Fabricant Code
JVC 01
Aiwa 02, 20
Bell+Howell 03, 16
Blaupunkt 04
CGM 03, 05, 16
Daewoo 34
Digtal 05
Fisher 03, 16
G.E. 06
Grundig 07
Hitachi 08, 09
Loewe 05, 10, 11
Magnavox 04, 05
Mitsubishi 12 – 15
Fabricant Code
Nokia 16
Nordmende 17 – 19, 31
Orion 20
Panasonic 21
Philips 05, 22
Phonola 05
Saba 17 – 19, 23, 31
Samsung 24, 25
Sanyo 03, 16
Sharp 26, 27
Siemens 07
Sony 28 – 30, 35
Telefunken 17 – 19, 31, 32
Toshiba 33
* Les codes de
fabricant sont sujets à
changement sans
notification. S’ils
changent, cette
télécommande ne
peut pas commander
l’appareil.
RM–STHA75R
DVD CINEMA SYSTEM
CHANNEL/ZOOM
VOLUMETV VOL
TUNING
STOP
DIMMER
PAUSE
FF/
/REW
TV/VIDEO
1
MUTING
¡
REC
PLAY
DOWN UP
MEMORY STROBE
DVD
VCR 1
AUDIO
VIDEO/
TV SOUND
ANGLE
FM/AM
SUBTITLE DECODE
RETURN DIGEST
VFP
TOP MENU MENU
CONTROL
EFFECT
S.WFR TEST
SLEEP
TV
VCR
SETTING
TV RETURN
ENTER
ON
SCREEN
CHOICE
FM MODE
123
456
789
10 0+10
100+
TV AUDIO
VCR
SOUND
PTY SEARCH
DVD
RDS
TA/NEWS/INFO
PTY(PTY9
RDS DISPLAY
SURROUND OFF
DSP
CENTER
–
+
–
+
–
+
–
+
SURR-L SURR-R
S-BACK –
+
ADJUST
O.T.
REPLAY
En changeant les signaux de télécommande préréglés sur
ceux d’un autre fabricant, vous pouvez utiliser la
télécommande fournie avec ce système pour commander un
magnétoscope d’un autre fabricant.
• Vous pouvez aussi commander un téléviseur d’un autre
fabricant avec la télécommande fournie avec ce système.
(Voir page 16.)
• Lors de la commande d’un magnétoscope d’un autre
fabricant, dirigez la télécommande directement sur le
capteur de télécommande du magnétoscope.
Référez-vous aussi au mode d’emploi fourni avec le
magnétoscope.
7Réglage du signal de télécommande
pour commander votre magnétoscope
• Vous pouvez commander votre JVC magnétoscope sans
régler le signal de télécommande.
1Faites glisser le sélecteur de mode de
télécommande sur “DVD”.
2Maintenez pressée VCR .
Maintenez la touche pressée jusqu’à de l’étape 5.
3Appuyez sur VCR CONTROL.
4
Appuyez sur les touches numériques (1–9, 0)
pour entrer un code de fabricant (2 chiffres).
Référez-vous à la liste ci-dessous pour trouver le code.
Ex.: Pour un magnétoscope Siemens, appuyez sur 0,
puis sur 7.
Pour un magnétoscope Panasonic, appuyez sur 2,
puis sur 1.
5Relâchez VCR .
6Essayez de commander votre
magnétoscope en appuyant sur VCR .
Si votre magnétoscope se met sous ou hors tension, c’est
que vous avez entré le code correct.
S’il y a plus d’un code dans la liste pour la marque de
votre magnétoscope, essayez-les un par un jusqu’à ce
que vous trouviez le bon.
Après avoir réglé les signaux de télécommande, vous
pouvez utiliser les touches suivantes pour commander le
magnétoscope.
VCR :Met le magnétoscope sous ou hors tension.
Après appuyer sur VCR CONTROL:
PLAY :Démarre la lecture.
STOP :Arrête les opérations.
PAUSE :Arrête momentanément la lecture.
¡:Avance rapidement la bande vidéo.
1:Rebobine la bande vidéo.
÷ REC :Appuyez sur cette touche en même temps
que sur PLAY pour démarrer l’enregistrement.
Appuyez sur cette touche en même temps
que sur PAUSE pour mettre l’appareil en
pause à l’enregistrement.
CHANNEL +/–:Change les canaux de téléviseur sur le
magnétoscope.
Positionnez le
sélecteur de mode
de télécommande
sur “DVD”.
FR64-70.TH-A75R[E]f.pm6 5/9/02, 10:26 AM64

65
Français
Entretien
Afin d’obtenir les meilleures performances possibles de l’appareil, gardez vos disques et le mécanisme propre.
Remarques générales
En général, vous obtiendrez les meilleures performances en
gardant propres vos disques et le mécanisme de l’appareil.
• Rangez les disques dans leur boîte et gardez-les dans un
meuble ou sur une étagère.
Manipulation des disques
• Retirez les disques de leur
boîte en les tenant par les
côtés et en appuyant
légèrement sur le trou central.
• Ne touchez pas la surface
brillante du disque ni ne le
tordez.
• Remettez les disques dans
leur boîte après utilisation pour
éviter tout gondolage.
• Faites attention de ne pas
rayer la surface du disque
quand vous le ranger dans sa
boîte.
• Evitez une exposition directe
au soleil, à des températures
extrêmes et à l’humidité.
Pour nettoyez les disques
Essuyez les disques avec un
chiffon doux en ligne droite du
centre vers l’extérieur.
Nettoyage de l’appareil
•Taches sur l’appareil
Doivent être frottées avec un chiffon doux. Si l’appareil est
très sale, essuyez-le avec un chiffon légèrement humidifié
d’une solution détergente neutre, essorez bien le chiffon et
essuyez ensuite l’appareil avec un chiffon sec.
•Puisque l’appareil peut perdre de sa qualité, devenir
endommagé ou perdre sa peinture, faites attention aux
points suivants.
— NE FROTTEZ PAS avec un chiffon dur.
— NE FROTTEZ PAS trop fort.
— NE FROTTEZ PAS avec un diluant ou du benzène.
— N’APPLIQUEZ PAS de substance volatile telle qu’un
insecticide sur l’appareil.
— NE LAISSEZ PAS des objets en caoutchouc ou en
plastique en contact prolongé avec l’appareil.
N’UTILISEZ PAS de solvant—tel qu’un nettoyant
conventionnel pour disques, un vaporisateur, un
diluant ou du benzène—pour nettoyer les disques.
FR64-70.TH-A75R[E]f.pm6 5/9/02, 10:26 AM65

66
Français
Utilisez ce tableau pour vous aider à résoudre vos problèmes quotidiens. S’il y a un problème que vous ne pouvez pas
résoudre, contactez votre centre de service JVC.
• Référez-vous aussi aux modes d’emploi fournis avec les appareils connectés à ce système.
Général
Guide de dépannage
PROBLEME
Pas d’alimentation.
“OVERLOAD” clignote sur
l’affichage
Le système se met soudainement
tout seul hors tension.
Aucun son.
Le son provient d’une seule
enceinte avant.
Aucun son ne sort de l’enceinte
Surround arrière.
La télécommande ne fonctionne
pas.
La reproduction à 6,1 canaux ne
peut pas être réalisée à partir d’une
source Dolby Digital EX ou DTS-ES.
Les sons graves paraissent
renforcés lors de l’écoute d’un son
stéréo.
CAUSE POSSIBLE
Le cordon d’alimentation n’est pas branché.
Les enceintes sont surchargées parce que
les cordons d’enceinte sont court-circuités.
La minuterie d’arrêt ou la fonction de mise
en attente automatique est en service.
Les enceintes sont surchargées à cause du
volume élevé.
Le circuit de protection à fonctionner pour
certaines raisons.
Les cordons d’enceinte ne sont pas
connectés.
Les cordons d’enceinte sont courts.
Le câble audio n’est pas connecté
correctement.
Une source incorrecte est choisie.
Le son est coupé.
Un mode d’entrée analogique/numérique
est choisi.
La connexion des cordons d’enceinte est
incorrecte.
La balance est réglée sur un extrême.
Le réglage de l’enceinte est incorrect.
Elle est trop loin de l’appareil central ou
n’est pas en face de lui.
Il y a un obstacle devant la capteur de
télécommande.
La télécommande n’est pas dirigée sur le
capteur de télécommande de l’appareil
central ou des autres appareils.
Le sélecteur de mode de télécommande
n’est pas réglé sur la position correcte.
Les piles sont usées.
Les piles ont été insérées à l’envers (+/–).
Une touche incorrecte a été choisie avant
de réaliser l’opération actuelle.
Les rayons du soleil tombent directement
sur le capteur de télécommande.
Les signaux de télécommande ne sont pas
réglés correctement.
Une source qui ne comprend pas 6,1
canaux est reproduite ou “EX/ES” est réglé
sur “ARRET”.
Le niveau des graves correct pour le son
stéréo n’est pas choisi.
SOLUTION
Branchez le cordon sur une prise secteur.
Appuyez sur
sur l’appareil central pour
mettre le système hors tension, vérifiez la
connexion des enceintes, puis remettez le
système sous tension. Si “OVERLOAD”
réapparaît, débranchez le cordon
d’alimentation puis rebranchez-le. Si les
cordons d’enceinte ne sont pas court-
circuités, contactez votre revendeur.
Mettez la fonction hors service.
(Voir pages 19 et 60.)
Appuyez sur sur l’appareil central pour
mettre le système hors tension. Puis remettez-
le sous tension et ajustez le volume.
Vérifiez la connexion des enceintes, puis
remettez le système sous tension. Si cela
ne résout pas le problème, contactez votre
revendeur.
Vérifiez la connexion des enceintes et
reconnectez si nécessaire.
Vérifiez la connexion des enceintes.
Connectez le cordon correctement
Choisissez la source correcte.
(Voir page 17.)
Appuyez sur MUTING pour rétablir le son.
Choisissez le mode d’entrée correct. (Voir
page 19.)
Vérifiez les connexions.
Ajustez la balance correctement.
(Voir pages 30 ou 58.)
Réglez l’enceinte correctement.
(Voir pages 28 et 59.)
Utilisez la télécommande à moins de 7 m
du capteur de télécommande de l’appareil
central.
Evitez les obstacles. (Voir page 15.)
Dirigez la télécommande sur le capteur de
télécommande de l’appareil que vous
souhaitez commander.
Réglez-le sur la position correcte, “DVD” ou
“RDS”.
Remplacez les piles.
Insérez les piles correctement.
Choisissez la source correcte en appuyant sur
DVD, FM/AM ou VCR/TV CONTROL.
Appuyez sur SOUND avant de réaliser un
ajustement sonore.
Protégez le capteur de télécommande des
rayons du soleil.
Entrez le code de fabricant correct.
(Voir pages 16 et 64.)
Reproduisez une source (logiciel) portant
la marque ou .
Réglez “EX/ES” sur “MARCHE” ou sur
“AUTO”. (Voir page 28.)
Ajustez “AUDIO POS”. (Voir page 30).
FR64-70.TH-A75R[E]f.pm6 11/9/02, 12:29 PM66

67
Français
SOLUTION
Connectez le cordon correctement.
(Voir page 7.)
Choisissez le mode correct.
(Voir page 7.)
Choisissez l’entrée du téléviseur
correcte.
Utilisez un disque compatible.
(Voir page 5.)
Remplacez le disque. (Voir page 5.)
Entrez le code pour changer le
niveau de censure parentale.
(Voir page 62.)
Insérez le disque correctement.
(Voir page 20.)
Remplacez le disque. (Voir page 5.)
Remplacez ou nettoyez le disque.
(Voir page 65.)
Connectez l’appareil central
directement au téléviseur.
Changez le réglage “MODE ARRET
SUR IMAGE”. (Voir page 57.)
Réglez le type de moniteur
correctement. (Voir page 57.)
Réglez le téléviseur correctement.
Certains DVD sont programmés
pour ne jamais afficher de sous-titre
initialement. Si cela se produit,
appuyez sur SUBTITLE sur la
télécommande après avoir démarré
la lecture. (Voir page 41.)
Certains DVD sont programmés
pour toujours utiliser, initialement, la
langue originale. Si cela se produit,
appuyez sur AUDIO sur la
télécommande après avoir démarré
la lecture. (Voir page 41.)
Reconnectez les antennes
correctement et fermement.
Changez la position et la direction
de l’antenne cadre AM (PO).
Essayez de changer le mode Beat
Cut. (Voir page 23.)
Etendez l’antenne FM dans la
meilleure position possible.
Connectez une antenne FM
extérieure (voir page 9) ou
contactez votre revendeur.
Choisissez une autre station.
Vérifiez avec votre revendeur que
vous avez une antenne correcte.
Lecture de DVD
CAUSE POSSIBLE
Le cordon vidéo ou le câble SCART n’est
pas connecté correctement.
Le sélecteur RGB-Y/C n’est pas réglé
correctement.
L’entrée du téléviseur choisie est
incorrecte.
Le disque ne peut pas être reproduit.
Le code de région du système et du
disque ne sont pas compatibles.
La lecture est restreinte par la censure
parentale.
Le disque est inséré en inversant la face
imprimée et la face avec les données.
Le disque inséré ne peut pas être
reproduit.
Le disque est rayé ou sale.
Un magnétoscope est connecté entre
l’appareil central et le téléviseur.
“MODE ARRET SUR IMAGE” n’est peut-
être pas réglé correctement pour le
disque actuel.
“TYPE D’ECRAN” n’est pas réglé
correctement.
Le téléviseur n’est pas réglé
correctement.
Les antennes sont déconnectées.
L’antenne cadre AM (PO) est trop près
de l’appareil central.
Le mode Beat Cut n’est pas réglé
correctement.
L’antenne FM fournie n’est pas
correctement étendue et positionnée.
Le signal reçu est trop faible.
La station est trop éloignée.
Une antenne incorrecte est utilisée.
PROBLEME
Aucune image n’est affichée sur
l’écran du téléviseur.
Un disque ne peut pas être reproduit.
Un disque ne peut pas être reproduit
et “0:00” est affiché sur la fenêtre
d’affichage.
L’image et le son sont déformés.
L’image ne correspond pas au format
du téléviseur.
Aucun sous-titre n’apparaît sur l’écran
du téléviseur bien que vous ayez
choisi la langue des sous-titres
initiale.
La langue audio est différente de celle
que vous avez choisie comme langue
audio initiale.
Une émission est difficile à entendre à
cause du bruit.
—Pour AM (PO)
—Pour FM
Bruit statique continu pendant les
émissions FM.
FM/AM
FR64-70.TH-A75R[E]f.pm6 5/9/02, 10:26 AM67

68
Français
CAUSE POSSIBLE
Aucun fichier MP3 n’est enregistré.
Les fichiers MP3 ne possèdent pas
l’extension correcte dans leur nom fichier.
Les fichiers MP3 ne sont pas enregistrés
dans un format compatible avec Niveau
ISO 9660 1 ou 2.
Les fichiers MP3 ont un débit binaire
inférieur à 64 kbps.
MP3/JPEG est réglé sur “JPEG”.
Aucun fichier MP3 ou JPEG n’est
enregistré sur le disque ou le disque
n’est pas compatible (CD-ROM par
exemple).
Aucun fichier JPEG n’est enregistré.
Les noms de fichiers JPEG ne possèdent
pas l’extension de fichier correcte.
Les fichiers JPEG ne sont pas
enregistrés dans un format compatible
avec Niveau ISO 9660 1 ou 2.
MP3/JPEG est réglé sur “MP3”.
Guide de dépannage
SOLUTION
Remplacez le disque.
Ajoutez une extension—.mp3, .Mp3,
.mP3 ou .MP3 au nom du fichier. (Voir
page 50.)
Remplacez le disque. (Enregistrez les
fichiers MP3 en utilisant un logiciel
compatible.)
L’appareil ne peut pas reproduire de tels
fichiers. Remplacez le disque.
Quand des fichiers MP3 et JPEG sont
enregistrés sur un même disque, réglez
sur “MP3” pour reproduire les fichiers
MP3. (Voir page 57.)
Remplacez le disque. (Voir page 5.)
Remplacez le disque.
Ajoutez l’extension de fichier—.jpg,
.jpeg, .JPG, .JPEG ou n’importe quelle
combinaison de majuscules et
minuscules (telle que “.Jpg”)—aux noms
de fichiers. (Voir page 52.)
Remplacez le disque. (Enregistrez les
fichiers JPEG en utilisant un logiciel
compatible.)
Quand des fichiers MP3 et JPEG sont
enregistrés sur un même disque, réglez
sur “JPEG”. (Voir page 57.)
PROBLEME
Un disque ne peut pas être
reproduit.
Les fichiers MP3 ne sont pas
reproduits, mais les fichiers
JPEG le sont à leur place.
L’affichage de commande MP3
apparaît sur le téléviseur mais
aucune opération ne peut être
effectuée.
Un disque ne peut pas être
reproduit.
Les fichiers JPEG ne sont pas
reproduits, mais les fichiers MP3
le sont à leur place.
Lecture de MP3
Lecture de JPEG
FR64-70.TH-A75R[E]f.pm6 5/9/02, 10:26 AM68

69
Français
Glossaire
Boîte aux lettres
Une méthode d’affichage des images de film au centre d’un
téléviseur 4:3 sans qu’aucune partie de l’image ne soit
effacée, mais en plaçant des bandes noires en haut et en
bas de l’écran. Ce nom a été choisi parce que la forme de
l’image sur l’écran rappelle la fente d’une boîte aux lettres.
Censure parentale
Une caractéristique de ce système qui permet de déterminer
automatiquement si la reproduction d’un DVD particulier doit
être autorisée, à l’aide du niveau de censure parentale (une
mesure des scènes indésirables, etc. d’un point de vue
éducatif) réglé au préalable sur ce système par l’utilisateur; si
le niveau du DVD est moins restrictif que celui réglé par
l’utilisateur, il sera reproduit.
Chapitre
Voir “Titres et chapitres”.
Code de région
Un système permettant aux disques d’être reproduits
uniquement dans des régions préalablement décidées. Tous
les pays du monde sont divisés en six régions, chaque
région étant identifiée par un code de région (ou numéro de
région) spécifique. Si le code de région donné à un disque
comprend un numéro correspondant au code de région d’un
lecteur, le lecteur peut reproduire le disque.
Commande de lecture (PBC)
Fait référence au signal enregistré sur les CD vidéo ou SVCD
permettant de commander leur reproduction. En utilisant les
écrans de menu enregistrés sur un CD vidéo ou un SVCD
compatible PBC, vous pouvez profiter des disques interactifs
et de ceux qui possèdent une fonction de recherche.
Format d’image
Le rapport entre la taille verticale et horizontale de l’image
affichée. Le rapport horizontal/vertical des téléviseurs
ordinaires est de 4:3 et celui des écrans large de 16:9.
Fréquence d’échantillonnage
Fréquence d’un échantillon de données lors de la conversion
de données analogiques en données numériques. La
fréquence d’échantillonnage représente numériquement
combien de fois le signal original est échantillonné par
seconde.
JPEG
C’est un système de compression de données pour images
fixes mis au point par le groupe “Joint Photographic Expert
Group” et qui offre une légère diminution de la qualité de
l’image en échange du taux de compression élevé.
Linear PCM (PCM: Pulse Code Modulation)
Un système permettant la conversion d’un signal sonore
analogique en un signal numérique pour traitement ultérieur,
sans compression de données dans la conversion.
Menu de disque
Un affichage sur l’écran préparé pour permettre la sélection
d’images, sons, sous-titres, multi-angles, etc. enregistrés sur
un DVD.
MP3
MP3 est l’abréviation de Motion Picture Experts Group 1 (ou
MPEG-1) Audio Layer 3 (Norme MPEG 1 de niveau 3). MP3
est un simple format de fichier avec compression des
données. En utilisant le format MP3, un CD-R ou un CD-RW
peut contenir 10 fois plus de données qu’un CD ordinaire.
Multi-angle
En enregistrant plusieurs scènes en même temps sur un
même titre, l’utilisateur peut choisir l’angle de vue qu’il
préfère. Cette fonction s’appelle la fonction multi-angle.
Multicanaux
Les logiciels avec 3 canaux ou plus. La plupart des DVD ont
plus de 5 canaux audio. Reproduire un tel logiciel en utilisant
plusieurs enceintes permet de créer un champ sonore
réaliste comme dans une salle de cinéma.
Multilingue
Les DVD peuvent contenir plusieurs langues de sous-titres
(jusqu’à 32) et audio (jusqu’à 8).
Signal S-vidéo
Le signal vidéo est séparé en un signal Y (de luminance) et
un signal C (de chrominance). Cette séparation du signal
vidéo offre une plus grande résolution et une meilleure
qualité.
Signal vidéo composite
C’est un signal vidéo composé de trois types de signaux
combinés: un signal d’image composé d’un signal de
luminance et de chrominance utilisant une technique de
multiplication de fréquence; un signal en salve fournissant la
base pour la reproduction couleur; et un signal de
synchronisation.
Surround
Un système permettant de créer des champs sonores
tridimensionnels très réalistes en disposant plusieurs
enceintes autour de l’auditeur.
Titres et chapitres
Un DVD est séparé en plusieurs titres (grandes divisions) et
chaque titre est séparé en chapitres (petites divisions).
Ces divisions sont affectées de leur propre numéro de façon
qu’elles soient accessibles facilement.
Vitesse de transfert
La vitesse de transfert de données numériques.
Normalement elle se mesure en baud par seconde. Le
système DVD utilise une vitesse de transfert variable pour
plus d’efficacité.
FR64-70.TH-A75R[E]f.pm6 5/9/02, 10:26 AM69

70
Français
Spécifications La conception et les spécifications sont sujettes à changement
sans notification.
7Appareil central (XV-THA75R)
Puissance de sortie
FRONT/CENTER/SURROUND/SURROUND BACK:
20 W × 6, 4 Ω, 1 kHz, 0,7% THD
30 W × 6, 4 Ω, 1 kHz, 10% THD
SUBWOOFER:
100 W, 4 Ω, 100 Hz, 0,7% THD
140 W, 4 Ω, 100 Hz, 10% THD
Section audio
Sensibilité d’entrée audio/Impédance (à 1 kHz)
Entrée analogique:
STB/VCR/TV SOUND: 340 mV/47 kΩ
Entrée numérique*:
DIGITAL IN (STB): –21 dBm à –15 dBm
(660 nm ±30 nm)
* Correspondant à Linear PCM, Dolby Digital et DTS
Digital Surround (avec une fréquence
d’échantillonnage—32 kHz, 44,1 kHz, 48 kHz)
Section vidéo
Système de couleur: PAL
Résolution horizontale: 500 lignes
Rapport signal/bruit: 70 dB
(Signal composite quand
“RGB” est choisi)
Sensibilité de sortie VIDEO/Impédance (à 1 kHz)
Composite: 1,0 V(p-p)/75 Ω
S-vidéo-Y: 1,0 V(p-p)/75 Ω
S-vidéo-C: 0,286 V(p-p)/75 Ω
Sensibilité d’entrée VIDEO/Impédance (à 1 kHz)
Composite:
VCR IN, STB IN: 1,0 V(p-p)/75 Ω
S-vidéo-Y:
VCR IN, STB IN: 1,0 V(p-p)/75 Ω
S-vidéo-C:
VCR IN, STB IN: 0,286 V(p-p)/75 Ω
RGB: 0,7 V(p-p)/75 Ω
Section du tuner
Plage d’accord
FM: 87,50 MHz – 108,00 MHz
AM (PO): 522 kHz – 1 629 kHz
Général
Alimentation: Secteur 230 V Ó, 50 Hz
Consommation: 165 W (pendant le
fonctionnement)
2,5 W (en mode d’attente)
Dimensions: 435 mm × 70 mm × 353 mm
(L × H × P)
Masse (environ): 5,0 kg
7Caisson de grave (SP-WA75)
Haut-parleur: 20 cm
Acoustique à évent
accordé, blindé
magnétiquement
Capacité de puissance soutenue:
140 W
Impédance: 4 Ω
Plage de fréquence: 25 Hz à 200 Hz
Dimensions:
200 mm × 410 mm × 428 mm
(L × H × P)
Masse (environ): 9,1 kg
7Enceintes satellites (SP-XSA75)
Haut-parleur: 7 cm × 4 cm
Acoustique à évent
accordé, blindé
magnétiquement
Capacité de puissance soutenue:
30 W
Impédance: 4 Ω
Plage de fréquence: 110 Hz à 20 kHz
Dimensions:
62 mm × 102 mm × 109 mm
(L × H × P)
Masse (environ): 440 g
7Enciente centrale (SP-XCA75)
Haut-parleur: 7 cm × 4 cm
Acoustique à évent
accordé, blindé
magnétiquement
Capacité de puissance soutenue:
30 W
Impédance: 4 Ω
Plage de fréquence: 100 Hz à 20 kHz
Dimensions:
152 mm × 62 mm × 109 mm
(L × H × P)
Masse (environ): 475 g
7Accessoires
Télécommande (1)
Piles (2)
Antenne FM (1)
Antenne cadre AM (PO) (1)
Cordon vidéo composite (1)
Cordons d’enceinte
Environ 5 m (3) avec une fiche mini:
Pour l’enceinte avant gauche, l’enceinte
avant droite et l’enceinte centrale
Environ 5 m (1): Pour le caisson de grave
Environ 10 m (3) avec une fiche mini:
Pour l’enceinte surround gauche,
l’enceinte surround droite et l’enceinte
surround arrière
Supports muraux d’enceintes satellites (5)
Vis pour les supports muraux d’enceintes satellite (5)
FR64-70.TH-A75R[E]f.pm6 5/9/02, 10:26 AM70

1
Nederlands
Voor realistische geluidsvelden ............ 31
De Surround-modi ........................................................... 31
De DSP-modi .................................................................... 33
Gebruik van de surroundfunctie ................................... 35
Gebruik van de DSP-functie............................................ 35
Instellen van het geluid ................................................... 36
Bediening van de DVD-speler............... 37
Gebruik van de in-beeldstaaf .......................................... 37
Tonen van de in-beeldstaaf .............................................. 37
Basisbediening met de in-beeldstaaf .............................. 38
Veranderen van de tijdinformatie ................................... 38
Opzoeken van een gewenste scène met het discmenu ...
39
Opzoeken van een gewenste scène met het DVD-menu ...
39
Opzoeken van een gewenste scène van het
VCD/SVCD menu met PBC ......................................... 39
Kiezen van een camerahoek ........................................... 40
Kiezen van een camerahoek ............................................ 40
Tonen van alle camerahoeken op de TV .......................... 40
Veranderen van de taal voor de ondertitels
en het geluid ............................................................... 41
Kiezen van de taal voor de ondertitels ............................. 41
Kiezen van de taal voor het geluid ................................... 41
Kiezen van het audiokanaal ............................................. 42
Weergave vanaf een bepaald punt ................................. 43
Opzoeken van een gewenst hoofdstuk
—Hoofdstukzoeken .................................................... 43
Opzoeken van een gewenst punt door de tijd
in te voeren—Tijdzoeken ............................................ 43
Opzoeken van een gewenste
scène met het digest-display—DIGEST ..................... 44
Speciale beeldweergave .................................................. 45
Beeld-voor-beeld weergave ............................................. 45
Achtereenvolgend tonen van stilbeelden ......................... 45
Slow-motion (vertraagde) weergave ................................ 46
In- en uitzoomen ............................................................... 46
Veranderen van de VFP instelling ..................................... 47
Weergave in de gewenste volgorde
—Geprogrammeerde weergave ................................ 48
Weergave in een willekeurige volgorde
—Willekeurige weergave ........................................... 48
Herhaalde weergave ........................................................ 49
Herhalen van de huidige titel, het hoofdstuk of fragmenten ...
49
Herhalen van een bepaald gedeelte—A-B herhalen ....... 49
Weergave van MP3 discs ..................... 50
Basisbediening ................................................................ 50
Bediening met het MP3 CONTROL scherm ................... 51
Weergave van JPEG disc ...................... 52
Dia-show ........................................................................... 52
Bediening met het JPEG CONTROL scherm................. 53
Gebruik van de keuzemenu’s............... 54
Keuzemenu’s .................................................................... 54
Overzicht van het keuzemenu .......................................... 54
Bedieningstoetsen voor de keuzemenu’s ......................... 54
Basisbediening ................................................................. 55
LANGUAGE menu ............................................................ 56
PICTURE menu ................................................................ 57
AUDIO menu ..................................................................... 58
SPK. SETTING menu ....................................................... 59
OTHERS menu ................................................................. 60
Beperken van de weergave—Kinderslot ....................... 61
Instellen van het kinderslot ............................................... 61
Veranderen van de instelling van het kinderslot ............... 62
Tijdelijk annuleren van het kinderslot ............................... 62
Bediening van videorecorders van
andere merken ................................ 64
Onderhoud .......................................... 65
Oplossen van problemen ..................... 66
Termen ................................................ 69
Technische gegevens ............................ 70
Inhoudsopgave
Introductie ............................................. 2
Meer over deze gebruiksaanwijzing ................................. 2
Voorzorgen ......................................................................... 2
Controleren van de bijgeleverde accessoires ................. 2
Namen van onderdelen en regelaars ..... 3
Centrale toestel .................................................................. 3
Afstandsbediening ............................................................ 4
Meer over discs ..................................... 5
Afspeelbare discs .............................................................. 5
Discstructuur ..................................................................... 6
Playback Control functie (PBC)
—Uitsluitend voor VCD en SVCD ................................ 6
Starten .................................................. 7
Aansluiten .......................................................................... 7
Aansluiten van een TV ........................................................ 7
Aansluiten van de antennes voor AM (MW) en FM ............ 8
Aansluiten van de satelliet-luidsprekers en de subwoofer ...
10
Aan de muur ophangen van de satelliet-luidsperkers ..... 12
Aansluiten van videocomponenten .................................. 13
Aansluiten van het netsnoer ............................................. 14
Gebruik van de afstandsbediening ................................ 15
Plaatsen van batterijen in de afstandsbediening ............. 15
Bediening van het systeem met de afstandsbediening ... 15
Gebruik van de afstandsbediening voor bediening
van de TV .................................................................... 16
Basisbediening .................................... 17
Inschakelen van het systeem ......................................... 17
Kiezen van de af te spelen bron ..................................... 17
Instellen van het volume ................................................. 18
Instellen van het uitgangsniveau van de subwoofer .... 18
Tijdelijk dempen van het geluid ..................................... 18
Instellen van de helderheid ............................................. 18
Uitschakelen van de stroom met de inslaaptimer ........ 19
Veranderen van de analoge/digitale ingangsfunctie
en decodeerfunctie .................................................... 19
Vastleggen van basisinstellingen
—Automatisch geheugen .......................................... 19
Basisbediening voor DVD-speler .......... 20
Tunerbediening .................................... 22
Handmatig afstemmen op zenders ................................ 22
Gebruik van voorkeurzenders ........................................ 22
Kiezen van de FM-ontvangstfunctie ............................... 23
Onderdrukken van ruis bij een AM (MW) uitzending .... 23
Gebruik van RDS (Radio Data System)
voor ontvangst van FM-zenders ............................... 24
Opzoeken van een programma met PTY-codes ............ 25
Tijdelijk overschakelen naar een gewenst programma ...
26
Basisinstellingen .................................. 28
Bediening ......................................................................... 28
Instellen van de formaat van de luidsprekers ............... 28
Instellen van kanaalnummer voor reproduceren
van multi-kanaal digitale software ............................ 28
Instellen van de luidsprekerafstand ............................... 29
Instellen van de drempelfrequentie................................ 29
Instellen van de fase van de subwoofer ........................ 29
Audio-instellingen ................................ 30
Bediening ......................................................................... 30
Instellen van de toon ....................................................... 30
Instellen van het niveau van de versterking
van het lage frequentie .............................................. 30
Instellen van het dynamisch bereik ............................... 30
Versterken van de lage tonen ......................................... 30
Instellen van de subwoofer audiopositie ....................... 30
Instellen van de balans van de voorluidsprekers ......... 30
NL01-16.TH-A75R[E]f.pm6 5/9/02, 3:12 PM1

2
Nederlands
Introductie
Sticker Lijm
Labelsticker
Meer over deze gebruiksaanwijzing
Deze gebruiksaanwijzing beschrijft voornamelijk de bedieningen
met gebruik van de toetsen en regelaars op de afstandsbediening.
U kunt echter tevens de toetsen op het centrale toestel gebruiken
indien deze dezelfde of gelijkwaardige namen (of markeringen) als
die van de afstandsbediening hebben.
Indien de bediening met de afstandsbediening verschillend
is van de bediening met het centrale toestel, wordt een
aparte beschrijving gegeven.
• De voor de diverse bedieningen gegeven tijd is uitsluitend
ter referentie. De werkelijke tijd kan anders zijn.
• De volgende markeringen worden in deze
gebruiksaanwijzing gebruikt:
:Speciale waarschuwingen en voorzorgen
die u in acht dient te nemen voor een
optimale werking van het systeem.
:Specifieke informatie en tips die u dient te
weten voor het gebruik van de diverse
functies en bedieningen.
:
Disctypes die u voor de in het betreffende
gedeelte beschreven bediening kunt
gebruiken. Discs die u niet kunt
gebruiken, worden licht-gedrukt getoond.
Voorzorgen
Installeren van het systeem
• Kies een plaats die vlak, droog en niet te heet en niet te
koud imet een temperatuur tussen 5°C en 35°C.
• Zorg voor voldoende afstand tussen het systeem en de TV.
• Gebruik het systeem niet op plaatsen die aan trillingen
onderhevig zijn.
Netsnoer
• Raak het netsnoer niet met natte handen aan.
• Met de stekker in het stopcontact gestoken, wordt altijd
een kleine hoeveelheid stroom (2,5 watts) gebruikt.
• Gebruik altijd de stekker en trek niet aan het snoer wanneer
u het netsnoer van het stopcontact wilt ontkoppelen.
Voorkomen van een onjuiste werking van het systeem
•
Er bevinden zich geen door de gebruiker te repareren onderdelen
in het systeem. Trek de stekker uit het stopcontact en raadpleeg
de plaats van aankoop indien er iets mis is met het systeem.
• Steek geen metalen voorwerpen in het systeem.
• Gebruik geen in de handel verkrijgbare discs met
afwijkende formaten (bijvoorbeeld hartvormig,
bloemvormig of credit cards, enz.).
• Gebruik geen disc waarop plakband, stickers of lijm zit.
Opmerking aangaande auteursregisterwetten
Controleer de auteursregisterwetten in uw land alvorens een
DVD Video (DVD), Super Video CD (SVCD), Video CD (VCD)
of Audio CD op te nemen. Opname van materiaal dat door
auteursrechten is beschermd, is mogelijk illegaal.
Opmerking aangaande kopieerbeschermingssysteem
DVD Video discs zijn door het kopieerbeschermingssysteem
beschermd. Indien u het systeem direct met uw videorecorder
verbindt, zal het kopieerbeschermingssysteem worden geactiveerd
en de beelden mogelijk niet juist worden weergegeven.
7Veiligheidsvoorzorgen
Vermijd vocht, water en stof
Installeer het systeem niet op vochtige of stoffige plaatsen.
Vermijd hoge temperaturen
Stel het systeem niet aan het directe zonlicht bloot en plaats
niet vlakbij de verwarming.
Indien u lang afwezig bent
Trek de stekker uit het stopcontact wanneer u bijvoorbeeld op
vakantie gaat of voor langere tijd van huis bent.
Blokkeer de ventilatie niet
Het systeem wordt mogelijk beschadigd indien de ventilatie
wordt geblokkeerd.
Verzorging van de behuizing
Gebruik een zachte doek en volg de aanwijzingen van
chemisch-behandelde doeken voor het reinigen van het
systeem. Gebruik beslist geen benzine, thinner of andere
vluchtige oplosmiddelen met ingebrip van desinfecterende
middelen. Dit soort middelen kan namelijk de behuizing
vervormen of de kleur aantasten.
Indien er water in het systeem komt
Schakel het systeem direct uit en trek de stekker uit het
stopcontact. Raadpleeg vervolgens de plaats van aankoop.
Het gebruik van het systeem wanneer er vloeistof in is
gekomen, kan een elektrische schok of brand tot gevolg
hebben.
Controleren van de bijgeleverde
accessoires
Controleer dat u alle hieronder beschreven accessoires heeft.
Het aantal van iedere accessoire wordt tussen haakjes
aangegeven.
Raadpleeg direct de plaats van aankoop indien er iets
ontbreekt.
Verpakking centrale toestel
• Afstandsbediening—RM-STHA75R (1)
• Batterijen—R6S (SUM-3)/AA (15F) (2)
• FM-antenne (1)
• AM (MW) ringantenne (1)
• Composiet videosnoer (1)
Verpakking luidspreker
• Luidsprekersnoeren
Ongeveer 5 meter (3) met een ministekker
: Voor de linker-voorluidspreker,
rechter-voorluidspreker en
middenluidspreker
Ongeveer 5 meter (1) : Voor de subwoofer
Ongeveer 10 meter (3) met een ministekker
: Voor de linker-surroundluidspreker,
rechter-surroundluidspreker en
surround-achterluidsprekers
• Satelliet-luidsprekers met muurbeugels (5)
• Schroeven voor de satelliet-luidsprekers en muurbeugels (5)
NL01-16.TH-A75R[E]f.pm6 5/9/02, 3:12 PM2

3
Nederlands
LINEAR PCM L
S.WFR
LS RS
CR
S
LFE
DSP
SB
PRO LOGIC
DIGITAL EX
CH
MP3 RESUME
BASS
SURROUND TUNED ST AUTO MUTING RDS TA NEWS INFO
1234 5
q
9p
8
7
61
2
R
14 5 6 789pqw
t
23
er
STANDBY
COMPACT
SUPER VIDEO
DIGITAL•EX
PRO LOGIC
DVD DIGITAL CINEMA SYSTEM
RGB
PHONES
− VOLUME +SOURCE
SURROUND SPEAKERS SURROUND BACK
VCR
RGB Y/C
STB
COAXIAL
AM LOOP
(STB)
RIGHT LEFT SPEAKER
VCR IN
AV COMPU
LINK- S-VIDEO
AV
DIGITAL IN
ANTENNA
STB IN OUT
AUDIO IN
VIDEO
RL RL
CENTER
RIGHTSUBWOOFER LEFT SPEAKER
CAUTION:SPEAKER IMPEDANCE 4 16
FM 75
AM EXT
FRONT SPEAKERS
134 5
6 7 89
2
Namen van onderdelen en regelaars
Zie de tussen haakjes aangegeven bladzijden voor details.
Centrale toestel
Voorpaneel
1STANDBY lampje (17)
2 (standby/aan) toets (17)
3Disclade (20)
40 (open/dicht) toets (20)
5RGB lampje (7)
67 (stop) toets (20, 50, 52)
73 (weergave) toets (20, 50, 52, 53)
88 (pauze) toets (20, 45, 50, 52, 53)
94 (achteruit verspringen) toets
(20, 50, 52)
p¢ (vooruit verspringen) toets
(20, 50, 52)
qSOURCE toets (17)
wVOLUME +/– toetsen (18)
eDisplay (zie hieronder)
rAfstandsbedieningssensor (15)
tPHONES aansluiting (18)
Display
1• LINEAR PCM indicator (19)
• Pro Logic indicators (32)
PRO LOGIC, PRO LOGIC II
• Digitaal signaalformaatindicators (19, 31, 32)
DIGITAL, DIGITAL EX, DTS
2MP3 indicator (50)
3CH (kanaal) indicator (23)
4Hoofddisplay
5RESUME indicator (21, 60)
6Signaal (1) en luidspreker (2) indicators (34)
7SURROUND indicator (31, 32, 34, 35)
8DSP indicator (33, 35)
9Tuner-bedieningsindicators (22, 23)
TUNED, ST (stereo), AUTO MUTING
pRDS-bedieningsindicators (24, 26)
RDS, TA, NEWS, INFO
qBASS indicator (30)
Achterpaneel
1Luidsprekeraansluitingen (11)
SUBWOOFER,
RIGHT/LEFT FRONT SPEAKERS,
CENTER SPEAKER,
RIGHT/LEFT SURROUND SPEAKERS,
SURROUND BACK SPEAKER
2Netsnoer (14)
3AUDIO IN aansluitingen (13)
VCR, STB
4DIGITAL IN (STB) aansluiting (13)
5ANTENNA aansluitingen (8, 9)
6AV COMPU LINK-III aansluitingen
(voor toekomstig gebruik)
7VIDEO aansluitingen
VCR IN (13), STB IN (13), OUT (7)
8RGB-Y/C schakelaar (7)
9AV (SCART) aansluiting (7)
NL01-16.TH-A75R[E]f.pm6 5/9/02, 3:12 PM3

4
Nederlands
Afstandsbediening
RM–STHA75R
DVD CINEMA SYSTEM
CHANNEL/ZOOM
VOLUMETV VOL
TUNING
STOP
DIMMER
PAUSE
FF/
/REW
TV/VIDEO
1
MUTING
¡
REC
PLAY
DOWN UP
MEMORY STROBE
DVD
VCR 1
AUDIO
VIDEO/
TV SOUND
ANGLE
FM/AM
SUBTITLE DECODE
RETURN DIGEST
VFP
TOP MENU MENU
CONTROL
EFFECT
S.WFR TEST
SLEEP
TV
VCR
SETTING
TV RETURN
ENTER
ON
SCREEN
CHOICE
FM MODE
123
456
789
10
0
+10
100+
TV AUDIO
VCR
SOUND
PTY SEARCH
DVD
RDS
TA/NEWS/INFO
PTY(PTY9
RDS DISPLAY
SURROUND OFF
DSP
CENTER
–
+
–
+
–
+
–
+
SURR-L SURR-R
S-BACK –
+
ADJUST
O.T.
REPLAY
7
1
2
3
4
6
5
8
9
p
q
w
e
r
y
u
i
o
;
a
g
h
j
k
l
f
d
t/
s
1Bronkeuzetoetsen (17)
VIDEO/TV SOUND, FM/AM, DVD
2AUDIO toets (41, 42)
3ANGLE toets (40)
4TOP MENU toets (39)
5MENU toets (39)
6Bedieningstoetsen voor surround en DSP
SURROUND (20, 35), DSP (20, 35), OFF (35)
7CONTROL toetsen
VCR (64), TV (16)
8SLEEP toets (19)
9• SETTING toets (28)
• ADJUST toets (30)
pON SCREEN toets (37, 38)
q• ENTER toets (38, 51, 53)
•3/2/∞/5 cursortoetsen (28, 30, 38, 50 – 53)
• RDS-bedieningstoetsen (25, 26)
PTY 9, PTY (, TA/NEWS/INFO, PTY SEARCH
• Bedieningstoetsen voor de keuzemenu’s (54, 61, 62)
w• CHOICE toets (54, 61, 62)
• RDS DISPLAY toets (24)
e• CHANNEL +/– toetsen (16, 64)
• ZOOM +/– toetsen (46, 53)
rTV VOL (volume) +/– toetsen (16)
tTV/VIDEO toets (16)
y• Disc-bedieningstoetsen (20, 39, 44, 45, 46, 50, 52,
53, 64)
1, ¡, 4/REW, PLAY, FF/¢,
O.T. (one-touch) REPLAY, STOP, PAUSE
• TUNING UP/DOWN toetsen (22)
•÷ REC toets (64)
• MEMORY toets (22, 23)
• STROBE toets (45)
uDIMMER toets (18)
iTV toets (16)
oAUDIO toets (17)
;VCR toets (64)
aDECODE toets (19)
sSUBTITLE toets (41)
dDIGEST toets (44)
fRETURN toets (39)
gSOUND toets (18, 36)
h• Cijfertoetsen (16, 21, 23, 39, 43, 48, 61, 62, 64)
• Geluidinsteltoetsen (18, 36)
S.WFR +/–, CENTER +/–, SURR-L +/–,
S-BACK +/–, SURR-R +/–
• EFFECT toets (36)
• TEST toets (36)
• TV RETURN toets (16)
• FM MODE toets (23)
jAfstandsbediening-functieschakelaar (17, 24)
kVFP toets (47)
lVOLUME +/– toetsen (18)
/MUTING toets (18)
Namen van onderdelen en regelaars
NL01-16.TH-A75R[E]f.pm6 5/9/02, 3:12 PM4

5
Nederlands
52 23
45
2
COMPACT
DIGITAL AUDIO
Afspeelbare discs
Dit systeem is ontworpen voor weergave van de volgende
discs:
DVD Video (DVD), Video CD (VCD), Super Video CD (SVCD),
Audio CD, CD-R en CD-RW.
• Dit systeem kan tevens MP3 bestanden en JPEG
bestanden afspelen die op CD-R en CD-RW zijn
opgenomen. Zie “Weergave van MP3 disc” op bladzijde 50
voor meer informatie over MP3, en “Weergave van JPEG
disc” op bladzijde 52 voor informatie over JPEG.
• U kunt afgeronde (“finalized”), met het DVD VIDEO formaat
opgenomen DVD-R discs afspelen. Bepaalde discs kunnen
echter vanwege de disckarakteristieken of opname-
omstandigheden niet worden afgespeeld.
Discs die u kunt afspelen:
Disctype Markering Video- Regiocode-
(Logo) formaat nummer*
DVD Video PAL 2
(DVD) ALL
Video CD PAL ——
(VCD)
Super Video CD PAL ——
(SVCD)
Audio CD —— ——
CD-R —— ——
CD-RW —— ——
*Opmerking aangaande de regiocode
DVD-spelers en DVD’s hebben een regiocodenummer. Dit
toestel is uitsluitend geschikt voor weergave van DVD’s die
met het PAL kleursysteem zijn opgenomen en “2” in het
regiocodenummer hebben.
Bijv.:
Indien een DVD met een verkeerd regiocodenummer is
geplaatst, zal “REGION CODE ERROR” op het display
verschijnen en kan de weergave niet worden gestart.
• De volgende discs kunnen niet worden afgespeeld:
DVD Audio, DVD-ROM, DVD-RAM, DVD-RW, DVD+RW,
CD-ROM, CD-I (CD-I Ready), Photo CD, enz.
Door dit soort discs af te spelen, zal ruis worden
gereproduceerd en de luidsprekers mogelijk worden
beschadigd.
•De werking met bepaalde DVD’s, VCD’s of SVCD’s is
mogelijk anders dan wat in deze gebruiksaanwijzing
wordt beschreven. Dit komt door de manier waarop de
disc is geprogrammeerd en de structuur van de disc, en
duidt dus niet op een defect van dit systeem.
•Opmerkingen aangaande CD-R en CD-RW
– Door de gebruiker gemonteerde CD-R’s (Opneembaar)
en CD-RW’s (Herschrijfbaar) kunnen uitsluitend worden
afgespeeld wanneer ze zijn “afgerond” (“Finalized”).
– Dit systeem kan CD-R’s of CD-RW’s afspelen die met een
personal computer is opgenomen, mits de disc met het
Audio CD-formaat is opgenomen.
Het systeem is tevens geschikt voor weergave van CD-R’s
of CD-RW’s indien er MP3 fragmenten (bestanden) of
JPEG bestanden op zijn opgenomen.
De configuratie en karakteristieken van een MP3 disc of
JPEG disc worden vooral bepaald door de software voor
het schrijven (coderen) en de hardware die voor de
opname wordt gebruikt. Afhankelijk van de gebruikte
software en hardware heeft u mogelijk de volgende
problemen:
• Bepaalde discs kunnen niet worden afgespeeld.
• Bepaalde fragmenten (bestanden) van een MP3 disc
worden overgeslagen of niet normaal afgespeeld.
• Bepaalde bestanden van een JPEG disc worden
mogelijk vervormd weergegeven.
– Lees alvorens CD-R’s of CD-RW’s af te spelen eerst de bij
de disc geleverde aanwijzingen of waarschuwingen.
– Het aflezen van CD-RW’s duurt mogelijk langer. Dit komt
doordat de reflectie van een CD-RW’s lager is dan in
vergelijking met een normale CD’s.
7Meer over MP3 discs
Met dit systeem kunt u MP3 bestanden die op CD-R of
CD-RW zijn opgenomen afspelen. We noemen dergelijke
discs in deze gebruiksaanwijzing een “MP3 disc”.
MP3 is de afkorting van Motion Picture Experts Group 1
(of MPEG-1) Audio Layer 3. MP3 is eigenlijk gewoon een
bestandsformaat met een datacompressie. Dat betekent dat
met gebruik van het MP3 formaat op een CD-R of CD-RW 10
keer zoveel data als op een normale CD kan worden
opgenomen.
Dit systeem vereenvoudigt de hiërarchische structuur van
een disc en behandelt bestanden en mappen als
“fragmenten” en “groepen”.
7Meer over JPEG discs
Met dit systeem kunt u JPEG bestanden, bijvoorbeeld digitale
foto’s, die op CD-R of CD-RW zijn opgenomen afspelen. We
noemen dergelijke discs in deze gebruiksaanwijzing een
“JPEG disc”.
JPEG is de afkorting van Joint Photographic Expert Group,
een stilbeeld (foto) datacompressiesysteem waarbij de
beeldkwaliteit ondanks de hoge compressieratio slechts
weinig verslechterd.
Dit systeem vereenvoudigt de hiërarchische structuur van
een disc en behandelt mappen als “groepen”.
Meer over discs
NL01-16.TH-A75R[E]f.pm6 5/9/02, 3:12 PM5

6
Nederlands
Titel 1
Hoofdstuk 1 Hoofdstuk 2
Hoofdstuk 3
Titel 2
Hoofdstuk 1 Hoofdstuk 2
Fragment 1
Fragment 2
Fragment 3
Fragment 4 Fragment 5
Playback Control functie (PBC)
—Uitsluitend voor VCD en SVCD
Met de Playback Control functie kunt u bedieningen uitvoeren
aan de hand van een menu en kunt u kwalitatief
hoogwaardige stilbeelden tonen waarvan de resolutie vier
keer beter is dan in vergelijking met bewegende beelden.
•Hoge-resolutie stilbeelden
U kunt kwalitatief hoogwaardige stilbeelden tonen die vier
keer helderder zijn dan bewegende beelden.
•Menu-aangedreven weergave
Bij het starten van de weergave van een VCD en SVCD met
Playback Control, verschijnt een keuzemenu. Het
keuzemenu toont u een lijst met nummers die u kunt
kiezen. Bepaalde discs tonen bewegende beelden of een
gesplitst scherm.
U kunt op interactieve wijze op het scherm met gebruik van
een menu keuzes voor bijvoorbeeld het afspelen maken.
De afbeelding hieronder toont de basisfuncties van menu-
aangedreven weergave. Zie bladzijde 39 voor details
aangaande het gebruik van het menu.
OPMERKING:
Bij bediening van een VCD of SVCD met gebruik van het menu,
kunnen bepaalde functies, bijvoorbeeld herhaalde weergave, mogelijk
niet worden gebruikt.
BELANGRIJK:
Controleer de volgende punten alvorens bedieningen
uit te voeren…
• Controleer de verbinding met de TV.
• Schakel de TV in en kies de juiste ingang van de TV voor
het bekijken van beelden of in-beeldaanduidingen op het
TV-scherm.
Indien op het TV-scherm verschijnt wanneer u op
een toets drukt, is de geplaatste disc niet geschikt
voor de bediening die u probeert uit te voeren, of is de
vereiste informatie voor deze bediening niet op de disc
opgenomen.
OPMERKING: In bepaalde gevallen worden
bedieningen, ook wanneer niet
verschijnt, niet geaccepteerd.
Groep 2
Groep 1
Groep 3 Groep 4 Groep 5
Fragment 1
Fragment 2
Groep 2Groep 1
Groep 3 Groep 4 Groep 5
Bestand 1
Bestand 2
Discstructuur
Een DVD bestaat uit “titels” en iedere titel kan op zijn beurt
weer in “hoofdstukken” zijn onderverdeeld.
Wanneer een DVD bijvoorbeeld meerdere films bevat, krijgt
iedere film zijn eigen titelnummer en kan deze titel weer
verder in hoofdstukken zijn onderverdeeld.
Een VCD, SVCD of Audio CD nummers of “fragmenten”.
Over het algemeen heeft ieder liedje zijn eigen
fragmentnummer. (Met bepaalde discs wordt ieder fragment
mogelijk weer onderverdeeld in indexen).
Op een MP3 disc is ieder liedje als een fragment (bestand)
opgenomen. Fragmenten worden normaliter in een groep
(map) gegroepeerd. Groepen kunnen tevens andere groepen
bevatten met als gevolg een aantal “hiërarchisch” geordende
lagen.
Dit systeem kan maximaal 150 fragmenten per groep, tot
maximaal 99 groepen per disc (dus een totaal van 14.850
fragmenten) herkennen.
• Indien er tevens andere bestanden dan MP3 bestanden in
een map liggen, worden deze bestanden tevens bij het
berekenen van het totaal aantal van 150 gerekend.
Op een JPEG disc is ieder stilbeeld als een bestand
opgenomen. Bestanden worden normaliter in een groep
(map) gegroepeerd. Groepen kunnen tevens andere groepen
bevatten met als gevolg een aantal “hiërarchisch” geordende
lagen.
Dit systeem kan maximaal 150 bestanden per groep, tot
maximaal 99 groepen per disc (dus een totaal van 14.850
bestanden) herkennen.
• Indien er tevens andere bestanden dan JPEG bestanden in
een map liggen, worden deze bestanden tevens bij het
berekenen van het totaal aantal van 150 gerekend.
Meer over discs
NL01-16.TH-A75R[E]f.pm6 5/9/02, 3:12 PM6

7
Nederlands
VCR
RGB Y/C
STB
COAXIAL
AM LOOP
(STB)
VCR IN
AV COMPU
LINK- S-VIDEO
AV
DIGITAL IN
ANTENNA
STB IN OUT
AUDIO IN
VIDEO
RL RL
FM 75
AM EXT
RGB
VCR
Y/C
STB
COAXIAL
AM LOOP
(STB)
VCR IN
AV COMPU
LINK- S-VIDEO
AV
DIGITAL IN
ANTENNA
STB IN OUT
AUDIO IN
VIDEO
RL RL
FM 75
AM EXT
VCR
RGB Y/C
STB
COAXIAL
AM LOOP
(STB)
VCR IN
O
MPU S-VIDEO
AV
DIGITAL IN
ANTENNA
STB IN OUT
AUDIO IN
VIDEO
RL RL
FM 75
AM EXT
RGB Y/C
Aansluiten
•Sluit het netsnoer pas aan nadat alle andere verbindingen zijn gemaakt.
• Uw andere componenten hebben waarschijnlijk andere namen voor de diverse aansluitingen. Lees daarom de bij de
betreffende componenten geleverde gebruiksaanwijzingen tevens goed door alvorens verbindingen te maken.
Aansluiten van een TV
Verbind een TV met het centrale toestel voor het bekijken van beelden en in-beelddisplay’s en menu’s.
• Het verbinden met een TV via een videorecorder, of met een TV met een ingebouwde videorecorder, kan beeldstoring tot
gevolg hebben.
•
U moet “MONITOR TYPE” van het PICTURE menu in overeenstemming met de aspectratio van uw TV instellen. Zie bladzijde 57.
7Aansluiten van een TV zonder AV (SCART)-aansluiting
Verbind een TV op een van de volgende manieren.
• Een verbinding via de S-video aansluitingen geeft een betere beeldkwaliteit.
•Via de S-video aansluitingen •Via de composiet video-aansluitingen
Breng de ∞ markering
op de stekker in lijn met
de markering op het
centrale toestel.
S-videosnoer (niet bijgeleverd)
TV Naar S-video ingang
Composiet videosnoer (bijgeleverd)
TV Naar composiet videosnoer
7Aansluiten van een TV met AV (SCART)-aansluiting TV
Naar SCART aansluiting*
SCART-kabel (niet bijgeleverd)
Druk de RGB-Y/C schakelaar in de voor uw TV juiste stand.
– Indien de TV het RGB-videosignaal gebruikt, moet u de RGB-Y/C schakelaar
naar “RGB” drukken voor beelden van betere kwaliteit. Het RGB lampje licht
op het centrale toestel.
– Indien de TV het S-videosignaal gebruikt, moet u de RGB-Y/C schakelaar
naar “Y/C” drukken.
OPMERKINGEN:
•Met de RGB-Y/C schakelaar op “RGB” gesteld, wordt er geen correct videosignaal via de S-VIDEO OUT aansluiting op het achterpaneel
uitgestuurd.
•Met de RGB-Y/C schakelaar op “RGB” of “Y/C” gesteld, wordt het composiet videosignaal altijd via de VIDEO OUT aansluiting.
*
Bepaalde SCART-stekkers geven het audiosignaal niet weer. Gebruik een SCART-stekker die het audiosignaal wel kan uitsturen voor
weergave van het TV-geluid via dit systeem.
Starten
NL01-16.TH-A75R[E]f.pm6 5/9/02, 3:12 PM7

8
Nederlands
Starten
Aansluiten van de antennes voor AM (MW) en FM
• Zorg dat de antennegeleiders geen contact met andere aansluitingen, aansluitsnoeren en netsnoeren maken. De ontvangst
wordt anders namelijk mogelijk gestoord.
7AM (MW) ringantenne
SURROUND SPEAKERS SURROUND BACK
VCR
RGB Y/C
STB
COAXIAL
AM LOOP
(STB)
RIGHT LEFT SPEAKER
VCR IN
AV COMPU
LINK- S-VIDEO
AV
DIGITAL IN
ANTENNA
STB IN OUT
AUDIO IN
VIDEO
RL RL
CENTER
RIGHTSUBWOOFER LEFT SPEAKER
CAUTION:SPEAKER IMPEDANCE 4 16
FM 75
AM EXT
FRONT SPEAKERS
1
2
3
Monteren van de AM (MW) ringantenne
Bevestig de AM (MW) ring op de basis door de lipjes in de openingen
op de basis vast te drukken.
Verwijder het plastic door het zoals afgebeeld te
draaien indien het antennesnoer met plastic of vinyl is
bedekt.
Enkel vinyl-afgedekt draad voor buiten (niet bijgeleverd)
Indien de ontvangst slecht is:
Verbind een enkel vinyl-
afgedekt draad voor buiten met
de AM EXT aansluiting terwijl u
gewoon de AM (MW)
ringantenne aangesloten houdt.
AM (MW)
ringantenne
Draad
Aansluiten van de AM (MW) ringantenne
Druk het
aansluitklemmetje
omlaag.
Steek het
antennesnoer in.
Laat het klemmetje los.
• Draai de ring tot u
de beste ontvangst
heeft.
NL01-16.TH-A75R[E]f.pm6 5/9/02, 3:12 PM8

9
Nederlands
OPMERKINGEN:
•Ontkoppel de bijgeleverde FM-antenne alvorens een 75
Ω
coaxstekker (het soort met een ronde draad naar de buitenantenne) aan te sluiten.
•Gebruik bij voorkeur een coaxkabel (niet bijgeleverd) voor de FM-antenne, daar deze een goede bescherming tegen interferentie biedt.
SURROUND SPEAKERS SURROUND BACK
VCR
RGB Y/C
STB
COAXIAL
AM LOOP
(STB)
RIGHT LEFT SPEAKER
VCR IN
AV COMPU
LINK- S-VIDEO
AV
DIGITAL IN
ANTENNA
STB IN OUT
AUDIO IN
VIDEO
RL RL
CENTER
RIGHTSUBWOOFER LEFT SPEAKER
CAUTION:SPEAKER IMPEDANCE 4 16
FM 75
AM EXT
FRONT SPEAKERS
7FM-antenne
Aansluiten van de bijgeleverde FM-antenne
Strek de bijgeleverde FM-antenne in horizontale richting uit.
Indien de ontvangst slecht is:
Sluit een FM-buitenantenne met
standaardtype (coaxiale) stekker
aan.
FM-buitenantenne
(niet bijgeleverd)
FM-buitenantennesnoer (niet bijgeleverd)
NL01-16.TH-A75R[E]f.pm6 5/9/02, 3:12 PM9

10
Nederlands
7Aansluiten van het luidsprekersnoer op
de luidsprekeraansluitingen
1Druk het aansluitklemmetje
omlaag.
2Steek het
luidsprekersnoer in.
3Laat het klemmetje los.
Starten
Rechter-voorluidspreker
Linker-voorluidspreker
Surround-achterluidspreker
Linker-surroundluidspreker Rechter-surroundluidspreker
Centrale toestel Middenluidspreker
STANDBY
COMPACT
SUPER VIDEO DIGITAL•EX
PRO LOGIC
DVD DIGITAL CINEMA SYSTEM
PROGRESSIVE
PHONES
VOLUMESOURCE
Subwoofer
Aansluiten van de satelliet-luidsprekers en de subwoofer
Verbind de bijgeleverde satelliet-luidsprekers en subwoofer.
Luidsprekeropstellingdiagrams
Bij het opstellen van de luidsprekers moet u voor een optimaal geluid alle satelliet-luidsprekers op gelijke afstand tot uw
luisterplaats plaatsen, met daarbij de voorkant van iedere luidspreker naar de luisteraar gericht.
Indien niet alle luidsprekers op gelijke afstand tot de luisterplaats kunnen worden geplaatst, moet u later de vereiste
instellingen maken zodat het lijkt alsof de luidsprekers op de beste plaats zijn geïnstalleerd. Zie bladzijden 29 en 59.
• Plaats de subwoofer rechtsvoor van de TV. Indien u de subwoofer links van de TV plaats, zullen de kleuren van het beeld op
het TV-scherm mogelijk worden vervormd.
OPMERKINGEN:
•De satelliet-luidsprekers en de subwoofer zijn magnetisch afgeschermd. Het is echter mogelijk dat het beeld van de TV wordt gestoord. U
moet in dat geval de afstand tussen de TV en de luidsprekers ongeveer 10 cm verhogen.
•Zorg voor de veiligheid dat er altijd voldoende vrije ruimte achter de subwoofer is.
•Indien u de satelliet-luidsprekers op een relatief hoge plaats installeert, bijvoorbeeld op een boekenkast, controleer dan dat ze beslist op een
vlak en horizontaal oppervlak zijn geplaatst.
7Alvorens het luidsprekersnoer aan te
sluiten
Verwijder het plastic door
het zoals afgebeeld te
draaien indien het
luidsprekersnoer met
plastic of vinyl is bedekt
zoals u hier rechts ziet.
NL01-16.TH-A75R[E]f.pm6 5/9/02, 3:12 PM10

11
Nederlands
LET OP:
•Indien u niet de bijgeleverde luidsprekers maar andere (grotere) luidsprekers wilt aansluiten, mag u alleen luidsprekers gebruiken die een
impedantie hebben die overeenkomt met de SPEAKER IMPEDANCE die bij de luidsprekeraansluitingen op het achterpaneel van de centrale
toestel is vermeld.
•Sluit NIET meer dan één luidspreker op één luidsprekeraansluiting aan.
Satelliet-luidsprekers:
1Steek de ministekkers van de luidsprekersnoeren in de aansluitingen op de achterkant van
iedere luidspreker.
2Verbind het wite snoer met de rode (+) aansluiting, en het zwarte snoer met de zwarte (–)
aansluiting.
SURROUND SPEAKERS SURROUND BACK
RIGHT LEFT SPEAKER
CENTER
RIGHTSUBWOOFER LEFT SPEAKER
CAUTION:SPEAKER IMPEDANCE 4 16
FRONT SPEAKERS
Linker-voorluidspreker
Middenluidspreker
Rechter-voorluidspreker
Linker-
surroundluidspreker
Rechter-
surroundluidspreker
Subwoofer
Surround-
achterluidspreker
Subwoofer:
Verbind het wite snoer met de rode (+) aansluiting, en het zwarte
snoer met de zwarte (–) aansluiting.
Verwijder het
plastic door het
zoals afgebeeld
te draaien
indien het
luidsprekersnoer met
plastic of vinyl is
bedekt zoals u hier rechts
ziet.
OPMERKINGEN:
•De roosters van de satelliet-luidsprekers kunnen worden verwijderd. Voorkom beschadiging en voer geen overmatige druk op de roosters van
de satelliet-luidsprekers uit.
•De roosters van de subwoofer zijn niet verwijderbaar.
NL01-16.TH-A75R[E]f.pm6 5/9/02, 3:12 PM11

12
Nederlands
Aan de muur ophangen van de satelliet-luidsperkers
Gebruik de bijgeleverde muurbeugels voor de satelliet-luidsprekers zodat u de surroundluidsprekers aan de muur kunt bevestigen.
LET OP:
Laat de beugels bij voorkeur door een vakman aan de muur bevestigen.
Voorkom beschadiging en ongelukken door het vallen van de beugels vanwege een foute bevestiging of zwakke muur en bevestig daarom de
beugel NIET zelf aan een muur.
Bepalen van de plaats voor het bevestigen:
Let goed op bij het kiezen van een plaats voor het ophangen van de surroundluidsprekers aan de muur. Beschadiging van
apparatuur of zelfs persoonlijk letsel kan het gevolg zijn van het bevestigen van de luidsprekers op een plaats die de
dagelijkse bezigheden bijvoorbeeld stoort.
Bevestigen van de luidsprekers aan de beugels
1Gebruik de bijgeleverde schroeven om de
beugels aan de surroundluidsprekers te
bevestigen.
2Stel de hoek van de luidsprekers in.
Los de schroef iets, stel in en draai dan de schroef weer
goed vast.
LET OP:
Niet goed vastgedraaide schroeven kunnen persoonlijk letsel of beschadiging van de apparatuur tot gevolg hebben.
Starten
NL01-16.TH-A75R[E]f.pm6 5/9/02, 3:12 PM12

13
Nederlands
RGB YC
AV COMPU
LINK-
S-VIDEO
SURROUND SPEAKERS SURROUND BACK
VCR STB
COAXIAL
AM LOOP
(STB)
RIGHT LEFT SPEAKER
VCR IN
AV
DIGITAL IN
ANTENNA
STB IN OUT
AUDIO IN
VIDEO
RL RL
CENTER
RIGHT
S
UBWOOFER LEFT SPEAKER
CAUTION:SPEAKER IMPEDANCE 4 16
FM 75
AM EXT
FRONT SPEAKERS
Audiosnoer
Naar audio-
uitgang
Naar
S-video
uitgang
Composiet
videosnoer
Naar
composiet
video-uitgang
Audio-
verbinding
Video-
verbinding
Videorecorder
of
RGB Y/C
S-
videosnoer
RGB YC
AV COMPU
LINK-
S-VIDEO
SURROUND SPEAKERS SURROUND BACK
VCR STB
COAXIAL
AM LOOP
(STB)
RIGHT LEFT SPEAKER
VCR IN
AV
DIGITAL IN
ANTENNA
STB IN OUT
AUDIO IN
VIDEO
RL RL
MPEDANCE 4 16
FM 75
AM EXT
Audio-
snoer
Naar
audio
-uitgang
Naar
S-video
uitgang
Composiet
videosnoer
Naar
composiet
video-uitgang
Video-
verbinding
STB (Set Top Box)
Optisch
digitaal
snoer
Naar
optische
digitale
uitgang
Audio-
verbinding
of
RGB Y/C
S-
videosnoer
2Verbind de audio-
aansluitingen of
optische digitale
aansluitingen.
Verbind de witte stekker
met de linkeraudio-
aansluiting (“L”) en de
rode met de
rechteraudio-aansluiting
(“R”).
• Een verbinding via de
optische digitale
aansluitingen geeft
een beter geluid.
OPMERKINGEN:
•De signalen die via de S-video aansluitingen zijn ontvangen, worden via zowel de composiet video-aansluitingen als de S-video aansluitingen
uitgestuurd. Het signaal dat via de composiet video-aansluitingen binnenkomt, wordt echter niet via de S-video aansluitingen uitgestuurd.
•Indien zowel een verbinding via de composiet video als S-video aansluitingen is gemaakt, wordt het S-videosignaal als videosignaal gebruikt.
Aansluiten van videocomponenten
U kunt het beeld en geluid van de videorecorder en Set Top Box (STB) via dit systeem weergeven.
7Aansluiten van videorecorder
1Verbind de video-aansluitingen.
Verbind het S-videosnoer door de
∞ markering op de stekker met
de markering op het centrale
toestel in lijn te brengen.
2Verbind de
audio-aansluitingen.
Verbind de witte stekker met de
linkeraudio-aansluiting (“L”) en
de rode met de rechteraudio-
aansluiting (“R”).
7STB-verbinding
Verwijder het
beschermdopje
alvorens het optische
digitale snoer aan te
sluiten.
1Verbind de video-
aansluitingen.
Verbind het S-videosnoer
door de ∞ markering op
de stekker met de
markering op het
centrale toestel in lijn te
brengen.
NL01-16.TH-A75R[E]f.pm6 5/9/02, 3:12 PM13

14
Nederlands
SURROUND SPEAKERS SURROUND BACK
VCR
RGB Y/C
STB
COAXIAL
AM LOOP
(STB)
RIGHT LEFT SPEAKER
VCR IN
AV COMPU
LINK- S-VIDEO
AV
DIGITAL IN
ANTENNA
STB IN OUT
AUDIO IN
VIDEO
RL RL
CENTER
RIGHTSUBWOOFER LEFT SPEAKER
CAUTION:SPEAKER IMPEDANCE 4 16
FM 75
AM EXT
FRONT SPEAKERS
LET OP:
•Ontkoppel het netsnoer alvorens het systeem te reinigen of te verplaatsen.
•Raak het netsnoer niet met natte handen aan.
•Trek niet aan het netsnoer zelf om het te ontkoppelen.
Houd de stekker vast voor het ontkoppelen zodat het snoer zelf niet wordt beschadigd.
OPMERKINGEN:
•Houd de netsnoeren uit de buurt van andere aansluitsnoeren. De netsnoeren kunnen anders namelijk storing of interferentie veroorzaken.
•De voorkeurinstellingen, bijvoorbeeld voorkeurzenders en geluidsinstellingen, worden in de volgende gevallen mogelijk na een paar dagen
gewist:
– Wanneer u het netsnoer ontkoppelt.
– Wanneer de stroomtoevoer wordt onderbroken.
Starten
Aansluiten van het netsnoer
Controleer dat alle andere verbindingen zijn gemaakt alvorens de netsnoeren aan te sluiten.
Steek in een
stopcontact.
Netsnoer
NL01-16.TH-A75R[E]f.pm6 5/9/02, 3:12 PM14

15
Nederlands
Gebruik van de afstandsbediening
Plaatsen van batterijen in de afstandsbediening
Voor gebruik van de afstandsbediening moet u eerst de twee bijgeleverde batterijen plaatsen.
1Verwijder de batterijdeksel van de achterkant van de afstandsbediening.
2Plaats de batterijen.
• Zorg dat de polen in de juiste richting wijzen: (+) naar (+) en (–) naar (–).
3Plaats de deksel weer terug.
Vervang de batterijen indien het bereik van de afstandsbediening kleiner wordt of de afstandsbediening niet meer goed werkt.
Gebruik in dat geval twee R6S (SUM-3)/AA (15F) droge cel batterijen.
LET OP:
Voorkom het lekken of barsten van batterijen en let daarom op het volgende:
•Plaats batterijen altijd met de polen in de juiste richting in het vak van de afstandsbediening: (+) naar (+) en (–) naar (–).
•Gebruik uitsluitend het gespecificeerde type batterij. Batterijen van dezelfde afmetingen hebben namelijk mogelijk een ander voltage.
•Vervang altijd beide batterijen tegelijkertijd door nieuwe.
•Stel batterijen niet aan hitte of vuur bloot.
Bediening van het systeem met de afstandsbediening
Richt de afstandsbediening recht naar de afstandsbedieningssensor op het centrale toestel. De effectief afstand tussen de
afstandsbediening en de sensor op het centrale toestel is ongeveer 7 meter.
• Het is tevens mogelijk om andere componenten gebruik van de afstandsbediening.
– Zie bladzijde 16 voor bediening van uw TV.
– Zie bladzijde 64 voor bediening van uw videorecorder.
Voor bediening van de andere componenten moet u de afstandsbediening recht naar de afstandsbedieningssensor op ieder
component richten.
Zie tevens de gebruiksaanwijzingen van de andere componenten.
• Voor een juiste werking van de afstandsbediening moet u controleren dat de afstandsbedieningssensor niet door een
voorwerp wordt geblokkeerd.
12 3
STANDBY
COMPACT
SUPER VIDEO
DIGITAL•EX
PRO LOGIC
DVD DIGITAL CINEMA SYSTEM
RGB
PHONES
SOURCE − VOLUME +
Afstandsbedieningssensor
Gebruikte batterijen:
NL01-16.TH-A75R[E]f.pm6 5/9/02, 3:12 PM15

16
Nederlands
Fabrikantcodes voor TV
* De fabrikantcodes
kunnen zonder
voorafgaande
kennisgeving worden
veranderd. U kunt
deze
afstandsbediening niet
meer voor het
bedienen van de TV
gebruiken indien de
codes zijn veranderd.
Fabrikant Code
JVC 01
Akai 02, 05
Blaupunkt 03
Daewoo 10, 31, 32
Fenner 04, 31, 32
Fisher 05
Grundig 06
Hitachi 07, 08
Inno-Hit 09
Irradio 02, 05
Magnavox 10
Mitsubishi 11, 33
Miver 03
Nokia 12, 34
Fabrikant Code
Nordmende 13, 14, 18, 26 – 28
Okano 09
Orion 15
Panasonic 16, 17
Philips 10
Saba 13, 14, 18, 26 – 28
Samsung 10, 19, 32
Sanyo 05
Schneider 02, 05
Sharp 20
Sony 21 – 25
Telefunken 13, 14, 18, 26 – 28
Thomson 13, 14, 18, 26 – 28, 30
Toshiba 29
RM–STHA75R
DVD CINEMA SYSTEM
CHANNEL/ZOOM
VOLUMETV VOL
TUNING
STOP
DIMMER
PAUSE
FF/
/REW
TV/VIDEO
1
MUTING
¡
REC
PLAY
DOWN UP
MEMORY STROBE
DVD
VCR 1
AUDIO
VIDEO/
TV SOUND
ANGLE
FM/AM
SUBTITLE DECODE
RETURN DIGEST
VFP
TOP MENU MENU
CONTROL
EFFECT
S.WFR TEST
SLEEP
TV
VCR
SETTING
TV RETURN
ENTER
ON
SCREEN
CHOICE
FM MODE
123
456
789
10
0
+10
100+
TV AUDIO
VCR
SOUND
PTY SEARCH
DVD
RDS
TA/NEWS/INFO
PTY(PTY9
RDS DISPLAY
SURROUND OFF
DSP
CENTER
–
+
–
+
–
+
–
+
SURR-L SURR-R
S-BACK
–
+
ADJUST
O.T.
REPLAY
Starten
Druk de
afstandsbediening-
functieschakelaar
naar “DVD”.
Gebruik van de afstandsbediening voor bediening van de TV
U kunt uw TV met de afstandsbediening bedienen.
• Zie tevens de gebruiksaanwijzing van uw TV. 7
Instellen van het afstandsbedieningssignaal
voor bediening van de TV
U kunt uw TV bedienen zonder het afstandsbedieningssignaal in
te stellen indien u een JVC TV heeft.
1Druk de afstandsbediening-
functieschakelaar naar “DVD”.
2Houd TV ingedrukt.
• Houd ingedrukt totdat stap 5.
3Druk op TV CONTROL.
4Voer met de cijfertoetsen (1–9, 0) een
fabrikantcode in (2 cijfers).
Zie de lijst hieronder voor de code.
Bijv: Voor een Sanyo TV, drukt u op 0 en dan op 5.
Voor een Toshiba TV, drukt u op 2 en dan op 9.
5Laat TV los.
6Probeer uw TV te bedienen door op TV
te drukken.
U heeft de juiste code ingevoerd indien uw TV nu wordt
in- of uitgeschakeld.
Indien er meerdere codes voor het merk van uw TV
worden gegeven, moet u iedere code proberen totdat u
de juiste heeft gevonden.
Na het instellen van de afstandsbedieningssignalen kunt u
de volgende toetsen voor de bediening van uw TV gebruiken.
TV :In- en uitschakelen van uw TV.
TV VOL +/–:Instellen van het volume.
TV/VIDEO :Kiezen van de ingangsfunctie (TV of VIDEO).
Na een druk op TV CONTROL:
CHANNEL +/–:Veranderen van kanaal.
1-10, 0, +10 (100+) :Kiezen van het kanaal.
Bijv.:
• Voor voorkeurzendernummer 3, drukt
u op 3.
• Voor voorkeurzendernummer 24,
drukt u op +10, +10 en dan op 4.
•
Voor voorkeurzendernummer 123, drukt
u op 100+, +10, +10 en dan op 3.
TV RETURN :Afwisselend schakelen tussen het
voorgaande en huidige kanaal.
NL01-16.TH-A75R[E]f.pm6 5/9/02, 3:12 PM16

17
Nederlands
Basisbediening
L
S.WFR
R
TUNED
RM–STHA75R
DVD CINEMA SYSTEM
CHANNEL/ZOOM
VOLUMETV VOL
TUNING
STOP
DIMMER
PAUSE
FF/
/REW
TV/VIDEO
1
MUTING
¡
REC
PLAY
DOWN UP
MEMORY STROBE
DVD
VCR 1
AUDIO
VIDEO/
TV SOUND
ANGLE
FM/AM
SUBTITLE DECODE
RETURN DIGEST
VFP
TOP MENU MENU
CONTROL
EFFECT
S.WFR TEST
SLEEP
TV
VCR
SETTING
TV RETURN
ENTER
ON
SCREEN
CHOICE
FM MODE
123
456
789
10
0
+10
100+
TV AUDIO
VCR
SOUND
PTY SEARCH
DVD
RDS
TA/NEWS/INFO
PTY(PTY9
RDS DISPLAY
SURROUND OFF
DSP
CENTER
–
+
–
+
–
+
–
+
SURR-L SURR-R
S-BACK –
+
ADJUST
O.T.
REPLAY
Druk de
afstandsbediening-
functieschakelaar
naar “DVD”.
Dit gedeelte beschrijft voornamelijk de algemene
bedieningen.
• Schakel de TV in en kies indien nodig de juiste
ingangsfunctie met de TV.
Inschakelen van het systeem
Druk op AUDIO van de afstandsbediening
of op (standby/aan) van het centrale
toestel.
Het STANDBY lampje dooft en de laatst gekozen bron wordt
geactiveerd.
• Door een druk op 0 van het centrale toestel of een van de
bronkeuzetoetsen van de afstandsbediening wordt het
systeem tevens ingeschakeld.
Uitschakelen van het systeem
Druk nogmaals op AUDIO van de
afstandsbediening of op (standby/aan) van het
centrale toestel.
Het STANDBY lampje licht op.
OPMERKINGEN:
•Ook met de stroom uitgeschakeld (standbyfunctie) wordt een kleine
hoeveelheid stroom gebruikt. Trek de stekker van het netsnoer uit
het stopcontact om de stroom werkelijk geheel uit te schakelen.
•Het STANDBY lampje licht voortdurend op nadat de stekker in een
stopcontact werd gestoken. Dit is normaal en duidt niet op een
defect van het systeem.
Kiezen van de af te spelen bron
Met de afstandsbediening:
Druk op een van de bronkeuzetoetsen
(DVD, FM/AM of VIDEO/TV SOUND).
DVD :Kiest de DVD-speler.
FM/AM :Kiest een FM of AM (MW) zender.
• Door iedere druk op de toets wordt
afwisselend de FM en AM (MW)
golfband gekozen.
VIDEO/TV SOUND:Kiest een videorecorder die met de VCR
IN aansluitingen, STB die met de STB IN
aansluitingen is aangesloten of het geluid
van de TV.*
• Door iedere druk op de toets verandert
de bron als volgt.
VCR ] STB (STB DIGITAL) ]
TV SOUND* ] (terug naar het begin)
Met het centrale toestel:
Druk herhaaldelijk op SOURCE.
Door iedere druk op de toets verandert de bron als volgt.
DVD ] AM ] FM ] VCR ] STB (STB DIGITAL) ]
TV SOUND* ] (terug naar het begin)
Bijv.: Met “AM” gekozen.
OPMERKING:
*
“TV SOUND” kan uitsluitend worden gekozen indien u de TV
middels een voor het audiosignaal geschikte SCART-kabel
(zie bladzijde 7) heeft verbonden.
NL17-21.TH-A75R[E]f.pm6 11/9/02, 1:05 PM17

18
Nederlands
L
S.WFR
R
Basisbediening
CHANNEL/ZOOM
VOLUMETV VOL
TUNING
STOP
DIMMER
PAUSE
FF/
/REW
TV/VIDEO
1
MUTING
¡
REC
PLAY
DOWN UP
MEMORY STROBE
AUDIO ANGLE SUBTITLE DECODE
RETURN DIGEST
VFP
TOP MENU MENU
CONTROL
EFFECT
S.WFR TEST
SLEEP
TV
VCR
SETTING
TV RETURN
ENTER
ON
SCREEN
CHOICE
FM MODE
123
456
789
10 0+10
100+
SOUND
PTY SEARCH
DVD
RDS
TA/NEWS/INFO
PTY(PTY9
RDS DISPLAY
SURROUND OFF
DSP
CENTER
–
+
–
+
–
+
–
+
SURR-L SURR-R
S-BACK –
+
ADJUST
O.T.
REPLAY
Druk de
afstandsbediening-
functieschakelaar
naar “DVD”.
Instellen van het volume
U kunt het volume vanaf “0” (minimum) tot “70” (maximum) instellen.
Druk op VOLUME +/–.
• Druk op + om het volume te verhogen.
• Druk op – om het volume te verlagen.
Het volumeniveau wordt op het display getoond.
LET OP:
Stel het volume altijd in de minimale stand alvorens de
weergave van een bron te starten.
Indien een hoog volume is ingesteld, kan een plotseling hard geluid
uw gehoor permanent beschadigen en/of de luidsprekers ruïneren.
7Luisteren met een hoofdtelefoon
Verbind een hoofdtelefoon met de PHONES aansluiting op het
centrale toestel. De huidige gekozen surround/DSP-functie
(zie bladzijden 31 t/m 33) en de luidsprekers worden hierdoor
uitgeschakeld en de HEADPHONE functie wordt geactiveerd.
• Door de hoofdtelefoon van de PHONES aansluiting te
ontkoppelen, wordt de HEADPHONE functie geannuleerd
en de luidsprekers en hiervoor gekozen surround/DSP-
functie weer geactiveerd.
HEADPHONE modus
Bij gebruik van de hoofdtelefoon, worden de volgende
signalen uitgestuurd, ongeacht uw luidsprekerinstellingen:
—
Voor 2-kanaal bron, worden de signalen van de linker-en
rechtervoorkanalen direct via de hoofdtelefoon weergegeven.
—Voor multi-kanaal bron, worden de signalen voor de
linker-en rechtervoorkanalen, midden-en
surroundachterkanalen teruggemengd en vervolgens
via de hoofdtelefoon weergegeven.
U kunt het teruggemengde multi-kanaal geluid van de
bron met de hoofdtelefoon beluisteren.
LET OP:
Verlaag beslist het volume:
•Alvorens de hoofdtelefoon aan te sluiten of op te zetten, daar een
hoog volume zowel de hoofdtelefoon als uw gehoor kan
beschadigen.
•Alvorens de hoofdtelefoon te ontkoppelen, daar anders later een
hoog volume via de luidsprekers kan worden uitgestuurd.
Instellen van het uitgangsniveau
van de subwoofer
U kunt het uitgangsniveau van de subwoofer instelen.
Nadat het uitgangsniveau van de subwoofer eenmaal is
ingesteld, wordt de instelling voor iedere bron in het
geheugen vastgelegd.
U kunt het uitgangsniveau met het in-beeldmenu instellen
(zie bladzijde 59).
ALLEEN met de afstandsbediening:
1Druk op SOUND.
2Druk op S.WFR +/– om het uitgangsniveau
van de subwoofer in te stellen (–10 dB t/m
+10 dB).
Tijdelijk dempen van het geluid
ALLEEN met de afstandsbediening:
Druk op MUTING.
“MUTING” wordt op het display getoond en het volume wordt
geheel verlaagd.
Weer herstellen van het geluid
Druk weer op MUTING.
• Het geluid wordt tevens hersteld door een druk op
VOLUME +/–.
Instellen van de helderheid
U kunt de aanduidingen op het display dimmen.
ALLEEN met de afstandsbediening:
Druk op DIMMER.
Door iedere druk op de toets verandert het
helderheidsniveau als volgt.
OFF ] DIMMER 1 ] DIMMER 2 ] (terug naar het begin)
DIMMER 1 :Dimt het display en het blauwe licht aan
beide kanten van het display.
DIMMER 2 :Dimt het display en het blauwe licht aan
beide kanten van het display dooft.
OFF :Het display en het blauwe licht aan beide
kanten van het display lichten op.
NL17-21.TH-A75R[E]f.pm6 5/9/02, 3:14 PM18

19
Nederlands
L
S.WFR
R
Uitschakelen van de stroom met
de inslaaptimer
Met gebruik van de inslaaptimer kunt u in slaap vallen terwijl
u muziek beluistert.
ALLEEN met de afstandsbediening:
Druk op SLEEP.
Door iedere druk op de toets verandert de uitschakeltijd als volgt:
0min (geannuleerd) ] 10min (minuten) ] 20min ]
30min ] 60min ] 90min ] 120min ] 150min ]
(terug naar het begin)
Bijv.: Met “150min” gekozen.
Controleren van de resterende tijd tot de uitschakeltijd
Druk éénmaal op SLEEP.
De resterende tijd tot de uitschakeltijd wordt even op het
display getoond.
Veranderen van de resterende tijd tot de uitschakeltijd
Druk herhaaldelijk op SLEEP veranderen van de
uitschakeltijd
.
• Door iedere druk op de toets verandert de uitschakeltijd.
Annuleren van de inslaaptimer
Druk herhaaldelijk op SLEEP totdat “0min” op het display
wordt getoond.
• De inslaaptimer wordt tevens geannuleerd door het
uitschakelen van de stroom.
OPMERKINGEN:
•Met DVD als bron voor de weergave gekozen, kan dit systeem
tevens automatisch worden uitgeschakeld indien de weergave niet
wordt gestart binnen de door u ingestelde tijd (automatische
standbyfunctie). Zie bladzijde 60.
•Zal de automatische standby worden gebruikt indien de voor de
automatische standby ingestelde tijd eerder wordt bereikt dan de
uitschakeltijd voor de inslaaptimer.
Veranderen van de analoge/
digitale ingangsfunctie en
decodeerfunctie
Bij weergave van een software die met Dolby Digital of DTS
Digital Surround is gecodeerd, kan het volgende voorkomen:
• Er is geen geluid bij het begin van de weergave.
• Er is ruis tijdens het zoeken of overslaan van hoofdstukken
of fragmenten.
U moet de juiste decodeerfunctie kiezen om deze problemen
op te lossen.
ALLEEN met de afstandsbediening:
Druk op DECODE om de digitale ingangsfunctie
te kiezen indien DVD of STB als bron is gekozen.
Door iedere druk op de toets verandert de ingangsfunctie in
de volgende volgorde.
Met DVD als bron gekozen:
AUTO/PCM ] DOLBY D ] DTS ] (terug naar het begin)
Met STB als bron gekozen:
ANALOG ] AUTO/PCM ] DOLBY D ] DTS ]
(terug naar het begin)
• Voor weergave van digitaal geluid, moet u het centrale
toestel en het component via de optische digitale
aansluitingen verbinden.
ANALOG :Kies indien de STB met de AUDIO IN
aansluitingen is verbonden.
Voor digitale verbinding:
AUTO/PCM :Kies normaliter deze stand voor de digitale
ingangsfunctie.
Het systeem herkent automatisch de
binnenkomende signalen.
DOLBY D :Kies bij weergave van een met Dolby Digital of
Dolby Digital EX gecodeerde software.
DTS :Kies bij weergave van een met DTS Digital
Surround of DTS-ES gecodeerde software.
Hieronder ziet u de digitale signaalindicators die op het
display verschijnen en tonen wat voor soort signaal door het
systeem wordt ontvangen (zie tevens bladzijde 34).
LINEAR PCM :Licht op wanneer lineaire PCM signalen
worden ontvangen.
DIGITAL EX :Licht op wanneer Dolby Digital EX
signalen worden ontvangen.
DIGITAL :•Licht op wanneer Dolby Digital
signalen worden ontvangen.
•Knippert indien “DOLBY D” is gekozen
voor software die niet met Dolby Digital
is gecodeerd.
:•Licht op wanneer DTS of DTS-ES
signalen worden ontvangen.
•Knippert indien “DTS” is gekozen voor
software die niet met DTS is gecodeerd.
OPMERKINGEN voor de digitale ingangsfunctie:
•Indien het binnenkomende signaal niet kan worden herkend met
“AUTO/PCM” gekozen, zal geen digitale signaalindicator op het
display oplichten.
•De ingangsfunctie wordt automatisch naar “AUTO/PCM” gesteld
wanneer u het systeem uitschakelt of van bron verandert.
Vastleggen van basisinstellingen
—
Automatisch geheugen
Dit systeem legt de geluidsinstelling voor iedere bron vast:
• Wanneer u de stroom uitschakelt, en
• Wanneer u van bron verandert.
Het volgende kan worden vastgelegd:
• De instelling voor de voorluidsprekers—balans, lage en
hoge tonen (zie bladzijden 30 en 58)
• Versterking van het lage frequentie-effect (zie bladzijden 30
en 58)
• Subwoofer audiopositie (zie bladzijde 30)
• Uitgangsniveau van luidsprekers en subwoofer
(zie bladzijden 18, 36 en 59)*
• Instelling voor Bass Boost (zie bladzijde 30)*
• Keuzes surround en DSP-functies (zie bladzijde 35)*
• DSP-effectniveau (zie bladzijde 36)*
OPMERKING:
De met “
*
” gemarkeerde onderdelen kunnen voor iedere bron, met
inbegrip van FM en AM (MW), afzonderlijk worden ingesteld.
NL17-21.TH-A75R[E]f.pm6 5/9/02, 3:14 PM19

20
Nederlands
Basisbediening voor DVD-speler
Goed
Fout
CHANNEL/ZOOM
VOLUMETV VOL
TUNING
STOP
DIMMER
PAUSE
FF/
/REW
TV/VIDEO
1
MUTING
¡
REC
PLAY
DOWN UP
MEMORY STROBE
VFP
CONTROL
EFFECT
S.WFR TEST
SLEEP
TV
VCR
SETTING
TV RETURN
ENTER
ON
SCREEN
CHOICE
FM MODE
123
456
789
10 0+10
100+
SOUND
PTY SEARCH
DVD
RDS
TA/NEWS/INFO
PTY(PTY9
RDS DISPLAY
SURROUND OFF
DSP
CENTER
–
+
–
+
–
+
–
+
SURR-L SURR-R
S-BACK
–
+
ADJUST
O.T.
REPLAY
STANDBY
COMPACT
SUPER VIDEO
DIGITAL•EX
PRO LOGIC
Druk de
afstandsbediening-
functieschakelaar
naar “DVD”.
Zie bladzijden 37 t/m 49 voor details aangaande de
bediening van de DVD-speler.
Zie bladzijden 50 en 51 voor MP3 weergave. Zie bladzijden
52 en 53 voor JPEG weergave.
•Druk alvorens gebruik van de afstandsbediening op
DVD om de afstandsbedieningsfunctie te veranderen.
• Schakel uw TV in en kies de juiste ingangsfunctie met de
TV alvorens het systeem in te schakelen.
1Druk op 0 van het centrale toestel.
Het systeem wordt ingeschakeld en de disclade opent.
Het STANDBY lampje dooft.
• Zie bladzijde 41 voor het veranderen van de taal van de
ondertitels of het geluid.
2Plaats de disc in de disclade met de kant
met het label boven.
3Starten van de weergave.
Met de afstandsbediening: Druk op PLAY.
Met het centrale toestel: Druk op 3.
De disclade sluit en het toestel start de weergave van de
geplaatste disc.
• U kunt de disclade ook sluiten door een druk op 0 van
het centrale toestel.
4Instellen van het volume.
• Zie bladzijde 18 voor details.
5
Activeer de gewenste surround of DSP-functie.
ALLEEN met de afstandsbediening:
Druk op SURROUND of DSP.
• Zie bladzijde 35 voor details.
Stoppen van de weergave
Met de afstandsbediening: Druk op STOP.
Met het centrale toestel: Druk op 7.
Uitwerpen van de geplaatste disc
Druk op 0van het centrale toestel.
Pauzeren van de weergave
Met de afstandsbediening: Druk op PAUSE.
Met het centrale toestel: Druk op 8.
• Door een druk op PLAY of 3 van het centrale toestel wordt
de weergave weer gestart.
Weergave 10 seconden terugzetten (alleen met DVD)
—one-touch replay
ALLEEN met de afstandsbediening: Druk op O.T. REPLAY.
Het beeld van de voorgaande 10-seconden wordt opnieuw
getoond.
OPMERKINGEN:
•One-touch replay werkt tussen hoofdstukken van dezelfde titel.
•One-touch replay werkt mogelijk niet met bepaalde DVD’s.
Weergave in versnelde voorwaartse (of achterwaartse) richting
Met de afstandsbediening: Druk op ¡ (of 1).
Door iedere druk op de toets verandert de snelheid voor
weergave in voorwaartse (of achterwaartse) richting als volgt:
x2
]
x5
]
x10
]
x20
]
x60
*
(of
x2
]
x5
]
x10
]
x20
]
x60
*)
*
x60
en
x60
is
uitsluitend beschikbaar
voor een DVD.
• De normale weergave wordt hervat door een druk op PLAY.
Met het centrale toestel: Houd ¢ (of 4) ingedrukt.
Indien u de toets ingedrukt houdt, verandert de snelheid voor
weergave in voorwaartse (of achterwaartse) richting als volgt:
x5
]
x20
(of
x5
]
x20
)
• De normale weergave wordt hervat wanneer u ¢ (of 4)
loslaat.
OPMERKINGEN:
•Een DVD, VCD of SVCD hoort u geen geluid tijdens versnelde
weergave in voorwaartse (of achterwaartse) richting.
•Deze functie werkt mogelijk niet met bepaalde DVD’s.
Opzoeken van het begin van een gewenst hoofdstuk of fragment
Hoofdstuk van DVD : Tijdens weergave
Fragment van VCD/SVCD : Tijdens weergave met de
PBC-functie geannuleerd of
wanneer gestopt
Fragment van Audio CD : Tijdens weergave of wanneer
gestopt
Met de afstandsbediening: Druk op FF/¢ (of 4/REW).
Met het centrale toestel: Druk op ¢ (of 4).
OPMERKING:
Deze functie werkt mogelijk niet met bepaalde DVD’s.
NL17-21.TH-A75R[E]f.pm6 5/9/02, 3:14 PM20

21
Nederlands
L
S.WFR
LS RS
CR
LFE
DIGITAL
SURROUND
LINEAR PCM L
S.WFR
R
Kiezen van een bepaalde titel, hoofdstuk of fragment met
de cijfertoetsen
Titel van DVD : Wanneer gestopt
Hoofdstuk van DVD : Tijdens weergave
Fragment van VCD/SVCD : Tijdens weergave met de
PBC-functie geannuleerd of
wanneer gestopt
Fragment van Audio CD : Tijdens weergave of wanneer
gestopt
ALLEEN met de afstandsbediening: Druk op de cijfertoetsen.
• Voor het kiezen van 3, drukt u op 3.
• Voor het kiezen van 14, drukt u op +10 en dan op 4.
• Voor het kiezen van 24, drukt u op +10, +10 en dan op 4.
• Voor het kiezen van 40, drukt u op +10, +10, +10 en dan
op 10.
De weergave van de gekozen titel, het hoofdstuk of
fragmentnummer start.
OPMERKING:
De cijfertoetsen kunnen ook worden gebruikt voor het kiezen van
onderdelen van het menu van een DVD of VCD/SVCD met de
PBC-functie.
Meer over de aanduidingen op het display
Bij weergave van een disc wordt de volgende informatie
op het display getoond.
Bijv.: Met weergave van een DVD
Hoofdstuknummer Verstreken weergavetijd
Surround/DSP-functie Huidige geactiveerde
luidsprekers en
binnenkomend signaal.**
Bijv.: Met weergave van een Audio CD
Disctype Verstreken weergavetijd*
Surround/
DSP-functie
Fragment-
nummer Huidige geactiveerde
luidsprekers en
binnenkomend signaal.**
OPMERKINGEN:
•U kunt de functie voor de tijdinformatie veranderen. Zie
bladzijde 38.
•Het huidige disctype verschijnt als volgt:
– “VCD”: toont dat een VCD of SVCD is geplaatst.
– “CD”: toont dat een Audio CD is geplaatst.
*
Bij weergave van een VCD of SVCD met de PBC-functie,
verschijnt de tijdinformatie niet maar wordt wel “PBC” getoond.
**
Zie bladzijde 34 voor details.
Functie voor hervatten van de weergave (zie bladzijde 60):
Indien u de stroom uitschakelt tijdens weergave van een
disc, het stoppunt van de weergave worden vastgelegd.
De RESUME indicator licht op het display op wanneer de
functie voor het voortzetten van de weergave is geactiveerd.
Druk op DVD of PLAY van de afstandsbediening om de
weergave vanaf het vastgelegde punt voort te zetten.
• De functie voor weergavevoortzetting werkt niet voor Audio
CD’s.
Voorkomen van “doorbranden” scherm—screen-saver
functie
Het TV-scherm kan doorbranden indien langdurig een
stilbeeld wordt getoond. Om dit te voorkomen, dimt het
systeem automatisch het scherm indien er langer dan 5
minuten een stilbeeld wordt getoond—screen saver functie.
• De screen-saver wordt geannuleerd zodra u op een toets
drukt.
• Zie bladzijde 57 indien u de screen-saver niet wilt
gebruiken.
NL17-21.TH-A75R[E]f.pm6 5/9/02, 3:14 PM21

22
Nederlands
Tunerbediening
L
S.WFR
R
TUNED
L
S.WFR
R
TUNED
CHANNEL/ZOOM
VOLUMETV VOL
TUNING
STOP
DIMMER
PAUSE
FF/
/REW
TV/VIDEO
1
MUTING
¡
REC
PLAY
DOWN UP
MEMORY STROBE
DVD
VCR 1
AUDIO
VIDEO/
TV SOUND
ANGLE
FM/AM
SUBTITLE DECODE
RETURN DIGEST
VFP
TOP MENU MENU
CONTROL
EFFECT
S.WFR TEST
SLEEP
TV
VCR
SETTING
TV RETURN
ENTER
ON
SCREEN
CHOICE
FM MODE
123
456
789
10 0+10
100+
VCR
SOUND
PTY SEARCH
DVD
RDS
TA/NEWS/INFO
PTY(PTY9
RDS DISPLAY
SURROUND OFF
DSP
CENTER
–
+
–
+
–
+
–
+
SURR-L SURR-R
S-BACK
–
+
ADJUST
O.T.
REPLAY
L
S.WFR
R
TUNED ST AUTO MUTING
L
S.WFR
R
TUNED ST AUTO MUTING
CHANNEL/ZOOM
VOLUMETV VOL
TUNING
FF/
/REW
TV/VIDEO
1
MUTING
¡
PLAY
DOWN UP
DVD
VCR 1
AUDIO
VIDEO/
TV SOUND
ANGLE
FM/AM
SUBTITLE DECODE
RETURN DIGEST
VFP
TOP MENU MENU
CONTROL
EFFECT
S.WFR TEST
SLEEP
TV
VCR
SETTING
TV RETURN
ENTER
ON
SCREEN
CHOICE
FM MODE
123
456
789
10 0+10
100+
VCR
SOUND
PTY SEARCH
DVD
RDS
TA/NEWS/INFO
PTY(PTY9
RDS DISPLAY
SURROUND OFF
DSP
CENTER
–
+
–
+
–
+
–
+
SURR-L SURR-R
S-BACK –
+
ADJUST
Druk de
afstandsbediening-
functieschakelaar
naar “DVD”.
Druk de
afstandsbediening-
functieschakelaar
naar “DVD”.
U kunt alle zenders doorlopen of de voorkeurzenderfunctie
gebruiken om direct naar een bepaalde zender te gaan.
• Druk op FM/AM om de afstandsbediening voor disc-
bediening in te stellen alvorens de afstandsbediening te
gebruiken.
Handmatig afstemmen op
zenders
ALLEEN met de afstandsbediening:
1Druk herhaaldelijk op FM/AM om de
golfband te kiezen.
Door iedere druk op de toets wordt afwisselend de FM en
AM (MW) golfband ingesteld.
De aanduiding van de gekozen golfband verschijnt op
het displayvenster en er wordt op de laatst ontvangen
zender afgestemd.
Bijv.: Met AM gekozen
2Druk herhaaldelijk op TUNING UP of
DOWN totdat de gewenste frequentie is
gevonden.
•TUNING UP :Voor het verhogen van de
frequentie.
•TUNING DOWN :Voor het verlagen van de
frequentie.
Indien u de toets ingedrukt houdt en vervolgens loslaat,
zoekt het systeem naar zenders en stopt zodra een
zender is gevonden die sterk genoeg is.
1Stem op de zender af die u als
voorkeurzender wilt vastleggen (zie
“Handmatig afstemmen op zenders”).
• Indien u tevens de FM-ontvangstfunctie voor een
FM-zender wilt vastleggen, moet u de gewenste
FM-ontvangstfunctie kiezen. Zie “Kiezen van de
FM-ontvangstfunctie” op bladzijde 23.
2Druk op MEMORY.
De positie voor het voorkeurzendernummer knippert
ongeveer 5 seconden op het display.
Gebruik van voorkeurzenders
Nadat een zender eenmaal als voorkeurzender voor een
kanaalnummer is vastgelegd, kunt u snel op de zender
afstemmen. U kunt maximaal 30 FM en 15 AM (MW) zenders
als voorkeurzenders vastleggen.
7Vastleggen van de voorkeurzenders
Voordat u start, vergeet niet...
De volgende stappen moeten binnen een bepaalde tijd worden
uitgevoerd. Start opnieuw vanaf stap 2 indien de instelling werd
geannuleerd voordat u klaar bent.
ALLEEN met de afstandsbediening:
OPMERKINGEN:
•De TUNED indicator licht op het displayvenster op wanneer op een
zender met voldoende sterke signalen is afgestemd.
•De ST indicator licht tevens op wanneer een stereo
FM-programma wordt ontvangen.
NL22-27.TH-A75R[E]f.pm6 5/9/02, 5:10 PM22

23
Nederlands
L
S.WFR
R
CH
TUNED ST AUTO MUTING
VFP
SLEEP
SETTING
TV RETURN
ENTER
ON
SCREEN
CHOICE
FM MODE
789
10
0
+10
100+
PTY SEARCH
DVD
RDS
TA/NEWS/INFO
PTY(PTY9
RDS DISPLAY
–
+
–
+
SURR-L SURR-R
S-BACK
–
+
ADJUST
Druk tijdens het luisteren naar een FM-zender
op FM MODE.
De FM-ontvangstfunctie wordt nu op het display getoond.
Door iedere druk op de toets wordt de FM-ontvangstfunctie
afwisselend op “AUTO MUTING” en “MONO” gesteld.
•AUTO MUTING:
Indien een programma stereo wordt uitgezonden, hoort u
stereogeluid.
Indien het programma mono is, hoort u monogeluid. Deze
functie is tevens handig voor het onderdrukken van
statische ruis tussen zenders. De AUTO MUTING indicator
licht op het display op.
•MONO:
De ontvangst wordt verbeterd maar het stereo-effect gaat
verloren. Met deze functie hoort u ruis totdat u op een
zender heeft afgestemd. (De AUTO MUTING indicator
dooft tevens). De ST indicator dooft van het display.
Onderdrukken van ruis bij een
AM (MW) uitzending
U kunt de dreunannuleerfunctie activeren indien u tijdens het
luisteren naar een AM (MW) zender veel ruis of interferentie
hoort om de ruis te verminderen.
ALLEEN met de afstandsbediening:
VFP
SLEEP
SETTING
TV RETURN
ENTER
ON
SCREEN
CHOICE
FM MODE
789
10
0
+10
100+
PTY SEARCH
DVD
RDS
TA/NEWS/INFO
PTY(PTY9
RDS DISPLAY
–
+
–
+
SURR-L SURR-R
S-BACK
–
+
ADJUST
Druk de
afstandsbediening-
functieschakelaar
naar “DVD”.
Druk de
afstandsbediening-
functieschakelaar
naar “DVD”.
3Druk op de cijfertoetsen (1–10, +10) om
een voorkeurzendernummer te kiezen
terwijl de positie hiervoor nog knippert.
Het zendernummer en de CH indicator beginnen te
knipperen.
Bijv.:
• Voor voorkeurzendernummer 3, drukt u op 3.
• Voor voorkeurzendernummer 14, drukt u op +10 en dan
op 4.
(Aleen voor FM-zenders)
• Voor voorkeurzendernummer 24, drukt u op +10, +10,
en dan op 4.
• Voor voorkeurzendernummer 30, drukt u op +10, +10,
en dan op 10.
4Druk nogmaals op MEMORY terwijl het
gekozen nummer op het display knippert.
Het gekozen nummer stopt nu te knipperen.
De zender is nu onder dit gekozen voorkeurzendernummer
vastgelegd.
5Herhaal stappen 1 t/m 4 voor het
vastleggen van andere voorkeurzenders.
Wissen van een vastgelegde voorkeurzender
Door een nieuwe zender op een voorkeurzendernummer vast
te leggen, wordt de hiervoor vastgelegde zender gewist.
7Afstemmen op een voorkeurzender
ALLEEN met de afstandsbediening:
1Druk herhaaldelijk op FM/AM om de
golfband te kiezen.
Door iedere druk op de toets wordt afwisselend de
FM-golfband en AM (MW)-golfband ingesteld.
2Druk op de cijfertoetsen (1–10, +10) om het
nummer van de gewenste voorkeurzender
te kiezen.
Bijv.:
• Voor voorkeurzendernummer 3, drukt u op 3.
• Voor voorkeurzendernummer 14, drukt u op +10 en dan
op 4.
(Aleen voor FM-zenders)
• Voor voorkeurzendernummer 24, drukt u op +10, +10
en dan op 4.
• Voor voorkeurzendernummer 30, drukt u op +10, +10
en dan op 10.
Kiezen van de FM-ontvangstfunctie
Indien het stereo FM-programma dat u beluistert veel ruis
bevat, kunt u de FM-ontvangstfunctie veranderen voor een
betere ontvangst van het programma.
• U kunt de FM-ontvangstfunctie voor iedere voorkeurzender
vastleggen. Zie “Gebruik van voorkeurzenders” op
bladzijde 22.
Druk tijdens het luisteren naar een AM (MW)
zender op FM MODE.
De huidige dreunannuleerfunctie wordt op het displayvenster
getoond.
Door iedere druk op de toets wordt de dreunannuleerfunctie
afwisselend op “BEAT CUT 1” en “BEAT CUT 2” gesteld.
• Kies “BEAT CUT 1” of “BEAT CUT 2” al naar gelang bij
welke het geluid het helderst klinkt.
ALLEEN met de afstandsbediening:
NL22-27.TH-A75R[E]f.pm6 5/9/02, 3:14 PM23

24
Nederlands
L
S.WFR
R
TUNED ST AUTO MUTING RDS
CHANNEL/ZOOM
VOLUMETV VOL
VFP
TV RETURN
ENTER
ON
SCREEN
CHOICE
FM MODE
10 0+10
100+
PTY SEARCH
DVD
RDS
TA/NEWS/INFO
PTY(PTY9
RDS DISPLAY
ADJUST
Tunerbediening
Druk de
afstandsbediening-
functieschakelaar
naar “RDS”.
7Wat voor een informatie leveren
RDS-signalen?
U kunt op het display zien welke RDS-signalen door de
zender worden uitgestuurd.
Tonen van de RDS-signalen
ALLEEN met de afstandsbediening:
Druk tijdens het luisteren naar een
FM-zender op RDS DISPLAY.
Door iedere druk op de toets verandert de aanduiding op het
displayvenster en toont u de volgende informatie:
PS ] PTY ] RT ] Frequentie (normale aanduiding) ]
(terug naar het begin)
•PS (Program Service):
Tijdens het zoeken verschijnt “PS” en worden de
zendernamen getoond. “NO PS” zal verschijnen indien er
geen signaal wordt ontvangen.
•PTY (Program Type):
Tijdens het zoeken verschijnt “PTY” en vervolgens het type
van het programma dat wordt uitgezonden. “NO PTY” zal
verschijnen indien er geen signaal wordt ontvangen.
•RT (Radio Text):
Tijdens het zoeken verschijnt “RT” en wordt de
tekstmededeling getoond die door de zender wordt
uitgezonden. “NO RT” zal verschijnen indien er geen
signaal wordt ontvangen.
•Frequentie:
De zenderfrequentie (geen RDS-service).
Meer over de tekens die op het displayvenster worden
getoond
Bepaalde speciale tekens en markeringen worden mogelijk
niet juist op het display getoond wanneer PS, PTY of RT
gegevens op het displayvenster verschijnen.
OPMERKING:
Indien het zoeken direct stopt, zullen “PS”, “PTY” en “RT” niet op het
displayvenster verschijnen.
RDS indicator
Gebruik van RDS (Radio Data
System) voor ontvangst van
FM-zenders
Met gebruik van RDS sturen FM-zenders extra signalen
samen met de normale programmasignalen uit. De zenders
sturen bijvoorbeeld de zendernaam en tevens informatie over
het type programma dat ze uitzenden, bijvoorbeeld sport of
muziek.
De RDS indicator licht op het display op wanneer u op een
FM-zender heeft afgestemd die tevens RDS-signalen levert.
Met dit toestel kunt u de volgende RDS-signalen ontvangen:
•PS (Program Service) :Toont de algemeen bekende
zendernamen.
•PTY (Program Type) :Toont het programmatype.
•RT (Radio Text) :Toont tekstmededelingen die
de zender uitzendt.
•Enhanced Other Networks:Zie bladzijde 26.
OPMERKINGEN:
•RDS is niet beschikbaar voor AM (MW) uitzendingen.
•RDS werkt mogelijk niet juist indien de zender waarop is afgestemd
de RDS-signalen niet juist uitzendt of de signalen te zwak zijn.
NL22-27.TH-A75R[E]f.pm6 5/9/02, 3:14 PM24

25
Nederlands
Travel
Affairs
Rock M
(Rockmuziek)
Religion Easy M
(Easy Listening muziek)
Children Classics
Finance
Weather
Other M
(Andersoortige muziek)
Social
Phone In
Light M
(Lichte muziek)
Info
(Informatief)
Sport
Educate
(Educatief)
Folk M
(Volksmuziek)
Oldies
Drama
Nation M
(Nationale muziek)
Culture
Jazz
Varied
Pop M
(Popmuziek)
Country
Science
Leisure
Alarm !
TEST
Document
None
News
VFP
SLEEP
SETTING
TV RETURN
ENTER
ON
SCREEN
CHOICE
FM MODE
789
10
0
+10
100+
PTY SEARCH
DVD
RDS
TA/NEWS/INFO
PTY(PTY9
RDS DISPLAY
–
+
–
+
SURR-L SURR-R
S-BACK
–
+
ADJUST
Druk de
afstandsbediening-
functieschakelaar
naar “RDS”.
Opzoeken van een programma
met PTY-codes
Een voordeel van RDS is dat u eenvoudig en snel een
bepaald soort programma kunt opzoeken dat door een van
de voorkeurzenders (zie bladzijde 26) wordt uitgezonden
door de overeenkomende PTY-code in te voeren.
Zoeken van een programma met gebruik van
de PTY-codes
Voordat u start, vergeet niet...
•Het zoeken met PTY-codes werkt uitsluitend voor de
voorkeurzenders.
•Druk tijdens het zoeken op PTY SEARCH om het zoeken voortijdig
te stoppen.
•De volgende stappen moeten binnen een bepaalde tijd worden
uitgevoerd. Start opnieuw vanaf stap 1 indien de instelling werd
geannuleerd voordat u klaar bent.
ALLEEN met de afstandsbediening:
1Druk tijdens het luisteren naar een
FM-zender op PTY SEARCH.
“PTY SELECT” knippert op het display.
2Druk terwijl “PTY SELECT” knippert op
PTY 9 of PTY ( totdat de gewenste
PTY-code op het display verschijnt.
• Zie “Beschrijving van PTY-codes” op bladzijde 26 voor
details.
3Druk nogmaals op PTY SEARCH terwijl de
in de vorige stap gekozen PTY-code nog
steeds op het display wordt getoond.
Tijdens het zoeken worden “SEARCH” en de gekozen
PTY-code afwisselend op het dispaly getoond.
Het toestel zoekt de 30 FM-voorkeurzenders af en stopt
zodra een zender is gevonden die een programma van
het gekozen type uitzendt.
Nadat een zender is gevonden verder zoeken
Druk nogmaals op PTY SEARCH terwijl de aanduidingen nog
op het display knipperen.
• “NOT FOUND” wordt getoond indien er geen geschikt
programma is gevonden.
PTY-codes
NL22-27.TH-A75R[E]f.pm6 5/9/02, 3:14 PM25

26
Nederlands
L
S.WFR
R
CH
TUNED ST AUTO MUTING RDS TA NEWS INFO
Tunerbediening
CHANNEL/ZOOM
VOLUMETV VOL
VFP
SETTING
TV RETURN
ENTER
ON
SCREEN
CHOICE
FM MODE
10
0
+10
100+
PTY SEARCH
DVD
RDS
TA/NEWS/INFO
PTY(PTY9
RDS DISPLAY
– – –
ADJUST
Druk de
afstandsbediening-
functieschakelaar
naar “RDS”.
Beschrijving van PTY-codes:
News: Nieuws.
Affairs: Programma’s met een thema waarin dieper
op het nieuws wordt ingegaan—debat of
analyse.
Info: Programma’s die in een brede zin meer
informatie en advies geven.
Sport: Programma’s over sport en sportwedstrijden.
Educate: Educatieve programma’s.
Drama: Radiohoorspelen en series.
Culture: Programma’s over nationale of regionale
cultuur, met inbegrip van taal, theater, enz.
Science: Programma’s over natuurwetenschappen en
techniek.
Varied: Voornamelijk praat-programma’s,
bijvoorbeeld quizzen, spelletjes en
interviews met beroemdheden.
Pop M: Commerciële, hedendaagse muziek.
Rock M: Rockmuziek.
Easy M: Huidige muziek die ookwel “easy listening”
wordt genoemd.
Light M: Lichte instrumentale muziek, zang of
koormuziek.
Classics: Uitvoeringen van orkesten, symfonieën,
kamermuziek, enz.
Other M: Muziek die niet bij een van de andere
categorieën hoort.
Weather: Weerberichten.
Finance: Verslagen van de beurs, handel en
commercie.
Children: Programma’s voor kinderen.
Social: Programma’s over sociologie, geschiedenis,
geografie, psychologie en sociale
vraagstukken.
Religion: Religieuze programma’s.
Phone In: Luisteraars die hun mening via de telefoon
of forums duidelijk maken.
Travel: Reisinformatie.
Leisure: Programma’s over recreatie en activiteiten.
Jazz: Jazzmuziek.
Country: Programma’s met muziek van oorspronkelijk
het zuiden van Amerika.
Nation M: Huidige populaire, nationale of regionale
muziek in de taal van het land.
Oldies: Muziek uit de “golden age”, oftewel “gouwe
ouwe”.
Folk M: Muziek die uit een bepaalde cultuur komt.
Document: Programma’s die dieper op gebeurtenissen
ingaan of bepaalde feiten verder
onderzoeken.
TEST: Uitzendingen voor het testen van
noodberichten of het toestel.
Alarm !: Noodberichten.
De inhoud van programma’s met een bepaalde PTY-
code kan met sommige FM-zenders afwijken van de
hierboven gegeven beschrijving.
Tijdelijk overschakelen naar een
gewenst programma
Een andere handige functie met RDS is het zogenaamde
“Enhanced Other Networks”.
Met deze functie kunt u tijdelijk naar een ander gewenste
programma (verkeersinformatie (TA), nieuws (NEWS) en/of
informatie (INFO)) van een andere zender overschakelen
tijdens het luisteren naar een FM RDS-zender, uitgezonderd
in de volgende gevallen:
• Indien u naar een niet-RDS-zender luistert (alle AM—MW-
zenders, bepaalde FM-zenders en andere bronnen).
• Indien het systeem in de standbyfunctie is geschakeld.
Voordat u start, vergeet niet...
De Enhanced Other Networks functie kan uitsluitend voor
voorkeurzenders worden gebruikt.
Druk herhaaldelijk op TA/NEWS/INFO totdat
de indicator van het gewenste programmatype
(TA/NEWS/INFO) op het display wordt
getoond.
RDS indicator Programmatype-
indicator
• Door iedere druk op de toets verandert de indicator op het
display en toont u het volgende:
TA ] NEWS ] INFO ] TA/NEWS ] TA/INFO ]
NEWS/INFO ] TA/NEWS/INFO ] Geen ]
(terug naar het begin)
•TA :Verkeersinformatie in uw gebied.
•NEWS :Nieuws.
•INFO :Programma’s die u advies in de breedste zin van
het woord geven.
De RDS indicator licht tevens op het display op wanneer u de
programma’s hierboven kiest.
NL22-27.TH-A75R[E]f.pm6 5/9/02, 3:14 PM26

27
Nederlands
Werking van de Enhanced Other Networks
functie:
GEVAL 1
Indien er geen zender is die het door u gekozen
programma uitzendt
Het systeem blijft op de ingestelde zender afgestemd.
«
Indien een zender het door u gekozen programma start uit
te zenden, schakelt het systeem automatisch over naar
deze zender. De indicator van de gekozen PTY-code start
te knipperen.
«
Na het programma, schakelt het systeem weer terug naar
de zender waarop hiervoor was afgestemd. De Enhanced
Other Networks functie blijft echter geactiveerd.
GEVAL 2
Indien de FM-zender die u beluistert het door u
gekozen programma uitzendt
Het systeem blijft deze zender ontvangen, maar de
indicator van de ontvangen PTY-code start te knipperen.
«
Na het programma stopt de indicator van de ontvangen
PTY-code te knipperen en blijft opgelicht, maar de
Enhanced Other Network functie blijft echter geactiveerd.
Stoppen van het programma dat door Enhanced Other
Networks werd gekozen.
Druk herhaaldelijk op TA/NEWS/INFO zodat de indicator
(TA/NEWS/INFO) van het display dooft. De Enhanced Other
Networks wordt nu uitgeschakeld en er wordt weer naar de
hiervoor ingestelde zender terug geschakeld.
Indien een noodbericht (Alarm !) door een FM-zender
wordt uitgezonden.
Het systeem stemt automatisch op deze zender af,
uitgezonderd in de volgende gevallen:
• Indien u naar een niet-RDS-zender luistert (alle AM—MW-
zenders, bepaalde FM-zenders en andere bronnen).
• Indien het systeem in de standbyfunctie is geschakeld.
Tijdens ontvangst van een noodbericht wordt “Alarm !” op het
display getoond.
Het TEST signaal wordt voor het testen van het toestel
gebruikt—of u wel of niet het Alarm ! signaal goed kunt
ontvangen.
Het toestel dient met het TEST signaal hetzelfde te
functioneren als met het Alarm ! signaal. Bij ontvangst van
een TEST signaal schakelt het systeem automatisch over
naar de zender die het TEST signaal uitzendt.
Tijdens ontvangst van het TEST signaal wordt “TEST” op het
display getoond.
OPMERKINGEN:
•Tijdens de Enhanced Other Networks standbyfunctie wordt door
het veranderen van weergavebron de Enhanced Other Networks
standbyfunctie tijdelijk uitgeschakeld.
Indien u weer naar FM voor de bron schakelt, wordt de Enhanced
Other Networks standbyfunctie weer door het systeem geactiveerd.
•Enhanced Other Networks data van bepaalde zenders zijn mogelijk
niet bruikbaar met dit systeem.
•Enhanced Other Networks werkt niet met sommige FM-zenders die
RDS gebruiken.
•Tijdens het luisteren naar een programma dat met Enhanced Other
Networks werd ingesteld, wordt niet van zender veranderd, ookal
start een zender van een ander netwerk een programma met
dezelfde Enhanced Other Networks informatie.
•Tijdens het luisteren naar een programma dat met Enhanced Other
Networks werd ingesteld, kunt u uitsluitend de TA/NEWS/INFO en
RDS DISPLAY toetsen voor bediening van de tuner gebruiken.
NL22-27.TH-A75R[E]f.pm6 5/9/02, 3:14 PM27

28
Nederlands
Basisinstellingen
L
S.WFR
R
VFP
SETTING
TV RETURN
ENTER
ON
SCREEN
CHOICE
FM MODE
10 0+10
100+
PTY SEARCH
DVD
RDS
TA/NEWS/INFO
PTY(PTY9
RDS DISPLAY
–
+
–
+
SURR-L SURR-R
S-BACK –
+
ADJUST
Druk de
afstandsbediening-
functieschakelaar
naar “DVD”.
Sommige van de volgende beschreven instellingen moeten
na het aansluiten en plaatsen van uw luidsprekers worden
gemaakt, terwijl andere instellingen kunnen worden gemaakt
voor een eenvoudigere bediening.
• U kunt tevens de volgende luidsprekerinstellingen maken
met het keuzemenu, uitgezonderd “EX/ES” en “PHASE”
(zie bladzijden 59 en 60).
Bediening
Voordat u start, vergeet niet...
De volgende stappen moeten binnen een bepaalde tijd worden
uitgevoerd. Start opnieuw vanaf stap 1 indien de instelling werd
geannuleerd voordat u klaar bent.
ALLEEN met de afstandsbediening:
1Druk éénmaal op SETTING/ADJUST.
“SETTING” verschijnt op het display.
• Door iedere druk op SETTING/ADJUST verandert de
functie voor de toets als volgt.
SETTING \ADJUST \Huidige bron \
(terug naar het begin)
2
Druk herhaaldelijk op Cursor
∞/5
om het in
te stellen onderdeel te kiezen terwijl
“SETTING” nog op het display wordt getoond.
• Door iedere druk op de toets veranderen de op het
display getoonde onderdelen als volgt:
FRNT SP “CNTR SP“SURR SP“BACK SP “
EX/ES “FRNT D “CNTR D “SURR D “
BACK D “CROSS “PHASE “
(terug naar het begin)
Bjiv.: “FRNT SP” was gekozen.
3
Druk herhaaldelijk op Cursor 3/2 om de
juiste instelling voor het onderdeel te kiezen.
Uw instelling wordt nu vastgelegd.
Instellen van de formaat van de
luidsprekers
—FRNT SP (voorluidspreker), CNTR SP
(middenluidspreker), SURR SP (surroundluidspreker),
BACK SP (surround-achterluidspreker)
Kies het formaat voor ieder luidspreker.
LARGE
:Kies wanneer de conus-luidspreker groter dan 12 cm is.
SMALL :
Kies wanneer de conus-luidspreker kleiner dan 12 cm is.
NO :(Alleen voor “BACK SP”) Kies indien u deze
luidspreker niet heeft aangesloten.
LET OP:
Bij gebruik van de bijgeleverde luidsprekers moet u “SMALL”
voor iedere luidspreker kiezen. De bijgeleverde luidsprekers
worden mogelijk beschadigd wanneer u “LARGE” kiest.
OPMERKINGEN:
•Indien u “SMALL” voor de voorluidsprekers heeft gekozen, kunt u
niet “LARGE” voor de midden, surround en surround-
achterluidsprekers kiezen.
•Indien u “SMALL” voor de surroundluidsprekers heeft gekozen, kunt
u niet “LARGE” voor de surround-achterluidspreker kiezen.
Instellen van kanaalnummer
voor reproduceren van multi-
kanaal digitale software—EX/ES
U kunt 5,1-kanaal reproductie of 6,1-kanaal reproductie
kiezen voor weergave van multi-kanaal (meer dan 5,1-kanaal)
digitale software met de instelling voor de surround-
achterluidsprekers op “LARGE” of “SMALL” gesteld (zie hier
links). “AUTO” is de basisinstelling.
Kies een van de volgende instellingen.
AUTO :Kies voor het reproduceren van het oorspronkelijk
opgenomen signaal.
• Bij weergave van Dolby Digital EX software (voorzien
van de markering), wordt “DOLBY D EX (Dolby
Digital EX)” geactiveerd met gebruik van de surround-
achterluidspreker.
• Bij weergave van Dolby Digital 5,1-kanaal software,
wordt “DOLBY D (Dolby Digital)” geactiveerd zonder
gebruik van de surround-achterluidspreker.
• Bij weergave van DTS-ES Discrete software (voorzien
van de markering), wordt “ES DSCRETE (DTS-
ES Discrete)” geactiveerd met gebruik van de
surround-achterluidspreker.
• Bij weergave van DTS-ES Matrix software (voorzien van
de markering), wordt “ES MATRIX (DTS-ES
Matrix)” geactiveerd met gebruik van de surround-
achterluidspreker.
•
Bij weergave van DTS Digital Surround 5,1-kanaal
software, wordt “DTS (DTS Digital Surround)” geactiveerd
zonder gebruik van de surround-achterluidspreker.
ON :Kies voor het activeren van 6,1-kanaal reproductie
met gebruik van de surround-achterluidspreker.
• Bij weergave van Dolby Digital EX software, wordt
“DOLBY D EX (Dolby Digital EX)” geactiveerd met
gebruik van de surround-achterluidspreker.
• Bij weergave van Dolby Digital 5,1-kanaal software,
wordt “DOLBY D EX (Dolby Digital EX)” geactiveerd
met gebruik van de surround-achterluidspreker. Het
surround-achterkanaal wordt van het surroundsignaal
gereproduceerd.
• Bij weergave van DTS-ES Discrete software, wordt
“ES DSCRETE (DTS-ES Discrete)” geactiveerd met
gebruik van de surround-achterluidspreker.
• Bij weergave van DTS-ES Matrix software, wordt
“ES MATRIX (DTS-ES Matrix)” geactiveerd met gebruik
van de surround-achterluidspreker.
•
Bij weergave van DTS Digital Surround 5,1-kanaal software,
wordt “DTS + NEO:6” geactiveerd met gebruik van de
surround-achterluidspreker. Het surround-achterkanaal
wordt van het surroundsignaal gereproduceerd.
OFF :Kies voor het activeren van 5,1-kanaal reproductie
zonder gebruik van de surround-achterluidspreker.
• Bij weergave van Dolby Digital EX software of DTS-ES
software worden de surroundachtersignalen gemengd
met de surroundsignalen via de surroundluidsprekers
weergegeven.
• Bij weergave van Dolby Digital of DTS Digital Surround
5,1-kanaal software, wordt het conventionele “DOLBY D
(Dolby Digital)” of “DTS (DTS Digital Surround)”
geactiveerd.
NL28-30.TH-A75R[E]f.pm6 5/9/02, 5:15 PM28

29
Nederlands
Instellen van de
drempelfrequentie—CROSS
Kleine luidsprekers kunnen de lage tonen niet efficiënt
genoeg reproduceren. Indien u voor een van de luidsprekers
een kleine luidspreker gebruikt, stuurt dit toestel automatisch
de elementen van de lage tonen voor die kleine luidspreker
naar de grote luidsprekers.
Voor een juist gebruik van deze functie moet u het niveau
voor de drempelfrequentie in overeenstemming met het
formaat van de kleine aangesloten luidspreker instellen.
• Deze functie werkt niet en u kunt de frequentie niet
veranderen indien u LARGE voor alle luidsprekers heeft
gekozen.
Kies een van de volgende instellingen:
80Hz :Kies indien de hoornvormige luidsprekerunit van
de luidspreker ongeveer 12 cm is.
100Hz :Kies indien de hoornvormige luidsprekerunit van
de luidspreker ongeveer 10 cm is.
120Hz :Kies indien de hoornvormige luidsprekerunit van
de luidspreker ongeveer 8 cm is.
150Hz :Kies indien de hoornvormige luidsprekerunit van
de luidspreker ongeveer 6 cm is.
200Hz :Kies indien de hoornvormige luidsprekerunit van
de luidspreker kleiner dan ongeveer 5 cm is.
LET OP:
Kies “200Hz” indien u de bijgeleverde luidsprekers
gebruikt.
OPMERKING:
De drempelfrequentie is niet effectief voor de HEADPHONE functie.
Instellen van de fase van de
subwoofer—PHASE
De subwooferfase is sterk gerelateerd aan de afstand vanaf
de luisterplaats tot de voorluidsprekers en de subwoofer. U
kunt de fase voor betere lage tonen veranderen.
Kies een van de volgende instellingen:
NORMAL :Kies normaliter deze stand.
REVERS :Kies indien de lage tonen met deze stand
beter klinken dan bij “NORMAL”.
2,1 m
2,4 m
2,7 m
3,0 m
3,3 m
C
LR
LS RS
SB
Subwoofer
Bijv.: Stel voor het hierboven getoonde voorbeeld de
luidsprekerafstand als volgt in:
FRNT D : 3.0 m
CNTR D : 3.0 m
SURR D : 2.7 m
BACK D : 2.4 m
OPMERKINGEN:
•
Indien u “NO” voor de surround-achterluidsprekers heeft gekozen (zie
bladzijde 28), kunt u deze instelling niet maken. 6,1-kanaal en 5,1-
kanaal software worden weergegeven als bij “OFF” wordt beschreven.
•Indien het geluid bij weergave van Dolby Digital EX software
(voorzien van de markering) niet via de surround-
achterluidspreker wordt weergegeven met de EX/ES instelling op
AUTO, moet u ON in plaats van AUTO kiezen.
Instellen van de luidsprekerafstand
—FRNT D (afstand voorluidspreker),
CNTR D (afstand middenluidspreker),
SURR D (afstand surroundluidspreker),
BACK D (afstand surround-achterluidspreker)
De afstand vanaf uw luisterplaats tot de luidsprekers is een
ander belangrijk element voor een optimaal surroundgeluid
met Surround en DSP-functies. U moet derhalve de afstand
vanaf uw luisterplaats of stoel tot de luidsprekers instellen.
Dit toestel stelt automatisch de vertragingstijd van het geluid
van iedere luidspreker in op basis van de instellingen voor de
afstand van de luidsprekers. Het geluid van alle luidsprekers
bereikt u op deze manier tegelijk.
Stel de afstand vanaf de luisterplaats tot iedere luidspreker
vanaf 0,3 tot 9,0 meter in (met stappen van 0,3 meter).
OPMERKING:
Indien u “NO” voor “BACK SP” heeft gekozen (zie bladzijde 28), kunt u
de luidsprekerafstand niet voor de surround-achterluidspreker instellen.
NL28-30.TH-A75R[E]f.pm6 5/9/02, 3:15 PM29

30
Nederlands
Audio-instellingen
Instellen van het dynamisch
bereik—MIDNIGHT
U kunt de lage tonen versterken indien ze niet hard genoeg
klinken.
Kies een van de volgende instellinge:
1:Kies voor het ietwat verkleinen van het dynamisch
bereik.
2:Kies voor een volledige verkleining van het
dynamisch bereik (vooral ’s avonds laat zeer
handig).
OFF :Kies indien u het surroundgeluid met het volledige
dynamische bereik (zonder effect) wilt beluisteren.
Versterken van de lage tonen
—B (bass).BOOST
U kunt de versterking van de lage tonen activeren of
uitschakelen.
• Met de versterking geactiveerd, licht de de BASS indicator
op.
Stel de versterking van de lage tonen op ON of OFF.
ON :Kies voor het activeren van de versterking.
OFF :Kies voor het uitschakelen van de versterking.
Instellen van de subwoofer
audiopositie—AUDIO POS (positie)
Het lijkt of het geluid van de subwoofer bij stereoweergave
wordt versterkt.
Indien dit het geval is, kunt u het subwooferniveau
automatisch bij weergave van stereogeluid laten veranderen.
• Zie bladzijde 18 voor het instellen van het subwooferniveau.
Kies het automatische instelniveau vanaf “0” t/m “−6”
(met stappen van −2):
Kies “0” indien geen verandering vereist is. Door een lager
getal wordt het niveau automatisch meer verzwakt bij stereo-
weergave.
Instellen van de balans van de
voorluidsprekers—BAL (balans)
Indien het geluid van de voorluidsprekers niet gelijk klinkt,
moet u het uitgangsniveau van de voorluidsprekers instellen.
Stel het uitgangsniveau van de voorluidsprekers binnen
het bereik van “R −21” t/m “L −21” in.
• “R −21”: geen geluid via de rechterluidspreker.
• “L −21”: geen geluid via de linkerluidspreker.
• “CENTER”: het uitgangsniveau van beide luidsprekers is
gelijk.
VFP
SETTING
TV RETURN
ENTER
ON
SCREEN
CHOICE
FM MODE
10 0+10
100+
PTY SEARCH
DVD
RDS
TA/NEWS/INFO
PTY(PTY9
RDS DISPLAY
– –
SURR-L SURR-R
S-BACK –
ADJUST
Druk de
afstandsbediening-
functieschakelaar
naar “DVD”.
U kunt het geluid naar wens en in overeenstemming met de
luisteromstandigheden of bron instellen.
• U kunt tevens het geluid met het keuzemenu instellen, met
uitzondering van “AUDIO POS” et “B.BOOST” (zie
bladzijde 58).
Bediening
Voordat u start, vergeet niet...
De volgende stappen moeten binnen een bepaalde tijd worden
uitgevoerd. Start opnieuw vanaf stap 1 indien de instelling werd
geannuleerd voordat u klaar bent.
ALLEEN met de afstandsbediening:
1Druk tweemaal op SETTING/ADJUST.
“ADJUST” verschijnt op het display.
• Door iedere druk op SETTING/ADJUST verandert de
functie voor de toets als volgt.
SETTING \ADJUST \Huidige bron \
(terug naar het begin)
2
Druk herhaaldelijk op Cursor ∞/5 om het in
te stellen onderdeel te kiezen terwijl
“ADJUST” nog op het display wordt getoond.
• Door iedere druk op de toets veranderen de op het
display getoonde onderdelen als volgt:
BASS “TREBLE “LFE ATT. “
MIDNIGHT “B.BOOST “AUDIO POS“
BAL “(terug naar het begin)
3
Druk herhaaldelijk op Cursor
3/2
om de
juiste instelling voor het onderdeel te kiezen.
Uw instelling is nu vastgelegd.
Instellen van de toon—BASS, TREBLE
U kunt de lage en hoge toon naar wens instellen.
Stel het niveau van de lage of hoge toon van het signaal
van het voorkanaal met stappen van 2 in.
• Instelbereik: “−10” t/m “10”.
Instellen van het niveau van de
versterking van het lage
frequentie—LFE ATT.
De Lage Frequentie Effect verzwakker vermindert vervorming
van de lage tonen (bassen) die via de subwoofer worden
weergegeven bij het afspelen Dolby Digital of DTS Digital
Surround.
Stel de LFE-versterking op ON of OFF.
ON (−−
−−
−10 dB) :Kies voor het verminderen van de vervorming
van de bassen via de subwoofer.
OFF (0 dB) :Kies indien u deze functie niet wilt gebruiken.
NL28-30.TH-A75R[E]f.pm6 5/9/02, 3:15 PM30

31
Nederlands
Dit toestel heeft diverse surroundmodi en DSP (Digital Signal Processor) modi. Voor een juist gebruik van de surround- en
DSP-modi moeten de voor iedere surround- en DSP-modus vereiste luidsprekers worden geactiveerd.
Voor realistische geluidsvelden
De surround-modi
7 Reproductie met een bioscoopeffect
In een bioscoop zijn veel luidsprekers aan de muren
opgehangen om een imponerend, multi-surroundgeluid te
reproduceren dat u via alle richtingen ontvangt.
Met gebruik van veel luidsprekers kan de richting en
verplaatsing van het geluid goed worden uitgedrukt.
De in deze receiver ingebouwde surroundfuncties kunnen
bijna dezelfde surroundgeluiden als in een echte bioscoop
reproduceren.
Bioscoop
Huiskamer
7 Introductie van de surroundfuncties
Dolby Surround
Dolby Digital EX*
Gebruik deze modus voor weergave van multi-kanaal
geluidssporen van video-software die met Dolby Digital EX
( ) is gecodeerd.
Dolby Digital EX is een nieuw surround-coderingsformaat dat
als uitbreiding van multi-kanaal Dolby Digital wordt
geïntroduceerd, en is ontworpen voor het toevoegen van een
extra surroundkanaal aan Dolby Digital 5,1-kanaal (zie
hieronder). Met gebruik van een matrix codering-/
decoderingsmethode is een extra “surroundachter”
kanaalsignaal gecodeerd (en gedecodeerd) in zowel het
signaal van het linker- als rechtersurroundkanaal.
In vergelijking met de conventionele Dolby Digital 5,1-kanaal,
kan dit nieuwe toegevoegde surroundachterkanaal de
beweging van het geluid achter u gedetailleerder
reproduceren wanneer u bijvoorbeeld een video bekijkt en
beluistert. Daarbij is de lokalisatie van het surroundgeluid
stabieler zodat u een nog beter en realistischer
surroundgeluidsveld in uw huiskamer krijgt.
• De DIGITAL EX en SURROUND indicators lichten op het
display op wanneer Dolby Digital EX is geactiveerd.
Dolby Digital*
Voor het reproduceren van multi-kanaal geluidssporen van
software die met Dolby Digital (
DIGITAL
) is gecodeerd.
Met de Dolby Digital 5,1-kanaal coderingsmethode (het
zogenaamde gescheiden 5,1-kanaal digitale audioformaat)
worden signalen voor het linkervoorkanaal,
rechtervoorkanaal, middenkanaal, linkersurroundkanaal,
rechtersurroundkanaal en LFE-kanaal opgenomen en digitaal
gecomprimeerd. (In totaal zijn er dus 6 kanalen, maar het
LFE-kanaal wordt als het 0,1 kanaal geteld en vandaar de
naam “5,1-kanaal”).
Daar ieder kanaal geheel onafhankelijk van de andere
kanalen is, wordt interferentie voorkomen en krijgt u een veel
betere geluidskwaliteit met sterkere stereo- en
surroundeffecten.
• De DIGITAL en SURROUND indicators lichten op het
display op wanneer Dolby Digital is geactiveerd.
*Dolby Digital software kan grofweg in twee groepen worden
verdeeld—multi-kanaal (tot maximaal 5,1-kanaal) en 2-
kanaal software. Voor surroundgeluid bij weergave van
Dolby Digital 2-kanaal software kunt u Dolby Pro Logic II
gebruiken.
OPMERKING: MPEG Multikanaal
MPEG Multikanaal signalen worden in Lineaire PCM signalen
omgezet en dan gereproduceerd.
Subwoofer
Rechter-
voorluidspreker
Linker-
voorluidspreker
S
urround-achterluidspreker
R
echter-
surroundluidspreker
Linker-
surroundluidspreker
Middenluidspreker
Centrale toestel
STANDBY
COMPACT
SUPER VIDEO DIGITAL•EX
PRO LOGIC
DVD DIGITAL CINEMA SYSTEM
PROGRESSIVE
PHONES
VOLUMESOURCE
NL31-36.TH-A75R[E]f.pm6 5/9/02, 5:31 PM31

32
Nederlands
Voor realistische geluidsvelden
Dolby Pro Logic II*
Dolby Pro Logic II heeft een nieuw-ontwikkeld multi-kanaal
weergaveformaat voor het decoderen van alle 2-kanaal
bronnen tot 5-kanaal (plus subwoofer).
De matrix-gebaseerde codering/decodering voor Dolby Pro
Logic II heeft geen begrenzing voor de drempelfrequentie van
de achterste hoge tonen en levert een achter-stereogeluid dat
vergelijkbaar is met de conventionele Dolby Pro Logic.
Dankzij Dolby Pro Logic II kan een ruimtelijk, breed geluid van
het oorspronkelijk opgenomen geluid worden weergegeven
zonder toevoeging van extra nieuwe geluiden en vervorming
van de tonen.
Dolby Pro Logic II heeft twee modi—Movie (voor films) en
Music (voor muziek).
Pro Logic II Movie (PL II MOVIE)—is uitermate geschikt voor
weergave van bronnen die met Dolby Surround zijn gecodeerd
en de (
DOLBY SURROUND
) markering hebben. U krijgt een
geluidsveld dat zeer dicht bij weergave met het gescheiden
5,1-kanaal geluid ligt.
Pro Logic II Music (PL II MUSIC)—is geschikt voor reproductie
van iedere 2-kanaal stereo muziekbron. U krijgt met deze
modus een zeer breed en diep geluid. Voor deze modus kunt
u diverse nauwkeurige instellingen naar wens voor het geluid
maken.
• De PRO LOGIC II en SURROUND indicators lichten op
het display op wanneer Dolby Pro Logic II is geactiveerd.
Dolby Pro Logic (Dolby Surround)*
Voor het reproduceren van geluidssporen van software die met
Dolby Surround (
DOLBY SURROUND
) is gecodeerd.
Bij codering met Dolby Surround worden de signalen voor het
linkervoorkanaal, rechtervoorkanaal, middenkanaal en
surroundkanaal (in totaal 4 kanalen) op 2 kanalen opgenomen.
De in deze receiver ingebouwde Dolby Pro Logic decoder
decodeert deze signalen van 2 kanalen weer tot de
oorspronkelijke signalen voor 4 kanalen—matrix-based
multikanaal reproductie, en zorgt voor een realistisch
surroundgeluid in uw huiskamer.
• De PRO LOGIC en SURROUND indicators lichten op het
display op wanneer Dolby Pro Logic is geactiveerd.
*
Vervaardigd in licentie van Dolby Laboratories. “Dolby”, “Pro Logic”
en het dubbel D-symbool zijn handelsmerken van Dolby
Laboratories.
**
Gefabriceerd onder licentie van Digital Theater Systems, Inc. USA
patentnummer 5,451,942 en andere wereldwijde patenten verstrekt
en aangevraagd. “DTS” en “DTS Digital Surround” zijn
handelsmerken van Digital Theater Systems, Inc. © 1996 Digital
Theater Systems, Inc. Alle rechten voorbehouden.
DTS Surround
DTS-ES (Extended Surround)**
Voor het reproduceren van multi-kanaal geluidssporen van
films van software die met DTS-ES ( ) is gecodeerd.
DTS-ES is een ander nieuw digitaal surround-
coderingsformaat, ontwikkeld door Digital Theater Systems,
Inc., waarmee het derde surroundkanaal wordt
toegevoegd—surroundachterkanaal. (Zie “Dolby Digital EX”
op bladzijde 31)
DTS ES heeft twee verschillende modi—DTS-ES Discrete
6,1-kanaal en DTS-ES Matrix 6,1-kanaal.
DTS-ES Discrete 6,1-kanaal—is ontworpen voor het
gescheiden coderen (en decoderen) van het 6,1-kanaal
signaal zodat interferentie tussen de diverse kanalen wordt
voorkomen.
DTS-ES Matrix 6,1-kanaal—is ontworpen voor een extra
surroundkanaal aan DTS Digital Surround 5,1-kanaal. Met
gebruik van een matrix codering-/decoderingsmethode wordt
een extra “surroundachter” kanaalsignaal gecodeerd (en
gedecodeerd) in zowel het signaal voor het linker- en
rechtersurroundkanaal.
• De en SURROUND indicators lichten op het display
op wanneer DTS-ES is geactiveerd.
DTS Digital Surround**
Voor het reproduceren van multikanaal geluidssporen van
software die met DTS Digital Surround ( ) is gecodeerd.
DTS Digital Surround is een ander discreet 5,1 kanaal digitaal
audioformaat voor CD, LD en DVD software.
In vergelijking met Dolby Digital heeft het DTS Digital
Surround formaat een lagere audiocompressieverhouding.
Hierdoor geeft DTS Digital Surround extra diepte en breedte
aan het geluid. U zult merken dat het geluid natuurgetrouw,
overtuigend en gashelder overkomt.
• De en SURROUND indicators lichten op het display
op wanneer DTS Digital Surround is geactiveerd.
NEO:6**
Neo:6 is een nieuw ontwikkelde conversiemethode voor het
maken van 6-kanaal (plus subwoofer) geluid van analoge/
digitale 2-kanaal bronnen en DTS Digital Surround bronnen.
Neo:6 heeft twee functies—Neo:6 Cinema en Neo:6 Music:
Neo:6 Cinema—geschikt voor weergave van software die
met surround is gecodeerd.
Neo:6 Music—geschikt voor weergave van muziek-software.
• De SURROUND indicator licht op het display op wanner
NEO:6 is geactiveerd.
• DTS Digital Surround kan tot 6.1-kanaal geluid worden
omgezet met gebruik van NEO:6 (zie bladzijde 28).
Gereproduceerde software en kanalen voor iedere surroundmodus
Surround
modus
Af te spelen
software
Gereproduceerde
kanalen
Dolby Digital EX
Dolby Digital EX
6,1-kanaal
Dolby Pro Logic II
2-kanaal software
5-kanaal (+ subwoofer)
Dolby Pro Logic
Dolby Surround
2-kanaal stereo-software
4-kanaal (+ subwoofer)
Surround
modus
Af te spelen
software
Gereproduceerde
kanalen
DTS-ES Discrete
6,1-kanaal
DTS-ES
(met Discrete 6,1-kanaal
signalen)
6,1-kanaal
DTS-ES Matrix
6,1-kanaal
DTS-ES
(met Matrix 6,1-kanaal
signalen)
6,1-kanaal
Dolby Digital 5,1-kanaal
Dolby Digital 5,1-kanaal
Dolby Digital EX
5,1-kanaal
DTS Digital Surround
DTS Digital Surround
DTS-ES
5,1-kanaal
Neo6: Cinema/
Neo6: Music
2-kanaal software
DTS Digital Surround
6-kanaal (+ subwoofer)
NL31-36.TH-A75R[E]f.pm6 5/9/02, 7:07 PM32

33
Nederlands
All Channel Stereo
De DSP-modi
De DAP-modi (Digital Acoustic Processor)
Het geluid wat u hoort in een concertzaal, kerk, enz. bestaat
uit het directe geluid en het indirecte geluid—de snelle
reflecties en reflecties via de achterkant en achtermuren. Het
directe geluid bereikt uw gehoor zonder reflecties, dus direct.
De indirecte geluiden daarentegen worden vertraagd door de
afstand tot het plafond en de muren (zie de afbeelding
hieronder). Deze directe en indirecte geluiden zijn de
belangrijkste elementen van de akoestische
surroundeffecten.
Met de DAP-modi krijgt u een realistisch geluidsveld omdat
deze modi de indirecte geluiden aan het normale geluid
toevoegen.
• De DSP indicator licht op het display op indien een van de
DAP-functies is gekozen.
U kunt de volgende DAP-functies gebruiken voor een
weergave met een akoestisch geluidsveld in uw huiskamer.
THEATER :Reproduceert het geluidsveld van een
theater.
HALL :Geeft heldere vokalen en het gevoel van
een concertzaal.
LIVE CLUB :Geeft het effect van een live muziekclub
met een laag plafond.
DANCE CLUB :Geeft het effect van een dancing met zware
bassen.
PAVILION :Geeft het ruimtelijke gevoel van een
paviljoen met hoog plafond.
Reflecties via
achterkant
Vroege reflecties
Directe geluiden
All Channel Stereo
Met de All Channel Stereo (ALL CH ST.) functie krijgt u een
groter stereo geluidsveld waarbij alle aangesloten
(en ingeschakelde) luidsprekers worden gebruikt.
All Channel Stereo kan worden gebruikt indien de voor- en
surroundluidsprekers met het centrale toestel zijn verbonden.
• De DSP indicator licht op het display op indien All Channel
Stereo is gekozen.
Conventionele Stereo
NL31-36.TH-A75R[E]f.pm6 5/9/02, 5:31 PM33

34
Nederlands
Weergavebron
DTS
2-kanaal
DTS
2-kanaal
DTS
2-kanaal
DTS
2-kanaal
DTS
2-kanaal
Lineair PCM
Lineair PCM
Lineair PCM
Lineair PCM
Lineair PCM
Analoog
Analoog
Analoog
Analoog
Analoog
Weergavebron
Dolby Digital EX
6,1-kanaal
Dolby Digital EX
6,1-kanaal
Dolby Digital EX
6,1-kanaal
Dolby Digital EX
6,1-kanaal
Dolby Digital
5,1-kanaal
Dolby Digital
5,1-kanaal
Dolby Digital
5,1-kanaal
Dolby Digital
5,1-kanaal
Dolby Digital
2-kanaal
Dolby Digital
2-kanaal
Dolby Digital
2-kanaal
Dolby Digital
2-kanaal
Dolby Digital
2-kanaal
DTS-ES Discrete
6,1-kanaal
DTS-ES Matrix
6,1-kanaal
DTS-ES Discrete/
Matrix 6
,1-kanaal
DTS-ES Discrete/
Matrix 6
,1-kanaal
DTS-ES Discrete/
Matrix 6
,1-kanaal
DTS
5,1-kanaal
DTS
5,1-kanaal
DTS
5,1-kanaal
DTS
5,1-kanaal
7 Luidspreker- en signaalindicators
De luidspreker- en signaalindicators lichten als volgt in overeenstemming met het binnenkomende signaal op.
Mogelijk voor
surround of
DSP-functie
DOLBY D EX
DOLBY D*
DAP-functies
ALL CH ST.
OFF
DOLBY D EX**
DOLBY D
DAP-functies
ALL CH ST.
OFF
PLII MOVIE
PLII MUSIC
PRO LOGIC
NEO6: CINEMA
NEO6: MUSIC
DAP-functies***
ALL CH ST.
OFF
DTS-ES DSCRT
DTS-ES MATRX
DTS*
DAP-functies
ALL CH ST.
OFF
DTS + NEO:6**
DTS
DAP-functies
ALL CH ST.
OFF
L
S.WFR
LS RS
CR
LFE
SB
DIGITAL EX
SURROUND
L
S.WFR
LS RS
CR
LFE
DIGITAL
SURROUND
L
S.WFR
LS RS
CR
LFE
SB
SURROUND
L
S.WFR
LS RS
CR
LFE
SURROUND
L
S.WFR
LS RS
CR
LFE
SB
SURROUND
Mogelijk voor
surround of
DSP-functie
NEO6: CINEMA
NEO6: MUSIC
PLII MOVIE
PLII MUSIC
PRO LOGIC
DAP-functies***
ALL CH ST.
OFF
PLII MOVIE
PLII MUSIC
PRO LOGIC
NEO6: CINEMA
NEO6: MUSIC
DAP-functies***
ALL CH ST.
OFF
PLII MOVIE
PLII MUSIC
PRO LOGIC
NEO6: CINEMA
NEO6: MUSIC
DAP-functies***
ALL CH ST.
OFF
L
S.WFR
LS RS
CR
LFE
SB
DIGITAL EX
SURROUND
L
S.WFR
LS RS
CR
LFE
DIGITAL
SURROUND
L
S.WFR
LS RS
CR
LFE
DSP
DIGITAL
L
S.WFR
R
DSP
PRO LOGIC
DIGITAL
L
S.WFR
R
PRO LOGIC
DIGITAL
SURROUND
L
S.WFR
R
PRO LOGIC
DIGITAL
SURROUND
L
S.WFR
R
DIGITAL
L
S.WFR
LS RS
CR
LFE
DSP
SB
L
S.WFR
LS RS
CR
LFE
SB
SURROUND
L
S.WFR
LS RS
CR
LFE
SURROUND
L
S.WFR
LS RS
CR
LFE
DSP
L
S.WFR
R
PRO LOGIC
DIGITAL
SURROUND
L
S.WFR
R
DSP
PRO LOGIC
L
S.WFR
R
PRO LOGIC
SURROUND
L
S.WFR
R
PRO LOGIC
SURROUND
L
S.WFR
R
SURROUND
L
S.WFR
R
LINEAR PCM L
S.WFR
R
LINEAR PCM L
S.WFR
R
DSP
LINEAR PCM L
S.WFR
R
PRO LOGIC
SURROUND
LINEAR PCM L
S.WFR
R
PRO LOGIC
SURROUND
LINEAR PCM L
S.WFR
R
SURROUND
L
S.WFR
R
L
S.WFR
R
DSP
L
S.WFR
R
SURROUND
L
S.WFR
R
PRO LOGIC
SURROUND
L
S.WFR
R
PRO LOGIC
SURROUND
Indicators
Indicators
L
S.WFR
LS RS
CR
LFE
SB
DIGITAL EX
L
S.WFR
LS RS
CR
LFE
DSP
SB
DIGITAL EX
L
S.WFR
LS RS
CR
LFE
DIGITAL
L
S.WFR
LS RS
CR
LFE
SB
L
S.WFR
LS RS
CR
LFE
OPMERKINGEN:
*
Deze surroundfuncties worden geactiveerd wanneer “EX/ES” op
“OFF” is gesteld (zie bladzijde 28).
**
Deze surroundfuncties worden geactiveerd wanneer “EX/ES” op
“ON” is gesteld (zie bladzijde 28).
***
Met “THEATER” gekozen, licht tevens de PRO LOGIC II
indicator op het display op.
•Met “NO” voor de surround-achterluidspreker gekozen (zie
bladzijde 28), wordt er geen geluid via de surround-
achterluidspreker weergegeven en licht de luidsprekerindicator
(“ ”) voor de surround-achterluidspreker niet op.
Voor realistische geluidsvelden
Meer over de indicators:
L:
Licht op wanneer het linkervoor-signaal wordt ontvangen.
C:
Licht op wanneer het middensignaal wordt ontvangen.
R:
Licht op wanneer het rechtervoor-signaal wordt ontvangen.
LFE :
Licht op wanneer het LFE-signaal wordt ontvangen.
S.WFR :Licht altijd op.
LS :
Licht op wanneer het linker-surroundsignaal wordt ontvangen.
RS :
Licht op wanneer het rechter-surroundsignaal wordt
ontvangen.
SB :
Licht op wanneer het surroundachter-signaal wordt ontvangen.
S:
Licht op wanneer het surroundsignaal (mono) wordt
ontvangen.
De huidige gebruikte luidsprekers voor weergave van het geluid
worden door “ ” aangegeven.
NL31-36.TH-A75R[E]f.pm6 5/9/02, 5:31 PM34

35
Nederlands
RETURN DIGEST
VFP
TOP MENU MENU
CONTROL
EFFECT
S.WFR TEST
SLEEP
TV
VCR
SETTING
TV RETURN
ENTER
ON
SCREEN
CHOICE
FM MODE
123
456
789
10 0+10
100+
SOUND
PTY SEARCH
DVD
RDS
TA/NEWS/INFO
PTY(PTY9
RDS DISPLAY
SURROUND OFF
DSP
CENTER
–
+
–
+
–
+
–
+
SURR-L SURR-R
S-BACK
–
+
ADJUST
RETURN DIGEST
VFP
TOP MENU MENU
CONTROL
EFFECT
S.WFR TEST
SLEEP
TV
VCR
SETTING
TV RETURN
ENTER
ON
SCREEN
CHOICE
FM MODE
123
456
789
10 0+10
100+
SOUND
PTY SEARCH
DVD
RDS
TA/NEWS/INFO
PTY(PTY9
RDS DISPLAY
SURROUND OFF
DSP
CENTER
–
+
–
+
–
+
–
+
SURR-L SURR-R
S-BACK
–
+
ADJUST
Druk de
afstandsbediening-
functieschakelaar
naar “DVD”.
Druk de
afstandsbediening-
functieschakelaar
naar “DVD”.
1Start de weergave van de software.
Bij weergave met een component dat met de VCR IN of
STB IN aansluitingen is verbonden, moet u de bron naar
van videorecoder of STB schakelen.
• Met STB als weergavebron gekozen, moet u de juiste
ingangsfunctie kiezen (zie bladzijde 19).
2Druk op SURROUND.
• Bij weergave van multi-kanaal digitale software wordt
een passende Surroundmodus gekozen in
overeenstemming met de door u gemaakte instellingen.
Zie “Instellen van kanaalnummer voor reproduceren van
multi-kanaal digitale software” op pagina 28 voor details.
• Bij weergave van andere software—analoog, Lineair
PCM, Dolby Digital 2-kanaal—wordt de laatst gekozen
Surroundmodus geactiveerd. Door iedere druk op de
toets verandert de surroundmodus als volgt:
PL II MOVIE ]PL II MUSIC ]
PRO LOGIC ]NEO:6 CINEMA ]
NEO:6 MUSIC ](terug naar het begin)
• De SURROUND indicator licht op het display op
wanneer de surroundfunctie is geactiveerd.
3Zie “Instellen van het geluid” op bladzijde
36 indien u veranderingen voor het geluid
wilt maken.
Gebruik van de surroundfunctie
Dit systeem is zodanig ingesteld dat met de basisinstellingen
automatisch de optimale surroundfunctie voor ieder
ingangssignaal wordt gekozen—automatisch
surroundfunctie.
Voor de volgende procedure uitsluitend uit wanneer u een
automatisch gekozen surroundfunctie wilt veranderen.
• Na het veranderen van de surroundfunctie, het
uitschakelen van de stroom of het veranderen van bron,
wordt de automatische surroundfunctie weer geactiveerd.
ALLEEN met de afstandsbediening:
Annuleren van de surroundmodus
Druk op OFF. De surroundfunctie wordt geannuleerd en de
SURROUND indicator dooft van het display.
• Indien de Surroundmodus wordt uitgeschakeld tijdens
weergave van multi-kanaal digitale software, worden de
signalen voor alle kanalen gemengd en via de
voorluidsprekers.
Gebruik van de DSP-functie
De door u gekozen DSP-functie wordt voor iedere bron
vastgelegd.
ALLEEN met de afstandsbediening:
1Start de weergave van de software.
Bij weergave met een component dat met de VCR IN of
STB IN aansluitingen is verbonden, moet u de bron naar
van videorecoder of STB schakelen.
• Met STB als weergavebron gekozen, moet u de juiste
ingangsfunctie kiezen (zie bladzijde 19).
2Druk op DSP.
De hiervoor gekozen DSP-functie wordt geactiveerd en
de DSP indicator licht op het display op.
• Door iedere druk op de toets verandert de DSP-modus
als volgt:
THEATER ]HALL ]LIVE CLUB ]
DANCE CLUB ]PAVILION ]ALL CH ST. ]
(terug naar het begin)
3Zie “Instellen van het geluid” op bladzijde
36 indien u veranderingen voor het geluid
wilt maken.
Annuleren van de DSP-modus
Druk op OFF. De DSP functie wordt geannuleerd en de DSP
indicator dooft van het display.
NL31-36.TH-A75R[E]f.pm6 5/9/02, 5:31 PM35

36
Nederlands
L
3Stel de luidsprekeruitgangsniveaus in
(–10 dB t/m +10 dB).
Stel de niveaus voor de middenluidspreker, rechter- en
linkersurroundluidsprekers en surround-
achterluidsperkers in terwijl u het geluid met de
voorluidsprekers vergelijkt.
• Druk op CENTER +/– voor het instellen van het niveau
van de middenluidspreker.
• Druk op SURR-R +/– voor het instellen van het niveau
van de rechter-surroundluidspreker.
• Druk op S-BACK +/– voor het instellen van het niveau
van de surround-achterluidspreker.
• Druk op SURR-L +/– voor het instelllen van het niveau
van de linker-surroundluidspreker.
4Druk weer op TEST om de testtoon te
stoppen.
5Alleen voor de DAP-functies:
Druk op EFFECT om het gewenste
effectniveau (1 t/m 5) te kiezen.
Door iedere druk op de toets verandert het effectniveau
als volgt:
DSP EFFECT 1 ] DSP EFFECT 2 ] DSP EFFECT 3 ]
DSP EFFECT 4 ] DSP EFFECT 5 ]
(
terug naar het begin
)
Een hoger nummer geeft een sterker effect voor de
gekozen functie (stel normaliter op “DSP EFFECT 3”).
OPMERKINGEN:
•Indien u “NO” voor de surround-achterluidspreker heeft gekozen
(zie bladzijde 28) wordt er geen testtoon via de surround-
achterluidspreker uitgestuurd en kunt u het uitgangsniveau voor
deze luidspreker niet instellen.
•De testtoon wordt niet via de subwoofer uitgestuurd. Zie bladzijde
18 voor het instellen van het uitgangsniveau van de subwoofer.
RETURN DIGEST
VFP
TOP
MENU MENU
CONTROL
EFFECT
S.WFR TEST
SLEEP
TV
VCR
SETTING
TV RETURN
ENTER
ON
SCREEN
CHOICE
FM MODE
123
456
789
10 0+10
100+
SOUND
DVD
RDS
TA/NEWS/INFO
PTY(PTY9
SURROUND OFF
DSP
CENTER
–
+
–
+
–
+
–
+
SURR-L SURR-R
S-BACK –
+
ADJUST
Voor realistische geluidsvelden
Druk de
afstandsbediening-
functieschakelaar
naar “DVD”.
Instellen van het geluid
Nadat u het geluid eenmaal heeft ingesteld, worden de
instellingen voor iedere bron vastgelegd.
• U kunt het geluid tevens met het keuzemenu instellen,
uitgezonderd het DSP effectniveau (zie bladzijde 59).
Voordat u start, vergeet niet...
De volgende stappen moeten binnen een bepaalde tijd worden
uitgevoerd. Start opnieuw vanaf stap 2 indien de instelling werd
geannuleerd voordat u klaar bent.
ALLEEN met de afstandsbediening:
1Druk op SOUND.
De 10 cijfertoetsen werken nu voor het instellen van het
geluid.
2Druk op TEST om te controleren dat het
geluidsniveau via alle luidsprekers gelijk is.
“TEST TONE L” en de corresponderende signaalindicator
begint op het display te knipperen en de testtoon wordt in
de volgende volgorde via de luidsprekers weergegeven:
• U kunt de uitgangsniveaus voor de luidsprekers ook
zonder gebruik van de testtoon instellen.
Linker-voorluidspreker (L) ]
Middenluidspreker (C) ]
Rechter-voorluidspreker (R) ]
Rechter-surroundluidspreker (RS) ]
Surround-achterluidspreker (SB) ]
Linker-surroundluidspreker (LS) ]
(terug naar het begin)
NL31-36.TH-A75R[E]f.pm6 5/9/02, 5:31 PM36

37
Nederlands
Bediening van de DVD-speler
VFP
SETTING
TV RETURN
ENTER
ON
SCREEN
CHOICE
FM MODE
10
0
+10
100+
SC
DVD
RDS
TA/NEWS/INFO
PTY(PTY9
RDS DISPLAY
–
+
–
+
SURR-L SURR-R
S-BACK
–
+
ADJUST
8.5Mbps
DVD-VIDEO
TITLE
14
TIME
1:25:58
CHAP
23
8.5Mbps
DVD-VIDEO
TITLE 14 TIME
1:25:58
CHAP 23
8.5Mbps TITLE 14 TIME
1:25:58
CHAP 23
OFF
1/3 1/3 1/3
TIME CHAP.
DVD-VIDEO
8.5Mbps
TITLE
14
TIME
1:25:58
CHAP
23
OFF
1/3 1/3 1/3
TIME
CHAP.
DVD-VIDEO
23
4
1
Druk de
afstandsbediening-
functieschakelaar
naar “DVD”.
Dit gedeelte beschrijft de geavanceerde bedieningen met
gebruik van de afstandsbediening voor de ingebouwde
DVD-speler. Zie bladzijden 50 en 51 voor MP3 weergave en
bladzijden 52 en 53 voor JPEG weergave.
• Druk op DVD om de afstandsbediening voor disc-
bediening in te stellen alvorens de afstandsbediening te
gebruiken.
•
Schakel uw TV in en kies de juiste ingangsfunctie met de TV.
•
Zie tevens “Basisbediening voor DVD-speler” op bladzijde 20.
• tonen de soorten discs die voor de
beschreven handelingen in het betreffende gedeelte
geschikt zijn. Discs die niet kunnen worden gebruikt, zijn
licht-gedrukt.
Indien “ ” op het TV-scherm verschijnt wanneer u
op een toets drukt, is de geplaatste disc niet geschikt
voor de bediening die u probeert uit te voeren, of is de
vereiste informatie voor deze bediening niet op de disc
opgenomen.
Gebruik van de in-beeldstaaf
U kunt de informatie van een disc controleren wanneer de disc is geplaatst en u kunt bepaalde functies met de in-beeldstaaf gebruiken.
Tonen van de in-beeldstaaf
ALLEEN met de afstandsbediening:
Bijv: Met DVD-weergave.
Verwijderen van de in-beeldstaaf.
7Met een disc geplaatst
Druk op ON SCREEN.
• Door iedere druk op de toets verandert de in-beeldstaaf
zoals u hier rechts ziet.
Aanduidingen van de in-beeldstaaf
Bijv: Met DVD-weergave.
1Disctype
2Weergave-informatie
Markering
Mbps
TITLE
14
CHAP
23
TRACK
14
TOTAL
1:25:58
Toont:
Overdrachtwaarde (Megabit
per seconde)
Titelnummer
Hoofdstuknummer
Fragmentnummer
Verstreken weergavetijd
Gebruik voor:
3Weergavecondities voor alle soorten discs
Toont een huidige geplaatste disc:
Weergave
Snel voorwaarts/snel achterwaarts
Slow-motion (vertraagd voor- of achterwaarts) Weergave
Pauze
Stoppen
Markering
/
/
4Bedieningsiconen
Markering
TIME
OFF
CHAP.
Bijv.
1/3
Bijv.
1/3
Bijv.
1/3
PROG.
RND.
Kies voor:
Veranderen van
tijdinformatie
Herhaalde
weergave
Gebruik van
tijdzoeken
Gebruik van
hoofdstukzoeken
Veranderen van
geluidstaal/kanaal
Veranderen van
ondertiteltaal
Veranderen van
camerahoek
Gebruik van
geprogrammeerde
weergave
Willekeurige
weergave
Geschikt voor:
Zie tevens
bladzijde
38
49
43
43
41
42
41
40
48
48
NL37-49.TH-A75R[E]f.pm6 5/9/02, 3:17 PM37

38
Nederlands
8.5Mbps
DVD-VIDEO
TITLE
14 TIME
1:25:58
CHAP
23
OFF
1/3 1/3 1/3
TIME CHAP.
8.5Mbps
DVD-VIDEO
TITLE
14 TIME
1:25:58
CHAP
23
1/3 1/3 1/3
TIME CHAP.
TITLE
8.5Mbps
DVD-VIDEO
TITLE
14
TIME
1:25:58
CHAP
23
1/3 1/3 1/3
TIME CHAP.
OFF
8.5Mbps
DVD-VIDEO
TITLE
14 TIME
1:25:58
CHAP
23
TITLE
1/3 1/3 1/3
TIME CHAP.
VFP
TV RETURN
ENTER
ON
SCREEN
CHOICE
FM MODE
10
0
+
10
100+
PTY SEARCH
DVD
RDS
TA/NEWS/INFO
PTY(PTY9
RDS DISPLAY
ADJUST
8.5Mbps
DVD-VIDEO
TITLE
14
TOTAL
1:25:58
CHAP
23
OFF
1/3 1/3 1/3
TIME CHAP.
VFP
TV RETURN
ENTER
ON
SCREEN
CHOICE
FM MODE
10
0
+
10
100+
PTY SEARCH
DVD
RDS
TA/NEWS/INFO
PTY(PTY9
RDS DISPLAY
ADJUST
Bediening van de DVD-speler
Druk de
afstandsbediening-
functieschakelaar
naar “DVD”.
Druk de
afstandsbediening-
functieschakelaar
naar “DVD”.
Basisbediening met de
in-beeldstaaf
Zie de corresponderende bladzijde voor iedere functie.
Veranderen van de
tijdinformatie
U kunt de tijdinformatie van de in-beeldstaaf en het
displayvenster op het centrale toestel veranderen.
7Met een disc geplaatst
Bijv.: Kiezen van “TITLE” voor de herhaalfunctie tijdens
DVD-weergave:
1Druk tweemaal op ON SCREEN.
De volgende in-beeldstaaf verschijnt op de TV.
2Druk herhaaldelijk op Cursor 3/2 om
naar te verplaatsen.
3Druk op ENTER.
Het pop-up venster verschijnt onder de in-beeldstaaf.
• De hiervoor gekozen optie verschijnt.
4Druk herhaaldelijk op Cursor ∞/5 om de
gewenste optie te kiezen.
• Door iedere druk op de toets veranderen de opties.
5Druk op ENTER.
De instelling verandert en het pop-up venster verdwijnt.
Uitschakelen van de in-beeldstaaf
Druk op ON SCREEN.
7Tijdens weergave of wanneer gestopt
1Druk tweemaal op ON SCREEN.
De in-beeldstaaf verschijnt op de TV.
2Druk herhaaldelijk op Cursor 3/2 om
naar
TIME
te verplaatsen.
3Druk op ENTER.
• Door iedere druk op de toets verandert de tijdinformatie
als volgt.
Bijv.: Met DVD-weergave:
TIME
0:25:58
]
REM
0:18:14
]
TOTAL
1:25:58
]
T.REM
0:45:41
](terug naar het begin)
TIME :Verstreken tijd van het huidige hoofdstuk/
fragment
REM :Resterende tijd van het huidige hoofdstuk/
fragment
TOTAL :Verstreken tijd van de disc
T. REM :Resterende tijd van de disc
Uitschakelen van de in-beeldstaaf
Druk op ON SCREEN.
OPMERKING:
Bij weergave van een VCD, SVCD of Audio CD verschijnt de
uuraanduiding niet.
NL37-49.TH-A75R[E]f.pm6 5/9/02, 3:17 PM38

39
Nederlands
123
RETURN DIGEST
VFP
TOP MENU MENU
CONTROL
EFFECT
S.WFR TEST
SLEEP
TV
VCR
SETTING
TV RETURN
ENTER
ON
SCREEN
CHOICE
FM MODE
123
456
789
10
0
+10
100+
SOUND
PTY SEARCH
DVD
RDS
TA/NEWS/INFO
PTY(PTY9
RDS DISPLAY
SURROUND OFF
DSP
CENTER
–
+
–
+
–
+
–
+
SURR-L SURR-R
S-BACK
–
+
ADJUST
7Met een DVD geplaatst
1Druk op TOP MENU of MENU.
Het menu verschijnt op de TV. (Het menu verschijnt
normaliter automatisch op de TV na het plaatsen van de
DVD VIDEO).
Bijv.:
Een DVD waarop meer dan één titel is opgenomen, heeft
normaliter een “titel” menu waarop de diverse titels zijn
aangegeven. Druk op TOP MENU om het titelmenu te
tonen.
Bepaalde DVD’s hebben tevens mogelijk een ander menu
dat kan worden getoond door een druk op de MENU
toets.
Zie de bij de DVD geleverde aanwijzingen voor details
aangaande de beschikbare menu’s.
2Kies een gewenst onderdeel met Cursor
3/2/∞/5 en druk vervolgens op ENTER.
Het systeem start de weergave van het gekozen
onderdeel.
• Met bepaalde discs kunt u onderdelen tevens kiezen
door het overeenkomende nummer met de cijfertoetsen
in te voeren.
CHANNEL/ZOOM
VOLUMETV VOL
TUNING
STOP PAUSE
FF/
/REW
TV/VIDEO
1
MUTING
¡
PLAY
DOWN UP
RETURN DIGEST
VFP
TOP MENU MENU
CONTROL
EFFECT
S.WFR TEST
SLEEP
TV
VCR
SETTING
TV RETURN
ENTER
ON
SCREEN
CHOICE
FM MODE
123
456
789
10
0
+10
100+
SOUND
PTY SEARCH
DVD
RDS
TA/NEWS/INFO
PTY(PTY9
RDS DISPLAY
SURROUND OFF
DSP
CENTER
–
+
–
+
–
+
–
+
SURR-L SURR-R
S-BACK
–
+
ADJUST
O.T.
REPLAY
7Indien tijdens weergave een VCD/SVCD met PBC een
menu op de TV verschijnt
Druk op de cijfertoetsen (1–10, +10) om het
nummer van het gewenste onderdeel te
kiezen.
Het systeem start de weergave van het gekozen onderdeel.
Bijv.: Voor het kiezen van 3, drukt u op 3.
Voor het kiezen van 11, drukt u op +10 en dan op 1.
Terugkeren naar het menu
Druk op RETURN.
Indien “NEXT” of “PREVIOUS” op het TV-scherm wordt
getoond:
• Druk op FF/¢ om naar de volgende pagina te gaan.
• Druk op 4/REW om naar de voorgaande pagina terug te
keren.
Weergave van een PBC-compatibele VCD/SVCD zonder
gebruik van PBC
Start de weergave door een van de cijfertoetsen te drukken.
De verstreken weergavetijd verschijnt nu in plaats van “PBC”
op het display.
Weer activeren van PBC
Druk op TOP MENU of MENU.
“PBC” op het display verschijnt weer.
Druk de
afstandsbediening-
functieschakelaar
naar “DVD”.
Druk de
afstandsbediening-
functieschakelaar
naar “DVD”.
Opzoeken van een gewenste
scène met het discmenu
Met gebruik van het discmenu kunt u de weergave van een
gekozen titel, hoofdstuk of fragment starten.
Opzoeken van een gewenste scène
met het DVD-menu
DVD’s hebben normaliter hun eigen menu’s waarop de
inhoud van de disc is aangegeven. Deze menu’s hebben
diverse onderdelen, bijvoorbeeld de titels van films, namen
van liedjes of artiest, en u kunt deze onderdelen op het
TV-scherm tonen. Met gebruik van deze menu’s kunt u een
gewenste scène gemakkelijk opzoeken.
Opzoeken van een gewenste scène
van het VCD/SVCD menu met PBC
Een VCD of SVCD disc met PBC hebben hun eigen menu’s,
bijvoorbeeld een lijst met de liedjes. (Na het plaatsen van een
dergelijke disc verschijnt “PBC” op het display). U kunt met
gebruik van het menu de gewenste scène opzoeken
(zie tevens bladzijde 6).
NL37-49.TH-A75R[E]f.pm6 5/9/02, 3:17 PM39

40
Nederlands
1
1
1/3
1/3
1
1/3
2
1/3
3
1/3
8.5Mbps
DVD-VIDEO
TITLE 14 TIME
1:25:58
CHAP 23
OFF
1/3 1/3 1/3
TIME CHAP.
1
AUDIO ANGLE SUBTITLE DECODE
RETURN DIGEST
VFP
TOP MENU MENU
CONTROL
EFFECT
S.WFR TEST
SLEEP
TV
VCR
SETTING
TV RETURN
ENTER
ON
SCREEN
CHOICE
FM MODE
123
456
789
10
0
+10
100+
SOUND
PTY SEARCH
DVD
RDS
TA/NEWS/INFO
PTY(PTY9
RDS DISPLAY
SURROUND OFF
DSP
CENTER
–
+
–
+
–
+
–
+
SURR-L SURR-R
S-BACK –
+
ADJUST
3/3
Bediening van de DVD-speler
Druk de
afstandsbediening-
functieschakelaar
naar “DVD”.
Kiezen van een camerahoek
Bij weergave van een DVD die vanuit meerdere
camerahoeken (perspectieven) is opgenomen, kunt u de
gewenste camerahoek voor een scène kiezen.
• De icoon verschijnt bij het begin van de weergave
indien de huidige scène meerdere camerahoeken heeft.
Kiezen van een camerahoek
7Tijdens weergave
1Druk op ANGLE.
Het pop-up venster verschijnt op de TV.
2Druk herhaaldelijk op ANGLE of Cursor
∞/5 om de gewenste camerahoek te
kiezen.
• Door iedere druk op de toets verandert de camerahoek
van de scène als volgt.
Bijv.:
• Het pop-up venster verdwijnt indien u gedurende
ongeveer 5 seconden geen bediening uitvoert.
Bijv.: De eerste van de
3 opgenomen
camerahoeken
wordt gekozen.
Met de in-beeldstaaf:
1Druk tweemaal op ON SCREEN.
De in-beeldstaaf verschijnt op de TV.
2Druk herhaaldelijk op Cursor 3/2 om
naar te verplaatsen en druk
vervolgens op ENTER.
Het pop-up venster verschijnt onder de in-beeldstaaf.
3Druk herhaaldelijk op Cursor ∞/5 om de
gewenste camerahoek te kiezen.
• Door iedere druk op de toets verandert de camerahoek
van de scène.
4Druk op ENTER.
Het pop-up venster verdwijnt.
Uitschakelen van de in-beeldstaaf
Druk op ON SCREEN.
Tonen van alle camerahoeken op
de TV
7Tijdens weergave
1Houd ANGLE langer dan 1 seconde
ingedrukt.
Maximaal 9 beelden met de diverse op de disc
opgenomen camerahoeken worden op het TV-scherm
getoond.
2Druk herhaaldelijk op Cursor 3/2/∞/5 om
naar de gewenste camerahoek te
verplaatsen.
3Druk op ENTER.
De camerahoek-lijst verdwijnt en de weergave start met
de gekozen camerahoek.
OPMERKING:
U hoort geen geluid wanneer de camerahoek-lijst op de TV wordt
getoond.
Bijv.: De eerste van de 3 opgenomen camerahoeken
wordt gekozen.
Gekozen beeld
Bijv.: Indien er 3 camerahoeken zijn opgenomen.
1/3 2/3
NL37-49.TH-A75R[E]f.pm6 5/9/02, 3:17 PM40

41
Nederlands
ENGLISH
ENGLISH
1/3
1/3
AUDIO ANGLE SUBTITLE DECODE
RETURN DIGEST
VFP
TOP MENU MENU
CONTROL
EFFECT
S.WFR TEST
SLEEP
TV
VCR
SETTING
TV RETURN
ENTER
ON
SCREEN
CHOICE
FM MODE
123
456
789
10 0+10
100+
SOUND
PTY SEARCH
DVD
RDS
TA/NEWS/INFO
PTY(PTY9
RDS DISPLAY
SURROUND OFF
DSP
CENTER
–
+
–
+
–
+
–
+
SURR-L SURR-R
S-BACK
–
+
ADJUST
8.5Mbps
DVD-VIDEO
TITLE 14 TIME
1:25:58
CHAP 23
OFF
1/3 1/3 1/3
TIME CHAP.
ENGLISH
AUDIO ANGLE SUBTITLE DECODE
RETURN DIGEST
VFP
TOP MENU MENU
CONTROL
EFFECT
S.WFR TEST
SLEEP
TV
VCR
SETTING
TV RETURN
ENTER
ON
SCREEN
CHOICE
FM MODE
123
456
789
10 0+10
100+
SOUND
PTY SEARCH
DVD
RDS
TA/NEWS/INFO
PTY(PTY9
RDS DISPLAY
SURROUND OFF
DSP
CENTER
–
+
–
+
–
+
–
+
SURR-L SURR-R
S-BACK
–
+
ADJUST
ENGLISH
ENGLISH
1/3
1/3
VERVOLG OP DE VOLGENDE BLADZIJDE
Druk de
afstandsbediening-
functieschakelaar
naar “DVD”.
Druk de
afstandsbediening-
functieschakelaar
naar “DVD”.
Veranderen van de taal voor de
ondertitels en het geluid
Kiezen van de taal voor de
ondertitels
Bij weergave van een DVD (of SVCD) waarop de ondertitels
in meerdere talen op de disc zijn opgenomen, kunt u de
gewenste taal voor de ondertitels op de TV kiezen.
•
De icoon verschijnt bij het begin van de weergave indien
de huidige scène meerdere talen voor de ondertitels heeft.
•
U kunt uw favoriete taal als basistaal instellen (zie bladzijde 56).
7Tijdens weergave
1Druk op SUBTITLE.
Het pop-up venster verschijnt op de TV.
Bijv.: “ENGLISH” is uit
de 3 opgenomen
talen voor de
ondertitels
gekozen.
2Druk herhaaldelijk op SUBTITLE of Cursor
∞/5 om de gewenste taal voor de
ondertitels te kiezen.
Door iedere druk op de toets verandert de taal voor de
ondertitles.
• Het pop-up venster verdwijnt indien u gedurende
ongeveer 5 seconden geen bediening uitvoert.
Met de in-beeldstaaf:
1Druk tweemaal op ON SCREEN.
De in-beeldstaaf verschijnt op de TV.
2Druk herhaaldelijk op Cursor 3/2 om
naar te verplaatsen en druk
vervolgens op ENTER.
Het pop-up venster verschijnt onder de in-beeldstaaf.
Bijv.: “ENGLISH” is uit de 3 opgenomen talen voor
de ondertitels gekozen.
3Druk herhaaldelijk op Cursor ∞/5 om de
gewenste taal voor de ondertitels te kiezen.
Door iedere druk op de toets verandert de taal voor de
ondertitels.
4Druk op ENTER.
Het pop-up venster verdwijnt.
Uitschakelen van de in-beeldstaaf
Druk op ON SCREEN.
OPMERKINGEN:
•Voor DVD: Bepaalde talen voor de ondertitels worden afgekort
getoond. Zie “Taalcodelijst” op bladzijde 56.
•Voor SVCD: heeft maximaal vier ondertitels. Door op SUBTITLE te
drukken, veranderen de aanduidingen voor de ondertitels ongeacht
of ondertitels in verschillende talen zijn opgenomen of niet.
Kiezen van de taal voor
het geluid
Met een DVD waarop het geluid in meerdere talen is
opgenomen, kunt u de gewenste taal (geluidsspoor) voor de
weergave kiezen.
•De icoon verschijnt bij het begin van de weergave
indien de huidige scène meerdere talen voor het geluid
heeft.
• U kunt uw favoriete taal als basistaal instellen (zie bladzijde
56).
7Tijdens weergave
1Druk op AUDIO.
Het pop-up venster verschijnt op de TV.
Bijv.: “ENGLISH” is uit de
3 opgenomen talen
voor het geluid
gekozen.
NL37-49.TH-A75R[E]f.pm6 5/9/02, 3:17 PM41

42
Nederlands
8.5Mbps
DVD-VIDEO
TITLE 14 TIME
1:25:58
CHAP 23
OFF
1/3 1/3 1/3
TIME CHAP.
ENGLISH
AUDIO ANGLE SUBTITLE DECODE
RETURN DIGEST
VFP
TOP MENU MENU
CONTROL
EFFECT
S.WFR TEST
SLEEP
TV
VCR
SETTING
TV RETURN
ENTER
ON
SCREEN
CHOICE
FM MODE
123
456
789
10
0
+10
100+
SOUND
PTY SEARCH
DVD
RDS
TA/NEWS/INFO
PTY(PTY9
RDS DISPLAY
SURROUND OFF
DSP
CENTER
–
+
–
+
–
+
–
+
SURR-L SURR-R
S-BACK –
+
ADJUST
ST
ST
ST
ST
VIDEO-CD
TRACK
4
TIME
25:58
OFF
ST
TIME
ST
PROG.
Bediening van de DVD-speler
Druk de
afstandsbediening-
functieschakelaar
naar “DVD”.
2
Druk herhaaldelijk op
AUDIO
of
Cursor ∞/5
om de gewenste taal voor het geluid te kiezen.
Door iedere druk op de toets verandert de taal voor het geluid.
• Het pop-up venster verdwijnt indien u gedurende
ongeveer 5 seconden geen bediening uitvoert.
Met de in-beeldstaaf:
1Druk tweemaal op ON SCREEN.
De in-beeldstaaf verschijnt op de TV.
2Druk herhaaldelijk op Cursor 3/2 om
naar te verplaatsen en druk
vervolgens op ENTER.
Het pop-up venster verschijnt onder de in-beeldstaaf.
3Druk herhaaldelijk op Cursor ∞/5 om de
gewenste taal voor het geluid te kiezen.
Door iedere druk op de toets verandert de taal voor het
geluid.
4Druk op ENTER.
Het pop-up venster verdwijnt.
Uitschakelen van de in-beeldstaaf
Druk op ON SCREEN.
NOTE:
Voor DVD: Bepaalde talen voor het geluid worden afgekort getoond.
Zie “Taalcodelijst” op bladzijde 56.
Kiezen van het audiokanaal
Bij weergave van bepaalde Karaoke VCD’s of SVCD’s kunt u
het gewenste audiokanaal voor karaoke kiezen.
Bijv.: “ENGLISH” is uit de 3 opgenomen talen
voor het geluid gekozen.
7Tijdens weergave
1Druk op AUDIO.
Het pop-up venster verschijnt op de TV.
2Druk herhaaldelijk op AUDIO of Cursor ∞/5
om het gewenste audiokanaal te kiezen.
Door iedere druk op de toets verandert het audiokanaal.
• Het pop-up venster verdwijnt indien u gedurende
ongeveer 5 seconden geen bediening uitvoert.
Voor VCD:
ST ] L ] R ] (terug naar het begin)
ST : Luisteren naar normale stereoweergave.
L: Luisteren naar het L (linker) audiokanaal.
R: Luisteren naar het R (rechter) audiokanaal.
Voor SVCD:
ST 1 ] ST 2 ] L 1 ] R 1 ] L 2 ] R 2 ]
(terug naar het begin)
ST 1 :Luisteren naar normale stereoweergave van
ST 1.
ST 2 :Luisteren naar normale stereoweergave van
ST 2.
L 1 :Luisteren naar het L (linker) kanaal van ST 1.
R 1 :Luisteren naar het R (rechter) kanaal van
ST 1.
L 2 :Luisteren naar het L (linker) kanaal van ST 2.
R 2 :Luisteren naar het R (rechter) kanaal van
ST2.
Met de in-beeldstaaf:
1Druk tweemaal op ON SCREEN.
De in-beeldstaaf verschijnt op de TV.
2Druk herhaaldelijk op Cursor 3/2 om
naar te verplaatsen en druk
vervolgens op ENTER.
Het pop-up venster verschijnt onder de in-beeldstaaf.
3Druk herhaaldelijk op Cursor ∞/5 om het
gewenste audiokanaal te kiezen.
Door iedere druk op de toets verandert het audiokanaal.
4Druk op ENTER.
Het pop-up venster verdwijnt.
Uitschakelen van de in-beeldstaaf
Druk op ON SCREEN.
Bijv.: Met VCD-weergave.
Bijv.: Met VCD-weergave.
NL37-49.TH-A75R[E]f.pm6 5/9/02, 3:18 PM42

43
Nederlands
8.5Mbps
DVD-VIDEO
TITLE
14 TIME
1:25:58
CHAP
23
OFF
1/3 1/3 1/3
TIME CHAP.
CHAPTER _
VFP
CONTROL
EFFECT
S.WFR TEST
SLEEP
TV
VCR
SETTING
TV RETURN
ENTER
ON
SCREEN
CHOICE
FM MODE
123
456
789
10
0
+10
100+
PTY SEARCH
DVD
RDS
TA/NEWS/INFO
PTY(PTY9
RDS DISPLAY
CENTER
–
+
–
+
–
+
–
+
SURR-L SURR-R
S-BACK –
+
ADJUST
VFP
CONTROL
EFFECT
S.WFR TEST
SLEEP
TV
VCR
SETTING
TV RETURN
ENTER
ON
SCREEN
CHOICE
FM MODE
123
456
789
10
0
+10
100+
PTY SEARCH
DVD
RDS
TA/NEWS/INFO
PTY(PTY9
RDS DISPLAY
CENTER
–
+
–
+
–
+
–
+
SURR-L SURR-R
S-BACK –
+
ADJUST
7Voor DVD : Tijdens weergave
7Voor VCD/SVCD : Tijdens weergave zonder de PBC-
functie geactiveerd of wanneer
gestopt
7Voor Audio CD : Tijdens weergave of wanneer gestopt
1Druk tweemaal op ON SCREEN.
De in-beeldstaaf verschijnt op de TV.
2Druk herhaaldelijk op Cursor 3/2 om
naar te verplaatsen en druk vervolgens
op ENTER.
Het pop-up venster verschijnt onder de in-beeldstaaf.
3Druk op de cijfertoetsen (0–9) om de
gewenste tijd in te voeren.
Bijv.:
Weergave van een punt dat 2 (uren): 34 (minuten): 08
(seconden) na het begin ligt:
Druk op 2, 3, 4, 0 en dan op 8.
Corrigeren van een fout
Druk herhaaldelijk op Cursor
2
totdat de foute tijd is gewist
en voer vervolgens de juiste tijd met de cijfertoetsen in.
4Druk op ENTER.
Het systeem start nu de weergave vanaf de ingevoerde tijd.
Uitschakelen van de in-beeldstaaf
Druk op ON SCREEN.
OPMERKINGEN:
•U kunt tevens de 10 toets gebruiken om “0” in te voeren.
•De +10 toets wordt niet voor deze functie gebruikt.
•U kunt de tijd in uren/minuten/seconden voor DVD en in minuten/
seconden voor VCD/SVCD/Audio CD invoeren.
8.5Mbps
DVD-VIDEO
TITLE
14 TIME
1:25:58
CHAP
23
OFF
1/3 1/3 1/3
TIME CHAP.
TIME _ : _ _ : _ _
Druk de
afstandsbediening-
functieschakelaar
naar “DVD”.
Druk de
afstandsbediening-
functieschakelaar
naar “DVD”.
Weergave vanaf een bepaald punt
U kunt de weergave starten vanaf een ingevoerde titel,
hoofdstuk of fragment.
Het is tevens mogelijk om de weergave vanaf een bepaald
punt (tijd) op de disc te starten.
Opzoeken van een gewenst
hoofdstuk
—
Hoofdstukzoeken
Bij weergave van een DVD kunt u het gewenste hoofdstuk
voor weergave met de in-beeldstaaf kiezen.
Opzoeken van een gewenst
punt door de tijd in te voeren
—Tijdzoeken
U kunt de weergave vanaf een gewenst punt starten door de
verstreken tijd vanaf het begin van de huidige titel (voor DVD)
of vanaf het begin van de disc (voor VCD/SVCD/Audio CD) in
te voeren.
7Tijdens weergave
1Druk tweemaal op ON SCREEN.
De in-beeldstaaf verschijnt op de TV.
2Druk herhaaldelijk op Cursor 3/2 om
naar
CHAP.
te verplaatsen en druk
vervolgens op ENTER.
Het pop-up venster verschijnt onder de in-beeldstaaf.
3Voer het gewenste hoofdstuknummer met
de cijfertoetsen (0–9) in.
Bijv.:
Voor het kiezen van hoofdstuknummer 8, druk op 8.
Voor het kiezen van hoofdstuknummer 10, druk op 1 en
dan op 0.
Voor het kiezen van hoofdstuknummer 37, druk op 3 en
dan op 7.
Corrigeren van een fout
Herhaal stap 3 totdat het juiste nummer in het pop-up
venster verschijnt.
4Druk op ENTER.
Het systeem start nu de weergave van het gekozen hoofdstuk.
Uitschakelen van de in-beeldstaaf
Druk op ON SCREEN.
OPMERKINGEN:
•U kunt tevens de 10 toets gebruiken om “10” in te voeren.
•De +10 toets wordt niet voor deze functie gebruikt.
•U kunt tot maximaal hoofdstuknummer 99 kiezen.
NL37-49.TH-A75R[E]f.pm6 5/9/02, 3:18 PM43

44
Nederlands
CHANNEL/ZOOM
VOLUMETV VOL
TUNING
STOP PAUSE
FF/
/REW
TV/VIDEO
1
MUTING
¡
PLAY
DOWN UP
RETURN DIGEST
VFP
TOP MENU MENU
CONTROL
EFFECT
S.WFR TEST
SLEEP
TV
VCR
SETTING
TV RETURN
ENTER
ON
SCREEN
CHOICE
FM MODE
123
456
789
10
0
+10
100+
SOUND
PTY SEARCH
DVD
RDS
TA/NEWS/INFO
PTY(PTY9
RDS DISPLAY
SURROUND OFF
DSP
CENTER
–
+
–
+
–
+
–
+
SURR-L SURR-R
S-BACK
–
+
ADJUST
O.T.
OPMERKING:
Met bepaalde discs duurt het afhankelijk van de inhoud van de disc
even eer alle scènes op het TV-scherm verschijnen.
Bediening van de DVD-speler
Druk de
afstandsbediening-
functieschakelaar
naar “DVD”.
Opzoeken van een gewenste
scène met het digest-display
—DIGEST
Het systeem kan de openingsscène van iedere titel of
hoofdstuk van een DVD of ieder fragment van een VCD/
SVCD tonen.
U kunt dan de gewenste titel of fragment van deze op het
TV-scherm getoonde openingsscènes kiezen.
7Voor DVD : Tijdens weergave of wanneer gestopt
7For VCD/SVCD : Tijdens weergave zonder de PBC-
functie geactiveerd of wanneer
gestopt
1Druk op DIGEST.
Maximaal 9 openingsscènes worden getoond.
Deze scène
wordt
gekozen.
•Wanneer de DVD is gestopt:
De openingsscène van iedere titel verschijnt op het
TV-scherm.
•Tijdens DVD-weergave:
De openingsscène van ieder hoofdstuk van de huidige
titel verschijnt op het TV-scherm.
•Met een VCD of SVCD geplaatst:
De openingsscène van ieder fragment verschijnt op het
TV-scherm.
2Druk op Cursor 3/2/∞/5 om naar de
gewenste scène te verplaatsen.
• Indien er meer dan 9 scènes zijn kunt u naar de
volgende pagina gaan (zie “Tonen van andere pagina’s
van het digest-scherm” hieronder).
3Druk op ENTER.
Het systeem start nu de weergave vanaf de gekozen
scène.
Tonen van andere pagina’s van het digest-scherm
Druk op FF/¢ om de volgende pagina te tonen.
Druk op 4/REW om de voorgaande pagina te tonen.
of
Druk op Cursor 3/2/∞/5 om de scène in de
linkerbovenhoek te kiezen voor het tonen van de
voorgaande pagina en druk dan op Cursor 2.
Druk op Cursor 3/2/∞/5 om de scène in de
rechteronderhoek te kiezen voor het tonen van
de volgende pagina en druk dan op Cursor 3.
NL37-49.TH-A75R[E]f.pm6 5/9/02, 3:18 PM44

45
Nederlands
CHANNEL/ZOOM
VOLUMETV VOL
TUNING
STOP
DIMMER
PAUSE
FF/
/REW
TV/VIDEO
1
MUTING
¡
REC
PLAY
DOWN UP
MEMORY STROBE
VFP
SETTING
TV RETURN
ENTER
ON
SCREEN
CHOICE
FM MODE
789
10 0+10
100+
PTY SEARCH
DVD
RDS
TA/NEWS/INFO
PTY(PTY9
RDS DISPLAY
–
+
–
+
SURR-L SURR-R
S-BACK –
+
ADJUST
O.T.
REPLAY
Druk de
afstandsbediening-
functieschakelaar
naar “DVD”.
Speciale beeldweergave
Met dit systeem beschikt u over diverse speciale
weergavefuncties, bijvoorbeeld beeld-voor-beeld,
stroboscoop, slow-motion en zoom.
Beeld-voor-beeld weergave
7Tijdens weergave
1Druk bij het punt vanaf waar u de beelden
stuk-voor-stuk wilt bekijken op PAUSE.
De weergave wordt gepauzeerd.
2Druk herhaaldelijk op PAUSE.
• Door iedere druk op de toets wordt het volgende
stilbeeld getoond.
Weer terugkeren naar normale weergave
Druk op PLAY.
OPMERKING:
U kunt tevens voor deze bediening de
8
toets van het centrale toestel
gebruiken.
Achtereenvolgend tonen van
stilbeelden
7Tijdens weergave
1Druk bij het punt vanaf waar u
achtereenvolgend stilbeelden wilt tonen op
STROBE.
De weergave wordt gepauzeerd.
2Houd STROBE langer dan 1 seconde
ingedrukt.
Er verschijnen 9 dezelfde beelden (stilbeelden) op het
TV-scherm.
3Druk éénmaal op STROBE.
Het beeld in het midden van de bovenste rij toont het
volgende beeld van het linkerbeeld.
Voortgezette beeld
Door iedere druk op STROBE wordt het volgende beeld
getoond.
Door op PLAY i.p.v. STROBE te drukken, wordt ieder
beeld in de normale weergavesnelheid met een
vertraging over al de 9 beelden getoond. (Het geluid
wordt gedempt).
Weer terugkeren naar het normale scherm
Houd STROBE langer dan 1 seconde ingedrukt.
OPMERKINGEN:
•Indien u STROBE tijdens weergave langer dan 1 seconde
ingedrukt houdt, verschijnen de 9 stilbeelden tevens maar worden
ze in de normale weergavesnelheid met een vertraging voortgezet.
(Het geluid wordt gedempt).
•U kunt tevens voor deze bediening de
8
toets van het centrale
toestel gebruiken.
NL37-49.TH-A75R[E]f.pm6 5/9/02, 3:18 PM45

46
Nederlands
ZOOM x4
2Alleen wanneer ingezoomd: druk op Cursor
3/2/∞/5 om het ingezoomde gedeelte te
verplaatsen.
Weer terugkeren naar normale weergave
Druk op ENTER.
OPMERKING:
De resolutie van het beeld is mogelijk niet optimaal wanneer
ingezoomd.
Bediening van de DVD-speler
Slow-motion (vertraagde)
weergave
In- en uitzoomen
7Tijdens weergave
1Druk bij het punt vanaf waar u de slow-
motion weergave wilt starten op PAUSE.
De weergave wordt gepauzeerd.
2Druk op ¡ of 1.
• Voor slow-motion weergave in voorwaartse richting,
drukt u op ¡.
• Voor slow-motion weergave in achterwaartse richting,
drukt u op 1.
Door iedere druk op de toets verandert de
weergavesnelheid als volgt.
Voorwaarts:
1/32
]
1/16
]
1/8
]
1/4
]
1/2
Achterwaarts:
1/32
]
1/16
]
1/8
]
1/4
]
1/2
Pauzeren van slow-motion weergave
Druk op PAUSE.
Weer terugkeren naar normale weergave
Druk op PLAY.
OPMERKINGEN:
•Tijdens slow-motion weergave kunt u het geluid niet beluisteren.
•Slow-motion weergave in achterwaartse richting is niet mogelijk
met VCD’s en SVCD’s.
CHANNEL/ZOOM
VOLUMETV VOL
TUNING
STOP
DIMMER
PAUSE
FF/
/REW
TV/VIDEO
1
MUTING
¡
REC
PLAY
DOWN UP
MEMORY STROBE
VFP
SETTING
TV RETURN
ENTER
ON
SCREEN
CHOICE
FM MODE
789
10 0+10
100+
PTY SEARCH
DVD
RDS
TA/NEWS/INFO
PTY(PTY9
RDS DISPLAY
–
+
–
+
SURR-L SURR-R
S-BACK –
+
ADJUST
O.T.
REPLAY
Druk de
afstandsbediening-
functieschakelaar
naar “DVD”.
7Tijdens weergave
1Druk op ZOOM + om in te zoomen of op
ZOOM – om uit te zoomen.
Door iedere druk op ZOOM + of ZOOM – verandert de
vergroting als hieronder aangegeven.
x 1/8 Ox 1/4 Ox 1/2 O normaal formaat O
x 2 Ox 4 Ox 8 Ox 16 Ox 32 O
x 64 Ox 128 Ox 256 Ox 512 Ox 1024
CHANNEL/ZOOM
VOLUMETV VOL
TUNING
STOP
DIMMER
PAUSE
FF/
/REW
TV/VIDEO
1
MUTING
¡
REC
PLAY
DOWN UP
MEMORY STROBE
VFP
SETTING
TV RETURN
ENTER
ON
SCREEN
CHOICE
FM MODE
789
10 0+10
100+
PTY SEARCH
DVD
RDS
TA/NEWS/INFO
PTY(PTY9
RDS DISPLAY
–
+
–
+
SURR-L SURR-R
S-BACK –
+
ADJUST
O.T.
REPLAY
Druk de
afstandsbediening-
functieschakelaar
naar “DVD”.
Bijv.: Met x4 zoom gekozen.
NL37-49.TH-A75R[E]f.pm6 5/9/02, 3:18 PM46

47
Nederlands
+0
NORMAL
GAMMA
BRIGHTNESS
CONTRAST
SATURATION
TINT
SHARPNESS
Y DELAY
+0
+0
+0
+0
+3
+0
+0
USER 1
GAMMA
BRIGHTNESS
CONTRAST
SATURATION
TINT
SHARPNESS
Y DELAY
+0
+0
+0
+0
+3
+0
CHANNEL/ZOOM
VOLUMETV VOL
TV/VIDEO MUTING
VFP
TV RETURN
ENTER
ON
SCREEN
CHOICE
FM MODE
10
0
+10
100+
PTY SEARCH
DVD
RDS
TA/NEWS/INFO
PTY(PTY9
RDS DISPLAY
ADJUST
+0
GAMMA
+0
GAMMA
2Druk herhaaldelijk op Cursor ∞/5 om de in
te stellen parameter te kiezen.
Stel de parameters in zodat het beeld als gewenst is.
•GAMMA:
Stel in indien de neutrale kleur helder of donker is. De
helderheid van het donkere en lichte gedeelte blijft
behouden.
Instelbereik: –4 (donkerst) t/m +4 (lichtst)
•BRIGHTNESS:
Stel in indien het algehele beeld te donker of licht is.
Instelbereik: –16 (donkerst) t/m +16 (lichtst)
•CONTRAST:
Stel in indien het contrast onnatuurlijk is.
Instelbereik: –16 t/m +16
•SATURATION:
Stel in indien het beeld wittig of zwartig is.
Instelbereik: –16 (meest zwart) t/m +16 (meest wit).
•TINT:
Stel in indien de huidskleur onnatuurlijk is.
Instelbereik: –16 t/m +16
•SHARPNESS:
Stel in indien het beeld niet scherp genoeg is.
Instelbereik: +0 t/m +3
•Y DELAY:
Stel in indien het beeld lossig/overlappend is.
Instelbereik: –2 t/m +2.
3Druk op ENTER.
De lijst met parameters voor VFP verdwijnt en het
volgende pop-up venster voor het gekozen onderdeel
verschijnt op de TV.
4Druk herhaaldelijk op Cursor ∞/5 om de
instelling te veranderen en druk vervolgens
op ENTER.
Uw instelling wordt nu vastgelegd en de lijst met huidige
parameters voor VFP verschijnt weer.
5Herhaal stappen 2—4 voor het instellen
van de andere parameters.
Uitschakelen van het VFP-instelscherm
Druk op VFP.
Activeren van uw instelling
Druk op VFP en vervolgens herhaaldelijk op Cursor 3/2 om
“USER 1” of “USER 2” te kiezen.
OPMERKING:
De VFP instelling verdwijnt indien u gedurende ongeveer 10
seconden geen bediening uitvoert.
Druk de
afstandsbediening-
functieschakelaar
naar “DVD”.
Veranderen van de VFP
instelling
Met de VFP (Video Fine Processor) functie kunt u de
beeldkarakteristieken instellen in overeenstemming met het
programma, beeldkleur of persoonlijke voorkeur.
Voordat u start, vergeet niet...
De volgende stappen moeten binnen een bepaalde tijd worden
uitgevoerd. Start opnieuw vanaf stap 1 indien de instelling werd
geannuleerd voordat u klaar bent.
7Tijdens weergave
1Druk op VFP.
De huidige VFP instellingen verschijnen op het TV.
Bijv.: Met “NORMAL” gekozen.
2Druk herhaaldelijk op Cursor 3/2 om de
VFP-functie te kiezen.
Door iedere druk op de toets verandert de VFP-functie als
volgt.
NORMAL “ CINEMA “ USER 1 “ USER 2 “
(terug naar het begin)
NORMAL :Kies normaliter deze stand.
CINEMA :
Geschikt voor weergave van films.
USER 1, USER 2 :U kunt de diverse parameters
voor het beeld instellen en de
instellingen vastleggen (zie hier
rechts).
Uitschakelen van het VFP-instelscherm
Druk op VFP.
OPMERKING:
U kunt het beeld niet veranderen indien u “NORMAL” en “CINEMA”
heeft gekozen.
7Instellen van de beeldkarakteristieken
Met “USER 1” of “USER 2” gekozen kunt u de
karakteristieken van het beeld instellen.
1Druk op VFP en vervolgens herhaaldelijk op
Cursor 3/2 om “USER 1” of “USER 2” te
kiezen.
NL37-49.TH-A75R[E]f.pm6 5/9/02, 3:18 PM47

48
Nederlands
VFP
ENTER
ON
SCREEN
CHOICE
PTY SEARCH
DVD
RDS
TA/NEWS/INFO
PTY(PTY9
RDS DISPLAY
7Wanneer gestopt
1Druk tweemaal op ON SCREEN.
De in-beeldstaaf verschijnt op de TV.
2Druk herhaaldelijk op Cursor 3/2 om
naar
RND.
te verplaatsen en druk
vervolgens op ENTER.
De willekeurige weergave start nu.
• De willekeurige weergave stopt nadat alle fragmenten
éénmaal zijn afgespeeld.
Uitschakelen van de in-beeldstaaf
Druk op ON SCREEN.
Stoppen van de willekeurige weergave
Druk op STOP. De weergave stopt en de willekeurige
weergavefunctie wordt geannuleerd.
OPMERKINGEN:
•Tijdens willekeurige weergave kunt u terugkeren naar het begin van
het spelende fragment door op
4
/REW te drukken. U kunt niet
terugkeren naar reeds geheel afgespeelde fragmenten.
•
De willekeurige weergave zal worden geannuleerd wanneer u tijdens de
willekeurige weergave op ENTER drukt als
RND.
van de in-beeldstaaf is
gekozen. De weergave wordt in de normale volgorde voortgezet.
Bediening van de DVD-speler
Druk de
afstandsbediening-
functieschakelaar
naar “DVD”.
Weergave in de gewenste
volgorde
—Geprogrammeerde weergave
U kunt maximaal 99 fragmenten programmeren voor
weergave in de gewenste volgorde.
•
Hetzelfde fragment kan meerdere malen worden geprogrammeerd.
• De functie is niet voor DVD beschikbaar.
PROGRAM
No.
1
2
3
4
5
6
7
8
9
10
Total Program Time 00:00:00
Track
PROGRAM
No 1
2
3
4
5
6
7
8
9
10
3
Total Program Time 00:04:14
Track
CHANNEL/ZOOM
VOLUMETV VOL
TUNING
STOP
DIMMER
PAUSE
FF/
/REW
TV/VIDEO
1
MUTING
¡
REC
PLAY
DOWN UP
MEMORY STROBE
VFP
CONTROL
EFFECT
S.WFR TEST
SLEEP
TV
VCR
SETTING
TV RETURN
ENTER
ON
SCREEN
CHOICE
FM MODE
123
456
789
10 0+10
100+
SOUND
PTY SEARCH
DVD
RDS
TA/NEWS/INFO
PTY(PTY9
RDS DISPLAY
CENTER
–
+
–
+
–
+
–
+
SURR-L SURR-R
S-BACK
–
+
ADJUST
O.T.
REPLAY
Druk de
afstandsbediening-
functieschakelaar
naar “DVD”.
De totale geprogrammeerde tijd verschijnt.
4Herhaal stap 3 om andere fragmenten te
programmeren.
• Door bij de laatste stap een fragmentnummer in te
voeren, verschijnt de volgende stap op het scherm.
5Druk op PLAY.
Bij weergave van een VCD of SVCD verdwijnt het
programmeermenu.
De fragmenten worden nu in de geprogrammeerde
volgorde afgespeeld.
• De geprogrammeerde weergave stopt nadat alle
geprogrammeerde fragmenten zijn afgespeeld.
Wissen van een geprogrammeerde stap
Druk op Cursor 5/∞ om naar de te wissen stap te
verplaatsen en druk dan op STOP.
Voor het vervolgens weer programmeren van de volgende
stappen, drukt u herhaaldelijk op Cursor ∞ om naar de
lege stap te verplaatsen en herhaalt u vervolgens stap 3.
Stoppen van de geprogrammeerde weergave
Druk op STOP.
Het programmeerscherm verschijnt weer.
• Herhaal stappen 3 en 4 voor het veranderen van uw
programma.
Annuleren van geprogrammeerde weergave
Wis het door u gemaakte programma als volgt:
1Druk op STOP om de weergave te stoppen.
2Druk op ON SCREEN om de in-beeldstaaf te tonen.
3Druk op STOP.
• U kunt het programma ook wissen door de disc uit te
werpen of het systeem uit te schakelen.
Uitschakelen van de in-beeldstaaf
Druk op ON SCREEN.
Weergave in een
willekeurige volgorde
—Willekeurige weergave
• De functie is niet voor DVD beschikbaar.
7Wanneer gestopt
1Druk tweemaal op ON SCREEN.
De in-beeldstaaf verschijnt op de TV.
2Druk herhaaldelijk op Cursor 3/2 om
naar
PROG.
te verplaatsen en druk
vervolgens op ENTER.
Het programmeermenu verschijnt op de TV.
3Druk op de cijfertoetsen (1–10, +10) om het
gewenste, te programmeren
fragmentnummer in te voeren.
Bijv.:
Voor het kiezen van 3, drukt u op 3.
Voor het kiezen van 14, drukt u op +10 en dan op 4.
Voor het kiezen van 40, drukt u op +10, +10, +10 en dan op 10.
NL37-49.TH-A75R[E]f.pm6 5/9/02, 7:13 PM48

49
Nederlands
A B
8.5Mbps
A -
TIME
C
DVD-VIDEO
VFP
ENTER
ON
SCREEN
CHOICE
PTY SEARCH
DVD
RDS
TA/NEWS/INFO
PTY(PTY9
RDS DISPLAY
8.5Mbps
DVD-VIDEO
TITLE
14 TIME
1:25:58
CHAP
23
1/3 1/3 1/3
TIME CHAP.
OFF
VFP
ENTER
ON
SCREEN
CHOICE
PTY SEARCH
DVD
RDS
TA/NEWS/INFO
PTY(PTY9
RDS DISPLAY
8.5Mbps
DVD-VIDEO
TITLE
14
TIME
1:25:58
CHAP
23
1/3 1/3 1/3
TIME CHAP.
OFF
7Tijdens weergave
1Druk tweemaal op ON SCREEN.
De in-beeldstaaf verschijnt op de TV.
2Druk herhaaldelijk op Cursor 3/2 om
naar te verplaatsen en druk
vervolgens op ENTER.
Het pop-up venster verschijnt onder de in-beeldstaaf.
3Druk herhaaldelijk op Cursor ∞/5 om “A-B”
te kiezen.
4Druk op ENTER bij het punt vanaf waar u
wilt herhalen (punt A).
Het volgende display verschijnt in de in-beeldstaaf.
5Druk op ENTER bij het punt tot waar u wilt
herhalen (punt B).
De herhaalde weergave van A-B start. Het gekozen
gedeelte van de disc (vanaf punt A tot punt B) wordt
herhaald afgespeeld.
Annuleren van de A-B herhaalde weergave
Voer de handelingen vanaf stap 1 uit maar kies “OFF” in stap
3 en druk vervolgens op ENTER.
Uitschakelen van de in-beeldstaaf
Druk op ON SCREEN.
OPMERKINGEN:
•Bij weergave van een DVD disc kan het A-B gedeelte uitsluitend
binnen dezelfde titel worden gekozen.
•“A-B” kan niet worden gekozen in combinatie met
geprogrammeerde en willekeurige weergave.
•“A-B” kan niet worden gekozen wanneer gestopt.
Druk de
afstandsbediening-
functieschakelaar
naar “DVD”.
Druk de
afstandsbediening-
functieschakelaar
naar “DVD”.
Herhaalde weergave
U kunt de huidige titel of het hoofdstuk (voor DVD) of een
fragment (voor VCD/SVCD/Audio CD) herhaald afspelen.
Het is tevens mogelijk een bepaald gedeelte te herhalen.
Herhalen van de huidige titel,
het hoofdstuk of fragmenten
7Voor DVD : Tijdens weergave
7Voor VCD/SVCD : Tijdens weergave zonder de PBC-
functie geactiveerd of wanneer
gestopt
7Voor Audio CD : Tijdens weergave of wanneer
gestopt
1Druk tweemaal op ON SCREEN.
De in-beeldstaaf verschijnt op de TV.
2Druk herhaaldelijk op Cursor 3/2 om
naar te verplaatsen en druk
vervolgens op ENTER.
Het pop-up venster verschijnt onder de in-beeldstaaf.
3Druk herhaaldelijk op Cursor ∞/5 om de
herhaalfunctie te kiezen.
• Door iedere druk op de toets verandert de
weergavefunctie als volgt.
Voor DVD:
CHAPTER O TITLE O A-B O OFF O
(terug naar het begin)
Voor VCD/SVCD/Audio CD:
TRACK O ALL O A-B OOFF O
(terug naar het begin)
CHAPTER : Herhaalt het huidige hoofdstuk.
TITLE : Herhaalt de huidige titel.
TRACK : Herhaalt het huidige fragment.
ALL : Herhaalt alle fragmenten van een disc.
A-B : Herhaalt het gekozen gedeelte (zie hier
rechts).
OFF : Annuleert de herhaalde weergave.
OPMERKING:
Indien u tijdens willekeurige weergave “ALL” kiest, worden alle
fragmenten van de disc in willekeurige volgorde herhaald afgespeeld.
4Druk op ENTER.
De herhaalde weergave start.
Annuleren van de herhaalde weergave
Voer de handelingen vanaf stap 1 uit maar kies “OFF” in stap
3 en druk vervolgens op ENTER.
Uitschakelen van de in-beeldstaaf
Druk op ON SCREEN.
Herhalen van een bepaald
gedeelte—A-B herhalen
U kunt een bepaald gedeelte herhalen door het startpunt (A)
en stoppunt (B) in te voeren.
NL37-49.TH-A75R[E]f.pm6 5/9/02, 3:18 PM49

50
Nederlands
Weergave van MP3 disc
CHANNEL/ZOOM
VOLUMETV VOL
TUNING
STOP
DIMMER
PAUSE
FF/
/REW
TV/VIDEO
1
MUTING
¡
REC
PLAY
DOWN UP
MEMORY STROBE
VFP
ENTER
ON
SCREEN
CHOICE
PTY SEARCH
DVD
RDS
TA/NEWS/INFO
PTY(PTY9
RDS DISPLAY
O.T.
REPLAY
L
S.WFR
R
MP3
Druk de
afstandsbediening-
functieschakelaar
naar “DVD”.
Met dit toestel kunt u MP3 fragmenten (bestanden) afspelen die op CD-R of CD-RW zijn opgenomen. We noemen dergelijke
discs in deze gebruiksaanwijzing een “MP3 disc”.
•Druk op DVD om de afstandsbediening voor MP3 discs te gebruiken alvorens u de bedieningen met gebruik van de
afstandsbediening in dit gedeelte uitvoert.
•
Voor weergave van een MP3 disc, moet u “MP3/JPEG” bij het PICTURE menu van het keuzemenu op “MP3” stellen (zie bladzijde 57).
• Schakel de TV in en kies de juiste ingangsfunctie met de TV.
Indien “ ” op het TV-scherm verschijnt bij een druk op een toets, accepteert de disc niet de bediening die u
probeert uit te voeren.
7OPMERKINGEN aangaande MP3 discs
• MP3 discs (CD-R of CD-RW) vereisen een langere
afleestijd. (De tijd verschilt afhankelijk van de complexiteit
van de groep (map)/fragment (bestand) configuratie).
• Bij het maken van een MP3 disc, moet u ISO 9660 Level 1
of Level 2 als discformaat kiezen.
• Dit systeem is geschikt voor “multi-sessie” discs (maximaal
5 sessies).
• Dit systeem is niet geschikt voor “packet write” discs.
•
Dit systeem kan uitsluitend MP3 bestanden lezen met de
volgende extensiecodes: “.MP3”, “.Mp3”, “.mP3” en “.mp3”.
• ID3* tags kunnen niet op het display worden getoond.
*
Een MP3 bestand kan bestandsinformatie bevatten die
“ID3 Tag” wordt genoemd en waarin de naam van de opname, zanger/
es, fragmenttitels, enz. zijn vastgelegd. Er zijn twee verschillende
versies—ID3v1 (ID3 Tag version 1) en ID3v2 (ID3 Tag version 2).
• Neem bij voorkeur ieder MP3 bestand met een
bemonsteringsfrequentie van 44,1 kHz en een data-
overdrachtratio (bitwaarde) van 128 kbps op. Dit toestel
kan geen bestanden afspelen die met een lagere
bitwaarde dan 64 kbps zijn gemaakt.
• Indien zowel MP3 bestanden als JPEG bestanden op een
disc zijn opgenomen, moet u de MP3/JPEG instelling van
het PICTURE menu op “MP3” stellen. (Zie bladzijde 57).
•
Bepaalde MP3 discs kunnen afhankelijk van de
disckarakteristieken of opnamecondities niet worden afgespeeld.
Basisbediening
OPMERKINGEN:
• De volgende functies kunnen niet voor weergave van
een MP3 disc worden gebruikt:
Geprogrammeerde weergave, willekeurige weergave,
herhaalde weergave, versnelde weergave in voor- of
achterwaartse richting, in-beeldstaaf en keuzemenu’s.
• Bepaalde fragmenten van een MP3 disc worden
overgeslagen en mogelijk niet juist afgespeeld.
ALLEEN met de afstandsbediening:
7 Starten van de weergave
Plaats een MP3 disc en druk vervolgens op
PLAY.
Het systeem start de weergave.
De volgende informatie verschijnt op het display en het MP3
CONTROL scherm (zie bladzijde 51) verschijnt op de TV.
MP3 indicator Huidige fragmentnummer
Huidige
groepnummer Verstreken weergavetijd
van het huidige fragment
Pauzeren van de weergave
Druk op PAUSE (of 8 van het centrale toestel).
Weer starten van de weergave, druk op PLAY (of 3 van het
centrale toestel).
In voorwaartse richting verspringen naar groepen
Druk op Cursor 3.
In achterwaartse richting verspringen naar groepen
Druk op Cursor 2.
In voorwaartse richting verspringen naar fragmenten
Druk zo vaak als nodig op FF/¢ of Cursor ∞ (of ¢ van het
centrale toestel).
Verspringen naar het begin van het spelende fragment
Druk éénmaal op 4/REW (of 4 van het centrale toestel).
In achterwaartse richting verspringen naar fragmenten
Druk zo vaak als nodig op 4/REW of Cursor 5 (of 4 van
het centrale toestel).
Geheel stoppen van de weergave
Druk op STOP (of 7 van het centrale toestel).
NL50-53.TH-A75R[E]f.pm6 5/9/02, 3:18 PM50

51
Nederlands
MP3 CONTROL
Group : 01 / 03
Time : 00:00:14
Track : 01 / 14 (Total 41)
Blue
Red
Green
Cloudy
Fair
Fog
Hail
Indian summer
Rain
Shower
Snow
Thunder
Typhoon
Wind
Winter sky
CHANNEL/ZOOM
VOLUMETV VOL
TUNING
FF/
/REW
TV/VIDEO
1
MUTING
¡
PLAY
DOWN UP
VFP
CONTROL
EFFECT
S.WFR TEST
SLEEP
TV
VCR
SETTING
TV RETURN
ENTER
ON
SCREEN
CHOICE
FM MODE
123
456
789
10 0+10
100+
PTY SEARCH
DVD
RDS
TA/NEWS/INFO
PTY(PTY9
RDS DISPLAY
CENTER
–
+
–
+
–
+
–
+
SURR-L SURR-R
S-BACK –
+
ADJUST
1Druk op Cursor 3/2 om een groep te
kiezen.
2Druk op Cursor ∞/5 om het gewenste
fragment te kiezen en druk vervolgens op
PLAY of ENTER.
Starten van de weergave door het fragmentnummer in te
voeren
Druk op de cijfertoetsen (1–10, +10) om het fragmentnummer
in te voeren.
Bijv.:
• Voor het kiezen van 3, drukt u op 3.
• Voor het kiezen van 14, drukt u op +10 en dan op 4.
• Voor het kiezen van 24, drukt u op +10, +10 en dan op 4.
• Voor het kiezen van 110, drukt u tien keer op +10 en dan
op 10.
Het ingevoerde nummer verschijnt bij de aanduiding van het
fragmentnummer en de weergave start vervolgens vanaf dit
gekozen fragment.
Druk de
afstandsbediening-
functieschakelaar
naar “DVD”.
Bediening met het MP3
CONTROL scherm
U kunt gewenste groepen en fragmenten opzoeken met
gebruik van het MP3 CONTROL scherm.
7MP3 CONTROL scherm
Het volgende scherm verschijnt op de TV na het plaatsen
van een MP3 disc.
Huidige
groepnaam
Huidige
groepnummer/
totaal aantal
groepnummers
Huidige fragmentnummer/
totaal aantal fragmenten in
de groep (totaal aantal
fragmenten op de disc)
Verstreken weergavetijd
van huidige fragment
Huidige fragmentnaam
OPMERKINGEN:
•Bepaalde groep- en fragmentnamen worden mogelijk vanwege de
opnamecondities niet juist getoond.
•De volgorde van groepen en fragmenten op een MP3 disc kan
anders worden getoond dan de volgorde die u met uw personal
computer ziet.
•De MP3 CONTROL scherm er worden maximaal 12 groepen en
fragmenten tegelijkertijd getoond. Door herhaaldelijk op Cursor
3
/
2
/
∞
/
5
te drukken worden de “verborgen” groepen en
fragmenten stuk-voor-stuk getoond.
7Bediening
NL50-53.TH-A75R[E]f.pm6 5/9/02, 3:18 PM51

52
Nederlands
Weergave van JPEG disc
CHANNEL/ZOOM
VOLUMETV VOL
TUNING
STOP
DIMMER
PAUSE
FF/
/REW
TV/VIDEO
1
MUTING
¡
REC
PLAY
DOWN UP
MEMORY STROBE
VFP
ENTER
ON
SCREEN
CHOICE
PTY SEARCH
DVD
RDS
TA/NEWS/INFO
PTY(PTY9
RDS DISPLAY
O.T.
REPLAY
L
S.WFR
R
Druk de
afstandsbediening-
functieschakelaar
naar “DVD”.
Met dit toestel kunt u JPEG bestanden afspelen die op CD-R of CD-RW zijn opgenomen. We noemen dergelijke discs in deze
gebruiksaanwijzing een “JPEG disc”.
•Druk op DVD om de afstandsbediening voor JPEG discs te gebruiken alvorens u de bedieningen met gebruik van de
afstandsbediening in dit gedeelte uitvoert.
•
Voor weergave van een JPEG disc, moet u “MP3/JPEG” bij het PICTURE menu van het keuzemenu op “JPEG” stellen (zie bladzijde 57).
• Schakel de TV in en kies de juiste ingangsfunctie met de TV.
Indien “ ” op het TV-scherm verschijnt bij een druk op een toets, accepteert de disc niet de bediening die u
probeert uit te voeren.
7OPMERKINGEN aangaande JPEG discs
• JPEG discs (CD-R of CD-RW) vereisen een langere
afleestijd. (De tijd verschilt afhankelijk van de complexiteit
van de groep (map)/bestand configuratie).
• Bij het maken van een JPEG disc, moet u ISO 9660 Level 1
of Level 2 als discformaat kiezen.
• Dit systeem is geschikt voor “multi-sessie” discs (maximaal
5 sessies).
• Dit systeem is niet geschikt voor “packet write” discs.
• Dit systeem kan uitsluitend JPEG bestanden lezen met de
volgende extensiecodes: “.jpg”, “.jpeg”, “.JPG”, “.JPEG” en
andere combinaties van hoofdletters en kleine letters
(bijvoorbeeld “.Jpg”).
• Neem bij voorkeur een bestand met de 640 x 480 resolutie
op. (Indien een bestand werd opgenomen met een hogere
resolutie dan 640 x 480 zal het langer duren eer het
bestand kan worden getoond).
• Indien zowel JPEG bestanden als MP3 bestanden op een
disc zijn opgenomen, moet u de MP3/JPEG instelling van
het PICTURE menu op “JPEG” stellen. (Zie bladzijde 57.)
• Dit systeem kan uitsluitend baseline JPEG bestanden*
tonen. Progressieve JPEG bestanden* of lossless JPEG
bestanden* kunnen niet worden weergegeven. Bestanden
met andere formaten kunnen mogelijk niet worden
afgespeeld.
* Baseline JPEG formaat: Gebruikt voor digitale camera’s, web,
enz.
Progressive JPEG formaat: Gebruikt voor web.
Lossless JPEG formaat: Een oud formaat en wordt nu haast
niet meer gebruikt.
• Bepaalde JPEG discs kunnen afhankelijk van de
disckarakteristieken of opnamecondities niet worden
afgespeeld.
Dia-show
U kunt de stilbeelden (foto’s) automatisch—dia-show.
OPMERKINGEN:
• De volgende functies kunnen niet voor weergave van
een JPEG disc worden gebruikt:
Geprogrammeerde weergave, willekeurige weergave,
herhaalde weergave, versnelde weergave in voor- of
achterwaartse richting, in-beeldstaaf en keuzemenu’s.
• Indien voortdurend tijdens de dia-show een zwart
scherm verschijnt:
Het bestand dat wordt getoond is mogelijk niet een
baseline JPEG bestand. Kies in dat geval een goed
bestand (een baseline JPEG bestand) (en druk op STOP
of MENU om het JPEG bedieningsdisplay te openen).
Het kan even duren eer een ander bestand kan worden
gekozen.
• Bepaalde bestanden van een JPEG disc worden
mogelijk vervormd weergegeven.
ALLEEN met de afstandsbediening:
7 Starten van de dia-show
Plaats een JPEG disc en druk vervolgens op
PLAY.
De weergave van de dia-show start.
•
Ieder bestand (stilbeeld) wordt ongeveer 3 seconden op
het TV-scherm getoond en daarna verschijnen
achtereenvolgend de volgende stilbeelden. Nadat alle
bestanden van een groep zijn afgespeeld, start het systeem
de weergave van de bestanden in de volgende groep.
Huidige groepnummer Huidige bestandnummer
In voorwaartse richting verspringen naar groepen
Druk op Cursor 3.
In achterwaartse richting verspringen naar groepen
Druk op Cursor 2.
Voorwaarts verspringen naar bestanden
Druk op FF/¢ of Cursor ∞ (of ¢ van het centrale toestel).
Achterwaarts verspringen naar bestanden
Druk op 4/REW of Cursor 5 (of 4 van het centrale toestel).
Pauzeren van de dia-show
Druk op PAUSE (of 8 van het centrale toestel).
Weer starten van de dia-show, druk op PLAY (of 3 van het
centrale toestel).
Stoppen van de dia-show
Druk op STOP (of 7 van het centrale toestel).
Het JPEG CONTROL scherm verschijnt op het TV-scherm.
OPMERKING:
Druk op de toetsen nadat het hele beeld op het display is verschenen.
Het systeem accepteert geen bedieningen wanneer u op toetsen
drukt terwijl een beeld nog niet geheel is getoond.
NL50-53.TH-A75R[E]f.pm6 5/9/02, 3:18 PM52

53
Nederlands
JPEG CONTROL
Group : 01 / 03 File : 01 / 14 (Total 41)
Anemone fish
Bonito
Butterfly fish
Dolphin
Garden eel
Manta ray
Seal
Swordfish
Tuna
Turtle
Whale
Whale shark
Sea
Mountain
Sky
CHANNEL/ZOOM
VOLUMETV VOL
TUNING
STOP
DIMMER
PAUSE
FF/
/REW
TV/VIDEO
1
MUTING
¡
REC
PLAY
DOWN UP
MEMORY STROBE
RETURN DIGEST
VFP
TOP MENU MENU
CONTROL
EFFECT
S.WFR TEST
SLEEP
TV
VCR
SETTING
TV RETURN
ENTER
ON
SCREEN
CHOICE
FM MODE
123
456
789
10 0+10
100+
SOUND
PTY SEARCH
DVD
RDS
TA/NEWS/INFO
PTY(PTY9
RDS DISPLAY
SURROUND OFF
DSP
CENTER
–
+
–
+
–
+
–
+
SURR-L SURR-R
S-BACK –
+
ADJUST
O.T.
REPLAY
1 Druk op Cursor 3/2 om een groep te
kiezen.
2 Druk op Cursor ∞/5 om het gewenste
bestand te kiezen en druk vervolgens op
ENTER.
Het gekozen beeld wordt op het TV-scherm getoond.
In- of uitzoomen op een stilbeeld
Druk nadat het beeld geheel op het TV-scherm is getoond
op ZOOM + of –. (Zie tevens bladzijde 46).
Starten van de diashow vanaf het gekozen beeld
Druk op PLAY (of 3 van het centrale toestel).
Starten van de weergave vanaf het gekozen bestand
Druk op de cijfertoetsen (1–10, +10) om het bestandnummer
in te voeren.
Bijv.:
• Voor het kiezen van 3, drukt u op 3.
• Voor het kiezen van 14, drukt u op +10 en dan op 4.
• Voor het kiezen van 24, drukt u op +10, +10 en dan op 4.
• Voor het kiezen van 110, drukt u tien keer op +10 en dan
op 10.
Het ingevoerde nummer verschijnt bij de aanduiding van het
bestandsnummer en de dia-show start vervolgens vanaf dit
gekozen bestand.
Tonen van het JPEG CONTROL scherm
Druk op MENU of STOP (of 7 van het centrale toestel).
Druk de
afstandsbediening-
functieschakelaar
naar “DVD”.
Bediening met het JPEG
CONTROL scherm
U kunt gewenste groepen en bestanden met gebruik van het
JPEG CONTROL scherm opzoeken.
7JPEG CONTROL scherm
Huidige
groepnaam
Huidige groepnummer/
totaal aantal
groepnummers
Huidige bestandnummer/
totaal aantal bestandnummers
in de groep (totaal aantal
bestandnummers op de
geplaatste disc)
Huidige bestandnaam
OPMERKINGEN:
•Bepaalde groep-en bestandsnamen worden mogelijk vanwege de
opnamecondities niet juist getoond.
•De volgorde van groepen en bestanden op een JPEG disc kan
anders worden getoond dan de volgorde die u met uw personal
computer ziet.
•De JPEG CONTROL scherm er worden maximaal 12 groepen en
bestanden tegelijkertijd getoond. Door herhaaldelijk op Cursor
3
/
2
/
∞
/
5
te drukken worden de “verborgen” groepen en
bestanden stuk-voor-stuk getoond.
7Bediening
NL50-53.TH-A75R[E]f.pm6 5/9/02, 3:18 PM53

54
Nederlands
Gebruik van de keuzemenu’s
ENGLISH
ENGLISH
ENGLISH
LANGUAGE
MENU LANGUAGE
ON SCREEN LANGUAGE
AUDIO LANGUAGE
SUBTITLE
USE TO SELECT, USE ENTER TO CONFIRM.
TO EXIT, PRESS CHOICE.
ENTER
SELECT
ENGLISH
CENTER
0
0
AUDIO
L/R BALANCE
BASS
TREBLE
LFE ATT.
MIDNIGHT MODE
OFF
OFF
USE TO SELECT, USE ENTER TO CONFIRM.
TO EXIT, PRESS CHOICE.
ENTER
SELECT
4:3LB
PICTURE
MONITOR TYPE
AUTO
USE TO SELECT, USE ENTER TO CONFIRM.
TO EXIT, PRESS CHOICE.
ENTER
SELECT
MP3 / JPEG MP3
ON
STILL MODE
SCREEN SAVER
ON
OTHERS
RESUME
ON SCREEN GUIDE
AUTO STANDBY
ON
OFF
PARENTAL LOCK
USE TO SELECT, USE ENTER TO CONFIRM.
TO EXIT, PRESS CHOICE.
ENTER
SELECT
200Hz
SPK. SETTING
CROSS OVER
LEVEL
SIZE
DISTANCE
RETURN TO INITIAL
USE TO SELECT, USE ENTER TO CONFIRM.
TO EXIT, PRESS CHOICE.
ENTER
SELECT
CHANNEL/ZOOM
VOLUMETV VOL
VFP
TV RETURN
ENTER
ON
SCREEN
CHOICE
FM MODE
10 0+10
100+
PTY SEARCH
DVD
RDS
TA/NEWS/INFO
PTY(PTY9
RDS DISPLAY
ADJUST
Druk de
afstandsbediening-
functieschakelaar
naar “DVD”.
U kunt de basisinstellingen van de keuzemenu’s die op het
TV worden getoond.
• Druk op DVD om de afstandsbediening voor disc-
bediening in te stellen alvorens de afstandsbediening te
gebruiken.
• U kunt het keuzemenu niet gebruiken indien u een andere
bron dan DVD heeft gekozen.
• Schakel uw TV in en kies de juiste ingangsfunctie met de
TV.
• U kunt de taal voor de keuzemenu’s veranderen. Zie
bladzijde 56.
OPMERKINGEN:
•U kunt alleen de afstandsbediening gebruiken voor de bedieningen
met de keuzemenu’s.
•U kunt de keuzemenu’s niet tonen wanneer een MP3 disc of JPEG
disc is geplaatst.
Keuzemenu’s
Overzicht van het keuzemenu
Taalmenu (LANGUAGE)
(zie bladzijde 56)
U kunt de basistaal voor
het discmenu, geluid en de
ondertitels instellen.
Beeldmenu (PICTURE)
(zie bladzijde 57)
U kunt de gewenste opties
voor het beeld of het
monitorscherm kiezen.
Geluidmenu (AUDIO)
(zie bladzijde 58)
U kunt de
geluidsinstellingen voor dit
systeem met dit menu
veranderen.
Luidsprekerinstelling-
menu (SPK. SETTING)
(zie bladzijde 59)
U kunt de
luidsprekerinstellingen
maken en het
uitgangsniveau van de
luidsprekers instellen.
Overige menu (OTHERS)
(zie bladzijde 60)
U kunt instellingen maken
voor bepaalde functies.
Bedieningstoetsen voor de
keuzemenu’s
ALLEEN met de afstandsbediening:
Toets
CHOICE
Cursor 3/2
Cursor ∞/5
ENTER
Functie
Toont het keuzemenu op de TV.
Door iedere druk op de toets wordt het
keuzemenu afwisselend getoond en
uitgeschakeld.
Kiest een menu.
Kiest een onderdeel.
Verplaatst naar het submenu van het
gekozen onderdeel of voltooit de
instelling.
NL54-63.TH-A75R[E]f.pm6 5/9/02, 3:19 PM54

55
Nederlands
ENGLISH
ENGLISH
ENGLISH
LANGUAGE
MENU LANGUAGE
ON SCREEN LANGUAGE
AUDIO LANGUAGE
SUBTITLE
USE TO SELECT. USE ENTER TO CONFIRM.
TO EXIT, PRESS CHOICE.
ENTER
SELECT
ENGLISH
CHANNEL/ZOOM
VOLUMETV VOL
VFP
TV RETURN
ENTER
ON
SCREEN
CHOICE
FM MODE
10
0
+10
100+
PTY SEARCH
DVD
RDS
TA/NEWS/INFO
PTY(PTY9
RDS DISPLAY
ADJUST
PICTURE
MONITOR TYPE
SCREEN SAVER
USE TO SELECT. USE ENTER TO CONFIRM.
TO EXIT, PRESS CHOICE.
ENTER
SELECT
MP3 / JPEG JPEG
4:3LB
ON
STILL MODE AUTO
PICTURE
MONITOR TYPE
SCREEN SAVER
USE TO SELECT. USE ENTER TO CONFIRM.
TO EXIT, PRESS CHOICE.
ENTER
SELECT
MP3 / JPEG JPEG
4:3LB
ON
STILL MODE AUTO
PICTURE
MONITOR TYPE
SCREEN SAVER
USE TO SELECT. USE ENTER TO CONFIRM.
TO EXIT, PRESS CHOICE.
ENTER
SELECT
MP3 / JPEG JPEG
ON
STILL MODE AUTO
4:3LB
OFF
ON
PICTURE
MONITOR TYPE
SCREEN SAVER
USE TO SELECT. USE ENTER TO CONFIRM.
TO EXIT, PRESS CHOICE.
ENTER
SELECT
MP3 / JPEG JPEG
ON
STILL MODE AUTO
4:3LB
OFF
ON
PICTURE
MONITOR TYPE
SCREEN SAVER
USE TO SELECT. USE ENTER TO CONFIRM.
TO EXIT, PRESS CHOICE.
ENTER
SELECT
MP3 / JPEG JPEG
OFF
STILL MODE AUTO
4:3LB
Druk de
afstandsbediening-
functieschakelaar
naar “DVD”.
Basisbediening
Druk op DVD om DVD als bron in te stellen alvorens het
keuzemenu te bedienen.
Bijv.: Voor het instellen van de screen-saver met het
PICTURE menu.
1Druk op CHOICE.
Het LANGUAGE menu wordt op de TV getoond.
2Druk herhaaldelijk op Cursor 3/2 zodat het
PICTURE menu op het scherm verschijnt.
3Druk herhaaldelijk op Cursor ∞/5 om
naar “SCREEN SAVER” te verplaatsen.
4Druk op ENTER.
Het pop-up venster met een lijst met kiesbare opties
verschijnt.
5Druk herhaaldelijk op Cursor ∞/5 om de
gewenste optie te kiezen.
Bijv.: Met “OFF” gekozen.
6Druk op ENTER.
Uw keuze wordt vastgelegd.
Instellen van andere onderdelen van hetzelfde keuzemenu
Herhaal stappen 3 t/m 6.
Instellen van andere onderdelen van een ander
keuzemenu
Herhaal stappen 2 t/m 6.
Verlaten van de keuzemenu’s
Druk op CHOICE.
OPMERKING:
Bepaalde onderdelen van keuzemenu’s bestaan uit sub-menu’s. Het
sub-menu verschijnt door een druk op ENTER. U kunt de onderdelen
van het sub-menu instellen met Cursor
3
/
2
/
∞
/
5
en ENTER.
NL54-63.TH-A75R[E]f.pm6 5/9/02, 3:19 PM55

56
Nederlands
Taalcodelijst
SO Somalisch
SQ Albanees
SR Servisch
SS Siswat
ST Sesotho
SU Soedanees
SV Zweeds
SW Swahilisch
TA Tamil
TE Telugu
TG Tajik
TH Thais
TI Tigrinya
TK Turkmen
TL Tagalog
TN Setswana
TO Tonga
TR Turks
TS Tsonga
TT Tatar
TW Twi
UK Oekraïens
UR Urdu
UZ Oezbeeks
VI Vietnamees
VO Volapük
WO Wolof
XH Xhosa
YO Yoruba
ZU Zoeloes
AA Afar
AB Afkhaziaans
AF Afrikaans
AM Amharic
AR Arabisch
AS Assamitisch
AY Aymara
AZ Azerbeidzjaans
BA Bashkir
BE Wit-Russisch
BG Bulgaars
BH Bihari
BI Bislama
BN Bengaals, Bangla
BO Tibetaans
BR Bretons
CA Catalaans
CO Corsicaans
CS Tsjechisch
CY Wales
DA Deens
DZ Bhutaans
EL Grieks
EO Esperanto
ET Engels
EU Baskisch
FA Perzisch
FI Fins
FJ Fiji
FO Faeroese
FY Fries
GA Iers
GD Schots Gaelisch
GL Gallicaans
GN Guarani
GU Gujarati
HA Hausa
HI Hindoestani
HR Croatiaans
HU Hongaars
HY Armenisch
IA Interlingua
IE Interlingue
IK Inupiak
IN Indonesisch
IS Ijslands
IW Hebreeuws
JI Joods
JW Javaans
KA Georgiaans
KK Kazaks
KL Groenlands
KM Cambodiaans
KN Kannadees
KO Koreaans (KOR)
KS Kashmiri
KU Koerdisch
KY Kirghiz
LA Latijns
LN Lingala
LO Laothiaans
LT Litouws
LV Letlands, Lets
MG Malagasi
MI Maori
MK Macedonisch
ML Maleis
MN Mongools
MO Moldavisch
MR Mahrattisch
MS Maleis (MAY)
MT Maltees
MY Birmees
NA Nauruaans
NE Nepalees
NL Nederlands
NO Noors
OC Occitan
OM (Afan) Oromo
OR Oriya
PA Panjabi
PL Pools
PS Pashto, Pushto
PT Portugees
QU Quechua
RM Rhaeto-Romance
RN Kirundi
RO Roemeens
RU Russisch
RW Kinyarwanda
SA Sanskrit
SD Sindhi
SG Sangho
SH Servisch-Croatiaans
SI Singhalees
SK Slowaaks
SL Sloveens
SM Samoaans
SN Shona
Gebruik van de keuzemenu’s
Kies uw favoriete taal voor “ON SCREEN LANGUAGE”
eerst zodat de volgende bedieningen makkelijker zijn.
¶ON SCREEN LANGUAGE
U kunt de bedieningen voor het systeem in de gekozen taal
uitvoeren.
Kies een van de talen—ENGLISH, FRENCH of GERMAN.
¶MENU LANGUAGE
Bepaalde discs hebben discmenu’s in meerdere talen. U
kunt in dat geval de gewenste taal voor bedieningen van
een DVD met eigen menu gebruiken.
Kies een van de talen of taalcodes vanaf AA t/m ZU (zie
“Taalcodelijst” hieronder) voor de taal die voor de
menu’s wordt gebruikt.
LANGUAGE menu
U kunt “MENU LANGUAGE”, “AUDIO LANGUAGE” en “SUBTITLE” uitsluitend kiezen wanneer de
weergave is gestopt.
• U kunt tevens “AUDIO LANGUAGE” en “SUBTITLE” tijdelijk tijdens weergave kiezen
(zie bladzijde 41).
¶AUDIO LANGUAGE
Bepaalde discs hebben meerdere talen voor het geluid. U
kunt de gewenste taal voor het geluid bij het bekijken van
een DVD kiezen.
Kies een van de talen of taalcodes vanaf AA t/m ZU (zie
“Taalcodelijst” hieronder).
¶SUBTITLE
Bepaalde discs hebben meerdere talen voor de
ondertitels. U kunt de gewenste taal voor de ondertitels bij
het bekijken van een DVD kiezen.
Kies een van de talen of taalcodes vanaf AA t/m ZU (zie
“Taalcodelijst” hieronder) of “OFF (geen ondertitels)”.
OPMERKING:
Indien de door u voor MENU LANGUAGE, AUDIO LANGUAGE of
SUBTITLE gekozen taal niet op de disc is opgenomen, zal de
oorspronkelijke taal van de disc automatisch als basistaal worden
gebruikt.
ENGLISH
ENGLISH
ENGLISH
LANGUAGE
MENU LANGUAGE
ON SCREEN LANGUAGE
AUDIO LANGUAGE
SUBTITLE
USE TO SELECT, USE ENTER TO CONFIRM.
TO EXIT, PRESS CHOICE.
ENTER
SELECT
ENGLISH
NL54-63.TH-A75R[E]f.pm6 5/9/02, 3:19 PM56

57
Nederlands
PICTURE menu
4:3LB
PICTURE
MONITOR TYPE
AUTO
USE TO SELECT, USE ENTER TO CONFIRM.
TO EXIT, PRESS CHOICE.
ENTER
SELECT
MP3 / JPEG MP3
ON
STILL MODE
SCREEN SAVER
¶MONITOR TYPE
U kunt het monitortype in overeenstemming met uw TV
kiezen voor weergave play wide-picture (16:9).
Kies een van de volgende instellingen:
16:9 NORMAL (Breedbeeld-conversie) :
: Kies indien de aspectverhouding van uw TV op
16:9 is vastgesteld (breedbeeld-TV). Het
systeem zet de beeldbreedte bij weergave van
een beeld met 4:3 verhouding automatisch
naar 16:9 om.
16:9 AUTO (Breedbeeld-conversie) :
: Kies indien de aspectverhouding van uw TV
16:9 is (breedbeeld-TV).
4:3 LB (Brievenbus-conversie) :
: Kies wanneer de aspectverhouding van uw TV
4:3 is (normale TV). Bij weergave van een
breedbeeld, verschijnen zwarte balken aan de
boven- en onderkant van het scherm.
4:3 PS (Pan Scan conversie) :
: Kies wanneer de aspectverhouding van uw TV
4:3 is (normale TV). Bij weergave van een
breedbeeld, verschijnen de zwarte balken niet;
maar worden de linker- en rechterranden van
het beeld niet op het scherm getoond.
Bijv.: 16:9 Bijv.: 4:3 LB Bijv.: 4:3 PS
• Ook met “4:3 PS” gekozen, wordt het formaat met
bepaalde DVD’s op “4:3 LB” gesteld. Dit is afhankelijk
van de gebruikte opnamemethode.
• Indien u “16:9 NORMAL” kiest voor een beeld waarvan
de aspectratio 4:3 is, zal het beeld iets veranderen
vanwege het omzetten van de beeldbreedte.
¶STILL MODE
U kunt “STILL MODE” instellen voor een beter beeld indien
het weergavebeeld niet helder is, ruis heeft of er schuine
lijnen op het TV-scherm zijn.
Kies normaliter “AUTO”. Kies echter “FIELD” of “FRAME”
indien het beeld van een disc onduidelijk is of ruis heeft.
Kies een van de volgende instellingen:
AUTO : Het toestel herkent het type beeld (videobron
of filmbron) van de huidige disc en kiest
automatisch de juiste functie.
FIELD : Kies voor weergave van een videobrondisc.
FRAME : Kies voor weergave van een filmbrondisc.
¶SCREEN SAVER
U kunt de screen-saver functie activeren of uitschakelen.
Stel de screen-saver op ON of OFF.
ON : Het beeld op het TV-scherm wordt donker
indien er langer dan ongeveer 5 minuten geen
bediening wordt uitgevoerd.
OFF : De screen-saver werkt niet.
¶MP3/JPEG
Indien zowel MP3 fragmenten (bestanden) als JPEG
bestanden op een disc zijn opgenomen, kunt u kiezen welk
soort bestanden u wilt weergeven.
Kies een van de volgende instellingen:
MP3 : Het toestel geeft de MP3 fragmenten
(bestanden) weer.
JPEG : Het toestel geeft de JPEG bestanden weer.
NL54-63.TH-A75R[E]f.pm6 5/9/02, 3:19 PM57

58
Nederlands
Gebruik van de keuzemenu’s
AUDIO menu
U kunt de volgende onderdelen tevens instellen met de SETTING/ADJUST toets van de
afstandsbediening (zie bladzijde 30).
¶L/R BALANCE
Indien het geluid van de voorluidsprekers niet gelijk klinkt,
moet u het uitgangsniveau van de voorluidsprekers
instellen.
Stel het uitgangsniveau van de voorluidsprekers binnen
het bereik van “R –21” t/m “L –21” in.
• “R −21”: geen geluid via de rechterluidspreker.
• “L −21”: geen geluid via de linkerluidspreker.
• “CENTER”: het uitgangsniveau van beide luidsprekers is
gelijk.
¶BASS, TREBLE
U kunt de lage en hoge toon naar wens instellen.
Stel het niveau van de lage of hoge toon van het signaal
van het voorluidsprekers met stappen van 2 in.
• Instelbereik: “−10” t/m “10”.
¶LFE ATT.
De Lage Frequentie Effect verzwakker vermindert
vervorming van de lage tonen (bassen) die via de
subwoofer worden weergegeven bij het afspelen Dolby
Digital of DTS Digital Surround.
Stel de LFE-versterking op ON of OFF.
ON (−−
−−
−10 dB): Kies voor het verminderen van de
vervorming van de bassen via de subwoofer.
OFF (0 dB) : Kies indien u deze functie niet wilt gebruiken.
¶MIDNIGHT MODE
U kunt de lage tonen versterken indien ze niet hard genoeg
klinken.
Kies een van de volgende instellinge:
1: Kies voor het ietwat verkleinen van het
dynamisch bereik.
2: Kies voor een volledige verkleining van het
dynamisch bereik (vooral ’s avonds laat zeer
handig).
OFF : Kies indien u het surroundgeluid met het
volledige dynamische bereik (zonder effect)
wilt beluisteren.
CENTER
0
0
AUDIO
L/R BALANCE
BASS
TREBLE
LFE ATT.
MIDNIGHT MODE
OFF
OFF
USE TO SELECT, USE ENTER TO CONFIRM.
TO EXIT, PRESS CHOICE.
ENTER
SELECT
NL54-63.TH-A75R[E]f.pm6 5/9/02, 3:19 PM58

59
Nederlands
SMALL
SIZE
FRONT SPEAKER
CENTER SPEAKER
SURROUND SPEAKER
SMALL
SMALL
SURROUND BACK SPEAKER
SMALL
SUB WOOFER USE
0dB
LEVEL
CENTER SPEAKER
SURROUND LEFT SPEAKER
TEST TONE
SURROUND RIGHT SPEAKER
0dB
0dB
SUB WOOFER
SURROUND BACK SPEAKER
0dB
0dB
3.0m
DISTANCE
FRONT SPEAKER
CENTER SPEAKER
SURROUND SPEAKER
TEST TONE
3.0m
3.0m
SURROUND BACK SPEAKER
3.0m
VERVOLG OP DE VOLGENDE BLADZIJDE
SPK. SETTING menu
Luidsprekerdiagrams
Linker
voor-
luidspreker
Subwoofer
Linker
surround-
luidspreker
Rechter
voorluidspreker
Rechter
surround-
luidspreker
Surround-
achter-
luidspreker
¶LEVEL
Kies voor het invoeren van het
LEVEL submenu.
• U kunt de uitgangsniveaus
tevens instellen met gebruik van
de cijfertoetsen van de
afstandsbediening (zie
bladzijden 18 en 36).
Voor het instellen van het uitgangsniveau van deze
luidsprekers met stappen van 1 binnen een bereik vanaf
–10 dB t/m +10 dB.
U kunt de uitgangsniveaus van de luidsprekers tevens
instellen terwijl u de testtoon via iedere luidspreker beluistert.
• Stel de luidsprekerniveaus zodanig in dat het geluid via
alle luidsprekers gelijk klinkt.
TEST TONE
Voor het weergeven of stoppen van de testtoon.
Teruggaan naar het SPK.SETTING menu
Druk op Cursor 3/2.
OPMERKINGEN:
•Indien u “NONE” voor de surround-achterluidspreker heeft
gekozen wordt er geen testtoon via de surround-
achterluidspreker uitgestuurd.
•De testtoon wordt niet via de subwoofer uitgestuurd.
¶DISTANCE
Kies voor het invoeren van het
DISTANCE submenu.
• U kunt de afstand tevens
vanaf uw luisterplaats met de
SETTING/ADJUST toets van
de afstandsbediening
instellen (zie bladzijde 29 voor
details).
Stel de afstand vanaf de luisterplaats tot iedere luidspreker
vanaf 0,3 tot 9,0 meter in (met stappen van 0,3 meter).
TEST TONE
Voor het weergeven of stoppen van de testtoon.
Teruggaan naar het SPK.SETTING menu
Druk op Cursor 3/2.
OPMERKINGEN:
•Indien u “NONE” voor surround-achterluidspreker heeft gekozen,
kunt u de luidsprekerafstand niet voor de surround-
achterluidspreker instellen.
•Met “NONE” voor de surround-achterluidspreker gekozen, wordt
er geen testtoon via deze luidspreker uitgestuurd.
•De testtoon wordt niet via de subwoofer uitgestuurd.
Midden-
luidspreker
¶SIZE voor ieder luidspreker
Kies voor het invoeren van het
SIZE submenu.
• U kunt het luidsprekerformaat
tevens instellen met de
SETTING/ADJUST toets van
de afstandsbediening (zie
bladzijde 28).
Kies het formaat voor ieder luidspreker.
LARGE : Kies wanneer de conus-luidspreker groter dan
12 cm is.
SMALL : Kies wanneer de conus-luidspreker kleiner dan
12 cm is.
NONE : (Alleen voor “SURROUND BACK SPEAKER”)
Kies indien u deze luidspreker niet heeft
aangesloten.
LET OP:
Bij gebruik van de bijgeleverde luidsprekers moet u
“SMALL” voor iedere luidspreker kiezen. De bijgeleverde
luidsprekers worden mogelijk beschadigd wanneer u
“LARGE” kiest.
OPMERKINGEN:
•Indien u “SMALL” voor de voorluidsprekers heeft gekozen, kunt u
niet “LARGE” voor de midden, surround en surround-
achterluidsprekers kiezen.
•Indien u “SMALL” voor de surroundluidsprekers heeft gekozen,
kunt u niet “LARGE” voor de surround-achterluidspreker kiezen.
SUB WOOFER
Dit onderdeel is op “USE” vastgesteld.
Teruggaan naar het SPK.SETTING menu
Druk op Cursor 3/2.
200Hz
SPK. SETTING
CROSS OVER
LEVEL
SIZE
DISTANCE
RETURN TO INITIAL
USE TO SELECT, USE ENTER TO CONFIRM.
TO EXIT, PRESS CHOICE.
ENTER
SELECT
NL54-63.TH-A75R[E]f.pm6 5/9/02, 3:19 PM59

60
Nederlands
Gebruik van de keuzemenu’s
¶CROSS OVER
Kleine luidsprekers kunnen de lage tonen niet efficiënt
genoeg reproduceren. Indien u voor een van de
luidsprekers een kleine luidspreker gebruikt, stuurt dit
toestel automatisch de elementen van de lage tonen voor
die kleine luidspreker naar de grote luidsprekers.
Voor een juist gebruik van deze functie moet u het niveau
voor de drempelfrequentie in overeenstemming met het
formaat van de kleine aangesloten luidspreker instellen.
• Deze functie werkt niet indien u “LARGE” voor alle
luidsprekers heeft gekozen.
• U kunt de drempelfrequentie tevens instellen met de
SETTING/ADJUST toets van de afstandsbediening (zie
bladzijde 29).
Kies een van de volgende instellingen:
80Hz : Kies indien de hoornvormige luidsprekerunit
van de luidspreker ongeveer 12 cm is.
100Hz : Kies indien de hoornvormige luidsprekerunit
van de luidspreker ongeveer 10 cm is.
120Hz : Kies indien de hoornvormige luidsprekerunit
van de luidspreker ongeveer 8 cm is.
150Hz : Kies indien de hoornvormige luidsprekerunit
van de luidspreker ongeveer 6 cm is.
200Hz :
Kies indien de hoornvormige luidsprekerunit van
de luidspreker kleiner dan ongeveer 5 cm is.
LET OP:
Kies “200Hz” indien u de bijgeleverde luidsprekers
gebruikt.
OPMERKING:
De drempelfrequentie is niet effectief voor de HEADPHONE functie.
¶RETURN TO INITIAL
Voor het terugstellen van alle veranderde
luidsprekerinstellingen naar de basisinstellingen.
OTHERS menu
¶RESUME
Indien u de stroom uitschakelt tijdens weergave van een
disc, het stoppunt van de weergave worden vastgelegd.
U kunt de functie voor het hervatten van de weergave
activeren of uitschakelen.
De RESUME indicator licht op het display op wanneer de
functie voor het voortzetten van de weergave is
geactiveerd.
Druk op DVD of PLAY van de afstandsbediening om de
weergave vanaf het vastgelegde punt voort te zetten.
• De functie voor weergavevoortzetting werkt niet voor
Audio CD’s.
Kies een van de volgende instellingen:
ON : Kies voor het activeren van deze functie.
OFF : Kies voor het uitschakelen van deze functie.
¶ON SCREEN GUIDE
Voor het activeren of uitschakelen van de iconen op het
scherm ter begeleiding.
Camerahoeken :
Ondertitels :
Talen van het geluid :
Weergavestatus : , ,
x2
, enz.
De in-beeld iconen verschijnen ter begeleiding bij het
begin van de weergave op de TV indien deze functie is
geactiveerd.
Kies een van de volgende instellingen:
ON : Kies voor het activeren van deze functie.
OFF : Kies voor het uitschakelen van deze functie.
• De ondertitels (zie bladzijde 41) en de informatie over het
inzoomen (zie bladzijde 46) verschijnen ook op het
display wanneer deze instelling op “OFF” is gesteld.
¶AUTO STANDBY
Het toestel kan automatisch worden uitgeschakeld
wanneer de weergave van de ingebouwde DVD-speler
stopt en niet binnen de door u ingestelde tijd weer wordt
gestart (60 of 30).
• Deze functie werkt uitsluitend indien DVD als bron is
gekozen.
Kies een van de volgende instellingen:
60 : Het toestel wordt automatisch uitgeschakeld
indien er niet binnen 60 minuten een bediening
wordt uitgevoerd.
30 : Het toestel wordt automatisch uitgeschakeld
indien er niet binnen 30 minuten een bediening
wordt uitgevoerd.
OFF : Kies indien u deze functie niet wilt gebruiken.
• Indien zowel de automatische standbyfunctie als de
inslaaptimer (zie bladzijde 19) zijn geactiveerd, zal de
functie met de vroegste uitschakeltijd het toestel
uitschakelen.
¶PARENTAL LOCK
Kies voor het invoeren van het PARENTAL LOCK submenu in.
U kunt een instelling maken voor een restrictie van de
weergave van een DVD met bijvoorbeeld geweldadige of
niet voor kleine kinderen geschikte scènes. (zie “Beperken
van de weergave—Kinderslot” op bladzijde 61 voor
details.)
• U kunt “PARENTAL LOCK” uitsluitend voor het starten
van de weergave kiezen.
ON
OTHERS
RESUME
ON SCREEN GUIDE
AUTO STANDBY
ON
OFF
PARENTAL LOCK
USE TO SELECT, USE ENTER TO CONFIRM.
TO EXIT, PRESS CHOICE.
ENTER
SELECT
NL54-63.TH-A75R[E]f.pm6 5/9/02, 3:19 PM60

61
Nederlands
USE TO SELECT. USE ENTER TO CONFIRM.
TO EXIT, PRESS CHOICE.
ENTER
SELECT
GB
PARENTAL LOCK
COUNTRY CODE
SET LEVEL
PASSWORD
NONE
_ _ _ _
EXIT
USE TO SELECT. USE ENTER TO CONFIRM.
TO EXIT, PRESS CHOICE.
ENTER
SELECT
GB
PARENTAL LOCK
COUNTRY CODE
SET LEVEL
PASSWORD
NONE
_ _ _ _
EXIT
GD
GE
FX
GF
FR
GA
GB
USE TO SELECT. USE ENTER TO CONFIRM.
TO EXIT, PRESS CHOICE.
ENTER
SELECT
GB
PARENTAL LOCK
COUNTRY CODE
SET LEVEL
PASSWORD
NONE
_ _ _ _
EXIT
5
4
7
6
8
NONE
3
NEW PASSWORD? ••• PRESS 0 ~ 9 KEY
TO EXIT, PRESS CHOICE.
ENTER
SELECT
GB
PARENTAL LOCK
COUNTRY CODE
SET LEVEL
PASSWORD
4
_ _ _ _
EXIT
VFP
CONTROL
EFFECT
S.WFR TEST
SLEEP
TV
VCR
SETTING
TV RETURN
ENTER
ON
SCREEN
CHOICE
FM MODE
123
456
789
10 0+10
100+
PTY SEARCH
DVD
RDS
TA/NEWS/INFO
PTY(PTY9
RDS DISPLAY
CENTER
–
+
–
+
–
+
–
+
SURR-L SURR-R
S-BACK
–
+
ADJUST
Druk de
afstandsbediening-
functieschakelaar
naar “DVD”.
Beperken van de weergave
—Kinderslot
Kunt u de weergave van een DVD met bijvoorbeeld
geweldadige of niet voor kinderen geschikte scènes
beperken. Een disc kan niet zondermeer worden afgespeeld,
tenzij u het kinderslot annuleert.
• Deze instelling is uitsluitend effectief voor DVD’s waarop
informatie voor het kinderslot is vastgelegd—vanaf
Restrictieniveau 1 (strengste beperking) tot Restrictieiveau
8 (minste beperking).
• U kunt het kinderslot uitsluitend instellen wanneer de
weergave is gestopt.
•
Druk op DVD om de afstandsbediening voor disc-bediening in
te stellen alvorens de afstandsbediening te gebruiken.
Instellen van het kinderslot
1
Druk op CHOICE en druk vervolgens op
Cursor
3/2
om het OTHERS menu te tonen.
2Druk herhaaldelijk op Cursor ∞/5 om
naar “PARENTAL LOCK” te verplaatsen en
druk vervolgens op ENTER.
Het PARENTAL LOCK sub-menu verschijnt op de TV.
3Druk herhaaldelijk op Cursor ∞/5 om
naar “COUNTRY CODE” te verplaatsen en
druk vervolgens op ENTER.
Het pop-up venster met de landcodes verschijnt.
4Druk herhaaldelijk op Cursor ∞/5 om de
landcode te kiezen en druk vervolgens op
ENTER.
verplaatst naar “SET LEVEL”.
• Zie “Codelijst voor landen/gebieden voor Kinderslot” op
bladzijde 63.
5Druk op ENTER.
Het pop-up venster met de restrictieniveaus verschijnt.
6Druk herhaaldelijk op Cursor ∞/5 om het
restrictieniveau te kiezen en druk
vervolgens op ENTER.
verplaatst naar “PASSWORD”.
• Kies “NONE” om het kinderslot te annuleren.
7Voer een vier-cijferig wachtwoord met de
cijfertoetsen (0–9) in en druk vervolgens op
ENTER.
verplaatst naar “EXIT”.
8Druk op ENTER.
Het OTHERS menu verschijnt weer.
Verlaten van de keuzemenu’s
Druk op CHOICE.
OPMERKING:
Onthoud uw wachtwoord, of schrijf het ergens even op.
U heeft uw wachtwoord nodig voor het veranderen van de instelling of
het annuleren van het kinderslot. Zie bladzijde 62 voor het veranderen
van de instelling.
NL54-63.TH-A75R[E]f.pm6 5/9/02, 3:19 PM61

62
Nederlands
PARENTAL LOCK
PASSWORD _ _ _ _
TEMPORARY RELEASE
PASSWORD? ••• PRESS 0 ~ 9 KEY
ENTER
SELECT
NOT RELEASE
PASSWORD? ••• PRESS 0 ~ 9 KEY
TO EXIT, PRESS CHOICE.
ENTER
SELECT
GB
PARENTAL LOCK
COUNTRY CODE
SET LEVEL
PASSWORD
4
_ _ _ _
EXIT
VFP
CONTROL
EFFECT
S.WFR TEST
SLEEP
TV
VCR
SETTING
TV RETURN
ENTER
ON
SCREEN
CHOICE
FM MODE
123
456
789
10 0+10
100+
PTY SEARCH
DVD
RDS
TA/NEWS/INFO
PTY(PTY9
RDS DISPLAY
CENTER
–
+
–
+
–
+
–
+
SURR-L SURR-R
S-BACK
–
+
ADJUST
VFP
CONTROL
EFFECT
S.WFR TEST
SLEEP
TV
VCR
SETTING
TV RETURN
ENTER
ON
SCREEN
CHOICE
FM MODE
123
456
789
10
0
+10
100+
PTY SEARCH
DVD
RDS
TA/NEWS/INFO
PTY(PTY9
RDS DISPLAY
CENTER
–
+
–
+
–
+
–
+
SURR-L SURR-R
S-BACK
–
+
ADJUST
Gebruik van de keuzemenu’s
Druk de
afstandsbediening-
functieschakelaar
naar “DVD”.
Druk de
afstandsbediening-
functieschakelaar
naar “DVD”.
Veranderen van de instelling van
het kinderslot
1Druk op CHOICE en druk vervolgens op
Cursor 3/2 om het OTHERS menu te
tonen.
2Druk herhaaldelijk op Cursor ∞/5 om
naar “PARENTAL LOCK” te verplaatsen en
druk vervolgens op ENTER.
Het PARENTAL LOCK sub-menu verschijnt op de TV.
• U kunt uitsluitend naar “PASSWORD” of “EXIT”
verplaatsen voordat u uw wachtwoord heeft ingevoerd.
3Voer uw wachtwoord met de cijfertoetsen
(0–9) in en druk vervolgens op ENTER.
verplaatst naar “COUNTRY CODE”.
• “WRONG! RETRY...” verschijnt bij de mededelingen
indien u een verkeerd wachtwoord heeft ingevoerd.
U kunt niet naar de volgende stap gaan, tenzij u het
juiste wachtwoord heeft ingevoerd.
4Druk herhaaldelijk op Cursor ∞/5 om
naar het te veranderen onderdeel te
verplaatsen en druk vervolgens op ENTER.
5Druk herhaaldelijk op Cursor ∞/5 om de
instelling te veranderen en druk vervolgens
op ENTER.
6Voer uw wachtwoord in met de cijfertoetsen
(0–9) en druk vervolgens op ENTER.
De nieuwe instelling is nu vastgelegd.
OPMERKINGEN:
•U kunt het kinderslot niet instellen voordat u het wachtwoord heeft
ingesteld. (Zie bladzijde 61).
•Indien u het PARENTAL LOCK sub-menu verlaat voordat u in stap
6 uw wachtwoord heeft ingevoerd, zal de nieuwe landcode en het
restrictieniveau niet van kracht worden. In dat geval blijven de oude
landcode en het oude restrictieniveau van kracht.
• verplaatst automatisch naar “EXIT” en Cursor
∞
/
5
werkt niet
indien u meer dan drie keer een fout wachtwoord invoert. Druk op
Cursor
3
/
2
om het PARENTAL LOCK sub-menu te verlaten en
herhaal vervolgens de handelingen vanaf stap 1.
•Voer “8888” in indien u uw wachtwoord bent vergeten.
Tijdelijk annuleren van het
kinderslot
Indien u een streng of hoog restrictieniveau heeft ingesteld,
kunnen bepaalde discs mogelijk geheel niet worden
afgespeeld. Het volgende display verschijnt op het TV-
scherm nadat u een dergelijke disc heeft geplaatst en de
weergave probeert te starten. U kunt in dat geval het
kinderslot tijdelijk annuleren.
1Druk herhaaldelijk op Cursor ∞/5 om
naar “TEMPORARY RELEASE” te
verplaatsen en druk vervolgens op ENTER.
verplaatst naar “PASSWORD”.
• Druk op 0 om de disc te verwijderen indien u
“NOT RELEASE” kiest.
2Voer uw wachtwoord met de cijfertoetsen
(0–9) in.
De weergave start nu.
• “WRONG! RETRY...” verschijnt bij de mededelingen
indien u een verkeerd wachtwoord heeft ingevoerd.
U kunt de disc niet afspelen voordat u het juiste
wachtwoord heeft ingevoerd.
OPMERKING:
verplaatst automatisch naar “NOT RELEASE” en Cursor
∞
/
5
werkt niet indien u meer dan drie keer een fout wachtwoord
invoert. Druk op
0
om de disc te verwijderen.
NL54-63.TH-A75R[E]f.pm6 5/9/02, 3:19 PM62

63
Nederlands
Codelijst voor landen/gebieden voor Kinderslot
AD Andorra
AE Verenigde Arabische
Emiraten
AF Afghanistan
AG Antigua en Barbuda
AI Anguilla
AL Albanië
AM Armenië
AN Nederlandse Antillen
AO Angola
AQ Antarctica
AR Argentinië
AS Amerikaans Samoa
AT Oostenrijk
AU Australië
AW Aruba
AZ Azerbeidzjan
BA
Bosnië en Herzegovina
BB Barbados
BD Bangladesh
BE België
BF Burkina Faso
BG Bulgarije
BH Bahrain
BI Burundi
BJ Benin
BM Bermuda
BN Brunei Darussalam
BO Bolivia
BR Brazilië
BS Bahamas
BT Bhutan
BV Bouvet Eiland
BW Botswana
BY Belarus
BZ Belize
CA Canada
CC
Cocos (Keeling) Eilanden
CF Centrale Afrikaanse
Republiek
CG Kongo
CH Zwitserland
CI Ivoorkust
CK Cook Eilanden
CL Chili
CM Kameroen
CN China
CO Colombia
CR Costa Rica
CU Cuba
CV Kaapverdië
CX Christmas Eiland
CY Cyprus
CZ Republiek Tsjechië
DE Duitsland
DJ Djibouti
DK Denmarken
DM Dominica
DO
Dominicaanse Republiek
DZ Algerije
EC Ecuador
EE Estland
EG Egypte
EH Westerse Sahara
ER Eritrea
ES Spanje
ET Ethiopië
FI Finland
FJ Fiji
FK
Falkland Eilanden
(Malvinas)
FM Micronesië
(Federalen Staten van)
FO Faroe Eilanden
FR Frankrijk
FX Frankrijk, Metropolen
GA Gabon
GB Groot-Brittannië
GD Grenada
GE Georgië
GF Frans Guyana
GH Ghana
GI Gibraltar
GL Groenland
GM Gambia
GN Guinea
GP Guadeloupe
GQ Equatoriaal-Guinea
GR Griekenland
GS
Zuid-Georgia en de
South Sandwich Eilanden
GT Guatemala
GU Guam
GW Guinea-Bissau
GY Guyana
HK Hong Kong
HM Heard Eiland en
McDonald Eilanden
HN Honduras
HR Croatië
HT Haïti
HU Hongarije
ID Indonesië
IE Ierland
IL Israël
IN India
IO Britse Indische
Oceaan Territorium
IQ Irak
IR
I
ran
(Islamitische Republiek)
IS Ijsland
IT Italië
JM Jamaica
JO Jordan
JP Japan
KE Kenia
KG Kirgizië
KH Cambodja
KI Kiribati
KM Comoros
KN Saint Kitts en Nevis
KP Korea, Democratische
Volksrepubliek
KR Republiek Korea
KW Kuwait
KY Kaaiman Eilanden
KZ Kazakstan
LA Laos Democratische
Volksrepubliek
LB Libanon
LC Saint Lucia
LI Liechtenstein
LK Sri Lanka
LR Liberia
LS Lesotho
LT Litouwen
LU Luxemburg
LV Letland
LY Libië Arabisch
Jamahiriya
MA Marokko
MC Monaco
MD Republiek Moldova
MG Madagascar
MH Marshall Eilanden
ML Mali
MM Myanmar
MN Mongolië
MO Macau
MP Northern Mariana
Eilanden
MQ Martinique
MR Mauritanië
MS Montserrat
MT Malta
MU Mauritius
MV Malediven
MW Malawi
MX Mexico
MY Maleisië
MZ Mozambique
NA Namibië
NC Nieuw Caledonia
NE Niger
NF Norfolk Eiland
NG Nigeria
NI Nicaragua
NL Nederland
NO Noorwegen
NP Nepal
NR Nauru
NU Niue
NZ Nieuw Zealand
OM Oman
PA Panama
PE Peru
PF Frans Polynesië
PG Papua Nieuw Guinea
PH Filippijnen
PK Pakistan
PL Polen
PM
Saint Pierre en Miquelon
PN Pitcairn
PR Puerto Rico
PT Portugal
PW Palau
PY Paraguay
QA Qatar
RE Réunion
RO Roemenië
RU Russische Federatie
RW Rwanda
SA Saoedi-Arabië
SB Solomon Eilanden
SC Seychellen
SD Soedan
SE Zweden
SG Singapore
SH Saint Helena
SI Slovenië
SJ
Svalbard en Jan Mayen
SK Slowakije
SL Sierra Leone
SM San Marino
SN Senegal
SO Somalië
SR Suriname
ST Sao Tome en Principe
SV El Salvador
SY Syrië Arabische
Republiek
SZ Swaziland
TC
Turks en Caicos Eilanden
TD Chad
TF Franse Zuidelijke
Territorieën
TG Togo
TH
Thailand
TJ Tadzjikistan
TK Tokelau
TM Turkmenistan
TN Tunesië
TO Tonga
TP Oost Timor
TR Turkije
TT Trinidad en Tobago
TV Tuvalu
TW
Taiwan
TZ Tanzania, Verenigde
Republiek
UA Oekraïne
UG Oeganda
UM
Verenigde Staten Minor
Outlying Eilanden
US Verenigde Staten
UY Uruguay
UZ Oezbekistan
VA Vaticaanstad
VC Sint Vincent en de
Grenadines
VE Venezuela
VG Virgin Eilanden (Brits)
VI Virgin Eilanden (V.S.)
VN Vietnam
VU Vanuatu
WF Wallis en Futuna
Eilanden
WS Samoa
YE Yemen
YT Mayotte
YU Joegoslavië
ZA Zuid-Afrika
ZM Zambia
ZR Zaïre
ZW Zimbabwe
NL54-63.TH-A75R[E]f.pm6 5/9/02, 3:19 PM63

64
Nederlands
Fabrikantcodes voor videorecorder
Fabrikant Code
JVC 01
Aiwa 02, 20
Bell+Howell 03, 16
Blaupunkt 04
CGM 03, 05, 16
Daewoo 34
Digtal 05
Fisher 03, 16
G.E. 06
Grundig 07
Hitachi 08, 09
Loewe 05, 10, 11
Magnavox 04, 05
Mitsubishi 12 – 15
Fabrikant Code
Nokia 16
Nordmende 17 – 19, 31
Orion 20
Panasonic 21
Philips 05, 22
Phonola 05
Saba 17 – 19, 23, 31
Samsung 24, 25
Sanyo 03, 16
Sharp 26, 27
Siemens 07
Sony 28 – 30, 35
Telefunken 17 – 19, 31, 32
Toshiba 33
* De fabrikantcodes
kunnen zonder
voorafgaande
kennisgeving worden
veranderd. U kunt
deze
afstandsbediening niet
meer voor het
bedienen van de
videorecorder
gebruiken indien de
codes zijn veranderd.
RM–STHA75R
DVD CINEMA SYSTEM
CHANNEL/ZOOM
VOLUMETV VOL
TUNING
STOP
DIMMER
PAUSE
FF/
/REW
TV/VIDEO
1
MUTING
¡
REC
PLAY
DOWN UP
MEMORY STROBE
DVD
VCR 1
AUDIO
VIDEO/
TV SOUND
ANGLE
FM/AM
SUBTITLE DECODE
RETURN DIGEST
VFP
TOP MENU MENU
CONTROL
EFFECT
S.WFR TEST
SLEEP
TV
VCR
SETTING
TV RETURN
ENTER
ON
SCREEN
CHOICE
FM MODE
123
456
789
10 0+10
100+
TV AUDIO
VCR
SOUND
PTY SEARCH
DVD
RDS
TA/NEWS/INFO
PTY(PTY9
RDS DISPLAY
SURROUND OFF
DSP
CENTER
–
+
–
+
–
+
–
+
SURR-L SURR-R
S-BACK –
+
ADJUST
O.T.
REPLAY
Druk de
afstandsbediening-
functieschakelaar
naar “DVD”.
Bediening van videorecorders van andere merken
Door de reeds vastgelegde afstandsbedieningssignalen te
veranderen naar signalen voor andere merken, kunt u de bij
dit systeem geleverde afstandsbediening gebruiken voor het
bedienen van videorecorders van een ander merk.
• U kunt tevens een TV van een ander merk met de bij dit
systeem geleverde afstandsbediening bedienen. (Zie
bladzijde 16).
• Richt voor bediening van een videorecorder van een ander
merk de afstandsbediening recht naar de
afstandsbedieningssensor op die videorecorder.
Zie tevens de bij de videorecorder geleverde
gebruiksaanwijzing.
7
Instellen van het afstandsbedieningssignaal
voor bediening van uw videorecorder
• U kunt uw videorecorder bedienen zonder het
afstandsbedieningssignaal in te stellen indien u een JVC
videorecorder heeft.
1Druk de afstandsbediening-
functieschakelaar naar “DVD”.
2Houd VCR ingedrukt.
Houd ingedrukt totdat stap 5.
3Druk op VCR CONTROL.
4Voer met de cijfertoetsen (1–9, 0) een
fabrikantcode in (2 cijfers).
Zie de lijst hieronder voor de code.
Bijv.: Voor een Siemens videorecorder drukt u op 0 en
dan op 7.
Voor een Panasonic videorecorder, drukt u op 2 en
dan op 1.
5Laat VCR los.
6Probeer uw videorecorder te bedienen door
op VCR te drukken.
U heeft de juiste code ingevoerd indien uw videorecorder
nu wordt in- of uitgeschakeld.
Indien er meerdere codes voor het merk van uw
videorecorder worden gegeven, moet u iedere code
proberen totdat u de juiste heeft gevonden.
Na het instellen van de afstandsbedieningssignalen kunt
u de volgende toetsen voor de bediening van uw
videorecorder gebruiken.
VCR :In-en uitschakelen van uw videorecorder.
Na een druk op VCR CONTROL:
PLAY :Starten van de weergave.
STOP :Stoppen van een bediening.
PAUSE :Pauzeren van de weergave.
¡:Snel doorspoelen van de videoband.
1:Snel terugspoelen van de videoband.
÷ REC :Druk tegelijk op deze toets en op PLAY om
een opname te starten.
Druk tegelijk op deze toets en op PAUSE om
een opname te pauzeren.
CHANNEL +/–:Veranderen van TV-kanaal met de
videorecorder.
NL64-70.TH-A75R[E]f.pm6 5/9/02, 3:19 PM64

65
Nederlands
Onderhoud
Reinigen van het toestel
• Vlekken op het systeem
Verwijder vlekken met een zachte doek. Bevochtig een
doek met water en een neutraal schoonmaakmiddel en
wring de doek goed uit voor het verwijderen van
hardnekkig vuil. Veeg na met een droge doek.
• Voorkom een slechtere kwaliteit, beschadiging of
bladderende lak en let derhalve op het volgende.
— Veeg NIET schoon met een harde doek.
— Veeg NIET te hard.
— Veeg NIET met thinner of benzine.
— Gebruik GEEN vluchtige middelen, zoals insectenspray,
bij het systeem.
— Zorg dat rubber of plastic NIET langdurig contact met
het toestel maakt.
Voor een optimale werking van dit systeem moet u uw discs en het mechanisme schoon houden.
Algemene opmerkingen
Over het algemeen behoudt u een optimaal resultaat door uw
discs en het mechanisme schoon te houden.
• Bewaar discs in de bijbehorende doosjes in een kast of
audiomeubel.
Behandelen van discs
• Houd de disc aan de rand vast
en druk licht op het middengat
om de disc uit het doosje te
halen.
• Raak de spiegelachtige kant
van de disc niet aan en buig
de disc niet.
• Plaats de disc na gebruik
direct terug in het doosje zodat
vervorming wordt voorkomen.
• Wees voorzichtig zodat er
geen krassen op de disc
komen wanneer u de disc
terug in het doosje plaatst.
• Stel discs niet aan het directe
zonlicht, extreme temperaturen
en vochtigheid onderhevig.
Reinigen van de disc
Veeg de disc met een zachte
doek, vanaf het midden in een
rechte lijn naar de rand toe,
schoon.
Gebruik GEEN oplosmiddelen—zoals
conventionele platenreinigers, spray, thinner of
benzine—voor het reinigen van de disc.
NL64-70.TH-A75R[E]f.pm6 5/9/02, 3:19 PM65

66
Nederlands
Gebruik de volgende tabel indien u een probleem met het systeem heeft. Raadpleeg een JVC onderhoudscentrum indien het
probleem niet op te lossen lijkt.
• Zie tevens de gebruiksaanwijzingen van de andere met dit systeem verbonden componenten.
Oplossen van problemen
PROBLEEM
De stroom wordt niet ingeschakeld.
“OVERLOAD” knippert op het
display.
Het systeem schakelt ineens
vanzelf uit.
Geen geluid.
Uitsluitend geluid via één
voorluidspreker.
Geen geluid via de surround-
achterluidsprekers.
De afstandsbediening werkt niet.
6,1-kanaal reproductie is
onmogelijk met Dolby Digital EX en
DTS-ES software.
De lage tonen worden versterkt
tijdens stereo-weergave.
OPLOSSING
Steek de stekker in een stopcontact.
Druk op
van het centrale toestel om
het systeem uit te schakelen en controleer
de verbinding van de luidsprekers. Schakel
vervolgens het systeem weer in.
Trek de stekker even uit het stopcontact
indien “OVERLOAD” weer verschijnt en
steek weer terug in het stopcontact.
Raadpleeg de plaats van aankoop indien
de luidsprekersnoeren geen kortsluiting
maken.
Schakel de functies uit.
(Zie bladzijden 19 en 60).
Druk op van het centrale toestel om het
systeem uit te schakelen. Schakel vervolgens
het systeem weer in en stel het volume in.
Controleer de luidsprekerverbinding en
schakel het systeem weer in. Raadpleeg de
plaats van aankoop indien het probleem
hierdoor niet wordt opgelost.
Controleer de luidsprekerverbindingen en
sluit opnieuw aan indien nodig.
Controleer de luidsprekerverbindingen.
Sluit de kabel juist aan.
Kies de juiste bron. (Zie bladzijde 17).
Druk op MUTING om de demping te annuleren.
Kies de juiste ingangsfunctie.
(Zie bladzijde 19).
Controleer de verbindingen.
Stel het balans juist in.
(Zie bladzijden 30 en 58).
Maak de juiste luidsprekerinstelling.
(Zie bladzijden 28 en 59).
Gebruik de afstandsbediening binnen een
afstand van 7 meter vanaf de
afstandsbedieningssensor op het centrale
toestel.
Verwijder het voorwerp.
(Zie bladzijde 15).
Richt de afstandsbediening naar de
afstandsbedieningssensor op het
component dat u wilt bedienen.
Druk in de juiste stand, “DVD” of “RDS”.
Vervang de batterijen.
Plaats de batterijen juist.
Kies de juiste bron door een druk op DVD,
FM/AM of VCR/TV CONTROL.
Druk op SOUND voordat u
geluidsinstellingen wilt maken.
Zorg dat er geen schel licht op de sensor
valt.
Voer de juiste fabrikantcode in.
(Zie bladzijden 16 en 64).
Speel software met de of
markering af.
Stel “EX/ES” op “ON” of “AUTO”.
(Zie bladzijde 28).
Stel “AUDIO POS” in. (Zie bladzijde 30).
MOGELIJKE OORZAAK
De stekker is niet in een stopcontact gestoken.
De luidsprekers zijn overbelast omdat de
luidsprekersnoeren kortsluiting maken.
De inslaaptimer en automatische
standbyfunctie zijn geactiveerd.
De luidsprekers zijn overbelast door een
hoog volume.
Het beschermingscircuit werd om bepaalde
redenen geactiveerd.
Luidsprekersnoeren zijn niet aangesloten.
De luidsprekersnoeren maken kortsluiting.
De audiokabel is niet juist aangesloten.
U heeft een verkeerde bron gekozen.
Het geluid wordt gedempt.
De verkeerde analoge/digitale
ingangsfunctie is gekozen.
De luidsprekersnoeren zijn niet goed
aangesloten.
De balans is extreem naar een kant
gesteld.
De luidsprekerinstelling is verkeerd.
De afstandsbediening is te ver van het
centrale toestel of niet naar het toestel
gericht.
De afstandsbedieningssensor wordt
geblokkeerd door iets.
De afstandsbediening wordt niet naar de
afstandsbedieningssensor op het centrale
toestel of andere component gericht.
De afstandsbediening-functieschakelaar is
niet in de juiste stand gedrukt.
De batterijen zijn leeg.
De batterijen zijn verkeerd geplaatst (+/–).
U heeft op een verkeerde ingangsbrontoets
gedrukt voor de bediening die u uitvoert.
Het directe zonlicht valt op de
afstandsbedieningssensor.
De afstandsbedieningssignalen zijn niet
juist ingesteld.
U speelt geen 6,1-kanaal software af, of
“EX/ES” is op “OFF” gesteld.
Juiste niveau voor de lage tonen voor
stereo-weergave is niet gekozen.
Algemeen
NL64-70.TH-A75R[E]f.pm6 11/9/02, 3:26 PM66

67
Nederlands
OPLOSSING
Sluit het snoer juist aan.
(Zie bladzijde 7).
Kies de juiste functie.
(Zie bladzijde 7).
Kies de juiste ingang met de TV.
Gebruik een geschikte disc.
(Zie bladzijde 5).
Vervang de disc. (Zie bladzijde 5).
Voer het wachtwoord in om het
restrictieniveau te veranderen.
(Zie bladzijde 62).
Plaats de disc juist.
(Zie bladzijde 20).
Vervang de disc. (Zie bladzijde 5).
Vervang of reinig de disc.
(Zie bladzijde 65).
Verbind het centrale toestel en de
TV direct met elkaar.
Verander “STILL MODE.”
(Zie bladzijde 57).
Stel het juiste monitortype in.
(Zie bladzijde 57).
Stel de TV juist in.
Bepaalde DVD’s hebben “geen
ondertitels” als basisinstelling. Druk
in dat geval na het starten van de
weergave op SUBTITLE van de
afstandsbediening. (Zie bladzijde
41).
Bepaalde DVD’s hebben de
oorspronkelijke taal als
basisinstelling. Druk in dat geval na
het starten van de weergave op
AUDIO van de afstandsbediening.
(Zie bladzijde 41).
Sluit de antennes opnieuw en goed
aan.
Verander de plaats of richting van
de AM (MW) ringantenne.
Probeer een andere
dreunannuleerfunctie.
(Zie bladzijde 23).
Strek de FM-antenne uit voor een
optimale ontvangst.
Sluit een FM-buitenantenne aan
(zie bladzijde 9), of raadpleeg de
plaats van aankoop.
Kies een andere zender.
Controleer bij de plaats van
aankoop of u de juiste antenne
heeft.
DVD-weergave
MOGELIJKE OORZAAK
Het videosnoer of de SCART-kabel is niet
juist aangesloten.
De RGB-Y/C schakelaar is niet in de
juiste stand gedrukt.
U heeft de verkeerde TV-ingang
gekozen.
De disc is niet voor weergave geschikt.
De regiocodenummers van de disc zijn
niet compatibel.
De weergave wordt beperkt door het
kinderslot.
De disc is met de labelkant en datakant
omgekeerd geplaatst.
U heeft een disc geplaatst die niet voor
weergave geschikt is.
De disc heeft krassen of is vuil.
U heeft een videorecorder tussen het
centrale toestel en de TV aangesloten.
“STILL MODE” is mogelijk niet juist voor
de huidige disc ingesteld.
“MONITOR TYPE” is niet juist ingesteld.
De TV is niet juist ingesteld.
Antennes zijn ontkoppeld.
De AM (MW) ringantenne is te dicht bij
het centrale toestel.
De dreunannuleerfunctie is niet juist
ingesteld.
De bijgeleverde FM-antenne is niet
genoeg uitgestrekt of niet goed gericht.
De ontvangen signalen zijn te zwak.
De zender is te ver weg.
U gebruikt een verkeerde antenne.
PROBLEEM
Geen beeld op het TV-scherm.
Een disc kan niet worden
weergegeven.
Een disc kan niet worden weergegeven
en “0:00” wordt op het displayvenster
getoond.
Het beeld en geluid is vervormd.
Het beeld past niet op het TV-scherm.
Geen ondertitels op het TV-scherm
terwijl u wel uw basistaal voor de
ondertitels heeft gekozen.
De taal van het geluid is anders dan de
basistaal voor het geluid die u heeft
gekozen.
Uitzending is slecht te horen vanwege
ruis.
—Voor AM (MW)
—Voor FM
Doorlopende statische ruis tijdens een
FM-uitzending.
FM/AM
NL64-70.TH-A75R[E]f.pm6 5/9/02, 3:19 PM67

68
Nederlands
PROBLEEM
Een disc kan niet worden
weergegeven.
JPEG bestanden worden in
plaats van MP3 bestanden
weergegeven.
Het MP3 bedieningsdisplay
verschijnt op het TV-scherm maar
bediening is niet mogelijk.
Een disc kan niet worden
weergegeven.
MP3 bestanden worden in plaats
van JPEG bestanden
weergegeven.
MOGELIJKE OORZAAK
Geen MP3 bestanden op de disc
opgenomen.
MP3 bestanden hebben niet de juiste
extensiecode achter de bestandnaam.
MP3 bestanden zijn niet met het ISO
9660 Level 1 of 2 compatibele formaat
opgenomen.
MP3 bestanden zijn met een lagere
bitwaarde dan 64 kbps opgenomen.
De MP3/JPEG instelling is op “JPEG”
gesteld.
Er zijn geen MP3 bestanden of JPEG
bestanden op de disc opgenomen, of de
geplaatste disc is niet voor weergave
geschikt (bijvoorbeeld een CD-ROM).
Geen JPEG bestanden op de disc
opgenomen.
JPEG bestanden hebben niet de vereiste
bestandsextensie in de bestandsnaam.
JPEG bestanden zijn niet met het ISO
9660 Level 1 of 2 compatibele formaat
opgenomen.
De MP3/JPEG instelling is op “MP3”
gesteld.
OPLOSSING
Vervang de disc.
Voeg de bestandsextensie—.mp3, .Mp3,
.mP3, of .MP3—aan de bestandsnaam
toe. (Zie bladzijde 50).
Vervang de disc. (Neem MP3 bestanden
met een geschikte applicatie op).
Dit toestel is niet voor dergelijke
bestanden geschikt. Vervang de disc.
Indien zowel MP3 bestanden als JPEG
bestanden op een disc zijn opgenomen,
moet u voor weergave van MP3
bestanden, de instelling op “MP3”
stellen. (Zie bladzijde 57).
Vervang de disc. (Zie bladzijde 5).
Vervang de disc.
Voeg de bestandsextensie—.jpg, .jpeg,
.JPG, .JPEG of een andere combinatie
hoofdletters en kleine letters
(bijvoorbeeld “.Jpg”)—aan de
bestandsnaam toe. (Zie bladzijde 52).
Vervang de disc. (Neem JPEG
bestanden met een geschikte applicatie
op).
Indien zowel MP3 bestanden als JPEG
bestanden op een disc zijn opgenomen,
moet u voor weergave van JPEG
bestanden, de instelling op “JPEG”
stellen. (Zie bladzijde 57).
MP3 weergave
JPEG weergave
Oplossen van problemen
NL64-70.TH-A75R[E]f.pm6 5/9/02, 3:19 PM68

69
Nederlands
Termen
MP3
Een bestandsformaat met een geluidsdata-
compressiesysteem. “MP3” is de afkorting van Motion Picture
Experts Group 1 (of MPEG-1) Audio Layer 3. Met gebruik van
het MP3 formaat kan één CD-R of CD-RW ongeveer 10 keer
meer data opslaan dan in vergelijking met een normale CD.
Meerdere talen (multi-taal)
Op een DVD zijn er vaak meerdere talen voor de ondertitels
(maximaal 32) en het geluid (maximaal 8) opgenomen.
Multi-hoek (camerahoeken)
Door scènes in dezelfde titel tegelijkertijd vanuit meerdere
camerahoeken of perspectieven op te nemen, kunt u de
gewenste hoek kiezen. We noemen dit multi-hoek.
Multikanaal
Software met 3 of meer kanalen. De meeste DVD’s hebben
meer dan 5 audiokanalen. Door dergelijke software met
gebruik van meerdere luidsprekers weer te geven, krijgt u
een realistisch geluidsveld, vergelijkbaar met de bioscoop.
Overdrachtwaarde
De waarde van het overdragen of versturen van digitale data.
Normaliter wordt deze waarde in “baud” uitgedrukt. Het DVD-
systeem heeft een variabele overdrachtwaarde voor een
hoge efficiency.
Playback control (PBC)
Refereert aan de signalen die op een Video CD of SVCD zijn
opgenomen voor het regelen van de weergave. Met gebruik
van menuschermen die op een met PBC opgenomen Video
CD of SVCD zijn vastgelegd, kunt u op interactieve wijze
diverse bedieningen uitvoeren of gedeeltes opzoeken.
Regioncode
Een systeem dat vooraf bepaalt welke discs in welke regio’s
of landen kunnen worden afgespeeld. De landen in de
wereld zijn in zes regio’s verdeeld, en iedere regio wordt met
een specifieke regiocode (of regionummer) geïdentificeerd.
Indien de regiocode van de disc een nummer bevat van de
regiocode van een speler, kan deze disc met die speler
worden weergegeven.
Surround
Een systeem voor drie-dimensionale geluidsvelden waarbij u
een realistische geluidsweergave via meerdere rond de
luisteraar opgestelde luidsprekers krijgt.
S-videosignaal
Het videosignaal is gescheiden in een Y (luminantie) en
C (chrominantie) signaal. Dankzij deze scheiding van de
signalen heeft het beeld een hogere resolutie en betere
kwaliteit.
Titels en hoofdstukken
Een DVD is in diverse titels (grote gedeeltes) onderverdeeld
en iedere titel is op zijn beurt weer in hoofdstukken (kleinere
gedeeltes) verdeeld.
Deze gedeeltes hebben ieder een apart nummer zodat u het
gewenste gedeelte gemakkelijk voor weergave kunt kiezen.
Aspectverhouding
De ratio van de verticale lengte en horizontale breedte van
een beeld op het TV-scherm. De horizontaal/verticaal-ratio
van normale TV’s is 4:3 en van breedbeeld-TV’s 16:9.
Bemonsteringsfrequentie
Frequentie van bemonsteringsdata wanneer analoge data
naar digitale data worden omgezet. Het getal van de
bemonsteringsfrequentie toont hoe vaak de oorspronkelijke
analoge data per seconde worden bemonsterd.
Brievenbus (Letter Box)
Een methode voor het tonen van breedbeelden als
bioscoopbeelden op een 4:3 TV-scherm waarbij geen
gedeeltes van het beeld verloren gaan door zwarte balken
aan de boven- en onderkant van het scherm te plaatsen. Het
scherm ziet er min of meer uit als een standaard-brievenbus
en vandaar deze naam.
Composiet videosignaal
Staat voor het videosignaal dat uit drie gecombineerde
signalen bestaat: een beeldsignaal opgebouwd uit
luminantie- en chrominantiesignalen met gebruik van de
frequentiemultiplicatie-techniek; een “burst” signaal dat de
basis voor kleurreproductie levert; en een
synchronisatiesignaal.
Discmenu
Een scherm dat wordt getoond en waarmee u diverse keuzes
kunt maken voor het beeld, geluid, de ondertitels, meerdere
camerahoeken, enz. uit de mogelijkheden die op een DVD
zijn opgenomen.
Hoofdstuk
Zie “Titels en hoofdstukken”.
JPEG
Een datacompressiesysteem voor stilbeelden (foto’s) van
Joint Photographic Expert Group, dat ondanks de hoge
compressieratio weinig kwaliteitsvermindering heeft.
Kinderslot (Parental Lock)
Een functie van dit systeem die automatisch bepaald of een
DVD wel of niet mag worden weergegeven door het
restrictieniveau (een beperking voor het niet-tonen van
ongewenste scènes, enz. vanuit educatief oogpunt bekeken)
dat met de software van te voren is ingesteld, te vergelijken
met het niveau dat door de gebruiker van dit systeem is
gekozen. Indien het niveau van de software (disc) lager dan
het door u ingestelde niveau is, kan de software worden
weergegeven.
Lineair PCM (PCM: Pulse Code Modulation)
Een systeem voor het omzetten van analoge geluidssignalen
naar digitale signalen voor het later verwerken. Bij de
conversie wordt geen datacompressie gebruikt.
NL64-70.TH-A75R[E]f.pm6 5/9/02, 3:19 PM69

70
Nederlands
Technische gegevens
7Subwoofer (SP-WA75)
Luidspreker: 20 cm
Bass-reflex, magnetisch
afgeschermd
Vermogencapaciteit: 140 W
Impedantie: 4 Ω
Frequentiebereik: 25 Hz t/m 200 Hz
Afmetingen:
200 mm × 410 mm × 428 mm
(B × H × D)
Gewicht (ongeveer): 9,1 kg
7Satelliet-luidsprekers (SP-XSA75)
Luidsprekers: 7 cm × 4 cm
Bass-reflex, magnetisch
afgeschermd
Vermogencapaciteit: 30 W
Impedantie: 4 Ω
Frequentiebereik: 110 Hz t/m 20 kHz
Afmetingen:
62 mm × 102 mm × 109 mm
(B × H × D)
Gewicht (ongeveer): 440 g
7Middenluidspreker (SP-XCA75)
Luidsprekers: 7 cm × 4 cm
Bass-reflex, magnetisch
afgeschermd
Vermogencapaciteit: 30 W
Impedantie: 4 Ω
Frequentiebereik: 100 Hz t/m 20 kHz
Afmetingen:
152 mm × 62 mm × 109 mm
(B × H × D)
Gewicht (ongeveer): 475 g
7Accessoires
Afstandsbediening (1)
Batterijen (2)
FM-antenne (1)
AM (MW) ringantenne (1)
Composiet videosnoer (1)
Luidsprekersnoeren
Ongeveer 5 meter (3) met een ministekker:
Voor de linker-voorluidspreker,
rechter-voorluidspreker en
middenluidspreker
Ongeveer 5 meter (1): Voor de subwoofer
Ongeveer 10 meter (3) met een ministekker:
Voor de linker-surroundluidspreker,
rechter-surroundluidspreker en
surround-achterluidsprekers
Satelliet-luidsprekers met muurbeugels (5)
Schroeven voor de satelliet-luidsprekers en muurbeugels (5)
Ontwerp en technische gegevens zijn zonder voorafgaande
kennisgeving wijzigbaar.
7Centrale toestel (XV-THA75R)
Uitgangsvermogen
FRONT/CENTER/SURROUND/SURROUND BACK:
20 W × 6, 4 Ω, 1 kHz, 0,7% THD
30 W × 6, 4 Ω, 1 kHz, 10% THD
SUBWOOFER:
100 W, 4 Ω, 100 Hz, 0,7% THD
140 W, 4 Ω, 100 Hz, 10% THD
Audiogedeelte
Audio-ingangsgevoeligheid/impedantie (bij 1 kHz)
Analoge ingang:
STB/VCR/TV SOUND: 340 mV/47 kΩ
Digitale ingang*:
DIGITAL IN (STB): –21 dBm t/m –15 dBm
(660 nm ±30 nm)
* Corresponderend met Lineair PCM, Dolby Digital
en DTS Digital Suround
(met bemonsteringsfrequentie—32 kHz, 44,1 kHz,
48 kHz)
Videogedeelte
Kleursysteem: PAL
Horizontale resolutie: 500 lijnen
Signaal-tot-ruis verhouding: 70 dB
(Composiet signaal met
“RGB” gekozen)
VIDEO-uitgangsgevoeligheid/Impedantie (bij 1 kHz)
Composiet: 1,0 V(p-p)/75 Ω
S-video-Y: 1,0 V(p-p)/75 Ω
S-video-C: 0,286 V(p-p)/75 Ω
VIDEO-ingangsgevoeligheid/Impedantie (bij 1 kHz)
Composiet:
VCR IN, STB IN: 1,0 V(p-p)/75 Ω
S-video-Y:
VCR IN, STB IN: 1,0 V(p-p)/75 Ω
S-video-C:
VCR IN, STB IN: 0,286 V(p-p)/75 Ω
RGB: 0,7 V(p-p)/75 Ω
Tunergedeelte
Afstembereik
FM: 87,50 MHz – 108,00 MHz
AM (MW): 522 kHz – 1 629 kHz
Algemeen
Stroomvereisten: AC 230 V Ó, 50 Hz
Stroomverbruik: 165 W (bij werking)
2,5 W
(tijdens standbyfunctie)
Afmetingen: 435 mm × 70 mm × 353 mm
(B × H × D)
Gewicht (ongeveer): 5,0 kg
NL64-70.TH-A75R[E]f.pm6 5/9/02, 3:19 PM70

VICTOR COMPANY OF JAPAN, LIMITED
0802TMMMDWJEM
J
V
C
GE, FR, NL
2002 VICTOR COMPANY OF JAPAN, LIMITED
cover.TH-A75R[E] 02.8.20, 8:28 AM2

Instructions DVD DIGITAL CINEMA SYSTEM TH-A75R