JVC XV NP1SL User Manual LET0234 005C
User Manual: JVC XV-NP1SL XV-NP1SL German, French,
Open the PDF directly: View PDF
.
Page Count: 78

XV-NP1SL/LET0234-005C/GermanFrench
DVD PLAYER/MEMORY CARD READER
DVD SPIELER/SPEICHERKARTEN-LESER
LECTEUR DE DVD/LECTEUR DE CARTE MEMORIE
XV-NP1SL
LET0234-005C
[E/EN]
INSTRUCTIONS
BEDIENUNGSANLEITUNG
MANUEL D’INSTRUCTIONS
VIDEO
COVER[GEFR].fm Page i Wednesday, October 1, 2003 11:53 PM

XV-NP1SL/LET0024-018A/Deutsch
Warnung, Achtung und sonstige Hinweise/
Mises en grade, précautions et indications diverses
ACHTUNG
• Blockieren Sie keine Belüftungsschlitze oder -bohrungen.
• (Wenn die Belüftungsöffnungen oder -löcher durch eine Zeitung
oder ein Tuch etc. blockiert werden, kann die entstehende Hitze
nicht abgeführt werden.)
• Stellen Sie keine offenen Flammen, beispielsweise angezündete
Kerzen, auf das Gerät.
• Wenn Sie Batterien entsorgen, denken Sie an den
Umweltschutz. Batterien müssen entsprechend den geltenden
örtlichen Vorschriften oder Gesetzen entsorgt werden.
• Setzen Sie dieses Gerät auf keinen Fall Regen, Feuchtigkeit
oder Flüssigkeitsspritzern aus. Es dürfen auch keine mit
Flüssigkeit gefüllten Objekte, z. B. Vasen, auf das Gerät gestellt
werden.
Achtung: Angemessene Ventilation
Stellen Sie das Gerät zur Verhütung von elektrischem Schlag und
Feuer und zum Schutz gegen Beschädigung wie folgt auf:
Vorderseite: Offener Platz ohne Hindernisse.
Seiten: Keine Hindernisse innerhalb 3 cm von den Seiten.
Oberseite: Keine Hindernisse innerhalb 5 cm von der Oberseite.
Rückseite: Keine Hindernisse innerhalb 15 cm von der
Rückseite.
Unterseite: Keine Hindernisse. Auf eine ebene Oberfläche
stellen.
ATTENTION
• Ne bloquez pas les orifices ou les trous de ventilation.
(Si les orifices ou les trous de ventilation sont bloqués par un
journal un tissu, etc., la chaleur peut ne pas être évacuée
correctement de l'appareil.)
• Ne placez aucune source de flamme nue, telle qu'une bougie,
sur l'appareil.
• Lors de la mise au rebut des piles, veuillez prendre en
considération les problèmes de l'environnement et suivre
strictement les règles et les lois locales sur la mise au rebut des
piles.
• N'exposez pas cet appareil à la pluie, à l'humidité, à un
égouttement ou à des éclaboussures et ne placez pas des objets
remplis de liquide, tels qu'un vase, sur l'appareil..
Attention: Ventilation Correcte
Pour éviter les chocs électriques, l'incendie et tout autre dégât.
Disposer l'appareil en tenant compte des impératifs suivants
Avant: Rien ne doit gêner le dégagement
Flancs: Laisser 3 cm de dégagement latéral
Dessus: Laisser 5 cm de dégagement supérieur
Arrière: Laisser 15 cm de dégagement arrière
Dessous: Rien ne doit obstruer par dessous; poser l'appareil
sur une surface plate.
ACHTUNG
Zur Verhinderung von elektrischen Schlägen, Brandgefahr,
usw:
1. Keine Schrauben lösen oder Abdeckungen entfernen
und nicht das Gehäuse öffnen.
2. Dieses Gerät weder Regen noch Feuchtigkeit aus-
setzen.
Vorsicht -- STANDBY/ON Taste!
Ziehen Sie das Netzkabel ab, um die Stromversorgung ganz
zu unterbrechen (die STANDBY/ON Lampe erlischt).
Die STANDBY/ON Taste kann in keiner Stellung zur
Unterbrechung der Stromversorgung verwendet werden.
• Wenn das Gerät im Bereitschaftsmodus ist, leuchtet die
STANDBY/ON Lampe rot.
• Wenn das Gerät eingeschaltet wird, leuchtet die STANDBY/
ON Lampe grün.
Die Stromversorgung kann auch per Fernbedienung
geschaltet werden.
ATTENTION
Afin d'éviter tout risque d'électrocution, d'incendie, etc.:
3. Ne pas enlever les vis ni les panneaux et ne pas ouvrir
le coffret de l'appareil.
4. Ne pas exposer l'appareil à la pluie ni à l'humidité.
Attention - Touche STANDBY/ON !
Débrancher la fiche principale pour couper complètement
l'alimentation du secteur (le voyant STANDBY/ON s'éteint).
La touche STANDBY/ON , quelle que soit sa position, ne
coupe pas la ligne principale.
• Quand l'appareil est en veille, le voyant STANDBY/ON
s'allume en rouge.
• Quand l'appareil est sous tension, le voyant STANDBY/ON
s'allume en vert.
L'alimentation du secteur peut être télécommandée.
Abstand von 15 cm oder mehr
Dégagement de 15 cm ou plus
Wand oder
Hindernisse
Mur, ou
obstruction
Standhöhe 5 cm
oder mehr
Hauteur du socle: 5
cm ou plus
Vorderseite
Avant
XV-NP1SL
Boden
Plancher
G-1
XV-NP1SL[GEFR].book Page 1 Wednesday, July 16, 2003 4:37 PM

XV-NP1SL/LET0024-018A/Deutsch
WICHTIGER FÜR LASER-PRODUKTE/IMPORTANT POUR PRODUITS LASER
1. LASER-PRODUKT DER KLASSE 1
2. ACHTUNG: Die obere Abdeckung nicht öffnen. Das Gerät
enthält keine Teile, die vom Benutzer gewartet werden können.
Wartungen nur von qualifziertem Fachpersonal durchführen
lassen.
3. ACHTUNG: Sichtbare und unsichtbare Laserstrahlung bei
offenem Gerät und Defekt oder Umgehen der Verriegelung.
Setzen Sie sich dem Strahl nicht direkt aus.
4. ANBRINGEN DES ETIKETTS: WARNHINWEIS-ETIKETT,
INNEN AM GERÄT ANGEBRACHT.
1. PRODUIT LASER CLASSE 1
2. ATTENTION: N’ouvrez pas le couvercle supérieur. Il n’y a
aucune pièce réparable par l’utilisateur à l’intérieur de
l’appareil; confiez toute réparation à un personnel qualifié.
3. ATTENTION: Risque de radiations laser visible et invisible
quand l’appareil est ouvert et que le système de verrouillage
ne fonctionne pas ou a été mis hors service. Évitez toute
exposition directe au rayon.
4. REPRODUCTION DE L’ÉTIQUETTE: ÉTIQUETTE DE
PRÉCAUTION PLACÉE À L’INTERIEUR DE L’APPAREIL.
G-2
Safety[GEFR].fm Page 2 Thursday, October 2, 2003 6:16 PM

1
XV-NP1SL/LET0234-001A/Deutsch
Mitgeliefertes Zubehör
Vergewissern Sie sich, dass die folgenden Zubehörteile sämtlich
vorhanden sind. Falls etwas fehlt, wenden Sie sich bitte sofort an
Ihren Händler.
• Audiovideokabel (Gelb/Weiß/Rot) (× 1)
• Fernbedienung (× 1)
• R6P(SUM-3)/AA (Mignonzelle) (15F) (× 2)
Zu dieser Anleitung
• Die Display-Fensterinformationen und die OSD-Menüinhalte
(On Screen Display) sind bei den Bedienungsbeschreibungen
in eckigen Klammern [ ] ausgedrückt.
• Die für jede Bedienung / Funktion verwendbare(n) Disc(s) wird /
werden durch die folgenden Symbole angezeigt.
Vorsichtsmaßregeln
Hinweise zum Netzkabel
• Wenn Sie verreisen oder längere Zeit außer Haus sind, sollten
Sie vorher den Stecker aus der Wandsteckdose ziehen.
Solange das Netzkabel an die Wandsteckdose angeschlossen
ist, wird immer etwas Strom (2,7 W) verbraucht.
• Beim Abtrennen des Players von der Wandsteckdose ist
grundsätzlich am Stecker selbst zu ziehen, also nicht am Kabel.
• Berühren Sie das Netzkabel nicht mit nassen Händen!
Vermeiden Sie Feuchtigkeit, Wasser und Staub
• Stellen Sie den Player nicht in feuchter oder staubiger
Umgebung auf.
• Falls einmal Wasser in den Player eingedrungen sein sollte,
müssen Sie sofort die Netzspannung abschalten, den Stecker
von der Wandsteckdose abziehen und dann Ihren Händler um
Rat fragen. Weiterer Betrieb des Players in diesem Zustand
kann einen Brand oder elektrischen Schlag verursachen.
Vermeiden Sie hohe Temperaturen
• Der Player darf nicht direkter Sonneneinstrahlung ausgesetzt
oder in der Nähe von Heizkörpern aufgestellt werden.
Hinweise zur Aufstellung
• Wählen Sie einen Ort, der eben, trocken und nicht zu heiß oder
kalt ist, also zwischen 5 °C und 35 °C.
• Lassen Sie ausreichend Platz zwischen dem Player und dem
Fernsehgerät.
• Stellen Sie den Player nicht an Orten auf, die Vibrationen
ausgesetzt sind.
• Stellen Sie keine schweren Gegenstände auf den Player.
Um Fehlfunktionen des Players zu vermeiden
• Das Gerät enthält keine vom Benutzer zu wartenden Teile. Falls
etwas Ungewöhnliches geschehen sollte, ziehen Sie das
Netzkabel ab und wenden sich an Ihren Händler.
• Stecken Sie keinerlei Metallgegenstände, wie z. B. Draht,
Haarklammern, Münzen o. ä., in den Player.
• Blockieren Sie nicht die Lüftungsschlitze. Bei blockierten
Lüftungsschlitzen kann der Player beschädigt werden.
Reinigung des Gehäuses
• Benutzen Sie ein weiches Tuch. Beachten Sie die jeweiligen
Anweisungen zum Gebrauch von chemisch behandelten
Reinigungstüchern.
• Verwenden Sie weder Benzin, Verdünner noch andere
organische Lösungs- und Desinfektionsmittel. Es können sonst
Verformungen oder Verfärbungen entstehen.
Inhaltsverzeichnis
Mitgeliefertes Zubehör..............................................................1
Zu dieser Anleitung...................................................................1
Vorsichtsmaßregeln..................................................................1
Vor dem Betrieb.................................................... 2
Über abspielbare Medien ........................................................2
Vorbereitungen..................................................... 3
Anschlüsse ..............................................................................3
Gebrauch der Fernbedienung .................................................6
Pflege und Handhabung der Discs..........................................6
Wichtige Bedienungsschritte.............................. 8
Ein- und Ausschalten des Players...........................................8
Erste Einstellung......................................................................8
Grundschritte der Wiedergabe ................................................9
Fortsetzung der Wiedergabe .................................................10
Wiedergabe mit variabler Geschwindigkeit............................11
Auffinden eines Szenen- oder Musikstückanfangs................12
Spezialfunktionen............................................... 13
Wiedergabe ab einer bestimmten Stelle................................13
Ändern der Wiedergabefolge.................................................15
Wiederholung der Wiedergabe ..............................................16
Ändern von Sprache, Sound und Szenenblickwinkel ............17
Spezielle Bild- und Toneffekte...............................................18
Funktionen der Menüleiste ....................................................19
Wiedergabe von Audio- / Video-Dateien .......... 21
Überblick................................................................................21
Wichtige Bedienungsschritte .................................................22
Direktauswahl einer JPEG-Datei ...........................................23
Wiederholung der Wiedergabe ..............................................23
Diaschau-Wiedergabe ...........................................................24
Diaschau-Wiedergabe mit Musik...........................................25
Bild des Eröffnungsbildschirms ändern .................................25
Ändern der Grundeinstellungen ....................... 26
Wahl der Grundeinstellungen ................................................26
Beschränkung der Wiedergabe für Kinder ............................29
Zusätzliche Informationen................................. 31
Namen der Teile und Regler .................................................31
Fehlersuche...........................................................................33
Technische Daten..................................................................34
Anhang A: Länder/Regionalcode-Liste für Kindersicherung.... 35
Anhang B: Tabelle der Sprachen und ihrer Abkürzungen .....36
Anhang C: Digitalausgangssignal-Tabelle.............................36
Anhang D: Glossar ................................................................37
XV-NP1_GE.book Page 1 Tuesday, September 2, 2003 9:50 AM

2
Vor dem
Betrieb
XV-N50BK/N55SL/LET0230-001A/Deutsch
Vor dem Betrieb
Über abspielbare Medien
Abspielbare Disc-Arten
Discs mit den folgenden Markierungen können auf diesem Player
abgespielt werden.
Das DVD-Logo ist ein Warenzeichen.
Der Player kann auch die nachstehenden Discs abspielen:
•DVD-R- und DVD-RW-Discs, die im DVD VIDEO Format
beschrieben und finalisiert wurden.
•CD-R und CD-RW Discs, die im SVCD-, Video CD- oder Audio
CD-Format beschrieben und finalisiert wurden.
•CD-R- und CD-RW-Discs, die in MP3 / WMA / JPEG / MPEG-4
gemäß dem “ISO 9660” Format beschrieben wurden. (Für
Details siehe Seite 21.)
HINWEIS
Falls eine Disc verschmutzt, verkratzt oder verformt ist, oder bei
bestimmten Disc-Eigenschaften und
Aufzeichnungsbedingungen, kann der Player zuweilen relativ viel
Zeit beanspruchen, um den Inhalt zu lesen, und in manchen
Fällen kann eine solche Disc überhaupt nicht gelesen werden.
Der Player kann Tonsignale wiedergeben, die in MIX-MODE CD,
CD-G, CD-EXTRA und CD TEXT formatiert sind.
Ländercode von DVD VIDEO
Der Player kann DVD VIDEO-Discs abspielen, deren Ländercode
die Ziffer “2” aufweist.
Beispiel für abspielbare DVD VIDEO Discs:
HINWEIS
Der Ländercode des Players ist auf der Geräterückwand
vermerkt.
Farbsystemformat
Der Player ist für die PAL-Fernsehnorm konstruiert und kann
außerdem Discs abspielen, die mit der NTSC-Fernsehnorm
aufgezeichnet wurden, vorausgesetzt, deren
Ländercodenummer enthält die Ziffer “2”.
Beachten Sie, dass das NTSC-Videosignal einer Disc in ein PAL-
Signal bzw. auch umgekehrt umgewandelt wird.
Digitaltonformate
Das Player unterstützt die folgenden Digitaltonformate
(Beschreibungen der einzelnen Digitaltonformate siehe Seite 37
“Glossar”):
Linear PCM, MPEG Mehrkanal, Dolby Digital, DTS (Digital
Theater Systems)
HINWEIS
Je nach der [DIGITAL-AUDIO-AUSGANG] Einstellung werden
Digitaltonsignale eventuell nicht gemäß der Aufzeichnung auf der
Disc ausgegeben. Näheres hierzu Siehe “DIGITAL-AUDIO-
AUSGANG” auf Seite 28.
Hinweise zu den Discs
•Bei manchen DVD VIDEO Discs beginnt der Player nach
Einlegen der Disc automatisch mit der Wiedergabe.
•Das Bild kann bei Defekten in der Disc zuweilen schlechte
Qualität oder Rauschen aufweisen.
•Bei manchen Discs sind gewisse in dieser Anleitung
beschriebene Bedienungsschritte nicht ausführbar.
Nicht abspielbare Discs
Der Player kann die nachstehend aufgeführten Discs nicht
abspielen. Falls Sie eine nicht abspielbare Disc geladen haben,
werfen Sie sie aus, indem Sie an der Fernbedienung auf OPEN/
CLOSE drücken. Falls Sie versuchen, solche Discs abzuspielen,
kann das dabei auftretende Rauschen die Lautsprecher
beschädigen.
•DVD-RW Discs, die im VR-Format beschrieben sind
•DVD-ROM, DVD-RAM, DVD AUDIO, CD-ROM, PHOTO CD,
SACD
Darüber hinaus kann der Player folgende Discs nicht abspielen:
•Nicht-finalisierte Discs
•Discs unregelmäßiger Form oder Discs mit Klebeband,
Aufklebern oder Klebstoff auf der Etikett- oder auf der
Wiedergabeseite. Bei Wiedergabe solcher Discs könnte der
Player beschädigt werden.
Abspielbare Speicherkarten
Dieser Player verfügt über zwei exklusive Steckplätze für
Speicherkarten; ein 4-in-1-Steckplatz für SD-Karten (SD), Multi
Media-Karten (MMC), SmartMedia (SM) und Memory Stick (MS),
der andere für CompactFlash (CF).
Sie können die folgenden Dateien abspielen:
•MP3, WMA, JPEG und MPEG-4 (Simple Profile- / asf-Format)
Anforderungen für Speicherkarten
•Format: Fat 12/16
•Spannung: 5 V-Typen stehen - außer bei SmartMedia - zur
Verfügung.
•Kapazität: Bis zu 128 MB (256 MB nur bei SD-Karten und
CompactFlash).
Der 4 MB-Typ ist bei MMC nicht verfügbar.
•Schutz: Secure MMC-Karte und Magic Gate Memory Stick sind
nicht möglich.
•Für CompactFlash: Typ
•Für Memory Stick: Memory Stick Pro ist nicht möglich.
HINWEISE
•Die Wiedergabereihenfolge kann von der Reihenfolge bei
anderen Geräten wie digitalen Foto- / Videokameras abweichen.
•Per PC initialisierte Speicherkarten funktionieren nicht.
•Der Player kann eventuell einige CompactFlash-Karten nicht
wiedergeben, die für Hochgeschwindigkeitsschreiben und -
lesen ausgelegt sind.
•Eventuell kann der Player einige Speicherkarten wegen ihrer
Charakteristika oder Aufnahmebedingungen nicht abspielen.
•Speicherkarten sind Präzisionsteile. Setzen Sie sie KEINEN
Erschütterungen aus, biegen Sie sie NICHT, lassen Sie sie
NICHT fallen oder mit Feuchtigkeit in Berührung kommen.
SD, Secure SD, MultiMediaCard, SmartMedia, CompactFlash,
Memory Stick sind Warenzeichen der jeweiligen Produkt-
Gesellschaften.
Hinweise zum Urheberrecht
Bitte seien Sie sich der urheberrechtlichen Bestimmungen Ihres
Lands bewusst, bevor Sie Aufzeichnungen von DVD VIDEO, SVCD,
Video CD, Audio CD, MP3, JPEG, und MPEG-4 Discs machen.
Die Aufzeichnung von urheberrechtlich geschütztem Material
kann widerrechtlich sein.
DVD VIDEO SVCD Video CD
Audio CD
ALL 252 4
2
3
13
2
16
5
4
Dieses Produkt enthält urheberrechtlich geschützte Technik,
welche durch Methodenansprüche bestimmter U.S.-Patente
und andere bestimmte Rechte über geistiges Eigentum, die im
Besitz von Macrovision Corporation und anderen
Rechtsinhabern sind, geschützt sind. Der Gebrauch dieser
urheberrechtlich geschützten Technik muss durch Macrovision
Corporation autorisiert sein und ist nur für den Heimgebrauch
und die Betrachtung in begrenztem Ausmaß vorgesehen,
soweit nicht ausdrücklich durch Macrovision Corporation
autorisiert. Rückwärtige Entwicklung oder Zerlegen ist
verboten.
XV-NP1_GE.book Page 2 Tuesday, September 2, 2003 9:50 AM

3
Vorbereitungen
XV-N50BK/N55SL/LET0230-001A/Deutsch
Vorbereitungen
Anschlüsse
Vor der Inbetriebnahme ist der Player an ein Fernsehgerät und/
oder einen Verstärker anzuschließen.
Vor dem Anschließen
•Schließen Sie das Netzkabel erst an, nachdem alle anderen
Anschlüsse getätigt sind.
•Verbinden Sie die VIDEO OUT Buchse des Players direkt
mit dem Videoeingang des Fernsehgeräts. Falls Sie die
VIDEO OUT Buchse des Players über einen Videorekorder
mit dem Fernsehgerät verbinden, kann es bei der
Wiedergabe von kopiergeschützten Discs zu
Bildschirmproblemen kommen. Bildschirmprobleme
können auch auftreten, wenn Sie den Player an ein
kombiniertes Fernseh-Videogerät anschließen.
Anschluss an ein Fernsehgerät
Die folgenden Abschnitte A bis C beschreiben
Fernsehgerätverbindungen, wo nur ein Fernsehgerät am Player
angeschlossen wird, so dass Sie den Ton vom Fernsehgerät her
hören.
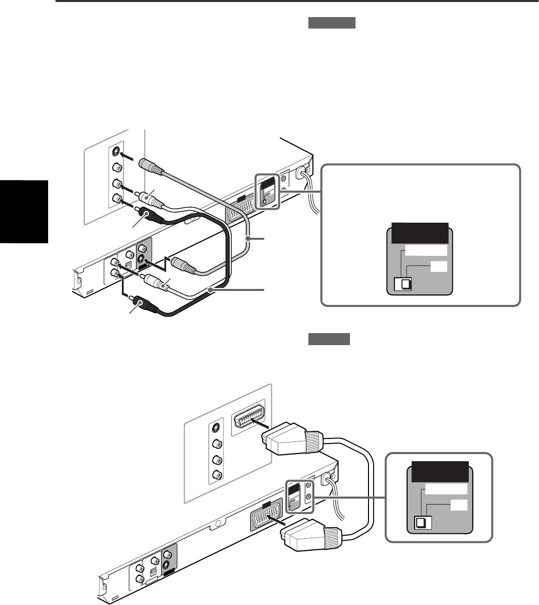
A Anschluss an ein konventionelles Fernsehgerät
HINWEISE
•Verwenden Sie keine Mehrfachstecker für den Anschluss
mehrerer Geräte.
•Falls das Fernsehgerät statt Stereo mit einer Mono-
Tonausgangsbuchse ausgestattet ist, brauchen Sie ein
optionales Audiokabel, welches das Stereotonausgangssignal
in ein monaurales Signal umwandelt.
•Stellen Sie [VIDEOSIGNAL] in der [BILD]-Grundeinstellungen-
Anzeige auf [COMPOSITE&Y/C] ein (siehe Seite 28).
•In der folgenden Beschreibung kann der Begriff
“Fernsehgerät” durch “Monitor” oder “Projektor” ersetzt
werden.
•Die Anschlussbezeichnungen anderer Komponenten sind
eventuell anders als die Bezeichnungen in der
nachstehenden Beschreibung.
RIGHT
LEFT
AUDIO
VIDEO
IN
VIDEO OUT
AV COMPU LINK
VIDEO SIGNAL
SELECTOR
AV OUT
AUDIO OUTDIGITAL OUT
LEFT COAXIAL
OPTICAL
PCM
/ STREAM
RIGHT
VIDEO
S-VIDEO
RGB/COMP
Y/C
VIDEO SIGNAL
SELECTOR
RGB/COMP.
Y/C
Stellen Sie den VIDEO SIGNAL SELECTOR auf
“RGB/COMP”.
Audiovideokabel
(mitgeliefert)
Gelb
Weiß
Rot
Player
Rot
Weiß
Gelb
Fernsehgerät
XV-NP1_GE.book Page 3 Tuesday, September 2, 2003 9:50 AM

Vorbereitungen
4
XV-N50BK/N55SL/LET0230-001A/Deutsch
Vorbereitungen
BAnschluss an ein Fernsehgerät mit S-Video-
Buchse
Falls das Fernsehgerät eine S-VIDEO-Eingangsbuchse aufweist,
erhalten Sie bessere Bildqualität, wenn Sie es über ein S-
Videokabel mit dem S-VIDEO-Ausgang des Players verbinden,
anstatt den Videoeingang des Fernsehgeräts mit der VIDEO-
Buchse des Players zu verbinden.
HINWEISE
•Verwenden Sie keine Mehrfachstecker für den Anschluss
mehrerer Geräte.
•Wenn der VIDEO SIGNAL SELECTOR auf “Y/C” gestellt ist,
können Sie die Composite-Video-Ausgangsbuchse nicht
benutzen. (Andernfalls würde nur das Helligkeitssignal an der
Composite-Video-Ausgangsbuchse ausgegeben und dadurch
ein farbloses Bild dargestellt werden.)
•Stellen Sie [VIDEOSIGNAL] in der [BILD]-Grundeinstellungen-
Anzeige auf [COMPOSITE&Y/C] ein (siehe Seite 28).
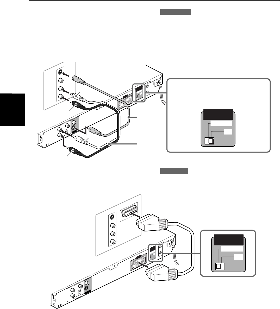
CAnschluss an ein Fernsehgerät mit SCART-
Buchse
Der Player kann auch einfach über ein 21-poliges SCART-Kabel
am Fernsehgerät angeschlossen werden.
HINWEIS
Verwenden Sie keine Mehrfachstecker für den Anschluss
mehrerer Geräte.
Einstellen des VIDEO SIGNAL SELECTOR
Wenn Sie den Player an ein Fernsehgerät mit SCART-Buchse
anschließen, müssen Sie den VIDEO SIGNAL SELECTOR dem
Fernsehgerät entsprechend einstellen.
•Falls das Fernsehgerät nur das Composite-Videosignal (auf
BAS oder FBAS genannt) unterstützt, sollten Sie den Wähler
auf “RGB/COMP.” stellen.
•Falls Ihr Fernsehgerät Y/C-Signale unterstützt, stellen Sie den
Wähler auf “Y/C”, um eine bessere Bildqualität zu erzielen.
•Falls Ihr Fernsehgerät RGB-Signale unterstützt, stellen Sie den
Wähler auf “RGB/COMP” ein.
•Stellen Sie [VIDEOSIGNAL] in der [BILD]-Grundeinstellungen-
Anzeige auf [RGB] ein (siehe Seite 28).
RIGHT
LEFT
AUDIO
VIDEO
S-VIDEO
IN
VIDEO OUT
AV COMPU LINK
VIDEO SIGNAL
SELECTOR
AV OUT
AUDIO OUTDIGITAL OUT
LEFT COAXIAL
OPTICAL
PCM
/ STREAM
RIGHT
VIDEO
S-VIDEO
RGB/COMP
Y/C
VIDEO SIGNAL
SELECTOR
RGB/COMP.
Y/C
Stellen Sie den VIDEO SIGNAL SELECTOR auf
“Y/C”.
S-Videokabel
(nicht
mitgeliefert)
Audiokabel
(nicht
mitgeliefert)
Weiß
Rot
Weiß
Rot
Player
Fernsehgerät
VIDEO OUT
AV COMPU LINK
VIDEO SIGNAL
SELECTOR
AV OUT
AUDIO OUTDIGITAL OUT
LEFT COAXIAL
OPTICAL
PCM
/ STREAM
RIGHT
VIDEO
S-VIDEO
RGB/COMP
Y/C
RIGHT
LEFT
AUDIO
VIDEO
S-VIDEO
IN IN
VIDEO SIGNAL
SELECTOR
RGB/COMP.
Y/C
SCART-Kabel (nicht
mitgeliefert)
XV-NP1_GE.book Page 4 Tuesday, September 2, 2003 9:50 AM

Vorbereitungen
5
XV-N50BK/N55SL/LET0230-001A/Deutsch
Vorbereitungen
Anschluss an optionale Audiokomponenten
Anschluss an einen Stereo-Audioverstärker/
Receiver
Schließen Sie die AUDIO OUT (LEFT/RIGHT)-Buchsen des
Players an einen der Line-Eingänge (wie z. B. AUX, DVD, CD
o.ä.) eines Audioverstärkers oder Receivers an.
Anschluss an ein Digital-Audio-Gerät
Klang mit verbesserter Qualität läßt sich erreichen, wenn Sie die
DIGITAL OUT (entweder OPTICAL oder COAXIAL)-Buchse des
Players über ein optisches oder Koaxialkabel mit dem
Digitaleingang eines Verstärkers o. ä. verbinden. Das
Digitaltonsignal einer Disc wird dann direkt vom Player
übertragen. Falls das angeschlossene Digital-Audio-Gerät ein
Dolby Digital oder DTS-Decoder oder ein Verstärker mit
integriertem Decoder ist, erhalten Sie hochwertigen Surround-
Sound.
HINWEISE
•Verbinden Sie den Player und das Digital-Audio-Gerät entweder
über ein optisches Digitalkabel oder ein Koaxialdigitalkabel.
•Die Verwendung der Digitalbuchsen zur Überspielung ist nicht
empfehlenswert. Wenn Sie den am Player wiedergegebenen
Ton (DVD VIDEO, SVCD, Video CD oder Audio CD)
aufzeichnen wollen, sollten Sie das über die Analogbuchsen
tun.
•Bei bestimmten Discs wird eventuell kein Signal von der
DIGITAL OUT Buchse ausgespeist. Stellen Sie in solchem Fall
eine Analogverbindung her.
Stellen Sie [DIGITAL-AUDIO-AUSGANG] in der [AUDIO]
Einstellungsanzeige korrekt auf das angeschlossene Digital-
Audio-Gerät ein. Falls die Einstellung von [DIGITAL-AUDIO-
AUSGANG] falsch ist, wird eventuell ein lautes Geräusch
erzeugt, das die Lautsprecher beschädigen könnte (siehe
Seite 28).
RIGHT
LEFT
AUDIO
IN
VIDEO OUT
AV COMPU LINK
VIDEO SIGNAL
SELECTOR
AV OUT
AUDIO OUTDIGITAL OUT
LEFT COAXIAL
OPTICAL
PCM
/ STREAM
RIGHT
VIDEO
S-VIDEO
RGB/COMP
Y/C
Weiß
Rot
Player Audiokabel (nicht
mitgeliefert)
Verstärker oder Receiver
Rot
Weiß
RIGHT
LEFT
DVD
COAXIAL
OPTICAL
DIGITAL
IN IN
VIDEO OUT
AV COMPU LINK
VIDEO SIGNAL
SELECTOR
AV OUT
AUDIO OUTDIGITAL OUT
LEFT COAXIAL
OPTICAL
PCM
/ STREAM
RIGHT
VIDEO
S-VIDEO
RGB/COMP
Y/C
Player
Audiokabel (nicht
mitgeliefert)
Digitalgerät
Optisches Digitalkabel (nicht
mitgeliefert)
Koaxial-Digitalkabel (nicht
mitgeliefert)
XV-NP1_GE.book Page 5 Tuesday, September 2, 2003 9:50 AM

Vorbereitungen
6
XV-N50BK/N55SL/LET0230-001A/Deutsch
Vorbereitungen
Anschluss des Netzkabels
Nachdem alle Audio- und Videoanschlüsse hergestellt sind,
schließen Sie den Netzstecker an der Wandsteckdose an.
Achten Sie darauf, dass die Stecker völlig eingesteckt sind.
Die STANDBY Anzeigelampe leuchtet rot.
Warnung
•Ziehen Sie das Netzkabel ab:
- falls Sie den Player längere Zeit nicht benutzen werden.
- bevor Sie den Player reinigen.
- bevor Sie den Player bewegen.
•Vermeiden Sie:
- das Anschließen oder Abtrennen des Netzkabels mit nassen
Händen.
- Zerren am Netzkabel beim Abziehen, da das Kabel sonst
beschädigt werden könnte und einen Brand, elektrischen
Schlag oder andere Unfälle verursachen könnte.
Vorsicht
•Das Netzkabel darf nicht modifiziert, verdreht, gezerrt oder mit
schweren Gegenständen belastet werden, da dies einen Brand,
elektrischen Schlag oder andere Unfälle verursachen könnte.
•Falls das Netzkabel beschädigt ist, sollten Sie sich an Ihren
Händler wenden und das Netzkabel durch ein neues ersetzen
lassen.
Gebrauch der Fernbedienung
Einlegen der Batterien
Öffnen Sie den Batteriefachdeckel, und legen Sie die beiden
mitgelieferten R6P (SUM-3)/(AA) Mignonzelle (15F) in das Fach,
und achten Sie dabei auf korrekt ausgerichtete Polarität (“+” und
“–”) im Batteriefach. Setzen Sie den Deckel wieder auf.
Die Batterien reichen bei normalem Betrieb etwa sechs Monate.
Falls die Funktion der Fernbedienung unregelmäßig wird, sind
die Batterien auszuwechseln.
Vorsichtsmaßregeln für den sicheren Gebrauch von
Batterien
Beachten Sie die nachstehenden Vorsichtsmaßregeln für den
sicheren Gebrauch der Batterien. Falls sie falsch verwendet
werden, wird die Betriebslebensdauer verkürzt, und sie können
bersten oder auslaufen.
•Nehmen Sie die Batterien aus der Fernbedienung heraus, falls
sie längere Zeit nicht benutzt werden sollen.
•Nehmen Sie erschöpfte Batterien heraus, und entsorgen Sie
sie ordnungsgemäß.
•Lassen Sie erschöpfte Batterien niemals herumliegen, zerlegen
Sie sie nicht, entsorgen Sie sie nicht mit dem Hausmüll, und
werfen Sie sie nicht in eine Müllverbrennungsanlage.
•Berühren Sie keine aus einer Batterie ausgelaufene Flüssigkeit.
•Kombinieren Sie beim Batteriewechsel nicht alte und neue
Batterien oder Batterien verschiedenen Typs.
Fernbedienungssensor
Richten Sie die Vorderkante der Fernbedienung möglichst direkt
auf den Fernbedienungssensor. Bei der Bedienung von einer
diagonalen Position her ist die steuerbare Entfernung (ungefähr 5
m) eventuell kürzer.
Pflege und Handhabung der Discs
Falls eine Disc verschmutzt, verstaubt, verkratzt oder verformt ist,
erscheinen Wiedergabeton und -bild eventuell verschlechtert.
Gehen Sie mit den Discs grundsätzlich vorsichtig um.
Handhabung
•Berühren Sie nicht die Oberfläche der Discs.
•Discs dürfen nicht mit Klebeband, Aufklebern oder Klebstoff auf
der Etikett- oder auf der Wiedergabeseite versehen werden.
Aufbewahrung der Discs
•Bewahren Sie die Discs in den Hüllen auf. Wenn Discs ohne
Hülle aufeinandergestapelt werden, können sie leicht
beschädigt werden.
•Bewahren Sie Discs nicht an Orten auf, die direkter
Sonneneinstrahlung ausgesetzt sind, oder wo die Feuchtigkeit
oder Temperatur hoch ist. Lassen Sie Discs möglichst nicht im
Fahrzeug liegen!
Reinigen der Discs
•Wischen Sie eine Disc mit einem weichen, trockenen Tuch von
der Mitte her nach außen ab. Wenn eine Disc sich nicht leicht
reinigen lässt, können Sie sie mit einem mit Wasser
befeuchteten Tuch abwischen.
•Verwenden Sie auf keinen Fall Schallplattenreiniger, Benzin,
Alkohol oder jegliche Antistatikmittel.
Fernbedienungssensor
XV-NP1_GE.book Page 6 Tuesday, September 2, 2003 9:50 AM

Vorbereitungen
7
XV-N50BK/N55SL/LET0230-001A/Deutsch
Vorbereitungen
Gebrauch der Fernbedienung für
Fernsehprogramme
Einstellen des Fernbedienungssignals zum
Ansteuern eines Fernsehgeräts
1Stellen Sie den TV - DVD-Schalter auf “TV”.
2Halten Sie TV/VIDEO - CANCEL gedrückt, und
geben Sie gleichzeitig den unten
aufgeführten Fernsehgerätherstellercode mit
den Zahlentasten (0 bis 9) ein, bestätigen Sie
dann mit ENTER.
Beispiel:
Eingabe des Herstellercodes “01”: Drücken Sie “0”, “1” und
dann ENTER.
Liste der Herstellercodes
3Lassen Sie TV/VIDEO - CANCEL los.
4Versuchen Sie, das Fernsehgerät durch
Betätigen der TV STANDBY/ON Taste
anzusteuern.
Falls das Fernsehgerät sich damit ein- oder ausschaltet,
haben Sie das Fernbedienungssignal mit Erfolg eingestellt.
HINWEISE
•Beim Kauf des Players ist der Herstellercode auf “JVC” (01)
eingestellt.
•Falls für den Hersteller Ihres Fernsehgeräts mehr als ein Code
aufgeführt ist, sollten Sie einen nach dem anderen
ausprobieren, bis Sie Erfolg haben.
Bedienung des Fernsehgeräts
Stellen Sie den TV - DVD-Schalter der Fernbedienung auf “TV”.
Zur Bedienung des Fernsehgerätes können folgende Tasten
benutzt werden.
Lautstärkeregelung eines JVC-Verstärkers
oder -Receivers
Durch Drücken der AMP VOL+ Taste heben Sie die Lautstärke
eines JVC-Verstärkers oder – Empfängers an, durch Betätigen
der Taste verringern Sie sie.
Hersteller Nr. Hersteller Nr.
AIWA 36 MIVAR 29
BEIJING 22 NEC 20
CCE 02 NOBLEX 22
CHANGHONG 34 NOKIA 31
DAEWOO 17, 37 PANASONIC 04, 11
FERGUSON 27 PEONY 34, 38, 39
FINLUX 30 PHILCO 10, 17, 21
FUNAI 32 PHILIPS 02
GRADIENTE 15, 20 RCA 05
GRUNDIG 19
SAMSUNG
12, 33, 34,
35
HITACHI 10
ITT 28 SANYO 13, 16
JINXING 38 SEARS 13
JVC
01, 23, 24,
25
SHARP 06
SONY 07
KONKA 40 TCL 41
LG (GOLDSTAR) 18 THOMSON 26
MAGNAVOX 02 TOSHIBA 08, 14
MITSUBISHI 03 ZENITH 09
Zahlentasten
Schaltet das Fernsehgerät ein oder aus.
Schaltet den Fernsehsignaleingangsmodus
zwischen TV und VIDEO um.
Wählt einen Fernsehkanal direkt an.
*Bei manchen Fernsehgeräten funktioniert die
Tas te “+10” als “+100”, wohingegen “10” als
ENTER-Taste funktioniert, falls bei Ihrem
Fernsehgerät nach Wahl einer Kanalnummer die
ENTER-Taste gedrückt werden muß.
Schaltet den Fernsehton stumm.
Wechselt den Fernsehkanal.
Stellt die Lautstärke des Fernsehgeräts ein.
TV DVD
TV
TV/VIDEO
CANCEL
TV1
1
TV-/--
10
TV0
0
MUTING
+10
CH
+
CH
-
VOL
-
VOL+
AMP
VOL
XV-NP1_GE.book Page 7 Tuesday, September 2, 2003 9:50 AM

8
Wichtige
Bedienungsschritte
XV-N50BK/N55SL/LET0230-001A/Deutsch
Wichtige Bedienungsschritte
HINWEIS
Ein- und Ausschalten des Players
Betätigen Sie STANDBY/ON auf der
Fernbedienung, oder drücken Sie an der
Frontkonsole.
Die STANDBY/ON Anzeige auf der Vorderseite, die im
Bereitschaftsmodus rot leuchtet, leuchtet nun grün.
Die linke und die rechte Seite des Anzeigefensters sind
beleuchtet.
Der Eröffnungsbildschirm erscheint auf dem Fernsehbildschirm,
und die folgenden Meldungen erscheinen eventuell am unteren
Rand des Eröffnungsbildschirms.
•EINLESEN (Der Player liest die Disc-Informationen.)
•LÄNDERCODEFEHLER! (Der Ländercode der DVD VIDEO
Disc entspricht nicht dem Player. Die Disc kann nicht abgespielt
werden.)
•KANN DIESE DISC NICHT LESEN
•ÖFFNEN
•SCHLIESSEN
•KEINE DISC
HINWEISE
•Auch wenn Sie den Player abschalten, wird der Player nicht von
der Netzstromversorgung getrennt, solange es an der
Wandsteckdose angeschlossen bleibt. Dieser Zustand ist der
Bereitschaftszustand. Der Player verbraucht dabei eine geringe
Menge Strom.
•Sie können das Bild ändern, das im Eröffnungsbildschirm
erscheint. (Siehe Seite 25.)
Erste Einstellung
Vor der Playerbenutzung können Sie Anzeigesprache,
Bildschirmtyp und Digitalausgang gemäß der nachstehenden
Prozedur festlegen.
1Drücken Sie CHOICE ein paar Sekunden lang,
um die erste Seite der DVD-EINSTELLUNG-
Anzeige aufzurufen.
Das Pulldown-Menü der [BILDSCHIRMMENÜ-SPRACHE]
wird sofort angezeigt.
2Betätigen Sie 5/∞, um die gewünschte
Sprache zu wählen.
Sie können die Bildschirmmenü-Sprache für die
gewünschten Anzeigen usw. wählen, darunter ENGLISCH,
FRANZÖSISCH und DEUTSCH.
3Betätigen Sie ENTER.
Die zweite Seite wird angezeigt, auf der das Pulldown-Menü
für [MONITOR-TYP] bereits geöffnet ist.
4Wählen Sie den gewünschten Monitortyp mit
5/∞.
Für ein normales (konventionelles) Fernsehgerät wählen Sie
[4:3 LETTERBOX] oder [4:3 PAN & SCAN].
Für ein Breitbild-Fernsehgerät wählen Sie [16:9]. (Siehe
Seite 27.)
Achten Sie darauf, daß der TV - DVD
Schalter der Fernbedienung auf “DVD”
gestellt ist, bevor Sie die5/∞/2/3 und
Zahlentasten zur Steuerung des Players
benutzen.
Über das Symbol Ungültige Anweisung
Wenn Sie eine Taste betätigen und der Player diese
Tastenbetätigung nicht akzeptiert, erscheint auf dem
Fernsehbildschirm. Bedienungen sind manchmal auch dann
inakzeptabel, wenn nicht angezeigt wird.
Beachten Sie, dass manche Bedienungsschritte eventuell
nicht akzeptiert werden. Bei manchen Discs z.B. ist kein
Schnellvorlauf/Schnellrücklauf oder keine
Zeitlupenwiedergabe möglich.
730
STANDBY-Anzeige
TV DVD
EINLESEN
Meldungsbereich
DEUTSCH
BILDSCHIRMMENÜ-SPRACHE Optionen
MONITOR-TYP Optionen
XV-NP1_GE.book Page 8 Tuesday, September 2, 2003 9:50 AM

Wichtige Bedienungsschritte
9
XV-N50BK/N55SL/LET0230-001A/Deutsch
Wichtige
Bedienungsschritte
5Betätigen Sie ENTER.
Die dritte Seite wird angezeigt, worin das Pulldown-Menü für
[DIGITAL-AUDIO-AUSGANG] schon offen ist.
6Betätigen Sie 5/∞, um einen geeigneten Typ
des Digitalausgangssignals zu wählen.
Dieser Punkt muss korrekt eingestellt werden, wenn Sie den
Player mit einem externen Surround-Decoder oder D/A-
Decoder verbinden. Siehe “DIGITAL-AUDIO-AUSGANG” auf
Seite 28. (Falls Sie den Player nicht an ein solches Gerät
anschließen, brauchen Sie diesen Punkt nicht einzustellen.)
•Bei Anschluss an ein anderes Digitalgerät wählen Sie
[NUR PCM].
•Bei Anschluss an einen Dolby Digital Decoder wählen Sie
[DOLBY DIGITAL/PCM].
•Bei Anschluss an einen Dolby Digital-Decoder/DTS-
Decoder/MPEG-Decoder wählen Sie [BITSTROM/PCM].
7Betätigen Sie ENTER.
Der Fernsehbildschirm kehrt zum Eröffnungsbildschirm
zurück.
Grundschritte der Wiedergabe
1Betätigen Sie 0 (oder OPEN/CLOSE auf der
Fernbedienung), um das Fach zu öffnen.
2Legen Sie eine Disc in das Disc-Fach.
3Betätigen Sie 3.
Der Player beginnt vom Anfang mit der Wiedergabe.
Wenn ein Menü auf dem Fernsehbildschirm
angezeigt wird
Wenn Sie eine DVD VIDEO, SVCD oder Video CD Disc einlegen,
erscheint eventuell ein Menü auf dem Fernsehbildschirm. An
diesem Menü können Sie einen gewünschten Inhalt für die
Wiedergabe wählen.
Für DVD VIDEO
1Wählen Sie den gewünschten Inhalt mittels 5/∞/2/3.
2Betätigen Sie ENTER.
Der Player beginnt mit der Wiedergabe des gewählten Inhalts.
Für SVCD/Video CD
Wählen Sie den gewünschten Inhalt mit den Zahlentasten.
Der Player beginnt mit der Wiedergabe des gewählten Inhalts.
HINWEISE
•Legen Sie keine unspielbaren Discs ein. (Siehe Seite 2.)
•Achten Sie beim Einlegen der Disc in das Fach darauf, dass die
Disc im Ring zu liegen kommt. Andernfalls könnte die Disc
beschädigt werden, wenn das Fach sich schließt, oder Sie
könnten die Disc eventuell nicht mehr aus dem Player
herausnehmen.
•Falls das Lesen einer eingelegten Disc viel Zeit braucht (im
Displayfenster erscheint “READING”), nehmen Sie die Disc
heraus, indem Sie OPEN/CLOSE an der Fernbedienung
drücken, und überprüfen Sie die Disc.
Zum Ändern der Helligkeit des Anzeigefensters
Betätigen Sie DIMMER auf der Fernbedienung.
Sie können für die Helligkeit des Anzeigefensters unter drei
Stufen wählen.
Falls die Helligkeit ausgeschaltet ist, ist im Anzeigefenster
nichts zu sehen. In diesem Fall wird die Beleuchtung an der
Frontkonsole ebenfalls ausgeschaltet.
DIGITAL-AUDIO-AUSGANG Optionen
PROGRESSIVE
•8-cm-Discs in den Innenring einlegen.
Mit dem Etikett
nach oben
XV-NP1_GE.book Page 9 Tuesday, September 2, 2003 9:50 AM

Wichtige Bedienungsschritte
10
XV-N50BK/N55SL/LET0230-001A/Deutsch
Wichtige
Bedienungsschritte
Überprüfung des Wiedergabestatus
Sie können die Nummer der gegenwärtigen Wahl (Nummer des
Titels/Kapitels von DVD VIDEO oder Tracknummer von SVCD/
Video CD/Audio CD), Zeitinformation (Track- oder Kapitelzeit im
Stoppzustand, oder verstrichene Track- oder Kapitelzeit während
der Wiedergabe) und den Transportstatus (Stopp, Wiedergabe,
Pause usw.) auf dem Fernsehbildschirm kontrollieren.
Betätigen Sie ON SCREEN.
Beispiel: für DVD VIDEO
Beachten Sie, dass beim Drücken von ON SCREEN wieder die
Menüleiste unter der Statusleiste angezeigt wird, von wo Sie
verschiedene Funktionen aufrufen können. Näheres zur
Menüleiste Siehe Seite 19.
Ausschalten der Statusleiste
Betätigen Sie mehrmals ON SCREEN, bis die Statusleiste
erlischt.
Völliger Abbruch der Wiedergabe
Betätigen Sie 7.
Tipp
Wenn Sie während der Wiedergabe 0 drücken, bricht der Player
die Wiedergabe ab und öffnet das Disc-Fach.
Zeitweiliger Abbruch der Wiedergabe
Betätigen Sie 8.
Betätigen Sie 3, um die Wiedergabe fortzusetzen. (Siehe
folgende Erläuterung.)
Fortsetzung der Wiedergabe
Der Player kann die Position auf einer Disc speichern, wo Sie die
Wiedergabe unterbrochen haben, und die Wiedergabe dann
später an dieser Stelle fortsetzen.
Es gibt drei Fortsetzungsmodi: EIN, AUS und DISC
FORTSETZEN. Als Werksvoreinstellung ist der Modus EIN aktiv.
•Der Modus kann über den Grundeinstellung-Bildschirm gewählt
werden (siehe Seite 28).
Wenn der Fortsetzungsmodus auf “EIN” gestellt ist
Wenn Sie 7 drücken, unterbricht der Player die Wiedergabe und
speichert die Lesezeichenstelle ab. Der Fernsehbildschirm zeigt
“FORTSETZUNGSHALT”, und die RESUME-Anzeige im
Anzeigefenster leuchtet auf.
Die gespeicherte Lesezeichenstelle wird nicht gelöscht, wenn
Sie den Player abschalten.
Wenn Sie den Player nach dem Einstellen der Fortsetzen
Funktion ausgeschaltet haben, betätigen Sie einfach 3. Der
Player wird nun eingeschaltet, und die Wiedergabe beginnt an
der vorherigen Unterbrechungsstelle.
Beachten Sie aber, dass der Speicher gelöscht wird, sobald Sie
das Disc-Fach öffnen.
Wenn der Fortsetzungsmodus auf “DISC
FORTSETZEN” gestellt ist
Wenn Sie 7 drücken, unterbricht der Player die Wiedergabe und
speichert die Lesezeichenstelle ab. Der Fernsehbildschirm zeigt
“FORTSETZUNGSHALT”, und die RESUME-Anzeige im
Anzeigefenster leuchtet auf.
Der Speicher der Lesezeichenstelle wird nicht gelöscht, wenn Sie
das Disc-Fach öffnen oder den Player abschalten.
Tipp
Der Player speichert die Lesezeichenstellen der 30 zuletzt
gespielten Discs. Beim Abspeichern einer neuen
Lesezeichenstelle wird die Lesezeichenstelle der allerersten Disc
gelöscht.
Löschen des Speichers
Betätigen Sie 7 , während die Disc gestoppt ist.
8.5Mbps
TITLE 33 TOTAL 1:25:58CHAP 33
Übertragungsrate Gegenwärtige
Kapitelnummer
Gegenwärtiger
Transportstatus
Gegenwärtige Titelnummer Gegenwärtige
Kapitelzeit
Über die Symbole der Bildschirmanleitung
Das Bild wird zuweilen mit nachstehenden Symbolen belegt.
Sie haben folgende Bedeutung.
: Erscheint zu Beginn einer Szene, die aus mehreren
Blickwinkeln aufgenommen wurde (siehe Seite 17).
: Erscheint zu Beginn einer Szene, deren Ton in
mehreren Sprachen aufgezeichnet wurde (siehe Seite
17).
: Erscheint zu Beginn einer Szene, deren Untertitel in
mehreren Sprachen aufgezeichnet wurde (siehe Seite
17).
XV-NP1_GE.book Page 10 Tuesday, September 2, 2003 9:50 AM

Wichtige Bedienungsschritte
11
XV-N50BK/N55SL/LET0230-001A/Deutsch
Wichtige
Bedienungsschritte
Fortsetzen der Wiedergabe
Wenn der Fortsetzungsmodus auf “EIN” gestellt ist
Betätigen Sie 3, während die Disc mit
unterbrochener Wiedergabe noch im Disc-
Fach liegt.
Der Player setzt die Wiedergabe vom der Position an fort, an
der die Wiedergabe unterbrochen wurde. Auf dem
Fernsehbildschirm wird “WIEDERGABE FORTSETZEN”
angezeigt.
Wiedergabe ab Anfang
Drücken Sie zuerst 7, bevor Sie 3 drücken, um die Wiedergabe
zu starten.
Wenn der Fortsetzungsmodus auf “DISC
FORTSETZEN” gestellt ist
1Betätigen Sie 0, um eine Disc einzulegen, für
die der Player eine Lesezeichenstelle
gespeichert hat.
Der Fernsehbildschirm zeigt “FORTSETZUNGSHALT”.
2Betätigen Sie 3.
Der Fernsehbildschirm zeigt “WIEDERGABE
FORTSETZEN”, und der Player setzt die Wiedergabe ab der
Stelle fort, wo sie unterbrochen wurde.
Wiedergabe ab Anfang
Drücken Sie nach dem Einlegen der Disc zuerst 7, bevor Sie 3
drücken, um die Wiedergabe zu starten.
HINWEISE
•Wenn Sie die [LESEZEICHEN-FUNKTION] Einstellung von
[DISC FORTSETZEN] zu [AUS] oder [EIN] ändern, können Sie
nicht mehr die Wiedergabe einer Disc fortsetzen, für die eine
“Lesezeichen”-Position abgespeichert wurde. Wenn Sie
allerdings die [LESEZEICHEN-FUNKTION] Einstellung wieder
auf [DISC FORTSETZEN] setzen, können Sie die Wiedergabe
der Disc ab dem Lesezeichen wieder nutzen.
•Wenn Sie die Wiedergabe fortsetzen, stellen Sie die
[LESEZEICHEN-FUNKTION]-Einstellung auf [DISC
FORTSETZEN] ein, ehe Sie eine eingelegte Disc entnehmen.
•Wenn Sie die Wiedergabe einer Disc, für die schon eine
“Lesezeichen”-Position abgespeichert ist, unterbrechen, wird
der Speicher mit der neuen Lesezeichenstelle aktualisiert.
•Bei einer doppelseitigen DVD VIDEO Disc betrachtet der Player
jede Seite als separate Disc. Um die Wiedergabe einer solchen
Disc also fortzusetzen, muss die Disc mit derselben Seite nach
unten weisend eingelegt werden.
•Wenn der Player eine Lesezeichenstelle für eine Disc
abspeichert, werden gleichzeitig die Einstellungen Audio,
Untertitel und Blickwinkel abgespeichert.
•Der Player setzt die Wiedergabe eventuell nicht genau ab der
Unterbrechungsstelle fort. Im Falle einer SVCD/Video CD Disc
mit PBC-Funktion wird der Player die Wiedergabe eventuell
etwas vor oder nach der Stelle fortsetzen, wo die Wiedergabe
ursprünglich unterbrochen wurde.
•Wenn Sie den Video CD-Wiedergabemodus auf Programm-
oder Zufallswiedergabe ändern, wird die gespeicherte
Unterbrechungsposition gelöscht und der Player kann die
Wiedergabe nicht fortsetzen.
•Drücken von DVD/CARD löscht die gespeicherte Wiedergabe-
Unterbrechungsposition.
Wiedergabe mit variabler
Geschwindigkeit
Schneller Vor- oder Rücklauf der
Wiedergabe zur Kontrolle
Betätigen Sie während der Wiedergabe ¡
oder 1 an der Fernbedienung.
Sie können zwischen dem 2-fachen (1,5-fach bei
Vorwärtswiedergabe von DVD VIDEO), 5-fachen, 20-fachen
und 60-fachen (nur bei DVD VIDEO) der normalen
Wiedergabegeschwindigkeit wählen. Wenn Sie 3 betätigen,
schaltet der Player in die normale Wiedergabe zurück.
Halten Sie während der Wiedergabe ¢ oder
4 gedrückt.
Die Wiedergabe erfolgt mit der 5-fachen
Normalgeschwindigkeit vor- oder rückwärts.
HINWEIS
Während der schnellen Wiedergabe wird der Ton
stummgeschaltet, ausgenommen bei Wiedergabe einer Audio-
CD und bei Wiedergabe einer DVD VIDEO mit 1,5-facher
Normalgeschwindigkeit. Bei Audio-CD-Discs ist der Ton nur
unterbrochen zu hören.
x1,5 Schnellwiedergabe mit Ton
Während der schnellen Wiedergabe mit 1,5-facher
Geschwindigkeit wird die Disc mit Ton wiedergegeben.
•Der Untertitel verschwindet nicht.
•Die Tonwiedergabe kann dabei unterbrochen sein.
•Falls der Ton einer DVD VIDEO-Disc im Format Dolby Digital,
MPEG Multichannel oder DTS aufgezeichnet ist, wird ein
lineares Stereo-PCM-Signal ausgegeben. Bei manchen DVD
VIDEO-Discs sind die Klangqualität und die Lautstärke
verändert, oder der Ton klingt verstimmt.
•Zum Umschalten von schneller Rückwärtswiedergabe auf x1,5
Schnellwiedergabe drücken Sie zuerst 3, und dann einmal
¡.
Einzelbilder schrittweise vorrücken
Betätigen Sie im Pausezustand 8.
Jedesmal, wenn Sie 8 drücken, rückt die Darstellung zum
nächsten Einzelbild weiter.
Wenn Sie 3 betätigen, schaltet das Gerät in die normale
Wiedergabe zurück.
Wiedergabe in Zeitlupe
Sie können unter 1/32, 1/16, 1/4 und 1/2 Geschwindigkeit
wählen.
Betätigen Sie während der Wiedergabe 8 und
dann ¡ (um die Wiedergabe in Zeitlupe zu
bewirken) oder auf 1 (um die Zeitlupen-
Wiedergabe in Rücklaufrichtung zu bewirken,
nur für DVD VIDEO Discs).
Wenn Sie 3 betätigen, schaltet das Gerät in die normale
Wiedergabe zurück.
HINWEIS
Während der Wiedergabe in Zeitlupe wird der Ton
stummgeschaltet.
XV-NP1_GE.book Page 11 Tuesday, September 2, 2003 9:50 AM

Wichtige Bedienungsschritte
12
XV-N50BK/N55SL/LET0230-001A/Deutsch
Wichtige
Bedienungsschritte
Wiedergabe der vorigen Szenen
(Tipptasten-Wiederholungsfunktion)
Betätigen Sie während der DVD VIDEO
Wiedergabe .
Die Wiedergabeposition springt zu dem Punkt etwa 10
Sekunden vor der gegenwärtigen Position zurück.
HINWEISE
•Diese Funktion ist nur innerhalb eines Titels verfügbar, darin
aber auch zwischen den Kapiteln.
•Die Funktion ist bei bestimmten DVD VIDEO Discs eventuell
nicht verfügbar.
Auffinden eines Szenen- oder
Musikstückanfangs
Bei DVD VIDEO: Während der Wiedergabe können Sie je nach
Disc-Konfigurierung ein Kapitel oder einen Titel
überspringen.
Bei SVCD/Video CD: Während der Wiedergabe ohne PBC-
Funktion können Sie einen Track überspringen.
Bei Audio CD: Während der Wiedergabe oder im Stoppmodus
können Sie einen Track überspringen.
Betätigen Sie ¢, um einen Sprung vorwärts
auszuführen.
Betätigen Sie 4, um einen Sprung
rückwärts auszuführen.
Gebrauch der Zahlentasten
Bei DVD VIDEO/Audio CD: Während der Wiedergabe oder im
Stoppmodus
Bei SVCD/Video CD: Während der Wiedergabe ohne PBC-
Funktion oder im Stoppmodus
Betätigen Sie die Zahlentasten, um die Zahl
zu bestimmen.
Zur Wahl von 5: Betätigen Sie 5.
Zur Wahl von 23: Betätigen Sie +10, +10, dann 3.
Zur Wahl von 40: Betätigen Sie +10, +10, +10, dann 10.
Der Player startet die Wiedergabe vom Anfang der Wahl an.
HINWEISE
•Der Inhalt der Eingabe hängt vom Disc-Typ und dem
Playerstatus ab:
•Falls während der DVD VIDEO Wiedergabe ein Menü auf dem
Fernsehbildschirm erscheint, können Sie die Zahlentasten zur
Wahl eines Menüpunkts benutzen.
Zahlentasten
Playerstatus
Disc-Typ Inhalt der Eingabe
Im
Stoppzustand
DVD VIDEO Titel
SVCD/Video CD/Audio CD Track
Während
Wiedergabe
DVD VIDEO Kapitel
SVCD/Video CD/Audio CD Track
Über die Bildschirmschoner-Funktion
Wenn ein Fernsehbildschirm zu lange ein statisches Bild
darstellt, kann sich das Bild einbrennen. Um das zu
verhindern, aktiviert der Player die Bildschirmschoner-
Funktion automatisch, wenn ein statisches Bild, wie z.B. ein
Display der Bildschirmanleitung oder ein Menü länger als 5
Minuten angezeigt wird.
Wenn die Bildschirmschoner-Funktion aktiviert ist, wird der
Fernsehbildschirm dunkler.
Bei Betätigung einer beliebigen Taste wird die
Bildschirmschoner-Funktion wieder aufgehoben.
Siehe “BILDSCHIRMSCHONER” auf Seite 27.
•Wenn ein Standbild einer JPEG- oder MPEG-4-Datei
angezeigt wird, arbeitet der Bildschirmschoner nicht.
XV-NP1_GE.book Page 12 Tuesday, September 2, 2003 9:50 AM

13
Spezialfunktionen
XV-N50BK/N55SL/LET0230-001A/Deutsch
Spezialfunktionen
HINWEIS
Wiedergabe ab einer bestimmten
Stelle
Auffinden einer bestimmten Stelle im DVD-
Menü
DVD VIDEO Discs enthalten normalerweise eigene Menüs mit
dem jeweiligen Disc-Inhalt. Diese Menüs weisen verschiedene
Punkte auf, wie z.B. Titel von Filmen, Namen von Songs oder
Interpretendaten, und zeigen sie am Fernsehbildschirm an. Eine
gewünschte Szene kann mit Hilfe des DVD-Menüs aufgefunden
werden.
1Betätigen Sie TOP MENU oder MENU,
während eine DVD VIDEO Disc eingelegt ist.
Das Menü erscheint auf dem Fernsehbildschirm.
2Wählen Sie den gewünschten Inhalt mittels
5/∞/2/3, und betätigen Sie ENTER.
Der Player beginnt mit der Wiedergabe des gewählten
Inhalts.
Tipps
•Manche DVD VIDEO Discs haben eventuell auch ein anderes
Menü, das bei Betätigen von MENU erscheint.
•Angaben zum jeweiligen Menü finden Sie in der Anleitung der
DVD VIDEO Disc.
•Bei manchen Discs können Sie Inhalte durch Eingabe der
entsprechenden Zahl mit den Zahlentasten wählen, wobei der
Player die Wiedergabe dann eventuell automatisch startet.
HINWEIS
Die MENU-Taste funktioniert nicht im Stoppmodus.
Auffinden einer bestimmten Stelle im Menü
einer SVCD/Video CD Disc mit PBC
Manche SVCD/Video CD Discs unterstützen die PBC-Funktion.
PBC ist die Abkürzung für “Playback Control”. Manche mit PBC
aufgezeichneten SVCD/Video CD Discs haben eigene Menüs,
wie z.B. eine Liste von Songs dieser Disc. Mit Hilfe des PBC-
Menüs können Sie eine bestimmte Szene auffinden.
1Betätigen Sie im Stoppmodus 3.
Am Fernsehbildschirm erscheint ein Disc-Menü.
2Wählen Sie den gewünschten Inhalt mit den
Zahlentasten.
Zur Wahl von 5: Betätigen Sie 5.
Zur Wahl von 23: Betätigen Sie +10, +10, dann 3.
Zur Wahl von 40: Betätigen Sie +10, +10, +10, dann 10.
Der Player beginnt mit der Wiedergabe des gewählten Inhalts.
Betätigen Sie RETURN, um zum Menü zurückzukehren.
Tipp
Falls am Fernsehbildschirm eine Anzeige wie [WEITER] oder
[ZURÜCK] erscheint, können Sie mittels ¢ zur nächsten Seite
vorrücken bzw. mittels 4 zur vorausgehenden Seite
zurückspringen.
Vorgabe eines gewünschten Titels
1Betätigen Sie während der Wiedergabe
TITLE/GROUP.
Im Titelanzeigebereich des Anzeigefensters wird [--]
angezeigt.
2Wählen Sie den zu spielenden Titel mit den
Zahlentasten.
Zur Wahl von 5: Betätigen Sie 5.
Zur Wahl von 23: Betätigen Sie +10, +10, dann 3.
Zur Wahl von 40: Betätigen Sie +10, +10, +10, dann 10.
Der Player beginnt mit der Wiedergabe des gewählten Titels.
HINWEIS
Die Funktion ist bei bestimmten DVD VIDEO Discs eventuell
nicht verfügbar.
Achten Sie darauf, daß der TV - DVD
Schalter der Fernbedienung auf “DVD”
gestellt ist, bevor Sie die5/∞/2/3,
Zahlentasten und TV/VIDEO - CANCEL-
Tasten zur Regelung des Players
benutzen.
Zahlentasten
TV DVD
Über PBC (Playback Control)
Manche SVCD/Video CD Discs unterstützen die PBC-
Funktion.
Mit der PBC-Funktion können Sie die Bedienung über Menüs
ausführen und hoch aufgelöste Einzelbilder genießen, deren
Auflösung viermal größer als die eines Videobilds ist.
•Um eine PBC-kompatible SVCD/Video CD Disc abzuspielen,
ohne die PBC-Funktion zu aktivieren, sollten Sie zum Start
der Wiedergabe anstelle von 3 die Zahlentasten betätigen.
•Um die PBC-Funktion noch einmal zu aktivieren,
betätigen Sie 7, um die Wiedergabe zu stoppen und
betätigen Sie dann 3.
XV-NP1_GE.book Page 13 Tuesday, September 2, 2003 9:50 AM

Spezialfunktionen
14
XV-N50BK/N55SL/LET0230-001A/Deutsch
Spezialfunktionen
Auffinden einer gewünschten Stelle im
gegenwärtigen Titel oder Track (Zeitsuche)
Sie können eine Disc ab der gewünschten Stelle spielen lassen,
indem Sie die Zeit ab Anfang des gegenwärtigen Titels (bei DVD
VIDEO) bzw. der Disc (bei SVCD/Video CD/Audio CD)
bestimmen.
Bei DVD VIDEO/Audio CD: Während Wiedergabe
Bei SVCD/Video CD: Unter jeder Bedingung außer SVCD/Video
CD Wiedergabe mit PBC
1Betätigen Sie zweimal ON SCREEN.
Auf dem Fernsehbildschirm erscheint die Menüleiste.
2Betätigen Sie 2/3, um auf zu
führen, und betätigen Sie ENTER.
Das Pulldown-Menü für die Zeiteingabe erscheint.
Anzeigebeispiel für DVD VIDEO
Anzeigebeispiel für Audio CD
3Geben Sie die gewünschte Zeit mit den
Zahlentasten (0 bis 9) ein.
Die eingegebene Zeit wird nun im Pulldown-Menü angezeigt.
Beispiel (für DVD VIDEO)
Für die Wiedergabe ab 2(Std):34(M):00(S)
Betätigen Sie 2, 3, dann 4.
Beispiel (für SVCD/Video CD/Audio CD)
Für die Wiedergabe ab 23(M):40(S)
Betätigen Sie 2, 3, dann 4.
Sie brauchen nicht “0” für die hinteren Nullen einzutippen (z.
B. für die letzten beiden Stellen des Beispiels oben).
Korrektur eines Fehlers
Betätigen Sie mehrmals 2, um zu der falsch eingegebenen
Ziffer zurückzurücken, und geben Sie dann die richtige Ziffer
ein.
4Betätigen Sie ENTER.
Der Player beginnt mit der Wiedergabe ab der eingegebenen
Zeit.
Ausblenden der Menüleiste
Betätigen Sie ON SCREEN.
Tipp
Die Tasten “10” und “+10” werden bei dieser Funktion nicht
verwendet.
HINWEISE
•Manche DVD VIDEO Discs weisen keine Zeitinformation auf,
und die Zeitsuchfunktion ist dann nicht verfügbar.
•Die Zeitsuchfunktion steht nicht während der
Programmwiedergabe zur Verfügung.
Zahlentasten
1/3 1/3OFF 1/5
8.5Mbps
TITLE 33 TOTAL 1:25:58CHAP 33
CHAP.
TIME _:__:__
OFF PROG. RND.
TIME 25:58TRACK 33
TIME __:__
XV-NP1_GE.book Page 14 Tuesday, September 2, 2003 9:50 AM

Spezialfunktionen
15
XV-N50BK/N55SL/LET0230-001A/Deutsch
Spezialfunktionen
Ändern der Wiedergabefolge
Wiedergabe in einer bestimmten
Reihenfolge (Programmwiedergabe)
Durch das Programmieren von Tracks können Sie bis zu 99
Tracks in einer gewünschten Reihenfolge abspielen lassen. Sie
können denselben Track auch mehr als einmal programmieren.
1Drücken Sie im Stoppmodus zweimal auf ON
SCREEN.
Auf dem Fernsehbildschirm erscheint die Menüleiste.
2Betätigen Sie 2/3, um auf zu
führen.
Anzeigebeispiel für Audio CD
3Betätigen Sie ENTER.
Die Programmtabelle erscheint.
Die PRGM-Anzeigelampe im Anzeigefenster leuchtet auf.
4Wählen Sie die Reihenfolge der Tracks mit
den Zahlentasten.
Zur Wahl von 5: Betätigen Sie 5.
Zur Wahl von 23: Betätigen Sie +10, +10, dann 3.
Zur Wahl von 40: Betätigen Sie +10, +10, +10, dann 10.
Korrektur des Programms
Betätigen Sie 5/∞, um zu dem zu korrigierenden Track
zu führen, und drücken Sie dann TV/VIDEO - CANCEL. Der
Track wird deaktiviert, und die nächsten programmierten
Tracks rücken nach.
Wenn Sie auf 7 drücken, werden alle programmierten Tracks
deaktiviert.
5Betätigen Sie 3, um die
Programmwiedergabe zu starten.
Bei einer Audio-CD-Disc bleibt die Programmtabelle während
der Programmwiedergabe auf dem Bildschirm angezeigt.
(Wenn Sie auf ON SCREEN drücken, erscheint die
Statusleiste.)
Wenn alle programmierten Tracks abgespielt wurden, hält
der Player an, und die Programmtabelle erscheint wieder.
Beachten Sie, daß das Programm erhalten bleibt.
•Während der Programmwiedergabe können Sie den
Programminhalt nicht bearbeiten.
Überprüfung des Programminhalts
Betätigen Sie während der Wiedergabe 7. Die Wiedergabe
stoppt, und die Programmtabelle wird angezeigt.
Wenn der Player eine Audio CD abspielt und die
Programmtabelle nicht angezeigt wird, können Sie die Tabelle
durch die Schritte 1 bis 3 aufrufen.
Während der SVCD/Video CD Wiedergabe können Sie den
Programminhalt über die Menüleiste kontrollieren.
Stoppen der Programmwiedergabe
Betätigen Sie 7.
Löschen des Programms
Betätigen Sie 7, während im Stoppmodus die Programmtabelle
angezeigt wird.
Beenden des Programmmodus
Drücken Sie nach dem Löschen des Programms auf ON
SCREEN.
HINWEISE
•Wenn das Disc-Fach geöffnet oder der Player ausgeschaltet
wird, wird das Programm gelöscht.
•Bei der Audio CD-Wiedergabe können Sie vorhergehende oder
nachfolgende Tracks auswählen, indem Sie ¢/4 drücken.
•Bei der VCD- / SVCD-Wiedergabe können Sie die Disc nicht
durch Drücken von ¡/1 durchsuchen.
•Während der Programmwiedergabe können Sie die
Wiedergabe wiederholen.
Wiedergabe in Zufallsfolge
(Zufallswiedergabe)
1Drücken Sie im Stoppmodus zweimal auf ON
SCREEN.
Auf dem Fernsehbildschirm erscheint die Menüleiste.
2Press 2/3 to move to .
Anzeigebeispiel für Audio CD
3Betätigen Sie ENTER.
Der Player beginnt mit der Wiedergabe in Zufallsfolge.
Bei einer SVCD/Video CD Disc wird die Menüleiste
automatisch ausgeblendet.
Während der Wiedergabe in Zufallsfolge leuchtet im
Anzeigefenster die RND-Anzeigelampe auf.
Nach Abspielen aller Tracks der Disc wird die Disc
angehalten, und der Player beendet den Modus Wiedergabe
in Zufallsfolge.
Stoppen und Beenden der Wiedergabe in
Zufallsfolge
Betätigen Sie 7. Der Player stoppt die Wiedergabe und beendet
den Modus Wiedergabe in Zufallsfolge.
HINWEISE
•Während der Wiedergabe in Zufallsfolge können Sie die
Wiedergabe wiederholen.
•In folgenden Fällen wird die Wiedergabe in Zufallsfolge
abgebrochen:
- Beim Auswerfen einer eingelegte Disc
- Wenn die Steuerungsanzeige auf dem Fernsehbildschirm
erscheint
- Wenn der Strom ausgeschaltet wird
PROG.
OFF PROG. RND.
TIME 25:58TRACK 33
PROGRAMM Total Program Time 00:25:12
No. TrackDisc
121
235
374
442
533
654
766
8
9
10
Gesamtprogrammzeit
Gewählte Tracknummer
RND.
OFF PROG. RND.
TIME 25:58TRACK 33
XV-NP1_GE.book Page 15 Tuesday, September 2, 2003 9:50 AM

Spezialfunktionen
16
XV-N50BK/N55SL/LET0230-001A/Deutsch
Spezialfunktionen
Wiederholung der Wiedergabe
Wiederholung der gegenwärtigen Wahl
oder aller Tracks
Bei DVD VIDEO: Während Wiedergabe
Bei SVCD/Video CD/Audio CD: Unter jeder Bedingung außer
SVCD/Video CD Wiedergabe mit PBC
Betätigen Sie REPEAT.
Wenn Sie REPEAT im Stoppmodus drücken, drücken Sie auf
3, um die Wiedergabe zu starten.
Bei jeder Betätigung von REPEAT wechselt der
Wiederholungsmodus unter Alle wiederholen, Wiederhole 1
und Aus.
Die Anzeige im Anzeigefenster zeigt den gewählten
Wiederholungsmodus.
: Wiederholt den gegenwärtigen Titel für DVD VIDEO
oder alle Tracks für SVCD/Video CD/Audio CD.
1: Wiederholt das gegenwärtige Kapitel für DVD
VIDEO oder den gegenwärtigen Track für SVCD/Video
CD/Audio CD.
Keine Anzeige: Der Wiederholungsmodus ist auf Aus
gestellt.
Ein Fenster, das den gegenwärtigen Wiederholungsmodus
anzeigt, erscheint auf dem Fernsehbildschirm. Die
Modusanzeige im Fenster ist gleich wie der Menüleiste.
(Beispiel für Wiederholungsmodus auf dem Fernsehbildschirm)
Stoppen der Wiedergabewiederholung
Betätigen Sie 7.
Wenn eine DVD VIDEO Disc eingelegt ist, stoppt das Gerät die
Wiedergabe und beendet den Wiederholungsmodus.
Wenn eine SVCD, Video CD oder Audio CD eingelegt ist, stoppt
das Gerät die Wiedergabe, beendet aber nicht den
Wiederholungsmodus.
Beenden der Wiedergabewiederholung
Betätigen Sie REPEAT, bis die Anzeigelampe für
Wiederholungsmodus im Anzeigefenster erlischt.
Tipp
Wenn der Programmwiedergabemodus bei einer SVCD, Video
CD oder Audio CD aktiv ist, wechselt der Wiederholungsmodus
auf dieselbe Weise.
Beachten Sie allerdings, daß der Player im “” Modus alle
programmierten Tracks wiederholt, also nicht alle Tracks einer
Disc.
Wiederholung eines gewünschten
Abschnitts (A-B Wiedergabewiederholung)
Vergewissern Sie sich zuerst:
•Der Player ist im Wiedergabemodus außer bei SVCD/Video CD
Wiedergabe mit PBC.
1Betätigen Sie zweimal ON SCREEN.
Auf dem Fernsehbildschirm erscheint die Menüleiste.
2Betätigen Sie 2/3, um zu zu führen,
und dann ENTER.
Das Pulldown-Menü für die Wiederholungsmoduswahl
erscheint.
3Betätigen Sie 5/∞, um [A-B] zu wählen.
4Drücken Sie ENTER am Anfang des zu
wiederholenden Abschnitts (Punkt A).
Das Pulldown-Menü verschwindet.
Das Wiederholungssymbol zeigt .
5Drücken Sie ENTER am Ende des zu
wiederholenden Abschnitts (Punkt B).
Das Wiederholungssymbol zeigt .
Der Player sucht “A” auf und beginnt mit der Wiedergabe von
“A” bis “B”.
Die [ ] Anzeige im Anzeigefenster leuchtet auf.
Beenden der A-B Wiedergabewiederholung
Betätigen Sie 2/3, um zu zu führen, und dann
ENTER. Der A-B Wiederholungsmodus schaltet sich ab, und die
normale Wiedergabe wird fortgesetzt.
HINWEISE
•Die Punkte A und B müssen innerhalb desselben Titels/
Kapitels/Tracks gesetzt werden.
•Wenn Sie während der DVD VIDEO-Wiedergabe zweimal 7
drücken, wird die A-B-Wiederholung abgebrochen.
CHAP
A-
A-B
A-B
XV-NP1_GE.book Page 16 Tuesday, September 2, 2003 9:50 AM

Spezialfunktionen
17
XV-N50BK/N55SL/LET0230-001A/Deutsch
Spezialfunktionen
Ändern von Sprache, Sound und
Szenenblickwinkel
Wahl der Untertitelsprache (SUBTITLE)
Manche DVD VIDEO und SVCD Disc enthalten mehr als eine
Untertitelsprache. Wählen Sie nach Belieben eine davon aus.
Tipp
Am Anfang des Abschnitts, wo die Untertitel aufgezeichnet sind,
erscheint auf dem Fernsehbildschirm (außer wenn
[BILDSCHIRM-ANLEITUNG] auf [AUS] gestellt ist).
1Betätigen Sie während der Wiedergabe
SUBTITLE.
Auf dem Fernsehbildschirm erscheint das Untertitel-
Wahlfenster.
2Betätigen Sie 5/∞ oder SUBTITLE, um
Untertitel zu wählen.
Jedesmal, wenn Sie 5/∞ oder SUBTITLE drücken, wechselt
die Untertitelsprache.
3Betätigen Sie ENTER.
Untertitel werden in der gewählten Sprache angezeigt.
Das Untertitel-Wahlfenster wird ausgeblendet.
HINWEISE
•Eine SVCD-Disc kann bis zu vier Untertitelsprachen enthalten.
Wenn Sie 5/∞ betätigen, wechselt die Anzeige zwischen
diesen Kanälen, und zwar ungeachtet, ob Untertitel tatsächlich
vorhanden sind.
•Das Untertitel-Wahlfenster verschwindet automatisch, wenn Sie
die Untertitelsprache länger als ein paar Sekunden unverändert
lassen.
•Bei DVD VIDEO erscheint die gewählte Sprache eventuell
abgekürzt auf dem Fernsehbildschirm. Siehe “Anhang B:
Tabelle der Sprachen und ihrer Abkürzungen” auf Seite 36.
Ändern der Audio-Sprache oder des Tons
(AUDIO)
Die Tonwahl-Einstellung ermöglicht Ihnen, die Audiosprache
eines Films umzuschalten.
Tipp
Am Anfang des Abschnitts, wo mehrfache Tonspuren
aufgezeichnet sind, erscheint auf dem Fernsehbildschirm
(außer wenn [BILDSCHIRM-ANLEITUNG] auf [AUS] gestellt ist).
1Betätigen Sie während der Wiedergabe
AUDIO.
Auf dem Fernsehbildschirm erscheint das Tonwahlfenster.
2Betätigen Sie 5/∞ oder AUDIO, um den
gewünschten Ton zu wählen.
Jedesmal, wenn Sie 5/∞ oder AUDIO drücken, wechselt die
Tonwahl.
Bei DVD VIDEO (Beispiel)
Bei SVCD
Bei Video CD
3Betätigen Sie ENTER.
Sie können nun die gewählte Tonspur hören.
Das Tonwahlfenster wird ausgeblendet.
HINWEISE
•Das Tonwahlfenster verschwindet automatisch, wenn Sie die
Tonwahl länger als ein paar Sekunden unverändert lassen.
•Bei DVD VIDEO erscheint die gewählte Sprache eventuell
abgekürzt auf dem Fernsehbildschirm. Siehe “Anhang B:
Tabelle der Sprachen und ihrer Abkürzungen” auf Seite 36.
Wahl eines Szenenblickwinkels bei DVD
VIDEO (ANGLE)
Sie können eine Szene aus verschiedenen Blickwinkeln
anschauen, falls die DVD VIDEO Disc “Mehrfachblickwinkel”-
Abschnitte aufweist, wo mehrere Kameras eingesetzt wurden,
um eine Szene aus verschiedenen Blickwinkeln zu filmen.
Tipp
Am Anfang des “Mehrfachblickwinkel”-Abschnitts erscheint
auf dem Fernsehbildschirm (außer wenn [BILDSCHIRM-
ANLEITUNG] auf [AUS] gestellt ist).
1Betätigen Sie während der Wiedergabe
ANGLE.
Auf dem Fernsehbildschirm erscheint das Blickwinkel-
Wahlfenster.
2Betätigen Sie 5/∞ oder ANGLE, um den
gewünschten Blickwinkel zu wählen.
Jedesmal, wenn Sie 5/∞ oder ANGLE drücken, wechselt der
Blickwinkel.
3Betätigen Sie ENTER.
Sie können das Bild nun aus dem gewählten Blickwinkel
anschauen.
Das Blickwinkel-Wahlfenster wird ausgeblendet.
HINWEIS
Das Blickwinkel-Wahlfenster verschwindet automatisch, wenn
Sie den Blickwinkel länger als ein paar Sekunden unverändert
lassen.
1/3
ENGLISCH
ENGLISCH
1/3
1
1/3
XV-NP1_GE.book Page 17 Tuesday, September 2, 2003 9:50 AM

Spezialfunktionen
18
XV-N50BK/N55SL/LET0230-001A/Deutsch
Spezialfunktionen
Spezielle Bild- und Toneffekte
Bild heranzoomen
1Betätigen Sie während der Wiedergabe oder
im Pausezustand ZOOM.
Auf Betätigung von ZOOM zoomt der Player das Bild heran.
Jedesmal, wenn Sie ZOOM betätigen, wird die
Vergrößerungsstufe geändert (1,5- / 2- / 4-fach).
2Betätigen Sie 5/∞/2/3, um die Zoomposition
zu verstellen.
Rückkehr zur normalen Wiedergabe
Stellen Sie die normale Größe ein, indem Sie wiederholt auf
ZOOM drücken.
HINWEIS
Im gezoomten Zustand sieht das Bild eventuell relativ grob aus.
Einstellen des Bildcharakters (VFP)
Mit der VFP-Funktion (Video Fine Processor) können Sie den
Bildcharakter entsprechend dem Programminhalt, Bildton oder
persönlichem Geschmack anpassen.
1Betätigen Sie VFP während der Wiedergabe.
•Auf dem Fernsehbildschirm erscheint das VFP-
Moduswahlfenster.
2Wählen Sie die gewünschte Voreinstellung
mittels 2/3.
Bei jeder Betätigung der Taste wechselt der VFP-Modus wie
nachstehend.
Geben Sie den Bildcharakter vor, der dem gegenwärtigen
Programm oder der Zimmerbeleuchtung am besten
entspricht.
[NORMAL]: Anschauen von Fernsehprogrammen in einem
durchschnittlichen Raum.
[KINO]: Anschauen von Film-Software in einem Raum mit
gedämpfter Beleuchtung
[BENUTZER 1] [BENUTZER 2]: Einstellen von Parametern,
welche den Bildcharakter beeinflussen, und Abspeichern
der Einstellung als Benutzervorgabe. Siehe nächsten
Schritt.
3Betätigen Sie zur Festlegung einer
Benutzervorgabe 5/∞, um einen zu
ändernden Parameter auszuwählen.
•GAMMA
Korrigieren Sie den Wert, wenn neutrale Farben zu hell
oder zu dunkel wirken. Die Helligkeit der dunklen und hellen
Bestandteile bleibt allerdings unverändert.
Verfügbarer Bereich: NIEDRIG / MITTEL / HOCH
•HELLIGKEIT
Korrigieren Sie den Wert, wenn das gesamte Bild zu hell
oder zu dunkel wirkt.
Verfügbarer Bereich: –16 (ganz dunkel) bis +16 (ganz hell)
•KONTRAST
Korrigieren Sie den Wert, wenn ferne und nahe
Gegenstände unnatürlich wirken.
Verfügbarer Bereich: –12 bis +12
•SÄTTIGUNG
Korrigieren Sie den Wert, wenn das Bild zu blass oder zu
grell wirkt.
Verfügbarer Bereich: –16 (äußerst kräftig) bis +16 (äußerst
blaß)
•FARBTON
Korrigieren Sie den Wert, wenn Hauttöne unnatürlich
wirken.
Verfügbarer Bereich: –16 bis +16
•SCHÄRFE
Korrigieren Sie den Wert, wenn das Bild verschwommen
wirkt.
Verfügbarer Bereich: NIEDRIG/HOCH.
•Y VERZÖGERUNG
Korrigieren Sie den Wert, wenn das Bild
auseinandergezogen ist oder überlappt.
Verfügbarer Bereich: –2 bis +2
4Betätigen Sie ENTER.
Es erscheint ein Fenster für die Parametereinstellung.
5Stellen Sie den Parameterwert mittels 5/∞
ein.
Anders als bei “GAMMA” und “SCHÄRFE” verstärkt ein
größerer Wert den Effekt jeder einzelnen Einstellung.
6Betätigen Sie ENTER.
Wiederholen Sie die Schritte 3 bis 6, falls Sie andere
Parameter festlegen wollen.
+ 4
+10
+10
+10
+ 2
Gewählte Voreinstellung
Parameter
+ 4
Gewählter Parameter
XV-NP1_GE.book Page 18 Tuesday, September 2, 2003 9:50 AM

Spezialfunktionen
19
XV-N50BK/N55SL/LET0230-001A/Deutsch
Spezialfunktionen
Ausblenden des VFP-Moduswahlfensters
Betätigen Sie VFP.
HINWEIS
Das Fenster für die VFP-Moduswahl und die Parametervorgabe
verschwindet, falls 10 Sekunden lang keine Eingabe gemacht
wird.
Klangfeld ändern (SOUND EFFECT)
Mit Hilfe der Sound Effect-Funktion können Sie das Klangfeld
ändern.
1Betätigen Sie während der Wiedergabe
SOUND EFFECT.
Die Klangeffekt-Anzeige erscheint auf dem
Fernsehbildschirm.
2Drücken Sie auf SOUND EFFECT , um den
gewünschten Modus auszuwählen.
Jedesmal, wenn Sie die Taste drücken, wechselt der
Klangeffekt-Modus wie folgt:
•Je größer der Wert, desto stärker der Effekt.
Klangeffekt deaktivieren
Drücken Sie wiederholt auf SOUND EFFECT, bis “AUS” auf dem
Fernsehbildschirm erscheint.
HINWEIS
Das Klangeffekt-Fenster verschwindet, wenn etwa 5 Sekunden
lang keine Eingabe gemacht wurde.
Funktionen der Menüleiste
Aufruf der Menüleiste
1Betätigen Sie ON SCREEN, wenn eine Disc
eingelegt ist.
Auf dem Fernsehbildschirm erscheint eine Statusleiste für
die Art der eingelegten Disc.
Angaben zur Statusleiste Siehe Seite 10.
2Betätigen Sie noch einmal ON SCREEN.
Unter der Statusleiste erscheint eine Menüleiste für die Art
der eingelegten Disc.
(bei DVD VIDEO)
(bei SVCD)
(bei Video CD)
(bei Audio CD)
Ausblenden der Menüleiste und der Statusleiste
Betätigen Sie ON SCREEN.
Allgemeine Bedienung
1Wählen Sie mittels 2/3 das gewünschte
Symbol.
Das gewählte Symbol ist durch gekennzeichnet.
2Betätigen Sie ENTER.
Bei vielen Symbolen erscheint ein entsprechendes Pulldown-
Menü, es gibt aber einige Ausnahmen.
HINWEISE
•Eine Markierung oder ein Texthinweis am Menüsymbol für die
gegenwärtig gewählte Funktion oder den Modus wird grün
angezeigt.
•Manche Funktionen sind während der Wiedergabe nicht
verfügbar. (Sie können nicht zum zugehörigen Symbol
rücken, wenn es nicht verfügbar ist.)
SOUND EFFECT:1 SOUND EFFECT:2
OFF SOUND EFFECT:3
1/3 1/3OFF 1/5
8.5Mbps
TITLE 33 TOTAL 1:25:58CHAP 33
CHAP.
OFF ST1
PROG. RND.
TIME 25:58TRACK 33
-/4
OFF STPROG. RND.
TIME 25:58TRACK 33
OFF PROG. RND.
TIME 25:58TRACK 33
XV-NP1_GE.book Page 19 Tuesday, September 2, 2003 9:50 AM

Spezialfunktionen
20
XV-N50BK/N55SL/LET0230-001A/Deutsch
Spezialfunktionen
Funktionen der Menüleiste für DVD VIDEO
Zeitmoduswahl
Setzt während der Wiedergabe den im Anzeigefenster und in der
Statusleiste angezeigten Zeitmodus.
Betätigen Sie ENTER, um den Zeitmodus unter folgendem
auszuwählen.
•TOTAL: Verstrichene Zeit des gegenwärtigen Titels
•T.REM: Restzeit des gegenwärtigen Titels
•TIME: Verstrichene Zeit des gegenwärtigen Kapitels
•REM: Restzeit des gegenwärtigen Kapitels
Wiederholungsmodus (Siehe auch Seite 16)
Setzt während der Wiedergabe den Wiederholungsmodus.
1. Öffnen Sie das Pulldown-Fenster.
2. Wählen Sie mittels 5/∞ den Wiederholungsmodus unter
folgendem aus.
•KAPITEL: Wiederholung des gegenwärtigen Kapitels
•TITEL: Wiederholung des gegenwärtigen Titels
•A-B: Wiederholung von A-B
•AUS: Wiederholungsmodus deaktiviert
3. Betätigen Sie ENTER, um die gewählte
Wiederholungsfunktion zu aktivieren.
Zeitsuche (Siehe auch Seite 14)
Gibt eine Zeit nach Anfang des gegenwärtigen Titels vor, wo die
Wiedergabe beginnen soll.
Kapitelsuche
Setzt während der Wiedergabe ein gewünschtes Kapitel, aus
dem die Wiedergabe erfolgen soll.
1. Öffnen Sie das Pulldown-Fenster.
2. Geben Sie die gewünschte Kapitelnummer mit den
Zahlentasten (0 bis 9) ein. (Beispiel: Für “10” drücken Sie 1,
dann 0.)
3. Betätigen Sie ENTER, um die Wiedergabe ab dem
angewiesenen Kapitel zu starten.
Tonwahl (Siehe auch Seite 17)
Setzt während der Wiedergabe die Audio-Sprache bzw. die
Tonspur.
1. Öffnen Sie das Pulldown-Fenster.
2. Geben Sie die gewünschte Audio-Sprache oder Tonspur
mittels 5/∞ vor.
3. Betätigen Sie ENTER, um die Wiedergabe mit dem gewählten
Ton zu starten.
Untertitelwahl (Siehe auch Seite 17)
Wählt während der Wiedergabe die Untertitelsprache.
1. Öffnen Sie das Pulldown-Fenster.
2. Geben Sie die gewünschte Untertitelsprache mittels 5/∞ vor.
3. Betätigen Sie ENTER, um die Wiedergabe mit der
gewünschten Untertitelsprache zu aktivieren.
Blickwinkelwahl (Siehe auch Seite17)
Setzt während der Wiedergabe bei Szenen mit Mehrfach-
Blickwinkel den gewünschten Blickwinkel.
1. Öffnen Sie das Pulldown-Fenster.
2. Geben Sie den Blickwinkel mittels 5/∞ vor.
3. Betätigen Sie ENTER, um die Wiedergabe mit dem gewählten
Blickwinkel zu starten.
Funktionen der Menüleiste für SVCD/Video
CD/Audio CD
Zeitmoduswahl
Setzt den im Anzeigefenster und in der Statusleiste angezeigten
Zeitmodus.
Betätigen Sie ENTER, um den Zeitmodus unter folgendem
auszuwählen.
•TIME: Verstrichene Zeit des gegenwärtigen Tracks
•REM: Restzeit des gegenwärtigen Tracks (ist im Stoppmodus
Gesamtzeit des gegenwärtigen Tracks)
•TOTAL: Verstrichene Zeit der gegenwärtigen Disc
•T.REM: Restzeit der gegenwärtigen Disc (ist im Stoppmodus
Gesamtzeit der Disc)
Wiederholungsmodus (Siehe auch Seite 16)
Setzt den Wiederholungsmodus.
1. Öffnen Sie das Pulldown-Fenster.
2. Wählen Sie mittels 5/∞ den Wiederholungsmodus unter
folgendem aus.
•TRACK: Wiederholung des gegenwärtigen Tracks
•ALLE: Wiederholung aller Tracks
•A-B: Wiederholung von A-B
•AUS: Wiederholungsmodus deaktiviert
3. Betätigen Sie ENTER, um die gewählte
Wiederholungsfunktion zu aktivieren.
Zeitsuche (Siehe auch Seite 14)
Gibt eine Zeit nach Anfang der Disc vor, wo die Wiedergabe
beginnen soll.
Programmwiedergabe (Siehe auch Seite 15)
Setzt bei gestoppter Wiedergabe die Wiedergabereihenfolge der
Tracks.
Wiedergabe in Zufallsfolge (Siehe auch Seite
15)
Setzt im Stoppzustand die Wiedergabe in Zufallsfolge.
Tonwahl (Siehe auch Seite 17)
Wählt den bzw. die Audiokanal/-kanäle während der SVCD/Video
CD Wiedergabe.
1. Öffnen Sie das Pulldown-Fenster.
2. Wählen Sie den/die gewünschte(n) Audiokanal bzw. -kanäle
mittels 5/∞.
3. Betätigen Sie ENTER, um die Wiedergabe mit dem/den
gewünschte(n) Audiokanal bzw. -kanälen zu aktivieren.
Untertitelwahl (Siehe auch Seite 17)
Wählt die Untertitelsprache während der SVCD-Wiedergabe.
1. Öffnen Sie das Pulldown-Fenster.
2. Wählen Sie die gewünschte Untertitelsprache mittels 5/∞.
3. Betätigen Sie ENTER, um die Wiedergabe mit der
gewünschten Untertitelsprache zu aktivieren.
CHAP.
PROG.
RND.
XV-NP1_GE.book Page 20 Tuesday, September 2, 2003 9:50 AM

21
Wiedergabe
von Audio- /
Video-Dateien
XV-NP1SL/LET0234-001A/Deutsch
Wiedergabe von Audio- / Video-Dateien
Überblick
Der Player kann MP3-/WMA-/JPEG-/MPEG-4- (Simple Profile-/
asf-Datei) Dateien von entweder selbst aufgenommenen CD-R/
RW-Medien und Speicherkarten oder von handelsüblichen CDs
wiedergeben.
Sie können Dateien mit Hilfe der Steuerungsanzeige auf dem
Fernsehschirm auswählen und wiedergeben.
•Eventuell kann der Player das Medium wegen seiner
Charakteristika oder Aufnahmebedingungen nicht abspielen.
Vorsichtsmaßregeln
Zu Dateien und Ordnern (Gruppen) auf der Disc
oder der Speicherkarte
•Dateien sind manchmal nach Genre, Album o. ä. in Ordnern
gruppiert. In diesem Handbuch wird eine “Gruppe” auch
“Ordner” genannt.
•Ein Ordner, der eine oder mehrere Dateien enthält, wird als
Gruppe behandelt.
•Der Player kann Gruppen bis zur fünften Ebene erkennen und
abspielen.
•Die Dateien in der Steuerungsanzeige werden - wie folgt - in
der alphabetischen Folge ihrer Dateierweiterungen angeordnet:
“asf”, “jpeg”, “mp3” und “wma”.
•Die zum Einlesen des Medien-Inhalts erforderliche Zeit variiert
bei verschiedenen Medien, abhängig von der Anzahl von
aufgezeichneten Ordner (Gruppen) und Dateien usw.
•Dateien, die zu keinem Ordner gehören, werden als “Gruppe 1”
zusammengefasst.
•Der Player erkennt bis zu 999 Dateien pro Gruppe und bis zu
250 Gruppen pro Disc / Speicherkarte. Andere als MP3- /
WMA- / JPEG- / MPEG-4-Dateien fließen in die Gesamtzahl
von 999 mit ein.
Hinweise zum Erstellen einer eigenen Disc mittels
einer CD-R/RW Disc
•Verwenden Sie “ISO 9660” als Disc-Format.
•Der Player unterstützt keine “Packet writing (UDF-Format)”-
Discs.
•Der Player unterstützt Discs, die in bis zu fünf Sessions
gebrannt wurden.
•Bei bestimmten Medien-Eigenschaften oder
Aufzeichnungsbedingungen können gewisse Discs nicht
abgespielt werden.
Hinweise zur Erstellung von Dateien / Gruppen
•Falls ein Dateiname jegliche 2-Byte-Zeichen enthält, kann der
Player den Dateinamen eventuell nicht korrekt anzeigen.
•Der Player unterstützt bis zu 12 Zeichen als Gruppen- /
Dateinamen.
•Der Player erkennt nur Dateien mit einer der folgenden
Erweiterungen, die aus beliebigen Kombinationen aus Groß-
und Kleinbuchstaben bestehen können:
-Für MP3-Dateien, “.MP3”, “.mp3”.
-Für WMA-Dateien, “.WMA”, “.wma”,
-Für JPEG-Dateien, “.JPG”, “.JPEG”, “.jpg”, “.jpeg”.
-Für MPEG-4Dateien, “.ASF”, “.asf”.
•Für MP3-Dateien:
- Es wird empfohlen, das Musikmaterial mit einer Sampling-
Rate von 44,1 kHz und einer Datenübertragungsrate von 128
kbps aufzuzeichnen.
- Das ID 3-Tag steht nicht zur Verfügung.
- MP3i und MP3 Pro sind nicht verfügbar.
•Für WMA-Dateien:
- Das WMA-Tag steht nicht zur Verfügung.
- Vergewissern Sie sich, daß die Kopierschutzfunktion
ausgeschaltet ist.
- Wir empfehlen, das Material mit einer Bitrate von mindestens
64 kbps aufzuzeichnen.
- Der Player unterstützt WMA-Dateien, die mit einer Bitrate von
48 kbps oder mehr aufgezeichnet wurden. Der Player kann
keine WMA-Dateien abspielen, die mit einer Bitrate von
weniger als 48 kbps aufgezeichnet wurden.
•Für JPEG-Dateien:
- Wir empfehlen Ihnen, Ihr Material mit einer Auflösung von 640
x 480 Bildpunkten aufzuzeichnen.
-Das Gerät unterstützt das Baseline-JPEG-Format.
- Der Player unterstützt keine Baseline-formatierte Bilder, die
größer als 5120 x 3413 Bildpunkte sind. Achten Sie darauf,
daß die Bilder nicht größer als 5120 x 3413 Bildpunkte sind.
- Der Player kann keine progressiven JPEG-Dateien
wiedergeben, die größer als 2048 x 1536 Punkte sind.
•Für MPEG-4-Dateien:
- Der Player unterstützt die MPEG-4-Dateitypen Simple Profile
und asf.
- Der Player kann Simple Profile-Dateien wiedergeben, die
nicht mit einem PC, sondern mit einer digitalen Foto- /
Videokamera aufgenommen wurden.
- Die Größe des Wiedergabebildschirms entspricht der
Aufnahmegröße.
- Einige aufgenommene Dateien können eventuell je nach
Dateicharakteristika, der Art der digitalen Foto- / Videokamera
oder der Aufnahmebedingungen nicht abgespielt werden.
Max. 250 Gruppen pro Medium
Datei 1.mp3
Datei 2.mp3
Datei 3.mp3
Gruppe 1
Gruppe 2
Gruppe 4
Gruppe 3
Datei 4.jpg
Datei 5.jpg
Datei 6.jpg
Max.999 Dateien
pro Gruppe
Datei 1.jpg
Datei 2.jpg
Datei 3.jpg
Datei 4.jpg
XV-NP1_GE.book Page 21 Tuesday, September 2, 2003 9:50 AM

Wiedergabe von Audio- / Video-Dateien
22
XV-NP1SL/LET0234-001A/Deutsch
Wiedergabe
von Audio- /
Video-Dateien
Hinweise zum Einsetzen und Entnehmen von
Speicherkarten
•Bevor Sie eine Speicherkarte in einen Kartensteckplatz
einsetzen, öffnen Sie die Klappe an der Frontkonsole und
prüfen den Steckplatztyp und die Einschubrichtung, wie
gezeigt.
•Verwenden Sie niemals verschiedene Speicherkarten-Typen
gleichzeitig.
•Stoppen Sie sowohl die Speicherkarten- als auch die Disc-
Wiedergabe, bevor Sie eine Speicherkarte einsetzen oder
entfernen.
Beim Einsetzen oder Entfernen von Speicherkarten während
der Disc-Wiedergabe können Sie den Player wegen statischer
Elektrizität und/oder Störgeräuschen vorübergehend nicht
verwenden. In diesem Fall ziehen Sie den Netzstecker und
stecken ihn wieder ein.
•Bei der Wiedergabe einer Disc können elektrostatische
Störungen die Wiedergabe erneut am Anfang beginnen
lassen.
•Beim Einsetzen oder Entnehmen einer Speicherkarte halten
Sie den Player gut fest.
•Wenn eine Speicherkarte eingelegt ist, lassen Sie die Klappe
an der Frontkonsole geöffnet.
•Schließen Sie die Klappe, nachdem Sie die Speicherkarten
entnommen haben.
HINWEIS
Wichtige Bedienungsschritte
Wenn Sie eine Disc oder Speicherkarte mit Gruppen und Dateien
einlegen, erscheint die Steuerungsanzeige, die Ihnen den Inhalt
des Mediums zeigt, automatisch auf dem Fernsehschirm.
Sie können die gewünschte Gruppe / Datei mit Hilfe der
folgenden Vorgehensweise über die Steuerungsanzeige
angeben und abspielen.
1Achten Sie darauf, daß sich der Cursorbalken
in der linken (Gruppe) Spalte der
Steuerungsanzeige befindet.
•Falls er in der rechten Spalte liegt, bewegen Sie ihn mittels
2 zur linken Spalte.
•Falls Sie das jeweils andere Medium wählen möchten,
wenn sowohl eine Disc als auch Speicherkarten eingelegt
sind, drücken Sie auf DVD/CARD, ehe Sie die Wiedergabe
starten. Wenn der Player auf eine Speicherkarte zugreift,
leuchtet die DVD/CARD-Leuchte an der Frontkonsole auf.
Drücken Sie hier, um die eingelegte
CompactFlash-Karte herauszunehmen.
SD oder
MMC
MS SM
CF
Kante
Anschlüsse aus
Metall
Achten Sie darauf, daß der TV - DVD
Schalter der Fernbedienung auf "DVD"
gestellt ist, bevor Sie die5/∞/2/3 und
Zahlentasten zur Steuerung des Players
benutzen.
TV DVD
SD CARD
GROUP
WMA
MP3
MPEG4
SLIDESHOW
MIX
--
MOVIE01.asf
MOVIE02.asf
PICT01.jpg
PICT02.jpg
PICT03.jpg
MUSIC01.mp3
MUSIC02.wma
Aktuelles Medium
Gruppenspalte
Aktuelle
Gruppe
Gewählter
Track
Dateispalte
Wählen Sie diese Bereiche, um
die obere Schicht anzuzeigen.
XV-NP1_GE.book Page 22 Tuesday, September 2, 2003 9:50 AM

Wiedergabe von Audio- / Video-Dateien
23
XV-NP1SL/LET0234-001A/Deutsch
Wiedergabe
von Audio- /
Video-Dateien
2Drücken Sie 5/∞, um den Balken zu einer
gewünschten Gruppe zu bewegen, drücken
Sie dann ENTER.
•In der rechten Spalte werden die Dateien der gewählten
Gruppe angezeigt.
3Drücken Sie 5/∞, um die gewünschte Datei
auszuwählen, drücken Sie dann ENTER.
Die gewünschte Datei wird wiedergegeben.
•Wenn Sie 3 (SELECT) drücken, beginnt die fortlaufende
Wiedergabe bei der ausgewählten Datei.
•Sie können die Dateien in der Liste ändern, indem Sie 4/
¢ drücken.
Anhalten der Wiedergabe
Betätigen Sie 8.
Wenn Sie 3 betätigen, wird die normale Wiedergabe fortgesetzt.
Schneller Rück- und Vorlauf
Drücken Sie 1/¡ während der MP3- / WMA-Wiedergabe.
•Für MP3/WMA: Bei jedem Drücken von 1 oder (¡) “spult”
der Player zurück (oder vor) und ändert dabei die
Wiedergabegeschwindigkeit wie folgt: x 2, x 4, x 6 und x 8.
Heranzoomen an das Bild
Drücken Sie ZOOM.
“ZOOM...” erscheint auf dem Fernsehbildschirm.
•Bei jedem Drücken von ZOOM ändert sich der
Vergrößerungsfaktor—1,5 x, 2 x und 4 x bei JPEG-Dateien; 2 x
und 4 x bei MPEG-4-Dateien.
•Je nach Auflösung funktioniert die vierfache Vergrößerung bei
manchen MPEG-4-Dateien eventuell nicht.
•Betätigen Sie 5/∞/2/3, um den vergrößerten Bereich bei der
Wiedergabe einer JPEG-Datei zu bewegen.
Um die Vergrößerungsfunktion zu beenden, wählen Sie die
normale Größe aus, indem Sie wiederholt auf ZOOM drücken.
Standbild drehen / spiegeln
Bei Standbildwiedergabe:
•Drücken von 3 dreht das Bild um 90° im Uhrzeigersinn.
•Drücken von 2 dreht das Bild um 90° gegen den Uhrzeigersinn.
•Drücken von ∞ spiegelt das Bild vertikal.
•Drücken von 5 spiegelt das Bild horizontal.
Wiedergabe stoppen
Betätigen Sie 7.
Die Steuerungsanzeige erscheint auf dem Fernsehbildschirm.
•Wenn Sie die Speicherkarte herausnehmen, wird die
Wiedergabe ebenfalls gestoppt.
HINWEISE
•Während einer Diaschau können Sie ein Bild nicht drehen oder
spiegeln.
•Durch die Ebenen-Konfiguration der Dateien und Gruppen kann
die Anzeige der Steuerungsanzeige etwas dauern.
•Die verstrichene Zeit kann wegen der Aufnahmebedingungen der
Datei eventuell nicht richtig im Anzeigefenster dargestellt werden.
•Das Displayfenster kann keine Dateinummern über 100
darstellen. Wenn Dateien mit einer Nummer über 100
abgespielt werden, vergibt der Player Dateinummern, die
wieder bei 0 beginnen.
•Die Wiedergabeinformationen werden wie folgt auf dem
Fernsehgerät dargestellt:
-“JPEG DATA ERROR” bedeutet, dass der Player die Datei
nicht wiedergeben kann.
-“JPEG DATA CORRUPTED” bedeutet, dass die Datei
fehlerhaft ist, aber vom Player wiedergegeben werden kann.
-“NEXT” bedeutet, dass der Player zur nächsten Datei springt.
-“PREVIOUS” bedeutet, dass der Player zur vorherigen Datei
springt.
-“SELECT” bedeutet, dass die Datei im Miniaturansicht-
Bildschirm ausgewählt ist.
Direktauswahl einer JPEG-Datei
Sie können eine bestimmte JPEG-Datei aus dem
Miniaturansicht-Bildschirm wählen.
1Drücken Sie THUMBNAIL/LIST, während eine
JPEG-Datei in der Steuerungsanzeige
ausgewählt ist.
Der Miniaturansicht-Bildschirm erscheint im Fernsehbild. Bis
zu neun Minaturansichten der ausgewählten Datei können
gleichzeitig auf dem Bildschirm angezeigt werden.
•Wenn in der Steuerungsanzeige eine Gruppe gewählt wird,
erscheint der Miniaturansicht-Bildschirm nicht.
2Drücken Sie 5/∞/2/3, um das gewünschte
Bild im Miniaturansicht-Bildschirm zu
wählen, drücken Sie dann ENTER.
Das gewünschte Bild wird angezeigt.
•Sie können die Miniaturansichten verändern, indem Sie
4/¢ drücken. Alle JPEG-Dateien in der einzelnen
Gruppe werden zu jeweils neun Miniaturansichten
angezeigt.
Wiederholung der Wiedergabe
Betätigen Sie während der Wiedergabe oder
im Stoppzustand REPEAT.
•Jedesmal, wenn Sie bei gewählter Datei REPEAT drücken,
wechselt der Wiederholungsmodus wie folgend:
Falls Sie REPEAT im Stoppzustand drücken, müssen Sie
ENTER oder 3 (SELECT) drücken, um die Wiedergabe zu
starten.
Stoppen der Wiedergabewiederholung
Betätigen Sie 7.
Beachten Sie, dass dabei der Wiederholungsmodus aktiv bleibt.
Beenden der Wiedergabewiederholung
Betätigen Sie während der Wiedergabe REPEAT, bis am
Anzeigefenster kein Wiederholungssymbol mehr angezeigt wird.
•Betätigen Sie REPEAT bei gestoppter Wiedergabe, bis in der
Steuerungsanzeige kein Wiederholungsmodus mehr angezeigt wird.
Steuerungsanzeige
Anzeigefenster
Funktion
REPEAT 1 1Wiederholt die
gegenwärtige Datei.
REPEAT GROUP
Wiederholt alle
Dateien der
gegenwärtigen
Gruppe.
REPEAT ALL
Wiederholt alle
Dateien des
Mediums.
Keine Anzeige Der Wiederholungsmodus ist
abgeschaltet.
XV-NP1_GE.book Page 23 Tuesday, September 2, 2003 9:50 AM

Wiedergabe von Audio- / Video-Dateien
24
XV-NP1SL/LET0234-001A/Deutsch
Wiedergabe
von Audio- /
Video-Dateien
HINWEIS
Diaschau-Wiedergabe
Sie können Dateien (Fotos) automatisch nacheinander
wiedergeben lassen.
Drücken Sie 3 (SELECT), während eine
JPEG-Datei in der Steuerungsanzeige
ausgewählt ist.
Die Diaschau beginnt am Anfang des Mediums.
•Die Anzeigedauer ändert sich je nach Dateigröße.
•Wenn sich MP3-/WMA-Dateien in der selben Gruppe
befinden, beginnt die Musikwiedergabe nach der Diaschau-
Wiedergabe.
Effekte beim Anzeigen von Bildern ändern
Sie können Effekte wählen, die bei der Diaschau angewandt
werden.
•Während der Diaschau-Wiedergabe progressiver JPEG-
Dateien können Sie den Effekt nicht ändern.
Betätigen Sie SLIDE EFFECT.
“SLIDE EFFECT MODE :” und die aktuelle Betriebsart
erscheinen auf dem Fernsehbildschirm.
•Jedesmal, wenn Sie die Taste drücken, wechselt der Effekt wie
folgt:
Vorzeitiges Abbrechen der Diaschau
Betätigen Sie 7.
Der Fernsehbildschirm kehrt zur Steuerungsanzeige zurück.
•Wenn Sie 3 (SELECT) betätigen, wird die Diaschau-
Wiedergabe ab dem zuletzt dargestellten Bild fortgesetzt.
Ununterbrochene Anzeige des gegenwärtigen Bilds
Betätigen Sie 8.
•Wenn Sie 3 (SELECT) betätigen, wird die Diaschau-
Wiedergabe fortgesetzt.
HINWEIS
Während der Diaschau können Sie die Miniaturansicht- und
Drehen-/Spiegeln-Funktionen nicht verwenden.
Achten Sie darauf, dass der TV - DVD-
Schalter der Fernbedienung auf “DVD”
gestellt ist, wenn Sie die Tasten 5/∞/2/3
und Zahlentasten zur Steuerung des
Players benutzen.
TV DVD
Modus Überblendungsart
1 Scroll-Überblendung 1: Das nächste Bild wird von
oben nach unten eingeschoben.
2Scroll-Überblendung 2: Das nächste Bild wird von
unten nach oben eingeschoben.
3
Verschluss-Überblendung 1: Das nächste Bild
wird seitlich von beiden Seiten bis zur Mitte
eingeschoben.
4
Verschluss-Überblendung 2: Das nächste Bild
wird seitlich von der Mitte zu beiden Seiten hin
eingeschoben.
5Blind-Überblendung 1: Das nächste Bild wird
seitlich durch vier Schlitze eingeschoben.
6Gleit-Überblendung 1: Das nächste Bild wird von
links nach rechts eingeschoben.
7Gleit-Überblendung 2: Das nächste Bild wird von
rechts nach links eingeschoben.
8
Tür-Überblendung 1: Das nächste Bild wird
horizontal von beiden Seiten bis zur Mitte
eingeschoben.
9
Tür-Überblendung 2: Das nächste Bild wird
horizontal von der Mitte zu beiden Seiten hin
eingeschoben.
10 Fenster-Überblendung: Das nächste Bild wird
von jeder Seite bis zur Mitte eingeschoben.
11 Blind-Überblendung 2: Das nächste Bild wird
horizontal durch vier Schlitze eingeschoben.
RANDOM Der Player wählt die Effekte für jedes Bild zufällig
aus.
NONE Hebt den Effekt auf.
XV-NP1_GE.book Page 24 Tuesday, September 2, 2003 9:50 AM

Wiedergabe von Audio- / Video-Dateien
25
XV-NP1SL/LET0234-001A/Deutsch
Wiedergabe
von Audio- /
Video-Dateien
Diaschau-Wiedergabe mit Musik
Während der Diaschau-Wiedergabe von JPEG-Dateien auf einer
Speicherkarte können Sie Audio-CDs oder MP3- / WMA-Dateien
als Hintergrundmusik wiedergeben.
Wenn Sie MP3- / WMA-Dateien als Hintergrundmusik abspielen,
legen Sie eine Gruppe auf der Speicherkarte an, die sowohl
JPEG- als auch MP3- / WMA-Dateien enthält.
•Sie können keine Audio-CDs mit DTS als Quelle für
Hintergrundmusik verwenden.
•Musik-Diaschau ist bei JPEG-Dateien einer einzelnen Gruppe möglich.
•Beim progressiven JPEG-Format funktioniert die Musik-
Diaschau eventuell nicht richtig.
Diaschau mit Audio-CD-Wiedergabe
1Legen Sie eine Audio-CD ein.
•Wenn eine Speicherkarte wiedergegeben wird (außer bei
einer Diaschau), stoppt die Wiedergabe.
2Setzen Sie eine Speicherkarte ein, die JPEG-
Dateien enthält.
Die Steuerungsanzeige der Speicherkarte erscheint auf dem
Fernsehbildschirm.
•Wenn die Speicherkarte, die JPEG-Dateien enthält, bereits
ausgewählt ist, drücken Sie auf DVD/CARD.
•Wenn sich auf der Speicherkarte mehrere Gruppen mit
JPEG-Dateien befinden, wählen Sie vor Schritt 3 die JPEG-
Datei innerhalb der Gruppe.
3Drücken Sie 3 (Cursor), bis “MUSIC SLIDE
SHOW” in der Steuerungsanzeige erscheint.
•Bei jedem Tastendruck wechselt der Wiedergabemodus
zwischen “MUSIC SLIDE SHOW” und normaler
Wiedergabe (keine Anzeige).
4Wählen Sie eine JPEG-Datei in der
Steuerungsanzeige, drücken Sie dann 3
(SELECT).
Der erste Track der Audio-CD wird abgespielt und die Musik-
Diaschau beginnt.
•Während der Musik-Diaschau können Sie den
entsprechenden Track der Audio-CD durch Eingabe über
die Zifferntasten wählen.
•Sie können die Tracks der Audio CD ändern, indem Sie 4
/ ¢ drücken.
•Die Wiedergabe der Audio-CD wird gestoppt, nachdem alle
JPEG-Dateien wiedergegeben wurden.
•Wenn ein Track einer Audio CD als BGM wiedergegeben
wird, erscheint keine Zeit- und Trackanzeige im Fenster.
Diaschau mit MP3- / WMA-Wiedergabe
•Ehe Sie den folgenden Vorgang ausführen, entnehmen Sie die
Disc aus dem Player.
1Legen Sie eine Speicherkarte ein, die eine
Gruppe mit sowohl JPEG- als auch MP3- /
WMA-Dateien enthält.
Die Steuerungsanzeige des Mediums erscheint auf dem
Fernsehbildschirm.
•Falls bereits eine Speicherkarte eingelegt ist, drücken Sie
DISC/CARD, um die Steuerungsanzeige für dieses Medium
aufzurufen.
•Wenn sich auf der Speicherkarte mehrere Gruppen mit
JPEG-Dateien befinden, wählen Sie vor Schritt 2 die JPEG-
Datei innerhalb der Gruppe.
2Drücken Sie 3 (Cursor), bis “MUSIC SLIDE
SHOW” in der Steuerungsanzeige erscheint.
•Bei jedem Tastendruck wechselt der Wiedergabemodus
zwischen “MUSIC SLIDE SHOW” und normaler
Wiedergabe (keine Anzeige).
3Wählen Sie eine JPEG-Datei in der
Steuerungsanzeige, drücken Sie dann 3
(SELECT).
Die Diaschau-Wiedergabe mit Musik beginnt.
•Der Player spielt die MP3- / WMA-Datei vom Anfang der
Gruppe ab. Sie können die Dateien verändern, indem Sie
4 / ¢ drücken.
•Sie können keine anderen MP3- / WMA-Dateien anderer
Gruppen / Medien als BGM wählen.
•Die Wiedergabe der MP3- / WMA-Dateien wird gestoppt,
nachdem alle JPEG-Dateien wiedergegeben wurden.
Diaschau-Wiedergabe mit Musik wiederholen
Drücken Sie REPEAT, wenn “MUSIC SLIDE SHOW” auf der
Steuerungsanzeige erscheint.
•Jedes Mal, wenn Sie die REPEAT-Taste drücken, wechselt der
Wiederholungsmodus wie folgt:
Vorzeitiges Abbrechen der Diaschau
Betätigen Sie 8.
Die JPEG-Wiedergabe wird angehalten.
Wenn Sie 8 erneut drücken, so wird auch die BGM-Wiedergabe
angehalten.
•Wenn Sie 3 (SELECT) oder 8 betätigen, wird die Wiedergabe
der Musik-Diaschau ab dem zuletzt dargestellten Bild
fortgesetzt.
Diaschau-Wiedergabe mit Musik stoppen
Betätigen Sie 7.
Bild des Eröffnungsbildschirms
ändern
Sie können das Bild, das beim Eröffnungsbildschirm dargestellt
wird, ändern oder auf ein Bild Ihrer Wahl festlegen. Siehe Seite 28.
1Geben Sie eine JPEG-Datei wieder, die als
Eröffnungsbildschirm dargestellt werden
soll.
Wenn eine Diaschau läuft, drücken Sie 8, um die Diaschau
anzuhalten.
2Drücken Sie CHOICE und 2/3, um das BILD-
Menü anzuzeigen.
3Wählen Sie “HINTERGRUND” mit 5/∞ aus,
drücken Sie dann ENTER.
4Drücken Sie 5/∞, um “ALS H. GR. SPEICH.”
auszuwählen, drücken Sie dann ENTER.
5Wählen Sie “JA” mit 5/∞ aus, drücken Sie
dann ENTER.
Der Player beginnt mit dem Einlesen der gewählten JPEG-
Datei, der Eröffnungsbildschirm ändert sich nach dem Lesen
der Datei.
•Die vorherige JPEG-Datei wird durch die neu
abgespeicherte Datei überschrieben.
Ausblenden des Menü-Bildschirms
Betätigen Sie CHOICE.
JVCs Eröffnungsbildschirm wiederherstellen
Wählen Sie “STANDARD” in Schritt 4.
Steuerungsanzeige
Anzeigefenster
Funktion
REPEAT 1 1Wiederholt die
gegenwärtige JPEG-
Datei.
REPEAT GROUP Wiederholt alle JPEG-
Dateien der
gegenwärtigen Gruppe.
REPEAT ALL
Keine Anzeige Der Wiederholungsmodus ist
abgeschaltet.
XV-NP1_GE.book Page 25 Tuesday, September 2, 2003 9:50 AM

26
Ändern der
Grundeinstellungen
XV-N50BK/N55SL/LET0230-001A/Deutsch
Ändern der Grundeinstellungen
HINWEIS
Wahl der Grundeinstellungen
In diesem Abschnitt wird auf die Einstellungen Bezug
genommen, die als werksseitige Vorgaben schon beim Kauf
vorhanden waren. Lesen Sie diesen Abschnitt durch, wenn Sie
den Player an ein Breitbild-Fernsehgerät anschließen wollen,
oder wenn Sie die Einstellungen sonstwie nach Wunsch und
Umgebung ändern möchten.
Zur Grundeinstellungen-Anzeige
Die Grundeinstellungen-Anzeige umfaßt die Einstellbildschirme
SPRACHE, BILD, AUDIO und SONSTIGES, die jeweils
verschiedene Inhalte haben.
SPRACHE
BILD
AUDIO
SONSTIGES
Festlegen der Grundeinstellungen
1Betätigen Sie CHOICE.
Auf dem Fernsehbildschirm erscheint eine der
Grundeinstellungen-Anzeigen.
Oben rechts in der Bildschirmanzeige sehen Sie vier
Symbole für die Einstellungen.
: SPRACHE-Menü
: BILD-Menü
: AUDIO-Menü
: SONSTIGES-Menü
2Wählen Sie mittels 2/3 das entsprechende
Symbol.
Die zugehörige Anzeige erscheint auf dem
Fernsehbildschirm.
3Betätigen Sie 5/∞, um zu dem zu
ändernden Gegenstand zu führen.
Die Farbe des gewählten Inhalts wechselt.
4Betätigen Sie ENTER.
Über dem gewählten Gegenstand erscheint ein Pulldown-
Menü.
5Wählen Sie mittels 5/∞ unter den Optionen,
und drücken Sie dann ENTER.
Die gewählte Option ist nun aktiviert.
•Näheres zu den einzelnen Einstellungen siehe unten.
Ausblenden einer Grundeinstellungen-Anzeige
Betätigen Sie CHOICE.
HINWEISE
•Wenn eine Disc mit MP3- / WMA- / JPEG- / MPEG-4-Dateien
oder eine Speicherkarte eingelegt ist, können Sie keine
Grundeinstellungen-Anzeige anzeigen lassen.
•Einige Elemente können nicht während der Disc-Wiedergabe
geändert werden.
•Wenn eine Grundeinstellungen-Anzeige auf einem Breitbild-
Fernsehgerät gezeigt wird, erscheinen die oberen und unteren
Abschnitte des Grundeinstellungen-Fensters eventuell
beschnitten. In solchem Fall sollten Sie den Bildgrößenregler
des Fernsehgeräts verstellen.
•Wenn eine Grundeinstellungen-Anzeige dargestellt wird,
können Sie die Wiedergabe einer Disc nicht starten.
Achten Sie darauf, daß der TV - DVD
Schalter der Fernbedienung auf “DVD”
gestellt ist, bevor Sie die5/∞/2/3 und
Zahlentasten zur Steuerung des Players
benutzen.
TV DVD
MONITOR-TYP 4:3 LETTER BOX
BILDQUELLE AUTO
BILDSCHIRMSCHONER EIN
HINTERGRUND STANDARD
VIDEOSIGNAL COMPOSITE & Y/C
BILD
WAHL
EINGABE
DIGITAL-AUDIO-AUSGANG BITSTROM/PCM
ANALOGABW˜RTSMISCHUNG 2-KANAL-STEREO
D-BEREICHSREGELUNG NORMAL
AUSGANGSPEGEL STANDARD
AUDIO
WAHL
EINGABE
LESEZEICHEN-FUNKTION EIN
BILDSCHIRM-ANLEITUNG EIN
SONSTIGES
AUTOM.BEREITSCHAFT AUS
AV COMPULINK-MODUS DVD1
KINDERSICHERUNG
WAHL
EINGABE
Gewählter Gegenstand
XV-NP1_GE.book Page 26 Tuesday, September 2, 2003 9:50 AM

Ändern der Grundeinstellungen
27
XV-N50BK/N55SL/LET0230-001A/Deutsch
Ändern der
Grundeinstellungen
SPRACHE-Menü
MENÜSPRACHE
Die normal angezeigte Menüsprache kann geändert werden, falls
sie auf einer DVD VIDEO Disc enthalten ist.
Mögliche Einstellungen
ENGLISCH, SPANISCH, FRANZÖSISCH, CHINESISCH,
DEUTSCH, ITALIENISCH, JAPANISCH, Sprachcodes von AA
bis ZU
•Falls die Disc über kein Menü in der gewählten Sprache verfügt,
wird die Standardsprache der Disc verwendet.
•Für Details zu den Sprachcodes, siehe “Anhang B: Tabelle der
Sprachen und ihrer Abkürzungen” auf Seite 36.
•Diese Einstellung kann nicht während der Wiedergabe
geändert werden.
AUDIO-SPRACHE
Die normal wiedergegebene Audio-Sprache kann geändert
werden, falls sie auf einer DVD VIDEO Disc enthalten ist.
Mögliche Einstellungen
ENGLISCH, SPANISCH, FRANZÖSISCH, CHINESISCH,
DEUTSCH, ITALIENISCH, JAPANISCH, Sprachcodes von AA
bis ZU
•Falls die Disc nicht über die gewählte Sprache verfügt, wird die
Standardsprache der Disc verwendet.
•Für Details zu den Sprachcodes, siehe “Anhang B: Tabelle der
Sprachen und ihrer Abkürzungen” auf Seite 36.
•Diese Einstellung kann nicht während der Wiedergabe
geändert werden.
UNTERTITEL
Die normal angezeigte Menüsprache kann geändert werden, falls
sie auf einer DVD VIDEO Disc enthalten ist.
Mögliche Einstellungen
AUS, ENGLISCH, SPANISCH, FRANZÖSISCH, CHINESISCH,
DEUTSCH, ITALIENISCH, JAPANISCH, Sprachcodes von AA
bis ZU
•Falls die Disc über keine Untertitel in der gewählten Sprache
verfügt, wird die Standardsprache der Disc verwendet.
•Für Details zu den Sprachcodes, siehe “Anhang B: Tabelle der
Sprachen und ihrer Abkürzungen” auf Seite 36.
•Diese Einstellung kann nicht während der Wiedergabe
geändert werden.
BILDSCHIRMMENÜ-SPRACHE
Die am Bildschirm des Players angezeigte Sprache kann gewählt
werden.
Mögliche Einstellungen
ENGLISCH, FRANZÖSISCH, DEUTSCH
•Manche Bildschirmmeldungen werden ungeachtet der
Einstellung auf Englisch angezeigt.
•Die in der Steuerungsanzeige gezeigte Bildschirmsprache kann
nicht geändert werden.
BILD-Menü
MONITOR-TYP
Sie können den Monitor-Typ dem Fernsehgerät anpassen, wenn
Sie DVD VIDEO Discs abspielen, die für Breitbild-Fernsehgeräte
erstellt sind.
Mögliche Einstellungen
16:9, 4:3 LETTERBOX, 4:3 PAN & SCAN
[16:9] (Breitbildfernsehen): Zu wählen, wenn Sie den Player an
ein Breitbild-Fernsehgerät (16:9) anschließen wollen.
[4:3 LETTERBOX] (Briefkastenformat-Umwandlung): Zu
wählen, wenn Sie den Player an ein konventionelles
Fernsehgerät (4:3) anschließen wollen.
Wenn sie eine mit Breitbildformat erstellte DVD VIDEO Disc
abspielen wollen, weist das Bild oben und unten schwarze
Balken auf.
[4:3 PAN & SCAN] (Pan-Scan-Umwandlung): Zu wählen, wenn
Sie den Player an ein konventionelles Fernsehgerät (4:3)
anschließen wollen.
Wenn sie eine mit Breitbildformat erstellte DVD VIDEO Disc
abspielen wollen, wird das Bild gezoomt, um den Bildschirm
senkrecht auszufüllen, und die linken und rechten Seiten des
Bilds werden abgeschnitten.
Beachten Sie aber, dass bei manchen Discs das Bild dennoch
im 4:3 LB Modus angezeigt wird, selbst wenn Sie den 4:3 PS
Modus gewählt haben.
BILDQUELLE
Dieser Modus bestimmt, ob der Disc-Inhalt als Feld (Videoquelle)
oder als Einzelbild (Filmquelle) verarbeitet wird. Eine optimale
Bildqualität erhalten Sie je nach Art der wiederzugebenden
Bildquelle durch Wahl einer geeigneten Option.
Mögliche Einstellungen
VIDEO(NORMAL), VIDEO(AKTIV), FILM, AUTO
[VIDEO(NORMAL)]: Zu wählen, wenn eine Disc mit Videoquelle,
die relativ wenig Bewegung enthält, wiedergegeben werden
soll.
[VIDEO(AKTIV)]: Zu wählen, wenn eine Disc mit Videoquelle,
die relativ viel Bewegung enthält, wiedergegeben werden soll.
[FILM]: Zu wählen, wenn eine Disc mit Filmquelle
wiedergegeben werden soll.
[AUTO]: Zu wählen, wenn eine Disc abgespielt werden soll, die
sowohl Video- als auch Bildquellenmaterial enthält.
Der Player erkennt den Bildtyp (Film- oder Videoquelle) der
gegenwärtigen Disc anhand der Disc-Information. Wählen Sie
normalerweise diese Option.
BILDSCHIRMSCHONER
Sie können die Bildschirmschoner-Funktion auf EIN oder AUS
stellen. (Siehe Seite 12.)
Mögliche Einstellungen
EIN, AUS
XV-NP1_GE.book Page 27 Tuesday, September 2, 2003 9:50 AM

Ändern der Grundeinstellungen
28
XV-N50BK/N55SL/LET0230-001A/Deutsch
Ändern der
Grundeinstellungen
HINTERGRUND
Mit diesem Menü können Sie das Bild, das im
Eröffnungsbildschirm dargestellt wird, ändern oder auf ein Bild
Ihrer Wahl festlegen.
Mögliche Einstellungen
STANDARD, BENUTZER, ALS H. GR. SPEICH.
[STANDARD]: wählen, wenn Sie das Originalbild von JVC als
Eröffnungsbildschirm verwenden (Grundeinstellung).
[BENUTZER]: wählen, wenn Sie ein Bild Ihrer Wahl als
Eröffnungsbildschirm verwenden. Diese Einstellung wird
wirksam, nachdem Sie beim nächsten Einstellungspunkt ein
neues Bild festgelegt haben.
[ALS H. GR. SPEICH.]: wählen, wenn Sie ein neues Bild
festlegen. Um ein neues Bild festzulegen, Siehe “Bild des
Eröffnungsbildschirms ändern” auf Seite 25.
VIDEOSIGNAL
Wählen Sie die Verbindungsart zwischen Fernsehgerät und
Player.
Mögliche Einstellungen
COMPOSITE & Y/C, RGB
[COMPOSITE & Y/C]: wählen, wenn Ihr Fernsehgerät
Composite-Signale und / oder Y/C-Signale verarbeitet.
[RGB]: wählen, wenn Ihr Fernsehgerät RGB-Signale verarbeitet.
AUDIO-Menü
DIGITAL-AUDIO-AUSGANG
Diese Einstellung muss korrekt vorgenommen werden, damit der
Digitalausgang des Players an eine mit Digitaleingang
ausgerüstete Komponente angeschlossen werden kann.
Näheres zum Bezug zwischen Einstellung und
Ausgangssignalen finden SieSiehe “Anhang C:
Digitalausgangssignal-Tabelle” auf Seite 36.
Mögliche Einstellungen
AUS, NUR PCM, DOLBY DIGITAL/PCM, BITSTROM/PCM
[AUS]: Dies wählen Sie, wenn Sie sich am analogen Klang eines
DVD VIDEO bei 96 kHz erfreuen. Über die DIGITAL OUT-
Anschlüsse des Players wird kein Ton ausgegeben. Wenn Sie
Digitalton genießen möchten, wählen Sie nicht “AUS”.
[NUR PCM]: Zu wählen, wenn Sie die DIGITAL OUT Buchse des
Players mit der linearen PCM-Digitaleingang einer anderen
Audio-Komponente verbinde.
[DOLBY DIGITAL/PCM]: Zu wählen, wenn Sie das Gerät mit
dem Digitaleingang eines Dolby Digital Decoders oder eines
Verstärkers mit eingebautem Dolby Digital Decoder verbinden.
Wenn diese Option gewählt ist, wird bei der Wiedergabe einer
Disc, die mit MPEG-Mehrkanal-Format erstellt ist, ein lineares
PCM-Digitalsignal ausgespeist.
[BITSTROM/PCM]: Zu wählen, wenn Sie das Gerät mit dem
Digitaleingang eines Verstärkers mit eingebautem DTS, MPEG-
Mehrkanal oder Dolby Encoder oder mit einem separaten
Encoder-Gerät verbinden.
•Bei manchen DVD VIDEO Discs, die keinen
hundertprozentigen Schreibschutz aufweisen, wird eventuell
ein 20 oder 24 Bit Digitalsignal ausgespeist.
•Wenn Sie eine DVD VIDEO oder Audio CD Disc mit DTS
abspielen wollen, sollten Sie einen DTS-Decoder einsetzen, um
ein korrektes Signal von den Lautsprechern zu erhalten.
ANALOGABWÄRTSMISCHUNG
Diese Einstellung muss korrekt gemäß der Audio-
Anlagenkonfigurierung vorgenommen werden, damit der auf
einer DVD VIDEO Disc mit Surround-Mehrkanalfunktion
aufgezeichnete Ton richtig wiedergegeben wird.
Mögliche Einstellungen
DOLBY-RAUMKLANG, 2-KANAL-STEREO
[DOLBY-RAUMKLANG]: Zu wählen, wenn Sie Mehrkanal-
Surround-Klang hören wollen, während die analogen AUDIO
OUT-Buchsen mit einem Surround-Decoder verbunden sind.
[2-KANAL-STEREO]: Zu wählen, wenn Sie konventionellen
Zweikanal-Stereoton hören wollen, während die AUDIO OUT-
Buchsen mit einem Stereoverstärker oder Fernsehgerät
verbunden sind, oder wenn Sie den Ton von einer DVD VIDEO-
Disc auf eine MiniDisc, Kassette o. ä. aufzeichnen wollen.
D-BEREICHSREGELUNG
Mit dieser Einstellung erhalten Sie die optimale Klangqualität von
den analogen AUDIO OUT Buchsen, um eine mit Dolby Digital
Format aufgezeichnete DVD VIDEO Disc mit geringer oder
mittlerer Lautstärke anzuhören.
Mögliche Einstellungen
BREITER BEREICH, NORMAL, FERNSEHERMODUS
[BREITER BEREICH]: Bei dieser Wahl wird der Ton mit dem
größten Dynamikumfang wiedergegeben, damit Sie einen
kräftigen Wiedergabeton erhalten.
[NORMAL]: Normalerweise sollte diese Option gewählt werden.
[FERNSEHERMODUS]: Zu wählen, wenn der Klangpegel der
DVD VIDEO Disc schwächer als der Klangpegel des
Fernsehprogramms ist. Der Ton klingt dann auch bei
schwacher Lautstärke ausreichend deutlich.
AUSGANGSPEGEL
Mit dieser Einstellung können Sie den Pegel des Signalausgangs
von den analogen AUDIO OUT-Buchsen des Players dämpfen.
Mögliche Einstellungen
STANDARD, NIEDRIG
•Wählen Sie [NIEDRIG], falls der Klang von den Lautsprechern
verzerrt erscheint.
SONSTIGES-Menü
LESEZEICHEN-FUNKTION
Hiermit können Sie den Lesezeichen-Wiedergabemodus
aktivieren.
Näheres zur Lesezeichen-Wiedergabefunktion siehe Seite 10
und 11.
Mögliche Einstellungen
EIN, AUS, DISC FORTSETZEN
[EIN]: Bei dieser Wahl kann der Player die Wiedergabe ab der
Stelle fortsetzen, wo die Wiedergabe zuletzt unterbrochen
wurde, vorausgesetzt, die Disc liegt noch im Fach.
[AUS]: Bei dieser Wahl ist die Lesezeichenfunktion deaktiviert.
[DISC FORTSETZEN]: Bei dieser Wahl kann der Player die
Wiedergabe der 30 zuletzt gespielten Discs fortsetzen. Der
Player speichert die Position des Wiedergabeabbruchs der 30
zuletzt gespielten Discs, auch wenn sie schon vom Disc-Fach
entfernt worden sind.
BILDSCHIRM-ANLEITUNG
Der Player kann “Bildschirm-Anleitung”-Symbole oder Zeichen im
Bild darstellen, welche den Betriebszustand der Disc oder des
Gerätes anzeigen.
Beispiel für “Bildschirm-Anleitung”-Symbole: , ,
Mögliche Einstellungen
EIN, AUS
[EIN]: Bei dieser Wahl ist die Bildschirm-Anleitung aktiviert.
AUTOM. BEREITSCHAFT
Wenn der Player länger als 30 bzw. 60 Minuten stillsteht, schaltet
er automatisch in den Bereitschaftszustand.
Mögliche Einstellungen
60, 30, AUS
AV COMPU LINK-MODUS
Diese Einstellung ist für zukünftige Funktionen reserviert. Lassen
Sie sie in der Voreinstellung (“DVD 1”).
XV-NP1_GE.book Page 28 Tuesday, September 2, 2003 9:50 AM

Ändern der Grundeinstellungen
29
XV-N50BK/N55SL/LET0230-001A/Deutsch
Ändern der
Grundeinstellungen
KINDERSICHERUNG
Wenn diese Option gewählt wird, erscheint bei Betätigung von
ENTER der Fernbedienung die nachstehende
KINDERSICHERUNG-Anzeige. Damit können Sie Kinder davon
abhalten, DVD VIDEO Discs abzuspielen.
•Näheres zur Kindersicherung.
Beschränkung der Wiedergabe für
Kinder
Je nach der vom Benutzer vorgegebenen Stufe beschränkt diese
Funktion die Wiedergabe von DVD VIDEO Discs mit
gewalttätigen (oder sonstigen) Szenen. Wenn z.B. ein Film mit
gewalttätigem Inhalt eine Kindersicherungsfunktion aufweist,
können Sie Szenen, die von Kindern nicht gesehen werden
sollen, herausschneiden oder durch andere Szenen ersetzen
lassen.
Erstmalige Einstellung der Kindersicherung
1Rufen Sie das SONSTIGES-Menü auf.
2Betätigen Sie 5/∞, um zur Wahl von
[KINDERSICHERUNG] zu bewegen, und
drücken Sie dann ENTER.
Die Kindersicherung Bildschirmanzeige erscheint auf dem
Fernsehbildschirm.
3Während auf [LÄNDERCODE] liegt,
drücken Sie nun ENTER, um das Pulldown-
Menü aufzurufen.
4Wählen Sie den Ländercode mittels 5/∞.
Wählen Sie den Code des Landes, mit dessen Standards der
DVD VIDEO Disc-Inhalt klassifiziert wurde.
Siehe “Anhang A: Länder/Regionalcode-Liste für
Kindersicherung” auf Seite 35.
5Betätigen Sie ENTER.
rückt nun zu [STUFE EINSTELLEN].
6Betätigen Sie ENTER, um das Pulldown-
Menü aufzurufen.
Am Pulldown-Menü sind [OHNE] und die Stufen [8] bis [1]
verfügbar.
[OHNE] beschränkt die Wiedergabe nicht. Stufe [1] ist die
strikteste Beschränkung. Discs, die mit einer höheren Stufe
als hier gewählt klassifiziert sind, haben beschränkten
Zugang.
7Wählen Sie mittels 5/∞ eine gewünschte
Kindersicherungsstufe, und betätigen Sie
ENTER.
rückt nun zu [PASSWORT].
8Geben Sie mit den Zahlentasten (0 bis 9) ein
4-stelliges Passwort ein.
9Betätigen Sie ENTER.
Die Kindersicherung ist nun aktiviert.
rückt nun zu [VERLASSEN]. Wenn Sie noch einmal auf
ENTER drücken, erscheint wieder das [SONSTIGES] Menü
der Grundeinstellungen-Anzeige.
Tipp
Falls Sie bei Schritt 8 das Passwort ändern wollen, sollten Sie
das vor Betätigen von ENTER tun.
_ _ _ _
Zahlentasten
_ _ _ _
XV-NP1_GE.book Page 29 Tuesday, September 2, 2003 9:50 AM

Ändern der Grundeinstellungen
30
XV-N50BK/N55SL/LET0230-001A/Deutsch
Ändern der
Grundeinstellungen
Ändern der Einstellungen
Sie können die Einstellung der Kindersicherungsfunktion auch
später ändern.
1Rufen Sie das SONSTIGES-Menü auf.
2Betätigen Sie 5/∞, um zur Wahl der
[KINDERSICHERUNG] zu führen, und
drücken Sie dann ENTER.
Die Kindersicherung Bildschirmanzeige erscheint auf dem
Fernsehbildschirm.
3Während auf [PASSWORT] liegt, geben
Sie nun das gegenwärtige 4-Ziffern-Passwort
ein, und betätigen dann ENTER.
rückt nun zu [LÄNDERCODE], falls Sie das korrekte
Passwort eingegeben haben.
Falls Sie ein falsches Passwort eingegeben haben, erscheint
“FALSCH! BITTE TASTEN...”, erscheint auf dem Bildschirm,
und Sie können nicht fortfahren.
Falls Sie Ihr Passwort vergessen haben sollten, geben Sie
“8888” ein. Das gegenwärtige Passwort wird dann gelöscht,
und Sie können ein neues Passwort eingeben.
4Um [LÄNDERCODE] oder [STUFE
EINSTELLEN] zu ändern, rufen Sie das
zugehörige Pulldown-Menü mittels ENTER
auf, wenn auf den gewünschten
Gegenstand gerichtet ist.
5Wählen Sie mittels 5/∞ die gewünschte
Option, und betätigen Sie ENTER.
Wenn Sie den Ländercode geändert haben, müssen Sie
auch die Stufe der Kindersicherung von neuem einstellen.
6Während auf [PASSWORT] liegt, geben
Sie mit den Zahlentasten ein 4-Ziffern-
Passwort ein.
Das bei diesem Schritt eingegebene Passwort wird nun das
neue Passwort. Falls Sie das alte Passwort beibehalten
wollen, geben Sie dasselbe Passwort ein.
7Betätigen Sie ENTER.
rückt nun zu [VERLASSEN]. Wenn Sie noch einmal auf
ENTER drücken, erscheint wieder das [SONSTIGES] Menü
der Grundeinstellungen-Anzeige.
HINWEIS
Falls Sie in Schritt 3 oben mehr als 3 mal das falsche Passwort
eingeben, rückt automatisch zu [VERLASSEN], und 5/∞
funktioniert nicht.
Zeitweilige Aufhebung der Kindersicherung
Wenn die Kindersicherung auf eine strikte Stufe eingestellt ist,
lassen sich manche Discs eventuell überhaupt nicht abspielen.
Wenn Sie eine solche Disc einlegen und abzuspielen versuchen,
werden Sie durch die nachstehende Kindersicherung-Anzeige
auf dem Fernsehbildschirm gefragt, ob Sie die Kindersicherung
zeitweilig aufheben wollen.
1Betätigen Sie 5/∞, um zu [ZEITWEILIG
FREIGEBEN] zu führen, und drücken Sie
dann ENTER.
2Geben Sie das 4-Ziffern-Passwort mit den
Zahlentasten (0 bis 9) ein.
Die Kindersicherung wird nun freigegeben, und der Player
beginnt mit der Wiedergabe.
Falls Sie ein falsches Passwort eingegeben haben, erscheint
“FALSCH! BITTE TASTEN...”, erscheint auf dem Bildschirm.
Geben Sie das korrekte Passwort ein.
HINWEIS
Wenn Sie bei Schritt 2 oben das falsche Passwort 3 mal
eingeben, rückt automatisch zu [NICHT FREIGEBEN], und 5/
∞ funktioniert nicht.
Zahlentasten
XV-NP1_GE.book Page 30 Tuesday, September 2, 2003 9:50 AM

31
Zusätzliche
Informationen
XV-N50BK/N55SL/LET0230-001A/Deutsch
Zusätzliche Informationen
Namen der Teile und Regler
Frontkonsole
1 Taste (8)
2 STANDBY/ON-Anzeige (8)
3 Disc-Fach (9)
4 0 (Auswurf-)Taste (9)
5 4 Taste (11, 12)
6 ¢ Taste (11, 12)
7 7 Stoptaste (10, 13)
8 3 Wiedergabetaste (9, 11)
9 8 Pausetaste (10, 11)
0 Taste und Lampe DVD/CARD (22, 25)
- Anzeigefenster (siehe Abbildung unten)
= Fernbedienungssensor (6)
~ Speicherkarten-Steckplätze (22)
! Karten-Auswurftaste (22)
Anzeigefenster
1 Audio-Formatanzeigen
2Disc-Anzeige
3Gruppe/Titel/Track/Kapitel-Anzeigen
4 Wiederholungsmodus-Anzeige
5Programm/Zufallsfolge-Anzeigen
6Gesamtzeit/Restzeit-Anzeigen
7 3(Wiedergabe)/ 8(Pause) Anzeigen
8 RESUME (Lesezeichen)-Anzeige
9 Multi-Info-Fenster
12 3 45 90876
~- !=
21 4 5 63
78 9
XV-NP1_GE.book Page 31 Tuesday, September 2, 2003 9:50 AM

Zusätzliche Informationen
32
XV-N50BK/N55SL/LET0230-001A/Deutsch
Zusätzliche
Informationen
Zusätzliche Informationen
1OPEN/CLOSE Taste (9)
2DVD/CARD Taste (22, 25)
3Zahlentasten
4RETURN Taste (13)
5THUMBNAIL/LIST Taste (23)
6TOP MENU Taste (13)
7Cursor-wahl (5 Auf, ∞ Ab) - CH (+/–) Tasten
8Cursor-wahl (2 Links, 3 Rechts)- VOL (+/–) Tasten
9CHOICE Taste (8, 26)
04/PREVIOUS Taste (11, 12, 22)
-7/CLEAR-Taste (10, 15, 16, 22)
=3/SELECT Taste (9, 11)
~1/SLOW– Taste (11)
! Taste (12)
@SOUND EFFECT Taste (19)
#ANGLE Taste (17)
$SUBTITLE Taste (17)
%REPEAT-Taste (16, 23)
^SLIDE EFFECT-Taste (24)
&Infrarotsignalfenster (6)
*TV - DVD-Schalter (7, 8, 13, 22, 26)
(TV STANDBY/ON Taste (7)
)DVD STANDBY/ON Taste (8)
_TV/VIDEO - CANCEL Taste (7, 15)
+TITLE/GROUP-Taste (13)
¡MENU-Taste (13, 25)
ENTER Taste
£ON SCREEN Taste (10, 14, 16, 19)
¢¢/NEXT-Taste (11, 12)
8 Taste (10, 23)
¡/SLOW+ Taste (11)
ZOOM Taste (18, 22)
VFP Taste (18)
AUDIO Taste (17)
AMP VOL +/– Tasten (7)
DIMMER Taste (9)
213
546
879
010 +10
TITLE/
GROUP TV/VIDEO
CANCELRETURN THUMBNAIL
/LIST
VOL VOL+
CH
+
CH
VFPZOOM
AMP
VOL
AUDIO
SOUND
EFFECT
SUB TITLE
SLIDE
EFFECT
ANGLE
DIMMER
REPEAT
OPEN/
CLOSE DVD/
CARD
TV1 TV2 TV3
TV4 TV5 TV6
TV7 TV8 TV9
TV-/-- TV0 MUTING
TV DVD
NEXTPREVIOUS
SELECTCLEAR
SLOW
-
SLOW+
T
O
P
M
E
N
U
M
E
N
U
O
N
S
C
R
E
E
N
C
H
O
I
C
E
ENTER
STANDBY/ON
TV DVD
+
&
£
¢
)
(
_
¡
2
1
3
4
5
7
8
9
-
0
=
!
@
#
$
%
^
~
6
*
XV-NP1_GE.book Page 32 Tuesday, September 2, 2003 9:50 AM

Zusätzliche Informationen
33
XV-N50BK/N55SL/LET0230-001A/Deutsch
Zusätzliche
Informationen
Fehlersuche
Netzspannung
Der Strom läßt sich nicht einschalten.
\Der Netzstecker ist nicht ganz eingesteckt. Schließen Sie ihn
ordnungsgemäß an.
Bedienung
“LÄNDERCODEFEHLER!” wird am Fernsehbildschirm
angezeigt.
\Der Ländercode der eingelegten Disc entspricht nicht dem
Player. Überprüfen Sie den Disc-Ländercode, der auf der
Hülle aufgedruckt ist.
Es ist keine Bedienung möglich.
\Microcomputer-Störung aufgrund von Blitzschlag oder
statischer Elektrizität. Schalten Sie die Spannung aus, ziehen
Sie das Netzkabel ab, und schließen Sie das Netzkabel dann
wieder an.
\Kondensation, die durch plötzliche Änderung der Temperatur
oder Luftfeuchtigkeit entstanden ist. Schalten Sie die
Spannung aus und dann erst nach ein paar Stunden wieder
ein.
\Die Disc macht eine Bedienung unmöglich, oder es ist eine
nicht-abspielbare Disc eingelegt. Überprüfen Sie die Disc,
und wechseln Sie sie aus (siehe Seite siehe Seite 2).
[LOCK] wird im Anzeigefenster angezeigt, und das Disc-
Fach öffnet sich nicht.
\Wenn Sie im Bereitschaftsmodus 0 am Player betätigen und
gleichzeitig 7 gedrückt halten, wird die Disc-Fach-
Sperrfunktion aktiviert. Das Disc-Fach kann in diesem
Zustand nicht geöffnet oder geschlossen werden. Betätigen
Sie im Bereitschaftsmodus am Player 0 und halten Sie
gleichzeitig 7 gedrückt, um die Sperrfunktion aufzuheben.
Bild
Das Bild ist stark gestört.
\Der Player ist direkt mit einem Videorekorder verbunden, und
die Kopierschutzfunktion ist aktiviert. Schließen Sie den
Player so an, dass das Bildsignal direkt zum Fernsehgerät
gespeist wird.
\Bei manchen Discs erscheint das Bild verschwommen, wenn
man [BILDQUELLE] auf [FILM] oder [AUTO] stellt. Stellen Sie
[BILDQUELLE] auf [VIDEO (NORMAL)] oder [VIDEO
(AKTIV)].
Das Bild ist verwaschen, wenn Sie das Fernsehgerät per
RGB-Verbindung an den Player anschließen.
\Stellen Sie [VIDEOSIGNAL] in der [BILD]-
Grundeinstellungen-Anzeige auf [RGB] ein (siehe Seite 28).
Audio
Die DVD VIDEO Disc Wiedergabelautstärke ist schwächer als
die Lautstärke des Fernsehprogramms.
\Stellen Sie die [D-BEREICHSREGELUNG] Grundeinstellung
auf [FERNSEHERMODUS] (siehe Seite siehe Seite 28).
Der Analog-Audioausgang klingt verzerrt.
\Stellen Sie die [AUSGANGSPEGEL] Grundeinstellung auf
[NIEDRIG] (siehe Seite 28).
Über die DIGITAL OUT-Anschlüsse des Players wird kein
Digitalton ausgegeben.
\Stellen Sie die [DIGITAL-AUDIO-AUSGANG]-
Grundeinstellung auf [AUS] (siehe Seite 28) ein.
MP3/WMA/JPEG/MPEG-4
Es wird kein Ton und / oder kein Bild ausgegeben.
\Die MP3/WMA/MPEG-4-Disc ist im "Packet writing (UDF-
Format)" erstellt worden. Sie kann nicht abgespielt werden.
\Überprüfen Sie die Dateien, die Sie wiedergeben möchten.
Dateien (Tracks) werden nicht in der aufgezeichneten
Reihenfolge abgespielt.
\Der Player spielt die Dateien in alphabetischer Reihenfolge
ab. Die Wiedergabefolge kann also variieren.
WMA-Dateien können nicht wiedergegeben werden.
\Die Datei ist kopiergeschützt.
\Die Datei wurde mit einer Bitrate von weniger als 48 kbps
aufgezeichnet. Der Player unterstützt solche WMA-Dateien
nicht.
MPEG-4-Dateien können nicht wiedergegeben werden.
\Das Dateiformat ist nicht asf.
XV-NP1_GE.book Page 33 Tuesday, September 2, 2003 9:50 AM

Zusätzliche Informationen
34
XV-N50BK/N55SL/LET0230-001A/Deutsch
Zusätzliche
Informationen
Technische Daten
Unangekündigte Änderungen der technischen Daten und des
Designs bleiben jederzeit vorbehalten.
Allgemeines
Lesbare Discs DVD VIDEO, DVD-R (Video-Format), DVD-
RW (Video-Format), SVCD, Video CD, Audio
CD (CD-DA), CD-R/RW (CD-DA, SVCD,
Video CD, MP3- / WMA-Format, JPEG,
MPEG-4)
Lesbare Karten SD-Karte, MultiMedia-Karte,
SmartMedia,CompactFlash, Memory Stick
(MP3- / WMA-Format, JPEG, MPEG-4)
Videoformat PAL
Andere
Netzspannung*
Netzspannung AC 230 V , 50 Hz
Stromaufnahme*
12 W (POWER ON), 2,7 W (STANDBY
mode)
Gewicht 2,1 kg
Abmessungen (B × H × T)
435 mm × 48 mm × 270,5 mm
Videoausgänge
VIDEO OUT (Klinkenbuchse)
1,0 Vp-p (75 Ω)
S-VIDEO OUT (S-Buchse)
Y-Ausgang: 1,0 Vp-p (75 Ω)
C-Ausgang: 286 mVp-p (75 Ω)
RGB-Ausgang 700 mVp-p (75 Ω)
Horizontale Auflösung
500 Zeilen oder mehr
Audioausgänge
ANALOG OUT (Klinkenbuchse)
2,0 Vrms (10 kΩ)
DIGITAL OUT (COAXIAL)
0,5 Vp-p (75 Ω Terminierung)
DIGITAL OUT (OPTICAL)
–21 dBm BIS –15 dBm (Spitze)
Audio-Charakteristiken
Frequency response
CD (Sampling-Frequenz 44,1 kHz):
2 Hz bis 20 kHz
DVD (Sampling-Frequenz 48 kHz):
2 Hz bis 22 kHz
(4 Hz bis 20 kHz für DTS und Dolby
Digital Bitstrom-Signale)
DVD (Sampling-Frequenz 96 kHz)
2 Hz bis 44 kHz
Dynamikumfang 16 Bit: Mehr als 98 dB
20 Bit/24 Bit: Mehr als 100 dB
Gleichlaufschwankungen nicht meßbar (weniger als ± 0,002%)
Gesamtklirrfaktor
unter 0,006%
• In Lizenz von Dolby Laboratories hergestellt. “Dolby” und das
Doppel-D Symbol sind Warenzeichen der Dolby Laboratories.
• “DTS” und “DTS Digital Out” sind Warenzeichen von Digital
Theater Systems, Inc.
• DER EINSATZ DIESES PRODUKTES FÜR JEDWEDE MIT
DEM MPEG-4-STANDARD VERBUNDENE ZWECKE IST, MIT
AUSNAHME DES EINSATZES FÜR AUSSCHLIESSLICH
PRIVATE ZWECKE SEITENS DES KUNDEN, VERBOTEN.
Additional_information[B].fm Page 34 Wednesday, October 1, 2003 11:58 PM

Zusätzliche Informationen
35
XV-N50BK/N55SL/LET0230-001A/Deutsch
Zusätzliche
Informationen
Anhang A: Länder/Regionalcode-Liste für Kindersicherung (für Seite 29)
AD Andorra
AE Vereinigte Arabische
Emirate
AF Afghanistan
AG Antigua und Barbuda
AI Anguilla
AL Albanien
AM Armenien
AN Niederländische Antillen
AO Angola
AQ Antarktis
AR Argentinien
AS Amerikanisch-Samoa
AT Österreich
AU Australien
AW Aruba
AZ Aserbaidschan
BA Bosnien und Herzegowina
BB Barbados
BD Bangladesch
BE Belgien
BF Burkina Faso
BG Bulgarien
BH Bahrain
BI Burundi
BJ Benin
BM Bermudainseln
BN Brunei Dar Es Salam
BO Bolivien
BR Brasilien
BS Bahamas
BT Bhutan
BV Bouvetinsel
BW Botswana
BY Belarus
BZ Belize
CA Kanada
CC Kokosinseln (Keeling-I.)
CF Zentralafrikanische
Republik
CG Kongo
CH Schweiz
CI Elfenbeinküste
CK Cook-Inseln
CL Chile
CM Kamerun
CN China
CO Kolumbien
CR Costa Rica
CU Kuba
CV Kap Verde
CX Weihnachtsinsel
CY Zypern
CZ Tschechische Republik
DE Deutschland
DJ Dschibuti
DK Dänemark
DM Dominica
DO Dominikanische Republik
DZ Algerien
EC Ecuador
EE Estland
EG Ägypten
EH Westsahara
ER Eritrea
ES Spanien
ET Äthiopien
FI Finnland
FJ Fidschi
FK Falkland-Inseln (Malvinen)
FM Mikronesien (Föderation
von)
FO Färöer-Inseln
FR Frankreich
FX Frankreich, hauptstädtisch
GA Gabun
GB Vereinigtes Königreich
GD Grenada
GE Georgien
GF Französisch-Guyana
GH Ghana
GI Gibraltar
GL Grönland
GM Gambia
GN Guinea
GP Guadeloupe
GQ Äquatorialguinea
GR Griechenland
GS Süd-Georgia und
Sandwich-Inseln
GT Guatemala
GU Guam
GW Guinea-Bissau
GY Guyana
HK Hong Kong
HM Heard-Insel und
McDonald-Inseln
HN Honduras
HR Kroatien
HT Haiti
HU Ungarn
ID Indonesien
IE Irland
IL Israel
IN Indien
IO Britisches Territorium im
Indischen Ozean
IQ Irak
IR Iran (Islamische Republik)
IS Island
IT Italien
JM Jamaika
JO Jordanien
JP Japan
KE Kenia
KG Kirgisien
KH Kambodscha
KI Kiribati
KM Komoren
KN St Kitts und Nevis
KP Korea, Demokratische
Volksrepublik
KR Korea, Republik
KW Kuwait
KY Kaiman-inseln
KZ Kasachstan
LA Laos, Demokratische
Volksrepublik
LB Libanon
LC St Lucia
LI Liechtenstein
LK Sri Lanka
LR Liberia
LS Lesotho
LT Litauen
LU Luxemburg
LV Lettland
LY Lyb ien
MA Marokko
MC Monaco
MD Moldau, Republik
MG Madagaskar
MH Marshall-Inseln
ML Mali
MM Myanmar
MN Mongolei
MO Macao
MP Nördliche Mariannen-
Inseln
MQ Martinique
MR Mauretanien
MS Montserrat
MT Malta
MU Mauritius
MV Malediven
MW Malawi
MX Mexiko
MY Malaysia
MZ Mosambik
NA Namibia
NC Neukaledonien
NE Niger
NF Norfolk-Inseln
NG Nigeria
NI Nicaragua
NL Niederlande
NO Norwegen
NP Nepal
NR Nauruisch
NU Niue
NZ Neuseeland
OM Oman
PA Panama
PE Peru
PF Französisch-Polynesien
PG Papua-Neuguinea
PH Philippinen
PK Pakistan
PL Polen
PM St Pierre und Miquelon
PN Pitcairn
PR Puerto Rico
PT Portugal
PW Palau
PY Paraguay
QA Katar
RE Reunion
RO Rumänien
RU Russische Föderation
RW Ruanda
SA Saudi-Arabien
SB Salomonen
SC Seychellen
SD Sudan
SE Schweden
SG Singapur
SH St Helena
SI Slowenien
SJ Svalbard und Jan Mayen
SK Slowakei
SL Sierra Leone
SM San Marino
SN Senegal
SO Somalia
SR Surinam
ST Sao Tome und Principe
SV EI Salvador
SY Syrien
SZ Swasiland
TC Turks- und Caicos-Inseln
TD Tschad
TF Französische
Südterritorien
TG Togo
TH Thailand
TJ Tadschikistan
TK Tokelau
TM Turkmenistan
TN Tunesien
TO Tonga
TP Ost-Timor
TR Türkei
TT Trinidad und Tobago
Fern
sehg
erät
Tuvalu
TW Taiwan
TZ Tansania
UA Ukraine
UG Uganda
UM Kleinere entlegene Inseln
der Vereinigten Staaten
US Vereinigte Staaten
UY Uruguay
UZ Usbekistan
VA Vatikanstaat (Heiliger
Stuhl)
VC St Vincent und die
Grenadinen
VE Venezuela
VG Britische Jungferninseln
VI Jungferninseln der
Vereinigten Staaten von
Amerika
VN Vietnam
VU Vanuatu
WF Wallis- und Futuna-Inseln
WS Samoa
YE Jemen
YT Mayotte
YU Jugoslawien
ZA Südafrika
ZM Sambia
ZR Zaire
ZW Simbabwe
XV-NP1_GE.book Page 35 Tuesday, September 2, 2003 9:50 AM

Zusätzliche Informationen
36
XV-N50BK/N55SL/LET0230-001A/Deutsch
Zusätzliche
Informationen
Anhang B: Tabelle der Sprachen und ihrer Abkürzungen
Anhang C: Digitalausgangssignal-Tabelle
AA Afar FA Persisch KM Kambodschanisch OM (Afan) Oromo SU Sundanesisch
AB Abchasisch FI Finnisch KN Kanada OR Orija SV Schwedisch
AF Afrikaans FJ Fidschi KO Koreanisch (KOR) PA Pandschabi SW Suaheli
AM Amharisch FO Färöisch KS Kaschmiri PL Polnisch TA Tamilisch
AR Arabisch FY Friesisch KU Kurdisch PS Paschtu TE Telugu
AS Assamesisch GA Irisch KY Kirgisisch PT Portugiesisch TG Tadschikisch
AY Aymara GD Schottisch-Gälisch LA Lateinisch QU Ketschua TH Thai
AZ Aserbeidschanisch GL Galizisch LN Lingaia RM Rätoromanisch TI Tigrinja
BA Baschkirisch GN Guarani LO Laotisch RN Kirundi TK Turkmenisch
BE Weißrussisch GU Gudscherati LT Litauisch RO Rumänisch TL Tagalog
BG Bulgarisch HA Haussa LV Lettisch RU Russisch TN Setswana
BH Bihari HI Hindi MG Malagasisch RW Kinyarwanda TO Tonga
BI Bislama HR Kroatisch MI Maori SA Sanskrit TR Türkisch
BN Bengali, Bangla HU Ungarisch MK Mazedonisch SD Sindhi TS Tsongaisch
BO Tibetisch HY Armenisch ML Malajalam SG Sangho TT Tatarisch
BR Bretonisch IA Interlingua MN Mongolisch SH Serbokroatisch TW Twi
CA Katalanisch IE Interlingue MO Moldawisch SI Singhalesisch UK Ukrainisch
CO Korsisch IK Inupiak MR Marathi SK Slowakisch UR Urdu
CS Tschechisch IN Indonesisch MS Malaiisch (MAY) SL Slowenisch UZ Usbekisch
CY Walisisch IS Isländisch MT Maltesisch SM Samoanisch VI Vietnamesisch
DA Dänisch IW Hebräisch MY Burmesisch SN Schonisch VO Volapük
DZ Bhutani JI Jiddisch NA Nauruisch SO Somali WO Wolof
EL Griechisch JW Javanisch NE Nepalesisch SQ Albanisch XH Xhosa
EO Esperanto KA Georgisch NL Niederländisch SR Serbisch YO Yoruba
ET Estnisch KK Kasachisch NO Norwegisch SS Siswati ZU Zulu
EU Baskisch KL Grönländisch OC Provenzalisch ST Sesuto
(für Seiten 17 und 27)
(für Seite 28)
Quellentyp
Ausgang
NUR PCM DOLBY DIGITAL/PCM BITSTROM/PCM AUS
DVD mit 48 kHz, 16/20/24 Bit
lineare PCM
48 kHz, 16 Bit, Stereo lineare PCM
Kann nicht
ausgegeben
werden
DVD mit 96 kHz, 16/22/24 Bit
lineare PCM
DVD mit DTS 48 kHz, 16 Bit, Stereo lineare PCM DTS-Bitstrom
DVD mit Dolby Digital 48 kHz, 16 Bit, Stereo lineare
PCM Dolby Digital Bitstrom
DVD mit MPEG Mehrkanal 48 kHz, 16 Bit, Stereo lineare PCM MPEG-Bitstrom
SVCD/Video CD/Audio CD 44,1 kHz, 16 Bit, Stereo lineare PCM
Audio CD mit DTS 48 kHz, 16 Bit, Stereo lineare PCM DTS-Bitstrom
CD-R/RW oder auf Speicherkarte
aufgenommene MP3 / WMA Lineare PCM
CD-R/RW oder auf Speicherkarte
aufgenommene MPEG-4 Kann nicht ausgegeben werden
XV-NP1_GE.book Page 36 Tuesday, September 2, 2003 9:50 AM

Zusätzliche Informationen
37
XV-N50BK/N55SL/LET0230-001A/Deutsch
Zusätzliche
Informationen
Anhang D: Glossar
Abwärtsmischung
Interne Stereomischung von Mehrkanal-Surround-Ton durch
einen DVD-Player. Abwärtsmischungssignale werden an den
Stereoausgangsbuchsen ausgespeist.
ASF
ASF ist eine Abkürzung für “Advanced Streaming Format”, wurde
von der Microsoft Corporation entwickelt und bezeichnet ein
Datenkompressionsformat für MPEG-4-Anwendungen. ASF
kann verschiedene Datentypen wie Audio, Video und Text
enthalten.
Bitstrom
Die digitale Form von Mehrkanal-Audiodaten (z.B. 5,1-Kanal) vor
der Dekodierung in die verschiedenen Kanäle.
Composite-Video
Ein einziges Bildaustastsignal, das für die meisten
Heimvideogeräte verwendet wird. Es enthält sämtliche
Informationen der Luminanz, Farbe und Synchronisierung.
Dolby Digital (AC3)
Ein Sechskanalsystem, das aus den Kanälen links, Mitte, rechts,
hinten links, hinten rechts und LFE (Low-Frequency Effect Kanal
zum Einsatz mit Sub-Woofer) besteht. Alle Verarbeitung erfolgt
auf der digitalen Seite. Nicht alle Dolby Digital Discs enthalten
sechs (5,1) Kanäle Information.
Dolby Surround/Dolby Pro Logic
Dolby Surround zeichnet vier Kanäle vorne und hinten in zwei
Kanälen so auf, dass ein Decoder bei der Wiedergabe die
ursprünglichen vier Kanäle wiederherstellen kann. Da der Ton in
zwei Kanälen aufgezeichnet wird, kann er mit einem
Zweikanalstereosystem normal wiedergegeben werden.
Dolby Pro Logic führt Richtungsschaltkreise bei der Decoder-
seitigen Verarbeitung ein (erhöht den Pegel spezifischer Kanäle
und senkt den Pegel stummer Kanäle), um eine stärkere
Raumwirkung zu erzielen, und fügt einen Mittenlautsprecher
hinzu, der primär für Dialog vorgesehen ist. Das Ergebnis ist eine
verbesserte Kanaltrennung.
DTS
Ein Digital Surround-Tonkodierungsformat, das mit sechs (5,1)
Kanälen) konfiguriert ist, ähnlich wie Dolby Digital. Es erfordert
einen Decoder, entweder im Player oder in einem externen
Empfänger. DTS ist die Abkürzung von Digital Theater Systems.
Nicht alle DTS-Discs enthalten sechs (5,1) Kanäle Information.
Dynamikumfang
Der Unterschied zwischen den lautesten und den leisesten
Tönen.
JPEG
Ein populäres Dateiformat für Standbildkompression und -
speicherung.
JPEG ist die Abkürzung von Joint Photographic Experts Group.
Das JPEG-Format läßt sich in drei Untergruppen aufteilen.
•Baseline JPEG: wird für Digitalkameras, das World Wide Web
usw. verwendet
•Progressive JPEG: wird für das World Wide Web usw.
verwendet
•Lossless JPEG: eine alte Version, die kaum noch verwendet
wird
Kapitel/Titel
Kapitel bezeichnet den kleinsten Abschnitt, und Titel bezeichnet
den größten Abschnitt einer DVD VIDEO. Ein Kapitel ist ein Teil
eines Titels und ähnlich wie der Track einer Video CD oder Audio
CD.
Lineare PCM
PCM bedeutet “Pulscodemodulation”. Lineare PCM ist das
übliche Verfahren zur digitalen Tonkodierung ohne Kompression
und wird für Audio-Tracks auf DVD VIDEO Discs, Audio CDs usw.
eingesetzt.
MP3
MP3 ist ein Tondatenkompressionsformat, eine Abkürzung für
MPEG-1 Audio Layer 3. Mit MP3 können Sie eine
Datenverkleinerung von etwa 1:10 erzielen.
MPEG
Eine Familie von Standards zur Kompression audio-visueller
Daten. Zu den “MPEG”-Standards zählen MPEG-1, MPEG-2 und
MPEG-4.
Video-CD und MP3 basieren auf MPEG1-, DVD auf MPEG-2.
MPEG ist die Abkürzung für Moving Picture coding Experts
Group.
MPEG Mehrkanal
Diese Funktion erweitert das auf der Disc aufgezeichnete 5,1-
Kanal-Audioformat zu einem 7,1-Kanal-Format. Diese
nochmalige Erweiterung des 5,1-Kanal-Klangs garantiert großen
Hörgenuss auch zu Hause.
PAL (Phase Alternation by Line)
Ein Farbfernsehformat, das in Westeuropa große Verbreitung
findet.
PBC
PBC, die Abkürzung von “Playback control”, bezeichnet ein
Verfahren zur Wiedergabesteuerung von Video CDs (VCD). Über
Menüs ist eine interaktive Steuerung der Discs möglich.
RGB
Eine Abkürzung von Rot, Grün und Blau. Farbmonitore und
Farbfernsehgeräte bilden verschiedene Farbtöne durch Mischen
dieser drei Farben.
S-Video
Ein Videosignal, das die Bildqualität über normale Composite-
Verbindungen verbessert. Wird bei Super VHS, DVD,
hochwertigen Fernsehgeräten u.ä. eingesetzt.
Seitenverhältnis
Dieses Verhältnis bezeichnet die Form des rechtwinkligen
Fernsehbildschirms. Es bezieht sich auf die Breite des Bilds
relativ zur Höhe. Ein konventionelles Fernsehbild hat das
Seitenverhältnis 4:3.
Track
Der kleinste Abschnitt auf SVCD, Video CD und Audio CD Discs.
WMA
WMA, die Abkürzung von “Windows Media Audio”, bezeichnet
ein Audiodatenkompressionsformat, das von der Microsoft
Corporation entwickelt wurde. Die Klangqualität von Daten, die
mit WMA komprimiert wurden, entspricht der von MP3, jedoch
sind WMA-Dateien kleiner als MP3-Dateien.
XV-NP1_GE.book Page 37 Tuesday, September 2, 2003 9:50 AM

1
XV-NP1SL/LET0234-004A/Français
Accessoires fournis
Vérifier que les accessoires suivants vous ont été fournis. S’il
manque quelque chose, consulter immédiatement votre
revendeur.
• Câble audio/vidéo (Jaune/Blanc/Rouge) (x 1)
• Télécommande (x 1)
• Pile R6P(SUM-3)/AA(15F) (x 2)
A propos de ce manuel
• L’information de l’afficheur et les éléments du menu de l’OSD
(Affichage à l’écran) sont mis entre parenthèses [ ] dans la
procédure de fonctionnement.
• Les icônes suivantes font référence au(x) disque(s) utilisables
pour chaque opération/fonction:
Précautions
Remarques sur le cordon d’alimentation
• En cas de voyage ou d’absence prolongée, retirer la fiche de la
prise murale. Une petite quantité d’énergie (2,7 W) est toujours
consommée lorsque le cordon d’alimentation est branché à la
prise murale.
• Lorsqu’on débranche le lecteur de la prise murale, toujours tirer
sur la fiche, jamais sur le cordon d’alimentation.
• Ne pas manipuler le cordon d’alimentation avec les mains
mouillées!
Éviter l’humidité, l’eau et la poussière
• Ne pas placer le lecteur dans un endroit humide ou
poussiéreux.
• Si l’eau entre dans le lecteur, mettre l’appareil hors tension et
retirer la fiche de la prise murale, puis consulter votre
revendeur. Utiliser le lecteur dans ces conditions pourrait
provoquer un incendie ou une électrocution.
Éviter les températures élevées
• Ne pas exposer le lecteur directement aux rayons du soleil ou le
placer près d’un dispositif de chauffage.
Remarques sur l’installation
• Choisir un emplacement de niveau, sec, ni trop chaud ni trop
froid entre 5° C et 35° C.
• Laisser une distance suffisante entre le lecteur et le téléviseur.
• Ne pas installer le lecteur dans un endroit sujet aux vibrations.
• Ne pas placer d’objet lourd sur le lecteur.
Pour éviter le dysfonctionnement du lecteur
• Le lecteur ne contient pas d’éléments réparables par
l’utilisateur. En cas d’anomalie, débrancher le cordon
d’alimentation et consulter votre revendeur.
• Ne pas insérer d’objets métalliques, tels câbles, épingles à
cheveux, pièces de monnaie, etc. dans le lecteur.
• Ne pas obstruer les bouches d’aération. Bloquer les aérations
pourrait endommager le lecteur.
Pour nettoyer le coffret
• Utiliser un chiffon doux. Suivre les instructions concernant
l’emploi des chiffons à traitement chimiques.
• N’utiliser ni benzine, ni diluant ou autres solvants et
désinfectants organiques. Ces produits pourraient provoquer
une déformation ou une décoloration du coffret.
Table des matières
Accessoires fournis ..................................................................1
A propos de ce manuel.............................................................1
Précautions................................................................................1
Avant le fonctionnement ..................................... 2
A propos des supports lisibles.................................................2
Préparatifs............................................................. 3
Raccordements .......................................................................3
Utilisation de la télécommande................................................6
Entretien et manipulation des disques.....................................6
Opérations de base.............................................. 8
Mise sous/hors tension du lecteur ...........................................8
Configuration initiale ................................................................8
Lecture de base.......................................................................9
Reprise de la lecture..............................................................10
Lecture à plusieurs vitesses ..................................................11
Repérage du début d’une scène ou d’un morceau................12
Opérations avancées ......................................... 13
Lecture à partir d’une position spécifique ..............................13
Modification de l’ordre de lecture...........................................15
Lecture répétée .....................................................................16
Modification de la langue, du son et de l’angle de scène ......17
Image spéciale/effet de son...................................................18
Fonctions de la barre de menu..............................................19
Lecture de fichiers audio/vidéo ........................ 21
Présentation ..........................................................................21
Opérations de base ...............................................................22
Sélection directe de fichiers JPEG ........................................23
Lecture répétée .....................................................................23
Lecture de diaporama............................................................24
Lecture de diaporama sur fond musical ................................25
Changement de l’image de l’écran d’accueil .........................25
Modification des réglages initiaux.................... 26
Sélection des préférences .....................................................26
Lecture limitée pour enfants ..................................................29
Informations complémentaires......................... 31
Désignations des composants et des commandes ...............31
Guide de dépannage .............................................................33
Spécifications ........................................................................34
Annexe A: Liste des codes de pays/régions pour la censure
parentale ...............................................................................35
Annexe B: Tableau des langues et leurs abréviations ..........36
Annexe C: Tableau des signaux de sortie numérique ...........36
Annexe D: Glossaire..............................................................37
XV-NP1_FR[E].book Page 1 Tuesday, September 2, 2003 11:14 AM

2
Avant le
fonctionnement
XV-N50BK/N55SL/LET0230-004A/Français
Avant le fonctionnement
A propos des supports lisibles
Types de disques lisibles
Les disques porteurs des marques suivantes peuvent être lus sur
ce lecteur.
Le logo DVD est une marque de fabrique.
Le lecteur peut aussi lire les disques suivants:
• Les disques DVD-R et DVD-RW enregistrés en format DVD
VIDEO et finalisés
• Les disques CD-R et CD-RW enregistrés en format SVCD, CD
Vidéo ou CD Audio et finalisés.
• Les disques CD-R et CD-RW enregistrés en format MP3/WMA/
JPEG/MPEG-4 conformément au format “ISO 9660”. (Pour les
détails, voir page 21.)
REMARQUE
Si un disque est sale, rayé ou déformé, soit à cause des
caractéristiques du disque soit à cause des conditions
d’enregistrement, il se peut que le lecteur prenne un temps
considérable pour lire le contenu, ou que le lecteur ne puisse pas
lire de tels disques.
Ce lecteur peut lire des signaux audio enregistrés sur des
disques MIX-MODE CD, CD-G, CD-EXTRA et CD TEXT.
Code de région du DVD VIDEO
Ce lecteur peut lire des disques DVD VIDEO dont le numéro de
code de région comprend “2”.
Exemples de disques DVD VIDEO lisibles:
REMARQUE
Le code de région du lecteur est inscrit sur l’arrière du lecteur.
Format du système de couleurs
Ce lecteur prend en charge le système PAL, et peut également
lire des disques enregistrés avec le système NTSC dont les
numéros de code de région comprennent le “2”.
Noter que le signal vidéo NTSC d’un disque se convertit en un
signal et une sortie PAL.
Formats audio numériques
Le lecteur prend en charge les formats audio numériques
suivants (voir page 37 “Glossaire” pour les descriptions de
chaque format audio):
PCM linéaire, MPEG Multicanal, Dolby Digital, DTS (Digital
Theater Systems)
REMARQUE
Selon le réglage [SORTIE AUDIO NUM.] du lecteur, il se peut
que les signaux audio numériques ne sortent pas tels qu’ils sont
enregistrés sur le disque. Voir “SORTIE AUDIO NUM.” en page
28 pour les détails.
Remarques sur les disques
• Avec certains disques DVD VIDEO, le lecteur commence à lire
automatiquement après l’insertion du disque.
• L’image peut être parfois mauvaise ou avec un bruit de fond à
cause des défauts du propre disque.
• Avec certains disques, il se peut que les opérations décrites
dans ce manuel ne soient pas possibles.
Disques illisibles
Le lecteur ne peut pas lire les disques de la liste ci-dessous. Si
un disque non reproductible est inséré, l’éjecter en appuyant sur
OPEN/CLOSE sur la télécommande. Si vous essayez de lire ces
disques, cela peut provoquer des parasites qui
endommageraient les enceintes.
• Les disques DVD-RW enregistrés en format VR
• DVD-ROM, DVD-RAM, DVD AUDIO, CD-ROM, PHOTO CD,
SACD
De plus, le lecteur ne lit pas:
• Les disques non-finalisés
• Les disques de forme irrégulière ou les disques avec de
l’adhésif, des cachets ou de la colle que ce soit sur la face de
l’étiquette ou sur la face de lecture. Lire ces disques peut
endommager le lecteur.
Cartes à mémoire lisibles
Ce lecteur possède deux types de fente d’insertion exclusives
pour les cartes à mémoire; la première peut recevoir les carte SD
(SD), MultiMedia (MMC), SmartMedia (SM) et Memory Stick
(MS) et la seconde est pour les cartes CompactFlash (CF).
Il est possible de reproduire les fichiers suivants:
• MP3, WMA, JPEG et MPEG-4 (profile simple/format asf)
Configuration pour les cartes à mémoire
• Format: Fat 12/16
• Type de tension: Le type 5 V peut être utilisé sauf pour les
cartes SmartMedia.
• Mémoire: 128 Mo maximum (le type 256 Mo peut aussi être
utilisé uniquement pour les cartes SD et CompactFlash.)
Le type de 4 Mo n’est pas disponible pour les cartes MMC.
• Protection: Les cartes MMC et les cartes Magic Gate Memory
Stick ne peut pas être utilisé.
• Pour les cartes CompactFlash: Type
• Pour Memory Stick: Memory Stick Pro ne peut pas être utilisé.
REMARQUES
• L’ordre de lecture peut différer de celui d’un autre appareil tel
qu’un appareil ou une caméra vidéo numérique.
• Les cartes à mémoires initialisées par un ordinateur ne peuvent
pas être utilisées.
• Il se peut que le lecture ne puisse pas lire certaines cartes
CompactFlash disponible pour une lecture/écriture à grande
vitesse.
• Le lecteur peut ne pas être capable de reproduire certaines
cartes à mémoire à causes des caractéristiques ou des
conditions d’enregistrement.
• Les cartes à mémoires sont des instruments de précision. NE
PAS les frapper, tordre ou mouiller.
SD, SD protégées, MultiMediaCard, SmartMedia, CompactFlash,
Memory Stick sont des marques de commerce de leur
compagnie respective.
Remarques sur les droits d'auteur
Se renseigner sur les lois des droits d’auteur en vigueur dans
votre pays avant d’enregistrer à partir de disques DVD VIDEO,
SVCD, CD vidéo, CD audio, MP3, WMA, JPEG et MPEG-4.
L’enregistrement de matériaux couverts par des droits d’auteur
peut constituer une infraction aux lois sur les droits d’auteur.
DVD VIDEO SVCD CD Vidéo
CD Audio
ALL 252 4
2
3
13
2
16
5
4
Ce produit intègre une technologie de protection des droits
d’auteur protégée par des clauses sur les procédés de
certains brevets américains et d’autres droits sur la propriété
intellectuelle détenue par Macrovision Corporation ainsi que
d’autres détenteurs. L’utilisation de cette technologie de
protection des droits d’auteur est soumise à l’autorisation de
Macrovision Corporation et est exclusivement destinée à une
exploitation à domicile et à d’autres usages limités, sauf
autorisation contraire de Macrovision Corporation. L’ingénierie
inverse et le désassemblage sont interdits.
XV-NP1_FR[E].book Page 2 Tuesday, September 2, 2003 11:14 AM

3
Préparatifs
XV-N50BK/N55SL/LET0230-004A/Français
Préparatifs
Raccordements
Avant d’utiliser le lecteur, brancher l’appareil à un téléviseur et/ou
un amplificateur.
Avant de procéder aux raccordements
•Ne pas brancher le cordon d’alimentation secteur CA avant
d’avoir effectué tous les autres raccordements.
•Raccorder VIDEO OUT du lecteur directement à l’entrée
vidéo du téléviseur. Raccorder VIDEO OUT du lecteur à un
téléviseur via un magnétoscope peut provoquer un
problème de moniteur à la lecture d’un disque protégé
contre la copie. Un problème de moniteur est aussi
possible si le lecteur est raccordé à un système de
téléviseur/vidéo intégré.
Raccordement à un téléviseur
Les sections suivantes A à C décrivent les raccordements de
télévision lorsqu’un seul téléviseur est raccordé au lecteur de
façon à entendre le son à partir du téléviseur.
A Raccordement à un téléviseur conventionnel
REMARQUES
• Ne pas raccorder plusieurs appareils en utilisant plusieurs
connecteurs.
• Si votre téléviseur est équippé d’une entrée audio monaurale
au lieu d’une entrée stéréo, il est nécessaire d’utiliser un câble
audio facultatif qui convertit la sortie audio stéréo en
monaurale.
• Régler [VIDEO SIGNAL] sur l’affichage de préférence [IMAGE]
sur [COMPOSITE&Y/C] (voir page 28).
• Dans la description suivante, “téléviseur” peut être remplacé
par “moniteur” ou “projecteur”.
• Les noms de bornes utilisées pour d’autres composants
peuvent être différents de ceux utilisés dans la description
suivante.
RIGHT
LEFT
AUDIO
VIDEO
IN
VIDEO OUT
AV COMPU LINK
VIDEO SIGNAL
SELECTOR
AV OUT
AUDIO OUTDIGITAL OUT
LEFT COAXIAL
OPTICAL
PCM
/ STREAM
RIGHT
VIDEO
S-VIDEO
RGB/COMP
Y/C
VIDEO SIGNAL
SELECTOR
RGB/COMP.
Y/C
Régler le VIDEO SIGNAL SELECTOR sur
“RGB/COMP.”.
Câble audio/vidéo
(fourni)
Jaune
Blanc
Rouge
Le lecteur
Rouge
Blanc
Jaune
Téléviseur
XV-NP1_FR[E].book Page 3 Tuesday, September 2, 2003 11:14 AM

Préparatifs
4
XV-N50BK/N55SL/LET0230-004A/Français
Préparatifs
B Raccordement à un téléviseur pourvu d’une
prise S-vidéo
Si le téléviseur a une entrée S-VIDEO, il est possible d’obtenir
une meilleure qualité d’image en raccordant la sortie S-VIDEO
du lecteur avec un câble S-vidéo au lieu de raccorder l’entrée
vidéo du téléviseur à la prise VIDEO du lecteur.
REMARQUES
• Ne pas raccorder plusieurs appareils en utilisant plusieurs
connecteurs.
• Lorsque le VIDEO SIGNAL SELECTOR est réglé sur “Y/C”, ne
pas utiliser la prise de sortie vidéo composite. (Dans ce cas,
seul le signal de luminance est émis de la prise de sortie vidéo
composite, et le résultat est une image sans couleurs.)
• Régler [VIDEO SIGNAL] sur l’affichage de préférence [IMAGE]
sur [COMPOSITE&Y/C] (voir page 28).
C Raccordement à un téléviseur pourvu d’un
connecteur SCART
Il est possible de profiter du lecteur en le raccordant simplement
au téléviseur avec un câble SCART à 21 broches.
REMARQUE
Ne pas raccorder plusieurs appareils en utilisant plusieurs
connecteurs.
Réglage du VIDEO SIGNAL SELECTOR
Lors du raccordement du lecteur à un téléviseur avec un
connecteur SCART, régler correctement le VIDEO SIGNAL
SELECTOR selon votre téléviseur.
• Si le téléviseur ne prend en charge que le signal vidéo
composite, régler le sélecteur sur “RGB/COMP.”.
• Si le téléviseur prend en charge le signal Y/C, régler le
sélecteur sur “Y/C” de façon à profiter d’images de meilleure
qualité.
• Si le téléviseur prend en charge les signaux RVB, régler le
sélecteur sur “RGB/COMP.”.
• Régler [VIDEO SIGNAL] sur l’affichage de préférence [IMAGE]
sur [RGB] (voir page 28).
RIGHT
LEFT
AUDIO
VIDEO
S-VIDEO
IN
VIDEO OUT
AV COMPU LINK
VIDEO SIGNAL
SELECTOR
AV OUT
AUDIO OUTDIGITAL OUT
LEFT COAXIAL
OPTICAL
PCM
/ STREAM
RIGHT
VIDEO
S-VIDEO
RGB/COMP
Y/C
VIDEO SIGNAL
SELECTOR
RGB/COMP.
Y/C
Régler le VIDEO SIGNAL SELECTOR sur “Y/C”.
Câble S-vidéo
(non fourni)
Câble audio
(non fourni)
Blanc
Rouge
Blanc
Rouge
Le lecteur
T
éléviseur
VIDEO OUT
AV COMPU LINK
VIDEO SIGNAL
SELECTOR
AV OUT
AUDIO OUTDIGITAL OUT
LEFT COAXIAL
OPTICAL
PCM
/ STREAM
RIGHT
VIDEO
S-VIDEO
RGB/COMP
Y/C
RIGHT
LEFT
AUDIO
VIDEO
S-VIDEO
IN IN
VIDEO SIGNAL
SELECTOR
RGB/COMP.
Y/C
Câble SCART (non fourni)
XV-NP1_FR[E].book Page 4 Tuesday, September 2, 2003 11:14 AM

Préparatifs
5
XV-N50BK/N55SL/LET0230-004A/Français
Préparatifs
Raccordement à un équipement audio facultatif
Raccordement à un amplificateur/récepteur audio
stéréo
Raccorder les prises AUDIO OUT (LEFT/RIGHT) du lecteur aux
entrées de niveau de ligne (telles que AUX, DVD, CD, etc.) d’un
amplificateur ou récepteur audio.
Raccordement à un dispositif audio numérique
Il est possible de profiter d’une qualité de son améliorée en
raccordant la prise DIGITAL OUT (OPTICAL ou COAXIAL) du
lecteur à une entrée numérique d’un amplificateur, etc., avec un
câble numérique optique ou coaxial. Le signal audio numérique
d’un disque sera transféré directement à partir du lecteur. Si
l’équipement audio numérique est un décodeur Dolby Digital ou
DTS ou bien un amplificateur avec un décodeur intégré, il est
possible d’obtenir un son ambiophonique de haute qualité.
REMARQUES
• Raccorder le lecteur et le dispositif audio numérique en utilisant
soit un câble numérique optique soit un câble numérique
coaxial.
• Il n’est pas recommandable d’utiliser les prises numériques
pour le copiage. Lors de l’enregistrement de sons (DVD VIDEO,
SVCD, CD Vidéo ou CD Audio) lus sur le lecteur, les
enregistrer à travers les prises analogiques.
• Selon le disque utilisé, il se peut qu’il ne sorte aucun signal de
DIGITAL OUT. Dans ce cas, faire le raccordement analogique.
Régler [SORTIE AUDIO NUM.] correctement sur l’affichage
des préférences [AUDIO] selon l’équipement audio
numérique auquel il est raccordé. Si le réglage pour [SORTIE
AUDIO NUM.] n’est pas correct, il peut se produire un bruit
sourd qui pourrait endommager les enceintes (voir page 28).
RIGHT
LEFT
AUDIO
IN
VIDEO OUT
AV COMPU LINK
VIDEO SIGNAL
SELECTOR
AV OUT
AUDIO OUTDIGITAL OUT
LEFT COAXIAL
OPTICAL
PCM
/ STREAM
RIGHT
VIDEO
S-VIDEO
RGB/COMP
Y/C
Blanc
Rouge
Le lecteur Câble audio (non fourni)
Amplificateur ou récepteur
Rouge
Blanc
RIGHT
LEFT
DVD
COAXIAL
OPTICAL
DIGITAL
IN IN
VIDEO OUT
AV COMPU LINK
VIDEO SIGNAL
SELECTOR
AV OUT
AUDIO OUTDIGITAL OUT
LEFT COAXIAL
OPTICAL
PCM
/ STREAM
RIGHT
VIDEO
S-VIDEO
RGB/COMP
Y/C
Le lecteur
Câble audio (non fourni)
Equipement numérique
Câble numérique optique (non fourni)
Câble numérique coaxial (non
fourni)
XV-NP1_FR[E].book Page 5 Tuesday, September 2, 2003 11:14 AM

Préparatifs
6
XV-N50BK/N55SL/LET0230-004A/Français
Préparatifs
Brancher le cordon d’alimentation
Lorsque tous les raccordements audio/vidéo ont été faits,
brancher la fiche d’alimentation secteur CA dans la prise murale.
S’assurer que les fiches sont fermement insérées.
L’indicateur STANDBY s’allume en rouge.
Avertissement
• Débrancher le cordon d’alimentation:
- si le lecteur ne doit pas être utilisé pendant une période
prolongée.
- avant de nettoyer le lecteur.
- avant de déplacer le lecteur.
• Ne pas:
- brancher ou débrancher le cordon d’alimentation avec les
mains mouillées.
- tirer sur le cordon d’alimentation pour le débrancher, le cordon
pourrait s’endommager et provoquer un incendie, une
électrocution ou d’autres accidents.
Attention
• Ne pas altérer, tordre ou tirer sur le cordon d’alimentation, ni
placer quelque chose de lourd dessus, cela pourrait provoquer
un incendie, une électrocution ou d’autres accidents.
• Si le cordon est endommagé, consulter un revendeur et le faire
remplacer par un cordon neuf.
Utilisation de la télécommande
Installation des piles
Ouvrir le couvercle du compartiment et insérer les deux piles
R6P(SUM-3)/AA(15F) fournies dans la télécommande en
respectant les marques de polarités (“+” et “–”) à l’intérieur du
compartiment. Ensuite remettre en place le couvercle.
Les piles ont une longévité d’environ six mois en usage normal.
Quand le fonctionnement de la télécommande devient irrégulier,
remplacer les piles.
Précautions pour l’utilisation des piles en toute
sécurité
Respecter les précautions ci-dessous pour une utilisation des
piles en toute sécurité. Un usage incorrect peut réduire leur
longévité, les faire éclater ou faire fuir leur contenu.
• Retirer les piles de la télécommande si elle doit rester inutilisée
pendant longtemps.
• Retirer de la télécommande les piles qui sont à plat et s’en
défaire selon les règles de voirie en vigueur.
• Ne jamais laisser traîner des piles à plat, ni les démanteler, les
mélanger avec d’autres déchets ou les jeter dans un
incinérateur.
• Ne jamais toucher le liquide suintant d’une pile.
• Ne pas mélanger les piles neuves et anciennes ou les piles de
types différents lors de leur remplacement.
Capteur de télécommande
Pointer le sommet de la télécommande vers le capteur le plus
directement possible. Si la télécommande est utilisée d’une
position en diagonale, la portée de fonctionnement (environ 5 m)
peut être plus courte.
Entretien et manipulation des
disques
Lorsqu’un disque est sale, poussiéreux, rayé ou déformé, il se
peut que la lecture du son et de l’image soit détériorée. Prendre
les précautions qu’il convient lors de la manipulation des disques.
Manipulation
• Ne pas toucher la surface du disque.
• Ne pas endommager, ni coller du papier ou utiliser un adhésif
quel qu’il soit tant sur le côté de l’étiquette que sur le côté de
lecture.
Rangement des disques
• Ranger les disques dans leur pochette. Si les disques sont
empilés les uns sur les autres sans leur pochette de protection,
ils peuvent s’endommager.
• Ne pas laisser les disques dans un endroit directement exposé
aux rayons du soleil ou là où l’humidité ou la température est
élevée. Eviter de laisser les disques dans une voiture!
Nettoyage des disques
• Essuyer avec un chiffon doux et sec, dans un mouvement allant
du centre vers l’extérieur. Si le disque est difficile à nettoyer,
l’essuyer avec un chiffon imbibé d’eau.
• Ne jamais utiliser de produits de nettoyage, d’essence, d’alcool
ou d’agents antistatiques.
Capteur de télécommande
XV-NP1_FR[E].book Page 6 Tuesday, September 2, 2003 11:14 AM

Préparatifs
7
XV-N50BK/N55SL/LET0230-004A/Français
Préparatifs
Emploi de la télécommande pour contrôler
le téléviseur
Réglage du signal de la télécommande pour
contrôler le téléviseur
1Régler le commutateur TV - DVD sur “TV”.
2Pendant que TV/VIDEO - CANCEL est
enfoncé, introduire le code du fabricant du
téléviseur en suivant la liste ci-dessous à
l’aide des touches numériques (0 à 9), puis
appuyer sur ENTER.
Exemple:
Introduire le code du fabricant “01” ; appuyer sur “0”, “1”, puis
ENTER.
Liste des codes de fabricants
3Relâcher TV/VIDEO - CANCEL.
4Essayer de contrôler le téléviseur en
appuyant sur TV STANDBY/ON .
Si le téléviseur se met sous ou hors tension, le signal de
contrôle est réglé correctement.
REMARQUES
• Lors de l’achat du lecteur, le code du fabricant est réglé sur to
“JVC” (01).
• S’il existe plus d'un code dans la liste pour le fabricant du
téléviseur, les essayer un par un jusqu’à un résultat correct.
Contrôle du téléviseur
Régler le commutateur TV - DVD de la télécommande sur “TV”.
Les touches suivantes peuvent être utilisées pour contrôler le
téléviseur.
Contrôle du volume d’un amplificateur ou
récepteur JVC
Appuyer sur la touche AMP VOL + augmente le volume audio
d’un amplificateur ou récepteur JVC, tandis qu’appuyer sur la
touche – le diminue.
Fabricant NºFabricant Nº
AIWA 36 MIVAR 29
BEIJING 22 NEC 20
CCE 02 NOBLEX 22
CHANGHONG 34 NOKIA 31
DAEWOO 17, 37 PANASONIC 04, 11
FERGUSON 27 PEONY 34, 38, 39
FINLUX 30 PHILCO 10, 17, 21
FUNAI 32 PHILIPS 02
GRADIENTE 15, 20 RCA 05
GRUNDIG 19
SAMSUNG
12, 33, 34,
35
HITACHI 10
ITT 28 SANYO 13, 16
JINXING 38 SEARS 13
JVC
01, 23, 24,
25
SHARP 06
SONY 07
KONKA 40 TCL 41
LG (GOLDSTAR) 18 THOMSON 26
MAGNAVOX 02 TOSHIBA 08, 14
MITSUBISHI 03 ZENITH 09
Touches numérotées
Met le téléviseur sous ou hors tension.
Commute le mode d'entrée du téléviseur entre TV
et VIDEO.
Sélectionne directement les chaînes de
télévision.
*Pour certains téléviseurs, appuyer sur “+10”
fonctionne comme “100+”, tandis que “10”
fonctionne comme la touche ENTER si le
téléviseur exige la pression de la touche ENTER
après la sélection d'un numéro de chaîne.
Assourdit le son du téléviseur.
Change de chaîne de télévision.
Ajuste le volume du son du téléviseur.
TV DVD
TV
TV/VIDEO
CANCEL
TV1
1
TV-/--
10
TV0
0
MUTING
+10
CH
+
CH
-
VOL
-
VOL+
AMP
VOL
XV-NP1_FR[E].book Page 7 Tuesday, September 2, 2003 11:14 AM

8
Opérations de
base
XV-N50BK/N55SL/LET0230-004A/Français
Opérations de base
REMARQUE
Mise sous/hors tension du lecteur
Appuyer sur DVD STANDBY/ON sur la
télécommande ou appuyer sur sur le
panneau avant.
L’indicateur STANDBY/ON sur le panneau avant, qui s’allume
en rouge pendant l’état de veille, s’allume en vert.
Les côtés gauche et droit de l’afficheur s’éclairent.
L’affichage d’accueil apparaît sur l’écran du téléviseur, et les
messages suivants peuvent apparaître au bas de l’écran
d’accueil.
•EN LECTURE (Le lecteur est en train de lire les informations du
disque.)
•ERREUR DE CODE REGION! (Le code de région du disque
DVD VIDEO ne correspond pas au lecteur. Le disque ne peut
pas être lu.)
•DISQUE ILLISIBLE
•OUVERTURE
•FERMETURE
•PAS DE DISQUE
REMARQUES
•Même si le lecteur est mis hors tension, il est connecté a la
source d’alimentation secteur tant qu’il reste branché à la prise
murale. Cet état est appelé mode de veille. Dans cet état, le
lecteur consomme une très faible quantité d’énergie.
•Il est possible de changer l’image de l’écran d’accueil. (Voir
page 28.)
Configuration initiale
Il est possible de régler la langue d’affichage, le type de moniteur
de télévision et la sortie numérique avant d’utiliser le lecteur, en
procédant comme indiqué ci-dessous.
1Appuyer sur CHOICE pendant quelques
secondes pour faire apparaître la première
page de l’affichage CONFIGUR. LECTEUR
DVD.
Le menu déroulant de la [LANGUE D’ECRAN] est déjà
ouvert.
2Appuyer sur 5/∞ pour sélectionner la langue
souhaitée.
Il est possible de sélectionner la langue d’écran pour les
affichages de préférences, etc. parmi l’ANGLAIS, le
FRANÇAIS et l’ALLEMAND.
3Appuyer sur ENTER.
La seconde page sur laquelle le menu déroulant du [TYPE
D’ECRAN] est déjà ouvert, apparaît.
4Appuyer sur 5/∞ pour sélectionner le type de
moniteur souhaité.
Pour un téléviseur normal (conventionnel), sélectionner [4:3
LB] ou [4:3 PS].
Pour un téléviseur à écran large, sélectionner [16:9]. (Voir
page 27.)
S’assurer que le commutateur TV - DVD
sur la télécommande est réglé sur “DVD”
lors de l’utilisation des touches 5/∞/2/3
et des touches numériques pour contrôler
le lecteur.
A propos de l’icône de commande refusée
Lors de la pression d’une touche, si le lecteur n’accepte pas
cette commande, l’icône apparaît sur l’écran du téléviseur.
Occasionnellement, des opérations peuvent s’avérer
inacceptables même si l’icône ne s’affiche pas.
Remarquer qu’il se peut que certaines opérations ne soient
pas acceptées. Par exemple, certains disques peuvent refuser
le défilement rapide avant/arrière ou la lecture au ralenti.
730
Indicateur STANDBY
TV DVD
EN LECTURE
Zone de messages
LANGUE MENU ANGLAIS
LANGUE AUDIO ANGLAIS
SOUS-TITRES ANGLAIS
LANGUE D'ECRAN ANGLAIS
CONFIGUR. LECTURE DVD
ANGLAIS
FRANCAIS
ALLEMAND
Options LANGUE D’ECRAN
TYPE D'ECRAN 4:3 L.B.
SOURCE D'IMAGE AUTO
PROTECTION D'ECRAN ON
FOND
SIGNAL VIDEO COMPOSITE & Y/C
STANDARD
CONFIGUR. LECTURE DVD
16:9
4:3 LB
4:3 PS
Options TYPE D’ECRAN
XV-NP1_FR[E].book Page 8 Tuesday, September 2, 2003 11:14 AM

Opérations de base
9
XV-N50BK/N55SL/LET0230-004A/Français
Opérations de
base
5Appuyer sur ENTER.
La troisième page, sur laquelle le menu déroulant de la
[SORTIE AUDIO NUM.] est déjà ouvert, apparaît.
6Appuyer sur 5/∞ pour sélectionner le type de
signal de sortie numérique souhaité.
Régler ce paramètre correctement lors du raccordement du
lecteur à un décodeur ambiophonique externe ou à un
convertisseur N/A. Voir “SORTIE AUDIO NUM.” en page 28
(Il est inutile de régler ce paramètre si le lecteur n’est pas
raccordé à un tel dispositif.)
•Lors du raccordement à un autre équipement numérique,
sélectionner
[SEULEMENT PCM].
•Lors du raccordement à un décodeur Dolby Digital,
sélectionner [DOLBY DIGITAL/PCM].
•Lors du raccordement à un décodeur Dolby Digital/DTS/
MPEG, sélectionner [FLUX/PCM].
7Appuyer sur ENTER.
L’écran du téléviseur revient à l’affichage d’accueil.
Lecture de base
1Appuyer sur 0 (ou OPEN/CLOSE sur la
télécommande) pour ouvrir le tiroir à disque.
2Placer un disque dans le tiroir à disque.
3Appuyer sur 3.
Le lecteur commence la lecture au début.
Si un menu apparaît sur l’écran du téléviseur
Lors de l’insertion d’un disque DVD VIDEO, SVCD ou CD Vidéo,
un menu peut apparaître sur l’écran du téléviseur. A partir du
menu, un élément souhaité peut être sélectionné pour être lu.
Pour des DVD VIDEO
1 Appuyer sur 5/∞/2/3 pour sélectionner un élément souhaité.
2 Appuyer sur ENTER.
Le lecteur commence la lecture de l’élément sélectionné.
Pour SVCD/CD Vidéo
Appuyer sur les touches numérotées pour sélectionner l’élément
souhaité.
Le lecteur commence la lecture de l’élément sélectionné.
REMARQUES
•Ne pas insérer un disque illisible. (Voir page 2.)
•Lors de l’insertion d’un disque dans le tiroir à disque, bien le
positionner dans le retrait. Sinon, le disque pourrait être
endommagé à la fermeture du tiroir à disque, ou son retrait du
lecteur pourrait être impossible.
•Quand l’initialisation du disque inséré prend du temps
(“READING” apparaît sur la fenêtre d’affichage), retirez le
disque en appuyant sur OPEN/CLOSE sur la télécommande et
vérifiez le disque.
Pour changer la luminosité de l’afficheur
Appuyer sur DIMMER sur la télécommande.
La luminosité de l’afficheur peut être sélectionnée sur trois
niveaux, ou être désactivée.
Si la luminosité est réglée sur la position désactivée, rien
n’apparaîtra à l’affichage. Dans ce cas, le témoin d’éclairage
sur le panneau avant s’éteint aussi.
SELECTION
ENTRER
5∞23 POUR CHOISIR ET ENTER POUR VALIDER.
SORTIE AUDIO NUM. DOLBY DIGITAL/PCM
MIX DEMUL. ANALOGIQUE DOLBY PROLOGIC
COMMANDE DE PLAGE D. ON
NIVEAU DE SORTIE
CONFIGUR. LECTURE DVD
ALLET
SEULEMENT PCM
DOLBY DIGITAL/PCM
FLUX/PCM
POUR QUITTER, APPUYER SUR CHOICE.
Options SORTIE AUDIO NUM.
PROGRESSIVE
•Lors de l’insertion d’un disque de 8 cm, le placer
dans le retrait intérieur.
Avec l’étiquette
vers le haut
XV-NP1_FR[E].book Page 9 Tuesday, September 2, 2003 11:14 AM

Opérations de base
10
XV-N50BK/N55SL/LET0230-004A/Français
Opérations de
base
Pour vérifier l’état de lecture
Il est possible de voir sur l’écran du téléviseur le numéro de la
sélection actuelle (le titre/numéro de chapitre pour un DVD
VIDEO ou numéro de piste pour SVCD/CD Vidéo/CD Audio),
l’information temporelle (durée de la piste ou du chapitre à l’arrêt,
ou le temps écoulé de la piste ou du chapitre pendant la lecture)
et l’état de transport (arrêt, lecture, pause, etc.).
Appuyer sur ON SCREEN.
Exemple: pour un DVD VIDEO
Noter qu’une seconde pression de ON SCREEN rappelle la barre
de menu sous la barre d’état, qui permet d’accéder à diverses
fonctions. Voir page 19 pour les détails sur la barre de menu.
Pour désactiver la barre d’état
Appuyer sur ON SCREEN de façon répétée jusqu’à ce que la
barre d’état disparaisse.
Pour arrêter complètement la lecture
Appuyer sur 7.
A noter
Si on appuie sur 0 pendant la lecture, le lecteur arrête la lecture
et ouvre le tiroir à disque.
Pour arrêter temporairement la lecture
Appuyer sur 8.
Pour reprendre la lecture, appuyer sur 3. (Voir l’élément suivant.)
Reprise de la lecture
Le lecteur peut mémoriser la position d’un disque où la lecture a
été interrompue, et reprendre plus tard la lecture à partir de cette
position.
Il existe trois modes de reprise; MARCHE, ARRET et REPRISE
DISQUE. A l’achat le lecteur est initialment réglé sur mode de
MARCHE.
•Le mode peut être sélectionné en utilisant l’affichage de
préférences (voir page 28).
Quand le mode de reprise est sur “MARCHE”
Si on appuie sur 7, le lecteur arrête la lecture et mémorise la
position d’interruption. L’écran du téléviseur affiche “ARRET DE
REPRISE” et l’indicateur RESUME s’allume sur l’afficheur.
La mémoire de la position d’interruption n’est pas effacée si le
lecteur est mis hors tension.
Lors de la mise hors tension du lecteur après le réglage de la
fonction de reprise, appuyer simplement sur 3. Le lecteur est mis
sous tension et la lecture commence à partir de la position
d’interruption.
Noter que la mémoire s’efface si le tiroir à disque s’ouvre.
Quand le mode de reprise est sur “REPRISE
DISQUE”
Si on appuie sur 7, le lecteur arrête la lecture et mémorise la
position d’interruption. L’écran du téléviseur affiche “ARRET DE
REPRISE” et l’indicateur RESUME s’allume sur l’afficheur.
La mémoire de la position d’interruption ne s’efface pas si le tiroir
à disque est ouvert ou le lecteur mis hors tension.
A noter
Le lecteur mémorise les positions d’interruption pour les 30
derniers disques lus. La mémorisation d’une nouvelle position
d’interruption effacera la position d’interruption mémorisée pour
le premier disque.
Pour effacer la mémoire
Appuyer sur 7 quand le disque est à l’arrêt.
8.5Mbps
TITLE 33 TOTAL 1:25:58CHAP 33
Etat de transfert Numéro du
chapitre actuel
Etat de transport
actuel
Numéro du titre actuel Durée du
chapitre actuel
A propos des icônes du guide d’écran
Les icônes suivantes peuvent apparaître sur l’image. Elles ont
les significations suivantes.
: Apparaît au début d’une scène enregistrée à partir
d’angles multiples (voir page 17).
: Apparaît au début d’une scène enregistrée en plusieurs
langues audio (voir page 17).
: Apparaît au début d’une scène enregistrée avec des
sous-titres en plusieurs langues (voir page 17).
XV-NP1_FR[E].book Page 10 Tuesday, September 2, 2003 11:14 AM

Opérations de base
11
XV-N50BK/N55SL/LET0230-004A/Français
Opérations de
base
Pour reprendre la lecture
Quand le mode de reprise est sur “MARCHE”
Quand le disque dont la lecture a été
interrompue est encore dans le tiroir,
appuyer sur 3.
Le lecteur reprend la lecture à partir de la position où la
lecture avait été interrompue. “REPRISE DE LECTURE”
apparaît sur l’écran du téléviseur.
Pour lire un disque depuis son début
Appuyer sur 7 avant d’appuyer sur 3 pour lancer la lecture.
Quand le mode de reprise est sur “REPRISE
DISQUE”
1Appuyer sur 0 pour insérer un disque pour
lequel le lecteur a mémorisé une position
d’interruption.
“ARRET DE REPRISE” apparaît sur l’écran du téléviseur.
2Appuyer sur 3.
“REPRISE DE LECTURE” apparaît sur l’écran du téléviseur
et le lecteur reprend la lecture à partir de la position où la
lecture avait été interrompue.
Pour lire un disque depuis son début
Après insertion du disque, appuyer sur 7 avant d’appuyer sur 3
pour lancer la lecture.
REMARQUES
•Si le réglage de [REPRISE] au départ de [REPRISE DISQUE]
est modifié sur [ARRET] ou [MARCHE], il ne sera pas possible
de reprendre la lecture sur un disque dont la position de
“reprise” a été mémorisée. Cependant, si [REPRISE] est à
nouveau réglé sur [REPRISE DISQUE], il sera alors possible
de reprendre la lecture du disque.
•Quand on reprend la lecture, régler [REPRISE] sur [DISQUE
REPRISE] avant de retirer le disque en place.
•Lors de l’interruption de la lecture d’un disque pour lequel une
position d’interruption a déjà été mémorisée, la mémoire sera
actualisée à la nouvelle position d’interruption.
•Pour un disque DVD VIDEO double-face, le lecteur considère
chaque face comme un disque différent. Dès lors, pour
reprendre la lecture d’un tel disque, le disque doit être inséré
avec la même face vers le bas.
•Quand le lecteur est réglé sur un point d’interruption pour un
disque, il mémorise aussi les réglages Audio, Sous-titres et
Angle.
•Il se peut que le lecteur ne reprenne pas la lecture exactement
à partir du point d’interruption. Dans le cas d’un disque SVCD/
CD Vidéo avec fonction PBC, il se peut que le lecteur reprenne
la lecture d’un point légèrement antérieur ou postérieur au point
où la lecture avait été interrompue.
•Si on change le mode de lecture de CD Vidéo sur la lecture
programmée ou aléatoire, la mémoire de la position
d’interruption disparaît et le lecteur ne peut pas reprendre la
lecture.
•Appuyer sur DVD/CARD annule la mémoire de la position
d’interruption de la lecture.
Lecture à plusieurs vitesses
Défilement rapide avant ou arrière pendant
le contrôle
Pendant la lecture, appuyer sur ¡ ou 1
sur la télécommande.
Il est possible de sélectionner 2 fois, (1,5 fois uniquement
pour la lecture avant de disque DVD VIDEO) , 5 fois, 20 fois
et 60 fois (uniquement pour les disque DVD VIDEO) la
vitesse normale. Appuyer sur 3 fait revenir le lecteur à la
lecture normale.
Pendant la lecture, maintenir enfoncé ¢ ou
4.
La lecture est avancée ou reculée 5 fois sa vitesse normale.
REMARQUE
Pendant la lecture rapide, le son sera assourdi sauf à la lecture
d’un CD Audio, et à la lecture d’un DVD VIDEO à 1,5 fois sa
vitesse normale. Pour les disques CD Audio, le son s'entendra
par intermittence.
x1,5 Lecture rapide avec son
Lors de la lecture 1,5 fois la vitesse normale, le disque est lu avec
le son.
•Les sous-titres ne disparaissent pas.
•Le son peut être entendu de façon intermittente.
•Si le son d'un disque DVD VIDEO est enregistré en format
Dolby Digital, MPEG Multicanal ou DTS, des signaux stéréo
PCM linéaires sont émis. Avec certains disques DVD VIDEO, la
qualité de son et le volume peuvent varier, ou le son peut ne
pas être accordé.
•Pour passer du défilement rapide arrière à la lecture rapide 1,5
x, appuyer d’abord sur 3, puis appuyer une fois sur ¡.
Avance en image fixe image par image
En pause, appuyer sur 8.
A chaque pression de 8, l’image fixe passe à l’image
suivante.
Appuyer sur 3 revient à la lecture normale.
Lecture au ralenti
Il est possible de sélectionner 1/32 fois, 1/16 fois, 1/4 fois et 1/2
fois la vitesse normale.
Pendant la lecture, appuyer sur 8, puis
appuyer sur ¡ (pour la lecture au ralenti
avant) ou sur 1 (pour la lecture au ralenti
arrière, seulement pour les disques DVD
VIDEO).
Appuyer sur 3 revient à la lecture normale.
REMARQUE
Pendant la lecture au ralenti, le son sera assourdi.
XV-NP1_FR[E].book Page 11 Tuesday, September 2, 2003 11:14 AM

Opérations de base
12
XV-N50BK/N55SL/LET0230-004A/Français
Opérations de
base
Relecture des scènes précédentes
(Fonction relecture par une simple
pression)
Pendant la lecture d’un DVD VIDEO, appuyer
sur .
La position de lecture recule de 10 secondes par rapport à sa
position actuelle.
REMARQUES
•Cette fonction n’a d’effet qu’à l’intérieur d’un même titre, mais
est effective entre les chapitres.
•Cette fonction peut ne pas avoir d’effet avec certains disques
DVD VIDEO.
Repérage du début d’une scène ou
d’un morceau
Pour DVD VIDEO: Pendant la lecture, il est possible de sauter un
chapitre ou un titre, selon la configuration du disque.
Pour les SVCD/CD Vidéo: Pendant la lecture sans la fonction
PBC, il est possible de sauter une piste.
Pour CD Audio: Pendant la lecture ou en mode d’arrêt, il est
possible de sauter une piste.
Pour sauter en avant, appuyer sur ¢.
Pour sauter en arrière, appuyer sur 4.
Utiliser les touches numérotées
Pour DVD VIDEO/CD Audio: Pendant la lecture ou en mode
d’arrêt
Pour les SVCD/CD Vidéo: Pendant la lecture sans la fonction
PBC ou en mode d’arrêt
Appuyer sur les touches numérotées pour
spécifier le numéro.
Pour sélectionner 5: appuyer sur 5.
Pour sélectionner 23: appuyer sur +10, +10, puis 3.
Pour sélectionner 40: appuyer sur +10, +10, +10, puis 10.
Le lecteur lance la lecture à partir du début de la sélection.
REMARQUES
•Selon le type de disque et l’état du lecteur, ce qui est spécifié
diffère:
•Pendant la lecture d’un DVD VIDEO, si un menu apparaît sur
l’écran du téléviseur, il est possible d’utiliser les touches
numérotées pour sélectionner un élément du menu.
Touches
numérotées
Etat du
lecteur Type de disque Ce qui est spécifié
A l’arrêt
DVD VIDEO titre
SVCD/CD Vidéo/ CD Audio piste
En lecture
DVD VIDEO chapitre
SVCD/CD Vidéo/ CD Audio piste
A propos de la fonction de protection d’écran
Une image peut être brûlée dans le moniteur de télévision si
une image statique est affichée pendant longtemps. Pour
éviter cela, le lecteur active automatiquement la fonction de
protection d’écran si une image statique, par exemple un
affichage d’écran ou un menu, reste affiché plus de 5 minutes.
Lorsque la fonction de protection d’écran est activée, l’écran
du téléviseur devient plus foncé.
Appuyer sur n’importe quelle touche relâchera la fonction de
protection d’écran.
Voir “PROTECTION D’ECRAN” en page 27.
•Quand une image fixe d’un fichier JPEG/MPEG-4 est
reproduite, la fonction de protection d’écran ne fonctionne
pas.
XV-NP1_FR[E].book Page 12 Tuesday, September 2, 2003 11:14 AM

13
Opérations
avancées
XV-N50BK/N55SL/LET0230-004A/Français
Opérations avancées
REMARQUE
Lecture à partir d’une position
spécifique
Repérage d’une scène souhaitée à partir du
menu d’un DVD
Les disques DVD VIDEO ont généralement leurs propres menus
qui indiquent le sommaire du disque. Ces menus contiennent
plusieurs éléments tels que les titres de films, titres de morceaux
ou informations sur l’artiste, et les affichent sur l’écran du
téléviseur. Il est possible de repérer une scène souhaitée à l’aide
du menu du DVD.
1Quand un disque DVD VIDEO est inséré,
appuyer sur TOP MENU ou MENU.
Le menu apparaît sur l’écran du téléviseur.
2Appuyer sur 5/∞/2/3 pour sélectionner un
élément souhaité, puis appuyer sur ENTER.
Le lecteur commence la lecture de l’élément sélectionné.
A noter
•Certains disques DVD VIDEO peuvent aussi avoir un menu
différent qui apparaît quand MENU est enfoncé.
•Voir les instructions de chaque disque DVD VIDEO pour son
menu particulier.
•Avec certains disques, les éléments peuvent être sélectionnés
en entrant le numéro correspondant à l’aide des touches
numérotées, ce qui peut provoquer le lancement de la lecture
automatiquement.
REMARQUE
La touche MENU ne fonctionne pas à l’arrêt.
Repérage d’une scène souhaitée à partir du
menu d’un SVCD/CD Vidéo avec PBC
Certains disques SVCD/CD Vidéo prennent en charge la fonction
PBC. PBC est l’abréviation de “Playback Control”. Certains
disques SVCD/CD Vidéo enregistrés avec PBC ont leurs propres
menus, par exemple une liste des morceaux sur le disque. Une
scène spécifique peut être repérée à l’aide du menu PBC.
1En mode d’arrêt, appuyer sur 3.
Un menu du disque apparaît sur l’écran du téléviseur.
2Appuyer sur les touches numérotées pour
sélectionner l’élément souhaité.
Pour sélectionner 5: appuyer sur 5.
Pour sélectionner 23: appuyer sur +10, +10, puis 3.
Pour sélectionner 40: appuyer sur +10, +10, +10, puis 10.
Le lecteur commence la lecture de l’élément sélectionné.
Pour revenir au menu, appuyer sur RETURN.
A noter
Si quelque chose comme [PAGE SUIVANTE] ou [PAGE
PRECEDENTE] apparaît sur l’écran du téléviseur, appuyer sur
¢ pour passer à la page suivante, et appuyer sur 4 pour
retourner à la page précédente.
Spécification d’un titre souhaité
1Pendant la lecture, appuyer sur TITLE/
GROUP.
[--] apparaît dans la zone d’affichage du titre de l’afficheur.
2Appuger sur les touches numérotées pour
spécifier le titre à lire.
Pour sélectionner 5: appuyer sur 5.
Pour sélectionner 23: appuyer sur +10, +10, puis 3.
Pour sélectionner 40: appuyer sur +10, +10, +10, puis 10.
Le lecteur lance la lecture à partir du titre spécifié.
REMARQUE
Cette fonction peut ne pas avoir d’effet avec certains disques
DVD VIDEO.
S’assurer que le commutateur TV - DVD
sur la télécommande est réglé sur “DVD”
lors de l’utilisation des touches 5/∞/2/3
des touches numérotées et TV/VIDEO -
CANCEL pour contrôler le lecteur.
Touches
numérotée
TV DVD
A propos des PBC (Contrôle de lecture)
Certains disques SVCD/CD Vidéo prennent en charge la
fonction PBC.
La fonction PBC permet de profiter du fonctionnement par
menus et d’images fixes à haute résolution qui ont une
résolution quatre fois meilleure que les images en mouvement.
•Pour lire un disque SVCD/CD Vidéo compatible PBC sans
activer la fonction PBC, appuyer sur les touches numérotées
au lieu de 3 pour commencer la lecture.
•Pour réactiver la fonction PBC,
appuyer sur 7 pour arrêter la lecture, puis appuyer sur 3.
XV-NP1_FR[E].book Page 13 Tuesday, September 2, 2003 11:14 AM

Opérations avancées
14
XV-N50BK/N55SL/LET0230-004A/Français
Opérations
avancées
Repérage d’un point souhaité sur le titre ou
la piste en cours (Recherche temporelle)
Il est possible de lire un disque à partir d’un point souhaité en
spécifiant le temps à partir du début du titre en cours (pour un
DVD VIDEO) ou du disque (pour un SVCD/CD Vidéo/CD Audio).
Pour DVD VIDEO/CD Audio: En lecture
Pour les SVCD/CD Vidéo: Dans un mode quelconque sauf
lecture de SVCD/CD Vidéo avec PBC
1Appuyer deux fois sur ON SCREEN.
La barre du menu apparaît sur l’écran du téléviseur.
2Appuyer sur 2/3 pour déplacer sur ,
puis appuyer sur ENTER.
Le menu déroulant pour l’entrée du temps apparaît.
Exemple d’écran pour DVD VIDEO
Exemple d’écran pour CD Audio
3Appuyer sur les touches numérotées (0 à 9)
pour entrer le temps souhaité.
Le temps spécifié s’affiche sur le menu déroulant.
Exemple (pour DVD VIDEO)
Lecture à partir de 2(H):34(M):00(S)
Appuyer sur 2, 3, puis 4.
Exemple (pour SVCD/CD Vidéo/CD Audio)
Lecture à partir de 23(M):40(S)
Appuyer sur 2, 3, puis 4.
Il n’est pas nécessaire d’appuyer sur “0” pour entrer les zéros
de fuite (les deux derniers chiffres dans l’exemple ci-dessus).
Pour corriger une erreur
Appuyer plusieurs fois sur 2 pour revenir au chiffre erroné,
puis entrer le numéro correct.
4Appuyer sur ENTER.
Le lecteur lance la lecture à partir du temps spécifié.
Pour supprimer la barre de menu
Appuyer sur ON SCREEN.
A noter
Les touches “10” et “+10” ne s’utilisent pas avec cette fonction.
REMARQUES
•Certains disques DVD VIDEO ne contiennent pas
d’informations de temps, et la fonction de recherche temporelle
ne peut pas être utilisée.
•La fonction de recherche temporelle ne peut pas être utilisée
pendant la lecture programmée.
Touches
numérotées
1/3 1/3OFF 1/5
8.5Mbps
TITLE 33 TOTAL 1:25:58CHAP 33
CHAP.
TIME _:__:__
OFF PROG. RND.
TIME 25:58TRACK 33
TIME __:__
XV-NP1_FR[E].book Page 14 Tuesday, September 2, 2003 11:14 AM

Opérations avancées
15
XV-N50BK/N55SL/LET0230-004A/Français
Opérations
avancées
Modification de l’ordre de lecture
Lecture dans un ordre spécifique (Lecture
programmée)
En programmant les pistes, il est possible de faire lire jusqu’à 99
pistes dans n’importe quel ordre. Il est possible de programmer
la même piste plus d’une fois.
1En mode d’arrêt, appuyer deux fois sur ON
SCREEN.
La barre du menu apparaît sur l’écran du téléviseur.
2Appuyer sur 2/3 pour déplacer sur .
Exemple d’écran pour CD Audio
3Appuyer sur ENTER.
Le tableau de programmation apparaît.
L’indicateur PRGM s’allume sur l’afficheur.
4Appuyer sur les touches numériques pour
spécifier les pistes dans l’ordre souhaité.
Pour sélectionner 5: appuyer sur 5.
Pour sélectionner 23: appuyer sur +10, +10, puis 3.
Pour sélectionner 40: appuyer sur +10, +10, +10, puis 10.
Pour corriger le programme
Appuyer sur 5/∞ pour déplacer sur la piste à corriger,
puis appuyer sur TV/VIDEO - CANCEL. La piste est effacée
et les pistes programmées qui suivent sont remontées.
Appuyer sur 7 élimine toutes les pistes programmées.
5Appuyer sur 3 pour lancer la lecture
programmée.
Avec un disque CD Audio, le tableau de programmation reste
sur l’écran du téléviseur pendant la lecture programmée.
(Appuyer sur ON SCREEN fait apparaître la barre d’état.)
Une fois terminée la lecture de toutes les pistes
programmées, le lecteur s’arrête et le tableau de
programmation réapparaît.
Noter que le programme est mémorisé.
•Pendant la lecture programmée, il n’est pas possible de
modifier le contenu du programme.
Pour vérifier le contenu d’un programme
Pendant la lecture, appuyer sur 7. La lecture s’arrête et le
tableau de programmation apparaît.
Quand le lecteur lit un CD Audio et que le tableau de
programmation n’est pas affiché, il est possible de le faire
apparaître en effectuant les étapes 1 à 3.
Pendant la lecture d’un SVCD/CD Vidéo, il est possible de vérifier
le contenu du programme via la barre de menu.
Pour arrêter la lecture programmée
Appuyer sur 7.
Pour effacer le programme
A l’arrêt quand le tableau de programmation est affiché, appuyer
sur 7.
Pour quitter le mode de programmation
Après avoir supprimé le programme, appuyer sur ON SCREEN.
REMARQUES
•Quand le tiroir à disque est ouvert et le lecteur hors tension, le
programme est effacé.
•Pendant la lecture de CD Audio, vous pouvez sélectionner les
plages précédentes ou suivantes en appuyant sur ¢/4.
•Pendant la lecture de VCD/SVCD, vous ne pouvez pas
rechercher de passage sur le disque en appuyant sur ¡/1.
•Pendant la lecture programmée, il est possible de répéter la
lecture.
Lecture dans un ordre aléatoire (Lecture
aléatoire)
1En mode d’arrêt, appuyer deux fois sur ON
SCREEN.
La barre du menu apparaît sur l’écran du téléviseur.
2Appuyer sur 2/3 pour déplacer sur
.
Exemple d’écran pour CD Audio
3Appuyer sur ENTER.
Le lecteur lance la lecture aléatoire.
Avec un disque SVCD/CD Vidéo, la barre de menu disparaît
automatiquement.
Pendant la lecture aléatoire, l’indicateur RND s’allume sur
l’afficheur.
Après la lecture de toutes les pistes du disque, le lecteur
arrête le disque et quitte le mode de lecture aléatoire.
Pour arrêter et quitter la lecture aléatoire
Appuyer sur 7. Le lecteur arrête la lecture et quitte le mode de
lecture aléatoire.
REMARQUES
•Pendant la lecture aléatoire, il est possible de répéter la lecture.
•Le mode de lecture aléatoire est annulé dans les cas suivants:
- Quand le disque est éjecté
- Quand l’affichage CONTROL apparaît sur l’écran du
téléviseur
- Quand l’appareil est mis hors tension
PROG.
OFF PROG. RND.
TIME 25:58TRACK 33
PROGRAMME Total Program Time 00:25:12
No. TrackDisc
121
235
374
442
533
654
766
8
9
10
TOUCHES NUMERIQUES POUR PROGRAMMER PISTES
CANCEL EFFAC, DERNIER PROG., 7 EFFACER TOUT
Temps total du programme
Numéro de la piste sélectionnée
RND.
OFF PROG. RND.
TIME 25:58TRACK 33
XV-NP1_FR[E].book Page 15 Tuesday, September 2, 2003 11:14 AM

Opérations avancées
16
XV-N50BK/N55SL/LET0230-004A/Français
Opérations
avancées
Lecture répétée
Répétition de la sélection en cours ou de
toutes les pistes
Pour DVD VIDEO: En lecture
Pour un SVCD/CD Vidéo/CD Audio: Dans un mode quelconque
sauf lecture de SVCD/CD Vidéo avec PBC
Appuyer sur REPEAT.
Si la touche REPEAT est pressée en mode d’arrêt, appuyer
sur 3 pour lancer la lecture.
A chaque pression de REPEAT, le mode de répétition passe
cycliquement entre Répétition Totale, Répétition 1 et
désactivé.
Le mode de répétition sélectionné s’indique sur l’afficheur.
: Répète le titre en cours du DVD VIDEO ou toutes les
pistes du SVCD/CD Vidéo/CD Audio.
1 : Répète le chapitre en cours du DVD VIDEO ou la
piste en cours du SVCD/CD Vidéo/CD Audio.
Aucune indication: Le mode de répétition est désactivé.
Une fenêtre indiquant le mode de répétition en cours s’affichera
sur l’écran du téléviseur. L’indication du mode sur la fenêtre est la
même que celle sur la barre du menu.
(Exemple de mode de répétition sur l’écran du téléviseur)
Pour arrêter la lecture répétée
Appuyer sur 7.
Quand un disque DVD VIDEO est inséré, l’appareil arrête la
lecture et quitte le mode de répétition.
Quand un disque SVCD, CD Vidéo ou CD Audio est inséré,
l’appareil arrête la lecture mais ne quitte pas le mode de
répétition.
Pour quitter la lecture répétée
Appuyer sur REPEAT jusqu’à ce que l’indicateur du mode de
répétition disparaisse sur l’afficheur.
A noter
Quand le mode de lecture programmée est activé avec un SVCD,
CD Vidéo ou CD Audio, le mode de répétion change de la même
manière.
Noter, néanmoins, qu’en mode “” le lecteur répète toutes
les pistes programmées au lieu de toutes les pistes du disque.
Répétition d’un passage souhaité (Lecture
répétée A-B)
D’abord s’assurer que:
•Le lecteur est en mode de lecture sauf lecture de SVCD/CD
Vidéo avec PBC.
1Appuyer deux fois sur ON SCREEN.
La barre du menu apparaît sur l’écran du téléviseur.
2Appuyer sur 2/3 pour déplacer sur
, puis appuyer sur ENTER.
Le menu déroulant pour la sélection du mode de répétition
apparaît.
3Appuyer sur 5/∞ pour sélectionner [A-B].
4Appuyer sur ENTER au début du passage à
répéter (point A).
Le menu déroulant disparaît.
L’icône de répétition indique .
5Appuyer sur ENTER à la fin du passage à
répéter (point B).
L’icône de répétition indique .
Le lecteur repère “A” et lance la lecture répétée entre “A” et
“B”.
L’indicateur [ ] s’allume sur l’afficheur.
Pour quitter la lecture répétée A-B
Appuyer sur 2/3 pour déplacer sur , et appuyer sur
ENTER. Le mode de répétition A-B disparaît, ensuite la lecture
normale continue.
REMARQUES
•Les points A et B doivent être réglés sur un même titre/chapitre/
piste.
•Quand on appuie deux fois sur 7 pendant la lecture d’un DVD
VIDEO, la répétition A-B est annulée.
CHAP
A-
A-B
A-B
XV-NP1_FR[E].book Page 16 Tuesday, September 2, 2003 11:14 AM

Opérations avancées
17
XV-N50BK/N55SL/LET0230-004A/Français
Opérations
avancées
Modification de la langue, du son et
de l’angle de scène
Pour sélectionner la langue de sous-titres
(SUBTITLE)
Certains DVD VIDEO et disques SVCD contiennent plus d’une
langue de sous-titres. Il est possible de choisir l’une d’entre elles.
A noter
Au début du passage où les sous-titres ont été enregistrés,
apparaît sur l’écran du téléviseur (sauf quand la préférence
[GUIDE A L’ECRAN] est réglée sur [ARRET]).
1Pendant la lecture, appuyer sur SUBTITLE.
La fenêtre de sélection des sous-titres apparaît sur l’écran du
téléviseur.
2Appuyer sur 5/∞ ou SUBTITLE pour
sélectionner le sous-titre.
A chaque pression sur 5/∞ ou SUBTITLE, la langue des
sous-titres change.
3Appuyer sur ENTER.
Les sous-titres s’affichent dans la langue sélectionnée.
La fenêtre de sélection des sous-titres disparaît.
REMARQUES
•Un disque SVCD peut contenir jusqu’à quatre sous-titres. La
pression sur 5/∞ fait se succéder ces canaux de façon cyclique
indépendamment de l’enregistrement ou non de sous-titres.
•La fenêtre de sélection des sous-titres disparaîtra
automatiquement si le sous-titre n’est pas changé après
quelques secondes.
•Pour un DVD VIDEO, la langue sélectionnée peut être abrégée
sur l’écran du téléviseur. Voir “Annexe B: Tableau des langues
et leurs abréviations” en page 36.
Pour modifier la langue ou le son (AUDIO)
Le réglage de sélection audio permet de changer la langue audio
d’un film.
A noter
Au début de la partie où sont enregistrées plusieurs pistes de
langues, apparaît sur l’écran du téléviseur (sauf quand la
préférence [GUIDE A L’ECRAN] est réglée sur [ARRET]).
1Pendant la lecture, appuyer sur AUDIO.
La fenêtre de sélection de la langue audio apparaît sur
l’écran du téléviseur.
2Appuyer sur 5/∞ ou AUDIO pour
sélectionner la langue audio souhaitée.
A chaque pression sur 5/∞ ou AUDIO, la langue change.
Pour DVD VIDEO (exemple)
Pour SVCD
Pour CD Vidéo
3Appuyer sur ENTER.
Il est possible d’entendre la langue audio sélectionnée.
La fenêtre de sélection de la langue audio disparaît.
REMARQUES
•La fenêtre de sélection de la langue audio disparaîtra
automatiquement si langue audio n’est pas changée après
quelques secondes.
•Pour un DVD VIDEO, la langue sélectionnée peut être abrégée
sur l’écran du téléviseur. Voir “Annexe B: Tableau des langues
et leurs abréviations” en page 36.
Pour sélectionner un angle de scène d’un
DVD VIDEO (ANGLE)
Il est possible de profiter d’un éventail d’angles de scène si le
disque DVD VIDEO contient des parties “multi-angle”, où
plusieurs caméras ont été utilisées pour filmer une même scène
sous différents angles.
A noter
Au début d’une partie “multi-angle”, apparaît sur l’écran du
téléviseur (sauf quand la préférence [GUIDE A L’ECRAN] est
réglée sur [ARRET]).
1Pendant la lecture, appuyer sur ANGLE.
La fenêtre de sélection de l’angle apparaît sur l’écran du
téléviseur.
2Appuyer sur 5/∞ ou ANGLE pour
sélectionner l’angle souhaité.
A chaque pression sur 5/∞ ou ANGLE, l’angle change.
3Appuyer sur ENTER.
Il est possible de voir l’image à partir de l’angle sélectionné.
La fenêtre de sélection de l’angle disparaît.
REMARQUE
La fenêtre de sélection de l’angle disparaîtra automatiquement si
l’angle n’est pas changé après quelques secondes.
1/3
ANGLAIS
ANGLAIS
1/3
1
1/3
XV-NP1_FR[E].book Page 17 Tuesday, September 2, 2003 11:14 AM

Opérations avancées
18
XV-N50BK/N55SL/LET0230-004A/Français
Opérations
avancées
Image spéciale/effet de son
Zoom avant de l’image
1Pendant la lecture ou la pause, appuyer sur
ZOOM.
Appuyer sur ZOOM provoque un zoom avant sur l'image.
A chaque pression sur ZOOM, le grossissement change (1,5,
2 fois et 4 fois).
2Appuyer sur 5/∞/2/3 pour déplacer la
position zoomée.
Pour revenir à la lecture normale
Sélectionner la taille normale en appuyant répétitivement sur
ZOOM.
REMARQUE
Lors d’un zoom, l’image peut paraître grossière.
Ajustement du caractère de l’image (VFP)
La fonction VFP (Processeur de réglage vidéo précis) permet
d’ajuster le caractère de l’image selon le type de programmation,
nuance d’image ou ses préférences personnelles.
1Pendant la lecture, appuyer sur VFP.
•La fenêtre de sélection du mode VFP apparaît sur l’écran
du téléviseur.
2Appuyer sur 2/3 pour sélectionner le
préréglage souhaité.
A chaque pression de la touche, le mode VFP est modifié
comme suit.
Régler le type de vidéo le mieux adapté au programme en
cours et aux conditions de la pièce.
[NORMAL]: pour regarder la télévision dans une pièce
ordinaire.
[CINEMA]: pour regarder un film sur logiciel dans une salle
sans lumière.
[USAGER 1] [USAGER 2] : il est possible d’ajuster les
paramètres qui affectent le caractère de l’image et de
mémoriser les réglages sous forme de préréglages de
l’utilisateur. Voir l’étape suivante.
3
Pour définir un réglage de l’utilisateur, appuyer
sur
5
/
∞
pour sélectionner un paramètre à
modifier parmi les paramètres suivants.
•GAMMA
Ajuster cela si la couleur neutre est claire ou foncée. La
luminosité de la portion claire et foncée est maintenue.
Plage disponible: BAS/HOYEN/HAUT.
•LUMINOSITE
Ajuster cela si l’image est entièrement claire ou foncée.
Plage disponible: –16 (la plus foncée) à +16 (la plus claire).
•CONTRASTE
Ajuster cela si la position d’éloignement et de proximité
n’est pas naturelle.
Plage disponible: –12 à +12.
•SATURATION
Ajuster cela si l’image est blanchâtre ou noirâtre.
Plage disponible: –16 (la plus noire) à +16 (la plus
blanche).
•TEINTE
Ajuster cela si l’apparence de la couleur de la peau n’est
pas naturelle.
Plage disponible: –16 à +16.
•NET
Ajuster cela si l’image est floue.
Plage disponible: BAS/HAUT.
•RETARD LUMIN.
Ajuster cela si l’image paraît morcelée/superposée.
Plage disponible: –2 à +2.
4Appuyer sur ENTER.
Une fenêtre de sélection pour le réglage des paramètres
apparaît.
5Appuyer sur 5/∞ pour ajuster le niveau du
paramètre.
Plus la valeur est grande plus l’effet pour chaque élément
autre que “GAMMA” et “NET” est accentué.
6Appuyer sur ENTER.
USAGER 1
LUMINOSITE
GAMMA
CONTRASTE
SATURATION
TEINTE
NET
RETARD LUMIN.
+ 4
MOYEN
+10
+10
+10
BAS
+ 2
Préréglage sélectionné sélectionné
Paramètre
SATURATION + 4
Paramètre sélectionné
XV-NP1_FR[E].book Page 18 Tuesday, September 2, 2003 11:14 AM

Opérations avancées
19
XV-N50BK/N55SL/LET0230-004A/Français
Opérations
avancées
Répéter les étapes 3 à 6 pour régler d’autres paramètres.
Pour supprimer la fenêtre de sélection du mode
VFP
Appuyer sur VFP.
REMARQUE
La fenêtre pour la sélection du mode VFP et le réglage des
paramètres disparaît si aucune opération n’est effectuée pendant
environ 10 secondes.
Changement du son ambiophonique
(SOUND EFFECT)
En utilisant la fonction d'effet sonore, vous pouvez changer le son
ambiophonique.
1Pendant la lecture, appuyer sur SOUND
EFFECT.
L’indication de l’effet sonore apparaît sur l’écran du
téléviseur.
2Appuyer sur SOUND EFFECT pour
sélectionner le mode souhaité.
A chaque pression de la touche, le mode d’effet sonore se
modifie comme suit:
•Plus la valeur est grande, plus l’effet sonore est important.
Pour désactiver l’effet sonore
Appuyer répétitivement sur SOUND EFFECT jusqu’à ce que
“OFF” apparaisse sur l’écran du téléviseur.
REMARQUE
L’indication de l’effet sonore disparaît si aucune opération n’est
effectuée pendant quelques secondes.
Fonctions de la barre de menu
Affichage de la barre de menu
1Quand un disque est inséré, appuyer sur ON
SCREEN.
Une barre d’état pour le type de disque inséré apparaîtra sur
l’écran du téléviseur.
Voir page 10 pour les détails sur la barre d’état.
2Appuyer de nouveau sur ON SCREEN.
Une barre de menu pour le type de disque inséré apparaîtra
sous la barre d’état.
(pour DVD VIDEO)
(pour SVCD)
(pour CD Vidéo)
(pour CD Audio)
Pour supprimer la barre de menu et la barre d’état
Appuyer sur ON SCREEN.
Procédure opératoire de base
1Appuyer sur 2/3 pour sélectionner l’icône
qu’on souhaite utiliser.
L’icône sélectionnée est pointée par .
2Appuyer sur ENTER.
Avec beaucoup d’icônes, une fenêtre déroulante appropriée
apparaît, mais il y a des exceptions.
REMARQUES
•Une marque ou un texte sur l’icône du menu pour la fonction ou
le mode sélectionné en cours apparaît en vert.
•Certaines fonctions ne sont pas disponibles pendant la lecture.
( ne peut pas être déplacé sur l’icône associée quand elle
n’est pas disponible.)
SOUND EFFECT:1 SOUND EFFECT:2
OFF SOUND EFFECT:3
1/3 1/3OFF 1/5
8.5Mbps
TITLE 33 TOTAL 1:25:58CHAP 33
CHAP.
OFF ST1
PROG. RND.
TIME 25:58TRACK 33
-/4
OFF STPROG. RND.
TIME 25:58TRACK 33
OFF PROG. RND.
TIME 25:58TRACK 33
XV-NP1_FR[E].book Page 19 Tuesday, September 2, 2003 11:14 AM

Opérations avancées
20
XV-N50BK/N55SL/LET0230-004A/Français
Opérations
avancées
Fonctions de la barre de menu pour un DVD
VIDEO
Sélection du mode temporel
Pendant la lecture, selectionne le mode temporel indiqué sur
l’afficheur et la barre d’état.
Appuyer sur ENTER pour sélectionner le mode temporel parmi
les suivants.
•TOTAL: Temps de lecture écoulé du titre en cours
•T.REM: Temps restant du titre en cours
•TIME: Temps de lecture écoulé du chapitre en cours
•REM: Temps restant du chapitre en cours
Mode de répétition (Voir aussi page 16)
Sélectionne le mode de répétition pendant la lecture.
1. Ouvrir la fenêtre déroulante.
2. Appuyer sur 5/∞ pour sélectionner le mode de répétition
parmi les suivants.
•CHAPITRE:Répétition du chapitre en cours
•TITRE: Répétition du titre en cours
•A-B: Répétition de A-B
•ARRET: Mode de répétition désactivé
3. Appuyer sur ENTER pour activer la fonction de répétition
sélectionnée.
Recherche temporelle (Voir aussi page 14)
Spécifie un temps à partir du début du titre en cours comme point
de départ de lecture.
Recherche de chapitre
Pendant la lecture, spécifie le chapitre souhaité à partir duquel la
lecture doit commencer.
1. Ouvrir la fenêtre déroulante.
2. Appuyer sur les touches numérotées (0 à 9) pour entrer le
numéro du chapitre souhaité. (Par exemple, pour spécifier
“10”, appuyer sur 1, puis 0.)
3. Appuyer sur ENTER pour commencer la lecture à partir du
chapitre spécifié.
Sélection audio (Voir aussi page 17)
Pendant la lecture, selectionne la langue audio ou la bande
sonore.
1. Ouvrir la fenêtre déroulante.
2. Appuyer sur 5/∞ pour sélectionner la langue audio ou la
bande sonore souhaitée.
3. Appuyer sur ENTER pour commencer la lecture avec la langue
sélectionnée.
Sélection des sous-titres (Voir aussi page 17)
Pendant la lecture, selectionne la langue de sous-titres
souhaitée.
1. Ouvrir la fenêtre déroulante.
2. Appuyer sur 5/∞ pour sélectionner la langue de sous-titres
souhaitée.
3. Appuyer sur ENTER pour commencer la lecture avec le sous-
titre sélectionné.
Sélection d’angle (Voir aussi page 17)
Pendant la lecture, sélectionne l’angle de scène souhaité dans
une partie multi-angle.
1. Ouvrir la fenêtre déroulante.
2. Appuyer sur 5/∞ pour sélectionner un angle de scène.
3. Appuyer sur ENTER pour commencer la lecture avec l’angle
de scène sélectionné.
Fonctions de la barre de menu pour un
SVCD/CD Vidéo/CD Audio
Sélection du mode temporel
Sélectionne le mode temporel indiqué sur l’afficheur et la barre
d’état.
Appuyer sur ENTER pour sélectionner le mode temporel parmi
les suivants.
•TIME: Temps de lecture écoulé de la piste en cours
•REM: Temps restant de la piste en cours (en mode d’arrêt,
temps total de la piste en cours)
•TOTAL : Tem ps écoulé du disque en cours
•T.REM: Temps restant du disque en cours (en mode d’arrêt,
temps total du disque)
Mode de répétition (Voir aussi page 16)
Sélectionne le mode de répétition.
1. Ouvrir la fenêtre déroulante.
2. Appuyer sur 5/∞ pour sélectionner le mode de répétition
parmi les suivants.
•PISTE: Répétiton de la piste en cours
•TOUTES: Répétition de toutes les pistes
•A-B: Répétition de A-B
•ARRET: Mode de répétition désactivé
3. Appuyer sur ENTER pour activer la fonction de répétition
sélectionnée.
Recherche temporelle (Voir aussi page 14)
Spécifie un temps à partir du début du disque comme point de
départ de lecture.
Lecture programmée (Voir aussi page 15)
A l’arrêt, spécifie l’ordre de lecture des pistes.
Lecture aléatoire (Voir aussi page 15)
A l’arrêt, active la lecture aléatoire.
Sélection audio (Voir aussi page 17)
Pendant la lecture d’un SVCD/CD Vidéo, sélectionne le (les)
canal(aux) audio.
1. Ouvrir la fenêtre déroulante.
2. Appuyer sur 5/∞ pour sélectionner le (les) canal(aux) audio
souhaité(s).
3. Appuyer sur ENTER pour la lecture avec le (les) canal(aux)
audio sélectionné(s).
Sélection des sous-titres (Voir aussi page 17)
Pendant la lecture d’un SVCD, sélectionne le sous-titre.
1. Ouvrir la fenêtre déroulante.
2. Appuyer sur 5/∞ pour sélectionner le sous-titre souhaité.
3. Appuyer sur ENTER pour commencer la lecture avec le sous-
titre sélectionné.
CHAP.
PROG.
RND.
XV-NP1_FR[E].book Page 20 Tuesday, September 2, 2003 11:14 AM

21
Lecture de
fichiers audio/
vidéo
XV-NP1SL/LET0234-004A/Français
Lecture de fichiers audio/vidéo
Présentation
Le lecteur peut lire les fichiers MP3/WMA/JPEG/MPEG-4 (profile
simple/fichier asf) sur un CD-R/RW ou une carte à mémoire
enregistré soit même ou un CD en vente dans le commerce.
Il est possible de sélectionner et de reproduire des fichiers en
utilisant l’affichage CONTROL sur le téléviseur.
•Le lecteur peut ne pas être capable de reproduire le support à
causes des caractéristiques ou des conditions
d’enregistrement.
Précautions
A propos des fichiers et des dossiers (groupes) sur
les disques et les cartes à mémoire
•Les fichiers sont parfois groupés en dossier par genre, album,
etc. Dans ce manuel, les “groupes” font aussi référence à des
“dossiers”.
•Un dossier qui contient un ou plusiers fichiers est considéré
comme un groupe.
•Le lecture peut détecter et reproduire les groupes situés jusqu'à
sur le 5e niveau.
•Les fichiers dans l’affichage CONTROL sont classés par ordre
alphabétique des extensions ci-dessous: “asf”, “jpeg”, “mp3” et
“wma”.
•Le temps requis pour la lecture du sommaire d’un support peut
varier selon les supports, en fonction du nombre de dossiers
(groupes) ou de fichiers enregistrés, etc.
•Les fichiers qui n’appartiennent à aucun dossier sont regroupés
dans “groupe 1”.
•Le lecteur reconnaît jusqu’à 999 fichiers par groupe, et jusqu’à
250 groupes par disques/carte à mémoire. S’il y a des fichiers
autres que MP3/WMA/JPEG/MPEG-4, ils sont aussi comptés
par rapport au total de 999 fichiers.
Remarques sur la création d’un disque privé à
l’aide d’un disque CD-R/CD-RW
•Utiliser “ISO 9660” comme format de disque.
•Le lecteur ne prend pas en charge des disques à “écriture par
paquets (format UDF)”.
•Le lecteur prend en charge les disques enregistrés avec un
maximum de 5 multi-sessions.
•Certains supports peuvent ne pas être lus à cause des
caractéristiques du support ou des conditions d’enregistrement.
Remarques sur la création de fichiers/groupes
•Si un nom de fichier contient un caractère de 2 bytes, il est
possible que le lecteur ne puisse pas afficher le nom du fichier
correctement.
•Le lecteur prend en charge 12 caractères maximum pour les
noms de groupe/fichier.
•Le lecteur reconnaît uniquement les fichiers avec une des
extensions suivantes, qui peut être la combinaison de lettres
majuscules ou minuscules:
- Pour les fichiers MP3, “.MP3”, “.mp3”.
- Pour les fichiers WMA, “.WMA”, “.wma”.
- Pour les fichiers JPEG, “.JPG”, “.JPEG”, “.jpg”, “.jpeg”.
- Pour les fichiers MPEG-4, “.ASF”, “.asf”.
•Pour les fichiers MP3:
- Il est recommandé d’enregistrer les matériaux à la fréquence
d’échantillonnage de 44,1 kHz, en utilisant un débit de 128
kbps.
- Les balises ID 3 ne sont pas disponibles.
- Les formats MP3i et MP3 Pro ne peuvent pas être utilisés.
•Pour les fichiers WMA:
- Les balises WMA ne sont pas disponibles.
-S’assurer que la caractéristique des droits d’auteur est réglée
sur la position désactivée.
- Il est recommandé d’enregistrer les matériaux à un taux de
bits de 64 kbps ou supérieur.
- Le lecteur prend en charge les fichiers WMA enregistrés à un
taux de bits de 48 kbps ou supérieure. Le lecteur ne peut pas
lire des fichiers WMA enregistrés à un taux de bits inférieur à
48 kbps.
•Pour les fichiers JPEG:
- Il est recommandé d’enregistrer les matériaux avec une
résolution de 640 x 480 pixels.
- Ce lecteur prend en charge le format JPEG de base.
- Le lecteur ne prend pas en charge les images au format ligne
de base de plus de 5120 x 3413 pixels. S’assurer que la taille
des images est de 5120 x 3413 pixels ou inférieure.
- Ce lecteur ne peut pas reproduire les fichiers JPEG
progressifs de plus de 2048 x 1536 pixels.
•Pour les fichiers MPEG-4:
- Ce lecteur prend en charge les fichiers MPEG-4 de type à
profile simple et asf.
- Le lecteur peut reproduire les profiles simples enregistrés,
non pas par un ordinateur mais pas un appareil ou une
caméra vidéo numérique.
- La taille de l’écran de lecture est de la même taille que la taille
enregistrée.
- Certains fichiers enregistrés ne peuvent pas être reproduits
en fonction des caractéristiques du fichier, du type d’appareil
ou de caméra vidéo numérique ou des conditions
d’enregistrement.
Max. 250 groupes par support
Fichier 1.mp3
Fichier 2.mp3
Fichier 3.mp3
Groupe 1
Groupe 2
Groupe 4
Groupe 3
Fichier 4.jpg
Fichier 5.jpg
Fichier 6.jpg
Max.999 fichiers
par groupe
Fichier 1.jpg
Fichier 2.jpg
Fichier 3.jpg
Fichier 4.jpg
XV-NP1_FR[E].book Page 21 Tuesday, September 2, 2003 11:14 AM

Lecture de fichiers audio/vidéo
22
XV-NP1SL/LET0234-004A/Français
Lecture de
fichiers audio/
vidéo
Remarques sur l’insertion et le retrait de cartes à
mémoire
•Avant d’insérer une carte à mémoire dans une des fentes de
carte, ouvrir la porte du panneau avant et s’assurez d’utiliser le
bon type de fente et de la direction d’insertion, selon
l’illustration.
•Toujours utiliser un type de carte à mémoire à la fois.
•Arrêtez à la fois la lecture de la carte mémoire et la lecture du
disque avant d’insérer ou de retirer la carte à mémoire.
Si lors de l’insertion ou du retrait de la carte mémoire pendant
la lecture d’un disque, vous ne pouvez pas commander le
lecteur temporairement à cause d’électricité statique et/ou de
bruit, déconnectez la fiche d’alimentation puis reconnectez-la
ensuite.
•Lors de la lecture d’un disque, le bruit electrostatique peut
redémarrer la lecture à partir du début.
•Lors de l’insertion ou du retrait d’une carte à mémoire, tenir
fermement le lecteur.
•Pendant qu’une carte à mémoire est en place, laisser la porte
du panneau avant fermée.
•Refermer la porte après avoir retiré le cartes à mémoire.
REMARQUE
Opérations de base
Quand un disque ou une carte à mémoire avec des groupes et
des fichiers est inséré, l’affichage CONTROL qui montre le
contenu du support apparaît automatiquement sur l'écran du
téléviseur.
Il est possible de spécifier et de reproduire le groupe/fichier
souhaité à partir de l’affichage CONTROL en utilisant la
procédure suivante.
1S’assurer que la barre du curseur est dans la
colonne de gauche (groupe) de l’affichage
CONTROL.
•Si elle se trouve dans la colonne de droite, appuyer sur 2
pour la déplacer vers la colonne de gauche.
•Si l’on souhaite sélectionner l’autre support pendant que
qu’un disque et une carte à mémoire sont insérés, appuyer
sur DVD/CARD avant de démarrer la lecture. Quand le
lecteur accède à la mémoire, le témoin DVD/CARD
s’allume sur le panneau avant.
Appuyer pour retirer la carte CompactFlash
insérée, alors que le lecteur est à l’arrêt.
SD ou
MMC MS SM
CF
Arête
Prise métallique
S’assurer que le commutateur TV - DVD
sur la télécommande est réglé sur “DVD”
lors de l’utilisation des touches 5/∞/2/3
et des touches numériques pour contrôler
le lecteur.
TV DVD
SD CARD
GROUP
WMA
MP3
MPEG4
SLIDESHOW
MIX
--
MOVIE01.asf
MOVIE02.asf
PICT01.jpg
PICT02.jpg
PICT03.jpg
MUSIC01.mp3
MUSIC02.wma
Support actuel
Colonne groupe
Groupe
actuel
Piste
sélectionnée
Colonne des fichiers
Sélectionner ces sections pour
afficher le niveau supérieur.
XV-NP1_FR[E].book Page 22 Tuesday, September 2, 2003 11:14 AM

Lecture de fichiers audio/vidéo
23
XV-NP1SL/LET0234-004A/Français
Lecture de
fichiers audio/
vidéo
2Appuyer sur 5/∞ pour déplacer la barre vers
le groupe souhaité, puis appuyer sur ENTER.
•Les fichiers du groupe sélectionné apparaissent dans la
colonne de droite.
3Appuyer sur 5/∞ pour sélectionner le fichier
souhaitée, puis appuyer sur ENTER.
Le fichier souhaité est lu.
•Quand 3 (SELECT) est pressée, la lecture continue
démarre à partir du fichier choisi.
•Il est possible de changer les fichiers sur la liste en
appuyant sur 4/¢.
Pour arrêter momentanément la lecture
Appuyer sur 8.
Appuyer sur 3 permet de reprendre la lecture normale.
Pour inserver ou avancer rapidement la lecture
Appuyer sur 1/¡ pendant la lecture d’un fichier MP3/WMA.
•Pour les fichiers MP3/WMA: Chaque fois que vous appuyez sur
1 ou (¡), le lecteur inverse (ou avance) rapidement la
lecture, en changeant la vitesse de lecture de la façon suivante:
x2, x4, x6 et x8
Zoom avant sur une image
Appuyer sur ZOOM.
“ZOOM...” apparaît sur le téléviseur.
•A chaque pression sur ZOOM, le grossissement change—1,5,
2 fois et 4 fois pour les fichiers JPEG ; 2 fois et 4 fois pour les
fichiers MPEG-4.
•Le grossissement de quatre fois peut ne pas fonctionner pour
certains fichiers MPEG-4 en fonction de leur résolution.
•Appuyer sur 5/∞/2/3 déplace la position zoomée pendant la
lecture d’un fichier JPEG.
Pour annuler la fonction de zoom, sélectionner la taille normale
en appuyant répétitivement sur ZOOM.
Pour faire pivoter/inverser une image fixe
Pendant que l’image souhaitée est lue:
•Appuyez sur 3 pivote l’image de 90° dans le sens horaire.
•Appuyez sur 2 pivote l’image de 90° dans le sens anti-horaire.
•Appuyer sur ∞ inverse l’image verticalement.
•Appuyer sur 5 inverse l’image horizontalement.
Pour arrêter la lecture
Appuyer sur 7.
L’affichage CONTROL apparaît sur l’écran du téléviseur.
•Retirer la carte à mémoire arrête aussi la lecture.
REMARQUES
•Pendant la lecture du diaporama, il n’est pas possible de faire
pivoter/inverser une image.
•Il peut demander un certain temps pour que l’affichage
CONTROL apparaisse à cause de la configuration des niveaux
des fichiers et des groupes.
•La durée écoulée peut être indiquée de façon incorrecte sur
l’afficheur à cause des conditions d’enregistrement du fichier.
•L’afficheur ne peut pas montrer les numéros de fichier supérieurs
à 100. Quand un fichier de numéro supérieur à 100 est reproduit,
le lecteur recompte le numéro de fichier à partir de 0.
•Les informations de lecture apparaissent de la façon suivante
sur le téléviseur:
-“JPEG DATA ERROR” signifie que ce lecteur ne peut pas
reproduire ce fichier.
-“JPEG DATA CORRUPTED” signifie qu’il y a une erreur dans
le fichier mais que le lecteur peut le reproduire.
-“NEXT” signifie que le lecteur saute sur fichier suivant.
-“PREVIOUS” signifie que le lecteur saute sur fichier
précédent.
-“SELECT” signifie que le fichier est sélectionné sur l’écran de
vignettes.
Selection directe de fichiers JPEG
Il est possible de sélectionner un fichier JPEG particulier à partir
de l’écran des vignettes.
1Appuyer sur THUMBNAIL/LIST quand un
fichier JPEG est sélectionner sur l’affichage
CONTROL.
L’écran de vignettes apparaît sur le téléviseur. Neuf vignettes
maximum du fichier sélectionné peuvent apparaître en même
temps sur l’écran.
•Lors de la sélection d’un groupe sur l’affichage CONTROL,
l’écran de vignettes n’apparaît pas.
2Appuyer sur 5/∞/2/3 pour sélectionner
l’image souhaitée sur l’écran des vignettes,
puis appuyer sur ENTER.
L’image souhaitée est lue.
•Il est possible de changer les vignettes en appuyant sur
4/¢. Tous les fichiers JPEG dans un seul groupe sont
affichés par groupes de neuf vignettes.
Lecture répétée
Pendant la lecture ou à l’arrêt, appuyer sur
REPEAT.
•A chaque pression de REPEAT pendant qu’un fichier est
sélectionné, le mode de répétition change comme suit:
Si REPEAT est pressé à l’arrêt, il est nécessaire d’appuyer
sur ENTER ou 3 (SELECT) pour lancer la lecture répétée.
Pour arrêter la lecture répétée
Appuyer sur 7.
Noter que le mode de répétition reste activé.
Pour quitter la lecture répétée
Pendant la lecture, appuyer sur REPEAT jusqu’à ce qu’aucune
icône de répétition n’apparaisse sur l’afficheur.
•A l’arrêt, appuyer sur REPEAT jusqu’à ce que l’indication du
mode de répétition sur l’affichage CONTROL disparaisse.
Affichage
CONTROL
Afficheur Fonction
REPEAT 1 1Répète le fichier en
cours.
REPEAT GROUP
Répète tous les
fichiers du groupe en
cours.
REPEAT ALL Répète tous les
fichiers du support.
Aucune indication Le mode de répétition est désactivé.
XV-NP1_FR[E].book Page 23 Tuesday, September 2, 2003 11:14 AM

Lecture de fichiers audio/vidéo
24
XV-NP1SL/LET0234-004A/Français
Lecture de
fichiers audio/
vidéo
REMARQUE
Lecture de diaporama
Il est possible d’afficher des fichiers (images fixes) l’un après
l’autre automatiquement.
Appuyer sur 3 (SELECT) quand un fichier
JPEG est sélectionner sur l’affichage
CONTROL.
Le diaporama commence à partir du début du support.
•La durée d’affichage varie en fonction de la taille de chaque
fichier.
•Quand des fichiers MP3/WMA se trouvent dans le même
groupe, la lecture du fichier musical démarre après la
lecture du diaporama.
Pour changer l’effet des images affichées.
Il est possible de sélectionner les effets du diaporama.
•Pendant le diaporama de fichiers progressifs JPEG, vous ne
pouvez pas changer les effets.
Appuyer sur SLIDE EFFECT.
“SLIDE EFFECT MODE :” et le mode actuel apparaissent sur
l’écran du téléviseur.
•A chaque pression de la touche, l’effet change comme suit:
Pour arrêter la présentation de diapositives au
milieu du diaporama
Appuyer sur 7.
L’écran du téléviseur revient à l’affichage CONTROL.
•Appuyer sur 3 (SELECT) reprend la lecture diaporama à partir
de la dernière image affichée.
Pour maintenir affichée l’image actuelle
Appuyer sur 8.
•Appuyer sur 3 (SELECT) reprend la lecture diaporama.
REMARQUE
Pendant le diaporama, il n’est pas possible d’utiliser les fonctions
de vignette et de rotation/inversion.
S’assurer que le commutateur TV - DVD
sur la télécommande est réglé sur “DVD”
lors de l’utilisation des touches 5/∞/2/3
et des touches numériques pour contrôler
le lecteur.
TV DVD
Mode Type d’effet de volet
1 Volet déroulant 1: L’image suivante glisse du haut
vers le bas.
2Volet déroulant 2: L’image suivante glisse du bas
vers le haut.
3Fermeture de volet 1: L’image suivante glisse
verticalement des deux côtés vers le centre.
4Fermeture de volet 2: L’image suivante glisse
verticalement du centre vers les deux côtés.
5Stores 1: L’image suivante glisse verticalement
par 4 fentes.
6Volet latéral 1: L’image suivante glisse de la
gauche vers la droite.
7Volet latéral 2: L’image suivante glisse de la droite
vers la gauche.
8Porte-volet 1: L’image suivante glisse
horizontalement des deux côtés vers le centre.
9Porte-volet 2: L’image suivante glisse
horizontalement du centre vers les deux côtés.
10 Fenêtre-volet: L’image suivante glisse de chaque
côté vers le centre.
11 Stores 2: L’image suivante glisse horizontalement
par 4 fentes.
RANDOM Le lecture sélectionne et applique l’effet
aléatoirement à chaque image.
NONE Annule l’effet.
XV-NP1_FR[E].book Page 24 Tuesday, September 2, 2003 11:14 AM

Lecture de fichiers audio/vidéo
25
XV-NP1SL/LET0234-004A/Français
Lecture de
fichiers audio/
vidéo
Lecture de diaporama sur fond musical
Pendant la lecture de diaporama de fichiers JPEG sur la carte à
mémoire, il est possible de lire un CD Audio ou des fichiers MP3/
WMA comme musique de fond.
Lors de la lecture de fichiers MP3/WMA comme musique de
fond, réaliser un groupe contenant à la fois des fichiers JPEG et
MP3/WMA sur la carte à mémoire.
•Vous ne pouvez pas reproduire des CD Audio avec DTS
comme musique de fond.
•Le diaporama sur fond musical peut être utilisé pour les fichiers
JPEG dans un seul groupe.
•Le diaporama sur fond musical peut ne pas fonctionner
correctement pour le format JPEG progressif.
Diaporama avec lecture de CD Audio
1Insérer un CD Audio.
•Quand une carte à mémoire est reproduites (sauf pendant
un diaporama), la lecture s’arrête.
2Insérer une carte à mémoire contenant des
fichiers JPEG.
L’affichage CONTROL de la carte à mémoire apparaît sur
l’écran du téléviseur.
•Si la carte à mémoire contenant les fichiers JPEG est déjà
sélectionnée, appuyer sur DVD/CARD.
•Si une carte mémoire a plusieurs groupes contenant des
fichiers JPEG, choisissez le fichier JPEG dans le groupe
avant l’étape 3.
3
Appuyer sur
3
(curseur) pour afficher “MUSIC
SLIDE SHOW” sur l’affichage CONTROl.
•A chaque pression de la touche, le mode de lecture alterne
entre “MUSIC SLIDE SHOW” et la lecture normale (pas
d’indication).
4Sélectionner un fichier JPEG sur l’affichage
CONTROL, puis appuyer sur 3 (SELECT).
La première plage du CD Audio est reproduite et le
diaporama sur fond musical démarre.
•Pendant le diaporama sur fond musical, vous pouvez
choisir une plage particulière sur le CD Audio en appuyant
sur les touches numériques.
•Il est possible de changer les plage d’un CD Audio en
appuyant sur 4/¢.
•La lecture du CD Audio s’arrête une fois que tous les
fichiers JPEG ont été reproduits.
•Quand une plage sur un CD Audio est reproduite comme
musique de fond, l’indication de l’heure de la plage
n’apparaît pas sur l’afficheur.
Diaporama avec lecture de MP3/WMA
•Avant de démarrer la procédure suivante, retirez le disque du
plateau à disque.
1Insérer une carte à mémoire contenant un
groupe composé de fichiers JPEG et de
fichiers MP3/WMA.
L’affichage CONTROL pour le support apparaît sur l’écran du
téléviseur.
•Si une carte à mémoire est déjà insérée, appuyer sur DISC/
CARD pour faire apparaître l’affichage CONTROL pour ce
support.
•Si une carte mémoire a plusieurs groupes contenant des
fichiers JPEG, choisissez le fichier JPEG dans le groupe
avant l’étape 2.
2
Appuyer sur
3
(curseur) pour afficher “MUSIC
SLIDE SHOW” sur l’affichage CONTROl.
•
A chaque pression de la touche, le mode de lecture alterne
entre “MUSIC SLIDE SHOW” et la lecture normale (pas
d’indication).
3Sélectionner un fichier JPEG sur l’affichage
CONTROL, puis appuyer sur 3 (SELECT).
Le diaporama sur fond musical démarre.
•Le lecture reproduit le fichier MP3/WMA à partir du début
dans le groupe. Il est possible de changer les fichiers en
appuyant sur 4/¢.
•Il n’est pas possible de sélectionner des fichiers MP3/WMA
sur un autre groupe/support pour la musique de fond.
•La lecture de fichiers MP3/WMA s’arrête une fois que tous
les fichiers JPEG ont été reproduits.
Pour répéter la lecture de diaporama sur fond
musical
Appuyez sur REPEAT quand “MUSIC SLIDE SHOW” apparaît
sur l’affichage CONTROL.
•A chaque pression de REPEAT, le mode de répétition change
comme suit:
Pour arrêter le diaporama sur fond musical en cours
Appuyer sur 8.
La lecture JPEG est interrompue.
Si on appuie de nouveau sur 8, la lecture de la musique de fond
est aussi interrompue.
•Appuyer sur 3 (SELECT) ou 8 reprend le diaporama sur fond
musical à partir de la dernière image affichée.
Pour arrêter la lecture de diaporama sur fond
musical
Appuyer sur 7.
Changement de l’image de l’écran
d’accueil
Il est possible de changer et de remplacer l’écran d’accueil par
son image préférée. Voir page 28.
1Lire le fichier JPEG choisi pour remplacer
l’écran d'accueil.
Quand un diaporama est en cours, appuyer 8 pour mettre le
diaporama en pause.
2Appuyer sur CHOICE et 2/3 pour afficher le
menu IMAGE du menu d’écran.
3Appuyer sur 5/∞ pour sélectionner “FOND”,
puis appuyer sur ENTER.
4Appuyer sur 5/∞ pour sélectionner
“SAUVEG. COMME FOND”, puis appuyer sur
ENTER.
5Appuyer sur 5/∞ pour sélectionner “YES”,
puis appuyer sur ENTER.
Le lecture démarre la lecture du fichier JPEG sélectionné et
l’affichage d’accueil après que le fichier est lu.
•Le fichier JPEG précédent est remplacé par le nouveau
fichier enregistré.
Pour supprimer le menu d’écran
Appuyer sur CHOICE.
Pour rapeller l’affichage d’accueil JVC
Sélectionner “STANDARD” à l’étape 4.
Affichage
CONTROL
Afficheur Fonction
REPEAT 1 1Répète le fichier JPEG
en cours.
REPEAT GROUP Répète tous les fichiers
JPEG du groupe en
cours.
REPEAT ALL
Aucune indication Le mode de répétition est désactivé.
XV-NP1_FR[E].book Page 25 Tuesday, September 2, 2003 11:14 AM

26
Modification
des réglages
initiaux
XV-N50BK/N55SL/LET0230-004A/Français
Modification des réglages initiaux
REMARQUE
Sélection des préférences
Cette section fait référence aux réglages déjà effectués à l’achat
du lecteur. Lire cette section si l’on souhaite raccorder le lecteur à
un téléviseur à écran large, ou pour effectuer d’autres
modifications de réglages selon ses préférences ou selon
l’environnement de visionnement.
A propos de l’affichage des préférences
L’affichage des préférences comprend l’affichage des réglages
LANGUE, IMAGE, AUDIO et AUTRES, chacun ayant des
paramètres de réglage.
LANGUE
IMAGE
AUDIO
AUTRES
Réglage des préférences
1Appuyer sur CHOICE.
Un des affichages de préférences à l’écran apparaît sur
l’écran du téléviseur.
Quatre icônes apparaissent en haut à droite de l’affichage à
l’écran pour les réglages.
: Menu LANGUE
: Menu IMAGE
: Menu AUDIO
: Menu AUTRES
2Appuyer sur 2/3 pour sélectionner l’icône
appropriée.
L’affichage approprié apparaît sur l’écran du téléviseur.
3Appuyer sur 5/∞ pour déplacer pour
sélectionner l’élément à programmer.
La couleur de l’élément sélectionné change.
4Appuyer sur ENTER.
Un menu déroulant apparaît sur l’élément sélectionné.
5Appuyer sur 5/∞ pour sélectionner à partir
des options, puis appuyer sur ENTER.
L’option sélectionnée est réglée.
•Pour les détails sur chaque réglage, voir ce qui suit.
Pour supprimer un affichage de préférences
Appuyer sur CHOICE.
REMARQUES
•Quand un disque contient des fichiers MP3/WMA/JPEG/
MPEG-4 ou quand une carte à mémoire est insérée, il est
possible de faire apparaître n'importe quel affichage de
préférence.
•Certains éléments ne peuvent pas être changés pendant la
lecture de disque.
•Quand un affichage de préférences apparaît sur un écran de
télévision large, les parties inférieure et supérieure de
l’affichage de préférences peuvent parfois être coupées. Si
c’est le cas, ajuster la commande de la taille de l’image du
téléviseur.
•Quand un affichage de préférence apparaît, vous ne pouvez
pas démarrer la lecture d’un disque.
S’assurer que le commutateur TV - DVD
sur la télécommande est réglé sur “DVD”
lors de l’utilisation des touches 5/∞/2/3
et des touches numériques pour contrôler
le lecteur.
TV DVD
SELECTION
ENTRER
5∞23 POUR CHOISIR ET ENTER POUR VALIDER.
POUR QUITTER, APPUYER SUR CHOICE.
LANGUE MENU ANGLAIS
LANGUE AUDIO ANGLAIS
SOUS-TITRES ANGLAIS
LANGUE D’ECRAN ANGLAIS
LANGUE
TYPE D'ECRAN 4:3 LB
SOURCE D'IMAGE AUTO
PROTECTION D'ECRAN MARCHE
FOND STANDARD
SIGNAL VIDEO COMPOSITE & Y/C
IMAGE
SELECTION
ENTRER
5∞23 POUR CHOISIR ET ENTER POUR VALIDER.
POUR QUITTER, APPUYER SUR CHOICE.
SORTIE AUDIO NUM. FLUX/PCM
MIX DEMUL. ANALOGIQUE STEREO
COMMANDE DE PLAGE D. NORMAL
NIVEAU DE SORTIE STANDARD
AUDIO
SELECT
ENTER
USE 5∞23 TO SELECT, USE ENTER TO CONFIRM
TO EXIT, PRESS CHOICE.
REPRISE MARCHE
GUIDE A L’ECRAN MARCHE
AUTRES
ATTENTE AUTOMATIQUE ALLET
MODE COMPULINK AV DVD1
CENSURE PARENTALE
SELECTION
ENTRER
5∞ POUR CHOISIR ET ENTER POUR VALIDER.
POUR QUITTER, APPUYER SUR CHOICE.
LANGUE MENU ANGLAIS
LANGUE AUDIO ANGLAIS
SOUS-TITRES ANGLAIS
LANGUE D’ECRAN ANGLAIS
LANGUE
ANGLAIS
FRANCAIS
ALLEMAND
Elément sélectionné
XV-NP1_FR[E].book Page 26 Tuesday, September 2, 2003 11:14 AM

Modification des réglages initiaux
27
XV-N50BK/N55SL/LET0230-004A/Français
Modification
des réglages
initiaux
Menu LANGUE
LANGUE MENU
La langue du menu par défaut peut être sélectionnée pour
affichage si elle est présente sur le disque DVD VIDEO.
Options de réglage
ANGLAIS, ESPAGNOL, FRANÇAIS, CHINOIS, ALLEMAND,
ITALIEN, JAPONAIS, code de langue de AA à ZU
•Si le disque ne contient pas de menu dans la langue
sélectionnée, la langue par défaut du disque sera utilisée.
•Pour les détails à propos des codes de langues, voir “Annexe B:
Tableau des langues et leurs abréviations” en page 36.
•Le réglage ne peut pas être modifié pendant la lecture.
LANGUE AUDIO
La langue audio par défaut peut être sélectionnée pour lecture si
elle est présente sur le disque DVD VIDEO.
Options de réglage
ANGLAIS, ESPAGNOL, FRANÇAIS, CHINOIS, ALLEMAND,
ITALIEN, JAPONAIS, code de langue de AA à ZU
•Si le disque n’a pas de langue sélectionnée, la langue par
défaut du disque sera utilisée.
•Pour les détails à propos des codes de langues, voir “Annexe B:
Tableau des langues et leurs abréviations” en page 36.
•Le réglage ne peut pas être modifié pendant la lecture.
SOUS-TITRES
La langue audio des sous-titres par défaut peut être sélectionnée
pour lecture si elle est présente sur le disque DVD VIDEO.
Options de réglage
ARRET, ANGLAIS, ESPAGNOL, FRANÇAIS, CHINOIS,
ALLEMAND, ITALIEN, JAPONAIS, code de langue de AA à
ZU
•Si le disque n’a pas de sous-titres dans la langue sélectionnée,
la langue par défaut du disque sera utilisée.
•Pour les détails à propos des codes de langues, voir “Annexe B:
Tableau des langues et leurs abréviations” en page 36.
•Le réglage ne peut pas être modifié pendant la lecture.
LANGUE D’ECRAN
La langue d’affichage à l’écran du lecteur peut être sélectionnée.
Options de réglage
ANGLAIS, FRANÇAIS, ALLEMAND
•Certains messages à l’écran apparaissent en anglais
indépendamment du réglage.
•La langue à l’écran ne peut pas être modifiée sur l’affichage
CONTROL.
Menu IMAGE
TYPE D’ECRAN
Le type de moniteur peut être sélectionné conformément au
téléviseur lors de la lecture de disques DVD VIDEO enregistrés
pour téléviseurs à écran large.
Options de réglage
16:9, 4:3 LB, 4:3 PS
[16:9] (Ecran de télévision large): sélectionner lors du
raccordement du lecteur à un téléviseur à écran large (16:9).
[4:3 LB](Conversion Letter Box) : sélectionner lors du
raccordement du lecteur à un téléviseur normal (4:3).
Lors de la lecture d’un DVD VIDEO enregistré en format image
large, l’image apparaît avec des bandes noires en haut et en
bas de l’écran.
[4:3 PS] (conversion Pan Scan) : sélectionner lors du
raccordement du lecteur à un téléviseur normal (4:3).
Lors de la lecture d’un disque DVD VIDEO enregistré en format
image large, l’image est zoomée pour remplir l’écran
verticalement, et les côtés droit et gauche de l’image sont
coupés.
Noter, néanmoins, que, selon le disque utilisé, l’image
apparaîtra en mode 4:3 LB même si le mode 4:3 PS est
sélectionné.
SOURCE D’IMAGE
Ce mode sélectionne si le contenu du disque a été procédé par
champ (source vidéo) ou par image (source film). Une qualité
d’image optimale peut être obtenue selon le type de source à lire
en sélectionnant l’option appropriée.
Options de réglage
VIDEO(NORMAL), VIDEO(ACTIF), FILM, AUTO
[VIDEO (NORMAL)]: sélectionner pour la lecture d’un disque de
source vidéo avec relativement peu de mouvements.
[VIDEO (ACTIF)]: sélectionner pour la lecture d’un disque de
source vidéo avec relativement beaucoup de mouvements.
[FILM]: sélectionner pour la lecture d’un disque de source film.
[AUTO] :sélectionner pour la lecture d’un disque contenant des
matériaux de source vidéo et film.
Le lecteur reconnaît le type d’image (source film ou vidéo) du
disque en cours en fonction des informations du disque.
Normalement, sélectionner cette option.
PROTECTION D’ECRAN
La fonction protection d’écran peut être MARCHE ou ARRET.
(Voir page 12.)
Options de réglage
MARCHE, ARRET
XV-NP1_FR[E].book Page 27 Tuesday, September 2, 2003 11:14 AM

Modification des réglages initiaux
28
XV-N50BK/N55SL/LET0230-004A/Français
Modification
des réglages
initiaux
FOND
Il est possible de changer et de remplacer l'écran d'accueil par
son image préférée en utilisant ce menu.
Options de réglage
STANDARD, USAGER, SAUVEG. COMME FOND
[STANDARD]: sélectionner lors de l’utilisation de l’image
originale de JVC comme écran d’accueil (réglage initial).
[USAGER]: sélectionner lors de l’utilisation de son image
préférée comme écran d’accueil. Ce réglage prend effet après
avoir enregistrer une nouvelle image dans le réglage suivant.
[SAUVEG. COMME FOND]: sélectionner lors de
l’enregistrement d’une nouvelle image. Pour enregistrer une
nouvelle image, voir “Changement de l’image de l’écran
d’accueil” en page 25.
SIGNAL VIDEO
Sélectionner le type de raccordement entre le téléviseur et ce
lecteur.
Options de réglage
COMPOSITE & Y/C, RGB
[COMPOSITE & Y/C]: sélectionner ce réglage quand le
téléviseur prend en charge les signaux composites et les
signaux Y/C.
[RGB]: sélectionner ce réglage quand le téléviseur prend en
charge les signaux RGB.
Menu AUDIO
SORTIE AUDIO NUM.
Cet élément doit être réglé correctement pour raccorder la sortie
numérique du lecteur à un équipement externe pourvu d’une
entrée numérique.
Voir “Annexe C: Tableau des signaux de sortie numérique” en
page 36 pour les détails sur la relation entre le réglage et les
signaux de sortie.
Options de réglage
ARRET, SEULEMENT PCM, DOLBY DIGITAL/PCM, FLUX/
PCM
[ARRET]: sélectionnez quand vous souhaitez profiter du son
d’un disque DVD VIDEO à 96 kHz. Aucun son ne sort par les
prises DIGITAL OUT du lecteur. Pour profiter d’un son
numérique, ne pas sélectionner “ARRET”.
[SEULEMENT PCM]: sélectionner pour le raccordement de la
prise DIGITAL OUT du lecteur à l’entrée numérique PCM
linéaire d’un autre équipement audio.
[DOLBY DIGITAL/PCM]: sélectionner pour le raccordement
d’entrée numérique d’un décodeur Dolby Digital ou d’un
amplificateur avec décodeur Dolby Digital intégré.
Si cette option est sélectionnée, la lecture d’un disque
enregistrés en format MPEG Multicanal émet un signal
numérique PCM linéaire.
[FLUX/PCM]: sélectionner pour le raccordement de l’entrée
numérique d’un amplificateur avec décodeur Dolby Digital,
MPEG Multicanal ou DTS intégré, ou bien l’appareil autonome
d’un tel décodeur.
•Avec certains disques DVD VIDEO qui ne sont pas entièrement
protégés contre la copie, un signal numérique de 20 à 24 bits
peut être émis.
•Lors de la lecture d’un DVD VIDEO ou CD Audio avec DTS,
utiliser un décodeur DTS pour obtenir les signaux corrects des
enceintes.
MIX DEMUL. ANALOGIQUE
Cet élément doit être réglé correctement en fonction de la
configuration du système audio pour lire correctement le son d’un
disque DVD VIDEO enregistré en audio multicanal
ambiophonique.
Options de réglage
DOLBY SURROUND, STEREO
[DOLBY SURROUND]: sélectionner pour l’écoute d’un son
multicanal ambiophonique avec les prises analogiques AUDIO
OUT raccordées à un décodeur ambiophonique.
[STEREO]: sélectionner pour l’écoute d’un son stéréo
conventionnel à deux canaux avec les prises AUDIO OUT du
lecteur raccordées à un amplificateur/ récepteur stéréo ou à un
téléviseur, ou bien pour l’enregistrement du son d’un disque
DVD VIDEO à un MiniDisc, cassette, etc.
COMMANDE DE PLAGE D.
Ce réglage assure une qualité sonore optimale des prises
analogiques AUDIO OUT pour l’écoute de disques DVD VIDEO
enregistrés en format Dolby Digital, à volume faible ou moyen.
Options de réglage
PLAGE LARGE, NORMAL, MODE TV
[PLAGE LARGE]: lors de cette sélection, le son est lu avec une
plage dynamique plus large pour ainsi profiter d’un son de
lecture puissant.
[NORMAL]: normalement, sélectionner cette option.
[MODE TV]: sélectionner si le niveau de son d’un disque DVD
VIDEO est plus faible que le niveau de son d’un programme de
télévision. On peut alors entendre clairement le son à volume
faible.
NIVEAU DE SORTIE
Ce réglage permet d’atténuer le niveau de sortie du signal émis
par les prises analogiques AUDIO OUT du lecteur.
Options de réglage
STANDARD, FAIBLE
•Si le son de sortie par l’enceinte est déformé, sélectionner
[FAIBLE].
Menu AUTRES
REPRISE
Le mode de lecture de reprise peut être sélectionné.
Voir les pages 10 et 11 pour les détails sur la fonction de lecture
de reprise.
Options de réglage
MARCHE, ARRET, REPRISE DISQUE
[MARCHE]: lors de cette sélection, le lecteur peut reprendre la
lecture d’un disque de la position où la lecture a été
interrompue pour la dernière fois, si le disque est toujours dans
le tiroir à disque.
[ARRET]: lors de cette sélection, la fonction de reprise est
désactivée.
[REPRISE DISQUE]: lors de cette sélection, le lecteur peut
reprendre la lecture des 30 derniers disques lus. Le lecteur
garde en mémoire les positions d’interruption des 30 derniers
disques lus, même s’ils ont été retirés du tiroir à disque.
GUIDE A L’ECRAN
Le lecteur peut afficher les icônes du “guide à l’écran” ou des
caractères sur l’image, qui montrent ce qui arrive au disque ou
lecteur.
Exemple d’icônes du “guide à l’écran”: , ,
Options de réglage
MARCHE, ARRET
[MARCHE]: lors de cette sélection, le guide à l’écran est activé.
ATTENTE AUTOMATIQUE
Quand le lecteur est arrêté pendant plus de 30 minutes ou 60
minutes, le lecteur entre automatiquement en mode de veille.
Options de réglage
60, 30, ARRET
MODE COMPULINK AV
Cet élément est fourni pour être utilisé plus tard. Le laisser
comme réglage par défaut (“DVD 1”).
XV-NP1_FR[E].book Page 28 Tuesday, September 2, 2003 11:14 AM

Modification des réglages initiaux
29
XV-N50BK/N55SL/LET0230-004A/Français
Modification
des réglages
initiaux
CENSURE PARENTALE
Quand cette option est sélectionnée, appuyer sur ENTER sur la
télécommande fait apparaître l’affichage CENSURE
PARENTALE montré ci-dessous. Elle permet de restreindre la
lecture de disques DVD VIDEO aux enfants.
•Voir cette page pour détails sur le réglage de la censure
parentale.
Lecture limitée pour enfants
Cette fonction restreint la lecture de disques DVD VIDEO qui
contiennent des scènes violentes (et autres) en fonction du
niveau réglé par l’utilisateur. Par exemple, si un film qui comprend
des scènes violentes prend en charge la fonction de censure
parentale, les scènes que l’on ne souhaite pas être vues par les
enfants peuvent être coupées ou remplacées par d’autres.
Pour régler la censure parentale pour la
première fois
1Faire apparaître le menu AUTRES.
2Appuyer sur 5/∞ pour déplacer pour
sélectionner [CENSURE PARENTALE], puis
appuyer sur ENTER.
L’affichage à l’écran censure parentale apparaît sur l’écran
du téléviseur.
3Pendant que pointe [CODE PAYS],
appuyer sur ENTER pour faire apparaître le
menu déroulant.
4Appuyer sur 5/∞ pour sélectionner le code
de pays.
Sélectionner le code de pays dont les normes sont
appliquées pour indexer le sommaire du disque DVD VIDEO.
Voir “Annexe A: Liste des codes de pays/régions pour la
censure parentale” en page 35
5Appuyer sur ENTER.
se déplace sur [ETABLIR NIVEAU].
6Appuyer sur ENTER pour faire apparaître le
menu déroulant.
Dans le menu déroulant, [NEANT] et les niveaux [8] à [1]
sont disponibles.
[NEANT] ne restreint pas la lecture. Le niveau [1] est le
niveau le plus strict. Les disques d’un niveau supérieur au
niveau sélectionné sont restreints.
7Appuyer sur 5/∞ pour sélectionner le niveau
de censure parentale souhaité, puis appuyer
sur ENTER.
se déplace sur [CODE].
8Appuyer sur les touches numériques (0 à 9)
pour entrer un code à 4 chiffres.
9Appuyer sur ENTER.
La censure parentale est réglée.
se déplace sur [SORTIE]. Appuyer de nouveau sur
ENTER fait revenir le menu [AUTRES] de l’affichage des
préférences.
A noter
Pour modifier le code à l’étape 8, le faire avant d’appuyer sur
ENTER.
SELECTION
ENTRER
5∞ POUR CHOISIR ET ENTER POUR VALIDER.
POUR QUITTER, APPUYER SUR CHOICE.
ETABLIR NIVEAU NEANT
CODE _ _ _ _
CENSURE PARENTALE
SORTIE
CODE PAYS GB
Touches numérotées
SELECTION
ENTRER
5∞ POUR CHOISIR ET ENTER POUR VALIDER.
POUR QUITTER, APPUYER SUR CHOICE.
ETABLIR NIVEAU NEANT
CODE _ _ _ _
CENSURE PARENTALE
SORTIE
CODE PAYS GB
SELECTION
ENTRER
5∞ POUR CHOISIR ET ENTER POUR VALIDER.
POUR QUITTER, APPUYER SUR CHOICE.
CODE PAYS GB
ETABLIR NIVEAU NEANT
CODE _ _ _ _
CENSURE PARENTALE
SORTIE
FX
GA
GB
GD
GE
GF
GH
SELECTION
ENTRER
5∞ POUR CHOISIR ET ENTER POUR VALIDER.
POUR QUITTER, APPUYER SUR CHOICE.
CODE PAYS GB
ETABLIR NIVEAU NEANT
CODE _ _ _ _
CENSURE PARENTALE
SORTIE
NEANT
8
7
6
5
4
3
SELECTION
ENTRER
NOUV. COURANT? ... SAISIR TOUCHE 0 ~ 9
POUR QUITTER, APPUYER SUR CHOICE.
CODE PAYS GB
ETABLIR NIVEAU NEANT
CODE 1234
CENSURE PARENTALE
SORTIE
XV-NP1_FR[E].book Page 29 Tuesday, September 2, 2003 11:14 AM

Modification des réglages initiaux
30
XV-N50BK/N55SL/LET0230-004A/Français
Modification
des réglages
initiaux
Pour modifier les réglages
Il est possible de modifier les réglages de la censure parentale
plus tard.
1Faire apparaître le menu AUTRES.
2Appuyer sur 5/∞ pour déplacer pour
sélectionner [CENSURE PARENTALE] et
appuyer sur ENTER.
L’affichage à l’écran censure parentale apparaît sur l’écran
du téléviseur.
3Pendant que pointe [CODE], appuyer sur
les touches numériques pour entrer le code
actuel à 4 chiffres puis appuyer sur ENTER.
déplace sur [CODE PAYS] si le code correct est entré.
En cas d’erreur de code, “ERRONE! NOUVEL ESSAI...”
apparaît sur l’écran du téléviseur, et il est impossible de
passer à l’étape suivante.
En cas d’oubli du code, entrer “8888”. Le code actuel est
effacé et il est possible de programmer un nouveau code.
4Pour modifier le [CODE PAYS] ou [ETABLIR
NIVEAU], appuyer sur ENTER pour faire
apparaître le menu déroulant associé quand
pointe l’élément souhaité.
5Appuyer sur 5/∞ pour sélectionner l’option
souhaitée, puis appuyer sur ENTER.
Pour modifier le code de pays, il faut resélectionner le niveau
de censure parentale.
6Pendant que pointe [CODE], appuyer sur
les touches numériques pour entrer un code
à 4 chiffres.
Le code entré à cette étape devient le nouveau code. Pour
conserver le même code que celui utilisé précédemment,
entrer le même code.
7Appuyer sur ENTER.
se déplace sur [SORTIE]. Appuyer de nouveau sur
ENTER fait revenir le menu [AUTRES] de l’affichage des
préférences.
REMARQUE
Si un code erroné est entré plus de trois fois à l’étape 3 ci-
dessus, se déplace automatiquement vers [SORTIE] et 5/∞
ne fonctionne pas.
Pour lever temporairement la censure
parentale
Si le réglage de la censure parentale est strict, il est possible que
certains disques ne soient pas lus du tout.
Lors de l’insertion d’un tel disque et lors de sa lecture, l’affichage
suivant de la censure parentale apparaît sur l’écran du téléviseur,
demandant à l’utilisateur s’il souhaite ou non lever
temporairement la censure parentale.
1Appuyer sur 5/∞ pour déplacer vers
[LIBERER TEMPOR.], puis appuyer sur
ENTER.
2Appuyer sur les touches numériques (0 à 9)
pour entrer le code à 4 chiffres.
La censure parentale est levée, et le lecteur lance la lecture.
En cas d’erreur de code, “ERRONE! NOUVEL ESSAI...”
apparaît sur l’écran du téléviseur. Entrer le code correct.
REMARQUE
Si un code erroné est entré 3 fois à l’étape 2 ci-dessus, se
déplace automatiquement sur [NE PAS LIB. TEMP.] et 5/∞ ne
fonctionne pas.
Touches
numérotées
5∞ POUR CHOISIR ET ENTER POUR VALIDER.
SELECTION
ENTRER
_ _ _ _
CENSURE PARENTALE
LIBERER TEMPOR.
NE PAS LIB. TEMP.
CODE
XV-NP1_FR[E].book Page 30 Tuesday, September 2, 2003 11:14 AM

31
Informations
complémentaires
XV-N50BK/N55SL/LET0230-004A/Français
Informations complémentaires
Désignations des composants et des commandes
Panneau avant
1 Touche (8)
2 Indicateur STANDBY/ON (8)
3 Tiroir à disque (9)
4 Touche 0 (éjection) (9)
5 Touche 4 (11, 12)
6 Touche ¢ (11, 12)
7 Touche 7 (arrêt) (10, 13)
8 Touche 3 (lecteur) (9, 11)
9 Touche 8 (pause) (10, 11)
0 Touche et témoin DVD/CARD (22, 25)
- Afficheur (voir l’illustration ci-dessous)
= Capteur de télécommande (6)
~ Fentes de carte à mémoire (22)
! Touche d’éjection des cartes (22)
Afficheur
1 Indicateurs de format audio
2 Indicateur de disque
3 Indicateurs de groupe/titre/piste/chapitre
4 Indicateur de mode de répétition
5 Indicateurs de programme/aléatoire
6 Indicateurs de temps total/temps restant
7 Indicateurs 3(lecture) / 8(pause)
8 Indicateur RESUME
9 Fenêtre multi-information
12 3 45 90876
~- !=
21 4 5 63
78 9
XV-NP1_FR[E].book Page 31 Tuesday, September 2, 2003 11:14 AM

Informations complémentaires
32
XV-N50BK/N55SL/LET0230-004A/Français
Informations
complémentaires
Télécommande
1Touche OPEN/CLOSE (9)
2Touche DVD/CARD (22, 25)
3Touches numérotées
4Touche RETURN (13)
5Touche THUMBNAIL/LIST (23)
6Touche TOP MENU (13)
7Touches de sélection curseur (5 haut, ∞ bas) - CH (+/–)
8Touches de sélection curseur (2 gauche, 3 droite) - VOL (+/–)
9Touche CHOICE (8, 26)
0Touche 4/PREVIOUS (11, 12, 22)
-Touche 7/CLEAR (10, 15, 16, 22)
=Touche 3/SELECT (9, 11)
~Touche 1/SLOW– (11)
!Touche (12)
@Touche SOUND EFFECT (19)
#Touche ANGLE (17)
$Touche SUBTITLE (17)
%Touche REPEAT (16, 23)
^Touche SLIDE EFFECT (24)
&Fenêtre de signal infrarouge (6)
*Commutateur TV - DVD(7, 8, 13, 22, 26)
(Touche TV STANDBY/ON (7)
)Touche DVD STANDBY/ON (8)
_Touche TV/VIDEO - CANCEL (7, 15)
+Touche TITLE/GROUP (13)
¡Touche MENU (13, 25)
Touche ENTER
£Touche ON SCREEN (10, 14, 16, 19)
¢Touche ¢/NEXT (11, 12)
Touche 8 (10, 23)
Touche ¡/SLOW+ (11)
Touche ZOOM (18, 22)
Touche VFP (18)
Touche AUDIO (17)
Touches AMP VOL +/– (7)
Touche DIMMER (9)
213
546
879
010 +10
TITLE/
GROUP TV/VIDEO
CANCELRETURN THUMBNAIL
/LIST
VOL VOL+
CH
+
CH
VFPZOOM
AMP
VOL
AUDIO
SOUND
EFFECT
SUB TITLE
SLIDE
EFFECT
ANGLE
DIMMER
REPEAT
OPEN/
CLOSE DVD/
CARD
TV1 TV2 TV3
TV4 TV5 TV6
TV7 TV8 TV9
TV-/-- TV0 MUTING
TV DVD
NEXTPREVIOUS
SELECTCLEAR
SLOW
-
SLOW+
T
O
P
M
E
N
U
M
E
N
U
O
N
S
C
R
E
E
N
C
H
O
I
C
E
ENTER
STANDBY/ON
TV DVD
+
&
£
¢
)
(
_
¡
2
1
3
4
5
7
8
9
-
0
=
!
@
#
$
%
^
~
6
*
XV-NP1_FR[E].book Page 32 Tuesday, September 2, 2003 11:14 AM

Informations complémentaires
33
XV-N50BK/N55SL/LET0230-004A/Français
Informations
complémentaires
Guide de dépannage
Alimentation
L’alimentation n’arrive pas.
\La fiche d’alimentation n’est pas insérée convenablement.
L’insérer convenablement.
Fonctionnement
“ERREUR DE CODE DE REGION!” apparaît sur l’écran du
téléviseur.
\Le code de région du disque inséré ne correspond pas au
lecteur. Vérifier le code de région du disque qui est imprimé
sur la couverture du disque.
Fonctionnement impossible.
\Dysfonctionnement du micro-ordinateur causé par la foudre
ou de l’électricité statique. Mettre hors tension et débrancher
le cordon d’alimentation, puis le rebrancher.
\Condensation d’humidité causée par un changement brusque
de température ou d’humidité. Mettre hors tension, puis
remettre sous tension quelques heures plus tard.
\Le disque ne permet pas le fonctionnement, ou un disque
illisible est chargé. Vérifier et remplacer le disque (voir page
2).
[LOCK] apparaît sur l’afficheur et le tiroir à disque ne s’ouvre
pas.
\Si on appuie sur 0 en maintenant enfoncé 7 sur le lecteur en
mode de veille, la fonction de verrouillage du tiroir est activée.
Le tiroir à disque ne peut pas être ouvert ou fermé dans cet
état. Pour quitter cet état, appuyer sur 0 en maintenant
enfoncé 7 sur le lecteur en mode d’attente.
Image
L’image est parasitée.
\Le lecteur est branché directement à un magnétoscope et la
fonction de protection anticopie est activée. Brancher le
lecteur de sorte que le signal d’image passe directement au
téléviseur.
\Avec certains disques, l'image peut être floue lorsque
[SOURCE D’IMAGE] est réglé sur [FILM] ou [AUTO]. Régler
[SOURCE D’IMAGE] sur [VIDEO (NORMAL)] ou [VIDEO
(ACTIF)].
L’image est floue quand le téléviseur est raccordé au lecteur
à l’aide du raccordement RGB.
\Régler [VIDEO SIGNAL] sur l’affichage de préférence
[IMAGE] sur [RGB] (voir page 28).
Audio
Le niveau de son de lecture d’un disque DVD VIDEO est
inférieur au niveau de son d’une émission de télévision.
\Régler la préférence [COMMAND DE PLAGE D.] sur [MODE
TV] (voir page 28).
La sortie audio analogue est déformée.
\Régler la préférence [NIVEAU DE SORTIE] sur [FAIBLE] (voir
page 28).
Le son numérique ne sort par les prises DIGITAL OUT du
lecteur.
\Régler la préférence [SORTIE AUDIO NUM.] sur un autre
régage que [ARRET] (voir page 28).
MP3/WMA/JPEG/MPEG-4
Aucun son et/ou aucune image ne sort de l’appareil.
\Le disque MP3/WMA/MPEG-4 est enregistré avec l’“écriture
par paquets (format UDF)”. Il ne peut être lu.
\Vérifiez les fichiers que vous souhaitez reproduire.
Les fichiers (pistes) ne sont pas lus dans l’ordre
d’enregistrement.
\Ce lecteur lit les fichiers dans l’ordre alphabétique. C’est
pourquoi l’ordre de lecture peut varier.
Les fichiers WMA ne peuvent être lus.
\Le fichier est protégé contre la copie.
\Le fichier est enregistré avec un taux de bits inférieure à 48
kbps. Le lecteur ne prend pas en charge de tels fichiers WMA.
Les fichiers MPEG-4 ne peuvent être lus.
\Le format du fichier n’est pas asf.
XV-NP1_FR[E].book Page 33 Tuesday, September 2, 2003 11:14 AM

Informations complémentaires
34
XV-N50BK/N55SL/LET0230-004A/Français
Informations
complémentaires
Spécifications
Les spécifications et la présentation sont sujettes à des
modifications sans préavis.
Généralités
Disques lisibles DVD VIDEO, DVD-R (format vidéo), DVD-
RW (format vidéo), SVCD, CD Vidéo, CD
Audio (CD-DA), CD-R/RW (CD-DA, SVCD,
CD Vidéo, format MP3/WMA, JPEG, MPEG-
4)
Cartes lisibles Carte SD, Multi Media, SmartMedia,
CompactFlash, Memory Stick
(format MP3/WMA, JPEG, MPEG-4)
Format vidéo PAL
Autres
Alimentation* 230 V secteur , 50 Hz
Consommation*
12 W (POWER ON), 2,7 W (mode STANDBY)
Poids 2,1 kg
Dimensions (L × H × P)
435 mm × 48 mm × 270,5 mm
Sorties vidéo
VIDEO OUT (prise à broches)
1,0 Vp-p (75 Ω)
S-VIDEO OUT (prise S)
Sortie Y: 1,0 Vp-p (75 Ω)
Sortie C: 286 mVp-p (75 Ω)
Sortie RGB 700 mVp-p (75 Ω)
Résolution horizontale
500 lignes ou plus
Sorties audio
ANALOG OUT (prise à broches)
2,0 Vrms (10 kΩ)
DIGITAL OUT (COAXIAL)
0,5 Vp-p (75 Ω terminasion)
DIGITAL OUT (OPTICAL)
–21 dBm à –15 dBm (sommet)
Caractéristiques audio
Réponse en fréquence
CD (fréquence d’échantillonnage 44,1 kHz):
2 Hz à 20 kHz
DVD (fréquence d’échantillonnage 48 kHz):
2 Hz à 22 kHz
(4 Hz à 20 kHz pour les signaux de
trains binaires DTS et Dolby Digital)
DVD (fréquence d’échantillonnage 96 kHz)
2 Hz à 44 kHz
Plage dynamique 16 bits : Plus de 98 dB
20 bits/24 bits : Plus de 100 dB
Pleurage et scintillement Non mesurable (moins de ± 0,002%)
Distorsion harmonique totale
Moins de 0,006%
• Fabriqué sous licence de Dolby Laboratories. «Dolby» et le
symbole double D sont des marques de commerce de Dolby
Laboratories.
• “DTS” et “DTS Digital Out” sont des marques de commerce de
Digital Theater Systems, Inc.
• UTILISER CET APPAREIL DE FAÇON À CE QU’IL SOIT
CONFORME À LA NORME VIDÉO MPEG-4 EST INTERDIT,
SAUF POUR UNE UTILISATION PRIVÉE DE L’UTILISATEUR
ET NON PAS POUR UNE ACTIVITÉ COMMERCIALE.
Additional_information[B].fm Page 34 Wednesday, October 1, 2003 11:57 PM

Informations complémentaires
35
XV-N50BK/N55SL/LET0230-004A/Français
Informations
complémentaires
Annexe A: Liste des codes de pays/régions pour la censure parentale (pour page 29)
AD Andorre
AE Émirats Arabes Unis
AF Afghanistan
AG Antigua-et-Barbuda
AI Anguilla
AL Albanie
AM Arménie
AN Antilles néerlandaises
AO Angola
AQ Antarctique
AR Argentine
AS Samoa-Américaines
AT Au tr i ch e
AU Australie
AW Aruba
AZ Azerbaïdjan
BA Bosnie-Herzégovine
BB La Barbade
BD Bangladesh
BE Belgique
BF Burkina Faso
BG Bulgarie
BH Bahreïn
BI Burundi
BJ Bénin
BM Bermudes
BN Brunei Darussalam
BO Bolivie
BR Brésil
BS Bahamas
BT Bhoutan
BV Bouvet (le)
BW Botswana
BY Biélorussie
BZ Bélize
CA Canada
CC Cocos (ou Keeling) (les)
CF Centrafricaine
(République)
CG Congo
CH Suisse
CI Côte d’Ivoire
CK Cook (les)
CL Chili
CM Cameroun
CN Chine
CO Colombie
CR Costa Rica
CU Cuba
CV Cap-Vert
CX Christmas (le)
CY Chypre
CZ Tchèque (République)
DE Allemagne
DJ Djibouti
DK Danemark
DM Dominica
DO Dominicaine (République)
DZ Algérie
EC Équateur
EE Estonie
EG Egypte
EH Sahara-Occidental
ER Erythrée
ES Espagne
ET Éthiopie
FI Finlande
FJ Fidji
FK Îles Malouines
FM Micronésie (Fédération de)
FO Fro (ou Faroe) (les)
FR France
FX France métropolitaine
GA Gabon
GB Royaume-Uni
GD Grenade
GE Géorgie
GF Guyane française
GH Ghana
GI Gibraltar
GL Groenland
GM Gambie
GN Guinée
GP Guadeloupe
GQ Guinée équatoriale
GR Grèce
GS Géorgie et Sandwichs du
sud
GT Guatemala
GU Guam
GW Guinée-Bissau
GY Guyane
HK Hong Kong
HM Île Heard et les McDonald
HN Honduras
HR Croatie
HT Haïti
HU Hongrie
ID Indonésie
IE Irlande
IL Israël
IN Inde
IO Territoire britannique de
l’Océan Indien
IQ Irak
IR Iran (République islamique
d’)
IS Islande
IT Italie
JM Jamaïque
JO Jordanie
JP Japon
KE Kenya
KG Kirghizistan
KH Cambodge
KI Kiribati
KM Comores
KN Saint Kitts et Nevis
KP Corée, République
démocratique et populaire
de
KR Corée, République de
KW Koweït
KY Cayman (les)
KZ Kazakhstan
LA République démocratique
et populaire du Laos
LB Liban
LC Sainte Lucie
LI Liechtenstein
LK Sri Lanka
LR Liberia
LS Lesotho
LT Lithuanie
LU Luxembourg
LV Lettonie
LY Libye
MA Maroc
MC Monaco
MD Moldovie, République de
MG Madagascar
MH Marshall (les)
ML Mali
MM Myanmar
MN Mongolie
MO Macao
MP Mariannes du Nord (les)
MQ Martinique
MR Mauritanie
MS Montserrat
MT Malte
MU Maurice
MV Maldives
MW Malawi
MX Mexique
MY Malaisie
MZ Mozambique
NA Namibie
NC Nouvelle-Calédonie
NE Niger
NF Norfolk (le)
NG Nigeria
NI Nicaragua
NL Pays-Bas
NO Norvège
NP Népal
NR Nauru
NU Niue
NZ Nouvelle-Zélande
OM Oman
PA Panama
PE Pérou
PF Polynésie française
PG Papouasie-Nouvelle-
Guinée
PH Philippines
PK Pakistan
PL Pologne
PM Saint-Pierre et Miquelon
PN Pitcain (le)
PR Porto Rico
PT Portugal
PW Belau (ou Palau)
PY Paraguay
QA Qatar
RE Réunion
RO Roumanie
RU Russie
RW Rwanda
SA Arabie Saoudite
SB Salomon (les)
SC Seychelles
SD Soudan
SE Suède
SG Singapour
SH Sainte-Helène
SI Slovénie
SJ Svalbard et Jan Mayen
SK Slovaquie
SL Sierra Leone
SM Saint-Marin
SN Sénégal
SO Somalie
SR Suriname
ST Sao Tome et Principe
SV Salvador
SY Syrie
SZ Swaziland
TC Turks et Caicos (les)
TD Tchad
TF Territoires français du Sud
TG Togo
TH Thaïlande
TJ Tadjikistan
TK Tokelau
TM Turkménistan
TN Tunisie
TO Tonga
TP Timor de l’Est
TR Turquie
TT Trinité-et-Tobago
TV Tuvalu
TW Taiwan
TZ Tanzanie, République Unie
de
UA Ukraine
UG Ouganda
UM Îles mineures à l’extérieur
des États-unis
US États-unis
UY Uruguay
UZ Ouzbékistan
VA Vatican (Saint-Siège)
VC Saint Vincent et les
Grenadines
VE Vénézuela
VG Îles Vierges (Britanniques)
VI Îles Vierges (États-unis)
VN Vietnam
VU Vanuatu
WF Wallis et Futuna (les)
WS Samoa
YE Yémen
YT Mayotte
YU Yougoslavie
ZA Afrique du Sud
ZM Zambie
ZR Zaïre
ZW Zimbabwe
XV-NP1_FR[E].book Page 35 Tuesday, September 2, 2003 11:14 AM

Informations complémentaires
36
XV-N50BK/N55SL/LET0230-004A/Français
Informations
complémentaires
Annexe B: Tableau des langues et leurs abréviations
Annexe C: Tableau des signaux de sortie numérique
AA Afar FA Perse KM Cambodgien (Khmer) OM (Afan) Oromo SU Soudanais
AB Abkhaze FI Finnois KN Canadien OR Oriya SV Suédois
AF Afrikaner FJ Fidji KO Coréen (KOR) PA Panjabi SW Swahili
AM Amharique FO Faroèse KS Cachemirien PL Polonais TA Tamil
AR Arabe FY Frisien KU Kurde PS Pashto, Pushto TE Telugu
AS Assamais GA Irlandais KY Kirghiz PT Portugais TG Tajik
AY Aymara GD Gaélique écossais LA Latin QU Quecquois TH Thaï
AZ Azerbadjanais GL Galicien LN Lingala RM Rhaeto-Romance TI Tigrinya
BA Bashkir GN Guarani LO Laotien RN Kirundi TK Turkmène
BE Biélorusse GU Gujarati LT Lithuanien RO Roumain TL Tagalog
BG Bulgare HA Hausa LV Latvien, Letton RU Russe TN Setswana
BH Bihari HI Hindi MG Malgache RW Kinyarwanda TO Tongan
BI Bislama HR Croate MI Maori SA Sanscrit TR Turc
BN Bengali, Bangla HU Hongrois MK Macédonien SD Sindhi TS Tsonga
BO Tibétain HY Arménien ML Malayalam SG Sangho TT Tatar
BR Breton IA Interlingua MN Mongole SH Serbo-Croate TW Twi
CA Catalan IE Interlingue MO Moldave SI Singalais UK Ukrainien
CO Corse IK Inupiak MR Marathi SK Slovaque UR Urdu
CS Tchèque IN Indonésien MS Malais (MAY) SL Slovénien UZ Uzbek
CY Gallois IS Islandais MT Maltais SM Samoan VI Vietnamien
DA Danois IW Hébreu MY Burmois SN Shona VO Volapük
DZ Bhoutanais JI Yiddish NA Nauru SO Somali WO Wolof
EL Grec JW Javanais NE Népalais SQ Albanais XH Xhosa
EO Esperanto KA Géorgien NL Hollandais SR Serbe YO Yoruba
ET Estonien KK Kazakh NO Norvégien SS Siswati ZU Zoulou
EU Basque KL Groenlandais OC Occitan ST Sesotho
(pour les pages 17 et 27)
(pour page 28)
Type de source
Sortie
SEULEMENT PCM DOLBY DIGITAL/PCM FLUX/PCM ARRET
DVD avec 48 kHz, PCM linéaire 16/
20/24 bit
48 kHz, 16 bits, PCM linéaire stéréo
Ne peut pas
être sorti
DVD avec 96 kHz, PCM linéaire 16/
22/24 bit
DVD avec DTS 48 kHz, 16 bits, PCM linéaire stéréo Train binaire DTS
DVD avec Dolby Digital 48 kHz, 16 bits, PCM linéaire
stéréoTrain binaire Dolby Digital
DVD avec MPEG Multicanal 48 kHz, 16 bits, PCM linéaire stéréo Train binaire MPEG
SVCD/CD Vidéo/ CD Audio 44,1 kHz, 16 bits, PCM linéaire stéréo
CD Audio avec DTS 48 kHz, 16 bits, PCM linéaire stéréo Train binaire DTS
CD-R/RW ou carte à mémoire avec
fichiers MP3/WMA enregistrésPCM linéaire
CD-R/RW ou carte à mémoire avec
fichiers MPEG-4 enregistrésNe peut pas être sorti
XV-NP1_FR[E].book Page 36 Tuesday, September 2, 2003 11:14 AM

Informations complémentaires
37
XV-N50BK/N55SL/LET0230-004A/Français
Informations
complémentaires
Annexe D: Glossaire
ASF
ASF est l'abréviation de “Advanced Streaming Format” et est un
format de compression de données pour MPEG-4 profile simple
développé par Microsoft Corporation. Le format ASF contient
divers types de données tels que des données audio, vidéo et de
texte.
Audio PCM linéaire
PCM est l’abréviation de “modulation par impulsions codées”.
PCM linéaire est une méthode ordinaire pour coder
numériquement le son sans compression, et est utilisée pour les
pistes audio sur les disques DVD VIDEO, CD Audio, etc.
Chapitre/titre
Le chapitre est la plus petite division et le titre est la plus grande
divivion sur un DVD VIDEO. Un chapitre est une division d’un titre
et est semblable à une piste pour un CD Vidéo ou un CD audio.
Dolby Digital (AC3)
Un système à six canaux comprenant des canaux à gauche, au
centre, à droite, à l’arrière gauche, à l’arrière droit et LFE (canal
d’effet basse fréquence, à utiliser avec une enceinte d’extrême
grave). Tout le traitement est fait dans le domaine numérique.
Tous les disques Dolby Digital ne contiennent pas six (5,1)
canaux d’informations.
Dolby Surround/Dolby Pro Logic
Dolby Surround enregistre quatre canaux de son avant et arrière
sur deux canaux de façon à permettre à un décodeur de
récupérer les quatre canaux originaux pour la lecture. Le son
peut être lu spontanément par un système stéréo à deux canaux
parce qu’il a été enregistré sur deux canaux.
Dolby Pro Logic introduit des circuits directionnels dans un
traitement du décodeur latéral (augmentant le niveau des canaux
spécifiques et diminuant le niveau des canaux silencieux) pour
une perspective d’espace plus grand, et ajoute une enceinte
centrale utilisée au départ pour le dialogue. Ce système a pour
résultat une séparation de canaux améliorée.
DTS
Un format d’encodage audio Digital Surround configuré avec six
(5,1) canaux, semblable au Dolby Digital. Il exige un décodeur,
soit dans le lecteur soit dans un récepteur extérieur. DTS est
l’abréviation de Digital Theater Systems.
Tous les disques DTS ne contiennent pas six (5,1) canaux
d’informations.
JPEG
Un format de fichier commun pour la compression et le stockage
des images fixes.
JPEG est l’abréviation de Joint Photographic Experts Group.
Il existe trois sous-types de format JPEG.
•JPEG de base: utilisé pour les appareils-photos numériques, le
web, etc.
•JPEG progressif: utilisé pour le web
•JPEG sans perte: un type ancien, rarement utilisé aujourd’hui
Mix. demul. (down-mix)
Mélange stéréo interne de matériaux ambiophoniques
multicanaux d’un lecteur DVD. Les signaux downmix sont émis
par les connecteurs de sortie stéréo.
MP3
MP3 est un format de compression de données audio, qui est
l’abréviation de MPEG-1 Audio Layer 3. En utilisant MP3, on peut
obtenir une réduction de données d’environ 1:10.
MPEG
Une famille de normes pour la compression des informations
audiovisuelles. La norme “MPEG” inclus les formats MPEG-1,
MPEG-2 et MPEG-4.
Les CD Vidéo et les disques MP3 sont basés sur le format
MPEG-1, tandis que les DVD sont basés sur le format MPEG-2.
MPEG est l’abréviation de Moving Picture coding Experts Group.
MPEG Multicanal
Cette caractéristique élargit le format audio du canal 5,1
enregistré sur un disque au format du canal 7,1. Un plus grand
élargissement du canal audio 5,1 facilite la reproduction du son
de salle de cinéma dans votre propre maison.
PAL (Phase Alternation by Line)
Un format de système de télévision en couleur largement utilisé
en Europe occidentale.
PBC
PBC est l’abréviation de “Playback control” et est une méthode
de contrôle de lecture des disques CD Vidéo (VCD). L’interaction
avec les disques est possible à travers les menus.
Piste
La plus petite division sur les disques SVCD, CD Vidéo et CD
Audio.
Plage dynamique
La différence entre les sons les plus forts et les plus faibles.
Rapport d’aspect
Un rapport qui définit la forme de l’image rectangulaire d’un
téléviseur. C’est la largeur de l’image par rapport à la hauteur.
Une image de télévision conventionnelle a un rapport d’aspect de
4:3.
RGB
Abréviation de Rouge, Vert et Bleu. Les moniteurs couleurs et les
téléviseurs couleurs affichent différentes nuances en mélangeant
ces trois couleurs.
S-vidéo
Un signal vidéo qui améliore la qualité de l’image par rapport aux
raccordements composites standards. Utilisé pour Super VHS,
DVD, des moniteurs de télévision sophistiqués, etc.
Train binaire
La forme numérique des données audio multicanaux (par ex.
canal 5,1) avant leur décodage en différents canaux.
Vidéo composite
Un simple signal vidéo utilisé communément dans la plupart des
produits vidéo grand public et qui contient toute l'information de
luminance, couleur et synchronisation.
WMA
WMA est l'abréviation de “Windows Media Audio” et est un
format de compression de données audio développé par
Microsoft Corporation. La qualité de son des données
comprimées avec WMA est la même que celle avec MP3, bien
que la taille du fichier WMA soit plus petite que celle du fichier
MP3.
XV-NP1_FR[E].book Page 37 Tuesday, September 2, 2003 11:14 AM

XV-NP1SL/LET0234-005A/GermanFrench
0703KTYMDWJSC
GE, FR.
VICTOR COMPANY OF JAPAN, LIMITED
© 2003 VICTOR COMPANY OF JAPAN, LIMITED
XV-NP1SL[GEFR].book Page 41 Wednesday, July 16, 2003 4:37 PM