Jam MLP1-RP MARSHALL RECORD PLAYER User Manual jtm33 manual
Jam Industries Ltd MARSHALL RECORD PLAYER jtm33 manual
Jam >
User Manual

Model: MLP1-RP
IMPORTANT SAFETY INSTRUCTIONS
1. Read these instructions carefully.
2. Keep these instructions for later reference.
3. Heed all warning.
4. Follow all instructions.
5. Do not use the device near water.
6. Clean only with a dry cloth.
7. Do not block any ventilation openings. Always ensure a sufficient
ventilation. Install in accordance with the manufacturer’s instructions.
8. Do not install near any heat sources such as radiators, heat registers,
stoves, or other devices (including amplifiers) that produce or radiate heat.
9. Do not defeat the safety purpose of the polarized or grounding-type plug.
A grounding-type plug has two blades, one being wider than the other.
A grounding-type plug has two blades and a third grounding prong. The
wide blade or the third prong is provided for your safety. If the provided
plug does not fit into your outlet, consult an electrician for replacement
of the obsolete outlet.
10. Protect the power cord from being walked on or pinched particularly at
plugs, convenience receptacles, and the point where they exit from the
apparatus.
11. Only use attachments/accessories that have been specified by the
manufacturer.
12. Use only with a cart, stand, tripod, bracket or table specified by
manufacturer, or sold along with the device.
When a cart is used, use caution when moving the cart/device
combination to avoid injury for tip-over.
13. Unplug this device during lightning storms or when not being used for
a longer periods of time.
14. Refer all servicing to qualified service personnel only. Servicing is
required when the device has been damaged in any way, such as:
Power supply cord or plug has been damaged, liquid has been spilled
or entered the device, the device has been exposed to rain or moisture,
or objects have fallen into the device, the device does not work
normally, or it has been dropped.
15. Please keep the unit in a good ventilation environment at any time.

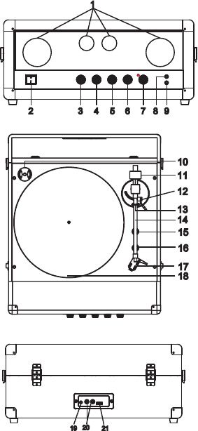
PRODUCT DESCRIPTION
1. Speaker
2. Power Button
3. Volume Knob
4. Bass Knob
5. Midrange Knob
6. Treble Knob
7. Function Knob
8. Headphone Jack
9. Input Jack
10. 45 RPM Adapter
11. Counterweight
12. Tonearm Lever
13. Tonearm Rest
14. Tonearm
15. Speed Knob
16. Pitch Control Knob
17. Headshell and Cartridge
18. Turntable Platter
19. Power Jack
20. Line Out Jack
21. USB Charging Port
ITEMS IN THE PACKAGE
Please check thoroughly and make sure you find the following
items that come along with this package:
• Turntable
• Turntable Mat
• Turntable Platter (with belt)
• Tonearm Counterweight
• 45 RPM Adaptor
• Power Adaptor (including EU-UK-US Interchangeable plugs)
• RCA-RAC Cable
Retain the original packaging materials for exchange or return purposes.

SETUP & ASSEMBLY
Some assembly required before you can begin to use your new unit.
Please follow the assembly instruction below before attempting to use your
new turntable.
PRECAUTIONS ON PLACEMENT:
1.Do not place the unit in a location where it will be exposed to direct
sunlight or near any type of heating appliance.
2.Do not place the unit in a location where there is high humidity or a lot of
dust.
3.Install this unit on a horizontal surface that is stable and vibration free.
4.The rubber feet have been specially designed to isolate the unit from
excess vibration. The feet may also be used to stabilize the main body
horizontally.
ASSEMBLY
1.Remove the main unit with the packing from the box and remove the
packing.
2.Set the platter onto the spindle and make sure that the platter is fully
seated on the spindle.
Make sure that the belt does not get twisted.
5.Set the slip mat on the platter.
6.Slide counterweight (same for both side)onto tonearm
until the counterweight was locked by the spring piece.
Note:
a. The countweight was designed and fitted according to
cartridge by factory, it is no necessary for user to adjust the Down force.
b. In case it is necessary to take off the countweight, please press
the spring piece by finger unit the countweight can be moved, then
push the countweight out.
7.Connect AC adapter to the power jack of the unit.
Note:
a. Do not plug AC power adapter to power outlet before all the assembly is
completed.
b. Do not remove the twist tie for clamping the tonearm until assembly is
completed.
3.Rotate the platter until you see the drive motor pulley through the window.
4. Carefully grab the drive belt and put it around the slot of motor pulley.
BLUETOOTH OPERATION
This unit has a Bluetooth transmitter to send audio to a Bluetooth
speaker wirelessly.
1. Power on your Bluetooth speaker and ensure it is in pairing mode.
2. Power on the unit, the BT will auto search when the unit turn on,
3. When paired , the light will be on. Play the music from the unit to your
device
Note: This unit will connect to the closest Bluetooth speaker that is near it.
If after 2 minutes no Bluetooth speaker can be found to pair with, the
Bluetooth transmitter will become inactive.
4.To disconnect pairing, power off the turntable or turn off Bluetooth
pairing on your Bluetooth speaker.
PHONO OPERATION
1. Rotate the FUNCTIONS KNOB to select PHONO mode.
2. Set the SPEED CONTROL KNOB to desired speed (33 1/3,45,78 rpm).
Place the record on the turntable.
Remark: Place the 45 RPM adapter over the spindle if you play the 45 rpm
records.
3. Remove the stylus cover from the stylus.
4.Unlock the tonearm lock and push the TONEARM LEVER to raise the
tone arm off its rest. Pull the TONE ARM gently to the left, the turntable will
star turning.
5. Move the TONE ARM over the record and push the TONEARM LEVER to
lower it to the point you want the record to start.
6. Adjust the VOLUME knob to the desired sound level.
Note:
a.At the end of the record, you must return the TONE ARM to rest by hand
b.During playback, keep your hands away from the tonearm and the turning
vinyl record.
c.During playback, do not stop the rotation of the platter by hand.
PITCH CONTROL
The turntable speed can be increased or decreased by approximately 10%
by rotating the Pitch Control Knob.
To increase the speed, turn the Pitch Control Knob clockwise.
To decrease the speed, turn the knob counter-clockwise.
LINE OUT CONNECTION
This system includes a set of LINE OUT sockets(L/R) which allow you to
record from the Radio or phonograph of this system to an external recording
device such as a cassette recorder. Mini-Disc, etc. In any play mode, insert
the audio cable (not include) into the matching”LINE OUT” socket of the
unit, operate the unit as usual, and through the speakers of external device.
You can hear the sound from the unit..
HEADPHONE OPERATION
1. Connect a headphone to the HEADPHONE JACK.
2. Adjust VOLUME KNOB to the desired level
NOTE:
a. When using headphone, the sound of the unit speakers will be cut off.
b. Headphones is not included with unit.
USB CHARGING OPERATION
1.The output DC voltage of the USB port of the unit is 5V. To use this unit
power bank feature, use the USB cable (not include) to connect your mobile
device and the unit.
2.Turn on the power of the unit and it will start charging your device.
AUX IN OPERATION
1. Rotate the FUNCTIONS KNOB to select AUX mode.
2. Plug the auxiliary cable into AUX IN JACK on the front panel of the unit.
3. Plug the other end of auxiliary cable into the external devices.
4. Play the external devices as you normally do and the playback will be
played from the unit
SPECIFICATION
1.PRODUCT Belt-Drive Turntable
2.GENERAL SECTION
Power Supply DC12V,2.0A
Dimensions 421(W) x 431(D) x 181(H) mm
Consumption 20 W
3.TURNTABLE SECTION
Motor DC motor
Driving Method Belt drive
Speeds 331/3 / 45/78 rpm
4.ACCESSORIES SUPPLIED
Instruction manual x 1
Warranty x1
45 rpm adaptor x 1
2P RCA Cord x 1
Counter weight x 1
Power Adapter x 1
Platter x1
Slipmat x1
5. TECHNICAL SPECIFICATIONS:
AT-3600L (audio-technica)
Frequency response 20Hz-20kHz
Recommended load resistance 47kohms
Channel balance <2.5dB
Amplifier connection MM - input
Channel separation >18dB
Recommended tracking force 3.5±0.5g
Output voltage 2.5mV
Weight 5g
Note: Design and specifications are subject to change without notice.
FCC & IC STATEMENTS
NOTE: This equipment has been tested and found to comply with the limits
for a Class B digital device, pursuant to part 15 of the FCC Rules. These
limits are designed to provide reasonable protection against harmful
interference in a residential installation. This equipment generates uses
and can radiate radio frequency energy and, if not installed and used in
accordance with the instructions, may cause harmful interference to radio
communications. However, there is no guarantee that interference will not
occur in a particular installation. If this equipment does cause harmful
interference to radio or television reception, which can be determined by
turning the equipment off and on, the user is encouraged to try to correct the
interference by one or more of the following measures:
- Reorient or relocate the receiving antenna.
- Increase the separation between the equipment and receiver.
-Connect the equipment into an outlet on a circuit different from that to which
the receiver is connected.
-Consult the dealer or an experienced radio/TV technician for help
Changes or modifications not expressly approved by the party responsible
for compliance could void the user's authority to operate the equipment.
This device complies with Part
15 of the FCC Rules. Operation is subject to the following two conditions:
(1) this device may not cause harmful interference, and
(2) this device must accept any interference received, including
interference that may cause undesired operation.
This device complies with Industry Canada licence-exempt RSS
standard(s).
Operation is subject to the following two conditions:
(1)this device may not cause interference
(2) this device must accept any interference, including interference that may
cause undesired operation of the device.
Le présent appareil est conforme aux CNR d'Industrie Canada applicables
auxappareils radio exempts de licence. L'exploitation est autorisée aux
deux conditions suivantes :
(1) l'appareil ne doit pas produire de brouillage, et
(2) l'utilisateur de l'appareil doit accepter tout brouillage radioélectrique
subi, même si le brouillage est susceptible d'en compromettre
lefonctionnement.
This equipment should be installed and operated with a minumum distance
of 20 cm between the radiator and your body.
This equipment should be installed and operated with a minumum distance
of 20 cm between the radiator and your body.
Cet équipement doit être installé et utilisé à une distance minimale de 20 cm
entre le radiateur et votre corps.