Kitchenaid KHTU105RSS1 User Manual RANGE HOOD Manuals And Guides L0511286
KITCHENAID Range Hood Manual L0511286 KITCHENAID Range Hood Owner's Manual, KITCHENAID Range Hood installation guides
User Manual: Kitchenaid KHTU105RSS1 KHTU105RSS1 KITCHENAID RANGE HOOD - Manuals and Guides View the owners manual for your KITCHENAID RANGE HOOD #KHTU105RSS1. Home:Kitchen Appliance Parts:Kitchenaid Parts:Kitchenaid RANGE HOOD Manual
Open the PDF directly: View PDF
.
Page Count: 24

I_itchen_kid ®
30" (76.2 CM) AND 36" (91.4 CM) RANGE HOOD
HOTTE D'ASPIRATION DE 30" (76,2 CM)
ET 36" (91,4 CM)
Table of Contents/Table des matieres ............................................................................. 2
IMPORTANT: READ AND SAVE THESE INSTRUCTIONS.
IMPORTANT : LIRE ET CONSERVER CES INSTRUCTIONS.
iMPORTANT:
installer: Leave installation instructions with the homeowner,
Homeowner: Keep installation instructions for future reference,
Save installation instructions for IocaI electrical inspector's use,
iMPORTANT :
Installateur : Remettre Ies instructions d'instalIation au proprietaire,
Proprietaire : Conserver Ies instructions d'instalation pour r_f_rence ulterieure,
Conserver les instructions d'insta/ation pour consultation par Finspecteur local des instalations _lectriques,
9763380

TABLE OF CONTENTS TABLE DES MATIERES
RANGE HOOD SAFETY ................................................................. 2
INSTALLATION REQUIREMENTS ................................................ 3
Tools and Parts ............................................................................ 3
Location Requirements ................................................................ 4
Venting Requirements .................................................................. 4
Electrical Requirements ............................................................... 5
INSTALLATION INSTRUCTIONS .................................................. 6
Venting Options ............................................................................ 6
Prepare Location .......................................................................... 6
Install Range Hood ....................................................................... 7
Make Electrical Connection ......................................................... 8
Install Filters .................................................................................. 8
Check Operation .......................................................................... 8
RANGE HOOD USE ........................................................................ 9
Range Hood Controls .................................................................. 9
RANGE HOOD CARE ..................................................................... 9
Range Hood Lamps ..................................................................... 9
Cleaning ........................................................................................ 9
Accessories ................................................................................ 10
ASSISTANCE OR SERVICE ......................................................... 10
In the U.S.A ................................................................................ 10
In Canada ................................................................................... 10
WAR RAN TY .................................................................................. 11
WIRING DIAGRAM ....................................................................... 12
SECURITI :!:DE LA HOTTE D'ASPIRATION ................................ 13
EXIGENCES D'INSTALLATION ................................................... 15
Outillage et pieces ...................................................................... 15
Exigences d'emplacement ......................................................... t 5
Exigences concernant I'evacuation ........................................... 16
Specifications electriques .......................................................... 17
INSTRUCTIONS D'INSTALLATION ............................................. 18
Options disponibles pour le circuit d'evacuation ...................... 18
Preparation de I'emplacement ................................................... 18
Installation de la hotte de cuisiniere ........................................... 19
Raccordement electrique ........................................................... 20
Installation des filtres .................................................................. 20
Contr61e du fonctionnement ...................................................... 20
UTILISATION DE LA HOTTE DE CUlSINIERE ........................... 21
Commandes de la hotte de cuisiniere ....................................... 21
ENTRETIEN DE LA HOTTE DE CUlSINIERE ............................. 21
Lampes de la hotte de cuisiniere ............................................... 21
Nettoyage ................................................................................... 21
Accessoires ................................................................................ 22
ASSISTANCE OU SERVICE ......................................................... 22
GARANTI E ..................................................................................... 23
SCHI:!:MA DE CABLAGE ............................................................... 24
RANGE HOOD SAFETY
Your safety and the safety of others are very important.
We have provided many important safety messages in this manual and on your appliance. Always read and obey all safety
messages.
This is the safety alert symbol.
This symbol alerts you to potential hazards that can kill or hurt you and others.
All safety messages will follow the safety alert symbol and either the word "DANGER" or "WARNING."
These words mean:
You can be killed or seriously injured if you don't immediately
follow instructions.
You can be killed or seriously injured if you don't follow
instructions.
All safety messages will tell you what the potential hazard is, tell you how to reduce the chance of injury, and tell you what can
happen if the instructions are not followed.

iMPORTANT SAFETY iNSTRUCTiONS
WARNING: TO REDUCE THE RiSK OF FIRE, ELECTRIC
SHOCK, OR iNJURY TO PERSONS, OBSERVE THE
FOLLOWING:
_, Use this unit only in the manner intended by the
manufacturer, if you have questions, contact the
manufacturer.
_, Before servicing or cleaning the unit, switch the power off at
the service panel disconnecting means to prevent power
from being switched on accidentally. When the service
disconnecting means cannot be locked, securely fasten a
prominent warning device, such as a tag, to the service
panel.
_, installation work and electrical wiring must be done by
qualified person(s) in accordance with alI applicable codes
& standards, including fire-rated construction.
_, Sufficient air is needed for proper combustion and
exhausting of gases through the flue (chimney) of fuel
burning equipment to prevent backdrafting. Foilow the
heating equipment manufacturer's guideline and safety
standards such as those published by the Nationai Fire
Protection Association (NFPA), the American Society for
Heating, Refrigeration and Air Conditioning Engineers
(ASHRAE), and the local code authorities.
_, When cutting or drilling into watI or ceiling; do not damage
electricaI wiring and other utilities.
_, Ducted systems must always be vented outdoors.
CAUTION: For general ventilating use only. Do not use
to exhaust hazardous or explosive materials and vapors.
CAUTION: To reduce risk of fire and to properly exhaust
air, be sure to duct air outside - do not vent exhaust air into
spaces within walls ceilings, attics, crawl spaces, or
garages.
WARNING: TO REDUCE THE RISK OF FIRE, USE ONLY
METAL DUCTWORK.
WARNING: TO REDUCE THE RISK OF A RANGE TOP
GREASE FIRE:
_, Never leave the surface units unattended at high settings.
Boilovers cause smoking and greasy spilIovers that may
ignite. Heat oils slowly on Iow or medium settings.
_, Always turn hood ON when cooking at high heat or when
fiambeing food (i.e. Crepes Suzette, Cherries Jubilee,
Peppercorn Beef Flambe).
_, Clean ventilating fans frequently. Grease should not be
allowed to accumulate on fan or filter.
_, Use proper pan size. Always use cookware appropriate for
the size of the surface element.
WARNING: TO REDUCE THE RISK OF INJURY TO
PERSONS IN THE EVENT OF A RANGE TOP GREASE
FIRE, OBSERVE THE FOLLOWING: _
_, SMOTHER FLAMES with a close fitting lid, cookie sheet, or
other metal tray, then turn off the gas burner or electric
element. BE CAREFUL TO PREVENT BURNS. If the
flames do not go out immediately, EVACUATE AND CALL
THE FIRE DEPARTMENT.
,,, NEVER PICK UP A FLAMING PAN - you may be burned.
_, DO NOT USE WATER, including wet dishcloths or towels
a violent steam explosion will result.
_, Use an extinguisher ONLY if:
- You know you have a class ABC extinguisher, and you
already know how to operate it.
- The fire is small and contained in the area where it
started.
- The fire department is being called.
- You can fight the fire with your back to an exit.
aBased on "Kitchen Fire Safety Tips" published by NFPA.
,,, WARNING: To reduce the risk of fire or electrical shock,
do not use this fan with any solid-state speed control
device.
SAVE THESE iNSTRUCTiONS
INSTALLATION REQUIREMENTS
Gather the required tools and parts before starting installation. •Duct tape
Read and follow the safety instructions provided with any tools • Flat-blade screwdriver
listed here.
Tools needed • Metal snips
• Level • Phillips screwdriver
• Drill
• 11/4"drill bit
• Pencil
• Pliers
• Wire stripper or utility knife
• Tape measure or ruler
• Caulking gun and weatherproof caulking compound
• Saber or keyhole saw
Parts supplied
Check that all parts are included.
• Literature package
• Hardware package (4 screws)
Parts needed
UL listed or CSA approved 1/2"(12.5 ram) strain reliefs (2)
Power supply cable
6" (15.2 cm) round wall or roof cap
6" (15.2 cm) metal vent system

IMPORTANT:Observeallgoverningcodesandordinances.
• Itistheinstaller'sresponsibilitytocomplywithinstallation
clearancesspecifiedonthemodel/serialratingplate.The
model/serialratingplateislocatedinsidetherangehoodon
therearwall.
Rangehoodlocationshouldbeawayfromstrongdraftareas,
suchaswindows,doorsandstrongheatingvents.
Cabinetopeningdimensionsthatareshownmustbeused.
Givendimensionsprovideminimumclearance.Consultyour
cooktop/rangemanufacturerinstallationinstructionsbefore
makinganycutouts.
Groundedelectricaloutletisrequired.See"Electrical
Requirements"section.
Thehoodisfactorysetforventedinstallations.For
recirculatinginstallations,RecirculationKitPartNumber
4396565,includingventcoverand2charcoalfilters,is
availablefromyourdealer.
Allopeningsinceilingandwallwhererangehoodwillbe
installedmustbesealed.
Product Dimensions
10 %o"
(25.2 era)
(3.5 era)
29 %_" (75.9 sra) = 30" (76=2 era) raode[
19 V=" /35
(49.5 Cra) __ %_" (91.1 Cra)- 36" (91.4 Cra) raode[
Vent and electrical openings and mounting screw locations
mountingscrews
5 %" locations(4) 1o9/H'
(14,9 cra)
centerHne of d[ara. \ _._,_ (26,8 am)
exhaust collar
4" %,
(2.2 tara)
Installation Clearances
f
18" (45.7 sra) |
rain. clearance [
upper cabinet |
to eountertop
3_" (91.4 ere)
base cab[aet
height
• Do not terminate the vent system in an attic or other enclosed
area.
• Do not use a 4" (10.2 cm) laundry-type wall caps.
• Vent system must terminate to the outside.
• Use only a 6" (15.2 cm) round metal vent. Rigid metal vent is
recommended. Do not use plastic or metal foil vent.
• The size of the vent should be uniform.
• The vent system must have a damper. If roof or wall cap has a
damper, do not use damper supplied with the range hood.
• Use duct tape to seal all joints in the vent system.
• Use caulking to seal exterior wall or roof opening around the
cap.
• Determine which venting method is best for your application.

For Best Performance:
• Do not install 2 elbows together.
• Use no more than three 90° elbows.
• If an elbow is used, install it as far away as possible from the
hood's vent motor exhaust opening.
• Make sure there is a minimum of 24" (61 cm) of straight vent
between the elbows if more than one elbow is used.
The length of vent system and number of elbows should be kept
to a minimum to provide efficient performance.
Cold Weather Installations
An additional backdraft damper should be installed to minimize
backward cold air flow and a nonmetallic thermal installed to
minimize conduction of outside temperatures as part of the vent
system. The damper should be on the cold air side of the thermal
break.
Makeup Air
Local building codes may require the use of makeup air systems
when using ventilation systems with greater than specified CFM
of air movement. The specified CFM varies from locale to locale.
Consult your HVAC professional for specific requirements in your
area.
Venting Methods
This range hood is factory set for vented installations. Vent
system can terminate through either the roof or wall. A
6" (15.2 cm) round vent system must be used. The vent system
length should not exceed 35 ft (10.7 m).
Option 1 - Roof Venting Option 2 - Wall Venting
A. 6" (15.2 crn) round roof A. 6" (15.2 cm) round wall
venting venting
B. Roof cap B. Wall cap
Calculating Vent System Length
To calculate the length of the system you need, add the
equivalent feet (meters) for each vent piece used in the system.
Vent piece 6" (15.2 cm} round
45° elbow 2.5 ft (0.8 m)
90° elbow 5.0 ft (1.5 m)
Example vent system
90 ° elbow
Maximum length =35 ft (10.7 m)
1- 90 ° elbow = 5 ft (1.5 m)
8 ft (2.4 m) straight = 8 ft (2.4 m)
1 - wall cap = 0 ft (0 m)
System length = 13 ft (3.9 m)
NOTE: Flexible vent is not recommended. Flexible vent creates
back pressure and air turbulence that greatly reduce
performance.
IMPORTANT: Observe all governing codes and ordinances. Save
Installation Instructions for electrical inspector's use.
It is the customer's responsibility to contact a qualified electrical
installer, and to assure that the electrical installation is adequate
and in conformance with National Electrical Code, ANSI/NFPA 70
(latest edition), or CSA Standards C22.1-94, Canadian Electrical
Code, Part 1 and C22.2 No. 0-M91 (latest edition) and all local
codes and ordinances.
If codes permit and a separate ground wire is used, it is
recommended that a qualified electrician determine that the
ground path is adequate.
A copy of the above code standards can be obtained from:
National Fire Protection Association
One Batterymarch Park
Quincy, MA 02269
CSA International
8501 East Pleasant Valley Road
Cleveland, OH 44131-5575
• A 120 Volt, 60 Hz., AC only 15-amp fused, electrical circuit is
required.
• Do not ground to a gas pipe.
• Check with a qualified electrician if you are not sure range
hood is properly grounded.
• Do not have a fuse in the neutral or ground circuit.
• The range hood must be connected with copper wire only.
• The range hood should be connected directly to the fused
disconnect (or circuit breaker) box through flexible armored or
nonmetallic sheathed copper cable.
• Wire sizes (copper wire only) and connections must conform
with the rating of the appliance as specified on the model/
serial rating plate.
Wire sizes must conform to the requirements of the National
Electrical Code, ANSI/NFPA 70 (latest edition), or CSA
Standards C22.1-94, Canadian Electrical Code, Part 1 and
C22.2 No. 0-M91 (latest edition) and all local codes and
ordinances.
• A 1/2"(12.7 mm) UL listed or CSA approved strain relief must
be provided at each end of the power supply cable (at the
range hood and at the junction box).

INSTALLA ON INSTRUCTIONS
General venting installation
For vented installations:
Make necessary cuts in the wall for vent fittings.
IMPORTANT: Make sure the vent system is installed before
installing range hood.
Rrecirculating installations:
A vent system (not provided) that directs the recirculated air back
into the room either through the soffit or through the cabinet top
is required. Use Recirculation Kit Part Number 4396565. For
ordering information, see "Assistance or Service."
IMPORTANT: If venting through the cabinet top, do not
terminate the exhaust into dead air space such as an attic or
enclosed soffit.
When venting through the soffit, assemble the vent system you
will use over the exhaust collar, but do not attach the vent system
yet.
NOTE: The vent system can exhaust out the front of the soffit or
be rotated to exhaust out the side or end of the soffit.
Venting through the soffit
Assemble the vent system you will use over the exhaust
collar, but do not attach the vent system yet.
NOTE: The vent system can exhaust out the front of the soffit
or be rotated to exhaust out the side or end of the soffit.
2. Measure distance "A" (from top of hood to centerline of
6" [15.2 cm] round vent). Mark the distance "A" on soffit.
3. Mark and cut a 6" (15.2 cm) round vent opening.
Venting through cabinet top
1. Mark the location where vent cover will be installed in the
cabinet top and cut a 6" (15.2 cm) round vent opening for the
vent cover.
C
B
"%,,,, ,Si /
A. Vent system D. Ceiling or soffit
B. Vent cover E. Hood
C. Cabinet top
IMPORTANT: Do not terminate exhaust into a dead air space
such as an attic or enclosed soffit.
For vented installations, it is recommended that the vent
system be installed before hood is installed.
Do not cut a joist or stud unless absolutely necessary. If a
joist or stud must be cut, then a supporting frame must be
constructed.
Before making cutouts, make sure there is proper clearance
within the ceiling or wall for vent fittings.
Check that all the installation parts and the box with filters
have been removed from the shipping carton.
Preparation
iii!,
Excessive
Use two or more people to move and install range.
Failure to do so can result in back or other injury.
1. If possible, disconnect power and/or gas supply and move
freestanding or slide-in range from cabinet opening to
provide easier access to rear wall.

2. Selectaflatsurfaceforassemblingthehood.Coverthat
surfacewithaprotectivecoveringsuchasablanketor
cardboardduringassembly.
Excessive Weight Hazard
Use two or more people to move and install
range hood.
Failure to do so can result in back or other injury.
3. Using 2 or more people, slowly lift the range hood onto the
protected surface.
4. Tip range hood on its back to remove the metal filters. Turn
knob to the left (counterclockwise) and lift filters out.
5. Remove hardware package.
6. Add wood filler strips as needed to cabinet bottom. Drill
4 3/16"(4.8 mm) clearance holes for hood mounting screws.
wood filler strips
(recessed cabinet
bottoms only)
131_,, (34.3 cra)= 30" (76.2 cra) raodet
161/2" (41.9 cra)= 36" (91.4 cra) raodeJ
!< 71< \
_.,. [I L__centermirle I_ ".
4/ I _26=8cra)
/ t
I;/'/i 7/s,,
Wall 3Ae" (94=8 ram} (2.2 cra}
cUeaH_nceholes
7. Cut a 61/2'' (16.5 cm) diameter hole in cabinet bottom as
shown.
61/2" (16.5 cm) diara= hole I._ centerHne
wall 4" (10.2 era)
8. Cut a 11/4"(3.2 cm) hole for power supply cable.
upper cabinet or soffit
mounting surface _ 8Ae"
\_1 (20=5 cra)I<'_
ceo,er,,.ef'l I t
' x% ,(3 ora,
power supply _ T
cabRehole in wall
g. Run wire through hole in accordance with the National
Electrical Code or CSA Standards and local codes and
ordinances. There must be enough power supply cable from
the fused disconnect (or circuit breaker) box to make the
connection in the range hood's electrical box.
10. Use caulking to seal all openings.
IMPORTANT: Do not turn on power until installation is
complete.
Excessive Weight Hazard
Use two or more people to move and install
range hood.
Failure to do so can result in back or other injury.
Remove the terminal box cover (located on back wall of
hood) from the hood. Remove the power supply cable
knockout using a flat-blade screwdriver.
Attach strain relief in power supply cable opening so that
clamping screws are inside of range hood. Tip hood back to
its bottom surface.
2. If roof or wall cap does not have a damper, attach damper to
exhaust opening on top of the range hood using 2 small
screws from hardware package.
3. Place the range hood mounting screws close to the holes in
the cabinet bottom.
4. Lift range hood into place while feeding wiring through strain
relief.
5. Insert the screws through the clearance holes and start them
into the hood. Then, tighten screws securely.
6. Connect vent system, for either vented or recirculating, to
range hood.
7. Seal all joints with duct tape.
8. For recirculating installations, install the vent cover included
in Recirculation Kit Part Number 4396565 in soffit or cabinet
top vent opening.

Emectrica_ShockHazard
Disconnectpowerbeforeservicing.
Replaceaimpartsandpanemsbefore operating.
Failure to do so can resuJt in death or emectr}cal shock.
E
1. Disconnect power at the circuit breaker of fused circuit box.
2. Connect the white wire of the power supply cable with the
white lead in the range hood using a twist-on connector.
3. Connect the black wire of the power supply cable with the
black lead in the range hood using a twist-on connector.
For recirculating installations only, install the charcoal filters
included in Recirculation Kit Part Number 4396565. Place the
charcoal filter against the blower cover and rotate to the right
(clockwise) to attach to cover. Repeat with other charcoal
filter.
A
A. Filter
Replace metal filter. Turn knob on metal filter to the right
(clockwise) to attached to range hood.
Electricam Shock Hazard
EmectricaHy ground bmower.
Connect ground wire to green ground screw in
terminam box.
Faimure to do so can resumt in death or e_ectricam shock.
4. Connect the green power supply ground wire to the unused,
green ground screw.
A...................
A. Green ground screw
B. Hood wiring
C. White wires
D. Twist-on connectors
E. Black wires
FPower supply cable
5. Tighten strain relief screws.
6. Replace the terminal box cover.
1.
2.
Check operation of the range hood by turning on the power.
The range hood controls are located on the right-hand
underside of the range hood.
"B
A. Controls
B. Filters
3. Move the light switch to "1" position. The light should turn on.
4. Move blower switch to "1" position. The blower should
operate.
5. Move the blower speed switch to "1" position for low speed,
"2" position for medium speed or "3" position for high speed.
6. Move blower and light switches to "0" position to turn blower
and light off.
7. If range hood does not operate, check to see whether a
circuit breaker has tripped or a household fuse has blown.
Disconnect power supply and check that the wiring is
correct.
NOTE: To get the most efficient use from your new range hood,
read the "Range Hood Use" section.

RANGE HOOD USE
The range hood is designed to remove smoke, cooking vapors
and odors from the cooktop area. For best results, start the hood
before cooking and allow it to operate several minutes after the
cooking is complete to clear all smoke and odors from the
kitchen.
The hood controls are located on the right-hand underside of the
range hood.
C D
A. Controls
B. Light switch
C. Blower switch
D. Blower speed switch
Operating the light
1. Move the light switch to the "1" position to turn range hood
light ON.
2. Move the light switch to the "0" position to turn range hood
light OFR
Operating the blower
1. Move the blower switch to the "1" position to turn the blower
ON. The blower will begin operating at the speed set on the
blower speed switch.
Move the blower switch to the "0" position to turn the blower
OFR
2=
Adjusting the blower
The blower has 3 speed controls. Move the blower speed switch
to "1" position for low speed, "2" position for medium speed or
"3" position for high speed.
RANGE HOOD CARE
Replacing a Halogen Lamp
This hood uses four 12-volt, 20-watt halogen lamps.
Turn off the range hood and allow the hallogen lamps to cool.
Replace bulb using a tissue to handle bulb, or wearing cotton
gloves. Do not touch bulb with bare fingers.
To Replace:
1. Disconnect power.
2. Remove 2 screws from the circular metal trim around the
lamp assembly.
3. Pull the trim and lamp assembly down far enough so that the
lamp can be pulled out of the socket clips.
A..................I_ _ ...........A
A. Remove 2 screws
B. Pull trim with lamp assembly down
4. Insert the new lamp into the socket clips and push the lamp
assembly back up into the hood.
5. Replace the screws.
6. Reconnect the power.
Exterior surfaces:
Do not use steel wool or soap-filled scouring pads. Rub in
direction of the grain line to avoid scratching the surface.
Always wipe dry to avoid water marks.
• Stainless Steel Cleaner & Polish.
• Mild liquid detergent and water.
• Wipe with damp soft cloth or nonabrasive sponge, then rinse
with clean water and wipe dry.
Metal Filters:
For vented installations, use 2 hands to remove filters. Turn the
knob to the left (counterclockwise) to release filter. Repeat with
other filter.
Wash metal filters as needed in dishwasher or hot detergent
solution to clean.

Reinstallthefilterbyplacingthebackedgeinthechannelatrear
ofhood.Pushfilterintoplace,turntheknobtotheright
(clockwise)toattachtorangehood.Repeatwithotherfilter.
Remove the old charcoal filter:
1. Rotate to the left (counterclockwise) and pull away from the
blower cover and discard filter pack. Repeat for other filter.
A_
Recirculating Installation Filters:
For recirculating installations, wash metal filters as needed in 2.
dishwasher or hot detergent solution to clean.
Do not wash charcoal filter packs. Replace with Recirculation Kit 3.
Number 4396565.
A. Filter
Place the charcoal filter against the blower cover and rotate
to the right (clockwise) to attach to cover.
Reinstall metal filter by placing back edge in channel at rear
of range hood. Push filter up into place, turn the knob to the
right (clockwise) to attach to range hood. Repeat with other
filter.
Optional installation kits are available from your dealer.
Recirculation Kit Part Number 4396565 includes 2 charcoal filter
packs and vent cover.
ASSISTANCE OR SERVICE
Before calling for assistance or service, please check
"Troubleshooting." It may save you the cost of a service call. If
you still need help, follow the instructions below.
When calling, please know the purchase date and the complete
model and serial number of your appliance. This information will
help us to better respond to your request.
If you need replacement parts
If you need to order replacement parts, we recommend that you
use only factory specified parts. Factory specified parts will fit
right and work right because they are made with the same
precision used to build every new KITCHENAID ® appliance.
To locate factory specified parts in your area, call our Customer
eXperience Center telephone number or your nearest designated
service center.
Call the KitchenAid Customer eXperience Center
toll free: 1-800-422-1230.
Our consultants provide assistance with:
• Features and specifications on our full line of appliances.
•Installation information.
• Use and maintenance procedures.
•Accessory and repair parts sales.
• Specialized customer assistance (Spanish speaking, hearing
impaired, limited vision, etc.).
Referrals to local dealers, repair parts distributors, and
service companies. KitchenAid designated service
technicians are trained to fulfill the product warranty and
provide after-warranty service, anywhere in the United States.
To locate the KitchenAid designated service company in your
area, you can also look in your telephone directory Yellow
Pages.
For further assistance
If you need further assistance, you can write to KitchenAid with
any questions or concerns at:
KitchenAid Brand Home Appliances
Customer experience Center
553 Benson Road
Benton Harbor, M149022-2692
Please include a daytime phone number in your correspondence.
Call the KitchenAid Canada Customer Interaction Centre toll free:
1-800-807-6777.
Our consultants provide assistance with:
• Features and specifications on our full line of appliances.
• Use and maintenance procedures.
• Accessory and repair parts sales.
• Referrals to local dealers, repair parts distributors, and
service companies. KitchenAid Canada designated service
technicians are trained to fulfill the product warranty and
provide after-warranty service, anywhere in Canada.
For further assistance
If you need further assistance, you can write to KitchenAid
Canada with any questions or concerns at:
Customer Interaction Centre
KitchenAid Canada
1901 Minnesota Court
Mississauga, Ontario L5N 3A7
Please include a daytime phone number in your correspondence.
10

KITCHENAID ®VENTILATI ON WARRANTY
ONE YEAR LIMITED WARRANTY
For one year from the date of purchase, when this major appliance is operated and maintained according to instructions attached to or
furnished with the product, KitchenAid or KitchenAid Canada (hereafter "KitchenAid') will pay for factory specified parts and repair
labor to correct defects in materials or workmanship. Service must be provided by a KitchenAid designated service company.
ITEMS KITCHENAID WILL NOT PAY FOR
1. Service calls to correct the installation of your major appliance, to instruct you how to use your major appliance, to replace or repair
house fuses or to correct house wiring or plumbing.
2. Service calls to repair or replace appliance light bulbs, air filters or water filters. Those consumable parts are excluded from warranty
coverage.
3. Repairs when your major appliance is used for other than normal, single-family household use.
4. Damage resulting from accident, alteration, misuse, abuse, fire, flood, acts of God, improper installation, installation not in
accordance with electrical or plumbing codes, or use of products not approved by KitchenAid.
5. Replacement parts or repair labor costs for units operated outside the United States or Canada.
6. Pickup and delivery. This major appliance is designed to be repaired in the home.
7. Repairs to parts or systems resulting from unauthorized modifications made to the appliance.
8. Expenses for travel and transportation for product service in remote locations.
9. The removal and reinstallation of your appliance if it is installed in an inaccessible location or is not installed in accordance with
published installation instructions.
DISCLAIMER OF IMPLIED WARRANTIES; LIMITATION OF REMEDIES
CUSTOMER'S SOLE AND EXCLUSIVE REMEDY UNDER THIS LIMITED WARRANTY SHALL BE PRODUCT REPAIR AS PROVIDED
HEREIN. IMPLIED WARRANTIES, INCLUDING WARRANTIES OF MERCHANTABILITY OR FITNESS FOR A PARTICULAR PURPOSE,
ARE LIMITED TO ONE YEAR OR THE SHORTEST PERIOD ALLOWED BY LAW. KITCHENAID SHALL NOT BE LIABLE FOR
INCIDENTAL OR CONSEQUENTIAL DAMAGES. SOME STATES AND PROVINCES DO NOT ALLOW THE EXCLUSION OR LIMITATION
OF INCIDENTAL OR CONSEQUENTIAL DAMAGES, OR LIMITATIONS ON THE DURATION OF IMPLIED WARRANTIES OF
MERCHANTABILITY OR FITNESS, SO THESE EXCLUSIONS OR LIMITATIONS MAY NOT APPLY TO YOU. THIS WARRANTY GIVES
YOU SPECIFIC LEGAL RIGHTS AND YOU MAY ALSO HAVE OTHER RIGHTS, WHICH VARY FROM STATE TO STATE OR PROVINCE
TO PROVINCE.
Outside the 50 United States and Canada, this warranty does not apply. Contact your authorized KitchenAid dealer to determine if
another warranty applies.
If you need service, first see the "Troubleshooting" section of the Use & Care Guide. After checking "Troubleshooting," additional help
can be found by checking the "Assistance or Service" section or by calling KitchenAid. In the U.S.A., call 1-800-422-1230. In Canada,
call 1-800-807-6777. 9/05
Keep this book and your sales slip together for future
reference. You must provide proof of purchase or installation
date for in-warranty service.
Write down the following information about your major appliance
to better help you obtain assistance or service if you ever need it.
You will need to know your complete model number and serial
number. You can find this information on the model and serial
number label located on the product.
Dealer name
Address
Phone number
Model number
Serial number
Purchase date
11

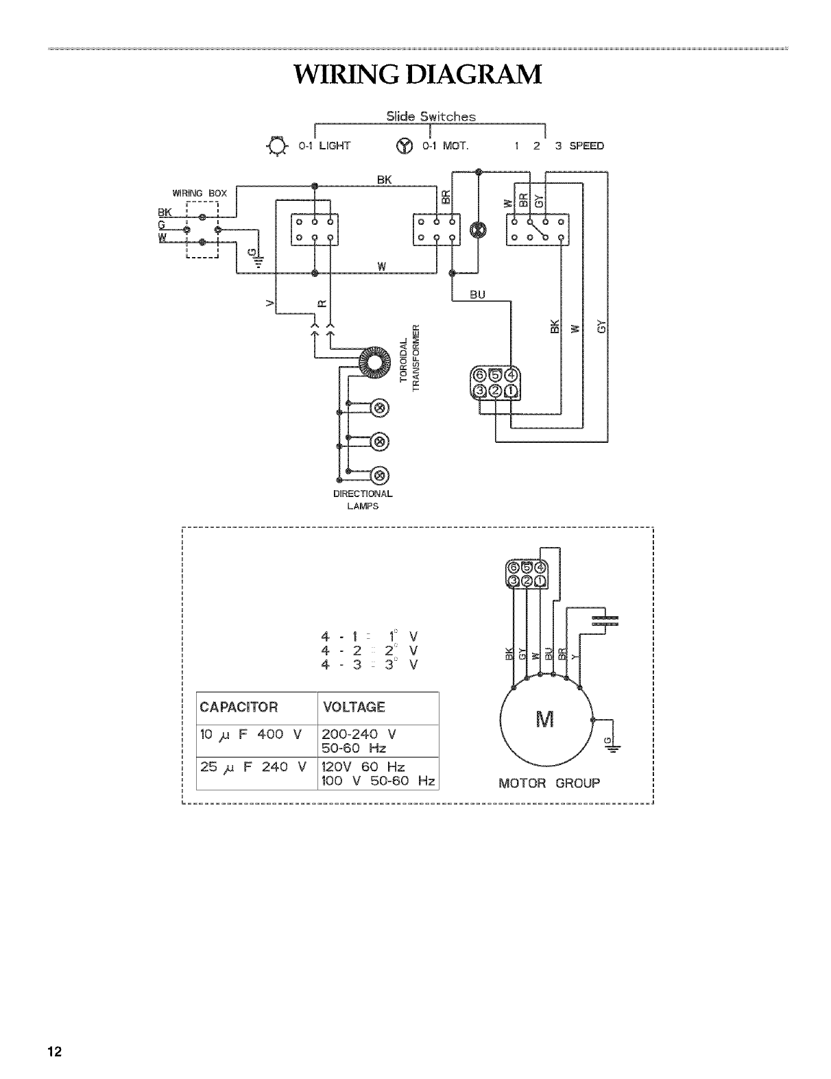
WIRING DIAGRAM
SHideSwitches
l T I
w
W
a o
2_
DIRECTIONAL
LAMPS
4 -1 1 V
4-2 2; V
4-3 3 V
CAPACITOR VOLTAGE
10 _ F 400 V 200-240 V
50°60 Hz
25 p F 240 V 120V 60 Hz
100 V 50°60 Hz
l;®
>=
mo m> =
MOTOR GROUP
12

P P
SECURITE DE LA HOTI'E D'ASPIRATION
Votre s6curit6 et celle des autres est trbs importante.
Nous donnons de nombreux messages de securite importants dans ce manuel et sur votre appareil menager. Assurez-vous de
toujours lire tousles messages de securite et de vous y conformer.
Voici le symbole d'alerte de securit&
Ce symbole d'alerte de securite vous signale les dangers potentiels de deces et de blessures graves & vous
et & d'autres.
Tousles messages de securite suivront le symbole d'alerte de securite et le mot "DANGER" ou
"AVERTISSEMENT". Ces mots signifient :
Risque possible de deces ou de blessure grave si vous ne
euivez pas immediatement lee instructions.
Risque possible de deces ou de blessure grave si vous
ne euivez pas lee instructions.
Tousles messages de securite vous diront quel est le danger potentiel et vous disent comment reduire le risque de blessure et
ce qui peut se produire en cas de non-respect des instructions.
13

IMPORTANTES iNSTRUCTiONS DE SECURITE
AVERTtSSEMENT : AVERTISSEMENT- POUR
REDUIRE LE RISQUE D'INCENDE, CHOC ELECTRIQUE
OU DOMMAGES CORPORELS, RESPECTER LES
INSTRUCTIONS SUIVANTES :
m Utiliser cet appareiI uniquement dans Ies applications
envisag6es par Ie fabricant. Pour toute question, contacter
le fabricanL
m Avant d'entreprendre un travail d'entretien ou de nettoyage,
interrompre I'atimentation de Ia hotte au niveau du tableau
de disjoncteurs, et verrouiJier le tabJeau de disjoncteurs
pour emp6cher tout retabJissement accidentel de
I'alimentation du circuit. Lorsqu'iI n'est pas possible de
verrouiller Ie tableau de disjoncteurs, placer sur le tableau
de dlsjoncteurs une 6tiquette d'avertissement pro6minente
interdisant Ie retablissement de I'alimentation.
m Tout travail d'installation ou c_blage electrique doit 6tre
r6alis6 par une personne qualifiee, dans Ie respect des
prescriptions de tousles codes et normes applicables, y
compris les codes du bb.timent et de protection contre les
incendies.
m Une source d'air de d6bit suffisant est necessaire pour le
fonctionnement correct de tout appareil b. gaz (combustion
et evacuation des gaz a combustion par la cheminee), pour
qu'iI n'y ait pas de reflux des gaz de combustion. Respecter
les directives du fabricant de I'6quipement de chauffage et
les prescriptions des normes de s6curite - comme celles
publiees par Ia National Fire Protection Association (NFPA)
et I'American Society for Heating, Refrigeration and Air
Conditioning Engineers (ASHRAE), et les prescriptions des
autorit_s reglementaires !ocales.
m Lots d'operations de decoupage et de per_age darts un mur
ou un plafond, veilIer a ne pas endommager les c&blages
electriques ou canalisations qui peuvent s'y trouver.
m Les syst6mes d'6vacuation doivent toujours decharger J'air
& I'exterieur.
MISE EN GARDE : Cet appareiI est con_u uniquement
pour la ventilation gen6raIe. Ne pas I'utiliser pour I'extraction
de matieres ou vapeurs dangereuses ou explosives.
MtSE EN GARDE : Pour minimiser le risque d'incendie
et evacuer adequatement les gaz, veiller a acheminer I'air
aspir6 par un conduit jusqu'a I'exterieur - ne pas decharger
I'air aspire dans un espace vide du b&timent comme une
cavite murale, un plafond, un grenier, un vide sanitaire ou
un garage.
AVERTISSEMENT : POUR REDUIRE LE RISQUE
D'INCENDIE, UTILISER UNIQUEMENT DES CONDUITS
AVERTISSEMENT : POUR MINIMISER LE RISQUE
D'UN FEU DE GRAISSE SUR LA CUISINIERE :
m Ne iamais laisser un el6ment de surface fonctionner &
puissance de chauffage maximale sans surveillance. Un
renversemenb/debordement de matiere graisseuse pourrait
provoquer une inflammation et Ia gen6ration de fum6e.
Utiliser une puissance de chauffage moyenne ou basse
pour le chauffage d'huile.
m VeilIer a toujours faire fonctionner Ie ventilateur de la hotte
Jors de la cuisson avec une puissance de chauffage eIev6e
ou Iors de Ia cuisson d'un mets a fiamber (a savoir cr@pes
Suzette, cerise iubiIee, steak au poivre fiambe).
m Nettoyer frequemment les ventilateurs d'extraction. VeiJJer
ne pas laisser la graisse s'accumuler sur les surfaces du
ventiJateur ou des fiItres.
m Utiliser toujours un ustensile de tailIe appropriee. UtiJiser
toujours un ustensile adapte a JataiJle de J'@lement
chauffant.
AVERTISSE_ENT : POUR REDUIRE LE RISQUE DE
DOMMAGES CORPORELS APRES LE DECLENCHEMENT
D'UN FEU DE GRAISSE SUR LA CUISINIERE, APPLIQUER
LES RECOMMANDATIONS SUIVANTES :a
m Placer sur le r_cipient un couvercte bien ajust4,, une t61e &
biscuits ou un plateau m@tallique POUR ETOUFFER LES
FLAMMES, p.uiseteindre Ie brOleur a gaz ou eIectrique.
VEILLER A EVITER LES BROLURES. Si les fiammes ne
s'eteignent pas imm@dlatement, EVACUER LA PIECE ET
APPELER LES POMPIERS.
m NE JAMAIS PRENDRE EN MAiN UN RECIPIENT
ENFLAMME - vous risquez de vous brOler.
m NE PAS UTILISER D'EAU, ni un torchon humide - ceci
pourrait provoquer une explosion de vapeur brOlante.
m Utiliser un extincteur SEULEMENT si :
- II s'agit d'un extincteur de classe ABC, dont on connait Je
fonctionnement.
- II s'agit d'un petit feu encore limite a J'endroit ou il s'est
declar&
- Les pompiers ont _t_ contactes.
- II est possible de garder Ie dos orients vers une sortie
pendant I'operation de Jutte contre Ie feu.
aRecommandations tir_es des conseils de securite en cas
d'incendie de cuisine publies par Ia NFPA.
®AVERTISSE_ENT : Pour reduire le risque d'incendie
ou de choc electrique, ne pas utiliser ce ventilateur avec un
quelconque dispositif de reglage de la vitesse a semi-
conducteurs.
CONSERVEZ CES INSTRUCTIONS
14

EXIGENCES DqNSTALLATION
Rassembler les outils et pieces necessaires avant de commencer
I'installation. Life et suivre les instructions de securite foumies
avec les outils indiques ici.
Outillage n_cessaire
• Niveau
• Perceuse
• Foret de 11A"
• Crayon
• Pince
• Pince a denuder ou couteau utilitaire
• Metre-ruban ou regle
• Pistolet a calfeutrage et compose de calfeutrage resistant
aux intemperies
• Scie sauteuse ou scie a guichet
• Ruban adhesif pour conduit
• Tournevis a lame plate
• Cisaille de ferblantier
• Tournevis Phillips
Pi_ces fournies
Verifier que toutes les pieces sont presentes.
• Sachet de documents
• Sachet de pieces de quincaillerie (4 vis)
Pi_ces n_cessaires
Serre-c&ble de 1/2"(12,5 mm) (homologation UL ou CSA) (2)
C&ble d'alimentation electrique
Bouche de decharge murale ou sur toit de 6" (15,2 cm)
Circuit d'evacuation metallique de dia. 6" (15,2 cm)
On dolt disposer d'une prise de courant electrique reliee a la
terre. Voir la section "Specifications electriques".
La hotte a et6 configuree a I'usine pour une installation avec
decharge a I'exterieur. Pour une installation avec recyclage,
utiliser I'ensemble de recyclage (piece n° 4396565) qui
contient un cache-conduit et 2 filtres a charbon (disponible
chez les revendeurs).
Assurer I'etanch6it6 au niveau de chaque ouverture
decoupee dans le plafond ou lemur pour I'installation de la
hotte de cuisiniere.
Dimensions du produit
axe central
coHerette pour d_charge i`'_ de la hotte
de dia. 5 7/_" (14,9 cm} ,
14%"
(37,8 ore)
(3,5 ore)
Emplacement des vis de montage et des ouvertures de
cables _lectriques et conduits d'_vacuation
emplacementdes4
dia.5%" visde montage
axe centra_ (14,9 cra)\ 10 %_"
de _acoHerette _._ (26,8ore)
de d_charge
4" 7/_,,
(2,2 ram)
IMPORTANT : Observer les dispositions de tousles codes et
reglements en vigueur.
• C'est a I'installateur qu'incombe la responsabilite de
respecter les distances de separation exigees, specifiees sur
la plaque signaletique de I'appareil. La plaque signaletique
est situee a I'interieur de la hotte, sur la paroi arriere.
• Installer la hotte de cuisiniere a distance de toute zone
exposee a des courants d'air, comme fen_tres, portes et
bouches de chauffage.
Respecter les dimensions indiquees pour la cavite
d'installation entre les placards. Les dimensions indiquees
prennent en compte les valeurs minimales des degagements
de separation necessaires. Avant d'effectuer des
decoupages, consulter les instructions d'installation fournies
par le fabricant de la table de cuisson/cuisiniere.
15

70 5/16"
..... (178,6 cm)
4acard
era)
• Ne pas utiliser plus de trois coudes fl 90 °.
• Si un coude est utilise, on dolt le placer le plus loin possible
de I'ouverture de sortie du ventilateur.
• Veiller & incorporer une section de conduit rectiligne d'au
moins 24" (61 cm) entre deux raccords coudes adjacents.
La Iongueur du systeme d'evacuation et le nombre de coudes
dolt _tre reduit au minimum pour fournir la meilleure
performance.
Installations pour r_gions aclimat froid
On devrait installer un clapet antireflux additionnel pour minimiser
le reflux d'air froid, et incorporer un _16ment non metallique
d'isolation thermique pour minimiser la conduction de chaleur
par I'interm_diaire du conduit d'evacuation, de I'interieur de la
maison a I'exterieur. Le clapet anti-reflux dolt 6tre place du c6te
air froid par rapport a I'element d'isolation thermique.
Air d'appoint
Le code du bfltiment local peut exiger I'emploi d'un systeme
d'appoint d'air Iors de I'emploi d'un ventilateur d'extraction dont
la capacite d'aspiration est superieure a un debit (pieds cubes
par minute) specifi& Le debit specifie, pieds cubes par minute,
est variable d'une juridiction a une autre. Consulter un
professionnel des installations de chauffage ventilation/
climatisation au sujet des exigences specifiques applicables
dans la juridiction locale.
M_thodes d'_vacuation
La hotte de cuisiniere a ete configuree & I'usine pour I'installation
avec decharge a I'exterieur. La decharge de I'air aspire peut 6tre
effectuee a travers le mur ou le toit. On dolt utiliser un circuit
d'evacuation de dia. 6" (15,2 cm). La Iongueur effective du circuit
d'evacuation ne dolt pas depasser 35 pi (10,7 m).
Option 1 -D_charge
travers le toit Option 2 -Decharge
travers le tour
Ne pas terminer le conduit d'evacuation dans un grenier ou
dans un autre espace ferm&
Ne pas utiliser une bouche de decharge murale de
4" (10,2 cm) normalement utilisee pour un equipement de
buanderie.
Le systeme dolt decharger I'air a I'exterieur.
Utiliser uniquement du conduit metallique de 6" (15,2 cm). Un
conduit en metal rigide est recommand& Ne pas utiliser un
conduit de plastique ou en metal mince.
La taille du conduit dolt _tre uniforme.
Le systeme d'evacuation dolt comporter un clapet. Si la
bouche de decharge murale ou par le toit comporte un
clapet, ne pas utiliser le clapet fourni avec la hotte de
CUlSlnlere.
Au niveau de chaque jointure du conduit de decharge,
assurer I'etancheite avec du ruban adhesif pour conduit.
Autour de la bouche de decharge & I'exterieur, assurer
I'etancheite avec un produit de calfeutrage.
Determiner quelle methode d'evacuation est la plus
appropriee.
A
A. Conduit de dia. 6" (15,2 cm) -
sortie a travers le toit
B. Bouche de d_charge sur le toit
T
A. Conduit de dia. 6" (15,2 cm) -
sortie atravers lemur
B. Bouche de d_charge murale
16

Calcul de la Iongueur effective du circuit d'_vacuation
Pour calculer la Iongueur effective du circuit d'evacuation
necessaire, additionner les Iongueurs equivalentes (pieds/metres)
de tousles composants utilises dans le systeme.
Composant Conduit et raccords dia. 6" (15,2 cm)
coude a 45 ° 2,5 pi (0,8 m)
coude a 90 ° 5 pi (1,5 m)
Exemple de syst_me de d_charge
coudea 90° bouche de d_charge murale
2_i I I
°1m'U
Longueur maximum ; 35 pi 1"10,7 m}
section droite de = 8 pi (2,4 m)
8 pi (2,4 m)
1 - bouche de = 0 pi (0 m)
decharge murale
Longueur totale = 13 pi (3,9 m)
REMARQUE : On deconseille I'emploi d'un conduit flexible. Un
conduit flexible peut susciter une retro-pression et des
turbulences de I'air, ce qui reduit considerablement la
performance.
IMPORTANT : Observer les dispositions de tousles codes et
r6glements en vigueur. Conserver les instructions d'installation
pour consultation par I'inspecteur des installations electriques.
C'est au client qu'incombe la responsabilite de contacter un
electricien qualifie et de veiller ace que I'installation electrique
soit adequate et realisee en conformite avec les prescriptions de
la plus recente edition de la norme National Electrical Code,
ANSl/NFPA 70, ou de la norme CSA C22.1-94, Code canadien de
I'electricite, partie 1 et C22.2 N° 0-M91, et de tousles codes et
r_glements Iocaux en vigueur.
Si les codes le permettent et si on utilise un conducteur distinct
de liaison a la terre, il est recommande qu'un electricien qualifie
verifie la qualite de la liaison a la terre.
Pour obtenir un exemplaire de la norme des codes ci-dessus,
contacter :
National Fire Protection Association
One Batterymarch Park, Quincy, MA 02269
CSA International
8501 East Pleasant Valley Road
Cleveland, OH 44131-5575
• L'appareil dolt _tre alimente par un circuit de 120 V, 60 Hz,
CA seulement, 15 amperes, protege par fusible.
• Ne pas utiliser une tuyauterie de gaz pour le raccordement
la terre.
• En cas de doute quanta la qualite de la liaison a la terre de la
hotte de la cuisiniere, consulter un electricien qualifie.
• Ne pas installer un fusible dans le conducteur neutre ou le
conducteur de liaison a la terre.
•La hotte dolt _tre raccordee au reseau electrique uniquement
avec des conducteurs de cuivre.
La hotte dolt _tre raccordee directement au coupe-circuit
avec fusible ou au disjoncteur par I'intermediaire de c&ble
conducteurs de cuivre, a blindage metallique flexible ou
gaine non-metallique.
• Le calibre des conducteurs (cuivre seulement) et les
connexions doivent _tre compatibles avec la demande de
courant de I'appareil specifiee sur la plaque signaletique.
Le calibre des conducteurs dolt satisfaire les exigences de la
plus recente edition de la norme National Electrical Code,
ANSI/NFPA 70, ou de la norme CSA C22.1-94, Code
canadien de I'electricite, partie 1 et C22.2 N° 0-M91 et de
tousles codes et reglements en vigueur.
• Un serre-c&ble de 1/_,,(12,7 mm) (homologation UL ou CSA)
dolt _tre installe & chaque extremite du c_ble d'alimentation
(sur la hotte et sur le boftier de distribution).
17

INSTRUC£IONS DqNSTALLATION
Instructions g6n6rales
Installation avec d6charge &I'ext6rieur :
Executer les decoupages necessaires dans lemur pour le
passage des conduits.
IMPORTANT : Veiller & installer le circuit d'evacuation avant
d'entreprendre I'installation de la hotte.
Installation avec recyclage :
Un circuit d'evacuation (non fourni) qui decharge I'air aspire dans
la piece, a travers le soffite ou a travers le sommet du placard, est
necessaire. Utiliser I'ensemble de recyclage numero 4396565.
Pour I'information de commande, voir "Assistance ou service".
IMPORTANT : Dans le cas de la decharge de I'air & travers le
sommet du placard, veiller & ne pas terminer le conduit de
decharge dans un espace ferme comme un grenier ou une cavite
fermee sous le soffite.
Dans le cas de la decharge de I'air & travers le soffite, placer le
circuit d'evacuation a utiliser sur le raccord de sortie, mais sans
deja le fixer.
REMARQUE :On peut placer le conduit d'evacuation de telle
maniere qu'il decharge I'air aspire par I'avant du soffite, ou par
I'une des extremit6s laterales du soffite.
D6charge &travers le soffite
2=
Placer le circuit d'evacuation & utiliser sur le raccord de
sortie, mais sans deja le fixer.
REMARQUE :On peut placer le conduit d'evacuation de telle
maniere qu'il decharge I'air aspire par I'avant du soffite, ou
par I'une des extremites laterales du soffite.
Relever la dimension "A" (entre le sommet de la hotte et I'axe
central du conduit de diametre 6" [15,2 cm]). Reporter la
distance "A" sur le soffite.
D6charge _travers le sommet du placard
1. Marquer I'emplacement ou la grille de sortie sera installee au
sommet du placard; et decouper une ouverture de dia.
6" (15,2 cm) pour la grille de sortie.
C
B
A. Circuit d'#vacuation
B. Emplacement de la
grille de sortie
C. Sommet du placard
D. Plafend ou soffite
E. Hotte
IMPORTANT : Ne pas terminer le conduit de decharge dans
un espace ferme comme un grenier ou une cavite fermee
sous le soffite.
Installations avec decharge a I'exterieur : on recommande
d'installer le circuit d'evacuation avant d'entreprendre
I'installation de la hotte.
On ne dolt couper un poteau de colombage ou une solive
que si c'est absolument necessaire. S'il est necessaire de
couper un poteau ou une solive, on devra construire une
structure de support appropriee.
Avant d'ex_cuter les decoupages, verifier la disponibilite d'un
espace de passage suffisant dans le plafond ou lemur pour
le conduit d'evacuation.
Verifier que toutes les pieces et la bolte contenant les filtres
ont ete retirees de I'emballage.
Pr6paration
3= Relever les dimensions appropriees et decouper une
ouverture de dia. 6" (15,2 cm).
Risque du poids excessif
UtHiser deux ou plus de personnes pour dep_acer et
installer _acuisiniere.
Le nomrespect de cette instruction peut causer
une Meesure au dos ou d'autre blessure.
m
1. Si possible, deconnecter la cuisiniere des circuits d'electricite
et/ou de gaz et deplacer la cuisiniere autonome ou encastree
hors de son espace d'installation entre les placards pour
faciliter I'acces au mur arriere.
18

2. 8. Percer un trou de 11/4"(3,2 cm) pour le passage du c&ble
d'alimentation.
Selectionner une surface plane pour I'assemblage de la
hotte. Lors de I'assemblage, recouvrir cette surface avec un
materiau de protection - couverture ou feuille de carton. sudace de montage
Risque du poide excessif
UtiJiser deu× ou pmuede personnee pour d_piacer et
installer Ja hotte de la cuisiniereo
Le non-respect de cette instruction peut causer
une bmessure au dos ou d"autre bJeseure.
3. Faire intervenir 2 personnes ou plus pour soulever la hotte
pour la placer sur la surface prot6gee.
4. Placer la hotte sur sa face arriere pour enlever les filtres
metalliques. Faire tourner le bouton dans le sens antihoraire
et soulever pour enlever les filtres.
5=
6.
Retirer le paquet de pieces de quincaillerie.
Ajouter des tringles d'appui en bois selon le besoin, sur le
fond du placard. Percer des avant-trous de 4 3A6"(4,8 mm)
pour les vis de montage de la hotte.
13 _" (34,3 cm) -modeUe de 30" (76,2 cm)
16 1/2"(41,9 cm) ° modeUe de 36" (91,4 cm)
i
i I'
i_a×e central 09j%,
_\ i Prll _(26,8ore)
(seuRement pgur un tour trous de (2,2 ore}
pBacardmural avec %d' (94,8 ram)
fond enmtra_)
7. Percer un trou de diametre de 61/2'' (16,5 cm) dans le fond du
placard - voir I'illustration.
tour 4" (10,2 cm)
du c_ble d'alimentation
travers le tour
9. Placer le c&ble d'alimentation a travers le trou conformement
aux prescriptions des normes et codes en vigueur - National
Electrical Code ou normes CSA, codes et reglements Iocaux.
II faut que la Iongueur du c&ble d'alimentation soit suffisante
entre le c_ble de distribution et la hotte pour qu'il soit facile
de realiser les raccordements dans le boitier de connexion de
la hotte.
10. Utiliser un calfeutrant pour assurer I'etancheite au niveau de
chaque ouverture decoup6e.
IMPORTANT : Ne pas mettre le systeme sous tension avant
d'avoir completement termine I'installation.
3=
4.
5.
6.
7.
8.
Risque du poids excessif
Utiiiser deux ou pmus de pereonnes pour d_placer et
installer mahotte de macuieini_re.
Le non-respect de cette instruction peut causer
une blessure au dos ou d"autre bJessure.
Oter le couvercle du boftier de connexion (paroi arriere de la
hotte). Avec un tournevis a lame plate, enlever I'opercule
arrachable du trou de passage du c&ble.
Installer le serre-c&ble sur le trou veiller ace qu'il soit facile
de visser les vis de bridage a I'interieur de la hotte. Placer la
hotte en appui sur sa surface inferieure.
Si la bouche de decharge murale ou sur toit ne comporte pas
de clapet anti-reflux, installer le clapet anti-reflux sur
I'ouverture de sortie au sommet de la hotte - utiliser 2 petites
vis du sachet de pieces de quincaillerie.
Placer les vis de montage de la hotte a proximite des trous
perces dans le fond du placard.
Soulever la hotte jusqu'a sa position de service tout en
enfilant le c&ble & travers le serre-c&ble.
Inserer les vis darts les trous de passage et commencer &
visser les vis dans la hotte. Ensuite, bien serrer les vis.
Connecter le circuit d'evacuation - pour decharge &
I'exterieur ou pour recyclage - sur la hotte.
Assurer I'etancheite des jointures avec du ruban adhesif pour
conduits,
Pour une installation avec recyclage, installer la grille de
sortie fournie avec I'ensemble de recyclage numero 4396565
sur I'ouverture de decharge du soffite ou au sommet du
placard.
19

Risque de cboc electrique
Deconnecter la source de courant eiectrique avant
Fentretien,
Replacer pieces et panneaux avant de faire la remise
en rnarcbe.
Le noR=respect de ces instructions peat causer
un deces ou un choc electriqueo
1. Deconnecter la source de courant _lectrique au niveau du
disjoncteur ou du circuit a fusibles.
2. Darts le bottler de connexion de la hotte, connecter ensemble
le conducteur blanc du c&ble d'alimentation et le conducteur
blanc de la hotte, avec un connecteur de fil.
3. Darts le bottler de connexion de la hotte, connecter ensemble
le conducteur noir du c&ble d'alimentation et le conducteur
noir de la hotte, avec un connecteur de ill.
5. Serrer les vis du serre-c&ble.
6. Reinstaller le couvercle du boftier de connexion.
Seulement pour I'installation avec recyclage : installer les
filtres a charbon fournis avec I'ensemble de recyclage
numero 4396565. Placer le filtre a charbon contre la grille du
ventilateur et effectuer une rotation darts le sens horaire pour
fixer le filtre sur la grille. Repeter pour I'autre filtre a charbon.
A....
A. Ffltre
Reinstaller le filtre metallique. Faire tourner le bouton du filtre
metallique dans le sens horaire pour le fixer sur la hotte.
Risque de choc emectrique
Relier meventHateur ama tewe.
Brancber le fil relie a Baterre ama vis verte retiee la terre
darts la bo_te de la borne.
Le non-respect de cette instruction peat causer
an deces ou un choc eiectrique.
4. Connecter le conducteur vert de liaison a la terre a la vis verte
de liaison a la terre inutilisee.
C
A..................
A. Vis verte de liaison b la terre D. Connecteur de fil
B. Cgble de la hotte E. Conducteurs noirs
C. Conducteurs blancs F. Cgble d'alimentation _lectrique
1.
2.
Mettre I'appareil sous tension pour v6rifier le bon
fonctionnement de la hotte.
Les commandes sont situees sous la hotte, du c6te droit.
A. Commandes
B. Filtres
3. Pousser le commutateur d'eclairage a la position "1". La
lampe devrait s'allumer.
4. Pousser le commutateur du ventilateur a la position "1". Le
ventilateur devrait fonctionner.
5. Placer le selecteur de vitesse du ventilateur a la position "1"
pour la basse vitesse, & la position "2" pour la vitesse
moyenne ou a la position "3" pour la haute vitesse.
6. Pour commander I'arr_t du ventilateur et I'extinction des
lampes, placer les commutateurs a la position "0".
7. Si la hotte ne fonctionne pas, determiner si le circuit est
correctement alimente (disjoncteur ouvert ou fusible grille?).
Interrompre I'alimentation electrique du circuit et verifier que
le c&blage est correct.
REMARQUE : Pour pouvoir tirer le plus grand parti de la hotte de
cuisiniere, lire la section "Utilisation de la hotte de cuisiniere".
2O

UTILISATION DE LA HOTTE DE CUISINIERE
La hotte de cuisiniere est congue pour extraire fumee, vapeurs de
cuisson et odeurs au-dessus de la table de cuisson. Pour obtenir
les meilleurs resultats, mettre le ventilateur de la hotte en marche
avant d'entreprendre une cuisson, et laisser le ventilateur
fonctionner pendant plusieurs minutes apres I'achevement d'une
cuisson pour pouvoir evacuer de la cuisine toute trace d'odeur
de cuisson, vapeur ou fumee.
Les commandes sont situees sous la hotte, du c6te droit.
A
Commande du luminaire
1. Placer le commutateur d'eclairage & la position "1" pour
commander I'allumage.
2. Placer le commutateur d'eclairage a la position "0" pour
commander I'extinction.
Utilisation du ventilateur
1. Placer le commutateur du ventilateur a la position "1" pour
commander la mise en marche du ventilateur. Le ventilateur
commencera a fonctionner a la vitesse deja selectionnee par
le selecteur de vitesse.
2. Placer le commutateur du ventilateur a la position "0" pour
commander I'arr_t du ventilateur.
R6glage du ventilateur
C D
A. Commandes
B. Commutateur d'6clairage
C. Commutateur du ventilateur
D. S61ecteur de vitesse du ventilateur
Le selecteur de vitesse du ventilateur comporte 3 positions.
Placer le bouton a la position "1" pour la basse vitesse, a la
position "2" pour la vitesse moyenne ou a la position "3" pour la
haute vitesse.
ENTRETIEN DE LA HOTTE DE CUISINIERE
Remplacement d'une lampe &halog_ne.
L'eclairage sous la hotte est assure par des lampes a halogene
(12 volts 20 watts).
Interrompre I'alimentation electrique de la hotte et laisser les
lampes refroidir.
Ne pas toucher une lampe & halogene & mains nues. Remplacer
la lampe en utilisant un chiffon pour la manipulation ou en portant
des gants en coton. Pour le remplacement :
1. Deconnecter la source de courant electrique.
2. 0ter les 2 vis de fixation de la garniture metallique circulaire
de la lampe.
3. Tirer vers le bas I'ensemble garniture/lampe suffisamment
pour qu'il soit possible de degager la lampe de ses agrafes
de retenue.
A........................._ ...................A
A. Retirer 2vis
B. Tirer vers le bas I'ensemble garniture/larnpe
4. Inserer la lampe neuve dans les agrafes de la douille;
repousser I'ensemble garniture/lampe vers le haut dans
hotte.
5. Reinstaller les 2 vis.
6. Reconnecter la source de courant electrique.
Surfaces externes :
Ne pas utiliser de tampon de laine d'acier ni de tampon de
recurage savonneux. Frotter dans la direction des lignes du grain
pour ne pas deteriorer la surface.
Toujours secher par essuyage pour eviter de laisser des marques
d'eau.
• Nettoyant et poli pour acier inoxydable.
• Detergent liquide doux et eau.
• Frotter avec un chiffon doux humidifie ou une eponge non
abrasive, puis rincer avec de I'eau propre et secher par
essuyage.
21

Filtres m6talliques :
Pour une installation avec decharge & I'exterieur, employer les
2 mains pour enlever les filtres. Faire tourner le bouton dans le
sens antihoraire pour liberer le filtre. Repeter pour I'autre filtre.
Laver le filtre metallique selon le besoin au lave-vaisselle ou avec
une solution de detergent chaude.
Reinstaller le filtre en pla_ant le bord arriere dans la rainure
I'arriere de la hotte. Pousser le filtre pour la mise en place; faire
tourner le bouton dans le sens horaire pour la fixation sur la
hotte. Rep6ter pour I'autre filtre.
D6pose des vieux filtres a charbon :
1. Faire pivoter le filtre dans le sens antihoraire et ecarter pour le
separer de la grille du ventilateur; jeter les vieux filtres.
Repeter pour I'autre filtre.
A. Filtre
2=
3.
Placer le filtre a charbon contre la grille du ventilateur; faire
pivoter dans le sens horaire pour fixer le filtre sur la grille.
Reinstaller le filtre metallique; ins@er le bord arriere dans la
rainure a I'arriere de la hotte. Pousser le filtre vers le haut pour
la mise en place; faire tourner le bouton dans le sens horaire
pour la fixation sur la hotte. Repeter pour I'autre filtre.
Des ensembles d'installation facultatifs sont disponibles chez le
revendeur.
Ensemble de recyclage piece numero 4396565 comprenant
2 filtres a charbon et le cache-conduit.
Filtres pour installation avec recyclage :
Pour les installations avec recyclage, laver les filtres metalliques
selon le besoin au lave-vaisselle ou avec une solution de
detergent chaude.
Ne pas laver les filtres a charbon; remplacer avec le filtre de
I'ensemble de recyclage numero 4396565.
ASSISTANCE OU SERVICE
Avant de faire un appel pour assistance ou service, consulter la
section "Depannage". Ce guide peut vous faire economiser le
coot d'une visite de service. Si vous avez encore besoin d'aide,
suivre les instructions ci-dessous.
Lors d'un appel, veuillez connaftre la date d'achat, le num@o de
modele et le num@o de serie au complet de I'appareil. Ces
renseignements nous aideront a mieux repondre a votre
demande.
Si vous avez besoin de pi6ces de rechange
Si vous avez besoin de commander des pieces de rechange,
nous vous recommandons d'employer uniquement des pieces
sp6cifiees par I'usine. Les pieces specifiees par I'usine
conviendront et fonctionneront bien parce qu'elles sont
fabriquees avec la m_me precision que celles utilisees dans la
fabrication de chaque nouvel appareil KITCHENAID ®.
Pour Iocaliser des pieces specifiees par I'usine dans votre region,
contactez-nous ou appelez le centre de service designe de
KitchenAid le plus proche.
Veuillez appeler sans frais le Centre d'interaction avec la clientele
de KitchenAid Canada au : 1-800-807-6777.
Nos consultants vous renseigneront sur les sujets suivants :
• Caracteristiques et specifications sur toute notre gamme
d'appareils electromenagers.
• Utilisation et consignes d'entretien.
• Ventes d'accessoires et pieces de rechange.
Ref@ences aux marchands Iocaux, aux distributeurs de
pieces de rechange et aux compagnies de service. Les
techniciens de service designes par KitchenAid Canada sent
formes pour remplir la garantie des produits et fournir un
service apres la garantie, partout au Canada.
Pour plus d'assistance
Si vous avez besoin de plus d'assistance, vous pouvez
soumettre par ecrit toute question ou preoccupation
KitchenAid Canada a I'adresse suivante :
Centre d'interaction avec la clientele
KitchenAid Canada
1901 Minnesota Court
Mississauga, Ontario L5N 3A7
Veuillez inclure darts votre correspondance un num@o de
telephone 0(4 I'on peut vous joindre dans la journee.
22

GARANTIE DU SYSTEME DE VENTILATION KITCHENAID ®
GARANTIE LIMITC:E DE UN AN
Pendant un an & compter de la date d'achat, Iorsque ce gros appareil menager est utilise et entretenu conformement aux instructions
jointes a ou fournies avec le produit, KitchenAid ou KitchenAid Canada (ci-apres designees "KitchenAid") paiera pour les pieces
specifiees par I'usine et la main-d'oeuvre pour corriger les vices de materiaux ou de fabrication. Le service doit _tre fourni par une
compagnie de service designee par KitchenAid.
KITCHENAID NE PRENDRA PAS EN CHARGE
1. Les visites de service pour rectifier I'installation du gros appareil menager, montrer a I'utilisateur comment utiliser I'appareil,
remplacer ou reparer des fusibles ou rectifier le c&blage ou la plomberie du domicile.
2. Les visites de service pour reparer ou remplacer les ampoules electriques de I'appareil, les filtres a air ou les filtres a eau. Ces
pieces consomptibles ne sent pas couvertes par la garantie.
3. Les reparations Iorsque le gros appareil menager est utilise a des fins autres que I'usage unifamilial normal.
4. Les dommages imputables a : accident, modification, usage impropre ou abusif, incendie, inondation, actes de Dieu, installation
fautive ou installation non conforme aux codes d'electricite ou de plomberie, ou I'utilisation de produits non approuves par
KitchenAid.
5. Le coot des pieces de rechange et de la main-d'oeuvre pour les appareils utilises hors des Ctats-Unis ou du Canada.
6. Le ramassage et la livraison. Ce gros appareil menager est cont_u pour _tre repare a domicile.
7. Les reparations aux pieces ou systemes resultant d'une modification non autorisee faite a I'appareil.
8. Les frais de voyage ou de transport pour le service d'un produit dans les regions eloign_es.
9. La d_pose et la reinstallation de votre appareil si celui-ci est installe dans un endroit inaccessible ou n'est pas installe
conformement aux instructions d'installation fournies.
CLAUSE D'EXONCRATION DE RESPONSABILIT¢ AU TITRE DES GARANTIES IMPLICITES; LIMITATION DES RECOURS
LE SEUL ET EXCLUSIF RECOURS DU CLIENT DANS LE CADRE DE LA PR¢SENTE GARANTIE LIMITI2E CONSISTE EN LA
REPARATION PRC:VUE CI-DESSUS. LES GARANTIES IMPLICITES, Y COMPRIS LES GARANTIES APPLICABLES DE QUALIT¢
MARCHANDE ET D'APTITUDE _, UN USAGE PARTICULIER, SONT LIMITC:ES A UN AN OU A LA PLUS COURTE PC:RIODE AUTORISC:E
PAR LA LOI. KITCHENAID N'ASSUME AUCUNE RESPONSABILIT¢ POUR LES DOMMAGES FORTUITS OU INDIRECTS. CERTAINES
JURIDICTIONS NE PERMETTENT PAS L'EXCLUSION OU LA LIMITATION DES DOMMAGES FORTUITS OU INDIRECTS, OU LES
LIMITATIONS DE LA DURI2E DES GARANTIES IMPLICITES DE QUALIT¢: MARCHANDE OU D'APTITUDE A UN USAGE PARTICULIER,
DE SORTE QUE CES EXCLUSIONS OU LIMITATIONS PEUVENT NE PAS S'APPLIQUER DANS VOTRE CAS. CETTE GARANTIE VOUS
CONFI_RE DES DROITS JURIDIQUES SP¢CIFIQUES ET VOUS POUVEZ CGALEMENT JOUIR D'AUTRES DROITS QUI PEUVENT
VARIER D'UNE JURIDICTION A UNE AUTRE.
/_,I'exterieur du Canada et des 5012tats des €:tats-Unis, cette garantie ne s'applique pas. Contacter votre marchand KitchenAid autorise
pour determiner si une autre garantie s'applique.
Si vous avez besoin de service, voir d'abord la section "Depannage" du Guide d'utilisation et d'entretien. Apres avoir verifie la section
".D_pannage", de I'aide supplementaire peut _tre trouvee en verifiant la section "Assistance ou service" ou en appelant KitchenAid. Aux
E.-U., composer le 1-800-422-1230. Au Canada, composer le 1-800-807-6777. 9/05
Conservez ce manuel et votre regu de vente ensemble pour
r6ference ult6rieure. Pour le service sous garantie, vous
devez pr6senter un document prouvant la date d'achat ou
d'installation.
Inscrivez les renseignements suivants au sujet de votre gros
appareil menager pour mieux vous aider a obtenir assistance ou
service en cas de besoin. Vous devrez connaftre le num_ro de
modele et le numero de serie au complet. Vous trouverez ces
renseignements sur la plaque signaletique situee sur le produit.
Nora du marchand
Adresse
Num_ro de t616phone
Num_ro de module
Num6ro de s6rie
Date d'achat
23

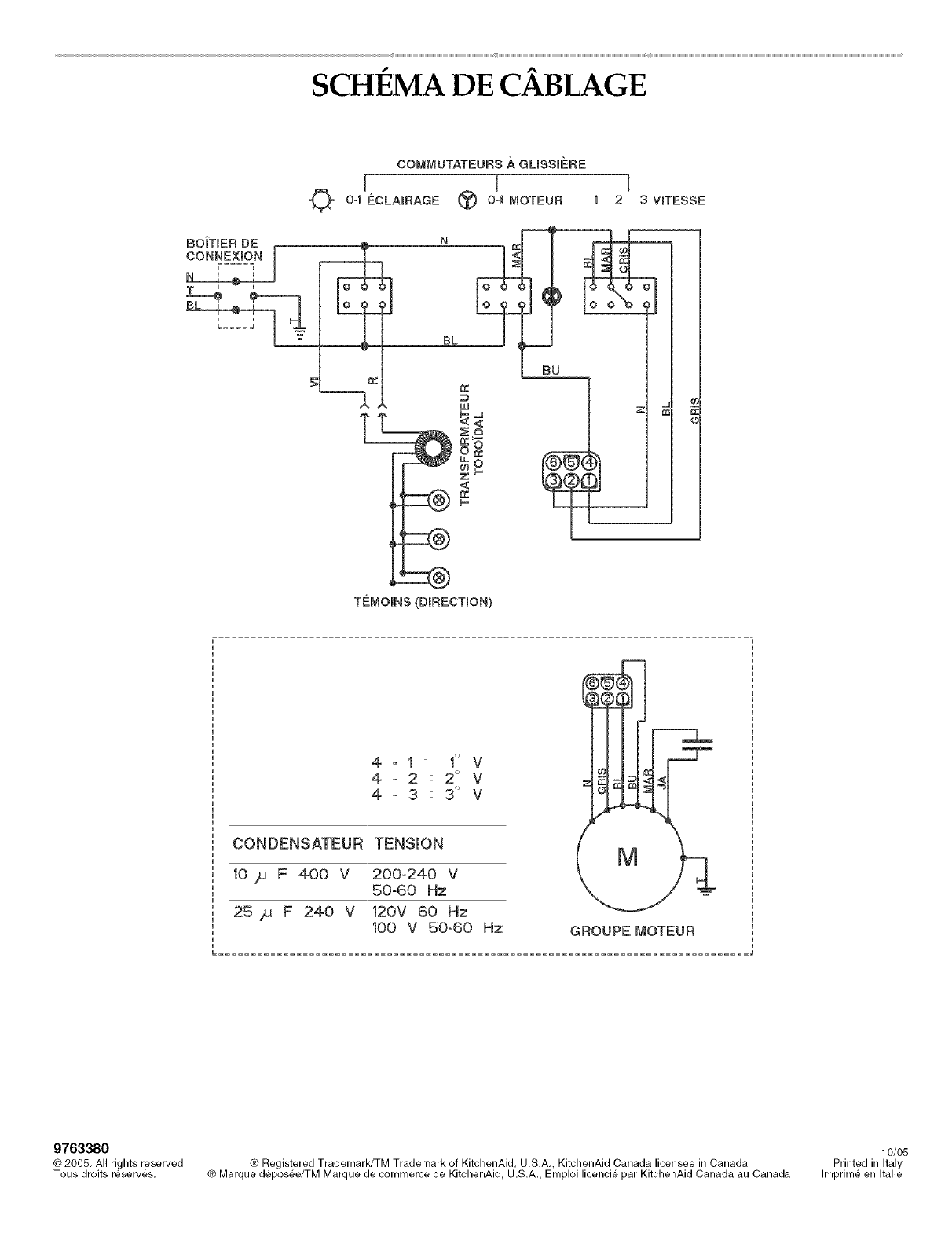
P A
SCHEMA DE CABLAGE
COM_UTATEURS _, GUSSet:RE
O" o_,EcL,_I_A_® o=,_oT_o__ _vr_
BL
#J
¢00
Z p,,,,
<[
t'¢'
E
d}
!_
TE_OINS (D_RECT_ON)
4-1 1' V
4=2 2" V
4- 3 3' V
CONDENSATEUR TENSION
10 # F 400 V 200-240 V
50°60 Hz
252J F 240 V 120V 60 Hz
100 V 50°60 Hz
03
GROUPE MOTE[JR
9763380
© 2005, All rights reserved. ® Registered Trademark/TM Trademark of KitchenAid, U.S.A., KitchenAid Canada licensee in Canada
Tous droits r_serves. ® Marque depos_e/TM Marque de commerce de KitchenAid, U.S.A., Emploi licencie par KitchenAid Canada au Canada
10/05
Printed in Italy
Imprime en Italie