LG Electronics USA F31GDA Refrigerator User Manual EMISSION TEST REPORT
LG Electronics USA Refrigerator EMISSION TEST REPORT
Contents
- 1. User Manual 1
- 2. User Manual 2
- 3. User Manual 3
- 4. User Manual 4
User Manual 3

24 MODE D’EMPLOI
FRANÇAIS
4 Tiroir automatique
Lorsque la fonction de tiroir automatique est
activée, les tiroirs du congélateur s’ouvrent
automatiquement lorsque la porte du
congélateur est ouverte. Les tiroirs se referment
automatiquement lorsque la porte du congélateur
se referme.
Réglage de la fonction du tiroir
automatique
Appuyez sur Tiroir automatique pour activer ou
désactiver la fonction. Lorsque la fonction est
activée, une icône s’affiche à l’écran.
Utilisation du tiroir automatique
Ouvrez la porte du congélateur au moins
à 85 degrés pour que les tiroirs s’ouvrent
automatiquement. Refermez la porte lentement
pour refermer automatiquement les tiroirs.
5 Réfrigérateur/alarme de la porte
Réfrigérateur
Indique la température déterminée du
y
compartiment du réfrigérateur en degrés
Celsius (°C) ou en degrés Fahrenheit (°F).
La température du réfrigérateur doit être
maintenue dans un écart variant entre 1
°C à 8 °C (30 °F à 46 °F). La température
recommandée du compartiment du
réfrigérateur est de 3 °C (37 °F).
2. Passez un pied devant le capteur de
mouvement et marchez sur le texte affiché.
La porte de droite s’ouvre. Si la porte s’ouvre
à moins de 20 degrés et ne s’ouvre pas
plus, il se refermera après 3 secondes.
Plus de 85°
REMARQUE
Le texte affiché peut être illisible
y
sur certains types de revêtement de
plancher mais cela n’affectera pas le
rendement de la fonction de porte
automatique.
Si le type de revêtement au sol est très
y
réfléchissant (métal, tuile de verre),
le capteur de mouvement peut mal
fonctionner et la fonction de porte
automatique ne fonctionnera pas
adéquatement.
Les objets réfléchissants placés en avant
y
du capteur de mouvement peuvent
provoquer l’affichage du texte mais le
texte disparaît si aucun mouvement n’est
détecté.
ATTENTION
Ne forcez pas pour pousser ou tirer les
y
tiroirs du congélateur.
Ne frappez pas la porte du congélateur
y
pendant que les tiroirs sont ouverts.
Le non-respect de ces avertissements
peut causer des blessures graves ou
endommager l’appareil.
REMARQUE
Désactivez la fonction de la porte
automatique si vous avez de jeunes
enfants ou des personnes à capacités
cognitives réduites dans la résidence.
Ils pourraient se blesser si les portes
s’ouvrent soudainement alors qu’ils sont
à proximité de la porte.
ATTENTION
Placez un pied à proximité du capteur
de sorte que le texte apparaisse
dans la partie supérieure du pied, pas
uniquement sur les orteils.

25
MODE D’EMPLOI
FRANÇAIS
Alarme de la porte
Le son de l’alarme est déclenché lorsque la
y
porte du réfrigérateur est maintenue ouverte
pendant plus de 60 secondes.
Pour arrêter l’alarme, fermez les portes.
y
L’alarme de la porte est active par défaut. Pour
y
désactiver l’alarme de la porte, appuyez et
maintenez l’alarme de la porte pendant trois
secondes.
6 Congélateur
Indique la température déterminée du
compartiment du congélateur en degrés Celsius
(°C) ou en degrés Fahrenheit (°F). La température
du congélateur doit être maintenue dans un écart
variant entre -21 °C et -13 °C (-6 °F et 8°F). La
température recommandée du compartiment du
congélateur est de -18 °C (0 °F).
Pour modifier le mode de température de °F
à °C (et vice versa), appuyez et maintenez les
boutons de température du réfrigérateur ou
du congélateur simultanément pendant cinq
secondes approximativement. L’indication de la
température sur la fenêtre de l’écran alternera
entre Celsius et Fahrenheit.
7 Filtre de remplacement
Le filtre à air aide à l’élimination des odeurs dans
le réfrigérateur. Le filtre à air dispose de deux
réglages : Automatique et Alimentation (PWR).
En mode Auto, le filtre à air suivra des cycles
de marche/arrêt dans un ordre de 10 minutes
de marche pour 110 minutes d’arrêt. En mode
Alimentation (Power : PWR), le filtre à air restera
en marche en continu durant 4 heures suivant
des cycles de marche/arrêt dans un ordre de
10 minutes de marche pour 5 minutes d’arrêt.
Après quatre heures, le filtre à air se mettra
automatiquement en mode Auto.
Appuyez sur le bouton Filtre à air (Fresh Air
y
Filter) une fois en mode Alimentation (Power
: PWR).
Appuyez une nouvelle fois sur le bouton Filtre
y
à air (Fresh Air Filter) pour retourner en mode
Auto.
8 Glaçons (Ice Plus)
La fonction Glaçons (Ice Plus) augmente à la
fois la fabrication de glace et la capacité de
congélation.
Appuyez sur l’option Glaçons (Ice Plus) et
y
l’icône s’affiche à l’écran et active la fonction
pendant 24 heures. Après 24 heures, l’icône
et la fonction s’éteignent automatiquement.
Pour désactiver cette fonction manuellement,
y
appuyez sur l’option Glaçons (Ice Plus) de
nouveau.
9 Affichage
Cet écran indique l’état actuel du réfrigérateur.
Appuyez sur n’importe quel bouton pour afficher
les paramètres actuels de cette fonction.
Pour allumer l’affichage intérieur, ouvrez la
y
porte du réfrigérateur ou du congélateur, ou
frapper deux fois sur Knock-On Door-in-Door
pour activer l’éclairage DEL intérieur.
L’affichage intérieur s’éteint
y
automatiquement pendant cinq secondes
après que toutes les portes soient fermées,
ou cinq secondes après avoir frappé deux
fois sur Knock-On Door-in-Door pour
éteindre l’éclairage DEL.
Les boutons d’affichage intérieurs
y
fonctionnent en utilisant l’électricité statique.
Portez des gants de protection lors du
nettoyage pour éviter d’activer les fonctions
des boutons.
Maintenez l’afficheur propre et loin de
y
substances étrangères. La peau doit entrer
en contact directement sur les boutons pour
qu’ils fonctionnent adéquatement.
Essuyez toute humidité à l’écran avant de
y
l’utiliser. L’humidité présente sur l’écran
peut interférer avec le fonctionnement des
boutons.
Utilisation de l’affichage intérieur
REMARQUE
La température affichée est la
température cible et non la température
actuelle du réfrigérateur. La température
actuelle du réfrigérateur dépend des
aliments présents dans le réfrigérateur.

26 MODE D’EMPLOI
FRANÇAIS
Fonctions intelligentes
Pour utiliser les fonctions intelligentes sur votre réfrigérateur, vous avez besoin des appareils et
applications suivants :
1. un routeur sans fil et un réseau Wi-Fi domestique ;
2. le réfrigérateur LG Smart Grid
3. un téléphone intelligent sous Android ;
4. l’application LG Smart Refrigerator de Google Play Store.
Configuration de l’application Smart et connexion du réfrigérateur
1 Créez un compte sur Smart ThinQ.
http://us.smartthing.com/
Vous devez utiliser le nom d’utilisateur et le
mot de passe de ce compte dans l’application
de votre téléphone intelligent.
2 Téléchargez l’application dans votre téléphone
intelligent depuis le Google Play Store
(Application LG Smart Refrigerator)
3 Dans l’application, sélectionnez Smart
Model(Modèle Smart).
4 Connectez-vous à l’application en utilisant
votre nom d’utilisateur et votre mot de passe,
créés à l’étape 1.
5 Lorsque cela vous est demandé, sélectionnez
le Non Touch Screen Model (Modèle sans
écran tactile).
6 Choisissez votre routeur sans fil domestique
dans la liste des routeurs de l’application.
Votre réfrigérateur et votre téléphone
intelligent doivent tous les deux être
connectés au même réseau Wi-Fi.
7 Si nécessaire, entrez le mot de passe
de votre routeur et cliquez sur le bouton
Connect (Connexion) de l’application.
8 Assurez-vous que l’affichage du
réfrigérateur est actif en pressant un des
boutons. Maintenez le bouton Smart
Grid enfoncé sur le réfrigérateur pendant
3 secondes. La LED Connect clignote
pendant que la connexion s’effectue.
9 L’application se charge automatiquement
d’effectuer le processus d’enregistrement
de votre produit sur le réseau, en utilisant
les informations que vous lui avez fournies.
Cela peut prendre quelques minutes.
La LED Connect continue de clignoter
pendant le processus.
Lorsque l’enregistrement est effectué,
un message s’affiche et l’application vous
redirige sur l’écran d’accueil.
10 Vérifiez que la LED Connect est allumée
pour confirmer que le réseau Wi-Fi est
connecté. Vous pouvez maintenant utiliser
l’application pour gérer les fonctions Smart
de votre réfrigérateur.
REMARQUE
Pour pouvoir utiliser la fonction de réseau électrique intelligent, vous devez également vous
inscrire au service de gestion de la demande du réseau électrique intelligent auprès de votre
compagnie d’électricité. Sous réserve que cette dernière propose ce service.
REMARQUE
Vous devez connecter le réfrigérateur à
internet à l’aide d’un routeur sans fil sur
votre réseau domestique. La connexion à un
téléphone mobile, une borne d’accès ou un
réseau non protégé, par exemple, entraînera
une instabilité des fonctionnalités.

27
MODE D’EMPLOI
FRANÇAIS
Fonctionnalités de l’application LG
Smart Refrigerator
Gestionnaire des aliments
Vous permet d’effectuer le suivi des aliments
présents dans votre réfrigérateur et votre
congélateur, pour être averti lorsqu’ils approchent
de la date limite de consommation, générer
des listes de courses et obtenir des recettes
associées.
Recettes
Présente des recettes issues de la chaîne de
télévision Food Channel, que vous pouvez
explorer par ingrédient, plat, type de cuisine,
durée totale requise et aliments de votre
réfrigérateur (s’ils sont enregistrés dans le
gestionnaire des aliments).
Établit automatiquement des listes de courses à
partir des recettes choisies.
Courses
Établit et gère les listes de courses à partir des
aliments présents dans votre réfrigérateur ou de
recettes.
Gestionnaire du réfrigérateur
Vous permet de contrôler les réglages de
température du réfrigérateur et du congélateur,
le filtre à air, le filtre à eau, la fonction Ice Plus, le
mode Économies intelligentes et le contrôle de la
consommation d’énergie depuis votre téléphone
intelligent.
Diagnostic intelligent
Vous permet de diagnostiquer et résoudre les
problèmes avec votre réfrigérateur.
Réglages
Vous permet de définir différentes options sur le
réfrigérateur et dans l’application.
Fonction Smart Grid
Lorsque le réfrigérateur est en mode Smart Grid,
la fonction réfrigérateur intelligent peut contrôler
l’utilisation de l’énergie ou retarder la mise en
marche de certaines fonctions afin d’économiser
l’énergie lors des périodes de pointe.
Vous pouvez annuler la fonction Smart Grid en
y
tout temps, soit par le bouton Smart Grid ou
une application.
Pour utiliser la fonction Smart Grid, vous
y
devez inscrire votre appareil auprès de votre
fournisseur d’électricité.
Utilisation de la fonction Smart Grid
Cette fonctionnalité répond aux notifications
envoyées par votre compagnie d’électricité pour
exécuter les tâches consommant beaucoup
d’électricité pendant les heures creuses, lorsque
la demande est moins élevée. Ces notifications
sont appelées signaux de gestion de la demande.
Si le réfrigérateur reçoit un signal de gestion de la
demande de la part de la compagnie d’électricité,
il allume le voyant “Grid” dans l’afficheur et
contrôle sa consommation d’énergie en fonction
du signal.
Le réfrigérateur répondra aux signaux reçus aussi
longtemps qu’il pourra maintenir son efficacité.
Si le réfrigérateur reçoit un signal de gestion de
la demande, il fonctionne en mode DAL (charge
différée) ou TALR (réduction temporaire de la
charge).
Retarder la charge (DAL) : Le réfrigérateur
répondra à un signal DAL en réduisant de façon
modérée la charge pour la durée de la période
indiquée.
Ce mode contrôle les fonctions énergivores telles
que l’ajustement du système de refroidissement,
le dégivrage et la fabrication de la glace
- Lorsque le réfrigérateur est en mode DAL, la
DEL Grid est allumée sur l’écran d’affichage.
- Le mode DAL est automatiquement désactivé
à la fin de la période indiquée par le signal DAL
(max. de 4 heures) ou lorsque vous annulez la
fonction Smart Grid.
Réduire temporairement la charge de l’appareil
(TALR) :
Le réfrigérateur répondra à un signal
TALR en réduisant de façon importante la charge
pour une courte période, habituellement 10
minutes.
Ce mode réduit la consommation électrique
en arrêtant le compresseur et en contrôlant les
fonctions énergivores comme le dégivrage et le
ventilateur.
- Lorsque le réfrigérateur est en mode TALR, la
DEL Grid est allumée sur l’écran d’affichage.
- Le mode TALR est automatiquement désactivé à
la fin de la période indiquée (max. de 10 minutes)
ou lorsque vous annulez la fonction Smart Grid.
Ce mode est automatiquement désactivé et
ramené à son état normal si vous ouvrez une
porte ou si le distributeur est utilisé.

28 MODE D’EMPLOI
FRANÇAIS
Fonctions intelligentes (suite)
Annulation du mode Smart Grid
Si vous voulez que le réfrigérateur ignore le signal
de gestion de la demande de votre compagnie
d’électricité, vous pouvez annuler la fonction
de réseau électrique intelligent en appuyant
sur la touche correspondante pendant que le
réfrigérateur se trouve dans ce mode.
Lorsque vous annulez la fonction de réseau
électrique intelligent, le réfrigérateur ignore le
signal de gestion de la demande et n’est plus
commandé par votre compagnie d’électricité
jusqu’au prochain envoi de signal.
Vous pouvez aussi annuler la fonction SMART
GRID en vous servant de l’application pour
téléphone intelligent.
API ouverte
API ouverte de LG
Vous pouvez gérer les fonctions SMART GRID du
réfrigérateur intelligent de LG.
Veuillez consulter la page de notification de
us.smartthinq.com pour plus de détails.
Liste des API
Réponse à la demande
- Envoyer un signal de réponse à la demande
Économie d’énergie
- Régler le mode économie
- Obtenir l’horaire (programme) de DR/retard de
dégivrage
Gérance énergétique
- Obtenir réglage de la température
- Obtenir événement porte ouverte
- Obtenir consommation d’énergie
Retarder la fonction dégivrage
- Insérer un événement de retard d’horaire
(programme) de dégivrage
- Mettre à jour un événement de retard d’horaire
(programme) de dégivrage
- Annuler et retarder un événement d’horaire
(programme) de dégivrage
- Obtenir l’horaire (programme) de retard de
dégivrage
Fonctionnalités de l’application de
réseau électrique intelligent
1 Réponse à la demande-économie intelligente
Vous pouvez diminuer la consommation
d’énergie grâce aux signaux de gestion de la
demande reçus de la compagnie d’électricité.
Si le réfrigérateur est en mode économie
intelligente selon le signal DR, vous verrez
une fenêtre apparaitre.
Économie intelligente-retarder le dégivrage
Réduire la consommation selon la période.
2 Gérance énergétique
Le réfrigérateur peut surveiller le nombre
d’ouvertures de porte et la consommation
d’énergie.
3 Contrôle à distance
Vous pouvez contrôler la température du
réfrigérateur, le filtre d’air frais et le Ice
Plus en vous servant de l’application pour
téléphone intelligent.
4 Messages Push (refermer)
- Lorsqu’une porte est ouverte pendant
plusieurs minutes, vous recevrez un
message de refermer la porte
- Lorsque le cycle Ice Plus est terminé, vous
recevrez un message de refermer.
Renseignements sur l’avis de logiciel
ouvert
Pour obtenir le code source, sous licences GPL,
LGPL, MPL et sous d’autres licences de source
ouverte, contenu dans ce produit, veuillez visiter
le site http://opensource.lge.com.
En plus du code source, tous les termes de
licence, les exclusions de garantie et les avis
de droit d’auteur mentionnés peuvent être
téléchargés.
LG Electronics fournira également le code source
ouvert sur CD-ROM, moyennant une somme
forfaitaire couvrant les coûts de distribution
(frais de support, manipulation et expédition) sur
demande reçue par courriel à opensource@lge.
com. Cette offre est valide pour trois (3) années à
compter de la date d’achat du produit.
Caractéristiques du module sans fil (LCW-003)
Plage de fréquence 2 412~2 462 MHz
Puissance de sortie
(max.)
IEEE 802.11 b : 14 dBm
IEEE 802.11 g : 15 dBm
IEEE 802.11 n : 14 dBm

29
MODE D’EMPLOI
FRANÇAIS
REMARQUE
Le fabricant n’est pas responsable des
interférences radioélectriques causées par
des modifications non autorisées apportées
à cet appareil. De telles modifications
pourraient annuler l’autorisation accordée à
l’utilisateur de faire fonctionner l’appareil.
Avis de la FCC (pour le module de
transmission compris dans ce produit)
Cet équipement a été testé et jugé conforme
aux limites relatives aux appareils numériques
de catégorie B imposées par le paragraphe 15
de la réglementation de la FCC. Ces limites sont
établies pour fournir une protection raisonnable
contre les interférences nuisibles en installation
résidentielle. Cet équipement génère, utilise et
peut diffuser de l’énergie de radiofréquences
et, s’il n’est pas installé et utilisé conformément
aux instructions, peut causer des interférences
nuisibles aux communications radio. Cependant,
il n’existe aucune garantie qu’il n’y aura pas
d’interférences dans une installation particulière.
Si cet appareil cause des interférences nuisibles à
la réception des signaux de radio ou de télévision,
ce qui peut être déterminé en allumant et en
éteignant l’appareil, l’utilisateur peut essayer de
corriger ces interférences par l’un des moyens
suivants :
- Réorienter ou déplacer l’antenne de réception.
- Augmenter la distance entre l’équipement et le
récepteur.
- Brancher l’équipement à un circuit électrique
distinct de celui qui alimente le récepteur.
- Communiquer avec le détaillant ou un technicien
radio/télé qualifié pour obtenir de l’aide.
Ce dispositif est conforme au paragraphe 15 de
la réglementation de la FCC. Son fonctionnement
est sujet aux deux conditions suivantes :
1) cet appareil ne doit pas provoquer
d’interférences nocives et
2) cet appareil doit accepter toutes les
interférences reçues, y compris celles pouvant
entraîner son dysfonctionnement.
Tout changement ou modification dans la
construction de cet appareil qui n’aura pas reçu
une approbation exprès de la partie responsable
de la conformité, peut annuler l’autorisation de
l’utilisateur à faire fonctionner l’appareil.
Énoncé de la FCC sur l’exposition aux
rayonnements RF
Cet équipement est conforme aux limites
d’exposition aux rayonnements de la FCC
établies pour un environnement non contrôlé.
Cet émetteur ne peut être colocalisé ni utilisé
conjointement avec tout autre émetteur ou
antenne.
Cet appareil doit être installé de façon à garder
une distance minimale de 20 cm (7,8 pouces)
entre l’antenne et votre corps. Les utilisateurs
doivent respecter les directives d’utilisation afin
de satisfaire aux critères en matière d’exposition
aux rayonnements RF.
Avis d’Industrie Canada
Le présent appareil est conforme aux CNR
d’Industrie Canada applicables aux appareils radio
exempts de licence. L’exploitation est autorisée
aux deux conditions suivantes :
1) l’appareil ne doit pas produire de brouillage;
2) l’utilisateur de l’appareil doit accepter tout
brouillage radioélectrique subi, même si le
brouillage est susceptible d’en compromettre
le fonctionnement.
Cet appareil numérique de la classe B est
conforme á la norme NMB-003 du Canada.
Avis d’Industrie Canada sur l’exposition
aux rayonnements
Cet appareil est conforme aux limites d’exposition
aux rayonnements d’Industrie Canada pour un
environnement non contrôlé. Cet appareil doit être
installé de façon à garder une distance minimale
de 20 cm (7,8 po) entre la source de rayonnement
et votre corps.

30 MODE D’EMPLOI
FRANÇAIS
Montage du bac à glaçons
1 Insérer doucement le bac à glaçons
à l’intérieur de la porte en l’inclinant
légèrement pour éviter tout contact avec la
machine à glaçons.
2 Éviter de toucher le capteur de détection
de glace lors du remplacement du bac à
glaçons. Voir l’étiquette sur la porte du
compartiment à glaçons pour plus de
détails.
Capteur de
détection de
glaçons
ATTENTION
Lorsque vous manipulez le bac
à glaçons, gardez vos mains
loin de la zone du plateau de la
machine à glaçons pour éviter
de vous blesser.
Utilisation du bac à glaçons
* Selon le modèle, certaines des fonctions
suivantes pourraient ne pas être disponibles.
Détachement du bac à glaçons
1 Tirer doucement la poignée pour ouvrir le
compartiment à glace.
2
Pour enlever le bac à glaçons à l’intérieur
de la porte, saisir la poignée avant, soulever
légèrement la partie inférieure, et retirer
doucement le bac comme indiqué.
ATTENTION
Retirer les mains et les outils de la porte
y
du compartiment de glace et goulotte de
distribution. L’incapacité à le faire peut
provoquer des dommages ou des blessures
personnelles.
La machine à glaçons cessera de produire
y
de la glace lorsque le bac à glace intérieur
sera plein. Si vous avez besoin de plus de
glace, vider le bac à glace dans le bac à glace
supplémantaire du compartiment congélateur.
En cours d’utilisation, la glace peut devenir
inégale, ce qui entraîne la machine à glaçons
à mal interpréter la quantité de glaçons et à
arrêter la production de glace. Secouer le bac
à glaçons au niveau de la glace à l’intérieur
pour réduire ce problème.
Stocker des boîtes de conserve ou
y
d’autres objets dans le bac à glace pourrait
endommager la machine à glaçons.
Garder la porte du compartiment à glace
y
fermée. Si la porte du compartiment de
glace n’est pas bien fermée, l’air froid dans
le bac à glaçons congèlera les aliments dans
le compartiment réfrigérateur. Cela pourrait
également entraîner la machine à glaçons à
arrêter la production de glace.
Si l’interrupteur ON/OFF sur la machine à
y
glaçons est sur OFF pendant une longue
période de temps, le compartiment à
glace se réchauffera progressivement
jusqu’à la température du compartiment
du réfrigérateur. Pour éviter que les
glaçons fondent et coulent de distributeur,
TOUJOURS vider le bac à glaçons lorsque la
machine à glaçons est sur la position Arrêt
pendant plus de quelques heures.

31
MODE D’EMPLOI
FRANÇAIS
AVERTISSEMENT
Risque de blessure
N’approchez PAS les doigts ou les mains
du mécanisme de la machine à glaçons
automatique pendant que le réfrigérateur est
branché.
Machine à glaçons automatique
* Selon le modèle, certaines des fonctions
suivantes pourraient ne pas être disponibles.
La glace est produite dans la fabrique de glace
automatique, puis envoyée au distributeur. La
fabrique de glace produit entre 50 et 80 glaçons
par période de 24 heures en fonction de la
température du compartiment congélateur,
de la température ambiante, du nombre
d’ouvertures de la porte et d’autres conditions de
fonctionnement.
Cela prend environ 12 à 24 heures pour
y
un réfrigérateur nouvellement installé de
commencer à produire de la glace. Attendre
72 heures pour que la production de glaçons
commence.
La fabrication de glaçons s’arrête lorsque la
y
réserve à glaçons intégrée à la contre-porte est
pleine. À pleine capacité, la réserve à glaçons
de la contre-porte contient environ 6 à 8 verres
de glaçons.
La présence de substances étrangères ou
y
de givre sur le dispositif d’arrêt automatique
(levier) peut interrompre la production de
glaçons. Veillez à ce que le levier reste
propre en permanence pour garantir un bon
fonctionnement.
Pour augmenter la production de glaçons,
y
utilisez la fonction Ice Plus. Cette fonction
permet d’augmenter les capacités de
congélation et de fabrication de glace.
Dispositif d’arrêt
automatique (levier)
Machine à
glaçons
Mise en marche et arrêt de la
machine à glaçons automatique
Pour allumer ou éteindre la fabrique de glace
automatique, maintenez enfoncée la touche
Marche/Arrêt de la fabrique de glace sur le
panneau de commandes pendant 3 secondes.

32 MODE D’EMPLOI
FRANÇAIS
Machine à glaçons automatique
(suite)
La première glace et l’eau distribuées peuvent
y
contenir des particules ou des odeurs
provenant de la ligne d’approvisionnement en
eau ou du réservoir d’eau.
Jetez les premiers lots de glace. Cela est
y
également nécessaire si le réfrigérateur n’a
pas été utilisé pendant une longue période.
Ne jamais stocker des cannettes de boissons
y
ou d’autres objets dans le bac à glaçons dans
le but de les refroidir rapidement. Cela pourrait
endommager la machine à glaçons ou les
récipients peuvent éclater.
Si de la glace décolorée est distribuée, vérifier
y
le filtre à eau et l’alimentation en eau. Si le
problème persiste, contactez un centre de
service après-vente qualifié. Ne pas utiliser la
glace ou l’eau jusqu’à ce que le problème soit
résolu.
Maintenir les enfants loin du distributeur. Les
y
enfants peuvent jouer avec ou endommager
les commandes du passage de glace.
Le passage de glace peut être obstrué par le
y
gel si uniquement de la glace pilée est utilisée.
Enlever le givre qui s’accumule en retirant le
bac à glaçons et dégageant le passage avec
une spatule en caoutchouc. La distribution
de glaçons peut aussi aider à prévenir
l’accumulation de givre.
Ne jamais utiliser de la verrerie ou de la
y
vaisselle en cristal pour recueillir la glace.
Ces récipients peuvent se casser ou éclater
en projetant des fragments de verre dans la
glace.
Distribuer la glace dans un verre avant de le
y
remplir avec de l’eau ou d’autres boissons.
Des éclaboussures peuvent se produire si la
glace est distribuée dans un verre qui contient
déjà du liquide.
Ne jamais utiliser un verre trop étroit ou
y
profond. Un embâcle peut se produire dans le
passage de la glace et le fonctionnement du
réfrigérateur peut être affecté.
Garder le verre à une distance appropriée de la
y
prise de glace. Un verre trop proche de la prise
peut empêcher la distribution de glace.
Pour éviter les blessures, garder les mains loin
y
de la porte et du passage de glace.
Ne jamais retirer le couvercle du distributeur.
y
Si de la glace ou de l’eau sont distribuées
y
façon inattendue, couper l’alimentation en eau
et contacter un centre de service qualifié.
ATTENTION
Quand devez-vous mettre l’interrupteur
de la machine à glaçons sur off (o)
Lorsque l’alimentation en eau aura été
y
coupée plusireurs heures.
Lorsque le bac à glace est retiré pendant
y
plus d’une ou deux minutes.
Lorsque le réfrigérateur n’est pas utilisé
y
pendant plusieurs jours.
Sons normaux que vous entendrez
La vanne d’arrivée d’eau de la fabrique de
y
glace émettra un bourdonnement pendant
le remplissage de la fabrique. Si la touche
Marche/Arrêt de la fabrique de glace est réglée
sur Marche, la fabrique de glace bourdonnera
même si elle n’est pas encore raccordée à une
arrivée d’eau. Pour arrêter ce bourdonnement,
appuyez sur la touche Marche/Arrêt de la
fabrique de glace pour la régler sur Arrêt.
Vous entendrez le son de glaçons tombant
y
dans le bac et l’eau qui coule dans les tuyaux
tandis que la machine à glaçons se remplit à
nouveau.
Préparation des vacances
Réglez la touche Marche/Arrêt de la fabrique
de glace sur Arrêt et coupez l’arrivée d’eau au
réfrigérateur.
S’il existe un risque que la température ambiante
atteigne des valeurs négatives, demander à
un technicien qualifié de drainer le système
d’alimentation en eau pour empêcher des dommages
importants dues à l’inondation causée par des lignes
ou des connexions d’eau endommagées.
REMARQUE
La réserve à glaçons doit être vidée
lorsque la touche Marche/Arrêt de la
fabrique de glace est réglée sur Arrêt.
REMARQUE
Si vous laissez la fabrique de glace en marche
avant qu’elle soit raccordée à l’arrivée d’eau,
vous risquez de l’endommager.
REMARQUE
La réserve à glaçons doit être vidée
chaque fois que la touche Marche/Arrêt de
la fabrique de glace est réglée sur Arrêt.

33
MODE D’EMPLOI
FRANÇAIS
ATTENTION
Éloignez les enfants du distributeur pour ne
pas les laisser jouer ou endommager les
boutons de contrôle.
REMARQUE
Si des glaçons décolorés sont distribués,
y
vérifiez le filtre à eau et l’approvisionnement
en eau. Si le problème persiste, contactez
le centre de service professionnel. N’utilisez
pas l’eau ou les glaçons jusqu’à ce que le
problème soit réglé.
Le distributeur ne peut pas fonctionner si la
y
porte du réfrigérateur ou du congélateur est
ouverte.
Si la distribution d’eau ou de glaçons
y
s’effectue dans un contenant avec une
petite ouverture, rapprochez le contenant le
plus près possible du distributeur.
Quelques petits morceaux pourraient tomber
y
suite à la distribution. Tenez le verre sous le
distributeur durant quelques secondes après
la distribution afin de recueillir tous les petits
morceaux de glaçons.
ATTENTION
Jetez les premiers lots de glaçons
(environ 24 cubes). Cela est aussi
nécessaire si le réfrigérateur n’est pas
utilisé pendant une longue période.
Distributeur de glaçons et
d’eau
Distributeur
Cubed
4 oz 8 oz 16 oz
Measured Fill
32 oz
Ice On/Off
Hold 3sec Reset Hold 3sec
Water Crushed Water Filter
Utilisation du distributeur
1 Allumer ou éteindre la machine à glaçons
en appuyant et en maintenant le bouton
Activé/Désactivé pendant trois secondes.
2 Pour distribuer l’eau froide ou la glace,
appuyez sur le texte du panneau de
contrôle du distributeur pour sélectionner
cubes de glace ( ), eau ( ) ou glaçons
concassés ( ).
Nettoyage du support du distributeur
1 Relevez et
maintenez à deux
mains.
2 Nettoyez les
zones sales avec
un chiffon propre.
Utilisation du remplisseur mesurable
Ce remplisseur mesurable distribue des
quantités d’eau préalablement mesurées
automatiquement.
1 Sélectionnez la quantité désirée à partir
des boutons du remplisseur mesurable sur
le panneau de contrôle du distributeur.
2 Appuyez sur le commutateur du
distributeur avec un contenant.
3 Pour arrêter le remplisseur mesurable,
relâchez le commutateur du distributeur.
Cubed
4 oz 8 oz 16 oz
Measured Fill
32 oz
Ice On/Off
Hold 3sec Reset Hold 3sec
Water Crushed Water Filter
Verrouillage du distributeur
Appuyez sur le bouton de verrouillage sur
l’écran intérieur pendant trois secondes pour
verrouiller le distributeur et toutes les fonctions
du panneau d’affichage. Suivez les mêmes
instructions pour déverrouiller.
Support
Interrupteur de
glaçons et d’eau

34 MODE D’EMPLOI
FRANÇAIS
Stockage des aliments
Lieu de conservation des aliments
Chaque compartiment à l’intérieur du réfrigérateur est conçu pour stocker différents types de nourriture.
Rangez vos aliments dans l’espace optimal pour profiter d’un goût plus frais.
ATTENTION
Ne pas stocker d’aliments avec des contenus très humides vers la partie supérieur du réfrigérateur.
y
L’humidité pourrait entrer directement en contact avec l’air froid et geler.
Laver les aliments avant de les stocker dans le réfrigérateur. Les fruits et les légumes devraient être lavés,
y
et l’emballage des aliments devrait être nettoyé pour empêcher de contaminer les aliments à proximité.
Si le réfrigérateur est conservé dans un endroit chaud et humide, l’ouverture fréquente de la porte ou le
y
fait de stocker beaucoup de légumes dans le réfrigérateur peut provoquer la formation de condensation.
Essuyer la condensation avec un chiffon propre ou une serviette en papier.
Si la porte du réfrigérateur ou le tiroir du congélateur sont ouverts trop souvent, de l’air chaud peut
y
pénétrer dans le réfrigérateur et augmenter sa température. Cela peut également augmenter le coût de
fonctionnement de l’appareil.
Ne remplissez pas trop les balconnets et ne serrez pas trop les aliments dedans. Vous risquez sinon
y
d’endommager le balconnet ou de vous blesser si les aliments sont retirés avec force.
La température à l’intérieur du compartiment métallique FRESH est légèrement plus basse que l’étagère
y
ou le compartiment de la porte du réfrigérateur.
REMARQUE
Si vous quittez votre domicile pendant une courte période de temps, pour partir, par exemple, en
y
vacances, le réfrigérateur devrait rester allumé. Les aliments qui peuvent être congelés se conserveront
plus longtemps s’ils sont stockés dans le congélateur.
Si vous laissez le réfrigérateur éteint pendant une longue période de temps, enlevez tous les aliments et
y
débranchez le cordon d’alimentation. Nettoyez l’intérieur, et laissez la porte ouverte pour empêcher les
moisissures de se développer dans le réfrigérateur.
Grand compartiment
fraîcheur
Permet de conserver des
légumes et des fruits.
Balconnets des
congélateur
Permet de conserver des
aliments congelés de petit
format ou des aliments que
vous utilisez fréquemment.
Balconnets des
réfrigérateur
Permet de conserver des
boissons, de l’eau, etc.
Étagère de réfrigérateur
réglable
Étagères ajustables pour
satisfaire vos besoins de
stockage individuels.
Conteneur en
acier FRESH
Vous pouvez ranger de
petits objets, ou mettre un
article à décongeler.
Tiroir (1)
Permet de conserver des aliments
congelés de petit format ou
des aliments que vous utilisez
fréquemment.
Tiroir (2)
Permet la conservation longue d’aliments congelés.
Crisper
Preserve vegetables and
fruits.
Knock-On
Door-in-Door
Entreposez des aliments
utilisés fréquemment
tels que les condiments,
les boissons, beurre ou
fromage.

35
MODE D’EMPLOI
FRANÇAIS
Conseils pour le stockage des aliments
* Les conseils suivants pourraient ne pas être
applicables, selon le modèle.
Envelopper ou conserver des aliments dans le
réfrigérateur et le matériel étanche à l’humidité,
sauf indication contraire. Cela empêche les
odeurs de nourriture et le transfert de goût dans
le réfrigérateur. Pour les produits datés, vérifier la
date de péremption pour assurer la fraîcheur.
Aliment Comment stocker
Beurre ou
margarine
Conservez le beurre ouvert dans un
plat couvert ou un compartiment
fermé. Lorsque vous stockez un
approvisionnement supplémentaire,
enveloppez-le dans un emballage pour
congélateur et le congeler.
Fromage
Stockez dans l’emballage d’origine
jusqu’au moment d’utilisation. Une
fois le produit ouvert, réemballez
hermétiquement dans un papier
d’emballage plastifié ou du papier
aluminium.
Lait Essuyez les cartons de lait. Pour que
le lait soit plus froid, placez-le sur une
clayette à l’intérieur.
Oeufs Stockez dans le carton d’origine ou sur
une étagère intérieure, non pas sur une
étagère de porte.
Fruits
Ne pas laver ou écosser les fruits
jusqu’à ce qu’ils soient prêts à être
consommés. Trier et conserver les
fruits dans leur récipient d’origine,
dans un bac à fruits et légumes, ou
les stocker dans un sac en papier bien
fermé sur une étagère du réfrigérateur.
Légumes à
feuilles
Retirer l’emballage de stockage
et couper ou éliminer les sections
endommagées et décolorées. Laver
dans de l’eau froide et drainer. Placer
dans un sac ou un récipient en plastique
et stocker dans un bac à légumes.
Légumes
à peaux
(carottes,
poivrons)
Placer dans des sacs ou un récipient en
plastique et stocker dans le bac à fruits
et légumes.
Poissons
Stocker le poisson frais et les crustacés
dans la section congélateur s’ils ne
sont pas consommés le même jour
de l’achat. Il est recommandé de
consommer le poisson frais et les
crustacés le même jour de l’achat.
Restes
Recouvrez les restes de film étirable ou
de papier d’aluminium, ou conservez-les
dans des récipients en plastique dotés
de couvercles hermétiques.
Stockage d’aliments congelés
Congélation
Votre congélateur ne congèlera pas
rapidement une grande quantité de nourriture.
Ne placez pas d’aliments non congelés dans le
congélateur que vont geler dans les 24 heures
(pas plus de 2 à 3 livres d’aliments par pied
cube d’espace de congélateur).
Les périodes de stockage varieront en fonciton
de la qualité et du type d’aliments, du type
d’emballage ou de la pellicule utilisée (degré
d’étanchéité et résistance à l’humidité) et de
la température de stockage. Les cristaux de
glace dans un emballage scellé sont normaux.
Cela signifie simplement que l’humidité dans
les aliments et l’air à l’intérieur de l’emballage
se sont condensés, en créant des cristaux de
glace.
REMARQUE
Consulter un manuel sur les congélateurs
ou un livre de recettes fiable pour plus
de renseignements sur la préparation
d’aliments pòur leur congélation ou les
périodes de stockage des aliments.
REMARQUE
Laisser refroidir les aliments chauds à
température ambiante pendant 30 minutes,
puis, emballer et congeler. Refroidir les
aliments chauds avant de les congler
économise de l’énergie.

36 MODE D’EMPLOI
FRANÇAIS
Stockage d’aliments congelés (suite)
Emballage
Une congélation réussie dépend d’un
emballage correct. Lorsque vous fermez
et scellez l’emballage, celui-ci ne doit pas
permettre l’entrée ou la sortie d’air ou
d’humidité. Si cela se produit, vous pourriez
avoir des odeurs d’aliments et du transfert de
goût à travers le réfrigérateur et pourriez aussi
sécher des aliments secs.
Recommandaitons d’emballage :
Récipients en plastique rigides avec
y
couvercles ajustés
Bocaux de conserve/congélation à bords
y
droits
Feuille d’aluminium épaisse
y
Papier plastifié
y
Pellicules plastifiées non perméables
y
Sacs en plastique plastifiés de qualité
y
pour congélateur, auto-étanches
Suivez les instructions de l’emballage ou du
récipient pour les méthodes de congélation
correctes.
Ne pas utiliser
Papier d’emballage pour pain
y
Récipients en plastique sans polyéthylène
y
Récipients sans couvercles ajustés
y
Papier paraffiné ou papier d’emballage
y
pour congélateur recouvert de cire
Papier d’emballage fin, semi-perméable
y
Réglage des étagères du
réfrigérateur
Les étagères de votre réfrigérateur sont ajustables
pour remplir vos besoins de stockage individuels.
Votre modèle peut comporter des étagères en
verre ou en fil.
En réglant la hauteur des clayettes pour y
placer des aliments de différentes tailles, vous
retrouverez plus facilement ce que vous cherchez.
Cela permettra également de réduire le temps
d’ouverture de la porte du réfrigérateur, ce qui
vous permettra d’économiser de l’énergie.
Détachement de l’étagère
Faites basculer le devant de l’étagère et soulevez-
la. Retirez-la.
Montage de l’étagère
Faites basculer le devant de l’étagère et guidez
les crochets de l’étagère dans les fentes à la
hauteur désirée. Ensuite, abaissez l’avant de
l’étagère de telle sorte que les crochets tombent
dans les fentes.
ATTENTION
Assurez-vous que les étagères
soient équilibrées d’un côté à l’autre.
L’incapacité à le faire peut provoquer la
chute de l’étagère ou des aliments.

37
MODE D’EMPLOI
FRANÇAIS
ATTENTION
Ne conservez pas de légumes ou
de fruits dans le garde-manger
CustomChill™ car ils pourraient congeler.
Précautions à prendre lors de la
fermeture de la porte
ATTENTION
Pour réduire le risque d’érafler les
y
portes ou de casser le montant
central, veillez à ce que ce dernier soit
toujours replié vers l’intérieur.
L’alarme de porte retentit toutes les
y
30 secondes dès qu’une porte reste
ouverte plus d’une minute. Veillez à ce
que le montant central soit replié vers
l’intérieur avant de fermer la porte de
gauche.
Garde-manger CustomChill™
Cet espace est utilisé pour conserver de la
viande, du poisson, des produits laitiers, des
boissons et d’autres aliments qui doivent être
gardés au frais.
Paramétrage du garde-manger
CustomChill™
Choisissez la température du garde-manger
CustomChill™ en appuyant à plusieurs reprises
sur le bouton Sélectionner pour choisir entre
Viande, Épicerie et Produit.
Dans cet ordre de paramétrage Produit →
Épicerie → Viande, la température du garde-
manger est de plus en plus froide.

38 MODE D’EMPLOI
FRANÇAIS
Compartiment de bac à
légumes
Retrait du compartiment de bac à
légumes
1 Tirez le compartiment du bac à légumes.
2 Soulevez légèrement le compartiment
pour le retirer du support.
Assemblage des compartiments de
bac à légumes
1 1 Tirez le compartiment de bac à légumes
jusqu’à l’arrêt. Positionnez le compartiment
de bac à légumes dans l’ouverture pour le
placer dans le support.
2 Faites glisser le compartiment de bac à
légumes dans le support jusqu’à ce qu’il se
replace et fermez ensuite le compartiment
de bac à légumes.
ATTENTION
Videz toujours les compartiments
y
avant de les retirer et manipulez
avec les deux mains lors du retrait et
de l’assemblage.
Assurez-vous que les portes du
y
réfrigérateur sont complètement
ouvertes avant de retirer et
d’assembler les compartiments.

39
MODE D’EMPLOI
FRANÇAIS
Retrait de la boîte de support du
compartiment
1 Fully open the fridge door and pull out all
the shelves.
2 Soulevez la partie supérieure du couvercle
du compartiment jusqu’au déclic sonore.
3 Inclinez légèrement le couvercle et
maintenez-le à une main pendant que vous
le retirer.
4 Ouvrez le placard convertible et soulevez la
partie supérieure de la boîte de support du
compartiment de bac à légumes avec vos
deux mains.
Assemblage de la boîte de support du
compartiment de bac à légumes
1 Utilisez une main pour maintenir la partie
inférieure de la boîte du compartiment
tout en alignant le coin intérieur de la boîte
avec la rainure à l’intérieur du réfrigérateur.
Abaissez la boîte pour la positionner en
place.
2 Alignez le couvercle du compartiment
dans le réfrigérateur et abaissez-le pour le
positionner en place.
3 Glissez le couvercle du compartiment de
bac à légumes jusqu’à ce qu’il s’arrête.
5 Faites glisser une main sous la boîte
de support du compartiment et inclinez
légèrement la boîte pour le retirer.
ATTENTION
Pour éviter des blessures, videz
y
toujours les étagères et les
compartiments de bac à légumes
avant de les retirer.

40 MODE D’EMPLOI
FRANÇAIS
Knock-On Door-in-Door™
Appuyez deux fois au centre du panneau en
verre pour voir le contenu des compartiments
de porte sans avoir besoin d’ouvrir la porte et
en évitant ainsi que l’air froid ne s’échappe.
Appuyez deux fois sur le panneau en verre
y
et l’éclairage intérieur DEL s’active ou se
désactive.
La lumière DEL s’éteint automatiquement
y
après 10 secondes.
Conteneur en acier FRESH
Le compartiment du contenant métallique
FRESH est légèrement plus froid que l’étagère
ou que les compartiments de la porte, c’est
donc un compartiment idéal pour entreposer
les collations à base de produits laitiers
ou les autres aliments que vous souhaitez
spécifiquement conserver froid.
C’est un compartiment idéal pour décongeler
la viande.
Poussez la poignée vers l’arrière du
compartiment pour relâcher le loquet et ouvrir
le couvercle. Pour fermer le couvercle, faites
glisser par-dessus le compartiment jusqu’au
déclic qui le positionne en place.
REMARQUE
Ne conservez pas de légumes ou
de fruits dans le garde-manger
CustomChill™ car ils pourraient
congeler.
Ne conservez pas de légumes ou
de fruits dans le garde-manger
CustomChill™ car ils pourraient
congeler.
ATTENTION
Soyez prudent lors de la manipulation
y
et l’entreposage d’œufs plus larges. Ils
peuvent se casser si le couvercle n’est
pas complètement fermé et que le tiroir
au-dessus est repoussé vers l’intérieur.
Vous pouvez entreposer des aliments tels
y
que le tofu, le céleri ou la laitue qui ont
une forte teneur en eau ou qui peuvent
facilement se congeler sur les étagères
intérieures à l’avant.
AVERTISSEMENT
Ne frappez pas le panneau de la porte en
verre avec une force excessive. Ne frappez
pas des objets tels que des ustensiles
de cuisine ou des bouteilles en verre sur
le panneau de la porte en verre. Le verre
pourrait se briser provoquant un risque de
blessure ou de dommage à l’appareil.
REMARQUE
Appuyer sur les rebords du panneau
y
en verre peut ne pas activer la fonction
Knock-On.
Les touches sur le panneau en verre
y
doivent être assez audibles.
Les bruits forts près du réfrigérateur
y
peuvent activer la fonction Knock-On.
La fonction Knock-On Door-in-Door
y
ne s’ouvrera pas si la porte droite du
réfrigérateur est ouverte.

41
MODE D’EMPLOI
FRANÇAIS
Balconnet EasyLift
Déplacez facilement le balconnet EasyLift vers le
haut ou vers le bas, comme vous le voulez.
Pour déplacer le balconnet EasyLift vers le
y
haut ou vers le bas, retirez d’abord tout ce qu’il
contient.
Placez une main de chaque côté du balconnet
y
EasyLift et servez-vous de vos pouces et index
pour soulever les loquets de libération blancs
des deux côtés.
Déplacez le balconnet vers le haut ou vers le
y
bas.
En ajustant la hauteur du balconnet EasyLift,
y
vous pouvez conserver des articles plus hauts
plus facilement.
ATTENTION
Pour éviter des blessures ou des
y
dommages à la poubelle ou de son
contenu, vider le bac de EasyLift avant de
le déplacer vers le haut ou vers le bas.
ATTENTION
Veuillez toujours utiliser vos deux mains
y
avant le retrait ou l’assemblage des tiroirs
pour éviter d’endommager l’appareil ou de
causer des blessures. Videz toujours les
tiroirs avant de les retirer.
Ouvrez toujours les portes du congélateur
y
complètement avant le retrait ou
l’assemblage des tiroirs.
Tiroir du congélateur
Utiliser les compartiments supérieurs pour
entreposer les emballages d’aliments congelés
et les aliments utilisés fréquemment.
Utilisez les compartiments inférieurs pour les
plus gros aliments congelés et les aliments
entreposés pour de plus longues périodes.
Les tiroirs coulissants du congélateur
y
offrent un accès simple d’utilisation.
Retrait des tiroirs du congélateur
1 Tirez le tiroir du congélateur jusqu’à l’arrêt.
Videz tout le contenu du tiroir avant de le
retirer.
2 Soulevez légèrement le tiroir pour le retirer
du support.
1 Pour soulever le bac, maintenez le fond
du bac dans le centre et pousser le bac
jusqu’à ce qu’il se verrouille en place.
2 Pour abaisser le bac de EasyLift, appuyez
sur pour libérer les leviers au fond du
bac et abaissez le bac jusqu’à ce qu’il se
verrouille en place.

42 MODE D’EMPLOI
FRANÇAIS
Assemblage du tiroir du congélateur
1 Tirez le support du tiroir jusqu’à l’arrêt.
Positionnez le tiroir dans l’ouverture pour
le placer dans le support.
2 Faites glisser le tiroir vers sa position sur le
support. Fermez le tiroir.
Enlever le support du tiroir
1 Appuyez sur les leviers qui se trouvent de
chaque côté du support du tiroir.
2 Tout en appuyant sur les deux leviers,
soulevez légèrement le support du tiroir et
enlevez-le des rails.
ATTENTION
Les tiroirs sont lourds. Veuillez toujours
y
utiliser vos deux mains avant le retrait
ou l’assemblage des tiroirs pour éviter
d’endommager l’appareil ou de causer
des blessures. Vider toujours les tiroirs
avant le retrait ou l’assemblage.
Ouvrez toujours les portes du
y
congélateur complètement avant le
retrait ou l’assemblage des tiroirs.

43
MODE D’EMPLOI
FRANÇAIS
Monter le support du tiroir
1 Tirez sur le tiroir jusqu’à ce qu’il soit arrêté
par le système de rails.
2 Alignez les bords latéraux en bas du
support du tiroir avec la rainure de chaque
rail, puis abaissez le support jusqu’à ce que
vous entendiez un déclic signifiant qu’il est
en place.
Balconnets du réfrigérateur/
congélateur
Vous pouvez conserver des aliments congelés
emballés de petit format dans les balconnets
du congélateur et des aliments réfrigérés
emballés de petit format, ainsi que des
boissons, comme du lait, de l’eau, du jus de
fruits, de la bière, etc. dans les balconnets du
réfrigérateur.
N’utilisez pas les balconnets du congélateur
pour y conserver des glaces ou des aliments
de longue conservation.
Bacs à gauche de la porte du
réfrigérateur
Pour retirer un balconnet, saisissez-le avec les
deux mains et soulevez-le pour l’enlever.
Pour remettre en place le balconnet, alignez
les deux côtés du balconnet sur les glissières
et poussez le balconnet vers le bas jusqu’à ce
qu’il s’enclenche.

44 ENTRETIEN
FRANÇAIS
ENTRETIEN
Nettoyage
Les sections de réfrigérateur et de congélateur dégivrent automatiquement, mais, nettoyez les
y
deux sections une fois par mois pour éviter les odeurs.
Essuyez immédiatement les déversements.
y
Débranchez toujours le réfrigérateur avant de le nettoyer.
y
Conseils généraux de nettoyage
Débrancher le réfrigérateur ou couper le
y
courant.
Enlever toutes les pièces amovibles, telles
y
que les étagères, bacs, etc.
Utiliser une éponge propre ou un chiffon et
y
un détergent doux avec de l’eau chaude.
Ne pas utiliser de produits de nettoyage
abrasifs ou forts.
Se laver et se rincer les mains et sécher
y
complètement toutes les surfaces
externes.
Extérieur
Appliquer de la cire sur les surfaces métalliques
peintes aide à fournir une protection antirouille. Ne
pas cirer les pièces en plastique. Cirer les surfaces
métalliques peintes au moins deux fois par an
avec de la cire pour appareils électroménagers (ou
cire autocollante). Appliquer la cire avec un chiffon
propre et doux.
Pour les produits avec un extérieur en acier
inoxydable, utiliser une éponge propre ou un
chiffon et un détergent doux dans de l’eau
chaude. Ne pas utiliser des produits de nettoyage
abrasifs ou forts. Bien essuyer avec un chiffon
doux.
Parois intérieures (laisser le congélateur
se réchauffer pour que le chiffon ne
colle pas)
Pour éliminer les odeurs, vous pouvez laver
l’intérieur du réfrigérateur avec un mélange de
bicarbonate de soude et d’eau chaude. Mélangez
2 cuillères à soupe de bicarbonate de soude à
1 litre d’eau (26 g de soude pour 1 litre d’eau)
Assurez-vous que le bicarbonate de soude est
complètement dissous afin de ne pas rayer les
surfaces du réfrigérateur.
Doublures et joints de porte
Utiliser une éponge propre ou un chiffon et un
détergent doux avec de l’eau chaude. Ne pas
utiliser des cires de nettoyage, de détergents
concentrés, d’eaux de Javel ou de nettoyants
contenant du pétrole sur les pièces en plastique
du réfrigérateur.
Pièces en plastique (couvercles et
panneaux)
Utiliser une éponge propre ou un chiffon et un
détergent doux avec de l’eau chaude. N’utilisez
pas de produits nettoyants pour vitres, de
nettoyants abrasifs ou de liquides inflammables.
Ces produits peuvent rayer ou endommager
lematériel.
Serpentins du condenseur
Utiliser un aspirateur avec un accessoire pour
nettoyer le couvercle du condenseur et ses
évents. Ne pas retirer le panneau qui recouvre la
zone du condenseur.
ATTENTION
Ne pas utiliser de chiffons ou d’éponges
y
rugueuses en nettoyant l’intérieur et
l’extérieur du réfrigérateur.
Ne placez pas votre main sur la surface
y
intérieure du réfrigérateur lors de
l’ouverture et la fermeture.
AVERTISSEMENT
Utiliser un produit de nettoyage non
inflammable. Ne pas le faire pourrait
provoquer un incendie, une explosion ou
la mort.

45
ENTRETIEN
FRANÇAIS
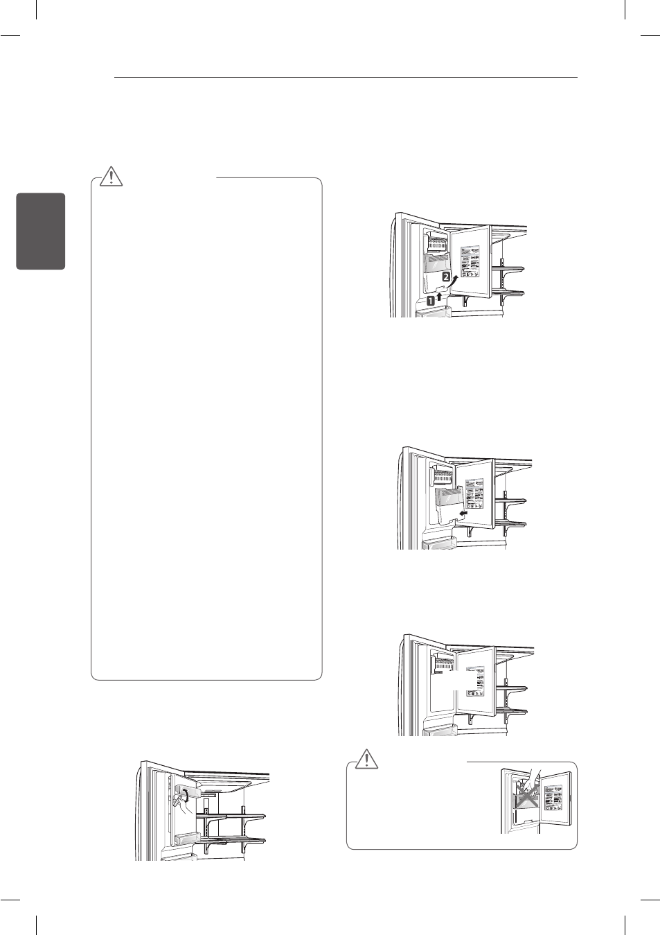
2 Installation du nouveau filtre à air.
Insérez la languette latérale du nouveau
filtre dans la fente du couvercle central du
compartiment. Fixer l’autre côté du filtre
en place. Cela peut aider d’appuyer sur
le côté externe du compartiment central
tout en appuyant sur le filtre. Assurez-vous
que le côté du filtre étiqueté « Retour »
est face à l’extérieur. Fixer le couvercle
du filtre dans le compartiment du filtre du
réfrigérateur.
Après avoir changé le filtre, poussez
et maintenez le bouton du filtre Fresh
pendant trois secondes pour réinitialiser le
capteur de filtre.
KCAB
KCA
B
Remplacement du filtre à air
Remplacer le filtre à air :
Approximativement tous les six mois.
y
Lorsque la lumière indicatrice du filtre
y
Fresh s’allume.
1 Retrait de l’ancien filtre.
Retirez le couvercle du compartiment du
filtre à air. Le filtre à air est à l’intérieur
du couvercle. Appuyez vers l’extérieur
des côtés du couvercle central du
compartiment pour relâcher les languettes
du filtre à air. Remplacez le filtre à air.

46 ENTRETIEN
FRANÇAIS
Remplacement du filtre à eau
Il est recommandé de remplacer le filtre à eau :
Environ tous les six mois.
y
Lorsque l’indicateur du filtre à eau s’allume.
y
Lorsque la sortie du distributeur d’eau
y
diminue.
Lorsque les cubes de glace sont plus petits
y
que la normale.
3 Remettez en place le balconnet.
2 Remplacer avec un nouveau filtre.
Insérez le nouveau filtre dans l’embout et
faites-le pivoter dans le sens des aiguilles
d’une montre pour que la flèche du filtre soit
alignée avec la flèche sur l’embout du filtre.
Replacez le filtre dans son compartiment.
1 Retirez l’ancien filtre à eau.
Soulevez et retirez le balconnet inférieur.
Faites pivoter l’extrémité droite du filtre à eau
pour le sortir du compartiment, puis saisissez
et faites tourner le filtre dans le sens inverse
des aiguilles d’une montre pour le détacher
de l’embout du filtre.
REMARQUE
De l’eau peut couler lors du remplacement du
filtre à eau. Placez une tasse sous l’embout du
filtre pour récupérer l’eau.
REMARQUE
Ce réfrigérateur ne nécessite pas une prise de
dérivation de filtre, lorsque le filtre n’est pas en
place.

47
ENTRETIEN
FRANÇAIS
Fiche technique des performances
Cartouche de remplacement à utiliser : ADQ73613401
La concentration des substances indiquées présentes dans l'eau entrant dans le circuit a été réduite à
une concentration inférieure ou égale à la limite autorisée pour l'eau quittant le circuit, selon les
spécifications NSF/ANSI Normes 42 et Norme 53.
Circuit testé et certifié par NSF International au regard des spécifications NSF/ANSI
Norme 42 et Norme 53 pour la diminution des substances répertoriées ci-dessous.
Diminution des
contaminants Influent
moyen
Concentration
souhaitée et
spécifiée par NSF
%
Diminution
moy.
Concentration
moyenne d'eau
dans le produit
Concentration d'eau
maximale permise
dans le produit
Exigences
NSF de
diminution
Goût et odeur de
chlore 2,0 mg/L 2,0 mg/L ± 10% 97,5% 0,05 mg/L N/D ≥ 50%
Particules nominales
Classe I, ,≥ 0,5 à <
1,0 µm
5 600 000
pts/mL
Au moins 10 000
particules/mL 99,3% 73 000 pts/mL N/D ≥ 85%
Amiante 170 MFL
107 à 108 MFL;
longueur des fibres
supérieures à
10 µm
> 99% < 1MLF N/D ≥ 99%
Atrazine 0,0087 mg/L 0,009 mg/L
± 10% 94,2% 0,0005 mg/L 0,003 mg/L N/D
Benzène 0,017 mg/L 0,015 mg/L
± 10% 97,0% < 0,0005 mg/L 0,005 mg/L N/D
Carbofuran 0,073 mg/L 0,08 mg/L
± 10% 98,8% 0,001 mg/L 0,04 mg/L N/D
Lindane 0,002 mg/L 0,002 mg/L
± 10% 98,8% 0,00002 mg/L 0,0002 mg/L N/D
P-dichlorobenzène 0,263 mg/L 0,225 mg/L
± 10% 99,6% 0,001 mg/L 0,075 mg/L N/D
Toxaphène 0,015 mg/L 0,015 mg/L
± 10% 93,5% 0,001 mg/L 0,003 mg/L N/D
2,4-D 0,25 mg/L 0,210 mg/L
± 10% 99,5% 0,0012 mg/L 0,07 mg/L N/D
Plomb pH @ 6,5 0,150 mg/L 0,15 mg/L
± 10% > 99,3% 0,001 mg/L 0,010 mg/L N/D
Plomb pH @ 8,5 0,150 mg/L 0,15 mg/L
± 10% > 99,3% 0,001 mg/L 0,010 mg/L N/D
Mercure @ pH 6,5 0,006 mg/L 0,006 mg/L
± 10% 96,5 0,0002 mg/L 0,002 mg/L N/D
Mercure @ pH 8,5 0,0062 mg/L 0,006 mg/L
± 10% 86,9 0,0081 mg/L 0,002 mg/L N/D
Sporocyste* 200 000
sporocyste /L
50 000 sporocyste /L
minimum > 99,99% <1 sporocyste /L N/D ≥ 99,95%
* Basé sur l’utilisation des oocystes Cryptosporidium parvum.
Capacité de 757 litres (200 gallons) - Réduction du contaminant déterminée par les tests NSF.

48 ENTRETIEN
FRANÇAIS
Il est essentiel de suivre les recommandations
du fabricant relatives à l’installation, à
l’entretien et au remplacement du filtre
pour assurer à l’appareil un fonctionnement
conforme aux performances annoncées.
Cartouche de rechange: ADQ73613401
Pour obtenir une estimation sur les coûts des
éléments de remplacement, appelez le
1-877-714-7486 ou rendez-vous sur le site Web
www.lg.com
Reportez-vous à la section “Garantie” du manuel
d’utilisation du réfrigérateur pour des informations
sur la garantie limitée.
Notez que les tests ayant été effectués dans
des conditions de laboratoire standard, les
performances réelles peuvent varier.
Lisez, comprenez bien et respectez toutes les consignes de sécurité données dans les présentes
instructions avant d’installer et d’utiliser cet appareil. Conservez-les pour vous y référer ultérieurement.
Code du nom commercial NSF : ADQ73613401-S
Code de remplacement NSF : ADQ73613401
Débit d'utilisation 1,9 l/min
Alimentation en eau Puits de la collectivité
ou privé — Eau potable
Pression de l'eau 1,38~8,27 bars
(20~120 psi)
Température de l'eau
0,6 -37,8°C
Capacité
757 litres
AVERTISSEMENT
Pour diminuer le risque lié à l’ingestion de contaminants, respectez les consignes ci-dessous.
N’utilisez pas de l’eau dont la qualité est microbiologiquement douteuse ou inconnue sans procéder d’abord à
y
une désinfection adéquate. Les systèmes certifiés pour la réduction de kystes peuvent être utilisés pour l’eau
désinfectée contenant des kystes filtrables.
ATTENTION
Notez que de l’eau pourrait couler pendant le remplacement du filtre, ce qui pourrait provoquer des dégâts
matériels.
Pour diminuer le risque lié à une fuite d’eau, respectez les consignes ci-dessous.
Lisez et respectez les instructions d’utilisation avant l’installation et l’utilisation de cet appareil.
y
L’installation doit être conforme aux codes de plomberie locaux ou nationaux.
y
Protégez le filtre contre le gel en le purgeant lorsque la température de la pièce descend sous 0,3 °C (33 °F).
y
N’installez pas l’appareil si la pression de l’eau dépasse 120 psi (827 kPa). Si la pression de l’eau dépasse 80
y
psi, vous devez installer un limiteur de pression. Si vous ne savez pas comment vérifier la pression de l’eau,
contactez un plombier professionnel.
N’installez pas l’appareil à un endroit où la plomberie est sujette aux coups de bélier. En cas de risque de coups
y
de bélier, installez un antibélier. En cas de doute, contactez un plombier professionnel.
Ne raccordez pas l’appareil à des conduites d’eau chaude. Raccordez-le uniquement à des conduites d’eau
y
froide. La température maximale de l’eau en fonctionnement pour ce système de filtre est de 37,8 °C (100 °F).
Si un dispositif de non-retour est installé sur le système d’eau, un dispositif de contrôle de la pression en raison
y
de l’expansion thermique doit être installé.
La cartouche du filtre jetable doit être remplacée tous les six mois, à la capacité nominale indiquée ou en cas de
y
réduction notable du débit.
NSF est une marque de commerce de NSF International.
LG est une marque de commerce de LG Corp. MCM Co., Ltd.
Spécifications de l’alimentation d’eau
CONSIGNES DE SÉCURITÉ

49
ENTRETIEN
FRANÇAIS
California Department of Public Health Certification 14-3015

50 SMART DIAGNOSIS
FRANÇAIS
REMARQUE
Pour de meilleurs résultats, ne déplacez pas
y
le téléphone pendant la transmission des
données.
Si le représentant du centre d’appel n’est pas
y
en mesure d’obtenir un enregistrement précis
de vos données, il peut vous demander de
recommencer.
REMARQUE
Les différences de la qualité des appels selon
y
la région peuvent affecter la fonction.
Utilisez la voie filaire plutôt qu’un téléphone
y
cellulaire pour un meilleur rendement de la
communication pour un service optimal.
Une mauvaise qualité d’appel peut provoquer
y
une mauvaise transmission des données de
votre téléphone à l’appareil, ce qui provoquera
un mauvais fonctionnement de l’outil Smart
Diagnosis™.
3 Après avoir entendu les trois bips sonores,
relâchez le bouton du congélateur.
4 Lorsqu’un représentant du centre d’appel
vous l’indique, fermez le Door-in-Door et
ouvrez la porte de droite du réfrigérateur.
5 Maintenez
immédiatement
l’embouchure du
téléphone devant le
haut-parleur situé à la
droite de la charnière
de la porte de votre
réfrigérateur.
6 Gardez le téléphone en place jusqu’à ce que la
transmission de la tonalité soit terminée. Cela
prend environ six secondes et l’écran fera le
décompte. Une fois le décompte terminé et
que la tonalité est terminée, reprenez votre
conversation avec le spécialiste qui sera
ensuite en mesure de vous aider en utilisant
les informations transmises pour l’analyse.
Si vous rencontrez des problèmes avec votre
réfrigérateur, il a la capacité de transmettre
les données via votre téléphone au centre de
service LG. Ceci vous permet de communiquer
directement avec un spécialiste qualifié.
Le spécialiste enregistre les données transmises
par votre appareil et les utilise pour analyser le
problème afin de vous offrir un diagnostic rapide
et efficace.
Si vous avez des problèmes avec votre
réfrigérateur, appelez au 1 800 243-0000.
Utilisez la fonction Smart Diagnosis™ seulement
lorsqu’un représentant du centre d’appel de LG
vous le recommande. Les sons de transmission
que vous entendrez sont normaux et sont
similaires aux sons d’un télécopieur.
Smart Diagnosis™ ne peut pas s’activer à moins
que votre réfrigérateur ne soit sous tension.
Si votre réfrigérateur ne peut pas s’allumer, le
dépannage ne pourra pas se faire en utilisant l’outil
Smart Diagnosis™.
Utilisation de Smart
Diagnosis™
Appelez tout d’abord 1-800-243-0000. Utilisez la
fonction Smart Diagnosis™ seulement lorsqu’un
représentant du centre d’appel de LG vous le
recommande.
1 Verrouillez l’écran. Pour verrouiller l’écran,
ouvrez le Knock-On Door-
in-Door, appuyez et
maintenez le bouton de
verrouillage pendant trois
secondes. (Si l’écran a été
verrouillé pendant plus de
cinq minutes, vous devez
désactiver le verrouillage et
le réactiver).
2 Appuyez et maintenez le
bouton du congélateur
pendant trois secondes.
SMART DIAGNOSIS

51
DÉPANNAGE
FRANÇAIS
DÉPANNAGE
Consulter la section Dépannage avant d’appeler le service, car cela vous permettra d’économiser du
temps et de l’argent.
Problème Causes possibles Solutions
Les
compartiments
Réfrigérateur et
Congélateur ne
refroidissent pas
Le contrôle du réfrigérateur est
réglé sur ARRÊT (sur certains
modèles)
Réglez le contrôle sur MARCHE. Veuillez vous reporter
à la section Réglage du Contrôle pour le paramétrage
approprié des températures.
Le réfrigérateur est en cycle de
Dégivrage
Pendant le cycle de dégivrage, il est possible que
la température de chaque compartiment augmente
légèrement. Attendez 30 minutes et assurez-vous que
la température est revenue à sa valeur correcte une
fois le cycle de dégivrage complété.
Le réfrigérateur a été installé
récemment
24h peuvent être nécessaires pour que chaque
compartiment atteigne la température désirée
Le réfrigérateur a récemment été
déplacé
Si le réfrigérateur a été débranché ou couché pendant
une longue période, celui-ci doit être placé à la verticale
pendant 24h avant d’être mis sous tension.
Le mode d’affichage est peut-être
réglé.
Reportez-vous à la page 25 pour des instructions sur le
mode d’affichage.
Le système de
refroidissement
est trop puissant
Le réfrigérateur remplace un ancien
modèle
Les réfrigérateurs modernes nécessitent un temps de
fonctionnement plus long mais consomment moins
d’énergie grâce à une technologie plus efficace.
Le réfrigérateur vient d’être
branché ou remis sous tension
Le réfrigérateur mettra 24h à refroidir complètement
La porte a souvent été ouverte ou
beaucoup d’aliments / des aliments
chauds y ont été placés
L’ajout d’aliments ou l’ouverture de la porte réchauffe
le réfrigérateur, ce qui demande au compresseur
de fonctionner plus longtemps pour refroidir les
compartiments. Afin de conserver l’énergie, essayez
de sortir tout ce dont vous avez besoin du réfrigérateur
en une seule fois, rangez vos aliments de manière
organisée afin de les localiser facilement, et fermez la
porte dès que les aliments sont sortis. (Veuillez vous
reporter à la section Guide de Stockage des Aliments)
Les portes ne sont pas
complètement fermées
Fermez bien les portes. Si elles ne ferment pas
complètement, reportez-vous à la rubrique “Les portes
ne ferment pas bien ou s’ouvrent toutes seules” de la
section Dépannage.
Le réfrigérateur est installé dans un
environnement chaud
Le compresseur fonctionnera plus longtemps dans
un environnement chaud. Lorsque la température
ambiante est normale (70°F), votre compresseur
doit fonctionner entre 40% et 80% du temps. Si la
pièce est plus chaude, attendez-vous à ce qu’il tourne
encore plus souvent. Le réfrigérateur ne doit pas être
mis en fonction lorsque la température ambiante est
supérieure à 110°F.
Le condensateur / couvercle arrière
est obstrué
Utilisez un aspirateur muni d’un embout pour nettoyer
la protection du condensateur et la ventilation. Ne pas
ôter le panneau recouvrant la bobine du condensateur.
Débranchez le cordon d’alimentation ou actionnez le
disjoncteur avant de procéder au nettoyage.

52 DÉPANNAGE
FRANÇAIS
Problème Causes possibles Solutions
Le compartiment
Réfrigérateur ou
Congélateur est
trop chaud
Le réfrigérateur a été installé
récemment 24h peuvent être nécessaires pour que chaque
compartiment atteigne la température désirée
Les bouches d’aération sont
obstruées Réorganisez les éléments afin de permettre
la libre circulation de l’air à l’intérieur du
compartiment. Veuillez vous reporter au
diagramme de circulation de l’air dans la section
Utilisation de votre Réfrigérateur.
Les portes sont souvent
ouvertes ou restent ouvertes
pendant longtemps.
Lorsque les portes sont souvent ouvertes ou
restent ouvertes pendant longtemps, de l’air
chaud et humide entre dans le compartiment. La
température et le niveau d’humidité augmentent
ainsi à l’intérieur du compartiment. Pour limiter
cet effet, réduisez la fréquence et la durée
d’ouverture des portes.
L’appareil est installé dans un
endroit chaud Le réfrigérateur ne doit pas être mis en fonction
si la température ambiante est supérieure à
110°F.
Beaucoup d’aliments ou des
aliments chauds ont été placés
dans l’un des compartiments
L’ajout d’aliments augmente la température du
compartiment, ce qui entraine le déclenchement
du système de refroidissement. Pour limiter
cet effet, laissez les aliments chauds refroidir à
température ambiante avant de les placer dans le
réfrigérateur.
Les portes ne sont pas
correctement fermées Reportez-vous à la rubrique “Les portes ne
ferment pas bien ou s’ouvrent toutes seules” de
la section Dépannage.
Le contrôle de la température
n’est pas réglé correctement Si la température est trop chaude, ajustez le
contrôle une position à la fois et attendez que la
température se stabilise. Veuillez vous reporter
à la section Réglage du Contrôle pour plus
d’informations
Le cycle de dégivrage vient de
se terminer Pendant le cycle de dégivrage, il est possible
que la température de chaque compartiment
augmente légèrement et que de la condensation
se forme sur la paroi arrière. Attendez 30 minutes
et assurez-vous que la température est revenue à
sa valeur correcte une fois le cycle de dégivrage
complété.

53
DÉPANNAGE
FRANÇAIS
Problème Causes possibles Solutions
De l’humidité se
forme à l’intérieur
Les portes sont trop souvent
ouvertes ou restent ouvertes
trop longtemps
Lorsque les portes sont souvent ouvertes ou
restent ouvertes pendant longtemps, de l’air
chaud et humide entre dans le compartiment. La
température et le niveau d’humidité augmentent
ainsi à l’intérieur du compartiment. Pour limiter cet
effet, réduisez la fréquence et la durée d’ouverture
des portes.
Les portes ne sont pas
correctement fermées
Veuillez vous reporter à la section Les portes
ne se ferment pas correctement de la partie
Dépannage
L’atmosphère est humide
Une atmosphère humide permet à plus d’humidité
de pénétrer dans le compartiment lorsque la porte
est ouverte, ce qui génère de la condensation
et du givre. Vous pouvez contrôler l’humidité qui
pénètre dans le réfrigérateur en maintenant un
niveau d’humidité approprié à votre domicile
Le cycle de dégivrage vient de
se terminer
Pendant le cycle de dégivrage, il est possible
que la température de chaque compartiment
augmente légèrement et que de la condensation
se forme sur la paroi arrière. Attendez 30 minutes
et assurez-vous que la température est revenue à
sa valeur correcte une fois le cycle de dégivrage
complété.
Les aliments ne sont pas
correctement emballés
Les aliments stockés sans couvercle ni emballage
et les conteneurs humides peuvent conduire à une
accumulation d’humidité dans les compartiments.
Essuyez bien tous les compartiments et rangez
les aliments dans des emballages hermétiques
pour prévenir la condensation et le givre
Les aliments
congèlent dans
le compartiment
réfrigérateur
Des aliments avec une teneur en
eau importante ont été placés à
proximité des bouches d’aération
Réorganisez les aliments avec une teneur en eau
importante loin des bouches d’aération
Le contrôle de la température du
réfrigérateur est mal réglé
Si la température est trop froide, ajustez le
contrôle une position à la fois et attendez que la
température se stabilise. Veuillez vous reporter
à la section Réglage du Contrôle pour plus
d’informations
Le réfrigérateur est installé dans
un endroit froid
Lorsque le réfrigérateur est mis en fonction sous
une température ambiante inférieure à 41°F (5°C),
les aliment peuvent geler dans le compartiment
réfrigérateur. Le réfrigérateur ne doit pas être
mis en fonction sous une température ambiante
inférieure à 55°F (13°C).
Du givre ou des
cristaux de glace
se forment sur les
aliments surgelés
(à l’extérieur de
l’emballage)
La porte est souvent ouverte
ou reste ouverte pendant
longtemps
Lorsque les portes sont souvent ouvertes ou
restent ouvertes pendant longtemps, de l’air
chaud et humide entre dans le compartiment. La
température et le niveau d’humidité augmentent
ainsi à l’intérieur du compartiment. Pour limiter cet
effet, réduisez la fréquence et la durée d’ouverture
des portes.
La porte ne se ferme pas
correctement
Veuillez vous reporter à la section Les portes
ne se ferment pas correctement de la partie
Dépannage
Le compartiment
Réfrigérateur ou
Congélateur est
trop chaud
Mauvais réglage du contrôle de
la température
Si la température est trop froide, ajustez le
contrôle une position à la fois et attendez que la
température se stabilise. Veuillez vous reporter
à la section Réglage du Contrôle pour plus
d’informations

54 DÉPANNAGE
FRANÇAIS
Problème Causes possibles Solutions
Du givre ou des
cristaux de glace
se forment sur les
aliments surgelés
(à l’intérieur
de l’emballage
hermétique)
La condensation issue
d’aliments à haute teneur
en eau a gelé à l’intérieur de
l’emballage alimentaire.
Ce phénomène est normal pour des aliments à
haute teneur en eau.
Des aliments ont été laissés
dans le congélateur pendant
une longue période
Ne stockez pas des aliments à haute teneur en
eau dans le congélateur pendant une longue
période
Icemaker is not
making enough
ice.
La demande dépasse la
capacité de production de glace
Le distributeur de glace peut produire
approximativement 70~182 glaçons par période
de 24 heures.
L’arrivée d’eau du domicile n’est
pas connecté, le robinet n’est
pas complètement ouvert ou la
valve est bouchée
Connectez le réfrigérateur à une alimentation
d’eau froide avec une pression adéquate et
ouvrez le robinet d’eau complètement.
Si le problème persiste, il sera peut-être
nécessaire de contacter un plombier.
Le filtre à eau est épuisé Il est recommandé de remplacer le filtre à eau:
Tous les six mois environ•
Lorsque le voyant du filtre à eau s’allume•
Lorsque la sortie de la distribution d’eau •
diminue
Lorsque les cubes de glace sont plus petits que •
la normale
La pression de l’arrivée d’eau
du domicile est trop faible
La pression d’eau doit être comprise entre 1,38
et 8,27 bars sur les modèles non équipés d’un
filtre à eau et entre 2,76 et 8,27 bars sur les
modèles équipés d’un filtre à eau.
Si le problème persiste, il sera peut-être
nécessaire de contacter un plombier
Le système de filtrage par
osmose inversée est en cours
de fonctionnement
Les systèmes de filtrage par osmose inversée
peuvent réduire la pression de l’eau en dessous
de sa valeur minimale et occasionner un
disfonctionnement du distributeur de glace.
(Veuillez vous reporter à la section pression de
l’eau).
Le tuyau reliant le réfrigérateur
au robinet d’approvisionnement
est plié
Le tuyau peut se plier lorsque le réfrigérateur est
déplacé lors de l’installation ou du nettoyage,
provocant une réduction du débit d’eau.
Redressez ou réparez la ligne d’arrivée d’eau et
disposez-la afin d’éviter un nouveau pliage

55
DÉPANNAGE
FRANÇAIS
Problème Causes possibles Solutions
Le distributeur de
glace ne produit
pas suffisamment
de glace (suite)
Les portes sont trop souvent
ouvertes ou restent ouvertes
trop longtemps
Lorsque les portes de l’appareil sont souvent
ouvertes, l’air ambiant va réchauffer le
réfrigérateur et empêcher le maintien de la
température programmée de l’appareil. La
diminution de la température programmée peut
résoudre ce problème, tout comme la réduction
du nombre d’ouvertures des portes
Les portes ne se ferment pas
complètement
Si les portes ne sont pas correctement fermées,
la production de glace en sera affectée. Veuillez
vous reporter à la section Les portes ne se
ferment pas correctement ou s’ouvrent toutes
seules de la partie Dépannage des Pièces &
Fonctions pour plus d’informations.
Le réglage de la température du
congélateur est trop chaud.
La température recommandée du le
compartiment congélateur pour la production
normale de glace est de 0°F. Si la température
du congélateur est plus chaude, la production de
glace en sera affectée.
L’eau est servie
trop lentement
Le filtre à eau est épuisé Il est recommandé de remplacer le filtre à eau :
Tous les six mois environ•
Lorsque le voyant du filtre à eau s’allume•
Lorsque la sortie de la distribution d’eau•
diminue
Lorsque les cubes de glace sont plus petits•
que la normale
Le système de filtrage par
osmose inversée est en cours
de fonctionnement
Les systèmes de filtrage par osmose inversée
peuvent réduire la pression de l’eau en dessous
de sa valeur minimale et occasionner un
disfonctionnement du distributeur de glace.
Si le problème persiste, il sera peut-être
nécessaire de contacter un plombier.
La pression de l’arrivée d’eau du
domicile est trop faible
La pression d’eau doit être comprise entre 1,38
et 8,27 bars sur les modèles non équipés d’un
filtre à eau et entre 2,76 et 8,27 bars sur les
modèles équipés d’un filtre à eau.
Si le problème persiste, il sera peut-être
nécessaire de contacter un plombier

56 DÉPANNAGE
FRANÇAIS
Problème Causes possibles Solutions
La distribution de
glace ne se fait
pas
Les portes ne sont pas fermées
correctement
La distribution de glace ne se fait pas si les portes
du réfrigérateur sont ouvertes
Utilisation peu fréquente du
distributeur
L’utilisation peu fréquente du distributeur de glace
conduit les glaçons à se coller avec le temps, ce
qui empêche leur distribution. Veuillez vérifier que
des glaçons ne sont pas bloqués/collés dans le bac.
S’ils le sont, cassez les glaçons pour permettre le
fonctionnement correct du distributeur.
La glissière de distribution est
obstruée par le givre ou des
morceaux de glace
Enlevez le bac et nettoyez la glissière avec un
ustensile en plastique pour supprimer le givre ou
les morceaux de glace. La distribution de glace en
cubes peut également aider à prévenir la formation
de givre ou de morceaux de glace.
L’affichage du distributeur est
verrouillé
Maintenez le bouton Verrouillage enfoncé pendant
trois secondes pour déverrouiller le panneau de
contrôle et le distributeur.
Le bac à glace est vide 24 heures peuvent être nécessaires pour que
chaque compartiment atteigne la température
désirée et que le distributeur de glace se mette à
fonctionner. Assurez-vous que le contrôle (levier /
capteur) n’est pas obstrué.
Une fois que la réserve de glace dans le bac est
complètement épuisée, la fabrication de glace
supplémentaire peut prendre jusqu`à 90 minutes, et
environ 24h pour le remplissage complet du bac.
Le distributeur de
glace ne produit
pas de glace
Le réfrigérateur vient d’être
installé ou le distributeur de glace
vient d’être branché
24 heures peuvent être nécessaires pour que
chaque compartiment atteigne la température
désirée et que le distributeur de glace se mette à
fonctionner.
Le distributeur de glace n’est pas
mis en marche
Cherchez la touche Marche/Arrêt de la fabrique
de glace sur l’afficheur et vérifiez qu’elle est
réglée sur Marche.
Le détecteur de glace est obstrué La présence de corps étrangers ou de givre sur le
capteur de détection de glace peuvent interrompre
la production de glace. Assurez-vous que la zone
du capteur est toujours propre pour garantir le bon
fonctionnement de l’appareil.
Le réfrigérateur n’est pas
raccordé à l’alimentation d’eau et
le robinet de sectionnement de
l’alimentation n’est pas ouvert.
Raccordez l’appareil à une canalisation d’alimentation
en eau et ouvrez complètement le robinet
d’alimentation.
Le contrôle (levier ou capteur) du
distributeur de glace est obstrué
Si votre distributeur est équipé d’un levier de
contrôle de la glace, assurez-vous que celui-ci pivote
normalement. Si votre distributeur de glace est
équipé d’un capteur de contrôle de la production
de glace, assurez-vous que l’espace entre les deux
capteurs est dégagé.
Le système de filtrage par
osmose inversée est connecté à
votre arrivée d’eau froide.
Les systèmes de filtrage par osmose inversée
peuvent réduire la pression de l’eau en dessous
de sa valeur minimale et occasionner un
disfonctionnement du distributeur de glace. (Veuillez
vous reporter à la section pression de l’eau).

57
DÉPANNAGE
FRANÇAIS
Problème Causes possibles Solutions
La distribution
d’eau ne se fait
pas
Le réfrigérateur vient d’être
installé ou la ligne d’arrivée
d’eau vient d’être connectée
Servez 2,5 gallons d’eau (laissez couler pendant
environ 5 minutes) pour évacuer l’air emprisonné
et les éléments contaminants du système. Ne
servez pas les 2,5 gallons en une seule fois.
Actionnez le bloc de distribution pendant 30
secondes puis relâchez-le pendant 60 secondes,
par cycles.
Le panneau de distribution est
verrouillé
Maintenez le bouton Verrouillage enfoncé
pendant trois secondes pour déverrouiller le
panneau et le distributeur.
Le distributeur n’est pas réglé
pour la distribution d’eau
Le distributeur peut être réglé pour la distribution
de glace ou d’eau. Assurez-vous que le panneau
de contrôle est réglé correctement. Appuyez sur
le bouton Eau du panneau de contrôle pour servir
de l’eau.
Les portes du réfrigérateur ou
du congélateur ne sont pas
fermées correctement
La distribution d’eau ne se fait pas si les portes
du réfrigérateur sont ouvertes.
Le filtre à eau vient d’être
enlevé ou remplacé
Après le remplacement du filtre à eau, servez
2,5 gallons d’eau (laissez couler pendant environ
5 minutes) pour évacuer l’air emprisonné et les
éléments contaminants du système. Ne servez
pas les 2,5 gallons en une seule fois. Actionnez
le bloc de distribution pendant 30 secondes puis
relâchez-le pendant 60 secondes, par cycles.
Le tuyau reliant le réfrigérateur
au robinet d’approvisionnement
est plié
Le tuyau peut se plier lorsque le réfrigérateur est
déplacé lors de l’installation ou du nettoyage,
provocant une réduction du débit d’eau.
Redressez ou réparez la ligne d’arrivée d’eau et
disposez-la afin d’éviter un nouveau pliage.
L’arrivée d’eau du domicile n’est
pas connecté, le robinet n’est
pas complètement ouvert ou la
valve est bouchée
Connectez le réfrigérateur à une alimentation
d’eau et ouvrez le robinet d’eau complètement.
Si le problème persiste, il sera peut-être
nécessaire de contacter un plombier.

58 DÉPANNAGE
FRANÇAIS
Problème Causes possibles Solutions
La glace a un
mauvais goût ou
une mauvaise
odeur
L’arrivée d’eau contient des
minéraux comme du soufre
L’installation d’un filtre à eau est peut-être
nécessaire pour éliminer les problèmes de goût et
d’odeur.
REMARQUE: Dans certains cas, un filtre à eau peut
se révéler insuffisant. Il n’est pas toujours possible
d’éliminer les minéraux / goût / odeur présents dans
l’arrivée d’eau
Le distributeur de glace vient
d’être installé
Jetez les premiers tas de glace afin d’éviter la glace
décolorée ou ayant mauvais goût.
La glace est stockée depuis trop
longtemps
La glace se tasse, devient trouble ou prend un goût
désagréable lorsqu’elle est stockée trop longtemps.
Jetez l’ancienne glace et fabriquez-en une nouvelle
réserve.
Les aliments n’ont pas été rangés
de manière appropriée dans un
des compartiments
Réemballez les aliments. Les odeurs peuvent se
fixer à la glace si les aliments ne sont pas emballés
correctement.
L’intérieur du réfrigérateur doit
être nettoyé
Veuillez vous reporter à la section Entretien &
Nettoyage pour plus d’informations
Le bac à glace doit être nettoyé Videz et lavez le bac (jetez les vieux glaçons).
Assurez-vous que le bac est complètement sec
avant de le réinstaller.
L’eau distribuée
est chaude
Le réfrigérateur vient d’être
installé
Laissez le réfrigérateur tourner pendant 24h après
l’installation pour permettre au réservoir de stockage
de l’eau de refroidir complètement.
L’eau a un mauvais goût ou une
mauvaise odeur
Selon votre modèle, la capacité du réservoir de
stockage va de 20 à 30 onces.
Le distributeur n’a pas été utilisé
pendant plusieurs heures
Si le distributeur n’a pas été utilisé pendant plusieurs
heures, le premier verre servi peut être tiède. Jetez
les 10 premiers onces.
Le réfrigérateur est connecté à
l’arrivée d’eau chaude
Assurez-vous que le réfrigérateur est connecté à
l’arrivée d’eau froide.
AVERTISSEMENT: Le distributeur de glace
peut être endommagé si vous le connectez à une
arrivée d’eau chaude.
L’eau a un
mauvais goût ou
une mauvaise
odeur
L’arrivée d’eau contient des
minéraux comme du soufre
L’installation d’un filtre à eau est peut-être
nécessaire pour éliminer les problèmes de goût et
d’odeur.
Le filtre à eau est épuisé Il est recommandé de remplacer le filtre à eau :
Tous les six mois environ•
Lorsque le voyant du filtre à eau s’allume•
Lorsque la sortie de la distribution d’eau diminue•
Lorsque les cubes de glace sont plus petits que la •
normale
Le réfrigérateur vient d’être
installé
Servez 2,5 gallons d’eau (laissez couler pendant
environ 5 minutes) pour évacuer l’air emprisonné et
les éléments contaminants du système. Ne servez
pas les 2,5 gallons en une seule fois. Actionnez
le bloc de distribution pendant 30 secondes puis
relâchez-le pendant 60 secondes, par cycles.

59
DÉPANNAGE
FRANÇAIS
Problème Causes possibles Solutions
Le distributeur de
glace produit trop
de glace
Le contrôle (levier / capteur)
de fabrication de la glace est
obstrué
Videz le bac à glace. Si votre distributeur est
équipé d’un levier de contrôle de la glace, assurez-
vous que celui-ci pivote normalement. Si votre
distributeur de glace est équipé d’un capteur de
contrôle de la production de glace, assurez-vous
que l’espace entre les deux capteurs est dégagé.
Réinstallez le bac à glace et attendez 24h pour
vérifier le fonctionnement correct de l’appareil.
Clic
Le contrôle du dégivrage cliquète
lorsque le cycle de dégivrage
automatique se met en route.
Le contrôle de thermostat (ou
le contrôle du réfrigérateur sur
certains modèles) cliquète aussi
en début et en fin de cycle.
Fonctionnement normal
Cliquetis
Les cliquetis peuvent provenir
du débit du liquide réfrigérant,
de l’arrivée d’eau à l’arrière
de l’appareil, ou des éléments
rangés au-dessus ou autour du
réfrigérateur
Fonctionnement normal
Sifflement
Le sol flanche ou est inégal, ou les pieds
de nivellement doivent être ajustés sous le
réfrigérateur. Veuillez vous reporter à la section
Alignement de la Porte
Gargouillement
Fonctionnement normal
Pop
Le moteur du ventilateur de
l’évaporateur fait circuler de l’air
à travers les compartiments du
réfrigérateur et du congélateur.
Fonctionnement normal
Grésillement
Fonctionnement normal
Vibration
Liquide réfrigérant s’écoulant
à travers le système de
refroidissement
Fonctionnement normal
Égouttement
Contraction et expansion
des parois internes dues aux
changements de température
Fonctionnement normal
Sizzling
Eau s’égouttant sur le radiateur
de dégivrage lors du cycle de
dégivrage
Fonctionnement normal
Vibrating
Si le côté ou l’arrière du
réfrigérateur touche un meuble ou
un mur, certaines des vibrations
normales de l’appareil peuvent
rendre un son audible
Pour supprimer ce bruit, assurez-vous que les
côtés et l’arrière du réfrigérateur ne peuvent pas
vibrer contre un meuble ou un mur.
Égouttement
Eau s’écoulant à travers l’égouttoir
au cours du cycle de dégivrage
Fonctionnement normal

60 DÉPANNAGE
FRANÇAIS
Problème Causes possibles Solutions
Pulsations ou son
aigu
Votre réfrigérateur est conçu
pour fonctionner de manière
plus efficace pour garder vos
aliments à la bonne température.
Le compresseur à haute
performance peut amener
votre nouveau réfrigérateur à
fonctionner plus régulièrement,
mais il est toujours plus économe
en énergie que les anciens
modèles. Il est normal d’entendre
des pulsations ou un son aigu au
cours du fonctionnement de votre
réfrigérateur.
Fonctionnement normal
Les portes ne
se ferment pas
complètement ou
s’ouvrent toutes
seules
Des emballages alimentaires
bloquent la fermeture de la porte Réorganisez les conteneurs alimentaires sur la
porte et sur les étagères pour dégager la zone de
fermeture
Le bac à glace, le couvercle
du bac à légume, les bacs,
les étagères, les tiroirs ou les
paniers ne sont pas positionnés
correctement.
Poussez les bacs jusqu’au fond et placez le
couvercle du bac à légume, les bacs, les étagères,
les tiroirs et les paniers dans leur position normale.
Veuillez consulter la section Utilisation de votre
Réfrigérateur pour plus d’informations.
Les portes ont été enlevées
durant l’installation de l’appareil
et n’ont pas été correctement
remises en place
Enlevez et repositionnez les portes de la manière
décrite dans la section Enlever et Repositionner les
Poignées et les Portes du Réfrigérateur.
Le réfrigérateur n’est pas
positionné bien à l’horizontale Veuillez vous reporter à la section Alignement des
Portes dans la partie Installation du Réfrigérateur
pour positionner correctement celui-ci
Les portes sont
difficiles à ouvrir
Les joints sont sales ou collants Nettoyez les joints et les surfaces de contact.
Frottez un chiffon avec du lustre ou de la cire pour
meubles sur les joints après les avoir nettoyés
La porte vient d’être refermée Lorsque vous ouvrez la porte, de l’air tiède entre
dans le réfrigérateur. À mesure que l’air tiède se
refroidit, il peut créer un effet d’aspiration. Si la porte
est difficile à ouvrir, veuillez patienter une minute
pour permettre à la pression de l’air de s’équilibrer,
et vérifiez que la porte s’ouvre plus facilement.
Le panneau DID
Knock-On ne
fonctionne pas
correctement.
L’appui est trop souple ou est
effectué sur les rebords du
panneau. Bruit fort près du
réfrigérateur.
Appuyez deux fois sur le centre du panneau de
verre. Appuyez assez fort afin que les touches soient
audibles. Les bruits forts peuvent activer la fonction
Knock-On. La lumière DEL s’éteint automatiquement
après 5 secondes.
La porte
automatique ne
fonctionne pas
adéquatement.
Le capteur de mouvement n’est
pas activé ou le revêtement au
sol est trop réfléchissant.
Assurez-vous que votre pied passe devant le
capteur de mouvement avant de marcher sur
le texte affiché. Si le revêtement au sol est très
réfléchissant, le capteur de la porte automatique
peut ne pas fonctionner correctement.
Le tiroir
automatique ne
fonctionne pas
correctement.
La porte n’est pas complètement
ouverte.
La porte s’est refermée trop
rapidement.
Ouvrez la porte à un angle d’au moins 85 degrés.
Fermez la porte à moins de 85 degrés, permettez au
capteur de réagir et aux tiroirs de se refermer avant
de refermer complètement la porte.

61
DÉPANNAGE
FRANÇAIS
Problème Causes possibles Solutions
Le réfrigérateur
vacille ou parait
instable
Les pieds de nivellement ne sont
pas correctement ajustés Veuillez vous reporter à la section Positionnement et
Alignement des Portes
Le sol n’est pas égal Il peut être nécessaire de placer des cales sous les
pieds de nivellement pour terminer l’installation
L’éclairage ne
fonctionne pas
Panne des diodes d’éclairage
interne La lampe du compartiment du réfrigérateur est une
diode d’éclairage interne, et sa maintenance doit
être réalisée par un technicien qualifié. Veuillez vous
reporter à la section Remplacement d’une ampoule.
Le réfrigérateur
possède une
odeur inhabituelle
Le filtre à air doit peut-être être
positionné sur la valeur MAX ou
être remplacé
Positionnez le filtre à air sur la valeur MAX. Si
l’odeur persiste pendant plus de 24h, le filtre doit
probablement être changé. Veuillez vous reporter
à la section Remplacement du Filtre à Air pour les
consignes de remplacement.
L’intérieur du
réfrigérateur
est couvert de
poussière ou de
suie.
Le réfrigérateur est placé près
d’une flamme ou d’un feu,
comme une cheminée, un poêle
à bois ou une bougie.
Contrôlez et déplacez le cas échéant le réfrigérateur
pour qu’il ne soit pas à proximité d’une flamme ou
d’un feu (cheminée, un poêle à bois ou une bougie).

62 GARANTIE
FRANÇAIS
Si votre réfrigérateur LG («Produit») ne fonctionne pas à cause d’un défaut de matériel ou de
fabrication lors de l’usage domestique normal au cours de la période de garantie énoncée ci-
dessous, LG réparera ou remplacera le produit, à sa discrétion. Cette garantie limitée est valide
uniquement pour l’acheteur original du produit et ne s’applique que lorsqu’il est acheté et utilisé
aux États-Unis, y compris sur les territoires américains. La preuve de originale d’achat est exigée
pour obtenir le service de garantie en vertu de cette garantie limitée.
Le bruit lié au fonctionnement normal, ne respecter pas les instructions dans le Guide d’utilisation
et d’entretien et la panne fonctionnelle de cet appareil pour une utilisation dans un environnement
inadapté, ne être pas couvertes par cette garantie.
Les produits de remplacement et les pièces de rechange sont garantis pour la partie restante
de la période de garantie originale ou pendant quatre vingt dix (90) jours, selon la période la plus
élevée.
Les produits de remplacement et pièces de rechange peuvent être neufs ou remis à neuf.
CETTE GARANTIE REMPLACE TOUTE AUTRE GARANTIE, EXPLICITE OU IMPLICITE, Y
COMPRIS, SANS LIMITATION, TOUTE GARANTIE MARCHANDE OU D’ADAPTATION À UN
USAGE PARTICULIER. DANS LA MESURE OU TOUTE GARANTIE IMPLICITE EST EXIGÉE PAR
LA LOI, SA DURÉE EST LIMITÉE À LA PÉRIODE DE GARANTIE INDIQUÉE CI-DESSUS. NI LE
FABRICANT NI SON DISTRIBUTEUR AMÉRICAIN NE SONT TENUS RESPONSABLES POUR
LES DOMMAGES FORTUITS, CORRÉLATIFS, INDIRECTS, SPÉCIAUX OU LES DOMMAGES
ET INTÉRÊTS PUNITIFS DE LA NATURE QUI SOIT, Y COMPRIS, MAIS NON LIMITÉ AUX
PERTES ET LES BÉNÉFICES OU À TOUT AUTRE DOMMAGE, DE BASE CONTRACTUELLE,
DÉLICTUELLE OU AUTREMENT. Certains états ne permettent pas l’exclusion ou la limitation
des dommages fortuits ou indirects ou les limitations sur la durée d’une garantie implicite, donc,
l’exclusion ou la limitation susmentionnée peut ne pas s’appliquer à vous. Cette garantie vous
donne des droits légaux spécifiques et vous pouvez également avoir d’autres droits qui varient
d’un état à un autre.
GARANTIE (états-unis)
PÉRIODE DE GARANTIE
Réfrigérateur
Système scellé (condensateur, sèche-linge,
tuyau de raccordement, réfrigérant et
évaporateur)
Compresseur linéaire
Un (1) an à compter
de la date d’achat
initial
Un (1) an à compter
de la date d’achat
initial
Sept (7) ans à compter
de la date d’achat initial
Dix (10) ans à compter de
la date d’achat initial
Pièces et main-
d’œuvre (pièces
internes/
fonctionnelles
uniquement)
Pièces et main-
d’œuvre
Pièces uniquement
(la main-d’œuvre sera
facturée au client)
Pièces uniquement
(la main-d’œuvre sera
facturée au client)

63
GARANTIE
FRANÇAIS
Pour plus de détails complets sur la garantie et l’assistance à la clientèle, veuillez appeler ou visiter notre site web.
Appelez le 1-800-243-0000 (24 heures/jour, 365 jours/an) et sélecitonnez l’option adéquate dans le
menu, ou visitez notre site web au http://www.lg.com. Ou par courrier: LG Customer Information
Center: P. O. Box 240007, 201 James Record Road Huntsville, Alabama 35813 ATTN: CIC
Inscrivez votre information de garantie ci-dessous: _____________________________________
Information d’enregistrement dui produit : _____________________________________________
Modèle: ___________________________________________________________________________
Numéro de série: ___________________________________________________________________
Date d’achat : ______________________________________________________________________
CETTE GARANTIE LIMITÉE NE COUVRE PAS :
1. SLes déplacements de service pour la livraison, le ramassage, ou l’installation ou la réparation du produit,
l’instruction d’un client sur le fonctionnement du produit, la réparation ou le remplacement de fusibles ou la
correction du câblage ou de la plomberie, ou la correction des réparations/installations non autorisées.
2. Les défauts de fonctionnement du produit pendant les pannes et les interruptions de courant ou dûs au service
électrique inadéquat.
3. Les dommages causés par des conduites d’eau qui fuient ou qui sont cassées, des conduites d’eau gelées, des
canalisations à autorisation restreinte, l’approvisionnement en eau insuffisante ou interrompue ou une provision
d’air insuffisante.
4. Les dommages résultant de l’utilisation du produit dans une atmosphère corrosive ou contraire aux instructions
décrites dans le manuel du propriétaire du produit.
5. Les dommages au produit causés par des accidents, les insectes et la vermine, la foudre, le vent, le feu, les
inondations ou les actes de Dieu.
6. Les dommages résultant de la mauvaise utilisation, l’abus, la mauvaise installation, réparation ou maintenance.
Une mauvaise réparation comprend l’utilisation de pièces non approuvées ou non spécifiées par LG.
7. Les dommages ou la défectuosité causés par une modification ou altération non autorisée, ou si le produit est
utilisé pour d’autres fins que celles prévues, ou par toute fuite d’eau lorsque l’unité n’a pas été correctement
installée.
8. Les dommages ou les ruptures causés par un courant électrique, une tension, ou des codes de plomberie
incorrects, l’utilisation commerciale ou industrielle, ou l’utilisation d’accessoires, de composants ou de produits
consommables de nettoyage qui ne sont pas approuvés par LG.
9. Les dommages causés par le transport et la manutention, notamment les éraflures, les bosses, les fissures, et /
ou d’autres dommages à la finition de votre produit, à moins que ces dommages soient causés par des défauts
de matériaux ou de fabrication et soient signalés dans une (1) semaine de la livraison (Appeler le : 1-800-243-
0000).
10. Les dommages ou les éléments manquants à tout produit d’exposition, de promotion ou remis à neuf.
11. Les produits avec des numéros de série originaux qui ont été enlevés, modifiés ou ne pouvant pas être
facilement déterminés. Les numéros de modèle et de série, ainsi que le reçu original de la vente au détail, sont
nécessaires pour valider la garantie.
12. L’augmentation des coûts des services publics et les frais de services publics supplémentaires.
13. Le remplacement des ampoules, des filtres ou de toute pièce consommable.
14. Les réparations lorsque le produit est utilisé autrement que pour un usage domestique normal et habituel (à
savoir, l’utilisation commerciale, dans des bureaux ou les installations de loisirs) ou contraire aux instructions
décrites dans le manuel du propriétaire du produit.
15. Les coûts associés à l’enlèvement de votre produit de votre domicile pour des réparations.
16. L’enlèvement et la réinstallation du produit s’il est installé dans un endroit inaccessible ou n’est pas installé
conformément aux instructions d’installation publiées, y compris les manuels d’utilisation et d’installation du LG.
17. Les étagères, les bacs de porte, les tiroirs, les poignées, les accessoires et autres pièces en dehors de celles qui
ont été initialement inclues dans ce modèle particulier.
18. Déplacements des techniciens à domicile pour vous expliquer l’utilisation du produit.
19. Remplacement de la cartouche du filtre à eau du fait que la pression d’eau est en dehors de l’intervalle de
fonctionnement spécifié ou à cause de la présence de dépôts en excès dans l’alimentation en eau.
Le coût de réparation ou de remplacement en vertu de ces circonstances exclues est à la charge du consommateur.

64 GARANTIE
FRANÇAIS
GARANTIE (Canada)
GARANTIE: Si votre réfrigérateur LG («Produit») ne fonctionne pas à cause d’un défaut de matériel
ou de fabrication lors de l’usage domestique normal au cours de la période de garantie énoncée ci-
dessous, LG Canada réparera ou remplacera le produit à la réception de la preuve d’achat originale, à
sa discrétion. Cette garantie est valable uniquement pour l’acheteur original au détail du produit et ne
s’applique qu’à un produit distribué au Canada par LG Canada ou par un distributeur canadien autorisé.
La garantie s’applique seulement aux produits situés et utilisés au Canada.
Le bruit lié au fonctionnement normal, ne respecter pas les instructions dans le Guide d’utilisation
et d’entretien et la panne fonctionnelle de cet appareil pour une utilisation dans un environnement
inadapté, ne être pas couvertes par cette garantie.
Les produits de remplacement et les pièces de rechange sont garantis pour la partie restante
de la période de garantie originale ou pendant quatre vingt dix (90) jours, selon la période la plus
élevée.
Les produits de remplacement et pièces de rechange peuvent être neufs ou remis à neuf.
Les centres de réparation agréés par LG garantissent leurs travaux de réparation pendant trente
(30) jours.
LA SEULE RESPONSABILITÉ DE LG CANADA EST LIMITÉE À LA GARANTIE DÉCRITE CI-
DESSUS. SAUF SI CELA EST EXPRESSÉMENT STIPULÉ, LG CANADA NE FAIT AUCUNE
RÉCLAMATION ET REJETTE DONC TOUTE AUTRE GARANTIE ET CONDITION CONCERNANT
LE PRODUIT, EXPLICITE OU IMPLICITE, Y COMPRIS, MAIS SANS S’Y LIMITER, À TOUTE
GARANTIE IMPLICITE OU QUALITÉ MARCHANDE OU ADAPTATION À UN USAGE
PARTICULIER, ET AUCUNE DÉCLARATION N’EST OBLIGATOIRE SUR LG CANADA. LG
CANADA N’AUTORISE AUCUNE PERSONNE À CRÉER OU À ASSUMER EN SON NOM
AUCUNE AUTRE OBLIGATION OU RESPONSABILITÉ DE GARANTIE EN RELATION AVEC LE
PRODUIT. DANS LA MESURE OU TOUTE GARANTIE OU CONDITION EST IMPLICITE PAR
LA LOI, SA DURÉE EST LIMITÉE À LA PÉRIODE DE GARANTIE INDIQUÉE CI-DESSUS. LG
CANADA, LE FABRICANT OU SON DISTRIBUTEUR NE SONT PAS TENUS RESPONSABLES
POUR LES DOMMAGES FORTUITS, CORRÉLATIFS, DIRECTS OU INDIRECTS, LES
PERTES DE CLIENTÈLE, LES PERTES DE BÉNÉFICES, LES DOMMAGES ET INTÉRÊTS
PUNITIFS OU EXEMPLAIRES, OU TOUT AUTRE DOMMAGE, RÉSULTANT DIRECTEMENT
OU INDIRECTEMENT DE TOUT MANQUEMENT AUX OBLIGATIONS CONTRACTUELLES,
FONDAMENTAL OU AUTREMENT, OU RÉSULTANT DE TOUTE ACTION OU OMISSION,
DE NATURE DÉLICTUELLE OU AUTREMENT. Cette garantie vous donne des droits légaux
spécifiques. Vous pouvez avoir d’autres droits qui peuvent varier d’une province à l’autre selon
les lois provinciales applicables. Tout terme de cette garantie qui nie ou modifie toute condition
ou garantie implicite en vertu de la loi provinciale est susceptible de disjonction lorsqu’il entre en
conflit avec la loi provinciale sans affecter le reste des termes de cette garantie.
PÉRIODE DE GARANTIE : (Remarque : dans le cas où la date d’achat initial ne peut pas être
vérifiée, la garantie commence soixante (60) jours après la date de fabrication).
Réfrigérateur/
Congélateur
Système scellé (condensateur, sèche-linge, tuyau
de raccordement, réfrigérant et évaporateur)
Compresseur linéaire
Un (1) an à compter
de la date d’achat
initial
Un (1) an à compter
de la date d’achat
initialt
Sept (7) ans à compter
de la date d’achat initial
Dix (10) ans à compter
de la date d’achat initial
Pièces et main-
d’œuvre (pièces
internes/fonctionnelles
uniquement)
Pièces et main-
d’œuvre
Pièces uniquement
(la main-d’œuvre sera
facturée au client)
Pièces uniquement
(la main-d’œuvre sera
facturée au client)

65
GARANTIE
FRANÇAIS
Pour plus de détails complets sur la garantie et l’assistance à la clientèle, veuillez appeler ou visiter notre site web.
Appelez le 1-888-542-2623 (24 heures/jour, 365 jours/an) et sélecitonnez l’option adéquate dans
le menu, ou visitez notre site web au http://www.lg.com
Inscrivez votre information de garantie ci-dessous: _______________________________________
Information d’enregistrement dui produit : _______________________________________________
Modèle: _____________________________________________________________________________
Numéro de série : ____________________________________________________________________
Date d’achat : ________________________________________________________________________
CETTE GARANTIE LIMITÉE NE COUVRE PAS :
1. Les déplacements de service pour la livraison, le ramassage, ou l’installation du produit; l’instruction d’un client
sur le fonctionnement du produit, la réparation ou le remplacement de fusibles ou la correction du câblage ou de
la plomberie, ou la correction des réparations/installations non autorisées.
2. Les défauts de fonctionnement du produit pendant les pannes et les interruptions de courant ou dûs au service
électrique inadéquat.
3. Les dommages causés par des conduites d’eau qui fuient ou qui sont cassées, des conduites d’eau gelées, des
canalisations à autorisation restreinte, l’approvisionnement en eau insuffisante ou interrompue ou une provision
d’air insuffisante.
4. Les dommages résultant de l’exploitation du produit dans une atmosphère corrosive ou contraire aux instructions
décrites dans le manuel du propriétaire du produit.
5. Les dommages au produit causés par des accidents, les insectes et la vermine, la foudre, le vent, le feu, les
inondations ou les actes de Dieu.
6. Les dommages résultant de la mauvaise utilisation, l’abus, la mauvaise installation, réparation ou maintenance
du produit. Une mauvaise réparation comprend l’utilisation de pièces non approuvées ou non spécifiées par LG
Canada.
7. Les dommages ou la rupture du produit causés par la modification ou l’altération non autorisée, ou l’utilisation
à des fins autres que celles initialement désignées ou résultant de toute fuite d’eau due à une mauvaise
installation.
8. Les dommages ou les ruptures du produit causés par un courant électrique, une tension, ou des codes de
plomberie incorrects, l’utilisation commerciale ou industrielle, ou l’utilisation d’accessoires, de composants ou de
produits de nettoyage qui ne sont pas approuvés par LG Canada.
9. Les dommages causés par le transport et la manutention, notamment les éraflures, les bosses, les fissures, et /
ou d’autres dommages à la finition de votre produit, à moins que ces dommages soient causés par des défauts
de matériaux ou de fabrication et soient signalés dans une (1) semaine de la livraison.
10. Les dommages ou les éléments manquants à tout produit d’exposition, de promotion ou remis à neuf.
11. Les produits avec numéro de série original qui ont été enlevés, modifiés ou ne peuvent pas être facilement
déterminés. Les numéros de modèle et de série, ainsi que le reçu original de la vente au détail, sont nécessaires
pour valider la garantie.
12. L’augmentation des coûts des services publics et les frais de services publics supplémentaires.
13. Le remplacement des ampoules, des filtres ou de toute pièce consommable.
14. Les réparations lorsque le produit est utilisé autrement que pour un usage domestique normal et habituel (y
compris, sans limitation, l’utilisation commerciale, dans des bureaux ou les installations de loisirs) ou contraire
aux instructions décrites dans le manuel du propriétaire du produit.
15. Les coûts associés à l’enlèvement du produit de chez vous pour les réparations.
16. L’enlèvement et la réinstallation du produit s’il est installé dans un endroit inaccessible ou n’est pas installé
conformément aux instructions d’installation publiées, y compris les manuels d’utilisation et d’installation du
produit.
17. Les étagères, les bacs de porte, les tiroirs, les poignées, et les accessoires pour le produit. Sont également
exclues les pièces en plus de celles qui ont été initialement inclues dans le produit.
18. Déplacements des techniciens à domicile pour vous expliquer l’utilisation du produit.
19. Remplacement de la cartouche du filtre à eau du fait que la pression d’eau est en dehors de l’intervalle de
fonctionnement spécifié ou à cause de la présence de dépôts en excès dans l’alimentation en eau.
Tous les coûts liés à la situation ci-dessus exclus sont à charge du consommateur.

Avis d’Industrie Canada
Le présent appareil est conforme aux CNR
d’Industrie Canada applicables aux appareils radio
exempts de licence. L’exploitation est autorisée
aux deux conditions suivantes :
1)) l’appareil ne doit pas produire de brouillag
2) l’utilisateur de l’appareil doit accepter tout
brouillage radioélectrique subi, même si le
brouillage est susceptible d’en compromettre
le fonctionnement.
CAN RSS-216 / CNR-216

MANUAL DEL PROPIETARIO
REFRIGERADOR DE
PUERTA FRANCES
Lea este manual de usuario detenidamente antes de la
utilización y guárdelo a mano para futuras consultas.
LUPXS3186N
P/No. : MFL68302707 www.lg.com
ESPAÑOL

2ÍNDICE
ESPAÑOL
ÍNDICE
3
CARACTERÍSTICAS DEL
PRODUCTO
4
INSTRUCCIONES IMPORTANTES
SOBRE SEGURIDAD
7 COMPONENTES
7 Exterior del refrigerador
8 Interior del refrigerador
9 INSTALACIÓN
9 Instrucciones generales de instalación
10 Especificaciones
11 Desembalaje del refrigerador
11 Cómo escoger la ubicación adecuada
11 - Tipo de piso
12 - Temperatura ambiente
12 - Cómo medir la distancia de separación
mínima
12 Montaje y desmontaje de las puertas
17 Conexión de las tuberías de agua
17 - Antes de empezar
18 - Presión del agua
18 - Qué necesitará
19 - Instrucciones para la instalación de la
tubería de agua
20 Encendido
21 Nivelación
21 Alineación de las puertas
21 - Ajuste de la altura de las puertas
22 INSTRUCCIONES DE USO
22 Antes de usar
23 Display LED interior
23 - Características del display interior
25 - Uso del display interior
26 Características Smart
30
Uso del depósito de hielo del interior de la puerta
30 - Desmontaje del depósito de hielo del
interior de la puerta
30 - Montaje del depósito de hielo del interior
de la puerta
31 Máquina de hielo automática
33 Dispensador de hielo y agua
34 Almacenamiento de alimentos
34 - Lugar de conservación de los alimentos
35 - Sugerencias para el almacenamiento de
alimentos
35 - Almacenamiento de alimentos congelados
36 Ajuste de los estantes del refrigerador
36 - Desmontaje del estante
36 - Montaje del estante
37 - Al cerrar la puerta
37 Despensa CustomChill™
37 - Ajuste de la despensa CustomChill™
38 Cajones para frutas y verduras
38 - Retirada de los cajones para fruta y verdura
38 - Colocación de los cajones para frutas y
verduras.
39 - Retirada de la caja de soporte del cajón
para frutas y verduras
39 - Montaje de la caja de soporte del cajón
para frutas y verduras
40 Recipiente de acero FRESH
40 Knock-On Door-in-Door™
41 Bandeja EasyLift
41 Cajón de congelador
41 - Retirada del cajón del congelador
42 - Montaje del cajón del congelador
42 -Retirada del soporte del cajón
43 - Montaje del soporte del cajón
43 Bandejas de las puertas del refrigerador/
congelador.
44 MANTENIMIENTO
44 Limpieza
45 Sustitución del filtro Fresh Air
46 Reemplazo del filtro de agua
50 DIAGNÓSTICO INTELIGENTE
50
Utilización del Diagnóstico Inteligente™
51 SOLUCIÓN DE PROBLEMAS
62 GARANTÍA

3
CARACTERÍSTICAS DEL PRODUCTO
ESPAÑOL
CARACTERÍSTICAS DEL PRODUCTO
* Dependiendo del modelo, algunas de las siguientes funciones podrán no estar disponibles.
ALARMA DE LA PUERTA
La función de alarma de la puerta está diseñada para prevenir el
malfuncionamiento del refrigerador que podría producirse si se dejara abierta
una puerta del refrigerador o un cajón del congelador. Si se deja abierto una
puerta del refrigerador o un cajón del congelador por más de 60 segundos,
sonará una alarma de advertencia en intervalos de 30 segundos.
FUNCIÓN ICE PLUS
La producción de hielo puede ser incrementada en aproximadamente un 20
por ciento cuando la sección del congelador se mantiene en la temperatura
más fría durante un período de 24 horas.
BISAGRA DE AUTOCIERRE
Las puertas del refrigerador se cierran automáticamente con una ligera
presión. (La puerta se cierra automáticamente cuando está abierta a un
ángulo menor a 30°.)
AGUA FILTRADA Y DISPENSADOR DE HIELO
El dispensador de agua dispensa agua fresca y helada. El dispensador de
hielo dispensa hielo picado y en cubos.
KNOCK-ON DOOR-IN-DOOR
Vea rápidamente si tiene suficiente mostaza o refrescos fríos sin abrir la
puerta y sin que salga el aire frío.
Vea rápidamente si tiene suficiente mostaza o refrescos fríos sin abrir la
puerta y sin que salga el aire frío.
APERTURA AUTOMÁTICA DE LA PUERTA
Cuando llegue cargado de alimentos, abra la puerta del refrigerador
automáticamente colocando un pie cerca del sensor Auto Door.
GUÍAS PARA RECIPIENTES PLEGABLES
Utilice las metálicas de los recipientes DID como divisores de recipientes o
como guías para sujetar los productos altos.

4INSTRUCCIONES IMPORTANTES SOBRE SEGURIDAD
ESPAÑOL
INSTRUCCIONES IMPORTANTES SOBRE SEGURIDAD
LEA TODAS LAS INSTRUCCIONES ANTES DE USAR ESTE ELECTRODOMÉSTICO.
Este manual contiene muchos mensajes de seguridad importantes. Lea y cumpla siempre todos los
mensajes de seguridad.
ADVERTENCIA Si no respeta las instrucciones, podría morir o sufrir lesiones graves.
PRECAUCIÓN
Indica una situación peligrosa inminente que, si no se evita, puede producir una
lesión menor o moderada, o daño al producto.
ADVERTENCIA
Para reducir el riesgo de incendio, descarga eléctrica o lesiones personales al utilizar el producto, se deben
respetar una serie de precauciones de seguridad básicas, entre las que se incluyen las siguientes:
Energía eléctrica
NUNCA desenchufe el refrigerador tirando del cable de corriente. Agarre siempre el enchufe firmemente y tire
y
del mismo para retirarlo de la toma de corriente.
Si el cable de alimentación se encuentra dañado deberá ser sustituido por el fabricante, por un servicio técnico
y
autorizado o personal cualificado para evitar riesgos innecesarios. No use un cable con grietas o abrasiones
sobre su extensión o en los extremos del enchufe o conector.
Nunca utilice un tomacorriente que no esté certificado.
y
En caso de corte repentino de electricidad o tormenta eléctrica, desconecte el enchufe inmediatamente.
y
Conecte el enchufe con el cable de alimentación en dirección hacia abajo.
y
Instalación
Póngase en contacto con un centro de servicio autorizado antes de instalar o cambiar de ubicación el frigorífico.
y
Cuando separe el refrigerador de la pared, tenga cuidado de no torcer o dañar el cable de alimentación.
y
Antes del uso, asegúrese de conectar este aparato a una toma de tierra exclusiva para él (115V, 60Hz, sólo
y
CA). Queda bajo responsabilidad del usuario reemplazar un tomacorriente de pared estándar de 2 tomas por
uno estándar de 3 tomas.
No instale el frigorífico donde pueda existir peligro de se caiga.
y
Uso
NO permita a los niños subirse sobre el frigorífico, ni colgarse de las puertas o estantes. Podrían dañar el
y
refrigerador o sufrir lesiones graves.
No cuelgue o coloque objetos pesados sobre la bandeja dispensadora del frigorífico.
y
No deposite objetos pesados o peligrosos (por ejemplo, botellas con líquido) sobre el refrigerador.
y
No introduzca animales con vida dentro del refrigerador.
y
No permita que los niños se trepen al producto mientras el mismo está en uso.
y
Si se produce una fuga de gas (propano/GPL) asegúrese de que haya la ventilación adecuada y póngase en
y
contacto con un centro de servicio autorizado antes de volver a utilizarlo. No toque ni desarme el tomacorriente
eléctrico del refrigerador.
En el caso de fuga del refrigerante, ubique los objetos inflamables lejos del refrigerador. Ventile lo suficiente y
y
póngase en contacto con un centro de servicio autorizado.
No utilice ni ubique sustancias inflamables (químicos, medicamentos, cosméticos, etc.) cerca del refrigerador;
y
tampoco los almacene dentro del refrigerador. No sitúe el refrigerador cerca de una fuente de gas inflamable.
No llene o envase en exceso los alimentos en los compartimentos de la puerta. Podria dañar el compartimento
y
o sufrir lesiones personales al retirar los alimentos aplicando una fuerza excesiva.
Éste es el símbolo de alerta de seguridad. Le avisa de mensajes de seguridad que le informan
de peligros de muerte o lesiones para usted o los demás, o que puedan dañar el producto.
Todos los mensajes de seguridad estarán precedidos del símbolo de alerta de seguridad y de
las palabras de señal de ADVERTENCIA o PRECAUCIÓN. Estas palabras significan:

5
INSTRUCCIONES IMPORTANTES SOBRE SEGURIDAD
ESPAÑOL
No golpee el panel de cristal de la puerta con demasiada fuerza. No permita que objetos duros, como
y
utensilios de cocina o botellas de cristal golpeen el panel de cristal de la puerta. El cristal podría
romperse y causar lesiones o daños materiales.
No utilice este aparato para fines especiales, como la conservación de medicamentos o materiales de
y
ensayo, no lo utilice en un barco, etc.
Desenchufe el cable de alimentación antes de limpiar o reparar el refrigerador.
y
Al reemplazar la bombilla del refrigerador, desenchufe el refrigerador o corte la corriente eléctrica.
y
No modifique ni alargue el cable de corriente.
y
No utilice secadoras eléctricas para secar el interior del producto. No prenda velas para remover el olor
y
interno del producto.
Por su seguridad, este electrodoméstico debe estar adecuadamente conectado a tierra. Solicite a un
y
electricista cualificado que compruebe la toma de corriente y el circuito eléctrico para asegurarse de
que la toma de corriente está correctamente conectada a tierra.
No utilice ningún tomacorriente que pueda ser prendido o apagado mediante un interruptor. No utilice
y
un alargador de corriente. Queda bajo responsabilidad del usuario reemplazar un tomacorriente de
pared estándar de 2 tomas por uno estándar de 3 tomas.
Bajo ninguna circunstancia, corte o quite la tercera clavija (de puesta a tierra) del cable eléctrico.
y
No utilice adaptadores; enchufe el cable de alimentación a un alargador de tomacorrientes múltiples.
y
Desenchufe el cable inmediatamente si oye algún ruido, algún olor extraño o si se detecta humo de
y
salga del aparato.
En el caso de que entre agua o polvo en el refrigerador, apáguelo. Llame al servicio técnico.
y
No desarme ni modifique el refrigerador.
y
No introduzca manos, pies, u objetos metálicos debajo o detrás del refrigerador.
y
No maneje el refrigerador o toque el cable de alimentación si sus manos se encuentran húmedas.
y
En los refrigeradores con dispensadores automáticos de hielo, evite el contacto con partes móviles del
y
mecanismo eyector o con el elemento de calor que dispensa los cubos. No introduzca los dedos o las
manos en el mecanismo de fabricación automática de hielo con el refrigerador enchufado.
Al retirar hielo del dispensador no utilice cristal cerámico.
y
Cuando su refrigerador esté en funcionamiento, no toque las superficies frías del compartimiento del
y
congelador con las manos mojadas o húmedas.
No introduzca contenedores de vidrio, botellas de vidrio o refrescos en el congelador.
y
Este producto no está diseñado para ser utilizado por personas (incluidos niños) con capacidades
y
físicas, sensoriales o mentales reducidas, o con falta de experiencia y conocimiento, salvo que estén
supervisados o hayan sido instruidos con respecto al uso del producto por una persona responsable de
su seguridad.
No vuelva a congelar alimentos congelados que se hayan descongelado totalmente. Podría ser
y
peligroso para su salud.
Si va a desechar su antiguo refrigerador, asegúrese de que un técnico cualificado se encargue
y
de retirar el refrigerante de CFC para su adecuada eliminación. Si usted emite refrigerante de
clorofluorocarbonos, podría ser multado o encarcelado de conformidad con la ley ambiental vigente.
Los refrigeradores desechados o abandonados son peligrosos, incluso si sólo es por unos pocos días.
y
Al momento de desechar el refrigerador, retire los materiales de embalaje de la puerta o quite las
puertas pero deje los estantes en su lugar a fin de que los niños no puedan escalar fácilmente por
dentro.
Si se conecta a un circuito protegido con fusibles, utilice un fusible de retardo.
y
LEA TODAS LAS INSTRUCCIONES ANTES DE USAR ESTE ELECTRODOMÉSTICO.
Para reducir el riesgo de incendio, descarga eléctrica o lesiones personales al utilizar el producto, se deben
respetar una serie de precauciones de seguridad básicas, entre las que se incluyen las siguientes:
ADVERTENCIA
Este producto contiene químicos conocidos por el Estado de California como causantes de cáncer y
defectos de nacimiento u otros daños reproductivos.
Lávese las manos después de usarlo.

6INSTRUCCIONES IMPORTANTES SOBRE SEGURIDAD
ESPAÑOL
PRECAUCIÓN
Instalación
El refrigerador se debe instalar correctamente de acuerdo con las instrucciones para el instalador
y
incluidas en la hoja adhesiva pegada al frontal del refrigerador.
Sea cuidadoso al desempacar e instalar el refrigerador. Deshágase inmediatamente de los
y
materiales de embalaje y plástico para que queden fuera del alcance de los niños.
Coloque el aparato de modo que pueda acceder fácilmente a la alimentación eléctrica.
y
Uso
Cierre la puerta cuidadosamente cuando haya niños cerca.
y
Mantenga los dedos lejos de los puntos de riesgo de pinzamiento; las distancias de separación
y
entre las puertas y los gabinetes son necesariamente pequeños. Tenga cuidado al cerrar las
puertas cuando haya niños cerca.
Si guarda los alimentos de forma inadecuada, tenga cuidado de que no puedan caer y causar
y
lesiones.
No utilice aerosoles cerca del frigorífico.
y
No coloque objetos sobre el frigorífico.
y
Mantenimiento
No utilice detergentes fuertes tales como cera o diluyente para la limpieza. Limpie con un trapo
y
suave.
Limpie los objetos extraños, como polvo y agua, de las clavijas del enchufe y las áreas de contacto
y
con regularidad.
No almacene, desmonte o repare el refrigerador usted mismo.
y
Elimine el polvo o la suciedad de las clavijas del enchufe.
y
No utilice un trapo mojado o húmedo para limpiar el enchufe.
y
Si se desconecta el frigorífico de la alimentación eléctrica, espere un mínimo de cinco minutos antes
y
de volver a conectarlo.
Si nota un olor químico o a plástico quemado o si ve humo, desenchufe el frigorífico
y
inmediatamente y póngase en contacto con el servicio técnico de LG Electronics.
LEA TODAS LAS INSTRUCCIONES ANTES DE USAR ESTE ELECTRODOMÉSTICO.
Para reducir el riesgo de incendio, descarga eléctrica o lesiones personales al utilizar el producto, se deben
respetar una serie de precauciones de seguridad básicas, entre las que se incluyen las siguientes:
GUARDE ESTAS INSTRUCCIONES

7
COMPONENTES
ESPAÑOL
COMPONENTES
Use esta página para familiarizarse con los componentes y características del refrigerador.
*La apariencia y especificaciones del producto real pueden cambiar dependiendo del modelo.
Exterior del refrigerador
Refrigerador
Conserva la comida.
Congelador
Congela la comida.
Knock-On
Door-in-Door
Panel de control
Muestra los modos de fábrica de
hielos y despachador y el estado
del filtro del agua.
Pantalla LED
Muestra la temperatura
seleccionada para el refrigerador y
el congelador, el estado del filtro
de agua y el estado de conexión
de la red.
Agua filtrada y
dispensador de hielo
Dispensa agua purificada y
hielo.

8COMPONENTES
ESPAÑOL
Interior del refrigerador
Lámparas interiores LED
Las lámparas interiores iluminan el
interior del refrigerador.
Estante ajustable de refrigerador
Los estantes del refrigerador son ajustables
para satisfacer sus necesidades personales de
almacenamiento.
Bandeja del
refrigerador
Zona fresca amplia
Cesta del congelador
Recipiente de acero
FRESH
Despensa CustomChill™
Cajones del
congelador
Cajones del
congelador
Depósito de hielo del
interior de la puerta
Los cubos de
hielo se producen
automáticamente.
Knock-On
Door-in-Door™
Vea lo que hay en el
interior del compartimento
Door-in-Door sin abrir la
puerta. Mantiene el aire
frío en el interior y ahorra
energía.
Compartimento para
condimentos
Cesta del
congelador
Zona fresca
amplia

9
INSTALACIÓN
ESPAÑOL
INSTALACIÓN
Instrucciones generales de instalación
Luego de comprar este producto o trasladarlo a otro lugar, lea primero las siguientes instrucciones
de instalación.
NOTA
Conecte solamente al suministro de agua
potable.
1 Desembalaje del
refrigerador
4 Conexión del
suministro de agua
y del conducto de
agua
2 Cómo escoger la
ubicación adecuada
5 Nivelación y
alineación de las
puertas
3 Desmontaje/ Montaje

10 INSTALACIÓN
ESPAÑOL
Especificaciones
La apariencia y especificaciones contenidas en este manual pueden variar debido a las contantes
mejoras realizadas en el producto.
Refrigerador con congelador inferior modelo LUPXS3186N
Descripción Refrigerador con puerta francesa
Requisitos eléctricos 115 VAC @ 60 Hz
Presión de agua mínima / máxima
20 - 120 psi (138 - 827 kPa)
Dimensiones
35 7/8” (anchura) X 36 1/2” (profundidad) X 70 1/4” (altura),
51 1/8” (profundidad con la puerta abierta)
912 mm (anchura) X 929 mm (profundidad) X 1784 mm (altura),
1298 mm (profundidad con la puerta abierta)
Peso neto 215 kg. (473 libras)

11
INSTALACIÓN
ESPAÑOL
Cómo escoger la ubicación
adecuada
Seleccione un lugar en el que se pueda
y
conectar fácilmente el suministro de agua
para la máquina de hielo automática.
Desembalaje del refrigerador
ADVERTENCIA
El desplazamiento e instalación del
y
refrigerador deben realizarse entre dos
o más personas. Si no se respeta esta
advertencia, se podrán producir lesiones en
la espalda o de otro tipo.
Su refrigerador es muy pesado.
y
Al desplazarlo para su limpieza o
mantenimiento, asegúrese de proteger el
suelo. Siempre debe tirar del refrigerador
en línea recta cuando los desplace. No
menee ni zigzaguee el refrigerador al tratar
de desplazarlo, ya que esto puede dañar el
suelo.
Mantenga los materiales o vapores
y
inflamables, como la gasolina, lejos del
refrigerador. Si no se cumple con esto se
podrá producir una explosión, incendio o
muerte.
Antes de su uso, retire la cinta adhesiva y todas
las etiquetas temporales del refrigerador. No
retire las etiquetas que indican advertencias, la
etiqueta de modelo y número de serie ni la Hoja
técnica que está ubicada debajo del frontal del
refrigerador.
Para retirar los restos de pegamento o cinta
adhesiva, frote enérgicamente el área con el
pulgar. Los residuos de pegamento o cinta
adhesiva también se pueden retirar fácilmente
frotando con los dedos una pequeña cantidad de
lavavajillas líquido sobre el adhesivo. Aclare con
agua templada y seque el área.
No utilice instrumentos afilados, alcohol
desinfectante, líquidos inflamables ni limpiadores
abrasivos para retirar la cinta adhesiva o el
pegamento. Estos productos pueden dañar la
superficie del refrigerador.
Los estantes del refrigerador están instalados
en la posición de transporte. Vuelva a colocar
los estantes de acuerdo con sus necesidades
personales de almacenamiento.
Tipo de piso
Para evitar el ruido y la vibración, es necesario
nivelar la unidad e instalarla en un suelo
sólidamente construido. Si es necesario, ajuste
los pies de nivelación para compensar los
desniveles del suelo. La parte delantera debe
estar ligeramente más elevada que la posterior
para ayudar al cierre de la puerta. Los pies de
nivelación se pueden girar con facilidad inclinando
ligeramente el aparato. Gire los pies de nivelación
hacia la izquierda para elevar la unidad, y hacia
la derecha para bajarla. (Consulte la sección de
nivelación y alineación de las puertas).
NOTA
No se recomienda realizar la instalación
sobre moqueta, superficies de baldosas
flexibles, una plataforma o en una
estructura con soporte inestable.
El refrigerador debe estar siempre enchufado
y
a su toma de corriente individual conectada
a tierra adecuadamente con una tensión
nominal de 115 voltios, 60 Hz, sólo CA,
y protegida mediante fusible a 15 ó 20
amperios. Esta configuración proporciona el
mejor rendimiento y, al mismo tiempo, evita
la sobrecarga de la instalación eléctrica de
la casa que podría provocar un peligro de
incendio debido a un sobrecalentamiento
de los cables. Se recomienda disponer de
un circuito independiente para la exclusiva
alimentación de este electrodoméstico.
ADVERTENCIA
Para reducir el riesgo de descarga eléctrica,
no instale el refrigerador en un área
húmeda ni mojada.
NOTA
La presión del agua debe ser 20~120 psi
o 138~827 kPa o 1,4~8,4 kgf/cm² en los
modelos sin filtro de agua y 40~120 psi
o 276~827 kPa o 2,8~8,4 kgf/cm² en los
modelos con filtro de agua.

12 INSTALACIÓN
ESPAÑOL
Temperatura ambiente
Instale este electrodoméstico en una zona
donde la temperatura esté entre 13 °C (55 °F)
y 43 °C (110 °F). Si la temperatura alrededor
del electrodoméstico es demasiado baja o
demasiado alta, la capacidad de refrigeración
se verá gravemente afectada.
Cómo medir la distancia de
separación mínima
Una distancia demasiado pequeña con los
elementos adyacentes puede dar como
resultado una reducción de la capacidad de
congelación y un aumento del consumo
eléctrico. Deje el menos 24 pulgadas (61
cm) en el frente del refrigerador para abrir la
puertas y al menos 2 pulgadas (5,08 cm) entre
la parte posterior del refrigerador y la pared.
Montaje y desmontaje de las
puertas
2” (5,08 cm)
24” (61 cm)
NOTA
El desmontaje del conducto de
suministro de agua sólo debe realizarse
cuando se desmonta la puerta del
refrigerador izquierda.
Virola
Desmontaje de la puerta izquierda
del refrigerador
1 El suministro de agua está conectado a
la parte superior de la superficie posterior
del refrigerador. Retire el anillo del área de
unión. Sostenga la conexión del suministro
de agua y presione con cuidado el anillo
metálico para desmontar el conducto de
suministro de agua, tal como se muestra
en la imagen .
2 Suelte los tornillos de la cubierta de la
bisagra de la parte superior del refrigerador.
Levante el gancho (no visible) del lado
de la cubierta en el borde inferior con un
desatornillador de cabeza plana.

13
INSTALACIÓN
ESPAÑOL
PRECAUCIÓN
Al separar la bisagra del pasador, tenga
cuidado porque podría caerse la puerta.
PRECAUCIÓN
Coloque la puerta sobre una superficie
lisa con el interior hacia arriba.
PRECAUCIÓN
Al separar la bisagra del pasador, tenga
cuidado de que no se caiga la puerta
hacia delante.
3 Retire la cubierta y extraiga el tubo .
Desconecte todos los mazos de cables .
4 Gire la palanca de la bisagra en sentido
antihorario . Eleve y separe la bisagra
superior del pasador de la bisagra.
1
2
1
2
Pasador de palanca
de bisagra
5 Levante la puerta desde el pasador de la
bisagra intermedia y retírela.
Retirada de la puerta derecha del
refrigerador
1 Suelte los tornillos de la cubierta de la
bisagra de la parte superior del refrigerador.
Levante el gancho (no visible) del lado
de la cubierta en el borde inferior con un
desatornillador de cabeza plana.
2 Suelte el mazo de cables .
1
1
3 Gire la palanca de la bisagra en sentido
horario . Eleve y separe la bisagra
superior del pasador de la bisagra.
1
2
Pasador de palanca de
bisagra

14 INSTALACIÓN
ESPAÑOL
PRECAUCIÓN
Coloque la puerta sobre una superficie
lisa con el interior hacia arriba.
4 Levante la puerta desde el pasador de la
bisagra intermedia y retírela.
3 Afloje al tornillo que une la cubierta de la
bisagra inferior y retire la cubierta.
Retirada de las puertas del
congelador
1 Afloje el tornillo de la bisagra interior.
2 Gire la bisagra para elevar el extremo
pivotante y poder levantar la puerta.
Levante la puerta desde el pasador de la
bisagra intermedia y retírela.
4 Desconecte todos los mazos de cables.
5 Retire la puerta elevándola desde la bisagra
inferior.
Montaje de las puertas del
congelador
1 Baje la puerta sobre el pasador de la
bisagra central.
2 Conecte el mazo de cables.
1
2
Bisagra inferior
Bisagra inferior

15
INSTALACIÓN
ESPAÑOL
Instale la puerta derecha en primer lugar.
1 Asegúrese de introducir el manguito de
plástico en la parte inferior de la puerta.
Baje la puerta sobre el pasador de la
bisagra intermedia como se muestra en la
figura.
2 Coloque la bisagra sobre el pasador de
la bisagra y deslícelo a su posición. Gire la
palanca en sentido horario para fijar la
bisagra.
3 3 Conecte el mazo de cables .
4 Coloque la cubierta en su posición. Inserte
y apriete los tornillos de la cubierta.
3 Ponga la cubierta de la bisagra inferior en
su posición y apriete el tornillo de la
cubierta .
4 Ponga el pasador de la bisagra inferior en
su posición para sujetar la puerta e inserte
el tornillo de la bisagra inferior.
5 Apriete el tornillo de la bisagra interior.
Montaje de la puerta derecha del
refrigerador
2
1
Pasador de palanca
de bisagra
2
1
1
1

16 INSTALACIÓN
ESPAÑOL
Instale la puerta izquierda del refrigerador
después de la puerta derecha.
1 Asegúrese de introducir el manguito de
plástico en la parte inferior de la puerta.
Instale la puerta del refrigerador sobre el
pasador de la bisagra intermedia.
2 Coloque la bisagra sobre el pasador de
la bisagra y deslícelo a su posición. Gire la
palanca en sentido horario y apriete la
bisagra.
Montaje de la puerta izquierda del
refrigerador
3 Conecte todos los mazos de cables.
2
1
Pasador de palanca
de bisagra
4 Empuje el tubo de suministro de agua en
el orificio de la caja superior y hágalo pasar
a través de la placa trasera.
5 Sujete la conexión del suministro de
agua y presione suavemente el casquillo
de retención para conectar el tubo de
suministro de agua, como se muestra en
. Inserte el tubo un mínimo de 15 mm
(5/8”) en el conector.
6 Coloque la cubierta en su posición. Inserte
y apriete los tornillos de la cubierta.
Casquillo de
retención

17
INSTALACIÓN
ESPAÑOL
NOTA
1) Inserte el tubo suavemente hasta que
solo se muestre una línea en el tubo.
(Correcto)
(Incorrecto)
2) Tire el tubo para asegurarse que esté
bien ajustado.
Virola
Tubo
Línea de
inserción
Conexión de las tuberías de
agua
Antes de empezar
Esta instalación de la tubería de agua no está
cubierta por la garantía del refrigerador. Siga estas
instrucciones con cuidado para minimizar el riesgo
de costosos daños debidos al agua.
El golpe de ariete (golpeteo del agua en las
tuberías) en la fontanería de la casa podría dañar
componentes del refrigerador y provocar una fuga
o una inundación de agua. Llame a un fontanero
cualificado para resolver el golpe de ariete antes
de instalar la tubería de suministro de agua en el
refrigerador.
Si va a usar el refrigerador antes de conectar
la tubería de agua, asegúrese de que el
interruptor de alimentación de la máquina
de hielo está en la posición OFF (O).
PRECAUCIÓN
No instale la tubería de la máquina de hielo
en zonas donde las temperaturas descienden
por debajo del punto de congelación.
PRECAUCIÓN
Para evitar quemaduras y daños en el
producto, conecte solamente el tubo de agua
del refrigerador a un suministro de agua fría.