LIVALL Tech BH5X Bling Helmet User Manual
Shenzhen Qianhai LIVALL IoT Technology Co.,Ltd. Bling Helmet
User Manual

www.livall.com
BH50T、BH50M
BH51T、BH51M
Smart cycling helmets
Smart cycling/skateboarding/skating helmets
Quick Start Guide

2
一.简介
二 . 包装清单
欢迎使用 LIVALL 头盔,本指南会指引您如何开始使用本产品。随着本公司的产品硬件和软件的持续改良,
本手册将会不定期的进行更新, 如果您需要更详细的操作说明,请查看附件中“重要信息及保修卡”。您
还可以在 LIVALL 官方网站上了解头盔的更多信息。
闪盔 :1 个 闪控 BR80:1 个
快速入门指南 :1 份 磁吸式 USB 充电线 :1 条 重要信息和保修卡 :1 份
温馨提示 : 本图片仅供参考,如实物外形与图片不同 , 请以实物为准。
麦克风
前拉带 后拉带 调节扣
尾部警示灯
主控
锁扣
前部 后部
蓝牙音箱
蓝牙音箱

3
三 . 佩戴说明
错误错误 正确
调节好拉带的长度 留有一指间的空隙 把头盔扶正 检查扣具是否完好

4
自适应预警灯光:
开机后,警示灯会闪烁 10 秒,10 秒后自动进入自适应预警灯光模式,即白天或明亮环境自动关闭,夜间或
昏暗环境自动开启。
预警灯光
“”键
四 . 操作说明
(使用前请充电)
开关机
开机:长按产品尾部 键 3 秒,
直到 键指示灯亮起。
关机:长按产品尾部 键 3 秒,
直到 键指示灯关闭。

5
充电
开始充电:使用 USB 线,插入
头盔的 USB 磁吸充电线接口,
键指示灯闪烁表示开始充电。
掀开带有“LIVALL”字样的软胶,
即可看到磁吸充电接口。
充电器电流建议≥ 1A, 充
电时间大约 3 小时。
充电完成:充电过程中, 键
指示灯由闪烁转为熄灭表示充
电完成。
≥ 1A 3 小时
开启闪控,闪控与头盔距离在 5
米内,会自动连接到头盔。
连接成功后,指示灯会快速闪烁
3 次。
连接成功后按闪控的“ ”或“
”键可以控制头盔的转向灯。
连接到 BH50M\BH51M 产品,
可通过闪控控制蓝牙耳机的相
关功能,如播放音乐、暂停音乐、
接打电话、调节音量等
连接 BR 系列闪控
5 米内
1. 首次连接
闪烁3次

6
Helmetphone
“点击连接”
关机状态下,长按产品尾部
键直到听到“Pairing mode is
active”后松开
打开手机蓝牙并扫描到
“Helmet phone”设备。 点击进行连接,连接成功后,会
提示“Connected”。
键
蓝牙耳机
(BH50M/BH51M)
“Pairing mode
is active” “Connected”
将开机的闪控靠近主控。 预警灯出现 1 秒 / 次的闪烁频率,
表示有闪控需要接入头盔。
10s 内,按 头盔
的“ ”键,
确认连接该闪
控。
2. 连接新闪控:(原闪控丢失或损坏后,需要连接新闪控时)
连接成功后,指示灯会快速闪烁
3 次。
闪烁3次

7
温馨提示:为保障连接信号的稳定性,请尽量不要将手机紧贴身体。
闪控按键操作说明
拍照键
“上”方向键
“左”方向键
“下”方向键
对讲键
“右”方向键
确认键
一键调取手机摄像头,单击可进行拍照。(需连接 " 来啊骑行 "APP)
单击音量 +;长按上一曲。
单击开启左转向灯
单击开启右转向灯
单击播放暂停音乐 / 接听来电;长按表示挂断来电;双击,回拨最后一个拨出的号码。
单击音量 -;长按下一曲。
按住此键说话,即可与队友对讲。(需连接 " 来啊骑行 "APP 且进入组队模式)
Android: 启动“来啊
骑行”手机应用 , 会自
动连接头盔;
IOS:需要根据“来啊
骑行”手机应用的指
引进行连接头盔。
只有连接成功后,才可实现 SOS 摔倒求救、通过 APP 控制预警灯等功能。
连接“来啊骑行”手机 APP
来啊骑行 APP

8
续航时间: 预警灯最长续航 10 小时
待机时间: 最长 180 天
充电接口: 磁吸式 USB
温度: 使用温度 0℃ ~40℃,建议储存温度 -20~45℃
电气参数: DC 5V/1A
电池: 3.7V/600mAh
充电时间: 约 3 小时
六 . 技术规格
LIVALL 官方网站: www.livall.com
1、头盔内含电子功能,有短时间防淋溅雨水的功能,请不要长期在下雨环境骑行。
2、头盔淋雨后,尾部警示灯罩内可能会出现水珠,请将头盔放在通风环境下 1-2 天,水珠会自动消除。
3、头盔内含 3.7V/600mAh 的电池,电池的容量会随温度变化而改变,在低温或低于 0 摄氏度环境使用时,
产品的续航时间可能会不同程度衰减。
4、如果出现电子功能无法使用或异常,请充电 3 小时后再继续尝试。
5、 头盔内含撞击检测装置,只有提前连接到“来啊骑行”APP 并且开启骑行,头盔受到严重撞击后,您
在“来啊骑行”APP 中设置的“紧急联系人”才会收到求救信息。
五 . 注意事项

9
提示:本圖片僅供參考,如實物與圖片不同,請以實物為準。
麥克風
前拉帶 後拉帶 調整扣
尾部警示燈
主控
鎖扣
前部 後部
喇叭
喇叭
一、簡介
歡迎使用 LIVALL 智慧型自行車頭盔,本指南將引導您如何開始使用本產品。本公司遵循永續經營策略,因
此將不定期更新本手冊,若您需要更詳細的操作說明,請查看附件中「重要資訊及保固卡」。您還可以在
LIVALL 官方網站上找到有關頭盔的更多資訊。
二 .包裝清單
閃盔:1 個 快速入門指南:1 份
閃控 BR80:1 個 磁吸式 USB 充電線:1 條 重要資訊和保固卡:1 份

10
正確
調整拉帶長度 請保留一指幅的間隙 把頭盔扶正 檢查扣具是否完好
三 .佩戴說明
錯誤 錯誤

11
自適應預警燈光:
開機後,警示燈會閃爍 10 秒,10 秒後自動進入自適應預警燈光模式,即白天或明亮環境自動關閉,夜間或
昏暗環境自動開啟。
預警燈光
“”鍵
開關機
開機:長按產品尾部 鍵 3 秒,
直到 鍵指示燈亮起。。
關機:長按產品尾部 鍵 3 秒,
直到 鍵指示燈關閉。
四 .操作說明
(使用前,請充電。)

12
開始充電:使用 USB 線,插入
頭盔的 USB 磁吸充電線介面,
鍵指示燈閃爍表示開始充電。
掀開帶有“LIVALL”字樣的軟膠,
即可看到磁吸充電介面。
充電器電流建議≥ 1A, 充
電時間大約 3 小時。
充電完成:充電過程中, 鍵
指示燈由閃爍轉為熄滅表示充
電完成。
≥ 1A 3 小時
開啟閃控,閃控與頭盔距離在 5
米內,會自動連到頭盔。
連接成功後,指示燈會快速閃爍
3 次。
連接成功後按閃控的“ ”或“
”鍵可以控制頭盔的轉向燈。
連接到 BH50M\BH51M 產品,
可通過閃控控制藍牙耳機的相
關功能,如播放音樂、暫停音樂、
接打電話、調節音量等
連接 BR 系列閃控
5 米內
1. 首次連接
閃爍3次
充電

13
Helmetphone
“點擊連接”
關機狀態下,長按產品尾部
鍵直到聽到“Pairing mode
is active”後鬆開。
打開手機藍牙並掃描到
“Helmet phone”設備。
點擊進行連接,連接成功後,會
提示“Connected”
鍵
藍牙耳機
(BH50M/BH51M)
“Pairing mode
is active” “Connected”
將開機的閃控靠近主控。 預警燈出現 1 秒 / 次的閃爍頻率,
表示有閃控需要接入頭盔。
10s 內,按 頭盔
的“ ”鍵,確
認連接該閃控。
2. 連接新閃控:(原閃控丟失或損壞後,需要連接新閃控時)
連接成功後,指示燈會快速閃爍
3 次。
閃爍3次

14
溫馨提示:為保障連接信號的穩定性,請儘量不要將手機緊貼身體。
閃控按鍵操作說明
拍照鍵
“上”方向鍵
“左”方向鍵
“下”方向鍵
對講鍵
“右”方向鍵
確認鍵
一鍵調取手機攝像頭,單擊可進行拍照。(需連接 " 來啊騎行 "APP)
單擊音量 +;長按上一曲。
單擊開啟左轉向燈
單擊開啟右轉向燈
單擊播放暫停音樂 / 接聽來電;長按表示掛斷來電;雙擊,回撥最後一個撥出的號碼。
單擊音量 -;長按下一曲。
按住此鍵說話,即可與隊友對講。(需連接 " 來啊騎行 "APP 且進入組隊模式)
連接「來啊騎行」手機應用
(可進行單鍵對講和拍照功能
)
Android: 啟動「來啊
騎行」手機應用程式,
將自動連接頭盔。
IOS:需要根據「來啊
騎行」手機應用程式
的指引,以連接頭盔。
只有連接成功後,才可實現 SOS 摔倒求救、通過 APP 控制預警燈等功能。
LIVALL Riding APP
LIVALL ON FACEBOOK

15
溫馨提示:為保障連接信號的穩定性,請儘量不要將手機緊貼身體。
續航時間: 預警燈最長續航 10 小時
待機時間: 最長 180 天
充電介面: 磁吸式 USB
溫度: 使用溫度 0℃ ~40℃,建議儲存溫度 -20~45℃
電氣參數: DC 5V/1A
電池: 3.7V/600mAh
充電時間: 約 3 小時
六 . 技術規格
LIVALL 官方網站: www.livall.com
1、頭盔內含電子功能,有短時間防淋濺雨水的功能,請不要長期在下雨環境騎行。
2、頭盔淋雨後,尾部警示燈罩內可能會出現水珠,請將頭盔放在通風環境下 1-2 天,水珠會自動消除。
3、頭盔內含 3.7V/600mAh 的電池,電池的容量會隨溫度變化而改變,在低溫或低於 0 攝氏度環境使用時,
產品的續航時間可能會不同程度衰減。
4、如果出現電子功能無法使用或異常,請充電 3 小時後再繼續嘗試。
5、 頭盔內含撞擊檢測裝置,只有提前連接到“來啊騎行”APP 並且開啟騎行,頭盔受到嚴重撞擊後,您
在“來啊騎行”APP 中設置的“緊急聯繫人”才會收到求救信息。
五 . 注意事項

16
Ⅰ.Introduction
Ⅱ.Packing List
Welcome to use LIVALL smart helmets. This guide will instruct you on how to use this product. As
we continuously work to improve our products’ hardware and software, this guide may be updated
aperiodically. If you require more detailed usage instructions, please refer to the enclosed “Important
Information and Warranty Card".
Helmet x 1 Bling Remote Controller BR80 x 1
Quick Start Guide x 1 Magnet USB charging cable x 1
Important Information and Warranty Card x 1
Note: The picture is for reference only. If the actual product appears dierent from the picture, the real product shall
prevail.
Microphone Bluetooth
speaker
Bluetooth
speaker
Front
chinstrap
Rear chinstrap
Tension adjuster
Tail light
Control module
Buckle
Front Back

17
Ⅲ.Wearing Instructions
Incorrect Incorrect Proper Wearing
Adjust the length
of the chinstrap
Leave a gap as
thick as one nger
Correctly position
the helmet
Check whether the buckle is
properly fastened

18
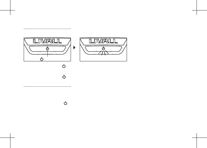
“”button
IV.Operating Instructions(charge the product before use)
4.1 Power on/o
Power on: Hold press the button at the back of the product for 3 seconds until the indicator
light turns on.
Power o: Hold press the button at the back of the product for 3 seconds until the indicator
light turns o.
Switch light eects:
While powered on, tap the button to cycle through warning light eects.
Adaptive warning lighting:
The LED taillight will blink for 10 seconds after the helmet is powered on, then enter adaptive warning light
mode automatically. In this mode, the warning light turns o automatically during daytime or in a bright
environment, and turns on automatically at night or in a dark environment.
4.2 Warning lighting

19
4.3 Charging:
2.To charge:
Insert a USB cable into the USB Charging cable
interface of the helmet. Charging starts when the
button indicator blinks.
1.When the soft rubber lid with “LIVALL” image
is opened, the Magnetic charging port will be
seen.
3.Charging time:
It is recommended that the electric current of
the charger is no less than 1A. Charging time is
3 hours to fully charge the Helmet.
4.Charging completed:
During charging, when the button indicator stops
blinking and turns o, charging is completed.
≥ 1A about 3 hours

20
Turn on the Bling remote
controller, which will connect to
the helmet automatically when
it is within 5 m of the helmet.
After BH50M\BH51M is connected, the Bluetooth headset functions such as “play”, “pause”, “making/
receiving calls” and “adjusting volume” can be manipulated through the Bling remote controller.
Within 5 m
Keep the active Bling remote
controller near the control
module of the helmet.
The LED taillight will blink once
per second, indicating that
Bling remote controller needs
be connected.
Press the " " button
on the helmet within
10 seconds confirm
connection to the the
Bling remote controller
After successful connection, the
indicator will blink three times
in quick succession.
Blink three times
After successful connection, the
indicator will blink three times
in quick succession.
Blink three times After successful connection,
press the " " or " " button
of the remote to control
the turn signal light of the
helmet.
4.4 Connecting to the BR series remote control
1. Connecting for the rst time:
2. Connecting to a new remote control(in case the original remote control gets lost or damaged):

21
4.5 Bluetooth headset (BH50M/BH51M)
Helmetphone
“Connect the
Helmetphone”
“Pairing mode
is active”
When helmet is powered o, hold
press the button at the back of
the product until you hear “Pairing”.
Switch on Bluetooth of your phone
and scan for the "Helmetphone"
device.
Click to connect. A voice prompt
"Connected" will be heard from
the speakers when the connection
is completed.
“Connected”
button
Tip:
To ensure signal stability for connection, please try not to place your mobile phone right against your body.
4.6 InstructionsforBlingremotecontroller
Photo-shooting
Direction-Left
Confirm
Intercom
Direction-up
Direction-Right
Direction-bottom
Press photo-shooting button one time to pull up camera mode on your
smartphone. You will see the camera mode pop up. Press photo-shooting
button again to snap a photo. (Make sure to be connected to LIVALL APP)
Press direction-up key one time to increase volume. Hold down direction-up
key to play previous song.
Press the direction-left key to signal turn left.
Press the direction-right key to signal turn right.
Press the conrmation key (middle key) to play/pause music and answer/
end incoming calls. Hold down the conrmation key to reject incoming calls.
Double click the conrmation key to make a phone call from the last dialing out
number on your smartphone.
Press direction-down key one time to decrease volume. Hold down direction-
down key to play next song.
Hold down the intercom key to communicate your message with team riders.
(Make sure to be connected to LIVALL APP to enter the Grouping mode)

22
4.7 Connecting to "LIVALL" App
For Android: Start LIVALL Riding.
The App will automatically
connect to the helmet;
For IOS: Follow LIVALL
Riding guide to connect
to the helmet.
Only if the helmet is successfully connected to LIVALL APP, SOS alert feature
and LED light indicators can work.
LIVALL Riding APP
LIVALL ON FACEBOOK
V. Considerations
1. The helmet contains electronic parts inside. Please do not take a long ride in the rain although the
helmet can prevent the rain from splashing.
2. After the helmet gets wet in the rain, the water droplets might occur in the chimney of tail LED lights.
The water droplets will disappear when you put the helmet under the ventilation environment for 1-2 days.
3. The helmet contains the battery of 3.7V/600mAh. The battery capacity varies with temperature change.
The battery life can decay when the helmet is used at low temperatures or below Zero degrees Celsius.
4. If the electronic functions do not work, please charge the helmet for 3 hours and then check if it works
normally.
5. The helmet contains impact detection devices. Only if you connect your helmet with LIVALL APP, start
ride mode on the APP and your helmet suers from the heavy impact, SOS alert feature can be triggered.
Your emergency contacts set on LIVALL APP can accordingly receive your SOS messages.

23
Battery life : Max. 10hrs for lighting time
Standby duration : Max. 180 days
Charging port : Magnet USB Charging cable
Temperature : Temperature for use: 0°C~40°C. Recommended temperature for storage : -20~45°C
Electricity parameter : DC 5V/1A
Battery : 3.7V/600mAh
Charging time : Approximately 3 hours
LIVALL's website : www.livall.com
VI. Technical Specications
a) that the helmet can only protect if it ts well and that the buyer should try dierent sizes and choose the
size which feels secure and comfortable on the head;
b) that the helmet should be adjusted to t the user, e.g. the straps positioned so that they do not cover
the ears, the buckle positioned away from the jawbone and the straps and buckle adjusted to be both
comfortable and rm;
c) how the helmet should be positioned on the head to ensure the intended protection is provided (e.g. that
it should be placed so as to protect the forehead and not be pushed too far over the back of the head);
d) that a helmet cannot always protect against injury;
e) that a helmet subjected to a severe impact should be discarded and destroyed;
f) a statement of the danger of modifying or removing any of the original component parts of the helmet
other than as recommended by the manufacturer, and that helmets should not be adapted for the purpose
of tting accessories in a way not recommended by the manufacturer.

24
DesignedandAssembledinShenzhenChina
LIVALL HELP CENTER
BH5X-QA-V1.0