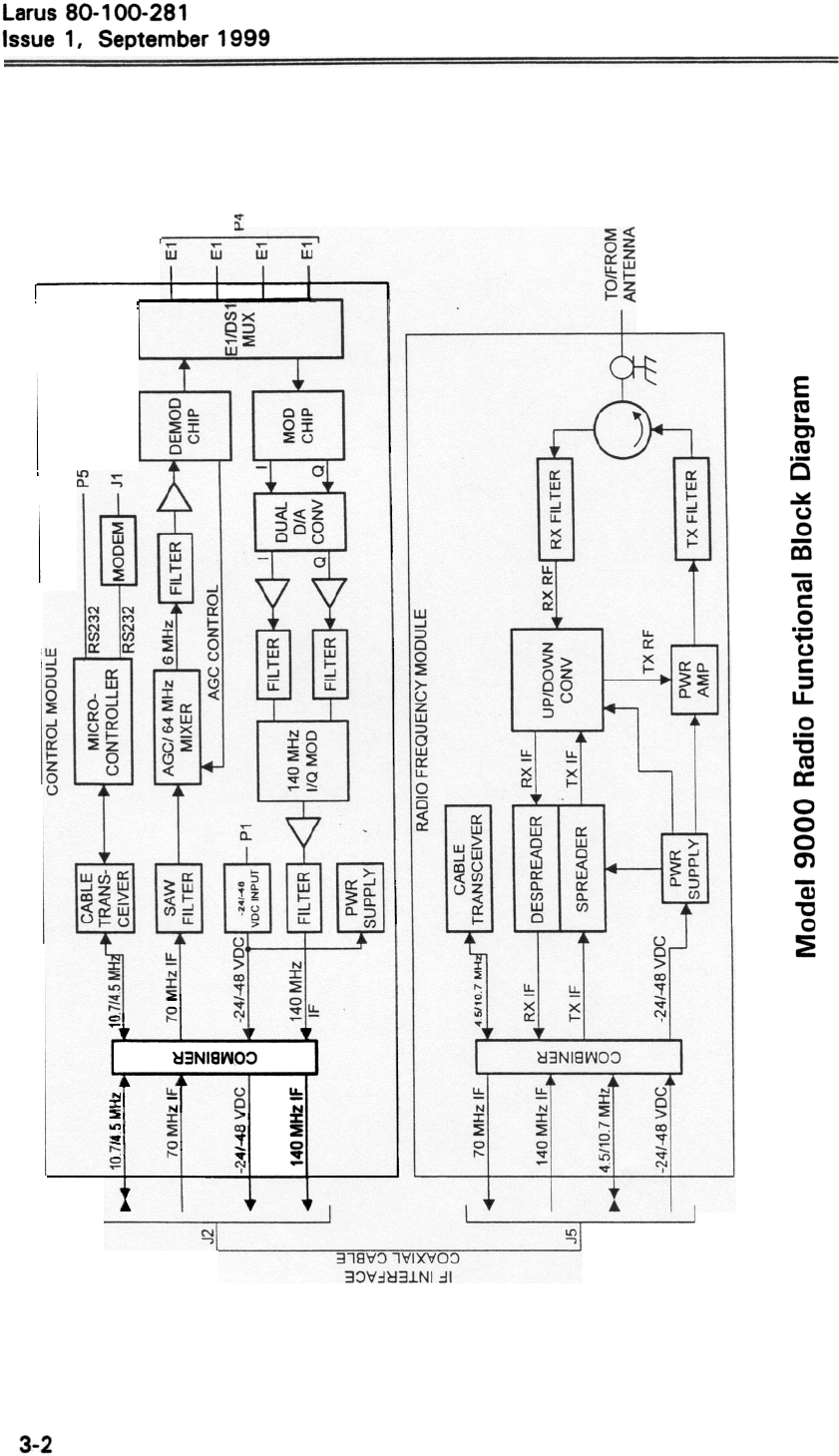
Larus 9000 E1/DS1 SPREAD SPECTRUM 5.78 GHz DIGITAL RADIO User Manual System Description 1
Larus Corporation E1/DS1 SPREAD SPECTRUM 5.78 GHz DIGITAL RADIO System Description 1
UserManual.wiki
>
Larus
>
9000 User Manual
>
System Description 1 HTML Version
Contents
1.
LARUS 9000 Operation
2.
Installation instructions 1
3.
Installation Instructions 2
4.
Installation Instructions 3
5.
System Description 1
6.
sYSTEM dESCRIPTION 2
System Description 1
Navigation menu
Upload a User Manual
Namespaces
Wiki Guide
HTML
PDF
Info
Views
User Manual
Discussion / Help
Navigation