MATRIX COMSEC PVT VP510 SPARSH VP510 User Manual EON510 User Guide
MATRIX COMSEC PVT. LTD. SPARSH VP510 EON510 User Guide
User manual

EON510/SPARSH VP510
User Guide

EON510
Premium Digital Key Phone
SPARSH VP510
Premium IP Phone
User Guide
Documentation Disclaimer
Matrix Comsec reserves the right to make changes in the design or components of the product as engineering and
manufacturing may warrant. Specifications are subject to change without notice.
This is a general documentation for all models of the product. The product may not support all the features and
facilities described in the documentation.
Information in this documentation may change from time to time. Matrix Comsec reserves the right to revise
information in this publication for any reason without prior notice. Matrix Comsec makes no warranties with respect
to this documentation and disclaims any implied warranties. While every precaution has been taken in the
preparation of this system manual, Matrix Comsec assumes no responsibility for errors or omissions. Neither is any
liability assumed for damages resulting from the use of the information contained herein.
Neither Matrix Comsec nor its affiliates shall be liable to the purchaser of this product or third parties for damages,
losses, costs or expenses incurred by the purchaser or third parties as a result of: accident, misuse or abuse of this
product or unauthorized modifications, repairs or alterations to this product or failure to strictly comply with Matrix
Comsec's operating and maintenance instructions.
Copyright
All rights reserved. No part of this manual may be copied or reproduced in any form or by any means without the
prior written consent of Matrix Comsec.
Version 1
Release date: December 25, 2015

Table of Contents i
Contents
Introduction..................................................................................................................................................... 1
Intended Audience .............................................................................................................................................. 1
Scope .................................................................................................................................................................. 1
How to read the User Guide ................................................................................................................................ 1
Know Your EON510 ........................................................................................................................................ 5
Know Your SPARSH VP510.......................................................................................................................... 13
Getting Started with EON510....................................................................................................................... 21
Protecting the Phone and Yourself ................................................................................................................... 21
Getting Started with SPARSH VP510 .......................................................................................................... 23
Protecting the Phone and Yourself ................................................................................................................... 23
Connecting and Configuring EON510 ........................................................................................................ 27
Connecting the Phone ....................................................................................................................................... 27
Connecting and Configuring SPARSH VP510............................................................................................ 31
Connecting the Phone ....................................................................................................................................... 31
Phone Home Screen..................................................................................................................................... 45
Customizing Your Phone ............................................................................................................................. 47
Change User Password .................................................................................................................................... 47
Speech Controls ................................................................................................................................................ 47
DTMF Transmit Level ........................................................................................................................................ 48
DTMF Generation Control ................................................................................................................................. 48
Ringer Controls ................................................................................................................................................. 48
Call Answer Type .............................................................................................................................................. 50
Headset Connectivity ........................................................................................................................................ 51
Display Settings ................................................................................................................................................ 51
Language Selection .......................................................................................................................................... 52
Making Calls.................................................................................................................................................. 53
Making Calls using Keypad ............................................................................................................................... 53
Making Calls using Dir Key ............................................................................................................................... 53
Making Calls using Logs Key ............................................................................................................................ 54
Making Calls using DSS Key ............................................................................................................................ 55

ii Table of Contents
Receiving Calls ............................................................................................................................................. 57
Handling Multiple Calls ................................................................................................................................ 59
Making a New Call ............................................................................................................................................ 59
Making a Second Call................................................................................................................................... 61
Receiving a Waiting Call .............................................................................................................................. 63
Call Features ................................................................................................................................................. 65
Call Hold ............................................................................................................................................................ 65
Call Transfer ...................................................................................................................................................... 67
One Touch Transfer .......................................................................................................................................... 69
Call Toggle ........................................................................................................................................................ 70
Conference 3-Party ........................................................................................................................................... 71
Multiparty Conference ....................................................................................................................................... 73
Auto Callback (ACB) ......................................................................................................................................... 75
Auto Redial ........................................................................................................................................................ 76
Account Code .................................................................................................................................................... 77
Authority Code .................................................................................................................................................. 79
Barge-In ............................................................................................................................................................ 80
Background Music ............................................................................................................................................. 81
Call Chaining ..................................................................................................................................................... 82
Call Park ............................................................................................................................................................ 83
Conversation Recording .................................................................................................................................... 84
DSS Call Pick-Up .............................................................................................................................................. 85
Emergency Call ................................................................................................................................................. 86
Forced Answer .................................................................................................................................................. 87
Forced Disconnection ....................................................................................................................................... 88
Flashing on Trunks ............................................................................................................................................ 89
Headset ............................................................................................................................................................. 90
Interrupt Request .............................................................................................................................................. 91
Last Number Redial .......................................................................................................................................... 92
Last Caller Recall .............................................................................................................................................. 93
Message Wait ................................................................................................................................................... 94
Mute .................................................................................................................................................................. 96
Raid ................................................................................................................................................................... 97
Trunk Reservation ............................................................................................................................................. 98
Contacts......................................................................................................................................................... 99
Viewing Contacts .............................................................................................................................................. 99
Adding Contacts .............................................................................................................................................. 100
Editing and Deleting Contacts ......................................................................................................................... 101
Call Logs...................................................................................................................................................... 103
Viewing Call Logs ............................................................................................................................................ 103
Creating New Contacts from Call Logs ........................................................................................................... 105
Editing an Entry before Placing a Call ............................................................................................................. 107
Missed Call Notification ................................................................................................................................... 108
Other Features ............................................................................................................................................ 109
Alarm and Reminder ....................................................................................................................................... 109
Call Forward .................................................................................................................................................... 112
Do Not Disturb ................................................................................................................................................. 116
DND-Override ................................................................................................................................................. 118
Presence ......................................................................................................................................................... 119
Call Pickup ...................................................................................................................................................... 120

Table of Contents iii
Cancel All Features ......................................................................................................................................... 121
Dynamic Lock .................................................................................................................................................. 122
Keypad Lock ................................................................................................................................................... 124
Dial-In Conference .......................................................................................................................................... 126
Hotline ............................................................................................................................................................. 128
Calling Line Identification Restriction .............................................................................................................. 130
Live Call Supervision ....................................................................................................................................... 131
Live Call Screening (LCS) ............................................................................................................................... 132
Paging ............................................................................................................................................................. 133
Follow Me ........................................................................................................................................................ 134
Room Monitoring ............................................................................................................................................. 135
Selective Port Access ..................................................................................................................................... 136
Software Version/Revision Display ................................................................................................................. 137
System Administrator (SA) Mode .................................................................................................................... 138
Meet Me Paging .............................................................................................................................................. 139
Voicemail ......................................................................................................................................................... 140
Voice Help ....................................................................................................................................................... 141
Walk In ............................................................................................................................................................ 142
Hospitality Features ................................................................................................................................... 143
Floor Service ................................................................................................................................................... 143
Mini Bar ........................................................................................................................................................... 144
Room Maid Status ........................................................................................................................................... 145
Housekeeping ................................................................................................................................................. 146
Alarm ............................................................................................................................................................... 147
Call Block ........................................................................................................................................................ 148
Call Budget ...................................................................................................................................................... 149
Call Privilege ................................................................................................................................................... 150
Check-In .......................................................................................................................................................... 152
Change Check-In Profile ................................................................................................................................. 153
Check-Out ....................................................................................................................................................... 154
Database Synchronization Request ................................................................................................................ 155
Do Not Disturb ................................................................................................................................................. 156
Greeting Message ........................................................................................................................................... 157
Guest Group .................................................................................................................................................... 159
Guest Name .................................................................................................................................................... 160
Guest In, Guest Out ........................................................................................................................................ 161
Hotel Motel Activity Log ................................................................................................................................... 162
Mailbox Assignment ........................................................................................................................................ 165
Phone Ringing Pattern .................................................................................................................................... 166
Print Check-Out Report ................................................................................................................................... 167
Reminder ......................................................................................................................................................... 168
Room Shift ...................................................................................................................................................... 170
Room Status Report ........................................................................................................................................ 171
Scheduled Alarm Report ................................................................................................................................. 172
Scheduled Change of Room Clean Status ..................................................................................................... 173
Scheduled Reminder Report ........................................................................................................................... 174
Scheduled Room Status Report ...................................................................................................................... 175
VIP Status ....................................................................................................................................................... 176
User Definable Fields ...................................................................................................................................... 177
Appendix ..................................................................................................................................................... 179
Frequently Asked Questions (FAQs) .............................................................................................................. 179
Troubleshooting Tips ....................................................................................................................................... 181
Technical Specifications .................................................................................................................................. 183
Regulatory Information .................................................................................................................................... 185

iv Table of Contents
Index ............................................................................................................................................................ 187

Matrix EON510 User Guide 1
CHAPTER 1
Introduction
This User Guide provides you all the necessary information about the EON510/SPARSH VP510 such as, installing
and connecting the phone, using the phone for making/receiving calls and accessing the features of ETERNITY1.
Intended Audience
This User Guide is intended for the end-users, who will use the phone. They may be executives, include personnel
of small and medium businesses, large enterprises, front desk and service staff of Hotels/Motels, hospitals, and
other commercial and public organizations/institutions.
Scope
This User Guide is meant to help you
• Understand the elements and functions that appear on the LCD of the phone.
• Handling calls and operating features of ETERNITY using the phone.
How to read the User Guide
This document is organized in such a way that you will find all the information you need quickly and easily.
You may use the Table of Contents and the Index to navigate through this document to the relevant topics or
information you want to look up.
Cross-references are provided in blue fonts with hyperlinks. You can look up the source by clicking the links.
Instructions
The instructions in this document are written in step-by-step format
Notices
The following symbols have been used to draw your attention to important items.
1. ETERNITY is the hybrid IP -PBX of Matrix which offers universal connectivity (as it works with all major telecom interfaces: PSTN,
ISDN BRI/PRI, VoIP, GSM, T1E1, E&M) and seamless mobility.

2Matrix EON510 User Guide
Note: To indicate something that requires your special attention or to remind you of something you might
need to do when you are using the phone.
Caution/Warning: It indicates an action or condition that is likely to result in malfunction/damage of the
phone or cause bodily harm to the user.
Terminology
Throughout this User Guide, the terms “Phone” are used synonymously to denote EON510/VP510. Only for phone
specific features the respective phone name is mentioned.
Some specific terms used in this User Guide are defined below:
•Called party/Callee: the person to whom the call is made.
•Calling party/Caller: the person who makes a call.
•CO Network: the public telephone exchange. They are the providers of the CO lines.
•CO Lines: the lines subscribed from the CO Network. These may be Two-wire Trunk Lines, ISDN BRI,
ISDN PRI, etc.
•CO Trunks: refers to the Two-wired trunks, that is, analog trunk lines from the POTS network.
•Digital Key Phone (DKP): refers to EON, the proprietary digital key phone of Matrix supplied with the
ETERNITY. The term 'Digital Key Phone' refers to all models of EON.
•Extended IP Phone: refers to SPARSH VP510 or other proprietary IP Phones of Matrix that can be
connected to ETERNITY only.
•Enterprise Application/Features: pertaining to the general and special telephone and call management
features required by business establishments, public and private organizations.
•Extension/Station: it is a telephone instrument, SLT, DKP, ISDN Terminal, IP-Phone connected to
ETERNITY.
•External Calls: calls made by users of ETERNITY to subscribers of PSTN, PLMN, ITSPs, etc.
•External Numbers: numbers of parties/individuals outside the PBX or PBX network. The unique number
string given to subscribers of PSTN, PLMN, ITSP, etc.
•Hospitality Application/ Features: pertaining to the special telephone and guest/patient management
features required by accommodation establishments like hotels and hospitals.
•Internal Calls: calls made from and received by one extension to another extension of the ETERNITY.
•Internal numbers: same as extension numbers.
•Port: the physical interfaces on the cards for trunk lines and extension lines.
•Single Line Telephone (SLT): any standard two-wire telephone attached as extensions of the ETERNITY.

Matrix EON510 User Guide 3
•System Administrator Commands/SA Commands: number strings dialed from the System
Administrator access/mode to operate features or set/cancel features for other extensions.
•System Commands/SE Commands: number strings dialed from the System Engineer access/mode to
program the system features/functions.
• CO trunks: Two-wire trunks, that is, analog trunk lines from the POTS network.
Additional Information
If you encounter any technical problems or have any issues regarding the ETERNITY, please contact your Dealer/
reseller or the Matrix Support Team.
You can also refer to the ETERNITY System Manual for further clarifications. The documentation can be found at
http://www.matrixtelesol.com/technical-document.html

Matrix EON510/VP510 User Guide 5
CHAPTER 2
Know Your EON510
EON510 sets the benchmark for quality performance with elegant design and crystal-clear voice. EON510 features
a Vivid LCD Graphical Display, Direct Station Selection (DSS) Keys, 3.5mm Headset connectivity, High Quality
speakerphone and high definition audio quality.
Engineered to deliver full feature access of Matrix ETERNITY, EON510 acts as face of your communication system
covering wide array of business environments.
The State-of-the-art Deskphone is best suited to deployment for Reception, Supervisors, Managers, Executives,
Call Center Agents and Office professionals. These phones offer flexibility to streamline communications and attain
higher return over investment.
Key Features
• 240*64 Pixels Graphical LCD with Backlit
• 4 Context Sensitive Keys
• Alphanumeric Dial pad Keys
• Fixed Function Keys (with LED) - Voice Mail, Mute, Do Not Disturb, Headset, Speaker
• Fixed Function Keys (without LED) - Hold, Conference, Redial, Transfer
• Built-in 16 DSS Keys for Feature, Line, Extension
• Message Wait and Ringer Lamp
• 3.5mm / RJ9 Headset Connectivity
• Volume Adjust Keys
• Desk-Top and Wall Mounting
• Adjustable Foot Stand

6Matrix EON510/VP510 User Guide
Front View
1 LCD Screen
2 Ringer LED
3 DSS (Direct Station Selection) Keys
4 Fixed Function Keys
5 Navigation Keys
6 Volume Increase Key
7 Speaker Key
8 Volume Decrease Key
9 Dial Pad/ Key Pad Keys
10 Context Sensitive Keys
11 Handset

Matrix EON510/VP510 User Guide 7
Bottom View
LCD Display
The LCD display of the phone is backlit. The LCD backlight can be turned on and off as well as adjusted for
contrast and brightness from the “Display Settings” of the Phone Menu.
Ringer LED
The Ringer LED will glow in Blue to indicate incoming internal and external calls.
Navigation Keys
The functions of each are described briefly below.
•Up Key : To scroll upwards while navigating the Menu/sub-menu.
•Down Key : To scroll downwards while navigating the Menu/sub-menu.
•Forward Key : To move forward when dialing a number or scroll to view the Context Sensitive Key
options.
•Back Key : To move backwards when dialing a number, to go back one level in the Menu or scroll
backwards to view the Context Key options.
•Menu or Select / OK Key : To enter the Menu; when phone is in the idle state (without any incoming
or outgoing call being made).
1 RJ11 Connector to connect the Line Cord
2 RJ9 Connector to connect the Headset
3 3.5 mm Audio Jack Connector to connect the Headset
4 RJ9 connector to connect the Spring Cord of the Handset

8Matrix EON510/VP510 User Guide
Menu Key functions as the Select / OK Key to make a selection from the Menu/sub-menu options or to
complete an action. When there is an incoming call it functions as the Answer Key.
•Cancel Key : To Cancel all features set by you or exit the Menu/sub-menu.
Feature Keys
There are 8 Feature Keys. Each Feature Key is accompanied by a feature icon that describes its function. Default
features assigned to these keys are as follows.
You can reprogram and assign other features to — Hold, Redial, Transfer, Conference, Voicemail and DND keys
only. However, it is not possible to re-label these feature keys, hence it is recommended that you do not change the
default features assigned to these keys.
If you still decide to reprogram features on these keys, keep a note of the changes you have made. To re-assign
features on the DSS keys as per your requirement contact the System Administrator. For detailed instructions,
please refer to DSS Key Programming in the ETERNITY System Manual.
DSS (Direct Station Selection) Keys
There are 16 DSS Keys which that can be assigned to Stations (Extensions) and Trunks and important or
frequently accessed features. For example, to dial an extension number you just need to press the DSS key
assigned to that extension and the call will be placed automatically. For detailed instructions to assign features/
facilities to these keys refer to DSS Key Programming in the ETERNITY System Manual.
DSS Key LEDs
Each DSS Key is equipped with an LED which glows to indicate the status of the Trunk/Station or Feature assigned
to it.
Feature icon Assigned
Feature LED Programmable
Hold No Yes
Redial No Yes
Transfer No Yes
Conference No Yes
Voicemail Single Color - Blue Yes
Do Not Disturb Single Color - Blue Yes
Headset Single Color - Blue No
Mute Single Color - Blue No

Matrix EON510/VP510 User Guide 9
•Status of Stations and Trunks: The LED of DSS keys assigned to Stations/Trunks glow in three colors to
indicate status of the call event on the Stations/Trunks and on the phone.
Thus, the status of the phone user's own Station as well as that of the other Stations and the status of
Trunk lines are indicated by the LED of the DSS keys assigned to those Stations and Trunks on the phone.
•Blue indicates the state of the station/trunk you access.
•Red indicates the state of other Stations/Trunks.
•Violet indicates the state of the trunk you are in speech with.
The following table shows the relationship between the color of the LED and various events:
Dial Pad/Key Pad
The dial pad consists of 12 fixed keys for the digits 0, 1-9, and the characters Star (*), Hash (#), Lock ( ), Plus (+)
and Dot. The dial pad is used for dialing numbers of stations, external parties, and for dialing the programming and
feature access codes.
Speaker Key
The speaker key sets the phone in 'Speaker mode' for hands-free operation.
Speaker Key LED
The Speaker Key on the phone is equipped with a single color LED which glows Blue when pressed for the speaker
mode and is turned off, when you exit the speaker mode.
Volume Keys
•"+" (plus): This is the increase key, to raise the volume of speech while talking and to increase the Ringer
volume, when the phone is ringing.
•"-" (minus): This is the decrease key, to lower the volume of speech while talking and to decrease the
Ringer volume when the phone is ringing.
Headset Connectivity
The phone provides two Headset interfaces: A 3.5mm Audio Jack and an RJ9 connector at the bottom of the phone
body.
LED
Color
LED Mode
Continuously ON Slow Blink Fast Blink
Blue The key assigned to the Station
you are in speech with.
The key assigned to the Station
you have kept on hold.
The key assigned to the Station
you are calling or from which
you are being called.
Red The key assigned to the Station
that is now busy with another
Station/Trunk.
The key assigned to the Station
which has put another Station/
Trunk on hold.
The key assigned to the Station/
Trunk that is called or being
called by another.
Violet You are talking on a Trunk
(external call)
You have held a Trunk (external
call)
You have an incoming call on
the Trunk (external call)

10 Matrix EON510/VP510 User Guide
So you can use any stereo headset of standard make with a 3.5 mm single connector or a headset with an RJ9
connector.
To use the Headset, a Headset Key is assigned on the phone. The Headset Key on the phone is equipped with a
single color LED which glows Blue when pressed to indicate that the Headset mode is turned on and is turned off,
when you press it again to indicate that you have exit the headset mode.
LEDs of CA Keys
The LEDs of DSS Keys that are designated as Call Appearance (CA) Keys will function as follows:
•Status of Features: The LED of a DSS key is activated when the feature assigned to this key is used.
Not all features require LED indication. Hence the LED on a DSS Key is activated only if the feature
assigned to that key requires LED. Thus, the LEDs of the DSS keys function only if the LED is relevant for
the feature/ function assigned to the keys, and otherwise remain inactive for example, Raid, Interrupt
Request, Barge-In, Last Caller Recall.
Phone Menu
You can access the following PBX and phone features from the Menu of the phone:
LED
Color
LED Mode
Continuously ON Slow Blink Fast Blink
Blue When you are in speech with
a Station (internal call)
When you have put a Station
on hold (internal call)
When any Station is calling
(internal call)
Red The key assigned to the
Station that is now busy with
another Station/Trunk.
The key assigned to the
Station which has put another
Station/Trunk on hold.
The key assigned to the
Station/Trunk that is called or
being called by another.
Violet When you are in speech with
Trunk (external call)
When you have put a Trunk
on hold (external call)
When any Trunk is calling
(external call)
Menu option Description
Call Logs To view call history of internal and external Missed, Answered and Dialed calls.
You can also edit numbers in the call logs and store them in the Personal Directory.
Contacts To add, edit, delete names and numbers of contacts in the Global Directory Part 1.
Call Forward To set and cancel Call Forward-Unconditional, Call Forward-Busy, Call Forward No
Reply, Forward On Busy/No Reply and Follow Me.
Dynamic Lock To change the Toll Control level of the phone.
User Status To set User Present or User Absent and Presence Status.
Keypad Lock To lock the keypad of the phone.
Do Not Disturb To set/cancel Do Not Disturb on the phone, that is, block incoming internal and external
calls.
Call Cost Display To view the cost of calls made from the phone.
Hotline To set/cancel Hotline and Delayed Hotline.
Alarm To set/cancel Personalized and Automated Alarms.

Matrix EON510/VP510 User Guide 11
Navigating the Phone Menu
To navigate the menu,
• Press the Menu Key when the phone is idle.
• Scroll by pressing the Up/Down Navigation Key to reach the desired Menu option.
• Press the Select / OK Key to select the desired Menu option.
• Scroll by pressing the Up/Down Navigation Key to reach the desired sub-menu option.
• Press the Select / OK Key to select the desired sub-menu option.
To exit menu,
• Press Cancel Key.
or
Go ON-Hook.
Background Music To start/stop Background music on the phone.
Change User
Password
To change User Password.
One Touch Transfer To set/clear the fixed destination number for One Touch Transfer.
Phone Settings To customize settings of the phone.
Menu option Description

Matrix EON510/VP510 User Guide 13
CHAPTER 3
Know Your SPARSH VP510
SPARSH VP510, the Premium IP Phone sets the benchmark for quality performance with elegant design and
crystal-clear voice. SPARSH VP510 features a Vivid LCD Graphical Display, Direct Station Selection (DSS) Keys,
3.5mm Headset connectivity, High Quality speakerphone and high definition audio quality.
Engineered to deliver full feature access of Matrix ETERNITY, SPARSH VP510 acts as face of your communication
system covering wide array of business environments.
The State-of-the-art Deskphone is best suited to deployment for Reception, Supervisors, Managers, Executives,
Call Center Agents and Office professionals. These phones offer flexibility to streamline communications and attain
higher return over investment.
SPARSH VP510 provides an interlace to connect the DSS5322 (Direct Station Selection Console).
The Direct Station Selection (DSS) Console is a two-wire digital terminal with 32 keys with single and dual-/tri-color
LEDs. The DSS Console is an add-on module for the VP510, functioning as the extension of the phone. It provides
you quick access to Extensions, Trunks, Features/Functions of the ETERNITY or at the touch of a single key,
making call operations easy. While the DSS Console is more commonly used by the Operator/receptionist in an
organization, it meant for use by anyone who needs to access the many features of the ETERNITY at a single
touch of a button.
Key Features
• Minimum 240*64 pixel and above graphical LCD with Back light
• Message Wait and Ringer Lamp
• Built-in 16 DSS Keys for Feature, Line, Extension
• Add-on DSS module facility
• HD Voice, HD Handset, HD Speaker
• 4 Context Sensitive Keys
• 5 Features Keys (With LED) — Voicemail, Headset, Mute, DND, Speaker
• Fixed Function Keys (Without LED) — Hold, Conference, Redial, Transfer
• Tight integration with Server over SIP protocol /Proprietary Protocol
• HTTP Auto Provisioning
• Dual Color LED illuminated LED for line status
• One Touch Transfer
• Call logs
• Ringtone selection
• Wideband Codec : G722
• Narrowband Codec: G.711,G.723,G.729ab,GSM
• VAD, CNG, AEC, AJB, AGC
2. Check for availability.

14 Matrix EON510/VP510 User Guide
• Full Duplex speaker phone with AEC, VAD, CNG
• IP Assignment : Static / DHCP
• TCP/ DNS-SRV
• AEC encryption for config file
• IEEE802.1x
• 3.5 mm / RJ9 headset port
• Dual port 10/100 Mbps Ethernet
• Stand with 2 adjustable angles
• PoE (IEEE 802.af) class2
Front View
1 LCD Screen
2 Ringer LED
3 DSS (Direct Station Selection) Keys
4 Fixed Function Keys
5 Navigation Keys
6 Volume Increase Key
7 Speaker Key
8 Volume Decrease Key
9 Dial Pad/ Key Pad Keys
10 Context Sensitive Keys
11 Handset

Matrix EON510/VP510 User Guide 15
Bottom View
LCD Display
The LCD display of the phone is backlit. The LCD backlight can be turned on and off as well as adjusted for
contrast and brightness from the “Display Settings” of the Phone Menu.
Ringer LED
The Ringer LED will glow in Blue (1 sec ON – 500 msec OFF) to indicate incoming internal and external calls.
Navigation Keys
The functions of each are described briefly below.
•Up Key: To scroll upwards while navigating the Menu/sub-menu or to access Phone Settings and set the
Ringtone (when phone is in the idle state).
•Down Key: To scroll downwards while navigating the Menu/sub-menu or to access Network Parameters
(when phone is in idle state).
•Forward Key: To move forward when dialing a number or scroll to view the Context Sensitive Key options.
1 RJ9 Connector to connect Spring Cord of the Handset
2 3.5 mm Audio Jack connector to connect the Headset
3 RJ9 Connector to connect the Headset
4 DJ Jack to connect the Power Adapter
5 RJ45 Connector to connect the Router/LAN Switch
6 RJ45 Connector to connect the PC/Computer
7 RJ45 Connector to connect DSS532

16 Matrix EON510/VP510 User Guide
•Back Key: To move backwards when dialing a number, to go back one level in the Menu or scroll
backwards to view the Context Key options.
•Menu or Select / OK Key : To enter the Menu; when the phone is in the idle state (without any
incoming or outgoing call being made).
Menu Key functions as the Select / OK Key to make a selection from the Menu/sub-menu options or to
complete an action. When there is an incoming call it functions as the Answer Key.
• Cancel Key : To Cancel all features set by you or exit the Menu/sub-menu.
Feature Keys
There are 8 Feature Keys. Each Feature Key is accompanied by a feature icon that describes its function. Default
features assigned to these keys are as follows.
You can reprogram and assign other features to — Hold, Redial, Transfer, Conference, Voicemail and DND keys
only. However, it is not possible to re-label these feature keys, hence it is recommended that you do not change the
default features assigned to these keys.
If you still decide to reprogram features on these keys, keep a note of the changes you have made. To re-assign
features on the DSS keys as per your requirement contact the System Administrator. For detailed instructions,
please refer to DSS Key Programming in the ETERNITY System Manual.
DSS (Direct Station Selection) Keys
There are 16 DSS Keys which that can be assigned to Stations (Extensions) and Trunks and important or
frequently accessed features. For example, to dial an extension number you just need to press the DSS key
Feature icon Assigned
Feature LED Programmable
Hold No Yes
Redial No Yes
Transfer No Yes
Conference No Yes
Voicemail Single Color - Blue Yes
Do Not Disturb Single Color - Blue Yes
Headset Single Color - Blue No
Mute Single Color - Blue No

Matrix EON510/VP510 User Guide 17
assigned to that extension and the call will be placed automatically. For detailed instructions to assign features/
facilities to these keys refer to DSS Key Programming in the ETERNITY System Manual.
DSS Key LEDs
Each DSS Key is equipped with an LED which glows to indicate the status of the Trunk/Station or Feature assigned
to it.
•Status of Stations and Trunks: The LED of DSS keys assigned to Stations/Trunks glow in three colors to
indicate status of the call event on the Stations/Trunks and on the phone.
Thus, the status of the phone user's own Station as well as that of the other Stations and the status of
Trunk lines are indicated by the LED of the DSS keys assigned to those Stations and Trunks on the phone.
•Blue indicates the state of the station/trunk you access.
•Red indicates the state of other Stations/Trunks.
•Violet indicates the state of the trunk you are in speech with.
The following table shows the relationship between the color of the LED and various events:
Dial Pad/Key Pad
The dial pad consists of 12 fixed keys for the digits 0, 1-9, and the characters Star (*), Hash (#), Lock ( ), Plus (+)
and Dot. The dial pad is used for dialing numbers of stations, external parties, and for dialing the programming and
feature access codes.
Speaker Key
The speaker key sets the phone in 'Speaker mode' for hands-free operation.
Speaker Key LED
The Speaker Key on the phone is equipped with a single color LED which glows Blue when pressed for the speaker
mode and is turned off, when you exit the speaker mode.
Volume Keys
•"+" (plus): This is the increase key, to raise the volume of speech while talking and to increase the Ringer
volume, when the phone is ringing.
LED
Color
LED Mode
Continuously ON Slow Blink Fast Blink
Blue The key assigned to the Station
you are in speech with.
The key assigned to the Station
you have kept on hold.
The key assigned to the Station
you are calling or from which
you are being called.
Red The key assigned to the Station
that is now busy with another
Station/Trunk.
The key assigned to the Station
which has put another Station/
Trunk on hold.
The key assigned to the Station/
Trunk that is called or being
called by another.
Violet You are talking on a Trunk
(external call)
You have held a Trunk (external
call)
You have an incoming call on
the Trunk (external call)

18 Matrix EON510/VP510 User Guide
•"-" (minus): This is the decrease key, to lower the volume of speech while talking and to decrease the
Ringer volume when the phone is ringing.
Headset Connectivity
The phone provides two Headset interfaces: A 3.5mm Audio Jack and an RJ9 connector at the bottom of the phone
body.
So you can use any stereo headset of standard make with a 3.5 mm single connector or a headset with an RJ9
connector.
To use the Headset, a Headset Key is assigned on the phone. The Headset Key on the phone is equipped with a
single color LED which glows Blue when pressed to indicate that the Headset mode is turned on and is turned off,
when you press it again to indicate that you have exit the headset mode.
LEDs of CA Keys
The LEDs of DSS Keys that are designated as Call Appearance (CA) Keys will function as follows:
•Status of Features: The LED of a DSS key is activated when the feature assigned to this key is used.
Not all features require LED indication. Hence the LED on a DSS Key is activated only if the feature
assigned to that key requires LED. Thus, the LEDs of the DSS keys function only if the LED is relevant for
the feature/ function assigned to the keys, and otherwise remain inactive for example, Raid, Interrupt
Request, Barge-In, Last Caller Recall.
Phone Menu
You can access the following PBX and phone features from the Menu of the phone:
LED
Color
LED Mode
Continuously ON Slow Blink Fast Blink
Blue When you are in speech with
a Station (internal call)
When you have put a Station
on hold (internal call)
When any Station is calling
(internal call)
Red The key assigned to the
Station that is now busy with
another Station/Trunk.
The key assigned to the
Station which has put another
Station/Trunk on hold.
The key assigned to the
Station/Trunk that is called or
being called by another.
Violet When you are in speech with
Trunk (external call)
When you have put a Trunk
on hold (external call)
When any Trunk is calling
(external call)
Menu option Description
Call Logs To view call history of internal and external Missed, Answered and Dialed calls.
You can also edit numbers in the call logs and store them in the Personal Directory.
Contacts To add, edit, delete names and numbers of contacts in the Global Directory Part 1.
Call Forward To set and cancel Call Forward-Unconditional, Call Forward-Busy, Call Forward No
Reply, Forward On Busy/No Reply and Follow Me.
Dynamic Lock To change the Toll Control level of the phone.
User Status To set User Present or User Absent and Presence Status.
Keypad Lock To lock the keypad of the phone.

Matrix EON510/VP510 User Guide 19
When the phone is in idle state,
• Press the Down key , to access the Network Settings.
• Press the Up key , if you wish to change the Ringtone and Play Key Tone option.
Navigating the Phone Menu
To navigate the menu,
• Press the Menu Key when the phone is idle.
• Scroll by pressing the Up/Down Navigation Key to reach the desired Menu option.
• Press the Select / OK Key to select the desired Menu option.
• Scroll by pressing the Up/Down Navigation Key to reach the desired sub-menu option.
• Press the Select / OK Key to select the desired sub-menu option.
To exit menu,
• Press Cancel Key.
or
Go ON-Hook.
Do Not Disturb To set/cancel Do Not Disturb on the phone, that is, block incoming internal and external
calls.
Call Cost Display To view the cost of calls made from the phone.
Hotline To set/cancel Hotline and Delayed Hotline.
Alarm To set/cancel Personalized and Automated Alarms.
Change User
Password
To change User Password.
One Touch Transfer To set/clear the fixed destination number for One Touch Transfer.
Phone Settings To customize settings of the phone.
Menu option Description

Matrix EON510/VP510 User Guide 21
CHAPTER 4
Getting Started with
EON510
Package Contents
• EON510 phone body, Handset and Spring Cord
• Line Cord
• Foot Stand
• Warranty Card Set
• Mounting Template
• Quick Installation Guide (Hard Copy)
When you unpack the EON510 box, please verify whether the above items are present in the package.
Check the contents for damage. In case any of the above listed items is missing, damaged, or faulty, contact the
dealer/reseller. Do not discard any of the package contents or packing materials. Please read the “Warranty
Statement”, for information on the extent of coverage under warranty, terms and conditions for repair or
replacement.
Protecting the Phone and Yourself
Using External Devices
When using external devices like the headset, cables, connectors with the phone, always ensure that they are of
good quality, so that phone's performance is not affected.
Matrix does not guarantee the performance of external devices with the phone, as it has no control over the quality
of external devices, cables and connectors.
Cleaning the Product
Use a lightly moistened tissue paper or cloth towel to clean the phone surface.
Do not spray or pour cleaning solution directly on the phone as this may cause damage to the phone.
Disposing the Product
This product must be disposed according to the national laws and regulations prevailing in the country where it is
installed.

22 Matrix EON510/VP510 User Guide
Avoiding Discomfort
To avoid strain or discomfort to your body:
• Place the phone where it is most convenient for you to reach it, without straining any part of your body.
• Do not cradle the handset between your ear and shoulder; use the headset instead.
• Do not expose yourself continuously to loud sounds; keep the volume of the handset receiver and headset
at a moderate level.

Matrix EON510/VP510 User Guide 23
CHAPTER 5
Getting Started with
SPARSH VP510
Package Contents
• SPARSH VP510 phone body, Handset and Spring Cord
• Ethernet Cable
• Power Adapter 5V, 2.0 Amp.
• Foot Stand
• Warranty Card Set
• Mounting Template
• Quick Installation Guide (Hard Copy)
When you unpack the SPARSH VP510 box, please verify whether the above items are present in the package.
Check the contents for damage. In case any of the above listed items is missing, damaged, or faulty, contact the
dealer/reseller. Do not discard any of the package contents or packing materials. Please read the “Warranty
Statement”, for information on the extent of coverage under warranty, terms and conditions for repair or
replacement.
Protecting the Phone and Yourself
Power Supply
• Before you connect the phone to its power source, please read the installation instructions. Use the power
supply specified by Matrix.
• The phone can be powered from an AC supply or from the LAN network (PoE).
• If you power the phone from an AC supply, use only the standard universal power adapter supplied with
the phone. Damages to the phone caused by using other power adapters are not covered by Matrix
warranty.
• Check the voltage of the AC supply. It must be between 100-240 VAC, 47-63Hz.
• The electric plug and socket must be easily accessible to you at all times so that you can disconnect power
from the device, quickly. Remember, the phone does not have a power switch. The only way to disconnect
it is to plug out the power supply.
• The power supply must be placed indoors.

24 Matrix EON510/VP510 User Guide
• If you power the phone from the LAN network (Power over Ethernet), ensure that the Ethernet switch to
which the phone is connected supplies power complying with IEEE 802.3af.
• If both the power options, that is, PoE as well as Power Adapter are available to the phone, then the phone
will derive power from the PoE enabled LAN Switch.
Using External Devices
When using external devices like the headset, cables, connectors with the phone, always ensure that they are of
good quality, so that phone's performance is not affected.
Matrix does not guarantee the performance of external devices with the phone, as it has no control over the quality
of external devices, cables and connectors.
Cleaning the Product
Use a lightly moistened tissue paper or cloth towel to clean the phone surface.
Do not spray or pour cleaning solution directly on the phone as this may cause damage to the phone.
Preparing for Disruptions in Power Supply and Internet Connectivity
You will not be able to make calls during a power outage. All current calls will be disconnected, and any changes
you make in the configuration of any phone/feature/network settings will not be saved, if you have not already
saved the settings before the power outage.
Use an uninterruptible power supply (UPS) with your VoIP installation to be able to use the phone during power
outage.
Dialing Emergency Services
You will not be able to dial through the phone, whenever there is a disruption in power supply and internet
connectivity. Ensure that you have another traditional phone line accessible to you always so that you have
immediate access to Emergency Services.
Disposing the Product
This product must be disposed according to the national laws and regulations prevailing in the country where it is
installed.
Avoiding Discomfort
To avoid strain or discomfort to your body:
• Place the phone where it is most convenient for you to reach it, without straining any part of your body.
• Do not cradle the handset between your ear and shoulder; use the headset instead.

Matrix EON510/VP510 User Guide 25
• Do not expose yourself continuously to loud sounds; keep the volume of the handset receiver and headset
at a moderate level.
Protecting Against Security Threats/Risks
As VoIP is a form of communication over the internet, the security threats and risks associated with VoIP are very
similar to those inherent to any internet application. Like spam and phishing are common forms of email abuse,
Spam over Internet Telephony (unsolicited calls and voice mail), and Spoofing (attacker masquerading as a known
or trusted source to trick the receiver into disclosing important and confidential personal information) are common
threats in VoIP. Confidentiality of the conversation is another concern. VoIP data sometimes travels unencrypted
and it is possible that someone may collect the VoIP data and reconstruct a conversation. Though at present such
activity may be a rare occurrence, it may increase as the deployment of VoIP spreads wider. Educate yourself
further on the security risks involved in using VoIP and how to protect yourself.

Matrix EON510/VP510 User Guide 27
CHAPTER 6
Connecting and Configuring
EON510
Connecting the Phone
• Unpack the box and verify the package contents. See “Package Contents”.
• You can mount the phone on a wall or desk at a convenient location.
Mount EON510 on the Wall,
• Use the mounting template to drill holed of appropriate size and distance.
• Fix the screw grips in the holes you drilled.
• Fix two screws in the holes on the wall, ensuring that they are aligned with the Keyhole Slots 1 and 2 of
EON510. The screws should protrude from the wall to fit into the Keyhole Slots.
• Now, mount the phone with the screws into the Keyhole Slots.
• Reverse the handset wall mount tab to make sure that the handset remains intact when you mount the
phone. Push the handset wall mount tab upwards to remove it from the slot. Rotate it 180 degrees
clockwise and push it downwards into the slot.

28 Matrix EON510/VP510 User Guide
If you are unable to remove the wall mount tab, you may use a tool like a minus screw-driver to remove it.
Mount EON510 on the Desk,
• You can attach the Foot Stand in the following ways — at an angle of 45 degrees or 55 degrees
• Decide which of these positions would work for you best and accordingly attach the Foot Stand.

Matrix EON510/VP510 User Guide 29
Refer to the diagram below to connect the Handset, Headset and the cable.
Connect the Handset
• Plug the long straightened end of the Spring Cord into the handset jack at the bottom of the phone, marked
with the handset symbol .
• Plug the other (short straight) end of the Spring Cord into the jack at the bottom of the handset.
Connect the Headset (not supplied by Matrix)
• To use a Headset (not supplied with the phone), plug any standard stereo headset with 3.5mm single
connector into the headset audio jack at the bottom of the phone, marked with the symbol .
OR
You may also plug in a headset with an RJ9 connector into the headset port at the bottom of the phone,
marked with the symbol .
Connect the Cable
• Plug one end of the Line Cord supplied with the phone into the RJ11 connector at the bottom of the phone,
marked with the symbol and the other end into the wall jack/DKP port. The cable in the wall
jack originates from the DKP card through the MDF.

30 Matrix EON510/VP510 User Guide
Powering On
1. When the ETERNITY is powered ON, the EON will boot.
2. When the EON communicates with the ETERNITY the firmware will be loaded.
3. After the phone starts successful the extension number, day, date and time will appear on the LCD of the
phone. To configure the name and extension number, contact your System Administrator.
4. You may adjust the LCD for brightness, contrast and backlight. For instructions, see “Customizing Your
Phone”.

Matrix EON510/VP510 User Guide 31
CHAPTER 7
Connecting and Configuring
SPARSH VP510
Connecting the Phone
• Unpack the box and verify the package contents. See “Package Contents”.
• You can mount the phone on a wall or desk at a convenient location.
Mount SPARSH VP510 on the Wall,
• Use the mounting template to drill holed of appropriate size and distance.
• Fix the screw grips in the holes you drilled.
• Fix two screws in the holes on the wall, ensuring that they are aligned with the Keyhole Slots 1 and 2 of
SPARSH VP510. The screws should protrude from the wall to fit into the Keyhole Slots.
• Now, mount the phone with the screws into the Keyhole Slots.
• Reverse the handset wall mount tab to make sure that the handset remains intact when you mount the
phone. Push the handset wall mount tab upwards to remove it from the slot. Rotate it 180 degrees
clockwise and push it downwards into the slot.

32 Matrix EON510/VP510 User Guide
If you are unable to remove the wall mount tab, you may use a tool like a minus screw-driver to remove it.
Mount SPARSH VP510 on the Desk,
• You can attach the Foot Stand in the following ways — at an angle of 45 degrees or 55 degrees
• Decide which of these positions would work for you best and accordingly attach the Foot Stand.

Matrix EON510/VP510 User Guide 33
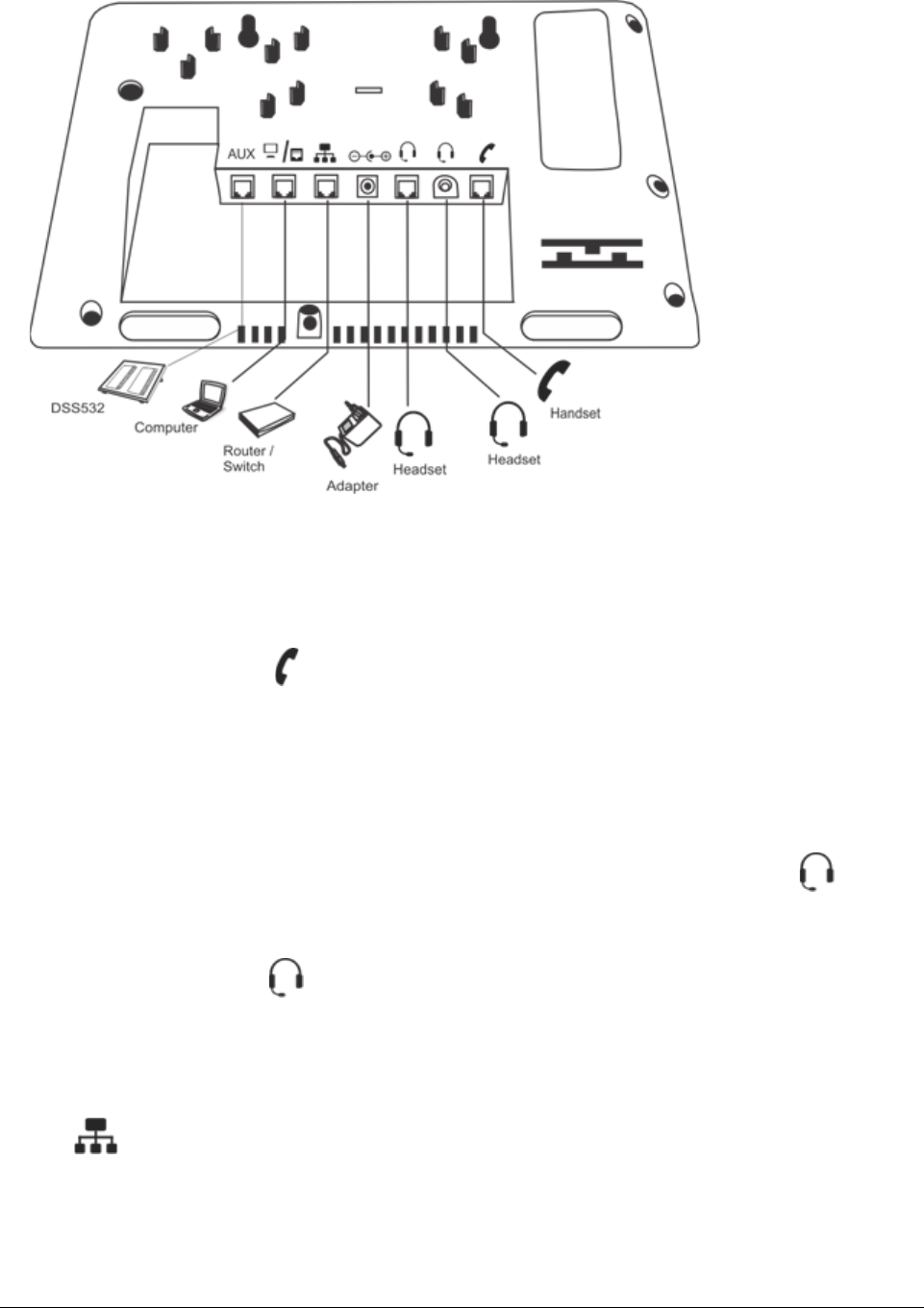
Refer to the diagram below for connectivity.
Connect the Handset
• Plug the long straightened end of the Spring Cord into the handset jack at the bottom of the phone, marked
with the handset symbol .
• Plug the other (short straight) end of the Spring Cord into the jack at the bottom of the handset.
Connect the Headset (not supplied by Matrix)
• To use a Headset (not supplied with the phone), plug any standard stereo headset with 3.5mm single
connector into the headset audio jack at the bottom of the phone, marked with the symbol .
OR
You may also plug in a headset with an RJ9 connector into the headset port at the bottom of the phone,
marked with the symbol .
Connect to the IP Network
• Plug one end of the Ethernet Cable into the LAN Port at the bottom of the phone, marked with the symbol
and the other end to the IP Network — A Router or LAN Switch.

34 Matrix EON510/VP510 User Guide
Connect a PC to the Phone
• Plug one end of the Ethernet Cable into the PC Port at the bottom of the phone, marked with the symbol
and the other end into the LAN Port of your PC/LAN Switch.
Connect DSS532 to the Phone
• Plug one end of the DSS532 Cable into the Auxiliary Port at the bottom of the phone, marked with the
symbol AUX and the other end into the AUX Port of your DSS532.
Connect the Power Supply
• Plug in the connector of the Adapter provided with the phone into the power jack (DC Jack) at the bottom
of the phone, marked with the symbol .
• Plug in the Power Adapter into a power outlet.
• Switch ON power supply.
Powering On
When you power the phone, the boot process will be initiated in the following sequence.
All keys with LED, including the Speaker key, and the Ringer LED, will glow.
1. The LCD display will light up and the following message will appear on it, as the phone boots.
2. When the phone will start loading the Extended IP Phone Firmware. It will display current firmware being
loaded.

Matrix EON510/VP510 User Guide 35
3. After loading the firmware, the phone will prompt you to change Network settings.
Wait for a few seconds.
If you want to change the Network Settings, press Yes key. Detailed instructions for changing the Network
Settings of the phone are provided at the end of this topic. See “Network Settings” at the end of this topic.
4. The phone applies the settings.
5. The phone makes DHCP Discovery and fetches its IP Address and Server Address from the DHCP
Server.
On getting the IP Address and Server Address, the phone initiates Auto Configuration to download the
configuration files from ETERNITY.
As the phone downloads the configuration files, the file names will appear one by one.
6. On successful download of all configuration files, the phone attempts to register with ETERNITY.

36 Matrix EON510/VP510 User Guide
7. After the phone starts successful the extension number, day, date and time will appear on the LCD of the
phone. To configure the name and extension number, contact your System Administrator.
8. You may adjust the LCD for brightness, contrast and backlight. For instructions, see “Customizing Your
Phone”.
Network Settings
You can change the network settings of the Extended IP Phone. Press the Down key when the phone is in idle
state. To move the cursor and scroll through the menu and submenu options, use the navigation keys on your
phone.
The cursor is a non-blinking underscore that appears under the first letter of the first option in the menu. To make a
selection in the menu, you must move the cursor in the desired direction using the Up, Down, Forward and Back
key. When the cursor is at the desired position, press Enter key to make a selection.
Accessing Network Settings
You can access the Network Settings of the Extended IP Phone in any of the following stages:
1. During start-up, when the phone prompts you to change the network settings after loading the firmware.
You must press Yes Key and access network settings.
2. When the phone is Applying the Network Settings, making Network Discovery, downloading Configuration
files, Attempting Registration.
You must press the Menu Key to access network settings.
3. When the phone is in idle state, press the Down key .
You can configure Network Parameters and view Network status from the Local Menu.
Configuring Network Parameters
• In the Local Menu of the phone, select Network Parameters and press the Enter Key.

Matrix EON510/VP510 User Guide 37
• The Network Parameters submenu appears.
• Use the Down/Up key to reach the desired network parameter and press Enter key to select. Change the
settings as per your requirements.
• Press Save the changes you make.
• You can configure all network parameters described below, except the MAC Address.
• To enter a dot in the editable fields — IP Address, Subnet Mask, Gateway Address, DNS Address,
Server Address — press * (Star) Key.
• If you want to clear a single digit/character, move the cursor to the right of the digit/character you wish
to clear. Now press the Delete Key. The digit to the left of the cursor will be deleted.
Before you start configuring the Network Parameters, get acquainted with following context keys:
MAC Address
• It displays the MAC Address of your Phone.
Connection Type
Context Keys Description
Enter/OK To select a particular parameter
Save To save the changes
Back To move a step backwards without saving the changes
Delete To delete a previous characters from the cursor position
2Ab/123 2Ab - Alphanumeric Mode
123 - Numeric Mode

38 Matrix EON510/VP510 User Guide
• Select the Connection Type using the navigation keys, press Enter Key.
• Scroll using the navigation keys to select the desired Connection Type — DHCP, Static, PPPoE. Default:
DHCP.
• Press Select Key.
If your connection type is DHCP,
• The phone will be assigned IP Address, Subnet Mask, Gateway Address, DNS Address and Server
Address automatically by the DHCP Server.
If your DHCP Server does not provide DNS Settings and/or Server Settings automatically, you must
configure them manually.
If you select Static, configure the following:
• Scroll to IP Address and press Enter Key.
• Enter the IP Address, and press OK Key.
Similarly, enter the Subnet Mask and Gateway Address.
DNS Server
Scroll to DNS Server and press Enter Key.
• If you have selected Static as Connection Type, select the DNS Server option Static. You must configure
the DNS Address.

Matrix EON510/VP510 User Guide 39
• If you have selected DHCP or PPPoE as Connection Type and your Internet Service Provider provides
DNS Address, select the DNS Server option Automatic. However, if your Internet Service Provider does
not provide DNS Address, select Static and configure the DNS Address.
DNS Address
• Scroll to DNS Address and press Enter Key.
• Enter the IP Address and press OK Key.
DNS Domain
• If you select DNS Server as Static, enter the DNS Domain Name. DNS Domain Name is optional.
• Scroll to DNS Domain Name and press Enter Key.
• Enter the DNS Domain Name and press OK Key.
PPPoE
If you select PPPoE, configure the PPPoE User ID, PPPoE Password and PPPoE Service Name.
• Enter the PPPoE User ID and press OK Key.
• Similarly enter the PPPoE Password and PPPoE Server Name
PPPoE Server assigns DNS Settings automatically. If your PPPoE Server does not provide DNS Settings
automatically, you must configure them manually.

40 Matrix EON510/VP510 User Guide
Server Address
If your phone is registered with ETERNITY, the Server Address can be the IP Address or Domain Name of the
Master Ethernet Port of the ETERNITY or can be the Router's or STUN Server's Address depending on the
network configuration.
The phone sends the request for configuration files to this Server Address.
If you have selected DHCP as Connection Type, the phone will get the Server Address and Port automatically from
the DHCP Server. For this, use DHCP option 224 and Data Type as ‘String’ to provide Server Address and Port
from the DHCP Server.
For PPPoE and Static Connection Types, you need to enter the Server Address.
• Scroll to Server Address and press Enter Key.
• Enter the Server Address and press OK Key.
• Similarly, enter the Server Port.. This is the SPARSH Port of ETERNITY.
The phone sends the request for configuration files to this port. It can be 80 or any value ranging from
1025 to 65535. Default: 80.
VLAN Settings
If your phone is connected to a Virtual LAN, configure the VLAN Settings. To route packets of the LAN and the PC
ports of the phone through a VLAN switch, they must be tagged with a VLAN header. This header consists of a
VLAN ID and a Class of Service (CoS).
To add VLAN header to the packets generated by the phone, and add VLAN header to the packets relayed from
the PC to its LAN port (packets generated by the PC connected to its PC port),
• Scroll to VLAN Settings and press Enter Key.
• Select Phone VLAN/COS and press Select Key.

Matrix EON510/VP510 User Guide 41
• Select Enabled? and press Yes Key.
The VLAN ID will be tagged on all packets generated by the phone (SIP, RTP, DNS, ARP, etc.). Default:
Disabled.
• Scroll to select VLAN ID and press Enter Key.
Enter the VLAN ID that you have assigned to the VLAN in which the IP Phones are connected. Valid
range: 0-4094. Default: 1. Press OK Key.
• Scroll to SIP CoS and press Enter Key.
Enter the CoS (priority) value for all SIP packets. Valid range: 0-7. Default: 3 Press OK Key.
• Scroll to RTP CoS and press Enter Key.
Enter the CoS (priority) value for all RTP packets. Valid range: 0-7. Default: 6. Press OK Key.
To add VLAN header to all packets entering the PC Port and leaving the LAN port of the phone,
• Scroll to PC VLAN/CoS and press Select Key.
• Select Enabled? and press Yes Key.
The VLAN ID will be tagged on all packets generated by the phone (SIP, RTP, DNS, ARP, etc.). Default:
Disabled.
• Scroll to select VLAN ID and press Enter Key.
Enter the VLAN ID that you have assigned to the VLAN in which the IP Phones are connected. Valid
range: 0-4094. Default: 1. Press OK Key.
• Scroll to CoS and press Enter Key.
Enter the Layer 2 CoS (priority) value. Valid range: 0-7. Default: 0 Press OK Key.
PCAP
To capture packets sent and received from and by the phone for monitoring and troubleshooting, you can enable
PCAP on the phone. The phone captures up to 1 MB of packets.
• Scroll to PCAP.
• To start PCAP, when the cursor is placed on PCAP, press Start Key.
• To stop PCAP, press the Stop Key.

42 Matrix EON510/VP510 User Guide
MAC Cloning
If you want the phone to use Cloned MAC Address,
• Scroll to MAC Cloning and press Enter Key.
• Select Enabled? and press Yes Key.
• Scroll to Clone MAC Address and press Enter Key.
Enter Clone MAC Address and press OK Key.
802.1x Authentication
If you want to restrict unauthorized clients from connecting to your LAN, you need to enable 802.1x Authentication.
Using EAP MD5 protocol the PC connected to the LAN port of the IP Phone is first authenticated and then it gets
connected to LAN.
• Scroll to 802.1x Authentication and press Enter Key.
• Select Enabled? and press Yes Key.
• Select Identity and press Enter Key.
Enter the 802.1x Authentication Identity provided by you network administrator. Press OK Key.
• Select MD5 Password and press Enter Key.
Enter the 802.1x Authentication MD5 Password associated with identity provided by your network
administrator. Press OK Key.
To save the changes you made in Network Settings, press Save Key. The phone will restart.

Matrix EON510/VP510 User Guide 43
Viewing Network Status
• When the phone is in idle state. You must press the Down key to access the Network Settings.
• Again press Down key to select Network Status and press the Enter key.
• The Network Status submenu appears.
Use the Down/Up key to view the status of the various network parameters. The status of the following
parameters appear on your display as you scroll.
•MAC: This is the MAC Address of the phone.
•IP: The current IP Address assigned to the phone.
•MASK: The current Subnet mask assigned to the phone.
•GW: The current Gateway IP Address assigned to the phone.
•DNS: The Domain Name Server address assigned to the phone.
•S. ADD: The IP Address or Domain Name of the Master Ethernet Port of ETERNITY.
•S. PORT: The SPARSH Port of the Master Ethernet Port of ETERNITY.
•DOMAIN: The Domain Name assigned to the phone.
•802.1x Authentication: The 802.1x authentication status is displayed—Success, Failure,
Authenticating or Disabled.
•FIRM: The version of the current Firmware of the phone.
•UBOOT: The UBOOT release date.
•KERNEL: The KERNEL release date.

Matrix EON510/VP510 User Guide 45
CHAPTER 8
Phone Home Screen
The Home screen displays the Extension user’s Name and /or Number, System Date and Time, Time Zone,
Notification Bar and the Context Sensitive Keys.
Name Description
User Information Displays your Name and/or Number.
System Date and Time Displays the System Day, Date and Time.
Time Zone
Displays the Time Zone (Working, Non-working, Break) according to the system
Time Table assigned to your extension. For Working Hours nothing is displayed.
Non-working Hours
Break Hours
User Information
Notification Bar
Context Sensitive Keys
System Date and Time
Time Zone

46 Matrix EON510/VP510 User Guide
Notification Bar
The respective icons appear in the Notification Bar when you set the below
mentioned features. This bar also displays the notification for missed calls.
Displayed when your have set your status as Absent. Refer “Presence”.
Displayed when you have locked the Phone Keypad. Refer “Keypad Lock”.
Displayed when you have missed calls. Refer “Call Logs” .
Displayed when you have set Auto Callback. Refer “Auto Callback (ACB)”.
Displayed when you have set and Alarm or Reminder.
Refer “Alarm and Reminder”.
Displayed when you have set Call Forward. Refer “Call Forward”.
Context Sensitive Keys
The functions of the Context Sensitive Keys is dependent on the Class of Service
(CoS) assigned to your extensions. Please contact your System Administrator to
know the features and facilities you can access. The functions of these keys differ
according to the state of the call. Scroll using and Navigation Keys to view
all the options.
Press to make a call by dialing a Name.
Refer “Making Calls using Dir Key”
Press to view the list of Call Logs. Refer “Call Logs”.
Press to set Call Forward. Refer “Call Forward”.
Press to pickup a call ringing in your group. Refer “Call Pickup”.
Press to enter the Account Code Number. Refer “Account Code”.
Press to enter the Account Code Name. Refer “Account Code”.
Press to set Dynamic Lock. Refer “Dynamic Lock”.
Press to enter the Page Zone Number. Refer “Paging”.
Name Description

Matrix EON510/VP510 User Guide 47
CHAPTER 9
Customizing Your Phone
You can customize certain settings of your phone as per your requirements.
Change User Password
To change the User Password,
• Press Menu Key.
• Scroll using the Navigation Key to select Change User Password.
• Enter Old User Password.
• Enter New User Password.
You must change the User Password if you wish to use the features Follow Me, Dynamic Lock, DISA, Walk-In
Class of Service, User Absent/Present, Hot Desk, Voice Mail as well as customize the Phone Settings.
Speech Controls
• Press Menu Key.
• Scroll using the Navigation Key to select Phone Settings.
• Enter User Password.
• Scroll using the Navigation Key to select Speech Controls.
• Press Select Key.
• Scroll using the Navigation Keys to select the desired option — Headset Speaker Volume, Headset MIC
Volume, Speaker Phone Speaker Volume, Speaker Phone MIC Volume, Key Click Volume.
• Press Select Key.
• Scroll using the Navigation Keys to set the desired Volume Level for the option you select.
• Press Select Key.

48 Matrix EON510/VP510 User Guide
DTMF Transmit Level
• Press Menu Key.
• Scroll using the Navigation Key to select Phone Settings.
• Enter User Password.
• Scroll using the Navigation Key to select Speech Controls.
• Press Select Key.
• Scroll using the Navigation Key to select DTMF Transmit Level.
• Scroll using the Navigation Key to set the desired Level.
• Press Select Key.
DTMF Generation Control
• Press Menu Key.
• Scroll using the Navigation Key to select Phone Settings.
• Enter User Password.
• Scroll using the Navigation Key to select Speech Controls.
• Press Select Key.
• Scroll using the Navigation Key to select DTMF Generation Control.
• Scroll using the Navigation Keys to select DTMF Generation On/ DTMF Generation Off.
• Press Select Key.
Ringer Controls
• Press Menu Key.
• Scroll using the Navigation Key to select Phone Settings.
• Enter User Password.
• Scroll using the Navigation Key to select Ringer Controls.
• Press Select Key.

Matrix EON510/VP510 User Guide 49
Ringer Tune/Ringtones and Key Tone
For EON510
• Scroll using the Navigation Key to select Ringer Tune.
• Press Select Key.
• Scroll using the Navigation Keys to select the desired tune.
• Press Select Key.
For SPARSH VP510
When the phone is in idle state press the Up key , if you wish to change the Ringtone or Play Key Tone option.
To set the Ringtone,
• Scroll using the Navigation Key to select Ringtones.
• Press Enter Key.
• Scroll using the Navigation Keys to select the type of call for which you wish to set the Ringtone —
Internal Calls, External Calls, Priority Calls, Alarm Calls, Emergency Calls, Notification Calls .
• Press Enter Key.
• Scroll using the Navigation Keys to select the desired Ringtone.
• Press Enter Key.
To Play Key Tone,
• Scroll using the Navigation Key to select Play Key Tone.
• Press Yes Key.
Press Exit.
Ringer Selection
• Scroll using the Navigation Key to select Ringer Selection.
• Press Select Key.
• Scroll using the Navigation Keys to select the desired option — Ring on Speaker, Ring on Headset.
• Press Select Key.

50 Matrix EON510/VP510 User Guide
Ringer Volume
• Scroll using the Navigation Key to select Ringer Volume.
• Press Select Key.
• Scroll using the Navigation Keys to select the desired volume level.
• Press Select Key.
Ringer Mode
• Scroll using the Navigation Key to select Ringer Mode.
• Press Select Key.
• Scroll using the Navigation Keys to select the desired mode — Ring Immediate, Ring If Idle, Ring After
Delay, Ring Off.
• Press Select Key.
For the following types of Incoming calls, ringtone will always be played even if you have set the Ringer
Mode as Ring Off.
• Emergency Reporting call
• Alarm call
• Reminder call
Ringer Auto Acknowledge Timer
• Scroll using the Navigation Key to select Ringer Auto Ack Timer.
• Press Select Key.
• Enter the time.
To disable the timer, set the time as 00. Set the timer to the desired value (01 to 99 seconds) to enable.
If you set this timer as 00 , the Ringer Auto Acknowledgement is disabled and you must acknowledge the
incoming call ring manually by pressing the Acknowledge (Ringer Acknowledge) DSS key or by answering
the call. If you do not acknowledge, the ring will be played till you answer/reject the call.
Call Answer Type
• Press Menu Key.
• Scroll using the Navigation Key to select Phone Settings.
• Enter User Password.
• Scroll using the Navigation Key to select Call Answer Type.

Matrix EON510/VP510 User Guide 51
• Press Select Key.
• Scroll using the Navigation Keys to select the desired option — Manual or Auto.
• Press Select Key.
Headset Connectivity
• Press Menu Key.
• Scroll using the Navigation Key to select Phone Settings.
• Enter User Password.
• Scroll using the Navigation Key to select Headset Connectivity.
• Press Select Key.
• Scroll using the Navigation Keys to select the desired option — Headset Not Connected or Headset
Connected.
• Press Select Key.
Display Settings
• Press Menu Key.
• Scroll using the Navigation Key to select Phone Settings.
• Enter User Password.
• Scroll using the Navigation Key to select Display Settings.
• Press Select Key.
• Scroll using the Navigation Keys to select the desired option — LCD Back Light Level or LCD Contrast
Level.
• Press Select Key.
• Scroll using the Navigation Keys to set the desired Level for the option you select.
• Press Select Key.
You can also set the timer to off the LCD Back Light. To do so,
• Scroll using the Navigation Key to select Display Settings.
• Press Select Key.

52 Matrix EON510/VP510 User Guide
• Scroll using the Navigation Key to select LCD Back Light Off Timer.
• Press Select Key.
• Enter the desired time.
If you set this timer as 000, the Backlight will always remain on.
Language Selection
• Press Menu Key.
• Scroll using the Navigation Key to select Phone Settings.
• Enter User Password.
• Scroll using the Navigation Key to select Language Selection.
• Press Select Key.
• Scroll using the Navigation Keys to select the desired language.
• Press Select Key.

Matrix EON510/VP510 User Guide 53
CHAPTER 10
Making Calls
There are multiple ways of making calls from the Phone. Among them, most convenient ways include making calls
from Keypad or using the Dir Key or Logs Key or DSS Key.
Making Calls using Keypad
• Dial the desired extension number using the Keypad directly or lift the handset to dial the desired number.
To call an external number using a Trunk Access Code,
• Press the DSS Key assigned to the Trunk or dial the desired Trunk Access Code.
• Dial the desired external number.
Consult your System Administrator to know the Trunk Access Code values.
To make an external call using the Global Directory3,
• Dial the Global Directory Access code (default: 8) followed by the Global Directory Index number.
When you dial Global Directory Index Number using Keypad, you need to dial Global Directory Access
Code along with the 4 digit Index Number for ETERNITY LE and the 3 digit Index Number for ETERNITY
ME. For example, “80555” in case of LE and “8055” in case of ME. Contact your System Administrator to
know the codes you need to dial.
Making Calls using Dir Key
• Press Dir Key.
3. ETERNITY maintains a system wide corporate directory containing the external numbers accessible to its registered extensions. This
is known as the Global Directory. You can get more information about Global Directory contact your System Administrator.

54 Matrix EON510/VP510 User Guide
• Enter the Initial letter(s) of the Contact’s name. The contacts name can be names of extension users,
contacts configured in global directory and personal directory.
• Scroll using the Navigation Key to select the Contact from the matching entries.
• Press Call Key or Select/OK Key.
Making Calls using Logs Key
• Press Logs Key.
• Scroll using the Navigation Keys to the desired Call Log: Missed Calls, Answered Calls, Dialed Calls.
• Press Select Key.
• The phone displays the call log details by: Name, Date and Time.
• Scroll using the Navigation Key to the desired entry and press Call Key.

Matrix EON510/VP510 User Guide 55
Making Calls using DSS Key
To call an internal number,
• Press the DSS Key assigned to the Extension / Department Group / Operator.
To call an external number,
• Press the DSS Key assigned to the Trunk.
• Dial the desired number.

Matrix EON510/VP510 User Guide 57
CHAPTER 11
Receiving Calls
You can either answer or reject an incoming call. You can also mute the ring of an incoming call.
• Press Ans Key, to answer an incoming call.
• Press Silent Key, to mute the ring of an incoming call.
• Press Reject Key, to reject an incoming call.
If you have multiple incoming calls, scroll up/down using the Navigation Keys to select the incoming call you want to
answer. Press the Ans Key.
By default, the Call Appearance set for your extension is 2. To know more, see “Receiving a Waiting Call”.
Incoming Call Number

Matrix EON510/VP510 User Guide 59
CHAPTER 12
Handling Multiple Calls
During an active call, you can access the features and facilities of ETERNITY. You can also make a new call.
• Press Rel Key to disconnect the active call.
• Press E.Hold Key, to put the call on Exclusive Hold. Refer “Call Hold”.
• Press G.H o ld Key, to put the call on Global Hold. Refer “Call Hold”.
• Press Park Key, to park the call. Refer “Call Park”.
• Scroll using Navigation Key and press Dir Key. The active call is put on hold and you can select the
desired contact’s number from the list. Refer “Making a Second Call”.
Making a New Call
You can make a new call using the Keypad, Dir Key or Logs Key when the dialed number is ringing. When you
make a new call, the first dialed number will be disconnected automatically.
When the dialed number is ringing,
• Press New Key.
• Dial the desired number using the Keypad or Dir Key or Logs Key. Refer “Making Calls”.
Active Call Information
Context Sensitive Keys

Matrix EON510/VP510 User Guide 61
CHAPTER 13
Making a Second Call
You can make a second call using the Dir Key when you have an ongoing call or by putting an ongoing call on hold.
To make a Second Call using Dir Key,
• During an active ongoing call, scroll using Navigation Key to view the Dir Key option.
• Press Dir Key. The ongoing call is put on consultation hold.
• Enter the Initial letter(s) of the Contact’s name.
• Scroll using the Navigation Key to select the Contact from the matching entries.
• Press Call Key.
• After speech if you go On-Hook / Idle, the call of Party 2 will get transferred to the held call (Jessica
James).
To make a Second Call by putting a call on hold,
• During an active ongoing call, press E.Hold (Exclusive Hold) or G.Hold (Global Hold) Key.

62 Matrix EON510/VP510 User Guide
• Dial the desired number.
To know more about Exclusive and Global Hold, see “Call Hold”.

Matrix EON510/VP510 User Guide 63
CHAPTER 14
Receiving a Waiting Call
During an ongoing call, you may receive another call. You can either answer or reject a waiting call.
• Press R+Ans Key, to release the first call and answer the waiting call.
• Press H+Ans Key, to put the first call on Exclusive Hold and answer the waiting call.
• Press Reject Key, to reject the call.
If there are multiple waiting calls, you may scroll up/down using the Navigation Keys to view the details of the
waiting calls and answer the call selectively.
The details of waiting calls are displayed only if the Call Appearances set for your extension is more than 1.
Contact your System Administrator to know the number of Call Appearances set for your extension.

Matrix EON510/VP510 User Guide 65
CHAPTER 15
Call Features
The Call features include all those features that you can access during a call. Availability of any feature depends on
the Class of Service (CoS) assigned to you by your System Administrator.
Call Hold
Call Hold enables you to put an ongoing conversation on hold.
Exclusive Hold
• During an ongoing call, press E. Hold Key or Hold Key.
To resume a call put on Exclusive Hold,
• Press Hold Key again.
or
• Press the DSS key assigned to the extension or the trunk put on Exclusive Hold. If the held party is an
internal extension, then you can also dial the extension number to resume the call.
Global Hold
• During an ongoing call, press G. H old Key.

66 Matrix EON510/VP510 User Guide
To resume a call put on Global Hold,
• Press the DSS key assigned to the extension or the trunk put on Global Hold. If the held party is an internal
extension, then you can also dial the extension number to resume the call.

Matrix EON510/VP510 User Guide 67
Call Transfer
Call Transfer enables you to relocate an existing call to another extension/external number. Calls can be
transferred after notifying the destination extension/external number about the impending transfer (Attended
Transfer) or can be transferred directly without notification (Unattended Transfer).
Unattended Transfer
• During an ongoing call, press Transfer Key. The ongoing call is put on consultation hold.
• Dial the number of the desired party to whom you want to transfer the call. You can make the call using the
Keypad or Dir Key or Logs Key. To know more, see “Making Calls”.
• The dialed number rings.
• Press T’fer Key or Transfer Key or go On-Hook, to transfer the call.
• Press Back Key, to return to the party on consultation hold.
If the party to whom the call is transferred, does not answer, the call will be returned back to you.
Attended Transfer
• During an ongoing call, press Transfer Key.
• Dial the number of the desired party to whom you want to transfer the call. You can make the call using the
Keypad or Dir Key or Logs Key. To know more, see “Making Calls”.

68 Matrix EON510/VP510 User Guide
• The dialed party answers the call.
• Press Transfer Key or go On-Hook, to transfer the call.
• Press Back Key, to return to the party on consultation hold.
Transferring a call using DSS Key
• During an ongoing call, press Transfer Key.
• Press the DSS Key assigned to the extension, to transfer the call to an internal number.
or
• Press the DSS Key assigned to the trunk and dial the desired external number, to transfer the call to an
external number.
• Press Transfer Key or go On-Hook.

Matrix EON510/VP510 User Guide 69
One Touch Transfer
The One Touch Transfer feature enables you to transfer an ongoing call from one extension to another fixed
extension without putting the call on hold or dialing the destination extension number.
You can access One Touch Transfer only during an ongoing 2-way speech. A held or a waiting call cannot be
transferred using One Touch Transfer.
To use One Touch Transfer you must configure the destination number. To do so,
• Press the Menu Key.
• Scroll using the Navigation Key to select One Touch Transfer.
• Press Select Key.
• Scroll using the Navigation Key to select Set Transfer Number.
• Press Select Key.
• Enter the extension number to which you wish to transfer the call.
To use One Touch Transfer,
• During an ongoing call, press the DSS Key assigned to One Touch Transfer.
• The call is transferred to the configured extension.
If you do not wish to use One Touch Transfer, you can also transfer the call using the DSS Key assigned to an
extension. For detailed instructions, see “Transferring a call using DSS Key”.

70 Matrix EON510/VP510 User Guide
Call Toggle
Call Toggle allows you to switch between an active call and a held call.
• During an ongoing call, press Transfer Key.
• Dial the number of the desired party. You can make the call using the Keypad or Dir Key or Logs Key. To
know more, see “Making Calls”.
• When the dialed party answers the call, press Toggle Key. Speech is established with the party on hold.
The active call is put on hold.
• Repeat the previous step again, to talk to the party on hold.
In this way, you can talk to both the parties alternately.

Matrix EON510/VP510 User Guide 71
Conference 3-Party
In Conference 3-Party, you can talk to two persons simultaneously. You can merge two separate calls to create a 3-
way speech.
• During an ongoing call, press Conference Key.
• Dial the number of the desired party with whom you want to make a conference. You can make the call
using the Keypad or Dir Key or Logs Key. To know more, see “Making Calls”.
• The dialed party answers the call.
• Press Conf Key or Conference Key.
A 3-party Conference is established.
Splitting the Conference to make a Private Talk
You can split the 3-Party Conference into two separate calls and talk to each party separately to make a private
talk.
• Press Toggle Key during a Conference.
• Speech is established with the first party. The second party is put on hold.

72 Matrix EON510/VP510 User Guide
Terminating the Conference
You can terminate the Conference at any point of time.
• Press Disc Key during a Conference. All the participants in the conference are disconnected.

Matrix EON510/VP510 User Guide 73
Multiparty Conference
A Multiparty Conference4 is a conference of more than three participants. Adding the fourth participant to an
established 3-Party Conference creates a Multiparty Conference.
During an active 3-Party Conference,
• Press Add Key, to add a new participant.
• Dial the desired number using the Keypad or Dir Key or Logs Key. To know more, see “Making Calls”.
• The dialed party answers the call.
• Press Conf Key or Conference Key.
A Multiparty Conference is established.
• Similarly you can add other participants.
In Multiparty Conference, other participants can add / remove a new participant or terminate the
conference depending on the level of access provided to them in the Class of Service (CoS) by the System
Administrator.
Removing a Participant from the Conference
• During a Conference, press Remve Key.
4. The number of participants in the Conference depends on the variant of ETERNITY with which your application is registered. For
details, contact your System Administrator.

74 Matrix EON510/VP510 User Guide
• The list of participants is displayed on the phone’s LCD.
• Scroll using the Navigation Keys to select the desired participant you wish to remove from the Conference.
• Press Select / OK Key to remove the selected participant.
Temporary Leaving and Rejoining the Conference
• Press Leave Key, to Temporarily Leave the Conference.
• Press Conference Key, to Rejoin the Conference.
Terminating or Permanently Leaving the Conference
• Press End Key, to Terminate the Conference.

Matrix EON510/VP510 User Guide 75
Auto Callback (ACB)
When the dialed extension is busy or not answering your call, you can set Auto Callback (ACB) to avoid dialing the
same number repeatedly. You can set Auto Callback for a single extension only.
Setting Auto Callback
• Dialed extension is busy.
• Press AutCB Key.
• Similarly, you can set Auto Callback when the number is ringing.
• When the extension user is available, the system will automatically place the call on your extension.
Auto Callback Notification on the Home Screen
• After you set Auto Callback, the Callback Notification appears on the Home screen.
Canceling Auto Callback
To Cancel Auto Callback,
•Dial 102
or
When the system places the Auto Callback call on your extension, press Cancel Key.

76 Matrix EON510/VP510 User Guide
Auto Redial
When the dialed external number is busy, you can set Auto Redial to avoid dialing the same number repeatedly.
The system repeatedly checks the busy line till it is free. When the called number is no longer busy, the extension
of the caller rings. You can set Auto Redial for multiple external numbers. Maximum 50 Auto Redials can be set by
users.
Setting Auto Redial
• The external number you are trying is busy.
• Press the DSS Key assigned to Auto Redial.
or
Dial 17
• When the number is available, the system will automatically place a call on your extension.
Canceling Auto Redial
To Cancel Auto Callback,
•Dial 1070
or
When the system places the Auto Callback call on your extension, press Cancel Key.

Matrix EON510/VP510 User Guide 77
Account Code
Account Codes are useful when you have to make external calls to third parties on behalf of your clients. This
feature is useful in consultant firms, law firms or media agencies where employees need to make external calls on
behalf of their clients.
Details of these calls are recorded with the assigned Account Code in SMDR (Station Message Detail Recording).
You can assign Account Code, By Number or By Name.
To assign Account Code by Number,
• On the Home Screen, scroll using Navigation Key to view the other options. Press A/C C Key.
•Enter Account Code Number manually.
• Dial the desired external number.
To assign Account Code by Name,
• On the Home Screen, scroll using Navigation Key to view the other options. Press A/C N Key.
•Enter Account Code Name. You may enter the initials letters, the list of Account Names will appear on
the phone’s display.
• Scroll using the Navigation Key to select the desired name and press Select.

78 Matrix EON510/VP510 User Guide
• Dial the desired external number.
Forced Account Code
Forced Account Code comes into play when you are required to enter the Account Code every time you dial an
external number.
• Dial the Trunk Access Code.
• The message ‘Account Code Required’ is displayed on the LCD of your phone.
• Dial the Account Code.
• Dial the external number.

Matrix EON510/VP510 User Guide 79
Authority Code
Authority Code is a unique password-protected code with an associated Class of Service, Toll Control and Call
Budget. Using this code you can make calls or access features from any other extension as per the Class of
Service and Toll Control assigned to your code.
To be able to Walk-In into your extension,
• Press the DSS Key assigned to Walk-In Class of Service.
or
Dial 111
• Scroll using the Navigation Key to select Walk in by Authority cod.
• Press Select Key.
• Enter the Authority Code (The code is a three digit number).
• Enter the Password assigned to you for the code.
The system will allow you to make calls as per the Call Privilege assigned to the Authority Code dialed by
you. When you go idle, the Call Privilege is cleared.

80 Matrix EON510/VP510 User Guide
Barge-In
Using Barge-In, you can break into an ongoing conversation, between two extension users or between an
extension user and an external number.
The called extension gets beeps for the duration of the Barge-In Timer and can answer the waiting call. If the
waiting call is not answered before the expiry of the timer, speech is automatically established and the first ongoing
call is put on hold.
• The dialed number is busy.
• Press Barge Key.
• The called extension gets beeps during the ongoing conversation. If the called extension user answers the
waiting call, speech is established else system forcibly connects the call and speech is established.

Matrix EON510/VP510 User Guide 81
Background Music5
Using Background Music you can listen to music on your extension as you work, without affecting communication
(incoming and outgoing calls). Music will be played on the speaker of the phone when the phone is idle.
To start Background Music,
• Press the Menu Key.
• Scroll using the Navigation Key to Background Music.
•Press Select Key.
or
Dial 1099
To stop the Background music,
• Follow the same steps as above.
or
Dial 1099
5. This feature is supported in EON510 only.

82 Matrix EON510/VP510 User Guide
Call Chaining
You can use Call Chaining when you want transferred calls to be returned back to you, after the conversation
between the caller and the extension/external number to which it is transferred ends.
• During an ongoing call, press the DSS Key assigned to Call Chaining.
or
• Press Transfer Key and dial 1050.
• The call is chained.
• Complete the Transfer to the desired party. For instructions, see “Call Transfer”.
• The chained call will return back to you as soon as their conversation ends.

Matrix EON510/VP510 User Guide 83
Call Park
Call Park allows you to place a call on Hold, so it can be retrieved from the same or another extension of the
system.
There are two ways to park a call:
• Call Park-Personal Orbit: The call parked in the Personal Orbit can be retrieved from your extension only.
Personal Orbit is always 1.
•Call Park-General Orbit: The call parked in the General Orbit can be retrieved from any extension
including your own extension. General Orbit number can vary from 2 to 9.
To Park a call,
• During an ongoing call, press Park Key or dial 115
•Enter Orbit Number.
Enter 1 to Park the call in the Personal Orbit.
Enter any number from 2 to 9 to Park the call in the General Orbit.
To retrieve the parked call,
• Press the DSS Key assigned to the extension or dial 116 - Orbit Number (Personal Orbit 1; Global Orbit 2
to 9).
If you do not retrieve the parked call, the call will land on your extension automatically after the expiry of the
Call Park Timer (configurable, default: 5 minutes).

84 Matrix EON510/VP510 User Guide
Conversation Recording
You can record an ongoing conversation (with extension users or external parties) in your Voicemail box.
To use Conversation Recording, make sure:
• The Voicemail System (VMS) card is installed in the ETERNITY (applicable to LE/ME/GE/PE) and a
Personal Mailbox is assigned to you.
• Voicemail license is present in the ETERNITY NE. A Personal Mailbox is assigned to you.
To record an ongoing conversation,
• Press Rec Key (the called party is put on hold and music on hold is played).
or
Press Transfer Key (the called party is put on hold and music on hold is played) and dial 1095
• Speech is resumed with the called party and recording starts. The called party will get a beep once to
indicate that the call is being recorded.
• The recording will stop if either party disconnects the call.
Listening to the Recorded Conversation
You must access the Voicemail, to listen to the recorded conversation. Refer “Voicemail” for more details.

Matrix EON510/VP510 User Guide 85
DSS Call Pick-Up
DSS Call Pick-Up allows you to answer calls ringing on other extensions or incoming calls on trunks by pressing
the DSS Keys assigned to those extensions/trunks from your phone.
There are two types of DSS Call-Up:
•DSS Call Pick-Up-Station - internal or external calls ringing on any extension, can be picked-up by
pressing the DSS Key assigned to that extension on your phone.
•DSS Call Pick-Up-Trunk - incoming calls on any trunk for any extension can be picked-up by pressing the
DSS Key assigned to that trunk on your phone.
DSS Call Pick-Up - Station
To answer the call ringing on another extension,
• When the DSS Key assigned to the extension blinks fast in Blue color, press the DSS Key.
• Speech with calling party.
DSS Call Pick-Up - Trunk
To answer the call ringing on the trunk,
• When the DSS Key assigned to the trunk blinks fast in Violet color, press the DSS Key.
• Speech with calling party.

86 Matrix EON510/VP510 User Guide
Emergency Call
You can dial Emergency numbers immediately without any blocking.
To dial an Emergency number,
• Go Off-Hook.
• Dial the Emergency Number.
or
Dial Trunk Access Code followed by the Emergency Number.

Matrix EON510/VP510 User Guide 87
Forced Answer
When there is no response from the called extension, you can forcibly make the user answer your call. The speaker
of the called extension will be turned ON and you will be connected to the called party immediately.
Forced Answer is possible when the called extension is a Matrix proprietary Digital Key Phone (DKP) or an
Extended IP Phone and when the phone is idle. Forced Answer cannot be used on SPARSH M2S users.
• The dialed extension is ringing.
• Press Force Key.
• Speech is established as the called party’s Speaker is turned on automatically.

88 Matrix EON510/VP510 User Guide
Forced Disconnection
Forced Call Disconnection enables you to disconnect a busy extension or a trunk when required and free the
system resources for your use.
• The dialed extension is busy.
• Scroll using Navigation Key to view the other options. Press Break Key.
• The call between the busy extensions disconnects.
• Similarly, you can also forcibly disconnect a busy trunk.

Matrix EON510/VP510 User Guide 89
Flashing on Trunks
Flashing on Trunks helps the system to identify the codes of the features of the central office dialed by you, on the
trunks. For example the Call Waiting or Call Forward Services provided by the Service Providers.
• During an ongoing call, press the DSS Key assigned to Flashing on Trunks.
• Dial the service provider feature access code.
or
• Press Transfer Key, dial * followed by the service provider feature access code.

90 Matrix EON510/VP510 User Guide
Headset
Using the Headset feature you can switch the speech path to the Headset directly. To use the Headset, you must
enable the option Headset Connected. For instructions, see “Headset Connectivity” in “Customizing Your Phone”.
You can also get the ring on the headset, if required. To do so, set the Ringer Selection option as Ring on
Headset. For instructions, see “Ringer Selection” in “Customizing Your Phone” .
To use this feature make sure you have connected a compatible Headset to the phone.
To enable the Headset mode,
• Press Headset Key. The LED of the Headset Key glows in blue.
To disable the Headset mode,
• Press Headset Key. The LED of the Headset Key is turned off.

Matrix EON510/VP510 User Guide 91
Interrupt Request
Interrupt Request allows you to break into an ongoing conversation by intimating the extension user about the
interruption.
The called extension gets beeps for the duration of the Interrupt Request Timer and can answer the waiting call. If
the waiting call is not answered before the expiry of this timer, the waiting call is disconnected.
• The dialed number is busy.
• Press Camp Key.
• The called extension is busy. If the called extension user answers the waiting call, speech is established
else it is disconnected.

92 Matrix EON510/VP510 User Guide
Last Number Redial
Using Last Number Redial you can redial the last number string dialed from your extension.
To make a call to the last number,
• Press Redial Key.
• The list of last 16 numbers dialed from your extension appears on the LCD.
• Scroll using the Navigation Key to select the desired number.
• Press Select Key.
The Redial list will be cleared when the system restarts.

Matrix EON510/VP510 User Guide 93
Last Caller Recall
Using Last Caller Recall you can trace the extension that last made the call to your extension.
To make a call to the last extension number,
• Press the DSS Key assigned to Last Caller Recall.
or
Dial 1092
• The last extension number is dialed.

94 Matrix EON510/VP510 User Guide
Message Wait
You can set Message Wait on other extensions to deliver important messages. Message Wait will be indicated to
users according to the Type of Message Wait Indication set for their extensions, contact your System Administrator
for details.
Set Message Wait
• When the dialed extension is ringing.
• Press Msg Key. You get confirmation tone.
• Similarly, you can set Message Wait when the number is busy.
If the extension on which you set Message Wait is an EON510/VP510 user, the LED of the Voicemail Key
glows in Blue. It is the Message Wait notification provided to the user. When the user dials the feature
access code to Retrieve Message Wait, the call will be placed on your extension.
Message Wait can be set for one extension only but you can leave multiple messages in the mailbox of
extension users using Voicemail.
Cancel Message Wait
•Dial 1076
All the Message Wait set by you will be cleared.
Retrieve Message Wait
• Press DSS Key assigned to Retrieve Message Wait.
or
Dial 1077
• The call will be placed on the extension that has set Message Wait.
After this, if the Voicemail Key still glows in Blue, it means that there are other Message Wait requests
set on your extension. You need to dial the Retrieve Message Wait access code again.

Matrix EON510/VP510 User Guide 95
Voice Mail has priority over extension Message Wait set by extensions. If an extension user has both
Message Wait and a new Voice mail, and when the extension user presses the Retrieve Message Wait Key
or dials the feature access code to Retrieve Message Wait, the call will first be placed to the Voice Mail
System. When the extension user presses the Retrieve Message Wait Key again, the call will be placed on
the extension that set Message Wait.

96 Matrix EON510/VP510 User Guide
Mute
This feature helps the you to disconnect the speech transmission path in the middle of a conversation. You can still
listen to the opposite party because the receiving path remains connected. Mute is useful when you want to consult
someone in the middle of a conversation, but do not want the opposite party to listen to your discussion.
To mute a call before making a call,
• Press Mute Key. The LED of the Mute Key glows in Blue.
• Dial desired number.
To mute a call during speech,
• Press Mute Key. The LED of the Mute Key glows in Blue.
To unmute a call during speech,
• Press Mute Key again. The LED of the Mute Key is turned off.

Matrix EON510/VP510 User Guide 97
Raid
Raid allows you to interrupt a telephone conversation between two extension users, turning the conversation into a
three-way call.
You can use Raid to land in a conversation between two extension users, and between an extension user and an
external caller, with a warning beep to the extension user. The extension user will hear a beep when you raid and
you will enter into three-way speech with both parties.
• The dialed number is busy.
• Scroll using Navigation Key to view the other options. Press Raid Key.
• 3-way speech is established.

98 Matrix EON510/VP510 User Guide
Trunk Reservation
Trunk Reservation enables you to reserve a trunk for your exclusive use, for a specific duration as configured in the
Trunk Reservation Timer.
Reserving a Trunk
You can access a trunk by dialing Trunk Access Code (TAC) or using Selective Port Access. To know more about
Selective Port Access, see “Selective Port Access”.
• Accessed trunk is busy.
• Press the DSS Key assigned to Trunk Reservation
or
Dial 6
• When the trunk is available, the system will automatically place the call on your extension.
Canceling Trunk Reservation
•Dial 102
or
If not cancelled manually, Trunk Reservation will be canceled automatically after the expiry of the Trunk
Reservation Timer.

Matrix EON510/VP510 User Guide 99
CHAPTER 16
Contacts
The Contacts list displays the Extensions, Corporate Directory (Global Directory) and well as Personal Directory
contacts.
Viewing Contacts
• Press Dir Key on the Home Screen.
• Enter the Initial letter(s) of the Contact’s name.
• Scroll using the Navigation Key to the desired Contact from the matching entries.
• Press Call Key.
You can only Call the desired contact from the list. To Add, Edit or Delete a contact, refer “Adding
Contacts” and “Editing and Deleting Contacts”.

100 Matrix EON510/VP510 User Guide
Adding Contacts
You can add new contacts to the existing Contacts list using the Add Contacts option.You can add a contact using
the Menu only.
You can add new contacts only if, Global Directory Part-1 and Global Directory Programming, both
options are enabled in the Class of Service (CoS) assigned to you. The new contact will be added in
Global Directory Part-1 of ETERNITY.
To add a new Contact,
• Press the Menu Key.
• Scroll using the Navigation Key to select Contacts.
• Press Select Key.
• Select Add and press Select Key.
• Enter the Name and press Select / OK Key. Then enter Number and press Select / OK Key.
• The contact is automatically stored at a free index number. The phone’s LCD displays the Index at which it
is stored.

Matrix EON510/VP510 User Guide 101
Editing and Deleting Contacts
You can edit or delete contacts, if required.
You can Edit.and/or Delete Global Directory Contacts only. The changes you make will be applicable to all
the users of the system.
You can edit and/or delete contacts only if, Global Directory Part-1 and Global Directory
Programming, both options are enabled in the Class of Service (CoS) assigned to you.
Editing Contacts
• Press the Menu Key.
• Scroll using the Navigation Key to select Contacts.
• Press Select Key.
• Select Edit and press Select Key.
• Enter the Initial letter(s) of the Contact’s name.
• Scroll using the Navigation Key to the desired Contact from the matching entries. Press Select Key.
• Edit the Name, if required and press Select / OK Key.
•Edit Number, if required and press Select / OK Key.
Deleting Contacts
• Press the Menu Key.
• Scroll using the Navigation Key to select Contacts.
• Press Select Key.

102 Matrix EON510/VP510 User Guide
• Select Delete and press Select Key.
• Enter the Initial letter(s) of the Contact’s name.
• Scroll using the Navigation Key to the desired Contact from the matching entries. Press Select Key.
• The selected contact is deleted.

Matrix EON510/VP510 User Guide 103
CHAPTER 17
Call Logs
Call Logs displays the history of all Missed, Answered and Dialed Calls.
Viewing Call Logs
To view the Call Logs,
• Press Logs Key on the Home Screen.
• Scroll using the Navigation Keys to the desired Call Log: Missed Calls, Answered Calls, Dialed Calls.
• Press Select Key.
• The phone displays the list of last 20 calls. The details displayed are: Name, Date and Time.
• Scroll to the desired entry using the Navigation Key.
• Press View Key, to view the number of the selected contact.
• Press Call Key, to make a call.
• Press Back Key, to select another Call Log.

104 Matrix EON510/VP510 User Guide
Some entries in the Call Logs may appear as Unknown/Private, if the Number of that entry is not
available. Calls cannot be made to these numbers.

Matrix EON510/VP510 User Guide 105
Creating New Contacts from Call Logs
You can create new contacts for external numbers that appear in the Call Logs. You can add the number to the
Global Directory.
To add the number as a new contact,
• Press Logs Key on the Home Screen.
• Scroll using the Navigation Keys to the desired Call Log : Missed Calls, Answered Calls, Dialed Calls.
• Press Select Key.
• The phone displays the call log details by: Name, Date and Time.
• Scroll to the desired entry using the Navigation Keys.
• Press View Key.
• Then press Save Key to save the contact as a Global Directory contact.
• Enter the Name and press Save Key again.
• The entry is automatically stored at a free index number. The phone’s LCD displays the Index at which it is
stored.

106 Matrix EON510/VP510 User Guide
You can add new contacts only if, Global Directory Part-1 and Global Directory Programming, both
options are enabled in the Class of Service (CoS) assigned to you. The new contact will be added in
Global Directory Part-1 of ETERNITY.

Matrix EON510/VP510 User Guide 107
Editing an Entry before Placing a Call
You can edit an external number present in the Missed or Received or Dialed Call Logs list.
To edit an entry in the Call Log,
• Press Logs Key on the Home Screen.
• Scroll using the Navigation Keys to the desired Call Log : Missed Calls, Answered Calls, Dialed Calls.
• Press Select Key.
• The phone displays the call log details by: Name, Date and Time.
• Scroll to the desired entry using the Navigations Key.
• Press View Key.
• Press Clear Key to edit a single digit. You can edit the entry as per your requirement.
• Press Call Key to make a call.
• Press Save Key to save the changes you made.
• Press Back Key to view the list of entries in the call log.

108 Matrix EON510/VP510 User Guide
Missed Call Notification
If you have missed any calls,
• a Missed Call Notification appears on the Home Screen.
• the Ringer LED will turn 1 second on and 5 seconds off.
To view the missed calls,
• Press Logs Key on the Home Screen.
• Make sure the Missed Calls log is selected.
• Press Select Key.
• The phone displays the call log details by: Name, Date and Time.
• Scroll to the desired entry using the Navigations Key.
• Press View Key, to view the number of the selected contact.
• If you wish to call, press Call Key.
As soon as you access the Missed Calls log, the notification will disappear.

Matrix EON510/VP510 User Guide 109
CHAPTER 18
Other Features
Alarm and Reminder
Alarm and Reminder is a signal set to remind you of some important event/task on a specific date and/or time. It is
an efficient and user friendly feature that is available to all the users. You can set/cancel Alarms and Reminders
yourself or an Operator can do it for you.
To Set an Alarm,
• Press the Menu Key.
• Scroll using the Navigation Key to select Alarm.
• Press Select Key.
• Scroll to Enter Time HHMM.
• Enter the time.
• The Alarm is set and the Alarm Notification appears on the Home Screen.
To Cancel all the Alarms,
• Press the Menu Key.
• Scroll using the Navigation Key to select Alarm.
• Press Select Key.

110 Matrix EON510/VP510 User Guide
• Scroll to Cancel All Alarms and press Select / OK Key.
To Set a Reminder,
• Press the DSS Key assigned to Reminder.
or
•Dial 162
• Scroll to select Enter Date MMDDYYYY-HHMM.
• Enter the date and time as per the format. The reminder is set.
To Cancel all the Reminders,
• Press the DSS Key assigned to Reminder.
or
•Dial 162
• Scroll to select Cancel All Reminders.
• Press Select / OK Key.
• The time will be displayed as per the Time Format select by your System Administrator.
• If you set an Alarm, by default the Alarm Type you will be able to set is Once only and the Alarm
serving mechanism is Automated. If you want access to set Daily Alarms as well as if you want access
to the serving mechanism Personalized, contact your System Administrator.

Matrix EON510/VP510 User Guide 111
An Alarm/Reminder Call
• At the set time, the Alarm call rings.
• Press Ans Key. You get music on hold.
• Press Silent Key, to mute the ring.
• Press Reject Key, to reject the call.
• Similarly, you can answer or reject a Reminder call.
Alarm/Reminder Call with Snooze
The Snooze option is set for the Alarm/Reminder Call to ensure that the call is acknowledged by the users.
• Press Ans Key when the Alarm/Reminder call rings.
• Press Ack Key to acknowledge the call.

112 Matrix EON510/VP510 User Guide
Call Forward
You can forward your calls to a pre-programmed destination number using Call Forward.
The Call Forward screens differ according to the Server with which EON510/VP510 is connected, that is
ETERNITY LE/ME/GE/PE or ETERNITY NE.
If your phone is connected with ETERNITY LE, ME, GE or PE you can set Call Forward as well as Call Forward
Scheduled. Call Forward Scheduled is when call forward can be set separately for each time zone — Working
Hours, Break Hours and Nonworking Hours.
If your phone is connected with ETERNITY NE, you can set Call Forward as well as Call Forward Scheduled. Call
Forward Scheduled is when call forward can be set separately for Day Time and Night/Break Time.
Setting Call Forward
To Set Call Forward,
• Press Fwd Key on the Home Screen.
• Scroll using the Navigation Keys to select the desired type of Call Forward — Forward Unconditionally,
Forward On Busy, Forward On No Reply, Forward On Busy/No Reply.
• Press Select Key.
•Enter Forward to Number.
• To forward calls to an internal number, dial the desired number directly.
To forward calls to an external number, dial the Trunk Access Code (TAC) followed by the desired number.
Call Forward is set and the set indication appears on the Home Screen.
To Cancel Call Forward,
• Press Fwd Key again on the Home Screen.

Matrix EON510/VP510 User Guide 113
• Scroll using the Navigation Key to select Cancel Call Forward.
• Press Select Key.
You can also set/cancel Call Forward from the Phone Menu.
Dual Ring
Dual Ring enables you to play ring simultaneously on your phone and the destination phone.
To Set Dual Ring,
• Press Fwd Key on the Home Screen.
• Scroll using the Navigation Key to select Dual Ring.
• Press Select Key.
• Scroll using the Navigation Key to select Dual Ring On and press Select Key.
To Cancel Dual Ring,
• Press Fwd Key on the Home Screen.
• Scroll using the Navigation Key to select Dual Ring.
• Press Select Key.

114 Matrix EON510/VP510 User Guide
• Scroll using the Navigation Key to select Dual Ring Off and press Select Key.
Dual Ring can be set/canceled individually for each time zone.
Setting Call Forward-Scheduled
You can set Call Forward for each time zone separately. This is know as Call Forward-Scheduled.
To set Call Forward-Scheduled,
• Press the DSS Key assigned to Call Forward-Scheduled
or
Dial 1175
• Scroll using the Navigation Keys to select the desired time zone — Working Hours, Break Hours,
Nonworking Hours.
• Press Select Key.
• Scroll using the Navigation Key to select the desired type of Call Forward — Forward Unconditionally,
Forward On Busy, Forward On No Reply, Forward On Busy/No Reply.
• Press Select Key.
•Enter Forward to Number.
• To forward calls to an internal number, dial the desired number directly.
To forward calls to an external number, dial the Trunk Access Code (TAC) followed by the desired number.
To cancel Call Forward-Scheduled,
• Press the DSS Key assigned to Call Forward-Scheduled
or
Dial 1175

Matrix EON510/VP510 User Guide 115
• Scroll using the Navigation Key to select Cancel Call Forward.
• Press Select Key.
• When you cancel Call Forward - Scheduled, it is cancelled for all time zones.
• If you have set Call Forward and Call Forward - Scheduled, both need to be cancelled separately.
You can also set Dual Ring for each time zone. To do so, follow the same steps as mentioned above to set Call
Forward for each time and within that select the Dual Ring On option.

116 Matrix EON510/VP510 User Guide
Do Not Disturb
Do Not Disturb (DND) prevents incoming calls from landing on your extension.
Setting Do Not Disturb
• Press DND Key.
• Scroll using the Navigation Keys to select the type of calls for which you want to set DND — All Calls,
Internal Calls, External Calls.
• Press Select Key.
• The LED of the DND Key glows in Blue.
Set Do Not Disturb Message
• Press DND Key.
• Scroll using the Navigation Key to select Set DND Message. This message will be displayed to the caller
(provided the phone supports CLI display).
• Press Select Key.
• Scroll using the Navigation Keys to select the desired DND message — Unavailable, In a Meeting, In a
Conference, Try on Mobile, On Vacation, On Business Trip, Out of Office, With a Guest.
• Press Select Key.
Canceling Do Not Disturb
• Press DND Key again.

Matrix EON510/VP510 User Guide 117
• Scroll using the Navigation Key to select Cancel DND.
• Press Select Key.
• The LED of the DND Key is turned off.
You can also set/cancel DND from the Phone Menu.

118 Matrix EON510/VP510 User Guide
DND-Override
DND - Override allows you to place a call on the extension that has set DND.
• If the dialed extension has set DND, the DND message set is displayed on the phone’s LCD.
• Press Ovride Key.
• The dialed extension starts ringing.

Matrix EON510/VP510 User Guide 119
Presence
Using Presence, you can inform other users about your availability status. You can change your presence status.
You cannot use the default User Password (1111) to change your status. Make sure, you have changed it.
For detailed instructions, see “Change User Password”.
Changing Your Presence Status
• Press the Menu Key.
• Scroll using the Navigation Key to select User Status.
• Press Select Key.
or
Dial 104
•Enter Your User Password.
• Scroll using the Navigation Keys to select the desired Status — Preset, Auto Detect, Away, On the Phone,
Do Not Disturb, I am Mobile, In a Meeting, Out for a Meal, Out of Office, Absent.
• Press Select Key.
• Your Presence status is updated.
If you set Absent as your status, the Absent status icon appears on the Home Screen.

120 Matrix EON510/VP510 User Guide
Call Pickup
Pickup allows you to answer calls ringing on other extensions from your extension; without physically going to the
ringing extensions.
You can pick-up calls:
• Call Pick Up-Group - extensions are assigned to Pick-Up Groups. Any extension in a Pick-Up Group can
answer calls ringing on other extensions within the same group only.
• Call Pick-Up Selective - calls ringing on any extension of the system can be answered.
Call Pickup-Group
To pick-up a ringing call within your group,
• Press Pickup Key on the Home Screen.
Call Pickup-Selective
To pick-up any ringing call,
• Press DSS Key assigned to Call Pickup-Selective.
or
Dial 12
• Dial the number of the extension you wish to pick.

Matrix EON510/VP510 User Guide 121
Cancel All Features
You can cancel all features set on your extension by dialing a feature access code or by pressing the Cancel Key
(in idle state).
When you dial the 'Cancel All Station Features' access code, the following features, if set, will be cancelled from
your extension:
• Auto Answer
• Auto Call Back
• Auto Redial
• Background Music
• Call Forward
• Do Not Disturb
• Hot Line
• Trunk Reservation
• Walk-In Class of Service
When you press the Cancel Key, you can select the feature you wish to cancel.
To Cancel All Features,
• Press DSS Key assigned to Cancel All Features.
or
•Dial 1051
All the features are cancelled and a confirmatory message is displayed on your phone LCD.
To Cancel All Features using the Cancel Key,
• Press Cancel Key.
The list of features set by you appear on the LCD.
• Scroll using the Navigation Keys to select the feature you wish to cancel.
• Press Select Key.

122 Matrix EON510/VP510 User Guide
Dynamic Lock
Dynamic Lock allows you to change the Toll Control Levels (Calling Permissions) of your extension phone on your
own by dialing a code.
The System Administrator/Operator can also change the Toll Control Levels assigned to users. Contact your
System Administrator for details.
With this feature, you can prevent misuse of outgoing call facility from your extensions, in your absence. To use this
feature, you must set the Toll Control Level and the Lock Timer.
You cannot use the default User Password (1111) to set the Dynamic Lock. Make sure, you have changed
it. For detailed instructions, see “Change User Password”
Setting Dynamic Lock
To change the Toll Control Level,
• On the Home Screen, scroll using Navigation Key to view the other options.
• Press Dlock Key.
• Scroll using the Navigation Key to select Change Toll Ctrl Level.
• Press Select Key.
•Enter Your User Password.

Matrix EON510/VP510 User Guide 123
• Scroll using the Navigation Key to select the desired Level — All Calls, Local Calls, National Calls, No
Calls.
• Press Select Key.
To change the Lock Timer,
• On the Home Screen, scroll using Navigation Key to view the other options.
• Press Dlock Key.
• Scroll using the Navigation Key to select Change Lock Timer.
• Press Select Key.
•Enter Your User Password.
• Enter desired Lock Time in minutes.
You can also set/cancel Dynamic Lock from the Phone Menu.

124 Matrix EON510/VP510 User Guide
Keypad Lock
You can lock your Keypad to avoid misuse of your extension phone, while you are away from your desk.
You cannot use the default User Password (1111) to Lock the Keypad. Make sure, you have changed it.
For detailed instructions, see “Change User Password”.
To Lock the Keypad,
• Press the Menu Key.
• Scroll using the Navigation Key to select Keypad Lock.
• Press Select Key.
•Enter Your User Password.
• The Keypad is locked and the lock icon appears on the Home Screen.
If your Keypad is locked,
• you can dial Emergency Numbers.
• during a call, you cannot access any Call feature.
To Unlock the Keypad,
• Follow the same steps as mentioned above.
• The Keypad is unlocked and the lock icon disappears.
To lock the Keypad using the Lock Key on the Dial Pad,
• Press the Lock Key on the Dial Pad.
•Press Lock Key.

Matrix EON510/VP510 User Guide 125
•Enter Your User Password.
• The Keypad is locked and the lock icon appears on the Home Screen.
To lock the Keypad using the Lock Key on the Dial Pad,
• Press the Lock Key on the Dial Pad.
•Press Unlock Key.
•Enter Your User Password.
• The Keypad is unlocked and the lock icon disappears.

126 Matrix EON510/VP510 User Guide
Dial-In Conference
Dial-In Conference allows you to schedule a Multi-party conference in advance, so that the desired participants can
join the conference at the scheduled time.
Make sure, you know the valid Conference Numbers for the variant of ETERNITY with which your phone is
registered. Contact your System Administrator to know the details.
Schedule a Dial-In Conference
•Dial *19
• Scroll using the Navigation Key to select Schedule Conference.
• Enter the Conference Number and the four digit Conference Password.
The Conference Password cannot be 1111.
Join/Leave/Cancel the Dial-In Conference
•Dial *19
• Scroll using the Navigation Key to select Include in Schd Conference.

Matrix EON510/VP510 User Guide 127
• Enter the Conference Number and the four digit Conference Password.
• Press Add, to include another participant in the conference.
• Press Leave, if you wish to temporarily leave the conference. You can join the conference again at any
time. To do so, press the Conference Key.
• Press End, to terminate/cancel the conference.
After the Dial-In conference is initiated, it functions as a Multi Party Conference. See “Multiparty
Conference” for more details.

128 Matrix EON510/VP510 User Guide
Hotline
Hotline feature enables you to connect automatically to an extension (or, a Department Group) or an external
number or a trunk, whenever you lift the Handset or press the Speaker/Headset key.
Hotline can be:
•Immediate: As soon as you go OFF-Hook, you get connected to the desired hotline extension number,
department group, external number or outgoing trunk. Make sure the Hotline Timer is set to ‘00’ seconds
(default: 3 seconds).
• Delayed: As soon as you go OFF-Hook, the system plays Dial Tone and waits for the Hotline Timer
(default: 3 seconds). On the expiry of this timer, it connects you to the desired hotline extension number,
department group, external number or outgoing trunk.
Setting Hotline
• Press the Menu Key.
• Scroll using the Navigation Key to select Hot Line.
• Press Select Key.
•Scroll using the Navigation Keys to select the desired option — Set HotLine: Stn/Dept, Set HotLine: OG
Trunk, Set HotLine: Ext Number.
• Press Select Key.
• If you select Set HotLine: Stn/Dept, enter the Station (Extension) or Department Group Access Code.
• If you select Set HotLine: OG Trunk, enter the Trunk Access Code.
• If you select Set HotLine: Ext Number, enter the Trunk Access Code followed by the desired number.
To set delayed Hotline for the option you select,
• Press the Menu Key.
• Scroll using the Navigation Key to select Hot Line.
•Press Select Key.

Matrix EON510/VP510 User Guide 129
•Scroll using the Navigation Key to select Set HotLine Timer and enter the desired time.
Canceling Hotline
• Press the Menu Key.
• Scroll using the Navigation Key to select Hot Line.
•Press Select Key.
• Scroll using the Navigation Key to select Cancel HotLine.
• Press Select Key.

130 Matrix EON510/VP510 User Guide
Calling Line Identification Restriction
Using CLIR, you can hide your identity—name and number—from the called party.
Enable CLIR
• Press the DSS Key assigned to CLIR.
or
Dial 1031
Disable CLIR
• Press the DSS Key assigned to CLIR again.
or
Dial 1030

Matrix EON510/VP510 User Guide 131
Live Call Supervision
Using Live Call Supervision, you can know the last external number dialed by another extension.
To use Live Call Supervision,
• Press the DSS Key assigned to Live Call Supervision.
or
Dial 1098
• Enter the Extension Number to be supervised.
• The last external number out-dialed by the supervised extension number appears on the LCD.

132 Matrix EON510/VP510 User Guide
Live Call Screening (LCS)6
Using Live Call Screening you can screen callers before attending their calls.
To enable Live Call Screening,
• Press the DSS Key assigned to Live Call Screening.
or
Dial 1094
• Scroll using the Navigation Key to select LCS On.
To answer a caller who is recording a message in your mailbox,
• Go Off-Hook by pressing the speaker key or lifting the handset.
• Speak to the caller.
To ignore the message of the caller,
• dial any digit.
To deactivate Live Call Screening,
• Press the DSS Key assigned to Live Call Screening.
or
Dial 1094
• Scroll using the Navigation Key to select LCS Off.
6. This feature is supported in EON510 only.

Matrix EON510/VP510 User Guide 133
Paging
Paging allows you to make announcements to a group of extension users7 configured in a Page Zone. Extension
users you are Paging, can only listen to your announcement. To answer your live Paging Call, extension users
must use the feature Meet Me Paging from their extensions. To use Meet Me Paging, see “Meet Me Paging”.
To be able to make a Paging call to a group of extensions, you must know their Page Zone Number. The Page
Zone Number can vary from 01 to 12. Each Page Zone can have a maximum of 16 extensions.
To initiate a Paging announcement,
• On the Home Screen, scroll using Navigation Key to view the other options.
• Press Page Key.
• Press Select Key.
• Enter the Page Zone Number.
• Make your announcement. The speakers of the extensions configured in the specified Page Zone will be
turned on automatically.
7. These extensions must be either Matrix proprietary Digital Key Phones (DKP), or any type of SIP Phones (for example, Matrix propri-
etary Extended SIP Phones or any Standard (Open) SIP Phone which supports Auto Answer feature). A Public Address System
(PAS) connected to the Analog Output Port (AOP) of the ETERNITY, can also be included in a Page Zone.

134 Matrix EON510/VP510 User Guide
Follow Me
Using Follow Me you can make your calls follow you wherever you go. You can receive your calls on another
extension, whenever you want.
Setting Follow Me
• Press Fwd Key on the Home Screen.
• Scroll using the Navigation Key to select Follow Me From.
• Press Select Key.
• Enter the Source Station Number.
•Enter Your Password.
Canceling Follow Me
You can cancel Follow Me from your own extension only.
• Press Fwd Key on the Home Screen.
or
Dial 130

Matrix EON510/VP510 User Guide 135
Room Monitoring
Room Monitoring allows you to listen to conversations taking place in other locations where a Matrix proprietary
Digital Key Phone (DKP) or a Matrix proprietary Extended SIP Phone or a Standard (Open) SIP Phone supporting
Auto Answer feature is present.
To access this feature you must have higher Priority than the extension to be monitored.
Use this feature in accordance to the local privacy laws. Matrix Comsec will not be responsible for any
misuse of this feature.
To start Room Monitoring,
• Press the DSS Key assigned to Room Monitor.
or
Dial 1073
• Enter the Phone Number to be monitored.

136 Matrix EON510/VP510 User Guide
Selective Port Access
ETERNITY supports different trunk port types. Using Selective Port Access, you can access the desired trunk port.
The Port Types and Port Numbers differ according the variant of ETERNITY with which your phone is
connected. Contact your System Administrator for details.
To use Selective Port Access,
• Press the DSS Key assigned to Selective Port Access.
or
•Dial 69
• Scroll using the Navigation Keys to the desired Port Type — SLT Port, DKP Port, CO Port, BRI Port, T1E1
Port, E&M Port, MOB Port, SIP Port, Magneto Port, ISDN Terminal, SIP Extn Port, LD Port, Virtual Port.
• Press Select Key.
•Enter Port Number corresponding to the selected Port Type.

Matrix EON510/VP510 User Guide 137
Software Version/Revision Display
You can view the Software Version-Revision on your phone LCD.
To do so,
•Dial 1072-191
• The Version-Revision is displayed on the LCD.

138 Matrix EON510/VP510 User Guide
System Administrator (SA) Mode
You can enter the SA mode from the phone to execute the SA commands.
To enter the SA Mode,
• Press the DSS Key assigned to SA Mode.
or
Dial 1#92
• Enter the SA Password.
• You can now dial the desired SA command.
To exit the SA Mode,
• Dial Press the DSS Key assigned to SA Mode again.
or
Dial 1#92

Matrix EON510/VP510 User Guide 139
Meet Me Paging
Using Meet Me Paging, you can answer an active Paging Call and get connected to the Pager (the party who
initiated Paging) immediately. To know more about Paging, see “Paging”.
To respond to a Paging call, you must know the extension number of the Pager.
To answer a Paging call,
• Press the DSS Key assigned to Selective Port Access.
or
Dial 1093
•Enter Station Number (this is the Paging Extensions Number).
• You will be connected to the Pager immediately.
Meet Me Paging can be used only if the Paging call is active. Therefore, extension users who are paging
must keep their call active, if they want their call to be answered using Meet Me Paging.

140 Matrix EON510/VP510 User Guide
Voicemail
Voicemail feature allows you to access your Voice Messages saved in the corporate Voicemail box.
To access Voicemail(s), ETERNITY must have a Voicemail System (VMS) card installed and a Personal
Mailbox must be assigned to you.
Voicemail license is present in the ETERNITY NE. A Personal Mailbox is assigned to you.
Accessing Voicemails
• Press Voicemail Key.
• Follow the voice prompts.
• During the call you can press Rel Key, if you want to Release the call.

Matrix EON510/VP510 User Guide 141
Voice Help
Voice Help allows you to record and play short (16 second duration) voice messages to provide quick help to
extension users. Voice Help messages may contain important instructions, or frequently accessed feature codes,
or important phone numbers, etc.
To access Voice Help,
• Press DSS Key assigned to Voice Help.
or
Dial 1090
• The Voice Help message will be played.
• Press any key to stop.

142 Matrix EON510/VP510 User Guide
Walk In
Every extension of ETERNITY is assigned a Class of Service for feature access and Toll Control defining its calling
permission.
Using Walk-In feature you can,
• access the features allowed to your phone in the Class of Service (CoS) from any other extension.
and
• make calls as per the Toll Control level assigned to your phone from any other extension.
Walk-In Class of Service is a password-protected facility. However, the default User Password 1111 will not be
accepted. To be able to use this feature, you must first change the default User Password. For instructions, see
“Change User Password” .
To be able to Walk-In into your extension,
• Press the DSS Key assigned to Walk-In Class of Service.
or
Dial 111
• Scroll using the Navigation Key to select Walk in from Extension.
• Press Select Key.
• Enter the extension from which you want to walk-in (WalkIn from which Station).
•Enter Your User Password.
Walk-Out of an Extension
• If your Walk Out mode is set as One Call by the System Administrator, you will be walked out
automatically after a call.
• If your Walk Out mode is set as Multiple Calls, you must walk out. To do so.
• Press the DSS Key assigned to Walk-In Class of Service.
or
Dial 111
• Scroll using the Navigation Key to select Walk out.
• Press Select Key.

Matrix EON510/VP510 User Guide 143
CHAPTER 19
Hospitality Features
The Hospitality features meet specific requirements of hospitality undertakings like Hotels, Motels, Resorts, Halls of
Residence, and Hospitals.
Certain features can be accessed from Guest phones (by guests) whereas others can be accessed from
Administration phones (by Hotel Administrative staff, Reception, Front Office). While using commands you must:
• dial the Room Number, if the Check-In Profile of the guest is Single or Family.
• dial Phone Number or Guest Number, if the Check-In Profile of the guest is Budget.
For detailed information please refer to the ETERNITY Hospitality System Manual. The documentation can be
found at http://www.matrixtelesol.com/technical-document.html
Floor Service
The Floor Service feature allows you to provide a common access code to extension users which they can dial to
call floor service.
Just as all extension users can reach the Operator by dialing the common access code '9', they can reach the floor
service by dialing a common access code, '38'. This is the default Floor Service access code.
To call Floor Service.
• Press the DSS Key assigned to Floor Service.
or
Dial 38

144 Matrix EON510/VP510 User Guide
Mini Bar
This feature is not supported in PMS Type 2 Interface of ETERNITY. Contact your System Administrator
for details.
Hotels offer Mini Bar in the room for the guest. The Mini Bar in the room has edibles like mineral water, beverages,
chocolates, snacks, etc. These can be consumed by the guests.
Room Service Staff replenishes the stock of edibles and informs verbally about the consumption to the
administration department. The administration department enters these details manually in the property
management system.
Hotel Management wants the Mini Bar details (of consumption) to be sent to the hotel management system
(Property Management System) automatically (without any verbal communication). Mini Bar feature serves this
requirement.
On replenishing the Mini Bar stock, the room service staff must to dial a code followed by Item number and quantity
from the room phone (the quantity can be the quantity consumed or the quantity remaining in the Mini Bar. The
Hotel administration must define whether ‘quantity’ denotes number of items consumed or number of items
remaining. The ETERNITY on receiving this information passes it on to the PMS.
To update the consumption,
• Press the DSS Key assigned to Mini Bar.
or
Dial 1056
• Enter the Item Number.
• Enter the Quantity.
The information is sent to the PMS.

Matrix EON510/VP510 User Guide 145
Room Maid Status
'Maid' is an extension of the housekeeping feature Room Clean Status. It helps the Hotel Administration to keep
track of the cleanliness of rooms, as well as the functioning of the housekeeping staff. You can change the Room
Maid Status from the Guest Room phones.
To change the Room Status from the Guest Room phone,
• Press the DSS Key assigned to Room Status.
or
Dial 1054
• Scroll using the Navigation Keys to select the status — Clean, To be Inspected, Out of Service, Maid
Present, Dirty.
• Press Select Key.

146 Matrix EON510/VP510 User Guide
Housekeeping
Housekeeping enables you to change the Room Clean Status as well as the Room Occupancy Status. You can
access this feature from Administration Phones only.
To change the Room Status,
• Press DSS Key assigned to Remote-Change Room Clean Status.
or
Dial 1072 - 909
• Enter Room/Phone Number.
• Scroll using the Navigation Keys to select the status — Clean, To be Inspected, Out of Service, Maid
Present, Dirty.
• Press Select Key.
To change the Room Occupancy Status,
• Press the DSS Key assigned to Change Occupancy Status.
or
Dial 1072 - 908
• Enter Room/Phone Number.
• Scroll using the Navigation Keys to select the occupancy status — Vacant, Reserved, Guaranteed,
Occupied.
• Press Select Key.

Matrix EON510/VP510 User Guide 147
Alarm
Alarm is a signal set to remind you of some important event/task on a specific date and/or time.
To Set an Alarm,
• Press DSS Key assigned to Alarm.
or
Dial 1072-003
• Enter the Room/Phone Number.
• Scroll using the Navigation Key to select Enter Time HHMM.
• Enter the time.
• The Alarm is set and the Alarm Notification appears on the Home Screen of the guest phone for
whom the Alarm has been set.
If you set an Alarm, by default the Alarm Type you will be able to set is Once only and the Alarm serving
mechanism is Automated. If you want access to set Daily Alarms as well as if you want access to the
serving mechanism Personalized, contact your System Administrator.
To Cancel all the Alarms,
• Press DSS Key assigned to Alarm.
or
Dial 1072-003
• Enter the Room/Phone Number.
• Scroll using the Navigation Key to select Cancel All Alarms and press Select / OK Key.
Alarm Status Report
You can know the status of Alarms (details of Alarms that have not been served) from the WakeUp Alarms Reports.
The status of Alarms set by Operator as well as extension users appears on this report, with details of time (hours
and minutes), type (once only, daily), and serving mechanism (personalized, automated). The Alarm Report
generated by the system can be printed or sent to a computer.
To print the Alarm Status Report,
• Press DSS Key assigned to Print Alarm Status Report.
or
Dial 1072-913
The destination port for reports can be the Ethernet Port or Communication Port. Contact your System
Administrator to know which option is set.

148 Matrix EON510/VP510 User Guide
Call Block
Call Block allows you to block internal calls between guest rooms all the 24 hours or block internal calls between
guest rooms during certain period of the day.
When calls are blocked,
• guests within the same guest groups can call each other.
• calls can be made to the Administration phones by all the guests.
To Block Room-to-Room Calls,
• Press the DSS Key assigned to Call Block.
or
Dial 1072 - 045
• Scroll using the Navigation Key to select Block Internal Calls.
• Press Select Key.
To Allow Room-to-Room Calls,
• Press the DSS Key assigned to Call Block.
or
Dial 1072 - 045
• Scroll using the Navigation Key to select UnBlock Internal Calls.
• Press Select Key.

Matrix EON510/VP510 User Guide 149
Call Budget
Call Budget is the credit limit that is set for each guest room phone to restrict the total cost of phone calls made
from that phone.
To assign Call Budget Amount,
• Press DSS Key assigned to Assign Call Budget.
or
Dial 1072-004
• Enter Room/Phone Number.
• Enter Call Budget Amount.

150 Matrix EON510/VP510 User Guide
Call Privilege
Call Privilege can be used to set the calling permissions on a guest-by-guest basis.
The hotel administration, at the time of installation or thereafter, can ask the System Administrator to configure the
ETERNITY to allow Internal Calls only Or Local calls Or Regional Calls, Or National Calls Or International Calls Or
All calls from the room phones. These settings are known as 'Preset Call Privilege'.
Also, the Operator at the time of check-in or after check-in can set/change Calling Permissions for each phone
(guest room and administration phones).
To change the Toll Control Level,
• Press DSS Key assigned to Dynamic Lock Remote.
or
Dial 1072-002
• Enter Room/Phone Number.
• Scroll using the Navigation Key to select Change Toll Ctrl Level.
• Press Select Key.
• Scroll using the Navigation Keys to select the desired Level — All Calls, Local Calls, National Calls, No
Calls.
• Press Select Key.
To set Auto Dynamic Lock,
• Press DSS Key assigned to Dynamic Lock Remote.
or
Dial 1072-002
• Enter Room/Phone Number.
• Scroll using the Navigation Key to select Change Lock Timer.
• Press Select Key.
• Enter the Time (01 - 99 minutes)
To set Manual Dynamic Lock,
• Press DSS Key assigned to Dynamic Lock Remote.
or
Dial 1072-002
• Enter Room/Phone Number.

Matrix EON510/VP510 User Guide 151
• Scroll using the Navigation Key to select Change Lock Timer.
• Press Select Key.
• Enter the Time as 00 minutes.

152 Matrix EON510/VP510 User Guide
Check-In
When guests arrive you need to perform a Check-In.
To perform a guest check-in,
• Press DSS Key assigned to Check-In.
or
Dial 1072-901
• Scroll using the Navigation Keys to select the Check-In profile — Check-In as Single, Check-In as Family,
Check-In as Budget.
• Enter Room/Phone Number.
• Enter Guest Title.
• Press Select / OK Key.
• Enter Guest Name.
• Press Select / OK Key.

Matrix EON510/VP510 User Guide 153
Change Check-In Profile
If required you can change the Check-In Profile of a guest.
To change the Check-In profile,
• Press DSS Key assigned to Check-In Profile.
or
Dial 1072-907
• Enter Room/Phone Number.
• Scroll using the Navigation Keys to select the Check-In profile — Single, Family, Budget.
• Press Select Key.

154 Matrix EON510/VP510 User Guide
Check-Out
When guests leave you need to perform a Check-Out.
To Check-Out,
• Press DSS Key assigned to Check-Out.
or
Dial 1072-902
• Enter Room/Phone Number.
• Scroll using the Navigation Keys to select the Check-In profile — Single, Family, Budget.
• Press Select Key.

Matrix EON510/VP510 User Guide 155
Database Synchronization Request
This feature is not supported only when ETERNITY is interfaced with Micros Opera PMS.
The information/messages flow from PMS to ETERNITY only; which means, Check-In and Check-Out, Guest-In/
Guest-Out, performing Room Shift, changing Guest Details - Name and Title, Guest Group - are allowed from
Property Management application software only. When the communication between the PMS and the system is
interrupted then you need to sync the data manually to get the updated information. Hence synchronization with the
PMS is essential.
To make a synchronization request,
• Press DSS Key assigned to Database Synchronization Request
or
Dial 1072-040

156 Matrix EON510/VP510 User Guide
Do Not Disturb
The guests can set DND on their room phone by dialing a code/pressing a key or can ask the Operator to set DND
on their room phone. Using DND guests can restrict—all calls, internal calls (calls from other room phones and
administration phones) or external calls. However even if DND is set, guests can also route their incoming calls to
an Intercept Destination. This destination can be the guests own mailbox or another extension. In this way, guests
can ensure that they do not miss any important calls.
To set DND,
• Press DSS Key assigned for DND-Remote.
or
Dial 1072-001
• Enter Phone Number.
• Scroll using the Navigation Keys to select the type of calls for which you want to set DND — All Calls,
Internal Calls, External Calls.
• Press Select Key.
To cancel DND,
• Press DSS Key assigned for DND-Remote.
or
Dial 1072-001
• Enter Phone Number.
• Scroll using the Navigation Key to select Cancel DND.
• Press Select Key.

Matrix EON510/VP510 User Guide 157
Greeting Message
The Voicemail also allows guests to record personal mailbox greeting messages. These messages will be played
to the callers when they are diverted to the guest's mailbox. The Voicemail also offers guests the facility to
customize the greeting messages for their mailbox. Guests can record a different message for each time zone,
namely working hours, break hours and non-working hours.
To set Greeting Message,
• Press DSS Key assigned to User Greeting Message.
or
Dial 1072-008
• Enter Phone Number.
• Scroll using the Navigation Key to select the Greeting Message.
• Press Select Key.
• Scroll using the Navigation Key to select Enable.
• Press Select Key.
To record a greetings message,
•Dial 3931.
• Dial your mailbox password when VMS answers. Follow the voice prompts.
•Dial 4 to select Mailbox Settings.
•Dial 4 to select Mailbox Greetings.
•Dial 1 to select Personal Greetings.
•Dial 1 to select Working hours, dial 2 to select Break hours or dial 3 to select Non-Working hours.
•Dial 1 to Record your message or dial 2 to Listen to the recorded message.
•Dial 1 to record the message. You can record a greeting message of 60 seconds. If the message duration
is less than 60 seconds, press # after you have completed the message.
To cancel Greeting Message,
• Press DSS Key assigned to User Greeting Message.
or
Dial 1072-008
• Enter Phone Number.
• Scroll using the Navigation Key to select the Greeting Message.

158 Matrix EON510/VP510 User Guide
• Press Select Key.
• Scroll using the Navigation Key to select Disable.
• Press Select Key.

Matrix EON510/VP510 User Guide 159
Guest Group
The system allows the flexibility to preset the type of Guest Group to be assigned to the room according to their
occupancy status, which can later be changed on a guest-by-guest basis, if required.
To assign a guest group,
• Press the DSS Key assigned to Guest Group.
or
Dial 1072-904
• Enter Room/Phone Number.
• Enter Guest Group Number.

160 Matrix EON510/VP510 User Guide
Guest Name
Guest Name and Title are to be entered at the time of checking in the guest, but can be entered, changed or
corrected at a later stage during their stay.
To configure guest name,
• Press the DSS Key assigned to Guest Name.
or
Dial 1072-903
• Enter Room/Phone Number.
• Enter Guest Name.
• Press Select / OK Key.

Matrix EON510/VP510 User Guide 161
Guest In, Guest Out
The 'Guest In, Guest Out' feature is used to monitor the presence of guests in the Hotel. When a guest leaves the
room or Hotel, the Operator set guest presence as 'Guest Out'.
To configure Guest-In,
• Press the DSS Key assigned to Guest In/Out.
or
Dial 1072-905
• Enter Room/Phone/Guest Number.
• Scroll using the Navigation Key to select Sign In Guest.
• Press Select Key.
To configure Guest-Out,
• Press the DSS Key assigned to Guest In/Out.
or
Dial 1072-905
• Enter Room/Phone/Guest Number.
• Scroll using the Navigation Key to select Sign Off Guest.
• Press Select Key.

162 Matrix EON510/VP510 User Guide
Hotel Motel Activity Log
The Hotel-Motel Activity Log is an informative record of hotel functions performed by the ETERNITY.
ETERNITY logs the following hotel activities — Wake-up Calls, Reminders, Check-In, Check-Out, Deletion of
Checked-Out Calls, Guest-In, Guest-Out, Maid Presence, Call Budget Amount Consumed, Emergency Number
Dialing and PMS Interface.
The Hotel-Motel Activity log can be generated in real time, as soon as the activity is performed; this is referred to as
'Online'. It is also possible to generate a Report of the Hotel-Motel Activity Log. The Report contains the last 500
activities logged by the system. Activities are logged using the First-In-First-Out (FIFO) logic. Each activity is logged
in the following format, <DD-MM-YYYY> < HH:MM:SS> <Activity Text>
This Hotel-Motel Activity log Report can be printed or downloaded on to a computer.It is also possible to view
activity on the display of the digital key phone, EON or SPARSH phone.
To view Hotel-Motel Activity Index,
• Press DSS Key assigned for Hotel-Motel Activity Display.
or
Dial 1072-178
You will get Activity Index with Date-Time on the LCD display. To know the activities logged at the indexes,
see “Activity Index”.
To Start Hotel-Motel Activity Log Online,
• Press DSS Key assigned for Hotel-Motel Activity Log.
or
•Dial 1072-177
• Scroll using the Navigation Key to select Start Report.
• Press Select Key.
The report will be available at the Destination Port.
To Stop Hotel-Motel Activity Log Online,
• Press DSS Key assigned for Hotel-Motel Activity Log.
or
Dial 1072-177
• Scroll using the Navigation Key to select Stop Report.
• Press Select Key.

Matrix EON510/VP510 User Guide 163
To Start Hotel-Motel Activity Report,
• Press DSS Key assigned for Hotel-Motel Activity Log.
or
Dial 1072-176
• Scroll using the Navigation Key to select Start Report.
• Press Select Key.
The report will be available at the Destination Port.
To Stop Hotel-Motel Activity Report,
• Press DSS Key assigned for Hotel-Motel Activity Log.
or
Dial 1072-176
• Scroll using the Navigation Key to select Stop Report.
• Press Select Key.
Activity Index
Activity Index Meaning
01 Check In
02 Check Out
03 Guest Out
04 Guest In
05 Maid In
06 Maid Out
07 Deletion of checked out phone's calls
08 Wake-up alarm set by extension
09 Wake-up alarm set by Front Desk
10 Wake-up alarm - Personal set by Front Desk
11 Wake-up alarm cancelled by phone
12 Wake-up alarm cancelled by Front Desk
13 Wake-up alarm answer
14 Wake-up alarm no reply
15 Wake-up alarm acknowledgement
16 Reminder (personal) set from Front Desk
17 Reminder set by Front Desk
18 Reminder set by phone

164 Matrix EON510/VP510 User Guide
19 Reminder cancelled by phone
20 Reminder cancelled by Front Desk
21 Reminder answer
22 Reminder no reply
23 Reminder acknowledgement
24 Daily alarm set by phone
25 Daily alarm set by Front Desk
26 Daily alarm (personal) set by Front Desk
27 Daily alarm cancelled by phone
28 Daily alarm cancelled by Front Desk
29 Daily alarm answer
30 Daily alarm no reply
31 Daily alarm acknowledgement
32 Alarm notification to Front Desk
33 Guest phone busy at alarm time
34 PMS - Link down
35 PMS - Link restored
36 PMS - Invalid STX
37 PMS - No STX
38 PMS - Invalid ETX
39 PMS - No ETX
40 PMS - Invalid function code
41 PMS - Invalid status code
42 PMS - Invalid room number
43 PMS - Invalid alarm time
44 PMS - ETERNITY cannot send message
45 PMS - ETERNITY buffer full
46 Call budget exhausted by guest phone
47 Emergency number dialing notification
48 PMS - Message posting failed

Matrix EON510/VP510 User Guide 165
Mailbox Assignment
The guests can be assigned mailbox so that if they are not available, callers can leave messages for them.
To assign a mailbox,
• Press DSS Key assigned to Mailbox Assignment.
or
Dial 1072- 005
• Enter Room/Phone Number.
• Scroll using the Navigation Key to select Assign Mailbox.
• Press Select Key.
To de-assign a mailbox,
• Press DSS Key assigned to Mailbox Assignment.
or
Dial 1072- 005
• Enter Room/Phone Number.
• Scroll using the Navigation Key to select De-assign Mailbox.
• Press Select Key.

166 Matrix EON510/VP510 User Guide
Phone Ringing Pattern
You can select the Phone Ringing Pattern. Phone Ringing Pattern is the sequence in which the phones in the room
shall ring when a call is received
To change phone ringing pattern of room,
• Press DSS Key assigned to Phone Ringing Pattern.
or
Dial 1072 - 916
• Enter Room Number.
• Scroll using the Navigation Keys to select the desired ringing pattern — First Only, Simultaneous, One
after other - 15 Sec, Stepped - 15 Sec, First foll. by All - 15 Sec.
• Press Select Key.

Matrix EON510/VP510 User Guide 167
Print Check-Out Report
The Check-Out Report can be viewed on your computer screen and the same can be printed using the local printer
connected to the PC. The Check-Out reports can also be printed on the Communication or Ethernet Port.
To print a check-out report,
• Press DSS Key assigned to Reprint Check-Out Report.
or
Dial 1072 - 911
• Enter Room/Phone/Guest Number.
The destination port for reports can be the Ethernet Port or Communication Port. Contact your System
Administrator to know which option is set.

168 Matrix EON510/VP510 User Guide
Reminder
Reminders are a variation of the “Alarms” feature, requiring the Date and Time to be set for each Reminder call.
Reminder calls can be set for important tasks or appointments.
Reminders can be set by the guests from the room phones by themselves. Alternatively, the guest can ask the
Operator to set reminder call from him.
The Hotel using Voice Mail System card can offer Voice Guided Reminder call feature to the guests. Voice guided
reminder call feature offers the guest, the voice messages guiding him through a menu to set the reminder call in a
step-by-step manner. The guest would get a voice message announcing the reminder call with the time.
To set a Reminder,
• Press DSS Key assigned to Remote Reminder.
or
Dial 1072 - 033
• Enter Room/Phone Number.
• Scroll using the Navigation Key to select Enter Date MMDDYYYY-HHMM.
• Enter the date and time as per the format.
To cancel Reminder Calls,
• Press DSS Key assigned to Remote Reminder.
or
Dial 1072 - 033
• Enter Room/Phone Number.
• Scroll using the Navigation Key to select Cancel All Reminders.
• Press Select / OK Key.
To set/cancel Voice Guided Reminders,
• Press DSS Key assigned to Remote Voice Guided Reminder.
or
Dial 1072-035
• Follow voice prompts.
Reminders Status Report
• Press DSS Key assigned to Print Reminder Status Report.
or

Matrix EON510/VP510 User Guide 169
Dial 1072-917
The destination port for reports can be the Ethernet Port or Communication Port. Contact your System
Administrator to know which option is set.

170 Matrix EON510/VP510 User Guide
Room Shift
Room Shift is the moving of guests from the room they have been checked-in to another room in the hotel.
To shift a guest,
• Press DSS Key assigned to Room Shift.
or
Dial 1072-910
• Enter Room/Phone/Guest Number.
• Enter Destination (New Room/Phone Number).

Matrix EON510/VP510 User Guide 171
Room Status Report
The Operator can view and print the Occupancy Status of rooms, so that s/he can allot rooms quickly and
efficiently.
To print the Room Status Report,
• Press DSS Key assigned to Print Room Status Report.
or
Dial 1072-912
The destination port for reports can be the Ethernet Port or Communication Port. Contact your System
Administrator to know which option is set.

172 Matrix EON510/VP510 User Guide
Scheduled Alarm Report
You can generate Scheduled Wake-up Call Report.
To enable Scheduled Alarm Report,
•Dial 1072-036
• Scroll using the Navigation Key to select Enable.
• Press Select Key.
To set the Time for Scheduled Alarm Report,
•Dial 1072-037
• Enter Time HHMM.
To disable Scheduled Alarm Report,
•Dial 1072-036
• Scroll using the Navigation Key to select Disable.
• Press Select Key.

Matrix EON510/VP510 User Guide 173
Scheduled Change of Room Clean Status
Using the Scheduled Change of Room Clean Status feature the status of all occupied rooms in the hotel can be
automatically changed to ‘Dirty' at a particular time every day.
To enable Scheduled Change of Room Clean Status,
•Dial 1072-043
• Scroll using the Navigation Key to select Enable.
• Press Select Key.
To set the Time for Scheduled Change of Room Clean Status,
•Dial 1072-044
• Enter Time HHMM.
To disable Scheduled Change of Room Clean Status,
•Dial 1072-043
• Scroll using the Navigation Key to select Disable.
• Press Select Key.

174 Matrix EON510/VP510 User Guide
Scheduled Reminder Report
You can generate Scheduled Reminder Call Report.
To enable Scheduled Reminder Report,
•Dial 1072-038
• Scroll using the Navigation Key to select Enable.
• Press Select Key.
To set the Time for Scheduled Reminder Report,
•Dial 1072-039
• Enter Time HHMM.
To disable Scheduled Reminder Report,
•Dial 1072-038
• Scroll using the Navigation Key to select Disable.
• Press Select Key.

Matrix EON510/VP510 User Guide 175
Scheduled Room Status Report
Using the Scheduled Room Status Report feature the Room Status report can be printed automatically at a
particular time every day.
To enable Scheduled Room Status Report,
•Dial 1072-041
• Scroll using the Navigation Key to select Enable.
• Press Select Key.
To set the Time for Scheduled Room Status Report,
•Dial 1072-042
• Enter Time HHMM.
To disable Scheduled Room Status Report,
•Dial 1072-041
• Scroll using the Navigation Key to select Disable.
• Press Select Key.

176 Matrix EON510/VP510 User Guide
VIP Status
A guest is assigned VIP status at the time of check-in. The VIP status can also be changed during his stay.
To assign VIP Status to a Guest,
• Press the DSS Key assigned to Guest Group.
or
Dial 1072-915
• Enter Room/Phone Number.
• Scroll using the Navigation Key to select VIP.
• Press Select Key.
To assign Non-VIP Status to a Guest,
• Press the DSS Key assigned to Guest Group.
or
Dial 1072-915
• Enter Room/Phone Number.
• Scroll using the Navigation Key to select Non VIP.
• Press Select Key.

Matrix EON510/VP510 User Guide 177
User Definable Fields
User Definable Fields supports flexibility of customizing PMS interface as per customer's need. The hotel staff can
input strings of a maximum of 78 digits each. On receiving this input, PMS Interface of ETERNITY will transparently
pass this information to External PMS Software. The External PMS Software can decode this string as configured
by the PMS Installer.
To inform PMS the User Defined String from the Guest Phone,
•Dial 1096
• Enter Digit String
• Press Select / OK Key.
To inform PMS the User Defined String from the Administration Phone,
•Dial 1072-920
• Enter Phone Number.
• Enter Digit String
• Press Select / OK Key.

Matrix EON510/VP510 User Guide 179
Appendix
Frequently Asked Questions (FAQs)
General
Q. I cannot access several features of the phone described in this User Guide or the feature I want to
access is not allowed to me.
A. Accessing different features of the phone is dependent on whether the feature is enabled in the Class of Service
(CoS) in the ETERNITY assigned to your extension. This is determined by your System Administrator while
configuring your extension settings. If you do not have access to the required feature you should contact your
System Administrator to enable the corresponding feature in the CoS.
Q. I get incoming call indication on the phone screen and the Ringer LED also starts glowing. However,
ringtone is not playing.
A. You must have set the Play Ring option as ‘Ring Off’ within the Ringtones and Alerts menu. Select the Play Ring
option as ‘Immediately’ and set the Ringer Volume to an optimum level such that you can listen to the ringtone
whenever an incoming call arrives. For details see, “Ringer Controls”.
Q. The LCD backlight of my phone is never turned OFF. What do I do?
A. You must have set the Backlight Off Timer in your phone as 000 seconds. Set this value as any number between
001 to 999 seconds after which you want the LCD backlight to turn OFF. For details refer, “Display Settings”.
Q. I cannot access Blind Transfer to Voicemail.
A. You can access the Blind Transfer to Voicemail feature provided the following conditions are satisfied:
• Voicemail System (VMS) card is installed in the ETERNITY (applicable to LE/ME/GE/PE) and the
destination extension, where the call has to be transferred, has a Voicemail box assigned.
OR
• Voicemail License is present in the ETERNITY NE with which your phone is registered and the destination
extension, where the call has to be transferred, has a Voicemail box assigned.

180 Matrix EON510/VP510 User Guide
Q. I cannot access the Conversation Recording/Call Recording feature.
A. You can access this feature provided the following conditions are satisfied:
• Voicemail System (VMS) card is installed in the ETERNITY (applicable to LE/ME/GE/PE) and the
destination extension, where the call has to be transferred, has a Voicemail box assigned.
OR
• Voicemail License is present in the ETERNITY NE with which your phone is registered and the destination
extension, where the call has to be transferred, has a Voicemail box assigned.
• Consult your System Administrator whether he/she has enabled this feature in the Class of Service (CoS)
assigned to your extension.
Q. I have set Auto Call Back on my phone. Now I need to set Trunk Reservation also. But whenever I set
Trunk Reservation, Auto Call Back gets canceled.
A. ETERNITY does not allow setting of both Auto Call Back and Trunk Reservation at a time. You can set only one
out of the two features on the phone.
Q. An error message appears on screen during Conference - Dial-In.
A. The Conference Number you have entered is not supported by the ETERNITY variant with which your phone is
registered. Refer the following table to know the Conferences Numbers supported by different variants of
ETERNITY.
Q. An error message for default password appears when I try to access some feature.
A. Several features from the phone are not accessible using the default User Password (Default Password is 1111).
So change the default user password first. Refer “Change User Password”.
Q. I cannot access Forced Disconnection for a busy trunk although it is allowed to me.
A. Forced Disconnection for a busy trunk is only accessible when you try to access the busy trunk using Selective
Port Access and not by Trunk Access Code (TAC). For more details refer “Forced Disconnection”.
Q. I cannot access Intercom from my phone although it is allowed to me.
A. To access Intercom, your phone’s Priority must be higher than that of the remote extension whom you are
Model Number of Simultaneous Dial-In
Conferences supported
ETERNITY LE 15
ETERNITY ME 7
ETERNITY GE 5
ETERNITY PE 6S 5
ETERNITY PE3SS/ PE3SP and ETERNITY NE 2

Matrix EON510/VP510 User Guide 181
calling. Also if the called extension has set Privacy from Do Not Disturb (DND) - Override, then ETERNITY will
reject the Intercom call initiated by you. You can check the topics Priority and Intercom in the chapter Features and
Facilities from the ETERNITY System Manual.
Q. I cannot access Interrupt Request (IR) from my phone although it is allowed to me.
A. Interrupt Request will work only if the called party is in a normal 2-way speech with some other extension user or
an external party. If the extension is busy due to being Off-hook (for example, Handset is not placed on the cradle
properly) or in the middle of dialing or accessing some ETERNITY feature, then you will not be able to access
Interrupt Request.
Q. Some entries in the Call Logs list are displayed as ‘Unknown’.
A. Entries in the Call Logs list are displayed as ‘Unknown’, if the ETERNITY is unable to detect the Number (CLI)
associated with them. There can be multiple reasons for which this can happen; for example, due to mismatch in
Calling Line Identification (CLI) format configured on the CO trunk of the ETERNITY with that of the service
provider/exchange. You cannot place calls by tapping Unknown entries.
SPARSH VP510
Q. I get the message ‘A network cable is unplugged’ on the screen.
A. This message is displayed when the Ethernet cable is unplugged from the LAN port. If you are connected to the
network using the Ethernet cable, you will not be able to make/receive calls or access any phone features. Ongoing
calls will be disconnected.
Q. I get the message ‘IP Address conflicted with MAC Address “XX:XX:XX:XX:XX:XX” on the screen.
A. This message is displayed when the IP Address assigned to the phone conflicts in the network. Change the IP
Address of the phone or contact your System Administrator to resolve the conflict.
Q. I cannot access Live Call Screening, Background Music, from my phone.
A. SPARSH VP510 does not support the Live Call Screening, Background Music feature.
Q. If there is an incoming call on a trunk for me, I do not get any indication.
A. SPARSH VP510 does not support the CO Call Waiting (or, Trunk Call Waiting) feature even if it is enabled in the
Class of Service assigned to your extension. So if there is an incoming call on a trunk for the SPARSH VP510, then
you will not get any trunk call waiting indication.
Troubleshooting Tips
Problem/Symptom Probable Reason(s)
Alarm cannot be set.
Maximum number of Alarms supported by the
ETERNITY have already been set. So new alarms can
be added only after deleting the old ones.
Beeps are played in an established call and after
sometimes the call gets disconnected.
Call Duration Control (CDC) may be enabled in the
ETERNITY. Ask your System Administrator for
assistance.

182 Matrix EON510/VP510 User Guide
Using Meet Me Paging, I cannot connect to the
Pager.
Pager may have disconnected the call. To connect to the
Pager, dial the number of his/her extension.
The phone does not ring.
The Ringer Volume may be very low or you have turned
off the Ringer. To adjust proper Ringer Volume, see
“Ringer Volume”.
I cannot access the FTP folder of the phone. (for
SPARSH VP510)
Make sure that you have typed the correct IP address
assigned to the phone and have entered the ‘Login
Mode’ as ‘se’ and ‘Password’ as the ETERNITY’s Web
Jeeves password for System Engineer (SE) login mode.
Problem/Symptom Probable Reason(s)

Matrix EON510/VP510 User Guide 183
Technical Specifications
EON510
SPARSH VP510
Mechanical
Weight 805 gm
Dimension in mm [L*B*H] 247*183*43
Material ABS Plastic
Installation Mounting Wall Mount and Table - Top
Environmental Conditions
Operating Temperature Range 0 to 45 degree C
Storage Temperature 0 to 55 degree C
Operating and Storage Humidity 5 to 95%, RH, Non-Condensing
VoIP
VoIP Protocols SIP v2, SDP, RTP, RFC 2833
Network Protocol IPv4, TCP, DHCP, PPPoE
Voice CODECS G.722 Wideband, G.711 A/µ-Law, G.723, G.729
Voice Dynamic Jitter Buffer (Adaptive)
Quality of Service Layer 2 CoS, Layer 3 DIFFServ and TOS
Data Network LAN Port (RJ45), 10/100 Base T (PoE Optional)
PC Port (RJ45), 10/100 Base T
Security TLS, SRTP
LCD 240*64 Pixel Graphic LCD Display
Power Supply
Input 5VDC @2A through External Adaptor (100-240 VAC, 50
- 60 Hz)
Power Consumption 2.25W (stand alone)
Mechanical
Weight 805 gm
Dimension in mm [L*B*H] 247*183*43
Material ABS Plastic
Installation Mounting Wall Mount and Table - Top
Environmental Conditions
Operating Temperature Range 0 to 45 degree C

184 Matrix EON510/VP510 User Guide
Storage Temperature 0 to 55 degree C
Operating and Storage Humidity 5 to 95%, RH, Non-Condensing
FCC STATEMENT
1. This device complies with Part 15 of the FCC Rules. Operation is subject to the following two
conditions:
(1) This device may not cause harmful interference, and
(2) This device must accept any interference received, including interference that may cause
undesired operation.
2. Changes or modifications not expressly approved by the party responsible for compliance could
void the user’s authority to operate the equipment.
This equipment has been tested and found to comply with the limits for a Class B digital device,
pursuant to part 15 of the FCC Rules. These limits are designed to provide reasonable protection
against harmful interference in a residential installation. This equipment generates, uses and can
radiate radio frequency energy and, if not installed and used in accordance with the instructions,
may cause harmful interference to radio communications. However, there is no guarantee that
interference will not occur in a particular installation. If this equipment does cause harmful
interference to radio or television reception, which can be determined by turning the equipment off
and on, the user is encouraged to try to correct the interference by one or more of the following
measures:
—Reorient or relocate the receiving antenna.
—Increase the separation between the equipment and receiver.
—Connect the equipment into an outlet on a circuit different from that to which the receiver is
connected.
—Consult the dealer or an experienced radio/ TV technician for help.

Index
A
Accessing Voicemails 140
Account Code 77
Alarm 147
Alarm and Reminder 109
Attended Transfer 67
Authority Code 79
Auto Callback 75
Auto Callback Notification 75
Auto Redial 76
B
Background Music 81
Barge-In 80
Boot process 34
C
CA Keys 10, 18
Call Answer Type 50
Call Block 148
Call Budget 149
Call Chaining 82
Call Features 65
Call Forward 112
Call Hold 65
Call Logs
Creating New Contacts 105
Viewing Call Logs 103
Call Park 83
Call Pickup-Group 120
Call Pickup-Selective 120
Call Privilege 150
Call Toggle 70
Call Transfer 67
Called party/Callee 2
Calling Line Identification Restriction 130
Calling party/Caller 2
Cancel All Features 121
Cancel Follow Me 134
Cancel Message Wait 94
Canceling Auto Callback 75
Canceling Auto Redial 76
Canceling Do Not Disturb 116
Canceling Hotline 129
Canceling Trunk Reservation 98
Change User Password 47
Check-In 152
Check-In Profile 153
Check-Out 154
CO Network 2
Conference 3-Party 71
Connecting
Cable 29, 34
Handset 29, 33
Headset 29, 33
Mount on the Desk 28, 32
Wall Mount 27, 31
Contacts
Adding Contacts 100
Deleting Contacts 101
Editing Contacts 101
Viewing Contacts 99
Conversation Recording 84
Customizing Your Phone 47
D
Database Synchronization Request 155
Dial-In Conference 126
Dialing Emergency Services 24
Display Settings 51
DND-Override 118
Do Not Disturb 116, 156
DSS (Direct Station Selection) Keys 8, 16
DSS Call Pick-Up - Station 85
DSS Call Pick-Up - Trunk 85
DTMF Generation Control 48
DTMF Transmit Level 48
Dual Ring 113
Dynamic Lock 122
E
Editing an Entry before Placing a Call 107
Emergency Call 86
Exclusive Hold 65
F
Feature Keys 8, 16
Flashing on Trunks 89
Floor Service 143
Follow Me 134
Forced Account Code 78
Forced Answer 87
Forced Disconnection 88
G
Global Hold 65
Greeting Message 157
Guest Group 159
Guest In, Guest Out 161
Guest Name 160
H
Headset 90
Headset Connectivity 9, 18, 51
Hospitality Features 143
Hotel Motel Activity Log 162
Hotline 128
Housekeeping 146
I
Interrupt Request 91
J
Join/Leave/Cancel the Dial-In Conference 126
K
Keypad Lock 124
Know Your EON510 5
Know Your SPARSH VP510 13
L
Language Selection 52
Last Caller Recall 93
Last Number Redial 92
Live Call Screening (LCS) 132
Live Call Supervision 131
M
Mailbox Assignment 165
Making Calls 53
Meet Me Paging 139
Message Wait 94
Mini Bar 144
Missed Call Notification 108
Multiparty Conference 73
Multiple Calls 59
Mute 96
O
One Touch Transfer 69
P
Package Contents 21
Paging 133
Permanently Leaving the Conference 74
Phone Menu 10, 18
Phone Ringing Pattern 166
Power Supply 23
Presence 119
Print Check-Out Report 167
Protecting the Phone and Yourself 21, 23
R
Raid 97
Receiving Calls 57
Reminder 168
Removing a Participant from the Conference 73
Reserving a Trunk 98
Retrieve Message Wait 94
Ringer Controls 48
Room Clean Status 173
Room Maid Status 145
Room Monitoring 135
Room Shift 170
Room Status Report 171
S
Schedule a Dial-In Conference 126
Scheduled Alarm Report 172
Scheduled Reminder Report 174
Scheduled Room Status Report 175
Scope 1
Second Call 61
Selective Port Access 136
Set Do Not Disturb Message 116
Set Follow Me 134
Set Message Wait 94
Setting Auto Callback 75
Setting Auto Redial 76
Setting Call Forward 112
Setting Call Forward-Scheduled 114
Setting Do Not Disturb 116
Setting Dynamic Lock 122
Setting Hotline 128
Software Version/Revision Display 137
Speech Controls 47
Splitting the Conference 71
System Administrator (SA) Mode 138
T
Temporary Leaving and Rejoining the Confer-
ence 74
Terminating the Conference 72
Trunk Reservation 98
U
Unattended Transfer 67
User Definable Fields 177
Using External Devices 24
V
VIP Status 176
Voice Help 141
Voicemail 140
W
Waiting Call 63
Walk In 142
Walk-Out 142

Version 1, December 2015
MATRIX COMSEC
Head Office
394-GIDC, Makarpura, Vadodara - 390010, India.
Ph:+91 265 2630555
E-mail: Support@MatrixComSec.com
www.MatrixTeleSol.com